Ministerio de Industria, Turismo y Comercio LogoMinisterior
 

Alerta

Resultados 122 resultados
LastUpdate Última actualización 15/12/2025 [07:01:00]
pdfxls
Solicitudes publicadas en los últimos 60 días/Published applications in the last 60 days
Resultados 1 a 122  

Structure de panneau photovoltaïque comprenant un dispositif de réglage d’orientation du panneau photovoltaïque.

NºPublicación:  FR3163229A1 12/12/2025
Solicitante: 
GROUPE ADEO [FR]
GROUPE ADEO
FR_3163229_PA

Resumen de: FR3163229A1

L’invention concerne une structure de support de panneau photovoltaïque (1) comprenant un socle (10) définissant un plan de référence (P0) et un bâti mobile (11) accueillant le panneau photovoltaïque (100) et définissant un plan de montage (P1), le bâti mobile étant monté en rotation autour d’un premier axe (A1) sur le socle. La structure comprend également un dispositif de verrouillage agencé entre le bâti mobile et le socle pour stabiliser le bâti mobile par rapport au socle selon au moins deux positions distinctes, lequel comprend un organe stabilisateur (12) comprenant un premier élément de connexion (121) se logeant dans au moins deux seconds éléments de connexion (102) du socle plus ou moins éloignées du premier axe. Un second organe de verrouillage (13) est configuré pour bloquer, dans une position de verrouillage, le premier élément de connexion dans l’un des au moins deux seconds éléments de connexion. Figure pour l’abrégé : Figure 1

Ensemble d’alimentation pour dispositif occultant et dispositif occultant comprenant un tel ensemble

NºPublicación:  FR3163096A1 12/12/2025
Solicitante: 
PROFALUX IND [FR]
PROFALUX INDUSTRIE
FR_3163096_PA

Resumen de: FR3163096A1

Ensemble d’alimentation pour dispositif occultant et dispositif occultant comprenant un tel ensemble Ensemble d’alimentation (100) d’un dispositif occultant (1) comprenant une batterie (4) destinée à être reliée à un panneau photovoltaïque (3), un caisson (2) définissant un volume interne (V) et comprenant une paroi avant (6) munie d’une ouverture (10) intégrant des bords longitudinaux (11, 12), reliés entre eux par un premier bord latéral (13) et un deuxième bord latéral (14), l’ensemble d’alimentation comprenant des pièces de support (8, 9), toutes deux destinées à être solidarisées à la paroi avant (6), en étant respectivement insérées puis positionnées par coulissement contre le premier bord latéral et le deuxième bord latéral, les pièces de support incluant chacune un logement (15, 16) apte à permettre le maintien de la batterie, lorsque les pièces de support sont solidarisées à la paroi avant, les logements (15, 16) s’étendent tous deux au sein du volume interne (V). Figure pour l’abrégé : Fig. 3

PROCEDE DE TRAQUAGE A UN AXE FONCTIONNANT PAR GRAVITE POUR TOUS TYPES DE PANNEAUX PHOTOVOLTAIQUES

NºPublicación:  FR3163230A1 12/12/2025
Solicitante: 
GARCIA MICHEL [FR]
VIAUX GERARD [FR]
GARCIA MICHEL,
VIAUX GERARD
FR_3163230_PA

Resumen de: FR3163230A1

La présente invention concerne un dispositif à un axe permettant de pister la course du soleil dans sa circonvolution afin d’apporter aux panneaux photovoltaïques (PV) le maximum d’ensoleillement quel que soit le moment de la journée pour améliorer leur rendement de manière significative. L’invention peut être couplée avec la demande de brevet n° FR2310044, qui permet d’adjoindre au PV une BOX en vue de valoriser la chaleur fatale produite en sous-face du PV sous forme d’électricité ou d’autres produits (hydrogène verte) et d’augmenter d’autant plus la productivité du parc solaire. Le procédé est entièrement automatisé, peu mécanisé (pas de moteur mais uniquement une pompe à faible consommation électrique), simple à installer et à maintenir pour les panneaux uniques, en série ou en champ et quelle que soit la conformation du terrain où ils sont implantés. Les traqueurs peuvent mutualiser certains moyens. Un logiciel de pilotage et de contrôle spécifique assure l’optimisation de la capture des rayonnements, l’automatisation et la surveillance à distance du système. L’invention peut permettre la récupération des eaux satellitaires au moyen de gouttières, leur stockage et leur valorisation limitant les effets néfastes pour l’environnement de leur écoulement sur le sol, elle peut également, dans sa version mettant en œuvre la BOX, autoriser le renversement total du bloc photovoltaïque qui expose alors aux intempéries

DISPLAY DEVICE

NºPublicación:  US2025377782A1 11/12/2025
Solicitante: 
LG DISPLAY CO LTD [KR]
LG Display Co., Ltd
US_2025377782_PA

Resumen de: US2025377782A1

Embodiments of the disclosure relate to a display device. Specifically, there is provided a display device with display quality enhanced by comprising a substrate, a display area where one or more subpixels are disposed, each of the one or more subpixels including a light emitting element positioned on the substrate and at least one transistor for driving the light emitting element, an open area obtained by removing at least a portion of the substrate in an area surrounded by the display area, and a planarization layer positioned to overlap the display area and the open area and positioned on the light emitting element.

Solar Powered Refrigerator Device

NºPublicación:  US2025377149A1 11/12/2025
Solicitante: 
BELL KELVIN [US]
Bell Kelvin
US_2025377149_PA

Resumen de: US2025377149A1

A solar powered refrigerator device for cooling food items and producing ice cubes in a remote location includes a refrigerator which has an internal compartment for containing cold food items. A refrigeration unit is integrated into the refrigerator to cool the cold food items in the internal compartment. A door is hingedly disposed on the refrigerator for opening and closing the internal compartment and an ice maker is integrated into the refrigerator to release ice cubes for cooling a beverage. The refrigerator has a peaked housing located on top of the refrigerator and the peaked housing tapers into a peak such that the peaked housing has a triangular shape.

PEROVSKITE SOLAR CELL AND TANDEM SOLAR CELL COMPRISING SAME

NºPublicación:  US2025380562A1 11/12/2025
Solicitante: 
HANWHA SOLUTIONS CORP [KR]
HANWHA SOLUTIONS CORPORATION
US_2025380562_PA

Resumen de: US2025380562A1

The present invention relates to a perovskite solar cell and a tandem solar cell comprising the same, characterized in that the perovskite solar cell comprises: a substrate; a transparent electrode; a hole transport layer; a perovskite light absorption layer; an electron transport layer; and a metal electrode, wherein the electron transport layer is a graded thin film in which a chemical binding state of elements constituting the electron transport layer gradually changes from the lower portion thereof toward the upper portion thereof.

AERODYNAMIC DAMPING STOW FOR SOLAR TRACKER SYSTEMS

NºPublicación:  US2025379545A1 11/12/2025
Solicitante: 
FCX SOLAR LLC [US]
FCX Solar LLC
US_2025379545_PA

Resumen de: US2025379545A1

Stowing flexible tracker systems with the panel surfaces at a negative tilt angle during high wind is enhanced through optimizing around total system damping in order to address aerodynamic instabilities. Current flexible tracker designs function by avoiding the regions in which negative aerodynamic damping primarily occurs. Doing so requires them to stow at maximum absolute tilts to remain stable. However, methods disclosed here select system flexibility, system mechanical damping, and tracker stow angles to achieve a positive aerodynamic damping function and thus enable stable wind stow at lower than maximum tilt angles. The design approach addresses multiple current failure modes within the PV tracker industry while reducing installation cost relative to current designs.

PRE-ASSEMBLED PHOTOVOLTAIC SYSTEMS

NºPublicación:  US2025379543A1 11/12/2025
Solicitante: 
XIAN LONGI CLEAN ENERGY CO LTD [CN]
XI'AN LONGI CLEAN ENERGY CO., LTD
US_2025379543_PA

Resumen de: US2025379543A1

Devices, apparatus, and systems for pre-assembled photovoltaic systems are provided. In one example, a pre-assembled photovoltaic system includes: a foldable support, a photovoltaic module fixed to the foldable support, and a limiting device connected to the foldable support. The limiting device is configured to control one or more unfolding angles of the foldable support.

SOLAR PANEL SNOW REMOVAL SYSTEM

NºPublicación:  US2025379544A1 11/12/2025
Solicitante: 
LAMIE ALEXANDER [US]
MAHON JIM [US]
L'Amie Alexander,
Mahon Jim
US_2025379544_PA

Resumen de: US2025379544A1

This disclosure pertains to snow removal systems, specifically systems designed to maintain the functional efficiency of solar panels by preventing the accumulation of snow on solar panels. Solar panels are devices that convert light into electricity and are commonly used in a variety of settings, from residential rooftops to large-scale solar farms. These panels consist of multiple solar cells made from semiconductor materials that exhibit the photovoltaic effect. The efficiency of solar panels is contingent upon their exposure to sunlight, which can be impeded by environmental factors such as the accumulation of snow. The technical background involves mechanisms and methods for preserving the optimal operational state of solar panels in environments subject to snowfall.

TERRAIN-FOLLOWING SOLAR TRACKER SYSTEM

NºPublicación:  US2025379542A1 11/12/2025
Solicitante: 
FLEXRACK BY QCELLS LLC [US]
FLEXRACK by Qcells LLC
US_2025379542_PA

Resumen de: US2025379542A1

A drive system includes a ring gear configured to rotate about a first axis; a first articulating joint including a driving yoke, a driven yoke and a spider coupling the driving yoke to the driven yoke, the driving yoke coupled to the drive gear and configured to rotate about the first axis, the driven yoke configured to rotate about a second axis; a first output shaft coupled to the driven yoke and configured to be coupled to a first solar canopy, the first output shaft configured to induce tilt in the first solar canopy; and a pivotable post bracket system coupled to the ring gear, the pivotable post bracket system configured to be coupled to a post and configured to pivot relative to the post.

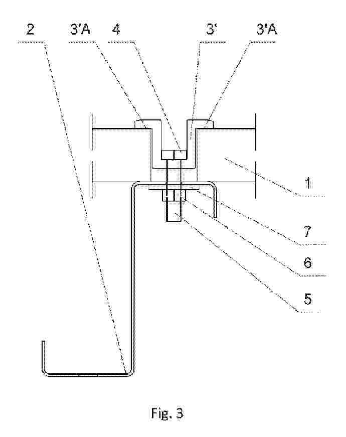
WEATHERPROOF MULTIPURPOSE ENCLOSURE WITH INTEGRATED FLASHING

NºPublicación:  US2025379435A1 11/12/2025
Solicitante: 
UNIRAC INC [US]
Unirac, Inc
US_2025379435_PA

Resumen de: US2025379435A1

Enclosure assemblies with integrating flashing for protecting an accessory on a rooftop. The enclosure assemblies can include a base configured to protect the rooftop from water intrusion and a cover configured to be joined to the raised portion of the base. The base can include a bottom wall and a raised portion extending from the bottom wall. The base can include an uphill portion configured to be positioned beneath at least one full course of roof shingle on the rooftop, without having to cut the roof shingle. The raised portion can be disposed off-center relative to the central transverse axis of the bottom wall, leaving the uphill portion of the bottom wall uncovered.

SOLAR POWER GENERATION SYSTEM

NºPublicación:  US2025379447A1 11/12/2025
Solicitante: 
TOYOTA JIDOSHA KK [JP]
TOYOTA JIDOSHA KABUSHIKI KAISHA
US_2025379447_PA

Resumen de: US2025379447A1

A solar power generation system configured by connecting a plurality of power generation systems including a solar panel and a DCDC circuit unit in parallel includes a first control unit that performs maximum power point tracking control for a host power generation system that is one of the power generation systems, and drives the DCDC circuit unit at a duty cycle corresponding to a maximum power point of the solar panel, and a second control unit that, for each of slave power generation systems other than the host power generation system among the power generation systems, derives a variation ratio of an input voltage or an output voltage of the DCDC circuit unit before and after the maximum power point tracking control is performed by the first control unit, and corrects the duty cycle of the DCDC circuit unit based on the variation ratio.

PLATFORM MICROGRID

NºPublicación:  US2025379425A1 11/12/2025
Solicitante: 
GO ELECTRIC INC [US]
GO ELECTRIC, INC
US_2025379425_PA

Resumen de: US2025379425A1

Devices, systems, and methods for platform microgrids can include a platform skid for mounting of microgrid system equipment, and a microgrid operations system. The platform skid illustratively comprises an intermodal container housing a power storage device in communication to provide power to the power delivery system.

Display Panel, Display Device, Input/Output Device, and Data Processing Device

NºPublicación:  US2025378801A1 11/12/2025
Solicitante: 
SEMICONDUCTOR ENERGY LABORATORY CO LTD [JP]
Semiconductor Energy Laboratory Co., Ltd
US_2025378801_PA

Resumen de: US2025378801A1

A novel display panel that is highly convenient or reliable is provided. The display panel includes a first region and a second region. The second region is provided with a first component, and the second region can be bent with the first component facing outward. The first component includes a first elastic body and a second elastic body. The second elastic body includes an end portion part or the whole of which is covered with the first elastic body. The second elastic body has a higher elastic modulus than the first elastic body.

CONNECTING ELEMENT FOR PHOTOVOLTAIC MODULES AND METHOD FOR MOUNTING PHOTOVOLTAIC MODULES

NºPublicación:  US2025379541A1 11/12/2025
Solicitante: 
GREENTI SAGL [CH]
GREENTI SAGL
US_2025379541_PA

Resumen de: US2025379541A1

Provided is a connecting element (10) for connecting a two- or three-dimensional structure, in particular a photovoltaic module (1), to a support structure (20). The connecting element (10) comprises an upper portion (11) and a lower portion (12). The border of the upper portion (11) and the lower portion (12) is indicated by a convex run (11, 12). The upper portion (11) provides a support surface (110) for mounting a photovoltaic module (1). The lower portion (12) comprises a concave run (121) for being clamped on a support structure (20) comprising a shape basically complementary to the lower portion (12). Moreover, a set comprising a connecting element (10) and a support structure (20) is provided. In addition, a method for connecting a two- or three-dimensional structure, in particular a photovoltaic module (1), to a support structure (20) and a use of a connecting element (10), of a set, or of a method for mounting a two- or three-dimensional structure, such as a photovoltaic module (1), a brick, a shielding or alike to a rooftop, a facade, a greenhouse, urban fields, sound barriers, a movable/stationary watering agriculture or alike are provided.

CLAMP FOR SECURING A SOLAR PANEL MODULE

NºPublicación:  WO2025254853A1 11/12/2025
Solicitante: 
UNIRAC INC [US]
UNIRAC INC
WO_2025254853_PA

Resumen de: WO2025254853A1

A clamp includes a mount, a connector, and a fastener. The mount has a slot and a channel. The connector attaches to the mount and is transitionable between a first position and a second position in which a solar panel module is securable to the mount. The connector has a post at least partially disposed in the channel and which traverses within the channel between the first position and the second position of the connector. The fastener is disposed at least partially in the slot for attaching the connector to the mount. The fastener tightens to secure the solar panel module to the mount.

TERRAIN-FOLLOWING SOLAR TRACKER SYSTEM

NºPublicación:  WO2025255386A1 11/12/2025
Solicitante: 
FLEXRACK BY QCELLS LLC [US]
FLEXRACK BY QCELLS LLC
WO_2025255386_PA

Resumen de: WO2025255386A1

A drive system includes a ring gear configured to rotate about a first axis; a first articulating joint including a driving yoke, a driven yoke and a spider coupling the driving yoke to the driven yoke, the driving yoke coupled to the drive gear and configured to rotate about the first axis, the driven yoke configured to rotate about a second axis; a first output shaft coupled to the driven yoke and configured to be coupled to a first solar canopy, the first output shaft configured to induce tilt in the first solar canopy; and a pivotable post bracket system coupled to the ring gear, the pivotable post bracket system configured to be coupled to a post and configured to pivot relative to the post.

METHOD AND DEVICE FOR CONTROLLING SOLAR POWER GENERATION SYSTEM

NºPublicación:  WO2025254251A1 11/12/2025
Solicitante: 
HANWHA SOLUTIONS CORP [KR]
\uD55C\uD654\uC194\uB8E8\uC158 \uC8FC\uC2DD\uD68C\uC0AC
WO_2025254251_PA

Resumen de: WO2025254251A1

The present disclosure relates to a method and device for controlling a solar power generation system. A method for controlling a solar power generation system, according to one embodiment of the present disclosure, may determine whether the power stored in a DC link capacitor, which is included in a power conversion device that supplies energy generated from a solar panel to a grid, needs to be absorbed, on the basis of the power stored in the DC link capacitor and the power of the grid, and control an input capacitor provided on the solar panel side of the power conversion device to absorb the power stored in the DC link capacitor, on the basis of the power stored in the DC link capacitor needing to be absorbed.

INSTALLATION OF PHOTOVOLTAIC TRACKERS BETWEEN AND/OR ATOP GREENHOUSES

NºPublicación:  WO2025253156A1 11/12/2025
Solicitante: 
SOLARGIK LTD [IL]
SOLARGIK LTD
WO_2025253156_PA

Resumen de: WO2025253156A1

A photovoltaic (PV) assembly is adapted for installation between laterally adjoining or adjacent greenhouses that comprise respective longitudinally aligned pluralities of transverse structural ribs. The PV assembly comprises (i) a frame subassembly and an array of PV panels joined thereto and pivotable therewith about a longitudinal axis of the PV assembly, and (ii) a longitudinally aligned plurality of load-bearing support subassemblies coupled to the frame, each configured for attachment to a respective pair of opposing structural ribs of the adjoining or adjacent greenhouses.

ROLLER BRUSH COVER, CLEANING ROBOT, AND CLEANING SYSTEM

NºPublicación:  WO2025251978A1 11/12/2025
Solicitante: 
BEIJING ROBOROCK TECH CO LTD [CN]
\u5317\u4EAC\u77F3\u5934\u4E16\u7EAA\u79D1\u6280\u80A1\u4EFD\u6709\u9650\u516C\u53F8
WO_2025251978_PA

Resumen de: WO2025251978A1

A roller brush cover, a cleaning robot, and a cleaning system. The roller brush cover is used for detachable connection to a roller brush support (200) of the cleaning robot, and comprises a cover body part (110), a transmission part (120), and a locking part (130). An avoidance opening (1101) is formed in the cover body part (110). The transmission part (120) is movably arranged on the cover body part (110), and one end of the transmission part (120) in the direction of length of the avoidance opening (1101) serves as an operation end (1201). The locking part (130) is arranged on the transmission part (120) and can be driven by the transmission part (120) to move.

COMPOSITE ADHESIVE FILM, METHOD FOR PREPARING SAME, AND PHOTOVOLTAIC MODULE

NºPublicación:  US2025376607A1 11/12/2025
Solicitante: 
TONGWEI SOLAR CHENGDU CO LTD [CN]
TONGWEI SOLAR (CHENGDU) CO., LTD
US_2025376607_PA

Resumen de: US2025376607A1

A composite adhesive film, a method for preparing the same, and a photovoltaic module are provided. The composite adhesive film includes an adhesive film layer and nanospheres. The nanospheres are distributed on the adhesive film layer, each of the nanospheres includes a polymer shell with pH acid responsiveness and an acid scavenger encapsulated within the polymer shell. The composite adhesive film can adjust a content of acetic acid in the photovoltaic module in time based on a stimulation-release principle of pH acid responsiveness, so that the photovoltaic module can be protected from acetic acid for a long time, and a component efficiency and a component reliability of the photovoltaic module can be improved.

PRECURSOR, PEROVSKITE LIGHT-ABSORBING LAYER AND PREPARATION METHOD THEREOF, PEROVSKITE BATTERY, AND ELECTRIC DEVICE

NºPublicación:  US2025380611A1 11/12/2025
Solicitante: 
CONTEMPORARY AMPEREX FUTURE ENERGY RES INSTITUTE SHANGHAI LIMITED [CN]
CONTEMPORARY AMPEREX TECH CO LIMITED [CN]
SHANGHAI JIAO TONG UNIV [CN]
CONTEMPORARY AMPEREX FUTURE ENERGY RESEARCH INSTITUTE (SHANGHAI) LIMITED,
CONTEMPORARY AMPEREX TECHNOLOGY CO. LIMITED,
SHANGHAI JIAO TONG UNIVERSITY
US_2025380611_PA

Resumen de: US2025380611A1

A precursor, a perovskite light-absorbing layer and preparation method thereof, a perovskite battery, and an electric device are described. The precursor is used for preparing a perovskite light-absorbing layer and includes a perovskite precursor solution and an organic additive added to the perovskite precursor solution, where the organic additive includes one or more functional groups of a carboxyl group, a hydroxyl group, and an amino group. In this application, the organic additive including one or more functional groups of the carboxyl group, the hydroxyl group, and the amino group is added to the perovskite precursor solution, alleviating problems such as a crystallization defect and uneven crystal grain distribution of a perovskite component in the process of the perovskite precursor solution forming perovskite, thereby improving the photoelectric conversion efficiency and stability of the perovskite battery.

ORGANIC TRANSPARENT CONDUCTIVE ELECTRODE FOR REPLACEMENT OF THE ITO ELECTRODE IN INDOOR-COMPATIBLE ORGANIC PHOTOVOLTAIC MODULES

NºPublicación:  US2025380561A1 11/12/2025
Solicitante: 
DRACULA TECH [FR]
DRACULA TECHNOLOGIES
US_2025380561_PA

Resumen de: US2025380561A1

The present invention relates to a photovoltaic module comprising, amongst others, a lower electrode consisting of two layers: a first layer comprising a polymer blend of poly(3,4-ethylenedioxythiophene) and sodium poly(styrene-sulfonate) covering the support and having an average thickness between 50 nm and 150 nm and an organic fibrous structure, and a second layer based on an organic polymer or molecule covering said first layer, the lower electrode having a lower surface in contact with the support and an upper surface, and an upper electrode comprising a polymer blend of poly(3,4-ethylenedioxythiophene) and sodium poly(styrene-sulfonate) covering said photovoltaic active layer, said electrode being continuous, having an average thickness of between 100 nm and 400 nm and an organic fibrous structure.

CONTACTS OF SOLAR CELLS AND OTHER OPTOELECTRONIC DEVICES

NºPublicación:  US2025380533A1 11/12/2025
Solicitante: 
ARIZONA BOARD OF REGENTS ON BEHALF OF ARIZONA STATE UNIV [US]
ARIZONA BOARD OF REGENTS ON BEHALF OF ARIZONA STATE UNIVERSITY
US_2025380533_PA

Resumen de: US2025380533A1

Contacts for solar cells and other optoelectronic devices are provided. Embodiments described herein take advantage of the surface Fermi level pinning effect to build an electrical field inside of a semiconductor to extract or inject carriers for solar cells, photodetectors, and light-emitting device applications. For example, n-type or p-type two-dimensional (2D) materials can be used in contact with an n-type semiconductor to form a “p-region” so that a p-n junction, or an i-n or n-n+ junction can be constructed. Similarly, n-type or p-type 2D materials can be used in contact with a p-type semiconductor to form an “n-region” so that an n-p junction, or an i-p or p-p+ junction can be constructed. These structures can provide sufficiently high electrical field inside the semiconductor to extract photogenerated carriers in solar cells and photodetectors or inject minority carriers for light-emitting devices.

SOLAR CELL, TANDEM CELL, PHOTOVOLTAIC SYSTEM, POWER GENERATION APPARATUS, AND ELECTRIC APPARATUS

NºPublicación:  WO2025251535A1 11/12/2025
Solicitante: 
CONTEMPORARY AMPEREX TECH CO LIMITED [CN]
\u5B81\u5FB7\u65F6\u4EE3\u65B0\u80FD\u6E90\u79D1\u6280\u80A1\u4EFD\u6709\u9650\u516C\u53F8
WO_2025251535_PA

Resumen de: WO2025251535A1

Provided in the present application are a solar cell, a tandem cell, a photovoltaic system, a power generation apparatus, and an electric apparatus. In a perovskite solar cell, by means of providing a conductivity enhancement layer comprising a plurality of first metal grid lines arranged at intervals, the transport of charges inside the cell can be facilitated, thereby improving the photoelectric conversion efficiency of the perovskite solar cell.

FLEXIBLE SOLAR POWER GENERATION DEVICE

NºPublicación:  WO2025251510A1 11/12/2025
Solicitante: 
SUZHOU TPRI ENER & ENVIRO TECH CO LTD [CN]
XIAN THERMAL POWER RES INSTITUTE CO LTD [CN]
\u82CF\u5DDE\u897F\u70ED\u8282\u80FD\u73AF\u4FDD\u6280\u672F\u6709\u9650\u516C\u53F8,
\u897F\u5B89\u70ED\u5DE5\u7814\u7A76\u9662\u6709\u9650\u516C\u53F8
WO_2025251510_PA

Resumen de: WO2025251510A1

The present application relates to the technical field of solar power generation devices, and in particular to a flexible solar power generation device, comprising: a power generation mechanism, which comprises a frame body, and a box body and a flexible photovoltaic panel that are arranged on the frame body; and a winding mechanism, which comprises a storage slot arranged inside the box body, a through opening in communication with the storage slot, a winding assembly arranged inside the storage slot, a sliding assembly and a linkage assembly connected to the winding assembly, a cleaning assembly connected to the linkage assembly, a reciprocating assembly connected to the cleaning assembly, and an adjustment assembly connected to the reciprocating assembly, wherein one end of the flexible photovoltaic panel slides through the through opening and extends into the storage slot, and the flexible photovoltaic panel is connected to the winding assembly. By means of the winding mechanism, the flexible photovoltaic panel can be wound, thereby prolonging the service life of the flexible photovoltaic panel while preventing damage to the flexible photovoltaic panel.

HOLOGRAPHIC DISPLAY ELEMENT, HOLOGRAPHIC DISPLAY GLASS, AND VEHICLE

NºPublicación:  WO2025252135A1 11/12/2025
Solicitante: 
FUYAO GLASS IND GROUP CO LTD [CN]
\u798F\u8000\u73BB\u7483\u5DE5\u4E1A\u96C6\u56E2\u80A1\u4EFD\u6709\u9650\u516C\u53F8
WO_2025252135_PA

Resumen de: WO2025252135A1

A holographic display element (11), holographic display glass (1), and a vehicle. The holographic display element (11) comprises a holographic display functional layer (111) and substrate layers (112) provided on two opposite sides of the holographic display functional layer (111). The holographic display element (11) satisfies the following condition: F=T*a, wherein F≥240; wherein F represents the flatness of the holographic display element (11), T represents the thickness of the holographic display element (11) in the stacking direction of the holographic display element (11), and a represents the ratio of the transverse tensile strength of the substrate layers (112) to the longitudinal tensile strength of the substrate layers (112).

PV-Anlage mit Sammeleinheiten, Verfahren zum Betrieb einer PV-Anlage mit Sammeleinheiten und Sammeleinheit für PV-Stränge

NºPublicación:  DE102024116342A1 11/12/2025
Solicitante: 
SMA SOLAR TECHNOLOGY AG [DE]
SMA Solar Technology AG
DE_102024116342_PA

Resumen de: DE102024116342A1

Die Anmeldung betrifft eine PV-Anlage (10) mit einem Wechselrichter (14) und mindestens einer Sammeleinheit (20) für PV-Stränge (12). Die Sammeleinheit (20) weist mehrere Eingänge für PV-Stränge (12) und einen Ausgang auf, wobei die Eingänge in der Sammeleinheit (20) parallel-geschaltet und mit dem Ausgang der Sammeleinheit (20) schaltbar verbunden sind. Der Ausgang der mindestens einen Sammeleinheit (20) ist mit einem zweipoligen DC-Bus (16) schaltbar verbunden, und der DC-Bus (16) ist mit einer Brückenschaltung (18) des Wechselrichters (14) schaltbar verbunden. Anmeldungsgemäß ist der mindestens einen Sammeleinheit (20) eine Fehlerstrom-Schutzschaltung (21) zugeordnet, die zwischen der Parallelschaltung der PV-Stränge (12) und dem DC-Bus (16) angeordnet ist und insbesondere einen Gleichtaktstromsensor (22) und einen Schutzschalter (24) umfasst. Die Fehlerstrom-Schutzschaltung (21) ist dazu eingerichtet, eine Trennung der Verbindung zwischen den PV-Strängen (12) und dem DC-Bus (16) zu bewirken, wenn ein Gleichtaktstrom auf der Verbindung zwischen den PV-Strängen (12) und dem DC-Bus (16) einen vorgebbaren Grenzwert überschreitet.Die PV-Anlage ist dadurch gekennzeichnet, dass die Fehlerstrom-Schutzschaltung (21) dazu eingerichtet ist, die Verbindung zwischen den PV-Strängen (12) und dem DC-Bus (16) auch bei einem an sich unzulässigen Gleichtaktstrom aufrecht zu erhalten und/oder die Trennung der Verbindung zwischen den PV-Strängen (12) und dem DC-Bus (16) zu ve

Lamelle einer Beschattungseinrichtung sowie Beschattungseinrichtung

NºPublicación:  DE102024116273A1 11/12/2025
Solicitante: 
REFLEXA WERKE H P ALBRECHT [DE]
REFLEXA-WERKE Albrecht GmbH
DE_102024116273_PA

Resumen de: DE102024116273A1

Die Erfindung betrifft eine Lamelle (1) einer Beschattungseinrichtung, zumindest aufweisend: einen Grundkörper (3), mindestens ein auf dem Grundkörper (3) angeordnetes Photovoltaikmodul (2) zur Stromerzeugung, wobei das mindestens eine Photovoltaikmodul (2) eine Vielzahl von Photovoltaikelementen (2a) aufweist, und mindestens ein Rahmenteil (10a, 10b) an den Längskanten des Grundkörpers (3) zur Befestigung des mindestens einen Photovoltaikmodules (2), wobei das mindestens eine Rahmenteil (10a, 10b) die Längskante zumindest teilweise umfasst, wobei das mindestens eine Photovoltaikmodul (2) zwischen dem mindestens einen Rahmenteil (10a, 10b) und dem Grundkörper (3) eingeklemmt ist. Weiterhin betrifft die Erfindung eine Beschattungseinrichtung mit einer Vielzahl von Lamellen (1).

Lamelle einer Beschattungseinrichtung, Beschattungseinrichtung sowie Verwendung von mindestens einem Photovoltaikmodul zur Stromerzeugung auf einer Lamelle einer Beschattungseinrichtung

NºPublicación:  DE102024116275A1 11/12/2025
Solicitante: 
REFLEXA WERKE H P ALBRECHT [DE]
REFLEXA-WERKE Albrecht GmbH
DE_102024116275_PA

Resumen de: DE102024116275A1

Die Erfindung betrifft eine Lamelle (1) einer Beschattungseinrichtung, insbesondere eines Raffstores oder einer Jalousie, zumindest aufweisend: einen Grundkörper (3), mindestens ein auf dem Grundkörper (3) angeordnetes Photovoltaikmodul (2) zur Stromerzeugung, wobei das mindestens eine Photovoltaikmodul (2) eine Vielzahl von Photovoltaikelementen (2a) aufweist, wobei die Photovoltaikelemente (2a) mittels Leitungsbänder (5) als String in Reihe geschaltet sind, wobei die Leitungsbänder (5) benachbarte Photovoltaikelemente (2a) auf gegenüberliegenden Seiten kontaktieren, und die Photovoltaikelemente (2a) als Verbund mit mindestens zwei Schichten ausgebildet sind. Weiter betrifft die Erfindung eine Beschattungseinrichtung mit einer Vielzahl von Lamellen, sowie die Verwendung von mindestens einem Photovoltaikmodul (2) zur Stromerzeugung auf einer Lamelle (1) einer Beschattungseinrichtung.

HYDROFORMED CYLINDRICAL PILES

NºPublicación:  WO2025255188A1 11/12/2025
Solicitante: 
NEXTRACKER LLC [US]
NEXTRACKER LLC
WO_2025255188_PA

Resumen de: WO2025255188A1

A ground pile for a solar tracking system includes an elongate hollow tube extending longitudinally from a first end to a second end, one or more pair of support blades formed along the elongate hollow tube and extending away from a longitudinal axis of the elongate hollow tube. The one or more pair of support blades being formed by a hydroforming process.

MOUNTING ASSEMBLY FOR PHOTOVOLTAIC PANEL

NºPublicación:  WO2025253327A1 11/12/2025
Solicitante: 
LASZCZYNSKI CEZARIUSZ [PL]
KARCZEWSKI ROBERT [PL]
LASZCZYNSKI, Cezariusz,
KARCZEWSKI, Robert
WO_2025253327_PA

Resumen de: WO2025253327A1

The mounting assembly for photovoltaic panel is intended for securing photovoltaic panels to a supporting structure for photovoltaic panels mounted on building roofs or on the ground. The photovoltaic panel mounting assembly (1) comprises a bracket (2) with at least one through-hole, wherein a clamp (3, 3') for the photovoltaic panel is mounted in selected at least one said though-hole of the bracket (2), wherein the clamp (3, 3') for the photovoltaic panel is connected to the bracket (2) by threaded means for detachable fastening comprising a fastener (4) with an external thread (5). The invention is characterised in that there is an insoluble locking coating on a surface of the external thread (5).

ETHYLENE COPOLYMERS WITH IMPROVED VOLUME RESISTIVITY

NºPublicación:  WO2025252913A1 11/12/2025
Solicitante: 
BOREALIS GMBH [AT]
BOREALIS GMBH
WO_2025252913_A1

Resumen de: WO2025252913A1

The invention concerns a polyolefin encapsulant composition comprising an ethylene-alpha-olefin copolymer (A), wherein the alpha-olefin has 4 to 8 carbon atoms, and a hydrotalcite compound (B), wherein the ethylene- alpha-olefin copolymer (A) has a density in the range of 850 kg/m3 to 900 kg/m3 measured according to ISO 1183, and a melt flow rate MFR2 (190°C, 2.16 kg) in the range of from 0.3 g/10 min to 45 g/10 min measured according to ISO 1133, and wherein the hydrotalcite compound (B) is present in an amount of from 0.01 to 5 wt.% based on the total weight of the polyolefin encapsulant composition.

PHOTOVOLTAIC PANEL STRUCTURE COMPRISING A DEVICE FOR ADJUSTING THE ORIENTATION OF THE PHOTOVOLTAIC PANEL

NºPublicación:  WO2025252852A1 11/12/2025
Solicitante: 
GROUPE ADEO [FR]
GROUPE ADEO
WO_2025252852_A1

Resumen de: WO2025252852A1

The invention relates to a structure also comprising a locking device which is arranged between the movable frame and the base in order to stabilise the movable frame with respect to the base in at least two separate positions and comprises a stabilising member (12) comprising a first connecting element (121) which is housed in at least two second connecting elements (102) of the base that are more or less distant from the first axis. A second locking member (13) is configured to block, in a locking position, the first connecting element in one of the at least two second connecting elements.

GLOBAL SOLAR RADIATION AMOUNT ESTIMATION DEVICE, GLOBAL SOLAR RADIATION AMOUNT LEARNING DEVICE, GLOBAL SOLAR RADIATION AMOUNT ESTIMATION METHOD, AND GLOBAL SOLAR RADIATION AMOUNT ESTIMATION PROGRAM

NºPublicación:  US2025377483A1 11/12/2025
Solicitante: 
NTT INC [JP]
NTT, Inc
US_2025377483_PA

Resumen de: US2025377483A1

A global solar radiation amount estimation device includes: a feature amount acquisition unit that acquires power generation actual data including a power generation amount at a power generation point; and an estimation unit that estimates a global solar radiation amount corresponding to the power generation actual data acquired by the feature amount acquisition unit using a learned model that is generated by machine learning, as learning data, a set of the power generation actual data prepared in advance and a corresponding global solar radiation amount of ground observation, receives the power generation actual data as an input, and outputs the global solar radiation amount.

Solar-Screen-Kraftwerk und Solar-Tisch-Kraftwerk

NºPublicación:  DE102024115861A1 11/12/2025
Solicitante: 
SODHI JASPAL [DE]
Sodhi, Jaspal
DE_102024115861_PA

Resumen de: DE102024115861A1

Die Erfindung betrifft ein mobiles Solar-Screen-Kraftwerk (1) für den Terrassen- oder Balkongebrauch, umfassend ein Solarmodul (3), einen Batteriespeicher (4), einen Wechselrichter (5), ein Gestell (6) mit einen oder mehreren Beinen (7) und ein Befestigungsgestell (8) für das Solarmodul (3). Wesentlich dabei ist, dass das Befestigungsgestell (8) über ein oder mehrere Gelenke (11) mit dem Gestell (6) verbunden ist, und dass zwischen dem Befestigungsgestell (8) und dem Gestell (6) eine oder mehrere Neigungsmechaniken (10) angeordnet ist, und dass das Solarmodul (3) auf dem Befestigungsgestell (8) durch die Neigungsmechanik (10) und das Gelenk (11) in mehreren Stufen oder stufenlos zwischen einer vertikalen Ausrichtung und einer geneigten Ausrichtung verstellbar ist.

BRACKET CONTROL SYSTEM, FLEXIBLE TRACKING BRACKET, AND PHOTOVOLTAIC DEVICE

NºPublicación:  WO2025251386A1 11/12/2025
Solicitante: 
ARCTECH SOLAR HOLDING CO LTD [CN]
\u6C5F\u82CF\u4E2D\u4FE1\u535A\u65B0\u80FD\u6E90\u79D1\u6280\u80A1\u4EFD\u6709\u9650\u516C\u53F8
WO_2025251386_PA

Resumen de: WO2025251386A1

The present application discloses a bracket control system, a flexible tracking bracket, and a photovoltaic device. The bracket control system is used for controlling a photovoltaic flexible tracking bracket, and comprises: a first controller connected to a first motor of a first bracket unit; and a second controller wirelessly connected to the first controller, and connected to a second motor of a second bracket unit, wherein the first controller is configured to drive, on the basis of a received first instruction, the first motor to operate, and send a second instruction to the second controller; and the second controller is configured to drive, on the basis of the received second instruction, the second motor operate synchronously with the first motor, so as to jointly adjust the angle of a flexible cable bearing structure. The present application allows for coordinated angle control between the bracket units of the flexible tracking bracket, and avoids difficulties in bracket layout and problems such as component distortion and fracture caused by terrain undulation and other factors, thereby improving the angle adjustment efficiency and lowering the production cost of the flexible tracking bracket, and ensuring the installation adaptability of the flexible tracking bracket to a variety of complex terrains, broadening application scenarios.

DETERMINING ONE OR MORE CHARACTERISTICS OF A PV ARRAY

NºPublicación:  WO2025251119A1 11/12/2025
Solicitante: 
NEWSOUTH INNOVATIONS PTY LTD [AU]
NEWSOUTH INNOVATIONS PTY LIMITED
WO_2025251119_PA

Resumen de: WO2025251119A1

This disclosure relates generally to determining one or more characteristics of a photovoltaic (PV) array using luminescence imaging. The PV array comprises a plurality of PV strings electrically connected in parallel, each PV string comprising a plurality of PV modules electrically connected in series. In one aspect, a processor determines at least one photoluminescence (PL) intensity value of one or more PV modules in at least one of the PV strings based on a PL image of the PV array when illuminated by solar radiation. The processor determines at least one current value in the at least one PV string when the PV array is in an open circuit condition or operating at an operating voltage above a maximum power point voltage of the PV array. The processor determines the one or more characteristics based on the at least one current value and/or the at least one PL intensity value.

PEROVSKITE MATERIAL LAYER PROCESSING

NºPublicación:  EP4660349A2 10/12/2025
Solicitante: 
CUBICPV INC [GB]
CubicPV Inc
EP_4660349_PA

Resumen de: EP4660349A2

A photovoltaic device (6500) comprising:a thin film perovskite material comprising formamidinium lead iodide (FAPbI<sub>3</sub>) (6504) wherein the FAPbI<sub>3</sub> has a cubic crystal structure and is in contact with a thin-film interfacial layer.

CONVERTER CONTROL METHOD, CONVERTER, AND PHOTOVOLTAIC POWER GENERATION SYSTEM

NºPublicación:  EP4660743A2 10/12/2025
Solicitante: 
HUAWEI DIGITAL POWER TECH CO LTD [CN]
Huawei Digital Power Technologies Co., Ltd
EP_4660743_A2

Resumen de: EP4660743A2

This application relates to a converter in a photovoltaic power generation system and a converter control method. An input end of the converter is connected to at least one photovoltaic module, and an output end is connected to an inverter. The control method includes: determining an output PV curve of a converter based on an output power-voltage (PV) curve of the photovoltaic module; and controlling a voltage output of the converter based on the output PV curve. The output PV curve includes at least a simulated voltage limiting section and a constant power section that are connected. The simulated voltage limiting section means that an output voltage that is of a transformer and that corresponds to any point in the section is proportional to an output voltage of the photovoltaic module and there is a same proportional coefficient. The constant power section means that any two points in the section correspond to different output voltages and a difference between output powers corresponding to any two points in the section is less than a first preset threshold. In this application, an existing MPPT control policy of the inverter can be adapted when a voltage-limited output is implemented, to avoid a case in which a power of a photovoltaic string drops to zero.

POWER SUPPLY ASSEMBLY FOR AN OBSCURLING DEVICE AND OBSCURLING DEVICE COMPRISING SUCH AN ASSEMBLY

NºPublicación:  EP4660410A1 10/12/2025
Solicitante: 
PROFALUX IND [FR]
Profalux Industrie
EP_4660410_PA

Resumen de: EP4660410A1

Ensemble d'alimentation (100) d'un dispositif occultant (1) comprenant une batterie (4) destinée à être reliée à un panneau photovoltaïque (3), un caisson (2) définissant un volume interne (V) et comprenant une paroi avant (6) munie d'une ouverture (10) intégrant des bords longitudinaux (11, 12), reliés entre eux par un premier bord latéral (13) et un deuxième bord latéral (14), l'ensemble d'alimentation comprenant des pièces de support (8, 9), toutes deux destinées à être solidarisées à la paroi avant (6), en étant respectivement insérées puis positionnées par coulissement contre le premier bord latéral et le deuxième bord latéral, les pièces de support incluant chacune un logement (15, 16) apte à permettre le maintien de la batterie, lorsque les pièces de support sont solidarisées à la paroi avant, les logements (15, 16) s'étendent tous deux au sein du volume interne (V).

DEVICE FOR ATTACHING PHOTOVOLTAIC PANELS TO A RIBBED SHEET AND BUILDING PROVIDED WITH SUCH SHEETS

NºPublicación:  EP4661285A1 10/12/2025
Solicitante: 
ATELIERS 3S [FR]
Ateliers 3S
EP_4661285_PA

Resumen de: EP4661285A1

L'invention concerne un dispositif de fixation de panneaux photovoltaïques sur une tôle nervurée comportant au moins une nervure (2), un corps principal (3) ouvert aux extrémités et en partie supérieure dont le fond (5) est de forme complémentaire au sommet (10) de la nervure (2) de la tôle, caractérisé en ce que le fond (5) du corps principal (3) est pourvu d'au moins une ouverture (11) définissant un accès à l'intérieur du corps principal (3).l'invention concerne aussi un bâtiment équipé d'au moins une tôle nervure pourvue d'un tel dispositif.

ELECTRIC POWER PRODUCT AND PHOTOVOLTAIC POWER GENERATION SYSTEM

NºPublicación:  EP4661286A1 10/12/2025
Solicitante: 
SUNGROW SHANGHAI CO LTD [CN]
Sungrow (Shanghai) Co., Ltd
EP_4661286_PA

Resumen de: EP4661286A1

An electric power product and a photovoltaic power generation system are provided. The electric power product includes an engagement structure, a to-be-mounted component, and a reinforcement member. The mounting portion is connected to the engagement structure, and the engagement structure is configured for engaging with an engaged component. The mounting portion is provided with a first bolt hole, and the reinforcement member is mounted on a side of the mounting portion away from the engagement structure. The reinforcement member is provided with a second bolt hole corresponding to a position of the first bolt hole.

COMPOSITE ADHESIVE FILM, METHOD FOR PREPARING SAME, AND PHOTOVOLTAIC MODULE

NºPublicación:  EP4660270A1 10/12/2025
Solicitante: 
TONGWEI SOLAR CHENGDU CO LTD [CN]
Tongwei Solar (Chengdu) Co., Ltd
EP_4660270_PA

Resumen de: EP4660270A1

A composite adhesive film, a method for preparing the same, and a photovoltaic module are provided. The composite adhesive film includes an adhesive film layer and nanospheres. The nanospheres are distributed on the adhesive film layer, each of the nanospheres includes a polymer shell with pH acid responsiveness and an acid scavenger encapsulated within the polymer shell. The composite adhesive film can adjust a content of acetic acid in the photovoltaic module in time based on a stimulation-release principle of pH acid responsiveness, so that the photovoltaic module can be protected from acetic acid for a long time, and a component efficiency and a component reliability of the photovoltaic module can be improved.

FLEXIBLE PHOTOVOLTAIC SUPPORT

NºPublicación:  EP4661284A1 10/12/2025
Solicitante: 
ARCTECH SOLAR HOLDING CO LTD [CN]
Arctech Solar Holding Co., Ltd
EP_4661284_PA

Resumen de: EP4661284A1

A flexible photovoltaic bracket includes a number of upright columns, a number of cross beams, a load-bearing rope and a module fastener. The cross beam is correspondingly arranged on a top of the upright column. The load-bearing rope is fixedly connected to the cross beam and is extended between adjacent cross beams. The module fastener includes a pressing block, a fastening component and a clamping assembly. The pressing block and the fastening component are rotationally connected. A receiving cavity is formed between the pressing block and the fastening component for clamping and limiting the load-bearing rope. The pressing block includes a horizontal base plate portion and a hook portion configured to contact a photovoltaic module. The clamping assembly passes through the fastening component and the horizontal base plate portion, and is configured to be fixedly connected to a frame of the photovoltaic module.

DISPLAY PANEL AND DISPLAY PANEL MANUFACTURING METHOD

NºPublicación:  EP4661639A1 10/12/2025
Solicitante: 
HKC CORP LTD [CN]
HKC CORPORATION LIMITED
EP_4661639_PA

Resumen de: EP4661639A1

The present application provides a display panel and a method for fabricating the display panel, which relate to the technical field of display. The display panel includes, from bottom to top: a substrate (10), a drive layer (20), an anode layer (30), a luminescent layer (40), a cathode layer (50), and an encapsulation layer (60). The anode layer (30) includes a plurality of anode units arranged at intervals. A pixel defining layer is arranged around the plurality of anode units. The pixel defining layer includes a plurality of pixel defining units (70), each of the plurality of pixel defining units (70) is arranged between adjacent anode units. A plurality of conductive units (80) are arranged on the plurality of pixel defining unit (70), respectively, and a plurality of eave layers (90) are arranged on the plurality of conductive units (80), respectively. The luminescent layer (40) is covered on the plurality of anode units and the plurality of pixel defining units (70). The cathode layer (50) is covered on the luminescent layer (40). The encapsulation layer (60) is covered on the cathode layer (50), the plurality of conductive units (80), and the plurality of eave layers (90). A lateral side of each of the plurality of pixel defining units (70) is a downwardly concave slope. The technical solution provided by the present application can reduce the formation of voids in the region below of the eave layer during the fabrication of the OLED by photolithography.

MODULAR WALL AND FACADE SYSTEMS FOR DISTRIBUTING ENERGY OR SIGNALS IN STRUCTURES

NºPublicación:  EP4658859A2 10/12/2025
Solicitante: 
ENERGY FACADE SYSTEMS LLC [US]
Energy Facade Systems LLC
WO_2024163818_PA

Resumen de: WO2024163818A2

A wall system for a building (such as an exterior façade for a building) may include a frame structure configured for attachment to the building. The frame structure may include a plurality of horizontal frame elements, a plurality of vertical frame elements, and an energy distribution system including an elongated conductive bar at least partially positionable within at least one of the horizontal frame elements or at least one of the vertical frame elements. The system may include one or more access elements positionable to engage the elongated conductive bar to receive electricity or a data signal from the elongated conductive bar. The frame structure may support infills that connect to the elongated conductive bar and use or produce electricity.

ELECTRICAL CONNECTOR AND SOLAR CELL MODULE INVERTER COMPRISING SAME

NºPublicación:  EP4661221A1 10/12/2025
Solicitante: 
HANWHA SOLUTIONS CORP [KR]
Hanwha Solutions Corporation
EP_4661221_PA

Resumen de: EP4661221A1

An electrical connector according to one aspect comprises: a first connector and a second connector, which are arranged such that connectors of an inverter and a power supply are electrically and physically coupled to or released from each other; a bracket for coupling the first connector and the second connector; a light source fastened to a hole included in the bracket; and a light source cover for protecting the light source.

IONIC COMPOUND, HOLE TRANSPORT MATERIAL CONTAINING IONIC COMPOUND, PEROVSKITE SOLAR CELL CONTAINING HOLE TRANSPORT MATERIAL, METHOD FOR PRODUCING IONIC COMPOUND, METHOD FOR PRODUCING HOLE TRANSPORT MATERIAL, AND METHOD FOR PRODUCING PEROVSKITE SOLAR CELL

NºPublicación:  EP4660180A1 10/12/2025
Solicitante: 
AIST [JP]
National Institute of Advanced Industrial Science and Technology
EP_4660180_A1

Resumen de: EP4660180A1

The present invention provides an ionic compound including a molecular cation and a molecular anion, wherein the molecular cation includes at least one organic ammonium selected from the group consisting of a primary organic ammonium, a secondary organic ammonium, and a tertiary organic ammonium, wherein the organic ammonium has an organic moiety having 1 to 20 carbon atoms, and wherein the molecular anion includes a fluorine-containing bis(sulfonyl)imide.

SOLAR COLLECTOR BUILDINGS

NºPublicación:  EP4659347A1 10/12/2025
Solicitante: 
SOLAR FENCE GROUP LTD [IL]
Solar Fence Group Ltd
CN_120826870_PA

Resumen de: AU2024216026A1

Methods and systems for using buildings as solar collectors and, more particularly, but not exclusively, applicable to windows, outer walls, roofs, and skylights to collect direct and/or indirect solar radiation at a. range of angles.

INTEGRAL SOLAR PANELS FOR USE IN CONSTRUCTION

NºPublicación:  EP4659289A1 10/12/2025
Solicitante: 
SOLAR FENCE GROUP LTD [IL]
Solar Fence Group Ltd
CN_120883755_PA

Resumen de: AU2024213823A1

Integral solar panels for use in construction, wherein the integral solar panels are configured for generating electricity and/or heat from solar radiation, wherein the integral solar panels include solar collecting portions and non-collecting portions, and wherein the non- collecting portions are configured to reflect and/or concentrate solar energy onto the collecting portions.

ETHYLENE COPOLYMERS WITH IMPROVED VOLUME RESISTIVITY

NºPublicación:  EP4660231A1 10/12/2025
Solicitante: 
BOREALIS GMBH [AT]
Borealis GmbH
EP_4660231_A1

Resumen de: EP4660231A1

The invention concerns a polyolefin encapsulant composition comprising an ethylene-alpha-olefin copolymer (A), wherein the alpha-olefin has 4 to 8 carbon atoms, and a hydrotalcite compound (B), wherein the ethylene- alpha-olefin copolymer (A) has a density in the range of 850 kg/m<sup>3</sup> to 900 kg/m<sup>3</sup> measured according to ISO 1183, and a melt flow rate MFR<sub>2</sub> (190°C, 2.16 kg) in the range of from 0.3 g/10 min to 45 g/10 min measured according to ISO 1133, and wherein the hydrotalcite compound (B) is present in an amount of from 0.01 to 5 wt.% based on the total weight of the polyolefin encapsulant composition.

METHOD FOR CREATING A WIRING PLAN FOR THE ELECTRICAL WIRING OF A PLURALITY OF SOLAR ELEMENTS

NºPublicación:  EP4661287A1 10/12/2025
Solicitante: 
FRAUNHOFER GES FORSCHUNG [DE]
Fraunhofer-Gesellschaft zur F\u00F6rderung der angewandten Forschung e.V
EP_4661287_PA

Resumen de: EP4661287A1

Die Erfindung betrifft ein Verfahren zum Erstellen eines Verschaltungsplans für die elektrische Verschaltung einer Mehrzahl auf einer Belegungsfläche angeordneter Solarelemente mit folgenden Verfahrensschritte:A Bereitstellen der Belegungsfläche als Flächenmodell, insbesondere dass die Belegungsfläche eine Gebäudehülle (1) ist, die als Flächenmodell bereitgestellt wird; Bereitstellen eines Belegungsplans mit der Position jedes der Mehrzahl von Solarelementen auf der Belegungsfläche; Bereitstellen von Einstrahlungsdaten, wobei die Einstrahlungsdaten für mehrere Positionen P<sub>i</sub> auf der Belegungsfläche jeweils für zumindest drei Zeitpunkte t einen Einstrahlungswert G(i, t) der zu dem Zeitpunkt t an der Position P<sub>i</sub> einfallenden Strahlung, insbesondere der einfallenden Sonnenstrahlung, aufweist;B Berechnen eines Ähnlichkeitsmaßes AM(i, j), für alle Paare zweier unterschiedlicher Solarelemente i und j der Mehrzahl von Solarelementen, wobei das Ähnlichkeitsmaß AM(i, j) abhängig von einem Zeitähnlichkeitsmaß Z(i, j) und/oder einem Stromstärkenähnlichkeitsmaß S(i, j) und/oder einem Spannungsähnlichkeitsmaß SM(i, j) berechnet wird.

METHOD FOR CREATING AND/OR CHANGING AN ELECTRIC WIRING PLAN FOR THE ELECTRIC WIRING OF A PLURALITY OF SOLAR ELEMENTS ARRANGED ON A SURFACE LAYOUT

NºPublicación:  EP4661288A1 10/12/2025
Solicitante: 
FRAUNHOFER GES FORSCHUNG [DE]
Fraunhofer-Gesellschaft zur F\u00F6rderung der angewandten Forschung e.V
EP_4661288_PA

Resumen de: EP4661288A1

Die Erfindung betrifft ein Verfahren zum Erstellen und/oder Ändern eines elektrischen Verschaltungsplans für die elektrische Verschaltung einer Mehrzahl auf einer Belegungsfläche angeordneter Solarelemente (E.1, E.2, E.3). In dem Verfahren erfolgt das Bestimmen einer Eignung eines Solarelements i als ausgewähltes Solarelement (E.1, E.2, E.3) anhand des Qualitätswertes Q(i). Als Qualitätswert Q(i) wird ein monetärer Wert und/oder ein Wert auf Basis einer Lebenszyklusanalyse eines Solarelements (E.1, E.2, E.3) oder einer Untergruppe von Solarelementen (E.1, E.2, E.3) verwendet.

METHOD FOR CREATING AN OCCUPANCY PLAN FOR ARRANGING A PLURALITY OF SOLAR ELEMENTS ON A OCCUPANCY SURFACE

NºPublicación:  EP4660554A1 10/12/2025
Solicitante: 
FRAUNHOFER GES FORSCHUNG [DE]
Fraunhofer-Gesellschaft zur F\u00F6rderung der angewandten Forschung e.V
EP_4660554_PA

Resumen de: EP4660554A1

Die Erfindung betrifft ein Verfahren zum Erstellen eines Belegungsplans für die Anordnung einer Mehrzahl von Solarelementen (3) auf einer Belegungsfläche (1), insbesondere einer Gebäudehülle, mit folgenden Verfahrensschritten:A Bereitstellen der Belegungsfläche (1) als Flächenmodell, welches Flächenmodell insbesondere Abmessungen der Belegungsfläche (1), Informationen zur Anordnung von Hindernissen (2.1; 2.2; 2.3; 2.4) und/oder Informationen zu Spezialflächen mit besonderen Anforderungen beinhaltet;B Bereitstellen eines Musters (4) aus Solarelementen (3);C Übereinanderlegen des Musters (4) aus Solarelementen (3) und des Flächenmodells;D Bestimmen der Solarelemente (3) des Musters (4) aus Solarelementen (3), die innerhalb der Belegungsfläche (1) liegen und nicht mit Hindernissen (2.1; 2.2; 2.3; 2.4) und/oder Spezialflächen kollidieren, als platzierbare Solarelemente (5.1; 5.2; 5.3; 5.4);E Drehen des Musters (4) aus Solarelementen (3) und/oder Verschieben des Musters (4) aus Solarelementen (3);F Bestimmen der Solarelemente (3) des Musters (4) aus Solarelementen (3), die innerhalb der Belegungsfläche (1) liegen und nicht mit Hindernissen (2.1; 2.2; 2.3; 2.4) und/oder Spezialflächen kollidieren, als platzierbare Solarelemente (5.1; 5.2; 5.3; 5.4);

TRACKER HEALTH

NºPublicación:  EP4659348A1 10/12/2025
Solicitante: 
NEXTRACKER LLC [US]
Nextracker LLC
CN_120615277_PA

Resumen de: CN120615277A

The present disclosure relates to a method for evaluating the health of a solar tracker, comprising: receiving data associated with parameters of a plurality of solar trackers of a solar array; determining a health status level from data received for one or more of the plurality of solar trackers; assigning the determined health state level to the one or more of the plurality of solar trackers; and instructing a solar tracker of the plurality of solar trackers assigned to a first level of health to transition to a predetermined location.

SYSTEM FOR OBTAINING RENEWABLE ENERGY

NºPublicación:  EP4659346A1 10/12/2025
Solicitante: 
SWH INNOVATIONS GMBH [DE]
SWH Innovations GmbH
CN_120982018_PA

Resumen de: WO2024160905A1

The invention relates to a system (10) for obtaining renewable energy, which comprises photovoltaic modules (14.1, 14.2) and a support structure (12) for the photovoltaic modules (14.1, 14.2). The support structure (12) encloses a space (18) and together with the photovoltaic modules (14.1, 14.2) forms outer walls (16) of the enclosed space (18), the surface normals of which, defined by the photovoltaic modules (14.1, 14.2), point in at least three different directions. The photovoltaic modules (14.1, 14.2) are fastened to the support structure (12) in such a manner that the photovoltaic modules (14.1, 14.2) can be cooled by an air stream on their rear side pointing to the inside of the enclosed space (18).

SYSTEMS FOR SUPPORTING A ROOF, E.G. FOR A CARPORT OR A CANOPY, WHEREIN IN PARTICULAR THE ROOF COMPRISES AT LEAST ONE PV PANEL

NºPublicación:  EP4658867A1 10/12/2025
Solicitante: 
ADVANCED COATINGS & CONSTRUCTION SOLUTIONS [BE]
Advanced Coatings & Construction Solutions
WO_2024160775_PA

Resumen de: WO2024160775A1

A system for supporting a roof, e.g. for a carport or canopy, said roof comprising one or more PV panels, the system comprising a vertical support frame, wherein the vertical support frame comprises one or more vertical supports, is configured to support the roof; a base frame, wherein the base frame is configured to support the vertical support frame, is configured to be arranged on a foundation-free ground surface, comprises a plurality of horizontal supports, wherein at least one of the horizontal supports is a multifunctional support which comprises concrete; is a structural component; and comprises an internal electricity channel for an electrical base cable configured to be electrically connected to the PV panel.

Ensemble de couverture pour couvrir une toiture d’un premier module de construction.

NºPublicación:  FR3162954A1 05/12/2025
Solicitante: 
ALTEMPO [FR]
ALTEMPO
FR_3162954_PA

Resumen de: FR3162954A1

Ensemble de couverture (1) pour couvrir au moins un premier module de construction (10) ayant une toiture (10a), l’ensemble de couverture (1) comportant : - un premier panneau photovoltaïque (Pv1) pour capter de l’énergie solaire ; - un premier support (S1) du premier panneau photovoltaïque (Pv1), le premier panneau (Pv1) définissant une partie d’une surface de couverture au-dessus de la toiture (10a). Le premier support (S1) comporte une pluralité de poteaux (S1a, S1b, S1c, S1d) pour supporter le premier panneau (Pv1), un garde-corps (G) porté par certains au moins des poteaux (S1a, S1b, S1c, S1d) présente une lisse supérieure (G1) définissant une limite périphérique d’une zone centrale (Zc) de captation d’énergie où se trouve le premier panneau photovoltaïque (Pv1). FIGURE DE L’ABREGE : Fig. 1a

Procédé d'alerte en cas de défaillance d'un dispositif de production d'énergie et dispositif électronique associé

NºPublicación:  FR3162875A1 05/12/2025
Solicitante: 
ORANGE [FR]
ORANGE
FR_3162875_PA

Resumen de: FR3162875A1

Procédé d'alerte en cas de défaillance d'un dispositif de production d'énergie et dispositif électronique associé L’invention concerne un procédé d'alerte mis en œuvre par un dispositif électronique de supervision (200) connecté à un ou plusieurs dispositifs de production d'énergie (100). Le procédé comprend : une détermination, par un modèle de classification de cause de déviations prenant en entrée un historique de déviations entre une valeur représentative d'une prédiction d'une quantité d'énergie produite par ce ou ces dispositifs de production d'énergie et une valeur représentative d'une quantité d'énergie effectivement produite par ce ou ces dispositifs de production d'énergie, d’une occurrence d’une défaillance d'au moins un composant du ou des dispositifs de production d'énergie ; et une génération d'une alerte selon laquelle au moins un composant du ou des dispositifs de production d'énergie est défaillant. Figure pour l’abrégé : Fig. 1A.

Dispositif de connexion électrique

NºPublicación:  FR3162934A1 05/12/2025
Solicitante: 
MOBASOLAR [FR]
MOBASOLAR
FR_3162934_PA

Resumen de: FR3162934A1

L’invention concerne un dispositif de connexion électrique (1) entre une pièce (2) et un tronçon de câble (3). Le dispositif de connexion électrique (1) est particulier en ce qu’il comporte :- une section (4), configurée pour recevoir ladite pièce (2), et assurer une fixation entre ledit dispositif (1) et ladite pièce (2), ladite section (4) comportant deux moyens de connexion électrique (5) entre ladite pièce (2) et ledit dispositif (1),- un moyen de maintien (6) dudit tronçon de câble (3) dans la section (4), et- un moyen de poinçonnage (7) configuré pour pouvoir être mis dans une position de connexion, dans lequel il pénètre le cœur du câble (3). L’invention concerne également un ensemble comportant un dispositif (1), une pièce (2) et un tronçon de câble (3), et un procédé de connexion entre une pièce (2) et un tronçon de câble (3) au moyen d’un dispositif (1). Figure pour l’abrégé : Fig 6

PHOTOVOLTAIC POWER STATION AND FLOATING PHOTOVOLTAIC POWER GENERATION SYSTEM THEREOF

NºPublicación:  WO2025246382A1 04/12/2025
Solicitante: 
DAS SOLAR CO LTD [CN]
\u4E00\u9053\u65B0\u80FD\u6E90\u79D1\u6280\u80A1\u4EFD\u6709\u9650\u516C\u53F8
WO_2025246382_PA

Resumen de: WO2025246382A1

A photovoltaic power station and a floating photovoltaic power generation system (1000) thereof, relating to the field of floating photovoltaic power generation. The floating photovoltaic power generation system comprises: a support unit (1100), a connection unit (1200), and a plurality of float units (1300) arranged in a preset manner. A reinforcement member (1800) is arranged among the float units. The support unit is provided on a bearing surface of the float units and is used to mount a photovoltaic assembly (1700), and at least part of the support unit is integrally formed with the float units. The connection unit comprises a first connection member (1210). The first connection member is disposed on the float units, and the first connection member connects two adjacent float units, so that the two adjacent float units are elastically connected along a first preset direction and a second preset direction, the first preset direction being perpendicular to the second preset direction. The elastic connection between two adjacent float units can cushion the impact of the water surface on the float units and enhance the stability of the connection between the two adjacent float units, thereby facilitating continuous and stable operation of the floating photovoltaic power generation system.

PHOTOVOLTAIC ENERGY STORAGE SYSTEM, AND ENERGY STORAGE CONTROL METHOD AND CONTROL DEVICE THEREOF

NºPublicación:  WO2025246419A1 04/12/2025
Solicitante: 
QINGDAO HAIER AIR CONDITIONER GENERAL CORP LTD [CN]
QINGDAO HAIER AIR CONDITIONING ELECTRONIC CO LTD [CN]
QINGDAO HAIER SMART TECH R & D CO LTD [CN]
HAIER SMART HOME CO LTD [CN]
\u9752\u5C9B\u6D77\u5C14\u7A7A\u8C03\u5668\u6709\u9650\u603B\u516C\u53F8,
\u9752\u5C9B\u6D77\u5C14\u7A7A\u8C03\u7535\u5B50\u6709\u9650\u516C\u53F8,
\u9752\u5C9B\u6D77\u5C14\u667A\u80FD\u6280\u672F\u7814\u53D1\u6709\u9650\u516C\u53F8,
\u6D77\u5C14\u667A\u5BB6\u80A1\u4EFD\u6709\u9650\u516C\u53F8
WO_2025246419_A1

Resumen de: WO2025246419A1

Disclosed in the present invention are a photovoltaic energy storage system, and an energy storage control method and control device thereof. The control method comprises: acquiring load prediction data and photovoltaic output power prediction data; determining a first scheduling power value of an energy storage battery; acquiring a real-time residual power level of the energy storage battery in the photovoltaic energy storage system, and comparing the real-time residual power level with a residual power level threshold; when the real-time residual power level is not lower than the residual power level threshold and the energy storage battery is in a discharging process, determining a discharging power of the energy storage battery on the basis of the first scheduling power value and the real-time residual power level of the energy storage battery; when the real-time residual power level is lower than the residual power level threshold and the energy storage battery is in a charging process, determining a charging power of the energy storage battery on the basis of the first scheduling power value and the real-time residual power level of the energy storage battery; and controlling charging and discharging of the energy storage battery on the basis of the discharging power of the energy storage battery or the charging power of the energy storage battery. By applying the present invention, efficient operation performance of the photovoltaic energy storage system can be improve

FAULT POINT POSITION DETECTION METHOD IN POWER SYSTEM, AND POWER SYSTEM

NºPublicación:  WO2025245972A1 04/12/2025
Solicitante: 
SUNGROW SHANGHAI CO LTD [CN]
\u9633\u5149\u7535\u6E90\uFF08\u4E0A\u6D77\uFF09\u6709\u9650\u516C\u53F8
WO_2025245972_PA

Resumen de: WO2025245972A1

Provided in the present application are a fault point position detection method in a power system, and a power system, which are used for accurately detecting the position of a fault point when an open-circuit fault occurs in a photovoltaic system. The method comprises: for each photovoltaic unit, sending a preset instruction to the photovoltaic unit, wherein the preset instruction is used for: returning reply information to an inverter if the photovoltaic unit receives the preset instruction, and receiving the reply information by means of the inverter and a second photovoltaic unit other than a first photovoltaic unit when the first photovoltaic unit among a plurality of photovoltaic units returns the reply information to the inverter; acquiring communication quality data; and on the basis of the communication quality data, determining, from the plurality of photovoltaic units, a unit that has a communication failure. By means of the method, the position of a fault point in a photovoltaic unit where an open-circuit fault has occurred can be accurately detected, and there is no need to check the position of the fault point manually, thereby improving the troubleshooting efficiency.

BIRD-PROOFING PHOTOVOLTAIC PANEL

NºPublicación:  WO2025246173A1 04/12/2025
Solicitante: 
HUANENG YUSHE POWER GENERATION CO LTD [CN]
\u534E\u80FD\u6986\u793E\u53D1\u7535\u6709\u9650\u8D23\u4EFB\u516C\u53F8
WO_2025246173_PA

Resumen de: WO2025246173A1

The present invention relates to the technical field of photovoltaic panel new energy maintenance, and in particular to a bird-proofing photovoltaic panel, comprising: a photovoltaic panel support; at least one pair of thin steel tubes vertically welded upward onto the support; a lightweight yet robust fishing line secured to the inner sides of the thin steel tubes; a plurality of hollow tubes arranged at equal intervals along the fishing line; and a plurality of small bells arranged at equal intervals along the fishing line. By deterring birds from perching on the photovoltaic panel and reducing the coverage of bird droppings, obstruction to sunlight exposure on the photovoltaic panel can be minimized, thereby improving the power generation efficiency of the photovoltaic panel; the bird droppings contain acidic components which would corrode the surface of the photovoltaic panel when covering the photovoltaic panel for a long time, causing reduction of the life service and power generation performance of the photovoltaic panel, and therefore, by mitigating contamination from the bird droppings, the service life of the photovoltaic panel is prolonged; and because the impact of the bird droppings and birds perching on the power generation efficiency of the photovoltaic panel would cause economic loss, the present invention can reduce economic loss by reducing such an impact, thereby improving the economic viability of photovoltaic power generation.

PHOTOVOLTAIC WINDOW MODULE AND BUILDING COMPRISING AT LEAST ONE SUCH PHOTOVOLTAIC WINDOW MODULE

NºPublicación:  AU2024273317A1 04/12/2025
Solicitante: 
SALERNO GUGLIELMO
SALERNO, Guglielmo
AU_2024273317_PA

Resumen de: AU2024273317A1

A photovoltaic window module (1) configured to be installed in a building (2) and to be moved around at least one hinge (3) to assume different configurations; the module comprising: a first panel (4) made of photovoltaic glass and comprising a first face (5) configured to be exposed to sunlight and a second face (6) opposite the first; a second panel (7) made of glass and comprising a first face (8) facing the second face of the first panel; an intermediate photovoltaic device in a gap between the first and the second panel; a perimeter window frame (11) to hold the panels and blind in place and to insulate the gap; at least one hinge bushing (12) coupled to the window frame and configured to be coupled to a hinge pin (13) attached to a perimeter building frame; an electrical transfer system for transferring to the building the current generated by the first panel and the intermediate photovoltaic device, wherein the electrical connection system is integrated into the window frame and into the hinge bushing so that the photovoltaic window module is of the type ready for installation and use.

SOLAR PANEL ARRAY

NºPublicación:  US2025369580A1 04/12/2025
Solicitante: 
GAMA SONIC USA INC [US]
Gama Sonic USA, Inc
US_2025369580_PA

Resumen de: US2025369580A1

A solar energy device includes a solar panel array including a plurality of solar panels, each of the solar panels being divided into solar sub-panels. The solar sub-panels have unequal shapes but equal areas. Wires electrically connect the solar sub-panels and connect the solar panels. The solar panels are secured on a base which is formed with cutouts to receive the wires. The wires are fixed to the solar sub-panels but are free to move with respect to the base.

Solaranlage und Verfahren zur Verschattung

NºPublicación:  DE102024001774A1 04/12/2025
Solicitante: 
SBP SONNE GMBH [DE]
sbp sonne gmbh

Resumen de: DE102024001774A1

Die Erfindung betrifft eine Solaranlage (1) für eine Pflanzen-Kultivierungseinrichtung (3), mit zumindest einem Solarpaneel (5), das zwischen zwei Endstützen (13, 15) an einer zwischen den Endstützen (13, 15) in Längsrichtung (L) verlaufenden Trägervorrichtung (11) gehalten ist, wobei das Solarpaneel (5) in Längsrichtung (L) entlang der Trägervorrichtung (11) verlagerbar eingerichtet ist.

SOLAR CELL, SOLAR CELL MODULE AND ELECTRICAL DEVICE

NºPublicación:  US2025374742A1 04/12/2025
Solicitante: 
CONTEMPORARY AMPEREX TECH CO LIMITED [CN]
CONTEMPORARY AMPEREX TECHNOLOGY CO., LIMITED
KR_20250110912_PA

Resumen de: US2025374742A1

A solar cell, a solar cell module and an electrical device are disclosed. The solar cell includes a light absorption layer containing a plurality of perovskite compound grains. In at least one cross section of the light absorption layer perpendicular to a layer thickness direction, a number-based cumulative distribution rate of perovskite compound grains with a long diameter D of 1 μm to 6 μm is ≥90%. The light absorption layer of the present application contains perovskite compound grains with a long grain diameter of 1 μm to 6 μm in at least one cross section perpendicular to the layer thickness direction, with the number-based cumulative distribution rate of the perovskite compound grains being ≥90%.

ENCAPSULANT FILM BASED ON FUNCTIONALIZED POLYOLEFINS

NºPublicación:  US2025374687A1 04/12/2025
Solicitante: 
SABIC GLOBAL TECHNOLOGIES BV [NL]
SABIC GLOBAL TECHNOLOGIES B.V
US_2025374687_A1

Resumen de: US2025374687A1

The invention relates to a film comprising a functionalized polyolefin polymer and to the use of the film as an encapsulant film for a photovoltaic module. The functionalized polyolefin polymer is a polymer selected from: (a) a propylene copolymer, (b) a propylene terpolymer, (c) an ethylene terpolymer, and (d) a polymer mixture comprising any combination of polymers (a) to (c). Further, the functionalized polyolefin polymer comprises <0.8 wt %, of an inorganic metal oxide such as alumina, based on the total weight of the functionalized polyolefin polymer. The invention further relates to an encapsulated solar cell comprising encapsulant layers comprising the film. The invention further relates to a photovoltaic module comprising the encapsulated solar cell and to a process for making the photovoltaic module.

TWO-DIMENSIONAL ORGANIC/INORGANIC HETEROJUNCTION PHOTODETECTOR AND PREPARATION METHOD THEREOF

NºPublicación:  US2025374823A1 04/12/2025
Solicitante: 
NANJING UNIV OF POSTS AND TELECOMMUNICATIONS [CN]
NANJING UNIVERSITY OF POSTS AND TELECOMMUNICATIONS
WO_2025185510_PA

Resumen de: US2025374823A1

A two-dimensional organic/inorganic heterojunction photodetector and a preparation method thereof belongs to the technical field of photoelectric devices. A few layers of two-dimensional materials are transferred to a substrate as a base material by a mechanical peeling method. A few layers of two-dimensional alloy materials are transferred to one side of the two-dimensional materials on the base material by polydimethylsiloxane (PDMS). Then, the base material is put into a tube furnace. A single organic molecular layer is epitaxially grown on the two-dimensional alloy material by controlling the heating temperature and time to form a heterojunction. Finally, a gold thin film is transferred to the organic molecular layer, so that a photodetector is manufactured. The heterojunctions formed by Van der Waals have fewer defects, which can enhance light absorption without causing carrier capture, enabling photodetectors possesses excellent detection capability, large light absorption, and enhanced photoconductivity.

AMBIPOLAR MOLECULE, PREPARATION METHOD THEREOF, AND APPLICATION THEREOF

NºPublicación:  US2025374822A1 04/12/2025
Solicitante: 
CONTEMPORARY AMPEREX FUTURE ENERGY RES INSTITUTE SHANGHAI LIMITED [CN]
CONTEMPORARY AMPEREX TECH CO LIMITED [CN]
CONTEMPORARY AMPEREX FUTURE ENERGY RESEARCH INSTITUTE (SHANGHAI)LIMITED,
CONTEMPORARY AMPEREX TECHNOLOGY CO., LIMITED
KR_20250130634_PA

Resumen de: US2025374822A1

An ambipolar molecule, a preparation method thereof, and an application thereof are disclosed. A chemical structure general formula of the ambipolar molecule provided by this application is represented by formula I:where R includes a Lewis base group, X includes at least one of a hydrogen atom and a halogen atom, and n is an integer greater than or equal to 0. The ambipolar molecule of this application possesses both a Lewis acid group and a Lewis base group, enabling such an ambipolar molecule to passivate two types of defects at perovskite grain boundaries, namely undercoordinated anions and undercoordinated cations. Thus, when used in perovskite materials, such an ambipolar molecule can significantly improve the conversion efficiency and stability of perovskite.

Trägersystem mit einem optoelektronischen Bauelement

NºPublicación:  DE102024001886A1 04/12/2025
Solicitante: 
HELIATEK GMBH [DE]
Heliatek GmbH

Resumen de: DE102024001886A1

Die Erfindung betrifft ein Trägersystem (100), aufweisend mindestens ein optoelektronisches Bauelement (10) mit einer Vorderseite und einer Rückseite, eine Gitter- oder Netzstruktur (20) mit mindestens einer Auslassung (21), und ein Flächenelement (30) mit einer Vorderseite und einer Rückseite, wobei die Gitter- oder Netzstruktur (20) zwischen der Rückseite des optoelektronischen Bauelements (10) und der Vorderseite des Flächenelements (30) angeordnet ist, wobei das optoelektronische Bauelement (10) auf der Rückseite eine vordere Klebeschicht (41) und/oder das Flächenelement (30) auf der Vorderseite eine hintere Klebeschicht (42) aufweist, und das optoelektronische Bauelement (10) zumindest im Bereich der mindestens einen Auslassung (21) der Gitter- oder Netzstruktur (20) mit dem Flächenelement (30) mittels der vorderen Klebeschicht (41) und/oder der hinteren Klebeschicht (42) über die mindestens eine Auslassung (21) stoffschlüssig verbunden ist.

ELECTRICALLY CONDUCTIVE MATERIAL, PHOTOVOLTAIC MODULE, AND PREPARATION METHOD FOR ELECTRICALLY CONDUCTIVE MATERIAL

NºPublicación:  US2025374688A1 04/12/2025
Solicitante: 
RISEN ENERGY CO LTD [CN]
RISEN ENERGY CO., LTD
US_2025374688_PA

Resumen de: US2025374688A1

A conductive material, a photovoltaic module, and a method for preparing a conductive material are provided. The conductive material is used for connecting cells, and comprises an adhesive film and a conductive wire, wherein the adhesive film has a first surface and a second surface away from each other, and the conductive wire is electrically connected to an electrode of a cell that is fixed on the first surface; at least one opening is formed in the adhesive film; and the conductive wire can electrically connect to an electrode of another cell that is fixedly arranged on the second surface via the opening.

PEROVSKITE BATTERY AND ELECTRIC DEVICE

NºPublicación:  US2025374743A1 04/12/2025
Solicitante: 
CONTEMPORARY AMPEREX TECH CO LIMITED [CN]
CONTEMPORARY AMPEREX TECHNOLOGY CO., LIMITED
KR_20250115436_PA

Resumen de: US2025374743A1

A perovskite battery and an electric device are disclosed. The perovskite battery includes a substrate; a perovskite layer, where the perovskite layer is disposed on one side of the substrate; a passivation layer, where the passivation layer is disposed on at least one side of the perovskite layer, the passivation layer includes a passivation material, the passivation material includes anions and cations, a volume of the anions is V1, a volume of the cations is V2, and V1>V3>V2, where V3 is a volume of a largest defect in the perovskite layer; and an electrode layer, where the electrode layer is disposed on a side of the passivation layer facing away from the perovskite layer.

HIGH-STRENGTH STEEL COLD-FORMED PROFILE FOR PHOTOVOLTAIC MODULE FRAME AND PHOTOVOLTAIC MODULE FRAME

NºPublicación:  US2025373190A1 04/12/2025
Solicitante: 
JIANGSU HUISHAN NEW ENERGY GROUP CO LTD [CN]
JIANGSU HUISHAN NEW ENERGY GROUP CO., LTD
WO_2023240865_PA

Resumen de: US2025373190A1

The provided is a high-strength steel cold-formed profile for a photovoltaic module frame and a photovoltaic module frame. The photovoltaic module frame includes: a large U-shaped portion; a small U-shaped portion embedded in the large U-shaped portion; an L-shaped portion connected to a lower side of the small U-shaped portion, the large U-shaped portion, the small U-shaped portion, and the L-shaped portion forming a cavity; wherein a small upper vertical wall and a small horizontal wall of the small U-shaped portion are respectively abutted against a large upper vertical wall and an upper part of a large horizontal wall of the large U-shaped portion; and the small horizontal wall of the small U-shaped portion and the large horizontal wall of the large U-shaped portion are fastened and connected at their overlapping part by a predetermined interlayer welding structure.

WINDOW FOR A BUILDING OR STRUCTURE

NºPublicación:  US2025373193A1 04/12/2025
Solicitante: 
CLEARVUE TECH LTD [AU]
ClearVue Technologies Ltd
JP_2025520731_PA

Resumen de: US2025373193A1

The disclosure provides a window for a building or structure. The window comprises a first panel being at least largely transmissive for visible light and having opposite first and second major surfaces. The first major surface is a light receiving surface. The first panel also includes a luminescent material and/or a light scattering material. The window also includes a plurality of solar cells facing the second major surface of the first panel and being positioned along and in proximity of an edge of the first panel, and a frame supporting the first panel directly or indirectly. The first major surface of the first panel is directly exposed to a space that is exterior to the window.

SELF-CLEANING PHOTOVOLTAIC ROOF TILE

NºPublicación:  US2025373198A1 04/12/2025
Solicitante: 
ML SYSTEM SPOLKA AKCYJNA [PL]
ML SYSTEM Spolka Akcyjna
PL_441605_A1

Resumen de: US2025373198A1

A self-cleaning photovoltaic roof tile including an upper transparent glass plate (4), the upper surface of which is coated with a coloured ceramic coating (5) printed thereon, with a thickness of <45 μm, which is coated with a self-cleaning hydrophobic layer (6) with a thickness of 300 nm and 800 nm, and a lower transparent glass plate (7) with an identical profile, the lower surface of which is coated with the coloured ceramic coating (8), wherein between the lower surface of the upper glass plate (4) and the upper surface of the lower glass plate (7) there is at least one monocrystalline cell (9) located above their lower sides (2), and additionally both glass plates (4, 7) together with a monocrystalline cell (9) placed between them, with electric wires (11), are laminated together by a laminating foil (10).

Verankerung für Photovoltaik-Freiflächenanlagen im Untergrund

NºPublicación:  DE102024115266A1 04/12/2025
Solicitante: 
RWE POWER AG [DE]
RWE Power Aktiengesellschaft

Resumen de: DE102024115266A1

Vorrichtung (1) zur Verankerung einer Photovoltaik-Anlage in einem Untergrund (3), umfassend ein Profil (4) mit einem Ankerbereich (5), wobei das Profil (4) ein erstes Ende (7) und ein dem ersten Ende (7) gegenüberliegendes zweites Ende (8) aufweist, wobei der Ankerbereich (5) an das erste Ende (7) des Profils (4) angrenzend ausgebildet ist, wobei eine distale Richtung (R) von dem zweiten Ende (8) zum ersten Ende (7) gerichtet ist, wobei das Profil (4) in dem Ankerbereich (5) zwei Schenkel (9) aufweist, wobei die Schenkel (9) jeweils einen an das erste Ende (7) des Profils (4) angrenzenden Führungsfuß (10) aufweisen, wobei die Schenkel (9) derart ausgebildet sind, dass die Führungsfüße (10) der Schenkel (9) durch entgegen der distalen Richtung (R) auf die Führungsfüße (10) einwirkende Kräfte (F) auseinandertreibbar sind.

SOLAR MODULE FRAME COUPLING ASSEMBLIES

NºPublicación:  WO2025250417A1 04/12/2025
Solicitante: 
NEXTRACKER LLC [US]
NEXTRACKER LLC
WO_2025250417_PA

Resumen de: WO2025250417A1

A method for coupling a solar module frame to a torque tube of a solar tracker using a hooked flange solar module frame coupling apparatus includes: positioning a hook portion the of frame component relative to a frame receiving receptacle at a rail; moving the hook portion of the frame from a biased, coupling configuration to a receptacle entry' configuration via contact between the hook portion and the rail; and moving the hook portion from the receptacle entry' configuration to the biased, coupling configuration to couple the frame to the rail.

SHEET METAL SOLAR MODULE FRAMES

NºPublicación:  WO2025250418A1 04/12/2025
Solicitante: 
NEXTRACKER LLC [US]
NEXTRACKER LLC
WO_2025250418_PA

Resumen de: WO2025250418A1

A solar module frame assembly includes first and longitudinal frame portions and first and second lateral frame portions. The first and second longitudinal frame portions can include an intermediate wall, a photovoltaic receptacle at one end portion of the intermediate wall, and a lower wall potion at another, opposite end portion of the intermediate wall. The lower wall portion of each of the first and second longitudinal frame portions can include one or more connecting tabs. The vertical or skewed intermediate wall can include one or more connecting tabs that are configured to engage with corresponding aperture(s) at the adjacent first and second longitudinal frame portions.

POWER CONVERTER, POWER SYSTEM, AND METHOD FOR CONTROLLING POWER CONVERTER

NºPublicación:  US2025373022A1 04/12/2025
Solicitante: 
SUNGROW SHANGHAI CO LTD [CN]
Sungrow (Shanghai) Co., Ltd
US_2025373022_PA

Resumen de: US2025373022A1

A power converter, a power system, and a method for controlling the power converter are provided. The power converter includes a DC voltage conversion circuit, a DC-AC voltage conversion circuit connected to the DC voltage conversion circuit, a switching circuit and a controller coupled to the DC voltage conversion circuit, the DC-AC voltage conversion circuit and the switching circuit. The DC voltage conversion circuit is configured for converting DC power outputted by a DC power supply to output converted DC power to the DC-AC voltage conversion circuit. The controller is configured for, when operation of the power grid is abnormal: controlling the switching circuit to disconnect the DC-AC voltage conversion circuit electrically from a power grid and a load, stopping operation of the DC-AC voltage conversion circuit and keeping operation of the DC voltage conversion circuit.

SELF-POWERED DISPLAY DEVICE

NºPublicación:  US2025373084A1 04/12/2025
Solicitante: 
IRIS OPTRONICS CO LTD [TW]
Iris Optronics Co., Ltd
CN_121050131_PA

Resumen de: US2025373084A1

A self-powered display device is proposed, and includes a light-transmitting panel and a photoelectric converting module. The light-transmitting panel includes a display region for allowing light to penetrate. The photoelectric converting module is electrically connected to the light-transmitting panel. The photoelectric converting module includes a power generation region for absorbing the light penetrating the display region, and the power generation region converts the light into electrical energy to provide electrical energy to the light-transmitting panel. The light-transmitting panel is spaced apart from the photoelectric converting module, and a projected area of the display region on the power generation region is larger than the area of the power generation region.

ELECTROMECHANICAL ACTUATOR FOR A SUN PROTECTION OR A PRIVACY DEVICE

NºPublicación:  US2025373042A1 04/12/2025
Solicitante: 
SOMFY ACTIVITES SA [FR]
SOMFY ACTIVITES SA
CN_121055550_PA

Resumen de: US2025373042A1

An electromechanical actuator for a sun protection or a privacy device, the electromechanical actuator comprising: an electric motor (16)an electronic control unit (15),a rechargeable battery (18), anda connector (28) to a photovoltaic solar panel (37) or to a charger (44), the electronic control unit (15) comprising:a charging circuit (32) connected to the rechargeable battery (18) and electrically connected to the connector (28) via a power supply bus (34),a controller (31), anddetector (39) for detecting a connection of the photovoltaic solar panel (37) to the connector (28),a first switch (38), the first switch (38) being connected to the connector (28) via the power supply bus (34) and to the rechargeable battery (18).The controller (31) commands the first switch (38) to a closed state when a connection of a photovoltaic solar panel (37) to the connector (28) is detected, so as to electrically connect the power supply bus (34) to the connection device to the rechargeable battery (18).

Intelligent Control System and Method for Distributed Photovoltaic Power Generation Cluster

NºPublicación:  US2025373021A1 04/12/2025
Solicitante: 
GUIZHOU POWER GRID CO LTD [CN]
Guizhou Power Grid Co., Ltd
WO_2025246246_PA

Resumen de: US2025373021A1

The present invention discloses an intelligent control system for a distributed photovoltaic power generation cluster, and relate to the field of distributed energy technologies. The intelligent control system includes: a data acquisition module, used for acquiring demand basic data, supply basic data, and fault basic data respectively to form control basic data; a data analysis module, used for analyzing the control basic data to obtain control analysis data; a data processing module, used for processing the control analysis data to obtain a supply and demand balance reference value; and an intelligent control module, used for intelligently controlling the photovoltaic power generation cluster according to the supply and demand balance reference value.

Alerting method in the event of failure of an energy production device and associated electronic device

NºPublicación:  US2025371962A1 04/12/2025
Solicitante: 
ORANGE [FR]
ORANGE
EP_4657750_PA

Resumen de: US2025371962A1

An alerting method implemented by an electronic supervision device connected to an energy production device. In the method, a determination, by a deviation cause classification model taking as input a history of deviations between a value representative of a prediction of an amount of energy produced by the energy production device and a value representative of an amount of energy actually produced by the energy production device, of an occurrence of a failure in at least one component of the energy production device. An alert is generated according to which at least one component of the energy production device is defective.

CLEANING ASSEMBLY

NºPublicación:  US2025366679A1 04/12/2025
Solicitante: 
QUANZHOU KOMOO INTELLIGENT KITCHEN & BATH CO LTD [CN]
Quanzhou Komoo Intelligent Kitchen & Bath Co., Ltd
KR_20250144422_PA

Resumen de: US2025366679A1

A cleaning assembly, which includes a bracket and a spray bar portion, a front end of the spray bar portion is disposed with a self-cleaning assembly, the self-cleaning assembly includes an upper cover and a pressure plate, the upper cover includes cleaning holes, the pressure plate is pivotally connected to the upper cover, a reset device is disposed between the pressure plate and the upper cover, descaling pieces are further disposed on the pressure plate, and a position-limiting portion is disposed on the bracket; and when the spray bar portion extends and retracts, the pressure plate abuts the position-limiting portion, causing the pressure plate to swing upward around a hinged position with the upper cover, thus inserting the descaling pieces into the cleaning holes, after the pressure plate is separated from the position-limiting portion, and the reset device pulls the descaling pieces out of the cleaning holes.

SWEEPING ROBOT

NºPublicación:  US2025366691A1 04/12/2025
Solicitante: 
BEIJING XIAOMI MOBILE SOFTWARE CO LTD [CN]
Beijing Xiaomi Mobile Software Co, Ltd
EP_4656113_PA

Resumen de: US2025366691A1

A sweeping robot includes: a main body, a first cleaning mechanism, and a second cleaning mechanism. The first cleaning mechanism is connected to the main body and is located below the main body, and the first cleaning mechanism is configured to clean a floor. The second cleaning mechanism is rotatably connected to the main body, and has a first state and a second state. In the first state, the second cleaning mechanism retracts relative to a side of the main body, and in the second state, the second cleaning mechanism protrudes relative to the side of the main body, and the second cleaning mechanism is configured to clean a wall.

INSTALLATION OF PHOTOVOLTAIC TRACKERS BETWEEN AND/OR ATOP GREENHOUSES

NºPublicación:  US2025373194A1 04/12/2025
Solicitante: 
SOLARGIK LTD [IL]
SOLARGIK LTD

Resumen de: US2025373194A1

A photovoltaic (PV) assembly is adapted for installation between laterally adjoining or adjacent greenhouses that comprise respective longitudinally aligned pluralities of transverse structural ribs. The PV assembly comprises (i) a frame subassembly and an array of PV panels joined thereto and pivotable therewith about a longitudinal axis of the PV assembly, and (ii) a longitudinally aligned plurality of load-bearing support subassemblies, each configured for attachment to a respective pair of opposing structural ribs of the adjoining or adjacent greenhouses.

POWER CONVERTING APPARATUS

NºPublicación:  US2025373141A1 04/12/2025
Solicitante: 
HANWHA SOLUTIONS CORP [KR]
HANWHA SOLUTIONS CORPORATION
US_2025373141_PA

Resumen de: US2025373141A1

A power converting apparatus includes a photovoltaic inverter configured to convert direct current power from a photovoltaic module into alternating current power, and a controller configured to control the photovoltaic inverter, wherein the photovoltaic inverter includes a first switcher configured to perform switching on the direct current power, a transformer having an input side connected to an output end of the first switcher, and a second switcher connected to an output side of the transformer, and the controller is configured to control at least one of a voltage and current of the first switcher and a voltage and current of the second switcher.

SOLAR-BASED MULTIPURPOSE UTILITY SYSTEM

NºPublicación:  US2025373041A1 04/12/2025
Solicitante: 
COUNCIL OF SCIENT AND INDUSTRIAL RESEARCH AND INDIAN REGISTERED BODY INCORPORATED UNDER THE REGN [IN]
Council of Scientific and Industrial Research and Indian Registered Body Incorporated Under The Regn
WO_2023228202_PA

Resumen de: US2025373041A1

The present invention provides a solar-based multipurpose utility system which is an integrated appliance that uses solar energy to perform various utility functions such as cooking, ice melting, water heating, room heating, and food drying. The phase change material has been used in the system for enhancing the thermal storage capacity of the system. The invention supports the idea of providing wireless remote control for the overall system to the end-user using IoT-based sensors and devices. The system comprises Fresnel lens with cover (21), Fresnel lens (22), ice pot (23), water pipe (24), reflector (25), water storage tank (26), blower (13), phase change material (PCM) filled in evacuated tube arrangement (27), hot air sprayer (28), water filter (15), battery with electronic components (3), water tap (29), temperature and humidity sensor (16), exhaust fan (12), and solar panel (1).

ELECTRONIC DEVICE

NºPublicación:  US2025374754A1 04/12/2025
Solicitante: 
AJINOMOTO CO INC [JP]
AJINOMOTO CO., INC
KR_20250150620_A

Resumen de: US2025374754A1

The present invention aims to provide an electronic device that suppresses warping, can sufficiently protect electronic elements from water vapor, and is superior in folding resistance, even though it includes a flexible substrate. The present invention relates to an electronic device having a flexible substrate, an electronic element formed on the flexible substrate, and a sealing layer that seals the electronic element, the electronic device further including a barrier film provided via an adhesive layer on a surface of the flexible substrate opposite to the surface on which the electronic element is formed, and the adhesive layer containing a polymer containing constitutional units derived from isobutene.

SOLAR CHARGING SYSTEM

NºPublicación:  US2025368052A1 04/12/2025
Solicitante: 
TOYOTA JIDOSHA KK [JP]
TOYOTA JIDOSHA KABUSHIKI KAISHA
CN_121043640_PA

Resumen de: US2025368052A1

A solar charging system using a plurality of layer panels configured by laminating a plurality of solar panels, an acquisition unit for acquiring an actual power generation amount in the first solar panel and the second solar panel constituting a plurality of layer panels, respectively, a calculation unit for calculating a power generation amount predicted by the second solar panel based on an actual power generation amount of the first solar panel, and calculating a power generation amount predicted by the first solar panel based on an actual power generation amount of the second solar panel, and an abnormality determination unit for determining an abnormality of a sensor for measuring an abnormality or a state of the plurality of layer panels based on a difference between the actual power generation amount and the predicted power generation amount in each of the first solar panel and the second solar panel.

Crosslinking Agent Composition for Olefin-Based Copolymer, Encapsulant Composition for Optical Device Comprising the Same and Encapsulant Film for Optical Device

NºPublicación:  US2025368806A1 04/12/2025
Solicitante: 
LG CHEMICAL LTD [KR]
LG Chem, Ltd
US_2025368806_PA

Resumen de: US2025368806A1

Provided are a crosslinking agent composition for an olefin-based copolymer, an encapsulant composition for an optical device, an encapsulant film for an optical device, and an optoelectronic device, wherein a compound of Formula 1 is applied in the crosslinking agent composition or the encapsulant composition including an olefin-based copolymer, as a crosslinking auxiliary agent, thereby forming an encapsulant composition for an optical device and an encapsulant film for an optical device, showing excellent productivity and high volume resistance and light transmittance:wherein R1 to R4 and m are described herein.

SOLAR CHARGING SYSTEM

NºPublicación:  US2025368074A1 04/12/2025
Solicitante: 
TOYOTA JIDOSHA KK [JP]
TOYOTA JIDOSHA KABUSHIKI KAISHA
CN_121043641_PA

Resumen de: US2025368074A1

A solar charging system mounted on a vehicle, comprising: a solar panel; an auxiliary battery; a high-voltage battery; and a control unit that controls switching between a first charging state for charging the generated power of the solar panel to the auxiliary battery and a second charging state for charging the generated power of the solar panel to the high-voltage battery, wherein the control unit controls the average power generation amount of the solar panel in a predetermined past period to the first charging state when the average power generation amount of the solar panel is equal to or less than a predetermined threshold value, and controls the second charging state when the average power generation amount of the solar panel exceeds the predetermined threshold value.

BIRD OR BAT DETECTION AND IDENTIFICATION FOR WIND TURBINE RISK MITIGATION

NºPublicación:  US2025366462A1 04/12/2025
Solicitante: 
IDENTIFLIGHT INT LLC [US]
IDENTIFLIGHT INTERNATIONAL, LLC
AU_2025226706_A1

Resumen de: US2025366462A1

An automated system for mitigating risk from a wind turbine includes a plurality of optical imaging sensors. A controller receives and analyzes images from the optical imaging sensors to automatically send a signal to curtail operation of the wind turbine to a predetermined risk mitigating level when the controller determines from images received from the optical imaging sensors that an airborne animal is at risk from the wind turbine.

HYDROFORMED CYLINDRICAL PILES

NºPublicación:  US2025369654A1 04/12/2025
Solicitante: 
NEXTRACKER LLC [US]
Nextracker LLC

Resumen de: US2025369654A1

A ground pile for a solar tracking system includes an elongate hollow tube extending longitudinally from a first end to a second end, one or more pair of support blades formed along the elongate hollow tube and extending away from a longitudinal axis of the elongate hollow tube. The one or more pair of support blades being formed by a hydroforming process.

METHODS OF MAKING SEMICONDUCTOR PEROVSKITE LAYERS AND COMPOSITIONS THEREOF

NºPublicación:  US2025367762A1 04/12/2025
Solicitante: 
CAELUX CORP [US]
Caelux Corporation
JP_2023544447_PA

Resumen de: US2025367762A1

The present disclosure may provide semiconductor perovskite layers and method of making thereof. In some cases, the perovskite layer may comprise a composition of MAn1FAn2Csn3PbX3. MA may be methylammonium, FA may be formamidinium, n1, n2, and n3 may independently be greater than 0 and less than 1, and n1+n2+n3 may equal 1.

DOCKING CONNECTOR PLATFORM FOR MOBILE ELECTRONIC DEVICES

NºPublicación:  US2025370503A1 04/12/2025
Solicitante: 
POPSOCKETS LLC [US]
PopSockets LLC

Resumen de: US2025370503A1

A docking-accessory platform is configured to couple to a mobile electronic device. The platform includes a front surface and a back surface opposite the front surface of the platform. The back surface of the platform faces a back of the mobile electronic device when the platform is coupled to the mobile electronic device. The platform also includes a docking connector that comprises a cavity, where the docking connector comprises an annular magnetic attachment system formed beneath the front surface of the platform. The annular magnetic attachment system comprises a magnet and is (i) centered laterally on the platform and (ii) configured to form detachable magnetic attachments to compatible docking accessories.

SEGMENTED WIRE HARNESSES FOR BUILDING-INTEGRATED PHOTOVOLTAICS, AND ASSOCIATED SYSTEMS AND METHODS

NºPublicación:  US2025369224A1 04/12/2025
Solicitante: 
ENERGY FACADE SYSTEMS LLC [US]
Energy Facade Systems LLC

Resumen de: US2025369224A1

A wall system for a building (such as an exterior façade for a building) may include a frame structure configured for attachment to the building. The frame structure may include a plurality of horizontal frame elements, a plurality of vertical frame elements, and an energy distribution system at least partially positionable within at least one of the horizontal frame elements or at least one of the vertical frame elements. The energy distribution system may include a plurality of conductive harness segments and a plurality of terminal connectors. Each terminal connector may releasably interconnect adjacent conductive harness segments to each other or a conductive harness segment to an infill supported in the wall system. The infill may use energy (e.g., a display) or it may produce electricity (e.g., a photovoltaic panel). The energy distribution system may be grounded with grounding wires attached to portions of the frame structure.

ENERGY-SAVING AIR CONDITIONER CONVERTED FROM GREEN ENERGY AND INTELLIGENT ENVIRONMENT APPLICATION

NºPublicación:  US2025369636A1 04/12/2025
Solicitante: 
MA SZU CHENG [TW]
MA Szu Cheng

Resumen de: US2025369636A1

An energy-saving air conditioner converted from green energy and intelligent environment application, comprising: a light and heat composite energy-collecting corrugated panel, arranged on a building, having a corrugated panel and a plurality of solar cells on the surface of the corrugated panel for converting solar energy into electrical energy and storing it in a solar power supply system to provide a first electrical energy, and the bottom of the corrugated panel is provided with a plurality of heat collecting tubes for collecting hot air. And further uses light energy and thermal energy to complement and multiply each other, so that the first electrical energy can further generate a second electrical energy. No matter during the day or night, one can enjoy new green energy and energy-saving air conditioners.

SPHERICAL WIND TURBINE WITH DIMPLES

NºPublicación:  US2025369419A1 04/12/2025
Solicitante: 
FROST MERCADE CAIMON [US]
Frost Mercade Caimon
US_2024337242_PA

Resumen de: US2025369419A1

Disclosed systems and devices relate to generating energy using spherical wind turbines with dimples. The systems, devices, and methods described herein relate to a wind turbine with no blades or propellers. Currently, wind turbines with blades or propellers can have their functionality impaired by the presence of dust, soot, or ash particles in the air. This makes it difficult to operate current wind turbines in certain harsh environments. In this device, a spherical shell entirely encapsulates the generator, such that dust, soot, or ash particles do not interfere with the turbine. In some embodiments, the dimples capture wind to rotate the spherical shell. In some embodiments, the outer surface of the spherical shell is covered with flexible solar cells. In some embodiments, the flexible solar cells sit inside the dimples.

ORGANIC ELECTROLUMINESCENT DEVICES

NºPublicación:  US2025374789A1 04/12/2025
Solicitante: 
UNIVERSAL DISPLAY CORP [US]
Universal Display Corporation
US_2025261532_PA

Resumen de: US2025374789A1

Full-color pixel arrangements for use in devices such as OLED displays are provided, in which multiple sub-pixels are configured to emit different colors of light, with each sub-pixel having a different optical path length than some or all of the other sub-pixels within the pixel.

COMPOUND, ORGANIC ELECTROLUMINESCENT ELEMENT MATERIAL, ORGANIC ELECTROLUMINESCENT ELEMENT, AND ELECTRONIC DEVICE

NºPublicación:  US2025374825A1 04/12/2025
Solicitante: 
IDEMITSU KOSAN CO LTD [JP]
IDEMITSU KOSAN CO.,LTD
US_2024407255_PA

Resumen de: US2025374825A1

A compound for further improving the capability of an organic EL device, an organic electroluminescent device having a further improved device capability, and an electronic device including such an organic electroluminescent device, in which the compound has formula (1):wherein N*, *a1, *a3, *b1, m, n, R1A to R5A, R1B to R5B, R11B to R14B, R21A to R25A, R21B to R24B, L, Ar1, Ar2, and Ar3 are as defined in the description, the organic electroluminescent device is an organic electroluminescent device including the compound, and the electronic device is an electronic device including such an organic electroluminescent device.

PORTABLE COMMUNICATION ASSEMBLY

NºPublicación:  US2025373276A1 04/12/2025
Solicitante: 
INTERCEPTOR SYSTEMS INC [CA]
Interceptor Systems Inc

Resumen de: US2025373276A1

An apparatus and method for providing a portable communication is disclosed wherein the apparatus comprises a field locatable communication body, at least one deployable leg operable to support the communication body at a location, a selectably extendable mast having a communication transmitter assembly supported from the communication body and at least one selectably deployable solar panel supported from the communication body. The method comprises locating the communication body at a desired location, extending at least one deployable leg from the communication body into contact with a supporting ground surface so as to support the communication body, a selectably extendable mast having a communication transmitter assembly supported from the communication body and a selectably deployable solar panel supported from the communication body.

CLAMP FOR SECURING A SOLAR PANEL MODULE

NºPublicación:  US2025373191A1 04/12/2025
Solicitante: 
UNIRAC INC [US]
Unirac Inc

Resumen de: US2025373191A1

A clamp includes a mount, a connector, and a fastener. The mount has a slot and a channel. The connector attaches to the mount and is transitionable between a first position and a second position in which a solar panel module is securable to the mount. The connector has a post at least partially disposed in the channel and which traverses within the channel between the first position and the second position of the connector. The fastener is disposed at least partially in the slot for attaching the connector to the mount. The fastener tightens to secure the solar panel module to the mount.

SOLAR ENERGY STORAGE AND AQUIFER MANAGEMENT

NºPublicación:  US2025373200A1 04/12/2025
Solicitante: 
SAUDI ARABIAN OIL COMPANY [SA]
SAUDI ARABIAN OIL COMPANY

Resumen de: US2025373200A1

A solar energy storage management system includes a solar thermal collection unit, a photovoltaic pre-heating system, and heat exchanger. The solar thermal collection unit collects incident radiation and adds heat into a heat transfer fluid. The first photovoltaic pre-heating system pre-heats a spent stream from a utilization facility. The heat exchanger conveys heat from the heat transfer fluid and pre-heated stream to a storage stream for output to an aquifer thermal storage system. A method for managing solar energy storage and production includes collecting incident radiation with a solar thermal collection unit, adding heat into a heat transfer fluid, and conveying the heat transfer fluid to a heat exchanger for later storage of thermal energy in an aquifer thermal storage system. Systems and methods monitor heat storage and operational characteristics of the aquifer thermal storage system.

MOBILE SOLAR POWER UNIT CONTROL SYSTEM

NºPublicación:  US2025373043A1 04/12/2025
Solicitante: 
ECOQUIP AUSTRALIA PTY LTD [AU]
Ecoquip Australia Pty Ltd
PE_20231778_PA

Resumen de: US2025373043A1

A mobile solar power unit control system providing power to an associated equipment item comprising: at least one mobile solar power unit comprising an assembly of inter-connected solar collector panels; an energy storage module connected to receive power from the assembly of inter-connected solar panels; and a control system for controlling operation of both the energy storage module and associated equipment item. The control system comprises a local controller onboard or proximate the at least one mobile solar power unit and a remote controller, communicable with the local controller, located remotely from said at least one mobile solar power unit. The mobile solar power unit conveniently provides power for an associated equipment item and any selected auxiliary loads located in an off-grid location.

PHOTOVOLTAIC ASSEMBLIES WITH CURRENT PROBES

NºPublicación:  US2025373199A1 04/12/2025
Solicitante: 
SOLARGIK LTD [IL]
SOLARGIK LTD

Resumen de: US2025373199A1

A solar energy system comprises an inverter, an array of PV assemblies, and a set of current-probe assemblies installed in PV assemblies. Each PV assembly comprises a pivotable group of PV panels, a drive system comprising an electric motor and a gearing arrangement, and electronic circuitry comprising a communications arrangement and operative to regulate operation of the electric motor. The PV panels are connected electrically to form a plurality of strings in at least indirect electrical communication with the inverter. At least one string comprises PV panels of different PV assemblies. At least one current-probe assembly is placed in each of the plurality of strings, and each current-probe assembly is operative to measure a direct current value in a respective string.

SHEET METAL SOLAR MODULE FRAMES

NºPublicación:  US2025373196A1 04/12/2025
Solicitante: 
NEXTRACKER LLC [US]
Nextracker LLC
WO_2025250418_PA

Resumen de: US2025373196A1

A solar module frame assembly includes first and longitudinal frame portions and first and second lateral frame portions. The first and second longitudinal frame portions can include an intermediate wall, a photovoltaic receptacle at one end portion of the intermediate wall, and a lower wall potion at another, opposite end portion of the intermediate wall. The lower wall portion of each of the first and second longitudinal frame portions can include one or more connecting tabs. The first and second lateral frame portions can include a vertical or skewed intermediate wall, a photovoltaic receptacle at one end portion of the vertical or skewed intermediate wall, and a base at another, opposite end portion of the vertical or skewed intermediate wall. The vertical or skewed intermediate wall can include one or more connecting tabs that are configured to engage with corresponding aperture(s) at the adjacent first and second longitudinal frame portions.

SOLAR MODULE FRAME COUPLING ASSEMBLIES

NºPublicación:  US2025373195A1 04/12/2025
Solicitante: 
NEXTRACKER LLC [US]
Nextracker LLC
WO_2025250417_PA

Resumen de: US2025373195A1

A method for coupling a solar module frame to a torque tube of a solar tracker using a hooked flange solar module frame coupling apparatus includes: positioning a hook portion the of frame component relative to a frame receiving receptacle at a rail; moving the hook portion of the frame from a biased, coupling configuration to a receptacle entry configuration via contact between the hook portion and the rail; and moving the hook portion from the receptacle entry configuration to the biased, coupling configuration to couple the frame to the rail.

Portable Solar Power Generation System

NºPublicación:  US2025373197A1 04/12/2025
Solicitante: 
SHEESLEY JOHN [US]
Sheesley John

Resumen de: US2025373197A1

A portable solar power generation system comprising solar panels and batteries is fitted with a combiner box, charge controller, and an inverter and uses intermodal frame racks configured to be compatible with ISO shipping container conventions to provide a base load, average daily demand, or peak load when combined with an integrated power storage system for residential, commercial and power utility use to allow for flexibility in transportation from one location to another. In use, the power generation system continuously adjusts in real time to capture the sun's radiance throughout the day. Stacking of multiple power generation systems facilitates transporting several systems simultaneously. Receptacle outlets within the power generation system allow for instant power upon delivery. The present invention offers a “move in” or “move out” power generation system within days and is simply scalable from one to thousands.

APPARATUS, SYSTEM, AND METHODS FOR SOLAR MOUNTING CLAMP AND/OR MOUNTING HOOK IN SOLAR RACKING SYSTEMS

NºPublicación:  US2025373192A1 04/12/2025
Solicitante: 
BUDGE PAUL W [US]
Budge Paul W
WO_2025251086_PA

Resumen de: US2025373192A1

An apparatus, system, and method of mounting a solar panel using a mounting clamp are described herein. A mounting clamp for mounting a structural member to a solar panel, the mounting clamp includes a body, at least one receiving slot in the body for receiving a flange of a solar panel, and a fastener attached to the body for connecting the mounting clamp, the solar panel, and the structural member. A system includes a structural member having at least one vertical component, at least one solar panel, and at least one mounting clamp for mounting the structural member to a solar panel. The mounting clamp includes a body, at least one receiving slot in the body for receiving a flange of a solar panel, and a fastener attached to the body for connecting the mounting clamp, the solar panel, and the structural member.

GROUNDING SYSTEM

NºPublicación:  US2025372990A1 04/12/2025
Solicitante: 
CAMBRIA COUNTY ASS FOR THE BLIND & HANDICAPPED [US]
Cambria County Association for the Blind & Handicapped
US_2024421577_PA

Resumen de: US2025372990A1

A grounding system for a solar power generation facility includes a number of conductive mounting assemblies and a tension member in the form of a cable. A cable coupling of each of the conductive mounting assemblies is structured to engage and clamp the cable. The cable and each of the cable couplings has a conductivity level that is greater than a conductivity level of steel or galvanized steel, and the cable alone and respective combinations of the cable and each one of the cable couplings are each structured to provide at least a portion of a respective grounded current path of the grounding system that will be coupled to current wires and cable hangers that are supported by the cable.

APPARATUS, SYSTEM, AND METHODS FOR SOLAR MOUNTING CLAMP AND/OR AND MOUNTING HOOK IN SOLAR RACKING SYSTEMS

NºPublicación:  WO2025251086A1 04/12/2025
Solicitante: 
BUDGE PAUL W [US]
BUDGE, Paul W
WO_2025251086_PA

Resumen de: WO2025251086A1

An apparatus, system, and method of mounting a solar panel using a mounting clamp are described herein. A mounting clamp for mounting a structural member to a solar panel, the mounting clamp includes a body, at least one receiving slot in the body for receiving a flange of a solar panel, and a fastener attached to the body for connecting the mounting clamp, the solar panel, and the structural member. A system includes a structural member having at least one vertical component, at least one solar panel, and at least one mounting clamp for mounting the structural member to a solar panel. The mounting clamp includes a body, at least one receiving slot in the body for receiving a flange of a solar panel, and a fastener attached to the body for connecting the mounting clamp, the solar panel, and the structural member.

ABNORMAL POWER GENERATION DETECTION SYSTEM USING SOLAR POWER GENERATION TRACKING BASED ON SIMILAR PAST DATA AND METHOD THEREFOR

NºPublicación:  WO2025249941A1 04/12/2025
Solicitante: 
H ENERGY CO LTD [KR]
\uC8FC\uC2DD\uD68C\uC0AC \uC5D0\uC774\uCE58\uC5D0\uB108\uC9C0
WO_2025249941_PA

Resumen de: WO2025249941A1

The present invention relates to an abnormality detection method using solar power generation tracking based on similar past data. More particularly, the abnormality detection method using solar power generation tracking based on similar past data comprises the steps of: on the basis of past data including actually measured weather data and solar position data, extracting variable importance affecting a solar power generation amount; collecting, for an abnormal power generation detection target time point, target data including actually measured weather data, solar position data, and an actually measured power generation amount; calculating a weight for each variable on the basis of the extracted variable importance and calculating a similarity between the target data and the past data by considering the weight for each variable; predicting a power generation amount for the target data by extracting a preset number of pieces of past data in order of highest calculated similarity; and detecting abnormal power generation on the basis of an actually measured power generation amount at the abnormal power generation detection target time point and a power generation amount predicted for target data at a predicted abnormal power generation detection target time point.

BIPV MODULE

NºPublicación:  WO2025249647A1 04/12/2025
Solicitante: 
BUKWANG SOLAR CO LTD [KR]
\uC8FC\uC2DD\uD68C\uC0AC \uBD80\uAD11\uC194\uB77C
WO_2025249647_PA

Resumen de: WO2025249647A1

The present invention relates to a BIPV module in which a plurality of solar modules are provided in a checkerboard shape on the outside of a roof or a wall, the BIPV module comprising: an outer frame of which the long axis length is in the vertical direction between the plurality of solar modules and which is provided on the outside of the roof or the wall; and a module frame which is coupled to four surfaces of the solar module, and which moves the solar modules to the front side by means of bolt fastening, wherein the module frame moves the solar modules to the front side such that the module frame comes into close contact with the outer frame.

POLYOLEFIN COMPOSITION

NºPublicación:  WO2025249676A1 04/12/2025
Solicitante: 
LG CHEMICAL LTD [KR]
\uC8FC\uC2DD\uD68C\uC0AC \uC5D8\uC9C0\uD654\uD559
WO_2025249676_A1

Resumen de: WO2025249676A1

The present invention relates to a polyolefin composition. The polyolefin composition according to the present invention includes a modified polyolefin containing a vinyl silane group, and thus can improve the degree of crosslinking. An encapsulant film manufactured using the polyolefin composition according to the present invention can exhibit an improved degree of crosslinking while maintaining optical properties and insulating properties.

INSTALLATION STRUCTURE FOR PHOTOVOLTAIC POWER GENERATION SHEET

NºPublicación:  WO2025249469A1 04/12/2025
Solicitante: 
SEKISUI CHEMICAL CO LTD [JP]
\u7A4D\u6C34\u5316\u5B66\u5DE5\u696D\u682A\u5F0F\u4F1A\u793E
WO_2025249469_PA

Resumen de: WO2025249469A1

The purpose of the present invention is to provide an installation structure for a photovoltaic power generation sheet capable of suppressing the breakage of an installation surface due to the deformation of the photovoltaic power generation sheet. The present invention is an installation structure for a photovoltaic power generation sheet which comprises: an installation surface that has one or more recess portions and two or more protrusion portions, and that is disposed so that each of the recess portions and the protrusion portions are parallel to each other; a photovoltaic power generation sheet that is disposed so as to cross between the protrusion portions; a fixing member that fixes the photovoltaic power generation sheet to the protrusion portion; and a reinforcement material that bridges at least two of the protrusion portions and directly or indirectly supports the bridged protrusion portions.

SOLAR CELL MODULE

NºPublicación:  WO2025249421A1 04/12/2025
Solicitante: 
KYOCERA CORP [JP]
\u4EAC\u30BB\u30E9\u682A\u5F0F\u4F1A\u793E
WO_2025249421_PA

Resumen de: WO2025249421A1

A solar cell module (1) is provided with a first photoelectric conversion unit (112), a coating part (12), and a sealing material (13). The first photoelectric conversion unit (12) contains a compound having a perovskite structure. The coating part (12) covers at least a portion of the first photoelectric conversion unit (112). The sealing material (13) covers the coating part (12). The sealing material (13) includes a first sealing material (131). The raw material for the first sealing material (131) has a chemical structure that generates a free acid. The coating part (12) includes a first coating layer. The first coating layer contains an inorganic substance having a barrier property against acids.

HIGHLY LIGHT-TRANSMITTING RESIN, PREPARATION METHOD THEREFOR AND PACKAGING METHOD FOR PHOTOVOLTAIC MODULE

NºPublicación:  WO2025247297A1 04/12/2025
Solicitante: 
ZHEJIANG SINOPONT TECH CO LTD [CN]
\u6D59\u6C5F\u7965\u90A6\u79D1\u6280\u80A1\u4EFD\u6709\u9650\u516C\u53F8
WO_2025247297_A1

Resumen de: WO2025247297A1

The present invention relates to the field of photovoltaic module packaging materials, and provides a highly light-transmitting resin, a preparation method therefor and a packaging method for a photovoltaic module in order to solve the problems of poor mechanical strength and impact resistance of a packaging adhesive film in the prior art, which cannot satisfy the requirements of a lightweight photovoltaic module. The highly light-transmitting thermosetting resin is obtained by mixing a component A and a component B according to a mass ratio of 1: (0.8-1.2). In parts by weight, the component A comprises: 100 parts of an alicyclic epoxy resin, 0-15 parts of an alkyl-grafted epoxy resin, 10-35 parts of a filler, 10-25 parts of an epoxy diluent and 1-3 parts of an auxiliary; and the component B comprises: 90-100 parts of an anhydride curing agent and 1-5 parts of an accelerant. The resin has a good light transmittance, good impact resistance and weather resistance, and can protect the photovoltaic module for a long time in an outdoor environment.

PHOTOVOLTAIC MODULE

NºPublicación:  WO2025247237A1 04/12/2025
Solicitante: 
LONGI GREEN ENERGY TECH CO LTD [CN]
\u9686\u57FA\u7EFF\u80FD\u79D1\u6280\u80A1\u4EFD\u6709\u9650\u516C\u53F8
WO_2025247237_PA

Resumen de: WO2025247237A1

The present application discloses a photovoltaic module, comprising: a plurality of cells, wherein each cell has a first side edge and a second side edge; the cell is provided with an electrode structure; the electrode structure comprises a plurality of fingers; the fingers are at least partially parallel to the first side edge; in an extension direction of the second side edge, two types of fingers having opposite polarities are alternately arranged; in an extension direction of the first side edge, each finger comprises a plurality of second notches and a plurality of connecting portions, the second notches and the connecting portions are arranged adjacent to each other, and the plurality of second notches divide the finger into a plurality of sections, wherein the second notches are of a discontinuous void structure; and a plurality of tabbing ribbons, wherein the tabbing ribbons are arranged in the extension direction of the second side edge and configured to connect adjacent cells in series, each tabbing ribbon is electrically connected to connecting portions of fingers having one polarity, and the tabbing ribbon is at least partially in contact with the surface of the cell at second notches of fingers having the other polarity. The present application can reduce the amount of insulating adhesive used, lower the insulating adhesive costs, and shorten processing time.

LIGHT-EMITTING MATERIAL, DISPLAY PANEL, AND DISPLAY APPARATUS

NºPublicación:  WO2025247351A1 04/12/2025
Solicitante: 
BOE TECH GROUP CO LTD [CN]
CHENGDU BOE OPTOELECTRONICS TECH CO LTD [CN]
\u4EAC\u4E1C\u65B9\u79D1\u6280\u96C6\u56E2\u80A1\u4EFD\u6709\u9650\u516C\u53F8,
\u6210\u90FD\u4EAC\u4E1C\u65B9\u5149\u7535\u79D1\u6280\u6709\u9650\u516C\u53F8
WO_2025247351_PA

Resumen de: WO2025247351A1

The present disclosure relates to the field of organic electroluminescent materials, and relates to a compound and a use thereof as a light-emitting material, an organic electroluminescent device, a display panel, and a display apparatus. The compound provided by the present disclosure is a compound having a structural formula of formula (I), wherein the meaning of each group is the same as that defined in the description.

CLAMP FOR PHOTOVOLTAIC MODULE AND PHOTOVOLTAIC MODULE HAVING SAME

NºPublicación:  WO2025247426A1 04/12/2025
Solicitante: 
TRINA SOLAR CO LTD [CN]
\u5929\u5408\u5149\u80FD\u80A1\u4EFD\u6709\u9650\u516C\u53F8
WO_2025247426_PA

Resumen de: WO2025247426A1

The present application relates to a clamp for a photovoltaic module and a photovoltaic module having same. The clamp comprises: a fixing plate, wherein the fixing plate is provided with a mounting hole for fixing the fixing plate on a preset mounting member; a connecting plate, wherein the connecting plate has a first end and a second end opposite to each other, the first end is connected to the fixing plate, and the connecting plate is provided with a stress relief hole; and a pressing plate, wherein the pressing plate is connected to the second end, and is configured to abut against a photovoltaic module when the fixing plate is fixed on the preset mounting member, so as to constrain the photovoltaic module between the pressing plate and the preset mounting member. The clamp in the present application can effectively release stress for fixing the photovoltaic module, thereby improving safety and the service life of the photovoltaic module.

COMPOUND, ORGANIC HOLE TRANSPORT LAYER MATERIAL, AND PEROVSKITE SOLAR CELL

NºPublicación:  WO2025246991A1 04/12/2025
Solicitante: 
CHANGCHUN INST OF APPLIED CHEMISTRY CHINESE ACADEMY OF SCIENCE [CN]
\u4E2D\u56FD\u79D1\u5B66\u9662\u957F\u6625\u5E94\u7528\u5316\u5B66\u7814\u7A76\u6240
WO_2025246991_PA

Resumen de: WO2025246991A1

Disclosed are a compound, an organic hole transport layer material, and a perovskite solar cell, relating to the technical field of perovskite solar cells. The compound has a structure represented by formula I, uses a carboxyl group, a sulfonic acid group, and a phosphoric acid group as anchor groups, and is connected to a carbon position at an active reaction site in an N-containing fused ring (the number of rings is greater than or equal to 3) by means of a double bond, thereby maintaining the long-axis rigidity of a molecule, so that the compound can be more effectively conjugated, and a functional group is introduced on the short axis of the molecule, thereby improving the overall rigidity and functionality of the compound. The use of the compound as an organic hole transport material can improve the extraction and transport of holes. The introduction of the functional group on the short axis of the molecule further improves perovskite thin film crystallization and passivates interface defects. The design of the structure of the compound in the organic hole transport material achieves more excellent HOMO energy level and valence band energy level matching between the organic hole transport material and an active layer material, thereby further improving the device efficiency and stability of perovskite cells.

BATTERY STRING AND PHOTOVOLTAIC MODULE

NºPublicación:  WO2025246741A1 04/12/2025
Solicitante: 
LONGI PHOTOVOLTAIC TECH JIAXING CO LTD [CN]
\u5609\u5174\u9686\u57FA\u5149\u4F0F\u79D1\u6280\u6709\u9650\u516C\u53F8
WO_2025246741_PA

Resumen de: WO2025246741A1

The present application provides a battery string and a photovoltaic module. The battery string comprises battery cells and conductive members. Each battery cell comprises a first connecting member and a plurality of first fine grid electrodes which are arranged on a first surface of the battery cell; the first connecting member is arranged close to the edge of the battery cell and is electrically connected to at least one first fine grid electrode; and the side edge of the first connecting member is provided with a first protruding portion connected to the first connecting member, and the first protruding portion protrudes from the first connecting member towards the edge of the battery cell in a first direction. Each conductive member extends in the first direction and is connected to the corresponding first connecting member; and the conductive member is provided with an extension end, the extension end is the part of the conductive member extending out of the side edge of the first connecting member close to the battery cell, and the length of the extension end in the first direction is greater than that of the first protruding portion in the first direction. The first protruding portions isolate the conductive members from the battery cells, to prevent the fine grid electrodes near a pad from breaking due to a high welding temperature, thereby reducing damage to the battery cells caused by the high welding temperature.

PHOTOVOLTAIC SUNSHADE

NºPublicación:  WO2025246396A1 04/12/2025
Solicitante: 
SHENZHEN HELLO TECH ENERGY CO LTD [CN]
\u6DF1\u5733\u5E02\u534E\u5B9D\u65B0\u80FD\u6E90\u80A1\u4EFD\u6709\u9650\u516C\u53F8
WO_2025246396_PA

Resumen de: WO2025246396A1

A photovoltaic sunshade. The photovoltaic sunshade (100) comprises a support (10), a photovoltaic panel (20), an electrical device (30), and a first wire (40). The photovoltaic panel (20) is arranged on the support (10). The electrical device (30) is arranged on the support (10) and is spaced apart from the photovoltaic panel (20). The first wire (40) is connected to the photovoltaic panel (20) and the electrical device (30), and the first wire (40) is at least partially arranged in the support (10). The first wire (40) is at least partially arranged in the support (10), so that the part of the wire directly exposed to the external environment can be reduced, thereby reducing the damage to the first wire (40) caused by external environmental factors, prolonging the service life of the first wire (40), and improving the durability and reliability of the photovoltaic sunshade (100). In addition, since the first wire (40) is at least partially arranged in the support (10), the exposed wiring is reduced, so that the photovoltaic sunshade (100) has a neater and more attractive appearance, and utilizes the space of the support (10) more effectively, enabling the structure of the entire photovoltaic sunshade (100) to be more compact.

INTELLIGENT REGULATION AND CONTROL SYSTEM AND METHOD FOR DISTRIBUTED PHOTOVOLTAIC POWER GENERATION CLUSTER

NºPublicación:  WO2025246246A1 04/12/2025
Solicitante: 
GUIZHOU POWER GRID CO LTD [CN]
\u8D35\u5DDE\u7535\u7F51\u6709\u9650\u8D23\u4EFB\u516C\u53F8
WO_2025246246_PA

Resumen de: WO2025246246A1

Disclosed is an intelligent regulation and control system for a distributed photovoltaic power generation cluster, relating to the technical field of distributed energy, and configured to solve the problem of low accuracy in power generation regulation and control of current photovoltaic power generation clusters. The system comprises: a data acquisition module, configured to separately acquire demand basic data, supply basic data, and fault basic data to obtain regulation and control basic data; a data analysis module, configured to analyze the regulation and control basic data to obtain regulation and control analysis data; a data processing module, configured to process the regulation and control analysis data to obtain a supply-demand balance reference value; and, an intelligent regulation and control module, configured to perform intelligent regulation and control of the photovoltaic power generation cluster on the basis of the supply-demand balance reference value. In the present invention, supply and demand for the photovoltaic power generation cluster are determined on the basis of the area value of faulty solar panels to accurately adjust the generated power of the photovoltaic power generation cluster, thereby improving energy utilization efficiency.

PHOTOVOLTAIC MOUNTING STRUCTURE AND PHOTOVOLTAIC POWER STATION

NºPublicación:  WO2025246465A1 04/12/2025
Solicitante: 
JIANG DONG FITTINGS EQUIPMENT CO LTD [CN]
JIANGSU ZHONGTIAN TECH CO LTD [CN]
\u6C5F\u4E1C\u91D1\u5177\u8BBE\u5907\u6709\u9650\u516C\u53F8,
\u6C5F\u82CF\u4E2D\u5929\u79D1\u6280\u80A1\u4EFD\u6709\u9650\u516C\u53F8
WO_2025246465_PA

Resumen de: WO2025246465A1

The present application provides a photovoltaic mounting structure and a photovoltaic power station. The photovoltaic mounting structure comprises: an embedded structure, comprising a mounting cavity and a stop structure; and a mounting assembly, the mounting assembly comprising a driving structure and support arms, wherein when the support arms extend, the support arms can match the stop structure, and when the support arms retract, the mounting assembly can be separated from the embedded structure. The mounting assembly further comprises an outer cylinder and an adjustment structure, the support arms are connected between the adjustment structure and the driving structure, and the driving structure can move toward or away from the adjustment structure relative to the outer cylinder. The driving structure comprises a first cylinder and a second cylinder, a first end of the first cylinder is threadedly engaged with the inner wall of the outer cylinder, a second end of the first cylinder is rotatably engaged with a first end of the second cylinder, and the second end of the first cylinder and the first end of the second cylinder form axial limiting. The photovoltaic mounting structure in the technical solution of the present application can solve the problem of mounting and dismounting inconvenience caused by mounting using existing mounting structures.

POWER CONVERSION APPARATUS, UNINTERRUPTIBLE POWER SUPPLY, AND PHOTOVOLTAIC INVERTER

NºPublicación:  WO2025246371A1 04/12/2025
Solicitante: 
HUAWEI DIGITAL POWER TECH CO LTD [CN]
\u534E\u4E3A\u6570\u5B57\u80FD\u6E90\u6280\u672F\u6709\u9650\u516C\u53F8
WO_2025246371_PA

Resumen de: WO2025246371A1

The embodiments of the present application relate to the technical field of power electronics. Disclosed are a power conversion apparatus, an uninterruptible power supply and a photovoltaic inverter, which solve the problems of low efficiency and high device costs of existing inverters. The specific solution comprises: providing a power conversion apparatus, the power conversion apparatus comprising at least one inverter circuit, which inverter circuit comprises a switch tube bridge arm, a first switch tube and an inductor, wherein the switch tube bridge arm comprises at least three switch tubes connected in series between a positive direct-current bus and a negative direct-current bus, the first switch tube is connected between a first node of the switch tube bridge arm and a connection point of positive and negative bus capacitors, the inductor is connected to a second node of the switch tube bridge arm, and the first node and the second node are located at different positions in the switch tube bridge arm.

DOUBLE-SIDED REFLECTIVE GAP FILM AND BIFACIAL PHOTOVOLTAIC MODULE

NºPublicación:  EP4658024A1 03/12/2025
Solicitante: 
TRINA SOLAR CO LTD [CN]
Trina Solar Co., Ltd
EP_4658024_PA

Resumen de: EP4658024A1

The present disclosure provides a bifacial reflective gap film, including: a back bonding layer, an intermediate support layer, a front reflective structure, and a back reflective structure. The front reflective structure is disposed on one side of the intermediate support layer and includes a plurality of inverted V-shaped toothed members arranged side by side, and the front reflective structure is coated with a front reflective layer, the back reflective structure is disposed on the other side of the intermediate support layer, and the back bonding layer has a thickness not less than a height of the back reflective structure so that the back reflective structure is completely located in the back bonding layer. The present disclosure further provides a bifacial photovoltaic module with the bifacial reflective gap film.

OUTDOOR PHOTOVOLTAIC SYSTEM

NºPublicación:  EP4655873A1 03/12/2025
Solicitante: 
ECO INVENT AG [CH]
Eco-Invention AG
AU_2023426105_PA

Resumen de: AU2023426105A1

The outdoor photovoltaic system according to the invention has a plurality of photovoltaic modules (1) which are free of glass panes and have a bifacial design. Each photovoltaic module (1) has a stabilization layer (1.4) in order to make the photovoltaic module capable of resisting external forces and in order to make the photovoltaic module mechanically flexible. The photovoltaic system additionally has a plurality of posts (2) which are designed such that the posts can be anchored in the ground (4), wherein each of the photovoltaic modules (1) is arranged between a respective pair of posts (2).

METHOD FOR WARNING AGAINST A POWER GENERATION DEVICE FAILURE AND ASSOCIATED ELECTRONIC DEVICE

NºPublicación:  EP4657750A2 03/12/2025
Solicitante: 
ORANGE [FR]
Orange
EP_4657750_PA

Resumen de: EP4657750A2

L'invention concerne un procédé d'alerte mis en œuvre par un dispositif électronique de supervision (200) connecté à un ou plusieurs dispositifs de production d'énergie (100). Le procédé comprend : une détermination, par un modèle de classification de cause de déviations prenant en entrée un historique de déviations entre une valeur représentative d'une prédiction d'une quantité d'énergie produite par ce ou ces dispositifs de production d'énergie et une valeur représentative d'une quantité d'énergie effectivement produite par ce ou ces dispositifs de production d'énergie, d'une occurrence d'une défaillance d'au moins un composant du ou des dispositifs de production d'énergie ; et une génération d'une alerte selon laquelle au moins un composant du ou des dispositifs de production d'énergie est défaillant.

SOLAR MODULE

NºPublicación:  EP4658028A1 03/12/2025
Solicitante: 
HELIARTEC SOLUTIONS CORP LTD [TW]
Heliartec Solutions Corporation, Ltd
EP_4658028_PA

Resumen de: EP4658028A1

A solar module includes a plurality of solar cells and a carrier plate. The carrier plate includes a front cover and a back cover. The plurality of solar cells are welded and connected in series to define a plurality of solar battery string groups. The plurality of solar cells are connected in series at a predetermined spacing distance therebetween in a first direction to form each of the plurality of solar battery string groups. A width of each of the plurality of solar cells in the first direction is a first length, a length of each of the plurality of solar cells in a second direction is a second length, and a ratio of the second length to the first length is greater than 10. The plurality of solar battery string groups are pressed between the front cover and the back cover via a plurality of bus strips.

COVER ASSEMBLY FOR COVERING A ROOF OF A FIRST BUILDING MODULE

NºPublicación:  EP4657749A1 03/12/2025
Solicitante: 
ALTEMPO [FR]
Altempo
EP_4657749_PA

Resumen de: EP4657749A1

Ensemble de couverture (1) pour couvrir au moins un premier module de construction (10) ayant une toiture (10a), l'ensemble de couverture (1) comportant :- un premier panneau photovoltaïque (Pv1) pour capter de l'énergie solaire :- un premier support (S1) du premier panneau photovoltaïque (Pv1), le premier panneau (Pv1) définissant une partie d'une surface de couverture au-dessus de la toiture (10a).Le premier support (S1) comporte une pluralité de poteaux (S1a, S1b, S1c, S1d) pour supporter le premier panneau (Pv1), un garde-corps (G) porté par certains au moins des poteaux (S1a, S1b, S1c, S1d) présente une lisse supérieure (G1) définissant une limite périphérique d'une zone centrale (Zc) de captation d'énergie où se trouve le premier panneau photovoltaïque (Pv1).

SOLAR CELL AND PHOTOVOLTAIC MODULE

NºPublicación:  EP4658029A1 03/12/2025
Solicitante: 
LONGI GREEN ENERGY TECHNOLOGY CO LTD [CN]
Longi Green Energy Technology Co., Ltd
EP_4658029_PA

Resumen de: EP4658029A1

The present application provides a solar cell, including: a silicon substrate, and a plurality of fingers formed on a surface of the silicon substrate. The silicon substrate is doped with antimony; and when a grid line density of fingers with the same polarity on a unit length in a direction perpendicular to the plurality of fingers is n/cm and a concentration of antimony in the silicon substrate is a atom/cm<3>, n and a meet the following relationship: n≥35-klg a, where k is less than or equal to 2. The present application further provides a photovoltaic module formed by the solar cell provided in the present application.

SWEEPING ROBOT

NºPublicación:  EP4656113A1 03/12/2025
Solicitante: 
BEIJING XIAOMI MOBILE SOFTWARE CO LTD [CN]
Beijing Xiaomi Mobile Software Co., Ltd
EP_4656113_PA

Resumen de: EP4656113A1

The present invention provides a sweeping robot, which belongs to the technical field of household appliances. The sweeping robot includes a main body (1), a first cleaning mechanism (2), and a second cleaning mechanism (3). The first cleaning mechanism (2) is connected to the main body (1) and is located below the main body (1), and the first cleaning mechanism (2) is used to clean the floor. The second cleaning mechanism (3) is rotatably connected to the main body (1), and the second cleaning mechanism (3) has a first state and a second state. In the first state, the second cleaning mechanism (3) retracts relative to the side of the main body (1). In the second state, the second cleaning mechanism (3) protrudes relative to the side of the main body (1).

AMPHIPATHIC MOLECULE, AND PREPARATION METHOD THEREFOR AND USE THEREOF

NºPublicación:  EP4656623A1 03/12/2025
Solicitante: 
CONTEMPORARY AMPEREX FUTURE ENERGY RES INSTITUTE SHANGHAI LIMITED [CN]
CONTEMPORARY AMPEREX TECHNOLOGY CO LTD [CN]
Contemporary Amperex Future Energy Research Institute (Shanghai) Limited,
Contemporary Amperex Technology Co., Limited
EP_4656623_PA

Resumen de: EP4656623A1

This application discloses an ambipolar molecule, a preparation method thereof, and an application thereof. The chemical structure general formula of the ambipolar molecule provided by this application is represented by formula I:where R includes a Lewis base group, X<sub>1</sub>, X<sub>2</sub>, X<sub>3</sub>, X<sub>4</sub>, and X<sub>5</sub> each include at least one of a hydrogen atom and a halogen atom, X<sub>1</sub>, X<sub>2</sub>, X<sub>3</sub>, X<sub>4</sub>, and X<sub>5</sub> are not simultaneously hydrogen, and n is an integer greater than or equal to 1. The ambipolar molecule of this application simultaneously possesses a Lewis acid group and a Lewis base group, enabling it to passivate two types of defects at perovskite grain boundaries, namely undercoordinated anions and undercoordinated cations. Thus, when used in perovskite materials, such an ambipolar molecule can significantly improve the conversion efficiency and stability of perovskite.

LIGHT CONVERSION LAYER, SOLAR CELL, AND ELECTRICAL DEVICE

NºPublicación:  EP4658038A1 03/12/2025
Solicitante: 
CONTEMPORARY AMPEREX TECHNOLOGY CO LTD [CN]
Contemporary Amperex Technology Co., Limited
EP_4658038_PA

Resumen de: EP4658038A1

The present application relates to the technical field of solar cells, and in particular to a light conversion layer, a solar cell, and an electrical apparatus. The light conversion layer includes a conversion material. The conversion material includes an up-conversion luminescent material and/or a down-conversion luminescent material. The light conversion layer is arranged on a light incident side of a light absorption layer of the solar cell. By introducing the light conversion layer including the up-conversion luminescent material and/or the down-conversion luminescent material into the solar cell, long-wavelength band (low energy) and/or short-wavelength band (high energy) photons can be absorbed and converted into wavebands that can be absorbed by the light absorption layer, which is beneficial to improving the solar spectrum utilization rate and the output performance of the solar cell.

MICRO-GRID SYSTEM

NºPublicación:  EP4657698A1 03/12/2025
Solicitante: 
HUAWEI DIGITAL POWER TECH CO LTD [CN]
Huawei Digital Power Technologies Co., Ltd
EP_4657698_PA

Resumen de: EP4657698A1

This application provides a microgrid system. The system includes a first photovoltaic power generation system, an alternating current bus, a UPS (Uninterrupted Power System, uninterruptible power supply), a first switch, and a second switch. When a photovoltaic power generation system meets a power generation condition, the first photovoltaic power supply system directly or indirectly supplies power to the UPS. After the UPS is activated, the UPS supplies power to units such as a monitoring unit and a control unit of the microgrid system, so that a system controller can control another energy storage power supply system and photovoltaic power generation system in the microgrid to start, and the entire microgrid can automatically start and restore to a normal and stable running state.

SILICON WAFER, CELL, CELL STRING, AND SOLAR MODULE

NºPublicación:  EP4656779A1 03/12/2025
Solicitante: 
LONGI GREEN ENERGY TECHNOLOGY CO LTD [CN]
Longi Green Energy Technology Co., Ltd
EP_4656779_PA

Resumen de: EP4656779A1

This application relates to a silicon wafer, where a concentration of an antimony element in the silicon wafer ranges from 4E+14 cm<sup>-3</sup> to 2E+16 cm<sup>-3</sup>, preferably ranges from 4.30E+14 cm<sup>-3</sup> to 1.9E+16 cm<sup>-3</sup>, and further preferably ranges from 4.45E+14 cm<sup>-3</sup> to 1.87E+16 cm<sup>-3</sup>; and a minority carrier lifetime of the silicon wafer is greater than or equal to 200 µs, preferably greater than or equal to 300 µs, and further preferably greater than or equal to 500 µs. This application further relates to another silicon wafer, where a concentration of an antimony element in the silicon wafer ranges from 4E+14 cm<sup>-3</sup> to 2E+16 cm<sup>-3</sup>, preferably ranges from 4.30E+14 cm<sup>-3</sup> to 1.9E+16 cm<sup>-3</sup>, and further preferably ranges from 4.45E+14 cm<sup>-3</sup> to 1.87E+16 cm<sup>-3</sup>; and a minority carrier lifetime of the silicon wafer is greater than or equal to 300 µs, preferably greater than or equal to 400 µs, and further preferably greater than or equal to 600 µs.

SILICON WAFER, CELL, CELL STRING, AND SOLAR MODULE

NºPublicación:  EP4657531A1 03/12/2025
Solicitante: 
LONGI GREEN ENERGY TECHNOLOGY CO LTD [CN]
Longi Green Energy Technology Co., Ltd
EP_4657531_PA

Resumen de: EP4657531A1

This application relates to a silicon wafer, where a concentration of an antimony element in the silicon wafer ranges from 4E+14 cm<sup>-3</sup> to 2E+16 cm<sup>-3</sup>, and a total oxygen content of the silicon wafer is less than 25 ppma, preferably less than 18 ppma, and further preferably less than 14 ppma. This application relates to a cell including the silicon wafer and a cell module. This application relates to a cell, where a substrate of the cell includes an antimony element, a concentration of the antimony element ranges from 4E+14 cm<sup>-3</sup> to 2E+16 cm<sup>-3</sup>, preferably ranges from 4.30E+14 cm<sup>-3</sup> to 1.9E+16 cm<sup>-3</sup>, and further preferably ranges from 4.45E+14 cm<sup>-3</sup> to 1.87E+16 cm<sup>-3</sup>, and a total oxygen content of the substrate is less than 35 ppma, preferably less than 25 ppma, and further preferably less than 18 ppma.

AN OPTICAL STRUCTURE FOR ENHANCING THE EFFICIENCY OF A SOLAR CELL

NºPublicación:  EP4655827A1 03/12/2025
Solicitante: 
ICS INTELLIGENT CONTROL SYSTEMS LTD OY [FI]
ICS INTELLIGENT CONTROL SYSTEMS LTD OY
KR_20250139340_PA

Resumen de: CN120604645A

An optical structure in which a first region of a solar cell (102a, 102b) is at least partially covered (104) by an overlapping optical layer element, the first region (106a, 106b) being a low-activity edge region of the solar cell (102a, 102b), in which the overlapping optical layer structure is configured to at least partially redirect light initially directed towards the first region (106a, 106b), the redirected light is directed at least partially towards a second region (108a, 108b) of the solar cell, optionally comprising a central region of the solar cell (102a, 102b), and the second region (108a, 108b) is a region that is more active than the first region (106a, 106b), thereby preferably providing a light conversion effect of the solar cell (102a, 102b) due to enhanced light conversion efficiency. More energy and improved overall gain in the solar cells (102a, 102b) or modules comprising the solar cells (102a, 102b). A method for enhancing the efficiency of a solar cell (102a, 102b) or an associated module and a method for manufacturing an optical structure are also provided.

A WINDOW FOR A BUILDLING OR STRUCTURE

NºPublicación:  EP4655874A1 03/12/2025
Solicitante: 
CLEARVUE TECH LTD [AU]
Clearvue Technologies Ltd
KR_20250159648_PA

Resumen de: CN120642207A

The present disclosure provides a window unit for a building or a structure. The window unit includes: a first panel having a main surface and at least mostly transmitting visible light; and a plurality of solar cells each having an active area and arranged along and near one or more edges of the first panel. The plurality of solar cells may be located around a first region of the first panel in which the first panel is at least mostly transmissive to visible light. The solar selective coating is located within a first projection area defined by a projection of the first area projected onto the main surface of the first panel in a direction parallel to a surface normal of the first panel and on or above the main surface of the first panel. The area surrounding the first projection area is at least mostly free of a solar selective coating.

A FLOATING POWER PLANT AND AN OFFSHORE ELECTRICITY GENERATION PLANT

NºPublicación:  EP4656506A1 03/12/2025
Solicitante: 
SOLARDUCK HOLDING B V [NL]
SolarDuck Holding B.V
EP_4656506_PA

Resumen de: EP4656506A1

A floating power plant (2) comprises a plurality of interconnected floating platforms (6) which are movable with respect to each other. Each floating platform (6) comprises a floating member (8), wherein the floating member (8) of at least one floating platform (6) has an internal chamber (9) for storing hydrogen. The floating power plant (2) is provided with an electrolyzer including a hydrogen output and a fuel cell including a hydrogen input. The largest number of the floating platforms (6) is provided with PV panels (3) and at least one of the floating platforms (6) is provided with the electrolyzer and/or the fuel cell. The electrolyzer is electrically connectable to the PV panels (3) and the hydrogen output and/or the hydrogen input is fluidly connectable to the internal chamber (9) of the floating member (8) of the at least one platform (6).

THERMALLY INSULATIVE COMPOSITIONS FOR A CERAMIC COATING

NºPublicación:  EP4655269A1 03/12/2025
Solicitante: 
NANOTECH INC [US]
NANOTECH INC
US_2024246866_A1

Resumen de: MX2025008606A

A new and innovative hard ceramic coating having refractory properties is provided. The ceramic coating may be used as a replacement for refractory materials. As opposed to polymer-based coatings that are sacrificial when exposed to extreme temperatures, the ceramic coating is a non-sacrificial, fully inorganic (e.g., free of organic components) coating that resists many thermal cycles. The ceramic coating is also thinner and lighter than conventional refractory materials the ceramic coating can replace. The ceramic coating demonstrates advantageous thermal insulation properties (e.g., low thermal conductivity) over a wide range of temperatures and when applied with minimal thickness. The ceramic coating also demonstrates high emissivity, low thermal conductivity, and high resistance mechanical properties, which are all desirable properties for use as a thermally insulating replacement coating for refractory materials.

THERMALLY INSULATIVE COMPOSITIONS FOR A SOLAR PANEL COATING

NºPublicación:  EP4655257A2 03/12/2025
Solicitante: 
NANOTECH INC [US]
NANOTECH INC
US_2024250191_A1

Resumen de: MX2025008624A

<p num="0000"/>

CLEANING SOLID-STATE ELEMENTS BY MEANS OF ACOUSTIC WAVE TRANSMISSION

NºPublicación:  EP4655875A1 03/12/2025
Solicitante: 
VISION [FR]
CENTRE NAT RECH SCIENT [FR]
UNIV POLYTECHNIQUE HAUTS DE FRANCE [FR]
UNIV LILLE [FR]
CENTRALE LILLE INST [FR]
Vision,
Centre National de la Recherche Scientifique,
Universit\u00E9 Polytechnique Hauts-de-France,
Universit\u00E9 de Lille,
Centrale Lille Institut
CN_120883503_PA

Resumen de: WO2024156670A1

The invention relates to a method for cleaning solid-state elements (8), such as grains of sand or dust particles, that may be found on a surface of a body (5), the cleaning method using at least one transducer (11) acoustically coupled to the body and comprising the steps of: - generating an electrical signal; - applying the electrical signal across the terminals of the transducer; - thereby producing an acoustic wave that propagates through the body, the acoustic wave being a surface wave or a Lamb wave and being such that, under the effect of the acoustic wave, the solid-state elements are moved over the surface of the body in order to be cleared from this surface.

POWER CONVERTER, POWER SYSTEM, AND METHOD FOR CONTROLLING POWER CONVERTER

Nº publicación: EP4657696A1 03/12/2025

Solicitante:

SUNGROW SHANGHAI CO LTD [CN]
Sungrow (Shanghai) Co., Ltd

EP_4657696_PA

Resumen de: EP4657696A1

A power converter, a power system, and a method for controlling the power converter are provided. The power converter includes a DC voltage conversion circuit, a DC-AC voltage conversion circuit connected to the DC voltage conversion circuit, a switching circuit and a controller communicatively connected to the DC voltage conversion circuit, the DC-AC voltage conversion circuit and the switching circuit. The DC voltage conversion circuit is configured for converting DC power outputted by a DC power supply to output converted DC power to the DC-AC voltage conversion circuit. The controller is configured for, when operation of the power grid is abnormal: controlling the switching circuit to disconnect the DC-AC voltage conversion circuit electrically from a power grid and a load, stopping operation of the DC-AC voltage conversion circuit and keeping operation of the DC voltage conversion circuit.

traducir