Ministerio de Industria, Turismo y Comercio LogoMinisterior
 

Alerta

Resultados 115 resultados
LastUpdate Última actualización 11/12/2025 [06:59:00]
pdfxls
Solicitudes publicadas en los últimos 60 días/Published applications in the last 60 days
previousPage Resultados 75 a 100 de 115 nextPage  

USE OF CEREBRAL DOPAMINE NEUROTROPHIC FACTOR FOR AMELIORATING PNEUMONIA

NºPublicación:  US2025332220A1 30/10/2025
Solicitante: 
NAT DEFENSE MEDICAL CENTER [TW]
National Defense Medical Center
US_2025332220_PA

Resumen de: US2025332220A1

The present invention relates to a method for treating and/or preventing pneumonia, including administering a therapeutically effective amount of cerebral dopamine neurotrophic factor (CDNF) to a subject in need thereof. The pneumonia is caused by infection of influenza A virus or severe acute respiratory syndrome coronavirus-2 (SARS-CoV-2).

COMPOSITIONS, KITS, AND METHODS FOR VARIANT-RESISTANT DETECTION OF TARGET VIRAL SEQUENCES

NºPublicación:  US2025333806A1 30/10/2025
Solicitante: 
LIFE TECH CORPORATION [US]
LIFE TECHNOLOGIES CORPORATION
US_2025333806_PA

Resumen de: US2025333806A1

Disclosed are compositions, assays, methods, diagnostic methods, kits and diagnostic kits for the specific and differential detection of SARS-CoV-2, including SARS-CoV-2 variants, or other coronaviruses from samples including veterinary samples, clinical samples, food samples, forensic sample, an environmental sample (e.g., soil, dirt, garbage, sewage, air, or water), including food processing and manufacturing surfaces, or a biological sample.

BROADLY NEUTRALIZING ANTI-SARS-COV-2 ANTIBODIES TARGETING THE N-TERMINAL DOMAIN OF THE SPIKE PROTEIN AND METHODS OF USE THEREOF

NºPublicación:  US2025333485A1 30/10/2025
Solicitante: 
THE ROCKEFELLER UNIV [US]
The Rockefeller University
US_2025333485_PA

Resumen de: US2025333485A1

This disclosure provides anti-SARS-COV-2 antibodies or antigen-binding fragments thereof targeting the N-terminal domain (NTD) of the spike(S) protein. The disclosed anti-SARS-COV-2 antibodies or antigen-binding fragments thereof have broadly neutralizing activities against several SARS-COV-2 variants of concern. The disclosed anti-SARS-COV-2 antibodies represent a therapeutic strategy in protecting from SARS-COV-2 infections.

PHARMACEUTICAL COMPOSITION FOR RESISTING INFECTION WITH SARS-COV-2 OR MUTANT THEREOF, AND COMBINED DRUG THEREOF

NºPublicación:  ZA202500860B 29/10/2025
Solicitante: 
WESTVAC BIOPHARMA CO LTD [CN]
WESTVAC BIOPHARMA CO., LTD
JP_2025523631_PA

Resumen de: ZA202500860B

Provided are a pharmaceutical composition for resisting infection with SARS-CoV-2 or a mutant thereof, and a combined drug thereof. To solve the problem of the lack of effective prevention and treatment drugs for infection with SARS-CoV-2 or a mutant virus thereof, provided are a recombinant protein vaccine and/or an adenovirus vaccine for preventing and/or treating an infection with SARS-CoV-2 or a mutant thereof, and in particular, provided are a nasal spray administration compound formulation containing active ingredients of two vaccines, i.e., a recombinant protein vaccine and an adenovirus vaccine, and a combination of the two vaccines for nasal spray administration, which can induce generation of strong antibody and cellular immune responses in vivo and block the binding of a protein S of SARS-CoV-2 to an ACE2 receptor of a host cell, thus enabling a host to resist coronavirus infection. Particularly, the present invention has good prevention and treatment effects on various mutant viruses.

SARS-COV-2 SPIKE PROTEIN-BINDING MOLECULES

NºPublicación:  EP4638490A1 29/10/2025
Solicitante: 
NAT UNIV SINGAPORE [SG]
National University of Singapore
CN_120769863_PA

Resumen de: WO2024133564A1

: SARS-CoV-2 spike protein-binding molecules are disclosed. Also disclosed are nucleic acids and expression vectors encoding, compositions comprising, and methods using, the SARS-CoV-2 spike protein-binding molecules.

MONOCLONAL ANTIBODIES FOR TREATING SARS-COV-2 INFECTION

NºPublicación:  EP4638491A1 29/10/2025
Solicitante: 
US HEALTH [US]
The United States of America, as represented by The Secretary, Department of Health and Human Services
WO_2024137381_A1

Resumen de: WO2024137381A1

Disclosed are monoclonal antibodies, antigen binding fragments, and multi-specific antibodies that specifically bind a coronavirus spike protein, such as SARS-CoV-2. Also disclosed is the use of these antibodies and multi-specific antibodies for inhibiting a coronavirus infection, such as a SARS-CoV-2 infection. In addition, disclosed are methods for detecting a coronavirus, such as SARS-CoV-2, in a biological sample, using the disclosed antibodies and multi-specific antibodies. In some aspects, the antibodies bind a BA.4 or BA.5 variant. In other aspects, the antibodies bind BQ1.1 and/or XBV.

APPLICATION OF SHENLING BAIZHU IN PREPARATION OF DRUG FOR TREATING PSYCHONEUROLOGICAL SYMPTOMS OF RECOVERED COVID-19 PATIENTS

NºPublicación:  EP4640230A1 29/10/2025
Solicitante: 
BEIJING REDSUN PHARMACEUTICAL CO LTD [CN]
Beijing Redsun Pharmaceutical Co., Ltd
EP_4640230_A1

Resumen de: EP4640230A1

An application of Shenling Baizhu in the preparation of a medicine for treating neuropsychiatric symptoms of recovered COVID-19 patients.

SYSTEM AND METHOD FOR SCREENING RNA APTAMER

NºPublicación:  EP4641196A1 29/10/2025
Solicitante: 
CRISMERS BIOTECHNOLOGIES SHENZHEN CO LTD [CN]
CRISMERS BIOTECHNOLOGIES (SHENZHEN) CO., LTD
EP_4641196_PA

Resumen de: EP4641196A1

Disclosed is a CRISPR/Cas based system for screening an RNA aptamer against a target protein, comprising: (i) a guide RNA comprising a recognition sequence and a nucleic acid aptamer random library having a predetermined length; (ii) a target sequence complementary to the recognition sequence of the guide RNA; (iii) a selection marker located downstream of the target sequence and comprising a basal promoter and a selection marker gene; (iv) a fusion protein comprising the target protein and a transcriptional activation module, wherein a binding of the target protein to an RNA aptamer of the nucleic acid aptamer random library results in recruitment of the transcriptional activation module to the selection marker; (v) a dCas protein specifically recognizing the target sequence under the guidance of the guide RNA; and (vi) a screening cell. Also disclosed is a method for screening an RNA aptamer against a target protein using the system provided herein and RNA aptamers against S1 protein of SARS-CoV-2 virus and applications thereof.

Methods of treating symptoms of coronavirus infection with viral protease inhibitors

NºPublicación:  US12453717B1 28/10/2025
Solicitante: 
ACCENCIO LLC [US]
ACCENCIO LC [US]
Accencio LLC,
Accencio LC
US_12453717_B1

Resumen de: US12453717B1

The present disclosure relates to a method of reducing or arresting viral load in a subject infected with a coronavirus, the method comprising the step of administering to the subject a therapeutically effective amount of a viral protease inhibitor. In some embodiments, the subject is a human. In one embodiment, the coronavirus is SARS-CoV-19 and the viral protease inhibitor is frovatriptan (6R)-6-(methylamino)-6,7,8,9-tetrahydro-5H-carbazole-3-carboxamide.

CHINESE MEDICINE FORMULA FOR COVID-19

NºPublicación:  LU601360B1 28/10/2025
Solicitante: 
DONG SHENG [CN]
DONG Sheng
LU_601360_B1

Resumen de: LU601360B1

A Chinese medicine formula for COVID-19, comprising the following raw materials by weight ratio: 25 grams of siraitia grosvenorii flower, 10 grams to 20 grams of ligustrum lucidum, 5 grams to 10 grams of winter mulberry leaves, 8 grams to 15 grams of Chinese mahonia, 5 grams to 10 grams of Dizhu leaves, 5 grams to 10 grams of gardenia jasminoides, 3 grams to 8 grams of astragalus membranaceus, 3 grams to 8 grams of gentiana, 5 grams to 10 grams of ophiopogon japonicus, 2 grams to 6 grams of cassia twig, 3 grams to 8 grams of artemisia argyi leaves, and 10 grams to 15 grams of hairy holly. Based on the in-depth analysis of the pathogenesis characteristics of COVID-19, the invention achieves a comprehensive improvement of the symptoms of the COVID-19 by reasonable compatibility of a variety of Chinese medicinal materials; wherein, the combination of siraitia grosvenorii flower and ligustrum lucidum significantly improves the symptoms of dry throat and cough; winter mulberry leaves and Chinese mahonia can synergistically reduce fever quickly; the invention is suitable for various symptoms such as headache, fever, sore throat, chest tightness, cough (dry cough) caused by the COVID-19; generally, it turns from positive to negative in 3 to 4 days, and it takes 5 days to 8 days to eliminate all the symptoms mentioned hereinabove, depending on the physical condition of each person.

DNA RNA SARS-COV-2 Influenza A paper membrane-based on-site diagnostic DNA or RNA pretreatment kit that can be applied to a variety of samples and allows rapid nucleic acid pretreatment and a simultaneous multiple all-in-one molecular diagnostic kit for SARS-COV-2 and Influenza infectious diseases using the same

NºPublicación:  KR20250153936A 28/10/2025
Solicitante: 
주식회사에이아이더뉴트리진

Resumen de: KR20250153936A

본 발명은 페이퍼 멤브레인 기반 현장 진단용 DNA 또는 RNA 추출 키트에 관한 것으로, 측방 유동 분리 방식을 기반으로, 짧은 시간 내에 효율적으로 다양한 종류의 샘플들로부터 DNA 또는 RNA 추출이 가능한 DNA 또는 RNA 추출 디바이스로서, 표적 바이러스 검출을 위한 페이퍼 멤브레인 기반 현장용 DNA 또는 RNA 추출 플랫폼을 제공할 수 있다.

VIRAL PREPARATIONS AND METHODS FOR TREATING AND MODULATING MITOCHONDRIAL EFFECTS OF CORONAVIRUS INFECTIONS.

NºPublicación:  US2025327039A1 23/10/2025
Solicitante: 
DAICH JULIAN [IL]
Daich Julian
US_2025327039_PA

Resumen de: US2025327039A1

Attenuate coronavirus species that are able to fully replicate and spread are proposed together with the methods of obtaining thereof. The proposed coronavirus species are intended to treat and prevent viral infections including all those caused by coronavirus species that affect humans as the COVID-19 caused by the SARS-CoV2. Compared with other treatment or vaccine alternatives, the availability of such attenuate coronavirus species does not require of significant distribution and production resources. Some of the embodiments of the invention involve the use of the attenuate coronavirus species in formulations or compositions that have to be approved as safe and effective for therapeutic use in specific territories by a valid regulatory agency as the Food and Drug Agency (FDA) in the United States.

VIRAL PREPARATIONS AND METHODS FOR TREATING AND MODULATING MITOCHONDRIAL EFFECTS OF CORONAVIRUS INFECTIONS.

NºPublicación:  US2025327038A1 23/10/2025
Solicitante: 
DAICH JULIAN [IL]
Daich Julian
US_2025327038_PA

Resumen de: US2025327038A1

Attenuate coronavirus species that are able to fully replicate and spread are proposed together with the methods of obtaining thereof. The proposed coronavirus species are intended to treat and prevent viral infections including all those caused by coronavirus species that affect humans as the COVID-19 caused by the SARS-CoV2. Compared with other treatment or vaccine alternatives, the availability of such attenuate coronavirus species does not require of significant distribution and production resources. Some of the embodiments of the invention involve the use of the attenuate coronavirus species in formulations or compositions that have to be approved as safe and effective for therapeutic use in specific territories by a valid regulatory agency as the Food and Drug Agency (FDA) in the United States.

METHODS OF COLLECTING AND ANALYZING DUST SAMPLES FOR SURVEILLANCE OF VIRAL DISEASES

NºPublicación:  US2025327142A1 23/10/2025
Solicitante: 
OHIO STATE INNOVATION FOUND [US]
UNIV OF NOTRE DAME DU LAC [US]
Ohio State Innovation Foundation,
UNIVERSITY OF NOTRE DAME DU LAC
US_2025327142_PA

Resumen de: US2025327142A1

Described herein are methods for the detection of a virus (e.g., SARS-CoV-2) RNA in dust, which can be used for continued environmental surveillance of the viral disease. Targeted monitoring of dust in high-concern buildings can complement broader population-level monitoring approaches. Additionally, a method for detection of a viral RNA in a dust sample is disclosed herein.

Recombinant/Fusion Polypeptides Comprising Mutated Angiotensin Converting Enzyme 2 (ACE2)

NºPublicación:  US2025327052A1 23/10/2025
Solicitante: 
AGENCY FOR SCIENCE TECH AND RESEARCH [SG]
Agency for Science, Technology and Research
US_2025327052_PA

Resumen de: US2025327052A1

The invention relates to recombinant mutated angiotensin converting enzyme 2 (ACE2) comprising one or more amino acid substitutions at amino acid positions T27, F28, K31, H34, Y41 and Q42 which have improved binding affinity to SARS-CoV-1 and/or SARS-CoV-2. It also relates to combinatorial mutant ACE2 comprising T27Y/K31 H/H34A, T27YZ K31 H/H134V and T27Y/K31 Y/H134V and the use of said mutant ACE2 for treating and preventing coronavirus infection.

ANTIGENIC POLYPEPTIDE AND USE THEREOF

NºPublicación:  US2025325652A1 23/10/2025
Solicitante: 
ANDA BIOLOGY MEDICINE DEV SHENZEN CO LTD [CN]
ANDA BIOLOGY MEDICINE DEVELOPMENT (SHENZEN) CO., LTD
US_2025325652_PA

Resumen de: US2025325652A1

Provided are an isolated polypeptide or an antigenic fragment thereof, an antibody binding to the isolated polypeptide or the antigenic fragment thereof, a composition including the isolated polypeptide or the antigenic fragment thereof, and an array including the isolated polypeptide or the antigenic fragment thereof. Further provided a method for detecting the presence of an antibody against SARS-COV-2 in a subject, a method for the prognosis of the subject infected with SARS-COV-2, a method for inducing an immune response against SARS-CoV-2 in a subject, and a method for preventing and/or treating a disease caused by SARS-COV-2 infection in a subject.

Dual-Action Recombinant Vesicular Stomatitis Virus (RVSV)-Based Vaccine (DAV) Against COVID-19 and Influenza Viruses

NºPublicación:  US2025325648A1 23/10/2025
Solicitante: 
UNIV OF MANITOBA [CA]
University of Manitoba
US_2025325648_PA

Resumen de: US2025325648A1

Described herein is a replicative Vesicular stomatitis virus (rVSV) comprising: a first Filoviridae glycoprotein comprising one or more influenza virus matrix 2 ectodomain peptide inserted into the first Filoviridae glycoprotein; and a second Filoviridae glycoprotein comprising a SARS-CoV2 Spike protein peptide inserted into the second Filoviridae glycoprotein, or a first Filoviridae glycoprotein comprising one or more influenza virus matrix 2 ectodomain peptide inserted into the first Filoviridae glycoprotein and a non-functional but immunogenic SARS-CoV2 Spike protein. The Spike protein or Spike protein peptide can be derived from different CoV-2 variants. The rVSV can be used as a Dual Action vaccine for vaccinating individuals simultaneously against both influenza virus and SARS CoV2 virus.

IDENTIFICATION OF NOVEL SMALL-MOLECULE INHIBITORS OF SARS-CoV-2 BY CHEMICAL GENETICS

NºPublicación:  US2025325535A1 23/10/2025
Solicitante: 
THE UNIV OF HONG KONG [HK]
CENTRE FOR VIROLOGY VACCINOLOGY AND THERAPEUTICS LTD [HK]
The University of Hong Kong,
Centre for Virology, Vaccinology and Therapeutics Limited
US_2025325535_A1

Resumen de: US2025325535A1

This invention provides a novel small-molecule allosteric protease inhibitor, 10-(4-methylphenyl)-7-phenyl-6,7,8,10-tetrahydro-5H-indeno1,2-bquinoline-9,11-dione, which exhibits the highest selectivity index (SI), and shows inhibition against several SARS-CoV-2 variants of concern (VOC) and multiple human coronaviruses including MERS-CoV, SARS-CoV, and HCoV-229E. Not only does it demonstrate antiviral potency against a wide spectrum of coronavirus strains and species, but it also shows drug synergism with nirmatrelvir, which could be used in combination therapy to not only treat coronavirus-caused infections and diseases, but also lower the risk of antiviral resistance.

LIVE-ATTENUATED SARS-COV-2 VACCINE

NºPublicación:  US2025325653A1 23/10/2025
Solicitante: 
THE U S A AS REPRESENTED BY THE SEC DEP OF HEALTH AND HUMAN SERVICES [US]
The U.S.A., as represented by the Secretary, Department of Health and Human Services
US_2025325653_PA

Resumen de: US2025325653A1

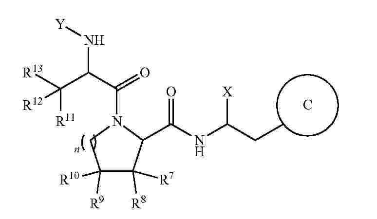
Engineered SARS-CoV-2 variants having a combination of attenuating modifications, and their use as live-attenuated SARS-CoV-2 vaccines, are described. The recombinant genome of the live-attenuated SARS-CoV-2 encodes a modified spike (S) protein with a deletion of the polybasic site (ΔPRRA); encodes a modified non-structural protein 1 (Nsp1) with K164A and H165A substitutions; and includes a mutation that prevents expression of open reading frames (ORFs) 6, 7a, 7b and 8. The disclosed live-attenuated SARS-CoV-2 retain the capacity to infect and replicate in mammalian cells. Immunogenic compositions that include a live-attenuated SARS-CoV-2 and methods of eliciting an immune response against SARS-CoV-2 in a subject are also described. Further disclosed are a collection of reverse genetics plasmids that include the complement of the recombinant genome of the live-attenuated SARS-CoV-2 and methods of producing a live-attenuated SARS-CoV-2 using the reverse genetics plasmids.

ANTI-INFECTIVE BICYCLIC PEPTIDE LIGANDS

NºPublicación:  US2025325672A1 23/10/2025
Solicitante: 
BICYCLE TX LTD [GB]
UNITED KINGDOM RES AND INNOVATION [GB]
Bicycle Tx Limited,
United Kingdom Research and Innovation
US_2025325672_A1

Resumen de: US2025325672A1

The present invention relates to polypeptides which are covalently bound to molecular scaffolds such that two or more peptide loops are subtended between attachment points to the scaffold. In particular, the invention describes peptides which are high affinity binders of severe acute respiratory syndrome coronavirus 2 (SARS-COV-2), particularly the spike protein S1 of SARS-COV-2. The invention also includes pharmaceutical compositions comprising said polypeptides and to the use of said polypeptides in suppressing or treating a disease or disorder mediated by infection of SARS-COV-2 or for providing prophylaxis to a subject at risk of infection of SARS-COV-2.

ANTI-SARS-COV-2 DRUG

NºPublicación:  US2025325547A1 23/10/2025
Solicitante: 
KAGOSHIMA UNIV [JP]
TOKYO UNIV OF SCIENCE FOUNDATION [JP]
KAGOSHIMA UNIVERSITY,
TOKYO UNIVERSITY OF SCIENCE FOUNDATION
US_2025325547_PA

Resumen de: US2025325547A1

The present invention relates to a compound represented by formula (I), a salt thereof, a solvate thereof, or a prodrug thereof, and an anti-SARS-CoV-2 drug having the same:wherein R1, R2, and R3 are the same or different, and each of them is a hydrogen atom, a halogen atom, a substituted or unsubstituted C1-6-alkyl group, a substituted or unsubstituted C1-6-alkoxy group, or —N(Ra)(Rb) wherein Ra and Rb are the same or different, and each of them is a substituted or unsubstituted C1-10-alkyl group or a substituted or unsubstituted aryl group; or Ra and Rb, together with an adjacent nitrogen atom, may form a substituted or unsubstituted 5 to 7-membered ring,R4 is —N(Ra)(Rb) wherein Ra and Rb are the same or different, and each of them is a substituted or unsubstituted C1-10-alkyl group or a substituted or unsubstituted aryl group; or Ra and Rb, together with an adjacent nitrogen atom, may form a substituted or unsubstituted 5 to 7-membered ring,X is a hydrogen atom, a fluorine atom, a chlorine atom, a bromine atom, or an iodine atom, andthe hydroxyl group in the formula may be substituted with a protecting group.

SARS-COV-2 CAMELID-DERIVED NANOBODY OR ANTIGEN-BINDING FRAGMENT THEREOF, AND COMPOSITION THEREOF AND USE THEREOF

NºPublicación:  WO2025218020A1 23/10/2025
Solicitante: 
SHENZHEN RESEARCH INSTITUTE BEIJING UNIV OF CHINESE MEDICINE [CN]
\u6DF1\u5733\u5317\u4EAC\u4E2D\u533B\u836F\u5927\u5B66\u7814\u7A76\u9662
WO_2025218020_PA

Resumen de: WO2025218020A1

Provided are a SARS-CoV-2 camelid-derived nanobody or an antigen-binding fragment thereof, and a composition thereof and a use thereof. The nanobody has at least 95% homology to SEQ ID NO: 1. Mutation engineering of the multivalent nanobody obtained by screening and purifying provides a method for rapidly generating an efficient virus neutralizing agent, such that viral escape mutants can be effectively controlled.

NOVEL MAIN PROTEASE INHIBITORS, AND COMPOSITIONS AND METHODS THEREOF

NºPublicación:  US2025326715A1 23/10/2025
Solicitante: 
UNIV OF MASSACHUSETTS [US]
University of Massachusetts
US_2025326715_PA

Resumen de: US2025326715A1

The invention provides novel compounds that are potent inhibitors of main protease (MPro) and pharmaceutical compositions and methods thereof for treating MPro-associated or mediated diseases and conditions, such as severe acute respiratory syndrome coronavirus 2 (SARS-CoV2).

A MULTI-ANTIGENIC RNA SARS-COV-2 VACCINE AND ASSOCIATED METHODS

NºPublicación:  EP4633672A2 22/10/2025
Solicitante: 
GENEIUS BIOTECHNOLOGY INC [US]
Geneius Biotechnology, Inc
AU_2023395159_PA

Resumen de: AU2023395159A1

The present technology provides multivalent vaccine compositions and Tcell compositions comprising viral antigens and associated methods. In some embodiments, the viral antigens are SARS-CoV-2 antigens. The vaccine compositions and the T cell compositions may comprise each of a Spike (S) peptide, a VME1 (M) peptide, an NCAP (N) peptide, an ORF7a (7a) peptide, an ORF3a (3a) peptide, an ORF8 (8) peptide, and an Nsp6 peptide.

CHIMERIC ANTI-SARS-COV2 NUCLEOPROTEIN ANTIBODIES

Nº publicación: US2025320278A1 16/10/2025

Solicitante:

LA JOLLA INST FOR IMMUNOLOGY [US]
LA JOLLA INSTITUTE FOR IMMUNOLOGY

WO_2022271258_PA

Resumen de: US2025320278A1

Compositions and methods are disclosed for diagnosing, treating, and/or preventing coronavirus infection and related pathologies. The compositions include antibodies having certain defined heavy and light chain sequences that recognize the coronavirus nucleoprotein or mutants thereof. In embodiments, the coronavirus is SARS-CoV-2

traducir