Ministerio de Industria, Turismo y Comercio LogoMinisterior
 

Alerta

Resultados 117 resultados
LastUpdate Última actualización 12/12/2025 [07:19:00]
pdfxls
Solicitudes publicadas en los últimos 60 días/Published applications in the last 60 days
previousPage Resultados 100 a 117 de 117  

A MULTI-ANTIGENIC RNA SARS-COV-2 VACCINE AND ASSOCIATED METHODS

NºPublicación:  EP4633672A2 22/10/2025
Solicitante: 
GENEIUS BIOTECHNOLOGY INC [US]
Geneius Biotechnology, Inc
AU_2023395159_PA

Resumen de: AU2023395159A1

The present technology provides multivalent vaccine compositions and Tcell compositions comprising viral antigens and associated methods. In some embodiments, the viral antigens are SARS-CoV-2 antigens. The vaccine compositions and the T cell compositions may comprise each of a Spike (S) peptide, a VME1 (M) peptide, an NCAP (N) peptide, an ORF7a (7a) peptide, an ORF3a (3a) peptide, an ORF8 (8) peptide, and an Nsp6 peptide.

Treatment for Coronavirus infection and associated cytokine toxicity

NºPublicación:  AU2025234176A1 16/10/2025
Solicitante: 
CULLIS HILL SYDNEY
Cullis-Hill, Sydney
AU_2025234176_A1

Resumen de: AU2025234176A1

The present invention relates to novel methods comprising the administration of pentosan polysulfate for treating or preventing coronavirus infection and cytokine- associated toxicity, including cytokine toxicity resulting from aberrant activation of the immune system in coronavirus disease or infection, such as those from SARS-CoV-2. 5 The present invention relates to novel methods comprising the administration of pentosan polysulfate for treating or preventing coronavirus infection and cytokine- associated toxicity, including cytokine toxicity resulting from aberrant activation of the 5 immune system in coronavirus disease or infection, such as those from SARS-CoV-2. ep h e p r e s e n t i n v e n t i o n r e l a t e s t o n o v e l m e t h o d s c o m p r i s i n g t h e a d m i n i s t r a t i o n o f e p p e n t o s a n p o l y s u l f a t e f o r t r e a t i n g o r p r e v e n t i n g c o r o n a v i r u s i n f e c t i o n a n d c y t o k i n e - a s s o c i a t e d t o x i c i t y , i n c l u d i n g c y t o k i n e t o x i c i t y r e s u l t i n g f r o m a b e r r a n t a c t i v a t i o n o f t h e i m m u n e s y s t e m i n c o r o n a v i r u s d i s e a s e o r i n f e c t i o n , s u c h a s t h o s e f r o m - o -

CORONAVIRUS AND INFLUENZA COMPOSITIONS AND METHODS FOR USING THEM

NºPublicación:  AU2024253607A1 16/10/2025
Solicitante: 
NOVAVAX INC
NOVAVAX, INC
AU_2024253607_A1

Resumen de: AU2024253607A1

An immunogenic composition for inducing immune responses against both influenza and coronaviruses includes: (a) a coronavirus S (CoV S) glycoprotein in the form of a detergent-core nanoparticle, wherein the detergent is a non-ionic detergent; (b) at least three hemagglutinin (HA) glycoproteins, wherein each HA glycoprotein is from a different influenza strain; and (c) a pharmaceutically acceptable buffer. An immunogenic composition for inducing immune response against influenza includes: (a) at least three hemagglutinin (HA) glycoproteins, wherein each HA glycoprotein is from a different influenza strain, wherein from 30 to 60 µg of HA per strain is present in the composition; and (b) a pharmaceutically acceptable buffer. The immunogenic compositions may include an adjuvant. Methods of stimulating an immune response against SARS-CoV-2, a heterogeneous SARS-CoV-2 strain, an influenza virus, or a combination thereof include the administration of the immunogenic compositions.

USE OF IFN-LAMBDA MRNA FOR TREATING VIRAL INFECTIONS

NºPublicación:  US2025319160A1 16/10/2025
Solicitante: 
ETHRIS GMBH [DE]
ethris GmbH
CN_120285155_PA

Resumen de: US2025319160A1

The present invention relates to pharmaceutical compositions comprising an mRNA encoding an IFN-λ polypeptide for use in treating a viral-induced disorder, preferably a viral-induced respiratory disorder, such as COVID-19.

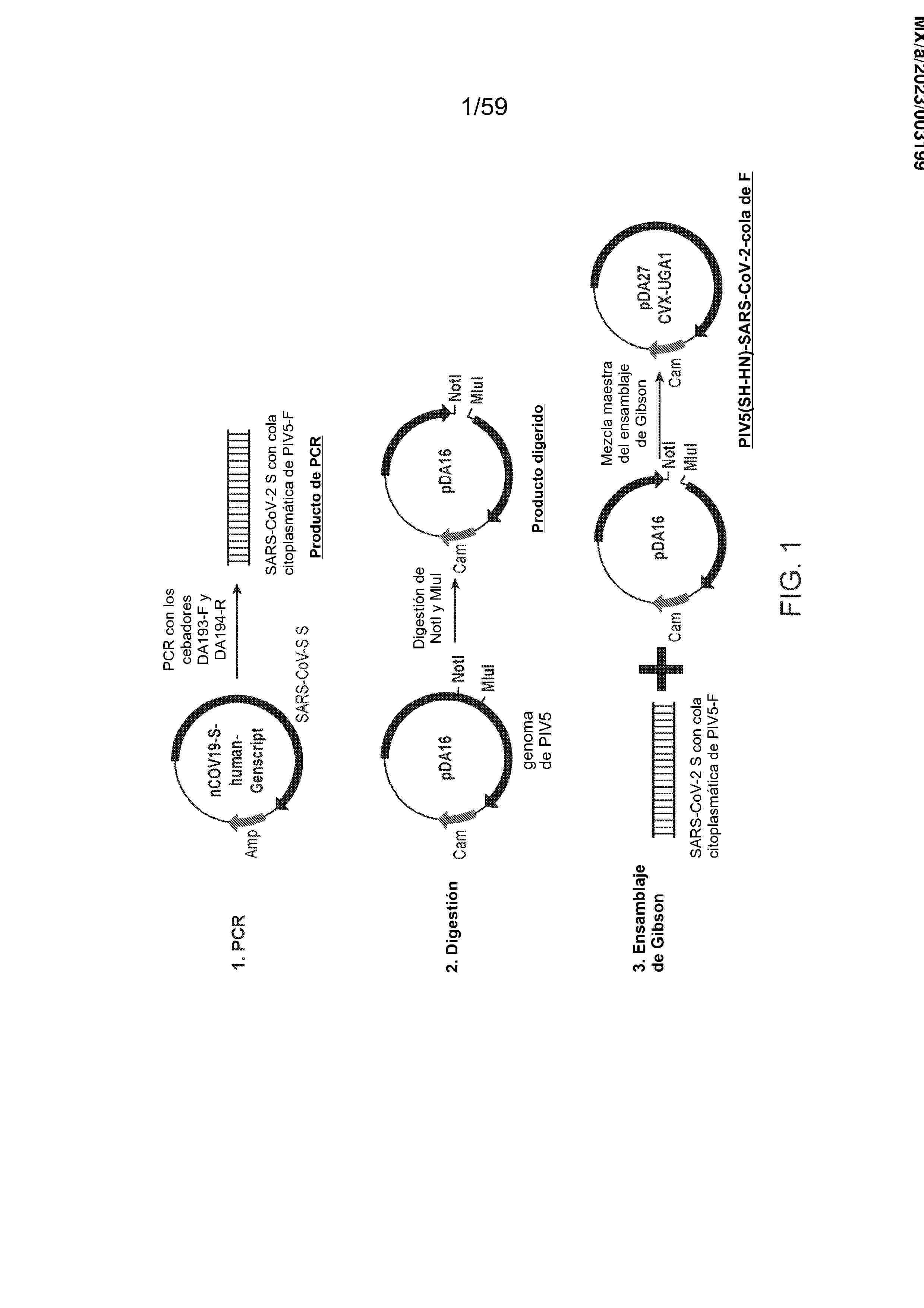
PIV5-BASED COVID-19 VACCINE

NºPublicación:  US2025319176A1 16/10/2025
Solicitante: 
UNIV OF GEORGIA RESEARCH FOUNDATION INC [US]
UNIVERSITY OF GEORGIA RESEARCH FOUNDATION, INC
MX_2023003199_A

Resumen de: US2025319176A1

The present invention provides constructs of the parainfluenza virus type-5 (PIV5) virus expressing the SARS-CoV-2 envelope spike (S) protein for use as safe, stable, efficacious, and cost-effective vaccines against COVID-19.

METHODS FOR THE PROPHYLAXIS AND TREATMENT OF COVID AND COVID-19

NºPublicación:  US2025319060A1 16/10/2025
Solicitante: 
TRAN LLOYD HUNG LOI [US]
Tran Lloyd Hung Loi
GB_2632086_PA

Resumen de: US2025319060A1

The present invention recognizes that there is a need for the prophylaxis or treatment of COVID and COVID-19. A first aspect of the present invention generally relates to methods of prophylaxis or treatment of COVID or COVID-19 using various pharmaceutical compositions. A second aspect of the present invention generally relates to methods of prophylaxis or treatment of COVID or COVID-19 using combinations of antimalarial drugs and antiviral drugs. A third aspect of the present invention generally relates to methods of prophylaxis or treatment of COVID or COVID-19 using nanoparticle formulations that include pharmaceutical compositions. A fourth aspect of the present invention generally relates to methods of prophylaxis or treatment of COVID or COVID-19 using combinations of various pharmaceutical compositions. A fifth aspect of the present invention generally relates to methods of prophylaxis or treatment of COVID or COVID-19 using a polio vaccine and pharmaceutical compositions.

PHEROMONICIN AGAINST SARS-COV-2 AND USE THEREOF

NºPublicación:  US2025319181A1 16/10/2025
Solicitante: 
PHEROMONICIN BIOTECHNOLOGY LTD [CN]
PHEROMONICIN BIOTECHNOLOGY LIMITED
WO_2023050661_A1

Resumen de: US2025319181A1

A pheromonicin against SARS-COV-2. Antibody mimetics, i.e., two 28-residues are designed for the first time by selecting the E protein and M protein of SARS-COV-2, which are relatively conserved and have low probability of mutation, as targets. Pharmacodynamic experiments performed using three SARS-COV-2 strains (the epidemic strain GD108, the South Africa strain SA and the India strain IND) respectively prove that fusion proteins obtained by linking the 28-residues to colicin can provide effective protective efficacy against pulmonary lesions induced by SARS-COV-2, and can be used as drugs for treating and preventing SARS-COV-2.

THERAPEUTICS DIRECTED AGAINST CORONAVIRUS

NºPublicación:  US2025319197A1 16/10/2025
Solicitante: 
SINGH BIOTECHNOLOGY LLC [US]
Singh Biotechnology, LLC
US_2024238437_A1

Resumen de: US2025319197A1

This invention provides compositions and methods to treat, prevent, and diagnose viral infections. The methods provided herein involve administering polypeptides of the invention to a subject in need thereof. The viral infections can be caused by a coronavirus such as SARS-COV-1, SARS-COV-2 or a variant thereof. It is contemplated that the polypeptide can be further linked to a compound, wherein the compound extends the serum half-life of the polypeptide.

NEUTRALIZING ANTIBODIES AGAINST SARS-COV-2 AND USES THEREOF

NºPublicación:  US2025319125A1 16/10/2025
Solicitante: 
VAL CHUM LP [CA]
VALORISATION HSJ LP [CA]
VAL-CHUM, LIMITED PARTNERSHIP,
VALORISATION HSJ, LIMITED PARTNERSHIP
CA_3224804_PA

Resumen de: US2025319125A1

The present application discloses neutralizing anti-SARS-COV-2 antibodies or antigen-binding fragments thereof that are effective against several SARS-COV-2 variants. Pharmaceutical compositions comprising the antibodies or antigen-binding fragments thereof are also disclosed. The antibodies, antigen-binding fragments thereof, or pharmaceutical compositions described herein may be used for the prevention and/or treatment of coronavirus infection and/or associated diseases and symptoms, such as SARS-COV-2 infection and/or COVID-19.

3-AZASTEROID COMPOUNDS FOR THE TREATMENT OF DISEASES RELATED TO MITROCHONDRIAL FUNCTION

NºPublicación:  US2025320246A1 16/10/2025
Solicitante: 
NZP UK LTD [GB]
NZP UK LIMITED
JP_2025518741_PA

Resumen de: US2025320246A1

Compounds of formula (I):wherein R1, R2 and R3 are as defined herein are able to rescue dysfunctional mitochondria and are therefore of use in the treatment and prevention of neurodegenerative disorders as well as acute radiation syndrome and myalgic encephalomyelitis (ME, chronic fatigue syndrome) or post viral syndrome, including chronic symptoms arising from infection with SARS-CoV2 (long COVID).

MONOCLONAL ANTIBODIES FOR THE TREATMENT OF VIRAL INFECTIONS

NºPublicación:  US2025320308A1 16/10/2025
Solicitante: 
FIBROSYS S R L [IT]
FIBROSYS S.R.L
WO_2022189632_A1

Resumen de: US2025320308A1

The present invention provides for monoclonal anti-IFITM2 and anti-IFITM3 antibodies or a fragment thereof, pharmaceutical compositions comprising said antibodies and its use in the treatment of viral infections, preferably of SARS-COV-2 infection in host human cells.

UNIVERSAL ADJUVANT FOR NASAL, ORAL, AND INTRAMUSCULAR DELIVERY OF VACCINES

NºPublicación:  US2025320255A1 16/10/2025
Solicitante: 
DESIGN ZYME LLC [US]
Design-Zyme LLC

Resumen de: US2025320255A1

Self-adjuvanting vaccine compositions comprising at least one modified immunogen via in vitro glycosylation methods that provide a rational approach for generating glycosylated versions of immunogens via the reducing end of a linear carbohydrate, the reducing end containing an N-acyl-2-amino moiety. Self-adjuvanting vaccine compositions comprising a plurality of heterologous immunogens associated with a multivalent carrier, wherein at least one immunogen is glycosylated to allow for mucosal delivery. Self-adjuvanting vaccine compositions comprising multivalent carriers and related methods using the self-adjuvanting vaccine compositions in various therapeutic and prophylactic applications for inducing an immune response against, treating, or preventing a bacterial, viral, fungal, or protozoan infection. Pathogens for which this approach may be useful include, but are not limited to, influenza viruses, rhinoviruses, human immunodeficiency viruses (HIV), respiratory syncytial virus (RSV), coronaviruses, Babesia, Borrelia, Neisseria, and Chlamydia, and the related diseases thereof.

CHIMERIC ANTI-SARS-COV2 NUCLEOPROTEIN ANTIBODIES

NºPublicación:  US2025320278A1 16/10/2025
Solicitante: 
LA JOLLA INST FOR IMMUNOLOGY [US]
LA JOLLA INSTITUTE FOR IMMUNOLOGY
WO_2022271258_PA

Resumen de: US2025320278A1

Compositions and methods are disclosed for diagnosing, treating, and/or preventing coronavirus infection and related pathologies. The compositions include antibodies having certain defined heavy and light chain sequences that recognize the coronavirus nucleoprotein or mutants thereof. In embodiments, the coronavirus is SARS-CoV-2

MULTISPECIFIC ANTIBODY

NºPublicación:  WO2025214462A1 16/10/2025
Solicitante: 
FUDAN UNIV [CN]
\u590D\u65E6\u5927\u5B66
WO_2025214462_PA

Resumen de: WO2025214462A1

A multispecific antibody or an antigen-binding molecule thereof, a homodimer thereof, a nucleic acid molecule encoding the multispecific antibody or the antigen-binding molecule thereof, a vector comprising the nucleic acid molecule, a host cell comprising the vector, a recombinant protein or immunoconjugate comprising the multispecific antibody or the antigen-binding molecule thereof, a use thereof in the preparation of a medicament for treating or preventing respiratory tract infections caused by viruses or in the preparation of a medicament for treating or preventing respiratory tract inflammation or dermatitis, and in a detection product. The multispecific antibody or the antigen-binding molecule thereof has excellent broad-spectrum neutralizing capability for coronaviruses and significant neutralizing capacity for coronavirus mutant strains, especially a variety of SARS-CoV-2 coronavirus mutant strains including Omicron subvariants BQ.1.1, XBB.1.5, XBB.1.16, EG.5, BA.2.86, and JN.1. The multispecific antibody or the antigen-binding molecule thereof can not only treat or prevent respiratory tract infection symptoms caused by viruses but also significantly relieve respiratory tract inflammation responses. The multispecific antibody or the antigen-binding molecule thereof has a good therapeutic effect on inflammatory diseases such as rhinitis, asthma, and dermatitis and has good clinical application prospects in the future.

METHOD OF TREATING AND PREVENTING VIRAL INFECTIONS

NºPublicación:  US2025318951A1 16/10/2025
Solicitante: 
OKS VLADIMIR [US]
OKS ANDREY [US]
Oks Vladimir,
Oks Andrey
US_2025318951_PA

Resumen de: US2025318951A1

A method for treating viral infections caused by viruses whose survival time depends on temperature (e.g., cold viruses, flu viruses, COVID-19, etc.) is based on administrating to a subject an effective amount of thermal energy transferred from a hotter liquid product to the colder subject using a predetermined combination of the temperature of the liquid product, the duration of time of supplying the liquid product, and the amount of the liquid product. This method of treatment inactivates viruses in the upper respiratory tract and gastrointestinal tract of the subject and enhances the response of the immune system, thereby preventing complications and accelerating the recovery of the infected subject.

HIGHLY PURIFIED EICOSAPENTAENOIC ACID, AS FREE FATTY ACID FOR TREATMENT OF CORONAVIRUSES AND SPECIFICALLY NOVEL CORONOAVIRUS-19 (COVID-19)

NºPublicación:  EP4631574A2 15/10/2025
Solicitante: 
KD SWISS GMBH [CH]
KD Swiss GmbH
EP_4631574_PA

Resumen de: EP4631574A2

This present invention relates to the use of eicosapentaenoic acid (EPA) for treating and reducing the negative effects of respiratory virus including coronaviruses and particularly the novel coronavirus-19 (COVID-19). Notably, the eicosapentaenoic acid in the free fatty acid (EPA-FFA) form has a purity of at least has a purity of at least 90%, preferably 95% and more preferably at least 99%. Specifically, the EPA-FFA exhibits a reduction of expressed interleukins, such as IL-6, reduction in D-dimers and a reduction relating to the release of AA.

ANTIBODIES OR FRAGMENTS THEREOF FOR SARS-COV-2 AND VARIANTS THEREOF

Nº publicación: EP4630447A2 15/10/2025

Solicitante:

ABWIZ BIO INC [US]
Abwiz Bio, Inc

WO_2024124241_PA

Resumen de: WO2024124241A2

This disclosure generally relates to humanized antibodies and their therapeutic use. More specifically, this disclosure is in the field of producing humanized antibodies that are optimized for biological and chemical features, including acitivies against SARS-CoV-2 variants, such as omicron variants.

traducir