Ministerio de Industria, Turismo y Comercio LogoMinisterior
 

Alerta

Resultados 41 resultados
LastUpdate Última actualización 11/05/2026 [07:36:00]
pdfxls
Solicitudes publicadas en los últimos 60 dias/ Patent applications published in the last 60 days
Resultados 1 a 25 de 41 nextPage  

SYSTEM AND METHOD FOR FORMING AN IMAGE ON A SUBSTRATE

NºPublicación:  US20260115759A1 30/04/2026
Solicitante: 
VIAVI SOLUTIONS INC [US]
VIAVI Solutions Inc.
US_20260115759_A1

Resumen de: US20260115759A1

A scanning laser having a wavelength compatible with a coating binder so as to cure it as the laser scans and irradiates the coating on a moving web. A system and method for curing flakes by providing a scanning laser which scans across a moving coated substrate in a magnetic field allows images to be formed as magnetically aligned flakes are cured into a fixed position. The images have regions of cured aligned flakes. The scanning laser cures the magnetically aligned flakes within it region it irradiates. Alternatively an array of lasers can be used wherein individual lasers can be switched on and off to fix irradiated coating as a moving web is moved at a high speed.

Sicherheitselement mit motivbildender Flüssigkristallschicht

NºPublicación:  DE102024131190A1 30/04/2026
Solicitante: 
GIESECKE & DEVRIENT CURRENCY TECHNOLOGY GMBH [DE]
Giesecke+Devrient Currency Technology GmbH
DE_102024131190_PA

Resumen de: DE102024131190A1

Die Erfindung betrifft ein Sicherheitselement (20) zur Absicherung von Wertgegenständen (10), mit einer Motivschicht auf Basis eines flüssigkristallinen Materials, das zu Ausbildung eines latenten Motivs ausgelegt und bestimmt ist. Erfindungsgemäß ist dabei vorgesehen, dass das Sicherheitselement (20) eine auf einer Trägerfolie (22) angeordnete erste Prägelackschicht (26), eine auf der ersten Prägelackschicht (26) partiell vorliegende Motivschicht (30) auf Basis eines nematischen flüssigkristallinen Materials und eine ein- oder mehrschichtige vollflächig vorliegende zweite Prägelackschicht (34) umfasst. Das nematische flüssigkristalline Material enthält mindestens einen dichroitischen Fluoreszenzfarbstoff, dessen Emission von polarisiertem Licht von seiner Orientierung abhängt. Die dem nematischen flüssigkristallinen Material zugewandte Oberfläche der ersten Prägelackschicht (26) ist mit einer Prägung versehen, die zur Ausbildung eines zweiten latenten Motivs zumindest zwei Bereiche (28A, 28B) mit Ausrichtungsstrukturen unterschiedlicher Orientierung aufweist, wobei das nematische flüssigkristalline Material durch die motivbildenden Bereiche (28A, 28B) in Form des zweiten latenten Motivs mit jeweils unterschiedlicher Orientierung homogen ausgerichtet ist, so dass das von den unterschiedlichen Ausrichtungsstrukturen gebildete zweite latente Motiv durch Emission von polarisiertem Licht erkennbar ist. Dabei ist die Motivschicht (30) in Form eines ersten latente

Verfahren zum Erzeugen eines Sicherheitsmerkmals in Form eines visuellen Effekts

NºPublicación:  DE102024131164A1 30/04/2026
Solicitante: 
KOENIG & BAUER AG [DE]
Koenig & Bauer AG
DE_102024131164_PA

Resumen de: DE102024131164A1

Die Erfindung betrifft ein Verfahren zum Erzeugen eines Sicherheitsmerkmals in Form eines visuellen Effekts, wobei das Sicherheitsmerkmal in einem Sicherheitsdokument ausgebildet wird und ein Substrat aus einer Lage oder mehreren plan übereinander angeordneten Lagen jeweils aus einem transparenten Polymerwerkstoff aufweist, wobei auf einer Seite einer ersten Lage ein erstes Druckbild und auf einer dem ersten Druckbild gegenüberliegenden Seite der ersten Lage ein zweites Druckbild aufgebracht werden und/oder wobei auf einer Seite einer ersten Lage ein erstes Druckbild und dem ersten Druckbild gegenüberliegend auf einer Seite einer zweiten Lage ein zweites Druckbild aufgebracht werden, wobei das Substrat an seiner Oberseite und/oder an seiner Unterseite jeweils eine lichtundurchlässige Schutzbeschichtung mit mindestens einer fensterförmigen Aussparung aufweist, wobei das erste und das zweite Druckbild jeweils im Bereich der jeweiligen fensterförmigen Aussparung einander überdeckend angeordnet werden, wobei entweder mehrere jeweils mit einem ersten Druckbild und mit einem zweiten Druckbild bedruckte Substrate von verschiedenen Sicherheitsdokumenten jeweils im Bereich ihrer fensterförmigen Aussparung aufeinandergelegt werden oder wobei mehrere jeweils mit einer fensterförmigen Aussparung in der Schutzbeschichtung ausgebildete Bereiche des jeweils mit einem ersten Druckbild und mit einem zweiten Druckbild bedruckten Substrats desselben Sicherheitsdokuments aufeinandergele

Gegenstand mit einer Sicherheitsbedruckung, System und Verfahren zum Ausbilden einer Sicherheitsbedruckung

NºPublicación:  DE102024131525A1 30/04/2026
Solicitante: 
SCHREINER GROUP GMBH & CO KG [DE]
Schreiner Group GmbH & Co. KG
DE_102024131525_PA

Resumen de: DE102024131525A1

Ein Gegenstand (2, 10) umfasst eine Sicherheitsbedruckung, die eine Bedruckung aufweist, welche an dem Gegenstand (2, 10) angeordnet oder ausgebildet ist und die zumindest ein CMY-Element umfasst, das aus einer vorgegebenen Zusammensetzung allein aus den Druckfarben Cyan (C), Magenta (M) und Gelb (Y) mit vorgegebener Druckstärke, vorgegebener Mischmenge und vorgegebenem Farbort mittels Drucken ausgebildet ist, sodass es in dem für das menschliche Auge sichtbaren Spektralbereich als schwarz oder dunkel wahrgenommen wird und in einem für das menschliche Auge nicht sichtbaren Spektralbereich transparent eingerichtet ist. Das CMY-Element wirkt mit einem weiteren Element zusammen, das an dem Gegenstand (2, 10) angeordnet oder mit diesem ausgebildet ist und das in dem für das menschliche Auge sichtbaren Spektralbereich wahrnehmbar ist und in dem vorgegeben nicht sichtbaren Spektralbereich absorbierend eingerichtet ist.

SECURITY ELEMENT WITH MOTIF-PRODUCING LIQUID CRYSTAL LAYER AND CORRESPONDING MANUFACTURING METHOD

NºPublicación:  EP4733082A1 29/04/2026
Solicitante: 
GIESECKE & DEVRIENT CURRENCY TECHNOLOGY GMBH [DE]
Giesecke+Devrient Currency Technology GmbH
EP_4733082_A1

Resumen de: EP4733082A1

Die Erfindung betrifft ein Sicherheitselement (20) zur Absicherung von Wertgegenständen (10), mit einer Motivschicht auf Basis eines flüssigkristallinen Materials, das zu Ausbildung eines latenten Motivs ausgelegt und bestimmt ist. Erfindungsgemäß ist dabei vorgesehen, dass das Sicherheitselement (20) eine auf einer Trägerfolie (22) angeordnete erste Prägelackschicht (26), eine auf der ersten Prägelackschicht (26) partiell vorliegende Motivschicht (30) auf Basis eines nematischen flüssigkristallinen Materials und eine ein- oder mehrschichtige vollflächig vorliegende zweite Prägelackschicht (34) umfasst. Die dem nematischen flüssigkristallinen Material zugewandte Oberfläche der ersten Prägelackschicht (26) ist mit einer Prägung versehen, die zur Ausbildung eines zweiten latenten Motivs zumindest zwei Bereiche (28A, 28B) mit Ausrichtungsstrukturen unterschiedlicher Orientierung aufweist. Zumindest eine der Ausrichtungsstrukturen der motivbildenden Bereiche (28A, 28B) bildet ein Gittermuster mit Strichgitterlinien, deren Beabstandung über die Fläche des motivbildenden Bereichs variiert, so dass die Ausrichtungsstruktur ein aperiodisches Gitter bildet. Die Motivschicht (30) ist in Form eines ersten latenten Motivs bereichsweise direkt auf der ersten Prägelackschicht (26) und überlappend mit den das zweite latente Motiv bildenden Bereichen (28A, 28B) angeordnet. Dabei ist das nematische flüssigkristalline Material durch die motivbildenden Bereiche in Form des zw

OPTICAL SECURITY DEVICE BASED ON A SURFACE OF REVOLUTION

NºPublicación:  EP4733083A1 29/04/2026
Solicitante: 
VIAVI SOLUTIONS INC [US]
Viavi Solutions Inc.
EP_4733083_PA

Resumen de: EP4733083A1

0001 An optical article printed on a substrate may include an organic binder; and a plurality of reflective magnetic platelets provided in the organic binder, wherein the plurality of reflective magnetic platelets are substantially aligned in accordance with at least part of a surface of revolution, and wherein the plurality of reflective magnetic platelets are aligned to cause a first reflective effect of the optical article when the substrate is rotated around a first axis and to cause a second reflective effect of the optical article when the substrate is rotated around a second axis, wherein the first reflective effect is different from the second reflective effect.

METHODS AND SYSTEMS FOR DETECTING INFRARED SECURITY MARKS EMBEDDED IN A DOCUMENT

NºPublicación:  EP4734085A1 29/04/2026
Solicitante: 
XEROX CORP [US]
Xerox Corporation
EP_4734085_PA

Resumen de: EP4734085A1

Methods and systems for detecting one or more infrared (IR) security marks embedded in a document include receiving a document including one or more regions of interest (ROIs), wherein the ROIs correspond to pre-defined locations in the document. Thereafter, the ROIs are processed to generate a plurality of arrays of counters corresponding to each ROI. Once generated, the plurality of arrays of counters are analyzed to identify a plurality of transition points corresponding to each ROI including the IR security mark. Thereafter, the transition points are used to calculated the size of the one or more IR security marks. Then, the calculated size is compared with the one or more IR security marks with a pre-defined size and, based on the comparison, the one or more IR security mark embedded in the document are detected for further analysis.

COLOR IMAGE FORMED FROM HOLOGRAM

NºPublicación:  EP4733078A2 29/04/2026
Solicitante: 
IN SMART IDENTITY FRANCE [FR]
IN Smart Identity France
EP_4733078_PA

Resumen de: EP4733078A2

0001 L'invention concerne une image couleur (IG) comprenant : une première couche (10) comportant une structure holographique formant un arrangement (29) de pixels (30) comportant chacun des sous-pixels (32) de couleurs distinctes ; et des moyens de modulation de couleur configurés pour sélectionner la couleur des pixels (30) en modifiant la contribution colorimétrique des sous-pixels (32) les uns par rapport aux autres dans les pixels (30) de sorte à révéler une image couleur personnalisée. Les moyens de modulation de couleur comprennent des moyens d'amplification positionnés en regard de l'arrangement de pixels pour amplifier localement la luminosité de tout ou partie de sous-pixels.

OPTICALLY VARIABLE SECURITY ELEMENT WITH MACHINE-READABLE FEATURE SUBSTANCE AND OPTICAL FUNCTIONAL LAYER, VALUE DOCUMENT AND EXAMINATION METHOD

NºPublicación:  EP4731446A1 29/04/2026
Solicitante: 
GIESECKE & DEVRIENT CURRENCY TECHNOLOGY GMBH [DE]
Giesecke+Devrient Currency Technology GmbH
WO_2024260488_PA

Resumen de: WO2024260488A1

The invention relates to an optically variable security element (20) for protecting a value document (10), having a first machine-readable feature substance (36) and an optical functional layer (24, 26) which gives the security element (20) an optically variable appearance when viewed. According to the invention, the security element (20) is formed from multiple layers, with an interior film layer (30) which has a first side and an opposite second side, wherein the film layer (30) is provided at least on the first side with an adhesive layer (34) for connecting to the value document (10) and on the second side with the optical functional layer (24, 26), and wherein the first machine-readable feature substance (36) is arranged in the film layer (30) or on the second side of the film layer (30).

RECORDING MEDIUM, DRAWING METHOD, AND DRAWING SYSTEM

NºPublicación:  EP4733079A1 29/04/2026
Solicitante: 
SONY GROUP CORP [JP]
Sony Group Corporation
EP_4733079_PA

Resumen de: EP4733079A1

0001 Provided is a recording medium capable of performing intended drawing. 0002 The recording medium includes a first recording layer configured to be able to draw with first laser light having a first peak wavelength, and a second recording layer configured to be able to draw with second laser light having a second peak wavelength different from the first peak wavelength. The first recording layer includes a first color development layer configured to be able to develop color with the first laser light and containing a first leuco dye. The first recording layer and the second recording layer have different recording methods. At least parts of the first recording layer and the second recording layer overlap each other in a thickness direction of the recording medium.

PRINTING INK FOR HEAT-SENSITIVE RECORDING MEDIA

NºPublicación:  EP4733081A1 29/04/2026
Solicitante: 
OJI HOLDINGS CORP [JP]
Oji Holdings Corporation
EP_4733081_PA

Resumen de: EP4733081A1

0001 Disclosed is a printing ink for a heat-sensitive recording material, which is either the following (A) or (B): (A) a heat-sensitive color-developing printing ink containing a leuco dye, a developer, a vinylpyrrolidone-vinyl acetate copolymer, and a solvent, wherein the heat-sensitive color-developing printing ink contains, as the developer, at least one member selected from the group consisting of a N,N'-diaryl urea compound represented by the following formula (1): wherein R<0> represents a C<1-12> alkyl group, a C<7-12> aralkyl group, or a C<6-12> aryl group, wherein the aralkyl group and the aryl group may be substituted with a C<1-12> alkyl group, a C<1-12> alkoxy group, a C<6-12> aryl group, or a halogen atom, and multiple R<0>s may be the same or different, and A<1> represents a hydrogen atom or a C<1-4> alkyl group, and multiple A<1>s may be the same or different; a compound represented by the following formula (2): wherein R<1> to R<5> are the same or different, and represent a hydrogen atom, a halogen atom, a nitro group, an amino group, an alkyl group, an alkoxy group, an aryloxy group, an alkylcarbonyloxy group, an arylcarbonyloxy group, an alkylcarbonylamino group, an arylcarbonylamino group, an alkylsulfonylamino group, an arylsulfonylamino group, a monoalkylamino group, a dialkylamino group, or an arylamino group;

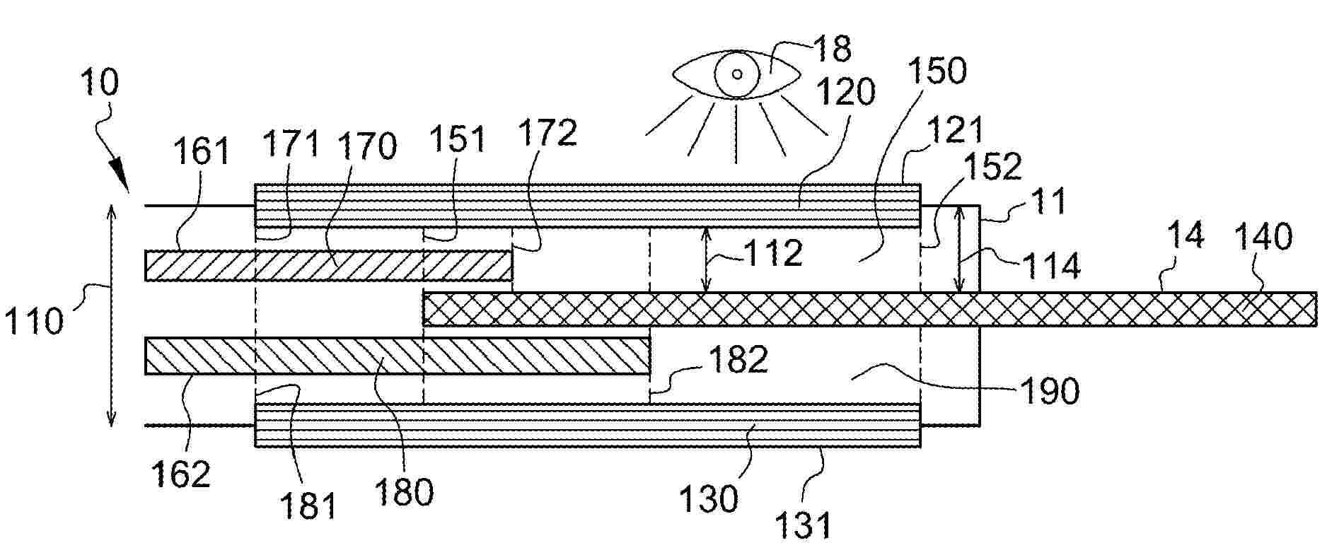
SECURITY ELEMENT FOR VALUE DOCUMENTS AND OTHER DOCUMENTS

NºPublicación:  EP4731447A1 29/04/2026
Solicitante: 
GIESECKE & DEVRIENT CURRENCY TECHNOLOGY GMBH [DE]
Giesecke+Devrient Currency Technology GmbH
WO_2025002713_PA

Resumen de: WO2025002713A1

The invention relates to a security element (100) having a motif layer (10) and an effect layer, in particular for documents (200) such as value documents, identity document, security papers or card-type data carriers. The effect layer (20) is arranged above the motif layer (10) and has an optical effect when viewed under light in the visible range. The effect layer (20) is transparent for infrared light and the motif layer (10) is reflective or absorbing for infrared light, and therefore the motif layer (10) is visible through the effect layer (20) when viewed under infrared light. The motif layer (10) is designed to depict at least one first motif (30). The invention also relates to a document (200) comprising such a security element (100) and to a method for producing a such a document (100).

Composition of UV-Vis curable protective varnish for secured documents, method of securing documents using it and the use of glycidyl ethers

NºPublicación:  PL453470A1 27/04/2026
Solicitante: 
POLSKA WYTWORNIA PAPIEROW WARTOSCIOWYCH SPOLKA AKCYJNA [PL]
POLSKA WYTW\u00D3RNIA PAPIER\u00D3W WARTO\u015ACIOWYCH SP\u00D3\u0141KA AKCYJNA
PL_453470_A1

Resumen de: PL453470A1

Zgłoszenie dotyczy kompozycji utwardzalnego promieniowaniem UV-Vis lakieru ochronnego dla dokumentów zabezpieczonych, zwłaszcza banknotów, zawierającej etery glicydylowe jako reaktywne rozcieńczalniki. Przedmiotem zgłoszenia jest również sposób zabezpieczania dokumentów, zwłaszcza banknotów, z wykorzystaniem powyższej kompozycji oraz zastosowanie tej kompozycji do powlekania dokumentów zabezpieczonych, zwłaszcza banknotów, z wytworzeniem powłoki ochronnej zabezpieczającej dokumenty przed zabrudzeniami, wilgocią i uszkodzeniami mechanicznymi. Przedmiotem zgłoszenia jest również zastosowanie eterów glicydylowych do wytwarzania powłok ochronnych w warunkach o zwiększonej wilgotności oraz banknoty pokryte powłoką ochronną wykonaną z lakiem ochronnego.

ARTICLE WITH CURVED PATTERNS FORMED OF ALIGNED PIGMENT FLAKES

NºPublicación:  US20260109170A1 23/04/2026
Solicitante: 
VIAVI SOLUTIONS INC [US]
US_20260109170_A1

Resumen de: US20260109170A1

In a printed article, pigment flakes are magnetically aligned so as to form curved patterns in a plurality of cross-sections normal a continuous imaginary line, wherein radii of the curved patterns increase along the imaginary line from the first point to the second point. When light is incident upon the aligned pigment flakes from a light source, light reflected from the aligned pattern forms a bright image which appears to gradually change its shape and move from one side of the continuous imaginary line to another side of the continuous imaginary line when the substrate is tilted with respect to the light source.

TABLE GAME MANAGEMENT SYSTEM AND GAME TOKEN

NºPublicación:  AU2026202553A1 23/04/2026
Solicitante: 
ANGEL GROUP CO LTD
AU_2026202553_A1

Resumen de: AU2026202553A1

A system comprising: a camera; and a control device; wherein: the camera is configured to generate an image of an area in which one or more chips are located; and the control device is configured to, for each of the one or more chips: identify in the image a respective color pattern formed by a respective set of colors on a respective circumferentially extending side face of the respective chip; and based on the identified color pattern, determine a respective type or value of the respective chip; and generate an output based on the respective determined types or values of the chips. pr p r

SYSTEMS AND METHODS FOR VALIDATING AN INSTRUMENT

NºPublicación:  US20260111895A1 23/04/2026
Solicitante: 
CAPITAL ONE SERVICES LLC [US]
US_20260111895_A1

Resumen de: US20260111895A1

0000 Disclosed are methods and systems for validating instruments. For instance, a request to generate a cashier's check may be received from an application executing on a drawer's computing device. Request information may be stored within a data storage entry for the check, and a code to be printed on the check may be generated to include at least a portion of the request information. Instructions may be provided to a printing system to cause the check to be printed with the code, where the printed check is invalid. Instructions may be provided to the application and/or printing system to cause display of a prompt to facilitate a reading of the code to validate the check. When information within the code is read by and received from the printing system, the check may be validated, which triggers a transfer of funds from the drawer's account. 0000 Otherwise, the check may remain invalid.

3D EFFECT PRINTING METHOD

NºPublicación:  EP4727776A1 22/04/2026
Solicitante: 
SUN CHEMICAL BV [NL]
WO_2025149523_PA

Resumen de: WO2025149523A1

A method of creating a 3-D effect printed image, which may also have a holographic effect, and a gravure printing press apparatus that can be used in said method.

OPTICALLY READABLE PHYSICAL UNCLONABLE FUNCTIONS ON INORGANIC MATERIALS

NºPublicación:  EP4727777A2 22/04/2026
Solicitante: 
QUANTUM BASE LTD [GB]
GB_2629465_PA

Resumen de: GB2629465A

A method of making an optically readable physical unclonable function (PUF) on a surface of an inorganic material 11 comprises treating the surface to create a plurality of colour centres 14 thereon. The inorganic material is preferably a metallic material, more preferably aluminium, iron, titanium, nickel, cobalt or an alloy thereof, or a ceramic material, more preferably an oxide, carbide or nitride. The method may comprise forming a layer on the surface by exposure to photons or charged particles, such as a laser beam 12, or passivating the surface, or depositing a coating on the surface. The layer may be formed in the presence of a dopant or treated with a dopant after formation. The dopant may comprise barium, calcium, magnesium, chromium, titanium, vanadium, manganese, iron, cobalt, nickel, copper, molybdenum or erbium. The method may be used in the field of anti-counterfeiting.

METHODS AND SYSTEMS FOR EXTRACTING AN INFRARED SECURITY MARK FROM A DOCUMENT

NºPublicación:  US20260105768A1 16/04/2026
Solicitante: 
XEROX CORP [US]
US_20260105768_A1

Resumen de: US20260105768A1

The present disclosure discloses methods and systems for extracting an infrared (IR) security mark from a document. The method includes receiving a document including the IR security mark. A portion of the document including the IR security mark is extracted and a color information is obtained, wherein the color information includes at least one of a foreground color information and an adjacent foreground color information. One or more portions of the extracted portion are analyzed based on the foreground color information, to generate a foreground image including one or more foreground portions. One or more portions adjacent to the one or more foreground portions in the extracted portion are analyzed based on the adjacent foreground color information, to generate an adjacent foreground image. The foreground image and the adjacent foreground image are processed to extract the IR security mark.

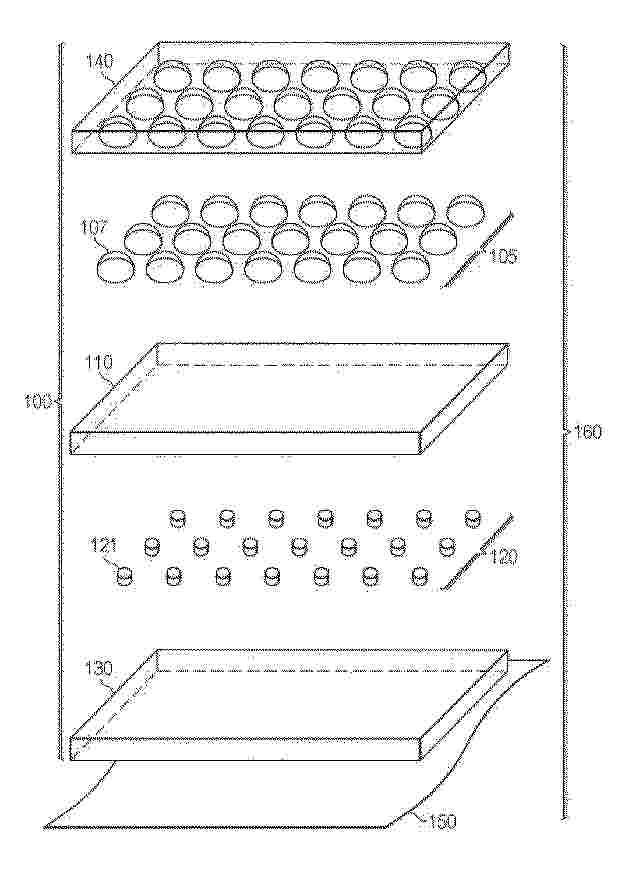
ORIENTING MAGNETIC FLAKES WITHIN A BINDER LAYER

NºPublicación:  US20260103017A1 16/04/2026
Solicitante: 
VIAVI SOLUTIONS INC [US]
US_20260103017_A1

Resumen de: US20260103017A1

A deposition device may deposit, on a substrate, a binder layer that includes a first set of magnetic flakes and a second set of magnetic flakes and may cause, when a temperature of the binder layer satisfies a temperature threshold (e.g., a Curie temperature of the first set of magnetic flakes), a magnetic field to be applied to the binder layer to cause the first set of magnetic flakes and the second set of magnetic flakes to be oriented according to the magnetic field. The deposition device may cause, when the temperature of the binder layer ceases to satisfy the temperature threshold, another magnetic field to be applied to the binder layer to cause only the second set of magnetic flakes to be oriented according to the other magnetic field.

METHODS AND SYSTEMS FOR SECURING DOCUMENTS WHILE PRINTING AND REPRODUCING THE DOCUMENTS

NºPublicación:  US20260104830A1 16/04/2026
Solicitante: 
XEROX CORP [US]
US_20260104830_A1

Resumen de: US20260104830A1

The disclosure discloses methods and systems for securing confidential content of a document while printing and/or while reproducing the document. The method includes identifying confidential content in a document. Upon identification, the confidential content is encoded based on one or more encoding algorithms. Then, coordinate information about the confidential content is identified. The method generates a pre-defined code such as a QR code having authorized user information, prints the IR security mark and pre-defined code on the document. The printed document includes the confidential content in an encoded format, the IR security mark with the coordinate information of the confidential content and the pre-defined code including the authorized user information. At the time of reproducing, the method includes checking if a user who is requesting for reproducing the printed document is an authorized user. Based on the check, the user is allowed to reproduce the printed document.

PROCESS FOR PRODUCING EFFECT PIGMENTS

NºPublicación:  EP4724534A1 15/04/2026
Solicitante: 
GIESECKE & DEVRIENT CURRENCY TECHNOLOGY GMBH [DE]
WO_2024251325_PA

Resumen de: WO2024251325A1

The present document discloses a process for producing effect pigments (2). Said process comprises the steps of: Providing a donor film (8) having a relief structure (12) arranged thereupon comprising plateau surfaces (12a), lowered regions (12c) and flanks (12b) situated therebetween. Applying a reflective layer (16) to the relief structure (12). Providing an acceptor film (4) having an adhesive layer (6) arranged on one side thereof. Producing a first layer composite (1) from the donor film (8) and the acceptor film (4), wherein the adhesive layer (6) of the acceptor film (4) is laminated with the reflective layer (16) of the donor film (8) in the plateau surfaces (12a). Peeling off the donor film (8) from the acceptor film (4), wherein the reflective layer (16) remains on the donor film (8) in the lowered regions (12c) and on the flanks (12b) as a residual layer (26) and the acceptor film (4) has arranged on it the adhesive layer (6) and the pieces (25) of the reflective layer (16) previously arranged on the plateau surfaces (12a), and detaching the pieces (25) from the acceptor film (4), wherein an external contour of the effect pigments (2) is predetermined by the configuration of the plateau surfaces (12a). In the process the relief structure (12) is subjected to adhesion-reducing pretreatment before the whole-area application of the reflective layer (16) and the detaching of the pieces (25) as effect pigments (2) from the acceptor film (4) comprises a detaching or loos

IDENTIFICATION ELEMENT, INQUIRY DEVICE, AND INQUIRY METHOD

NºPublicación:  EP4725714A1 15/04/2026
Solicitante: 
SONY GROUP CORP [JP]
EP_4725714_PA

Resumen de: EP4725714A1

0001 An identification element according to an aspect of the present disclosure includes a thermosensitive recording medium provided with one or a plurality of layers on a support substrate. An identification region having a unique physical feature is provided in at least a portion of the thermosensitive recording medium.

SURFACE-FUNCTIONALIZATION BASED AUTHENTICATION ELEMENTS FOR AUTHENTICATING OBJECTS AND OBJECTS AND METHODS USING THEM

NºPublicación:  WO2026076261A1 09/04/2026
Solicitante: 
MINERAL CITY BIOTECHNOLOGIES LLC [US]
WO_2026076261_A1

Resumen de: WO2026076261A1

An authentication element may include molecules where the molecules are arranged to encode at least a portion of an authentication code. The molecules may be polymer chains. The molecules may be polymer chains in a polymer ink. The molecules may be x-ray sensitive. A shape in which the molecules are arranged, for example on a surface to which they are attached, may encode the at least a portion of the authentication code. The molecules may be arranged as a two-dimensional pattern, such as a barcode or QR-code. A method of applying an authentication element includes disposing molecules onto a polymer surface and irradiating at least a portion of the molecules thereby attaching the at least a portion of the molecules to the surface such that the at least a portion of the molecules are arranged in an arrangement corresponding to at least a portion of an authentication code.

SECURITY DOCUMENT WITH A SUBSTRATE AND A SECURITY FEATURE AS WELL AS THE ASSOCIATED MANUFACTURING PROCESS

Nº publicación: EP4721992A1 08/04/2026

Solicitante:

GIESECKE & DEVRIENT CURRENCY TECHNOLOGY GMBH [DE]
Giesecke+Devrient Currency Technology GmbH

EP_4721992_PA

Resumen de: EP4721992A1

Die Erfindung betrifft ein Wertdokument (10), insbesondere eine Banknote, mit einem Substrat (12) und einem mehrelementigen Sicherheitsmerkmal (14). Die mehreren Elemente (30, 32+34, 40) des Sicherheitsmerkmals überlappen einander dabei paarweise zumindest teilweise und wirken zusammen, um ein Kulissenbild (20) zu bilden, bei dem mehrere Bildteile (22, 24, 26) kulissenartig hintereinander angeordnet erscheinen. Das Sicherheitsmerkmal (14) enthält als ein erstes Element ein optisch variables Druckelement (30), das einen ersten Bildteil (22) des Kulissenbilds (20) bildet, und enthält als ein zweites Element ein teilmetallisiertes Folienelement (40) mit transparenten Folienbereichen, bei dem der metallisierte Bereich (42) des Folienelements (40) einen zweiten Bildteil (24) des Kulissenbilds bildet. Das Folienelement (40) ist auf dem Substrat (12) gepassert über dem Druckelement (30) angeordnet und überlappt dieses mit seinem metallisierten Bereich (42) zumindest teilweise. Als drittes Element ist eine durchgehende Öffnung (32), die durch Laserbeaufschlagung oder Stanzung erzeugt werden kann.

traducir