Ministerio de Industria, Turismo y Comercio LogoMinisterior
 

Alerta

Resultados 342 resultados
LastUpdate Última actualización 12/05/2026 [07:10:00]
pdfxls
Solicitudes publicadas en los últimos 30 días / Applications published in the last 30 days
Resultados 1 a 25 de 342 nextPage  

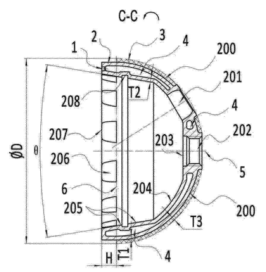
一种隐形矫治器各向异性加力单元及其增材制造方法

NºPublicación:  CN121989456A 08/05/2026
Solicitante: 
浙江博凡健康管理有限公司
CN_121989456_PA

Resumen de: CN121989456A

本发明属于数字化口腔正畸医疗器械及增材制造技术领域,公开了一种隐形矫治器各向异性加力单元及其增材制造方法,该单元包括位于牙龈端的微型化刚性基底结构,以及连接于结构上方的参数化力学控制面板;通过深度神经算子(FNO)优化波浪几何参数及材料属性,赋予该单元各向异性的生物力学响应:纵向波浪利用手风琴效应提供恒定水平方向回弹力用于关闭和开展间隙;横向波浪利用欧拉抗屈曲支柱效应提供垂直方向推力用于压低或升高牙齿;斜向波浪及颊舌侧非对称刚度分布用于产生复合矢量力及力偶矩。本发明突破了传统热压膜工艺限制,实现了0.5mm极限尺寸下的高刚度结构成型,将消极的缺隙维持器转化为主动的智能治疗系统。

一种基于3D打印技术治疗先天性后鼻孔闭锁装置

NºPublicación:  CN121987386A 08/05/2026
Solicitante: 
中国人民解放军空军军医大学
CN_121987386_PA

Resumen de: CN121987386A

本发明涉及医疗设备技术领域,具体地说是一种基于3D打印技术治疗先天性后鼻孔闭锁装置,扩张块的锥度、长度、直径等参数按年龄、体重定制,搭配连接带长度微调设计,包括后鼻孔扩张管、连接带和针式卡扣,所述扩张管呈对称结构且内部中空整体呈锥形设置,所述后鼻孔扩张管外层涂有医用级工艺药物涂层,所述药物涂层用于抑制瘢痕及肉芽增生,确保不同个体鼻腔内侧壁受力均匀,避免传统通用装置支撑过强压迫黏膜或支撑不足防狭窄失效的问题,针式卡扣通过内部贴合和外部反向拉力双重固定,解决传统装置易移位、脱落的隐患,无气道异物风险,无需专用工具,医护人员可快速完成装置置入、调整与取出,适配临床手术与术后护理场景。

一种生物打印悬浮凝胶及其制备方法

NºPublicación:  CN121987848A 08/05/2026
Solicitante: 
宁波大学
CN_121987848_PA

Resumen de: CN121987848A

本发明涉及悬浮凝胶材料技术领域,特别是涉及一种生物打印悬浮凝胶及其制备方法,所述制备方法包括:将聚乙二醇与磷酸盐缓冲液混合,得到PEG‑PBS复合溶液;向PEG‑PBS复合溶液中加入k‑卡拉胶,搅拌,得到聚合物溶液;将聚合物溶液在2‑8℃的温度下静置,得到块状水凝胶;将块状水凝胶破碎、静置,得到生物打印悬浮凝胶。本发明通过低温静置使材料在微观尺度上形成k‑卡拉胶富集相和PEG富集相的相差异结构,有利于体凝胶向微凝胶转变。此外,PEG长链在微凝胶间产生物理桥接作用,宏观上使材料具备优异的触变性和快速自愈合能力。并且PEG还可以降低k‑卡拉胶与阳离子型墨水的强静电作用,提高打印的广泛适用性。

医疗成像设备、准直器及其加工方法

NºPublicación:  CN121987232A 08/05/2026
Solicitante: 
上海联影医疗科技股份有限公司
CN_121987232_PA

Resumen de: CN121987232A

本申请涉及一种医疗成像设备、准直器及其加工方法。由于准直体相邻两列准直孔是交错设置的,因而若采用现有技术的十字拼接法,则会导致拼缝形成于准直孔内,使得准直孔的部分被拼缝遮挡,或者是拼缝形成于两个准直孔之间,导致两个准直孔之间的隔板厚度增加,故而阻挡了部分能够进入准直孔内的伽马光子,导致该处灵敏度下降,进而影响准直器的均匀性。而本申请通过对准直体的拼接边缘进行设计,使得拼接而成的准直器中,其拼缝是位于准直孔内,虽然拼缝是形成在准直孔内,但其拼缝处的准直孔的等效孔径不变,也即有效孔径不变,故而进入各准直孔内的伽马光子计数一致,因而能够保证准直器的均匀性,进而保证图像质量。

一种聚合物框架墨水、聚合物框架和载细胞凝胶协同3D打印的方法及结构体

NºPublicación:  CN121987847A 08/05/2026
Solicitante: 
清华大学
CN_121987847_PA

Resumen de: CN121987847A

本发明提供了一种聚合物框架墨水、聚合物框架和载细胞凝胶协同3D打印的方法及结构体。该聚合物框架墨水含有高分子聚合物、有机溶剂和有机改性合成片状硅酸盐;其中,有机溶剂包括第一溶剂和第二溶剂,第一溶剂为乙醇水溶液和/或无水乙醇,第二溶剂为乙酸甲酯和/或异氟烷。本发明提供的聚合物框架墨水通过有机溶剂直接挥发实现快速固化;通过有机改性合成片状硅酸盐获得更高的保真度,在固化的同时达到快速赋型的效果;通过聚合物框架墨水与环境温差的控制,能够获得不同的聚合物丝内孔隙大小;最终能够在温和的条件下实现聚合物框架与载细胞凝胶的协同打印,并保证细胞的活性。

PATIENT-SPECIFIC HEADSET FOR DIAGNOSTIC AND THERAPEUTIC TRANSCRANIAL PROCEDURES

NºPublicación:  US20260123882A1 07/05/2026
Solicitante: 
SUNNYBROOK RESEARCH INST [CA]
SUNNYBROOK RESEARCH INSTITUTE
US_20260123882_A1

Resumen de: US20260123882A1

0000 Systems, methods and devices are provided for performing diagnostic or therapeutic transcranial procedures using a patient-specific transcranial headset. The patient-specific headset may include a patient-specific frame that is fabricated, according to volumetric image data, to conform to an anatomical curvature of a portion of a patient's head. The patient-specific frame is configured to support a plurality of transducers in pre-selected positions and orientations, which may be spatially registered to the volumetric image data. This spatial registration may be employed to control at least a portion of the transducers to focus energy at a pre-selected tissue region.

COMPATIBILITY CHECK FOR CONTINUOUS GLUCOSE MONITORING APPLICATION

NºPublicación:  US20260127091A1 07/05/2026
Solicitante: 
DEXCOM INC [US]
Dexcom, Inc.
US_20260127091_A1

Resumen de: US20260127091A1

Disclosed are systems, methods, and articles for determining compatibility of a mobile application and operating system on a mobile device. In some aspects, a method includes receiving one or more data values from a mobile device having a mobile medical software application installed thereon, the data value(s) characterizing a version of the software application, a version of an operating system installed on the mobile device, and one or more attributes of the mobile device; determining whether the mobile medical software application is compatible with the operating system by at least comparing the received data value(s) to one or more test values in a configuration file; and sending a message to the mobile device based on the determining, the message causing the software application to operate in one or more of a normal mode, a safe mode, and a non-operational mode.

ADDITIVE MANUFACTURING OF DENTAL PROSTHESES

NºPublicación:  US20260125563A1 07/05/2026
Solicitante: 
STRATASYS LTD [IL]
Stratasys Ltd.
US_20260125563_A1

Resumen de: US20260125563A1

0000 Modeling material formulations usable in additive manufacturing of a denture structure, and additive manufacturing of denture structures employing same are provided. The modeling material formulations and the additive manufacturing parameters provide denture structures that exhibit mechanical, physical and biocompatibility properties that meet the requirements of the acceptable standards.

PHOTOCURABLE 3D-PRINTED BIOCERAMIC OSTEOCHONDRAL SCAFFOLD AND PREPARATION METHOD THEREFOR

NºPublicación:  WO2026092359A1 07/05/2026
Solicitante: 
NEO MODULUS SUZHOU MEDICAL SCI TECH CO LTD [CN]
\u8BFA\u4E00\u8FC8\u5C14\uFF08\u82CF\u5DDE\uFF09\u533B\u5B66\u79D1\u6280\u6709\u9650\u516C\u53F8
WO_2026092359_A1

Resumen de: WO2026092359A1

A photocurable 3D-printed bioceramic osteochondral scaffold, comprising a cartilage repair layer and a subchondral bone repair layer that are formed of the same material, wherein the cartilage repair layer has a porous structure having a first pore size, and the first pore size is 100-1000 µm; the subchondral bone repair layer has a porous structure having a second pore size, and the second pore size is 300-1000 µm; the cartilage repair layer and the subchondral bone repair layer interdigitate at the interface to form a porous structure having a third pore size, and the third pore size is 50-300 µm; the third pore size is less than the first pore size and the second pore size. The osteochondral scaffold can not only ensure the infiltration of bone marrow blood carrying bioactive substances such as bone marrow mesenchymal stem cells and growth factors into cartilage defect sites, but also prevent vascular invasion from the subchondral bone repair layer, thereby inhibiting calcification of the cartilage layer; and the subchondral bone repair layer provides sufficient support for the repair of the cartilage layer during the repair process.

METHOD FOR PROVIDING LAYER IMAGE FOR 3D PRINTING, AND DEVICE FOR IMPLEMENTING SAME

NºPublicación:  US20260124809A1 07/05/2026
Solicitante: 
OSSTEM IMPLANT CO LTD [KR]
OSSTEM IMPLANT CO., LTD.
US_20260124809_A1

Resumen de: US20260124809A1

A method performed by a computing system according to one embodiment of the present disclosure, comprises the steps of: determining a masking area of a current layer on the basis of a non-overlapping area between the current layer and at least one previous layer from among a plurality of layers; and updating an image of the current layer in accordance with a user input for setting a light exposure amount with respect to the masking area of the current layer, wherein the plurality of layers are designed to sequentially cure a photocurable material in each layer unit for 3D printing.

Systems and methods for detecting microcalcification activity

NºPublicación:  AU2026202934A1 07/05/2026
Solicitante: 
NAVIER MEDICAL LTD
NAVIER MEDICAL LTD
AU_2026202934_A1

Resumen de: AU2026202934A1

Systems and methods of predicting microcalcification activity in a vascular vessel comprising either an artery or a vein, comprising the steps of: (a) measuring patient data comprising one or more of: the existence of and/or quantity of coronary plaques or visible markers of disease in a vascular tissue sample; the existence of and/or quantity of healthy tissue in the vascular tissue sample; one or more features that define an abnormal hemodynamic environment in a vessel; one or more geometric features that are associated with vascular remodeling and which influence hemodynamics in a vessel, and/or one or more material properties that influence vascular hemodynamics; and (b) calculating the microcalcification activity in the vessel as a function of the measurements taken in Step (a). pr p r

Systems, Methods, and Apparatuses for Producing and Packaging Medical Fluids

NºPublicación:  US20260124112A1 07/05/2026
Solicitante: 
DEKA PRODUCTS LP [US]
DEKA Products Limited Partnership
US_20260124112_A1

Resumen de: US20260124112A1

A system for packaging fluid into a reservoir may comprise a fluid production assembly. The system may further comprise a reservoir chain dispenser and an enclosure having a plurality of compartments. A first compartment may include an infeed aperture. The system may further comprise a dispenser interface including an outlet cover retainer displaceable between a stowed position and an infeed aperture plugging position. The system may further comprise a reservoir singulation assembly. The system may further comprise a filling assembly including cartridge having an inlet in communication with the fluid production assembly and outlet including a sharp. The cartridge may be at least partially in the first compartment. The system may further comprise a second and third compartment. The system may further comprise a particulate inspection system and a marking assembly. The system may further comprise an outfeed assembly including a first and second array of receptacles.

BIOPRINTING DEVICE

NºPublicación:  WO2026095496A1 07/05/2026
Solicitante: 
EDMICBIO INC [KR]
\uC8FC\uC2DD\uD68C\uC0AC \uC5D0\uB4DC\uBBF9\uBC14\uC774\uC624
WO_2026095496_A1

Resumen de: WO2026095496A1

The bioprinting device of the present invention may comprise: a transport case including a case wall extending downward from an upper end to a lower end, and a case hollow part formed in the case wall; a plurality of guide segments located in the case hollow part, coupled to the case wall, and spaced apart from each other; and a nozzle module provided at the lower end of the case wall, wherein the case wall includes: a front case wall forming a front face of the transport case; and a rear case wall forming a rear face of the transport case, and each of the plurality of guide segments includes: a front guide end connected to the front case wall; a rear guide end connected to the rear case wall; and a guide body extending rearward from the front guide end to the rear guide end.

SYSTEM FOR PROCESSING VITAL INFORMATION AND METHOD FOR PROCESSING VITAL INFORMATION

NºPublicación:  US20260123893A1 07/05/2026
Solicitante: 
SHENZHEN MINDRAY BIO MEDICAL ELECTRONICS CO LTD [CN]
Shenzhen Mindray Bio-Medical Electronics Co., Ltd.
US_20260123893_A1

Resumen de: US20260123893A1

0000 A system and a method for processing vital information are disclosed, which method includes: obtaining patient data of a patient; analysing patient data to obtain an abnormal state of the patient and a waveform of the patient data associated with the abnormal state of the patient, wherein the waveform has an abnormal waveform segment associated with the abnormal state, the abnormal state includes at least one abnormal state of a physiological structure of the patient, and the physiological structure includes at least one of a nervous system, a circulatory system and a respiratory system, of the patient; displaying state information and waveform representing the abnormal state, and providing graphic and text for explaining the abnormal waveform segment. Through the above system and method, user can have a more comprehensive and rapid understanding of the abnormal state of the patient.

SYSTEMS AND METHODS FOR MICROMANUFACTURING AND BIOPRINTING IN A MICRO GRAVITY ENVIRONMENT THEREOF

NºPublicación:  AU2024359276A1 07/05/2026
Solicitante: 
AUXILIUM BIOTECHNOLOGIES INC
AUXILIUM BIOTECHNOLOGIES INC.
AU_2024359276_A1

Resumen de: AU2024359276A1

The system, methods, and uses of micromanufacturing materials, scaffolds, and living tissues in microgravity environment that is found in space such as Low-Earth-Orbit, on a spacecraft in-transit between celestial bodies, or on other celestial bodies such as the Moon or Mars.

FISH LIVER DECELLULARIZED EXTRACELLULAR MATRIX BASED MICROFLUIDIC 3D PRINTING HYDROGEL, AND PREPARATION METHOD AND APPLICATION THEREOF

NºPublicación:  US20260124341A1 07/05/2026
Solicitante: 
NANJING DRUM TOWER HOSPITAL [CN]
NANJING DRUM TOWER HOSPITAL
US_20260124341_A1

Resumen de: US20260124341A1

0000 A fish liver decellularized extracellular matrix based microfluidic 3D printing hydrogel for liver regeneration, and a preparation method thereof are provided. A fish liver decellularized extracellular matrix (dECM) is combined with gelatin methacryloyl (GelMA), and loaded with hepatic spheroids derived from induced pluripotent stem cells (iPSC-hep) for liver regeneration. The fish liver decellularized extracellular matrix based microfluidic 3D printing hydrogel of the present disclosure has excellent biocompatibility and retains intact endogenous growth factors, maintains the biological activity of cells, ensures effective cell encapsulation, and is conducive to robust functional expression of iPSC-hep. After being transplanted in vivo, the hydrogel significantly improves the survival rate and liver function of mice with acute liver failure, and promotes liver regeneration and repair.

DEEP LEARNING ESTIMATION OF VASCULAR FLOW AND PROPERTIES

NºPublicación:  US20260127735A1 07/05/2026
Solicitante: 
THE JOHNS HOPKINS UNIV [US]
The Johns Hopkins University
US_20260127735_A1

Resumen de: US20260127735A1

A method for characterizing a blood vessel includes receiving anatomical information of the blood vessel and receiving four-dimensional flow data of multiple blood vessels from multiple subjects. The method further includes, using the four-dimensional flow data to train a flow model to determine blood vessel properties, and using the anatomical information of the blood vessel as an input to the trained flow model to estimate one or more properties of the blood vessel.

SURGICAL ASSISTANT SYSTEM BASED ON IMAGE DATA OF THE OPERATIVE FIELD

NºPublicación:  US20260124004A1 07/05/2026
Solicitante: 
BRONCUS MEDICAL INC [US]
Broncus Medical Inc.
US_20260124004_A1

Resumen de: US20260124004A1

0000 A method and system for assisting a physician compute the 3D location of the tip of a surgical device inserted into a patient is described. A trained model computes the 3D location of the hidden portion of the surgical device based on live image data of the operative field. A display shows the tip of the surgical device and a 3D model of the body organ in a fused arrangement.

3D PRINTED PROSTHETIC SOCKET WITH REINFORCED DISTAL END

NºPublicación:  WO2026092790A1 07/05/2026
Solicitante: 
INVENT MEDICAL GROUP S R O [CZ]
INVENT MEDICAL GROUP, S.R.O.
WO_2026092790_A1

Resumen de: WO2026092790A1

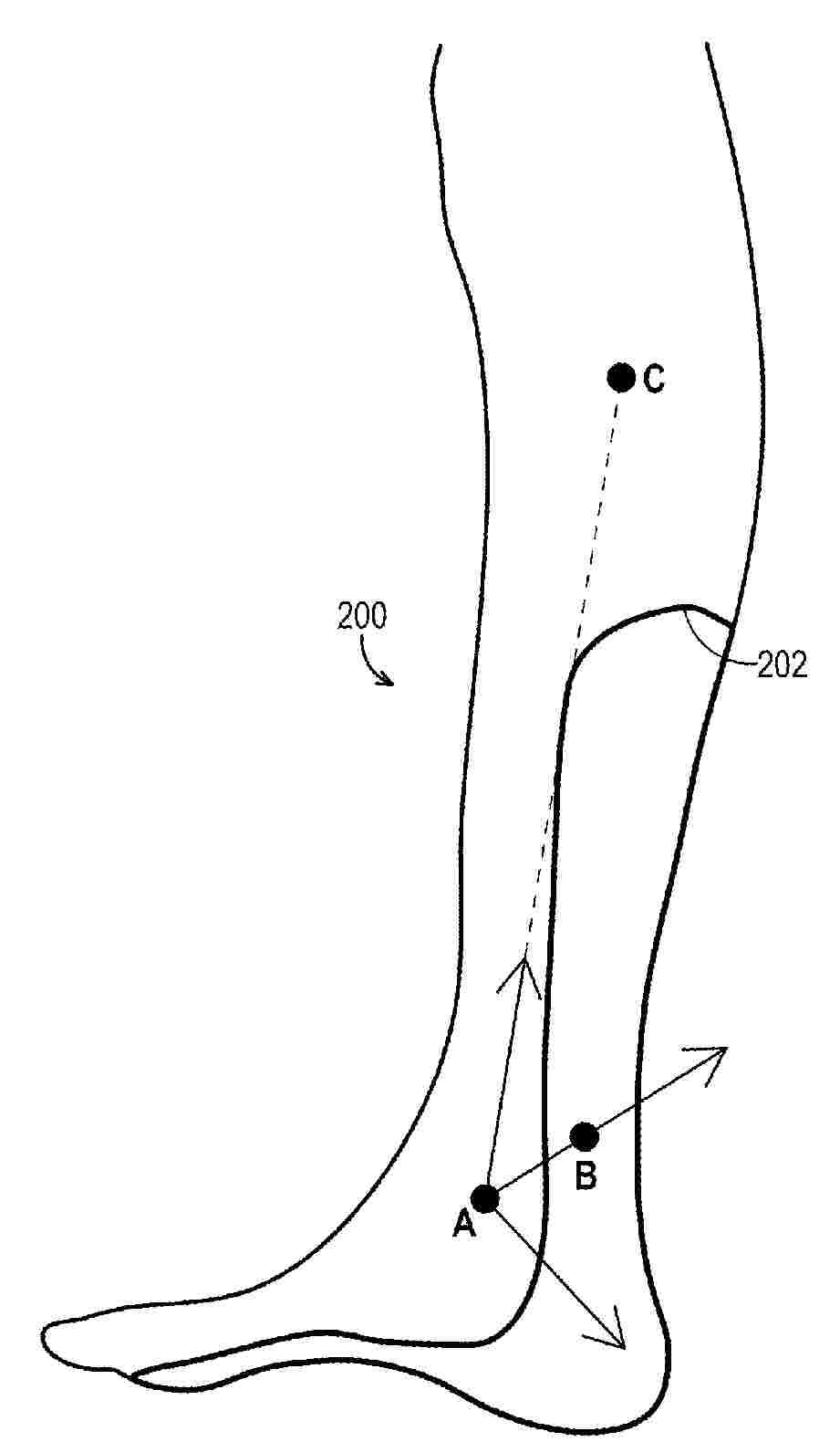
A 3D printed prosthetic socket with a reinforced distal end comprises a shell (1) formed by 3D printing using a method of material extrusion, wherein the shell (1) comprises a proximal end of the shell (1) with an opening for inserting a residual limb of a lower extremity and a distal end of the shell (1). The prosthetic socket further comprises a reinforcing member (2) fixed to the distal end of the shell (1) by means of a connecting interlayer (3), wherein the reinforcing member (2) comprises a hollow part (4) of the reinforcing member (2) surrounding the lateral wall of the distal end of the shell (1) on all sides.

ADDITIVELY MANUFACTURED ORTHODONTIC APPLIANCES

NºPublicación:  US20260124023A1 07/05/2026
Solicitante: 
LIGHTFORCE ORTHODONTICS INC [US]
LightForce Orthodontics, Inc.
US_20260124023_A1

Resumen de: US20260124023A1

The techniques described herein relate to additively manufactured orthodontic appliances. An example custom metal orthodontic bracket includes a body, a plurality of tie-wings, and a base. The base includes a base surface that is contoured to a shape of a tooth of a patient to which the custom metal orthodontic bracket is to be bonded, and a plurality of retentive structures, wherein at least one of a portion of the base is not polished or only partially polished, or a portion of at least one of the plurality of retentive structures is not polished or only partially polished. An example method for manufacturing a custom orthodontic bracket includes measuring dentition data of a patient, constructing a three-dimensional (3D) model of at least one tooth of the patient, designing a 3D model of the bracket, preparing feedstock, building the bracket, removing the feedstock, hardening the bracket, and polishing the bracket.

METHOD & SYSTEM FOR DESIGNING AN ORTHOSIS OR PATIENT-MATCHED MEDICAL DEVICE

NºPublicación:  WO2026090678A1 07/05/2026
Solicitante: 
APTIUM AI PTY LTD [AU]
APTIUM.AI PTY LTD
WO_2026090678_A1

Resumen de: WO2026090678A1

A method for designing an orthosis. The method includes generating a three-dimensional (3D) representation of an orthosis for a body part from body part data, wherein the 3D representation includes programmable mechanical properties at one or more points on the orthosis. The method also includes determining metamaterial parameters for the 3D representation of the orthosis based on the programmable mechanical properties, and generating instructions configured to control a printing device for printing the orthosis according to the 3D representation and the metamaterial parameters.

BIOPRINTING STRATEGIES FOR GENERATING CELL THERAPY DELIVERY SYSTEMS USING CONTINUOUS LIQUID INTERFACE PRODUCTION

NºPublicación:  WO2026096895A1 07/05/2026
Solicitante: 
THE UNIV OF NORTH CAROLINA AT CHAPEL HILL [US]
THE UNIVERSITY OF NORTH CAROLINA AT CHAPEL HILL
WO_2026096895_A1

Resumen de: WO2026096895A1

A method of producing a therapeutic device, such as a therapeutic implant, for delivery of one or more therapeutic agents is described. An exemplary method includes printing a bioresin that includes one or more live cells and a biocompatible polymer resin using an additive manufacturing process, such as continuous liquid interface production (CLIP), to provide a three-dimensional device where one or more live cells are encapsulated in cured polymer and remain viable, e.g., so that they can proliferate and spread. Exemplary devices containing anticancer drug-secreting live cells are described. Also described are related therapeutic methods, including methods of treating cancer.

INTELLIGENT INJECTION DEVICE SYSTEMS AND METHODS FOR VETERINARY MEDICINE

NºPublicación:  US20260124386A1 07/05/2026
Solicitante: 
DATADOSE LLC [US]
DATADOSE, LLC
US_20260124386_A1

Resumen de: US20260124386A1

0000 A device may establish communication between the intelligent injection device and a veterinary artificial intelligence platform configured with species-specific treatment protocols and veterinary medical standard enforcement capabilities. A device may analyze, via the veterinary artificial intelligence platform, animal patient characteristics. A device may apply at least one veterinary medical standard constraint to restrict medication selection, dosage calculations, and administration techniques to only those conforming to an approved veterinary therapeutic guideline for the identified animal species. A device may generate real-time veterinary guidance through the artificial intelligence platform including injection site selection optimized for animal anatomy, needle insertion depth appropriate for species-specific tissue characteristics, and administration timing coordinated with veterinary treatment schedules. A device may monitor administration progress through sensor data from the intelligent injection device and providing species-specific corrective feedback through real-time analysis of injection parameters.

MONOMERS AND CURABLE COMPOSITIONS FOR CRYSTALLINITY CONTROL IN POLYMERIC MATERIALS FOR 3D-PRINTED DENTAL DEVICES

NºPublicación:  US20260125496A1 07/05/2026
Solicitante: 
ALIGN TECH INC [US]
Align Technology, Inc.
US_20260125496_A1

Resumen de: US20260125496A1

0000 The present disclosure provides monomers and curable compositions comprising such monomers for preparing polymeric materials with controlled crystallinity. Orthodontic appliances made from these polymeric materials are also provided.

SYSTEM AND METHOD FOR ASSESSING INTRACRANIAL ANEURYSMS

Nº publicación: US20260123994A1 07/05/2026

Solicitante:

NEW YORK UNIV [US]
NEW YORK UNIVERSITY

US_20260123994_A1

Resumen de: US20260123994A1

0000 Aspects of the present invention relate to a method for assessing cerebral aneurysms comprising the steps of collecting imaging and blood flow data of an aneurysm and the attached arteries in a subject, creating a 3D model of the aneurysm and the attached arteries from the imaging data, generating blood flow simulations with the 3D model and the blood flow data, extracting one or more parameters from the simulations, processing the one or more parameters to generate one or more stress indices, calculating a risk assessment score for the subject based on a statistical analysis of the one or more parameters and the one or more stress indices.

traducir