Ministerio de Industria, Turismo y Comercio LogoMinisterior
 

Alerta

Resultados 171 resultados
LastUpdate Última actualización 02/04/2026 [07:18:00]
pdfxls
Solicitudes publicadas en los últimos 30 días / Applications published in the last 30 days
Resultados 1 a 25 de 171 nextPage  

NOVEL 3D PRINTING CONCEPT FOR PHARMACEUTICAL DOSAGE FORMS VIA SELECTIVE LASER SINTERING

NºPublicación:  EP4716522A1 01/04/2026
Solicitante: 
MERCK PATENT GMBH [DE]
Merck Patent GmbH
CN_121487707_A

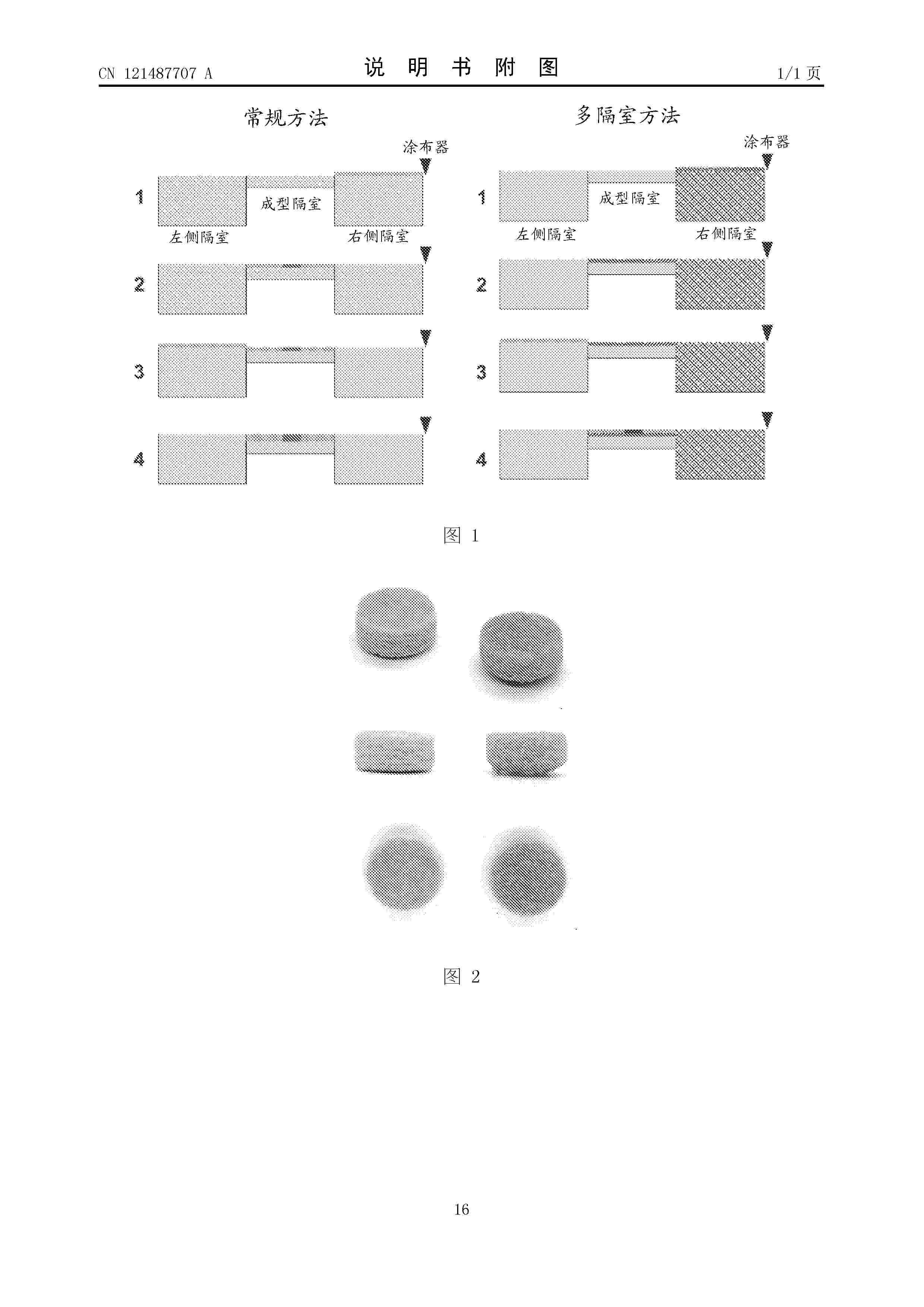
Resumen de: WO2024240762A1

The present invention relates to a process for producing a Pharmaceutical dosage form by powder bed fusion selective laser 3-dimensional printing, in particular selective laser sintering 3-dimensional printing (SLS), and a pharmaceutical dosage form manufactured by that process.

一种用于慢性创面修复的复合型水凝胶敷料及其制备方法和应用

NºPublicación:  CN121754718A 31/03/2026
Solicitante: 
东华大学郑州大学第五附属医院
CN_121754718_PA

Resumen de: CN121754718A

本发明属于组织工程与创面修复领域,涉及一种用于慢性创面修复的复合型水凝胶敷料及其制备方法和应用,该制备方法包括:S1、将肉桂醛分散在明胶水溶液中,反应充分后透析至溶液澄清;冷冻干燥后得到肉桂醛接枝的改性明胶;S2、将祛褥生肌粉、S1得到的肉桂醛接枝的改性明胶、甲基丙烯化明胶、光引发剂在PBS溶液中混合,得到混合溶液;S3、向S2得到的混合溶液中加入Ga(NO3)3·6H2O溶液,得到水凝胶前驱体溶液;S4、使用S3得到的水凝胶前驱体溶液进行3D打印,光固化,得到复合型水凝胶敷料。本发明中,通过GelMA、CA‑Gel与镓离子形成的三维网络对药粉进行包埋与缓释,实现对慢性创面的高效抗菌、促愈和结构支撑,提升治疗效果与使用安全性。

一种多材料3D打印仿生梯度软-硬一体化水凝胶及其制备方法和应用

NºPublicación:  CN121754723A 31/03/2026
Solicitante: 
中国科学院兰州化学物理研究所
CN_121754723_PA

Resumen de: CN121754723A

本发明涉及生物医用材料技术领域,具体涉及一种多材料3D打印仿生梯度软‑硬一体化水凝胶及其制备方法和应用。本发明基于高强度超分子N‑丙烯酰甘氨酰胺与乙烯基磷酸的共聚体系,采用DLP多材料打印技术将NAGA水溶液和NAGA‑VPA水溶液打印成梯度结构的水凝胶,然后依次浸泡于钙磷混合水溶液(Ca/P=1.67)、氨水、氯化钙水溶液和去离子水中,以实现羟基磷灰石(HAP)的原位梯度沉积及熟化。本发明制备的多材料3D打印仿生梯度软‑硬一体化水凝胶具备连续生化‑力学梯度,其中,表层低模量区匹配软骨性能,深层高矿化区整合骨组织,过渡区HAP结晶度呈空间依赖性分布,适用于骨软骨缺损修复及仿生关节假体的制造。

基于生物力学的正畸矫治器设计方法、系统及正畸矫治器

NºPublicación:  CN121754330A 31/03/2026
Solicitante: 
佛山臻硅科技有限公司
CN_121754330_PA

Resumen de: CN121754330A

本发明公开了一种基于生物力学的正畸矫治器设计方法、系统及正畸矫治器,涉及牙齿矫正技术领域,所述方法包括:获取目标对象的口腔信息,并根据所述口腔信息构建初始牙颌数字模型;根据所述初始牙颌数字模型确定优化咬合关系的目标牙颌数字模型,并根据所述目标牙颌数字模型生成正畸矫治器模型;根据所述初始牙颌数字模型及目标牙颌数字模型分别计算各牙齿的移动轨迹;根据所述移动轨迹修正所述正畸矫治器模型,以在所述正畸矫治器模型的齿槽中形成交替排布的挤压部和避让部。采用本发明,能够使得牙齿自然排齐,同时降低牙根吸收或牙槽骨损伤的风险,保证对牙齿的矫治效果。

Bioactive implant and method of its production

NºPublicación:  PL452934A1 30/03/2026
Solicitante: 
POLITECHNIKA WARSZAWSKA [PL]
INST WYSOKICH CISNIEN POLSKIEJ AKADEMII NAUK [PL]
WARSZAWSKI UNIV MEDYCZNY [PL]
UNIV PRZYRODNICZY WE WROCLAWIU [PL]
BISSENIK IGOR CALODOBOWA KLINIKA WETERYNARYJNA PULAWSKA SPOLKA CYWILNA [PL]
SOLDATY BISSENIK JOANNA CALODOBOWA KLINIKA WETERYNARYJNA PULAWSKA SPOLKA CYWILNA [PL]
CYGANSKA MONIKA CALODOBOWA KLINIKA WETERYNARYJNA PULAWSKA SPOLKA CYWILNA [PL]
SCISKALSKA MALGORZATA CALODOBOWA KLINIKA WETERYNARYJNA PULAWSKA SPOLKA CYWILNA [PL]
TIMELESS CHIRURGIA PLASTYCZNA SPOLKA Z OGRANICZONA ODPOWIEDZIALNOSCIA [PL]
POLITECHNIKA WARSZAWSKA,
INSTYTUT WYSOKICH CI\u015ANIE\u0143 POLSKIEJ AKADEMII NAUK,
WARSZAWSKI UNIWERSYTET MEDYCZNY,
UNIWERSYTET PRZYRODNICZY WE WROC\u0141AWIU,
BISSENIK IGOR CA\u0141ODOBOWA KLINIKA WETERYNARYJNA PU\u0141AWSKA SP\u00D3\u0141KA CYWILNA,
SOLDATY-BISSENIK JOANNA CA\u0141ODOBOWA KLINIKA WETERYNARYJNA PU\u0141AWSKA SP\u00D3\u0141KA CYWILNA,
CYGA\u0143SKA MONIKA CA\u0141ODOBOWA KLINIKA WETERYNARYJNA PU\u0141AWSKA SP\u00D3\u0141KA CYWILNA,
\u015ACISKALSKA MA\u0141GORZATA CA\u0141ODOBOWA KLINIKA WETERYNARYJNA PU\u0141AWSKA SP\u00D3\u0141KA CYWILNA,
TIMELESS CHIRURGIA PLASTYCZNA SP\u00D3\u0141KA Z OGRANICZON\u0104 ODPOWIEDZIALNO\u015ACI\u0104

Resumen de: PL452934A1

Przedmiotem zgłoszenia jest bioaktywny implant zawierający rusztowanie złożone z warstw polimerowych i kompozytowych o budowie włóknistej, które pokryte jest warstwą hydroksyapatytu i wzbogacone w nośnik z substancją biologicznie aktywną, charakteryzujący się tym, że rusztowanie ma strukturę warstwową, na którą składają się warstwy materiału głównego i warstwy materiału elastycznego i w którym to rusztowaniu warstwy materiału głównego stanowią od 50% do 99% ilości wszystkich warstw, tak, że pozostałą ilość warstw stanowią warstwy materiału elastycznego, przy czym materiał główny stanowi kompozyt o osnowie poli (ϵ—kaprolaktonu), o stopniu dyspersyjności w zakresie od 1,7 do 4,3 i maximum piku rozkładu masy cząsteczkowej w zakresie od 40 do 100 kDa, z dodatkiem od 40% wag. do 60% wag. dwufazowej ceramiki fosforanowo—wapniowej, o stosunku masowym hydroksyapatytu i ortofosforanu (V) wapnia 50:50, a materiał elastyczny bazuje na poli(ϵ—kaprolaktonie), o stopniu dyspersyjności w zakresie od 1,7 do 4,3 i maximum piku rozkładu masy cząsteczkowej w zakresie od 40 do 100 kDa, przy czym każda warstwa materiału głównego i materiału elastycznego ma grubość od 0,8% do 0,95% średnicy włókien, z których jest wytworzona, a rusztowanie ma strukturę porowatą, o otwartych porach między włóknami, tworzących trójwymiarową sieć połączonych kanałów, stanowiących od 40% do 80% objętości całkowitej rusztowania oraz zaw

金属玻璃仿生人工骨植入体激光粉末床熔融增材制造方法

NºPublicación:  CN121732829A 27/03/2026
Solicitante: 
吉林大学
CN_121732829_PA

Resumen de: CN121732829A

本发明公开了金属玻璃仿生人工骨植入体激光粉末床熔融增材制造方法,属于增材制造技术与生物医用材料技术领域,采用激光粉末床熔融技术,通过三维模型设计、调控激光工艺参数,在不同位置成形具有不同孔隙率的显微组织,从而实现具有梯度孔隙结构的人工骨植入体一体化成形;本发明从三维建模和工艺参数两个角度出发,可在宏观、介观、微观三个层级实现对零件内部孔隙结构的控制,显著提升金属玻璃植入体的能量吸收能力及细胞组织渗透能力,并能有效降低金属玻璃植入体的弹性模量,实现对植入体性能的综合调控,有效缓解应力屏蔽效应,增强金属玻璃植入体整体的稳定性,有助于金属玻璃仿生人工骨植入体在人体骨缺损修复临床治疗中的应用。

用于3D打印用墨水的多肽

NºPublicación:  CN121752590A 27/03/2026
Solicitante: 
赛尔博瑞克有限责任公司
CN_121752590_PA

Resumen de: WO2025031978A1

The invention relates to a polypeptide that is excellently suited for use in an ink for 3D printing. Furthermore, the present invention also relates to a polynucleotide that encodes the polypeptide according to the invention, and to a host cell that expresses the polypeptide according to the invention. Another embodiment is a method for producing an ink for 3D printing, wherein the ink contains a polypeptide. Additional embodiments relate to methods for producing a 3D scaffold and to the 3D scaffold that can be obtained by said methods, including for use in medicine.

FLUORESCENT CERVICAL CUP FOR UTERINE MANIPULATORS

NºPublicación:  WO2026060509A1 26/03/2026
Solicitante: 
GUERRA JACOB GUSTAVO [BR]
LOPES DA SILVA FILHO AGNALDO [BR]
TIEKO TSUNODA AUDREY [BR]
ROBERTO BRAGA AZEVEDO BRUNO [BR]
EPPRECHT PEREIRA DE SOUZA JOAO PAULO [BR]
GUERRA JACOB, Gustavo,
LOPES DA SILVA FILHO, Agnaldo,
TIEKO TSUNODA, Audrey,
ROBERTO BRAGA AZEVEDO, Bruno,
EPPRECHT PEREIRA DE SOUZA, Jo\u00E3o Paulo
WO_2026060509_A1

Resumen de: WO2026060509A1

The present patent of invention relates to the field of medicine and medical devices, and more specifically to an innovative fluorescent cervical cup for use in uterine manipulators during colpotomy surgical procedures. This improved device aims to increase the safety and efficacy of conventional or minimally invasive gynaecological procedures, including laparoscopic, robotic, and endoscopic surgery, particularly under conditions of limited visibility.

BIOMEDICAL SCAFFOLD, PREPARATION METHOD THEREFOR, USE METHOD THEREFOR, AND USE THEREOF

NºPublicación:  WO2026060559A1 26/03/2026
Solicitante: 
SHENZHEN INSTITUTES OF ADVANCED TECH CHINESE ACADEMY OF SCIENCES [CN]
\u4E2D\u56FD\u79D1\u5B66\u9662\u6DF1\u5733\u5148\u8FDB\u6280\u672F\u7814\u7A76\u9662
WO_2026060559_A1

Resumen de: WO2026060559A1

The present invention provides a biomedical scaffold, a preparation method therefor, a use method therefor, and use thereof. The biomedical scaffold comprises the following starting material components in percentage by mass: 96.0%-99.5% of shape memory polyurethane and 0.5%-4% of active particles, wherein the active particles comprise one or more of manganese dioxide, nano magnesium oxide, ferroferric oxide, and magnesium metal. According to the present invention, by means of utilizing the easy volatility of dichloromethane, the pressure in a container is increased, thereby enabling homogeneous dissolution of shape memory polyurethane and uniform dispersion and mixing of active ingredients. By means of room-temperature volatilization and deposition, such shape memory materials are 3D printed, and the printed structures, such as pore size and porosity, are further designed to achieve good shape memory performance and mechanical properties. In addition, a plurality of scaffolds can be heated in various ways, such as near-infrared light irradiation and hot water soaking. Thus, the scaffolds can be assembled into a specific shape and exhibit strong stability and mechanical properties.

FINGER-WEARABLE ELECTRONIC DEVICE AND METHOD FOR MEASURING MOISTURE, AND STORAGE MEDIUM

NºPublicación:  WO2026063621A1 26/03/2026
Solicitante: 
SAMSUNG ELECTRONICS CO LTD [KR]
\uC0BC\uC131\uC804\uC790\uC8FC\uC2DD\uD68C\uC0AC
WO_2026063621_A1

Resumen de: WO2026063621A1

This finger-wearable electronic device may comprise: a ring-shaped housing; a printed circuit board (PCB) disposed in the ring-shaped housing; and a sensor package mounted on the PCB. The sensor package can include an enclosure including a first light-transmitting portion, a second light-transmitting portion and a partition wall between the first light-transmitting portion and the second light-transmitting portion. The partition wall can include a surface that defines a portion of the exterior of the sensor package. The sensor package can include a first sensor. The first sensor can include: a light-emitting unit disposed under the first light-transmitting portion; and a reception unit disposed under the second light-transmitting portion. The sensor package can include a second sensor including electrodes. The electrodes of the second sensor can be disposed on the surface of the partition wall.

NERVE CONDUIT FROM DECELLULARIZED PLANT THAT CAN BE USED WITH OR WITHOUT ANY DRUG RELEASE POTENTIAL

NºPublicación:  WO2026063889A1 26/03/2026
Solicitante: 
ISTANBUL UNIV CERRAHPASA REKTORLUGU [TR]
ISTANBUL UNIVERSITESI - CERRAHPASA REKTORLUGU
WO_2026063889_A1

Resumen de: WO2026063889A1

The present invention relates to a nerve conduit obtained by plant decellularization, which does not require 3D printing, is multi-channel, low-cost and capable of drug release. This nerve conduit is functionalized with GelMA and has properties that promote nerve healing.

ORTHOSIS PRODUCTION SYSTEM, ORTHOSIS PRODUCTION METHOD, AND PROGRAM

NºPublicación:  WO2026063170A1 26/03/2026
Solicitante: 
SEKISUI CHEMICAL CO LTD [JP]
\u7A4D\u6C34\u5316\u5B66\u5DE5\u696D\u682A\u5F0F\u4F1A\u793E
WO_2026063170_A1

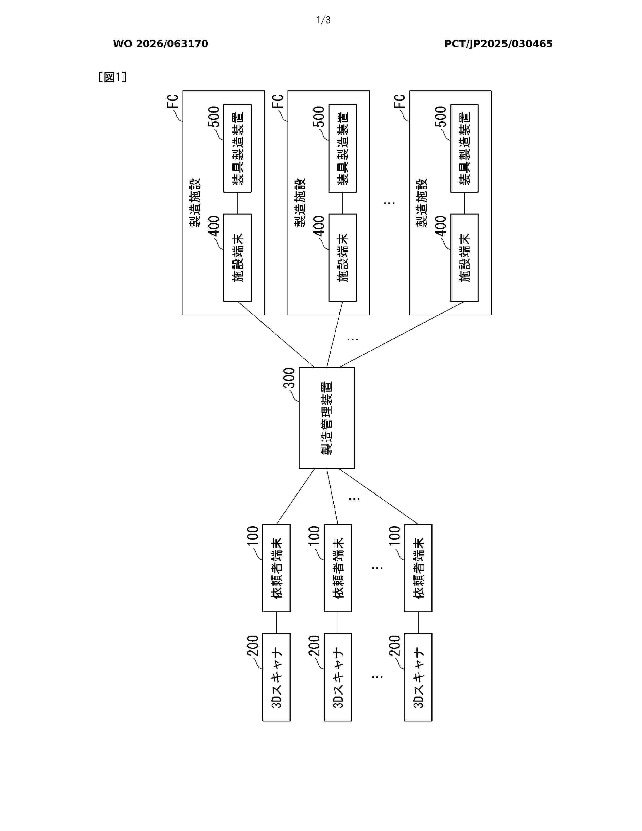
Resumen de: WO2026063170A1

Provided is an orthosis production system comprising: an information acquisition unit that acquires individual shape information indicating the shape of a body site of an orthosis user to which an orthosis is attached; an information generation unit (321) that generates, on the basis of the individual shape information, individual orthosis information indicating the shape of the orthosis to be used by the orthosis user; and a production instruction unit (322) that causes an orthosis production device, employing a pellet-based 3D printer which produces an orthosis according to an input of orthosis shape information indicating the shape of the orthosis, to produce the orthosis using the individual orthosis information.

GUIDE PLATE FOR THE ANATOMICAL REALIGNMENT OF BONE FRACTURES

NºPublicación:  US20260083487A1 26/03/2026
Solicitante: 
UNIV DEGLI STUDI DI MILANO [IT]
FOND IRCCS CA GRANDA OSPEDALE MAGGIORE POLICLINICO [IT]
GPI S P A [IT]
UNIVERSITA' DEGLI STUDI DI MILANO,
FONDAZIONE IRCCS CA' GRANDA OSPEDALE MAGGIORE POLICLINICO,
GPI S.P.A
US_20260083487_A1

Resumen de: US20260083487A1

Guide plate for the anatomical realignment of a plurality of fractured bone portions, comprising a back surface configured such as it can be distinctively coupled to the surface anatomy of the area of said plurality of fractured bone portions and characterized by a first plurality of holes placed on a first portion of the guide plate and a second plurality of holes placed on a second portion of the guide plate, wherein the first plurality of holes is misaligned with respect to the second plurality of holes.

FORMULATIONS AND DESIGNS FOR DEGRADABLE SOFT TISSUE IMPLANTS

NºPublicación:  WO2026062643A1 26/03/2026
Solicitante: 
COLLPLANT LTD [IL]
COLLPLANT LTD
WO_2026062643_A1

Resumen de: WO2026062643A1

A photocurable formulation usable in additive manufacturing a three-dimensional object is disclosed. The formulation features, in at least a portion thereof, a biological or a biocompatible material, the photocurable formulation comprising a photoinitiator, a photocurable biological or biocompatible material, and a carrier, the formulation further comprising at least two photocurable polymeric materials. Implants comprising same are also disclosed.

LIGHT-ABSORBING SUBSTANCES SUITABLE FOR USE IN ADDITIVE MANUFACTURING AND METHODS OF IDENTIFICATION THEREOF

NºPublicación:  WO2026062644A1 26/03/2026
Solicitante: 
COLLPLANT LTD [IL]
COLLPLANT LTD
WO_2026062644_A1

Resumen de: WO2026062644A1

Photoblocker usable in additive manufacturing a three-dimensional object are disclosed. Photocurable formulations comprising the photoblockers are also disclosed. The photoblocker can be beneficially included in formulations usable in additive manufacturing of 3D objects featuring a biological material in at least a portion thereof.

UNIFIED CROWN ABUTMENT

NºPublicación:  WO2026062246A1 26/03/2026
Solicitante: 
PRECISEMENT LTD [IE]
PRECISEMENT LIMITED
WO_2026062246_A1

Resumen de: WO2026062246A1

The present disclosure provides methods for manufacturing of gap free, cement free, abrasion free dental implant devices. Dental implant devices manufactured according to the disclosed methods are also provided.

DIAGNOSTIC METHOD SOFTWARE

NºPublicación:  WO2026062286A1 26/03/2026
Solicitante: 
FRITSCH TILMAN [DE]
FRITSCH, Tilman
WO_2026062286_A1

Resumen de: WO2026062286A1

The invention relates to diagnostic method software for providing data for producing an occlusive mouthguard for a person, wherein an actual tooth space state and/or tooth position (1) and an actual jaw function (2) are acquired, wherein - an actual body posture (3) is acquired, and - an actual plantar pressure (4) is acquired, and - the actual tooth space state and/or tooth position (1) is compared with a target tooth space state and/or tooth position (11) in order to determine a first deviation (a) between the actual tooth space state (1) and the target tooth space state (11), - the actual jaw function (2) is compared with a target jaw function (12) in order to determine a second deviation (b) between the actual jaw function (2) and the target jaw function (12), - the actual body posture (3) is compared with a target body posture (13) in order to determine a third deviation (c) between the actual body posture (3) and the target body posture (13), - the actual plantar pressure (4) is compared with a target plantar pressure (14) in order to determine a fourth deviation (d) between the actual plantar pressure (4) and the target plantar pressure (14), wherein - the acquired data are used to produce the occlusive mouthguard, in a manner suitable for reducing the deviations (a, b, c, d).

BIOPRINTING LIPID-LADEN TISSUE

NºPublicación:  WO2026064565A1 26/03/2026
Solicitante: 
CARNEGIE MELLON UNIV [US]
CARNEGIE MELLON UNIVERSITY
WO_2026064565_A1

Resumen de: WO2026064565A1

Methods for additive manufacturing, biological structures, cultivated meats, and additive manufacturing systems are provided. The method comprises dispensing an ink composition from a nozzle of an additive manufacturing system. The ink composition comprise adipocytes and a hydrogel. The deposition occurs at a suitable shear stress such that the ink composition can flow through the needle and an integrity of the adipocytes is substantially maintained. The method comprises repeating, as necessary, repositioning of the nozzle and dispensing ink composition from the first nozzle, thereby forming the structure.

WEARABLE RING DEVICE

NºPublicación:  AU2024326857A1 26/03/2026
Solicitante: 
OURA HEALTH OY
OURA HEALTH OY
AU_2024326857_PA

Resumen de: AU2024326857A1

Methods, systems, and devices for a wearable ring device are described. A wearable ring device may include a ring-shaped housing and a printed circuit (PCB) that at least partially contacts an inner shell of the ring-shaped housing. Light-emitting components and light-receiving components may be disposed on a first surface of the PCB and may extend through an aperture(s) in the inner shell such that the lightemitting and light-receiving components are substantially flush with an inner ringshaped surface of the inner shell. Optical lenses may cover the light-emitting and lightreceiving components within the aperture(s). In some cases, the optical lenses may be molded over the light-emitting and light-receiving components before the PCB is inserted into the ring-shaped housing. In other cases, the optical lenses may be molded over the light-emitting and light-receiving components (and the aperture(s)) after the PCB is inserted into the ring-shaped housing.

IMPROVED TECHNOLOGY RELATING TO COFFINS AND OTHER ITEMS CONFIGURED TO BE USED FOR CREMATORY PURPOSES, INCLUDING METHODS OF MANUFACTURE THEREOF

NºPublicación:  AU2026200730B1 26/03/2026
Solicitante: 
PRINT3D IND PTY LTD
PRINT3D INDUSTRIES PTY LTD
AU_2026200730_B1

Resumen de: AU2026200730B1

Abstract Disclosed is a method for manufacturing a coffin that is configured to be burned via a cremation purpose. The method includes selecting a biocomposite printing material having the following properties: a primary material in the form of a plant-derived polylactic acid (PLA); a cellulose fibre content of between 5% and 20%; and less than 1% petroleum-based materials. The material is utilized to manufacture the coffin via a 3D printing process, wherein, upon assembly, the coffin has a shape having an irregular cross sectional area.

3D PRINTED SCAFFOLD IMPLANT AND A METHOD FOR MANDIBULAR RECONSTRUCTION

NºPublicación:  AU2025260012A1 26/03/2026
Solicitante: 
DR JOHN MCHUGH
DR JOHN MCHUGH
AU_2025260012_A1

Resumen de: AU2025260012A1

The present invention relates to a 3D scaffold implant system for mandibular reconstruction, featuring a scaffold structure that includes at least four scaffold segments strategically positioned within the implant, the segments ensuring precise placement within a subject's jawbone and facilitate optimal integration with a surrounding bone tissue; a fluid delivery tube system integrated into each of the scaffold segments to administer a growth factor(s) and an antibiotic directly into the scaffold implant; a pump that facilitates controlled delivery of the growth factors into the scaffold segments; at least three fixation that provide stability to the implant and micro-motors that enable precise alignment of the scaffold implant to conform seamlessly to the natural curvature of the jawbone.

INORGANIC STRUCTURE AND METHOD FOR MANUFACTURING INORGANIC STRUCTURE

NºPublicación:  US20260085448A1 26/03/2026
Solicitante: 
OSAKA UNIV [JP]
OSAKA UNIVERSITY
US_20260085448_A1

Resumen de: US20260085448A1

An inorganic structure having mechanical properties that differ depending on the region in the inorganic structure, and a method for manufacturing the inorganic structure are provided. An inorganic structure (1) of the present embodiment includes a plurality of solidified portions (SA) composed of an inorganic material. The plurality of solidified portions (SA) include a first solidified portion (SA1) having a first crystallographic direction (CO1) preferentially oriented in a predetermined direction, and a second solidified portion (SA2) having a second crystallographic direction (CO2) that is a different orientation from the first crystallographic direction (CO1).

COMPACT FIBER STRUCTURES FOR SNAPSHOT SPECTRAL AND VOLUMETRIC OCT IMAGING

NºPublicación:  US20260085975A1 26/03/2026
Solicitante: 
UNIV OF SOUTHERN CALIFORNIA [US]
WILLIAM MARSH RICE UNIV [US]
UNIVERSITY OF SOUTHERN CALIFORNIA,
WILLIAM MARSH RICE UNIVERSITY
US_20260085975_A1

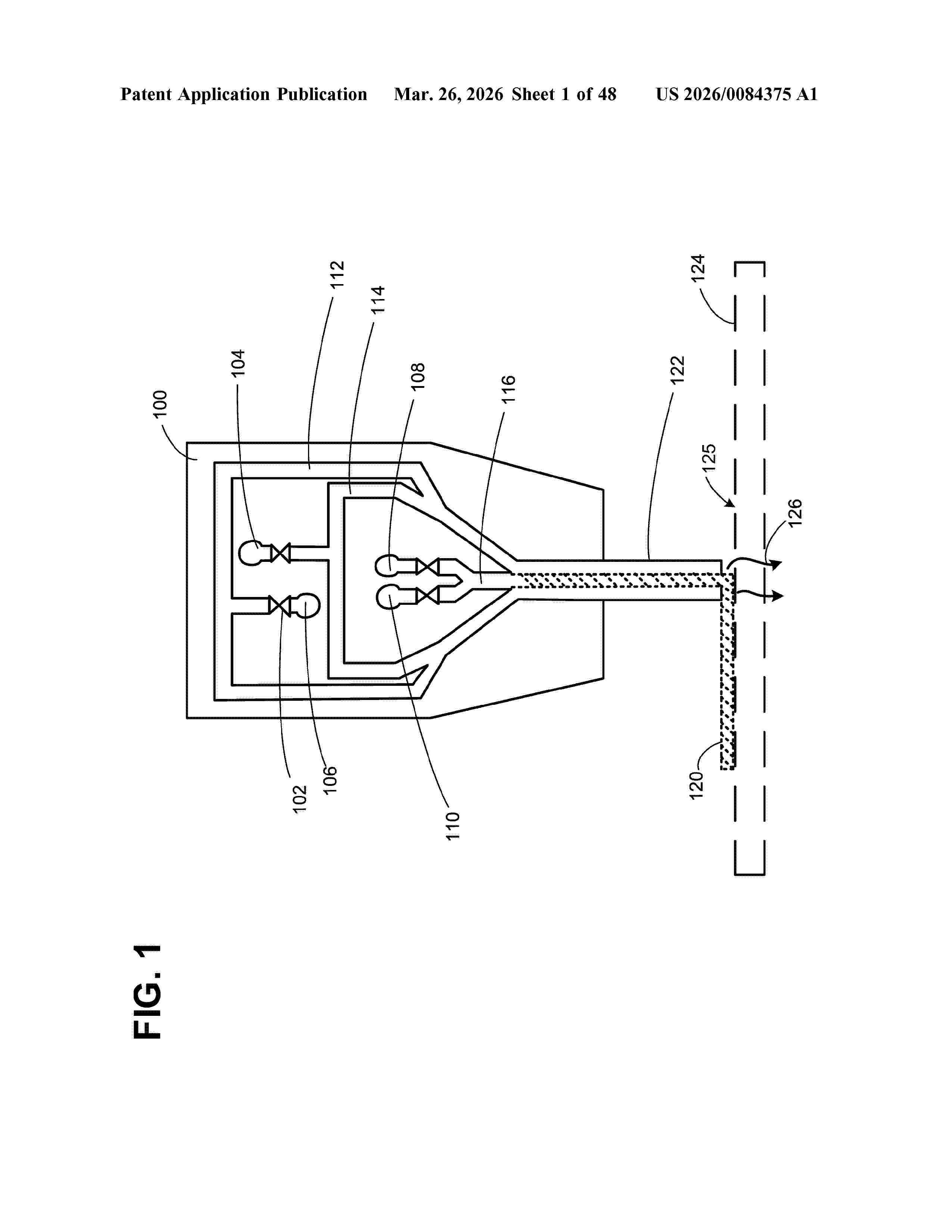
Resumen de: US20260085975A1

The present disclosure relates to a custom waveguide array to encode 3-dimensional data for snapshot imaging techniques like imaging spectrometry or volumetric spectral domain OCT. The custom waveguide array has a series of waveguides such as optical fibers having input ends and output ends. The input ends are grouped in a dense array input area. An array output area creates void spaces for the output ends. The output area thus may used to provide spectral information for an object imaged by the input area. The fiber arrays may be manufactured with an entirely automatic development process based on 3-D printing techniques such as 2-Photon Polymerization (2PP) additive manufacturing.

ADDITIVE MANUFACTURING OF VINYL, PHOTOCROSSLINKABLE POLYMERS

NºPublicación:  US20260083877A1 26/03/2026
Solicitante: 
VENOSTENT INC [US]
VenoStent, Inc
US_20260083877_A1

Resumen de: US20260083877A1

Various precursor solutions and methods of 3D printing and other additive manufacturing approaches are provided for the manufacture of articles using photocrosslinkable vinyl shape memory polymers. In various aspects, articles are manufactured by a process comprising (i) exposing a precursor solution to an intensity and frequency of light to initiate photo-polymerization of the precursor solution to form a layer of the article; and (ii) repeating step (i) a number of times to form the article in a layer-by-layer approach; wherein the precursor solution comprises a first polymeric precursor comprising a plurality of vinyl terminated side-chains attached thereto. A vinyl-functionalized, photocrosslinkable SMP used as an example herein is a novel variant of a previously disclosed SMP composition, with higher amounts of vinyl functionalization but similar thermomechanical properties to the SMP library previously disclosed. Moreover, a unique combination of chemistries is disclosed that incorporates the aforementioned vinyl-functionalized SMPs along with acrylate-based crosslinkers. Additional novel compositions are disclosed containing the vinyl-functionalized SMPs with additional dithiol functionalizations, vinyl-functionalized SMPs with dithiol crosslinkers, as well as vinyl-functionalized SMPs with both acrylate-based and dithiol crosslinkers, as another means to tune degradation rates and other material properties. The articles can include a variety of articles such as stents

SYSTEMS AND METHODS FOR FABRICATING BIOPRINTED FIBER STRUCTURES

Nº publicación: US20260084375A1 26/03/2026

Solicitante:

ASPECT BIOSYSTEMS LTD [CA]
ASPECT BIOSYSTEMS LTD

US_20260084375_A1

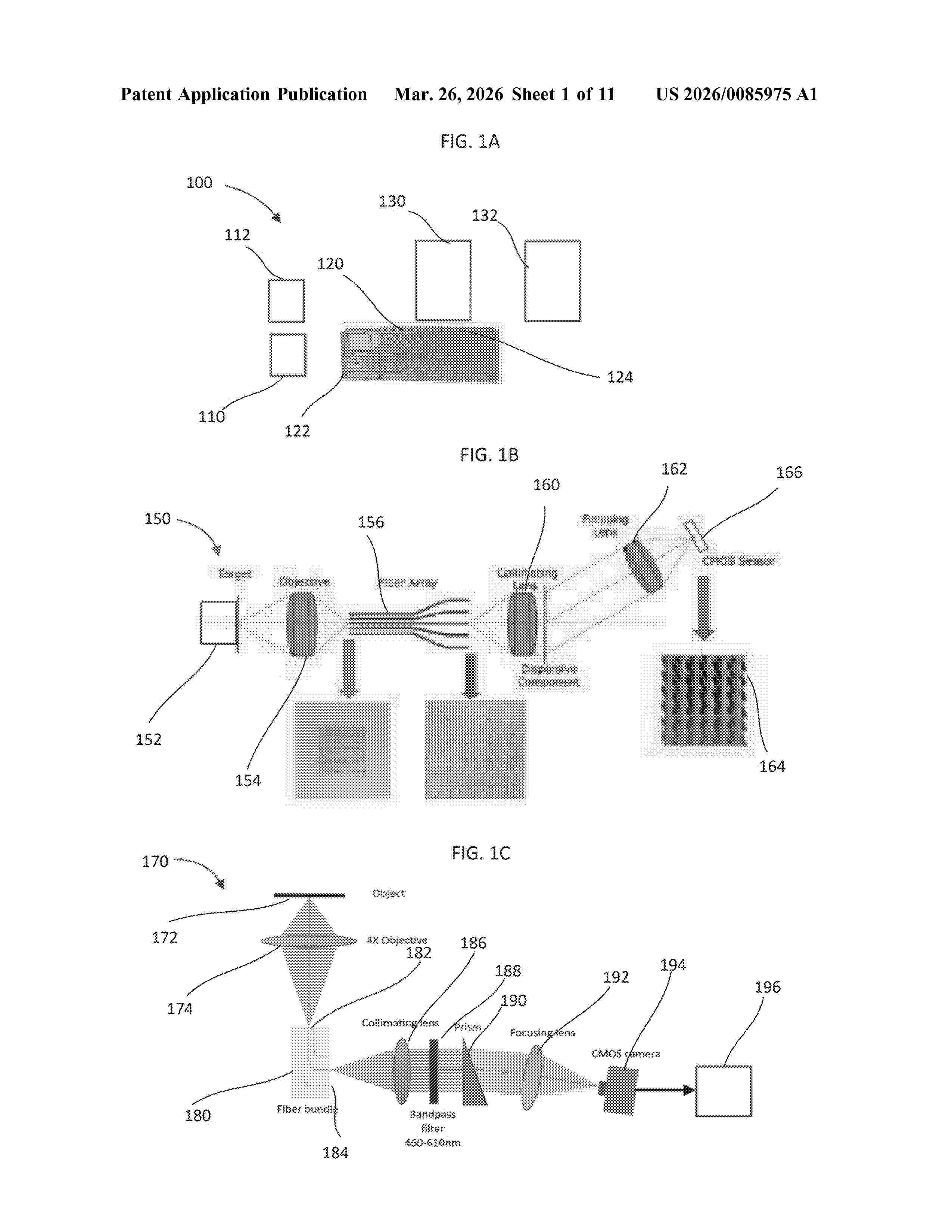
Resumen de: US20260084375A1

Aspects of the disclosure include a fabrication platform for supporting a bioprinted fiber structures during printing, patterning, and/or processing, comprising a frame with a plurality of posts for securing a cross-linkable fiber during printing thereof, and where a continuous length of the cross-linkable fiber is printed around a plurality of posts during the 3D bioprinting process. The fabrication platform enables the cross-linkable fiber to be suspended during one or more of printing, patterning, and/or processing. In this way, the bioprinted fiber structure comprises a uniform outer surface, and can be easily modified and/or further processed after printing and patterning are completed.

traducir