Ministerio de Industria, Turismo y Comercio LogoMinisterior
 

Blockchain

Resultados 521 resultados
LastUpdate Última actualización 05/03/2026 [06:53:00]
pdfxls
Solicitudes publicadas en los últimos 15 días / Applications published in the last 15 days
previousPage Resultados 1200 a 521 de 521  

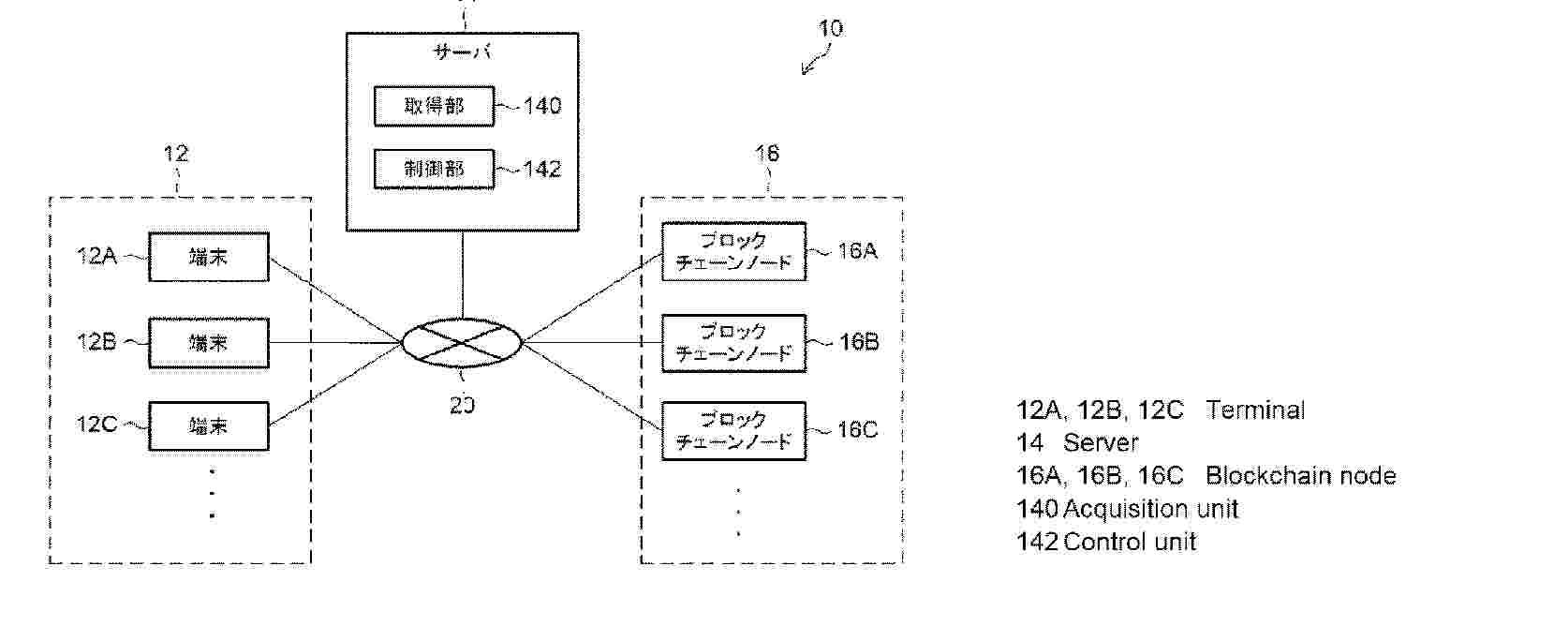
CONTROL METHOD, DEVICE, AND PROGRAM

NºPublicación:  WO2026042725A1 26/02/2026
Solicitante: 
PANASONIC INTELLECTUAL PROPERTY MAN CO LTD [JP]
\u30D1\u30CA\u30BD\u30CB\u30C3\u30AF\uFF29\uFF30\u30DE\u30CD\u30B8\u30E1\u30F3\u30C8\u682A\u5F0F\u4F1A\u793E
WO_2026042725_PA

Resumen de: WO2026042725A1

This control method is executed by a node (200a) among a plurality of nodes (200a to 200c) that manage a blockchain, the control method comprising: updating, on the basis of training data, parameters of a first layer assigned to a first node among a plurality of layers included in a learning model (S21); generating a commitment to the parameters, and a proof of processing using a zero-knowledge proof method that indicates that the update has been executed legitimately (S22); sharing the commitment and the proof of processing with nodes (200b, 200c) among the plurality of nodes (S23); acquiring a verification result, which is the result of verifying, by means of a verification device, a plurality of commitments and a plurality of proofs of processing shared by the plurality of nodes (S24); reaching a consensus with one or more second nodes on the basis of the verification result (S25); and, if consensus is reached, (Yes in S26), updating the blockchain (S27).

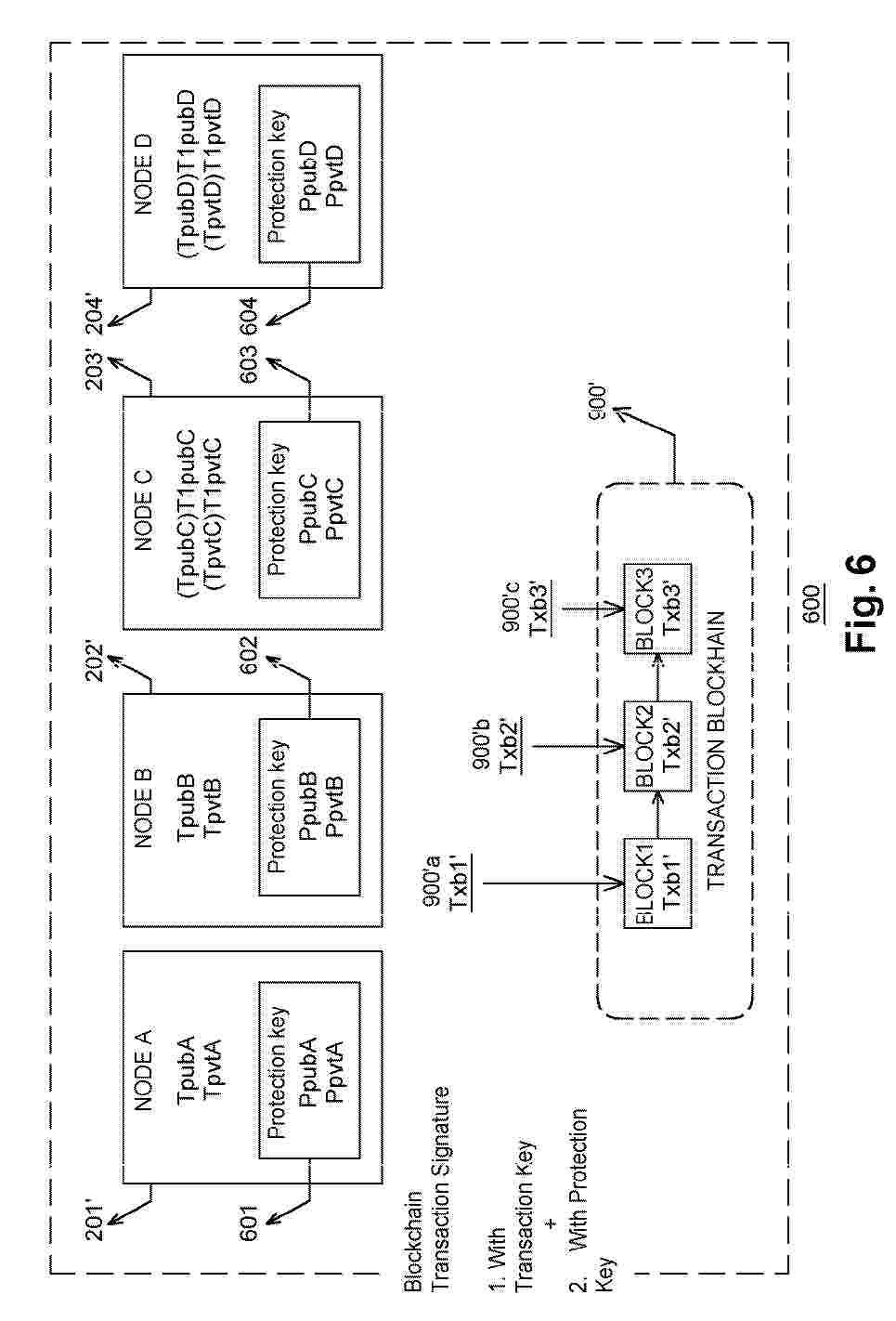
SYSTEM AND METHOD FOR ENHANCING BLOCKCHAIN NODE SECURITY BY KEY ROTATION

NºPublicación:  WO2026043647A1 26/02/2026
Solicitante: 
THALES DIS CPL USA INC [US]
THALES DIS CPL USA, INC
WO_2026043647_PA

Resumen de: WO2026043647A1

A system or method for enhancing blockchain node security in a computing environment can include one or more processors and memory having computer instructions which when executed causes the one or more processors to perform certain operations. The operations can include providing a protection key pair for each blockchain node in the nodal network, providing a keys blockchain for recording nodal-transaction keys and a protection key of the protection key pair, and recording a blockchain transaction that uses an additional signature of a transaction by the protection key.

CONTROL METHOD, DEVICE, AND PROGRAM

NºPublicación:  WO2026042324A1 26/02/2026
Solicitante: 
PANASONIC INTELLECTUAL PROPERTY MAN CO LTD [JP]
\u30D1\u30CA\u30BD\u30CB\u30C3\u30AF\uFF29\uFF30\u30DE\u30CD\u30B8\u30E1\u30F3\u30C8\u682A\u5F0F\u4F1A\u793E
WO_2026042324_PA

Resumen de: WO2026042324A1

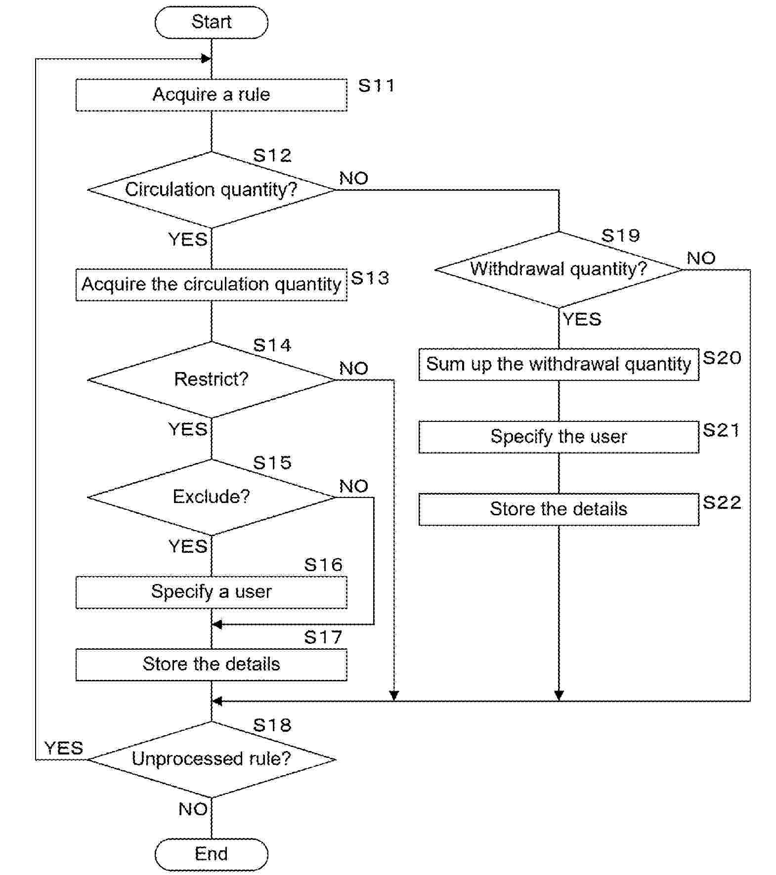
This control method is executed by one of a plurality of nodes managing a first blockchain, and comprises: determining whether or not fraud has been committed against the first blockchain; and if it is determined that fraud has been committed against the first blockchain, imposing a penalty on a first user among a plurality of users using the first blockchain who has committed the fraud. The fraud is the act of not responding to a request to process the first blockchain, the first blockchain stores penalty information for imposing penalties on each of the plurality of users, and said imposition of said penalty is carried out on the basis of penalty information corresponding to the first user stored in the first blockchain.

CREDIT DATA PROCESSING

NºPublicación:  WO2026040801A1 26/02/2026
Solicitante: 
CHONGQING ANT CONSUMER FINANCE CO LTD [CN]
\u91CD\u5E86\u8682\u8681\u6D88\u8D39\u91D1\u878D\u6709\u9650\u516C\u53F8
WO_2026040801_PA

Resumen de: WO2026040801A1

Provided in the embodiments of the present disclosure are a credit data processing method and apparatus. The credit data processing method comprises: after acquiring a transaction for performing data correction on disputed data in each piece of credit data stored in a consortium blockchain, performing transaction verification on the transaction; after the transaction verification is passed, generating a data correction message on the basis of the disputed data and a proof material of the disputed data; distributing the data correction message to a trusted node of a trusted institution that has established a trusted relationship with an institution to which a consortium blockchain node belongs, so as to perform consensus processing between the consortium blockchain node and the trusted node on the basis of the data correction message; and after the consensus processing succeeds, on the basis of the proof material, performing data correction processing on the disputed data, so as to obtain each piece of target credit data.

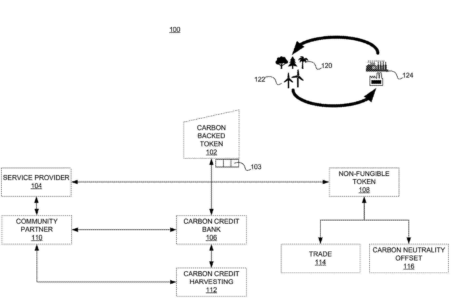
CARBON ACCOUNT DATA MANAGEMENT SYSTEM, METHOD AND APPARATUS, DEVICE AND MEDIUM

NºPublicación:  WO2026040277A1 26/02/2026
Solicitante: 
CHINA UNIONPAY CO LTD [CN]
\u4E2D\u56FD\u94F6\u8054\u80A1\u4EFD\u6709\u9650\u516C\u53F8
WO_2026040277_A1

Resumen de: WO2026040277A1

Disclosed in the present application are a carbon account data management system, method and apparatus, a device, and a medium. The method comprises: a carbon account management device creating a carbon account, determining, on the basis of an accumulated carbon emission reduction value, a first triplet comprising a read hash, a write hash, and a counter, and then sending the first triplet to a blockchain management device; the blockchain management device updating a triplet on a blockchain on the basis of the first triplet; the carbon account management device acquiring a transaction carbon emission reduction value carried in transaction information of the carbon account, determining a second triplet on the basis of the transaction carbon emission reduction value, and then sending the second triplet to the blockchain management device; the blockchain management device updating the triplet on the blockchain on the basis of the second triplet; the carbon account management device sending to an audit device a ledger carrying a carbon emission reduction value obtained after a carbon account transaction; and the audit device determining an audit result of the ledger. Provided is a high-security carbon account data management and carbon account ledger auditing method.

METHOD FOR THE INTEGRATION OF REAL-TIME DIGITAL TRACEABILITY, MARKING, AND BLOCKCHAIN-INDEXED UNAMBIGUOUS ORIGIN IDENTIFICATION

NºPublicación:  WO2026039881A1 26/02/2026
Solicitante: 
FRANCA FILHO ANTONIO REBOUCAS DE [BR]
REBOUCAS SHEILA NOGUEIRA [BR]
FRAN\u00C7A FILHO, Antonio Rebou\u00E7as De,
REBOU\u00C7AS, Sheila Nogueira
WO_2026039881_PA

Resumen de: WO2026039881A1

The traceability method comprises the integration of traceability software, blockchain, and physical marking at origin using inert nanomarkers that are visible only when excited by a laser of a specific frequency. This integration ensures immutable and robust information in the process of tracing products and raw materials, as well as their production processes, since the nanomarker is not destroyed. In dielectric products/raw materials, integrity analysis equipment is used which, through readings of the reflection of the electromagnetic waves resulting from the interaction thereof with the material, determines its characteristic and unique dielectric profile - since each product has a dielectric constant for each wave frequency - resulting in a reflection-versus-frequency graph that is characteristic of the material. This profile is linked, by the user owner, in the traceability method, to the code corresponding to that product. The method is capable of managing the geolocation of each action on a product or raw material, generating unique and random two-dimensional alphanumeric codes, recording each action in the chain via smartphones or two-dimensional optical readers, linking these codes to tax documents and nanomarkers, as well as generating reports for decision-making.

BLOCKCHAIN-BASED DATA STATISTICS SYSTEM, METHODS AND APPARATUSES, DEVICE, AND MEDIUM

NºPublicación:  WO2026040278A1 26/02/2026
Solicitante: 
CHINA UNIONPAY CO LTD [CN]
\u4E2D\u56FD\u94F6\u8054\u80A1\u4EFD\u6709\u9650\u516C\u53F8
WO_2026040278_PA

Resumen de: WO2026040278A1

Disclosed in the present application are a blockchain-based data statistics system, methods and apparatuses, a device, and a medium. In the present application, a task scheduler specifies each institution participant, and configures a data statistics task for each institution participant via a blockchain node; each institution participant constructs a corresponding polynomial on the basis of the data statistics task, determines a secret fragment corresponding to each institution participant itself on the basis of the polynomial, and then shares the secret fragment to the corresponding institution participant; in this way, each institution participant shares its own secret fragment with other institution participants, and each institution participant also receives shared secret fragments from other institution participants; each institution participant determines a secret fragment sum value on the basis of the secret fragment corresponding to itself and the secret fragments obtained by means of the sharing, and sends to the blockchain node the secret fragment sum value; the blockchain node determines a final data statistical result on the basis of each secret fragment sum value. Provided is a secure data statistics solution.

BLOCKCHAIN-BASED TOKEN PROTOCOL

NºPublicación:  US20260058815A1 26/02/2026
Solicitante: 
NCHAIN LICENSING AG [CH]
nChain Licensing AG
US_20260058815_PA

Resumen de: US20260058815A1

A computer-implemented method of validating a token transaction as part of a token protocol using a blockchain, comprising: obtaining a candidate token transaction; obtaining, for each respective input of the candidate token transaction that references a respective token transaction, a respective list of transactions tracing back to a respective token mint transaction linking the candidate token transfer transaction to the respective token mint transaction; and validating the candidate token transfer transaction by: verifying that each respective input of the candidate token transaction references a respective token mint transaction or can be traced back, using the respective list of transactions, to a respective token mint transaction; and verifying that a sum of the respective token amounts comprised by the respective outputs of the candidate transaction is equal to a sum of the respective token amounts comprised by the one or more respective outputs referenced by the candidate transaction.

Social Networking Content Supplemented Web Page Linker

NºPublicación:  US20260058958A1 26/02/2026
Solicitante: 
TORRES TERRY LEE [US]
Torres Terry Lee
US_20260058958_PA

Resumen de: US20260058958A1

A modular system designed for privacy-preserving content recognition and supplemental content delivery across web and mobile environments. The system employs lightweight character sampling and vision-based recognition to generate unique content fingerprints without storing or replicating original data. It features a hybrid processing architecture, using local computing resources for intensive tasks while optimizing performance on resource-constrained devices. Core functionalities include multi-method content fingerprinting, real-time monitoring with adaptive sampling, and secure supplemental content association. Operating entirely on the client-side, it complies with website terms of service and privacy regulations. Advanced features include AI-driven content recognition, blockchain-based verification, and granular content targeting through resizable selection interfaces. This technology enables seamless delivery of supplemental content while preserving privacy, reducing resource usage, and ensuring scalability across browsers, mobile applications, and edge devices. It is particularly applicable in industries such as education, retail, and secure data sharing.

RIGHTS BOUND TOKENS, AND ASSOCIATED METHODS, APPARATUS, AND ARTICLES

NºPublicación:  US20260058814A1 26/02/2026
Solicitante: 
MINTANGIBLE INC [US]
MINTANGIBLE, INC
US_20260058814_PA

Resumen de: US20260058814A1

A rights bound token (RBT) creation and management engine (C&ME) generates and manages RBTs, in a distributed, immutable, permanent, decentralized, verifiable, secure, permissionless, trustless form and/or evolvable. RBTs constitute a new asset class, and are digitally native, decentralized assets that evidence rights to other assets, employing blockchain technology using distributed ledgers and that are advantageously blockchain agnostic and enhance security. RBTs employ an on chain token and a rights package inextricably bound by at least one external binding. Rights packages are comprised of a rights manifest and a rights storage mechanism, selected from various rights manifests and rights storage mechanisms. Treating the token, rights package (rights manifests, rights storage) and bindings as distinct objects advantageously allows customization for various technical and non-technical criteria, and facilitates operation is across a wide range of different blockchain services, accommodating heterogeneous protocols, heterogeneous file types and even heterogeneous storage mechanisms.

IMPROVED BLOCKCHAIN SYSTEM AND METHOD

NºPublicación:  US20260058829A1 26/02/2026
Solicitante: 
BTQ AG [LI]
BTQ AG
US_20260058829_PA

Resumen de: US20260058829A1

Systems and methods are provided for collecting anonymized drive information. A processing device may be configured to receive outputs from one or more sensors; determine at least one motion representation for the host vehicle based on the outputs; receive at least one image representative of an environment of the host vehicle; analyze the at least one image to determine at least one road characteristic associated with a road section; assemble first road segment information relative to a first portion of the road section, wherein the first portion of the road section is separated from a starting point associated with a route traveled by the host vehicle; assemble second road segment information relative to a second portion of the road section; and cause transmission of the first road segment information and the second road segment information to a server for assembly of an autonomous vehicle road navigation model.

Secure, Robust, and Efficient Blockchain Management Using Large Codeword Models

NºPublicación:  US20260058833A1 26/02/2026
Solicitante: 
ATOMBEAM TECH INC [US]
AtomBeam Technologies Inc
US_20260058833_PA

Resumen de: US20260058833A1

Compressing and re-securing blockchain data using a large codeword model (LCM) with deep learning. The LCM tokenizes the blockchain into sourceblocks, assigns unique codewords to each sourceblock, and processes the codewords through a deep learning core, enabling efficient compression, semantic understanding, and generation of blockchain data. In the event of a compromised block, the system re-encodes and rehashes the entire compressed chain, generating a new secured chain while preserving the original chain as metadata for backward compatibility. The LCM-based approach enhances security, efficiency, and resilience of blockchain networks, offering significant advantages over existing techniques.

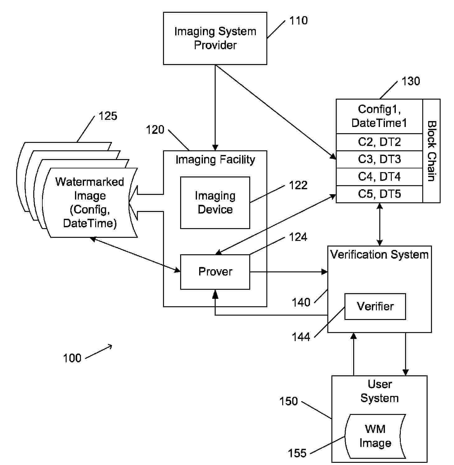
INFORMATION PROCESSING SYSTEM, INFORMATION PROCESSING METHOD, AND PROGRAM

NºPublicación:  US20260058025A1 26/02/2026
Solicitante: 
NEC CORP [JP]
NEC Corporation
US_20260058025_PA

Resumen de: US20260058025A1

An information processing system comprising a first terminal, a second terminal, and a management system, in which the first terminal outputs a first hash value from data including at least target content, and transmits first verification data including either the first hash value or information based on the first hash value, the management system records the first verification data received from the first terminal in a blockchain, the management system reads the first verification data recorded in the blockchain and transmits the data to the second terminal, and the second terminal acquires a first hash value included in the first verification data received from the management system, acquires target content, generates a second hash value from the target content, and determines whether the first hash value matches the second hash value.

GENERATIONAL WEALTH TRANSFER SIMULATION GAME

NºPublicación:  US20260057465A1 26/02/2026
Solicitante: 
WELLS FARGO BANK N A [US]
Wells Fargo Bank, N.A
US_20260057465_PA

Resumen de: US20260057465A1

Computer-implemented systems and methods for a generational wealth transfer simulation game are provided. A method includes receiving data related to a wealth transfer of a user of a group of users, and presenting, on a user interface of a device operated by at least one user of the group of users, an interactive gaming element to obtain a user input regarding the wealth transfer. The user input is received using the interactive gaming element, an entry is generated for a blockchain based on the user input and at least some of the data, the entry including an asset for distribution for at least part of the wealth transfer and a condition for asset transfer, and the entry is stored on the blockchain at a server. In response to satisfaction of the condition, the asset is automatically distributed to at least one user of the group of users.

SUPPLY CHAIN TRACKING AND DELIVERY SYSTEM AND METHOD

NºPublicación:  US20260057336A1 26/02/2026
Solicitante: 
MROCZEK KENNETH [US]
MROCZEK Kenneth
US_20260057336_PA

Resumen de: US20260057336A1

A system that monitors supply chain inventory includes at least one computing device that receives sensor data from a sensor apparatus on a transport, where the sensor data indicates real-time information associated with a cargo on the transport. The at least one computing device also encrypts the sensor data on a blockchain ledger, or stores the sensor data in a hash table. The at least one computing device also maintains a database of stored credentials associated with the sensor data or information associated with the sensor data. The at least one computing device also receives entered credentials from a user interface, and indicates the sensor data or information associated with the sensor data through the user interface based on the entered credentials matching at least one of the stored credentials.

BLOCKCHAIN TRANSACTIONS BASED ON PARTICIPANT RANKING

NºPublicación:  US20260057332A1 26/02/2026
Solicitante: 
THE CURATORS OF THE UNIV OF MISSOURI [US]
THE CURATORS OF THE UNIVERSITY OF MISSOURI
US_20260057332_PA

Resumen de: US20260057332A1

The present invention involves ranking participants, which determines participation in transactions that affects the processing of transactions and recording of the transactions in block computation. A new element in a block is called integrity rank, and every transaction is processed and recorded based on the rules of the integrity rank. Every transaction also has a ranking element, which is made operational through a smart contract that governs the participation of participants. Transactions will only be considered valid and persistent on-chain if the participants of that transaction conform to the ranking logic set by the smart contract. The logic for such transactions is encoded in smart contracts.

GLOBAL RESOURCE LOCATOR TAG WITH BLOCKCHAIN

NºPublicación:  US20260056284A1 26/02/2026
Solicitante: 
LOCATORX INC [US]
LocatorX, Inc
US_20260056284_PA

Resumen de: US20260056284A1

The present disclosure relates to a global resource locator tag for tracking and managing assets. A semiconductor chip can include a processor and a micro sized timing device. The semiconductor chip can generate a timing signal. The global resource locator tag can include a blockchain and a memory in logical communication with the processor. The processor can determine a cryptographic hash of a previous block of events in the blockchain and determine a respective inventory status of nearby labels. A data set may be compiled with the respective inventory status of nearby labels and a cryptographic hash of a previous block.

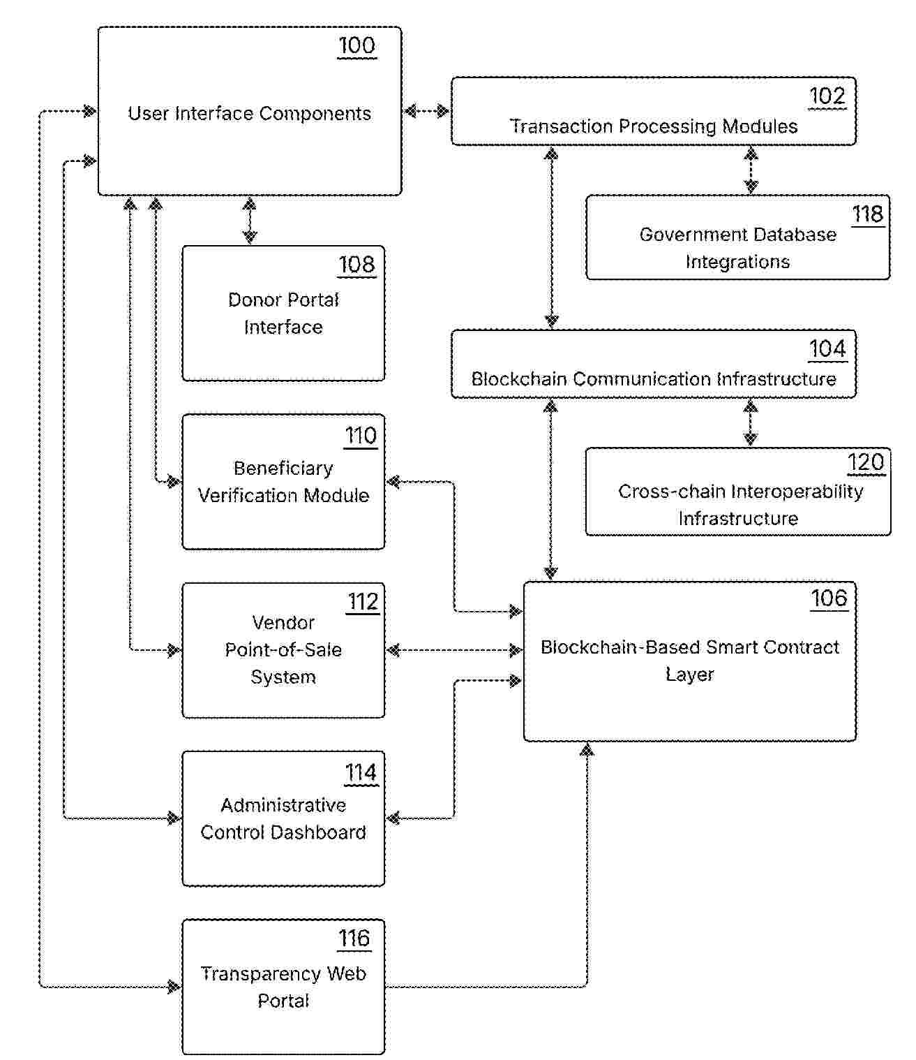
Geolocation Verification of Humanitarian Aid Token Distribution

NºPublicación:  US20260057466A1 26/02/2026
Solicitante: 
LAKE JUSTIN [US]
Lake Justin
US_20260057466_PA

Resumen de: US20260057466A1

A blockchain-based smart contract system for decentralized humanitarian aid distribution implementing multi-stage verification protocols, government database integration, and emergency protocol switching capabilities. The Global Positioning Satellite Food (GPSF) Token Protocol comprises specialized hardware and software systems for zone-locked token distribution with geolocation-enforced access controls and adaptive verification algorithms that switch between comprehensive community aid verification and expedited emergency aid verification based on real-time disaster declarations and conflict zone detection. The system establishes multi-layered fraud prevention architecture combining biometric liveness detection, cross-document correlation algorithms, anti-spoofing detection systems, and real-time government database verification to prevent fraudulent aid claims while ensuring legitimate beneficiaries receive assistance within minutes. The protocol implements atomic cross-chain protocols with multi-signature escrow mechanisms and threshold-signature authentication requiring consensus from multiple authorized entities, creating a trustless environment for humanitarian aid across routine aid programs, emergency disaster response, and active conflict zone operations.

SYSTEM AND METHOD FOR ENABLING AUTONOMOUS ARTIFICIAL INTELLIGENCE-ENABLED SKILLS EXCHANGES BETWEEN AGENTS OVER A NETWORK

NºPublicación:  US20260057378A1 26/02/2026
Solicitante: 
ENTEFY INC [US]
Entefy Inc
US_20260057378_PA

Resumen de: US20260057378A1

An improved decentralized, blockchain-driven network for artificial intelligence (AI)-enabled skills exchange between Intelligent Personal Assistants (IPAs) in a network is disclosed that is configured to perform computational tasks or services (also referred to herein as “skills”) in an optimally-efficient fashion. In some embodiments, this may comprise a first IPA paying an agreed cost to a second IPA to perform a particular skill in a more optimally-efficient fashion. In some embodiments, a skills registry is published, comprising benchmark analyses and costs for the skills offered by the various nodes on the skills exchange network. In other embodiments, a transaction ledger is maintained that provides a record of all transactions performed across the network in a tamper-proof and auditable fashion, e.g., via the use of blockchain technology. Over time, the AI-enabled nodes in the system may learn to scale, replicate, and transact with each other in an optimized—and fully autonomous—fashion.

SYSTEMS AND METHODS FOR A PERMISSIONLESS DECENTRALIZED VIRTUAL ASSET NETWORK

NºPublicación:  US20260057382A1 26/02/2026
Solicitante: 
PYLONS INC [US]
Pylons, Inc
US_20260057382_PA

Resumen de: US20260057382A1

A blockchain system for containing authority within a distributed consensual system includes a blockchain network of participating user devices. A participating user device, having a memory and a processor, is configured to create an account linking blockchain transaction to link a developer account with an external authority account of a user of the device. The user device is further configured to publish a recipe associated with the user's developer account, receive, from an external authority, a receipt indicating purchase of the recipe by another user connected to the distributed consensual system, create a recipe blockchain transaction including data identifying the recipe and the receipt, and broadcast the recipe blockchain transaction on the blockchain network. Upon validation, the user receives payment via one or more additional blockchain transactions.

PAYMENT INSTRUMENT ADAPTABLE FOR DIGITAL CURRENCIES

NºPublicación:  US20260057357A1 26/02/2026
Solicitante: 
AMERICAN EXPRESS TRAVEL RELATED SERVICES COMPANY INC [US]
American Express Travel Related Services Company, Inc
US_20260057357_PA

Resumen de: US20260057357A1

Disclosed are various embodiments for a payment instrument, such as a payment card or a client device, that interfaces with multiple digital currency networks associated with different countries and territories. In one non-limiting example, the system comprises a client device that is configured to detect that the client device is outside of a first territorial area for a first digital currency for a blockchain network. An intent to execute a purchase in a second digital currency is transmitted to an authentication service. The client device is configured to receive a software update for wallet functionality associated with the second digital currency. A client application is updated with the software update for the wallet functionality associated with the second digital currency.

COMPUTER-IMPLEMENTED AUTHENTICATION PLATFORM

NºPublicación:  US20260057383A1 26/02/2026
Solicitante: 
BANQU INC [US]
BanQu, Inc
US_20260057383_PA

Resumen de: US20260057383A1

Systems, methods, and computer-readable media for computer-implemented authentication platforms are described herein. In an example approach, a user is enrolled in a computer-implemented authentication platform. The enrollment process includes digitally encrypting an image of a user, storing the digitally encrypted image of the user in a blockchain as part of a user profile of the user, generating (using the digitally encrypted image of the user) an identifier of the user, and storing the identifier of the user in the blockchain as part of the user profile of the user. Subsequently, the user is authenticated. The authentication process includes retrieving the digitally encrypted image of the user from the blockchain (using the identifier of the user to retrieve the digitally encrypted image of the user) and decrypting the digitally encrypted image of the user using a decryption token.

Blockchain-Integrated Solar-Powered Digital Asset Storage Device with Bluetooth Functionality and Power Bank. The present invention provides a digital asset storage device that integrates blockchain technology, solar power capabilities, Bluetooth functionality, and a power bank. The device ensures secure, sustainable, and versatile storage of digital assets, offering a comprehensive solution to modern storage needs.

NºPublicación:  AU2025248714A1 26/02/2026
Solicitante: 
HBZ META ARTECH PTY LTD
HBZ META ARTECH PTY LTD
AU_2025248714_A1

Resumen de: AU2025248714A1

Abstract With the increasing popularity of digital assets, such as cryptocurrencies and sensitive digital data, there is a growing need for secure and reliable storage solutions. Traditional storage devices often rely on external power sources and lack integrated security measures, making them vulnerable to power outages and cyber-attacks. Therefore, there is a need for a device that can securely store digital assets, harness renewable energy, and offer wireless connectivity. The present invention relates to the field of digital asset storage devices. More particularly, the invention provides a digital asset storage device that integrates blockchain technology, solar power capabilities, Bluetooth functionality, and a power bank. The device ensures secure, sustainable, and versatile storage of digital assets, offering a comprehensive solution to modern storage needs. Blockchain-Integrated Solar-Powered Digital Asset Storage Device with Bluetooth Functionality and Power Bank Drawings: 10cm 6cm 2cm k Bluetooth Apple usb charger typec Android

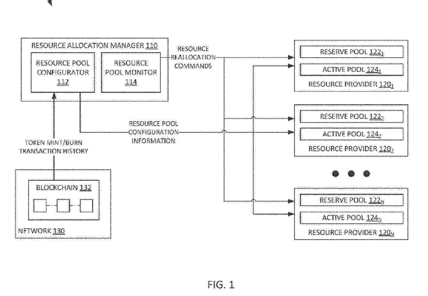
BACKING ASSET ALLOCATION AND MANAGEMENT IN BLOCKCHAIN SYSTEMS

NºPublicación:  WO2026043695A1 26/02/2026
Solicitante: 
CIRCLE INTERNET GROUP INC [US]
CIRCLE INTERNET GROUP, INC
WO_2026043695_PA

Resumen de: WO2026043695A1

Certain embodiments of the present disclosure provide techniques for allocating resources associated with tokens on a blockchain across resource providers in a distributed computing environment. An example method generally includes partitioning a total resource pool into a plurality of resource pools. Generally, each respective resource pool of the plurality of resource pools is associated with a respective resource provider. For each respective resource pool of the plurality of resource pools, the respective resource pool is partitioned into a reserve pool and an active pool based on an on-blockchain transaction history associated with tokens backed by the total resource pool. Transactions associated with the tokens are processed using one or more resource pools from the plurality of resource pools.

METHOD FOR SECURELY REMOVING BLOCKS FROM AN EXISTING BLOCKCHAIN

NºPublicación:  WO2026041593A1 26/02/2026
Solicitante: 
EAGLE PMX AG [CH]
EAGLE PMX AG
WO_2026041593_PA

Resumen de: WO2026041593A1

The present invention relates to a method for securely removing blocks from an existing blockchain in a closed infrastructure such as a corporate network. The proposed method provides the advantage that entries can be removed from the linked list without jeopardising the continued integrity of the chain. In principle, blockchains do not permit blocks to be removed from the data structure; this is prevented by redundant storage. The present invention overcomes this disadvantage and additionally provides a mechanism that allows the data records to be restored at a later time, if required. The invention is also directed to a correspondingly configured system arrangement. The invention also relates to a computer program product comprising control commands which implement the proposed method and/or operate the proposed apparatus and arrangement.

CONTROL METHOD, DEVICE, AND PROGRAM

NºPublicación:  WO2026042325A1 26/02/2026
Solicitante: 
PANASONIC INTELLECTUAL PROPERTY MAN CO LTD [JP]
\u30D1\u30CA\u30BD\u30CB\u30C3\u30AF\uFF29\uFF30\u30DE\u30CD\u30B8\u30E1\u30F3\u30C8\u682A\u5F0F\u4F1A\u793E
WO_2026042325_PA

Resumen de: WO2026042325A1

A control method executed by a first node managing a second blockchain acquires a deletion request for deleting one first blockchain, among one or more first blockchains, from a first terminal operated by a first administrator managing the one first blockchain (S113), deletes information corresponding to the deletion of the one first blockchain from a second blockchain, including first management information for managing the one or more first blockchains, on the basis of the deletion request (S115), and, when transaction data of a certain type is not included in the second blockchain as a result of the deletion, transmits a deletion request for deleting the second blockchain to a second node that manages a third blockchain including second management information for managing the second blockchain (S118).

Minting and transacting tokenized differentiated energy attributes using blockchain

NºPublicación:  GB2643651A 25/02/2026
Solicitante: 
EARN DLT INC [US]
Earn DLT, INC
GB_2643651_PA

Resumen de: GB2643651A

Systems and methods for quantifying, tracking, and transacting differential energy attributes (DEA) tokens using a private block chain network and a cloud-based application platform. Differentiated energy attributes verified by a third-party verification entity pursuant to emission standards are digitized as differentiated energy attribute tokens (DEATs). A predetermined formula correlates the number of DEATs to be minted to the units of differentiated energy produced. DEATs are published to a differentiated energy producer's modified private blockchain multi-signature wallet (mMSW) governed by the terms and conditions of a smart contract. DEATs may be transacted in a bilateral transaction between a buyer and seller under a transaction smart contract. Smart contracts are executed by one of more authorized signatories using their respective platform managed digital signatures (PMDS) instead of blockchain based public or private keys.

DATA PROCESSING METHOD BASED ON BLOCKCHAIN, AND DEVICE AND READABLE STORAGE MEDIUM

NºPublicación:  EP4700567A1 25/02/2026
Solicitante: 
TENCENT TECH SHENZHEN CO LTD [CN]
Tencent Technology (Shenzhen) Company Limited
EP_4700567_PA

Resumen de: EP4700567A1

A data processing method based on a blockchain, and a device and a readable storage medium. The method comprises: performing sharding processing on an intermediate code corresponding to a smart contract, so as to obtain A byte arrays, wherein A is a positive integer greater than 1 (S101); generating A program shards on the basis of the serial number of each byte array, the total number A of shards and each byte array, wherein each byte array corresponds to one program shard (S102); and sending the A program shards to a blockchain network, such that blockchain nodes in the blockchain network upload the A program shards to a chain, wherein the A program shards, which have been uploaded to the chain, are used for being assembled to generate a complete intermediate code (S103). The present method can improve the applicability of smart contract deployment, can improve the efficiency of smart contract installation, and can also avoid manual approval errors.

SYSTEM AND METHOD FOR ENHANCING BLOCKCHAIN NODE SECURITY BY KEY ROTATION

NºPublicación:  EP4701127A1 25/02/2026
Solicitante: 
THALES DIS CPL USA INC [US]
THALES DIS CPL USA, INC
EP_4701127_PA

Resumen de: EP4701127A1

A system or method for enhancing blockchain node security in a computing environment can include one or more processors and memory having computer instructions which when executed causes the one or more processors to perform certain operations. The operations can include providing a protection key pair for each blockchain node in the nodal network, providing a keys blockchain for recording nodal-transaction keys and a protection key of the protection key pair, and recording a blockchain transaction that uses an additional signature of a transaction by the protection key.

SYSTEM AND METHOD FOR DYNAMIC AUTHENTICATION OF PRODUCTS USING BLOCKCHAIN TECHNOLOGY

NºPublicación:  EP4700667A1 25/02/2026
Solicitante: 
CERTIBLOCK S A S [CO]
Certiblock S.A.S
EP_4700667_A1

Resumen de: EP4700667A1

The invention is developed in the field of technology. The invention relates to a system for dynamically authenticating alcoholic beverages, including digital cryptographic mechanisms that allow real-time access to the status of an alcoholic beverage, through the use of blockchain technology. In particular, the system consists of a "quick-response" (QR) code provided on the inside of the lid (liner) or cap or cork or dispenser or device used to close the product and the QR code is only displayed when the product is open, to then be authenticated by the user when they wish to verify the legitimacy and traceability of the product. A cryptoasset (not cryptocurrency) is linked to each QR code, which is backed by the blockchain, and, by reading the unique QR code printed on each cap, the metadata thereof is obtained via the web. Only the first status of the bottle "BOTTLE SAFE FOR CONSUMPTION" is obtained when it is read for the first time, then the second status of the digital asset "BOTTLE PREVIOUSLY OPENED" will always be displayed, making it impossible to return to the first status of the bottle given the immutability and security of the blockchain. This dynamic digital asset can be associated with a type of dynamic NFT, such as a cryptoasset (NOT CRYPTOCURRENCY), and therefore, the system according to the invention constitutes a novel and inventive alternative for the traceability of products by manufacturers and users, in particular in the liquor industry, since it constitut

METHOD FOR SECURELY REMOVING BLOCKS FROM EXISTING BLOCKCHAIN

NºPublicación:  EP4700631A1 25/02/2026
Solicitante: 
EAGLE PMX AG [CH]
Eagle PMX AG
EP_4700631_PA

Resumen de: EP4700631A1

Die vorliegende Erfindung betrifft ein Verfahren zum sicheren Entfernen von Blöcken aus einer bestehenden Blockchain in einer abgeschlossenen Infrastruktur wie zum Beispiel einem Firmennetzwerk. Das vorgeschlagene Verfahren schafft den Vorteil, dass Einträge aus der verketteten Liste entfernt werden können, ohne, dass hier die weitere Integrität der Kette gefährdet ist. Blockchains sehen grundsätzlich nicht vor, dass Blöcke aus der Datenstruktur entfernt werden, was durch die redundante Speicherung verhindert wird. Die vorliegende Erfindung überwindet diesen Nachteil und schafft zudem einen Mechanismus, der es erlaubt die Datensätze nachträglich ggf. wieder herzustellen. Die Erfindung ist ferner gerichtet auf eine entsprechend eingerichtete Systemanordnung. Ferner wird ein Computerprogrammprodukt mit Steuerbefehlen vorgeschlagen, welche das vorgeschlagene Verfahren implementieren beziehungsweise die vorgeschlagene Vorrichtung und Anordnung betreiben.

VERIFICATION USING BLOCKCHAIN SMART CONTRACT

NºPublicación:  EP4699258A1 25/02/2026
Solicitante: 
VISA INT SERVICE ASS [US]
Visa International Service Association
CN_120937300_PA

Resumen de: CN120937300A

A method is disclosed. The method includes transmitting a verification request containing a wallet account identifier associated with a digital wallet to a smart contract on a blockchain network or a smart contract application associated with the smart contract. And the smart contract or the smart contract application program uses a block chain on the block chain network to verify the wallet account identifier. The method also includes receiving a verification response to verify the wallet account from the smart contract or the smart contract application on the blockchain network. The method further includes initiating transmission of an authorization request message containing credentials associated with the wallet account identifier to an authorization entity computer.

CROSS CHAIN TOKEN EXCHANGE

NºPublicación:  WO2026039701A1 19/02/2026
Solicitante: 
CHAINBLOQ LABS INC [US]
CHAINBLOQ LABS INC
WO_2026039701_PA

Resumen de: WO2026039701A1

A method for cross-blockchain transactions includes receiving, from a user, a request to exchange a first amount of a first token on a first blockchain for a second token on a second blockchain. A first smart contract on the first blockchain is executed to lock the first amount of the first token. Based on the first amount and an exchange rate of the first token to the second token, a second amount of the second token is determined. A second smart contract on the second blockchain is executed to release the second amount of the second token to a wallet owned by the user, the wallet being associated with the second blockchain.

METHODS AND SYSTEMS FOR DYNAMIC UPDATE TO ACCESS CONTROL RULES IN A COMPUTING SYSTEM BASED ON BLOCKCHAIN MONITORING

NºPublicación:  AU2026200632A1 19/02/2026
Solicitante: 
SHOPIFY INC
SHOPIFY INC
AU_2026200632_A1

Resumen de: AU2026200632A1

A computer-implemented method, including generating an access condition at a server with regard to an online resource by identifying a token collection associated with access to the online resource, wherein ownership of the tokens is managed using a blockchain, obtaining, from a blockchain network associated with the blockchain, data regarding the token collection including a count of tokens circulating and ownership data, and selecting, as the access condition based on the data regarding the token collection, one or more token criteria based on an intended number of qualified wallets, receiving, at the server, an access request for the online resource from a user device associated with a wallet, obtaining token data from the blockchain network with regard to the wallet, and authorizing access to the online resource for the user device responsive to determining that the token data meets the access condition. an a n

METHODS AND SYSTEMS FOR EXCHANGING CONFIDENTIAL INFORMATION USING DECENTRALIZED IDENTIFIERS VIA A BLOCKCHAIN

NºPublicación:  WO2026039126A1 19/02/2026
Solicitante: 
WOLTERS KLUWER DXG U S INC [US]
WOLTERS KLUWER DXG U.S., INC.,
WO_2026039126_PA

Resumen de: WO2026039126A1

Systems and methods for securely accessing information pertaining to an upstream entity using a verifiable credential with an embedded distributed identifier includes generating an authorization request for access to the information by a downstream entity. The authorization request includes a decentralized identifier associated with the downstream entity and is transmitted to a content storage entity. An authorization notification corresponding to the authorization request is received. An authorization token is retrieved. The authorization token includes a verifiable credential generated by the upstream entity and incorporating the decentralized identifier. A request transaction including a request to access the information pertaining to the upstream entity and the authorization token is generated and transmitted to the content storage entity. A verification challenge corresponding to the request transaction based on the verifiable credential is received and a response is transmitted. A reply transaction is received granting access to the information pertaining to the upstream entity.

METHOD, APPARATUS, AND COMPUTER-READABLE MEDIUM OF A BLOCK CHAIN NETWORK FOR IMPLEMENTING A CONSENSUS PROTOCOL

NºPublicación:  WO2026039500A1 19/02/2026
Solicitante: 
KUNATO INC [US]
KUNATO INC
WO_2026039500_PA

Resumen de: WO2026039500A1

A method, apparatus, and computer-readable medium for implementing a consensus protocol on a block chain network, including assigning a plurality of dual-mode nodes of the block chain network to a plurality of block numbers, identifying a dual-mode node in the plurality of dual¬ mode nodes that is assigned to a next block number in the plurality of block numbers, mining, with the assigned dual-mode node, a block of one or more unconfirmed transactions on the block chain network to generate a proposed new block for addition to the block chain network, validating, with one or more non-assigned dual-mode nodes in the plurality of dual-mode nodes, the proposed new block, and minting, with the assigned dual-mode node, the proposed new block as the next block in the block chain network based at least in part on successful validation of the proposed new block by the one or more non-assigned dual-mode nodes.

LIGHT CLIENTS FOR STATE TRANSITION PROOFS IN MULTI-BLOCKCHAIN ECOSYSTEMS

NºPublicación:  US20260052148A1 19/02/2026
Solicitante: 
AVA LABS INC [US]
Ava Labs, Inc
US_20260052148_PA

Resumen de: US20260052148A1

In some implementations, a method for processing state transition proofs in multi-blockchain ecosystems is provided. A registry blockchain network receives validator data that represents a validator set of a transaction blockchain network that is different from the registry blockchain network. The registry blockchain network stores the validator data on a registry blockchain, among validator data that represents other validator sets of other transaction blockchain networks. A registry client of the registry blockchain network receives a transaction identifier of a transaction that is purported to have been submitted by a transaction client to the transaction blockchain network, and evidence data of a committed state that indicates that the transaction has been included in a block that has been added to the transaction blockchain. The registry client independently verifies the evidence data of the committed state, based at least in part on the stored validator data.

METHOD, APPARATUS, AND COMPUTER-READABLE MEDIUM FOR EXECUTING OPERATIONS ON A HIERARCHICAL BLOCK CHAIN NETWORK

NºPublicación:  US20260052029A1 19/02/2026
Solicitante: 
KUNATO INC [US]
Kunato Inc
US_20260052029_PA

Resumen de: US20260052029A1

A method, apparatus, and computer-readable medium for executing operations on a hierarchical block chain network, including generating the hierarchical block chain network including a master block chain linked to a machine block chain, a content provider block chain, and a user block chain, receiving a plurality of requests to perform a plurality of operations on the hierarchical block chain network, the plurality of operations including executing a transfer from a user corresponding to the user sub-chain to a content provider corresponding to a content provider sub-chain that is linked to the content block and linking a user sub-chain in the one or more user sub-chains to a content block in the content block chain by updating the corresponding content block to reference the user sub-chain, and executing the plurality of operations based at least in part on detection of authorization from a majority of the three or more superusers.

PEER TO PEER NETWORK INTERCONNECTING PROOF OF ORIGIN-ENABLED NODES WITH APPLICATION-LEVEL INTERFACE

NºPublicación:  US20260052019A1 19/02/2026
Solicitante: 
CROSSBAR INC [US]
CROSSBAR, INC
US_20260052019_PA

Resumen de: US20260052019A1

A secure peer-to-peer network is implemented with computing devices over unsecure network connections. Each computing device can include or be coupled to a proof of origin hardware. The proof of origin hardware can be validated by publicly available data, such as a trusted server. In addition, the proof of origin hardware can facilitate cryptographic key generation to facilitate encryption of communications at the computing devices, to secure such communications over the unsecure network connections. The proof of origin hardware can include hardware acceleration circuitry to provide network services, such as cryptocurrency transactions, blockchain validation computations, and even blockchain services integrating smart contracts, token exchange, survey services leveraging proof of origin data, distributed data backup, distributed computing, among others.

CRYPTOGRAPHIC PROOF OF DATA KNOWLEDGE

NºPublicación:  WO2026037597A1 19/02/2026
Solicitante: 
NCHAIN LICENSING AG [CH]
NCHAIN LICENSING AG
WO_2026037597_PA

Resumen de: WO2026037597A1

A computer-implemented method of using blockchain transactions of a blockchain to cryptographically prove knowledge of data, comprising: generating a first transaction, wherein the first transaction is configured enforce one or more conditions, wherein the one or more conditions require at least a) a first data value generated based on i) a first message and ii) a first signature generated by signing the first message with a first private key corresponding to a first public key associated with a first party, and b) a second data value generated based on i) a second message and ii) a second signature generated by signing the second message with a first private key corresponding to a first public key associated with a second party, are supplied to the first transaction by a second transaction submitted to the blockchain; and causing the first transaction to be submitted to a blockchain network.

METHOD, APPARATUS, AND COMPUTER-READABLE MEDIUM OF A BLOCK CHAIN NETWORK FOR IMPLEMENTING A CONSENSUS PROTOCOL

NºPublicación:  US20260052021A1 19/02/2026
Solicitante: 
KUNATO INC [US]
Kunato Inc
US_20260052021_PA

Resumen de: US20260052021A1

A method, apparatus, and computer-readable medium for implementing a consensus protocol on a block chain network, including assigning a plurality of dual-mode nodes of the block chain network to a plurality of block numbers, identifying a dual-mode node in the plurality of dual- mode nodes that is assigned to a next block number in the plurality of block numbers, mining, with the assigned dual-mode node, a block of one or more unconfirmed transactions on the block chain network to generate a proposed new block for addition to the block chain network, validating, with one or more non-assigned dual-mode nodes in the plurality of dual-mode nodes, the proposed new block, and minting, with the assigned dual-mode node, the proposed new block as the next block in the block chain network based at least in part on successful validation of the proposed new block by the one or more non-assigned dual-mode nodes.

SYSTEM AND METHOD FOR COMPREHENSIVE ESG PERFORMANCE MANAGEMENT WITH MULTI-DIMENSIONAL BUSINESS VALUE QUANTIFICATION

NºPublicación:  US20260050860A1 19/02/2026
Solicitante: 
SREEKUMAR RAKESH [US]
CHERIAN SUNIL C [US]
KAPUSKAR ASHUTOSH ARVIND [US]
PANDE ASHUTOSH [US]
RAMANAN RAGHAVAN [US]
Sreekumar Rakesh,
Cherian Sunil C,
Kapuskar Ashutosh Arvind,
Pande Ashutosh,
Ramanan Raghavan
US_20260050860_PA

Resumen de: US20260050860A1

A computerized method for comprehensive ESG performance management quantifies multi-dimensional business value through integrated processes. A universal sustainability intelligence module receives ESG data from multiple sources, encompassing environmental, social, and governance information. An AI-driven performance intelligence engine generates sustainability insights using a universal framework that includes topic-agnostic insight generation, cross-topic opportunity optimization, universal project evaluation, and integrated pathway development. A multi-dimensional value quantification engine calculates business value metrics across cost reduction, revenue enhancement, risk mitigation, capital structure optimization, workforce value creation, supply chain sustainability, and intangible value creation. A causal linkage analysis engine establishes relationships between ESG improvements and business outcomes using attribution algorithms. A blockchain trust foundation stores immutable records using cryptographic verification. The system generates comprehensive ESG performance reports including sustainability insights, business value metrics, and verified attribution of business value to specific ESG improvements.

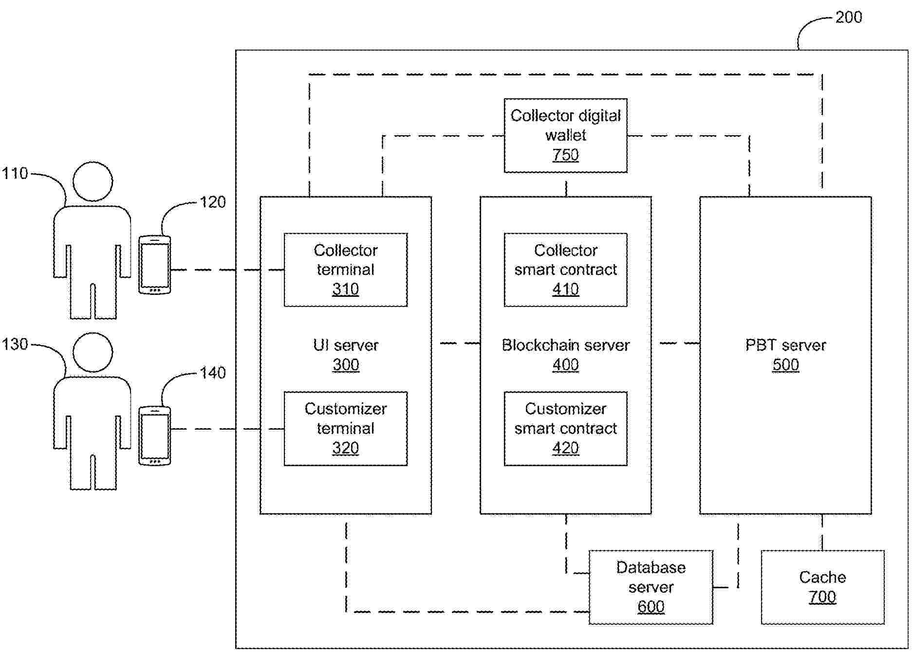
CUSTOMIZATIONS OF PHYSICAL NON-FUNGIBLE TOKENS TO REFLECT CUSTOMIZATIONS TO PHYSICAL COLLECTIBLES

NºPublicación:  US20260050958A1 19/02/2026
Solicitante: 
AZUKI LABS INC [US]
Azuki Labs, Inc
US_20260050958_PA

Resumen de: US20260050958A1

Methods and apparatus are disclosed for customizing physical non-fungible tokens (NFTs) to reflect customizations to physical collectibles. A system includes database(s) configured to store image data indicative of a physical-backed NFT. The physical-backed NFT is a non-fungible token designated with a physical collectible. The system includes server(s) configured to retrieve recorded data from a blockchain. Upon identifying that a customization event is recorded on the blockchain, the server(s) are configured to store, in the database(s), the customization data that is associated with the customization event and included in the recorded data; identify and retrieve a digital customization that corresponds with the customization of the customization data retrieved from the blockchain; and create a customized physical-backed NFT that reflects a customized form of the physical collectible by modifying the physical-backed NFT with the digital customization.

SYSTEMS AND METHODS FOR CROWDFUNDED AUCTIONS, TOKENIZED REWARD DISTRIBUTION IN AUCTIONS, AND INCENTIVIZED AUCTION PARTICIPATION

NºPublicación:  US20260050951A1 19/02/2026
Solicitante: 
IMAGIFUND TECH LLC [US]
Imagifund Technologies, LLC
US_20260050951_PA

Resumen de: US20260050951A1

Multi-phase crowdfunding systems and methods include goal-verified funding with real-time transaction confirmation. Issuance of reward points are optionally fungibly paired with blockchain tokens. Exclusive reward fulfillment is provided via user-determined auction mechanics. Overpledged funds can be automatically allocated. A replay auction mechanism enables retained participation through persistent bid units. A non-cash bidding economy is restricted to validated contributors.

PROTECTION ARCHITECTURE USING PROOF OF INTEGRITY ON DISTRIBUTED LEDGERS

NºPublicación:  US20260050664A1 19/02/2026
Solicitante: 
WELLS FARGO BANK N A [US]
Wells Fargo Bank, N.A
US_20260050664_PA

Resumen de: US20260050664A1

Systems, methods, and computer-readable storage media for restricting exchanges using a proof of integrity model. One system includes memory and at least one processing circuit configured to receive, from a node on a first DLT network, an exchange request, the exchange request includes an amount of a digital asset to exchange, a content item, and a destination identifier. The at least one processing circuit is further configured to generate an exchange record and validate the exchange record in the amount of the digital asset based on a protection model. The at least one processing circuit is further configured to authorize, based on a consensus model, the exchange corresponding with the validated exchange record including the appended protection parameter. The at least one processing circuit is further configured to generate a new blockchain block on the first DLT network and transmit, to a second DLT network, an exchange notification.

SYSTEMS AND METHODS FOR FACILITATING BLOCKCHAIN APPLICATIONS

NºPublicación:  US20260050694A1 19/02/2026
Solicitante: 
KORNACKI ROBERT [PL]
ARQUEROS NICOLAS [VG]
KORNACKI Robert,
ARQUEROS Nicolas
US_20260050694_PA

Resumen de: US20260050694A1

A method for facilitating blockchain applications may include providing access to a scalability engine for at least one application that is implemented on a blockchain and facilitating execution of the application using the scalability engine. The scalability engine may use a smart contract on-chain that acts as a coordinator with an off-chain state machine that computes a state of the application. Various other methods, systems, and computer readable media are also disclosed.

MARKETPLACE FOR TRANSACTING AND MONETIZING DIGITAL ASSETS FOR IMMERSIVE PRESENTATIONS OF CERTIFIED MEMORIES

NºPublicación:  US20260050979A1 19/02/2026
Solicitante: 
REMINISEQUENCE INC [US]
Reminisequence, Inc
US_20260050979_PA

Resumen de: US20260050979A1

A system and method for certifying, sharing, and monetizing via marketplaces personal and collective memories as digital assets, integrated with blockchain or other immutable registry technologies. Users upload multimedia memory content, which is authenticated via biometric, contextual, or metadata-based verification. Artificial intelligence assists in structuring the memory and generating immersive presentations incorporating visual elements and optionally one or more sensory modalities including touch, smell, hearing, taste, moisture, nervous system sensations, and temperature. The immersive presentation is then minted as a unique non-fungible token (NFT/nxNFT) or equivalent digital asset, enabling privacy, access control, transferability, and monetization through sale, financing, rental, or co-ownership models. AI further supports market prediction, including dynamic pricing strategies. The system may incorporate a social ecosystem for voting, curation, and emotional engagement, alongside a governance layer for ethical oversight and category designation. Designed for scalability, cross-platform resonance, and anticipates future technologies ensuring interoperability with evolving digital asset standards.

EXTERNAL FIAT CASHOUT VIA A SELF-CUSTODY APPLICATION

NºPublicación:  US20260050915A1 19/02/2026
Solicitante: 
COINBASE INC [US]
Coinbase, Inc
US_20260050915_PA

Resumen de: US20260050915A1

Methods, systems, and devices for data management are described. A blockchain address application may receive a user input to exchange a first amount of a crypto token from the blockchain address application for a second amount of a fiat. The application may display, at a user interface after receiving the user input, an estimation associated with the exchange of the first amount for the second amount. The application may receive another user input to confirm the estimation and transmit, to a custodial token platform, a request to initiate the exchange. The request may cause execution of an on-chain transfer of the first amount of the crypto token from a first blockchain address of the blockchain address application to a second blockchain address associated with the custodial token platform and execution of an off-chain transfer of the second amount of the fiat from the custodial token platform to an external entity.

FORMING, AUTHENTICATING AND SECURING NON-FUNGIBLE ITEMS

NºPublicación:  US20260050934A1 19/02/2026
Solicitante: 
ELITE COINAGE CO [US]
Elite Coinage Co
US_20260050934_PA

Resumen de: US20260050934A1

Embodiments relate to a non-fungible physical (NFP) item. The non-fungible physical (NW) item comprises an identifier. The identifier is embedded and layered within the non-fungible physical item in an unplanned pattern. The identifier in the unplanned pattern is configured to provide high security against counterfeiting of the non-fungible physical (NFP) item. The identifier comprises at least one of a random marker and a unique marker. The unplanned pattern comprises at least one of a random pattern and a unique pattern. Further the non-fungible physical (NFP) item is registered as a non-fungible token on a blockchain. The NFP item is then paired with the non-fungible token for enabling two-way mutual authentication and enhanced authenticity. The pairing of the NFP item with the non-fungible token enables tracking condition, provenance, and grading of the NFP item.

METHODS AND SYSTEMS FOR EXCHANGING CONFIDENTIAL INFORMATION USING DECENTRALIZED IDENTIFIERS VIA A BLOCKCHAIN

NºPublicación:  US20260050919A1 19/02/2026
Solicitante: 
WOLTERS KLUWER DXG U S INC [US]
Wolters Kluwer DXG U.S., Inc
US_20260050919_PA

Resumen de: US20260050919A1

Systems and methods for securely accessing information pertaining to an upstream entity using a verifiable credential with an embedded distributed identifier includes generating an authorization request for access to the information by a downstream entity. The authorization request includes a decentralized identifier associated with the downstream entity and is transmitted to a content storage entity. An authorization notification corresponding to the authorization request is received. An authorization token is retrieved. The authorization token includes a verifiable credential generated by the upstream entity and incorporating the decentralized identifier. A request transaction including a request to access the information pertaining to the upstream entity and the authorization token is generated and transmitted to the content storage entity. A verification challenge corresponding to the request transaction based on the verifiable credential is received and a response is transmitted. A reply transaction is received granting access to the information pertaining to the upstream entity.

METHOD AND SYSTEM FOR OVERCOMING COMMUNICATION CHANNEL CONGESTION, DATA LOSS, AND DELAYS WITH FAST BIDIRECTIONAL COMMUNICATION USING HYBRID NETWORK AND AI OPTIMIZATION

NºPublicación:  US20260052101A1 19/02/2026
Solicitante: 
SHAN XINXIN [CA]
LED SMART INC [CA]
Shan Xinxin,
LED Smart Inc
US_20260052101_PA

Resumen de: US20260052101A1

The invention provides a method and system for overcoming communication channel congestion, data loss, and delays through the use of a hybrid network system integrated with AI, energy harvesting, blockchain security, AR interfaces, and remote control capabilities. This system dynamically adapts to varying network conditions by switching between multiple communication protocols, optimizing energy use, securing data transmission, and allowing remote monitoring and control, ensuring efficient and reliable communication in various applications.

METHOD, APPARATUS, AND COMPUTER-READABLE MEDIUM FOR EXECUTING OPERATIONS ON A HIERARCHICAL BLOCK CHAIN NETWORK

NºPublicación:  WO2026039506A1 19/02/2026
Solicitante: 
KUNATO INC [US]
KUNATO INC
WO_2026039506_PA

Resumen de: WO2026039506A1

A method, apparatus, and computer-readable medium for executing operations on a hierarchical block chain network, including generating the hierarchical block chain network including a master block chain linked to a machine block chain, a content provider block chain, and a user block chain, receiving a plurality of requests to perform a plurality of operations on the hierarchical block chain network, the plurality of operations including executing a transfer from a user corresponding to the user sub -chain to a content provider corresponding to a content provider sub-chain that is linked to the content block and linking a user sub-chain in the one or more user sub-chains to a content block in the content block chain by updating the corresponding content block to reference the user sub-chain, and executing the plurality of operations based at least in part on detection of authorization from a majority of the three or more superusers.

DOUBLE CHECKING A BLOCKCHAIN TRANSACTION REQUEST

NºPublicación:  EP4695931A1 18/02/2026
Solicitante: 
KRNL LABS [KY]
KRNL Labs
WO_2024224051_PA

Resumen de: WO2024224051A1

A computer-implemented method of processing a blockchain transaction request comprises receiving (2014; 3014; 4012) a blockchain transaction request and directing (2020; 3020; 4020) the blockchain transaction request to a specific node of a blockchain. The specific node interrupts (2030) execution of the blockchain transaction request, and directly or indirectly performs (2046) at least one service in relation to the blockchain transaction request.

Cryptographic proof of data knowledge

NºPublicación:  GB2643423A 18/02/2026
Solicitante: 
NCHAIN LICENSING AG [CH]
nChain Licensing AG
GB_2643423_PA

Resumen de: GB2643423A

Methods are disclosed whereby a coordinating party generates a first blockchain transaction that is configured to verify that a second blockchain transaction supplied to the first transaction contains at least two data values, and consequently release an amount of a digital asset. The first data value is generated by a first party digitally signing a first message. Similarly, the second data value is generated by a second party digitally signing a second message. The second party must have knowledge of both the first and second data values to generate the second transaction, with the first data value, along with a blockchain transaction template, sent by the first party to the second party. The method can be used as a VAT automation protocol, with VAT sent directly to HMRC

DATA MANAGEMENT METHOD AND RELATED DEVICE

NºPublicación:  EP4697174A1 18/02/2026
Solicitante: 
HUAWEI CLOUD COMPUTING TECH CO LTD [CN]
UNIV TSINGHUA [CN]
Huawei Cloud Computing Technologies Co., Ltd,
Tsinghua University
EP_4697174_PA

Resumen de: EP4697174A1

This application provides a data management method, and the method includes: A client receives a backup plan configured by a user for to-be-backed-up data; the client divides the to-be-backed-up data into c data blocks based on a quantity of cloud nodes used for backup and a quantity of backup copies, and stores the c data blocks in n cloud nodes on multi-cloud platforms in a distributed manner, where for at least one data block in the c data blocks, the multi-cloud platforms store b backup copies of the at least one data block; and the client provides, for a blockchain network, metadata of the data stored on the multi-cloud platforms, so that the blockchain network encodes the metadata into a backup identifier, and stores the backup identifier, where the backup identifier is used to address the data stored on the multi-cloud platforms. In this method, cloud-chain convergence is performed with reference to features of the blockchain network of being decentralized, secure, and reliable, to improve security of multi-cloud backup data and eliminate a single-point security bottleneck in a conventional method.

SUPPORTING TWO PHASE COMMIT PROTOCOL IN BLOCKCHAIN SYSTEM

NºPublicación:  EP4695755A1 18/02/2026
Solicitante: 
ORACLE INT CORP [US]
Oracle International Corporation
CN_120981828_PA

Resumen de: CN120981828A

The blockchain system is capable of participating in distributed transactions using a two-stage commit protocol ("2PC"). In a 2PC, a computer system, such as a DBMS or blockchain system, submits transactions that change data (e.g., database, world state) using two stages. To participate in a distributed transaction using a 2PC, a blockchain system performs a "staged transaction". The staged transaction passes through a 2PC stage. In the preparation stage, the new value of the world state record is temporarily stored in the stage record as a stage value. In a second stage, if a distributed transaction is to be submitted, a world stage record is set to a stage value.

Architecture of Blockchain-based Digital Contents Marketplace for Digital Right Management

NºPublicación:  KR20260021182A 13/02/2026
Solicitante: 
주식회사바이야드

Resumen de: KR20260021182A

본 개시는 디지털 저작권 보호를 위한 디지털 콘텐츠 마켓플레이스 구축을 위한 시스템 구조를 제공한다. 본 시스템은 크게 서비스부와 단말 및 운영체제로 구성되며, 단말 및 운영체제에서 콘텐츠 관리부를 통해서 콘텐츠와 라이선스를 송신하고, 서비스부는 콘텐츠 관리부가 외부와 콘텐츠 및 라이선스를 통신하기 위한 인터페이스 역할을 수행하며, 콘텐츠 암호화부를 통해서 DRM을 적용한 콘텐츠를 생성하고, 콘텐츠 키 관리부에서 라이선스를 관리한다. 서비스부는 전체 또는 일부를 블록체인 기반으로 구성할 수 있다.

DISTRIBUTED LEDGER TRACKING OF EVENT DATA

NºPublicación:  US20260042018A1 12/02/2026
Solicitante: 
NANT HOLDINGS IP LLC [US]
Nant Holdings IP, LLC
US_20260042018_PA

Resumen de: US20260042018A1

Techniques including data collection, organization and usage are provided, including in connection with computer-based gaming. Methods and systems are provided for establishing a set of data chronicling at least a portion of a duration of a computer-based gaming event that includes at least one user engaging in gaming using a computer or a computer-based device. Event data is obtained for chronicling chronologically ordered in-game events. Hardware and software related data is obtained that relates to the computer or the computer-based device and is relevant to the chronicling of the portion of the gaming event. Utilizing a distributed ledger technology or blockchain, the event data and the hardware and software related data are recorded in establishing the set of data chronicling at least a portion of the duration of the gaming event.

METHOD FOR REDUCTION OF FUEL CONSUMPTION OF A VEHICLE

NºPublicación:  US20260044872A1 12/02/2026
Solicitante: 
IVECO S P A [IT]
IVECO S.P.A
US_20260044872_PA

Resumen de: US20260044872A1

Method for reduction of fuel consumption of a vehicle operable by a driver, the method being executed by processing means and comprising: acquiring driving data indicative of the functioning of the vehicle determining, based on the driving data, a driving score indicative of a degree of fuel consumption for operating the vehicle by the driver; associating to the driving score a respective token number indicative of an amount of tokens that depends on said degree of fuel consumption of the vehicle and assigning through blockchain, the amount of tokens to one or more target wallets, the one or more target wallets being a driver wallet of the driver and/or a fleet owner wallet of a vehicle fleet owner owning the vehicle.

PROCESSING A CONTINGENT ACTION TOKEN SECURELY

NºPublicación:  US20260046128A1 12/02/2026
Solicitante: 
2BC INNOVATIONS LLC [US]
2BC Innovations, LLC
US_20260046128_PA

Resumen de: US20260046128A1

A method executed by a computing device includes selecting a contingency-action token (CAT) of an object distributed ledger that meets minimum CAT requirements. The method further includes determining that a triggered outcome is valid. The method further includes updating the CAT to indicate resolution of a life insurance investment utilization to produce an updated CAT. The method further includes causing generation of a new block affiliated with the updated CAT via the blockchain of the object distributed ledger using a securely passing process, where the new block includes the updated CAT.

VERIFICATION SYSTEM FOR PROVING AUTHENTICITY AND OWNERSHIP OF DIGITAL ASSETS

NºPublicación:  US20260046138A1 12/02/2026
Solicitante: 
PAYPAL INC [US]
PayPal, Inc
US_20260046138_PA

Resumen de: US20260046138A1

Methods and systems described herein may implement blockchain asset authentication. A verification system may generate an encryption key associated with a digital asset, wherein the digital asset is associated with a first entity. The verification system may sign the digital asset using the encryption key. The verification system may generate a first key and a second key based on the encryption key, wherein the first key and the second key are part of a set of multi-party secret keys. The verification system may send the first key to the first entity and store the second key on the verification system. The verification system may receive a request to authenticate the digital asset. The verification system may in response to the request to authenticate, generate the encryption key based on the first key and the second key. The verification system may authenticate the digital asset based on the recreated first secret.

BIOMETRICALLY SIGNED CRYPTOGRAPHICALLY VERIFIABLE BLOCKCHAIN-ANCHORED CONTRACTS EXECUTED ON A PRIVACY-AWARE MESSAGING PLATFORM

NºPublicación:  US20260046136A1 12/02/2026
Solicitante: 
DANGE AMOD ASHOK [US]
Dange Amod Ashok
US_20260046136_PA

Resumen de: US20260046136A1

A system and method for executing biometrically signed, cryptographically verifiable, blockchain-anchored contracts on a privacy-aware messaging platform is disclosed. The system registers users biometrically and business entities with verified communication addresses. A business-customer account is created by generating a cryptographic key-value pair comprising a customer public key and private key, creating a customer communication address, generating a business-customer communication address hash by applying a hashing algorithm to a combination of the business communication address and customer communication address, and storing a record comprising the hash and customer public key. The system receives a target document, affixes biometric signatures or the signatories, and transmits the document via an encrypted communication channel by extracting communication addresses, generating and comparing the address hashes, encrypting the document using the customer public key upon hash matching, and transmitting it to the signatories. The countersigned document is stored on a blockchain for storage.

NFT SERVICE SYSTEM

NºPublicación:  US20260044898A1 12/02/2026
Solicitante: 
HYUNDAI MOTOR COMPANY [KR]
KIA CORP [KR]
HYUNDAI MOTOR COMPANY,
Kia Corporation
US_20260044898_PA

Resumen de: US20260044898A1

A non-fungible token (NFT) service system connected to a terminal of an owner or a user comprises: a blockchain mainnet configured to issue an NFT based on manufacturing characteristic information of a vehicle, and a system server implemented using a plurality of processors. The system server is configured to generate (i) a vehicle character representing the vehicle and (ii) an owner character or user character representing the owner or user, respectively, and associate the vehicle character and the owner character or user character to the NFT.

BLOCKCHAIN TRANSACTION EXECUTION METHODS AND BLOCKCHAIN NODES

NºPublicación:  US20260044856A1 12/02/2026
Solicitante: 
ANT BLOCKCHAIN TECH SHANGHAI CO LTD [CN]
Ant Blockchain Technology (Shanghai) Co., Ltd
US_20260044856_PA

Resumen de: US20260044856A1

Blockchain transaction execution methods, blockchain nodes, and systems are provided. In an example method, a first transaction is obtained, where the first transaction invokes a first contract, contract data of the first contract is stored in a blockchain, the contract data includes a first access information table, and the first access information table includes first storage location information of a first state variable requested to be read by the first contract; the first storage location information is read from the blockchain; and a value of the first state variable is read from the blockchain based on the first storage location information, to execute the first transaction.

CONSTRAINTS ON OUTPUTS OF AN UNLOCKING TRANSACTION IN A BLOCKCHAIN

NºPublicación:  US20260044857A1 12/02/2026
Solicitante: 
NCHAIN LICENSING AG [CH]
nChain Licensing AG
US_20260044857_PA

Resumen de: US20260044857A1

Trustless deterministic state machines can be implemented using a blockchain infrastructure and state machines can run concurrently over more than one blockchain transaction. The transactions can be done in a Bitcoin blockchain ledger. A first set of constraints on a first unlocking transaction output is determined. A second set of constraints on a second unlocking transaction output is determined. An initial transaction is created to include at least one initial locking script that includes the first set of constraints and the second set of constraints and at least one redeemable value, with unlocking the at least one redeemable value being contingent upon the first set of constraints being satisfied, at least in part, by validating that a unlocking transaction includes the first transaction output, and the second set of constraints being satisfied, at least in part, by validating that the unlocking transaction includes the second transaction output.

SYSTEM AND METHOD OF PROVIDING AND RECORDING PERSONALIZED CONTEXT-SPECIFIC ADVICE IN THE FORM OF AN ARTIFICIAL INTELLIGENCE VIEW OF A HIERARCHICAL PORTFOLIO

NºPublicación:  US20260044900A1 12/02/2026
Solicitante: 
CUMMINGS MARK [US]
CUMMINGS Mark
US_20260044900_PA

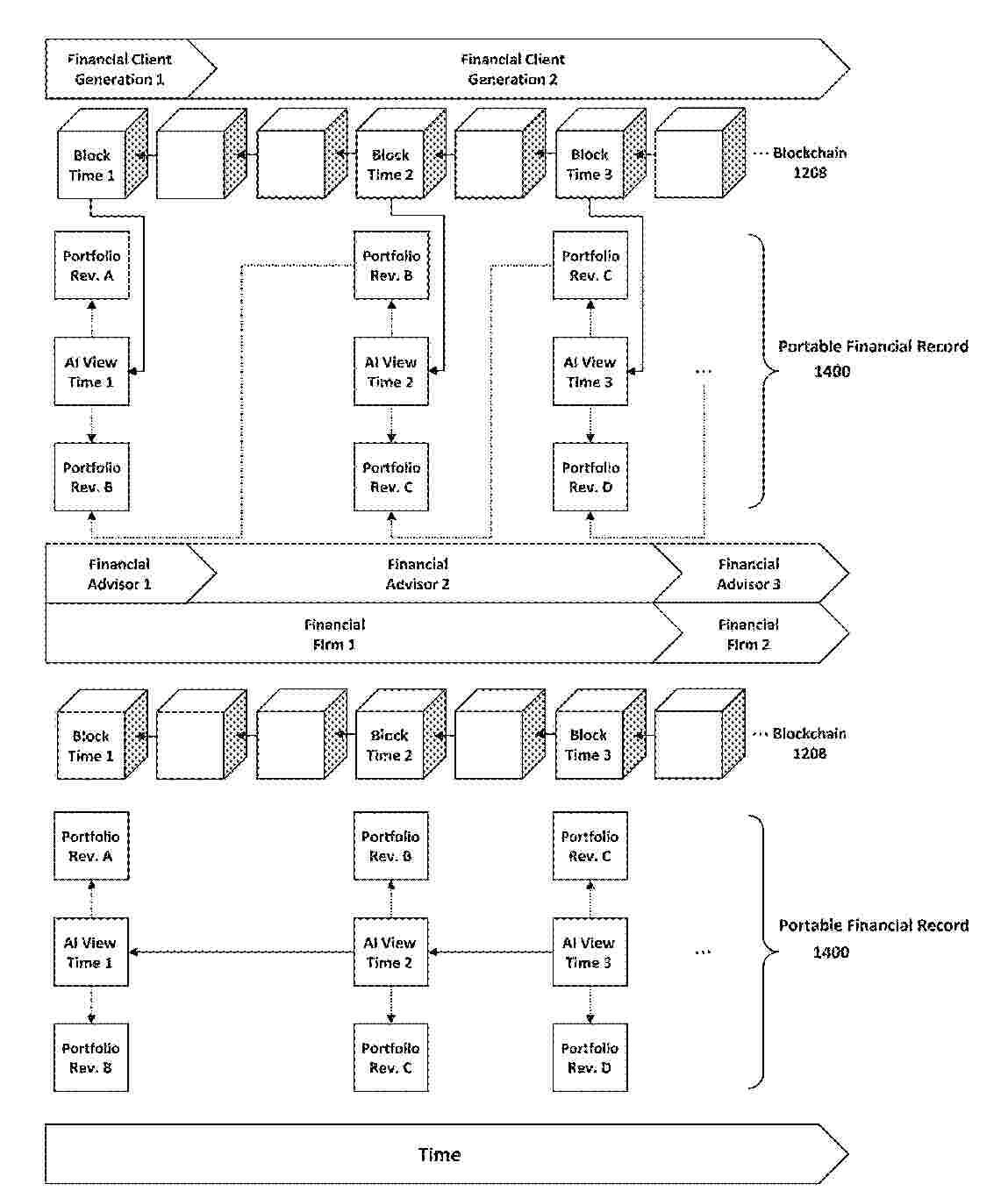
Resumen de: US20260044900A1

In an intelligent system for providing and recording personalized context-specific financial advice, a method may comprise receiving, from a client device, a request for advice regarding a hierarchical portfolio of assets owned by an investor. The method may further comprise generating, based on the output of a neural network machine learning model, artificial intelligence suggestions for changing the hierarchical portfolio, assembling the AI suggestions and suggestion locations into an actionable artificial intelligence view of the hierarchical portfolio, and transmitting the AI view to the client device. The method may further comprise making a cryptocurrency payment related to service fees associated with the AI view via a blockchain network. The method may further comprise submitting placed transactions associated with the AI suggestions to an electronic trading platform, generating a revised hierarchical portfolio, and recording the AI view on a blockchain, thereby establishing or maintaining a portable financial record for the investor.

Secure payment method

NºPublicación:  US20260044850A1 12/02/2026
Solicitante: 
CHEQS GLOBAL LTD [GB]
CHEQs Global Ltd
US_20260044850_PA

Resumen de: US20260044850A1

Methods, systems and software designs are disclosed that may be used to enable simple, safe and secure transfers of digital assets such as cryptocurrencies, fungible tokens, and non-fungible tokens (NFTs) from a transferor to a recipient through a payment channel established by a smart contract on a blockchain. Transfers are enacted by the recipient presenting a voucher to the smart contract, said voucher being digitally signed by the transferor and transmitted to the recipient at a prior date and time. The voucher may be transmitted through an out-of-band channel, for example, through email, or a messenger application, and may take the form of a quick-response code (QR code), a base 64 encoded string, a hexadecimal string or some other representation. The smart contract may impose limitations on a minimum and/or maximum amount that may be transferred, and on a time period in which the voucher may be redeemed.

Data Acquisition Method and Apparatus, and Device

NºPublicación:  US20260044509A1 12/02/2026
Solicitante: 
DIGITAL CURRENCY INST THE PEOPLES BANK OF CHINA [CN]
DIGITAL CURRENCY INSTITUTE, THE PEOPLE'S BANK OF CHINA
US_20260044509_PA

Resumen de: US20260044509A1

A data acquisition method relates to the technical field of the Internet and can solve the problem of low data acquisition efficiency. The data acquisition method includes: creating a target database, wherein the target database is configured to store transaction data corresponding to transaction identifiers of a plurality of transaction events in a block chain, and the transaction data includes input data and output data; receiving a first request message, wherein the first request message is configured to request to acquire target transaction data of a target transaction event, and the first request message includes a target transaction identifier of the target transaction event; in response to the first request message, acquiring the target transaction data from the target database by taking the target transaction identifier as an index; and sending the target transaction data.

TRUSTED TOKENIZED ASSET TRANSACTIONS

NºPublicación:  US20260044580A1 12/02/2026
Solicitante: 
INTEGRATED MAN SYSTEMS HONG KONG LIMITED [HK]
Integrated Management Systems Hong Kong Limited
US_20260044580_PA

Resumen de: US20260044580A1

In one or more embodiments, the present invention provide a system that uses two unique and random codes based on cryptographic blockchain key pairs to represent both the physical asset (private code) and the digital or virtual asset (public code) as a token. In various embodiments, these codes are initially recoded and associated to assets by a known trusted authority and all subsequent data generated by the movement, use, manipulation, and exchange of the asset during its whole lifecycle can be trust-linked (forwards and backwards) using either the tokenized digital version or the physical version, independently from the SAME trust-chain of data recorded on blockchains.

SYSTEMS AND METHODS FOR AUTHENTICATING QUALIFICATIONS TO PREVENT FRAUD

NºPublicación:  US20260044632A1 12/02/2026
Solicitante: 
FMR LLC [US]
FMR LLC
US_20260044632_PA

Resumen de: US20260044632A1

Systems and methods are described for authenticating qualifications to prevent fraud. A server computing device may be configured to issue qualifications on behalf of a first entity, in which such qualifications are stored or recorded on the blockchain via a smart contract. More specifically, a second entity may request the issuance of a qualification by fulfilling one or more conditions that are associated with the qualification. In response, the server computing device may generate a smart contract on the blockchain that executes upon the fulfillment of the one or more conditions. The execution of the smart contract causes a qualification to be stored on the blockchain, which is associated with the second entity.

BLOCKCHAIN INTEROPERABILITY SYSTEM

NºPublicación:  US20260044838A1 12/02/2026
Solicitante: 
HALLIDAY INT INC [US]
HALLIDAY INTERNATIONAL, INC
US_20260044838_PA

Resumen de: US20260044838A1

The present disclosure describes a blockchain interoperability system. The system includes one or more memories and one or more processors communicatively coupled to the one or more memories. The one or more processors, individually or collectively, receive a request for a destination token on a destination blockchain, determine, based on one or more data structures, a first blockchain on which an intermediate token can be converted into the destination token, convert, on the first blockchain, the intermediate token into the destination token, and bridge the destination token from the first blockchain to the destination blockchain.

METHODS AND SYSTEMS FOR AUTHENTICATING PHYSICAL PRODUCTS VIA NEAR FIELD COMMUNICATION TAGS AND RECORDING AUTHENTICATION TRANSACTIONS ON A BLOCKCHAIN

NºPublicación:  US20260045969A1 12/02/2026
Solicitante: 
COLLECTID AG [CH]
CollectID AG
US_20260045969_PA

Resumen de: US20260045969A1

A method includes receiving, by an application executing on a first computing device, from an NFC reader, a unique identifier of an NFC tag. A second computing device stores an identification of the product and the unique identifier of the NFC tag in a blockchain. The second computing device receives, from a third computing device, a request for a determination of authenticity of the NFC tag. The second computing device requests, from the blockchain, an indication of whether the unique identifier of the NFC tag is stored in association with the identification of the product and an indication of ownership. The second computing device receives confirmation that the unique identifier of the NFC tag is stored in association with the identification of the product and the indication of ownership. The second computing device provides, to the third computing device, the confirmation.

IMAGING DEVICE CONFIGURATION VERIFICATION

NºPublicación:  US20260046134A1 12/02/2026
Solicitante: 
KONINKLIJKE PHILIPS N V [NL]
KONINKLIJKE PHILIPS N.V
US_20260046134_PA

Resumen de: US20260046134A1

An imaging system provider (110) provides updates to an imaging facility (120). These updates are referred to as configurations, and each configuration has an associated date-time. The provider stores each configuration and its date-time in a blockchain (130). When the imaging facility acquires an image of a patient, the image is watermarked (125) with an identification of the configuration of the imaging system at the time the image was acquired. When the patient (150) wants to verify whether the image was taken 2024/038033 using the most up to date configuration, the patient submits an identification of the image to a verification system (140). The verifier submits a request for proof from the imagining facility. The imaging facility compares the watermarked information and the information in the block chain, and provides the proof to the verification system, which verifies the proof. To assure privacy and security, a zk-SNARK is used for the proving and verification processes.

METHOD OF UTILIZING PHYSICAL OBJECTS IN A BLOCKCHAIN

NºPublicación:  EP4690163A1 11/02/2026
Solicitante: 
EXPANSE LABORATORIES CORP [US]
Expanse Laboratories Corporation
US_2025266994_PA

Resumen de: US2025266994A1

A physical system of blockchain and method for securely recording and accessing information which includes the ability to be distributed, resilient to interference, resilient to damage, recoverable, anonymous, free of oligarchic control, auditable, and other advantages. Specifically, one embodiment of the present invention may include a plurality of physical tokens and one or more physical reference plates that together provide proof of stake by using a method of linear measurements and keys in a system of coordinate geometry, i.e., distances are measured to and from reference points on either one of the physical tokens and plate to another of the tokens or location on the plate to generate an encryption key to encrypt or decrypt a message or access data stored on a blockchain network.

PORTABLE ACCESS POINT FOR SECURE USER INFORMATION USING A BLOCKCHAIN BACKED CREDENTIAL

NºPublicación:  EP4689964A1 11/02/2026
Solicitante: 
ORACLE INT CORP [US]
Oracle International Corporation
CN_120981807_PA

Resumen de: CN120981807A

Embodiments use credential authentication and user information verification to allow range-limited access of security information to a user. Certain information sharing protocols may require an unambiguous grant to share the user's security information with the requesting entity. In some scenarios, such an explicit grant may be impractical, such as when a user cannot provide such an explicit grant. Embodiments of a security information manager can allow a reviewed entity to range and time limited access to security information of a user in such scenarios, such as when the reviewed entity provides an assertion that the user cannot provide an explicit grant. For example, in one or more scenarios with an emergency situation, the security information manager can allow a reviewed entity to access a limited range of user information corresponding to a relationship of the reviewed entity to a user, a role in a workflow, or other suitable characteristics of the reviewed entity.

OUTSOURCING COMPUTATIONS USING BLOCKCHAIN

NºPublicación:  EP4690648A1 11/02/2026
Solicitante: 
NCHAIN LICENSING AG [CH]
nChain Licensing AG
CN_121195468_PA

Resumen de: WO2024199934A1

A computer-implemented method for outsourcing a computation using a blockchain, comprising: obtaining one or more respective secondary computations, wherein each respective secondary computation is based on a respective part of a primary computation and a respective verification algorithm, and wherein executing each respective secondary computation with a respective input generates a respective result of the respective part of the primary computation and a respective verification output of the respective verification algorithm; obtaining a plurality of respective inputs to the primary computation; and for each respective secondary computation: generating a respective outsourcing transaction, wherein the respective outsourcing transaction is locked to a respective locking value based on the respective verification output; making the respective outsourcing transaction available to a respective computing party; and making both the respective secondary computation, or an encrypted version thereof, and the respective input, or an encrypted version thereof, available to the respective computing party.

METHOD AND APPARATUS FOR REAL TIME, DYNAMIC MANAGEMENT OF REAL ESTATE FINANCE, SERVICES, AND REPORTING

NºPublicación:  EP4693155A2 11/02/2026
Solicitante: 
DOMOS LLC [US]
DOMOS, LLC
EP_4693155_A2

Resumen de: EP4693155A2

Real time, dynamic management of real estate finance, services, and reporting maintains a website accessible to a homeowner and an investor that displays terms, parameters, and upcoming actions under a housing finance arrangement; stores a housing instrument in a blockchain; implements adjustments under a balancing mechanism; receives, periodically, a message from a managing entity initiating a balancing entry onto the housing instrument; transmits a query to the blockchain for data relevant to a balancing calculation; receives the data; determines an updated balance; writes an updated account balance along with details of the computation on the housing instrument in the blockchain, modifies a website accessible to the homeowner and investor to display the updated account balance, and alerts the homeowner and investor of the updated account balance through a mobile device.

BLOCKCHAIN IDENTITIES

NºPublicación:  EP4693144A2 11/02/2026
Solicitante: 
TOLLEN SOFTWARE LTD [GB]
Tollen Software Limited
EP_4693144_PA

Resumen de: EP4693144A2

The invention is directed to computer-based method and a computer system for generating a blockchain address. The method comprises receiving a request for a new blockchain address for a user, the request including a public key, which has an associated private key, and identification information for the user, and generating the address based on a combination of the public key and the identification information.

INTEGRATING EXTENSIONS AND CUSTOMIZATIONS ON BLOCKCHAIN WALLETS

NºPublicación:  EP4690062A1 11/02/2026
Solicitante: 
AVA LABS INC [US]
Ava Labs, Inc
KR_20250166098_PA

Resumen de: US2025225504A1

Various aspects of the subject technology relate to systems, methods, and machine-readable media for extending and customizing a blockchain wallet. Various aspects may include providing, to users of a blockchain platform, a blockchain wallet configured to provide standard services to the users, and, providing, to the users, a sandbox environment that only communicates with the blockchain wallet through a secure message gateway. Aspects may also include storing, in the sandbox environment, a plugin configured to provide add-on services, and executing the plugin within the sandbox environment to enable the plugin to provide, as an extension of the blockchain wallet through the secure message gateway, the add-on services to the plurality of users.

BLOCKCHAIN-BASED IOT

NºPublicación:  EP4690662A1 11/02/2026
Solicitante: 
HUBBELL INC [US]
Hubbell Incorporated
US_20260005893_PA

Resumen de: US20260005893A1

A method may create a network block related to one or more devices located within the physical space. The method may write the network block to a ledger under a first user profile. The method may receive a request to transfer ownership of the network block. The method may link the network block to a second user profile in response to receiving the request.

METHOD AND SYSTEM OF A BLOCKCHAIN PAYMENT SOLUTION FOR PAYMENT CARDS WITH SELF-CUSTODIAL WALLETS

NºPublicación:  EP4690068A1 11/02/2026
Solicitante: 
MASTERCARD INTERNATIONAL INC [US]
Mastercard International Incorporated
KR_20250171273_PA

Resumen de: CN120937031A

A method of processing a blockchain transaction using a payment card and a linked blockchain wallet includes: receiving an authorization request for a payment transaction initiated using the payment card, where the authorization request includes transaction data including at least a payment card number, a transaction amount, and a destination address; identifying the linked block chain wallet based on the association between the linked block chain wallet and the payment card number; verifying one or more usage restrictions of the linked blockchain wallet based at least on a transaction history and transaction data of the linked blockchain wallet; and executing a smart contract associated with the linked blockchain wallet stored on the blockchain of the blockchain network, wherein at least the transaction amount and the destination address are provided as inputs for the smart contract.

TRANSACTION PROCESSING METHOD, APPARATUS, DEVICE AND STORAGE MEDIUM

NºPublicación:  EP4693153A1 11/02/2026
Solicitante: 
DIGITAL CURRENCY INST THE PEOPLES BANK OF CHINA [CN]
SHENZHEN FINANCIAL TECH INSTITUTE FINANCIAL TECH INSTITUTE PBC [CN]
Digital Currency Institute, The People's Bank of China,
Shenzhen Financial Technology Institute (Financial Technology Institute, PBC)
EP_4693153_PA

Resumen de: EP4693153A1

A transaction processing method, an apparatus, a device and a storage medium, relating to the technical field of payment transactions, and used for at least solving the problem in the related art of how to generate digital currency in cross-border payment systems. The technical solution of the present disclosure is as follows: receiving an issuing indication message sent by an off-chain transaction system, the issuing indication message comprising an off-chain participant identifier, a first target amount and a deduction success indication, and the deduction success indication being used for indicating that currency of the first target amount has been successfully deducted from a local bank account or a local digital currency wallet of the off-chain participant; and, in response to the issuing indication message, generating digital currency corresponding to the first target amount in a digital currency wallet of an on-chain participant node corresponding to the off-chain participant identifier of a block chain network.

METHOD AND SYSTEM FOR PROCESSING PERSONAL INFORMATION BY USING SMART CONTRACT-BASED TRUSTED EXECUTION ENVIRONMENT

NºPublicación:  EP4694028A1 11/02/2026
Solicitante: 
AVCHAIN INC [KR]
AvChain Inc
EP_4694028_PA

Resumen de: EP4694028A1

A method for processing personal information by using a smart contract-based trusted execution environment according to an embodiment of the present invention comprises the steps in which: a data processing platform server generates a trusted execution environment including a data processing code, in response to a data processing request received from a data processing request device according to a smart contract distributed on a blockchain; the trusted execution environment decrypts first data acquired from a data generation device; the trusted execution environment processes the decrypted first data on the basis of the data processing code so as to generate a data processing result; and the trusted execution environment provides the data processing result to the data processing request device according to the smart contract.

METHOD OF OPERATING A BLOCKCHAIN WALLET

NºPublicación:  EP4690070A1 11/02/2026
Solicitante: 
QUANTUM EMOTION CORP [CA]
Quantum Emotion Corp
KR_20250170638_PA

Resumen de: AU2024241772A1

The method can include receiving a key generation request from a user; providing at least one value of a cost parameter associated to the user; calculating a cost value for a first key generation scheme using a cost function for the first key generation scheme and the at least one value of a cost parameter; calculating a cost value for a second key generation scheme using a cost function for the second key generation scheme and the at least one value of a cost parameter; comparing the cost value for the first key generation scheme to the cost value for the second key generation scheme; selecting one of the first key generation scheme and the second key generation scheme based on the results of the comparison; generating a blockchain key based on the selected key generation scheme; and storing the blockchain key in a non-transitory computer memory.

TRUSTED TOKENIZED ASSET TRANSACTIONS

NºPublicación:  EP4694030A1 11/02/2026
Solicitante: 
INTEGRATED MAN SYSTEMS HONG KONG LIMITED [HK]
Integrated Management Systems Hong Kong Limited
EP_4694030_A1

Resumen de: EP4694030A1

In one or more embodiments, the present invention provide a system that uses two unique and random codes based on cryptographic blockchain key pairs to represent both the physical asset (private code) and the digital or virtual asset (public code) as a token. In various embodiments, these codes are initially recoded and associated to assets by a known trusted authority and all subsequent data generated by the movement, use, manipulation, and exchange of the asset during its whole lifecycle can be trust-linked (forwards and backwards) using either the tokenized digital version or the physical version, independently from the SAME trust-chain of data recorded on blockchains.

Blockchain-based food history tracking method and system

NºPublicación:  KR20260020243A 10/02/2026
Solicitante: 
박태준

Resumen de: KR20260020243A

본 발명은 신선 커피 유통이력 모니터링 시스템에 관한 것으로서, 보다 상세하게는 커피 물류 절차상의 QR코드를 적용하고, 공적 증빙 자료를 공유하여 커피 상태정보, 가공정보 및 관리정보를 자동으로 공유, 생성, 입력, 수집, 모니터링, 분석 및 관리하는 기술에 관한 것이다.

BLOCKCHAIN BASED IDENTIFICATION SYSTEM AND METHOD PERFORMING THEREOF

NºPublicación:  KR20260020003A 10/02/2026
Solicitante: 
주크로스허브

Resumen de: KR20260020003A

본 발명에 따른 블록체인 기반의 분산형 신원 확인 시스템은 DID((Decentralized Identifier)와 함께 디지털 신분증의 발급이 요청되면 DID 관련 정보를 블록체인에 등록한 후 디지털 신분증을 발급하여 제공하는 신원 확인 서버, 사용자 등록 절차를 통해 보인 인증이 완료된 후 블록체인을 통해 DID를 발급받은 후 상기 DID와 함께 디지털 신분의 발급을 신원 확인 서버에 요청한 후, 디지털 신분증의 발급이 완료되면 개인키를 이용하여 디지털 신분증에 서명한 후 상기 개인키와 매칭되는 공개키를 블록체인에 등록하는 외국인 사용자 단말 및 상기 외국인 사용자 단말로부터 개인키로 서명된 디지털 신분증이 수신되면 상기 블록체인에서 외국인 사용자의 공개키를 조회한 후 상기 공개키를 이용하여 상기 디지털 신분증의 서명을 검증하고, 상기 검증 결과에 따라 상기 국내 서비스를 외국인 사용자 단말에 제공하는 국내 서비스 제공자 서버를 포함한다.

METHOD OF MANAGING ACCESS RIGHTS OF BLOCKCHAIN SENSITIVIE INFORMATION

NºPublicación:  KR20260017961A 06/02/2026
Solicitante: 
주식회사리트러스트
KR_20260017961_PA

Resumen de: KR20260017961A

블록체인 민감 정보 액세스 권한 관리 방법이 개시된다. 액세스 권한 관리 서버가 상기 고객의 블록체인 지갑 주소로 NFT를 발행하고, 블록체인이 상기 발행된 NFT를 해당 고객에게 발급하는 단계; 고객 단말이 상기 발급된 NFT를 이용하여 해당 고객정보/고객민감정보에 대한 액세스를 블록체인으로 요청하고, 상기 블록체인이 상기 요청에 대응하여 고객정보/고객민감정보의 링크를 상기 스토리지 서버로 제공하는 단계; 상기 스토리지 서버가 상기 제공된 고객정보/고객민감정보의 링크를 통해 고객정보/고객민감정보를 상기 고객 단말로 전달하는 단계; 상기 고객 단말이 상기 스토리지 서버로부터 고객정보/고객민감정보를 수신하고, 수신된 고객정보/고객민감정보를 상기 고객의 개인키를 이용하여 복호화하여 확인하는 단계를 구성한다.

IoT HIERARCHICAL BLOCKCHAIN SYSTEM THAT STORES AND PROCESSES IoT DATA

NºPublicación:  KR20260017683A 06/02/2026
Solicitante: 
주식회사시큐어링크
KR_20260017683_PA

Resumen de: KR20260017683A

본 개시의 몇몇 실시예에 따른, IoT 데이터를 저장 및 처리하는 계층형 블록체인 시스템이 개시된다. 상기 계층형 블록체인 시스템은 제1 디바이스에서 발생된 이벤트와 관련된 제1 트래픽 데이터 및 상기 제1 디바이스 보다 과거의 정책을 이용하는 레거시 디바이스에서 발생된 이벤트와 관련된 제2 트래픽 데이터를 저장하는 서브 원장(Sub Ledger); 상기 서브 원장에 연결되어, 상기 제1 디바이스에 미리 지정된 정책 및 상기 계층형 블록체인 시스템을 구성하는 네트워크 내 관리 정책 API를 통해 상기 제1 트래픽 데이터와 관련된 거래를 하위 블록으로 생성하는 제1 노드; 상기 서브 원장에 연결되어, 상기 레거시 디바이스에 미리 지정된 정책 및 상기 관리 정책 API를 통해 상기 제2 트래픽 데이터와 관련된 거래를 하위 블록으로 생성하는 레거시 노드; 미리 지정된 블록 생성 기준에 따라 수집된 트래픽 데이터와 관련된 세부 거래 내역을 요약한 상위 블록을 생성하는 메인 원장(Main Ledger); 및 상기 메인 원장을 구성하고, 상기 하위 블록을 포함하는 상위 블록을 생성하는 메인 노드를 포함할 수 있다.

NON-FUNGIBLE TOKEN BASED SUSTAINABILITY CREDITS AND MARKETPLACE

NºPublicación:  US20260038046A1 05/02/2026
Solicitante: 
4652327 CORP [CA]
4652327 Corporation
US_20260038046_PA

Resumen de: US20260038046A1

Systems and methods presented herein provide for a non-fungible token (NFT) sustainability credit marketplace. One system includes a regulating authority platform operable to generate and issue an NFT for a sustainability credit, and an organization platform operable to receive the issued NFT sustainability credit from the regulating authority platform over a network. A trading platform receives the NFT sustainability credit from the organization platform, posts the NFT sustainability credit for sale, conducts a transaction of the NFT sustainability credit between the organization platform and a buyer platform, and instantiates the transaction in a block of a blockchain of the NFT sustainability credit. A plurality of nodes validates the block and manage the blockchain of the NFT sustainability credit.

BLOCKCHAIN-BASED DATA PROCESSING METHOD AND APPARATUS, DEVICE, STORAGE MEDIUM, AND PROGRAM PRODUCT

NºPublicación:  US20260037973A1 05/02/2026
Solicitante: 
TENCENT TECH SHENZHEN COMPANY LIMITED [CN]
Tencent Technology (Shenzhen) Company Limited
US_20260037973_PA

Resumen de: US20260037973A1

This application discloses a blockchain-based data processing method performed by a computer device. The method includes: determining a token identification in response to a resource reception request; calling a general callback function in a smart contract of a blockchain and determining M virtual resources having the token identification issued by an issuing object in the blockchain; acquiring a resource attribute of the M virtual resources and determining a token attribute corresponding to the token identification based on the resource attribute of the M virtual resources, the issuing object holding a target virtual resource in the M virtual resources, and the M being a positive integer; and determining a resource identification of the target virtual resource transferred to a receiving object based on the token attribute of the token identification, the resource identifications corresponding to different token attributes being different.

SERVER, INFORMATION PROCESSING SYSTEM, METHOD, AND PROGRAM

NºPublicación:  WO2026029192A1 05/02/2026
Solicitante: 
CITY DIGITAL INC [JP]
HAYASHI GRAPE LABORATORY CO LTD [JP]
\u682A\u5F0F\u4F1A\u793E\u30B7\u30C6\u30A3\u30FC\u30C7\u30B8\u30BF\u30EB,
\u682A\u5F0F\u4F1A\u793E\u6797\u3076\u3069\u3046\u7814\u7A76\u6240
WO_2026029192_PA

Resumen de: WO2026029192A1

This server acquires DNA information pertaining to a farm product, plant breeder's rights information pertaining to the farm product, and agreement information pertaining to handling of the farm product, which have each been transmitted from a terminal. The server associates the DNA information pertaining to the farm product, the plant breeder's rights information pertaining to the farm product, and the agreement information with each other, transmits said information to a blockchain node, and registers the combination of the DNA information pertaining to the farm product, the plant breeder's rights information, and the agreement information to a blockchain held by the blockchain node, thereby making it possible to manage the farm product.

HYDRAULIC EXERCISE SYSTEM WITH BLOCKCHAIN-BASED TOKEN CONVERSION

NºPublicación:  US20260034402A1 05/02/2026
Solicitante: 
MAYNARD ALAN WILLIAM [AU]
Maynard Alan William
US_20260034402_PA

Resumen de: US20260034402A1

A system and method for generating cryptocurrency coins based on physical exercise is provided. The system includes a hydraulic resistance control valve coupled to an actuator, which regulates bidirectional oil flow to establish a variable resistance load corresponding to the user's effort. An exercise attachment is mechanically coupled to the actuator, enabling a user to perform exercises. An electronic control unit equipped with pressure transducers and accelerometer sensors captures hydraulic pressure, resistance settings, and motion data, generating digital exercise data. A processor calculates power output in watts from the exercise data, converts the power output into exercise tokens according to a watt-to-token conversion algorithm, and transmits the tokens to a blockchain exchange interface. The blockchain exchange interface converts the tokens into cryptocurrency coins deposited into a user's cryptocurrency wallet. In some embodiments, the system further stores electrical energy in lithium-ion batteries and mints non-fungible tokens (NFTs) associated with performance milestones.

SYSTEM AND METHOD FOR MINING TOKENS WITH USER DATA

NºPublicación:  US20260037959A1 05/02/2026
Solicitante: 
CAMPBELL ORRIN VINCENT [US]
Campbell Orrin Vincent
US_20260037959_PA

Resumen de: US20260037959A1

The present invention discloses a method or a system for verifying, storing and tokenizing data in cryptocurrency mining process by exchanging user data anonymously. The method comprises various steps like creating one or more smart contracts between a user and an application or platform or software, inputting by the user on a user device, user information onto the application or the platform or the software through an user interface, providing by the application or the platform or the software an option to store the inputted user information on to a server or database, confirming or verifying the storing of the user information onto the server or database, generating one or more digital tokens by the application or the platform or the software in response to the stored user information at the server or database, assigning by the application or the platform or the software, a blockchain network based wallet address to the user device and transferring by the application or the platform or the software, the generated tokens to the wallet address of the user.

METHOD OF PULL-BASED REAL TIME PAYMENT AUTHORIZATION

NºPublicación:  US20260037943A1 05/02/2026
Solicitante: 
AMERICAN EXPRESS TRAVEL RELATED SERVICES COMPANY INC [US]
American Express Travel Related Services Company, Inc
US_20260037943_PA

Resumen de: US20260037943A1

Disclosed herein are system, apparatus, article of manufacture, method and/or computer program product embodiments, and/or combinations and sub-combinations thereof, for allowing an account holder to authorize an entity to issue pull requests for funds to be transferred using real time payment rails. A first account representing a store of central bank digital currency (CBDC) of a first user may be linked with a second account representing a store of central bank digital currency (CBDC) of a second user. A request may be received, from one of the first and second user, to transfer CBDC from the first account to the second account. From another of the first and second user, an authorization may be received to transfer the CBDC. In response to the authorization, an entry may be written to a blockchain ledger effecting the requested transfer of the CBDC from the first account to the second account.

SYSTEMS AND METHODS FOR BLOCKCHAIN-BASED CERTIFIED RANDOM FUNCTION USING QUANTUM RANDOM CIRCUIT GENERATOR

NºPublicación:  US20260037965A1 05/02/2026
Solicitante: 
JPMORGAN CHASE BANK N A [US]
JPMORGAN CHASE BANK, N.A
US_20260037965_PA

Resumen de: US20260037965A1

A method may include: receiving, by a smart contract, a request for a random number and a randomness seed from a user; deploying the request as a transaction that is written on a first block in the decentralized ledger; generating, by an oracle, a plurality of pseudorandom quantum circuits using the randomness seed; providing the plurality of pseudorandom quantum circuits to a quantum randomness source, wherein the quantum randomness source executes the quantum circuits and returns a sequence of random bits to the oracle; writing the sequence of random bits to a new block in the decentralized ledger; hashing the sequence of random bits and a block hash for the new block; and returning the hash of the sequence of random bits and the block hash to the user computer program, wherein the user consumes hash of the sequence of random bits and the block hash.

DETECTING BATCHED TRANSACTIONS

NºPublicación:  US20260037961A1 05/02/2026
Solicitante: 
MASTERCARD INT INCORPORATED [US]
MASTERCARD INTERNATIONAL INCORPORATED
US_20260037961_PA

Resumen de: US20260037961A1

A computer implemented method to obtain a batch transaction detection model that uses a machine learning process to detect that a transaction of a digital currency is a batch transaction is described. The method comprises obtaining transaction data from a block in a blockchain, wherein the transaction data comprises a plurality of items; generating an aggregated transaction data set of the transaction data and labelling the aggregated transaction data set according to whether the transaction is a batch transaction, using a feature selection method to remove from the aggregated transaction data redundant features and collinear features, to generate a reduced transaction data set having substantially independent features relevant to batch transaction detection. The method trains, tests and validates the batch transaction detection model using the reduced transaction data set; where the trained batch transaction detection model is adapted to determine whether a transaction is a batch transaction.

Information Processing Method, Non-Transitory Computer-Readable Storage Medium and Information Processing Apparatus

NºPublicación:  US20260038045A1 05/02/2026
Solicitante: 
SOCIALGOOD INC [JP]
SocialGood, Inc
US_20260038045_PA

Resumen de: US20260038045A1

An information processing method causing a computer to execute processing of acquiring demand-supply information related to demand or supply for crypto assets on a block chain system; and restricting, based on acquired demand-supply information, a transfer quantity of tokens that can be converted into the crypto assets held by a user.

SIGNED BLOCKCHAIN TRANSACTIONS USING NON-INTERNET PROTOCOL TRANSMISSIONS

NºPublicación:  US20260037956A1 05/02/2026
Solicitante: 
MYSTEN LABS INC [US]
Mysten Labs, Inc
US_20260037956_PA

Resumen de: US20260037956A1

The present technology pertains to a hybrid communication blockchain transaction communication system and method of using the same. A method is disclosed for facilitating internet-less blockchain transactions. The method involves an application sending an SMS message requesting a coin object with a minimum value, identifying the sender's wallet address, and storing the coin object on a blockchain. The application then receives an SMS with the coin object identification, versioned ID, and digest. The application captures user input to define the recipient wallet address and transaction type. It sends a third SMS containing the sender's signature and transaction details, including the sender's wallet address, coin object ID as gas input, recipient wallet address, and transaction type. The application receives a fourth SMS with a transaction digest, confirming the transaction has been recorded on the blockchain.

NON-FUNGIBLE CRYPTO WALLET CREATION, WALLET FUNDING AND ON BLOCKCHAIN NFT PAYMENT PROCESSING UTILITY USING BIOMETRIC COPYRIGHT-AS-A-SERVICE AND PROVENANCE NETWORK

NºPublicación:  US20260037962A1 05/02/2026
Solicitante: 
TALIWARE INC [US]
Taliware, Inc
US_20260037962_PA

Resumen de: US20260037962A1

A system for creating, transferring and managing digital assets is provided wherein a blockchain is configured to create an original digital asset as an NFT, and simultaneously, creating and authenticating the digital asset by linking the biometrics of the creator to the digital asset on the blockchain, wherein the NFTs are managed through a crypto wallet using cryptocurrency for at least the creation and transfer of the digital assets.

FAST SYNC BLOCKCHAIN SYSTEM AND METHOD

NºPublicación:  US20260039474A1 05/02/2026
Solicitante: 
VISA INT SERVICE ASSOCIATION [US]
Visa International Service Association
US_20260039474_PA

Resumen de: US20260039474A1

An embodiment includes a node receiving one or more blocks of a blockchain. The node comprising a data storage can store, in the data storage, a plurality of sets of keys and data values associated with keys of the plurality of sets of keys, the data values being data associated with the blockchain. The node can perform a validation process for the one or more blocks. The validation process includes for each of the one or more blocks a) identifying a set of keys associated with the block, b) retrieving data values associated the identified keys from the data storage, c) storing the retrieved data values into volatile memory, and d) validating the block using the data values in the volatile memory. The node can then complete the validation of the one or more blocks.

SYSTEM AND METHOD FOR SCALABLE AUTHENTICATION AND DATA MANAGEMENT IN A SMART CITY NETWORK

NºPublicación:  US20260040080A1 05/02/2026
Solicitante: 
KHASHAN OSAMA AHMED [AE]
KHASHAN Osama Ahmed
US_20260040080_PA

Resumen de: US20260040080A1

The present invention relates to the field of smart city networks, specifically to systems and methods for enhancing security, scalability, and data integrity. More particularly, the invention focuses on a decentralized system for authentication and data management in Internet of Things (IoT) ecosystems within a smart city context. The system addresses critical challenges in conventional centralized architectures, such as single points of failure, scalability bottlenecks, and vulnerabilities to malicious attacks. By integrating a multi-layered approach that combines elliptic curve cryptography for secure node registration, a trust analysis model for real-time behavioral and data trustworthiness assessment, and a blockchain network for decentralized, immutable transaction verification, this system provides a robust and resilient solution. The system ensures secure communication between IoT nodes and fog servers, validates data integrity, and maintains a transparent and tamper-proof ledger of activities, thereby facilitating reliable and efficient operation of various smart city services.

Distributed Storage and Authentication System

NºPublicación:  US20260039661A1 05/02/2026
Solicitante: 
METATOPE LLC [US]
CPI TECH GMBH [DE]
Metatope LLC,
CPI Technologies GmbH
US_20260039661_PA

Resumen de: US20260039661A1

An authorized computing device receives indications of data actions taken end users on a user platform. Each data action is selected from a group comprising an edit action, a create action, or a delete action. The authorized computing device collects the data actions to form a batch of data actions. The batch of data actions include data actions that have occurred within a range of time. The authorized computing device generates a Merkle tree corresponding to the batch of data actions. Each leaf of the Merkle tree is associated with a respective data action in the batch of data actions. The authorized computing device published a root node of the Merkle tree to a smart contract associated with the user platform on a blockchain. The root node of the Merkle tree is used to verify individual data actions in the batch of data actions.

SYSTEMS AND METHODS FOR PROCESSING OPTIMIZATIONS AND TEMPLATING USING METADATA-DRIVEN BLOCKCHAIN TECHNIQUES

NºPublicación:  US20260039667A1 05/02/2026
Solicitante: 
LIVE NATION ENTERTAINMENT INC [US]
Live Nation Entertainment, Inc
US_20260039667_PA

Resumen de: US20260039667A1

The present disclosure generally relates to Blockchain-based systems configured to process access rights to resources in a computationally efficient manner. Certain embodiments of the present disclosure generally relate to systems and methods that generate distributed applications to represent digital access rights to resources. Additionally, certain embodiments of the present disclosure generally relate to systems and methods that enhance the processing of assigning access rights using a Blockchain-based system using metadata.

SYSTEMS AND METHODS TO DYNAMICALLY PROVISION MULTI-PARTY COMPUTATION (MPC) NODES

NºPublicación:  US20260039457A1 05/02/2026
Solicitante: 
NASDAQ INC [US]
Nasdaq, Inc
US_20260039457_PA

Resumen de: US20260039457A1

A digital asset custody system dynamically provisions clusters of multi-party computation (MPC) nodes to securely create different private key shares for signing digital asset transactions and generate blockchain addresses for digital asset owners (AOs). Each cluster of MPC nodes is configured for an AO and to operate in a plurality of computing environments. Each of the computing environments is associated with a respective different signing party, and each computing environment includes a respective one of plural MPC node initializers and a respective one of plural MPC node operators. An MPC controller and MPC node initializers perform operations to generate first configuration information for each MPC node in a first MPC cluster of MPC nodes. Each MPC node operator, based on the first configuration information, deploys one of the MPC nodes in the first MPC cluster in the computing environment corresponding to where the MPC node operator operates, such that the one MPC node in the first MPC cluster is deployed into a different one of the plurality of computing environments as compared to the computing environments into which the other MPC nodes in the first MPC cluster are deployed. Analogous operations are performed to generate second configuration information to deploy a second MPC cluster, third configuration information to deploy a third MPC cluster, etc. as desired.

Supplemental Digital Content Access Control using Nonfungible Tokens (NFTs)

NºPublicación:  US20260039493A1 05/02/2026
Solicitante: 
EBAY INC [US]
eBay Inc
US_20260039493_PA

Resumen de: US20260039493A1

Techniques are described, as implemented by computing devices, to control access to digital content through use of nonfungible tokens (NFTs). This is performed by leveraging a blockchain such that digital content associated with an item is made available to supplement use of the item (e.g., to supplement use of a physical item, digital content, and so forth) or make other functionality available based on a user's possession of the item.

METHODS AND SYSTEMS FOR STREAMING BLOCK TEMPLATES WITH CROSS-REFERENCES

NºPublicación:  US20260039492A1 05/02/2026
Solicitante: 
NCHAIN LICENSING AG [CH]
nChain Licensing AG
US_20260039492_PA

Resumen de: US20260039492A1

Methods and devices for compressing transaction identifiers by a first mining node in a blockchain network. The method may include building a first candidate block containing a first ordered list of transaction identifiers; receiving, from a second mining node, data defining a second ordered list of transaction identifiers in a second candidate block being mined by the second mining node; determining that at least one of the transaction identifiers in the first ordered list is also in the second ordered list; generating an append message containing data defining the first ordered list of transaction identifiers, wherein the data specifies said at least one transaction identifier in the first ordered list of transaction identifiers by including an index position of said at least one transaction identifier in the second ordered list of transaction identifiers; and transmitting the append message to the second mining node.

CONFIGURING A PORTABLE TRAFFIC MARKER TO BE A NODE IN A BLOCKCHAIN

NºPublicación:  US20260039489A1 05/02/2026
Solicitante: 
TOYOTA MOTOR ENGINEERING & MFG NORTH AMERICA INC [US]
TOYOTA JIDOSHA KK [JP]
Toyota Motor Engineering & Manufacturing North America, Inc,
Toyota Jidosha Kabushiki Kaisha
US_20260039489_PA

Resumen de: US20260039489A1

A system for configuring a portable traffic marker to be a node in a blockchain can include an attachment mechanism, an electrical power source, a communications device, a processor, and a memory. The attachment mechanism can be configured to attach the system to the portable traffic marker. The electrical power source can be configured to provide power to the system. The memory can store a blockchain node module and a communications module. The blockchain node module can include instructions that, when executed by the processor, cause the processor to perform operations of the node in the blockchain. The communications module can include instructions that, when executed by the processor, cause the processor to communicate, via the communications device, with another node in the blockchain.

System and Method with Cryptography for Transferring Recordation and Management Authority over a Real Property Title to a Blockchain Ledger

NºPublicación:  US20260039491A1 05/02/2026
Solicitante: 
GORDON ROGER NORRIS [US]
GORDON Roger Norris
US_20260039491_PA

Resumen de: US20260039491A1

Various methods, apparatuses, systems, and media for creating and maintaining a distributed ledger or blockchain registry are disclosed. A memory is operable to store a blockchain, and a processor is operably coupled to the memory. The processor receives data representative of a titled property from a recording authority ledger, wherein the data representative of the titled property is processed with a hash function to obtain a hash value. The processor creates a blockchain transaction by using the hash value of the data representative of the titled property from the recording authority ledger to the blockchain ledger. The processor executes a smart contract in the blockchain transaction to define one or more terms of transferring the titled property to the blockchain ledger. The processor stores the smart contract in the blockchain transaction on the blockchain ledger, wherein the blockchain ledger comprising a plurality of blockchain transactions.

PRIVATE SMART CONTRACT EVENTS IN A PERMISSIONED BLOCKCHAIN

NºPublicación:  US20260039488A1 05/02/2026
Solicitante: 
ORACLE INT CORPORATION [US]
Oracle International Corporation
US_20260039488_PA

Resumen de: US20260039488A1

Herein is privacy for a smart contract that contains chaincode that sends chaincode events. In a configurable and backwards compatible way, broadcast of a chaincode event can be restricted. Before committing a transaction to a blockchain and without storing a newly generated private event into the transaction, the following are stored into the private event: an event payload, a hash of the payload and, unlike the state of the art, an identifier of a subscriber or organization that can receive the private event. After committing the transaction is an asynchronous detection that the identifier of the subscriber is associated with the event and, responsively, the payload of the event is sent to the subscriber.

SYSTEM AND METHOD FOR CARBON CREDIT TOKENIZATION

NºPublicación:  US20260038005A1 05/02/2026
Solicitante: 
DATAVAULT AI INC [US]
Datavault AI Inc
US_20260038005_PA

Resumen de: US20260038005A1

The illustrative embodiments provide a system, method, device, and platform for managing carbon credits. Information corresponding to carbon credits with carbon emissions are received. A smart contract is executed on a data platform of a blockchain network based at least on the received information. The smart contract specifies one or more parameters for transactions corresponding to the carbon credits. One or more tokens for performing transactions in accordance with the smart contract are generated utilizing the data platform. Transaction for the one or more tokens are performed in accordance with the smart contract. The transactions include at least verifying the authenticity of the one or more tokens. Records of the transactions for the tokens a stored in a distributed ledger associated with the blockchain network.

Composite-Structured Lightweight Semi-truck and tractor-Trailer Energy System with artificial intelligence -Enabled Blockchain V2G, Range Extension, and Geo-Fenced Advertising

NºPublicación:  US20260034887A1 05/02/2026
Solicitante: 
WATTS ANDRE [US]
Watts Andre
US_20260034887_PA

Resumen de: US20260034887A1

A structured semi-truck and tractor-trailer system a lightweight composite-structured frame molded from advanced two dimensional polyarylene 2DPA-1 (from a family of aromatic-backbone polymers, of which this is one specialty member) and carbon nano-lattice with nitrogen, integrating a renewable energy node that combines high-efficiency solar films, axial-flux generators, structural battery elements, and graphene-enhanced supercapacitors, yielding many kilowatt-hours per day 400-600 kWh/day and scalable beyond 1,000 kWh/day with tandem configurations. An onboard artificial intelligence (“AI”) engine optimizes energy flows, predicts vehicle and grid demand, and manages a blockchain-enabled smart-contract vehicle-to-grid (“V2G”) sell-back platform. The 2DPA-1 also works with carbon nano-lattice polymers in regards to 3 dimensional lattice structures. A geo-fenced electroluminescent display array provides dynamic, location-targeted advertising. The system extends driving range, reduces grid load, strengthens resilience through bidirectional energy exchange, and generates ancillary revenue-all while preserving trailer aerodynamics and payload capacity.

Secure Message Lifecycle Management Using Off-Chain Storage and Blockchain-Anchored Event Records

NºPublicación:  AU2026200240A1 05/02/2026
Solicitante: 
GOLOGIC GROUP PTY LTD
GOLOGIC GROUP PTY LTD
AU_2026200240_A1

Resumen de: AU2026200240A1

Abstract A computer-implemented method for managing secure message content is described. Message content associated with a message is received and stored in an off-chain content store. A payload identifier is generated that uniquely identifies the content independently of its physical storage location, and a first cryptographic hash of the stored content is computed. An off-chain mapping store holds a mapping record keyed by the payload identifier, including location data for retrieving the content and the first hash. A message event item including the payload identifier, the first hash and message lifecycle data is serialised into a canonical representation, hashed to obtain an event hash, and immutably anchored on a blockchain. Upon a subsequent access request, the associated message event item is re- serialised and verified against the blockchain event hash before the payload identifier is used to locate and retrieve the content. A third hash of the retrieved content is compared with the first hash to decide whether to release or withhold the content. Abstract an b s t r a c t a n g o C) an a n : o

DISTRIBUTED STORAGE AND AUTHENTICATION SYSTEM

NºPublicación:  WO2026030594A1 05/02/2026
Solicitante: 
METATOPE LLC [US]
CPI TECH GMBH [DE]
METATOPE LLC,
CPI TECHNOLOGIES GMBH
WO_2026030594_PA

Resumen de: WO2026030594A1

An authorized computing device receives indications of data actions taken end users on a user platform. Each data action is selected from a group comprising an edit action, a create action, or a delete action. The authorized computing device collects the data actions to form a batch of data actions. The batch of data actions include data actions that have occurred within a range of time. The authorized computing device generates a Merkle tree corresponding to the batch of data actions. Each leaf of the Merkle tree is associated with a respective data action in the batch of data actions. The authorized computing device published a root node of the Merkle tree to a smart contract associated with the user platform on a blockchain. The root node of the Merkle tree is used to verify individual data actions in the batch of data actions.

IMPROVED BLOCKCHAIN GOVERNANCE SYSTEM AND METHOD

NºPublicación:  WO2026030206A1 05/02/2026
Solicitante: 
AMGI ANIMATION LLC [US]
AMGI ANIMATION LLC
WO_2026030206_PA

Resumen de: WO2026030206A1

A system and method of governing a blockchain may be disclosed, wherein a determination is made if a blockchain user has appropriate right to transfer. In response, a user is allowed to select a voting delegate to place votes for the blockchain user. The voting delegate may then be displayed a proposal user interface for the voting delegate to create a proposal. The status of the votes for the proposal may be displayed to the voting delegates of the blockchain. After a set period of time, the system and method may count the votes to determine if the proposal is approved or denied.

PRIVATE SMART CONTRACT EVENTS IN A PERMISSIONED BLOCKCHAIN

NºPublicación:  WO2026030240A1 05/02/2026
Solicitante: 
ORACLE INT CORPORATION [US]
ORACLE INTERNATIONAL CORPORATION
WO_2026030240_PA

Resumen de: WO2026030240A1

Herein is privacy for a smart contract that contains chaincode that sends chaincode events. In a configurable and backwards compatible way, broadcast of a chaincode event can be restricted. Before committing a transaction to a blockchain and without storing a newly generated private event into the transaction, the following are stored into the private event: an event payload, a hash of the payload and, unlike the state of the art, an identifier of a subscriber or organization that can receive the private event. After committing the transaction is an asynchronous detection that the identifier of the subscriber is associated with the event and, responsively, the payload of the event is sent to the subscriber.

DETECTING BATCHED TRANSACTIONS

NºPublicación:  EP4687089A1 04/02/2026
Solicitante: 
MASTERCARD INTERNATIONAL INC [US]
Mastercard International Incorporated
EP_4687089_PA

Resumen de: EP4687089A1

A computer implemented method to obtain a batch transaction detection model that uses a machine learning process to detect that a transaction of a digital currency is a batch transaction is described. The method comprises obtaining transaction data from a block in a blockchain, wherein the transaction data comprises a plurality of items, each item having a set of features and associated feature values. The method further comprises generating an aggregated transaction data set of the transaction data and labelling the aggregated transaction data set according to whether the transaction is a batch transaction. The method then uses a feature selection method to remove from the aggregated transaction data redundant features and collinear features, in order to generate a reduced transaction data set having substantially independent features relevant to batch transaction detection. The redundant features are features determined not to be predictive for detecting batch transactions and wherein collinear features are features determined to be highly correlated with each other. The method then trains, tests and validates the batch transaction detection model using the reduced transaction data set; where the trained batch transaction detection model is adapted to determine whether a transaction is a batch transaction on the basis of the values of the features determined to be relevant to batch transaction detection.

ROUND-ROBIN-BASED POST-QUANTUM BLOCKCHAIN CONSENSUS METHOD

NºPublicación:  KR20260016205A 03/02/2026
Solicitante: 
한성대학교산학협력단

Resumen de: KR20260016205A

본 발명에 따른 라운드 로빈 기반 양자 내성 블록체인 합의 방법은, 블록체인 네트워크에 참여한 복수의 후보 노드가 난수 생성기를 통해 난수를 각각 생성하는 제1 단계; 상기 복수의 후보 노드가 이전 블록 노드에게 상기 난수를 각각 전파하는 제2 단계; 상기 이전 블록 노드가 상기 복수의 후보 노드로부터 각각 전파받은 상기 난수들을 연결하여 제1 연결값을 생성하는 제3 단계; 상기 이전 블록 노드가 상기 제1 연결값을 해시 함수에 입력하여 해시값(이하, '라운드 해시값'이라 함)을 생성하는 제4 단계; 상기 난수를 각각 해싱(hashing)하여 각 후보 노드별 난수의 해시값(이하, '노드 해시값'이라 함)을 생성하는 제5 단계; 상기 라운드 해시값과 상기 노드 해시값의 차이값을 각각 산출하는 제6 단계; 및 상기 제6 단계에서 산출된 복수의 차이값 중 가장 작은 차이값을 갖는 노드 해시값에 대응하는 후보 노드를 이전 블록 다음 라운드의 신규 블록 생성자로 선정하는 제7 단계;를 포함한다.

A METHOD AND A DEVICE FOR PROVING THE RIGHTS OF INVESTMENT ASSETS THROUGH DIVISION AND MERGING OF BLOCKCHAIN-BASED TOKEN

NºPublicación:  KR20260016404A 03/02/2026
Solicitante: 
주식회사펀블
WO_2026023781_PA

Resumen de: WO2026023781A1

An operation method of a computing device according to an embodiment of the present invention, more particularly, an operation method of a computing device connected to a blockchain network comprises the steps of: receiving, from the blockchain network, application information for issuance of a non-fungible token (NFT) right certificate for asset-combined portfolio information; verifying asset-specific value certification information corresponding to the asset-combined portfolio information by using an authority database; through the blockchain network, issuing a base asset NFT including the asset-combined portfolio information and the verified asset-specific value certification information; and processing one or more NFT asset portfolios according to transaction application information corresponding to the base asset NFT.

PLM Blockchain-based container manufacturing PLM management platform device and controlling method for the same

Nº publicación: KR20260016294A 03/02/2026

Solicitante:

한국기술교육대학교산학협력단주식회사씨와이

Resumen de: KR20260016294A

본 발명은 블록체인 기반의 용기 제작 PLM 플랫폼장치 및 그 제어방법에 관한 것으로, 용기개발을 원하는 고객사 혹은 고객단말기에서 제조사와 브랜드사 서버와 주고받은 이벤트에 대한 정보를 각단계별로 모두 블록체인 원장정보내에 기록저장하고 최종소비자가 자신의 단말기를 통해 용기의 제조에 참여한 기업이나 개인에 대한 이벤트정보를 블록체인 원장정보를 통해 확인할 수 있게함으로써, 구매자가 원하는 용기를 기획단계부터 생산 및 사후관리까지 각 단계별로 처리된 이벤트정보를 기록한 블록체인 원장정보를 확인하여 구매자가 원하는 방향으로 피드백시켜 진행할 수 있으므로 그에 따라 용기제작을 위한 PLM 플랫폼의 활용성을 극대화시킬 수 있음은 물론 one stop으로 진행된 용기 제작 및 판매의 전과정이 기록된 블록체인 원장정보를 원재료 기업이나 제조사 혹은 판매사의 서버에서 서로 양방향으로 체킹하여 용기제작 및 판매를 실행하기때문에 제조기업 쌍방간에 혁신을 이룰수 있고 원활한 소통관계를 형성할 수 있어 그에 따라 플랫폼서비스의 최적화를 실현할 수 있다.

traducir