Ministerio de Industria, Turismo y Comercio LogoMinisterior
 

Alerta

Resultados 441 resultados
LastUpdate Última actualización 18/01/2026 [06:51:00]
pdfxls
Solicitudes publicadas en los últimos 15 días / Applications published in the last 15 days
previousPage Resultados 300 a 325 de 441 nextPage  

货品分拣系统及货品分拣方法

NºPublicación:  CN121289095A 09/01/2026
Solicitante: 
北京三快网络科技有限公司
CN_121289095_PA

Resumen de: CN121289095A

本公开涉及货品分拣系统及方法,该系统包括:控制设备、订单组容器、多个分订单容器、视觉识别设备、机械臂,接收货品分拣任务,控制设备根据货品分拣任务确定关联的货品集合的总货品清单、分拣订单的订单信息、分拣订单对应的分订单容器中至少其一;订单组容器用于盛装按照多个分拣订单的订单信息经预分拣得到的对应多个分拣订单构成的订单组的货品集合;控制设备控制视觉识别设备对货品集合进行货品信息识别,识别结果被与总货品清单或分拣订单的订单信息比对,以确定识别到的目标货品归属的目标分拣订单对应的目标分订单容器,并控制机械臂将视觉识别设备识别到的目标货品移送至目标货品归属的目标分拣订单所对应的目标分订单容器中。

Procédé de suivi et d’optimisation des flux de matières premières pour l’alimentation animale

NºPublicación:  FR3164306A1 09/01/2026
Solicitante: 
CEREOPA [FR]
CEREOPA
FR_3164306_PA

Resumen de: FR3164306A1

Procédé (500) de suivi et d’optimisation de la distribution de matières premières (MP) pour l’alimentation animale dans des élevages, mis en œuvre par ordinateur via des serveurs de bases de données (110, 120), comprenant : une étape (510) de collecte de données d’entrée sur la disponibilité des MP, les besoins nutritionnels d’animaux, et les données économiques locales ; une étape (520) de traitement des données collectées, avec extraction et vérification automatiques ; une étape (530) d’intégration de données physiologiques et recommandations nutritionnelles ; une étape (540) d’optimisation des flux de MP par un algorithme prenant en compte des contraintes économiques, territoriales et nutritionnelles ; une étape (550) de suivi de la consommation des matières premières ; une étape (560) de mise à jour des bases de données ; une étape (570) de calcul d’indicateurs de durabilité ; et une étape (580) de restitution des résultats via une plateforme en ligne. Figure pour l’abrégé : figure 1

Method and system for generalized provenance solution for blockchain supply chain applications

NºPublicación:  AU2025267498A1 08/01/2026
Solicitante: 
MASTERCARD INT INCORPORATED
MasterCard International Incorporated
AU_2025267498_A1

Resumen de: AU2025267498A1

A method for conveying auditable information regarding provenance of a product that is cryptographically accurate while retaining complete anonymity of product and participant on a blockchain includes: receiving a product identifier; generating a 5 digital token by applying a hashing algorithm to the product identifier; generating an entry value by applying the hashing algorithm to a combination of an event identifier and the digital token; generating a digital signature by digitally signing a data package using a private key of a cryptographic key pair, where the data package includes at least a blockchain address, the event identifier, and the digital token; and transmitting 10 the blockchain address, the digital signature, and the entry value to a node in a blockchain network. blockchain network. ov o v

Verfahren und Vorrichtung zum Vertrieb von Waren sowie informationstechnische Schnittstelle

NºPublicación:  DE102024132553A1 08/01/2026
Solicitante: 
NORDDEUTSCH GESUND UG HAFTUNGSBESCHRAENKT [DE]
Norddeutsch Gesund UG (haftungsbeschr\u00E4nkt)

Resumen de: DE102024132553A1

Eine betriebssichere und vertrauensvolle Kommunikation unter Beibehaltung einer möglichst großen Vielzahl an vertraglichen Ausgestaltungen zwischen einer Vielzahl unterschiedlicher Verkaufsräumlichkeiten und einer Vielzahl unterschiedlicher Lieferanten in Bezug auf den Handel mit Waren kann ermöglicht werden, wenn über eine Zentralverwaltung eine informationstechnische Kommunikation bereit gestellt wird, die für einzelne Produkte jeweils zwischen einer Verkaufsräumlichkeit und einem Lieferanten die für eine Lieferung und Veräußerung vereinbarten Bedingungen festhält und jeden einzelnen Verkauf dem Lieferanten transparent zur Verfügung stellt.

EMBEDDED DIGITAL ID SOLUTIONS FOR TRACKING AND MANAGING RECYCLING

NºPublicación:  AU2023457717A1 08/01/2026
Solicitante: 
YAMINE ALEXANDER
YAMINE ELIAS
YAMINE, Alexander,
YAMINE, Elias
AU_2023457717_PA

Resumen de: AU2023457717A1

A device for tracking and managing homogeneous recycling waste containers utilizing a unique embedded digital encoded element comprising specific information which links disposed homogeneous recyclable waste to a first user through a first singular optical tag on an enclosure linking enclosed group associations of a plurality of embedded digital encoded element containers. The plurality of embedded digital encoded element containers are of specific genres of homogeneous waste such as Paper, Plastic, Metal, Glass, General and Organic waste and have a unique digital association within said embedded digital encoded element residing on a homogeneous waste container.

SYSTEM AND METHOD FOR TRAINING AN ARTIFICIAL INTELLIGENCE MODEL WITH DE-PERSONALIZED SECURITY SCREENING IMAGE

NºPublicación:  AU2024273444A1 08/01/2026
Solicitante: 
MATEER CRAIG
MATEER, Craig
AU_2024273444_PA

Resumen de: AU2024273444A1

Embodiments include systems and methods to de-personalize stored security screening images (SSIs) of contents in a volume of space within a luggage item of a passenger captured by security screening imaging machines located at airports in a secure database. The systems and methods train an artificial intelligence model with a plurality of de-personalized SSIs to form a trained artificial intelligence model. The systems and methods receive a current SSI and identify using the trained artificial intelligence model a current contents list in the current SSI.

配送計画装置、配送計画方法、及び、配送計画プログラム

NºPublicación:  JP2026002635A 08/01/2026
Solicitante: 
パナソニックIPマネジメント株式会社
JP_2026002635_PA

Resumen de: WO2025263360A1

The present invention plans a delivery route in consideration of accumulation of delivery skills of a driver. A delivery planning device for creating a delivery plan calculates the cost related to a multi-trip including a plurality of trips for going around to at least one delivery destination from a base and returning to the base, on the basis of the relationship between a plurality of trips included in the multi-trip.

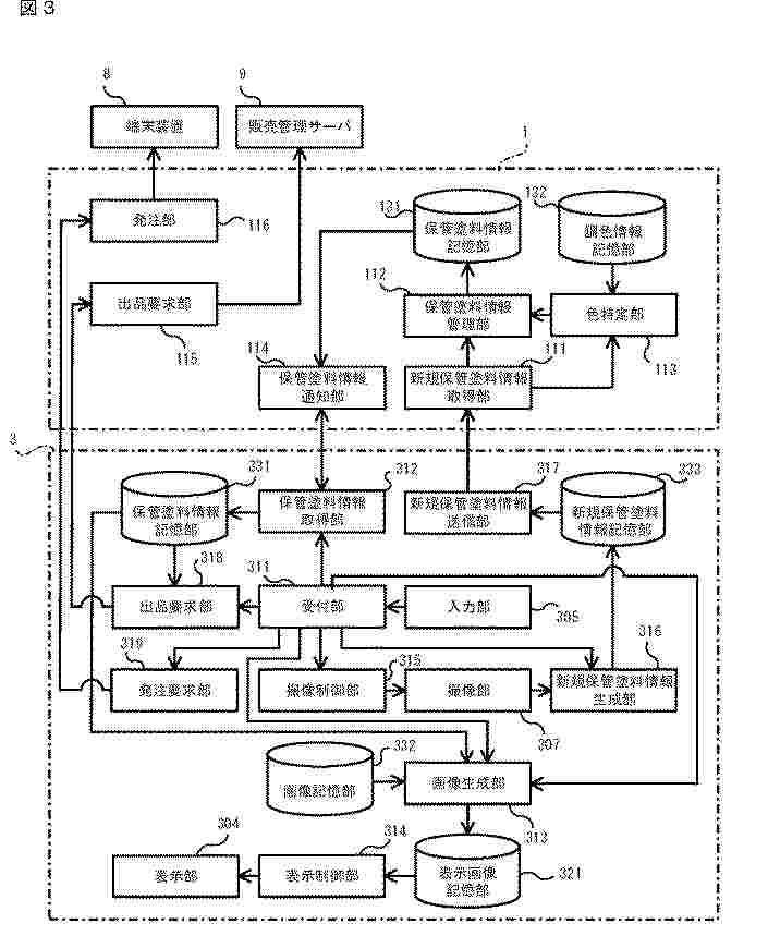
保管塗料管理装置、保管塗料管理システム、保管塗料管理方法およびプログラム

NºPublicación:  JP2026003029A 08/01/2026
Solicitante: 
株式会社源兵衛
JP_2026003029_PA

Resumen de: JP2024000523A

To provide a storage paint management device, a storage paint management system, and a storage paint management method and program capable of easily grasping another color paint that can be produced from stored paints.SOLUTION: A cloud server 1 includes a storage paint information storage part 131 for storing image information showing picked-up images of containers filled with a paint stored by a painter in association with paint identification information, a color specification part 113 for specifying a color that can be realized by being mixed with another paint about respective paints, a storage paint information management part 112 for associating color chart number information showing the specified color with the paint identification information to be stored in the storage paint information storage part 131, and a storage paint information notification part 114 for transmitting storage paint information including the picked-up image, paint identification information and color chart number information of each container filled with a paint to a terminal device 3.SELECTED DRAWING: Figure 3

サーバ、サーバの制御方法及びプログラム

NºPublicación:  JP2026002039A 08/01/2026
Solicitante: 
キヤノン株式会社
JP_2026002039_PA

Resumen de: JP2026002039A

【課題】 ひと月あたりにサービスで規定された印刷枚数以内であれば定額で消耗品が自動配送されるサービスと、のどちらがユーザにとって推奨されるかを決定する仕組みを提供することを目的とする。【解決手段】 印刷に用いられる記録剤を含む消耗品を印刷装置のユーザへ配送するサービスを管理するサーバであって、当該サーバは、ユーザへ配送された消耗品の数に対応する金額を当該ユーザに請求する第1サービスと、印刷装置において印刷された印刷枚数が所定枚数を超えない場合は、ユーザへ配送された消耗品の数に関わらず、所定金額を当該ユーザに請求する第2サービスと、を管理し、前記第1サービスにおいて請求されると推定される金額と、前記第2サービスにおいて請求されると推定される金額と、のうち低い金額に対応するサービスを、推奨されるサービスとして通知する通知手段と、を有する。【選択図】 図9

ピッキング方法、装置、電子デバイス及び読み取り可能な記憶媒体

NºPublicación:  JP2026500876A 08/01/2026
Solicitante: 
北京極智嘉科技股▲ふん▼有限公司
JP_2026500876_A

Resumen de: WO2024222565A1

The present disclosure provides a picking method and apparatus, an electronic device, and a readable storage medium. The picking method comprises: generating a carrying task corresponding to each piece of goods information on the basis of the plurality of pieces of goods information in a warehouse exit order, then respectively sending the carrying tasks to a plurality of first robots, such that the first robots carry, on the basis of the corresponding carrying tasks, target carriers corresponding to the carrying tasks to parking points of a target workstation; determining a picking sequence of the plurality of target carriers on the basis of picking information of each target carrier among the plurality of target carriers, wherein the picking information comprises a picking duration and/or a picking priority; and on the basis of the picking sequence of the plurality of target carriers, sending a target picking instruction to a picking device, such that the picking device carries target goods in the target carriers to the target workstation according to the picking sequence of the plurality of target carriers.

A REFRIGERATION UNIT AND SYSTEM

NºPublicación:  US20260007255A1 08/01/2026
Solicitante: 
OVADIA GABRIEL [IL]
SARRANO ALICIA ALIKI [IL]
Ovadia Gabriel,
Sarrano Alicia Aliki
US_20260007255_PA

Resumen de: US20260007255A1

Disclosed is a refrigeration unit having a drawers housing structure to accommodate two or more drawers positioned, within the housing structure, at a substantially similar height to each other and over the same plane. The drawers housing structure includes a transparent, substantially flat, top surface to collectively cover the top openings of the two or more drawers when positioned within the housing structure, while enabling a top view through the transparent surface, of items stored in the drawers.

METHOD AND SYSTEM FOR MANAGING METAL SHIELD SPACE USING PLURALITY OF TERMINALS

NºPublicación:  US20260008610A1 08/01/2026
Solicitante: 
ZN TECH CO LTD [KR]
ZN TECHNOLOGIES CO., LTD
US_20260008610_PA

Resumen de: US20260008610A1

A management system comprises a body including an opening/closing door; a first terminal that is located inside the body, measures environment information inside the body, and generates first data on the basis of the measured environment information; a second terminal that is located outside the body, generates second data including state information of the opening/closing door, and generates third data on the basis of the first data and the second data; and a server that generates a signal including risk coefficient information indicating a contamination level inside the body on the basis of the third data, and transmits the signal to a user terminal.

SYSTEMS AND METHODS FOR MONITORING A PLURALITY OF ASSETS

NºPublicación:  US20260010744A1 08/01/2026
Solicitante: 
SMART SKIN TECH INC [CA]
Smart Skin Technologies Inc
US_20260010744_PA

Resumen de: US20260010744A1

Systems and methods for monitoring a plurality of assets using a plurality of location tags are provided. The plurality of assets includes a conveyor system and at least one other asset. At least a subset of the location tags is positioned at a fixed position along the conveyor system, and at least one location tag is positioned at the at least one other asset. Each location tag includes at least one environmental sensor and a communication interface. The communication interface is configured to transmit a sensor signal to a network system and at least one information signal to a mobile receiver. The mobile receiver moves with respect to the conveyor system such that the distance between the mobile receiver and the subset of the location tags continuously changes, and a position of the mobile receiver is determined based on a signal strength of the information signal.

Using a Trained Machine-Learning Model to Facilitate Picking Items in a Warehouse

NºPublicación:  US20260010939A1 08/01/2026
Solicitante: 
MAPLEBEAR INC [US]
Maplebear Inc
US_20260010939_PA

Resumen de: US20260010939A1

An online system uses a trained machine-learning model to predict hard-to-find items, which may facilitate picking of these items. The online system receives, from one or more devices of one or more pickers, a device of a source, one or more devices associated with one or more users, and/or a computing system associated with a physical receptacle utilized by at least one user for shopping in a location of the source, data with information about an item. The online system applies the trained machine-learning model to output, based on the received data, a findability score for the item indicative of a findability of the item. Based on the findability score, the online system generates and communicates one or more action signals to a device of a picker, the device of the source, and/or a device associated with a user prompting one or more actions in relation to the item.

IMAGE PROCESSING BASED ON IMAGE DATA ANALYSIS IN A RETAIL ENVIRONMENT

NºPublicación:  US20260010911A1 08/01/2026
Solicitante: 
TRAX TECH SOLUTIONS PTE LTD [SG]
Trax Technology Solutions Pte Ltd
US_20260010911_PA

Resumen de: US20260010911A1

A method for image processing based on image data analysis may include mounting on a first retail shelving unit a first housing comprising an image capture device that is directed to a second retail shelving unit. A second housing comprising a processor is also mounted on the first retail shelving unit at location spaced apart from the first housing. A data conduit is extended between the first housing and second housing, wherein images captured by the image capture device in the first housing are transmitted to the second housing. At least some of the captured images are then transmitted from the second housing to a remote server configured to determine planogram compliance relative to the second retail shelving unit.

ANTI-SWEEPING HOOK WITH INTEGRATED INVENTORY MONITORING AND/OR LOSS PREVENTION FUNCTIONALITY

NºPublicación:  US20260010870A1 08/01/2026
Solicitante: 
EWING BRENT O [US]
MAN CHAN CHOR [HK]
HUA YUN [US]
COMSTOCK JEFFREY ALLEN [US]
FASTENERS FOR RETAIL INC [US]
Ewing Brent O,
Man Chan Chor,
Hua Yun,
Comstock Jeffrey Allen,
Fasteners for Retail, Inc
US_20260010870_PA

Resumen de: US20260010870A1

Anti-sweeping hook with a display hook, a helical coil, and rotating handle. The display hook may be straight with a first end and second end opposite the first end. The helical coil is disposed about the display hook and extends lengthwise along the display hook. The helical coil has a first coil end proximate the first end of the display hook. Rotation of the helical coil in a first direction loads the retail merchandise onto the display hook. Rotation of the coil in a second direction opposite the first direction removes the retail merchandise. The rotating handle is configured to determine a number of retail items stored on the display hook, based on the number and direction of rotation of the rotating handle. The rotating handle includes an MCU and wireless communications module to process and wirelessly transmit inventory data indicating the number of retail items on the display hook.

METHODS, SYSTEMS, ARTICLES OF MANUFACTURE AND APPARATUS TO REGRESS INDEPENDENT AND DEPENDENT VARIABLE DATA

NºPublicación:  US20260010869A1 08/01/2026
Solicitante: 
NIELSEN CONSUMER LLC [US]
Nielsen Consumer LLC
US_20260010869_PA

Resumen de: US20260010869A1

Methods, apparatus, systems, and articles of manufacture are disclosed to regress independent and dependent variable data. An example apparatus to generate movement values for a regression model includes at least one memory, machine readable instructions, and processor circuitry to at least one of instantiate or execute the machine readable instructions to calculate period average sales values for ones of stores associated with (a) a store group of interest, (b) a category of interest and (c) ones of periods of interest, the period average sales values based on a number of the ones of the stores. The example processor circuitry also at least one of instantiates or executes the machine readable instructions to calculate period average stock values for the ones of the stores associated with (a) the store group of interest, (b) the category of interest and (c) the ones of the periods of interest, the period average stock values based on the number of ones of the stores, calculate overall average sales values based on the period average sales values corresponding to all of the ones of the periods of interest, calculate overall average stock values based on the period average stock values corresponding to all of the ones of the periods of interest, and prevent random effects corresponding to stock input data used in the regression model by calculating sales movement values based on a difference between the period average sales values and the overall sales values, and calculating s

Adaptive Inventory Tracking Systems and Methods

NºPublicación:  US20260010867A1 08/01/2026
Solicitante: 
ZEBRA TECH CORPORATION [US]
ZEBRA TECHNOLOGIES CORPORATION
US_20260010867_PA

Resumen de: US20260010867A1

A method includes: storing a plurality of identifiers of radiofrequency (RF) tags, and for each identifier, an indicator of whether the corresponding RF tag is present in a facility; receiving read data containing a subset of the identifiers detected by a RF identification (RFID) reader; for each of the plurality of identifiers: (i) generating a feature vector by combining the read data with contextual data corresponding to the identifier; and (ii) executing a reinforcement learning module using the feature vector to select an action predictive of whether the corresponding RF tag is present in the facility; updating the stored indicators according to the selected actions; and for each identifier in the subset detected by the RFID reader, applying a reward to the reinforcement learning module based on a comparison of the indicator and the updated indicator corresponding to the identifier.

ELECTRONIC DEVICE AND INFORMATION PROVIDING METHOD THEREOF

NºPublicación:  WO2026010024A1 08/01/2026
Solicitante: 
COUPANG CORP [KR]
\uCFE0\uD321 \uC8FC\uC2DD\uD68C\uC0AC
KR_102747337_B1

Resumen de: WO2026010024A1

An information providing method of an electronic device is disclosed. The information providing method may comprise the steps of: checking information on a first order including information on one or more items; checking cost information according to a packaging method configured for each of multiple zone groups in multiple fulfillment centers and inventory information of the multiple zone groups; identifying an allocation method for one or more stock keeping units (SKUs) corresponding to the one or more items, the allocation method being determined on the basis of the cost information according to the packaging method configured for each of the multiple zone groups and the inventory information of the multiple zone groups; and on the basis of the allocation method for the one or more SKUs, generating first instruction information for picking the one or more SKUs.

QUICK RESPONSE (QR) CODE SYSTEM FOR SMART MANAGEMENT OF GAS CYLINDERS

NºPublicación:  WO2026009190A1 08/01/2026
Solicitante: 
NARAYANAN NAJEEB [IN]
NARAYANAN, Najeeb

Resumen de: WO2026009190A1

A quick response (QR) code system (100) is provided for smart management of gas cylinders, in which a QR code (102) is affixed to a body portion of the gas cylinder (104) in a manner that facilitates convenient scanning. The QR code (102) contains encoded link-data that redirects to a web interface (204) hosted on a remote server (108). This web interface (204) is configured to display the most recent filling information related to the gas cylinder (104), where such information is updated on the server in real time based on data captured when the QR code (102) is scanned by a monitoring camera (112) positioned at a refilling facility. Additionally, the web interface (204) includes a one-click reorder option (206) that enables a user to request a gas cylinder refill through an on-demand service framework.

METHOD AND SYSTEM FOR MANAGING THE PRODUCTION OF FOOD INPUTS

NºPublicación:  WO2026006891A1 08/01/2026
Solicitante: 
SUFLEX TECNOLOGIA LTDA [BR]
SUFLEX TECNOLOGIA LTDA

Resumen de: WO2026006891A1

The present invention relates to a method and system for managing stock and expiry dates for food inputs produced in food preparation centres within food and nutrition units (UANs). In order to ensure regulatory compliance of UANs with guidelines issued by ANVISA and by state and municipal health surveillance bodies, the system promotes efficiency in the management of food production routines and also enables control of expiry dates, as it allows managers of said UANs to view on a single screen all of the inputs that are open and in use in their establishments or premises where they provide food.

METHOD AND PROCESSING UNIT FOR MANAGING INVENTORY OF PRODUCTS WITH MULTI-STAGE MANUFACTURING SYSTEM

NºPublicación:  US20260010866A1 08/01/2026
Solicitante: 
GARG SAMEER [US]
Garg Sameer
US_20260010866_PA

Resumen de: US20260010866A1

The present invention discloses a method to manage inventory of products with multi-stage manufacturing system. The method comprises receiving a demand pattern associated with products. The demand pattern includes revenue data and volatility data associated with the products. Further, the method includes labeling the products with demand factors and volatility factors based on the retrieved demand pattern. Furthermore, the method includes generating a Two-Dimensional (2D) grid placed within the 2D grid based on the labeling. The 2D grid comprises a dimension associated with the demand factors and another dimension associated with the volatility factors. Moreover, the method includes classifying the plurality of products to be assembled to order and made to order based on the placement of the products within the grid. Additionally, the method includes determining quantity parameters of the plurality of products based on the classification, to manage inventory of the plurality of products.

METHODS FOR WHOLE FILLING PROCESS SUPERVISION OF SMART GAS AND INTERNET OF THINGS (IOT) SYSTEMS

NºPublicación:  US20260010183A1 08/01/2026
Solicitante: 
CHENGDU QINCHUAN IOT TECH CO LTD [CN]
CHENGDU QINCHUAN IOT TECHNOLOGY CO., LTD
US_20260010183_PA

Resumen de: US20260010183A1

Disclosed is a method for whole filling process supervision of smart gas and an IoT system, implemented by a gas company management platform of the IoT system, comprising: obtaining monitoring data of a gas filling container; obtaining usage information of the gas filling container; determining a usage index of the gas filling container, and sending the usage index to a gas user platform; determining a target gas user and sending container replacement information to the target gas user, and sending a parameter adjustment instruction to an electronic monitoring device of the gas filling container corresponding to the target gas user; determining whether the monitoring data and/or the usage information satisfy a preset data condition; and in response to determining that the monitoring data and/or the usage information satisfy the preset data condition, adjusting the target gas user, interacting with a public user platform, and displaying an adjusted target gas user.

METHOD OF PERFORMING A PROCESS AND OPTIMIZING CONTROL SIGNALS USED IN THE PROCESS

NºPublicación:  US20260010132A1 08/01/2026
Solicitante: 
3M INNOVATIVE PROPERTIES COMPANY [US]
3M INNOVATIVE PROPERTIES COMPANY
US_20260010132_PA

Resumen de: US20260010132A1

A method of performing a process using a plurality of control signals and resulting in a plurality of measurable outcomes is described. The method includes optimizing the plurality of control signals by at least: receiving a plurality of process constraints; receiving, for each measurable outcome, an optimum range; receiving, for each control signal, a plurality of potential optimum values; iteratively performing the process, where for each process iteration, the value of each control signal is selected from among the plurality of potential optimum values received for the control signal; for each process iteration, measuring each outcome in the plurality of measurable outcomes; and generating confidence intervals for the control signals to determine a causal relationship between the control signals and the measurable outcomes. The method includes performing the process using at least the control signals determined by the causal relationship to causally affect at least one of the measurable outcomes.

MULTI-MODAL-BASED ELECTRONIC DEVICE CAPABLE OF MULTI-ZONE SENSING AND OPERATING METHOD THEREOF

Nº publicación: US20260009682A1 08/01/2026

Solicitante:

WILLOGCO LTD [KR]
WILLOGCO., LTD

US_20260009682_PA

Resumen de: US20260009682A1

A multi-modal based electronic device according to the present disclosure may include at least one instructor and a memory storing a lookup table; a sensor subsystem configured to sense environmental information, including temperature or humidity, within different distances depending on the operating mode; and a processor configured to operate the electronic device by interpreting the instructor and directing the operating mode.

traducir