Ministerio de Industria, Turismo y Comercio LogoMinisterior
 

Alerta

Resultados 521 resultados
LastUpdate Última actualización 02/12/2025 [06:53:00]
pdfxls
Solicitudes publicadas en los últimos 15 días / Applications published in the last 15 days
previousPage Resultados 400 a 425 de 521 nextPage  

作業手順管理方法

NºPublicación:  JP2025170657A 19/11/2025
Solicitante: 
トヨタ自動車株式会社
JP_2025170657_PA

Resumen de: JP2025170657A

【課題】作業者及び検査員のヒューマンエラーの可能性を低減しつつ、指示されていない作業手順で生産された製品の出荷可否を判定すること。また、検査員の作業手順書番号の目視確認工数を削減すること。【解決手段】作業手順管理方法は、工程別に、指示者が作業手順書番号(指示)を登録し(S11)、作業者が作業手順書番号(使用)を登録し(S12)、当該登録した作業手順書番号(指示)と作業手順書番号(使用)とが一致した場合に、設備起動条件をオンにし(S14)、検査員が出荷を許可する各工程の作業手順書番号を登録し(S17)、製品シリアル番号を読み込ませ(S18)、製品シリアル番号に紐づけされた作業手順書番号の組み合わせが一致しているか照合し、製品シリアル番号に紐づけされた作業手順書番号の組み合わせが不一致の場合に出荷不可と判定し、判定結果を製造記録として記録する(S19)。【選択図】図1

SYSTEMS AND METHODS FOR CRYPTOGRAPHIC AUTHENTICATION OF CONTACTLESS CARDS

NºPublicación:  EP4651534A2 19/11/2025
Solicitante: 
CAPITAL ONE SERVICES LLC [US]
Capital One Services, LLC
EP_4651534_A2

Resumen de: EP4651534A2

Example embodiments of systems and methods for data transmission between a contactless card, a client device, and one or more servers are provided. The memory of the contactless card may include one or more applets and a counter. The client device may be in data communication with the contactless card and one or more servers, and the one or more servers may include an expected counter value. The client device maybe configured to read the counter from the contactless card and transmit it to the one or more servers. The one or more servers may compare the counter to the expected counter value for synchronization. The contactless card and the one or more servers may resynchronize the counter, via one or more processes, based on one or more reads of the one or more applets. The one or more servers may authenticate the contactless card based on the resynchronization.

SYSTEM FOR AUTOMATICALLY ASSEMBLING PALLETS CARRYING A SET OF PARCELS BY FIRST DETERMINING AN OPTIMISED PALLET PLAN

NºPublicación:  EP4651049A1 19/11/2025
Solicitante: 
EQUANS DIGITAL ROBOTIC INTEGRATION [FR]
INEO TINEA [FR]
EQUANS [FR]
Equans Digital Robotic Integration,
Ineo Tinea,
Equans
EP_4651049_PA

Resumen de: EP4651049A1

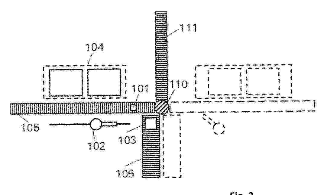
Procédé de constitution automatique d'une palette (103) supportant un ensemble de colis (101) appartenant à une commande, comprenant des étapes de- réception d'informations (3) relatives à l'ensemble de colis comportant au moins des dimensions pour chaque colis ;- établissement d'un plan de palette à partir de ces informations ;- aiguillage de colis (101) vers un convoyeur (105) d'une sous-plateforme affectée à la commande ;- stockage des colis (101) reçus au moyen du convoyeur (105) dans un espace de stockage temporaire (104) par un bras préhenseur robotisé (102) ;- lorsque l'ensemble de colis est stocké dans l'espace de stockage temporaire, constitution de la palette (103) par la bras préhenseur (102), en sélectionnant les colis dans l'espace de stockage (104) selon un ordre dépendant du plan de palette, et en les positionnant, successivement, selon ce plan de palette

METHOD FOR COMMISSIONING BY MEANS OF AN INDUSTRIAL TRUCK WITH A ROTATABLE GOODS RECEIVING DEVICE

NºPublicación:  EP4650304A1 19/11/2025
Solicitante: 
SAFELOG GMBH [DE]
Safelog GmbH
EP_4650304_PA

Resumen de: EP4650304A1

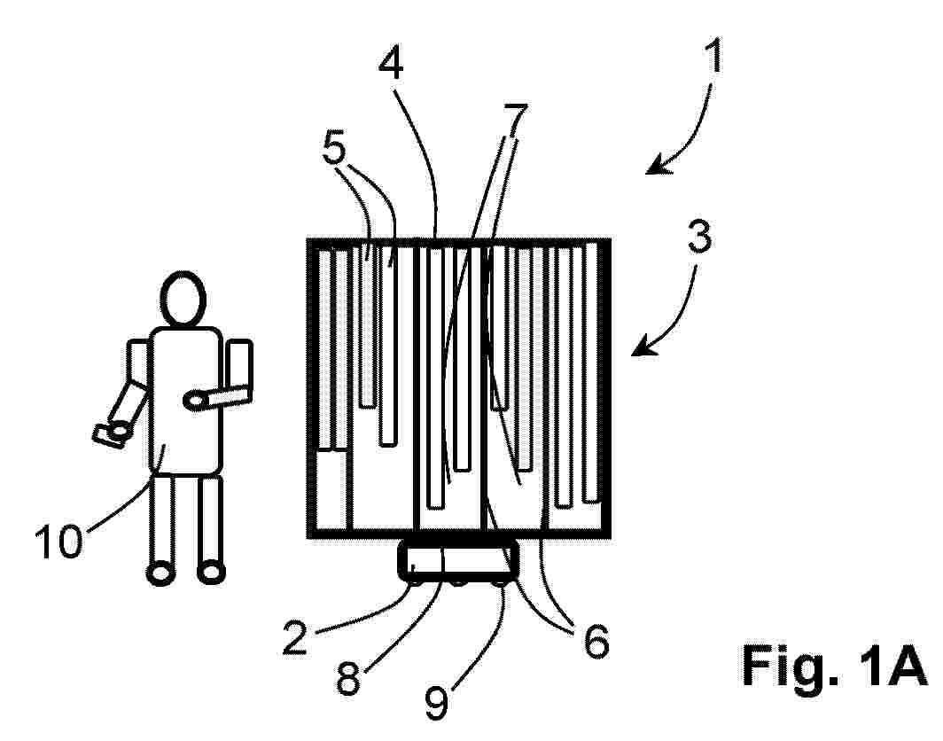
Die vorliegende Erfindung betrifft ein Verfahren zum Kommissionieren von unterschiedlichen Aufträgen zugeordneten Waren (5) unter Verwendung eines Kommissioniersystems (1) mit einem Flurförderfahrzeug (2) und einer drehbar darauf gelagerten Warenaufnahmevorrichtung (3) zur Aufnahme von Waren (5) in auftragsspezifischen Warensektoren (7). Das Verfahren umfasst die folgenden Schritte:- Bereitstellen der zu kommissionierenden, einem ersten Auftrag zugeordneten ersten Ware an einer ersten Übergabeposition,- Aufnehmen der ersten Ware an der ersten Übergabeposition durch einen Kommissionierer (10),- Positionieren des Kommissioniersystems (1) in der Nähe des Kommissionierers (10),- Verdrehen der Warenaufnahmevorrichtung (3) gegenüber dem Flurförderfahrzeug (2.1) dergestalt, dass ein dem ersten Auftrag zugewiesener erster Warensektor (7.1) der Warenaufnahmevorrichtung (3) dem Kommissionierer (10) zugewandt ist.

SUPPLY CHAIN PLANNING WITH GENERATIVE AI CAPABILITIES

NºPublicación:  EP4651046A1 19/11/2025
Solicitante: 
ROCKWELL AUTOMATION TECH INC [US]
Rockwell Automation Technologies, Inc
EP_4651046_PA

Resumen de: EP4651046A1

A multi-tenant, cloud-based Software-as-a-Service (SaaS) manufacturing cloud system offers a variety of industrial applications to end customers, including but not limited to MES, ERP, quality management, supply chain management, and customer relationship management (CRM). The system includes extensibility tools that allows industrial customers to customize databases, data collection templates, reporting fields, and other features of their consumed services, eliminating the need for these features to be customized by an administrator of the cloud system. Some embodiments of the manufacturing cloud system can also leverage generative artificial intelligence (AI) in connection with executing its supported services.

AUTOMATED CARBON ASSET NETWORK SYSTEM AND CARBON ASSET MANAGEMENT METHOD

NºPublicación:  EP4651050A1 19/11/2025
Solicitante: 
CEDARS DIGITAL PTE LTD [SG]
Cedars Digital Pte. Ltd
EP_4651050_PA

Resumen de: EP4651050A1

An automated carbon asset network system (30) and a carbon asset management method are provided. The automated carbon asset network system (30) includes a carbon asset management digital platform (300) realizing a carbon inventory executed for an enterprise through a computer system, and the carbon asset management digital platform (300) includes a carbon asset network establishing module (301), a carbon asset network connection module (303), and a carbon asset network update module (305). The carbon asset management method includes: receiving data for stakeholders (311), internal or external carbon asset management digital platform (312, 313), carbon asset management report formats (314, 315), and carbon inventory obtained through automated customized questionnaires (316), by using the application program interface (310); automatically integrating carbon inventory data for supply chains and performing version control; digitally managing a full scope of an organizational greenhouse gas inventory and product carbon footprint information throughout product life cycles for brands in the enterprise; and generating documents according to requirements.

METHOD FOR CREATING A DIGITAL IMAGE OF A SALES AREA

NºPublicación:  EP4649432A1 19/11/2025
Solicitante: 
VUSIONGROUP DEUTSCHLAND GMBH [DE]
VusionGroup Deutschland GmbH
AU_2023423829_PA

Resumen de: AU2023423829A1

The invention relates to a method for creating a digital image of a sales area, comprising the method steps listed below, namely: - computerised generation of a digital image of the sales area using a recording from at least one location-variable camera device which provides a digital image of the surrounding region of its movement path in the sales area, and - computerised updating of a part of the digital image of the sales area using a recording from at least one fixed camera device which provides a digital image of a part of the sales area.

INVENTORY PROCESSING METHOD AND APPARATUS, AND DEVICE

NºPublicación:  EP4651019A1 19/11/2025
Solicitante: 
VIVO MOBILE COMMUNICATION CO LTD [CN]
Vivo Mobile Communication Co., Ltd
EP_4651019_PA

Resumen de: EP4651019A1

An inventory processing method and apparatus and a device are provided, and belong to the field of communication technologies. The method includes: A first device receives a first command, where the first command is used for inventory and obtaining code information of a target device (301); and the first device determines, according to the first command, whether to feed back code information of the first device (302).

WAREHOUSE EXECUTION SYSTEM, DEVICES, AND METHOD

NºPublicación:  EP4649037A1 19/11/2025
Solicitante: 
SYSTEMEX AUTOMATION INC [CA]
Systemex Automation Inc
WO_2024148436_PA

Resumen de: WO2024148436A1

Distribution centers can be heavily dependent on human labor to prepare shipping cases that contain the customer products. The disclosure provides an automated system, comprising a control entity including a data processor for receiving via data communication over a data network a customer order, the customer order identifying a plurality of different products being ordered, a packing cell having a robotic arm, and a plurality of autonomous mobile robots, wherein the control entity releases instructions to the plurality of autonomous mobile robots such that selected autonomous mobile robots retrieve and bring a plurality of master cases to the packing cell, each master case of the plurality of master cases holding a plurality of identical products, and wherein the control entity releases instructions to the packing cell to direct the robotic arm to pick and place one or more products from the plurality of master cases into a shipping case.

SYSTEM FOR OPTIMIZED USE OF A SORTING CONVEYOR, IN PARTICULAR A POCKET SORTER

NºPublicación:  EP4651045A1 19/11/2025
Solicitante: 
BEUMER GROUP GMBH & CO KG [DE]
BEUMER Group GmbH & Co. KG
EP_4651045_PA

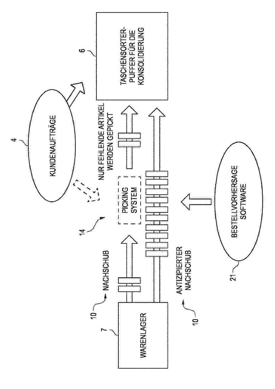
Resumen de: EP4651045A1

Die vorliegende Erfindung betrifft ein System zur optimierten Verwendung eines Sortierförderers, insbesondere eines Taschensorters, mit einem Sortierförderer, der zum Zusammenstellen von Artikeln zu Kundenaufträgen entsprechenden Packaufträgen eingerichtet ist, wobei der Sortierförderer einen Puffer für die Zwischenlagerung von Artikeln aufweist, und wobei der Puffer fördertechnisch mit einem Warenlager verbindbar ist; und mit einer Systemsteuerungseinrichtung, welche dazu eingerichtet ist:- eine für einen künftigen Zeitabschnitt erwartete Artikelnachfrage zu bestimmen;- den Transfer der der erwarteten Artikelnachfrage entsprechenden Artikel vom Warenlager an den Puffer zu veranlassen;- die für den Zeitabschnitt tatsächlich benötigten Artikel anhand von eingegangenen Kundenaufträgen zu bestimmen;- die tatsächlich benötigten Artikel mit den im Puffer befindlichen Artikeln abzugleichen, um die zur Erfüllung der eingegangenen Kundenaufträge fehlenden Artikel zu bestimmen;- und den Transfer der fehlenden Artikel vom Warenlager an den Puffer zu veranlassen.

Inventory system

NºPublicación:  GB2641007A 19/11/2025
Solicitante: 
OCTOPUS ENERGY SERVICES LTD [GB]
Octopus Energy Services Limited
GB_2641007_PA

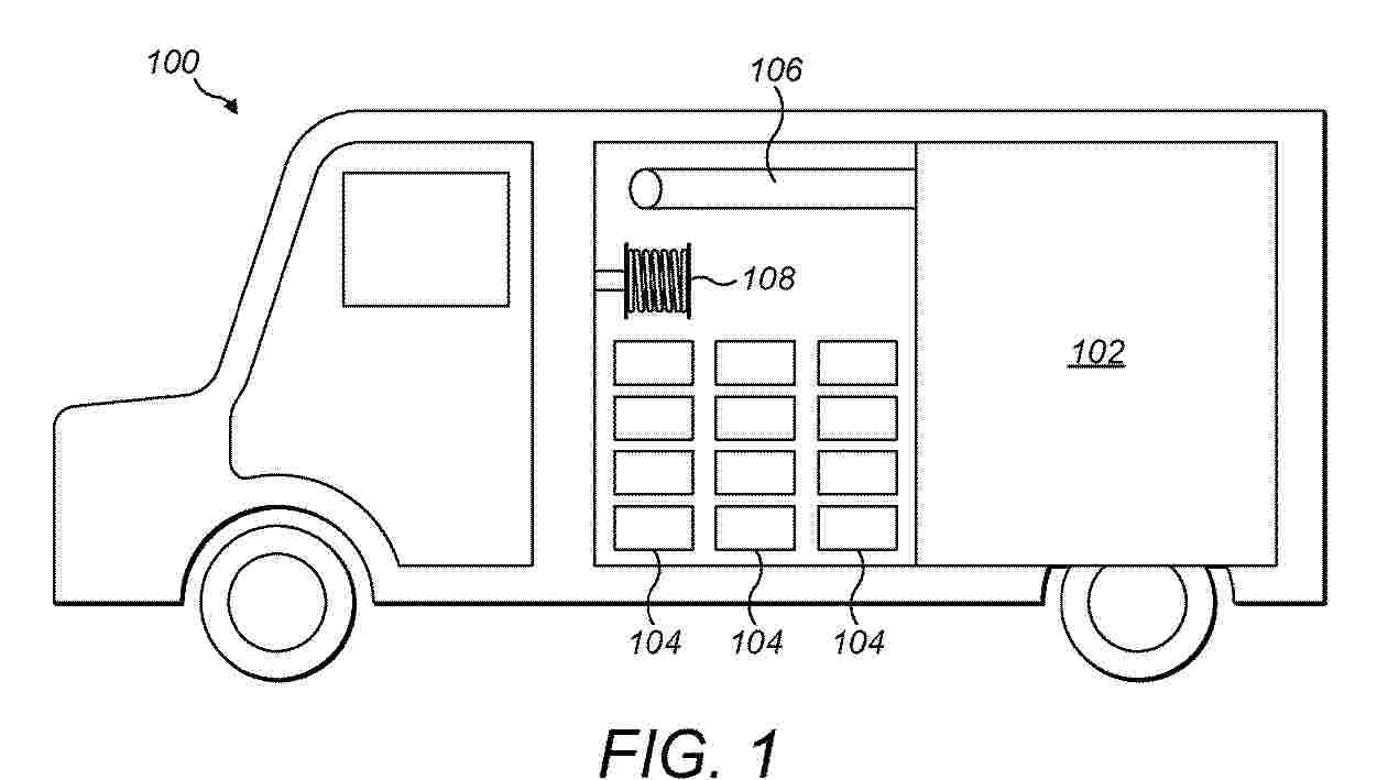
Resumen de: GB2641007A

A vehicle 100 has items stored in containers 104, such as a van having plumbing tools and parts in bins on shelves. An inventory system measures stock level data for each item and wirelessly transmits the stock level data to an inventory engine. In response to a change in an item’s stock level and at least one other factor (such as the time of day, the day of the week, or the vehicle’s location), the inventory engine communicates with a user device to warn the user of possible theft. In response to a reply from the user device, the inventory engine may alert the police or other authorities. Alternatively, the inventory engine may alert the police or other authorities if there is no reply from the user device. The vehicle may have a camera to capture images in response to possible theft being indicated by the change in stock level and the other factor.

Inventory system

NºPublicación:  GB2641006A 19/11/2025
Solicitante: 
OCTOPUS ENERGY SERVICES LTD [GB]
Octopus Energy Services Limited
GB_2641006_PA

Resumen de: GB2641006A

An automatic inventory system for a vehicle, such as a van 100, containing a store with a plurality of items stored in containers 104. The system measures stock level data for each of the containers and wirelessly transmits the stock level data for each item to an inventory engine, and the system comprises a portable item store with at least one container for items, the store being removable from the vehicle and further being associated with at least one sensor device to determine the contents of the store. The system wirelessly transmits the output of the at least one sensor device to the engine. This results in automatic tracking of the inventory levels of a portable store that may be removed from the vehicle, thus improving the visibility of items and resulting in easier item tracking when multiple agents use the same vehicle. The at least one sensor device may be mounted to the portable store or the vehicle, and may comprise at least one weight sensing device.

STOCK MANAGEMENT DEVICE, STOCK MANAGEMENT METHOD, AND STOCK MANAGEMENT PROGRAM

NºPublicación:  EP4651051A1 19/11/2025
Solicitante: 
AMADA CO LTD [JP]
Amada Co., Ltd
EP_4651051_PA

Resumen de: EP4651051A1

A stock management device is configured to be able to execute an identifier issuance process of issuing a unique identifier for each piece of nesting data, a part information acquisition process of acquiring part information of one or more pieces of part data included in the nesting data, and an association process of associating the identifier of the nesting data with the part information of the part data included in the nesting data, in which the nesting data is able to include the part data for an ordered part having a manufacturing number and the part data for a work-in-process stock part having no manufacturing number, so that the work-in-process stock part is managed by the identifier.

一种铁路运输计划动态管理方法及系统

NºPublicación:  CN120975676A 18/11/2025
Solicitante: 
中铁武汉勘察设计院有限公司湖南虹桥工业科技股份有限公司
CN_120975676_PA

Resumen de: CN120975676A

本发明公开了一种铁路运输计划动态管理方法及系统,具体涉及动态管理领域;本发明本方案通过实时采集列车、线路、货运、天气及设备等多源动态数据,构建动态资源协同模型,实现铁路调度的智能优化;当监测到计划偏差或突发事件时,触发智能调整引擎,通过多目标优化算法生成调整方案,调整方案推送至执行终端后,系统实时监控执行状态,形成闭环反馈机制,并通过数字孪生平台增强可视化,动态渲染列车位置误差带及时刻表对比甘特图;基于执行反馈数据,系统迭代更新动态资源协同模型,通过增量学习和虚拟压力测试确保模型鲁棒性,最终实现铁路运输的精准性和高效性。

社区无人配送控制方法、装置、设备及介质

NºPublicación:  CN120975478A 18/11/2025
Solicitante: 
广东工业大学
CN_120975478_PA

Resumen de: CN120975478A

本申请涉及一种社区无人配送控制方法、装置、设备及介质,方法包括:基于配送需求预测模型预测出未来第一预设时长的配送需求热力图;基于配送需求热力图,每隔第二预设时长获取待配送社区中的各个快递柜空间利用率以及待分配包裹数据,采用预设的动态资源调度模型根据快递柜空间利用率以及待分配包裹数据确定奖励函数值,根据奖励函数值确定待分配包裹所分配的目标快递柜编号以及其相对应的格口的尺寸规格;采用配送路径规划算法根据待分配包裹所分配的目标快递柜编号进行全局路径规划,并基于改进的合约网协议根据预设的投标值计算模型在任务分配时,生成投标值以匹配最优执行无人机。本申请能够提高资源利用率和降低能源消耗,并降低运营成本。

超市收银机动态促销策略自适应调整方法及实现系统

NºPublicación:  CN120975849A 18/11/2025
Solicitante: 
广州市超赢信息科技有限公司
CN_120975849_PA

Resumen de: CN120975849A

本发明公开了超市收银机动态促销策略自适应调整方法及实现系统。本发明中,通过时序神经网络对消费趋势特征进行深度提取,并将其与外部环境参数进行多维度关联计算,提升了促销策略对市场动态的感知能力。这种融合分析不仅能够捕捉到短期的消费波动,还能识别出潜在的消费模式变化,让促销规则的制定不再依赖单一的数据指标,而是建立在更全面的信息基础上。通过实时整合交易数据和环境因素,促销活动可以更灵活地适应不同时段的消费需求差异,比如在高温天气自动调整清凉商品的促销力度,或者在工作日晚间加强便捷食品的优惠推送,从而减少无效促销的资源投入,让每一项促销措施都能更精准地触达目标顾客群体。

一种配送员的调度方法和装置

NºPublicación:  CN120975686A 18/11/2025
Solicitante: 
北京京东远升科技有限公司
CN_120975686_PA

Resumen de: CN120975686A

本发明公开了一种配送员的调度方法和装置,涉及计算机技术领域。该方法的一具体实施方式包括:响应于接收到配送员调度请求,获取配送路区的排班配送员和配送路区的预测待派送总单量;在排班配送员的配送能力不满足预测待派送总单量的情况下,从配送路区的临近路区的配送员中查找对配送路区熟悉且配送能力具有余量的调度配送员,将预测待派送总单量中超出排班配送员的配送能力的预测剩余待派送单量分配给调度配送员,得到与配送员调度请求对应的调度结果。该实施方式实现了自动、智能化的配送员的调度,既省去了人工调度,又保证了调度的合理性,以提供准时、高效的派送服务。

车辆调度方法、计算机设备、存储介质和程序产品

NºPublicación:  CN120975413A 18/11/2025
Solicitante: 
顺丰科技有限公司
CN_120975413_PA

Resumen de: CN120975413A

本申请涉及一种车辆调度方法、计算机设备、存储介质和程序产品。通过将待卸车辆的车辆数、待卸车辆中的待卸货物信息和中转场中各卸车口对应的待处理货物信息输入中转场对应的数字孪生体模型,由数字孪生体模型基于车辆数、待处理货物信息和待卸货物信息输出各待卸车辆对应的目标卸车口标识信息,将目标卸车口标识信息发送至对应的待卸车辆以指示其在目标卸车口进行货物卸载。相较于传统的仅将车辆就近调度至空闲卸车口的方式,本方案通过结合待卸车辆的数量、待卸车辆中货物信息和卸车口的货物信息,结合数字孪生体模型对各卸车口的货物处理负荷进行预测后,将待卸车辆调度至合适的卸车口进行卸货,提高了货物处理的效率。

增值服务履约方法、装置、存储介质和电子设备

NºPublicación:  CN120975695A 18/11/2025
Solicitante: 
北京京东远升科技有限公司
CN_120975695_PA

Resumen de: CN120975695A

本发明涉及一种增值服务履约方法、装置、存储介质和电子设备,增值服务履约方法包括:获取目标客户的增值服务生产需求,基于所述增值服务生产需求创建增值服务单,所述增值服务生产需求为与所述目标客户预先签订的服务生产需求合同之外的需求、且该服务生产需求合同对应的仓业务正在生产中;基于所述增值服务单进行生产,确定所述生产完毕,将所述增值服务单流转至订单管理系统;基于所述目标客户在所述订单管理系统对所述增值服务单的确认,将确认的增值服务单发送至计费系统,以使所述计费系统依据所述确认的增值服务单生成计费账单。可以提升增值业务生产效率。

一种数据处理的方法和装置

NºPublicación:  CN120975687A 18/11/2025
Solicitante: 
北京京东远升科技有限公司
CN_120975687_PA

Resumen de: CN120975687A

本发明公开了一种数据处理的方法和装置,涉及计算机技术领域。该方法的一具体实施方式包括:获取多个承运商中每个承运商的基础数据;根据所述基础数据和预设规则从多个承运商中筛选出多个第一承运商;获取所述第一承运商针对第一触达方式的第一反馈结果,以根据所述第一反馈结果从多个第一承运商中确定出多个第二承运商;获取所述第二承运商针对第二触达方式的第二反馈结果,以根据所述第二反馈结果从多个第二承运商中确定出目标承运商。该实施方式降低了承运商资源的开发成本,提高了资源开发效率,提升了目标承运商的匹配准确率。

一种基于智慧乡村的农业资源调度方法及系统

NºPublicación:  CN120975523A 18/11/2025
Solicitante: 
山东征途信息科技股份有限公司
CN_120975523_PA

Resumen de: CN120975523A

本发明涉及资源调度技术领域,尤其涉及一种基于智慧乡村的农业资源调度方法及系统,方法包括步骤:获取订单目的地到起点的路网距离及配送路径;通过分析路网距离的分布特征和配送路径的相似性,以两阶段筛选方式确定初始聚类中心,基于所述初始聚类中心聚类后得到多个配送分区;构建兼顾车辆装载利用率与预估运输成本的整数线性规划模型,为各配送分区动态匹配最优车辆组合。本发明解决了传统聚类算法初始聚类中心选择的随机性和不合理性,确保了配送分区结果在物理距离和行驶方向上均为最优;为每个配送分区动态匹配最优的车辆组合,降低了因运力浪费或车辆选择不当而产生的额外成本。

一种基于光场技术的装矿车辆过磅自动计量系统与方法

NºPublicación:  CN120975673A 18/11/2025
Solicitante: 
应急管理部信息研究院(煤炭信息研究院)
CN_120975673_PA

Resumen de: CN120975673A

本发明属于物流管理技术领域,尤其涉及一种基于光场技术的装矿车辆过磅自动计量系统与方法,其中系统包括光场智能检测装置、过磅称重系统、装载车辆和拦挡控制系统。通过光场相机阵列采集车辆三维数据,结合深度学习算法实时计算物料体积与重量,并与地磅数据双重校验,实现高精度载重计量。采用自适应网格算法与密度偏差检测,有效识别偷盗或超载行为。本系统在粉尘浓度环境下仍能稳定运行,体积计量精度达±0.8%,重量校验误差≤±1%,显著提升矿山过磅效率与安全性,减少人工干预。

基于区块链的物流运营绩效数据存证与智能考核方法及系统

NºPublicación:  CN120975631A 18/11/2025
Solicitante: 
广东易迁易物流科技有限公司
CN_120975631_PA

Resumen de: CN120975631A

本发明提供基于区块链的物流运营绩效数据存证与智能考核方法及系统,该方法包括:先对绩效数据分类得到子类别数据,结合其时间戳、数据类型编码和随机加密字符构建唯一数据标识;接着对绩效子类别数据先非对称加密得第一加密数据,再二次对称加密得第二加密数据;然后依据物流业务流程和数据共享需求构建隐私保护智能合约,结合物流参数、各方信誉评级及网络稳定性确定区块链节点;将第二加密数据、唯一数据标识和智能合约存入节点形成目标区块链链条;最后基于链条中预先嵌入的智能考核策略,对解密后的原始数据进行绩效考核并得出结果。本发明保障数据隐私安全,并解决数据处理延迟使考核结果滞后的问题。

一种基于需求预测的生产物流全域建模与联合优化方法

NºPublicación:  CN120975281A 18/11/2025
Solicitante: 
浙江大学
CN_120975281_PA

Resumen de: CN120975281A

本发明公开了一种基于需求预测的生产物流全域建模与联合优化方法,该方法采用LightGBM模型进行中短期的周期性需求预测,并考虑时间滞后非线性因素对需求的影响。构建以周期补货为核心的生产‑库存策略联合优化模型,采用(T,s,S)策略框架,对每一周期内的安全库存水平s、目标库存水平S及生产量q进行联合建模。模型采用改进型自适应差分进化算法,以最小化总成本为目标函数,并综合考虑库存持有成本、缺货成本、生产成本与运输成本,同时约束服务水平不低于预设标准,在预测不确定性条件下实现生产‑库存协调优化。本发明构建了全过程的生产物流模型,具有良好的可扩展性,显著提升了服务水平与运营成本控制水平。

融合多重不确定性的零碳物流鲁棒供能方法及系统

Nº publicación: CN120975425A 18/11/2025

Solicitante:

山东电力工程咨询院有限公司

CN_120975425_PA

Resumen de: CN120975425A

本发明属于零碳物流供能技术领域,提供了融合多重不确定性的零碳物流鲁棒供能方法及系统,其技术方案为根据零碳物流供能系统的能源结构与运行特点,构建多重不确定性模型;基于系统中多个能源的相互作用,构建鲁棒优化目标函数、日前约束、日内约束和功率平衡约束;结合多重不确定模型和碳物流系统的实际运行需求,基于鲁棒优化理论,对鲁棒优化目标函数优化,构建得到鲁棒优化模型;将鲁棒优化模型分解为主问题和子问题,通过求解主问题和子问题得到协调多重能源系统的调度策略。以确保系统在多种不确定性条件下的鲁棒性和高效性。

traducir