Ministerio de Industria, Turismo y Comercio LogoMinisterior
 

Alerta

Resultados 521 resultados
LastUpdate Última actualización 02/12/2025 [06:53:00]
pdfxls
Solicitudes publicadas en los últimos 15 días / Applications published in the last 15 days
previousPage Resultados 375 a 400 de 521 nextPage  

环形仓储系统的机器人任务动态调度优化方法

NºPublicación:  CN120996511A 21/11/2025
Solicitante: 
上海科致电气自动化股份有限公司
CN_120996511_PA

Resumen de: CN120996511A

本发明公开了环形仓储系统的机器人任务动态调度优化方法,具体涉及智能仓储系统调度技术领域;采集任务基本信息构建任务状态表,采集机器人运行状态构建机器人状态表R;基于T与R构建任务‑机器人匹配图,采用图神经机制计算匹配优先级得分;依据博弈优化与状态驱动策略生成初始调度方案;结合环形拓扑结构与交通规则进行路径冲突检测,并通过滑动时间窗与局部扰动重排算法优化任务执行路径;构建调度仿真引擎进行性能评估,若评估结果未达预设阈值,则基于残差反馈机制对调度图进行结构重构,该方法具备实时性强、冲突率低与资源利用效率高的优势,适用于多机器人密集任务场景下的高可靠智能调度。

时空组学数据管理系统及方法

NºPublicación:  CN120998446A 21/11/2025
Solicitante: 
康美华大基因技术有限公司
CN_120998446_A

Resumen de: CN120998446A

本申请涉及数据管理技术领域,公开了一种时空组学数据管理系统及方法。所述系统中包括:商务管理模块、项目管理模块、实验管理模块、生信分析管理模块、系统交互与通知模块;通过各个模块之间的信息交互,使得整个时空组学研究及相关业务流程实现高效整合与一体化管理,降低了各环节的管理难度与成本,避免出现数据不一致、业务流程脱节等问题,有助于提高时空组学实验的科研效率与时空组学实验的推进速度。

注文処理における温度駆動型動的注文順序付け

NºPublicación:  JP2025537746A 20/11/2025
Solicitante: 
フォノニックインコーポレイテッド
JP_2025537746_PA

Resumen de: CN120476409A

Systems and methods for temperature-driven dynamic order ordering in order fulfillment are provided herein. In some embodiments, a method of controlling two or more actively cooled handbags includes: determining a first ranking of the two or more actively cooled handbags; determining that an alarm condition has occurred for an alerted handbag of the two or more actively cooled handbags; and determining a second ranking of the two or more actively cooled handbags based on the alert condition, wherein the alerted handbag is in a different position in the ranking than in the first ranking. Thus, the dynamic handbag arrangement may ensure appropriate ordering of customer orders based on the temperature alerts provided by the handbags, thereby minimizing deterioration during the handbag queuing process.

EFFICIENT ALLOCATION OF RESOURCES IN A FLEET MANAGEMENT SYSTEM

NºPublicación:  WO2025240056A1 20/11/2025
Solicitante: 
WING AVIATION LLC [US]
WING AVIATION LLC
WO_2025240056_PA

Resumen de: WO2025240056A1

In some embodiments, a computer-implemented method for managing resources of a fleet of unmanned aerial vehicles (UAVs) is provided. A computing system creates a mission record and one or more candidate records. Each candidate record of the one or more candidate records represents one or more resources for accomplishing a mission represented by the mission record. The computing system adds a mission node representing the mission record to a resource competition network graph (RCN graph). The computing system adds one or more candidate nodes representing the one or more candidate records to the RCN graph. The computing system determines an optimized allocation of candidate records to mission records using at least a subgraph of the RCN graph. A candidate record is determined to commit to a mission record, and the computing system updates the RCN graph to commit the candidate record to the mission record.

ピックリスト生成装置およびピックリスト生成方法

NºPublicación:  JP2025171703A 20/11/2025
Solicitante: 
パナソニックIPマネジメント株式会社
JP_2025171703_PA

Resumen de: JP2025171703A

【課題】作業者の能力に依存しないピックリストを生成する。【解決手段】物品の受注に基づいて1以上のピックリストを生成するピックリスト生成装置は、物品の出荷日時の設定を受け付ける設定部と、受注と出荷日時と過去作業実績とに基づいて、1以上のピックリストの作業生産性が所定の条件を満たすように、1以上のピックリストを生成する生成部と、を含み、過去作業実績は、過去のピッキング作業において作業者が物品のピッキングに要した作業時間を含み、ピックリストは、作業者による物品のピッキングの順番を規定し、作業生産性は、ピックリストが割り当てられた1人以上の作業者の合計の作業時間に対する、当該ピックリストに基づいた物品のピッキング数量である。【選択図】図1

交渉装置、交渉方法及びプログラム

NºPublicación:  JP2025171253A 20/11/2025
Solicitante: 
日本電気株式会社
JP_2025171253_PA

Resumen de: US2025348832A1

The negotiation device 1X mainly includes a proposal acquisition means 32X and a unit size determination means 30X. The proposal acquisition means 32X is configured to, in conducting a negotiation with a negotiator which is a counterparty, acquire a proposal provided by the negotiator, wherein the proposal includes a delivery quantity of commodities with a delivery deadline. The unit size determination means 30X is configured to determine, based on the proposal, a unit size of the delivery quantity of the commodities, wherein the unit size is used to adjust the delivery deadline.

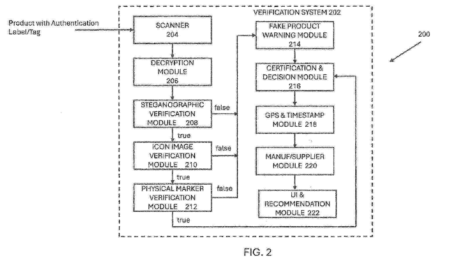
AUTHENTICATION SYSTEM AND METHOD

NºPublicación:  WO2025238585A1 20/11/2025
Solicitante: 
TICKETRUE LTD [IL]
TICKETRUE LTD
WO_2025238585_PA

Resumen de: WO2025238585A1

A system for authenticating a product includes an authorization tag or label attached to the product, the tag or label including encrypted information associated with the product and encapsulated in an optical code, the encrypted information including a unique product identifier. The authorization tag or label additionally includes an artificial intelligence (Al) generated unique icon image including data associated with the product and embedded in the optical code, and stenographic encoded data associated with the unique product identifier embedded in the Al-generated icon image. The system additionally includes an authorization device configured to verify an authenticity of the product based on the encrypted information, the Al-generated icon image, and the stenographic data.

Maverick-Bündelung

NºPublicación:  DE102024113427A1 20/11/2025
Solicitante: 
SSI SCHAEFER AUTOMATION GMBH [DE]
SSI Sch\u00E4fer Automation GmbH

Resumen de: DE102024113427A1

Es werden offenbart ein Verfahren zum Erzeugen einer Quellbehälter-Sequenz durch eine Steuereinrichtung eines Lager- und Kommissioniersystems sowie ein entsprechendes System für eine Stückgut-Kommissionierung einer Vielzahl von Kunden-Aufträgen, wobei die Aufträge mindestens einen mehrzeiligen Auftrag sowie eine Vielzahl von einzeiligen Aufträgen umfassen, wobei jede Auftragszeile von jedem der Aufträge einem Artikeltyp entspricht, der jeweils in einem Quellbehälter gelagert ist, wobei das System aufweist: ein Lager, das eingerichtet ist, eine Vielzahl der Quellbehälter zu lagern; eine WzP-Station mit einer Anzahl von Pufferplätzen für Zielbehälter; ein Transportsystem, das eingerichtet ist, die Quellbehälter aus dem Lager zur WzP-Station, und umgekehrt, zu transportieren; und eine Steuereinrichtung, die eingerichtet ist, eine Quellbehälter-Sequenz zu erzeugen, die eine Reihenfolge darstellt, in welcher die Quellbehälter zur sukzessiven Abarbeitung der Aufträge an der WzP-Station bereitzustellen sind; wobei die Steuereinrichtung ferner eingerichtet ist, die einzeiligen Aufträge zu einem Bündel-Auftrag zu bündeln, der einen weiteren mehrzeiligen Auftrag darstellt und der die einzeiligen Aufträge während der Erzeugung der Quellbehälter-Sequenz ersetzt.

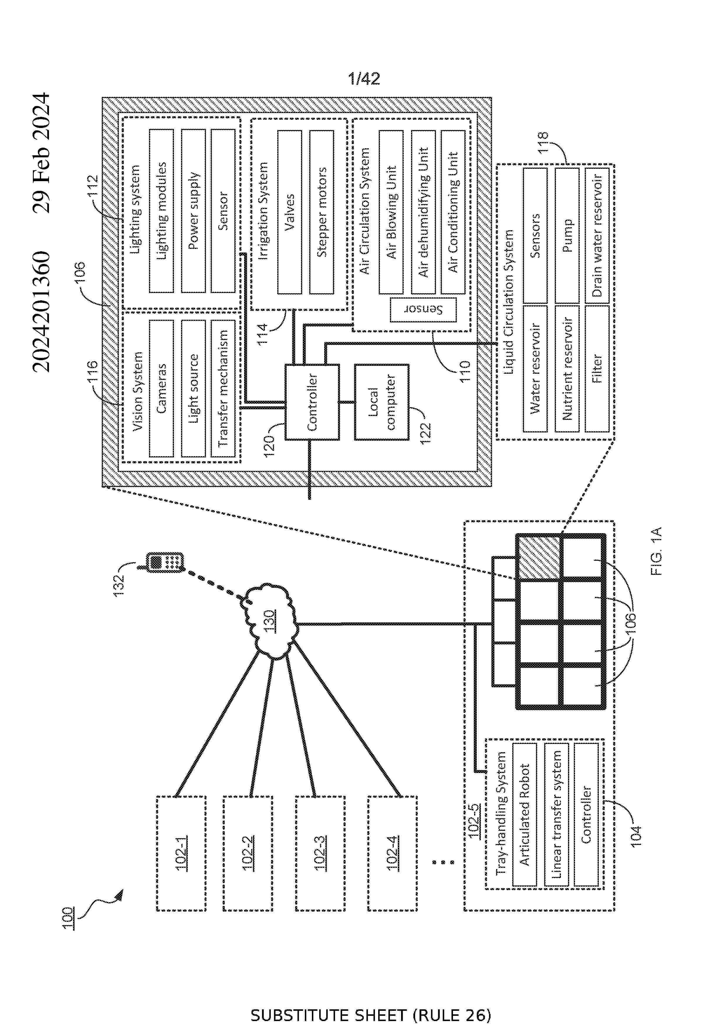
SYSTEM AND METHOD FOR CONTROLLING INDOOR FARMS REMOTELY AND USER INTERFACE FOR SAME

NºPublicación:  US2025351781A1 20/11/2025
Solicitante: 
80 ACRES URBAN AGRICULTURE INC [US]
80 ACRES URBAN AGRICULTURE, INC
AU_2024201360_A1

Resumen de: US2025351781A1

A method for receiving, over a computer network, from a plurality of devices installed in an indoor farming module, a plurality of data associated with at least one of: a water level in a watering reservoir, a pH level in an irrigation system, a temperature in the indoor farming module, a humidity level in the indoor farming module, a carbon dioxide level in the indoor farming module, and a power relay status, filtering the received plurality of data on a remote computer based on a filtering field, displaying, in a plurality of panels, the filtered data received from the plurality of devices; configuring a plurality of schedules for the plurality of devices, wherein the plurality of schedules comprise at least one of an irrigation schedule, a lighting schedule, and a data collection schedule, and sending the configured plurality of schedules to one or more controllers of the indoor farming module.

SYSTEM AND METHOD FOR DETECTING AND IDENTIFYING CONTAINER NUMBER IN REAL-TIME

NºPublicación:  US2025356665A1 20/11/2025
Solicitante: 
ATAI LABS PRIVATE LTD [IN]
ATAI LABS PRIVATE LIMITED
WO_2023203452_PA

Resumen de: US2025356665A1

Exemplary embodiments of the present disclosure are directed towards a method for detecting and identifying container number in real-time. Monitoring vehicle carrying containers and triggering first camera, second camera, third camera, fourth camera, fifth camera, and laser sensors to capture container views by pre-processing module. Transmitting containers image data to computing device by the pre-processing module. Detecting container number region in container image frames by visual object detection module. Cropping container number region by visual object detection module. Applying two-dimensional Fast Fourier Transform on cropped container number region. Segmenting each character situated in container number region by segmentation and character classification module. Classifying each character situated in container number region by segmentation and character classification module. Arranging characters in order based on relative positions of characters to obtain container number information by segmentation and character classification module. Aggregating container image frames and generating container number by post-processing module.

SYSTEMS AND METHODS FOR MANAGING DIRECT EXCHANGE

NºPublicación:  US2025356404A1 20/11/2025
Solicitante: 
SWAPRETAIL INC [US]
Swapretail, Inc
US_2023143689_PA

Resumen de: US2025356404A1

According to one aspect, the system provides an automated platform for managing R2R, that preserves vendor control over of the communication between retailers. For example, according to one embodiment of the system, only authorized retailers of specific vendors are able to list, request, buy, sell and swap products on the system. In further examples, the system controls execution so that exchanges can occur anonymously, while maintaining the assurances that transactions are facilitated by authorized parties at vendor-set prices. In yet other example, the system permits authorized retailers to list non-performing goods for authorized retailers to obtain by purchase or swap at wholesale cost. In yet other example, the system permits authorized retailers to request goods at wholesale cost and display the requests in a workflow that permits providers execute fulfillment.

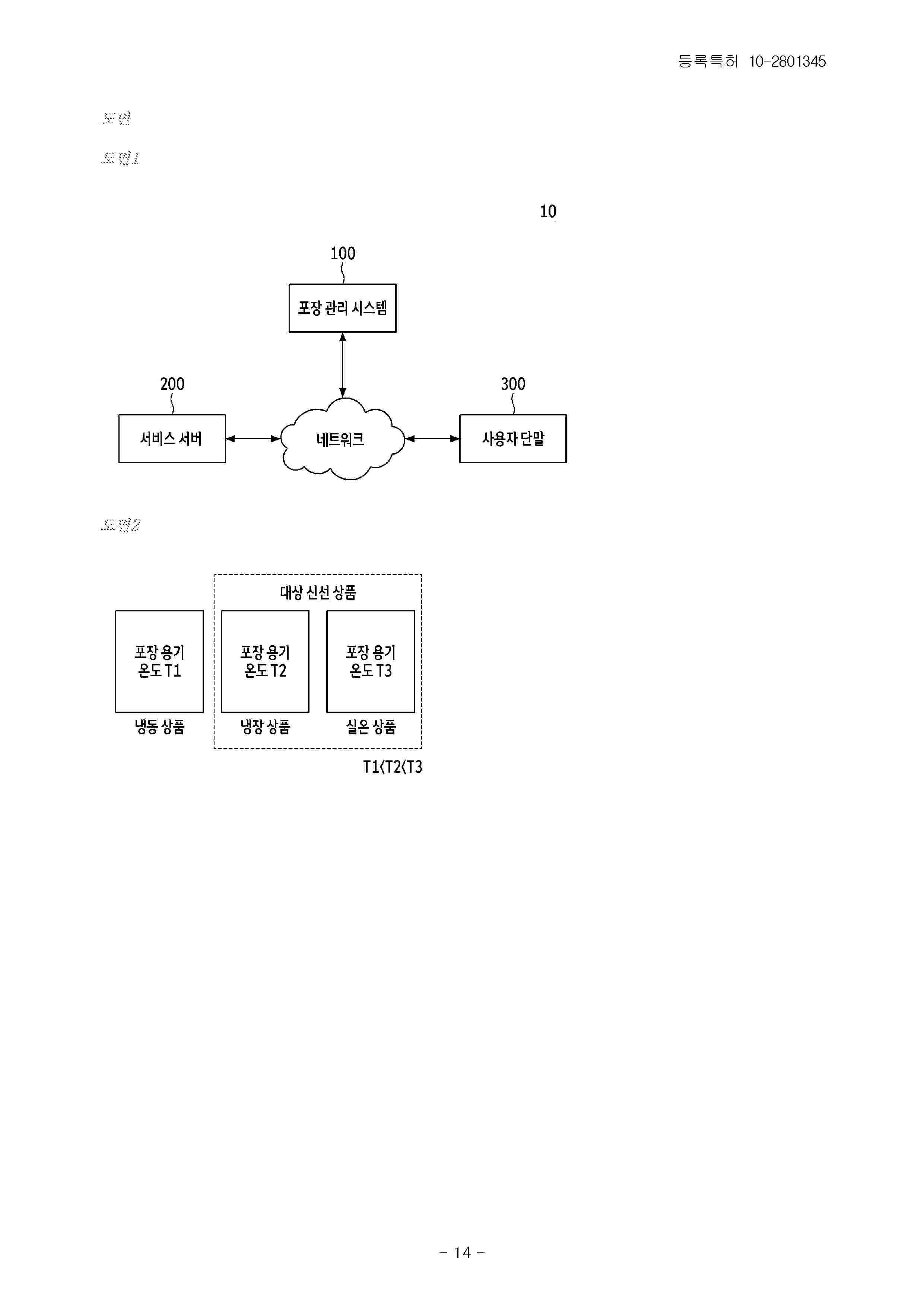
PACKAGING MANAGEMENT METHOD AND SYSTEM THEREOF

NºPublicación:  US2025356304A1 20/11/2025
Solicitante: 
COUPANG CORP [KR]
Coupang Corp
KR_102801345_B1

Resumen de: US2025356304A1

A packaging management method is disclosed. The method may be performed by a computing device, and may comprise: receiving an order of a customer including fresh products and non-fresh products; determining a type of fresh product packagable together with the non-fresh product among the fresh products as a target fresh product based on a result of classifying types of the fresh products according to a temperature; and automatically determining whether or not to package the target fresh product and the non-fresh product in the same packaging container.

EFFICIENT ALLOCATION OF RESOURCES IN A FLEET MANAGEMENT SYSTEM

NºPublicación:  US2025355449A1 20/11/2025
Solicitante: 
WING AVIATION LLC [US]
WING AVIATION LLC
WO_2025240056_PA

Resumen de: US2025355449A1

In some embodiments, a computer-implemented method for managing resources of a fleet of unmanned aerial vehicles (UAVs) is provided. A computing system creates a mission record and one or more candidate records. Each candidate record of the one or more candidate records represents one or more resources for accomplishing a mission represented by the mission record. The computing system adds a mission node representing the mission record to a resource competition network graph (RCN graph). The computing system adds one or more candidate nodes representing the one or more candidate records to the RCN graph. The computing system determines an optimized allocation of candidate records to mission records using at least a subgraph of the RCN graph. A candidate record is determined to commit to a mission record, and the computing system updates the RCN graph to commit the candidate record to the mission record.

ARTIFICIAL INTELLIGENCE-SUPPORTED SETUP AND EXECUTION OF BACKORDER PROCESSING

NºPublicación:  US2025356308A1 20/11/2025
Solicitante: 
SAP SE [DE]
SAP SE

Resumen de: US2025356308A1

A computer-implemented method for improved backorder processing (BOP) in an enterprise resource planning system is disclosed. The method can receive one or more user prompts from a user interface and create a BOP segment using a large language model. The BOP segment selects a subset of a plurality of order requirements using one or more filters determined based on the one or more user prompts. A filter is defined by an attribute, an operator, and one or more attribute values. The method can create a BOP variant using the large language model. The BOP variant defines a confirmation scheme for the BOP segment based on the one or more user prompts. The method can further execute the BOP variant using the large language model, including batch processing the subset of the plurality of order requirements using the confirmation scheme.

MOBILE APPARATUS WITH COMPUTER VISION ELEMENTS FOR CLASSIFYING SHELF-SPACE

NºPublicación:  US2025356306A1 20/11/2025
Solicitante: 
TARGET BRANDS INC [US]
Target Brands, Inc
US_2023245058_PA

Resumen de: US2025356306A1

Disclosed are systems and techniques for determining out of stock conditions on shelves. The techniques can include receiving, by a computing system, image data from a camera having pixel locations that each uniquely address and store a pixel value, generating a backing map having cell locations that each uniquely address and share a unique address with a corresponding pixel location in the image data, each cell location storing a backing value being an empty value if the pixel value is classified as showing the backing of a shelf and the backing value being a nonempty value if the pixel value is classified as not showing the backing of the shelf, determining, in the backing map, a shelf area representing a location of the captured shelf, and identifying an empty area by finding an area above the shelf area containing a threshold number of cell locations storing the empty value.

ELECTROMAGNETIC STATE SENSING DEVICES

NºPublicación:  US2025356146A1 20/11/2025
Solicitante: 
LYTEN INC [US]
Lyten, Inc
JP_2025166015_PA

Resumen de: US2025356146A1

A container includes a surface defining a volume of the container, a first resonance portion disposed on a first portion of the surface of the container using one or more first carbon-based inks, and a second resonance portion disposed on a second portion of the surface of the container using one or more second carbon-based inks different than the one or more first carbon-based inks. The first resonance portion can resonate within a first range of frequencies in response to one or more electromagnetic pings received from a user device, and the second resonance portion can resonate within a second range of frequencies in response to the one or more electromagnetic pings, the second range of frequencies being different than the first range of frequencies. In some instances, the user device may be a smartphone, a radio frequency identification (RFID) reader, or a near-field communication (NFC) device.

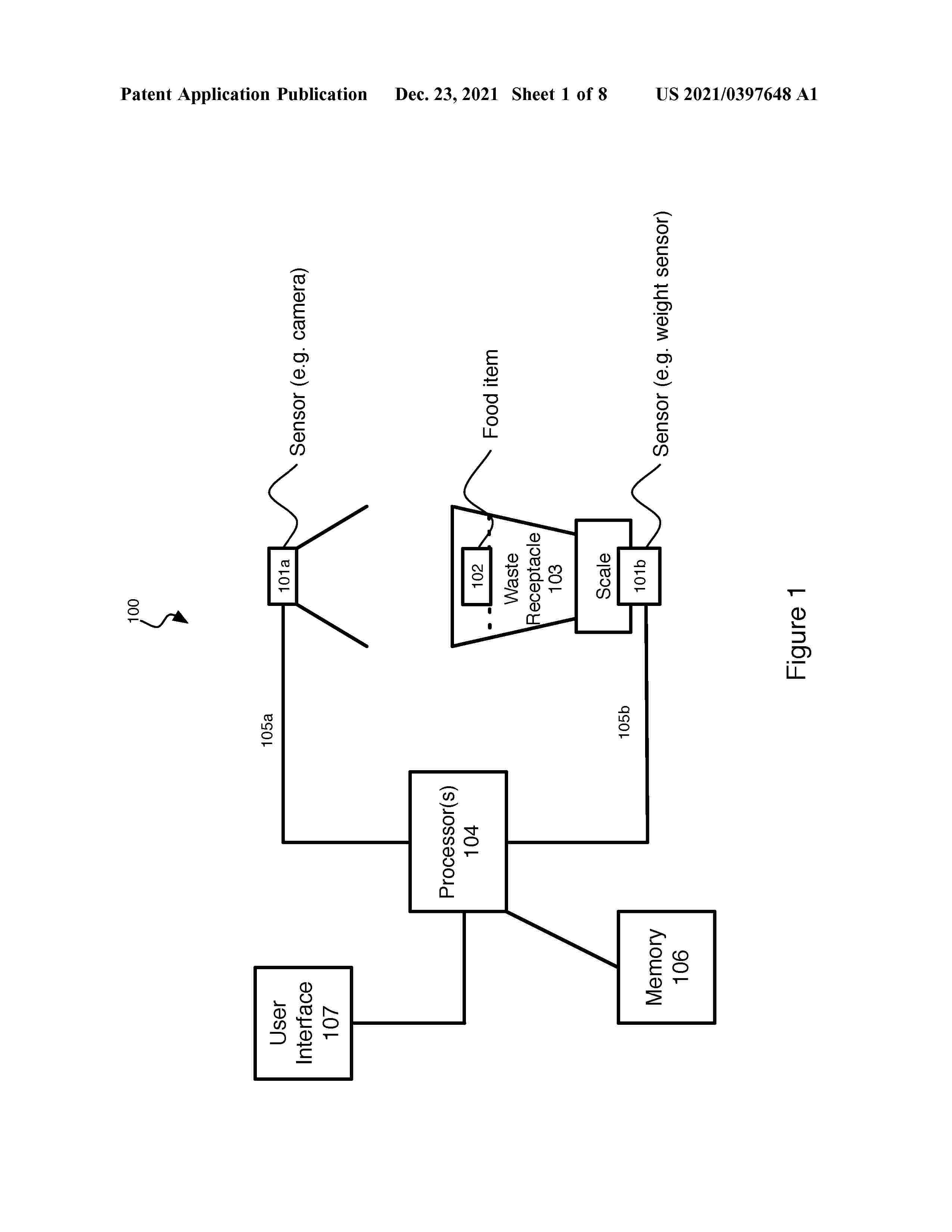
METHOD AND SYSTEM FOR CLASSIFYING FOOD ITEMS

NºPublicación:  US2025356311A1 20/11/2025
Solicitante: 
WINNOW SOLUTIONS LTD [GB]
WINNOW SOLUTIONS LIMITED
US_2021397648_A1

Resumen de: US2025356311A1

The present invention relates to a method for classifying food items. The method includes the steps of: capturing one or more sensor data relating to a food item event; and classifying the food item, at least in part, automatically using a model trained on sensor data. A system and software are also disclosed.

METHODS FOR GENERATING AN APPLICATION PROGRAMMING INTERFACE INVENTORY AND DEVICES THEREOF

NºPublicación:  US2025356310A1 20/11/2025
Solicitante: 
F5 INC [US]
F5, Inc
CN_119065661_PA

Resumen de: US2025356310A1

A method, system, non-transitory computer readable media, and communication system for generating an Application Programming Interface (API) inventory. The method comprises obtaining source code associated with a software application and analyzing the source code to identify one or more first API endpoints in the software application. The method further comprises obtaining API traffic between a server running the software application and a client device and analyzing the API traffic to identify one or more second API endpoints in the software application. Then the method comprises generating an API inventory by combining the identified one or more first API endpoints and the one or more second API endpoints into a single data structure.

ADVERSARIAL GENERATION OF SOFTWARE BILL OF MATERIALS (SBOM) FOR COMPUTING SECURITY

NºPublicación:  US2025356023A1 20/11/2025
Solicitante: 
INTUIT INC [US]
INTUIT INC

Resumen de: US2025356023A1

Aspects of the present disclosure provide techniques for adversarial software intelligence document generation. Embodiments include scanning, by a computing device, a software application during execution of the software application on a server that is remote from the computing device to determine application attributes and fingerprinting the software application based on the application attributes in order to determine a component application of the software application. Embodiments include utilizing a database of open source software structural information to determine one or more subcomponent applications of the component application and generating, by the computing device, a software intelligence document indicating the component application and the one or more subcomponent applications in a standardized software intelligence document format. Embodiments include performing one or more actions related to computing security based on the software intelligence document.

CARGO SENSORS, CARGO-SENSING UNITS, CARGO-SENSING SYSTEMS, AND METHODS OF USING THE SAME

NºPublicación:  US2025356303A1 20/11/2025
Solicitante: 
I D SYSTEMS INC [US]
I.D. SYSTEMS, INC
US_2024169303_PA

Resumen de: US2025356303A1

A cargo-sensing unit including: an image sensor; a transceiver; at least one processor; and a memory having stored thereon computer program code that, when executed by the processor, controls the at least one processor to: receive, from a controlling server and through the transceiver, an instruction to capture an image of cargo space within a cargo container; control the image sensor to capture an image of the cargo space in response to receiving the instruction; and operate in accordance with a determined cargo container status based on an analysis of the captured image.

SUPPLY CHAIN MANAGEMENT APPARATUS, SUPPLY CHAIN MANAGEMENT METHOD, AND SUPPLY CHAIN MANAGEMENT SYSTEM

NºPublicación:  US2025356295A1 20/11/2025
Solicitante: 
HITACHI LTD [JP]
Hitachi, Ltd

Resumen de: US2025356295A1

Provided are a supply chain management apparatus, a supply chain management method, and a supply chain management system that make it possible to more accurately assess risks to a supply chain by assessing the risks to the supply chain according to data sources that are more significant for each user. The supply chain management apparatus includes a data read section and a priority data extraction section. The data read section acquires data sources as data related to risks that affect a supply chain. The priority data extraction section selects target data for assessing the risks from the data sources according to significance of the data sources and user's acceptance of the data sources and assesses the risks to the supply chain according to the target data.

METHOD FOR ORDER PICKING USING AN AUTOMATED GUIDED VEHICLE WITH A ROTATABLE GOODS RECEIVING DEVICE

NºPublicación:  US2025355447A1 20/11/2025
Solicitante: 
SAFELOG GMBH [DE]
Safelog GmbH
DE_102024113630_PA

Resumen de: US2025355447A1

A method is for picking goods assigned to different orders using a picking system with an automated guided vehicle and a goods receiving device rotatably mounted thereon for receiving goods in order-specific goods sectors. The method includes providing the first good to be picked, assigned to a first order, at a first transfer position, picking up the first good at the first transfer position by an order picker, positioning the picking system near the order picker, and rotating the goods receiving device relative to the automated guided vehicle in such a way that a first goods sector of the goods receiving device assigned to the first order faces the order picker.

Integrated Consumable Data Management System and Platform

NºPublicación:  AU2025259995A1 20/11/2025
Solicitante: 
MESO SCALE TECHNOLOGIES LLC
Meso Scale Technologies, LLC
AU_2025259995_A1

Resumen de: AU2025259995A1

The present invention relates to methods, devices and systems for associating consumable data with an assay consumable used in a biological assay. Provided are assay systems and associated consumables, wherein the assay system adjusts one or more steps of an assay protocol based on consumable data specific for that consumable. Various types of consumable data are described, as well as methods of using such data in the conduct of an assay by an assay system. The present invention also relates to consumables (e.g., kits and reagent containers), software, data deployable bundles, computer-readable media, loading carts, instruments, systems, and methods, for performing automated biological assays. (figure 2) The present invention relates to methods, devices and systems for associating consumable data with an assay consumable used in a biological assay. Provided are assay systems and associated consumables, wherein the assay system adjusts one or more steps of an assay protocol based on consumable data specific for that consumable. Various types of consumable data are described, as well as methods of using such data in the conduct of an assay by an assay system. The present invention also relates to consumables (e.g., kits and reagent containers), software, data deployable bundles, computer-readable media, loading carts, instruments, systems, and methods, for performing automated biological assays. (figure 2) ct c t

SELF-INVENTORYING CONSTRUCTION TOOL CONTAINER AND METHODS OF USE THEREOF

NºPublicación:  AU2024368012A1 20/11/2025
Solicitante: 
UNITED RENTALS INC
UNITED RENTALS, INC
AU_2024368012_PA

Resumen de: AU2024368012A1

A self-inventorying tool container for a construction j ob site includes a tools container structure. The tool container structure includes an enclosure defining an internal tool volume configured to receive a plurality of trackable construction tools, and at least one a door coupled with the enclosure and operable to permit selective access to the internal tool volume and plurality of trackable construction tools held therein. The self-inventorying tool container further includes a plurality of beacons corresponding to the plurality of trackable construction tools, each beacon of the plurality of beacons configured to emit a short-range wireless signal and being removable from the internal volume with the respective trackable tool. The self-inventorying tool container further includes a scanning assembly arranged with the tool container and configured to detect the short-range wireless signal of each respective beacon of the plurality of beacons relative to internal tool volume.

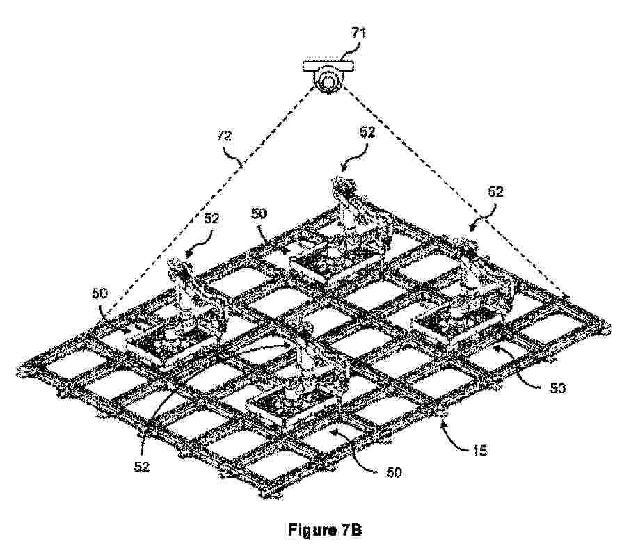
グリッド上で移動ピッキングステーションを検出すること

Nº publicación: JP2025537984A 20/11/2025

Solicitante:

オカド・イノベーション・リミテッド

JP_2025537984_PA

Resumen de: AU2023401078A1

Detecting a Moving Picking Station on a Grid A detection system and method for detecting a moving picking station on a grid, comprising a plurality of grid cells, forming part of a grid-based storage system in which one or more picking stations are mounted on the grid. Each picking station comprising a robotic manipulator to transfer items between containers received in respective grid cells adjacent the picking station. The method involves obtaining image data representative of a series of images of at least part of the grid. The image data is processed with an object detection model trained to detect instances of picking stations on the grid and it is determined, based on the processing, whether the series of images includes a moving picking station of the one or more picking stations. In response to determining that the image includes the moving picking station, annotation data indicative of the moving picking station in the image is outputted.

traducir