Ministerio de Industria, Turismo y Comercio LogoMinisterior
 

Alerta

Resultados 441 resultados
LastUpdate Última actualización 18/01/2026 [06:51:00]
pdfxls
Solicitudes publicadas en los últimos 15 días / Applications published in the last 15 days
previousPage Resultados 350 a 375 de 441 nextPage  

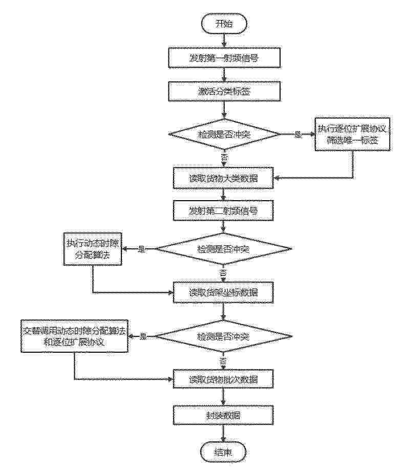
基于大数据分析的智能物流调度优化系统及方法

NºPublicación:  CN121279905A 06/01/2026
Solicitante: 
江苏集华供应链管理股份有限公司
CN_121279905_PA

Resumen de: CN121279905A

本发明公开了基于大数据分析的智能物流调度优化系统及方法,涉及物流调度与冷链运输管理技术领域。该基于大数据分析的智能物流调度优化系统及方法,包括以下步骤:S1:按任务节点顺序构建任务过程监测数据集并进行预处理;S2:融合温差特征与恢复节奏生成波动强度表达;S3:根据波动强度表达与货物需求标准执行适配分析;S4:结合适配分析结果与任务过程监测数据集实施任务调度决策。解决了冷链运输中不同货物温控带宽差异大、装卸引发温度波动频繁,导致微小温度异常难以被有效识别和调度控制的问题。

一种油库装卸车系统

NºPublicación:  CN121279903A 06/01/2026
Solicitante: 
广东中南钢铁股份有限公司
CN_121279903_PA

Resumen de: CN121279903A

本发明涉及油库仓储物流技术领域,公开了一种油库装卸车系统,包括以下模块:车辆身份自动核验模块、装车流程自动化控制模块、卸车在线监测控制模块、尾气处理模块、出厂核验模块、主控制模块。本发明通过车辆身份自动核验模块的编辑距离算法,精准匹配含微小噪声的车辆-任务数据,同时联动卸车在线监测控制模块的Dijkstra算法(以管道能耗为权重找最短卸车路径),且由主控制模块协调两算法时序。替代人工匹配与路径规划,解决人工易出错、路径不合理问题,车辆-任务匹配准确率超99%,卸车能耗降15%~20%,大幅提升流程启动效率。

一种汽车制造白车身库立体库管理系统

NºPublicación:  CN121279917A 06/01/2026
Solicitante: 
迈赫机器人自动化股份有限公司
CN_121279917_PA

Resumen de: CN121279917A

本发明涉及汽车生产制造技术领域,具体为一种汽车制造白车身库立体库管理系统,包括:节点数据采集模块、可信度评估模块、任务匹配模块、动态调度模块、质量追溯模块,本发明中,通过周期性采集车身识别任务中产生的边界误差、中心偏移和模型匹配度,并进行动态加权融合,实现了节点处理能力的量化分级,结合车身特征和复杂度参数,基于最优匹配算法细化任务分配策略,动态整合节点的实时负载和可信度完成堆垛路径优化,有效平衡调度资源,提升节点协作效率,规避作业拥堵和资源闲置,结构化数据贯穿任务分配与追溯,实现白车身流转全过程的可溯性和精细化管理,提升仓储调度的准确性和透明度,显著增强作业灵活性和流程稳定性。

药品库存管理方法及系统

NºPublicación:  CN121279925A 06/01/2026
Solicitante: 
上海银诺医药技术有限公司
CN_121279925_PA

Resumen de: CN121279925A

本发明提供一种药品库存管理方法及系统,属于药品信息化管理技术领域,本发明的药品库存管理方法,通过构建从生产到使用的链上可信闭环,可以实现盒、笔、仓位、事件以及状态的精准映射,能够及时又准确的分析药品的数量和有效性,通过加密与分权,兼顾数据隐私与主节点的药效评估需求,利用智能存储盒的物理数据增强数字记录的真实性,减少人为错误对判断的影响,实现提升药品库存管理的准确性与效率。

基于最大流量值和船舶装载率的船舶过闸差异化控制方法

NºPublicación:  CN121281315A 06/01/2026
Solicitante: 
长江三峡通航管理局湖南元启智行科技有限公司
CN_121281315_PA

Resumen de: CN121281315A

本发明属于船舶调度技术领域,公开了基于最大流量值和船舶装载率的船舶过闸差异化控制方法,包括如下步骤:步骤S1、获取船舶过闸申报信息与环境信息;步骤S2、根据船舶过闸申报信息计算申报装载率,判断申报装载率是否小于设定装载率;步骤S3、根据船舶过闸申报信息与环境信息计算船舶过闸的最大通过流量值;步骤S4、控制船舶在流量小于最大通过流量值时过闸。本发明提升了船舶过闸的管控效率、降低了船舶过闸发生险情的风险。通过引入抽检和流量降档标记的技术手段,有效解决了船舶过闸申报信息中记载的拖带量与船舶实际拖带量的误差问题。

监控物品运输的方法、装置、设备和计算机可读介质

NºPublicación:  CN121279897A 06/01/2026
Solicitante: 
北京京东远升科技有限公司
CN_121279897_PA

Resumen de: CN121279897A

本发明公开了监控物品运输的方法、装置、设备和计算机可读介质,涉及物流运输技术领域。该方法的一具体实施方式包括:采集复核台中剩余复核物品的种类标识和所述剩余复核物品的数量;基于所述复核台的历史复核物品操作记录,结合所述剩余复核物品的种类标识和所述剩余复核物品的数量,确定复核所述剩余复核物品的预估耗时;按照复核台中剩余复核物品的预估耗时,筛选出处理拣货任务中物品的复核台,并发送筛选出复核台的标识以监控物品运输。该实施方式能够提高调度物品至复核台的效率,避免待复核物品积压。

一种烟草制丝贮存环境异常检测方法、系统及装置

NºPublicación:  CN121278609A 06/01/2026
Solicitante: 
浙江大学
CN_121278609_PA

Resumen de: CN121278609A

本发明公开了一种烟草制丝贮存环境异常检测方法、系统及装置,通过构建统一的多模态时空张量、提取动态主成分特征、引入跨模态注意力机制融合关键特征、基于虚拟动态特征进行异常评分,以及按贮存阶段动态调整判定阈值并响应不同风险级别,能够同时处理温度、湿度、重量及视觉信息,全面反映贮存柜的环境状态,突破了传统单一传感器数据孤立的局限,有效降低了误检率与漏检率。

基于无人机林草火场感知的灭火装备携运调度方法及系统

NºPublicación:  CN121279632A 06/01/2026
Solicitante: 
中国消防救援学院
CN_121279632_PA

Resumen de: CN121279632A

本申请提供的基于无人机林草火场感知的灭火装备携运调度方法及系统,涉及消防救援调度技术领域,接收并分析无人机回传的火场感知数据生成模块化调度策略后通过5G网络发送至装备标准化仓库,解析模块化调度策略获得K个携运任务后进行调度人员分配,以K个携运任务为约束执行装备模块化的装载和调配获得目标调度装备集,激活装备风险监测云端并基于5G网络构建装备集与装备风险监测云端的通信链路进行运行故障识别预警,解决了灭火调度过程中资源配置不合理、调度效率低下及应急响应滞后的问题,达到了实现灭火资源的高效调度和动态优化,从而大幅提升森林草原火灾的响应速度和灭火效率的效果。

一种物流运输需求预测与智能调度管理方法及系统

NºPublicación:  CN121279908A 06/01/2026
Solicitante: 
铁联国际供应链(山东)有限公司
CN_121279908_PA

Resumen de: CN121279908A

本发明公开有一种物流运输需求预测与智能调度管理方法及系统,属于智能物流管理技术领域,是以实时订单流主动驱动,创建基于优先级的双订单池处理机制,划分加急/普通订单,并基于订单池内的时空信息为每个订单建立计划运输线,通过预先设定的基准运输线进行路径映射匹配,将动态订单与相对稳定的物流运输资源高效、解耦地关联起来,实现资源的预见性规划和差异化匹配,获得订单资源预匹配方案,通过将预匹配方案与实际资源进行多维度比对,基于双信号决策机制,智能决定是直接执行预匹配方案还是触发动态调度,并为加急订单和普通订单设计差异化调度,有效的解决物流调度中“资源争抢”和“响应不及时”的核心痛点。

一种用于特种设备运输工具的综合评估方法及系统

NºPublicación:  CN121279864A 06/01/2026
Solicitante: 
扬州工业职业技术学院
CN_121279864_PA

Resumen de: CN121279864A

本申请公开了一种用于特种设备运输工具的综合评估方法及系统,涉及智能监测技术领域,解决了现有技术往往采用人为设定的固定权重对多维度数据进行分析,缺乏考虑在不同运输状态下多维度数据之间具有不同的重要性,导致运输工具综合评估的结果准确度较低的技术问题;通过基于振动数据生成运输模态结果并以此生成传感数据权重系数;基于传感数据权重系数和传感器数据流生成运输工具综合评分;基于传感器数据流和传感器数据权重系数生成工具预测寿命并以此生成警报信号,对传感器数据流中的各个数据动态调整数据的重要性,以便在进行综合评估时充分利用适配于运输模态结果的传感器数据流中的数据,提高运输工具的综合评估结果的准确度。

一种库存管理方法、系统、装置、电子设备及存储介质

NºPublicación:  CN121279921A 06/01/2026
Solicitante: 
北京奇艺世纪科技有限公司
CN_121279921_PA

Resumen de: CN121279921A

本发明实施例提供了一种库存管理方法、系统、装置、电子设备及存储介质,涉及互联网技术领域,方法包括:库存管理端在接收到业务端发送的目标用户的库存扣减请求后,从目标数据库中,获取目标商品的第一版本信息;对库存扣减请求进行基础校验;在对库存扣减请求的基础校验通过后,从目标数据库中,获取目标商品的第二版本信息;在第一版本信息与第二版本信息相同时,按照库存扣减请求,将目标数据库中目标商品的数目减少第一数目;向业务端发送表示库存扣减成功的第一响应消息。业务端在接收到第一响应消息后,确定目标用户下单成功,无需对目标商品的数目进行锁定,可以减少不同库存扣减请求之间的锁竞争,提高库存扣减请求的处理效率。

一种基于数字孪生的分拣中心布局优化方法及系统

NºPublicación:  CN121279677A 06/01/2026
Solicitante: 
深圳市爱博绿环保科技有限公司
CN_121279677_PA

Resumen de: CN121279677A

本发明涉及分拣布局优化技术领域,公开了一种基于数字孪生的分拣中心布局优化方法及系统,包括确定货物规格类型和任务优先级权重;生成第一设备坐标集并计算路径长度优化系数;生成第二设备坐标集;基于产线实时数据流获取工作站的第一负载数据,结合任务优先级权重生成任务执行顺序;确定执行设备和任务实时调整方案;基于设备状态数据与任务实时调整方案进行调整,得到第一分拣方案和第三设备坐标集;计算任务分配均衡性和空间利用效率;更新第一分拣方案生成第二分拣方案,更新第三设备坐标集得到最终坐标集。本发明实现分拣中心布局与任务分配的动态协同优化,有效提升分拣效率和空间利用率,适用于多规格货物与高实时性需求的物流场景。

订单驱动的跨工厂协同生产系统

NºPublicación:  CN121279583A 06/01/2026
Solicitante: 
宁波家联科技股份有限公司
CN_121279583_PA

Resumen de: CN121279583A

本发明公开了订单驱动的跨工厂协同生产系统,涉及智能制造与供应链协同技术领域,该系统通过实时获取宁波、泰国、美国等多个生产基地的产能数据、物流成本及关税政策,运用多基地产能博弈算法对订单进行智能拆分与分配,实现订单与产能的动态最优匹配。同时,系统集成WMS库存数据与第三方物流实时报价,采用遗传算法生成总成本最低的运输方案,显著降低跨境物流与关税支出。该系统克服了传统多工厂生产中信息孤岛、响应滞后、成本控制粗放等问题,实现了全球产能协同优化与供应链一体化智能决策,提升企业订单履约效率和整体资源利用率。

一种物料数据变更管理方法、装置、设备及介质

NºPublicación:  CN121279927A 06/01/2026
Solicitante: 
浙江零跑科技股份有限公司
CN_121279927_PA

Resumen de: CN121279927A

本申请涉及生产管理技术领域,公开了一种物料数据变更管理方法、装置、设备及介质,应用于制造执行系统,其中,所述方法包括:获取当前车辆的计划订单物料数据;基于所述计划订单物料数据,确定每个工位生产所需的物料使用数量,并剔除缺少的物料数据,生成处理后的物料数据;比对所述计划订单物料数据和所述处理后的物料数据,以根据比对结果生成装车差异清单;根据所述装车差异清单对所述计划订单物料数据进行更新,以得到目标订单物料数据。本申请提供的技术方案,能够实现精准的物料断点控制,使得物料变更、试装及生产计划保持一致。

海上油田CCUS先导试验工艺流程设计方法

NºPublicación:  CN121279941A 06/01/2026
Solicitante: 
中海油田服务股份有限公司
CN_121279941_PA

Resumen de: CN121279941A

本申请实施例公开了一种海上油田CCUS先导试验工艺流程设计方法,其中,该方法包括:根据源汇匹配情况和海上设施能力情况,确定海上油田CCUS项目的目标作业模式;获取目标作业模式对应的相关参数,建立相关参数之间的关键函数关系式;依据关键函数关系式,对运输船和储罐的设备参数进行优化,确定目标单船运输能力和目标储罐容积;根据泵注应急放喷情况和生产受效井的二氧化碳产出情况,设置海上的注入平台的地面工艺流程。本申请通过采用函数优化的方式能够便捷地确定目标单船运输能力和目标储罐容积,实现了先导试验配套设备最优设计,综合考虑泵注应急放喷、生产受效井的二氧化碳产出等情况,完成了地面工艺流程设计,实现了资源的有效配套。

配送信息管理方法、装置、设备、介质及程序产品

NºPublicación:  CN121279895A 06/01/2026
Solicitante: 
腾讯科技(深圳)有限公司
CN_121279895_PA

Resumen de: CN121279895A

本申请实施例提出了一种配送信息管理方法、装置、设备、介质及程序产品,可应用于云技术、人工智能、物联网等领域或场景,该方法包括:获取由支付设备采集的目标对象的对象特征信息,根据对象特征信息对目标对象进行配送信息变更权限验证;当对目标对象进行配送信息变更权限验证通过时,获取支付设备的设备位置信息和与目标对象关联的目标物品的初始配送信息;若初始配送信息中目标物品的初始配送位置信息与设备位置信息不匹配,则根据设备位置信息和初始配送信息确定目标物品的变更配送信息;变更配送信息用于对目标物品进行配送处理。通过本申请实施例,可以提高物品配送的灵活性。

用于控制申报数据的电子装置

NºPublicación:  CN121285823A 06/01/2026
Solicitante: 
马士基物流与服务国际公司
CN_121285823_PA

Resumen de: WO2024260523A1

Disclosed is an electronic device comprising a memory circuitry, a processor circuitry, and an interface. The electronic device is configured to obtain declaration data associated with a commodity. The electronic device is configured to predict, based on the declaration data, one or more commodity attributes of the commodity, e.g., by applying a prediction model to the declaration data. The electronic device is configured to provide, based on the one or more predicted commodity attributes, a validation response indicative of a validity of the declaration data.

一种车辆调度的方法、装置、电子设备及计算机程序产品

NºPublicación:  CN121279751A 06/01/2026
Solicitante: 
湛江中冶环保运营管理有限公司中冶建筑研究总院有限公司
CN_121279751_PA

Resumen de: CN121279751A

本发明公开了一种车辆调度的方法、装置、电子设备及计算机程序产品,通过获取多个车辆的实时状态信息,当检测到车辆运输请求时,根据车辆运输请求中运输任务信息以及车辆的实时状态信息,确定每个车辆的模拟运输结果,模拟运输结果包括车辆的运输里程信息,根据每个模拟运输结果,确定目标车辆,并生成针对目标车辆的车辆调度指令,目标车辆为模拟里程信息最小的车辆,车辆调度指令用于指示目标车辆执行运输任务,从而能够对所有车辆进行模拟运输,得到每个车辆的模拟运输结果,以指示目标车辆执行运输任务,减少了部分车辆的运输里程远多于其它车辆的运输里程的情况,以及减少了运力资源分配不均的问题。

一种租赁订单的智能调度方法、系统及计算机设备

NºPublicación:  CN121280122A 06/01/2026
Solicitante: 
广东金满筐科技有限公司
CN_121280122_PA

Resumen de: CN121280122A

本发明涉及一种租赁订单的智能调度方法,属于专门适用于行政、商业、金融、管理、监督或预测目的的数据处理领域,更具体地涉及大数据处理领域,所述方法包括:解析/采集目标生鲜果蔬仓库的多份仓库资源信息和过往周转筐租赁数据;智能分析目标生鲜果蔬仓库在当前时间分段会出现的周转筐租赁订单数量以及周转筐租赁需求总数。本发明还涉及一种租赁订单的智能调度系统及计算机设备。通过本发明,针对现有技术中生鲜果蔬仓库容易陷入周转筐不足和/或服务器资源匮乏的困境的技术问题,采用AI智能租赁分析模型根据各项基础数据智能分析目标生鲜果蔬仓库的未来周转筐租赁订单数量以及周转筐租赁需求总数,从而解决了上述技术问题。

一种基于数字签名的农产品溯源方法及系统

NºPublicación:  CN121280049A 06/01/2026
Solicitante: 
西安外事学院
CN_121280049_PA

Resumen de: CN121280049A

本发明公开了一种基于数字签名的农产品溯源方法及系统,涉及产品溯源技术相关领域,该方法在农产品生产的多个环节实时采集农产品信息,采用基于密文策略的属性加密算法对农产品信息进行初步加密,生成用于溯源查询的农产品批次标识码,并结合准循环密度奇偶校验码和椭圆曲线算法,对加密后的农产品信息进行数字签名;构建农产品信息溯源查询系统,消费者和监管部门输入农产品标识码,验证数字签名的正确性后,使用属性解密密钥对加密的农产品信息进行解密,查询农产品信息;当农产品出现质量问题时,利用环节责任追溯算法对各环节的责任主体进行责任度评估,为责任追究提供依据。本发明结合数字签名和责任追溯,提升了农产品质量的安全保障水平。

基于射频识别技术的珠宝零售系统

NºPublicación:  CN121279918A 06/01/2026
Solicitante: 
上海望胜软件有限公司
CN_121279918_PA

Resumen de: CN121279918A

本发明公开了基于射频识别技术的珠宝零售系统,包括标签生成模块、识别模块、核心控制模块、移动盘点模块、智能交互模块、数据分析模块和安全防护模块;本发明通过标签生成模块为每一件珠宝生成唯一的RFID电子标签,确保商品信息的准确和唯一,解决了传统珠宝零售中商品信息管理混乱的问题。识别模块能够快速精准地读取标签信息,配合核心控制模块实现了库存的实时更新和交易的高效处理,大大提高了珠宝零售的运营效率,减少了人力投入和时间成本。移动盘点模块使得库存盘点工作时间大幅缩短,大幅提升了盘点效率和准确性,降低了盘点过程中的人力和时间消耗。

一种面向农化场景的三维装箱优化方法及系统

NºPublicación:  CN121279537A 06/01/2026
Solicitante: 
数据空间研究院
CN_121279537_PA

Resumen de: CN121279537A

本发明涉及计算机算法技术领域,具体的说是一种面向农化场景的三维装箱优化方法及系统,包括数据输入与预处理模块:负责接收容器尺寸和待装箱物品清单,初始方案生成模块:采用BLF启发式算法,根据一个初始的物品排序,快速生成一个可行的基准装箱方案;遗传算法优化模块:系统的核心,负责对物品的装箱顺序进行迭代优化,以寻找最优的排列,方案输出模块:将最优方案以数据、统计报告和三维可视化的形式呈现。本申请显著提升空间利用率:遗传算法的全局搜索能力能够发现非直观的、更紧凑的物品排列顺序,有效减少了因放置顺序不当而产生的空间碎片,相比传统贪心算法,空间利用率得到极大提升。

基于控制塔理论和大模型实现采购风险预警的方法

NºPublicación:  CN121279771A 06/01/2026
Solicitante: 
中广核智能科技(深圳)有限责任公司
CN_121279771_PA

Resumen de: CN121279771A

本发明涉及基于控制塔理论和大模型实现采购风险预警的方法,包括步骤S1,基于供应链控制塔构建端到端数据整合框架,从企业内部业务系统和外部环境数据源获取多源数据,建立风险数据池;步骤S2,基于风险数据池中的历史采购数据,采用机器学习算法训练采购风险预测模型;步骤S3,利用训练完成的预测模型对风险数据池中的实时采购数据进行多维度风险识别与预测,生成风险预警结果;步骤S4,将风险预警结果通过供应链控制塔的实时监控仪表盘进行可视化展示,并自动触发预警通知;步骤S5,基于预警结果,通过控制塔协同响应机制生成应对策略,并进行显示。本发明实现了采购风险管理的自动化转型,显著降低了人为因素干扰。

物料清单的变更管理方法、装置、设备和存储介质

NºPublicación:  CN121279527A 06/01/2026
Solicitante: 
赛力斯汽车有限公司
CN_121279527_PA

Resumen de: CN121279527A

本申请涉及一种物料清单的变更管理方法、装置、设备和存储介质。所述方法通过获取业务变更事件和数据库变更事件的物料数据流,并根据物料数据流构建BOM拓扑结构,以及基于风险分析模型对BOM拓扑结构进行风险分析,得到风险分析结果,然后根据风险分析结果触发对应决策的执行,得到执行结果,其中,风险分析结果包括第一风险分析结果、第二风险分析结果、第三风险分析结果、预测分析结果和异常识别结果中的至少一种。上述方法实现了从变更数据流到BOM拓扑结构的构建,再到对BOM拓扑结构的风险分析,最后到决策执行的全链路业务闭环的自动化的BOM管理方法,该全链路业务闭环的管理过程中不需要人工介入,可以极大的提高BOM管理效率。

一种基于CPS的多仓库车辆配送方法和系统

Nº publicación: CN121279915A 06/01/2026

Solicitante:

国网上海市电力公司上海久隆企业管理咨询有限公司

CN_121279915_PA

Resumen de: CN121279915A

本发明涉及一种基于CPS的多仓库车辆配送方法和系统,方法包括:构建用于车辆配送的CPS架构,对配送过程中的各类物理实体进行感知和数据采集;获取各个运输需求点以及提供运输车辆的仓库,以所有车辆总行驶里程最小化为目标函数,设置包含车辆运输限制和客户时间窗需求的约束条件,构建多仓库车辆配送问题优化模型;对模型的参数初始化后,进行迭代求解,每轮迭代过程中,首先通过破坏算子和修复算子进行节点的删除和重新插入,形成新解;采用变邻域搜索算法对新解进行再优化,然后判断优化后的新解是否作为新的最优解。与现有技术相比,本发明具有能实现对物流运输全过程的实时感知与动态优化,提高算法优化效率等优点。

traducir