Ministerio de Industria, Turismo y Comercio LogoMinisterior
 

Alerta

Resultados 474 resultados
LastUpdate Última actualización 02/11/2025 [06:52:00]
pdfxls
Solicitudes publicadas en los últimos 15 días / Applications published in the last 15 days
Resultados 1 a 474  

基于动态权重的冷链物流运输数据区块链选择性存证方法

NºPublicación:  CN120881078A 31/10/2025
Solicitante: 
内蒙古工业大学
CN_120881078_PA

Resumen de: CN120881078A

本申请涉及基于动态权重的冷链物流运输数据区块链选择性存证方法。所述方法包括:实时采集冷链运输过程中的温湿度阈值偏差率、地理位置位移向量、设备功耗波动系数及通信链路质量指数等多维状态特征数据,对其进行时序特征提取与动态关联分析,提取关键特征并增强修正以生成优化的存证权重值;基于预设阈值比对存证权重值,据此分配区块链存储资源并生成加密存证路径,再结合加密存证路径的时空分布特征与业务波动趋势,动态调整区块链分片资源分配比例,监控闲置情况以生成资源调度方案。该方法实现冷链运输数据的选择性上链,优化提升区块链分片资源的利用效率,适用于复杂多变的冷链运输场景,为冷链物流数据管理提供高效且经济的解决方案。

一种运输风险优化方法及系统

NºPublicación:  CN120875720A 31/10/2025
Solicitante: 
重庆飞鸿运输有限公司
CN_120875720_PA

Resumen de: CN120875720A

本发明涉及智能交通与道路灾害预警技术领域,尤其涉及一种运输风险优化方法及系统,其方法步骤包括:S1多模态事件-红外-光纤数据采集与同步生成统一索引数据包;S2物理信息神经网络结合能量守恒与因果推断同化,输出数字孪生状态张量;S3条件扩散模型执行正向噪声调度与逆向去噪,生成结冰概率场并提取高频注意力谱;S4依据概率场与注意力谱计算道路结构因子,构建二元无约束优化模型,映射至光学相干Ising机求解,经策略网络软更新与安全验证形成干预调度方案,并将执行效果回写循环更新。本发明实现亚秒级风险识别、毫秒级优化决策,降低事故率与撒盐成本。

一种基于大数据处理的露天矿运输调度方法

NºPublicación:  CN120875397A 31/10/2025
Solicitante: 
内蒙古工业大学
CN_120875397_PA

Resumen de: CN120875397A

本发明涉及运输车辆调度技术领域,尤其涉及一种基于大数据处理的露天矿运输调度方法,该方法包括:多源数据采集;环境特征提取;区域智能划分;路径局部修正;高干扰路径连接;双轨融合比对;动态调度执行。本发明通过紧密耦合运输位置与速度数据(指示车辆运动状态与网络负载)与设备状态特征(反映车辆健康水平)以及环境感知指标(粉尘能见度、点云畸变梯度),在边缘节点即刻形成对“通行能力”、“风险暴露”和“作业效率”三大维度的综合评估;有效解决了由于缺乏实时环境感知与路径自适应能力导致在干扰场景下的调度方案与实际运输环境脱节进而造成运输效率低下、路径冲突频发及设备运行风险增加的问题。

物资配送路径优化方法、装置

NºPublicación:  CN120875714A 31/10/2025
Solicitante: 
南方电网储能股份有限公司信息通信分公司
CN_120875714_PA

Resumen de: CN120875714A

本申请涉及一种物资配送路径优化方法、装置;所述方法包括:基于获取到的物资配送信息和配送需求,构建引入配送成本的路径优化模型,通过透镜成像反向学习策略对鹦鹉优化算法进行改进,得到改进鹦鹉优化算法,依据改进鹦鹉优化算法,求解路径优化模型,获取物资配送路径优化方案;采用本方法,通过在构建路径优化模型的过程中,设置了不同时间窗的配送点对于物资到达时间不在时间窗内的时间窗惩罚成本,使模型的建立更符合实际情况,同时,通过透镜成像反向学习策略对鹦鹉优化算法进行改进,增大改进后算法的全局搜索能力,能够更精确的搜寻最优解,从而提升路径优化能力。

融合Q学习算法与动态功率调节的RFID仓储盘点系统及方法

NºPublicación:  CN120874876A 31/10/2025
Solicitante: 
安徽习承科技有限公司
CN_120874876_PA

Resumen de: CN120874876A

本发明涉及仓储盘点技术领域,具体公开了一种融合Q学习算法与动态功率调节的RFID仓储盘点系统及方法,所述系统包括:读取装置,该装置在仓储环境中移动,包含:环境感知单元,获取反映读取装置与待盘点货品之间空间位置关系的环境感知参数;多天线射频识别单元,发射射频信号并接收标签响应信号,以识别标签身份信息并提取表征信号传播特性的信号特征参数。本发明实施例的融合Q学习算法与动态功率调节的RFID仓储盘点系统及方法有效解决了传统RFID仓储盘点技术中静态参数难以适应复杂仓储环境的问题,通过融合Q学习算法与动态功率调节机制,实现了对仓储场景的实时感知与智能决策。

一种集成式物料拣选管理方法

NºPublicación:  CN120875766A 31/10/2025
Solicitante: 
河南柴油机重工有限责任公司
CN_120875766_PA

Resumen de: CN120875766A

本发明公开了一种集成式物料拣选管理方法,包括以下步骤:S1:确定物料需求清单:物料数据库中根据使用场所需求的物料编码、物料数量、需求时间、使用场所等信息的不同形成不同的物料需求清单;S2:物料拣选和赋码:根据物料信息数据库中预设的物料拣选规则拣选物料时,二维码生成与赋码装置根据拣选的物料的编码、数量、使用场所等信息生成唯一的二维码标签;本集成式物料拣选管理方法可解决现有在物料拣选过程中,需要人工对照物料需求清单进行物料信息比对,核查工作量大、物料拣选准确率低、适应性差以及拣选效率不高的问题。

一种冷链物流温度智能控制方法及系统

NºPublicación:  CN120875728A 31/10/2025
Solicitante: 
深圳前海粤十信息技术有限公司
CN_120875728_PA

Resumen de: CN120875728A

本申请提供一种冷链物流温度智能控制方法及系统,涉及温度智能控制技术领域。该方法包括:先通过目标货物的货名信息,从预设温控映射表中确定对应的目标冷链温度和呼吸热安全阈值(货物自身产热达危险程度的临界点)。在货物入车厢前,提前控制制冷装置将车厢温度调至目标冷链温度并低功率维持。货物装入后,利用点云采集装置获取摆放图像,确定呼吸热集中的货物堆心区域,再控制红外热成像仪定向监测这些区域的实时温度。若任一区域温度超阈值,便控制制冷装置定向送风,使该区域温度降至目标冷链温度。实施该方法可以有效避免货物因局部温度异常导致的冻伤或变质,提高了冷链运输过程中温度控制的精准性和智能化程度。

一种货物数量监测系统及方法

NºPublicación:  CN120864104A 31/10/2025
Solicitante: 
北京合瑞华思科技有限公司
CN_120864104_PA

Resumen de: CN120864104A

本申请公开了一种货物数量监测系统及方法,涉及智能物流仓储技术领域,该系统包括计数模块,用于检测拣货主体是否进入拣货区域,在检测到拣货主体进入拣货区域后获取货物重量,并根据所述货物重量确定货物数量变化量和货物剩余数量;在未检测到拣货主体进入拣货区域时,所述计数模块处于待机模式;远程监测模块,与所述计数模块采用无线通信方式连接,用于接收所述货物剩余数量。本申请的远程监测模块和计数模块采用无线通信方式连接,计数模块在检测到拣货主体进入拣货区域后进行称重计数,实现了仓储管理的无线、低功耗称重计数,简化了货物数量监测系统的拓扑结构。

基于医疗物流机器人调度的多机协同冲突消解方法及系统

NºPublicación:  CN120878114A 31/10/2025
Solicitante: 
北京国药新创科技发展有限公司
CN_120878114_PA

Resumen de: CN120878114A

本发明提供一种基于医疗物流机器人调度的多机协同冲突消解方法及系统,包括基于多医疗物流机器人的工作环境地图、路网信息及接收的指令,生成协同调度轨迹规划结果;其中,协同调度轨迹规划结果为多医疗物流机器人最优全局静态路径;将协同调度轨迹规划结果配置到多医疗物流机器人;实时监测各医疗物流机器人的运行数据,并判断当前是否发生冲突。本发明通过预测模型与消解规则的协同作用实现了从静态规划到动态调整的全周期冲突预防,在保障高优先级物资运输效率的同时,避免了因临时障碍或路径偏移引发的连锁冲突,适用于医院复杂环境下的多医疗物流机器人高效、安全、智能化协同调度场景。

一种酒类样品库管理方法及系统

NºPublicación:  CN120875763A 31/10/2025
Solicitante: 
山东浪潮数字商业科技有限公司
CN_120875763_PA

Resumen de: CN120875763A

本发明涉及库存管理技术领域,特别涉及一种酒类样品库管理方法及系统。该酒类样品库管理方法,利用RFID标签对入库样品一物一码进行标识,并为每个样品标记规则属性;通过预设的业务规则定义规则优先级,为入库样品分配库位;生成库房盘点表,对库房中的样品进行扫码盘点;将借用的库内样品对应到样品归还入库时,先进行鉴定与审批,明确每个样品的状态;若样品破损或超期,则对样品进行销毁处理,直接进行出库操作,不做归还处理;如有对应的替换物料,则将替换物料按照新品入库进行处理。该酒类样品库管理方法,实现了实时样品定位及跟踪和仓库的自动化、智能化和高效化管理,降低了管理成本,提高了管理效率,是以推广应用。

一种医院药事智能管理系统及方法

NºPublicación:  CN120878118A 31/10/2025
Solicitante: 
重庆大学附属肿瘤医院
CN_120878118_PA

Resumen de: CN120878118A

本发明公开了一种医院药事智能管理系统及方法,其包括管理中心机、供应商终端、专家决策终端、药事委员会决策终端、领导决策终端;所述管理中心机分别与供应商终端、专家决策终端、药事委员会决策终端、领导决策终端及医院SPD系统通信连接。本发明将参与药事的各个主体集成到一个系统中,使药事参与主体之间能够直接通过网络处理药事,实现药事的咨询、请求与决策,实现对药事资料的发送、审核与保存,同时医院药事智能管理系统与医院SPD系统联动,对医院SPD系统存储的药品采购目录及药品档案等自动更新,使药事处理的流程规范化、简洁化,能有效提高各个主体处理药事的效率,能帮助医疗机构降低药事管理时间成本及人力成本的技术问题。

一种具备智能匹配功能的自动派单系统

NºPublicación:  CN120875380A 31/10/2025
Solicitante: 
厦门供我货科技有限公司
CN_120875380_A

Resumen de: CN120875380A

本发明公开了一种具备智能匹配功能的自动派单系统,包括:数据采集模块,用于收集客户信息、订单信息、服务人员信息和环境信息;所述数据采集模块与多个数据源连接,通过接口协议获取客户的基本信息、历史订单数据、消费习惯、偏好等客户信息;获取订单的类型、金额、时间、紧急程度、特殊要求等订单信息;获取服务人员的技能水平、工作经验、工作时间安排、服务区域偏好等服务人员信息。本发明所述的一种具备智能匹配功能的自动派单系统,具备智能匹配功能的自动派单系统在技术方面带来了显著的提升。通过多维度数据采集,系统能够获取更全面、准确的信息,为智能匹配提供了坚实的数据基础。

一种用RFID系统追踪医疗器械耗材信息的系统和方法

NºPublicación:  CN120878116A 31/10/2025
Solicitante: 
安徽溯远分析仪器有限公司
CN_120878116_PA

Resumen de: CN120878116A

本发明涉及医疗器械耗材信息管理技术领域,公开了一种用RFID系统追踪医疗器械耗材信息的系统和方法,其中,系统包括:RFID信息写入模块、RFID信息读取模块、耗材出库验证模块、耗材使用确认模块和耗材回收确认模块;相较于现有技术中普遍采用人工登记或简单条码记录方式,尤其是在手术物资频繁流转、高精度要求的环境条件下,难以实现耗材信息全生命周期自动追踪与智能决策支持的技术问题,由于本申请通过设置RFID写入与读取装置、结合多字段自动验证与智能回收路径分配机制,实现了医疗器械耗材从入库、出库、使用到回收全过程的闭环追踪,从而避免了耗材错用、漏记、混乱存放等问题,提高了医院物资管理效率与使用安全性。

一种用于智慧场站应急物资的仓储管理方法

NºPublicación:  CN120875750A 31/10/2025
Solicitante: 
山东国华时代投资发展有限公司
CN_120875750_PA

Resumen de: CN120875750A

本发明提供了一种用于智慧场站应急物资的仓储管理方法,通过解析应急物资电子标签获取生产日期、保质期及初始环境参数,基于保质期与初始温度值的非线性映射生成动态温度适宜范围,基于生产日期与初始湿度值的关联模型生成动态湿度适宜范围;计算保质期剩余天数与温度适宜范围的重合度作为第一优先级因子,结合仓库实时负载率生成第二动态分配因子,通过优先级融合算法整合生成物资分配矩阵;实时监测目标仓库环境参数,当超出适宜范围时触发多级调节策略,验证失败时启动参数自学习引擎,实现仓储环境的智能调控与优化,提高应急物资存储安全性和管理效率。本申请可以动态适应物资特性变化、优化仓库环境控制精度。

一种土石方多目标智能调配方法、设备、介质及程序产品

NºPublicación:  CN120875348A 31/10/2025
Solicitante: 
中交第四航务工程局有限公司中交四航局第三工程有限公司
CN_120875348_PA

Resumen de: CN120875348A

本发明涉及土石方工程调度领域,具体涉及一种土石方多目标智能调配方法、设备、介质及程序产品。具体包括以下步骤:S1,基础数据收集与整理;S2,构建土石方调配数学模型;S3,运用麻雀搜索算法对土石方调配方案进行优化;S4,方案实施与动态调整。本发明首先,构建土石方调配的数学模型,以运输时间最短和运输路径最短为目标函数,综合考虑土石方供需平衡、运输车辆载重限制、施工进度要求等约束条件,将实际调配问题转化为数学规划问题。然后,引入麻雀搜索算法进行智能调配,获取最优调配方案,实现土石方在时间和路径维度上的高效调配,为工程建设提供科学、合理的土石方调配决策方案。

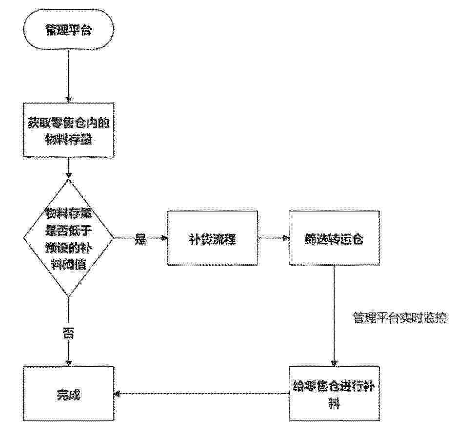
一种多种仓体销售散装物料的方法及系统

NºPublicación:  CN120875741A 31/10/2025
Solicitante: 
古河建筑机械制造有限公司
CN_120875741_PA

Resumen de: CN120875741A

本发明公开了一种多种仓体销售散装物料的方法及系统,包括以下步骤:管理平台获取零售仓内的物料存量;管理平台判断零售仓内的物料存量是否低于预设的补料阈值;若低于补料阈值,管理平台会自动触发补货流程,开始筛选转运仓;管理平台确定转运仓后,由转运仓给零售仓进行补料,补料的运输过程和补料过程,由管理平台实时监控,直至补料完成;本方案具有降低运输成本、提升供应链效率、增强用户体验和促进环保和可持续发展的特点。

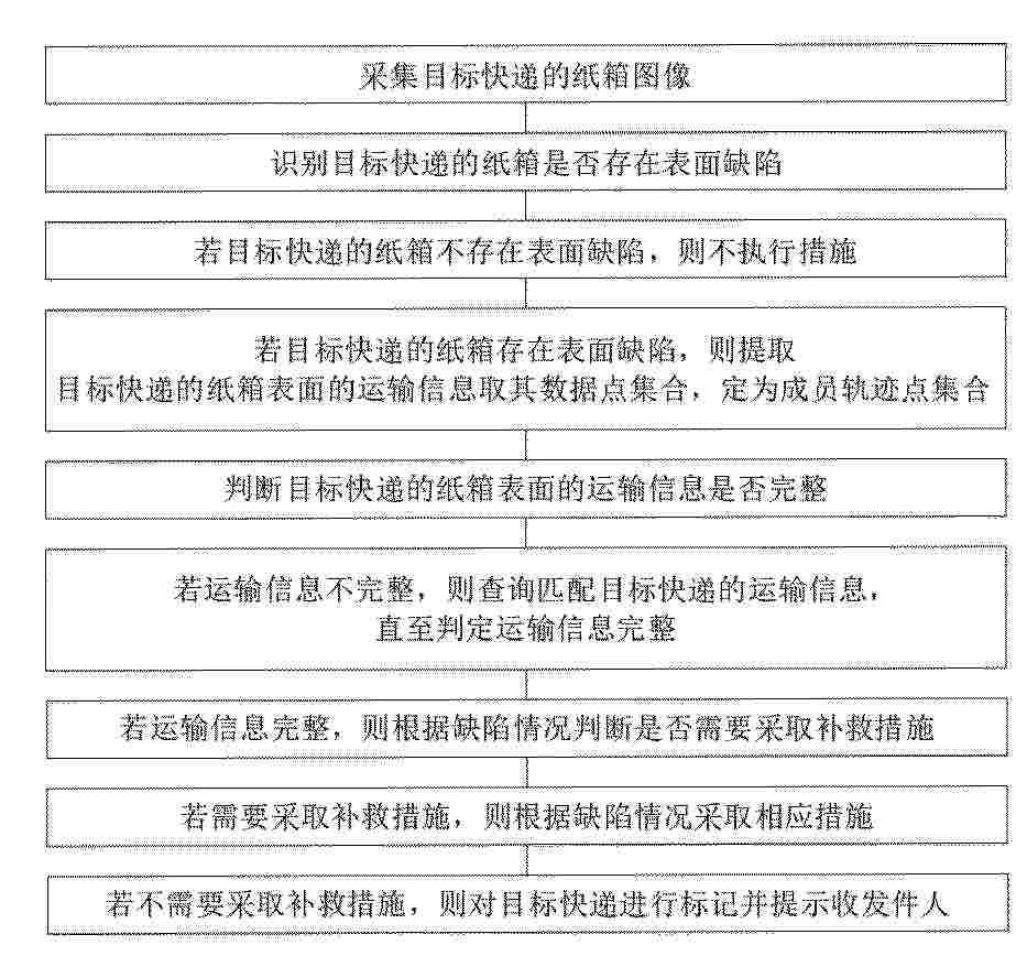
物流包裹重量信息的异常识别方法及电子设备

NºPublicación:  CN120875708A 31/10/2025
Solicitante: 
上海淘信宝网络技术有限公司
CN_120875708_PA

Resumen de: CN120875708A

本申请实施例公开了物流包裹重量信息的异常识别方法及电子设备,所述方法包括:根据多条正向物流数据建立商品最小库存量单位SKU维度的物流包裹重量数据库;利用所述数据库中的数据对商品重量预测模型进行训练;接收到物流服务方在提供退货揽收服务过程中上传的退货包裹的重量信息,确定关联的退货订单信息,以及所述退货订单关联的退货商品SKU信息;通过所述商品重量预测模型对所述退货商品SKU的物流包裹合理重量区间信息进行预测;通过判断所述物流服务方回传的退货包裹的重量信息是否在所述合理重量区间范围内,进行异常判断。通过本申请实施例,有利于提升退货重量数据的可信度,降低平台风险。

一种数据化拆拼包作业方法及系统

NºPublicación:  CN120875736A 31/10/2025
Solicitante: 
杭州福柜科技有限公司
CN_120875736_PA

Resumen de: CN120875736A

本发明涉及数据分析技术领域,具体涉及一种数据化拆拼包作业方法及系统,包括订单分解单元,基于购买订单中的商品构成结合不同仓库内容,将购买订单分解为多个子取货单,并构建每个仓库对应的取货数据库;分库分析单元,针对每个仓库进行独立分析,将取货数据库中位于待定时间区间范围内的取货数组划分至待定数组集合;提取待定数组集合多个取货数组构建的拼包组合,进行三维摆放模拟以及运输路线模拟,分析每个拼包组合的空间推荐值和路线推荐值,筛选出取货拼包组合;模型模拟单元,构建三维模型并进行依次摆放模拟,摆放模拟用于剔除部分无法摆放的拼包组合;拼包取货单元,按照取货拼包组合进行循环取货并进行分拣。

航空货运多方链式协同签名方法及系统

NºPublicación:  CN120880674A 31/10/2025
Solicitante: 
天信达信息技术有限公司
CN_120880674_PA

Resumen de: CN120880674A

本申请提供一种航空货运多方链式协同签名方法及系统,涉及航空货运信息管理技术领域,该方法包括:运单管理服务器生成电子运单,并基于运单初始状态向区块链系统中的每个签名方发送第一目标信息;区块链系统中的各签名方接收到第一目标信息后,基于第一目标信息中的状态码依次完成对电子运单的签名;运单管理服务器基于区块链系统中各签名方发送的签名结果反馈信息,更新电子运单的状态,直至多个签名方全部完成签名。本申请提供的航空货运多方链式协同签名方法及系统,通过用于表征运单状态的状态码来驱动各个签名方进行签名,不仅不会出现越权签名的情况,还极大地提高了签名效率。

一种智能化团餐库存管理与补货方法

NºPublicación:  CN120875999A 31/10/2025
Solicitante: 
苏州美年华云厨科技有限公司
CN_120875999_PA

Resumen de: CN120875999A

本发明公开了一种智能化团餐库存管理与补货方法,属于库存管理技术领域,通过以所述预处理之后的历史多源数据为基础,采用机器学习算法进行数据训练,构建团餐需求预测模型;然后采集与团餐库存相关的实时多源数据,并采用团餐需求预测模型对所述实时多源数据进行分析,确定团餐需求量;获取团餐库存中的菜品信息,并根据所述菜品信息以及所述团餐需求量,识别团餐库存补货量;最后以所述团餐库存补货量为基础,采用智能优化算法制定待补货菜品的补货计划,并将所述补货计划发送至采购部门或供应商,进行自动化采购和配送,可以实现库存消耗预测,并且避免了食材挤压或者短缺,提升了库存管理以及补货效率。

一种基于大数据处理的仓库货位管理方法及系统

NºPublicación:  CN120875753A 31/10/2025
Solicitante: 
国网湖北省电力有限公司随州供电公司湖北汉东电力发展有限公司武昌首义学院
CN_120875753_PA

Resumen de: CN120875753A

本发明提供一种基于大数据处理的仓库货位管理方法及系统,涉及仓库管理技术领域;本发明通过大数据处理和神经网络模型的应用,实现了对仓库货位的智能化管理,相比传统方式显著提高了仓库的整体管理效率,综合考虑货物的特性数据和货位历史出库记录,得出科学合理的货位划分方案,优化了货物存储布局,减少了搬运次数和距离,降低了仓储成本,同时,通过预设的出库指标和等级评估指标,对货物出库优先级和货位等级进行划分,提升了货物出库效率,其次,能够根据评估结果和货位等级对初始划分进行动态调整,增强了仓库管理的灵活性和适应性,有效提高了管理的准确性和可靠性,促进了仓库管理的科学化和规范化。

智能纸箱生产管理系统及方法

NºPublicación:  CN120876150A 31/10/2025
Solicitante: 
湖南荣成环保包装有限公司
CN_120876150_PA

Resumen de: CN120876150A

本申请公开了智能纸箱生产管理系统及方法,涉及包装箱生产管理技术领域,包括生产管理模块、追踪模块、回收模块和数据分析模块,所述生产管理模块用于接收订单后根据订单安排生产计划;所述追踪模块用于通过互联网设备对纸箱进行标识和实时监控采集纸箱的位置和状态信息,且追踪模块的输出端与回收模块的输入端电性连接;所述回收模块用于接收回收请求并安排回收任务,且回收模块的输出端与数据分析模块的输入端电性连接;所述数据分析模块用于存储和分析纸箱全生命周期数据,并优化生产计划和回收策略;该智能纸箱生产管理系统及方法,实现了纸箱生产、使用和回收的全流程智能化管理,通过各模块的模型和公式优化,提高了管理效率。

一种基于监测平台的回填碎石调运优化方法

NºPublicación:  CN120875364A 31/10/2025
Solicitante: 
中交第三航务工程局有限公司
CN_120875364_PA

Resumen de: CN120875364A

本发明公开了一种基于监测平台的回填碎石调运优化方法,包括:建立场地的三维数字化地质模型,划分场地的回填分区,通过提取各分区中心位置地质分层数据,通过对各分区采用一维固结侧限应力状态下土体压缩特性为基础的分层总和法和沉降量理论计算法,预测每个分区达到设计交地标高的回填量Vi,进而得到沉降数据;建立监测点,采用无线监测手段对各个分区的面层沉降量进行监测,通过4G/5G无线传感技术将实时数据导入监测平台;监测平台对整个监测范围进行Denaulay三角剖分,生成三维模型网格,并通过克里金插值技术将面层监测传感器获取的实时监测信息生成各分区沉降量热力云图。本发明避免了设计保守导致的回填碎石冗余。

基于统一数据中台的机构物资配送实时协同与追溯系统

NºPublicación:  CN120875713A 31/10/2025
Solicitante: 
浙江明辉智能科技有限公司
CN_120875713_PA

Resumen de: CN120875713A

本发明公开了基于统一数据中台的机构物资配送实时协同与追溯系统,涉及机构物资配送技术领域,包括数据规范模块、动态路由模块、追溯码生成模块、存证验证模块、营养计算模块、报告生成模块及异常响应模块;所述数据规范模块,采用统一JSON Schema定义供应商端生产批号与质检报告、配送端仓库温湿度与车辆GPS、学校端验收影像与学生反馈的数据规范;所述动态路由模块,基于数据规范模块的输出,通过动态路由引擎实现状态变更实时推送至三方系统;所述追溯码生成模块,根据数据规范模块的结构化数据,生成四段式追溯码,并存储各环节关键数据哈希值;所述存证验证模块,基于追溯码生成模块的输出。

基于增强学习的供应链中台智能选品决策方法及系统

NºPublicación:  CN120876023A 31/10/2025
Solicitante: 
胜天半子集团有限公司
CN_120876023_PA

Resumen de: CN120876023A

本申请涉及供应链管理技术领域,尤其是涉及一种基于增强学习的供应链中台智能选品决策方法及系统,其包括接收初始供应链数据集,构建强化学习环境,生成选品策略序列,构建单位决策轴和全局决策链,最终形成动态选品图谱。本申请通过增强学习代理与环境交互,实现动态环境下的实时优化和自适应决策,显著提升选品决策的精准性和效率,满足现代供应链管理对高效、智能化决策的需求。

一种连锁药店前置仓智能供应链管理方法及系统

NºPublicación:  CN120875762A 31/10/2025
Solicitante: 
广东易药数字科技有限公司
CN_120875762_PA

Resumen de: CN120875762A

本发明提供了连锁药店前置仓智能供应链管理方法及系统。该方法包括:采集各药品批次的全流程事件数据,并对不同仓储位置分别标记唯一批次识别码;对所采集的原始数据进行数据清洗与时序归一化处理;基于不同批次和仓储区域的药品数据,分别构建数字孪生体模型,记录每一批次药品的生命周期轨迹;集并序列化涉及各仓储区域的供应链关键行为事件;利用生命周期映射算法,将药品有效期曲线与动态库存消耗曲线进行实时配对,对不同仓储区域及药品类型分别计算剩余库存与有效期临界交点的动态变化趋势。该方法能够实现库存‑有效期联动风险的前置、精准预警和高效可视化溯源,能够提升连锁药店前置仓药品管理的智能化和合规水平。

一种基于销售数据的药品库存需求的分析方法及系统

NºPublicación:  CN120875749A 31/10/2025
Solicitante: 
上海倍通医疗器械管理咨询有限公司
CN_120875749_PA

Resumen de: CN120875749A

本发明公开了一种基于销售数据的药品库存需求的分析方法及系统,涉及医药管供技术领域,包括,采用BERT架构,对预处理后的医药供应链多模态数据进行医疗领域实体识别与情感强度分析,输出舆情压力指数,并通过地理实体关联映射方法进行空间坐标转换,生成地理舆情压力指数;融合政策‑需求耦合矩阵和舆情地理压力指数,通过TCN‑ConvLSTM混合模型进行多源时序特征提取与动态权重分配,生成需求张力向量;本发明显著提升了医疗机构应对政策调整和突发公共卫生事件的响应能力与库存管理效率,为患者用药可及性提供了可靠保障。

基于动态分析的仓库储位分配方法及系统

NºPublicación:  CN120875758A 31/10/2025
Solicitante: 
上海荃临科技有限公司
CN_120875758_PA

Resumen de: CN120875758A

本申请涉及数据处理技术领域,具体涉及基于动态分析的仓库储位分配方法及系统,该方法包括:获取当前时刻需要存储的各种货物在当前时刻之前预设时段内各周期的库存管理数据;对所述预设时段进行划分,得到各种货物的各时间区间;获取各种货物在各时间区间内与其所在订单中的每种货物之间的关联特征值、关联系数,得到各种货物在各时间区间内的影响因子,获取各种货物的影响特征值、动态影响系数;针对当前时刻需要存储的各货物,利用遗传算法迭代获取各货物的最佳储位。本申请旨在提高对仓库储位分配的准确性。

一种用于智慧车辆的集中管理方法及系统

NºPublicación:  CN120875466A 31/10/2025
Solicitante: 
江西铜锐信息技术有限公司江西金德铅业股份有限公司
CN_120875466_PA

Resumen de: CN120875466A

本发明涉及物流车辆管理领域,具体涉及一种用于智慧车辆的集中管理方法及系统。一种用于智慧车辆的集中管理系统,包括:任务接收模块、画像构建模块、车辆筛选模块、签到验证模块和队列管理模块。本发明通过构建车辆多维画像模型,并基于多目标优化算法对运输成本、运输效率等进行多维度匹配计算,实现了从经验驱动到数据驱动的智能派车决策;综合考虑了车辆历史运营数据、实时状态及驾驶员行为特征,能够输出全局最优的派车方案,显著提升了车辆调度精准度和资源利用效率,克服了传统方法仅依赖单一因素进行调度的局限性。

基于信息保护和防欺诈的在线购物方法及系统

NºPublicación:  CN120874114A 31/10/2025
Solicitante: 
常德学院
CN_120874114_PA

Resumen de: CN120874114A

本发明公开了基于信息保护和防欺诈的在线购物方法及系统,涉及电子商务技术领域;本发明对商品信息加密生成第一识别码组,避免了商品代码、型号等信息以明文形式存储和传输,降低了平台数据库被攻击时的信息泄露风险;消费者消费信息中的地址识别码、消费者识别码等均经加密处理,商家、快递等环节在交易过程中仅能获取完成交易所需的必要信息,无法接触到消费者真实姓名、联系方式等隐私数据;本发明基于加密识别码组和交易码的信息交互机制,从技术层面切断了敏感信息在交易全流程中的明文流转路径,既保护了用户隐私,又能遏制利用用户真实信息实施的伪客服诈骗、精准钓鱼等欺诈行为,实现了信息保护与防欺诈的双重目标。

一种用于危险品运输泄漏事故类型风险分级评价方法

NºPublicación:  CN120875726A 31/10/2025
Solicitante: 
重庆邮电大学
CN_120875726_PA

Resumen de: CN120875726A

本发明属于危险品运输领域,具体涉及一种用于危险品运输泄漏事故类型风险分级评价方法,包括:获取运输物品的相关信息;将相关信息输入到训练后的风险分级评价模型中,通过事故概率计算模型得到运输物品发生事故的概率;根据运输物品发生事故的概率将预处理后的数据输入到基于有序Logistic的事故类型分级模型中,得到事故分级结果;采用TR风险评价模型对事故分级结果进行评价;根据评价结果规划运输物品的运输路线;本发明采用有序Logistic模型预测不同路段事故类型,通过不同路段的事故预测情况通过TR风险评价模型进行事故分级评价,从而规划运输物品的运输路线,提高了危险物品运输的安全性和效率。

基于物联网的智能工厂仓储监控方法及系统

NºPublicación:  CN120875539A 31/10/2025
Solicitante: 
深圳市海铭德科技有限公司
CN_120875539_PA

Resumen de: CN120875539A

本发明实施例涉及数据监控技术领域,具体涉及基于物联网的智能工厂仓储监控方法及系统,该方法先对物联网设备采集的原始仓储数据进行数据融合处理,得到包含时间戳对齐的环境感知数据和货物状态数据的监测数据集合;接着对监测数据集合进行仓储特征挖掘,获取仓储空间的环境关联特征和货物状态演变特征;然后调用已训练的仓储异常检测模型对这两种特征进行联合异常检测,生成包含异常类型标识的仓储异常检测结果;最后基于检测结果中的异常类型标识及异常演变趋势信息,生成包含时空定位信息的风险预警标签并推送至仓储管理终端,实现对仓储异常的及时、精准预警。

物流网络重构方法、装置、电子设备及存储介质

NºPublicación:  CN120875722A 31/10/2025
Solicitante: 
深圳市明心数智科技有限公司
CN_120875722_PA

Resumen de: CN120875722A

本申请涉及物流网络重构技术领域,揭示了一种物流网络重构方法、装置、电子设备及存储介质,其中,方法包括:基于相关地缘政治事件构建时空热力图;构建港口层穿透模型、空域层穿透模型以及陆路层穿透模型,并进行级联,以生成组合模型,转化为混合整数线性规划模型;通过预设级联分析求解算法求解,得到重构方案。本发明的有益效果:通过构建时空热力图和穿透模型,各层次间的互联可以在事件发生时迅速评估和调整运输方案,确保供应链的稳定与高效,利用混合整数线性规划的优化能力,提高了重构方案的可行性和效率,为决策者提供了科学、数据驱动的策略选择,增强了全球物流网络的适应性与抗压能力。

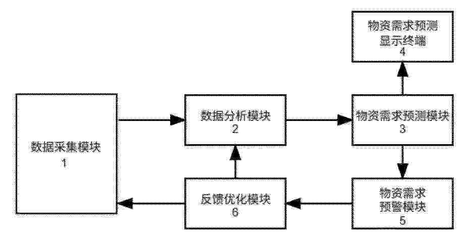
后勤保障管理中的动态物资需求预测系统及其方法

NºPublicación:  CN120875175A 31/10/2025
Solicitante: 
重庆长括科技有限公司
CN_120875175_PA

Resumen de: CN120875175A

本发明涉及后勤保障管理技术领域,具体涉及后勤保障管理中的动态物资需求预测系统及其方法,该系统包括数据采集模块、数据分析模块、物资需求预测模块和物资需求预测显示终端,数据采集模块负责采集历史使用数据,数据分析模块计算消耗概率系数、综合影响系数、均值和标准差,物资需求预测模块基于这些数据通过自适应多特征融合预测框架计算未来物资需求,显示终端用于展示预测结果,该系统通过多维度特征融合和自适应权重分配,相比传统方法预测精度提升30%~45%,有效减少了物资短缺和过度库存的情况,提高了后勤保障管理的效率和准确性。

一种杂货船配载辅助新系统

NºPublicación:  CN120874086A 31/10/2025
Solicitante: 
大连海事大学
CN_120874086_PA

Resumen de: CN120874086A

本发明涉及船舶配载技术领域,具体涉及一种杂货船配载辅助新系统,包括:船货系统用于存储并管理配载信息,通过货物专业名称识别分类货物为普通杂货和包装危险货物,对普通杂货上传至货物忌装和隔离判定,依据互抵杂货间隔离要求校验,对包装危险货物关联规范相关信息,判定隔离等级,不满足则提示不允许装载;配载操作系统用于接收用户输入的航次计划信息,生成配载方案并进行合规性校验;核算与结果输出系统用于对配载方案进行数据核算,输出核算结果及可视化配载图,核算模块能够动态计算非规则货物重心,同时基于船舶稳性基准参数与货舱空间特征参数,计算跨吨位杂货船的通用配载稳性算法。本发明提升配载工作的科学性、操作性和安全性。

一种EPR供应链库存数据管理方法和系统

NºPublicación:  CN120875756A 31/10/2025
Solicitante: 
佛山市爱茹娣服饰有限公司
CN_120875756_PA

Resumen de: CN120875756A

本发明涉及数据管理技术领域,具体涉及一种EPR供应链库存数据管理方法和系统。该方法包括:接收原始库存信息的更新指令后,利用库存主信息库识别待更新库存信息;修改所述待更新库存信息的价值字段,得到修改后的库存信息;将所述修改后的库存信息进行暂存和标记处理,得到待提交标记状态的暂存信息;确认所述待提交标记状态的暂存信息的聚合哈希值,并对所述聚合哈希值进行数字签名,生成操作意图凭证;基于操作意图凭证,将所述待提交标记状态的暂存信息替换库存主信息库中对应的原始库存信息后,得到替换后的库存主信息库。本发明的目的是解决现有技术无法提供可信及可验证的操作凭证,导致供应链的协作效率和信任较低的问题。

一种基于多维度决策的智能订单门店动态切换方法及系统

NºPublicación:  CN120875764A 31/10/2025
Solicitante: 
山东浪潮数字商业科技有限公司
CN_120875764_PA

Resumen de: CN120875764A

本发明涉及供应链管理技术领域,特别涉及一种基于多维度决策的智能订单门店动态切换方法及系统。该基于多维度决策的智能订单门店动态切换方法,实时获取所有门店的库存信息,结合各门店ID编码形成动态变更的门店信息列表,设置日期范围选择器;对待取货订单发起批量申请,若门店的库存满足待取货订单需求,则生成门店变更申请单;若消费者确认更换门店,则进入下一步;用户修改门店变更申请时,将订单编号和更换后的新门店ID编码保存到sc_order_shop_change表中。该基于多维度决策的智能订单门店动态切换方法,能够及时将门店变更信息传递给消费者,减少了用户操作流程,提高了运营效率,优化了用户体验。

一种基于分层核销校验的应收对账方法

NºPublicación:  CN120876122A 31/10/2025
Solicitante: 
河北同福共享科技有限公司
CN_120876122_PA

Resumen de: CN120876122A

本发明涉及一种基于分层核销校验的应收对账方法,包括:创建并维护分层校验机制,所述分层校验机制包括:单据生成层校验机制;业务流程节点层校验机制;财务结算层校验机制;建立校验规则库,针对不同类型的业务单据,明确各类金额的计算规则并进行校验;设定事件驱动模型,通过调用校验逻辑代码实现自动校验;在前端界面,基于脚本获取校验结果数据,并将错误信息填充到弹窗内容中显示给用户。本发明,通过分层校验机制确保数据准确,减少人为错误;自动化校验和反馈机制缩短对账周期,提高工作效率;优化单据关联信息展示增强流程连贯性;及时直观的校验结果反馈便于快速定位和处理问题,提升了应收对账的效率及准确性。

一种基于动态数据聚合的应收欠款智能计算方法

NºPublicación:  CN120875284A 31/10/2025
Solicitante: 
河北同福共享科技有限公司
CN_120875284_PA

Resumen de: CN120875284A

本发明涉及一种基于动态数据聚合的应收欠款智能计算方法,包括:调用动态数据采集与整合模块,实时获取各类预设类型的单据,建立数据关联关系,将分散的单据数据聚合;调用动态算法调度引擎,根据单据的实时状态动态调用适配的计算模型;调用混合数据处理模块,当检测到预设规则更新时,对单据历史数据重新计算,保证数据的连贯性和完整性。本发明,实现了多类型单据数据的实时收集与处理,依据单据状态精准调度算法进行应收欠款实时计算,确保数据的及时性与准确性;支持历史数据与优化后数据的混合计算,保障数据连贯完整,为长期财务分析提供有力支撑;可有效提升整体运营管理效率。

食材保鲜评估模型的构建及应用方法、装置、电子设备

NºPublicación:  CN120875738A 31/10/2025
Solicitante: 
青岛海尔电冰箱有限公司海尔智家股份有限公司
CN_120875738_PA

Resumen de: CN120875738A

本申请涉及智能家电技术领域,公开一种用于食材保鲜评估模型的构建方法,包括:获取用于表征食材新鲜度的标准训练数据;根据标准训练数据,设计基于注意力机制的食材保鲜评估网络框架;基于目标任务,对食材保鲜评估网络框架进行训练,构建食材保鲜评估模型。通过获取用于表征食材新鲜度的标准训练数据,再基于注意力机制构建食材保鲜评估网络框架并进行训练,获得食材保鲜评估模型。利用食材保鲜评估模型获得保鲜得分,分析保鲜得分,可以获得冰箱性能的优化方向,从而在冰箱设计的过程中,对冰箱进行优化控制操作。本申请还公开一种用于食材保鲜评估模型的应用方法、用于食材保鲜评估模型的构建装置及电子设备。

一种基于云计算的智慧农业生产调度方法及系统

NºPublicación:  CN120875452A 31/10/2025
Solicitante: 
贵州全智大数据有限公司
CN_120875452_PA

Resumen de: CN120875452A

本发明公开一种基于云计算的智慧农业生产调度方法及系统,包括数据收集、数据预处理、生长周期预测、物料生长所需物料预测、生长物料所需对比分析,得到的物料需求预测进行匹配分析,当预测物料需求与当前库存的差异超过设定阈值时,触发采购告警;采购调度:根据生长物料所需对比分析结果,生成采购调度方案,解决了农业生产中生长预测依赖经验性判断、采购调度缺乏数据驱动导致的资源分配不精准、效率低下和成本高昂的问题,本发明通过云计算平台集成多源数据,包括气象信息、土壤条件和作物生长动态,采用生长预测模型分析作物发育阶段和趋势,并结合物料需求分析准确估算采购需求。

物流轨迹查询方法及相关装置

NºPublicación:  CN120873250A 31/10/2025
Solicitante: 
全球查(深圳)科技网络有限公司
CN_120873250_PA

Resumen de: CN120873250A

本申请提供了一种物流轨迹查询方法及相关装置,响应于用户的查询请求,生成并展示第一控件,所述第一控件包括查询输入界面,所述查询输入界面中需要输入的选项包括运单号;根据所述运单号确定转单号集合;然后,根据所述转单号集合确定物流商数据;接着,根据所述物流商数据生成并展示第二控件,所述第二控件包括转单号输入界面,所述转单号输入界面包括可选择转单号的子界面;最后,响应于所述用户的转单号提交请求,生成并展示目标轨迹图,所述目标轨迹图包括所述运单号对应的第一轨迹和所述转单号提交请求中转单号对应的第二轨迹。用户只需要输入运单号即可快速便捷地查询到完整的物流的轨迹,大大提升了用户体验。

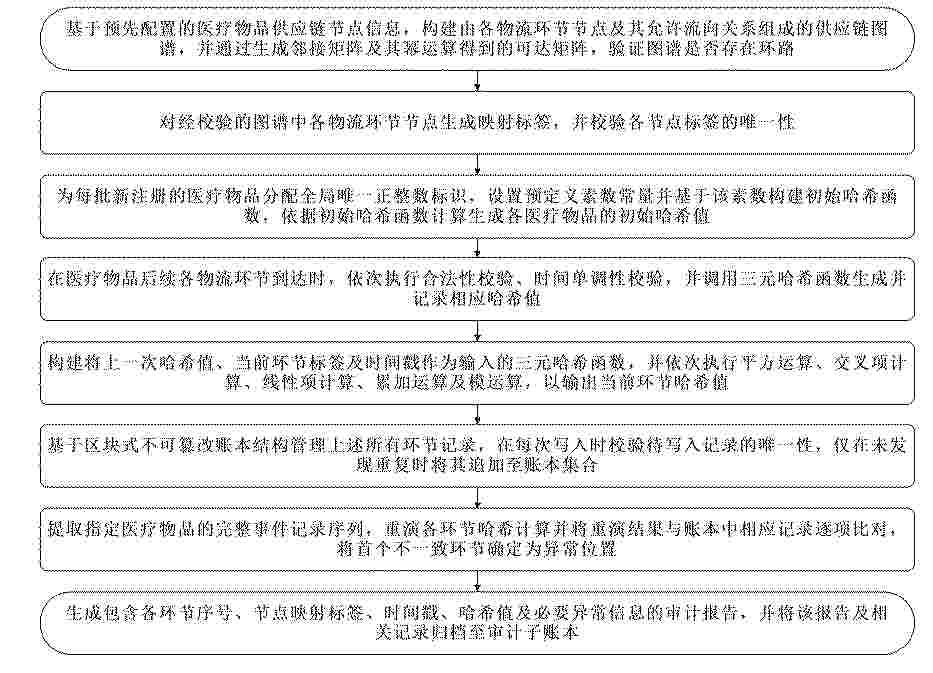
一种基于数字化预警与智能标识的医疗物品追溯方法

NºPublicación:  CN120878117A 31/10/2025
Solicitante: 
中国人民解放军陆军军医大学第二附属医院
CN_120878117_PA

Resumen de: CN120878117A

本发明涉及基于数字化预警与智能标识的医疗物品追溯技术领域,且公开了一种基于数字化预警与智能标识的医疗物品追溯方法。基于预配置的医疗物品供应链节点信息,构建流转图谱并自动排除循环;对校验通过的节点生成唯一标签,为新注册物品分配全局标识,并以素数哈希函数计算初始哈希;后续环节到达时进行路径、时间校验,并用上次哈希、标签和时间戳生成链式校验值;利用区块式账本管理写入记录,确保唯一不可篡改;提取全程记录并重演逐条比对,定位首个异常环节,最终生成包含环节序号、标签、时间戳、校验值及异常详情的审计报告并归档,实现端到端校验、高可信防护、实时风险检测及审计。

一种合并结算资金智能分摊方法

NºPublicación:  CN120876123A 31/10/2025
Solicitante: 
河北同福共享科技有限公司
CN_120876123_PA

Resumen de: CN120876123A

本发明涉及一种合并结算资金智能分摊方法,包括:从各类业务单据中收集关键数据并存储;提取整理后的关键数据,判断业务归属的具体业务场景;根据业务场景,调用对应的资金分摊优先级算法,计算每个业务单据的结算金额、已结金额、未结金额和核销金额;将计算结果反馈至业务单据系统和财务系统,更新相关单据的金额数据。本发明,能够根据业务单据的特性、时间顺序和金额权重进行动态调整,确保资金分摊的合理性和准确性;提高了分摊效率,降低了人工操作的复杂性和错误率,从而优化了资金流动管理;增强了系统的灵活性和适应性,能够更好地满足企业不同业务场景下的个性化需求。

用于港口工程施工船机的实时监控预警方法及系统

NºPublicación:  CN120875439A 31/10/2025
Solicitante: 
中交第三航务工程勘察设计院有限公司
CN_120875439_PA

Resumen de: CN120875439A

本发明公开了用于港口工程施工船机的实时监控预警方法及系统,涉及智能预警技术领域,该方法包括:获取目标港口的地理空间信息,构建三维地理空间模型,并融合施工船机设备和港口设施模型,生成综合港口空间模型;接收实时任务数据和施工进度信息,锁定关键监测区域,进行分区域集中监控,获取多源监测指标集合,结合综合港口空间模型进行双通道实时风险评估,生成综合风险评估结果,进行风险预警管理。本发明解决了现有施工船机监控手段无法根据施工任务进度进行适应性调整,导致监控没有针对性,影响风险评估的精准性的技术问题,达到了依据施工进度动态调整监控策略,精准锁定关键区域并提取监测指标,提升风险评估的精准性的技术效果。

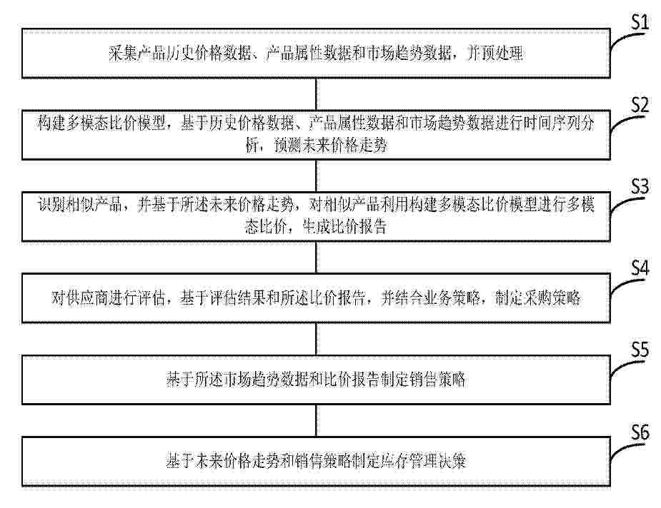
一种基于大数据的企业供应链管理系统

NºPublicación:  CN120875751A 31/10/2025
Solicitante: 
创兴世纪(深圳)跨境网络技术有限公司
CN_120875751_PA

Resumen de: CN120875751A

本发明涉及供应链管理技术领域,具体为一种基于大数据的企业供应链管理系统,包括预测模型单元,所述预测模型单元用于对所述市场趋势数据进行特征提取,以得到所述市场趋势数据的特征向量集合,基于线性回归模型对所述特征向量集合进行训练,以得到需求预测模型;最优库存单元,所述最优库存单元用于基于所述需求预测模型对所述目标企业的库存产品进行预测分析,以得到符合市场趋势的库存产品,对所述库存产品进行安全库存与订货动态计算,以得到最优库存目标函数。本发明通过需求预测模型对供应链库存进行预测,并计算出符合市场趋势的最优库存目标,根据市场需求的变化,动态调整安全库存量和订货量,确保库存量的最优化。

一种航空物流公共信息管理平台

NºPublicación:  CN120873066A 31/10/2025
Solicitante: 
陕西电子口岸有限责任公司
CN_120873066_PA

Resumen de: CN120873066A

本发明公开了一种航空物流公共信息管理平台,包括:数据采集模块、数据处理模块、数据存储模块、信息共享模块、业务协同模块、用户管理模块、智能仓储管理模块、动态路线规划模块、绿色物流管理模块和客户服务模块:所述数据采集模块,用于采集航空物流供应链各参与方的业务数据;所述数据处理模块,用于对采集到的数据进行清洗、转换和标准化处理,本发明涉及航空物流技术领域。该一种航空物流公共信息管理平台,通过构建统一的信息管理平台,整合航空物流供应链各参与方的信息,打破信息孤岛,实现信息的标准化、共享化和协同化,从而提高航空物流运作效率,降低运营成本,促进企业跨境贸易便利化。

基于语音识别的医院物流系统及其管控方法、装置和介质

NºPublicación:  CN120878103A 31/10/2025
Solicitante: 
珠海普天慧科信息技术有限公司
CN_120878103_PA

Resumen de: CN120878103A

本发明提出了基于语音识别的医院物流系统及其管控方法、装置和介质,该系统包括:医院业务网络,包括多个连接有麦克风的科室终端和设置有调度算法的管控系统,麦克风设置有音频降噪处理模块;物流设备局域网,连接于管控系统,包括下位系统,下位系统包括多个自动化物流设备;其中,音频降噪处理模块用于基于麦克风获取的语音指令得到语音识别指令,科室终端用于基于获取的语音识别指令确定物流指令,管控系统用于通过调度算法基于获取的物流指令生成任务调度指令,下位系统用于基于任务调度指令控制自动化物流设备。根据本发明实施例的技术方案,通过语音识别完成物流的发出,避免科室内多名护理人员的交叉感染,确保医院各科室的卫生管控。

一种通过共享的散装物料仓售卖散装物料的系统及方法

NºPublicación:  CN120875743A 31/10/2025
Solicitante: 
古河建筑机械制造有限公司
CN_120875743_PA

Resumen de: CN120875743A

本发明公开了一种通过共享的散装物料仓售卖散装物料的系统及方法,包括:物料仓运营商,负责物料仓的补料和维护;物料仓,用于储存和输出物料;物料仓支付系统,与对应的物料仓通讯连接,用于向终端用户提供支付入口;用户终端,用于给终端用户展示并提供操作功能,以及向物料仓支付系统进行支付;管理平台,分别与物料仓、物料仓支付系统和用户终端通讯连接,用于对物料仓进行信息管理、获取物料仓的状态信息、接收和处理用户终端的支付信息,以及向物料仓下发操作指令;本方案具有资源最优化利用、成本效益显著、提高施工效率、优化供应链管理,可实现智能化管理的特点。

订单数据处理方法、装置、电子设备和计算机可读介质

NºPublicación:  CN120875737A 31/10/2025
Solicitante: 
北京京东远升科技有限公司
CN_120875737_PA

Resumen de: CN120875737A

本公开的实施例公开了订单数据处理方法、装置、电子设备和计算机可读介质。该方法的一具体实施方式包括:响应于接收到预设区域内的多个订单数据,获取多个订单数据的属性信息;根据获取的属性信息中的第一属性信息,对多个订单数据进行合并处理,得到第一订单组集;根据获取的属性信息中的第二属性信息,对多个订单数据中除第一订单组集外的订单数据进行合并处理,得到第二订单组集,其中,第二属性信息与第一属性信息至少部分信息不同;基于第一订单组集和第二订单组集,确定多个订单数据的合并订单组集。该实施方式与物流管理技术优化有关,可以对现有合单策略进行改进,利用订单的不同属性信息进行多次识别,可以提升对同一用户的识别能力。

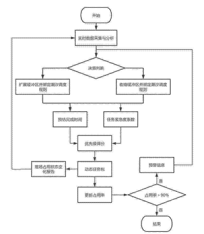
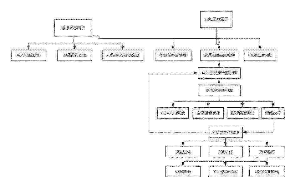
一种基于物联网的港口货物智能调度系统及方法

NºPublicación:  CN120875499A 31/10/2025
Solicitante: 
连云港新苏港码头有限公司
CN_120875499_PA

Resumen de: CN120875499A

本发明公开了一种基于物联网的港口货物智能调度系统及方法,涉及港口物流智能调度技术领域,本发明通过构建实时感知、智能分析、动态决策、精准执行、闭环反馈的全链条联动机制,实现港口调度策略的动态自适应调整,系统可根据核心作业区拥堵指数和船舶潮汐预测,自动扩展或收缩堆场缓冲区边界,并同步调整AGV和场桥调度规则,在高峰潮汐期,AGV优先保障核心区货物的快速中转,避免因长距离运输造成效率损耗,低谷回流期则主动将弹性存储区货物预迁至核心预备区,为后续作业高峰提前布局,这种动态调度模式能够有效应对港口作业量的剧烈波动,使各作业环节始终保持高效协同,大幅提升港口在复杂作业环境下的适应性和响应能力。

自动化码头单船作业分析系统及方法

NºPublicación:  CN120875174A 31/10/2025
Solicitante: 
天津港第二集装箱码头有限公司
CN_120875174_PA

Resumen de: CN120875174A

本发明涉及自动化集装箱码头作业优化领域,具体为一种自动化集装箱码头单船作业分析系统及方法,系统开发包括以下模块:在ABB系统中开发岸桥开闭锁监控模块;在U I监控界面开发TOS‑ABB‑FMS协同交互模块;在U I监控界面开发停时录入模块;基于TOS数据管理平台开发单船作业分析系统,自动分析船舶全流程作业,为码头生产效率优化提供决策支持。通过集成开发单船作业分析系统,增强了码头船舶生产作业的透明度,为码头生产提供了多维度的优化决策支持,能有效提升码头船舶作业效率,为自动化集装箱码头的智能化管理提供了新的解决方案。

一种基于多源环境信息的船舶航行安全风险识别方法

NºPublicación:  CN120875521A 31/10/2025
Solicitante: 
中船航海科技有限责任公司
CN_120875521_PA

Resumen de: CN120875521A

本发明公开了一种基于多源环境信息的船舶航行安全风险识别方法,该方法具体包括如下步骤:S1,构建船舶航行状态知识图谱,获取船舶航行的基础数据,通过预处理后的基础数据进行船舶航行状态知识图谱的建立;S2,获取船舶实时航行状态数据,根据船舶实时航行状态数据进行综合安全风险识别;S3,根据综合安全风险识别结果对进行船舶航行策略优化,最终下发船端进行辅助驾驶决策。本发明通过岸基平台获取船舶航行基础数据,为平台对船舶航行环境风险识别提供数据基础;以岸端获取的基础数据为基础进行风险识别并结合船舶航行状态提供航行优化策略,下发至船端手持终端进行告警提醒,实现对船舶航行中存在的环境安全风险进行超前告警及航行优化。

基于大模型的出入库方法、电子装置和样本库

NºPublicación:  CN120875745A 31/10/2025
Solicitante: 
青岛海尔生物医疗科技有限公司青岛海尔生物医疗股份有限公司
CN_120875745_PA

Resumen de: CN120875745A

本发明涉及样本库技术领域,具体提供一种基于大模型的出入库方法、电子装置和样本库,旨在解决通过预编程任务调度流程来控制样本库的出入库存在开发效率低、灵活性较差以及缺少动态调整能力的问题。为此目的,本发明的出入库方法包括:获取预先建立的多个流程步和设备知识库,流程步是出入库过程中部件的独立动作单元,设备知识库用于提供流程步的组合规则和约束条件;与大模型对接,使大模型学习流程步和设备知识库;根据出入库任务,获取面向大模型的提问词;将提问词输入大模型,生成用于完成出入库任务的任务调度流程;根据任务调度流程控制部件运行,完成出入库。本发明根据大模型动态生成任务调度流程,有利于提高样本库的动态调整能力。

一种策略转变的工程出渣调度方法

NºPublicación:  CN120875313A 31/10/2025
Solicitante: 
中国三峡建工(集团)有限公司
CN_120875313_PA

Resumen de: CN120875313A

本发明属于工程运输领域,具体提供一种策略转变的工程出渣调度方法,包括:实时数据采集与动态监控;初始选择与标段最近的渣场,并初始配备每个标段的渣土车数量;识别超前标段和滞后标段,滞后标段进行调度方案调整;实时检测中断事件,然后进行全链路瓶颈识别,根据全链路瓶颈识别结果对调整后的运输线路的装车权重、运输权重、卸车权重进行分配;建立路径匹配度模型,根据路径匹配度选择调整路径;对各个路径进行车辆调度,优先补足滞后标段的出渣缺口;当中断事件解决后,各标段回归初始路径运输弃渣,对已追赶进度标段进行车辆回收或重新分配。该方法通过对运输过程中突发事件的响应动态优化调度方案,满足出渣强度保障工程施工。

一种散装物料仓补货管理方法及系统

NºPublicación:  CN120875739A 31/10/2025
Solicitante: 
古河建筑机械制造有限公司
CN_120875739_PA

Resumen de: CN120875739A

本发明公开了一种散装物料仓补货管理方法及系统,包括以下步骤:管理平台设定物料仓的补货阈值;管理平台在接收到物料仓触发补货条件之后,生成预补货方案,预补货方案包括确定补货量及补货方式;补货仓根据预补货方案进行补货;本方案通过智能化的物料仓补货管理,实现了物料仓内物料量的实时监测预警,自动生成科学的补货方案,并可根据现场实际情况动态优化,最终精准高效地完成补货,提升了物料仓管理水平,具有显著的技术进步性和经济社会效益,对于物料行业的智能化发展具有重要意义。

一种采购报价管理系统、方法、计算机设备及存储介质

NºPublicación:  CN120875993A 31/10/2025
Solicitante: 
北京云迹科技股份有限公司
CN_120875993_PA

Resumen de: CN120875993A

本发明公开了一种采购报价管理系统、方法、计算机设备及存储介质,涉及计算机信息领域,该采购报价管理系统包括需求方交互模块、智能推荐模块、供应商管理模块和审批跟踪模块,其中,需求方交互模块,用于获取采购需求信息和供应商信息,供应商信息包括供应商报价;智能推荐模块,用于根据采购需求信息,基于智能算法对供应商信息进行选择,输出目标供应商和对应的目标价格区间;供应商管理模块,用于基于目标供应商输出采购订单;审批跟踪模块,用于跟踪采购订单。通过上述方式,本发明能够提高实现供应商智能自动筛选和报价管理,提高效率。

一种基于RFID的胎胚仓储智慧管理方法及系统

NºPublicación:  CN120875744A 31/10/2025
Solicitante: 
中国海洋大学
CN_120875744_PA

Resumen de: CN120875744A

本发明提供了一种基于RFID的胎胚仓储智慧管理方法及系统,涉及仓储智慧管理技术领域。本发明首先在库区部署RFID阅读器及天线,构建通信网络;在数据库服务器中建立库位编码与坐标映射及FIFO数据表;对胎胚粘贴RFID标签并采集射频数据;通过多天线协同定位获得空间坐标并映射库位,更新FIFO数据表;按型号分组、入库时间排序,为最早入库三条记录分配最高优先级;将优先级库位信息以图形化和数字化双模式实时推送至终端显示设备,操作人员出库后更新数据并恢复库位。本发明通过精确定位、FIFO排序和可视化指引,实现高效、精准的胎胚仓储管理。

一种机器人流程自动化的运输计划调整方法及系统

NºPublicación:  CN120875706A 31/10/2025
Solicitante: 
北京国电通网络技术有限公司国网信息通信产业集团有限公司
CN_120875706_PA

Resumen de: CN120875706A

本发明申请提供了一种机器人流程自动化的运输计划调整方法及系统,采用机器人流程自动化技术对汽油信息页面进行跨平台数据抓取,得到信息页面的数据信息;基于自然语言处理技术和光学字符识别技术,从运输合同中读取汽油的基础运输信息、基准汽油数据、以及设定运输风险分摊系数;利用损耗计算引擎,基于基础运输信息、当前准确汽油数据、运输风险分摊系数和基准汽油数据,预估运输过程中产生的资源损耗数据;利用资源损耗数据和当前准确汽油数据,对运输计划进行调整。将最新的当前准确汽油数据融入到运输计划中,使得运输计划能反映最新的运输计划,避免产生的客户产生纠纷和导致客户的投诉。

基于动态拓扑地图的移动机器人实时调度方法及系统

NºPublicación:  CN120862658A 31/10/2025
Solicitante: 
南京鲸启智能科技有限公司
CN_120862658_PA

Resumen de: CN120862658A

本发明涉及机器人调度技术领域,具体为基于动态拓扑地图的移动机器人实时调度方法及系统,所述系统中应急调度规划方案管理模块通过传感器实时采集每个移动机器人的运送状态信息,判断移动机器人当前所处的工作负荷状态;结合当前时间相应运送场景下的拓扑地图更新结果,以及相应移动机器人的初始送物目标规划路线,生成当前时间对应工作负荷状态异常的移动机器人的应急调度规划方案,计算每个应急调度规划方案的负载均衡综合适配偏差值。本发明结合移动机器人自身的运送状态实现对移动机器人送物目标规划路线的动态更新,引入负载均衡综合适配偏差值概念,实现对移动机器人最佳应急调度规划方案的有效筛选,实现不同移动机器人之间的协同管理。

一种散装物料零售补货方法及系统

NºPublicación:  CN120875742A 31/10/2025
Solicitante: 
古河建筑机械制造有限公司
CN_120875742_PA

Resumen de: CN120875742A

本发明公开了一种散装物料零售补货方法及系统,包括:管理平台确定零售仓和转送系统,零售仓向管理平台发起零售仓补货请求,管理平台向转送系统转发零售仓补货请求,转送系统向管理平台发送补货应答,管理平台确定给需要的零售仓提供补货的转送系统;管理平台获取零售仓中的物料重量和位置信息,以及获取转送系统的位置信息,判断转送系统运送过程是否合规;转送系统移动到零售仓邻近位置,开始向零售仓输出物料,输出物料过程中,判断转送系统给零售仓的补货过程是否合规;本方法及系统通过对散装物料的运送过程和补货过程进行监管,有效保护了物料仓运营商的经济利益,最大限度排除了因低等质量物料造成的建筑质量问题。

基于订单数据的农产品供应链追溯管理方法和系统

NºPublicación:  CN120875914A 31/10/2025
Solicitante: 
科芯(天津)生态农业科技有限公司
CN_120875914_PA

Resumen de: CN120875914A

本申请提供一种基于订单数据的农产品供应链追溯管理方法和系统,涉及追溯管理技术领域,本申请通过获取目标订单计划信息,含订单编号、农产品种类及数量、对应供应商信息、物流运输信息和仓储信息;扫描供应商资质文件及农产品包装符号化信息,转换为含资质编号和农产品编号的结构化文本;关联计划信息与结构化文本,建立供应链节点信息集;将其输入决策树决策模型,确定生产、运输、仓储环节潜在质量问题点,关联预设订单追溯路径,形成含问题点的可视化追溯路径;基于该路径追溯管理,针对问题点采取排查、预警或整改措施,能够提升农产品供应链追溯管理的精准性与实效性。

一种供应链数据信息分析平台系统

NºPublicación:  CN120875941A 31/10/2025
Solicitante: 
江苏亚东朗升国际物流有限公司
CN_120875941_PA

Resumen de: CN120875941A

本发明涉及供应链管理技术领域,本发明公开了一种供应链数据信息分析平台系统,包括:动态数据采集条件约束模块、信息分析平台需求预测模块、需求预测映射库存优化模块以及信息分析平台管理输出模块,将时间序列周期的第一阶段和时间序列周期的第二阶段作为条件约束层的约束条件,获取时间序列周期中第一阶段和第二阶段的商品出库量,通过时间序列预测模型完成对供应链数据的需求预测,将需求预测结果与当前库存量的差值与预设的判断阈值进行对比,生成基于库存冗余风险的单级优化和库存短缺风险的多级优化方案,并发出优化指令,确保供应链的连续性和稳定性。

一种订单处理方法和装置

NºPublicación:  CN120876029A 31/10/2025
Solicitante: 
北京京东远升科技有限公司
CN_120876029_PA

Resumen de: CN120876029A

本发明公开了一种订单处理方法和装置,涉及大数据技术领域。该方法的一具体实施方式包括:基于组合规则和和待拣货订单池确定待拣货物品,根据待拣货物品生成拣货任务并标记待拣货物品所属的待拣货订单;组合规则是根据拣货规则和复核规则共同确定的;根据拣货任务的执行结果确定已拣货物品列表以及已拣货物品列表中每个已拣货物品所属的待拣货订单;基于已拣货物品列表以及已拣货物品列表中每个已拣货物品所属的待拣货订单进行复核,得到待拣货订单的复核结果。本实施例在拣货环节按照组合规则确定待拣货物品并生成拣货任务,复核环节根据拣货任务的执行结果进行复核,使拣货订单和复核订单一一对应,降低了错误单据的影响范围和工作成本。

基于物联网的智慧仓储板材精准定位管理系统

NºPublicación:  CN120873392A 31/10/2025
Solicitante: 
建潘鲲鹭物联网技术研究院(厦门)有限公司
CN_120873392_PA

Resumen de: CN120873392A

本发明公开了基于物联网的智慧仓储板材精准定位管理系统,板材数据获取模块:采集板材的原始射频信号与惯性数据,并进行预处理操作;时空坐标获取模块:构建一个自适应权重联邦融合网络,通过自适应权重的联邦融合网络对预处理后的原始射频信号与惯性数据进行融合解算获得高精度时空坐标数据;板材定位管理模块:通过一个优化训练后的梯度提升机策略GBM构建运动模式分类模型,并输入高精度时空坐标数据至运动模式分类模型中,输出运动模式预测结果;板材定位管理模块:基于运动模式预测结果,结合动态地理围栏获得最佳板材运动模式,将最佳板材运动模式实时映射至一个三维几何模型中生成全库实时数字孪生体,实现可视化的精准仓储板材定位管理。

基于多源数据融合的航运物流流向预测方法及系统

NºPublicación:  CN120875177A 31/10/2025
Solicitante: 
广东海洋大学
CN_120875177_PA

Resumen de: CN120875177A

本发明公开了基于多源数据融合的航运物流流向预测方法及系统,涉及物流预测领域,包括:基于航运数据构建航运网络图;实时采集获取船舶自动识别系统轨迹数据、海洋气象数据、港口日志数据及货物电子舱单数据;针对运输中物流进行物流流向预测,获取未来时间段内的船舶数据,并完善航运网络图;针对靠泊中物流进行物流流向预测,获取未来时间段内剩余装卸量及预估完成时间;将物流运输预测模型和物流装卸预测模型集成,构建端到端物流流向预测模型;基于实际物流流向数据和预测数据之间的误差,对模型进行修正。本发明的优点在于:结合LSTM与Transformer模型,精准预测航运物流流向,优化运输和装卸效率,提高预测精度,提升航运物流管理的效率和决策支持。

基于多维动态耦合算法的智能食品运输监测方法及系统

NºPublicación:  CN120875721A 31/10/2025
Solicitante: 
北京小黄象食品科技有限公司
CN_120875721_PA

Resumen de: CN120875721A

本申请公开了基于多维动态耦合算法的智能食品运输监测方法及系统,其中,智能食品运输监测方法包括:通过无线通信实时采集食品运输数据;构建食品运输过程的数字孪生模型,融合数字孪生模型与风险预测模型;模拟运输环境变化趋势获取当前多维动态耦合环境影响因子;获取食品热累积量,预测食品品质劣变概率因子;判定食品品质劣变概率因子是否超出阈值,联合多维动态耦合环境影响因子与食品品质劣变概率因子,预测运输风险多维度量化指标;生成优化策略,输出干预方案;本申请解决了传统技术在食品运输监测的风险预测方面的欠缺,通过精准的风险预测与及时的干预措施,显著降低食品在运输过程中的变质损耗,优化运输资源配置,提高运输效率。

一种ERP业务场景的产品业务数据处理方法、设备及介质

NºPublicación:  CN120875809A 31/10/2025
Solicitante: 
浪潮通用软件有限公司
CN_120875809_PA

Resumen de: CN120875809A

本说明书实施例公开了一种ERP业务场景的产品业务数据处理方法、设备及介质,涉及ERP技术领域,方法包括:在业务指标预测请求的触发下,在ERP系统中获取目标产品的历史销售数据、供应链数据和外部环境数据,基于供应链数据,确定目标产品对应的多个动态时间尺度,以确定每个动态时间尺度对应的多维度特征集;通过ARIMA模型和每个多维度特征集确定业务指标线性预测值和非线性残差序列;根据外部环境数据,对非线性残差序列进行分解预测确定重构残差序列,基于业务指标线性预测值和重构残差序列,确定每个动态时间尺度对应的当前业务指标预测数据;对每个动态时间尺度对应的业务指标预测数据,进行多尺度融合,确定目标产品的目标业务指标预测数据。

铝及铝合金成品的仓储运输方法及系统

NºPublicación:  CN120875752A 31/10/2025
Solicitante: 
云南云铝涌鑫铝业有限公司
CN_120875752_PA

Resumen de: CN120875752A

本申请公开了一种铝及铝合金成品的仓储运输方法及系统,涉及铝及铝合金技术领域,主要目的在于解决现有铝以及铝合金成品的运输效率低的问题。包括:通过仓库管理平台获取铝及铝合金成品的标签信息,并基于标签信息生成任务信息;通过调度服务子系统基于任务信息生成运输调度信息,运输调度信息包括由至少一个称重站点组成的运输路径;在前移式叉车按照运输调度信息运输铝及铝合金成品的过程中,通过仓库管理平台获取在称重站点称重得到的称重结果,并基于称重结果确定目标存放位置;通过前移式叉车将铝及铝合金成品运输至目标存放位置。

一种基于物联网的化学危险品物流追踪方法

NºPublicación:  CN120875729A 31/10/2025
Solicitante: 
新迈奇材料股份有限公司
CN_120875729_PA

Resumen de: CN120875729A

本发明公开了一种基于物联网的化学危险品物流追踪方法,包括:根据连续的空间位置序列,采用卡尔曼滤波算法对运输车辆的移动轨迹进行平滑处理,获取平滑后的轨迹数据;针对平滑后的轨迹数据,计算运输车辆的实时速度和方向参数,得到动态移动参数集合;通过干扰影响权重调整多源传感器融合的加权平均算法参数,获取优化的空间位置序列;根据优化的空间位置序列,重新计算运输车辆的移动轨迹和动态移动参数,得到更新后的轨迹参数;通过更新后的轨迹参数,采用实时数据流处理技术生成化学危险品运输的应急响应指令,获取应急响应指令集合。

一种AGV叉车协同部署运作方法及系统

NºPublicación:  CN120875801A 31/10/2025
Solicitante: 
萨牌智能驱动技术(河北)有限公司
CN_120875801_PA

Resumen de: CN120875801A

本发明提供一种AGV叉车协同部署运作方法及系统,其中方法包括:获取叉车队列中所有AGV叉车的初始位置以及任务序列,任务序列包括至少一项待执行任务及对应的初始任务信息;根据初始任务信息计算任务的初始紧急度,将高初始紧急度的任务优先纳入多目标优化模型;获取所有AGV叉车的状态信息,基于状态信息建立包括完成总时间、耗能成本和负载均衡度的多目标函数,通过改进NSGA‑Ⅲ算法求解分配方案;分配方案包括各AGV叉车及对应的任务执行序列;根据设定算法为每个AGV叉车规划从初始位置到目标点的全局路径,并控制AGV叉车运行。本发明提供方法能有效提升AGV叉车系统的整体运作效能与智能化调度水平。

蛋品智能仓储数据的分析系统及方法

NºPublicación:  CN120871766A 31/10/2025
Solicitante: 
乘乘智数科技(深圳)有限公司
CN_120871766_PA

Resumen de: CN120871766A

本发明公开了蛋品智能仓储数据的分析系统及方法,涉及仓储调控技术领域,包括如下步骤:获取鸡蛋仓储中不同批次鸡蛋的哈氏单位、蛋壳强度、蛋壳厚度以及蛋形指数,并根据哈氏单位进行分类;进行权重分配处理,并利用蛋壳厚度以及蛋形指数建立蛋体强度评分机制;获取在不同车速的自动引导车上不同强度评分的鸡蛋的破损数据,并进行车速破损分析处理;根据待运输鸡蛋的基础属性分析获取自动引导车的最大允许车速,并进行调整;本发明用于解决现有的仓储AGV调控技术在鸡蛋仓储的场景中对车速进行控制时,无法通过无损方式准确获取鸡蛋的强度情况,在保证鸡蛋的破损率较低的同时,调整提高自动导引车的运输速度的问题。

一种基于DQN的企业AI引入时机优化方法及装置

NºPublicación:  CN120875615A 31/10/2025
Solicitante: 
广东工业大学
CN_120875615_PA

Resumen de: CN120875615A

本发明涉及一种基于DQN的企业AI引入时机优化方法,该方法包括:S1、通过获取实时当前定价、当前产量、仓库产品存量、劳动者数量、AI水平和补贴情况的状态信息;S2、构建企业AI引入时机控制系统的MDP模型,MDP模型包括:状态空间、动作空间和奖励函数;S3、根据构建的企业AI引入时机系统的MDP模型,基于DQN算法神经网络获取企业AI引入时机系统最优的控制策略;DQN算法神经网络包括:主网络和目标网络,通过构建动态决策模型,解决传统方法在技术转型时机选择上的盲目性。该方法以U型曲线理论为基础,结合DQN算法量化不同阶段的长期收益,最终确定阶段3为最佳引入时机,显著提升企业利润并降低转型风险。

一种用于信息化的优质优价结算的处理方法

NºPublicación:  CN120876131A 31/10/2025
Solicitante: 
唐山惠唐物联科技有限公司
CN_120876131_PA

Resumen de: CN120876131A

本发明涉及冶金行业制造与信息技术领域,且公开了一种用于信息化的优质优价结算的处理方法,步骤S1:保存采购合同;步骤S2:在SAP系统创建采购订单,并下达给产销系统执行;步骤S3:车辆进厂过磅,形成计量数据;步骤S4:产销系统收货,形成验收入库数据;步骤S5:在SAP系统生成结算单,完成结算。该用于信息化的优质优价结算的处理方法,使用信息化系统架构中的专业系统,将多个数据进行归集,同时将“优质优价”这种结算方法规范化、流程化,实现了对合金、精粉、焦炭、煤、石灰等大宗原燃材料物资的优质优价结算问题,避免了因手动计算而出现的错误,大大提高了工作效率。

一种基于机器人协同的集装箱物流监控系统及方法

NºPublicación:  CN120875393A 31/10/2025
Solicitante: 
青岛中远海运数智科技有限公司
CN_120875393_PA

Resumen de: CN120875393A

本发明涉及物流监控技术领域,公开了一种基于机器人协同的集装箱物流监控系统及方法,该系统包括中央控制系统、多AGV协同运输模块、无人机监控模块、通信网络模块、港口管理系统模块和数据存储与管理模块;中央控制系统通过动态权重算法确定最优AGV协同配置,采用混合A*算法进行路径规划;无人机配置多光谱传感器、热成像设备和高分辨率摄像头,实现高空全方位监控;AGV队形基于纯跟踪算法保持协同运输,建立实时通信机制;系统根据异常综合指数判定预警级别并发送调整指令。本发明实现了AGV与无人机的深度协同,提高了集装箱物流监控的智能化水平和安全性,解决了传统系统监测盲区和协同效率低的问题。

一种针对物流平台的财务业务数据的发票管理系统

NºPublicación:  CN120875995A 31/10/2025
Solicitante: 
赛马物联科技(宁夏)有限公司
CN_120875995_PA

Resumen de: CN120875995A

本发明实施例公开了一种针对物流平台的财务业务数据的发票管理系统,所述发票管理系统包括:数据采集模块,用于实时采集物流平台的各类财务业务数据;参数配置模块,用于根据不同垫付服务合同,维护各发布方的配置参数;账单生成模块,用于对同一发布方,基于财务业务数据和配置参数,在预设时间内进行垫付申请的付款单归为同一个账期,并生成账单;所述付款单通过平台方垫付,账单由发布方还款;发票生成模块,用于结合所述账单和财务业务数据,并根据预设的发票生成规则和模板,自动生成电子发票;其有益效果是:本发明减少了人工干预,提高了发票管理的工作效率,降低了人力成本;同时,利用审核机制,确保了发票数据的准确性和合法性。

一种农村物流配送线路规划方法及系统

NºPublicación:  CN120875731A 31/10/2025
Solicitante: 
华设设计集团股份有限公司
CN_120875731_PA

Resumen de: CN120875731A

本发明涉及配送线路规划技术领域,具体涉及一种农村物流配送线路规划方法及系统,该方法包括:确定每个目标用户对应的习惯签收时刻、签收拟合曲线、初始习惯签收时间段和目标习惯签收时间段;确定每个初始待配送点对应的优化配送时间段集合;筛选出目标待配送点,并基于每个目标待配送点对应的优化配送时间段集合及其与当前配送点之间的距离,确定当前配送点与每个目标待配送点之间的目标信息素浓度;根据当前配送点与所有目标待配送点之间的目标信息素浓度,通过ACO算法,实现农村物流配送线路规划。本发明通过分析配送点之间的距离和用户签收习惯,实现了农村物流配送线路的规划,并提高了农村物流配送线路规划的合理性。

一种基于供应链分离与全链路溯源的餐饮管理方法及系统

NºPublicación:  CN120876019A 31/10/2025
Solicitante: 
福州辰浩电子科技有限公司
CN_120876019_PA

Resumen de: CN120876019A

本申请涉及餐饮管理技术领域,尤其是涉及一种基于供应链分离与全链路溯源的餐饮管理方法及系统。该方法包括:获取并分析用户订单,确定订单需求;获取实时食材库存信息,根据订单需求及实时食材库存信息,通过AI模型生成结构化食谱数据;并据此生成食材采购指令及加工服务指令;基于食材采购指令及加工服务指令,获取实时环节监控数据;根据订单需求,确定溯源展示项目,并据此解析实时环节监控数据、结构化食谱数据,生成展示内容。确保食谱数据适应实时变化。生成相应指令,确保指令的独立性和可执行性,避免环节耦合导致的效率瓶颈。获取实时环节监控数据,生成展示内容,实现溯源展示的完整性和动态性,增强用户透明度和信任度。

一种电子烟分拣出库方法及装置

NºPublicación:  CN120875747A 31/10/2025
Solicitante: 
山东浪潮数字商业科技有限公司
CN_120875747_PA

Resumen de: CN120875747A

本发明涉及烟草物流领域,具体提供了一种电子烟分拣出库方法及装置,具有如下步骤:S1、准备好待出库的电子烟;S2、包裹与订单扫码;S3、电子烟盒码扫描与实时校验;S4、数量汇总与拣货进度动态计算与展示;S5、包裹完成、封箱与多包裹处理。与现有技术相比,本发明能够实现作业效率提升,扫码准确性提高,盒码追溯合规性与数据质量得到有力保障,系统高度集成,人工操作流程极大简化,有着潜在的成本效益,可以提供数据驱动决策支持。

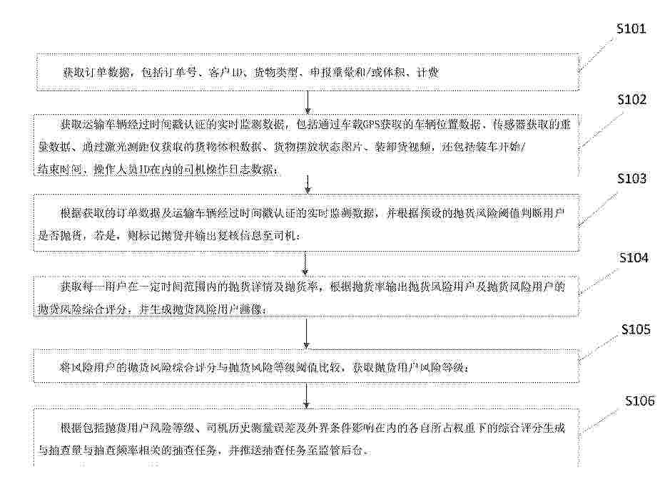
抛货高风险客户查控方法、装置及计算机设备

NºPublicación:  CN120875500A 31/10/2025
Solicitante: 
深圳市跨越新科技有限公司
CN_120875500_PA

Resumen de: CN120875500A

本申请实施例公开了一种抛货高风险客户查控方法、装置及计算机设备,方法包括:获取订单数据;获取运输车辆经过时间戳认证的实时监测数据;根据获取的订单数据及运输车辆经过时间戳认证的实时监测数据,并根据预设的抛货风险阈值判断用户是否抛货;获取每一用户在一定时间范围内的抛货详情及抛货率,根据抛货率输出抛货风险用户及抛货风险用户的抛货风险综合评分,并生成抛货风险用户画像;将风险用户的抛货风险综合评分与抛货风险等级阈值比较,获取抛货用户风险等级;根据综合评分生成与抽查量与抽查频率相关的抽查任务,并推送抽查任务至监管后台。本申请减少了抛货类运费漏收率,减少了企业损失。

一种面向产业链断点治理的监测方法及系统

NºPublicación:  CN120875271A 31/10/2025
Solicitante: 
高质标准化研究院(山东)有限公司
CN_120875271_PA

Resumen de: CN120875271A

本发明涉及产业链监测与治理技术领域,具体为一种面向产业链断点治理的监测方法及系统;所述方法包括:通过多源数据采集生产、物流、金融、政策及环境动态信息,经标准化、分维嵌入表示和跨维度融合生成产业链综合特征,并引入历史趋势依赖增强前瞻性预测;并构建动态耦合网络,利用动态边权量化节点间风险传播强度,实现跨层级断点传播分析;且通过融合节点特征与网络结构计算风险指标,结合自适应阈值筛选断点候选节点,采用非线性传播函数预测多步演化趋势并映射为多级预警等级。依据风险等级生成治理策略,通过闭环优化机制实时评估效果并动态调整参数。本发明实现了风险识别、预测与自适应治理的闭环管理。

一种面向复杂物流场景的自适应对比度增强视频融合算法

NºPublicación:  CN120876278A 31/10/2025
Solicitante: 
新疆八达科技发展有限公司
CN_120876278_PA

Resumen de: CN120876278A

本申请提供一种面向复杂物流场景的自适应对比度增强视频融合算法,包括:从初始视频数据集提取环境特征,采用卷积神经网络分析帧间光照变化和物体移动速度,确定当前场景为高峰期或低光照环境,得到环境变化感知参数;从第二视频数据集提取关键帧,采用基于深度学习的图像分割技术分离前景物体和背景,针对前景物体进行细节保留增强,得到第三视频数据集;针对最终视频输出进行实时性验证,若处理延迟超过预设阈值,则通过反馈机制调整资源分配比例,重新执行模式切换和增强处理,得到更新后的视频输出。

基于RFID技术的实验室资产的管理系统

NºPublicación:  CN120875759A 31/10/2025
Solicitante: 
深圳市中科探云智能科技有限公司
CN_120875759_PA

Resumen de: CN120875759A

本申请公开了一种基于RFID技术的实验室资产的管理系统,包括资产管理平台服务器、读写器、实验室资产及设置于实验室资产上的RFID标签;读写器,用于通过扫描RFID标签监测实验室资产的状态变化和盘点实验室资产;资产管理平台服务器,用于检测新增实验任务;以及,确定执行新增实验任务的至少一个操作步骤和每个操作步骤所需的实验室资产清单;以及,确定每个操作步骤的操作时长;以及,根据至少一个操作步骤的操作顺序和每个操作步骤的操作时长,确定每个操作步骤所需的实验室资产清单中每个实验室资产的取出时间,以便于用户根据取出时间取出实验室资产进行实验操作。本申请可以提高资产管理效能,实现数据驱动的智能化管理。

一种基于多模态数据融合的物流业绿色创新绩效评估方法

NºPublicación:  CN120875672A 31/10/2025
Solicitante: 
淮阴工学院
CN_120875672_PA

Resumen de: CN120875672A

本发明公开了一种基于多模态数据融合的物流业绿色创新绩效评估方法,包括基于TOE框架,整合企业运营数据、社交媒体舆情及政府政策文本,构建多模态数据库;对数值型数据、文本型数据和图像型数据分别进行归一化;构建指标体系:构建VIF‑FA双重筛选法筛选指标,建立TOE三维评价体系;基于博弈论融合AHP主观权重与CRITIC法客观权重,通过构建DEA‑TOPSIS两阶段模型计算绩效,第一阶段DEA计算企业综合效率值;第二阶段将DEA效率值作为新增指标扩展TOPSIS决策矩阵,结合最优组合权重输出绩效值。本发明改善了传统评估数据单一性问题,避免了主观偏差和指标冗余,提升了指标赋权科学性,提高了量化物流业绿色创新绩效精准度。

自动化任务驱动方法、装置和电子设备

NºPublicación:  CN120875817A 31/10/2025
Solicitante: 
中国外运股份有限公司中外运创新科技有限公司
CN_120875817_PA

Resumen de: CN120875817A

本申请提供一种自动化任务驱动方法、装置和电子设备,属于数据处理领域。该方法包括:获取用户需求;根据用户需求确定业务标识和业务类型,业务标识用于指示与船舶运输相关的具体业务内容;根据业务标识和业务类型从规则包库中获取规则包列表,规则包列表中包括多个规则包,每个规则包用于指示一个任务执行流程;根据业务标识确定业务对象的当前业务状态;根据当前业务状态和规则包列表生成目标任务列表,目标任务列表中包括多个待执行任务;向目标执行队列发送待执行任务的任务消息,以获取待执行任务对应的任务执行系统返回的执行结果,任务执行系统为目标执行队列的消费者。以实现船舶运输相关流程的自动化驱动,提高系统效率。

基于大数据分析的零售商品销售闭环优化方法和系统

NºPublicación:  CN120875184A 31/10/2025
Solicitante: 
珠海市横琴元气玛特互联网科技有限公司
CN_120875184_PA

Resumen de: CN120875184A

本申请提供了基于大数据分析的零售商品销售闭环优化方法和系统。该方法包括:获取目标销售平台在预设时间段内的销售综合特性数据,通过预设销售预测模型进行处理,获得预测销售值,根据预测销售值对预设销售预测模型进行调整,提取目标销售平台的库存特征数据,包括周转效率特征数据、供需匹配特征数据以及成本风险特征数据,根据周转效率特征数据、供需匹配特征数据以及成本风险特征数据处理,获得库存健康度,根据库存健康度评估库存情况并进行库存调整,从而实现基于大数据分析的零售商品销售闭环优化的技术。

一种PER-自适应探索深度强化学习TSP/CVRP优化方法

NºPublicación:  CN120874955A 31/10/2025
Solicitante: 
西南科技大学
CN_120874955_PA

Resumen de: CN120874955A

本发明涉及物流与供应链管理技术领域,具体为一种PER‑自适应探索深度强化学习TSP/CVRP优化方法,包括以下步骤:S1、构建包含节点特征、车辆状态及循环神经网络隐藏状态的状态空间,定义选择下一跳节点的离散动作空间;S2、利用循环神经网络编码历史路径序列的时序依赖关系,结合注意力机制生成聚焦关键节点信息的上下文向量;S3、采用优先经验回放机制,根据时序差分误差计算样本优先级,按优先级比例采样经验样本并引入重要性采样权重修正偏差;S4、实施两阶段自适应探索策略,根据训练阶段与智能体成功率动态调整探索率;S5、基于加权损失函数优化深度Q网络参数,实现旅行商问题与带容量约束车辆路径问题的求解。

人工智能驱动的供应链风险预警系统

NºPublicación:  CN120875554A 31/10/2025
Solicitante: 
中赢智数(广东)科技有限公司
CN_120875554_PA

Resumen de: CN120875554A

本发明公开了人工智能驱动的供应链风险预警系统,涉及供应链风险预警技术领域,按跨层级数据采集、语义对齐、图展开因果预测、情景合成五步闭环运行;首先利用适配器毫秒级汇聚异构数据并构建命名初始图;随后调用行业本体完成节点与边标准化生成语义统一图;再以多尺度阈值推理隐含依赖并修订边权,得到隐依赖增强图;继而在增强图上施加因果掩码与时序注意,输出结合节点影响度和传播概率的风险向量;最终依据业务上下文与资源约束优化匹配策略模板,推送签名缓释指令并回执;兼具数据实时一致、风险量化可解释和指令执行可审计,提升供应链韧性与合规水平。

基于物流仿真优化的车间物料动态配送系统及方法

NºPublicación:  CN120875716A 31/10/2025
Solicitante: 
浙江省机电设计研究院有限公司
CN_120875716_PA

Resumen de: CN120875716A

本发明公开了一种基于物流仿真优化的车间物料动态配送系统及方法,属于电子技术领域,该系统包含数据采集模块、模型构建模块和配送期量优化模块,三者构成了闭环反馈系统,数据采集模块可获取车间各生产要素对象的动态运行数据,模型构建模块可根据车间实际工艺布局构建车间三维可视化仿真模型,并根据动态运行数据对三维可视化仿真模型进行参数动态调整确保输出结果与实际场景一致,配送期量优化模块可根据动态运行数据分析不确定因素对某个工位物料配送的影响,并根据分析结果及三维可视化仿真模型输出该工位最优配送期量的配送方案;本发明基于三维可视化仿真模型实现车间运行动态的监管,优化了物料配送成本,保障物料配送的稳定性,提高了车间生产柔性度。

考虑不确定风况和随机到达时间的无人机配送调度方法

NºPublicación:  CN120875715A 31/10/2025
Solicitante: 
浙江财经大学福州半云科技有限公司
CN_120875715_A

Resumen de: CN120875715A

本发明属于无人机配送路径优化领域,公开了一种考虑不确定风况和随机到达时间的无人机配送调度方法,包括基于不确定风况模型计算无人机的旅行时间,并构建与无人机载重和旅行时间关联的非线性能耗函数;以最小化旅行成本、能耗成本和惩罚成本为目标函数,构建无人机配送调度优化模型,所述惩罚成本在无人机配送超出预设截止时间时产生;采用禁忌搜索算法求解所述无人机配送调度优化模型,得到最优的无人机配送调度方案。本发明能够获得高质量的配送调度方案,并且求解效率高。

一种室内货架商品寻位系统、方法、设备和存储介质

NºPublicación:  CN120877200A 31/10/2025
Solicitante: 
厦门熵基科技有限公司
CN_120877200_PA

Resumen de: CN120877200A

本申请公开了一种室内货架商品寻位系统、方法、设备和存储介质,系统包括:中央控制系统、移动机器人和电子价签;中央控制系统包括中央服务器和基站;移动机器人将输入的商品信息上传给中央控制系统;中央服务器根据商品信息获取目标商品的目标价签ID及其关联的货架坐标;并将货架坐标和室内地图数据发送给移动机器人生成导航路径,移动机器人向目标商品移动,并实时上传自身位置;中央服务器根据移动机器人和目标电子价签之间的距离生成闪烁指令发送给目标电子价签,控制指示灯以目标频率进行闪烁。本申请通过移动机器人实时引导顾客快速寻找目标商品,提升了用户体验;通过电子价签方便工作人员对商品进行快速精准变价,提高了商超运营效率。

运输订单分配方法及装置

NºPublicación:  CN120875704A 31/10/2025
Solicitante: 
中国石油化工股份有限公司中石化(大连)石油化工研究院有限公司
CN_120875704_PA

Resumen de: CN120875704A

本发明实施例提供一种运输订单分配方法及装置,涉及自动化技术领域,该方法包括:获取上一轮订单分配方案中各个承运商分配的订单量对应于承运商的利润‑订单量分布曲线的第一梯度值;其中,利润‑订单量分布曲线具有峰值;对于本轮订单分配,以支付成本最低作为优化目标,通过多次运行预设优化算法得到多组订单预分配方案;分别计算多组订单预分配方案中的各个承运商分配的订单量对应于承运商的利润‑订单量分布曲线的第二梯度值;分别计算多组订单预分配方案中各个承运商对应的第二梯度值的绝对值和第一梯度值的绝对值的乘积的加和结果;根据加和结果的最小值对应的多组订单预分配方案中的方案确定本轮的订单分配方案。本发明实施例提供的运输订单分配方法及装置,订单的分配统筹考虑了供需双方的需求,有利于在满足支付成本要求的基础上调动承运商的配送积极性,订单分配方案更加合理和有效。

一种结合云计算的跨境电商信息风险分析方法

NºPublicación:  CN120875888A 31/10/2025
Solicitante: 
连云港钻尚网络科技有限公司
CN_120875888_PA

Resumen de: CN120875888A

本发明公开了一种结合云计算的跨境电商信息风险分析方法,涉及电商信息安全技术领域。本发明包括下步骤:采用云边协同架构接入多源数据,进行数据指纹标识生成跨境唯一特征码;对交易行为进行动态时间规整,捕捉跨境交易的时序异常模式;构建交易时空图,时空特征编码捕捉跨境交易中的异常时空模式;构建风险评估筛选模型进行异常检测筛选;构建风险评估分析模型,对跨境商户信用进行评分;建立分级响应机制,自动化合格报告生成。本发明通过分布式数据采集、实时特征工程和自适应深度学习模型,利用“云‑边‑端”三级风险感知体系,提出跨境特征交叉验证算法,解决多国数据标准不统一问题,提高跨境电商信息处理效率。

一种基于多目标优化的多层楼房养猪饲料输送调度方法及系统

NºPublicación:  CN120875718A 31/10/2025
Solicitante: 
华中农业大学童宇
CN_120875718_PA

Resumen de: CN120875718A

本发明涉及智能养殖与物流优化控制技术领域,解决了多层楼房养猪场饲料输送中能耗高、效率不稳定、分配不均衡和缺乏智能调度机制等技术问题。该方法包括:获取静态参数(饲料物理特性、输送系统物理属性、猪舍结构)和动态参数(实时饲喂需求、设备与物料状态、外部环境因素);建立协同优化能耗模型E(x)、时间模型T(x)和输送均衡度模型U(x)的多目标优化模型;采用具有特殊设计交叉和变异算子的遗传算法求解得到最优调度方案;执行过程中启动闭环自学习校准机制,通过电流传感器测量实际功率,当预测能耗与实际能耗偏差超过预设阈值时,采用梯度下降法反向修正能耗模型中的效率参数;根据实时电价和库存状态动态调整三个模型的权重系数。系统采用感知与数据采集层、决策与控制核心层、执行层三层架构。本发明实现了多目标协同优化和智能自适应调度,有效降低了总能耗,缩短了输送时间,提升了分配均衡度,能耗预测准确率显著提升。

物料盘点方法、系统及电子设备

NºPublicación:  CN120875765A 31/10/2025
Solicitante: 
广域铭岛数字科技有限公司浙江吉利控股集团有限公司
CN_120875765_A

Resumen de: CN120875765A

本申请提供一种物料盘点方法、系统及电子设备,该方法包括:接收AGV盘点指令;基于AGV盘点指令,执行物料盘点任务,其中,执行物料盘点任务包括:若预设的盘点区域存在多个空库位,则将距离待盘点货架最近的空闲AGV确定为目标AGV,待盘点货架与目标AGV一一对应;同时调度多个目标AGV,以分别将对应的待盘点货架搬运至盘点区域的空库位;若确定目标AGV已完成货架搬运,则向已连接的便携式设备发送盘点指示,以指示用户扫描待盘点货架上的货架二维码,以及待盘点货架上箱体的标签二维码,并基于便携式设备上显示的箱体数据进行物料盘点;该方法能够有效提高物料盘点效率及盘点结果的准确率。

基于图神经网络的包裹关联预测方法、装置及设备

NºPublicación:  CN120875711A 31/10/2025
Solicitante: 
石家庄学院
CN_120875711_PA

Resumen de: CN120875711A

本发明提供一种基于图神经网络的包裹物流预测方法、装置及设备,涉及包裹预测技术领域。该方法包括:根据预设时间段内的订单的订单信息,对订单进行整合和订单拆分得到预设时间段内的订单包裹预测结果;基于历史非订单包裹数据预测预设时间段内的非订单包裹,得到非订单包裹的非订单包裹预测结果,将非订单包裹预测结果与订单包裹预测结果合并,得到包裹预测结果;基于预先构建好的图神经网络模型对预设时间段内的包裹预测结果进行包裹关联特征提取,得到所有包裹的包裹关联关系;基于包裹预测结果和所有包裹的包裹关联关系,确定预设时间段内的物流方案。本发明能够考虑到包裹间复杂的关联关系,使物流方案与实际情况匹配程度更高。

一种物流配送路线优化方法及装置

NºPublicación:  CN120875710A 31/10/2025
Solicitante: 
军事科学院系统工程研究院后勤科学与技术研究所
CN_120875710_PA

Resumen de: CN120875710A

本发明公开了一种物流配送路线优化方法及装置,该方法包括:获取物流配送需求信息;对所述物流配送需求信息进行处理,得到物流配送路线优化数学模型;对所述物流配送路线优化数学模型进行求解,得到物流配送优化路线。本发明方法通过优化配送路线,减少车辆行驶里程和配送次数,降低运输成本和车辆损耗。同时,合理安排配送任务,避免因配送时间不合理导致的延误罚款等额外成本,有效降低了物流总成本。

基于事故范围面积模拟的危险品运输泄漏事故后果风险分级评价方法

NºPublicación:  CN120875727A 31/10/2025
Solicitante: 
重庆邮电大学
CN_120875727_PA

Resumen de: CN120875727A

本发明属于事故风险分级领域,涉及基于事故范围面积模拟的危险品运输泄漏事故后果风险分级评价方法,包括:获取交通事故后的数据信息;将数据信息输入到事故范围面积模拟模型中,得到事故后果指标;采用K‑means算法对事故后果指标进行聚类分析,得到危险品运输泄漏事故后果风险分级结果;对事故后果风险分级结果进行评价;根据评价结果确定事故后果的严重程度和影响范围;根构建三维综合风险评价矩阵,查询三个分级矩阵,得到各对应的风险等级并进行综合风险等级评估;采用模糊聚类分析得到运输路段风险分级,将路段风险值定义为路段等级与路段长度的乘积;利用三角模糊数的思想计算运输路线的风险值;根据风险值对对运输路线进行筛选,得到危险物品最优运输路线;本发明通过建立反馈机制能够不断优化和完善风险分级评价模型,提高评价结果的准确性和可靠性。

基于角色交互图神经网络的群组物流运输调度方法与系统

NºPublicación:  CN120875709A 31/10/2025
Solicitante: 
长安大学
CN_120875709_PA

Resumen de: CN120875709A

本发明涉及组合优化与人工智能领域,公开了基于角色交互图神经网络的群组物流运输调度方法与系统,所述方法包括以下步骤:S1、划分智能体节点与位置节点,生成初始特征;S2、利用图神经网络多通道注意力机制迭代更新节点嵌入;S3、基于节点嵌入生成投递点分配概率,确定初始分配方案;S4、对低置信度分配的投递点执行局部重分配优化;S5、对最优方案并行规划路径,输出结果并用于强化学习反馈。本发明中,通过图神经网络多通道注意力机制对复杂交互关系的建模,以及局部重分配优化与并行路径规划的协同作用,实现秒级生成高质量调度方案,达成模型跨规模场景迁移,提升群组物流运输调度效率与鲁棒性。

基于区块链跨境物流多式联运虚拟仿真系统

NºPublicación:  CN120875707A 31/10/2025
Solicitante: 
怀化学院
CN_120875707_PA

Resumen de: CN120875707A

本发明公开了基于区块链跨境物流多式联运虚拟仿真系统包括物流调度中心、区块链中心、用户交互单元和成绩整合单元,所述物流调度中心用于配合跨境物流多式联运调度,分析并提供调度数据,所述区块链中心包括数据处理模块、数据汇总模块、数据分组模块和数据上传模块,所述用户交互单元是基于区块链中心的所有数据建立人机交互,所述成绩整合单元用于整合用户在用户交互单元中的成绩并公开;所述用户交互单元包括虚拟环境构造模块、日常操作练习模块,本发明公开的基于区块链跨境物流多式联运虚拟仿真系统具有通过建立用户交互机制,可对数据进行充分利用,另外通过丰富练习题库以及练习环境,也可有效辅助用户提高专业技能的效果。

一种供应链物料单据自动管理方法及系统

NºPublicación:  CN120875760A 31/10/2025
Solicitante: 
百思特管理咨询有限公司
CN_120875760_PA

Resumen de: CN120875760A

本发明涉及一种供应链物料单据自动管理方法及系统,其包括对接采购系统、仓储系统和销售系统,获取各部门的原始单据数据流;根据预设格式参数转换所述原始单据数据流,生成统一单据格式信息;提取所述统一单据格式信息中的角色场景参数,根据所述场景参数生成角色权限因子,其中所述角色场景参数包含部门、职位、业务场景;根据所述角色权限因子构建动态角色矩阵;基于所述动态角色矩阵分配数据访问权限;响应于查看单据的操作,按分配的所述数据访问权限顺序进行授权。本申请能够实时共享单据信息,优化审批流程,避免审批卡顿,提高了单据管理性能。

一种基于集成学习的爆炸品运输车运输风险评估方法

NºPublicación:  CN120875522A 31/10/2025
Solicitante: 
江汉大学
CN_120875522_PA

Resumen de: CN120875522A

本发明涉及一种基于集成学习的爆炸品运输车运输风险评估方法,属于爆炸品运输风险评估技术领域。包括:(1)构建预警指标体系;(2)收集历史运输事故数据,并根据每个风险评估指标的风险等级划分标准对历史运输事故数据进行归一化处理;(3)构建风险评估模型:采用Stacking集成模型,以决策树、支持向量机、BP神经网络为基模型,以逻辑回归为元模型;(4)训练风险评估模型;(5)采集爆炸品运输车的实时数据,输入风险评估模型中,当模型预测为高风险时,提醒驾驶员和相关管理人员应采取相应的安全措施。本发明结合了多种基模型的优势,可以提高风险评估模型的预测精度和可靠性,实现对爆炸品运输车运输风险的准确评估和实时预警提醒。

一种团购配餐用路线优化方法

NºPublicación:  CN120875193A 31/10/2025
Solicitante: 
苏州美年华云厨科技有限公司
CN_120875193_PA

Resumen de: CN120875193A

本发明公开了一种团购配餐用路线优化方法,属于配送技术领域,通过将配送区域划分为固定数量的网格,并根据每个网格对应的团购配餐数据,采集当前时空状态空间并输入策略网络进行动作选择,确定当前选择的目标动作,获取执行目标动作之后的新时空状态空间以及目标奖励,并根据当前时空状态空间、目标动作、目标奖励以及新时空状态空间构建先验经验,每当一个策略网络优化周期到来时,则根据先验经验对策略网络的网络参数进行更新,获取最新策略网络,根据最新策略网络以及新时空状态空间,继续进行配送网格的选择,直至所有团购配餐配送完成,能够有效地优化团购配餐员的配送路径,能够有效增加配送效率以及降低配送超时的概率。

一种共享散装物料售卖仓智能补货下单系统及方法

NºPublicación:  CN120875740A 31/10/2025
Solicitante: 
古河建筑机械制造有限公司
CN_120875740_PA

Resumen de: CN120875740A

本发明公开了一种共享散装物料售卖仓智能补货下单系统及方法,包括:订单量识别和评估模块,用于识别终端用户下单的物料量,并与仓内当前物料余量进行比较评估,判断终端用户下单的物料量是否超过仓内剩余物料量;补货装置信息获取模块,用于获取补货装置信息;补货评估模块,用于评估是否能满足终端用户的订单需求,以确定补货方案;用户下单与结算模块,用于终端用户下单并完成结算;补货规划模块,用于规划适用的补货路线和方式;本系统及方法基于终端用户订单量与仓内当前物料余量的动态匹配和即时补货决策,提高了服务的灵活性和响应速度,优化了补货规划过程,确保了供应链的高效运作,提升了用户体验和满意度。

货物分配方法、装置、存储介质及程序产品

NºPublicación:  CN120875283A 31/10/2025
Solicitante: 
北京小米移动软件有限公司北京小米松果电子有限公司
CN_120875283_PA

Resumen de: CN120875283A

本公开涉及一种货物分配方法、装置、存储介质及程序产品,属于信息处理技术领域,所述方法包括:确定待分配至各个门店的货物的数量;基于所述各个门店的货物的数量,确定各个门店的货物的候选分配方式;计算所述候选分配方式在目标维度下的表征货物分配数量的第一约束值,以及所述候选分配方式在所述目标维度下的表征货物分配均匀度的第二约束值;从所述候选分配方式中确定货物的目标分配方式,所述目标分配方式使得各个门店的约束值之和的绝对值小于阈值,所述门店的约束值包括所述门店的第一约束值以及第二约束值。如此,可以优化货物分配结果。

物品匹配方法、装置和系统

NºPublicación:  CN120877303A 31/10/2025
Solicitante: 
北京京东远升科技有限公司
CN_120877303_PA

Resumen de: CN120877303A

本公开提出了一种物品匹配方法、装置和系统,涉及仓储物流技术领域。其中,物品匹配方法包括:获取待匹配物品的图片,所述待匹配物品为缺失运单信息的物品;利用第一大模型对所述图片进行处理,以得到所述待匹配物品的第一描述文本;根据所述第一描述文本,生成所述待匹配物品的特征向量;计算所述待匹配物品的特征向量与多个候选运单的特征向量的相似度;根据所述相似度,从所述多个候选运单中确定与所述待匹配物品匹配的运单。通过以上方法,能够提高物品与运单进行匹配的匹配准确率,进而提高物品处理的时效性,提高用户的服务体验。

多点协同分析的安全风险管理平台

NºPublicación:  CN120875592A 31/10/2025
Solicitante: 
南通亿仕得医疗器械有限公司
CN_120875592_PA

Resumen de: CN120875592A

本发明公开了多点协同分析的安全风险管理平台,涉及数据管理技术领域,该平台包括:交互目标药物存储仓的存储系统,提取药物存储分布数据;生成多个药物特征集合;获取多个存放监测指标集合;确定第一风险识别结果;确定第二风险识别结果;将多个第一风险药物、多个第一风险系数、多个风险区域和多个第二风险系数作为药物存储风险识别结果。解决了现有技术中存在的药品仓储安全风险管理监测维度单一、风险识别滞后、难以实现多源数据协同分析,进而导致无法精准预测药物存储过程中的潜在风险及药品存储安全性不足的技术问题,达到了药品存储风险实时动态监测、多维度协同预警、智能化精准管理的技术效果。

一种用于港口工程全生命周期数据的协同管理方法及系统

NºPublicación:  CN120875610A 31/10/2025
Solicitante: 
中交第三航务工程勘察设计院有限公司
CN_120875610_PA

Resumen de: CN120875610A

本发明公开了一种用于港口工程全生命周期数据的协同管理方法及系统,涉及港口工程数字化管理技术领域,方法包括:连接港口管理平台与多源数据接口,更新图层库与数据库;开发管理引擎阵列,获取任务后解译,匹配重建图层、写入数据库确定任务场景模型;可视化任务场景模型,基于任务分解的多线程子阶与扩展任务贪心决策,确定管理策略。本发明解决了港口工程生命周期管理中传统数据管理方式难以实现全流程数据同步更新与深度协同,导致数据整合不全面、任务响应不精准,难以支撑高效决策与精准管理的技术问题,达到了港口工程全生命周期数据的高效协同管理,保障数据同步更新与深度整合,精准响应任务、支撑科学决策,提升管理质效的技术效果。

货物派货路径的确定方法、装置、设备及存储介质

NºPublicación:  CN120875733A 31/10/2025
Solicitante: 
深圳市跨越新科技有限公司
CN_120875733_PA

Resumen de: CN120875733A

本发明公开了一种货物派货路径的确定方法、装置、设备及存储介质,方法包括:获取若干目标派货任务的任务信息,任务信息包括货物到仓时间、货物重量、派货时效和派货位置;根据由货物到仓时间和货物重量构建的时间聚簇条件,以及由货物重量、派货位置、任务数构建的空间聚簇条件,对目标派货任务进行时间聚簇和空间聚簇后,得到候选任务簇;基于预设的聚簇评价函数对候选任务簇进行评价,得到有效任务簇;根据有效任务簇中各目标派货任务的派货位置,确定至少一条派货路径,从中选取成本最低的派货路径作为目标派货路径。利用本发明公开的方法,能够降低货物的派货路径的成本,提高派送效率的问题。

一种基于物联网的港口理货系统

NºPublicación:  CN120875725A 31/10/2025
Solicitante: 
镇江港务集团有限公司
CN_120875725_PA

Resumen de: CN120875725A

本发明公开了一种基于物联网的港口理货系统,属于交通水运技术领域,旨在解决现有技术对柔性集装袋理货存在的效率低、准确性差及状态监控不足的问题。该系统包括预报信息接收模块、吨袋信息采集模块、中央处理与调度模块和移动理货终端。吨袋信息采集模块通过标识信息获取单元、吨袋图像分析单元和联动称重单元,自动采集吨袋的唯一标识、外观状态和实时重量。中央处理与调度模块将实时信息与预报信息比对,并结合外观状态进行逻辑判断,执行自动理货或生成异常处理指令推送至移动终端。本发明实现了对吨袋理货的多维度信息自动采集、智能化决策与差异化处理,显著提升了理货效率、准确性和货物运输安全性,优化了港口运营管理。

一种具有垫付功能的货运物流管理平台及费用垫付方法

NºPublicación:  CN120875730A 31/10/2025
Solicitante: 
赛马物联科技(宁夏)有限公司
CN_120875730_PA

Resumen de: CN120875730A

本发明实施例公开了一种具有垫付功能的货运物流管理平台及费用垫付方法;方法包括:接收货物承运商或司机发起的费用垫付请求,基于所述费用垫付请求得到审批结果;基于所述审批结果配置货物承运商或司机的费用垫付信息;当货物承运商或司机的物流轨迹满足预设条件时,按照所述费用垫付信息发送请款需求至货物承运商或司机,并基于所述货物承运商或司机的反馈信息进行费用垫付。与现有技术相比,本发明可以解决传统物流行业中普遍存在的账期长、现金流压力大等问题,并通过“物流+金融”的模式提升了行业效率。

基于工程造价管理的报告信息采集方法及系统

NºPublicación:  CN120875214A 31/10/2025
Solicitante: 
建成工程咨询股份有限公司
CN_120875214_PA

Resumen de: CN120875214A

本发明公开了一种基于工程造价管理的报告信息采集方法及系统,涉及工程造价管理技术领域。该基于工程造价管理的报告信息采集方法,包括以下步骤:获取监测性能评估指数;获取传输稳定性指数;获取预警执行效率分数;获取报告信息。该发明首先利用监测性能评估指数决定是否开始数据采集。接着,根据传输稳定性指数来判断是否需要发出故障预警。最后,依据预警执行效率分数对比数据库中的预设值,以确定是否生成报告。达到了提高工程造价报告信息在采集管理过程中数据传输稳定性的效果,解决了现有技术中存在对建筑工地中材料仓库的工程造价报告信息进行采集管理时未考虑数据的传输稳定性的问题。

一种基于人工智能的铸造废砂循环利用智能制造管理系统

NºPublicación:  CN120875855A 31/10/2025
Solicitante: 
承德北雁新材料科技有限公司
CN_120875855_PA

Resumen de: CN120875855A

本发明涉及铸造用砂生产技术领域,公开了一种基于人工智能的铸造废砂循环利用智能制造管理系统,包括:数据采集模块,用于采集铸造废砂处理过程中的生产数据;数据处理与分析模块,用于接收所述数据采集模块传输的数据,对数据进行处理与分析;智能控制模块,用于对破碎、研磨、分选、焙烧设备的运行参数进行调节;生产调度与管理模块,用于接收控制信息,制定生产计划并进行库存管理;质量检测与追溯模块,用于建立质量追溯体系,并确保数据的可追溯性。通过构建基于人工智能的数据处理与建模模块,实现了对铸造废砂处理过程中关键工艺状态的动态识别与调节优化,从而提升了系统对复杂工况的适应能力。

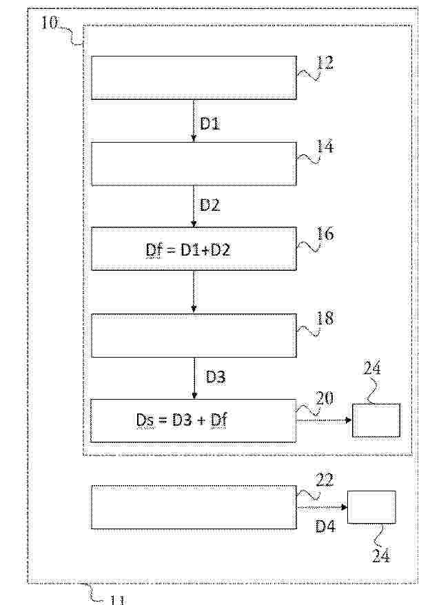
确定液化气体运输船中的操作能量损失

NºPublicación:  CN120883229A 31/10/2025
Solicitante: 
气体运输技术公司
CN_120883229_PA

Resumen de: AU2024242048A1

The invention relates to a method for determining (10) operational energy losses (Df, Ds), over a time interval, of a liquefied gas transport ship provided with a liquefaction system, comprising steps of: - calculating (12) an amount of energy consumed (D1) by an energy consumer of the ship; -calculating (14) an energy variation (D2) as a function of a temperature variation of the liquefied gas; - adding (16) the energy variation (D2) to the amount of energy consumed (D1), resulting in an actual operational energy loss (Df); and when the liquefaction system is activated over the time interval: - calculating (18) an energy saving (D3) by the liquefaction system; and - adding (20) the energy saving (D3) to the actual operational energy loss (Df), resulting in an estimated operational energy loss (Ds) that would have been observed without the activation of the liquefaction system.

使用大型语言模型的包装生产线计算机辅助故障排除

NºPublicación:  CN120883228A 31/10/2025
Solicitante: 
利乐拉瓦尔集团及财务有限公司
CN_120883228_PA

Resumen de: EP4485307A1

Disclosed is a method (600) for computer-assisted troubleshooting of a packaging line (1) configured to produce packages. In one embodiment, the method (600) comprises the following steps: receiving (602), via an input device, a problem statement (402) in natural language from a user indicating a problem that has occurred during operation of the packaging line (1); generating (604), by a trained language model (42) and based at least in part on the problem statement (402), one or more instructions (404) indicating operations to be performed by the user on the packaging line (1) to alleviate the problem; and outputting (606), via an output device, the one or more instructions (404) in natural language to the user. Also disclosed is a method (500) of training a language model (42), a language model (42), data processing apparatus (4), a packaging line (1), and a computer program.

再生热管理流体的系统和方法

NºPublicación:  CN120883230A 31/10/2025
Solicitante: 
科慕埃弗西有限公司
CN_120883230_PA

Resumen de: MX2025010728A

Example embodiments disclose a method of managing refrigerant reclamation including returning used refrigerant to a facility for reclamation, analyzing, via an analyzer unit, composition of the used refrigerant, determining, via the analyzer unit, purity of the used refrigerant, generating an analysis report based on the composition of the used refrigerant, determining weight of the used refrigerant based on the purity of used refrigerant, and generating a deposit credit to be used on-site or remotely.

用于在营业区域中移动电子设备的设备移动系统

NºPublicación:  CN120882643A 31/10/2025
Solicitante: 
福森集团有限责任公司福森集团股份有限公司
CN_120882643_PA

Resumen de: WO2024208419A1

Device movement system for moving a device in a business area, in particular in a sales area of a retailer, wherein the device movement system has: a carrying apparatus which is designed to carry the electronic device such that it is suspended in a cable-based and/or rail-based manner, and a drive apparatus which is designed to move the suspended device in an electrically driven manner.

一种基于RFID的分布式智能存储柜管理方法及系统

NºPublicación:  CN120875755A 31/10/2025
Solicitante: 
深圳市中谷联创信息服务有限公司
CN_120875755_PA

Resumen de: CN120875755A

本发明涉及仓储管理技术领域,公开了一种基于RFID的分布式智能存储柜管理方法及系统,所述方法包括获取存储柜的原始位置和体积数据;根据原始位置和体积数据进行存储状态判断,得到初步存储状态数据集;根据初步存储状态数据集,进行数据清洗,得到准确的物品分布信息集;根据准确的物品分布信息集,进行存储柜空间占用情况的解析,得到空间占用比例和空闲区域分布结果;根据空间占用比例和区域分布结果,进行初步策略生成,得到初步的布局调整策略;根据初步的布局调整策略,进行策略优化,得到优化后的路径规划数据;根据优化后的路径规划数据,进行最终策略生成,得到最终的存储布局策略。本方法能够提高空间利用率。

基于数字孪生与区块链的PCB工厂物料全生命周期管理系统

NºPublicación:  CN120875311A 31/10/2025
Solicitante: 
诚亿电子(嘉兴)有限公司
CN_120875311_PA

Resumen de: CN120875311A

本发明公开了基于数字孪生与区块链的PCB工厂物料全生命周期管理系统,涉及工厂物料管理领域,包括感知层、网络层、平台层与应用层,感知层用于采集物料标识、环境参数及位置数据,网络层用于数据加密传输,平台层通过数字孪生引擎构建物料虚拟模型。本发明平台层数字孪生引擎与区块链节点双向交互,数字孪生模型状态数据自动上链,区块链历史数据驱动数字孪生仿真,这种协同机制使物料管理各参与方(工厂、供应商、物流商、质检部门)实现高效数据共享与业务协同,提升供应链运作效率。

采空区注浆资源多模态调度方法及系统

NºPublicación:  CN120875302A 31/10/2025
Solicitante: 
诺文科风机(北京)有限公司
CN_120875302_PA

Resumen de: CN120875302A

本发明涉及矿井安全与智能化管理技术领域,提出了采空区注浆资源多模态调度方法及系统,通过多模态数据融合实现采空区火灾的多维感知,提升异常识别的全面性与精准性;引入Transformer模型与改进证据理论,增强跨模态数据的关联分析能力,有效降低误报率;动态推演结合物理模型与深度强化学习,提升火灾发展预测的动态适应性;路径规划融合启发式算法与AR可视化技术,实现逃生路径的智能动态优化;四级响应机制与资源智能调度策略,缩短应急处置周期,提升注浆材料匹配与设备调度效率;系统硬件设计强化抗干扰能力与自诊断功能,保障复杂环境下数据采集的稳定性;轻量化模型与并行计算技术,提升实时分析与多火区推演效率。

物流异常数据识别方法、装置、设备及存储介质

NºPublicación:  CN120873479A 31/10/2025
Solicitante: 
昆明学院
CN_120873479_PA

Resumen de: CN120873479A

本发明涉及数据处理技术领域,具体公开一种物流异常数据识别方法、装置、设备及存储介质,方法包括采集多模态真实异常数据;获取目标噪声向量;将目标噪声向量输入目标多模态生成对抗网络中,以使得目标多模态生成对抗网络中的目标生成器基于目标噪声向量生成多模态目标合成异常数据,其中,目标多模态生成对抗网络基于对预先构建的初始多模态生成对抗网络的初始生成器和初始鉴别器进行对抗训练得到;基于多模态目标合成异常数据以及多模态真实异常数据,训练得到目标异常数据增强识别模型;基于目标异常数据增强识别模型对目标物流数据进行异常识别。本方案提高了异常数据检测的准确性和鲁棒性。

基于全链路数据的物流时效优化方法、系统、介质及产品

NºPublicación:  CN120875717A 31/10/2025
Solicitante: 
上海申雪供应链管理有限公司
CN_120875717_PA

Resumen de: CN120875717A

本申请公开了一种基于全链路数据的物流时效优化方法、系统、介质及产品,涉及物流时效管理技术领域,包括:获取快递全链路数据,确定包裹状态更新事件与相应的事件流信息;在物流时效模型中,基于事件流信息更新物流包裹流转环节与运输任务的状态,物流时效模型采用事件流开发模式记录并更新全链路包裹状态事件;将物流时效模型划分为连通的物流时效存储子模型和物流时效查询子模型;当出现包裹异常时,采用轨迹估计优化算法基于包裹标识、当前包裹扫描记录数据及当前运输任务状态,求解当前的包裹最大似然轨迹与对应运输任务轨迹,得到包裹状态轨迹修复数据,触发状态更新指令发至物流时效模型。本申请提升快递全链路数据的实时性与准确性。

一种基于双层博弈理论的海港能源-物流系统低碳运行方法

NºPublicación:  CN120875411A 31/10/2025
Solicitante: 
河海大学
CN_120875411_PA

Resumen de: CN120875411A

本发明公开了一种基于双层博弈理论的海港能源‑物流系统低碳运行方法,步骤:1)建立海港能源系统的运行模型;2)建立海港物流系统的运行模型;3)建立海港船舶运行模型;4)建立基于双层博弈理论的海港能源‑物流系统低碳运行模型,包括海港能源‑物流系统低碳运行目标函数、船舶运行成本线性化约束;5)求解基于双层博弈理论的海港能源‑物流系统低碳运行模型,获得海港调度方案。

基于视觉识别技术的仓库货位状态识别方法及系统

NºPublicación:  CN120873970A 31/10/2025
Solicitante: 
国网湖北省电力有限公司随州供电公司湖北汉东电力发展有限公司
CN_120873970_PA

Resumen de: CN120873970A

本发明提供基于视觉识别技术的仓库货位状态识别方法及系统,属于仓库货位识别技术领域,包括本发明通过巧妙地结合视觉识别技术、数据库技术以及多源信息融合技术等先进手段,实现了仓库管理的全面优化;不仅能够实时、准确地获取仓库内货位及货物的状态信息,大大提高管理效率和准确性,还能科学、合理地规划货物布局,提升存取效率和空间利用率;同时,该方法及系统通过针对性地显著增强了货物识别的精度和速度,实现了货物的动态管理并有效降低了运营成本,通过实时监控和处理异常情况,确保了仓库的稳定运行。

基于数字证书的电子签收系统及方法

NºPublicación:  CN120875735A 31/10/2025
Solicitante: 
浪潮云信息技术股份公司
CN_120875735_PA

Resumen de: CN120875735A

本发明提供了基于数字证书的电子签收系统及方法。应用于物流配送业务,该系统包括:客户端,接收收货人通过该客户端所在的终端设备输入的手写签名信息,生成携带该手写签名信息及订单信息的保存签收证据请求,将该保存签收证据请求发送给前置接入模块;前置接入模块,验证终端设备的有效性,接收CA证书处理模块返回的证书,将保存签收证据请求中的签收证据信息以及证书同步到证据保全模块;证据保全模块,配置为对接收到的签收证据信息以及证书进行保存,对外提供查询功能;CA证书处理模块,根据前置接入模块申请的事件性证书来签发证书,将签发的证书返回给前置接入模块。本发明能够实现物流配送业务中收货端的电子签收及签收证据的保全,提高物流配送业务的安全性。

一种考虑货物稳定性的自适应自动装箱方法

NºPublicación:  CN120875712A 31/10/2025
Solicitante: 
广东工业大学
CN_120875712_PA

Resumen de: CN120875712A

本发明涉及计算机技术领域,尤其涉及一种考虑货物稳定性的自适应自动装箱方法,获取待装箱货物信息和放置方式参数,货物信息包括货物种类自身重量可承载重量和尺寸,放置方式参数包括放置位姿;对同种货物进行简单组块构成简单块,对不同种货物进行混装组块构成混装块;基于简单块和混装块,以自适应选择算法进行评估,确定货物在货箱内的放置为平铺放置方式或阶梯放置方式;根据货物的放置方式生成平铺放置方案或阶梯放置方案。以自适应选择算法评估简单块和混装块在货箱内为平铺放置或是阶梯放置,保障货物运输安全以及提高空间利用率,适用于包含多种复杂约束的物流装箱问题。本发明的方法适用于货车装箱、集装箱的装箱以及飞机货仓的装箱。

模型训练方法、履约时长预测方法及计算机程序产品

NºPublicación:  CN120873601A 31/10/2025
Solicitante: 
拉扎斯网络科技(上海)有限公司
CN_120873601_A

Resumen de: CN120873601A

本说明书实施例提供了一种模型训练方法、履约时长预测方法及计算机程序产品。在每个预训练周期内,可以利用在该预训练周期之前的大量历史订单数据训练得到预训练模型,针对该预训练周期内的首个时间段,可以将该预训练模型作为该首个时间段的履约时长预测模型,针对非首个时间段,可以采用该时间段的前一个时间段的订单数据对前一个时间段的履约时长预测模型进行微调,得到该时间段的履约时长预测模型,用于对该时间段的订单的履约时长进行预测。本说明书实施例提供的“预训练+微调”的模型训练方式,可以提高模型的跟随性和时效性,达到提升时间预测精度、减小期望误差的效果。

一种基于多无人车的物流任务分配方法及装置

NºPublicación:  CN120875367A 31/10/2025
Solicitante: 
军事科学院系统工程研究院后勤科学与技术研究所
CN_120875367_PA

Resumen de: CN120875367A

本发明公开了一种基于多无人车的物流任务分配方法及装置,该方法包括获取无人车集合的状态信息;所述状态信息包括位置坐标、电量、载重能力、行驶速度、预计到达下一站点时间;所述无人车集合包括N辆无人车;获取物流任务信息集合;所述物流任务信息集合包括M个物流任务,每个物流任务包括订单数量、货物重量、体积、配送地址、期望送达时间;对所述无人车集合的状态信息和所述物流任务信息集合进行处理,得到物流任务分配结果。本发明方法通过综合考虑无人车的实时状态和物流任务的多样化需求,能够实现更加合理、高效的任务分配,提高物流配送效率,减少配送时间和成本。

电商订单与同城订单动态联合配送路径优化方法及平台

NºPublicación:  CN120875734A 31/10/2025
Solicitante: 
想送物流有限公司暨南大学
CN_120875734_PA

Resumen de: CN120875734A

本申请涉及电商订单与同城订单动态联合配送路径优化方法及平台,该优化方法包括:在接收到当次新增同城订单配送的配送请求时,获取当前执行的第一联合配送信息;从第一联合配送信息中,获取当前的所有第一配送路径,并利用ALNS‑RIM混合优化算法的RIM,检测能够插入新增同城订单的第一配送路径,得到候选配送路径,以及在候选配送路径中,检测插入新增同城订单所对应的候选路径段;基于ALNS‑RIM混合优化算法和对应的候选路径段,进行插入路径规划,生成目标路径段,并根据目标路径段,对所有第一配送路径进行更新,生成包括第二联合配送信息的路径优化结果。通过本申请,解决相关技术中的电商订单与同城订单联合配送的方案存在响应不及时、配送效率低的问题。

一种关务辅助服务系统

NºPublicación:  CN120875796A 31/10/2025
Solicitante: 
西安自贸港建设运营有限公司
CN_120875796_PA

Resumen de: CN120875796A

本发明公开了一种关务辅助服务系统,涉及关务辅助服务技术领域,包括关务辅助服务系统,所述关务辅助服务系统中包括账册管理单元、单证管理单元、物流管理单元、参数设置单元、风险预警单元、综合查询单元、数据统计单元和外部接口单元,所述账册管理单元的输出端与单证管理单元的输入端固定连接,通过单证管理单元的“一单多报”自动化功能,企业仅需一次录入原始单证数据,系统即可根据预设规则自动生成二线进区报关核注清单、二线出口报关单、一线出口报关核注清单等7类单证,并通过外部接口单元直接推送至金二系统及单一窗口平台。此技术彻底消除传统系统中多次手动录入的繁琐操作。

一种基于物业管理的便民购物管理系统

NºPublicación:  CN120876025A 31/10/2025
Solicitante: 
成都航空职业技术大学
CN_120876025_PA

Resumen de: CN120876025A

本发明提供了一种基于物业管理的便民购物管理系统,包括主控单元、商品单元、外送单元和分类识别单元;所述主控单元包括管理员模块、发布模块和异常处理模块,所述商品单元包括库存管理模块和商品分类模块,所述外送单元包括订单分配模块、配送管理模块和订单记录模块,所述分类识别单元包括人群记录模块、人群分类模块和智能识别模块;本发明通过记录居民购物行为并分类分析,有效掌握社区居民的消费需求和商品畅销情况,系统基于商品类型设定配送优先级,为社区居民提供独立的线上订单配送功能,从而实现及时配送应急物品的便捷化服务,系统根据用户的历史购物记录、商品热度等信息,动态调整商品的进货数量和配送策略。

集团内跨厂协同生产规划方法和系统

NºPublicación:  CN120875820A 31/10/2025
Solicitante: 
杉数科技(北京)有限公司上海杉数网络科技有限公司北京杉数智能科技有限公司广州杉数科技有限公司
CN_120875820_PA

Resumen de: CN120875820A

本申请公开了一种集团内跨厂协同生产规划方法和系统,其中方法包括:根据集团统筹成本和集团统筹收入构建集团统筹生产模型;根据同一集团内不同工厂之间交互供应的运输成本,构建跨厂互供生产模型;根据工厂独自生产的成本和独自生产的收入构建工厂自生产模型;根据所述集团统筹生产模型、所述跨厂互供生产模型和所述工厂自生产模型构建三层协同架构的混合整数规划模型;以最大化集团整体利润为目标函数求解该混合整数规划模型,输出模型最优解时的统筹生产计划、跨厂物料互供计划和工厂生产调度指令。解决了传统单厂优化导致的采购成本高、销售内耗、资源协同不足问题,显著提升集团运营效益。

一种多维数据驱动的零工经济用工记录可信存证方法

NºPublicación:  CN120874134A 31/10/2025
Solicitante: 
南京云点数字科技有限公司
CN_120874134_PA

Resumen de: CN120874134A

本发明公开了一种多维数据驱动的零工经济用工记录可信存证方法,具体涉及可信存证技术领域,包括通过设备实时采集骑手的多维数据,存储至区块链中,每个配送环节的数据通过哈希值连接形成区块链,确保数据的完整性和不可篡改性,通过对比当前配送任务的时间序列与历史任务数据,判断当前配送任务的时间行为与历史任务的相似性,从而获得时间匹配信息,并将实际配送时间、路径、距离与预期值进行对比,分析数据完整性,得出数据匹配信息,通过对时间匹配信息和数据匹配信息的结合分析,判断骑手的配送任务可信度,本发明确保了配送过程的数据完整性、透明性和可信度,同时提升了平台的运营效率和管理精度。

货源推送方法、电子设备、存储介质及程序产品

NºPublicación:  CN120873297A 31/10/2025
Solicitante: 
江苏运满满信息科技有限公司
CN_120873297_PA

Resumen de: CN120873297A

本申请实施例提供了一种货源推送方法、电子设备、存储介质及程序产品,涉及计算机技术领域。所述方法包括:基于目标司机的历史行为信息,确定所述目标司机的接单特征;基于所述目标司机的历史路线信息,以及所述目标司机的实时意图路线信息,确定所述目标司机的路线特征;根据所述目标司机的接单特征,所述目标司机的路线特征,以及获取的所述目标司机的实时状态,确定目标推送货源;向所述目标司机推送所述目标推送货源。本申请实施例用于提供一种向不同的司机推送适合的货源,以避免司机运力浪费和效率损失的技术方案。

一种货物配送方法和装置

NºPublicación:  CN120875705A 31/10/2025
Solicitante: 
北京京东远升科技有限公司
CN_120875705_PA

Resumen de: CN120875705A

本发明公开了一种货物配送方法和装置,涉及计算机技术领域。该方法的一具体实施方式包括:接收用户的下单信息,并根据用户信息对该下单信息进行匹配存储,最终按照预设规则,将下单信息和对应的用户信息发送至目标设备,以用于目标用户通过目标设备获取上述信息进行货物配送。该实施方式实现了货物配送时基于地址参考信息进行准确配送,提高货物配送效率。

一种面向乳制品目标的冷链运输网络建模优化方法及系统

NºPublicación:  CN120875724A 31/10/2025
Solicitante: 
南京农业大学
CN_120875724_PA

Resumen de: CN120875724A

本发明公开了一种面向乳制品目标的冷链运输网络建模优化方法及系统,涉及乳制品运输领域,该面向乳制品目标的冷链运输网络建模优化方法,包括以下步骤:S1、乳制品物流数据进行数据预处理;S2、设置冷链决策变量和冷链运输目标构建多目标混合整数规划模型;S3、提取约束特征参数,并根设置冷链约束条件;S4、模型进行求解得到优解集,并进行综合评价筛选妥协解;S5、生成乳制品低碳物流配送方案,并验证优化;S6、方案进行输出并进行实时记录存储,本发明通过三目标混合整数规划模型,在乳制品冷链中实现全网络资源帕累托最优配置,且通过对时间窗满足度最大化目标函数的设计,减少因配送延迟而产生的惩罚成本。

用于确定物料可用剩余量的方法、装置及存储介质

NºPublicación:  CN120875761A 31/10/2025
Solicitante: 
中科云谷科技有限公司
CN_120875761_PA

Resumen de: CN120875761A

本申请涉及生产制造技术领域,尤其是一种用于确定物料可用剩余量的方法、装置及存储介质。包括:获取待生产订单和待生产订单对应的待生产产品的数量;确定生产待生产产品所需的物料、物料的需求日期以及每个需求日期对应的物料的需求量;根据每个需求日期对应的物料的需求量和待生产产品的数量确定每个需求日期对应的物料的总需求量;获取物料的当前库存数据;根据待生产订单确定每个需求日期对应的物料的送货在途数据和配送在途数据;根据物料的当前库存数据,以及物料在每个需求日期的送货在途数据、配送在途数据以及总需求量确定物料在每个需求日期的可用剩余量,提高计算精度,更为准确地确定可用剩余量,有助于提高生产效率,降低人力成本。

一种基于遗传算法的路径优化方法

NºPublicación:  CN120875195A 31/10/2025
Solicitante: 
江苏海洋大学
CN_120875195_PA

Resumen de: CN120875195A

本发明提出了一种基于遗传算法的多式联运路径优化方法。现有技术中,多式联运路径优化忽视了承运方在同一城市可能有多个仓储节点的问题。本发明从沿海城市多式联运承运方视角出发,综合考虑运输成本、仓储成本、时间成本、碳交易成本以及不确定因素(如模糊需求量、模糊时间窗和模糊仓储系数),建立了一个多目标优化模型,并采用动态变异概率调整策略改进精英保留策略遗传算法进行求解。通过算例验证,该方法有效降低了总成本,提高了求解效率,对促进物流行业的发展具有重要意义。

一种用于实物区块链的可信库存账务自动生成方法与系统

NºPublicación:  CN120875748A 31/10/2025
Solicitante: 
广东算子连线智能科技有限公司
CN_120875748_PA

Resumen de: CN120875748A

本发明公开了一种用于实物区块链的可信库存账务自动生成方法与系统,属于物联网与智能仓储管理技术领域。所述方法基于部署于实物单元上的智能节点,采集包括绑定状态、位置变化、姿态信息、环境参数等多维状态数据,生成状态哈希摘要并上传至云端平台。平台对状态数据进行事件分类与时间线重构,形成链式状态轨迹,并依据预设模板规则自动生成多种账表,包括出入库明细账、调拨轨迹账、借贷式库存账、异常事件账与绑定变更账等。所述系统包括状态接收模块、哈希链构建模块、事件分类模块、账表转译模块及数据导出模块,支持异常预警与责任追溯,账表可导出或对接ERP/WMS系统,实现库存数据的可信、实时、结构化输出。本发明提高了账实一致性与管理自动化水平,适用于智能仓储、金融质押、供应链审计等场景。

一种核电检修现场吸油纸防异物系统及方法

NºPublicación:  CN120875746A 31/10/2025
Solicitante: 
中核浙能能源有限公司
CN_120875746_A

Resumen de: CN120875746A

本发明涉及核电检修安全技术领域,尤其涉及一种核电检修现场吸油纸防异物系统及方法。所述系统包括:吸油纸卷,由差异化剪裁轮廓的吸油纸构成;所述吸油纸上带有荧光标记;仓储区扫描登记扫描单元,用于入库建档、领用登记、作业监控以及出库核验;防异物控制作业区扫描登记单元,用于在控制作业区检测吸油纸数量,并与仓储区扫描登记扫描单元形成信息交互,实现信息不一致报警;智能检测装置,布置在控制作业区的出入口,用于对进入及离开控制作业区的吸油纸重量及复合编码进行检测。本发明通过融合物理编码、异形特征设计、多模态感知与人工智能分析技术,构建吸油纸全生命周期追踪体系,实现了自动化识别吸油纸遗留。

一种基于物联网的智慧物流路径评估方法

NºPublicación:  CN120875732A 31/10/2025
Solicitante: 
中科数动工程咨询(广州)有限公司
CN_120875732_PA

Resumen de: CN120875732A

本申请涉及一种基于物联网的智慧物流路径评估方法,包括:通过部署于运输载具的北斗或GPS双模定位终端、RFID货品状态传感器及路侧单元RSU交通流量监测器,实时采集物流路径的动态数据,根据采集物流路径的动态数据进行数据采集过程通过设备数字证书双向认证,并采用国密SM4算法加密传输,输出加密后的动态数据,根据加密后的动态数据构建时空约束下的多目标评估函数,在最优路径中附加数字签名,根据实际运输结果与预测指标的偏差,通过梯度下降法更新评估函数权重系数,并修正得到路径评估数值。

一种智能化工产品供应链管理系统及管理方法

NºPublicación:  CN120875520A 31/10/2025
Solicitante: 
东营金茂铝业高科技有限公司
CN_120875520_PA

Resumen de: CN120875520A

本发明公开了一种智能化工产品供应链管理系统及管理方法,涉及供应链管理技术领域,本发明包括:化工产品运输监管模块、预警终端、仓储管理模块、优化策略生成模块和总数据仓,本发明整合实时限行数据、气象数据以及化工产品特性参数,形成多维风险评估模型,提高了推送路径的适配性,同时也解决了化工产品运输中因限行变化导致的路径失效问题;本发明针对化工产品的特性,结合仓储端的控制系统在若干内部区域的调节精度等级对化工产品进行针对性存储,保障了化工产品存储区域的适配性,保障化工产品的质量的同时也避免给仓储端带来危害;本发明修正化工产品的有效期,化工产品的有效期更贴近实际,避免资源浪费。

一种基于商品条码的产品数据实时监控分析方法

NºPublicación:  CN120876047A 31/10/2025
Solicitante: 
中国物品编码中心
CN_120876047_PA

Resumen de: CN120876047A

本申请公开了一种基于商品条码的产品数据实时监控分析方法,由管理端基于气象情况,对销售端仓储的目标产品可能面临的风险进行监督。若在目标产品出库之前出现了可能会对仓储环境造成风险的因素,则向销售端发出告警,以提示销售端对该目标产品进行处理,避免盲目的流入市场造成的进一步的损失。而且,本申请中的方法在对目标产品进行监督时采用的是销售编码,而不是预设编码,即便是攻击者想要篡改目标产品的销售记录,以将具备风险的目标产品挪用,也会被管理端察觉,有利于实现风险管理。可见,本申请提供的方法能够采用管理、监督或预测目的的数据处理技术实现基于商品条码的产品数据实时监控分析。

基于RFID的固定资产盘点方法及系统

NºPublicación:  CN120875757A 31/10/2025
Solicitante: 
四川金投科技股份有限公司
CN_120875757_PA

Resumen de: CN120875757A

本发明涉及基于RFID的固定资产盘点方法及系统,本申请对当前时间段的历史读取数据进行采集,通过对历史读取数据进行分析,得到当前时间段的基准盘点周期。然后对当前时间段内多个时间点的货架图像进行分析,分析每个存储单元中RFID标签的活跃度,对活跃度较高的固定资产,缩短其盘点周期,通过高频盘点,可以及时发现并纠正差异,确保关键资产的库存数据实时准确,减少信息错误风险。对于活跃度较低的固定资产,延长其盘点周期。本申请将有限的盘点资源(人力、时间)集中在关键固定资产上,避免在低活跃度物资上浪费资源,提升整体盘点效率。

一种基于大数据的物流运单能耗动态计算与合规校验系统

NºPublicación:  CN120875723A 31/10/2025
Solicitante: 
小铁马科技有限公司
CN_120875723_PA

Resumen de: CN120875723A

本发明涉及物流技术领域,尤其涉及一种基于大数据的物流运单能耗动态计算与合规校验系统,本发明中通过数据采集模块实时获取车流量、车型密度、行驶速度、坡度、载重等核心参数,突破了传统静态能耗模型仅依赖历史数据或固定公式的局限,能动态反映运输过程中的环境变化,如拥堵、坡度切换以及载重调整对能耗的影响,基于强影响类型,如车流量大、车型密度高与弱影响类型,如车流量小、车型密度低的场景,分别采用车流量或速度补偿、坡度或载重补偿等精细化计算方式,避免了单一模型对复杂路况的失真描述,拥堵路段通过识别速度突变点划分补偿路段,以及通过坡度与载重耦合分析调整能耗系数,使计算结果更贴合实际能耗规律。

一个基于工程项目全生命周期的管理系统及其方法

NºPublicación:  CN120875281A 31/10/2025
Solicitante: 
广州束隆互联网科技有限公司
CN_120875281_PA

Resumen de: CN120875281A

本发明涉及生命周期管理技术领域,涉及到一个基于工程项目全生命周期的管理系统及其方法,包括阶段信息获取模块、生产阶段计算模块、生产阶段计算模块、运维阶段计算模块、碳排放占比解析模块、周期综合比对模块和建筑数据云端,通过获取目标区域内各待建筑对应各建筑阶段的参数信息,进而对目标区域内各待建筑对应各建筑阶段的碳排放量进行分析,进一步计算目标区域内各待建筑对应各建筑阶段的碳排放量占比,进而对其进行对应减排措施,在一定程度上提高了绿色建筑的智能化水平,使得建筑全周期碳排放管理管理水平能够很好的适应经济社会发展需要,与此同时还提高了建筑管理能力和运转效率。

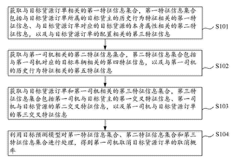
订单取消概率的预测方法、电子设备及可读存储介质

NºPublicación:  CN120875465A 31/10/2025
Solicitante: 
江苏运满满信息科技有限公司
CN_120875465_PA

Resumen de: CN120875465A

本申请提供一种订单取消概率的预测方法、电子设备及可读存储介质,属于数据处理技术领域。在该方法中,通过获取第一特征信息集合、第二特征信息集合和第三特征信息集合,能够将与目标货源订单、第一司机及其交互关系相关的多维度特征作为目标预测模型的输入,从而使目标预测模型输出第一司机取消目标货源订单的取消概率。在本申请中,不仅考虑目标货源订单所属的目标货主的历史行为、目标货源的本身属性以及目标货源订单的配置要求,还引入司机的运力特征、历史行为特征以及司机与目标货主、目标货源和目标货源订单之间的交叉特征,使目标预测模型全面覆盖导致目标货源订单取消的多样化因素,实现对司机取消目标货源订单的取消概率的精准预测。

基于跨境交易的账册库存管理系统

NºPublicación:  CN120875754A 31/10/2025
Solicitante: 
义乌南波万供应链管理有限公司
CN_120875754_PA

Resumen de: CN120875754A

本发明涉及跨境贸易库存管理技术领域,公开一种基于跨境交易的账册库存管理系统,其通过获取进口申报与保税核注清单数据,建立一个将海关备案料号与账册、占用和可用三态库存量一一对应的内部库存记录,并依据清单数据动态调整占用与可用库存,且将每一次库存变动与唯一的业务单号进行绑定,本发明将原先不透明的海关账册库存核扣过程,转变为企业端清晰可视、可追溯的实时业务流程,使企业能前瞻性地管理在库资产;其内在的闭环异常处理与数据校正机制,确保了库存数据在应对业务流程逆转与外部信息变更时的准确性与可靠性。

一种基于大数据的外贸企业风险评估与预警方法

NºPublicación:  CN120875579A 31/10/2025
Solicitante: 
浪潮卓数大数据产业发展有限公司
CN_120875579_PA

Resumen de: CN120875579A

本发明公开一种基于大数据的外贸企业风险评估与预警方法,涉及数据分析技术领域,方法包括:搭建分布式爬虫集群,结合动态代理IP池与差异化策略,抓取海关、政策法规及社交媒体数据;对政策法规和海关包含的物流信息做非结构化处理,通过命名实体识别、知识图谱构建转化为结构化数据;对原始采集数据与结构化数据进行清洗标准化,搭建分布式存储架构,实现数据存储、分区管理与实时处理;构建风险指标体系,基于标准化数据训练LSTM汇率预测模型与XGBoost集成模型,依托分布式存储通过在线学习与强化学习动态优化模型;依据模型预测结果,执行分级响应,并直观呈现风险数据。本发明用于跨境贸易中政策合规、市场波动、供应链中断等风险识别与预警。

一种智能立体仓库的三维展示方法、系统、设备及介质

NºPublicación:  CN120876762A 31/10/2025
Solicitante: 
江苏东衡智能科技有限公司
CN_120876762_PA

Resumen de: CN120876762A

本发明公开了一种智能立体仓库的三维展示方法、系统、设备及介质,涉及仓储展示技术领域,解决当前立体仓库无法将仓库的产品存放区域进行直观展示以及仓库内产品与货位没有匹配放置的问题,方法为:基于智能仓库的3D结构数据、货架点云数据和产品存放数据对智能仓库的三维立体模型进行分区;依据历史存取数据对产品进行进出库的优先级排序;依据货架数据分析得到所有货位的便捷度分数,基于存放优先级和便捷度分数将智能仓库内的产品进行重新分配;依据实时环境数据和最佳存放环境对智能仓库内产品的存放环境进行监测,监测得到产品的存放情况,本发明能够直观展示智能仓库的产品存放区域,并实现仓库内产品与货位的匹配放置。

一种基于强化学习的道口调度方法及系统

NºPublicación:  CN120875492A 31/10/2025
Solicitante: 
大连宗益科技股份有限公司
CN_120875492_PA

Resumen de: CN120875492A

本发明涉及人工智能技术领域,公开了一种基于强化学习的道口调度方法及系统,其中,一种基于强化学习的道口调度方法包括:获取道口调度场景数据,生成场景复杂度评估结果;处理调度人员历史操作数据,生成人员能力与专长画像;获取强化学习决策过程数据,生成决策解释信息;基于场景复杂度和人员专长,生成人机任务分配方案;处理强化学习决策数据,量化决策不确定性指标;获取调度人员反馈数据,更新强化学习模型;处理人机协作过程数据,优化人机分工策略;本发明能够准确识别AI系统难以确定的决策情境,及时引入人类干预;通过持续整合人类专业知识,提升了系统在复杂场景下的决策质量和鲁棒性。

基于改进A星算法的大尺寸管节重载AGV路径规划方法

NºPublicación:  CN120869161A 31/10/2025
Solicitante: 
广东粤水电装备集团有限公司湖大粤港澳大湾区创新研究院(广州增城)
CN_120869161_PA

Resumen de: CN120869161A

本发明提供了一种基于改进A星算法的大尺寸管节重载AGV路径规划方法。应用于路径规划技术领域,所述方法包括若当前遍历节点不是终点节点且当前遍历节点四周8个扩展节点中任一扩展节点存在障碍物,则使用改进搜索算法对扩展节点进行搜索;若扩展节点不在Open列表中,则将扩展节点加入Open列表,将当前遍历节点设置为扩展节点的父节点,计算G(n);若扩展节点在Open列表中且经过当前遍历节点得到的G(n)更小,则将当前遍历节点设置为扩展节点的父节点,并更新G(n)和F(n);若当前遍历节点n是终点节点,则得到初始规划路径并获取对应的各路径节点;对初始规划路径进行平滑处理,得到最终规划路径。以此方式,可以提高大尺寸管节重载AGV路径的规划效率。

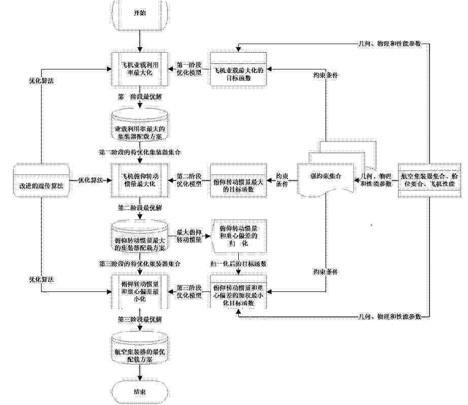
一种考虑航司实际运控和运营目标的航空集装器配载优化模型与优化方法

NºPublicación:  CN120875719A 31/10/2025
Solicitante: 
南京林业大学
CN_120875719_PA

Resumen de: CN120875719A

本发明提供一种考虑航司实际运控目标的航空集装器配载优化模型和优化方法,它减轻约束条件增多带来的模型复杂度上升幅度,提升最优解求解的效率与质量。该模型包括决策变量、目标函数、约束条件、适应度函数、终止条件;分三个阶段优化:以载重量最大为目标函数开展优化,得到载重量最大待优化个体和第一阶段最优解;以俯仰转动惯量最大为目标函数,以载重量最大待优化个体和最优解为初始解,开展第二阶段优化,得到载重量最大情况下最大可达到的俯仰转动惯量;以归一化的俯仰转动惯量最小和重心偏差最小为目标函数,以载重量最大待优化个体和最优解为初始解,开展第三阶段优化,得到载重量最大情况下俯仰转动惯量与重心偏差最小的最优装载计划。

一种物流无人车换电调度方法及系统

NºPublicación:  CN120875205A 31/10/2025
Solicitante: 
广东易积网络股份有限公司
CN_120875205_PA

Resumen de: CN120875205A

本申请公开了一种物流无人车换电调度方法及系统,涉及物流无人车技术领域,用于提升物流无人车的配送效率。本申请方法包括:当接收到目标物流无人车的换电请求时,获取目标物流无人车的初始配送路径;计算各个换电站的换电路径与初始配送路径之间的路径偏离度,并获取各个换电站的可用资源信息;基于可用资源信息计算各个换电站的换电空闲度;根据预设权重分配规则对路径偏离度和换电空闲度进行加权求和计算,得到各个换电站的调度评分,并确定调度评分最高的换电站为目标换电站;基于目标换电站对初始配送路径进行修正,得到目标配送路径;向目标物流无人车发送基于目标配送路径的路径更新指令。

一种港口理货预警方法、系统、设备及存储介质

NºPublicación:  CN120875586A 31/10/2025
Solicitante: 
南京中理外轮理货有限公司
CN_120875586_PA

Resumen de: CN120875586A

本申请公开了一种港口理货预警方法、系统、设备及存储介质,所述方法包括:构建目标港口理货数据中台,动态整合更新与目标港口关联的海关申报数据、货主提单数据、货物关联单据数据、港口设备数据、港口作业人员数据以及港口气象数据;结合目标港口理货数据中台的实时数据,进行基础信息监控,根据基础信息监控结果触发基础信息预警;结合目标港口理货数据中台的实时数据与基础信息监控结果,进行操作效率监控,根据操作效率监控结果触发操作效率预警;结合目标港口理货数据中台的实时数据与基础信息监控结果,进行数量与重量监控,根据数量与重量监控结果触发数量与重量预警。本申请能够实现对于港口理货的全面、精准的监控与预警。

SYSTEM AND METHOD TO DYNAMICALLY MONITOR JOBSITE ASSIGNMENTS FOR AN ASSET

NºPublicación:  US2025338086A1 30/10/2025
Solicitante: 
THERMA STOR LLC [US]
THERMA-STOR LLC
US_2025338086_PA

Resumen de: US2025338086A1

An apparatus comprises a memory communicatively coupled to a processor. The memory may be configured to store geofences and existing asset location information. The processor may be configured to obtain first updated asset location information corresponding to a tagged asset, determine whether first global positioning coordinates in the first updated asset location information overlap a first geofence of a first jobsite location in response to determining that the tagged asset is coupled to at least one gateway, and generate a first jobsite assignment indicating that the tagged asset is located in a first jobsite location in response to determining that the first global positioning coordinates in the first updated asset location information overlap the first geofence.

SYSTEM AND METHOD TO DYNAMICALLY MONITOR JOBSITE ASSIGNMENTS FOR AN ASSET

NºPublicación:  US2025338087A1 30/10/2025
Solicitante: 
THERMA STOR LLC [US]
THERMA-STOR LLC
US_2025338087_PA

Resumen de: US2025338087A1

An apparatus comprises a memory communicatively coupled to a processor. The memory may be configured to store geofences and existing asset location information. The processor may be configured to obtain first updated asset location information corresponding to a tagged asset, determine whether first global positioning coordinates in the first updated asset location information overlap a first geofence of a first jobsite location in response to determining that the tagged asset is coupled to at least one gateway, and generate a first jobsite assignment indicating that the tagged asset is located in a first jobsite location in response to determining that the first global positioning coordinates in the first updated asset location information overlap the first geofence.

SYSTEM AND METHOD TO DYNAMICALLY MONITOR JOBSITE ASSIGNMENTS FOR AN ASSET

NºPublicación:  US2025338088A1 30/10/2025
Solicitante: 
THERMA STOR LLC [US]
THERMA-STOR LLC
US_2025338088_PA

Resumen de: US2025338088A1

An apparatus comprises a memory communicatively coupled to a processor. The memory may be configured to store geofences and existing asset location information. The processor may be configured to obtain first updated asset location information corresponding to a tagged asset, determine whether first global positioning coordinates in the first updated asset location information overlap a first geofence of a first jobsite location in response to determining that the tagged asset is coupled to at least one gateway, and generate a first jobsite assignment indicating that the tagged asset is located in a first jobsite location in response to determining that the first global positioning coordinates in the first updated asset location information overlap the first geofence.

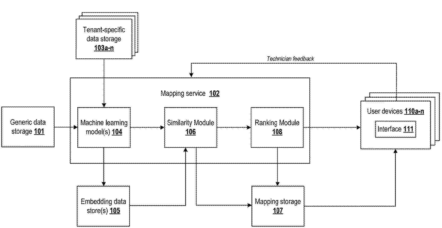
INFORMATION PROCESSING SYSTEM AND METHOD OF INFORMATION PROCESSING

NºPublicación:  US2025337677A1 30/10/2025
Solicitante: 
FRONTEO INC [JP]
FRONTEO, Inc
US_2025337677_PA

Resumen de: US2025337677A1

An information processing system includes: a network obtaining unit configured to obtain an entity network in which a plurality of nodes corresponding one-to-one to a plurality of entities are connected together by edges each representing a trading relationship or a control relationship; and a path selecting unit configured to select a priority path of high priority from among a plurality of paths included in the entity network, wherein each of the plurality of nodes included in the entity network is provided with additional data representing a characteristic of the node, and the path selecting unit determines, for each of the plurality of paths, a feature amount based on the additional data, and selects the priority path based on the feature amount as determined.

IN-SCOPE AND OUT-OF-SCOPE RFID-BASED ITEM MANAGEMENT

NºPublicación:  US2025335866A1 30/10/2025
Solicitante: 
WALMART APOLLO LLC [US]
Walmart Apollo, LLC
US_2025335866_PA

Resumen de: US2025335866A1

Examples provide a system for managing inventory updates based on RFID data using product in-scope and out-of-scope rules (PISOS). The PISOS system adjusts on-hand inventory count values for an item upward based on item scan data if the scan data identifies a higher number of instances of a given item than is recorded in on-hand inventory. The PISOS system does not permit adjusting on-hand inventory downward based on the scan data indicating fewer instances of the given item within an item display area than is recorded in on-hand inventory unless a set of PISOS rules indicate the given item is in-scope for downward adjustments. If the item is out-of-scope, no downward adjustments to on-hand inventory are made based on the number of items detected during the scan.

METHOD FOR SUPPORTING HEALTH CARE SERVICE, AND SYSTEM FOR SUPPORTING SAME

NºPublicación:  US2025336496A1 30/10/2025
Solicitante: 
BTGIN CO LTD [KR]
BTGIN CO., LTD
US_2025336496_PA

Resumen de: US2025336496A1

The present invention may be an invention that can search for/analyze a disease of interest and/or disease history of a user on the basis of questionnaire information and health records, and recommends customized health functional foods according to the search/analysis results. In addition, the present invention may be an invention that provides support to make it easy to receive posts, SNS posts, etc. registered by other members and share the received posts, SNS posts, etc. with acquaintances. In addition, the present invention may be an invention that can search for various information such as definitions/causes/related functionality/related foods/TIP/TALK, etc. about the disease of interest and supports a service in which location information about searched medical departments is displayed on an electronic map in order of proximity to a user through a location-based service and a search of related medical departments using keywords about age, cardinal symptoms, and accessory symptoms. In addition, the present invention may be an invention that searches and receives recommendations for disease names related to disease factors (nervous system, digestive/metabolic system, reproductive system, muscular system, sensory system, cardiovascular system, endocrine system, immune system, etc.), medicinal ingredients, medicines, types of health functional foods, sales information, etc., and supports purchase information (image, product name, consumer price, discount rate, selling pric

User Interface Including an Item Inventory with Freshness Indicators Predicted by a Machine Learning Model

NºPublicación:  US2025335960A1 30/10/2025
Solicitante: 
MAPLEBEAR INC [US]
Maplebear Inc
US_2025335960_PA

Resumen de: US2025335960A1

An online concierge system receives, from a user client device associated with a user of the online concierge system, a request to access a user interface including information describing one or more items included among an inventory at a retailer location. The system then retrieves a set of item data for an item included among the inventory at the retailer location. The system accesses and applies a machine-learning model to predict a freshness satisfaction score for the item based at least in part on the set of item data for the item. The system then generates the user interface including the information describing the item(s) based at least in part on the freshness satisfaction score for the item and sends the user interface to the user client device, causing the user client device to display the user interface.

METHOD AND SYSTEM FOR PREDICTING LIKELIHOOD OF RETURN OF A PRODUCT

NºPublicación:  US2025335930A1 30/10/2025
Solicitante: 
LTI MINDTREE LTD [IN]
LTI Mindtree Ltd
US_2025335930_PA

Resumen de: US2025335930A1

The present disclosure discloses a return prediction system and method for predicting a likelihood of return of a product. Static and dynamic data associated with the product is obtained using a data acquisition module, and is preprocessed using a preprocessing module, which involves applying a plurality of base classifiers. Individual prediction from each of the plurality of base classifiers is combined using a meta-classifier. The meta-classifier then processes the combined data to generate a final prediction indicating the likelihood of the product being returned. The meta-classifier generates the prediction at one or more stages such as, before purchase of the product, and post purchase of the product. Finaly, a notification module transmits notification based on the prediction to either a customer or a retailer associated with the product.

TECHNOLOGIES FOR ESTABLISHING PROOF OF INVENTORY TRANSACTION

NºPublicación:  US2025335913A1 30/10/2025
Solicitante: 
VETSNAP CORP [US]
VETSNAP CORP
US_2025335913_PA

Resumen de: US2025335913A1

Technologies for establishing an attestable proof of witness for a controlled substance transaction entry include a first computing device that establishes device communications with a second computing device. The first computing device executes an application associated with a software platform server. The device communications are established in response to a generation of a controlled substance transaction entry. A proof of witness is generated as a function of the established device communications and a controlled substance associated with the controlled substance transaction entry. The proof of witness is associated with the controlled substance transaction entry.

INVENTORY PROCESSING METHOD AND APPARATUS, AND DEVICE

NºPublicación:  US2025335872A1 30/10/2025
Solicitante: 
VIVO MOBILE COMMUNICATION CO LTD [CN]
VIVO MOBILE COMMUNICATION CO., LTD
US_2025335872_PA

Resumen de: US2025335872A1

An inventory processing method and apparatus and a device are provided. The method includes: A first device receives a first command, where the first command is used for inventory and obtaining code information of a target device; and the first device determines, according to the first command, whether to feed back code information of the first device.

Time Interval Geolocation Community Objects with Price-Time Priority Queues for Transformed Time Interval Geolocation Units

NºPublicación:  US2025335833A1 30/10/2025
Solicitante: 
CIRCLESX LLC [US]
Circlesx LLC
US_2025335833_PA

Resumen de: US2025335833A1

Various implementations directed to price time priority queue routing for time interval object capacity units are provided. The method may also include generating data packet routes based on the origin location data and the destination location data. The method may further include determining virtual hubs along the data packet routes, where the virtual hubs include a first virtual hub based on the origin location data and a second virtual hub based on the destination location data. The method may additionally include receiving travel cost data for the routes for geolocation time interval object exchange units. In addition, the method may include receiving market depth data for a geolocation exchange for the geolocation exchange units based on the data packet routes. The method may also include selecting an optimized route of the routes for the geolocation exchange units based on an objective function.

FINE-TUNING LANGUAGE MODELS TO ASSOCIATE SCANNED TEXT LABELS AND ITEM NAMES

NºPublicación:  US2025335869A1 30/10/2025
Solicitante: 
MAPLEBEAR INC [US]
Maplebear Inc
US_2025335869_PA

Resumen de: US2025335869A1

An online system trains a language model to generate an association between receipt labels and item names, enabling the online system to identify discrepancies between receipt labels and item names. The online system identifies training label-name pairs from a plurality of orders including a set of item names and associated receipt labels, wherein the training label-name pairs are optimized based on fuzzy matching and/or statistical association scores. The online system fine-tunes the language model to perform tasks for translating between receipt labels and item names or scoring receipt labels and item pairs based on statistical association.

SYSTEMS AND METHODS FOR ELECTRONIC CATALOG MANAGEMENT

NºPublicación:  US2025335864A1 30/10/2025
Solicitante: 
SERVICETITAN INC [US]
ServiceTitan, Inc
US_2025335864_PA

Resumen de: US2025335864A1

Methods and systems for electronic catalog management are disclosed. A primary embedding is generated using a machine learning model. The primary embedding is associated with a generic line item corresponding to a service job to be performed by a tenant. A plurality of secondary embeddings is generated using the machine learning model. Each of the plurality of secondary embeddings is associated with a tenant-specific line item from a plurality of tenant-specific line items. Based on comparing the primary embedding to each of the plurality of secondary embeddings, a subset of the tenant-specific line items that corresponds to the generic line item is determined. In response to receiving, at a user device associated with the tenant, input data indicating that the service job is to be performed by the tenant for a customer, display of the subset of the tenant-specific line items that corresponds to the generic line item is caused.

SYSTEMS AND METHODS FOR GENERATING AND DYNAMICALLY APPLYING DIGITAL REPRESENTATIONS OF ITEMS WITHIN A WAREHOUSE ENVIRONMENT

NºPublicación:  US2025335870A1 30/10/2025
Solicitante: 
PATTERN INC [US]
Pattern Inc
US_2025335870_PA

Resumen de: US2025335870A1

Methods for conducting items from intake to outtake within a warehouse are described. A system that is configured to access information related to such items and their endpoint destinations and also to receive further information during processing enables the system to make data-driven decisions and provide corresponding tasks to associates within a warehouse or to machines such as conveyor belts within a warehouse. The system provides endpoint-to-endpoint knowledge, such that delays and errors which may occur within a warehouse are limited, as the system is configured to ensure that information is centralized rather than localized.

METHOD FOR DEPLOYING A ROBOTIC SYSTEM TO SCAN INVENTORY WITHIN A STORE BASED ON LOCAL WIRELESS CONNECTIVITY

NºPublicación:  US2025332734A1 30/10/2025
Solicitante: 
SIMBE ROBOTICS INC [US]
Simbe Robotics, Inc
US_2025332734_PA

Resumen de: US2025332734A1

One variation of a method for deploying a mobile robotic system to scan inventory structures within a store includes: dispatching the mobile robotic system to navigate along inventory structures within the store during a setup cycle; at the mobile robotic system, while navigating along the inventory structures during the setup cycle, capturing a set of wireless connectivity metrics representing connectivity to a first wireless network; assembling the set of wireless connectivity metrics into a wireless connectivity map of the store; estimating a processing duration from start of the scan cycle to transformation of images of the inventory structures, captured by the mobile robotic system, into a stock condition of the store; and dispatching the mobile robotic system to autonomously capture images of the inventory structures within the store during a scan cycle preceding a scheduled restocking period in the store based on the processing duration.

System and Method for Tracking Data Relating to the Processing of Medical Containers

NºPublicación:  US2025331946A1 30/10/2025
Solicitante: 
BECTON DICKINSON FRANCE [FR]
Becton Dickinson France
US_2025331946_PA

Resumen de: US2025331946A1

A system for tracking data relating to the processing of a plurality of medical containers adapted to be received in a first layer of a packaging, the system including: at least one mark being implemented on and/or within the material of each medical container and representing a corresponding unique device identifier (UDI) for each respective medical container, a remotely readable and writable electronic component (21) which is on and/or within the first layer of packaging, the remotely readable and writable electronic component being configured for storing the UDI of each medical container received in the first layer of packaging and for writing and/or reading data relating to the processing of the medical containers.

METHOD OF GENERATING REGULATORY OUTPUTS

NºPublicación:  AU2024268526A1 30/10/2025
Solicitante: 
ALBERT INVENT CORP
ALBERT INVENT CORPORATION
AU_2024268526_PA

Resumen de: AU2024268526A1

A method for generating a regulatory output for chemicals, including inputting one or more identifiers of one or more individual chemicals into an algorithm, inputting one or more concentrations of one or more individual chemicals into the algorithm, enriching properties of the one or more individual chemicals by obtaining properties of the one or more individual chemicals from at least one data source to generate enriched properties, evaluating the enriched properties of the one or more individual chemicals to generate representative properties of the one or more individual chemicals by applying predefined steps of the algorithm, and generating the regulatory output of the composite material based on the representative properties of the one or more individual chemicals.

TRANSFER ASSISTANCE DEVICE AND TRANSFER SYSTEM

NºPublicación:  WO2025225147A1 30/10/2025
Solicitante: 
MITSUBISHI ELECTRIC CORP [JP]
\u4E09\u83F1\u96FB\u6A5F\u682A\u5F0F\u4F1A\u793E
WO_2025225147_PA

Resumen de: WO2025225147A1

This transfer assistance device is provided with a loadable region setting unit (103), a loading position calculation unit (104), and a presentation unit (105) or a control unit (107). The loadable region setting unit (103) divides a cargo room into a plurality of loading regions on the basis of information relating to a worker or a work apparatus (106) for loading a cargo, and sets a loadable region for the cargo to be loaded from among the plurality of loading regions on the basis of information on the cargo to be loaded and information on the state in the cargo room. The loading position calculation unit (104) sets, to the loadable region, a recommended loading position which is a recommended position for loading of a newly measured cargo. The presentation unit (105) presents the recommended position to the worker. The control unit (107) controls the work apparatus (106) on the basis of the recommended position.

System zum Optimieren einer Produktion

NºPublicación:  DE102024203930A1 30/10/2025
Solicitante: 
ZAHNRADFABRIK FRIEDRICHSHAFEN [DE]
ZF Friedrichshafen AG

Resumen de: DE102024203930A1

Die Erfindung betrifft ein System (100) zum Optimieren einer Produktion, wobei die Produktion durch einen Produktionsplan charakterisiert ist, umfassend: ein Bestellmittel (110), das zum Ausgeben eines Bestellauftrags ausgebildet ist, wobei der Bestellauftrag eine Bestellmenge an Ressourcen für die Produktion und einen Lieferzeitpunkt eines Eingangs der beauftragten Bestellung charakterisiert; ein Planungsmittel (120), das zum Bestimmen der Vielzahl an Planungsparametern basierend auf dem Produktionsplan ausgebildet ist, wobei die Vielzahl an Planungsparametern Parameter charakterisiert, die zum Umsetzen des Produktionsplans ausgebildet sind; ein Optimierungsmittel (130), das zum Erstellen einer Simulation des Planungsmittels (120) und zum Optimieren einer Vielzahl an Planungsparametern der Simulation mittels einer auf Eingabedaten basierenden Kostenfunktion ausgebildet ist, wobei die Eingabedaten zumindest einen aktuell von dem Planungsmittel (120) verwendeten Planungsparameter des Planungsmittels umfassen, wobei das Optimierungsmittel (130) weiter basierend auf der Simulation und der Kostenfunktion zum Ausgeben einer Vielzahl an optimierten Planungsparametern ausgebildet ist, wobei das Bestellmittel (110) zum Ausgeben des Bestellauftrags basierend auf der Vielzahl an optimierten Planungsparametern ausgebildet ist.

SYSTEM AND METHOD FOR OBJECT PLACEMENT MODEL GENERATION AND INTELLIGENT PROCESS AUTOMATION

NºPublicación:  WO2025226536A1 30/10/2025
Solicitante: 
MARS INCORPORATED [US]
MARS, INCORPORATED
WO_2025226536_PA

Resumen de: WO2025226536A1

A method may include receiving, from a user device, a first selection, wherein the first selection includes an end-user channel location. A method may include receiving, from the user device, a second selection, wherein the second selection includes a menu element. A method may include receiving, from the user device, a third selection, wherein the third selection includes an object placement model generation element. A method may include generating, using an artificial intelligence (AI) model, a suggestion associated with the end-user channel location based at least on the first selection, the second selection, or the third selection. A method may display the suggestion on the user device.

SYSTEM AND METHOD FOR GENERATING ANALYTICS ASSOCIATED WITH AN OBJECT USING AN ARTIFICIAL INTELLIGENCE (AI) MODEL

NºPublicación:  WO2025226532A1 30/10/2025
Solicitante: 
MARS INCORPORATED [US]
MARS, INCORPORATED
WO_2025226532_PA

Resumen de: WO2025226532A1

A method may receive, from a user device or an imaging device, an image of an object located in a display area of an end-user channel location; generate, using an artificial intelligence (AI) model, analytics associated with the object based on the image of the object located in the display area of the end-user channel location; display the generated analytics on a display device or transmit the generated analytics for display on the display device. The analytics may include object placement compliance information, value allocation compliance, promotion compliance information, inventory analytics related to inventory of the object at the end-user channel location, and object placement variance that identifies variances in object placements associated with the object or object placement performance that identifies performance metrics associated with the object placement model.

A DEVICE AND A METHOD FOR ENABLING RFID ENCODING IN NON-RFID ENVIRONMENTS

NºPublicación:  WO2025224677A1 30/10/2025
Solicitante: 
AVERY DENNISON RETAIL INFORMATION SERVICES LLC [US]
AVERY DENNISON RETAIL INFORMATION SERVICES LLC
WO_2025224677_PA

Resumen de: WO2025224677A1

In some embodiments, a device for integrating RFID capabilities into label generation systems is disclosed. The device includes a processor configured to receive a print request, evaluate the print request to determine whether RFID encoding is required. The processor is configured to generate or obtain an identifier based on the print request, if RFID encoding is required. In some embodiments, an adaptive RFID print management system is also disclosed. The system includes a print request analyzer, a printer selection module, an RFID encoding module and a controller configured to analyze incoming print requests using the print request analyzer, select an appropriate printer using the printer selection module based on RFID requirements, generate RFID encoding data using the RFID encoding module when required, and manage the printing and RFID encoding process across multiple printers. In some embodiments, a method for integrating RFID capabilities into label generation systems is also disclosed.

VACCINE MANAGEMENT SYSTEM FOR PREVENTING VACCINATION ACCIDENT DUE TO INCORRECT VACCINATION AND MISREGISTRATION OF VACCINE, AND VACCINATION SERVICE PROVISION METHOD PERFORMED BY MEANS OF VACCINE MANAGEMENT SYSTEM

NºPublicación:  EP4641582A1 29/10/2025
Solicitante: 
REAL TIME MEDI CHECK CORP [KR]
Real Time Medi Check Corp
EP_4641582_PA

Resumen de: EP4641582A1

There are disclosed system and method for preventing vaccination accidents due to misvaccination and misregistration of vaccines. The system comprises: an on-site vaccination information recognition device for recognizing a subject identification code of a subject to be vaccinated and information on vaccine for vaccination printed on a syringe or vial; and an on-site terminal for displaying check information that must be confirmed for vaccination of the subject to be vaccinated based on the subject identification code and information on vaccine for vaccination transmitted from the on-site vaccination information recognition device, on a screen. The screen of the on-site terminal includes: a first display area for displaying the identity information of the subject to be vaccinated corresponding to the subject identification code of the check information; and a second display area for displaying the vaccination information corresponding to the information on vaccine for vaccination of the check information.

PRODUCT RIGHTS MANAGEMENT SYSTEMS AND METHODS USING SECURE TAGS AND CRYPTOGRAPHIC TOKENS

NºPublicación:  EP4639456A1 29/10/2025
Solicitante: 
INTERTRUST TECH CORP [US]
Intertrust Technologies Corporation
US_2024211847_PA

Resumen de: US2024211847A1

Embodiments of the disclosed systems and methods may facilitate various rights management associated with a variety of physical products. In various embodiments, information may be securely associated with products and/or digital assets associated with products using secure tags, which may comprise near field communication tags. Information associated with the secure tags may be associated with non-fungible tokens, which may allow for management of rights related to products associated with the tags using blockchain and/or other trusted ledger services. In this manner, non-fungible token management paradigms may be used to manage, implement, and/or otherwise enforce rights associated with physical products in a variety of variety of applications, use cases, and/or contexts.

METHOD OF OPERATING A NETWORK OF CULTIVATION CONTAINERS AND SYSTEM OF INTERCONNECTED CULTIVATION CONTAINERS

NºPublicación:  EP4639879A1 29/10/2025
Solicitante: 
SUITEG GMBH [DE]
suiteg GmbH
CN_120380740_PA

Resumen de: CN120380740A

The invention relates to a method for operating a network (1) consisting of cultivation containers (2), in which a plurality of cultivation containers (2) are integrated into the network (1), each of the plurality of cultivation containers (2) comprises a cultivation device for cultivating a plant, a plant processing device for processing the cultivated plant, a control device for controlling the plant processing device, and a communication device (3) for receiving data from or providing data to the control device, the control units (3) of at least two cultivation containers (2, 1 ', 2' ') in the network (1) communicate directly and bidirectionally with each other.

METHOD FOR UE LOCATION DETERMINATION BASED ON CELLULAR CONNECTION

NºPublicación:  EP4639938A1 29/10/2025
Solicitante: 
ERICSSON TELEFON AB L M [SE]
Telefonaktiebolaget LM Ericsson (publ)
WO_2024134248_PA

Resumen de: WO2024134248A1

Embodiments include methods, electronic device, and storage medium to verify user equipment (UE) location based on a secured cellular connection. In one embodiment, a method is to be implemented in an electronic device, and comprises: establishing a secured connection over a cellular network between the electronic device and a user equipment (UE) for which a service is to be provided; verifying that an Internet Protocol (IP) address of the UE, through which the secured connection is established in the cellular network, matches a registered IP address of the UE in the cellular network; receiving a location verification request corresponding to the service, the location verification request indicating a location of the UE that has been provided by the UE; and responsive to the location verification request, providing an indication for matching the location of the UE with a registered location for the UE in the cellular network.

SYSTEM AND METHOD FOR TRACKING SURGICAL ITEMS

NºPublicación:  EP4641583A2 29/10/2025
Solicitante: 
STRYKER CORP [US]
Stryker Corporation
EP_4641583_A2

Resumen de: EP4641583A2

gDescribed herein are a system, a method and a non-transitory machine-readable medium for guiding a user through a surgical items counting protocol, and causing displaying of a notification upon detecting non-compliance with the counting protocol.

AN ONLINE COMMERCE SYSTEM

NºPublicación:  EP4639459A1 29/10/2025
Solicitante: 
VUDOO HOLDINGS PTY LTD [AU]
Vudoo Holdings Pty Ltd
KR_20250123911_PA

Resumen de: AU2023407180A1

An online commerce system wherein the content server serves media content to the content viewer and the content viewer displays received media content. The content server serves to the content viewer commerce data that is usable to cause call-to-action indicia associated with an item for sale to be displayed with the media content. The commerce application is arranged to implement a user interface such that in response to selection of call-to-action indicia, a user is able to interact with the user interface to purchase an item. The commerce application facilitates access to an online commerce platform to action purchase of the item using the commerce application. The commerce management system interacts with the commerce application to receive the item purchase data indicative of purchase of an item and interfaces with at least one online commerce platform to effect purchase of the item using the item purchase data.

INVENTORY MONITORING METHOD

NºPublicación:  EP4641526A2 29/10/2025
Solicitante: 
SHANGHAI HANSHI INFORMATION TECH CO LTD [CN]
Shanghai Hanshi Information Technology Co. Ltd
EP_4641526_PA

Resumen de: EP4641526A2

A computer-implemented inventory monitoring method and an inventory monitoring system. The method includes: capturing an image of a shelf with an image capture unit; detecting and reading shelf label content of a shelf label on the shelf within the image; defining one or more product bounding boxes surrounding one or more corresponding facings of a product within the image; and associating the shelf label content with the one or more product bounding boxes.

METHOD FOR ACTIVATING AN ELECTRONIC TRACKING LABEL VIA LABEL PRINTING

NºPublicación:  EP4639409A1 29/10/2025
Solicitante: 
FERRET SYSTEMS INC [US]
Ferret Systems Inc
WO_2024137883_PA

Resumen de: WO2024137883A1

A process for activating tracking labels of an item tracking system that uses a printer to activate labels as they are printed for use. Electronic tracking labels may have a removable portion that breaks an electrical circuit when removed; breaking the circuit activates the label. A printer with a label cutter may be used when labels are prepared for use, and the printer may be configured to cut off the removable portion of the label during label printing. This method automates label activation as part of the label preparation process. The printer may be programmed to position the boundary between the removable portion of the label and the rest of the label under the cutter, for example using knowledge of the label's layout. A printed, activated label output from the printer may be placed directly on an item to be tracked.

INVENTORY MANAGEMENT SYSTEM

NºPublicación:  EP4639445A1 29/10/2025
Solicitante: 
KEMP ELIZABETH [US]
Kemp, Elizabeth
US_2025328860_PA

Resumen de: US2025328860A1

An inventory monitoring system preferably includes a computer monitoring device and a plurality of containers. The computer monitoring device includes a computer, a software a transceiver and a display device. The software program preferably includes compliance tracking, event reporting replacement alerts, video training, log generation, remote inventory checking of each storage box, a list of items to be order for the next year and supplying regulator alerts. Each container preferably includes a storage box, a box transceiver, a microcontroller, a battery, a location sensor, an opening and closing sensor, an item tracking sensor, at least one identity monitoring device, a temperature sensor, a humidity sensor and a low battery indicator. A plurality of items are stored in the plurality of containers. The storage box preferably includes a locking cover. The microcontroller will also periodically test all sensors connected thereto.

TOPOMETRIC MAP BASED AUTONOMOUS NAVIGATION FOR INVENTORY DRONE

NºPublicación:  EP4639082A1 29/10/2025
Solicitante: 
BROOKHURST GARAGE INC [US]
Brookhurst Garage, Inc
WO_2024137221_PA

Resumen de: WO2024137221A1

A topometric map that enables autonomous navigation of an inventory robot. The topometric map is generated using the layout of a storage site and is made up of vertices and edges. The vertices are generated at pallet locations and other structural locations, and edges are generated between neighboring vertices. Vertices and edges have associated metrics that aid in the routing of the robot. The metrics of the vertices and edges may be updated as the robot navigates through the storage site by using a perception engine and state estimator. The metrics of the edges can be used to calculate an energy cost. The robot determines a shortest path between a source and destination vertex based on the energy cost associated with each edge.

MACHINE LEARNING FRAMEWORK FOR DETECTION OF ANOMALIES AND INSIGHTS FOR PROCUREMENT SYSTEM

NºPublicación:  EP4639433A1 29/10/2025
Solicitante: 
3M INNOVATIVE PROPERTIES COMPANY [US]
3M Innovative Properties Company
CN_120344982_PA

Resumen de: CN120344982A

Systems and techniques are described for generating machine learning models for machine learning (ML) anomaly detection and procurement. The system includes: a memory including a first data set associated with a purchase; the feature extraction module is connected to the memory, and the feature extraction module is used for extracting a first purchase feature vector set from the first purchase data set; a feature vector tagger connected to the memory, the feature vector tagger associating a tag with each feature vector in the first set of feature vectors; the machine learning modeler is connected to the feature extraction module and the feature vector labeler; and a display connected to the machine learning modeler, the display being capable of displaying to a user a purchase opportunity identified in a feature vector by the model, and being capable of receiving an indication from the user when the feature vector is misclassified.

DYNAMIC ALLOCATION AND COORDINATION OF AUTO-NAVIGATING VEHICLES AND SELECTORS

NºPublicación:  EP4641336A2 29/10/2025
Solicitante: 
SEEGRID CORP [US]
Seegrid Corporation
EP_4641336_PA

Resumen de: EP4641336A2

Dynamic allocation and coordination of auto-navigating vehicles uses robotic vehicles and centrally dispatched roaming order selectors to create a significantly more efficient, yet flexible, approach to picking goods within a warehouse. Robotic vehicles are configured to be loaded with goods from pick faces to fill orders. Each robotic vehicle follows a route that includes appropriate pick face locations. The robotic vehicles navigate from pick face to pick face where particular goods are located. Order selectors are dynamically and independently dispatched to meet the robotic vehicles at their pick face locations to load goods. Movement of the order selectors is orchestrated to increase efficiency in the order filling process within the warehouse.

一种基于大模型的物流智能客服优化方法及系统

NºPublicación:  CN120851885A 28/10/2025
Solicitante: 
上海申雪供应链管理有限公司
CN_120851885_PA

Resumen de: CN120851885A

本申请涉及一种基于大模型的物流智能客服优化方法及系统,涉及物流智能客服的技术领域;其包括建立存储物流QA对话向量的向量数据库,接收用户问题并向量化,在向量数据库中检索匹配答案,匹配失败则用LLM模型生成答案,将新QA对存入未处理数据库,定期抽取未回流的QA对清洗、提取意图生成标准化QA对并存入向量数据库;还包括具有数据处理模块、大语言模型模块、向量数据库、未处理数据库以及数据回流模块的系统来实现相应功能。本申请达到了降低AI时延和成本,能高效准确地处理用户关于物流的问题,提供可靠答案的技术效果。

基于多维数据融合分析的供应链可靠性智能评估系统

NºPublicación:  CN120851592A 28/10/2025
Solicitante: 
广西铝之星供应链有限公司
CN_120851592_PA

Resumen de: CN120851592A

本发明属于供应链管理技术领域,具体是基于多维数据融合分析的供应链可靠性智能评估系统,包括多维数据采集融合模块、供应商风险输出模块、供应链物流监测分析模块、到货品质决策分析模块、供应链可靠性评估模块和后台监管端;本发明是将相应供应链的供应商的经营风险性进行评估分析,进行相应供应链的物流追踪并判断其物流及时性表现,再将检测时期内相应供应链的货物到货品质进行检测分析,基于供应商风险评估结果、物流风险分析结果和到货品质分析结果对相应供应链的可靠性进行综合评估,及时且针对性的作出合理应对措施。

エッジコンピュータビジョン及びアクティブリアリティのための機械学習システムに関する方法及び装置

NºPublicación:  JP2025535680A 28/10/2025
Solicitante: 
ノマドゴー,インコーポレイテッド
JP_2025535680_PA

Resumen de: AU2025203776A1

Abstract The present disclosure generally relates to the field of computer vision and machine learning. In particular, the present disclosure is directed to methods and apparatus for machine learning systems for edge computer vision and active reality. Abstract The present disclosure generally relates to the field of computer vision and machine learning. In particular, the present disclosure is directed to methods and apparatus for machine learning systems for edge computer vision and active reality.

指定アイテムを分配するためのロボットデバイス

NºPublicación:  JP2025535650A 28/10/2025
Solicitante: 
エックステンドエーアイインク.
JP_2025535650_PA

Resumen de: TW202418188A

A robotic device for distributing designated items to persons includes a motion unit to autonomously move the robotic device through a premise, storage for designated items, an item dispenser to dispense from the storage, memory modules containing recognition scans and payment information of persons located within the premise and information of the designated items. The memory modules contain secondary recognition scans of persons located within the premise, recognition scanners, secondary recognition scanners, an additional scanner by an exit tube, a control unit in communication with the motion unit, the recognition scanners, the memory and the item dispenser and where the control unit directs the motion unit to move the robotic device within the premise, upon encountering a purchaser who selects a designated item, directs the recognition scanners to scan payment details of the purchaser and compares images from the recognition scanners to stored recognitions scans to verify payment.

一种基于数字孪生的码头门机作业效率优化方法、系统及码头门机

NºPublicación:  CN120851309A 28/10/2025
Solicitante: 
中交第一航务工程勘察设计院有限公司
CN_120851309_PA

Resumen de: CN120851309A

本发明公开了一种基于数字孪生的码头门机作业效率优化方法、系统及码头门机,属于港口装卸设备的智能控制与优化技术领域,包括:S1,采集码头门机作业的多模态数据,将多模态数据、数字孪生平台中预置最优路径参数以及PLC的设备状态信号接入数据接口;进行跨系统时标对齐,得到标准化数据流;S2,对标准化数据流执行滑动窗口处理,按单次作业周期进行结果汇总,计算得到动态特征;S3,构建动态效能系数、能量品质指数、健康耦合度三项核心指标,建立从动态特征到核心指标的映射关系;S4,根据核心指标,按阈值规则触发优化策略生成控制参数;验证通过后下发执行。本发明在码头门机复杂动态工况下实现效率、能耗与设备健康的协同优化。

一种冷链货物运输管理可视化方法及系统

NºPublicación:  CN120851756A 28/10/2025
Solicitante: 
深圳前海粤十信息技术有限公司
CN_120851756_PA

Resumen de: CN120851756A

本发明涉及运输可视化领域,尤其涉及一种冷链货物运输管理可视化方法及系统。该方法包括以下步骤:采集冷链货物状态参数,进行货物品质趋势评估,生成多个货物的状态数据流;对冷链运输车辆进行动态定位追踪,并根据所述状态数据流进行时空映射处理,构建实时追踪轨迹流;对实时追踪轨迹流进行未来时效偏差预测,生成时效偏差预测结果;根据时效偏差预测结果进行运输风险综合评估,生成运输风险评估报告;根据运输风险评估报告进行路径规划计算及客户通知推送,以执行智能运输管理。本发明实现了降低运输能耗与时间成本,提高资源配置效率,提高货物实时追踪可视化效果。

一种码头货箱吞吐量预测方法、系统及存储介质

NºPublicación:  CN120851952A 28/10/2025
Solicitante: 
南京中理外轮理货有限公司
CN_120851952_PA

Resumen de: CN120851952A

本发明涉及码头资源调度技术领域,具体公开了一种码头货箱吞吐量预测方法、系统及存储介质,本发明通过采集多维度基础作业数据,进行预处理得到第一作业数据,基于第一作业数据分析不同船型对应货种的作业量规律特征,并提取多维度关联特征;通过多维度特征集融合时间序列模型与多元回归模型构建动态预测模型,预测码头货箱的吞吐量数据,根据影响因动态预测模型对输出结果进行修正判别;按照固定周期输出码头货箱的吞吐量预测报告,实时采集实际吞吐量数据,将实际吞吐量数据与预测码头货箱的吞吐量数据进行对比分析计算预测误差率,根据预测误差率优化动态预测模型,有助于大幅提升预测精度,使预测结果始终贴近真实吞吐量。

一种跨境服务数据采集分析系统

NºPublicación:  CN120851731A 28/10/2025
Solicitante: 
南京超原惠科技有限公司
CN_120851731_A

Resumen de: CN120851731A

本发明涉及跨境信息处理技术领域,公开了一种跨境服务数据采集分析系统,包括如下在跨境物流系统架构中,在每个物流节点安装物流节点信息采集设备;所述物流节点信息采集设备将采集的数据统一通过数据传输模块发送至所述大数据计算中心的数据存储库。本发明通过本发明的跨境物流服务数据采集分析系统,能够实时跟踪货物的运输过程,并为用户提供透明、直观的海关检查状态和实时视频反馈。特别是在海关环节,用户无需等待纸质报告或手动查询,即可通过系统平台获得实时的货物状态信息。

物料配送管理方法及装置、电子设备、存储介质

NºPublicación:  CN120851746A 28/10/2025
Solicitante: 
赛力斯汽车有限公司
CN_120851746_PA

Resumen de: CN120851746A

本申请涉及生产管理技术领域,公开了一种物料配送管理方法、装置、设备及介质。该方法包括:获取待装配车型对应的车型代码,并基于车型代码确定生产节拍以及待投递物料;基于生产节拍以及待投递物料确定货道配置信息,并基于货道配置信息设置对应的货道;若检测到货道上投递的物料与待投递物料相匹配,则将物料输送至投料口;基于取料口对应的识别设备获取物料对应的零部件信息,并将零部件信息与车型代码进行关联存储,以在取料口将物料输送到生产线。本申请能够保物料准确无误地用于对应车型的装配,经过多环节协同运作,实现了物料从确定、存储、投递到最终用于生产的精准化和高效化。

一种基于大数据的供应链健康评估方法及系统

NºPublicación:  CN120851764A 28/10/2025
Solicitante: 
谦泰实战数智供应链管理(杭州)有限公司
CN_120851764_A

Resumen de: CN120851764A

本发明提供一种基于大数据的供应链健康评估方法及系统,涉及供应链健康评估技术领域。该基于大数据的供应链健康评估方法及系统,包括以下步骤:S1.构建多维指标体系,整合供应商多样性、库存效率及集中度风险指标;S2.建立动态平衡模型,通过XGBoost与Transformer融合算法构建供应商集中度与库存周转的非线性关系;S3.构建多源数据融合架构,整合ERP系统、物联网设备数据及外部风险数据库,包括工商、司法和舆情数据。通过评估全面,融合多维度指标;动态智能,借助算法实时优化权重;数据驱动,打通多源数据实现全链路预警;效果显著,可降低独家供应商比例、提升库存周转率并缩短应急响应时间。

一种基于知识图谱的麻醉科药物配送方法

NºPublicación:  CN120851324A 28/10/2025
Solicitante: 
上海市肺科医院(上海市职业病防治院)
CN_120851324_PA

Resumen de: CN120851324A

本发明涉及基于知识图谱的麻醉科药物配送技术领域,且公开了一种基于知识图谱的麻醉科药物配送方法。通过设定供应节点、需求节点和中转节点的索引集合,建立邻接矩阵和配送成本矩阵,校验并调整总供需平衡;随后将需求转化为微单元任务,初始化残余需求状态,并基于连通性与成本约束生成配送路径;路径集合经汇总后进行边流量统计,验证供需平衡,最终输出具体配送指令。构建了涵盖建模、平衡、调度、验证和指令输出的完整流程,系统性解决了传统配送中存在的供需错配、路径低效和响应滞后等问题。通过微单元调度提升灵活性,路径规划提高效率,数据汇总保障一致性,具备高度模块化和可计算性。

一种基于云计算的供应链状态监控方法及平台

NºPublicación:  CN120851514A 28/10/2025
Solicitante: 
深圳市大同创新科技有限公司
CN_120851514_PA

Resumen de: CN120851514A

本发明涉及工业物联网技术领域,具体为一种基于云计算的供应链状态监控方法及平台;本发明通过构建覆盖仓储、生产、物流三大核心节点的多模态感知网络,实现了对关键参数的立体化采集。创新性地将参数划分为动态变量与静态不变量,结合均值填充与三级异常标注机制,既保障了数据完整性,又通过偏离特征值的加权计算实现了从微小波动到系统故障的多层级异常识别;本发明基于支持向量机构建的预测模型,通过特征矩阵将异常参数映射为具体的故障类型,结合来源标签实现精准定位;本发明通过建立异常标签与运维操作的映射关系,结合软间隔支持向量机算法,系统可自动平衡预测精度与计算资源消耗,保障了大规模供应链网络的稳定运行。

一种基于多模态感知的复合材料集装箱实时状态预警系统

NºPublicación:  CN120853365A 28/10/2025
Solicitante: 
四川佳宝科技有限公司
CN_120853365_PA

Resumen de: CN120853365A

本发明涉及集装箱监测技术领域,公开了一种基于多模态感知的复合材料集装箱实时状态预警系统。该系统包括多模态感知、实时加速处理、异常分析、预警输出四大单元。多模态感知单元采集振动、温度、湿度、压力、应变等多维度实时数据,全面捕捉集装箱结构状态、环境影响及负载情况;实时加速处理单元通过矩阵乘加运算,将采集数据快速转化为状态特征向量,实现数据实时处理;异常分析单元基于状态特征向量开展多维异常评估,结合多模态数据关联性识别异常,规避单一阈值判断局限;预警输出单元在检测到异常时生成预警信号,及时反馈信息。该系统可对复合材料集装箱状态进行全面、实时、精准监测预警,适用于其全生命周期状态管理。

一种分区域智慧物流协调系统

NºPublicación:  CN120851748A 28/10/2025
Solicitante: 
九江科技职业大学
CN_120851748_PA

Resumen de: CN120851748A

本申请涉及物流技术领域,公开了一种分区域智慧物流协调系统,包括:多区域数据采集模块,通过物联网设备从多个区域收集数据,并通过同态加密技术将收集的数据输出;动态时空图构建模块,接收收集的数据,并根据这些数据构建动态时空邻接矩阵,提取区域间的交互关系;隐私梯度处理模块,接收动态时空邻接矩阵,通过对每个区域间数据的梯度进行混淆处理并输出;量子约束嵌入模块,接收隐私梯度处理模块输出的混淆数据,将物流约束转化为量子计算模型并输出优化约束条件。本发明采用动态时空邻接矩阵构建技术,达到了对复杂系统关系进行细致建模的效果,解决了其无法有效捕捉动态交互关系的不足,从而使得分析结果更加精确。

药品信息快速映射匹配工作方法和系统

NºPublicación:  CN120851904A 28/10/2025
Solicitante: 
重庆普健医药有限公司
CN_120851904_PA

Resumen de: CN120851904A

本发明提出了一种药品信息快速映射匹配工作方法,包括以下步骤:S1,利用扫描枪扫描药品包装箱上的追溯码,得到追溯码对应的追溯字符串一;S2,利用同一扫描枪扫描包装箱内的包装盒上的追溯码,得到追溯码对应的追溯字符串二;S3,将追溯字符串一进行药品信息映射处理,得到追溯字符串三;S4,判断步骤S3中的追溯字符串三与步骤S2中的追溯字符串二是否一致:若步骤S3中的追溯字符串三与步骤S2中的追溯字符串二一致,则药品信息匹配;若步骤S3中的追溯字符串三与步骤S2中的追溯字符串二不一致,则药品信息不匹配。本发明能够通过扫描药品包装箱和包装盒上的追溯码可以快速对应的映射,实现药品信息的匹配。

船舶小组立货店设计与规划方法、介质及终端

NºPublicación:  CN120851476A 28/10/2025
Solicitante: 
江南造船(集团)有限责任公司
CN_120851476_PA

Resumen de: CN120851476A

本发明提供一种船舶小组立货店设计与规划方法、介质及终端,具体步骤包括:获取生产区域生产的基础信息并确定货店类型;确定货店的在制天数;计算货店的标准存储面积;获取产品类型、生产节拍与固定生产周期信息并确定货店出入库规则;建立生产预警机制。采用上述方法可提高工序间生产连贯性,降低库存堆积造成的维护成本。

物流区域揽派能力智能调配方法、装置、设备及存储介质

NºPublicación:  CN120851439A 28/10/2025
Solicitante: 
上海东普信息科技有限公司
CN_120851439_PA

Resumen de: CN120851439A

本发明涉及物流运输领域,公开了一种物流区域揽派能力智能调配方法、装置、设备及存储介质。该方法包括:实时采集物流区域的物流数据和人员配置信息;根据物流数据,计算物流区域的揽件能力指数和派件能力指数;根据揽件能力指数和派件能力指数,判断物流区域的综合能力状态是否低于预设阈值,若低于则生成预警信息;当接收到预警信息时,则结合物流区域的人员配置信息和综合能力状态生成人员补充策略,基于人员补充策略对物流区域进行人员调配;实时监测物流区域的人员补充完成率,基于人员补充完成率更新人员配置信息。本发明提供的是一种物流区域揽派能力智能调配方法,提升快递企业运营管控水平,优化客户服务体验。

作业进展估计装置和作业进展估计方法

NºPublicación:  CN120858394A 28/10/2025
Solicitante: 
三菱电机株式会社
CN_120858394_PA

Resumen de: WO2024189772A1

A work progress estimating device (3) comprises: an acquisition unit (31) for acquiring images (IM) including an airplane parking area of an airport; and an estimation unit (32) for estimating work progress information indicating the progress of work performed in the airplane parking area, such estimation being on the basis of the images (IM) and flight information of the airplanes in the airplane parking area.

用于监测仓库中的库存位置的系统

NºPublicación:  CN120858366A 28/10/2025
Solicitante: 
思瑞史密斯集团有限公司
CN_120858366_PA

Resumen de: AU2024229079A1

A system for monitoring the location of stock in a warehouse. The system comprising: a mobile sensor system for attaching to a vehicle that moves around the warehouse. The mobile sensor system comprises an RFID antenna that is configured to: provide RFID-signalling that is representative of one or more RFID-tag-signals received from one or more RFID tags. The system for monitoring the location of stock in the warehouse further comprises a controller configured to: process the RFID-signalling to determine one or more infrastructure-RFID-tag-identifiers that are associated with RFID tags that are associated with items of static infrastructure in the warehouse; determine an antenna-location based on the determined one or more infrastructure- RFID-tag-identifiers; process the RFID-signalling to determine one or more stock- RFID-tag-identifiers that are associated with RFID tags that are associated with moveable items of stock in the warehouse; associate the stock-RFID-tag-identifiers with the determined antenna-location; and provide stock-location-signalling based on the association between the stock-RFID-tag-identifiers and the antenna-location.

一种基于大数据分析的鲜玉米储运保鲜控制方法

NºPublicación:  CN120851753A 28/10/2025
Solicitante: 
陕西广益大业农科有限责任公司
CN_120851753_PA

Resumen de: CN120851753A

本发明公开了一种基于大数据分析的鲜玉米储运保鲜控制方法,包括如下步骤:S1、采集运输环境参数及鲜玉米品质参数,形成多维时序感知数据集;S2、实时传输至云端生成实时数据流;S3、采用频率增强分解Transformer算法生成预测数据;S4、以鲜玉米品质损耗程度和总能耗建立优化模型,采用山猫优化算法求解获得最优控制参数;S5、实时发送最优参数自动调节运输环境;S6、持续采集实际数据与预测数据对比计算偏差值,超阈值自动触发联合自校正;S7、循环执行形成实时反馈闭环。本发明实现运输过程的动态自适应保鲜控制,提升鲜玉米品质稳定性。

船体大组立货店设计与规划方法、介质及终端

NºPublicación:  CN120851477A 28/10/2025
Solicitante: 
江南造船(集团)有限责任公司
CN_120851477_PA

Resumen de: CN120851477A

本发明提供一种船体大组立货店设计与规划方法、介质及终端,具体步骤包括:获取生产计划并基于生产计划编制需求计划;对需求计划进行分析以获取大组立的稳定周期和需求天数;基于大组立的稳定周期和需求天数设计货店;获取计划提前期和计划周期并制定货店使用规则。通过上述方法可显著降低库存水平,减少库存成本,提高流转效率。

一种多车型多堆场集装箱甩挂运输成本优化方法

NºPublicación:  CN120851738A 28/10/2025
Solicitante: 
桂林理工大学
CN_120851738_A

Resumen de: CN120851738A

本发明公开了一种多车型多堆场集装箱甩挂运输成本优化方法,包括四个步骤:S1数据收集与处理:收集与运输相关的各类数据并对这些数据进行清洗和预处理;S2数学模型建立:明确以最小化运输成本为目标,综合考虑车型、成本和时间因素,构建出数学模型;S3改进的蚁群算法优化,通过初始化参数、构建路径、更新信息素、动态调整启发式信息、迭代优化和结果评估,实现高效的集装箱接驳运输成本优化;S3方案评估:对比基准解和算法解,验证方案的有效性,并输出最终的运输成本和调度方案。本发明通过建立数学模型和改进的蚁群算法,根据模型和原始数据得到原始调度方案,验证本发明的可行性并不断优化算法,从而有效降低运输成本。

一种基于自然语言处理的交通运输政务热线挖掘方法

NºPublicación:  CN120849395A 28/10/2025
Solicitante: 
乌若愚
CN_120849395_PA

Resumen de: CN120849395A

本发明公开了一种基于自然语言处理的交通运输政务热线挖掘方法,属于人工智能与机器学习技术领域。该方法针对交通运输政务热线中的结构化与非结构化数据,首先构建包含清洗词、噪声词、同义词、添加词和停用词的五类分词词典;通过改进的数据清洗、文本分词及特征表示将非结构化文本转化为结构化数据;利用LDA主题模型进行聚类分析,提取公众需求主题及高频关键词;结合时空分析和关联分析挖掘热点诉求与趋势变化,最终生成可视化分析报告。本发明解决了现有技术中模型可解释性差、领域适应性不足的问题,通过多词典协同优化和领域知识融合,显著提升了热线数据处理的准确性和主题识别的有效性,为交通运输管理部门提供精准的决策支持。采用真实的某市出租汽车领域案例作为实例研究,实验证明本发明具有准确的主题识别功能,2024年该市交通运输政务热线出租车领域投诉举报工单量同比下降20%。

基于人工智能的供应链物流效率协同优化方法及系统

NºPublicación:  CN120851760A 28/10/2025
Solicitante: 
湖南工商大学
CN_120851760_PA

Resumen de: CN120851760A

本发明涉及供应链优化领域,尤其涉及一种基于人工智能的供应链物流效率协同优化方法及系统。该方法包括以下步骤:获取实时供应链物流数据流,进行节点耦合密度分析及自适应分层映射,构建多层物流协作网络;对多层物流协作网络进行路径节点负载响应反推,并进行非线性扭曲评估,从而得到响应曲线非线性扭曲程度;根据响应曲线非线性扭曲程度进行敏感性量化评估,并进行节点间拓扑关联重构,构建供应链物流拓扑优化网络。根据实时供应链物流数据流进行未来负载需求预演,并进行调用运转路径演化分析,生成调用运转路径演化数据。本发明优化了供应链物流资源的配置,提高了供应链物流整体运作效率及响应能力。

一种烟草零售终端动态分拣优先级生成方法

NºPublicación:  CN120851758A 28/10/2025
Solicitante: 
山东浪潮数字商业科技有限公司
CN_120851758_A

Resumen de: CN120851758A

本发明公开了一种烟草零售终端动态分拣优先级生成方法,属于物流分拣优化技术领域,该方法包括:通过改进时空聚类算法,对零售终端的地理坐标、订单时间窗口及实时交通流量数据进行多维特征耦合分析,动态生成与配送路网拓扑结构适配的分拣批次;结合多目标优化函数评估分拣优先级:构建动态优先级评估模型,实时计算分拣序列,并结合业务规则,同步生成全局最优的配送路径规划方案;通过强化学习框架实现闭环参数优化:引入强化学习框架对分拣策略进行迭代优化,通过历史操作数据反馈动态调整聚类参数与优先级权重,形成感知‑决策‑执行的闭环优化链路。本发明实现分拣顺序与配送资源的全局动态优化,提升物流中心分拣效率及配送资源利用率。

一种面向铁路货车运行过程的实时绿色评价方法及系统

NºPublicación:  CN120851683A 28/10/2025
Solicitante: 
中车山东机车车辆有限公司
CN_120851683_PA

Resumen de: CN120851683A

本公开提供了一种面向铁路货车运行过程的实时绿色评价方法及系统,涉及轨道交通绿色智能技术领域,包括:在车载终端上部署轻量化的绿色评价模型,进行实时绿色评价,具体步骤为:实时获取目标铁路货车的多源传感数据;基于多源传感数据,利用自适应动态权重,分别计算牵引能耗、环境影响、运输效率和车辆健康的各指标得分,得到最终的绿色评价结果;依据绿色评价结果,对目标铁路货车的运行过程进行全生命周期优化,生成绿色运维决策;本发明通过集成多源传感数据与动态权重优化算法技术,提出“能源‑环境‑效率‑健康”的实时多维度动态的绿色评价模型,实现运行过程中牵引能耗、环境影响、运输效率及车辆健康的量化与评价。

跨境物流数据协同优化方法、装置、电子设备及存储介质

NºPublicación:  CN120851300A 28/10/2025
Solicitante: 
深圳市明心数智科技有限公司
CN_120851300_PA

Resumen de: CN120851300A

本申请涉及跨境物流数据协同优化技术领域,揭示了一种跨境物流数据协同优化方法、装置、电子设备及存储介质,其中,方法包括:将特征数据输入至预设预测网络中,以得到第一预测值,以及对特征数据进行初步脱敏,并将所述脱敏区域数据集中的脱敏特征数据输入至所述预设预测网络中得到第二预测值;计算每个特征数据的预测误差,获取脱敏等级,并对所述区域数据集中的特征数据进行脱敏处理,得到脱敏后的目标区域数据集;将目标脱敏特征数据输入至预设全局模型中,得到优化方案。本发明的有益技术效果:实现了动态调整脱敏粒度的能力,有效解决了传统静态脱敏方法在数据价值调整上的不足。

用于物流仓储调度的自适应监理控制方法

NºPublicación:  CN120851751A 28/10/2025
Solicitante: 
福建智联万物科技有限公司
CN_120851751_PA

Resumen de: CN120851751A

本发明公开了用于物流仓储调度的自适应监理控制方法,涉及智能调度领域,包括:S1:采集多源传感器观测值,结合仓储状态模式库计算置信度与状态估计向量;S2:基于全局置信度和状态估计向量,构建容量与订单微扰因子,生成情景集;S3:结合调度规则计算延迟指标与拥堵惩罚,形成方案评分,生成主调度及备选方案;S4:依据订单执行差值构建实时关键指标,结合动态阈值监控执行,当偏差持续超限时触发方案切换。通过多情景自适应建模、实时监理闭环控制及并行优选机制的协同作用,实现调度过程的自适应性、鲁棒性与全局最优性显著提升。

面向供应链管理的多模态AI大模型融合软件平台构建方法

NºPublicación:  CN120851770A 28/10/2025
Solicitante: 
武汉筑链科技有限公司
CN_120851770_A

Resumen de: CN120851770A

本申请涉及人工智能工程的技术领域,提供了面向供应链管理的多模态AI大模型融合软件平台构建方法,采用如下的技术方案:面向供应链管理的多模态AI大模型融合软件平台构建方法,包括:采集供应链中的多源异构数据,包括实时库存变化数据、历史需求波动特征、突发事件语义信息、运输方式多模态信息、供应商风险评分与舆情分析结果、以及跨企业业务流程的非结构化文档与数值指标,基于采集的数据,构建融合文本、图像和时序信息的多模态AI大模型,以执行语义特征提取、数值指标融合建模及风险预测,基于多模态AI模型的输出,动态调控库存水位、自适应调控采购计划、智能调控物流调度策略、前瞻调控供应链协同策略、实时调控订单履约进度。

一种基于区块链的中医火罐全生命周期智能追溯方法及系统

NºPublicación:  CN120851906A 28/10/2025
Solicitante: 
杭州市余杭区第一人民医院
CN_120851906_PA

Resumen de: CN120851906A

本发明公开了一种基于区块链的中医火罐全生命周期智能追溯方法及系统,该系统通过对火罐生产、流通和使用各环节进行信息采集,并将加密后的数据上链存储,实现了火罐全生命周期信息的透明、不可篡改和可追溯。具体地,在生产和使用现场采集环境和使用数据,通过预处理后打包为交易广播至区块链网络,经多方共识后记录到账本,同时结合公式进行可信度计算。系统提供了追溯查询接口和异常预警功能,有效保障了中医火罐质量安全与监管合规。该发明适用于中医器械领域,有助于提升中医火罐产业的数字化、智能化管理水平,提高安全性。

集成制造系统中生产与运输一体化的智能调度方法

NºPublicación:  CN120851752A 28/10/2025
Solicitante: 
聊城大学
CN_120851752_PA

Resumen de: CN120851752A

本发明涉及可重构分布式流水车间成组生产和运输集成调度技术领域,特别属于一种集成制造系统中生产与运输一体化的智能调度方法分析。包括:初始化参数,初始化种群和当前最优解,按照加工时间降序排列规则生成种群的解和一个当前最优解;通过外循环变邻域下降搜索更新当前最优解,其中,外循环变邻域下降搜索内嵌有内循环变邻域下降搜索和基于顺序交叉和记忆机制的协同搜索;种群重启;达到终止条件输出当前最优解,否则继续搜索。本发明解决了现有方法在复杂生产与运输紧密交织的场景下难以兼顾设备负载均衡与运输效率的技术问题,具有提升整体生产效率、优化资源利用率和降低生产成本的积极效果。

基于建筑信息模型技术的工程造价精细化管理方法

NºPublicación:  CN120851509A 28/10/2025
Solicitante: 
湖南省轨道勘察设计有限公司
CN_120851509_PA

Resumen de: CN120851509A

本发明公开了基于建筑信息模型技术的工程造价精细化管理方法,涉及建筑工程造价管理技术领域,包括以下步骤:获取建筑内结构构件的结构数据、各物资的库存数据、人工数据;根据所述结构数据,通过线性计算得到每个结构构件的损耗指数,将所述损耗指数与预设的损耗标准表进行匹配,输出各结构构件的供货需求;将所述供货需求和所述损耗指数通过非线性计算得到相应结构构件的供货优先值。本申请通过数据归一化与加权计算实现损耗指数的客观量化,结合预设损耗标准表实现供货需求的自动化匹配,避免了人工判断的误差,同时提升数据处理效率,解决了现有技术中供货需求推断依赖人工经验导致的准确性与效率低下问题。

基于大数据的仓储管理分析方法、系统及介质

NºPublicación:  CN120851769A 28/10/2025
Solicitante: 
河南钧泰供应链管理有限公司
CN_120851769_PA

Resumen de: CN120851769A

本发明涉及大数据技术领域,尤其涉及基于大数据的仓储管理分析方法、系统及介质,包括异构数据实时采集、流批融合处理、AI智能决策、数字孪生验证和分级储存调度;本发明相对于现有技术采用分散式数据采集与延时批处理的方案,导致数据孤岛严重、决策依据滞后,本方案采用边缘协议转换网关与流批融合处理架构,通过MQTT统一接入工业设备实时数据流,联合DebeziumCDC捕获业务系统变更,由Kafka实现毫秒级数据集成,并借助Flink‑Spark混合引擎同步完成动态特征计算与深度模型训练;具有全要素实时映射与跨域数据协同的优势,打通设备层、业务层、环境层的信息壁垒,为仓储决策提供毫秒级鲜活的全局数据视图。

跨境贸易无纸化通关的电子印章与数字签名认证方法

NºPublicación:  CN120851772A 28/10/2025
Solicitante: 
广州电子口岸管理有限公司
CN_120851772_PA

Resumen de: CN120851772A

本发明涉及跨境贸易无纸化通关的电子印章与数字签名认证方法,涉及工业数据管理技术领域,包括:货站系统发送出口货物退仓退场申请报文至航空物流平台;航空物流平台将出口货物退仓退场申请报文发送至空运智能化系统;航空物流平台接收空运智能化系统的回执并入库;若回执为入库成功,航空物流平台根据业务报文内容生成pdf文件,调用加签服务器对pdf文件进行加签;加签服务器使用货站系统托管的证书对pdf文件进行加签,返回加签后的pdf文件给航空物流平台;航空物流平台将加签后的pdf文件推送给货站系统,具有提高出口货物退仓退场效率的优点。

一种智能船舶配载方法及相关设备

NºPublicación:  CN120851504A 28/10/2025
Solicitante: 
西安交通大学
CN_120851504_PA

Resumen de: CN120851504A

本发明属于船舶配载技术领域,公开了一种智能船舶配载方法,通过建立分阶段货物分类与动态优先级排序机制,结合改进的天际线算法实现多约束条件下的智能配载,有效解决了传统船舶配载中甲板空间利用率低、多目标协同困难的技术瓶颈。通过将货物按类型与目标平台双重分组,并在危货区、普货区建立独立的天际线计算模型,既保障了危险品隔离存放的安全性,又实现了普通货物按目标平台的聚集装载,减少了后续中转作业的物资分拣成本。

数据管理方法、装置、设备及存储介质

NºPublicación:  CN120851736A 28/10/2025
Solicitante: 
上海东普信息科技有限公司
CN_120851736_PA

Resumen de: CN120851736A

本发明涉及物流数据管理技术领域,公开了数据管理方法、装置、设备及存储介质,方法包括接收加密包裹签收信息,加密包裹签收信息至少包括所签收包裹的运单单号和与运单单号匹配的派件快递员账号;对加密包裹签收信息进行解密处理,得到解密包裹签收信息;在解密包裹签收信息验证通过时,将解密包裹签收信息扩充至目标数据库,目标数据库中包含多个运单派送匹配关系;接收查询请求,查询请求携带有包括目标派件快递员账号的查询条件;响应于查询请求,基于运单派送匹配关系在目标数据库中查找满足查询条件的目标派件快递员的已签收信息明细。本申请提高了快递员的工作效率和数据的可追溯性。

一种基于工业物联网订单跟踪方法及系统

NºPublicación:  CN120851286A 28/10/2025
Solicitante: 
深圳市芯实微科技有限公司
CN_120851286_PA

Resumen de: CN120851286A

本发明提供了一种基于工业物联网订单跟踪方法及系统,属于工业订单追踪管理技术领域,分析每个历史跟踪周期内历史稳定环节和历史波动环节所在历史订单流程内的时序关联性,得到时序关联度,用于衡量历史跟踪周期内历史稳定环节和历史波动环节在历史订单流程中时序关联紧密程度,并且获取调整预测交付节点,以及调整预测交付时变量,对当前预测交付时长进行预测调整操作,能够更准确地反映实际订单处理情况,减少了预测误差,提高了预测交付时长的准确性,有助于企业合理安排生产计划和物流配送,并且根据实时数据对资源分配进行动态调整,及时应对出现的资源短缺或过剩问题。

一种基于5G的企业订单管理方法及系统

NºPublicación:  CN120851512A 28/10/2025
Solicitante: 
深圳市擎晟科技有限公司
CN_120851512_PA

Resumen de: CN120851512A

本发明公开了一种基于5G的企业订单管理方法及系统,涉及数据处理技术领域,通过5G数据感知模块实时捕获全渠道销售与IoT库存变动事件,并由统一库存融合模块处理,构建出全局统一、毫秒级更新的实时库存视图,从根源解决超卖与数据延迟问题。在此基础上,动态履约策略模块摒弃静态规则,针对新订单综合评估各潜在节点的实时库存满足率、预估物流成本与时效、操作负荷及预期利润率,计算履约健康度指数以选取最优节点。更关键的是,系统效能反馈模块能分析成本与时效的实际偏差,利用机器学习算法持续自适应调优决策模型权重,确保每个订单的履约决策均为动态全局最优解,最终实现企业整体运营效益的最大化。

一种区域化库存需求动态预测与补货方法

NºPublicación:  CN120851767A 28/10/2025
Solicitante: 
北京奇点消解科技有限公司
CN_120851767_PA

Resumen de: CN120851767A

本发明涉及零售技术领域,且公开了一种区域化库存需求动态预测与补货方法,包括以下步骤:S1、采集双渠道零售的结构化数据与非结构化数据,经预处理后通过大模型提取非结构化特征;S2、构建融合大模型的Stacking预测模型,输出区域库存需求预测值。该区域化库存需求动态预测与补货方法,预处理时利用预训练BERT模型将用户评价文本等转化为768维向量,借助ResNet将商品图像转化为2048维特征向量,构建的融合大模型的Stacking预测模型拼接这些特征,经筛选后以随机森林、支持向量机回归、轻量梯度提升机为基模型,微调后BERT为元模型输出预测值,充分利用非结构化数据中的需求信息,解决预测时因素不全面的问题,提升区域库存需求预测准确性。

基于供应链的制造业大数据管理系统

NºPublicación:  CN120850009A 28/10/2025
Solicitante: 
珠海市巧晟科技有限公司
CN_120850009_PA

Resumen de: CN120850009A

本发明涉及数据管理技术领域,具体为基于供应链的制造业大数据管理系统,系统包括事件归因模块、数据整合模块、库存趋势模块、批次判别模块和参数追溯模块。本发明,通过对多源数据的时序同步采集与业务事件动态联动,实现工艺、物流、库存与环境等多维参数的自动关联分析,采用事件级特征识别和参数筛查机制推动全流程数据精准流转,进一步以工序溯源和趋势判别方式支持异常波动工艺的定位与溯源,加强制造各环节信息互联与参数关系链搭建,实现多参数异构数据的同步处理与分层聚类,提高数据的实时决策支持能力与追溯精度,有效增强制造场景下异常工艺、库存波动的响应速度和数据运用的智能化水平。

一种运输作业流程调度的方法、装置、设备及介质

NºPublicación:  CN120851745A 28/10/2025
Solicitante: 
浙江斯乾智驾科技有限公司
CN_120851745_PA

Resumen de: CN120851745A

本申请提供了一种运输作业流程调度的方法、装置、设备及介质,该方法包括:根据目标车辆到达各条待选路线的预测时间和预测时间对应各条待选路线的交通状况,确定目标车辆通过各条第一待选路线的第一耗时、通过各条第二待选路线的第二耗时和通过各条第三待选路线的第三耗时;根据第一耗时、第二耗时和第三耗时,从第一待选路线选出第一待通过路线、从第二待选路线中选出第二待通过路线以及从第三待选路线中选出第三待通过路线,构成从起点到达终点耗时最短的整体路线。本申请基于各条路线的耗时情况,为目标车辆进行路线调度,与仅考虑路线长度相比,能够匹配更加准确路线,保证了运输效率。

路径信息展示方法、装置、计算机设备及可读存储介质

NºPublicación:  CN120849482A 28/10/2025
Solicitante: 
拉扎斯网络科技(上海)有限公司
CN_120849482_PA

Resumen de: CN120849482A

本申请公开了一种路径信息展示方法、装置、计算机设备及可读存储介质,涉及互联网技术领域,通过对整体路线、第一个到达的目标目的地进行描述并刻画合理性,形成多维度的描述内容,以引导配送对象按照路径规划顺序跑单,让配送对象既能理解路线顺序,又能有信息来判断当前路径是否合理,进一步保证配送效率。所述方法包括:根据配送对象的当前配送任务生成路径规划,并为配送对象展示路径规划页;在路径规划页上展示路径规划的路径描述信息和路径优势信息;基于路径规划确定第一个到达的目标目的地,以及在路径规划页上展示目标目的地的目的地优势信息。

船舶配件的库存智能管理方法、系统及介质

NºPublicación:  CN120851781A 28/10/2025
Solicitante: 
航昇船机(大连)有限公司
CN_120851781_PA

Resumen de: CN120851781A

本发明涉及库存智能管理相关技术领域,具体包括船舶配件的库存智能管理方法、系统及介质,包括:依据历史维修与存量数据,分析不同船舶型号配件需求差异,定通用与专用配件库存配额,调整库存分段,优化参数与响应效率得到船舶配件库存管理策略。解决了存量数据深度分析不同船舶型号的配件需求差异,导致高频消耗配件缺货与低频备用配件积压并存,无法精准适配各型号船舶的个性化需求技术问题,实现了通过历史数据分组与需求差异矩阵分析,精准识别高频消耗、低频备用及跨型号通用配件,量化通用配件共享库存占比及专用配件独立配额,使库存布局与船舶型号需求匹配度提高,降低缺货率与库存积压风险,实现库存资源的自适应调整技术效果。

一种多约束掺烧热值优化调控方法及系统

NºPublicación:  CN120851487A 28/10/2025
Solicitante: 
国能宁夏灵武发电有限公司
CN_120851487_PA

Resumen de: CN120851487A

本发明公开了一种多约束掺烧热值优化调控方法及系统,涉及火电机组多煤种掺烧调控技术领域,包括基于火电机组的日前电力交易计划、历史负荷出力数据和机组运行状态信息构建负荷预测模型,利用滑动窗口机制进行逐周期滚动预测,生成未来机组负荷预测曲线。根据负荷预测曲线和煤种热值数据构建以单位发电燃料成本最小为目标的掺烧热值优化模型,同时设置约束,求解获得最优掺烧比例组合。基于实际运行过程中的入炉煤热值软测量结果与预测热值偏差,结合实时负荷数据对掺烧比例进行动态调整,设定误差阈值触发修正机制实现反馈控制。本发明所述方法通过预测、优化与反馈调控三步联动,实现掺烧热值精确控制、燃料成本最小化及运行稳定性的提升。

一种智能发货系统及控制方法

NºPublicación:  CN120851743A 28/10/2025
Solicitante: 
易宝严选科技(深圳)有限公司
CN_120851743_PA

Resumen de: CN120851743A

本发明公开了一种智能发货系统及方法,其中智能发货系统的控制方法,包括:获取电子秤对待发货商品称重的重量数据,在复称工位内拍摄待发货商品、电子秤显示的重量读数、快递面单以形成商品信息图像;当待发货商品在打包工位时由传感器触发关联功能:将所述商品信息图像与物流订单匹配并关联;所述商品信息图像与物流订单匹配时,通过识别所述商品信息图像中的二维码或商品编码与物流数据库中的物流订单匹配。本发明能够完成影像数据与订单信息的结构化关联,精准记录商品实物状态,为后续克重争议处理提供客观依据。

一种AI智能出货识别系统

NºPublicación:  CN120852723A 28/10/2025
Solicitante: 
台玻长江玻璃有限公司
CN_120852723_PA

Resumen de: CN120852723A

本发明属于仓储技术领域,且公开了一种AI智能出货识别系统,包含以下方法;S1:系统架构设计;S2:AI算法核心层;S3:智能执行与控制层;S4:数据中台与边缘计算层;S5:系统防护与可靠性保障;所述系统架构设计包括多模态感知层。本发明通过避免因货品堆叠、遮挡或标签污损导致的误检漏检,自适应优化机制持续学习新场景特征,动态调整识别策略,减少人工干预需求,确保高并发订单处理时的稳定性与可靠性,自动化分拣与协同调度技术实现货物快速定位与无损抓取,结合智能路径规划,大幅缩短分拣周期并降低设备碰撞风险,边缘计算与云端协同架构打破数据孤岛,实时优化资源分配与异常响应,为管理者提供全局可视化监控与决策支持。

一种基于区块链的机电安装工程变更签证管理方法

NºPublicación:  CN120851787A 28/10/2025
Solicitante: 
上海联风气体有限公司
CN_120851787_PA

Resumen de: CN120851787A

本发明公开了一种基于区块链的机电安装工程变更签证管理方法,涉及区块链技术领域;基于签证管理系统实现,包括:数据采集模块:收集机电安装工程变更相关的数据;基于人工上传或系统自动通过加密传输至区块链网络节点;区块链存储模块:基于区块链技术构建分布式账本,将采集到的变更签证数据按照区块结构进行存储。本发明通过区块链技术的加密传输和分布式账本存储,确保变更签证数据的安全性和不可篡改性,有效防止数据泄露和篡改风险;智能核算工作量和排序决策模块能够自动计算变更签证的各项指标,并根据预设规则确定处理优先级,大大缩短了处理周期,提高了管理效率。

基于多头注意力机制的深度强化学习路径规划系统

NºPublicación:  CN120851317A 28/10/2025
Solicitante: 
重庆邮电大学
CN_120851317_PA

Resumen de: CN120851317A

本发明涉及路径规划领域,具体提出了一种基于多头注意力机制的深度强化学习路径规划系统,旨在解决不同规模的旅行商问题(TSP)和车辆路径问题(VRP)。系统通过双通道编码处理静态与动态元素,利用多头注意力模块融合节点时空依赖关系,生成全局上下文向量,经指针网络计算节点选择概率分布并决策节点,同时更新系统状态、屏蔽无效节点以符合约束,重复迭代直至生成完整路径序列,优化路径总长度。该系统在强化学习框架下运行,包含actor‑critic双网络架构,采用随机梯度下降法结合裁剪梯度范数等优化方式,利用批量归一化和dropout技术提升性能。本发明能有效处理TSP和VRP问题,兼具良好时间效率与扩展性,为路径规划领域提供创新解决方案。

数字化物流综合服务管理系统

NºPublicación:  CN120851742A 28/10/2025
Solicitante: 
青岛鹏奕信息科技有限公司
CN_120851742_PA

Resumen de: CN120851742A

本发明公开了数字化物流综合服务管理系统,涉及物流管理技术领域,解决了现有物流服务管理系统缺乏对不同订单紧急程度、重要性和风险等级的考量,无法根据实际需求动态调节网格节点数量,影响物流资源的合理配置的技术问题;通过构建紧急程度等级分析模型、重要性等级分析模型和风险等级分析模型,为物流服务数据添加相应标签,能够精准识别不同订单的特性和需求。同时通过结合任务节点的负载状态和物流服务数据的标签,设置配送优先级并临时调节网格节点数量,能够使物流资源得到更合理的分配。通过分析最高优先级物流服务配送压力,并根据分析结果,临时调节网格节点数量,确保高优先级订单能够及时处理。

一种基于Dlite算法的AGV路径规划算法和无冲突策略

NºPublicación:  CN120848490A 28/10/2025
Solicitante: 
中国石油大学(华东)
CN_120848490_A

Resumen de: CN120848490A

本发明公开了一种基于Dlite算法的AGV路径规划算法和无冲突策略,适用于轨道设备装配车间等动态复杂环境下的多AGV协同作业。该方法包括以下内容:(1)采用改进Dlite算法实现动态路径规划,通过增量式重规划机制将单AGV路径更新耗时缩短,适应人员流动、设备移位等动态障碍物的实时变化;(2)构建时空联合约束模型,将车间通道划分为有限的网格单元,通过时间窗精确标注AGV的时空占用状态;(3)设计分级冲突消解策略,当检测到路径交叉时,基于任务紧急度和AGV载货价值动态分配优先级,通过速度调整窗口和路径微调实现冲突规避。

一种面向多式联运的铁路冷链动态服务网络设计方法

NºPublicación:  CN120850500A 28/10/2025
Solicitante: 
西南交通大学
CN_120850500_PA

Resumen de: CN120850500A

本发明提供一种面向多式联运的铁路冷链动态服务网络设计方法,涉及铁路冷链物流技术领域。包括步骤:步骤一:多式联运铁路冷链运输组织流程分析;步骤二:动态服务网络优化模型构建;步骤三:数学启发式求解算法设计。本发明旨在缩短运输时间并降低运输成本。通过建立动态服务网络设计模型,针对求解规模大导致的计算时间与解质量难以兼顾的问题,设计了高效的数学启发式求解算法。该方法有效解决了多式联运铁路冷链动态服务网络的优化难题,为提升铁路冷链物流效率和控制运输成本提供了切实可行的技术手段。

快递包裹的时效预测模型的训练方法、装置及设备

NºPublicación:  CN120851737A 28/10/2025
Solicitante: 
上海东普信息科技有限公司
CN_120851737_PA

Resumen de: CN120851737A

本发明公开了一种快递包裹的时效预测模型的训练方法、装置及设备,所述方法应用于物流技术领域,所述方法包括:采集样本物流网点的样本属性数据;将样本属性数据输入预设模型,基于预设模型的属性特征提取网络,提取每个样本属性数据的样本属性特征;基于预设模型的时空注意力网络提取每个样本属性特征的样本时空权重矩阵;对每个样本属性特征以及每个样本属性特征的样本时空权重矩阵进行加权融合处理,得到样本加权融合特征;基于样本加权融合特征预测样本物流网点中样本快递包裹的样本送达时效结果以及样本时效归因结果;对预设模型进行训练,得到时效预测模型。本发明得到了用于预测快递包裹的送达时效以及时效归因的时效预测模型。

一种基于射频识别技术的保兑仓货物实体监管方法及系统

NºPublicación:  CN120851765A 28/10/2025
Solicitante: 
北京航天爱威电子技术有限公司北京计算机技术及应用研究所
CN_120851765_PA

Resumen de: CN120851765A

本发明公开了一种基于射频识别技术的保兑仓货物实体监管方法及系统,属于保兑仓货物实体监管技术领域。针对现有保兑仓货物监管依赖人工巡查效率低下、视频监控存在识别盲区的问题,提出以下方案:为货物实体嵌入超高频射频识别标签作为唯一身份标识;在监管仓库出入口部署智能出入检测终端,通过射频天线实时监控货物出入状态及权限;仓库内设置带射频天线的智能密集架,动态感知货物在位信息并更新库存;通过物联网监管系统整合终端与密集架数据,结合区块链技术存证出入记录;远程监控平台实时展示货物动态并触发异常预警。该方法实现了货物全流程穿透式监管,适用于保理业务中的货物风控管理。

一种大规模生产人料法生产要素齐套性检查方法

NºPublicación:  CN120851568A 28/10/2025
Solicitante: 
陕西法士特汽车传动集团有限责任公司
CN_120851568_A

Resumen de: CN120851568A

本发明公开了一种大规模生产人料法生产要素齐套性检查方法:步骤1,工艺工程师在数字化工艺平台TCM中准备好工艺数据文件,下发至生产管控系统MES;步骤2,生产工程师在生产管控系统MES中,接收下发的计划;步骤3,按照计划生产时间的先后顺序,对计划进行排序并合并为一个波次,进行齐套检查;当齐套检查全部通过时,将当前波次的每个计划都打上齐套通过的标识;当任一项不通过时,将提示哪些无法通过齐套检查,生产人员将根据MES提示,把已齐备的计划重新集合为一个波次,再次重复步骤3齐套后下发。本发明的方法通过系统化的流程和数字化工具,确保生产前各项准备工作齐全、准确,有效避免生产过程中断、提高生产效率和产品质量。

缺货处理方案生成方法、商品排面的区域分割方法

NºPublicación:  CN120851763A 28/10/2025
Solicitante: 
盒马(中国)有限公司
CN_120851763_PA

Resumen de: CN120851763A

本申请实施例公开一种缺货处理方案生成方法、商品排面的区域分割方法。该方法包括:获得第一图像分割模型针对目标图像输出的区域分割结果,区域分割结果包括从目标图像包含商品排面的目标区域内,分割获得的目标满排面区域以及目标空排面区域;以目标满排面区域为输入调用第二图像分割模型,对目标满排面区域内的图像进行商品分割,获得摆放商品数量;根据目标空排面区域和目标满排面区域的区域面积以及摆放商品数量,推算目标空排面区域的缺货商品数量;根据缺货商品数量确定摆放商品存在缺货情况时,通过调用商品识别模型对目标满排面区域内的图像进行商品识别,进而查询摆放商品的库存数量,并根据缺货商品数量和库存数量生成缺货处理方案。

快递客服工单智能判责秒赔一体化系统及方法

NºPublicación:  CN120851728A 28/10/2025
Solicitante: 
上海圆擎信息科技有限公司
CN_120851728_PA

Resumen de: CN120851728A

本发明公开了快递客服工单智能判责秒赔一体化系统及方法,涉及快递物流客服管理技术领域,工单接收模块、判责模块、信息识别模块、秒赔处理模块和结果同步模块所述工单接收模块用于接收客户上报的工单并直接同步至总部客服人员处理;所述判责模块基于VL大模型对工单中提供的图片进行分析,判定包裹是否破损或存在二次包装。本发明提出的快递客服工单智能判责秒赔一体化系统及方法,利用VL大模型对图片进行精准分析,快速判定包裹破损状态及责任归属,大幅缩短了判责时间,提高了判责准确性,系统能够自动识别遗失类与破损短少类工单,并根据预设规则快速判定赔付条件,实现秒赔功能,极大提升了客户体验。

一种四向穿梭车智能仓储立库的货位分配方法及系统

NºPublicación:  CN120851412A 28/10/2025
Solicitante: 
国家能源集团陕西神延煤炭有限责任公司
CN_120851412_PA

Resumen de: CN120851412A

本申请提供了一种四向穿梭车智能仓储立库的货位分配方法及系统,涉及智能仓储技术领域,该方法包括:获取货位信息、货物信息和设备信息;根据货位信息和货物信息构建货架稳定性函数和需求预测适配函数;根据货位信息、货物信息和设备信息构建出入库效率函数和设备电能消耗函数;根据穿梭车的设备信息构建动态调度均衡函数;获取多个约束条件,并采用计算模型,计算货架稳定性函数、需求预测适配函数、入库效率函数、设备电能消耗函数、动态调度均衡函数分别在多个约束条件下,对应的最优分配方案。本申请依据多个维度的数据建立多个函数,再设立多个约束条件并求解多个函数在均满足多个约束条件下,对应的最优分配方案,确保货位分配的准确度。

一种流水车间物品缓冲调度方法、设备、介质及产品

NºPublicación:  CN120851556A 28/10/2025
Solicitante: 
中国人民解放军海军航空大学
CN_120851556_PA

Resumen de: CN120851556A

本申请公开了一种流水车间物品缓冲调度方法、设备、介质及产品,涉及生产调度领域。首先构建基于缓冲区的调度模型,其中包括多个决策变量;然后基于调度模型构建流水车间物品缓冲调度的目标函数和约束条件;根据任务要求对流水车间物品缓冲调度方案进行三段式编码,确定编码位数;根据编码位数确定粒子的维度,并对粒子群算法的种群初始化以及粒子速度和位置更新过程进行改进,生成改进粒子群算法;将目标函数作为改进粒子群算法的适应度函数,采用改进粒子群算法输出全局最优位置,能够有效提升解的质量和收敛速度;对全局最优位置进行三段式解码,利用生成的最优方案来指导流水车间物品缓冲调度,能够极大提高整体生产效率。

一种基于历史价格进行美妆业务多模态比价的业务决策方法和设备

NºPublicación:  CN120851913A 28/10/2025
Solicitante: 
杭州吉智云信息技术有限公司
CN_120851913_PA

Resumen de: CN120851913A

本发明提出了一种基于历史价格进行美妆业务多模态比价的业务决策方法和设备,方法包括:收集并预处理产品历史价格、属性和市场趋势数据。构建多模态比价模型,利用这些数据进行时间序列分析,预测价格走势。识别相似产品,使用模型进行比价,生成报告。评估供应商,结合业务策略制定采购策略。根据市场趋势和比价报告制定销售策略。依据价格走势和销售策略进行库存管理。本发明整合多源数据,提高决策全面性和准确性。模型结合时间序列和深度学习,提升预测精度,降低决策风险,优化全链条策略,提升市场响应和运营效率。

一种基于智能眼镜的货物盘点方法、装置及设备

NºPublicación:  CN120851777A 28/10/2025
Solicitante: 
杭州秋果计划科技有限公司
CN_120851777_PA

Resumen de: CN120851777A

本申请公开了一种基于智能眼镜的货物盘点方法、装置及设备,包括:在用户佩戴智能眼镜进入仓库盘点多个指定货物时,获取用户的头部姿态信息、环境数据与摄像头的图像数据;基于头部姿态信息、环境数据与图像数据,确定天线调整参数;基于天线调整参数调整智能眼镜中射频天线的参数,得到优化后的射频天线;基于优化后的射频天线分别对各指定货物进行射频识别标签读取,得到各指定货物的标签信息;基于标签信息完成多个指定货物的盘点,得到货物盘点结果。

基于云平台的大票零担运单处理方法及系统

NºPublicación:  CN120851733A 28/10/2025
Solicitante: 
速蚁(山东)科技发展有限公司
CN_120851733_PA

Resumen de: CN120851733A

本发明涉及物流运输信息化技术领域,公开了基于云平台的大票零担运单处理方法及系统,该方法包括运单数据采集模块,用于多源接口数据采集,获取预设历史周期内目标运单的历史运量、时效及异常事件监测数据集合;数据特征提取模块,通过滑动窗口法等对数据进行特征分析,确定运量、时效及异常特征因子;处理策略确定模块,以特征因子为索引在运单处理配置空间中集中搜索,确定目标处理策略;运单处理执行模块,基于策略对运单状态处理,通过识别器获得处理结果。该方案通过云平台整合多源数据,利用多维特征提取和动态策略匹配,实现运单的高效处理,提升大票零担运输的时效管控,适用于物流企业的智能化运单管理需求。

一种库存单位的属性添加方法、装置、设备及介质

NºPublicación:  CN120848935A 28/10/2025
Solicitante: 
中国平安人寿保险股份有限公司
CN_120848935_PA

Resumen de: CN120848935A

本申请属于研发领域,涉及一种库存单位的属性添加方法,包括:接收库存单位创建请求,基于库存单位创建请求携带库存类型信息,获取库存类型信息所指示的库存类型的库存单位文件,库存单位文件包括属性配置逻辑、检验逻辑以及必要属性信息;基于属性配置逻辑、检验逻辑以及必要属性信息,创建库存类型的初始库存单位;基于检验逻辑,对初始库存单位进行检验,若检验通过,则将初始库存单位确定为目标库存单位;当接收到目标库存单位的属性新增请求时,获取多个目标属性;将多个目标属性添加到目标库存单位,得到属性新增后的目标库存单位。本申请还提供一种装置、设备及介质。本申请可应用于金融等业务领域中,可以提高库存单位的场景适配能力。

陆运舱位自动分配方法、设备、介质及程序产品

NºPublicación:  CN120851757A 28/10/2025
Solicitante: 
中国外运股份有限公司
CN_120851757_PA

Resumen de: CN120851757A

本发明提供一种陆运舱位自动分配方法、设备、介质及程序产品,涉及陆运管理技术领域。该方法包括:获取目标陆运班次的舱位总数量以及目标陆运班次客户订单中的订单数据;所述订单数据包括:客户标识以及申请舱位数量;根据客户标识获取客户的优先级参数,并根据优先级参数确定客户订单的优先程度;基于预设规则,以舱位总数量为约束,根据客户订单的优先程度以及申请舱位数量,为各客户订单分配舱位数量。本发明实现了陆运的舱位自动分配。

基于GAT-Informer的时空融合高通量粮堆温度预测方法与系统

NºPublicación:  CN120849815A 28/10/2025
Solicitante: 
河南工业大学
CN_120849815_PA

Resumen de: CN120849815A

本发明提供了一种基于GAT‑Informer的时空融合高通量粮堆温度预测方法与系统,属于粮仓温度监控技术领域。其包括:在粮仓各位置部署温度传感器阵列,采集数据并利用位置坐标构建图结构以捕捉空间依赖性;通过预设的时空注意力网络模型强化空间依赖关系,借助Informer时间序列预测模型提取时间序列特征;将时空特征融合后预测下一阶段粮堆温度,并据此调整粮仓管理决策。本发明的优势在于,通过图注意力网络与Informer模型的深度融合,实现了粮堆温度时空特征的高效解耦与协同建模,能够精准捕捉粮堆内部温度的时空动态耦合规律,有效提升预测精度与实时性。

用于工程造价大数据分析与智能决策支持的系统

NºPublicación:  CN120851498A 28/10/2025
Solicitante: 
湖南省轨道勘察设计有限公司
CN_120851498_PA

Resumen de: CN120851498A

本发明公开了用于工程造价大数据分析与智能决策支持的系统,涉及建筑工程造价评估技术领域,包括物联网采集终端,用于采集各个建筑区域的地理信息数据;传感器,用于采集各个建筑区域内建筑各个结构构件的结构数据;服务器,用于采集物资供应链数据;处理器,用于根据所述地理信息数据通过非线性计算得到该建筑区域的地理风险数据;根据所述结构数据以及该建筑所处建筑区域的地理风险数据,通过神经网络输出工程开始时刻的结构数据预测值。本方案通过引入供货系数和动态优先级计算机制,将客观工程损耗评估与主观策略相结合,从而优化物资调度效率,本申请解决了现有技术中供货需求判定单一化导致的资源浪费问题。

一种船用钢板准时化供应的流转方法

NºPublicación:  CN120851479A 28/10/2025
Solicitante: 
江南造船(集团)有限责任公司
CN_120851479_PA

Resumen de: CN120851479A

本发明提供一种船用钢板准时化供应的流转方法,该流转方法首先收集所需的钢板流转信息,根据钢板流转信息的各阶段需求将钢板堆场划分为卸船区域、理配区域、交接区域,并计算各区域的最小桩位数量。钢板卸船时,将到货钢板按照组立完全分开的原则有序分拣至卸船区域的不同桩位;钢板理配时,从卸船区域中将需求的钢板按照材质颜色、不同的需求计划日期分拣至理配区域的不同桩位;钢板交接时,将对应的钢板从理配桩位按照切割批次分开的原则分拣至交接区域的不同桩位。本发明流转方法的应用使每一张钢板从卸船至交接的流转路径清晰明确,最大程度的减少了翻桩倒板的工作,实现对后道工序的准时化供给。

船舶零件货店设计与规划方法、介质及终端

NºPublicación:  CN120851474A 28/10/2025
Solicitante: 
江南造船(集团)有限责任公司
CN_120851474_PA

Resumen de: CN120851474A

本发明提供一种船舶零件货店设计与规划方法、介质及终端,具体步骤包括:对货店基本信息进行收集,确定场地资源限度;基于货店来料状态,确定基本的库存形式;基于来料的尺寸因素,确定库存的基本单元;构建数学模型以确定场地资源分配的方式;基于历史数据,初始化模型输入条件,以得到理论设计。上述方法科学地完成零件货店的设计与规划,实现场地资源的合理分配。

物品输送设备

NºPublicación:  CN120858061A 28/10/2025
Solicitante: 
株式会社大福
CN_120858061_PA

Resumen de: AU2023438127A1

An article transport facility comprises a work area in which transfer work of transferring an article (G) supplied from an article supply unit to a transport vehicle (1) is performed, and a management device (5) that manages the transfer work. A stop position (P) of the transport vehicle (1) for receiving the article (G) by the transfer work is set at a position adjacent to the work area on a travel path (R). The management device (5) causes the conveyance vehicle (1) to start from the stop position (P) conditionally upon on the satisfaction of a read condition that identification information of an article C to be transported has been read by a reading unit (51), and an in-stock condition that it has been determined on the basis of a recognition result by a recognition unit (52) that the article (G) to be transported is held on the transport vehicle (1).

区域内多家供应商的货物集散管理系统

NºPublicación:  CN120851448A 28/10/2025
Solicitante: 
杭州齐芯智光科技有限责任公司
CN_120851448_PA

Resumen de: CN120851448A

本申请公开了一种区域内多家供应商的货物集散管理系统,属于电商与物流技术领域。为解决现有技术中人工规划模式无法系统性兼顾多重物流成本与动态变化的缺陷,该系统首先获取供应商与货物信息及物流成本数据;然后设置可配置的惩罚系数、时间折扣系数等算法超参数,并构造包括货物‑集装箱匹配、容量、集散唯一性在内的刚性限制条件;进而,基于上述参数与约束,构建一个能够量化集散、海运、调拨及各类延时与空间浪费等隐性成本的综合优化目标;最后,将全部要素输入货物集散启发式引擎,该引擎在约束下以最小化优化目标为导向,自动求得兼顾成本、时效和资源利用率的最优解,并输出精准的集散、装箱与调拨方案。

基于多源数据的编组站阶段计划编制方法和装置

NºPublicación:  CN120851732A 28/10/2025
Solicitante: 
中国国家铁路集团有限公司中国铁道科学研究院集团有限公司中国铁道科学研究院集团有限公司电子计算技术研究所北京经纬信息技术有限公司
CN_120851732_PA

Resumen de: CN120851732A

本发明实施例涉及铁路运输管理与规划技术领域,提供一种基于多源数据的编组站阶段计划编制方法和装置,该方法包括:实时获取编组站内的车站作业计划、各列车运行信息、现有车辆的车辆状态信息、装卸作业信息和机车运用情况;将车流接续问题抽象化为最小化晚点列车数的问题,并基于上述信息构建阶段计划编制模型;采用遗传算法以最小化晚点列车数并提高轨道利用率为目的对阶段计划编制模型进行求解,得到最优解,最优解是晚点列车数量最少的列车解体顺序和车流分配方案;采用匈牙利算法根据最优解进行机车与出发列车的最优匹配,得到机车和出发列车的最优匹配方案。由此,实现智能化和自动化编组站阶段计划编制以及提高编组站的计划执行率。

一种基于区块链的生鲜产品物流全链溯源管控方法和系统

NºPublicación:  CN120850354A 28/10/2025
Solicitante: 
北京中科院软件中心有限公司
CN_120850354_PA

Resumen de: CN120850354A

本发明提供了一种基于区块链的生鲜产品物流全链溯源管控方法和系统,包括:获取生鲜产品的环境采集数据,并对环境采集数据进行加密处理后上链存证;根据经过上链存证的环境采集数据,利用品种衰减模型对生鲜产品进行评分计算,得到品质评分;当品质评分低于设定的阈值或品质评分的下降速率大于设定范围时,基于规则模板库,动态生成智能合约;通过跨链路由执行所述智能合约,生成覆盖生产链、物流链和销售链的跨链交易数据,并利用改进的PBFT算法对跨链交易数据进行可信验证,得到生鲜产品的全链溯源管控信息,本发明通过深度融合多链协同架构、动态智能合约、轻量化节点共识机制,有利于构建一个高效、安全、透明的供应链管理平台。

一种煤炭铁路运输调运接卸看板管理系统

NºPublicación:  CN120851420A 28/10/2025
Solicitante: 
华电淄博热电有限公司
CN_120851420_PA

Resumen de: CN120851420A

本发明公开了一种煤炭铁路运输调运接卸看板管理系统,涉及煤炭铁路运输领域,通过数据采集模块自动提取企业内部系统数据并结合射频读出器实时采集车辆到厂及出厂时间及车号,存储于数据库;延时费计算模块基于铁路计费规则自动计算货车延期占用费;预警模块配置三级分级预警机制,并通过算法模型整合接卸能力、天气因素等多因子预测延时风险;信息展示模块采用Vue+ECharts+地图框架,在燃料集控室等核心区域动态展示全流程数据并支持数据钻取;分析模块基于时间、发货区域、煤种等维度图表分析延时费成因,辅助优化流程。

一种基于多维动态优先级与预测性调度的内跨式轮胎吊指令调度方法

NºPublicación:  CN120851547A 28/10/2025
Solicitante: 
南京港龙潭集装箱有限公司
CN_120851547_PA

Resumen de: CN120851547A

本发明公开了一种基于多维动态优先级与预测性调度的内跨式轮胎吊指令调度方法,包括如下步骤:步骤S1:候选指令集的生成与硬性约束过滤;步骤S2:机会性超车窗口评估;步骤S3:常规指令的非线性动态排序;步骤S4:指令下发与再调度。本发明通过“机会性超车窗口评估”量化并决策是否执行能带来更高净效益的超车指令,以提升作业效率;通过引入具有指数增长特性的“指令等待时长因子”及“最大容忍阈值”,确保长时间等待的指令其优先级能获得系统性提升,以保障调度公平性;并通过“局部拥堵因子”降低拥堵区域的指令优先级,以达到缓解交通瓶颈的效果。

一种用于集装箱码头的自动化装船作业调度方法

NºPublicación:  CN120851548A 28/10/2025
Solicitante: 
南京港龙潭集装箱有限公司
CN_120851548_PA

Resumen de: CN120851548A

本发明公开了一种用于集装箱码头的自动化装船作业调度方法,该方法通过以下步骤实现:通过可行性筛选,基于预设的船上位置依赖关系及堆场实时状态,确定当前可作业的候选集装箱列表;分别对候选作业进行执行成本评估和机会效用评估,前者量化设备移动、翻捣作业等代价,后者前瞻性地量化解锁关键作业、形成双箱协同或匹配码头资源所带来的收益;通过一个融合效用与成本的加权算法计算最终决策得分,并据此选出最优作业生成指令。本发明将复杂的调度问题分解为多个评估层次,实现了对装船作业决策的精细化与智能化管理,能够有效提升自动化码头装船作业的整体效率、均衡性与经济性。

用户需求驱动的智能物流车辆调度系统

NºPublicación:  CN120851660A 28/10/2025
Solicitante: 
智运通(北京)科技有限责任公司
CN_120851660_PA

Resumen de: CN120851660A

本发明提供用户需求驱动的智能物流车辆调度系统,涉及物流车辆调度技术领域,包括:区域划分模块用于将物流配送空间划分为多个配送时空;需求预测模块用于预测未来需求时空分布;车辆管理模块用于给物流车辆通过添加特征标签的方式进行分类;车辆调度模块用于进行初始物流车辆调度;变更调度模块用于根据订单变更需求,对初始物流车辆调度策略中的关联车辆进行调度变更。本发明通过建立需求预测模型对未来需求进行预测,确保未来需求时空分布的预测精度,为动态调度提供可靠依据;通过变更调度模块的DynNom动态评分机制可实时评估车辆状态,优先调度综合评分最优车辆,有效应对突发需求导致的资源冲突,提升整体调度鲁棒性。

一种鱼苗保活运输的智能化运输装置及水处理工艺

NºPublicación:  CN120836483A 28/10/2025
Solicitante: 
中国水产科学研究院南海水产研究所
CN_120836483_PA

Resumen de: CN120836483A

本发明提供了一种鱼苗保活运输的智能化运输装置及水处理工艺,装置包括:保温箱体、环境传感器、鱼苗状态间接监测传感器,及与保温箱体可拆卸连接的柔性缓冲式自适应隔离装置、智能环境调控模块、动态缓冲装置,智能环境调控模块包括水温调节模块、水质调节模块、梯度环境适配模块,梯度环境适配模块根据预设的环境参数变化曲线自动调节各参数的值,同时对水质调节模块反馈的数据实时调整环境参数的变化速率、水处理工艺,动态缓冲装置基于根据蓄冷运输装置内的压力和加速度数据对缓冲单元的阻尼系数进行动态调整。本装置可精准匹配鱼苗最适运输环境和海洋牧场环境适应节奏,大幅降低鱼苗运输过程应激损伤,提升运输后鱼苗对目标环境的适应能力。

一种新能源物流车辆补能调度数据模型及调度优化方法

NºPublicación:  CN120851747A 28/10/2025
Solicitante: 
九江科技职业大学
CN_120851747_PA

Resumen de: CN120851747A

本申请涉及智能调度与人工智能决策优化领域,公开了一种新能源物流车辆补能调度数据模型及调度优化方法,包括:时空图构建模块,根据车辆位置、电量、任务时窗及充电站状态动态生成多类节点和连接边;联邦多智能体模块,基于车辆节点构建局部智能体并通过全局协调器建立联邦学习架构;协同训练与蒸馏模块,聚合局部策略并蒸馏优化;在线调度模块,根据局部状态与全局建议生成补能调度动作;模型自适应模块,利用行为反馈更新策略,并在突发场景下实现快速调整。本发明采用联邦多智能体策略优化与局部行为反馈协同更新的技术方案,实现了全局策略的动态聚合与调度自适应能力提升,解决了复杂环境中模型响应慢、适应能力弱的问题。

基于背景网格划分粒子休眠的SPH污染物输运模拟方法

NºPublicación:  CN120850877A 28/10/2025
Solicitante: 
天津大学
CN_120850877_PA

Resumen de: CN120850877A

本发明涉及一种基于背景网格划分粒子休眠的SPH污染物输运模拟方法,包括下列步骤:并行计算参数的初始化与粒子信息的初始化;将待处理数据从CPU端拷贝至GPU端;进行SPH方法的并行计算,包括:划分背景网格、粒子排序、背景网格状态更新、背景网格分类、粒子搜索与计算、动态更新网格分类、进行粒子交互计算求解扩散、粒子位置更新、边界条件处理和重复迭代;将结果数据从GPU端拷贝回CPU端,并导出用于后续分析与可视化。

一种绿色物流智能优化方法及系统

NºPublicación:  CN120851759A 28/10/2025
Solicitante: 
远风绿色动力科技(天津)有限公司
CN_120851759_PA

Resumen de: CN120851759A

本发明涉及物流管理技术领域,尤其涉及一种绿色物流智能优化方法及系统,方法包括将供应链中的装卸货位置抽象为网络节点,划定运输路径;基于历史物流数据库确定标准运行时长,确定所述历史周期内相邻两节点间所有路径的平均承载量,分别确定第一路径和第二路径,构建针对相邻节点间所有路径的污染判定模型,判定是否存在污染特征,响应于污染特征存在,向转运节点发送重分配指令,本发明在维持整体运输能力的前提下,能够显著减少高能耗车辆的无效运行时长,同步提升清洁能源车辆的利用率。

一种基于ERP系统的库存管理方法

NºPublicación:  CN120851766A 28/10/2025
Solicitante: 
深圳市感恩网络科技有限公司
CN_120851766_PA

Resumen de: CN120851766A

本发明提供一种基于ERP系统的库存管理方法,涉及库存管理技术领域,本发明根据历史进出库数据的变化规律,设置多级上下限等级和对应的控制存量,实现库存的动态管理,能够灵活应对市场需求的变化,避免过度库存或缺货的情况,其次,通过时间序列分析构建预测模型,对未来一段时间内的进出库数据进行预测,并根据预测结果和当前库存控制策略的对比,评估策略的有效性,通过设定评估阈值区段和评估等级,确定当前控制策略的调整度,并进行细化管理调整,能够避免库存积压和过度库存带来的资金占用和损失,有助于降低运营成本和提高企业的利润。

一种基于人工智能的服装零售方法及系统

NºPublicación:  CN120852002A 28/10/2025
Solicitante: 
上海贯幸软件科技有限公司
CN_120852002_PA

Resumen de: CN120852002A

本发明公开了一种基于人工智能的服装零售方法及系统,所述方法包括以下步骤:扫描每个尺码服装所在图像的边缘特征节点,根据所属季节与服装属性适配度确定该款式各尺码的第一进货量;分析气温、假日和组合对服装销售效率的第一影响系数,根据脱水服装销量的变化率获得对应销量属性,根据属性和预估销售天数的第二影响系数获得预估销售量,根据销售量占据库存的比例获得服装畅销平销或滞销情况;根据畅销平销情况分析出服装的最多销售天数,当补货周期过长出现缺货现象时选取相邻店铺的滞销服装进行调货;分析退货服装的污渍、部件掉落和破损情况,获得退货服装的复用情况,将复用的服装计入库存,本发明,具有提高准确性和高效性的特点。

一种基于数据验证的钢管打包入库信息智能管理系统

NºPublicación:  CN120851776A 28/10/2025
Solicitante: 
天津市天应泰钢管有限公司
CN_120851776_PA

Resumen de: CN120851776A

本发明提供了一种基于数据验证的钢管打包入库信息智能管理系统,包括:打包标记模块,将钢管打包,并为打包钢管添加二维码标记;数据验证模块,扫描并识别二维码标记,对打包信息进行双重校验;出入库管理模块,使用打包信息生成入库单,基于入库单生成出库单;库存管理模块,根据移交订单与当前库存信息分析得到最佳移交规划;数据分析模块,使用移交订单、打包信息、库位三项信息进行趋势分析,根据分析结果生成最佳移交规划;权限管理模块,操作管理系统前验证用户权限并记录操作日志。本发明有益效果:提高了管理效率,还增强了数据的准确性、透明度和安全性。

一种考虑电动叉车的绿色仓储光储系统优化调度方法

NºPublicación:  CN120855538A 28/10/2025
Solicitante: 
沈阳兰昊新能源科技有限公司
CN_120855538_PA

Resumen de: CN120855538A

本发明属于电力系统技术领域,尤其涉及一种考虑电动叉车的绿色仓储光储系统优化调度方法,包括:获取光伏数据和储能数据;基于所述光伏数据和储能数据,构建绿色仓储光储调度模型;通过扩大搜索空间、优化局部搜索策略和优化全局搜索策略,获得改进的沙猫群优化算法;利用改进的沙猫群优化算法对所述绿色仓储光储调度模型进行优化,获取最优调度结果。本发明通过引入混沌映射、自适应粒子寻优策略、动态时间因子和多项式变异等多策略改进,对沙猫群法进行改进。该改进提高了能源利用效率,使微电网系统更有效地利用绿色仓储中的可再生能源,最大程度地满足电力需求。

一种铁路冷链联运集散中心作业调度优化方法

NºPublicación:  CN120851452A 28/10/2025
Solicitante: 
西南交通大学
CN_120851452_PA

Resumen de: CN120851452A

本发明提供一种铁路冷链联运集散中心作业调度优化方法,属于铁路冷链调度技术领域。包括:S1.资源预分配与时间窗约束嵌入;S2.动静态优先级协同决策;S3.空间约束导向的路径优化;S4.作业流程协同执行;S5.实时监控与反馈。本发明通过“多智能体协同决策+动静态优先级耦合+时空资源预分配”三重技术突破,解决了铁路冷链集散中心资源分配失衡、路径冲突频发、货损率居高不下的行业痛点,实现了效率、品质、成本的协同优化,为冷链多式联运智能化升级提供核心技术支撑。

一种胶囊装或密闭装饮品的无线传感智能分析方法及系统

NºPublicación:  CN120851946A 28/10/2025
Solicitante: 
深圳今曜智联科技有限公司
CN_120851946_PA

Resumen de: CN120851946A

本发明涉及传感数据分析领域,尤其涉及一种胶囊装或密闭装饮品的无线传感智能分析方法及系统。该方法包括以下步骤:识别胶囊装或密闭装饮品的RFID码,进行时间戳标准化处理,并进行自适应异常数据过滤,以得到异常优化信息流;对异常优化信息流进行逐个品种周期内购买频率计算,并进行用户个性化偏爱挖掘,得到用户个性化偏爱特征;基于异常优化信息流进行阶段性环境特征演化分析,并基于用户个性化偏爱特征进行动态关联建模,构建实时气象‑用户偏好关联网络。本发明通过精准、高效的传感数据实时分析,预测饮品消费需求趋势,智能化配置不同场景的饮品库存,提高饮品销售效率及用户满意度。

基于二次聚类的物流车辆调度与装载优化方法及相关设备

NºPublicación:  CN120851729A 28/10/2025
Solicitante: 
正泰安能数字能源(浙江)股份有限公司
CN_120851729_A

Resumen de: CN120851729A

本发明公开了基于二次聚类的物流车辆调度与装载优化方法及相关设备,涉及光伏物流车辆调度与装载优化领域,根据业务特征数据对客户节点进行一次聚类,获取初始运输域;根据所述初始运输域进行二次聚类,获取目标运输域;根据待运货物的特征约束确定所述目标运输域的车型装载优化策略,根据所述车型装载优化策略实施光伏物流车辆调度;本申请能够精细化拆分物流调度的运输域,精准匹配车型与货物降低超载率,提高了全局调度效率,克服了现有技术无法自适应动态调度,以及装载与调度割裂导致物流调度效率低问题。

配送范围确定方法、装置、存储介质和电子设备

NºPublicación:  CN120851741A 28/10/2025
Solicitante: 
拉扎斯网络科技(上海)有限公司
CN_120851741_PA

Resumen de: CN120851741A

本申请提供了一种配送范围确定方法、装置、存储介质和电子设备,该方法包括:确定电子地图中目标商户在目标迭代周期的第一兴趣面集合;根据目标迭代周期的第一兴趣面集合构建第一凸包,根据第一凸包的几何边界获取第一凸包的邻域兴趣面集合;基于预先确定的第一约束条件和第一优化目标,在邻域兴趣面集合对应的操作范围内对第一凸包所包含的目标兴趣面集合执行兴趣面置换操作,以得到目标迭代周期的第二兴趣面集合;在满足预设停止迭代条件时,根据至少一个迭代周期中最后一个迭代周期的第二兴趣面集合,确定目标商户的配送范围。基于本申请方案,能够确保配送范围在不同的配送指标上取得平衡,有效改善用户配送体验以及商户配送效果。

一种全球航运有效供给指数构建方法

NºPublicación:  CN120851727A 28/10/2025
Solicitante: 
清华大学
CN_120851727_PA

Resumen de: CN120851727A

本发明公开了一种全球航运有效供给指数构建方法,包括获取高频自动识别系统数据;基于所述高频自动识别系统数据量化全球海运服务供应的影响因素得到数据量化结果;其中,影响因素,包括船舶总载重吨、平均航行速度、非空白航行、船舶改道、港口拥堵以及运河拥堵;基于数据量化结果计算全球航运有效供给指数。本发明能够精确评估全球海上供应链的现状,并有助于理解其对航运价格的因果影响。

基于光热场站的全场信息管理系统

NºPublicación:  CN120851838A 28/10/2025
Solicitante: 
中国三峡新能源(集团)股份有限公司中国长江三峡集团有限公司
CN_120851838_PA

Resumen de: CN120851838A

本公开涉及一种基于光热场站的全场信息管理系统。其中,基于光热场站的全场信息管理系统包括:所述全厂计算机网络系统,用于将所述全厂管理信息系统和所述全厂信息监控系统进行通信互联;所述全厂信息监控系统,用于实时采集光热电站设备的运行参数,并对所述运行参数分析处理,生成故障工单;所述全厂管理信息系统,用于对所述故障工单进行统计分析,生成预防性维护计划。根据本公开实施例,能够解决光热电站运行维护困难的问题。

物流货量监测方法、装置、设备及存储介质

NºPublicación:  CN120849829A 28/10/2025
Solicitante: 
上海东普信息科技有限公司
CN_120849829_PA

Resumen de: CN120849829A

本发明涉及物流数据处理技术领域,特别涉及一种物流货量监测方法、装置、设备及存储介质。所述物流货量监测方法包括如下步骤:获取物流货量的历史时间序列数据以及相关的文本信息,进行预处理,以获得多个时间子序列以及多个词组;采用预构建的大语言模型,根据词组以及时间子序列生成综合特征表示;获取多个综合特征表示以形成训练集,并根据训练集构建时间序列知识库;获取查询序列,从时间序列知识库中检索与查询序列具有相似波形和趋势的参考序列;将查询序列和参考序列重新组合成自然语言提示,将自然语言提示输入到Time‑LLM模型中,以获得预测结果。本发明通过引入大语言模型,可以显著提升物流货量预测的预测精度,减少误差率。

一种物料管理方法、装置、电子设备、介质及产品

NºPublicación:  CN120851779A 28/10/2025
Solicitante: 
青岛海尔电冰箱有限公司海尔智家股份有限公司
CN_120851779_PA

Resumen de: CN120851779A

本申请实施例提供一种物料管理方法、装置、电子设备、介质及产品。该方法可以包括:响应于用户对物料标识的扫描操作,对所述物料标识对应的物料的在库状态进行更新,在管理界面中显示所述物料的重量和更新后的在库状态,所述重量是所述物料在称重设备上的称重数据。

一种电商物流订单智能管理方法

NºPublicación:  CN120852016A 28/10/2025
Solicitante: 
南通招财猫供应链管理有限公司
CN_120852016_PA

Resumen de: CN120852016A

本发明涉及订单处理技术领域,且公开了一种电商物流订单智能管理方法,在于提高订单处理的效率,该方法包括以下步骤:设定主订单信息、子订单信息、发货单信息以及物流单信息,将主订单信息拆分为N个子订单信息,每个子订单信息对应一个店铺信息,设定三次分单策略,分别用于将主订单信息转化为子订单信息、子订单信息转化为发货单信息、发货单信息转化为物流单信息,将商品分为短期商品或长期商品,根据商品类型,将发货单信息转化为一个或多个物流单信息,根据每个物流单信息,执行商品到货时间匹配策略,以满足用户在同一天取货的需求。

一种基于数据分析的物流分拣方法及相关装置

NºPublicación:  CN120851734A 28/10/2025
Solicitante: 
广东职业技术学院
CN_120851734_PA

Resumen de: CN120851734A

本发明公开了一种基于数据分析的物流分拣方法及相关装置,涉及数据处理技术领域,所述方法包括:对物流货物数据进行预处理;基于该物流货物数据构建物流货物的信息画像以进行物流货物的分类,获得各类别的物流货物;对各类别的物流货物进行易损耗程度分析,获得易损耗程度数据;基于易损耗程度数据利用模糊控制算法对各类别的物流货物进行分拣策略分析;基于目标分拣策略分配目标物流机器人,并基于分拣路径特征节点分析各目标物流机器人对各类别的物流货物的目标分拣运输路径;目标物流机器人基于目标分拣策略和目标分拣运输路径执行分拣操作。本发明能够有效提高物流分拣的准确性和安全性,确保货物分拣的效率。

快递派送处理方法、装置、设备及存储介质

NºPublicación:  CN120851735A 28/10/2025
Solicitante: 
上海东普信息科技有限公司
CN_120851735_PA

Resumen de: CN120851735A

本发明涉及物流技术领域,公开了快递派送处理方法、装置、设备及存储介质,方法包括响应于语音播送请求,按照目标拨打顺序向待签收列表中的多个目标收件人顺次拨打电话播送派件方式询问语音;接收目标派件语音;对目标派件语音进行数据处理,以得到目标派件语音对应的初始文本,对初始文本进行文本处理,得到目标派件语音对应的用于指示派件要求的目标文本;将目标文本关联至所对应的目标快递包裹信息中,更新待签收列表,以使得快递员基于更新后的待签收列表,确定快递派送方案。本方案实现了快递包裹派送前的批量电话沟通,节约了快递员打电话的时间,基于收集收件人的派送要求进行派送,提升了派送的效率和服务质量。

一种基于DeepSeek大模型的生活必需品调控方法、设备及介质

NºPublicación:  CN120851433A 28/10/2025
Solicitante: 
浪潮卓数大数据产业发展有限公司
CN_120851433_PA

Resumen de: CN120851433A

本申请实施例公开了一种基于DeepSeek大模型的生活必需品调控方法、设备及介质,属于物资调控技术领域,解决现有生活必需品流通保供运行系统其效率与可靠性较低的问题。包括,通过历史生活必需品调控数据对DeepSeek大模型进行训练,将训练后的DeepSeek大模型集成至生活必需品流通保供运行系统;将获取的市场多源数据输入训练后的模型,输出生活必需品的市场需求预测信息;根据市场需求预测信息,生成区域需求热力图,基于区域需求热力图确定出不同区域分别对应的调控应急等级;基于调控应急等级,获取相应的调配信息集;基于市场需求预测信息与调配信息集,生成不同区域分别对应的生活必需品调控策略。

物流仿真方法及装置、电子设备和计算机可读存储介质

NºPublicación:  CN120850709A 28/10/2025
Solicitante: 
北京京东远升科技有限公司
CN_120850709_PA

Resumen de: CN120850709A

本公开提供一种物流仿真方法及装置、电子设备和计算机可读存储介质,涉及物流仿真技术领域。该物流仿真方法应用于物流仿真系统,包括:在当前操作节点获取线路预测结果,线路预测结果为预先通过线路预测模型对历史运单的离线统计特征和实时运单特征进行处理得到的;若确定待处理运单对应的运单流向满足预置条件,则从线路预测结果的待选择路线中确定目标路线,以将目标路线确定为待处理运单的仿真预测路线。本公开能提高物流仿真过程中线路规划的准确性,提升物流仿真结果的准确性。

基于多源数据融合的疫苗智能供应链协同优化系统

NºPublicación:  CN120853855A 28/10/2025
Solicitante: 
湖北省疾病预防控制中心(湖北省预防医学科学院)
CN_120853855_PA

Resumen de: CN120853855A

本发明提供基于多源数据融合的疫苗智能供应链协同优化系统,涉及疫苗供应链技术领域,包括:数据采集与处理模块用于实时采集多源异构数据,并进行预处理;智能预测与优化模块用于构建混合预测模型,并对疫苗需求进行预测;仓储与物流管理模块用于构建虚拟仓库模型;协同决策模块用于生成多维度供应链调度方案,并评估方案的可行性与效率;动态优先级标记模块用于对疫苗进行优先级排序。本发明通过构建混合预测模型,能精准预测未来的疫苗需求,提升了预测的准确性和可靠性,有助于避免疫苗短缺或过剩,提高供应链的响应速度和灵活性;通过对疫苗进行精准的优先级排序,在应对疫情等突发状况时,能快速调配资源,最大限度满足接种需求。

一种单车型多堆场集装箱甩挂运输成本优化方法

NºPublicación:  CN120851739A 28/10/2025
Solicitante: 
桂林理工大学
CN_120851739_PA

Resumen de: CN120851739A

本发明公开了一种单车型多堆场集装箱甩挂运输成本优化方法,包括六个步骤:S1集装箱甩挂运输数据生成:生成集装箱甩挂运输的相关数据;S2数学模型建立与求解:建立数学模型,并使用商业求解器进行求解,得到基准解;S3初始解生成:通过贪心策略生成初始运输路径;S4自适应大邻域搜索算法优化:基于步骤S3所产生的初始解,应用算法对路径进行优化,逐步改进初始解的质量;S5方案对比:对比基准解和算法解,调整算法参数;S5最优解决方案输出:验证方案的有效性并将最优解的路径和总成本输出。本发明通过求解数学模型来优化自适应大邻域搜索算法,得到最优算法参数,并输出最优调度方案,从而有效降低运输成本。

一种基于射频识别的递送实时监控器

NºPublicación:  CN120857090A 28/10/2025
Solicitante: 
北京航天爱威电子技术有限公司北京计算机技术及应用研究所
CN_120857090_PA

Resumen de: CN120857090A

本发明公开了一种基于射频识别的递送实时监控器,涉及物流监控技术领域。针对现有技术无法兼容大体积、多数量贵重物品运输监控,且存在实时性差、安全性不足的问题,本发明通过非金属设备体集成射频识别读写器及底部间距安装的读写器天线,提升无源RFID标签识读率;定位通信模块组件融合4G、蓝牙及北斗模块,支持递送模式(功能关闭)与带出模式(实时定位上传)的智能切换;蓝牙手表采用SM4加密绑定设备,实现超距报警与远程操作;计算机系统预录入任务数据并通过4G网络回传标签盘点及定位信息至后台管理平台。该装置实现了贵重物品运输全程的精准化、智能化监控管理。

基于传感器联动的实时库存动态更新系统及方法

NºPublicación:  CN120851775A 28/10/2025
Solicitante: 
常熟市新人和智能商业设备有限公司
CN_120851775_A

Resumen de: CN120851775A

本申请公开了基于传感器联动的实时库存动态更新系统及方法,所属的技术领域为库存管理,其中,基于传感器联动的实时库存动态更新方法包括:部署仓库传感器,实时更新商品库存量,通过商品动态周转率和订单衰减情况对商品的库存衰弱情况进行分析,采集商品包装数据和设定范围内的货物数据,对货物运输时释放气体引发的交叉污染进行分析,根据环境数据、货物运输时释放气体引发的交叉污染和商品脆弱程度对商品的存储危险情况进行分析,综合商品的库存衰弱情况和商品的存储危险情况筛选出需要调换存储点的商品,本申请能够提升仓储安全性、优化空间利用、减少商品间影响和提高管理效率。

一种基于区块链的企业资产管理方法及系统

NºPublicación:  CN120851285A 28/10/2025
Solicitante: 
深圳市鑫博利电子科技有限公司
CN_120851285_PA

Resumen de: CN120851285A

本发明公开了一种基于区块链的企业资产管理方法及系统,涉及企业资产管理技术领域,通过将异构数据源认证注册为区块链节点,利用数据适配封装统一格式,并通过链上共识存证确保数据一致准确,打破内外部数据壁垒;计算评估数据可信度指数DTI,量化筛选高质量数据流,解决数据质量参差问题,构建企业资产全面、实时、可信的动态数字画像;进一步利用经DTI筛选的高质量数据,通过智能合约驱动的预测模型训练提升预测性维护等分析的精准度;通过实时监控链上事件,并计算综合健康与价值指数AHVI,据此生成资产优化配置方案,将系统从被动记录工具转变为提供前瞻性、量化闭环智能决策的支持平台,最大化资产价值。

一种零部件库存管理方法及系统

NºPublicación:  CN120851771A 28/10/2025
Solicitante: 
迈威科技(广州)有限公司
CN_120851771_PA

Resumen de: CN120851771A

本发明涉及数据处理技术领域,尤其涉及一种零部件库存管理方法及系统。方法包括步骤:采集零部件的若干个出库数据,获取每个出库数据的孤立性,根据每个出库数据的出库时间,获取每个出库数据的周期性,根据每个出库数据的孤立性与周期性,获取每个出库数据的噪声性,基于所述噪声性对每个出库数据的异常得分进行调整,获取每个出库数据加权异常得分;根据每个出库数据加权异常得分对每个出库数据的出库量进行加权,获取最新出库数据的预测出库量,根据最新出库数据的预测出库量对工作人员进行预警。本发明提高了出库量预测的准确性。

基于三维模型的物流轨迹空间数据采集方法

NºPublicación:  CN120851778A 28/10/2025
Solicitante: 
美象信息科技有限公司
CN_120851778_PA

Resumen de: CN120851778A

本发明提供基于三维模型的物流轨迹空间数据采集方法,涉及数据处理技术领域,所述方法包括:步骤1,通过多源传感器实时采集物流对象在三维空间中的动态位置数据,所述三维空间坐标数据包括水平方向坐标和垂直方向坐标;步骤2,将动态位置数据输入预构建的三维环境模型,通过空间配准算法生成初步三维轨迹;步骤3,对初步三维轨迹进行实时更新处理,通过时序分析算法动态修正轨迹数据,并融合三维环境模型中的障碍物信息,优化初步三维轨迹精度,得到优化后的三维轨迹数据。本发明实现物流轨迹数据的高精度采集、动态优化与精准校正,提升物流轨迹数据的准确性和环境适应性,为物流智能化管理提供可靠数据支撑,助力提高物流效率。

一种基于BOM的多品种零件库存控制方法及存储介质

NºPublicación:  CN120851780A 28/10/2025
Solicitante: 
陕西法士特汽车传动集团有限责任公司
CN_120851780_A

Resumen de: CN120851780A

本发明公开了一种基于BOM的多品种零件库存控制方法及存储介质,方法包括构建每周零件BOM变更明细表;组成近半年内的采购件BOM变更明细表数据集;根据待查询零件的变更前半年内用量Y0和待查询零件的半年内产量X确定待查询零件的变更后半年内用量Y1;根据待查询零件的变更前半年内用量Y0确定待查询零件的历史月用量M0,根据待查询零件的变更后半年内用量Y1确定待查询零件的变更后月用量M1;根据M0和M1确定待查询零件的总月用量增加比P;确定待查询零件的当前库存R;根据待查询零件的当前库存R和待查询零件的变更后月用量M1,确定待查询零件的当前库存可用月数N;步骤S8、根据得到的待查询零件的当前库存可用月数N和待查询零件的总月用量增加比P,输出判定结果。

基于多维度数据分析的云端进销存自动化管理方法

NºPublicación:  CN120851994A 28/10/2025
Solicitante: 
中联恒创(山西)科技有限公司
CN_120851994_PA

Resumen de: CN120851994A

本发明涉及企业管理技术领域,公开了基于多维度数据分析的云端进销存自动化管理方法,该方法包括:获取企业的基本信息,根据基本信息进行企业注册和企业认证;采集已认证企业的多维度数据,对多维度数据进行预处理,根据预处理后的多维度数据的数据种类进行多模式存储;根据历史采购订单和当前库存数量生成采购建议单,则根据历史销售订单调整采购建议单;获取订单数据,将订单数据与采购建议单作比对,根据比对结果计算采购建议单的建议精准度,根据建议精准度调整采购建议单的生成策略,将调整后的生成策略进行存储。本发明提高了管理效率,同时降低了运营成本。

一种智能化防爆油库样品管理系统和方法

NºPublicación:  CN120851052A 28/10/2025
Solicitante: 
华南蓝天航空油料有限公司湖南分公司
CN_120851052_PA

Resumen de: CN120851052A

本发明属于油库样品管理技术领域,具体涉及一种智能化防爆油库样品管理系统和方法。本发明通过防爆智能标签存储样品信息,替代传统手写标签,实现了样品信息的快速准确识别和读取;通过智能防爆样品柜与防爆智能标签的配合,实现了样品的自动定位、存储和管理;人机交互和权限识别的设计;智能标签的防拆电路设计,能够实时监控样品瓶是否被非法打开,一旦发生异常立即报警;同时,通过权限识别单元对操作人员进行权限管理,防止未经授权的人员操作,有效保障了样品的安全性。本发明解决了现有样品瓶管理中信息记录不便、样品安全性差、存储管理不智能等问题,实现样品信息的准确记录与快速识别、样品的安全存储以及智能化的管理与监控。

一种油品运输调配的智能储运管理系统

NºPublicación:  CN120851744A 28/10/2025
Solicitante: 
江苏德大石化科技有限公司
CN_120851744_PA

Resumen de: CN120851744A

本发明公开了一种油品运输调配的智能储运管理系统,属于油品储运管理技术领域。为解决现有智能储运管理系统工作效率低下的问题,本发明通过采购订单生成模块在销售平台上进行提货预约,包括提货类别、提货数量、提货时间,也将采购商信息进行收集,包括采购商姓名、身份证号、手机号以及将参与油品运输的车辆信息录入系统,包括车辆的车牌号、车型、车辆规格,同时将采集到的信息传输至数据处理中心,捆绑打包,制成采购商信息包,方便后续对应查找,另外将这些信息传输至IC卡内,便于后续操作直接刷卡使用,在装车过程中,通过一键启动装车,实现自动化的油品装车操作,提高装车效率。

一种智能货架系统及其管理方法

NºPublicación:  CN120851773A 28/10/2025
Solicitante: 
江苏顺欣奥智能设备有限公司
CN_120851773_A

Resumen de: CN120851773A

本发明提出了一种智能货架系统及其管理方法;属于货架管理技术领域;所述方法包括:对智能货架单元进行多类型感知设备拓扑架构设计,构建多类型感知信号融合网络拓扑架构数据;基于多类型感知信号融合网络拓扑架构数据,实时采集货架的相关信息,形成时序货架原始监测数据流;运用数据预处理算法对时序货架原始监测数据流进行预处理,生成预处理后的货架监测数据。采用分布式数据存储架构优化和冗余可靠传输策略,提高了数据存储的安全性和可用性,同时保障了数据的快速存储和访问。

一种基于AI视觉的运输跟踪定位的识别方法

NºPublicación:  CN120851755A 28/10/2025
Solicitante: 
青岛海智铭顺创新科技有限公司
CN_120851755_PA

Resumen de: CN120851755A

本发明涉及智能交通和物流技术领域,公开了一种基于AI视觉的运输跟踪定位的识别方法,该方法包括以下步骤:获取运输场景的视觉数据,利用AI视觉处理技术检测车辆目标并提取初始观测特征;基于初始特征构建动态隐空间车辆图谱,图谱节点包含多模态隐状态,并随新观测动态更新;从图谱中提取车辆的多模态隐状态及运动状态,作为后续优化的关键参数;融合视觉观测、运动学与多模态约束,执行多约束联合优化,最终输出精准的车辆跟踪、定位与识别结果。本发明提升了复杂环境下的车辆感知能力,实现多源信息融合与智能优化,显著增强车辆跟踪、定位与识别的准确性与稳定性。

一种运输车辆监控数据传输平台系统

NºPublicación:  CN120856565A 28/10/2025
Solicitante: 
江苏亚东朗升国际物流有限公司
CN_120856565_PA

Resumen de: CN120856565A

本发明涉及数据传输技术领域,具体公开了一种运输车辆监控数据传输平台系统,包括车辆监控数据获取模块、构建动态语义网络模块、传输链路质量分析模块、传输通道动态选择模块、构建预测风险图模块及运输车辆调度维护模块;通过采集监控数据并构建动态语义网络进行预处理,结合链路质量监测动态优化传输通道配置策略,并动态切换通信技术实现加密压缩传输;通过提取监控数据风险特征,预测车辆风险并生成预测风险地图,最终整合结果辅助调度决策与维护;本发明通过动态链路优化、智能风险预测及多技术融合传输机制,显著提升了运输车辆监控数据的传输稳定性、安全性及调度决策的时效性,为现代物流运输的智能化管理提供了高效解决方案。

基于数字孪生的立体仓库货位分配与拣选调度方法及系统

NºPublicación:  CN120851774A 28/10/2025
Solicitante: 
厦门锐特信息技术有限公司
CN_120851774_PA

Resumen de: CN120851774A

本发明提供基于数字孪生的立体仓库货位分配与拣选调度方法及系统,涉及数字孪生技术领域,包括构建立体仓库的三维数字模型;基于深度强化学习算法进行货位分配,将商品存取频率、关联购买概率、季节性需求预测作为输入参数,以最短拣选路径和关联商品集中存储为优化目标生成货位分配指令;执行入库操作并接收拣选订单;在模型中构建虚拟势场,当堆垛机间排斥力超过阈值时,基于订单紧急程度确定任务优先级并触发避障让行;计算避障轨迹并生成协同调度指令执行拣选作业。本发明实现了高效货位分配与智能化多堆垛机协同调度。

仓储物流机器人路径调度方法及系统

NºPublicación:  CN120851761A 28/10/2025
Solicitante: 
浙江大学
CN_120851761_PA

Resumen de: CN120851761A

本发明公开了仓储物流机器人路径调度方法及系统,具体涉及自动化仓储物流控制技术领域,用于解决现有分层调度方法在多任务耦合场景下因缺乏跨模块资源协同机制导致的全局拥堵问题;是通过构建重调度频次梯度场识别高频竞争任务模块,解析隐性任务依赖链生成传导强度,结合梯度场突变检测分析竞争熵变趋势,基于通道拓扑映射识别熵变传播关键桥接节点,在节点熵变趋势超阈值时启动资源隔离策略,并将释放资源按紧急度重分配直至熵变回归稳态后解除隔离实现;通过建立资源竞争态势的动态评估与主动防控机制,从空间根源阻断资源争夺连锁反应,显著提升多任务场景下的系统吞吐效率和抗干扰能力。

一种物流追踪货物查询服务系统

NºPublicación:  CN120851754A 28/10/2025
Solicitante: 
昆山市豪顺物流有限公司
CN_120851754_PA

Resumen de: CN120851754A

本发明涉及物流管理技术领域,公开了一种物流追踪货物查询服务系统,包括以下模块:数据采集模块用于采集物流网络中的节点状态、路径状态、货物状态及动态环境数据;状态预测模块对采集的数据进行建模并预测未来节点和路径状态;动态路径规划模块根据预测结果,通过多目标优化生成最优运输路径;货物追踪模块实时记录货物的运输状态、位置及路径偏差信息;用户交互与可视化模块以地图、时间轴和数据分析的形式展示货物的实时位置、历史路径及优化方案。通过动态数据采集与状态预测、路径优化与调整及实时追踪可视化展示,提高了物流运输效率与精准性,降低了运输成本及资源浪费,提升了用户体验和系统动态适应能力。

海洋样品全生命周期数字化管理方法

NºPublicación:  CN120850116A 28/10/2025
Solicitante: 
自然资源部第二海洋研究所
CN_120850116_PA

Resumen de: CN120850116A

本发明涉及海洋样品管理技术领域,公开了海洋样品全生命周期数字化管理方法,该方法先采集海洋样品的样本类型、来源位置、化学成分信息等特性数据,据此计算分类方案与存储参数,结合样品库实时管理数据评估管理需求并生成目标管理策略;再利用k‑means聚类、决策树等算法,结合历史管理数据和样品使用频率数据制定并优化初步管理计划,生成个性化管理方案;最后实施该方案,通过传感器监测样品保存率指标,动态调整分类存放设备的温度阈值和存放位置,引入实时反馈机制迭代修正调整参数,生成全生命周期管理方案。该方法实现了海洋样品全流程数字化管理,提升了管理效率与样品保存质量。

智能穿戴设备仓库拣货、取货、补货方法及智能穿戴设备

NºPublicación:  CN120851730A 28/10/2025
Solicitante: 
北京三快网络科技有限公司
CN_120851730_PA

Resumen de: CN120851730A

本公开涉及一种智能穿戴设备仓库拣货、取货、补货方法及智能穿戴设备。其中,使用智能穿戴设备拣货方法包括:根据配送员发起的拣货指令,获取包括拣货订单货品信息、拣货订单货品在仓库中的货位信息的拣货订单信息,目标配送员基于货位信息到达拣货订单货品的货位并基于拣货订单货品信息拿取货品,智能穿戴设备采集拿取的货品的图像进行识别,基于识别结果与拣货配送服务系统中拣货订单货品比对,以确定目标配送员拿取的货品是否匹配于该目标配送员在目标仓库的拣货订单货品信息,基于识别结果与该目标配送员在目标仓库的拣货订单货品信息的比对结果,更新拣货订单货品的核验信息,输出核验信息。采用该方法可以提高配送员的拣货效率。

一种基于射频标签的信号调整方法、装置、设备及存储介质

NºPublicación:  CN120851060A 28/10/2025
Solicitante: 
国网浙江省电力有限公司杭州供电公司国网浙江省电力有限公司杭州市萧山区供电公司
CN_120851060_PA

Resumen de: CN120851060A

本发明公开了一种基于射频标签的信号调整方法、装置、设备及存储介质,应用于射频识别技术领域,方法包括获取电磁场数据、空间密度分布数据和路径规划数据;对电磁场数据和空间密度分布数据进行处理,得到电磁分布突变区域;对路径规划数据和电磁分布突变区域进行模拟,确定所述目标射频标签的天线偏移角度;对天线偏移角度和几何结构参数进行处理,得到修正传播路径参数;将修正传播路径参数输入至标签信号处理模型中进行处理,得到接收信号阈值;对每一目标射频标签进行信号提取,得到信号特征值;基于信号特征值与接收信号阈值,对每一目标射频标签进行信号调整。本发明实施例提供的方法,可以解决在资产安全管理中难以精准识别信号的问题。

第三方运力资源的调度方法、装置、存储介质及服务器

NºPublicación:  CN120851563A 28/10/2025
Solicitante: 
深圳市跨越新科技有限公司
CN_120851563_PA

Resumen de: CN120851563A

本申请实施例公开了一种第三方运力资源的调度方法、装置、存储介质及服务器,涉及物流管理领域。本申请接收客户物流订单的订单属性数据;根据订单属性数据自动判断订单是否超出物流企业自身服务能力;若超出,则根据订单属性从第三方供应商库中筛选符合条件的承运商;计算各承运商处理该订单的运输成本与运输时长;根据客户唯一身份标识获取其个性化的运输成本与运输时长权重偏好;基于权重计算各承运商的综合服务评分;最终将订单指派给评分最高的第三方承运商。本申请可以实现第三方运力资源的自动化调度,有效解决物流服务能力受限的情况下因人工决策效率低下导致的时效与成本不可控问题,显著提升物流配送效率与客户满意度。

一种船舶载运新能源汽车火灾风险分析方法及系统

NºPublicación:  CN120851577A 28/10/2025
Solicitante: 
中国船级社武汉规范研究所
CN_120851577_PA

Resumen de: CN120851577A

本发明公开了一种船舶载运新能源汽车火灾风险分析方法及系统,方法包括:假定新能源汽车装载情况与起火场景,确定人命和财产损失假定,建立风险矩阵,提出故障失效模式危险源辨识引导词。按船舶运输车辆流程划分装货、运输、卸货节点及操作行为,构建事件树‑故障树模型;事件树以滚装处所新能源汽车起火为始,按处所类型、早期探测等逐层分析;故障树与事件树对应分层关联并细分;通过初始事件概率计算模块和分层概率量化系统确定事故概率,用财产损失分级量化后果并计算风险值;设定风险衡准,确定风险控制措施,经成本效益分析,为客户推荐最优风险控制方案。解决行业长期以来在风险控制投入与产出之间难以平衡的难题。

一种基于多源数据融合的实时商品价格预测系统

NºPublicación:  CN120851925A 28/10/2025
Solicitante: 
巢湖学院
CN_120851925_PA

Resumen de: CN120851925A

本申请提供了一种基于多源数据融合的实时商品价格预测系统,包括:数据整合模块,用于获取多源异构数据,对多源异构数据按照商品类别和时间戳进行对齐处理,生成标准化融合数据集;动态权重分配模块,用于根据标准化融合数据集中各数据源与商品类别的关联性,动态计算各数据源的权重系数;模型集成模块,用于基于权重系数对时序预测模型输出的价格趋势预测结果和市场博弈模型输出的博弈修正量进行加权融合,生成初步价格预测;优化输出模块,用于根据实时市场动态数据对初步价格预测进行周期性规律修正和策略协同分析,得到预测商品价格趋势。采用本系统能够基于多源大数据动态预测商品价格趋势,帮助企业优化采购策略,减少库存积压风险。

基于边缘计算的生物制药流体设备运维平台

NºPublicación:  CN120851840A 28/10/2025
Solicitante: 
无锡维邦工业设备成套技术有限公司
CN_120851840_PA

Resumen de: CN120851840A

本发明涉及智能运维技术领域,具体为基于边缘计算的生物制药流体设备运维平台,包括全域信息融合模块、三维数字孪生建模模块、AR沉浸运维交互模块、备件管理模块、边缘计算与云协同模块。本发明通过全域信息融合模块与边缘计算‑云协同架构,为设备分配唯一性数字标识并关联多部门数据,打破信息孤岛,实现采购、生产、维护数据的全域融合,提升信息一致性与查询效率,为精准运维奠定数据基础;本发明通过三维数据孪生建模、AR沉浸交互及智能异常分析,构建设备数字孪生体与可视化运维界面,结合动态安全库存模型与效能分析,实现异常精准预警与备件智能管理,提升运维直观性与预见性,降低生产中断风险。

物流运输货量季节性区间预测与监控方法及电子设备

NºPublicación:  CN120851749A 28/10/2025
Solicitante: 
江苏运满满信息科技有限公司
CN_120851749_PA

Resumen de: CN120851749A

本申请提供一种物流运输货量季节性区间预测与监控方法及电子设备,属于物流运输技术领域。该方法包括:获取历史数据,按照预设区间筛选条件对每个历史年度的日粒度运输数据进行分析和处理,得到每个历史年度对应的有效时间区间集合;对n个历史年度分别对应的有效时间区间集合进行稳定性校验,得到第一季节性区间;基于历史数据和第一季节性区间,确定目标基准运输量;基于目标基准运输量,确定目标货物在当前年度对应的第二季节性区间。本申请能够基于历史数据在当前年度对非稳态与漂移做出自适应响应,确保对不同货类、不同地区的真实节奏进行准确刻画与落地判定,从而克服固定周期模型难以适配与预测偏差较大的问题。

一种基于GCDIT模型的鲜活农产品流通的OD预测方法

NºPublicación:  CN120851945A 28/10/2025
Solicitante: 
广西大学长安大学
CN_120851945_PA

Resumen de: CN120851945A

本发明涉及农产品流通技术领域,尤其涉及一种基于GCDIT模型的鲜活农产品流通的OD预测方法,包括步骤:采集目标区域内绿通车辆的历史OD对;基于GCRGU构建GCDIT模型;将所述OD对按时间间隔t进行划分,生成每个时间间隔t内的车辆运行数据集,将生成的所有绿通车辆运行数据集按时间划分为训练集、验证集和测试集;通过所述训练集对GCDIT模型进行训练,通过所述训练集对GCDIT模型进行验证,通过测试集预测未来时间间隔t内的OD对;本发明中GCDIT模型考虑了历史数据异构信息聚合和OD与DO流之间的信息交互,能更精细、更完整地描述鲜活农产品流动的时空交互模式,为鲜活农产品的生产规划、运输政策制定、路线设计与优化等提供有力的决策支持。

一种基于大模型的智能供应链平台软件优化系统及方法

NºPublicación:  CN120851281A 28/10/2025
Solicitante: 
武汉筑链科技有限公司
CN_120851281_PA

Resumen de: CN120851281A

本申请涉及智能供应链优化的技术领域,该基于大模型的智能供应链平台软件优化系统及方法,通过结合历史需求数据与实时销售趋势,大模型可动态预测市场需求波动,避免传统方法因数据单一导致的预测偏差,既能及时补充短缺物资以应对突发需求,又能减少过剩库存占用的资金与仓储成本,降低供应短缺或过剩风险,基于画像实时匹配推荐产品,提升需求匹配精度,减少传统推荐方式因缺乏数据支撑导致的用户体验不佳问题,进而促进销售转化,通过大模型对需求预测、物流、生产、采购、推荐等环节的一体化调控,实现供应链全流程的智能化联动,打破传统模式下各环节独立运作的信息壁垒。

一种基于AIoT和图检索的智能料架装置及方法

NºPublicación:  CN120841052A 28/10/2025
Solicitante: 
广州市定昌电子科技有限公司
CN_120841052_PA

Resumen de: CN120841052A

本发明属于智能仓储技术领域,公开了一种基于AIoT和图检索的智能料架装置及方法,该装置包括料架本体、红外矩阵传感器阵列、单片机、边缘计算单元及通信总线;该方法通过红外阵列采集物料的二维空间分布向量,经边缘计算单元预处理后,在云端融合感知、位置与语义属性构建高维特征向量并存入多模式数据库;响应检索请求时,采用向量库粗召回、图数据库关联推理和路径优化的三层检索机制,并利用图神经网络学习隐式关系,生成精准库存决策;本发明解决了现有仓储盘点技术成本高、精度低、响应慢的难题,通过软硬件协同的全链路闭环设计,实现了低成本、高精度、高实时的智能仓储管理。

一种基于智能化的核桃仁仓储管理系统及方法

NºPublicación:  CN120851768A 28/10/2025
Solicitante: 
云南云尚核桃产业有限公司
CN_120851768_PA

Resumen de: CN120851768A

本发明公开了一种基于智能化的核桃仁仓储管理系统及方法,涉及仓储管理技术领域,本发明通过在核桃仁仓储区域内均匀设置多个监测点,并基于设置的监测点实时采集仓储区域内的环境数据,同时通过数据处理方法对采集仓储区域内的环境数据进行处理,处理完成后,通过数据分析方法构建仓储状态分析模型和仓储状态类型,最后将处理后的实时环境数据输入构建的仓储状态分析模型,并输出分析结果,分析结果包括当前仓储状态类型,同时基于得到的分析结果,实时调整仓储状态,提高了仓储管理的智能性。

基于AI大模型的物流调度路径智能推荐方法、系统和介质

NºPublicación:  CN120851762A 28/10/2025
Solicitante: 
福建至简至一信息科技有限公司
CN_120851762_PA

Resumen de: CN120851762A

本申请提供一种基于AI大模型的物流调度路径智能推荐方法、系统和介质,该方法包括:先采集运输司机的运输路径档案,据此构建司机道路熟悉度画像。当有新物流运输调度需求时,提取调度总路程,进而确定两种行程方案 —— 理论最短路径的效率行程方案(含第一预计总用时长)和依司机经验的经验行程方案(含第二预计总用时长)。若第二预计总用时长不超第一预计总用时长的设定比例,便将经验行程方案定为最终调度方案,最后结合司机道路熟悉度画像分配最优司机,并把方案推送至对应司机终端设备。这让调度既参考理论最优,又兼顾司机实际经验,匹配熟悉路线的司机,减少决策偏差,提升运输效率与可靠性,实现智能高效调度。

一种装备体系后勤保障智能辅助决策方法、系统及介质

NºPublicación:  CN120851561A 28/10/2025
Solicitante: 
厦门渊亭信息科技有限公司
CN_120851561_PA

Resumen de: CN120851561A

一种装备体系后勤保障智能辅助决策方法、系统及介质,其包括S100、获取后勤保障任务数据并进行语义解析,识别并输出任务类型标签;S200、基于任务类型标签,检索军事后勤知识库并进行数据匹配,生成任务变量集合;S300、根据任务类型标签检索运筹建模模板库,匹配与任务变量集合相对应的建模模板,并生成数学建模文件;S400、根据数学建模文件生成运筹优化代码,并进行可执行性验证,输出可执行代码;S500、执行可执行代码并通过优化求解器进行求解;S600、获取优化求解器的输出结果并解析,生成至少一个后勤保障方案。本发明实现了从任务输入到方案输出的全链路自动化,提高了建模效率。

一种无目标垛位的钢板倒垛优化方法及其计算机程序产品

NºPublicación:  CN120841047A 28/10/2025
Solicitante: 
湖南天桥嘉成智能科技有限公司
CN_120841047_PA

Resumen de: CN120841047A

本发明提供一种无目标垛位的钢板倒垛优化方法及其计算机程序产品,方法包括:获取初始乱序钢板的编号序列和临时垛位数量,并确定各个钢板最终归属的临时垛位和各临时垛位上最终的钢板顺序;临时垛位数量至少为2个;从初始乱序钢板的顶层至底层依次执行钢板倒垛操作,直至完成所有钢板的倒垛;在倒垛操作过程中,遵循让路规则和搬离规则;本发明充分利用多个临时垛位作为缓冲和排序空间,通过设置倒垛规则来规划钢板从初始垛位向各临时垛位的转移路径与顺序,减少了对固定目标垛位的依赖和无效搬运,最大限度地提升了场地空间利用率和垛位资源周转效率,有效节约了倒垛作业的能耗与时间成本,同时大大增强了仓储作业的整体响应能力与灵活性。

一种用于智慧城市的物流管理系统

NºPublicación:  CN120851740A 28/10/2025
Solicitante: 
泰安市东信智联信息科技有限公司
CN_120851740_PA

Resumen de: CN120851740A

本发明公开了一种用于智慧城市的物流管理系统,涉及物流管理系统技术领域;包括物流运输子系统、分拣站点及派件子系统、驿站子系统。本发明驿站子系统通过对快递入库出库数据的实时采集和分析,结合节点划分模块,能够准确把握各个时间节点的货物流量和用户需求变化;智能优化模块根据这些数据生成引导方案,将用户引流到得分较高的时间节点,避免货物堆积,提高驿站的运营效率;奖励机制模块通过优先输送、分拣和派件,以及在用户偏好的时间节点前一个节点进行派件,缩短了用户的取件等待时间,提高了取件的便捷性;该方式并非盲目地激励用户快速取件,而是尽可能地使用户稳定取件习惯,更利于系统的宏观调控。

快递包裹检测方法、装置、设备及存储介质

NºPublicación:  CN120852743A 28/10/2025
Solicitante: 
上海东普信息科技有限公司
CN_120852743_PA

Resumen de: CN120852743A

本发明涉及信息处理技术领域,尤其涉及一种快递包裹检测方法、装置、设备及存储介质,通过利用生成对抗网络学习历史包裹图像样本的分布规律,根据分布规律生成模拟样本,根据模拟样本对历史包裹图像样本进行扩充得到数据集,通过数据集搭建DQ‑DETR模型,提高包裹检测精度,采用模型剪枝、量化和知识蒸馏技术压缩DQ‑DETR模型的规模,降低检测计算资源消耗,采用多线程处理技术和GPU加速技术对DQ‑DETR模型进行优化,提高包裹检测速度,对输入DQ‑DETR模型的实时包裹图像进行预处理,得到待检测包裹图像,利用DQ‑DETR模型对待检测包裹图像进行目标检测,并根据检测结果输出包裹具体信息,提升物流整体运转效率,满足快递物流场景中实时性和高效性的要求,进而提高客户满意度。

一种无人叉车任务适配方法、装置、设备及介质

NºPublicación:  CN120851516A 28/10/2025
Solicitante: 
盐城九曜智能科技有限公司
CN_120851516_PA

Resumen de: CN120851516A

本说明书实施例公开了一种无人叉车任务适配方法、装置、设备及介质,包括:定义各无人叉车的实体属性与各运输任务,其中,实体属性包括车辆ID与车辆类型,运输任务包括任务ID与所需车辆类型;基于任务属性与实体属性,分别确定各任务ID所符合的车辆ID;获取各无人叉车的位置信息与各运输任务的任务区域;基于位置信息与任务区域,确定各无人叉车与各运输任务的间隔距离;基于间隔距离与预先设定的叉车适配距离,对各任务ID所符合的车辆ID进行筛选,得到各任务ID的筛选车辆ID;基于间隔距离对各任务ID的筛选车辆ID进行评分,得到各任务ID中各筛选车辆ID的分数;基于各任务ID中各筛选车辆ID的分数,确定各任务ID适配的车辆ID。

一种基于机器视觉的纸箱表面缺陷检测方法

NºPublicación:  CN120851750A 28/10/2025
Solicitante: 
宁波新成包装有限公司
CN_120851750_PA

Resumen de: CN120851750A

本发明涉及缺陷检测技术领域,且公开了一种基于机器视觉的纸箱表面缺陷检测方法,包括:采集并分析纸箱图像,判断纸箱表面是否存在缺陷以及运输信息是否完整,对于信息完整的纸箱根据其缺陷类别判断并采取相应的补救措施,对于信息不完整的纸箱匹配补充其运输信息,该基于机器视觉的纸箱表面缺陷检测方法,快速识别和处理纸箱缺陷及运输信息问题,减少物流过程中的延误和错误,及时发现并处理可能对物品造成损坏的纸箱缺陷,降低物品在运输过程中的损坏风险,减少人为操作失误,提高信息准确性和处理效率,避免对无缺陷纸箱进行不必要的处理,合理分配资源,提高整体运营效率,确保运输信息的准确性和完整性,增强客户满意度和信任度。

検出システム

NºPublicación:  JP2025162320A 27/10/2025
Solicitante: 
株式会社ジャパンディスプレイ
JP_2025162320_PA

Resumen de: JP2025162320A

【課題】より確実に商品をセンシングでき、より設置が容易な検出システムを提供する。【解決手段】検出システムは、店舗で取り扱われる商品の種類を識別するためのパターンデータを保持するサーバと、サーバと通信可能に設けられて商品を識別する検出装置と、を備える検出システムであって、検出装置は、複数の商品が載置可能に設けられた棚の載置面に沿って設けられたセンサ部と、センサ部の出力とパターンデータとを照合して商品の種類と各種の商品の数とを識別する情報処理部と、を備え、センサ部は、載置面を挟んで複数の商品と対向する配置の面状光学センサを有し、面状光学センサは、載置面に載置された複数の商品の各々の載置面側の一面の形状及び一面に施された文字、識別子及び模様を識別可能な分解能を有し、パターンデータは、一面の形状及び一面に施された文字、識別子及び模様を示す情報を含む。【選択図】図6

情報処理装置、情報処理装置の制御方法、及びプログラム

NºPublicación:  JP2025162270A 27/10/2025
Solicitante: 
キヤノン株式会社
JP_2025162270_PA

Resumen de: US2025322330A1

A moving object information acquisition unit acquires information about a moving object under management. If a problem occurs to disturb a task execution by the moving object, a problem information acquisition unit acquires information about details of the problem. A personal information acquisition unit acquires attribute information about at least one candidate of a problem-solving person. A person selection unit selects a problem-solving person from the at least one candidate based on the information about the moving object acquired by the moving object information acquisition unit, the information about details of the problem acquired by the problem information acquisition unit, and the attribute information about the at least one person acquired by the personal information acquisition unit.

移动店铺汽车及其智能服务系统

NºPublicación:  CN120828726A 24/10/2025
Solicitante: 
黄拔玉
CN_120828726_PA

Resumen de: CN120828726A

本发明涉及商业零售设备和新能源汽车应用领域,公开了移动店铺汽车及其智能服务系统,包括,所述的顶部固定连接有两个,所述用于将太阳能转化为电能,所述的内部一侧固定连接有,所述用于分隔内部的空间,利用分隔出储物空间,所述的内部固定连接有两个,所述用于构建空间,所述与所述之间固定连接有多个,所述用于提供小物件的放置位置,两个所述之间固定连接有多个,所述用于悬挂物件,所述的内部底端可拆卸连接有。通过集成多模块,从而使用户通过微信小程序或APP下单预约,商家根据用户位置就近派送移动店铺,提供上门服务,大大增加了用户的实用便捷性。

任务创建方法、装置、设备及存储介质

NºPublicación:  CN120833096A 24/10/2025
Solicitante: 
北京京东远升科技有限公司
CN_120833096_A

Resumen de: CN120833096A

本发明实施例公开了一种任务创建方法、装置、设备及存储介质,涉及计算机技术领域,该方法可以包括:获取针对目标物流链路中的物流下单文件的文件解析规则,并获取与各候选任务属性字段分别对应的任务属性字段值、以及与各候选访问规则字段分别对应的访问规则字段值;基于文件解析规则、各任务属性字段值、以及各访问规则字段值,对预先配置的用于获取物流下单文件的模板规则组进行字段填充处理,得到目标物流链路对应的配置规则组;根据目标物流链路对应的配置规则组,创建用于获取目标物流链路中的物流下单文件的目标获取任务。采用本发明实施例的技术方案,可以缩短创建获取任务的时长,提高开发效率。

一种基于航线规划的共享无人机配送方法及系统

NºPublicación:  CN120833106A 24/10/2025
Solicitante: 
西安创奕信息科技有限公司
CN_120833106_PA

Resumen de: CN120833106A

本发明涉及无人机技术领域,具体为一种基于航线规划的共享无人机配送方法及系统,包括以下步骤,收集无人机配送任务关联的数据,包括地理信息和气候条件数据,通过地理编码关联地点坐标与时间标签,并根据时间序列进行数据排列,生成任务序列化清单。本发明,通过利用地理信息和气候条件数据,显著提高了任务规划的准确性,使无人机配送更有效应对不同地理环境和气候变化的问题,通过对任务的紧急度、客户等级和预期交付时间进行动态分析,实现了任务优先级的准确排序,提升了服务的针对性和任务响应的速度,结合飞行时间与能耗预测,优化资源分配,提高了飞行计划的成本效益,通过实时监控环境变化与无人机状态,动态调整航线和任务分配。

资源推送方法、装置、设备、存储介质和程序产品

NºPublicación:  CN120833188A 24/10/2025
Solicitante: 
北京京东远升科技有限公司
CN_120833188_PA

Resumen de: CN120833188A

本公开提供了一种资源推送方法,可以应用于数字营销技术领域、计算机技术领域、大数据技术领域和人工智能技术领域。该资源推送方法,包括:根据与待推荐对象相关的多个资源需求属性数据,对待推荐对象进行推荐需求评估,得到待推荐对象的推荐需求指标,资源需求属性数据包括交易物流数据;根据推荐需求指标从多个待推荐对象中确定目标对象;根据目标对象的交易物流数据,生成目标资源;以及向目标对象推送目标资源。本公开还提供了一种资源推送装置、设备、存储介质和程序产品。

订单处理方法及装置、存储介质及电子设备

NºPublicación:  CN120833198A 24/10/2025
Solicitante: 
北京京东远升科技有限公司
CN_120833198_PA

Resumen de: CN120833198A

本公开提供了一种订单处理方法及装置、存储介质及电子设备,涉及订单配送技术领域。该方法包括,获取订单信息;从服务器获取与订单信息对应的校验信息和寄件用户的特性信息;根据校验信息,确定取件用户的特征信息;当取件用户的特征信息与寄件用户的特征信息满足预设条件时,验证通过。本公开通过对订单签收、邮寄进行双向安全核验,保障了订单派送的准确性,提高了订单派送的安全性。

户外住宅便装式电梯及其安装方法、控制系统、介质

NºPublicación:  CN120830379A 24/10/2025
Solicitante: 
重庆迈高电梯有限公司
CN_120830379_PA

Resumen de: CN120830379A

本申请涉及一种户外住宅便装式电梯及其安装方法、控制系统、介质,属于户外电梯的领域,其包括设置在建筑外墙上的电梯井道和设置在电梯井道上的电梯主体,电梯井道由多个基本节首尾相接而成,基本节由多个基本面围护而成,基本面包括横档、立柱和锁定件,立柱在横档的两端分别设置有一个,锁定件设置在立柱上且用于将同一基本节的相邻基本面的相邻立柱进行锁定,基本面上设置有用于与相邻基本节的基本面进行连接的连接组件。本申请具有减少户外住宅便装式电梯的运输成本、施工污染及风险,提升安装质量及效率的效果。

驻场点挖掘方法和装置及存储介质

NºPublicación:  CN120833099A 24/10/2025
Solicitante: 
北京京东远升科技有限公司
CN_120833099_PA

Resumen de: CN120833099A

本公开提出一种驻场点挖掘方法和装置及存储介质,涉及物流和计算机领域。驻场点挖掘方法,包括:获取各个未驻场客户的寄件地址的地理位置;以每个未驻场客户的每个寄件地址的地理位置为一个样本点,构建样本点集;对样本点集中的各个样本点进行聚类,得到各个样本点簇;根据各个样本点簇,确定候选驻场点;根据候选驻场点,确定驻场点。从而提高驻场点识别的准确性。

物流虚拟网络的实现方法、装置、设备、介质和产品

NºPublicación:  CN120833102A 24/10/2025
Solicitante: 
北京京东远升科技有限公司
CN_120833102_A

Resumen de: CN120833102A

本公开提供一种物流虚拟网络的实现方法、装置、设备、介质和产品,其中,物流虚拟网络的实现方法包括:获取物流信息中的网点相关数据、线路相关数据和包裹相关数据;将网点相关数据、线路相关数据和包裹相关数据映射为物流虚拟网络中的对象元素;对物流虚拟网络中的对象元素进行拼接,以生成物流虚拟网络,物流虚拟网络被配置为能够显示于用户交互界面。通过本公开实施例,可以提高物流虚拟网络的构建效率和可靠性。

基于物流设备综合效能评估的调度决策方法及系统

NºPublicación:  CN120833031A 24/10/2025
Solicitante: 
中科富创(贵州)智能技术有限公司
CN_120833031_PA

Resumen de: CN120833031A

本发明涉及物流数据融合相关领域,公开了基于物流设备综合效能评估的调度决策方法及系统,解决了现有物流设备管理中存在的数据融合不足、智能化水平低以及调度效率低等问题,为物流设备的综合效能评估与调度决策提供了一种高效、动态、智能化的解决方案,通过高阶张量分解与重组,实现视觉、文本、时序数据的深度交互,且支持结构化数据与非结构化数据的融合,区别于传统物流系统依赖单一数据源,以及不同模态数据独立处理,缺乏跨模态交互能力的局限性。

基于变拓扑超网络解构的转运枢纽维保调度效能优化方法

NºPublicación:  CN120832740A 24/10/2025
Solicitante: 
北京航空航天大学杭州创新研究院宁波机场集团有限公司
CN_120832740_PA

Resumen de: CN120832740A

本发明公开了一种基于变拓扑超网络解构的转运枢纽维保调度效能优化方法,包括如下步骤:步骤一,将转运枢纽当前实时维保调度场景中的涉及的维保要素及其间关联关系映射建模为超图网络模型;步骤二,对超图网络CNN拓扑结构的基本不确定特征进行表征;步骤三,依据超图网络模型,计算得到度量指标评估值;步骤四,将计算得到的三个指标对比历史调度结果合理值区间范围,判断当前调度状态合理性;步骤五,基于度量指标,实现转运枢纽维保调度效能提升。本发明的有益效果在于,能够通过超网络建模和量化分析,有效提升维保调度的执行效能、资源协作度和动态鲁棒性,实现瓶颈定位和优化。

匹配方法、匹配系统、以及记录介质

NºPublicación:  CN120833584A 24/10/2025
Solicitante: 
丰田自动车株式会社
CN_120833584_PA

Resumen de: US2025328831A1

The matching method according to the present embodiment is a matching method for matching a robot introduction-desired person and a robot supplier using a computer, wherein request information regarding the robot introduction from the introduction-desired person is acquired, supply information regarding a robot that can be supplied by the supplier is acquired, matching is performed based on the request information and the supply information, and a matching result is notified to at least one of the introduction-desired person and the supplier. The matching device may generate the matching using a machine learning model such as deep learning.

无人值守票据更换系统

NºPublicación:  CN120833118A 24/10/2025
Solicitante: 
府谷县卓景隆信息咨询经营部(个体工商户)
CN_120833118_PA

Resumen de: CN120833118A

本发明公开了无人值守票据更换系统,包括:拍照扫描设备、文字识别模块、数据处理模块、打印设备、控制软件、数据统计;其中拍照扫描设备用于扫描上游供应商的半挂车辆过磅磅单;文字识别模块采用人工智能AI技术进行OCR文本内容识别,将扫描的磅单图像转换为可编辑的文本数据;数据处理模块用于对识别后的数据进行处理和转换,修正残缺数据,过滤不符合条件的数据,生成符合下游收货商要求的新磅单数据;打印设备用于将转换后的新磅单打印出来;控制软件用于整合上述硬件和功能模块,实现整个流程的自动化控制;数据统计用于实时统计车辆信息,吨位统计,装车情况等;本发明有利于提高工作效率;实现全天候无人值守操作,提高物流效率。

订单处理方法、装置、存储介质及电子设备

NºPublicación:  CN120833195A 24/10/2025
Solicitante: 
北京京东远升科技有限公司
CN_120833195_PA

Resumen de: CN120833195A

本公开提供了一种订单处理方法、装置、存储介质及电子设备,涉及物流领域。该方法包括:获取待揽收订单,生成待揽收订单的揽收任务,将揽收任务分配给第一配送对象;根据第一配送对象的待处理任务和揽收任务的位置信息,确定第一配送对象处理揽收任务的风险信息;响应于第一配送对象处理揽收任务的风险信息为揽收超时,生成揽收任务的提示信息;响应于第一配送对象根据提示信息转出揽收任务的操作,将揽收任务转出。该方法能够提示配送对象分配的揽收任务的揽收超时风险,且能够将存在揽收超时风险的揽收任务转出,降低揽收超时的风险,提升用户体验。

一种订单分配方法、装置、电子设备、介质及产品

NºPublicación:  CN120833196A 24/10/2025
Solicitante: 
青岛海尔电冰箱有限公司海尔智家股份有限公司
CN_120833196_PA

Resumen de: CN120833196A

本说明书实施例提供一种订单分配方法、装置、电子设备、介质及产品。该方法可以包括:接收用户输入的待分配订单和分配因素,所述分配因素用于确定所述待分配订单的约束条件和目标函数,基于所述约束条件和所述目标函数,获取所述待分配订单的分配状态,所述分配状态,包括:接单状态或未接单状态。

密集型货架库房管理方法、装置、设备及存储介质

NºPublicación:  CN120833113A 24/10/2025
Solicitante: 
三峡高科信息技术有限责任公司
CN_120833113_PA

Resumen de: CN120833113A

本发明公开了一种密集型货架库房管理方法、装置、设备及存储介质,所述方法通过获取当前库房的密集型货架的位置信息和安放货物信息;在接收到操作人员的申领需求后,根据申领需求、位置信息和安放货物信息确定待领取货物对应的目标货架;根据申领需求确定领货顺序,根据领货顺序依次展开目标货架;能够快速定位目标货物所在货架,并自动移动货架打开通道,大幅缩短了货物存取时间,提高了工作效率,为企业应对业务变化提供了极大的便利,增加了空间利用率,实现库存的精细化管理,有效避免了库存积压或缺货现象,降低了库存成本,提高了企业资金周转率,提升了密集型货架库房管理的速度和效率。

路径优化方法、装置、电子设备和计算机可读存储介质

NºPublicación:  CN120832991A 24/10/2025
Solicitante: 
北京京东远升科技有限公司
CN_120832991_PA

Resumen de: CN120832991A

本申请提供一种路径优化方法、装置、电子设备和计算机可读存储介质,涉及互联网技术领域。路径优化方法包括:获取多个订单的当前配送路径和最优配送路径;对当前配送路径进行破坏和修复,以获得可行配送路径;确定可行配送路径对应的配送成本大于或者等于最优配送路径对应的配送成本、且大于或者等于当前配送路径对应的配送成本;确定可行配送路径的接受概率;根据接受概率确定接受可行配送路径;根据述可行配送路径更新当前配送路径,并通过对当前配送路径破坏和修复后获得的可行配送路径继续更新最优配送路径或者当前配送路径。本申请实施例可以为多个订单确定配送成本较低的配送路径。

补货信息确定方法及装置、电子设备和存储介质

NºPublicación:  CN120833108A 24/10/2025
Solicitante: 
北京京东远升科技有限公司
CN_120833108_PA

Resumen de: CN120833108A

本公开是关于一种补货信息确定方法及装置、电子设备以及计算机可读存储介质,涉及计算机技术领域,可以应用于确定物品补货量的场景。该方法包括:获取物品需求量的联合概率分布函数,联合概率分布函数基于历史指定时间段内物品需求量的历史需求量预测值与历史需求量实际值构建得到;基于联合概率分布函数进行样本抽取操作,得到下一补货周期的物品需求量的实际需求样本集;对实际需求样本集进行聚类处理,得到多个物品需求场景,根据多个物品需求场景下的物品实际需求量构建补货量确定模型;根据补货量确定模型,确定下一补货周期的物品补货量。本公开在确定补货量时,考虑了物品实际需求量的不确定性,提供了一种更加准确的补货量确定方案。

基于多点测量的货舱物品状态检测方法、系统及存储介质

NºPublicación:  CN120833114A 24/10/2025
Solicitante: 
湖州港口船业有限公司
CN_120833114_PA

Resumen de: CN120833114A

本申请涉及货物存储状态监测的技术领域,公开一种基于多点测量的货舱物品状态检测方法、系统及存储介质。方法通过多点测量实现货舱物品状态检测,在同一高度平面设置第一、第二距离传感器及人体传感器。两距离传感器分别扫描相邻区域生成距离数据,经算法计算变化数据;利用交叉区域内人体传感器数据判断人员活动状态,生成人体移动标记。系统基于未置位的人体移动标记,融合处理变化数据计算综合变化值,超过阈值则触发物品位置异常提示。通过多传感器数据融合与动态校准机制,有效区分人员活动与物品异常,显著提升货舱物品状态监测的准确性与可靠性。

一种玻璃原片仓储自动供片控制方法及系统

NºPublicación:  CN120829021A 24/10/2025
Solicitante: 
山东华世力自动化科技有限公司
CN_120829021_PA

Resumen de: CN120829021A

本发明属于玻璃原片的无人堆场自动供片智能控制系统技术领域,涉及一种玻璃原片仓储自动供片控制方法及系统,所述控制方法包括:采集营销部管理ERP软件中的订单信息,形成订单所需要的目标玻璃的形状、尺寸和数量,形成第一数据集;获取仓储MES软件内玻璃架中库存玻璃原片的形状,尺寸和数量,形成第二数据集;构建排版模型;有益效果是:通过实时调整控制参数控制取片机将玻璃原片放置在切割机,依据生产信息数据集进行玻璃切割;实现了减速和取片机末端执行器的振动的相互反馈控制,解决了取片机需要抓着玻璃运动一段距离,在加速减速和停车定位的过程,存在玻璃原片滑落的风险的技术问题。

业务预测模型建立及业务预测方法、装置、设备及介质

NºPublicación:  CN120832972A 24/10/2025
Solicitante: 
北京京东远升科技有限公司
CN_120832972_PA

Resumen de: CN120832972A

本公开提供了一种业务预测模型建立及业务预测方法、装置、电子设备及计算机可读存储介质,涉及业务管理技术领域。该方法包括:将训练业务数据转化为训练有向图数据,训练业务预测模型;业务预测模型应用社区检测方法、中心性检测方法、网页排名算法中至少一项;若满足预设训练停止条件,则得到训练后的业务预测模型;将待预测业务数据转化为目标有向图数据,输入至业务预测模型,输出待预测业务数据对应的异常数据点、异常数据点对应的异常业务单、关注业务单、账单申诉结果、业务审批集合等业务结果数据;本公开实施例根据业务结果数据管理计费申诉的账单,降低人工投入、减少整体调账率、减少申诉损失。

包裹分拣计划学习方法、装置、设备及存储介质

NºPublicación:  CN120832810A 24/10/2025
Solicitante: 
顺丰科技有限公司
CN_120832810_PA

Resumen de: CN120832810A

本申请涉及物流技术领域,具体涉及一种包裹分拣计划学习方法、装置、设备及存储介质。该方法包括:将强化学习得到的包裹分拣计划,应用于预设的分拣仿真环境进行包裹分拣仿真;获取包裹分拣仿真所用的仿真分拣时长;以最小化仿真分拣时长为目标,再次强化学习包裹分拣计划;将再次强化学习得到的包裹分拣计划,应用于分拣仿真环境进行包裹分拣仿真,直至达到预设的强化学习条件,将历史上仿真分拣时长最小的包裹分拣计划作为最优包裹分拣计划。本申请能够结合强化学习和分拣仿真环境,不断学习包裹分拣计划,从而得到仿真分拣时长更小的最优包裹分拣计划,提升包裹分拣计划的优化效果,进而提高包裹分拣的时效性和准确性。

信息推送方法、装置、电子设备和计算机可读介质

NºPublicación:  CN120833107A 24/10/2025
Solicitante: 
北京京东远升科技有限公司
CN_120833107_PA

Resumen de: CN120833107A

本公开的实施例公开了信息推送方法、装置、电子设备和计算机可读介质。该方法的一具体实施方式包括:响应于接收到分拣系统发送的分拣车辆的发货信息,对所述发货信息进行缓存,其中,所述发货信息包括以下至少一项:车辆信息、收货站点信息、运单信息、运单所属区域信息、货物属性信息;利用定位系统获取所述分拣车辆的动态位置数据并缓存;基于所述分拣车辆的发货信息和动态位置数据,向目标配送员的终端推送表征有货物待收取配送的提示信息。该实施方式与物流技术有关,可以根据分拣车辆的发货信息来生成提示信息,并推送给相关配送员。这样可以使配送员及时了解到是否有货物待收取配送,进而能够合理安排返回收货站点的时间,提升配送效率。

基于医院的HRP系统的医疗物资供应链管理方法及系统

NºPublicación:  CN120833896A 24/10/2025
Solicitante: 
武汉盛博汇信息技术有限公司
CN_120833896_PA

Resumen de: CN120833896A

本发明提供一种基于医院的HRP系统的医疗物资供应链管理方法及系统,该方法基于医院HRP系统中的临床事件、耗材出库和物流数据,构建多维数据集和医疗耗材关联图。系统为特定临床事件建立状态演化模型,以预测供应链的动态趋势,并据此定义临界预警区域。通过实时监控耗材与物流数据的状态点轨迹,当其接近临界预警区域时,则判定对应的临床事件被激活,并计算危机指数。若危机指数低,则调用演化模型进行宏观预测;若指数高,则联合演化模型与耗材关联图进行深度融合预测,精准推演所有相关耗材的需求。最后基于预测结果生成并发送调配指令。该方法实现了医疗物资供应链从被动响应向主动预测与精准调配的智能化转型。

一种非流程化堆场智慧指垛方法及系统

NºPublicación:  CN120833048A 24/10/2025
Solicitante: 
山东港口日照港集团有限公司山东港口科技集团日照有限公司海博泰科技(青岛)有限公司
CN_120833048_PA

Resumen de: CN120833048A

本发明涉及物流管理领域,且公开了一种非流程化堆场智慧指垛方法及系统,具体包括以下步骤:获取堆场的基础信息,历史和当前货物到运发运信息,根据历史货物信息,构建货物预测模型,获取未来一段时间货物的到运发运预测信息。设置基于距离成本、时间成本和经济成本的目标函数,生成货物与堆场之间的偏好度,并以此为基础构建基于组合优化的堆场分配模型,确定货物应堆放的堆场,再构建智能移垛合垛模型,通过对小区域进行移垛或合垛,使同一种货物尽可能在一个堆场中堆存。本发明将有助于堆场降低经济成本,提高经营效率。

一种低扰动底模运输施工方法及装置

NºPublicación:  CN120832758A 24/10/2025
Solicitante: 
西南交通大学中铁上海工程局集团第五工程有限公司
CN_120832758_PA

Resumen de: CN120832758A

本发明提供了一种低扰动底模运输施工方法及装置,涉及箱梁制造技术领域,包括获取第一信息、第二信息、第三信息和第四信息;基于第一信息确定出箱梁的侧模拆模时间;基于第二信息构建箱梁与运输轨道的耦合动力学模型;基于第三信息和所述耦合动力学模型;对应生成低扰动底模运输施工方案。本发明通过获取混凝土材料参数、生产线结构信息、运输工况数据及橡胶垫层参数等信息,综合构建箱梁与运输轨道的耦合动力学模型,并模拟不同运输工况下的应力扰动,进一步基于橡胶垫层参数优化扰动响应,最终生成适应不同运输工况的最优垫层配置与施工方案,有效降低运输过程中对底模结构的扰动,提高箱梁成型质量与运输安全性。

管理系统、管理方法、以及记录介质

NºPublicación:  CN120833101A 24/10/2025
Solicitante: 
丰田自动车株式会社
CN_120833101_PA

Resumen de: US2025328148A1

The management system according to the present embodiment is a management system that manages an autonomous mobile robot and a plurality of accessory units that enable a mobile robot to execute a plurality of different services by being used in combination with the mobile robot, and acquires service information related to a service executed by the mobile robot, acquires a plurality of control parameters set for each service based on the service information, and controls an operation of the mobile robot according to the plurality of control parameters. The management system may use a machine learning model such as deep learning.

包裹追溯方法、装置、设备和存储介质

NºPublicación:  CN120833626A 24/10/2025
Solicitante: 
浙江宇视科技有限公司
CN_120833626_PA

Resumen de: CN120833626A

本发明提供一种包裹追溯方法、装置、设备和存储介质,该方法包括:从第一预设时段内取出的包裹集合中,确定与目标包裹匹配的第一包裹;在所述第一包裹的数量大于1的情况下,获取取出各所述第一包裹的取货人的第一人脸集合和所述第一预设时段内出库人的第二人脸集合;将所述第一人脸集合中的各第一人脸与所述第二人脸集合中的各第二人脸进行匹配,得到匹配结果;基于所述匹配结果追溯取出所述目标包裹的目标用户。本发明可以实现快速确定误拿目标包裹且未出库的人员,提高丢失包裹的排查效率。

订单处理方法、装置、设备、存储介质和程序产品

NºPublicación:  CN120833109A 24/10/2025
Solicitante: 
北京京东远升科技有限公司
CN_120833109_PA

Resumen de: CN120833109A

本公开的实施例提供一种订单处理方法、装置、设备、存储介质和程序产品。该方法包括:由订单派送方的终端设备从订单分析系统接收具有超时风险的至少一个订单的订单信息,订单分析系统用于在接收到针对至少一个订单派送方的分析结果后生成订单派送方列表,订单派送方列表包括具有对至少一个订单的派送能力的至少一个订单派送方;响应于接收到订单信息,由终端设备显示风险提示界面,风险提示界面指示至少一个订单具有超时风险;响应于对至少一个订单的接收确认,由终端设备接收至少一个订单;以及响应于确定至少一个订单被接收,由终端设备关闭风险提示界面。由此,能够通过分析出具有派送能力的订单派送方,并向订单派送方显示风险提示界面以接收订单。订单处理的效率得以提高。

运输资源管理方法、装置、电子设备及存储介质

NºPublicación:  CN120833095A 24/10/2025
Solicitante: 
北京京东远升科技有限公司
CN_120833095_PA

Resumen de: CN120833095A

本公开提供了一种运输资源管理方法、装置、电子设备及存储介质。涉及仓储物流领域,尤其涉及物联网、车联网、智能城市、智慧物流等领域。该方法包括:获取与运输资源相对应的第一运输任务;响应于第一运输任务,获取第一运输任务的任务结束时间;以及在确定已到达任务结束时间,且运输资源的待执行任务为空的情况下,生成闲置预警信息。

一种物流配送方法、装置、设备及存储介质

NºPublicación:  CN120833104A 24/10/2025
Solicitante: 
大众酷翼(北京)科技有限公司
CN_120833104_PA

Resumen de: CN120833104A

本发明公开了一种物流配送方法、装置、设备和存储介质,所述方法具体包以下步骤:获取出行用户终端的第一位置、以及第一导航任务和配送终端的第二位置、以及第二导航任务;筛选第一导航任务与第二导航任务中存在重叠地理位置的导航路线作为候选联合导航路线;计算到达所述重叠地理位置所需的第一时长、以及第二时长;根据第一优化算法确定最优联合导航路线;向所述出行用户终端和所述配送终端发送对当前最优联合导航路线的导航启动指令;当收到所述出行用户终端第一拒绝指令和/或所述配送终端的第二拒绝指令后,重复以上步骤。本发明能够在配送场景下实现出行用户和配送人员的精确高效会合、提高配送效率。

一种冷库自动化仓储统配系统

NºPublicación:  CN120833116A 24/10/2025
Solicitante: 
包钢集团万开实业有限公司
CN_120833116_PA

Resumen de: CN120833116A

本发明涉及冷库仓储自动化技术领域,公开了一种冷库自动化仓储统配系统。该系统的异常行为监测模块实时采集仓储设备运行状态数据与货品存取行为数据,通过分析货品流动频率与设备操作频率的差异,生成设备异常操作指标。故障预测模块基于该指标定位关联仓储节点,结合历史故障事件映射关系评估风险等级,预测可能发生的运行故障。动态策略模块依据故障预测结果,分析货品分布特征,计算货位迁移优先级并规划最优路径,将货品重新分配至低风险节点以优化仓储配置。行为分析模块对比优化前后设备操作频率,识别异常行为模式,判定行为偏离程度并追溯故障根源,生成分析结果。

一种基于大数据分析的智能运维方法及系统

NºPublicación:  CN120833141A 24/10/2025
Solicitante: 
北京中益大越智能科技有限公司
CN_120833141_PA

Resumen de: CN120833141A

本申请公开了一种基于大数据分析的智能运维方法及系统,该方法包括:获取历史运维日志,其中,历史运维日志包括:设备的历史运维日志;根据历史运维日志确定影响运维时长变化的P个设备,并根据历史运维日志中P个设备在第一预设时间段的设备运维时长序列数据预测P个设备在第二预设时间段的设备运维时长预测值;根据预测的P个设备在第二预设时间段的设备运维时长预测值与P个设备在第二预设时间段的真实设备运维时长数据确定异常波动特征;根据异常波动特征对P个设备的巡检周期和备件库存量进行资源重新分配,确定运维资源配置方案。采用上述技术方案,解决了现有设备运维方法会造成资源分配僵化的问题。

单件货物柜和用于存放和取出单件货物的方法

NºPublicación:  CN120833647A 24/10/2025
Solicitante: 
德国邮政股份公司
CN_120833647_PA

Resumen de: US2025325119A1

A piece goods cabinet for holding piece goods to be collected, with a plurality of separate piece goods compartments for inserting and removing piece goods, with a control device for controlling the insertion and removal of piece goods into or from the piece goods compartments, and with an authentication device for authenticating a collector of the piece goods, wherein the piece goods compartments are each assigned a closure device which is adjustable from a closure position preventing access to the associated piece goods compartment into an open position allowing access to the associated piece goods compartment, wherein the control device is coupled to at least one locking device which is adjustable from a locked position locking a closure device in the closure position into a release position releasing the movement of the closure device into the open position, and wherein the authentication device is coupled to the control device for activating the control device upon successful authentication of the collector. So that collectors can remove piece goods more easily from the corresponding piece goods compartments, it is provided that at least some of the piece goods compartments have a rear wall unit which is movable within the associated piece goods compartment from a rear non-use position into at least one front use position for displacing a piece good contained in the associated piece goods compartment forwards in the direction of an opening of the piece goods compartment.

运输调度方法、系统、存储介质和程序产品

NºPublicación:  CN120833098A 24/10/2025
Solicitante: 
北京京东远升科技有限公司
CN_120833098_A

Resumen de: CN120833098A

本公开提供了一种运输调度方法、系统、存储介质和程序产品,涉及物流领域。该方法包括:响应于对第一询价类型的选择,获取货物运输需求对应的业务类型和运输方式;根据业务类型和运输方式,确定与货物运输需求匹配的第二询价类型;以及在第一询价类型与第二询价类型匹配的情况下,根据第一询价类型为货物运输需求选择运力方式。本公开实现了货物与运力的匹配,进而提高了货物运输履约能力,提高运输效率。

石材仓储管理系统

NºPublicación:  CN120833110A 24/10/2025
Solicitante: 
财团法人石材暨资源产业研究发展中心
CN_120833110_PA

Resumen de: CN120833110A

一种石材仓储管理系统,包含多个电子标签、第一标签读取单元及数字管理单元,所述电子标签分别设置于多个石板,每一个电子标签包括标签编码,所述第一标签读取单元包括用于对任一个电子标签读取对应的所述标签编码的第一读取模块、用于输入数据的操作模块,及电连接所述第一读取模块及所述操作模块的第一控制模块,所述数字管理单元包括石材数据库,所述石材数据库包括多个分别对应所述标签编码的石材信息集合,每一个石材信息集合具有对应各自的所述标签编码的记录编码,及对应所述记录编码的存储库位编号,借此能即时更新所述石板的即时信息,提升管理的便利性。

作業計画立案プログラム、作業計画立案方法、および情報処理装置

NºPublicación:  JP2025161550A 24/10/2025
Solicitante: 
富士通株式会社
JP_2025161550_PA

Resumen de: US2025322351A1

A non-transitory computer-readable recording medium storing a work planning program for causing a computer to execute first specification processing of specifying, for each of candidate routes to sequentially travel work positions included in orders, each of combinations of the orders such that a total sum of movement distances, in which each of workers travels work positions specified by a combination of orders assigned to each of the workers in a case where the orders is assigned to the workers, satisfies a first condition, and second specification processing of selecting a candidate route in which the total sum of the movement distances of each of the workers satisfies a second condition among the candidate routes, and specifying a travel order in which the total sum of the movement distances of each of the workers satisfies a third condition by exchanging the travel order in the combination of the orders.

労働管理システムおよびコンピュータプログラム

NºPublicación:  JP2025161806A 24/10/2025
Solicitante: 
菱木運送株式会社
JP_2025161806_PA

Resumen de: JP2024086867A

To improve a business management organization in a transportation company.SOLUTION: A labor management system includes position identification means that identifies a position where a vehicle stops, first acquisition means that acquires a first time point when the vehicle stops, second acquisition means that acquires a second time point when a stopping state of the vehicle is terminated, cargo owner identification means that identifies a cargo owner corresponding the position identified by the position identification means, calculation means that calculates a standby time of a driver of the vehicle at the position identified by the position identification means based on the first time point and the second time point, and recording means that records standby information including the cargo owner identified by the cargo owner identification means and the standby time calculated by the calculation means.SELECTED DRAWING: Figure 4

一种基于知识图谱驱动的企业采购管理方法及系统

NºPublicación:  CN120833111A 24/10/2025
Solicitante: 
福建金塑宝科技有限公司
CN_120833111_PA

Resumen de: CN120833111A

本发明公开了一种基于知识图谱驱动的企业采购管理方法及系统,涉及企业采购领域,包括:获取行业采购知识图谱,表征行业典型采购结构;基于目标企业的基础采购信息、组织结构、产品构成及供应链特征,构建初始企业采购图谱;通过图神经网络对两种图谱进行建模,提取节点与边的嵌入表示;利用迁移学习模型将行业图谱的嵌入表示特征迁移至企业图谱,对齐结构与语义表示空间,生成目标企业采购图谱,并将其嵌入表示输入采购趋势预测模型,输出未来时间窗口内的采购预测结果。本发明有效解决了新企业历史数据较少的情况下的采购图谱的构建以及采购需求预测的难题,提升了采购管理精准性与效率。

用于拦截移动物件的装置和方法

NºPublicación:  CN120833097A 24/10/2025
Solicitante: 
北京京东远升科技有限公司
CN_120833097_PA

Resumen de: CN120833097A

本公开的实施例提供了用于拦截移动物件的装置和方法。该装置包括:信息识别器,被配置为对所述移动物件的信息标识进行识别,以获取所述移动物件的属性信息;信息处理器,被配置为对所述属性信息进行处理,以生成针对所述属性信息的处理结果;拦截判定器,被配置为基于所述处理结果生成指示信号,所述指示信号指示所述移动物件是否需要拦截;拦截触发器,被配置为在所述指示信号指示所述移动物件需要拦截的情况下生成触发信号;以及拦截执行器,被配置为在所述触发信号的控制下触发预定动作,以拦截所述移动物件。

一种车辆调度方法、装置、电子设备及存储介质

NºPublicación:  CN120833019A 24/10/2025
Solicitante: 
北京京东远升科技有限公司
CN_120833019_PA

Resumen de: CN120833019A

本发明实施例公开了一种车辆调度方法、装置、电子设备及存储介质,涉及物流运输领域,该方法包括:确定目标运输任务,目标运输任务中包括物流分拣中心与多个站点之间的目标货运量;根据目标运输任务和路径生成约束条件,生成物流分拣中心与多个站点之间的运输路径;根据运输路径和目标货运量,为不同类型的可调度车辆分别生成运输成本数据;根据运输成本数据和车辆调度约束条件,基于运输路径生成对可调度车辆的调度方案。采用本发明实施例的技术方案,可以达到在运输需求不均衡且车辆资源组成复杂的场景下,高效确定服务好成本优的车辆调度方法的效果。

用于货物路由的方法、装置、设备和介质

NºPublicación:  CN120833105A 24/10/2025
Solicitante: 
北京京东远升科技有限公司
CN_120833105_PA

Resumen de: CN120833105A

本公开的实施例提供一种在转运中心处实现的货物路由的方法和装置。该方法包括:接收目标货物的转运单和转运单对应的第一路由线路,第一路由线路为不经过中转站点将目标货物由转运中心传输至目的仓的线路;基于和转运单对应的路由线路,对目标货物执行分货组板操作;基于路由线路和分货组板操作的结果,为同一组板的货物创建发货单;以及基于发货单和对目标货物的发货扫描结果,确定目标货物的目标发货线路。本公开的方案,可以基于第一路由线路,不经过中转站点将目标货物由转运中心传输至目的仓,并且在分货组板和发货扫描的过程中,在第一路由线路失效的情况下兼容第二路由线路。

情報処理装置及びプログラム

NºPublicación:  JP2025161143A 24/10/2025
Solicitante: 
東芝テック株式会社
JP_2025161143_PA

Resumen de: JP2025161143A

【課題】店舗で購入された商品の配達を支援することが可能な情報処理装置及びプログラムを提供する。【解決手段】買物支援システムにおいて、情報処理装置であるサーバ装置40は、配達依頼部454が、店舗を利用する特定の利用者の利用者識別情報と、特定の利用者が商品を購入した取引の取引識別情報とを店舗から受け付け、該受け付けた特定の利用者の利用者識別子と同一のグループに属する他の利用者の利用者識別子を読み出し、読み出した他の利用者の利用者識別子に対応する携帯端末10(12)に、特定の利用者が購入した商品の配達を依頼する依頼情報を送信する。そして端末装置10(12)から依頼を引き受ける回答を受け付けると、取引識別情報を少なくとも含んだ前記商品の受け取りに係る受取情報を端末装置10(12)に送信する。【選択図】図9

SISTEMA Y PROCEDIMIENTO AUTOMATICO PARA LA CERTIFICACION Y CLASIFICACION DE PAQUETERIA EN LOS PROCESOS DE LOGISTICA INVERSA DE UNA PLATAFORMA DE COMPRA-VENTA

NºPublicación:  ES3039835A1 24/10/2025
Solicitante: 
JIMENEZ MARTIN ANTONIO JOSE [ES]
JIMENEZ MARTIN, ANTONIO JOSE

一种车型与配件适配数据维护系统

NºPublicación:  CN120833115A 24/10/2025
Solicitante: 
南京爱福路汽车科技有限公司
CN_120833115_PA

Resumen de: CN120833115A

本发明提出一种车型与配件适配数据维护系统,包括:适配中台,用于存储车型数据与通用组的第一适配数据以及车型数据与OE编码的第二适配数据;门店客户端,用于获取门店用户提交的数据更新请求、待更新门店汽车配件和所述待更新门店汽车配件的OE编码,根据所述待更新门店汽车配件的OE编码确定所述待更新门店汽车配件与所述通用组的第三适配数据;数据计算平台,用于响应于所述数据更新请求,根据所述第一适配数据、所述第二适配数据和所述第三适配数据为所述门店用户更新门店数据库中的车型数据与门店汽车配件的适配数据。该系统能够灵活地根据汽车维修门店的需求为不同的汽车维修门店更新车型与门店汽车配件的适配数据。

一种猕猴桃贮藏优化管理方法及系统

NºPublicación:  CN120833112A 24/10/2025
Solicitante: 
西安市兴鸿果业有限公司
CN_120833112_PA

Resumen de: CN120833112A

本发明涉及水果贮藏技术领域,具体涉及一种猕猴桃贮藏优化管理方法及系统。方法包括:获取贮藏仓库内不同分区内猕猴桃的数量、乙烯浓度和二氧化碳浓度,根据各分区乙烯浓度增加量、二氧化碳浓度增加量和分区内的温度,得到各分区在当前时段的转移必要指标,确定待转移分区及其待选分区,根据各待转移分区的猕猴桃的数量及其待选区域的可用库存量、温度分布和转移必要指标,评价各待选分区接收对应分区内猕猴桃的适配度;根据各待选分区已接收转移的猕猴桃在被转移前所处分区与各待选分区的温度差异,获得猕猴桃多样因子,并结合适配度确定猕猴桃的目标分区并进行转移、贮藏。本发明能够根据仓库分区内猕猴桃的状态对其贮藏温度进行及时调整。

数据处理方法、装置、设备、存储介质和程序产品

NºPublicación:  CN120833100A 24/10/2025
Solicitante: 
北京京东远升科技有限公司
CN_120833100_PA

Resumen de: CN120833100A

本公开提供了一种数据处理方法,可以应用于计算机技术领域、仓储物流技术领域、人工智能技术领域和大数据技术领域。该数据处理方法包括:响应于接收到针对M个营业部的目标值确定请求,获取目标区域的参考目标值,其中,目标区域包括M个营业部;针对M个营业部中的第i营业部,获取第i营业部的基本信息数据和第i营业部在预设时间段内产生的历史数据,得到第i目标数据;根据第i目标数据生成第i营业部的第i预测目标值,得到M个预测目标值;以及根据参考目标值和预定约束条件优化M个预测目标值,展示M个营业部各自的优化目标值。本公开还提供了一种数据处理装置、设备、存储介质和程序产品。

器械清点方法、电子设备及计算机可读存储介质

NºPublicación:  CN120833891A 24/10/2025
Solicitante: 
武汉联影智融医疗科技有限公司
CN_120833891_PA

Resumen de: CN120833891A

本申请适用于医疗设备领域,提供了器械清点方法、电子设备及计算机可读存储介质,所述器械清点方法,包括:接收器械清点指令;所述器械清点指令用于清点待清点区域中的待清点器械,基于器械清点指令对待清点区域进行器械扫描,得到器械扫描结果;所述器械扫描结果包括待清点器械的标签扫描结果和待清点区域中指定位置上压力传感器的压力检测结果,检测标签扫描结果与预存的待清点器械对应的预设标签是否匹配;所述预设标签用于唯一标识所述待清点器械,在标签扫描结果与待清点器械对应的预设标签匹配的情况下,根据压力检测结果对待清点器械进行完整性检测,得到器械清点结果。本申请可以提高器械清点的准确性。

数据处理方法、装置、设备、存储介质和程序产品

NºPublicación:  CN120834993A 24/10/2025
Solicitante: 
北京京东远升科技有限公司
CN_120834993_PA

Resumen de: CN120834993A

本公开的实施例提供一种数据处理方法。该方法包括:从客户端信息存储库获取客户端的第一耗时信息,客户端是检测到网络通信的耗时异常后触发异常上报请求的客户端,第一耗时信息指示客户端完成网络通信所消耗的时长;获取客户端的客户端标识与服务端标识的映射关系;基于客户端标识与服务端标识的映射关系,从服务端标识对应的服务端信息存储库获取服务端标识对应的服务端的第二耗时信息,第二耗时信息指示服务端完成网络通信所消耗的时长;以及基于第一耗时信息和第二耗时信息生成耗时统计表,耗时统计表包括第一耗时信息和第二耗时信息。由此,客户端和服务端的耗时信息能够串联起来一并分析,网络耗时异常的排查效率得以提高。

信息处理方法、装置、设备及介质

NºPublicación:  CN120833103A 24/10/2025
Solicitante: 
希迪智驾科技股份有限公司
CN_120833103_PA

Resumen de: CN120833103A

本申请实施例提供一种信息处理方法、装置、设备及介质,包括:获取车辆当前位置、原始车库的原始车库位置信息、可装载区域的第一区域信息以及挖掘工作区域的第二区域信息;在确定原始车库的至少部分不存在于可装载区域内的情况下,基于原始车库位置信息和第一区域信息,确定存在于可装载区域内的N个推导车库以及每个推导车库的车库位置信息;针对N个推导车库中每个推导车库,基于推导车库的车库位置信息和目标信息,确定推导车库的车库参考信息;基于车辆当前位置以及目标车库的车库位置信息进行路径规划,得到用于车辆行驶至目标车库的路径。本申请实施例,能够使得车辆准确有效地到达可装载区域进行装载。

基于供应链金融平台的分布式多层数据处理方法及系统

NºPublicación:  CN120833206A 24/10/2025
Solicitante: 
山东港云数字科技有限公司
CN_120833206_PA

Resumen de: CN120833206A

本发明涉及金融业务技术领域,具体为基于供应链金融平台的分布式多层数据处理方法及系统,包括以下步骤:在企业本地节点,提取目标时间窗口内的应收账款凭证、订单与物流单据数据。本发明通过在企业本地节点对应收账款凭证、订单与物流单据数据进行目标时间窗口内的提取与字段加密拆分,并将生成的加密交易因子份额进行跨节点组合,构建分布式信用因子秘钥,可确保在原始数据不外泄的前提下实现企业间信用因子的安全共享与融合,基于秘钥对企业节点间的加密份额值进行汇聚处理,并通过归一化与映射操作获取穿透式企业信用分值,使得企业信用状况能够在跨主体、分布式计算环境中被量化呈现。

一种用于极卷烘烤自动上下料、载具回流物流系统及方法

NºPublicación:  CN120829017A 24/10/2025
Solicitante: 
惠州赣锋锂电科技有限公司
CN_120829017_PA

Resumen de: CN120829017A

本发明公开了一种用于极卷烘烤自动上下料、载具回流物流系统及方法,涉及自动化制造技术领域。包括:烘箱WMS系统、MES系统、调度系统、空托提升机、满托提升机以及极卷WMS系统;其中,烘箱WMS系统与MES系统、调度系统、极卷WMS系统及烘箱设备通信连接,调度系统与满托提升机、空托提升机及搬运设备通信连接,极卷WMS系统与调度系统通信连接。

一种多车型适配的节能型运输辅助系统及其使用方法

NºPublicación:  CN120833679A 24/10/2025
Solicitante: 
江苏瑞久物流运输有限公司
CN_120833679_PA

Resumen de: CN120833679A

本申请公开了一种多车型适配的节能型运输辅助系统及其使用方法,属于智能交通和车辆控制技术领域。该系统包括以下模块:车型适配模块,实现对不同车型的自动适配和优化配置;场景感知与分析模块,实时获取并融合道路状况、天气条件及交通流量信息,构建场景特征向量;驾驶行为分析模块,对驾驶员的操作行为进行实时分析和评价,为节能优化提供驾驶行为层面的决策依据;智能决策与优化模块,通过多目标优化算法生成基于当前工况的节能策略和驾驶建议;交互反馈模块,通过智能化的界面设计和多模态交互方式,向驾驶员清晰传达节能建议,并收集驾驶员反馈用于优化;云端管理模块,对系统运行产生的各类数据进行加密存储和深度分析。

管理系统、管理方法、以及记录介质

NºPublicación:  CN120833023A 24/10/2025
Solicitante: 
丰田自动车株式会社
CN_120833023_PA

Resumen de: US2025328836A1

The management system according to the present embodiment is a management system including a server that manages a schedule including a conveying task using a plurality of robots in a facility, wherein the server acquires arrival schedule information indicating an arrival schedule time and an arrival schedule location of a conveying target to the facility, the server specifies a type of robot that can transfer an arrival scheduled transfer target based on the arrival schedule information, and the server updates a schedule of another robot so that the specified robot can perform reception at the arrival schedule location in accordance with the arrival schedule time of the conveying target.

货运信息推送方法、装置、电子设备和计算机可读介质

NºPublicación:  CN120833094A 24/10/2025
Solicitante: 
北京京东远升科技有限公司
CN_120833094_PA

Resumen de: CN120833094A

本公开的实施例公开了货运信息推送方法、装置、电子设备和计算机可读介质。该方法的一具体实施方式包括:响应于接收到货运下单信息,确定与货运下单信息对应的货运配送信息;获取与货运配送信息相匹配的货运司机信息集和对应的司机位置信息集;基于货运司机信息集和司机位置信息集,构建货运司机特征画像,得到货运司机特征画像集;基于货运司机特征画像集和货运配送信息,对货运司机信息集进行筛选处理,以生成筛选后司机信息序列;向筛选后司机信息序列中的筛选后司机信息对应的司机终端推送货运配送信息。该实施方式与车联网有关,可以及时的向司机终端推送货运信息以及减少传输资源的消耗。

APPARATUS AND METHOD FOR AUTHENTICATING AND TRACKING PHYSICAL ITEMS

NºPublicación:  US2025330302A1 23/10/2025
Solicitante: 
RADY MAX ADEL [FR]
RADY MAX ADEL
US_2025330302_PA

Resumen de: US2025330302A1

There is provided a framework to record to a blockchain unique identification (signatures) of physical items which have unique, random properties. Physical items are analysed using spectral imaging to determine the unique identifications. Hardware is shown to perform the analysis and various nodes of a peer-to-peer network are shown and described, which nodes may be configured to provide proof of location, privacy, trust and authentication. The solution can work even if the item is modified in some way if a subset of the unique properties remain.

BIO-BASED MATERIALS WITH COMPUTER-READABLE INDICATOR

NºPublicación:  WO2025221144A1 23/10/2025
Solicitante: 
DEALIN GREEN HOLDING B V [NL]
DEALIN.GREEN HOLDING B.V
WO_2025221144_PA

Resumen de: WO2025221144A1

A bio-based material, wherein: - the bio-based material is provided in a packaging, which packaging is provided with a computer-readable indicator and/or the bio-based material itself is provided with a computer-readable indicator; and - the computer-readable indicator is indicative of at least one unique natural resource identifier.

SYSTEMS AND METHODS FOR COORDINATING MANUFACTURING OF CELLS FOR PATIENT-SPECIFIC IMMUNOTHERAPY

NºPublicación:  US2025329428A1 23/10/2025
Solicitante: 
IOVANCE BIOTHERAPEUTICS INC [US]
Iovance Biotherapeutics, Inc
US_2025329428_A1

Resumen de: US2025329428A1

A method for coordinating the manufacturing of an expanded cell therapy product for a patient may include receiving a cell order request to expand the cell therapy product for the patient; generating a patient-specific identifier or cell order identifier associated with the cell order request; and initiating a process to expand the cell therapy product from at least some of a solid tumor obtained from the patient. If acceptance parameters for the expansion cell therapy product do not meet certain acceptance criteria at a second time point subsequent to a first time point in the expansion process, it is determined whether re-performing the expansion of the cell therapy product using the cell expansion technique is possible from the first time point based on the acceptance parameters at the second time point. If such re-performing the expansion is possible, patient treatment events that use the expanded cell therapy product are rescheduled.

SYSTEMS AND METHODS FOR PREDICTIVE ANOMALY DETECTION IN PHARMACEUTICAL PROCESSING DATA

NºPublicación:  US2025329447A1 23/10/2025
Solicitante: 
EXPRESS SCRIPTS STRATEGIC DEV INC [US]
Express Scripts Strategic Development, Inc
US_2025329447_PA

Resumen de: US2025329447A1

A monitoring server is provided for learning event patterns in pharmaceutical order processing and identifying anomalous events based on learned event patterns. The monitoring server is configured to define a plurality of feeds of monitoring data from the monitored nodes using a monitoring link. The feeds of monitoring data are defined at least partially based on the monitoring vector definition. Each feed of monitoring data is associated with pharmaceutical order processing. The processor is additionally configured to determine a set of monitoring vector data for each of the plurality of feeds of monitoring data. The processor is also configured to identify a monitoring vector signature for each of the plurality of feeds. The processor is also configured to identify an anomalous data pattern. The processor is also configured to transmit an alert indicating that pharmaceutical order processing for the associated feed of monitoring data is anomalous.

SYSTEMS AND METHODS OF CONTROLLING RETAIL PRODUCT ALLOCATION AND RETAIL MARKET VARIATIONS BASED ON CUSTOMIZED INSIGHT

NºPublicación:  US2025328922A1 23/10/2025
Solicitante: 
WALMART APOLLO LLC [US]
Walmart Apollo, LLC
US_2025328922_PA

Resumen de: US2025328922A1

Some embodiments provide systems to control customized retail product performance information, comprising: a linkage mapping system to define and update linkings within a knowledge graph; a personalization recommendation system controlling different display systems to control graphical user interfaces presenting customized anomaly notification information specific to intended recipients as a function of the linkings; and a community detection system applying a set of machine learning community detection models to identify additional relationships between two or more of the entity nodes, based on feedback data from multiple intended recipients, and cause the linkage mapping system to update the multi-level linkages to embed one or more additional association links between the two or more of the entity nodes; wherein the personalization recommendation system is configured to control, based on the updated additional association links, a first graphical user interface to present first customized anomaly notification information specific to a first intended recipient.

GENERATING INSIGHTS BASED ON SIGNALS FROM MEASURING DEVICE

NºPublicación:  US2025328924A1 23/10/2025
Solicitante: 
GEORAMA INC [US]
Georama, Inc
US_2025328924_PA

Resumen de: US2025328924A1

A system is described that generates insights on the consumption or usage behavior of a product by analyzing the real-time usage of the product by one or more users. The product is placed on the measuring device for continuous monitoring of the usage of the product by those one or more users in real-time. The measuring device includes a sensor unit that generates weigh data, motion data, location data, and time consumed data of the product and transmits to a computing device. A communication device records the consumption or usage of the product by a user, along with feedback from the user. The computing device generates insights based on the sensed data generated by the measuring device, and recording and feedback at the communication device. The computing device generates reports-one for the user, and one for a merchant of the product and/or similar products-including respective insights.

SYSTEM FOR INBOUND ITEM PREPARATION IN A FULFILLMENT FACILITY

NºPublicación:  US2025328852A1 23/10/2025
Solicitante: 
TARGET BRANDS INC [US]
Target Brands, Inc
US_2025328852_PA

Resumen de: US2025328852A1

The disclosed technology provides for preparing items for packaging and shipping at a fulfillment location. A method can include receiving, using a user computing device, item information about an item, where the user computing device is configured to receive item information about a plurality of items via a server; transmitting, using the user computing device, the item information to a remote computing device, where the remote computing device is a remote database configured to store information about the plurality of items via the server; obtaining, using the remote computing device, item preparation instructions; receiving, using the user computing device, the item preparation instructions from the remote computing device; and outputting, using the user computing device, the item preparation instructions.

SYSTEMS AND METHODS BASED ON GENERALIZED MULTI-LEVEL SEARCH HEURISTIC FOR PRODUCTION NETWORK MODELS

NºPublicación:  US2025328861A1 23/10/2025
Solicitante: 
KINAXIS INC [CA]
Kinaxis Inc
US_2025328861_PA

Resumen de: US2025328861A1

Disclosed herein are methods and systems for solving a production network model by iteratively cascading supply decisions. Upstream supply decisions are fixed iteratively, and cascaded down the network in a general way that is independent of any particular use case.

Methods and Systems for Inventory Tracking and Control

NºPublicación:  US2025328858A1 23/10/2025
Solicitante: 
T MOBILE INNOVATIONS LLC [US]
T-Mobile Innovations LLC
US_2025328858_PA

Resumen de: US2025328858A1

A method comprises determining, by an inventory application of an inventory system, one or more clusters of items based on a location of each of the items, in which a cluster of the one or more clusters comprises a subset of the items located within a distance from a centroid location, determining, by the inventory application, cluster data describing the cluster and the subset of items in the cluster, emitting, by an antenna, signals towards the cluster based on the centroid location, adjusting, by the inventory application, a reader device setting of the reader device based on the cluster data and predictive model, and receiving, by the reader device, the cluster-focused data from the tags coupled to the subset of total items included in the cluster.

FORECASTING ORDERS FOR DIVERSE SET OF TIME SERIES DATASETS AT GRANULAR LEVEL USING GRAPH STRUCTURE AND GENERATIVE MODELLING

NºPublicación:  US2025328856A1 23/10/2025
Solicitante: 
ELL PRODUCTS L P [US]
Ell Products L.P
US_2025328856_PA

Resumen de: US2025328856A1

A method for managing order processing includes obtaining a set of time series datasets associated with the order processing for an order processing system, generating an adjacency matrix using the set of time series datasets and using a recurrent neural network (RNN), applying a graphical Fourier transformation on the adjacency matrix using a Laplacian matrix and an inverse graph Fourier to obtain a graph Fourier transform, applying a sequential network on the graph Fourier transform using a fast Fourier transform network and a convolution layer to obtain output features, performing a generative modeling on the output features to generate a forecasting sequence, and initiating an agent deployment of a plurality of agents on the order processing system based on the forecasting sequence, wherein the plurality of agents each provide services associated with order processing.

SYSTEMS AND METHODS FOR DATA PROTECTION DURING DYNAMIC ORDER MANAGEMENT

NºPublicación:  US2025328684A1 23/10/2025
Solicitante: 
LYNNER STEPHEN K [US]
LYNNER Stephen K
US_2025328684_PA

Resumen de: US2025328684A1

A method for safeguarding data in dynamic relational order management involves receiving a data feed and a dynamic order with various order attributes, including a protected dataset and an unprotected dataset. The protected dataset, containing a request type and a reserve execution threshold, is obfuscated from display on a respondent system. Instructions are transmitted to the respondent system to present a proposal request dataset for executing the dynamic order, comprising the unprotected dataset and the data feed. A proposal response dataset is received from the respondent system, including first and second execution values. Adjusted values are generated based on the received data, and an execution action is performed when the adjusted execution values meet the adjusted reserve execution threshold.

HYDROGEN GAS INVENTORY ACQUISITION METHOD, HYDROGEN GAS INVENTORY ACQUISITION DEVICE, HYDROGEN GAS INVENTORY ACQUISITION SYSTEM, AND HYDROGEN GAS INVENTORY MANAGEMENT SYSTEM

NºPublicación:  US2025327551A1 23/10/2025
Solicitante: 
ENEOS CORP [JP]
ENEOS CORPORATION
US_2025327551_PA

Resumen de: US2025327551A1

A management apparatus for managing an inventory amount of a hydrogen gas in a plurality of hydrogen tanks that store hydrogen gas, the management apparatus including a log data receiving circuit configured to receive log data including a plurality of parameter data measured by a plurality of instruments arranged each on hydrogen tank and identification information of each hydrogen tank, and an inventory amount calculation circuit configured to calculate an inventory amount of the hydrogen gas at an individual calculation timing that is individually set for each hydrogen tank based on the log data.

Piece Goods Cabinet and Method for Holding Available and Collecting Piece Goods

NºPublicación:  US2025325119A1 23/10/2025
Solicitante: 
DEUTSCHE POST AG [DE]
Deutsche Post AG
DE_102024110946_PA

Resumen de: US2025325119A1

A piece goods cabinet for holding piece goods to be collected, with a plurality of separate piece goods compartments for inserting and removing piece goods, with a control device for controlling the insertion and removal of piece goods into or from the piece goods compartments, and with an authentication device for authenticating a collector of the piece goods, wherein the piece goods compartments are each assigned a closure device which is adjustable from a closure position preventing access to the associated piece goods compartment into an open position allowing access to the associated piece goods compartment, wherein the control device is coupled to at least one locking device which is adjustable from a locked position locking a closure device in the closure position into a release position releasing the movement of the closure device into the open position, and wherein the authentication device is coupled to the control device for activating the control device upon successful authentication of the collector. So that collectors can remove piece goods more easily from the corresponding piece goods compartments, it is provided that at least some of the piece goods compartments have a rear wall unit which is movable within the associated piece goods compartment from a rear non-use position into at least one front use position for displacing a piece good contained in the associated piece goods compartment forwards in the direction of an opening of the piece goods compartment.

Capturing and routing IoT device communications to provide offers and conduct transactions

NºPublicación:  AU2025238134A1 23/10/2025
Solicitante: 
E2INTERACTIVE INC D/B/A E2INTERACTIVE
E2interactive, Inc. d/b/a E2interactive
AU_2025238134_A1

Resumen de: AU2025238134A1

The present invention is generally directed to a method of utilizing Internet of Things (loT) communications to provide offers or promotions to a user and initiate a transaction us­ing a user device communicatively connected to an loT device, in­cluding: receiving at an loT hub device from an loT­capable device that a product needs or should be replaced or replenished;, deter­mining one or more offers or promotions related to the product or the replacement or replenishment of the product; automatically se­lecting or receiving a selection from the user of one of the offers or promotions; and initiating the transaction for the replacement or replenishment of the product, suing the selected offer or promotion. The present invention is generally directed to a method of utilizing Internet of Things (loT) communications to provide offers or promotions to a user and initiate a transaction us-ing a user device communicatively connected to an loT device, in-cluding: receiving at an loT hub device from an loT-capable device that a product needs or should be replaced or replenished;, deter-mining one or more offers or promotions related to the product or the replacement or replenishment of the product; automatically se-lecting or receiving a selection from the user of one of the offers or promotions; and initiating the transaction for the replacement or replenishment of the product, suing the selected offer or promotion.2 Se p h e p r e s e n t i n v e n t i o n i s g e n e r a l l

IDENTIFYING ACTIVE CODE SECTIONS VIA MEMORY FORENSICS

NºPublicación:  WO2025219998A1 23/10/2025
Solicitante: 
KODEM SECURITY LTD [IL]
KODEM SECURITY LTD
WO_2025219998_PA

Resumen de: WO2025219998A1

A system of identifying an executed code section of a software process, the system comprising a processing circuitry (PC) configured to: access a memory space of a first process executing in an operating environment; identify, from contents of the memory space, a software framework of the first process; find, in the memory space, based on the identified software framework, a first code section description structure; identify, from the first code section description structure, a code section execution indicator (CSEI) associated with a first code section; and determine, based on a value of the associated CSEI, whether the first code section has been executed.

SYSTEM AND METHOD FOR ENABLING USERS TO PERFORM ONLINE ACTIVITIES ON DIGITAL-PLATFORMS BY SCANNING MEDIA-CONTENT

NºPublicación:  WO2025219961A1 23/10/2025
Solicitante: 
E GEETHAPRIYAN [IN]
E VISHNUPRIYA [IN]
E, Geethapriyan,
E, Vishnupriya
WO_2025219961_PA

Resumen de: WO2025219961A1

The present disclosure relates to system for enabling users to perform online activities on digital-platforms by scanning media-content. The system (102) include processors (202); memory coupled to processors (202), memory (204) stores instructions which when executed by processors (202) cause system (102) to receive real-time information from computing device (108) associated with user (106). The system (102) analyses real-time information to determine category of product, comestible, booking service, and generates machine-readable code. The system (102) integrates machine-readable code with product, comestible, booking service. The system (102) embed machine-readable code into source media-content, and creates cached media-content to store in server (110). The system (102) enables user to scan source media-content to read machine-readable code embedded into source media-content. The system (102) displays product, comestible, booking service associated with machine- readable code as an overlay on computing device (108), and enable user to perform online activity within the source media-content on digital-platform.

STÜCKGUTSCHRANK UND VERFAHREN ZUM BEREITHALTEN UND ABHOLEN VON STÜCKGÜTERN

NºPublicación:  DE102024110946A1 23/10/2025
Solicitante: 
DEUTSCHE POST AG [DE]
Deutsche Post AG
EP_4636668_PA

Resumen de: DE102024110946A1

Beschrieben und dargestellt ist ein Stückgutschrank (1) zum Bereithalten von abzuholenden Stückgütern (21) mit einer Mehrzahl von separaten Stückgutfächern (2,30,40) zum Einlegen und Entnehmen von Stückgütern (21), mit einer Steuereinrichtung (10) zur Steuerung des Einlegens und Entnehmens von Stückgütern (21) in oder aus den Stückgutfächern (2) und mit einer Authentifizierungseinrichtung (5) zur Authentifizierung eines Abholers des Stückguts (21), wobei den Stückgutfächern (2,30,40) jeweils eine von einer Zugriff auf das zugehörige Stückgutfach (2,30,40) verhindernden Verschlussstellung in eine Zugriff auf das zughörige Stückgutfach (2,30,40) freigebende Öffnungsstellung verstellbare Verschlusseinrichtung (3) zugeordnet ist, wobei die Steuereinrichtung (10) mit wenigstens einer von einer eine Verschlusseinrichtung (3) in der Verschlussstellung verriegelnden Verriegelungsstellung in eine das Verstellen der Verschlusseinrichtung (3) in die Öffnungsstellung freigebende Freigabestellung verstellbaren Verriegelungseinrichtung (11) gekoppelt ist und wobei die Authentifizierungseinrichtung (5) zur Aktivierung der Steuereinrichtung (10) bei erfolgreicher Authentifizierung des Abholers mit der Steuereinrichtung (10) gekoppelt ist. Damit Abholer Stückgüter einfacher aus dem entsprechenden Stückgutfächern entnehmen können, ist vorgesehen, dass wenigstens einige der Stückgutfächer (2,30,40) eine innerhalb des zugehörigen Stückgutfachs (2,30,40) von einer hin

Verfahren zum Einbringen von Lebensmittelblöcken in eine Lebensmittelverarbeitung und Verarbeitungslinie oder Vorrichtung zum Durchführen eines solchen Verfahrens

NºPublicación:  DE102024110736A1 23/10/2025
Solicitante: 
NIENSTEDT GMBH [DE]
Nienstedt GmbH

Resumen de: DE102024110736A1

Die Erfindung betrifft ein Verfahren zum Einbringen von Lebensmittelblöcken (1) in eine Lebensmittelverarbeitung. Üblicherweise werden tiefgefrorene Lebensmittelblöcke (1) in gewachsten Eingangswarenverpackungen (3) angeliefert. Beim Auspacken können Reste an den ausgepackten Lebensmittelblöcken (2) zurückbleiben.Zur Qualitätskontrolle setzt die Erfindung Scanmittel (6) ein, die nach dem Entfernen der Eingangswarenverpackung (3) die Eingangswarenverpackung (3) auf Unversehrtheit überprüfen und erst bei positivem Ergebnis den ausgepackten Lebensmittelblock (2) zur Weiterverarbeitung zu lassen.

SYSTEM AND METHOD FOR DETERMINING PRODUCT COUNT OF AN ITEM STORED IN A RACK USING SENSORS

NºPublicación:  WO2025222081A1 23/10/2025
Solicitante: 
7 ELEVEN INC [US]
7-ELEVEN, INC
WO_2025222081_PA

Resumen de: WO2025222081A1

A system includes a longitudinal rack storing a plurality of packs of cigarettes, a shoe movably attached to the rack, a magnet coupled to the shoe and a circuit board arranged along the length of the rack. The circuit board includes a plurality of sensors along the length of the rack. Each sensor generates a voltage value and an angular measurement depending on a position of the magnet in relation to the sensor. The circuit board further includes a processor configured to determine a position of the shoe/magnet based on the voltage values and the angular measurements generated by the sensors and determines a pack count of the packs based on the position of the shoe/magnet.

A SYSTEM AND A METHOD FOR DETERMINING USAGE OF REAGENT PACK AND A TRACKABLE REAGENT PACK

NºPublicación:  WO2025221437A1 23/10/2025
Solicitante: 
SIEMENS HEALTHCARE DIAGNOSTICS INC [US]
SIEMENS HEALTHCARE DIAGNOSTICS INC
WO_2025221437_PA

Resumen de: WO2025221437A1

A system for automatically determining usage of a reagent pack includes an instrument having a near field communication (NFC) reader/writer unit, a memory and one or more processors coupled to said memory. The instrument is configured to receive a reagent pack to perform one or more tests. The said reagent pack includes an NFC tag and the NFC reader/writer unit is configured to update the NFC tag based on a number of tests performed using the reagent pack.

MILK MANAGEMENT METHOD, INFANT MILK CONTAINER ATTACHMENT AND SYSTEM

NºPublicación:  US2025329435A1 23/10/2025
Solicitante: 
KONINKLIJKE PHILIPS N V [NL]
KONINKLIJKE PHILIPS N.V
US_2025329435_PA

Resumen de: US2025329435A1

Provided is a computer implemented method (100) for communicating an infant milk management recommendation to a user. The method comprises monitoring (102), overtime, data indicative of a temperature of each quantity of milk in a reserve of infant milk. The infant milk management recommendation is determined (104) at least partly based on said temperature sensor data, and the recommendation is communicated (106) to the user. Further provided is a computer program for implementing the method, an infant milk container attachment, and an infant milk management system.

制御方法、プログラムおよび出荷システム

NºPublicación:  JP2025160422A 22/10/2025
Solicitante: 
パナソニックインテレクチュアルプロパティコーポレーションオブアメリカ
JP_2025160422_PA

Resumen de: US2025033217A1

A control method used in a shipping system including a display device includes: obtaining a first product ID identifying a first product, based on sensing data obtained from a sensor; obtaining a first bottom image showing a shape of a bottom of the first product, based on (i) a first database that associates and manages product IDs and images each of which shows a shape of a bottom surface of the product corresponding to the product ID, and (ii) the obtained first product ID; and controlling the display device to display the first bottom image in a placement area for placing the first product.

意思決定支援装置および意思決定支援方法

NºPublicación:  JP2025159863A 22/10/2025
Solicitante: 
株式会社YEDIGITAL
JP_2025159863_PA

Resumen de: JP2025159863A

【課題】物流業務における管理者の意思決定をより効率的に支援すること。【解決手段】実施形態の一態様に係る意思決定支援装置は、制御部を備える。制御部は、物流業務システムから物流業務に関する実績データを収集してデータベースへ蓄積する。また、制御部は、物流業務における意思決定プロセスをガイドするUIを含む意思決定支援UIをユーザへ提供する。また、制御部は、上記意思決定支援UIを介したユーザからの要求に応じた情報である意思決定支援情報を上記実績データに基づいて分析および可視化する。また、制御部は、分析および可視化された上記意思決定支援情報をユーザへ提供する。【選択図】図1

倉庫インフラストラクチャー

NºPublicación:  JP2025535157A 22/10/2025
Solicitante: 
スリースミスグループリミテッド
JP_2025535157_PA

Resumen de: CN120051786A

A warehouse infrastructure item includes a controller and an RFID antenna. The controller is configured to: receive a motion detection signal from a sensor configured to detect movement in the vicinity of the warehouse infrastructure item; and provide a trigger signal when the motion detection signal indicates that movement is detected. The RFID antenna is configured to perform an RFID scan in response to the trigger signal to: transmit an RFID scan signal to excite one or more RFID tags in the vicinity of the RFID antenna; and providing RFID signaling representative of the one or more RFID tag signals received from the one or more RFID tags. The controller is further configured to: process the RFID signaling to determine one or more RFID tag identifiers associated with the RFID signaling; and transmit an output signal representative of the determined one or more RFID tag identifiers.

DISPENSER CAPABLE OF SUPPLYING LIQUID SOURCE AND POWDER SOURCE

NºPublicación:  EP4635384A1 22/10/2025
Solicitante: 
MANDARIN ROBOTICS INC [KR]
Mandarin Robotics, Inc
EP_4635384_PA

Resumen de: EP4635384A1

A dispenser capable of supplying a liquid seasoning and a powder seasoning, according to an embodiment, comprises: a dispenser body; a powder supply unit; a liquid supply unit; a tray positioned below the powder supply unit and the liquid supply unit; a plurality of prep containers arranged on the tray; and a control unit for controlling the powder supply unit, the liquid supply unit, and the tray, wherein any one of the plurality of prep containers may accommodate the solid seasoning discharged from the powder supply unit, accommodate the liquid seasoning discharged from the liquid supply unit, or accommodate the solid seasoning and the liquid seasoning at the same time.

AUTOMATIC COOKING APPARATUS

NºPublicación:  EP4636680A1 22/10/2025
Solicitante: 
MANDARIN ROBOTICS INC [KR]
Mandarin Robotics, Inc
EP_4636680_PA

Resumen de: EP4636680A1

An automatic cooking apparatus according to one embodiment may comprise: a worktop; a housing having at least a portion positioned below the worktop; a robotic wok; an interface, which is provided on the worktop and is operable by a user; and a control unit, which receives information from the interface, retrieves a pre-stored recipe based on the received information, and controls a first actuator and a second actuator based on the pre-stored recipe.

SYSTEMS AND METHODS FOR INDUSTRIAL WASTE CONTAINERS

NºPublicación:  EP4634844A1 22/10/2025
Solicitante: 
ATKINS ENERGY PRODUCTS & TECH LLC [US]
Atkins Energy Products & Technology, LLC
KR_20250123195_PA

Resumen de: MX2025006966A

A method for manufacturing a site-optimized storage container includes: for at least one waste product at an industrial site, obtaining location data and waste characteristic data; generating or obtaining parameter/characteristic data for a least one wastestream for the at least one waste product; based on the wastestream parameters and location data, determining at least one material for storing the waste; and generating an optimized container design based on the at least one material and storage facility data. A storage container is manufactured base on this design. A complete digital record of the custom design parameters, testing and/or lifespan measurements of each container is maintained.

GAS DETECTOR DEVICE CONTROL BASED UPON ACCESSORY IDENTIFICATION

NºPublicación:  EP4634660A1 22/10/2025
Solicitante: 
MSA TECHNOLOGY LLC [US]
MSA Technology, LLC
CN_120380340_PA

Resumen de: CN120380340A

A gas detection device (10) for detecting one or more gas analytes in an environment comprises: a housing (20) comprising an inlet (38) through which gas to be sampled from the environment enters the housing; a control system within the housing, the control system comprising a processor system (42) and a memory (44) system in communication connection with the processor system; and one or more gas sensors (30) in fluid connection with the inlet and in communication connection with the control system within the housing. Each of the one or more gas sensors is independently responsive to one of the one or more gas analytes. The control system is configured to control a flow of gas from the environment through an accessory device assembly fluidly connected to the inlet, the accessory device assembly including one or more accessory devices fluidly connected to the inlet, based on data for the accessory device assembly.

COMPUTER-IMPLEMENTED METHODS, COMPUTER PROGRAMS AND DATA PROCESSING SYSTEMS FOR DETERMINING A TRAVEL DURATION

NºPublicación:  EP4634845A1 22/10/2025
Solicitante: 
INSTABEE GROUP AB [SE]
Instabee Group AB
SE_2251477_A1

Resumen de: SE2251477A1

The present disclosure relates to the general field of transportation. More specifically, this disclosure proposes computer-implemented methods of determining a travel duration for a transportation, or travel, from a departure location to a destination location. In one aspect described herein, a departure location and a destination location for the transportation are determined. Furthermore, an estimation of a driving time from the determined departure location to the determined destination location is produced. An input data set related to the transportation is also obtained. This input data set includes at least identification data of a courier for the transportation. A correction time estimation is produced, or created, based on the obtained input data set. This correction time estimation is specific to the courier being associated with said identification data. Furthermore, the correction time is applied to the estimation of the driving time to produce the estimation of the travel duration.

METHODS AND APPARATUS FOR DETERMINING THE ORIGINATING STATUS OF A PRODUCT

NºPublicación:  EP4634842A1 22/10/2025
Solicitante: 
BASF SE [DE]
BASF COATINGS GMBH [DE]
BASF SE,
BASF Coatings GmbH
KR_20250123853_PA

Resumen de: CN120359531A

The present invention relates to methods, apparatus, systems and computer elements for generating offer data associated with a product produced from at least one inbound material and for producing at least one product associated with the offer data, where the at least one product is produced by production from at least one inbound material.

PIECE GOODS CABINET AND METHOD FOR KEEPING PIECE GOODS AVAILABLE AND COLLECTING THEM

NºPublicación:  EP4636668A1 22/10/2025
Solicitante: 
DEUTSCHE POST AG [DE]
Deutsche Post AG
EP_4636668_PA

Resumen de: EP4636668A1

Beschrieben und dargestellt ist ein Stückgutschrank (1) zum Bereithalten von abzuholenden Stückgütern (21) mit einer Mehrzahl von separaten Stückgutfächern (2,30,40) zum Einlegen und Entnehmen von Stückgütern (21), mit einer Steuereinrichtung (10) zur Steuerung des Einlegens und Entnehmens von Stückgütern (21) in oder aus den Stückgutfächern (2) und mit einer Authentifizierungseinrichtung (5) zur Authentifizierung eines Abholers des Stückguts (21), wobei den Stückgutfächern (2,30,40) jeweils eine von einer Zugriff auf das zugehörige Stückgutfach (2,30,40) verhindernden Verschlussstellung in eine Zugriff auf das zughörige Stückgutfach (2,30,40) freigebende Öffnungsstellung verstellbare Verschlusseinrichtung (3) zugeordnet ist, wobei die Steuereinrichtung (10) mit wenigstens einer von einer eine Verschlusseinrichtung (3) in der Verschlussstellung verriegelnden Verriegelungsstellung in eine das Verstellen der Verschlusseinrichtung (3) in die Öffnungsstellung freigebende Freigabestellung verstellbaren Verriegelungseinrichtung (11) gekoppelt ist und wobei die Authentifizierungseinrichtung (5) zur Aktivierung der Steuereinrichtung (10) bei erfolgreicher Authentifizierung des Abholers mit der Steuereinrichtung (10) gekoppelt ist. Damit Abholer Stückgüter einfacher aus dem entsprechenden Stückgutfächern entnehmen können, ist vorgesehen, dass wenigstens einige der Stückgutfächer (2,30,40) eine innerhalb des zugehörigen Stückgutfachs (2,30,40) von einer hin

METHODS AND SYSTEMS OF INVENTORY TRACKING AND CONTROL

NºPublicación:  EP4636667A1 22/10/2025
Solicitante: 
T MOBILE INNOVATIONS LLC [US]
T-Mobile Innovations LLC
EP_4636667_PA

Resumen de: EP4636667A1

A method comprises determining, by an inventory application of an inventory system, one or more clusters of items based on a location of each of the items, in which a cluster of the one or more clusters comprises a subset of the items located within a distance from a centroid location, determining, by the inventory application, cluster data describing the cluster and the subset of items in the cluster, emitting, by an antenna, signals towards the cluster based on the centroid location, adjusting, by the inventory application, a reader device setting of the reader device based on the cluster data and predictive model, and receiving, by the reader device, the cluster-focused data from the tags coupled to the subset of total items included in the cluster.

SYNCHRONISING CONSOLIDATED SHIPMENTS ACROSS DATABASES

NºPublicación:  EP4634846A1 22/10/2025
Solicitante: 
WISETECH GLOBAL LICENSING PTY LTD [AU]
WiseTech Global (Licensing) Pty Ltd
CN_120457443_PA

Resumen de: CN120457443A

The present disclosure relates to a method performed by a carrier computer system for synchronizing merged records between databases. The carrier system receives a booking message from a shipping agent computer system. The booking message comprises booking for transporting the physical goods. The system creates, in a database, a record for a collectively spliced booking, the collectively spliced booking including a plurality of booking. The system sends a set splicing notification message, wherein the set splicing notification message indicates that the plurality of booking cabins are spliced into the booking cabin subjected to set splicing; and monitoring an acknowledgement message from the shipping agent computer system, the acknowledgement message indicating that a record in the shipping agent computer system corresponding to the assembled record in the carrier computer system has been assembled in the shipping agent computer system, thereby the merged records are synchronized.

一种冷藏车货物全自动装卸监控及实时货量追踪方法

NºPublicación:  CN120822899A 21/10/2025
Solicitante: 
北京映急医药冷链科技有限公司
CN_120822899_PA

Resumen de: CN120822899A

本发明涉及冷藏车货量监控技术领域,公开了一种冷藏车货物全自动装卸监控及实时货量追踪方法。该方法包括部署多类型智能传感设备,采集冷藏车装卸区域的货物重量信号、位置信号及装卸动作信号;提取货物重量与位置信号的关联性特征,以及装卸事件对两类信号的调节特征;基于这些特征生成表征货量状态的状态特征,并得到目标货量概率分布;利用该概率分布对原始传感信号进行干扰抑制,分离出目标货物的目标重量波形及目标位置信号;最后结合GPS/北斗定位数据,通过云端大数据分析平台实现货物的实时货量追踪。该方法通过多源信号融合、特征深度挖掘及干扰抑制处理,实现了冷藏车货物装卸过程的全自动监控与货量动态追踪。

一种基于现代信息通信和物联网的物流垫运方法及系统

NºPublicación:  CN120822888A 21/10/2025
Solicitante: 
李友新
CN_120822888_PA

Resumen de: CN120822888A

本发明实施例公开了一种基于现代信息通信和物联网的物流垫运方法及系统,属于网络技术领域。方法包括:根据承运方和发货方商定的货物承运价格和结算周期,得到垫资需求额度和垫运时长;承运方在线创建垫运业务合作需求;为承运方的垫运业务合作需求匹配契合的垫资方,并向垫资方发送合作邀请;为承运方和垫资方的合作提供在线对接;承运方向运力方发出运货指令;对货物的运输状态进行实时追踪;货物交割;利润结算。本发明能将社会上持有资金的企业或个人和有资金需求的物流企业进行匹配对接,促成双方进行物流垫运业务合作,从而实现解决货物流通环节资金短缺的问题,并可有效提升资金的使用效率,降低物流成本。

任务分配方法、装置、电子设备、存储介质和程序产品

NºPublicación:  CN120822809A 21/10/2025
Solicitante: 
北京京东远升科技有限公司
CN_120822809_PA

Resumen de: CN120822809A

本发明提供了一种任务分配方法、装置、电子设备、存储介质和程序产品,可以应用于计算机技术、仓储技术、物流技术、机器人导航技术领域。该任务分配方法包括:根据当前匹配组合,确定距离映射,其中,当前匹配组合包括多组终端和与目标容器对应的运输任务之间的第一对应关系,终端通过执行运输任务以运输目标容器,距离映射包括每个终端与每个目标容器之间的距离;以最小化全局运输成本作为第一目标约束,根据距离映射重新确定更新匹配组合,其中,更新匹配组合包括多组终端和与目标容器对应的运输任务之间的第二对应关系;将基于各第一对应关系和各第二对应关系确定的需要调整的运输任务分配给对应的终端,以使终端执行运输任务。

一种基于多式联运的无人驾驶运载车调度方法及系统

NºPublicación:  CN120822803A 21/10/2025
Solicitante: 
南昌丹巴赫科技有限公司
CN_120822803_PA

Resumen de: CN120822803A

本发明提供了一种基于多式联运的无人驾驶运载车调度方法及系统,该方法包括:创建出多源信息采集网络,并将多源信息采集网络实时采集到的历史运输数据实时传输至预设边缘计算节点;通过预设边缘计算节点对历史运输数据进行标准化处理,以实时生成对应的标准运输数据,并实时获取运载车对应的若干车辆型号;根据标准运输数据以及预设神经网络实时训练出对应的深度学习调度模型,并通过深度学习调度模型实时提取出与每一车辆型号对应的位置变化特征以及作业规律特征;根据位置变化特征以及作业规律特征实时生成与运载车对应的调度优先级排序,根据调度优先级排序向每一运载车发送对应的调度指令。本发明能够提升运载车使用效率,提升运输效率。

基于人工智能的极地无人仓储货物识别与盘点方法和系统

NºPublicación:  CN120822909A 21/10/2025
Solicitante: 
中国极地研究中心(中国极地研究所)
CN_120822909_PA

Resumen de: CN120822909A

本发明提供一种基于人工智能的极地无人仓储货物识别与盘点方法和系统,本发明涉及人工智能、计算机视觉领域,本发明的识别与盘点方法具体包括:至少一无人车对卸货区内的货物进行数据采集,以获取所述货物的视频数据和点云数据;至少一无人机作为数据中继,将所述无人车采集的视频数据和点云数据传输至云端系统;基于纯净货物表面点云和所述视频数据的特征进行多模态融合,以实现货物实例分割,结合所述感兴趣区域内的图像信息,识别每一个货物实例的内容类别;生成所述卸货区的三维数字地图;基于所述三维数字地图,进行多维动态入库规划,以生成用于将货物从所述卸货区运输至所述无人仓储室的动态任务队列。

一种氢电混合海港物流-能源协同优化调度装置及方法

NºPublicación:  CN120824766A 21/10/2025
Solicitante: 
上海交通大学
CN_120824766_PA

Resumen de: CN120824766A

本发明公开了一种氢电混合海港物流‑能源协同优化调度装置及方法,调度装置包括氢电能源网络系统和氢电物流系统,氢电能源网络系统包括可再生能源发电机、配电网和氢能单元,氢能单元包括电解槽、储氢罐和燃料电池,储氢罐两侧分别与电解槽和燃料电池连接,电解槽和燃料分别与配电网的一个节点连接,储氢罐一侧连接有加氢站,还基于调度装置公开了一种调度方法,通过建立物流系统模型和物流‑能量协同模型,并对模型进行求解,得到物流‑能量协同调度方案。本发明采用上述装置及方法,引入氢物流设备与氢能源设备,在配电网负荷水平较高时,物流作业可由氢物流设备完成,从而有效转移配电网对物流负荷的供能压力。

一种电力过渡工程物资分类与费用计列的标准化决策系统

NºPublicación:  CN120822849A 21/10/2025
Solicitante: 
中电联电力发展研究院有限公司中国电力企业联合会电力建设技术经济咨询中心
CN_120822849_A

Resumen de: CN120822849A

本申请公开了一种电力过渡工程物资分类与费用计列的标准化决策系统,包括以下模块;标准化物资分类模块:预置专用于电网电力过渡工程的物资主数据分类体系及唯一编码规则,所述分类体系至少依据物资的核心功能属性、物理形态属性、电压等级属性、安装位置属性及材质属性进行多层级结构化划分。本发明在实施的时候,统一的分类编码实现不同地区体系间物资数据互通,提升跨区域采购与库存共享效率;通过设置用动态定额库与参数化计费引擎,使费用计列误差率明显降低;标准化流程关联停电窗口期,联动物资调配与费用审批节点,有利于缩短过渡工程周期,并实时预警费用或流程滞留的风险,降低了审计违规率。

基于数字化的供应链管理方法及系统

NºPublicación:  CN120822904A 21/10/2025
Solicitante: 
迈威科技(广州)有限公司
CN_120822904_PA

Resumen de: CN120822904A

本发明涉及数据处理技术领域,具体公开了一种基于数字化的供应链管理方法及系统,其方法包括:获取货物的历史订单量;利用有序样品聚类法对历史订单量聚类,得到多个订单量区段;获取多个订单量区段中旺季中心区段和淡季中心区段,计算任一剩余订单量区段的旺季的合并系数和淡季的合并系数,以进行合并,得到旺季段集、淡季段集和非区段集;获取与当前时段的订单量相关程度最高的旺季段集、淡季段集和非区段集中各订单量区段的子区段,以判断系数大于预设阈值时的对应子区段所在时段之后的历史订单量配置供货量。本发明提供的基于数字化的供应链管理方法及系统,能够合理划分旺季和淡季,避免供应短缺或供应过剩的问题。

使用智能穿戴设备拣货方法及智能穿戴设备

NºPublicación:  CN120822902A 21/10/2025
Solicitante: 
北京三快在线科技有限公司
CN_120822902_PA

Resumen de: CN120822902A

本公开涉及一种使用智能穿戴设备拣货方法及智能穿戴设备,涉及仓储拣货管理技术领域,该方法包括:根据目标配送员发起从目标仓库中进行拣货的拣货指令,生成订单查询请求,根据订单查询请求,获取与当前登陆的配送端账号关联的拣货订单信息,根据拣货订单以及目标仓库的货物存储记录,确定待分拣货物的拣货提示信息,当目标配送员到达目标待分拣货物所在的货位,获取智能穿戴设备采集的目标拣货阶段的图像,基于对目标拣货阶段的图像进行识别的识别结果与拣货订单信息中的目标待分拣货物比对,确定目标配送员针对目标待分拣货物的拣货结果,根据拣货结果更新与目标待分拣货物对应的订单。采用该方法可以提高配送员的拣货效率。

基于数字孪生的低碳制造车间AGV选型配置多目标优化方法

NºPublicación:  CN120822413A 21/10/2025
Solicitante: 
湖南现代物流职业技术学院
CN_120822413_PA

Resumen de: CN120822413A

本发明公开了基于数字孪生的低碳制造车间AGV选型配置多目标优化方法,涉及数字孪生技术领域。方法包括:生成物流无向图,用事件树分析法计算任务区域风险指数并归一化;根据作业节点承载属性和生产任务数据,计算数量差与匹配度,筛选可选作业节点;利用元胞自动机和蚁群算法求解停放区域到任务地点的最短路径,结合遗传算法优化停放区域选址;在无向图中基于遗传算法筛选最优运输路径;构建以AGV数量最小化和利用率最大化为目标,包含任务时间窗约束的多目标优化配置模型;根据结果确定AGV选型配置与物流调度方案,通过数字孪生模型动态更新路径权重并仿真验证,实现资源优化配置。该方法提高了AGV资源配置效率和车间低碳运行水平。

一种基于大数据的物料管控方法及系统

NºPublicación:  CN120822903A 21/10/2025
Solicitante: 
谦泰实战数智供应链管理(杭州)有限公司
CN_120822903_A

Resumen de: CN120822903A

本发明提供一种基于大数据的物料管控方法及系统,涉及物料管控技术领域。该基于大数据的物料管控方法,具体包括以下步骤:S1.基于四象限动态分类模型识别高价值‑高风险的战略物料;S2.通过实时价格敏感度追踪与趋势预警模型监控价格波动;S3.根据供需弹性系数动态调整库存与采购策略;S4.生成成本波动率曲线并关联历史数据以支持决策;S5.基于层级聚合模型监控品类成本异常波动。本发明通过四象限动态分类模型精准识别高价值‑高风险物料,优化资源配置,系统整合多源数据,实现实时价格预警,降低市场波动风险,供需弹性驱动决策动态调整库存,平衡成本与风险,质量‑成本关联分析减少隐性损失,提升了长期竞争力。

储氢设施布局优化方法、装置、计算机设备、介质及产品

NºPublicación:  CN120822740A 21/10/2025
Solicitante: 
中国长江三峡集团有限公司
CN_120822740_PA

Resumen de: CN120822740A

本发明涉及电子技术领域,公开了储氢设施布局优化方法、装置、计算机设备、介质及产品,方法利用预设多目标优化算法对优化布局模型求解,得到储氢设施的目标布设数量、各储氢设施的目标布设位置以及目标装机容量;基于储氢设施的目标布设数量、各储氢设施的目标布设位置以及目标装机容量确定目标区域内储氢设施的优化布局方案。本发明提供的方法,通过求解优化布局模型,得到在成本、运输效率、安全性三方面最优的储氢设施的目标布设数量、各储氢设施的目标布设位置以及目标装机容量,基于储氢设施的目标布设数量、各储氢设施的目标布设位置以及目标装机容量确定目标区域内储氢设施的优化布局方案,实现了对储氢设施的建设和运营资源的合理配置。

一种涤纶布生产全过程监控管理方法及系统

NºPublicación:  CN120822775A 21/10/2025
Solicitante: 
南通百拓纺织有限公司
CN_120822775_PA

Resumen de: CN120822775A

本发明提出了一种涤纶布生产全过程监控管理方法及系统。属于生产过程监控技术领域;所述方法包括:在涤纶布生产线的各个关键节点,部署多种类型的传感器;实时采集与涤纶布生产相关的各类物理参数和环境信息;同时,集成生产设备的运行状态监测系统,获取设备数据;对从涤纶布生产全息感知架构中获取的多源异构数据进行深度融合处理;构建数据关联模型;基于该模型,结合涤纶布生产的工艺流程和质量标准,对生产态势进行全面评估;通过生产态势评估,生成生产态势评估报告;全流程数据追溯体系为质量纠纷、原料问题等提供了可追溯依据,增强了对供应链风险的把控能力,同时满足了下游客户对产品溯源的需求,提升了品牌信任度。

一种基于区域和货位的仓库精细化管理装置和方法

NºPublicación:  CN120815308A 21/10/2025
Solicitante: 
国网江苏省电力有限公司盱眙县供电分公司
CN_120815308_PA

Resumen de: CN120815308A

本发明属于仓库安全管理技术领域,具体的说是一种基于区域和货位的仓库精细化管理装置和方法,包括底座,所述底座的底部固定连接有多个电动万向轮,利用线型光束感烟探测器对仓库是否有火灾进行检测,同时,可向斜管一内充气,调整线型光束感烟探测器与水箱之间的距离,进而便于线型光束感烟探测器对不同区域进行火灾检测,并扩大检测范围,当检测到有火灾发生时,启动水泵与警报器,启动警报器后,将发出声光信号提醒人员火灾的发生,以便人员及时发现火灾并来救火,启动水泵后,将水从水箱内抽出,并通过喷头喷向着火点,从而进行灭火,进而能够在人员赶到现场前对着火点进行灭火处理,继而能够降低因着火而产生的损失。

一种应用于天然铀桶的物流智能管理系统及方法

NºPublicación:  CN120822896A 21/10/2025
Solicitante: 
中核新疆供应链有限公司
CN_120822896_PA

Resumen de: CN120822896A

本发明公开了一种应用于天然铀桶的物流智能管理系统及方法,涉及物流管理技术领域,本发明通过扫描天然铀桶标签获取信息并分类,对未使用、使用过及检验不合格的天然铀桶分别处理,确保待用天然铀桶安全可靠,为后续装铀及运输提供合格容器。通过检查运输工具和人员资质,在运输过程中实时监控位置、压力、辐射等数据,利用安全传感器检测并反馈数据,根据路面情况、拥堵程度等调整运输策略,实现天然铀桶装铀后的全链条放射性安全运输。通过取得监管部门批准后清理使用后的天然铀桶,分类储存并定期检查维护,记录存档相关信息,保障天然铀桶后续使用安全,实现对天然铀桶的全流程智能管理。

一种基于区块链的智能仓库管理系统

NºPublicación:  CN120822906A 21/10/2025
Solicitante: 
江苏优阳智能科技有限公司
CN_120822906_PA

Resumen de: CN120822906A

本发明公开了一种基于区块链的智能仓库管理系统,包括数据采集模块,采集货物基本信息、出入库时间、位置信息、状态信息数据;区块链存储模块,采用分布式账本技术构建,存储从数据采集模块获取的数据以及系统产生的关键信息;智能合约模块,预先设定多种业务规则和操作条件,当系统监测到满足预设条件的事件发生时,自动触发相应操作;本发明有益效果是:通过区块链技术实现数据的实时同步和自动校验,减少人为干预和数据偏差,提高数据的准确性和可靠性;区块链技术实现不同系统之间的数据互通和共享,打破信息孤岛,提升数据的利用效率和决策的准确性,增强供应链协同效率。

一种基于全生命周期的管道管径节能优化评估方法、系统、处理设备及存储介质

NºPublicación:  CN120822294A 21/10/2025
Solicitante: 
中海石油(中国)有限公司中海石油(中国)有限公司北京研究中心
CN_120822294_PA

Resumen de: CN120822294A

本发明涉及一种基于全生命周期的管道管径节能优化评估方法、系统、处理设备及存储介质,其特征在于,包括:确定不同管道管径的管道输送压降;根据不同管道管径的管道输送压降,计算输送损耗的电量,并根据实际或预测的电费,计算得到不同管道管径的全生命周期内的逐年运行损耗电费;将不同管道管径的全生命周期内的逐年运行损耗电费折现到初始投资年,得到不同管道管径的运行费用折现值;根据不同管道管径的管道初始投资和运行费用折现值,确定不同管道管径的总成本现值,并选取总成本现值最低的管道管径作为最优管径,本发明打破了以往只按初始投资选择管径的局限,可以广泛应用于优化评估领域中。

一种用于高压配电盒生产的物流标记方法、系统和电子设备

NºPublicación:  CN120822533A 21/10/2025
Solicitante: 
江苏由甲申田新能源科技有限公司
CN_120822533_PA

Resumen de: CN120822533A

本申请公开了一种用于高压配电盒生产的物流标记方法、系统和电子设备,属于物流标记技术领域,包括对目标物进行分类,并且对每个类别设置对应的标签模板,标签模板上记录了对应分类的打印内容和比对内容;在各个目标物上设置标记,标记中记录有对应类别的比对内容;在多个分类中确定待检测的目标分类,并调用目标分类的标签模板;在目标物中获取待测物,并获取待测物的比对内容;在目标分类中的比对内容与待测物的比对内容一致时,判定待测物的分类与目标分类匹配,输出目标分类的打印内容。本申请对目标物进行分类,并针对每个分类设置对应的标签模板,以包含对应的打印内容和比对内容,以适应多品种的生产需求。

基于多源数据融合的物流运输管理方法及系统

NºPublicación:  CN120822891A 21/10/2025
Solicitante: 
四川新沪物流有限公司
CN_120822891_PA

Resumen de: CN120822891A

本发明涉及物流管理技术领域,具体为一种基于多源数据融合的物流运输管理方法及系统,包括以下步骤:实时监测车辆运输时长并计算拥堵积分,结合预计补货时间判断重合时段并生成节奏窗口,匹配仓储发运时间并排序生成路径段编码,拟合路径筛选车辆绑定标签,发送指令监测路径一致性并生成调度结果。本发明中,通过实时监测运输时长并生成拥堵积分,结合补货任务时间动态生成节奏窗口,对拣货顺序、通道使用及发运时间进行路径段编码,基于路径拟合筛选车辆资源并绑定路径标签,实时监测配送一致性生成调度指令,统一分析多维数据并时序化驱动,减少干预提升效率,路径编码匹配轨迹并结合拥堵调整规避冲突与冗余,缩短响应周期。

基于多功能监测浮标的冷源致灾物预警信息显示方法及装置

NºPublicación:  CN120822722A 21/10/2025
Solicitante: 
上海阿波罗机械股份有限公司
CN_120822722_PA

Resumen de: CN120822722A

本申请涉及冷源致灾物预警的技术领域,公开一种基于多功能监测浮标的冷源致灾物预警信息显示方法及装置,包括:通过多功能监测浮标获取实时多源监测数据;对实时多源监测数据进行分布式储存管理;根据实时多源监测数据进行融合整理后发送识别模型进行风险评估分值的获取;对实时多源监测数据进行融合分析处理,根据融合分析处理的结果对风险评估分值进行修正后得到风险实时评分;根据风险实时评分进行阈值判断,在需要发出风险提示时进行预警信息推送显示。可通过在多功能监测浮标上集成多种监测设备,基于多信道无线高速传输技术与协同控制技术,实现空中、水面、水下、海岸组成的立体空间内对灾害要素的综合协同监测,全面提升预警的可靠性。

一种基于策略驱动的无人车调度系统及方法

NºPublicación:  CN120822846A 21/10/2025
Solicitante: 
睿羿科技(山东)有限公司新疆舜泰智能科技有限公司
CN_120822846_PA

Resumen de: CN120822846A

本发明属于车辆控制、调度相关技术领域,具体是一种基于策略驱动的无人车调度系统及方法,系统采用三层架构,包括框架层:包含可视化人机交互界面、调度服务系统、自动驾驶系统,提供数据管理、工单管理、调度任务执行及无人车状态反馈功能,该层在新增业务场景时保持不变;策略层:支持动态配置、管理策略三要素,提供调度规则与参数的定制化界面,其中策略三要素包括调度算法插件程序、参数配置页面、新建工单页面;调度层:实例化运行调度逻辑,关联特定策略,调用框架层功能以及策略层定义的调度能力指挥无人车完成调度作业,实现业务工单履约。本系统及方法具有快速场景适配、系统兼容性强、开发成本低、业务配置灵活等优势。

运输轨迹拼接方法、装置、物联网平台端、介质及产品

NºPublicación:  CN120822898A 21/10/2025
Solicitante: 
中国外运股份有限公司
CN_120822898_PA

Resumen de: CN120822898A

本发明提供一种运输轨迹拼接方法、装置、物联网平台端、介质及产品,涉及轨迹拼接技术领域,应用于物联网平台端,该方法包括:确定目标运输链缓存信息;根据信息解析规则和目标运输链缓存信息的单据类型对目标运输链缓存信息进行信息解析,得到缓存信息解析结果;根据轨迹拼接算法对缓存信息解析结果进行运输轨迹拼接,得到目标运输轨迹拼接结果。本发明的技术方案,基于信息解析规则对目标运输链缓存信息的单据类型进行格式处理,基于轨迹拼接算法对缓存信息解析结果建立轨迹连接关系,基于缓存信息解析结果的轨迹连接关系进行轨迹拼接,得到目标运输轨迹拼接结果,提升轨迹拼接的准确性和拼接效率。

智慧口岸物流通关一体化服务方法及系统

NºPublicación:  CN120822794A 21/10/2025
Solicitante: 
浙江电子口岸有限公司
CN_120822794_PA

Resumen de: CN120822794A

本发明提供智慧口岸物流通关一体化服务方法及系统,涉及智能控制技术领域,所述方法包括:响应申报操作指令,将状态标识符更新为已申报状态标识符;基于已申报状态标识符,通过靠离泊计划调整值修正引航时间窗口,生成引航作业计划实体并写入拖轮配置待处理队列;对拖轮配置待处理队列进行轮询,响应拖轮配置完成指令,适配拖轮动力参数并更新状态;基于引航计划数据实体和引航作业计划实体生成船舶进出境结构化数据包,提交至口岸监管系统获取联合状态码;匹配联合状态码与预设阈值,触发船舶状态机切换为结关终态或反结关终态。本发明减少了审批环节的人工干预,缩短了引航申请从提交到审批通过的周期。

基于医学大模型的模型去偏见方法、装置、设备和介质

NºPublicación:  CN120824038A 21/10/2025
Solicitante: 
海盐县南北湖医学人工智能研究院提示词科技(杭州)有限责任公司
CN_120824038_PA

Resumen de: CN120824038A

本公开的实施例公开了基于医学大模型的模型去偏见方法、装置、设备和介质。该方法的一具体实施方式包括:对多模态医学数据集进行多层级去偏见校正后进行数据均衡分组,得到多模态均衡医学训练数据集;对服务器集群进行资源检测;将多模态均衡医学训练数据集输入至医学大模型,得到多模态医学诊断信息集;将多模态医学诊断信息集和多模态医学样本诊断信息集输入至多模态对抗公平去偏损失函数,得到模型损失值;对多模态均衡医学测试数据集进行模型去偏见处理后对药物推荐模型进行模型训练,以及控制送药机器人进行运输。该实施方式可以提高服务器集群的资源负载均衡、去偏见后医学数据的质量,提高模型的训练速度和精准控制机器人运送药物。

自动化集装箱码头多船作业分析系统及方法

NºPublicación:  CN120822663A 21/10/2025
Solicitante: 
天津港第二集装箱码头有限公司
CN_120822663_PA

Resumen de: CN120822663A

本发明属于自动化集装箱码头作业优化技术领域,具体涉及一种自动化集装箱码头多船作业分析系统及方法。融合TOS、ABB、U I监控停时、局调及TOS外围系统的多维数据,集成开发多船作业分析系统,该系统包括数据采集模块、多船作业分析数据库和多船作业分析模块。基于船舶作业数据库开发多船作业分析系统,自动从时间及船舶维度比较多条船舶作业数据,消除传统码头多船比对分析数据收集不完整、制作耗时长等缺点,增强码头船舶生产作业的透明度,为码头生产运营提供多维度的数据支持。

一种库存结转方法、系统、智能终端及存储介质

NºPublicación:  CN120822910A 21/10/2025
Solicitante: 
浙江乐檬信息技术有限公司
CN_120822910_PA

Resumen de: CN120822910A

本申请涉及一种库存结转方法、系统、智能终端及存储介质,涉及库存结转技术领域,其方法包括:接收用户提交的库存结转请求,并根据库存结转请求确定目标结转时间段;对目标结转时间段内的库存业务单据进行历史库存冻结操作,得到冻结库存单据;获取冻结库存单据中的商品信息;匹配与商品信息对应的成本调整算法;使用成本调整算法对冻结库存单据进行成本调整操作,得到结转库存单据;基于结转库存单据中的商户、商品、仓库及日期维度生成库存快照记录;将库存快照记录写入快照数据库中。本申请具有改善在进行库存结转的过程中存在的难以确保结转成本的一致性问题的效果。

一种用于区块链物流的传感器数据修正方法及装置

NºPublicación:  CN120822161A 21/10/2025
Solicitante: 
温州职业技术学院
CN_120822161_PA

Resumen de: CN120822161A

本申请涉及区块链物流技术领域,具体提供了一种用于区块链物流的传感器数据修正方法及装置,该方法包括以下步骤:基于物联网传感器的位置对所有环境参数进行划分,以得到多个第一数据组;针对每个第一数据组,去除超出异常值范围的环境参数,以得到第二数据组;针对每个第二数据组,根据预设票数和环境参数对应的第一权重计算各个环境参数对应的加权票数,然后将加权票数最多的环境参数上链;该方法有效地解决由于将测量精度和稳定性较差的物联网传感器采集到的数据上传至区块链而导致区块链上的部分环境参数失真、区块链的数据可靠性下降和区块链上的环境参数无法准确反应生鲜商品的运输环境的问题。

一种全产业链接平台供应链协同管理方法及系统

NºPublicación:  CN120822928A 21/10/2025
Solicitante: 
北京北方科诚信息技术股份有限公司北京中科数字巨人科技股份有限公司
CN_120822928_PA

Resumen de: CN120822928A

本申请公开一种全产业链接平台供应链协同管理方法及系统,其中,一种全产业链接平台供应链协同管理方法包括:采用区块链与轻量级加密构建分布式供应链数据仓库;生成多维度匹配度得分表推荐供应商;对加密投标文件进行解密存储,按定量指标与专家定性指标计算综合得分;构建分层预测模型,输出三维度预测结果;根据供需弹性系数耦合算法计算供需缺口,自动生成订单并实时同步至各端;搭建供应链数字孪生模型,通过智融路况算法动态规划最优运输路线;自动发送预警信息生成应对策略,整合全链路运营数据进行可视化展示;本申请旨在解决现有供应链数据割裂、供应商匹配低效、需求预测精度低、物流规划僵化、风险监测滞后、各环节协同性差的问题。

基于AI大模型的物流供应链协同优化方法及系统

NºPublicación:  CN120822894A 21/10/2025
Solicitante: 
海盟控股集团有限公司
CN_120822894_PA

Resumen de: CN120822894A

本公开提供了一种基于AI大模型的物流供应链协同优化方法及系统,涉及数据处理技术领域。所述方法包括:采集目标产品的物流供应链上各物流环节中的各流通维度的物流数据;基于各流通维度下的物流数据确定对应的流通维度突变度,将流通维度中目标流通维度的流通维度突变度确定为目标产品的用户需求突变度;基于流通维度突变度及用户需求突变度确定各物流环节的初始环节冲击度;基于各物流环节在物流供应链上的位置信息修正初始环节冲击度,得到目标环节冲击度;识别高压环节,并基于其目标环节冲击度修正其关联环节的物流数据;将修正后的物流数据输入物流大模型,以实现对物流供应链的优化。本公开实现了物流供应链各环节的协同优化。

电气化公路大宗物流运输AI智能调度管控方法及系统

NºPublicación:  CN120822901A 21/10/2025
Solicitante: 
中科富创(贵州)智能技术有限公司
CN_120822901_PA

Resumen de: CN120822901A

本发明涉及公路综合管控技术领域,具体公开了一种电气化公路大宗物流运输AI智能调度管控方法及系统,所述方法包括接收订单信息,根据订单信息匹配目标车辆;根据订单信息中的起点和终点确定预设数量的车辆路径,基于天气服务在每一车辆路径中标记异常段,根据标记结果更新车辆路径;对所有车辆路径进行评估,确定最终路径;基于预先获取到的权限实时获取目标车辆的车辆参数,根据车辆参数生成指向能源节点的调度指令,向目标车辆发送。本发明提供了一个面向多方的综合调度系统,接收到订单信息后,匹配目标车辆,生成运输任务,在运输过程中,实时获取车辆信息,对车辆运输过程进行把控,协调性极强。

一物一码全生命周期追踪系统

NºPublicación:  CN120822971A 21/10/2025
Solicitante: 
深圳市易仓科技有限公司
CN_120822971_PA

Resumen de: CN120822971A

本发明涉及智能制造技术领域,尤其涉及一物一码全生命周期追踪系统。所述系统包括图像绑定模块、商品自动化入库模块、安全货架识别模块、商品全生命周期追踪模块;获取商品生产数据;根据商品生产数据生成商品唯一序列号;基于商品唯一序列号进行图像采集,得到商品序列号图像;根据商品序列号图像进行标签褶皱检测,得到标签褶皱数据;基于标签褶皱数据进行标签断裂评估,得到标签断裂数据,并基于标签断裂数据优化标签生产工艺,得到标签优化数据;基于标签优化数据进行商品自动化入库模拟,得到商品自动化入库数据;根据商品自动化入库数据进行库存动态管理,得到库存动态管理数据。本发明基于智能制造技术提高商品管理精度与出入库效率。

一种物流订单管理系统及方法

NºPublicación:  CN120822889A 21/10/2025
Solicitante: 
海南乘鸿进出口贸易有限公司
CN_120822889_PA

Resumen de: CN120822889A

本申请公开了一种物流订单管理系统及方法,属于物流信息管理技术领域。该方法包括以下步骤:步骤1,为每一物流订单生成唯一的数字指纹;步骤2,对订单信息执行多层级安全加密与状态同步管理;步骤3,构建订单对应的数字孪生模型,实时采集、预处理并可视化展示物流过程中的关键数据,实现全过程动态监控;步骤4,基于订单状态共识机制,自动匹配最优物流资源并驱动订单处理流程,同时生成可验证的订单执行证明链;步骤5,对订单全生命周期数据进行智能分析与自适应优化,持续提升物流管理的整体效率与精度。

低空无人机送货系统的多路径优化方法

NºPublicación:  CN120822677A 21/10/2025
Solicitante: 
超级视线科技有限公司
CN_120822677_PA

Resumen de: CN120822677A

本发明公开了低空无人机送货系统的多路径优化方法,涉及无人机物流技术领域,该方法包括:通过低空无人机送货系统获取N个送货无人机、N个无人机性能参数和N个无人机送货任务,通过传感器组采集获取N个无人机飞行数据;进行三维建模,搭建无人机送货空间模型;构建无人机送货成本函数,得到N个无人机送货路径;实时监测获取无人机状态数据和环境数据,对N个无人机送货路径进行调控优化,确定N个无人机优化送货路径。本发明解决了现有技术中低空无人机送货存在路径规划效率低,安全性不足的技术问题,达到了实现低空无人机送货系统多路径的高效优化,确保路径安全的技术效果。

一种订单分配方法、装置、电子设备及存储介质

NºPublicación:  CN120822719A 21/10/2025
Solicitante: 
北京京东远升科技有限公司
CN_120822719_PA

Resumen de: CN120822719A

本发明实施例公开了一种订单分配方法、装置、电子设备及存储介质。该方法包括:在当前存在未组合订单的情况下,基于自动化仓库中已分配集合单的已分配槽位的承接状态信息,在已分配槽位中确定出满足预设追加条件的待追加槽位;基于待追加槽位,确定用于承接未组合订单的目标槽位;将未组合订单分配至目标槽位对应的目标工作站,以使目标工作站执行与未组合订单对应的拣选任务。本发明实施例的技术方案,可以提高订单分配和拣选效率,能够快速地为未组合订单分配槽位,减少等待时间,实现避免造成时间浪费的效果。

一种蓄冷式冷藏车辆剩余冷量实时计算方法

NºPublicación:  CN120821933A 21/10/2025
Solicitante: 
中华全国供销合作总社济南果品研究所
CN_120821933_A

Resumen de: CN120821933A

本发明涉及一种蓄冷式冷藏车辆剩余冷量实时计算方法,包括以下步骤:步骤1、计算蓄冷式冷藏车辆的车厢传热系数和蓄冷式冷藏车的热负荷;步骤2、计算蓄冷式冷藏车辆的蓄冷剂的冷量,并根据步骤1计算获得的蓄冷式冷藏车的热负荷,计算总的热量输入;步骤3、计算蓄冷式冷藏车辆的实时剩余冷量。本发明通过温湿度、风速、光照、压力传感器能够实时准确计算剩余冷量。

一种能源即时配送服务平台及实现方法

NºPublicación:  CN120822895A 21/10/2025
Solicitante: 
浙江爱客智能科技有限责任公司
CN_120822895_PA

Resumen de: CN120822895A

本发明公开了一种能源即时配送服务平台及实现方法,具体涉及智能调度技术领域;是通过接收电车发送的换电服务订单,提取电车位置信息和电池需求信;通过分析电车的电源需求特征,执行需求匹配评估以确定需求优先级,得到需求分析结果;通过执行配送可行性评估以生成匹配方案,得到初步配送计划;结合需求分析结果和资源状态信息,执行配送可行性评估以生成匹配方案,得到初步配送计划,并优化配送路径与调度时序,生成优化后的配送方案;根据优化后的配送方案,执行配送调度指令以触发配送车辆执行换电服务,实现新能源电车的高效、智能化能源配送服务。

一种智能仓储物流教学沙盘系统

NºPublicación:  CN120823746A 21/10/2025
Solicitante: 
湖北三丰小松物流技术有限公司
CN_120823746_PA

Resumen de: CN120823746A

本发明公开了一种智能仓储物流教学沙盘系统,包括以下模块:订单管理模块,用于通过WebSocket协议接收并解析JSON格式的教学模拟订单,生成包含物料SKU编码、批次号和紧急程度的物料需求任务;路径规划模块,采用改进Dijkstra算法计算考虑时间约束的最优搬运路径;设备控制模块,通过CANopen协议驱动沙盘中的AGV小车和六自由度机械臂;状态监控模块,集成RFID、激光雷达和惯性测量单元IMU;中央处理模块,采用ROS机器人操作系统架构;教学评估模块,自动生成包含雷达图和趋势曲线的评估报告;该智能仓储物流教学沙盘系统,提供虚实融合的沉浸式教学体验,数字孪生与实体沙盘毫秒级同步,Unity3D引擎支持四种交互模式,SIL2安全等级控制接口保障操作安全,支持全周期学习流程。

基于“端-边-云”协同的智能快递分拣机系统及分拣方法

NºPublicación:  CN120815730A 21/10/2025
Solicitante: 
吉林化工大学
CN_120815730_PA

Resumen de: CN120815730A

本发明公开了一种基于“端‑边‑云”协同的智能快递分拣机系统及分拣方法,涉及物流自动化技术领域。该系统通过多模态识别装置、智能自适应调控装置、设备连接与管理模块、自适应分拣执行机构以及物流数据智能分析系统协同工作。多模态识别装置融合图像识别与射频识别技术,提升包裹识别准确性;智能自适应调控装置实时监测并调整传送带与分拣口工作状态;设备连接与管理模块实现设备与云端深度连接,便于远程监控管理;自适应分拣执行机构灵活处理不同类型包裹;物流数据智能分析系统挖掘数据价值优化运营。本发明解决了现有快递分拣技术效率低、准确性差、适应性弱等问题,实现高效、精准、智能的快递分拣,满足现代物流行业需求。

基于行为模式的新能源产业供应链监测预警方法及系统

NºPublicación:  CN120822832A 21/10/2025
Solicitante: 
衢州学院
CN_120822832_PA

Resumen de: CN120822832A

本申请提供了基于行为模式的新能源产业供应链监测预警方法及系统,涉及新能源技术领域,所述方法包括:在新能源产业链配置K个边缘行为识别单元;当第一边缘行为识别单元检测到第一行为偏离特征时,在供应链拓扑定位W个下游级联识别单元;响应第一边缘行为识别单元发送的预警风险指令后,分析并回传W个关联行为偏离特征;融合第一行为偏离特征和W个关联行为偏离特征,输出可视化告警图谱。通过本申请解决了现有技术中由于供应链监测缺乏全局视角,导致对潜在风险的识别和预警不全面,从而影响新能源产业供应链稳定性的技术问题,通过识别供应链中各节点的行为偏离特征,结合下游级联识别和云端融合,提高了新能源产业供应链的稳定性。

一种注塑车间总管理系统及管理方法

NºPublicación:  CN120822776A 21/10/2025
Solicitante: 
天津市久跃科技有限公司
CN_120822776_A

Resumen de: CN120822776A

本发明公开了一种注塑车间总管理系统,包括:人员管理模块:包括人员信息登记单元、员工培训单元、绩效考核单元;生产计划管理模块:包括生产任务制定单元,用于制定生产任务;生产任务分配单元,将生产任务分配给各个部门;生产进度跟踪单元,实时跟踪生产进程;物料管理模块:包括原料采购单元、物料库存管理单元和使用记录管理单元、物料短缺提醒单元、产品库存管理单元;生产过程管理模块:包括生产过程监控单元、生产设备管理单元、生产数据采集单元;生产质量管理模块:包括产品检测单元、合格品编号单元、不合格品编号单元。本发明便于对车间进行管理。

一种基于数字孪生技术的智能仓储动态优化系统

NºPublicación:  CN120822660A 21/10/2025
Solicitante: 
山东捷瑞信息技术产业研究院有限公司
CN_120822660_A

Resumen de: CN120822660A

本发明公开了一种基于数字孪生技术的智能仓储动态优化系统,包括以下步骤:S1:创建数字孪生模型:获取实体仓库的基础数据和构建精确的数字模型;S2:数据收集与整合:部署物联网设备和实现数据的实时传输与处理;S3:构建分析算法:开发高级分析算法和实施机器学习模型;S4:动态优化与调整:自动调整存储布局和优化出入库流程;S5:预测与预警:基于历史数据分析预见潜在问题和设置警报机制。本发明显著提高了数据实时性和准确性,增强环境监控能力和保障货物安全,大幅提升空间利用率。

基于物联网设备的药品出库分析监管方法及系统

NºPublicación:  CN120823948A 21/10/2025
Solicitante: 
浙江大学医学院附属第一医院(浙江省第一医院)
CN_120823948_PA

Resumen de: CN120823948A

本发明提供一种基于物联网设备的药品出库分析监管方法与系统,属于监管技术领域,具体包括:当核验处理策略的核验处理延时不满足要求时,以药品与其它药品在联合使用时的关注身体指标数据以及出库数据,确定药品与其它药品在物联网设备中的核验处理策略的更新结果,以药品与其它药品在物联网设备中的核验处理策略为基础,确定药品在不同的检查数据的患者中在物联网设备的核验目标,提升了联合使用禁忌的识别处理的可靠性。

一种基于人工智能的物流仓储监控系统

NºPublicación:  CN120822892A 21/10/2025
Solicitante: 
天津小铁马科技有限公司
CN_120822892_PA

Resumen de: CN120822892A

本发明涉及监控系统技术领域,公开一种基于人工智能的物流仓储监控系统,所述物流仓储监控系统包括:数据采集模块,由部署在仓储立体货架上的环境传感器阵列、药品批次标识单元和空间定位装置构成,所述环境传感器阵列实时采集温度、湿度、振动参数,所述药品批次标识单元存储药品唯一编码和批次属性数据。本发明通过建立药品批次‑环境传感器的动态关联模型,结合空间插值算法与三维坐标映射技术,实现异常事件与药品批次的精准关联。当某区域发生环境异常时,系统可快速定位受影响药品批次且生成追溯图谱,相较于现有技术中环境数据与药品位置脱节的方案,解决异常追溯效率低、高价值药品易变质的问题。

一种智能塑托管理系统、方法以及电子设备

NºPublicación:  CN120822905A 21/10/2025
Solicitante: 
浙江久鼎智联科技有限公司
CN_120822905_PA

Resumen de: CN120822905A

本申请涉及物流仓储管理的技术领域,尤其是涉及一种智能塑托管理系统、方法以及电子设备,其系统包括采集标识模块,采集标识模块用于获取待管理塑托的生产数据,并依据生产数据生成身份标识,基于身份标识实时采集对应的状态数据;数据处理模块,数据处理模块与采集标识模块网络连接以获取待管理塑托对应的状态数据,基于状态数据对待管理塑托进行状态标识,以获取管理标识;管理输出模块,管理输出模块与数据处理模块网络连接以接收管理标识,并依据管理标识生成对应的管理方案,将管理方案以用户界面进行展示。本申请提高待管理塑托的智能化管理,提升待管理塑托的管理效率、降低错误率。

一种应用于立体仓库的仓库物料管理和调度方法及系统

NºPublicación:  CN120817369A 21/10/2025
Solicitante: 
惠州市宏大自动化涂装系统工程有限公司惠州市宏大智慧科技有限公司惠州市宏瑞智能装备有限公司
CN_120817369_A

Resumen de: CN120817369A

本发明公开了一种应用于立体仓库的仓库物料管理和调度方法及系统,包括:硬件设备层,所述硬件设备层包括立体货架、堆垛机、AGV小车和出入库站台,所述立体货架的每个存储单元设置唯一电子标签;所述堆垛机配备激光测距仪和货物检测传感器;所述AGV小车安装导航传感器和RFID读卡器;所述出入库站台配备输送线和扫码设备,本发明涉及物流仓储技术领域。该应用于立体仓库的仓库物料管理和调度方法及系统,通过对物料全生命周期的跟踪和管理,能够实时准确掌握物料的存储位置、库存数量、出入库时间等信息,实现了物料的精细化管理,提高了库存盘点效率,有效避免了物料积压或短缺现象。

基于智慧场站的应急资源数据分析方法

NºPublicación:  CN120822733A 21/10/2025
Solicitante: 
山东国华时代投资发展有限公司
CN_120822733_PA

Resumen de: CN120822733A

本发明提供了一种基于智慧场站的应急资源数据分析方法,包括采集实时场站监测时序数据并进行预处理;根据预处理数据确定分析时段及资源状态标签;针对不同标签生成强化调度或维持储备策略;基于调度策略和异常预测模型检测资源异常,通过决策树生成调度指令执行出入库管制或激活备用通道。本发明可以提升应急资源调配的精准性和响应效率,降低资源短缺风险并优化仓储利用率。

集装箱船舶作业时长预测方法及系统

NºPublicación:  CN120822646A 21/10/2025
Solicitante: 
辽宁石油化工大学
CN_120822646_PA

Resumen de: CN120822646A

本发明涉及深度学习领域,针对现有集装箱船舶作业时长估计方法粗糙、真实的装卸作业场景下作业数据中带有噪声等问题,提供了一种集装箱船舶装卸作业时间预测方法及系统,通过在ResNet‑18架构下具有特征提取和去噪能力的深度残差收缩网络DRSN‑CW(Deep Residual Shrinkage Net)模型基础上,将固定的软阈值函数改为了更灵活的自适应阈值函数,在保持特征学习能力的同时使得降噪能力更加灵活。本申请的方案可以以较高的平均检测精度和鲁棒性很好地满足泊位计划过程中对岸桥作业时长进行实时预测的请求。

物联网设备健康管理系统

NºPublicación:  CN120822938A 21/10/2025
Solicitante: 
浪潮金融信息技术有限公司
CN_120822938_PA

Resumen de: CN120822938A

本发明公开了一种物联网设备健康管理系统,所述系统包括:多模态传感器网络、AI预测性维护模型和自动化运维工单引擎,所述多模态传感器网络、所述AI预测性维护模型和所述自动化运维工单引擎,用于通过实时监测终端硬件运行状态,预测潜在故障并触发智能运维指令,实现ATM机钞箱状态监控与自助终端远程巡检的闭环管理;本发明能够通过构建多模态感知‑预测‑决策一体化架构,创新性融合时空图神经网络、联邦学习与边缘计算技术,突破传统运维系统在故障预判能力、数据安全性与资源调度效率方面的技术瓶颈。

一种基于自适应算法的智慧养老服务平台运行方法

NºPublicación:  CN120823979A 21/10/2025
Solicitante: 
北京思民利康科技有限公司
CN_120823979_PA

Resumen de: CN120823979A

本发明涉及智慧养老服务技术领域,尤其涉及一种基于自适应算法的智慧养老服务平台运行方法,包括:步骤1:实时采集数据;步骤2:动态解析服务需求等级;步骤3:量化环境约束,生成环境影响因子,根据室内环境参数计算室内安全系数;步骤4:执行自适应服务决策;当服务需求等级为紧急医疗且环境影响因子未超限时,启动现场医疗救援;当服务需求等级为紧急医疗且环境影响因子超限时,激活远程医疗与无人机配送;当服务需求等级为日常护理强化且室内安全系数达标时,执行增强型室内康复方案。智慧养老服务平台不仅能够实时响应老人的健康需求,还能持续优化服务内容,提升养老服务的全面性和适应性,进一步推动了养老行业的智能化发展。

一种纸箱输送设备运行状态自诊断与预警方法

NºPublicación:  CN120820205A 21/10/2025
Solicitante: 
山东鑫林纸制品有限公司
CN_120820205_PA

Resumen de: CN120820205A

本发明公开了一种纸箱输送设备运行状态自诊断与预警方法,属于工业自动化控制技术领域。其包括采集振动频谱、电流纹波波动率、设备运行参数、振动波传导时序、激光扫描;生成振动电流复合传感数据及纸箱形变特征;建立设备动态健康档案;对复合传感数据和健康档案进行异常分离的一级诊断结果;基于该结果融合振动波时序与形变特征执行故障溯源,输出二级定位信息;根据定位信息生成维护决策指令,输出含故障部件标识及维护措施的预警。本发明采用多源数据融合与智能诊断算法,结合动态健康档案,能够实现设备异常的精准定位,提升设备可靠性与维护效率。

一种基于强化学习的绿色建材智能调度方法及系统

NºPublicación:  CN120822785A 21/10/2025
Solicitante: 
河北一片金电力工程有限公司
CN_120822785_PA

Resumen de: CN120822785A

本申请涉及一种基于强化学习的绿色建材智能调度方法及系统。所述方法包括:获取建材特性数据;根据所述建材特性数据和预设的库存数据,将所述建材按照生产紧急程度进行编排,得到基础生产调度方案;所述基础生产调度方案用于表征各所述建材的生产顺序,所述生产顺序基于所述建材的所述建材特性数据和所述库存数据确定;根据预设的经验数据库,调整所述基础生产调度方案中所述建材的编排顺序,得到优化生产调度方案;所述经验数据库包括历史调度过程的所述基础生产调度方案;所述优化生产调度方案为根据所述历史调度过程的所述基础生产调度方案调度所述基础生产调度方案得到的新的建材生产顺序。采用本方法能够提高生产调度决策质量。

库存信息更新方法和库存信息更新装置

NºPublicación:  CN120822907A 21/10/2025
Solicitante: 
北京极智嘉科技股份有限公司
CN_120822907_PA

Resumen de: CN120822907A

本申请涉及仓储物流技术领域,公开了一种库存信息更新方法和库存信息更新装置,该方法应用于仓储系统中的第一控制装置,该方法包括:在仓储系统的多个容器中,确定满足预设位置更新条件的目标容器,并生成目标容器对应的目标自搬运任务;基于目标自搬运任务,控制目标搬运设备将目标容器从第一位置搬运至第二位置;在将目标容器搬运至第二位置的情况下,生成目标回调信息;将目标回调信息发送给第二控制装置,以通过第二控制装置基于目标回调信息对目标容器的库存信息进行更新。本申请可以实现仓储管理系统对各库存容器的位置进行及时更新。

基于公众号平台的物流车辆全流程管控系统

NºPublicación:  CN120822893A 21/10/2025
Solicitante: 
中煤新集利辛发电有限公司
CN_120822893_PA

Resumen de: CN120822893A

本发明公开了基于公众号平台的物流车辆全流程管控系统,具体涉及流程管控领域,包括初始模块、数据实时采集模块、异常计算模块、异常处理模块以及校验模块;初始模块:通过所述公众号终端录入基础信息,并建立三维监控坐标系,同时绑定车载感知终端;数据实时采集模块:通过所述车载感知终端实时采集运输过程中数据,并传输至公众号终端;本发明通过车载感知终端采集运输过程中数据,结合公众号平台的实时数据处理与多维度异常指数计算,得到车辆动态、货物环境、行程进度的实时可视化信息,解决了传统模式依赖人工记录导致信息滞后、调度缺乏实时数据支撑,易引发路线拥堵或资源闲置的问题。

订单信息处理方法、装置、电子设备、存储介质及产品

NºPublicación:  CN120823013A 21/10/2025
Solicitante: 
腾讯科技(深圳)有限公司
CN_120823013_PA

Resumen de: CN120823013A

本申请提供了一种订单信息处理方法、装置、电子设备、计算机可读存储介质及计算机程序产品;方法包括:响应于第三方服务器发送的退货授权请求,将第三方账户的订单信息与当前账户信息进行信息关联,得到信息关联关系;响应于生物特征识别设备采集到与当前账户信息关联的生物特征信息后所发送的订单获取请求,将订单信息发送给生物特征识别设备;在通过生物特征识别设备将订单信息发送给物流端设备,且物流端设备将生成的寄件信息发送给生物特征识别设备之后,接收生物特征识别设备回传的寄件信息;将寄件信息发送给第三方服务器,以通过第三方服务器对订单信息进行售后处理。通过本申请能够提升退货流程的效率和用户体验。

一种用于追溯信息管理平台的数据分析系统及方法

NºPublicación:  CN120822897A 21/10/2025
Solicitante: 
上海市大数据中心
CN_120822897_PA

Resumen de: CN120822897A

本发明公开了一种用于追溯信息管理平台的数据分析系统及方法,涉及数据分析技术领域,本方法包括以下步骤:划分全流程运输节点,部署传感器采集环境;按照节点类型差异,采用不同缺失值填充策略,对插值后环境参数做标准化处理;按品质评分筛选合格批次数据,构建各节点环境参数安全阈值形成阈值池,根据合格批次数据迭代更新阈值;结合节点流转时间确定有效监测时段,计算标准化环境参数超阈比例,依比例阈值判定节点是否异常;构建节点因果图谱,通过贝叶斯公式逆向定位异常源头,计算节点影响权重,筛选重点节点反馈优化。本发明能够有效改善现有技术中冷藏品运输出现异常时难以有效溯源的情况。

一种面向仓储拣选配送集成调度问题的智能调度优化方法

NºPublicación:  CN120822734A 21/10/2025
Solicitante: 
哈尔滨工业大学
CN_120822734_PA

Resumen de: CN120822734A

本发明公开了一种面向仓储拣选配送集成调度问题的智能调度优化方法。根据订单优先级启发式规则生成初始拣选配送解,表示所有订单分配到各个批次的一种方案,以及这种方案下各批次分配到拣选设备的一种方案,以及这种方案下各批次在拣选设备上的配送先后顺序;采用独热编码将拣选配送解中订单分批与批次分配部分映射到欧式空间,与批次排序子解合并为网络嵌入层输入,训练深度循环自编码器;对原始解和副解各自采用迭代局部搜索算法迭代产生临时解;评价临时解的调度性能指标,根据贪婪准则保留最佳个体并生成子代解。该方法融合无监督学习与迭代局部搜索算法,可高效地对仓储拣选配送集成调度问题的解空间进行搜索,节约成本。

基于AI工作流的物流机器人快速部署系统和方法

NºPublicación:  CN120822779A 21/10/2025
Solicitante: 
苏州兰里智能科技有限公司
CN_120822779_PA

Resumen de: CN120822779A

本发明公开了一种基于AI工作流的物流机器人快速部署系统和方法,通过模块化设计、可视化的工作流配置以及AI技术的深度融合,将复杂的物流机器人部署和调度过程转变为标准化的配置操作;通过统一管理数据源、通信协议、物理设备、动态变量、物流机器人、逻辑站点和任务模板,用户无需编写代码,即可通过拖拽式的图形化界面构建复杂的工作流程,定义物流机器人如何响应设备状态变化、如何执行任务以及如何与外部系统交互;更进一步,AI智能引擎的引入,使得系统不再仅仅是基于预设规则的自动化执行,而是能够基于实时数据和历史经验进行智能分析、预测和优化决策,例如动态优化任务分配和机器人路径,预测设备故障等,从而实现更高级别的智能化。

一种考虑SKU关联性的分散混合存储策略优化方法和系统

NºPublicación:  CN120822908A 21/10/2025
Solicitante: 
中国科学技术大学
CN_120822908_PA

Resumen de: CN120822908A

本发明涉及一种考虑SKU关联性的分散混合存储策略优化方法和系统。该方法通过分析历史订单数据识别需求关联模式(DCP),结合混合存储分配策略,将多个相关SKU聚类存储以减少拣选时间,同时实现跨巷道的SKU分散以平衡资源利用。提出的混合整数规划模型(MIP)结合了存储容量、货道遍历和SKU关联性的约束条件,最小化加权拣选距离。通过简化距离建模和变量转换,结合两阶段启发式求解算法,实现了对SKU分配方案的优化。此外,本发明支持实时自适应调整,能够根据新订单和补货动态更新存储分配方案。本发明提高了仓储管理的效率,为现代物流提供了可靠的技术支持。

基于深度学习预测的业务资源动态优化配置方法及系统

NºPublicación:  CN120822787A 21/10/2025
Solicitante: 
浪潮通用软件有限公司
CN_120822787_PA

Resumen de: CN120822787A

本发明属于业务资源分配技术领域,提供了一种基于深度学习预测的业务资源动态优化配置方法及系统,获取多源数据,利用预定义的数据模板,对多源数据进行标准化处理;提取标准化处理后的多源数据的关键关联字段,按照业务逻辑构建数据图谱;提取数据图谱中的与资源调配关联的业务高峰数据,对业务高峰数据进行特征提取;利用预训练的深度学习模型,对提取的时序特征、关联特征和突发特征进行处理,预测目标时段的业务数据;根据预测的业务数据,按照预设的业务场景、资源类型和量化标准关系的映射规则库,确定各类资源的调配方案。本发明能够实现业务的准确预测,进而实现业务资源准确地优化配置。

一种备品备件管理系统

NºPublicación:  CN120822752A 21/10/2025
Solicitante: 
山西襄华新能源有限公司
CN_120822752_PA

Resumen de: CN120822752A

本发明涉及管理系统技术领域,公开了一种备品备件管理系统。该备品备件管理系统包括备件库管理终端、备件服务器和多个用户终端,其中,所述备件服务器分别和所述备件库管理终端、多个用户终端交互连接,多个所述用户终端之间交互连接,其中,所述备件库管理终端创建有备件信息库,备件信息库用于存储备件设备的备件数据信息;所述备件服务器用于监测并分析所述备件库管理终端中的备件数据信息,对异常备件设备进行预警;所述用户终端用于通过所述备件服务器查看所述备件数据信息,并领取备件,以对所述备件数据信息进行更新。本发明能够提升企业的管理效率和准确性。

基于多源数据融合用于过桥隧大件运输的路线智能规划方法及装置

NºPublicación:  CN120822900A 21/10/2025
Solicitante: 
苏交科集团股份有限公司苏州市交通运输局
CN_120822900_PA

Resumen de: CN120822900A

本发明实施例公开了一种基于多源数据融合用于过桥隧大件运输的路线智能规划方法及装置,涉及智能物流运输技术领域,实现了多维数据融合,具体将许可审批数据与基础设施技术参数进行关联分析,并在动态道路网络上引入时间维度权重参数,从而将道路的实时安全性进行了量化,进一步的,还通过将现施工信息与路线规划的实时联动,从而对影响大件运输的道路进行智能规避。从而能够降低大件运输作业中过桥隧路线规划的安全风险。

行李处理系统的控制方法、系统、装置、设备及介质

NºPublicación:  CN120817368A 21/10/2025
Solicitante: 
西门子物流自动化系统(北京)有限公司
CN_120817368_PA

Resumen de: CN120817368A

本发明实施方式公开了行李处理系统的控制方法、系统、装置、设备及介质。行李处理系统包含架式存储区和托盘系统,所述方法包括:确定所述架式存储区中的实时托盘数量;当所述实时托盘数量小于或等于预定的阈值时,向所述托盘系统发送第一指令,其中所述第一指令用于指示所述托盘系统停止从所述架式存储区提取托盘。不同于现有技术中监控托盘循环上的托盘数量,本发明实施方式监控架式存储区的托盘填充水平,可以通过早期检测机制预防发生拥堵,提高行李处理系统的可靠性和稳定性。

社区共享物流管控方法及系统

NºPublicación:  CN120822890A 21/10/2025
Solicitante: 
成都好邻盟科技有限责任公司
CN_120822890_PA

Resumen de: CN120822890A

本申请涉及物流管控技术领域,提供了社区共享物流管控方法及系统,通过整合移动资源数据、固定资源数据和环境数据,构建物流资源图与物流通行网络,实现资源的精准匹配和配送路径的智能规划,同时动态监测配送过程并适时调整,从整体上显著提升了社区物流的运作效率和服务质量;具体而言该物流管控系统能够优化资源配置,减少资源闲置和浪费,降低物流运营成本,通过提前规划主路径和备用路径,结合实时环境变化进行路径调整,有效应对交通拥堵和异常通行事件等问题,缩短物流配送时间,提高配送时效性,对物流任务配送过程进行全面监测和动态调整,保障了物流服务的稳定性和可靠性,增强了用户满意度,促进了社区共享物流的可持续发展。

货源推送方法、电子设备、存储介质及程序产品

Nº publicación: CN120821920A 21/10/2025

Solicitante:

江苏运满满信息科技有限公司

CN_120821920_PA

Resumen de: CN120821920A

本申请实施例提供了一种货源推送方法、电子设备、存储介质及程序产品,涉及计算机技术领域。方法包括:获取目标货源的打分结果;根据目标货源的打分结果,与预设直方图词典的分桶规则,确定目标货源所处的频段,并更新目标货源所处的频段对应的当前货源数量;根据目标货源所处的频段对应的当前关联货源数量,与当前时刻预设直方图词典的所有频段的货源总数量,确定目标货源的分位值;根据目标货源的分位值,确定目标货源的货源质量等级;基于目标货源的货源质量等级,推送目标货源。本申请实施例提供了一种计算和存储复杂度低,且打分结果准确度高,货源推送准确的技术方案。

traducir