Ministerio de Industria, Turismo y Comercio LogoMinisterior
 

Alerta

Resultados 629 resultados
LastUpdate Última actualización 01/04/2026 [07:36:00]
pdfxls
Solicitudes publicadas en los últimos 15 días / Applications published in the last 15 days
previousPage Resultados 550 a 575 de 629 nextPage  

结合物理约束的任意形状三维物品在线装箱方法与装置

NºPublicación:  CN121684766A 17/03/2026
Solicitante: 
中国人民解放军国防科技大学
CN_121684766_PA

Resumen de: CN121684766A

本发明公开了一种结合物理约束的任意形状三维物品在线装箱方法与装置,本发明方法包括获取容器的容器高度图;检测到被装箱物品则获取物品点云并确定候选放置位置;将容器的容器高度图和被装箱物品的物品点云,利用基于时序差分的价值估计算法分别计算被装箱物品针对各个候选放置位置执行“动作”的价值;根据价值对各个候选放置位置进行降序排序并截断生成候选放置位置集合;对候选放置位置集合中的候选放置位置进行物理仿真以选择最优的目标放置位置来放置被装箱物品并更新容器高度图。本发明旨在实现对任意形状三维物品的高效理解,通过几何可证的候选生成与学习式排序协同缩小搜索空间,达到兼顾实时性与训练效率的目的。

基于虚拟数字孪生空间的仓储管理方法、系统及存储介质

NºPublicación:  CN121684808A 17/03/2026
Solicitante: 
苏州德力智慧物流科技有限公司
CN_121684808_PA

Resumen de: CN121684808A

本发明涉及一种基于虚拟数字孪生空间的仓储管理方法、系统及存储介质,该方法包括以下步骤:获取物理仓储系统的历史运行数据并上传至与其同步的动态数字孪生空间,基于此生成未来时段的虚拟订单数据集;进而对虚拟订单在未来多时段的运行状态进行预测,生成虚拟系统状态预测序列;将该序列输入协同优化决策器,生成对应的虚拟全域协同优化策略并在数字孪生空间内进行仿真验证;验证通过的策略与其对应的虚拟订单数据集、状态预测序列被关联存储至策略知识库。当获取到未来时段的实际订单数据后,系统通过匹配策略知识库,生成物理仓储系统的执行策略并部署执行。

资源的转移方法、装置、存储介质及电子设备

NºPublicación:  CN121684896A 17/03/2026
Solicitante: 
中国建设银行股份有限公司苏州分行
CN_121684896_PA

Resumen de: CN121684896A

本申请公开了一种资源的转移方法、装置、存储介质及电子设备,其中,该方法包括:接收物联网平台发送的请求对目标交易进行验证的验证请求,其中,验证请求携带有目标交易的交易信息;基于交易信息和受控合约对目标交易进行验证,得到验证结果,其中,受控合约是目标交易的发起账户和目标账户协商的合约,受控合约包括目标交易的约束信息,目标账户为目标交易对应的物品的提供方;在验证结果显示目标交易验证通过的情况下,将发起账户中的与目标交易匹配的目标资源转移至目标账户中。通过本申请,解决了相关技术中资源转移效率低的问题,进而达到了提高资源转移效率的效果。

基于实时数据处理的智能防堵仓防溃仓自适应预测系统

NºPublicación:  CN121684801A 17/03/2026
Solicitante: 
山东海纳智能装备科技股份有限公司
CN_121684801_PA

Resumen de: CN121684801A

本发明涉及堵仓溃仓预测技术领域,尤其涉及一种基于实时数据处理的智能防堵仓防溃仓自适应预测系统,该系统包括处理器和存储器,处理器执行存储器存储的计算机程序以实现如下步骤:获取待分析监测时刻对应的实际特征值,根据待分析监测时刻对应的实际特征值,对目标料仓目标出料口的堵仓溃仓进行预测,得到目标料仓目标出料口的堵仓溃仓预测结果。且本发明能够提高堵仓溃仓风险预测的效果,进而能够提高堵仓溃仓的预防效果。

一种智慧物流配送平台及其工作方法

NºPublicación:  CN121684776A 17/03/2026
Solicitante: 
智运通(北京)科技有限责任公司
CN_121684776_PA

Resumen de: CN121684776A

本发明公开了一种智慧物流配送平台及其工作方法,涉及智慧物流技术领域。所述智慧物流配送平台包括有物流订单处理模块、物流资源监控模块、物流环境感知模块、配送方案规划模块和物流通信控制模块,并通过它们的通信连接关系与相互协作,可以实现骑手、无人机和无人车的无缝协作与动态切换,并在配送全程根据诸如订单属性、实时资源位置、实时交通状况和实时天气状况等内外部数据对包含有至少一种配送方式的全局最优配送接力方案进行持续优化,从而可在保证可靠性的前提下,实现端到端配送时效最高与整体成本最小化,提升整体物流配送体系的核心竞争力,便于实际应用和推广。

香葱全生命周期数字化监管系统

NºPublicación:  CN121684342A 17/03/2026
Solicitante: 
广东省农业科学院设施农业研究所广州市钱大妈农产品有限公司广东永锋农产品发展有限公司
CN_121684342_PA

Resumen de: CN121684342A

本发明提供了香葱全生命周期数字化监管系统,设计了由采购商、供应商、种植户共同参与的生产组织模式,并引入唯一标识码、物联网和AI目标识别技术,实现香葱的订单化生产和智能化、系统化管理。其中唯一标识码和物联网技术用于全流程信息管理和溯源,确保香葱生产信息可追溯;AI目标识别技术则用于监管种植户在领取农资后的所有农事操作,提升采购商、供货商对香葱生产质量与数量的管理能力,从而有效降低农残超标风险。

基于强化学习的标准与定制零部件协同排产方法及系统

NºPublicación:  CN121684549A 17/03/2026
Solicitante: 
浙江工业大学
CN_121684549_PA

Resumen de: CN121684549A

本发明公开了基于强化学习的标准与定制零部件协同排产方法及系统,方法包括:基于深度强化学习模型构建DQN智能体并离线预训练;对订单数据进行解析与加权计算,量化订单优先级并标记零部件是否为定制状态;基于零部件是否为定制状态执行任务分流,并对定制零部件触发研发进度监测;采集生产现场实时数据并进行平滑处理;采用预训练的DQN智能体执行智能决策,输出针对定制零部件的释放或暂存动作指令;响应释放动作指令调用启发式排程算法,在标准化零部件生产序列中搜索定制零部件的最佳插入时间窗并生成协同生产计划;DQN智能体执行在线微调与闭环反馈以实现性能自适应。本发明实现了标准与定制零部件的智能协同排产。

一种用于电气化公路重载卡车的运维系统

NºPublicación:  CN121684774A 17/03/2026
Solicitante: 
中车大同电力机车有限公司
CN_121684774_PA

Resumen de: CN121684774A

本申请公开了一种用于电气化公路重载卡车的运维系统,属于卡车运维管理技术领域,所述用于电气化公路重载卡车的运维系统对重载卡车的智能监控、状态诊断,同时维保系统可以完成对压力、应力、温度、有效载荷、振动等状态信号的连续采集、汇总、监控、预处理。结合诊断对象的历史状态来及时对设备作出评价,判别系统是否偏离正常功能,评估设备的现状及预测其发展趋势。当电气化重载卡车内某些系统出现问题时,应能够立即判断故障类型、故障位置、故障严重程度,并能给出造成故障的可能原因列表,及每种原因对应的概率值。在此基础上安排设备维修的最佳时机,预防突发性故障的发生。采用该技术方案的重载卡车可以有效降低故障率和维修保养成本。

一种数据管理的冷链物流信息分发与追溯方法及系统

NºPublicación:  CN121684759A 17/03/2026
Solicitante: 
佛山市尚航货运代理有限公司广东铂华冷链科技有限公司
CN_121684759_PA

Resumen de: CN121684759A

本发明涉及冷链物流与信息处理技术领域,本发明提供了一种数据管理的冷链物流信息分发与追溯系统,包括服务器、分布式验证模块、节点采样预测模块、物流数据推送模块及环境监控模块;所述分布式验证模块用于采集多个物流节点的数据端口状态并对节点数据进行一致性验证,以形成节点间可信数据集;所述节点采样预测模块用于对货运车辆、仓储设备及温控装置进行周期性采样,计算货运优先度指标Freight_Priority_Index并生成预测数据;所述物流数据推送模块用于根据货运优先度指标与系统负载指数Network_Load动态推送节点数据,并基于反馈信息生成交付反馈指数Delivery_Feedback;所述环境监控模块用于实时监测冷链运输及仓储环境参数,记录并追溯各节点的温控状态及安全告警信息。

铁路物流基地功能区设计参数的获取方法、系统和设备

NºPublicación:  CN121684183A 17/03/2026
Solicitante: 
中国铁路西安局集团有限公司中国铁道科学研究院集团有限公司运输及经济研究所
CN_121684183_PA

Resumen de: CN121684183A

本发明属于铁路物流基地布局规划技术领域,涉及一种铁路物流基地功能区设计参数的获取方法、系统和设备。本发明通过获取铁路物流基地的规划区域形状,规划区域面积和功能区需求数据、货物单位距离搬运成本。规划区域形状与面积为后续的功能区布局和参数设计提供准确的地理空间基础。根据功能区需求数据获取功能区的实际面积,有利于确保各功能区面积满足实际需求,有利于实现资源的合理分配和高效利用。采用遗传算法结合功能区的主干道宽度数据、货物单位距离搬运成本、实际面积、规划区域形状和规划区域面积获取物流基地功能区的设计参数。通过遗传算法的迭代优化,有利于实现功能区布局的合理性,有利于提高物流基地的运营效率和服务质量。

一种库存可用量的统计方法及相关装置

NºPublicación:  CN121684814A 17/03/2026
Solicitante: 
金蝶软件(中国)有限公司
CN_121684814_PA

Resumen de: CN121684814A

本发明实施例提供了一种库存可用量的统计方法及相关装置,用于实现对统计维度的灵活配置和控制逻辑的可扩展性。本发明实施例方法包括:接收库存可用量查询请求,查询请求至少包括:物料标识和查询日期;根据物料标识和查询日期,解析预先配置的参数模型,参数模型中记录有库存可用量的计算公式和物料标识的统计维度;根据参数模型的解析结果,动态生成包含物料标识、统计维度和查询日期的数据查询指令;根据数据查询指令,获取对应物料标识、统计维度和查询日期的计算因子数值;利用计算公式和计算因子数值,对物料标识在查询日期的库存可用量进行统计。

企业供应链风险动态管控方法、装置、设备及介质

NºPublicación:  CN121684632A 17/03/2026
Solicitante: 
长春财经学院
CN_121684632_PA

Resumen de: CN121684632A

本申请涉及一种企业供应链风险动态管控方法、装置、设备及介质。所述方法包括:获取企业供应链多维监测数据;基于企业供应链多维监测数据进行风险范围识别,得到供应链风险特征维度;根据企业供应链多维监测数据对供应链风险特征维度进行供应链风险预测分析,得到供应链风险特征维度的风险概率信息和风险影响信息;基于风险概率信息和风险影响信息生成供应链风险特征维度的供应链风险等级,并基于供应链风险等级生成供应链风险特征维度的风险管控措施信息。采用本方法能够实现对上游供应稳定性、下游需求波动性和企业内部运营效率的系统化动态风险感知。

一种低空物流动态协同调度系统和方法

NºPublicación:  CN121684459A 17/03/2026
Solicitante: 
苏州市职业大学
CN_121684459_PA

Resumen de: CN121684459A

本发明公开了一种低空物流动态协同调度系统和方法,其涉及低空物流协同技术领域。包括:端侧设备、边缘节点和云中心;端侧设备实时采集自身状态信息和周围环境信息,得到无人机状态和局地气象数据;在端侧设备出发时,云中心基于全局信息构建双目标混合整数规划模型,采用非支配排序遗传算法对双目标混合整数规划模型进行处理,得到全局最优调度计划;在端侧设备物流过程中,边缘节点基于端侧设备采集的无人机状态和局地气象数据进行实时重调度和实时路径微调,得到局部调度计划。本发明实现了从静态空域管理到动态气象耦合调度的跨越,显著提升了低空物流系统在常态与异常工况下的效能、安全性与可靠性。

一种排房解锁窗口策略优化方法及系统

NºPublicación:  CN121684109A 17/03/2026
Solicitante: 
深圳市安居乐寓住房租赁投资控股有限公司
CN_121684109_PA

Resumen de: CN121684109A

本发明公开了一种排房解锁窗口策略优化方法及系统,涉及排程优化技术领域,方法包括:按门店与目标入住日采集空房数量、有效报名数量及参数,生成库存暴露基数并计算有效报名数量与库存暴露基数之差得到供需差值;根据供需差值及阈值区间确定解锁窗口的方向和幅度,在基础解锁窗口或上一日解锁窗口基础上叠加并按上下限裁剪得到当日解锁窗口;据当日解锁窗口控制目标入住日排房开放,在排房完成后依据锁定保护期阈值执行二次确认,未在保护期内确认时回退库存并允许再次分配。通过基于供需差值的动态解锁及锁定保护与回收闭环,提高排房自适应性和库存周转效率,降低锁占与错失风险。

一种城市低空无人机物流运输航路网络容量的评估方法

NºPublicación:  CN121684479A 17/03/2026
Solicitante: 
湖州学院
CN_121684479_PA

Resumen de: CN121684479A

本发明公开了一种城市低空无人机物流运输航路网络容量的评估方法,包括以下步骤:空域结构建模:确定空域的层级结构和航路网络的拓扑关系;节点容量计算:计算起降枢纽和中转节点的处理能力;航段容量计算:计算每个航段的容量,评估航段在不同条件下的最大通行能力;网络流优化:在给定节点和航段容量的约束下,优化无人机在网络中的飞行路径和流量分配,通过贪婪算法生成初始种群,引入NSGA‑II多目标优化算法改进帕累托前沿搜索;时空冲突检测:预测并检测无人机在时空上的潜在冲突;动态容量仿真:模拟不同场景下的航路网络容量,评估系统的鲁棒性和适应性;风险评估修正:量化评估航路网络面临的风险,并根据风险等级调整网络容量。

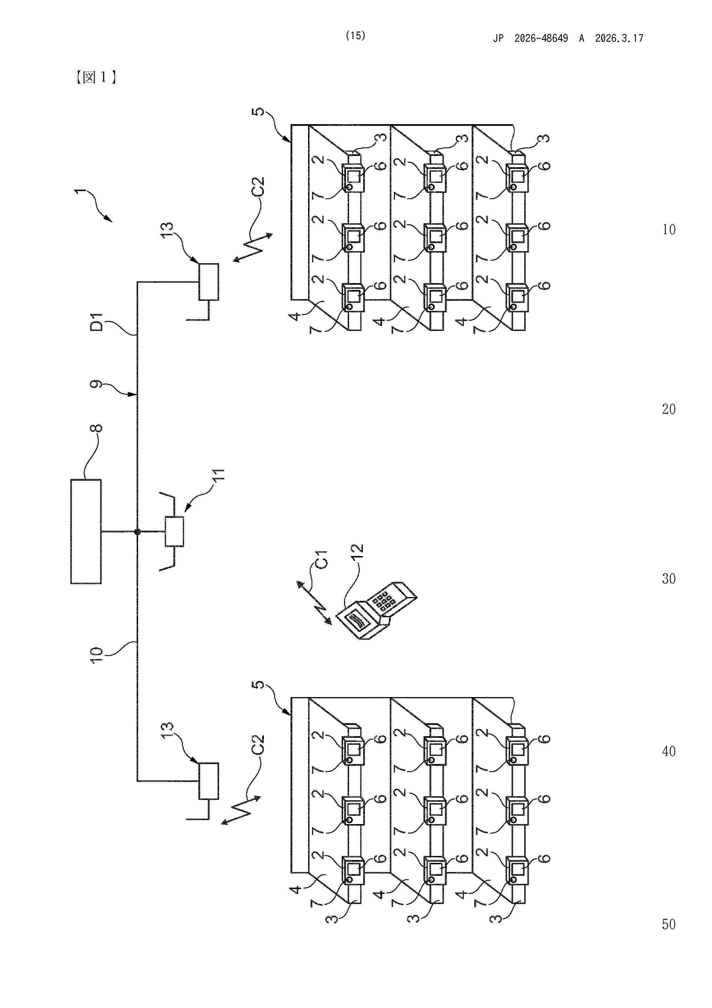
人を商品に誘導する方法

NºPublicación:  JP2026048649A 17/03/2026
Solicitante: 
ヴジョングループ・ゲゼルシャフト・ミト・ベシュレンクテル・ハフツング
JP_2026048649_A

Resumen de: US2024331016A1

A method of guiding a person to products, wherein the method comprises the following steps, namely: emitting a radio beacon from a radio beacon emitter, which is assigned to a product and is essentially located in the spatial proximity of this product or the intended place of the product, receiving the emitted radio beacon by a radio beacon receiver which is locally movable with the person, triggering an action when the radio beacon receiver is moved into a predefined action-triggering area around the radio beacon emitter.

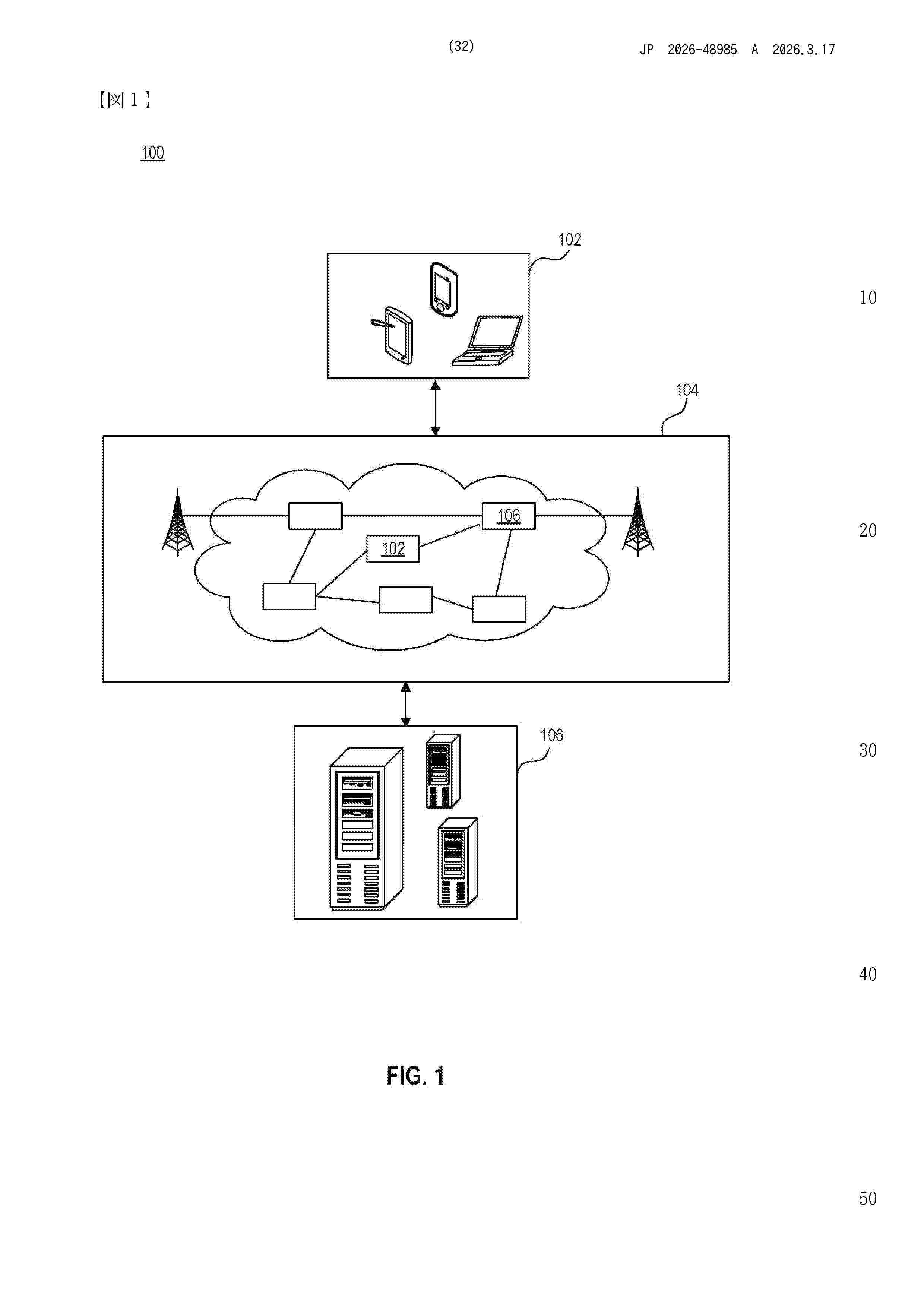
代替経路発生のためのシステムおよび方法

NºPublicación:  JP2026048985A 17/03/2026
Solicitante: 
エアスペーステクノロジーズ,インコーポレイテッド
JP_2026048985_A

Resumen de: MX2024001940A

A computing system for alternate path generation is disclosed. In aspects, the computing system can implement methods to generate the alternate paths by: identifying an optimal path to a destination node on a first graph, generating a path graph, and generating an alternate path sequence based on the path graph. In aspects, the computing system can further generate an interactive graphical user interface (GUI) for displaying the alternate path sequence and transmit the interactive GUI to a display unit for display.

高効率ロジスティックタワーのためのシステム、装置及び方法

NºPublicación:  JP2026509194A 17/03/2026
Solicitante: 
ユーアールビーエックス,インコーポレイテッド
JP_2026509194_A

Resumen de: CN121399042A

A storage system comprising a three-dimensional structure comprising an array of cells, the array of cells comprising: a plurality of cells configured to hold separate storage bins for extraction, the array of cells forming a plurality of storage layers respectively located at different heights within the three-dimensional structure; and a second plurality of cells positioned relative to each other to form a plurality of shafts located within the three-dimensional structure. The storage system includes a plurality of in-tower robots located atop the three-dimensional structure. Each of the in-tower robots is configured to move laterally atop the three-dimensional structure between a plurality of different positions atop the three-dimensional structure, the plurality of different positions including at least a first position above a first shaft included in the plurality of shafts and a second position above a second shaft included in the plurality of shafts.

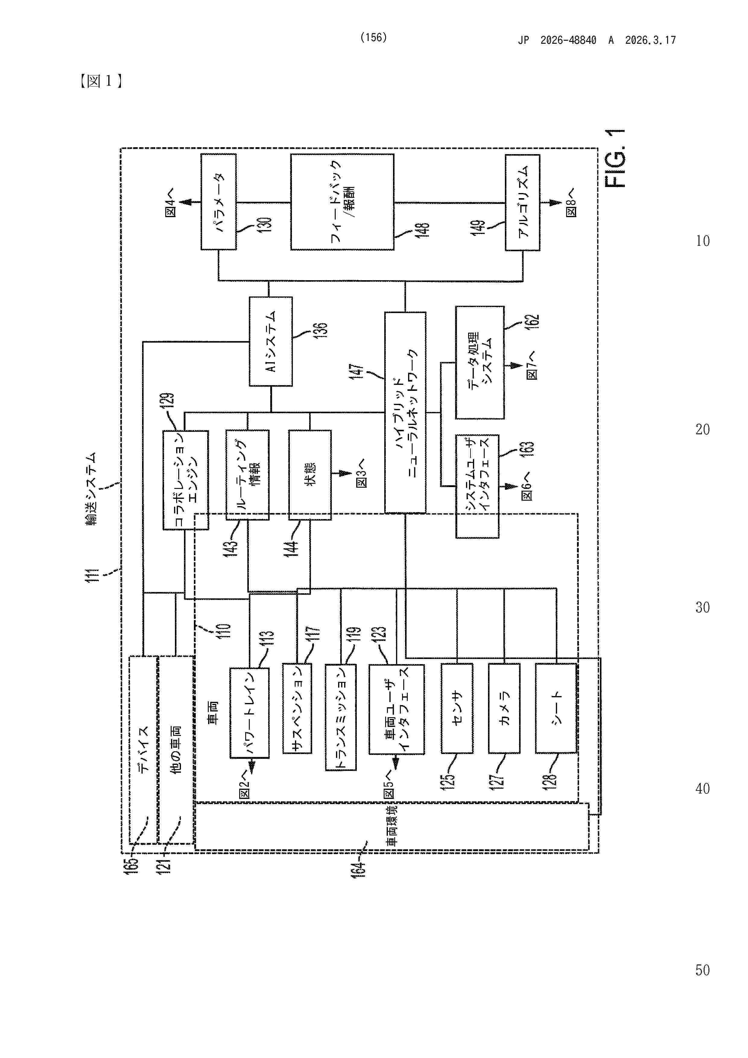
乗用車用のデジタルツインインターフェースを含む知的交通システム

NºPublicación:  JP2026048840A 17/03/2026
Solicitante: 
ストロングフォースティーピーポートフォリオ2022,エルエルシー
JP_2026048840_A

Resumen de: CA3174469A1

Transportation systems can represent a set of operating states of a vehicle to a user of the vehicle and generally include a system for representing a set of operating states of a vehicle to a user of the vehicle. The system includes a portion of the vehicle having a vehicle operating state; a digital twin system receiving vehicle parameter data from one or more inputs to determine the vehicle operating state; and an interface for the digital twin system to present the vehicle operating state to the user of the vehicle.

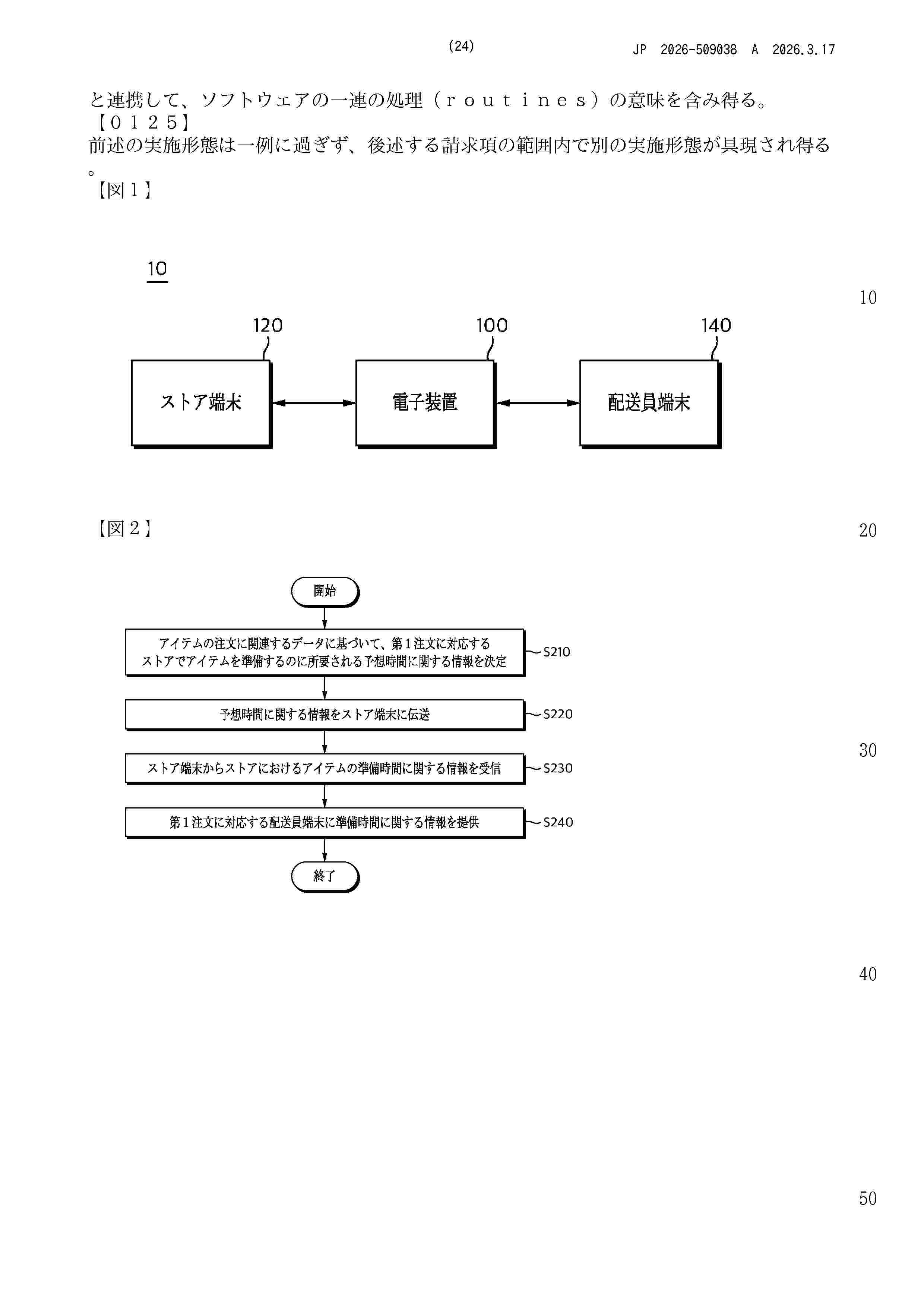
情報を提供する方法及び電子装置

NºPublicación:  JP2026509038A 17/03/2026
Solicitante: 
クーパンコーポレイション
JP_2026509038_A

Resumen de: TW202447495A

A method for providing information in an electronic device is disclosed. Specifically, the method for providing information may comprise the steps of: determining information about an estimated time required to prepare an item in a store corresponding to a first order on the basis of data related to an item order; transmitting the information about the estimated time to a store terminal; receiving information about preparation time of the item in the store from the store terminal; and providing the information about the preparation time to a courier terminal corresponding to the first order.

貨物を監視するためのシステム

NºPublicación:  JP2026048599A 17/03/2026
Solicitante: 
ザ・ボーイング・カンパニー
JP_2026048599_A

Resumen de: US20260057337A1

Systems and method of tracking cargo. The tracking system includes a wireless system with tags configured to be connected to the cargo and to emit identification data, and locators configured to be connected to the vehicle and receive the identification data emitted from the tags. A vision system includes cameras positioned in the vehicle and configured to capture images of the cargo. A control unit includes processing circuitry configured to identify the cargo and track a position of the cargo based on signals transmitted from the tags and received by the locators and track the position of the cargo based on the images captured by the vision system.

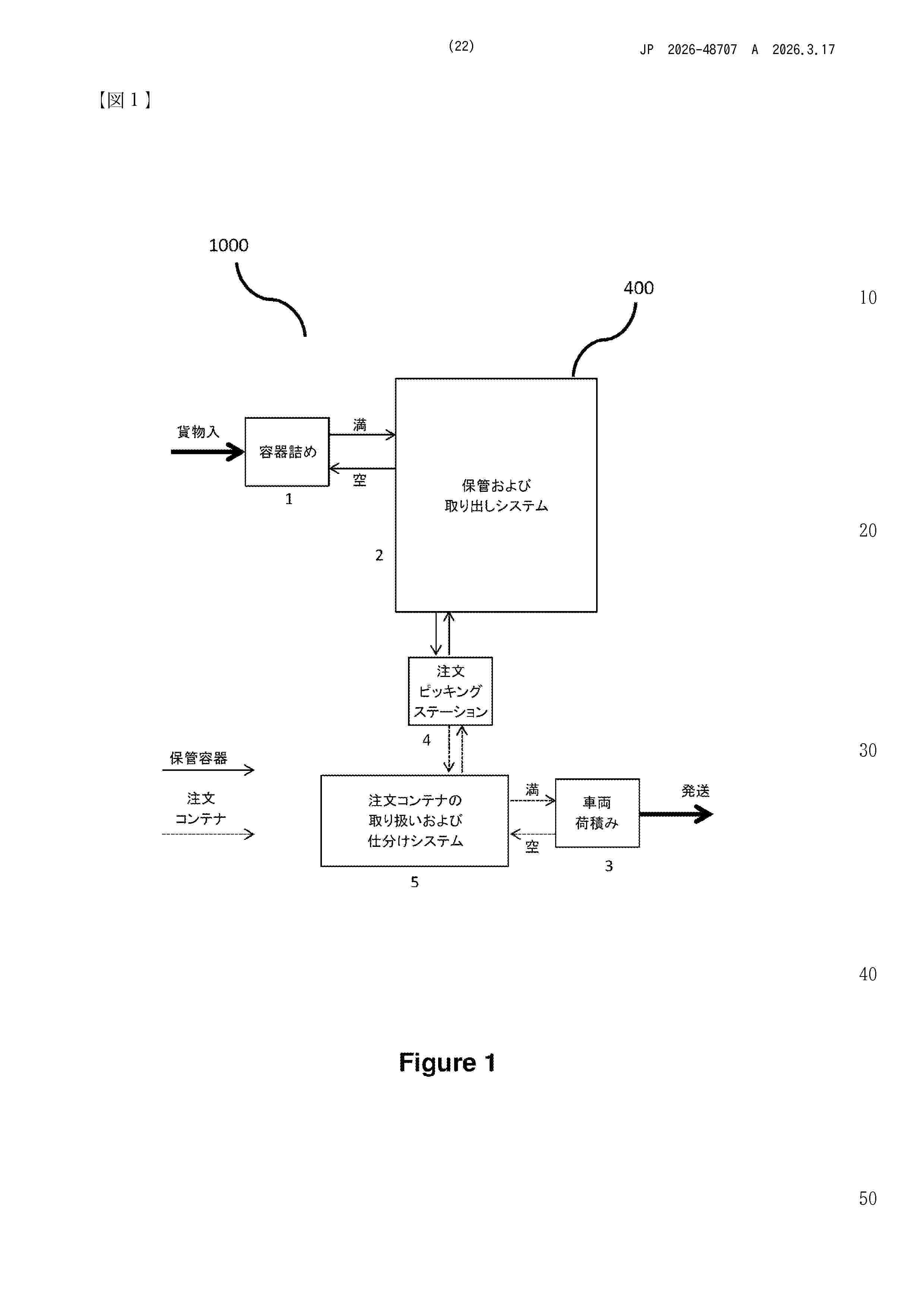
注文処理のためのシステムおよび方法

NºPublicación:  JP2026048707A 17/03/2026
Solicitante: 
オカド・イノベーション・リミテッド
JP_2026048707_A

Resumen de: US2025382131A1

Systems, methods, and machine-executable coded instruction sets are disclosed for fully- and/or partly automated handling of goods. The disclosure provides improvements in the storage and retrieval of storage and delivery containers in order processing systems.

平台电子面单处理方法、装置、设备及介质

NºPublicación:  CN121684755A 17/03/2026
Solicitante: 
上海东普信息科技有限公司
CN_121684755_PA

Resumen de: CN121684755A

本发明提供了一种平台电子面单处理方法、装置、设备及介质,包括:通过自然语言处理技术NLP解析各电商平台API文档生成相应的适配器代码,基于适配器代码构建协议转换层,利用协议转换层将电商平台的接口规则转为统一的预设标准格式,基于统一的预设标准格式实现不同电商平台接入同一电子面单打印系统;基于不同电商平台的接入获取各电商平台订单数据,再基于电商平台‑快递公司‑模板类型联合索引的标准面单模板数据库匹配相应的标准面单模板;通过遗传算法将订单数据进行优化分组;基于分组后的订单数据构建订单的任务优先级队列;根据订单数据匹配的标准面单模板以及订单的任务优先级队列,基于打印机资源进行智能规划处理。

一种纺织产品进出库的智能动态盘点方法及系统

NºPublicación:  CN121684790A 17/03/2026
Solicitante: 
绍兴邵氏服饰有限公司
CN_121684790_A

Resumen de: CN121684790A

本发明公开了一种纺织产品进出库的智能动态盘点方法,其特征在于,包括:多模态信息耦合绑定步骤:为每件纺织产品附着唯一的智能感知标签,所述标签集成无源RFID芯片、微型化环境传感器阵列及柔性包装应力感应单元,所述标签采用基础款或增强款梯度配置,基础款省略VOC传感器及物理不可克隆函数模块,增强款集成全功能模块;通过标签写入设备录入产品基础信息、初始包装状态数据及纺织材质物理特征参数,所述标签写入设备内置纺织材质参数数据库,支持扫码调用预设参数,建立"产品‑标签‑多模态信息"的唯一映射关系;其中,所述纺织材质物理特征参数包括纤维成分、织造结构、回潮率基准值及包装弹性模量;自适应监测调度步骤。

一种基于区块链的物流信息管理方法

Nº publicación: CN121684763A 17/03/2026

Solicitante:

江苏商贸职业学院

CN_121684763_PA

Resumen de: CN121684763A

本发明涉及物流监管技术领域,公开了一种基于区块链的物流信息管理方法,包括:获取当前物流交接点业务状态参数以及前序交接点随动指纹;采集任务处理数据并根据在办任务数与预设处理容量的比值确定管理负载率;依据映射规则将管理负载率转换为资源消耗修正值,在负载率超过效能阈值时确定非线性权重增量,否则确定基准偏差量;利用随动指纹、业务状态参数以及资源消耗修正值生成当前随动指纹,由资源消耗修正值对业务状态参数加权,从处理资源维度约束业务真实性;将随动指纹发送至共识节点验证并记录至区块链账本,本发明实现管理资源维度对业务逻辑的深度锚定,有效约束行政管理行为,提升物流链条行政责任判定效力。

traducir