Ministerio de Industria, Turismo y Comercio LogoMinisterior
 

Alerta

Resultados 181 resultados
LastUpdate Última actualización 23/10/2025 [06:59:00]
pdfxls
Solicitudes publicadas en los últimos 15 días / Applications published in the last 15 days
previousPage Resultados 175 a 181 de 181  

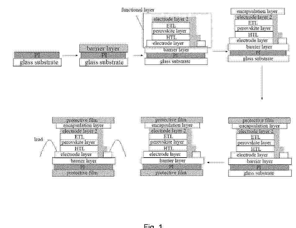
FLEXIBLE PEROVSKITE PHOTOVOLTAIC DEVICE PACKAGE STRUCTURE AND MANUFACTURING METHOD THEREFOR

NºPublicación:  EP4629794A1 08/10/2025
Solicitante: 
XIAN TJ SOLAR NEW ENERGY CO LTD [CN]
Xi'an TJ-Solar New Energy Co., Ltd
EP_4629794_PA

Resumen de: EP4629794A1

The present invention belongs to the technical field of solar cell encapsulation, and particularly relates to an encapsulation structure of a flexible perovskite photovoltaic module and a manufacturing method of an encapsulation structure of a flexible perovskite photovoltaic module. By arranging a PI layer on a glass substrate, a technical risk of substrate separation caused by electrostatic dissipation in a process is solved. A barrier layer is arranged between the PI layer and a first electrode layer so as to solve the problem of moisture and oxygen blocking stability of perovskite. By using the glass substrate as a substrate for manufacturing a photovoltaic module, manufacturing precision of the photovoltaic module is improved. When a packaging layer is manufactured, a position for electrode attachment is reserved in advance, such that subsequent electrode printing or attachment is facilitated. A process route of the manufacturing method has mature supporting materials and devices, and mass production is facilitated.

PEROVSKITE SILICON TANDEM SOLAR CELL AND MANUFACTURING METHOD THEREOF

NºPublicación:  EP4629809A2 08/10/2025
Solicitante: 
JINGAO SOLAR CO LTD [CN]
JingAo Solar Co., Ltd
EP_4629809_PA

Resumen de: EP4629809A2

A tandem solar cell comprises a substrate on which a rounded texture is formed, and a perov-skite absorption layer formed on the substrate. The rounded texture comprises peak portions, and valley portions of the rounded texture are planarized.

BACKUP POWER DEVICE AND PHOTOVOLTAIC SYSTEM

NºPublicación:  EP4629492A1 08/10/2025
Solicitante: 
HUAWEI DIGITAL POWER TECH CO LTD [CN]
Huawei Digital Power Technologies Co., Ltd
EP_4629492_PA

Resumen de: EP4629492A1

This application relates to the field of energy technologies, and provides a backup power device and a photovoltaic system, to resolve problems such as high costs and a large occupied board area of a power board assembly in the backup power device. The backup power device provided in this application includes a power board and a regulation board. The regulation board is perpendicularly disposed on a surface of the power board. The power board includes a conductive wire and a switching component. The regulation board includes a semi-closed Rogowski coil and a regulation circuit. The semi-closed Rogowski coil crosses the conductive wire, and is configured to: induce a current in the conductive wire and generate an induction signal. The regulation circuit is configured to performing operation processing on the induction signal for output. The power board assembly further includes a controller, where the controller is connected to the regulation circuit and the switching component, and is configured to control on or off of the switching component based on an output signal of the regulation circuit. In the backup power device provided in this application, the semi-closed Rogowski coil has an advantage of low costs, which is conducive to wide application. The regulation board and the power board are perpendicularly disposed, occupying a small board area.

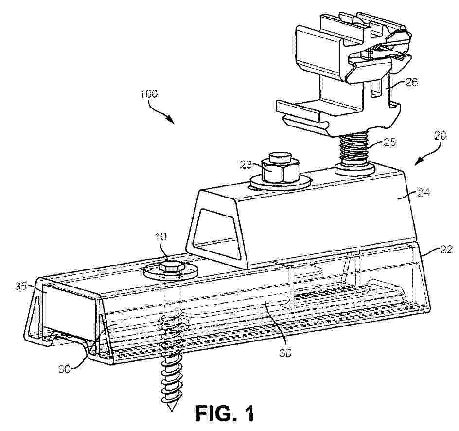
PHOTOVOLTAIC MOUNTING SYSTEM WITH CHEMICAL FLASHING

NºPublicación:  EP4628815A2 08/10/2025
Solicitante: 
TESLA INC [US]
Tesla, Inc
EP_4628815_PA

Resumen de: EP4628815A2

Photovoltaic mounts having sealant injection systems are provided herein. Such sealant injection systems provide improved directional control of sealant flow and improved sealing of roof penetrations during mounting with one or more fasteners. Such systems can include a bracket assembly (20) having a sealant injection package (60). The sealant injection package (60) can include a collapsible sealant injection reservoir (30) adapted to provide directionally controlled release of sealant upon collapse. Such a system (100) can include sealant injection guide that direct flow of sealant during mounting and can further include a sealant ring (1111) and/or a bell-shaped compressing plate (1116) that seals and encloses the injected sealant to facility formation of a chemical flashing and to maintain integrity of the flashing over time. Such systems can be adapted to allow removal and replacement of a sealant injection package (60) or cartridge. Such systems can further be configured as a base assembly with one or more coupling features that maintain the assembly without requiring any additional fasteners.

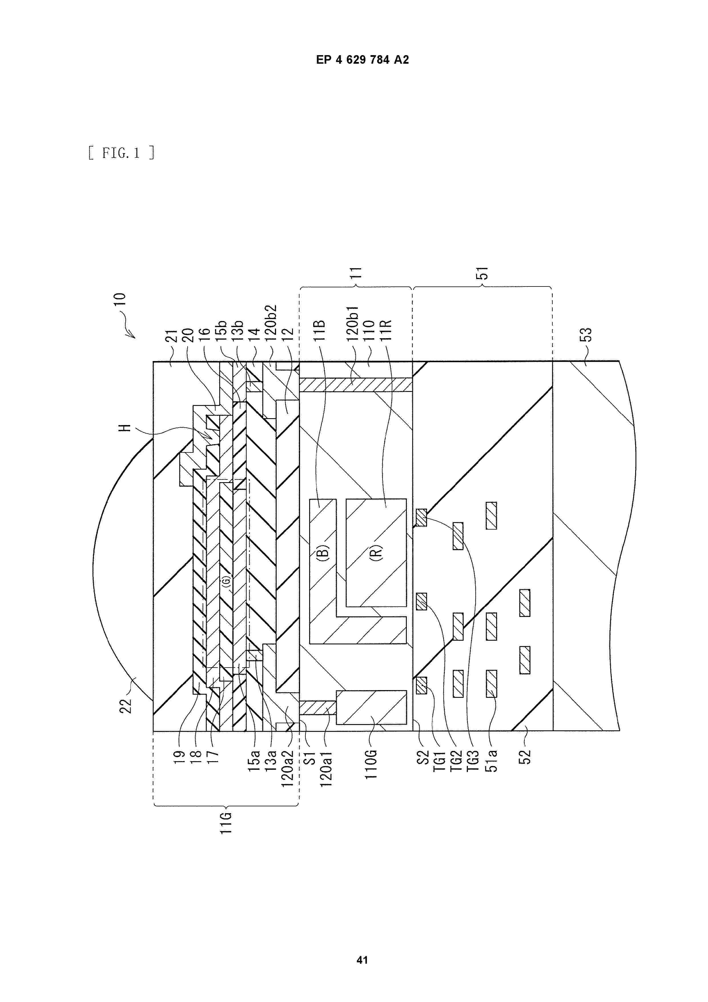
PHOTOELECTRIC CONVERSION ELEMENT AND SOLID-STATE IMAGE CAPTURE DEVICE

NºPublicación:  EP4629784A2 08/10/2025
Solicitante: 
SONY SEMICONDUCTOR SOLUTIONS CORP [JP]
Sony Semiconductor Solutions Corporation
EP_4629784_A2

Resumen de: EP4629784A2

A photoelectric conversion element according to an embodiment of the present disclosure includes: a first electrode and a second electrode facing each other; and a photoelectric conversion layer provided between the first electrode and the second electrode, and including a first organic semiconductor material, a second organic semiconductor material, and a third organic semiconductor material that have mother skeletons different from one another. The first organic semiconductor material is one of fullerenes and fullerene derivatives. The second organic semiconductor material in a form of a single-layer film has a higher linear absorption coefficient of a maximal light absorption wavelength in a visible light region than a single-layer film of the first organic semiconductor material and a single-layer film of the third organic semiconductor material. The third organic semiconductor material has a value equal to or higher than a HOMO level of the second organic semiconductor material.

MOUNTING SYSTEM FOR A METAL PANEL

Nº publicación: EP4628672A1 08/10/2025

Solicitante:

RMH TECH LLC [US]
RMH Tech LLC

EP_4628672_PA

Resumen de: EP4628672A1

A mounting system for a metal panel includes a mounting device couplable to a panel projection of a metal panel. The mounting system includes a crossmember that is couplable to the mounting device either directly via fasteners or indirectly via an adaptor. Where the mounting system includes the adaptor, the adaptor is couplable to the mounting device via a fastener. The adaptor and the crossmember have interlocking features that allow for the coupling of the adaptor to the crossmember at a location proximate to the mounting device. The mounting system optionally includes a clip that is configured to engage the crossmember via a second fastener. The clip and the crossmember have interlocking features that allow for the coupling of the clip to the crossmember at any location along the length of the crossmember. An extension is optionally usable to couple an additional crossmember to the crossmember.

traducir