Ministerio de Industria, Turismo y Comercio LogoMinisterior
 

Alerta

Resultados 85 resultados
LastUpdate Última actualización 29/11/2025 [07:19:00]
pdfxls
Solicitudes publicadas en los últimos 30 días / Applications published in the last 30 days (excluidas publicaciones Chinas / Chinese publications excluded)
Resultados 1 a 25 de 85 nextPage  

BARRIER PAPER OR BARRIER FILM COMPRISING HIGHLY REFINED PULP FROM FIBERS OBTAINED FROM USED BEVERAGE CARTONS

NºPublicación:  US2025361681A1 27/11/2025
Solicitante: 
STORA ENSO OYJ [FI]
Stora Enso OYJ
US_2025361681_A1

Resumen de: US2025361681A1

The present invention relates to a barrier paper or barrier film for a food or liquid packaging laminate, said barrier paper or barrier film comprising: a substrate layer comprising a highly refined cellulose composition comprising fibers obtained from used beverage cartons (UBC), and a polymeric gas barrier coating disposed on at least one side of the substrate layer.

COMPOSITION OF AND METHOD OF EXTRACTION OF ULVA GEL FROM SEAWEED POLYSACCHARIDE AND PROTEIN

NºPublicación:  WO2025245187A1 27/11/2025
Solicitante: 
BLUE EVOLUTION INC [US]
BLUE EVOLUTION INC
WO_2025245187_PA

Resumen de: WO2025245187A1

Disclosed are Ulva gel compositions and methods of making thereof, and nutraceutical formulations containing the gels.

METHOD FOR DRY-FORMING CELLULOSE PRODUCTS FROM CELLULOSE FIBRES IN A PRODUCT FORMING UNIT AND A PRODUCT FORMING UNIT

NºPublicación:  WO2025242534A1 27/11/2025
Solicitante: 
PULPAC AB [SE]
PULPAC AB
WO_2025242534_PA

Resumen de: WO2025242534A1

A method for dry-forming a cellulose product from cellulose fibres in a product forming unit and product forming unit, where the product forming unit comprises at least one shaping element and a forming mould. Loose and separated cellulose fibres are provided and the loose and separated cellulose fibres are fed into a flow of air for transporting the cellulose fibres to the at least one shaping element by means of the flow of air as carrying medium for the cellulose fibres; arranging the loose and separated cellulose fibres onto a three-dimensional surface of the at least one shaping element by means of the flow of air for air-forming at least one three-dimensional body of cellulose fibres; dry-forming the cellulose product into a three-dimensional compressed fibre structure by pressing and heating at least one three-dimensional body of cellulose fibres in a forming mould with a forming pressure in the range of 1-600 MPa and with a forming temperature in the range of 60-300 °C.

A PROCESS FOR PREPARING A MOULDED PRODUCT AND A MOULDED PRODUCT

NºPublicación:  WO2025242965A1 27/11/2025
Solicitante: 
UPM KYMMENE CORP [FI]
UPM-KYMMENE CORPORATION
WO_2025242965_PA

Resumen de: WO2025242965A1

A process for preparing a moulded product is disclosed. The process may comprise providing a plurality of webs of dry cellulosic fiber material, each of the webs having two sides, such that each of the webs is unwound from a roll of the dry cellulosic fiber material; feeding the plurality of the webs such that a side of each of the webs and a side of another web face each other, said sides facing each other forming a pair of sides; applying a first chemical on the sides forming the pair of sides in each of the pair of sides; calendering the plurality of the webs together, thereby obtaining a calendered web; applying a second chemical on an outer side of the calendered web; optionally pre-cutting the calendered web into a calendered sheet and/or shape prior to the hot pressing; and hot pressing the calendered web, sheet or shape, thereby obtaining the moulded product.

METHOD FOR MANUFACTURING ARTIFICIAL FLOWERS BY USING BIODEGRADABLE PLASTIC

NºPublicación:  WO2025244148A1 27/11/2025
Solicitante: 
KIM JEONG UK [KR]
PARK YOUNG SEO [KR]
\uAE40\uC815\uC6B1,
\uBC15\uC601\uC11C
WO_2025244148_A1

Resumen de: WO2025244148A1

The present invention relates to a method for manufacturing artificial flowers by using biodegradable plastic. Artificial flowers are manufactured using biodegradable plastic, and thus can solve environmental problems caused by conventional plastic artificial flowers, can maintain the inherent strength of plastic and be used for a long time, implements the same fragrance and beauty as real flowers and are completely decomposed by organisms after use so as to facilitate disposal and be harmless to the human body, and thus can be widely used.

WATER-SOLUBLE FILM, PRODUCTION METHOD THEREFOR, PACKAGE, DRUG PACKAGE, AND PRODUCTION METHOD THEREFOR

NºPublicación:  WO2025244060A1 27/11/2025
Solicitante: 
MITSUBISHI CHEMICAL CORP [JP]
\u4E09\u83F1\u30B1\u30DF\u30AB\u30EB\u682A\u5F0F\u4F1A\u793E
WO_2025244060_A1

Resumen de: WO2025244060A1

Provided are: a water-soluble film which, when a polyvinyl alcohol-based resin and pullulan are used in combination, has excellent mechanical properties such as strength and stretchability and has excellent moldability and compressive strength that are useful for packaging applications; a production method therefor; a drug package; and a production method therefor. This water-soluble film comprises a polyvinyl alcohol-based resin (A), pullulan (B), and a compound (C) having at least two carboxy groups per molecule, wherein the content of the compound (C) is at most 20 parts by mass with respect to 100 parts by mass of the total content of the polyvinyl alcohol-based resin (A) and the pullulan (B).

RECEPTACLE FOR A WAREHOUSE STORAGE AND TRANSPORT SYSTEM, AND SYSTEM COMPRISING SUCH A RECEPTACLE

NºPublicación:  EP4652114A1 26/11/2025
Solicitante: 
EXOTEC PRODUCT FRANCE [FR]
Exotec Product France
WO_2024153679_PA

Resumen de: WO2024153679A1

The present disclosure relates to a receptacle (1) for a warehouse storage and transport system, the storage and transport system having at least one storage rack which comprises a vertical structure comprising a set of vertical uprights and multiple pairs of mechanical interfaces defining a plurality of storage cells for the receptacle, and wherein the receptacle comprises a base (10) extending along a horizontal plane to form a bottom wall (100) of the receptacle and a peripheral belt (11) projecting above the base, at least according to a vertical component, to form side walls, and wherein the base and the belt are predominantly made of cardboard.

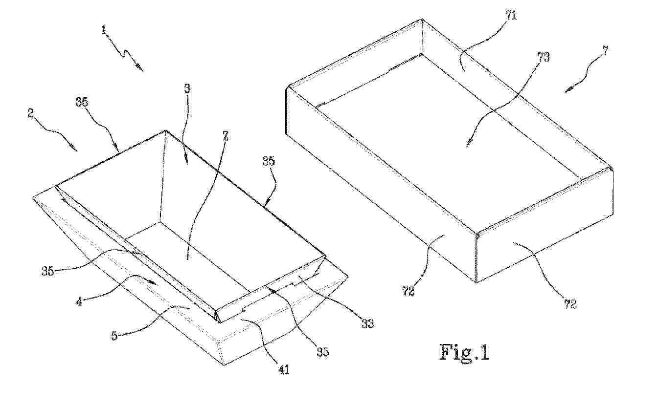
CONTAINER FOR FOOD, IN PARTICULAR FOR STORING ICE CREAM

NºPublicación:  EP4652113A2 26/11/2025
Solicitante: 
IMBALLAGGI ALIMENTARI S R L [IT]
Imballaggi Alimentari S.r.l
WO_2024154071_PA

Resumen de: WO2024154071A2

Described is a container (1, 101) for food products, in particular for storing ice cream, which comprises a tray (2, 102) which can be coupled with a respective lid (7, 107) and which has an inner tray (3, 103). The tray (3, 103) has a collection chamber (Z) for the food product to be contained and is designed to be associated with an outer case (4, 104), for supporting the tray (3, 103). The case (4, 104) is provided, on at least one relative upper side (41, 141), with a frame (5, 105) and with snap fitting means (32, 42) with the tray (3, 103), in such a way that the thickness of the frame (5, 105) determines a predetermined distance (D) between the innermost surface of the case (4, 104) and the outermost surface of the tray (3, 103).

POLYMER MATERIAL

NºPublicación:  EP4653488A1 26/11/2025
Solicitante: 
LG CHEMICAL LTD [KR]
LG CHEM, LTD
EP_4653488_PA

Resumen de: EP4653488A1

The present application relates to a polymer material and a use thereof. The present application can provide a polymer material having excellent biodegradability and absorptivity by using a polysaccharide into which a specific functional group is introduced. The present application can also provide a use of the polymer material.

METHOD FOR PRODUCING BLOCK COPOLYMER OR AQUEOUS DISPERSION CONTAINING SAME, ADHESIVE, COATING LIQUID, COATING AGENT, OR MOLDED BODY

NºPublicación:  EP4653449A1 26/11/2025
Solicitante: 
SPIBER INC [JP]
Spiber Inc
EP_4653449_A1

Resumen de: EP4653449A1

The present invention provides a method for producing a block copolymer, the method including a step of mechanochemically treating a mixture containing a protein and a molecule capable of plasticizing a protein.

Pigment paste in capsule

NºPublicación:  PL448627A1 24/11/2025
Solicitante: 
INCHEM POLONIA SPOLKA Z OGRANICZONA ODPOWIEDZIALNOSCIA [PL]
INCHEM POLONIA SP\u00D3\u0141KA Z OGRANICZON\u0104 ODPOWIEDZIALNO\u015ACI\u0104
PL_448627_A1

Resumen de: PL448627A1

Przedmiotem zgłoszenia jest pasta pigmentowa w kapsułce z folii PVA, która charakteryzuje się tym, że folia PVA jest o grubości 40 — 90 µm, a zwartość wody w paście pigmentową nie może przekroczyć 5%.

Biodegradable Composition for Nodules and Articles Thereof

NºPublicación:  AU2025203085A1 20/11/2025
Solicitante: 
BURGIS WAYNE
Burgis, Wayne
AU_2025203085_A1

Resumen de: AU2025203085A1

The present invention relates to a biodegradable composition for nodules comprising a biodegradable fiber, plasticizer and inorganic fine. The present invention alleviates at least some of the issues associated with present cleaning wipes. 5 The present invention relates to a biodegradable composition for nodules comprising a biodegradable fiber, plasticizer and inorganic fine. The present invention alleviates at least some of the issues associated with present cleaning 5 wipes. pr p r

HIGH BARRIER COMPOSTABLE PRODUCTS USING PROTEIN FILLERS IN BIOPLASTICS AND METHODS OF MAKING THOSE

NºPublicación:  US2025353980A1 20/11/2025
Solicitante: 
UNIV OF GUELPH [CA]
University of Guelph

Resumen de: US2025353980A1

A gas barrier substrate comprising a biodegradable composite, the biodegradable composite comprising a polymeric matrix and a sustainable filler comprising protein. Also articles of manufacture comprising the gas barrier substrate and methods of limiting gas permeation using the gas barrier substrate.

TOTALLY BIODEGRADABLE COMPOSITE MATERIAL BASED ON A THERMOPLASTIC MATRIX AND NATURAL PLANT FIBRES, METHOD OF MANUFACTURING THEREOF AND MEDICAL DEVICES MADE OF SAID COMPOSITE MATERIAL

NºPublicación:  WO2025238472A1 20/11/2025
Solicitante: 
STERILSYS S R L [IT]
STERILSYS S.R.L
WO_2025238472_PA

Resumen de: WO2025238472A1

Composite material based on stacked alternate layers of: - a matrix based on a polymer of natural origin derived from renewable sources in the form of thin films; said matrix can be PolyLactic Acid (PLA) or Polybutylene Succinate (PBS); - natural plant fibres, preferably flax, hemp, jute. In a first embodiment, such natural plant fibres are in the form of a fabric provided with a warp and weft perpendicular to each other. In a second embodiment, such natural plant fibres are in the form of unidirectional windings of tapes obtained through filament winding technique. The present invention further comprises two methods for the preparation of the first and of the second embodiments, respectively. The composite materials according to the present invention can be used to produce medical devices intended for supporting patients.

POLYVINYLALKOHOLHARZ, WASSERLÖSLICHE FOLIE, EXTRUSIONSGEFORMTER GEGENSTAND, FILAMENT, VLIESSTOFF, BEHÄLTER, VERFAHREN ZUR HERSTELLUNG EINER WASSERLÖSLICHEN FOLIE UND WÄSSRIGE LÖSUNG

NºPublicación:  DE112024000388T5 20/11/2025
Solicitante: 
KURARAY CO [JP]
KURARAY CO., LTD
CN_120641448_A

Resumen de: DE112024000388T5

Bereitgestellt werden ein Polyvinylalkoholharz, das den Erhalt einer wasserlöslichen Folie mit günstiger Kaltwasserlöslichkeit und mechanischer Festigkeit ermöglicht, eine günstige Bioabbaubarkeit aufweist und eine überlegene Filtrierbarkeit im Zustand einer wässrigen Lösung aufweist; eine wasserlösliche Folie, ein extrudiertes Produkt, ein Filament, ein Vliesstoff und ein Behälter, die jeweils ein derartiges Polyvinylalkoholharz enthalten; ein Verfahren zur Herstellung einer wasserlöslichen Folie und eine wässrige Lösung. Das Polyvinylalkoholharz enthält als Hauptkomponente einen modifizierten Polyvinylalkohol mit einer N-Vinylamid-Einheit, wobei das Verhältnis (N1/N2) der Zahl (N1) von 1 µm großen Teilchen zur Zahl (N2) von 2 µm großen Teilchen in 1 ml einer 2 massen-%igen wässrigen Lösung des Polyvinylalkoholharzes 0,1 oder mehr und 50 oder weniger beträgt.

MULTILAYER NON-WOVEN FABRIC SUITABLE AS LID OF A CAPSULE FOR PREPARING A BEVERAGE

NºPublicación:  WO2025238139A1 20/11/2025
Solicitante: 
GLATFELTER GERNSBACH GMBH [DE]
GLATFELTER GERNSBACH GMBH
WO_2025238139_PA

Resumen de: WO2025238139A1

The present invention relates to a non-woven fabric (10) suitable as a lid of a capsule for preparing a beverage, in particular coffee or tea, the non-woven fabric (10) comprising a tear enhancement layer (20), an oxygen barrier layer (24), a retention filter layer (30), wherein the oxygen barrier layer (24) is arranged between the tear enhancement layer (20) and the retention filter layer (30), the non-woven fabric (10) further comprising at least one of a first adhesion layer (22), a second adhesion layer (26) and a water vapor barrier layer (28), wherein the first adhesion layer (22) is arranged between the tear enhancement layer (20) and the oxygen barrier layer (24), wherein the second adhesion layer (26) is arranged between the oxygen barrier layer (24) and the retention filter layer (30), wherein the water vapor barrier layer (28) is arranged between the oxygen barrier layer (24) and the retention filter layer (30). The present invention further relates to a lid for or of a capsule for preparing a beverage as well as to a capsule for preparing a beverage.

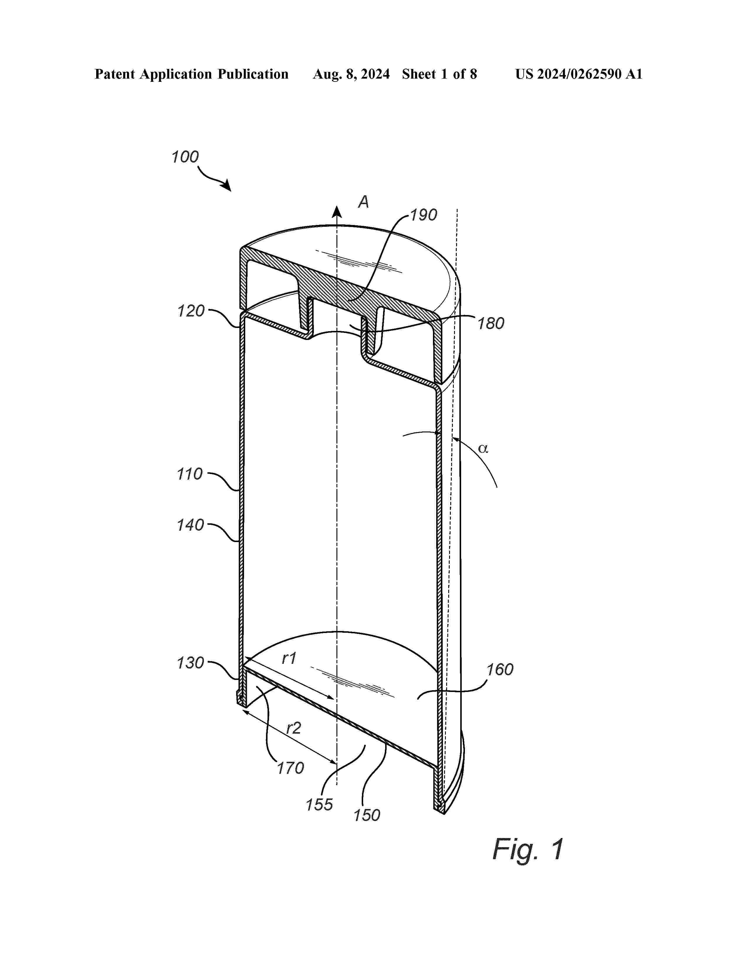
BASE PAPER FOR VAPOR DEPOSITION PAPER, VAPOR DEPOSITION PAPER, PACKAGING BAG, LAMINATE, AND PAPER CONTAINER FOR LIQUID

NºPublicación:  US2025354334A1 20/11/2025
Solicitante: 
OJI HOLDINGS CORP [JP]
OJI Holdings Corporation
CN_119403678_A

Resumen de: US2025354334A1

A base paper for vapor deposition paper, the base paper including, on at least one surface of a paper substrate, a clay coat layer and a resin layer in this order on the paper substrate, in which the clay coat layer includes an inorganic pigment and a binder, the mass ratio (inorganic pigment/binder) of the inorganic pigment to the binder in the clay coat layer is from 25/75 to 75/25, and the coating amount in terms of solid content of the clay coat layer is 8 g/m2 or more and 20 g/m2 or less.

CELLULOSE COMPOSITION, CELLULOSE MOLDED BODY, AND METHOD FOR PRODUCING CELLULOSE COMPOSITION

NºPublicación:  US2025353998A1 20/11/2025
Solicitante: 
SHIN ETSU CHEMICAL CO LTD [JP]
SHIN-ETSU CHEMICAL CO., LTD
US_2021309836_A1

Resumen de: US2025353998A1

Disclosed is a cellulose composition including: (A) a water-soluble cellulose ether, (B) water-insoluble cellulose particles and (C) water. The cellulose composition may serve as a novel biomass material which uses biodegradable cellulose that places little burden on the environment, and exhibits excellent shape retention properties. The cellulose composition may include (A) 100 parts by weight of the water-soluble cellulose ether, (B) 30 to 150 parts by weight of the water-insoluble cellulose particles, and (C) 300 to 1,000 parts by weight of water.

酵素カスケードを用いたポリビニルアルコールおよびその誘導体の分解

NºPublicación:  JP2025537730A 20/11/2025
Solicitante: 
エッチジェーハインツカンパニーブランズエルエルシー
JP_2025537730_PA

Resumen de: MX2025005183A

A method for degrading polyvinyl alcohol (PVA) or derivative thereof with an enzymatic cascade is provided. The method includes treating the PVA or derivative thereof with an enzyme effective to oxidize hydroxyl groups of the PVA to ketones; an enzyme effective to oxidize ketones of the PVA to esters; and an enzyme effective to hydrolyze ester bonds to create fragments of the PVA. For decorated PVA (such as succinyl side chains), the method may further include treating the PVA with an enzyme effective to remove the succinyl side chains from the PVA material. Also provided are biodegradable packaging materials, such as for food products, that include the enzymatic cascade for degrading PVA or derivative thereof.

薬剤包装用フィルム及び薬剤包装体

NºPublicación:  JP2025171807A 20/11/2025
Solicitante: 
株式会社アイセロ
JP_2025171807_A

Resumen de: JP2025171807A

【課題】良好な透明性と薬剤包装体を成形し易い柔軟性とを有し、水溶性フィルム同士、包装装置と水溶性フィルムとの密着、及び薬剤包装体同士の密着を防止できる薬剤包装用フィルムを提供する。【解決手段】薬剤包装用フィルムは、アニオン基変性ポリビニルアルコール樹脂と、可塑剤と、シリカ粒子と、酸化防止剤としての亜硫酸塩とを含み、水分率が4.0~10.0質量%の薬剤包装に用いる水溶性フィルムであり、前記アニオン基変性ポリビニルアルコール樹脂100質量部に対し、前記可塑剤が15~35質量部、前記シリカ粒子が0.5~3.0質量部、及び前記亜硫酸塩が0.1~2.0質量部を含有し、且つ前記水溶性フィルムの表面に、澱粉が0.01~0.20g/m2の付着量となるように付着されている。【選択図】なし

MULTILAYER NON-WOVEN FABRIC SUITABLE AS LID OF A CAPSULE FOR PREPARING A BEVERAGE

NºPublicación:  EP4650164A1 19/11/2025
Solicitante: 
GLATFELTER GERNSBACH GMBH [DE]
Glatfelter Gernsbach GmbH
EP_4650164_PA

Resumen de: EP4650164A1

The present invention relates to a non-woven fabric (10) suitable as a lid of a capsule for preparing a beverage, in particular coffee or tea, the non-woven fabric (10) comprising a tear enhancement layer (20), an oxygen barrier layer (24), a retention filter layer (30), wherein the oxygen barrier layer (24) is arranged between the tear enhancement layer (20) and the retention filter layer (30), the non-woven fabric (10) further comprising at least one of a first adhesion layer (22), a second adhesion layer (26) and a water vapor barrier layer (28), wherein the first adhesion layer (22) is arranged between the tear enhancement layer (20) and the oxygen barrier layer (24), wherein the second adhesion layer (26) is arranged between the oxygen barrier layer (24) and the retention filter layer (30), wherein the water vapor barrier layer (28) is arranged between the oxygen barrier layer (24) and the retention filter layer (30). The present invention further relates to a lid for or of a capsule for preparing a beverage as well as to a capsule for preparing a beverage.

ENVIRONMENTALLY FRIENDLY SCREW

NºPublicación:  EP4650141A1 19/11/2025
Solicitante: 
HSU YU CHENG [TW]
Hsu, Yu-Cheng
EP_4650141_A1

Resumen de: EP4650141A1

An environmentally friendly screw S is provided. The environmentally friendly screw includes a head portion 10 and a threaded portion 20 integrally connected. The head portion 10 and the threaded portion 20 are made from biodegradable materials by an injection molding device. The environmentally friendly screw S is provided with a parting line L located at a longitudinal section in an axial direction of the environmentally friendly screw S. The environmentally friendly screw S has advantages of biodegradability or biocompostability, light weight, low cost, and no conductivity.

A BEVERAGE CAPSULE COMPRISING A BARRIER LINER ATTACHED TO A PULP BODY

NºPublicación:  PL4416073T3 17/11/2025
Solicitante: 
SOC DES PRODUITS NESTLE S A [CH]
Soci\u00E9t\u00E9 des Produits Nestl\u00E9 S.A.
PL_4416073_T3

Resumen de: EP4620861A2

The present invention is directed to a capsule (1) for beverage preparation, comprising a cup-shaped body (2) of moulded cellulose pulp and a closing membrane (5) attached to a peripheral rim (4) of said body (2). The capsule further comprises a multilayer polymeric liner (3) attached to the inner surface of the cellulose pulp body (2), said liner comprising:(i) an outermost polymeric layer (7),(ii) a first tie layer (8),(iii) a barrier layer (9),(iv) a second tie layer (10),(v) an innermost polymeric layer (11),In which liner,- the thickness of the outermost layer (7) and the thickness of the innermost layer (11) are comprised between 10 and 100 pm and are preferably identical;- the elongation at break of the outermost layer (7) is higher than the elongation at break of the innermost layer (11);- The melt flow rate (MFR) of the outermost layer (7) measured at 150°C during 10 minutes with a pressure of 2.16 kg, is lower than the melt flow rate (MFR) of the innermost layer (11), measured at 190°C during 10 minutes with a pressure of 2.16 kg;- The melting point temperature of the outermost layer (7) is lower than the melting point temperature of the innermost layer (11),and in which, the outermost layer serves as an adhesive to the cellulose pulp of the capsule body.

HEPARIN AND MIXTURES OF NATIVE PROTEINS AND PEPTIDES FROM WASTE TISSUE OF SLAUGHTERED ANIMALS

NºPublicación:  ES3041746T3 14/11/2025
Solicitante: 
HORIZON IP S L
Horizon IP, S.L
JP_2025509347_A

Resumen de: US2025101140A1

A method for obtaining heparin, proteins and peptides in native state, and other compounds of interest, by fractionation of mammalian intestine mucosa. Particular new fractions or extracts of the mucosa with the indicated compounds are also contemplated.

バイオマス材料含有シート

Nº publicación: JP2025170064A 14/11/2025

Solicitante:

株式会社コバヤシ

JP_2025170064_A

Resumen de: JP2023005438A

To provide a biomass material-containing sheet which enables in-line molding at low temperature while using a biomass material-containing sheet.SOLUTION: Provided is a biomass material-containing sheet formed of a biomass material and a resin composition containing a thermoplastic resin, wherein the thermoplastic resin is a random copolymer, and the biomass-containing sheet is used for in-line molding. Also provided is a biomass material-containing sheet formed of a biomass material and a resin composition containing a thermoplastic resin, wherein the thermoplastic resin is a random copolymer, and a content ratio of the biomass material is 50 mass% or more. A deflection temperature can be 65°C or higher and 80°C or lower. The biomass material can be starch. The thermoplastic resin can be a polyolefin-based resin. The polyolefin-based resin can be a polypropylene resin.SELECTED DRAWING: None

traducir