Ministerio de Industria, Turismo y Comercio LogoMinisterior
 

Alerta

Resultados 125 resultados
LastUpdate Última actualización 02/04/2026 [07:10:00]
pdfxls
Solicitudes publicadas en los últimos 30 días / Applications published in the last 30 days (excluidas publicaciones Chinas / Chinese publications excluded)
previousPage Resultados 25 a 50 de 125 nextPage  

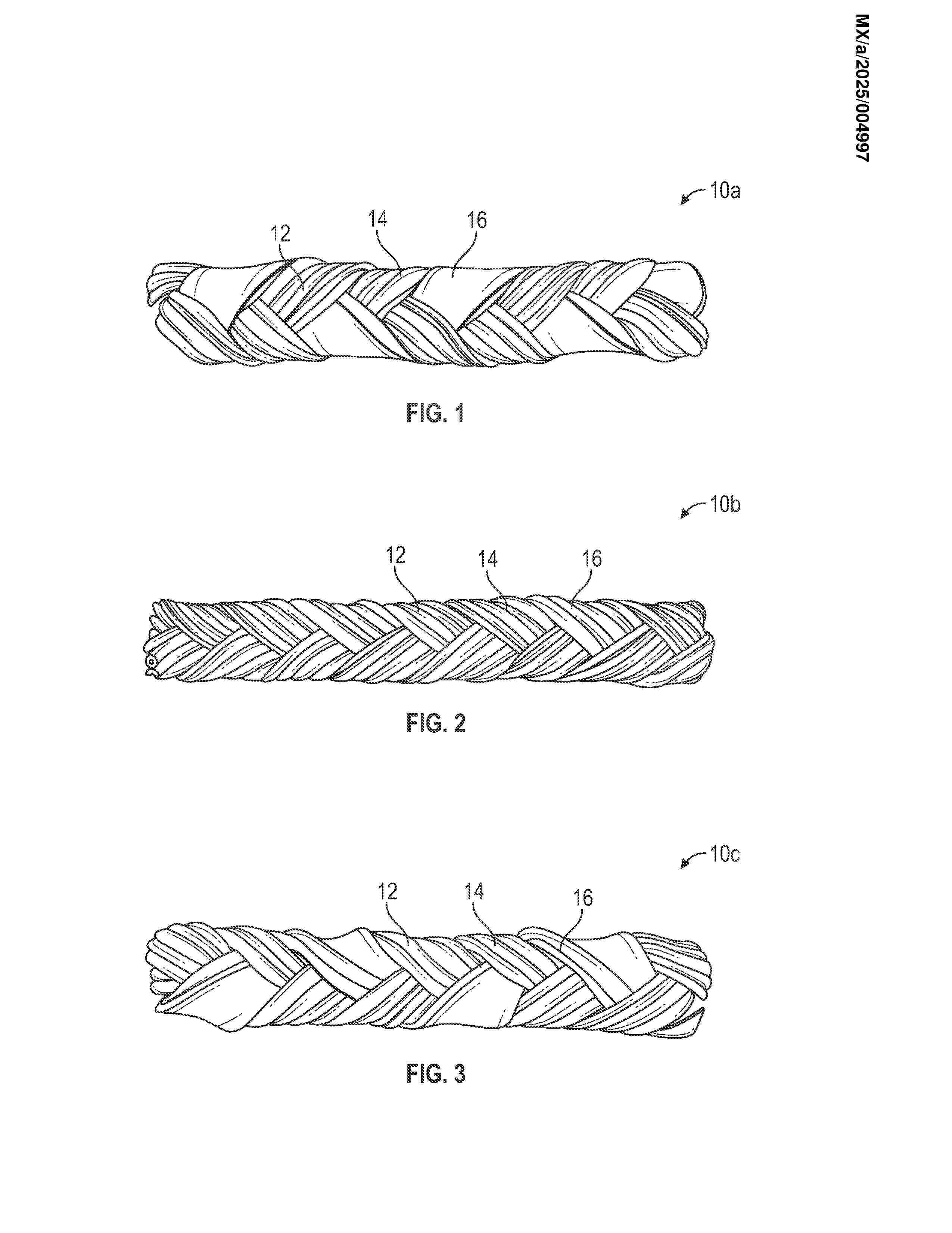
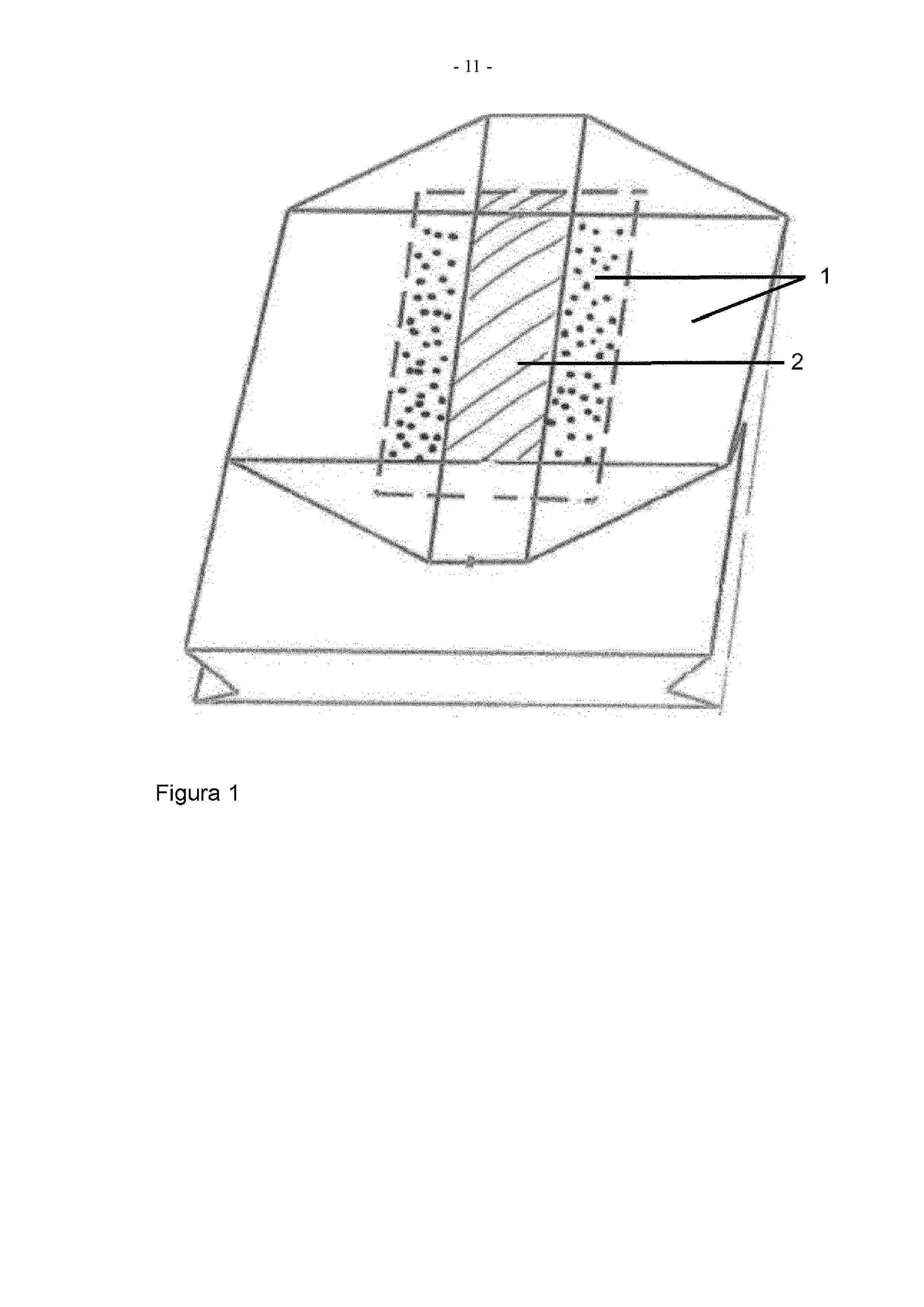
A POROUS FORMABLE SEEDBED AND A METHOD FOR PRODUCING IT

NºPublicación:  PL3847208T3 23/03/2026
Solicitante: 
FIFTH INNOVATION OY [FI]
Fifth Innovation Oy
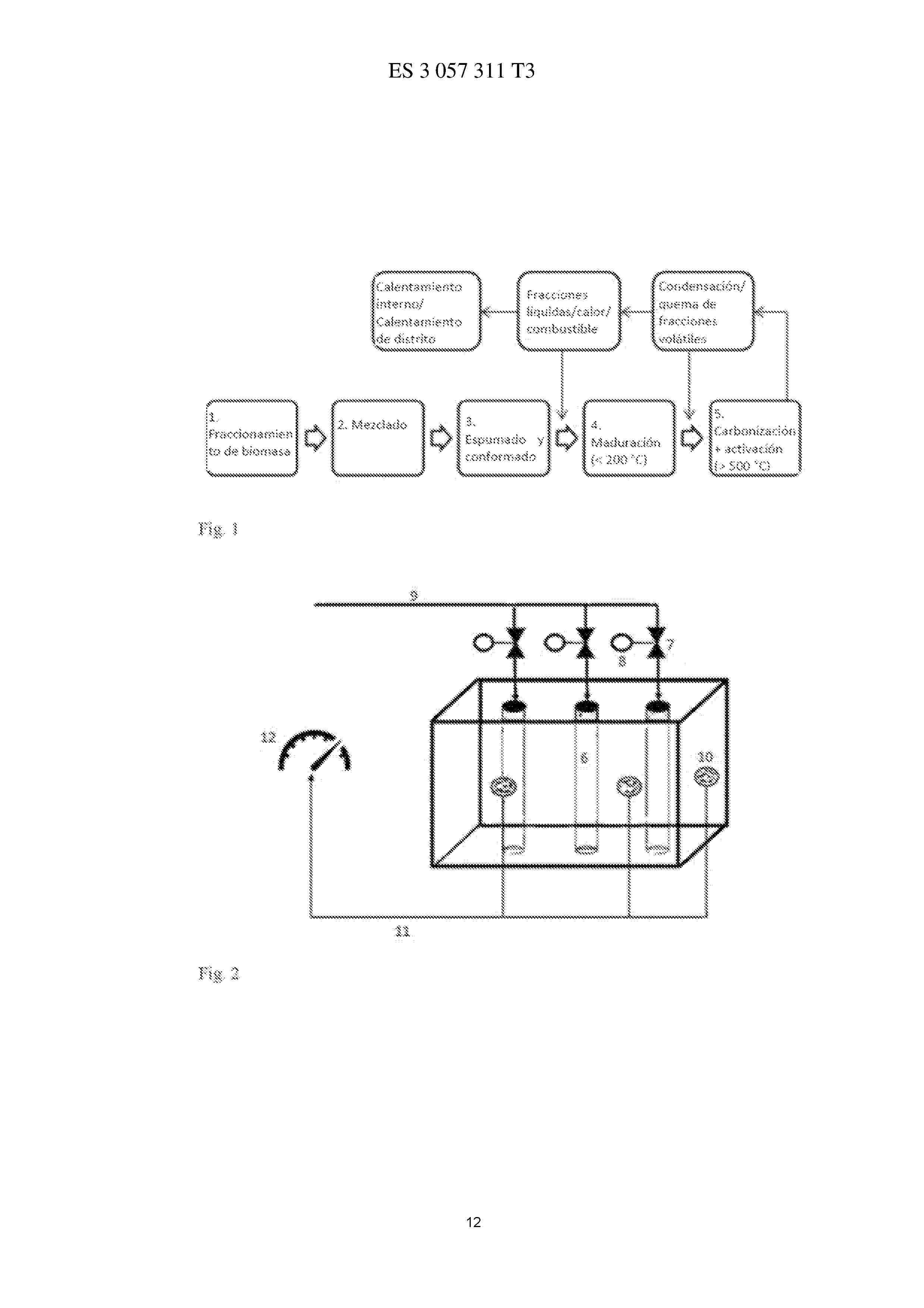
ES_3057311_T3

Resumen de: WO2020049227A1

The invention relates to a porous formable seedbed and to a method for producing it. Lignocellulose-based starting material is used in the method by forming a mixture from the fractions obtained from biomass fractionation, which mixture is treated to produce a porous seedbed. In the method, the material is foamed, formed and heat treated, and optionally carbonized and activated. The obtained porous seedbed is suitable to be versatilely used as a seedbed for various seeds.

Vernetzte und kettenverlängerte Filme und Schaumstoffe auf der Basis von biologisch abbaubaren Polyestern für verbesserte Hydrolyse

NºPublicación:  DE102024208998A1 19/03/2026
Solicitante: 
BENECKE KALIKO AG [DE]
Benecke-Kaliko Aktiengesellschaft

Resumen de: DE102024208998A1

Die Erfindung vorliegende betrifft ein Verfahren zur Herstellung eines biologisch abbaubaren Polyesterproduktes, umfassend die folgenden Schritte: a) Bereitstellen einer Mischung umfassend mindestens einen Polyester und mindestens ein Polycarbodiimid, b) Extrusion, Kalandrieren und/oder Spritzgießen der Mischung aus Schritt a) und c) Bestrahlen der extrudierten, kalandrierten und/oder spritzgegossenen Mischung aus Schritt b) mit ionisierender Strahlung, ein daraus erhältliches biologisch abbaubares Polyesterprodukt, sowie einen Schaum oder Film umfassend ein solches biologisch abbaubares Polyesterprodukt.

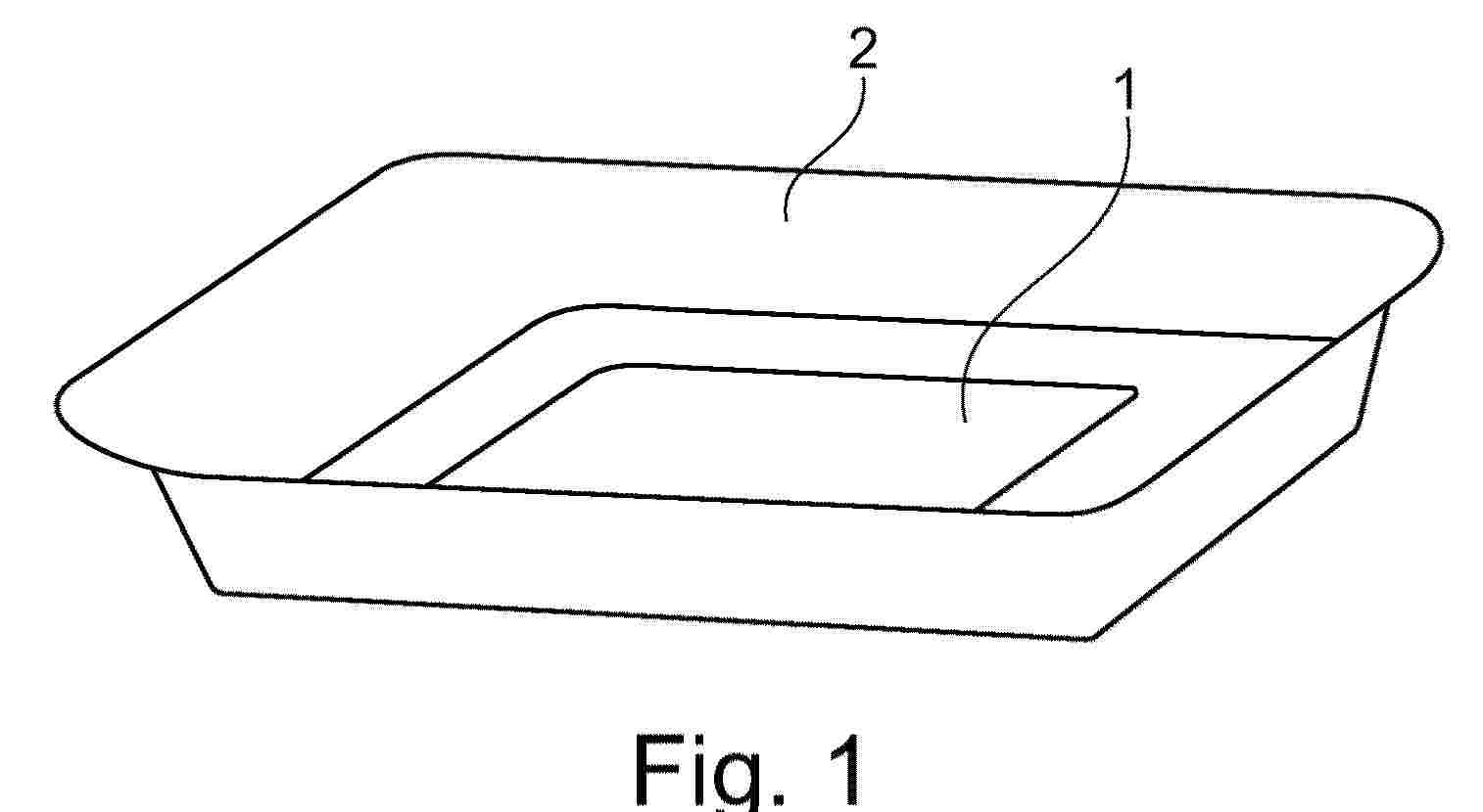
CAPSULE FOR THE PREPARATION OF A BEVERAGE, USE OF AND METHOD FOR MANUFACTURING SAID CAPSULE

NºPublicación:  ES3059221T3 19/03/2026
Solicitante: 
NESTLE SA
Soci\u00E9t\u00E9 des Produits Nestl\u00E9 S.A
US_2025011059_PA

Resumen de: US2025011059A1

A capsule for the preparation of a beverage in a beverage preparation device (10) and a method for manufacturing said capsule are described. The capsule comprises a cup-shaped body (1) and a cover (2) for closing the cup-shaped body (1). The cup-shaped body (1) comprises a bottom wall (4), a lateral wall (5) and an annular flange (3) for the cover (2) to seal thereon. The lateral wall (5) is made at least of a first structural layer (5A) and the bottom wall (4) is made at least of a second structural layer (4A). The cup-shaped body (1) comprises an oxygen barrier liner (14) attached to the inner surface (5C) of at least the first structural layer (5A) of the lateral wall (5). The oxygen barrier liner (14) comprises at least a polymer, preferably a biopolymer. The bottom wall (4) is suitable for being pierced by a piercing member (12) of the beverage preparation device (10). The first layer (5A) of the lateral wall (5) and the second layer (4A) of the bottom wall (4) are made of different materials: the first structural layer (5A) of the lateral wall (5) is made of cellulose pulp, and the second structural layer (4A) of the bottom wall (4) comprises between 0% and 60% of cellulose pulp and between 40% and 100% of a polymer, preferably a biopolymer.

RESIN COMPOSITION

NºPublicación:  WO2026059386A1 19/03/2026
Solicitante: 
LG CHEM LTD [KR]
\uC8FC\uC2DD\uD68C\uC0AC \uC5D8\uC9C0\uD654\uD559
WO_2026059386_A1

Resumen de: WO2026059386A1

A resin composition of the present invention comprises a biodegradable polymer and a biodegradable nucleating agent and thus is biodegradable, and exhibits a high crystallization rate, which leads to excellent productivity during processing such as injection molding, extrusion molding, and sheet extrusion.

BIODEGRADABLE PLASTIC-FREE PAPER BAG AND PRODUCTION DEVICE THEREFOR

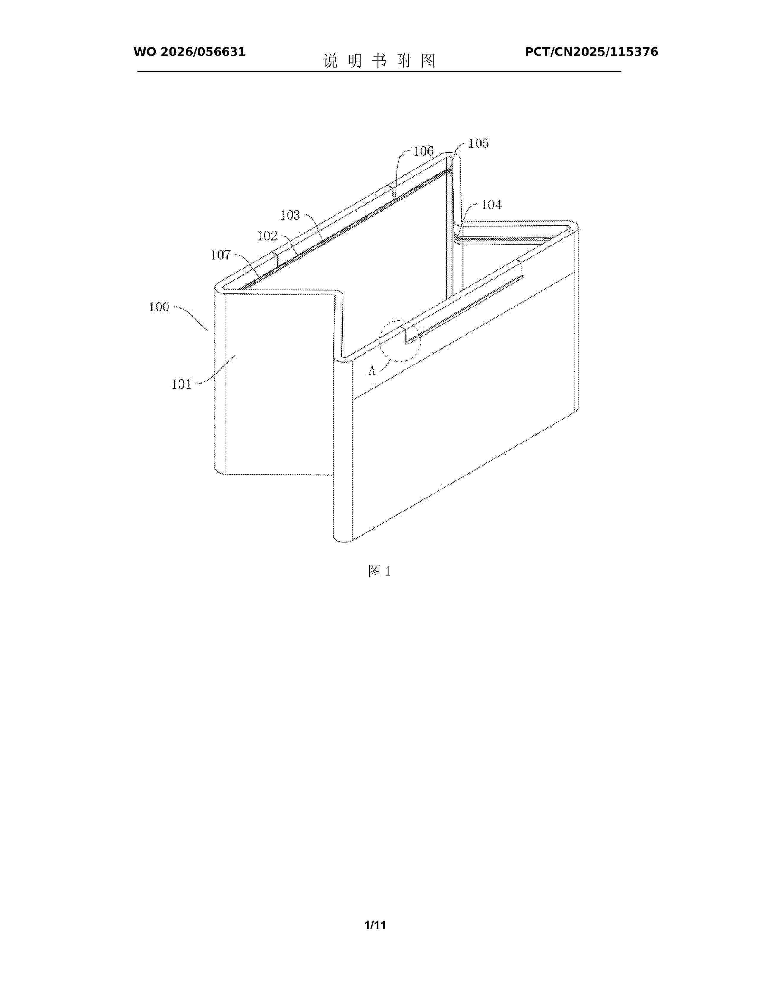
NºPublicación:  WO2026056631A1 19/03/2026
Solicitante: 
SHANGHAI SHANGYUAN PRINTING CO LTD [CN]
\u4E0A\u6D77\u4E0A\u6E90\u5370\u52A1\u6709\u9650\u516C\u53F8
WO_2026056631_A1

Resumen de: WO2026056631A1

A biodegradable plastic-free paper bag and a production device therefor. The paper bag comprises a paper bag body. The paper bag body comprises a modified starch-based waterproofing agent, kraft paper, and a PP synthetic paper core. Openings on two sides of the middle portion of the paper bag body are respectively fixedly connected to movable paperboards by means of Z-shaped plastic films; glue grooves communicated with each other are formed between one side of the lower end of each of the movable paperboards and the surface of the paper bag body; the surfaces of the glue grooves are both provided with plastic films fixedly connected to the surface of the paper bag body; and each of the plastic films is provided with a longitudinal cut III located on one side of the corresponding Z-shaped plastic film, and is provided with a folded corner II longitudinal cut and a folded corner I longitudinal cut at the folded corners of the paper bag body, respectively. The production device comprises a device frame arranged on the ground; the upper end of the device frame is provided with a plurality of drive rollers; a paperboard is arranged on the upper ends of the plurality of drive rollers, and the paperboard is folded into a paper bag body; longitudinal adjustment structures are arranged on two sides of the device frame; a glue injection mechanism for glue injection is arranged between the two longitudinal adjustment structures; and a positioning assembly which works in conjunction wit

Mehrteilige thermische Dämmung für Transportboxen

NºPublicación:  DE102024003012A1 19/03/2026
Solicitante: 
THUERINGISCHES INST FUER TEXTIL UND KUNSTSTOFF FORSCHUNG RUDOLSTADT E V [DE]
Th\u00FCringisches Institut f\u00FCr Textil- und Kunststoff-Forschung Rudolstadt e.V

Resumen de: DE102024003012A1

Die Erfindung betrifft eine biologisch abbaubare, thermisch isolierende Verpackungseinheit und ein Verfahren zu deren Herstellung. Die thermisch isolierende Verpackungseinheit besteht aus unterschiedlich dicht gepackten, flächigen Faserverbundeinzelelementen, die in einen Stützbehälter innenseitig eingebracht werden, wobei alle Dämmkomponenten biologisch abbaubar sind und die verwendeten Materialien zu mindestens 50% aus natürlichen, das heißt in der Natur nachwachsenden Rohstoffen gewonnen werden. Die Wärmedämmkomponenten bestehen aus mindestens 2 Schichten, mit unterschiedlicher Dichte.

COUPLABLE DRAINING CONTAINER

NºPublicación:  WO2026058182A1 19/03/2026
Solicitante: 
IND MONOUSO BENEVENTANA S P A [IT]
INDUSTRIA MONOUSO BENEVENTANA S.P.A
WO_2026058182_A1

Resumen de: WO2026058182A1

According to the present invention, a draining container is made of material compatible with use in a microwave oven, comprising a bottom with a plurality of wells and an external edge. Said wells collect fluids from foods placed in the container. The container also comprises a retaining flap between the edge and the internal part which prevents the leakage of fluids, and at least one protruding element capable of being reversibly fitted into at least one cavity; said cavity comprises an enlarged part and at least one tail which has a constant depth within the thickness of said container and walls which are an extension of the walls of the enlarged part whose mutual distance decreases towards the end of said tail which is distal to said enlarged part. The protruding element and the cavity are placed on the edge of the container.

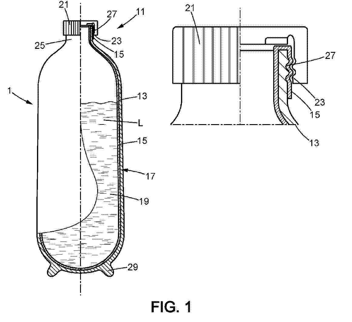
METHOD FOR MANUFACTURING A CAPSULE INTENDED TO RECEIVE A SUBSTANCE FOR PREPARING A BEVERAGE

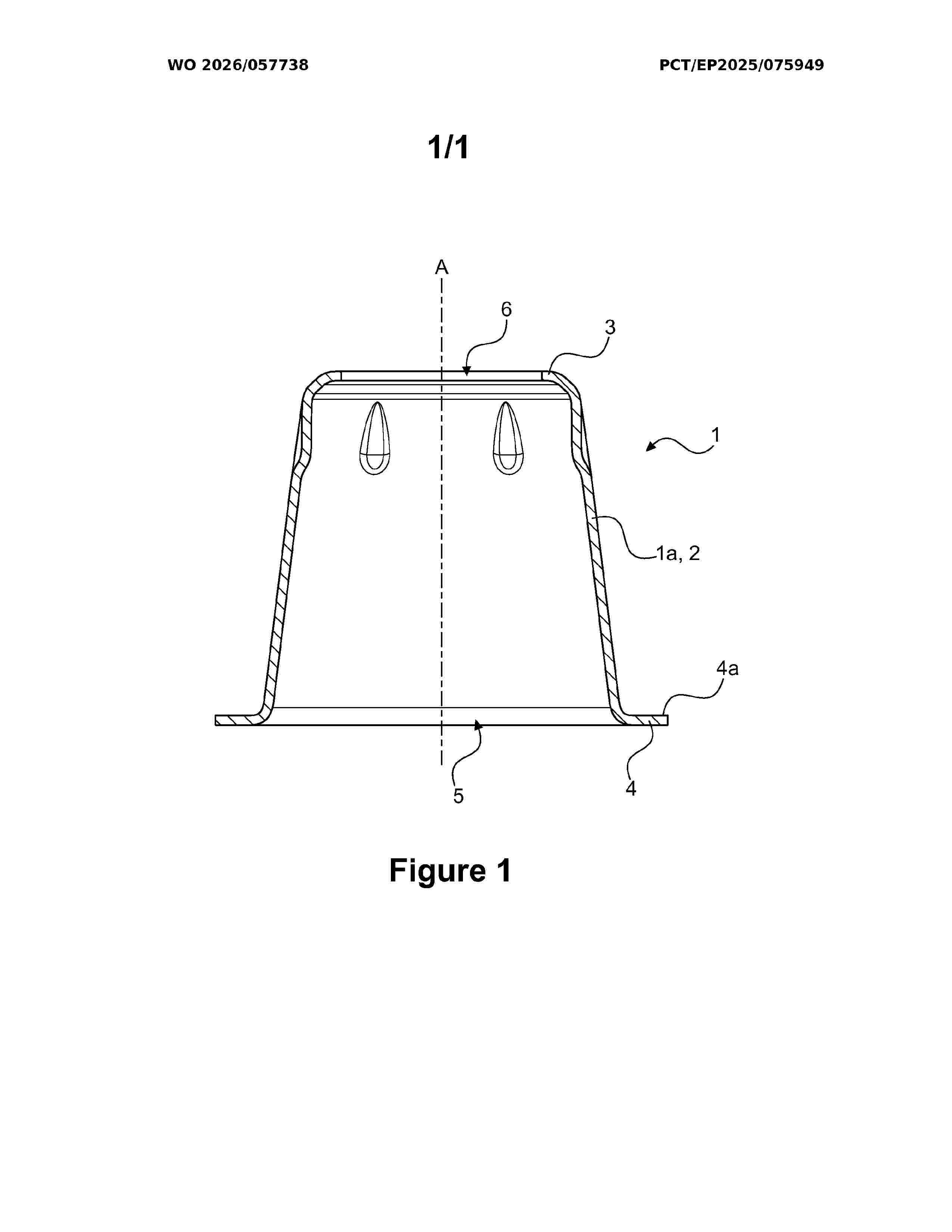
NºPublicación:  WO2026057738A1 19/03/2026
Solicitante: 
BRAIN CORP SA [LU]
BRAIN CORP SA
WO_2026057738_A1

Resumen de: WO2026057738A1

The invention relates to a method for manufacturing a capsule (1) intended to receive a substance for preparing a beverage, the capsule comprising a body (1a) having a side wall (2) bordered on either side by a bottom (3) and by a rim (4) surrounding an opening (5) in the body, the method including: forming the body (1a) by molding a cellulose pulp, coating at least the side wall (2) of the body with a chemical formulation capable of forming a hydrophobic coating on the wall by means of a reaction mechanism of the sol-gel type, and then subjecting the coated formulation to reaction conditions so as to form the hydrophobic coating.

PAPER-BASED MULTILAYER CLOSURES AND METHODS AND SYSTEMS OF MAKING SUCH CLOSURES

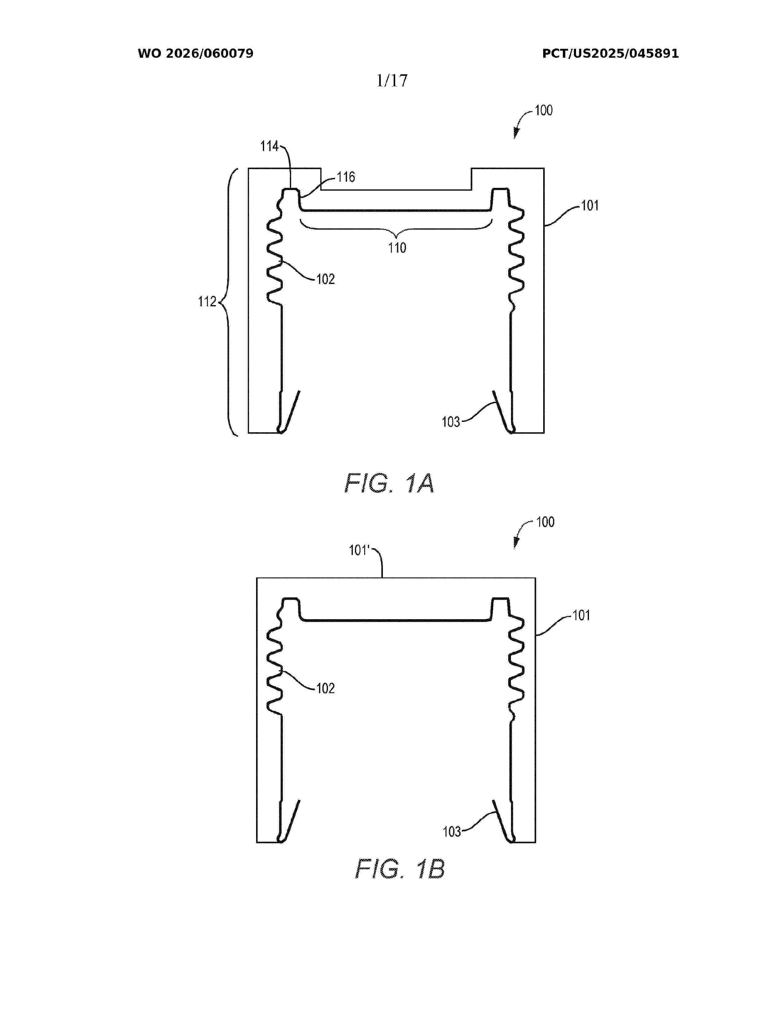
NºPublicación:  WO2026060079A1 19/03/2026
Solicitante: 
ORIGIN MAT OPERATING INC [US]
ORIGIN MATERIALS OPERATING, INC
WO_2026060079_A1

Resumen de: WO2026060079A1

A closure, process and system for making therefor are provided herein. The thermoforming process may include (a) assembling a multilayer structure that comprises at least one paper layer coupled to at least one thermoplastic layer; (b) curing the multilayer structure; (c) thermoforming the multilayer structure into a closure by placing the multilayer structure into or onto a mold; and (d) removing the closure from the mold. A closure may include a multilayered structure that comprises at least one paper layer coupled to at least one thermoplastic layer, the closure comprising an interior surface that is configured to receive a finish portion of a container. A system may include (a) a multilayer structure comprising at least one paper layer coupled to at least one thermoplastic layer; (b) a thermoforming machine; (c) a mold; and (d) an automated rotation system.

PELLET, INJECTION MOLDED ARTICLE, AND EXTRUSION MOLDED ARTICLE

NºPublicación:  WO2026058902A1 19/03/2026
Solicitante: 
MITSUBISHI CHEMICAL CORP [JP]
\u4E09\u83F1\u30B1\u30DF\u30AB\u30EB\u682A\u5F0F\u4F1A\u793E
WO_2026058902_A1

Resumen de: WO2026058902A1

Provided is a pellet containing a biodegradable polyester, the pellet exhibiting good blocking resistance and being able to be stably supplied to a molding machine. The pellet contains PBS having a constituent unit derived from succinic acid and a constituent unit derived from 1,4-butane diol as primary constituent units. In a fitted Raman spectrum obtained by fitting a spectrum having a frequency range of 1680-1780 cm-1 in a Raman spectrum measured using said pellet using a Lorentz function with two peaks having peak tops within a first frequency range of 1718±5 cm-1 and a second frequency range of 1732±5 cm-1, the intensity ratio of the intensity I01 of a peak in the first frequency range and the intensity I02 of a peak in the second frequency range (I01/I02) is 2.0 or more.

BIOCHAR-BASED COMPOSITE MATERIALS FOR CARBON SEQUESTRATION AND USE THEREOF FOR PACKAGING AND HORTICULTURAL APPLICATIONS

NºPublicación:  WO2026055774A1 19/03/2026
Solicitante: 
BEYOND SUSTAINABLE CORP [CA]
BEYOND SUSTAINABLE CORPORATION
WO_2026055774_A1

Resumen de: WO2026055774A1

Disclosed are biochar-infused composite materials designed for applications in construction, packaging, and/or horticulture. The materials, integrating biochar into matrices of starch, paper, cardboard, molded pulp, peat moss, cellulose, chitosan, polylactic acid (PLA), gelatin, PLA (Polylactic Acid), pectin, agar, or other natural polymers, taken alone or in combinations, enhance key mechanical properties like rigidity, moisture resistance, and impact protection. These composites offer environmental benefits, such as carbon sequestration and pollutant absorption, contributing to long-term sustainability. Customizable biochar concentrations and particle sizes allow for application-specific optimization, making the materials versatile across industries. Packaging solutions not only protect products but also act as vehicles for distributing biochar globally, at no extra cost. Once the packaging has served its purpose, it can be composted to improve soil health and sequester carbon, thus supporting climate action goals. The use of starch further enhances biodegradability, aligning with the vision of promoting a circular economy.

COMPOSTABLE MULTI-LAYER PRIMARY PACKAGING FOR WRAPPING INDIVIDUAL SOLID DOSAGE UNITS OF A MEDICINAL PRODUCT

NºPublicación:  WO2026057562A1 19/03/2026
Solicitante: 
REDCARBONPHARM LTD [GB]
REDCARBONPHARM LIMITED
WO_2026057562_A1

Resumen de: WO2026057562A1

The present invention relates to a compostable multi-layer primary packaging suitable for wrapping individual solid dosage units of a medicinal product, comprising: 5 a multi-layer primary packaging film or laminate comprising a biodegradable and compostable polymer, the multi-layer film or laminate being configured to be processed in a film wrapping machine to encase an individual solid dosage unit of a medicinal product; 10 the multi-layer primary packaging film or laminate having sufficient mechanical strength, flexibility, and sealability to maintain an airtight and moisture-resistant barrier around the solid dosage unit after a film wrapping process; the multi-layer primary packaging film or laminate being characterized by its 15 ability to fully decompose into non-toxic organic components within an industrial composting environment within a typical composting cycle of 90 days, and/or within a home composting environment, depending on the material composition.

THERMOPLASTIC STARCH WITH ENHANCED ADHESION CHARACTERISTICS

NºPublicación:  US20260078244A1 19/03/2026
Solicitante: 
WINPAK LTD [CA]
Winpak Ltd
US_20260078244_A1

Resumen de: US20260078244A1

A thermoplastic packaging material composition is provided. The thermoplastic packaging material composition includes from about 30 wt % to 96 wt % of a starch, from about 1 wt % to 60 wt % of a plasticizer, and from about 0.05 wt % to 10 wt % of an adhesion promoter. The adhesion promoter may comprise an amine functional polymer, such as polyethylenimine (PEI). A multilayer packaging article may also be provided. The multilayer packaging article comprises at least a first layer formed from the thermoplastic packaging material composition described above. The multilayer packaging article further may include a second layer adhered to the first layer. The second layer may comprise a thermoplastic resin. The multilayer packaging article may further include a third layer adhered to the second layer. The third layer may comprise a thermoplastic resin such as polyester.

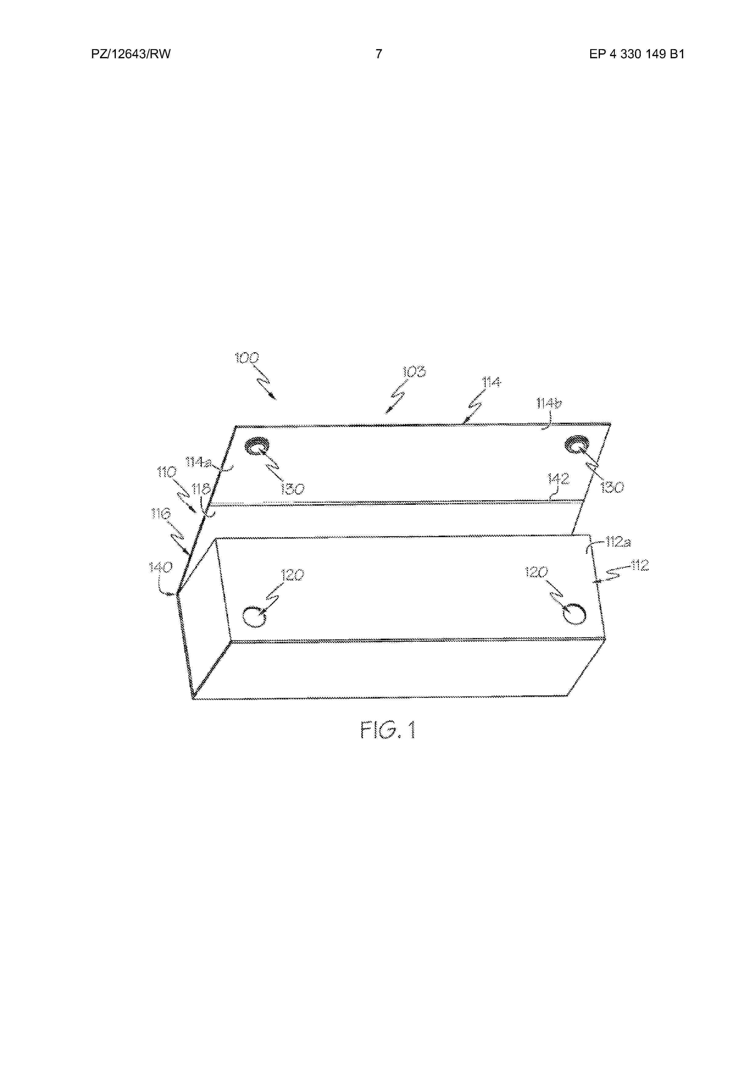
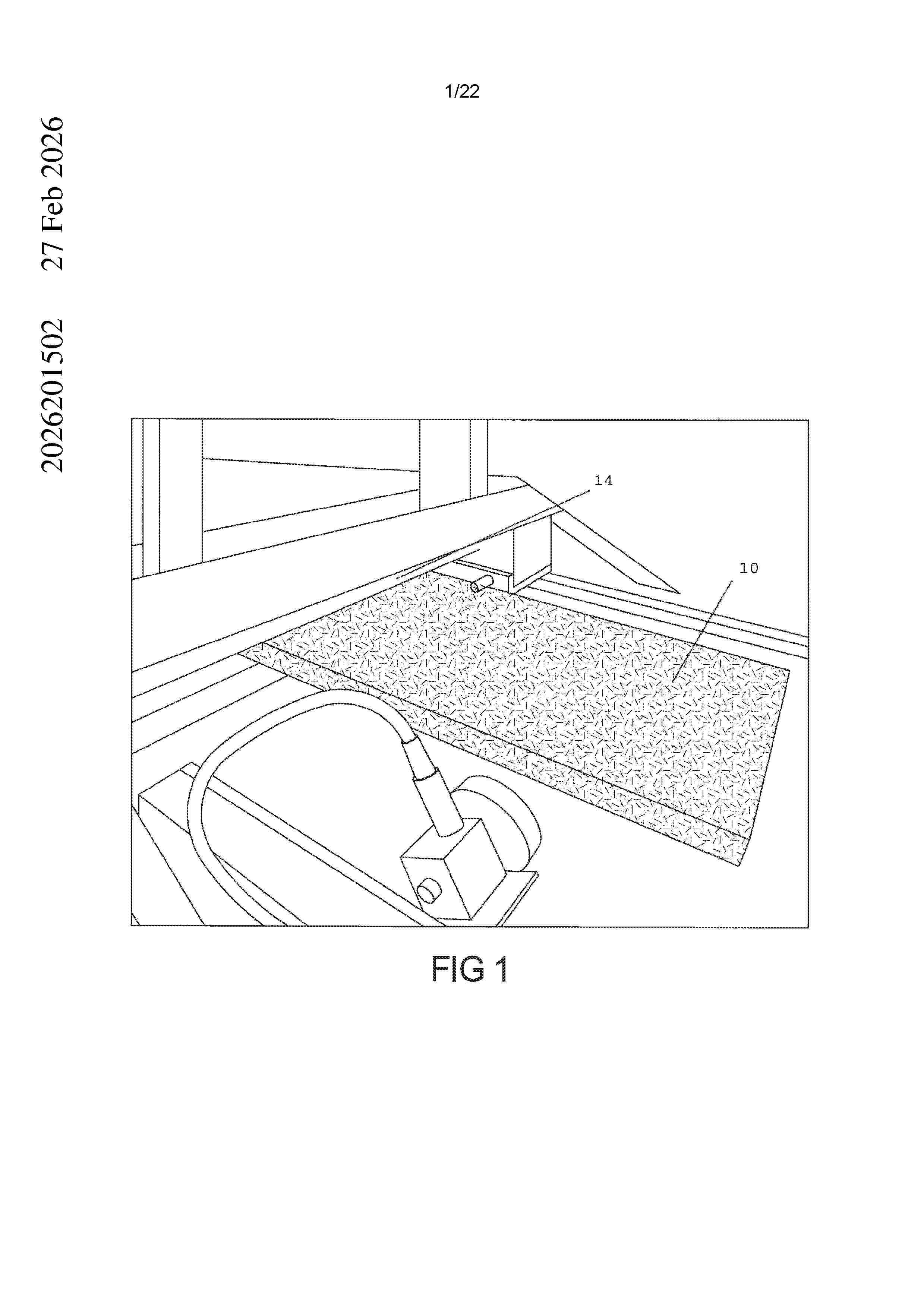
Method of making an insulation material and an insulated mailer

NºPublicación:  AU2026201502A1 19/03/2026
Solicitante: 
PRATT RETAIL SPECIALTIES LLC
Pratt Retail Specialties, LLC
AU_2026201502_A1

Resumen de: AU2026201502A1

A modular box assembly comprising: a box formed of a paper blank, the box comprising multiple side box panels and a bottom box panel and defining an interior and a bottom; an insulation liner positioned within the box interior, the insulation liner constructed of a length of a batt assembly, the batt assembly comprising an insulation batt in facing contact with a first paper layer and with a second paper layer, the insulation liner defining multiple sections, wherein at least one section of the insulation liner contacts a side box panel of the multiple side box panels, and wherein another section of the multiple sections of the insulation liner contacts the bottom box panel; and wherein the insulation batt is formed from a mixture of cellulose reinforcement fibers interlocked with thermoplastic binder fibers distributed substantially randomly within the cellulose reinforcement fibers, the thermoplastic binder fibers making up about 0.5% to 25% by weight of the insulation batt, the insulation batt having a thickness that is at least about 1/16 of an inch, wherein the insulation batt has a compression resistance of between about 0.3 pounds per square inch and about 1.4 pounds per square inch. eb e b

DEVELOPMENT OF AN UNDERPAD WITH AN INDICATOR FOR A PET

NºPublicación:  EP4709156A1 18/03/2026
Solicitante: 
PELSAN TEKSTIL URUNLERI SANAYI VE TICARET ANONIM SIRKETI [TR]
Pelsan Tekstil Urunleri Sanayi ve Ticaret Anonim Sirketi
TR_2023005158_PA

Resumen de: WO2024232845A1

The invention relates to a pet underpad developed for the determination of urine pH in pets. The invention in particular relates to a fast, painless and guiding underpad for pet developed to reveal possible health risks in pets through early diagnosis, to enhance their quality of life and to reduce negative effects on their health, which pet underpad will support both parents and veterinarians. The pet underpad of the invention is a breathable product made entirely of bio-based components, containing a print made with a biobased pH indicator.

MEDICAL FILM AND PRODUCTION METHOD THEREFOR

NºPublicación:  EP4710963A1 18/03/2026
Solicitante: 
KUREHA CORP [JP]
Kureha Corporation
EP_4710963_A1

Resumen de: EP4710963A1

Provided is a medical film containing particles containing polyglycolic acid, in which the particles have good dispersibility and are prevented from aggregation. The medical film according to an embodiment of the present invention contains: a crosslinked polymer material; and PGA dispersoids that are particles containing a polymer or aggregates of the particles, the polymer having a ratio of a constituent unit derived from glycolic acid of 40 mass% or more. The content of the PGA dispersoids per 100 parts by weight of the crosslinked polymer material is 2 parts by weight or more and 40 parts by weight or less, and a coefficient of variation CV of the number of particles contained in rectangular regions is 0.6 or less, where the coefficient of variation CV is determined from the number of particles measured in each of 16 rectangular regions with a size of 5 mm x 4 mm set so as not to overlap with each other.

BREAKABLE FILM FOR BEVERAGE EXTRACTION CAPSULES, METHOD OF MANUFACTURING THE SAME AND RELATED CAPSULE

NºPublicación:  EP4711125A1 18/03/2026
Solicitante: 
CORAPACK S R L [IT]
Corapack S.R.L
EP_4711125_PA

Resumen de: EP4711125A1

A breakable composite film, the manufacturing method thereof, and a related capsule for extractable substances are disclosed, wherein the film comprises:a first support layer (2) of PLA-based nonwoven fabric, coupled, by means of a first adhesive layer (4), toa cellulose based barrier layer (3), so as to define an inner side on said support layer (2) and an outer side on said barrier layer (3), whereinsaid barrier layer (3) is coupled on the outer side, through a second adhesive layer (7), to a fracture control layer (5) based on microperforated paper having a plurality of micro-holes (6) with a diameter between 0.25 and 0.80 mm, and whereinsaid adhesive is in an amount from 1.5 to 3.5 g/m<sup>2</sup>, preferably between 2 and 2.5 g/m<sup>2</sup>.

COMPOSTABLE PACKAGING, PACKAGES, AND CONTAINERS

NºPublicación:  EP4709567A1 18/03/2026
Solicitante: 
JABIL INC [US]
Jabil Inc
CN_121398953_PA

Resumen de: CN121398953A

A compostable package, package, container and manufacture thereof. A method includes positioning a parting line on a cavity plate. The cavity plate is provided with a plurality of cavity sections, the parting line is provided with a plurality of film sections, and the film sections are aligned with the cavity sections in position. The clamp plate is positioned on the parting line to maintain tension on the parting line. The clamping plate is provided with a plurality of openings, and the openings are aligned with the cavity sections. And the core plate is placed on the clamping plate. The core plate has a plurality of core portions aligned with the cavity sections to punch the film sections into cavities in the cavity sections on the cavity plate. A structure forming material is injected into the assembled cavity plates, splints, and core plates to form a plurality of frames. Each frame is fused with a corresponding film section to form a container.

可食性印刷用フィルム

NºPublicación:  JP7832742B1 18/03/2026
Solicitante: 
伊那食品工業株式会社
JP_7832742_B1

Resumen de: JP7832742B1

【課題】飲食品に添付した際に、文字等が印刷された可食性インクの経時的な滲みが生じにくい可食性印刷用フィルムを提供する。【解決手段】本発明に係る可食性印刷用フィルムは、しらこたん白を含有することを特徴とする。【選択図】図1

PROCEDE DE FABRICATION D'UNE CAPSULE DESTINEE A RECEVOIR UNE SUBSTANCE POUR LA PREPARATION D'UNE BOISSON

NºPublicación:  LU508268B1 16/03/2026
Solicitante: 
BRAIN CORP SA [LU]
BRAIN CORP SA
WO_2026057738_A1

Resumen de: LU508268B1

L’invention concerne un procédé de fabrication d’une capsule (1) destinée à recevoir une substance pour la préparation d'une boisson, ladite capsule comprenant un corps (1a) présentant une paroi latérale (2) bordée de part et d’autre par un fond (3) et par un rebord (4) entourant une ouverture (5) dudit corps, ledit procédé prévoyant de former le corps (1a) par moulage d’une pulpe de cellulose, d’enduire au moins la paroi latérale (2) dudit corps d’une formulation chimique apte à former sur ladite paroi un revêtement hydrophobe par un mécanisme réactionnel de type sol-gel, puis de soumettre ladite formulation enduite à des conditions réactionnelles pour former ledit revêtement hydrophobe. Figure 1

POUCH TYPE FOOD PAD

NºPublicación:  ES3059009T3 16/03/2026
Solicitante: 
CELLCOMB AB
Cellcomb AB
EP_4707192_PA

Resumen de: EP4707192A2

There is provided a pouch-type food pad for use in a food tray, or similar item, to absorb and withhold liquid, comprising an absorbing kernel (11) enclosed in a pouch (10, 12) formed by a first pouch layer (10) and a second pouch layer (12) adjoined by a bond (13), characterized in that said whole food pad (1) is made from natural virgin fiber materials that are recyclable, said absorbing kernel (11) comprising a high absorbing layer (11A) comprising 15-100 % mechanical pulp having a grammage between 50-1300 g/m<sup>2</sup>, the absorbing kernel (11) has a density of 50-300 g/dm<sup>3</sup>, the tensile strength of the of said at least first pouch layer (10) is between 0,5 to 4 N/50 mm in wet condition measured on a 50 mm wide strip of material in a tensile strength tester, wherein said bond (13) has a lamination strength in wet condition of at least 0,4 N/25 mm and less than 5 N/25 mm.

レトルトパウチ成形ゲル状食品及びその製造方法

NºPublicación:  JP2026045758A 13/03/2026
Solicitante: 
ユーハ味覚糖株式会社
JP_2026045758_A

Resumen de: JP2026045758A

【課題】開封後にレトルトパウチの底部を押圧することでレトルトパウチから押し出すことができて、常温でそのまま食べることが可能で、かつ、保存性のよい、餅様の食感を有するレトルトパウチ成形ゲル状食品及びその製造方法を提供すること。【解決手段】開封後にレトルトパウチの底部を押圧することで内容物が押し出されてそのまま食べることができるレトルトパウチ成形ゲル状食品であって、澱粉、油脂、乳化剤及び増粘剤からなる一塊のゲル状食品であり、餅様の食感を有することを特徴とする、レトルトパウチ成形ゲル状食品。【選択図】なし

RESIN COMPOSITION, NONWOVEN FABRIC AND FILM OF BIODEGRADABLE POLYESTER, AND PREPARATION METHOD THEREOF

NºPublicación:  ES3058869T3 13/03/2026
Solicitante: 
SK LEAVEO CO LTD
SK leaveo Co., Ltd
US_2025270367_PA

Resumen de: US2025270367A1

The embodiments relate to a biodegradable polyester resin composition, to a nonwoven fabric, to a film, and to processes for preparing the same in which the biodegradable polyester resin composition comprises a specific diol component and a specific dicarboxylic acid component and may further comprise nanocellulose, whereby the biodegradability, flexibility, strength, and processability are enhanced. Since the biodegradable polyester resin composition has enhanced biodegradability, flexibility, strength, and processability as compared with the conventional natural biodegradable polymer widely used, it can be applied to various fields such as films, packaging materials, and nonwoven fabrics to show excellent characteristics.

BIODEGRADABLE CONTAINER

NºPublicación:  ES3058863T3 13/03/2026
Solicitante: 
GREEN INNOVA S R L
Green Innova S.r.l
WO_2023073741_PA

Resumen de: WO2023073741A1

The present invention relates to a biodegradable container (10) comprising a structure with one or more layers of puffed and pressed cereal seeds, bound together by a quantity of starch of said cereal seeds; the use of such container for storing and transporting foods, such as ice cream in particular; and a method for manufacturing it.

層形成材料、被覆構造体、被覆構造体の製造方法、および層形成材料セット

Nº publicación: JP2026047209A 13/03/2026

Solicitante:

住友ベークライト株式会社

JP_2026047209_A

Resumen de: JP2026047209A

【課題】ブロッキング抑制に優れた層形成材料を提供する。【解決手段】本発明の層形成材料は、主鎖を有し、側鎖を有しない環境分解性樹脂Aを含む環境分解性樹脂と、イオン架橋性ポリマー、イオン架橋剤、および無機充填剤からなる群から選ばれる一または二以上と、ワックス、油脂、および脂肪酸からなる群から選ばれる疎水性物質の一又は二以上と、を含むものである。【選択図】なし

traducir