Ministerio de Industria, Turismo y Comercio LogoMinisterior
 

Biocidas y reguladores del crecimiento vegetal de origen biológico

Resultados 40 resultados
LastUpdate Última actualización 05/04/2026 [06:46:00]
pdfxls
Solicitudes publicadas en los últimos 30 días / Applications published in the last 30 days
Resultados 1 a 25 de 40 nextPage  

Temporally and spatially targeted dynamic nitrogen delivery by remodeled microbes

NºPublicación:  AU2026201118A1 02/04/2026
Solicitante: 
PIVOT BIO INC
Pivot Bio, Inc
AU_2026201118_A1

Resumen de: AU2026201118A1

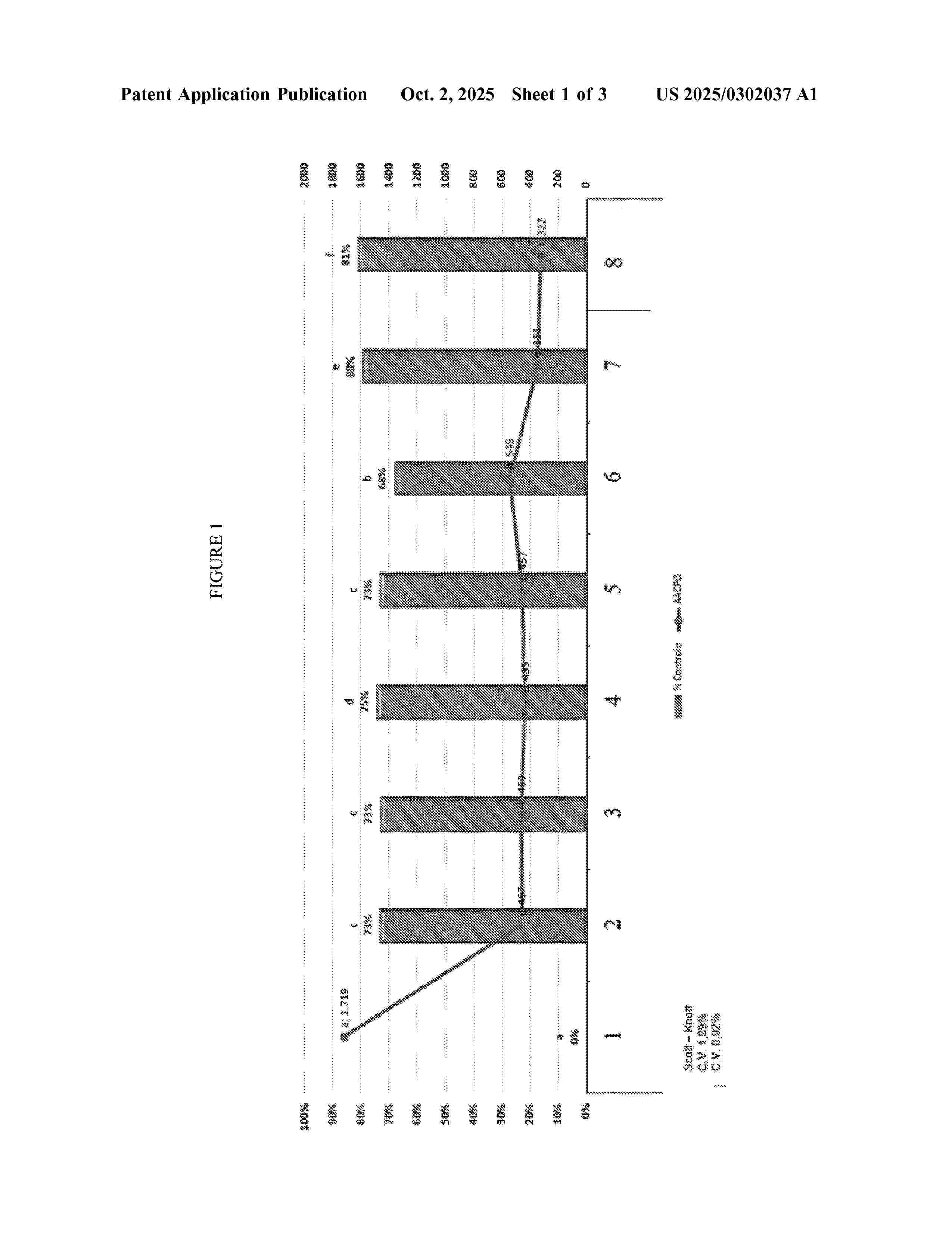
Abstract The present invention provides non-intergeneric remodeled microbes that are able to fix atmospheric nitrogen and deliver such to plants in a targeted, efficient, and environmentally sustainable manner. The utilization of the taught microbial products will enable farmers to realize more productive and predictable crop yields without the nutrient degradation, leaching, or toxic runoff associated with traditional synthetically derived nitrogen fertilizer, by mitigating or eliminating the need for exogenous nitrogen- containing fertilizers. The remodeled microbes have unique colonization and nitrogen fixation abilities, which enable the microbes to deliver nitrogen to a cereal plant in a spatially targeted ( e.g. rhizospheric) and temporally targeted ( e.g. during advantageous stages of plant's life cycle) manner. The microbes are able to replace the standard agricultural practice of sidedressing and enable a more environmentally sustainable form of farming. The present disclosure also provides methods of using non-intergeneric remodeled microbes, for example, to fix atmospheric nitrogen by reducing or eliminating the need for exogenous nitrogen-containing fertilizers, to increase yield, and to reduce infield variability in the yield. Technical Roadmap to Full Fertilizer Replacement 3 Corn nitrogen uptake need (200lbs) Nitrogen Production Rate (lbs / day acre) 2 Nitrogen Produced by strain 137-3890 Nitrogen Produced by strain 137-1036 0 10 20 30 40 50 60 70 80 90 100 Day

FUNGICIDAL COMPOUND

NºPublicación:  AU2024354829A1 02/04/2026
Solicitante: 
SYNGENTA CROP PROT AG
SYNGENTA CROP PROTECTION AG
AU_2024354829_A1

Resumen de: AU2024354829A1

The present invention relates to a polyene compound and a composition comprising the polyene compound, a process for producing the polyene compound and a method of using of the polyene compound to prevent or control phytopathogenic microorganisms on plants.

BACTERIAL-BASED VOLATILES COMPOSITION AS JASSID ATTRACTANT

NºPublicación:  AU2024335166A1 02/04/2026
Solicitante: 
INDIAN COUNCIL OF AGRICULTURAL RES ICAR
INDIAN COUNCIL OF AGRICULTURAL RESEARCH (ICAR)
AU_2024335166_A1

Resumen de: AU2024335166A1

The present invention is related to a jassid attractant. Specifically, the present invention relates to a jassid attractant composition consisting of synthetic analogs of bacterial-based volatile compounds consisting of alkanes (Eicosane, Tetrapentacontane, Heneicosane, Tetracosane), and a pyrazine (2-Methyltetrahydro- 2H-Pyrazino (1,2-a) Pyrazine-1,4 (3H-5 6H)-dione), or a combination thereof. The present invention relates to a method for preparing a jassid attractant composition comprising synthetic analogs of bacterial-based volatile compounds. Furthermore, the jassid attractant composition along with yellow sticky traps (YST-existing mechanical control method for jassid) enhanced the jassid attraction to a maximum of 197% compared with the control treatment (YST alone). Furthermore, the jassid attractant is cost effective, does not have any harmful effects on soil nutrient availability and soil biology, and is environmentally friendly. It can reduce chemical pesticide usage and insect resurgence in cotton cultivation, thus having wider commercial application prospects in agriculture.

FUNGICIDAL MIXTURE COMBINATION COMPRISING SULPHUR

NºPublicación:  AU2024340237A1 02/04/2026
Solicitante: 
ADAMA MAKHTESHIM LTD
ADAMA MAKHTESHIM LTD
AU_2024340237_A1

Resumen de: AU2024340237A1

The present invention relates to mixture combinations of active compounds comprising an effective amount of sulphur; an effective amount of at least one fungicide or its salt, for combatting or preventing fungal diseases of crop plants. Methods of controlling mites or insects comprising applying said combinations are also disclosed.

BACTERIAL-BASED VOLATILES COMPOSITION AS WHITEFLY ATTRACTANT

NºPublicación:  AU2024330825A1 02/04/2026
Solicitante: 
INDIAN COUNCIL OF AGRICULTURAL RES ICAR
INDIAN COUNCIL OF AGRICULTURAL RESEARCH (ICAR)
AU_2024330825_A1

Resumen de: AU2024330825A1

The present invention is related to a whitefly attractant. Specifically, the present invention relates to a whitefly attractant composition consisting of synthetic analogs of bacterial -based volatile compounds consisting of alkanes (Hexatriacontane, Tetrapentacontane, Tetracosane, Dotriacontane), a phenol derivative (Butylated Hydroxy Toluene), and a pyrazine (2- Methyltetrahydro- 2H-Pyrazino (1,2-a) Pyrazine- 1,4 (3H-6H)-dione), or a combination thereof. The present invention relates to a method for preparing a whitefly attractant composition comprising synthetic analogs of bacterial-based volatile compounds. Furthermore, the whitefly attractant composition along with yellow sticky traps (YST- existing mechanical control method for whitefly) enhanced the whitefly attraction to a maximum of 168% compared with the control treatment (YST alone). Furthermore, the whitefly attractant is cost effective, does not have any harmful effects on soil nutrient availability and soil biology, and is environmentally friendly. It can reduce chemical pesticide usage and insect resurgence in cotton cultivation, thus having wider commercial application prospects in agriculture.

USE OF RESIN ACIDS AS DEFENSE GENE INDUCERS FOR BIOTIC STRESS IN PLANTS

NºPublicación:  US20260090510A1 02/04/2026
Solicitante: 
ACTION PIN [FR]
Action Pin
US_20260090510_A1

Resumen de: US20260090510A1

Disclosed herein is a method of using resin acids as defense gene inducers for biotic stress in a plant. Also disclosed herein are a composition including rosin and a method of using the composition as a defense gene inducer for biotic stress in a plant.

AQUEOUS AGROCHEMICAL FORMULATIONS COMPRISING BACTERIAL SPORES

NºPublicación:  US20260090548A1 02/04/2026
Solicitante: 
BASF SE [DE]
BASF SE
US_20260090548_A1

Resumen de: US20260090548A1

Process for making liquid dispersion formulations comprising a) at least one type of bacterium spores,b) an aqueous continuous phase comprising at least one glycol, wherein said glycol is comprised in the formulation in a weight amount that exceeds the weight amount of water,c) optionally at least one surface active compound S, andd) optionally further auxiliaries,A. providing a solid powder of Bacterium spores,B1. dispersing said spores in a continuous phase comprising at least one glycol, wherein the weight ratio of said at least one glycol to water is below or equal to 1:1,B2. adding further glycol to the dispersion obtained in step B1. to obtain a ratio of said at least one glycol to water from 4:1 to 1.2:1,C. adding at least one surfactant S,D. optionally adding at least one thickener,E. optionally adding further auxiliaries,wherein steps C, D and E can be carried out at any time during the process.

Pyocyanine Demethylases and related Phenazine Degrading Agents Compositions, Methods and Systems for Interfering with Viability of Bacteria

NºPublicación:  US20260091089A1 02/04/2026
Solicitante: 
CALIFORNIA INSTITUTE OF TECH [US]
YEDA RES & DEVELOPMENT CO LTD AT THE WEIZMANN INSTITUTE OF SCIENCE [IL]
CALIFORNIA INSTITUTE OF TECHNOLOGY,
YEDA RESEARCH & DEVELOPMENT CO. LTD. AT THE WEIZMANN INSTITUTE OF SCIENCE
US_20260091089_A1

Resumen de: US20260091089A1

Provided herein are engineered pyocyanin demethylases having replacements in in positions A53, 173, A87, T91, M99, A129 and K141 of pyocyanin demethylase PodA of SEQ ID NO: 1 or a derivative thereof and related phenazine degrading agents, compositions, methods and systems, as well as a combined administration of one or more pyocyanin demethylases and antibiotics and/or antibiotics resulting in a synergic inhibition of viability of phenazine producing bacteria, and related phenazine degrading agents, compositions, methods and systems.

Eradication of bacterial biofilm using anti-amyloid monoclonal antibodies

NºPublicación:  AU2026201863A1 02/04/2026
Solicitante: 
TEMPLE UNIV OF THE COMMONWEALTH SYSTEM OF HIGHER EDUCATION
LANKENAU INSTITUTE FOR MEDICAL RES
Temple University-Of The Commonwealth System of Higher Education,
Lankenau Institute for Medical Research
AU_2026201863_A1

Resumen de: AU2026201863A1

The present invention features compositions comprising an anti-amyloid antibody and methods of treating microbial infection and treating or preventing microbial biofilms using the composition. 5 ar a r

NOVEL PLANT GROWTH PROMOTING BRADYRHIZOBIUM COMPOSITIONS

NºPublicación:  EP4716737A1 01/04/2026
Solicitante: 
VIB VZW [BE]
UNIV GENT [BE]
INST VOOR LANDBOUW EN VISSERIJONDERZOEK ILVO [BE]
VIB VZW,
Universiteit Gent,
Instituut voor Landbouw- en Visserijonderzoek (ILVO)
WO_2024240861_PA

Resumen de: WO2024240861A1

The present invention relates to the field of sustainable agriculture. In particular, the present invention relates to isolated Bradyrhizobium bacteria having enhanced characteristics, including but not limited to enhanced adaptation to the low and medium root zone temperature for example in North-West Europe.

SYNERGISTIC INSECTICIDE COMPOSITIONS AND FORMULATIONS THEREOF

NºPublicación:  EP4717086A1 01/04/2026
Solicitante: 
ROSS LIFESCIENCE USA INC [US]
Ross Lifescience USA Inc
EP_4717086_A1

Resumen de: EP4717086A1

The present disclosure provides an insecticide composition for controlling crawling insects, said composition comprising: Pimpinella anisum in an amount ranging from 1% to 50% by weight of the composition; Syzygium aromaticum in an amount ranging from 1% to 50% by weight of the composition; and rest being an excipient. The ingredients of the composition of the present disclosure exhibit functional reciprocity therebetween, and accordingly aid in repelling, reducing, preventing, killing, and/or controlling the population of crawling insects. The crawling insect is ants.

METHOD FOR IMPROVING THE CULTIVATION OF PLANTS UNDER ABIOTIC STRESS CONDITIONS

NºPublicación:  EP4717088A1 01/04/2026
Solicitante: 
TIMAC AGRO ESPANA S A [ES]
Timac Agro Espa\u00F1a, S.A
EP_4717088_PA

Resumen de: EP4717088A1

The present invention falls within the technical field of agricultural exploitation under abiotic stress conditions and describes a method intended to improve the yield and effectiveness of plant cultivation that combines the application of a biostimulant product on the aerial parts of the plant and the selection of a certain biostimulant product based on a cell-free filtrate of fungal origin obtained from the fungi culture of the genus Trichoderma. The aim of this method is to reverse or avoid the alteration of the expression of genes related to primary metabolism of carbohydrates, lipids and amino acids, and secondary metabolism, hormone production and signalling, RNA synthesis and processing, protein synthesis, modification and stabilisation, solute and nutrient transport and the structure of the cell wall in plants.

Biocomposite Beads Based on Phosphogypsum and Spirulina for Culture Bed Systems (Media Bed System): Manufacturing Process and Application in the Cultivation of Cucurbitaceae

NºPublicación:  MA67292A1 31/03/2026
Solicitante: 
UNIV SULTAN MOULAY SLIMANE [MA]
UNIVERSIT\u00C9 SULTAN MOULAY SLIMANE

Resumen de: MA67292A1

<pre>The present invention relates to innovative biocomposite beads based on phosphogypsum and freeze-dried spirulina, specially designed to be used as a complementary substrate in culture bed systems (Media Bed System). These biocomposite beads are made from a mixture of phosphogypsum and spirulina encapsulated in a sodium alginate matrix, which is gelled by the addition of calcium chloride. The manufacturing process includes steps of drying the phosphogypsum, incorporation into a gelling solution, stirring, microwave irradiation, and formation of beads by gelation. The beads obtained, whose dimensions vary between 1 mm and 1 cm in diameter, are optimized to improve the retention of water and nutrients in cultivation systems, thus promoting the growth of plants, in particular those of the Cucurbitaceae family. The invention also proposes a culture system using these beads, offering increased efficiency in the assimilation of phosphorus contained in phosphogypsum.</pre>

Procédé pour la préparation d'un nanoinsecticide à double encapsulation de nanoparticles Al₂O₃ à base de l'extrait et du marc de la plante Nerium Oleander

NºPublicación:  MA67291A1 31/03/2026
Solicitante: 
UNIV SULTAN MOULAY SLIMANE [MA]
UNIVERSIT\u00C9 SULTAN MOULAY SLIMANE

Resumen de: MA67291A1

L'invention concerne un procédé de préparation d'un nanoinsecticide à double encapsulation utilisant des nanoparticules de Al₂O₃ combinées à l'extrait et au marc de la plante Nerium Oleander. Le procédé comprend les étapes de solubilisation d'un polymère à dégradation rapide, le PLGA, dans un solvant apolaire, suivi de l'incorporation des nanoparticules de Al₂O₃ synthétisé à partir de l'extrait de Nerium Oleander pour former une première émulsion. Cette émulsion est ensuite dispersée dans une phase aqueuse stabilisée avec du PVA pour créer des microparticules encapsulant l'agent actif. La deuxième couche est formée en enrobant ces microparticules dans une solution de polymère à dégradation lente, à base d'amidon dissous dans un solvant polaire. Les particules enrobées sont ensuite dispersées dans une phase aqueuse stabilisée avec le marc de Nerium Oleander, avant évaporation du solvant pour former les microparticules à double encapsulation. Ce procédé permet une libération contrôlée et progressive du nanoinsecticide, avec une première couche se dégradant après une semaine et une seconde couche après deux semaines, offrant ainsi une protection prolongée contre les nuisibles.

ECO-FRIENDLY PLANT NUTRIENT COMPOSITION CONTAINING RABBIT GRASS EXTRACT

NºPublicación:  KR20260042671A 31/03/2026
Solicitante: 
주엠이지발효연구원

Resumen de: KR20260042671A

본 발명은 토끼풀 추출물이 함유된 친환경 식물영양제 조성물에 관한 것으로, 더욱 상세하게는 토끼풀 추출물, 유기 킬레이트 셀레늄 및 아미노산 발효 부산물액로 이루어진 혼합물을 발효하여 제조되는 것을 특징으로 한다. 상기의 과정을 통해 제조되는 토끼풀 추출물이 함유된 친환경 식물영양제 조성물은 다량의 아미노산과 질소 고정 박테리아가 함유된 토끼풀 추출물로 인해 대기 중에 있는 질소 분자를 식물이 이용할 수 있는 질화 화합물로 바꿔주기 때문에 적은 양으로도 우수한 식물성장 효과를 나타낼 뿐만 아니라, 저장성과 비타민의 함량을 증가시켜 이상기후에도 지속적인 성장을 유도하며, 발효과정에서 유익균이 다량 증식되어 대장균의 증식을 억제할 뿐만 아니라, 저수의 수질을 향상시키는 효과를 나타낸다.

Apple blossom fermentation liquid and its manufacturing method method of cultivating apple blossom apples based on apple blossom fermentation liquid through biological control using the same

NºPublicación:  KR20260043291A 31/03/2026
Solicitante: 
안병철농업회사법인두성바이오주식회사

Resumen de: KR20260043291A

본 발명은 사과꽃 발효액 및 그 제조방법, 이를 이용한 생물학적 방제를 통한 사과꽃 발효액 기반 이든꽃사과 재배방법에 관한 것으로서, 사과꽃 발효액은 사과꽃, 아미콜라톱시스(Amycolatopsis), 함수알루미늄포타슘실리케이트, 아세트산, 및 증류수를 포함한다. 사과꽃 발효액 제조방법은 사과꽃을 건조 후 분쇄하는 사과꽃건조분쇄단계, 상기 건조 및 분쇄된 사과꽃을 설정 양으로 준비하고, 상기 준비된 사과꽃에 아미콜라톱시스(Amycolatopsis)를 접종하는 아미콜라톱시스접종단계, 상기 아미콜라톱시스가 접종된 사과꽃에 설정 양의 증류수를 첨가하여 설정 온도 및 시간으로 발효시키는 증류수첨가발효단계, 상기 발효된 물질을 필터링한 여과액에 설정 양의 아세트산, 및 설정 양의 함수알루미늄포타슘실리케이트를 혼합하여 혼합액을 준비하는 혼합단계, 및 상기 혼합액을 설정 온도 및 시간으로 발효 후 고속 교반(mixing) 및, 설정 시간 정치(setting)하여 상층에 위치하는 사과꽃 발효액을 추출하는 발효액추출단계를 포함한다.

COMPOSITIONS AND METHODS FOR CONTROLLING PLANT PESTS

NºPublicación:  WO2026062588A2 26/03/2026
Solicitante: 
CONFLUENCE GENETICS LLC [US]
CONFLUENCE GENETICS, LLC
WO_2026062588_A2

Resumen de: WO2026062588A2

Compositions and methods for targeting pre-determined DNA or RNA sequences in plant pests are provided The methods result in the targeted elimination of plant pests that comprise the pre-determined DNA or RNA sequence(s). Compositions comprise a Cas12a2 protein, or a polynucleotide encoding the same, and at least one guide polynucleotide, or a polynucleotide encoding the same, wherein each guide polynucleotide comprises a portion complementary to a pre-determined target sequence of a plant pest. Methods to use these compositions to selectively target and eliminate plant pests that harbor the targeted DNA or RNA sequence(s) are described herein.

STIMULATION OF PLANT GERMINATION

NºPublicación:  AU2024351680A1 26/03/2026
Solicitante: 
LETAVIS AB
LETAVIS AB
AU_2024351680_PA

Resumen de: AU2024351680A1

The present document is directed to the field of agriculture and to a method for stimulating plant germination. More specifically, the present document is directed to a method for steeping seeds in order to stimulate their germination, compositions for such use and steeped seeds. The method comprises steeping the seed in an aqueous solution comprising oxytocin, a fragment or a variant thereof, wherein the seeds are not allowed to germinate in the oxytocin solution. This was shown to lead to a stronger growth enhancing effect on the seeds.

METHOD OF TREATING MAIZE SEEDS TO IMPROVE GROWTH, SEEDS TREATED BY THIS METHOD, AND USE THEREOF

NºPublicación:  WO2026063879A1 26/03/2026
Solicitante: 
CHEMICKY USTAV SLOVENSKEJ AKADEMIE VIED VEREJNA VYSKUMNA INST [SK]
CHEMICKY USTAV SLOVENSKEJ AKADEMIE VIED, VEREJNA VYSKUMNA INSTITUCIA
WO_2026063879_A1

Resumen de: WO2026063879A1

The present invention relates to a method of treating maize seeds to improve growth, which comprises the steps of: cultivating the yeast strain Rhodotorula mucilaginosa CCY 20-1-39 for 3 to 5 days in darkness at a temperature in the range of 26 to 30 °C; applying the culture of the yeast strain Rhodotorula mucilaginosa CCY 20-1-39, at a concentration of 0.5 to 1.5 x 108 yeast cells per 1 ml of aqueous suspension, to maize seeds in a ratio of at least 90 ml of suspension per 150 g of maize seeds, preferably 100 ml of suspension per 150 g of maize seeds; and exposing the prepared mixture from the preceding step to a continuous homogeneous oxygen supply for 2.5 to 3.5 hours.

ANTIMICROBIAL EXTRACT FROM VIBRIO GAZOGENES AND METHODS OF PRODUCING AND USING THE SAME

NºPublicación:  AU2024339726A1 26/03/2026
Solicitante: 
MYCOLOGICS LLC
MYCOLOGICS LLC
AU_2024339726_PA

Resumen de: WO2025059401A1

This invention relates to an antimicrobial extract of Vibrio gazogenes, ATCC Accession No. 43943 and methods of producing and using the same to inhibit microbial growth and microbial infections of plants and animals.

NOVEL SURFACTANTS DERIVED FROM GLYCIDYL ESTERS OF ROSIN ACIDS

NºPublicación:  US20260085032A1 26/03/2026
Solicitante: 
LAMBERTI SPA [IT]
LAMBERTI SPA
US_20260085032_A1

Resumen de: US20260085032A1

A surfactant of Formula (I), wherein: R1=residue derived from a rosin acid; X=H, C1-C20-alkyl, P=O(OR2)(OR3) or SO3R4; Y=H, P=O(OR2)(OR3), SO3R4; A=(EO)r-(PO)s, or a residue derived from a diol or a polyol selected among polyglycerol, propane-1,3-diol, glycerol, trimethylolethane, trimethylolpropane, sorbitan, sorbitol, isosorbide, erythritol, threitol, pentaerythritol, arabitol, xylitol, ribitol, fucitol, mannitol, galactitol, iditol, inositol, volemitol or glucose; R2, R3 and R4=hydrogen, an alkali metal, ammonium ion, a protonated amine, a quaternary organic ammonium or an alkaline earth metal; EO=CH2CH2O; PO=CH2CH(CH3)O; n is an integer number ranging from 1 to 10; p and q are integer numbers ranging from 0 to 100; r and s are integer numbers ranging from 0 to 100, with the proviso that the sum r+s is at least 1.

Insect Repellant Formulation

NºPublicación:  US20260083124A1 26/03/2026
Solicitante: 
LYON MICHAEL [US]
Lyon Michael
US_20260083124_A1

Resumen de: US20260083124A1

A formulation for repelling ticks and insects has, by weight: 5-25% medium-chain triglycerides derived from natural sources, and 0.1-6% medium-chain fatty acids derived from natural sources. The pH of the formulation is approximately 7, and the formulation does not contain N,N-Diethyl-meta-toluamide (NEET).

MEANS AND METHODS FOR CONTROLLING PATHOGENS AND PESTS IN PLANTS

NºPublicación:  US20260083134A1 26/03/2026
Solicitante: 
APHEA BIO NV [BE]
FUNDACION CENTRO DE EXCELENCIA EN INVESTIG DE MEDICAMENTOS INNOVADORES EN ANDALUCIA MEDINA [ES]
APHEA.BIO NV,
FUNDACI\u00D3N CENTRO DE EXCELENCIA EN INVESTIGACI\u00D3N DE MEDICAMENTOS INNOVADORES EN ANDALUC\u00CDA, MEDINA
US_20260083134_A1

Resumen de: US20260083134A1

The current invention relates to a purified bacterial strain suitable for controlling a pest or pathogen in a plant, said strain comprises at least one 16S nucleotide sequence that is at least 99.7% identical to SEQ ID NO: 1. The present invention also relates to a purified bacterial strain comprising at least one 16S nucleotide sequence that is at least 99% identical to SEQ ID NO:1, wherein said strain comprises in its genomic DNA at least one sequence that is at least 95% identical to a sequence chosen from SEQ ID NO: 3 to 12. The current invention also relates to an agricultural active formulation comprising a purified bacterial strain, and to the use of such purified bacterial strain. In addition, the present invention relates to a method of controlling a pest or pathogen in plants.

Composición bioestimulante y métodos de uso

NºPublicación:  CO2025018759A2 26/03/2026
Solicitante: 
ACADIAN SEAPLANTS LTD [CA]
ACADIAN SEAPLANTS LIMITED
AU_2024289125_A1

Resumen de: AU2024289125A1

The present invention relates to a composition comprising: (i) a seaweed, (ii) an oil, and (iii) at least two surfactants, wherein said composition has a pH ranging from about 3 to about 6. Optionally, the composition further comprises at least one agriculturally acceptable carrier and/or additives, such as chelating agents and/or rheological aids. The present invention further relates to methods and uses for seed treatment of the plant biostimulant composition for mitigating abiotic stress or to manage crop productivity.

Composiciones fungicidas

Nº publicación: CO2026002649A2 26/03/2026

Solicitante:

SYNGENTA CROP PROT AG [CH]
SYNGENTA CROP PROTECTION AG

CN_121666169_A

Resumen de: AU2024322363A1

A fungicidal composition comprising a component A comprising a cyclic depsipeptide Aureobasidin A or a stereoisomer thereof, and a component B comprising thymol. A method of controlling or preventing phytopathogenic diseases or phytopathogenic fungi on a plant or on propagation material thereof, the method comprising applying the composition to the plant, locus thereof, or propagation material thereof. A use of the composition as a fungicide.

traducir