Ministerio de Industria, Turismo y Comercio LogoMinisterior
 

Neoplasias hematológicas: Leucemias, Linfomas y Mielomas

Resultados 63 resultados
LastUpdate Última actualización 09/10/2025 [12:35:00]
pdfxls
Solicitudes publicadas en los últimos 30 días / Applications published in the last 30 days
Resultados 1 a 25 de 63 nextPage  

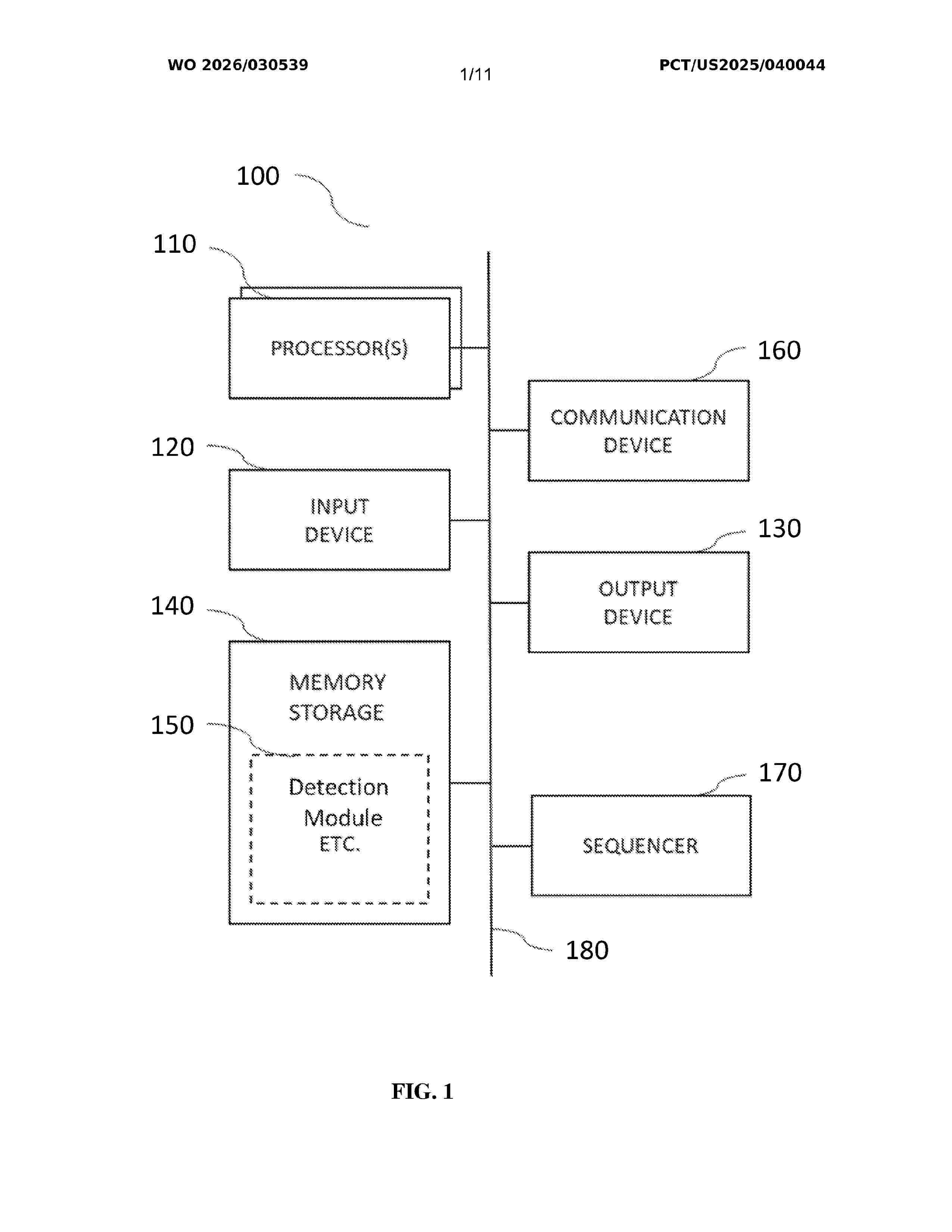
METHODS OF TREATING ACUTE MYELOID LEUKEMIA

NºPublicación:  EP4626439A2 08/10/2025
Solicitante: 
UNIV COLORADO REGENTS [US]
The Regents of the University of Colorado, a body corporate
KR_20250130309_PA

Resumen de: AU2023406508A1

The present disclosure provides methods of treating acute myeloid leukemia (AML) and methods of determining responsive to AML treatment regimes, the methods comprising identifying the presence or absence of monocytic leukemia stem cells (m-LSCs), including CD70+ m-LSCs, in a sample from a subject.

TARGETING NANOSCALE PARTICLE, TARGETING CELL, PREPARATION METHOD THEREFOR, AND USE THEREOF

NºPublicación:  EP4628071A1 08/10/2025
Solicitante: 
INST OF PROCESS ENGINEERING CHINESE ACADEMY OF SCIENCE [CN]
Institute of Process Engineering, Chinese Academy of Science
EP_4628071_PA

Resumen de: EP4628071A1

The invention discloses a targeted nanoscale particle, a targeted cell, a preparation method therefor, and use thereof. The targeted nanoscale particle is bound to the outer surface of the targeted cell, and is composed of a plurality of proteins interconnected via a first binding site. The targeted nanoscale particle further comprises a second binding site, and is bound to the outer surface of a target cell via the second binding site. In an exemplary embodiment, the targeted nanoscale particle can promote the interaction between the two types of cells by simultaneously binding to a chimeric antigen receptor T cell and a leukemia cell, thereby promoting the recognition and killing of the leukemia cell by the chimeric antigen receptor T cell. In addition, the internal cavities of the proteins in the targeted nanoscale particle provide space for loading of a chemotherapeutic drug, thus realizing the combination therapy of the chimeric antigen receptor T cell and other therapies while loading the drug.

METHODS OF CANCER DETECTION BY DISCORDANT METHYLATION IN CFDNA

NºPublicación:  WO2025203031A2 02/10/2025
Solicitante: 
YISSUM RESEARCH DEVELOPMENT COMPANY OF THE HEBREW UNIV OF JERUSALEM LTD [IL]
HADASIT MEDICAL RES SERVICES & DEVELOPMENT LTD [IL]
YISSUM RESEARCH DEVELOPMENT COMPANY OF THE HEBREW UNIVERSITY OF JERUSALEM LTD,
HADASIT MEDICAL RESEARCH SERVICES & DEVELOPMENT LTD

Resumen de: WO2025203031A2

Methods of detecting cancer in a subject in need thereof, comprising ascertaining the methylation status of at least four methylation sites in the same double-stranded cell-free DNA (cfDNA) molecule and detecting the presence of at least two sites that are methylated and at least two sites that are unmethylated in the at least four methylation sites indicating that the subject suffers from cancer are provided. Methods of quantifying molecules of cfDNA and also provided, as are methods of detecting and quantifying plasma cell DNA. Methods of diagnosing multiple myeloma or predicting progression of smoldering multiple myeloma (SMM) or monoclonal gammopathy of undetermined significance (MGUS) to multiple myeloma in a subject are also provided.

POSTBIOTIC-BASED COMPOSITION FOR THE TREATMENT OF TUMORS

NºPublicación:  US2025302895A1 02/10/2025
Solicitante: 
POSTBIOTICA S R L [IT]
HUMANITAS MIRASOLE S P A [IT]
POSTBIOTICA S.R.L,
HUMANITAS MIRASOLE S.P.A
US_2025302895_A1

Resumen de: US2025302895A1

Methods of treatment and/or prevention of tumours, preferably of solid tumours, more preferably of breast cancer, melanoma, bladder cancer, head and neck cancer, Hodgkin's lymphoma, kidney cancer, non-small cell lung cancer using fermented supernatant, or fractions thereof, of the Lactobacillus casei or paracasei species are disclosed. The species is the strain deposited according to the Budapest Treaty with No. CNCM I-5220 and/or includes in its DNA genome a DNA sequence essentially identical to one of: SEQ ID No 1 to 5.

Feline leukemia virus vaccine

NºPublicación:  AU2025230686A1 02/10/2025
Solicitante: 
INTERVET INT B V
Intervet International B.V
JP_2023159327_A

Resumen de: AU2025230686A1

The present invention provides a vaccine for feline leukemia virus and methods of making and using the vaccine alone, or in combinations with other protective agents. 5 The present invention provides a vaccine for feline leukemia virus and methods of making and using the vaccine alone, or in combinations with other 5 protective agents. ep h e p r e s e n t i n v e n t i o n p r o v i d e s a v a c c i n e f o r f e l i n e l e u k e m i a v i r u s a n d e p m e t h o d s o f m a k i n g a n d u s i n g t h e v a c c i n e a l o n e , o r i n c o m b i n a t i o n s w i t h o t h e r p r o t e c t i v e a g e n t s

VACCINE FOR HUMAN T-LYMPHOTROPIC VIRUS-1

NºPublicación:  US2025302939A1 02/10/2025
Solicitante: 
THE US SECRETARY DEPARTMENT OF HEALTH AND HUMAN [US]
The United States of America, as represented by the Secretary, Department of Health and Human
US_2025302939_A1

Resumen de: US2025302939A1

Provided herein is a nucleic acid-based vaccine for human T-cell leukemia virus type 1 (HTLV-1). In some aspects, the vaccine includes a combination of nucleic acid molecules encoding HTLV-1 gag protein and one or both of Type A HTLV-1 Envelope (Env) and Type C HTLV-1 Env. In some aspects, the vaccine includes a combination of nucleic acid molecules encoding HIV-1 gag protein and one or both of Type A HTLV-1 Envelope (Env) and Type C HTLV-1 Env. When administered to a subject, the Env and Gag proteins are expressed in the host and form HTLV-1 virus-like particles (VLPs) that are secreted from cells within the host and elicit an immune response that inhibits HTLV-1 infection.

Methods of treating high risk multiple myeloma

NºPublicación:  AU2025230668A1 02/10/2025
Solicitante: 
JANSSEN BIOTECH INC
Janssen Biotech, Inc
JP_2024001015_A

Resumen de: AU2025230668A1

Disclosed are methods of treating a subject having high-risk multiple myeloma, methods of achieving negative minimal residual disease status in a subject having multiple myeloma, and methods of predicting a likelihood of, or decreasing a risk of, relapse and/or disease progression in a subject having multiple myeloma. Disclosed are methods of treating a subject having high-risk multiple myeloma, methods of achieving negative minimal residual disease status in a subject having multiple myeloma, and methods of predicting a likelihood of, or decreasing a risk of, relapse and/or disease progression in a subject having multiple myeloma. ep i s c l o s e d a r e m e t h o d s o f t r e a t i n g a s u b j e c t h a v i n g h i g h - r i s k m u l t i p l e m y e l o m a , e p m e t h o d s o f a c h i e v i n g n e g a t i v e m i n i m a l r e s i d u a l d i s e a s e s t a t u s i n a s u b j e c t h a v i n g m u l t i p l e m y e l o m a , a n d m e t h o d s o f p r e d i c t i n g a l i k e l i h o o d o f , o r d e c r e a s i n g a r i s k o f , r e l a p s e a n d o r d i s e a s e p r o g r e s s i o n i n a s u b j e c t h a v i n g m u l t i p l e m y e l o m a

METHOD OF DETECTING CONJUNCTIVAL DISEASE USING OCULAR SURFACE TISSUE, AND AGING BIOMARKER

NºPublicación:  US2025305071A1 02/10/2025
Solicitante: 
OSAKA UNIV [JP]
OTSUKA PHARMACEUTICAL CO LTD [JP]
OSAKA UNIVERSITY,
OTSUKA PHARMACEUTICAL CO., LTD
EP_4512910_A2

Resumen de: US2025305071A1

A method for detecting conjunctival diseases such as conjunctival MALT lymphoma, and an aging biomarker that serves as an indicator of the aging state of a subject are provided. The method for detecting conjunctival diseases comprises a step of comparing a microbial community structure of a microbiota in an ocular surface tissue specimen sampled from a healthy person with a microbial community structure of a microbiota in an ocular surface tissue specimen sampled from a subject to determine that the ocular surface tissue specimen of the subject has an indication of the conjunctival diseases. The aging biomarker comprises bacterial species which belongs to the Corynebacteriaceae family or the Propionibacteriales family in an ocular surface tissue.

LIPID NANOPARTICLE LOADED WITH ANTITUMORAL AGENT AND FUNCTIONNALIZED TO TARGET IMMOSUPPRESSIVE CELLS

NºPublicación:  WO2025202213A1 02/10/2025
Solicitante: 
INSTITUT NATIONAL DE LA SANTE ET DE LA RECH MEDICALE [FR]
UNIV DE BOURGOGNE EUROPE [FR]
INSTITUT NATIONAL DE LA SANT\u00C9 ET DE LA RECHERCHE M\u00C9DICALE,
UNIVERSIT\u00C9 DE BOURGOGNE EUROPE

Resumen de: WO2025202213A1

The present invention relates to lipid nanoparticle loaded with antitumoral agent and functionalized to target immunosuppressive cells. Inventors developpe valrubicin-loaded immunoliposomes (Val-ILs). A small amount of valrubicin incorporated into Val-ILs induces leukemia cell death in vivo, suggesting that Val-ILs could be used to treat acute leukemia cells. Inventors also demonstrated that Val-ILs could reduce the risk of contamination of CD34+ hematopoietic stem cells by acute leukemia cells during autologous peripheral blood stem cell transplantation. They also highlighted the potential of Val-ILs to target immunosuppressive cell populations in the spleen. The most efficient Val-ILs were found to be those loaded with CD11b,CD223, CD64, TIM1, CD200R3, CD204, CD49b, VEGFR2 and SIGLECF antibodies. This study provides the effectiveness and ease of preparation of Val-ILs as a novel nanoparticle technology. In the context of cancers, Val-ILs have the potential to be used as a precise and effective therapy based on targeted vesicle-mediated cell death.

METHODS FOR PREDICTING ACTIVE DISEASE OR PROGRESSIVE DISEASE UNDER THERAPY IN A SUBJECT SUFFERING FROM CHRONIC LYMPHOCYTIC LEUKEMIA

NºPublicación:  WO2025202279A1 02/10/2025
Solicitante: 
INSTITUT NATIONAL DE LA SANTE ET DE LA RECH MEDICALE [FR]
CENTRE NATIONAL DE LA RECHERCHE SCIENT [FR]
CENTRE HOSPITALIER UNIV DE TOULOUSE [FR]
UNIV PAUL SABATIER TOULOUSE III [FR]
INSTITUT NATIONAL DE LA SANT\u00C9 ET DE LA RECHERCHE M\u00C9DICALE,
CENTRE NATIONAL DE LA RECHERCHE SCIENTIFIQUE,
CENTRE HOSPITALIER UNIVERSITAIRE DE TOULOUSE,
UNIVERSIT\u00C9 PAUL SABATIER - TOULOUSE III

Resumen de: WO2025202279A1

Monitoring active disease or progressive disease under therapy in chronic lymphocytic leukemia (CLL) represents a challenge to earlier and better adapt therapeutic strategy, notably in the era of targeted therapies in which minimal residual detection or mutations are sometimes not associated to poor clinical outcome. By following CLL patients before treatment (Binet stages A and B/C) or during targeted therapy, the Inventors developed a new flow cytometric method, based on CD69, CD49d, CD20 and CD279 expression at the surface of CD19+/CD5+ B leukemic cells. Analyses of these markers alone or in combination show that CD69/CD49d/CD20/CD279 co-expression (quadruple population, QP) > 0.5% is the best criterion predicting CLL active disease or progression under therapy. This new flow cytometry immunophenotyping could help clinicians to monitor CLL evolution and quickly adapt their therapeutic strategy. Accordingly, the present invention relates to an ex vivo method for predicting active Chronic Lymphocytic Leukemia (CLL) or progressive CLL under therapy in a subject suffering from CLL, comprising the step of quantifying a population of CD69+/CD49d+/CD20+/CD279+ cells in a sample obtained from the subject.

COVALENT INHIBITION OF SARS-COV-2 RNA METHYLATION FOR TREATMENT OF PAN-CORONAVIRAL INFECTIONS

NºPublicación:  WO2025207791A1 02/10/2025
Solicitante: 
BOARD OF REGENTS THE UNIV OF TEXAS SYSTEM [US]
BOARD OF REGENTS, THE UNIVERSITY OF TEXAS SYSTEM

Resumen de: WO2025207791A1

Aspects are directed to a novel small molecule inhibitor of Nsp16 having a chemical formula of (N-9-(2R,3R,4S,5S)-5-(chloromethyl)-3,4-dihydroxy-tetrahydrofuran-2-ylpurin-6-ylprop-2-enamide) (AT501) or analogs thereof. Other aspects are directed to a therapeutic composition comprising AT501 or analogs thereof, further including antiviral compounds or anticancer compounds. Certain aspects are directed to a method of treating Coronavirus infection by administering AT501 or a composition thereof to a subject having or at risk of obtaining a Coronavirus infection caused by SARS-CoV-1 or SARS-CoV-2 virus. Certain aspects are directed to methods of treating cancer by administering AT501 or a composition thereof to a subject having or at risk of developing cancer, such as leukemia.

USE OF ABAMETAPIR IN PREPARING ANTITUMOR DRUG

NºPublicación:  WO2025201464A1 02/10/2025
Solicitante: 
CHONGQING CITY MAN COLLEGE [CN]
\u91CD\u5E86\u57CE\u5E02\u7BA1\u7406\u804C\u4E1A\u5B66\u9662
CN_118141815_PA

Resumen de: WO2025201464A1

Abametapir or a pharmaceutically acceptable salt thereof has antitumor activity and significant antitumor effects on gynecological tumors, digestive tract tumors, lung tumors, lymphomas, and the like. Abametapir has a significant inhibitory effect on the growth and development of various human tumor cells and tumors in tumor-bearing mice, and especially has a good inhibitory effect on triple-negative breast cancer. Abametapir or the pharmaceutically acceptable salt thereof has an effective antitumor effect by means of oral administration.

CHOLESTEROL-MODIFIED CATIONIC LIPOSOME TUMOR VACCINE, PREPARATION METHOD THEREFOR, AND USE THEREOF

NºPublicación:  WO2025199993A1 02/10/2025
Solicitante: 
SICHUAN UNIV [CN]
\u56DB\u5DDD\u5927\u5B66

Resumen de: WO2025199993A1

The present invention belongs to the technical field of cancer immunotherapy, and particularly relates to a cholesterol-modified cationic liposome tumor vaccine, a preparation method therefor, and use thereof. In order to solve the problems of poor targeting and strong side effects of TLR agonists in anti-tumor treatment, the present invention provides a cationic liposome prepared from a cholesterol-modified 1V209 molecule, a cationic lipid component, cholesterol, and DSPE-PEG2000, and then the cationic liposome and ovalbumin 5 form the tumor vaccine by electrostatic adsorption. Animal experiments show that the vaccine can induce antigen-specific CD8+ T cells, activate lymphocytes, and generate stronger antigen cross-presentation, more memory T cells, antibodies, and cytokines. Prophylactic inoculation with the vaccine can significantly delay the progression of mouse melanoma and lymphoma and prolong the survival of mice. The combination use of the vaccine and a PD-1 checkpoint inhibitor can further enhance the anti-tumor effect. Therefore, the vaccine is a promising cancer vaccine.

METHODS AND SYSTEMS FOR DETECTING SKIN CONDITIONS

NºPublicación:  WO2025208087A1 02/10/2025
Solicitante: 
DERMTECH LLC [US]
DERMTECH, LLC

Resumen de: WO2025208087A1

Disclosed herein, in certain embodiments, are systems and methods of detecting the presence of a skin condition using a machine learning model based on molecular risk factors. In some instances, the skin condition is cancer, such as cutaneous T cell lymphoma (CTCL). In some cases, the skin cancer can be mycosis fungoides (MF) or Sézary syndrome (SS).

HETEROCYCLIC COMPOUNDS USEFUL FOR TREATMENT OF CANCERS

NºPublicación:  US2025302842A1 02/10/2025
Solicitante: 
JUBILANT EPIPAD LLC [US]
JUBILANT EPIPAD LLC
US_2025302842_A1

Resumen de: US2025302842A1

Heterocyclic compounds, their stereoisomers and their pharmaceutically acceptable salts are useful in the treatment of many types of cancers, such as cancers of the breast, prostate, pancreatic, gastric, lung, colon, rectum, esophagus cancer, duodenum, tongue, pharynx, liver, kidney, bile duct, uterine body, cervix, ovaries, urinary bladder, and skin. Other cancers to be treated include brain tumor, neurinoma, clear cell carcinoma, non-small cell lung cancer, small cell lung cancer, hemangioma, malignant lymphoma, malignant melanoma, thyroid cancer, bone tumor, vascular fibroma, glioblastoma, Neuroblastoma, sarcoma, neuroendocrine tumors, retinoblastoma, penile cancer, pediatric solid cancer, renal cell carcinoma, lymphoma, myeloma, leukemia, acute myelogenous leukemia (AML), chronic myelogenous leukemia (CML), chronic neutrophilic leukemia (CNL), chronic eosinophilic leukemia (CEL), chronic lymphocytic leukemia (CLL), acute lymphoblastic leukemia (ALL), hairy cell leukemia, cutaneous T-cell lymphoma (CTCL), multiple myeloma (MM), myeloproliferative neoplasms (MPN), Myelodysplastic syndrome (MDS), polycythemia vera (PV), essential thrombocythemia, essential thrombocytosis (ET), and myelofibrosis (MF), and also including their metastases.

Uses of Bcl-2 Antagonists for Treating Cancer and Diagnostics Related Thereto

NºPublicación:  US2025302827A1 02/10/2025
Solicitante: 
EMORY UNIV [US]
Emory University
US_2025302827_A1

Resumen de: US2025302827A1

In certain embodiments, this disclosure relates to method of treating and diagnosing cancer by administering a Bcl-2 inhibitor optionally in combination with a mitochondrial complex II inhibitor. In certain embodiments, a subject is diagnosed with, exhibiting symptoms of, or at risk of cancer wherein the cancer is a hematological malignancy such as multiple myeloma, leukemia, or lymphoma.

CDK4 INHIBITORS FOR USE IN THE TREATMENT OF MANTLE CELL LYMPHOMA

NºPublicación:  WO2025202900A1 02/10/2025
Solicitante: 
PFIZER INC [US]
PFIZER INC

Resumen de: WO2025202900A1

This invention relates to therapies for treating mantle cell lymphoma comprising a cyclin dependent kinase 4 (CDK4) inhibitor or a pharmaceutically acceptable salt thereof, and associated methods of treatment, pharmaceutical compositions, and uses thereof.

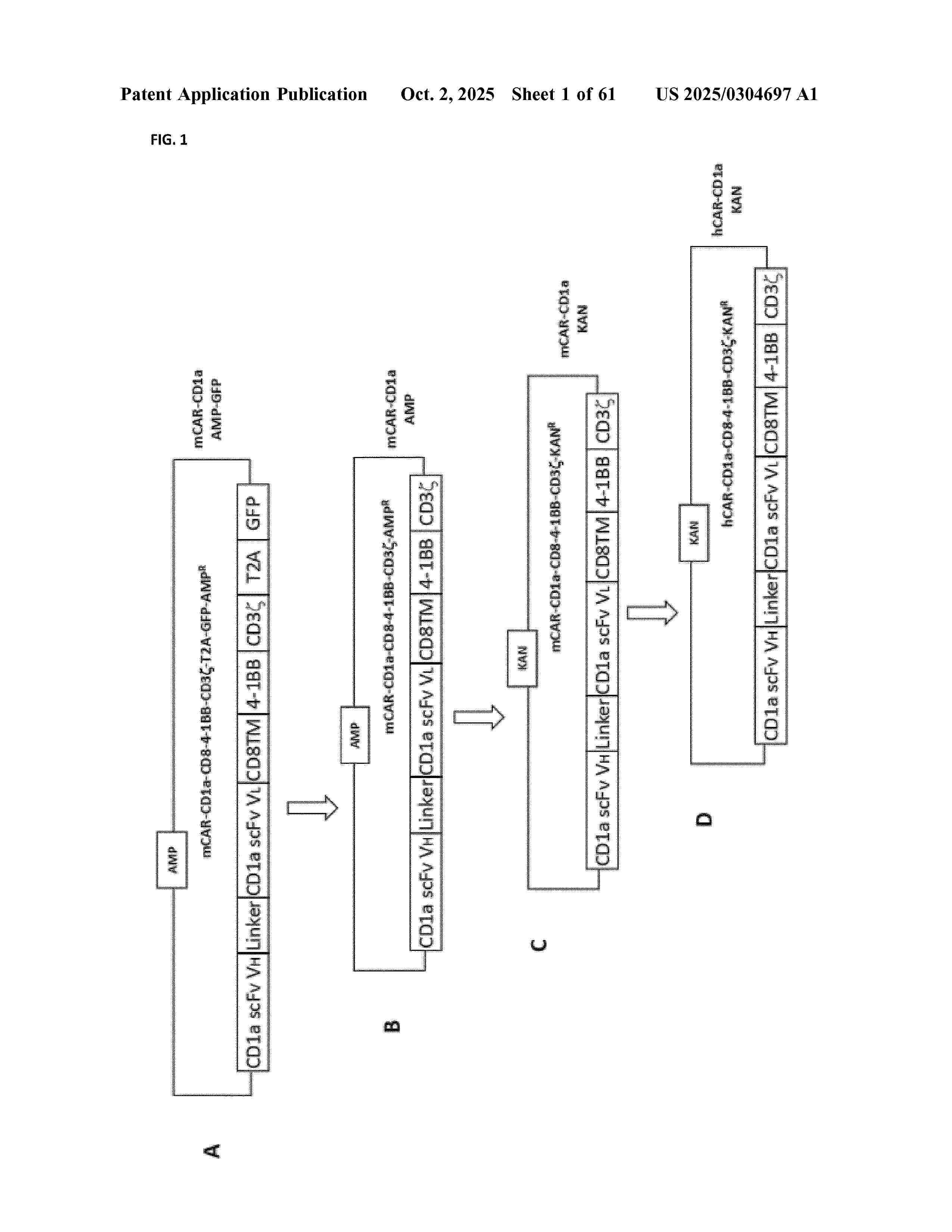
HUMANIZED CD1a TARGETING MOIETY FOR THE TREATMENT OF CD1A-POSITIVE CANCER

NºPublicación:  US2025304697A1 02/10/2025
Solicitante: 
ONECHAIN IMNUNOTHERAPEUTICS S L [ES]
FUNDACIO INST DE RECERCA CONTRA LA LEUCEMIA JOSEP CARRERAS [ES]
INST CATALANA DE RECERCA I ESTUDIS AVANCATS [ES]
FUNDACIO INST DINVESTIGACIO EN CIENCIES DE LA SALUT GERMANS TRIAS I PUJOL [ES]
ONECHAIN IMNUNOTHERAPEUTICS S.L,
FUNDACI\u00D3 INSTITUT DE RECERCA CONTRA LA LEUC\u00C8MIA JOSEP CARRERAS,
INSTITUCI\u00D3 CATALANA DE RECERCA I ESTUDIS AVAN\u00C7ATS,
FUNDACI\u00D3 INSTITUT D'INVESTIGACI\u00D3 EN CI\u00C8NCIES DE LA SALUT GERMANS TRIAS I PUJOL
US_2025304697_A1

Resumen de: US2025304697A1

Relapsed/refractory T-cell acute lymphoblastic leukemia (T-ALL) has a dismal outcome, and no effective targeted immunotherapies for T-ALL exist. CD1a is exclusively expressed in cortical T-ALLs, a major subset of T-ALL. The expression of CD1a is restricted to cortical thymocytes and neither CD34+ progenitors nor T-cells express CD1a during ontogeny, confining the risk of on-target/off-tumor toxicity. The present invention provides CD1a-targeting moieties comprising a CD1a-which may be placed into T cells. The resultant CARTs are suitable for the treatment of cortical T-ALLs.

BISPECIFIC ANTIBODIES AGAINST CD3 AND CD20

NºPublicación:  US2025304689A1 02/10/2025
Solicitante: 
GENMAB AS [DK]
GENMAB A/S
US_2025304689_A1

Resumen de: US2025304689A1

The present invention relates to bispecific antibodies (bsAbs) and the use of such antibodies in the treatment of disease in subjects. Moreover, advantageous treatment regimens are provided for the treatment of B-cell Non-Hodgkin Lymphoma (B-NHL).

BIOTIN ORTHOGONAL STREPTAVIDIN SYSTEM

NºPublicación:  US2025304705A1 02/10/2025
Solicitante: 
UNIV OF UTAH RESEARCH FOUNDATION [US]
UNIVERSITY OF UTAH RESEARCH FOUNDATION
US_2025304705_A1

Resumen de: US2025304705A1

The present disclosure relates to an orthogonal system comprising a first bi-specific polypeptide that comprises D-streptavidin or a variant thereof covalently linked to an antibody or antibody fragment and a second bi-specific polypeptide that comprises L-biotin covalently linked to a therapeutic or diagnostic agent. The disclosed systems can be useful in, for example, treating a disease or a condition (e.g., cancer, non-Hodgkin lymphoma, multiple sclerosis, Crohn's disease, rheumatoid arthritis, asthma, macular degeneration, psoriasis, Hodgkin lymphoma, paroxysmal nocturnal hemoglobinuria, X-linked hypophosphatemia). Also described are peptides and polypeptides useful in preparing the disclosed bi-specific polypeptides and methods of making same. This abstract is intended as a scanning tool for purposes of searching in the particular art and is not intended to be limiting of the present invention.

METHODS AND COMPOSITIONS FOR INHIBITING THE INTERACTION OF MENIN WITH MLL PROTEINS

NºPublicación:  US2025304589A1 02/10/2025
Solicitante: 
KURA ONCOLOGY INC [US]
THE REGENTS OF THE UNIV OF MICHIGAN [US]
Kura Oncology, Inc,
The Regents of The University of Michigan
US_2025304589_A1

Resumen de: US2025304589A1

The present disclosure provides compositions and methods of use to inhibit the interaction of menin with MLL1, MLL2 and MLL-fusion oncoproteins. The compositions and methods of use are useful for the treatment of leukemia, solid cancers, diabetes and other diseases dependent on activity of MLL1, MLL2, MLL fusion proteins, and/or menin.

HEAD AND NECK CANCER COMBINATION THERAPY COMPRISING AN IL-2 CONJUGATE AND PEMBROLIZUMAB

NºPublicación:  US2025302950A1 02/10/2025
Solicitante: 
SYNTHORX INC [US]
MSD INT GMBH [CH]
MSD INT BUSINESS GMBH [CH]
Synthorx, Inc,
MSD INTERNATIONAL GMBH,
MSD International Business GmbH
US_2025302950_A1

Resumen de: US2025302950A1

Disclosed herein are methods for treating classic Hodgkin lymphoma (cHL) in a subject in need thereof, comprising administering an IL-2 conjugate in combination with an anti-PD-1 antibody or antigen-binding fragment thereof.

COMPOSITIONS, ASSAYS, AND METHODS FOR DIRECT MODULATION OF FATTY ACID METABOLISM

NºPublicación:  US2025306026A1 02/10/2025
Solicitante: 
DANA FARBER CANCER INST INC [US]
Dana-Farber Cancer Institute, Inc
US_2023228759_PA

Resumen de: US2025306026A1

This disclosure relates to the surprising and unexpected finding that the well-known cancer protein, Myeloid Cell Leukemia-1 (MCL-1), binds to and modulates the enzymatic activity of Very Long Chain Acyl CoA Dehydrogenase (VLCAD), thereby regulating fatty acid β-oxidation. This finding is employed in compositions and methods of treating cancer, metabolic diseases, or other conditions characterized by excessive fatty acid β-oxidation by blocking or reducing the energy production of cells (e.g., cancer) through inhibiting the MCL-1/VLCAD interaction and/or directly inhibiting VLCAD enzymatic activity. In addition, the disclosure features methods for identifying such agents that inhibit the interaction between MCL-1 and VLCAD or that inhibit VLCAD enzymatic activity.

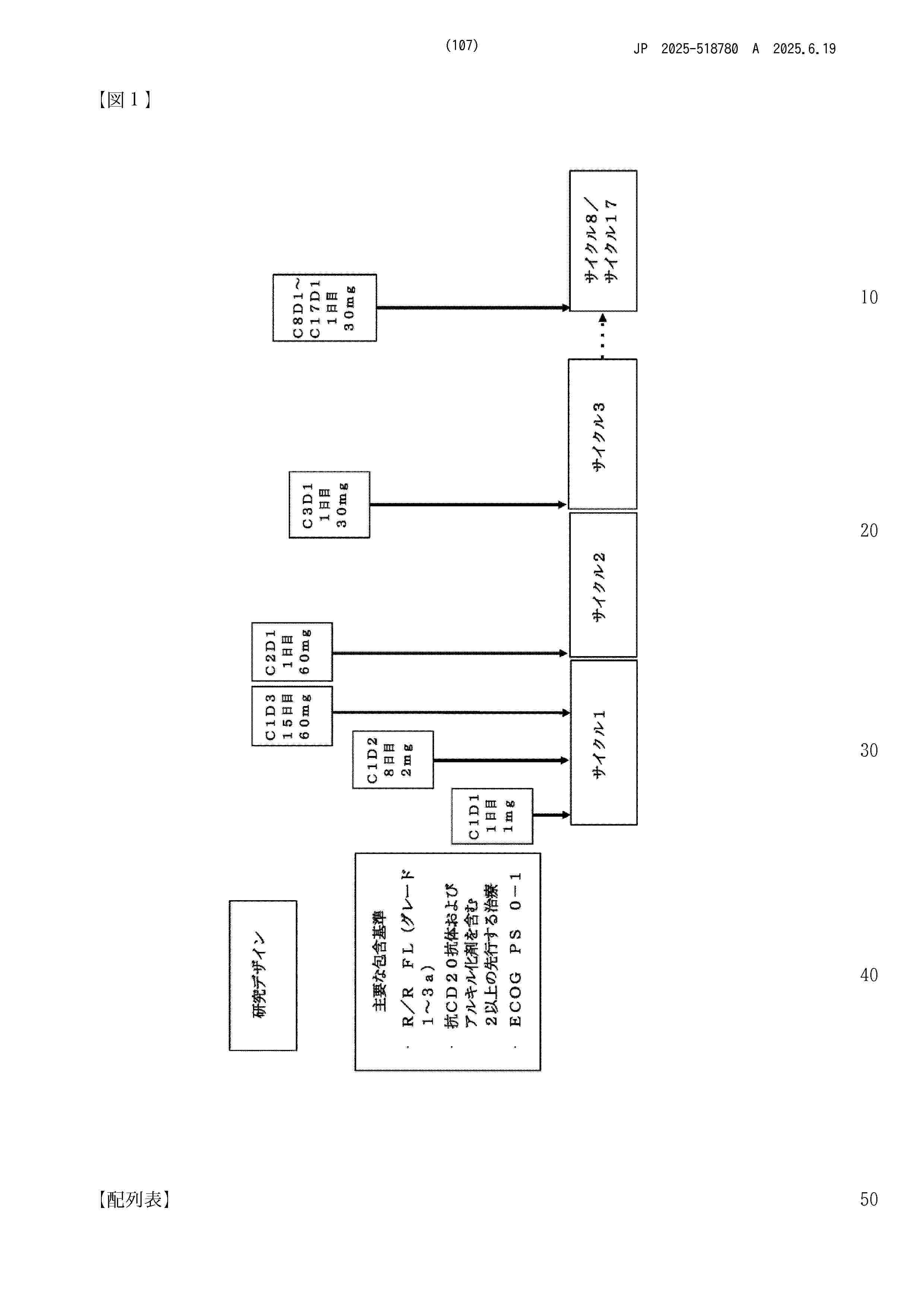
DOSING FOR TREATMENT WITH ANTI-CD20/ANTI-CD3 BISPECIFIC ANTIBODIES IN ELDERLY PATIENTS

NºPublicación:  MX2024014736A 01/10/2025
Solicitante: 
GENENTECH INC [US]
F HOFFMANN LA ROCHE AG [CH]
GENENTECH, INC,
F. HOFFMANN- LA ROCHE AG
JP_2025518780_A

Resumen de: MX2024014736A

The present invention relates to the treatment of elderly subjects (e.g., subjects aged 65 years or older) having relapsed and/or refractory (R/R) non-Hodgkin's lymphoma (NHL). More specifically, the invention pertains to the treatment of subjects having an R/R NHL by intravenous administration of mosunetuzumab.

METHODS OF TREATING MYELODYSPLASTIC SYNDROME AND MONITORING THE TREATMENT

Nº publicación: MX2025007460A 01/10/2025

Solicitante:

GERON CORP [US]
GERON CORPORATION

KR_20250131783_PA

Resumen de: MX2025007460A

Methods of monitoring therapeutic efficacy in a subject with myelodysplastic syndrome (MDS) are provided. Also provided is a method of identifying a subject with MDS for treatment with a telomerase inhibitor, and methods of treating MDS. The methods include administering to the subject a telomerase inhibitor and assessing variant allele frequency (VAF) for one or more of the following genes: SF3B1, TET2, DNMT3A, ASXL1, and CUX1 in a biological sample obtained from the subject after administration of the telomerase inhibitor. In some cases, a 25% or more reduction in VAF identifies a subject who has an increased likelihood of benefiting from treatment with a telomerase inhibitor. In some instances, the telomerase inhibitor is imetelstat or imetelstat sodium.

traducir