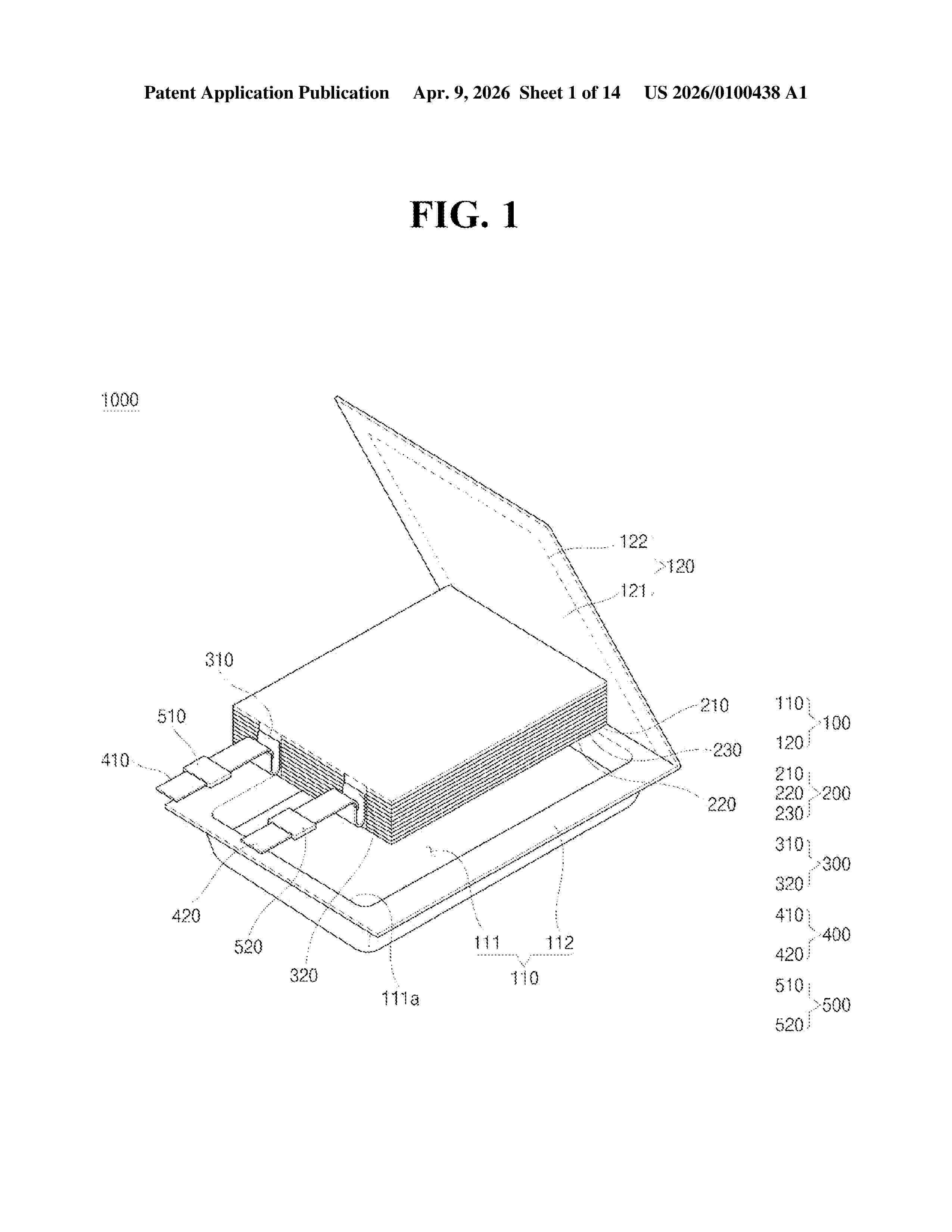
Ministerio de Industria, Turismo y Comercio LogoMinisterior
 

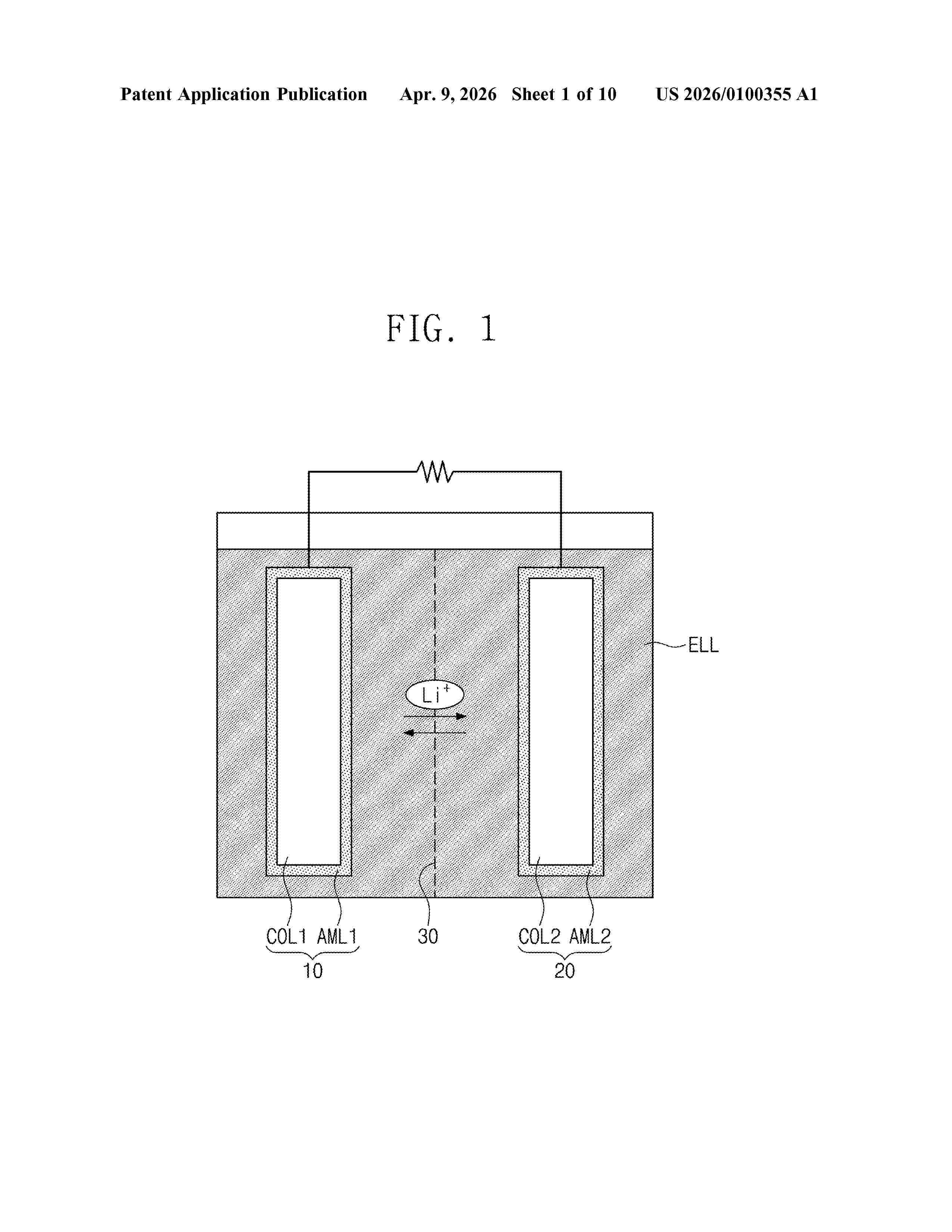
Almacenamiento en baterías

Resultados 1121 resultados
LastUpdate Última actualización 23/04/2026 [07:21:00]
pdfxls
Publicaciones de los últimos 15 días/Last 15 days publications (excluidas pubs. CN y JP /CN and JP pubs. excluded)
Resultados 1 a 1121  

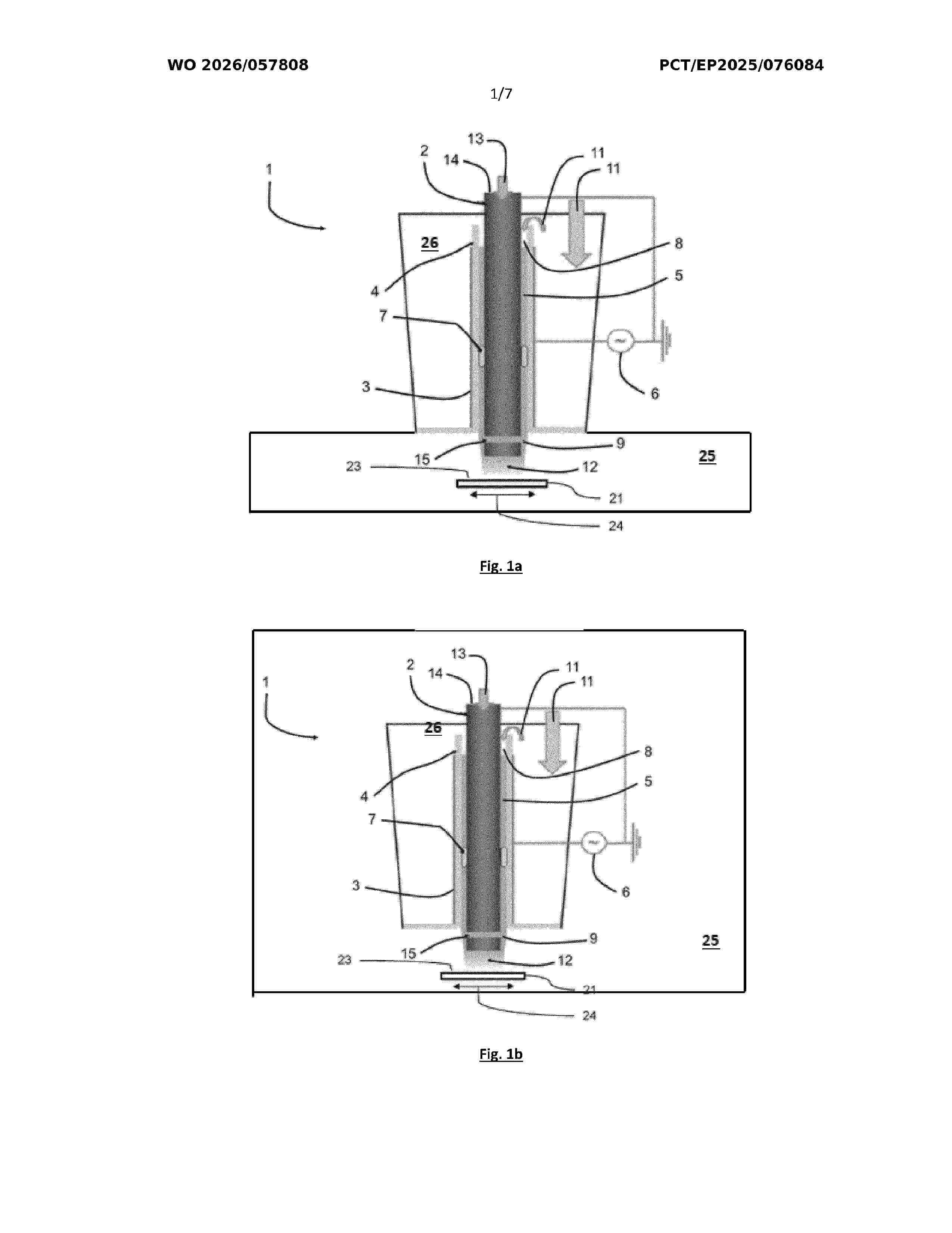
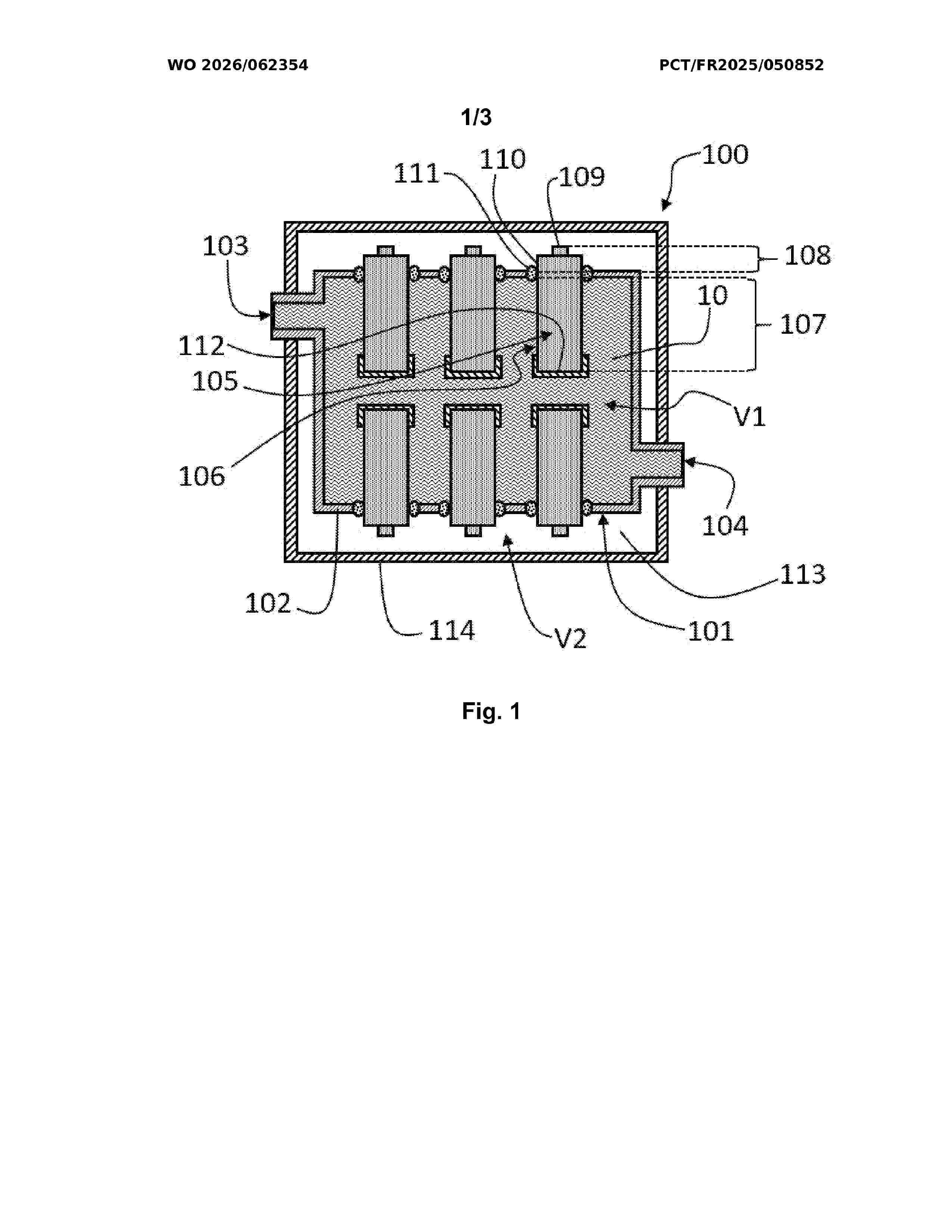
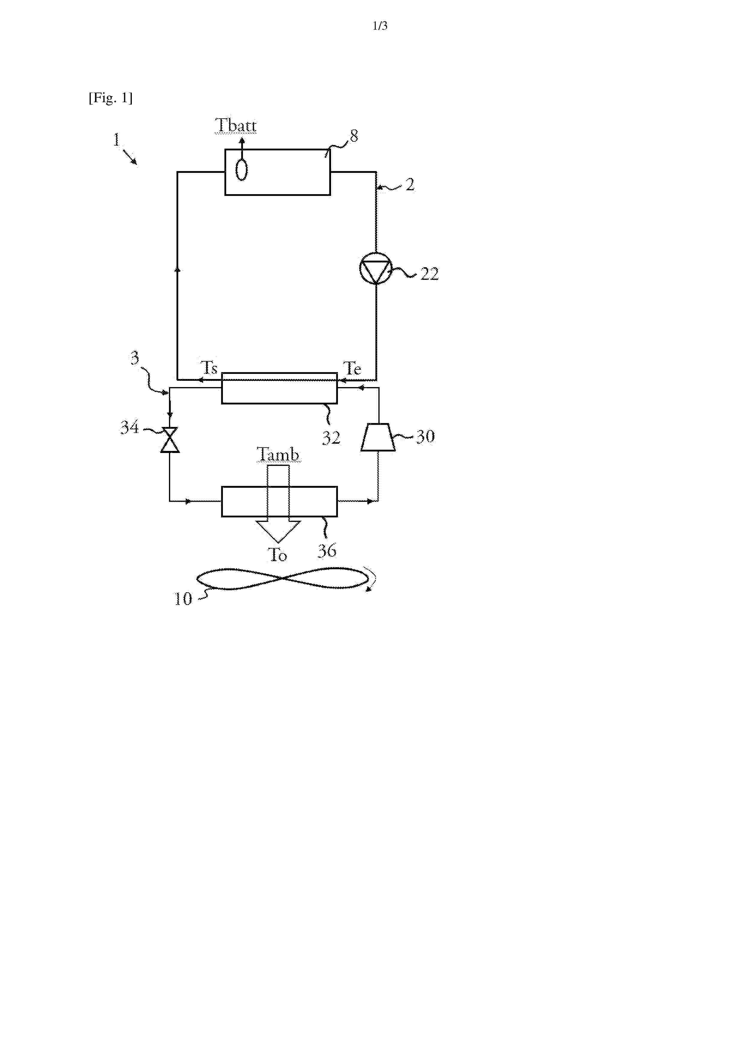
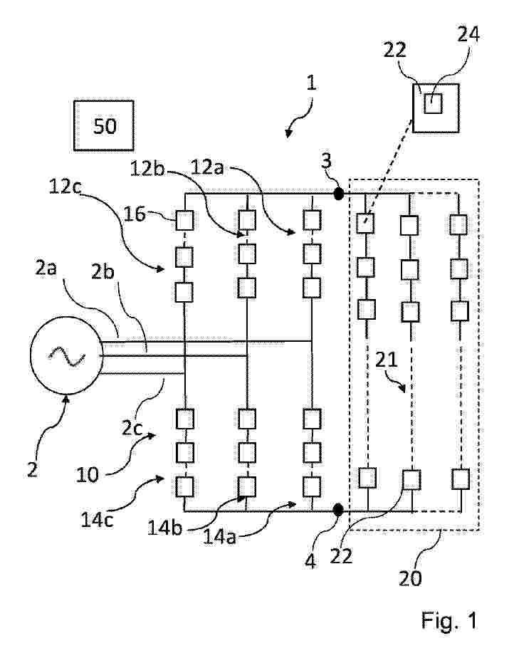
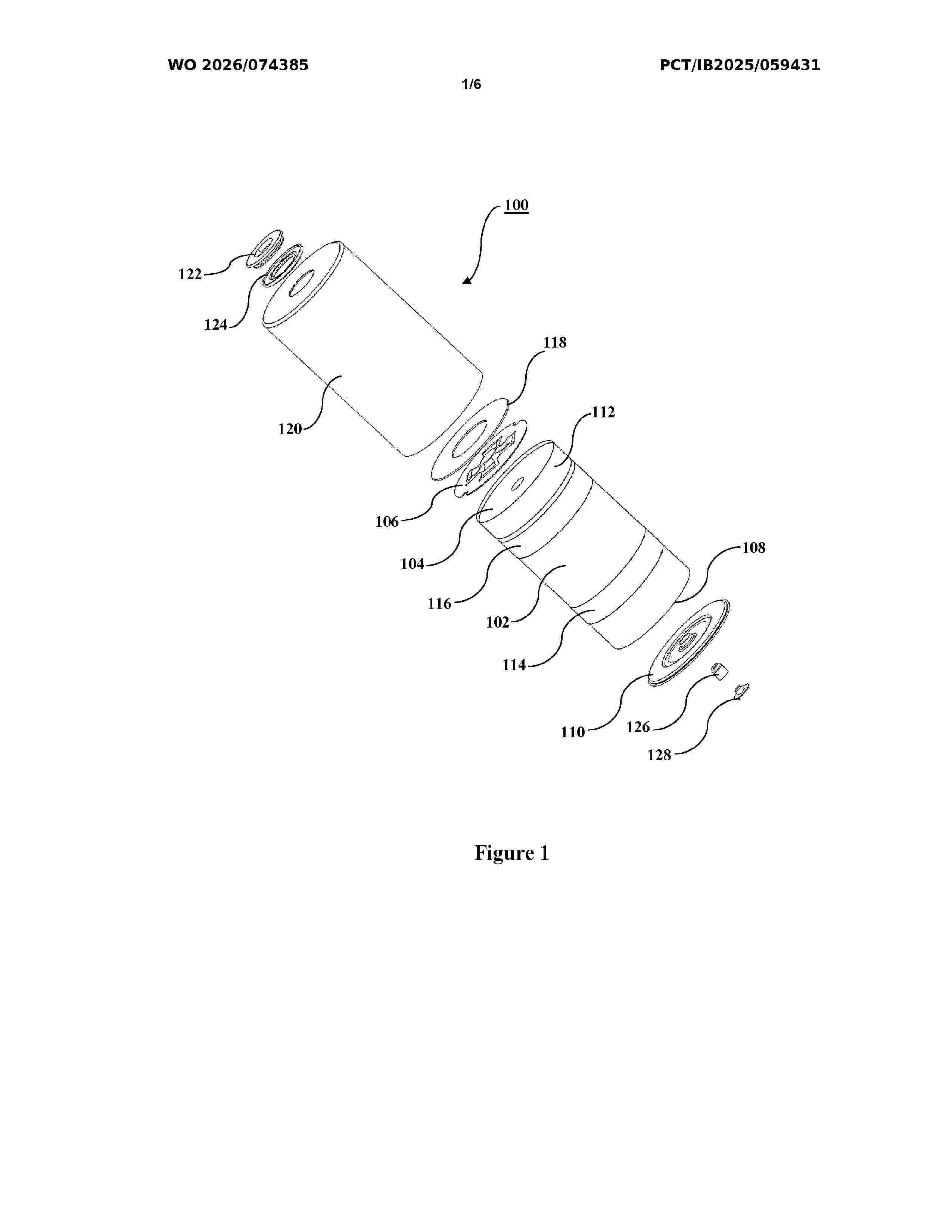
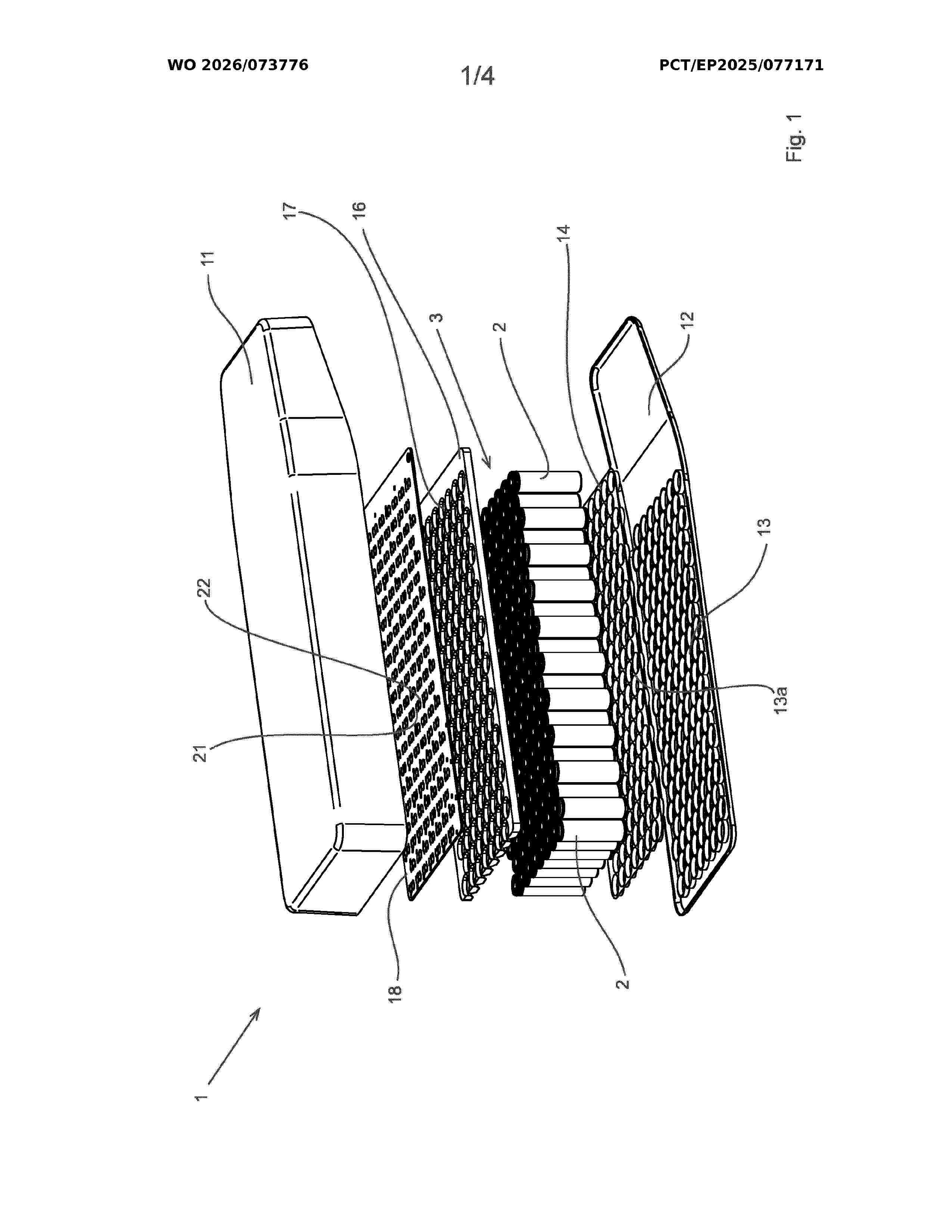
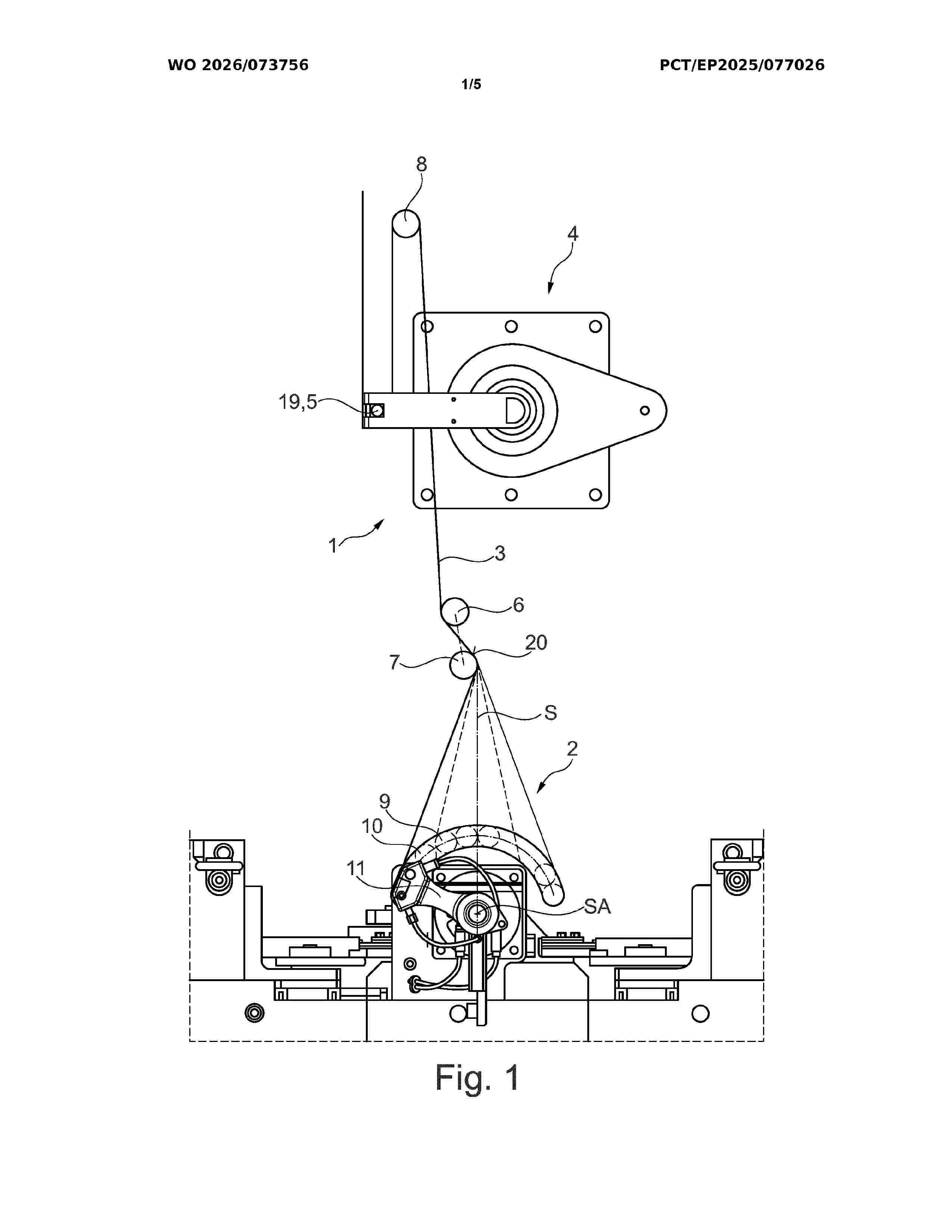
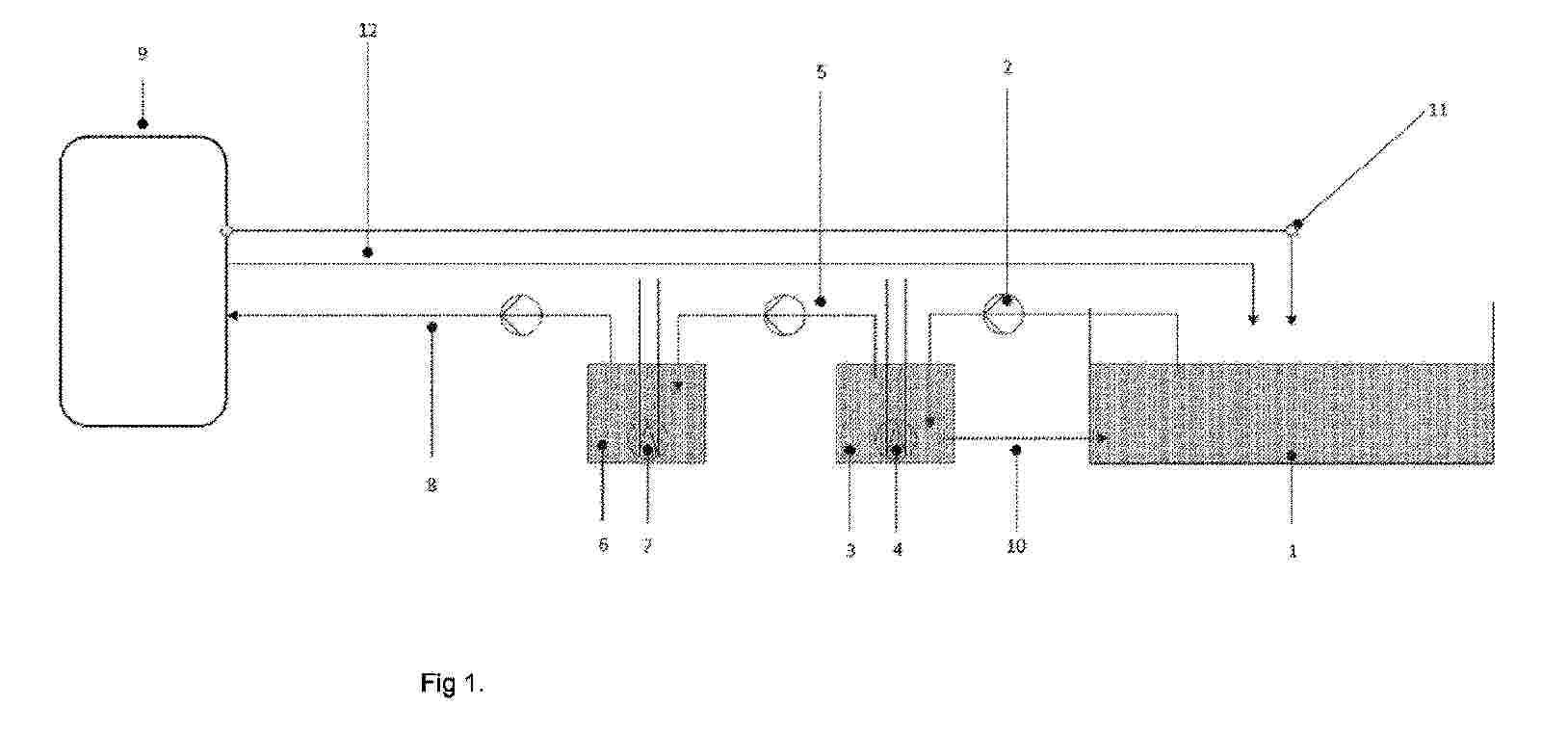
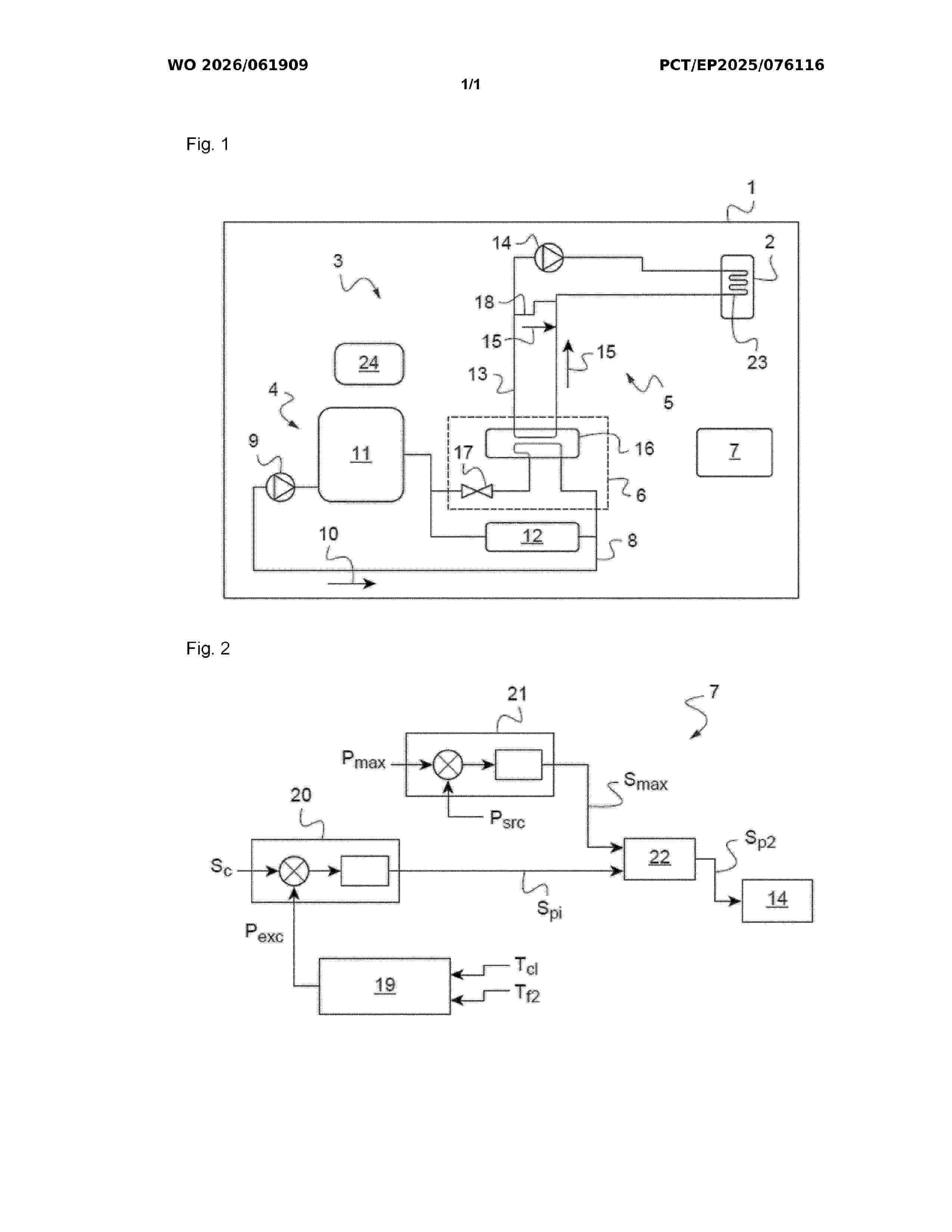
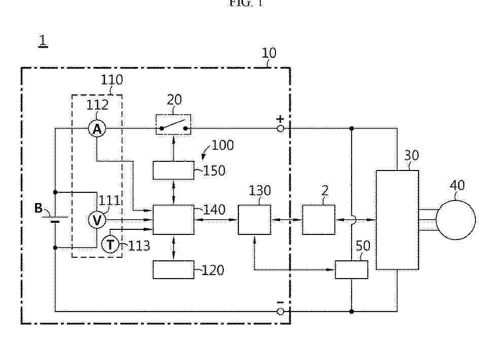
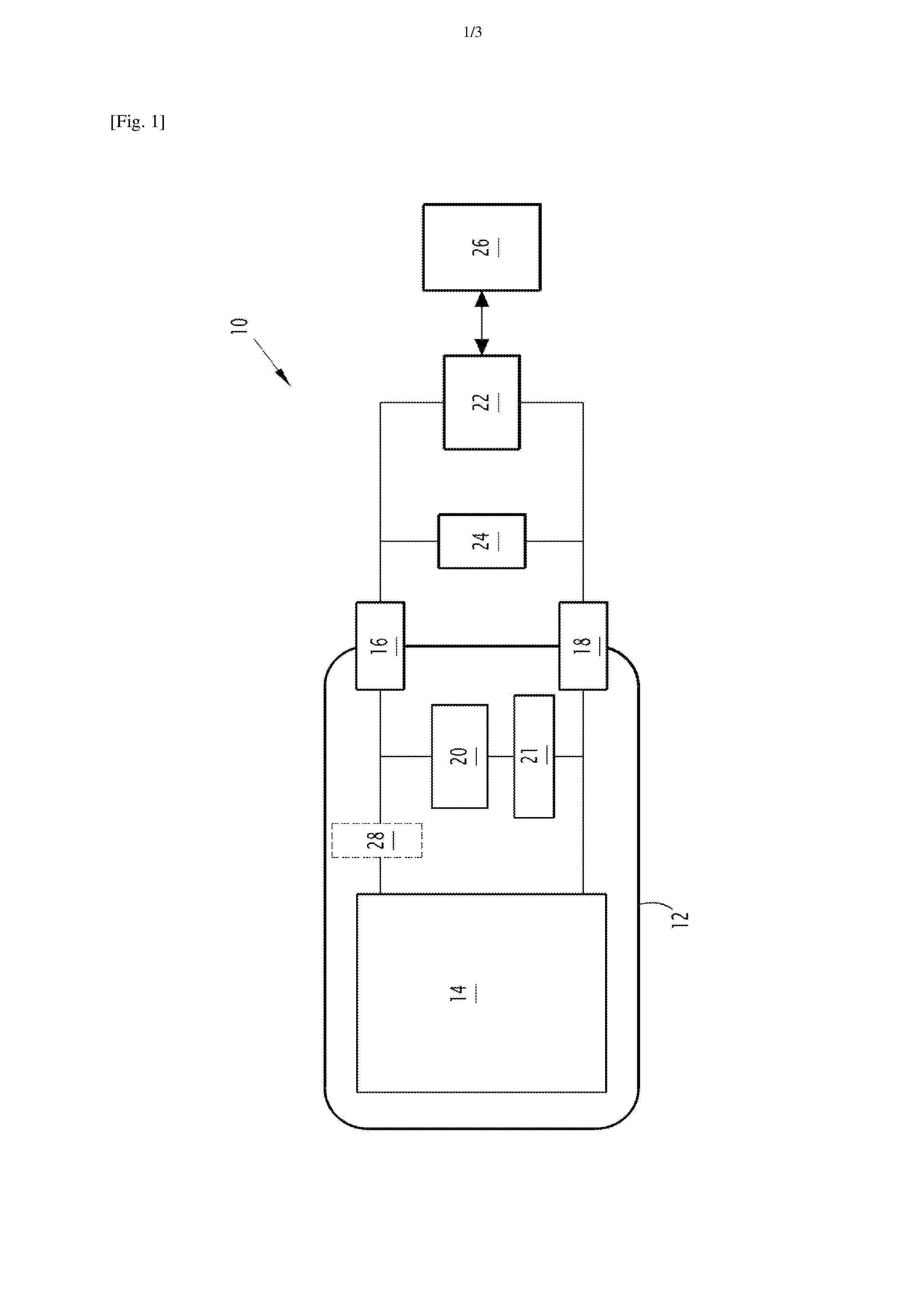
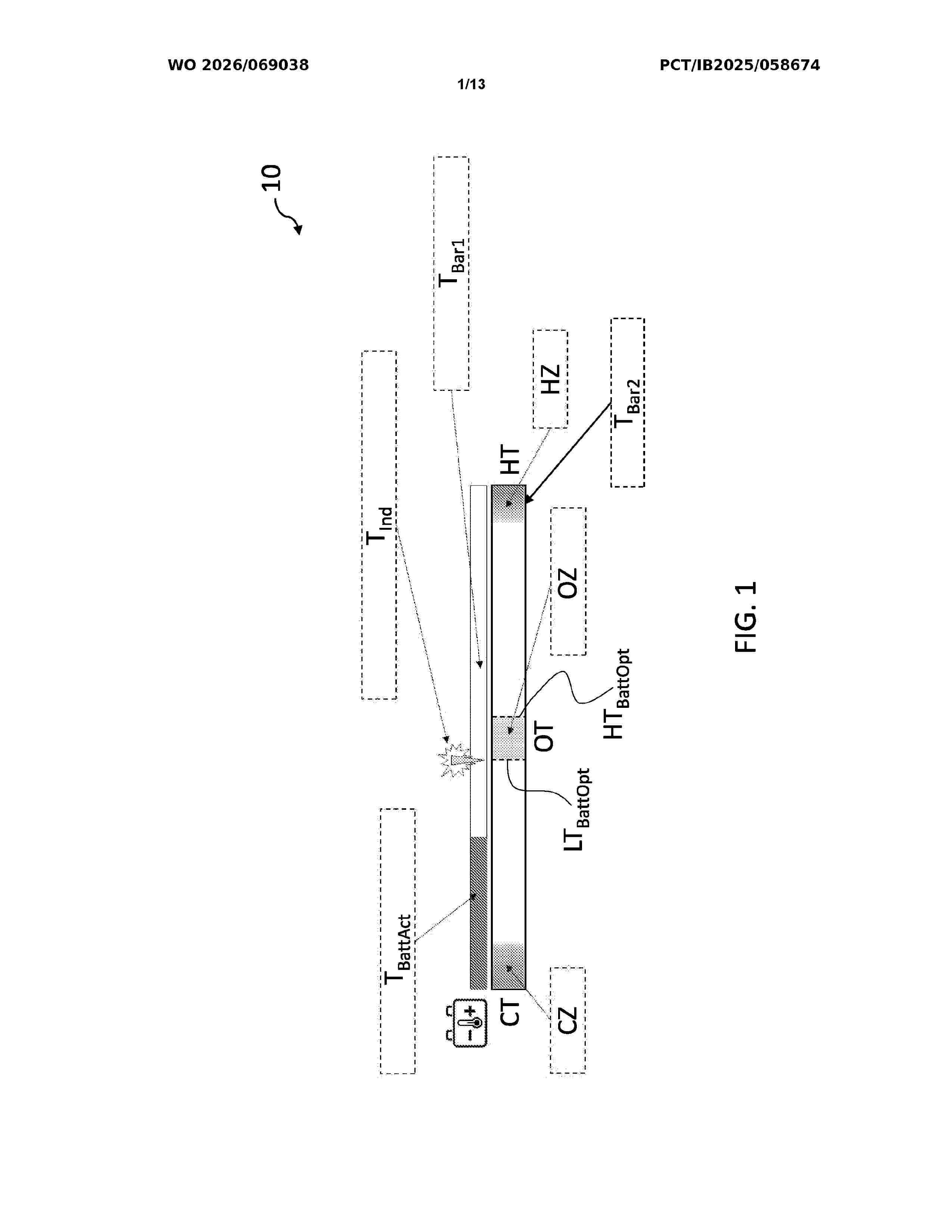
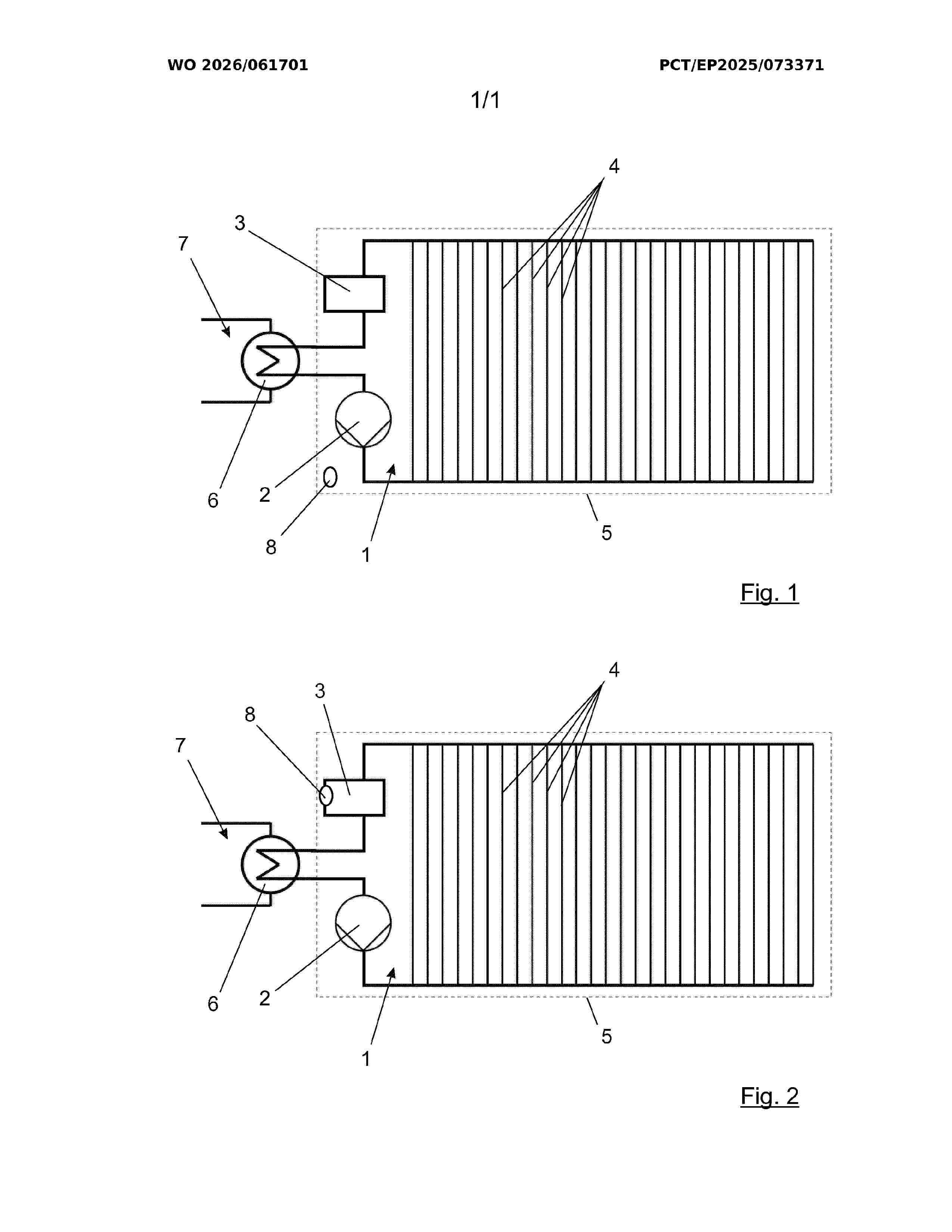
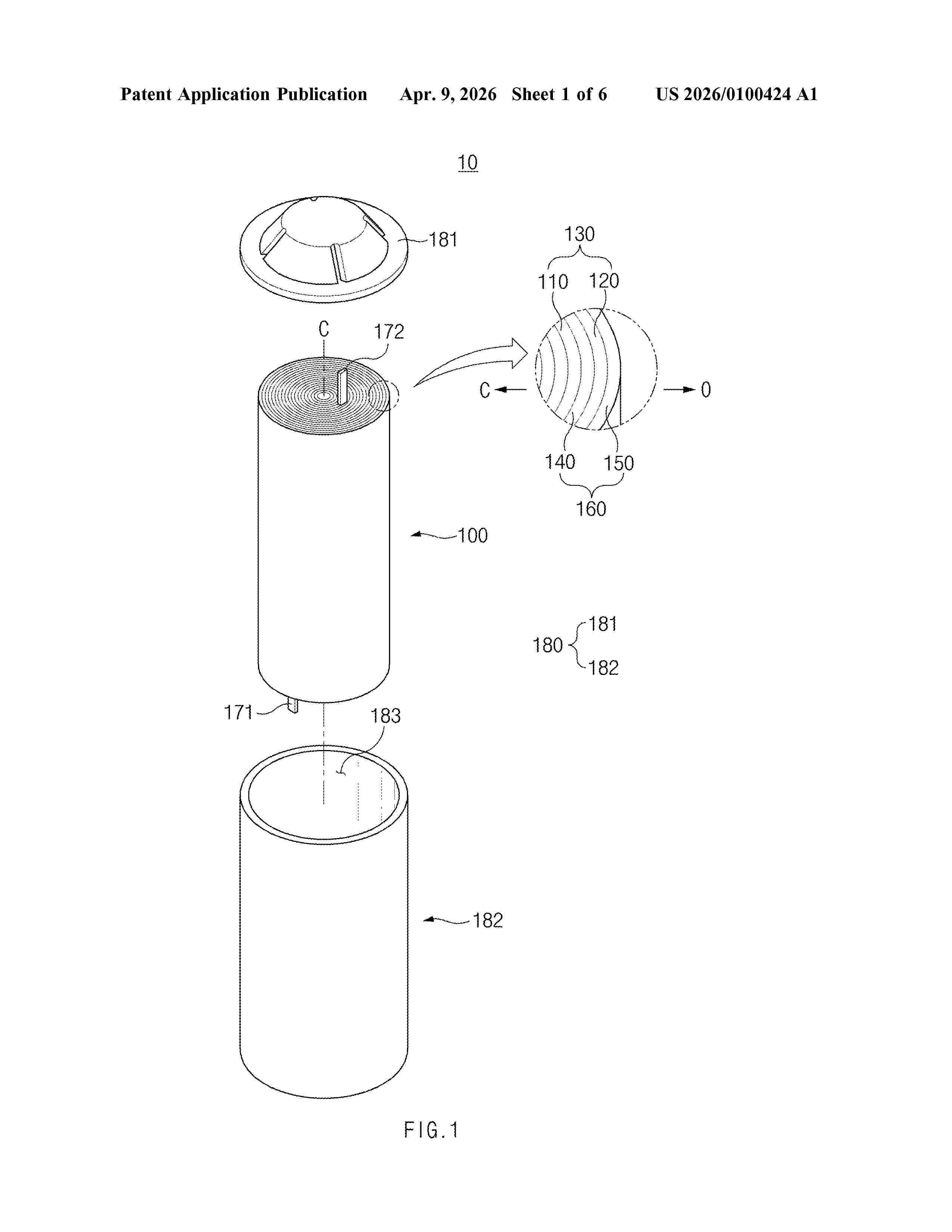
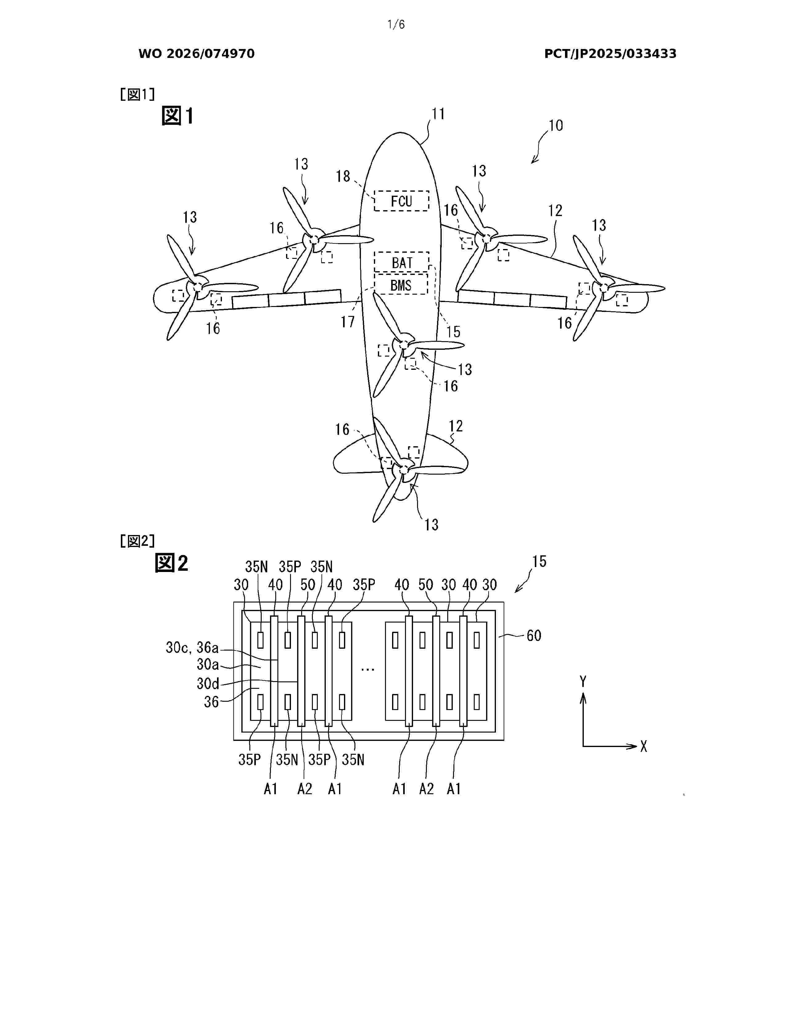
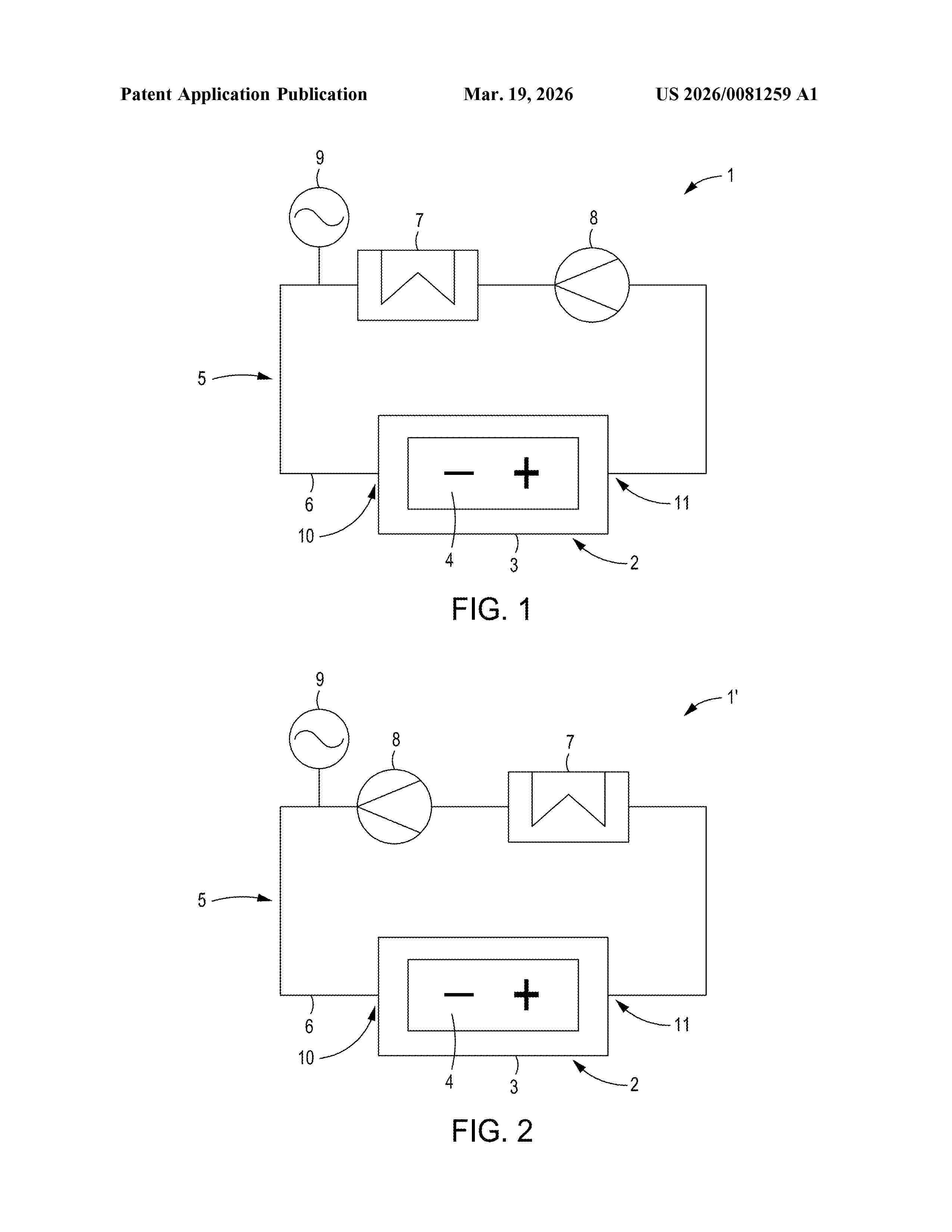
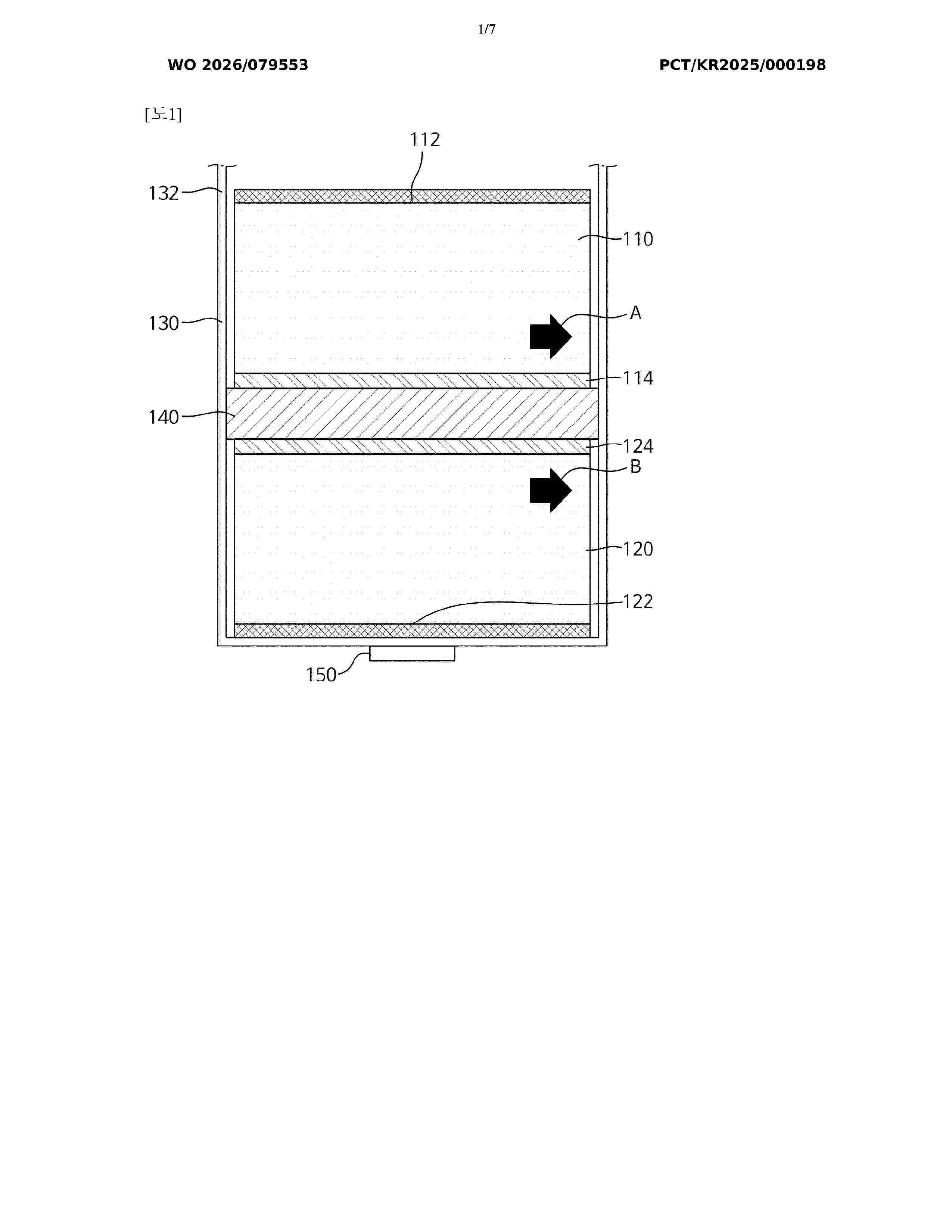
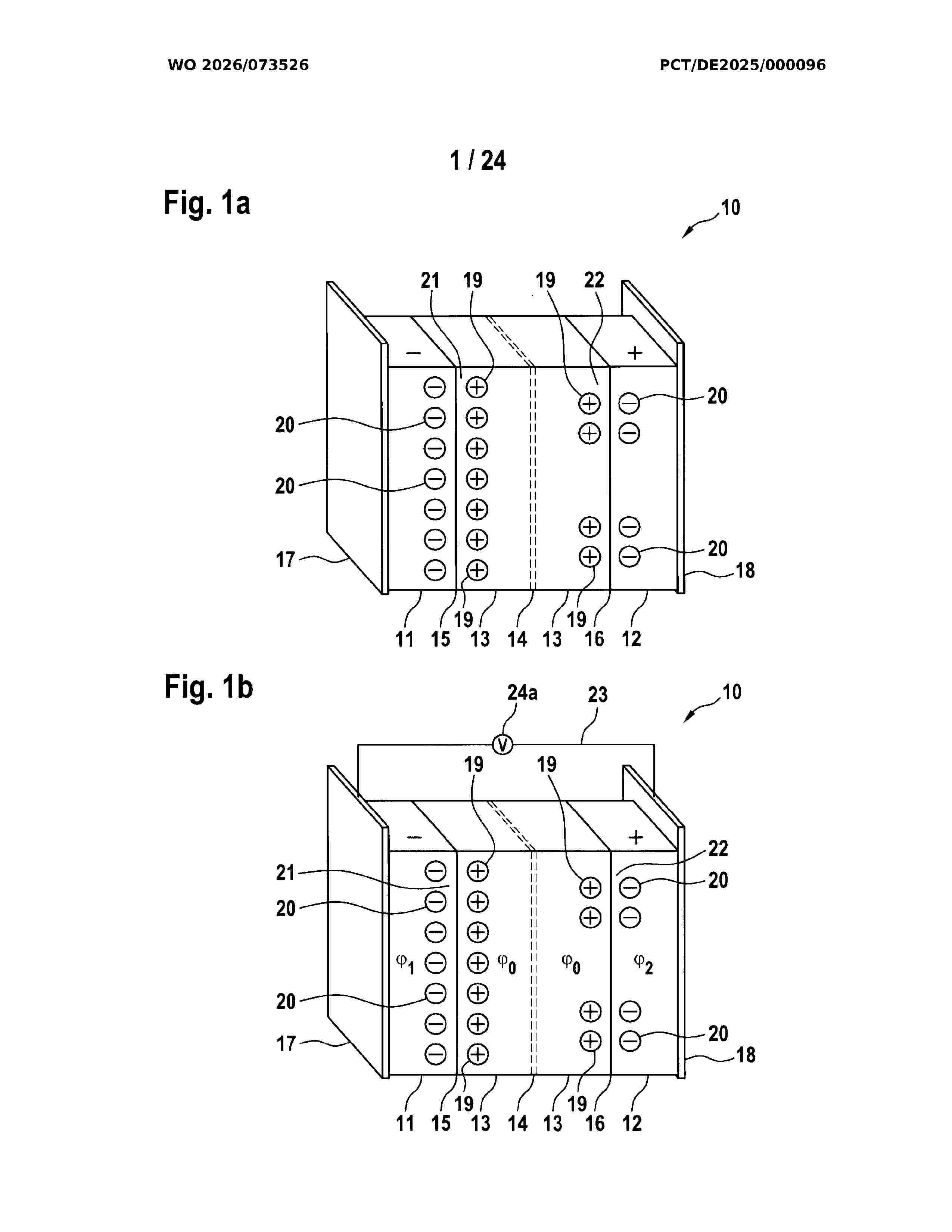
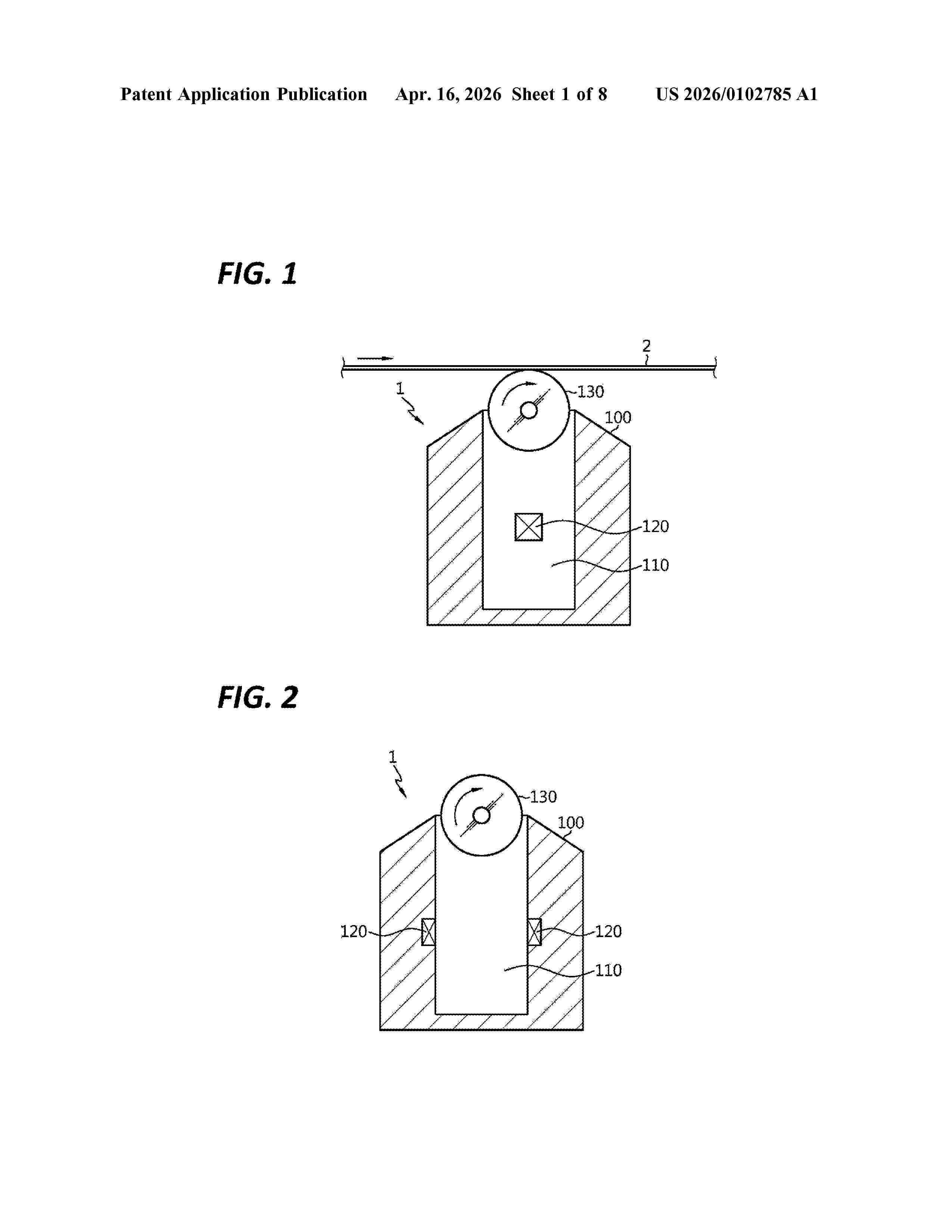
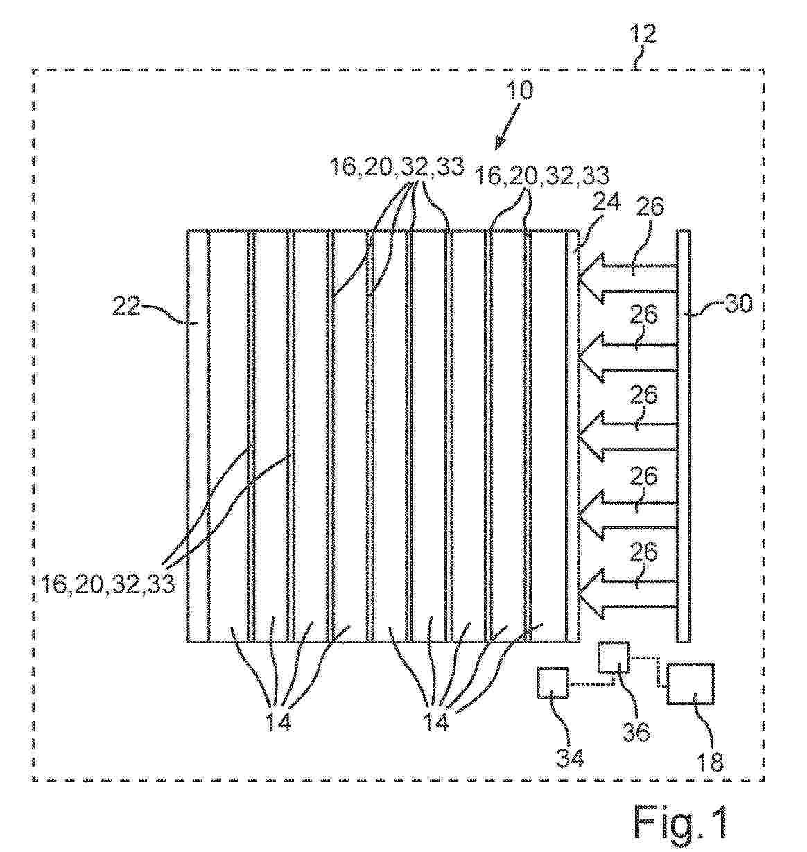
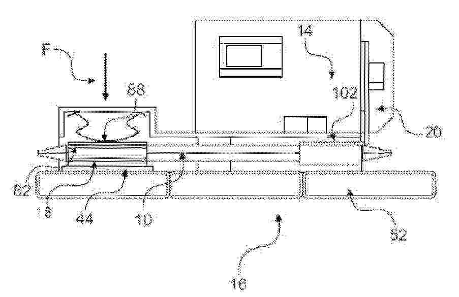
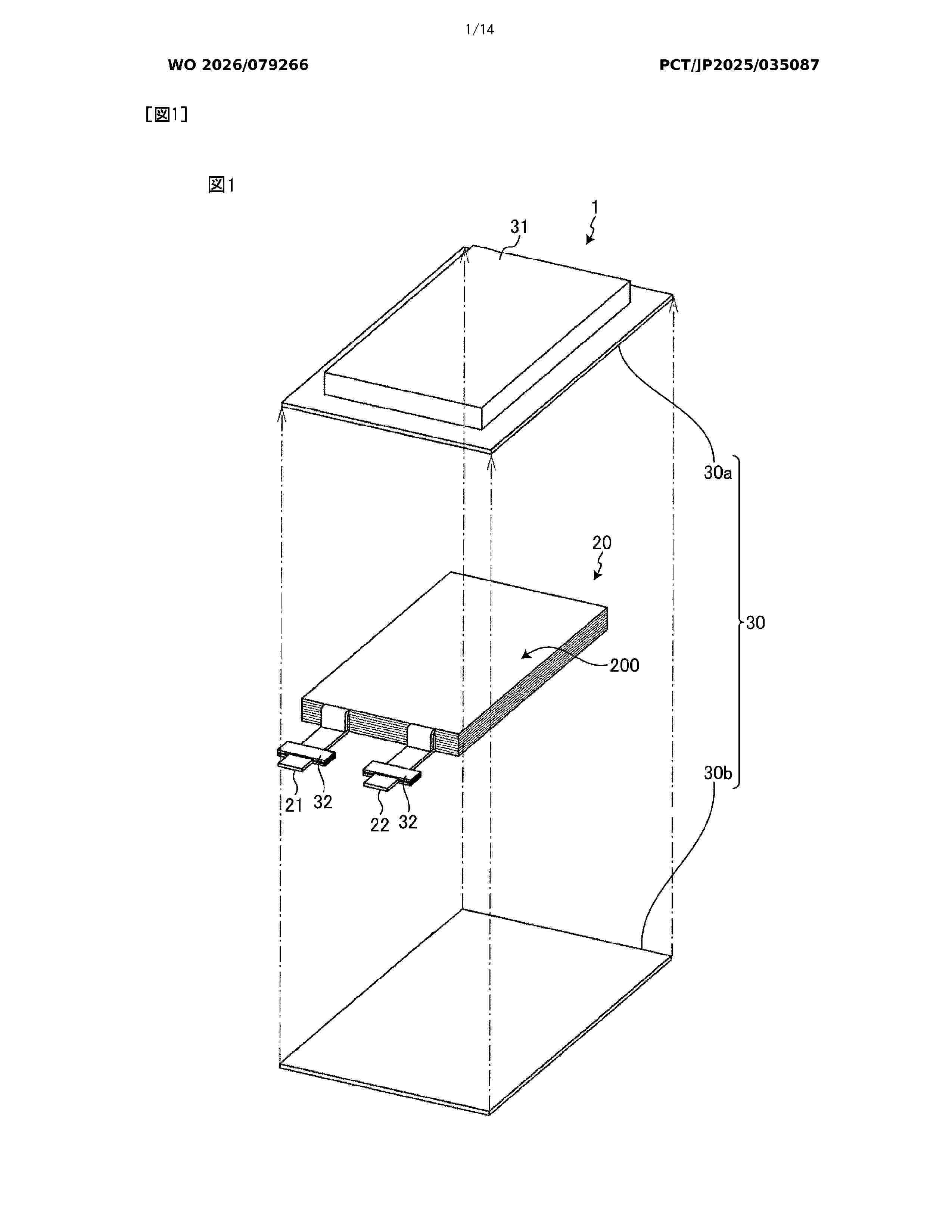
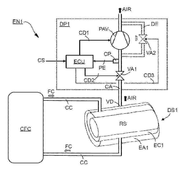
DISPOSITIF POUR LA THERMOREGULATION DE BATTERIE DE VEHICULE ELECTRIQUE OU HYBRIDE ET PROCEDE METTANT EN ŒUVRE UN TEL DISPOSITIF

NºPublicación:  FR3167479A1 17/04/2026
Solicitante: 
STELLANTIS AUTO SAS [FR]
FCA US LLC [US]
FR_3167479_A1

Resumen de: FR3167479A1

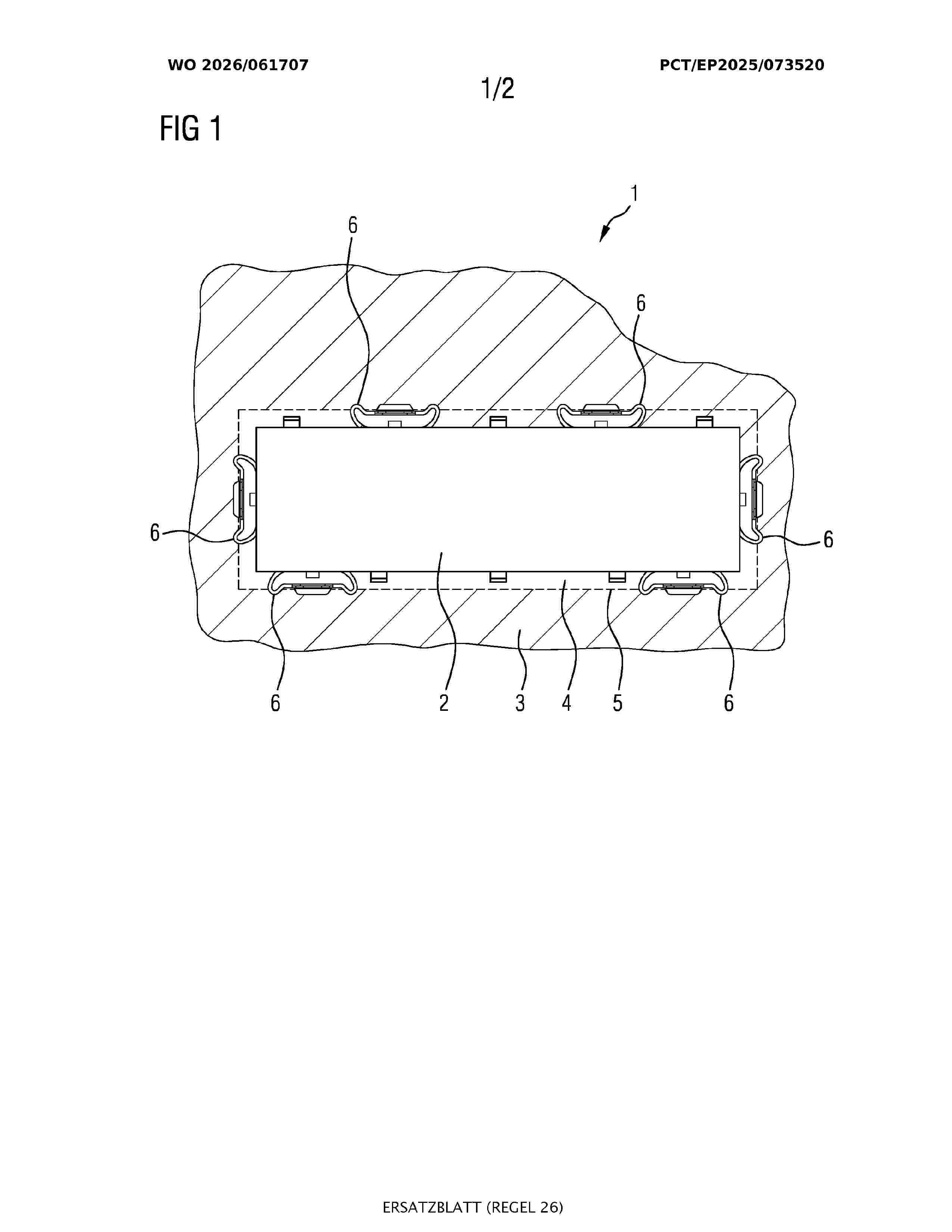
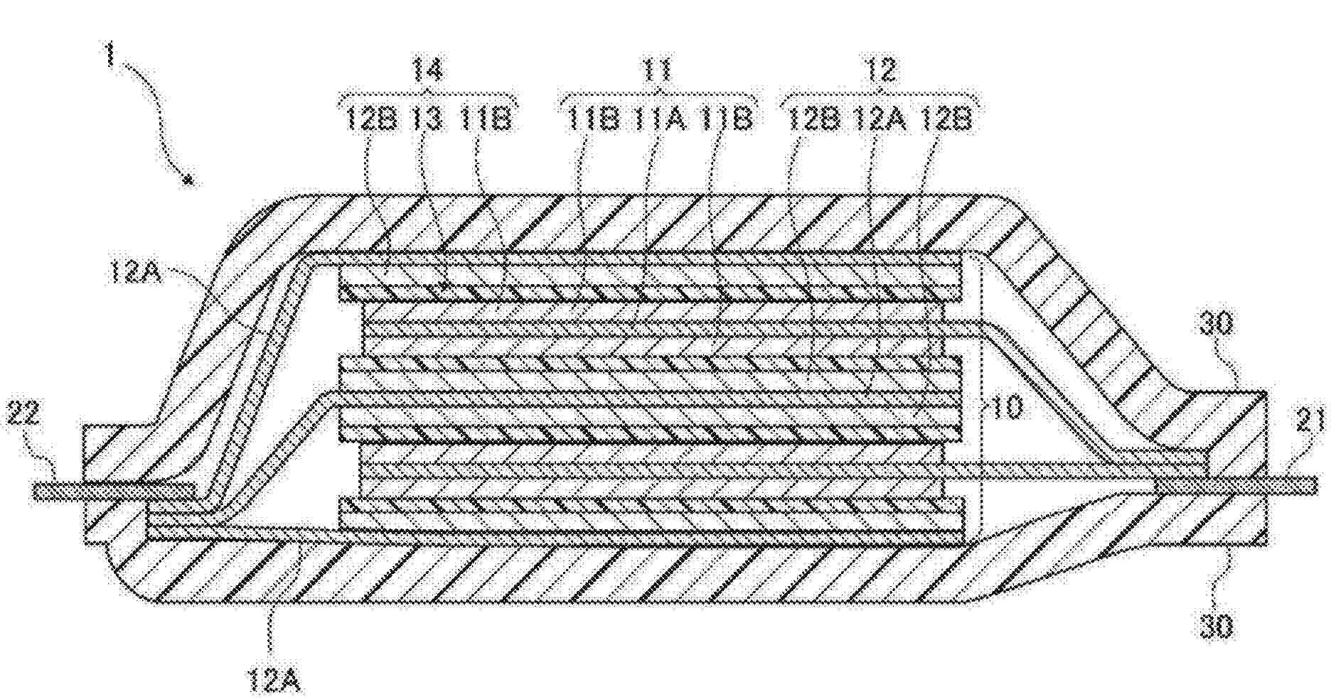
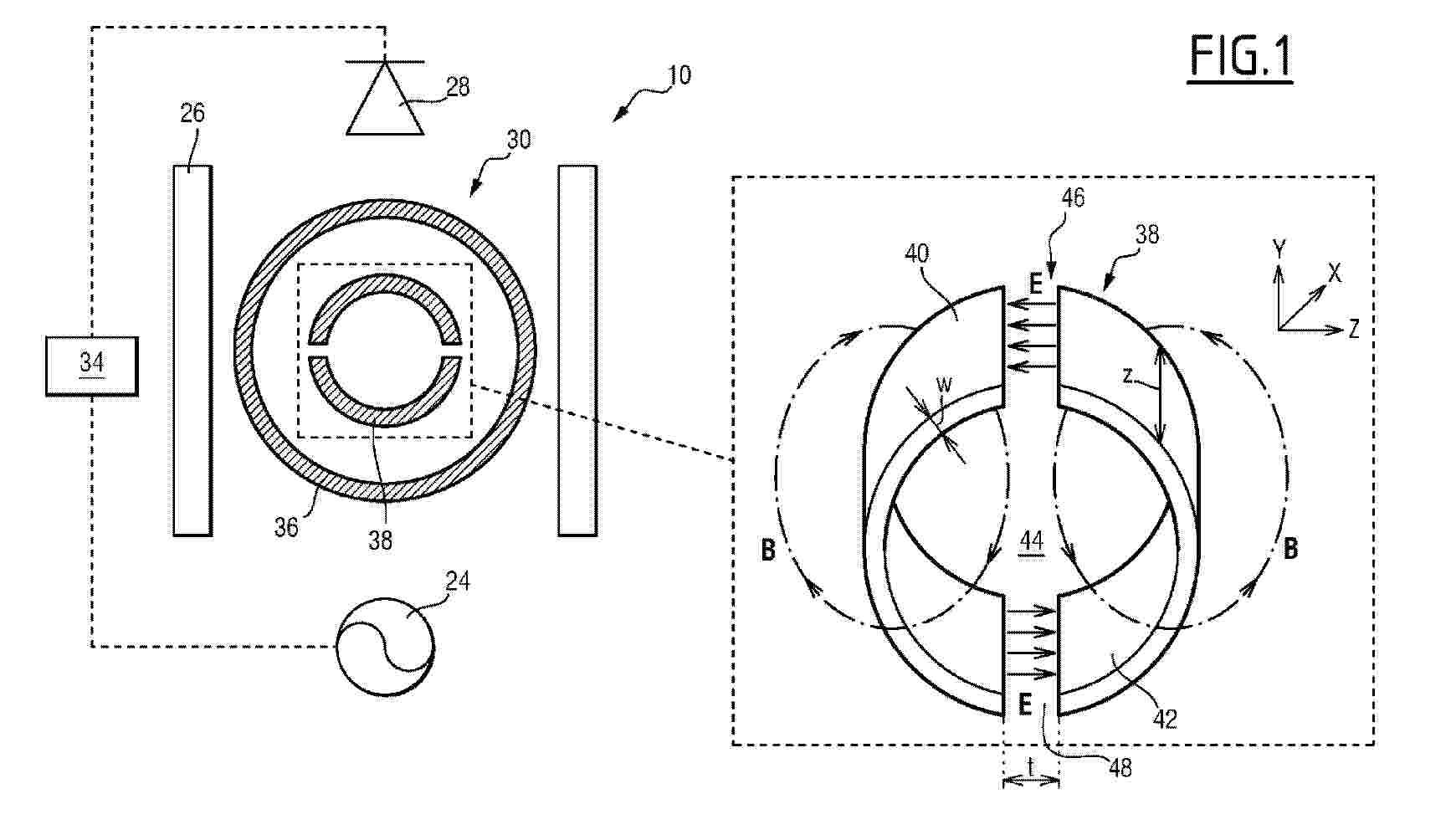
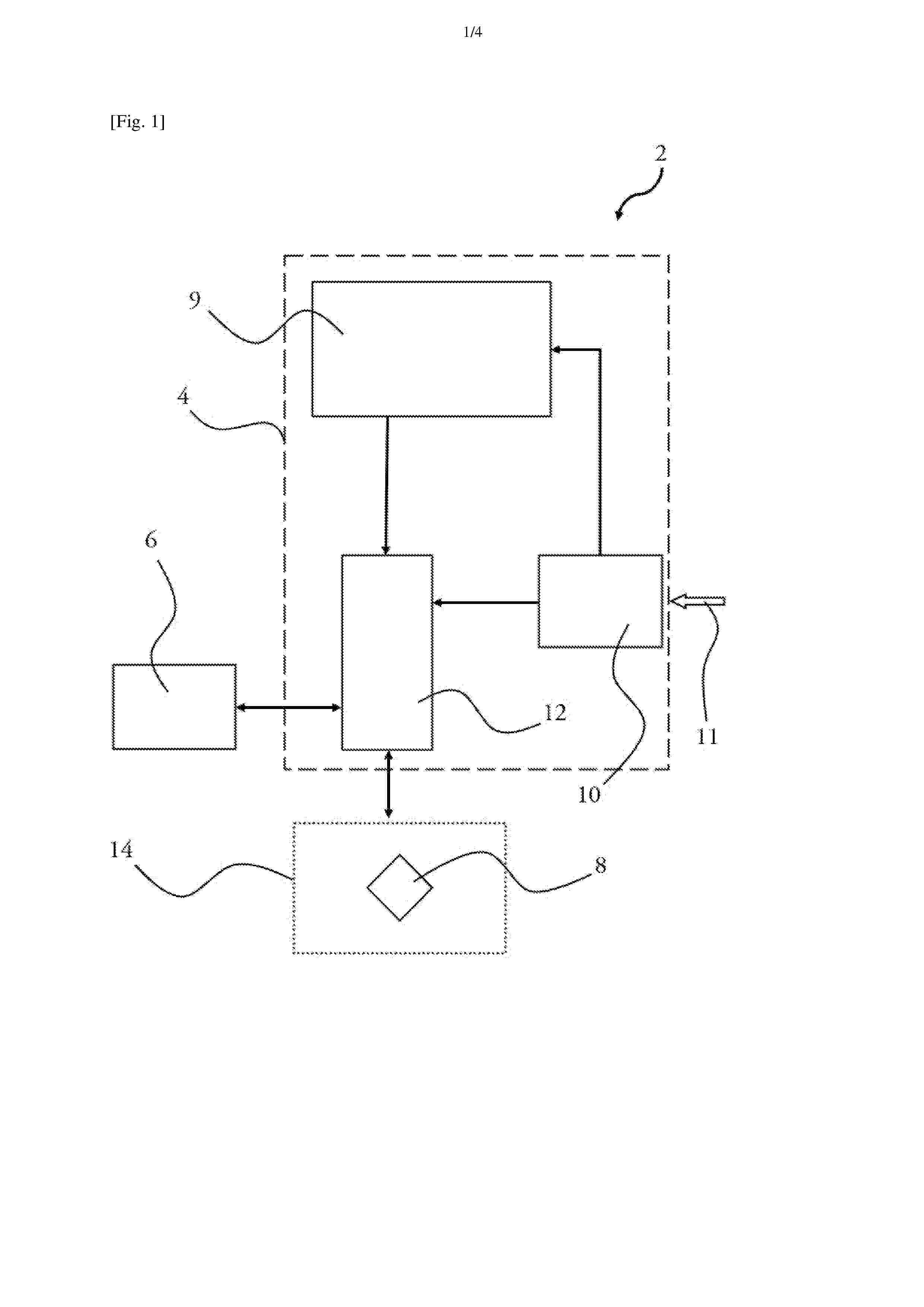
L’invention concerne un dispositif pour la thermorégulation de batterie (1) de véhicule électrique ou hybride et un procédé mettant en œuvre le dispositif. Le dispositif comporte :- une cellule de batterie (10) ;- un pulvérisateur (20) configuré pour pulvériser un fluide sur la cellule de batterie (10), le pulvérisateur (20) étant raccordé à un circuit de fluide (10) comprenant un premier raccord et un deuxième raccord, le circuit de fluide (10) comprenant un capteur de pression configuré pour mesurer la pression du fluide dans le circuit de fluide (10), le premier raccord comprenant un filtre, le deuxième raccord comprenant une vanne configurée pour être dans un état fermé et pour être dans un état ouvert, la vanne étant par défaut dans l’état fermé. Figure 1

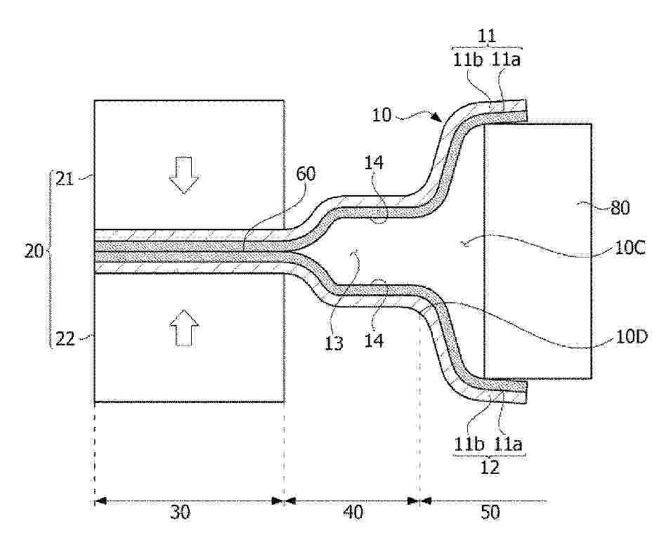
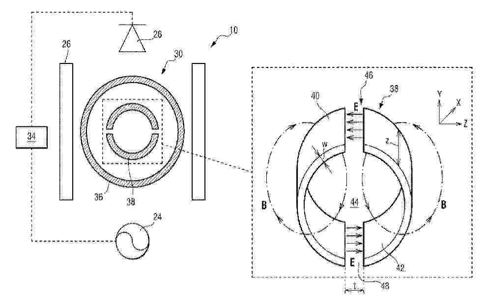
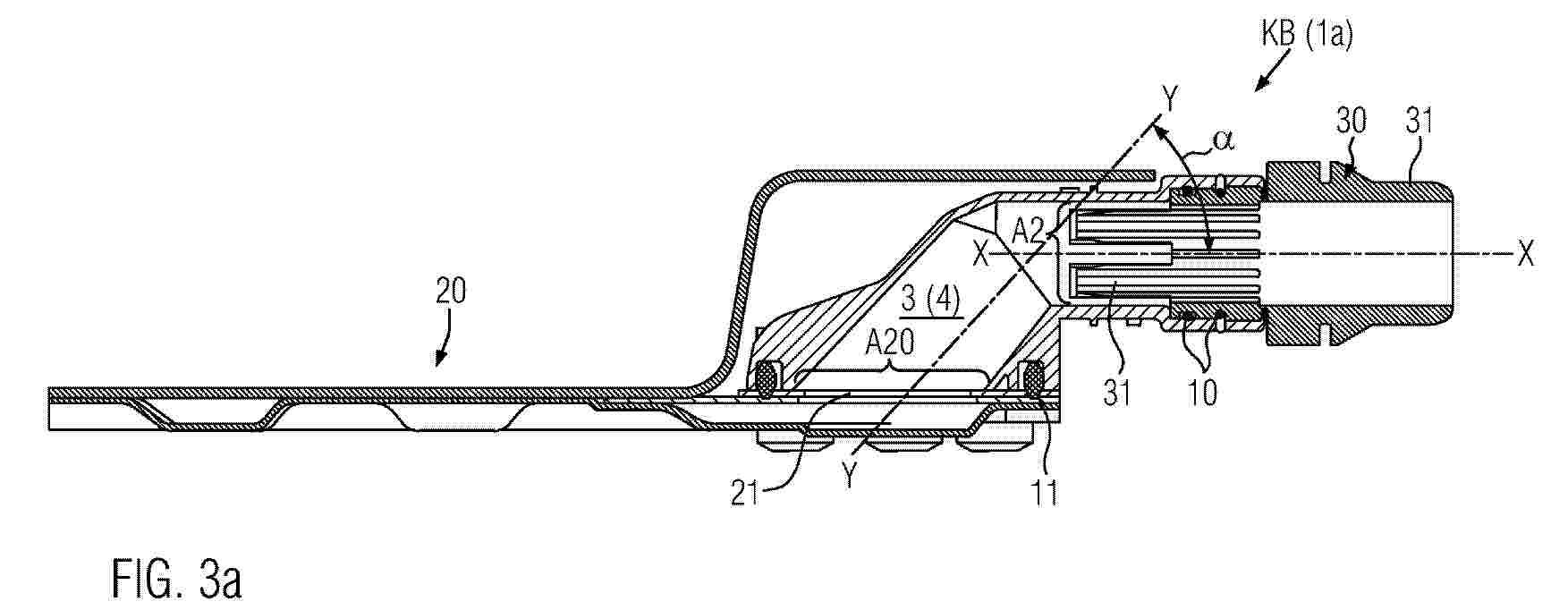
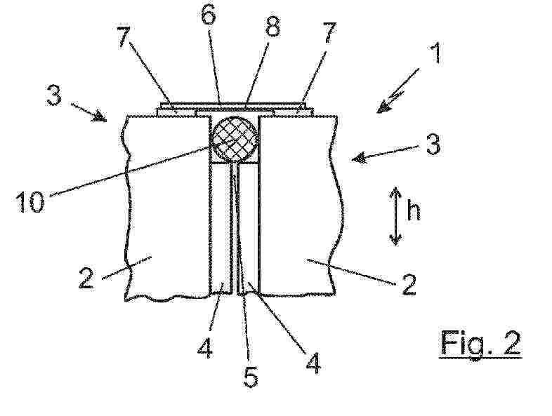
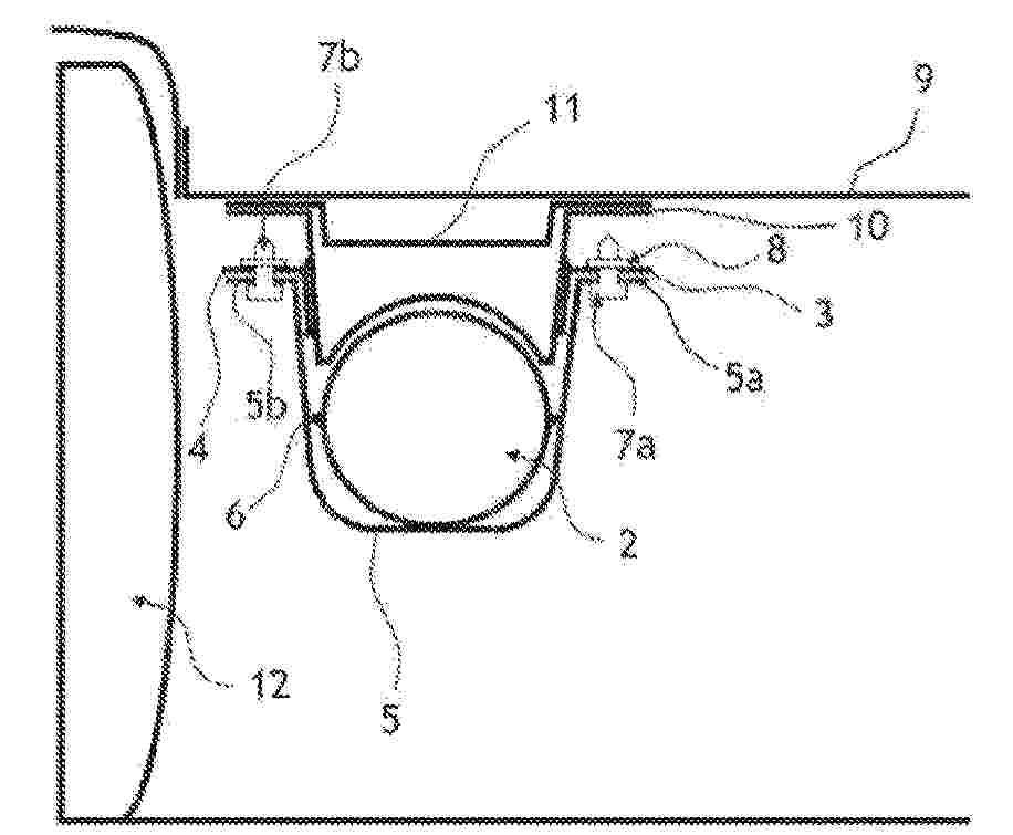
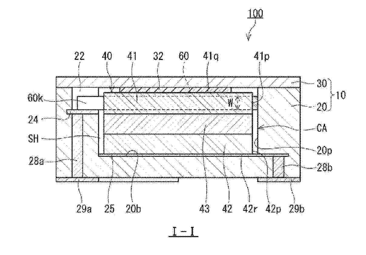
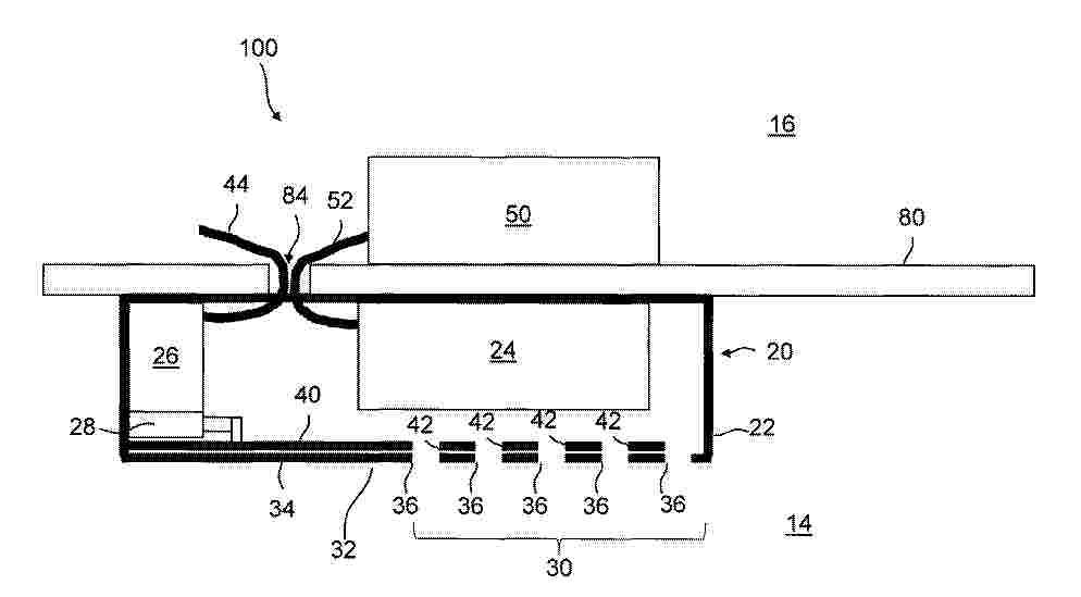
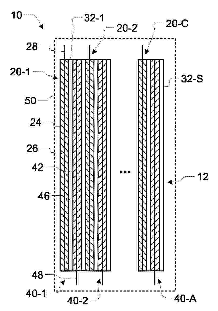
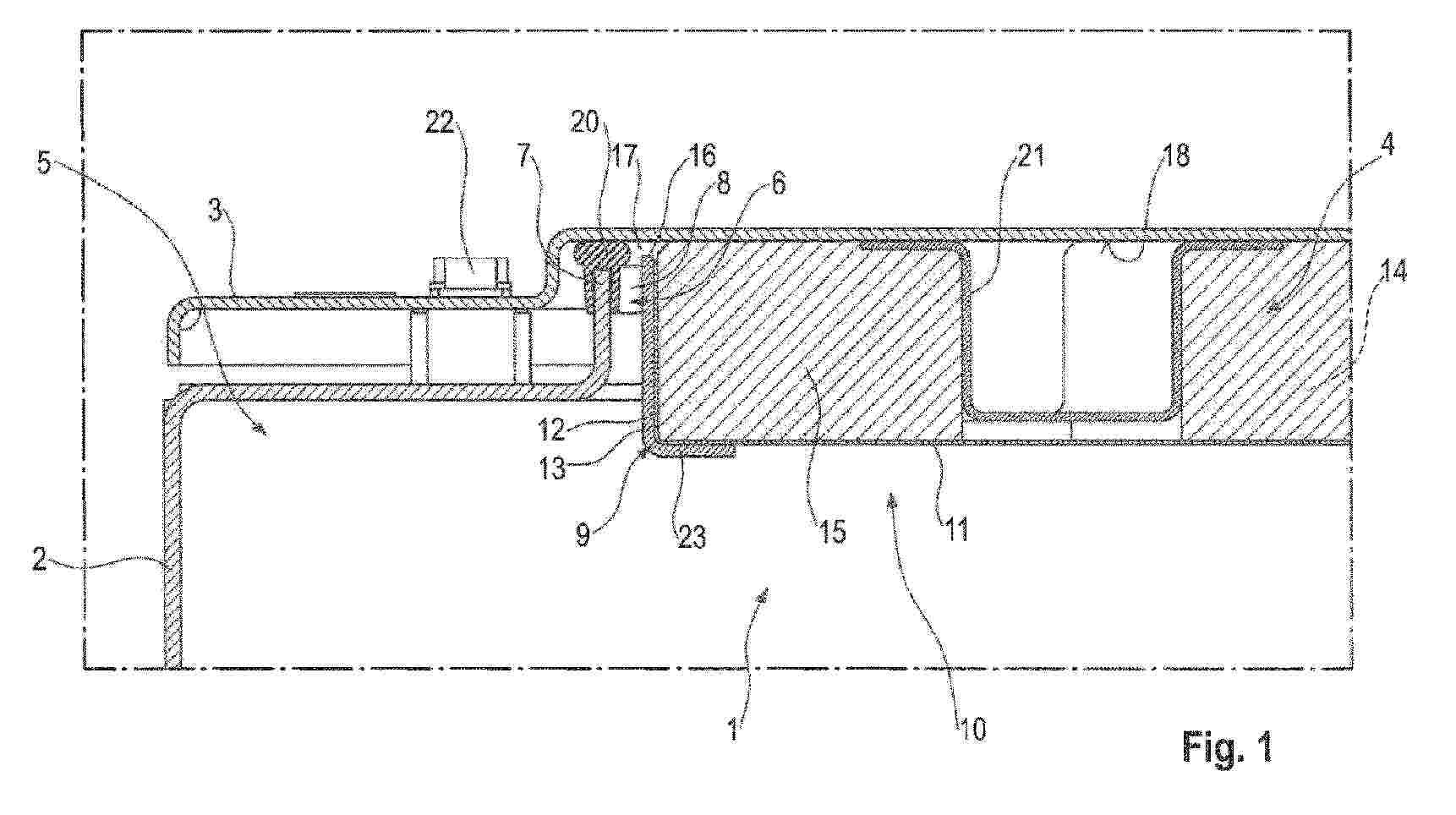
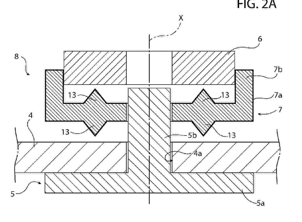
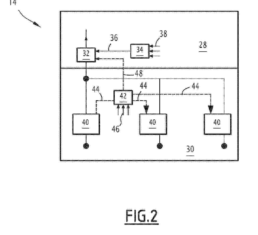
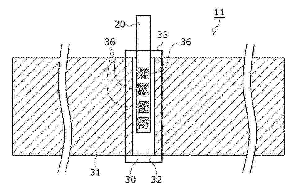
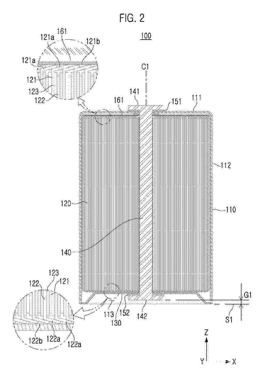
Connecteur pour la circulation en fluide caloporteur d’un dispositif de régulation thermique

NºPublicación:  FR3167437A1 17/04/2026
Solicitante: 
VALEO SYSTEMES THERMIQUES [FR]
FR_3167437_A1

Resumen de: FR3167437A1

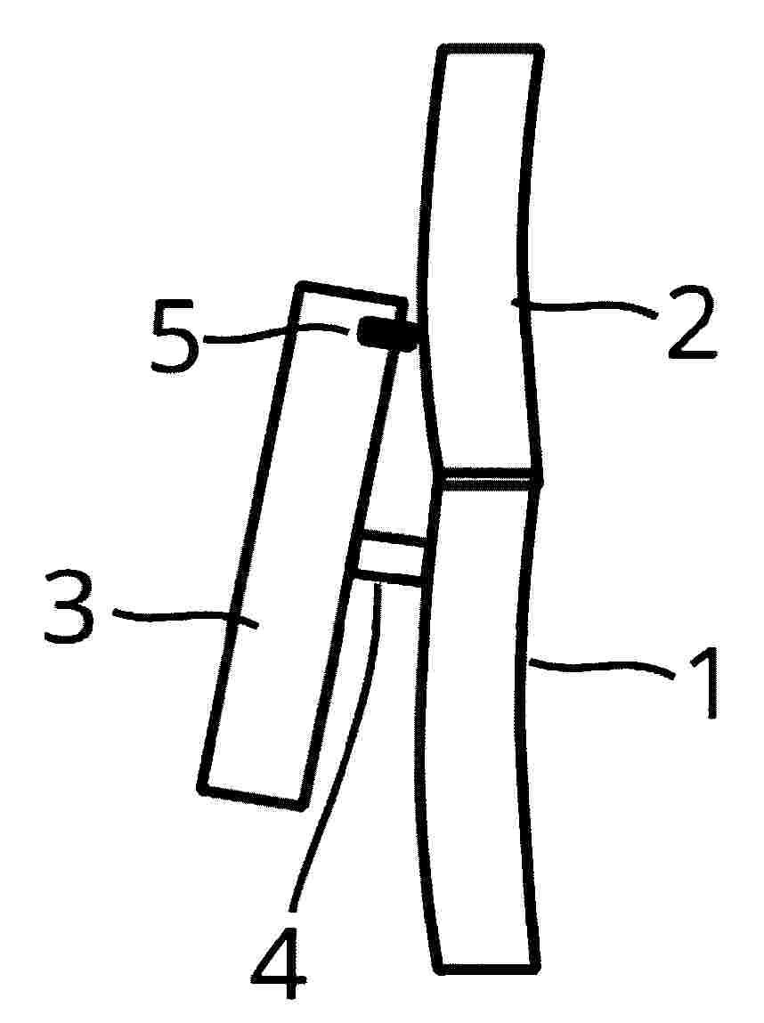
Titre de l’invention : Connecteur pour la circulation en fluide caloporteur d’un dispositif de régulation thermique La présente invention concerne un connecteur (14) pour la circulation en fluide caloporteur d’un dispositif de régulation thermique (1) d’organes de stockage d’énergie électrique (3), comprenant un premier conduit (28) de circulation de fluide caloporteur et un deuxième conduit (30) de circulation de fluide caloporteur disposé autour du premier conduit (28), le premier conduit (28) présentant une encoche (42) et le deuxième conduit (30) présentant une première fente (44) et une deuxième fente (46), le connecteur (14) comprenant un moyen d’obstruction partielle (36) partielle du deuxième conduit (30), l’encoche (42) du premier conduit (28) et la première fente (44) du deuxième conduit (30) communiquant via un corps creux du moyen d’obstruction partielle (36). Figure de l’abrégé : Figure 2

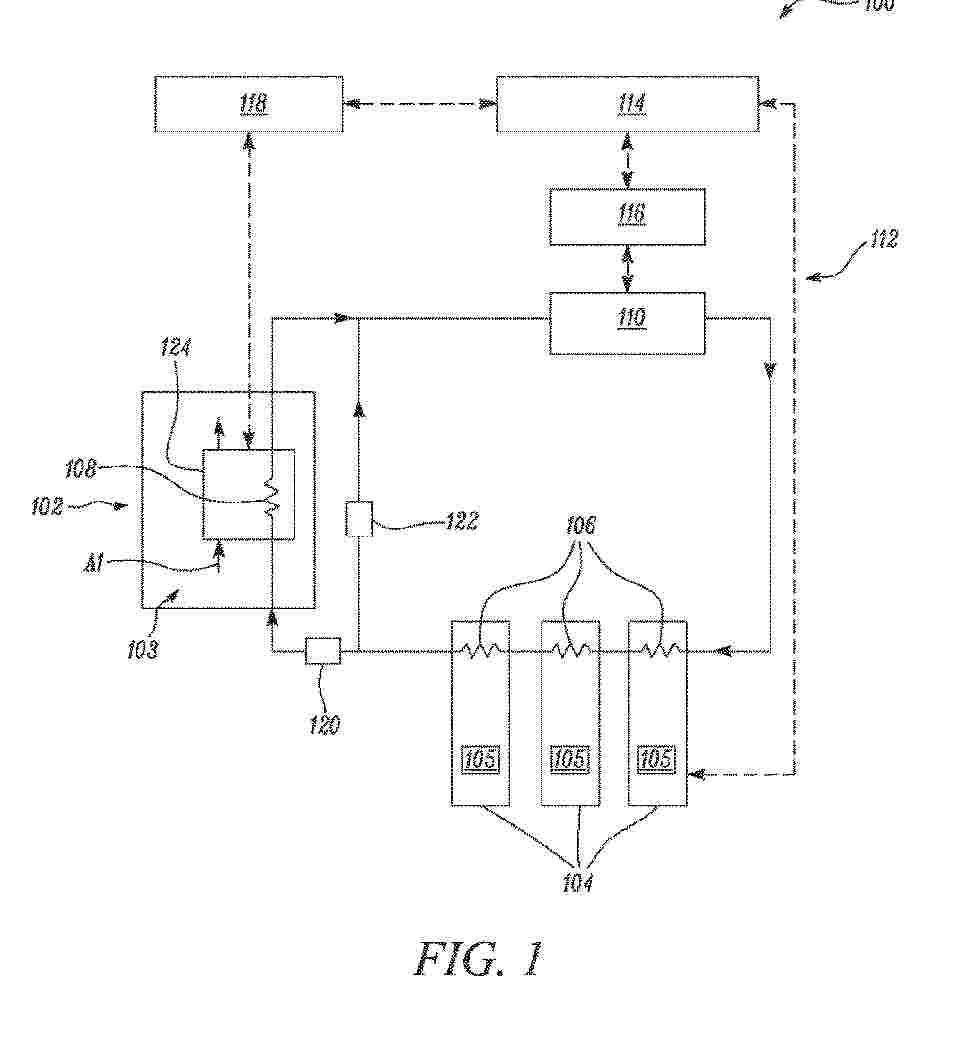
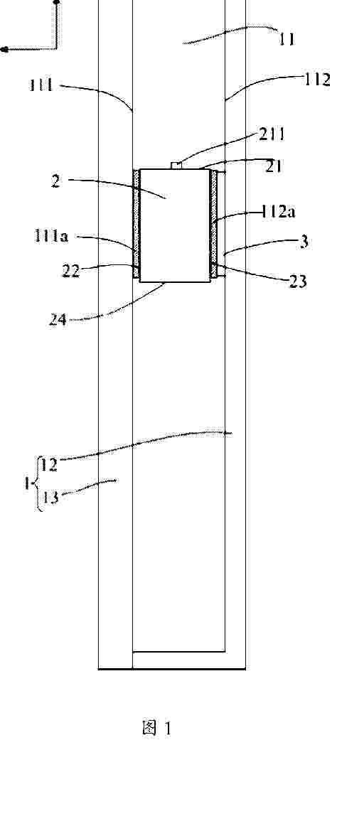
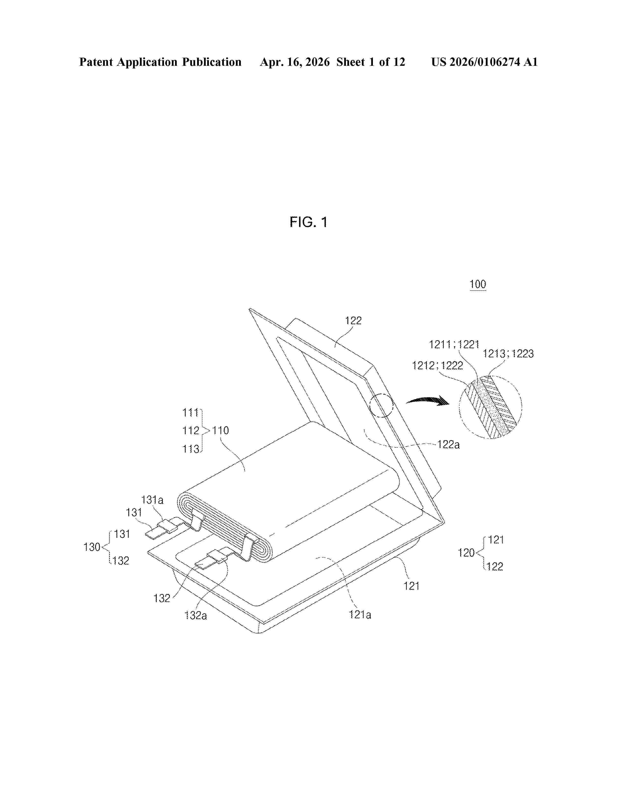
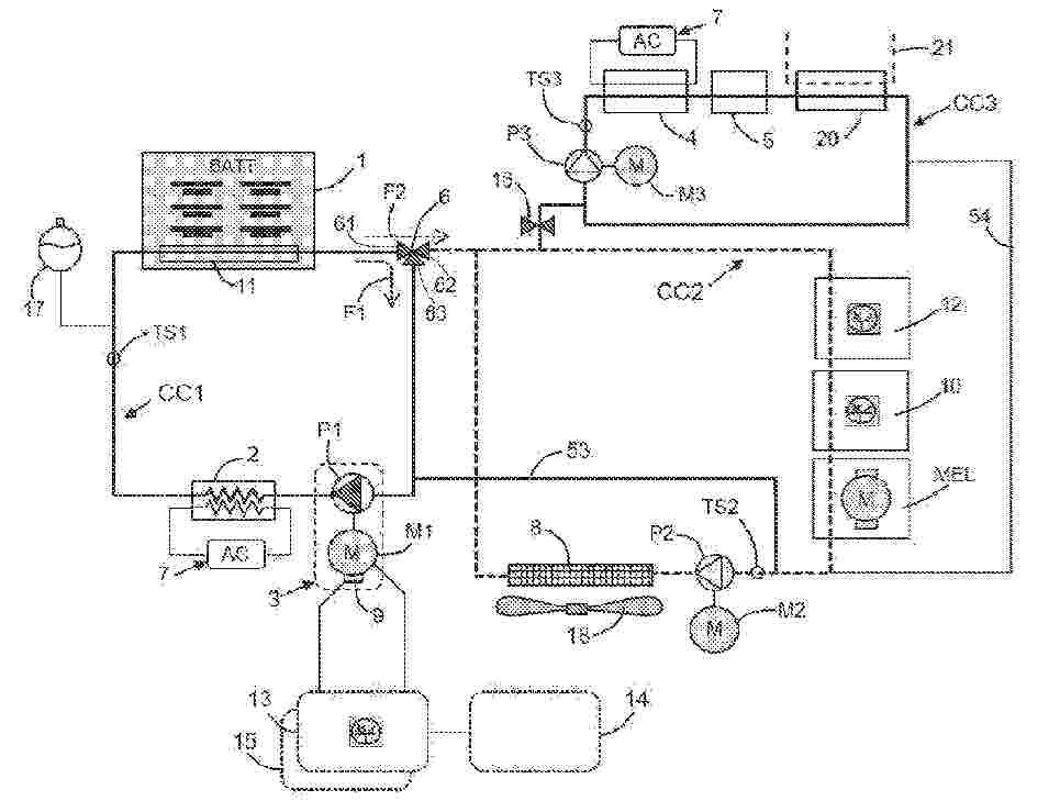
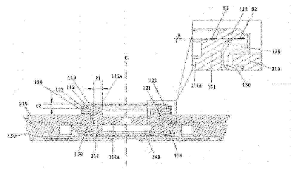
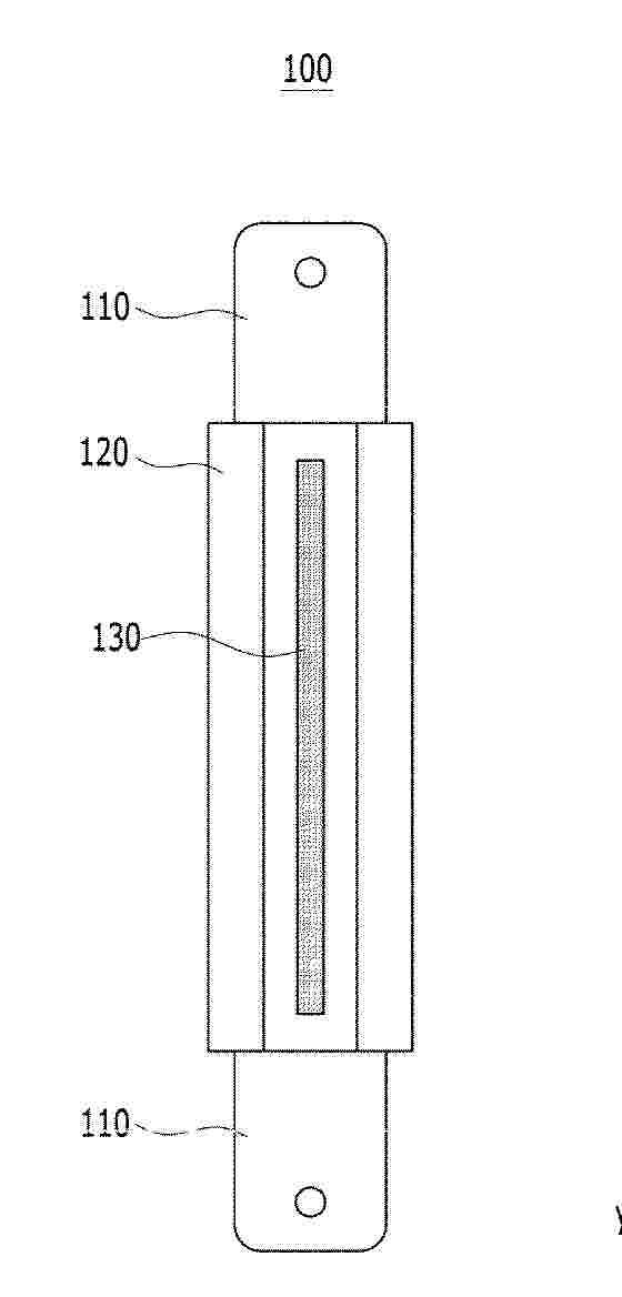
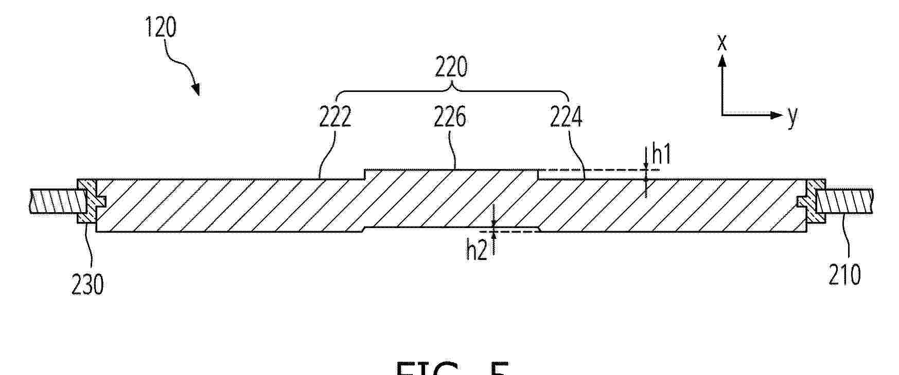
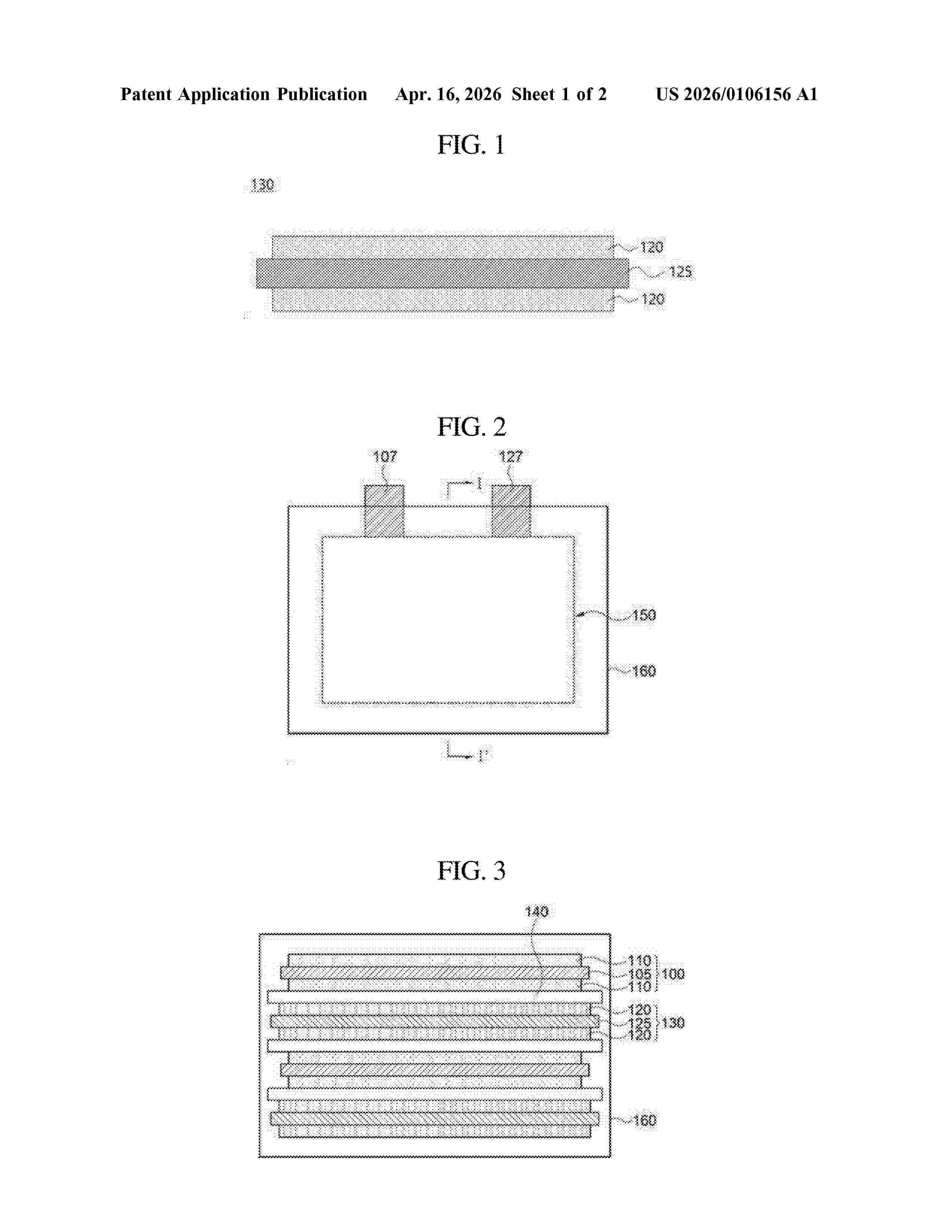
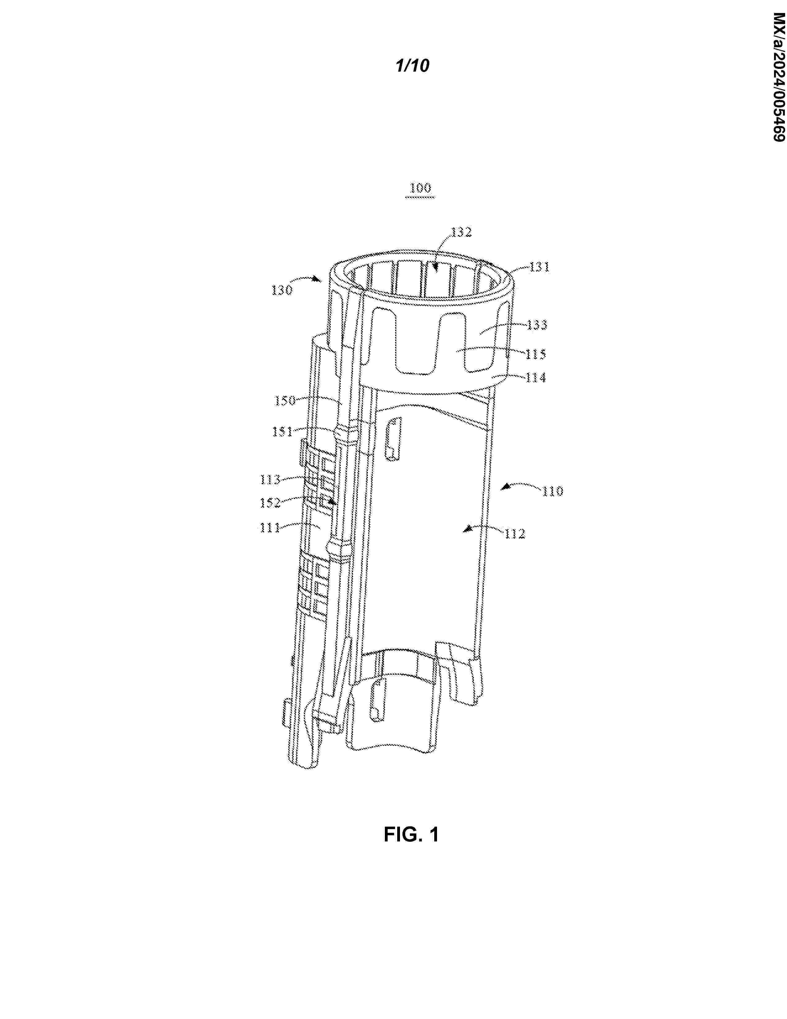
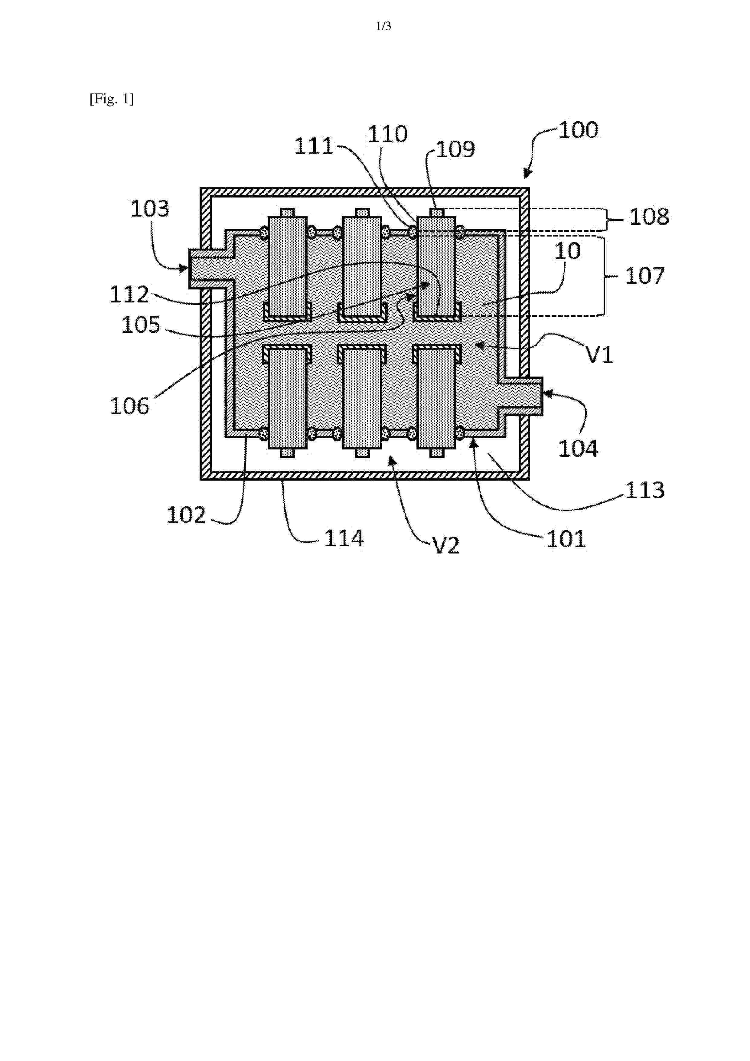
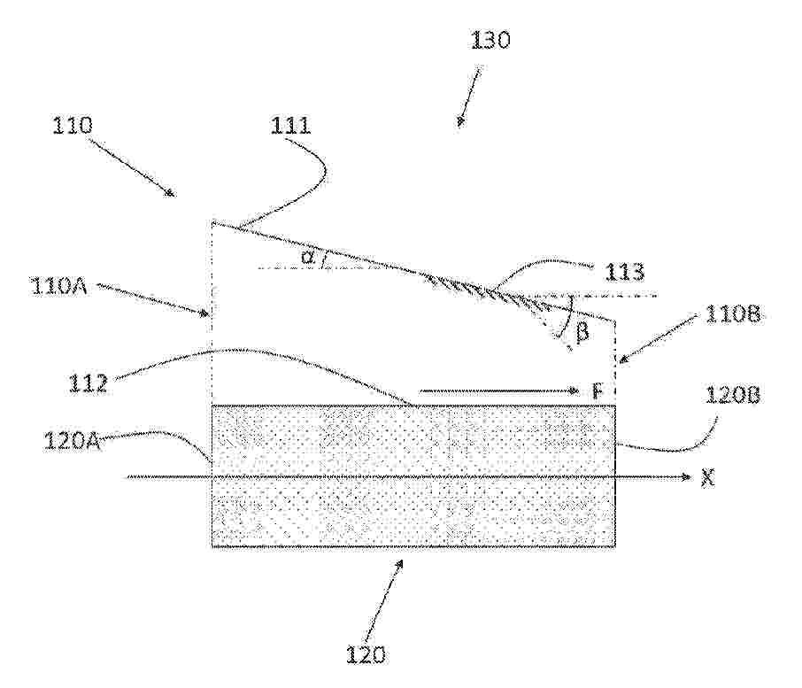
DISPOSITIF POUR LE REFROIDISSEMENT D’UNE BATTERIE D’UN VEHICULE ELECTRIQUE OU HYBRIDE, ET PROCEDE METTANT EN ŒUVRE LE DISPOSITIF

NºPublicación:  FR3167478A1 17/04/2026
Solicitante: 
STELLANTIS AUTO SAS [FR]
FCA US LLC [US]
FR_3167478_A1

Resumen de: FR3167478A1

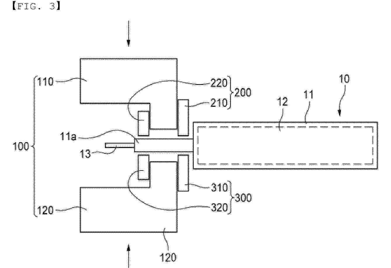
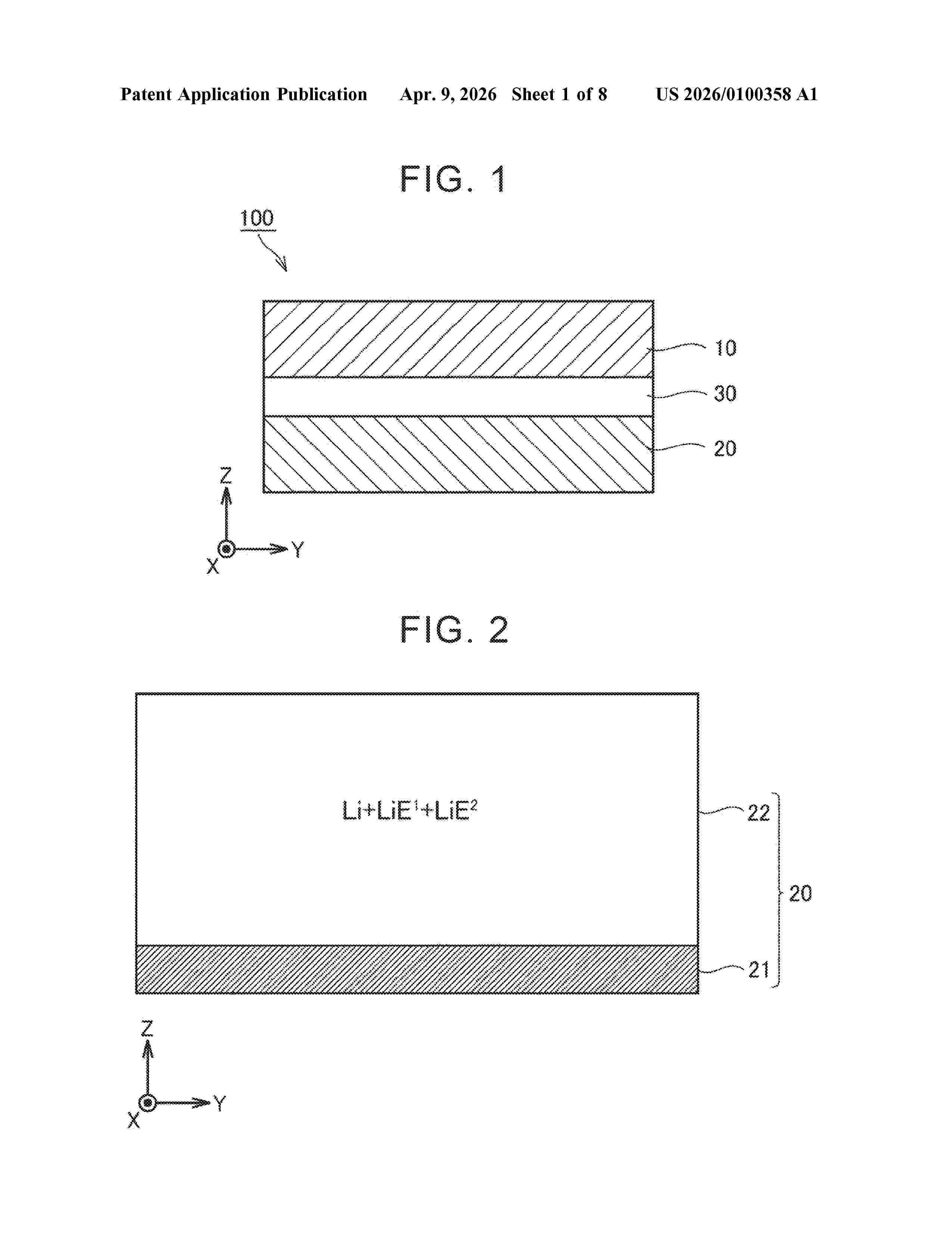
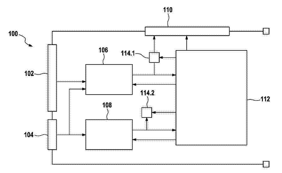
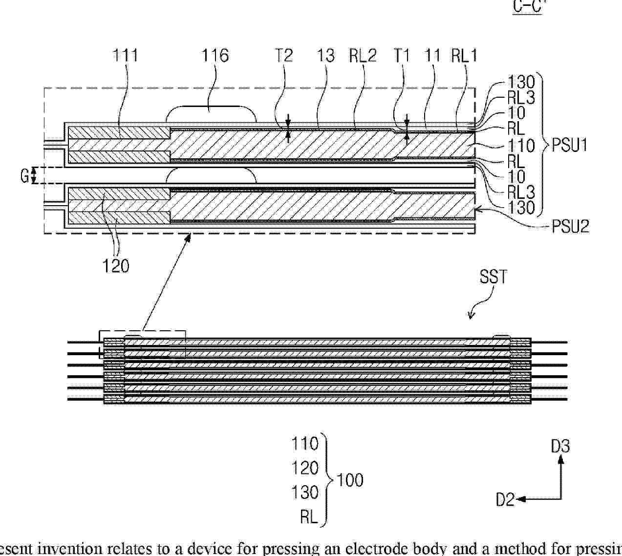
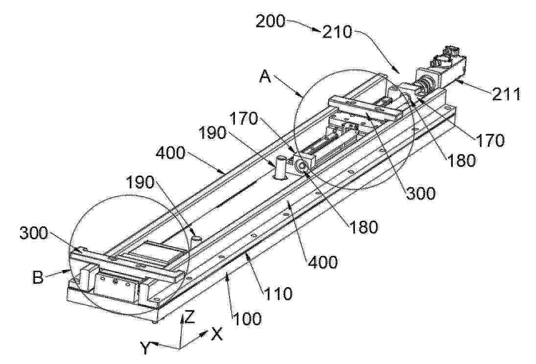
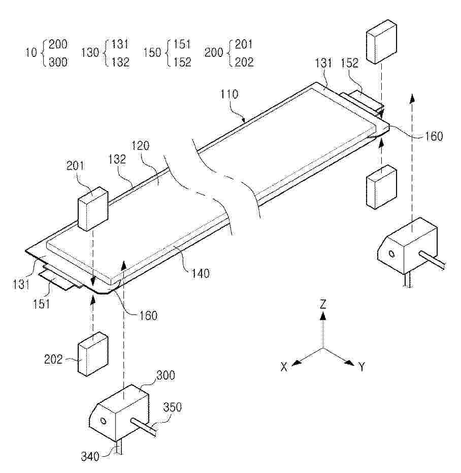
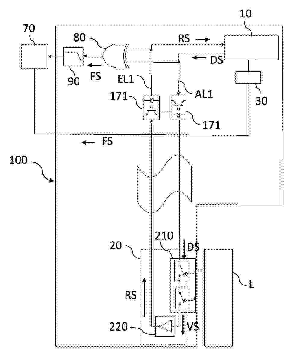
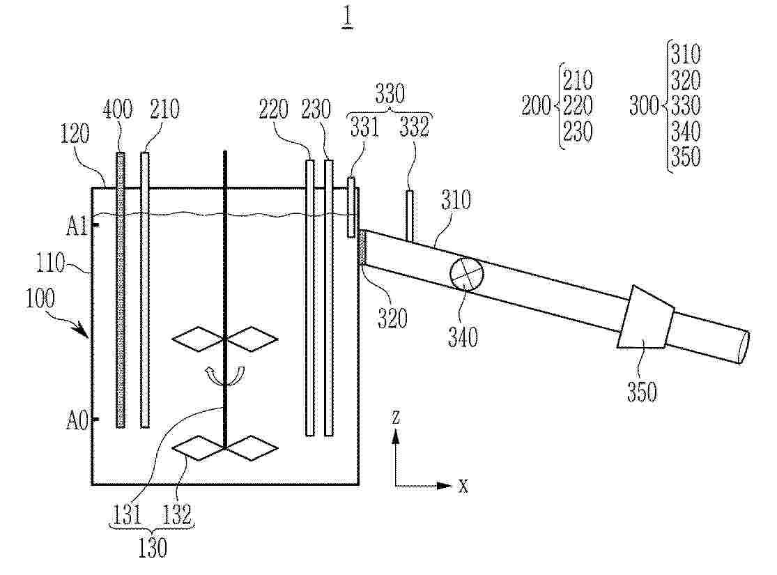
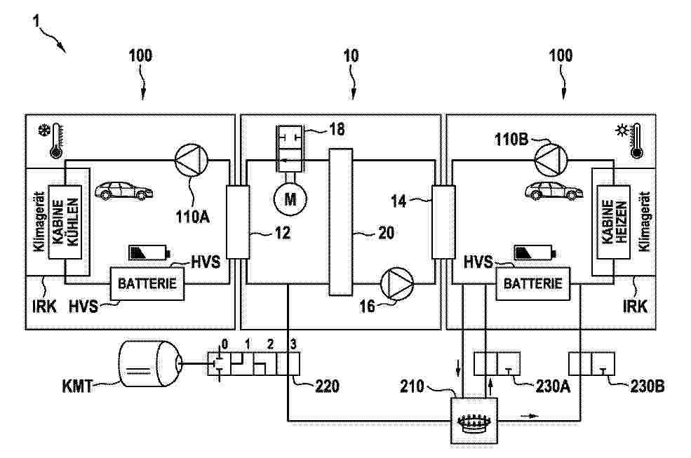
L’invention concerne un dispositif (100) pour le refroidissement d’une batterie d’un véhicule électrique ou hybride et un procédé mettant en œuvre le dispositif (100). Le dispositif (100) comprend un réservoir (110) comportant un conteneur (111). Le dispositif (100) comprend par ailleurs un circuit caloporteur (120) comportant une partie du circuit caloporteur (130) passant par le conteneur et un échangeur de chaleur (170). Le circuit caloporteur (120) comprend deux vannes (161, 162) configurées pour basculer dans un état ouvert ou un état fermé de manière à fournir un fluide caloporteur à la batterie (200) à une température comprise dans un intervalle de valeurs de température prédéterminées. Figure 3

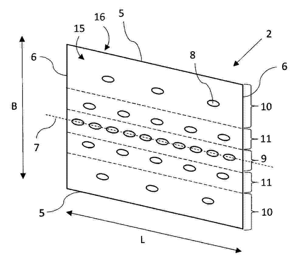
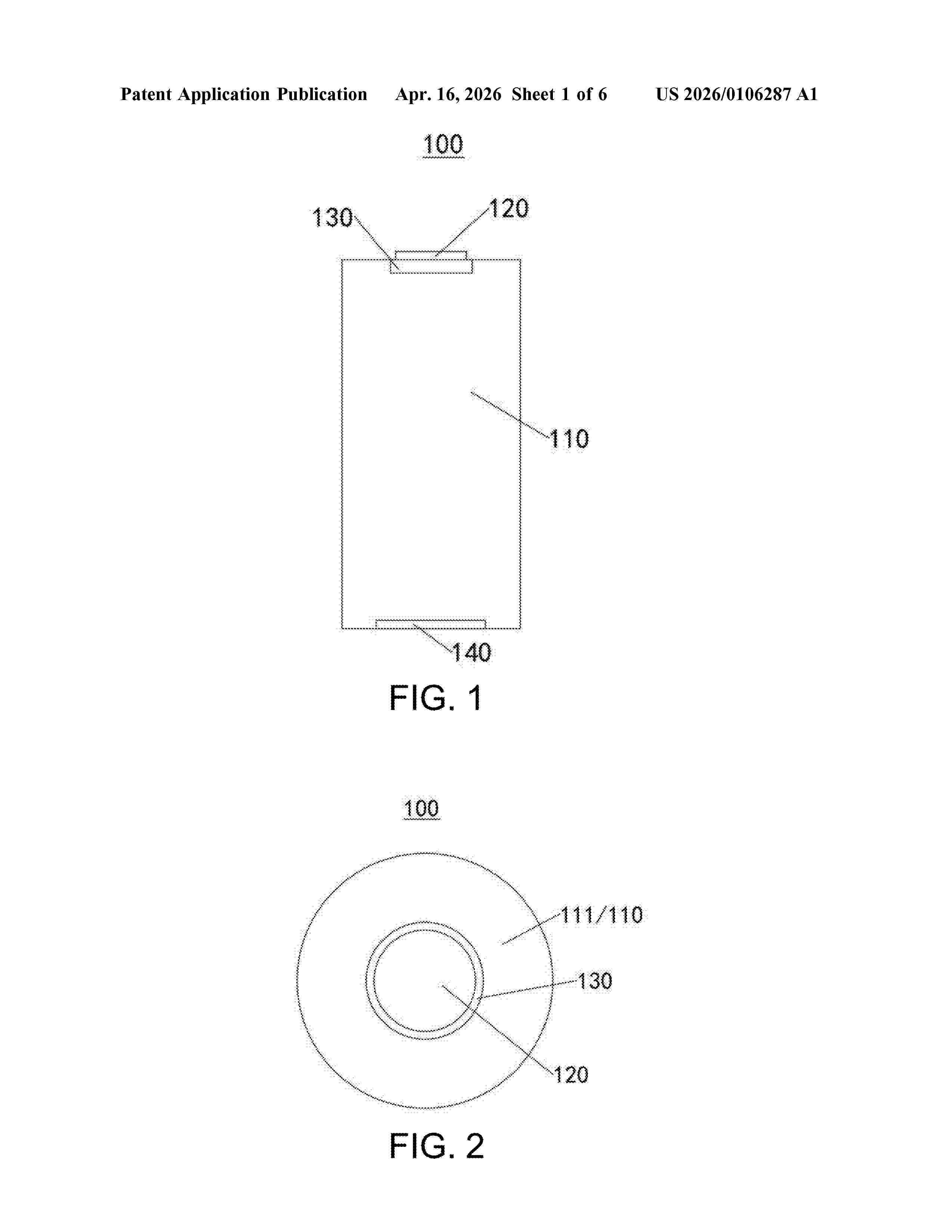
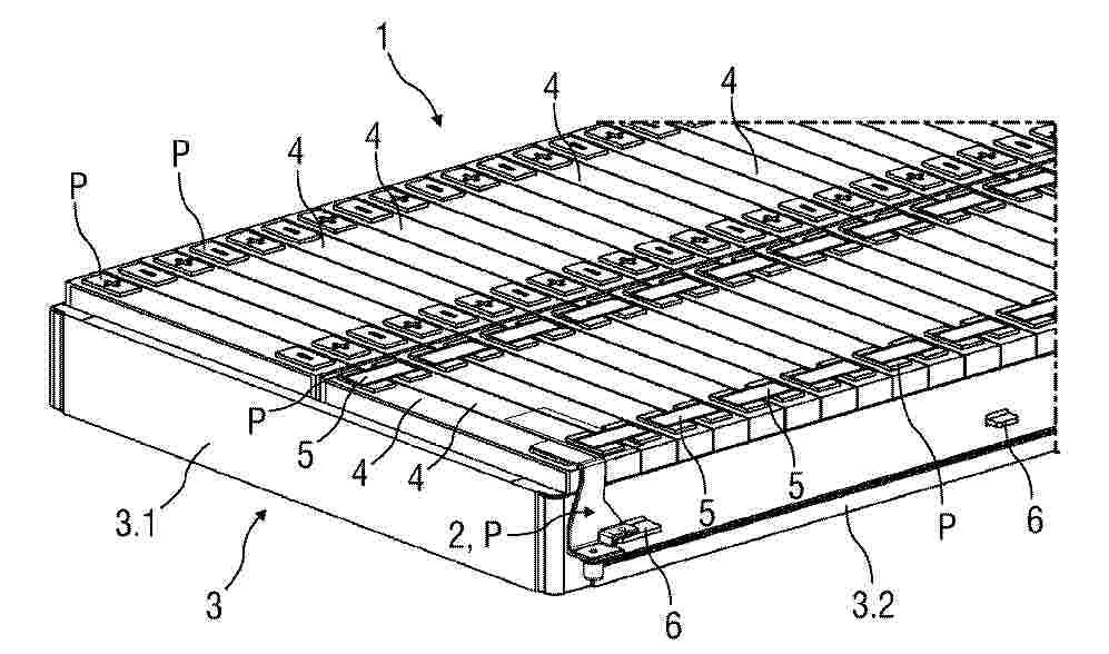
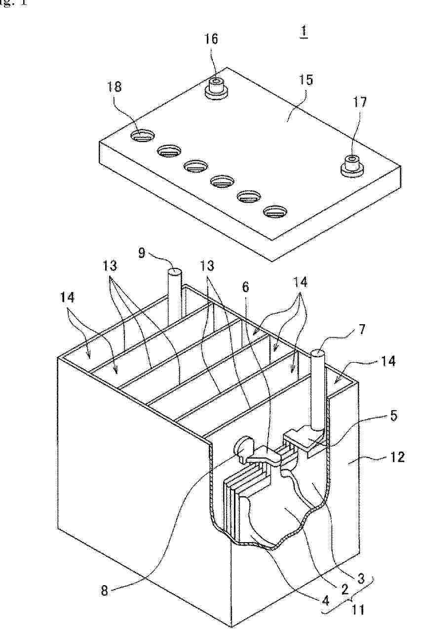
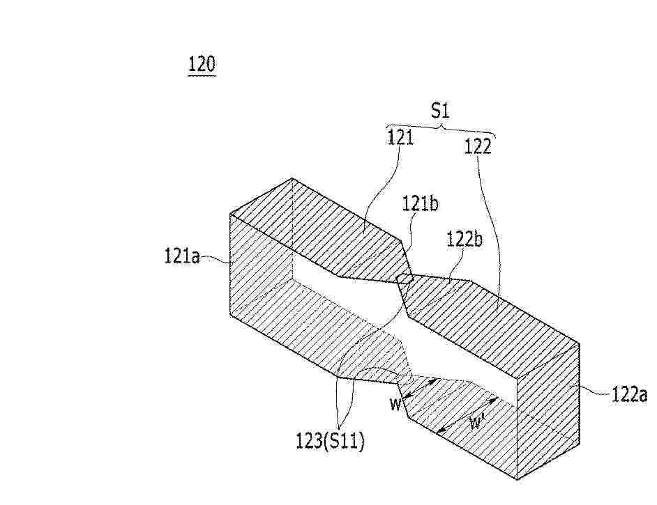
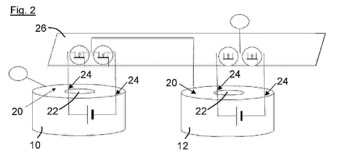
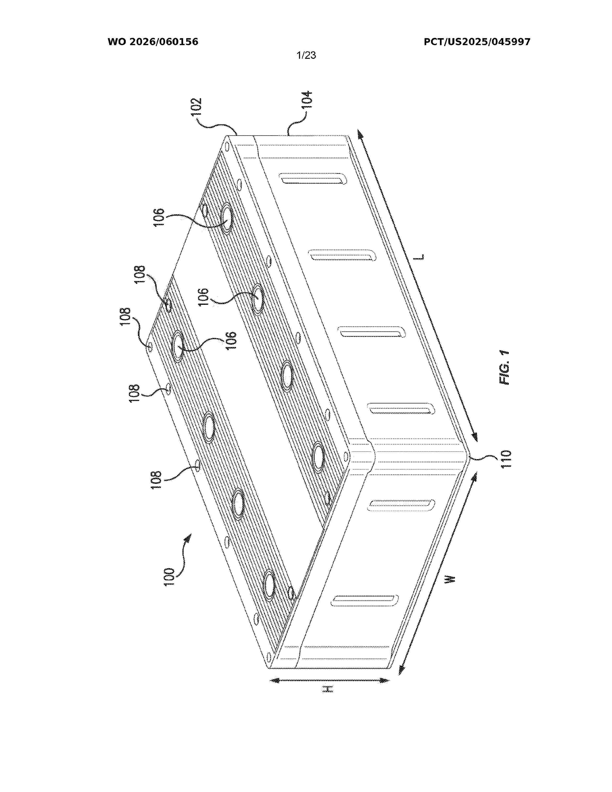
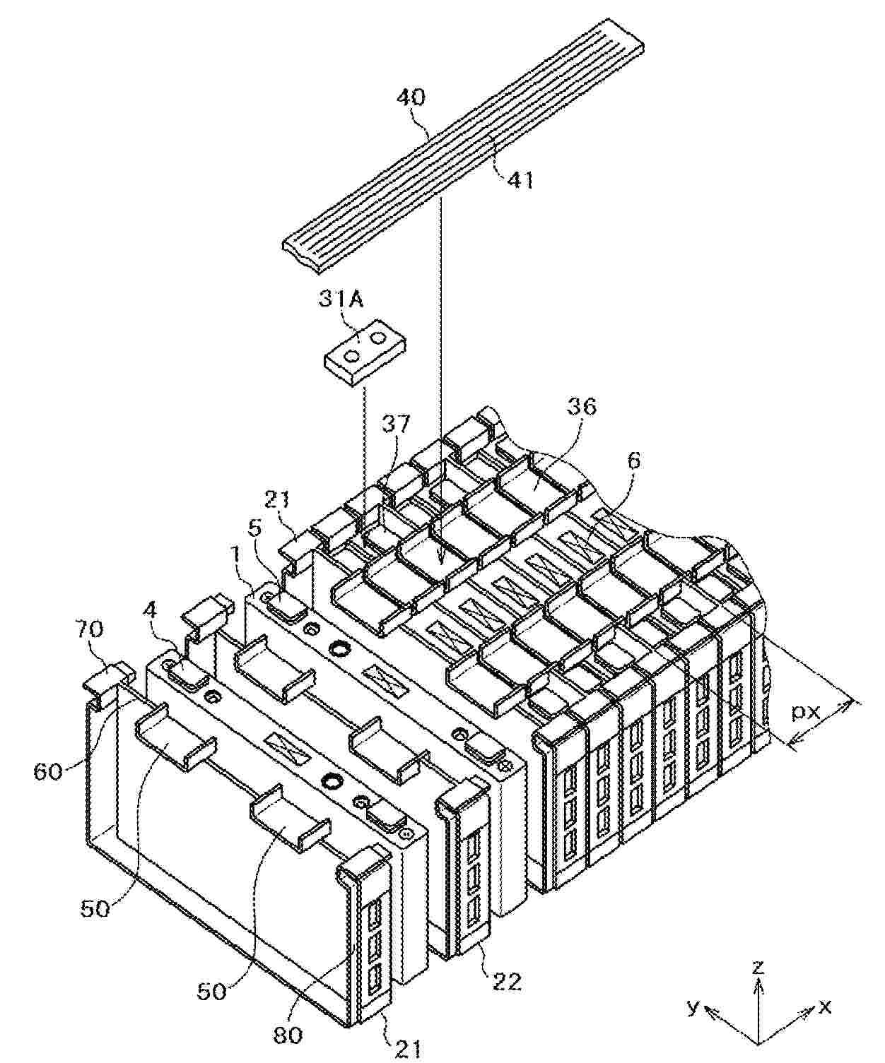
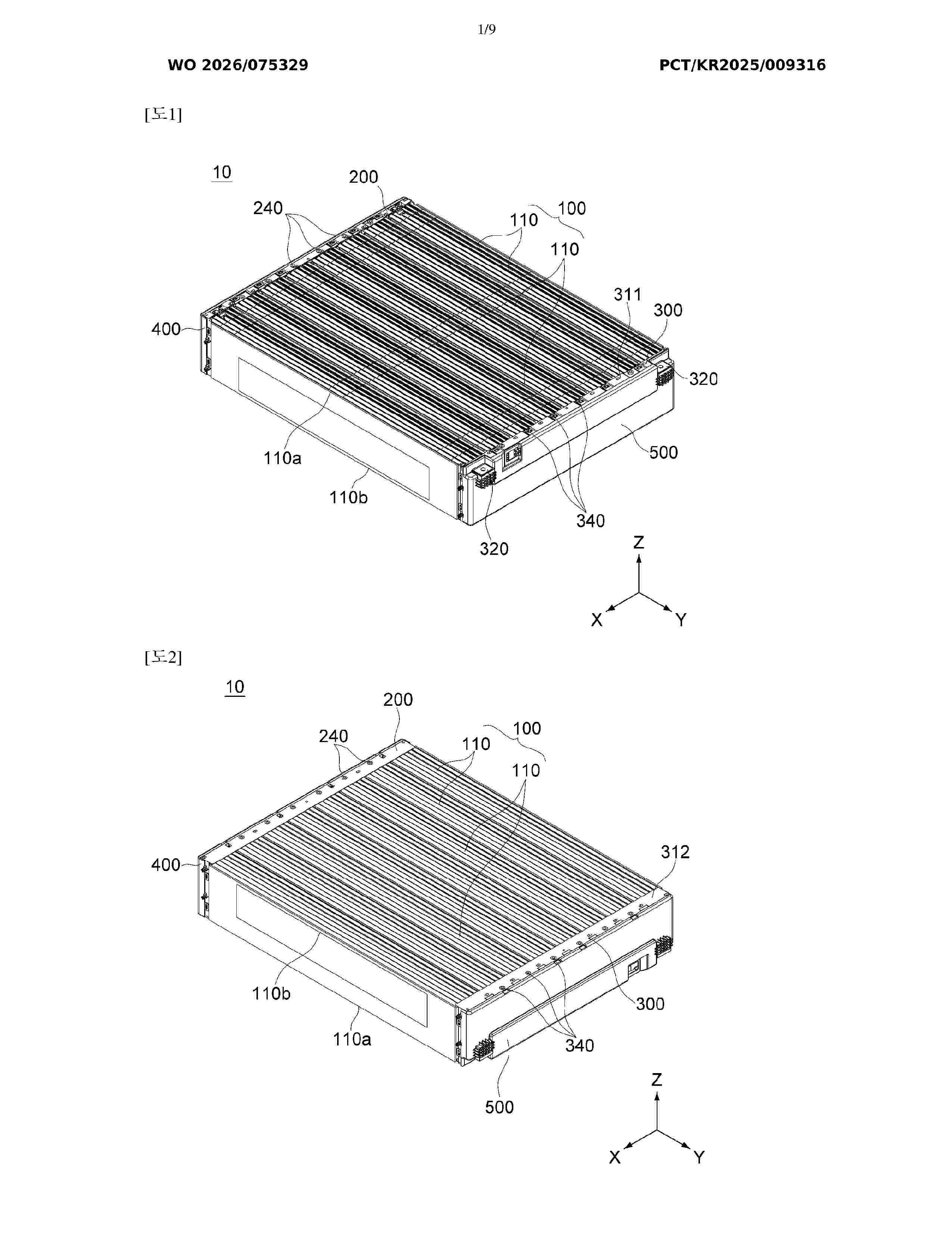
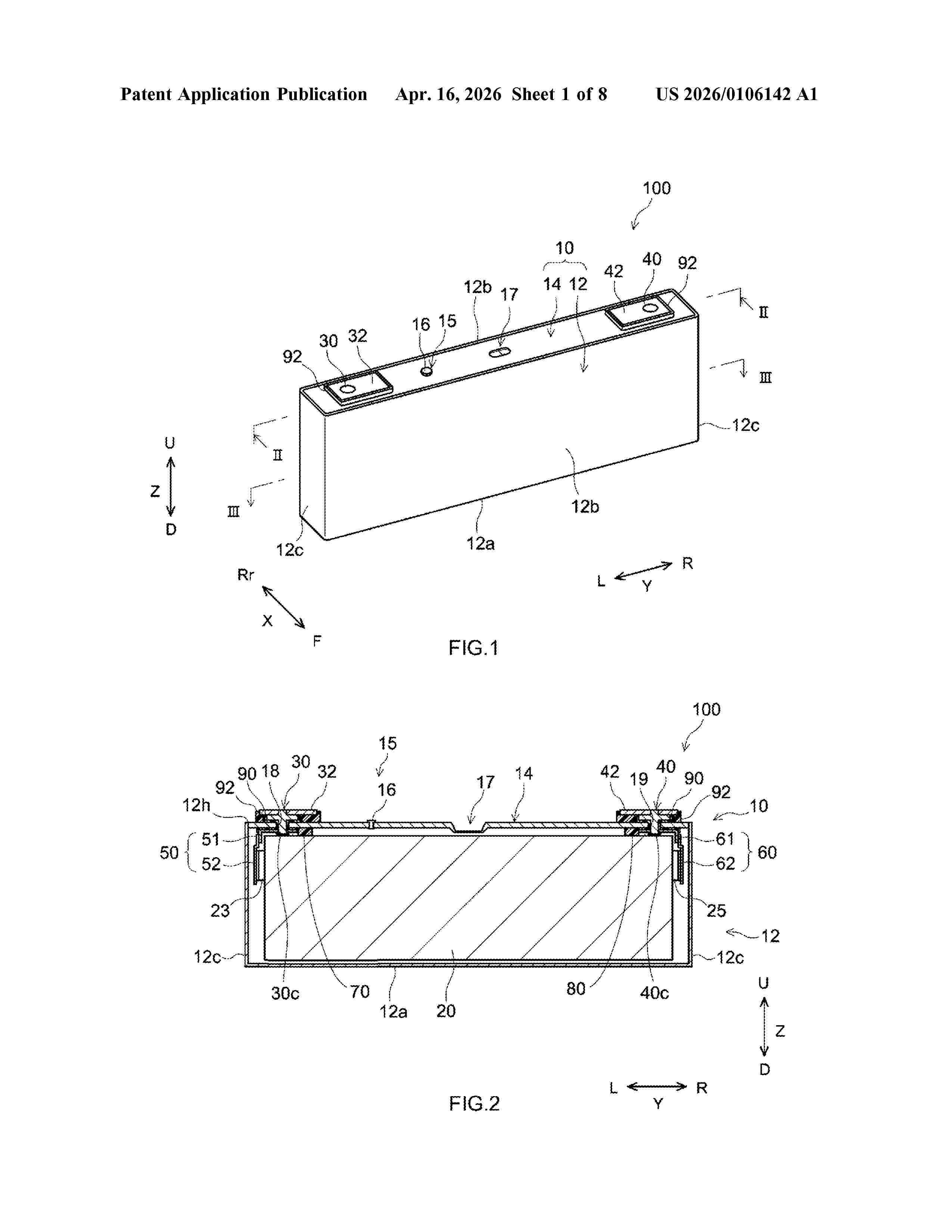
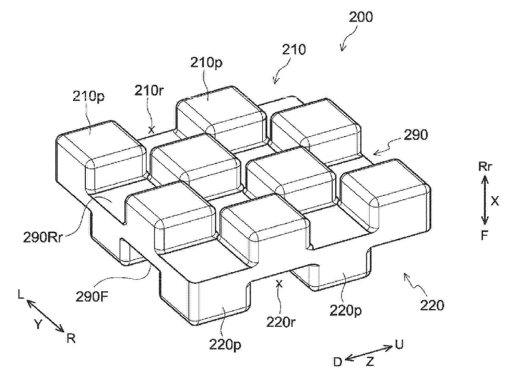
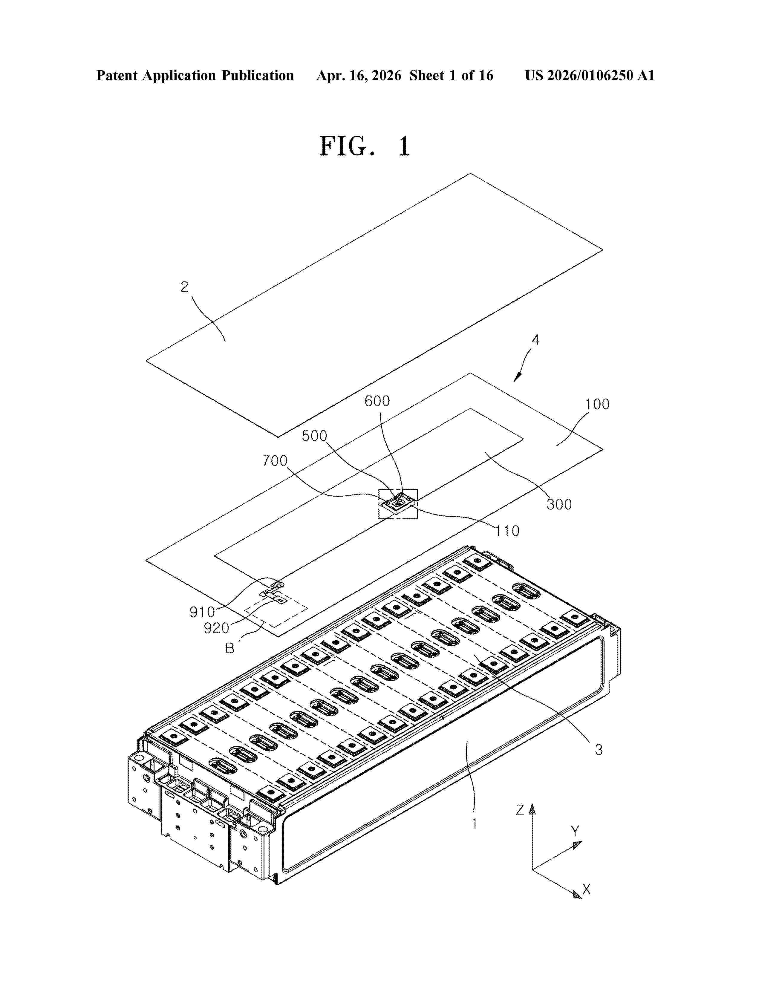
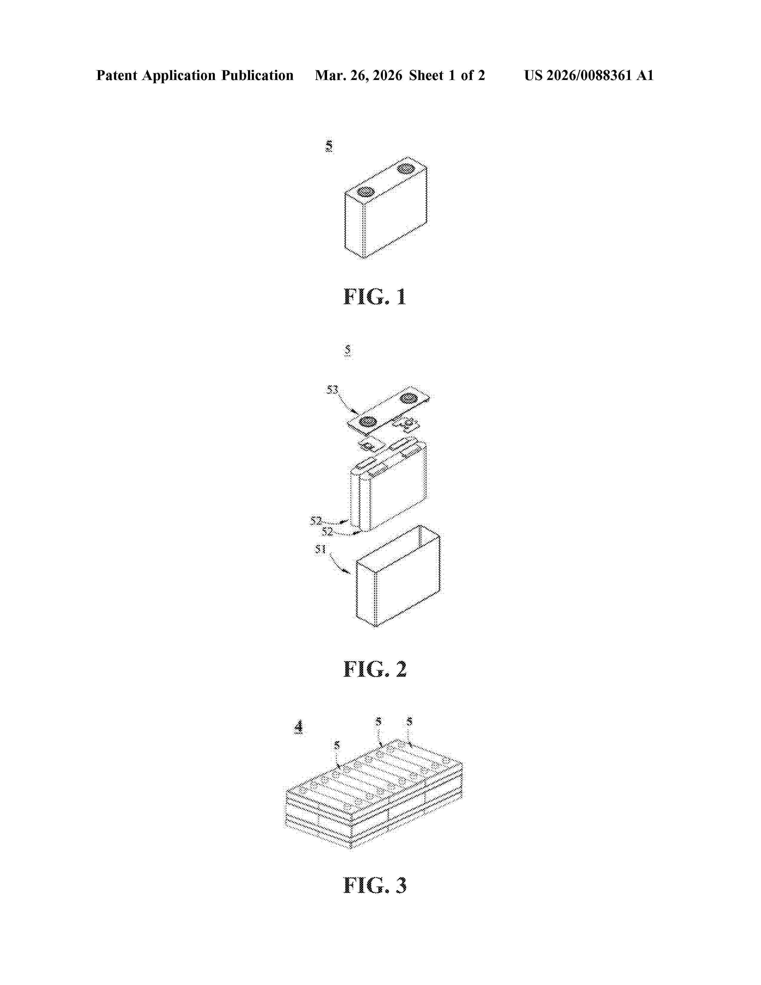
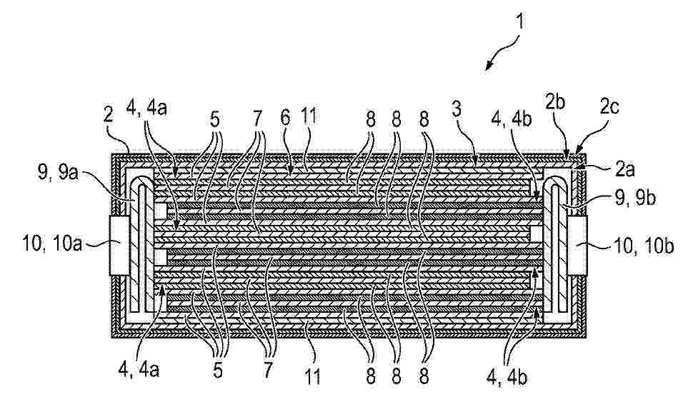
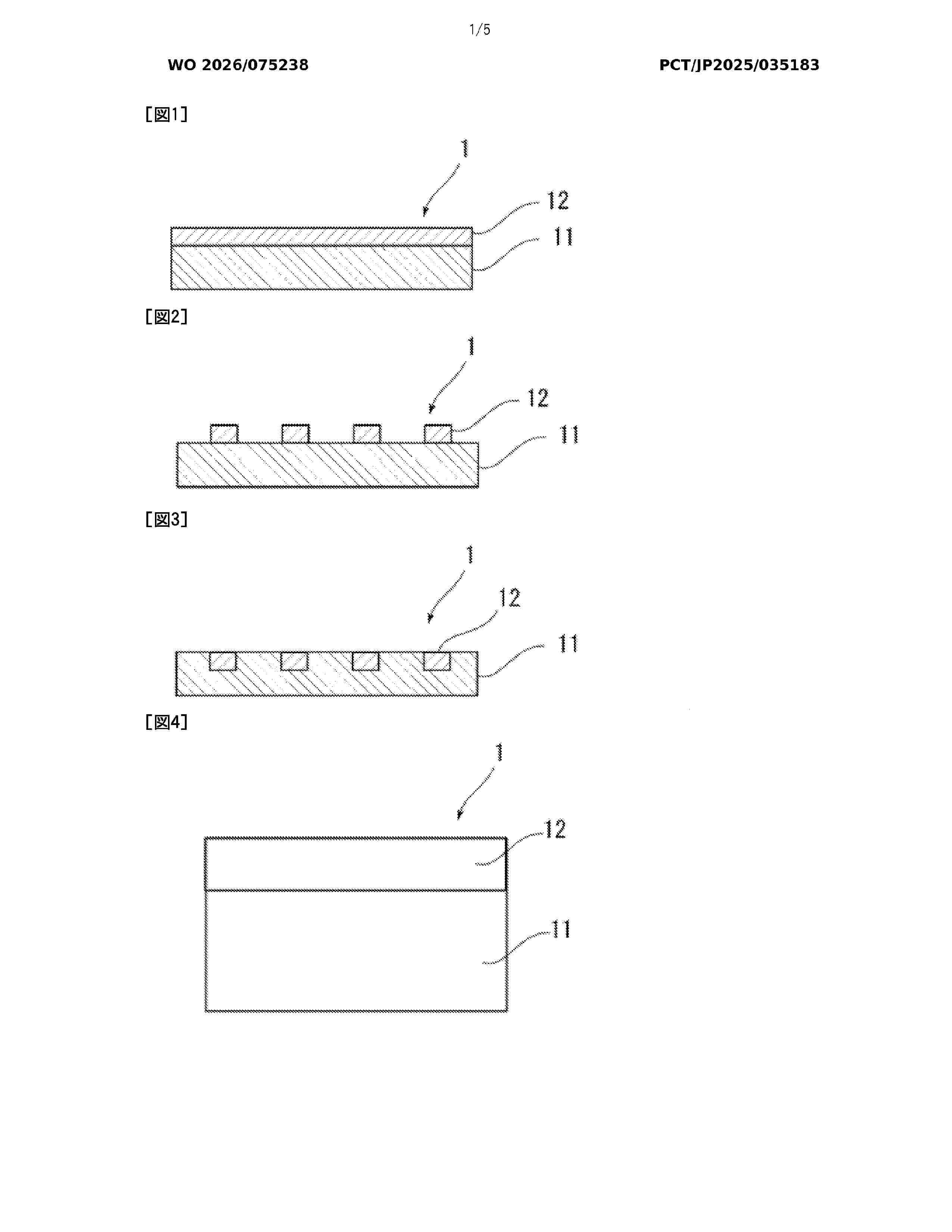
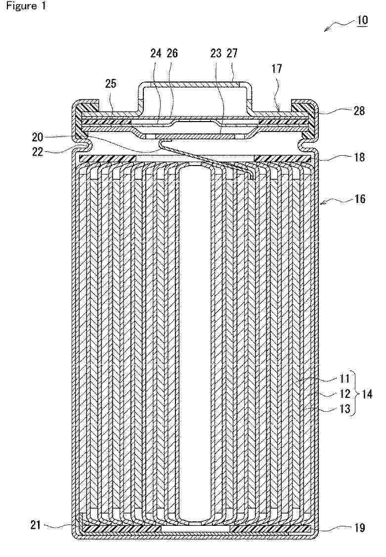
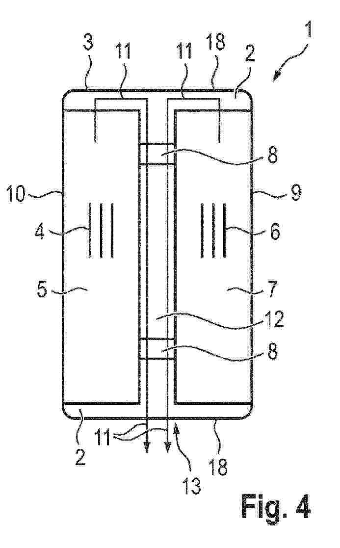
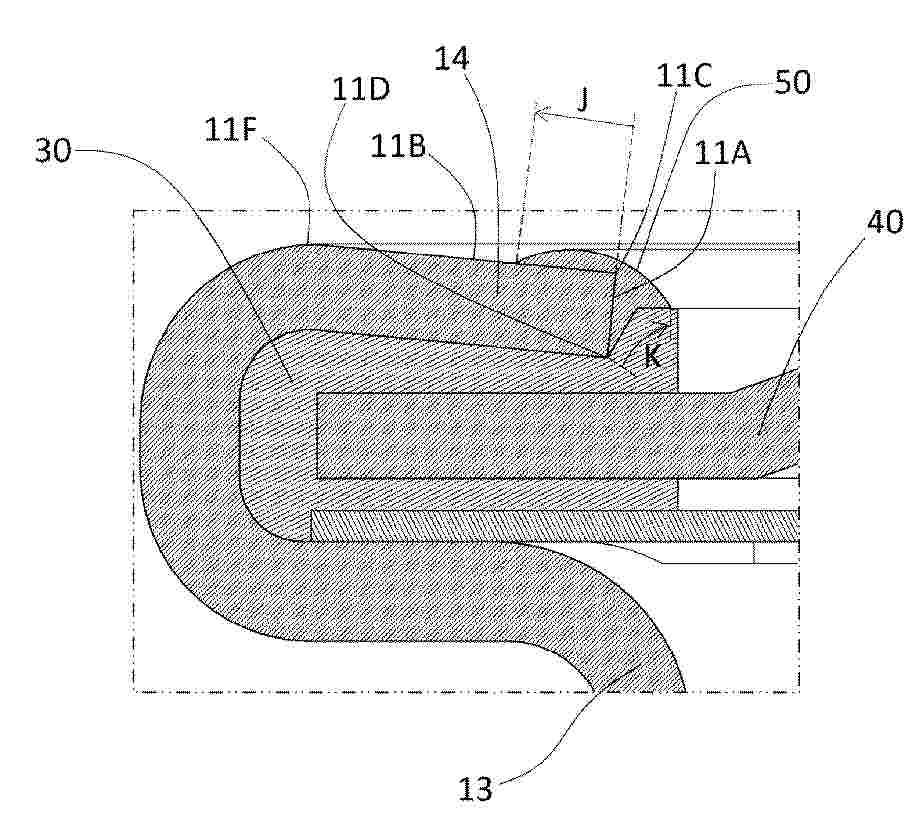
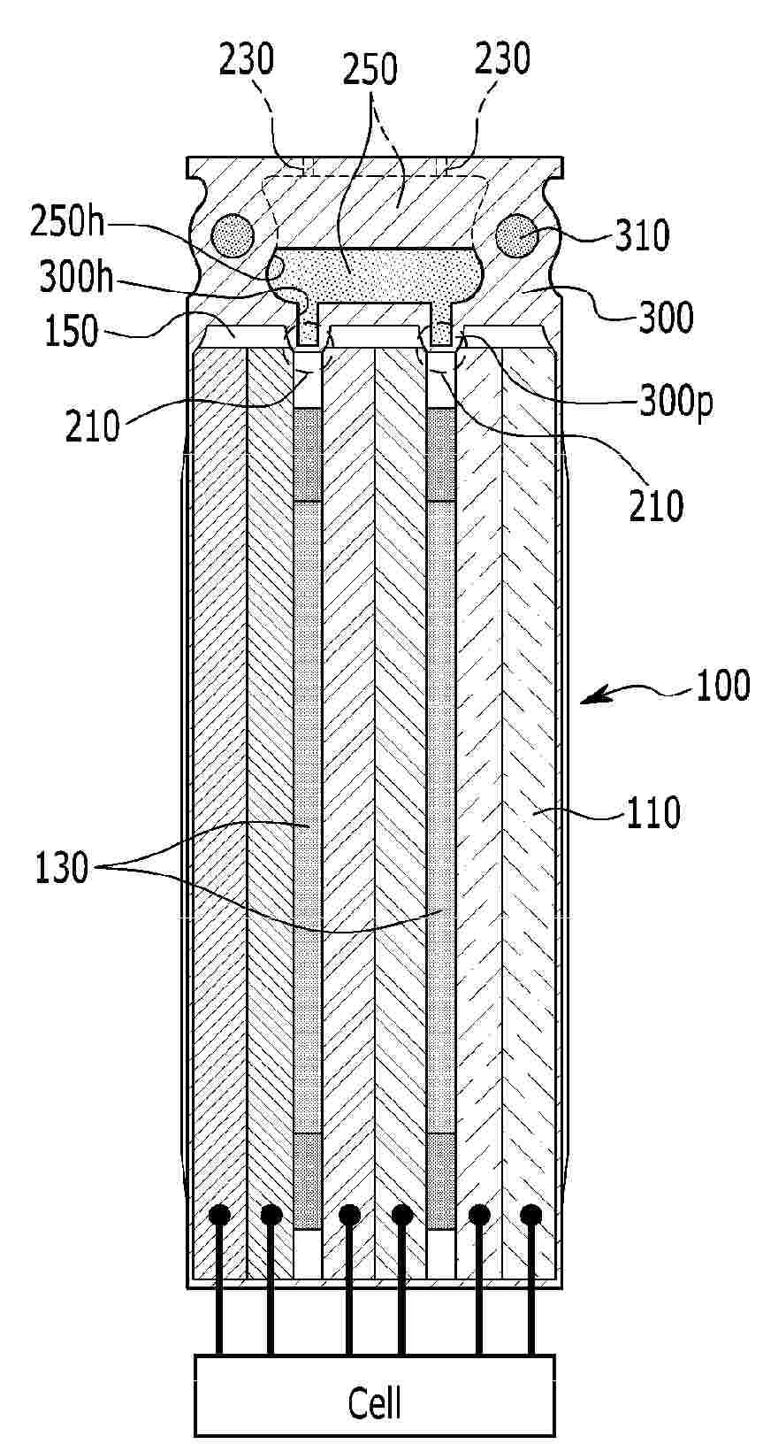
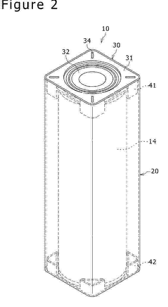
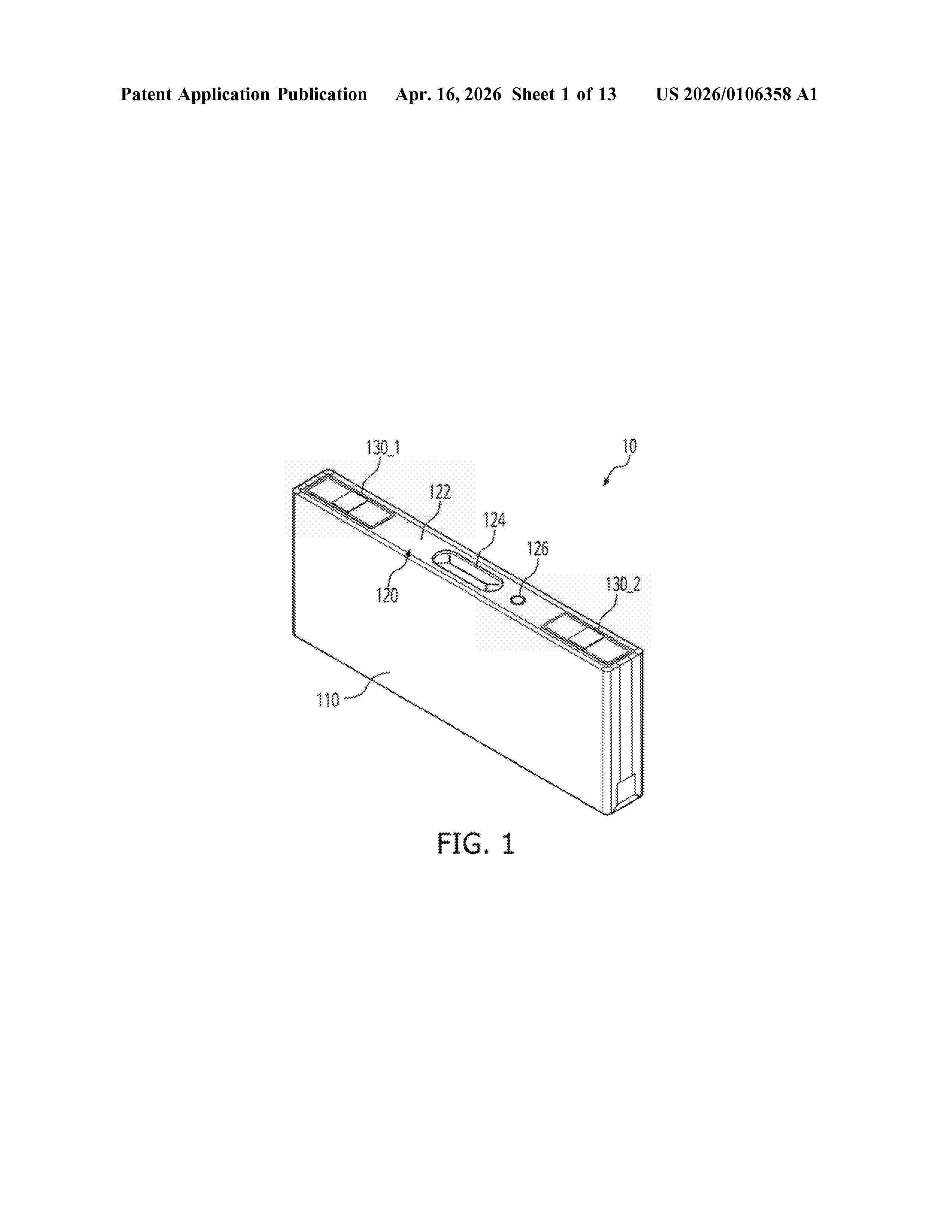
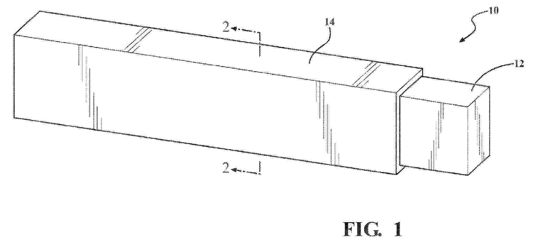
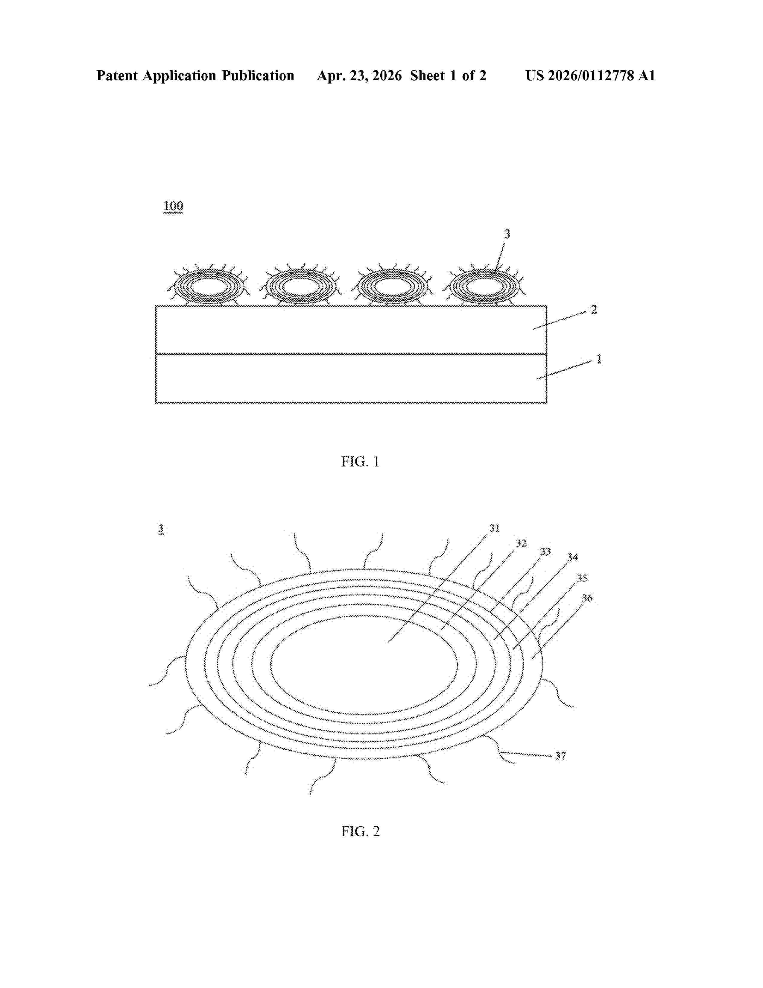
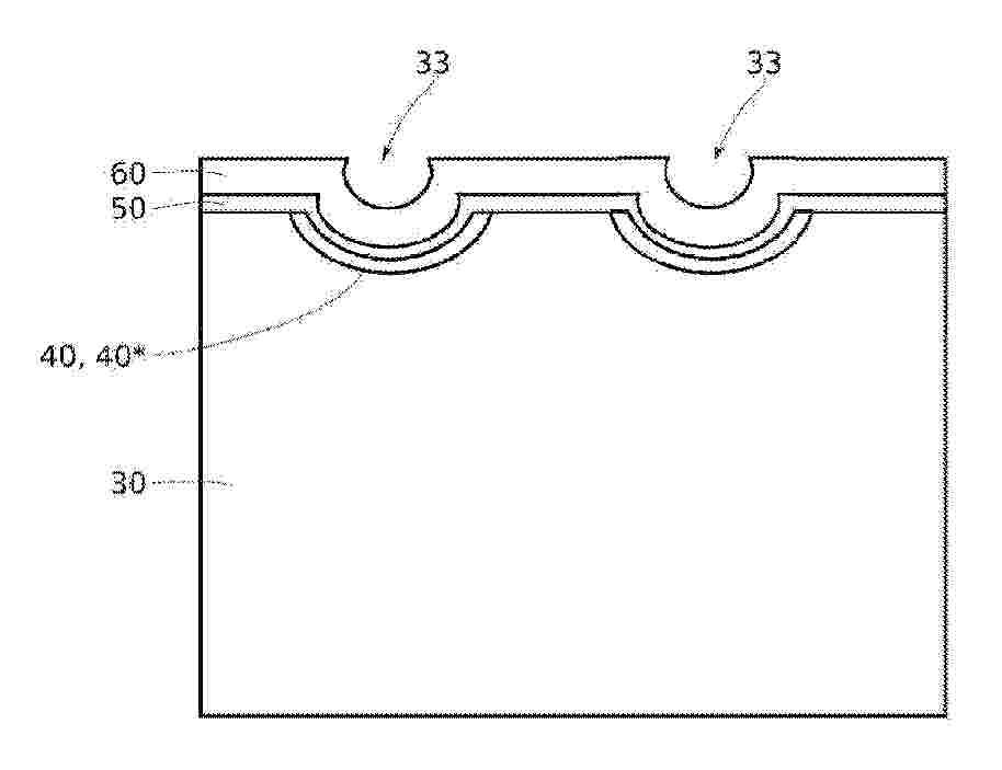
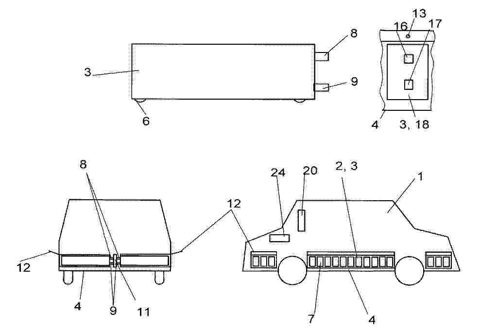
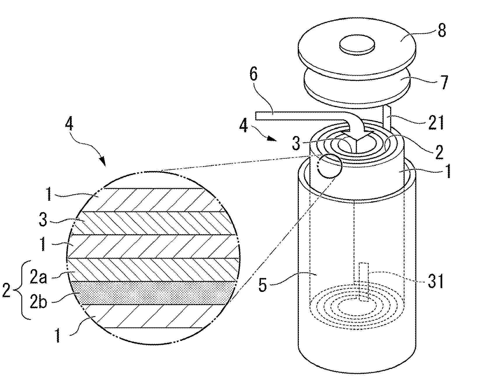
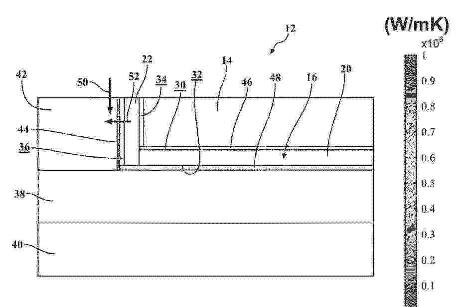
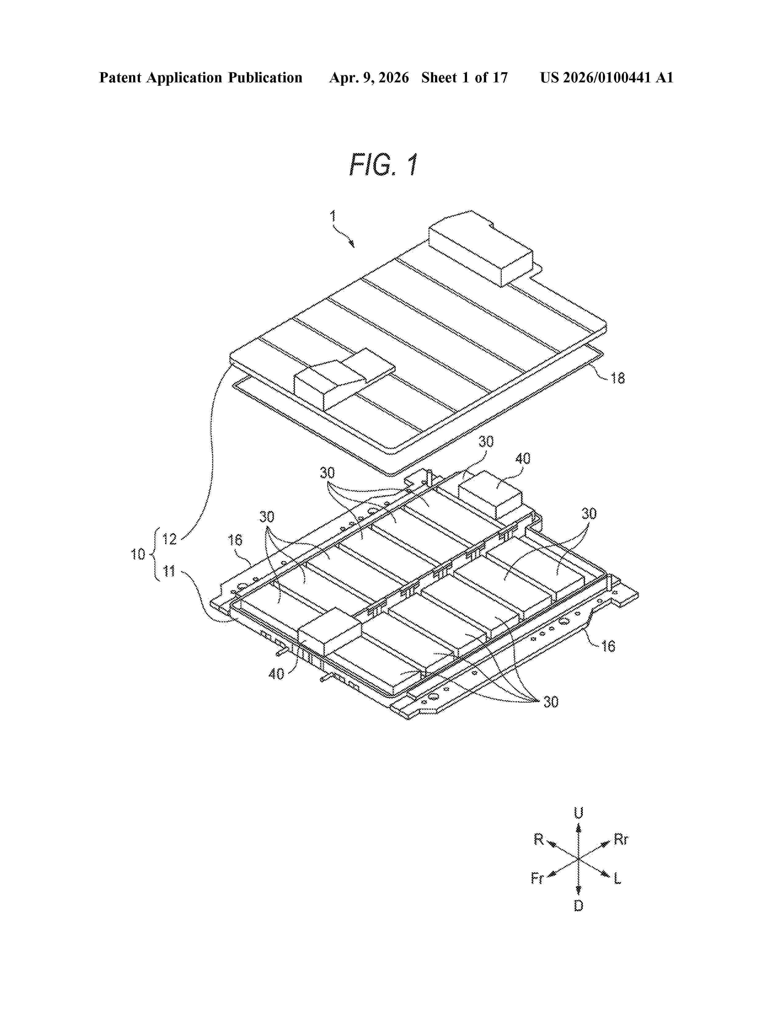
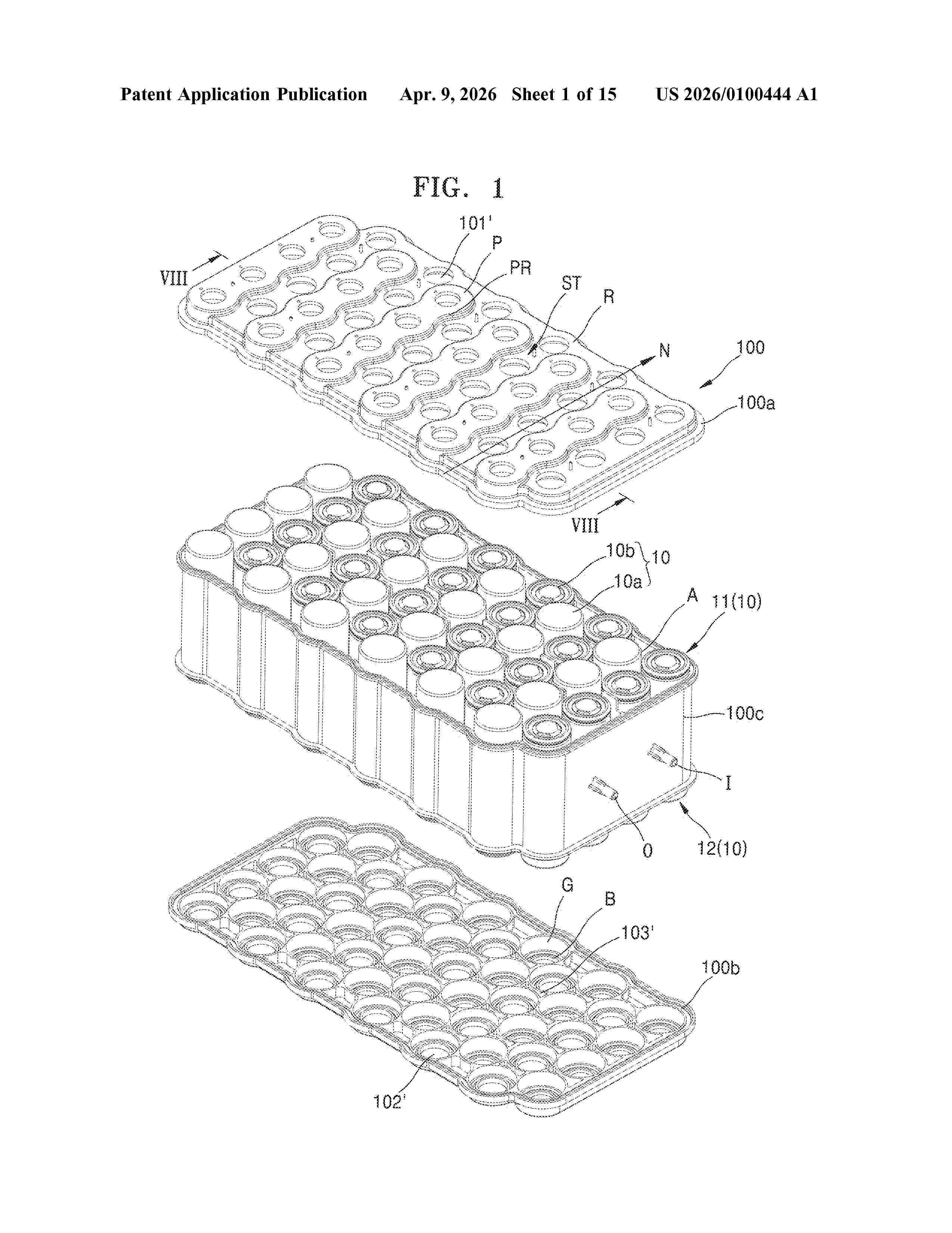
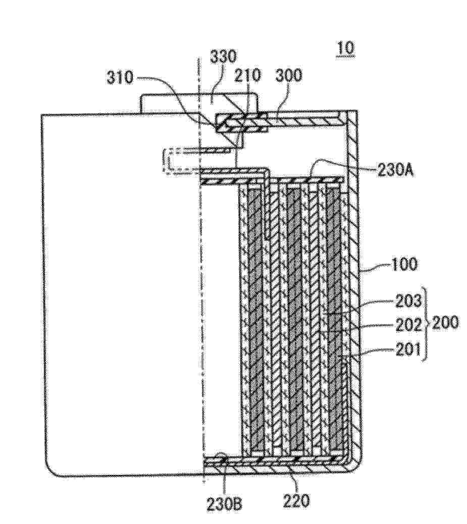
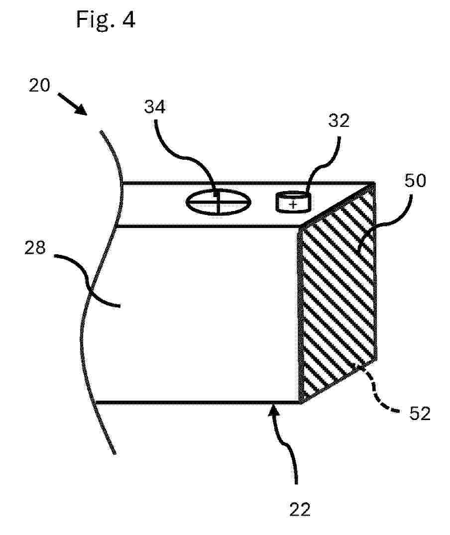
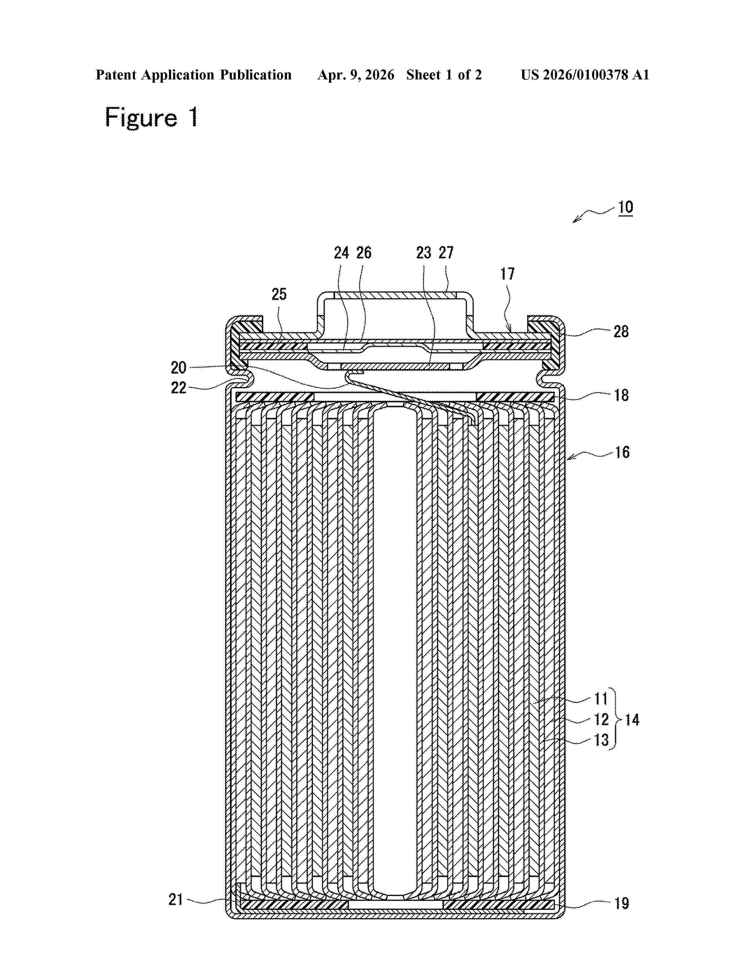
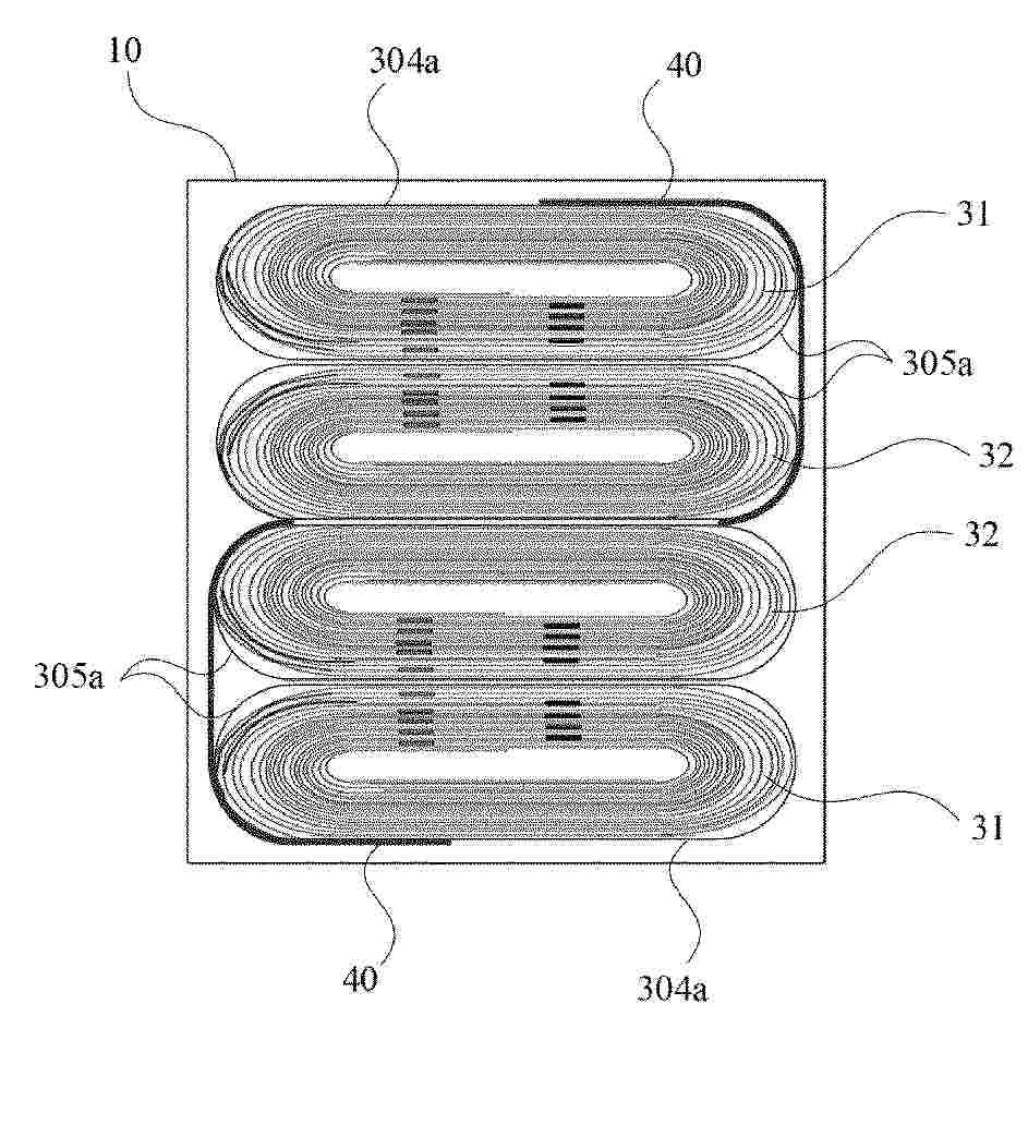
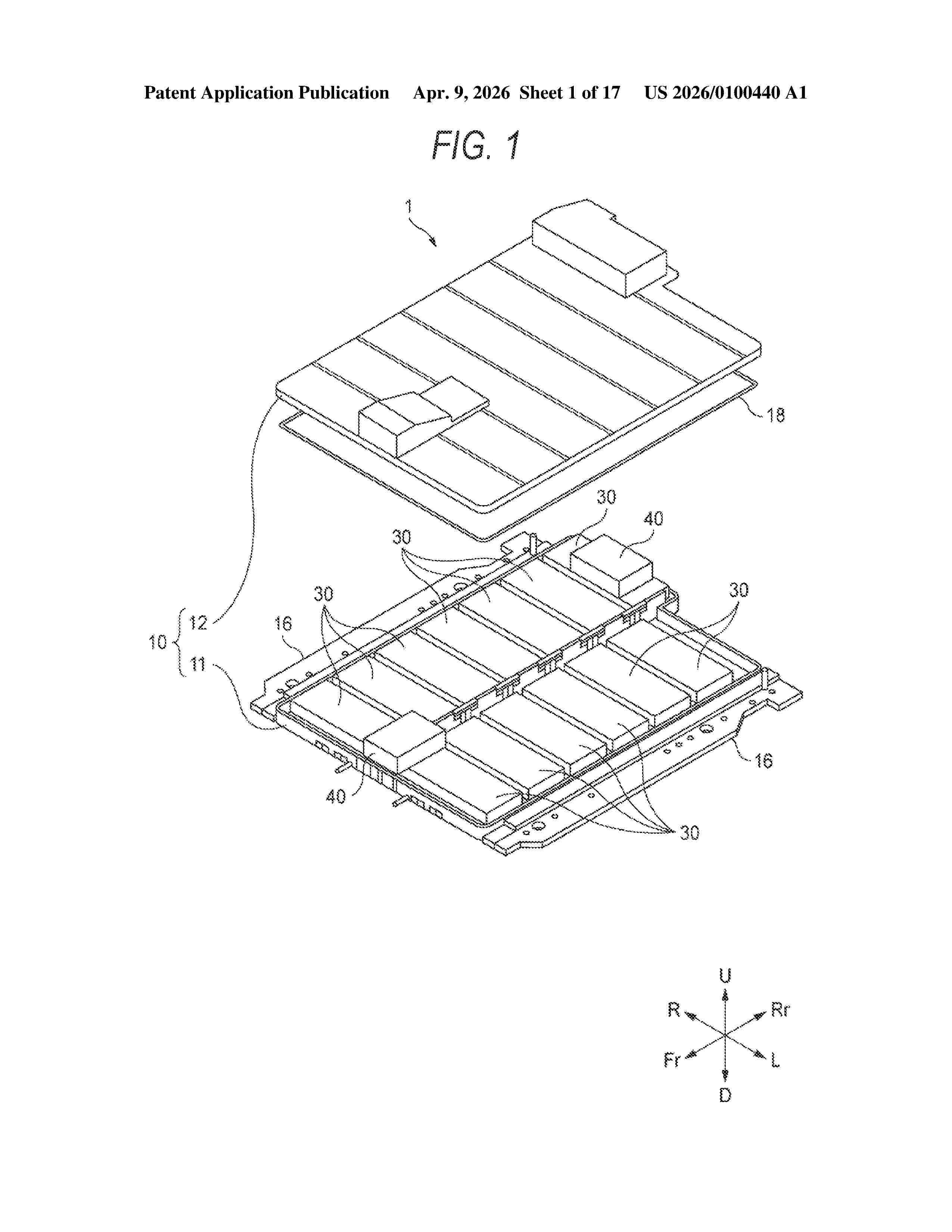
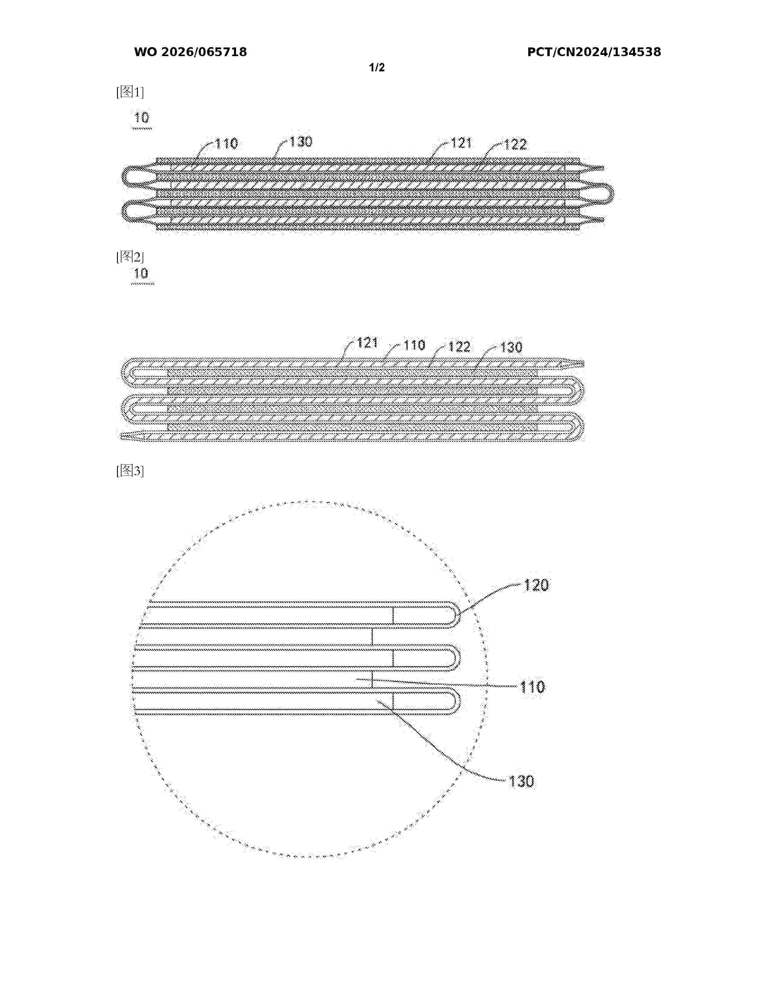
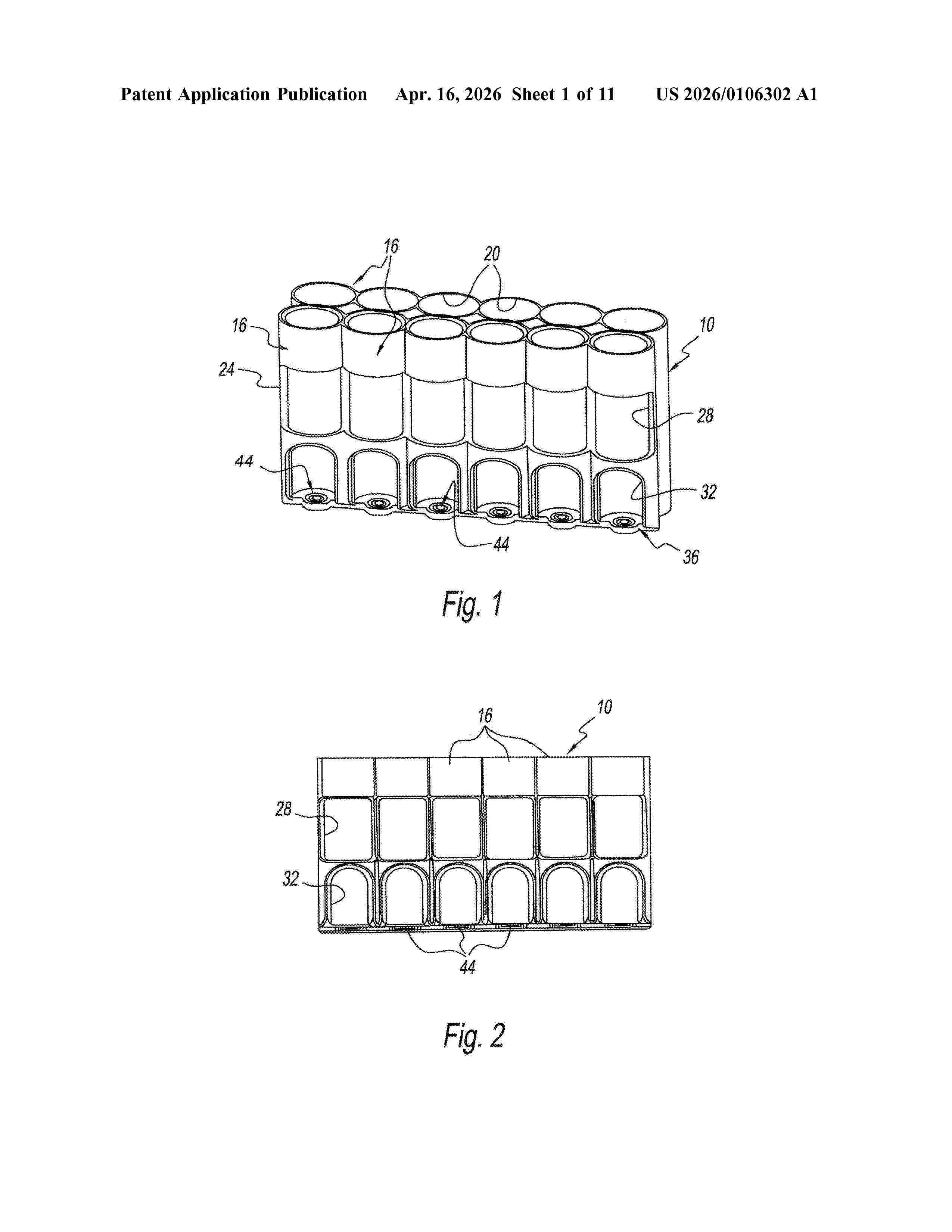
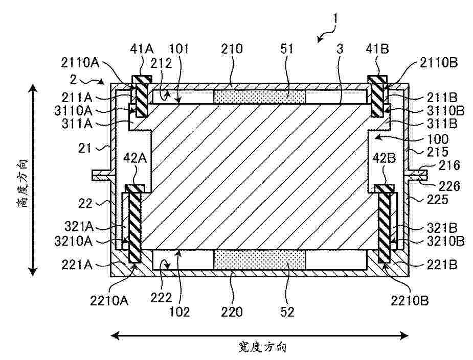
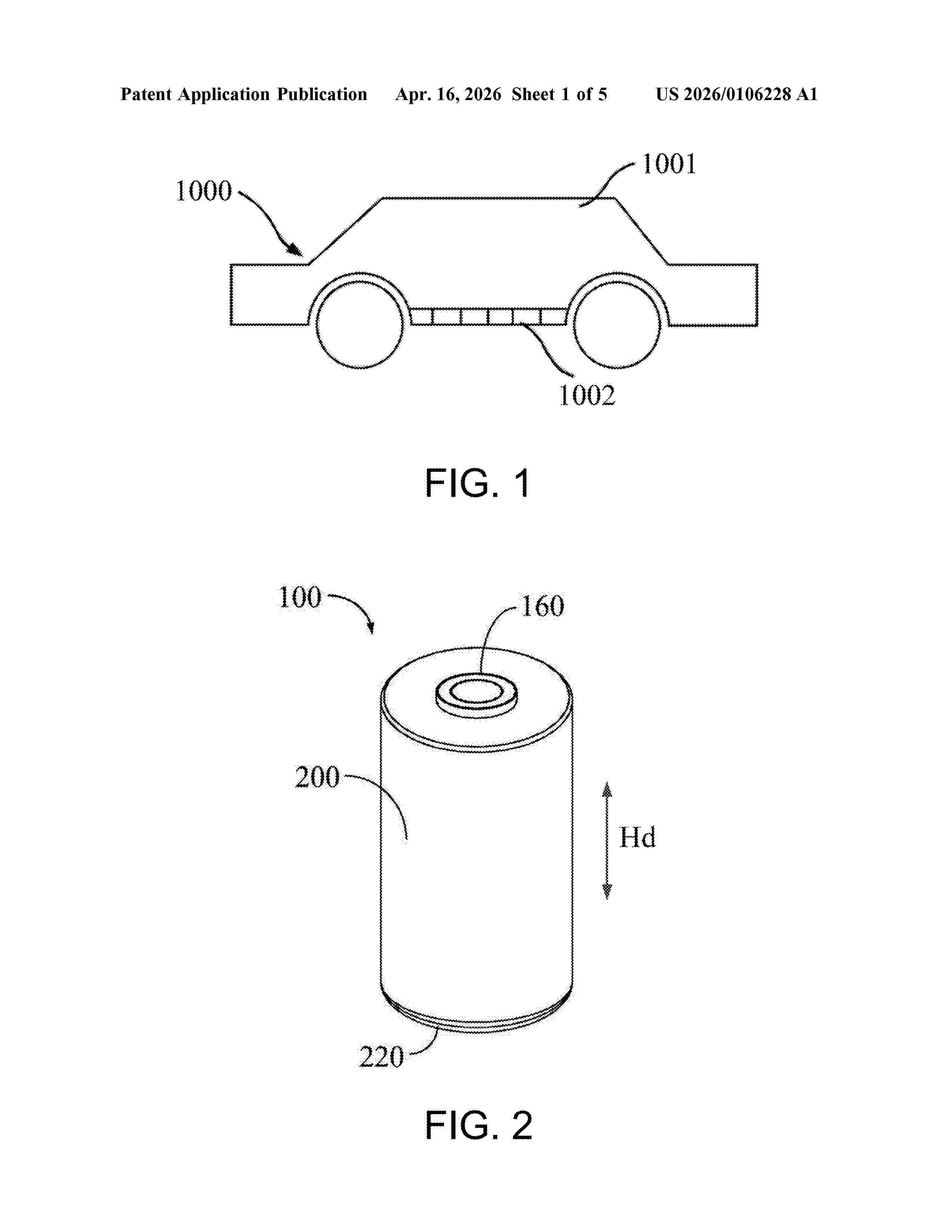
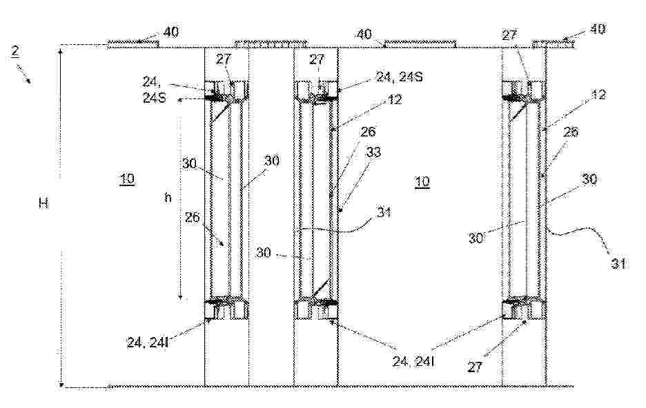
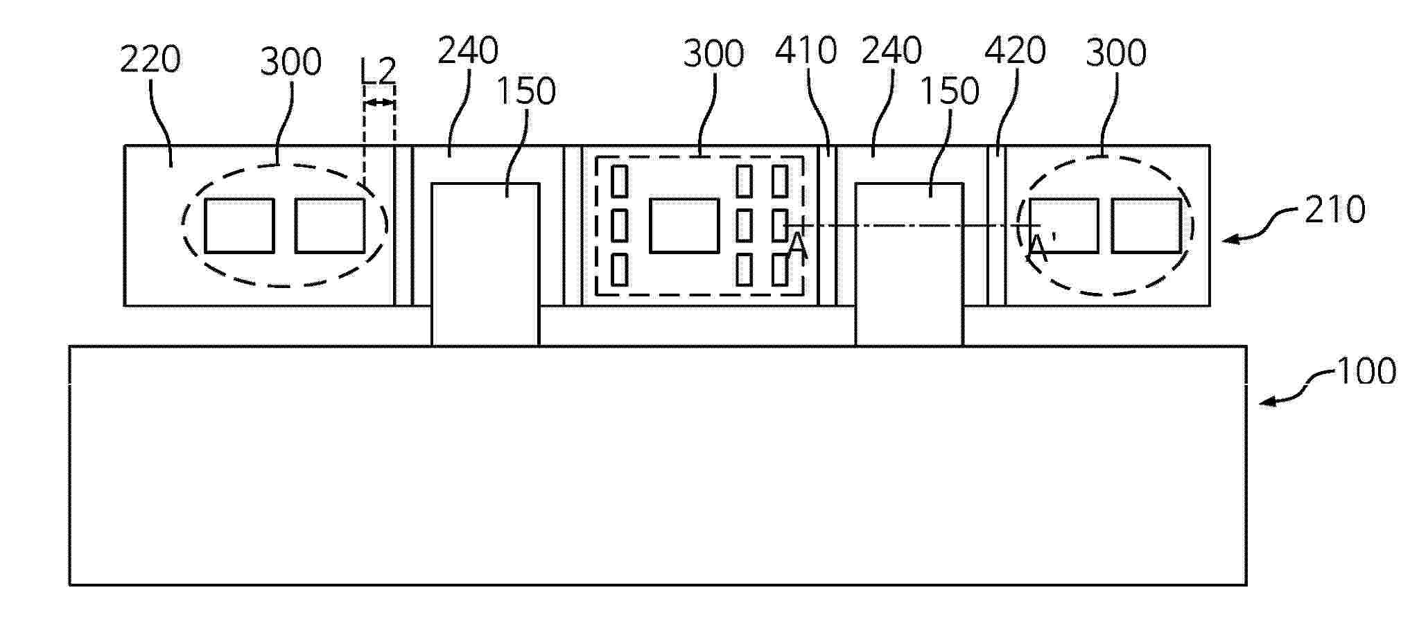
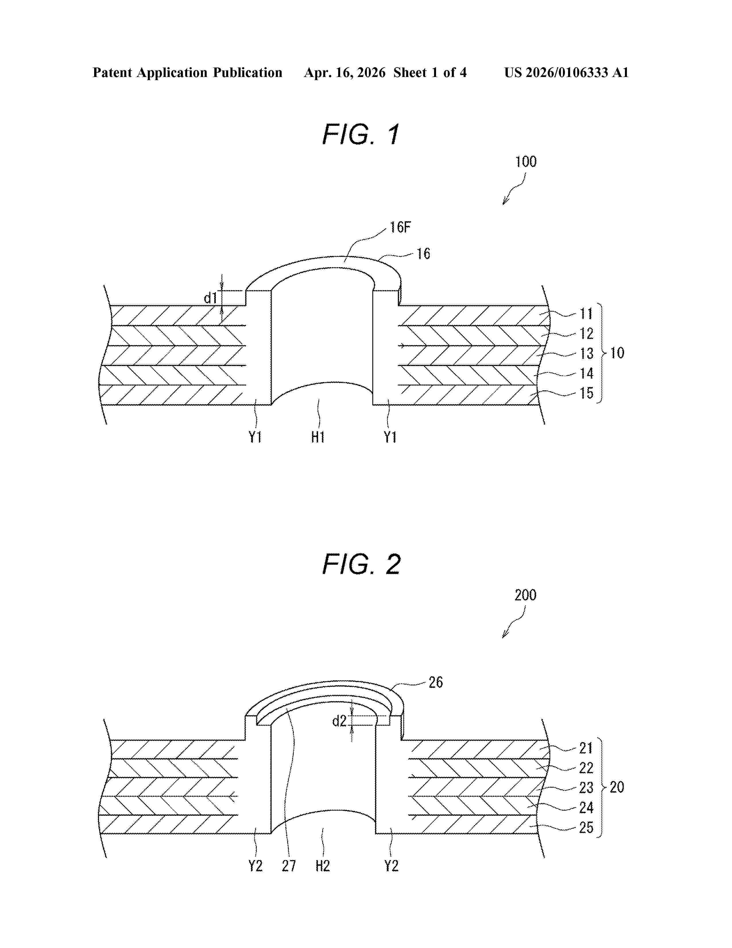
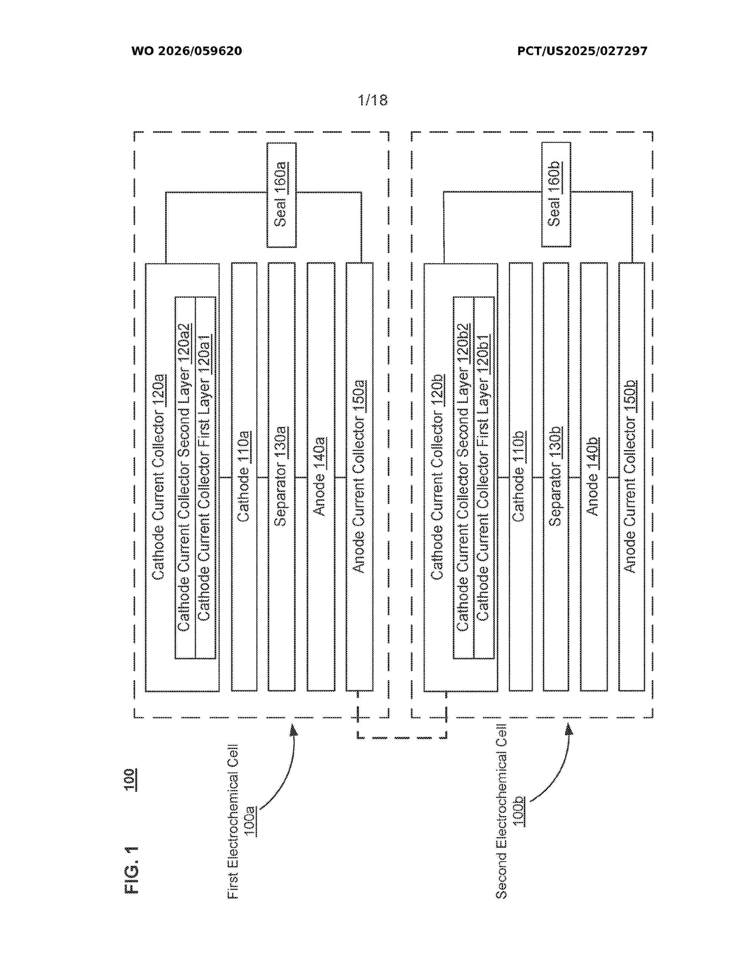
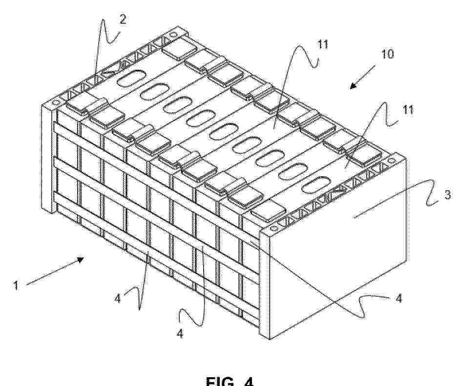
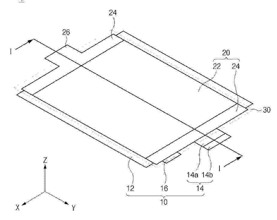
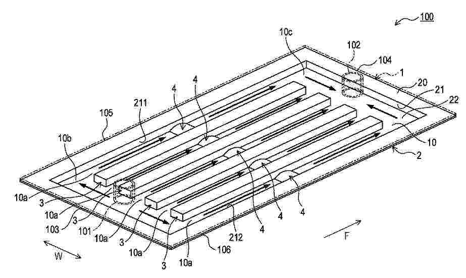
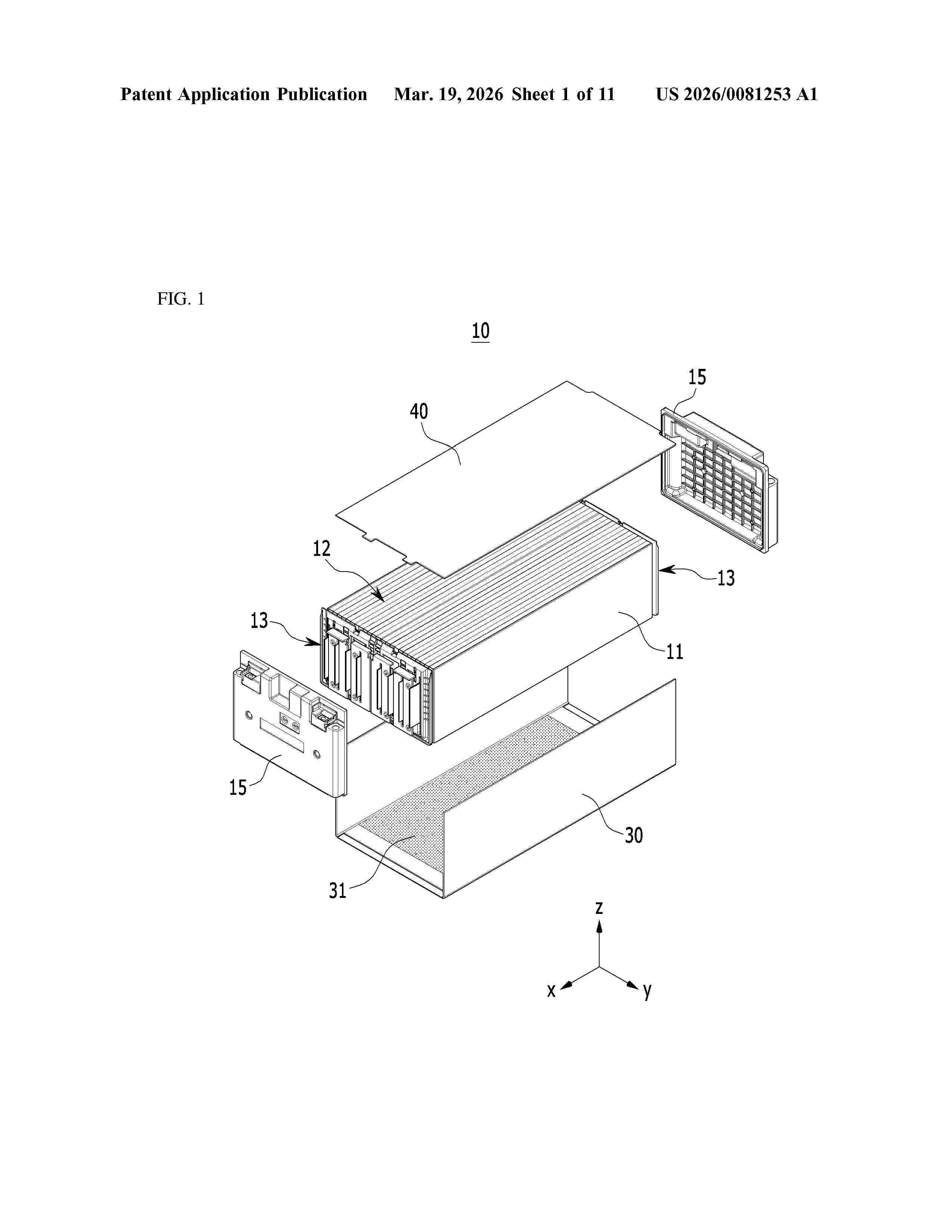
BATTERIE DE TRACTION DE VEHICULE AUTOMOBILE AVEC MARQUAGES D’ENTREE D’EAU DE REFROIDISSEMENT

NºPublicación:  FR3167310A1 17/04/2026
Solicitante: 
STELLANTIS AUTO SAS [FR]
FR_3167310_A1

Resumen de: FR3167310A1

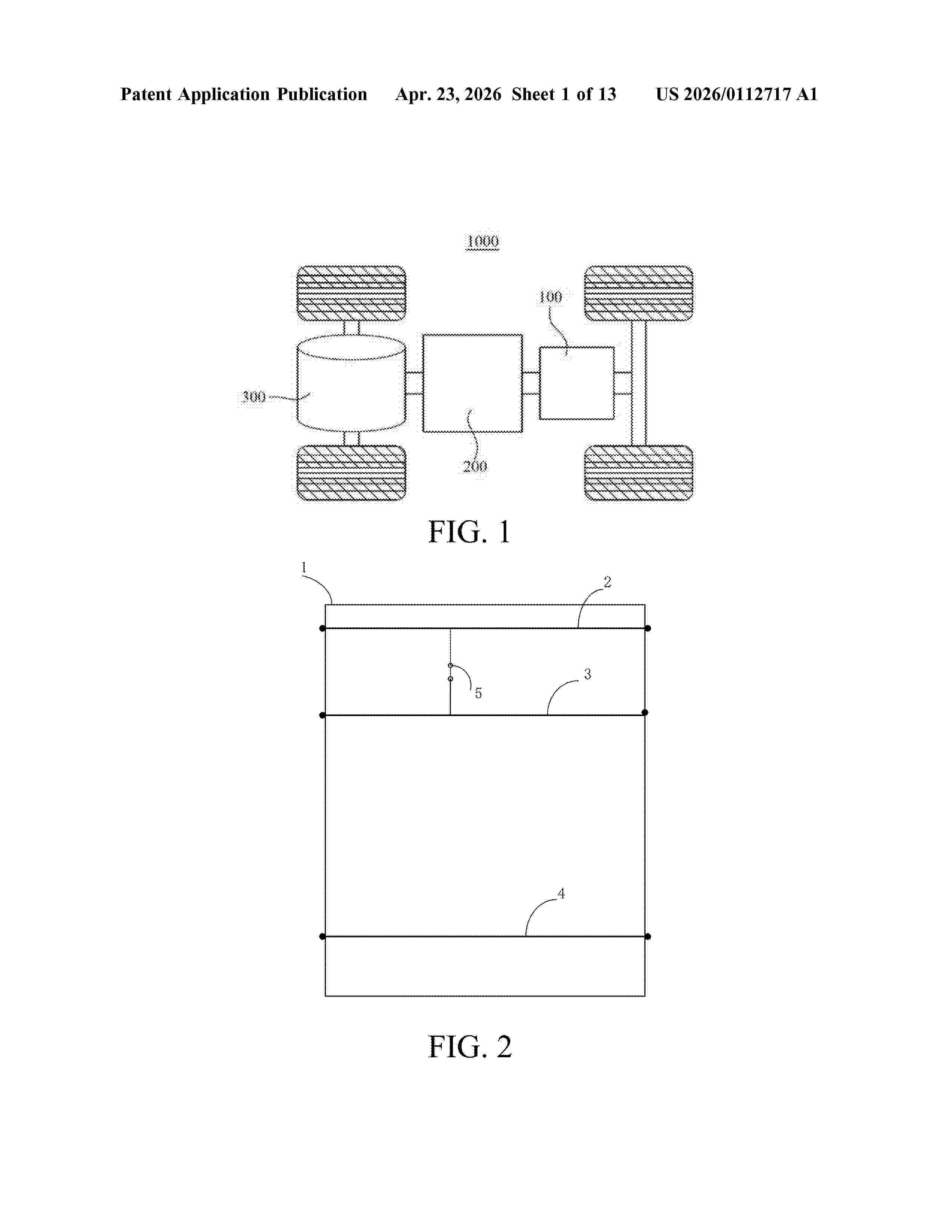
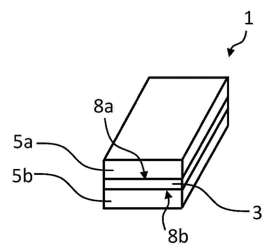
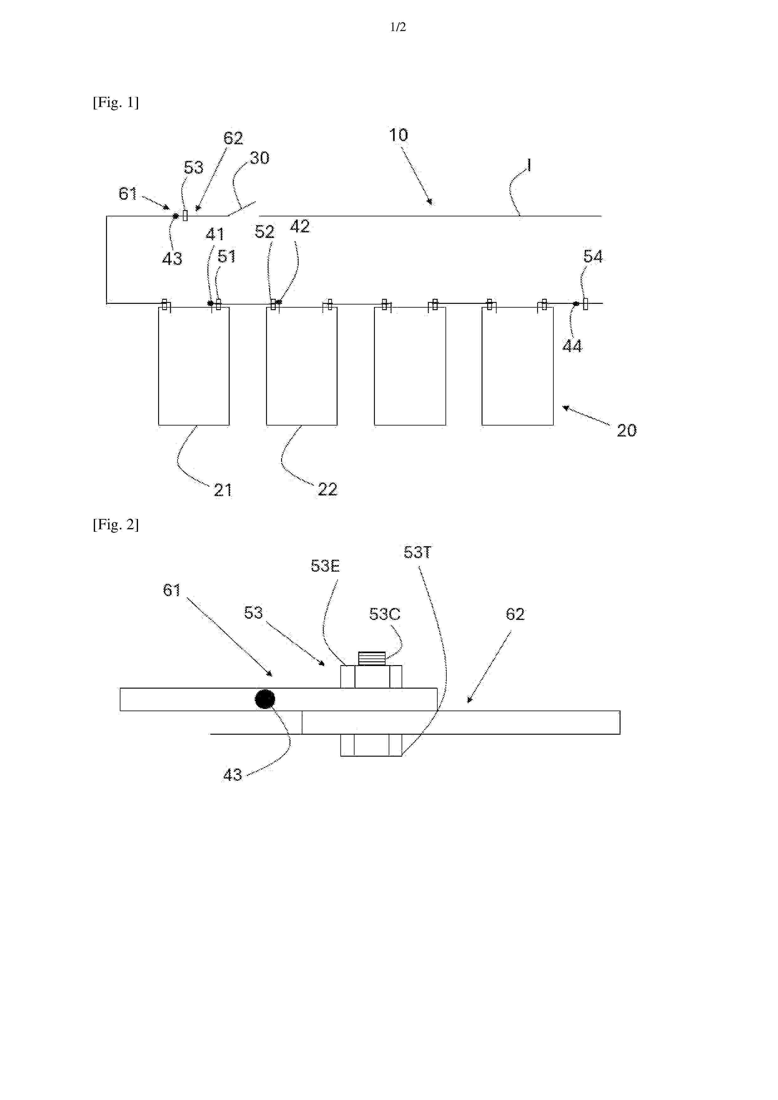
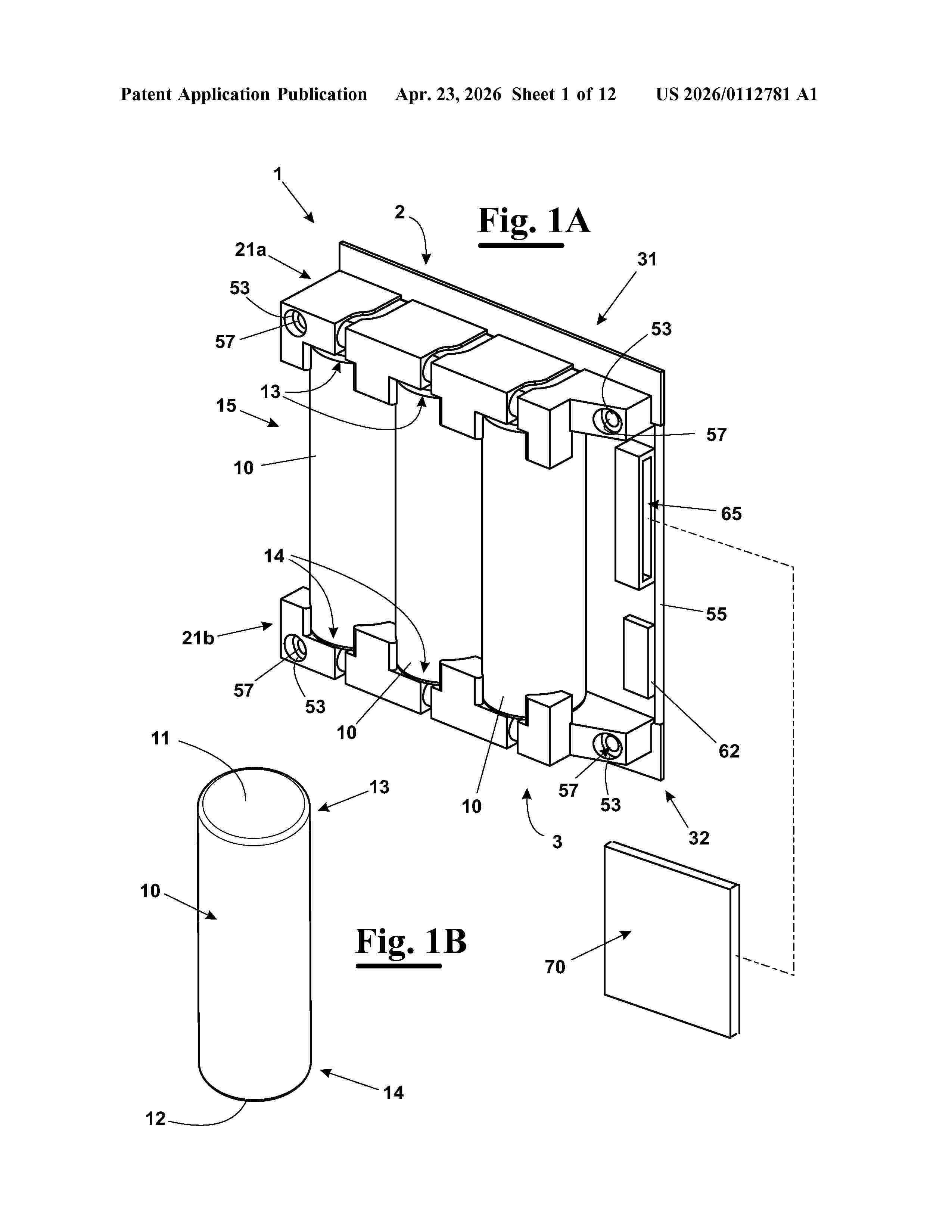
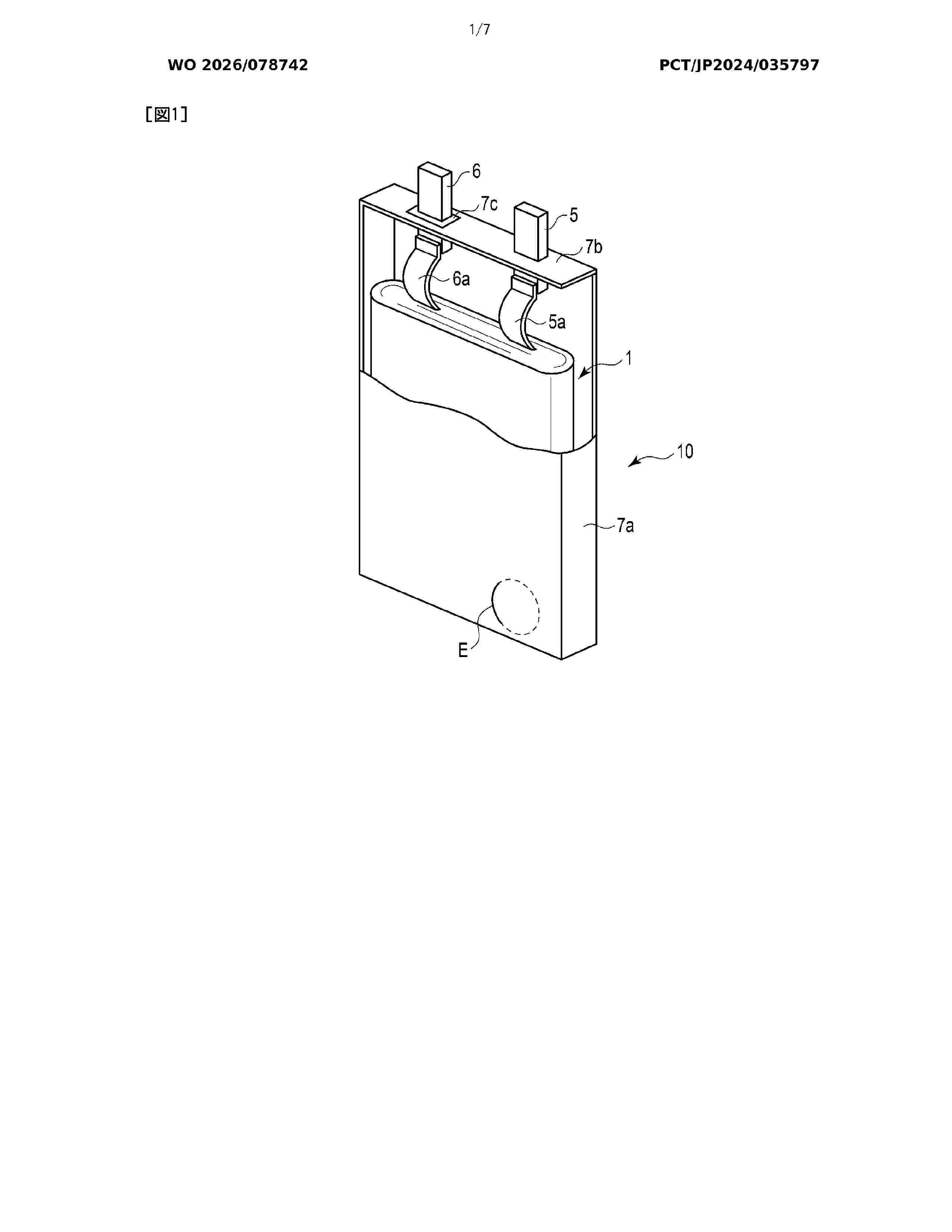
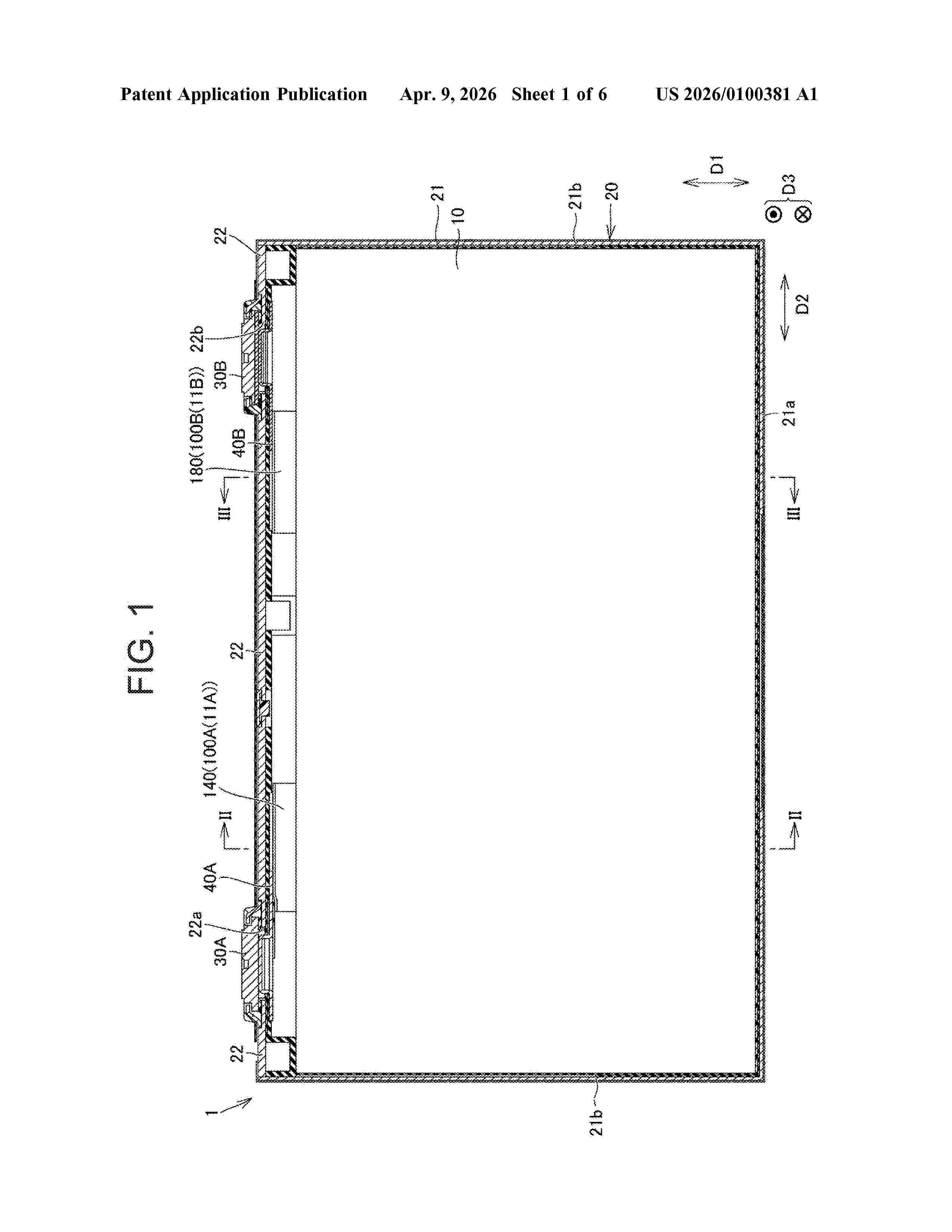
Batterie de traction de véhicule automobile électrique ou hybride, comportant un bac fermé contenant des cellules électrochimiques (30), et sur ce bac des emplacements d’ouverture permettant d'injecter une eau de refroidissement, le bac présentant des formes extérieures particulières (16) constituant un marquage désignant les emplacements d’ouverture prévus pour être percés, chaque emplacement d’ouverture étant disposé en face d’une zone intérieure de ce bac (34) qui est libre de cellules électrochimiques (30). Figure 2

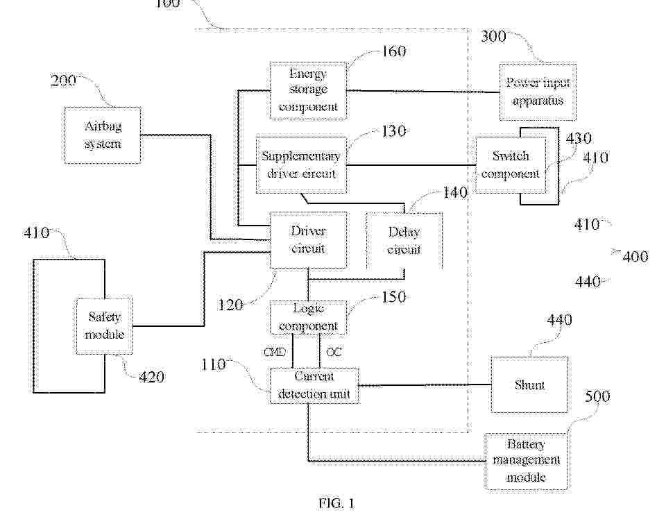
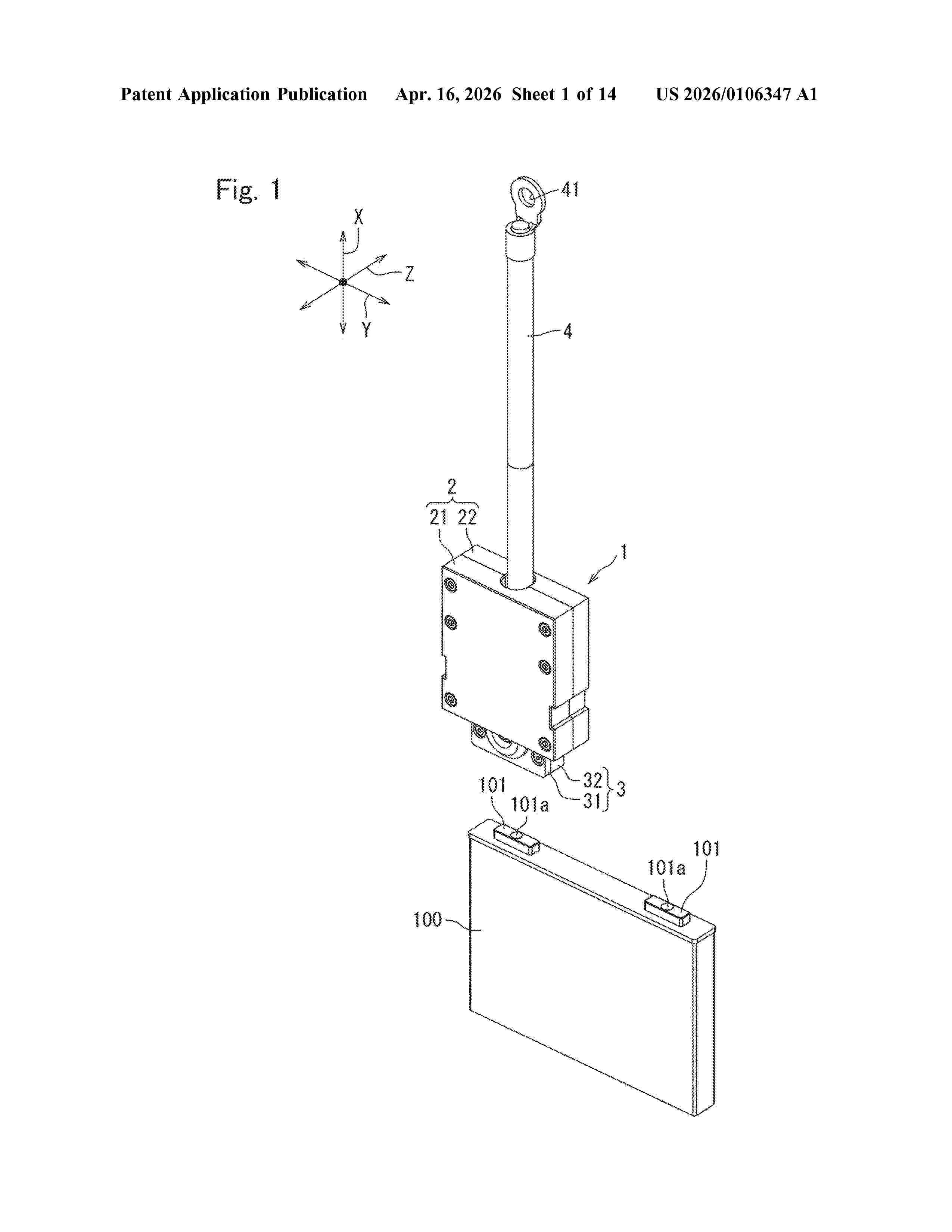
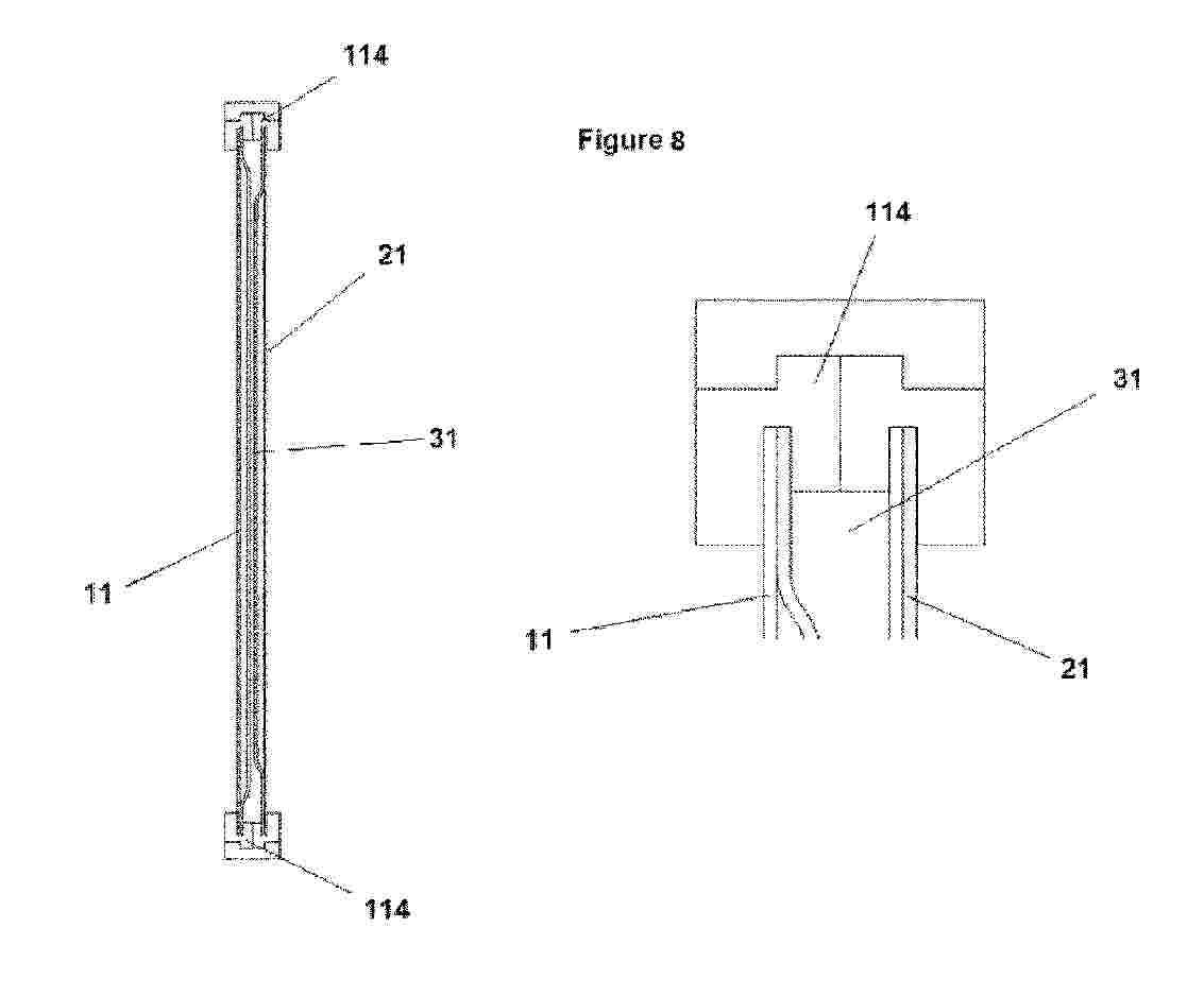
Ensemble de détection d’échauffement d’une batterie de traction d’un véhicule électrique et procédé de détection d’échauffement mis en œuvre par ledit ensemble

NºPublicación:  FR3167482A1 17/04/2026
Solicitante: 
COLOMBO TECH [FR]
FR_3167482_A1

Resumen de: FR3167482A1

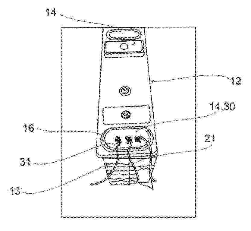
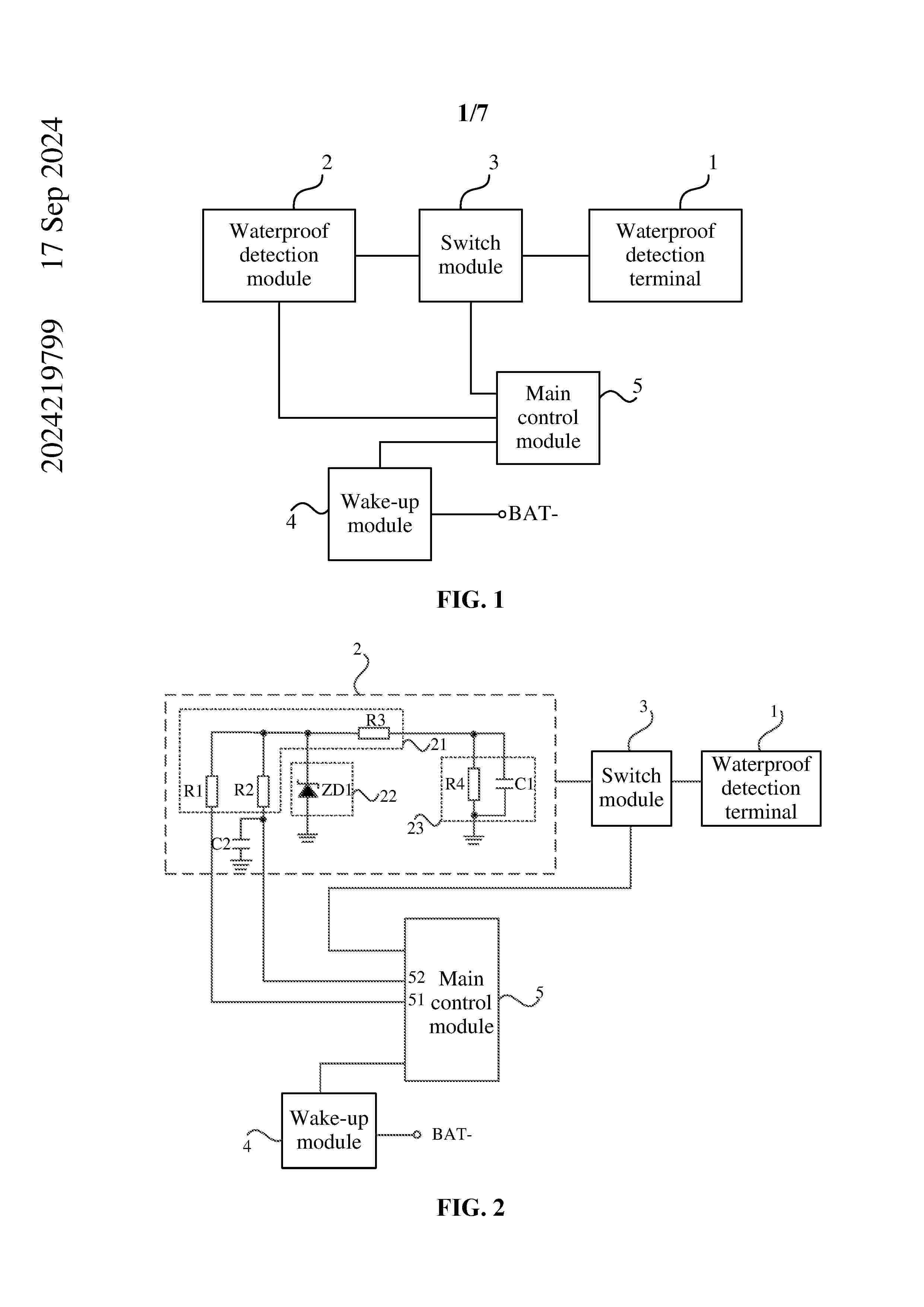
Ensemble de détection d’échauffement d’une batterie de traction d’un véhicule électrique et procédé de détection d’échauffement mis en œuvre par un tel ensemble. L’invention concerne un ensemble (1) de détection d’échauffement d’une batterie de traction d’un véhicule électrique (3), comprenant :- un dispositif d’acquisition de données (7) représentatives de températures d’une batterie de traction, comprenant un boîtier (9) présentant une résistance à l’écrasement supérieure à une tonne agencé sur un sol (11) et une caméra thermique montée dans ledit boîtier pour acquérir des données d’images thermiques de ladite batterie,- un contrôleur, adapté pour collecter lesdites données,- une centrale de supervision (15), pour récupérer lesdites données, programmée pour envoyer un signal (17) de déclenchement d’alerte lorsque lesdites données sont représentatives d’une élévation de la température de ladite batterie au-delà d’une valeur seuil ou d’une différence de température dans un intervalle de temps supérieure à une valeur seuil. Figure 1

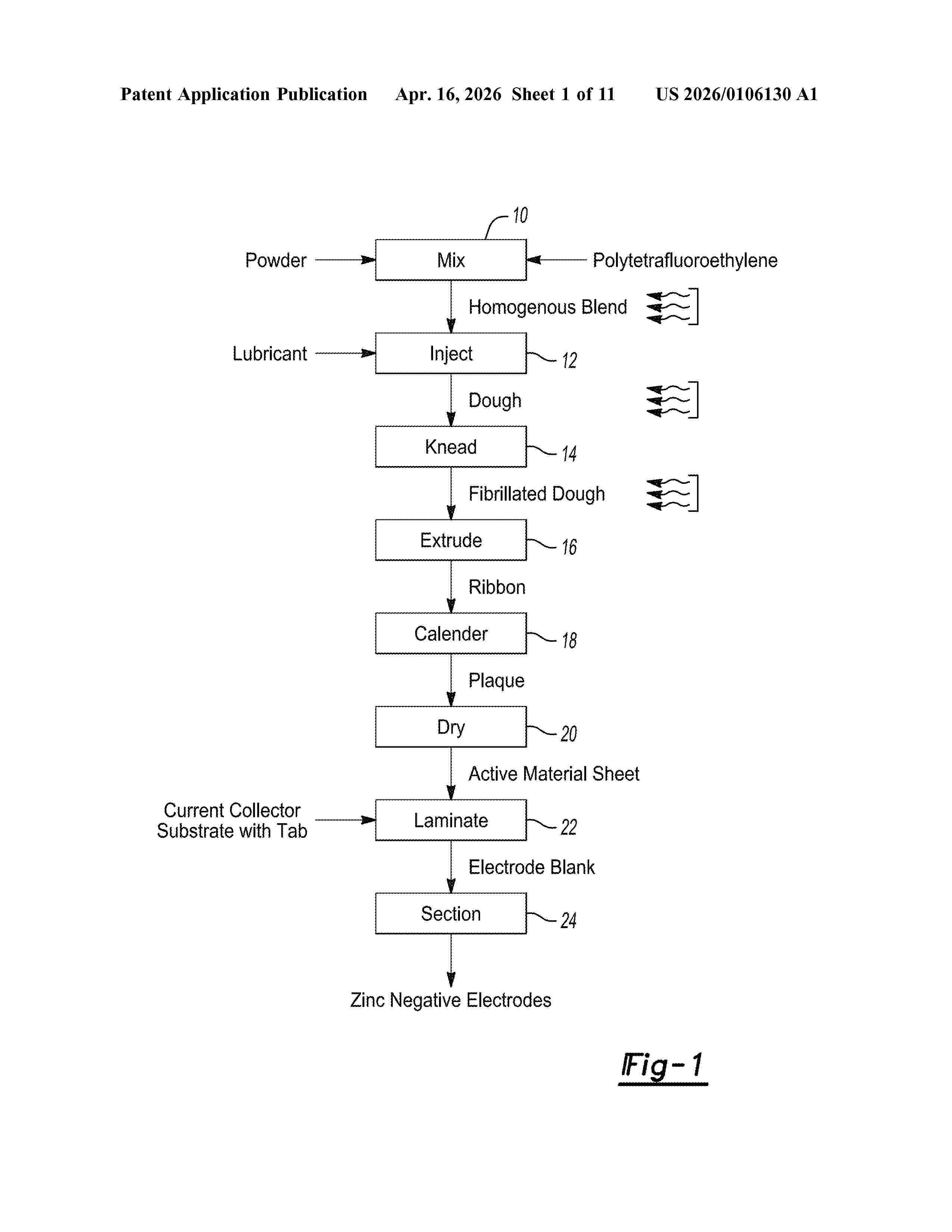
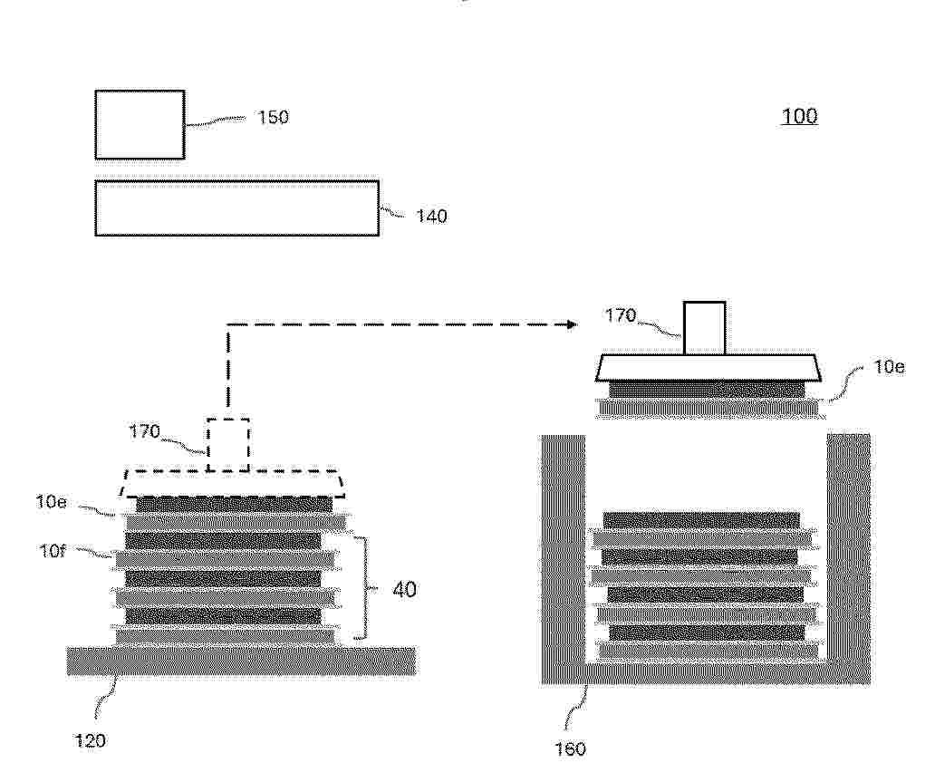
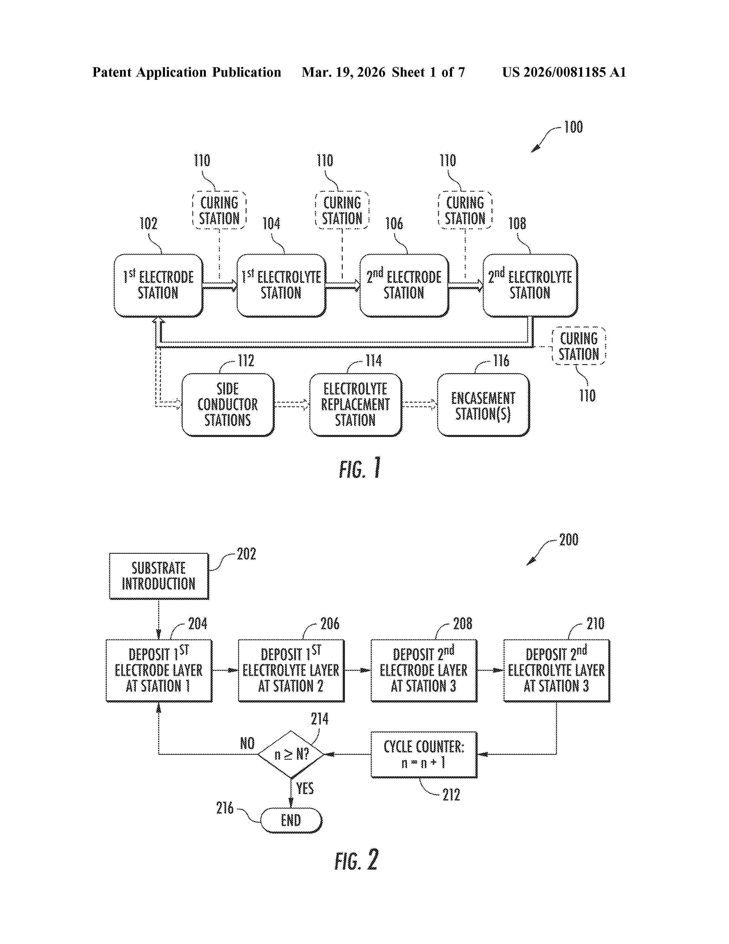
Procédé de fabrication par voie sèche d’électrodes et ensemble associé

NºPublicación:  FR3167480A1 17/04/2026
Solicitante: 
AUTOMOTIVE CELLS COMPANY SE [FR]
FR_3167480_A1

Resumen de: FR3167480A1

L'invention concerne un procédé de fabrication par voie sèche d’électrodes (90) pour des cellules d’une batterie, le procédé de fabrication étant caractérisé en ce qu’il comprend au moins : (i) une étape de découpage de bordures latérales (51) d’un film (50) de matériau actif d’électrode de manière à obtenir un film prédécoupé (60) de largeur prédéterminée mesurée entre ses bordures latérales (51) ; (ii) une étape de découpage du film prédécoupé (60) de matériau actif d’électrode de sorte à diviser le film prédécoupé (60) en une pluralité de bandes découpées (70) de matériau actif d’électrode, chacune desdites bandes découpées (70) de matériau actif d’électrode étant configurée pour équiper une ou deux électrodes (90), la largeur prédéterminée du film prédécoupé (60) étant égale à la somme des largeurs de chacune des bandes découpées (70) dans le film prédécoupé (60) ; (iii) une étape de laminage d’au moins une bande découpée (70) de matériau actif d’électrode de la pluralité de bandes découpées (70) sur au moins une face d’un feuillard collecteur de courant (75), pour former une bande d’électrode laminée (80). (Fig. 1)

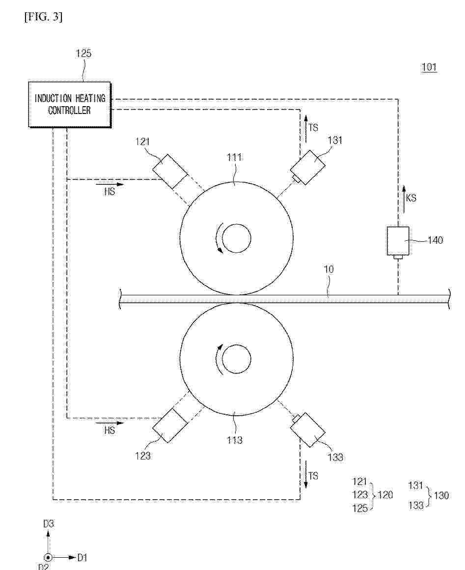
PROCEDE POUR LA THERMOREGULATION D’UNE BATTERIE DE VEHICULE ELECTRIQUE OU HYBRIDE, COMPRENANT UN CYCLE DE TENSION ALTERNEE

NºPublicación:  FR3167348A1 17/04/2026
Solicitante: 
STELLANTIS AUTO SAS [FR]
FCA US LLC [US]
FR_3167348_A1

Resumen de: FR3167348A1

L’invention concerne un procédé de thermorégulation d’une batterie de véhicule électrique ou hybride. La batterie comprend une sonde de température. Le procédé comprend les étapes suivantes pour un cycle de tension alternée :- une étape de mesure (E1) de la température de la batterie par la sonde de température ;- une première étape (E2) et une deuxième étape (E3) de mise en tension de la batterie respectivement à une première valeur de tension électrique et à une deuxième valeur de tension électrique respectivement pendant une première durée prédéterminée et pendant une deuxième durée prédéterminée respectivement comprises pendant le cycle de tension alternée lorsque la valeur de température mesurée est inférieure à une valeur de température prédéterminée.Ainsi, la batterie peut être réchauffée. Figure 1

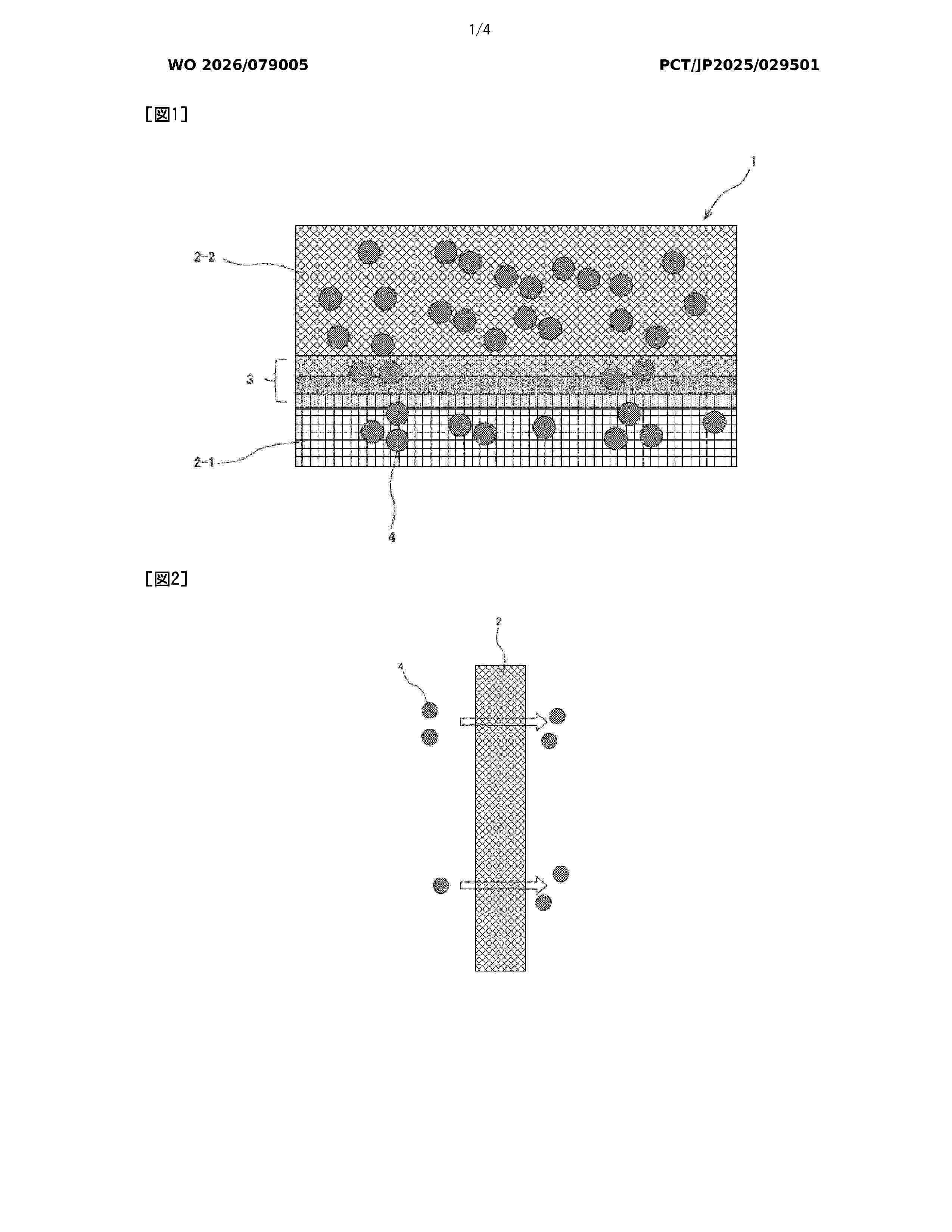
COMPOSITION FOR ELECTROCHEMICAL DEVICE FUNCTIONAL LAYER, COMPOSITION PRECURSOR FOR ELECTROCHEMICAL DEVICE FUNCTIONAL LAYER, FUNCTIONAL LAYER FOR ELECTROCHEMICAL DEVICE, LAMINATE FOR ELECTROCHEMICAL DEVICE, AND ELECTROCHEMICAL DEVICE

NºPublicación:  US20260106328A1 16/04/2026
Solicitante: 
ZEON CORP [JP]
US_20260106328_A1

Resumen de: US20260106328A1

Provided is a composition for an electrochemical device functional layer with which it is possible to form a functional layer that has excellent wet adhesiveness and that is capable of good inhibition of metal deposition on an electrode during charging and discharging and swelling of an electrochemical device. The composition for an electrochemical device functional layer contains a particulate polymer including a structural unit that includes a group having an aromatic ring where at least one hydrogen atom is substituted with a hydroxy group.

METHOD OF COUNTERACTING DEGRADATION OF A FUEL CELL SYSTEM OF A VEHICLE

NºPublicación:  US20260103116A1 16/04/2026
Solicitante: 
VOLVO TRUCK CORP [SE]
US_20260103116_A1

Resumen de: US20260103116A1

The present disclosure relates to a method of counteracting degradation of a fuel cell system of a vehicle. A processor device is used for performing the method. The processor device estimates standstill average power needs of the vehicle by estimating the average power that the vehicle will consume during a predetermined time period during which the vehicle will be at a standstill. An idling power extractable from the fuel cell system is determined. The idling power is compared with the estimated standstill average power needs. Based on the comparison, a duration for which the fuel cell system should be kept turned on to fulfil the estimated standstill average power needs is determined. The fuel cell system is controlled to be kept turned on for the determined duration.

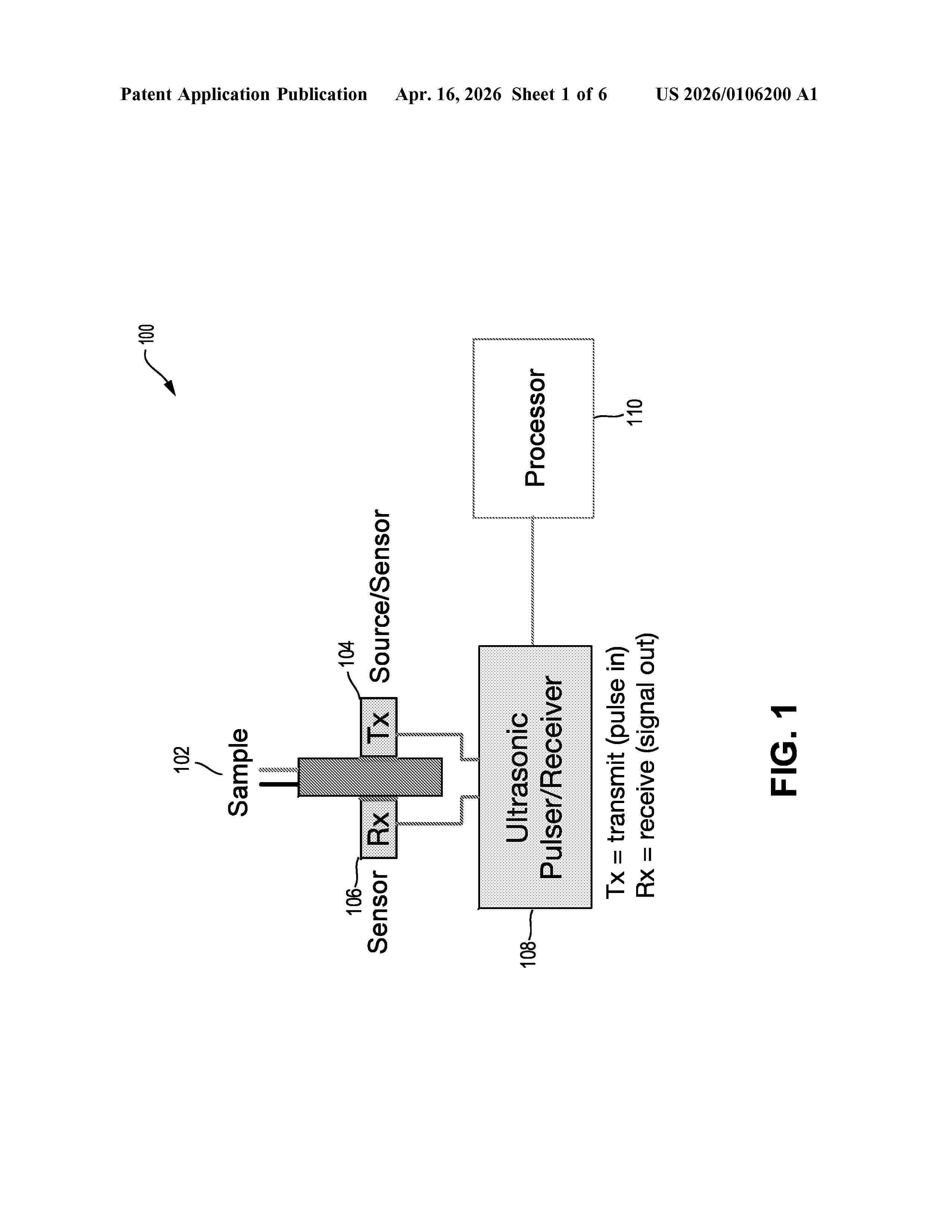
INSPECTION OF BINDERS AND SLURRY MIXTURES FOR USE IN BATTERY FABRICATION BASED ON ACOUSTIC SIGNAL ANALYSIS

NºPublicación:  US20260106200A1 16/04/2026
Solicitante: 
LIMINAL INSIGHTS INC [US]
US_20260106200_A1

Resumen de: US20260106200A1

Systems, techniques, and computer-implemented processes for acoustic signal based improvements to one or more process steps in the manufacture of battery cells. Information gathered based on an acoustic signal based analysis in one process step can be used in one or more other process steps using any suitable combination of feedback and/or feedforward of the acoustic signal based analysis. Such feedback and/or feedforward can improve the overall quality of battery cells produced using the manufacturing process, efficiency/cost of the manufacturing process, improvement in yield/reduction in wastage of the battery cells produced using the manufacturing process and/or improvements in individual process steps.

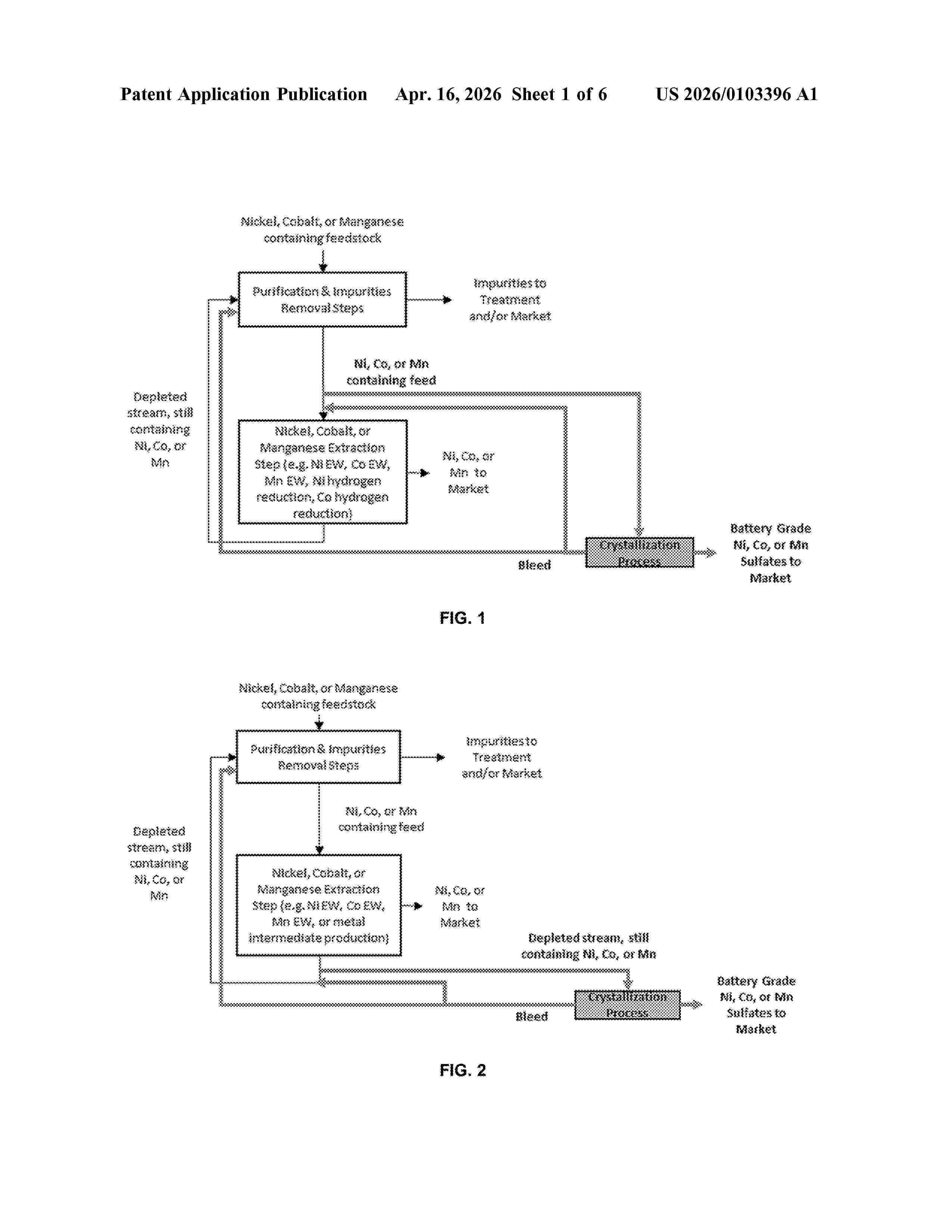
PROCESSES AND METHODS FOR PRODUCTION OF CRYSTALLIZED METAL SULFATES

NºPublicación:  US20260103396A1 16/04/2026
Solicitante: 
HATCH LTD [CA]
US_20260103396_A1

Resumen de: US20260103396A1

0000 A process and method for producing a crystallized metal sulfate. The crystallized metal sulfate may be battery-grade. The method may comprise receiving a metal ion-containing stream and crystalizing a metal sulfate from the stream. The process may comprise receiving a stream from a metal processing plant, and crystalizing a metal sulfate from the stream. The process may be a metal electrowinning process comprising crystalizing a metal ion-containing stream to form a crystallized metal sulfate in a mother liquor. The process or method may comprise returning the mother liquor upstream or to the metal electrowinning process.

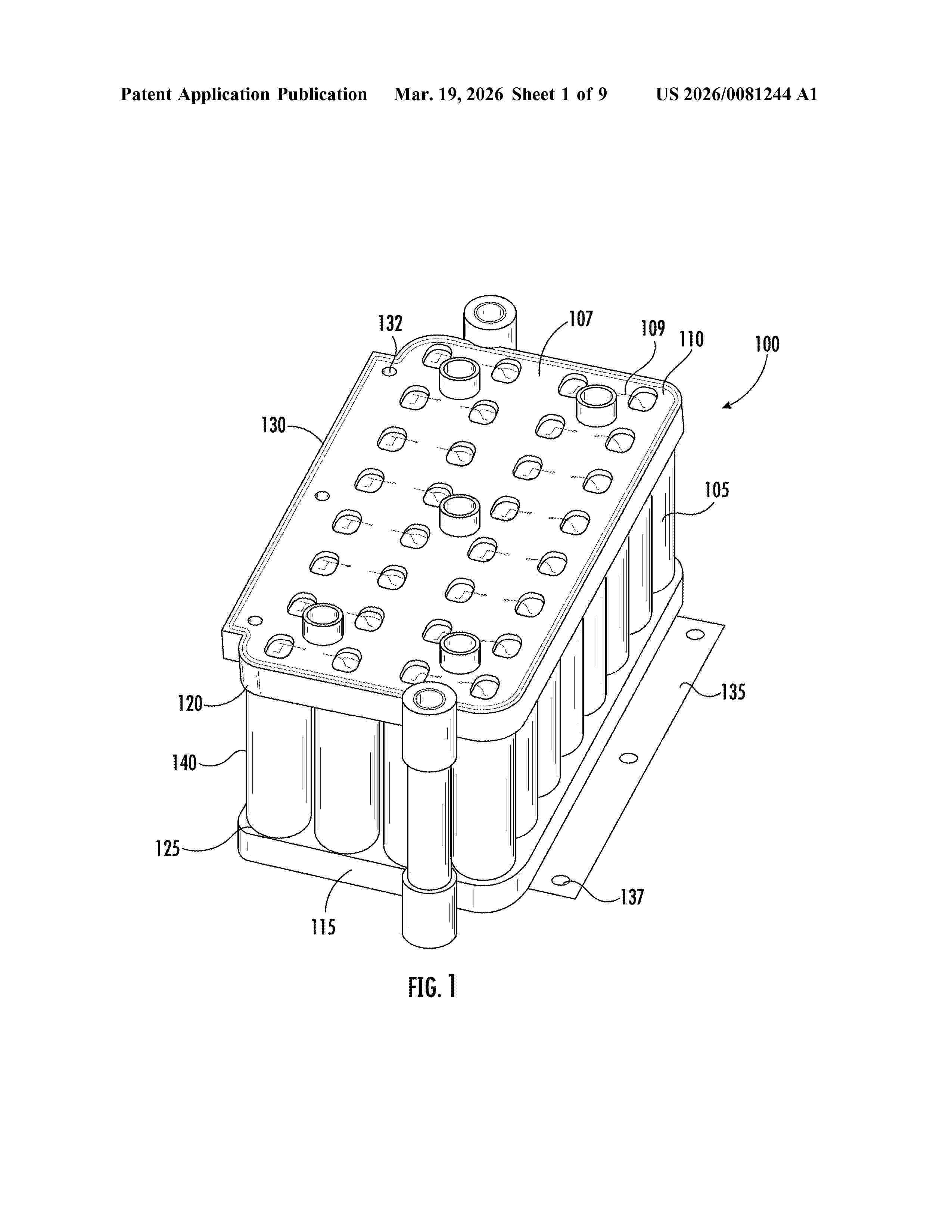
Battery Caddy Having Magnetic Retaining Feature

NºPublicación:  US20260106302A1 16/04/2026
Solicitante: 
TOOLS AVIATION LLC [US]
US_20260106302_A1

Resumen de: US20260106302A1

A battery holding and dispensing device can hold a plurality of batteries, in a single battery size or an assortment of battery sizes. The battery holding and dispensing device includes a frame having a plurality of compartments sized and shaped to each receive a battery of a particular battery size and each having a magnetic insert for releasably retaining the battery in the compartment. A system is disclosed for inductive charging of batteries held in a caddy.

METHOD FOR CONTROLLING TEMPERATURE OF BATTERY PACK OF ELECTRIC VEHICLE AND CONTROL SYSTEM THEREOF

NºPublicación:  WO2026077196A1 16/04/2026
Solicitante: 
FUJIAN SUPER PANTHER POWER TECH CO LTD [CN]
\u798F\u5EFA\u901F\u8C79\u52A8\u529B\u79D1\u6280\u6709\u9650\u516C\u53F8
WO_2026077196_A1

Resumen de: WO2026077196A1

The present application relates to a method for controlling the temperature of a battery pack of an electric vehicle and a control system thereof. The control method comprises the following steps: an external temperature control device acquires the state of a battery pack from a charging device, the state of the battery pack comprising a charging state; if the battery pack is in the charging state, controlling an inlet temperature of a coolant entering the battery pack from the external temperature control device to be a first target inlet temperature and controlling the flow rate of the coolant to be a first preset flow rate; after the coolant has been inputted into the battery pack for a first preset duration, acquiring a first outlet temperature of the coolant; and on the basis of the first outlet temperature of the coolant and a target outlet temperature threshold of the coolant, controlling the flow rate of the coolant and/or the inlet temperature of the coolant. According to the method for controlling the temperature of a battery pack of an electric vehicle provided in the present application, an external temperature control device is used to perform temperature control on a battery pack of an electric vehicle, and no additional battery pack cooling system needs to be added to the electric vehicle, thereby preventing the weight and costs of the electric vehicle from increasing.

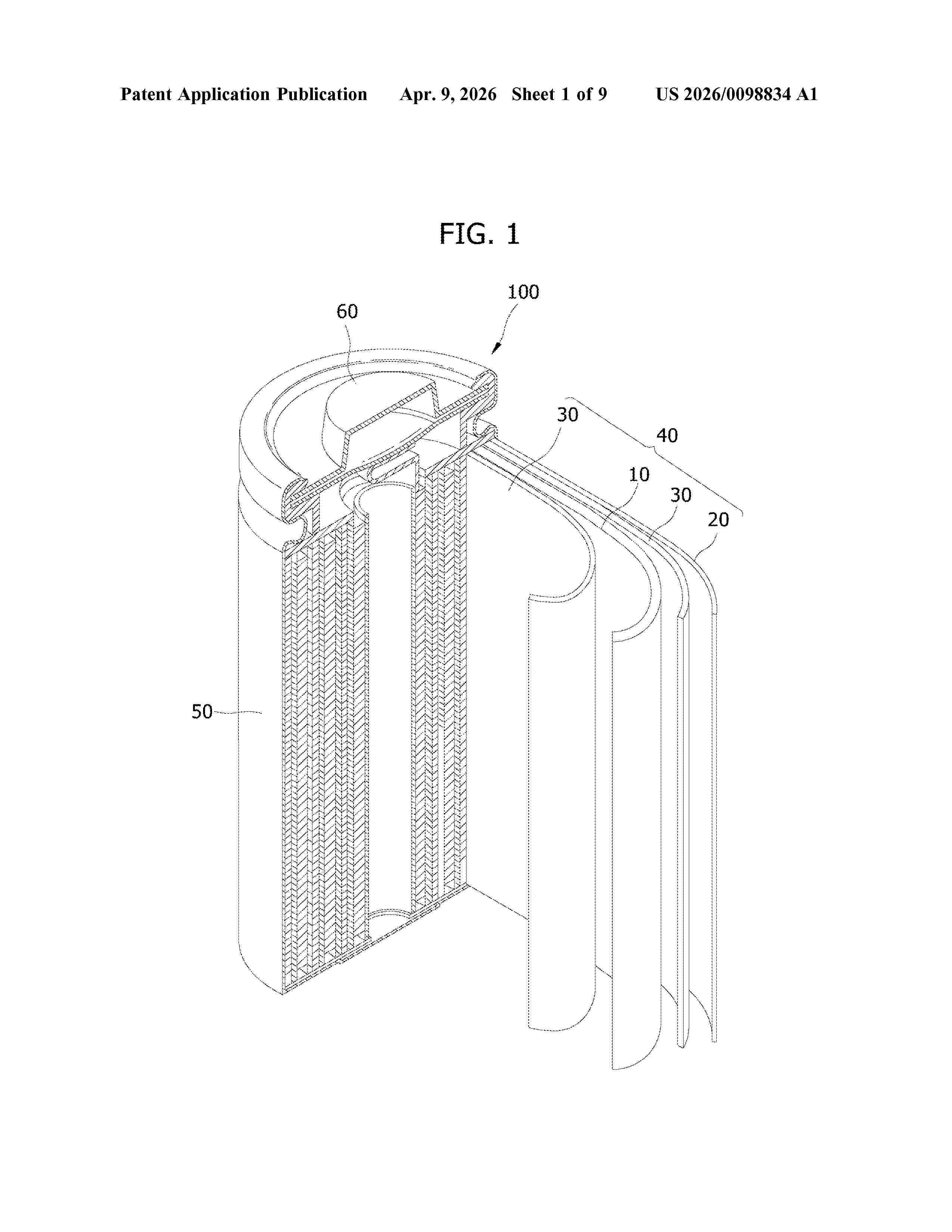
LITHIUM-ION BATTERY

NºPublicación:  WO2026077090A1 16/04/2026
Solicitante: 
SHENZHEN CAPCHEM TECHNOLOGY CO LTD [CN]
\u6DF1\u5733\u65B0\u5B99\u90A6\u79D1\u6280\u80A1\u4EFD\u6709\u9650\u516C\u53F8
WO_2026077090_A1

Resumen de: WO2026077090A1

To overcome the problem that existing lithium-ion batteries have difficulty considering both high-temperature performance and low-temperature performance, a lithium-ion battery is provided. The lithium-ion battery comprises a positive electrode, a negative electrode, and a non-aqueous electrolyte. The negative electrode comprises a negative electrode material layer containing a negative electrode material. The non-aqueous electrolyte comprises a non-aqueous organic solvent, a lithium salt, and an additive, the additive comprising vinylene carbonate, lithium difluorophosphate, and ethylene sulfate. The lithium-ion battery satisfies the following conditions: 0.08≤D×A/X≤8, 0.25≤D≤0.9, 0.1≤X≤2.5, and 0.3≤A≤2. D is the D50/D90 ratio of the negative electrode material. X is the mass content ratio of vinylene carbonate to lithium difluorophosphate in the non-aqueous electrolyte. A is the sum of the mass fractions of vinylene carbonate, ethylene sulfate, and lithium difluorophosphate in the non-aqueous electrolyte, the unit being wt%. The lithium-ion battery exhibits better performance under both high-temperature conditions and low-temperature conditions.

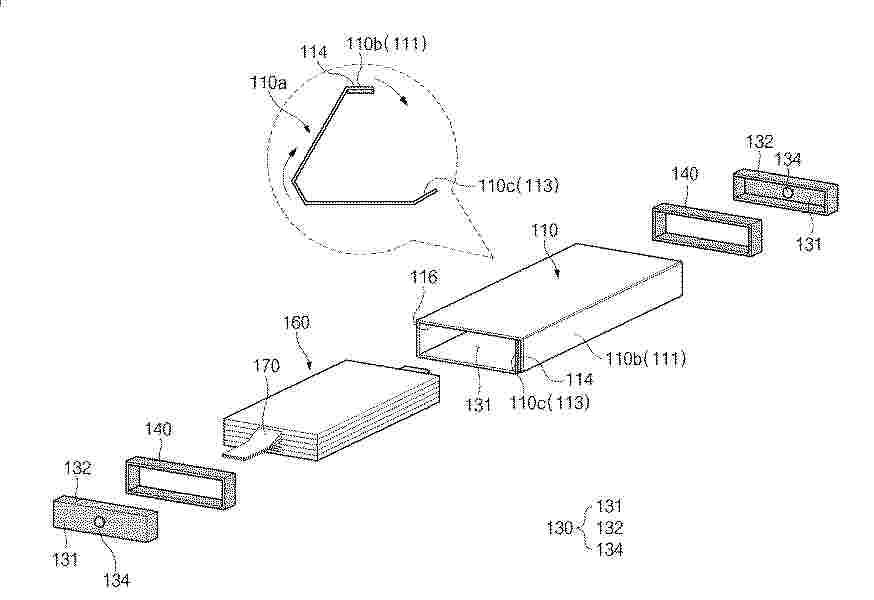
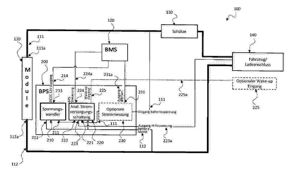
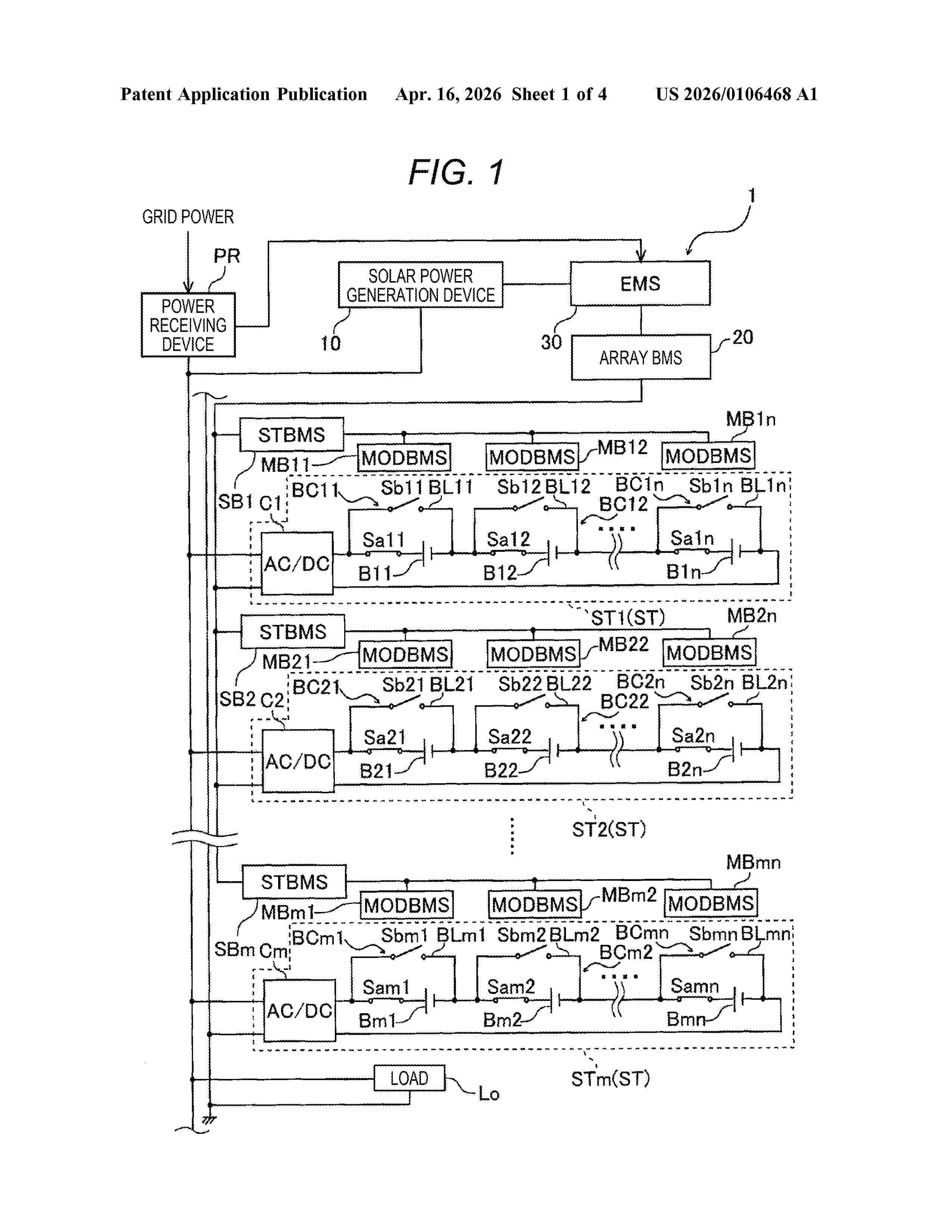
BATTERY APPARATUS AND BATTERY PACK

NºPublicación:  WO2026077190A1 16/04/2026
Solicitante: 
CALB GROUP CO LTD [CN]
\u4E2D\u521B\u65B0\u822A\u79D1\u6280\u96C6\u56E2\u80A1\u4EFD\u6709\u9650\u516C\u53F8
WO_2026077190_A1

Resumen de: WO2026077190A1

The present application relates to the technical field of new energy batteries, and discloses a battery apparatus and a battery pack. According to the battery apparatus, the pin order of an output terminal is consistent with the pin order of a port of a battery management assembly, which facilitates the electrical connection between the output terminal of the battery apparatus and the port of the battery management assembly, and enhances the structural strength of the output terminal, facilitating an insertion operation between the output terminal and the port of the battery management assembly. The battery apparatus of the present application comprises a main wiring harness, an output terminal, and an adapter circuit board. A plurality of wires are arranged within the main wiring harness. The output terminal is arranged at at least one end of the main wiring harness, and the output terminal is directly electrically connected to a battery management assembly. The adapter circuit board is arranged between the main wiring harness and the output terminal. A signal input port of the adapter circuit board is electrically connected to the main wiring harness. A signal output port is electrically connected to the output terminal. An output branch is arranged between the adapter circuit board and the output terminal. The ratio of the thickness of the adapter circuit board to the length of the output branch along the extension direction of the output branch ranges from 0.003 to 0.06.

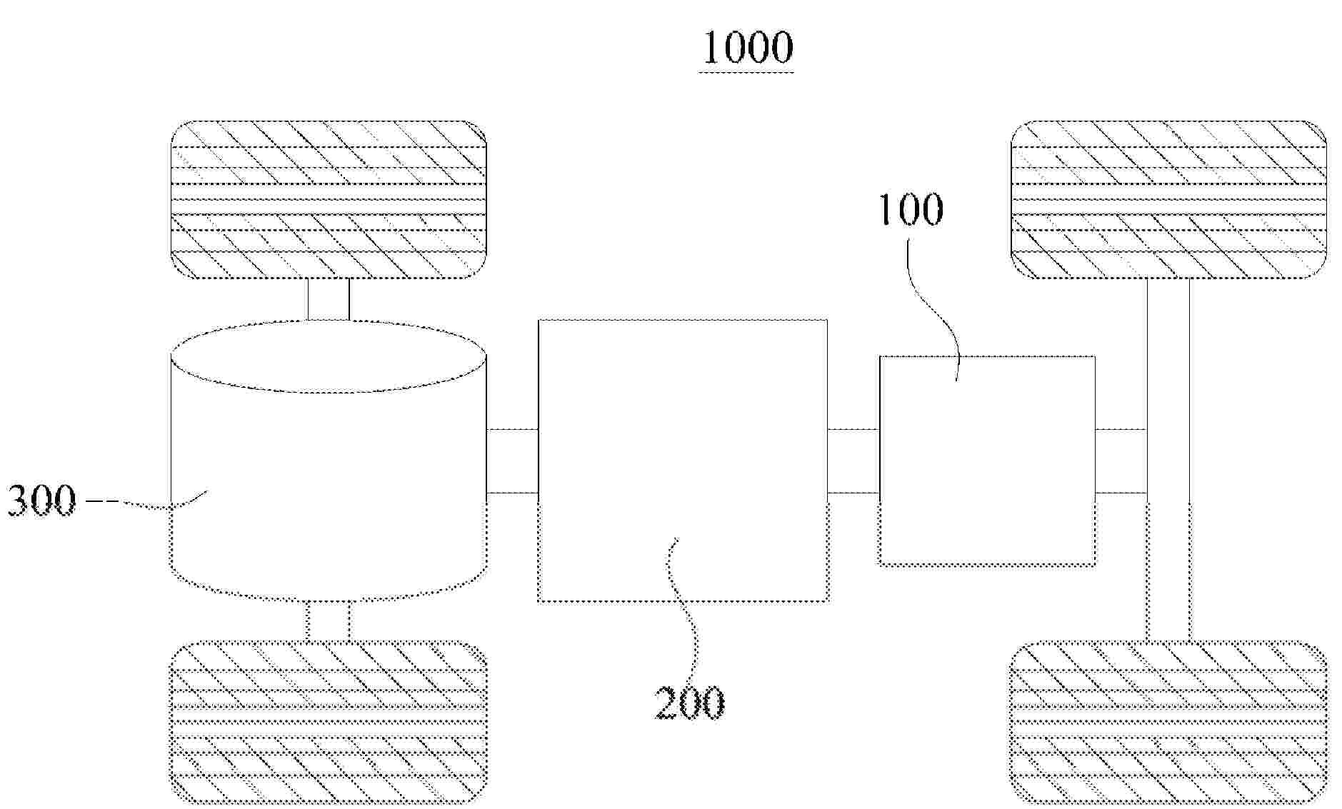
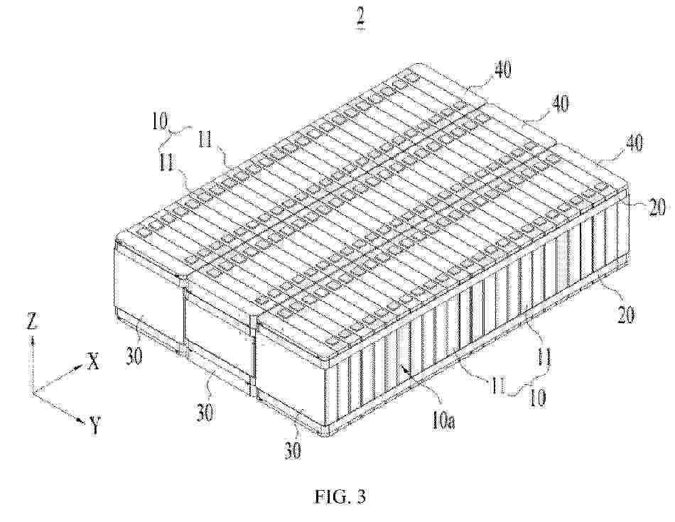
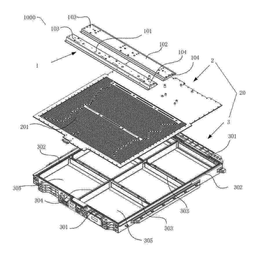
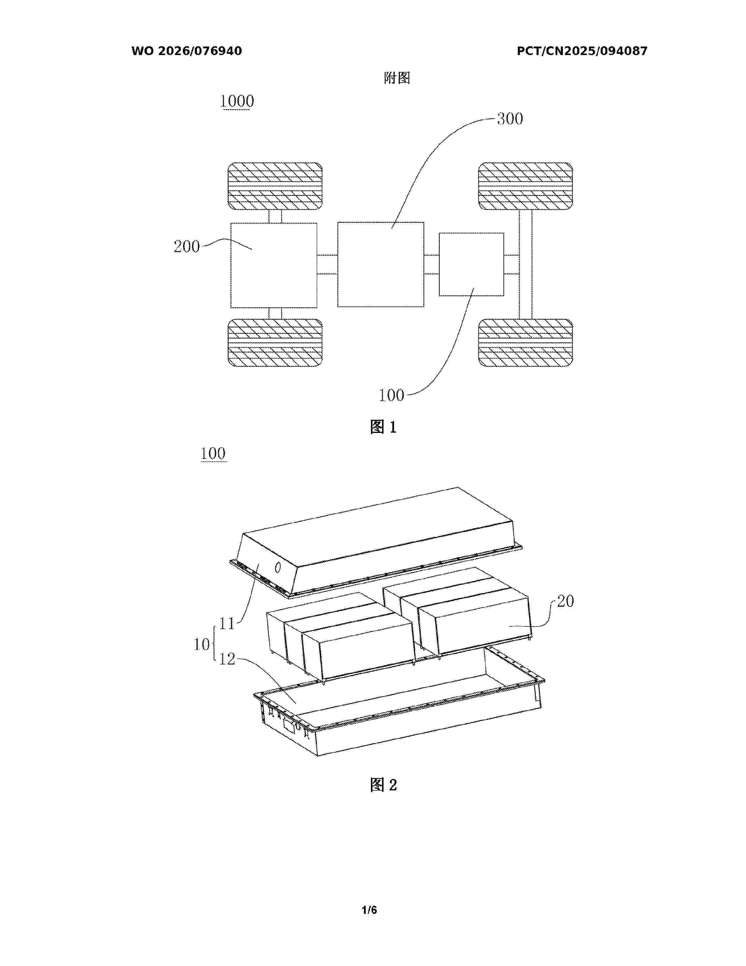
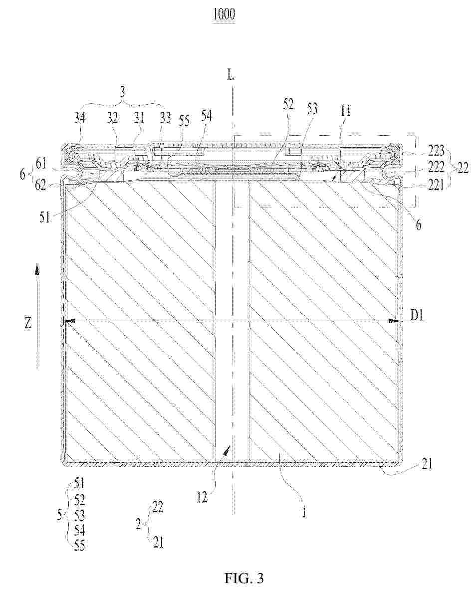
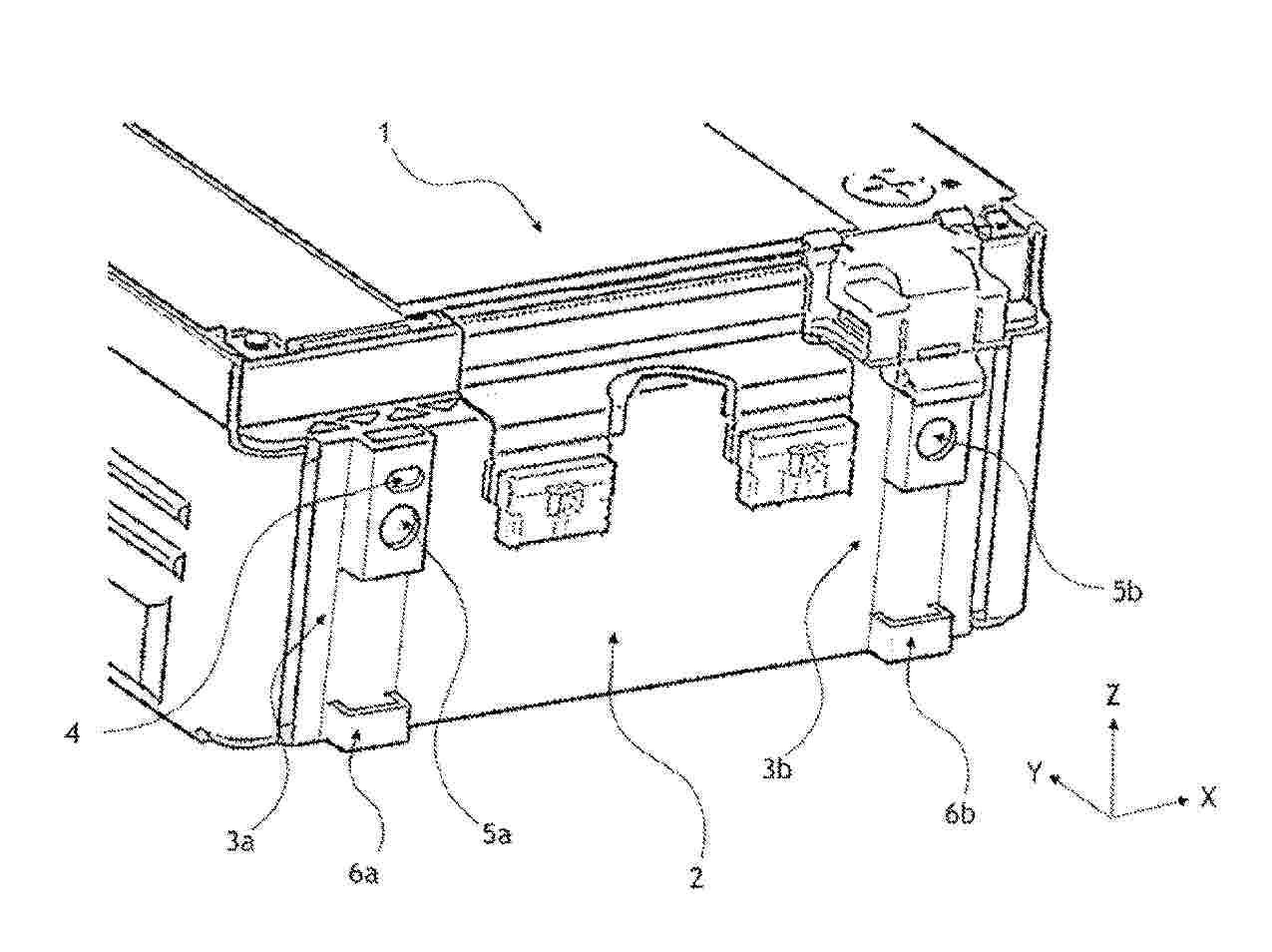
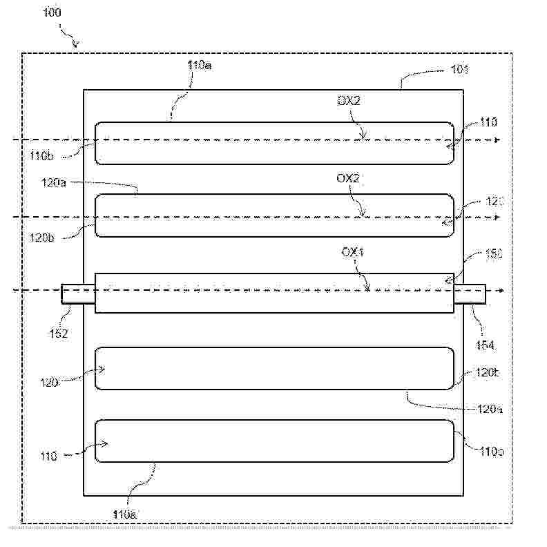
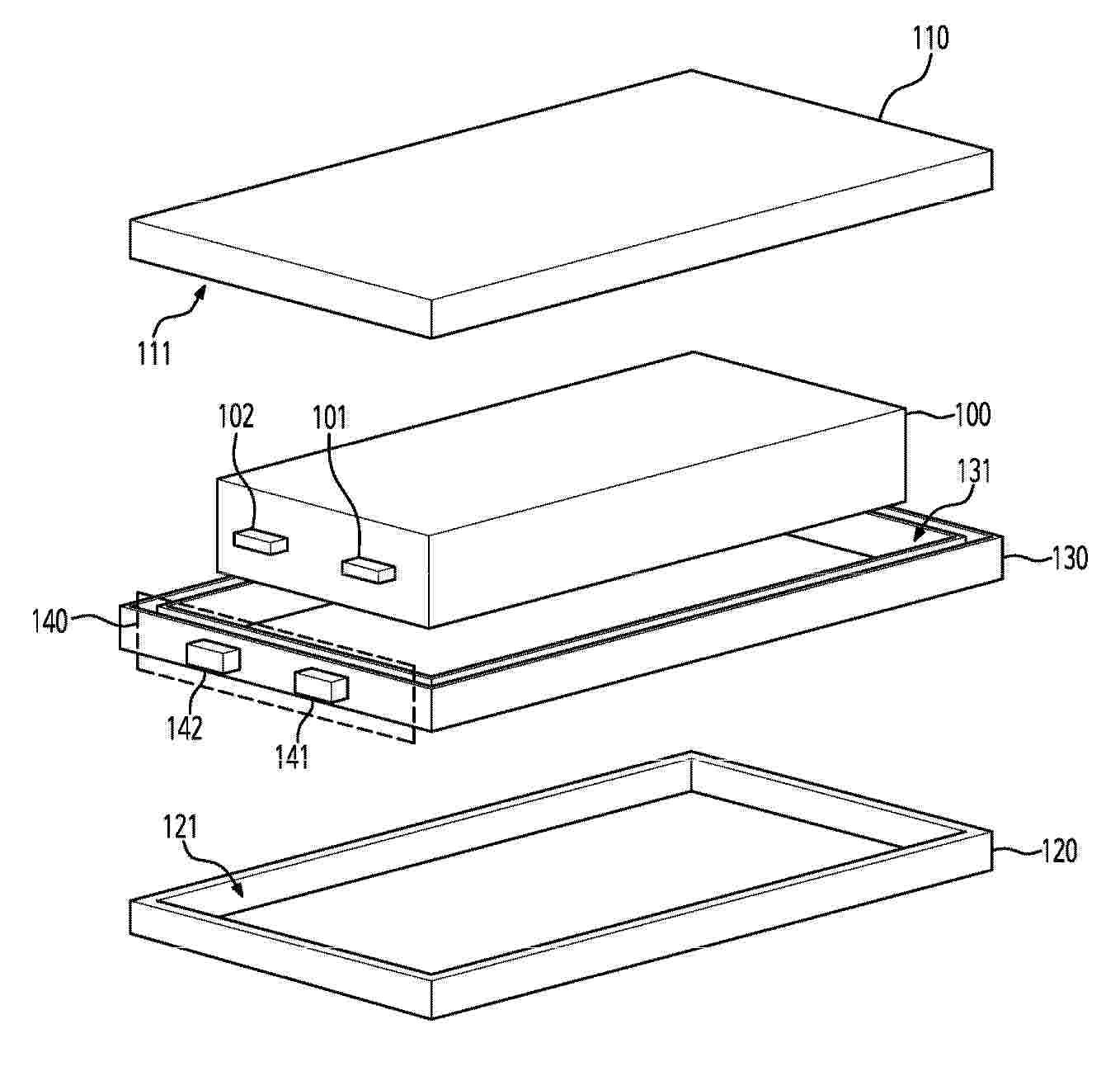
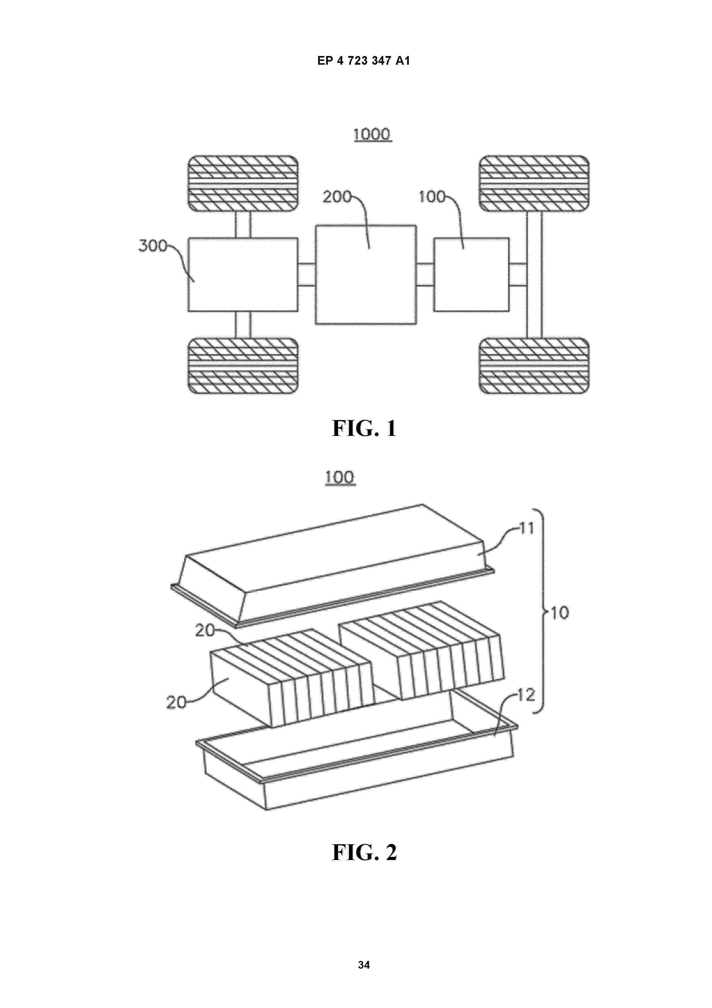
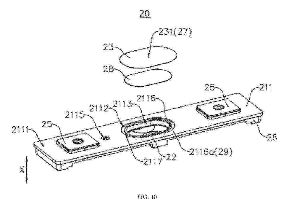
BATTERY PACK AND ELECTRIC DEVICE

NºPublicación:  AU2024388708A1 16/04/2026
Solicitante: 
XIAMEN HITHIUM ENERGY STORAGE TECHNOLOGY CO LTD
AU_2024388708_PA

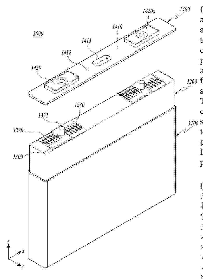
Resumen de: AU2024388708A1

A battery pack (1000) and an electric device (2000). The battery pack (1000) comprises: a battery management system (10); a plurality of battery modules (20); a circuit board (30); and a connector assembly (40), wherein the plurality of circuit boards (30) are sequentially connected in series to form a circuit board string, and the circuit board string is connected to the battery management system (10) so as to transmit working condition data of battery cells (22) in the battery modules (20) to the battery management system (10).

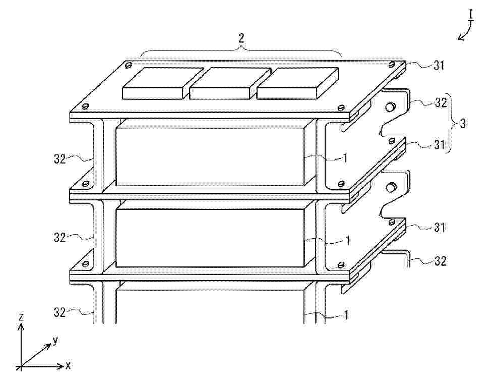
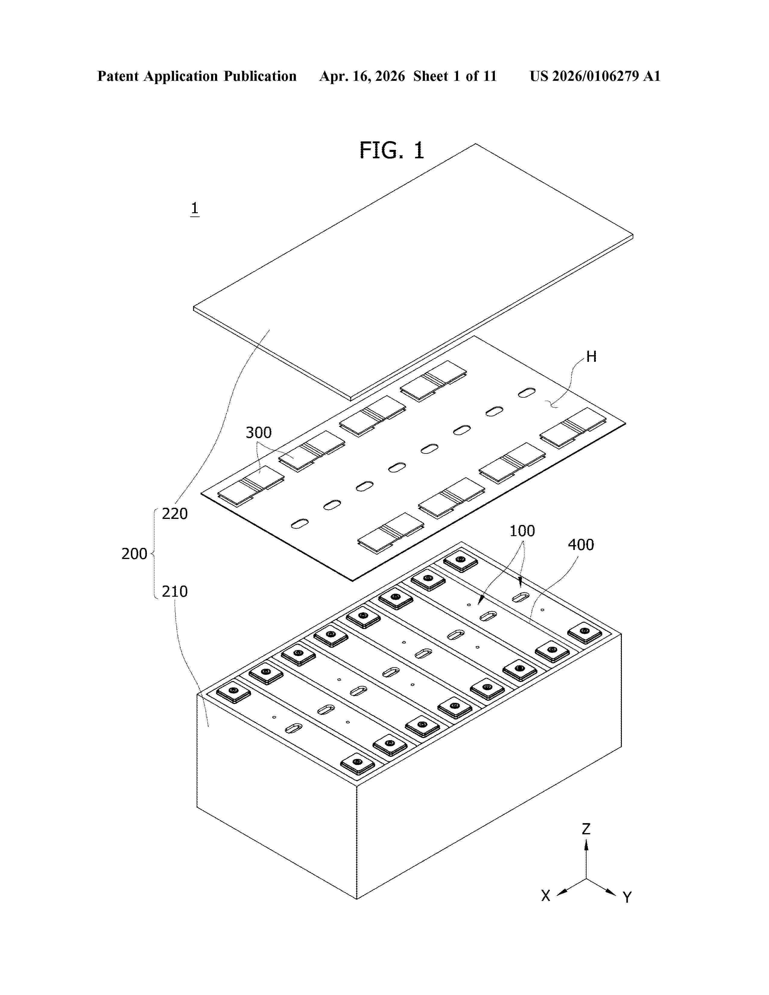
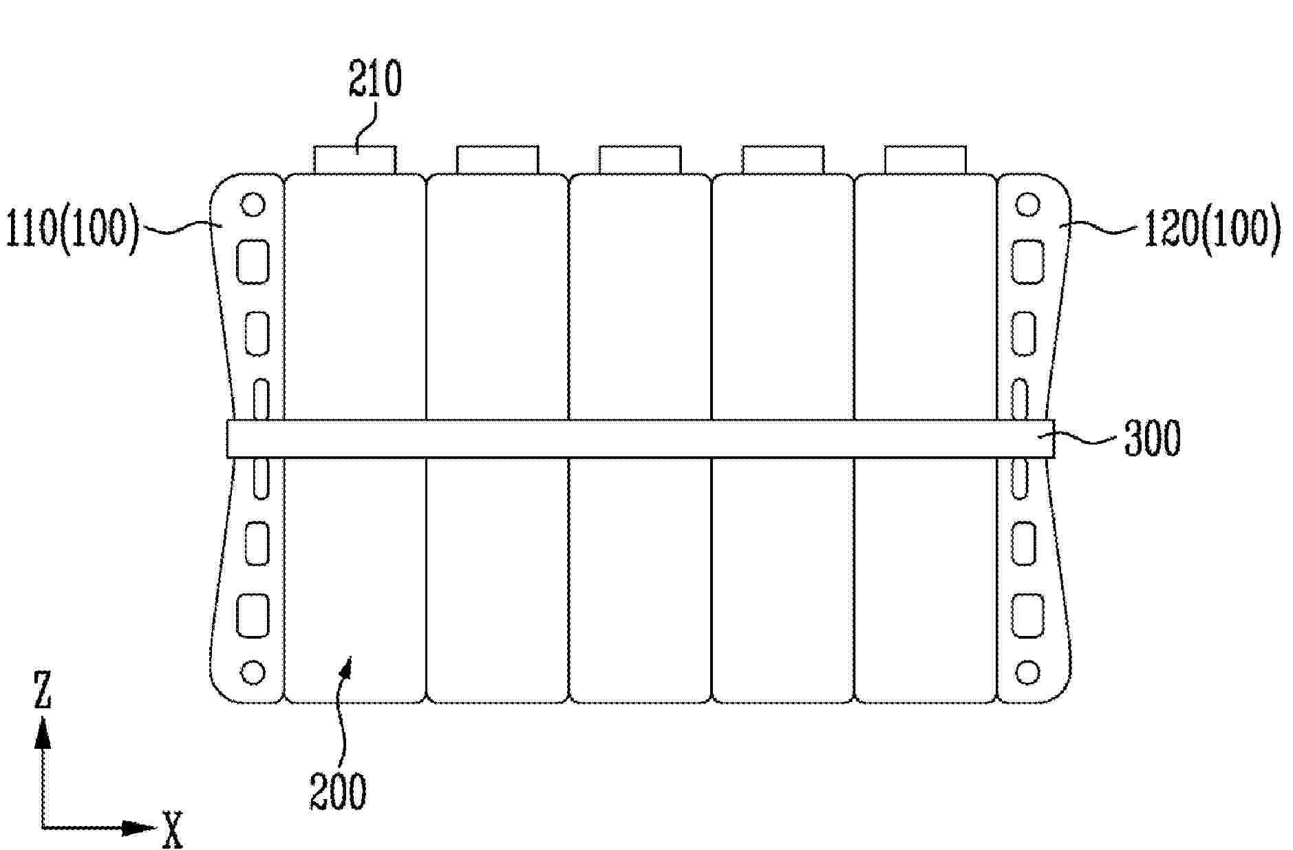
BATTERY MODULE AND BATTERY PACK COMPRISING SAME

NºPublicación:  US20260106306A1 16/04/2026
Solicitante: 
SK ON CO LTD [KR]
US_20260106306_A1

Resumen de: US20260106306A1

0000 Provided is a battery module comprising: a plurality of sub-modules arranged along a first direction; one or more connecting members disposed between the plurality of sub-modules, wherein at least one of the plurality of sub-modules is disposed along the first direction; and a housing having an internal space in which the plurality of cell stacks are accommodated, wherein the plurality of cell stacks each include a plurality of battery cells stacked in a second direction perpendicular to the first direction.

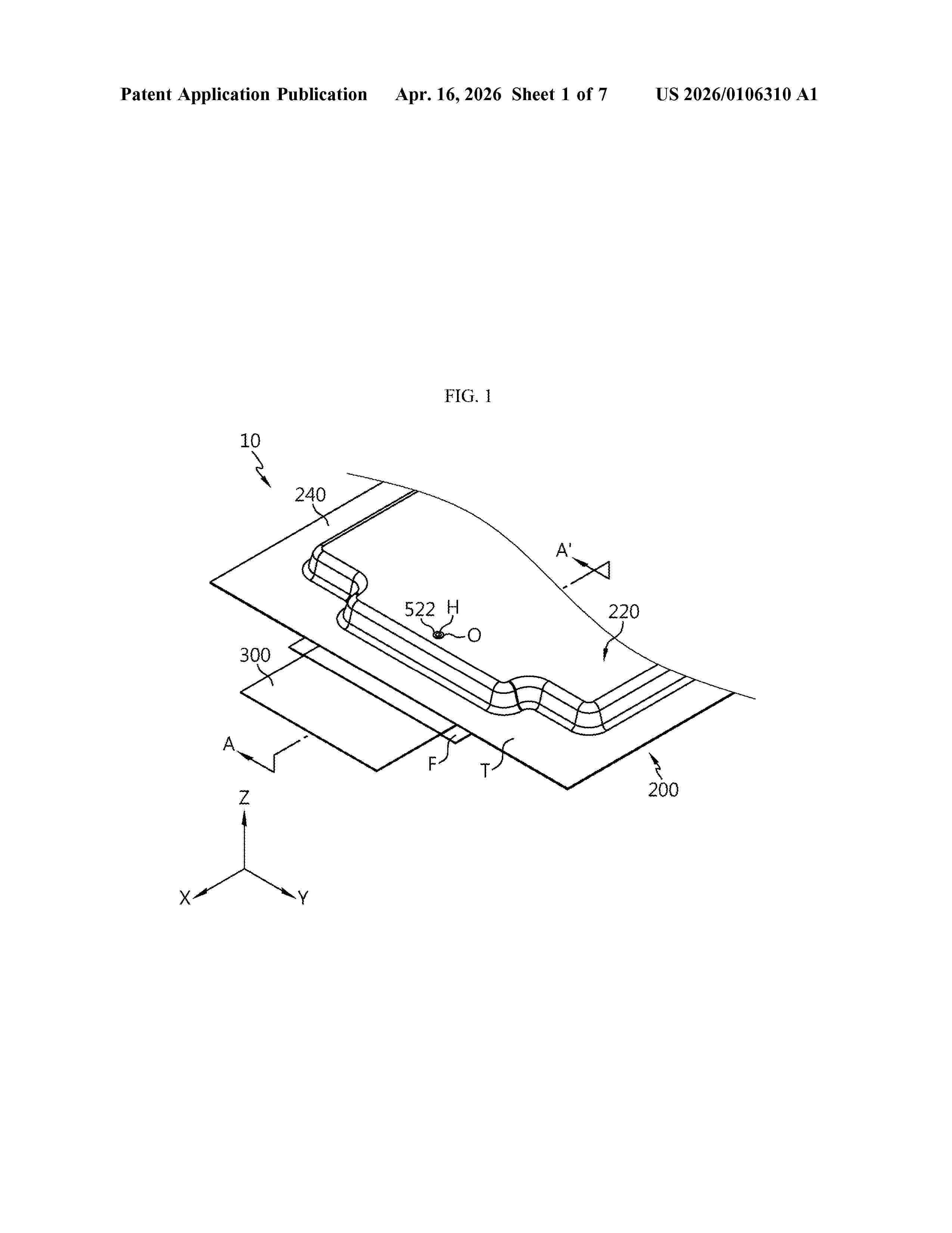
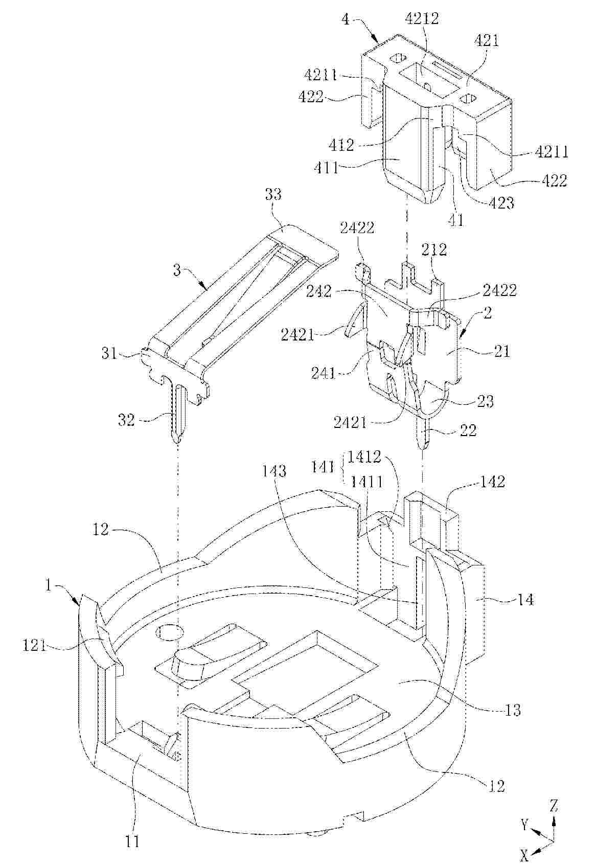
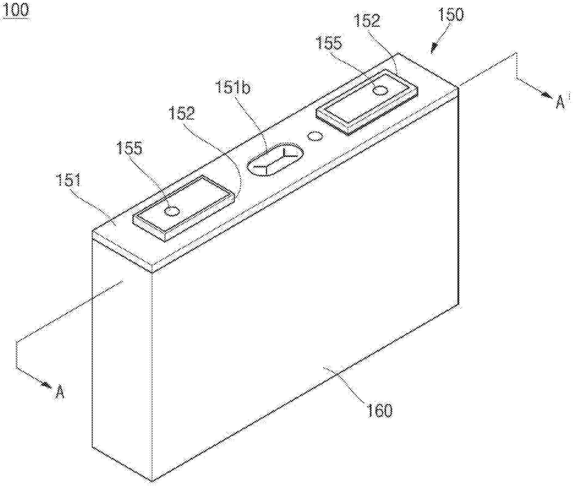
Battery Cell, and Battery Module, Battery Pack and Vehicle Including the Same

NºPublicación:  US20260106310A1 16/04/2026
Solicitante: 
LG ENERGY SOLUTION LTD [KR]
US_20260106310_A1

Resumen de: US20260106310A1

Disclosed is a battery cell capable of reinforcing safety of an electrode tab and controlling an internal pressure of the battery cell, and a battery module, a battery pack and a vehicle including the same. The battery cell includes an electrode assembly including a cell body and an electrode tab coupled to at least one side of the cell body, a cell case configured to accommodate the electrode assembly therein, an electrode lead coupled to the electrode tab and extending from the cell case, a tab protection module accommodated in the cell case and configured to cover at least a portion of the electrode tab, and a venting module coupled to the tab protection module and configured discharge a venting gas out of the cell case.

Materials and Methods of Producing Lithium Cobalt Oxide Materials of A Battery Cell

NºPublicación:  US20260103395A1 16/04/2026
Solicitante: 
EJOULE INC [US]
US_20260103395_A1

Resumen de: US20260103395A1

Various lithium cobalt oxides materials having a chemical formula of Lix Coy Oz, and method and apparatus of producing the various lithium cobalt oxides materials are provided. The method includes adjusting a molar ratio MLiSalt:MCoSalt of a lithium-containing salt, and a cobalt-containing salt within a liquid mixture to be equivalent to a ratio of x:y, drying a mist of the liquid mixture in the presence of a gas to form a gas-solid mixture, separating the gas-solid mixture into one or more solid particles of an oxide material, and annealing the solid particles of the oxide material in the presence of another gas flow to obtain crystalized particles of the lithium cobalt oxide material. The process system has a mist generator, a drying chamber, one or more gas-solid separator, and one or more reactors.

INTEGRATED SILICON-CARBON COMPOSITE NEGATIVE ELECTRODE MATERIAL AND PREPARATION METHOD THEREFOR

NºPublicación:  WO2026076928A1 16/04/2026
Solicitante: 
CNBM ZHEJIANG MATERIAL TECH CO LTD [CN]
\u4E2D\u5EFA\u6750\uFF08\u6D59\u6C5F\uFF09\u6750\u6599\u79D1\u6280\u6709\u9650\u516C\u53F8
WO_2026076928_A1

Resumen de: WO2026076928A1

The present invention provides an integrated silicon-carbon composite negative electrode material and a preparation method therefor. The integrated silicon-carbon composite negative electrode material comprises a carbon-based material matrix, a silicon-carbon composite layer distributed on the surface of the matrix, and an amorphous carbon layer covering the surface of the silicon-carbon composite layer. In the present invention, first vapor deposition is performed, and halogen gas is used to perform heat treatment for conversion so as to form a porous carbon layer having high thickness uniformity, and then amorphous silicon is deposited into pores by means of second vapor deposition. The integrated material prepared by means of the method uses a silicon lattice of silicon carbide to generate pores, thereby solving the problems of non-uniformity and poor stability in the current porous carbon activation process. There is certain bonding at the interface between the porous carbon and graphite, which facilitates connection of a silicon-carbon negative electrode with the surface of the graphite during expansion without detachment.

BATTERY CELL AND BATTERY PACK

NºPublicación:  WO2026077039A1 16/04/2026
Solicitante: 
SVOLT ENERGY TECH CO LTD [CN]
\u8702\u5DE2\u80FD\u6E90\u79D1\u6280\u80A1\u4EFD\u6709\u9650\u516C\u53F8
WO_2026077039_A1

Resumen de: WO2026077039A1

The present application relates to the technical field of batteries, and in particular to a battery cell and a battery pack. The battery cell comprises: a casing. A cover plate is welded and connected to the casing to form a weld portion between the casing and the cover plate, and the projected area of the weld portion on the cross section of the casing perpendicular to the depth direction of the casing is S1. A boss portion extending into the casing is formed on the cover plate, and the area enclosed by the outer periphery of the boss portion is S2. The tensile strength of the cover plate is U, (I). According to the present application, by limiting the relationship between S1, S2, and U to satisfy (I), the welding strength between the casing and the cover plate is ensured, and the weld portion is prevented from cracking, thereby ensuring the airtightness of the battery cell, ensuring the use safety of the battery cell, and improving the safety of the battery pack.

BATTERY MODULE AND BATTERY PACK

NºPublicación:  WO2026076966A1 16/04/2026
Solicitante: 
CALB GROUP CO LTD [CN]
\u4E2D\u521B\u65B0\u822A\u79D1\u6280\u96C6\u56E2\u80A1\u4EFD\u6709\u9650\u516C\u53F8
WO_2026076966_A1

Resumen de: WO2026076966A1

The present application relates to the technical field of batteries. Disclosed are a battery module and a battery pack. The battery module comprises: battery cells provided with pressure relief valves; and wire harness boards, which form slit portions, the projection of each slit portion facing a first surface at least partially overlapping with each pressure relief valve. The dimensions of residual portions are defined as a; and in the direction of width of the slit portions, the width of the slit portions is defined as b , and the dimensions of the pressure relief valves are defined as c, wherein a, b and c satisfy: c>b, and 0.01≤b/a≤12. In the battery module provided in the present application, by means of defining the range of the ratio of the width b of the slit portions to the dimensions a of the residual portions, when the ratio is excessively large, it indicates that the slit portions are excessively wide and the residual portions are excessively short, making a pressure relief piece easily fly out; and when the ratio is excessively small, it indicates that the slit portions are excessively narrow and the residual portions are excessively long, thereby being unfavorable for the diffusion of a high-temperature media.

CERAMIC COMPOSITE SEPARATOR AND METHOD FOR MANUFACTURING THE SAME

NºPublicación:  US20260106320A1 16/04/2026
Solicitante: 
ELECTROVAYA INC [CA]
US_20260106320_A1

Resumen de: US20260106320A1

0000 A ceramic composite separator and a method of preparing the ceramic composite separator are provided. The ceramic composite separator includes a polymeric scaffold and a coating including a plurality of ceramic particles, wherein a portion of the plurality of ceramic particles is disposed in the polymeric scaffold. The method of preparing the ceramic composite separator includes providing a polymeric scaffold, forming a coating comprising a plurality of ceramic particles on the polymeric scaffold, and consolidating the coating on the polymeric scaffold to form the ceramic composite separator that includes the consolidated coating on the polymeric scaffold.

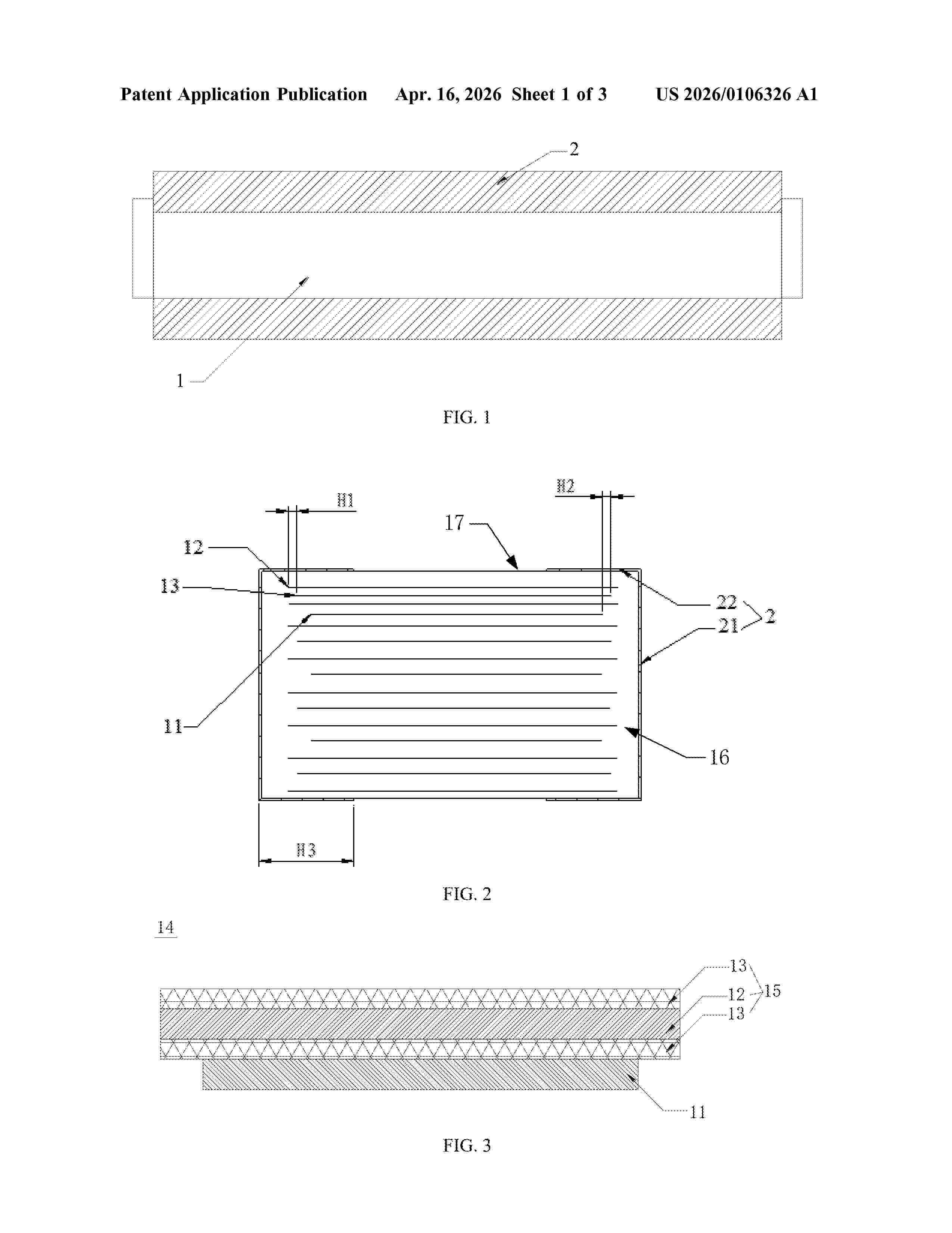
CORE CELL STACK ASSEMBLY AND STACKING METHOD THEREFOR, AND BATTERY

NºPublicación:  US20260106326A1 16/04/2026
Solicitante: 
EVE POWER CO LTD [CN]
US_20260106326_A1

Resumen de: US20260106326A1

0000 Provided are a core cell stack assembly and a stacking method therefor, and a battery. The core cell stack assembly includes a positive electrode sheet, a negative electrode sheet, and a separator located between the positive electrode sheet and the negative electrode sheet in a thickness direction of the core cell stack assembly. An edge of the separator is flush with an edge of the negative electrode sheet and extends beyond an edge of the positive electrode sheet on at least one end of each of the positive electrode sheet, the negative electrode sheet, and the separator.

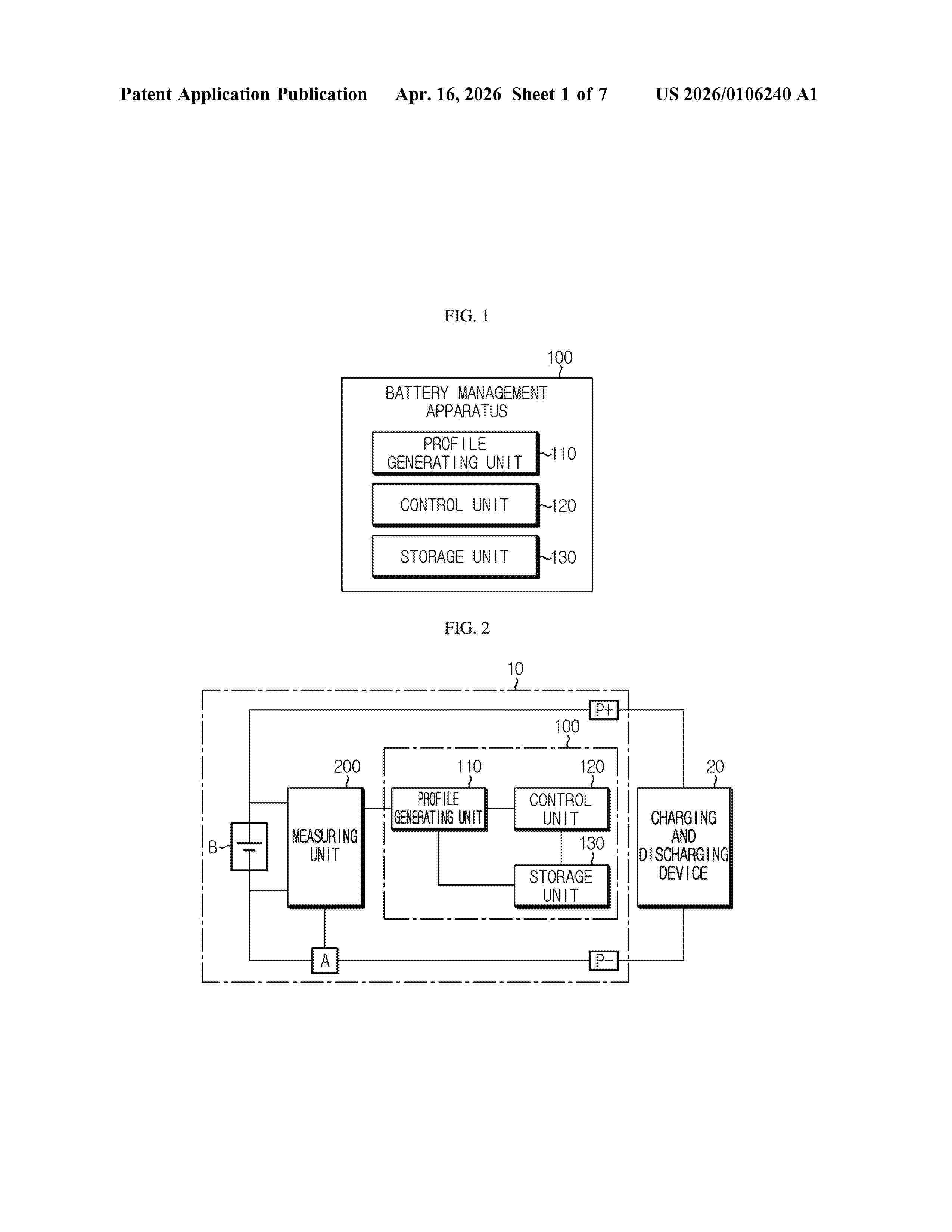
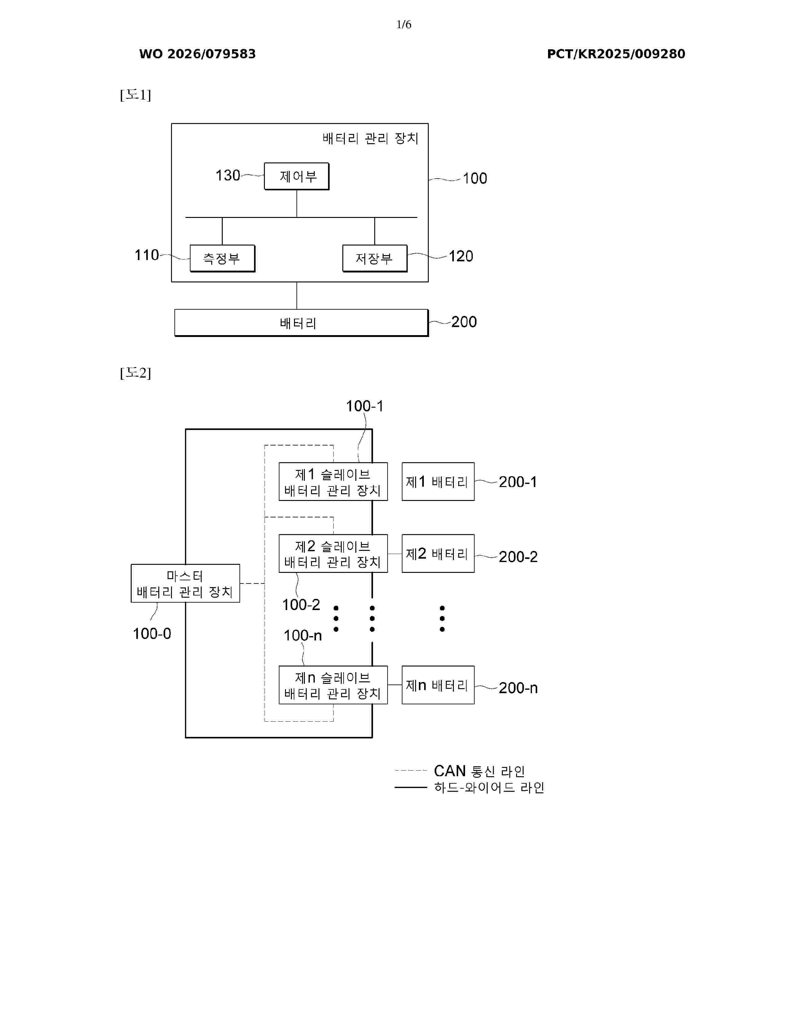
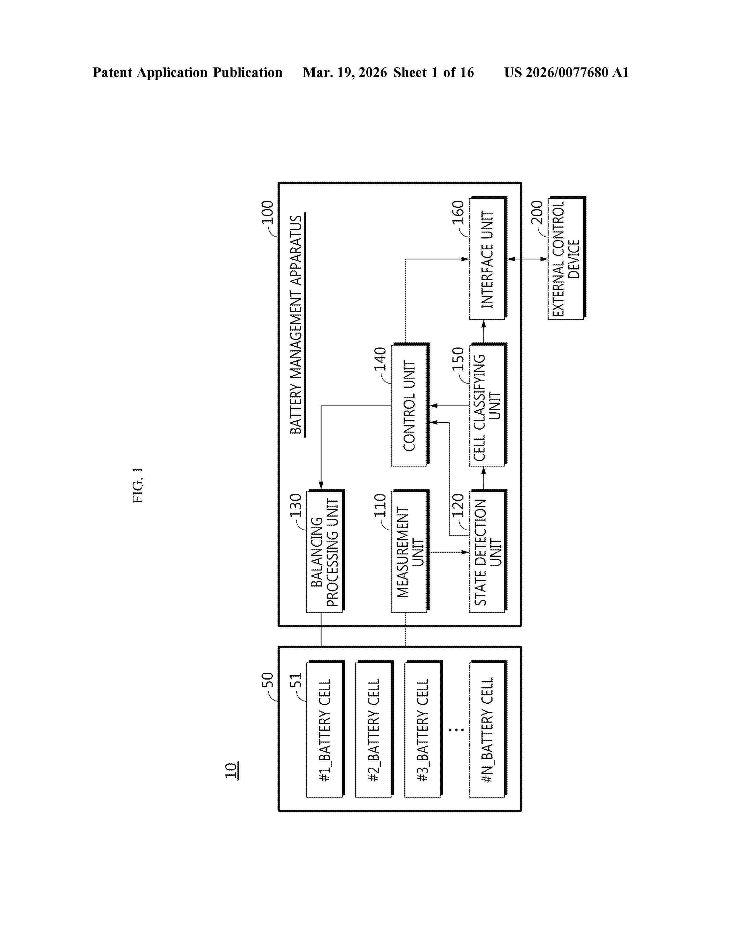
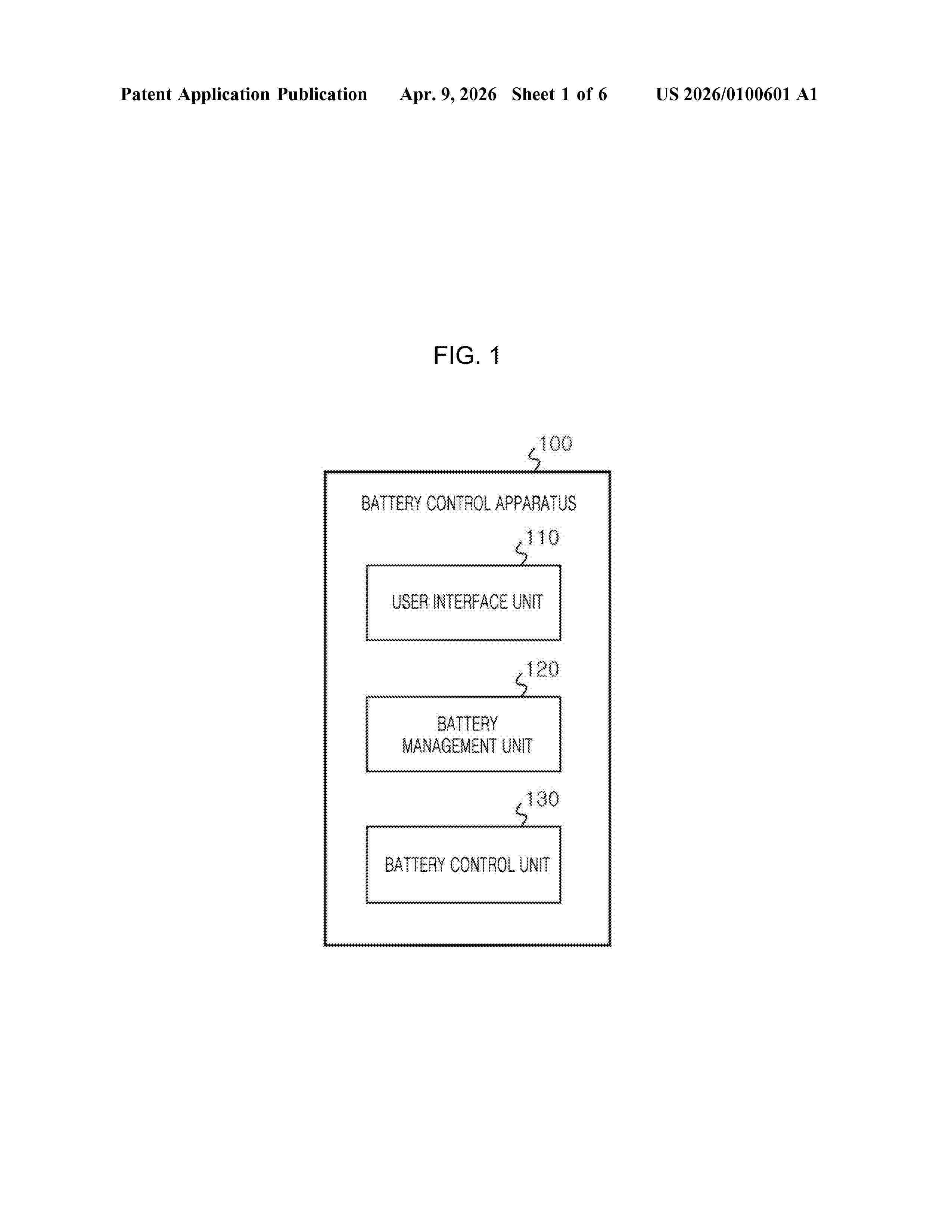
Battery Management Apparatus and Method

NºPublicación:  US20260106240A1 16/04/2026
Solicitante: 
LG ENERGY SOLUTION LTD [KR]
US_20260106240_A1

Resumen de: US20260106240A1

A battery management apparatus includes: a profile generating unit configured to obtain a battery profile representing a correspondence between voltage and capacity of a battery and generate a differential profile representing a correspondence between a differential voltage for the capacity of the battery and the capacity or a correspondence between a differential capacity for the voltage of the battery and the voltage based on the obtained battery profile; and a control unit configured to receive the generated differential profile from the profile generating unit, determine a target peak included in the received differential profile according to a rule corresponding to a type of the received differential profile, and determine a state of the battery based on a behavior change of the target peak with respect to a reference peak preset to correspond to the type of the received differential profile.

IMPROVED MULTILAYER POROUS MEMBRANES AND METHODS OF MAKING THE SAME

NºPublicación:  US20260102994A1 16/04/2026
Solicitante: 
CELGARD LLC [US]
US_20260102994_A1

Resumen de: US20260102994A1

A multilayer membrane comprising at least two co-extruded layers where the two co-extruded layer contain different polymers and one of the two co-extruded layers contains an extrusion additive. Examples of useful extrusion additives may include a nucleating agent or a pore-forming particulate. A method for making the membrane is also disclosed. Using an extrusion additive when co-extruding two different polymers avoids some of the drawbacks associated with processes involving the co-extrusion of different polymers, particularly processes where a co-extruded non-porous precursor is later stretched to form pores. For example, the drawback of lower permeability, difficulty to make lower Gurley, and splittiness may be improved.

CIRCUIT BOARD ASSEMBLY FOR BATTERY APPARATUS

NºPublicación:  WO2026077230A1 16/04/2026
Solicitante: 
CALB GROUP CO LTD [CN]
\u4E2D\u521B\u65B0\u822A\u79D1\u6280\u96C6\u56E2\u80A1\u4EFD\u6709\u9650\u516C\u53F8
WO_2026077230_A1

Resumen de: WO2026077230A1

The present application relates to the technical field of circuit boards, and specifically provides a circuit board assembly for a battery apparatus. The circuit board assembly comprises a circuit board main body, a branch structure, and a fixing plate. The circuit board main body comprises a plurality of parallel wires. The branch structure comprises a branch connection portion and a sampling portion. The sampling portion is used to collect battery information. The branch connection portion is provided with through holes, and a welding spot is formed within at least one through hole and is welded to a wire. The fixing plate is connected to the branch connection portion, the width of the fixing plate is W1, and the diameter of the through holes is R, such that 0.01≤R/W1≤2. In the present application, the branch connection portion is welded to a wire of the circuit board main body by means of a through hole having a welding spot, and is reinforced by using the fixing plate, so as to prevent bending and warping of the branch connection portion due to heat during welding. In addition, the ratio of the diameter of the through holes to the width of the fixing plate is properly designed, so that a sufficient fixing effect can be achieved for the branch connection portion, thus the occurrence of bending or even folding is eliminated, and welding is also made reliable, and large local resistance is prevented.

BATTERY DEVICE

NºPublicación:  WO2026077205A1 16/04/2026
Solicitante: 
CALB GROUP CO LTD [CN]
\u4E2D\u521B\u65B0\u822A\u79D1\u6280\u96C6\u56E2\u80A1\u4EFD\u6709\u9650\u516C\u53F8
WO_2026077205_A1

Resumen de: WO2026077205A1

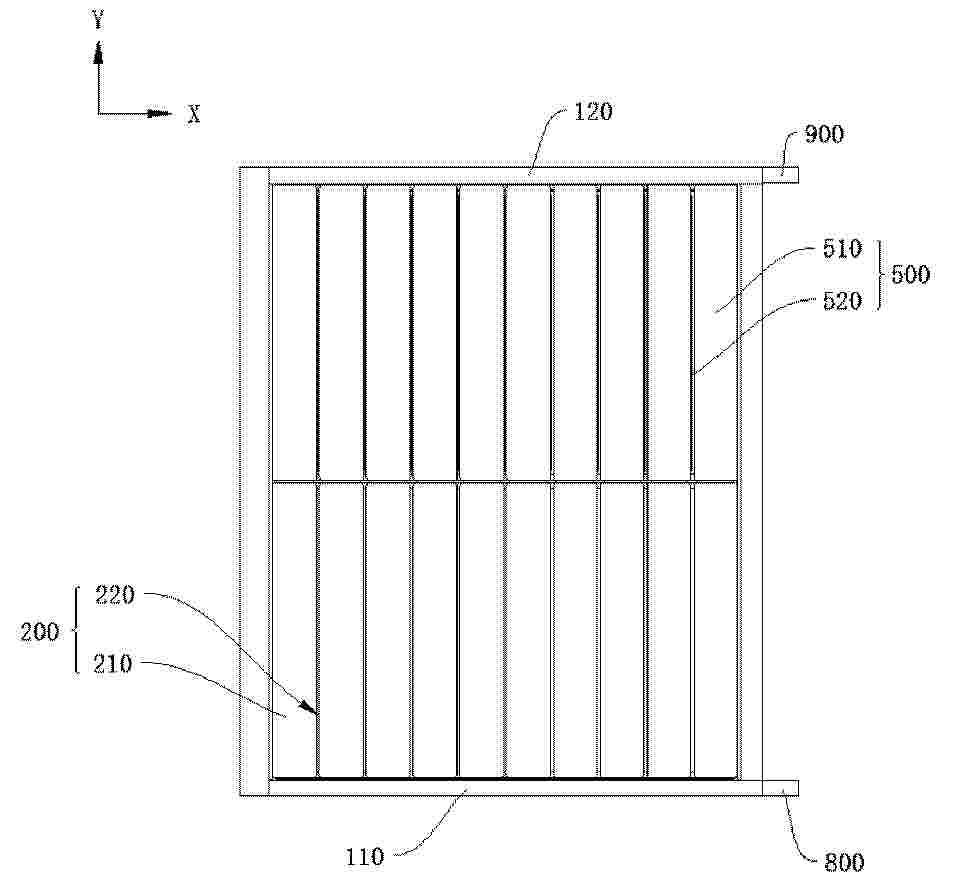
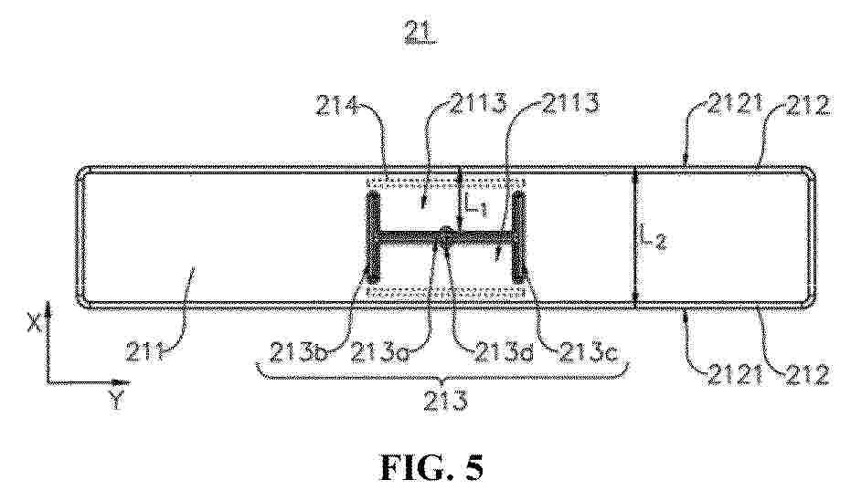
The present application relates to the technical field of battery devices. Disclosed is a battery device, comprising a case, wherein at least one cross beam structure is fixedly connected in a cavity of the case, and divides the cavity into at least two accommodating cavities; a battery pack is arranged in the accommodating cavity, and the battery pack comprises at least two battery cells that are arranged in sequence in a first direction; a terminal post of each battery cell is arranged at one end of the battery cell in a second direction; protruding end faces of the terminal posts of the battery cells are arranged perpendicular to a bottom plate; a busbar is arranged between the battery pack and the cross beam structure, and is arranged opposite the cross beam structure; the terminal posts of two adjacent battery cells are connected to each other by means of the busbar; the first direction is perpendicular to the second direction; and a ratio A of the width L1 of the cross beam structure in the second direction to the length L2 of the battery cells in the second direction satisfies 0.15≤A≤0.4. The battery device provided in the present application not only prevents insufficient space utilization caused by an excessively large ratio A, but also prevents insufficient support strength for the battery cells when the ratio A is excessively small.

BATTERY PACK CASE AND BATTERY PACK

NºPublicación:  WO2026077250A1 16/04/2026
Solicitante: 
CALB GROUP CO LTD [CN]
\u4E2D\u521B\u65B0\u822A\u79D1\u6280\u96C6\u56E2\u80A1\u4EFD\u6709\u9650\u516C\u53F8
WO_2026077250_A1

Resumen de: WO2026077250A1

The present application provides a battery pack case and a battery pack. The battery pack case comprises a bottom plate and a surrounding frame surrounding the bottom plate, the bottom plate and the surrounding frame forming an accommodating space for accommodating a battery. A connecting beam is welded to the side of the surrounding frame away from the accommodating space, a through hole being provided on the connecting beam. The axis of the through hole is perpendicular to the bottom plate, and an annular gasket is attached to at least one side surface of the through hole. The annular gasket has a central hole, the area of the central hole being less than the area of the through hole, and the annular gasket covering part of the through hole. The length of a welding seam between the connecting beam and the surrounding frame, the length of the connecting beam, and the diameter of the through hole satisfy the following relationship: C=A/B. After the connecting beam is welded to the surrounding frame, the annular gasket is attached to the connecting beam, and part of the through hole is covered. Therefore, by ensuring the precision of the central hole of the annular gasket relative to the connecting beam, the precision of the through hole relative to the connecting beam is ensured.

ADDITIVE FOR RECHARGEABLE LITHIUM BATTERY, ELECTROLYTE INCLUDING SAME, AND RECHARGEABLE LITHIUM BATTERY

NºPublicación:  US20260106207A1 16/04/2026
Solicitante: 
SAMSUNG SDI CO LTD [KR]
US_20260106207_A1

Resumen de: US20260106207A1

Provided are an additive for a rechargeable lithium battery, an electrolyte a rechargeable lithium battery including the same, and a rechargeable lithium battery, the additive including a core, and a shell surrounding the core, wherein the core includes a flame retardant, a fire extinguishing agent, a non-combustible material, or a combination thereof, and the shell includes a polymer having a melting point of 90° C. to 120° C.

LITHIUM SECONDARY BATTERY WITH ENHANCED SAFETY

NºPublicación:  US20260106221A1 16/04/2026
Solicitante: 
SOLVAY SPECIALTY POLYMERS IT [IT]
US_20260106221_A1

Resumen de: US20260106221A1

0000 The present invention relates to a composition comprising a) at least one fluorinated acyclic carboxylic acid ester and b) at least one halogenated benzene, and to a lithium secondary battery comprising the composition in a liquid electrolyte. The present invention also relates to use of the composition in a liquid electrolyte for a lithium secondary battery.

ADDITIVE FOR RECHARGEABLE LITHIUM BATTERY, ELECTROLYTE INCLUDING SAME, AND RECHARGEABLE LITHIUM BATTERY

NºPublicación:  US20260106220A1 16/04/2026
Solicitante: 
SAMSUNG SDI CO LTD [KR]
US_20260106220_A1

Resumen de: US20260106220A1

0000 Provided are an additive for a rechargeable lithium battery, an electrolyte a rechargeable lithium battery including the same, and a rechargeable lithium battery, the additive including a core including polyethylene wax, and a shell surrounding the core, wherein the shell includes a polymer having a melting point of 90° C. to 120° C.

POLYARYLETHERSULFONE COPOLYMER HAVING IMPROVED HYDROPHILICITY

NºPublicación:  US20260103568A1 16/04/2026
Solicitante: 
SYENSQO SPECIALTYY POLYMRES USA LLC [US]
US_20260103568_A1

Resumen de: US20260103568A1

A polyarylethersulfone (‘PAES’) copolymer, a process for preparing the PAES copolymer, an article such as a film, fiber, membrane or a part thereof comprising the PAES copolymer, the use of the PAES copolymer in the preparation of an article, a polymer solution comprising the PAES copolymer, and a method for using such article for aqueous medium treatment. The PAES copolymer is a random polymer which comprises at least two types of recurring units, one of which being derived from condensation of a diol and a dihalogenated alkylene oxide, while the other type of recurring units is derived from condensation of the same diol and a dihalodiphenylsulfone. The diol may be aromatic or alicyclic. The dihalogenated alkylene oxide preferably has at most 9 carbon atoms and/or at most 4 oxygen atoms.

BATTERY APPARATUS

NºPublicación:  WO2026077182A1 16/04/2026
Solicitante: 
CALB GROUP CO LTD [CN]
\u4E2D\u521B\u65B0\u822A\u79D1\u6280\u96C6\u56E2\u80A1\u4EFD\u6709\u9650\u516C\u53F8
WO_2026077182_A1

Resumen de: WO2026077182A1

The present application provides a battery apparatus. The battery apparatus comprises: a bottom plate, the bottom plate having a side plate, the side plate and the bottom plate being arranged at an angle and arranged in integral connection, the bottom plate and the side plate forming an accommodating space for accommodating a battery, and the top of the side plate having a flange extending toward the accommodating space; and at least one frame, which is arranged at the edge of the bottom plate. The at least one frame is arranged on an inner side of the side plate close to the accommodating space, the side plate covering an outer side surface of the frame, and the flange covering at least part of a top surface of the frame. The frame has two side portions facing the accommodating space and facing away from the accommodating space, a cavity being formed between the two side portions, a through hole being provided on the side of the frame close to the accommodating space, the outer side surface of the frame being welded to the side plate, and/or the top surface of the frame being welded to the flange. The bottom plate of the battery apparatus is configured to be basin-shaped, so that the bottom plate and the side plate are an integrated structure, and the sealing performance is good.

BATTERY CASE AND BATTERY PACK

NºPublicación:  WO2026077229A1 16/04/2026
Solicitante: 
CALB GROUP CO LTD [CN]
\u4E2D\u521B\u65B0\u822A\u79D1\u6280\u96C6\u56E2\u80A1\u4EFD\u6709\u9650\u516C\u53F8
WO_2026077229_A1

Resumen de: WO2026077229A1

The present application relates to the technical field of batteries, and discloses a battery case and a battery pack. The battery case comprises a bottom plate, side members, and a cover plate; the side members and the bottom plate jointly define a battery accommodating space; the cover plate is fixed to at least one side member by means of fasteners; the side member has a connecting surface; the connecting surface has a first fixing surface and second fixing surfaces; the first fixing surface is arranged parallel to the bottom plate; the second fixing surfaces are arranged at an included angle with respect to the bottom plate; the height H of the second fixing surfaces in a direction perpendicular to the bottom plate is 200-250 mm. By changing the angle of part of the connecting surface of the side member, the fastening direction of the fasteners at the second fixing surfaces forms an included angle with the vibration direction of the battery case during vibration, thereby enhancing the connection strength of the fasteners, making the cover plate and the side member fixed reliably, ensuring the sealing performance between the side member and the cover plate. The height H of the second fixing surfaces is set to 200-250 mm, thereby ensuring the fixing effect and avoiding waste in costs.

BATTERY ASSEMBLY AND BATTERY PACK

NºPublicación:  WO2026077189A1 16/04/2026
Solicitante: 
CALB GROUP CO LTD [CN]
\u4E2D\u521B\u65B0\u822A\u79D1\u6280\u96C6\u56E2\u80A1\u4EFD\u6709\u9650\u516C\u53F8
WO_2026077189_A1

Resumen de: WO2026077189A1

The present application relates to the technical field of new energy batteries, and provides a battery assembly and a battery pack. The battery assembly comprises: a plurality of cylindrical batteries, each cylindrical battery comprising a circumferential surface and end faces; a first cold plate and second cold plates, wherein the second cold plates are arranged perpendicular to the first cold plate, the second cold plates are arranged on both sides of the first cold plate, a plurality of arc-shaped recesses are arranged at intervals on two surfaces of each second cold plate, the cylindrical batteries are arranged on the second cold plates, the circumferential surfaces fit with the arc-shaped recesses, the end faces fit with the first cold plate, a first medium flow channel is provided in the first cold plate, and a second medium flow channel is provided in each second cold plate; a liquid collecting pipe used for communicating the second medium flow channels of the two second cold plates; and a liquid inlet and a liquid outlet respectively provided on the two second cold plates. The first cold plate cools the end faces of the cylindrical batteries, and the second cold plates cool the circumferential surfaces of the cylindrical batteries, thereby ensuring heat dissipation of the cylindrical batteries in an axial direction and a radial direction.

ELECTROLYTE SEPARATOR FOR A SOLID STATE BATTERY

NºPublicación:  US20260106211A1 16/04/2026
Solicitante: 
UNIV OXFORD INNOVATION LTD [GB]
US_20260106211_A1

Resumen de: US20260106211A1

0000 A solid electrolyte separator for an electrochemical storage device is described. The solid electrolyte separator comprises: an electrolyte comprising a lithium-ion conductive compound; and a binder comprising a copolymer, wherein the lithium-ion conductive compound comprises sulfur, and the copolymer has a repeating unit comprising a carboxylic acid group or a conjugate base thereof. Also described is a masterbatch product, a method of manufacturing the solid electrolyte separator and an electrochemical storage device.

Electrode Notching Apparatus and Electrode Manufacturing

NºPublicación:  US20260106132A1 16/04/2026
Solicitante: 
LG ENERGY SOLUTION LTD [KR]
US_20260106132_A1

Resumen de: US20260106132A1

An electrode notching apparatus includes a notching unit configured to form an electrode tab at a non-coated portion of an electrode sheet; a rewinder roller where a connecting sheet is wound; a splicing table whereon the electrode sheet and the connecting sheet are placed a camera unit configured to photograph positions of the electrode sheet and the connecting sheet placed on the splicing table; a guide pointer unit configured to indicate a first reference position of the electrode sheet and a second reference position of the connecting sheet; and a position alignment unit configured to adjust positions of the splicing table and the rewinder roller such that the electrode sheet is aligned with the first reference position and the connecting sheet is aligned with the second reference position. An electrode manufacturing method is also provided herein.

POWER STORAGE DEVICE

NºPublicación:  US20260106276A1 16/04/2026
Solicitante: 
DAINIPPON PRINTING CO LTD [JP]
US_20260106276_A1

Resumen de: US20260106276A1

0000 A power storage device includes an electrode body, an electrode terminal connected to the electrode body, and an exterior body that seals the electrode body. The exterior body is configured from a film-like exterior member and includes a first sealing portion joined to the exterior member in a state where the exterior member envelops the electrode body. The exterior member includes a barrier layer. The power storage device has a resin film for a power storage device disposed at least partially inwards of the barrier layer. The resin film for a power storage device includes at least one among a water absorbent and a gas absorbent.

POWER RECEIVING APPARATUS, BATTERY UNIT, ELECTRIC POWER UNIT, AND WORK MACHINE

NºPublicación:  US20260106234A1 16/04/2026
Solicitante: 
HONDA MOTOR CO LTD [JP]
US_20260106234_A1

Resumen de: US20260106234A1

0000 One aspect of an invention is a power receiving apparatus, configured to be able to receive electric power from a plurality of battery units each including a processor configured to control a power feeding function, the power receiving apparatus comprising a plurality of connection portions capable of electrically connecting the plurality of battery units, wherein the plurality of connection portions are configured such that voltages supplied to the plurality of processors of the plurality of battery units have different values when the plurality of battery units are electrically connected to the connection portions

POSITIVE CURRENT COLLECTOR, POSITIVE ELECTRODE PLATE, ELECTROCHEMICAL APPARATUS, BATTERY MODULE, BATTERY PACK, AND DEVICE

NºPublicación:  US20260106171A1 16/04/2026
Solicitante: 
CONTEMPORARY AMPEREX TECH HONK KONG LIMITED [CN]
US_20260106171_A1

Resumen de: US20260106171A1

0000 This application discloses a positive current collector, a positive electrode plate, an electrochemical apparatus, a battery module, a battery pack, and a device. The positive current collector includes a support layer, having two opposite surfaces in a thickness direction of the support layer; and an aluminum-based conductive layer, disposed on at least one of the two surfaces of the support layer. A thickness D<1 >of the aluminum-based conductive layer is 300 nm≤D<1>≤2 μm; a density of the aluminum-based conductive layer is 2.5 g/cm<3 >to 2.8 g/cm<3>; and when a tensile strain of the positive current collector is 2.5%, a sheet resistance growth rate T of the aluminum-based conductive layer is T≤10%. The positive current collector provided in this application has a relatively small weight and higher electrical performance, so that the electrochemical apparatus provides a higher weight energy density and higher electrochemical performance.

BATTERY PACK

NºPublicación:  WO2026077228A1 16/04/2026
Solicitante: 
CALB GROUP CO LTD [CN]
\u4E2D\u521B\u65B0\u822A\u79D1\u6280\u96C6\u56E2\u80A1\u4EFD\u6709\u9650\u516C\u53F8
WO_2026077228_A1

Resumen de: WO2026077228A1

The present application relates to the technical field of battery heat exchange. Specifically provided is a battery pack, comprising a battery module, a battery case, and a heat exchange plate arranged at the bottom of the battery case. A plurality of heat exchange channels are provided inside the heat exchange plate, and partition walls are provided between adjacent heat exchange channels; the partition walls include first partition walls having a relatively large thickness and second partition walls having a relatively small thickness. A fixing beam is connected to the top surface of the heat exchange plate; the extension direction of the fixing beam intersects the extension direction of the partition walls. In the present application, the heat exchange plate eliminates the longitudinal beam structure, and have at least some partition walls between a plurality of heat exchange channels thickened; this not only ensures structural strength to resist external forces, but also reduces space occupation compared with additional welding of longitudinal beams, thereby increasing the energy density in the battery case. In addition, the heat exchange plate in the present application can be formed by means of extrusion, making the manufacturing easier, improving production efficiency.

BATTERY AND BATTERY PACK

NºPublicación:  WO2026077176A1 16/04/2026
Solicitante: 
CALB GROUP CO LTD [CN]
\u4E2D\u521B\u65B0\u822A\u79D1\u6280\u96C6\u56E2\u80A1\u4EFD\u6709\u9650\u516C\u53F8
WO_2026077176_A1

Resumen de: WO2026077176A1

The present application relates to the technical field of new energy batteries, and discloses a battery and a battery pack. The battery has good heat dissipation performance, can reduce heat accumulation, and alleviates thermal runaway caused by poor heat dissipation of a battery. In the battery of the present application, a battery cell comprises a first tab and a second tab having opposite polarities, wherein the first tab and the second tab are disposed on the same side of the battery cell; and a current collecting assembly comprises a first current collecting member, a second current collecting member, and at least one first through hole, wherein the first through hole is formed in the first current collecting member, the first current collecting member has a first tab connection region and a first pole connection region, the first tab connection region at least partially surrounds the first pole connection region, the first through hole is formed in the first tab connection region, along the radial direction of the first current collecting member, the distance from the first through hole closest to the first pole connection region to the center of the first pole connection region is L1, the distance from a radial outer edge of the first current collecting member to the center of the first pole connection region is L2, and the ratio of the distance L1 to the distance L2 ranges from 0.15 to 0.95.

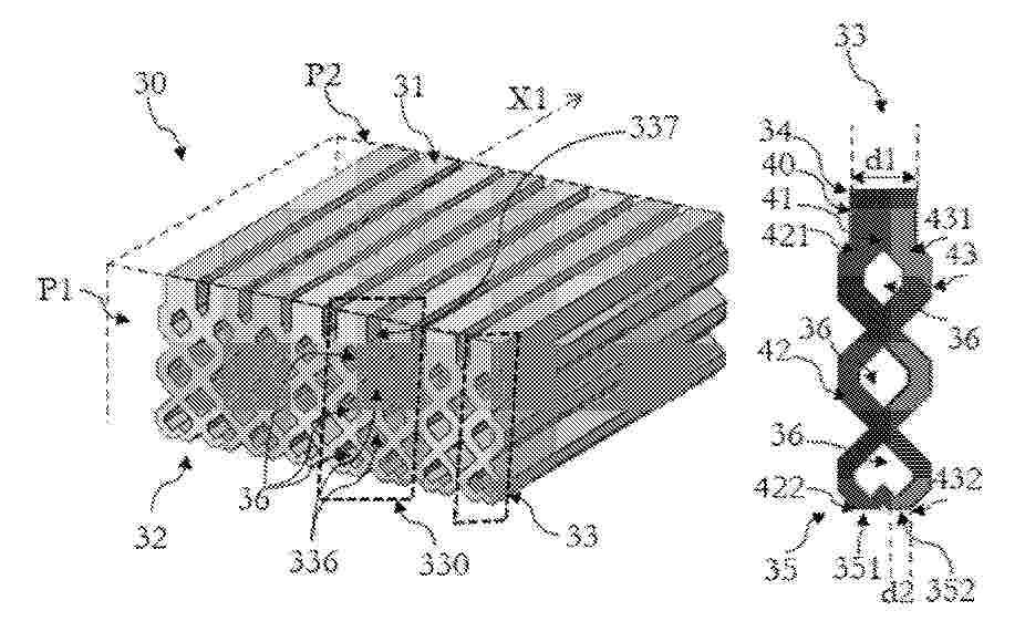
BATTERY

NºPublicación:  WO2026076968A1 16/04/2026
Solicitante: 
CALB GROUP CO LTD [CN]
\u4E2D\u521B\u65B0\u822A\u79D1\u6280\u96C6\u56E2\u80A1\u4EFD\u6709\u9650\u516C\u53F8
WO_2026076968_A1

Resumen de: WO2026076968A1

The present application provides a battery, comprising a cell and an insulating film covering the circumferential side surface of the cell; the cell comprises a positive electrode sheet and a negative electrode sheet; a starting end and a tail end are respectively formed at two ends of the insulating film; on the circumferential side surface of the cell, the tail end of the insulating film is arranged to extend beyond the starting end, so that an overlapping area is formed between the starting end and the tail end; and the product of the dimension of the overlapping area in the circumferential direction of the cell, the elastic modulus of the insulating film, and the cohesion of the negative electrode sheet is in the range of 0.1 to 2000. By adjusting the product of the elastic modulus of the insulating film and the cohesion of the negative electrode sheet, a restraining force applied by the insulating film to the cell is adapted to the cohesion of the electrode sheet, thereby preventing excessive expansion of a cylindrical cell during charging and discharging.

ALKALI METAL OXIDE AND HYDROXIDE REDUCTION IN THE FILM BY EX-SITU SURFACE PASSIVATED LAYER

NºPublicación:  US20260106143A1 16/04/2026
Solicitante: 
APPLIED MATERIALS INC [US]
US_20260106143_A1

Resumen de: US20260106143A1

Embodiments of the present disclosure include an anode for a battery including a substrate, a metal film disposed on the substrate, and a film stack disposed on the metal film. The film stack includes a lithium carbonate film and a lithium halide film disposed on the lithium carbonate. The lithium carbonate film is disposed on the metal film.

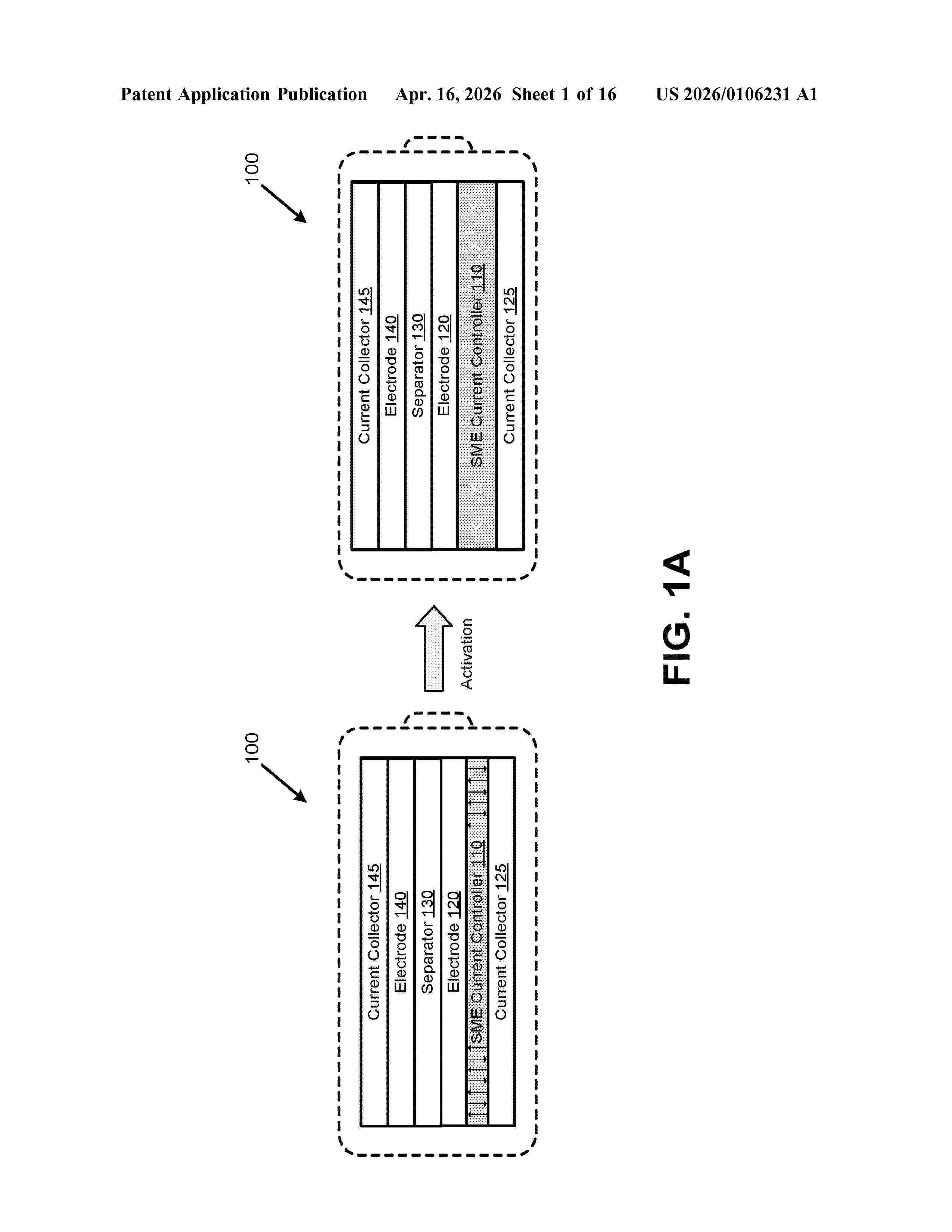
RECHARGEABLE BATTERY WITH SHAPE MEMORY LAYER FOR ENHANCED SAFETY

NºPublicación:  US20260106231A1 16/04/2026
Solicitante: 
AMIONX INC [US]
US_20260106231_A1

Resumen de: US20260106231A1

0000 A battery cell may include a first electrode coupled with a first current collector, a second electrode coupled with a second current collector, and a separator interposed between the first electrode and the second electrode. The battery cell may further include a current controller including one or more shape memory effect (SME) materials in a deformed conformation. The shape memory effect (SME) materials may recover at least partially an original conformation of the shape memory effect (SME) materials in response to one or more stimuli. The current controller may have a lower conductivity when the shape memory effect (SME) materials are in the original conformation than when the shape memory effect (SME) materials are in the deformed conformation such that the shape memory effect (SME) materials recovering the original conformation reduces current flow within the battery cell.

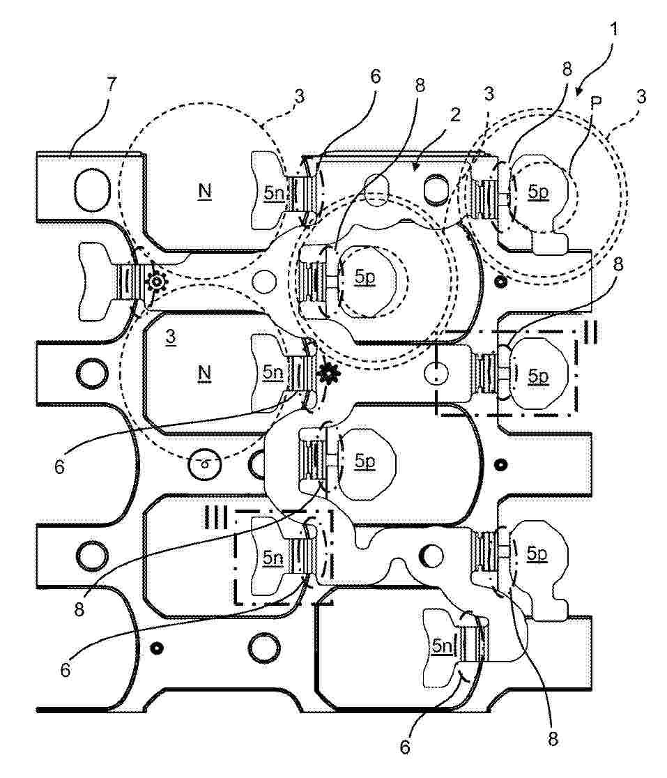
DEVICE AND METHOD FOR GENERATING AN ELECTRODE STACK WITH FLAT ELECTRODE ELEMENTS

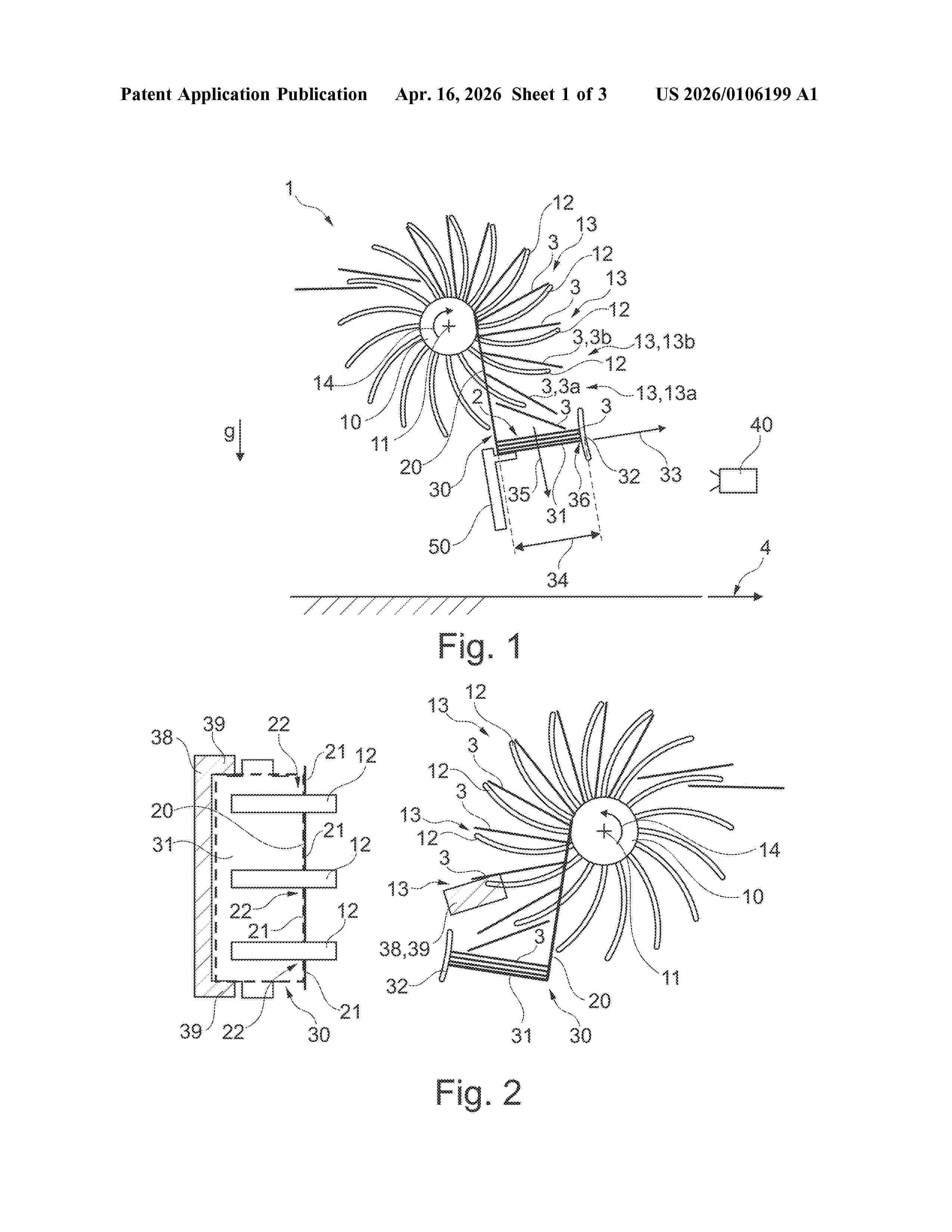
NºPublicación:  US20260106199A1 16/04/2026
Solicitante: 
GIESECKE & DEVRIENT CURRENCY TECHNOLOGY GMBH [DE]
US_20260106199_A1

Resumen de: US20260106199A1

A device for producing an electrode stack containing flat electrode elements includes a stacking wheel, which is mounted to rotate about a stacking wheel axis and has a plurality of stacking wheel fingers, which define respective intermediate spaces for receiving the electrode elements, and a wiper unit, which is designed to remove the electrode elements one after the other from the respective intermediate spaces through interaction with a rotational movement of the stacking wheel about the stacking wheel axis. The device furthermore includes a receiving unit for successively receiving the electrode elements removed from the intermediate spaces. The receiving unit has a base structure, on which the electrode elements received in the receiving unit can be stacked, and a delimiting element, which forms an end stop for the electrode elements received in the receiving unit and which is arranged statically in relation to the stacking wheel axis.

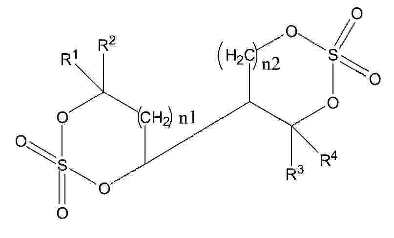
GLYCIDYL-CONTAINING POLYMERS, POLYMER COMPOSITIONS COMPRISING THEM AND THEIR USE IN ELECTROCHEMICAL CELLS

NºPublicación:  US20260103555A1 16/04/2026
Solicitante: 
HYDRO QUEBEC [CA]
MURATA MFG CO LTD [JP]
US_20260103555_A1

Resumen de: US20260103555A1

0000 Glycidyl-containing polymers and polymer compositions comprising them are described, as well as their use in electrode materials and/or as coatings for battery components. Also described are electrode materials, electrodes, electrochemical cells and batteries comprising the polymers and their uses.

NETWORK OF METAL FIBERS, METHOD FOR PRODUCING A NETWORK OF METAL FIBERS, ELECTRODE AND BATTERY

NºPublicación:  US20260106206A1 16/04/2026
Solicitante: 
MAX PLANCK GESSELLSCHAFT ZUR FOERDERUNG DER WISSENCHAFTEN E V [DE]
UNIV STUTTGART [DE]
US_20260106206_A1

Resumen de: US20260106206A1

0000 A network of metal fibers includes a plurality of metal fibers fixed to one another; wherein at least some of the plurality of metal fibers have a length of 1.0 mm or more, a width of 100 μm or less and a thickness of 50 μm or less. A method includes producing a plurality of metal fibers by melt spinning; providing a loose network of metal fibers; and fixating the plurality of metal fibers to one another.

ELECTROLYTE FOR LEAD STORAGE BATTERY AND USE THEREOF

NºPublicación:  WO2026076964A1 16/04/2026
Solicitante: 
TIANNENG BATTERY GROUP CO LTD [CN]
\u5929\u80FD\u7535\u6C60\u96C6\u56E2\u80A1\u4EFD\u6709\u9650\u516C\u53F8
WO_2026076964_A1

Resumen de: WO2026076964A1

An electrolyte for a lead storage battery, and a use thereof, belonging to the technical field of lead storage battery production. Improving the electrolyte by means of adding a surfactant changes the surface tension of the electrolyte, and can thus slow the phenomenon of delamination of the electrolyte from a source. Additionally, the introduced surfactant forms a stable complex by means of capturing lead ions in the electrolyte, thereby preventing the formation of lead dendrites and reducing the risk of short circuits.

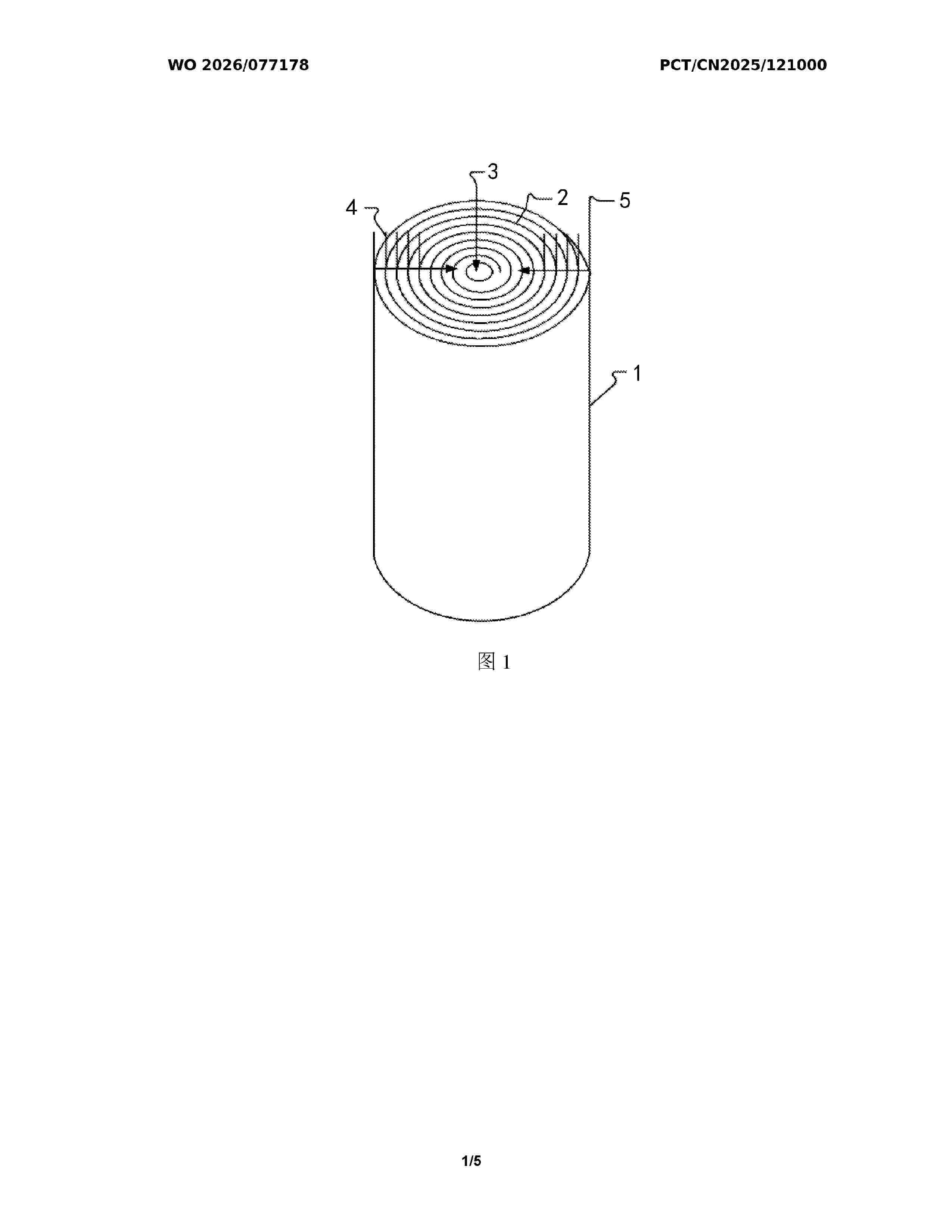
BATTERY

NºPublicación:  WO2026077178A1 16/04/2026
Solicitante: 
CALB GROUP CO LTD [CN]
\u4E2D\u521B\u65B0\u822A\u79D1\u6280\u96C6\u56E2\u80A1\u4EFD\u6709\u9650\u516C\u53F8
WO_2026077178_A1

Resumen de: WO2026077178A1

A battery, comprising a casing and a cylindrical jelly roll (1), wherein the casing comprises a terminal assembly, and the cylindrical jelly roll (1) comprises a jelly roll hole (3) and an electrode plate (2); the electrode plate (2) comprises an electrode plate body and a plurality of tabs; the tabs are configured to be electrically connected to the terminal assembly and/or the casing; the electrode plate (2) comprises a wound leading end, and the tabs include a first tab (7); and in the direction of length of the unwound electrode plate (2), the distance between the first tab (7) and the wound leading end is D1, the area of the jelly roll hole (3) is S, and D1/S falls within the range from 3 to 45. By comprehensively adjusting the distance D1 and the area of the jelly roll hole (3), folded-over tabs can be prevented from covering the jelly roll hole (3).

CYLINDRICAL BATTERY COVER PLATE ASSEMBLY AND BATTERY

NºPublicación:  WO2026077240A1 16/04/2026
Solicitante: 
CALB GROUP CO LTD [CN]
\u4E2D\u521B\u65B0\u822A\u79D1\u6280\u96C6\u56E2\u80A1\u4EFD\u6709\u9650\u516C\u53F8
WO_2026077240_A1

Resumen de: WO2026077240A1

The present application relates to the technical field of new energy batteries, and discloses a cylindrical battery cover plate assembly and a battery. A tab connection region of the cylindrical battery cover plate assembly has good heat dissipation performance, thereby reducing the problem of heat concentration and prolonging the service life of the battery. In addition, the overcurrent capability of the tab connection region can be ensured, thereby improving the performance of the battery. The cylindrical battery cover plate assembly of the present application is applied to a battery. The battery comprises a battery cell. The battery cell comprises a tab, the tab comprising a positive tab and a negative tab, and the positive tab and the negative tab being provided on the same side of the battery cell. The cylindrical battery cover plate assembly comprises an electrode post and a current collector. The current collector comprises a tab connection region and an electrode post connection region. The tab connection region is connected to the tab, and the electrode post connection region is connected to the electrode post, so as to implement an electrical connection between the tab and the electrode post. The thickness of the electrode post connection region is a, the thickness of the tab connection region is b, and the ratio of the thickness b to the thickness a satisfies 0.2≤b/a<1.

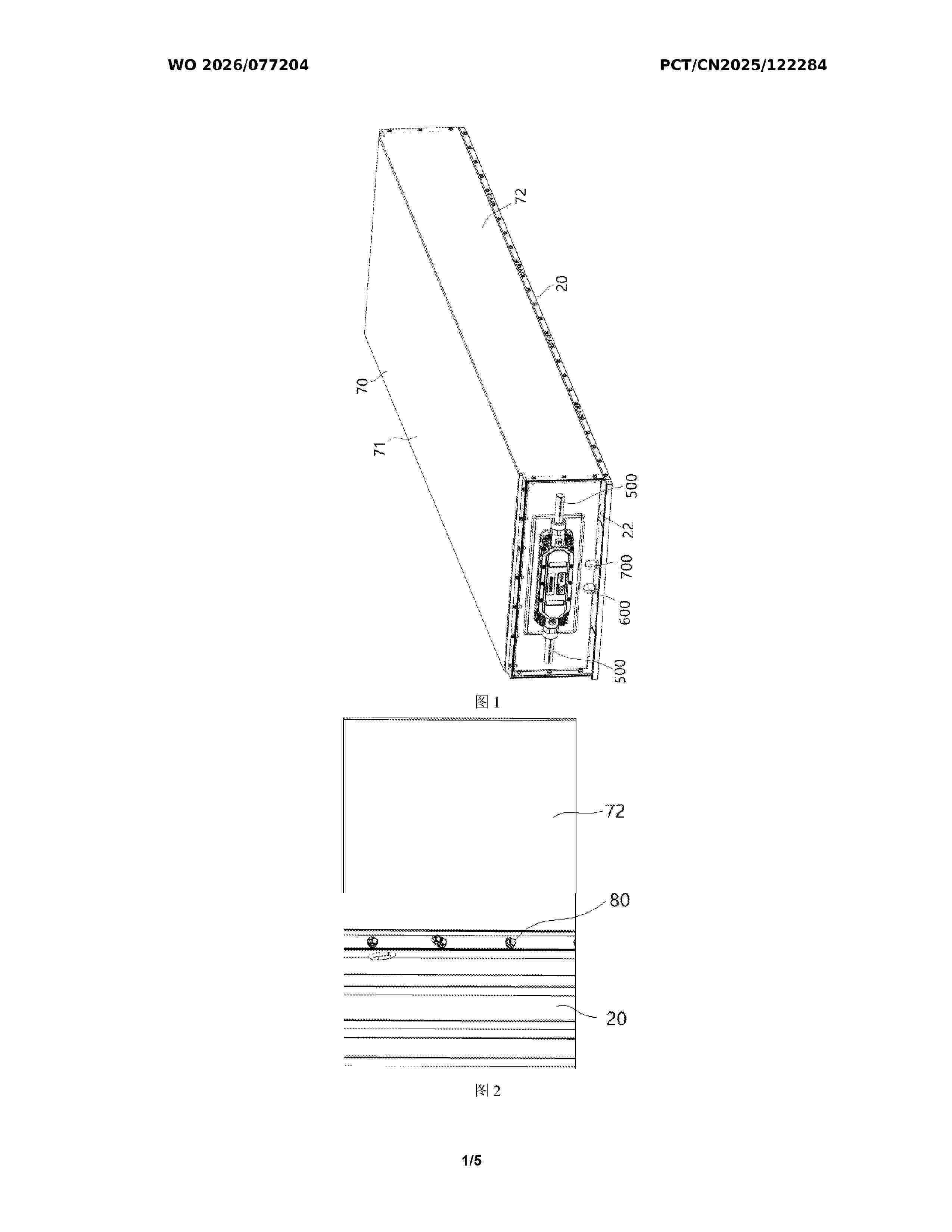
BATTERY DEVICE

NºPublicación:  WO2026077204A1 16/04/2026
Solicitante: 
CALB GROUP CO LTD [CN]
\u4E2D\u521B\u65B0\u822A\u79D1\u6280\u96C6\u56E2\u80A1\u4EFD\u6709\u9650\u516C\u53F8
WO_2026077204_A1

Resumen de: WO2026077204A1

The present application provides a battery device, comprising a battery compartment. The battery compartment comprises a bottom plate and an enclosing frame provided at the edge of the bottom plate; the bottom plate and the enclosing frame define an accommodating space for accommodating batteries; the bottom plate is used for supporting the batteries; the battery compartment is of an elongated structure and has a length direction and a width direction; and the ratio of the length to the width of the battery compartment is within a range of 2.1 to 3.5. The battery device further comprises reinforcing beams; the reinforcing beams are fixedly connected to the bottom plate; the reinforcing beams are used for connecting the battery compartment to a vehicle frame; the reinforcing beams are located above the vehicle frame; and the bottom plate is located above the vehicle frame. By providing the reinforcing beams, the vehicle frame can support the battery compartment from below, thereby preventing the bottom plate from sagging downward due to excessive weight of the batteries in the battery compartment.

SECONDARY BATTERY AND NEGATIVE ELECTRODE CURRENT COLLECTOR

NºPublicación:  US20260106165A1 16/04/2026
Solicitante: 
PANASONIC IP MAN CO LTD [JP]
US_20260106165_A1

Resumen de: US20260106165A1

A secondary battery includes a positive electrode, a negative electrode, a separator disposed between the positive electrode and the negative electrode, and a nonaqueous electrolyte having lithium ion conductivity. The negative electrode includes a negative electrode current collector. The negative electrode current collector includes a resin film, and a transition metal layer laminated with the resin film. The resin film includes a base resin layer, and a surface resin layer, and at least the surface resin layer contains a nitrogen-containing resin.

LITHIUM SECONDARY BATTERY, SPACER FOR LITHIUM SECONDARY BATTERY, SPACER MATERIAL, AND INTEGRATED PRODUCT OF SEPARATOR AND SPACER FOR LITHIUM SECONDARY BATTERY

NºPublicación:  US20260106323A1 16/04/2026
Solicitante: 
PANASONIC IP MAN CO LTD [JP]
US_20260106323_A1

Resumen de: US20260106323A1

0000 Disclosed is a lithium secondary battery including: a positive electrode; a negative electrode; a porous separator disposed between the positive electrode and the negative electrode; a spacer disposed between the separator and at least one of the positive electrode and the negative electrode; and a non-aqueous electrolyte having lithium ion conductivity, wherein, on the negative electrode, lithium metal is deposited during charging, and the lithium metal is dissolved during discharging, the spacer includes insulating particles, a binder resin, and a thickener, the insulating particles have a median diameter in a volume-based particle size distribution, of 1.0 μm to 10 μm, the binder resin includes a polymer compound having a phthalic acid skeleton, and the thickener includes at least one selected from the group consisting of carboxymethyl cellulose and a carboxymethyl cellulose salt. Accordingly, it is possible to obtain a lithium secondary battery including a spacer with excellent physical properties.

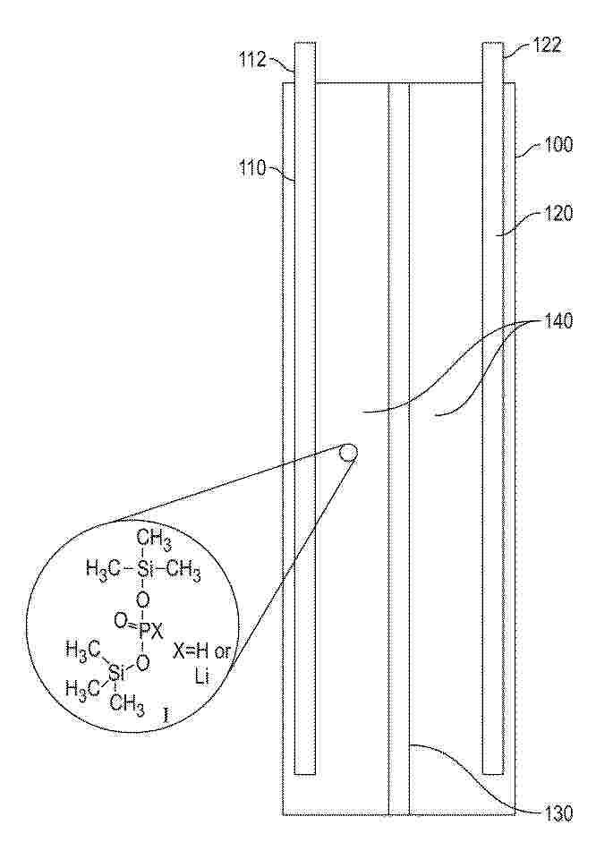
OXIDE, METHOD FOR PRODUCING SAME, SOLID ELECTROLYTE, AND POWER STORAGE DEVICE

NºPublicación:  US20260106213A1 16/04/2026
Solicitante: 
TOAGOSEI CO LTD [JP]
US_20260106213_A1

Resumen de: US20260106213A1

The present invention provides a novel zirconium phosphate-based oxide exhibiting high Li conductivity and a method for producing the oxide. The present invention further provides a solid electrolyte and a power storage device using the oxide. An oxide satisfying formula (1) below: Li1+x+y−zM1xZr2−xM2yM3zP3−y−zO12 . . . (1) (in formula (1), M1 contains Fe or In, M2 contains Si, M3 contains W, and x>0, y≥0, z≥0, and y+z>0 are satisfied).

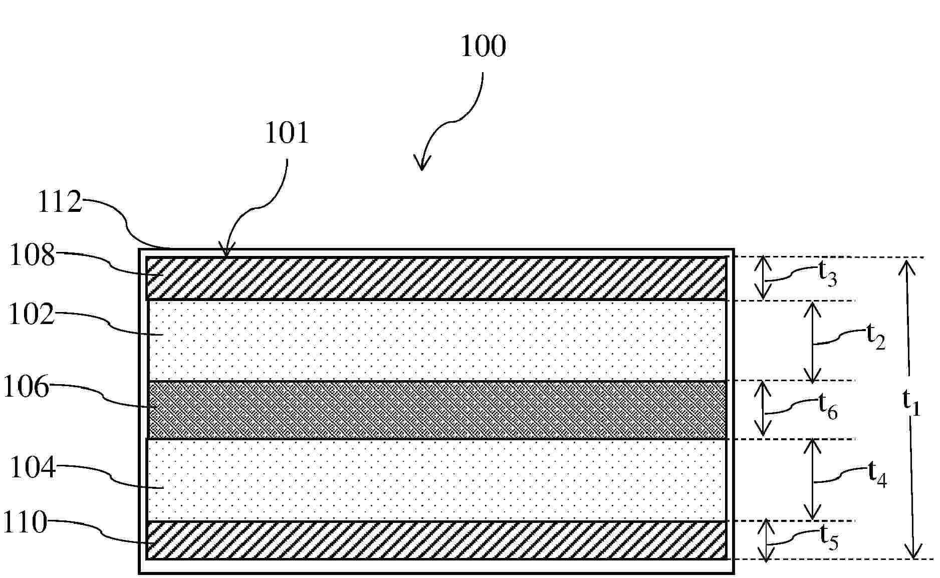
BATTERY PACK CASE AND BATTERY PACK COMPRISING SAME

NºPublicación:  US20260106290A1 16/04/2026
Solicitante: 
SK ON CO LTD [KR]
US_20260106290_A1

Resumen de: US20260106290A1

0000 A battery pack case is disclosed. The battery pack case of the present disclosure may include: a bottom plate; a side case extending upward from a periphery of the bottom plate, and forming an accommodation space together with the bottom plate; and a partition unit positioned on an upper surface of the bottom plate, and configured to partition the accommodation space, wherein the partition unit includes: a partition support module coupled to the bottom plate; and a partition insulation module coupled to the partition support module, and forming an insulation space as a hollow section therein.

BATTERY AND BATTERY MODULE

NºPublicación:  WO2026077177A1 16/04/2026
Solicitante: 
CALB GROUP CO LTD [CN]
\u4E2D\u521B\u65B0\u822A\u79D1\u6280\u96C6\u56E2\u80A1\u4EFD\u6709\u9650\u516C\u53F8
WO_2026077177_A1

Resumen de: WO2026077177A1

The present application relates to the technical field of batteries, and discloses a battery and a battery module. The battery comprises: a casing, at least one end of the casing having an opening; and a cover plate covering the opening of the casing. The edge of the cover plate facing the inner side of the casing is provided with a chamfer, so that the lower side of the cover plate can decrease in size towards the casing, and the chamfer is at least partially embedded into the interior of the casing. The height of the chamfer in the thickness direction of the cover plate is a1, the thickness of the cover plate is a2, and the ratio of a1 to a2 is a; and the Vickers hardness of the casing is b, with units of hv, and 0.0005≤a/b≤0.014. The present application solves the problem of difficulty in assembling the casing and the cover plate, or the problem of a gap generated due to excessive deformation of the cover plate or the casing during assembly.

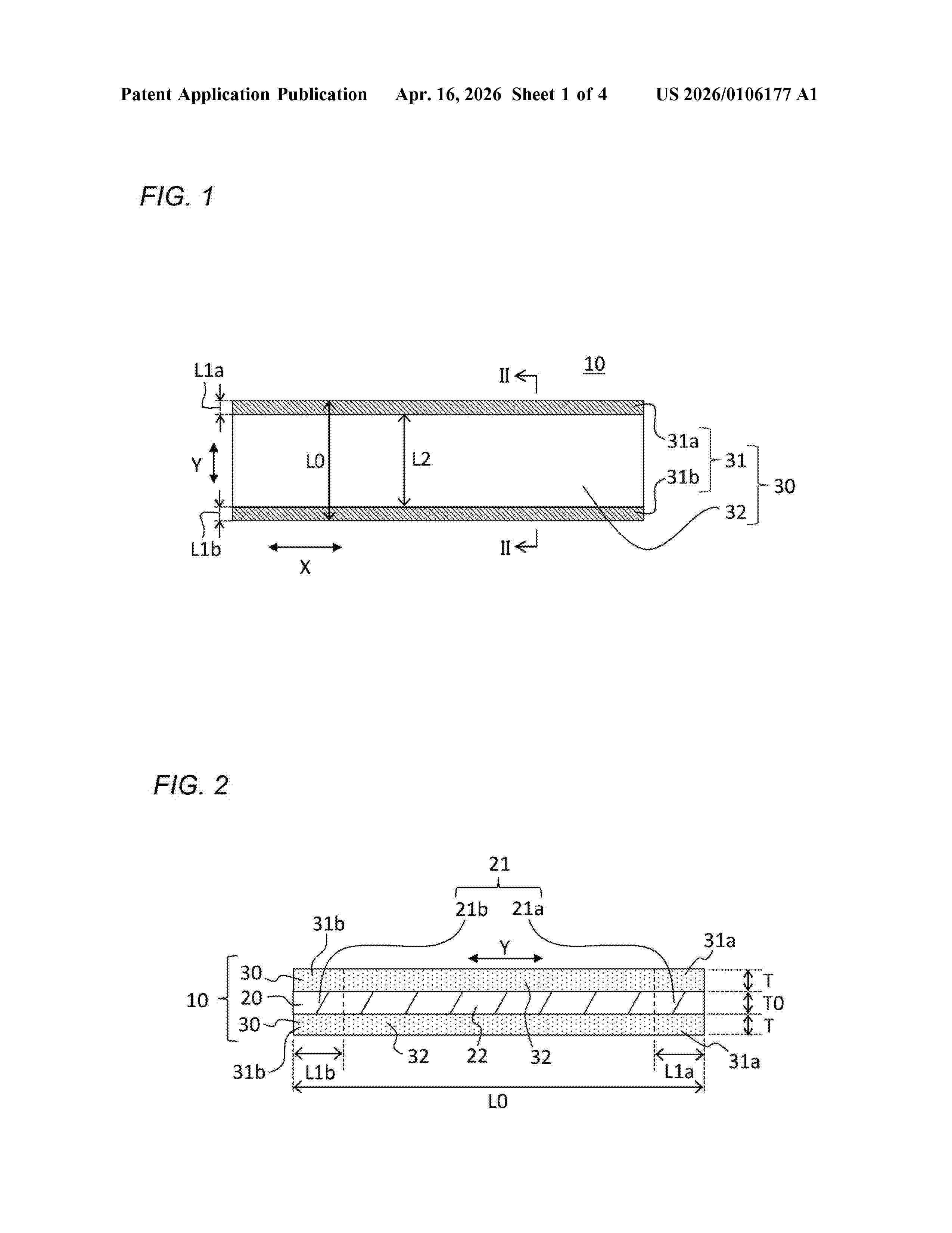
SECONDARY BATTERY POSITIVE ELECTRODE, SECONDARY BATTERY, AND PRODUCTION METHOD FOR SECONDARY BATTERY POSITIVE ELECTRODE

NºPublicación:  US20260106177A1 16/04/2026
Solicitante: 
PANASONIC ENERGY CO LTD [JP]
US_20260106177_A1

Resumen de: US20260106177A1

A secondary battery positive electrode includes a belt-shaped positive electrode current collector with two regions and a positive electrode mixture thereon. The first region being at both ends and the second region is a central area. The positive electrode mixture layer includes a first positive electrode mixture layer carried on the first region and a second positive electrode mixture layer carried on the second region. The positive electrode mixture layer includes a first positive electrode mixture layer on the first region and a second positive electrode mixture layer on the second region. An average particle diameter D1 of a first positive electrode active material of the first positive electrode mixture layer is 1 μm or more and 7 μm or less. An average particle diameter D2 of a second positive electrode active material of the second positive electrode material layer is 9 μm or more and 30 μm or less.

CURRENT COLLECTORS FOR BATTERY ELECTRODES

NºPublicación:  US20260106173A1 16/04/2026
Solicitante: 
CORESHELL TECH INCORPORATED [US]
US_20260106173_A1

Resumen de: US20260106173A1

A device can include a battery electrode that comprises a substrate having one or more polymeric materials and a layer disposed on the substrate. The layer can include one or more conductive materials, have a thickness no greater than 12 micrometers, and have a porosity of at least 5% by volume. Additionally, an electrode layer including a seed layer can comprise a number of fused nanoparticles. The electrode layer can also include a lithium metal layer disposed on the number of fused nanoparticles. The electrode layer can be formed by producing, on a polymeric current collector layer, a seed layer that includes nanoparticles. A formulation to form the seed layer can include nanoparticles having ligands and then removing the ligands using one or more thermal and/or one or more chemical treatment processes. The seed layer can be electrically conductive, acting as the current collector when disposed on a polymeric substrate.

ELECTRONIC DEVICE

NºPublicación:  US20260104740A1 16/04/2026
Solicitante: 
SEMICONDUCTOR ENERGY LABORATORY CO LTD [JP]
US_20260104740_A1

Resumen de: US20260104740A1

0000 A highly convenient electronic device used while being worn on a body is provided. The electronic device is an arm-worn electronic device including a display panel, a power storage device, a circuit, and a sealing structure. The display panel displays an image with power supplied from the power storage device. The circuit includes an antenna and charges the power storage device wirelessly. Inside the sealing structure, the display panel, the power storage device, and the circuit are provided. The sealing structure includes a portion that transmits visible light. The sealing structure can be worn on an arm or is connected to a structure body that can be worn on an arm.

CARBON NANOTUBE DISPERSION AND PREPARATION METHOD THEREOF

NºPublicación:  US20260103382A1 16/04/2026
Solicitante: 
LG CHEMICAL LTD [KR]
US_20260103382_A1

Resumen de: US20260103382A1

0000 The present invention relates to a carbon nanotube dispersion and a preparation method thereof, wherein the carbon nanotube dispersion includes carbon nanotubes, a first dispersant which is carboxyalkyl cellulose having a weight average molecular weight of 9,000 g/mol or less, a second dispersant which is polyvinyl butyral (PVB), and a solvent, and the carbon nanotube dispersion of the present invention has a low initial viscosity and a low viscosity change rate, and thus, is excellent in storage stability and processability.

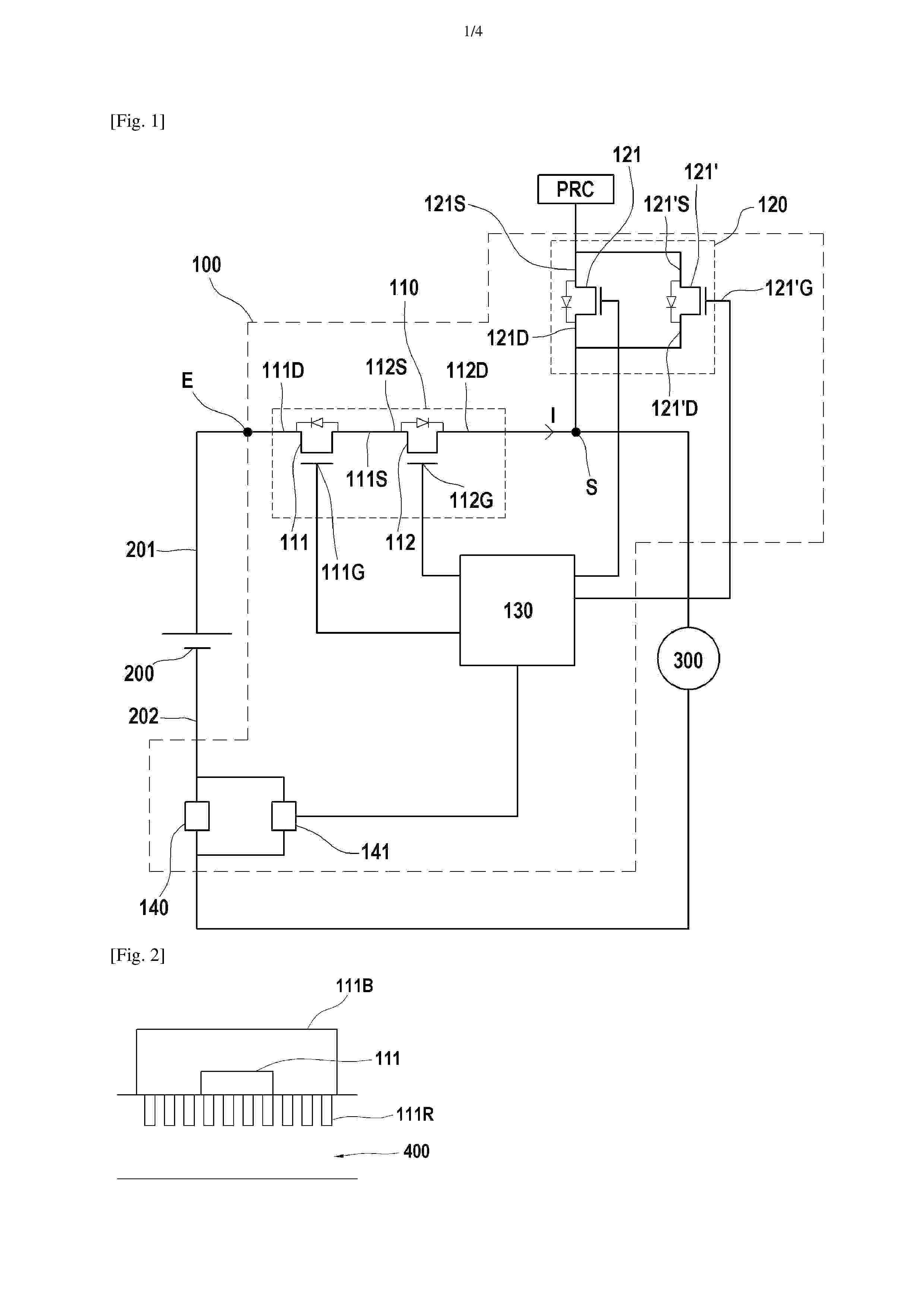
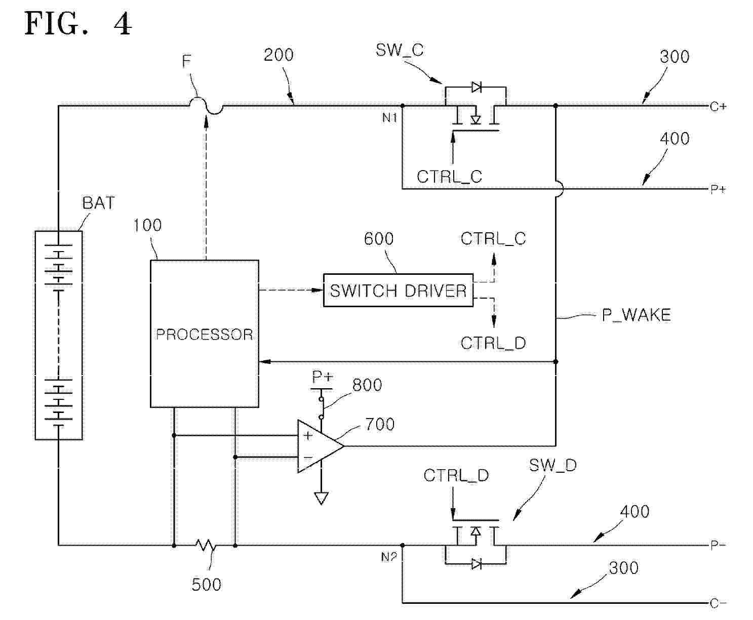
Battery Unit, Method and Apparatus for Operating the Battery Unit

NºPublicación:  US20260103114A1 16/04/2026
Solicitante: 
SCHAEFFLER TECHNOLOGIES AG [DE]
US_20260103114_A1

Resumen de: US20260103114A1

0000 A battery unit includes at least one string of battery modules and a low-voltage switching unit connectable to multiple low-voltage loads. The battery modules are electrically connected in series. Each battery module includes a plurality of battery cells electrically connected in series. Each battery module includes a balancing circuit with an output port and multiple input terminals connectable to the battery cells of the respective battery module. The output ports of the balancing circuits are connected to the low-voltage switching unit. Each of the balancing circuits is configured to provide on its output port an output voltage with a predetermined voltage value and to extract energy from a selected battery cell or from selected battery cells which are connected to the balancing circuit and to provide the energy at least partly as power supply to at least one of the low voltage loads connected to the low-voltage switching unit.

Method For Synthesising A Material For A Lithium-Ion Battery Consisting Of Nanoporous Lithium Iron Phosphate Particles

NºPublicación:  US20260103380A1 16/04/2026
Solicitante: 
OCP SA [MA]
UNIV MOHAMMED VI POLYTECHNIQUE [MA]
US_20260103380_A1

Resumen de: US20260103380A1

0000 The invention concerns a method for synthesizing a lithium-ion battery material consisting of nanoporous lithium iron phosphate particles (1), the method comprising the following steps: (E1) forming a precipitation solution by mixing a lithium source (4), an iron(II) source (5), a phosphorus source (6), a reducing agent (8) and carbon nano-objects (7) in a solvent so as to coprecipitate lithium, iron and phosphorus around the carbon nano-objects in the form of particles, referred to as LFP/C (9), lithium iron phosphate particles incorporating the carbon nano-objects; (E2) separating the LFP/C (9) particles from the precipitation solution; (E3) drying the LFP/C particles (9); (E4) calcining the LFP/C particles (9) so as to decompose the carbon nano-objects (7) incorporated in the particles, the decomposition of the nano-objects (7) generating nanopores (3) within the lithium iron phosphate particles.

COVER PLATE ASSEMBLY AND BATTERY

NºPublicación:  US20260106348A1 16/04/2026
Solicitante: 
EVE POWER CO LTD [CN]
US_20260106348_A1

Resumen de: US20260106348A1

The present disclosure provides a cover plate assembly and a battery. The cover plate assembly is mounted on a shell with an accommodation cavity, and includes: a cover plate, provided with a first mounting hole in communication with the accommodation cavity; a collection component, located in the accommodation cavity and configured to acquire parameter information inside the shell; a lower connection part, of which a first end is located in the first mounting hole and a second end is communicatively connected with the collection component; and, an upper connection part, of which a first end is detachably communicatively connected with the first end of the lower connection part and a second end passes through the first mounting hole.

PREDICTION DEVICE, ENERGY STORAGE APPARATUS, PREDICTION METHOD, AND PREDICTION PROGRAM

NºPublicación:  US20260104464A1 16/04/2026
Solicitante: 
GS YUASA INT LTD [JP]
US_20260104464_A1

Resumen de: US20260104464A1

A prediction device includes a controller configured or programmed to include a first predictor configured or programmed to predict voltage behavior of an energy storage device when a current is carried with a current carrying pattern including sections, using an energy storage device model, and a second predictor configured or programmed to predict charge-discharge performance of the energy storage device based on the voltage behavior predicted by the first predictor. The first predictor is configured or programmed to predict the voltage behavior for each of the sections obtained by dividing the current carrying pattern by a time width, and the first predictor stops predicting the voltage behavior in one of the sections in which a current change amount in the current carrying pattern is less than a threshold.

CURRENT-CARRYING COMPONENT FOR SECONDARY BATTERY

NºPublicación:  US20260106333A1 16/04/2026
Solicitante: 
NACHI FUJIKOSHI CORP [JP]
US_20260106333_A1

Resumen de: US20260106333A1

A current-carrying component for use in a secondary battery includes a plurality of metal foil members stacked one on top of another in the thickness direction of the metal foil members. Two or more through-holes are formed to extend through the metal foil members in the thickness direction of the plurality of metal foil members. The plurality of metal foil members are welded together by solid-phase welding to form a welded portion, which form a rim surrounding the through-hole. The inner peripheral surface of the welded portion constitutes the inner peripheral surface of the through-hole. A circular ring-shaped protrusion is provided at one end of the welded portion.

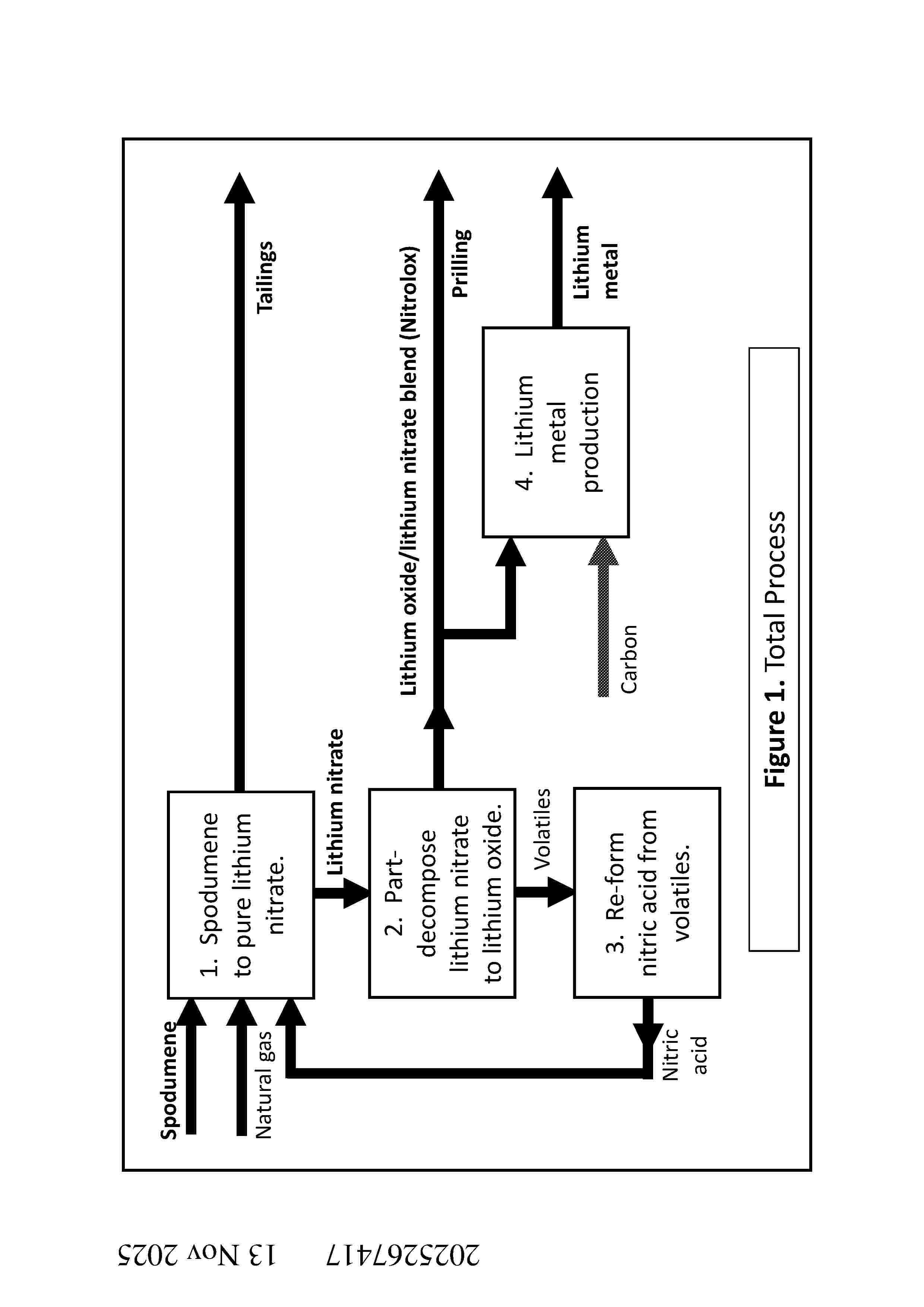
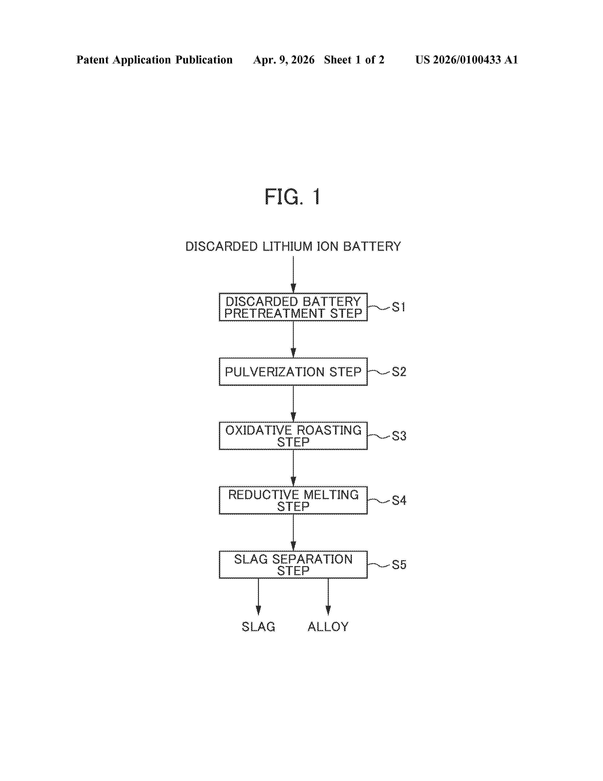
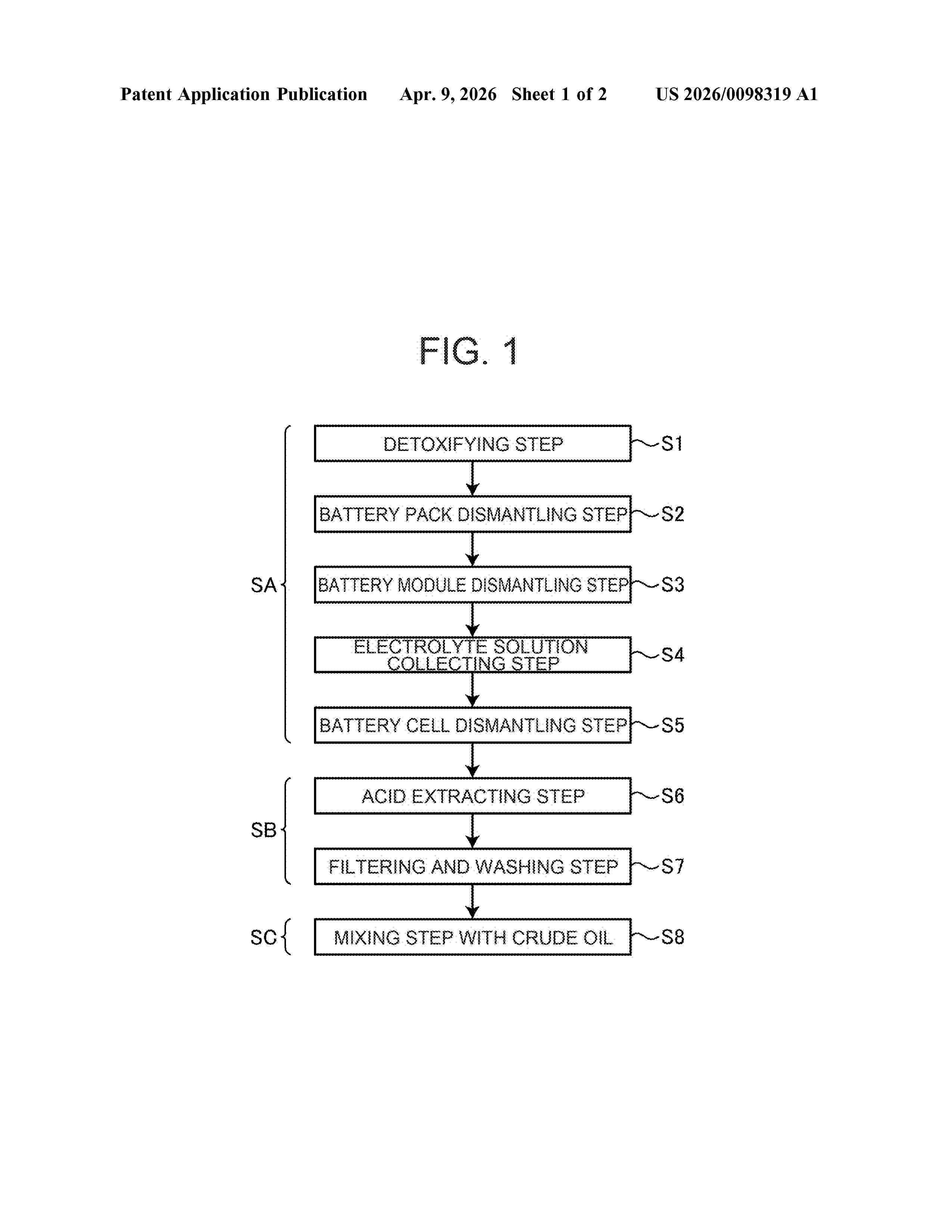
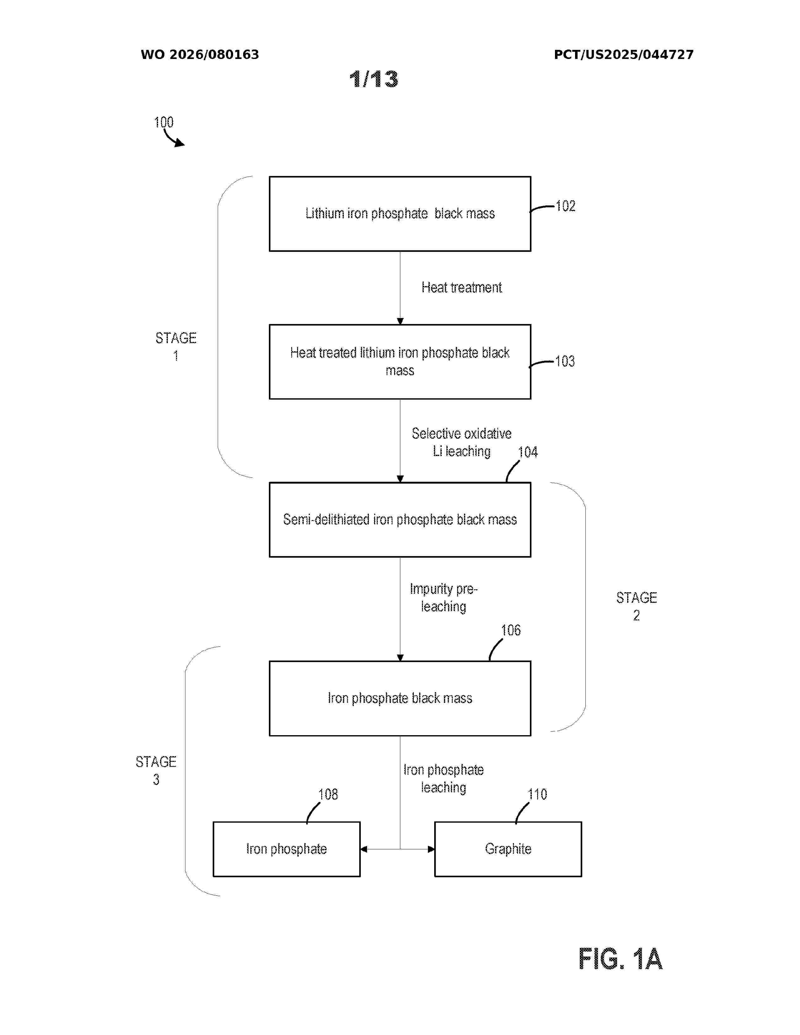
METHOD FOR TREATING LITHIUM-CONTAINING SUBSTANCE AND DEVICE FOR TREATING LITHIUM-CONTAINING SUBSTANCE

NºPublicación:  AU2024348186A1 16/04/2026
Solicitante: 
MITSUBISHI MATERIALS CORP
AU_2024348186_PA

Resumen de: AU2024348186A1

In the present invention, the following steps are carried out: a leaching step S01 in which a lithium-containing substance is immersed in an acidic solution to leach lithium into the acidic solution, thereby obtaining a lithium leachate; a heavy metal and first fluorine precipitation step S02 in which a first calcium compound is added to the lithium leachate to produce a metal hydroxide precipitate and a fluorine-containing precipitate; a first solid-liquid separation step S03 in which the precipitated metal hydroxide precipitate and fluorine-containing precipitate are removed from the lithium leachate; a second fluorine precipitation step S04 in which a second calcium compound is added to the lithium leachate from which the precipitates have been removed, to precipitate dissolved fluorine; and a second solid-liquid separation step S05 in which the precipitated dissolved fluorine and unreacted second calcium compound are removed from the lithium leachate.

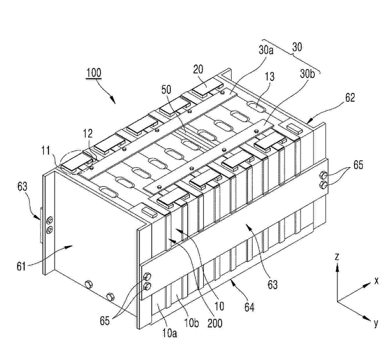
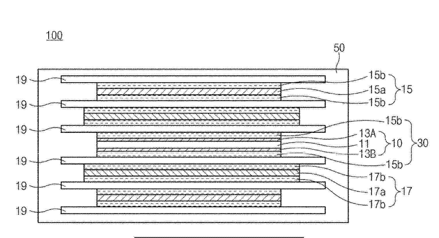
BATTERY MODULE, BATTERY PACK, EXPLOSION VENTING PIPE ASSEMBLY, INSTALLATION PLATFORM, AND BATTERY PACK ASSEMBLY

NºPublicación:  AU2024348939A1 16/04/2026
Solicitante: 
AURORA POWER&ENERGY HOLDINGS PTE LTD
AU_2024348939_PA

Resumen de: AU2024348939A1

A battery module (15), a battery pack (16), an explosion venting pipe assembly (13), an installation platform, and a battery pack assembly. The battery module (15) comprises a case (11) and multiple cells (12) arranged in the case (11); an internal cavity of each cell (12) is in communication with an internal cavity of the case (11); explosion venting pipe assemblies (13) in communication with the internal cavity of the case (11) are disposed on the case (11); the explosion venting pipe assemblies (13) are configured to be connected to an explosion venting pipe manifold (19). The explosion venting pipe manifold (19) connects the explosion venting pipe assemblies (13) of all the battery modules (15) in the battery pack (16). When a cell (12) in any battery module (15) in the battery pack (16) undergoes thermal runaway, fumes generated during the thermal runaway of the cell (12) can be exhausted via the explosion venting pipe manifold (19), thereby reducing the risk of thermal runaway diffusion and burst of the battery modules (15) or even the battery pack (16) and an energy storage container.

METHOD AND APPARATUS FOR DETECTING AND EVALUATING GRADUAL FAULT IN LITHIUM BATTERY, DEVICE AND STORAGE MEDIUM

NºPublicación:  WO2026076832A1 16/04/2026
Solicitante: 
GUANGDONG POWER GRID CO LTD [CN]
ELECTRIC POWER RES INSTITUTE OF GUANGDONG POWER GRID CO LTD [CN]
\u5E7F\u4E1C\u7535\u7F51\u6709\u9650\u8D23\u4EFB\u516C\u53F8
\u5E7F\u4E1C\u7535\u7F51\u6709\u9650\u8D23\u4EFB\u516C\u53F8\u7535\u529B\u79D1\u5B66\u7814\u7A76\u9662
WO_2026076832_A1

Resumen de: WO2026076832A1

Disclosed in the present invention are a method and apparatus for detecting and evaluating a gradual fault in a lithium battery, a device and a storage medium. The method comprises: according to terminal voltages of each battery cell in a lithium-ion battery pack and median terminal voltages, generating a corresponding differential voltage curve and a corresponding median differential voltage curve; for each battery cell, calculating a Mahalanobis distance between the corresponding differential voltage curve and the median differential voltage curve, and when the Mahalanobis distance is greater than a preset threshold, determining that a micro-short circuit fault has occurred in the battery cell; acquiring a first charging voltage curve of a first discharging-charging cycle and a second charging voltage curve of a second discharging-charging cycle during two adjacent discharging-charging cycles of the battery cell; and calculating a micro-short circuit current and a micro-short circuit resistance of the battery cell, and evaluating the fault severity of the lithium-ion battery pack. The present invention can improve the accuracy of gradual fault detection and the efficiency of fault severity evaluation for lithium batteries.

FLAME-RETARDANT FLEXIBLE SOLID ELECTROLYTE MATERIAL, AND PREPARATION METHOD THEREFOR AND USE THEREOF

NºPublicación:  WO2026077274A1 16/04/2026
Solicitante: 
DONGFENG MOTOR GROUP CO LTD [CN]
\u4E1C\u98CE\u6C7D\u8F66\u96C6\u56E2\u80A1\u4EFD\u6709\u9650\u516C\u53F8
WO_2026077274_A1

Resumen de: WO2026077274A1

A flame-retardant flexible solid electrolyte material, and a preparation method therefor and the use thereof. The preparation method comprises: dispersing a lithium salt in perfluoropolyether alcohol, so as to obtain a mixture; and using the mixture to modify a fluorine-containing polymer, so as to obtain a flame-retardant flexible solid electrolyte material.

SECONDARY BATTERY AND ELECTRONIC DEVICE

NºPublicación:  WO2026077132A1 16/04/2026
Solicitante: 
NINGDE AMPEREX TECHNOLOGY LTD [CN]
\u5B81\u5FB7\u65B0\u80FD\u6E90\u79D1\u6280\u6709\u9650\u516C\u53F8
WO_2026077132_A1

Resumen de: WO2026077132A1

A secondary battery and an electronic device, comprising an electrode assembly. The electrode assembly comprises a negative electrode sheet and a positive electrode sheet. The negative electrode sheet comprises a negative electrode current collector, a first negative electrode active layer, and a first negative electrode tab. Along a thickness direction of the negative electrode current collector, the negative electrode current collector comprises a first surface and a second surface opposite to each other, the first surface being provided with the first negative electrode active layer. The first negative electrode active layer is provided with a first groove, and the first negative electrode tab is disposed in the first groove and electrically connected to the negative electrode current collector. The positive electrode sheet comprises a positive electrode current collector and a first positive electrode active layer. The surface of the positive electrode current collector facing the first negative electrode active layer is provided with the first positive electrode active layer. A first insulating layer is provided between the positive electrode current collector and the first positive electrode active layer. Along a thickness direction of the positive electrode current collector, a projection of the first insulating layer onto the surface of the first negative electrode active layer at least partially overlaps with the first groove. The secondary battery and the electronic

METHOD FOR CONTROLLING AN ENERGY STORAGE SYSTEM TO INFLUENCE THE BALANCING OF THE SYSTEM

NºPublicación:  AU2024345257A1 16/04/2026
Solicitante: 
FLUENCE ENERGY LLC
AU_2024345257_PA

Resumen de: AU2024345257A1

An energy storage system comprises an energy storage node that includes a plurality of battery storage elements and a control subsystem to receive battery data from the battery storage elements. The energy storage system further includes a power conversion system (PCS) and a control system coupled to the energy storage node and the PCS. The control system, the control subsystem, or both are configured to: receive or store battery charge and discharge characteristics of the battery storage elements during a plurality of operating conditions of the battery storage elements, the PCS, or both; and run the battery storage elements of the energy storage node at one or more selected operating conditions of the plurality of operating conditions based on the battery charge and discharge characteristics to reduce an imbalance in state of charge among the battery storage elements of the energy storage node.

SYSTEM AND METHOD FOR IDENTIFYING ATYPICAL CONDITIONS IN COMPOUND ENERGY STORAGE SYSTEMS

NºPublicación:  AU2024345923A1 16/04/2026
Solicitante: 
FLUENCE ENERGY LLC
AU_2024345923_PA

Resumen de: AU2024345923A1

A system includes a plurality of energy storage nodes, a power conversion system (PCS), a plurality of sensors to detector or monitor system data that includes component data from or about one or more components of the energy storage system, and a control and management system. Each of the energy storage nodes include a battery storage element. The component data includes battery data, PCS data, or a combination thereof. Control and management system is configured to receive or store the system data; apply analytical models to system data to predict or identify an atypical condition relating to a weakness, damage, or a changed condition in the one or more components of the energy storage system; and responsive to the atypical condition, optimize a maintenance plan for the energy storage system. Components of the energy storage system can include a battery storage element, a power conversion system, or a transformer.

SYSTEM AND METHOD OF USING A HELICAL PILE AS A FOUNDATION TO ATTACH TO A BATTERY ENERGY STORAGE SYSTEM

NºPublicación:  AU2024343521A1 16/04/2026
Solicitante: 
FLUENCE ENERGY LLC
AU_2024343521_PA

Resumen de: AU2024343521A1

An energy storage system includes a plurality of energy storage nodes, each of which includes a battery storage element, and a plurality of helical piles for coupling the plurality of energy storage nodes to a solid substratum. Two adjacent energy storage nodes share a single helical pile or a fixed number of the plurality of helical piles is determined by site soil and seismic conditions. A method for attaching an energy storage system to a solid substratum is also provided.

HOUSING ASSEMBLY, ELECTRICAL MODULE, AND ENERGY STORAGE DEVICE

NºPublicación:  US20260107411A1 16/04/2026
Solicitante: 
XIAMEN AMPACK TECH LIMITED [CN]
CN_119364712_PA

Resumen de: US20260107411A1

A housing assembly includes a housing and a fan disposed on the housing; The housing includes a front wall and a rear wall disposed opposite to each other along a first direction, a first sidewall and a second sidewall disposed opposite to each other along a second direction, and a top wall and a bottom wall disposed opposite to each other along a third direction, The top wall includes a first opening, and the first sidewall includes a second opening. The housing includes a first accommodation space and an air duct. The air duct communicates with an external space of the housing, the first opening, and the second opening. The fan is configured to drive an airflow into the air duct through one of the first opening or the second opening, and out of the air duct through the other of the first opening or the second opening.

SEPARATOR AND METHOD FOR PREPARING THE SAME, BATTERY, ENERGY STORAGE APPARATUS, AND ELECTRICITY-CONSUMPTION DEVICE

NºPublicación:  US20260106318A1 16/04/2026
Solicitante: 
XIAMEN HITHIUM ENERGY STORAGE TECH CO LTD [CN]
US_20260106318_A1

Resumen de: US20260106318A1

Provided are a separator and a method for preparing the same, a battery, an energy storage apparatus, and an electricity-consumption device. The separator includes a base film and an adhesive layer arranged on at least one surface of the base film. The adhesive layer includes a plurality of adhesive dots distributed in a dot-array pattern. A thickness of each of the plurality of adhesive dots gradually decreases from an edge of the adhesive dot to a center of the adhesive dot.

MODIFIED GRAPHITE NEGATIVE ELECTRODE MATERIAL, AND PREPARATION METHOD THEREFOR AND USE THEREOF

NºPublicación:  WO2026077093A1 16/04/2026
Solicitante: 
GUANGDONG DONGDAO NEW ENERGY CO LTD [CN]
GUIZHOU DONGDAO NEW ENERGY CO LTD [CN]
\u5E7F\u4E1C\u4E1C\u5C9B\u65B0\u80FD\u6E90\u80A1\u4EFD\u6709\u9650\u516C\u53F8
\u8D35\u5DDE\u4E1C\u5C9B\u65B0\u80FD\u6E90\u6750\u6599\u6709\u9650\u516C\u53F8
WO_2026077093_A1

Resumen de: WO2026077093A1

The present invention provides a modified graphite negative electrode material, and a preparation method therefor and a use thereof. In the present invention, sulfonated graphene and aminated carbon nanotubes are first dispersed in water so that electrostatic interactions between sulfonic acid groups on the surface of the sulfonated graphene and amino groups in the aminated carbon nanotubes are enabled for self-assembly and binding to obtain a three-dimensional network composite having the characteristics of high elasticity and high stiffness, i.e., sulfonated graphene/carbon nanotubes; then the surface of graphite is coated with the three-dimensional network composite to obtain sulfonated graphene/carbon nanotube-coated graphite; and the sulfonated graphene/carbon nanotube-coated graphite is subsequently mixed with asphalt and fused with an inorganic nanomaterial in sequence, followed by carbonization treatment, thereby forming a modified graphite negative electrode material in which the sulfonated graphene/carbon nanotubes serve as an inner shell, amorphous carbon and the inorganic nanomaterial serve as an outer shell, and graphite serves as a core. The modified graphite negative electrode material can simultaneously achieve high rate performance, high energy density, and high initial coulombic efficiency.

REFERENCE ELECTRODE, LONG-LIFESPAN THREE-ELECTRODE BATTERY AND PREPARATION METHOD THEREOF, AND METHOD FOR RECOVERING CAPACITY OF BATTERY

NºPublicación:  US20260106345A1 16/04/2026
Solicitante: 
UNIV TONGJI [CN]
US_20260106345_A1

Resumen de: US20260106345A1

0000 Provided are a reference electrode, a long-lifespan three-electrode battery and a preparation method thereof and a method for recovering capacity of a battery. The reference electrode includes a current collector, an active layer, and an anti-oxidation layer, the active layer and the anti-oxidation layer being sequentially coated on a surface of the current collector, wherein a material of the active layer includes one selected from the group consisting of a lithium-ion battery active material and a sodium-ion battery active material; and a content of the material of the active layer in the reference electrode is in a range of 0.05-0.08 g/cm<2>; and a material of the anti-oxidation layer comprises a solid-state electrolyte.

METHOD FOR PURIFYING BIS(FLUOROSULFONYL)IMIDE, PURIFIED BIS(FLUOROSULFONYL)IMIDE, AND BIS(FLUOROSULFONYL)IMIDE SALT

NºPublicación:  WO2026077233A1 16/04/2026
Solicitante: 
JIUJIANG TINCI MATERIALS TECH CO LTD [CN]
\u4E5D\u6C5F\u5929\u8D50\u9AD8\u65B0\u6750\u6599\u6709\u9650\u516C\u53F8
WO_2026077233_A1

Resumen de: WO2026077233A1

Provided in the present application are a method for purifying bis(fluorosulfonyl)imide, purified bis(fluorosulfonyl)imide, and lithium bis(fluorosulfonyl)imide. The purification method comprises an operation of removing impurities using an impurity removal agent, the impurity removal agent comprising a bis(fluorosulfonyl)imide salt; mixing the impurity removal agent with bis(fluorosulfonyl)imide to be purified, so that fluorosulfonic acid in the bis(fluorosulfonyl)imide to be purified and the bis(fluorosulfonyl)imide salt undergo an ion exchange reaction to obtain a liquid phase mixture; separating the liquid phase mixture to obtain purified bis(fluorosulfonyl)imide, a molar ratio of bis(fluorosulfonyl)imide anion to fluorosulfonate anion is 1: 1 or more; and controlling a reaction temperature to be 20 °C or more in the step of the bis(fluorosulfonyl)imide salt and the fluorosulfonic acid undergoing the ion exchange reaction.

POSITIVE ELECTRODE FOR ALL-SOLID-STATE BATTERY AND ALL-SOLID-STATE BATTERY COMPRISING SAME

NºPublicación:  US20260106152A1 16/04/2026
Solicitante: 
LG ENERGY SOLUTION LTD [KR]
US_20260106152_A1

Resumen de: US20260106152A1

Disclosed is a positive electrode for all-solid-state battery and an all-solid-state battery comprising same. More specifically, the positive electrode active material layer of the positive electrode comprises a positive electrode active material, a sulfide-based solid electrolyte, and a conductive material, wherein the particle diameter of the conductive material is between the particle diameter of the positive electrode active material and the particle diameter of the sulfide-based solid electrolyte, which may thereby increasing the contact interface between the positive electrode active material and the sulfide-based solid electrolyte while decreasing the porosity of the positive electrode as a whole, so that the conductivity of the positive electrode can be maintained and the effect of increasing the energy density of the cell without a decrease in cell performance can be achieved.

BATTERY DIRECT COOLING SYSTEM AND CONTROL METHOD

NºPublicación:  WO2026076784A1 16/04/2026
Solicitante: 
DONGFENG MOTOR GROUP CO LTD [CN]
\u4E1C\u98CE\u6C7D\u8F66\u96C6\u56E2\u80A1\u4EFD\u6709\u9650\u516C\u53F8
WO_2026076784_A1

Resumen de: WO2026076784A1

The present application relates to the technical field of battery direct cooling, and specifically refers to a battery direct cooling system and a control method. A direct cooling plate is comprised. The direct cooling plate is provided with a refrigerant flow channel and a condensed water flow channel. The refrigerant flow channel has a refrigerant flowing within and is in communication with a refrigerant inlet and a refrigerant outlet on the direct cooling plate. Condensed water discharged by an air conditioning system flows within the condensed water flow channel, and a water intake structure and a water discharge structure are provided on the condensed water flow channel. The battery direct cooling system of the present application has a simple structure, can fully utilize condensed water of an air conditioning system to cool a battery pack, reduces the cooling energy consumption of the battery pack to the greatest extent, has extremely high heat exchange efficiency, is light in weight, has great cost advantages, can effectively reduce the power consumption of the system, and maintains the optimal battery temperature, thereby improving the range of the entire vehicle.

Batterie

NºPublicación:  DE102025134585A1 16/04/2026
Solicitante: 
FEV GROUP GMBH [DE]
DE_102025134585_PA

Resumen de: DE102025134585A1

Die erfindungsgemäße Batterie umfasst eine Montageplatte (3), mehrere auf der Montageplatte angeordnete Batteriezellen (2), und ein mit der Montageplatte thermisch verbundenes Kühlsystem (4) zum Kühlen der Batteriezellen, wobei die Montageplatte eine Struktur aus einem thermisch leitenden ersten Material (5) und einem thermisch isolierenden zweiten Material (6) umfasst, wobei die Struktur so ausgebildet ist, dass die Batteriezellen (2) über das erste Material (5) mit dem Kühlsystem thermisch verbunden sind, und benachbarte Batteriezellen (2) einer Batteriezelle durch das zweite Material von dem diese Batteriezelle thermisch verbindenden ersten Material (5) thermisch getrennt sind.

UNINTERRUPTIBLE POWER SUPPLY DEVICE

NºPublicación:  US20260106487A1 16/04/2026
Solicitante: 
TMEIC CORP [JP]
MITSUBISHI ELECTRIC CORP [JP]
US_20260106487_A1

Resumen de: US20260106487A1

An uninterruptible power supply device has a normal mode of supplying a load with electric power supplied from an AC power supply, a backup mode of supplying the load with electric power stored in a storage battery during a power failure, and a deterioration diagnosis mode of diagnosing a deteriorated state of the storage battery. A controller periodically shifts to the deterioration diagnosis mode during execution of the normal mode. During execution of the deterioration diagnosis mode, the controller stops charging of the storage battery by stopping an operation of the power converter. The controller measures a voltage of the storage battery at a first timing after a lapse of a first time period from stopping charging of the storage battery, and diagnoses the deteriorated state of the storage battery based on a measured value of the voltage of the storage battery at the first timing.

BATTERY CELL AND TERMINAL DEVICE

NºPublicación:  WO2026077125A1 16/04/2026
Solicitante: 
NINGDE AMPEREX TECHNOLOGY LTD [CN]
\u5B81\u5FB7\u65B0\u80FD\u6E90\u79D1\u6280\u6709\u9650\u516C\u53F8
WO_2026077125_A1

Resumen de: WO2026077125A1

A battery cell and a terminal device. The battery cell comprises an electrode assembly, wherein the electrode assembly comprises a first electrode sheet, a separator, and a second electrode sheet that are wound. The electrode assembly comprises a first straight section, a first bent section, a second straight section, and a second bent section that are connected in sequence, wherein the first straight section and the second straight section are arranged opposite to each other along a first direction, and the first bent section and the second bent section are arranged opposite to each other along a second direction. The first electrode sheet comprises a first current collector and a first active material layer, and along the thickness direction of the first current collector, the first active material layer is arranged on one side of the first current collector. Multiple first grooves are formed on the surface of the first active material layer facing away from the first current collector. When viewed along the second direction, a first reference line passes through the first bent section along a third direction, and multiple first grooves on at least one layer of the first bent section intersect with the first reference line at first intersection points, wherein the number of first intersection points is N1, and 60≤N1/W1≤1000. The battery facilitates reduction of the risk of lithium plating.

FLAME-RETARDANT POLYURETHANE REACTION SYSTEM AND USE THEREOF

NºPublicación:  WO2026076770A1 16/04/2026
Solicitante: 
BASF SE [DE]
BASF CHINA CO LTD [CN]
\u5DF4\u65AF\u592B\u6B27\u6D32\u516C\u53F8
\u5DF4\u65AF\u592B(\u4E2D\u56FD)\u6709\u9650\u516C\u53F8
WO_2026076770_A1

Resumen de: WO2026076770A1

Disclosed in the present disclosure are a polyurethane reaction system, a use thereof in encapsulation of an automobile battery product, and an automobile battery product comprising a cured product of the polyurethane reaction system. In the polyurethane reaction system of the present disclosure, a polyol component and/or an isocyanate component comprise at least one phosphate flame retardant F1 that is a solid at 25℃, and the phosphate flame retardant F1 is dissolved at 25℃ in the polyol component and/or the isocyanate component, and forms a storage-stable polyol flame retardant liquid mixture and/or a storage-stable isocyanate flame retardant liquid mixture.

METHOD FOR PREDICTING CYCLE PERFORMANCE OF BATTERY, AND DEVICE AND STORAGE MEDIUM

NºPublicación:  WO2026076808A1 16/04/2026
Solicitante: 
EVE ENERGY CO LTD [CN]
\u60E0\u5DDE\u4EBF\u7EAC\u9502\u80FD\u80A1\u4EFD\u6709\u9650\u516C\u53F8
WO_2026076808_A1

Resumen de: WO2026076808A1

The present application discloses a method for predicting the cycle performance of a battery, and a device and a storage medium. The method for predicting the cycle performance of a battery comprises: acquiring performance characteristics of a battery under prediction from early-stage usage data of said battery; and performing prediction processing on the performance characteristics on the basis of a pre-trained cycle performance prediction model to obtain a cycle performance index of said battery.

WIRELESS COMMUNICATION METHOD AND BATTERY MANAGEMENT SYSTEM BASED ON WIRELESS COMMUNICATION

NºPublicación:  WO2026077403A1 16/04/2026
Solicitante: 
SUNGIANT AUTOMOTIVE ELECTRONICS CO LTD [CN]
\u6B23\u6377\u5B89\u6C7D\u8F66\u7535\u5B50\u6709\u9650\u516C\u53F8
WO_2026077403_A1

Resumen de: WO2026077403A1

Provided in the present invention are a wireless communication method and a battery management system based on wireless communication. The method comprises: generating several communication paths on the basis of the communication quality between a plurality of cell management units and a battery management unit, wherein each cell management unit is used for collecting operating data of a battery pack and sending the operating data to the battery management unit; controlling the battery management unit to generate a control instruction on the basis of the received operating data, and forwarding the control instruction to the cell management unit by means of a communication path, wherein the battery management unit is in wireless communication with each cell management unit; and controlling the cell management unit to perform, on the basis of the received control instruction, cell management on a battery pack connected to the cell management unit, wherein the cell management unit is connected to at least one battery pack, and each battery pack comprises several cells. The present invention can improve the reliability of communication between a battery management unit and a battery management unit.

Electrode Comprising Active Material Layer Having Double-Layered Structure, and Secondary Battery Comprising Same

NºPublicación:  US20260106208A1 16/04/2026
Solicitante: 
LG ENERGY SOLUTION LTD [KR]
US_20260106208_A1

Resumen de: US20260106208A1

An electrode for a secondary battery comprises: a current collector; a lower active material layer formed on at least one side of the current collector; and an upper active material layer formed on the lower active material layer. The lower active material layer comprises a first lithium iron phosphate active material, a lithium nickel oxide active material, and a needle-type conductive material. The upper active material layer comprises a second lithium iron phosphate active material and sphere-type conductive material. A ratio of a content of a sum of the first lithium iron phosphate material and the second lithium iron phosphate active material to a content of the lithium nickel oxide active material is in a weight ratio range of from 55 to 70:30 to 45. A total average loading amount of the upper and lower active material layers is in a range of from 300 mg/25 cm2 to 900 mg/25 cm2.

ELECTRODE FORMING DEVICE AND COATING METHOD

NºPublicación:  WO2026076949A1 16/04/2026
Solicitante: 
KATOP AUTOMATION CO LTD [CN]
\u6DF1\u5733\u5E02\u65B0\u5609\u62D3\u81EA\u52A8\u5316\u6280\u672F\u6709\u9650\u516C\u53F8
WO_2026076949_A1

Resumen de: WO2026076949A1

The present invention discloses an electrode forming device and a coating method. The electrode forming device comprises a double-cone extrusion mechanism, a double-steel-belt calendering mechanism, an edge trimming mechanism, a four-roller mechanism, and a winding and unwinding mechanism; the double-cone extrusion mechanism is used for mixing and extruding materials; the double-steel-belt calendering mechanism is used for calendering the extruded materials into a film sheet; the edge trimming mechanism is used for trimming the edge of the film sheet; the four-roller mechanism is used for performing a secondary thinning operation on the film sheet and compounding the film sheet with a current collector; and the winding and unwinding mechanism is used for performing winding and unwinding operations on the compounded electrode sheet. The coating method comprises the following steps: S1, material treatment; S2, preliminary film formation; S3, film sheet trimming; S4, secondary thinning; S5, A-side compounding; S6, semi-finished product winding; S7, semi-finished product unwinding; S8, B-side compounding; and S9, finished product winding. The film formation quality of the film sheet can be improved, the consistency and uniformity of film formation can be ensured, the requirements for press rollers can be reduced, and the service life of the press rollers can be prolonged.

BATTERY CASE AND MANUFACTURING METHOD THEREFOR, AND BATTERY PACK

NºPublicación:  WO2026076892A1 16/04/2026
Solicitante: 
EVE ENERGY CO LTD [CN]
\u60E0\u5DDE\u4EBF\u7EAC\u9502\u80FD\u80A1\u4EFD\u6709\u9650\u516C\u53F8
WO_2026076892_A1

Resumen de: WO2026076892A1

Provided in the present application are a battery case and a manufacturing method therefor, and a battery pack. The battery case comprises a case body, wherein the case body comprises a middle plate and a first end plate, with the first end plate being arranged at one end of the middle plate in the direction of the length of the case body; the middle plate and the first end plate are enclosed to form at least a part of a battery mounting cavity; and a first welding line is provided at the joint of the middle plate and the first end plate, and the middle plate and the first end plate are located on two opposite sides of the first welding line in the direction of the length of the case body.

SECONDARY BATTERY EVALUATION SYSTEM

NºPublicación:  US20260104467A1 16/04/2026
Solicitante: 
MURATA MANUFACTURING CO [JP]
US_20260104467_A1

Resumen de: US20260104467A1

A secondary battery evaluation system includes a battery pack including a plurality of secondary battery cells, a voltage detection circuit that detects a terminal-to-terminal voltage value of the battery pack, a current detection circuit that detects a current value of the battery pack, a test secondary battery including at least one battery cell manufactured from the same material as the secondary battery cell, and a test power supply circuit that controls charge and discharge of the test secondary battery. The test power supply circuit sets a test charge voltage value and a test charge current value for the test secondary battery based on a terminal-to-terminal voltage value and a current value during charging of the battery pack, charges the test secondary battery with the test charge voltage value and the test charge current value, sets a test discharge voltage value and a test discharge current value for the test secondary battery based on a terminal-to-terminal voltage value and a current value during discharging of the battery pack, and discharges the test secondary battery with the test discharge voltage value and the test discharge current value to perform a simulation of charge and discharge of the battery pack. The test power supply circuit acquires SOC-OCV data of the test secondary battery by performing charge and discharge of the test secondary battery independently of driving of the battery pack at the time of measurement of SOC-OCV data.

ELECTRICITY STORAGE SYSTEM

NºPublicación:  US20260106468A1 16/04/2026
Solicitante: 
YAZAKI CORP [JP]
US_20260106468_A1

Resumen de: US20260106468A1

0000 An electricity storage system includes a plurality of strings, a solar power generation device, and an array system that executes control of matching voltage, phase, and frequency of a slave string with those of a master string. The array system acquires information on a remaining discharge power capacity and a remaining charge power capacity of each of the plurality of strings, determines a string having the remaining discharge power capacity equal to or less than a first threshold and a string having the remaining charge power capacity equal to or less than a second threshold as a low-capacity string, and selects the master string based on a total value of the remaining discharge power capacity and the remaining charge power capacity of each master candidate string excluding the determined low-capacity string.

GRAPHITE ANODE MATERIAL FOR LITHIUM BATTERY AND PREPARATION METHOD THEREFOR

NºPublicación:  WO2026077069A1 16/04/2026
Solicitante: 
HUANG XIANGPING [CN]
\u9EC4\u6E58\u5E73
WO_2026077069_A1

Resumen de: WO2026077069A1

Provided in the present invention are a graphite anode material for a lithium battery and a preparation method therefor. The preparation method comprises the following steps: (1) preparing a modified phenolic resin; (2) adding natural graphite and the modified phenolic resin to a reaction kettle, continuing to add modified graphene, and performing stirring and heating coating in a nitrogen atmosphere, specifically: first increasing the temperature to 150-200 °C at 1-2 °C/min, maintaining the temperature for 100-120 min, then increasing the temperature to 550-600 °C at 4-6 °C/min, maintaining the temperature for 180-200 min, and cooling to obtain coated graphite; and (3) placing the coated graphite in an atmosphere furnace for carbonization and sieving to obtain the graphite anode material for the lithium battery. When the anode material of the present invention is used for preparing the lithium battery, the capacity retention rate is high, the rate performance is good, the impedance is low, and the lithium precipitation point for fast charging is high.

ENERGY STORAGE APPARATUS

NºPublicación:  US20260106296A1 16/04/2026
Solicitante: 
GS YUASA INT LTD [JP]
US_20260106296_A1

Resumen de: US20260106296A1

0000 An energy storage apparatus includes a plurality of energy storage devices aligned in a first direction, an end plate located at an end portion of the plurality of energy storage devices in the first direction, and a side plate located at an end portion of the plurality of energy storage devices in a second direction intersecting the first direction. The end plate includes an end plate connecting portion connected to the side plate. The side plate includes a first portion extending in the first direction, a second portion extending from the first portion in the second direction and is connected to the end plate connecting portion, and a third portion extending from the second portion in the first direction along an installation surface of the energy storage apparatus and fixed to the installation surface.

Current Collector Apparatus

NºPublicación:  US20260106172A1 16/04/2026
Solicitante: 
UNIV MICHIGAN STATE [US]
US_20260106172_A1

Resumen de: US20260106172A1

A current collector apparatus is provided. In one aspect, a current collector includes a first metallic layer, a second metallic layer, and a porous polymeric layer positioned between the first metallic layer and the second metallic layer. In another aspect, a current collector employs a porous polymeric layer including pores and metallic particles disposed therein. The metallic particles electrically connect the first and second metallic layers. Each of a first metallic layer and a second metallic layer has a first average thickness that is about 1 nanometer to about 5 micrometers, a porous polymeric layer has a second average thickness that is about 10 nanometers to about 200 micrometers, and/or the current collector has a third average thickness that is about 12 nanometers to about 210 micrometers.

ELECTRIC WORKING MACHINE AND METHOD OF CONTROLLING ELECTRIC WORKING MACHINE

NºPublicación:  US20260106567A1 16/04/2026
Solicitante: 
KUBOTA KK [JP]
US_20260106567_A1

Resumen de: US20260106567A1

An electric working machine includes a battery assembly, an electric actuator to be actuated by electricity supplied by the battery assembly, a working device to be actuated by the electric actuator being driven, a plurality of temperature detectors to each detect a temperature of the battery assembly, a controller configured or programmed to calculate a first temperature of the battery assembly based on temperatures detected by the plurality of temperature detectors, and a display to display the first temperature calculated by the controller. The controller is configured or programmed to calculate the first temperature based on a lowest temperature of the temperatures detected by the plurality of temperature detectors, a highest temperature of the temperatures detected by the plurality of temperature detectors, and a weighting value to assign weights such that a weight assigned to the lowest temperature increases as the lowest temperature decreases.

TERMINAL POST, TERMINAL ASSEMBLY AND BATTERY

NºPublicación:  WO2026076847A1 16/04/2026
Solicitante: 
HUIZHOU EVE POWER CO LTD [CN]
EVE POWER CO LTD [CN]
\u60E0\u5DDE\u4EBF\u7EAC\u52A8\u529B\u7535\u6C60\u6709\u9650\u516C\u53F8
\u6E56\u5317\u4EBF\u7EAC\u52A8\u529B\u6709\u9650\u516C\u53F8
WO_2026076847_A1

Resumen de: WO2026076847A1

Provided in the present application are a terminal post, a terminal assembly and a battery. The terminal post comprises: a base having a first surface; and a post body arranged on the first surface, wherein the post body has a second surface facing away from the base, the second surface being provided with a thermally conductive groove filled with a thermally conductive material.

ELECTRIC WORKING MACHINE AND METHOD OF CONTROLLING ELECTRIC WORKING MACHINE

NºPublicación:  US20260103872A1 16/04/2026
Solicitante: 
KUBOTA KK [JP]
US_20260103872_A1

Resumen de: US20260103872A1

An electric working machine includes a battery assembly, an electric actuator to be actuated by electricity supplied by the battery assembly, a working device to be actuated by the electric actuator, a temperature detector to detect a temperature of the battery assembly, and a controller configured or programmed to control, according to the temperature of the battery assembly, a first upper limit of a charging current supplied to the battery assembly. The controller is configured or programmed to switch between a first mode in which the controller controls the charging current based on a first correspondence relationship in which temperatures of the battery assembly and first upper limits are associated with each other, and a second mode in which the controller controls the charging current based on a second correspondence relationship in which the first upper limits are lower than in the first correspondence relationship at one or more temperatures.

SECONDARY BATTERY, ELECTRICAL DEVICE, AND PREPARATION METHOD FOR SECONDARY BATTERY

NºPublicación:  WO2026077130A1 16/04/2026
Solicitante: 
NINGDE AMPEREX TECHNOLOGY LTD [CN]
\u5B81\u5FB7\u65B0\u80FD\u6E90\u79D1\u6280\u6709\u9650\u516C\u53F8
WO_2026077130_A1

Resumen de: WO2026077130A1

Embodiments of the present application provide a secondary battery, an electrical device, and a preparation method for the secondary battery. The secondary battery comprises an electrode assembly. The electrode assembly comprises a first electrode plate located at an outermost layer thereof. The first electrode plate comprises a first current collector, a first active material layer, and a first insulating layer. The first current collector has a first surface and a second surface which are oppositely disposed, the first active material layer being disposed on the first surface, and the first insulating layer being disposed on the second surface. The secondary battery further comprises a first bonding member. The first bonding member comprises a first part and a second part. The first part being bonded to a portion of a surface of the second surface that is not covered by the first insulating layer, or the first part being bonded to a region of the first insulating layer that is thinned after removing a some material. The second part is bonded to a surface of the electrode assembly located on a side in the second direction. In the secondary battery, the energy density of the secondary battery can be improved while reducing the degree and likelihood of curling of the outermost electrode plate of the electrode assembly.

BATTERY CELL AND ELECTRIC DEVICE

NºPublicación:  WO2026077239A1 16/04/2026
Solicitante: 
NINGDE AMPEREX TECHNOLOGY LTD [CN]
\u5B81\u5FB7\u65B0\u80FD\u6E90\u79D1\u6280\u6709\u9650\u516C\u53F8
WO_2026077239_A1

Resumen de: WO2026077239A1

Provided in the present application are a battery cell and an electric device. The battery cell comprises an electrode assembly, wherein the electrode assembly is formed by winding a positive electrode sheet, a separator and a negative electrode sheet which are stacked, the outermost electrode sheet being the positive electrode sheet; the positive electrode sheet comprises a double-sided coated region, a single-sided coated region and a double-sided bare foil region which are sequentially arranged from the start to the end of winding; a first adhesive tape of the battery cell is attached to the side of the single-sided coated region where no active material layer is provided, and at least part of the first adhesive tape is arranged on the positive electrode sheet in the second turn from the outside to the inside of the battery cell; in the direction of winding, the first adhesive tape extends beyond a first edge of the double-sided bare foil region away from the single-sided coated region; and in the direction of a winding axis, the first adhesive tape extends beyond a second edge and a third edge of the double-sided bare foil region. The capacity of the battery cell is less than 3 Ah. The risk of a short circuit due to contact between an edge of the double-sided bare foil region and the negative electrode sheet is reduced, thereby improving the safety of the battery cell; moreover, the first adhesive tape does not increase the thickness of the battery cell, thereby helping i

POSITIVE ELECTRODE MATERIAL AND PREPARATION METHOD THEREFOR, POSITIVE ELECTRODE SHEET, AND SODIUM-ION BATTERY

NºPublicación:  WO2026076730A1 16/04/2026
Solicitante: 
HUBEI WANRUN NEW ENERGY TECH CO LTD [CN]
\u6E56\u5317\u4E07\u6DA6\u65B0\u80FD\u6E90\u79D1\u6280\u80A1\u4EFD\u6709\u9650\u516C\u53F8
WO_2026076730_A1

Resumen de: WO2026076730A1

The present invention belongs to the field of batteries, and provides a positive electrode material and a preparation method therefor, a positive electrode sheet, and a sodium-ion battery. The positive electrode material comprises an inner core, the inner core comprises sodium iron phosphate pyrophosphate and optional sodium iron phosphate, and the mass ratio of sodium iron phosphate to sodium iron phosphate pyrophosphate in the positive electrode material is (0-0.15):(99.85-100). The present invention is beneficial for improving the capacity and cycle performance of the positive electrode material and the sodium-ion battery.

LITHIUM BATTERY

NºPublicación:  WO2026076865A1 16/04/2026
Solicitante: 
EVE POWER CO LTD [CN]
\u6E56\u5317\u4EBF\u7EAC\u52A8\u529B\u6709\u9650\u516C\u53F8
WO_2026076865_A1

Resumen de: WO2026076865A1

A lithium battery, which comprises a positive electrode sheet and a negative electrode sheet. The positive electrode sheet comprises a positive electrode active material layer, and the positive electrode active material layer comprises a lithium iron phosphate positive electrode material and a lithium supplementing agent, wherein the lithium iron phosphate positive electrode material contains a doping element A, with the doping element A comprising at least one of Ti, V, Mg, Nb, Zr, Zn and Al; and the lithium supplementing agent comprises a lithium-rich lithium nickel oxide material, and the chemical formula of the lithium-rich lithium nickel oxide material is Li2+xNiByO2+z, where x>0, y>0, and z>0 or z<0, and the element B comprises at least one of Ti, Al, Mg, Mn and Fe. The negative electrode sheet comprises a negative electrode active material layer, and the negative electrode active material layer comprises a carbon-based negative electrode material and a silicon-based negative electrode material, wherein the silicon-based negative electrode material comprises at least one of a porous silicon material, a silicon-carbon material having a core-shell structure, a silicon-carbon material having a yolk-shell structure, and a silicon-carbon material having an SiOx/C-type graphite structure. The D50 of the silicon-based negative electrode material is 5-15 μm, wherein the porosity of the porous silicon material is 5-40%; and in the silicon-carbon material having a core-shell str

METHOD AND APPARATUS FOR CONTROLLING CHARGING AND DISCHARGING OF ENERGY STORAGE SYSTEM, AND DEVICE

NºPublicación:  WO2026076913A1 16/04/2026
Solicitante: 
HUANENG ANHUI MENGCHENG WIND POWER GENERATION CO LTD [CN]
\u534E\u80FD\u5B89\u5FBD\u8499\u57CE\u98CE\u529B\u53D1\u7535\u6709\u9650\u8D23\u4EFB\u516C\u53F8
WO_2026076913_A1

Resumen de: WO2026076913A1

The present invention provides a method and apparatus for controlling charging and discharging of an energy storage system, and a device. The energy storage system comprises a plurality of energy storage battery assemblies. The method comprises: acquiring characteristic parameters of the plurality of energy storage battery assemblies, the characteristic parameters comprising a real-time battery capacity value, a rated battery capacity value, a calibration battery internal resistance value, and a real-time battery internal resistance value; determining a health state index of each energy storage battery assembly by using a health state index relationship and the characteristic parameters; comparing the health state index of each energy storage battery assembly with a preset battery health level threshold; and, on the basis of the comparison result, controlling charging and discharging states of the energy storage battery assemblies. The health state index of each energy storage battery assembly is determined by means of the real-time characteristic parameters, and then, on the basis of the comparison result with the preset battery health level threshold, the charging and discharging states of the energy storage battery assemblies are controlled in different control manners, thus improving the rationality of charging and discharging control, ensuring charging and discharging safety, and prolonging the service life of the energy storage battery assemblies.

NEGATIVE ELECTRODE PLATE, SECONDARY BATTERY, AND ELECTRICAL APPARATUS

NºPublicación:  US20260106163A1 16/04/2026
Solicitante: 
CONTEMPORARY AMPEREX TECHNOLOGY CO LTD [CN]
US_20260106163_A1

Resumen de: US20260106163A1

0000 A negative electrode plate, a secondary battery, and an electrical apparatus are described. The negative electrode plate includes a current collector and a negative electrode film layer, where the negative electrode film layer includes a first film layer, provided on one side or both sides of the current collector; and a second film layer, provided on one side of the first film layer away from the current collector; a negative electrode active material of the first film layer and a negative electrode active material in the second film layer each independently include a silicon-based negative electrode material, the silicon-based negative electrode material in the second film layer includes a porous silicon negative electrode material, and a content of the silicon-based negative electrode material in the first film layer is less than a content of the silicon-based negative electrode material in the second film layer.

CURRENT SAMPLING METHOD AND APPARATUS, DEVICE, AND MEDIUM

NºPublicación:  WO2026076829A1 16/04/2026
Solicitante: 
ALTENERGY POWER SYSTEM INC [CN]
\u6631\u80FD\u79D1\u6280\u80A1\u4EFD\u6709\u9650\u516C\u53F8
WO_2026076829_A1

Resumen de: WO2026076829A1

A current sampling method and apparatus, a device, and a medium. The method comprises: outputting an interrupt control signal and a MOS transistor drive signal (S11), the interrupt control signal and the MOS transistor drive signal having a harmonic relationship; when a first counter corresponding to the interrupt control signal reaches a first preset count value, sampling an induction current (S12), the induction current being an induction current formed by an on-off state of a MOS transistor driven by the MOS transistor drive signal, and the induction current being at the midpoint of a rising edge or a falling edge when the first counter reaches the first preset count value. In this way, the stability of current sampling can be improved, so as to achieve more stable control.

Thermal management integrated module and new energy vehicle

NºPublicación:  AU2024287230A1 16/04/2026
Solicitante: 
ZHEJIANG LEAPMOTOR TECHNOLOGY CO LTD
AU_2024287230_A1

Resumen de: AU2024287230A1

A thermal management integrated module and a new energy vehicle provided with the thermal management integrated module are provided. The thermal management integrated module includes a refrigerant-side flow channel plate, a coolant-side flow channel plate, a refrigerant-side assembly, a coolant-side assembly, and a chiller. The coolant-side assembly is connected to the coolant-side flow channel plate. The coolant-side flow channel plate is arranged with a plurality of first flow channels. The refrigerant-side assembly and the chiller are respectively connected to the refrigerant-side flow channel plate. The refrigerant-side flow channel plate is arranged with a plurality of second flow channels. A thermal management integrated module and a new energy vehicle provided with the thermal management integrated module are provided. The thermal management integrated module includes a refrigerant-side flow channel plate, a coolant-side flow channel plate, a refrigerant-side assembly, a coolant-side assembly, and a chiller. The coolant-side assembly is connected to the coolant-side flow channel plate. The coolant-side flow channel plate is arranged with a plurality of first flow channels. The refrigerant-side assembly and the chiller are respectively connected to the refrigerant-side flow channel plate. The refrigerant-side flow channel plate is arranged with a plurality of second flow channels. ec e c ec e c

COATED ACTIVE MATERIAL, POSITIVE ELECTRODE MATERIAL, AND BATTERY

NºPublicación:  US20260106215A1 16/04/2026
Solicitante: 
PANASONIC HOLDINGS CORP [JP]
TOYOTA JIDOSHA KK [JP]
US_20260106215_A1

Resumen de: US20260106215A1

A coated active material of the present disclosure includes a positive electrode active material, and a coating material including a first solid electrolyte and coating at least a portion of a surface of the positive electrode active material. The first solid electrolyte includes Li, M, and X. The M is at least one element selected from the group consisting of a metal element other than Li and a metalloid element, and the X is a halogen element. A value obtained by dividing the integrated value of the amount of moisture released from the coated active material at the time of the heating of the coated active material from 25° C. to 120° C. by the total mass of the coated active material is defined as MC120. In this case, the moisture content MC120 satisfies 0 ppm

ELECTROLYTE COMPOSITION, ELECTROLYTE, AND BATTERY

NºPublicación:  US20260106210A1 16/04/2026
Solicitante: 
SUMITOMO CHEMICAL CO [JP]
UNIV KYOTO [JP]
US_20260106210_A1

Resumen de: US20260106210A1

An electrolyte composition contains an ion conductive inorganic solid electrolyte, a polymer having an ability to preferentially conduct metal ions, and an ionic liquid.

METHOD FOR PRODUCING A MATERIAL OR A COMPONENT FOR A SOLID-STATE BATTERY

NºPublicación:  US20260106226A1 16/04/2026
Solicitante: 
FORSCHUNGSZENTRUM JUELICH GMBH [DE]
US_20260106226_A1

Resumen de: US20260106226A1

The invention relates to a method for producing a material for a solid-state battery and/or a component for a solid-state battery, as well as a solid-state battery cell. In the method for producing a material (10) for a solid-state battery (30) and/or a component (20) for a solid-state battery (30), at least one starting material (1) together with a sodium source (2) and H3BO3 is heated (5) to a temperature between 600° C. and 1300° C. The material and/or component can be produced at a significantly lower temperature.

High Structure Acetylene Black, Process for its Production, and Compositions and Uses Thereof

NºPublicación:  US20260103600A1 16/04/2026
Solicitante: 
ORION ENG CARBONS IP GMBH & CO KG [DE]
US_20260103600_A1

Resumen de: US20260103600A1

0000 A high structure acetylene black having an oil absorption number (OAN) of 360 mL/100 g or more and a BET surface area in a range from 50 to 200 m2/g is provided. Such high structure carbon black exhibits excellent electrical conductivity and good processing properties. e.g. dispersibility, having superior power to impart electrical and/or thermal conductivity to various materials, rendering it particularly useful for all kinds of applications where high electrical and/or thermal conductivity is desired or beneficial, such as manufacture of electrodes and other components of energy storage and/or conversion devices or electrically and/or heat conductive materials and articles made thereof.

SULFIDE SOLID ELECTROLYTE POWDER, SOLID ELECTROLYTE LAYER, AND LITHIUM ION SECONDARY BATTERY

NºPublicación:  US20260106216A1 16/04/2026
Solicitante: 
AGC INC [JP]
US_20260106216_A1

Resumen de: US20260106216A1

A sulfide solid electrolyte powder includes, in content in a mass basis: less than 50 ppm of Al; and less than 50 ppm of Zr. A particle diameter D50 is less than 1 μm. A BET diameter calculated based on a BET specific surface area may be 0.10 μm to 0.30 μm.

RESIN COMPOSITION INCLUDING POLYCARBONATE RESIN, AND ELECTROLYTIC SOLUTION, FILM, AND SOLID ELECTROLYTE INCLUDING THE SAME

NºPublicación:  US20260103563A1 16/04/2026
Solicitante: 
MITSUBISHI GAS CHEMICAL CO [JP]
US_20260103563_A1

Resumen de: US20260103563A1

0000 The present invention provides a resin composition that includes a polycarbonate resin and a lithium salt, wherein: the polycarbonate resin includes a structural unit (A) derived from at least one selected from the group consisting of bisphenol A, bisphenol C, bisphenol MIBK, bisphenol BPAF, bisphenol Z, and bisphenol AP, which are represented by the structural formulas shown here; and the terminal structure of the polycarbonate resin includes a terminal structure derived from the polyalkylene glycol monoalkyl ether represented by general formula (1). (In general formula (1), R<1 >represents a C2-20 alkylene group, R<2 >represents a C1-20 alkyl group, and n represents an integer from 3 to 120.) 0000

METHOD AND SYSTEM FOR EXTRACTING BLACK MASS FROM SPENT LITHIUM ION BATTERIES

NºPublicación:  US20260106256A1 16/04/2026
Solicitante: 
AGR LITHIUM INC [US]
US_20260106256_A1

Resumen de: US20260106256A1

A method for obtaining a metal salt from a spent lithium-ion (Li-ion) battery may include contacting a leaching solvent to a portion of the spent lithium-ion battery to form a first dispersion. The first dispersion is heated to a temperature in a range from 50° C. to 90° C. by applying microwave radiation. The temperature of the first dispersion is maintained to be in the range from 50° C. to 90° C. for a period in a range from 10 seconds to 5 minutes by further applying microwave radiation to the heated first dispersion. The first dispersion is filtered to obtain a first filtrate. The first dispersion is then filtered to separate undissolved material from a first filtrate. The undissolved precipitate is dehydrated to obtain the black mass.

BATTERY EVENT MONITORING SYSTEM FOR THERMAL MANAGED BATTERY

NºPublicación:  US20260106248A1 16/04/2026
Solicitante: 
ATC HOLLAND LLC [US]
US_20260106248_A1

Resumen de: US20260106248A1

The present invention provides a system and method for determining when a battery, or one or more batteries within a battery pack, undergoes an undesired thermal event such as thermal runaway. A sensor pack is mounted in close proximity to, or in contact with, an external surface of the battery or batteries to be monitored and communicates battery information, including battery compartment information, to a battery package monitor outside the battery compartment. Cloud connectivity can be provided via a mobile application to a battery thermal management package.

SINGLE-CRYSTALLINE LOW-COBALT TERNARY MATERIAL, METHOD FOR PREPARING SAME, SECONDARY BATTERY, BATTERY PACK, AND POWER CONSUMPTION APPARATUS

NºPublicación:  US20260106146A1 16/04/2026
Solicitante: 
CONTEMPORARY AMPEREX TECH HONG KONG LIMITED [CN]
US_20260106146_A1

Resumen de: US20260106146A1

A single-crystalline-structured low-cobalt ternary positive material, a chemical formula thereof is Li1+x(NiaCObMnc)1-dMdO2-yAy, where a mole fraction of Co element is low, 0.05≤b≤0.14; and in a single particle, a ratio of an average Co content per unit area of an outer layer to an average Co content per unit area of an inner core in a cross section passing through a geometric center of the particle is in a range 1.2-5.0:1, optionally, in a range 1.4-2.0:1 is disclosed. The material has better structural stability and dynamic performance at low temperature and high voltage, which improves cycle performance and power performance of the secondary battery at low temperature and high voltage. A method for preparing the low-cobalt ternary positive material, a secondary battery, a battery module, a battery pack, and a power consumption apparatus including the material is also disclosed

BATTERY PACK AND VEHICLE

NºPublicación:  AU2024353746A1 16/04/2026
Solicitante: 
BYD COMPANY LTD
AU_2024353746_PA

Resumen de: AU2024353746A1

Disclosed in the present invention is a vehicle, comprising a battery pack. The battery pack comprises: at least two layers of cell groups, each layer of cell group comprising at least one sub-cell group, the sub-cell group comprising a plurality of battery cells, each of the plurality of battery cells of the sub-cell group extending in a first direction, the plurality of cells of the sub-cell group being arranged in a second direction, and the at least two layers of cell groups being stacked in a third direction. The first direction, the second direction and the third direction are perpendicular to one another.

HYBRID GRAPHENE COMPOSITE PARTICLES

NºPublicación:  US20260103383A1 16/04/2026
Solicitante: 
BIOGENESYS INC [KR]
US_20260103383_A1

Resumen de: US20260103383A1

0000 Provided is hybrid graphene composite particles comprising: a graphene composite in which a plurality of primary microparticles and multilayer graphene are mixed; and secondary microparticles encompassed by or coated with the graphene composite, wherein the primary microparticles are bound to the surface or the inside of the multilayer graphene, and some empty spaces between the primary microparticles are filled with the graphene composite such that a connected structure is formed.

SECONDARY BATTERY

NºPublicación:  US20260106349A1 16/04/2026
Solicitante: 
SAMSUNG SDI CO LTD [KR]
EP_4195400_A1

Resumen de: US20260106349A1

A secondary battery includes: an electrode assembly including a first electrode plate, a second electrode plate, and a separator; a case having an opened upper end; a cap plate to seal the upper end of the case; a first electrode terminal on the cap plate, and electrically connected to the first electrode plate; an insulating member between the cap plate and the first electrode terminal; a second electrode terminal on the cap plate, and electrically connected to the second electrode plate; and an electrical connection member between the cap plate and the second electrode terminal to allow electrical conduction between the cap plate and the second electrode terminal, the electrical connection member being in local contact with at least one of the cap plate or the second electrode terminal, and including a material having a higher resistance than those of the cap plate and the second electrode terminal.

POLYACRYLIC ACID BINDER AND PREPARATION METHOD THEREFOR, AND LITHIUM-ION BATTERY

NºPublicación:  WO2026076760A1 16/04/2026
Solicitante: 
WANHUA CHEMICAL GROUP BATTERY TECH CO LTD [CN]
\u4E07\u534E\u5316\u5B66\u96C6\u56E2\u7535\u6C60\u79D1\u6280\u6709\u9650\u516C\u53F8
WO_2026076760_A1

Resumen de: WO2026076760A1

The present application relates to the technical field of new energy, and particularly relates to a polyacrylic acid binder and a preparation method therefor, and a lithium-ion battery. The preparation method for a polyacrylic acid powder binder comprises the following steps: mixing a polymerizable monomer and an initiator, and performing a polymerization reaction thereon to prepare a polyacrylic acid copolymer; and in the presence of an alcohol solvent, performing a neutralization treatment on the polyacrylic acid copolymer at a temperature not exceeding 60°C, so as to obtain a polyacrylic acid powder binder.

LITHIUM SECONDARY BATTERY AND SEPARATOR

NºPublicación:  US20260106327A1 16/04/2026
Solicitante: 
PANASONIC IP MAN CO LTD [JP]
US_20260106327_A1

Resumen de: US20260106327A1

A lithium secondary battery includes a positive electrode, a negative electrode, a separator disposed between the positive electrode and the negative electrode, and a nonaqueous electrolyte. At the negative electrode, lithium metal deposits during charging, and the lithium metal dissolves during discharging. The separator has an elongated shape having a length D1 in a first direction and a length D2 in a second direction perpendicular to the first direction, where D1

ELECTRODE MANUFACTURING

NºPublicación:  US20260106130A1 16/04/2026
Solicitante: 
ZAF ENERGY SYSTEMS INCORPORATED [US]
US_20260106130_A1

Resumen de: US20260106130A1

A method for manufacturing electrodes includes, by an extruder that receives powder, mixing the powder to form a homogenous blend, injecting a lubricant into the homogenous blend to form a dough, and kneading the dough to form a fibrillated dough. The method further includes, by calender rollers, calendering chunks of the fibrillated dough to a target thickness to form a continuous plaque, by a laminating machine, laminating the plaque to opposite sides of a metal substrate to form a continuous electrode preform, by a dryer, drying the continuous electrode preform to form a dry continuous electrode preform, and by a cutting machine, sectioning the dry continuous electrode preform into electrodes.

BATTERY APPARATUS

NºPublicación:  WO2026077336A1 16/04/2026
Solicitante: 
CALB GROUP CO LTD [CN]
\u4E2D\u521B\u65B0\u822A\u79D1\u6280\u96C6\u56E2\u80A1\u4EFD\u6709\u9650\u516C\u53F8
WO_2026077336_A1

Resumen de: WO2026077336A1

The present application relates to the technical field of battery apparatuses, and discloses a battery apparatus. The battery apparatus comprises a box body comprising a bottom plate and a surrounding frame surrounding the periphery of the bottom plate, the surrounding frame of the bottom plate enclosing to form a cavity. Both ends of at least one cross beam structure in a first direction are fixedly connected to a frame of the box body, dividing the box body into at least two accommodating cavities, and the accommodating cavities being used for accommodating battery packs. The cross beam structure comprises at least two cross beams stacked and fixed in sequence along a second direction. A lifting hole is provided on the surface, away from the bottom plate, of the cross beam away from the bottom plate in the second direction, and the lifting hole is used for lifting the box body. The first direction is a direction parallel to the bottom plate, and the second direction is a direction perpendicular to the bottom plate. According to the battery apparatus provided in the present application, a lifting hole is provided on only one cross beam located on one side, the lifting hole being used for mounting a lifting point. The number of perforations can be reduced on the remaining cross beams, thereby ensuring the integrity of the remaining cross beams, and ensuring the overall strength of the cross beam structure, thus improving the structural strength of the battery apparatus.

BATTERY LIQUID LEAKAGE DETECTION METHOD AND APPARATUS, AND BATTERY AND ENERGY STORAGE SYSTEM

NºPublicación:  WO2026076882A1 16/04/2026
Solicitante: 
CONTEMPORARY AMPEREX TECHNOLOGY CO LTD [CN]
\u5B81\u5FB7\u65F6\u4EE3\u65B0\u80FD\u6E90\u79D1\u6280\u80A1\u4EFD\u6709\u9650\u516C\u53F8
WO_2026076882_A1

Resumen de: WO2026076882A1

A battery liquid leakage detection method, comprising: acquiring concentration information of a target gas in a box body (120) and time information for collecting the concentration information (310), wherein the target gas is a volatile gas of an electrolyte; and when the concentration of the target gas at a target moment is greater than or equal to a target concentration, determining that leakage has occurred in the electrolyte (320), wherein the target concentration is the sum of the concentration of the target gas before a target duration at the target moment and a preset concentration, and the target moment is any moment within a first preset duration. The detection method can accurately and effectively detect the leakage of an electrolyte in a battery. Further provided are a battery liquid leakage detection (4000), a battery and an energy storage system.

ELECTROLYTE ADDITIVE, BATTERY ELECTROLYTE AND APPLICATION THEREOF

NºPublicación:  US20260106219A1 16/04/2026
Solicitante: 
SHENZHEN INNOVAZONE TECH CO LTD [CN]
QUJING INNOVAZONE TECH CO LTD [CN]
FOSHAN INNOVAZONE TECH CO LTD [CN]
US_20260106219_A1

Resumen de: US20260106219A1

An electrolyte additive, including a radical trapping agent, which includes at least one of a structural formula I and a structural formula II. The radical trapping agent of the provided structural formulas I-II can stably carry nitrogen free radicals or oxygen free radicals. Therefore, when used in the electrolyte, the electrolyte additive can consume harmful groups, such as CH3· free radicals, acyl free radicals, and CH3O· free radicals, generated during the charging and discharging process of the secondary battery, and can effectively inhibit the generation of active oxygen in the cathode additive of the secondary battery. In this way, the gas production phenomenon of the secondary battery during the charging and discharging process is effectively inhibited, the gas production volume is significantly reduced, and the volume expansion of the secondary battery is reduced, thereby effective improving the stability and safety of the charging and discharging of the secondary battery.

SEPARATOR FOR SECONDARY BATTERIES AND SECONDARY BATTERIES INCLUDING THE SAME

NºPublicación:  US20260106322A1 16/04/2026
Solicitante: 
NAIEEL TECH INC [KR]
US_20260106322_A1

Resumen de: US20260106322A1

The present disclosure provides a separator for a secondary battery which is formed of a porous sheet which includes a binder polymer and boron nitride nanotubes to show excellent electrical insulation, thermal stability, mechanical strength, and reduced weight and contribute to compactness of the secondary battery.

BATTERY PACK

NºPublicación:  WO2026077171A1 16/04/2026
Solicitante: 
CALB GROUP CO LTD [CN]
\u4E2D\u521B\u65B0\u822A\u79D1\u6280\u96C6\u56E2\u80A1\u4EFD\u6709\u9650\u516C\u53F8
WO_2026077171_A1

Resumen de: WO2026077171A1

The present invention relates to the technical field of new energy batteries. Disclosed is a battery pack, comprising: a box body, a heat exchange tube, a battery unit, and an adhesive layer. The box body comprises a bottom plate, and an upper surface of the bottom plate is provided with an accommodating recess. The heat exchange tube is provided in the accommodating recess, the depth of the accommodating recess being H1mm, and the height of the heat exchange tube being H2mm, where H1≥H2. The battery unit is arranged on the bottom plate and is located above the heat exchange tube. The adhesive layer is arranged between the heat exchange tube and the battery unit, at least part of the adhesive layer being arranged within the accommodating recess, and the battery unit, the heat exchange tube, and the bottom plate being connected by means of the adhesive layer. The present invention provides a battery pack, which is provided with a heat exchange tube to exchange heat for a battery unit, thereby ensuring the flatness of a joint between a box body and a bottom surface of a battery, and at the same time ensuring the heat exchange effect.

SEPARATOR, ELECTROCHEMICAL APPARATUS WITH SEPARATOR AND ELECTRICAL APPARATUS

NºPublicación:  US20260106325A1 16/04/2026
Solicitante: 
NINGDE AMPEREX TECHNOLOGY LTD [CN]
US_20260106325_A1

Resumen de: US20260106325A1

0000 A separator includes a base film and an organic coating disposed on at least one surface of the base film. In a 10 μm×5 μm region of the organic coating, based on a mass of the organic coating, a mass percentage of a carbon element in the organic coating is W1, a mass percentage of a fluorine element in the organic coating is W2, and 0.45≤W1/W2≤6. The separator further includes an inorganic coating, the inorganic coating is disposed between the base film and the organic coating, the inorganic coating has a thickness of d3, the base film has a maximum pore size of r1, and 0.01≤r1/d3≤0.21.

BATTERY CELL COMPRISING CURRENT BREAKER AND BATTERY APPARATUS COMPRISING SAME

NºPublicación:  US20260106352A1 16/04/2026
Solicitante: 
SK ON CO LTD [KR]
US_20260106352_A1

Resumen de: US20260106352A1

A battery cell according to an embodiment of the present invention comprises: an electrode assembly on which at least one positive electrode plate and at least one negative electrode plate are stacked on each other; a case for accommodating the electrode assembly therein; a plurality of electrode tabs extending from the positive electrode plate and the negative electrode plate; an electrode lead one end of which is joined with the electrode tabs and the other end of which is exposed to the outside of the case; and a current breaker which is arranged inside the electrode lead and breaks the flow of an overcurrent, wherein the length of the current breaker according to the extension direction of the electrode lead can be formed to be at most 1/10 of the length of the electrode lead.

DISPERSION LIQUID SET FOR SECONDARY BATTERY ELECTRODE, CARBON NANOTUBE DISPERSION LIQUID, FIBER DISPERSION LIQUID, DISPERSION LIQUID FOR SECONDARY BATTERY ELECTRODE, SLURRY COMPOSITION FOR SECONDARY BATTERY ELECTRODE, SECONDARY BATTERY ELECTRODE, SECONDARY BATTERY, AND METHOD FOR PRODUCING DISPERSION LIQUID FOR SECONDARY BATTERY ELECTRODE

NºPublicación:  WO2026079393A1 16/04/2026
Solicitante: 
ZEON CORP [JP]
\u65E5\u672C\u30BC\u30AA\u30F3\u682A\u5F0F\u4F1A\u793E
WO_2026079393_A1

Resumen de: WO2026079393A1

The purpose of the present invention is to provide a dispersion liquid set which is for a secondary battery electrode and which makes it possible to form a secondary battery electrode that can enable a secondary battery to exhibit excellent cycle characteristics. This dispersion liquid set for a secondary battery electrode comprises: a carbon nanotube dispersion liquid which contains carbon nanotubes 1, a dispersant 1, and a solvent 1; and a fiber dispersion liquid which contains fibers and a solvent 2. The average length of the carbon nanotubes 1 is not more than 1 μm. The average length of the fibers is not less than 1.5 times the average length of the carbon nanotubes 1.

Verfahren zur Herstellung eines Batterietroges einer Traktionsbatterie für eine mobile Arbeitsmaschine

NºPublicación:  DE102025105330A1 16/04/2026
Solicitante: 
KION BATTERY SYSTEMS GMBH [DE]
DE_102025105330_PA

Resumen de: DE102025105330A1

Die Erfindung betrifft ein Verfahren zur Herstellung eines Batterietroges (1) einer Traktionsbatterie (2), insbesondere einer Lithium-Ionen-Traktionsbatterie, für eine mobile Arbeitsmaschine, insbesondere ein Flurförderzeug, wobei der Batterietrog (1) zumindest teilweise mit einer Ballastfüllung (3) verfüllt wird, wobei die Ballastfüllung (3) ein Ballastmaterial (3a) und einen Verbundstoff (3b) umfasst. Das Verfahren umfasst die Schritte:• Bereitstellen des Batterietrogs (1) und der Ballastfüllung (3);• Befüllen des Batterietrogs (1) mit der Ballastfüllung (3), wobei zumindest zwei Befüllschritte (B1, B2, B3) durchgeführt werden, wobei in jedem der mehreren Befüllschritte (B1, B2, B3) jeweils das Ballastmaterial (3a) und der Verbundstoff (3b) sequentiell in den Batterietrog (1) eingefüllt werden, wobei zuerst Ballastmaterial (3a) und anschließend Verbundstoff (3b) in den Batterietrog (1) gefüllt werden;• Verdichten der Ballastfüllung (3);• Aushärten der Ballastfüllung (3) zu einem Verbundmaterial.

Batteriezelle mit Sicherungsfunktion und Batterieanordnung mit einer Mehrzahl solcher Batteriezellen und einer Sicherung

NºPublicación:  DE102024129462A1 16/04/2026
Solicitante: 
BAYERISCHE MOTOREN WERKE AG [DE]
DE_102024129462_PA

Resumen de: DE102024129462A1

Eine Batteriezelle mit Sicherungsfunktion, weist auf: ein elektrisch leitfähiges Anschlussterminal (1) für einen elektrischen Pol der Batteriezelle (2); ein Zellgehäuse (4) mit einer Öffnung zum Aufnehmen des Anschlussterminals (1), wobei das Zellgehäuse (4) zumindest in einem an die Öffnung anschließenden Bereich elektrisch leitfähig ist; und eine Isolation aus einem Isolationsmaterial zur elektrischen Isolierung des Anschlussterminals (1) gegenüber dem Zellgehäuse (4). Die Isolation ist derart als Sicherungsfunktion ausgebildet, dass sie beim Auftreten von Temperatur- und/oder Druckverhältnissen im Inneren der Batteriezelle (2), die in einem bestimmten, oberhalb von einem spezifizierten regulären Arbeitsbereich der Batteriezelle (2) liegenden irregulären Zustandsbereich liegen, eine Veränderung erfährt, als deren Folge aufgrund der Veränderung ein elektrisch leitender Strompfad zwischen dem Anschlussterminal (1) und dem Zellgehäuse (4) gebildet wird. Zudem wird eine Batterieanordnung mit einer Mehrzahl solcher Batteriezellen und wenigstens einer elektrischen Sicherung vorgeschlagen.

POSITIVE ELECTRODE FOR SECONDARY BATTERY AND LITHIUM SECONDARY BATTERY INCLUDING SAME

NºPublicación:  WO2026079835A1 16/04/2026
Solicitante: 
LG ENERGY SOLUTION LTD [KR]
\uC8FC\uC2DD\uD68C\uC0AC \uC5D8\uC9C0\uC5D0\uB108\uC9C0\uC194\uB8E8\uC158
WO_2026079835_A1

Resumen de: WO2026079835A1

The present invention relates to a positive electrode for a secondary battery and a lithium secondary battery comprising same. The positive electrode comprises: a lithium transition metal oxide containing nickel; a first binder containing a linear polymer; and a second binder containing a branched polymer, wherein the linear polymer contains a functional group capable of forming a hydrogen bond, the branched polymer has 3.0 or less branches per 1,000 carbon atoms, and the weight ratio between the first binder and the second binder is 1:0.26 to 1:0.85.

COMPOSITE ACTIVE MATERIAL AND PREPARATION METHOD THEREFOR, SOLID-STATE BATTERY CELL, BATTERY DEVICE, AND ELECTRIC DEVICE

NºPublicación:  WO2026076934A1 16/04/2026
Solicitante: 
CONTEMPORARY AMPEREX TECH CO LIMITED [CN]
\u5B81\u5FB7\u65F6\u4EE3\u65B0\u80FD\u6E90\u79D1\u6280\u80A1\u4EFD\u6709\u9650\u516C\u53F8
WO_2026076934_A1

Resumen de: WO2026076934A1

The present application relates to a composite active material and a preparation method therefor, a solid-state battery cell, a battery device, and an electric device. The solid-state battery cell comprises a current collector and a film layer arranged on at least one side surface of the current collector, wherein the film layer comprises a composite active material and a sulfide solid electrolyte. The composite active material comprises an inner core, at least one first coating layer and a second coating layer, wherein the at least one first coating layer is coated on at least part of the surface of the inner core, and the second coating layer is coated on at least part of the surface of the outermost first coating layer. The second coating layer comprises a selenium-containing compound, and the chemical formula of the selenium-containing compound is SeaMb, wherein M comprises at least one of Li, Na, K, Mg, Ca, S, Mo, Cr, Zn, In, Ga, Co, and Mn, 0

LITHIUM-ION BATTERY AND ELECTRICAL DEVICE

NºPublicación:  WO2026077070A1 16/04/2026
Solicitante: 
CONTEMPORARY AMPEREX TECH CO LIMITED [CN]
\u5B81\u5FB7\u65F6\u4EE3\u65B0\u80FD\u6E90\u79D1\u6280\u80A1\u4EFD\u6709\u9650\u516C\u53F8
WO_2026077070_A1

Resumen de: WO2026077070A1

Disclosed are a lithium-ion battery and an electrical device. An electrolyte of the lithium-ion battery comprises a first additive and a second additive; the redox potential of the first additive is lower than the highest redox potential of a positive electrode active material, and the redox potential of the second additive is greater than or equal to the highest redox potential of the positive electrode active material. The first additive can continuously react with the surface of an SEI film of a negative electrode sheet, so as to expose dead lithium in the SEI film, allowing the dead lithium to have an opportunity to participate in lithium cycling again. The second additive is introduced to cooperate with the first additive to further react with the exposed dead lithium, such that the dead lithium is oxidized to form soluble lithium ions, thus improving the efficiency of dead lithium participating in lithium cycling again, and helping to improve the capacity retention rate of lithium-ion batteries.

HIGH POWER HYBRID SILICON ANODE WITH EXTREME FAST CHARGING

NºPublicación:  US20260106144A1 16/04/2026
Solicitante: 
EFLION POWER INC [US]
US_20260106144_A1

Resumen de: US20260106144A1

A lithium battery having a hybrid anode comprising silicon, graphite and hard carbon active materials.

X-RAY ANALYSIS SYSTEM

NºPublicación:  US20260104367A1 16/04/2026
Solicitante: 
HONDA MOTOR CO LTD [JP]
CN_121830735_PA

Resumen de: US20260104367A1

0000 An X-ray analysis system irradiates, with an X-ray, a battery cell including a battery and a laminate housing the battery to obtain analysis data. The X-ray analysis system includes a sample holder that can restrain the battery cell, a holder that holds the sample holder and can switch an irradiation position indicating a position to be irradiated with the X-ray, with respect to the battery cell restrained by the sample holder, and a charger-discharger that charges and discharge the battery cell restrained by the sample holder. The sample holder includes a transmissive portion that allows the X-ray to be transmitted through a plurality points of the battery cell.

SECONDARY BATTERY AND METHOD FOR MANUFACTURING SAME, ELECTRONIC DEVICE INCLUDING SAME

NºPublicación:  US20260106275A1 16/04/2026
Solicitante: 
SAMSUNG SDI CO LTD [KR]
US_20260106275_A1

Resumen de: US20260106275A1

A secondary battery may include an electrode assembly, a case accommodating the electrode assembly and including an electrode terminal coupled to an electrode tab of the electrode assembly, a case cover on an open side of the case, and a support portion protruding from the case cover to one side and coupled to a housing accommodating the case, wherein the support portion is configured to be elastically deformed and released from the housing based on receiving an external force.

MULTI-LANE LASER LITHIUM METAL TRANSFER FOR PRE-LITHIATING ANODE STRUCTURES

NºPublicación:  WO2026080758A1 16/04/2026
Solicitante: 
ELEVATED MAT US LLC [US]
WO_2026080758_A1

Resumen de: WO2026080758A1

A film stack for an energy storage device and corresponding methods and systems for manufacturing the film stack are provided. In an embodiment, a method forforming the film stack includes conveying a flexible support layer stack comprising a flexible support layer having a lithium metal layer formed thereover from a first supply hub toward a first pickup hub, and laminating the flexible support layer stack to a flexible substrate stack comprising an anode material layer. The method also includes exposing portions of the lithium metal layer to laser energy to separate the exposed portions of the lithium metal layer from the flexible support layer and removing the flexible support layer stack and unexposed portions of the lithium metal layer from the flexible substrate stack to form a patterned lithium metal layer on the anode material layer of the flexible substrate stack.

ELECTROLYTE ADDITIVE, AND ELECTROLYTE FOR BATTERY AND SECONDARY BATTERY COMPRISING SAME

NºPublicación:  WO2026079802A1 16/04/2026
Solicitante: 
SOULBRAIN CO LTD [KR]
\uC194\uBE0C\uB808\uC778 \uC8FC\uC2DD\uD68C\uC0AC
WO_2026079802_A1

Resumen de: WO2026079802A1

The present invention relates to an electrolyte additive, and an electrolyte for a battery and a secondary battery comprising same. According to the present invention, an electrolyte additive, an electrolyte for a battery comprising same, a secondary battery comprising same, and the like can be provided wherein by suppressing side reactions inside various lithium secondary batteries including high-nickel, Si-anode, LFP, lithium-manganese-rich (LMR), or cobalt-free batteries, the electrolyte additive can lower the internal resistance and charging resistance of the batteries to enhance charging efficiency and power output and can inhibit resistance increase and gas generation in the batteries even during long-term storage under high-temperature conditions, leading to secondary batteries with excellent long-term lifespan and high-temperature capacity retention.

HYDROGEN SULFIDE DETECTION DEVICE

NºPublicación:  US20260104384A1 16/04/2026
Solicitante: 
TOYOTA JIDOSHA KK [JP]
US_20260104384_A1

Resumen de: US20260104384A1

A hydrogen sulfide detection device includes a wire that electrically connects a first node and a second node, and a monitoring circuit that monitors a voltage between the first node and the second node. The wire includes a pattern that is provided on a substrate and is made of a metal that reacts with hydrogen sulfide to corrode, and the pattern includes at least one via. A recessed portion is present in a surface of the substrate, and each of the at least one via is exposed to outside of the substrate through the recessed portion.

SECONDARY BATTERY INCLUDING ELECTRODE ASSEMBLY

NºPublicación:  WO2026079553A1 16/04/2026
Solicitante: 
SAMSUNG SDI CO LTD [KR]
\uC0BC\uC131\uC5D0\uC2A4\uB514\uC544\uC774 \uC8FC\uC2DD\uD68C\uC0AC
WO_2026079553_A1

Resumen de: WO2026079553A1

The present disclosure provides a secondary battery including an electrode assembly. The secondary battery according to the present disclosure may comprise: a first electrode assembly formed by stacking a first positive electrode, a first separator, and a first negative electrode; a second electrode assembly formed by stacking a second positive electrode, a second separator, and a second negative electrode; a case in which the first electrode assembly and the second electrode assembly are embedded; and a connection module electrically connecting the first electrode assembly and the second electrode assembly.

CURRENT COLLECTOR AND BATTERY

NºPublicación:  US20260106168A1 16/04/2026
Solicitante: 
TOYOTA JIDOSHA KK [JP]
US_20260106168_A1

Resumen de: US20260106168A1

0000 A current collector includes an insulative support layer, a conductive support layer, a first conductive layer, and a tab part. The insulative support layer is made of a resin composition having electrical insulation properties. The conductive support layer lies adjacent to the insulative support layer. The first conductive layer is laminated on both of the insulative support layer and the conductive support layer. The tab part lies next to the conductive support layer through the first conductive layer and is joined to the first conductive layer by ultrasonic joining.

BISMUTH OXIDE ANODES AND METHODS OF MAKING THE SAME

NºPublicación:  WO2026080140A1 16/04/2026
Solicitante: 
UNIV OF PUERTO RICO [US]
WO_2026080140_A1

Resumen de: WO2026080140A1

The present technology relates generally to an anode for a lithium-ion battery, lithium-ion batteries including the anode, and methods of making the anode. The anode includes bismuth oxide, carbon black, and carboxymethyl cellulose.

CAP ASSEMBLY AND SECONDARY BATTERY INCLUDING SAME

NºPublicación:  US20260106358A1 16/04/2026
Solicitante: 
SAMSUNG SDI CO LTD [KR]
US_20260106358_A1

Resumen de: US20260106358A1

A cap assembly including a cap plate, a terminal plate joined to an opening in the cap plate, and an insulator between the cap plate and the terminal plate, wherein the terminal plate includes a current collector portion electrically connectable to an electrode assembly, and an electrode terminal portion continuously connected to the current collector portion in a longitudinal direction of the terminal plate.

SECONDARY BATTERY, PREPARATION METHOD THEREFOR, AND ELECTRIC DEVICE

NºPublicación:  WO2026076609A1 16/04/2026
Solicitante: 
CONTEMPORARY AMPEREX TECH CO LIMITED [CN]
CONTEMPORARY AMPEREX TECH HONG KONG LIMITED [CN]
\u5B81\u5FB7\u65F6\u4EE3\u65B0\u80FD\u6E90\u79D1\u6280\u80A1\u4EFD\u6709\u9650\u516C\u53F8
\u9999\u6E2F\u6642\u4EE3\u65B0\u80FD\u6E90\u79D1\u6280\u6709\u9650\u516C\u53F8
WO_2026076609_A1

Resumen de: WO2026076609A1

Provided are a secondary battery (10), a preparation method therefor, and an electric device, belonging to the technical field of batteries. During preparation of the secondary battery (10), an additive is added to a positive electrode active material, and when mixed with the positive electrode active material, the additive can absorb some of the moisture in the positive electrode active material. In addition, a baking process facilitates further removal of water, which is beneficial to reducing the water content in the secondary battery (10) so as to improve the cycle life of the battery.

SOLID ELECTROLYTE-CONTAINING SHEET AND METHOD FOR PRODUCING SAME

NºPublicación:  WO2026079005A1 16/04/2026
Solicitante: 
NISSAN MOTOR CO LTD [JP]
MAXELL LTD [JP]
\u65E5\u7523\u81EA\u52D5\u8ECA\u682A\u5F0F\u4F1A\u793E
\u30DE\u30AF\u30BB\u30EB\u682A\u5F0F\u4F1A\u793E
WO_2026079005_A1

Resumen de: WO2026079005A1

This solid electrolyte-containing sheet comprises a first porous substrate and a second porous substrate. A high-concentration binder region is formed at an interface portion between the first porous substrate and the second porous substrate. The high-concentration binder region contains the binder at a higher concentration than other regions in the first porous substrate and the second porous substrate.

BATTERY DEVICE

NºPublicación:  WO2026079811A1 16/04/2026
Solicitante: 
LG ENERGY SOLUTION LTD [KR]
\uC8FC\uC2DD\uD68C\uC0AC \uC5D8\uC9C0\uC5D0\uB108\uC9C0\uC194\uB8E8\uC158
WO_2026079811_A1

Resumen de: WO2026079811A1

The technical idea of the present invention provides a battery device comprising: a housing having an inner space accommodating battery cells; venting valves mounted on the housing and configured to discharge gas to the outside; and a valve protection cover disposed on an inlet side of the venting valves facing the inner space of the housing, wherein the valve protection cover includes: a front wall facing the inlets of the venting valves; and a circumferential wall extending along the circumference of the front wall and including venting holes.

STACKED SOLID-STATE BATTERY CELL AND MANUFACTURING METHOD THEREFOR

NºPublicación:  WO2026077145A1 16/04/2026
Solicitante: 
CONTEMPORARY AMPEREX TECH CO LIMITED [CN]
\u5B81\u5FB7\u65F6\u4EE3\u65B0\u80FD\u6E90\u79D1\u6280\u80A1\u4EFD\u6709\u9650\u516C\u53F8
WO_2026077145_A1

Resumen de: WO2026077145A1

Provided are a stacked solid-state battery cell and a manufacturing method therefor. The stacked solid-state battery cell comprises an outer package and a stacked electrode assembly accommodated in the outer package. The stacked electrode assembly comprises a solid-state electrolyte sheet, a negative electrode sheet, a reference electrode and a positive electrode sheet, the solid-state electrolyte sheet being located between the negative electrode sheet and the positive electrode sheet, and the reference electrode being located on the surface of the side of the solid-state electrolyte sheet close to the negative electrode sheet, or located on the surface of the side of the solid-state electrolyte sheet close to the positive electrode sheet. The reference electrode comprises a redox pair, and the reference electrode has an annular structure. The stacked solid-state battery cell can accurately and continuously monitor voltage changes and impedance changes in electrodes.

SECONDARY BATTERY, NEGATIVE ELECTRODE SHEET AND PREPARATION METHOD THEREFOR, AND ELECTRIC DEVICE

NºPublicación:  WO2026077034A1 16/04/2026
Solicitante: 
CONTEMPORARY AMPEREX TECH CO LIMITED [CN]
\u5B81\u5FB7\u65F6\u4EE3\u65B0\u80FD\u6E90\u79D1\u6280\u80A1\u4EFD\u6709\u9650\u516C\u53F8
WO_2026077034_A1

Resumen de: WO2026077034A1

A secondary battery, a negative electrode sheet and a preparation method therefor, and an electric device. The secondary battery comprises: a positive electrode sheet, a negative electrode sheet, and a separator located between the positive electrode sheet and the negative electrode sheet, wherein the negative electrode sheet comprises a current collector and an active layer located on the surface of the current collector, and the active layer comprises first graphite; and the ratio of the peak area corresponding to the 0,0,4 crystal plane to the peak area corresponding to the 1,1,0 crystal plane in an X-ray diffraction pattern of the negative electrode sheet is 0.1-10.

SHAPED ELECTRODE FILMS, AND METHODS THEREOF

NºPublicación:  US20260106175A1 16/04/2026
Solicitante: 
TESLA INC [US]
US_20260106175_A1

Resumen de: US20260106175A1

A method of forming a shaped electrode film and products thereof, are described. The electrode film having a shaped edge may aid in the core circularity of electrode assemblies, which may improve the structural stability of energy storage devices with minimal change in electrode assembly design and manufacturing.

POLYMER ELECTROLYTE AND ELECTROCHEMICAL DEVICE COMPRISING SAME

NºPublicación:  US20260106218A1 16/04/2026
Solicitante: 
FACTORIAL INC [US]
US_20260106218_A1

Resumen de: US20260106218A1

0000 Disclosed herein are precursor solutions, gel polymer electrolytes prepared therefrom, and electrochemical devices comprising the same. In some embodiments, the gel polymer electrolyte comprises an electrolyte salt, a nonaqueous solvent, and a crosslinked polymer obtained from an Aza-Michael addition between a Michael donor with at least two primary amines and a Michael acceptor with at least three carbon-carbon double bond groups, wherein the Michael donor has a molecular weight of no greater than 600 Daltons and is fully dissolved in the precursor solution, and the Michael donor can react with the Michael acceptor via Aza-Michael addition to form a crosslinked polymer. In some embodiments, the nonaqueous solvent is free of groups reactive with lithium metal. In some embodiments, the nonaqueous solvent comprises a fluorinated ether, a fluorine-free ether or mixture thereof. In some embodiments, the electrochemical device comprising the polymer electrolyte exhibits an improved cycling performance.

ELECTRODE ASSEMBLY AND RECHARGEABLE BATTERY INCLUDING THE SAME

NºPublicación:  US20260106134A1 16/04/2026
Solicitante: 
SAMSUNG SDI CO LTD [KR]
US_20260106134_A1

Resumen de: US20260106134A1

0000 An electrode assembly of the present disclosure includes a separator; and a plurality of electrode plates stacked together, with the separator therebetween, wherein the electrode plate includes a substrate; and an active material layer in which a magnetized part magnetized by a magnetizing device, and a non-magnetized part not magnetized by the magnetizing device, are alternately disposed along the length direction of the substrate.

CHARGING AND DISCHARGING SYSTEM

NºPublicación:  US20260106469A1 16/04/2026
Solicitante: 
SAMSUNG SDI CO LTD [KR]
CN_121886688_PA

Resumen de: US20260106469A1

0000 The present disclosure provides a charging and discharging system. The system includes a power device, a tray configured to contain a first battery group comprising a first set of batteries connected in series and a second battery group comprising a second set of batteries connected in series. The system also includes a charging and discharging control board electrically connected to the power device, the first battery group, and the second battery group. The charging and discharging control board includes a first bypass relay providing a first path for making a series connection between the first battery group and the power device and a second path for releasing the series connection between the first battery group and the power device. The system further includes a second bypass relay providing a third path for making a series connection between the second battery group and the power device and a fourth path for releasing the series connection between the second battery group and the power device.

ELECTRODE GROUP AND SECONDARY BATTERY

NºPublicación:  WO2026078929A1 16/04/2026
Solicitante: 
KK TOSHIBA [JP]
\u682A\u5F0F\u4F1A\u793E\u3000\u6771\u829D
WO_2026078929_A1

Resumen de: WO2026078929A1

An electrode group according to an embodiment has a flat cross section in which an electrode member including a positive electrode, a negative electrode, and a separator, is wound. The cross section of the electrode group has opposing planar portions and opposing curved portions disposed between the planar portions. A recess is provided to at least one of the positive electrode and the negative electrode at an apex portion of the innermost peripheral portion of the electrode group in a curved portion.

Ultrasonic Phased Array Tomography for Mapping and Evaluating Battery Properties

NºPublicación:  US20260104392A1 16/04/2026
Solicitante: 
UNIV HONG KONG SCIENCE & TECH [CN]
US_20260104392_A1

Resumen de: US20260104392A1

Analysis of battery cell structure is performed providing a subsurface ultrasonic phased array imaging system. The phase array uses multiple transmitter-receiver pairs to provide phased array tomography of the battery. The phased array imaging system provides mapping and evaluation of properties of the battery cell structure. The system collects ultrasonic signals scattered from internal anomalies to produce detailed cross-sectional images that reveal locations, distributions and physical properties of the anomalies, accommodating both lateral and thickness variations of scanned portions of the battery cell structure to detect, locate and characterize gases and monitor their evolution in a Lithium Ion Battery (LIB), by producing subsurface interior gas images at different cycles.

BATTERY CELL STRUCTURE AND BATTERY

NºPublicación:  WO2026078779A1 16/04/2026
Solicitante: 
NISSAN MOTOR CO LTD [JP]
\u65E5\u7523\u81EA\u52D5\u8ECA\u682A\u5F0F\u4F1A\u793E
WO_2026078779_A1

Resumen de: WO2026078779A1

The present invention is a battery cell structure, the structure comprising: a battery cell configured by stacking a positive electrode layer, a negative electrode layer, a solid electrolyte layer, a positive electrode current collector, and a negative electrode current collector; a frame member having a frame shape in a plan view from the stacking direction and accommodating the battery cell inside; and a first elastic body fixed to an inner side surface of the frame member and holding the battery cell, wherein the frame member is provided with a positive electrode terminal connected to the positive electrode current collector and a negative electrode terminal connected to the negative electrode current collector.

CURRENT COLLECTOR AND BATTERY

NºPublicación:  US20260106167A1 16/04/2026
Solicitante: 
TOYOTA MOTOR CO LTD [JP]
US_20260106167_A1

Resumen de: US20260106167A1

0000 A current collector includes a support layer, an electrically conductive layer, and a tab portion. The support layer is composed of a resin composition having electric insulation. The electrically conductive layer is laminated on the support layer. The tab portion is constituted by a film-formed member. The tab portion includes a tab body portion and a heat release portion. The tab body portion is connected with the electrically conductive layer. The tab body portion is configured to be able to be joined to another electrically conductive member such that electric conduction with the other electrically conductive member is established. The heat release portion has been folded multiple times.

POSITIVE ELECTRODE COMPOSITE, POSITIVE ELECTRODE, ALL-SOLID-STATE BATTERY, AND METHOD FOR MANUFACTURING POSITIVE ELECTRODE COMPOSITE

NºPublicación:  WO2026079883A1 16/04/2026
Solicitante: 
LG ENERGY SOLUTION LTD [KR]
\uC8FC\uC2DD\uD68C\uC0AC \uC5D8\uC9C0\uC5D0\uB108\uC9C0\uC194\uB8E8\uC158
WO_2026079883_A1

Resumen de: WO2026079883A1

Provided are a positive electrode composite capable of suppressing the deterioration of battery characteristics, a positive electrode, an all-solid-state battery, and a method for manufacturing the positive electrode composite. A positive electrode composite for an all-solid-state battery according to an embodiment comprises a positive electrode active material, a solid electrolyte, a first conductive material, and a second conductive material having lower crystallinity than the first conductive material, wherein the first conductive material is abundantly distributed in the vicinity of the positive electrode active material.

WINDING DEVICE FOR SECONDARY BATTERIES

NºPublicación:  US20260106203A1 16/04/2026
Solicitante: 
SAMSUNG SDI CO LTD [KR]
US_20260106203_A1

Resumen de: US20260106203A1

0000 Embodiments provide a winding device for a secondary battery that is capable of improving electrical stability of the secondary battery. The winding device includes a core including a flat portion and an inclined portion, the core configured to wind an electrode assembly of the secondary battery, an antistatic part disposed on the flat portion, wherein static electricity is prevented from being generated between the core and the electrode assembly.

Verfahren zur Demontage und Recycling eines Batteriespeichers

NºPublicación:  DE102024129210A1 16/04/2026
Solicitante: 
BAYERISCHE MOTOREN WERKE AG [DE]
DE_102024129210_PA

Resumen de: DE102024129210A1

Die vorliegende Erfindung betrifft ein Verfahren und eine Vorrichtung zum Demontieren und Recyceln eines Batteriespeichers, der eine Anordnung von zylindrischen Batteriezellen umfasst, deren Längsachsen parallel zueinander angeordnet sind, wobei die Batteriezellen in ein Matrixmaterial eingebettet sind. Das Verfahren umfasst dabei ein Freilegen der oberen und unteren Stirnseiten der Batteriezellen und ein Herauspressen der Batteriezellen aus dem Batteriespeicher durch Bewegen mindestens eines Stempels in Richtung der Längsachsen, so dass die Batteriezellen aus dem Matrixmaterial gelöst werden. Ferner ist ein Stempel mit mindestens einer Patrize ausgebildet und eingerichtet, die Batteriezellen in Richtung der Längsachsen aus dem Batteriespeicher herauszudrücken.

BATTERY APPARATUS, ENERGY STORAGE APPARATUS, AND ELECTRICAL APPARATUS

NºPublicación:  WO2026076940A1 16/04/2026
Solicitante: 
CONTEMPORARY AMPEREX TECHNOLOGY CO LTD [CN]
\u5B81\u5FB7\u65F6\u4EE3\u65B0\u80FD\u6E90\u79D1\u6280\u80A1\u4EFD\u6709\u9650\u516C\u53F8
WO_2026076940_A1

Resumen de: WO2026076940A1

The present application is applicable to the technical field of batteries, and provides a battery apparatus (100), an energy storage apparatus, and an electrical apparatus. The battery apparatus comprises: a box body (10); a battery cell (20), which is accommodated in the box body; and an electronic control assembly (30), which is accommodated in the box body. The electronic control assembly comprises a support (31) and an electronic control component. The support comprises a support main body (311), a protruding structure (312) being connected to the side of the support main body facing the battery cell, and the electronic control component being arranged on the side of the support main body away from the battery cell. The electronic control assembly further comprises a thermal insulation plate (32) provided on the side of the support main body facing the battery cell, and the thermal insulation plate, the support main body, and the protruding structure enclose to form a cavity. In the battery apparatus provided in the embodiments of the present application, the protruding structure is provided on the side of the support main body facing the battery cell, and the cavity is enclosed and formed by means of the thermal insulation plate, the protruding structure, and the support main body. Heat transfer is hindered by means of the combined action of the cavity and the thermal insulation plate, thereby achieving the effect of thermal insulation.

NEGATIVE ELECTRODE ACTIVE MATERIAL FOR LITHIUM SECONDARY BATTERY, MANUFACTURING METHOD THEREOF, NEGATIVE ELECTRODE AND LITHIUM SECONDARY BATTERY COMPRISING THE SAME

NºPublicación:  US20260106160A1 16/04/2026
Solicitante: 
HYUNDAI MOTOR CO LTD [KR]
KIA CORP [KR]
HANSOL CHEMICAL CO LTD [KR]
US_20260106160_A1

Resumen de: US20260106160A1

A negative electrode active material for a lithium secondary battery, a manufacturing method thereof, and a negative electrode and a lithium secondary battery comprising the same are described herein. The negative electrode active material for the lithium secondary battery comprises a core and a shell surrounding the core, wherein the core comprises a porous structure comprising flaky silicon particles and amorphous carbons, and the shell comprises flaky silicon particles, amorphous carbons, and crystalline carbons.

SECONDARY BATTERY AND ELECTRONIC APPARATUS

NºPublicación:  WO2026076678A1 16/04/2026
Solicitante: 
NINGDE AMPEREX TECHNOLOGY LTD [CN]
DONGGUAN AMPEREX TECH LTD [CN]
\u5B81\u5FB7\u65B0\u80FD\u6E90\u79D1\u6280\u6709\u9650\u516C\u53F8
\u4E1C\u839E\u65B0\u80FD\u6E90\u79D1\u6280\u6709\u9650\u516C\u53F8
WO_2026076678_A1

Resumen de: WO2026076678A1

A secondary battery (100) and an electronic apparatus (1). The secondary battery (100) comprises a pouch (10), an electrode assembly (20) and bonding members. The electrode assembly (20) is arranged in the pouch (10). The electrode assembly (20) is wound, and a first electrode sheet (21) thereof comprises a first current collector (210) and a first active material layer (211). The first current collector (210) comprises a first surface (2101) and a second surface (2102), the first surface (2101) facing a winding central axis (O). The first active material layer (211) comprises a first sub-layer (2111) provided on the first surface (2101) and a second sub-layer (2112) provided on the second surface (2102). The first current collector (210) further comprises a third ending region (2100), the third ending region (2100) being located at the last turn of the first current collector (210). The bonding members comprise a first bonding member (41) and/or a second bonding member (42). The first bonding member (41) is arranged in a first sub-layer ending region (2110) and covers the first surface (2101). The second bonding member (42) is arranged in a second sub-layer ending region (2110') and covers the second surface (2102). The projection of an edge (21A) of the first electrode sheet (21) in the width direction falls within the projection ranges of the bonding members (41, 42), and the projection of an edge (2100A) of the third ending region (2100) in the winding direction falls wit

Energiespeicherentgasungsvorrichtung für ein aus einem Energiespeicher austretendes und mit Partikeln beladenes Gas

NºPublicación:  DE102025142050A1 16/04/2026
Solicitante: 
AVL SCHRICK GMBH [DE]
DE_102025142050_PA

Resumen de: DE102025142050A1

Es sind Energiespeicherentgasungsvorrichtungen für ein aus einem Energiespeicher austretendes und mit Partikeln beladenes Gas mit einem Entgasergehäuse (20), zumindest einer Einströmöffnung (18), die am Entgasergehäuse (20) ausgebildet ist, und mit dem Energiespeicher (10) verbindbar ist, mindestens einer Ausströmöffnung (30), die am Entgasergehäuse (20) ausgebildet ist, zumindest zwei Leitplatten (22, 23, 36, 38, 56), die im Entgasergehäuse (20) angeordnet sind oder das Entgasergehäuse (20) zumindest teilweise bilden, und den zumindest einen Strömungskanal (26) begrenzen, und zumindest einem Faserfilter (28) bekannt.Um bei verringertem Druckverlust dennoch eine gute Abscheidung der Partikel im Gasstrom zu erreichen, wird erfindungsgemäß vorgeschlagen, dass sich von einer den zumindest einen Strömungskanal (26) begrenzenden Leitplatte (22, 23 36, 38, 56) ein Faserfilter (28) in den Strömungskanal (26) erstreckt, welcher im Querschnitt des Strömungskanals (26) betrachtet zu der gegenüberliegenden den Strömungskanal (26) begrenzenden Leitplatte (22, 23, 36, 38, 56) beabstandet angeordnet ist.

THERMAL ENERGY STORAGE SYSTEM AND RELATED METHODS

NºPublicación:  WO2026080492A1 16/04/2026
Solicitante: 
NAT POWER AUTHORITY INC [US]
WO_2026080492_A1

Resumen de: WO2026080492A1

A thermal energy storage system and related methods of storing thermal energy in the form of sensible heat, the thermal energy converted from an input energy source, such as s renewable energy source, to thermal energy stored in a sensible heat storage medium that includes calcium oxide that can optionally be produced from a source of calcium carbonate, such as limestone from a local quarry, whereby the thermal energy charged within the sensible heat storage medium can be stored until a desired time whereby discharging of the thermal energy can be conducted to transfer the thermal energy to an output energy source, such as using a working fluid.

FUSIBLE CONNECTION TAB

NºPublicación:  AU2024368730A1 16/04/2026
Solicitante: 
RELECTRIFY HOLDINGS PTY LTD
AU_2024368730_PA

Resumen de: AU2024368730A1

A connection tab configured to connect a printed circuit board with a conductive body, the tab comprising a relaxed state and a resiliently deformed state. In the relaxed state, the tab has one or more resiliently deformable fusible members spanning between a first end portion connectable with a printed circuit board, and a second end portion attachable with the conductive body. In the resiliently deformed state, the tab has the first end connected with the printed circuit board, and the second end portion is attached to the conductive body.

CYLINDRICAL BATTERY CELL CAPABLE OF TOP VENTING AND BOTTOM COOLING

NºPublicación:  WO2026079573A1 16/04/2026
Solicitante: 
LG ENERGY SOLUTION LTD [KR]
\uC8FC\uC2DD\uD68C\uC0AC \uC5D8\uC9C0\uC5D0\uB108\uC9C0\uC194\uB8E8\uC158
WO_2026079573_A1

Resumen de: WO2026079573A1

Provided is a battery cell capable of venting through an upper portion. The battery cell comprises: a housing provided with a side wall extending in an axial direction and an end wall which is connected to the end portion of the side wall in the axial direction and extends in a radial direction; and an electrode assembly accommodated in the housing. An electrode terminal electrically connected to the electrode assembly is installed on the end wall to be electrically insulated from the end wall. An insulator is disposed between the end wall and the electrode assembly. A vent notch portion extending along the circumferential direction is provided in the end wall. The insulator comprises: an inner loop portion and an outer loop portion which extend along the circumferential direction respectively inward and outward of the vent notch portion in the radial direction; and a radial direction extension portion extending between the inner loop portion and the outer loop portion in the radial direction so as to connect same, wherein the inner loop portion is restricted in the axial direction with respect to the end wall.

METHOD FOR PREDICTING PERFORMANCE OF SECONDARY BATTERY FROM CATHODE ACTIVE MATERIAL, CATHODE ACTIVE MATERIAL, CATHODE, AND SECONDARY BATTERY

NºPublicación:  WO2026079719A1 16/04/2026
Solicitante: 
LG ENERGY SOLUTION LTD [KR]
\uC8FC\uC2DD\uD68C\uC0AC \uC5D8\uC9C0\uC5D0\uB108\uC9C0\uC194\uB8E8\uC158
WO_2026079719_A1

Resumen de: WO2026079719A1

The present invention relates to a method for predicting performance of a secondary battery, the method comprising the steps of: manufacturing a cathode comprising a cathode active material comprising an overlithiated manganese-rich oxide containing 50 mol% or more but less than 100 mol% of manganese on the basis of the total metal content excluding lithium; preparing a cathode sample by milling the cathode; obtaining a cross-sectional image by photographing the cathode sample and a cross-section with a scanning electron microscope; selecting a cathode active material particle region from the cross-sectional image, followed by measuring an average pore area ratio according to an ECD value range of the cross-section of the selected cathode active material particle; and predicting performance of a secondary battery comprising the cathode from the average pore area ratio according to the ECD value range of the cross-section of the cathode active material particle, wherein the ECD represents the diameter of a circle having the same area as the cross-sectional area of the particle, and the pore area ratio represents an area ratio of pores to the cross-sectional area of the cathode active material particle.

POSITIVE ELECTRODE ACTIVE MATERIAL AND BATTERY

NºPublicación:  WO2026079124A1 16/04/2026
Solicitante: 
TOYOTA JIDOSHA KK [JP]
\u30C8\u30E8\u30BF\u81EA\u52D5\u8ECA\u682A\u5F0F\u4F1A\u793E
WO_2026079124_A1

Resumen de: WO2026079124A1

A positive electrode active material according to the present invention includes lithium manganese phosphate. The lithium manganese phosphate has a crystal structure that belongs to the Pnma space group. In the crystal structure, manganese sites are doped with a first dopant and a second dopant. The first dopant and the second dopant have different valences from one another. The first dopant has an ionic radius of less than 0.830 Å (83 pm). The second dopant has an ionic radius exceeding 0.645 Å (64.5 pm).

COATING DEVICE, METHOD FOR MANUFACTURING A SEPARATOR USING THE SAME, AND SEPARATOR FOR LITHIUM SECONDARY BATTERY MANUFACTURED THEREBY

NºPublicación:  US20260102785A1 16/04/2026
Solicitante: 
LG ENERGY SOLUTION LTD [KR]
US_20260102785_A1

Resumen de: US20260102785A1

0000 The present invention provides a coating device including: a coater head; an accommodation chamber that is located inside the coater head and accommodates a coating solution; an ultrasonic generator that is located inside the coater head and applies ultrasonic waves to the coating solution accommodated in the accommodation chamber; and a coating bar that transfers the coating solution from the accommodation chamber onto at least one surface of a substrate being transported in one direction.

PRINTER

NºPublicación:  US20260106483A1 16/04/2026
Solicitante: 
BROTHER IND LTD [JP]
US_20260106483_A1

Resumen de: US20260106483A1

A printer is configured to perform printing on a medium. The printer includes a printing unit, a power supply, processor, and a memory. The printing unit is disposed inside a printer. The power supply circuit is disposed inside the printer, and includes a power supply line and a power storage device. The power supply line is configured to supply power from a power supply to the printing unit. The power storage device is configured to charge and discharge a predetermined power. The memory stores computer-readable instructions that, when executed by the processor, instruct the processor to perform a process. The process includes performing connecting processing to connect the power storage device in series with the power supply in the power supply line, by controlling the power supply circuit.

INTER-CELL MEMBER UNIT, INTER-CELL MEMBER, AND BATTERY UNIT

NºPublicación:  WO2026079418A1 16/04/2026
Solicitante: 
NATURE ARCH INC [JP]
\uFF2E\uFF41\uFF54\uFF55\uFF52\uFF45\uFF21\uFF52\uFF43\uFF48\uFF49\uFF54\uFF45\uFF43\uFF54\uFF53\u682A\u5F0F\u4F1A\u793E
WO_2026079418_A1

Resumen de: WO2026079418A1

This inter-cell member unit comprises a plurality of inter-cell members each disposed between two adjacent battery cells in a first direction on a prescribed plane in a cell stack comprising a plurality of battery cells arranged in one row or a plurality of rows along the first direction. The inter-cell members each extend along a second direction orthogonal to the first direction on the prescribed plane, and protrude from the cell stack. Each of the end portions of the inter-cell members in the second direction: abuts or is connected to a frame part that is disposed outside the cell stack in the second direction and that extends along the first direction; or has a gap between the end portion and the frame part. The inter-cell members each include an elastic beam part having elasticity that allows deformation in the first direction with expansion and contraction of the battery cells, and also having strength in the second direction that is higher than that of the frame part.

STACKED CORE AND BATTERY

NºPublicación:  WO2026076797A1 16/04/2026
Solicitante: 
EVE ENERGY CO LTD [CN]
\u60E0\u5DDE\u4EBF\u7EAC\u9502\u80FD\u80A1\u4EFD\u6709\u9650\u516C\u53F8
WO_2026076797_A1

Resumen de: WO2026076797A1

The present application provides a stacked core and a battery. The stacked core comprises negative electrode sheets and positive electrode sheets which are alternately stacked along a first direction. At least the side of each negative electrode sheet close to the corresponding positive electrode sheet is provided with a first diaphragm layer, and at least the side of each positive electrode sheet close to the corresponding negative electrode sheet is provided with a second diaphragm layer. The adjacent first diaphragm layer and second diaphragm layer cooperate with each other so as to limit the relative displacement of the positive electrode sheets and the negative electrode sheets in a second direction. The first direction and the second direction intersect with each other.

SECONDARY BATTERY, BATTERY PACK AND ELECTRONIC DEVICE

NºPublicación:  US20260106228A1 16/04/2026
Solicitante: 
AESC JAPAN LTD [JP]
US_20260106228_A1

Resumen de: US20260106228A1

Disclosed are a secondary battery, a battery pack and an electronic device, which include an electrode assembly. The electrode assembly includes a negative electrode sheet, a positive electrode sheet and a separator disposed between the negative electrode sheet and the positive electrode sheet. The maximum circumference of the electrode assembly is C. In the winding direction of the electrode assembly, a first length of a third negative electrode uncoated region is greater than 0.5 C and less than 4 C, or a second length of a third positive electrode uncoated region is greater than C and less than 4 C. The above technical solution may at least avoid excessive DC resistance, and may also avoid warping of the outermost negative electrode tab.

CELL ASSEMBLY, BATTERY MODULE AND BATTERY PACK

NºPublicación:  US20260106287A1 16/04/2026
Solicitante: 
AESC JAPAN LTD [JP]
US_20260106287_A1

Resumen de: US20260106287A1

A cell assembly, a battery module, and a battery pack are provided. The cell assembly includes a cell including a cell body, where a first end surface of the cell body is arranged with an electrode post protruding outward, and an insulating ring is arranged between the first end surface and the electrode post; and a sealed insulating unit including a sealed insulating cover sealingly connected between the first end surface and the electrode post and covering the insulating ring.

BATTERY PACK

NºPublicación:  WO2026076813A1 16/04/2026
Solicitante: 
EVE ENERGY CO LTD [CN]
\u60E0\u5DDE\u4EBF\u7EAC\u9502\u80FD\u80A1\u4EFD\u6709\u9650\u516C\u53F8
WO_2026076813_A1

Resumen de: WO2026076813A1

The present application provides a battery pack, the battery pack comprising at least one battery module, an integrated busbar, and a first liquid cooling plate, wherein the battery module comprises a plurality of batteries, and output terminals of the plurality of batteries are located on the same side of the battery module; the integrated busbar comprises at least one connecting member, the connecting member being connected to output terminals of two adjacent batteries in the battery module; the first liquid cooling plate is arranged on a side of the connecting member facing away from the battery module; and a first coolant flow channel is arranged within the first liquid cooling plate, the first coolant flow channel being disposed opposite the connecting member.

OVERCURRENT PROTECTION CONNECTOR, COVER PLATE ASSEMBLY AND BATTERY

NºPublicación:  WO2026076886A1 16/04/2026
Solicitante: 
EVE POWER CO LTD [CN]
\u6E56\u5317\u4EBF\u7EAC\u52A8\u529B\u6709\u9650\u516C\u53F8
WO_2026076886_A1

Resumen de: WO2026076886A1

Provided in the present application are an overcurrent protection connector, a cover plate assembly and a battery. The overcurrent protection connector comprises a first connection body, a second connection body, and a fuse body, wherein the first connection body and the second connection body are configured to be coplanar; the fuse body is connected between the first connection body and the second connection body; and the first connection body has a first current-carrying cross-sectional area, the second connection body has a second current-carrying cross-sectional area, the fuse body has a third current-carrying cross-sectional area, and the third current-carrying cross-sectional area is less than the first current-carrying cross-sectional area and the second current-carrying cross-sectional area.

FIRE PROTECTION DEVICE

NºPublicación:  WO2026077375A1 16/04/2026
Solicitante: 
ECOFLOW TECH SINGAPORE PTE LTD [SG]
\u6B63\u6D69\u79D1\u6280\u65B0\u52A0\u5761\u6709\u9650\u516C\u53F8
WO_2026077375_A1

Resumen de: WO2026077375A1

A fire protection device, comprising a fire protection main unit and a thermal fuse assembly. The fire protection main unit is configured to spray a fire extinguishing agent to a battery cell. The thermal fuse assembly comprises a thermally reactive agent, an accommodating sleeve and a fire-resistant sleeve, wherein the thermally reactive agent is located in the accommodating sleeve, the accommodating sleeve is connected to the fire protection main unit, the fire-resistant sleeve is sleeved on the accommodating sleeve, and the fire-resistant sleeve wraps the end of the accommodating sleeve away from the fire protection main unit; and a heat attenuation layer is provided between the fire-resistant sleeve and the accommodating sleeve, and is configured to reduce heat transferred to the thermally reactive agent, so as to maintain the temperature of the thermally reactive agent below the ignition temperature before an open flame occurs in the battery cell.

BATTERY APPARATUS AND ELECTRICAL APPARATUS

NºPublicación:  WO2026077047A1 16/04/2026
Solicitante: 
CONTEMPORARY AMPEREX TECHNOLOGY CO LTD [CN]
\u5B81\u5FB7\u65F6\u4EE3\u65B0\u80FD\u6E90\u79D1\u6280\u80A1\u4EFD\u6709\u9650\u516C\u53F8
WO_2026077047_A1

Resumen de: WO2026077047A1

A battery apparatus and an electrical apparatus. The battery apparatus (1000) comprises: a box body (100), a battery assembly (200), and a thermal management member (300). The thermal management member (300) is provided with a plurality of heat exchange flow channels (30a), the plurality of heat exchange flow channels (30a) being sequentially arranged from outside to inside, and an internal heat exchange flow channel (30a) being located within an area range of an external heat exchange flow channel (30a). At least two heat exchange flow channels (30a) among the plurality of heat exchange flow channels (30a) are configured to be independently provided for water inflow and outflow.

CYLINDRICAL BATTERY CELL, BATTERY DEVICE, AND ELECTRIC DEVICE

NºPublicación:  WO2026076908A1 16/04/2026
Solicitante: 
CONTEMPORARY AMPEREX TECHNOLOGY CO LTD [CN]
\u5B81\u5FB7\u65F6\u4EE3\u65B0\u80FD\u6E90\u79D1\u6280\u80A1\u4EFD\u6709\u9650\u516C\u53F8
WO_2026076908_A1

Resumen de: WO2026076908A1

The present application provides a cylindrical battery cell, a battery device, and an electric device. The cylindrical battery cell comprises a casing, an electrode assembly, and an electrode terminal. The casing has a first wall portion, and the first wall portion is provided with a terminal hole. The electrode assembly is accommodated in the casing. The electrode terminal is electrically connected to the electrode assembly, the electrode terminal comprises a main body portion and a first limiting portion, the main body portion passes through the terminal hole, and the first limiting portion is connected to the main body portion. In the thickness direction of the first wall portion, the first limiting portion is located on the side of the first wall portion facing the electrode assembly, and the first limiting portion is configured to prevent the electrode terminal from disengaging from the terminal hole in a direction away from the electrode assembly. The hardness of the first limiting portion is 25-70 HV. When the hardness of the first limiting portion is 25-70 HV, the risk that the electrode terminal disengages from the first wall portion under the action of internal air pressure of the cylindrical battery cell can be reduced, thereby improving the reliability of the cylindrical battery cell.

INSULATION CASE STRUCTURE FOR BATTERY

NºPublicación:  US20260106273A1 16/04/2026
Solicitante: 
NINGBO ZHENYU AUTO PARTS CO LTD [CN]
US_20260106273_A1

Resumen de: US20260106273A1

0000 An insulation case structure for a battery. The case structure includes an outer shell and an inner liner shell. A first opening is formed in one side of the outer shell. The inner liner shell is embedded into the outer shell through the first opening. A second opening that is arranged in the same direction as the first opening is formed in one end of the inner liner shell. A connection ring is arranged in a surrounding manner between a periphery of the inner liner shell that is located at the second opening and an inner wall of the outer shell. The connection ring and a peripheral wall of the inner liner shell are fixedly connected to each other by welding, and the connection ring and the inner wall of the outer shell are fixedly connected to each other by welding.

WIRE-THREADING STRUCTURE, BATTERY PACK, AND ENERGY STORAGE SYSTEM

NºPublicación:  WO2026076929A1 16/04/2026
Solicitante: 
SUNGROW POWER SUPPLY CO LTD [CN]
\u9633\u5149\u7535\u6E90\u80A1\u4EFD\u6709\u9650\u516C\u53F8
WO_2026076929_A1

Resumen de: WO2026076929A1

A wire-threading structure, a battery pack, and an energy storage system, relating to the technical field of battery modules. The wire-threading structure is arranged on a module side plate between two adjacent battery modules; the wire-threading structure comprises a body, a sealed box, and an encapsulant; the body is provided with an accommodating cavity and a first opening communicated with the accommodating cavity; the accommodating cavity is used for accommodating connection joints of wire harnesses of the two adjacent battery modules; the sealed box is connected to the body and covers the accommodating cavity; and the encapsulant covers the sealed box and seals the first opening. In the present application, the wires of the two adjacent battery modules are sealed, thereby improving the sealing performance at the connection of flexible circuit boards on two adjacent battery modules when flexible circuit boards on multiple battery modules need to be interconnected.

BATTERY PACK

NºPublicación:  US20260106307A1 16/04/2026
Solicitante: 
XING POWER INC [US]
US_20260106307_A1

Resumen de: US20260106307A1

A battery pack includes a battery module (3010) and lid modules. The battery module (3010) comprises a liquid-limiting casing (0080) having a peripheral wall (0090) that includes a module-wall-vertical-channel (3098). A circuit board is disposed within the module-wall-vertical-channel (3098). A flexible circuit member is electrically connected to the circuit board and extends laterally into a battery-pack space (3032) to connect to battery-cell-connecting members (0026). The flexible circuit member performs at least one of sensing a state of battery cells and heating the battery cells. This configuration maximizes internal volume utilization by integrating electronic components into the peripheral wall (0090) of the liquid-limiting casing (0080) and utilizes the flexible circuit member to reliably manage thermal and mechanical stress within the immersion environment.

LAMINATED BATTERY CELL AND PREPARATION DEVICE AND METHOD THEREOF

NºPublicación:  AU2024378988A1 16/04/2026
Solicitante: 
EVE ENERGY CO LTD
EVE POWER CO LTD
EVE ENERGY STORAGE CO LTD
AU_2024378988_A1

Resumen de: AU2024378988A1

A stacked battery cell, and a fabrication apparatus and method therefor. The stacked battery cell is fabricated by folding a battery cell structure. The battery cell structure comprises first electrode plates, a separator and second electrode plates. Each first electrode plate is located on one side of the separator, and is connected to the separator via a normal-temperature and normal-pressure electrically conductive adhesive. A plurality of second electrode plates are each alternately arranged on the side of the separator away from the respective first electrode plate, and the second electrode plates are each bonded to the separator via a normal-temperature and normal-pressure electrically conductive adhesive. The normal-temperature and normal-pressure electrically conductive adhesive has good bonding performance and electrical conductivity, improves the electrolyte absorption and alleviates interface defects in batteries, and enhances battery performance.

COMMUNICATION NETWORK-BASED FIRE DETECTION SYSTEM FOR DETECTING FIRE OF ELECTRIC VEHICLE AND OPERATING METHOD THEREOF

NºPublicación:  WO2026079801A1 16/04/2026
Solicitante: 
KINSTEC INC [KR]
\uC8FC\uC2DD\uD68C\uC0AC \uD0A8\uC2A4\uD14D
WO_2026079801_A1

Resumen de: WO2026079801A1

Disclosed are a communication network-based fire detection system for detecting a fire of an electric vehicle and an operating method thereof. The system according to the present invention comprises: a beacon which generates communication states with a plurality of neighboring access points on the basis of a beacon signal, collects state information related to the state of an electric vehicle measured by a measurement module pre-installed in the electric vehicle, and transmits the state information to the plurality of access points via a communication module; and the plurality of access points which establish the communication states with the beacon, receive the state information transmitted from the beacon, and transmit the received state information to a server of the fire detection system, wherein the state information about the electric vehicle is acquired from the plurality of access points.

RECOVERY OF MATERIALS FROM LITHIUM IRON PHOSPHATE BATTERY WASTE

NºPublicación:  WO2026080163A1 16/04/2026
Solicitante: 
ASCEND ELEMENTS INC [US]
WO_2026080163_A1

Resumen de: WO2026080163A1

Methods are provided for forming iron phosphate. In a first stage, heat treating lithium iron phosphate black mass and selectively leaching lithium from the heat treated lithium iron phosphate black mass with an oxidative leaching solution forms a semi-delithiated iron phosphate black mass. In a second stage, the semi-delithiated iron phosphate black mass and a pre-leaching solution comprising dilute acid and an oxidizing agent are mixed, and in a third stage the remaining iron phosphate in the solid phase and an iron phosphate leaching solution are mixed to form a leachate comprising iron phosphate.

POSITIVE ELECTRODE ACTIVE MATERIALS FOR ALL-SOLID-STATE RECHARGEABLE BATTERIES, PREPARATION METHODS THEREOF, AND ALL-SOLID-STATE RECHARGEABLE BATTERIES

NºPublicación:  US20260106209A1 16/04/2026
Solicitante: 
SAMSUNG SDI CO LTD [KR]
US_20260106209_A1

Resumen de: US20260106209A1

0000 A positive electrode active material for an all-solid-state rechargeable battery, a method of preparing the positive electrode active material, and an all-solid-state rechargeable battery including the positive electrode active material are provided. The positive electrode active material includes secondary particles each including a lithium transition metal-based composite oxide and formed by agglomerating a plurality of primary particles, wherein at least a portion of the primary particles is arranged radially in the secondary particle, a first coating layer on the surface of the secondary particle and containing boron, and a second coating layer on the first coating layer and including ZrO<2 >and Li<6>Zr<2>O<7>.

ELECTRODE MATERIAL AND BATTERY

NºPublicación:  US20260106151A1 16/04/2026
Solicitante: 
PANASONIC HOLDINGS CORP [JP]
TOYOTA MOTOR CO LTD [JP]
US_20260106151_A1

Resumen de: US20260106151A1

An electrode material includes a particle group of a coated active material. The coated active material includes an active material and a coating layer coating at least a part of a surface of the active material and including a first solid electrolyte. The electrode material satisfies at least one of the following (i) to (iii). (i) A thickness Tc of the coating layer calculated by averaging median values in thickness distributions of a plurality of particles is 1.0 nm or more and 100.0 nm or less.(ii) A thickness Ta of the coating layer calculated by averaging average values in thickness distributions of a plurality of particles is 9.0 nm or more and 100.0 nm or less.(iii) A thickness Tq of the coating layer calculated by averaging first quartiles in thickness distributions of a plurality of particles is 2.5 nm or more and 50.0 nm or less.

BATTERY

NºPublicación:  US20260106311A1 16/04/2026
Solicitante: 
VEHICLE ENERGY JAPAN INC [JP]
US_20260106311_A1

Resumen de: US20260106311A1

A battery including a gas discharge mechanism that discharges when a gas pressure in a battery container reaches a predetermined value. The gas discharge mechanism includes a first gas discharge passage connected to an inner portion side of the battery container, a second gas discharge passage connected to the first gas discharge passage and connected to an outer portion side of the battery container, and a gas discharge valve as part of a gas discharge passage comprising the first and second gas discharge passages and opens so that the inner and outer portion sides of the battery container are connected to each other when gas pressure reaches a predetermined value. A cross-sectional shape of the second gas discharge passage is formed in a shape that does not hinder the flow of a streamline of the gas that flows out of the first gas discharge passage.

BATTERY MODULE AND BATTERY PACK, AND ELECTRIC DEVICE

NºPublicación:  US20260106334A1 16/04/2026
Solicitante: 
XIAMEN AMPACK TECHNOLOGY LTD [CN]
US_20260106334_A1

Resumen de: US20260106334A1

A battery module includes a cell assembly, a first component, a first insulation member, and a second component. The cell assembly includes a plurality of cells, and each cell includes a cell housing and an electrode terminal, the electrode terminal extends out from the cell housing. The cell assembly and the first component are arranged along a first direction, the first component has a first recess, and a portion of each electrode terminal is disposed in the first recess. At least a portion of the first insulation member is disposed in a gap between the electrode terminal and the first component. The second component is provided with a first through hole. The first recess includes a first opening facing the second component, and along the first direction, a projection of the first through hole overlaps with a projection of the first opening.

COMPOSITE PHOSPHATE POSITIVE ELECTRODE MATERIAL, AND PREPARATION METHOD THEREFOR AND USE THEREOF

NºPublicación:  WO2026076748A1 16/04/2026
Solicitante: 
HUBEI WANRUN NEW ENERGY TECH CO LTD [CN]
\u6E56\u5317\u4E07\u6DA6\u65B0\u80FD\u6E90\u79D1\u6280\u80A1\u4EFD\u6709\u9650\u516C\u53F8
WO_2026076748_A1

Resumen de: WO2026076748A1

The present application relates to the field of positive electrode materials, and provides a composite phosphate positive electrode material, wherein the composite phosphate positive electrode material comprises a composite phosphate; and the composite phosphate has a general formula as shown in formula (I): Na4Fe(2.91-a-b-c-d)MnaTibNicCud(PO4)2(P2O7)Me (I), wherein M is selected from at least one of N and F; 0

HIGH-PRECISION ADJUSTABLE AUTOMATIC FIRE-RETARDANT MODULE

NºPublicación:  WO2026076961A1 16/04/2026
Solicitante: 
WAROM TECHNOLOGY INC CO [CN]
\u534E\u8363\u79D1\u6280\u80A1\u4EFD\u6709\u9650\u516C\u53F8
WO_2026076961_A1

Resumen de: WO2026076961A1

A high-precision adjustable automatic fire-retardant module, comprising: a fire-retardant module (2), a fire-retardant sintered block (3), and a pressure regulating device (4), wherein the fire-retardant module extends into the interior of a cabinet (1) and is fixedly mounted on the cabinet; the fire-retardant sintered block is mounted inside the fire-retardant module; and the pressure regulating device sequentially runs through the top end of the fire-retardant module, the fire-retardant sintered block, and the bottom end of the fire-retardant module and then extends into the interior of the cabinet. When the pressure in the cabinet exceeds a set value, high-pressure release can be automatically performed by means of the module, such that the module has a fire retardant function and can prevent combustible particulate matter from being discharged to hazardous areas.

LIQUID ELECTROLYTE COMPRISING SULFONAMIDE AND AT LEAST TWO LITHIUM SALTS, AND USES THEREOF

NºPublicación:  US20260106224A1 16/04/2026
Solicitante: 
BASQUEVOLT S A [ES]
US_20260106224_A1

Resumen de: US20260106224A1

A liquid electrolyte comprising i. at least one sulfonamide with general formula Iii. a combination of at least two lithium salts; and iii. at least one co-solvent and/or one filler; and wherein the liquid electrolyte does not comprise an organic carbonate. An electrochemical cell and uses thereof, and methods for preparing the liquid electrolyte and electrochemical cell.

HIGH ENERGY DENSITY CYLINDRICAL CELLS

NºPublicación:  WO2026080543A2 16/04/2026
Solicitante: 
FORGE NANO INC [US]
WO_2026080543_A2

Resumen de: WO2026080543A2

A lithium-ion secondary battery comprising a positive electrode plate, a negative electrode plate, a separator and a non-aqueous electrolyte solution, the non-aqueous electrolyte solution comprising a mixture of at least one non-oxygenated lithium salt, at least one oxygenated lithium salt, at least one carbonate solvent, and, optionally, at least one non-carbonate solvent. The positive active material comprises one or more selected from the group consisting of LixNiaCobMncO2 and a doping and/or coating modified compound thereof wherein 0.95≤x≤1.2, 01.1, 0.1≤x≤0.2, 0.05≤y≤0.15, 0.5≤z≤0.6). The density of the non-aqueous electrolyte solution represented by p may range from 1.21 g/cm3 to 1.36 g/cm3. The lithium-ion secondary battery satisfies a relationship; 1.08 ≤ (m×C)/(ρ×Cap) < 1.44, wherein m represents a total mass of the non-aqueous electrolyte solution inside the lithium- ion secondary battery with a unit of g, p represents a density of the non-aqueous electrolyte solution with a unit of g/cm3, C represents a concentration of the at least one non-oxygenated lithium salt in the non-aqueous electrolyte solution with a unit of mol/L, Cap represents a rated capacity of the lithium-ion secondary battery with a unit of Ah. The electrolyte may have a mass per rated capacity of 1.25 g/Ah or less, and

BATTERY PROCESSING METHOD AND BATTERY PROCESSING SYSTEM

NºPublicación:  US20260106243A1 16/04/2026
Solicitante: 
MAZDA MOTOR CORP [JP]
US_20260106243_A1

Resumen de: US20260106243A1

A battery processing method for processing a lithium-ion battery 1 that includes a positive electrode material 31 and a negative electrode material 35 and is configured by laminating the positive electrode material 31 and the negative electrode material 35 in a lamination direction A, wherein gas is internally generated includes: a gas extrusion step S2 of extruding gas toward a peripheral edge portion 3z of the lithium-ion battery 1 in a plane perpendicular to the lamination direction A; and a lithium deposition step S3 of charging the lithium-ion battery 1 to deposit lithium on the negative electrode material 35.

SELF-CORRECTIVE BATTERY MANAGEMENT SYSTEM

NºPublicación:  US20260106232A1 16/04/2026
Solicitante: 
UNIV OXFORD BROOKES [GB]
WO_2026078391_A1

Resumen de: US20260106232A1

A method of managing battery modules in a circuit may include producing a state-of-health (SOH) estimation through a controller for a plurality of battery cells based on a current, a voltage, and a temperature of each battery cell, in each of the battery modules, storing the current, the voltage, and the temperature of each of the battery cells as SOH historical data for the battery cell, generating an SOH prediction for each of the battery cells based on the SOH historical data of the battery cell, and comparing the SOH estimation to the SOH prediction. Where the SOH estimation is within a predetermined threshold of the SOH prediction, performing an SOH balancing between the one or more battery cells in the battery modules.

CAP ASSEMBLY, BATTERY INCLUDING THE CAP ASSEMBLY, AND BATTERY PACK INCLUDING THE CAP ASSEMBLY

NºPublicación:  US20260106279A1 16/04/2026
Solicitante: 
SAMSUNG SDI CO LTD [KR]
US_20260106279_A1

Resumen de: US20260106279A1

0000 The present disclosure relates to a cap assembly, a battery including the cap assembly, and a battery pack including the cap assembly. A cap assembly according to one embodiment includes a cap plate coupled to a case to cover an opening in the case, which accommodates an electrode assembly therein, a terminal extending through the cap plate, with a first end portion of is the terminal being electrically connected to an electrode of the electrode assembly and a second end portion of the terminal protruding outside of the case, an insulating member at least a portion of which is disposed between the cap plate and the terminal to electrically insulate the cap plate and the terminal, and a wiring member electrically connecting the cap plate and the terminal.

RECHARGEABLE BATTERY AND RECHARGEABLE BATTERY MODULE INCLUDING THE SAME

NºPublicación:  US20260106337A1 16/04/2026
Solicitante: 
SAMSUNG SDI CO LTD [KR]
US_20260106337_A1

Resumen de: US20260106337A1

The present disclosure relates to rechargeable batteries and a rechargeable battery module including the same. The rechargeable battery module includes rechargeable batteries that are electrically connected without using a busbar. A rechargeable battery module includes a first rechargeable battery including a first electrode terminal and a second rechargeable battery including a second electrode terminal and disposed adjacent to the first rechargeable battery, wherein the first electrode terminal and the second electrode terminal are coupled through at least a contact portion at which an outer surface of the first electrode terminal facing the second electrode terminal is in contact with an outer surface of the second electrode terminal facing the first electrode terminal.

SECONDARY BATTERY

NºPublicación:  WO2026079805A1 16/04/2026
Solicitante: 
SAMSUNG SDI CO LTD [KR]
\uC0BC\uC131\uC5D0\uC2A4\uB514\uC544\uC774 \uC8FC\uC2DD\uD68C\uC0AC
WO_2026079805_A1

Resumen de: WO2026079805A1

The present disclosure provides a secondary battery. The secondary battery comprises: an electrode assembly including a first electrode, a second electrode and a separator; a case accommodating the electrode assembly through an opening at one side thereof, and including a beading part press-fitted inward from the opening at one side; and a vent plate for sealing the opening at one side of the case, wherein a material of at least a portion of the vent plate can have a heat resistance lower than that of a material of the case.

BATTERY DIAGNOSIS DEVICE AND METHOD THEREOF

NºPublicación:  WO2026079699A1 16/04/2026
Solicitante: 
LG ENERGY SOLUTION LTD [KR]
\uC8FC\uC2DD\uD68C\uC0AC \uC5D8\uC9C0\uC5D0\uB108\uC9C0\uC194\uB8E8\uC158
WO_2026079699_A1

Resumen de: WO2026079699A1

The present document relates to a battery diagnosis device comprising: a memory for storing at least one instruction; and a processor for executing the at least one instruction, wherein the processor is configured to acquire temperature data of a battery unit and estimate, on the basis of the temperature data, the temperature of the battery unit in a blank section in which a temperature value does not exist among time sections corresponding to the temperature data.

POSITIVE ACTIVE MATERIAL FOR ALL-SOLID-STATE RECHARGEABLE BATTERIES, PREPARATION METHOD THEREOF, POSITIVE ELECTRODE FOR ALL-SOLID-STATE RECHARGEABLE BATTERIES, AND ALL-SOLID-STATE RECHARGEABLE BATTERIES

NºPublicación:  WO2026079866A1 16/04/2026
Solicitante: 
SAMSUNG SDI CO LTD [KR]
\uC0BC\uC131\uC5D0\uC2A4\uB514\uC544\uC774 \uC8FC\uC2DD\uD68C\uC0AC
WO_2026079866_A1

Resumen de: WO2026079866A1

The present invention relates to a positive active material for all-solid-state rechargeable batteries, a preparation method thereof, a positive electrode for all-solid-state rechargeable batteries, and all-solid-state rechargeable batteries, the positive active material comprising lithium transition metal composite oxide particles and a coating layer positioned on the surface of each lithium transition metal composite oxide particle, wherein the coating layer comprises: coating particles containing a metal oxide; and a low-melting metal oxide including phosphorus oxide, lead oxide, vanadium oxide, or a combination thereof.

GAS RELEASE VALVE AND BATTERY MANUFACTURING METHOD USING SAME

NºPublicación:  WO2026079684A1 16/04/2026
Solicitante: 
LG ENERGY SOLUTION LTD [KR]
\uC8FC\uC2DD\uD68C\uC0AC \uC5D8\uC9C0\uC5D0\uB108\uC9C0\uC194\uB8E8\uC158
WO_2026079684_A1

Resumen de: WO2026079684A1

According to exemplary embodiments of the present invention, provided is a battery manufacturing method. The method comprises: a step for preparing a case, which includes an electrode accommodation part having an electrode accommodation space and a gas pocket part having a gas pocket space, and a battery cell, which includes an electrode assembly accommodated in the electrode accommodation space; a step for inserting a needle of a gas release valve into the gas pocket part; a step for activating the battery cell; and a step for using the gas release valve to discharge gas collected in the gas pocket part.

BINDER FOR CATHODE OF LITHIUM SECONDARY BATTERY, AND CATHODE AND LITHIUM SECONDARY BATTERY INCLUDING SAME

NºPublicación:  WO2026079900A1 16/04/2026
Solicitante: 
LG ENERGY SOLUTION LTD [KR]
\uC8FC\uC2DD\uD68C\uC0AC \uC5D8\uC9C0\uC5D0\uB108\uC9C0\uC194\uB8E8\uC158
WO_2026079900_A1

Resumen de: WO2026079900A1

The present invention provides a binder for a cathode of a lithium secondary battery, the binder comprising an ammonium cation-substituted cationic polyvinylidene fluoride-based polymer.

HYBRID ORGANIC-INORGANIC REDOX ACTIVE MATERIAL AND RELATED COMPOSITES, COMPOSITIONS, ELECTRODE MATERIAL, ELECTRODES, ELECTROCHEMICAL CELLS, BATTERIES, METHODS AND SYSTEMS

NºPublicación:  WO2026080468A1 16/04/2026
Solicitante: 
LINOVA ENERGY INC [US]
WO_2026080468_A1

Resumen de: WO2026080468A1

Provided herein hybrid organic-inorganic redox active materials and related composites, compositions, electrode materials, electrodes electrochemical cells, batteries, methods and systems, which, can be used as to provide high performance cathode active materials in high capacity, high energy density, safe, and long-lasting electrochemical cells and batteries when coupled with Li, Na, K, graphite, lithiated graphite, in situ lithiated graphite, silicon, lithiated silicon, in situ lithiated silicon, silicon-graphite, in situ lithiated silicon-graphite, hard carbon, sodiated hard carbon, graphite-silicone, lithiated graphite-silicon etc. anodes in non-aqueous electrolytes.

POSITIVE ELECTRODE ACTIVE MATERIAL, AND POSITIVE ELECTRODE AND LITHIUM SECONDARY BATTERY COMPRISING SAME

NºPublicación:  WO2026079774A1 16/04/2026
Solicitante: 
LG CHEM LTD [KR]
\uC8FC\uC2DD\uD68C\uC0AC \uC5D8\uC9C0\uD654\uD559
WO_2026079774_A1

Resumen de: WO2026079774A1

The present invention relates to a single-particle positive electrode active material that enables optimal battery performance, and, more particularly, the present invention relates to: a positive electrode active material which comprises a single-particle lithium composite transition metal oxide composed of no more than 10 primary particles, the positive electrode active material having a degree of micronization of 4.5 to 6.0 as defined by equation 1 described in the present specification; and a positive electrode and a lithium secondary battery comprising the positive electrode active material.

SYSTEMS FOR BATTERY MANUFACTURE

NºPublicación:  US20260103354A1 16/04/2026
Solicitante: 
FORD GLOBAL TECH LLC [US]
US_20260103354_A1

Resumen de: US20260103354A1

0000 A system for manufacturing battery cells and methods for utilizing the system are presented. The system includes a feed rotator that contacts an uppermost electrode sheet in a stack of electrode sheets, a fixed stop positioned adjacent to the feed rotator, and a bi-directional drive coupled to the feed rotator and operable to rotate the feed rotator in a first direction to force the uppermost electrode sheet against the fixed stop and immediately thereafter rotate the feed rotator in a second direction opposite to the first direction to feed the uppermost electrode sheet away from the stack.

BATTERY ASSEMBLY INCLUDING PRISMATIC CELL CAN HAVING A MULTI-LAYER MICA VENT COVER

NºPublicación:  US20260106313A1 16/04/2026
Solicitante: 
GM GLOBAL TECH OPERATIONS LLC [US]
US_20260106313_A1

Resumen de: US20260106313A1

0000 A battery cell including a prismatic cell can housing includes a plurality of walls forming a cell stack receiving zone, one of the plurality of walls including an opening having a first dimension. A vent is positioned across the opening. The vent is configured to open when pressure within the cell stack receiving zone exceeds a predetermined pressure value. An intercell connect board (ICB) is arranged on the one of the plurality of walls. The ICB includes a port that aligns with the opening. A multi-layer vent cover is supported on the ICB. The multi-layer vent cover includes an inner layer supported on the ICB and an outer layer supported on the inner layer. The inner layer includes a first frangible cover and the outer layer including a second frangible cover that is larger than the first frangible cover.

IMPULSLADESYSTEM FÜR EIN LITHIUM-IONEN-BATTERIEPACK

NºPublicación:  DE102024136236A1 16/04/2026
Solicitante: 
GM GLOBAL TECH OPERATIONS LLC [US]
DE_102024136236_PA

Resumen de: DE102024136236A1

Ein Impulsladesystem für ein Lithium-Ionen-Batteriepack schließt ein oder mehrere Steuergeräte ein, die in elektronischer Kommunikation mit dem Lithium-Ionen-Batteriepack stehen. Das eine oder die mehreren Steuergeräte umfassen einen oder mehrere Prozessoren, die Anweisungen ausführen, um eine Plattierungsintensität des Lithium-Ionen-Batteriepacks während zwei oder mehr anfänglicher Impulsladezyklen des Lithium-Ionen-Batteriepacks zu schätzen. Das eine oder die mehreren Steuergeräte berechnen eine aktualisierte Plattierungsintensität des Lithium-Ionen-Batteriepacks entsprechend einem nachfolgenden Impulsladezyklus, der auf der Basis der Plattierungsintensität des Lithium-Ionen-Batteriepacks bestimmt wird. Als Reaktion auf das Bestimmen, dass die aktualisierte Plattierungsintensität in einen akzeptablen Bereich von Plattierungsintensitätswerten fällt, führen das eine oder die mehreren Steuergeräte einen optimierten Impulsladezyklus aus, der auf der aktualisierten Plattierungsintensität basiert.

SECONDARY BATTERY, NEGATIVE ELECTRODE SHEET AND PREPARATION METHOD THEREFOR, AND ELECTRIC APPARATUS

NºPublicación:  WO2026077036A1 16/04/2026
Solicitante: 
CONTEMPORARY AMPEREX TECH CO LIMITED [CN]
\u5B81\u5FB7\u65F6\u4EE3\u65B0\u80FD\u6E90\u79D1\u6280\u80A1\u4EFD\u6709\u9650\u516C\u53F8
WO_2026077036_A1

Resumen de: WO2026077036A1

A secondary battery, a negative electrode sheet and a preparation method therefor, and an electric apparatus. The secondary battery comprises: a positive electrode, a negative electrode, and a separator located between the positive electrode and the negative electrode. The negative electrode comprises a negative electrode active material and a lithium-containing conductive agent. The negative electrode active material comprises graphite, and the lithium-containing conductive agent comprises C atoms and Li atoms. In the lithium-containing conductive agent, the atomic ratio of the C atoms to the Li atoms is less than or equal to 6.

Charging Fixture and Method for a Rechargable Battery

NºPublicación:  US20260106360A1 16/04/2026
Solicitante: 
ECELLS INC [US]
US_20260106360_A1

Resumen de: US20260106360A1

0000 A charging system and associated methods for charging rechargeable batteries are shown. Examples include a fire suppressant, and a surface suspended over the fire suppressant. One example includes a thermally activated actuator coupled to the surface allowing a charging battery to drop into the fire suppressant. Another example includes a thermally destructible surface suspended over the fire suppressant.

SECONDARY BATTERY

NºPublicación:  WO2026079049A1 16/04/2026
Solicitante: 
NISSAN MOTOR CO LTD [JP]
MAXELL LTD [JP]
\u65E5\u7523\u81EA\u52D5\u8ECA\u682A\u5F0F\u4F1A\u793E
\u30DE\u30AF\u30BB\u30EB\u682A\u5F0F\u4F1A\u793E
WO_2026079049_A1

Resumen de: WO2026079049A1

Provided is a secondary battery including: a single cell in which a positive electrode current collector, a positive electrode active material layer, an electrolyte layer including a solid electrolyte, a negative electrode active material layer, and a negative electrode current collector are laminated in this order; and an exterior body that accommodates the single cell. The secondary battery is characterized in that the electrolyte layer is configured to include a porous body, a solid electrolyte filled in pores of the porous body, and a heat conductive material filled in pores of the porous body, and has an electrolyte region filled with the solid electrolyte and a heat conductive region provided on the outer peripheral side of the electrolyte region and filled with the heat conductive material, and in that the heat conductive region is in contact with any one of the positive electrode current collector, the negative electrode current collector, and the exterior body.

SYSTEMS AND METHODS FOR MONITORING ENERGY CONSUMPTION OF TASKS PERFORMED BY A HEAVY MACHINE

NºPublicación:  US20260104459A1 16/04/2026
Solicitante: 
PODCO INC [CA]
US_20260104459_A1

Resumen de: US20260104459A1

Methods and systems for monitoring battery consumption for a heavy machine such as used in mining, construction, agriculture, and/or industrial applications is provided. The system for reporting a state of charge of a heavy machine has a sensor or input device determining a start and an end of a task; a battery monitor coupled to a battery, the battery monitor measuring a battery charge in the battery; a display; and a processor coupled to the display, the sensor or the input device, and to the battery monitor. The processor or method may determine a change in the battery charge used by the heavy machine between the start and the end of the task to provide a task charge; determine a number of remaining tasks from the battery charge and the task charge; and present the number of remaining tasks on the display.

LITHIUM SECONDARY BATTERY

NºPublicación:  WO2026079837A1 16/04/2026
Solicitante: 
LG ENERGY SOLUTION LTD [KR]
\uC8FC\uC2DD\uD68C\uC0AC \uC5D8\uC9C0\uC5D0\uB108\uC9C0\uC194\uB8E8\uC158
WO_2026079837_A1

Resumen de: WO2026079837A1

The present invention relates to a lithium secondary battery comprising: a positive electrode; a negative electrode facing the positive electrode; a separator interposed between the positive electrode and the negative electrode; and a non-aqueous electrolyte, wherein: the positive electrode comprises a first positive electrode active material and a second positive electrode active material; the first positive electrode active material comprise a lithium iron phosphate represented by chemical formula 1 and the second positive electrode active material comprises a lithium nickel cobalt manganese oxide; the non-aqueous electrolyte comprises a lithium salt, a first solvent, and a second solvent; the first solvent is a non-fluorinated carbonate organic solvent and the second solvent is a compound represented by chemical formula 2; and the ratio (A/B) of the weight (B) of the second solvent to the weight (A) of the first solvent is 0.67 or lower.

ANODE-FREE SODIUM BATTERY CELLS

NºPublicación:  WO2026080901A1 16/04/2026
Solicitante: 
MANA BATTERY INC [US]
WO_2026080901_A1

Resumen de: WO2026080901A1

Th present disclosure relates to the field of energy storage devices such as lithium-ion batteries, sodium-ion batteries, and sodium anode-free batteries. More specifically, the present disclosure provides room temperature sodium-based batteries with an anode-free configuration, where no anode active material is present upon cell assembly and in its discharged state.

CIRCUIT BOARD ASSEMBLY AND RECHARGEABLE BATTERY INCLUDING THE SAME

NºPublicación:  US20260107386A1 16/04/2026
Solicitante: 
SAMSUNG SDI CO LTD [KR]
US_20260107386_A1

Resumen de: US20260107386A1

0000 A circuit board assembly according to an embodiment of the present disclosure includes an integrated module including a first printed circuit board having a first surface and a second surface opposite to the first surface, a plurality of first pads on the first surface, and a plurality of electronic components on the second surface, and a second printed circuit board including a main line portion, the second printed circuit board receiving the first surface of the first printed circuit board and substantially covering the plurality of first pads, and a connector extending from one side of the main line portion, wherein the first printed circuit board and the second printed circuit board are electrically connected.

DIELEKTRISCHER DÜNNFILM FÜR FESTE ODER HALBFESTE LITHIUMBATTERIEN

NºPublicación:  DE102024130117A1 16/04/2026
Solicitante: 
SHENZHEN TXD TECH CO LTD [CN]
DE_102024130117_PA

Resumen de: DE102024130117A1

Ein dielektrischer Dünnfilm für eine Festkörper- oder Halbfestkörper-Lithiumbatterie, wobei der dielektrische Dünnfilm zwischen einer negativen Elektrode und einer positiven Elektrode der Lithiumbatterie angeschlossen ist. Der dielektrische Dünnfilm umfasst eine erste Filmschicht, welche mit der positiven Elektrode in Verbindung steht, eine dritte Filmschicht, welche mit der negativen Elektrode verbunden ist und eine zweite Filmschicht, welche zwischen der ersten Filmschicht und der dritten Filmschicht angeschlossen ist. Die erste Filmschicht umfasst ein erstes Polymermaterial und ein erstes Lithiumsalz. Die zweite Filmschicht umfasst ein zweites Polymermaterial, ein zweites Lithiumsalz und eine zweite anorganische Keramikstruktur. Die dritte Filmschicht umfasst ein drittes Polymermaterial, ein drittes Lithiumsalz und eine dritte anorganische Keramikstruktur.

POSITIVE ELECTRODE ACTIVE MATERIALS, POSITIVE ELECTRODES, AND RECHARGEABLE LITHIUM BATTERIES

NºPublicación:  US20260106136A1 16/04/2026
Solicitante: 
SAMSUNG SDI CO LTD [KR]
US_20260106136_A1

Resumen de: US20260106136A1

A positive electrode active material may include a first positive electrode active material having an average particle diameter (D50) in a range of 11 μm to 20 μm and in a form of secondary particles in which a plurality of primary particles are agglomerated; a second positive electrode active material having D50 in a range of 5 μm to 10 μm and in a form of secondary particles in which a plurality of primary particles are agglomerated; and a third positive electrode active material having D50 in a range of 1 μm to 7 μm and in a form of single particles; wherein the third positive electrode active material is in an amount in a range of 5 wt % to 20 wt % based on 100 wt % of the first positive electrode active material, the second positive electrode active material, and the third positive electrode active material.

ANODE ACTIVE MATERIAL LAYER FOR LITHIUM SECONDARY BATTERY, ANODE INCLUDING THE SAME AND LITHIUM SECONDARY BATTERY INCLUDING THE SAME

NºPublicación:  US20260106156A1 16/04/2026
Solicitante: 
SK ON CO LTD [KR]
US_20260106156_A1

Resumen de: US20260106156A1

0000 An anode active material layer according to embodiments of the present disclosure includes an anode active material, a first binder including a polymer of an epoxy-based binder or an acrylate-based binder, and a second binder including a binder having a hydroxyl group or a carboxyl group. The content of the first binder is 0.1 wt % to 1 wt % based on the total weight of the anode active material layer. The adhesion strength of the anode active material layer may be improved without degrading the electrical properties of the anode.

ELECTRODE ASSEMBLY AND SECONDARY BATTERY COMPRISING SAME

NºPublicación:  WO2026079890A1 16/04/2026
Solicitante: 
LG ENERGY SOLUTION LTD [KR]
\uC8FC\uC2DD\uD68C\uC0AC \uC5D8\uC9C0\uC5D0\uB108\uC9C0\uC194\uB8E8\uC158
WO_2026079890_A1

Resumen de: WO2026079890A1

The present invention relates to an electrode assembly and a secondary battery including same and, more specifically, to an electrode assembly and a secondary battery including same which facilitate electrolyte impregnation in a region near a central portion of the electrode assembly where compressive stress is high, thereby suppressing lithium deposition, controlling acceleration of electrode assembly swelling, and ultimately reducing the risk of battery case rupture and abnormal heat generation behavior.

SECONDARY BATTERY AND ELECTRONIC DEVICE

NºPublicación:  WO2026076679A1 16/04/2026
Solicitante: 
NINGDE AMPEREX TECH LIMITED [CN]
DONGGUAN AMPEREX TECH LIMITED [CN]
\u5B81\u5FB7\u65B0\u80FD\u6E90\u79D1\u6280\u6709\u9650\u516C\u53F8
\u4E1C\u839E\u65B0\u80FD\u6E90\u79D1\u6280\u6709\u9650\u516C\u53F8
WO_2026076679_A1

Resumen de: WO2026076679A1

A secondary battery and an electronic device. The secondary battery comprises a packaging bag, an electrode assembly, and a first bonding member. The electrode assembly is of a winding structure, and a first electrode sheet of the electrode assembly comprises a first current collector and a first active material layer. The first current collector comprises a first surface and a second surface, and the first surface faces a winding central axis. The first active material layer comprises a first sub-layer provided on the first surface and a second sub-layer provided on the second surface. A third ending region of the first current collector in the winding direction is exposed to the first sub-layer and the second sub-layer. The first bonding member is provided on the side of the third ending region facing the winding central axis and bonded to the first surface and/or the second surface, and the first bonding member is separated from the first sub-layer and the second sub-layer in the winding direction. The first electrode sheet comprises a first edge and a second edge opposite to each other in the width direction of the first electrode sheet. The projection of the first edge falls within the range of the projection of the first bonding member. The projection of an edge of the third ending region in the winding direction falls within the range of the projection of the first bonding member.

Assembly With Battery Cell, Intercell Connector and Conducting Element

NºPublicación:  US20260106354A1 16/04/2026
Solicitante: 
BAYERISCHE MOTOREN WERKE AG [DE]
US_20260106354_A1

Resumen de: US20260106354A1

0000 An assembly for a traction battery of a motor vehicle, includes: a battery cell having a metallic cell housing, a first cell pole and a second cell pole which assumes a potential of the cell housing; an intercell connector, which is electrically connected to the first cell pole to form a current path between the battery cell and at least one further battery cell of the traction battery, and which has a fuse for interrupting the current path in response to flux of a tripping current via the intercell connector; and at least one electrically conductive conducting element, which is electrically and mechanically connected to the intercell connector and/or to the first cell pole, and which is designed, in the event of a fault current flux via the intercell connector which lies below the tripping current and which results in a melting and subsidence of the first cell pole and/or of the intercell connector in the direction of the cell housing, to contact-connect the cell housing and thus short-circuit the cell poles, for the provision of the tripping current.

Verfahren zur Herstellung eines Batterietroges einer Traktionsbatterie für eine mobile Arbeitsmaschine

NºPublicación:  DE102025105324A1 16/04/2026
Solicitante: 
KION BATTERY SYSTEMS GMBH [DE]
DE_102025105324_PA

Resumen de: DE102025105324A1

Die Erfindung betrifft ein Verfahren zur Herstellung eines Batterietroges (1) einer Traktionsbatterie (2), insbesondere einer Lithium-Ionen-Traktionsbatterie, für eine mobile Arbeitsmaschine, insbesondere ein Flurförderzeug, wobei der Batterietrog (1) zumindest teilweise mit einer Ballastfüllung (3) verfüllt wird, wobei die Ballastfüllung (3) ein Ballastmaterial (3a) und einen Verbundstoff (3b) umfasst, wobei der Batterietrog (2) eine Außenhülle (4) mit einer Bodenwand (5) und einer umlaufenden Außenwandung (6) aufweist. Das Verfahren umfasst die Schritte:• Bereitstellen des Batterietrogs (1) und der Ballastfüllung (3);• Befüllen des Batterietrogs (1) mit der Ballastfüllung (3);• Erzeugen einer planen Oberfläche (8) der Ballastfüllung (3), wobei sich die plane Oberfläche (8) bis zur umlaufende Außenwandung (6) erstreckt;• Aushärten der Ballastfüllung (3) zu einem Verbundmaterial.

SYSTEMS AND METHODS FOR ELECTRICAL SIGNAL CONDUCTION TO HERMETICALLY SEALED ELECTROCHEMICAL CELLS

NºPublicación:  US20260106346A1 16/04/2026
Solicitante: 
24M TECH INC [US]
US_20260106346_A1

Resumen de: US20260106346A1

0000 Embodiments described herein relate to hermetically sealed electrochemical cells. In some aspects, an electrochemical cell assembly can include an anode disposed on an anode current collector, a cathode disposed on a cathode current collector, and a separator disposed between the anode and the cathode. A hermetic enclosure contains the anode, the anode current collector, the cathode, the cathode current collector, and the separator. An electronic circuit is electrically and/or communicatively coupled to at least one of the anode or the cathode, such that a first portion of the electronic circuit is inside the hermetic enclosure and a second portion of the electronic circuit is outside of the hermetic enclosure. The electronic circuit can includes a printed flex circuit polyimide, and/or an aluminized polymer pouch.

APPARATUS, METHOD, AND SYSTEM FOR REMOVING LITHIUM-ION BATTERY GAS

NºPublicación:  US20260106251A1 16/04/2026
Solicitante: 
SAMSUNG SDI CO LTD [KR]
US_20260106251_A1

Resumen de: US20260106251A1

0000 Disclosed herein is an apparatus for removing lithium-ion battery gas, which is used to remove gas generated during an activation process of a lithium-ion battery. The apparatus includes an ultrasonic vibration unit configured to apply ultrasonic waves to the lithium-ion battery to remove gas within the battery, and a control unit configured to control an operation of the ultrasonic vibration unit.

HIGH PURITY ELECTROLYTE COMPOSITIONS AND BATTERY CELLS

NºPublicación:  WO2026080900A1 16/04/2026
Solicitante: 
MANA BATTERY INC [US]
WO_2026080900_A1

Resumen de: WO2026080900A1

The present relates to the field of energy storage devices such as lithium-ion batteries, sodium-ion batteries, and sodium anode-free batteries. More specifically, the disclosure provide room temperature liquid electrolyte compositions separately and in combination as used in lithium and sodium-based batteries.

VEHICLE AND SERVICE PLATFORM FOR ELECTRIC POWER TRADING

NºPublicación:  US20260105542A1 16/04/2026
Solicitante: 
HYUNDAI MOTOR CO LTD [KR]
KIA CORP [KR]
US_20260105542_A1

Resumen de: US20260105542A1

0000 A vehicle for electric power trading is provided. The vehicle includes one or more processors, and a storage medium configured to store a computer-readable instruction. When the computer-readable instruction is accessed and executed by the one or more processors, the one or more processors are configured to transmit service registration information for electric power trading, and to transmit an electric power trading request. The electric power trading request includes electric power to sell, among eco-friendly electric power and general electric power, and a power capacity to sell, when a service registration confirmation is received in response to transmission of the service vehicle registration information. Electric power corresponding to the power capacity to sell is withdrawn from the vehicle according to the electric power trading request.

ELECTRODE, SECONDARY BATTERY AND METHOD FOR MANUFACTURING ELECTRODE

NºPublicación:  US20260106227A1 16/04/2026
Solicitante: 
SAMSUNG SDI CO LTD [KR]
US_20260106227_A1

Resumen de: US20260106227A1

0000 An electrode includes an electrode substrate including an insulating layer and a first conductive layer on opposite sides of the insulating layer, a composite portion having an active material thereon in an area of the electrode substrate, an uncoated portion having no active material thereon in another area of the electrode substrate, and a second conductive layer on the first conductive layer in the uncoated portion.

LITHIUM SECONDARY BATTERY AND MANUFACTURING METHOD THEREOF

NºPublicación:  WO2026079799A1 16/04/2026
Solicitante: 
LG ENERGY SOLUTION LTD [KR]
\uC8FC\uC2DD\uD68C\uC0AC \uC5D8\uC9C0\uC5D0\uB108\uC9C0\uC194\uB8E8\uC158
WO_2026079799_A1

Resumen de: WO2026079799A1

A lithium secondary battery manufacturing method disclosed herein comprises a coating process of first and second electrode slurries. In the coating process, the first electrode slurry is applied to have a shape in which two or more concave portions recessed toward a current collector are arranged at certain intervals, and the second electrode slurry is applied to have a shape that fills the concave portions. The second electrode slurry includes a film-forming additive.

INSPECTION UNIT AND INSPECTION DEVICE

NºPublicación:  US20260106347A1 16/04/2026
Solicitante: 
OMRON CORP [JP]
US_20260106347_A1

Resumen de: US20260106347A1

To provide an inspection unit capable of improving contact reliability between an electrode terminal of a battery and a probe pin. An inspection unit according to the present disclosure contacts an electrode terminal of a battery to inspect its performance. The unit comprises a plurality of probe pins, a socket housing the plurality of probe pins to be movable by a first distance in an axial direction, and a housing housing the socket to be movable by a second distance in the axial direction. The unit further includes a biasing member disposed inside the housing that biases the socket so a part of the socket protrudes from an opening in the housing, and elastic portions disposed inside the socket that elastically deform to move each probe pin independently in the axial direction.

HIGH POWER HYBRID SILICON ANODE WITH EXTREME FAST CHARGING

NºPublicación:  US20260106225A1 16/04/2026
Solicitante: 
EFLION POWER INC [US]
US_20260106225_A1

Resumen de: US20260106225A1

A lithium battery with a battery electrolyte having a plurality of linear alkyl carbonates, a fluorinated solvent, and an acetate. The volume percentages of these electrolyte components meet one or more relational conditions.

NEGATIVE ELECTRODE ACTIVE MATERIAL FOR RECHARGEABLE LITHIUM BATTERY AND RECHARGEABLE LITHIUM BATTERY INCLUDING THE SAME

NºPublicación:  US20260106153A1 16/04/2026
Solicitante: 
SAMSUNG SDI CO LTD [KR]
US_20260106153_A1

Resumen de: US20260106153A1

0000 A negative electrode active material for a rechargeable lithium battery and a rechargeable lithium battery including the negative electrode active material are provided. The negative electrode active material for a rechargeable lithium battery includes graphite and an amorphous carbon-containing layer surrounding the graphite. The amorphous carbon-containing layer includes a first region and a second region, which have different R values of Equation 1 (R value=I/I, where Iand Iare a maximum peak intensity of the D band at a frequency of 1360±50 cm<−1 >and a maximum peak intensity of the G band at a frequency of 1580±50 cm<−1>, respectively, obtained by Raman spectroscopy for the negative electrode active material), and the R value of Equation 1 in the first region is 0.5 or less.

DEVIATION CORRECTION APPARATUS AND METHOD OF CORRECTING DEVIATION BY USING THE SAME

NºPublicación:  US20260106204A1 16/04/2026
Solicitante: 
SAMSUNG SDI CO LTD [KR]

Resumen de: US20260106204A1

The present disclosure provides a deviation correction system and a method of correcting a deviation by using the same. A deviation correction apparatus may include a heater for heating an electrode plate of a secondary battery having an active material layer on a current collector, a spiral roller having a spiral protrusion, and a base roller facing and spaced apart from the spiral roller. The spiral roller and the base roller may be configured so that the electrode plate may be inserted between and may be moved between the spiral roller and the base roller.

CURRENT COLLECTOR AND BATTERY

NºPublicación:  US20260106176A1 16/04/2026
Solicitante: 
TOYOTA MOTOR CO LTD [JP]
US_20260106176_A1

Resumen de: US20260106176A1

0000 A current collector includes a support layer, a first electrically conductive layer, and a first adhesion layer. The support layer is composed of a resin composition having electric insulation. The first electrically conductive layer is laminated on the support layer through the first adhesion layer. The first electrically conductive layer includes a first surface. The first surface faces the first adhesion layer. The first surface has been subjected to a chemical surface roughening treatment.

LITHIUM SUPPLEMENT AND MANUFACTURING METHOD THEREFOR, CATHODE PLATE, AND SECONDARY BATTERY

NºPublicación:  US20260106159A1 16/04/2026
Solicitante: 
HUBEI WANRUN NEW ENERGY TECH CO LTD [CN]
US_20260106159_A1

Resumen de: US20260106159A1

The present application provides a lithium supplement, which includes a sulfide composite material including a first sulfide and a second sulfide doped in the first sulfide. The first sulfide includes lithium sulfide. The second sulfide is selected from a metal sulfide other than lithium sulfide, an organic sulfide, or a combination thereof.

BATTERY CELL, BATTERY PACK, VEHICLE COMPRISING SAME, AND METHOD FOR MANUFACTURING BATTERY CELL

NºPublicación:  WO2026079847A1 16/04/2026
Solicitante: 
LG ENERGY SOLUTION LTD [KR]
\uC8FC\uC2DD\uD68C\uC0AC \uC5D8\uC9C0\uC5D0\uB108\uC9C0\uC194\uB8E8\uC158
WO_2026079847_A1

Resumen de: WO2026079847A1

Disclosed are a battery cell, a battery pack, a vehicle comprising same, and a method for manufacturing the battery cell, the battery cell being capable of performing welding joining between a current collector and a rivet by inserting a welding horn tip via a groove of the rivet from the outside of the rivet relative to the current collector. A battery cell, according to an embodiment of the present invention, comprises: a battery housing configured to accommodate an electrode assembly of a secondary battery; a current collector provided in the battery housing and electrically connected to electrodes of the electrode assembly; and a rivet at least partially inserted through an opening of the battery housing and joined to the current collector. The rivet has a recessed groove on a second surface opposite to a first surface in contact with the current collector for through-welding the rivet to the current collector.

METHOD FOR MANUFACTURING ELECTRODE, ELECTRODE, AND LITHIUM SECONDARY BATTERY

NºPublicación:  WO2026079800A1 16/04/2026
Solicitante: 
LG ENERGY SOLUTION LTD [KR]
\uC8FC\uC2DD\uD68C\uC0AC \uC5D8\uC9C0\uC5D0\uB108\uC9C0\uC194\uB8E8\uC158
WO_2026079800_A1

Resumen de: WO2026079800A1

An electrode according to exemplary embodiments comprises: an electrode current collector; and an electrode active material layer including an electrode active material, wherein the electrode active material layer comprises: a first electrode active material layer disposed on the electrode current collector and including first and second binders; and a second electrode active material layer disposed on the first electrode active material layer, having a stepped pattern formed by recessed portions and non-recessed portions on the surface thereof, and including the first binder, the second binder being a polyacrylonitrile (PAN)-based binder.

Batteriegehäuse

NºPublicación:  DE102024129404A1 16/04/2026
Solicitante: 
ELRINGKLINGER AG [DE]
DE_102024129404_PA

Resumen de: DE102024129404A1

Die vorliegende Erfindung betrifft ein Batteriegehäuse, in dem elementare Speicherzellen druckdicht umschlossen angeordnet sind.Um ein Batteriegehäuse der genannten Art mit Blick auf seine Sicherheit auch im Fall eines thermischen Events zu verbessern, da es sich bei den austretenden Stoffen zum Teil um extrem heiße, giftige und schädigende Gase handelt, die eine Gefährdung für jede Person in unmittelbarer Nähe darstellen, wird vorgeschlagen, dass das Batteriegehäuse (1) eine Überdruck-Entlastungseinrichtung (10) aufweist, die in einer Einbaulage des Batteriegehäuses (1) räumlich gegenüber einer Überdruck-Entlastungseinrichtung (8,9) einer untergeordneten Einheit (2, 14) versetzt angeordnet ist und sich die Überdruck-Entlastungseinrichtung (10) in einer Höhe (h) über einer Bodenwandung (B) des Batteriegehäuses (1) befindet.

DEVICE AND METHOD FOR PREDICTING CELL CAPACITY

NºPublicación:  WO2026079708A1 16/04/2026
Solicitante: 
LG ENERGY SOLUTION LTD [KR]
\uC8FC\uC2DD\uD68C\uC0AC \uC5D8\uC9C0\uC5D0\uB108\uC9C0\uC194\uB8E8\uC158
WO_2026079708_A1

Resumen de: WO2026079708A1

A method for predicting a capacity of a battery cell according to an embodiment of the present invention may comprise the steps of: measuring cell-related information during an activation process; compressing temperature profile data among the cell-related information to extract a temperature latent variable; and inputting activation process data including the temperature latent variable into a pre-trained machine learning model to produce a cell capacity prediction value.

ELECTRICAL ENERGY STORAGE DEVICE AND MANUFACTURING METHOD FOR ELECTRICAL ENERGY STORAGE DEVICE

NºPublicación:  US20260106142A1 16/04/2026
Solicitante: 
PRIME PLANET ENERGY & SOLUTIONS INC [JP]
US_20260106142_A1

Resumen de: US20260106142A1

0000 In an electrical energy storage device disclosed herein, a negative electrode includes a negative electrode active material layer with a length of 200 mm or more in a winding axis direction. A half width ratio (Lh/La) calculated based on a ratio (B/C) of a boron element at a central part of the negative electrode active material layer in the winding axis direction is 0.17 or less.

LITHIUM METAL SECONDARY BATTERY

NºPublicación:  US20260106356A1 16/04/2026
Solicitante: 
HONDA MOTOR CO LTD [JP]
US_20260106356_A1

Resumen de: US20260106356A1

0000 A lithium metal secondary battery according to an embodiment of the present invention includes: a positive electrode layer; a negative electrode layer; a solid electrolyte layer disposed between the positive electrode layer and the negative electrode layer; and an intermediate layer disposed between the negative electrode layer and the solid electrolyte layer. A lithium metal layer is disposed on a surface of the negative electrode layer on an intermediate layer side. An intermediate layer insulating material covering an outer peripheral surface of the intermediate layer is provided. The intermediate layer insulating material does not have lithium ion conductivity.

SEPARATOR FOR ELECTROCHEMICAL DEVICE AND ELECTROCHEMICAL DEVICE INCLUDING THE SAME

NºPublicación:  US20260106321A1 16/04/2026
Solicitante: 
LG ENERGY SOLUTION LTD [KR]
US_20260106321_A1

Resumen de: US20260106321A1

A separator for an electrochemical device includes a porous substrate, and a coating layer formed on at least one surface of the porous substrate. The coating layer includes inorganic particles, a polymer binder, and cellulose nanofibers. Lithium ions and silane are introduced into the cellulose nanofibers so as to reduce moisture content of the separator and provide improved electrical resistance.

POWER STORAGE DEVICE, CONTROL METHOD, AND COMPUTER PROGRAM

NºPublicación:  WO2026079050A1 16/04/2026
Solicitante: 
GS YUASA INT LTD [JP]
\u682A\u5F0F\u4F1A\u793E\uFF27\uFF33\u30E6\u30A2\u30B5
WO_2026079050_A1

Resumen de: WO2026079050A1

This power storage device supplies power to a power supply target by being attached to the power supply target, and comprises: a power storage element that supplies power to the power supply target; a control unit; a wireless communication unit; and a measurement unit that measures the voltage of the power storage element. The control unit determines whether the power supply target is stopped, and transmits a voltage abnormality signal from the wireless communication unit when the occurrence of a voltage abnormality is detected from the voltage measured by the measurement unit while the power supply target is stopped.

POUCH CASE FOR SECONDARY BATTERY, SECONDARY BATTERY HAVING THE SAME AND METHOD FOR MANUFACTURING THE SAME

NºPublicación:  US20260106274A1 16/04/2026
Solicitante: 
SAMSUNG SDI CO LTD [KR]
US_20260106274_A1

Resumen de: US20260106274A1

A pouch case for a secondary battery includes a pouch film including a stack of a plurality of sheet layers, the pouch film being shaped to have at least one recess, and an adhesive layer between the plurality of sheet layers, the adhesive layer being filled into at least a portion of the plurality of sheet layers.

METHOD AND SYSTEM FOR LOW VOLTAGE BATTERY REPLACEMENT

NºPublicación:  US20260103107A1 16/04/2026
Solicitante: 
FORD GLOBAL TECH LLC [US]
DE_102025141547_PA

Resumen de: US20260103107A1

0000 Systems and methods for operating a vehicle that includes a low voltage battery are described. In one example, a human/machine interface prompts a user through steps for replacing a low voltage battery. The low voltage battery may be coupled to other power sources when the low voltage bus is electrically coupled to a low voltage bus.

APPARATUS FOR NOTCHING AN ELECTRODE PLATE

NºPublicación:  US20260102938A1 16/04/2026
Solicitante: 
SAMSUNG SDI CO LTD [KR]
CN_121870169_PA

Resumen de: US20260102938A1

The present disclosure provides an apparatus for notching and a method for notching. The apparatus for notching includes at least one wire cutter that cuts at least one of a first side surface and a second side surface positioned opposite to the first side surface and at least one pattern cutter that cuts at least one of the first side surface and the second side surface to form a cut pattern, and the wire cutter is disposed to face the electrode plate along the first direction.

BATTERY SIDE WALL MANUFACTURING

NºPublicación:  WO2026080523A1 16/04/2026
Solicitante: 
OURA HEALTH OY [FI]
WO_2026080523_A1

Resumen de: WO2026080523A1

Methods, systems, and devices for battery manufacturing processes are described. A method for manufacturing a battery for a wearable device may include forming a battery cell including a set of energy storage layers, the set of energy storage layers including a set of anode layers and a set of cathode layers. The method may include surrounding at least a portion of the battery cell with a battery cover material, and forming a battery cover that surrounds the battery cell based part on performing a sealing procedure for the battery cover material. The method may further include performing a laser cutting procedure to remove at least one portion of excess material of the battery cover material from the battery cover, the at least one portion of excess material formed via the sealing procedure.

VISION INSPECTION SYSTEM CAPABLE OF INSPECTING RESIDUAL QUANTITY OF SEPARATOR IN ELECTRODE ASSEMBLY AND INSPECTION METHOD THEREOF

NºPublicación:  WO2026079589A1 16/04/2026
Solicitante: 
LG ENERGY SOLUTION LTD [KR]
\uC8FC\uC2DD\uD68C\uC0AC \uC5D8\uC9C0\uC5D0\uB108\uC9C0\uC194\uB8E8\uC158
WO_2026079589_A1

Resumen de: WO2026079589A1

Provided are a vision inspection system and a vision inspection method, which measure a residual quantity of a separator of an electrode assembly assembled by winding a first electrode and a second electrode with the separator therebetween. The system comprises: a conveyor which extends in a proceeding direction and transfers the electrode assembly in the proceeding direction; a rotation device which is located at a first position and rotates the electrode assembly about a winding axis of the electrode assembly as a center of rotation; a sensor unit which detects a portion-to-be-detected included in the circumferential surface of the electrode assembly; a control unit for controlling the rotating device; and a first vision inspection device for measuring a residual length of a separator by photographing the circumferential surface of the electrode assembly.

UNIT CELL STACKING DEVICE AND UNIT CELL STACKING METHOD USING SAME

NºPublicación:  WO2026079704A1 16/04/2026
Solicitante: 
LG ENERGY SOLUTION LTD [KR]
\uC8FC\uC2DD\uD68C\uC0AC \uC5D8\uC9C0\uC5D0\uB108\uC9C0\uC194\uB8E8\uC158
WO_2026079704_A1

Resumen de: WO2026079704A1

The present invention relates to a unit cell stacking device and a unit cell stacking method using same, the unit cell stacking device comprising: a conveyor belt on which unit cells are seated, and which transfers the unit cells to one side or the other side; a transfer unit for adsorbing and transferring upper surfaces of the unit cells; a photographing unit for photographing the unit cells; a control unit for determining whether the unit cells are defective by using information received from the photographing unit; a stacking unit in which normal unit cells determined to be normal by means of the control unit are stacked; and a discharge unit for discharging defective unit cells determined to be defective by means of the control unit.

SECONDARY BATTERY, BATTERY PACK, AND METHOD FOR MANUFACTURING SECONDARY BATTERY

NºPublicación:  WO2026079552A1 16/04/2026
Solicitante: 
SAMSUNG SDI CO LTD [KR]
\uC0BC\uC131\uC5D0\uC2A4\uB514\uC544\uC774\uC8FC\uC2DD\uD68C\uC0AC
WO_2026079552_A1

Resumen de: WO2026079552A1

The present disclosure relates to a secondary battery, a battery pack, and a method for manufacturing a secondary battery, and the technical problem to be solved is to provide a secondary battery having improved capacity, a battery pack, and a method for manufacturing a secondary battery. To this end, the present disclosure provides a secondary battery comprising: a case having an opening and including a case connection portion; an electrode assembly accommodated in the case and electrically connected to the case; and a cap assembly inserted into the opening, electrically connected to the electrode assembly, and having a cap connection portion connected to the case connection portion.

VERBUNDKERMAMIKELEKTROLYTPARTIKEL MIT HYDROPHOBER SCHUTZSCHICHT FÜR BATTERIEELEKTRODEN

NºPublicación:  DE102024130113A1 16/04/2026
Solicitante: 
SHENZHEN TXD TECH CO LTD [CN]
DE_102024130113_PA

Resumen de: DE102024130113A1

Ein Verbundkeramikelektrolytpartikel mit einer hydrophoben Schutzschicht für eine Batterieelektrode, wobei der Verbundkeramikelektrolytpartikel einen LLZO-Verbundpartikel darstellt. Der LLZO-Verbundpartikel umfasst einen ersten LLZO-Partikel. Eine erste Hydroxidionenschicht ist auf den ersten LLZO-Partikel aufgetragen, um einen LLZO-Verbundpartikel zweiter Ordnung zu bilden. Eine erste Dopaminschicht ist auf den LLZO-Verbundpartikel zweiter Ordnung aufgetragen, um einen hydrophoben LLZO-Partikel zu bilden. Eine äußere hydrophobe Schicht ist auf den hydrophoben LLZO-Partikel aufgetragen, um den LLZO-Verbundpartikel zu bilden. Die äußere hydrophobe Schicht umfasst eine Vielzahl peripherer Verbundpartikel. Jeder der peripheren Verbundpartikel umfasst einen peripheren Partikel. Eine zweite Hydroxidionenschicht ist auf den peripheren Partikel aufgetragen. Eine zweite Dopaminschicht ist auf die zweite Hydroxidionenschicht aufgetragen.

COOLING MEDIUM MIGRATION METHOD AND DEVICE

NºPublicación:  WO2026077038A1 16/04/2026
Solicitante: 
CONTEMPORARY AMPEREX TECH CO LIMITED [CN]
\u5B81\u5FB7\u65F6\u4EE3\u65B0\u80FD\u6E90\u79D1\u6280\u80A1\u4EFD\u6709\u9650\u516C\u53F8
WO_2026077038_A1

Resumen de: WO2026077038A1

Provided in the embodiments of the present application are a cooling medium migration method and a device, which can improve the flexibility of matching a first thermal management module with a second thermal management module. The cooling medium migration method comprises: controlling a cooling medium to migrate from a first thermal management module to a second thermal management module, both the first thermal management module and the second thermal management module being modules having a thermal management function in an energy storage system; during the process of the cooling medium migrating from the first thermal management module to the second thermal management module, determining the pressure value of the cooling medium in the first thermal management module; and, when the pressure value of the cooling medium reaches a pressure threshold, determining that the process of the cooling medium migrating from the first thermal management module to the second thermal management module has ended.

BATTERY TRAY

NºPublicación:  US20260106303A1 16/04/2026
Solicitante: 
SAMSUNG SDI CO LTD [KR]
US_20260106303_A1

Resumen de: US20260106303A1

0000 A battery tray includes a top plate, first inclined surfaces extending from the top plate downward to forming parts of openings, the first inclined surfaces being inclined such that diameters of the openings decrease in a downward direction in the parts of the openings, and second inclined surfaces extending from the first inclined surfaces downward and forming further parts of the openings, the second inclined surfaces being inclined such that the diameters of the openings decrease in the downward direction in the further parts of the openings. A plurality of side surfaces extend from the second inclined surfaces and forming a plurality of through holes that are connected to the openings formed by the first inclined surfaces and the second inclined surfaces.

TROWEL ASSEMBLY

NºPublicación:  US20260103903A1 16/04/2026
Solicitante: 
TMK DESIGNS LLC [US]
US_20260103903_A1

Resumen de: US20260103903A1

A trowel assembly for finishing a surface includes a housing that defines a compartment. A rod is coupled with the housing and extends away from the housing for being handled by a user to control the trowel assembly. A rotor is rotatably coupled to the housing. A plurality of blade assemblies are coupled to the rotor and arranged in circumferentially spaced relationship with one another for compacting and flattening the wall during rotation of the blade assemblies. An electric motor is positioned in the housing and includes an output coupled to the blade assemblies for providing the rotational movement of the blade assemblies.

BATTERY PACK, BATTERY PACK ASSEMBLY AND ENERGY STORAGE SYSTEM

NºPublicación:  WO2026079694A1 16/04/2026
Solicitante: 
LG ENERGY SOLUTION LTD [KR]
\uC8FC\uC2DD\uD68C\uC0AC \uC5D8\uC9C0\uC5D0\uB108\uC9C0\uC194\uB8E8\uC158
WO_2026079694_A1

Resumen de: WO2026079694A1

A battery pack according to an embodiment of the present invention comprises: a cell module assembly including a battery cell stack in which a plurality of battery cells are stacked; busbar housings disposed on surfaces of the battery cells, the surfaces facing electrode leads; and heating elements disposed at the busbar housings and for generating heat when current is applied thereto, wherein the heat generated by the heating elements can be transferred to the battery cells via the electrode leads.

POSITIVE-ELECTRODE ACTIVE MATERIAL FOR LITHIUM-ION SECONDARY BATTERY, LITHIUM-ION SECONDARY BATTERY, AND METHOD FOR PRODUCING POSITIVE-ELECTRODE ACTIVE MATERIAL FOR LITHIUM-ION SECONDARY BATTERY

NºPublicación:  WO2026079090A1 16/04/2026
Solicitante: 
JFE STEEL CORP [JP]
JFE MINERAL & ALLOY COMPANY LTD [JP]
\uFF2A\uFF26\uFF25\u30B9\u30C1\u30FC\u30EB\u682A\u5F0F\u4F1A\u793E
\uFF2A\uFF26\uFF25\u30DF\u30CD\u30E9\u30EB\u682A\u5F0F\u4F1A\u793E
WO_2026079090_A1

Resumen de: WO2026079090A1

The present invention addresses the problem of providing a positive-electrode active material for a lithium-ion secondary battery, the positive-electrode active material having excellent cycling stability. The present invention further addresses the problem of providing a lithium-ion secondary battery and a method for producing the positive-electrode active material for a lithium-ion secondary battery. This positive-electrode active material for a lithium-ion secondary battery includes active-material particles, and the active-material particles comprise composite oxide particles and an adherent layer covering at least some of the surfaces of the composite oxide particles and including lithium aluminosilicate. In a pore distribution examination, the volume of pores having pore diameters of 6-30 nm is 0.00030-0.00100 cm3/g. The ratio of an Si content to a total content of transition metal elements, which are determined by X-ray photoelectron spectroscopy, is 0.15-2.00 in terms of molar ratio.

Zellkontaktiersystem

NºPublicación:  DE102024130039A1 16/04/2026
Solicitante: 
ELRINGKLINGER AG [DE]
DE_102024130039_PA

Resumen de: DE102024130039A1

Die vorliegende Erfindung betrifft ein Zellkontaktiersystem, das in einem Batteriesystem Batteriepacks, Modulen oder elementaren Speicherzellen elektrisch miteinander verschaltet, um an äußeren Anschlüssen der betreffenden Schaltung vorbestimmte elektrische Eigenschaften zu realisieren, wobei das Zellkontaktiersystem aus einem metallischen Blech hergestellte Zellverbinder umfasst, die mit unterschiedlicher Polarität oder Potentiallage gegeneinander elektrisch isoliert in oder auf einem Kunststoffträger fixiert sind.Um ein Zellkontaktiersystem zu schaffen, das hinsichtlich seiner Temperaturstabilität verbessert ist, wird vorgeschlagen, dass das Zellkontaktiersystem (3) mindestens eine thermisch stabile Schicht (13) umfasst, die Zellverbinder (12) überdeckt.

POSITIVE ELECTRODE MATERIAL, SODIUM-ION SECONDARY BATTERY, AND ELECTRONIC DEVICE

NºPublicación:  WO2026076692A1 16/04/2026
Solicitante: 
NINGDE AMPEREX TECH LIMITED [CN]
\u5B81\u5FB7\u65B0\u80FD\u6E90\u79D1\u6280\u6709\u9650\u516C\u53F8
WO_2026076692_A1

Resumen de: WO2026076692A1

A positive electrode material, a sodium-ion secondary battery, and an electronic device. The chemical general formula of the positive electrode material is NaxNiaMncO2, and the positive electrode material has a hollow structure; the inner surface of the hollow structure satisfies 1≤c/a≤1.61, and 0.5≤x/(a+c)≤1; and the outer surface of the hollow structure satisfies 0.91≤c/a≤1.1, and 1.05≤x/(a+c)≤1.6. By regulating the contents of the three elements Na, Mn and Ni in the positive electrode material on the inner surface and the outer surface of the hollow structure, the sodium-ion secondary battery containing the positive electrode material can exhibit high capacity characteristics and good high-temperature cycle stability and kinetic performance.

POSITIVE ELECTRODE ACTIVE MATERIAL COMPRISING LITHIUM-RICH MANGANESE-BASED OXIDE, METHOD FOR MANUFACTURING SAME, AND LITHIUM SECONDARY BATTERY COMPRISING SAME

NºPublicación:  WO2026079907A1 16/04/2026
Solicitante: 
LG ENERGY SOLUTION LTD [KR]
\uC8FC\uC2DD\uD68C\uC0AC \uC5D8\uC9C0\uC5D0\uB108\uC9C0\uC194\uB8E8\uC158
WO_2026079907_A1

Resumen de: WO2026079907A1

According to one embodiment of the present invention, provided are a positive electrode active material, a method for manufacturing same, and a lithium secondary battery comprising same, the positive electrode active material comprising: a core comprising a lithium-rich manganese-based oxide in which the molar ratio of lithium to transition metals excluding lithium is more than 1 and the molar content of manganese in the transition metals is 50 mol % or more; and a surface layer positioned on the surface of the core and comprising a compound in which Li/Me (where Me is a metal excluding Li) is less than 1 on a molar basis, wherein the core has a structure in which a layered structure and a rock-salt structure are mixed, and the surface layer has an olivine structure or an amorphous structure.

Verfahren zur Herstellung eines Batterietroges für die Aufnahme einer Energieversorgungseinheit für eine mobile Arbeitsmaschine

NºPublicación:  DE102025105317A1 16/04/2026
Solicitante: 
KION BATTERY SYSTEMS GMBH [DE]
DE_102025105317_PA

Resumen de: DE102025105317A1

Die Erfindung betrifft ein Verfahren zur Herstellung eines Batterietroges (2) für die Aufnahme einer Energieversorgungseinheit, insbesondere mindestens eines Lithium-Ionen-Batteriemoduls, für eine mobile Arbeitsmaschine, insbesondere ein Flurförderzeug, wobei der Batterietrog (2) zumindest teilweise mit einem Ballastmaterial (3) verfüllt wird, wobei der Batterietrog (2) eine Außenhülle (6) mit einer Außenwandung (5) aufweist, wobei in den Batterietrog (2) in einem Befüllvorgang das Ballastmaterial (3) eingefüllt wird. Das Ballastmaterial (3) wird während des Befüllvorgangs mit einem Verbundstoff (15) besprüht.

BATTERY

NºPublicación:  WO2026077184A1 16/04/2026
Solicitante: 
CHAMSEN INNO TECH CO LTD [CN]
\u5E38\u5DDE\u957F\u665F\u521B\u65B0\u79D1\u6280\u6709\u9650\u516C\u53F8
WO_2026077184_A1

Resumen de: WO2026077184A1

The present application provides a battery, and the battery comprises a casing and a jelly roll arranged inside of the casing. The casing comprises a casing wall and a casing bottom, as well as an opening opposite to the casing bottom. A plurality of casing bottom protruding strips are arranged on an inner side of the casing bottom. The casing bottom is directly electrically connected to the jelly roll by means of the plurality of casing bottom protruding strips. The center of the casing bottom is further provided with a counterbore and a liquid injection hole located within the counterbore, and the liquid injection hole is provided with a straight cylinder wall extending from the casing bottom. According to the present application, the jelly roll is directly electrically connected to the casing bottom portion of the casing, so that a negative electrode current collecting disc is eliminated, thereby reducing the number of components, simplifying steps of a welding process and steps of an assembly process, reducing costs, and improving production efficiency. In addition, the electrical path is shortened and the internal resistance of a battery cell is reduced, thereby improving the power performance of the battery cell. The liquid injection bore in the present application has a straight cylinder wall extending from the casing bottom, so that the sealing effect is improved.

ELECTRICITY STORAGE MODULE AND METHOD OF DISASSEMBLING ELECTRICITY STORAGE MODULE

NºPublicación:  US20260106252A1 16/04/2026
Solicitante: 
TOYOTA MOTOR CO LTD [JP]
US_20260106252_A1

Resumen de: US20260106252A1

An electricity storage module includes a bipolar electrode having a positive-electrode active material provided on a first surface of a current collector foil and a negative-electrode active material provided on a second surface of the current collector foil, an electrode laminated body having a plurality of the bipolar electrodes laminated therein, and a sealing portion made of a resin. The sealing portion is provided in a peripheral edge portion of the current collector foil and seals a place between the bipolar electrodes adjacent to each other in the lamination direction of the electrode laminated body. The sealing portion has a depressed portion that provides a gap between the peripheral edge portions of the current collector foils adjacent to each other in the lamination direction.

BATTERY PROCESSING METHOD AND BATTERY PROCESSING SYSTEM

NºPublicación:  US20260106245A1 16/04/2026
Solicitante: 
MAZDA MOTOR CORP [JP]
US_20260106245_A1

Resumen de: US20260106245A1

The battery processing method for processing the lithium-ion battery including a positive electrode material and a negative electrode material includes a lithium deposition step of charging the lithium-ion battery while cooling a part thereof to deposit lithium on the negative electrode material.

BATTERY PROCESSING METHOD AND BATTERY PROCESSING SYSTEM

NºPublicación:  US20260106253A1 16/04/2026
Solicitante: 
MAZDA MOTOR CORP [JP]
US_20260106253_A1

Resumen de: US20260106253A1

The battery processing method for processing the lithium-ion battery including a positive electrode material and a negative electrode material includes a first lithium deposition step of depositing lithium on the negative electrode material by performing pulse charging while cooling the lithium-ion battery.

Battery Cell

NºPublicación:  US20260106301A1 16/04/2026
Solicitante: 
DR ING H C F PORSCHE AG [DE]
US_20260106301_A1

Resumen de: US20260106301A1

A battery cell has an outer shell that encloses an interior space. Battery cell elements are arranged in the interior space. At least one fastening element is fastened to the outer shell, by way of which a temperature sensor is fastened in a form-fitting manner and is thermally connected to the outer shell.

BATTERY PROCESSING METHOD

NºPublicación:  US20260103390A1 16/04/2026
Solicitante: 
MAZDA MOTOR [JP]
US_20260103390_A1

Resumen de: US20260103390A1

A battery processing method for processing a lithium-ion battery including a positive electrode material and a negative electrode material includes: a lithium deposition step of charging the lithium-ion battery to deposit lithium on the negative electrode material; and a lithium collection step of collecting lithium from the negative electrode material.

PROACTIVE TEMPERATURE MANAGEMENT STRATEGY FOR VEHICLE BATTERY SYSTEMS

NºPublicación:  US20260106257A1 16/04/2026
Solicitante: 
FCA US LLC [US]
US_20260106257_A1

Resumen de: US20260106257A1

A proactive temperature management technique for a battery system of an electrified vehicle includes estimating a temperature of the battery system based on measured inlet and outlet temperatures of a fluid in the cooling system at respective inlet and output points of the cooling system relative to the battery system, detecting a proactive temperature management condition when a measured current flowing through the battery system exceeds one or more current thresholds, in response to detecting the proactive temperature management condition, controlling the cooling system to increase a flow of the fluid therethrough to proactively cool the battery system to a target temperature, after the proactive temperature management condition has expired, estimating a state of charge (SOC) of the battery system based on the estimated temperature of the battery system, and controlling the battery system based on the estimated SOC of the battery system.

BATTERY USING MULTI FIN STRUCTURE, METHOD OF MANUFACTURING THE BATTERY, AND COOLING CHANNEL

NºPublicación:  US20260106259A1 16/04/2026
Solicitante: 
SAMSUNG SDI CO LTD [KR]
US_20260106259_A1

Resumen de: US20260106259A1

A battery using a multi fin structure, the battery including a plurality of cells configured to perform a charge and discharge function, and a cooling channel under the plurality of cells to adjust a temperature of each of the plurality of cells, wherein the cooling channel includes a fin having a multi-structure.

Kontaktierungssystem für Batterieeinzelzellen eines Batteriemoduls

NºPublicación:  DE102024003371A1 16/04/2026
Solicitante: 
MERCEDES BENZ GROUP AG [DE]
DE_102024003371_PA

Resumen de: DE102024003371A1

Die Erfindung betrifft ein Kontaktierungssystem (5) für Batterieeinzelzellen (2) eines Batteriemoduls (1) mit Zellverbindern (8, 10, 11) zur Kontaktierung der Zellpole (3, 4) von wenigstens zwei der Batterieeinzelzellen (2) des Batteriemoduls (1). Das erfindungsgemäße Kontaktierungssystem ist dadurch gekennzeichnet, dass wenigstens einer der Zellverbinder (8, 10, 11) einen innenliegenden Kühlkanal (9) zur Aufnahme eines Kühlmediums aufweist.

BATTERY MODULE AND BATTERY PACK INCLUDING THE SAME

NºPublicación:  US20260106258A1 16/04/2026
Solicitante: 
SAMSUNG SDI CO LTD [KR]
US_20260106258_A1

Resumen de: US20260106258A1

0000 A battery module includes a plurality of battery cells, a cooling plate between a first battery cell and a second battery cell of the plurality of battery cells, the first battery cell and the second battery cell being arranged along a first direction, and the cooling plate extending along a second direction perpendicular to the first direction, a thermally conductive elastic member between the first battery cell and the cooling plate, the thermally conductive elastic member extending along the second direction and having a first surface in contact with a first surface of the first battery cell and a second surface, opposite to the first surface, in contact with a first surface of the cooling plate, and a module frame accommodating the plurality of battery cells, the cooling plate, and the thermally conductive elastic member.

CELL BRACKET AND IMMERSION-TYPE LIQUID-COOLED BATTERY PACK

NºPublicación:  US20260106300A1 16/04/2026
Solicitante: 
EVE ENERGY CO LTD [CN]
US_20260106300_A1

Resumen de: US20260106300A1

0000 Provided are a cell bracket and an immersion-type liquid-cooled battery pack. A first surface of the cell bracket includes a plurality of cell limiting grooves configured to accommodate cells of the battery pack. A protrusion block for supporting a cell is disposed in a respective cell limiting groove. In a state where an end surface of the cell abuts against the protrusion block, a flow gap exists between a groove bottom surface of the cell limiting groove and the end surface of the cell. The cell bracket further has a second surface opposite to the first surface. A communication hole penetrating the first surface and the second surface is disposed on the cell bracket and is configured to communicate with a liquid hole of a liquid-cooled plate of the battery pack.

MULTISYSTEM LEVEL BATTERY ENERGY STORAGE SYSTEM LIFE MODEL ESTIMATION

NºPublicación:  US20260104463A1 16/04/2026
Solicitante: 
FLUENCE ENERGY LLC [US]
US_20260104463_A1

Resumen de: US20260104463A1

0000 A method for estimating and controlling a battery energy storage system (BESS) life model. Receiving a BESS life model that estimates an expected remaining useful life of the BESS at multiple hierarchical levels. The BESS life model is generated by a process including constructing a cell-level degradation model based on laboratory test data representing degradation behavior of a plurality of battery cells; generating cell life predictions by executing a Monte Carlo simulation; aggregating the cell life predictions into pack life models by selecting a worst-performing cell; aggregating the pack life models into a node life model; and generating a system-level life estimate based on the node life model. Adjusting an operational parameter of the BESS based on the received BESS life model, wherein the operational parameter includes one or more of a charge rate, a discharge rate, a depth of discharge, a cooling system setpoint, and a module-level balancing.

ANODE MATERIAL, AND ANODES INCLUDING SAID MATERIAL, FOR USE IN SECONDARY BATTERIES

NºPublicación:  WO2026078225A1 16/04/2026
Solicitante: 
NORTHVOLT AB [SE]
WO_2026078225_A1

Resumen de: WO2026078225A1

An anode material for use in the anode of a secondary cell, wherein the anode material comprises processed natural graphite, and wherein the processed natural graphite has a primary particle size of from 30 to 500nm, and comprises pores with an average pore diameter, calculated as a volume average, of from 30 to 300nm, and further has a pore size distribution such that the pores with a diameter less than 1000nm provide a pore volume that is 10% or less of the total pore volume. The material enables a fast charge performance to be obtained that is comparable to that of artificial graphite.

NEGATIVE ELECTRODE FOR RECHARGEABLE LITHIUM BATTERY AND RECHARGEABLE LITHIUM BATTERY INCLUDING THE SAME

NºPublicación:  US20260106138A1 16/04/2026
Solicitante: 
SAMSUNG SDI CO LTD [KR]
US_20260106138_A1

Resumen de: US20260106138A1

A negative electrode for a rechargeable lithium battery and a rechargeable lithium battery including the same are provided. A negative electrode for a rechargeable lithium battery includes a negative electrode current collector and a negative electrode active material layer on the negative electrode current collector, wherein the negative electrode active material layer includes a negative electrode active material. The negative electrode active material includes a first negative electrode active material including a matrix containing a first crystalline carbon and silicon dispersed in the matrix, and a second negative electrode active material including a second crystalline carbon. The second negative electrode active material has a graphitization degree of about 88% to about 94%.

ELECTROLYTE SOLUTION AND METHOD FOR PRODUCING SAME, BATTERY, AND VEHICLE

NºPublicación:  WO2026079154A1 16/04/2026
Solicitante: 
MU IONIC SOLUTIONS CORP [JP]
\uFF2D\uFF35\u30A2\u30A4\u30AA\u30CB\u30C3\u30AF\u30BD\u30EA\u30E5\u30FC\u30B7\u30E7\u30F3\u30BA\u682A\u5F0F\u4F1A\u793E
WO_2026079154_A1

Resumen de: WO2026079154A1

The present invention relates to an electrolyte solution comprising N(FSO2)2 anions, PF6 anions, anions represented by general formula (1), and a non-aqueous solvent, wherein the content of the anions represented by general formula (1) with respect to the N(FSO2)2 anions is 0.03-0.8 in terms of molar ratio, and the content of the N(FSO2)2 anions with respect to the PF6 anions is not less than 0.3 in terms of molar ratio.

Verfahren zum Laden eines ersten elektrochemischen Energiespeichers eines elektrisch antreibbaren Fahrzeugs mittels mindestens eines zweiten elektrochemischen Energiespeichers des elektrisch antreibbaren Fahrzeugs

NºPublicación:  DE102024209946A1 16/04/2026
Solicitante: 
BOSCH GMBH ROBERT [DE]
DE_102024209946_PA

Resumen de: DE102024209946A1

Verfahren zum Laden eines ersten elektrochemischen Energiespeichers (201) eines elektrisch antreibbaren Fahrzeugs (200) mittels mindestens eines zweiten elektrochemischen Energiespeichers (202) des elektrisch antreibbaren Fahrzeugs (200).

SEPARATOR, PREPARATION METHOD THEREOF AND ELECTROCHEMICAL DEVICE INCLUDING SAME

NºPublicación:  WO2026079728A1 16/04/2026
Solicitante: 
LG ENERGY SOLUTION LTD [KR]
\uC8FC\uC2DD\uD68C\uC0AC \uC5D8\uC9C0\uC5D0\uB108\uC9C0\uC194\uB8E8\uC158
WO_2026079728_A1

Resumen de: WO2026079728A1

According to one aspect of the present invention, provided are a thin-film separator and a preparation method thereof, the thin-film separator capable of improving resistance characteristics and suppressing a decrease in lifespan due to Li electrodeposition caused by repeated charging and discharging. The separator according to an aspect of the present invention may have the advantage of implementing an electrical resistance value of 1 Ω or less, for example, 0.4 Ω or less, while having a thickness of 8 µm or less. To this end, according to one aspect of the present invention, provided are a separator having a controlled minimum pore size in a polymer substrate, and a preparation method thereof.

BATTERY MATERIAL

NºPublicación:  WO2026078357A1 16/04/2026
Solicitante: 
ECHION TECH LIMITED [GB]
WO_2026078357_A1

Resumen de: WO2026078357A1

Provided is a particulate active electrode material having a D50 particle diameter of at least 250 nm, comprising: particles of an oxide comprising Nb, the particles comprising at least a partial coating formed of a coating material; wherein the coating material is selected from: metal oxides, metal sulfates, metal phosphates, metalloid oxides, metalloid sulfates, and metalloid phosphates.

SEPARATOR FOR ELECTROCHEMICAL DEVICE AND PREPARATION METHOD THEREOF

NºPublicación:  WO2026079765A1 16/04/2026
Solicitante: 
LG ENERGY SOLUTION LTD [KR]
\uC8FC\uC2DD\uD68C\uC0AC \uC5D8\uC9C0\uC5D0\uB108\uC9C0\uC194\uB8E8\uC158
WO_2026079765_A1

Resumen de: WO2026079765A1

The present invention relates to a separator prepared by a dry process and an electrochemical device comprising same A separator according to an aspect of the present invention is prepared by a dry process, and a battery to which the separator is applied exhibits the advantage of implementing a low resistance value and thereby implementing high output characteristics.

SYSTEM AND METHOD FOR MANAGING BATTERIES

NºPublicación:  WO2026079583A1 16/04/2026
Solicitante: 
LG ENERGY SOLUTION LTD [KR]
\uC8FC\uC2DD\uD68C\uC0AC \uC5D8\uC9C0\uC5D0\uB108\uC9C0\uC194\uB8E8\uC158
WO_2026079583_A1

Resumen de: WO2026079583A1

The system and method for managing batteries can allocate unique identification information to each of a plurality of batteries through a single hard-wired line even when a higher battery capacity is required for a vehicle, and thus can reduce manufacturing costs.

Verfahren zur Herstellung einer Referenzelektrode, Akkumulator und System

NºPublicación:  DE102024209970A1 16/04/2026
Solicitante: 
FORSCHUNGSZENTRUM JUELICH GMBH [DE]
DE_102024209970_PA

Resumen de: DE102024209970A1

Die Erfindung betrifft ein Verfahren zur Herstellung einer Referenzelektrode (1), wobei eine Aufschlämmung (6) mit aktivem Material, elektrisch leitendem Material und Bindemittel zur Herstellung der Elektrode wenigstens 12 Stunden lang getrocknet wird.Die Erfindung betrifft einen Akkumulator mit einer Anode (16), einer Kathode (17), einem Elektrolyten und einer Referenzelektrode (1), wobei die Referenzelektrode (1) zylinderförmig ist und aus aktivem Material, elektrisch leitendem Material und Bindemittel gebildet ist und im Inneren einen aus Metall bestehenden Draht (2) als Stromkollektor umfasst.Die Erfindung betrifft ein System mit dem Akkumulator und einem Batteriemanagementsystem, das in Abhängigkeit von der Referenzelektrode steuert oder überwacht.

METHOD AND APPARATUS FOR INSPECTING COATING STATUS OF PUNCHING OIL USING VISION

NºPublicación:  US20260105586A1 16/04/2026
Solicitante: 
SAMSUNG SDI CO LTD [KR]
US_20260105586_A1

Resumen de: US20260105586A1

0000 An apparatus for inspecting a coating status of punching oil includes a first sprayer, a first inspector, and a second sprayer, and a control unit. The first sprayer sprays punching oil onto an electrode plate according to a first spray direction and a first spray amount setting value, the first inspector acquires a first image of the electrode plate by using a first camera, the control unit determines whether or not an uncoated area of the electrode plate is present based on the first image, and when the uncoated area is determined to present on the electrode plate, the control unit sets a second spray direction and a second spray amount setting value to be applied by the second sprayer, and the second sprayer sprays punching oil onto the electrode plate according to the second spray direction and the second spray amount setting value.

BATTERY PROCESSING METHOD AND BATTERY PROCESSING SYSTEM

NºPublicación:  US20260103776A1 16/04/2026
Solicitante: 
MAZDA MOTOR CORP [JP]
US_20260103776_A1

Resumen de: US20260103776A1

A battery processing method for processing a lithium-ion battery including a positive electrode material, a negative electrode material, and an electrolytic solution and configured by laminating the positive electrode material and the negative electrode material in a lamination direction, the battery processing method includes: a gas generation step of generating gas in the lithium-ion battery; and a lithium deposition step of charging the lithium-ion battery by increasing a pressing force in the lamination direction on at least a part thereof in comparison with a remaining portion to deposit lithium on the negative electrode material.

BATTERY CLUSTER

NºPublicación:  US20260106297A1 16/04/2026
Solicitante: 
XING POWER INC [SC]
US_20260106297_A1

Resumen de: US20260106297A1

0000 A battery cluster is provided that includes a plurality of battery packs configured to be electrically coupled to one another and to external electrical equipment. Each battery pack includes a charging-discharging circuit, a low-voltage interface and a high-voltage interface. The plurality of battery packs includes at least one first-type pack having a pack-level battery management circuit and a high-voltage switching circuit in a high-voltage power path, and at least one second-type pack lacking the pack-level battery management circuit but including a cell-monitoring circuit. The first-type and second-type packs are interconnected such that a same high-voltage power path extends through both, and opening the high-voltage switching circuit of the first-type pack interrupts current flowing through the high-voltage power path. The pack-level battery management circuit communicates with the cell-monitoring circuit via the low-voltage interfaces to obtain measurement information and control at least the high-voltage switching circuit.

BATTERY MODULE

NºPublicación:  US20260106277A1 16/04/2026
Solicitante: 
SAMSUNG SDI CO LTD [KR]
US_20260106277_A1

Resumen de: US20260106277A1

A battery module, including a plurality of battery cell units, each battery cell unit having a plurality of battery cells in parallel in a first direction, the plurality of battery cell units aligned in a second direction perpendicular to the first direction, a housing accommodating the plurality of battery cell units, the housing including a bottom plate, a first plate between the plurality of cell units and the bottom plate, the first plate including a first flow path, and a second plate between the plurality of cell units, the second plate including a second flow path connected to the first flow path, wherein a same fire-extinguishing agent flows in the first flow path and the second flow path.

COOLING BEAM FOR A BATTERY PACK

NºPublicación:  US20260106262A1 16/04/2026
Solicitante: 
GM GLOBAL TECH OPERATIONS LLC [US]
US_20260106262_A1

Resumen de: US20260106262A1

0000 A cooling beam having a first end and a second end spaced from the first end, comprising one or more outer plates extending between the first end and the second end, the one or more outer plates each having an upper end and a lower end that each extend between the first end and the second end of the cooling beam, and the one or more outer plates each having an inner surface and an outer surface spaced from the inner surface, one or more cooling channels extending between the first end and the second end and coupled to the inner surface of the one or more outer plates, and a coolant pathway arranged between the inner surface of the one or more outer plates and the one or more cooling channels, the coolant pathway configured to carry a fluid between one or more inlets and one or more outlets.

LITHIUM-SULFUR BATTERIES WITH PRELITHIATED CATHODES

NºPublicación:  WO2026080212A1 16/04/2026
Solicitante: 
LIVENT LITHIUM LLC [US]
WO_2026080212_A1

Resumen de: WO2026080212A1

The present invention provides a battery including an anode, a sulfur or composite sulfur material cathode, a separator and/or an electrolyte, and a modulation layer. The sulfur or composite sulfur cathode may be partially or fully prelithiated with a lithium composition comprised of lithium metal powder, a polymer binder compatible with the lithium metal powder and a rheology modifier compatible with the lithium metal powder. A modulation layer may be positioned between the prelithiation layer and the cathode. The modulation layer may be derived from a polymer material or may be a ceramic compound comprising a ceramic and a polymer.

BATTERY COOLING CONTROL APPARATUS AND BATTERY COOLING CONTROL METHOD

NºPublicación:  WO2026079685A1 16/04/2026
Solicitante: 
LG ENERGY SOLUTION LTD [KR]
\uC8FC\uC2DD\uD68C\uC0AC \uC5D8\uC9C0\uC5D0\uB108\uC9C0\uC194\uB8E8\uC158
WO_2026079685_A1

Resumen de: WO2026079685A1

A battery cooling control apparatus and a battery cooling control method are provided. The battery cooling control apparatus according to the present invention comprises: a cooling network provided for cooling a plurality of battery blocks; and a control unit for determining a target refrigerant path according to battery monitoring information indicating a state parameter of each of the plurality of battery blocks, and controlling the cooling network such that the target refrigerant path is formed between the inlet and the outlet of the cooling network.

BATTERY DIAGNOSTIC DEVICE FOR ELECTRIC PROPULSION MACHINE AND SHIP PROPULSION SYSTEM

NºPublicación:  US20260104470A1 16/04/2026
Solicitante: 
SUZUKI MOTOR CORP [JP]

Resumen de: US20260104470A1

0000 A battery diagnostic device for an electric propulsion machine. The battery diagnostic device is configured to diagnose a battery configured to supply electric power to a motor for driving a propeller of the electric propulsion machine. The battery diagnostic device includes a controller configured to perform a battery diagnosis process of diagnosing the battery by discharging from the battery to the motor, in a state where a boat to which the electric propulsion machine is attached is moored, determine whether the boat has moved, and stop discharging from the battery to the motor for diagnosing the battery, in a case where the controller determines that the boat has moved during the battery diagnosis process.

A METHOD FOR FORMATION OF A SOLID ELECTROLYTE INTERFACE (SEI) LAYER IN A BATTERY

NºPublicación:  WO2026078716A1 16/04/2026
Solicitante: 
OLA ELECTRIC MOBILITY LTD [IN]
WO_2026078716_A1

Resumen de: WO2026078716A1

The present disclosure provides a method for forming a solid electrolyte interface (SEI) layer in a battery comprising a cathode, an anode, and an electrolyte having an additive, the method comprising the steps of: a) first charging the pre-assembled case to a first potential (Vi) to reduce the additive; b) subsequent second charging to a second potential (V2) to intercalate lithium from the electrolyte to an anode of the battery; and c) sequential charging to a third potential (V3) and discharging to a fourth potential (V4) to form the solid electrolyte interface layer in the battery. Further, the present disclosure provides a battery formed by the method as disclosed herein

POSITIVE ELECTRODES AND RECHARGEABLE LITHIUM BATTERIES INCLUDING THE SAME

NºPublicación:  US20260106154A1 16/04/2026
Solicitante: 
SAMSUNG SDI CO LTD [KR]
US_20260106154_A1

Resumen de: US20260106154A1

0000 A positive electrode for a rechargeable lithium battery includes a positive electrode current collector and a positive electrode mixture layer on the positive electrode current collector, wherein the positive electrode mixture layer includes a positive electrode active material and a binder including a hydrogenated carboxylated nitrile butadiene rubber. The hydrogenated carboxylated nitrile butadiene rubber includes, based on a total weight of 100 wt % of the hydrogenated carboxylated nitrile butadiene rubber: about 20 wt % to about 40 wt % of a first structural unit derived from acrylonitrile; about 30 wt % to about 78 wt % of a second structural unit including a hydrogenated butadiene-derived structural unit and a butadiene-derived structural unit; about 2 wt % to about 10 wt % of a third structural unit derived from an acrylate; and about 0 wt % to about 20 wt % of a fourth structural unit derived from butene.

Li, Mn-RICH CATHODE FOR HIGH-ENERGY AND HIGH-RETENTION Li-ION BATTERY

NºPublicación:  US20260106145A1 16/04/2026
Solicitante: 
SAMSUNG SDI CO LTD [KR]
US_20260106145_A1

Resumen de: US20260106145A1

A compound for use in a lithium, manganese-rich cathode for a Li-ion battery is Li1.2Ni0.2Mn0.6O2 triple doped with Na+, Co3+, and Mg2+. A lithium, manganese-rich cathode for an Li-ion battery includes the aforementioned compound. A lithium-ion battery includes an anode, a cathode, and an electrolyte, wherein the cathode is the aforementioned lithium, manganese-rich cathode.

Halterahmenanordnung für Batteriezellen sowie eine Energiespeicheranordnung

NºPublicación:  DE102024129950A1 16/04/2026
Solicitante: 
PORSCHE AG [DE]
DE_102024129950_PA

Resumen de: DE102024129950A1

Die Erfindung betrifft eine Halterahmenanordnung für Batteriezellen (4, 6, 8) mit einem ersten und einem zweiten Halteorgan (12, 14), die jeweils alternierend versetzt zueinander angeordnete, miteinander verbundene Halteteile (16, 18, 20; 22, 24, 26) aufweisen, dadurch gekennzeichnet, dass mindestens eines der Halteorgane (12, 14) elektrische Leitmittel (36) zur elektrischen Kontaktierung von Polorganen (28, 30) der Batteriezellen (4, 6, 8) aufweist.

Inspektionsvorrichtung zum bildsensorbasierten Inspizieren eines Objekts

NºPublicación:  DE102024130064A1 16/04/2026
Solicitante: 
MB AUTOMATION GMBH & CO KG [DE]
DE_102024130064_PA

Resumen de: DE102024130064A1

Die Erfindung betrifft eine Inspektionsvorrichtung zum bildsensorbasierten Inspizieren eines Objekts (3) wobei die Inspektionsvorrichtung (1) aufweist:eine Transporteinrichtung zum Transport eines zu inspizierenden physischen Objekts (3) entlang eines Transportpfads; eine Bildsensorik (6) mit zumindest einem Bildsensor (35) zum zumindest abschnittsweisen bildsensorischen Abtasten des Objekts (3) entlang einer Betrachtungsrichtung (18) während das Objekt (3) durch die Transporteinrichtung entlang des Transportpfads kontinuierlich relativ zur Bildsensorik (6) bewegt wird; und eine Beleuchtungseinrichtung zum Beleuchten einer jeweils zu inspizierenden Oberfläche des Objekts (3) in einem durch die Bildsensorik (6) erfassbaren Wellenlängenbereich, sodass die Bildsensorik (6) die Oberfläche in einem derart beleuchtenden Oberflächenbereich zumindest abschnittsweise bildsensorisch erfassen kann. Die Bildsensorik (6) weist eine Anzahl N, mit N ≥ 1, von einzeln oder kumulativ als Kontakt-Bildsensor, CIS, ausgebildeten digitalen Zeilenkameras (7) mit jeweils einer Mehrzahl von in einer Zeile angeordneten und jeweils eine Linse (28) aufweisenden Kamerapixeln (27) auf und die Zeilen der N Zeilenkameras (7) verlaufen jeweils quer zum Transportpfad. Die Beleuchtungseinrichtung ist konfiguriert, zum Beleuchten der zu inspizierenden Oberfläche des Objekts (3) Licht zu erzeugen und es entlang eines Strahlengangs (24) auszurichten, dessen Richtung mit der Betrachtungsrichtung (18) zusam

ELECTRONIC DEVICE AND NOTIFICATION PROVISION METHOD THEREFOR

NºPublicación:  WO2026079643A1 16/04/2026
Solicitante: 
LG ENERGY SOLUTION LTD [KR]
\uC8FC\uC2DD\uD68C\uC0AC \uC5D8\uC9C0\uC5D0\uB108\uC9C0\uC194\uB8E8\uC158
WO_2026079643_A1

Resumen de: WO2026079643A1

According to an embodiment disclosed in the present document, an electronic device may comprise: a communication circuit; a memory for storing one or more instructions; and a processor, wherein when executed, the one or more instructions cause the processor to: identify first information related to a battery pack, the first information being obtained from a first device provided in a vehicle; identify second information related to the vehicle, the second information being obtained from a second device provided in the vehicle; provide a first notification related to the state of the battery pack to a user's terminal on the basis of the first information; and when the first notification is provided, provide a second notification related to the state of the battery pack to the user's terminal on the basis of the second information.

NON-AQUEOUS ELECTROLYTE SECONDARY BATTERY

NºPublicación:  WO2026079281A1 16/04/2026
Solicitante: 
PANASONIC INTELLECTUAL PROPERTY MAN CO LTD [JP]
\u30D1\u30CA\u30BD\u30CB\u30C3\u30AF\uFF29\uFF30\u30DE\u30CD\u30B8\u30E1\u30F3\u30C8\u682A\u5F0F\u4F1A\u793E
WO_2026079281_A1

Resumen de: WO2026079281A1

This non-aqueous electrolyte secondary battery includes: an electrode body in which a first electrode (11) and a second electrode that are band-shaped and have different polarities are wound with a separator interposed therebetween; and an exterior body that accommodates the electrode body. The first electrode (11) has a core body (30) and a mixture layer (32) formed on a surface of the core body (30). An exposed portion (31) where the core body (30) is exposed is formed on a surface of the first electrode (11), and an electrode tab (19) is joined to the exposed portion (31). In the electrode tab (19), at least a corner portion between a tip surface (19a) in the winding axis direction of the electrode body overlapping the exposed portion (31) and a joining surface joined to the exposed portion (31) is chamfered.

BATTERY PROCESSING METHOD AND BATTERY PROCESSING SYSTEM

NºPublicación:  US20260106255A1 16/04/2026
Solicitante: 
MAZDA MOTOR [JP]
US_20260106255_A1

Resumen de: US20260106255A1

0000 A battery processing method for processing a lithium-ion battery including a positive electrode material, a negative electrode material, and an electrolytic solution and configured by laminating the positive electrode material and the negative electrode material in a lamination direction includes a lithium deposition step of charging the lithium-ion battery by increasing a pressing force in the lamination direction on a central portion in a plane perpendicular to the lamination direction in comparison with remaining portions to deposit lithium on the negative electrode material.

SECONDARY BATTERY INSPECTION APPARATUS, SECONDARY BATTERY INSPECTION METHOD, AND SECONDARY BATTERY MANUFACTURING METHOD

NºPublicación:  US20260106238A1 16/04/2026
Solicitante: 
SAMSUNG SDI CO LTD [KR]
US_20260106238_A1

Resumen de: US20260106238A1

A secondary battery inspection apparatus includes a first support member configured to support an electrode tab bundle in which a plurality of electrode tabs extending outward from an electrode assembly are stacked from below, a displacement sensor configured to calculate a measurement value indicating a thickness of the electrode tab bundle by pressing the electrode tab bundle with a force from above, and a processor configured to determine whether the electrode tab bundle is normal based on the measurement value calculated by the displacement sensor.

ALL-SOLID-STATE BATTERY

NºPublicación:  US20260106158A1 16/04/2026
Solicitante: 
SAMSUNG SDI CO LTD [KR]
US_20260106158_A1

Resumen de: US20260106158A1

Disclosed are negative electrodes and all-solid-state batteries. The negative electrode includes a negative electrode current collector, a first negative electrode coating layer on the negative electrode current collector and including a first metal and a first carbon, and a second negative electrode coating layer on the first negative electrode coating layer and including a second metal and a second carbon. ΔG1 is given as Gibbs free energy of a chemical reaction at 250° C. between the first metal and molten lithium. ΔG2 is given as Gibbs free energy of a chemical reaction at 250° C. between the second metal and molten lithium. ΔG1 and ΔG2 satisfies the relationship of ΔG1<ΔG2. A ratio of a thickness of the second negative electrode coating layer to a thickness of the first negative electrode coating layer is about 0.6 to about 1.4.

BATTERY PACK COOLANT REDIRECTING SUPPORT ASSEMBLY AND COOLANT REDIRECTING METHOD

NºPublicación:  US20260106263A1 16/04/2026
Solicitante: 
FORD GLOBAL TECH LLC [US]
US_20260106263_A1

Resumen de: US20260106263A1

0000 A battery pack assembly includes an enclosure assembly having an interior area, first and second cell stacks within the interior area, and a support assembly disposed between the first and second cell stacks within the interior area. The support assembly is configured to redirect a coolant that has been communicated over the first cell stack before the coolant is communicated over the second cell stack.

BATTERY MODULE AND METHOD FOR MANUFACTURING BATTERY MODULE

NºPublicación:  US20260106298A1 16/04/2026
Solicitante: 
HYUNDAI MOTOR CO LTD [KR]
KIA CORP [KR]
US_20260106298_A1

Resumen de: US20260106298A1

0000 Disclosed is a battery module including battery cells extending in a first direction, and disposed in a second direction crossing the first direction, a sensing assembly disposed on one side of the battery cell in the first direction, a module housing that covers the battery cells and the sensing assembly, a cover coupled to the module housing and covering the sensing assembly, and a sealing gasket disposed between the cover and the sensing assembly and that fixes the sensing assembly.

POSITIVE ELECTRODE ACTIVE MATERIAL, BATTERY, AND METHOD OF PRODUCING POSITIVE ELECTRODE ACTIVE MATERIAL

NºPublicación:  US20260106149A1 16/04/2026
Solicitante: 
TOYOTA MOTOR CO LTD [JP]
US_20260106149_A1

Resumen de: US20260106149A1

0000 A positive electrode active material comprises secondary particles and titanium bodies, wherein each of the secondary particles includes primary particles, each of the primary particles includes a phosphate compound having an olivine-type structure, the titanium bodies include titanium oxide having a rutile-type structure, and at least one of the titanium bodies is present on a surface of the primary particle.

BATTERY MODULE

NºPublicación:  WO2026079019A1 16/04/2026
Solicitante: 
PANASONIC INTELLECTUAL PROPERTY MAN CO LTD [JP]
\u30D1\u30CA\u30BD\u30CB\u30C3\u30AF\uFF29\uFF30\u30DE\u30CD\u30B8\u30E1\u30F3\u30C8\u682A\u5F0F\u4F1A\u793E
WO_2026079019_A1

Resumen de: WO2026079019A1

This battery module 1 comprises a plurality of battery cells 10, a cell holder 20, and one or more heat pipes 50. Each battery cell 10 has a first end surface part 11 and a second end surface part 12 opposing each other in a cell length direction, and a side surface part 13 connecting the first end surface part 11 to the second end surface part 12. The cell holder 20 has a plurality of accommodation parts 21 for individually accommodating the plurality of battery cells 10 such that the cell length directions thereof are aligned with each other, and each accommodation part 21 surrounds the side surface part 13 of the battery cell 10. The heat pipe 50 is embedded in the cell holder 20, extends along the cell length direction between the plurality of accommodation parts 21, and has a protruding end part 50a protruding from the cell holder 20.

COOLING BEAM FOR A BATTERY PACK

NºPublicación:  US20260106261A1 16/04/2026
Solicitante: 
GM GLOBAL TECH OPERATIONS LLC [US]
US_20260106261_A1

Resumen de: US20260106261A1

0000 A cooling beam having a first end and a second end spaced from the first end, and including a center plate extending between the first end and the second end, and a first surface and a second surface opposite the first surface, one or more cooling channels extending between the first end and the second end and coupled to the first surface and the second surface, and a coolant pathway arranged between the center plate and the one or more cooling channels, the coolant pathway configured to carry a fluid between one or more inlets and one or more outlets.

SYSTEM AND METHOD TO ACCOUSTICALLY DETECT EARLY THERMAL RUNAWAYS IN LITHIUM-ION BATTERIES

NºPublicación:  WO2026080257A1 16/04/2026
Solicitante: 
GOVERNMENT OF THE US SECRETARY OF COMMERCE [US]
WO_2026080257_A1

Resumen de: WO2026080257A1

A thermal runaway detection system to detect early-stage lithium-ion battery thermal runaways at the safety valve breakage stage includes one or more microphones configured to transduce audio signals into electrical signals; and a controller configured to receive the electrical signals and, using a deep-learning detection model, determine when an electrical signal corresponding to a respective acoustic signal indicates a safety valve breakage in a lithium-ion battery. The deep-learning detection model was trained by acoustic data obtained from a plurality of incidents in which one or more lithium-ion batteries undergo thermal runaway.

COATING APPARATUS AND ELECTRODE MANUFACTURING APPARATUS COMPRISING COATING APPARATUS

NºPublicación:  US20260106198A1 16/04/2026
Solicitante: 
SAMSUNG SDI CO LTD [KR]
US_20260106198_A1

Resumen de: US20260106198A1

0000 A coating apparatus may include a separating part configured to separate a composite substrate including a first substrate, a second substrate, and a central functional layer between a first surface of the first substrate and a first surface of the second substrate. The separating part may include a first slurry nozzle positioned at one side of the separating part and configured to apply a slurry onto the first surface of the first substrate, and a second slurry nozzle positioned at an other side of the separating part and configured to apply an other slurry onto the first surface of the second substrate. An electrode manufacturing apparatus may include the coating apparatus.

A METHOD OF FORMATION OF A SECONDARY BATTERY

NºPublicación:  WO2026078727A1 16/04/2026
Solicitante: 
OLA ELECTRIC MOBILITY LTD [IN]
WO_2026078727_A1

Resumen de: WO2026078727A1

The present disclosure provides a method of formation of a secondary battery comprising a metal current collector, the method comprising: tap-charging the battery to a first potential (Va) greater than reduction potential of at least one electrolyte additive to partially form a solid electrolyte interphase (SEI) layer; thermal aging the tap-charged battery to densify the solid electrolyte interphase layer; and performing consecutive charging on the aged battery to a second potential (Vb) enabling complete reduction of the electrolyte additive for the SEI layer formation; and discharging to a third potential (Vc) to obtain the battery, wherein tap-charging to the first potential (Va) partially reduces the electrolyte additive Further, the present disclosure provides a battery formed by the method as disclosed herein.

RECHARGEABLE BATTERY AND BATTERY PACK INCLUDING THE SAME

NºPublicación:  US20260106281A1 16/04/2026
Solicitante: 
SAMSUNG SDI CO LTD [KR]
US_20260106281_A1

Resumen de: US20260106281A1

0000 A rechargeable battery and a battery pack including the same are disclosed. A rechargeable battery includes a case including a first side portion, an electrode assembly accommodated in the case, and a cap plate facing the electrode assembly in a first direction and having a contact region in contact with the first side portion, and the contact region includes a bonded region and a non-bonded region between the first side portion and the cap plate, and an adhesive portion is in at least a portion of a first region of the first side portion corresponding to the non-bonded region.

BATTERY MODULE

NºPublicación:  US20260106295A1 16/04/2026
Solicitante: 
SAMSUNG SDI CO LTD [KR]
US_20260106295_A1

Resumen de: US20260106295A1

A battery module includes a cell assembly including a plurality of battery cells; and a band that includes an elastic material, and surrounds the cell assembly while applying pressure, and each of the plurality of battery cells includes a case; and a pair of tabs extending from at least one side of the case and passing through the band.

RECHARGEABLE LITHIUM BATTERIES

NºPublicación:  US20260106150A1 16/04/2026
Solicitante: 
SAMSUNG SDI CO LTD [KR]
US_20260106150_A1

Resumen de: US20260106150A1

A rechargeable lithium battery includes a positive electrode including a positive electrode active material layer, a negative electrode including a negative electrode active material layer, and an electrolyte, wherein the positive electrode active material layer includes a lithium iron phosphate positive electrode active material, and wherein the rechargeable lithium battery has an N/P ratio of greater than or equal to about 1.33 and less than about 1.48.

DRY FRIABLE FLUOROPOLYMER AGGLOMERATE COMPOSITIONS FOR USE AS BINDER IN LITHIUM-ION SECONDARY BATTERY ELECTRODES

NºPublicación:  US20260106155A1 16/04/2026
Solicitante: 
CHEMOURS CO FC LLC [US]
US_20260106155_A1

Resumen de: US20260106155A1

0000 Fluoropolymer compositions for use as binder in a lithium-ion secondary battery electrodes are described, as well as methods of their manufacture, and electrode compositions and lithium-ion secondary batteries utilizing such. The fluoropolymer compositions are dry friable agglomerates manufactured by cocoagulation of aqueous dispersions of a first tetrafluoroethylene polymer having a melt creep viscosity of at least about 0.5×1011 poise, and a second polymer different from the first polymer. These fluoropolymer compositions afford lithium-ion secondary batteries with improved performance, through such as improved loading of electrodes, and stability of PTFE binder in the anode, and result in lithium-ion secondary batteries having improved performance, such as improved capacity and improved reversible capacity retention.

Bauteil, Bauteilverbund und Verfahren zur Herstellung eines Bauteilverbunds

NºPublicación:  DE102025000920A1 16/04/2026
Solicitante: 
MERCEDES BENZ GROUP AG [DE]
DE_102025000920_PA

Resumen de: DE102025000920A1

Die Erfindung betrifft ein Bauteil (1), ausgebildet zu einer Verschweißung mit zumindest einem weiteren Bauteil (2.1 bis 2.k), mit zumindest einem zu einer Verschweißung mit dem zumindest einen weiteren Bauteil (2.1 bis 2.k) in einem Überlappstoß oder Parallelstoß ausgebildeten Schweißabschnitt (4.1 bis 4.n), wobei der Schweißabschnitt (4.1 bis 4.n) eine zur Anlage an dem zumindest einen weiteren Bauteil (2.1 bis 2.k) ausgebildete Fügefläche (A1 bis An) aufweist. Erfindungsgemäß weist das Bauteil (1) mehrere Halteabschnitte (5.1 bis 5.m) auf, wobei die Halteabschnitte (5.1 bis 5.m) an gegenüberliegenden, sich an einen Rand der Fügefläche (A1 bis An) anschließenden Seitenflächen des zumindest einen Schweißabschnitts (4.1 bis 4.n) angeordnet sind, zu einer indirekten und/oder direkten mechanischen Kopplung mit zumindest einem Niederhalter einer Schweißvorrichtung und zu einer Verformung mittels des zumindest einen Niederhalters ausgebildet sind und aus einem Material gebildet sind, welches mit geringerem Kraftaufwand verformbar ist, als ein Material des Schweißabschnitts (4.1 bis 4.n). Die Erfindung betrifft weiterhin einen Bauteilverbund (3) und ein Verfahren zur Herstellung eines Bauteilverbunds (3).

COMPOSITION SET FOR SECONDARY BATTERY ELECTRODE, FIRST COMPOSITION, SECOND COMPOSITION, COMPOSITION 1 FOR SECONDARY BATTERY ELECTRODE, COMPOSITION 2 FOR SECONDARY BATTERY ELECTRODE, COMPOSITION 3 FOR SECONDARY BATTERY ELECTRODE, SECONDARY BATTERY AND ELECTRODE FOR SECONDARY BATTERY, AND METHOD FOR MANUFACTURING COMPOSITION FOR SECONDARY BATTERY ELECTRODE

NºPublicación:  WO2026079394A1 16/04/2026
Solicitante: 
ZEON CORP [JP]
\u65E5\u672C\u30BC\u30AA\u30F3\u682A\u5F0F\u4F1A\u793E
WO_2026079394_A1

Resumen de: WO2026079394A1

The purpose of the present invention is to provide a composition set for a secondary battery electrode with which it is possible to form a secondary battery electrode that can cause a secondary battery to exhibit excellent cycle characteristics. A composition set for a secondary battery electrode according to the present invention comprises a first composition that contains carbon nanotubes 1, and a second composition that contains carbon nanotubes 2. The G/D ratio of the carbon nanotubes 1 is 4 or less, and the G/D ratio of the carbon nanotubes 2 is greater than the G/D ratio of the carbon nanotubes 1 by 3 or more.

COSOLVENT SYSTEM FOR IMPROVED ELECTROLYTES IN BATTERIES

NºPublicación:  WO2026080214A1 16/04/2026
Solicitante: 
ELEMENTIUM MAT INC [US]
WO_2026080214_A1

Resumen de: WO2026080214A1

Herein discussed is an electrochemical device comprising an anode, a cathode, and an electrolyte; wherein the electrolyte comprises at least one sulfonamide solvent and a cosolvent; wherein the viscosity of the cosolvent is at least two times lower than the viscosity of the sulfonamide solvent; wherein the cosolvent comprises a fluorinated ether, a non-fluorinated linear carbonate ester, a non-fluorinated sulfide, or combinations of any two or more thereof; and wherein the electrolyte comprises a salt substantially dissolved in the solvent or cosolvent or both; wherein the sulfonamide solvent has formula R1-SO2-N-R2R3 wherein R1 is selected from the group consisting of -F, -CF3, -N(CH3)2, and -NCH2CH3; and wherein each of R2 and R3 is independently selected from the group consisting of -H, -CH3, and -CH2CH3. Methods of making and using such devices are also discussed herein.

Batterie und Kraftfahrzeug

NºPublicación:  DE102024129476A1 16/04/2026
Solicitante: 
HELLA GMBH & CO KGAA [DE]
DE_102024129476_PA

Resumen de: DE102024129476A1

Die vorliegende Erfindung betrifft eine Batterie (10) umfassend: eine einzige Batteriezelle (1), und eine Gleichspannungswandlerschaltung (2), die ausgebildet ist, eine von der einzigen Batteriezelle (1) bereitgestellte Batteriezellspannung (Uz) in eine extern abgreifbare Batterieausgangsspannung (Ua) zu wandeln. Die vorliegende Erfindung betrifft ferner ein Kraftfahrzeug (100) umfassend: eine derartige Batterie (10), und ein Bordnetz (20), das im Betrieb von der Batterie (10) mit der Batterieausgangsspannung (Ua) versorgt wird.

LITHIUM SECONDARY BATTERY

NºPublicación:  US20260106212A1 16/04/2026
Solicitante: 
SK ON CO LTD [KR]
US_20260106212_A1

Resumen de: US20260106212A1

A lithium secondary battery includes a cathode, an anode and non-aqueous electrolyte solution. The cathode includes a cathode active material layer that includes a first cathode active material including lithium metal phosphate particles, and a second cathode active material including lithium transition metal oxide particles. The anode faces the cathode. The non-aqueous electrolyte solution includes an organic solvent and a lithium salt. A weight ratio of the first cathode active material relative to the second cathode active material in the cathode active material layer is in a range from 1.5 to 9. A concentration of the lithium salt in the non-aqueous electrolyte solution exceeds 1 M.

ENERGY STORAGE SYSTEM

NºPublicación:  US20260106299A1 16/04/2026
Solicitante: 
SAMSUNG SDI CO LTD [KR]
US_20260106299_A1

Resumen de: US20260106299A1

An energy storage system includes a rack frame, a rack tray which is obliquely installed in the rack frame and on which a battery module is seated, and a position fixer configured to support the battery module such that a position of the battery module is fixed.

BATTERY MODULE

NºPublicación:  US20260106269A1 16/04/2026
Solicitante: 
SAMSUNG SDI CO LTD [KR]
US_20260106269_A1

Resumen de: US20260106269A1

Provided is a battery module including a plurality of battery cells positioned side by side along a first direction with main surfaces thereof facing each other, each battery cell including a lower vent, an insulation layer covering the lower vents of the plurality of battery cells, and a lower sheet located under of the insulation layer, wherein the lower sheet includes a first adhesive layer attached to the insulation layer and second adhesive layers located on each of opposite sides of the first adhesive layer and attached to lower surfaces of the plurality of battery cells, wherein the second adhesive layers are positioned spaced apart from the first adhesive layer.

METHOD FOR PREPARING POSITIVE ELECTRODE ACTIVE MATERIALS, POSITIVE ELECTRODE ACTIVE MATERIALS, POSITIVE ELECTRODES, AND RECHARGEABLE LITHIUM BATTERIES

NºPublicación:  US20260103397A1 16/04/2026
Solicitante: 
SAMSUNG SDI CO LTD [KR]
US_20260103397_A1

Resumen de: US20260103397A1

A method for preparing a positive electrode active material may include (i) preparing core particles including a lithium nickel-based composite oxide; (ii) adding the core particles to an aqueous (e.g., water-soluble) solvent and mixing them to prepare a first mixed solution, and adjusting pH of the first mixed solution to a range between about 5.5 and about 7.5; (iii) adding an aluminum raw material to the first mixed solution and mixing them to prepare a second mixed solution; and (iv) removing an aqueous (e.g., water-soluble) solvent from the second mixed solution to prepare a dried product. The positive electrode active material and the rechargeable lithium battery that are prepared by using the method for preparing the positive electrode active material may exhibit high initial charge/discharge capacity and high efficiency even under high-voltage driving conditions and may implement long cycle-life characteristics under high-voltage and high-temperature conditions.

Batteriemodul

NºPublicación:  DE102025135710A1 16/04/2026
Solicitante: 
TOYOTA MOTOR CO LTD [JP]
DE_102025135710_PA

Resumen de: DE102025135710A1

Ein Batteriemodul (1) umfasst: ein Außengehäuse (12), das so konfiguriert ist, dass es einen Energiespeichermodulstapel (11) aufnehmen kann, wobei das Außengehäuse (12) einen Stromabnehmer (121) umfasst, der so konfiguriert ist, dass er Strom aus dem Energiespeichermodulstapel (11) leitet, und einen laminierten Dichtungsabschnitt (122), der so konfiguriert ist, dass er das Außengehäuse (12) mit einem Außengehäuse (12) eines anderen Batteriemoduls (1) verbindet. Der Stromabnehmer (121) und der laminierte Dichtungsabschnitt (122) sind mit einem Dichtungsmaterial (123, 124, 127, 128) verbunden, und das Dichtungsmaterial (123, 127) ist diskontinuierlich an einem Umfangsrand des Stromabnehmers (121) angeordnet.

MULTI-VOLTAGE AUXILIARY POWER SYSTEM FOR HEAVY-DUTY EQUIPMENT

NºPublicación:  US20260106233A1 16/04/2026
Solicitante: 
OX PARTNERS LLC [US]
US_20260106233_A1

Resumen de: US20260106233A1

0000 A multi-voltage auxiliary power system is for heavy-duty equipment having a starter and vehicle electronics powered by a nominal 12V supply. The multi-voltage auxiliary power system has a battery system configured to provide first and second output voltage levels that are different from each other, in which the first output voltage level is higher than the second output voltage level; and control circuitry configured to: detect a cranking event in the heavy-duty equipment; in response to detecting the cranking event, apply the first output voltage level to the starting and battery system; and switch to applying the second output voltage level to sustain the nominal 12V supply for the vehicle electronics when the cranking is complete.

SULFIDE SOLID-STATE ELECTROLYTE AND PREPARATION METHOD THEREFOR, BATTERY CELL, BATTERY DEVICE, AND ELECTRIC DEVICE

NºPublicación:  WO2026077064A1 16/04/2026
Solicitante: 
CONTEMPORARY AMPEREX TECH CO LIMITED [CN]
\u5B81\u5FB7\u65F6\u4EE3\u65B0\u80FD\u6E90\u79D1\u6280\u80A1\u4EFD\u6709\u9650\u516C\u53F8
WO_2026077064_A1

Resumen de: WO2026077064A1

The present application provides a sulfide solid-state electrolyte and a preparation method therefor, a battery cell, a battery device, and an electric device. The battery cell comprises a positive electrode sheet, a negative electrode sheet, and a solid-state electrolyte membrane located between the positive electrode sheet and the negative electrode sheet. The solid-state electrolyte membrane comprises a sulfide solid-state electrolyte, and the sulfide solid-state electrolyte satisfies: 0.5≤(Dv90-Dv10)/Dv50≤3.0, wherein Dv10 is a corresponding particle size at which the cumulative volume distribution percentage of the sulfide solid-state electrolyte reaches 10%, Dv50 is a corresponding particle size at which the cumulative volume distribution percentage of the sulfide solid-state electrolyte reaches 50%, and Dv90 is a corresponding particle size at which the cumulative volume distribution percentage of the sulfide solid-state electrolyte reaches 90%. The battery cell provided by the embodiments of the present application exhibits improved cycle performance.

POSITIVE ELECTRODE SHEET AND PREPARATION METHOD THEREFOR, SOLID-STATE BATTERY CELL, BATTERY DEVICE, AND ELECTRIC DEVICE

NºPublicación:  WO2026076933A1 16/04/2026
Solicitante: 
CONTEMPORARY AMPEREX TECH CO LIMITED [CN]
\u5B81\u5FB7\u65F6\u4EE3\u65B0\u80FD\u6E90\u79D1\u6280\u80A1\u4EFD\u6709\u9650\u516C\u53F8
WO_2026076933_A1

Resumen de: WO2026076933A1

The present application relates to a positive electrode sheet and a preparation method therefor, a solid-state battery cell, a battery device, and an electric device. The positive electrode sheet comprises a positive electrode material and a composite ionic liquid; the composite ionic liquid is located in the positive electrode material, and the composite ionic liquid comprises a solvated ionic liquid and a lithium salt; the anions in the solvated ionic liquid include one or more of TFSI-, FSI-, PF6-, BF4-, and AlCl4-, and the anions in the lithium salt include one or more of TFSI-, FSI-, DBOF-, PF6-, ClO4-, BOB-, AsF6-, BF4-, and CF3SO3-. The positive electrode sheet of the present application can improve the cycle stability and initial coulombic efficiency of a solid-state battery cell.

COATED SEPARATOR AND PREPARATION METHOD THEREFOR

NºPublicación:  WO2026077335A1 16/04/2026
Solicitante: 
SINOMA LITHIUM BATTERY SEPARATOR CO LTD [CN]
\u4E2D\u6750\u9502\u819C\u6709\u9650\u516C\u53F8
WO_2026077335_A1

Resumen de: WO2026077335A1

The present invention relates to the technical field of battery separators. Disclosed are a coated separator and a preparation method therefor. A mixed coating of polyethylene wax and ceramic is applied on the separator, and the separator quickly achieves pore closure at a low temperature, thereby forming a novel multifunctional lithium-ion battery separator having high fast-charging safety.

Verfahren und System zum Laden einer Hochvolt-Batterie eines elektrisch betreibbaren Fahrzeugs

NºPublicación:  DE102024003340A1 16/04/2026
Solicitante: 
MERCEDES BENZ GROUP AG [DE]
DE_102024003340_PA

Resumen de: DE102024003340A1

Die Erfindung betrifft ein Verfahren zum Laden einer Hochvolt-Batterie (20) eines elektrisch betreibbaren Fahrzeugs (10) an einer Ladeeinrichtung (30), wobei die Hochvolt-Batterie (20) beim Start eines Ladevorgangs, wenn die Hochvolt-Batterie (20) sich in einem für den Ladevorgang ungünstigen Temperaturbereich befindet, mit einem Stromprofil (40) geladen wird, welches einen Gleichstromanteil (42) und einen Wechselstromanteil (44) aufweist. Dabei wird der Wechselstromanteil (44) mindestens so lange beibehalten, bis die Hochvolt-Batterie (20) sich in einem für den Ladevorgang günstigen Temperaturbereich befindet.Die Erfindung betrifft ferner ein System (100) zum Laden einer Hochvolt-Batterie (20) eines elektrisch betreibbaren Fahrzeugs (10).

SECONDARY BATTERY AND METHOD FOR MANUFACTURING SECONDARY BATTERY

NºPublicación:  US20260106339A1 16/04/2026
Solicitante: 
SAMSUNG SDI CO LTD [KR]
US_20260106339_A1

Resumen de: US20260106339A1

0000 A secondary battery, including an electrode assembly including a winding of a first electrode, a second electrode, and a separator between the first electrode and the second electrode, a case having an opening on one side, the case accommodating the electrode assembly, an electrode tab coupled with the first electrode, and a cap assembly configured to seal the opening by being coupled with the one side of the case, wherein the cap assembly includes an electrode terminal electrically connected to the electrode tab, the electrode terminal having a through hole through which the electrode tab passes, and an insulating cap connected to an outer peripheral surface of the electrode terminal and to be coupled to an inner peripheral surface of the case.

SECONDARY BATTERY MODULE, METHOD OF MANUFACTURING THE SAME, AND INSULATION UNIT FOR SECONDARY BATTERY MODULE

NºPublicación:  US20260106270A1 16/04/2026
Solicitante: 
SAMSUNG SDI CO LTD [KR]
US_20260106270_A1

Resumen de: US20260106270A1

0000 The present disclosure relates to a secondary battery module and a method of manufacturing the same. A secondary battery module may include a module case that provides an internal space, a plurality of battery cells disposed in the module case, and a plurality of insulation units that are interposed between the battery cells and maintain a distance between the battery cells, wherein each of the insulation units includes a variable housing that accommodates a filler injected from the outside and expands due to a pressure of the filler to increase the distance between the battery cells or shrinks by receiving a pressure of the battery cells, and a filler passage provided at one side of the variable housing to allow the filler to pass therethrough.

POLYMER ELECTROLYTE PRECURSOR COMPOSITION, POLYMER ELECTROLYTE, AND LITHIUM SECONDARY BATTERY

NºPublicación:  WO2026079928A1 16/04/2026
Solicitante: 
DOOSAN CORP [KR]
IUCF HYU INDUSTRY UNIV COOPERATION FOUNDATION HANYANG UNIV [KR]
\uC8FC\uC2DD\uD68C\uC0AC \uB450\uC0B0
\uD55C\uC591\uB300\uD559\uAD50 \uC0B0\uD559\uD611\uB825\uB2E8
WO_2026079928_A1

Resumen de: WO2026079928A1

The present invention relates to a polymer electrolyte precursor composition, a polymer electrolyte, and a lithium secondary battery. The polymer electrolyte according to the present invention, which comprises a precursor composition formed by reacting a compound represented by chemical formula 1 with a crosslinking agent, exhibits excellent ionic conductivity, charge-discharge efficiency, and thermal stability when applied to a lithium secondary battery.

PIEZO-RESISTIVE PRESSURE SENSOR AND METHOD FOR MANUFACTURING THE SAME

NºPublicación:  US20260106237A1 16/04/2026
Solicitante: 
HYUNDAI MOTOR CO LTD [KR]
KIA CORP [KR]
UNIV CHUNG ANG IND ACAD COOP FOUND [KR]
US_20260106237_A1

Resumen de: US20260106237A1

A piezo-resistive pressure sensor includes: a first electrode layer including an electrode material having a positive temperature coefficient of resistance (PTC); a first sensing layer laminated on the first electrode layer, and including a conductive material having a negative temperature of coefficient of resistance (NTC); a second sensing layer laminated to contact or be spaced apart from the first sensing layer, and including a conductive material having a negative temperature coefficient of resistance (NTC); and a second electrode layer laminated on the second sensing layer, and including an electrode material having a positive temperature coefficient of resistance (PTC).

LITHIUM BATTERY ELECTROLYTE AND LITHIUM BATTERY

NºPublicación:  WO2026077131A1 16/04/2026
Solicitante: 
ZHANGJIAGANG GUOTAI HUARONG NEW CHEMICAL MAT CO LTD [CN]
\u5F20\u5BB6\u6E2F\u5E02\u56FD\u6CF0\u534E\u8363\u5316\u5DE5\u65B0\u6750\u6599\u6709\u9650\u516C\u53F8
WO_2026077131_A1

Resumen de: WO2026077131A1

To solve the problem that the performance of lithium-ion batteries still needs to be improved, the present disclosure provides a lithium battery electrolyte and a lithium battery. The electrolyte comprises an organic solvent, a lithium salt, and an additive, wherein the additive comprises additive S having a structural general formula of Formula (I). The lithium battery electrolyte of the present disclosure exhibits excellent performance, being capable of improving the room-temperature cycling performance of lithium-ion batteries, suppressing gas generation after high-temperature storage, improving discharge efficiency at low temperatures, and also improving the room-temperature cycling performance of lithium-ion batteries at high voltages.

ELECTRODE MIXTURE FOR SODIUM ION SECONDARY BATTERY, ELECTRODE FOR SODIUM ION SECONDARY BATTERY, AND ALL-SOLID-STATE SODIUM ION SECONDARY BATTERY

NºPublicación:  WO2026079051A1 16/04/2026
Solicitante: 
NIPPON ELECTRIC GLASS CO LTD [JP]
\u65E5\u672C\u96FB\u6C17\u785D\u5B50\u682A\u5F0F\u4F1A\u793E
WO_2026079051_A1

Resumen de: WO2026079051A1

Provided is an electrode mixture for a sodium ion secondary battery, the electrode mixture making it possible to realize a high level of both electron conductivity and ion conductivity, and realize a high level of both cycle properties and output properties. The electrode mixture for a sodium ion secondary battery comprises: a positive electrode active substance containing sodium transition metal phosphate crystals that comprise Na, M (where M is at least one transition metal element selected from Cr, Fe, Mn, Co, V, and Ni), P, and O; and a conductive auxiliary agent containing fibrous carbon and granular carbon.

POSITIVE ELECTRODE ACTIVE MATERIALS, POSITIVE ELECTRODES, AND RECHARGEABLE LITHIUM BATTERIES

NºPublicación:  US20260106147A1 16/04/2026
Solicitante: 
SAMSUNG SDI CO LTD [KR]
US_20260106147_A1

Resumen de: US20260106147A1

0000 In some example embodiments, a positive electrode active material includes a first positive electrode active material including a lithium cobalt-based composite oxide and having an average particle diameter (D<50>) of about 15 μm to about 20 μm; and a second positive electrode active material including a lithium nickel-cobalt-manganese-based composite oxide and having an average particle diameter (D<50>) of about 3 μm to about 10 μm; wherein the second positive electrode active material is included in an amount of about 10 wt % to about 25 wt % based on a total of 100 wt % of the first positive electrode active material and the second positive electrode active material, and in the lithium nickel-cobalt manganese-based composite oxide, based on 100 mol % of a total metal excluding lithium, a nickel content is about 55 mol % to about 60 mol % and a cobalt content is greater than or equal to about 20 mol %.

COMPOSITE ACTIVE MATERIAL, BATTERY, AND MANUFACTURING METHODS FOR SAME

NºPublicación:  US20260103394A1 16/04/2026
Solicitante: 
TOYOTA JIDOSHA KK [JP]
US_20260103394_A1

Resumen de: US20260103394A1

0000 Disclosed is a composite active material having high capacity and low resistance. The composite active material of the present disclosure comprises an active material particle and a coating portion. The active material particle has an O2-type structure. The active material particle comprises, as constituent elements, Li; at least one transition metal element among Mn, Ni, and Co; and O. The active material particle is tabular. The coating portion covers at least a portion of a surface of the active material particle. The coating portion comprises a sulfide solid electrolyte.

BATTERY CELL, BATTERY DEVICE, AND ELECTRIC DEVICE

NºPublicación:  WO2026077063A1 16/04/2026
Solicitante: 
CONTEMPORARY AMPEREX TECH CO LIMITED [CN]
\u5B81\u5FB7\u65F6\u4EE3\u65B0\u80FD\u6E90\u79D1\u6280\u80A1\u4EFD\u6709\u9650\u516C\u53F8
WO_2026077063_A1

Resumen de: WO2026077063A1

The present application provides a battery cell, a battery device, and an electric device. The battery cell comprises a positive electrode sheet, a negative electrode sheet, and a solid-state electrolyte membrane located between the positive electrode sheet and the negative electrode sheet. The solid-state electrolyte membrane comprises a first electrolyte layer close to the positive electrode sheet, and a second electrolyte layer close to the negative electrode sheet. The first electrolyte layer comprises a bromine-based sulfide solid-state electrolyte, and the second electrolyte layer comprises a chlorine-containing sulfide solid-state electrolyte. The battery cell in embodiments of the present application has improved cycle performance.

SEPARATOR, PREPARATION METHOD THEREOF, AND ELECTROCHEMICAL DEVICE INCLUDING SAME

NºPublicación:  WO2026079717A1 16/04/2026
Solicitante: 
LG ENERGY SOLUTION LTD [KR]
\uC8FC\uC2DD\uD68C\uC0AC \uC5D8\uC9C0\uC5D0\uB108\uC9C0\uC194\uB8E8\uC158
WO_2026079717_A1

Resumen de: WO2026079717A1

According to one aspect of the present invention, a thin film separator with improved insulation properties and a preparation method thereof are provided. According to one aspect of the present invention, the separator can have an advantage of implementing a dielectric breakdown voltage of 1,000 V or less while having a thickness of 8 μm or less. To this end, according to one aspect of the present invention, the separator having a controlled maximum pore size within a polymer substrate and a preparation method thereof are provided.

BATTERY CELL MANUFACTURING METHOD

NºPublicación:  WO2026079777A1 16/04/2026
Solicitante: 
LG ENERGY SOLUTION LTD [KR]
\uC8FC\uC2DD\uD68C\uC0AC \uC5D8\uC9C0\uC5D0\uB108\uC9C0\uC194\uB8E8\uC158
WO_2026079777_A1

Resumen de: WO2026079777A1

This battery cell manufacturing method comprises: a first aging step of increasing electrolyte wettability of a battery cell; and an activation step including a step of charging/discharging the battery cell in which the first aging step has been completed, wherein the first aging step includes performing a pressing cycle of pressing the battery cell and releasing the pressing at least once.

BATTERY AND METHOD FOR MANUFACTURING THE SAME

NºPublicación:  US20260106205A1 16/04/2026
Solicitante: 
TOYOTA MOTOR CO LTD [JP]
US_20260106205_A1

Resumen de: US20260106205A1

A battery includes: a plurality of electrode sheets stacked in a specific direction and connected in series; and an outer frame made of resin and covering peripheries of the electrode sheets. The outer frame has a first hole extending from a surface of the outer frame in the specific direction through at least one of the electrode sheets to a specific electrode sheet out of the electrode sheets. A side surface of the first hole is covered with resin. The side surface of the first hole is a side surface extending in the specific direction.

MANAGEMENT MODULE AND BATTERY MODULE INCLUDING THE SAME

NºPublicación:  US20260104472A1 16/04/2026
Solicitante: 
SAMSUNG SDI CO LTD [KR]
CN_121885813_PA

Resumen de: US20260104472A1

0000 A management module, including a sensing module including a sensing module body, a sensing part extending from the sensing module body, the sensing part detecting operation information of battery cells, and a sensing pad portion on the sensing module body, the sensing pad portion being electrically connected to the sensing part, and a communication module including a communication module body and a communication pad portion on the communication module body, the communication module being in contact with the sensing pad portion and receiving the operation information.

TRACTION BATTERY SYSTEM

NºPublicación:  WO2026077539A1 16/04/2026
Solicitante: 
MELEXIS TECHNOLOGIES NV [BE]
WO_2026077539_A1

Resumen de: WO2026077539A1

A traction battery system (114) for a vehicle (100) comprises a battery (116) comprising a plurality of voltaic cells and a first side (124) at which a voltaic cell of the battery (116) can emit infrared electromagnetic radiation. A thermal measurement apparatus (118) in also provided for measuring a temperature in respect of the first side (124) and detecting overheating of the voltaic cells. The apparatus also comprises an infrared reflector (122) substantially overlying the first side (124) in spaced relation thereto, the infrared reflector (122) and the first side (124) cooperating to provide a cavity waveguide (120). An infrared electromagnetic radiation measurement sensor apparatus is also provided comprising an infrared electromagnetic radiation sensor device (128) having a field of view that is directed into a space between the infrared reflector (122) and the first side (124) of the battery (116).

ALL-SOLID-STATE BATTERY

NºPublicación:  WO2026079558A1 16/04/2026
Solicitante: 
SAMSUNG ELECTRO MECH CO LTD [KR]
WO_2026079558_A1

Resumen de: WO2026079558A1

An all-solid-state battery includes a laminate having a first surface and a second surface opposing each other in a first direction, a third surface and a fourth surface opposing each other in a second direction intersecting the first direction, and a fifth surface and a sixth surface opposing each other in a third direction perpendicular to both the first and second directions. The laminate comprises a solid electrolyte layer, positive electrode layers, and negative electrode layers alternately stacked in the third direction with the solid electrolyte layer interposed therebetween. An exterior member is positioned on the third, fourth, fifth, and sixth surfaces of the laminate and comprises an insulating resin. The solid electrolyte layer, the positive electrode layer, and the negative electrode layer each have one end aligned with the third surface and the other end aligned with the fourth surface, forming a compact and structurally stable battery design.

WINDING CORE FOR MANUFACTURING ELECTRODE ASSEMBLY AND METHOD FOR MANUFACTURING ELECTRODE ASSEMBLY USING SAME

NºPublicación:  WO2026079624A1 16/04/2026
Solicitante: 
LG ENERGY SOLUTION LTD [KR]
\uC8FC\uC2DD\uD68C\uC0AC \uC5D8\uC9C0\uC5D0\uB108\uC9C0\uC194\uB8E8\uC158
WO_2026079624_A1

Resumen de: WO2026079624A1

The present invention relates to a winding core for manufacturing an electrode assembly and a method for manufacturing an electrode assembly using same, wherein the winding core is withdrawn without being accompanied by a separator or an electrode when withdrawing after completing the winding of the electrode assembly, thereby improving production yield. The winding core for manufacturing an electrode assembly, according to an embodiment of the present invention, winds a jellyroll-type electrode assembly. Here, the winding core includes a first winding core member, a second winding core member, and a spacer. The first core member and the second core member are disposed to face each other. The spacer is interposed between the first core member and the second core member to at least partially space the first core member and the second core member apart from each other.

Verfahren zum Laden eines ersten elektrochemischen Energiespeichers eines elektrisch antreibbaren Fahrzeugs mittels mindestens eines zweiten elektrochemischen Energiespeichers des elektrisch antreibbaren Fahrzeugs

NºPublicación:  DE102024209947A1 16/04/2026
Solicitante: 
BOSCH GMBH ROBERT [DE]
DE_102024209947_PA

Resumen de: DE102024209947A1

Verfahren zum Laden eines ersten elektrochemischen Energiespeichers (201) eines elektrisch antreibbaren Fahrzeugs (200) mittels mindestens eines zweiten elektrochemischen Energiespeichers (202) des elektrisch antreibbaren Fahrzeugs (200).

Li, Mn-RICH CATHODE FOR HIGH-ENERGY AND HIGH-RETENTION Li-ION BATTERY

NºPublicación:  US20260106135A1 16/04/2026
Solicitante: 
SAMSUNG SDI CO LTD [KR]
US_20260106135_A1

Resumen de: US20260106135A1

0000 A compound for use in a lithium, manganese-rich cathode for a Li-ion battery is Li<1.2>Ni<0.2>Mn<0.6>O<2 >triple doped with Na<+>, Co<3+>, and Mg<2+>. A lithium, manganese-rich cathode for an Li-ion battery includes the aforementioned compound. A lithium-ion battery includes an anode, a cathode, and an electrolyte, wherein the cathode is the aforementioned lithium, manganese-rich cathode.

Verfahren zur Herstellung eines Batteriemoduls und Batteriemodul

NºPublicación:  DE102024003339A1 16/04/2026
Solicitante: 
MERCEDES BENZ GROUP AG [DE]
DE_102024003339_PA

Resumen de: DE102024003339A1

Die Erfindung betrifft ein Verfahren zur Herstellung eines Batteriemoduls (100) für eine Hochvolt-Batterie eines elektrisch betreibbaren Fahrzeugs, wenigstens umfassend die Schritte Bereitstellen von Batteriezellen (10); Vergießen der Batteriezellen (10) mit einer ersten Vergussmasse (22) in einzelnen Teilmodulen (20), wobei Hohlräume (16) zwischen den Batteriezellen (10) mit der ersten Vergussmasse (22) ausgefüllt werden; Elektrisches Kontaktieren von Zellpolen (12) der Batteriezellen (10) jeweils eines Teilmoduls (20) mit einer Zellverbindungseinrichtung (14); Anordnen der Teilmodule (20) in einem Gehäuse (110) des Batteriemoduls (100) und Verbinden der Teilmodule (10) mit dem Gehäuse (110) über eine Wärmeleitmasse (24); Ausgießen von Zwischenräumen zwischen den einzelnen Teilmodulen (20) und zwischen den Teilmodulen (20) und dem Gehäuse (110) mit einer zweiten Vergussmasse (26).Die Erfindung betrifft ferner ein Batteriemodul (100) für eine Hochvolt-Batterie eines elektrisch betreibbaren Fahrzeugs.

ELECTRODE ASSEMBLY, BATTERY CELL, AND BATTERY PACK AND VEHICLE INCLUDING SAME

NºPublicación:  WO2026079948A1 16/04/2026
Solicitante: 
LG ENERGY SOLUTION LTD [KR]
\uC8FC\uC2DD\uD68C\uC0AC \uC5D8\uC9C0\uC5D0\uB108\uC9C0\uC194\uB8E8\uC158
WO_2026079948_A1

Resumen de: WO2026079948A1

In an electrode assembly according to one embodiment of the present invention, a first electrode, a second electrode, and a separator interposed therebetween are wound around a winding axis so that a core and an outer circumferential surface are defined, and tape is attached to at least one portion of the separator.

METHOD FOR MANUFACTURING SECONDARY BATTERY

NºPublicación:  WO2026079705A1 16/04/2026
Solicitante: 
LG ENERGY SOLUTION LTD [KR]
\uC8FC\uC2DD\uD68C\uC0AC \uC5D8\uC9C0\uC5D0\uB108\uC9C0\uC194\uB8E8\uC158
WO_2026079705_A1

Resumen de: WO2026079705A1

According to exemplary embodiments, a method for manufacturing a secondary battery is provided. The method comprises the steps of: accommodating an electrode assembly in a cell case, the electrode assembly including a cathode, an anode and a separator between the cathode and the anode, the cathode comprising a cathode current collector layer and a cathode active material layer, and the cathode active material layer comprising lithium iron phosphate and lithium iron oxide; and bonding a deoxidation sheet to the cell case.

Batteriemodul und Verfahren zur Herstellung eines solchen

NºPublicación:  DE102024209964A1 16/04/2026
Solicitante: 
BOSCH GMBH ROBERT [DE]
DE_102024209964_PA

Resumen de: DE102024209964A1

Die Erfindung betrifft ein Batteriemodul mit einer Mehrzahl an Batteriezellen (2), welche in einem Gehäuse (3) des Batteriemoduls (1) aufgenommen ist, wobei das Batteriemodul (1) weiterhin eine Temperiereinrichtung (4) aufweist, und die Mehrzahl an Batteriezellen (2) thermisch leitend mit der Temperiereinrichtung (4) verbunden angeordnet ist, wobei die Temperiereinrichtung (4) von einem Temperierfluid durchströmbar ausgebildet ist, wobei die Temperiereinrichtung (4) der mit einem Phasenwechselmaterial (5) gefüllt ist, dass eine Durchströmbarkeit mit dem Temperierfluid zumindest teilweise reduziert ist.

VENTING SYSTEM FOR TRACTION BATTERY PACK

NºPublicación:  US20260106314A1 16/04/2026
Solicitante: 
FORD GLOBAL TECH LLC [US]
DE_102025141133_PA

Resumen de: US20260106314A1

A traction battery pack venting system includes a first group of battery cells, a second group of battery cells, and a vent chamber sandwiched between a first group of battery cells and the second group of battery cells. The first group of battery cells and the second group of battery cells are each configured to vent to the vent chamber.

ALL-SOLID-STATE BATTERY

NºPublicación:  WO2026079950A1 16/04/2026
Solicitante: 
SAMSUNG ELECTRO MECH CO LTD [KR]
WO_2026079950_A1

Resumen de: WO2026079950A1

An all-solid-state battery according to an embodiment may include: a laminate that has a curved shape and includes a positive electrode layer, a solid electrolyte layer, and a negative electrode layer that are alternately stacked; and an external electrode disposed outside the laminate, wherein the laminate may include a bent portion.

Ermittlung von Zelldickenwachstum einer Batterie durch Gehäuserotation

NºPublicación:  DE102024003341A1 16/04/2026
Solicitante: 
MERCEDES BENZ GROUP AG [DE]
DE_102024003341_PA

Resumen de: DE102024003341A1

Die Erfindung betrifft eine Batterie mit einer ersten Endplatte (1) und mit einer an die erste Endplatte (1) angrenzend angeordneten zweiten Endplatte (2), wobei an der ersten Endplatte (1) ein Vorbau (3) mittels eines Verbindungselements (4) angeordnet ist, und am Vorbau (3) ein der zweiten Endplatte (2) zugewandtes elektrisches Kontaktelement (5) angeordnet ist, welches in einem Neuzustand der Batterie von der zweiten Endplatte (2) beabstandet ist und zur zweiten Endplatte (2) bewegt wird, wenn durch eine von zunehmendem Zelldickenwachstum hervorgerufene Biegung der ersten Endplatte (1) und eine damit einhergehende Rotation des Verbindungselements (4) der Vorbau (3) mit dem elektrischen Kontaktelement (5) gedreht wird, und wobei das elektrische Kontaktelement (5) bei Erreichen eines Grenzwerts im Abstand zur zweiten Endplatte (2) ein elektrisches Signal auslöst.

LITHIUM SECONDARY BATTERY

NºPublicación:  WO2026079266A1 16/04/2026
Solicitante: 
MURATA MFG CO LTD [JP]
\u682A\u5F0F\u4F1A\u793E\u6751\u7530\u88FD\u4F5C\u6240
WO_2026079266_A1

Resumen de: WO2026079266A1

Provided is a lithium secondary battery that improves charging/discharging characteristics. A lithium secondary battery according to the present invention comprises a positive electrode, a negative electrode, and an electrolyte solution. The electrolyte solution includes lithium ions, additional metal ions that are ions of a metal element that has a lower first ionization energy than lithium, and a fluoroalkyl ether. The concentration of the metal ions in the electrolyte solution is greater than 0 mol/L but no greater than 0.05 mol/L.

ELECTRODE VISION INSPECTION DEVICE AND METHOD

NºPublicación:  WO2026079908A1 16/04/2026
Solicitante: 
LG ENERGY SOLUTION LTD [KR]
\uC8FC\uC2DD\uD68C\uC0AC \uC5D8\uC9C0\uC5D0\uB108\uC9C0\uC194\uB8E8\uC158
WO_2026079908_A1

Resumen de: WO2026079908A1

The present invention provides an electrode vision inspection device (10) comprising: a first light emission unit (100) that includes a first light-emitting unit (110) for emitting a first light (L1) directed toward a first surface (S1) on one side in the thickness direction of an electrode unit (50) and a second light (L2) passing through the outside of the edge of the first surface (S1), and a film (130) arranged on an optical path of at least a part of the second light (L2) so as to change the brightness or color of the passing light; a second light emission unit (200) that includes a second light-emitting unit (210) for emitting a third light (L3) directed toward a second surface (S2) of the other side in the thickness direction of the electrode unit (50); a first image acquisition unit (300), which senses the first light (L1) reflected on the first surface (S1), so as to acquire a first image (G1); a second image acquisition unit (400), which senses the third light (L3) reflected on the second surface (S2) and the second light (L2), so as to acquire a second image (G2); and a detection unit (500) for detecting an edge position or contour of the electrode unit (50) or a predetermined part (P) of the electrode unit (50) on the basis of brightness values or color values of the first image (G1) and the second image (G2).

BATTERY MODULE, AND BATTERY PACK AND VEHICLE INCLUDING SAME

NºPublicación:  WO2026079622A1 16/04/2026
Solicitante: 
LG ENERGY SOLUTION LTD [KR]
\uC8FC\uC2DD\uD68C\uC0AC \uC5D8\uC9C0\uC5D0\uB108\uC9C0\uC194\uB8E8\uC158
WO_2026079622_A1

Resumen de: WO2026079622A1

A battery module according to the present invention for achieving the aforementioned objective may include: a cell frame for accommodating battery cells; a bracket mounted on the cell frame; a fixing member mounted on the bracket to fix a wire harness disposed above the bracket; and a fastening member for fastening the cell frame and the bracket.

BATTERY STATE ESTIMATION DEVICE AND BATTERY STATE ESTIMATION METHOD

NºPublicación:  WO2026078879A1 16/04/2026
Solicitante: 
NISSAN MOTOR CO LTD [JP]
\u65E5\u7523\u81EA\u52D5\u8ECA\u682A\u5F0F\u4F1A\u793E
WO_2026078879_A1

Resumen de: WO2026078879A1

A battery capacity estimation device comprises: a measurement unit 11 that measures the impedance (Z) of a secondary battery 1; and a battery state estimation unit 12 that estimates the state of the secondary battery 1. The measurement unit 11 measures the impedance (Z) at a plurality of frequencies and determines a local minimum value frequency at which the absolute value of an imaginary part of the impedance (Z) is a local minimum value. The battery state estimation unit 12 estimates, on the basis of the local minimum value frequency determined by the measurement unit 11, the temperature of the secondary battery 1 by using the correlation between the local minimum value frequency and the temperature of the secondary battery 1.

BATTERY DEVICE

NºPublicación:  WO2026079683A1 16/04/2026
Solicitante: 
LG ENERGY SOLUTION LTD [KR]
\uC8FC\uC2DD\uD68C\uC0AC \uC5D8\uC9C0\uC5D0\uB108\uC9C0\uC194\uB8E8\uC158
WO_2026079683_A1

Resumen de: WO2026079683A1

The technical idea of the present invention relates to a battery device comprising: a housing having an inner space for accommodating battery cells; a venting valve mounted in the housing and configured to discharge gas to the outside; and a valve protection cover disposed on an inlet side, facing the inner space of the housing, of the venting valve. The valve protection cover includes: a front wall that includes a first venting hole and is disposed to face the inlet of the venting valve in a first direction; a peripheral wall extending along the perimeter of the front wall; and a hole cover that is connected to the front wall so as to cover at least a portion of the first venting hole of the front wall in the first direction, and has a passage for connecting the first venting hole of the front wall to the inner space of the housing.

BATTERY PROCESSING METHOD AND BATTERY PROCESSING SYSTEM

NºPublicación:  US20260106241A1 16/04/2026
Solicitante: 
MAZDA MOTOR CORP [JP]
US_20260106241_A1

Resumen de: US20260106241A1

0000 A battery processing method for processing the lithium-ion battery including a positive electrode material and a negative electrode material includes: a first step of charging the lithium-ion battery while cooling to deposit lithium on the negative electrode material; a second step of increasing a temperature of the lithium-ion battery; and a third step of charging the lithium-ion battery while cooling again to deposit lithium on the negative electrode material.

BATTERY PACK

NºPublicación:  US20260106264A1 16/04/2026
Solicitante: 
HYUNDAI MOTOR CO LTD [KR]
KIA CORP [KR]
US_20260106264_A1

Resumen de: US20260106264A1

0000 A battery pack includes a base cover, a plurality of battery cells contacting with the base cover, and a plate which is disposed between the plurality of battery cells and that includes a plate channel through which cooling water flows, and the plate channel includes a first heat-exchange area that exchanges heat with the base cover and a second heat-exchange area which is disposed below the first heat-exchange area and that exchanges heat with the battery cells.

SENSING MODULE AND BATTERY MODULE INCLUDING THE SAME

NºPublicación:  US20260106250A1 16/04/2026
Solicitante: 
SAMSUNG SDI CO LTD [KR]
US_20260106250_A1

Resumen de: US20260106250A1

A sensing module, including a busbar holder, a slot passing through the busbar holder in a first direction, a first substrate on the busbar holder, a second substrate extending from the first substrate toward the slot, a temperature sensor connected to the second substrate, a first protective member connected to the second substrate, the first protective member surrounding the temperature sensor, and a support member supporting the first protective member inside the slot.

SULFIDE-BASED SOLID ELECTROLYTE, METHOD FOR PREPARING SAME, AND ALL-SOLID-STATE BATTERY COMPRISING SAME

NºPublicación:  WO2026079822A1 16/04/2026
Solicitante: 
LG CHEM LTD [KR]
UIF UNIV INDUSTRY FOUNDATION YONSEI UNIV [KR]
\uC8FC\uC2DD\uD68C\uC0AC \uC5D8\uC9C0\uD654\uD559
\uC5F0\uC138\uB300\uD559\uAD50 \uC0B0\uD559\uD611\uB825\uB2E8
WO_2026079822_A1

Resumen de: WO2026079822A1

The present invention relates to a sulfide-based solid electrolyte, a method for preparing same, and an all-solid-state battery comprising same.

WEARABLE ELECTRONIC DEVICE, BATTERY PACK, AND METHOD FOR OPERATING WEARABLE ELECTRONIC DEVICE

NºPublicación:  WO2026079836A1 16/04/2026
Solicitante: 
SAMSUNG ELECTRONICS CO LTD [KR]
\uC0BC\uC131\uC804\uC790 \uC8FC\uC2DD\uD68C\uC0AC
WO_2026079836_A1

Resumen de: WO2026079836A1

A wearable electronic device according to one embodiment of the present disclosure may comprise: a communication module for communication with an external battery pack; at least one processor; and a memory for storing instructions. When the instructions are individually or collectively executed by the at least one processor, the wearable electronic device can acquire sensing data from the external battery pack. When the instructions are individually or collectively executed by the at least one processor, the wearable electronic device can determine whether the battery pack is in contact with a user's body on the basis of the sensing data. When the instructions are individually or collectively executed by the at least one processor, the wearable electronic device can differently set a trigger temperature value for starting heat control of the battery pack according to whether the battery pack is in contact with the user's body. Various other embodiments are also possible.

SEPARATOR STRUCTURES FOR MITIGATING THE TRANSFER OF THERMAL ENERGY INSIDE TRACTION BATTERY PACKS

NºPublicación:  US20260106268A1 16/04/2026
Solicitante: 
FORD GLOBAL TECH LLC [US]
US_20260106268_A1

Resumen de: US20260106268A1

Battery systems are provided for traction battery packs. An exemplary battery system may include a first cell stack, a second cell stack, and a separator arranged between the first and second cell stacks. The separator may be configured to mitigate the transfer of thermal energy from cell stack-to-cell stack, structurally integrate the battery system to perimeter structures, inhibit cell displacement due to external forces, resist cell expansion forces, etc.

SYSTEM AND METHOD FOR MAKING MEASURING ELEMENTS FOR TIRES

NºPublicación:  WO2026078454A1 16/04/2026
Solicitante: 
PHIMATIK S R L [IT]
WO_2026078454_A1

Resumen de: WO2026078454A1

According to the present invention, there is provided a system for manufacturing measuring element for tires and the operation method of the system. The measuring element comprises a PCBA, a battery, a shell, thermosetting resin and an adhesive. The system comprises: - at least one coupling line in which the PCBA and the battery are coupled and soldered; - at least one preparation line wherein the shells are prepared to receive soldered batteries and PCBAs; - at least one insertion line wherein the soldered PCBA and battery are inserted into said shells; - a thermal treatment line in which glues and resins are processed to glue the PCBA to the shell and to fill the shell to obtain a body of the measuring element into which the shell is immersed; - a milling and gluing station in which the resin is finished and adhered to an adhesive.

CLAMPING DEVICE

NºPublicación:  WO2026079687A1 16/04/2026
Solicitante: 
LG ENERGY SOLUTION LTD [KR]
\uC8FC\uC2DD\uD68C\uC0AC \uC5D8\uC9C0\uC5D0\uB108\uC9C0\uC194\uB8E8\uC158
WO_2026079687_A1

Resumen de: WO2026079687A1

The present invention relates to a clamping device, and the clamping device according to an aspect of the present invention forms the upper portion of a cylindrical case in which an electrode assembly is accommodated, and comprises: a movable block; an actuator capable of moving the movable block; a fixed block which is fixed at one side of the movable block so as to restrict the moving distance of the movable block; a support frame which can move in the vertical direction according to the movement of the movable block; and a forming unit which is supported by the support frame and can form the upper portion of the case.

SECONDARY BATTERY NEGATIVE ELECTRODE AND SECONDARY BATTERY

NºPublicación:  WO2026079219A1 16/04/2026
Solicitante: 
PANASONIC INTELLECTUAL PROPERTY MAN CO LTD [JP]
\u30D1\u30CA\u30BD\u30CB\u30C3\u30AF\uFF29\uFF30\u30DE\u30CD\u30B8\u30E1\u30F3\u30C8\u682A\u5F0F\u4F1A\u793E
WO_2026079219_A1

Resumen de: WO2026079219A1

A secondary battery negative electrode (12) is characterized in that: included are a negative electrode current collector (40) and a negative electrode mixture layer (42) that is provided on the negative electrode current collector (40); the negative electrode mixture layer (42) includes a first negative electrode mixture layer (42a) containing a first negative electrode active material and a first binder, and includes a second negative electrode mixture layer (42b) containing a second binder and a second negative electrode active material containing graphite coated with amorphous carbon; the first negative electrode mixture layer (42a) is disposed on the negative electrode current collector (40)-side; the second negative electrode mixture layer (42b) is disposed on the surface side of the negative electrode mixture layer (42); in the second negative electrode mixture layer (42b), the contained amount of graphite coated with amorphous carbon is 50 mass% or more with respect to the total mass of the second negative electrode active material; and the Young's modulus of the second binder in the second negative electrode mixture layer (42b) is greater than the Young's modulus of the first binder in the first negative electrode mixture layer (42a).

NEGATIVE ELECTRODE AND LITHIUM SECONDARY BATTERY COMPRISING SAME

NºPublicación:  WO2026079797A1 16/04/2026
Solicitante: 
LG ENERGY SOLUTION LTD [KR]
\uC8FC\uC2DD\uD68C\uC0AC \uC5D8\uC9C0\uC5D0\uB108\uC9C0\uC194\uB8E8\uC158
WO_2026079797_A1

Resumen de: WO2026079797A1

A negative electrode according to exemplary embodiments of the present invention comprises: a negative electrode current collector; and a negative electrode active material layer disposed on the negative electrode current collector, wherein the negative electrode active material layer comprises a first area disposed on the negative electrode current collector and including niobium oxide as a negative electrode active material, and a carbon-based material which is a negative electrode active material and is disposed on the first area.

SECONDARY BATTERY, MANUFACTURING METHOD THEREFOR, AND ELECTRICAL APPARATUS

NºPublicación:  WO2026076640A1 16/04/2026
Solicitante: 
CONTEMPORARY AMPEREX TECH CO LIMITED [CN]
CONTEMPORARY AMPEREX TECH HONG KONG LIMITED [CN]
\u5B81\u5FB7\u65F6\u4EE3\u65B0\u80FD\u6E90\u79D1\u6280\u80A1\u4EFD\u6709\u9650\u516C\u53F8
\u9999\u6E2F\u6642\u4EE3\u65B0\u80FD\u6E90\u79D1\u6280\u6709\u9650\u516C\u53F8
WO_2026076640_A1

Resumen de: WO2026076640A1

The present application relates to the technical field of batteries, and specifically relates to a secondary battery, a manufacturing method therefor, and an electrical apparatus. The secondary battery comprises a positive electrode film layer; the positive electrode film layer comprises a positive electrode active material and an additive; the additive comprises a first organic matter; the first organic matter comprises a first functional group; and the first functional group comprises any one or more of a primary amino group, a secondary amino group, a tertiary amino group, a quaternary amino group, a nitrogen-nitrogen double bond, a carbon-nitrogen double bond, and a carbon-carbon double bond. The design method provided in the present application is conducive to improving the cycle life of a battery.

BATTERY PROCESSING METHOD AND BATTERY PROCESSING SYSTEM

NºPublicación:  US20260106242A1 16/04/2026
Solicitante: 
MAZDA MOTOR [JP]
US_20260106242_A1

Resumen de: US20260106242A1

0000 A battery processing method for processing a lithium-ion battery including a positive electrode material and a negative electrode material includes a lithium deposition step of performing pulse charging of the lithium-ion battery under cooling to deposit lithium on the negative electrode material. In the pulse charging, a charging phase Fc and a charging pause phase Fs are performed alternately, at least the charging phase Fc is performed plural times, and the lithium-ion battery is cooled in the charging phase Fc.

BATTERY PROCESSING METHOD AND BATTERY PROCESSING SYSTEM

NºPublicación:  US20260106254A1 16/04/2026
Solicitante: 
MAZDA MOTOR CORP [JP]
US_20260106254_A1

Resumen de: US20260106254A1

0000 The battery processing method for processing the lithium-ion battery that includes a positive electrode material and a negative electrode material and is configured by laminating the positive electrode material and the negative electrode material in a lamination direction, and wherein gas is internally present, the battery processing method including: a gas extrusion step of extruding the gas toward a peripheral edge portion of the lithium-ion battery in a plane perpendicular to the lamination direction; and a cooling and charging step of depositing lithium on the negative electrode material by charging the lithium-ion battery while cooling.

ULTRASONIC SOLID-STATE BATTERY STRUCTURE CAPABLE OF REMOVING LITHIUM DENDRITES

NºPublicación:  US20260106230A1 16/04/2026
Solicitante: 
PENG ZHIJUN [CN]
US_20260106230_A1

Resumen de: US20260106230A1

0000 An ultrasonic solid-state battery structure capable of removing lithium dendrites, comprising two ultrasonic electrode bodies, a solid electrolyte disposed between the two ultrasonic electrode bodies, and a separation assembly connected to the two ultrasonic electrode bodies, wherein the separation assembly drives each of the two ultrasonic electrode bodies either to closely contact or to separate from the solid electrolyte, and when in a separated state, a separation gap is formed between the ultrasonic electrode bodies and the solid electrolyte.

SUB-PACK AND BATTERY PACK COMPRISING SAME

NºPublicación:  WO2026079736A1 16/04/2026
Solicitante: 
LG ENERGY SOLUTION LTD [KR]
\uC8FC\uC2DD\uD68C\uC0AC \uC5D8\uC9C0\uC5D0\uB108\uC9C0\uC194\uB8E8\uC158
WO_2026079736_A1

Resumen de: WO2026079736A1

The disclosed sub-pack comprises: a heat sink; side frames integrally formed on both sides of the heat sink; a plurality of cooling channels formed inside the heat sink, spaced apart from each other and extending in parallel with a direction in which the side frames extend; a plurality of refrigerant ports provided on both surfaces of the heat sink so as to be in communication with the respective cooling channels; and at least one battery assembly mounted on an upper surface of the heat sink, wherein the refrigerant ports may include: a protruding plug port disposed on one side of the heat sink; and a concave socket port having a shape complementary to that of the plug port disposed on the other side of the heat sink.

Batteriemodul mit einem Ausgleichselement zur Swelling-Kompensation

NºPublicación:  DE102024129432A1 16/04/2026
Solicitante: 
TRATON\u00A0AB\u00A0 [SE]
DE_102024129432_PA

Resumen de: DE102024129432A1

Die Erfindung betrifft ein Batteriemodul für ein Kraftfahrzeug mit einem Ausgleichselement zur Swelling-Kompensation. Das Batteriemodul umfasst einen Batteriezellenstapel (12) aus mehreren in einer Stapelrichtung (S) gestapelten Batteriezellen (20), ein Modulendelement (14), sowie ein Ausgleichselement (30), das zwischen dem Modulendelement (14) und einer dem Modulendelement (30) gegenüberliegenden ersten Batteriezelle (21) des Batteriezellenstapels (12) angeordnet ist. Das Ausgleichselement (30) weist einen auf Höhe des mittleren Bereichs (22) der ersten Batteriezelle (21) angeordneten mittleren Bereich (32) und einen auf Höhe eines Batteriezellendeckels (23) der ersten Batteriezelle (21) angeordneten äußeren Bereich (34) auf. Hierbei ist das Ausgleichselement (30) dazu ausgebildet, bei einer durch ein Swelling der ersten Batteriezelle (21) bedingten Kraftbeaufschlagung des Ausgleichselements (30) in dem mittleren Bereich (32) des Ausgleichselements (30) in Richtung der Kraftbeaufschlagung zu deformieren, zur Verringerung einer Druckspannung im mittleren Bereich (22) der ersten Batteriezelle (21). Ferner ist das Ausgleichselement (30) dazu ausgebildet ist, bei einer durch ein Swelling der ersten Batteriezelle (21) bedingten Kraftbeaufschlagung des Ausgleichselements mittels des äußeren Bereichs (34) des Ausgleichselements (30) eine entgegengesetzt zur Richtung der Kraftbeaufschlagung gerichtete Kraft und/oder eine Druckspannung auf den Bereich des Batteriezellendecke

Zellhalter, Batteriemodul und Fahrzeug

NºPublicación:  DE102024003378A1 16/04/2026
Solicitante: 
MERCEDES BENZ GROUP AG [DE]
DE_102024003378_PA

Resumen de: DE102024003378A1

Die Erfindung betrifft einen Zellhalter (1), umfassend eine Trennwand (2) sowie zwei an gegenüberliegenden Kanten der Trennwand (2) vorgesehene Gleitführungselemente (3), welche dazu eingerichtet sind, sich bei einer Anordnung in einem Packaging-Raum eines Modulrahmens (6) jeweils über Gleitführungsflächen (4) formschlüssig an Gleitführungsschienen (5) des Modulrahmens (6) abzustützen, wobei zumindest zwei Zellhalter (1) orthogonal zu einer Erstreckungsebene (E) der Trennwand (2) zur Ausbildung einer Zell-Aufnahme (7) für eine galvanische Zelle (8) stapelbar sind, wobei jeweilige Zellhalter (1) im gestapelten Zustand relativ gegenüber dem Modulrahmen (6) und zueinander in Stapelrichtung (SR) bewegbar sind. Der erfindungsgemäße Zellhalter ist dadurch gekennzeichnet, dass die Gleitführungselemente (3) jeweils eine Aussparung (9) zum Hindurchführen von Zellableitern (10) galvanischer Zellen (8) sowie ein elektrisch leitfähiges Klemmelement (11) zum Festklemmen der Zellableiter (10) in der Aussparung (9) aufweisen; undjedes Gleitführungselement (3) zumindest einen Steckverbinder (12) und eine Anschlussleitung (13) für den Steckverbinder (12) aufweist, wobei der Steckverbinder (12) über die Anschlussleitung (13) elektrisch leitend mit dem Klemmelement (11) und/oder zumindest einem am Zellhalter (1) angeordneten Sensorelement zum Erfassen einer Betriebskenngröße der galvanischen Zelle (8) verbunden ist.

BATTERY MANAGEMENT SYSTEM OPERATION

NºPublicación:  US20260106235A1 16/04/2026
Solicitante: 
INFINEON TECHNOLOGIES AG [DE]
US_20260106235_A1

Resumen de: US20260106235A1

0000 A controller is presented. The controller is configured for controlling a battery management system. The battery management system comprises a plurality of battery management subsystems in at least partially different voltage domains. The controller comprises a transceiver. The transceiver is configured for directly communicating with each battery management subsystem individually. Further, a battery management system and a method for controller controlling a battery management system are presented.

Stromversorgungsschaltung zur Stromversorgung eines elektrisch betriebenen Fahrzeugs

NºPublicación:  DE102024129811A1 16/04/2026
Solicitante: 
LINDE MATERIAL HANDLING GMBH [DE]
STILL GMBH [DE]
DE_102024129811_PA

Resumen de: DE102024129811A1

Die Erfindung betrifft eine Stromversorgungseinrichtung (200) zur Stromversorgung eines elektrisch betriebenen Fahrzeugs mittels eines Batteriepacks (110), insbesondere eines Flurförderzeugs. Die Stromversorgungseinrichtung umfasst eine analoge Stromversorgungsschaltung (220), die an eine Batteriespannung (111) des Batteriepacks anschließbar ist, und einen Steuereingang (224) zum Erhalt eines Steuersignals (224a) umfasst, sowie einen Spannungsversorgungsausgang (222) und einen Hilfsspannungsausgang 223 zum Bereitstellen der Batteriespannung basierend auf dem Steuersignal. Die Stromversorgungseinrichtung umfasst einen Spannungswandler (210) mit einem Wandlereingang (211), der an den Spannungsversorgungsausgang der analogen Stromversorgungsschaltung (220) angeschlossen ist; und einem Wandlerausgang (213). Der Spannungswandler ist ausgebildet, die an dem Wandlereingang anliegende Batteriespannung in eine Versorgungsspannung (214) zu wandeln und zur Stromversorgung der Batteriekomponenten an dem Wandlerausgang bereitzustellen. Die analoge Stromversorgungsschaltung ist ausgebildet, bei einer durch das Steuersignal angezeigten kritischen Tiefenentladung des Batteriepacks die Batteriespannung an den Spannungsversorgungsausgängen (222) und (223) nicht mehr bereitzustellen, um das Batteriepack vor weiterer Entladung zu schützen.

BATTERY CELL ASSEMBLY, BATTERY PACK INCLUDING SAME, AND MOVING MEANS

NºPublicación:  WO2026079744A1 16/04/2026
Solicitante: 
LG ENERGY SOLUTION LTD [KR]
\uC8FC\uC2DD\uD68C\uC0AC \uC5D8\uC9C0\uC5D0\uB108\uC9C0\uC194\uB8E8\uC158
WO_2026079744_A1

Resumen de: WO2026079744A1

A battery cell assembly related to one embodiment of the present invention comprises: a plurality of battery cells; a cell frame provided to accommodate the plurality of battery cells therein; a main busbar which is mounted on the cell frame and electrically connected to the plurality of battery cells; a wire member electrically connecting the main busbar and the plurality of battery cells; and a potting part provided to surround some areas of the wire member and the main busbar, wherein the main busbar includes a terminal connection part to which the wire member is coupled, and a raised part extending from the terminal connection part so as to have a height higher than the filled height of the potting part.

CONDUCTIVE COMPOSITE MATERIAL COMPRISING CARBON-BASED PARTICLES AND POLYMER PARTICLES, METHOD FOR MANUFACTURING THE SAME, POSITIVE ELECTRODE FOR LITHIUM SECONDARY BATTERY COMPRISING THE SAME, AND LITHIUM SECONDARY BATTERY COMPRISING THE SAME

NºPublicación:  US20260106157A1 16/04/2026
Solicitante: 
HYUNDAI MOTOR CO LTD [KR]
KIA CORP [KR]
RESEARCH & BUSINESS FOUND SUNGKYUNKWAN UNIV [KR]
US_20260106157_A1

Resumen de: US20260106157A1

A method for manufacturing a conductive composite material involves ionizing carbon-based particles to have a first charge and polymer particles to have a second charge opposite to the first charge. The carbon-based particles are dispersed in a first solvent with an anionic surfactant, and the polymer particles are dispersed in a second solvent with a cationic surfactant. The method includes mixing the dispersions, separating the composite product, and drying it. The conductive composite material comprises carbon-based particles and polymer particles forming chemical bonds, with the carbon-based particles surface-modified by the first surfactant and the polymer particles by the second surfactant. The material is used in a positive electrode for lithium secondary batteries, where the conductive composite material and the positive electrode active material are coated by a dry process. The carbon-based particles include carbon nanomaterials, and the polymer particles include fluoropolymers or acrylonitrile-based polymers.

BATTERY PROCESSING METHOD AND BATTERY PROCESSING SYSTEM

NºPublicación:  US20260106244A1 16/04/2026
Solicitante: 
MAZDA MOTOR CORP [JP]
US_20260106244_A1

Resumen de: US20260106244A1

A battery processing method for processing a lithium-ion battery including a positive electrode material and a negative electrode material and configured by laminating the positive electrode material and the negative electrode material in a lamination direction. The battery processing method includes: a structure change step of charging/discharging the lithium-ion battery to cause a structure change of a surface of a negative electrode active material; and a lithium deposition step of charging/discharging the lithium-ion battery to deposit lithium on the negative electrode material.

BATTERY PROCESSING METHOD AND BATTERY PROCESSING SYSTEM

NºPublicación:  US20260106239A1 16/04/2026
Solicitante: 
MAZDA MOTOR CORP [JP]
US_20260106239_A1

Resumen de: US20260106239A1

A battery processing method for processing a lithium-ion battery 1 including a positive electrode material 31 and a negative electrode material 35 and configured by laminating the positive electrode material 31 and the negative electrode material 35 in a lamination direction A includes a lithium deposition step S2 of charging the lithium-ion battery 1 by increasing a pressing force in the lamination direction A on at least a part thereof in comparison with a remaining portion to deposit lithium on the negative electrode material 35.

SOLID-STATE ULTRASONIC BATTERY STRUCTURE CAPABLE OF REMOVING LITHIUM DENDRITES

NºPublicación:  US20260106229A1 16/04/2026
Solicitante: 
PENG ZHIJUN [CN]
US_20260106229_A1

Resumen de: US20260106229A1

A solid-state ultrasonic battery structure capable of removing lithium dendrites, comprising two ultrasonic solid electrolytes, each internally provided with an ultrasonic electrode body, and a separation assembly connected to the two ultrasonic solid electrolytes; wherein the separation assembly drives the two ultrasonic solid electrolytes into close contact or separates them, and when in the separated state, a separation gap is formed between the two ultrasonic solid electrolytes.

POWER STORAGE DEVICE

NºPublicación:  US20260106265A1 16/04/2026
Solicitante: 
TOYOTA MOTOR CO LTD [JP]
US_20260106265_A1

Resumen de: US20260106265A1

0000 A power storage device includes: an accommodation case that accommodates a power storage cell; a heat exchanger disposed in the accommodation case; and a coolant pipe through which a coolant flows, the coolant pipe being disposed in the accommodation case, the coolant pipe being connected to the heat exchanger, wherein the coolant pipe includes a first portion and a second portion that cools surrounding air more greatly than the first portion.

ELECTRODE GROUP, BATTERY, AND BATTERY PACK

NºPublicación:  WO2026078742A1 16/04/2026
Solicitante: 
KK TOSHIBA [JP]
\u682A\u5F0F\u4F1A\u793E\u3000\u6771\u829D
WO_2026078742_A1

Resumen de: WO2026078742A1

According to an embodiment of the present invention, provided is an electrode group including a negative electrode, a positive electrode, and a separator, a part of which is located between the negative electrode and the positive electrode. Another part of the separator is located on the outermost surface of the electrode group and is located farther to the outside than at least one end, in the plane direction, of an active material-containing layer included in at least one of the negative electrode and the positive electrode. The ratio of the thickness of the active material-containing layer at the end to the thickness of the active material-containing layer at a position 150 μm inward from the end is greater than 0 and less than 0.9. The tensile strength St of the separator satisfies 10 N/mm ≤ St ≤ 1000 N/mm.

SYSTEMS AND METHODS FOR MONITORING ENERGY CONSUMPTION OF TASKS PERFORMED BY A HEAVY MACHINE

NºPublicación:  US20260104441A1 16/04/2026
Solicitante: 
PODCO INC [CA]
US_20260104441_A1

Resumen de: US20260104441A1

Methods and systems for monitoring battery consumption for a heavy machine such as used in mining, construction, agriculture, and/or industrial applications is disclosed. The energy usage monitoring system for a heavy machine comprises an energy storage providing electrical energy to at least one motor in an electrical circuit; a current sensor placed along the electrical circuit and measuring a plurality of current measurements of a current of the electrical circuit; and a controller receiving the current measurements. The controller and/or method determines a start time and an end time of a task performed by the heavy machine; stores the current measurements during the task; and determines an amount of energy consumed during the task from the current measurements.

SOLID STATE BATTERY INCLUDING IONIC LIQUID CRYSTAL ELASTOMERS

NºPublicación:  US20260106217A1 16/04/2026
Solicitante: 
SIDDIQUEE ZAKARIA [US]
JAKLI ANTAL [US]
US_20260106217_A1

Resumen de: US20260106217A1

Methods for making and embodiments of polymer electrolyte matrix comprising the cured product of a precursor solution comprising one or more liquid crystal elastomers, one or more ionic liquids, at least initiator, and an ionic salt, and optionally one or more plasticizers, and solid-state polymer lithium batteries comprising the polymer electrolyte membranes.

BATTERY CASE AND LITHIUM SECONDARY BATTERY COMPRISING SAME

NºPublicación:  WO2026079677A1 16/04/2026
Solicitante: 
LG ENERGY SOLUTION LTD [KR]
\uC8FC\uC2DD\uD68C\uC0AC \uC5D8\uC9C0\uC5D0\uB108\uC9C0\uC194\uB8E8\uC158
WO_2026079677_A1

Resumen de: WO2026079677A1

The present invention relates to a battery case and a lithium secondary battery comprising same. The battery case comprises a metal-organic framework compound for adsorbing oxygen gas and/or hydrocarbon gas therein in the form of a gas adsorbent or gas adsorption film, thereby effectively removing gas generated during the operation of the secondary battery. Therefore, the lithium secondary battery comprising same has excellent lifespan characteristics and safety.

ALL-SOLID-STATE BATTERY AND MANUFACTURING METHOD THEREFOR

NºPublicación:  WO2026079748A1 16/04/2026
Solicitante: 
LG ENERGY SOLUTION LTD [KR]
\uC8FC\uC2DD\uD68C\uC0AC \uC5D8\uC9C0\uC5D0\uB108\uC9C0\uC194\uB8E8\uC158
WO_2026079748_A1

Resumen de: WO2026079748A1

The present invention relates to an all-solid-state battery comprising a positive electrode, a solid electrolyte layer, and a negative electrode, wherein the positive electrode comprises a positive electrode active material layer, and the all-solid-state battery satisfies equation 1 below. Equation 1 CR100 7/CR100 10 ≥ 87%. In equation 1, CRm n is a capacity retention rate (%) when a battery driving pressure is n (MPa) and a total number of cycles is m under a 0.33 C-rate condition. According to the present invention, it is possible to provide an all-solid-state battery capable of maintaining excellent capacity retention rate characteristics over cycles even when a battery driving pressure is lowered, and also to provide a method for manufacturing an all-solid-state battery that is economical and advantageous for a continuous process.

METHOD FOR PRODUCING LITHIUM COBALT-BASED COMPOSITE OXIDE PARTICLES

NºPublicación:  EP4725909A1 15/04/2026
Solicitante: 
NIPPON CHEMICAL IND [JP]
EP_4725909_A1

Resumen de: EP4725909A1

0001 Provided is a method for producing lithium-cobalt-based composite oxide particles capable of reducing the weight and thickness of a positive electrode material when used as a positive electrode active material for a non-aqueous lithium secondary battery or an all-solid-state battery. The method for producing lithium-cobalt-based composite oxide particles includes: a thermally decomposing step of thermally decomposing a raw material cobalt compound having an average particle diameter as determined by SEM observation of 0.05 to 1.00 µm to obtain an oxide of cobalt, the raw material cobalt being cobalt hydroxide or a salt of cobalt; a mixture preparing step of preparing a mixture containing at least a lithium compound and the oxide of cobalt obtained in the thermally decomposing step; and a firing step of firing the mixture prepared in the mixture preparing step at 500 to 850°C.

ELECTRODE SHEET DIE-CUTTING METHOD AND ELECTRODE SHEET DIE-CUTTING DEVICE

NºPublicación:  EP4725640A1 15/04/2026
Solicitante: 
EVE POWER CO LTD [CN]
EP_4725640_PA

Resumen de: EP4725640A1

The present invention provides an electrode plate die-cutting method and an electrode plate die-cutting device. The electrode plate die-cutting method includes: conveying an electrode plate material strip in a first direction to a cutting area of an electrode plate die-cutting device; and adjusting, based on the electrode plate material strip, a position of each of a first laser cutting assembly and a second laser cutting assembly of the electrode plate die-cutting device to position a center point of a first laser galvanometer of the first laser cutting assembly above a predetermined electrode plate cutting line and to position a center point of a second laser galvanometer of the second laser cutting assembly above the tab cutting area.

INTERCHANGEABLE RECHARGEABLE BATTERY PACK FOR A CONSUMER

NºPublicación:  EP4725074A1 15/04/2026
Solicitante: 
BOSCH GMBH ROBERT [DE]
WO_2024251782_PA

Resumen de: WO2024251782A1

The invention relates to an interchangeable rechargeable battery pack (1) for a consumer, in particular for a power tool, comprising at least two rechargeable cells (2), at least one cell connector (4), and a first contact element (11) and a second contact element (12) for electrically connecting the interchangeable rechargeable battery pack (1), wherein each rechargeable cell (2) is electrically conductively connected to the at least one cell connector (4) by means of a connection (5), and wherein the rechargeable cells (2) and the at least one cell connector (4) and each connection (5) are configured such that a total AC internal resistance of the interchangeable rechargeable battery pack (1) between the first contact element (11) and the second contact element (12) is at most 40 milliohms.

BUSBAR ASSEMBLY, BATTERY MODULE AND BATTERY PACK

NºPublicación:  EP4726905A1 15/04/2026
Solicitante: 
EVE ENERGY CO LTD [CN]
EP_4726905_PA

Resumen de: EP4726905A1

A bus bar assembly, a battery module, and a battery pack are provided in the present disclosure. The bus bar assembly includes a positive bus bar, a negative bus bar, a series-connected bus bar, and a connecting bus bar. All of parts of the connecting bus bar, the series-connected bus bar, and the negative bus bar respectively connected to negative terminals of corresponding cells are defined as negative electrode parts. At least one partition slot is defined on a negative electrode part, and the at least one partition slot is defined to separate the negative electrode part into at least two separated parts in a second direction. Each of the at least two separated parts is connected to a negative terminal of a corresponding cell.

SECONDARY BATTERY

NºPublicación:  EP4726876A1 15/04/2026
Solicitante: 
LG ENERGY SOLUTION LTD [KR]
EP_4726876_PA

Resumen de: EP4726876A1

A secondary battery according to the present invention is characterized in comprising: an electrode assembly; an outer film which has an inner space for accommodating the electrode assembly and which has an outer material opening for communicating the inner space with the outside; and a cover member covering the outer material opening of the outer film, wherein the outer film has a sealing surface at which the inner surface and the outer surface of the outer film meet in a direction perpendicular to the outer material opening and are joined by an adhesive film, and the adhesive film has a sealing index (SI) defined by the static contact angle of an adhesive surface and a peel strength in an electrolyte of 1.00 to 6.00, and a secondary battery with secured sealing durability and improved energy density may be provided.

ELECTRODE STRUCTURE FOR LITHIUM SECONDARY BATTERY AND MANUFACTURING METHOD THEREFOR

NºPublicación:  EP4726834A1 15/04/2026
Solicitante: 
SK ON CO LTD [KR]
EP_4726834_PA

Resumen de: EP4726834A1

According to exemplary embodiments, an electrode structure for a lithium secondary battery includes a first electrode, a second electrode disposed opposite the first electrode, and a plurality of electrolyte layers sequentially formed between the first electrode and the second electrode. Some of the electrolyte layers may have different mechanical strengths or ionic conductivities. As a result, a lithium secondary battery having improved electrochemical stability and output characteristics may be provided.

BINDER COMPOSITION FOR POWER STORAGE DEVICES, SLURRY FOR POWER STORAGE DEVICE ELECTRODES, POWER STORAGE DEVICE ELECTRODE, AND POWER STORAGE DEVICE

NºPublicación:  EP4726811A1 15/04/2026
Solicitante: 
ENEOS MAT CORPORATION [JP]
EP_4726811_A1

Resumen de: EP4726811A1

0001 Provided is a binder composition for an electrical storage device, which enables the production of an electrical storage device electrode excellent in input-output characteristic and excellent in charge-discharge durability characteristic under high temperature by reducing internal resistance. The binder composition for an electrical storage device includes a polymer (A) and a liquid medium (B). A value of a spin-spin relaxation time (T2) of the polymer (A) measured by pulsed NMR is 0.8 msec or less at 100°C. With respect to 100 mass% in total of repeating units contained in the polymer (A), the polymer (A) contains 4 mass% or more of at least one of a repeating unit (a1) derived from an unsaturated carboxylic acid having a value of "monomer molecular weight (g/mol)/number of carboxylic acid functional groups" of less than 85 and a repeating unit (a2) derived from an unsaturated carboxylic acid having a value of "monomer molecular weight (g/mol)/number of carboxylic acid functional groups" of 85 or more.

POWER STORAGE DEVICE BINDER COMPOSITION, POWER STORAGE DEVICE ELECTRODE SLURRY, POWER STORAGE DEVICE ELECTRODE, AND POWER STORAGE DEVICE

NºPublicación:  EP4726812A1 15/04/2026
Solicitante: 
ENEOS MAT CORPORATION [JP]
EP_4726812_A1

Resumen de: EP4726812A1

0001 Provided is a binder composition for an electrical storage device, which enables the production of an electrical storage device electrode that is reduced in internal resistance and is excellent in adhesiveness. The binder composition for an electrical storage device includes a polymer (A) and a liquid medium (B). A value of a spin-spin relaxation time (T2) of the polymer (A) measured by pulsed NMR is 0.8 msec or less at 100°C. With respect to 100 mass% in total of repeating units contained in the polymer (A), the polymer (A) contains 0 mass% or more and 4 mass% or less of a repeating unit (a1) derived from an unsaturated carboxylic acid.

LITHIUM ION SECONDARY BATTERY AND LITHIUM ION BATTERY PACK

NºPublicación:  EP4726910A1 15/04/2026
Solicitante: 
VEHICLE ENERGY JAPAN INC [JP]
EP_4726910_PA

Resumen de: EP4726910A1

0001 Provided are a novel lithium ion secondary battery enabling replenishment or replacement of an electrolyte and a lithium ion battery pack. 0002 Two openable and closable electrolyte circulation mechanisms (30U and 30B) for replenishing or replacing an electrolyte by circulating the electrolyte from the inside of a battery container (1 or 6) to the outside of the battery container or from the outside of the battery container to the inside of the battery container are provided. The circulation mechanism includes a fixing portion (32) that is fixed by welding to an outer surface or an inner surface of the battery container, a shaft portion (35) that is integrally formed with the fixing portion, has a flow path (36) that is inserted through the inside of the fixing portion and fluidly connected to an internal space of the battery container, and protrudes outward from the outside surface of the battery container, and a sealing body (39) detachably attached to the distal end side of the shaft portion so as to be capable of opening and closing an opening portion (35S) of the flow path.

LID ASSEMBLY FOR A PRISMATIC BATTERY CELL AND METHOD FOR PRODUCING SUCH LID ASSEMBLY

NºPublicación:  EP4725072A1 15/04/2026
Solicitante: 
FREUDENBERG SEALING TECH S A S DI EXTERNA ITALIA S R L U [IT]
WO_2024252171_PA

Resumen de: MX2025014608A

There is described a lid assembly (1) for a prismatic battery cell comprising: a base plate (4); a current collector (55) electrically connectable to a respective electrode of the battery cell, for collecting electrical energy; a terminal (6) electrically coupled with the current collector (5) for receiving the electrical energy therefrom; and an insulator member (7) interposed between the terminal (6) and the base plate (4) for electrically insulating the terminal (6) from the base plate (4); the insulator member (7) has an inner portion (7b) and an outer skin (7a) surrounding the inner portion (7b) and defining an external surface thereof; at least one among the inner portion (7b) of the insulator member (7), the terminal (6) and the base plate (4) includes at least one protrusion (13) projecting therefrom for piercing the outer skin (7a), respectively from the inside or from the outside thereof.

POUCH CELL AND GAS DISCHARGE MEMBER

NºPublicación:  EP4726895A1 15/04/2026
Solicitante: 
LG ENERGY SOLUTION LTD [KR]
EP_4726895_PA

Resumen de: EP4726895A1

0001 The present disclosure is directed to providing a gas release member that can release gas inside a pouch to the atmosphere and has a reduced deformation ratio and a pouch cell including the same. The pouch cell according to the present disclosure may include an electrode assembly including a positive electrode, a negative electrode and a separator, a pouch accommodating the electrode assembly, an electrode lead electrically connected to the electrode assembly and protruded outward from the pouch, a lead film covering a part of the electrode lead to isolate the electrode lead from the pouch, and a gas release member disposed between the electrode lead and the lead film and configured to form a gas movement route by gas inside the pouch, wherein the gas release member may include a first member, a part of which has a concave shape in a length direction of the electrode lead, and a second member extended from the first member toward the electrode assembly.

HIGH-CAPACITY BATTERY, BATTERY CELL, SEALING CONNECTOR, AND UPPER COVER ASSEMBLY

NºPublicación:  EP4726890A1 15/04/2026
Solicitante: 
D AUS ENERGY STORAGE TECH XIAN CO LTD [CN]
EP_4726890_PA

Resumen de: EP4726890A1

The present invention relates to the field of batteries, and particularly to a high-capacity battery, a battery cell, a sealing connector, and an upper cover assembly. The problem of poor uniformity of battery cells in existing battery modules is solved. The large-capacity battery comprises a case and a plurality of battery cells; the plurality of battery cells are arranged side by side, and are arranged in the case as a whole; pole clearance holes, i.e., first through holes, are formed at the positions, corresponding to polarity terminals of each battery cell, of the top of the case; the polarity terminals of the battery cells extend out of the top of the case through the corresponding pole clearance holes, i.e., first through holes, and are used for realizing parallel connection between the battery cells; tubular members to be welded, i.e., hollow members, are provided between the upper cover assembly of each battery cell and the pole clearance holes, i.e., first through holes, corresponding to the battery cell on the top of the case; electrolyte areas of the battery cells are communicated with each other, so that the battery cells are located in one electrolyte system. During operation of the high-capacity battery, the consumption of electrolyte is always consistent in the battery cells, thereby improving the consistency of the battery cells in the large-capacity battery, and ensuring the cycle life of the high-capacity battery.

GASKET

NºPublicación:  EP4726897A1 15/04/2026
Solicitante: 
NOK CORP [JP]
EP_4726897_PA

Resumen de: EP4726897A1

0001 Provided is a gasket having high conformability to an object being contacted and having excellent pressure resistance and heat resistance. A gasket 1 is provided with: a plurality of flow path portions 10 each being a tubular member and having a pair of openings 11, 12; and a base body 20 having a pair of surfaces, namely, a front surface 21 and a rear surface 22 facing away from each other. The base body 20 is elastic. The flow path portions 10 are held by the base body 20 in such a manner that the openings 11, 12 respectively open on the front surface 21 and the rear surface 22 of the base body 20, so as to form a flow path for a sealing target object. Hardness of the base body 20 is lower than hardness of the flow path portions 10.

POWER GENERATION ELEMENT

NºPublicación:  EP4726863A1 15/04/2026
Solicitante: 
AIST [JP]
EP_4726863_PA

Resumen de: EP4726863A1

Provided is a power generating element capable of obtaining a larger electromotive force by using humidity fluctuation in an environment. The power generating element generates power by using a humidity change due to water vapor in the environment. A first chamber shielded from the water vapor in the environment and a second chamber opened to the water vapor in the environment are separated by an ion-permeable membrane, and are each filled with an aqueous electrolytic solution including an aqueous solution of a deliquescent ionic compound. In addition, an electrode is provided in each of the first chamber and the second chamber. Here, the ion-permeable membrane is made of an electrolyte capable of conducting ions that have not been hydrated.

BATTERY PACK

NºPublicación:  EP4726878A1 15/04/2026
Solicitante: 
AESC JAPAN LTD [JP]
EP_4726878_PA

Resumen de: EP4726878A1

A battery pack (10) includes a battery module (100), a module housing body (300) that accommodates the battery module (100), a gas discharge portion (400) to discharge gas discharged from the battery module (100) out of the module housing body (300), and an upper heat-resistant sheet (610) and a lower heat-resistant sheet (620) that are at least partially disposed around a communication space (350) that communicates with the battery module (100) and the gas discharge portion (400) inside the module housing body (300).

QUINONE TYPE MOLECULES FOR ZINC-ION AQUEOUS BATTERIES

NºPublicación:  EP4725060A1 15/04/2026
Solicitante: 
CENTRE NAT RECH SCIENT [FR]
UNIV NANTES [FR]
EP_4475229_PA

Resumen de: EP4475229A1

Electrode material comprising a quinone, wherein the quinone comprises at least one and preferably two hydrophobic functional groups, preferably selected among an aliphatic group and most preferably a branched alkyl group.

METHOD FOR SEPARATING LI IONS AND NA IONS

NºPublicación:  EP4724616A1 15/04/2026
Solicitante: 
H C STARCK TUNGSTEN GMBH [DE]
EP_4474499_PA

Resumen de: WO2024251790A1

The invention relates to a method for separating Li ions and Na ions from sulfate-containing solutions, and to a device for carrying out the method.

BACKUP BATTERY ASSEMBLY

NºPublicación:  EP4725772A1 15/04/2026
Solicitante: 
LG ENERGY SOLUTION LTD [KR]
EP_4725772_PA

Resumen de: EP4725772A1

The present disclosure relates to a backup battery assembly, and more specifically, to a backup battery assembly that supplies a current to a vehicle door lock to lock or unlock the vehicle door lock when the main power of the vehicle door lock is cut off. A backup battery assembly according to the present disclosure may include a backup battery that supplies a current to a vehicle door lock when the main power of the vehicle door lock is cut off, a backup battery case accommodating the backup battery, and a protection block installed inside the backup battery case to protect the backup battery, wherein the protection block may include a first end coupled to one side surface inside the backup battery case, a second end coupled to the other side surface inside the backup battery case, and a connection portion connecting the first end and the second end between the first end and the second end, wherein the cross-sectional area of the first end and the second end in the width direction of the backup battery case may be wider than the cross-sectional area of the connection portion in the first direction, and the protection block may be a rigid block made of SUS, aluminum, or steel.

IMPROVED THERMOPLASTIC CARBON PRECURSOR MATERIAL FOR THE MANUFACTURING OF BATTERY ELECTRODES

NºPublicación:  EP4724390A1 15/04/2026
Solicitante: 
RAIN CARBON BV [BE]
RAIN CARBON GERMANY GMBH [DE]
EP_4474347_A1

Resumen de: EP4474347A1

0001 The present invention is directed the use of a carbon precursor material in the manufacturing of battery electrodes is provided, said carbon precursor material comprising a petroleum-derived pitch product characterized by a Alcan coking value of between 44 and 80 wt% as measured according to ASTM D4715 and being a distillation product derived from petroleum-based raw material produced by the pyrolysis of petroleum streams, said petroleum-based raw material having a concentration of at least 40 wt.% by weight of asphaltenes as measured by Clay-Gel Absorption Chromatographic Method according to ASTM D2007. The present invention provides also a battery electrode comprising such converted carbon precursor material.

A PROCESS FOR PRODUCING ISOTROPIC CARBONACEOUS PRECURSOR AGGLOMERATES

NºPublicación:  EP4724389A1 15/04/2026
Solicitante: 
RAIN CARBON GERMANY GMBH [DE]
EP_4474346_A1

Resumen de: EP4474346A1

0001 The present invention is directed to a process for producing isotropic carbonaceous precursor agglomerates including the steps of i. Providing coke particles with an average particle size < 50 µm and said particles having a volatile matter content (VM) between 4 % and 20 %. ii. Mixing and agglomerating the coke particles with the addition of water and a water-soluble temporary binder iii. At least partially drying the mixture, iv. Carbonizing the mixture. 0002 In addition, the present invention provides is directed to a process for the manufacturing of isotropic graphitic electrode materials for battery electrodes, in particular for lithium-ion batteries, said process including the process for producing isotropic carbonaceous precursor agglomerates in accordance with the present invention, and further graphitizing said agglomerates to electrode material.

BATTERY AND ELECTRICAL DEVICE

NºPublicación:  EP4726860A1 15/04/2026
Solicitante: 
CONTEMPORARY AMPEREX TECHNOLOGY CO LTD [CN]
EP_4726860_PA

Resumen de: EP4726860A1

0001 This invention relates to the field of battery technologies, and in particular, to a battery and an electric device. The battery of this application includes a case, a cover plate, a battery cell, a heat management component, and a support member, where the case includes an accommodation cavity and an opening communicating with the accommodation cavity, the cover plate is located above the case and covers the opening, the battery cell is disposed in the accommodation cavity, the heat management component includes a heat exchanger and a fluid collector, the heat exchanger and the fluid collector are connected to each other with internal cavities in communication, the heat exchanger is configured to bear the battery cell and is heat-conductively connected to the battery cell, the support member is at least partially located below the fluid collector, and the support member is connected to the fluid collector. According to the battery of this application, the support member is disposed below the fluid collector, so that at least part of a weight of the battery cell is transferred to the support member, thereby reducing a probability of damages such as bending or breakage of the fluid collector.

BATTERY PACK AND VEHICLE

NºPublicación:  EP4725070A1 15/04/2026
Solicitante: 
SCANIA CV AB [SE]
WO_2024253568_PA

Resumen de: WO2024253568A1

The disclosure concerns a battery pack (10) e.g., for a vehicle (2), the battery pack (10) comprising at least one battery module (12), a casing (14) configured to accommodate the at least one battery module (12), and one or more thermal insulation members (16). The battery module (12) comprises a number of battery cells (18), and a heat transfer element (20). Each 5 battery cell (18') is connected to the heat transfer element (20) and the one or more thermal insulation members (16) are connected to the heat transfer element (20). The battery module (12) is mounted in the casing (14) via the one or more thermal insulation members (16).

A METHOD FOR PRODUCING A CARBON ENRICHED MATERIAL FROM LIGNIN

NºPublicación:  EP4724391A1 15/04/2026
Solicitante: 
STORA ENSO OYJ [FI]
WO_2024252231_A1

Resumen de: WO2024252231A1

The present invention relates to a method for producing a carbon enriched material, said method comprising the steps of: a) providing lignin; b) mixing the lignin with a recirculated carbon enriched material fraction to obtain a lignin-carbon mixture; c) forming an agglomerated lignin-carbon composite material comprising lignin, the recirculated carbon enriched material fraction and optionally at least one additive; d) subjecting the agglomerated lignin-carbon composite material to heat treatment at one or more temperatures in the range of from 300 to 1500°C, wherein the heat treatment is carried out for a total time in the range of from 30 minutes to 10 hours, so as to obtain a carbon enriched material; e) milling the obtained carbon enriched material to so as to reduce the average particle size of the carbon enriched material, and to obtain at least a first fraction of a carbon enriched material, and a second fraction of a carbon enriched material; and f) recirculating at least a part of the first fraction obtained in step e) to step b).

METHOD FOR PRODUCING A CARBON ENRICHED MATERIAL FROM HEAT TREATED LIGNIN

NºPublicación:  EP4724519A1 15/04/2026
Solicitante: 
STORA ENSO OYJ [FI]
WO_2024252233_A1

Resumen de: WO2024252233A1

The present invention relates to a method for producing completely thermally stabilized agglomerated lignin, the method comprising the steps of a) providing agglomerated lignin having an average particle size in the range of from 50 to 500 µm; and b) heating the agglomerated lignin to a temperature in the range of from 140 to 300°C for a time period of at least 30 minutes, so as to obtain completely thermally stabilized agglomerated lignin. The present invention also relates to completely thermally stabilized agglomerated lignin and a method for producing a carbon enriched material obtained by subjecting the completely thermally stabilized agglomerated lignin to heat treatment.

BALANCING SYSTEM FOR CELLS OF A BATTERY WITH INTEGRATED SPECTROSCOPIC IMPEDANCE MEASUREMENT SYSTEM

NºPublicación:  EP4725095A1 15/04/2026
Solicitante: 
FLASH BATTERY S R L [IT]
WO_2024252311_PA

Resumen de: WO2024252311A1

The present invention concerns a balancing system for cells of a battery, for example a lithium battery, with an integrated spectroscopic impedance measurement system. The present invention also concerns a method for processing the impedance spectrum of at least one cell of a battery comprising the aforementioned balancing system.

PREPARATION METHOD FOR LITHIUM BATTERY SEPARATOR HAVING LOW SHUTDOWN TEMPERATURE AND HIGH STRENGTH

NºPublicación:  EP4726900A1 15/04/2026
Solicitante: 
HEBEI GELLEC NEW ENERGY SCIENCE & TECH CO LTD [CN]
EP_4726900_A1

Resumen de: EP4726900A1

The present disclosure relates to the technical field of lithium battery separators, and proposes a preparation method of a lithium battery separator with low shutdown temperature and high strength. The preparation method comprises the following steps: mixing the raw materials, extruding, tape-casting into a sheet, performing longitudinal stretching, performing primary transverse stretching, extracting, performing secondary transverse stretching, and forming a film. The raw materials of the lithium battery separator comprise the following components in parts by weight: 15 to 27 parts of ultrahigh-molecular weight polyethylene, 1 to 6 parts of pyrolyzed polyethylene wax, 0.4 to 1.5 parts of a toughening agent, and 70 to 80 parts of solvent oil. The above technical solution solves the problems of high shutdown temperature and low strength of lithium battery separators in the prior art.

BATTERY CELL, BATTERY, AND ELECTRICAL DEVICE

NºPublicación:  EP4726864A1 15/04/2026
Solicitante: 
CONTEMPORARY AMPEREX TECHNOLOGY CO LTD [CN]
EP_4726864_PA

Resumen de: EP4726864A1

A battery cell, a battery, and an electric device are disclosed. The battery cell includes a housing, a pressure relief mechanism, and a reinforcement member. The housing has a first wall portion, and the first wall portion is provided with a first groove. The pressure relief mechanism is disposed on the first wall portion. The reinforcement member is at least partially accommodated in the first groove, and the reinforcement member is disposed around the pressure relief mechanism. The reinforcement member is accommodated in the first groove, reducing the height by which the reinforcement member protrudes beyond the first wall portion. The provision of the first groove can reduce the weight of the first wall portion. The reinforcement member is at least partially accommodated in the first groove, which can enhance the rigidity and strength at the position where the first groove is provided, thereby improving the strength and rigidity of the first wall portion without significantly increasing its weight. When the first wall portion is subjected to an external impact, the reinforcement member can absorb energy of the external impact, which reduces the risk of damage to the pressure relief mechanism caused by the external impact, allowing the pressure relief mechanism to implement normal pressure relief function.

WINDING SYSTEM AND WINDING METHOD THEREOF

NºPublicación:  EP4726820A1 15/04/2026
Solicitante: 
CONTEMPORARY AMPEREX TECHNOLOGY CO LTD [CN]
EP_4726820_PA

Resumen de: EP4726820A1

This application relates to the field of battery processing technologies, and particularly discloses a winding system and a winding method thereof. The winding system includes an electrode plate unwinding mechanism, a separator unwinding mechanism, a winding mandrel, a cutter, and an auxiliary wheel mechanism. The electrode plate unwinding mechanism is configured to unwind an electrode plate, and the separator unwinding mechanism is configured to unwind a separator; the winding mandrel is configured to wind the electrode plate and the separator to form a winding core; the cutter is configured to cut the electrode plate and is arranged upstream of the winding mandrel; the auxiliary wheel mechanism is arranged downstream of the cutter, where the auxiliary wheel mechanism includes an auxiliary wheel, a first drive member, and a second drive member, the first drive member is configured to drive the auxiliary wheel to move closer to or away from the electrode plate, and the second drive member is configured to drive the auxiliary wheel to rotate to adjust the tension of the electrode plate.

NEGATIVE ELECTRODE MATERIAL AND PREPARATION METHOD THEREFOR, AND LITHIUM-ION BATTERY

NºPublicación:  EP4726808A1 15/04/2026
Solicitante: 
BTR NEW MAT GROUP CO LTD [CN]
DINGYUAN NEW ENERGY TECH CO LTD [CN]
EP_4726808_PA

Resumen de: EP4726808A1

The present application relates to the technical field of lithium batteries, and particularly relates to an anode material, a preparation method thereof and a lithium-ion battery. The anode material includes an active material including Si, O and metal M, where the metal M includes Mg, Ca and Cu. In the anode material, a mass content of Mg is mMg, a mass content of Ca is mCa, and a mass content of Cu is mCu, where 0Ca/mMg<0.1, and 0Cu/mMg < 0.01. In the anode material of the present application, Mg, Ca and Cu are introduced into the active material, and a ratio of Mg, Ca and Cu is limited within a proper range, so that the initial coulombic efficiency, the conductivity, the cycle performance and the lithium intercalation and deintercalation rate of the anode material are improved.

ELECTROCHEMICAL CELL, COMPRISING, AS A SOLID-BODY ELECTROLYTE, A POLYMER COMPOUND DEFINED IN MORE DETAIL AND A CONDUCTING SALT, CORRESPONDING METHOD, CORRESPONDING SOLID-BODY ELECTROLYTE, CORRESPONDING USES, AND CORRESPONDING KIT

NºPublicación:  EP4725063A1 15/04/2026
Solicitante: 
FRAUNHOFER GES FORSCHUNG [DE]
WO_2024251861_A1

Resumen de: WO2024251861A1

The invention relates to an electrochemical cell, comprising, as a solid-body electrolyte, a polymer compound and a conducting salt, wherein - the polymer compound comprises at least one chemical structural element according to the following formula (I): -CH2CH(CH2OR)O-, and additionally at least one chemical structural element according to the following formula (II): -CH2CH(OR)CH2O-, and additionally at least one chemical structural element according to the following formula (III): -CH2CH(OR)CH2(OR), where R is, in case independently of one another, selected from the group consisting of: - alkyl groups, preferably selected from the list consisting of methyl group, ethyl group and propyl group, - acetyl group, - methoxyethane group, - phenyl group, - nitrile group, - silyl group, - metal sulfonate group, - metal sulfinate group, - halogen carbonyl group, - halogen sulfonyl group, and - hydroxy group.

NEGATIVE ELECTRODE MATERIAL AND PREPARATION METHOD THEREFOR, AND BATTERY

NºPublicación:  EP4726807A1 15/04/2026
Solicitante: 
BTR NEW MAT GROUP CO LTD [CN]
EP_4726807_PA

Resumen de: EP4726807A1

0001 The present application provides an anode material, a preparation method thereof and a battery, and relates to the technical field of batteries. The anode material of the present application includes a silicon-based core, and a coating layer at least partially coated on a surface of the silicon-based core; the anode material satisfies that a ratio B:A is 1 to 100, where A is a mass ratio of oxygen to lithium in the anode material, and B is an atomic ratio of oxygen to silicon obtained by test with an X-ray photoelectron spectrometer on the anode material. The preparation method of the anode material includes: reacting a carbon-coated pre-lithiated silicon-based material with an oxidizing agent to obtain the anode material. In the present application, the ratio B:A in the anode material actually represents an oxidation degree on a surface layer of the anode material. A larger ratio indicates a higher degree of surface oxidation, which can reduce the reaction of the silicon-based core with external moisture, as well as the risks of hydrolysis and gas production, so that the water resistance of the anode material is greatly improved, and the ICE and cycle performance of the battery are improved.

ELECTROCHEMICAL APPARATUS AND ELECTRONIC APPARATUS

NºPublicación:  EP4726899A1 15/04/2026
Solicitante: 
NINGDE AMPEREX TECHNOLOGY LTD [CN]
EP_4726899_PA

Resumen de: EP4726899A1

An electrochemical apparatus and an electronic apparatus are provided. The electrochemical apparatus includes a positive electrode plate, a negative electrode plate, a separator, and an electrolyte, the separator is disposed between the positive electrode plate and the negative electrode plate, the separator includes a porous substrate, and the porous substrate includes a first polyethylene resin material and a second polyethylene resin material; where a melting enthalpy of the first polyethylene resin material is 110 J/g to 160 J/g, a melting enthalpy of the second polyethylene resin material is 170 J/g to 205 J/g, and a shutdown rate of the separator is 10 kΩ/min to 80 kΩ/min; based on the mass of the porous substrate, a mass percentage of the first polyethylene resin material is 10% to 40%, and a mass percentage of the second polyethylene resin material is 45% to 88%. The separator exhibits a relatively high shutdown rate, enabling rapid shutdown at a relatively low temperature with good shutdown effectiveness, thereby improving the high-temperature safety performance and electrochemical performance of the electrochemical apparatus.

BATTERY

NºPublicación:  EP4726872A1 15/04/2026
Solicitante: 
NINGDE AMPEREX TECHNOLOGY LTD [CN]
EP_4726872_PA

Resumen de: EP4726872A1

A battery (100) is provided, including an electrode assembly (20) and a packaging bag (10) configured to accommodate the electrode assembly (20), where the packaging bag (10) includes a nylon layer (16), the nylon layer (16) includes a coloring material, an average of color difference values L of the nylon layer (16) is greater than or equal to 6 and less than or equal to 12, and a standard deviation of the color difference values L of the nylon layer (16) is σ and satisfies σ≤0.2. The nylon layer (16) includes the coloring material, and during fabrication of the nylon layer (16), through adjusting an amount of the coloring material and a thickness of a nylon material, a color difference of the nylon layer (16) can be adjusted. Additionally, the average and standard deviation of the color difference values L of the nylon layer (16) satisfy the foregoing ranges, so that an even color difference can be achieved. Meanwhile, during preparation of the packaging bag (10), since the nylon layer (16) has coloration, the nylon layer (16) can be directly bonded to a metal layer (15), and therefore fillers such as black ink are not needed, thereby enhancing bonding between the nylon layer (16) and the metal layer (15) to improve mechanical strength and punching performance of the packaging bag (10).

ELECTRODE ASSEMBLY, BATTERY, AND BATTERY PACK AND VEHICLE INCLUDING SAME

NºPublicación:  EP4726907A2 15/04/2026
Solicitante: 
LG ENERGY SOLUTION LTD [KR]
EP_4726907_PA

Resumen de: EP4726907A2

0001 Disclosed is an electrode assembly, a battery, and a battery pack and a vehicle including the same. At least one of the first electrode and the second electrode includes an uncoated portion at a long side end, a part of the uncoated portion is exposed to the outside of the separator along a longitudinal direction of the electrode assembly, at least a part of the uncoated portion is bent in a radial direction of the electrode assembly to form a bending surface, and the bending surface may include a region in which the number of overlapping layers of the uncoated portion is substantially kept constant as a criterion layer number along the radial direction The welding region of the current collecting plate welded to the bending surface may overlap with the region in which the number of overlapping layers of the uncoated portion is kept as the criterion layer number.

CHARGING METHOD FOR ELECTRIC CARS, AND ELECTRIC CARS WITH INTERCHANGEABLE BATTERIES

NºPublicación:  EP4724296A1 15/04/2026
Solicitante: 
MILOSIU JOHANN MARIUS [DE]
DE_102023002341_PA

Resumen de: WO2024252187A1

The present invention discloses an entirely new system for charging the energy storage systems of electric cars. This method generally dispenses with charging the vehicle's own battery directly via a cable from an external power source, although this is possible in extremis. Instead, the segments making up the energy storage system of the novel electric cars are exchanged for e-fuelling. A battery management system ensures that the segments of the energy storage system are not discharged simultaneously while driving, but rather in each case just one or at most two are used in parallel. This staged discharge of the energy storage system means that, when needed, targeted exchange (or e-fuelling) of just these empty segments is possible. Accommodation of the energy storage system in the vehicle underbody enables both manual and automated e-fuelling. The battery segments are placed in the vehicle underbody in channels transversely to the direction of travel, meaning that they can be pushed in and out laterally. The number of segments to be exchanged during e-fuelling is determined by the driver and is displayed by light-emitting diodes placed in the lateral channel frame, which serve simultaneously as positioning aids for automated exchange. Lateral access to the battery segments enables straightforward, quick exchange thereof.

GAS VENTING DEVICE AND BATTERY PACK COMPRISING SAME

NºPublicación:  EP4726879A2 15/04/2026
Solicitante: 
LG ENERGY SOLUTION LTD [KR]
EP_4726879_A2

Resumen de: EP4726879A2

The present technology relates to a gas venting device, and a battery module and a battery pack including the same. A cross-sectional area of a flow path is continuously reduced in a gas discharge direction, and thus a larger amount of gas is allowed to be discharged even when a venting disc having the same area is used.

BATTERY CORE AND PREPARATION METHOD THEREFOR

NºPublicación:  EP4726791A1 15/04/2026
Solicitante: 
ZHEJIANG JINKO ENERGY STORAGE CO LTD [CN]
EP_4726791_A1

Resumen de: EP4726791A1

The present application provides a battery core and a preparation method therefor. The preparation method of the battery core includes following steps: after stacking a positive electrode sheet, a negative electrode sheet, and a separator into a stacked battery core, sequentially preforming tab welding, encapsulation, injection, formation, and vacuum-sealing on the stacked battery core, and obtaining the battery core, wherein the positive electrode sheet is obtained by coating a positive slurry on a positive electrode current collector, and laminating and drying same. The positive slurry includes a positive electrode active material and a lithium supplement agent. After the encapsulation and before the injection, the method further includes a step of preparing a catalyst comprising: sequentially injecting a catalyst precursor solution into an encapsulated battery core and performing a standing treatment, applying a current or voltage to the battery core after standing, and removing the catalyst precursor solution, in a process of applying the current or voltage to the battery core after standing, a catalyst precursor in the catalyst precursor solution undergoes a reaction and adheres to a surface of the positive electrode sheet thereby forming a catalyst. The voltage ranges from -2.5 V to 0 V.

NEGATIVE ELECTRODE MATERIAL AND BATTERY

NºPublicación:  EP4726809A1 15/04/2026
Solicitante: 
BTR NEW MAT GROUP CO LTD [CN]
EP_4726809_PA

Resumen de: EP4726809A1

0001 Provided is an anode material and a battery. The anode material contains a carbon matrix and an active substance, and the carbon matrix contains oxygen element and nitrogen element; and a mass content of the oxygen element in the anode material is A%, a mass content of the nitrogen element in the anode material is B%, powder conductivity of the anode material is P S/cm, and A, B, and P meet the following relationship: M = AB P , M≤5. In the anode material provided in the present application, the relationship of the nitrogen content, the oxygen content, and the powder conductivity meet M = AB P , M≤5, such that the initial coulombic efficiency of the anode material is improved while the powder conductivity of the anode material is improved.

BATTERY MODULE AND BATTERY PACK AND VEHICLE COMPRISING THE SAME

NºPublicación:  EP4726884A2 15/04/2026
Solicitante: 
LG ENERGY SOLUTION LTD [KR]
EP_4726884_A2

Resumen de: EP4726884A2

0001 A battery module according to an embodiment of the present disclosure includes a cell assembly including a plurality of battery cells, and a frame assembly covering at least one side of the cell assembly, and configured to guide direct connection between electrode leads of adjacent battery cells.

POWDER FOR ELECTRODE FOR MANUFACTURING DRY ELECTRODE FOR SECONDARY BATTERY, METHOD FOR PREPARING THE SAME, METHOD FOR MANUFACTURING DRY ELECTRODE USING THE SAME, DRY ELECTRODE, SECONDARY BATTREY INCLUDING THE SAME, ENERGY STORAGE APPARATUS, AND APPARATUS

NºPublicación:  EP4726788A2 15/04/2026
Solicitante: 
LG ENERGY SOLUTION LTD [KR]
EP_4726788_PA

Resumen de: EP4726788A2

The present disclosure relates to powder for an electrode for manufacturing a dry electrode for a secondary battery, including an active material, a conductive material and a binder, and showing a resistivity of 700 Ω·cm or less when being pressurized under a pressure of 50 MPa. The present disclosure also relates to a method for preparing the powder for an electrode, a method for manufacturing a dry electrode using the powder for an electrode, a dry electrode, a secondary battery including the dry electrode, an energy storage apparatus, and an apparatus for manufacturing a dry electrode.

ELECTROACTIVE COMPOSITE PARTICLES

NºPublicación:  EP4726787A2 15/04/2026
Solicitante: 
NEXEON LTD [GB]
EP_4726787_A2

Resumen de: EP4726787A2

This invention relates to a particulate material consisting of a plurality of composite particles comprising a porous particle framework and a plurality of nanoscale elemental silicon domains located within the pores of the porous particle framework. The porous particle framework comprises micropores and mesopores, wherein the total volume of micropores and mesopores in the porous particle framework as measured by gas adsorption is from 0.5 to 1.8 cm3/g. The composite particles comprise from 30 to 70 wt% silicon, wherein at least 30 wt% of the silicon is surface silicon as determined by thermogravimetric analysis (TGA); no more than 1.2 wt% of hydrogen; and have a weight ratio of oxygen to silicon of no more than 0.15. The BET surface area of the composite particles is no more than 40 m2/g.

BATTERY PACK

NºPublicación:  EP4726891A2 15/04/2026
Solicitante: 
LG ENERGY SOLUTION LTD [KR]
EP_4726891_A2

Resumen de: EP4726891A2

0001 Discussed is a pack case including a module area where a cell stack is placed, wherein the pack case includes a base plate that supports a lower portion of the cell stack, a main partition wall extending across the base plate and perpendicularly coupled to a central portion of the base plate, a side wall perpendicularly coupled to an edge of the base plate along a perimeter of the base plate, and an auxiliary partition wall of which opposite ends are coupled to the main partition wall and the side wall, respectively, and which includes a pair of reinforcement plates coupled to each other, and a reinforcement plate of the pair of reinforcement plates includes a plurality of reinforcement ribs protruding and extending in a longitudinal direction of the reinforcement plate.

NEGATIVE-ELECTRODE ACTIVE MATERIAL, PREPARATION METHOD THEREOF, SECONDARY BATTERY, BATTERY MODULE COMPRISING SECONDARY BATTERY, BATTERY PACK, AND DEVICE

NºPublicación:  EP4725901A2 15/04/2026
Solicitante: 
CONTEMPORARY AMPEREX TECHNOLOGY HONG KONG LTD [HK]
EP_4725901_PA

Resumen de: EP4725901A2

A negative electrode active material, a preparation method therefor, a secondary battery, a battery module comprising a secondary battery, a battery pack, and a device. The negative electrode active material comprises a core and a coating layer that covers at least a portion of a surface of the core. The core comprises artificial graphite, the coating layer comprises amorphous carbon, the volume particle size distribution of the negative electrode active material is Dv99≤24 µm, and the average volume particle size of the negative electrode active material is Dv50 satisfies 8 µm≤Dv50≤15 µm, wherein Dv99 is the corresponding particle size when a cumulative volume distribution percentage of the negative electrode active material reaches 99%, and Dv50 is the corresponding particle size when the cumulative volume distribution percentage of the negative electrode active material reaches 50%.

BATTERY MANAGEMENT SYSTEM, BATTERY MANAGEMENT METHOD, BATTERY PACK AND ELECTRIC VEHICLE

NºPublicación:  EP4725752A2 15/04/2026
Solicitante: 
LG ENERGY SOLUTION LTD [KR]
EP_4725752_PA

Resumen de: EP4725752A2

0001 A battery management system includes a sensing unit to generate a sensing signal indicating a battery voltage and a battery current of a battery, a memory unit to store a charge map recording a correlation between first to n reference state of charge (SOC) ranges, first to n reference currents and first to n reference voltages for multi-stage constant-current charging, and a control unit to change to constant voltage charging using a k reference voltage corresponding to a k reference SOC range in response to the battery voltage having reached the k reference voltage during constant current charging using a k reference current corresponding to the k reference SOC range to which an SOC of the battery belongs. The control unit updates the k reference current of the charge map based on a time-series of the battery current in a charging period of the constant voltage charging.

BATTERY AND ELECTRIC DEVICE

NºPublicación:  EP4726887A1 15/04/2026
Solicitante: 
CONTEMPORARY AMPEREX TECHNOLOGY CO LTD [CN]
EP_4726887_PA

Resumen de: EP4726887A1

0001 Provided in the present application are a battery and an electric device. The battery comprises battery cells, a first box and a second box, wherein the first box comprises a first sealing surface; the second box comprises a first surface and a second sealing surface, the first surface being used for bearing the battery cells; the first box and the second box jointly define a sealed space for accommodating the battery cells, the first sealing surface being fitted with the second sealing surface in order to seal the sealed space; and the first sealing surface intersects the first surface, and the second sealing surface intersects the first surface. Thus, in a direction which is parallel to the first surface and intersects the first sealing surface and the second sealing surface, the space occupied by the first sealing surface and the second sealing surface can be reduced, leading to an increase in the space utilization rate of the battery in the direction that is parallel to the first surface and intersects both the first sealing surface and the second sealing surface, enabling more battery cells to be accommodated or the volume of the battery to be reduced, thereby improving the volume energy density of the battery.

BATTERY AND ELECTRIC DEVICE

NºPublicación:  EP4726889A1 15/04/2026
Solicitante: 
CONTEMPORARY AMPEREX TECHNOLOGY CO LTD [CN]
EP_4726889_PA

Resumen de: EP4726889A1

0001 A battery (2) includes multiple battery groups (10) and multiple straps (20). The multiple battery groups (10) are arranged along a first direction, each battery group (10) including multiple battery cells (11) stacked along a second direction, the second direction intersecting the first direction. At least a portion of the strap (20) is disposed on a side surface of at least one battery group (10) along the first direction and configured to constrain the multiple battery cells (11) of at least one battery group (10). At least two straps (20) pass between adjacent battery groups (10) and are configured to constrain the adjacent battery groups (10), the at least two straps (20) not overlapping in the first direction and overlapping in a third direction, the third direction being perpendicular to the first direction and the second direction.

SEPARATOR FOR ELECTROCHEMICAL DEVICE, AND ELECTROCHEMICAL DEVICE COMPRISING SAME

NºPublicación:  EP4726902A2 15/04/2026
Solicitante: 
LG ENERGY SOLUTION LTD [KR]
EP_4726902_A2

Resumen de: EP4726902A2

Disclosed is a separator for an electrochemical device having a low content of secondary particles formed by aggregation of an inorganic particles in the inorganic coating layer. Particularly, the separator has a low content of secondary particles protruding from the separator surface to a predetermined height or more. Since the inorganic particles are not aggregated but are distributed homogeneously in the inorganic coating layer, the separator allows uniform dispersion of pressure over the whole surface of the separator, when it is applied to a battery and pressure is generated in the battery due to the charge/discharge of the battery. In this manner, it is possible to minimize deformation of the separator. Meanwhile, when using a porous film made of a polymer material as a separator substrate, there is a low tendency for intensive application of pressure from the secondary particles to a local site of the separator substrate, and thus the separator substrate is less damaged and a possibility of short-circuit generation is reduced.

ELECTRODE ASSEMBLY AND METHOD FOR MANUFACTURING SAME

NºPublicación:  EP4726870A2 15/04/2026
Solicitante: 
LG ENERGY SOLUTION LTD [KR]
EP_4726870_A2

Resumen de: EP4726870A2

An electrode assembly according to the present invention is a jelly roll-type electrode assembly manufactured by winding a negative electrode, a separator, and a positive electrode together from ends thereof, the electrode assembly comprising a negative electrode which is manufactured by applying a negative electrode active material to a surface of a negative electrode collector and which has, formed on one end thereof, a negative electrode collector-exposed portion that is not coated with the negative electrode active material to expose the surface of the negative electrode collector. The negative electrode is wound together with a separator and a positive electrode such that the negative electrode collector-exposed portion is disposed in a central region where the winding starts, and a negative electrode tab is coupled to the negative electrode collector-exposed portion.

METHOD FOR PRODUCING A DRY FILM, ROLLING DEVICE, AND DRIED FILM AND SUBSTRATE COATED WITH THE DRY FILM

NºPublicación:  EP4725674A1 15/04/2026
Solicitante: 
FRAUNHOFER GES FORSCHUNG [DE]
UNIV DRESDEN TECH [DE]
EP_4725674_PA

Resumen de: EP4725674A1

Die vorliegende Erfindung betrifft ein Verfahren zum Herstellen eines Substrats, einer Walzvorrichtung, einen Trockenfilm und ein mit dem Trockenfilm beschichtetes Substrat.

INSPECTION DEVICE AND INSPECTION METHOD FOR BATTERY CELL INSPECTION

NºPublicación:  EP4726377A1 15/04/2026
Solicitante: 
NUCTECH CO LTD [CN]
UNIV TSINGHUA [CN]
EP_4726377_PA

Resumen de: EP4726377A1

A detection device (100) and a detection method for detecting a battery cell (200) are provided. The detection device (100) includes a supporting mechanism (10), a rotary mechanism (20), a conveying mechanism (30), and a detection mechanism (23). The rotary mechanism (20) is provided on the supporting mechanism (10), and the rotary mechanism (20) includes a rotary bracket (21) provided on the supporting mechanism (10) and a rotary disk (22) rotatable circumferentially relative to the rotary bracket (21); the conveying mechanism (30) passes through the rotary disk (22), and the conveying mechanism (30) is configured to convey a battery cell (200); the detection mechanism (23) is provided on the rotary disk (22), and the detection mechanism (23) includes a radiation source (231) and a detector (232), the radiation source (231) and the detector (232) are configured to detect the battery cell (200) on the conveying mechanism (30), and the radiation source (231) and the detector (232) are rotatable circumferentially on the rotary disk (22).

RESTRAINING STRUCTURE AND BATTERY RESTRAINING APPARATUS

NºPublicación:  EP4726842A1 15/04/2026
Solicitante: 
CONTEMPORARY AMPEREX TECHNOLOGY CO LTD [CN]
EP_4726842_A1

Resumen de: EP4726842A1

The present application is applicable to the technical field of batteries and provides a restraint structure (100) and a battery restraint apparatus (1000). The battery restraint apparatus (1000) includes a restraint structure (100), the restraint structure (100) including a restraint frame (10), a cushion pad (20), and a positioning column (30). The restraint frame (10) is provided with a positioning hole (101); the cushion pad (20) is arranged on the restraint frame (10); and the positioning column (30) is arranged on the cushion pad (20) and is inserted and fitted into the positioning hole (101). The positioning hole (101) is formed in the restraint frame (10), and the positioning column (30) to be inserted and fitted into the positioning hole (101) is provided on the cushion pad (20), so that the positioning of the cushion pad (20) on the restraint frame (10) can be achieved by inserting the positioning column (30) on the cushion pad (20) into the positioning hole (101). In this way, the problem of misaligned assembly of the cushion pad (20) on the restraint frame (10) can be mitigated, thereby facilitating improving the restraint effect of the restraint structure (100) on a battery cell (2000).

AEROSOL-GENERATING SYSTEM WITH OVERHEATING PREVENTION

NºPublicación:  EP4725344A2 15/04/2026
Solicitante: 
PHILIP MORRIS PRODUCTS SA [CH]
EP_4725344_PA

Resumen de: EP4725344A2

0001 The invention relates to an aerosol-generating system for generating an inhalable aerosol. The system comprises an electric heater for vaporizing an aerosol-forming substance, a control unit, a battery for powering the electric heater, a temperature sensor for detecting the initiation of the electric heater, wherein the temperature sensor is connected to the control unit, a housing encompassing the electrical heater, the battery, and the control unit, and a replaceable cartridge for receiving the aerosol-forming substance, the replaceable cartridge being connectable to the housing. The control unit is configured to prevent charging of the battery, when the initiation of the electric heater is detected.

Battery cell

NºPublicación:  GB2644569A 15/04/2026
Solicitante: 
JAGUAR LAND ROVER LTD [GB]
GB_2644569_PA

Resumen de: GB2644569A

Aspects of the present invention relate to a battery cell (10). The battery cell (10) includes a first electrode stack (12); a second electrode stack (14); and a terminal structure (16). The terminal structure (16) is sandwiched between and connected to each of the first electrode stack (12) and the second electrode stack (14). The terminal structure (16) comprises: a first terminal (18); a second terminal (20); and an electrical insulator (22). The electrical insulator (22) is sandwiched between and connected to each of the first terminal (18) and the second terminal (20). A portion of the terminal structure (16) forms an outer wall (112) of the battery cell (10). The outer wall (112) surrounds an outer periphery of each of the first electrode stack (12) and the second electrode stack (14).

ELECTROLYTIC SOLUTION, BATTERY CELL AND PREPARATION METHOD THEREFOR, BATTERY, AND ELECTRICAL DEVICE

NºPublicación:  EP4726839A1 15/04/2026
Solicitante: 
CONTEMPORARY AMPEREX TECHNOLOGY CO LTD [CN]
EP_4726839_PA

Resumen de: EP4726839A1

0001 An electrolytic solution, a battery cell, a preparation method therefor, a battery, and an electrical device. The electrolytic solution includes an electrolyte salt and an additive, the electrolyte salt includes a first electrolyte salt shown in formula (1), the additive includes a first additive shown in formula (2), the content by weight of the first electrolyte salt in the electrolytic solution is denoted as x, the content by weight of the first additive in the electrolytic solution is denoted as y, both of which are calculated based on the total weight of the electrolytic solution, and 50≤x/y≤500. The electrolytic solution can improve the cycle performance and dynamic performance of the battery.

INSPECTION DEVICE AND INSPECTION METHOD FOR BATTERY CELL INSPECTION

NºPublicación:  EP4726378A1 15/04/2026
Solicitante: 
NUCTECH CO LTD [CN]
UNIV TSINGHUA [CN]
EP_4726378_A1

Resumen de: EP4726378A1

0001 A detection device and a detection method for detecting a battery cell are provided. The detection device (100) includes a supporting mechanism (10), a rotary mechanism (20), a conveying mechanism (30), and a detection mechanism (40). The rotary mechanism (20) is provided on the supporting mechanism (10), and the rotary mechanism (20) includes a rotary bracket (21) provided on the supporting mechanism (10) and a rotary disk (22) rotatable circumferentially relative to the rotary bracket (21); the conveying mechanism (30) includes two reciprocating conveyor belts (32) respectively provided on two sides of the rotary disk (22), and the reciprocating conveyor belts (32) are configured to carry battery cells (200) to enter or leave a detection region; the detection mechanism (23) is provided on the rotary disk (22), and the detection mechanism (23) includes a radiation source (231) and a detector (232), the radiation source (231) and the detector (232) are configured to detect the battery cells (200) on the conveying mechanism (30), and the radiation source (231) and the detector (232) are rotatable circumferentially on the rotary disk (22).

POWER TOOL AND METHOD FOR WIRELESS COMMUNICATION

NºPublicación:  EP4725628A2 15/04/2026
Solicitante: 
MILWAUKEE ELECTRIC TOOL CORP [US]
EP_4725628_PA

Resumen de: EP4725628A2

A power tool having multiple wireless communication states, the power tool comprising a motor, a battery pack interface that selectively receives a battery pack, a backup power source, a wireless communication controller coupled to the backup power source and the battery pack interface, a switching network coupled between the motor and the battery pack interface, an actuator and a controller coupled to the actuator and the switching network. The wireless communication controller includes a wireless transceiver and a processor. The wireless communication controller is configured to operate in an advertisement state when the wireless communication controller is coupled to and powered by the backup power source. In the advertisement state, the wireless communication controller is configured to transmit an advertisement message including a unique tool identifier. The controller is unpowered when the wireless communication controller is in the advertisement state. The controller is configured to control the switching network to apply power from the battery pack to drive the motor based on actuator activation.

Battery cell

NºPublicación:  GB2644570A 15/04/2026
Solicitante: 
JAGUAR LAND ROVER LTD [GB]
GB_2644570_PA

Resumen de: GB2644570A

Aspects of the present invention relate to a battery cell (10). The battery cell (10) includes a first terminal (18) including a first terminal connector portion (114); and a second terminal (20) including a second terminal connector portion (116). The first terminal connector portion (114) and the second terminal connector portion (116) form first and second portions of an outer wall (112) of the battery cell (10). The second terminal connector portion (116) of the battery cell (10) is configured to receive the first terminal connector portion (114) of an adjacent battery cell (10), to form a structural and electrical connection between adjacent battery cells (10).

Battery cell

NºPublicación:  GB2644571A 15/04/2026
Solicitante: 
JAGUAR LAND ROVER LTD [GB]
GB_2644571_PA

Resumen de: GB2644571A

Aspects of the present invention relate to a battery cell (10). The battery cell (10) comprises: a first terminal (18) comprising a first terminal outer frame (56); a second terminal (20) comprising a second terminal outer frame (70); and an electrical insulator (22). The electrical insulator (22) is sandwiched between and connected to each of the first terminal (18) and the second terminal (20). An outer wall (112) of the battery cell (10) includes a portion of the first terminal outer frame (56) and a portion of the second terminal outer frame (70). The first terminal outer frame (56) comprises a first terminal connector portion (114) of the battery cell (10) and the second terminal outer frame (70) comprises a second terminal connector portion (116) of the battery cell (10).

FIXING DEVICE AND BATTERY CELL PRODUCTION SYSTEM

NºPublicación:  EP4725648A1 15/04/2026
Solicitante: 
CONTEMPORARY AMPEREX TECHNOLOGY CO LTD [CN]
CONTEMPORARY AMPEREX RUNZHI SOFTWARE TECH LIMITED [CN]
EP_4725648_PA

Resumen de: EP4725648A1

0001 The present application provides a fixing device and a battery cell production system. The fixing device is used for fixing a battery cell prefabricated part and comprises a first supporting base, a bearing member, a clamping assembly and a driving assembly; the clamping assembly is arranged on the first supporting base; the clamping assembly comprises a first clamping member, a second clamping member, a third clamping member and a fourth clamping member, and the first clamping member and the second clamping member are arranged on two opposite sides of the bearing member in a first direction; the third clamping member and the fourth clamping member are arranged on two opposite sides of the bearing member in a second direction; the driving assembly is configured to be capable of driving the first clamping member and the second clamping member to be far away from or close to each other in the first direction, and driving the third clamping member and the fourth clamping member to be far away from or close to each other in the second direction. In this way, a space for containing the battery cell prefabricated part can be adaptively adjusted in the horizontal direction on the basis of the shape and/or size of the battery cell prefabricated part, and the application range of the fixing device in the present application is widened.

TESTING DEVICE, AND TESTING METHOD FOR BATTERY CELL TESTING

NºPublicación:  EP4726379A1 15/04/2026
Solicitante: 
NUCTECH CO LTD [CN]
UNIV TSINGHUA [CN]
EP_4726379_PA

Resumen de: EP4726379A1

A detection device and a detection method for detecting a battery cell. The detection device includes a supporting mechanism (10), a rotatable mechanism (20), a conveying mechanism (30), and a detection mechanism (40). The rotatable mechanism (20) is provided on the supporting mechanism (10); the conveying mechanism (30) is configured to convey a battery cell (200); the detection mechanism (23) is provided on the rotatable mechanism (20), and the detection mechanism (23) includes a radiation source (231) and a detector (232), the radiation source (231) and the detector (232) are configured to detect the battery cell (200) on the conveying mechanism (30), and the radiation source (2312) and the detector (232) are rotatable circumferentially on the rotatable mechanism (20).

MANGANESE IRON PHOSPHATE PRECURSOR AND LITHIUM MANGANESE IRON PHOSPHATE, AND PREPARATION METHODS THEREFOR AND USE THEREOF

NºPublicación:  EP4725900A1 15/04/2026
Solicitante: 
HENAN KELONG NEW ENERGY CO LTD [CN]
EP_4725900_PA

Resumen de: EP4725900A1

0001 Provided is a manganese iron phosphate precursor, lithium manganese iron phosphate, a preparation method therefor, and use thereof. First, a co-precipitation method is used to prepare a divalent manganese iron phosphate precursor, i.e. ammonium manganese iron phosphate, the precursor is then calcinated, dehydrated and deammoniated to produce manganese iron hydrogen phosphate, and then the manganese iron hydrogen phosphate and a lithium salt are mixed and sintered to prepare LMFP. In the preparation process of ammonium manganese iron phosphate, alkaline hazardous chemicals such as ammonia water, ammonium bicarbonate and sodium bicarbonate are not used, and only manganese, iron and phosphorus salts necessary for constituting the substance are used, and in the co-precipitation process, there is no need to introduce further additional impurity elements, and thus the prepared product has a high purity and a low impurity content, the process is simple and practical and has good reproducibility, atoms are uniformly dispersed, and finally a single crystal phase precursor compound ammonium manganese iron phosphate having a uniform morphology is formed.

DOT-COATING PATTERNED ROLLER, SEPARATOR AND ADHESIVE-COATING DEVICE

NºPublicación:  EP4725617A1 15/04/2026
Solicitante: 
HEBEI GELLEC NEW ENERGY SCIENCE & TECH CO LTD [CN]
EP_4725617_PA

Resumen de: EP4725617A1

The disclosure provides a dot matrix coating plate roller, a separator and a coating device. The dot matrix coating plate roller comprises: a cylindrical cavity, where a plurality of protrusions are formed on the surface of the cylindrical cavity, wherein the protrusions are arranged in a hexagon form with each protrusion located at each of the vertexes of the hexagon, so that the lines of all the hexagons on the surface of the cylindrical cavity can form an arc-shaped honeycomb structure. A regular hexagon is bent along the surface of the cylindrical cavity to an arc-shaped hexagon which is the hexagon. The separator comprises: a base film, where a plurality of coating points are formed on the surface of the base film, wherein the coating points are arranged in a hexagon form, with the coating points located at the vertexes of the hexagon, so that the lines between adjacent coating points can form a honeycomb structure on the surface of the base film. The protrusions of the dot matrix coating plate roller in this disclosure are distributed in a hexagon form, whereby the coating points on the separator after being coated are distributed in a hexagon form. The coating points in this disclosure are uniform in size and regular in shape compared to spraying coating.

POWER SUPPLY CIRCUIT AND ENERGY STORAGE DEVICE

NºPublicación:  EP4726952A1 15/04/2026
Solicitante: 
ECOFLOW INC [CN]
EP_4726952_PA

Resumen de: EP4726952A1

0001 A power supply circuit and an energy storage device are provided. The power supply circuit includes a DC/DC conversion module, a first AC/DC conversion module, a second AC/DC conversion module, an alternating current input interface, a first alternating current output interface, and a second alternating current output interface. A first end of the first AC/DC conversion module is connected to a battery module through the DC/DC conversion module, a first end of the second AC/DC conversion module is connected to the first end of the first AC/DC conversion module through a direct current bus, the first alternating current output interface is connected to a second end of the first AC/DC conversion module and a first terminal of the alternating current input interface, the second alternating current output interface is connected to a second end of the second AC/DC conversion module, both the first AC/DC conversion module and the second AC/DC conversion module may operate in a rectification mode or an inversion mode, and the DC/DC conversion module operates in a discharging mode or a charging mode.

BATTERY MODULE AND ELECTRIC VEHICLE

NºPublicación:  EP4726898A2 15/04/2026
Solicitante: 
EVE POWER CO LTD [CN]
EP_4726898_A2

Resumen de: EP4726898A2

0001 The present application provides a battery module and an electric vehicle. The battery module includes a case (1) provided with exhaust ports, and a longitudinal beam (2). The case includes a bottom guard board (11). The longitudinal beam (2) is disposed in the case (1) and abutted against the bottom guard board (11) of the case (1) to partition accommodating areas in the case (1) on both sides of the longitudinal beam (2) along a width direction. A cross beam (3) is disposed in the accommodating areas, and the cross beam (3) is disposed at an included angle with the longitudinal beam (2). The cross beam (3) and the longitudinal beam (2) are respectively provided with a first cavity therein along their own length directions, and ridge plates are cross-arranged and disposed in the first cavity.

PRISMATIC CELL

NºPublicación:  EP4726845A1 15/04/2026
Solicitante: 
AESC JAPAN LTD [JP]
EP_4726845_PA

Resumen de: EP4726845A1

0001 A prismatic cell (100) including a shell (10) and two jelly roll assemblies (20) accommodated therein is provided. Each jelly roll assembly (20) includes at least two jelly rolls (30) and a first insulating tape (40), wherein one jelly roll (30) is designated as a first jelly roll (31), and another jelly roll (30) is designated as a second jelly roll (32). An outer peripheral surface of each jelly roll (30) includes two plane regions (304) and a first corner region (305a) and a second corner region (305b) respectively connected to the opposite ends of the two plane regions (304). The first insulating tape (40) covers the first corner region (305a) of the second jelly roll (32). One end of the first insulating tape (40) extends to the first plane region (304a) via the first corner region (305a) of the first jelly roll (31).

PRISMATIC-HOUSING BATTERY

NºPublicación:  EP4726826A1 15/04/2026
Solicitante: 
AESC JAPAN LTD [JP]
EP_4726826_PA

Resumen de: EP4726826A1

0001 A prismatic-housing battery (100) including a housing (10) and two cell assemblies (20) accommodated in the housing (10) is provided. Each cell assembly (20) includes at least two cells (30) stacked along a first direction (A) and a first insulation tape (41) covering the first corner area (305a) of the second cell (32). An outer peripheral surface of each cell (30) along a winding direction (B) includes two plane areas (304) and a first corner area (305a) and a second corner area (305b). The cell (30) adjacent to the housing (10) along the first direction (A) is a first cell (31), and the cell (30) adjacent to another cell assembly (20) is a second cell (32). One end of the first insulation tape (41) extends to the first corner area (305a) of the first cell (31) through the first corner area (305a) of the second cell (32).

BATTERY PACK AND VEHICLE INCLUDING SAME

NºPublicación:  EP4726894A1 15/04/2026
Solicitante: 
LG ENERGY SOLUTION LTD [KR]
EP_4726894_PA

Resumen de: EP4726894A1

0001 A battery pack according to an embodiment of the present disclosure includes a plurality of battery cells; a pack case configured to store the plurality of battery cells and having a discharge hole configured to discharge gas generated inside to the outside; a first protective cover configured to cover a first area, which is a partial area of the discharge hole; and a second protective cover installed closer to the discharge hole than the first protective cover and configured to cover a second area, which is another partial area of the discharge hole, so as to have a cover area overlapping the first protective cover.

BATTERY MODULE, AND BATTERY PACK AND VEHICLE INCLUDING SAME

NºPublicación:  EP4726886A1 15/04/2026
Solicitante: 
LG ENERGY SOLUTION LTD [KR]
EP_4726886_PA

Resumen de: EP4726886A1

0001 The present disclosure relates to a battery module including: a cell assembly including a plurality of battery cells; a module case configured to store the cell assembly; a thermally conductive adhesive interposed between the cell assembly and the module case and configured to fix the cell assembly; and an overflow prevention member provided between the cell assembly and the module case and configured to form a space in which the thermally conductive adhesive is to be received.

APPARATUS AND METHOD FOR DIAGNOSING BATTERY

NºPublicación:  EP4726419A1 15/04/2026
Solicitante: 
LG ENERGY SOLUTION LTD [KR]
EP_4726419_PA

Resumen de: EP4726419A1

A battery diagnosing apparatus according to one embodiment of the present disclosure includes: a profile acquisition unit that acquires a battery profile representing a correspondence between a voltage and a capacity of a battery; and a control unit that divides a capacity section of the battery profile into a plurality of sections, derives a target value for one target index related to a differential capacity peak or a resistance among a plurality of diagnosis indices set in advance, from each of the divided sections, compares a correspondence between the derived plurality of target values with a preset reference profile that represents a correspondence between a plurality of target indices, and diagnoses a state of the battery based on a result of the comparison.

APPARATUS AND METHOD FOR DIAGNOSING BATTERY

NºPublicación:  EP4726412A1 15/04/2026
Solicitante: 
LG ENERGY SOLUTION LTD [KR]
EP_4726412_PA

Resumen de: EP4726412A1

A battery diagnosing apparatus according to one embodiment of the present disclosure includes: a profile acquisition unit that acquires a battery profile representing a correspondence between a voltage and a capacity of a battery; and a control unit that divides a capacity section of the battery profile into a plurality of sections, derives a target value for one target index related to a differential capacity peak or a charging end voltage among a plurality of diagnosis indices set in advance, from each of the divided sections, compares a correspondence between the derived plurality of target values with a preset reference profile that represents a correspondence between a plurality of target indices, and diagnoses a state of the battery based on a result of the comparison.

BATTERY PROFILE GENERATING APPARATUS AND BATTERY PROFILE GENERATING METHOD

NºPublicación:  EP4726411A1 15/04/2026
Solicitante: 
LG ENERGY SOLUTION LTD [KR]
EP_4726411_PA

Resumen de: EP4726411A1

A battery profile generating apparatus includes: a charging/discharging unit configured to charge and discharge a battery; a measurement unit configured to measure battery information that includes at least one of the voltage, current, and temperature of the battery during the charging/discharging process; and a control unit. The control unit is configured to: determine a target temperature and a target C-rate corresponding to charging/discharging conditions based on a preset reference profile that represents the correspondence between a threshold temperature and a threshold C-rate; control the charging/discharging unit to charge or discharge the battery at the target C-rate when the battery temperature corresponds to the target temperature; and generate a battery profile corresponding to the battery based on the battery information.

APPARATUS AND METHOD FOR MANAGING BATTERY

NºPublicación:  EP4726413A1 15/04/2026
Solicitante: 
LG ENERGY SOLUTION LTD [KR]
EP_4726413_PA

Resumen de: EP4726413A1

0001 A battery managing apparatus according to an embodiment of the present disclosure includes a measurement unit configured to measure the voltage of a battery that is charged by repeating a charging period and a resting period; and a control unit configured to calculate a resistance corresponding to each of a plurality of resting periods, generate a first profile indicating a correspondence relationship between a state of charge (SOC) and the resistance of the battery, divide an SOC section of the first profile into a plurality of unit sections, and calculate a summed resistance of the battery based on a weight and a reference resistance corresponding to each of the plurality of unit sections.

BATTERY DIAGNOSTIC DEVICE AND METHOD

NºPublicación:  EP4726410A1 15/04/2026
Solicitante: 
LG ENERGY SOLUTION LTD [KR]
EP_4726410_PA

Resumen de: EP4726410A1

0001 A battery diagnosing method according to one aspect of the present disclosure includes a sampling step of sampling an OCV value of a target battery within a partial SOC range among an entire SOC range of the target battery; a generation step of generating an estimated profile, which estimates OCV values of the target battery corresponding to the entire SOC range based on the OCV values sampled within the partial SOC range; and a diagnosis step of diagnosing the target battery based on the estimated profile.

BATTERY MANAGEMENT DEVICE AND METHOD

NºPublicación:  EP4726418A1 15/04/2026
Solicitante: 
LG ENERGY SOLUTION LTD [KR]
EP_4726418_PA

Resumen de: EP4726418A1

A battery managing apparatus according to an embodiment of the present disclosure includes a profile acquisition unit configured to acquire a first profile for each of a plurality of batteries included in a battery pack; and a diagnosis unit configured to calculate a target value based on a capacity value for each of the plurality of batteries as a diagnostic factor on a basis of a first target point included in each of the plurality of first profiles, generate a distribution profile indicating a correspondence relationship between a plurality of calculated target values and the number of each of the plurality of target values, determine whether the distribution profile satisfies a predetermined condition, and diagnose a state of the battery pack according to a determination result.

APPARATUS AND METHOD FOR MANAGING BATTERY

NºPublicación:  EP4726409A1 15/04/2026
Solicitante: 
LG ENERGY SOLUTION LTD [KR]
EP_4726409_PA

Resumen de: EP4726409A1

0001 The battery management apparatus according to an embodiment of the present disclosure includes a profile obtaining unit configured to obtain a differential profile representing a corresponding relationship between a voltage and a differential capacity of a battery; and a control unit configured to determine a first point, which is a start point of a preset target voltage section of the differential profile, a second point having a highest differential capacity, and a third point having a lowest differential capacity in a voltage section higher than or equal to a voltage of the second point in the target voltage section, and to diagnose a state of the battery according to differential capacities of the first point, the second point, and the third point.

IGNITION-PREVENTED BATTERY PACK

NºPublicación:  EP4726896A1 15/04/2026
Solicitante: 
LG ENERGY SOLUTION LTD [KR]
EP_4726896_PA

Resumen de: EP4726896A1

0001 The present invention provides a battery pack comprising a battery module and a frame accommodating the battery module, wherein the frame is provided with an exhaust unit arranged to have at least a portion thereof overlapping with the battery module in heightwise direction. the exhaust unit comprising: an inlet where a gas inside the frame is introduced into; an outlet where the gas introduced into the inlet is discharged out of the frame; and an exhaust passage extending along the frame between the inlet and the outlet.

BATTERY PACK

NºPublicación:  EP4726859A1 15/04/2026
Solicitante: 
YAMABIKO CORP [JP]
EP_4726859_PA

Resumen de: EP4726859A1

0001 According to an aspect of the present disclosure, there is provided a battery pack, including: a case including opening portions that allow air outside the case to flow into an inside of the case; and a plurality of battery cells housed in the case and arranged with a gap between each other, the gap including a plurality of gaps, the opening portions being provided facing the gaps.

CURRENT COLLECTOR, BATTERY CELL, BATTERY MODULE, BATTERY PACK AND VEHICLE COMPRISING SAME

NºPublicación:  EP4726875A1 15/04/2026
Solicitante: 
LG ENERGY SOLUTION LTD [KR]
EP_4726875_PA

Resumen de: EP4726875A1

0001 A battery cell according to an embodiment of the present disclosure may include an electrode assembly configured by winding a first electrode and a second electrode with a separator interposed therebetween around a winding axis to define a core and an outer surface, the first electrode including an active material portion coated with an active material layer along a winding direction and a first uncoated portion not coated with an active material layer, and at least a portion of the first uncoated portion being used as an electrode tab itself, a battery housing configured to receive the electrode assembly through an opening formed on one side, and a current collector including a tab-coupling portion coupled to the first uncoated portion and a housing-coupling portion extending from the tab-coupling portion and electrically coupled to an inner surface of the battery housing, wherein at least one notch may be provided in the housing-coupling portion.

POSITIVE ELECTRODE ACTIVE MATERIAL PRECURSOR, PREPARATION METHOD THEREOF, AND PREPARATION METHOD OF POSITIVE ELECTRODE ACTIVE MATERIAL INCLUDING THE SAME

NºPublicación:  EP4725910A1 15/04/2026
Solicitante: 
SAMSUNG SDI CO LTD [KR]
SEOUL NAT UNIV R&DB FOUNDATION [KR]
EP_4725910_PA

Resumen de: EP4725910A1

A method for preparing a single-particle type positive electrode active material precursor includes (a) mixing a nickel-based hydroxide and an inactive lithium salt to prepare a mixture; and (b) performing a first heat treatment on the mixture to obtain a nickel-based oxide in a form of single particles. According to some example embodiments, a positive electrode active material precursor and a method for preparing the same, and a method for preparing a positive electrode active material including the same minimize or reduce the production process, thereby ensuring long cycle-life characteristics and improving high-temperature storage characteristics. A rechargeable lithium battery using the positive electrode active material can exhibit high initial charging and discharging capacity and efficiency, and can implement long cycle-life characteristics.

BATTERY PACK

NºPublicación:  EP4726883A1 15/04/2026
Solicitante: 
YAMABIKO CORP [JP]
EP_4726883_PA

Resumen de: EP4726883A1

According to an aspect of the present disclosure, there is provided a battery pack that is attachable to and detachable from an object by relatively moving the battery pack in a predetermined direction to the object, the battery pack including: a plurality of pouch-type battery cells arranged in a row in the predetermined direction with each of electrodes of the pouch-type battery cells on a same side; and a wiring board configured to allow the electrodes of the pouch-type battery cells to be connected thereto.

CRIMPING APPARATUS OF CYLINDRICAL BATTERY

NºPublicación:  EP4726874A1 15/04/2026
Solicitante: 
LG ENERGY SOLUTION LTD [KR]
EP_4726874_PA

Resumen de: EP4726874A1

0001 A crimping device configured to crimp a housing of a cylindrical battery includes: a punch configured to crimp the housing by pressing an upper end of the housing; and a fixing unit including a punch insertion portion into which the punch is inserted and a can support portion supporting at least a portion of the housing and extending in one direction from the punch insertion portion while forming a stepped portion with the punch insertion portion.

BATTERY DIAGNOSIS APPARATUS AND BATTERY DIAGNOSIS METHOD

NºPublicación:  EP4726417A1 15/04/2026
Solicitante: 
LG ENERGY SOLUTION LTD [KR]
EP_4726417_PA

Resumen de: EP4726417A1

Disclosed is a battery diagnosing apparatus and a battery diagnosing method. The battery diagnosing apparatus includes a data obtaining unit configured to obtain a first profile representing a capacity-voltage relationship of a battery cell containing an active material with a multi-phase characteristic, and a processor configured to generate a plurality of comparison profiles based on a plurality of electrode profiles included in an electrode profile map. The processor is configured to select, as a second profile, one comparison profile from the plurality of comparison profiles by comparing each of the plurality of comparison profiles with the first profile, and determine a negative electrode participation start point as a diagnostic factor representing a degradation state of the battery cell based on the second profile.

SECONDARY BATTERY AND ELECTRIC DEVICE

NºPublicación:  EP4726802A1 15/04/2026
Solicitante: 
CONTEMPORARY AMPEREX TECHNOLOGY CO LTD [CN]
EP_4726802_PA

Resumen de: EP4726802A1

0001 The present application relates to a secondary battery and a power consuming apparatus. A negative electrode plate in the secondary battery includes a negative electrode current collector and a negative electrode film layer. The negative electrode film layer is disposed on at least one side of the negative electrode current collector. The negative electrode film layer includes a negative electrode active material. The negative electrode active material includes first graphite. A Dv50 particle size of the first graphite is 2.2 µm to 7.7 µm. An electrolyte solution includes an organic solvent and an organic additive. The organic solvent includes a first solvent. The first solvent includes cyclic carbonate. Based on a total mass of the organic solvent, a mass content of the first solvent is 25% to 40%. The organic additive includes a first additive and a second additive. The first additive includes vinylene carbonate. The second additive includes an ethylene carbonate derivative. Based on a total mass of the electrolyte solution, a mass percentage of the first additive in the electrolyte solution is 2% to 10%, and a mass percentage of the second additive in the electrolyte solution is 0.3% to 6%.

STACKING DEVICE AND STACKING METHOD

NºPublicación:  EP4726822A1 15/04/2026
Solicitante: 
YOUIL ENERGY TECH CO LTD [KR]
EP_4726822_PA

Resumen de: EP4726822A1

0001 The present disclosure discloses a stacking apparatus including: an electrode stacking device configured to alternately and continuously stack a first electrode and a second electrode on a stacking region using a first rotary body that transports the first electrode and a second rotary body that transports the second electrode; a separator stacking device configured to stack a separator that is connected as one between the first electrode and the second electrode and between the second electrode and the first electrode; and a controller configured to control driving of the electrode stacking device and the separator stacking device. The controller is configured to control an operation of the separator stacking device to stack the separator in a two-dimensional trajectory in an up-down (z-axis) direction and a left-right (x-axis) direction while the stacking region is in a fixed state. According to the present disclosure, a continuous separator may be stacked to separate a positive electrode and a negative electrode from each other without sagging.

BATTERY TRAY AND METHOD FOR PRODUCING A BATTERY TRAY

NºPublicación:  EP4726847A1 15/04/2026
Solicitante: 
VOESTALPINE STAHL GMBH [AT]
VOESTALPINE METAL FORMING GMBH [AT]
EP_4726847_PA

Resumen de: EP4726847A1

Die Erfindung schafft eine Batteriewanne zum Aufnehmen einer Batterie, insbesondere einer Fahrzeugbatterie, sowie Verfahren zum Herstellen einer Batteriewanne. Die Batteriewanne (100; 200) umfasst zumindest:ein Wannengehäuse (190; 290);wobei eine Schicht elektrischer Leiterbahnen (130) an oder über einer durchgehenden ersten Schicht (110; 205) des Wannengehäuses (190; 290) aus einem Verbundwerkstoff an dessen konkaver Seite angeordnet ist, undwobei in der Schicht elektrischer Leiterbahnen (130) zumindest an einem ebenen Abschnitt des Wannengehäuses (190; 290) eine Vielzahl von elektrisch auslesbaren Deformations-Messstrukturen (140) ausgebildet ist.

METHOD FOR MANUFACTURING LGPS-TYPE SOLID ELECTROLYTE

NºPublicación:  EP4726744A1 15/04/2026
Solicitante: 
MITSUBISHI GAS CHEMICAL CO [JP]
NATIONAL UNIV CORPORATION TOYOHASHI UNIV OF TECHNOLOGY [JP]
EP_4726744_PA

Resumen de: EP4726744A1

0001 According to one embodiment, there is provided a method for producing an LGPS-type solid electrolyte, comprising: allowing a first solution, in which a first compound comprising, as a counter ion, a monovalent or divalent metal atom M1 ion having an ionic radius larger than that of a Li atom, or an ammonium ion, is dissolved in a solvent, to come into contact with a cation exchange resin comprising a Li ion, so that the M1 ion or the ammonium ion comprised in the first compound is exchanged with the Li ion, thereby obtaining a second solution, in which a Li-containing compound is dissolved in the solvent, removing the solvent from the second solution to obtain Li-containing crystals, mixing the Li-containing crystals with Li<3>PS<4> crystals to obtain a precursor, and treating the precursor by heating, wherein the first compound consists of the M1 ion or the ammonium ion and an anion containing an S element and an Sn element.

CYLINDRICAL SECONDARY BATTERY

NºPublicación:  EP4726908A1 15/04/2026
Solicitante: 
LG ENERGY SOLUTION LTD [KR]
EP_4726908_PA

Resumen de: EP4726908A1

The present disclosure relates to a cylindrical secondary battery, and more specifically, to a cylindrical secondary battery capable of suppressing the upward movement of an electrode assembly inside a battery can even when the battery can is heated. A cylindrical secondary battery according to the present disclosure includes a battery can having an open top end portion, an electrode assembly accommodated in the battery can, a top cap assembly coupled to the top end portion of the battery can and formed with a gas outlet for discharging gases generated inside the battery can, and a thermal expansion tape attached to an upper region of the inner wall of the battery can and expanding when the battery can is heated, thereby suppressing the upward movement of an electrode assembly accommodated in the battery can even when heat is applied to the battery can, which may prevent a gas outlet formed at the top of the battery can from being blocked.

BATTERY CHARGING METHOD AND DEVICE

NºPublicación:  EP4726954A1 15/04/2026
Solicitante: 
LG ENERGY SOLUTION LTD [KR]
EP_4726954_PA

Resumen de: EP4726954A1

According to an embodiment disclosed herein, a battery charging method includes measuring a first voltage between a negative electrode of a battery and a reference electrode and a second voltage between a positive electrode of the battery and the reference electrode and charging the battery by applying a voltage to the battery such that the first voltage satisfies a constant value.

BATTERY CELL INSPECTION DEVICE AND OPERATION METHOD THEREFOR

NºPublicación:  EP4726415A1 15/04/2026
Solicitante: 
LG ENERGY SOLUTION LTD [KR]
EP_4726415_PA

Resumen de: EP4726415A1

0001 A battery cell inspection apparatus according to an embodiment disclosed in this document may include a sensor configured to obtain an impedance value and at least two open-circuit voltage (OCV) values at different time points for each of a plurality of battery cells, and a processor configured to calculate a deviation (dOCV) between the OCV value at a first time point and the OCV value at a second time point, calculate a charge transfer resistance (R) value for each of the battery cells based on the impedance value, classify the battery cells into a suspect group or a normal group based on the deviation, and detect defective battery cells among the suspect group based on the charge transfer resistance value.

MONITORING DEVICE AND PROGRAM

NºPublicación:  EP4726953A1 15/04/2026
Solicitante: 
DENSO CORP [JP]
EP_4726953_PA

Resumen de: EP4726953A1

A monitoring device (50) monitors a battery (14) mounted on an eVTOL. The monitoring device (50) includes an acquisition unit (51) and an output unit (53). The acquisition unit (51) acquires information on temperature unevenness of a battery (14) that occurs due to movement of an eVTOL in the vertical direction. The output unit (53) outputs a monitoring result when a predetermined condition, which is related to an abnormality of the battery (14), is satisfied based on information related to the temperature unevenness. By monitoring the temperature unevenness, an abnormality of the battery (14), which is caused by progress of partial deterioration of the battery (14), can be detected in an early stage. Thus, safety of flight can be enhanced.

METHOD FOR ISOSTATICALLY PRESSING ELECTRODE ASSEMBLY USING PROTECTION MEMBER AS OUTER SACRIFICIAL FRAME, AND ALL-SOLID-STATE BATTERY INCLUDING PROTECTION MEMBER

NºPublicación:  EP4726824A1 15/04/2026
Solicitante: 
LG ENERGY SOLUTION LTD [KR]
EP_4726824_PA

Resumen de: EP4726824A1

The present invention provides an isostatic pressurization method for an electrode assembly comprising a positive electrode comprising a positive electrode current collector and a positive electrode active material layer, a negative electrode comprising a negative electrode current collector and a negative electrode active material layer, and a solid electrolyte layer, wherein the solid electrolyte layer is laminated to bond one side to the negative electrode active material layer, and a positive electrode is laminated to bond the other side of the solid electrolyte layer to the positive electrode active material layer, wherein the electrode assembly has a stacked form in which the negative electrode protrudes beyond the end of the positive electrode thereby forming a step,wherein the isostatic pressurization is performed with a protective member in the form of a band extending vertically from the outer circumferential surface of the negative electrode end protruding from the electrode assembly to the positive electrode, wherein a space formed by the step is located between the protective member and the positive electrode; and an all-solid-state battery comprising the electrode assembly and the protective member.

ELECTRODE ASSEMBLY AND SECONDARY BATTERY COMPRISING SAME

NºPublicación:  EP4726823A1 15/04/2026
Solicitante: 
LG ENERGY SOLUTION LTD [KR]
EP_4726823_PA

Resumen de: EP4726823A1

0001 The present invention relates to a method for manufacturing an electrode assembly, and more particularly, to a method for manufacturing an electrode assembly, which is capable of improving limitations of conventional stacking technologies to secure a degree of freedom in cell design (a degree of freedom in tab position design, etc.), solving the problem of folding of a separator, and preventing a problem of non-cutting of the separator due to a process tolerance.

SEPARATOR AND MANUFACTURING METHOD THEREFOR

NºPublicación:  EP4726903A1 15/04/2026
Solicitante: 
W SCOPE KOREA CO LTD [KR]
W SCOPE CHUNGJU PLANT CO LTD [KR]
EP_4726903_PA

Resumen de: EP4726903A1

0001 According to one aspect of the present invention, there is provided a separator comprising: a porous substrate; an electrode adhesive layer provided on one surface of the porous substrate and including first inorganic particles and a first binder that mutually binds at least a part of the first inorganic particles to each other; and a heat-resistant layer provided on the other surface of the porous substrate and including second inorganic particles and a second binder that mutually binds at least a part of the second inorganic particles to each other, wherein the content of the first binder in the electrode adhesive layer is from 3 to 20 wt%. The present invention also provides a method for manufacturing the separator.

ELECTRODE AND MANUFACTURING METHOD THEREFOR

NºPublicación:  EP4726797A1 15/04/2026
Solicitante: 
LG ENERGY SOLUTION LTD [KR]
EP_4726797_PA

Resumen de: EP4726797A1

0001 An electrode according to an embodiment of the present disclosure may include a base current collector; a porous current collector stacked on the base current collector and having a larger thickness than the base current collector; and an active material layer coated on the porous current collector and having a larger thickness than the base current collector.

Battery management system

NºPublicación:  GB2644534A 15/04/2026
Solicitante: 
MURATA MANUFACTURING CO [JP]
GB_2644534_PA

Resumen de: GB2644534A

A battery management system (10) is provided with inspection devices (411, 412, 421, 422), a first database, a second database, and a central management device (20). The inspection devices (411, 412, 421, 422) measure an SOC-OCV property of a battery module, and generate the results of inspecting the usage state of the battery module that includes the SOC-OCV property. The first database stores the results of inspecting the usage states of batteries from the inspection devices. The second database stores quality information at the time of manufacture of battery cells used in the battery modules. The central management device (20) is able to access the first database and the second database. The central management device (20) analyzes degrees of degradation of the battery modules from the SOC-OCV properties, and generates and stores defect information about batteries on the basis of the results of analyzing the degrees of degradation, the results of inspecting the usage states, and the quality information. The central management device (20) acquires the quality information of the battery cells from the second database if there has been determined, from the results of analyzing the degrees of degradation, to be a defect caused by quality at the time of manufacture of the battery cells. The central management device (20) notifies the first database about those contents, of the defect information, that are related to the quality information, and notifies the inspection devices of

A RECHARGEABLE BATTERY PACK

NºPublicación:  EP4725066A1 15/04/2026
Solicitante: 
FORTESCUE ZERO LTD [GB]
GB_2630934_PA

Resumen de: GB2630934A

A rechargeable battery pack includes two battery modules 3, 4 located inside a housing, each module comprising a plurality of battery cells 5. At least one closed loop channel 24 within the housing extends vertically from an upper end of the battery pack to a a lower end of the battery pack. The closed loop channel is partially filled with a phase change material which at a first temperature has a liquid form and lies towards the bottom of the channel and at a second higher temperature has a gaseous form and rises towards the top of the channel. A heat sink 15 located above the battery modules is in contact with an upper portion of the closed loop channel. A recharging station for an electric vehicle including the battery pack has a connector for connecting a source of chilled fluid to a fluid channel within the cooling plate of the battery pack and for extracting fluid that has circulated through the plate; and a source of electrical energy connectable to a charging port located on the vehicle for charging the cells of the battery pack.

NEGATIVE ELECTRODE ACTIVE MATERIAL, SECONDARY BATTERY, AND ELECTRONIC APPARATUS

NºPublicación:  EP4726798A2 15/04/2026
Solicitante: 
NINGDE AMPEREX TECHNOLOGY LTD [CN]
EP_4726798_PA

Resumen de: EP4726798A2

A negative electrode active material is granular, and the negative electrode active material includes first particles and second particles, where a sphericity of the first particles is greater than a sphericity of the second particles, the sphericity of the first particles is 0.6 to 1.0, and a particle size Dv50 of the first particles is smaller than a particle size Dv50 of the second particles. Applying the negative electrode active material of this application to a secondary battery can increase a compacted density of a battery electrode plate, thereby increasing the energy density of the secondary battery while improving the cycling performance of the secondary battery.

NONAQUEOUS ELECTROLYTE POWER STORAGE ELEMENT AND METHOD FOR MANUFACTURING SAME

NºPublicación:  EP4726840A1 15/04/2026
Solicitante: 
GS YUASA INT LTD [JP]
EP_4726840_A1

Resumen de: EP4726840A1

0001 A nonaqueous electrolyte energy storage device according to one aspect of the present invention includes a positive electrode containing a composite of a sulfur active material and porous carbon, and a nonaqueous electrolyte containing a nonaqueous solvent, in which the nonaqueous solvent contains at least one type of cyclic carbonate selected from a group consisting of a fluorinated cyclic carbonate and an unsaturated cyclic carbonate, and a fluorinated ether, and the content of the cyclic carbonate in the nonaqueous solvent is more than 50 vol%, and the fluorinated ether is represented by the following formula (1):         R<1>-O-R<2> ···     (1) (in the formula (1), R<1> is a fluorinated alkyl group having the number of carbon atoms of 1 to 3; R<2> is an alkyl group having the number of carbon atoms of 1 or 2).

A SEPARATOR FOR SEPARATING ADJACENT BATTERY CELLS

NºPublicación:  EP4725073A2 15/04/2026
Solicitante: 
ADVANCED INNERGY LTD [GB]
WO_2025022088_PA

Resumen de: WO2025022088A2

A separator for separating adjacent battery cells in a prismatic battery module. The separator comprises a cured foamed material, and the cured foamed material comprises a cured silicone polymer.

POUCH-TYPE BATTERY CASE AND LITHIUM SECONDARY BATTERY COMPRISING SAME

NºPublicación:  EP4726871A1 15/04/2026
Solicitante: 
LG ENERGY SOLUTION LTD [KR]
EP_4726871_PA

Resumen de: EP4726871A1

A pouch-type battery case according to the present invention includes a base layer, a gas barrier layer, and a sealant layer which are sequentially stacked, wherein the sealant layer includes a particle-type fire extinguishing agent, wherein the particle-type fire extinguishing agent includes one or more selected from the group consisting of a first fire extinguishing component containing sodium hydrogen carbonate, a second fire extinguishing component containing calcium hydrogen carbonate, a third fire extinguishing component containing ammonium phosphate, and a fourth fire extinguishing component containing urea, so that it is possible to provide a pouch-type battery case with improved safety.

CHARGING AND DISCHARGING CIRCUIT AND METHOD, AND COMPUTING DEVICE AND CONTROL APPARATUS

NºPublicación:  EP4726951A1 15/04/2026
Solicitante: 
CONTEMPORARY AMPEREX TECHNOLOGY CO LTD [CN]
EP_4726951_PA

Resumen de: EP4726951A1

0001 Provided in the embodiments of the present application are a charging and discharging circuit and method, and a computing device and a storage medium. Two energy storage elements in the charging and discharging circuit are connected by means of a first adjustment switch module, after a switch is turned on, heating control is performed, and self-heating of a battery is realized by means of an alternating current generated by a charging and discharging loop between a dual-driving electric motor and the battery. The present application can flexibly adjust a charging and discharging loop between a traction battery and an energy storage element without changing the original structure of an electric motor, such that the cost is reduced, and the charging and discharging of a dual-driving electric motor can be flexibly adjusted so as to implement a battery self-heating scheme, thereby increasing a heating rate.

BATTERY PROTECTION SYSTEMS

NºPublicación:  EP4724303A1 15/04/2026
Solicitante: 
CPS TECH HOLDINGS LLC [US]
CLARIOS ADVANCED SOLUTIONS GMBH [DE]
CLARIOS GERMANY GMBH & CO KG [DE]
WO_2024254307_PA

Resumen de: WO2024254307A1

A battery protection system to protect a battery with a base layer and a cell housing is described. The cell housing has a first and second portion and the second portion has an extended portion that extends outwardly from the first portion. The battery protection system has a battery housing with at least one compartment, a first end, and a second end opposite the first end. The at least one compartment is sized to releasably receive the cell housing, the first end of the battery housing is releasably securable to the base layer, and the second end is open to receive the first portion of the cell housing. The battery protection system has a second layer sized to be received within the at least one compartment of the battery housing and the base layer, the cell housing, and the second layer provide a battery protection function.

LITHIUM SECONDARY BATTERY

NºPublicación:  EP4726836A1 15/04/2026
Solicitante: 
TERAWATT TECH K K [JP]
EP_4726836_PA

Resumen de: EP4726836A1

The present invention provides a lithium secondary battery which is allowed to achieve both high safety and excellent performance stability at a high temperature. The present invention relates to a lithium secondary battery including a positive electrode that has a positive electrode current collector and a positive-electrode active material layer, a negative electrode that has a negative electrode current collector, an electrolyte solution, and a separator, in which the positive electrode current collector and/or the negative electrode current collector has a current collector film that includes a resin layer containing polyethylene terephthalate and a metal layer provided on each of both surfaces of the resin layer, the positive-electrode active material layer contains one or more compounds represented by a general formula: LizNixCoyM1-x-yO2+α (here, 0.5 ≤ x ≤ 1.0, 0 ≤ y ≤ 0.35, 0.9 ≤ z ≤ 1.3, - 0.2 ≤ α ≤ 0.15, and M is one or more elements selected from the group consisting of Mn, Al, V, Mg, Mo, Nb, Ti, Zr, Fe, Cu, Cr, Zn, F, and B), and the electrolyte solution contains a chain-like carbonate and/or a chain-like ether, vinylene carbonate, and lithium difluorophosphate.

ELECTRODE MANUFACTURING APPARATUS

NºPublicación:  EP4726789A1 15/04/2026
Solicitante: 
LG ENERGY SOLUTION LTD [KR]
EP_4726789_PA

Resumen de: EP4726789A1

0001 The technology idea of the present invention provides an electrode manufacturing apparatus including a first rolling roll and a second rolling roll spaced apart from each other with an electrode sheet therebetween, and an induction heater configured to apply a high-frequency heating power source to at least one of the first rolling roll and the second rolling roll, in which the induction heater is configured to control a temperature of each region of the first rolling roll.

SYSTEMS AND METHODS FOR LITHIUM-ION BATTERY DURABILITY

NºPublicación:  EP4725064A1 15/04/2026
Solicitante: 
NOCO CO [US]
US_2024413455_PA

Resumen de: MX2025014138A

A battery configured to have improved thermal management and structural stability. The battery including a battery pack construction with at least one battery cell spacer having a first surface contacting substantially all of the bottom surface of a first battery cell and a second surface contacting substantially all of the top surface of a second battery cell, the battery cell spacer including an adhesive component. Additionally, the battery may include a battery management system (BMS) in electrical communication with the first and second battery cells, the BMS having one or more thermal components configured to disperse heat from the BMS, and a thermal epoxy contacting the one or more thermal components and a battery housing. The battery further including a stability cage at least partially enclosing the battery pack construction and positioned between the battery cells and the battery housing.

COMPRESSION PAD FOR ARRANGING BATTERY CELLS IN A SPACED MANNER AND METHOD FOR PRODUCING SAME, AND BATTERY PACK HAVING SUCH A COMPRESSION PAD

NºPublicación:  EP4725068A1 15/04/2026
Solicitante: 
CARCOUSTICS TECHCONSULT GMBH [DE]
DE_102023115159_PA

Resumen de: MX2025014428A

The invention relates to a compression pad (1) for arranging battery cells (13) in a spaced manner in a battery pack (12), comprising a flat compression layer (2) having a length, a width and a thickness, wherein the length and the width are a multiple of the thickness, wherein the compression layer (2) has a first side face (15) and a second side face (16) which are each defined by the length and the width. The compression pad (1) is characterised in that the compression layer (2) has a plurality of macroscopic regions (9, 10) and/or (11) of different compressive strengths extending on the first side face (15) and/or second side face (16), wherein the compressive strengths are measured in the direction orthogonal to the first side face and/or second side face (15, 16).

A BATTERY BOX OF A VEHICLE

NºPublicación:  EP4725067A1 15/04/2026
Solicitante: 
AUTOTECH ENG SL [ES]
WO_2024251805_PA

Resumen de: WO2024251805A1

The present disclosure relates to a battery box of a vehicle comprising an enclosure for holding one or more battery cells, wherein the enclosure is formed between a base wall, a cover wall and one or more sidewalls. The base wall and/or the cover wall are formed by a first layer of metal. The battery box further comprises a second layer of a polymeric material. The first layer is joined to the second layer and cooling channels are formed between the first layer and the second layer.

POLE ADAPTER, HIGH-CAPACITY BATTERY, AND ENERGY STORAGE DEVICE

NºPublicación:  EP4726904A1 15/04/2026
Solicitante: 
D AUS ENERGY STORAGE TECH XIAN CO LTD [CN]
EP_4726904_PA

Resumen de: EP4726904A1

0001 A pole adapter, a high-capacity battery (2, 4), and an energy storage device. The pole adapter is adapted to be connected to poles of battery cells (21) and used for heating or cooling the poles. The high-capacity battery (2, 4) comprises a plurality of battery cells (21) having the pole adapters. The energy storage device comprises a plurality of said high-capacity batteries (2, 4). The pole adapter can overcome the problem of excessive heat, that may cause thermal runaway, at the poles of battery cells (21) in existing high-capacity batteries (2, 4).

METHOD FOR MANUFACTURING LITHIUM SECONDARY BATTERY

NºPublicación:  EP4726856A1 15/04/2026
Solicitante: 
LG ENERGY SOLUTION LTD [KR]
EP_4726856_A1

Resumen de: EP4726856A1

0001 The present disclosure relates to a manufacturing method of a lithium secondary battery comprising: a step (S1) of manufacturing a preliminary cell which comprises a positive electrode containing a positive electrode active material, a negative electrode, a separator and an electrolyte; and a step (S2) of charging the preliminary cell to a charging cut-off voltage and discharging the preliminary cell to the discharging cut-off voltage to activate the preliminary cell, wherein the positive electrode active material includes a lithium-rich manganese-based oxide containing 50 mol% or more of manganese(Mn) among all metals excluding lithium, and having a molar ratio of lithium to all metals excluding lithium (Li/Me) exceeding 1, and wherein the charging cut-off voltage is more than 4.3V, and the discharging cut-off voltage is 2.6V or more.

ELECTROLYTE AND ALL-SOLID-STATE BATTERY COMPRISING SAME

NºPublicación:  EP4726835A1 15/04/2026
Solicitante: 
LG ENERGY SOLUTION LTD [KR]
EP_4726835_PA

Resumen de: EP4726835A1

0001 The present disclosure relates to an electrolyte and an all-solid-state battery comprising the same. The electrolyte includes: a polymer mixture including a PEO (polyethylene oxide)-based polymer having crosslinkable functional groups, and a non-crosslinkable PEO-based polymer; a ceramic compound; and a polar compound, and exhibits excellent ionic conductivity despite its low content of the polar compound.

POSITIVE ACTIVE MATERIAL, AND POSITIVE ELECTRODE AND LITHIUM SECONDARY BATTERY COMPRISING SAME

NºPublicación:  EP4726805A1 15/04/2026
Solicitante: 
LG CHEMICAL LTD [KR]
EP_4726805_PA

Resumen de: EP4726805A1

The present invention relates to a positive electrode material, and a positive electrode and a lithium secondary battery including the same. The positive electrode material includes a first positive electrode active material in the form of a single particle, and a second positive electrode active material having a greater average particle size (D50) than the first positive electrode active material. The first positive electrode active material is a lithium-excess manganese oxide simultaneously including a Li2MnO3 phase and a LiMO2 (where M is an element including at least one selected from Ni, Co and Mn) phase, and the second positive electrode active material is a lithium nickel oxide including 50 mol% or more and less than 80 mol% of nickel with respect to the total moles of metals except for lithium.

CASIMIR POWER CELL

NºPublicación:  EP4725071A2 15/04/2026
Solicitante: 
LIMITLESS SPACE INST [US]
US_12302769_B2

Resumen de: US12302769B2

A battery includes a Casimir-effect powered cell (Casimir cell). The Casimir cell includes a first conductive wall; a second conductive wall that faces the first conductive wall; and a conductive antenna disposed in a cavity gap that is a space between the first conductive wall and the second conductive wall. The conductive antennal faces the first conductive wall and the second conductive wall. The first conductive wall and the second conductive wall produce a same first voltage potential. The conductive antenna produces a second voltage potential that is different from the first voltage potential. A voltage that is the difference between the first voltage potential and the second voltage potential is generated by Casimir phenomenon based on arrangement of the conductive antenna between the first conductive wall and the second conductive wall.

CRYSTALLINE-SULFIDE SOLID ELECTROLYTE

NºPublicación:  EP4726741A1 15/04/2026
Solicitante: 
IDEMITSU KOSAN CO [JP]
EP_4726741_A1

Resumen de: EP4726741A1

Provided is a crystalline sulfide solid electrolyte that has a high ionic conductivity with reduced raw material costs, the crystalline sulfide solid electrolyte containing a lithium atom, a phosphorus atom, a sulfur atom, an oxygen atom, and a halogen atom, and having a composition represented by a compositional formula (100-y)(0.5)(Li3+2zP(S1-xOx)4+z)+(y) LiX (in the compositional formula, x, y, and z satisfy 0.00060≦x≦0.25, 0.50≦y≦14.0, and - 0.17≦z≦1.5, respectively, and X represents a halogen atom).

BATTERY TRAY AND METHOD FOR PRODUCING A BATTERY TRAY

NºPublicación:  EP4725738A1 15/04/2026
Solicitante: 
VOESTALPINE STAHL GMBH [AT]
VOESTALPINE METAL FORMING GMBH [AT]
EP_4725738_PA

Resumen de: EP4725738A1

Die Erfindung schafft eine Batteriewanne (100; 200) zum Aufnehmen einer Batterie (20), umfassend:ein Wannengehäuse (190; 290);wobei eine Schicht elektrischer Leiterbahnen (130) an oder über einer durchgehenden ersten Schicht (110; 210) des Wannengehäuses (190; 290) an dessen konkaver Seite angeordnet ist, undwobei in der Schicht elektrischer Leiterbahnen (130) zumindest an einem ebenen Abschnitt des Wannengehäuses (190; 290) eine Vielzahl von elektrisch auslesbaren Deformations-Messstrukturen (140) ausgebildet ist.

LARGE-CAPACITY BATTERY, COVER PLATE, SHELL, CYLINDER ASSEMBLY, CYLINDER, ELASTIC SUPPORTING PIECE, BOTTOM SUPPORTING PIECE AND PREPARATION PROCESS OF LARGE-CAPACITY BATTERY

NºPublicación:  EP4726909A1 15/04/2026
Solicitante: 
D AUS ENERGY STORAGE TECH XIAN CO LTD [CN]
EP_4726909_A1

Resumen de: EP4726909A1

0001 The present application relates to the field of batteries, in particular to a large-capacity battery, a cover plate, a shell, a cylinder assembly, a cylinder, an elastic supporting piece, a bottom supporting piece and a preparation process of a large-capacity battery. The problem of an existing large-capacity battery sharing pipeline assembly being difficult to assemble is solved. The large-capacity battery comprises a shell and a plurality of battery cells, and the plurality of battery cells are arranged in the shell in the same direction; and the shell is provided with a shared chamber, and an inner cavity of the shared chamber is in communication with inner cavities of all the battery cells. According to the present application, the plurality of battery cells are arranged in one shell with the shared chamber, the shared chamber does not need to be inserted, the problem of coaxial insertion does not need to be considered in an arrangement direction of the battery cells, and requirements for machining precision and assembly precision are relatively low; and a special tool is not needed, an assembly process is simple, machining difficulty and machining cost of the large-capacity battery with a shared system are greatly reduced, and mass production can be achieved.

BATTERY ASSEMBLY

NºPublicación:  EP4726858A1 15/04/2026
Solicitante: 
LG ENERGY SOLUTION LTD [KR]
EP_4726858_PA

Resumen de: EP4726858A1

A battery assembly is disclosed. The battery assembly according to an embodiment of the present disclosure includes a plurality of battery cells stacked in a left-right direction, each battery cell including a receiving portion having an electrode assembly and a sealing portion extended frontward from the receiving portion; an upper plate having a flat portion on which the plurality of battery cells is placed and a main groove extended in the left-right direction and accommodating at least part of the sealing portion; and a lower plate coupled to a lower surface of the upper plate.

METHOD FOR MANUFACTURING LITHIUM SECONDARY BATTERY

NºPublicación:  EP4726855A1 15/04/2026
Solicitante: 
LG ENERGY SOLUTION LTD [KR]
EP_4726855_PA

Resumen de: EP4726855A1

The present disclosure relates to a manufacturing method of a lithium secondary battery comprising the steps of: preparing a battery cell including a positive electrode, a negative electrode and an electrolyte, wherein the positive electrode includes a lithium-rich manganese-based oxide in which the manganese content of all metals excluding lithium is greater than 50 mol% and the ratio of the number of moles of lithium to the number of moles of all metals excluding lithium (Li/Me) is greater than 1; and charging and discharging the battery cell at least once to activate the cell, wherein in the activating step, the charging is performed in a constant current-constant voltage mode, and the charging is ended when the charging current rate reaches 0.01 C to 0.04 C, and wherein in a region where the state of charge(SOC) of the battery cell is 3 to 60%, the charging current rate is 0.8 C to 1.2 C.

POSITIVE ELECTRODE ACTIVE MATERIAL COMPOSITE, POSITIVE ELECTRODE COMPRISING SAME, AND LITHIUM ION SECONDARY BATTERY COMPRISING POSITIVE ELECTRODE

NºPublicación:  EP4726806A1 15/04/2026
Solicitante: 
LG ENERGY SOLUTION LTD [KR]
EP_4726806_A1

Resumen de: EP4726806A1

The present invention provides a positive electrode active material composite comprising a positive electrode active material substrate and a compound coating layer comprising elements Li, P, and F coated on the positive electrode active material substrate, a positive electrode comprising the positive electrode, and a lithium-ion secondary battery comprising the positive electrode.

LEAD-ACID BATTERY

NºPublicación:  EP4726804A1 15/04/2026
Solicitante: 
GS YUASA INT LTD [JP]
EP_4726804_PA

Resumen de: EP4726804A1

0001 A lead-acid battery includes an element and an electrolyte solution. The element includes a positive electrode plate containing a positive electrode material, a negative electrode plate containing a negative electrode material, and a separator interposed between the positive electrode plate and the negative electrode plate. The negative electrode material contains a first carbonaceous material having a particle size of less than 32 µm and a fatty acid having 8 or more and 30 or less carbon atoms. A content Cc of the first carbonaceous material in the negative electrode material is 0.4 mass% or more. When the content of the fatty acid on a mass basis in the negative electrode material is represented by Cf (ppm), the specific surface area of the negative electrode material is represented by Sn (m<2>/g), and the DBP oil absorption of the first carbonaceous material is represented by Y, at least one of the condition (i) or the condition (ii) is satisfied. (i) The ratio Cf/Y is 0.1 ppm ·mL<-1> ·100 g or more. (ii) The ratio Cf/Sn is 20 ppm ·m<-2> ·g or more.

ELECTRONIC DEVICE AND ELECTRONIC PEN CHARGING METHOD USING SAME

NºPublicación:  EP4726968A1 15/04/2026
Solicitante: 
SAMSUNG ELECTRONICS CO LTD [KR]
EP_4726968_A1

Resumen de: EP4726968A1

According to various embodiments of the presnet disclosure, an electronic device may comprise: a first charging circuit; a second charging circuit; memory for storing instructions; and a processor. According to an emboidment, the instructions, when executed by the proecssor, may cause the electronic device to transmit a signal for detecting the proximity of a charging coil of an electronic pen through the first charging circuit and the second charging circuit. According to an embodiment, the instructions, when executed by the processor, may cause the electronic device to identify one charging circuit having detected the proximity of the charging coil of the electronic pen between the first charging circuit and the second charging circuit. According to an embodiment, the instructions, when executed by the processor, may cause the electronic device to wirelessly transmit power to the electronic pen through the identified one charging circuit. According to an embodiment, the instructions, when executed by the processor, may cause the electronic device to stop transmitting the signal of the other charging circuit of the first charging circuit and the second charging circuit while wirelessly transmitting the power to the electronic pen through the identified one charging circuit. In addition to various embodiments disclosed in the present document, various other embodiments may be possible.

Electrochemical cell characterisation

NºPublicación:  GB2644581A 15/04/2026
Solicitante: 
CIRRUS LOGIC INT SEMICONDUCTOR LTD [GB]
GB_2644581_PA

Resumen de: GB2644581A

Circuitry for determining one or more characteristics of an electrochemical cell comprising a first working electrode and a counter electrode, the circuitry comprising: drive circuitry configured to apply a first stimulus to the first working electrode; measurement circuitry configured to measure a first response at the first working electrode; and processing circuitry configured to: applying compensation to the first response to obtain a first corrected response of the electrochemical cell to the first stimulus; and determine a first characteristic of the one or more characteristics of the electrochemical cell based on the first corrected response, the first characteristic associated with the first working electrode.

POWER CONVERSION DEVICE AND PROGRAM

NºPublicación:  EP4727005A1 15/04/2026
Solicitante: 
DENSO CORP [JP]
EP_4727005_PA

Resumen de: EP4727005A1

A power conversion device includes: a high-potential-side path (22H) electrically connecting a first power storage (31) and an upper arm switch (SWH); a low-potential-side path (22L) electrically connecting a second power storage (32) and a lower arm switch (SWL); a power-storage-to-power-storage switch (50); a bypass switch (60, 61); a connection path (73); a neutral point capacitor (74, 75); a current sensor (84, 83) detecting a current flowing through the connection path or a current flowing through an armature winding (11); and a controller (100). The controller performs a temperature rise control in which to cause a ripple current to flow through the first and second power storages, at least one of the upper and lower arm switches is switched in a state where the bypass switch is on and the power-storage-to-power-storage switch is off, and determines whether an abnormality in the temperature rise control occurs based on a detection value of the current sensor during the temperature rise control.

METHOD FOR PREPARING CARBONATE SOLUTION OF ALKALI METAL OR ALKALINE EARTH METAL BIS(FLUOROSULFONYL)IMIDE

NºPublicación:  EP4725899A1 15/04/2026
Solicitante: 
EP CHEMTECH CO LTD [KR]
EP_4725899_A1

Resumen de: EP4725899A1

The present invention relates to a method for preparing a carbonate solution of an alkali metal or an alkaline earth metal bis(fluorosulfonyl)imide, more specifically to a method for obtaining a carbonate solution of an alkali metal or an alkaline earth metal bis(fluorosulfonyl)imide by preparing an alkali metal or an alkaline earth metal bis(fluorosulfonyl)imide in a carbonate and a solvent other than a carbonate, and then removing the solvent other than the carbonate.

SECONDARY BATTERY DETERIORATION PREDICTION SYSTEM AND SECONDARY BATTERY DETERIORATION PREDICTION METHOD

NºPublicación:  EP4726414A1 15/04/2026
Solicitante: 
HITACHI LTD [JP]
EP_4726414_PA

Resumen de: EP4726414A1

0001 Provided is a secondary battery deterioration prediction system including: an acquisition unit that acquires, in each operation condition, a relationship between a charging status and an open circuit voltage of a secondary battery and a relationship between the charging status and an internal resistance of the battery; an internal state diagnosis unit that diagnoses, based on the acquired relationships, a deterioration state of a positive electrode and a negative electrode of the secondary battery in each operation condition; a life prediction formula generation unit that generates a life prediction formula based on a time series change in the obtained deterioration state; and a deterioration calculation unit that calculates deterioration of the secondary battery based on the life prediction formula. The life prediction formula generation unit generates a life prediction formula based on a time series change in a deterioration state of the positive electrode and the negative electrode in a case where a load is applied to the secondary battery.

CRYSTALLINE SULFIDE SOLID ELECTROLYTE

NºPublicación:  EP4726742A1 15/04/2026
Solicitante: 
IDEMITSU KOSAN CO [JP]
EP_4726742_A1

Resumen de: EP4726742A1

Provided is a crystalline sulfide solid electrolyte having a high ionic conductivity and being capable of realizing a reduction in raw material cost, which contains a lithium atom, a phosphorus atom, a sulfur atom, an oxygen atom, and a halogen atom, has diffraction peaks at 2θ = 20.3 ± 0.5° and 29.6 ± 0.6° in X-ray diffraction measurement using a CuKα line, has a peak attributable to PSO33- observed at 39.6 ± 5.0 ppm in solid-state 31P-NMR measurement, and has a composition represented by the following composition formula: (100 - y)(0.5)(Li3+2zP(S1-xOx)4+z) + (y)LiX (in which, x, y, and z satisfy 0.00060 ≤ x ≤ 0.15, 3.0 ≤ y <25.0, and -0.17 ≤ z ≤ 1.5, respectively, and X represents a halogen atom).

SEALING DEVICE FOR POUCH TYPE SECONDARY BATTERY CASE, AND SEALING METHOD USING SAME

NºPublicación:  EP4726866A1 15/04/2026
Solicitante: 
LG ENERGY SOLUTION LTD [KR]
EP_4726866_PA

Resumen de: EP4726866A1

0001 Disclosed are an apparatus for sealing a pouch-shaped secondary battery case, the apparatus including a sealing tool including an upper sealing tool and a lower sealing tool configured to be disposed in contact with each other in the state in which a sealed portion of the pouch-shaped secondary battery case is located therebetween in order to press and heat the sealed portion such that the sealed portion is sealed, an upper pressing unit located in front or at the rear of the upper sealing tool, and a lower pressing unit located in front or at the rear of the lower sealing tool, and a sealing method using the same.

BATTERY MANAGEMENT APPARATUS AND OPERATING METHOD THEREOF

NºPublicación:  EP4726420A1 15/04/2026
Solicitante: 
LG ENERGY SOLUTION LTD [KR]
EP_4726420_PA

Resumen de: EP4726420A1

0001 A battery management apparatus according to an embodiment disclosed herein includes a voltage measurement unit configured to measure a voltage of each of a plurality of batteries and a controller configured to calculate, as a first voltage of each of the plurality of batteries, a deviation between an average voltage of the plurality of batteries and the voltage of each of the plurality of batteries, calculate a long moving average and a short moving average of the first voltage for each of the plurality of batteries, determine at least one noise battery based on the short moving average of each of the plurality of batteries, calculate a first deviation that is a deviation between the long moving average and the short moving average for each of a plurality of target batteries except for the at least one noise battery among the plurality of batteries, and calculate a second deviation that is a mean value of first deviations of the plurality of target batteries and diagnose at least one target battery among the plurality of target batteries based on a first diagnosis deviation that is a difference between the first deviation and the second deviation for each of the plurality of target batteries.

BATTERY PRESSURIZATION DEVICE AND BATTERY PRODUCTION SYSTEM

NºPublicación:  EP4726843A1 15/04/2026
Solicitante: 
CONTEMPORARY AMPEREX TECHNOLOGY CO LTD [CN]
EP_4726843_PA

Resumen de: EP4726843A1

0001 The present application discloses a battery pressurization device and a battery production system. The battery pressurization device includes a bearing mechanism, a first pressurization plate, and a second pressurization plate. The first pressurization plate and the second pressurization plate are disposed on the bearing mechanism and are opposite to each other in a first direction. The first pressurization plate and the second pressurization plate can move towards each other in the first direction to apply pressure to a battery cell disposed between the first pressurization plate and the second pressurization plate from both sides.

BATTERY MODULE

NºPublicación:  EP4726881A1 15/04/2026
Solicitante: 
SAMSUNG SDI CO LTD [KR]
EP_4726881_PA

Resumen de: EP4726881A1

A battery module includes: a housing; a plurality of battery cells accommodated in the housing and each including a case including a vent hole and a cell terminal protruding from the case; a bus bar electrically connecting the cell terminal of a battery cell of the plurality of battery cells and the cell terminal of another battery cell of the plurality of battery cells; and a bus bar holder including a holder body that supports the bus bar and includes a holder through hole corresponding to the vent hole, and a first protective member including an insulating material and located between the holder body and the case to face the case.

CAN AND BATTERY CELL INCLUDING THE SAME

NºPublicación:  EP4726869A1 15/04/2026
Solicitante: 
SK ON CO LTD [KR]
EP_4726869_PA

Resumen de: EP4726869A1

0001 A cell case (100) according to an embodiment of the present disclosure may include: a can (200) having a sidewall (220) and an end plate (210) having an internal space (S) accommodating an electrode assembly (400) formed therein; a cap plate (300) disposed opposite the end plate, coupled to the sidewall, and sealing the internal space; and an electrode terminal (500) extending externally by penetrating through a portion of the can, and the electrode terminal may be coupled to the end plate via an insulating resin member (R).

BATTERY MODULE ASSEMBLY METHOD, AND BATTERY MODULE

NºPublicación:  EP4726846A1 15/04/2026
Solicitante: 
LG ENERGY SOLUTION LTD [KR]
EP_4726846_PA

Resumen de: EP4726846A1

The invention relates to a battery module assembly method, comprising: providing K battery cells (110), K being a first integer; calculating a respective voltage drop (VD) of the K battery cells (110) due to a respective self-discharge of each of the multiple battery cells (110); selecting N battery cells (110) from the K battery cells (110), N being a second integer smaller than the first integer K; determining an extreme battery cell from the N battery cells (110) that exhibits a maximum voltage drop from the voltage drops (VD), or that exhibits a minimum voltage drop from the voltage drops (VD); calculating a summary statistic (M) as function of the voltage drops of the N battery cells (110) except for the extreme battery cell; calculating an A-value (A) of the N battery cells as function of the calculated summary statistic (M) and the voltage drop (VD) of the extreme battery cell; and if the A-value (A) is larger than a preset threshold (AT), removing the extreme battery cell from the N battery cells (110) and adding an alternative battery cell from the K battery cells (110) such that the N battery cells comprise the alternative battery cell and the N battery cells except for the extreme battery cell, wherein a second A-value (Λ) as calculated as function of the measure (M) and the voltage drop (VD) of the alternative battery cell is smaller than the preset threshold (AT). The invention further relates to a battery module (100).

TEMPERATURE MEASUREMENT APPARATUS AND METHOD AND BATTERY APPARATUS

NºPublicación:  EP4726342A1 15/04/2026
Solicitante: 
SAMSUNG SDI CO LTD [KR]
EP_4726342_PA

Resumen de: EP4726342A1

A temperature measurement apparatus includes a base; a thermistor array including a plurality of thermistors in different regions of the base; a power supply circuit configured to supply power to any one of the plurality of thermistors; and a processor connected to the plurality of thermistors and the power supply circuit, and configured to determine a target thermistor among the plurality of thermistors, to control the power supply circuit to supply the power to the target thermistor, to detect a resistance value of the target thermistor, and to calculate a temperature of a region corresponding to the target thermistor on the basis of the resistance value of the target therm istor.

SULFIDE SOLID ELECTROLYTE AND PREPARATION METHOD AND APPLICATION THEREOF

NºPublicación:  EP4725905A1 15/04/2026
Solicitante: 
AESC JAPAN LTD [JP]
EP_4725905_A1

Resumen de: EP4725905A1

0001 Disclosed are a sulfide solid electrolyte and a preparation method and an application thereof. The sulfide solid electrolyte has a molecular formula of LiP<1-b>MSOX; wherein: 5

BATTERY APPARATUS AND BATTERY PACK

NºPublicación:  EP4726955A1 15/04/2026
Solicitante: 
SAMSUNG SDI CO LTD [KR]
EP_4726955_PA

Resumen de: EP4726955A1

0001 The present disclosure relates to a battery apparatus and a battery pack that are made safer by detecting a battery charging situation through a discharge path (400) when the battery pack is in a shutdown state of the battery pack. To this end, the present disclosure provides a configuration for waking up a processor (100) using a voltage at both ends of a current detection element (500) when the processor (100) is in a sleep state and a battery is charged by a charging current supplied through a discharge path (400).

ELECTRIC BATTERY CELL INCORPORATING AN ANTI-SWELLING DEVICE

NºPublicación:  EP4726828A1 15/04/2026
Solicitante: 
FIAT RICERCHE [IT]
EP_4726828_PA

Resumen de: EP4726828A1

0001 A prismatic-type electric battery cell (1) has a housing (2) having two opposite main walls (2A), an upper wall (2B), a lower wall (2C) and two end walls (2D). The cell incorporates an anti-swelling device, including at least one internal connecting member (4), acting as a tie rod, arranged inside the housing (2) and having two opposite sides connected to the two main walls (2A) of the housing (2), so as to tend to prevent an outward swelling of the main walls (2A). The internal connecting member (4) divides the space inside the housing (2) into two chambers in which two or more wound electrode sheet rolls (JR) are arranged, with the winding axis (5) directed vertically or horizontally. In this way, the swelling of the cell during the operation of a battery pack is significantly reduced, or eliminated altogether, without the use of limiting elements arranged outside the cell and with consequent savings in space, weight and production cost, and with a consequent increase in the energy density of the battery pack.

ELECTRODE FOR LITHIUM SECONDARY BATTERY AND MANUFACTURING METHOD THEREOF

NºPublicación:  EP4726796A1 15/04/2026
Solicitante: 
SK ON CO LTD [KR]
EP_4726796_PA

Resumen de: EP4726796A1

In a method for manufacturing an electrode for a lithium secondary battery, an electrode mixture is prepared by mixing an electrode active material and a prepolymer binder including a polyvinylidene fluoride (PVDF)-based polymer. The electrode mixture is dry-coated onto an electrode current collector to form a preliminary electrode active material layer. The preliminary electrode active material layer is roll-pressed. An electric field is applied to the preliminary electrode active material layer to form an electrode active material layer. The electrode for a lithium secondary battery exhibits improved elasticity and ionic conductivity, thereby improving the cycle life characteristics and electrical properties of the secondary battery.

SELECTIVE RECOVERY OF NICKEL AND COBALT FROM NICKEL-COBALT-MANGANESE MATERIALS

NºPublicación:  EP4726062A1 15/04/2026
Solicitante: 
UMICORE NV [BE]
EP_4726062_A1

Resumen de: EP4726062A1

0001 the present invention provides a process for selective recovery of nickel and cobalt from nickel-cobalt-manganese materials, comprising the steps of: i. contacting said material with a sulphuric acid solution at a pH of at most 1 and at elevated temperature in absence of a reducing agent; ii. adding a reducing agent to the reaction mixture obtained in step i. and maintaining the resulting mixture at a pH of at most 1 and at elevated temperature; and iii. separating the manganese rich solid phase from the nickel and cobalt rich liquid phase.

MUTUAL AUTHENTICATION FOR HOST CONTROLLER AND BATTERY

NºPublicación:  EP4726583A1 15/04/2026
Solicitante: 
MICROSOFT TECHNOLOGY LICENSING LLC [US]
EP_4726583_PA

Resumen de: EP4726583A1

0001 A method for mutual authentication between a host controller and a battery subsystem of an electronic device includes, at a battery controller, generating a battery-side authentication challenge, and transmitting the battery-side authentication challenge to the host controller. A host-side authentication challenge is received from the host controller. The host-side authentication challenge is signed with a private encryption key of the battery controller to generate a battery-side message digest. The battery-side message digest and a public encryption key of the battery controller are transmitted to the host controller as a battery-side signature pair. A host-side signature pair is received from the host controller. Based at least in part on the host-side signature pair, a battery-side validation result is output that specifies a battery-side validity state for the host controller.

AIRCRAFT HYBRID ELECTRIC PROPULSION SYSTEM WITH BATTERY UNIT EVALUATION AND METHOD THEREFOR

NºPublicación:  EP4725843A1 15/04/2026
Solicitante: 
PRATT & WHITNEY CANADA [CA]
EP_4725843_PA

Resumen de: EP4725843A1

0001 A method of evaluating a battery cell (44) within a battery module (42) of an aircraft hybrid-electric propulsion (HEP) system (20) is provided. The HEP system (20) includes a thermal engine (22), an electric motor (24), and a propulsion unit (28). The HEP system (20) is configured to control at least one of the thermal engine (22) or the electric motor (24) to be in drive communication with propulsion unit (28). The method includes: controlling the HEP system (20) to have the battery module (42) and the battery cell (44) disposed in a rest mode; determining an open-circuit voltage (OCV) of the battery cell (44) after a settling period of time; determining an internal resistance value of the battery cell (44) using the determined OCV; and evaluating the battery cell (44) based on the determined OCV and the determined internal resistance value.

POROUS SILICON COMPOUND

NºPublicación:  EP4725903A1 15/04/2026
Solicitante: 
COVESTRO NETHERLANDS BV [NL]
EP_4725903_A1

Resumen de: EP4725903A1

0001 The present invention relates to a method for producing a porous silicon compound comprising the step of heating silica nanostructures in a reactor filled with an inert gas or a reducing gas mixture to a temperature in the range of from 500 to 900°C in the presence of a reducing agent, wherein the silica nanostructures are core-shell nanoparticles with a particle size of 200 nm or less, a shell with a thickness in the range of 1 to 50 nm comprising silica and a core comprising latex or a polyampholyte.

BATTERY ARRANGEMENT AND METHOD OF MANUFACTURING THE BATTERY ARRANGEMENT

NºPublicación:  EP4726865A1 15/04/2026
Solicitante: 
ABB SCHWEIZ AG [CH]
EP_4726865_PA

Resumen de: EP4726865A1

A battery arrangement and method for its manufacturing, wherein the battery arrangement comprises a first battery cell having a first casing and a planar stiffening element which is externally surface-mounted to a first stiffening section of the first casing in such a way that the planar stiffening element completely covers the first stiffening section. The planar stiffening element is formed and surface-mounted to the first non-contact section such that it increases the stiffness of the first stiffening section such that when a pressure within the first battery cell increases beyond a predefined first threshold pressure, the first casing breaks open first in a predetermined first non-contact section of the first casing, which is different from the first stiffening section, in order to allow the pressure within the first battery cell to be decreased.

BUSBAR ASSEMBLY, METHOD OF MANUFACTURING A BUSBAR ASSEMBLY, AND A METHOD OF MANUFACTURING AN ELECTRICAL CELL MODULE

NºPublicación:  EP4726885A2 15/04/2026
Solicitante: 
FORTESCUE ZERO LTD [GB]
EP_4726885_PA

Resumen de: EP4726885A2

0001 The invention relates to a busbar assembly electrically connecting cells of an electrical cell module. The busbar assembly includes a first and second insulator sheets in parallel, and busbar elements laminated between. Each busbar element includes connector portions configured so that adjacent pairs are spaced apart by an intermediary busbar portion. Each connector portion connects in series positive cell terminal of a first cell to a negative cell terminal of a second cell. The intermediary busbar portions connect in parallel both positive cell terminals of first cells, and negative cell terminals of second cells. The busbar element is operably rated for a maximum fault current determined by aggregation of discharge currents of the negative cell terminals. Each intermediary busbar portion has a fusible portion to disconnect connector portions in response to a surge current of 20% to 50% of the maximum fault current. Methods of manufacturing are also disclosed.

APPARATUS AND METHOD FOR CLEANING A COATING LIQUID NOZZLE

NºPublicación:  EP4725613A1 15/04/2026
Solicitante: 
SAMSUNG SDI CO LTD [KR]
EP_4725613_PA

Resumen de: EP4725613A1

0001 A nozzle cleaning apparatus includes a nozzle insertion hole into which a nozzle having a coating liquid discharge hole is inserted, a nozzle accommodation space that accommodates the nozzle inserted into the nozzle insertion hole, an air nozzle that sprays air toward the discharge hole of the nozzle accommodated in the nozzle accommodation space, and an air guide pipe that guides to the air nozzle the air to be sprayed, wherein the air nozzle is configured to spray the air toward the discharge hole from around the nozzle.

COMPOSITE ELECTROLYTE MEMBRANE AND ELECTROCHEMICAL DEVICE INCLUDING THE SAME

NºPublicación:  EP4726901A1 15/04/2026
Solicitante: 
SK ON CO LTD [KR]
EP_4726901_PA

Resumen de: EP4726901A1

Provided is a composite electrolyte membrane comprising a porous support including a polymer having a melting point of at least 145°C and a coating layer on at least one side of the support, wherein the coating layer includes a polymer binder and hydrophilic oxide particles. The membrane exhibits high heat resistance and improved ionic conductivity, and is suitable for use in electrochemical devices, such as lithium secondary batteries. Experimental results demonstrate excellent capacity retention, stability, and performance compared to conventional polyolefin-based separators, making the membrane advantageous for high-capacity and high-safety battery applications.

FACE-TO-FACE COOLING PLATE AND BATTERY PACK INCLUDING THE SAME

NºPublicación:  EP4726892A1 15/04/2026
Solicitante: 
SAMSUNG SDI CO LTD [KR]
EP_4726892_PA

Resumen de: EP4726892A1

0001 The present disclosure relates to a face-to-face cooling plate and a battery pack including the same. The face-to-face cooling plate capable of absorbing displacement that occurs when a battery cell swells to prevent a sudden decrease in lifetime of a battery and prevent leakage of coolant that is caused by swelling compression. The face-to-face cooling plate includes a cooling chamber which is provided between battery cells and forms a space therein so that cooling fluid is circulated and a leakage prevention unit provided in the cooling chamber, and accommodates the cooling fluid when the battery cell swells.

ELECTRODE ASSEMBLY, RECHARGEABLE BATTERY, AND BATTERY PACK

NºPublicación:  EP4726832A1 15/04/2026
Solicitante: 
SAMSUNG SDI CO LTD [KR]
EP_4726832_PA

Resumen de: EP4726832A1

0001 An electrode assembly (20) includes a separator (13) folded multiple times with bent portions alternating on a first side (13a) and a second side (13b) thereof in a zigzag form, a first electrode (11) inserted into an inner side of each of the bent portions on the first side (13a) of the separator (13), a second electrode (12) inserted into an inner side of each of the bent portions on the second side (13b) of the separator (13), and a fixing member (14) fixing the separator (13), the first electrode (11), and the second electrode (12), the fixing member (14) including a hydrogel.

BATTERY MANAGEMENT SYSTEM, ENCODING METHOD FOR BATTERY MANAGEMENT SYSTEM, AND ELECTRONIC DEVICE

NºPublicación:  EP4726961A1 15/04/2026
Solicitante: 
AESC JAPAN LTD [JP]
EP_4726961_PA

Resumen de: EP4726961A1

0001 Disclosed are a battery management system, an encoding method for the battery management system, and an electronic device. The battery management system includes: a battery management control panel (BMC) and at least two battery cell sampling control panels (CMC, CMC1-CMCN). Each of the battery cell sampling control panels (CMC, CMC1-CMCN) includes a bridge chip. The battery management control panel (BMC) is configured to send a first level signal to a GPIO port (GPIO0-GPIO4) of the bridge chip contained in each battery cell sampling control panel (CMC, CMC1-CMCN) to change an ID status of an ID port of the battery cell sampling control panel (CMC, CMC1-CMCN). The first level signal sent by the battery management control panel (BMC) to each of the battery cell sampling control panels (CMC, CMC1-CMCN) is different from one another. The ID status represents a unique identifier of the battery cell sampling control panel (CMC, CMC1-CMCN).

MULTILAYERED SEPARATOR FOR LITHIUM SECONDARY BATTERY, METHOD FOR PREPARING THE SAME AND LITHIUM SECONDARY BATTERY INCLUDING THE SAME

NºPublicación:  EP4726810A1 15/04/2026
Solicitante: 
SK ON CO LTD [KR]
EP_4726810_PA

Resumen de: EP4726810A1

A multilayered separator for a lithium secondary battery according to embodiments of the present disclosure includes: a porous substrate; a first coating layer disposed on one surface of the porous substrate, and including a first binder, a nitrate compound and a first lithium salt; and a second coating layer disposed on a surface of the porous substrate opposite the surface in contact with the first coating layer, and including a second binder and a second lithium salt.

BATTERY MODULE AND MOBILE DEVICE INCLUDING THE SAME

NºPublicación:  EP4726852A1 15/04/2026
Solicitante: 
SAMSUNG SDI CO LTD [KR]
EP_4726852_PA

Resumen de: EP4726852A1

A battery module (10) includes: a frame (100) including a cell mounting portion (110) on which a battery cell (300) is mounted, and a board mounting portion (120) connected to a side of the cell mounting portion (110). The battery module (10) includes a protection circuit board portion (200) electrically connected to the battery cell (300) and mounted on the board mounting portion (200). The board mounting portion (200) includes a contact support portion (121) protruding toward an inside of the board mounting portion (200) and contacting and supporting the protection circuit board portion (200).

SECONDARY BATTERY MODULE

NºPublicación:  EP4726893A1 15/04/2026
Solicitante: 
SAMSUNG SDI CO LTD [KR]
EP_4726893_PA

Resumen de: EP4726893A1

The present disclosure relates to a secondary battery module and is directed to providing a secondary battery module capable of maintaining a physically stable structure even when a secondary battery deforms. The secondary battery module includes a plurality of secondary batteries arranged in a first direction, and a partition member positioned in a gap between two adjacent secondary batteries among the plurality of secondary batteries. The partition member has a variable length at least in the first direction in response to an electrical signal applied to the partition member.

PROTECTION CIRCUIT MODULE, BATTERY ASSEMBLY INCLUDING THE SAME, AND METHOD OF MANUFACTURING THE SAME

NºPublicación:  EP4726850A1 15/04/2026
Solicitante: 
SAMSUNG SDI CO LTD [KR]
EP_4726850_PA

Resumen de: EP4726850A1

0001 A protection circuit module (210) of a battery assembly includes a substrate (220), a component mounted on the substrate (220), and a tab connection portion (240) spaced from the component on the substrate and to which an electrode tab (150) of a battery cell (100) is connected, wherein a first barrier (410) and a second barrier (420) are on the tab connection portion (240) and face each other.

POSITIVE ELECTRODE ACTIVE MATERIALS, PREPARATION METHODS OF POSITIVE ELECTRODE ACTIVE MATERIALS, POSITIVE ELECTRODES, AND RECHARGEABLE LITHIUM BATTERIES

NºPublicación:  EP4726801A1 15/04/2026
Solicitante: 
SAMSUNG SDI CO LTD [KR]
POSTECH RES & BUSINESS DEV FOUND [KR]
EP_4726801_PA

Resumen de: EP4726801A1

A positive electrode active material includes a lithium nickel-based composite oxide in a form of secondary particles, each of the secondary particles being formed by aggregated primary particles. A coating layer including amorphous carbon and carbon nanotubes is provided on surfaces of the secondary particles. The carbon nanotubes in the coating layer are randomly arranged on the surfaces of the secondary particles and physically interconnect the primary particles. The amorphous carbon in the coating layer is disposed between the secondary particles and the carbon nanotubes.

BATTERY MODULE

NºPublicación:  EP4726862A1 15/04/2026
Solicitante: 
SAMSUNG SDI CO LTD [KR]
EP_4726862_PA

Resumen de: EP4726862A1

A battery module includes a plurality of battery cells, busbars electrically connecting the plurality of battery cells, a holder positioned on the plurality of battery cells and accommodating the bus bars, and a cover portion positioned on the holder and covering the bus bars, wherein the cover portion includes a first layer, a second layer positioned on the first layer, and a third layer positioned on the second layer, and the second layer includes a material different from those of the first layer and the third layer.

POSITIVE ELECTRODE ACTIVE MATERIALS, PREPARATION METHODS THEREOF, POSITIVE ELECTRODES, AND RECHARGEABLE BATTERIES

NºPublicación:  EP4725908A1 15/04/2026
Solicitante: 
SAMSUNG SDI CO LTD [KR]
SEOUL NAT UNIV R&DB FOUNDATION [KR]
EP_4725908_PA

Resumen de: EP4725908A1

0001 A positive electrode active material, a method for preparing the positive electrode active material, a positive electrode including the positive electrode active material, and a rechargeable battery (e.g., a rechargeable lithium battery) including the positive electrode are disclosed. The positive electrode active material may have a disordered rocksalt structure. The positive electrode active material includes a compound represented by Chemical Formula 1, wherein a ratio of M<1> having an oxidation number of +2 is less than or equal to about 25 at%, based on a total of 100 at% of M<1>.

BATTERY CASE AND POUCH-TYPE SECONDARY BATTERY INCLUDING THE SAME

NºPublicación:  EP4726867A1 15/04/2026
Solicitante: 
SAMSUNG SDI CO LTD [KR]
EP_4726867_PA

Resumen de: EP4726867A1

A battery case and a pouch-type (kind) secondary battery including the same are provided. The battery case includes an accommodating portion (111) accommodating an electrode assembly having an electrode lead (20) attached thereto and a sealing portion (130) provided along an outer periphery of the accommodating portion, sealing the accommodating portion, and having a side from which the electrode lead is drawn, in which the outer periphery of the accommodating portion is defined by a first edge on which the electrode lead is arranged and a second edge forming a preset angle with the first edge, and a bending portion having a set or predetermined depth is formed to extend in the sealing portion, and the sealing portion (130) is bent from the bending portion toward the accommodating portion (111).

DEVICE AND METHOD FOR BUILDING A BATTERY MODEL

NºPublicación:  EP4726406A1 15/04/2026
Solicitante: 
SAMSUNG SDI CO LTD [KR]
NAT UNIV CHUNGBUK IND ACAD COOP FOUND [KR]
EP_4726406_PA

Resumen de: EP4726406A1

The present disclosure relates to a device and method for building a battery model. In some embodiments, a battery simulation device includes a control device configured to: generate a battery model simulating a target battery; perform a fist charging simulation of the battery model at a first charging rate to set a plurality of capacitive parameters among a plurality of parameters configuring the battery model; and perform a second charging simulation of the battery model at a second charging rate different from the first charging rate to set a plurality of resistive parameters among the plurality of parameters.

POSITIVE ELECTRODE ACTIVE MATERIALS, PREPARATION METHODS THEREOF, POSITIVE ELECTRODES, AND RECHARGEABLE LITHIUM BATTERIES

NºPublicación:  EP4725911A1 15/04/2026
Solicitante: 
SAMSUNG SDI CO LTD [KR]
EP_4725911_PA

Resumen de: EP4725911A1

A positive electrode active material includes: core particles including a lithium nickel-based composite oxide having a nickel content (e.g., amount) of at least about 80 mol% based on 100 mol% of a total metal excluding lithium in the lithium nickel-based composite oxide; and a coating layer disposed on a surface of each core particle and including aluminium, wherein the core particles are each in a form of a secondary particle in which a plurality of primary particles is agglomerated, an aluminium content (e.g., amount), based on total 100 at% of nickel, cobalt, and aluminium is about 10 at% to about 15 at% as measured by energy profiling energy dispersive spectroscopy (EP-EDS) on a surface of a positive electrode active material particle including the core particle and the coating layer.

TEMPERATURE MEASUREMENT MODULE AND TEMPERATURE ACQUISITION DEVICE

NºPublicación:  EP4726343A1 15/04/2026
Solicitante: 
TYCO ELECTRONICS SHANGHAI CO LTD [CN]
EP_4726343_PA

Resumen de: EP4726343A1

The present invention discloses a temperature measurement module and a temperature acquisition device. The temperature measurement module comprises: a housing (1); and a temperature sensor (2) which is provided in the housing (1). The temperature sensor (2) has a pair of pins (21), which are used as mating terminals for mating with terminals (5) of an electrical connection module (200). In the present invention, the temperature measurement module and the electrical connection module are press fitted together in a detachable manner, allowing the temperature sensor in the temperature measurement module to be replaced separately, thereby reducing the maintenance cost of the temperature acquisition device.

CAP ASSEMBLY AND SECONDARY BATTERY INCLUDING SAME

NºPublicación:  EP4726873A1 15/04/2026
Solicitante: 
SAMSUNG SDI CO LTD [KR]
EP_4726873_PA

Resumen de: EP4726873A1

0001 A cap assembly including a cap plate, a terminal plate joined to an opening in the cap plate, and an insulator between the cap plate and the terminal plate, wherein the terminal plate includes a current collector portion electrically connectable to an electrode assembly, and an electrode terminal portion continuously connected to the current collector portion in a longitudinal direction of the terminal plate.

ROLLING APPARATUS FOR MANUFACTURING ELECTRODE AND METHOD OF OPERATING THE ROLLING APPARATUS

NºPublicación:  EP4726792A1 15/04/2026
Solicitante: 
SAMSUNG SDI CO LTD [KR]
EP_4726792_PA

Resumen de: EP4726792A1

0001 The present disclosure relates to a rolling apparatus for manufacturing an electrode and a method of operating the rolling apparatus. A mechanism for is provided for inputting a rolling gap between a first roller and a second roller for rolling an electrode, thereby minimizing a quality deviation of the electrode. To this end, the present disclosure provides a configuration for predicting a rolling gap value using a gap prediction model and performing control such that a rolling gap between a first roller and a second roller becomes the predicted rolling gap value.

BATTERY MODULE

NºPublicación:  EP4726880A1 15/04/2026
Solicitante: 
SAMSUNG SDI CO LTD [KR]
EP_4726880_PA

Resumen de: EP4726880A1

0001 The present disclosure relates to a battery module, and the object to be solved is directed to providing a battery module capable of preventing heat propagation of a battery using an insulating cover. To this end, the present disclosure provides a battery module including one or more cell stacks formed by arranging a plurality of battery cells and having a first stack surface facing in a first direction and a second stack surface facing in a second direction and a module case in which the cell stacks are accommodated, wherein the battery cell includes an electrode assembly, a cell case having a first surface facing in the first direction and a second surface facing in the second direction, and an insulating cover coupled to the first surface and the second surface, and the second stack surface is insulated by a plurality of insulating covers provided on a plurality of battery cells.

NEGATIVE ELECTRODE AND RECHARGEABLE LITHIUM BATTERY INCLUDING THE SAME

NºPublicación:  EP4726803A1 15/04/2026
Solicitante: 
SAMSUNG SDI CO LTD [KR]
EP_4726803_PA

Resumen de: EP4726803A1

0001 Disclosed are negative electrodes and rechargeable lithium batteries. The negative electrode includes a negative electrode current collector and a negative electrode active material layer thereon. The negative electrode active material layer includes a first graphite having a first average particle diameter and a second graphite having a second average particle diameter. The second average particle diameter is greater than the first average particle diameter. The negative electrode active material layer includes a first negative electrode active material layer on the negative electrode current collector, a second negative electrode active material layer on the first negative electrode active material layer, and an intermediate layer between the first and second negative electrode active material layers. The intermediate layer has a slope that is equal to or greater than about 2.33 in a normalized graph obtained by measuring a horizontal direction force that depends on a cutting depth.

ELECTROLYTE FOR RECHARGEABLE LITHIUM BATTERY AND RECHARGEABLE LITHIUM BATTERY INCLUDING THE SAME

NºPublicación:  EP4726799A1 15/04/2026
Solicitante: 
SAMSUNG SDI CO LTD [KR]
EP_4726799_A1

Resumen de: EP4726799A1

An electrolyte for a rechargeable lithium battery and a rechargeable lithium battery including the same are provided. The electrolyte includes a non-aqueous organic solvent, a lithium salt, and an additive, and the additive includes a mixture of a first additive represented by Chemical Formula 1 and a second additive represented by Chemical Formula 2.

ELECTROLYTE FOR RECHARGEABLE LITHIUM BATTERY AND RECHARGEABLE LITHIUM BATTERY INCLUDING THE SAME

NºPublicación:  EP4726800A1 15/04/2026
Solicitante: 
SAMSUNG SDI CO LTD [KR]
EP_4726800_PA

Resumen de: EP4726800A1

0001 An electrolyte for a rechargeable lithium battery and a rechargeable lithium battery including the same are provided. The electrolyte includes a non-aqueous organic solvent; a lithium salt; and an additive, and the additive includes a mixture of a first additive represented by Chemical Formula 1 and a second additive represented by Chemical Formula 2.

RECHARGEABLE BATTERY AND BATTERY PACK INCLUDING THE SAME

NºPublicación:  EP4726841A1 15/04/2026
Solicitante: 
SAMSUNG SDI CO LTD [KR]
EP_4726841_PA

Resumen de: EP4726841A1

The present disclosure relates to a rechargeable battery and a battery pack including the rechargeable battery. The rechargeable battery includes a case having an open portion, an electrode assembly and an electrolyte accommodated in the case, and a cap-up in the open portion. The electrode assembly includes a first electrode plate, a second electrode plate, and a separator between the first electrode plate and the second electrode plate. The separator includes a base and a coating layer located on at least one surface of the base. A sum of machine direction (MD) elongation rate and transverse direction (TD) elongation rate of the base is 200% or less. A sum of MD tensile strength and TD tensile strength of the base is 4,000 kgf/cm2 or less. The coating layer includes a binder, and the binder includes one or more of an aramid-based resin and an acrylic resin.

SECONDARY BATTERY AND METHOD FOR MANUFACTURING THE SAME

NºPublicación:  EP4726827A1 15/04/2026
Solicitante: 
SAMSUNG SDI CO LTD [KR]
EP_4726827_PA

Resumen de: EP4726827A1

0001 A secondary battery includes: an electrode assembly including a first electrode including a first electrode tab, and a second electrode including a second electrode tab; a case including a three-dimensional shaped body having an accommodating space therein to accommodate the electrode assembly, and a flange extending in a horizontal direction from an open end of the body around the accommodating space; a cover on the case and joined to the flange to seal the accommodating space; and a first side plate joined to the body.

RECHARGEABLE BATTERY AND BATTERY PACK INCLUDING THE SAME

NºPublicación:  EP4726829A1 15/04/2026
Solicitante: 
SAMSUNG SDI CO LTD [KR]
EP_4726829_PA

Resumen de: EP4726829A1

A rechargeable battery includes a case, an electrode assembly in the case, a plurality of protrusions on an inner surface of the case, and a resin between an outer surface of the electrode assembly and the plurality of protrusions, the resin having a melting point of 150 °C or higher.

SECONDARY BATTERIES AND A MANUFACTURING METHOD THEREOF

NºPublicación:  EP4726830A1 15/04/2026
Solicitante: 
SAMSUNG SDI CO LTD [KR]
EP_4726830_PA

Resumen de: EP4726830A1

0001 A secondary battery includes: an electrode assembly including a first electrode, a second electrode, and a separator interposed between the first electrode and the second electrode; a lower case having an open top, and including a receiving portion to receive the electrode assembly; and an upper case sealing the open top of the lower case. A first electrode terminal electrically connected to the first electrode is located on one side surface of the lower case; the upper case is integrally extended from an upper edge portion of the one side surface; and the upper case is connected to edge portions of the lower case, other than the upper edge portion of the one side surface, from among open upper edge portions of the lower case.

BATTERY MANAGEMENT SYSTEM TEMPERATURE SENSING SYSTEMS AND METHODS

NºPublicación:  EP4725845A2 15/04/2026
Solicitante: 
PRATT & WHITNEY CANADA [CA]
EP_4725845_PA

Resumen de: EP4725845A2

A propulsion system (20) includes a battery (64), a plurality of temperature sensors (110), and a controller (92). The battery (64) includes a plurality of battery cells (112). The plurality of temperature sensors (110) includes a plurality of first temperature sensors (110A; 110C; 110E; 110F) and at least one second temperature sensor (110B). Each temperature sensor of the plurality of first temperature sensors (110A; 110C; 110E; 110F) is disposed at a respective battery cell of the plurality of battery cells (112). The at least one second temperature sensor (110B) is disposed at the plurality of battery cells (112). The controller (92) includes a first control channel (94) and a second control channel (96). The first control channel (94) is configured to monitor a T1 temperature of each battery cell of the plurality of battery cells (112) measured using the plurality of first temperature sensors (110A; 110C; 110E; 110F). The second control channel (96) is configured to monitor at least one T2 temperature of the plurality of battery cells (112) measured using the at least one second temperature sensor (110B).

SECONDARY BATTERY

NºPublicación:  EP4726825A1 15/04/2026
Solicitante: 
SK ON CO LTD [KR]
EP_4726825_PA

Resumen de: EP4726825A1

A secondary battery is disclosed. According to one aspect of the present disclosure, there is provided a secondary battery including: a can including an opening; an electrode assembly including a first hollow and disposed in the can; a cap plate that closes the opening; and an electrode rod extending to pass through the first hollow, wherein the electrode rod includes: a first end portion exposed to the outside of the can and forming an electrode terminal; and a second end portion disposed on an opposite side corresponding to the first end portion.

POWER STORAGE DEVICE

NºPublicación:  EP4726868A1 15/04/2026
Solicitante: 
TOYOTA MOTOR CO LTD [JP]
EP_4726868_PA

Resumen de: EP4726868A1

0001 A power storage device includes: a cylinder-shaped casing that houses an electrode assembly inside and has a central axis extending along a first direction; a safety valve arranged so as to overlap with the central axis when viewed along the first direction; a lid fixed at the casing by a crimped section crimping the casing from a first side in the first direction of the casing, wherein the lid includes a ring-shaped partition wall extending toward the first side and provided further to a radial direction outer side than the safety valve and further to a radial direction inner side than the crimped section; and a seal member that seals the crimped section at the radial direction outer side of the partition wall, the seal member being arranged at a second side in the first direction of the casing than an end portion of the casing at the first side.

BATTERY MANAGEMENT SYSTEM TEMPERATURE SENSING SYSTEMS AND METHODS

NºPublicación:  EP4726344A1 15/04/2026
Solicitante: 
PRATT & WHITNEY CANADA [CA]
EP_4726344_PA

Resumen de: EP4726344A1

0001 A propulsion system (20) includes a battery (64), a plurality of temperature sensors (110), and a controller (92). The battery includes a plurality of battery cells (112). Each temperature sensor of the plurality of temperature sensors is disposed at a respective battery cell of the plurality of battery cells. The controller includes a first control channel (94). The first control channel is configured to monitor a temperature of each battery cell of the plurality of battery cells measured, execute a model (136) trained to identify a faulted condition or an unfaulted condition of each temperature sensor of the plurality of temperature sensors using one or more operating parameters of the propulsion system, and identify the faulted condition or the unfaulted condition of a first temperature sensor of the plurality of temperature sensors using the model to determine an expected temperature range for the first temperature sensor based on the one or more operating parameters.

BATTERY MANAGEMENT SYSTEM TEMPERATURE SENSING SYSTEMS AND METHODS

NºPublicación:  EP4726854A1 15/04/2026
Solicitante: 
PRATT & WHITNEY CANADA [CA]
EP_4726854_PA

Resumen de: EP4726854A1

A propulsion system (20) includes a battery (64), a plurality of temperature sensors (110), and a controller (92). The battery (64) includes a plurality of battery cells (112). Each temperature sensor of the plurality of temperature sensors (110) is disposed at a respective battery cell of the plurality of battery cells (112). The controller (92) includes a first control channel (94) and a second control channel (96). The first control channel (94) is connected in signal communication with the plurality of temperature sensors (110). The second control channel (96) is connected in signal communication with the plurality of temperature sensors (110). Each of the first control channel (94) and the second control channel (96) is configured to monitor a temperature of each battery cell of the plurality of battery cells (112) measured using the plurality of temperature sensors (110).

A SYSTEM AND A METHOD FOR MANUFACTURING A SECONDARY BATTERY ASSEMBLY

NºPublicación:  EP4726821A1 15/04/2026
Solicitante: 
LG ENERGY SOLUTION LTD [KR]
EP_4726821_PA

Resumen de: EP4726821A1

A system for manufacturing a secondary battery assembly includes a stacking table configured to have a plurality of unit electrode cells having a unit electrode tab stacked thereon, to thereby form a cell stack with an electrode tab, and a transfer unit configured to sequentially pick a respective one of the plurality of unit electrode cells, move it to the stacking table and place on top of one another. The system further includes an adhesive spray unit configured to spray adhesive on at least a part of the unit electrode tab of the unit electrode cell placed at a top of the cell stack on the stacking table and a control unit configured to control the adhesive spray unit to perform the adhesive-spraying operation after one unit electrode cell is placed on the stacking table and before a next unit electrode cell is placed.

APPARATUS AND METHOD FOR WINDING AND CALENDERING AN ELECTRODE STACK

NºPublicación:  EP4725878A1 15/04/2026
Solicitante: 
TECHNISCHE UNIV MUENCHEN IN VERTRETUNG DES FREISTAATS BAYERN [DE]
TUMINT ENERGY RES GMBH [DE]
EP_4725878_PA

Resumen de: EP4725878A1

An apparatus for winding an electrode stack on a roll and calendering the electrode stack using said roll. The apparatus comprises said roll. Said roll is adapted to rotate around an axis of rotation. The winding of the electrode stack on said roll is associated with the rotating of said roll. The apparatus comprises a plurality of calender rolls arranged around said roll. The apparatus comprises a plurality of calenders, each of said calenders formed by said roll and a different one of the calender rolls from the plurality of calender rolls.

SULFIDE SOLID ELECTROLYTE, METHOD OF PREPARING THE SAME AND APPLICATION

NºPublicación:  EP4725906A1 15/04/2026
Solicitante: 
AESC JAPAN LTD [JP]
EP_4725906_PA

Resumen de: EP4725906A1

A sulfide solid electrolyte, a method of preparing the same, and an application are provided. The sulfide solid electrolyte has a molecular formula of LiaP1-bMbScOdXe, where 5

ELECTRICAL ENERGY STORAGE MODULE AND SPACER USED FOR THE SAME

NºPublicación:  EP4726882A1 15/04/2026
Solicitante: 
PRIME PLANET ENERGY & SOLUTIONS INC [JP]
EP_4726882_PA

Resumen de: EP4726882A1

0001 An electrical energy storage module (500) disclosed herein includes first and second electrical energy storage devices (100), and a spacer (200). The spacer (200) includes a base part (290), a first uneven structure (210) that is provided on a first surface (290Rr) of the base part (290) and includes a plurality of first protrusion parts (210p) and a first depression part (210r), and a second uneven structure (220) that is provided on a second surface (290F) of the base part (290) and includes a second protrusion part (220p). The second protrusion part (220p) of the second uneven structure (220) is provided at a position corresponding to the first depression part (210r) of the first uneven structure (210).

BATTERY DIAGNOSIS APPARATUS AND BATTERY DIAGNOSIS METHOD

NºPublicación:  EP4726405A1 15/04/2026
Solicitante: 
LG ENERGY SOLUTION LTD [KR]
EP_4726405_A1

Resumen de: EP4726405A1

Provided is a battery diagnosis apparatus and a battery diagnosis method. The battery diagnosis apparatus includes a data obtaining unit configured to obtain a first target full-cell profile representing a correspondence between a capacity factor and a voltage of a target cell while a first electric stimulation is being applied to the target cell, and a control circuit configured to generate an estimated full-cell profile based on the first target full-cell profile and an overpotential profile. The control circuit determines a first performance factor group as a primary estimation result for charge/discharge performance of the target cell by applying a cell diagnosis logic to the estimated full-cell profile. The control circuit determines a second performance factor group as a secondary estimation result for the charge/discharge performance of the target cell by applying a factor correction model to the first performance factor group. The second performance factor group includes an estimation result of a NP ratio of the target cell.

BATTERY DIAGNOSIS APPARATUS AND METHOD

NºPublicación:  EP4726416A1 15/04/2026
Solicitante: 
LG ENERGY SOLUTION LTD [KR]
EP_4726416_PA

Resumen de: EP4726416A1

0001 A battery diagnosis apparatus according to one embodiment of the present invention is an apparatus for diagnosing the state of a battery pack including a plurality of cells, and may comprise: at least one processor; and a memory for storing at least one command executed through the at least one processor, wherein the at least one command can include the commands of: checking whether the battery pack enters a rest state after being fully charged; measuring a first voltage after a first time elapses after entering the rest state; measuring a second voltage after a second time elapses after entering the rest state; calculating a self-discharge amount of the battery pack on the basis of the first voltage and the second voltage; and determining the state of the battery pack by comparing the self-discharge amount of the battery pack to a preset threshold discharge current amount.

BATTERY PACK AND METHOD FOR MANUFACTURING BATTERY PACK

NºPublicación:  EP4726877A1 15/04/2026
Solicitante: 
SAMSUNG SDI CO LTD [KR]
EP_4726877_PA

Resumen de: EP4726877A1

A battery cell holder (100) to mount a battery cell (1) therein and a battery pack are disclosed. The battery cell holder may include a first body (110) at an upper portion and a lower portion of the battery cell, having a first set of exposure grooves to expose a first electrode terminal and a second electrode terminal of the battery cell, and extending around a side of the battery cell; a second body (120) coupled to the first body (110), at the upper portion and the lower portion of the battery cell, having a second set of exposure grooves to expose the first electrode terminal and the second electrode terminal of the battery cell, and extending around another side of the battery cell; a first electrode tab (130) that contacts a first electrode terminal of the battery cell; and a second electrode tab (140) that contacts a second electrode terminal of the battery cell.

HIGH VOLTAGE RECHARGEABLE BATTERY MODULE

NºPublicación:  EP4725065A1 15/04/2026
Solicitante: 
NESTOROV TODOR VLADIMIROV [BG]
WO_2025091093_PA

Resumen de: WO2025091093A1

A high-voltage battery module (1) for electrical energy transport and storage, comprising an electronic key and protection package (2), a battery (3) of cells (3.1) having flat washer electrodes with longitudinal channels (3.8) and a single built-in varistor (3.4) with galvanic decoupling thereto connected through one of these channels between terminals (3.2) and (3.3) at both its poles with conductors (3.6) and (3.7). For galvanic decoupling, in series with the varistor (3.4), their gas discharger (3.10) with the same allowable pulse discharge current. The varistor (3.4), together with the capacitive-resistive voltage divider composed of all cells and a longitudinal electrostatic screen-normalizer (5) arranged longitudinally around the housing (3.5), forms a complex built-in virtual-hardware protection for all elements from impulse surges on the battery (3). The channels (3.8), implemented as tubes (4) of dielectric film with hydrophobically treated longitudinal ends (4.1), form group valves for venting gases possibly emitted during operation.

ELECTRONIC CONTROL DEVICE, BATTERY DEVICE, RELATED DEVICE, ENERGY STORAGE SYSTEM AND CHARGING NETWORK

NºPublicación:  EP4726931A2 15/04/2026
Solicitante: 
CONTEMPORARY AMPEREX TECHNOLOGY CO LTD [CN]
EP_4726931_A2

Resumen de: EP4726931A2

The present application belongs to the technical field of battery production. Provided are an electronic control device, a battery device, a related device, an energy storage system, and a charging network. The electronic control device comprises a battery management circuit board and an electrical connection assembly, wherein the battery management circuit board is provided with a first connecting terminal, which first connecting terminal is electrically connected to an internal circuit of the battery management circuit board; and the electrical connection assembly comprises a bearing member and a conductive component, the conductive component being connected to the bearing member, and the conductive component comprising a conductive part, a second connecting terminal, and a third connecting terminal. The second connecting terminal is connected to the third connecting terminal by means of the conductive part, the second connecting terminal is connected to the first connecting terminal, and the third connecting terminal is connected to a busbar or a relay inside the electric control device. The present application is aimed at replacing the connection mode of a wire harness, so as to simplify the structure and improve the integration level.

ULTRASONIC WELDING HEAD, ULTRASONIC WELDING DEVICE, ELECTRODE ASSEMBLY, BATTERY CELL, BATTERY AND ELECTRICAL DEVICE

NºPublicación:  EP4725634A1 15/04/2026
Solicitante: 
CONTEMPORARY AMPEREX TECHNOLOGY CO LTD [CN]
EP_4725634_A1

Resumen de: EP4725634A1

0001 An ultrasonic welding head (10). The ultrasonic welding head comprises a welding head main body (1) and first welding teeth (2); the welding head main body is provided with a welding surface (1a), the first welding teeth protruding from the welding surface; the first welding teeth comprises a plurality of tooth parts (20), the plurality of tooth parts respectively being a first tooth part (21) to an m-th tooth part which are successively arranged in the protruding direction of the first welding teeth; the n-th tooth part is arranged on the end surface of the end of the (n-1)th tooth part away from the welding surface, the end surface of the end of the (n-1)th tooth part away from the welding surface exceeding the n-th tooth part, and 2 ≤ n ≤ m. The present application further relates to an ultrasonic welding device, an electrode assembly (30), a battery cell (100), a battery (200), and an electrical device (1000).

SECONDARY BATTERY TESTING DEVICE AND PENETRATING PIN ALIGNMENT MECHANISM FOR SHORT-CIRCUIT TEST OF SECONDARY BATTERY

NºPublicación:  EP4726849A1 15/04/2026
Solicitante: 
SAMSUNG SDI CO LTD [KR]
EP_4726849_PA

Resumen de: EP4726849A1

0001 A secondary battery testing device including: a support bulkhead configured to contact one side surface of a battery cell for an internal short-circuit test; a penetration bulkhead opposite to the support bulkhead and configured to contact an opposite side surface of the battery cell, the penetration bulkhead having an access opening extending therethrough toward the support bulkhead; a bulkhead connector connecting the support bulkhead and the penetration bulkhead to each other and maintaining a gap between the support bulkhead and the penetration bulkhead; an alignment mechanism mounted on the penetration bulkhead and having a nail guide corresponding to the access opening and having a guide passage; and a nail configured to penetrate the battery cell through the guide passage to cause an electrical short-circuit of the battery cell.

APPARATUS FOR MANUFACTURING DRY ELECTRODE POWDER

NºPublicación:  EP4726790A1 15/04/2026
Solicitante: 
LG ENERGY SOLUTION LTD [KR]
EP_4726790_PA

Resumen de: EP4726790A1

An apparatus for manufacturing a dry electrode powder according to an embodiment of the present disclosure comprises: a drying chamber in which a wet electrode slurry is dried and manufactured into a dry electrode powder; and a spray unit that sprays the electrode slurry into the inside of the drying chamber, wherein the inner wall surface of the drying chamber may include a plurality of protrusions.

METHOD FOR PRODUCING A PRE-PRODUCT, A BATTERY CELL AND A BATTERY

NºPublicación:  EP4725059A1 15/04/2026
Solicitante: 
FORSCHUNGSZENTRUM JUELICH GMBH [DE]
WO_2025087588_PA

Resumen de: WO2025087588A1

The invention relates to a method for producing a pre-product for a battery cell, to a method for producing a battery cell, to a method for producing a battery, and to a battery cell. In a method for producing a pre-product (1) for a battery cell (2), Li and Na are mechanically mixed with one another in the solid state. In this way, a three-dimensional lattice structure can be produced which allows particularly low impedance and thus particularly good electrical transfer.

ELECTROLYTE ADDITIVE FOR SECONDARY BATTERY, NON-AQUEOUS ELECTROLYTE FOR LITHIUM SECONDARY BATTERY COMPRISING SAME, AND LITHIUM SECONDARY BATTERY COMPRISING SAME

NºPublicación:  EP4726837A1 15/04/2026
Solicitante: 
DUKSAN ELECTERA CO LTD [KR]
EP_4726837_A1

Resumen de: EP4726837A1

The present invention relates to a novel electrolyte additive, a non-aqueous electrolyte for a lithium secondary battery comprising the novel electrolyte additive, and a lithium secondary battery comprising the non-aqueous electrolyte. More specifically, the present invention relates to a non-aqueous electrolyte for a lithium secondary battery comprising an additive capable of forming coordination bonds on the surface of the cathode. The present invention also relates to a lithium secondary battery having improved performance, wherein by including such a non-aqueous electrolyte, the high-temperature cycle life of the lithium secondary batteries is not degraded, gas generation is suppressed during high-temperature storage, the capacity retention and capacity recovery are improved, and the swelling (thickness expansion) of the battery during high-temperature storage is inhibited.

BATTERY DIAGNOSIS APPARATUS AND BATTERY DIAGNOSIS METHOD

NºPublicación:  EP4726421A1 15/04/2026
Solicitante: 
LG ENERGY SOLUTION LTD [KR]
EP_4726421_A1

Resumen de: EP4726421A1

Disclosed is a battery diagnosis apparatus and a battery diagnosis method. The battery diagnosis apparatus includes a processor configured to control a stimulation application device to intermittently apply a second electric stimulation greater than a first electric stimulation to a target cell during a state change period, and a communication unit configured to obtain current time series data during the state change period and voltage time series data representing a change history of a full-cell voltage of the target cell during rest periods of the second electric stimulation given in the state change period. The processor generates a measurement full-cell profile based on the current time series data and the voltage time series data, and analyzes the measurement full-cell profile to estimate a negative electrode participation start point.

SECONDARY BATTERY PRESSING DEVICE AND SECONDARY BATTERY PRESSING METHOD USING SAME

NºPublicación:  EP4726833A1 15/04/2026
Solicitante: 
LG ENERGY SOLUTION LTD [KR]
EP_4726833_PA

Resumen de: EP4726833A1

Disclosed are a secondary battery pressing apparatus for pressing a secondary battery including a battery case receiving an electrode assembly having a pair of electrode leads located opposite each other and a sealed portion at an edge of the battery case, the secondary battery pressing apparatus including a pair of pressing plates configured to press one surface and an other surface of the battery case and a pair of tight contact members configured to be brought into tight contact with a corner portion of the battery case by the pair of pressing plates, and a pressing method using the same.

BIPOLAR UNIT CELL, MANUFACTURING METHOD THEREFOR, AND BIPOLAR BATTERY COMPRISING SAME

NºPublicación:  EP4726844A1 15/04/2026
Solicitante: 
LG ENERGY SOLUTION LTD [KR]
EP_4726844_A1

Resumen de: EP4726844A1

According to an embodiment of the present disclosure, provided is a bipolar unit cell comprising: a positive electrode including a positive electrode current collector, and a positive electrode material layer formed on one surface of the positive electrode current collector so that a positive electrode non-coated portion is formed at the edge, a negative electrode including a negative electrode current collector, and a negative electrode material layer formed on one surface of the negative electrode current collector so that a negative electrode non-coated portion is formed at the edge, and a separator,wherein the positive electrode material layer and the negative electrode material layer are stacked so as to face each other while interposing a separator between them, and wherein a cured gel electrolyte is contained in at least one selected from the group consisting of the positive electrode material layer, the negative electrode material layer, and the separator, a manufacturing method thereof, and a bipolar battery having a structure in which two or more of the bipolar unit cells are stacked,

FIRE-EXTINGUISHING COMPOSITION AND BATTERY PACK COMPRISING SAME

NºPublicación:  EP4725563A1 15/04/2026
Solicitante: 
LG ENERGY SOLUTION LTD [KR]
EP_4725563_PA

Resumen de: EP4725563A1

0001 The present disclosure relates to a fire extinguishing composition and a battery pack including the same. The fire extinguishing composition includes an inorganic compound and a polycarboxylic acid compound in a predetermined content ratio and controls viscosity at room temperature to a predetermined range, thereby being capable of uniformly forming a fire extinguishing film at points where events occur when thermal events occur in battery packs, and thus has characteristics of high cooling effect and suffocating effect for fire extinguishing. In addition, the battery pack including the same can rapidly detect points where thermal events occur and directly spray the fire extinguishing composition concentratedly to the corresponding points, thereby not only facilitating prevention of thermal event propagation but also having an advantage of shortening the time required to resolve the event.

UNIT CELL AND METHOD FOR MANUFACTURING SAME

NºPublicación:  EP4726848A1 15/04/2026
Solicitante: 
LG ENERGY SOLUTION LTD [KR]
EP_4726848_PA

Resumen de: EP4726848A1

0001 The present invention relates to a unit cell and a method for manufacturing same. The objective of the present invention is to provide a unit cell and a method for manufacturing same, which can prevent folding and lifting of electrodes or separators during the manufacturing of a unit cell and a battery using the unit cell as a component, and can also prevent lifting of electrodes and separators during the use of the battery.

PACK-LEVEL AND SPACE-LEVEL LIQUID NITROGEN FIRE SUPPRESSION LINKAGE SYSTEM AND METHOD FOR ENERGY STORAGE POWER STATION

NºPublicación:  US12603371B1 14/04/2026
Solicitante: 
SHENZHEN RESEARCH INSTITUTE OF CHINA UNIV OF MINING AND TECHNOLOGY [CN]
FANSHI HIGH END EQUIPMENT MFG JIANGSU CO LTD [CN]
SHENZHEN RESEARCH INSTITUTE OF CHINA UNLVERSITY OF MINING AND TECH [CN]
US_12603371_B1

Resumen de: US12603371B1

Provided are a pack-level and space-level liquid nitrogen fire suppression linkage system and method for an energy storage power station. The system includes an energy storage cabin. Inside the energy storage cabin, energy storage rooms in which battery clusters are stored are independent fire protection subareas. A fan, a plurality of combined detectors, and a control valve are provided in each fire protection subarea, and an audible and visual alarm, a fire alarm bell, and an emergency start-stop switch are provided on an outer wall of each fire protection subarea. Two circular holes are formed on an upper side of a panel of a pack of each battery cluster, with one circular hole for mounting a fire detector and the other circular hole for laying a pack-level liquid nitrogen fire suppression branch pipe.

Shear-thickening fluid and electrolyte containing the same

NºPublicación:  PL452983A1 13/04/2026
Solicitante: 
POLITECHNIKA WARSZAWSKA [PL]
POLITECHNIKA WARSZAWSKA
PL_452983_A1

Resumen de: PL452983A1

Przedmiotem zgłoszenia jest płyn zagęszczany ścinaniem, który składa się z fazy ciągłej i fazy rozproszonej, przy czym fazę ciągłą stanowi ciekły polimer lub oligomer tlenku alkilenu o budowie liniowej lub rozgałęzionej nieposiadający na końcach łańcuchów grup hydroksylowych, a fazę rozproszoną stanowią cząstki tlenków wybranych z grupy obejmującej SiO2, Al2O3 lub TiO2, gdzie faza rozproszona stanowi od 1% do 80% wag. Płyn znajduje zastosowanie jako składnik elektrolitu w bateriach litowo-jonowych, litowych, sodowych, wapniowych, potasowych, magnezowych. Zgłoszenie obejmuje również elektrolit zagęszczany ścinaniem, który zawiera płyn zagęszczany ścinaniem i sole metali alkalicznych i znajduje zastosowanie w bateriach jako separator elektrod.

BATTERIE POUR UN VEHICULE AUTOMOBILE ELECTRIQUE OU HYBRIDE COMPORTANT UN TERMINAL DE MODULE COUVERT PAR UN DISPOSITIF DE PROTECTION ET UN CAPOT

NºPublicación:  FR3167253A1 10/04/2026
Solicitante: 
STELLANTIS AUTO SAS [FR]
FR_3167253_A1

Resumen de: FR3167253A1

L’invention concerne une batterie pour un véhicule automobile électrique ou hybride comportant au moins un module et une pièce d’interconnexion (2), ledit module comportant au moins un terminal (1), la pièce d’interconnexion (2) et ledit terminal (1) étant reliés par un dispositif de liaison électrique vissée, ledit dispositif de liaison électrique vissée comportant un support (3) et une vis (4), caractérisé en ce que ledit terminal (1) comporte un dispositif de protection comprenant une première partie (5a) et une deuxième partie, ladite première partie (5a) encadrant partiellement ledit support (3), ladite deuxième partie formant un rebord entourant au moins partiellement ledit terminal (1), ledit module comportant un capot (6) isolant fixé sur ladite première partie (5a) et sur ladite deuxième partie, ledit module comportant un joint d’étanchéité (7) positionné entre ledit terminal (1) et ledit capot (6). Figure 2

PROCEDE DE PROTECTION D’UN CIRCUIT ELECTRIQUE DE VEHICULE ELECTRIQUE OU HYBRIDE COMPRENANT UNE LIAISON ELECTRIQUE VISSEE

NºPublicación:  FR3167261A1 10/04/2026
Solicitante: 
STELLANTIS AUTO SAS [FR]
FCA US LLC [US]
FR_3167261_A1

Resumen de: FR3167261A1

L’invention concerne un procédé pour la protection d’un circuit électrique (10) de véhicule électrique ou hybride comprenant une liaison électrique vissée (51, 52, 53, 54), une batterie (20) comprenant un module (21, 22) et un interrupteur (30), la liaison électrique vissée comprenant une sonde de température (41, 42, 43, 44), le procédé comprenant les étapes suivantes : - deux étapes de mesure de valeur de température de la liaison électrique vissée ;- une étape de calcul d’une valeur de gradient temporel de température de la liaison électrique vissée ;- une étape d’ouverture de l’interrupteur lorsque la valeur de gradient temporel de température calculée est supérieure à une valeur de seuil de gradient temporel de température de la liaison électrique vissée. Figure 1

DISPOSITIF D'EXTINCTION D'INCENDIE POUR VÉHICULE ÉLECTRIQUE

NºPublicación:  FR3167059A1 10/04/2026
Solicitante: 
LIN JHE YI [TW]
FR_3167059_A1

Resumen de: FR3167059A1

DISPOSITIF D'EXTINCTION D'INCENDIE POUR VÉHICULE ÉLECTRIQUE L’invention concerne un dispositif d'extinction d'incendie pour véhicule électrique (100) comprenant un canal de cavité structural (22) formé dans un compartiment de batterie du véhicule électrique, et un connecteur (30) qui prolonge le canal jusqu'à une surface de carrosserie du véhicule (21). Dans un exemple, le connecteur est relié à un connecteur correspondant (40), une conduite, un panneau de commande (60) et une unité d'alimentation externe en agent extincteur (70) à l'extérieur du véhicule. Un détecteur envoie un signal au panneau de commande en cas de détection d'un incendie, et une vanne de conduite d'agent extincteur s’ouvre automatiquement pour libérer un agent à l'intérieur. Dans un autre exemple, le connecteur est relié à un connecteur correspondant, une conduite et une unité d'alimentation externe de source d’eau d'extinction d'incendie à l'extérieur du véhicule, et une conduite de source d'eau d'extinction d'incendie est ouverte manuellement. Figure à publier avec l'abrégé : Fig. 1

Méthode et dispositif pour estimer un état de santé d’une batterie Lithium-Ion

NºPublicación:  FR3167214A1 10/04/2026
Solicitante: 
COMMISSARIAT A LENERGIE ATOMIQUE ET AUX ENERGIES ALTERNATIVES [FR]
FR_3167214_A1

Resumen de: FR3167214A1

Méthode (100) pour estimer un état de santé d’une batterie Lithium-Ion. La méthode comporte, pour au moins une phase de relaxation de la batterie, et pour chaque cellule de la batterie : une collecte (110) de plusieurs mesures de tension de la cellule,une formation (120) d'un signal de relaxation sous la forme d’un logarithme d'une valeur normalisée de la tension de la cellule,une décomposition (130) en modes empiriques (EMD) du signal de relaxation en composantes intrinsèques. La méthode (100) comporte également : un calcul (150) d'une variance d'énergies des cellules à partir des composantes intrinsèques obtenues pour les différentes cellules, une détermination (160) d'un état de santé courant de la batterie (20) en fonction de la variance des énergies des cellules pour la phase de relaxation considérée. Figure pour l’abrégé : Fig. 2

Méthode et dispositif pour détecter une défaillance d’une batterie Lithium-Ion

NºPublicación:  FR3167213A1 10/04/2026
Solicitante: 
COMMISSARIAT A L ENERGIE ATOMIQUE ET AUX ENERGIES ALTERNATIVES [FR]
FR_3167213_A1

Resumen de: FR3167213A1

Méthode (100) pour détecter une défaillance d’une batterie Lithium-Ion. La méthode comporte, pour au moins une phase de relaxation de la batterie, et pour chaque cellule de la batterie : une collecte (110) de plusieurs mesures de tension de la cellule,une formation (120) d'un signal de relaxation sous la forme d’un logarithme d'une valeur normalisée de la tension de la cellule,une décomposition (130) en modes empiriques (EMD) du signal de relaxation en composantes intrinsèques. La méthode (100) comporte également : une détermination (150) d'une valeur d'incidence représentative d’un état de santé de la batterie à partir des composantes intrinsèques obtenues pour les différentes cellules, une évaluation (160) d’un critère de détection d’une défaillance de la batterie en fonction de la valeur d’incidence. Figure pour l’abrégé : Fig. 2

Procédé de préchauffage d’une batterie haute tension d’un véhicule et véhicule correspondant

NºPublicación:  FR3167250A1 10/04/2026
Solicitante: 
VALEO SYSTEMES THERMIQUES [FR]
FR_3167250_A1

Resumen de: FR3167250A1

Procédé de préchauffage d’une batterie haute tension d’un véhicule et véhicule correspondant L’invention concerne un procédé de préchauffage d’une batterie haute tension d’un véhicule (200) électrique ou hybride, utilisant un système de gestion thermique (1) apte à fonctionner en mode pompe à chaleur, le procédé de préchauffage comportant des étapes de :- réception d’un instant de démarrage (td) du véhicule (200) et d’une température initiale (Tbatt_init) de la batterie haute tension,- estimation d’une énergie thermique (Eth) à transmettre à la batterie haute tension pour que celle-ci atteigne une température cible (Tcible), - détermination d’un instant d’activation (tact) du système de gestion thermique (1) et de ses paramètres (Rpm_30, ω, P22) de fonctionnement, et- préchauffage de la batterie haute tension à partir de l’instant d’activation (tact), en utilisant les paramètres (Rpm_30, ω, P22) de fonctionnement,l’instant d’activation (tact) étant déterminé de sorte à minimiser une consommation électrique du système de gestion thermique (1) sur la durée de préchauffage. (Figure 3)

ELECTROLYTE AND BIPOLAR BATTERY INCLUDING THE SAME

NºPublicación:  US20260100417A1 09/04/2026
Solicitante: 
AESC JAPAN LTD [JP]
US_20260100417_A1

Resumen de: US20260100417A1

Disclosed are an electrolyte and a bipolar battery including the same. The electrolyte includes a first component, the first component being a compound shown by Formula I below, wherein R1 and R2 are each independently selected from any one of an alkyl group having 1-3 carbon atoms, an alkenyl group having 2-3 carbon atoms, and a substituent having 1-3 heteroatoms; the heteroatoms are nitrogen atoms and/or sulfur atoms. When the electrolyte containing the compound shown by Formula I of the present disclosure is applied in the bipolar battery, the bipolar battery exhibits a good high-temperature storage performance and a good high-temperature cycling performance.

Method for Configuring Cooling Tube of Battery Pack and Cooling Tube of Battery Pack

NºPublicación:  US20260100447A1 09/04/2026
Solicitante: 
LG ENERGY SOLUTION LTD [KR]
US_20260100447_A1

Resumen de: US20260100447A1

A method for configuring a cooling tube of a battery pack is disclosed. The method includes providing a cooling tube having a plurality of channels through which a cooling medium flows, and varying a number of channels (N) and an aspect ratio (D) of the channels. A pressure drop (ΔP) and deformation (δ) are determined as functions of N, D, a channel length (L), and a rib thickness (T), and the cooling tube is configured such that ΔP and δ are minimized to improve cooling efficiency. Also disclosed is a cooling tube for a battery pack including a plurality of channels, each having an aspect ratio defined by width and height. The channel arrangement and a rib thickness are selected to reduce pressure loss and channel deformation, thereby maximizing heat transfer efficiency.

HOLDING DEVICE FOR ONE OR MORE BATTERY CELLS FOR A VEHICLE, CONNECTION ASSEMBLY FOR ONE OR MORE BATTERY CELLS FOR A VEHICLE, BATTERY ASSEMBLY FOR A VEHICLE, AND METHOD

NºPublicación:  US20260097636A1 09/04/2026
Solicitante: 
VOLVO CAR CORP [SE]
US_20260097636_A1

Resumen de: US20260097636A1

0000 A holding device for one or more battery cells for a vehicle. The holding device includes a frame member, a first interface, and at least one second interface. The first interface is provided on the frame member. The first interface is configured for mechanically connecting an electric busbar or a collector plate to the frame member. The at least one second interface is also provided on the frame member. The at least one second interface is configured for mechanically connecting at least one electric converter unit to the frame member. The at least one second interface and the first interface are overlap-free. Additionally, a connection assembly for one or more battery cells for a vehicle is provided. Furthermore, a battery assembly for a vehicle is provided. Also, a method for manufacturing a battery assembly for a vehicle is provided.

BATTERY MODULE COOLING STRUCTURE

NºPublicación:  US20260100443A1 09/04/2026
Solicitante: 
HYUNDAI MOTOR COMPANY [KR]
KIA CORP [KR]
US_20260100443_A1

Resumen de: US20260100443A1

0000 A battery module cooling structure includes a plurality of battery cells arranged parallel to each other. The battery module cooling structure includes a cooling channel that is disposed between adjacent battery cells of the plurality of battery cells, the supports the plurality of battery cells, and that defines a cooling channel configured to cool the plurality of battery cells by carrying a cooling fluid therein. The cooling channel extends from a side surface of the plurality of battery cells in a vertical direction of the plurality of battery cells and then extends under the plurality of battery cells to sides of the adjacent battery cells in a horizontal direction.

SECONDARY BATTERY

NºPublicación:  US20260100439A1 09/04/2026
Solicitante: 
SAMSUNG SDI CO LTD [KR]
US_20260100439_A1

Resumen de: US20260100439A1

0000 A secondary battery includes a case comprising an accommodation part and a cap part, with an electrode assembly accommodated in the accommodation part. An electrode tab is connected to the electrode assembly, and a lead is connected to the electrode tab. An insulating layer is disposed to surround the lead, and a sealing layer seals the accommodation part and the cap part. The case comprises at least one layer in contact with the sealing layer. At least one of the accommodation part or the cap part comprises a heat dissipation member disposed on a surface of and inside of the at least one layer.

COOLANT PLATE MODULATION FOR BATTERY MODULES OF AN ELECTRIFIED VEHICLE

NºPublicación:  US20260100471A1 09/04/2026
Solicitante: 
FCA US LLC [US]
US_20260100471_A1

Resumen de: US20260100471A1

0000 A system includes a first battery module, a first cooling plate disposed adjacent to the first battery module, a second battery module spaced apart from the first battery module, a second cooling plate disposed adjacent to the second battery module and spaced apart from the first battery module and a first coolant path fluidically coupling the first cooling plate and the second cooling plate.

SOLID-STATE ELECTROLYTE AND CELL USING THE SAME

NºPublicación:  US20260100412A1 09/04/2026
Solicitante: 
FORMOSA SMART ENERGY TECH CORP [TW]
US_20260100412_A1

Resumen de: US20260100412A1

A solid-state electrolyte for lithium-ion cell is provided. The solid-state electrolyte includes a garnet-type solid-state electrolyte and a polymer filler, wherein the polymer filler is dispersed within the garnet-type solid-state electrolyte. The garnet-type solid-state electrolyte does not contain lithium carbonate, and the content of the garnet-type solid-state electrolyte is 60 wt % or more based on the total weight of the garnet-type solid-state electrolyte and the polymer filler.

APPARATUS FOR THE PRODUCTION OF INNER ASSEMBLIES AND METHOD THEREOF

NºPublicación:  US20260100399A1 09/04/2026
Solicitante: 
G D S P A [IT]
US_20260100399_A1

Resumen de: US20260100399A1

0000 An apparatus for production of inner assemblies including a movable frame, movable between first and second positions, a coupling unit including a forming support mounted on the movable frame, the coupling unit to couple at least one web in an overlapping layers structure onto the forming support to form an inner assembly while the movable frame is moving between the first and second positions, an unloading mechanism to pick the inner assembly from the forming support while the movable frame is moving between the first and second positions, and to release the inner assembly in a predefined release area, spaced from the movable frame, the unloading mechanism including a gripping device to grab and hold the inner assembly and a moving device to move the gripping device substantially at the same speed and in the same direction as the movable frame while the gripping device grabs the inner assembly.

METHOD AND APPARATUS FOR EVALUATING LIFETIME OF SECONDARY BATTERY

NºPublicación:  US20260100432A1 09/04/2026
Solicitante: 
SAMSUNG SDI CO LTD [KR]
US_20260100432_A1

Resumen de: US20260100432A1

0000 A method of evaluating a lifetime of a secondary battery, the method including receiving, via a data receiver, monitoring data of the secondary battery over charge and discharge cycles; determining, via a parameter determiner, a degradation prediction parameter of the secondary battery based on the monitoring data; and evaluating, via a lifetime evaluator, lifetime characteristics of the secondary battery based on the degradation prediction parameter.

RECHARGEABLE BATTERY AND ELECTROLYSIS METHOD OF MAKING THE SAME

NºPublicación:  US20260100425A1 09/04/2026
Solicitante: 
PURE LITHIUM CORP [US]
US_20260100425_A1

Resumen de: US20260100425A1

A block or graft copolymer coated lithium metal electrode provides the negative electrode and the solid electrolyte for a rechargeable lithium metal battery that further includes a positive electrode. The copolymer coated lithium metal electrode may be manufactured by a process involving electroplating lithium metal through a copolymer coated conductive substrate, for which the copolymer coated conductive substrate has been prepared by coating the conductive substrate in a copolymer solution followed by evaporating the solvent. Alternatively, a lithium metal electrode may be coated directly with copolymer.

APPARATUS FOR THE PRODUCTION OF INNER ASSEMBLIES AND METHOD THEREOF

NºPublicación:  US20260097920A1 09/04/2026
Solicitante: 
G D S P A [IT]
US_20260097920_A1

Resumen de: US20260097920A1

0000 An apparatus for the production of inner assemblies, including a feeding unit configured to feed at least one web along a feed path, a movable frame, movable between a proximal position and a distal position, the proximal position being closer to the feeding unit than the distal position, at least one winding device mounted on the movable frame and configured to wind the at least one web around a winding support to form an inner assembly, a holding member mounted on the movable frame, movable between a holding configuration, wherein the holding member is configured to hold the inner assembly wound on the winding support, and a disengagement configuration wherein the holding member is configured not to hold the inner assembly wound on the winding support, an extraction mechanism configured to extract the winding support from the inner assembly at least partially while the holding member holds the inner assembly.

SYSTEMS AND METHODS FOR DETECTING THERMAL RUNAWAY

NºPublicación:  US20260100431A1 09/04/2026
Solicitante: 
SAMSUNG SDI CO LTD [KR]
US_20260100431_A1

Resumen de: US20260100431A1

0000 The present disclosure relates to a thermal runaway detection method and a thermal runaway detection device and battery system performing the same. An embodiment provides a thermal runaway detection device including: a measuring device configured to measure a temperature of a battery; and a control device configured to monitor the temperature of the battery based on a measurement value received from the measuring device, the control device being further configured to determine that a thermal runaway event has occurred in the battery based on the temperature of the battery and a status of the measuring device satisfying one or more conditions.

BATTERY PACKS WITH REMOVABLE POWER CELLS FOR ELECTRIC VEHICLES AND ELECTRIC POWER TRANSMISSION

NºPublicación:  US20260097681A1 09/04/2026
Solicitante: 
RESEARCH FOUNDATION OF THE CITY UNIV OF NEW YORK [US]
US_20260097681_A1

Resumen de: US20260097681A1

0000 A method for transmitting electrical power to a remote location. A power cell is charged and then transported to a distal location where it is installed into a battery system. The battery system has multiple sets of power cells and utilizes a first set before switching to a second set. When the first set is depleted, it is removed and transported to a charging station for recharging.

POSITIVE ELECTRODE ACTIVE MATERIAL, AND POSITIVE ELECTRODE AND LITHIUM SECONDARY BATTERY COMPRISING SAME

NºPublicación:  WO2026075427A1 09/04/2026
Solicitante: 
LG CHEM LTD [KR]
\uC8FC\uC2DD\uD68C\uC0AC \uC5D8\uC9C0\uD654\uD559
WO_2026075427_A1

Resumen de: WO2026075427A1

The present invention relates to a positive electrode active material which comprises a polycrystalline lithium transition metal oxide having a nickel (Ni) content of 40-70 mol% with respect to the total content of transition metals, the positive electrode active material having an average particle diameter (D50) of 15 µm or more, having a particle size distribution (K90) of 0.3 or more and less than 0.7, and having a grain size of 95-130 nm as measured by X-ray diffraction (XRD) analysis, and the positive electrode active material can have excellent levels of charge/discharge capacity and rate characteristics.

ELECTRODE FOR BIPOLAR BATTERY, MANUFACTURING METHOD THEREFOR, AND BIPOLAR ASSEMBLY AND BIPOLAR BATTERY INCLUDING SAME

NºPublicación:  WO2026075390A1 09/04/2026
Solicitante: 
LG ENERGY SOLUTION LTD [KR]
\uC8FC\uC2DD\uD68C\uC0AC \uC5D8\uC9C0\uC5D0\uB108\uC9C0\uC194\uB8E8\uC158
WO_2026075390_A1

Resumen de: WO2026075390A1

Provided according to an embodiment of the present invention are an electrode for a bipolar battery, a manufacturing method therefor, and a bipolar assembly and a bipolar battery including same, wherein the electrode comprises: a positive electrode including a positive electrode current collector, a first positive electrode primer layer formed on one surface of the positive electrode current collector, a second positive electrode primer layer formed on the other surface of the positive electrode current collector, and a dry positive electrode material layer formed on the first positive electrode primer layer; and a negative electrode including a negative electrode current collector, a negative electrode material layer formed on one surface of the negative electrode current collector, and a second negative electrode primer layer formed on the other surface of the negative electrode current collector, the second positive electrode primer layer of the positive electrode and the second negative electrode primer layer being bonded to each other so as to face each other.

ELECTROCHEMICAL ELEMENT

NºPublicación:  WO2026074666A1 09/04/2026
Solicitante: 
MAXELL LTD [JP]
\u30DE\u30AF\u30BB\u30EB\u682A\u5F0F\u4F1A\u793E
WO_2026074666_A1

Resumen de: WO2026074666A1

Provided is an electrochemical element with which it is possible to ensure excellent reliability. An electrochemical element 1 comprises: a case 10 having a recessed container 11, which has a bottom part 111 and a lateral wall part 112, and a lid member 12 that covers the opening of the recessed container 11; a power generation element 20 which has a multilayer body obtained by layering an electrode layer 21, an electrode layer 22, and a solid electrolyte layer 23, and is accommodated in the internal space of the case 11 such that the bottom part 111 and the electrode layer 21 face each other; and a conductive plate 30 which is positioned between the electrode layer 22 and the lid member 12 on the opening side of the recessed container 11. The lid member 12 is recessed toward the conductive plate by reducing the pressure in the internal space of the case 10. The depth D of the recess in the lid member 12 is 0.02 mm or more. A gap G having a size of 0.05 mm or more is formed between the conductive plate and the lid member.

STACK REACTOR FOR BATCH GRAPHITE INTERCALATION

NºPublicación:  WO2026074162A1 09/04/2026
Solicitante: 
DANISH GRAPHENE APS [DK]
WO_2026074162_A1

Resumen de: WO2026074162A1

The present invention relates to a reactor for intercalating a graphite material, comprising an expandable reaction chamber to allow for expansion of said graphite material during intercalation. The reactor comprises a fluid permeable cathode plate with a fluid permeable separator, and a fluid permeable anode plate. At least one of the cathode and anode plates is biased towards the graphite in the reactor by a biasing element, and is moveably arranged to allow for expansion of the graphite material.

ADDITIVE FOR IRON-AIR BATTERIES

NºPublicación:  AU2024365581A1 09/04/2026
Solicitante: 
FORM ENERGY INC
AU_2024365581_PA

Resumen de: AU2024365581A1

An alkaline electrolyte including: an alkaline solution having a total hydroxide concentration of greater than 1 molar, based on a total volume of the alkaline electrolyte; and an additive including a trivalent element, wherein a concentration of the trivalent element is 1 millimolar to 5 molar, based on a total volume of the alkaline electrolyte, sulfur, and tin.

Verfahren, Vorrichtung, Computerprogrammprodukt und computerlesbares Speichermedium zur Vermeidung von Kriechströmen in einem HVBatteriesystem

NºPublicación:  DE102024129054A1 09/04/2026
Solicitante: 
PORSCHE AG [DE]
DE_102024129054_PA

Resumen de: DE102024129054A1

Die vorliegende Erfindung betrifft ein Verfahren, eine Vorrichtung, ein Computerprogrammprodukt und ein computerlesbares Speichermedium zur Vermeidung einer Bildung von Kriechströmen in einem HV-Batteriesystemen eines Fahrzeugs. Das erfindungsgemäße Verfahren ist insbesondere ein durch einen Computer ausgeführtes Verfahren und weist mehrere Schritte auf. In einem ersten Verfahrensschritt erfolgt ein Bestimmen einer Höhe (h), auf der sich das Fahrzeug befindet. In einem weiteren Verfahrensschritt erfolgt der Vergleich der (Betriebs-) Höhe (h) mit einem hinterlegten Schwellwert einer maximal zulässigen Höhe (hmax). Übersteigt die Höhe (h) die maximal zulässige Höhe (hmax), erfolgt eine Beschränkung des maximal zulässigen State of Charge (SoCmax)·

METHODS OF PRODUCING ANODE ACTIVE MATERIALS AND GRAPHENE FROM GRAPHITE

NºPublicación:  US20260097966A1 09/04/2026
Solicitante: 
NANOXPLORE INC [CA]
US_20260097966_A1

Resumen de: US20260097966A1

0000 Embodiments described herein relate to systems and methods for converting graphite compositions into spherical graphite particles and graphene. In some aspects, a method can include providing a graphite composition, and subjecting the graphite composition to a spheronization process to produce a plurality of spherical graphite particles and a plurality of graphite particles rejected from the spheronization process. The method further includes separating and collecting the spherical graphite particles and the rejected graphite particles in different collection zones. The rejected graphite particles are then exfoliated to obtain graphene particles. The spherical graphite particles are then further processed to form anode-active materials. The method can further include reducing an average particle size of the graphite composition via a micronization process prior to spheronization.

FUEL CELL VEHICLE AND METHOD OF CONTROLLING THE SAME

NºPublicación:  US20260100389A1 09/04/2026
Solicitante: 
HYUNDAI MOTOR COMPANY [KR]
KIA CORP [KR]
US_20260100389_A1

Resumen de: US20260100389A1

0000 Disclosed are a fuel cell vehicle and a method of controlling the same. The fuel cell vehicle includes a battery, a cell stack configured to provide stack voltage, a load connected to the battery and the cell stack, a multiphase converter configured to adjust a voltage range between the cell stack and the battery and including first to Nth (where N is a positive integer of 2 or greater) current paths connected to the cell stack and connected in parallel to each other, and a main controller configured to control the multiphase converter to allow alternating current to sequentially flow through the first to Nth current paths when measurement of the impedance of the cell stack is required.

A CYLINDRICAL CELL AND A METHOD FOR ASSEMBLING AN ELECTRODE ASSEMBLY FORMING THE CYLINDRICAL CELL

NºPublicación:  WO2026074385A1 09/04/2026
Solicitante: 
OLA ELECTRIC MOBILITY LTD [IN]
WO_2026074385_A1

Resumen de: WO2026074385A1

The present disclosure envisages a cylindrical cell (100). The cylindrical cell (100) comprises a cylindrical jelly roll (102), a first end (104), a second end (108), and an insulating tape (112). The electrode assembly is wound in a cylindrical jelly roll (102) configuration. The first end (104) of the cylindrical jelly roll (102) is connected to a cathode disc (106) to form a positive terminal. The second end (108) of the cylindrical jelly roll (102) is connected to an anode lid (110) to form a negative terminal. The insulating tape (112) wound around the first end (104) of the cylindrical jelly roll (102). The insulating tape (112) extends out of the jelly roll (102). The height of the insulating tape (112) is less than the height (H2) of a top end (402) of the cathode disc (106) and greater than the height (H1) of a circumferential tab of the cathode disc (106).

BATTERY STATE OF CHARGE ESTIMATION USING VIRTUAL CELL MODELING

NºPublicación:  US20260098903A1 09/04/2026
Solicitante: 
GM GLOBAL TECH OPERATIONS LLC [US]
US_20260098903_A1

Resumen de: US20260098903A1

0000 A method for determining a state of charge (SOC) of a battery may include determining a measured physical battery current flowing through the battery. The method further may include determining an estimated physical battery current using a physical battery cell model. The physical battery cell model is an equivalent circuit model of a first battery cell. The method further may include determining an estimated SOC of the battery based at least in part on the measured physical battery current and the estimated physical battery current using a virtual battery cell model. The virtual battery cell model is an equivalent circuit model of a second battery cell. The second battery cell is a computer-simulated electrochemical battery cell modeled in series with the physical battery cell model. The method further may include determining the SOC of the battery based at least in part on the estimated SOC of the battery.

BATTERY SYSTEM AND INSULATOR FOR A BATTERY SYSTEM

NºPublicación:  AU2024371298A1 09/04/2026
Solicitante: 
TEREX SOUTH DAKOTA INC
AU_2024371298_PA

Resumen de: AU2024371298A1

A battery system includes multiple battery cells each having a cell vent configured to vent flames originating from the battery cell in the event of a thermal runaway condition of the battery cell, and an insulator disposed adjacent a first battery cell, wherein the insulator comprises a hinged element configured to align with the cell vent of the first battery cell. In a closed position, the hinged element provides insulation for the first battery cell, and in an open position, the hinged element provides a vent to enable flames venting from the cell vent of the first battery cell to escape from between the insulator and the first battery cell to thereby inhibit the flames venting from the cell vent of the first battery cell from reaching a second battery cell.

Slurry Mixing Device and Slurry Mixing Method

NºPublicación:  US20260097373A1 09/04/2026
Solicitante: 
LG ENERGY SOLUTION LTD [KR]
US_20260097373_A1

Resumen de: US20260097373A1

A slurry mixing device includes: a lower housing including an accommodation portion that accommodates slurry and having an open upper side; an upper cover located above the lower housing and having one or more inlets; an agitator having one side located inside the lower housing to mix the slurry; and one or more first mixing members located inside the lower housing.

BATTERY MODULE

NºPublicación:  WO2026074969A1 09/04/2026
Solicitante: 
DENSO CORP [JP]
\u682A\u5F0F\u4F1A\u793E\u30C7\u30F3\u30BD\u30FC
WO_2026074969_A1

Resumen de: WO2026074969A1

A battery module (15) comprises battery cells (30) and heat storage members (40). The battery cells (30) each have a positive electrode and a negative electrode. The heat storage members (40) absorb heat generated by the battery cells (30). The heat storage members (40) are, for example, a PCM (Phase Change Material) that changes phase between a solid and a liquid. The positive electrodes contain a first active material and a second active material. The first active material has crystals of a layered rock salt structure. The second active material has crystals of an olivine structure.

RECYCLING OF USED CATHODE MATERIALS

NºPublicación:  WO2026075874A1 09/04/2026
Solicitante: 
NOVONIX BATTERY TECH SOLUTIONS INC [CA]
NOVONIX ANODE MAT LLC [US]
WO_2026075874_A1

Resumen de: WO2026075874A1

Methods for recycling used battery materials are provided herein. The recycled materials may be used active cathode materials that are converted into new cathode materials through the processes herein. The used active cathode materials may contain residual battery components, such as battery electrolytes, salts, binders, separator components and carbons. Advantageously, the process may enable the recycling of battery components through an all-dry process that does not require the separation of residual battery components from active cathode materials prior to the heating or recycling. Also disclosed herein are methods for converting a used battery cathode material with a first transition metal stoichiometry to a new battery cathode material with a second transition metal stoichiometry different from the first transition metal stoichiometry.

Hochvoltspeicher und Verfahren zum Herstellen eines Hochvoltspeichers

NºPublicación:  DE102024128968A1 09/04/2026
Solicitante: 
BAYERISCHE MOTOREN WERKE AG [DE]
DE_102024128968_PA

Resumen de: DE102024128968A1

Die Erfindung betrifft einen Hochvoltspeicher (10) für ein Kraftfahrzeug (50), aufweisend eine Zellpackung (15) an Batteriezellen (16), wobei die Batteriezellen (16) mittels einer Zellkontaktierungseinrichtung (18) elektrisch verbunden sind und die Batteriezellen (16) jeweils eine Sollbruchstelle (46) zum Bereitstellen einer Entgasungsöffnung an ihrer der Zellkontaktierungseinrichtung (18) zugewandten Seite aufweisen, wobei die Zellpackung mittels des Hochvoltspeichers (10) an dem Kraftfahrzeug (50) anordenbar ist.

WIRE-TYPE SECONDARY BATTERY

NºPublicación:  WO2026075394A1 09/04/2026
Solicitante: 
LG ENERGY SOLUTION LTD [KR]
\uC8FC\uC2DD\uD68C\uC0AC \uC5D8\uC9C0\uC5D0\uB108\uC9C0\uC194\uB8E8\uC158
WO_2026075394_A1

Resumen de: WO2026075394A1

A wire-type secondary battery is provided according to exemplary embodiments. The wire-type secondary battery comprises: a support comprising a core and a spiral guide extending along the surface of the core; a first electrode spirally wound along the surface of the core in between the guide; a first separation layer provided on the outer side of the first electrode and spirally wound along the first electrode; and a second electrode provided on the outer side of the first separation layer and spirally wound along the first separation layer. The support comprises: a first groove into which the first electrode is inserted; a second groove into which the first separation layer is inserted; and a third groove into which the second electrode is inserted. The width of the second groove is greater than the width of the first groove.

BATTERY PACK

NºPublicación:  US20260100448A1 09/04/2026
Solicitante: 
HONDA MOTOR CO LTD [JP]
US_20260100448_A1

Resumen de: US20260100448A1

A battery pack has a plurality of battery cells, a battery case accommodating the battery cells, and a water jacket provided below the battery cells and having a flow path configured to allow a refrigerant for adjusting a temperature of the battery cells to flow therethrough. The water jacket has a plurality of corner regions provided in the flow path. At least one of the corner regions is provided with a fin extending along a flow direction of the refrigerant.

POSITIVE ELECTRODE ACTIVE MATERIAL FOR LITHIUM SECONDARY BATTERY, MANUFACTURING METHOD FOR SAME AND LITHIUM SECONDARY BATTERY COMPRISING SAME

NºPublicación:  WO2026075388A1 09/04/2026
Solicitante: 
POSCO HOLDINGS INC [KR]
\uD3EC\uC2A4\uCF54\uD640\uB529\uC2A4 \uC8FC\uC2DD\uD68C\uC0AC
WO_2026075388_A1

Resumen de: WO2026075388A1

The present invention relates to a positive electrode active material for a lithium secondary battery, the positive electrode active material comprising: a lithium metal oxide having a lithium-rich and manganese-rich composition; and a coating layer positioned on the surface of the lithium metal oxide and containing Mo (molybdenum) and Al (aluminum).

Lightweight High Temperature Battery

NºPublicación:  US20260100453A1 09/04/2026
Solicitante: 
WRIGHT ELECTRIC INC [US]
US_20260100453_A1

Resumen de: US20260100453A1

0000 A battery system has a casing forming an interior chamber. The casing is comprised of a polymer. The battery system has a chemically active material contained by the interior chamber. The polymer withstands heat generated by the chemically active material. The heat is a function of a melting point of the chemically active material.

SULFUR-CONTAINING MATERIAL, SULFUR-CONTAINING BATTERY MATERIAL, ELECTRODE, AND BATTERY

NºPublicación:  AU2024356549A1 09/04/2026
Solicitante: 
ADEKA CORP
AU_2024356549_A1

Resumen de: AU2024356549A1

Provided is a sulfur-containing material containing a sulfur-modified compound, wherein when photoelectron spectrum analysis of the S1s orbital of the sulfur-containing material is performed by hard X-ray photoelectron spectroscopy, the sulfur-containing material has a ratio (A/B) of 2.5-4.0 (2.5 ≤ A/B ≤ 4.0) between the peak intensity area (A) of a peak corresponding to an S-S bond and the peak intensity area (B) of a peak corresponding to a C-S bond which are confirmed by waveform separation of an S1s orbital peak.

FLAME ARRESTING IN ELECTROCHEMICAL ENERGY STORAGE MODULES

NºPublicación:  AU2024354975A1 09/04/2026
Solicitante: 
FORM ENERGY INC
AU_2024354975_PA

Resumen de: AU2024354975A1

According to one aspect, a method of flame arresting in an electrochemical energy storage module may include receiving one or more signals indicative of operation of a plurality of electrochemical cells; based on the one or more signals, determining an operating state of the plurality of electrochemical cells; and, according to a predetermined relationship between the operating state of the plurality of electrochemical cells and a flame risk in a shared vent in fluid communication with the plurality of electrochemical cells, controlling power to at least one fan to control movement of gas along the shared vent and toward an outlet region in fluid communication with the shared vent.

MODULAR REMOVABLE BATTERY SYSTEM AND METHOD FOR POWERING AN ELECTRIC WATERCRAFT

NºPublicación:  AU2024351198A1 09/04/2026
Solicitante: 
PARKO ENERGEIAS PAPANAKLIS M I K E
AU_2024351198_PA

Resumen de: AU2024351198A1

System for powering an electric watercraft comprising a removable modular battery comprising a plurality of removable rechargeable battery stacks. The battery stacks are arranged inside one or more battery frames in order to facilitate the removal of depleted and/or damaged battery stacks and their replacement with charged ones. Also provided is a method for powering an electric watercraft using the modular variable capacity electric power system disclosed herein. Said system and method are particularly suitable for watercrafts operating journeys consisting of one or more intermediate stops such as ferryboats.

BATTERY CELL, AND BATTERY PACK AND VEHICLE INCLUDING SAME

NºPublicación:  WO2026075500A1 09/04/2026
Solicitante: 
LG ENERGY SOLUTION LTD [KR]
\uC8FC\uC2DD\uD68C\uC0AC \uC5D8\uC9C0\uC5D0\uB108\uC9C0\uC194\uB8E8\uC158
WO_2026075500_A1

Resumen de: WO2026075500A1

The present invention relates to a battery cell comprising: an electrode assembly in which a separator disposed between a first electrode and a second electrode is wound around a winding shaft; a housing that has an opening portion formed on one side to receive the electrode assembly and a closed portion formed on the other side, and is configured to be electrically connected to the second electrode; and a lead assembly that is configured to cover the opening portion of the housing and includes a lead having a first hole, an insulating gasket configured to be at least partially inserted into the first hole and having a second hole, and a terminal configured to be at least partially inserted into the second hole.

SECONDARY BATTERY MANUFACTURING SYSTEM AND METHOD FOR MANUFACTURING SECONDARY BATTERY

NºPublicación:  WO2026075379A1 09/04/2026
Solicitante: 
LG ENERGY SOLUTION LTD [KR]
\uC8FC\uC2DD\uD68C\uC0AC \uC5D8\uC9C0\uC5D0\uB108\uC9C0\uC194\uB8E8\uC158
WO_2026075379_A1

Resumen de: WO2026075379A1

A method for manufacturing a secondary battery is provided. The method comprises the steps of: collecting supply history data and manufacturing history data; and analyzing the supply history data and the manufacturing history data, wherein the manufacturing history data indicates a state of a main facility configured to perform a manufacturing process, and the supply history data indicates a state of a supply unit configured to supply an electrode roll to the main facility.

PRESSURIZED CARBON DIOXIDE FOR USE IN STABILIZING AQUEOUS BATTERIES

NºPublicación:  WO2026076088A1 09/04/2026
Solicitante: 
UNIV OF TENNESSEE RESEARCH FOUNDATION [US]
WO_2026076088_A1

Resumen de: WO2026076088A1

A method of stabilizing an aqueous battery comprising a Zn anode and a MnO2 cathode is disclosed. The method can comprise exposing the Zn anode and the MnO2 cathode to pressurized CO2, whereby the aqueous battery is stabilized. An aqueous battery comprising a Zn anode and a MnO2 cathode, wherein the Zn anode and the MnO2 cathode have been exposed to pressurized CO2 is also disclosed.

MANUFACTURING METHODS FOR SELECTIVE SURFACE TREATMENT-BASED 3D CURRENT COLLECTOR, 3D LITHIUM NEGATIVE ELECTRODE, AND ALL-SOLID-STATE BATTERY

NºPublicación:  WO2026075350A1 09/04/2026
Solicitante: 
IL CO LTD [KR]
\uC8FC\uC2DD\uD68C\uC0AC \uC544\uC774\uC5D8
WO_2026075350_A1

Resumen de: WO2026075350A1

The present invention provides manufacturing methods for a selective surface treatment-based 3D current collector, a 3D lithium negative electrode, and an all-solid-state battery, wherein by using selective surface treatment technology it is possible to prevent non-uniform lithium deposition in the pores of a 3D current collector, to prevent pore clogging caused by dendrite formation, and prevent structural deformation of an electrode.

RESIN FILM FOR POWER STORAGE DEVICE, POWER STORAGE DEVICE, AND METHODS FOR PRODUCING SAME

NºPublicación:  WO2026075238A1 09/04/2026
Solicitante: 
DAI NIPPON PRINTING CO LTD [JP]
\u5927\u65E5\u672C\u5370\u5237\u682A\u5F0F\u4F1A\u793E
WO_2026075238_A1

Resumen de: WO2026075238A1

Provided is a resin film for a power storage device. The resin film for a power storage device is configured from a laminate including at least a base film and a pressure-sensitive adhesive layer. The pressure-sensitive adhesive layer constitutes at least one surface of the resin film for a power storage device. The pressure-sensitive adhesive layer is partially provided on the base film.

BATTERY PACK

NºPublicación:  US20260100441A1 09/04/2026
Solicitante: 
HONDA MOTOR CO LTD [JP]
US_20260100441_A1

Resumen de: US20260100441A1

0000 A battery pack has battery cells, a first case body accommodating the battery cells, a second case body provided above the battery cells accommodated in the first case body and accommodating the battery cells, a first water jacket provided on a bottom portion of the first case body and configured to allow a refrigerant to flow therethrough to adjust a temperature of the battery cells accommodated in the first case body, and a second water jacket provided on a bottom portion of the second case body, communicating with the first water jacket, and configured to allow the refrigerant to flow therethrough to adjust a temperature of the battery cells accommodated in the second case body. The second case body has an erect wall erected around the second water jacket, and a discharge portion configured to discharge the refrigerant leaking from the second water jacket to the first case body.

BATTERY PACK

NºPublicación:  US20260100440A1 09/04/2026
Solicitante: 
HONDA MOTOR CO LTD [JP]
US_20260100440_A1

Resumen de: US20260100440A1

0000 A battery pack has a plurality of cell laminates in which battery cells are stacked, a battery case accommodating the cell laminates, and a water jacket provided below the cell laminates and configured to allow a refrigerant for adjusting a temperature of the cell laminates to flow therethrough. The plurality of cell laminates include a first cell laminates group provided on one side in a predetermined direction and a second cell laminates group provided on the other side in the predetermined direction. The water jacket has a branch that branches into at least a first flow path and a second flow path from an inlet. The refrigerant flows through the first flow path in order of the first cell laminates group and the second cell laminates group. The refrigerant flows through the second flow path in order of the second cell laminates group and the first cell laminates group.

INTELLIGENT POWER MANAGEMENT SYSTEM AND METHOD FOR MONITORING BATTERY INTEGRITY

NºPublicación:  US20260098909A1 09/04/2026
Solicitante: 
SEMICONDUCTOR COMPONENTS IND LLC [US]
US_20260098909_A1

Resumen de: US20260098909A1

A battery monitoring system for a battery of a battery electric system includes a sensor array, a processor, and memory. Execution of the instructions by a processor according to a method causes the processor to receive parameters of the battery from the sensor array, calculate a rate of increase of an internal resistance (ΔR ratio) of the battery across multiple states of charge of the battery, compare the ΔR ratio to one or more degradation thresholds, and record a corresponding degradation level of the battery in the memory when the ΔR ratio exceeds the degradation threshold(s). A state of health notice may be transmitted to a remote device.

ENERGY STORAGE DEVICE

NºPublicación:  US20260100464A1 09/04/2026
Solicitante: 
TOYOTA JIDOSHA KK [JP]
US_20260100464_A1

Resumen de: US20260100464A1

An energy storage device includes at least one energy storage module and a case. Each of the at least one energy storage module includes a plurality of electrode sheets including a bipolar electrode sheet, and a sealant. The bipolar electrode sheet includes a current collector foil, a cathode active material layer, and an anode active material layer. Each of the end faces of the energy storage module in a first direction includes an electrode-facing region and a non-electrode-facing region. In each of the end faces of the energy storage module in the first direction, at least part of the non-electrode-facing region is bonded to another adjacent energy storage module or the case via an adhesive.

BATTERY MANAGEMENT SYSTEM AND METHOD FOR EXTENDING BATTERY LIFETIME

NºPublicación:  US20260098907A1 09/04/2026
Solicitante: 
TALENT INNOVATIVE CIRCULAR ENERGY TECH CO LTD [TW]
US_20260098907_A1

Resumen de: US20260098907A1

A battery management system and method for extending battery lifetime is provided. In a test mode, the battery management system controls a charging frequency of a battery cell according to a plurality of pulse wave modulation signals respectively within a plurality of time intervals. The battery management system monitors impedances of the battery cell respectively within the plurality of time intervals or a plurality of capacitance ranges. The battery management system compares the impedances with each other to select one of the impedances, and sets a frequency of the pulse wave modulation signal that is outputted for controlling the charging frequency of the battery cell such that the battery cell has the selected impedance, as a practical frequency in a practical use mode. As a result, an increase in the impedance of the battery cell is delayed so as to extend lifetime of the battery cell.

SECONDARY BATTERY INSPECTION APPARATUS, SECONDARY BATTERY INSPECTION METHOD, AND SECONDARY BATTERY MANUFACTURING METHOD

NºPublicación:  US20260098834A1 09/04/2026
Solicitante: 
SAMSUNG SDI CO LTD [KR]
US_20260098834_A1

Resumen de: US20260098834A1

The present disclosure relates to a secondary battery inspection apparatus, a secondary battery inspection method, and a secondary battery manufacturing method, and the problem solved by the present disclosure is to identify an internal state of a secondary battery in a non-destructive manner. A secondary battery inspection apparatus according to one embodiment includes a magnetic field generator configured to apply a magnetic field to the secondary battery to be tested, a high frequency generator configured to generate a high frequency of a predetermined frequency and apply the high frequency to the secondary battery to be tested, a sensor configured to detect electromagnetic waves emitted from the secondary battery to be tested to which the high frequency is applied while the magnetic field is applied and a processor configured to determine an internal state of the secondary battery to be tested using the emitted electromagnetic waves detected by the sensor.

BATTERY PROTECTION CIRCUIT MODULE AND METHOD OF PROTECTING BATTERY USING THE SAME

NºPublicación:  US20260100598A1 09/04/2026
Solicitante: 
SAMSUNG SDI CO LTD [KR]
US_20260100598_A1

Resumen de: US20260100598A1

The present disclosure relates to a battery protection circuit module and a method of protecting a battery using the same, and more particularly, to a battery protection circuit module that prevents an overvoltage protection malfunction and a method of protecting a battery using the same. A battery protection circuit module may include a first integrated circuit (IC) disposed relatively closely to an output stage, a first field effect transistor (FET) connected to the first IC, a second IC disposed relatively closely to an input stage, a second FET connected to the second IC, and a first shunt resistor disposed at a preset node by considering a difference between voltages recognized by the first IC due to a second shunt resistor and the second FET that are connected to the second IC.

BATTERY MODULE

NºPublicación:  WO2026074970A1 09/04/2026
Solicitante: 
DENSO CORP [JP]
\u682A\u5F0F\u4F1A\u793E\u30C7\u30F3\u30BD\u30FC
WO_2026074970_A1

Resumen de: WO2026074970A1

A battery module (15) comprises a plurality of battery cells (30) and a plurality of heat storage members (40). The heat storage members (40) absorb heat generated by the battery cells (30). The heat storage members (40) are, for example, a PCM (Phase Change Material) that changes phase between a solid and a liquid. The number of heat storage members (40) is less than the number of battery cells (30). The positive electrode of the battery cells (30), for example, may contain a first active material and a second active material. The first active material may have a crystal of a layered rock salt structure. The second active material may have crystals of an olivine structure.

Series-Discharge Parallel-Charge Multi Cell Battery Pack

NºPublicación:  US20260100595A1 09/04/2026
Solicitante: 
HITE BRADFORD T [US]
US_20260100595_A1

Resumen de: US20260100595A1

0000 A unique system for the implementation of a multi cell battery pack whereby the individual cells are organized in different configurations for discharge or charging operation is presented. Battery pack discharge operation utilizes a series (stacked) configuration capable of producing a high output voltage necessary for the application. In contrast, charging operation configures the individual cells into a parallel (single layer) organization offering a simple fast charge operation provided by natural current sharing of the cells. Switch over between the two configurations is achieved using switching array implemented by low-cost N-channel MOSFET devices. Usage of dual modes for battery charge/discharge operation offers a simplified implementation with the highest performance. An application is also described where the present invention is used as a compatible replacement of a standard 12V lead acid automotive battery.

BATTERY UNIT

NºPublicación:  WO2026074792A1 09/04/2026
Solicitante: 
SOKEN INC [JP]
DENSO CORP [JP]
\u682A\u5F0F\u4F1A\u793E\uFF33\uFF2F\uFF2B\uFF25\uFF2E
\u682A\u5F0F\u4F1A\u793E\u30C7\u30F3\u30BD\u30FC
WO_2026074792_A1

Resumen de: WO2026074792A1

A battery unit (11) comprises: battery sections (20, 21, 22); a slave communication device (30) that detects battery information; a master communication device (40) that controls the slave communication device; and a conductive housing (50) that accommodates the aforementioned components. In the battery unit, the slave communication device is disposed in a slave-side passage (70) surrounded by the inner surface of the housing and the outer surfaces of the battery sections in a first direction. A radio wave of wireless communication transmitted from the master communication device passes through at least the slave-side passage as a propagation path and is received by the slave communication device. When a wavelength of the radio wave used in the wireless communication is denoted by λ, a dimension of the slave-side passage in a second direction orthogonal to the first direction is not less than 1/2 × λ and less than 1 × λ.

A CATHODE FOR AN ALL-SOLID STATE LITHIUM BATTERY

NºPublicación:  WO2026073301A1 09/04/2026
Solicitante: 
NEWSOUTH INNOVATIONS PTY LTD [AU]
WO_2026073301_A1

Resumen de: WO2026073301A1

Disclosed herein is a cathode for an all-solid state lithium battery, the cathode comprising a cathode active material, a sulfide-containing inorganic solid electrolyte material, and an oxygen-functionalised conductive carbon material; wherein the oxygen-functionalised conductive carbon material comprises from about 0.5 wt.% to about 20 wt.% of oxygen atoms, based on the total weight of the oxygen-functionalised conductive carbon material. Also disclosed herein is an all-solid state lithium battery comprising the cathode.

Verfahren und Vorrichtung zur Herstellung einer Elektrodenfolienanordnung

NºPublicación:  DE102026107592A1 09/04/2026
Solicitante: 
MERCEDES BENZ GROUP AG [DE]
DE_102026107592_PA

Resumen de: DE102026107592A1

Die Erfindung betrifft ein Verfahren zur Herstellung einer Elektrodenfolienanordnung (1) für eine Einzelzelle, wobei zwischen einer Elektrodenfolie (2) und einer weiteren Elektrodenfolie (3) jeweils eine Separatorfolie (4) angeordnet wird, Erfindungsgemäß ist vorgesehen, dass die Separatorfolie (4) eine durch Wärme schmelzende Beschichtung aufweist und nach jeweiliger Anordnung einer Separatorfolie (4) auf einem Folienstapel dieser mittels einer auf einem vorgegebenen Temperaturwert erwärmten Druckvorrichtung (6) verpresst wird. Weiterhin betrifft die Erfindung eine Vorrichtung zur Durchführung des Verfahrens.

SEPARATOR AND ZINC SECONDARY BATTERY

NºPublicación:  WO2026074751A1 09/04/2026
Solicitante: 
NGK INSULATORS LTD [JP]
\u65E5\u672C\u788D\u5B50\u682A\u5F0F\u4F1A\u793E
WO_2026074751_A1

Resumen de: WO2026074751A1

This separator is used in a zinc secondary battery. The separator comprises an inorganic compound in which pores are formed. The average pore diameter of the inorganic compound is at least 0.3 nm and at most 10 nm. When a liquid tank in which two tubes each having an inner diameter of 6 mm protrude upward, which is partitioned into two chambers by a separator having a diameter of 26 mm, and which is filled with a 6M KOH aqueous solution is used as a measurement device, the liquid permeation amount measured 168 hours after the liquid level difference of the tubes is set to 70 cm is at least 0.05 mL and at most 5 mL.

METAL MEMBER, AND ELECTRODE TERMINAL AND POWER STORAGE MODULE INCLUDING METAL MEMBER

NºPublicación:  US20260100486A1 09/04/2026
Solicitante: 
PRIME PLANET ENERGY & SOLUTIONS INC [JP]
US_20260100486_A1

Resumen de: US20260100486A1

Provided is a technology for reducing the risk of molten metal splattering when welding a metal member including a first member made of metal and a second member made of metal, which are laid on top of each other, to another metal member. The metal member disclosed herein includes the first member made of metal and the second member made of metal. The second member has a space, in which gas can accumulate, between the first member and the second member. The second member has a ventilation hole that communicates the space with outside air.

METHOD FOR MANUFACTURING BATTERY

NºPublicación:  US20260100396A1 09/04/2026
Solicitante: 
TOYOTA JIDOSHA KK [JP]
US_20260100396_A1

Resumen de: US20260100396A1

A method for manufacturing a battery includes conveying a heated bipolar electrode stack in the form of an elongated sheet by a conveyor roller. In the method of the present disclosure, a first electrode active material layer includes a plurality of island portions extending in a conveying direction, and at least one gap extending in the conveying direction is present between the island portions. A temperature drop of the bipolar electrode stack as the bipolar electrode stack passes over the conveyor roller is 30° C. or more. The conveyor roller includes a recess positioned to overlap with the gap or the opposite side of the bipolar electrode stack from the gap such that at least part of the gap or the opposite side of the bipolar electrode stack from the gap does not contact the conveyor roller.

APPARATUS, SYSTEM AND METHOD FOR CONTINUOUS SINGULATED ELECTRODES

NºPublicación:  US20260100398A1 09/04/2026
Solicitante: 
DW ENERGY LLC [US]
US_20260100398_A1

Resumen de: US20260100398A1

0000 The present disclosure relates to apparatus, systems, and methods for continuous motion battery stacking by picking singulated electrodes and separators and placing each into a stack secured on a downstream process of a battery stacking system. The continuous singulated battery stacking system includes a rotating electrode transfer device integrated with a deformable shoe mechanism for handling electrodes during high-precision stacking processes and adjusting dynamically to the shape of the in-feed and downstream conveying surfaces, allowing for smooth, continuous contact during pick-and-place operations. This flexibility ensures consistent pressure distribution and minimizes the risk of misalignment or damage during transfer. Adapting in real time, the deformable shoe enhances alignment, reduces machine wear, and maintains high accuracy in stacking processes, especially for sensitive materials like lithium foil or separators. This innovation optimizes high-speed stacking, contributing to improved battery manufacturing efficiency and reliability.

INTRINSICALLY SAFE BATTERY ASSEMBLY

NºPublicación:  US20260100468A1 09/04/2026
Solicitante: 
AB SKF [SE]
US_20260100468_A1

Resumen de: US20260100468A1

0000 An intrinsically safe battery assembly includes a battery pack including at least one battery and a protection circuit connected in series with the battery pack. The protection circuit includes the following elements connected in series: at least one diode configured to prevent the battery pack from being reversely charged, at least one current limiting resistor configured to provide short circuit protection and a resettable fuse configured to provide over current protection.

SECONDARY BATTERY

NºPublicación:  US20260100438A1 09/04/2026
Solicitante: 
SAMSUNG SDI CO LTD [KR]
US_20260100438_A1

Resumen de: US20260100438A1

0000 A secondary battery, includes a case having an accommodation part and a cap part, an electrode assembly having a current collector in the accommodation part, an electrode tab in the accommodation part, the electrode tab being connected to the electrode assembly, a lead connected to the electrode tab, and a heat dissipation layer on the electrode tab, the electrode tab including at least two bending regions and a non-bending region, the heat dissipation layer on the at least two bending regions and the non-bending region, and a width of the electrode tab is 25% to 45% of a width of a current collector of the electrode assembly.

SYSTEM AND METHOD FOR IN-OPERANDO HEALTH MONITORING FOR LITHIUM-ION BATTERIES IN ELECTRIC PROPULSION USING DEEP LEARNING

NºPublicación:  US20260098906A1 09/04/2026
Solicitante: 
PURDUE RES FOUNDATION [US]
US_20260098906_A1

Resumen de: US20260098906A1

0000 A method of predicting battery end of life based on a small dataset of sensor data include training a deep learning network using a plurality of a priori generated training datasets, receiving sensor data from a plurality of sensors in real-time coupled to one or more cells in a battery pack as the one or more cells are used in a present discharge cycle to thereby generate a plurality of new unseen sensor datapoints, and applying the new unseen sensor datapoints to the trained deep learning network to thereby generate operational recommendations to achieve one or both of i) extend end of life of the battery pack, and ii) extend operational time of the battery pack during the present discharge cycle or a future discharge cycle.

SELF-HEALING PRINTED SOLID STATE BATTERY

NºPublicación:  US20260100410A1 09/04/2026
Solicitante: 
INT BUSINESS MACHINES CORPORATION [US]
US_20260100410_A1

Resumen de: US20260100410A1

0000 A computer-implemented method for fabricating a solid state battery includes identifying locations in a solid-state battery where defects are likely to occur. A self-healing material profile is determined relative to solid-state battery component material to counter defect growth in the locations. The solid-state battery is printed in accordance with the self-healing material profile.

Rechargeable Solid-State Dual-Pole Aluminum-Ion Cell

NºPublicación:  US20260100409A1 09/04/2026
Solicitante: 
LAFE OLURINDE EBENEZER [US]
FUEL CELLS GLOBAL LTD [US]
US_20260100409_A1

Resumen de: US20260100409A1

0000 A method and apparatus for storing electricity using a rechargeable electrochemical dual-pole-cell with a coiled aluminum wire disc as the anode, graphite-based sheets as cathodes, and solid electrolyte discs. The invention teaches the use of inexpensive materials, simplified dual-pole-cell construction, assembling of dual-pole-cells into power modules, and power modules into battery power packs.

TWO-MELT CHEMICAL SYNTHESIS STEPS PROCESS FOR THE PREPARATION OF PHOSPHATE-BASED CATHODE MATERIALS

NºPublicación:  WO2026073338A1 09/04/2026
Solicitante: 
IGNIS LITHIUM INC [CA]
WO_2026073338_A1

Resumen de: WO2026073338A1

There is provided a two-melt chemical synthesis steps process for the preparation of a lithium metal phosphate (LiMPO4) cathode material, wherein the metal (M) is iron and/or manganese. The process comprises: a first step of mixing a lithium source and a phosphorus source in a first melt reactive pool at a temperature of about 650°C or more to form liquid LiPO3 (LiPO3(l)); and a second step of contacting the LiPO3(l) with a 'metal-oxygen' source ('M-O' source) to form LiMPO4 in a second melt reactive pool held at a temperature above the melting point of LiMPO4. Metallic iron and/or metallic manganese may be used as sole metal sources and heat from the Joule effect produced may constitute a further heating means for the pool.

BATTERY PACK AND VEHICLE COMPRISING SAME

NºPublicación:  WO2026075446A1 09/04/2026
Solicitante: 
LG ENERGY SOLUTION LTD [KR]
\uC8FC\uC2DD\uD68C\uC0AC \uC5D8\uC9C0\uC5D0\uB108\uC9C0\uC194\uB8E8\uC158
WO_2026075446_A1

Resumen de: WO2026075446A1

A battery pack according to the present invention has battery cells, a battery module comprising a module frame of which one side is open and which accommodates the battery cells, and a cover plate which covers the open side of the module frame, and a pack frame configured to support and accommodate the battery module, wherein the module frame, the cover plate, the pack frame can be fixed by coupling members.

Batterieeinheit und Verfahren zum Laden einer Batterieeinheit

NºPublicación:  DE102024209777A1 09/04/2026
Solicitante: 
VOLKSWAGEN AG [DE]
DE_102024209777_PA

Resumen de: DE102024209777A1

Die Erfindung betrifft eine Batterieeinheit (1), umfassend n Batteriezellen (BZ1 - BZn), die in Reihe geschaltet sind, und ein Steuergerät (3), wobei parallel zu den Batteriezellen (BZ1 - BZn) Elemente für ein Zellenbalancing angeordnet sind, wobei die Elemente Zenerdioden (D1 - Dn) aufweisen, die unmittelbar parallel zu den Batteriezellen (BZ1 - BZn) angeordnet sind, wobei die Durchbruchspannung der Zenerdioden (D1 - Dn) auf die Ladeschlussspannung (ULSS) der Batteriezellen (BZ1 - BZn) angepasst ist sowie ein Verfahren zum Laden einer Batterieeinheit (1).

RESIN COMPOSITION FOR POWER STORAGE DEVICE, SLURRY FOR POWER STORAGE DEVICE ELECTRODE, POWER STORAGE DEVICE ELECTRODE, AND POWER STORAGE DEVICE

NºPublicación:  WO2026074930A1 09/04/2026
Solicitante: 
AGC INC [JP]
\uFF21\uFF27\uFF23\u682A\u5F0F\u4F1A\u793E
WO_2026074930_A1

Resumen de: WO2026074930A1

A resin composition for a power storage device, comprising a polymer and a liquid medium, wherein the polymer contains 1-90 mass% of a structural unit derived from an unsaturated carboxylic acid, 1-90 mass% of a structural unit derived from an unsaturated carboxylic acid ester having a number average molecular weight of less than 1,300, and 1-30 mass% of a structural unit derived from an unsaturated carboxylic acid ester having a number average molecular weight of 1,300 to 36,000.

ENERGY STORAGE AND MANAGEMENT SYSTEM

NºPublicación:  WO2026074313A1 09/04/2026
Solicitante: 
KRACHT ENERGY SOLUTIONS PTY LTD [ZA]
WO_2026074313_A1

Resumen de: WO2026074313A1

An energy storage and management system that comprises a battery consisting of a set of capacitors connected, in series or parallel and with the set of capacitors having input means for connection to a source of electrical power and output means for connection to an electrical circuit, and with the system being connected to a capacitor management system configured to at least perform capacitor balancing on the capacitors. The invention also extends to the capacitors and to the battery compared thereof.

VEHICLE BATTERY MOUNTING STRUCTURE

NºPublicación:  US20260097666A1 09/04/2026
Solicitante: 
HYUNDAI MOTOR CO LTD [KR]
KIA CORP [KR]
US_20260097666_A1

Resumen de: US20260097666A1

A vehicle battery mounting structure includes a cell assembly including a plurality of battery cells overlapping one another, a mounting flange protruding from the cell assembly, a fastening member configured to fix the mounting flange, and a mounting portion formed at an end portion of the mounting flange and surrounding a portion of a periphery of the fastening member.

ELECTRODE ACTIVE MATERIAL AND BATTERY

NºPublicación:  US20260100375A1 09/04/2026
Solicitante: 
TOYOTA JIDOSHA KK [JP]
US_20260100375_A1

Resumen de: US20260100375A1

In the present disclosure, the problem is solved by providing an electrode active material obtained by agglomerating a plurality of primary particles with a binder, wherein: the primary particles are a Si-based active material containing a Si element; the binder is an organic polymer having a tensile modulus not less than 0.10 MPa and not more than 1100 MPa; a ratio of the binder relative to a total of the primary particles and the binder is not less than 1 weight % and not more than 20 weight %; and a particle size D50 of the electrode active material is not less than 2.5 μm and not more than 20 μm.

LITHIUM-ION BATTERY

NºPublicación:  US20260100358A1 09/04/2026
Solicitante: 
TOYOTA JIDOSHA KK [JP]
US_20260100358_A1

Resumen de: US20260100358A1

The lithium-ion battery includes a cathode, an anode, and an electrolyte. The anode includes a metal anode layer. The metal anode layers include Li, a first element, and a second element. The second element is different from the first element. The first element is at least one selected from the group consisting of Mg, Ga, Ag, Au and Cd. The second element is at least one selected from the group consisting of Na, Mg, Al, Si, Ca, Sc, Ti, Mn, Zn, Ga, Ge, Sr, Rh, Y, Zr, Pd, In, Sn, Ba, Ag, Pb, Ir, Au, Pt, Bi, Sb, Cd, Nd, and Tl. The relation “M1:M2=60:40 to 98:2” is satisfied. “M1” indicates the mass of the first element included in the metal anode layer. “M2” indicates the mass of the second element included in the metal anode layer.

METHOD OF RECYCLING BATTERY

NºPublicación:  US20260098319A1 09/04/2026
Solicitante: 
TOYOTA JIDOSHA KK [JP]
US_20260098319_A1

Resumen de: US20260098319A1

0000 A method of recycling a battery includes: performing acid extraction by using a black mass obtained after the battery is dismantled; performing filtering and washing, the filtering including filtering a dissolved matter and an undissolved component obtained by the acid extraction; and mixing a black mass residue that is an insoluble component obtained by the filtering and washing into crude oil. The method does not include adjusting a ph before the filtering and washing.

COMPOSITE SEPARATOR, COMPOSITE ELECTROLYTE INCLUDING THE SAME, AND LITHIUM BATTERY INCLUDING THE SAME

NºPublicación:  US20260100481A1 09/04/2026
Solicitante: 
THE INDUSTRY & ACADEMIC COOPERATION IN CHUNGNAM NATIONAL UNIV IAC [KR]
US_20260100481_A1

Resumen de: US20260100481A1

0000 Disclosed herein are a composite separator, a composite electrolyte including the composite separator, and a lithium battery including the composite separator, the composite separator including a first layer including an oxide-based solid electrolyte and a carbonyl group-containing a first polymer, a second layer disposed on one surface of the first layer and including a second polymer, and a third layer disposed on the other surface of the first layer and including a third polymer, wherein a content of the oxide-based solid electrolyte is 80 wt % or more with respect to a total weight of the oxide-based solid electrolyte and the first polymer.

BATTERY PACK AND METHOD FOR MANUFACTURING BATTERY PACK

NºPublicación:  US20260100485A1 09/04/2026
Solicitante: 
HYUNDAI MOTOR COMPANY [KR]
KIA CORP [KR]
US_20260100485_A1

Resumen de: US20260100485A1

0000 Provided is a battery pack including a battery housing, a plurality of battery cell stacks accommodated in an interior of the battery housing, and disposed to be spaced apart from each other in a first direction, and busbar extending between the plurality of battery cell stacks in the first direction, in a second direction crossing the first direction. The battery housing includes a base plate, on which the plurality of battery cell stacks are seated, a first cross member extending in the second direction between the plurality of battery cell stacks, and a busbar holder that fixes a position of the busbar between the first cross member and the base plate. A method of assembly includes mounting the busbar, installing the cell stacks around it, attaching cross members, and connecting a cover. The design simplifies busbar alignment, provides secure electrical connections, and offers a compact structure suited for efficient battery systems.

COMPOSITE SEPARATOR, COMPOSITE ELECTROLYTE INCLUDING THE SAME, AND LITHIUM BATTERY INCLUDING THE SAME

NºPublicación:  US20260100480A1 09/04/2026
Solicitante: 
THE INDUSTRY & ACADEMIC COOPERATION IN CHUNGNAM NATIONAL UNIV IAC [KR]
US_20260100480_A1

Resumen de: US20260100480A1

Disclosed are a composite separator and a composite electrolyte and a lithium battery that include the composite separator, the composite separator including a first porous substrate and an ion-conductive composite film on the first porous substrate, wherein the ion-conductive composite film includes an oxide-based solid electrolyte and a first polymer including a carbonyl group, a content of the oxide-based solid electrolyte is greater than 80 wt % relative to the total weight of the oxide-based solid electrolyte and the first polymer, and the first porous substrate includes a plurality of second polymer fibers aligned in a first direction.

SOLID-STATE ELECTROLYTE SLURRY MIXING AND COATING

NºPublicación:  US20260100478A1 09/04/2026
Solicitante: 
A123 SYSTEMS LLC [US]
US_20260100478_A1

Resumen de: US20260100478A1

0000 Methods are disclosed herein for preparing a smooth solid electrolyte slurry and coating the slurry onto a substrate to form a separator of a solid-state battery. In one example, the method includes combining solid electrolyte, solvent, and a binder solution to form a slurry, followed by mixing the slurry to form a smooth slurry. Mixing the slurry includes a combination of mixing under non-vacuum conditions, mixing under vacuum conditions, and milling under vacuum and/or non-vacuum conditions.

BATTERY MANAGEMENT MODULE AND BATTERY PACK COMPRISING THE SAME

NºPublicación:  US20260100427A1 09/04/2026
Solicitante: 
SAMSUNG SDI CO LTD [KR]
US_20260100427_A1

Resumen de: US20260100427A1

0000 A battery management module includes: at least one battery cell; a first relay connected to a first terminal of the at least one battery cell; a second relay connected to a second terminal of the at least one battery cell; and a microcontroller to: receive a first voltage value of a first voltage across both ends of the first relay; receive a second voltage value of a second voltage across both ends of the second relay; and generate first pre-diagnosis data associated with a contact failure of at least one of the first relay or the second relay based on the first voltage value and the second voltage value.

SYSTEM AND METHOD FOR DYNAMIC ACCUMULATOR AND SINGULATING ROTOR

NºPublicación:  US20260097534A1 09/04/2026
Solicitante: 
DW ENERGY LLC [US]
US_20260097534_A1

Resumen de: US20260097534A1

The present disclosure generally relates to a dynamic accumulation device that ensures that continuous and precise feeding of film material is provided at a constant rate to a singulation device, which operates in an indexing or stepwise motion. This device receives the film material from a film dispensing device at a steady rate and adjusts its output to match the varying speed requirements of the singulation process. By accumulating and releasing the film material dynamically, the device compensates for the intermittent motion of the singulation device, ensuring smooth operation without tearing or misaligning the material. This functionality is crucial in high-precision battery stacking systems, where maintaining continuous film supply with variable output is essential to meet production efficiency and quality control standards.

BATTERY MODULE, BATTERY PACK AND VEHICLE INCLUDING THE SAME

NºPublicación:  US20260100462A1 09/04/2026
Solicitante: 
LG ENERGY SOLUTION LTD [KR]
US_20260100462_A1

Resumen de: US20260100462A1

A battery module according to an embodiment of the present disclosure may include: a module case having an internal space and including a module bottom plate in which a vent hole for discharging gas is formed; a plurality of battery cells disposed in the internal space of the module case, each of the plurality of battery cells having a venting region in a lower portion thereof so as to discharge internal gas downward, and having a support region in at least a portion of a region other than the venting region in the lower portion; and one or more lower pads disposed between the module bottom plate and the plurality of battery cells to support the support region.

SIMULATION DEVICE AND METHOD THEREFOR

NºPublicación:  WO2026075406A1 09/04/2026
Solicitante: 
LG ENERGY SOLUTION LTD [KR]
\uC8FC\uC2DD\uD68C\uC0AC \uC5D8\uC9C0\uC5D0\uB108\uC9C0\uC194\uB8E8\uC158
WO_2026075406_A1

Resumen de: WO2026075406A1

A simulation device according to one embodiment disclosed in the present document comprises: an interface for acquiring data related to a battery cell; and at least one processor, wherein the at least one processor is configured to: identify a first length from a first point on a first surface of a first portion including an electrode of the battery cell to a second point at which a tab protrudes on the first surface; identify the height from the first surface to a second portion to be coupled to the first portion; identify a second length from a third point at which the tab extending from the second point protrudes on a second surface of the second portion to a fourth point on the second surface at which an end of the tab is to be positioned; and identify the total length of the tab on the basis of at least one of the first length, the height, the second length and any combination thereof.

Pluginmodul, Hochvoltbatterie mit Aufnahme für Pluginmodul und Fahrzeug

NºPublicación:  DE102024209811A1 09/04/2026
Solicitante: 
VOLKSWAGEN AG [DE]
DE_102024209811_PA

Resumen de: DE102024209811A1

Ein Pluginmodul (1, 1a-e) umfasst einen Spannungswandler (2, 2a-d), wobei das Pluginmodul (1, 1a-e) so ausgebildet ist, dass es in ein Gehäuse (16) einer Hochvoltbatterie (10) integrierbar ist, so dass der Spannungswandler (2, 2a-d) des Pluginmoduls (1, 1a-e) ausgebildet ist als integrierter Teil der Hochvoltbatterie (10) eine Eingangsspannung von einem niedrigeren Spannungsniveau in ein höheres Spannungsniveau zum Laden der Hochvoltbatterie (10) umzuwandeln.

SECONDARY BATTERY ZIG DEVICE AND OPERATING METHOD FOR THE SAME

NºPublicación:  US20260100492A1 09/04/2026
Solicitante: 
SAMSUNG SDI CO LTD [KR]
US_20260100492_A1

Resumen de: US20260100492A1

0000 A zig device for a secondary battery, the zig device including a first plate supporting a first surface of an electrode assembly, a second plate supporting a second surface of the electrode assembly, the second plate facing the first plate while being spaced apart therefrom, and a supporting zig coupled with the second plate, the supporting zig supporting a sub-plate coupled to a side surface of the electrode assembly, the electrode assembly being between the first plate and the second plate.

CURRENT COLLECTOR AND BATTERY

NºPublicación:  US20260100381A1 09/04/2026
Solicitante: 
TOYOTA MOTOR CO LTD [JP]
US_20260100381_A1

Resumen de: US20260100381A1

A current collector includes a support layer, a first electrically conductive layer, and a tab portion. The support layer is composed of a resin composition having electric insulation. The first electrically conductive layer is laminated on the support layer. The tab portion is constituted by a film-formed member. The tab portion includes a tab body portion and a first heat release portion. The tab body portion is joined to the first electrically conductive layer by ultrasonic welding. The tab body portion extends so as to be away from the first electrically conductive layer. The first heat release portion is shorter than the tab body portion, in an extension direction of the tab body portion. The first heat release portion is not joined to the first electrically conductive layer by ultrasonic welding.

MANUFACTURING METHOD OF BATTERY

NºPublicación:  US20260100346A1 09/04/2026
Solicitante: 
TOYOTA MOTOR CO LTD [JP]
US_20260100346_A1

Resumen de: US20260100346A1

The method of the present disclosure for manufacturing a battery includes roller conveying a heated elongated sheet-like bipolar electrode laminate with a conveying roller. In the method of the present disclosure, the conveying roller has a heating portion at a position overlapping with the gap portion or the opposite side surface thereof, and has a non-heating portion at a position overlapping with the gap portion or a portion other than the opposite side surface thereof, so that the temperature decrease of the gap portion of the bipolar electrode laminate when the bipolar electrode laminate passes through the conveying roller is less than 30° C., and the temperature decrease of the portion other than the gap portion of the bipolar electrode laminate is 30° C. or more.

ELECTRICAL ENERGY STORAGE MODULE AND SPACER USED FOR THE SAME

NºPublicación:  US20260100460A1 09/04/2026
Solicitante: 
PRIME PLANET ENERGY & SOLUTIONS INC [JP]
US_20260100460_A1

Resumen de: US20260100460A1

0000 An electrical energy storage module disclosed herein includes a first electrical energy storage device and a second electrical energy storage device, and a spacer. The spacer includes a base part and a plurality of tubular protrusion parts. The tubular protrusion part includes a peripheral wall part and a hollow part surrounded by the peripheral wall part. The peripheral wall part includes a first part and a second part. The hollow part is provided with deviation to one side from a center of the tubular protrusion parts in a plan view. When a predetermined load is applied from an arrangement direction, the first part of the peripheral wall part is compressed and deformed and the second part of the peripheral wall part is buckled.

METHOD FOR MANUFACTURING BATTERY

NºPublicación:  US20260100347A1 09/04/2026
Solicitante: 
TOYOTA JODOSHA KK [JP]
US_20260100347_A1

Resumen de: US20260100347A1

The method of the present disclosure for manufacturing a battery includes roller conveying a heated elongated sheet-like bipolar electrode laminate with a conveyor roller. In the method of the present disclosure, the first electrode active material layer is composed of a plurality of island portions extending in the conveying direction, and there is at least one gap portion extending in the conveying direction between the plurality of island portions, and the temperature drop of the bipolar electrode laminate when the bipolar electrode laminate passes through the conveyor roller is 30° C. or more, and the conveyor roller has a projecting portion or a gas discharge portion at a position overlapping with the gap portion or an opposite side surface thereof, so that a stretching stress in the transverse direction is applied to the gap portion when the bipolar electrode laminate is conveyed by the conveyor roller.

MANUFACTURING METHOD OF BATTERY

NºPublicación:  US20260100345A1 09/04/2026
Solicitante: 
TOYOTA MOTOR CO LTD [JP]
US_20260100345_A1

Resumen de: US20260100345A1

The method of the present disclosure for manufacturing a battery includes roller conveying a heated elongated sheet-like bipolar electrode laminate with a conveying roller. In the method of the present disclosure, the temperature drop of the bipolar electrode laminate when the bipolar electrode laminate passes through the conveying roller is 30° C. or higher, and further includes pressing the bipolar electrode laminate by the pressing roller before the bipolar electrode laminate passes through the conveying roller, wherein the temperature drop of the bipolar electrode laminate when the bipolar electrode laminate passes through the pressing roller is less than 30° C., and the pressing roller has a protruding portion at a position overlapping the gap portion or the opposite side surface of the bipolar electrode laminate, and the bipolar electrode laminate passes through the pressing roller so that the stretching stress in the transverse direction is applied to the gap portion.

PARTITION MEMBER

NºPublicación:  US20260100450A1 09/04/2026
Solicitante: 
SUMITOMO RIKO COMPANY LTD [JP]
TOYOTA JIDOSHA KK [JP]
US_20260100450_A1

Resumen de: US20260100450A1

0000 The present disclosure provides a partition member that can suppress a reduction in heat-insulating properties. A partition member (1) is interposed between any pair of cells (92) adjacent to each other in a stacking direction in a stack (91) of multiple cells (92). The partition member (1) includes: a heat-insulating layer (2); a spacer layer (5, 5a ) interposed between the heat-insulating layer (2) and the cell (92) and made of a material different from that of the heat-insulating layer (2); and a permeation-suppressing layer (6, 6a ) interposed between the heat-insulating layer (2) and the spacer layer (5, 5a ) and configured to suppress permeation of the material of the spacer layer (5, 5a ) into the heat-insulating layer (2).

TRACTION BATTERY PACK CELL STACK DESIGNS FOR ESTABLISHING SEALED INTERFACES

NºPublicación:  US20260100465A1 09/04/2026
Solicitante: 
FORD GLOBAL TECH LLC [US]
US_20260100465_A1

Resumen de: US20260100465A1

Battery cell stack designs are provided for traction battery packs. An exemplary traction battery pack may include one or more cell stacks housed within an enclosure assembly. Each cell stack may include a top cover and a thermal barrier assembly. The top cover is arranged to protect and interface with an enclosure cover of the enclosure assembly, and the thermal barrier assembly is arranged to inhibit the transfer of thermal energy across the cell stack. A first adhesive may secure a portion of the thermal barrier assembly to the top cover, and a second adhesive may secure the top cover to the enclosure assembly, thereby structurally integrating the traction battery pack.

NON-AQUEOUS ELECTROLYTE AND LITHIUM SECONDARY BATTERY COMPRISING SAME

NºPublicación:  WO2026075534A1 09/04/2026
Solicitante: 
LG ENERGY SOLUTION LTD [KR]
IUCF HYU INDUSTRY UNIV COOPERATION FOUNDATION HANYANG UNIV [KR]
\uC8FC\uC2DD\uD68C\uC0AC \uC5D8\uC9C0\uC5D0\uB108\uC9C0\uC194\uB8E8\uC158
\uD55C\uC591\uB300\uD559\uAD50 \uC0B0\uD559\uD611\uB825\uB2E8
WO_2026075534_A1

Resumen de: WO2026075534A1

The present invention provides a non-aqueous electrolyte comprising: a lithium salt; an organic solvent; and an additive, wherein the additive comprises an imidazolium-based ionic liquid. The non-aqueous electrolyte according to the present invention can greatly improve the cycle characteristics and output characteristics of a lithium secondary battery comprising same, by not only stably forming a film on a negative electrode and a positive electrode to suppress electrolyte decomposition at an electrode interface, but also by improving the conductive characteristics of lithium ions.

APPARATUS AND METHOD FOR CONTROLLING BATTERY BASED ON USER'S SELECTION

NºPublicación:  US20260100601A1 09/04/2026
Solicitante: 
HYUNDAI MOTOR COMPANY [KR]
KIA CORP [KR]
US_20260100601_A1

Resumen de: US20260100601A1

The disclosure provide a system and method for controlling an electronic vehicle battery according to user-selected strategies. Multiple battery operation modes (e.g., general, performance, and efficiency) may be stored, each offering distinct parameters for charging and discharging. A battery management system may present these modes to the driver, enable adjustments such as fast charging current and state-of-charge regions. A user may select a target usage period or performance preference, and the system calculates an expected battery life to guide the choid. The expected battery life may be then displayed—often as a table or graph—so the user can intuitively compare trade-offs among different modes. This adaptive approach manages battery health and optimizes performances based on the user's need and the real-word operation of the vehicle.

BATTERY CELL, MANUFACTURING METHOD OF SAME AND BATTERY PACK AND VEHICLE INCLUDING SAME

NºPublicación:  WO2026075363A1 09/04/2026
Solicitante: 
LG ENERGY SOLUTION LTD [KR]
\uC8FC\uC2DD\uD68C\uC0AC \uC5D8\uC9C0\uC5D0\uB108\uC9C0\uC194\uB8E8\uC158
WO_2026075363_A1

Resumen de: WO2026075363A1

A battery cell of the present invention may comprise: an electrode assembly in which a first electrode, a second electrode, and a separator interposed therebetween are wound about a winding axis; a battery housing configured to accommodate the electrode assembly through an open end formed on one side thereof; a cap covering the open end and having an injection hole formed in the center thereof; an injection stopper configured to be inserted into the injection hole and to seal the injection hole; and a rubber-based gasket interposed between the injection stopper and the cap.

Hypogeal Battery Using Sandy Al-Ion Rechargeable Cells

NºPublicación:  US20260100423A1 09/04/2026
Solicitante: 
LAFE OLURINDE EBENEZER [US]
FUEL CELLS GLOBAL LTD [US]
US_20260100423_A1

Resumen de: US20260100423A1

A method and apparatus for storing electrical energy using ensemble electrochemical cells each comprising a cylindrical exterior container, a coiled anodic aluminum wire, carbon graphite cathode, a sandy electrolyte medium, and an ionic electrolyte based on a compound mixture of urea, sea-salt, and water. The invention teaches the use of inexpensive materials and simple assembling of sandy rechargeable cells into a hypogeal battery.

METHOD FOR SYNTHESIZING RGO-COATED SILICON-LITHIUM TITANIUM OXIDE COMPOSITE FOR IMPROVING LITHIUM-ION BATTERY EFFICIENCY

NºPublicación:  WO2026075289A1 09/04/2026
Solicitante: 
UNIV KOREA IND UNIV COOP FOUND [KR]
\uD55C\uAD6D\uAE30\uC220\uAD50\uC721\uB300\uD559\uAD50 \uC0B0\uD559\uD611\uB825\uB2E8
WO_2026075289_A1

Resumen de: WO2026075289A1

Disclosed is a method for synthesizing a reduced graphene oxide (rGO)-coated silicon-lithium titanium oxide composite for improving lithium-ion battery efficiency, wherein in order to alleviate volume expansion of Si and improve electrochemical performance, Si particles are uniformly embedded in lithium titanium oxide (LTO) and rGO is applied on the LTO by spray drying to synthesize a rGO@SLTO composite. A method for synthesizing a rGO-coated silicon-lithium titanium oxide composite for improving lithium-ion battery efficiency according to the present invention comprises: a first step for uniformly mixing Si powder and lithium titanium oxide powder by ball milling; a second step for treating the mixture of the first step by chemical vapor deposition to prepare silicon lithium titanium oxide (SLTO); a third step for synthesizing graphite into graphene oxide (GO) by the Hummers method; and a fourth step for mixing the GO with the SLTO, and then producing a rGO@SLTO composite by spray drying and chemical vapor deposition.

BATTERY MANAGEMENT SYSTEM, BATTERY DEVICE INCLUDING SAME, AND WIRELESS UPDATE METHOD

NºPublicación:  WO2026075347A1 09/04/2026
Solicitante: 
LG ENERGY SOLUTION LTD [KR]
\uC8FC\uC2DD\uD68C\uC0AC \uC5D8\uC9C0\uC5D0\uB108\uC9C0\uC194\uB8E8\uC158
WO_2026075347_A1

Resumen de: WO2026075347A1

This master battery management system allocates a downlink time slot to the master battery management system and allocates a plurality of uplink time slots to each slave battery management system in an operation mode for monitoring a plurality of battery modules. The master battery management system allocates some of the plurality of uplink time slots allocated in the operation mode to downlink time slots in a wireless update mode for wireless update of software.

PHYSICAL SECONDARY BATTERY

NºPublicación:  WO2026075046A1 09/04/2026
Solicitante: 
DIMENSION 4 TECH INC [JP]
\u682A\u5F0F\u4F1A\u793E\u30C7\u30A3\u30E1\u30F3\u30B8\u30E7\u30F3\u30D5\u30A9\u30FC
WO_2026075046_A1

Resumen de: WO2026075046A1

A physical secondary battery (100) comprises: a first electrode (10); a second electrode (20); a p-type semiconductor layer (30) provided between the first electrode (10) and the second electrode (20); an n-type semiconductor layer (80) that is provided between the p-type semiconductor layer (30) and the second electrode (20) and that has a thinner film thickness than that of the p-type semiconductor layer (30); and a dielectric layer (90) provided between the p-type semiconductor layer (30) and the n-type semiconductor layer (80), the p-type semiconductor layer (30) having a film thickness of 100 nm or less.

INTERCONNECTION STRUCTURE BETWEEN STACKS AND PROTECTOR

NºPublicación:  US20260100484A1 09/04/2026
Solicitante: 
YAZAKI CORP [JP]
US_20260100484_A1

Resumen de: US20260100484A1

0000 An interconnection structure between stacks includes a first terminal electrically connectable to the connection terminal of the first battery stack, a second terminal electrically connectable to the connection terminal of the second battery stack, a protector formed in a hollow shape, and an electric wire having one end side connected to the first terminal and another end side connected to the second terminal, the electric wire being inserted into the protector. The protector includes a hinge portion bendable in a prescribed direction, and is switchable between a first state for connecting the connection terminals to each other and a second state in which the protector is bent in the prescribed direction using the hinge portion from the first state.

ELECTRICITY STORAGE DEVICE

NºPublicación:  US20260100456A1 09/04/2026
Solicitante: 
PRIME PLANET ENERGY & SOLUTIONS INC [JP]
US_20260100456_A1

Resumen de: US20260100456A1

The present disclosure provides an electricity storage device that includes a case and an electrode assembly accommodated in the case. The case includes a case body having an opening surrounded by side walls including a pair of first walls, and a lid configured to seal the opening. The electrode assembly includes a laminated part formed by laminating a positive electrode and a negative electrode in an insulated state in a direction toward the lid. The lid includes a base part and a pair of first bent parts extending from the base part along the pair of first walls of the case body, the pair of first bent parts facing each other. At least one of the pair of first bent parts is joined to at least one of the pair of first walls of the case body via a first welding joining part.

SECONDARY BATTERY AND BATTERY MODULE INCLUDING THE SAME

NºPublicación:  US20260100474A1 09/04/2026
Solicitante: 
SAMSUNG SDI CO LTD [KR]
US_20260100474_A1

Resumen de: US20260100474A1

0000 A secondary battery, including an electrode assembly, a case accommodating the electrode assembly, and a vent in the case, the vent being deformable by a first operating pressure and rupturable by a second operating pressure greater than the first operating pressure.

ELECTROCHEMICAL REACTOR AND METHOD FOR PRODUCING ELECTROCHEMICAL REACTOR

NºPublicación:  WO2026074233A1 09/04/2026
Solicitante: 
HALIDE ENERGY OY [FI]
WO_2026074233_A1

Resumen de: WO2026074233A1

The invention relates to an electrochemical reactor for a hybrid redox flow battery, comprising at least one cell (1). The cell (1) comprises an electrode support (11), a first electrode (12) supported by the electrode support (11), a first flow divider (13), a membrane (14) arranged in the first flow divider (13), a second flow divider (15), a second electrode (16) arranged in the second flow divider (15), a first gasket (17) arranged between the electrode support (11) and the first flow divider (13) for creating a fluid-tight seal, the first gasket (17) being screen printed, a second gasket (18) arranged between the first flow divider (13) and the second flow divider (15) for creating a fluid-tight seal, the second gasket (18) being screen printed. The invention also relates to a method for producing an electrochemical reactor.

METHOD FOR MANUFACTURING MANGANESE SULPHATE COMPONENT, APPARATUS FOR MANUFACTURING MANGANESE AND ZINC SULPHATE COMPONENTS, SULPHATE COMPONENT COMBINATION AND USES

NºPublicación:  WO2026074234A1 09/04/2026
Solicitante: 
TRACEGROW OY [FI]
WO_2026074234_A1

Resumen de: WO2026074234A1

The object of the invention is a method, to manufacture a manganese sulphate component from the black mass material (11) of used alkalin batteries (11'). The method comprises a first acid dissolution (201) carried out on the black mass material in the presence of water (12) and sulphuric acid (13) to dissolve zinc (20), potassium (30) and chlorine (35) from the black mass material into a zinc sulphate component (16); a first filtration (202) to separate the zinc sulphate component from a manganese component (15) remaining from the first acid dissolution; a second, acid dissolution (301) carried out on the manganese component in the presence of purified, water ( 12'), sulphuric acid and at least one reducing agent (14) to form a suspension (41) from the manganese component; a second filtration (302) to remove an insoluble solid, matter (26), such as, for example, graphite (27), carbon black (28) and plastic (29), from the suspension to form a process solution (17); a sulphide precipitation (105, 303) and at least one subsequent separation step (106, 304) to remove zinc (46) and copper (21) from the process solution formed, after which the manganese sulphate component (24) formed is suitable for use as a fertiliser (24.1) or as a fertiliser component in agriculture, or as an industrial raw material ( 24.2). In addition, the object of the invention is also an apparatus for manufacturing manganese and zinc sulphate components, a sulphate component combination and uses.

ELECTRODE LAYERED BODY, METHOD FOR MANUFACTURING SAME, AND ELECTROCHEMICAL ELEMENT

NºPublicación:  WO2026075179A1 09/04/2026
Solicitante: 
MAXELL LTD [JP]
\u30DE\u30AF\u30BB\u30EB\u682A\u5F0F\u4F1A\u793E
WO_2026075179_A1

Resumen de: WO2026075179A1

Provided are: an electrochemical element with superior reliability and productivity; an electrode layered body for forming the electrochemical element; and a method for manufacturing the electrode layered body. The electrode layered body is characterized in that: a first electrode, a second electrode, and an isolation layer interposed between the first electrode and the second electrode are layered; at least one of the first electrode and the second electrode has an electrode mixture layer obtained by pressure-molding a powdery electrode mixture, and a sheet-like porous metal substrate; and at least one of the first electrode and the second electrode has the following shape (A). Shape (A): In a cross-section in the thickness direction of the electrode, when a portion equivalent to 15% of the length which is from an outer peripheral end of the electrode and which is the length in a direction orthogonal to the thickness direction, is defined as a peripheral edge portion, the thickness at the outer peripheral end of the electrode is thicker by 20 μm or more than the average thickness of the electrode at locations other than the peripheral edge portion.

ALL-SOLID-STATE BATTERY

NºPublicación:  WO2026075315A1 09/04/2026
Solicitante: 
SAMSUNG SDI CO LTD [KR]
\uC0BC\uC131\uC5D0\uC2A4\uB514\uC544\uC774 \uC8FC\uC2DD\uD68C\uC0AC
WO_2026075315_A1

Resumen de: WO2026075315A1

The present invention relates to an all-solid-state battery and, more specifically, to an all-solid-state battery comprising: a first electrode including a first substrate and a first mixture layer formed on the first substrate; a second electrode including a second substrate and a second mixture layer formed on the second substrate; a solid electrolyte layer positioned between the first electrode and the second electrode; and an inert member, wherein the first substrate includes a first tab part protruding in a second direction, and the inert member includes: a gasket surrounding the side surface of the first mixture layer and the side surface of the solid electrolyte layer; and an insulating part protruding from the gasket in the second direction and covering one surface of the first tab part, wherein the insulating part may be configured to prevent electrical connection between the first substrate and the second substrate.

ELECTRODES AND RECHARGEABLE LITHIUM BATTERIES INCLUDING THE SAME

NºPublicación:  US20260100371A1 09/04/2026
Solicitante: 
SAMSUNG SDI CO LTD [KR]
US_20260100371_A1

Resumen de: US20260100371A1

An electrode may include a current collector, a coating layer on the current collector, and an active (e.g., electrically active) material layer on the coating layer, wherein the coating layer includes a carbon-based conductive (e.g., electrically conductive) material and a copolymer binder, and the copolymer binder includes about 5 mol % to about 20 mol % of a hydrophilic structural unit and about 80 mol % to about 95 mol % of a hydrophobic structural unit, based on 100 mol % of the copolymer binder. The electrode may maximize or increase capacity (e.g., electrical capacity) while minimizing or reducing production cost, thereby ensuring long cycle-life characteristics and improving or enhancing high-voltage characteristics and high-temperature storage characteristics. The rechargeable lithium battery including the electrode may exhibit high initial charge/discharge capacity and efficiency even under high voltage driving conditions and may implement long cycle-life characteristics.

MANDREL FOR WINDING ELECTRODE OF SECONDARY BATTERY

NºPublicación:  US20260100403A1 09/04/2026
Solicitante: 
SAMSUNG SDI CO LTD [KR]
US_20260100403_A1

Resumen de: US20260100403A1

The present disclosure relates to a mandrel for winding an electrode of a secondary battery, and provides a mandrel for winding an electrode of a secondary battery including a first mandrel member comprising a plurality of exterior faces including longitudinal side surfaces and a first surface, wherein a first hollow portion is provided between the longitudinal side surfaces, and a second mandrel member spaced apart from the first mandrel member and comprising a plurality of exterior faces including second longitudinal side surfaces and a second surface, wherein a second hollow portion is provided between the second longitudinal side surfaces.

COATING DEVICE

NºPublicación:  WO2026074771A1 09/04/2026
Solicitante: 
TORAY ENG CO LTD [JP]
\u6771\u30EC\u30A8\u30F3\u30B8\u30CB\u30A2\u30EA\u30F3\u30B0\u682A\u5F0F\u4F1A\u793E
WO_2026074771_A1

Resumen de: WO2026074771A1

The purpose of the present invention is to provide a coating device capable of forming an insulating film so as to surround each of electrode films intermittently formed on a predetermined surface of a base material. Specifically, the coating device comprises: a conveyance mechanism that conveys a base material; and a coating mechanism that forms an electrode film and an insulating film by coating a predetermined surface of the base material being conveyed with an electrode material and an insulating material. The coating mechanism has: a main discharge unit that intermittently discharges the electrode material toward the predetermined surface of the base material; a side discharge unit that discharges the insulating material to a position adjacent to or at least partially overlapping both ends of each of electrode films in the width direction, the electrode films being intermittently formed on the predetermined surface of the base material; and a frame discharge unit that intermittently discharges the insulating material to a position adjacent to or at least partially overlapping the ends of each of the electrode films in the conveyance direction of the base material, the electrode films being intermittently formed on the predetermined surface of the base material.

SEPARATOR AND ZINC SECONDARY BATTERY

NºPublicación:  WO2026074750A1 09/04/2026
Solicitante: 
NGK INSULATORS LTD [JP]
\u65E5\u672C\u788D\u5B50\u682A\u5F0F\u4F1A\u793E
WO_2026074750_A1

Resumen de: WO2026074750A1

This separator is used in a zinc secondary battery. The separator comprises: a porous resin base material; and an inorganic compound filled into the resin base material and composed of titanium and at least one element selected from the group consisting of magnesium, aluminum, and yttrium. The composition ratio of titanium to the entire inorganic compound is at least 40 atm%. When a liquid tank in which two tubes each having an inner diameter of 6 mm protrude upward, which is partitioned into two chambers by a separator having a diameter of 26 mm, and which is filled with a 6M KOH aqueous solution is used as a measurement device, the liquid permeation amount measured 168 hours after the liquid level difference of the tubes is set to 70 cm is at least 0.05 mL and at most 5 mL.

Vorrichtung zur Materialprüfung

NºPublicación:  DE102026107082A1 09/04/2026
Solicitante: 
MERCEDES BENZ GROUP AG [DE]
DE_102026107082_PA

Resumen de: DE102026107082A1

Die Erfindung betrifft eine Vorrichtung (100) zur Materialprüfung durch einen Heißgas-Massenstrom (310), umfassend eine Prüfkammer (110) mit einer Prüflingsaufnahme (120), die zur Aufnahme und Halterung eines Prüflings (400) ausgebildet und eingerichtet ist, eine Heißgas-Massenstrom-Quelle sowie eine Messeinrichtung (190), wobei die Heißgas-Massenstrom-Quelle ein Heißgas-Massenstrom-Generator (300) ist, der dazu ausgebildet und eingerichtet ist, einen Heißgas-Massenstrom (310) zu erzeugen und in einer Strahlrichtung auf einen Prüfling (400) zu leiten, wobei mindestens eine Kenngröße aus einer Gruppe von Kenngrößen, umfassend Strahldauer, Strahltemperatur, Druckimpuls, Impulskurve, Partikelgröße und Partikelmenge, vorgebbar oder/und einstellbar oder/und regelbar ist.

SYNTHESIS OF LITHIUM-RICH IRON SULFIDES BY CHEMICAL LITHATION

NºPublicación:  US20260097957A1 09/04/2026
Solicitante: 
US GOV SEC NAVY [US]
US_20260097957_A1

Resumen de: US20260097957A1

0000 Disclosed herein is a method of: providing a polyaromatic hydrocarbon-M adduct solution and reacting the adduct with a sulfide compound having the formula NiFe<1-x>S<2 >to form a product having the formula MNiFe<1-x>S<2>. M is lithium or sodium. The value x is at least 0 and less than 1, and y is a positive number of at most 2. Also disclosed herein is a composition comprising MNiFe<1-x>S<2>. The MNiFe<1-x>S<2 >has a particle size of less than 1 μm.

STACK HOUSING FOR BATTERY MODULES AND BATTERY SYSTEM INCLUDING THE SAME

NºPublicación:  US20260100466A1 09/04/2026
Solicitante: 
HYUNDAI MOTOR CO LTD [KR]
KIA CORP [KR]
US_20260100466_A1

Resumen de: US20260100466A1

0000 A stack housing for battery modules includes a multi-case, an arched mount, a stack layer, and a damping bracket. The multi-case defines loading compartments that are configured to hold multiple battery modules in a divided arrangement and positioned side-by-side at a set height. The arched mount connects the loading compartments and creates a defined space. The stack layer, attached to a top of the arched mount, serves as a frame allowing battery modules to be stacked on the multi-case. The damping bracket connects ends of the stack layer and includes a downwardly bent middle portion coupled to the arched mount.

METHOD FOR CONTROLLING AN ELECTROCHEMICAL BATTERY ON BOARD A MOTOR VEHICLE

NºPublicación:  WO2026073814A1 09/04/2026
Solicitante: 
AMPERE SAS [FR]
WO_2026073814_A1

Resumen de: WO2026073814A1

The invention relates to a method for controlling an electrochemical battery provided with electrodes comprising lead and an electrolyte comprising sulfuric acid, in particular a low-voltage battery of the order of 12 to 14 volts, the battery being on board a motor vehicle, the method comprising a test step (20) in which at least one parameter is periodically evaluated at a given time interval, referred to as a test period, in order to provide one or more items of information on a state of the battery, in particular a sulfation state, the method further comprising a step (30) of charging the battery using a charging current having a voltage higher than a nominal charging voltage, referred to as an overvoltage charging step, the overvoltage charging step (30) being carried out for a duration set in advance, as a function of the information on the state of the battery.

SOLID ELECTROLYTE MATERIAL AND BATTERY

NºPublicación:  US20260100408A1 09/04/2026
Solicitante: 
TOYOTA JIDOSHA KK [JP]
US_20260100408_A1

Resumen de: US20260100408A1

0000 The present disclosure relates to a solid electrolyte material. The solid electrolyte material contains a sulfide solid electrolyte containing a lithium element, a sulfur element, and a phosphorus element, and an organic compound. The organic compound has two or more benzene rings, and a melting point of the organic compound is 82° C. or lower.

SYSTEMS AND METHODS FOR BATTERY INTERNAL SOFT SHORT DETECTION

NºPublicación:  US20260098914A1 09/04/2026
Solicitante: 
GM GLOBAL TECH OPERATIONS LLC [US]
US_20260098914_A1

Resumen de: US20260098914A1

0000 Cell group voltages for battery cell groups of a battery module are received from voltage sensors. Cell group currents for the battery cell groups are received from current sensors. Open circuit voltages are generated for each of the battery cell groups based on the cell group voltages and the cell group currents. A normalized open circuit voltage of a first battery cell group of the battery cell groups is generated based on the open circuit voltages of the battery cell groups. A normalized cell group voltage of the first battery cell group is generated based on the cell group voltages of the battery cell groups. An assessment of the normalized open circuit voltage and the normalized cell group voltage of the first battery cell group is performed to determine whether there is an internal soft short in the first battery cell group.

POSITIVE ELECTRODE ACTIVE MATERIAL AND LITHIUM ION SECONDARY BATTERY

NºPublicación:  US20260100364A1 09/04/2026
Solicitante: 
TOYOTA JIDOSHA KK [JP]
US_20260100364_A1

Resumen de: US20260100364A1

The positive electrode active material includes single crystal particles and polycrystalline particles, the polycrystalline particles are formed by associating a plurality of the single crystal particles, each of the single crystal particles and the polycrystalline particles includes a lithium nickel composite oxide having a layered structure, and the single crystal particles satisfy all relationships of the following formulas (1) to (3). In the formulas (1) to (3), D10, D50 and D90 each represent a particle diameter having an integrated value of 10%, a particle diameter having an integrated value of 50%, and a particle diameter having an integrated value of 90% in a volume-based particle size distribution of the single crystal particles, and D10, D50 and D90 each have units of micrometers.D⁢10≤2.5(1)D⁢50≤5.(2)(D⁢90-D⁢1⁢0)/D⁢5⁢0≥3.(3)

Stromabnehmerfolie, Batterie sowie Primerlack

NºPublicación:  DE102024128915A1 09/04/2026
Solicitante: 
LEONHARD KURZ STIFTUNG & CO KG [DE]
DE_102024128915_PA

Resumen de: DE102024128915A1

Die Erfindung betrifft Stromabnehmerfolie (1), insbesondere eine recyclefähige Stromabnehmerfolie (1), zur Verwendung in einer Batterie (2), umfassend eine Metallfolie (3, 3a, 3b) mit einer Oberseite (8a) und einer Unterseite (8b), wobei auf der Oberseite (8a) und/oder der Unterseite (8b) der Metallfolie (3, 3a, 3b) jeweils eine Primerschicht (5, 5a, 5b) angeordnet ist, und wobei die Primerschicht (5, 5a, 5b) ein oder mehrere wasserlösliche Bindemittel aufweist. Ferner betrifft die Erfindung eine Batterie (2), insbesondere eine recyclefähige Batterie (2), umfassend eine erfindungsgemäße Stromabnehmerfolie (1). Ferner betrifft die Erfindung einen Primerlack zum Aufbringen auf eine Metallfolie (3, 3a, 3b) umfassend Lösemittel, leitfähige Partikel und/oder Pigmente, und ein oder mehrere wasserlösliche Bindemittel.

SULFIDE-BASED GLASS-CERAMIC SOLID ELECTROLYTE

NºPublicación:  WO2026075535A1 09/04/2026
Solicitante: 
SOLIVIS INC [KR]
\uC8FC\uC2DD\uD68C\uC0AC \uC194\uB9AC\uBE44\uC2A4
WO_2026075535_A1

Resumen de: WO2026075535A1

The present invention relates to a sulfide-based glass-ceramic solid electrolyte including a lithium element (Li), a phosphorus element (P), a sulfur element (S), and a halogen element (Ha), and substituted with a first compound including an oxygen element (O).

ALL SOLID STATE BATTERY

NºPublicación:  WO2026075058A1 09/04/2026
Solicitante: 
MAXELL LTD [JP]
\u30DE\u30AF\u30BB\u30EB\u682A\u5F0F\u4F1A\u793E
WO_2026075058_A1

Resumen de: WO2026075058A1

Provided is an all solid state battery in which the moldability of an electrode laminate is improved and which has good properties. An all solid state battery according to the present invention comprises an electrode laminate in which a positive electrode that includes a molded body of an positive electrode mixture containing an positive electrode active material and a negative electrode that includes a molded body of a negative electrode mixture containing a negative electrode active material are laminated with a solid electrolyte layer therebetween. The electrode laminate is an integral molded body of the molded body of the positive electrode mixture, the solid electrolyte layer, and the molded body of the negative electrode mixture. When LC is defined as the length, in a plan view of the molded body of the positive electrode mixture, of a part thereof where there is the greatest distance from a point on the outer peripheral edge to another point on the outer peripheral edge, LA is defined as the length, in a plan view of the molded body of the negative electrode mixture, of a part thereof where there is the greatest distance from a point on the outer peripheral edge another point on the outer peripheral edge, and LS is defined as the length, in a plan view of the solid electrolyte layer, of a part thereof where there is the greatest distance between a point on the outer peripheral edge and another point on the outer peripheral edge, relational expression (1) is satisfied

X-RAY IMAGING APPARATUS AND METHOD FOR INSPECTING DEFECTS OF CYLINDRICAL BATTERY

NºPublicación:  US20260098820A1 09/04/2026
Solicitante: 
GAIA VISON INC [KR]
US_20260098820_A1

Resumen de: US20260098820A1

0000 A battery defect inspection system includes a support device for supporting a plurality of cylindrical batteries; a first transfer unit configured to transfer the cylindrical batteries to the support device; a second transfer unit configured to discharge the cylindrical batteries from the support device; a first rail along which the first and second transfer units are guided; a second rail extending parallel to the first rail, along which a receiving container accommodating the plurality of cylindrical batteries is guided and transferred; an X-ray generating unit configured to irradiate X-rays toward the plurality of cylindrical batteries supported by the support device; and an X-ray detector disposed opposite the X-ray generating unit.

SYSTEMS AND METHODS FOR SENSOR-BASED PREDICTION OF THERMAL RUNAWAY IN LITHIUM-ION BATTERIES THROUGH STRATEGIC SENSOR ARRAY

NºPublicación:  WO2026076147A1 09/04/2026
Solicitante: 
ARIZONA BOARD OF REGENTS ON BEHALF OF THE UNIV OF ARIZONA [US]
WO_2026076147_A1

Resumen de: WO2026076147A1

A computer-implemented system predicts occurrence of thermal runaway in a Lithium-ion battery module by modeling thermal, electrochemical, and material degradation under various conditions. The computer-implemented system uses spatiotemporal and thermal data associated with the Lithium-ion battery module to forecast future temperatures along the battery module to identify or predict thermal runaway events.

Messanordnung und Verfahren zum Detektieren eines eine Batterie betreffenden Fehlerfalls

NºPublicación:  DE102024128934A1 09/04/2026
Solicitante: 
AUDI AG [DE]
DE_102024128934_PA

Resumen de: DE102024128934A1

Die Erfindung betrifft eine Messanordnung (10) für eine Batterie (18), umfassend eine Trägerplatte (14), eine elektrische Leitungsanordnung (20), die auf der Trägerplatte (14) angeordnet ist, und eine Auswerteeinheit (36), die dazu ausgelegt ist, einen elektrischen Widerstand (R) zumindest eines Teils der Leitungsanordnung (20) zu messen und in Abhängigkeit davon einen bestimmten ersten Fehlerfall (F2) zu detektieren. Dabei ist vorgesehen, dass die Messanordnung (10) einen elektrischen Schwingkreis (12) aufweist, der auf der Trägerplatte (14) angeordnet ist, der die elektrische Leitungsanordnung (20) umfasst, der einen induktiven Schwingkreisteil (12a) und einen kapazitiven Schwingkreisteil (12b) umfasst, wobei die Messanordnung (10) eine Anregungseinheit (32, 34) zum Anregen des Schwingkreises (12) und zum Erfassen eines Antwortsignals auf die Anregung des Schwingkreises (12) aufweist, die dazu ausgelegt ist, eine Charakteristik (G, fR) des Antwortsignals zu bestimmen und in Abhängigkeit davon den bestimmten ersten Fehlerfall (F2) und/oder einen bestimmten zweiten Fehlerfall (F1) zu detektieren.

POWER TOOL SYSTEM HAVING A BATTERY PACK

NºPublicación:  US20260100461A1 09/04/2026
Solicitante: 
MICHAEL E NIPKE LLC [US]
US_20260100461_A1

Resumen de: US20260100461A1

The power tool system includes a power tool device and a battery pack that has battery cells organized in an arrangement that may improve the usability of the power tool device. The power tool device can slidably engage with the battery pack along a sliding axis extending in a longitudinal direction. The power tool device can operate a tool that may rotate about a rotation axis that extends in the longitudinal direction. The power tool device includes a handle having a centerline axis that passes through a surface of the handle and extends in the longitudinal direction. The battery cells have axes that extend in the longitudinal direction to align with the centerline, rotation, and/or sliding axes. The battery cells are disposed in a nested arrangement so that the space occupied by the battery pack may be reduced.

NON-AQUEOUS ELECTROLYTE SECONDARY BATTERY

NºPublicación:  WO2026074864A1 09/04/2026
Solicitante: 
PANASONIC IP MAN CO LTD [JP]
\u30D1\u30CA\u30BD\u30CB\u30C3\u30AF\uFF29\uFF30\u30DE\u30CD\u30B8\u30E1\u30F3\u30C8\u682A\u5F0F\u4F1A\u793E
WO_2026074864_A1

Resumen de: WO2026074864A1

This nonaqueous electrolyte secondary battery comprises: an electrode body; a nonaqueous electrolyte; a bottomed cylindrical outer can (20) that accommodates the electrode body and the nonaqueous electrolyte; and a sealing body (30) that closes an opening of the outer can (20). The nonaqueous electrolyte secondary battery is characterized in that an annular groove (23) recessed inward in the radial direction of the outer can (20) is provided on a side surface of the outer can (20), and a protective member (40) containing an endothermic material that causes an endothermic reaction is provided inside the annular groove (23).

Blindkanal an Batteriegehäuse

NºPublicación:  DE102024004125A1 09/04/2026
Solicitante: 
MERCEDES BENZ GROUP AG [DE]
DE_102024004125_PA

Resumen de: DE102024004125A1

Die Erfindung betrifft ein Gehäuse für eine Batterie zur Aufnahme von Batteriezellen (1), aufweisend: eine Eintrittsöffnung (9) zum Aufnehmen von Vergussmaterial und zumindest einen Blindkanal (5), der entlang einer Gehäusefläche (3) verläuft und zumindest eine in den Innenraum des Gehäuses gerichtete Austrittsöffnung (7) aufweist.

CONDUCTIVE MATERIAL DISPERSION AND PREPARATION METHOD THEREFOR

NºPublicación:  WO2026075441A1 09/04/2026
Solicitante: 
LG CHEMICAL LTD [KR]
\uC8FC\uC2DD\uD68C\uC0AC \uC5D8\uC9C0\uD654\uD559
WO_2026075441_A1

Resumen de: WO2026075441A1

Provided are a conductive material dispersion and a preparation method therefor, the conductive material dispersion comprising: a carbon-based conductive material; a first dispersant comprising a vinyl-based polymer containing nitrogen atoms; a second dispersant comprising a main component and an auxiliary component; and a dispersion medium. The main component includes a cellulose-based polymer, the auxiliary component includes one or more among a lactone-based polymer and a glycol-based polymer, and, through the preparation of the conductive material dispersion comprising both the first dispersant and the second dispersant, the particle size of particles dispersed in the dispersion may be reduced and the viscosity of the dispersion may be reduced, and thus the carbon-based conductive material may be uniformly and effectively dispersed in the dispersion.

METHOD OF RECOVERING METAL FROM BATTERY WASTE

NºPublicación:  US20260100436A1 09/04/2026
Solicitante: 
NANYANG TECHNOLOGICAL UNIV [SG]
US_20260100436_A1

Resumen de: US20260100436A1

A method of recovering metal from battery waste is provided. The method includes providing a battery waste leachate comprising metal ions and sulphate ions in an acidic medium, contacting the battery waste leachate with a reagent comprising ammonium ions to precipitate the metal ions as a double sulphate salt having formula (NH4)2M(SO4)2·6H2O, wherein M is one or more of Ni, Mn and Co, heating the precipitate at a temperature of 400° C. or more to form an anhydrous precipitate, dissolving the anhydrous precipitate in a solution comprising sulphate ions and crystallizing MSO4·6H2O from the resultant solution.

BATTERY CELL AND MOTOR VEHICLE COMPRISING THE BATTERY CELL

NºPublicación:  WO2026073790A1 09/04/2026
Solicitante: 
BAYERISCHE MOTOREN WERKE AG [DE]
WO_2026073790_A1

Resumen de: WO2026073790A1

The invention relates to a battery cell comprising: a housing having a tubular housing part, a first end plate, and a second end plate, wherein a first end of the housing part is closed by the first end plate and a second end of the housing part is closed by the second end plate; an electrode winding accommodated in an interior of the housing; and an electrolyte accommodated in the interior of the housing; wherein the electrode winding (40) has a cavity, in particular an axial cavity, in which a capillary is arranged.

ONE-WAY AIRCRAFT CHARGING COMMUNICATION PROTOCOL

NºPublicación:  WO2026075965A1 09/04/2026
Solicitante: 
JOBY AERO INC [US]
WO_2026075965_A1

Resumen de: WO2026075965A1

Examples relate to a method for managing aircraft charging through a one-way communication channel. This method involves battery ground support equipment (BGSE) receiving operational data transmitted from an aircraft via a one-way communication channel. The operational data may include limit data specifying temperature, charge, and current limits. The BGSE interprets the received operational data to autonomously determine charging parameters for the aircraft and charges the aircraft based on these parameters without sending data back to the aircraft.

APPARATUS AND METHOD FOR MANUFACTURING SILICON OXIDE NEGATIVE ELECTRODE MATERIAL FOR LITHIUM SECONDARY BATTERY

NºPublicación:  WO2026075407A1 09/04/2026
Solicitante: 
SIINANO MAT CO LTD [KR]
\uC2E4\uB098\uB178\uBA38\uD2F0\uB9AC\uC5BC\uC988 \uC8FC\uC2DD\uD68C\uC0AC
WO_2026075407_A1

Resumen de: WO2026075407A1

The present invention relates to an apparatus and method for manufacturing a silicon oxide negative electrode material for a lithium secondary battery. More specifically, by positioning a vacuum exhaust unit and a deposition unit in opposite directions with respect to an evaporation unit, the present invention can manufacture a silicon oxide negative electrode material for a lithium secondary battery with improved production yield and purity.

APPARATUS AND METHOD FOR DIAGNOSING AN OVERCURRENT OF A BATTERY

NºPublicación:  US20260100428A1 09/04/2026
Solicitante: 
HYUNDAI MOTOR COMPANY [KR]
KIA CORP [KR]
US_20260100428_A1

Resumen de: US20260100428A1

An apparatus for diagnosing an overcurrent of a battery includes a fuse temperature measurement unit which measures a temperature of a fuse through which a current of a battery flows and an overcurrent diagnosis unit which diagnoses an overcurrent state of the battery based on a measured fuse temperature.

RAPID CHARGING DEVICE FOR CHARGING PLURALITY OF BATTERY PACKS AND RAPID CHARGING METHOD USING SAME

NºPublicación:  WO2026075542A1 09/04/2026
Solicitante: 
LG ENERGY SOLUTION LTD [KR]
\uC8FC\uC2DD\uD68C\uC0AC \uC5D8\uC9C0\uC5D0\uB108\uC9C0\uC194\uB8E8\uC158
WO_2026075542_A1

Resumen de: WO2026075542A1

The present invention relates to a rapid charging device for charging a plurality of battery packs and a rapid charging method using same and, more particularly, to a rapid charging device for charging a plurality of battery packs and a rapid charging method using same, the rapid charging device including: a positive electrode high voltage terminal for supplying a voltage; a negative electrode high voltage terminal for supplying a voltage; a plurality of DC/AC converters connected to the positive electrode high voltage terminal and the negative electrode high voltage terminal, respectively; a plurality of slidacs connected to the plurality of DC/AC converters, respectively, to adjust a value of a voltage; a plurality of AC/DC converters connected to the plurality of slidacs, respectively; a plurality of resistor modules connected to the plurality of AC/DC converters; and a controller connected to the plurality of slidacs, respectively, to control a value of a voltage passing through the slidacs.

POSITIVE ELECTRODE, RECHARGEABLE LITHIUM BATTERY INCLUDING THE SAME, AND METHOD OF MANUFACTURING THE SAME

NºPublicación:  US20260100348A1 09/04/2026
Solicitante: 
SAMSUNG SDI CO LTD [KR]
US_20260100348_A1

Resumen de: US20260100348A1

0000 Disclosed are positive electrodes, rechargeable lithium batteries including the positive electrode, and methods of manufacturing the positive electrode. The positive electrode includes a current collector and a positive electrode active material layer on the current collector. The positive electrode active material layer comprises a first positive electrode active material that comprises lithium-nickel-based composite oxide and has a bare form without a carbon coating on a surface thereof, a second positive electrode active material that comprises lithium-nickel-based composite oxide and has a core and a carbon coating layer on the core, a conductive material that comprises a carbon-based material, and a binder.

DIAGNOSIS SYSTEM

NºPublicación:  US20260098904A1 09/04/2026
Solicitante: 
TOYOTA JIDOSHA KK [JP]
US_20260098904_A1

Resumen de: US20260098904A1

A diagnosis system includes a storage device, an internal pressure transition estimation section, an amount-of-damage calculation section, and a durable-period prediction section. The storage device stores second history information. The internal pressure transition estimation section estimates the transition of the internal pressure of a battery. The amount-of-damage calculation section calculates the amount of damage to a housing of the battery by the internal pressure in accordance with a result of the estimation by the internal pressure transition estimation section after the end of use of the battery in the vehicle. The durable-period prediction section predicts the length of the durable period of the battery at the time of reuse in accordance with usage condition information and the amount of damage. The usage condition information indicates a usage condition of the battery imposed when the battery is reused after the end of use.

FIRE EXTINGUISHING AGENT STRUCTURE AND SECONDARY BATTERY INCLUDING THE FIRE EXTINGUISHING AGENT STRUCTURE

NºPublicación:  US20260100476A1 09/04/2026
Solicitante: 
SAMSUNG SDI CO LTD [KR]
US_20260100476_A1

Resumen de: US20260100476A1

The present disclosure relates to a secondary battery including a fire extinguishing agent structure. The fire extinguishing agent structure includes a disk-shaped member and a stick-shaped member connected to and extending perpendicular to the disk-shaped member. The stick-shaped member and the disk-shaped member include a fire extinguishing agent that causes an endothermic reaction at a temperature of 100 °C or higher.

Messanordnung und Verfahren zum Bestimmen eines Werts einer Zustandsgröße einer Batterie

NºPublicación:  DE102024128932A1 09/04/2026
Solicitante: 
AUDI AG [DE]
DE_102024128932_PA

Resumen de: DE102024128932A1

Die Erfindung betrifft eine Messanordnung (10) zum Bestimmen eines Werts einer Zustandsgröße (T) einer Batterie (38), wobei die Messanordnung (10) eine Messeinrichtung (12) und eine mit dieser gekoppelte Steuereinrichtung (14) umfasst, die dazu ausgelegt ist, den Wert der Zustandsgröße (T) in Abhängigkeit von einem mittels der Messeinrichtung (12) erfassten Messsignal (A1, A2, A3) zu bestimmen. Dabei umfasst die Messeinrichtung (12) einen elektrischen Schwingkreis (16) mit einem induktiven Schwingkreisteil (16a) und einem kapazitiven Schwingkreisteil (16b), und eine mit dem Schwingkreis (16) gekoppelte Anregungseinheit (22) zum Anregen des Schwingkreises (16) und zum Erfassen eines Antwortsignals (A1, A2, A3) des Schwingkreises (16) auf die Anregung, wobei die Steuereinrichtung (14) dazu ausgelegt ist, in Abhängigkeit vom erfassten Antwortsignal (A1, A2, A3) einen Gütewert eines Güteparameters (G) zu ermitteln und in Abhängigkeit von dem ermittelten Gütewert einen Temperaturwert als den Wert der Zustandsgröße (T) zu bestimmen.

SECONDARY BATTERY AND BATTERY PACK COMPRISING SAME

NºPublicación:  WO2026075550A1 09/04/2026
Solicitante: 
SAMSUNG SDI CO LTD [KR]
\uC0BC\uC131\uC5D0\uC2A4\uB514\uC544\uC774 \uC8FC\uC2DD\uD68C\uC0AC
WO_2026075550_A1

Resumen de: WO2026075550A1

The present disclosure relates to a secondary battery and a battery pack comprising same. The purpose of the present invention is to eliminate weak welding defects and improve welding strength by forming a portion of a first current collecting member corresponding to a terminal to protrude and be in close contact with the terminal. To this end, the present disclosure provides a secondary battery comprising: an electrode assembly; a case accommodating the electrode assembly and having an opening and a closed portion; a cap plate sealing the opening; a terminal passing through the closed portion and disposed to face the electrode assembly; and a first current collecting member disposed between the electrode assembly and the terminal, with a portion protruding to be in close contact with the terminal.

Sicherheitssystem und Verfahren zur Überwachung einer Last

NºPublicación:  DE102024129029A1 09/04/2026
Solicitante: 
FRONIUS INT GMBH [AT]
DE_102024129029_PA

Resumen de: DE102024129029A1

Die Erfindung schafft ein Sicherheitssystem sowie ein Verfahren zur Überwachung einer Last. Das Sicherheitssystem umfasst: eine Kontrolleinheit mit mindestens einer Ausgangsleitung und mindestens einer Eingangsleitung, wobei die Kontrolleinheit dazu eingerichtet ist, ein Diagnosesignal über die mindestens eine Ausgangsleitung zu übertragen und ein Rückmeldesignal über die mindestens eine Eingangsleitung zu empfangen; eine Invertieranordnung, die mit der mindestens einen Eingangsleitung und der mindestens einen Ausgangsleitung verbunden ist, umfassend mindestens eine Invertierlogik und eine Verbindungseinheit, wobei die Verbindungseinheit mit der einen Last verbindbar ist und dazu ausgelegt ist, das Diagnosesignal zu empfangen und ein Verbindungssignal auszugeben, und wobei die Invertierlogik dazu eingerichtet ist, das Verbindungssignal zu empfangen und ein entsprechendes Rückmeldesignal zu generieren, wobei das Generieren des Rückmeldesignals eine Invertierung des Verbindungssignals umfasst; und eine Vergleichseinheit, welche dazu eingerichtet ist, das Diagnosesignal und das Rückmeldesignal miteinander zu vergleichen und, falls vorbestimmte Kriterien nicht erfüllt sind, ein Fehlerzustandssignal an eine Aktoreinheit zu übermitteln.

ANODE ACTIVE MATERIAL FOR RECHARGEABLE LITHIUM BATTERY COMPRISING CALCIUM SILICATE, METHOD FOR PREPARING THE SAME, AND RECHARGEABLE LITHIUM BATTERY COMPRISING THE SAME

NºPublicación:  US20260100365A1 09/04/2026
Solicitante: 
HYUNDAI MOTOR CO LTD [KR]
KIA CORP [KR]
IUCF HYU [KR]
US_20260100365_A1

Resumen de: US20260100365A1

0000 The present disclosure relates to an anode active material for a rechargeable lithium battery including calcium silicate, a method for preparing the same, and a rechargeable lithium battery including the same. According to the present disclosure, it is possible to improve the initial efficiency of a rechargeable lithium battery by providing an anode active material for the rechargeable lithium battery that does not react with lithium and to provide a rechargeable lithium battery with improved charge/discharge life characteristics by increasing the sizes of internal pores.

ELECTROCHEMICAL ENERGY STORAGE DEVICE

NºPublicación:  WO2026073526A2 09/04/2026
Solicitante: 
HALLERBACH BERND [DE]
WO_2026073526_A2

Resumen de: WO2026073526A2

The invention relates to an electrochemical energy storage device (100) having at least one electrochemical cell (10) which has an electrolyte (13) and at least two electron-conducting materials in the form of electrodes (11, 12) which are connected to the electrolyte (13), wherein an external voltage can be applied between the electrodes (11, 12). In order to provide an increased amount of charge in the form of electrons in the electrochemical cell (10), according to the invention at least one electrode (11, 12) is replaced by at least two partial electrodes (66, 67), which are spatially separated from each other and between which an electron line (71) runs.

BATTERY MODULE ASSEMBLY METHOD USING CONFORMAL INSTALLATION OF COOLING INTERFACE

NºPublicación:  WO2026075724A1 09/04/2026
Solicitante: 
LITHOS ENERGY INC [US]
WO_2026075724_A1

Resumen de: WO2026075724A1

A method for installing a cooling interface on a battery module is disclosed. The method includes partially installing battery cells into individual battery cell frames. Positioning a cooling plate, with adhesive on an upper surface of the cooling plate, atop the partially inserted battery cells, with the surface having the adhesive thereon facing toward the battery cells. Pressing each battery cell into each individual battery cell frame with the cooling plate. As the cooling plate presses the battery cells into the individual battery cell frames, the individual battery cells adjust to the surface of the cooling plate. The disclosure also provides a battery module with a cooling interface. The battery module includes battery cells installed in individual battery cell frames. A cooling plate has a top surface which is non-flat. The cooling plate connects to the battery cell frames and the battery cells by a uniformly thick layer of adhesive.

ELECTRODE FOR RECHARGEABLE BATTERY AND ELECTRODE ASSEMBLY INCLUDING THE SAME

NºPublicación:  US20260100354A1 09/04/2026
Solicitante: 
SAMSUNG SDI CO LTD [KR]
US_20260100354_A1

Resumen de: US20260100354A1

0000 An embodiment of the present disclosure provides a rechargeable battery electrode, including a band-shaped substrate that extends in a direction from a first side to a second side, a front active material layer on a first surface of the substrate, and a rear active material layer on a second surface of the substrate, wherein a thickness of the front active material layer gradually decreases from the first side to the second side, and a thickness of the rear active material layer gradually increases from the first side to the second side.

BATTERY PACK AND MANUFACTURING METHOD THEREFOR

NºPublicación:  WO2026075399A1 09/04/2026
Solicitante: 
LG ENERGY SOLUTION LTD [KR]
\uC8FC\uC2DD\uD68C\uC0AC \uC5D8\uC9C0\uC5D0\uB108\uC9C0\uC194\uB8E8\uC158
WO_2026075399_A1

Resumen de: WO2026075399A1

A battery pack according to one embodiment of the present invention comprises: a battery assembly including a plurality of battery cells; a pack frame having one side open and on which the battery assembly is mounted; a pack cover covering the open side of the pack frame; and a filling member located in a space within the pack frame and the pack cover.

METHOD AND DEVICE FOR INSPECTING SECONDARY BATTERY

NºPublicación:  US20260098821A1 09/04/2026
Solicitante: 
SAMSUNG SDI CO LTD [KR]
US_20260098821_A1

Resumen de: US20260098821A1

0000 A method of inspecting a secondary battery includes receiving, by a processor, a plurality of two-dimensional cross-sectional images of a plurality of secondary batteries, generating, by the processor, a partial three-dimensional model for a part of each of the plurality of secondary batteries based on the plurality of two-dimensional cross-sectional images, and inspecting, by the processor, each of the plurality of secondary batteries based on the partial three-dimensional model.

CATHODE MATERIAL FOR ZINC SECONDARY BATTERY INCLUDING TUNGSTEN OXIDE AND METHOD FOR PRODUCING THE SAME

NºPublicación:  US20260100350A1 09/04/2026
Solicitante: 
MPS KOREA CO LTD [KR]
US_20260100350_A1

Resumen de: US20260100350A1

0000 The present invention relates to a cathode material for a zinc secondary battery including a tungsten oxide, a vanadium oxide, and a carbonaceous material, and a method for producing the same.

TEMPERATURE MANAGEMENT SYSTEM, TEMPERATURE MANAGEMENT METHOD, AND PROGRAM

NºPublicación:  WO2026074818A1 09/04/2026
Solicitante: 
SOFTBANK CORP [JP]
\u30BD\u30D5\u30C8\u30D0\u30F3\u30AF\u682A\u5F0F\u4F1A\u793E
WO_2026074818_A1

Resumen de: WO2026074818A1

Provided is a temperature management system for managing battery temperature of a secondary battery that uses an alkali metal for a negative electrode. The temperature management system includes a temperature control unit that performs a first control to maintain the battery temperature within a first temperature range during a first period, and a second control to maintain the battery temperature within a second temperature range having a temperature higher than the first temperature range during a second period in which the charge amount of the secondary battery is greater compared to the charge amount thereof during the first period. The secondary battery may be charged by electric power generated by a solar panel, the first period being a nighttime period in which the solar panel does not generate electricity. The temperature control unit may switch control of the battery temperature to the second control in response to the solar panel starting to generate electricity.

BATTERY SIDE WALL MANUFACTURING

NºPublicación:  US20260100420A1 09/04/2026
Solicitante: 
OURA HEALTH OY [FI]
US_20260100420_A1

Resumen de: US20260100420A1

0000 Methods, systems, and devices for battery manufacturing processes are described. A method for manufacturing a battery for a wearable device may include forming a battery cell including a set of energy storage layers, the set of energy storage layers including a set of anode layers and a set of cathode layers. The method may include surrounding at least a portion of the battery cell with a battery cover material, and forming a battery cover that surrounds the battery cell based part on performing a sealing procedure for the battery cover material. The method may further include performing a laser cutting procedure to remove at least one portion of excess material of the battery cover material from the battery cover, the at least one portion of excess material formed via the sealing procedure.

LITHIUM IRON PHOSPHATE CATHODE ACTIVE MATERIAL, PREPARATION METHOD THEREFOR AND USE THEREOF

NºPublicación:  WO2026074300A1 09/04/2026
Solicitante: 
BORSODCHEM ZRT [HU]
WANHUA CHEMICAL YANTAI BATTERY MAT SCIENCE CO LTD [CN]
WO_2026074300_A1

Resumen de: WO2026074300A1

The present application discloses a lithium iron phosphate cathode active material and a preparation method and use thereof, and the lithium iron phosphate cathode active material of the present application comprises a core, an intermediate layer coating the core, and an outer layer coating the intermediate layer; the core has a chemical formula of LiyFeMxPO4, wherein 0.80 ≤ y ≤ 0.95, and 0 < x ≤ 0.02, and M is a doped metal element; the intermediate layer has a chemical formula of LiaFebPO4, wherein 1 < a ≤ 3 and 0 ≤ b < 1; and the outer layer is a carbon layer.

METHOD FOR FORMING CONSTRICTION IN CYLINDRICAL MEMBER

NºPublicación:  WO2026074630A1 09/04/2026
Solicitante: 
RESONAC CORP [JP]
\u682A\u5F0F\u4F1A\u793E\u30EC\u30BE\u30CA\u30C3\u30AF
WO_2026074630_A1

Resumen de: WO2026074630A1

Provided is a method for forming a constriction in a cylindrical member with which it is possible to prevent a fluctuation of the wall thickness of a constriction forming part and the decrease in the roundness of the cross section of the cylindrical member without damaging the inner circumferential surface of the cylindrical member. The present invention comprises: a step for clamping a cylindrical member between a first clamp provided with a columnar mandrel inserted from one open end of the cylindrical member into the hollow interior and a second clamp provided with a columnar mandrel head inserted from the other open end of the cylindrical member into the hollow interior; a rotation step for causing the cylindrical member to rotate about the cylinder axis together with the first clamp and the second clamp; and a constriction formation step for pressing a processing roller, which is capable of rotating about a rotation axis parallel to the cylinder axis of the cylindrical member, against the outer circumferential surface of the rotating cylindrical member, and forming a constriction, between the mandrel and the mandrel head. The clearance between the inner circumferential surface of the cylindrical member and the outer circumferential surface of the mandrel is set to 10% or less of the inner diameter of the cylindrical member.

SECONDARY BATTERY

NºPublicación:  WO2026075384A1 09/04/2026
Solicitante: 
LG ENERGY SOLUTION LTD [KR]
\uC8FC\uC2DD\uD68C\uC0AC \uC5D8\uC9C0\uC5D0\uB108\uC9C0\uC194\uB8E8\uC158
WO_2026075384_A1

Resumen de: WO2026075384A1

According to exemplary embodiments, a secondary battery is provided. The secondary battery may comprise: a cell case including an inner space; insulating partition walls for separating the inner space into a plurality of accommodation spaces; electrode assemblies respectively accommodated in the accommodation spaces; and venting covers respectively overlapping the accommodation spaces. Each of the venting covers may be configured to rupture when the internal pressure of the corresponding accommodation space is equal to or greater than a reference pressure.

TERMINAL BLOCK STRUCTURE AND TERMINAL BLOCK

NºPublicación:  US20260100526A1 09/04/2026
Solicitante: 
YAZAKI CORP [JP]
US_20260100526_A1

Resumen de: US20260100526A1

0000 A terminal block structure includes a first terminal block that is made of a box-shaped insulating resin and accommodates a conductive first terminal; a second terminal block that is made of a box-shaped insulating resin, accommodates a conductive second terminal, and is stacked on the first terminal block; a conducting portion that is held by the second terminal block, is provided between the first terminal and the second terminal, and electrically connects the first terminal and the second terminal; and a coupling portion that presses the first terminal and the second terminal toward the conducting portion and brings the first terminal and the second terminal into contact with the conducting portion. At least one of the first terminal block and the second terminal block has a fire-resistant insulating tape attached to a box inner face thereof.

ELECTRODE STRUCTURE, BATTERY AND METHOD OF MANUFACTURING ELECTRODE STRUCTURE

NºPublicación:  US20260100377A1 09/04/2026
Solicitante: 
UNIV NAT TAIWAN SCIENCE & TECHNOLOGY [TW]
UNIV OF MUENSTER [DE]
US_20260100377_A1

Resumen de: US20260100377A1

A electrode structure is provided in some embodiments of the present disclosure, including an electrode active material particle and an electrode coating layer. The electrode coating layer covers the positive electrode, in which the electrode coating layer includes a structure of formula 1,in which R1 is oxygen, sulfur, ketone group or hydrocarbon group, R2 is oxygen, sulfur, ketone group or hydrocarbon group, R3 is oxygen, sulfur, ketone group or hydrocarbon group, and X is sulfonic acid group.

MULTI-BRAKING SYSTEM BATTERY LIFE MANAGEMENT

NºPublicación:  WO2026075784A1 09/04/2026
Solicitante: 
CATERPILLAR INC [US]
WO_2026075784_A1

Resumen de: WO2026075784A1

Provided herein are systems and methods for managing battery life of a vehicle during a braking condition. For example, the system may include a battery, a traction motor communicably coupled to the battery, a processing circuit including one or more processors and memory, the memory storing instructions that, when executed, cause the processing circuit to detect a braking event for the battery, receive metrics of the battery during the braking condition, and cause the traction motor to supply electrical charge to one or more secondary systems of the vehicle.

PRODUCTION APPARATUS FOR PRODUCING BATTERY CELLS, AND METHOD FOR CONTROLLING THE PRODUCTION APPARATUS

NºPublicación:  WO2026073757A1 09/04/2026
Solicitante: 
KOERBER TECH GMBH [DE]
WO_2026073757_A1

Resumen de: WO2026073757A1

The invention relates to a production apparatus for producing battery cells, comprising a conveyor apparatus (1) for conveying a film web (3) along a specified web path, wherein a zigzag folding apparatus (2) for zigzag folding the film web (3) on a delivery table is provided, with a folder bar that can be moved back and forth, and the folder bar of the zigzag folding apparatus (2) comprises two support arms (11, 12) with two parallel deflector arrangements (9, 10) which are mounted on the support arms (11, 12) and are parallel to one another and between which the film web (3) is guided, the support arms (11, 12) for the folder bar being designed to carry out different movement sequences during at least one phase of their movements.

BATTERY MODULE, AND BATTERY PACK AND VEHICLE INCLUDING SAME

NºPublicación:  US20260100477A1 09/04/2026
Solicitante: 
LG ENERGY SOLUTION LTD [KR]
US_20260100477_A1

Resumen de: US20260100477A1

A battery module includes a cell assembly including a plurality of battery cells; a module terminal configured to be electrically connected to the plurality of battery cells; a module case configured to receive the cell assembly, the module case having a first end and a second end opposite the first end, the module terminal being located at the first end, the second end having a first venting hole configured to discharge gas generated from the cell assembly to outside the battery module; and a block member configured to guide the gas to the first venting hole.

SOLID ELECTROLYTE AND ALL-SOLID-STATE SECONDARY BATTERY INCLUDING SAME

NºPublicación:  WO2026075454A1 09/04/2026
Solicitante: 
SAMSUNG SDI CO LTD [KR]
\uC0BC\uC131\uC5D0\uC2A4\uB514\uC544\uC774 \uC8FC\uC2DD\uD68C\uC0AC
WO_2026075454_A1

Resumen de: WO2026075454A1

Provided are a solid electrolyte and an all-solid-state secondary battery including same. The solid electrolyte includes an argyrodite-based compound represented by chemical formula 1 and a CutX compound (where, t is 1 or 2, and X is a halogen or sulfur), or includes an argyrodite-based compound represented by chemical formula 1, wherein a peak related to the CutX compound (where, t is 1 or 2, and X is a halogen or sulfur) appears when an X-ray diffraction analysis of the solid electrolyte is performed using CuKα rays. Chemical formula 1 Li7-a-x-yCuaPS6-x-yClxBry (In chemical formula 1, 0.01≤a≤0.05, 0.5≤x≤0.9, and 0.6≤y≤0.95)

CATHODE ACTIVE MATERIAL FOR LITHIUM SECONDARY BATTERY AND LITHIUM SECONDARY BATTERY INCLUDING THE SAME

NºPublicación:  US20260100407A1 09/04/2026
Solicitante: 
SK ON CO LTD [KR]
US_20260100407_A1

Resumen de: US20260100407A1

A cathode active material for a lithium secondary battery according to embodiments of the present disclosure includes first lithium-transition metal oxide particles containing nickel and having a single particle form, and second lithium-transition metal oxide particles including small-sized lithium-transition metal oxide particles and large-sized lithium-transition metal oxide particles and having a bi-modal distribution. The energy density, cycle life properties, and storage properties of the lithium secondary battery may be improved.

POSITIVE ELECTRODE CURRENT COLLECTOR PLATE, AND BATTERY AND VEHICLE COMPRISING SAME

NºPublicación:  WO2026075476A1 09/04/2026
Solicitante: 
LG ENERGY SOLUTION LTD [KR]
\uC8FC\uC2DD\uD68C\uC0AC \uC5D8\uC9C0\uC5D0\uB108\uC9C0\uC194\uB8E8\uC158
WO_2026075476_A1

Resumen de: WO2026075476A1

Provided are a positive electrode current collector plate configured to be capable of performing a stable fusing function while reducing resistance, and a battery and a vehicle comprising same. The battery comprising a jelly roll in which a positive electrode, a negative electrode, and a separator are wound in one direction further comprises: a can configured to accommodate the jelly roll; a rivet configured to be electrically connected to the jelly roll and to pass through one side of the can; and a positive electrode current collector plate disposed between the jelly roll and the rivet, and including a rivet coupling portion coupled to the rivet and a plurality of tab coupling portions provided on a radially outer side of the rivet coupling portion to be coupled with the jelly roll, wherein the positive electrode current collector plate further includes: a pair of slits provided inside the plurality of tab coupling portions and disposed to be spaced apart from each other so as to face each other; and a fusing bridge forming a part of the rivet coupling portion between the pair of slits, and constituting a current path through which current flows from the jelly roll to the rivet.

BATTERY PACK AND VEHICLE COMPRISING SAME

NºPublicación:  WO2026075447A1 09/04/2026
Solicitante: 
LG ENERGY SOLUTION LTD [KR]
\uC8FC\uC2DD\uD68C\uC0AC \uC5D8\uC9C0\uC5D0\uB108\uC9C0\uC194\uB8E8\uC158
WO_2026075447_A1

Resumen de: WO2026075447A1

A battery pack according to the present invention may comprise: a battery module including a battery cell, a module frame, which has an open side and can accommodate the battery cell, and a cover plate, which covers the open side of the module frame; and a pack frame which has a battery module accommodation portion into which the battery module is inserted, and which can accommodate the battery module.

THERMAL RUNAWAY PREVENTION MATERIAL AND METHOD FOR PRODUCING SAME

NºPublicación:  WO2026075373A1 09/04/2026
Solicitante: 
ENVIONEER CO LTD [KR]
\uC8FC\uC2DD\uD68C\uC0AC \uC5D4\uBC14\uC774\uC624\uB2C8\uC544
WO_2026075373_A1

Resumen de: WO2026075373A1

The present invention relates to a thermal runaway prevention material and a method for producing same and, more specifically, to: a thermal runaway prevention material characterized by comprising a bio-soluble ceramic fiber (BSF), an aramid fiber, diatomaceous earth, a sizing agent, and a retention agent; and a method for producing same.

CARBON NANOTUBE SLURRY, CARBON NANOTUBE SLURRY FOR ELECTRODES, AND ELECTRODE FILM

NºPublicación:  WO2026075047A1 09/04/2026
Solicitante: 
MITSUBISHI PENCIL CO [JP]
\u4E09\u83F1\u925B\u7B46\u682A\u5F0F\u4F1A\u793E
WO_2026075047_A1

Resumen de: WO2026075047A1

The purpose of the present invention is to provide: a carbon nanotube slurry that has low viscosity and excellent handleability, while having good conductivity when used as an electrode film; a carbon nanotube slurry for electrodes, which uses said carbon nanotube slurry; and an electrode film that uses said carbon nanotube slurry for electrodes. The present invention provides a carbon nanotube slurry containing: carbon nanotubes having a fiber length of 50 μm or more, an average diameter of 3-20 nm, and a peak intensity ratio G/D of 1.0-2.6 in Raman spectroscopy; carboxymethyl cellulose having a weight-average molecular weight of 50,000-600,000 or a metal salt or ammonium salt thereof; and water (provided that the intensity ratio G/D represents the ratio of G and D in a Raman spectrum obtained by the Raman spectroscopy, where G represents the maximum intensity of a G-band scattered light peak in the range of 1570 cm−1 to 1620 cm−1, and D represents the maximum intensity of a D-band scattered light peak in the range of 1320 cm−1 to 1370 cm−1).

METHOD FOR PREPARING CARBON NANOTUBE DISPERSION

NºPublicación:  WO2026075457A1 09/04/2026
Solicitante: 
LG CHEMICAL LTD [KR]
\uC8FC\uC2DD\uD68C\uC0AC \uC5D8\uC9C0\uD654\uD559
WO_2026075457_A1

Resumen de: WO2026075457A1

The present invention relates to a method for preparing a carbon nanotube dispersion comprising carbon nanotubes, a solvent, a main dispersant, an auxiliary dispersant, and an additive, wherein the components are introduced stepwise to effectively disperse the carbon nanotubes. The carbon nanotube dispersion prepared according to the method for preparing a carbon nanotube dispersion according to one embodiment of the present invention exhibits a small change in viscosity over time, a relatively low viscosity, and uniform and effective dispersion of the carbon nanotubes.

SECONDARY BATTERY AND BATTERY PACK INCLUDING THE SECONDARY BATTERY

NºPublicación:  US20260100455A1 09/04/2026
Solicitante: 
SAMSUNG SDI CO LTD [KR]
US_20260100455_A1

Resumen de: US20260100455A1

A secondary battery includes a case having an opening formed therein, an electrode assembly accommodated in the case, a cap assembly closing the opening, and an electrode tab that is electrically connected to the electrode assembly and the cap assembly. A thickness of the electrode tab decreases from an end portion of the electrode tab toward a central portion of the electrode assembly in a height direction of the electrode assembly.

Messanordnung und Verfahren zum Erfassen einer bestimmten Beschädigung einer Batterie

NºPublicación:  DE102024128933A1 09/04/2026
Solicitante: 
AUDI AG [DE]
DE_102024128933_PA

Resumen de: DE102024128933A1

Die Erfindung betrifft eine Messanordnung (10) zur Erfassung einer bestimmten Beschädigung (B) einer Batterie durch eine externe, von einem Objekt (31) verursachte Kraftbeaufschlagung (K) auf eine unterhalb der Batterie (38) angeordnete Schutzplatte (30), wobei die Messanordnung (10) eine Messeinrichtung (12) und eine mit dieser gekoppelte Steuereinrichtung (14) umfasst, die dazu ausgelegt ist, die bestimmte Beschädigung (B) in Abhängigkeit von einem mittels der Messeinrichtung (12) erfassten Messsignal (A1, A2) zu bestimmen. Dabei ist vorgesehen, dass die Messeinrichtung (12) einen auf der Oberseite (30a) der Schutzplatte (30) angeordneten, elektrischen Schwingkreis (16) mit einem induktiven Schwingkreisteil (16a) und einem kapazitiven Schwingkreisteil (16b), umfasst, und eine mit dem Schwingkreis (16) gekoppelte Anregungseinheit (22) zum Anregen des Schwingkreises (16) und zum Erfassen eines Antwortsignals (A1, A2), wobei die Steuereinrichtung (14) dazu ausgelegt ist, in Abhängigkeit vom erfassten Antwortsignal (A1, A2) eine Resonanzfrequenz (FR) des Schwingkreises (16) zu bestimmen und in Abhängigkeit von der bestimmten Resonanzfrequenz (FR) die bestimmte Beschädigung (B) zu detektieren.

ACCUMULATOR COMPRISING AT LEAST ONE CYLINDRICAL BATTERY CELL

NºPublicación:  WO2026073776A1 09/04/2026
Solicitante: 
SECOND RIDE GMBH [DE]
WO_2026073776_A1

Resumen de: WO2026073776A1

The invention relates to an accumulator comprising: at least one cylindrical battery cell (2), which has an end face (3) with a central first contact surface (4) which forms a region of a first electrical pole (5) and with a second contact surface (7) which extends around the periphery of the end face (3) on the outside and which forms a region of a second electrical pole (6); and a printed circuit board (18) with which the at least one battery cell (2) is in contact on the end face (3) and which has resilient contact tongues (21, 22), and at least one resilient contact tongue (21, 22) is associated with the first and second contact surfaces (4, 7) of the at least one battery cell (2) and the contact tongues (21, 22) contact the first and second contact surfaces (4, 7) under spring tension.

PRODUCTION DEVICE FOR PRODUCING BATTERY CELLS, AND METHOD FOR CONTROLLING THE PRODUCTION DEVICE

NºPublicación:  WO2026073756A1 09/04/2026
Solicitante: 
KOERBER TECH GMBH [DE]
WO_2026073756_A1

Resumen de: WO2026073756A1

The invention relates to a production device for producing battery cells, comprising a conveyor device (1) for conveying a film web (3) along a specified web path, wherein the film web (3) is provided in the conveyor device (1) so as to form a plurality of folded layers or cut segments in an alternating arrangement with electrodes provided therebetween in order to form a stack (25); a sensor device (27) with a measuring portion (39) directed onto at least one edge of the film web (3) is provided, having a transmitter unit (30) and a receiver unit (31); a pressing device (36) is provided which forces the film web (3) in the measuring portion (39) into a straight orientation with respect to the transverse extent thereof; and the trasmitter unit (30) and the receiver unit (31) of the sensor device (27) are provided on different sides of the film web (3) and the transmitter field and receiver field thereof are directed onto at least one edge of the film web (3) running through the measuring portion (39).

PRODUCTION DEVICE FOR PRODUCING BATTERY CELLS

NºPublicación:  WO2026073714A1 09/04/2026
Solicitante: 
KOERBER TECH GMBH [DE]
WO_2026073714_A1

Resumen de: WO2026073714A1

The invention relates to a production device for producing battery cells, comprising a conveying device (1) for conveying a film web (3) along a specified web path, wherein the conveying device (1) has a first conveying portion (24) in which the conveying device (1) is designed to convey the film web (3) at a conveying speed which varies cyclically in particular, the first conveying portion (24) is equipped with at least one deflecting device (5, 6, 7, 8, 9, 10) for deflecting the film web (3), and the deflecting device (5, 6, 7, 8, 9, 10) is in the form of a compressed air bar (12) which is connected or can be connected to a compressed air device and which has an air-permeable circumferential portion (14) for discharging an air flow provided by the compressed air device.

FLAME-RETARDANT OR NON-FLAMMABLE POLYMER GEL ELECTROLYTE, LITHIUM BATTERY INCLUDING THE SAME, SUPRAMOLECULAR POLYMER, AND METHOD OF PREPARING THE SUPRAMOLECULAR POLYMER

NºPublicación:  US20260100414A1 09/04/2026
Solicitante: 
THE INDUSTRY & ACADEMIC COOPERATION IN CHUNGNAM NATIONAL UNIV IAC [KR]
US_20260100414_A1

Resumen de: US20260100414A1

Provided are a flame-retardant or non-flammable polymer gel electrolyte, a lithium battery including the same, a supramolecular polymer, and a method of preparing the supramolecular polymer, the flame-retardant or non-flammable polymer gel electrolyte including a supramolecular polymer, a carbonate-based solvent, a fluorine-containing linear ester-based solvent, and a lithium salt, wherein the supramolecular polymer includes a hard segment and a soft segment, the hard segment and the soft segment are connected by a urethane bond, a urea bond or a combination thereof, the soft segment includes an alkylene oxide repeating unit, and the supramolecular polymer has a glass transition temperature (Tg) of less than 0° C.

POSITIVE ELECTRODE ACTIVE MATERIAL FOR RECHARGEABLE LITHIUM BATTERY, PREPARING METHOD THEREOF AND RECHARGEABLE LITHIUM BATTERY INCLUDING THE SAME

NºPublicación:  US20260100355A1 09/04/2026
Solicitante: 
SAMSUNG SDI CO LTD [KR]
US_20260100355_A1

Resumen de: US20260100355A1

A positive electrode active material, a method for preparing the positive electrode active material, and a rechargeable lithium battery including the positive electrode active material are disclosed. The method for preparing a positive electrode active material may include pulverizing a carbon-based raw material to prepare carbon-based fine powder, mixing a lithium metal composite oxide and the carbon-based fine powder to prepare a mixed powder, and applying rotation to the mixed powder to form or provide a carbon-based coating layer on a particle surface of the lithium metal composite oxide. The average particle diameter of the carbon-based fine powder may be about 10 nm to about 100 nm. The applying of the rotation may include applying rotation of about 1,000 rpm to about 6,000 rpm for about 2 minutes to about 10 minutes.

Laser Welding Apparatus for Secondary Battery

NºPublicación:  US20260097448A1 09/04/2026
Solicitante: 
SK ON CO LTD [KR]
US_20260097448_A1

Resumen de: US20260097448A1

Proposed is a laser welding apparatus for a secondary battery including a lower clamp configured to support a joint area of a plurality of electrode tabs extending from an electrode assembly and an electrode lead stacked on the plurality of electrode tabs, an upper clamp configured to press the joint area of the plurality of electrode tabs and the electrode lead and to have a through hole therein, and a laser generator configured to emit a laser beam, wherein the laser beam passes through the through hole to weld the plurality of electrode tabs and the electrode lead to enable electrical connection.

CASE FOR SECONDARY BATTERY AND SECONDARY BATTERY INCLUDING THE SAME

NºPublicación:  US20260100452A1 09/04/2026
Solicitante: 
SAMSUNG SDI CO LTD [KR]
US_20260100452_A1

Resumen de: US20260100452A1

A case for a secondary battery includes a first case including a first body portion and a first fastening portion positioned at one end of the first body portion, a second case comprising a second body portion, a second fastening portion positioned at one end of the second body portion and configured to be coupled to the first fastening portion of the first case, and a third fastening portion positioned at an opposite end of the second body portion, and a third case including a third body portion and a fourth fastening portion positioned at one end of the third body portion and configured to be coupled to the third fastening portion of the second case.

SENSING ASSEMBLY, BATTERY ASSEMBLY INCLUDING THE SAME, AND METHOD FOR MANUFACTURING BATTERY ASSEMBLY

NºPublicación:  US20260098913A1 09/04/2026
Solicitante: 
HYUNDAI MOTOR COMPANY [KR]
KIA CORP [KR]
US_20260098913_A1

Resumen de: US20260098913A1

0000 A battery assembly includes a battery cell stack including a plurality of battery cells that extend in a first direction and are arranged in a second direction transverse to the first direction, a side end plate disposed at one side of the battery cell stack in the second direction, and a sensing assembly that covers an area of a side surface of the battery cell stack in the first direction. The sensing assembly includes a sensing board and a sensing support frame supporting the sensing board.

METHOD OF MANUFACTURING NEGATIVE ELECTRODE SLURRY FOR ALL-SOLID-STATE BATTERY, NEGATIVE ELECTRODE FOR ALL-SOLID-STATE BATTERY PRODUCED BY THE SAME, AND ALL-SOLID-STATE BATTERY INCLUDING THE SAME

NºPublicación:  US20260100370A1 09/04/2026
Solicitante: 
SAMSUNG SDI CO LTD [KR]
US_20260100370_A1

Resumen de: US20260100370A1

0000 Disclosed are methods of manufacturing negative electrode slurry for all-solid-state batteries, negative electrodes manufactured by the methods, and all-solid-state batteries including the negative electrodes. The method of manufacturing a negative electrode slurry includes preparing a first mixture by mixing a negative electrode material with a binder solution that includes a solvent and a first binder, producing a dispersion by performing an ultrasonic dispersion treatment on the first mixture, and preparing a second mixture by adding a second binder to the dispersion.

Sensoranordnung, Batteriemodul und Verfahren zum Detektieren zumindest einer Gaskomponente eines aus einer thermisch durchgehenden Batteriezelle austretenden Gases

NºPublicación:  DE102024128931A1 09/04/2026
Solicitante: 
AUDI AG [DE]
DE_102024128931_PA

Resumen de: DE102024128931A1

Die Erfindung betrifft eine Sensoranordnung (10) mit einem Sensorelement (30) für einen Gassensor (32), wobei das Sensorelement (30) eine elektrisch leitfähige Sensorschicht (28) umfasst, die zumindest eine Materialkomponente (M) umfasst, die dazu ausgelegt ist, mit zumindest einer Gaskomponente (34) eines Gases (36), das im Falle eines thermischen Durchgehens einer Batteriezelle (38) aus dieser austritt, zu reagieren. Dabei ist vorgesehen, dass die Sensoranordnung (10) eine flexible Leiterplatte (12) umfasst, die einen elektrisch isolierenden flexiblen Träger (18), eine elektrisch isolierende flexible Deckschicht (20), die eine der Umgebung (24) zugewandte Außenseite (26) aufweist, und mindestens eine zwischen dem Träger (18) und der Deckschicht (20) angeordnete erste elektrische Leitung (22) umfasst, wobei die Sensorschicht (28) an der Außenseite (26) der Deckschicht (20) angeordnet ist.

Elektronikgehäuse

NºPublicación:  DE102024129172A1 09/04/2026
Solicitante: 
PORSCHE AG [DE]
DE_102024129172_PA

Resumen de: DE102024129172A1

Bereitgestellt wird ein Elektronikgehäuse, aufweisend einen unteren Gehäuseteil mit Wänden und einem Boden zur Aufnahme von Elektronikkomponenten und einen als Deckel gebildeten oberen Gehäuseteil, der an dem unteren Gehäuseteil befestigbar ist, wobei der Deckel derart gebildet ist, dass er nach Befestigung auf dem unteren Gehäuseteil in einer vorgegebenen Länge nach außerhalb des unteren Gehäuseteils herausragt, wobei an einem distalen Ende des Deckels eine Tropfkante vorgesehen ist, die zumindest teilweise den unteren Gehäuseteil derart überlappt, dass ein Hohlraum zwischen Tropfkante und unterem Gehäuseteil gebildet ist, und wobei in dem Hohlraum zwischen Tropfkante und unterem Gehäuseteil ein Dichtelement vorgesehen ist. Das Dichtelement ist dabei entweder als separates Bauteil ausgeführt und in den Hohlraum eingebracht, oder als an eine Innenseite der Tropfkante oder an eine Außenseite des unteren Gehäuseteils, welches die Tropfkante überlappt, angespritztes Dichtelement ausgeführt.

COVER MEMBER

NºPublicación:  US20260100490A1 09/04/2026
Solicitante: 
SUMITOMO WIRING SYSTEMS [JP]
TOYOTA MOTOR CO LTD [JP]
US_20260100490_A1

Resumen de: US20260100490A1

0000 A cover member includes a first cover segment that covers a first part of a power connection member extending in a lower direction and a second cover segment that covers a battery post and a second part of the power connection member extending in a front direction. The first cover segment includes a first coupling portion. The second cover segment is separate from the first cover segment and includes a second coupling portion configured to be coupled to the first coupling portion. The second cover segment includes a main body including the second coupling portion, a hinge formed integrally with the main body, and a lid formed integrally with the main body by way of the hinge. The lid is rotatable about the hinge between a closed position where the lid covers the battery post and an open position where the lid exposes the battery post.

CAP ASSEMBLY, SECONDARY BATTERY INCLUDING SAME, AND METHOD FOR MANUFACTURING SECONDARY BATTERY

NºPublicación:  US20260100458A1 09/04/2026
Solicitante: 
SAMSUNG SDI CO LTD [KR]
US_20260100458_A1

Resumen de: US20260100458A1

0000 A cap assembly includes a cap plate having a through-hole, the cap plate being couplable to an opening of a case accommodating an electrode assembly of a secondary battery, a terminal plate inserted into the through-hole of the cap plate, the terminal plate being electrically connectable to the electrode assembly; and a first sealing member between the cap plate and the terminal plate, the first sealing member being positioned adjacent to the through-hole of the cap plate, and the first sealing member including at least one opening in fluid communication with the through-hole of the cap plate and defining a flow path.

VENT INTEGRATION FOR BATTERY CELLS

NºPublicación:  WO2026073789A1 09/04/2026
Solicitante: 
POWERCO SE [DE]
WO_2026073789_A1

Resumen de: WO2026073789A1

Housing element (101) for a battery cell (100), said housing element being manufactured in one piece, having equal wall thickness on four sides and comprising: a vent element (103) which is fixed to a vent opening in the housing element, wherein the vent element (103) comprises a positioning device (104) which ensures positioning in a defined installation position.

BATTERY CELL AND MOTOR VEHICLE HAVING THE BATTERY CELL

NºPublicación:  WO2026073791A1 09/04/2026
Solicitante: 
BAYERISCHE MOTOREN WERKE AG [DE]
WO_2026073791_A1

Resumen de: WO2026073791A1

A battery cell (100) has: a housing (101); and a safety valve (10) for venting the housing (101); the safety valve (10) having a tripping element (11) and being designed to open owing to a change in shape from a first state of the tripping element (11) to a second state of the tripping element (11) when a temperature prevailing in the housing (101) rises above a threshold value, in order to allow a medium to flow out of the housing (101).

BATTERY TOP COVER ASSEMBLY WITH WELDED TERMINAL POSTS

NºPublicación:  US20260100489A1 09/04/2026
Solicitante: 
NINGBO ZHENYU AUTO PARTS CO LTD [CN]
US_20260100489_A1

Resumen de: US20260100489A1

0000 A battery top cover assembly with welded terminal posts, which includes a top cover plate, terminal post structures, caps, sealing rings, upper insulating parts, and a lower insulating part. Two ends of the top cover plate are provided with mounting holes in the length direction; a terminal post structure is mounted in each mounting hole through a cap, a sealing ring, an upper insulating part, and the lower insulating part; a terminal post portion of the terminal post structure in one mounting hole includes a copper part and an aluminum part; and the terminal post structure in the other mounting hole is an aluminum terminal post, thereby improving production quality and yield and reducing production cost.

METHOD FOR MANUFACTURING SOLID ELECTROLYTE AND METHOD FOR MANUFACTURING SECONDARY BATTERY

NºPublicación:  WO2026074895A1 09/04/2026
Solicitante: 
DENSO CORP [JP]
\u682A\u5F0F\u4F1A\u793E\u30C7\u30F3\u30BD\u30FC
WO_2026074895_A1

Resumen de: WO2026074895A1

Provided is a method for manufacturing a pyrochlore-type solid electrolyte containing: a plurality of cations including metal cations; a halogen element; and a defect structure. The method includes: a mixing step (S16) for preparing a mixed starting material obtained by mixing a precursor of the solid electrolyte or a raw material of a precursor and a halogen-containing starting material containing a halogen element; and a firing step (S17) for firing the mixed starting material. In the firing step, the halogen element is volatilized from the solid electrolyte at a halogen volatilization rate Vout, and the halogen element is supplied into a firing atmosphere of the solid electrolyte at a halogen supply rate Vin. In the firing step, if Dp is the median particle diameter of the solid electrolyte, the mixed starting material is fired under an atmosphere having a relationship of Vin/(Vout x Dp) ≥ 0.015.

BATTERY ASSEMBLY

NºPublicación:  US20260100467A1 09/04/2026
Solicitante: 
SCHAEFFLER TECH AG & CO KG [DE]
US_20260100467_A1

Resumen de: US20260100467A1

0000 A battery assembly includes a first endplate, a second endplate, at least one cell stack disposed between the first endplate and the second endplate, at least one compression spring disposed between the first endplate and the second endplate and configured to bias the at least one cell stack toward the second endplate, and a belt operably coupled with and extending between the first endplate and the second endplate. The belt is configured to bias the second endplate toward the first endplate.

BATTERY CASE WITH INTEGRATED THERMOELECTRIC GENERATOR

NºPublicación:  WO2026075558A1 09/04/2026
Solicitante: 
UNIV MOHAMED VI POLYTECHNIQUE [MA]
WO_2026075558_A1

Resumen de: WO2026075558A1

The invention relates to an energy recovery system integrated into lithium-ion (Li-ion) battery modules (400), using a double thermoelectric generator (GTE) (300) in each battery (7). The generator is positioned such that one of its ceramic plates is in thermal contact with the battery (7), while the other plate is in contact with the liquid cooling system (8) of the vehicle. This configuration allows the continuous conversion of the heat dissipated by the batteries into electrical energy, thereby improving overall energy efficiency and prolonging the service life of the batteries. This system is specifically designed to perfectly fit the cylindrical shape of Li-ion batteries.

POSITIVE ELECTRODE PRECURSOR, POSITIVE ELECTRODE, AND ALKALINE STORAGE BATTERY

NºPublicación:  WO2026074994A1 09/04/2026
Solicitante: 
SUWA UNIV OF SCIENCE [JP]
\u516C\u7ACB\u5927\u5B66\u6CD5\u4EBA\u516C\u7ACB\u8ACF\u8A2A\u6771\u4EAC\u7406\u79D1\u5927\u5B66
WO_2026074994_A1

Resumen de: WO2026074994A1

A positive electrode precursor 23 according to the present invention can be used for a positive electrode 20 of an alkaline storage battery 10 and is characterized by: containing a layered double hydroxide (LDH) that contains, as constituent elements, Ni and at least one metal element selected from Co, Fe, Al, and Mn; and the charge/discharge capacity thereof being developed by using an electrochemical oxidation treatment. The positive electrode precursor 23 according to the present invention is capable of providing a positive electrode that suppresses decreases in the discharge capacity due to charging/discharging having been repeatedly performed, and that can improve the life cycle of the alkaline storage battery.

Verfahren zum Öffnen eines Gehäuses eines Batteriesystems

NºPublicación:  DE102024129036A1 09/04/2026
Solicitante: 
FFT PRODUKTIONSSYSTEME GMBH & CO KG [DE]
DE_102024129036_PA

Resumen de: DE102024129036A1

Verfahren zum Öffnen eines mehrteiligen Gehäuses eines Batteriesystems, insbesondere zum Öffnen eines Gehäuses eines Hochvoltspeichers und/oder zum Öffnen eines Gehäuses eines Niedervoltspeichers, wobeia) in dem Inneren des Gehäuses wenigstens ein Batteriezelle ausgebildet ist,b) das Gehäuse ein Gehäuseteil und ein Gehäusegegenstück umfasst,c) das Gehäuseteil eine dem Gehäusegegenstück zugwandte Fügefläche und das Gehäusegegenstück eine dem Gehäuseteil zugewandte Fügegegenfläche aufweist,d) die Fügefläche und die Fügegegenfläche über einen Fügespalt miteinander gefügt sind, und wobeie) das Gehäuseteil in einem Trennverfahren mittels eines Trennwerkzeugs zerteilt wird,f) ein erster Teil des Gehäuseteils entfernt wird, so dass eine Öffnung in das Innere des Gehäuses freigegeben wird, und wobeig) es sich bei dem Trennverfahren um ein Schneidverfahren handelt.

CARBON NANOTUBE SLURRY, CARBON NANOTUBE SLURRY FOR ELECTRODE, AND ELECTRODE FILM

NºPublicación:  WO2026075048A1 09/04/2026
Solicitante: 
MITSUBISHI PENCIL CO [JP]
\u4E09\u83F1\u925B\u7B46\u682A\u5F0F\u4F1A\u793E
WO_2026075048_A1

Resumen de: WO2026075048A1

The purpose of the present invention is to provide: carbon nanotube slurry which has low viscosity and excellent handleability, while having good conductivity when the slurry is formed into an electrode film; carbon nanotube slurry for an electrode, using said carbon nanotube slurry; and an electrode film using said carbon nanotube slurry for an electrode. The present invention provides carbon nanotube slurry, comprising: carbon nanotubes having a fiber length of 50 μm or more, an average diameter of 3-20 nm (inclusive), and a BET specific surface area of 70-180 m2/g (inclusive); carboxymethyl cellulose having a weight average molecular weight of 50,000-600,000 (inclusive), or a metal salt or ammonium salt thereof; and water.

Verfahren zur Funktionskontrolle einer faseroptischen Temperaturerfassung einer elektrischen Hochvolt-Batterie

NºPublicación:  DE102024129055A1 09/04/2026
Solicitante: 
PORSCHE AG [DE]
DE_102024129055_PA

Resumen de: DE102024129055A1

Die Erfindung bezieht sich auf ein Verfahren zur Funktionskontrolle einer faseroptischen Temperaturerfassung (20) einer elektrischen Hochvolt-Batterie (10), wobei die Hochvolt-Batterie (10) einen Batteriekörper (12) aufweist, der von mehreren Batteriezellen (14) gebildet ist und der eine Sensor-Oberfläche (18) aufweist,wobei die faseroptische Temperaturerfassung (20) eine Faser-Lage (22) mit mehreren Messpunkten (26) und ein Temperaturbestimmungsmodul (28) aufweist,das für die Messpunkte (26) der Faser-Lage (22) die Messpunkt-Temperaturen bestimmt und hieraus ein zweidimensionales Ist-Temperaturmuster (M20; M20') ermittelt,wobei ein Kontrollmodul (30) vorgesehen ist, das mit der Temperaturerfassung (20) über eine Datenverbindung verbunden ist und das einen elektronischen Muster-Speicher (32) mit dem Soll-Temperaturmuster (M32; M32') und einen Muster-Komparator (34) aufweist, der die Übereinstimmung des Ist-Temperaturmusters (M20; M20') mit dem Soll-Temperaturmuster (M32; M32') prüft,mit den Verfahrensschritten:Aufbringen des definierten Temperaturmusters (M; M') auf die Sensor-Oberfläche (18) des Batteriekörpers (12), und dauerhaftes Applizieren der Faser-Lage (22) auf die Sensor-Außenfläche (18), oder umgekehrt, anschließend:Vergleichen des durch die Temperaturerfassung (20) an den Messpunkten (26) erfassten Ist-Temperaturmusters (M20; M20') mit dem Soll-Temperaturmuster (M32; M32').

Überwachungseinheit zur Sicherstellung einer Zellensicherheit

NºPublicación:  DE102024209838A1 09/04/2026
Solicitante: 
BOSCH GMBH ROBERT [DE]
DE_102024209838_PA

Resumen de: DE102024209838A1

Überwachungseinheit (100) zur Sicherstellung einer Zellensicherheit während eines Ruhemodus eines Batteriemanagementsystems (112) für Batterien, mit einer Zellenschaltung (102), einem Stromerfassungsmodul (104), einem Zellenüberwachungsmodul (106) mit einem Aufwachmodus und einem Schlafmodus, einem Hardware-Stromüberwachungsmodul (108), einem Stromunterbrechungsmodul (110), einem Batteriemanagementsystem (112) und mindestens einem ersten Zeitmessmodul (114. 1) und zumindest einem zweiten Zeitmessmodul (114.2), wobei das zumindest eine erste Zeitmessmodul (114.1) und das zumindest eine zweite Zeitmessmodul (114.2) zur Erfassung einer maximalen Dauer zumindest einer Grenzwertverletzung von Messwerten der Zellenschaltung (102) eingerichtet sind.

VISION INSPECTION SYSTEM CAPABLE OF CHECKING DETECTION CAPABILITY AND METHOD FOR CHECKING DETECTION CAPABILITY THEREOF

NºPublicación:  WO2026075320A1 09/04/2026
Solicitante: 
LG ENERGY SOLUTION LTD [KR]
\uC8FC\uC2DD\uD68C\uC0AC \uC5D8\uC9C0\uC5D0\uB108\uC9C0\uC194\uB8E8\uC158
WO_2026075320_A1

Resumen de: WO2026075320A1

The present invention relates to a vision inspection system for determining defectiveness on the basis of an image captured of the exterior of a first electrode, a second electrode, a separator, or an electrode assembly, the vision inspection system comprising: a vision camera for acquiring the image of the first electrode, the second electrode, the separator, or the electrode assembly; a master image of the first electrode, the second electrode, the separator, or the electrode assembly; an input unit for receiving the master image and first data on the master image from the outside; a central processing unit for determining defectiveness on the basis of the image, generating data on the determined defectiveness, generating second data on the defectiveness of the master image, and generating detection capability inspection data on the basis of the first data and the second data; and a storage unit for storing the master image, the first data, the second data, or the detection capability inspection data.

BATTERY MODULE EASY TO INSTALL IN PACK CASE, AND BATTERY PACK INCLUDING SAME

NºPublicación:  WO2026075329A1 09/04/2026
Solicitante: 
LG ENERGY SOLUTION LTD [KR]
\uC8FC\uC2DD\uD68C\uC0AC \uC5D8\uC9C0\uC5D0\uB108\uC9C0\uC194\uB8E8\uC158
WO_2026075329_A1

Resumen de: WO2026075329A1

Disclosed are a battery module which can be easily installed in a pack case, and a battery pack including same. A battery module according to an embodiment of the present invention comprises: a battery cell stack in which a plurality of battery cells are stacked; and a busbar frame disposed on one side of the battery cell stack. The busbar frame includes: a busbar electrically connected to a plurality of electrodes of the plurality of battery cells; and a plurality of through holes provided, on the lower surface of a pack case constituting a battery pack, for fixing. The plurality of through holes are formed extending through the busbar frame from the upper surface of the busbar frame to the lower surface of the busbar frame to allow coupling between the busbar frame and the pack case.

ION-CONDUCTIVE COMPOSITE, SOLID ELECTROLYTE, ELECTRODE, POWER STORAGE DEVICE, SECONDARY BATTERY, AND ION CONDUCTIVE COMPOSITION

NºPublicación:  WO2026075257A1 09/04/2026
Solicitante: 
MITSUBISHI CHEMICAL CORP [JP]
\u4E09\u83F1\u30B1\u30DF\u30AB\u30EB\u682A\u5F0F\u4F1A\u793E
WO_2026075257_A1

Resumen de: WO2026075257A1

This ion-conductive composite includes: a molecular crystal (A) having an ionic salt and a polar molecule; and a polymer (B). The ion-conductive composite has a melting enthalpy in DSC measurement.

SULFIDE-BASED GLASS CERAMIC SOLID ELECTROLYTE

NºPublicación:  WO2026075536A1 09/04/2026
Solicitante: 
SOLIVIS INC [KR]
\uC8FC\uC2DD\uD68C\uC0AC \uC194\uB9AC\uBE44\uC2A4
WO_2026075536_A1

Resumen de: WO2026075536A1

The present invention relates to a sulfide-based glass-ceramic solid electrolyte comprising a lithium element (Li), a phosphorus element (P), a sulfur element (S), and a halogen element (Ha), and being substituted with a first compound comprising a Group 13 element (M).

CATALYTIC GRAPHITIZATION OF FUEL-GRADE PETROLEUM COKE

NºPublicación:  US20260097965A1 09/04/2026
Solicitante: 
THE TEXAS A&M UNIV SYSTEM [US]
US_20260097965_A1

Resumen de: US20260097965A1

0000 The claimed invention is directed to a catalytic graphitization process to convert fuel-grade petroleum coke into battery-grade graphite using a recyclable catalyst derived from iron, nickel or cobalt.

POLYAMIDE POLYMER FOR BINDER, AND SLURRY, ELECTRODE, SEPARATOR, AND SECONDARY BATTERY INCLUDING SAME

NºPublicación:  US20260100373A1 09/04/2026
Solicitante: 
HANSOL CHEMICAL CO LTD [KR]
US_20260100373_A1

Resumen de: US20260100373A1

Proposed are a polyamide polymer for a binder, which includes a first monomer unit containing an ether group, a C1 to C10 straight or branched hydrocarbon group, or a combination thereof, and a slurry, an electrode, a separator, a slurry composition for a secondary battery non-coated area insulation coating layer, and a secondary battery including the same.

Vorrichtung und Verfahren zur Prüfung von Strukturen mit strukturintegrierten Energiespeichern

NºPublicación:  DE102024209841A1 09/04/2026
Solicitante: 
BAYERISCHE MOTOREN WERKE AG [DE]
FRAUNHOFER GES FORSCHUNG [DE]
DE_102024209841_PA

Resumen de: DE102024209841A1

Vorrichtung zur Prüfung von Strukturen mit strukturintegrierten Energiespeichern, umfassendeine Vorrichtung zur mechanischen Anregung (100) mit mindesten einem Bewegungsfreiheitsgrad,Prüfling (1), umfassend einen Abschnitt (2) einer PKW-Karosserie mit strukturintegriertem Energiespeicher (3), undAnbindungselemente (20) zur Anbindung des Prüflings (1) an die Vorrichtung zur mechanischen Anregung (100),dadurch gekennzeichnet, dass die Anbindungselemente (20) jeweils ein einstellbares Lager (21) mit einer wenigstens in einer Raumrichtung einstellbaren Steifigkeit umfassen.

A CURRENT COLLECTOR LID FOR A CYLINDRICAL BATTERY CELL

NºPublicación:  WO2026074575A1 09/04/2026
Solicitante: 
OLA ELECTRIC MOBILITY LTD [IN]
WO_2026074575_A1

Resumen de: WO2026074575A1

The disclosure herein generally relate to battery and more particularly to a current collector lid (100) for a cylindrical battery cell (10). The current collector lid (100) includes a first section (102), a second section (104), a third section (106) and a seating flange (108), which are positioned on a first plane (P1), a second plane (P2), a third plane (P3) and a fourth plane (P4) respectively. The current collector lid (100) facilitates gas venting operation and better contact with electrode tabs of the jelly roll (200) of the cylindrical battery cell (10). The current collector lid (100) facilitates stable seating of the cylindrical battery cell (10) on a floor such that there is a clearance between the closing pin (400) of the cylindrical battery cell (10) and the floor.

Vorrichtung zur Detektion eines thermischen Ereignisses einer Traktionsbatterie eines elektrisch betreibbaren Fahrzeugs

NºPublicación:  DE102025112494A1 09/04/2026
Solicitante: 
MERCEDES BENZ GROUP AG [DE]
DE_102025112494_PA

Resumen de: DE102025112494A1

Die Erfindung betrifft eine Vorrichtung (100) zur Detektion eines thermischen Ereignisses einer Traktionsbatterie (10) eines elektrisch betreibbaren Fahrzeugs, wenigstens umfassend eine Detektionseinrichtung (30) mit einem Reißdraht (32), welcher eine Stirnseite (26) eines Öffnungselements (24) einer Entgasungseinheit (20) der Traktionsbatterie (10) in einem geschlossenen Zustand (1) der Entgasungseinheit (20) überdeckt, wobei der Reißdraht (32) in einem geöffneten Zustand (2) der Entgasungseinheit (20) durch das Öffnungselement (24) unterbrochen ist. Der Reißdraht (32) ist elektrisch leitend ausgebildet. Die Detektionseinrichtung (30) umfasst eine Steuereinheit (40), mit welcher der Reißdraht (32) elektrisch gekoppelt ist. Dabei ist die Steuereinheit (40) ausgebildet, eine Unterbrechung des Reißdrahts (32) zu detektieren.

HIGH-VOLTAGE BOX, BATTERY CLUSTER, AND ENERGY STORAGE SYSTEM

NºPublicación:  AU2025204034A1 09/04/2026
Solicitante: 
EVE ENERGY STORAGE CO LTD
AU_2025204034_A1

Resumen de: AU2025204034A1

high-voltage box 111 main control module 101 Bat P voltage Bat N acquisition module P+ KA1 B+FU1 Hall B- Main positive fuse Resistance under aging or abnormal R2 conditions High-voltage measurement V ay a y a t m o d u l e + + c o n d i t i o n s m e a s u r e m e n t Main positive fuse Resistance under aging or abnormal R2 conditions Current measurement + AResistance R3 high-voltage box 111 Imain control module 101 Bat P voltage Bat N acquisition module P+ KA1 M B+FU1 Hall B- P- KA2 FU2 RW N ay a y u r r e n t m e a s u r e m e n t + a t a t m o d u l e + + - busbar cabinet high- 100 high- SBMU voltage box 1 SBMU voltage box n battery pack1 battery pack 1 battery pack 2 battery pack 2 : : battery pack n battery pack n ay a y b u s b a r c a b i n e t

COATING MATERIAL FOR ELECTRODES

NºPublicación:  US20260100379A1 09/04/2026
Solicitante: 
BASQUEVOLT S A [ES]
US_20260100379_A1

Resumen de: US20260100379A1

0000 Methods for coating electrodes, particularly anodes, more particularly lithium anodes in batteries. The coating material obtained by the methods, involves the ring-opening polymerization of dioxolane (DOL) monomers in presence of suitable polymerization initiators, crosslinkers and optional further additives. The so-obtained coating material displays advantageous features such as fast lithium ions diffusion and high conductivity, high elastic modulus blocking dendrite formation, high flexibility, scalability, controllable thickness of the coating material and homogeneity on the anode surface. The corresponding electrochemical cells and/or batteries comprising the coating material, are characterized by improved stability during the cell/battery cycling.

POSITIONING APPARATUS, BATTERY CELL MANUFACTURING DEVICE, AND INSULATOR POSITIONING METHOD

NºPublicación:  US20260100400A1 09/04/2026
Solicitante: 
CONTEMPORARY AMPEREX TECH CO LIMITED [CN]
US_20260100400_A1

Resumen de: US20260100400A1

A positioning apparatus includes a positioning platform and a positioning mechanism, where the positioning platform is configured to support the insulator, and the positioning mechanism is configured to abut against at least one edge of the insulator to position the insulator. The insulator is positioned by abutting the positioning mechanism against at least one edge of the insulator, improving the positioning accuracy.

SOLID ELECTROLYTE MATERIAL, METHOD FOR PRODUCING SOLID ELECTROLYTE MATERIAL, POSITIVE ELECTRODE MATERIAL, AND BATTERY

NºPublicación:  US20260100413A1 09/04/2026
Solicitante: 
PANASONIC INTELLECTUAL PROPERTY MAN CO LTD [JP]
US_20260100413_A1

Resumen de: US20260100413A1

A solid electrolyte material includes Li, Al, and X. X represents anions including F, and the solid electrolyte material has a specific surface area of greater than or equal to 16 m2/g. A method for producing the solid electrolyte material includes pulverizing a mixture containing a solvent and a raw material composition containing compositional components of the solid electrolyte material by wet pulverization. The positive electrode material contains a positive electrode active material coated with the solid electrolyte material.

BATTERY AND ELECTRIC DEVICE

NºPublicación:  US20260100454A1 09/04/2026
Solicitante: 
NINGDE AMPEREX TECH LIMITED [CN]
US_20260100454_A1

Resumen de: US20260100454A1

0000 A battery includes an electrode assembly, a housing, and a terminal post, where the electrode assembly is accommodated in the housing. The housing includes a first wall and a second wall disposed opposite each other along a first direction and includes a peripheral side wall surrounding the first wall and the second wall and disposed therebetween. The first direction is a thickness direction of the battery. The first wall includes a reinforcement portion, where the reinforcement portion protrudes beyond the peripheral side wall. The peripheral side wall includes a top wall and a bottom wall disposed opposite each other along a second direction, where the top wall is provided with a through-hole, and the terminal post is disposed at the through-hole.

BATTERY AND ELECTRIC APPARATUS INCLUDING SAME

NºPublicación:  US20260100421A1 09/04/2026
Solicitante: 
NINGDE AMPEREX TECH LIMITED [CN]
US_20260100421_A1

Resumen de: US20260100421A1

A battery includes an electrode assembly, a housing accommodating the electrode assembly, and a first layer including an insulating material. The electrode assembly includes a first electrode sheet and a second electrode sheet that are stacked and adjacently disposed along a fourth direction. The first electrode sheet includes a first edge extending along a first direction, a second edge extending along a second direction perpendicular to the first direction, and a third edge extending along a third direction intersecting both the first direction and the second direction, the third edge including a first end connected to the first edge and a second end connected to the second edge. The first layer is adhered to the first electrode sheet and includes a first border extending along the first direction and a second border extending along the second direction and connected to the first border.

ELECTRODE MIXTURE SHEET, ELECTRODE, SECONDARY BATTERY, AND METHOD FOR PRODUCING ELECTRODE MIXTURE SHEET

NºPublicación:  US20260100376A1 09/04/2026
Solicitante: 
DAIKIN IND LTD [JP]
US_20260100376_A1

Resumen de: US20260100376A1

0000 An electrode mixture sheet having high tensile strength and low resistance, an electrode and a secondary battery each including the electrode mixture sheet, and a method of producing an electrode mixture sheet. An electrode mixture sheet including: a polytetrafluoroethylene; a carbon material; and an electrode active material other than the carbon material and/or a fluororesin other than the polytetrafluoroethylene, the electrode mixture sheet having a value X of 2300 or less, where the value X is expressed as interface length/amount of detected carbon in an image of carbon composition distribution in a 2000× field of view obtained by SEM-EDX analysis.

MONITORING DEVICE, MONITORING METHOD, AND NON-TRANSITORY COMPUTER READABLE STORAGE MEDIUM

NºPublicación:  US20260099160A1 09/04/2026
Solicitante: 
DENSO CORP [JP]
US_20260099160_A1

Resumen de: US20260099160A1

0000 A monitoring device monitors a battery mounted on an eVTOL. A monitoring device includes an acquisition unit and an output unit. An acquisition unit acquires voltage information of the battery during flight and information related to the travel mode of the eVTOL. An output unit outputs monitoring result when a predetermined condition related to an abnormality of the battery is satisfied with reference to the voltage information and a threshold value set for each travel mode. By using the threshold value set for each travel mode, an abnormality of the battery can be detected early, and flight safety can be improved.

SODIUM-ION BATTERY AND POWER CONSUMPTION DEVICE

NºPublicación:  US20260100419A1 09/04/2026
Solicitante: 
HUAWEI TECH CO LTD [CN]
US_20260100419_A1

Resumen de: US20260100419A1

A sodium-ion battery, a preparation method for the sodium-ion battery, and a power consumption device including the sodium-ion battery are disclosed. The sodium-ion battery includes a positive electrode, a negative electrode, an electrolyte, and a separator. The negative electrode includes a carbon material, and a specific surface area of the carbon material is a in a unit of m2/g. The electrolyte includes an electrolyte salt, an organic solvent, and an additive, the additive includes a sodium salt additive and an organic additive, a mass percentage of the sodium salt additive in the electrolyte is e in a unit of %, a numerical ratio of e to a satisfies: 0.01≤e/a≤3.5, a mass percentage of the organic additive in the electrolyte is fin a unit of %, and a numerical ratio of f to a satisfies: 0.05≤f/a≤10.

PERSONAL CARE FORMULATIONS COMPRISING 3-AMINO-3-METHYL-2-BUTANOL AND USE THEREOF

NºPublicación:  AU2024348809A1 09/04/2026
Solicitante: 
ADVANCION CORP [US]
AU_2024348809_PA

Resumen de: AU2024348809A1

The present technology relates generally to compositions including 3-amino-3-methyl-2- butanol. In particular, the present technology relates to compositions for personal care applications that include 3 -amino-3-methyl-2 -butanol, such as hair styling aerosols, body lotions, mascara, hair colorants, sunscreens, hand sanitizers, cleansers, eye creams, exfoliants, shampoos, conditioners, hair masks, hair styling gels, hair styling mousse, dry shampoos, non-aerosol hair styling sprays, body washes, soaps, body scrubs, body butters, lipsticks, foundations, eye shadows, concealers, blushes, eyeliners, brow gels, lip glosses, lip balms, setting sprays, and/or shaving creams.

NON-AQUEOUS ELECTROLYTE, SECONDARY BATTERY AND ELECTRICAL APPARATUS

NºPublicación:  US20260100418A1 09/04/2026
Solicitante: 
CONTEMPORARY AMPEREX TECH CO LIMITED [CN]
US_20260100418_A1

Resumen de: US20260100418A1

The present application relates to the technical field of batteries, and to a non-aqueous electrolyte, a secondary battery and an electrical apparatus. The non-aqueous electrolyte comprises a cyclic sulfate additive and a phosphate or isocyanate additive. The present application further relates to a secondary battery comprising the non-aqueous electrolyte, and an electrical apparatus comprising the secondary battery.

ELECTROLYTE MANAGEMENT FOR ELECTROCHEMICAL POWER STORAGE

NºPublicación:  AU2024326567A1 09/04/2026
Solicitante: 
FORM ENERGY INC [US]
AU_2024326567_PA

Resumen de: AU2024326567A1

According to one aspect, a system for electrochemical power storage may include at least one instance of a battery module, each instance of the battery module including a battery enclosure and a metal-air battery, the metal-air battery disposed in the battery enclosure; a reservoir including a volume of a liquid electrolyte; a supply conduit in fluid communication between the reservoir and the battery enclosure; a pump actuatable to move the liquid electrolyte from the reservoir into the battery enclosure via the supply conduit; and a return conduit in fluid communication between the battery enclosure and the reservoir, the liquid electrolyte movable from the battery enclosure to the reservoir, via the return conduit, with the metal-air battery immersed in the liquid electrolyte in the battery enclosure.

ADAPTABLE PROCESSES AND SYSTEMS FOR PURIFYING CO‑PRECIPITATED OR INDEPENDENT STREAMS OF MANGANESE, NICKEL, AND COBALT FROM LITHIUM‑ION BATTERY WASTE STREAMS

NºPublicación:  AU2024328179A1 09/04/2026
Solicitante: 
GREEN LI ION PTE LTD
AU_2024328179_PA

Resumen de: AU2024328179A1

Flexible processes and systems for recovering manganese (Mn), cobalt (Co), nickel (Ni) as a purified co-precipitated product or alternatively independent products, from a lithium-ion battery waste stream are provided. The process may include upstream leaching and impurity removal prior to separation in a metal recovery system that may include a manganese (Mn) recovery unit to generate a manganese (Mn)-containing product, a cobalt (Co) recovery unit to generate a cobalt (Co)-containing product or a nickel (Ni) recovery unit to generate a nickel (Ni)-containing product or alternatively and optionally may include a co-precipitator unit to form a co-precipitated product. A lithium (Li) recovery unit may further process a portion of the waste liquid stream to form a lithium (Li)-containing product. 63378405

CIRCUIT, BATTERY MANAGEMENT SYSTEM, AND ELECTRIC VEHICLE

NºPublicación:  AU2024330580A1 09/04/2026
Solicitante: 
EVE ENERGY CO LTD
AU_2024330580_PA

Resumen de: AU2024330580A1

Provided in the present application are a circuit, a battery management system, and an electric vehicle. The circuit comprises: a first current collection module, a second current collection module and a calculation module, wherein the first current collection module and the second current collection module are respectively connected in series to a main loop and control loop of the battery management system; and the calculation module calculates an SOC value of the battery management system on the basis of first current information collected by the first current collection module and second current information collected by the second current collection module.

CARBON DIOXIDE REMOVAL FOR ELECTROCHEMICAL POWER STORAGE

NºPublicación:  AU2024329792A1 09/04/2026
Solicitante: 
FORM ENERGY INC
AU_2024329792_A1

Resumen de: AU2024329792A1

According to one aspect, a system for electrochemical power storage may include a plurality of instances of a metal-air battery, each instance of the metal-air battery including an air electrode, a metal electrode, and a liquid electrolyte separating the air electrode from the metal electrode with the air electrode and the metal electrode ionically coupled to one another via the liquid electrolyte; and a carbon dioxide removal system into which ambient air is directable, carbon dioxide from the ambient air removable in the carbon dioxide removal system to generate purified air, and the carbon dioxide removal system in fluid communication with the plurality of instances of the metal-air batteries such that the purified air is movable from the carbon dioxide removal system to the plurality of instances of the metal-air battery.

POWER STORAGE ELEMENT

NºPublicación:  US20260100426A1 09/04/2026
Solicitante: 
TDK CORP [JP]
US_20260100426_A1

Resumen de: US20260100426A1

0000 A power storage element comprises a negative electrode that includes a first conductor having a first surface and a second surface opposite to the first surface; a first active material layer provided on the first surface of the first conductor and configured to contain a plurality of first negative-electrode active material particles; and a first layer containing an inorganic material and including a first part provided across two or more of the first negative-electrode active material particles exposed on an opposite side of the first conductor, and a second part penetrating between the first negative-electrode active material particles of the first active material layer from the first part.

POSITIVE ELECTRODE ACTIVE MATERIAL AND PREPARATION METHOD THEREFOR, BATTERY CELL, AND ELECTRIC DEVICE

NºPublicación:  US20260097962A1 09/04/2026
Solicitante: 
CONTEMPORARY AMPEREX TECH CO LIMITED [CN]
US_20260097962_A1

Resumen de: US20260097962A1

0000 Provided are a positive electrode active material and a preparation method therefor, a battery cell, and an electric device. The positive electrode active material includes a lithium-containing phosphate, where an X-ray diffraction pattern of the positive electrode active material tested in a fully charged state satisfies: there is a (311) crystal plane peak in a range of 35° to 36° and a (011) crystal plane peak in a range of 20° to 21°, and the ratio of a peak intensity I<311 >of the (311) crystal plane peak to a peak intensity I<011 >of the (011) crystal plane peak satisfies I<311>/I<011>≥0.008. The positive active material can improve the cycle performance of a battery.

NMTP@C MATERIAL DOPED WITH NITROGEN-DOPED GRAPHENE, AND PREPARATION METHOD THEREFOR AND USE THEREOF

NºPublicación:  WO2026073469A1 09/04/2026
Solicitante: 
GUANGZHOU MARITIME UNIV [CN]
\u5E7F\u5DDE\u822A\u6D77\u5B66\u9662
WO_2026073469_A1

Resumen de: WO2026073469A1

The present disclosure relates to an NMTP@C material doped with nitrogen-doped graphene, and a preparation method therefor and the use thereof. The material is composed of NMTP@C and nitrogen-doped graphene coated on the surface of the NMTP@C. The NMTP@C is a nanofiber composite material having a core-shell structure, with NMTP being a core and C being a shell. The preparation method comprises: S1, preparing nitrogen-doped graphene; S2, adding citric acid and the nitrogen-doped graphene obtained in step S1 to deionized water, continuously stirring same, and adding an MnC4H6O4•4H2O powder, an NaC2H3O2 powder and an NH4H2PO4 powder, so as to obtain a mixed solution; S3, adding an ethanol solution of C12H28O4Ti to the mixed solution obtained in step S2, and removing deionized water and ethanol, so as to obtain a gel precursor; S4, drying the gel precursor obtained in step S3; and S5, placing the gel precursor dried in step S4 in a protective atmosphere, and heating same, so as to obtain an NMTP@C material doped with nitrogen-doped graphene. Doping the outside of the NMTP@C with the nitrogen-doped graphene can inhibit the growth of NMTP crystals, and promotes the electrochemical performance of the NMTP@C material doped with nitrogen-doped graphene of the present disclosure.

METHODS OF FORMING ELECTROCHEMICAL CELLS

NºPublicación:  US20260100406A1 09/04/2026
Solicitante: 
ENEVATE CORP [US]
US_20260100406_A1

Resumen de: US20260100406A1

Methods of forming electrochemical cells are described. In some embodiments, the method can include providing an electrochemical cell having an electrode with at least about 20% to about 99% by weight of silicon. The method can include providing a formation charge current at greater than about 1C to the electrochemical cell. Alternatively or additionally, the method can include providing a formation charge current at a substantially constant charge voltage to the electrochemical cell.

ELECTRODE WITH PROTECTED CARBON BASED SCAFFOLD

NºPublicación:  US20260100383A1 09/04/2026
Solicitante: 
LIONVOLT B V [NL]
US_20260100383_A1

Resumen de: US20260100383A1

0000 The present disclosure provides as an electrode 1, comprising a 3D composite current collector 2 having an electrically conductive substrate current collector 3 with a plurality of laterally distributed electrically conductive upstanding scaffolding elements 4 that comprise carbon-based protrusions 6 covered by a passivation layer 10 for shielding the pillar from a direct contact with an electrode or electrolyte material, whereby said passivation layer (10) is comprised of a first composition (10c ) allowing electron transport to the substrate and resistive to transport of lithium across the passivation layer. 0000 In a preferred embodiment the electrode is coated with a stack of functional battery layers including one or more of a seed layer 20, an anode metal layer 30, and an anode passivation layer 40. 0000 The present disclosure further relates to a manufacturing method and an energy storage device comprising the electrode.

CELL STACK ASSEMBLY AND BATTERY PACK INCLUDING THE SAME

NºPublicación:  US20260100469A1 09/04/2026
Solicitante: 
LG ENERGY SOLUTION LTD [KR]
US_20260100469_A1

Resumen de: US20260100469A1

A cell stack assembly and a battery pack includes the same, the cell stack assembly including a cell stack having a plurality of battery cells stacked with electrode leads derived from one or both sides; and a separating member configured to contact a first side surface of at least one battery cell of the cell stack. The separating member including a hollow part therein and a protrusion part on each of both side surfaces.

RECHARGEABLE BATTERIES, INCLUDING ORGANIC BATTERIES

NºPublicación:  US20260100367A1 09/04/2026
Solicitante: 
MASSACHUSETTS INSTITUTE OF TECH [US]
US_20260100367_A1

Resumen de: US20260100367A1

Rapid charging and high energy density are valuable battery attributes. However, high performance batteries with both of these attributes can be difficult to achieve. Conventional high performance batteries rely on metal-based electrodes including materials that can be difficult to source. Batteries with high capacity, even during rapid charge-discharge cycling, are herein provided. According to some embodiments, a battery provided herein includes an organic electrode and an organic, non-aqueous solvent system. Constituents of the organic electrode may be additionally advantaged by the comparative case with which they may be sourced.

INSPECTION DURING THE MANUFACTURE OF MODULES OR PRECURSORS OF MODULES

NºPublicación:  US20260100395A1 09/04/2026
Solicitante: 
MB AUTOMATION GMBH & CO KG [DE]
US_20260100395_A1

Resumen de: US20260100395A1

0000 An inspection device comprises a layer conveyor which has a pickup and a drive in order to pick up a respective individual anode or cathode layer from a transfer location and bring it to a delivery location. A stacking table picks up the anode or cathode layer from the pickup at the delivery location to form a layer stack. The layer conveyor delivers an anode or cathode layer from its pickup to the stacking table at the delivery location. An image sensor is directed towards an area encompassing an upper edge of the layer stack located on the stacking table, which comprises a connection tab of the anode or cathode layer located at the top of the layer stack and performs an image feed before or after the anode or cathode layer is deposited on the stacking table.

APPARATUS AND METHOD FOR MAKING COILS, PREFERABLY FOR AN ELECTROCHEMICAL CELL INTENDED FOR BATTERY PRODUCTION

NºPublicación:  US20260100402A1 09/04/2026
Solicitante: 
G D S P A [IT]
US_20260100402_A1

Resumen de: US20260100402A1

0000 An apparatus (100) for making coils, preferably for electrochemical cells intended for battery production, comprises a feed unit (2) configured to feed at least a first strip-shaped article (N1) intended to form a first coil (B1) and a second strip-shaped article (N2) intended to form a second coil (B2), a winding unit (1) comprising a plurality of winding heads (10) including at least a first winding head (11) configured to wind the first strip-shaped article (N1) and a second winding head (12) configured to wind the second strip-shaped article (N2) and at least one movement device (3) of said winding heads (10) configured to move said first winding head (11) and said second winding head (12). Said first winding head (11) and said second winding head (12) define respective winding axes (X1, X2) substantially parallel to each other. Said winding unit (1) is configured so as to define a separation plane (P), said separation plane (P) being substantially perpendicular to said winding axes (X1, X2) and being positioned so that said first strip-shaped article (N1) and said second strip-shaped article (N2) are located one on one side and the other on the opposite side of said separation plane (P) at least at said first winding head (11) and said second winding head (12).

SODIUM-DEFICIENT CHLORIDE-BASED SODIUM SOLID ELECTROLYTE

NºPublicación:  US20260100411A1 09/04/2026
Solicitante: 
THE REGENTS OF THE UNIV OF CALIFORNIA [US]
US_20260100411_A1

Resumen de: US20260100411A1

A sodium deficient solid electrolyte (SE) exhibits increased ionic conductivity relative to a non-sodium deficient stoichiometric composition through ball milling a mixture of NaCl, YCl3, and ZrCl4 precursor powders with lower molar percentages of NaCl resulting in a composition with reduced or no-crystallinity and an increased concentration of Na vacancies.

METHOD FOR MANUFACTURING BIS(HALOGENO SULFONYL)IMIDE

NºPublicación:  US20260097960A1 09/04/2026
Solicitante: 
SPECIALTY OPERATIONS FRANCE [FR]
US_20260097960_A1

Resumen de: US20260097960A1

0000 The present invention relates to a new synthetic pathway for manufacturing bis(halogeno sulfonyl)imide, which are useful intermediates in the synthesis of lithium bis(fluorosulfonyl)imide (LiFSI).

PRESSURE-EQUALIZING DEVICE FOR A HOUSING, A HOUSING HAVING THE PRESSURE-EQUALIZING DEVICE, AND A METHOD FOR PRODUCING THE PRESSURE-EQUALIZING DEVICE

NºPublicación:  US20260100472A1 09/04/2026
Solicitante: 
BOELLHOFF VERBINDUNGSTECHNIK GMBH [DE]
US_20260100472_A1

Resumen de: US20260100472A1

A pressure-equalizing device for a housing with a lower part that has a fastening region for fastening to the housing and a connecting region; and an upper part which has a wall and a base, the upper part engaging the connecting region at an end of the lower part. The lower part has a projection defining an opening and having a clamping structure on a side that faces toward the end and also having multiple passages arranged in a ring shape between the opening and the clamping structure. The upper part has a second clamping structure. A membrane covers the opening, and a seal is arranged between the clamping structures and extends with a sealing region radially inward of the opening and seals the passages. A first path runs via the opening and the membrane, and a second path runs via the passages and the resilient seal component.

COMPOSITE PARTICLES, BINDER COMPOSITION FOR NON-AQUEOUS SECONDARY BATTERY AND NON-AQUEOUS SECONDARY BATTERY ELECTRODE

NºPublicación:  US20260100369A1 09/04/2026
Solicitante: 
RESONAC CORP [JP]
US_20260100369_A1

Resumen de: US20260100369A1

0000 Composite particles are provided, including: a copolymer, and a tackifier, in which the copolymer has a first structural unit derived from a monomer (a1) and a second structural unit derived from a monomer (a2), the monomer (a1) is a nonionic compound having only one ethylenically unsaturated bond, and the monomer (a2) is a compound having a carboxy group and only one ethylenically unsaturated bond.

BUS VOLTAGE MODULATION METHOD FOR SERIES DYNAMIC RECONFIGURATION BATTERY SYSTEM

NºPublicación:  US20260100602A1 09/04/2026
Solicitante: 
IBATTERYCLOUD CO LTD [CN]
US_20260100602_A1

Resumen de: US20260100602A1

0000 The present disclosure discloses a bus voltage modulation method for a series dynamic reconfiguration battery system, comprising: collecting a voltage value of each battery module, and arranging in a descending order according to magnitudes of the voltage values; selecting a battery module corresponding to the highest voltage value; determining whether the serial number i of the selected battery module is less than a total number N of series battery modules, if a determination result is YES, accumulating voltage values corresponding to the selected battery modules, and determining whether a voltage accumulation value of the battery modules is within a preset range; and repeating the above content until an output bus voltage meets requirements for the preset range. A dynamic reconfiguration battery system based on a software-defined technology of the present disclosure can reconstruct and output a desired bus voltage according to voltages of respective battery modules in real time.

BIPOLAR ELECTRODE, BIPOLAR BATTERY, AND METHOD FOR MANUFACTURING BIPOLAR ELECTRODE

NºPublicación:  US20260100404A1 09/04/2026
Solicitante: 
TOYOTA JIDOSHA KK [JP]
US_20260100404_A1

Resumen de: US20260100404A1

0000 A bipolar electrode includes a first active material layer, a first current collector, an intermediate conductor, a second current collector, and a second active material layer that are stacked in order in a stacking direction, wherein the first active material layer is provided on a first surface of the first current collector, the second active material layer is provided on a second main surface of the second current collector, a second surface of the first current collector is bonded to a front surface of the intermediate conductor, a first main surface of the second current collector is bonded to a back surface of the intermediate conductor, the second active material layer is located inside the first active material layer when viewed from the stacking direction, and in a length direction, a length of the intermediate conductor is longer than lengths of the first current collector and the second current collector.

CELL, BATTERY, AND ELECTRIC DEVICE

NºPublicación:  US20260100483A1 09/04/2026
Solicitante: 
NINGDE AMPEREX TECH LIMITED [CN]
US_20260100483_A1

Resumen de: US20260100483A1

0000 A cell includes an electrode assembly and an electrode terminal. The electrode assembly includes a top and a bottom. The electrode terminal is configured to connect to the top. The electrode assembly is formed by winding or stacking, and the electrode assembly includes N layers of separators, N being a natural number greater than or equal to 3. Each layer of separator includes a first extension portion extending out of the bottom along the first direction. The N layers of first extension portions are arranged along a second direction. Along the second direction, the first extension portion of the first layer to the first extension portion of the (N−1)-th layer are bent, with adjacent ones of the first extension portions connected. The separator includes a second extension portion extending out of the top. The second extension portion is configured to connect to the electrode terminal.

COMPOSITE CURRENT COLLECTOR AND ITS PREPARATION METHOD, ELECTRODE AND BATTERY

NºPublicación:  US20260100382A1 09/04/2026
Solicitante: 
REPT BATTERO ENERGY CO LTD [CN]
SHANGHAI RUIPU ENERGY CO LTD [CN]
US_20260100382_A1

Resumen de: US20260100382A1

The present invention relates to a composite current collector and its preparation method, electrodes, and batteries. The composite current collector includes an insulating substrate, a first metal layer set on both surfaces of the thickness direction of the insulating substrate, and a second metal layer set on the surface away from the insulating substrate on the first metal layer. Multiple colloidal particles are attached to the surface of the first metal layer away from the insulating substrate, with the colloidal particles evenly distributed. The second metal layer is set on the first metal layer, and the second metal layer encapsulates the evenly distributed colloidal particles. By setting the composite current collector with specific structures of the colloidal particles, it overcomes the issues of low electrode peel strength and capacity drop in long cycle batteries, significantly enhancing the stability of long cycle battery electrodes.

POWDER COMPOSITION BASED ON AT LEAST ONE FLUOROPOLYMER AND AT LEAST ONE HYDROPHILIC POLYMER FOR A SEPARATOR COATING

NºPublicación:  US20260098177A1 09/04/2026
Solicitante: 
ARKEMA FRANCE [FR]
US_20260098177_A1

Resumen de: US20260098177A1

0000 The present invention relates to a composition comprising a polymer P1 comprising monomer units derived from vinylidene fluoride and optionally a comonomer M1 compatible with vinylidene fluoride and a polymer P2 comprising monomer units derived from a monomer M2 of formula R<1>R<2>C═C(R<3>)C(O)R, in which the substituents R<1>, R<2 >and R<3 >are independently selected from the group consisting of H and a C<1>-C<5 >alkyl; R is selected from the group consisting of —NHC(CH<3>)<2>CH<2>C(O)CH<3 >or —OR′, where R′ is selected from the group consisting of H and a C<1>-C<18>alkyl optionally substituted by one or more —OH groups or a five- or six-membered heterocycle comprising at least one nitrogen atom in its cyclic chain, characterised in that the crystallisation temperature of the composition is Tc<−3.7496x+130, where x is the content, by weight, of the comonomer M1 relative to the total weight of the polymer P1, and in that the composition is in powder form.

COMPOSITION BASED ON AT LEAST ONE FLUOROPOLYMER AND AT LEAST ONE HYDROPHILIC POLYMER FOR A SEPARATOR COATING

NºPublicación:  US20260098178A1 09/04/2026
Solicitante: 
ARKEMA FRANCE [FR]
US_20260098178_A1

Resumen de: US20260098178A1

0000 The present invention relates to a composition comprising a polymer P1 comprising monomer units derived from vinylidene fluoride and optionally a comonomer M1 compatible with vinylidene fluoride and a polymer P2 comprising monomer units derived from a monomer M2 of formula R<1>R<2>C═C(R<3>)C(O)R, in which the substituents R<1>, R<2 >and R<3 >are independently selected from the group consisting of H and a C<1>-C<8>alkyl; R is selected from the group consisting of —NHC(CH<3>)<2>CH<2>C(O)CH<3 >or —OR′, where R′ is selected from the group consisting of H and a C<1>-C<18 >alkyl optionally substituted by one or more-OH groups or a five- or six-membered heterocycle comprising at least one nitrogen atom in its cyclic chain, characterised in that the crystallisation temperature of the composition is Tc<−3.7496x+130, where x is the content, by weight, of the comonomer M1 relative to the total weight of the polymer P1.

NONAQUEOUS ELECTROLYTE SOLUTION BATTERY LEAD WIRE AND NONAQUEOUS ELECTROLYTE SOLUTION BATTERY

NºPublicación:  US20260100487A1 09/04/2026
Solicitante: 
SUMITOMO ELECTRIC IND LTD [JP]
US_20260100487_A1

Resumen de: US20260100487A1

A nonaqueous electrolyte solution battery lead wire of the present disclosure includes a conductor and an insulating film having one or a plurality of layers and covering at least part of an outer peripheral surface of the conductor. The conductor has a conductor film covering at least part of a surface thereof, the conductor film contains a trivalent chromium compound including chromium hydroxide and a metal element, a ratio of a mass of chromium contained in the chromium hydroxide per unit area mg/m2 to a mass of chromium contained in the trivalent chromium compound per unit area mg/m2 is 0.30 to 0.90 at an outermost surface of the conductor film, the insulating film has an innermost layer stacked on a surface of the conductor film, the innermost layer contains, as a main component, a resin component including maleic anhydride-modified polypropylene.

SECONDARY BATTERY

NºPublicación:  US20260100488A1 09/04/2026
Solicitante: 
SAMSUNG SDI CO LTD [KR]
US_20260100488_A1

Resumen de: US20260100488A1

0000 A secondary battery, according to embodiments of the present disclosure, exhibits a reduced decrease in capacity by slimming a current collecting structure. By reducing the space occupied by the current collecting structure in the longitudinal direction of an electrode assembly, the size of the electrode assembly may be increased.

ELECTROCHEMICAL APPARATUS AND ELECTRIC DEVICE INCLUDING SAME

NºPublicación:  US20260100482A1 09/04/2026
Solicitante: 
NINGDE AMPEREX TECH LIMITED [CN]
US_20260100482_A1

Resumen de: US20260100482A1

An electrochemical apparatus includes a housing, an electrode assembly, a first insulating layer, and an electrolyte, where the electrode assembly and the electrolyte are accommodated in the housing. The electrode assembly includes a plurality of electrode plates stacked along a first direction and a first separator disposed between the plurality of electrode plates. The electrode assembly further includes a first surface and a second surface opposite each other in the first direction, and a first end face connecting the first surface and the second surface. The first insulating layer is adhered to the first surface, the second surface, and the first end face. The first separator includes a substrate layer and a plurality of first coatings spaced apart on a surface of the substrate layer facing an adjacent electrode plate.

OVERHEATING DIAGNOSIS METHOD, OVERHEATING DIAGNOSIS APPARATUS AND BATTERY SYSTEM PROVIDING THE SAME

NºPublicación:  US20260100429A1 09/04/2026
Solicitante: 
LG ENERGY SOLUTION LTD [KR]
US_20260100429_A1

Resumen de: US20260100429A1

An overheating diagnosis apparatus includes a measuring unit configured to measure a temperature of an object, a storage unit configured to store a temperature value measured by the measuring unit, and a control unit. The control unit is configured to extract, at each diagnosis point at which overheating of the object is diagnosed, a plurality of previous diagnosis points corresponding to a predetermined number of samples based on a diagnosis point, calculate a moving average value which is an average of a plurality of temperature values corresponding to each of the plurality of previous diagnosis points, and calculate an standard deviation average value which is an average of a plurality of standard deviations corresponding to each of the plurality of previous diagnosis points.

AQUEOUS ELECTROLYTE SECONDARY BATTERY

NºPublicación:  US20260100479A1 09/04/2026
Solicitante: 
GS YUASA INT LTD [JP]
US_20260100479_A1

Resumen de: US20260100479A1

0000 The aqueous electrolyte secondary battery contains an element and an aqueous electrolyte solution. The element includes a positive electrode plate, a negative electrode plate, and a separator interposed between the positive electrode plate and the negative electrode plate. A chemical oxygen demand in the aqueous electrolyte solution is 5 mg/L or more and 160 mg/L or less.

NON-AQUEOUS ELECTROLYTE SECONDARY BATTERY

NºPublicación:  US20260100361A1 09/04/2026
Solicitante: 
PANASONIC INTELLECTUAL PROPERTY MAN CO LTD [JP]
US_20260100361_A1

Resumen de: US20260100361A1

0000 This non-aqueous electrolyte secondary battery is characterized by comprising a positive electrode, a negative electrode, a separator that separates the positive electrode and the negative electrode from each other, and a non-aqueous electrolyte, wherein: the positive electrode contains a lithium-containing composite oxide and a sulfonic acid compound present on a particle surface of the lithium-containing composite oxide; the sulfonic acid compound is represented by formula (I); the separator has a base material layer and a heat-resistant layer formed on the surface of the base material layer; the heat-resistant layer faces at least the positive electrode; and the thickness T1 of the base material layer and the thickness T2 of the beat-resistant layer satisfy the relationship T2/T1≥0.2. (In the formula, A is a group 1 element or a group 2 element, R is a hydrocarbon group, and n is 1 or 2.) 0000

IONIC CYCLIC NITROXYL RADICAL OLIGOMERS

NºPublicación:  US20260100415A1 09/04/2026
Solicitante: 
WISCONSIN ALUMNI RES FOUNDATION [US]
US_20260100415_A1

Resumen de: US20260100415A1

Ionic cyclic nitroxyl radical oligomers, methods of making the ionic cyclic nitroxyl radical oligomers, and electrochemical cells, such as aqueous organic redox flow batteries (AORFBs) that use the ionic nitroxyl radical oligomers as catholytes are provided. The oligomers are larger than individual cyclic nitroxyl radical molecules, but maintain a high density nitroxyl radical groups within the molecule. As a result, when the oligomers are used as catholytes in an AORFB, they are able to reduce catholyte permeation through the ion-conducting membrane, while providing a high volumetric capacity and cycling stability.

Unit Cell and Battery Cell Including the Same

NºPublicación:  US20260100470A1 09/04/2026
Solicitante: 
LG ENERGY SOLUTION LTD [KR]
US_20260100470_A1

Resumen de: US20260100470A1

0000 A unit includes an electrode positioned between a first separator and a second separator in a stack. A first adhesive is positioned between the electrode and at least one of the first and second separators, and a second adhesive is positioned between the first separator and the second separator. The first adhesive composition has a degree of dispersion in an electrolyte that is larger than a degree of dispersion of the second adhesive composition in the electrolyte.

ELECTRODE SHEET MACHINING APPARATUS HAVING PLURALITY OF DETECTION MEMBERS AND ELECTRODE SHEET MACHINING METHOD USING THE SAME

NºPublicación:  US20260097452A1 09/04/2026
Solicitante: 
LG ENERGY SOLUTION LTD [KR]
US_20260097452_A1

Resumen de: US20260097452A1

Disclosed are an electrode sheet machining apparatus having a plurality of detection members and an electrode sheet machining method using the same, and more particularly an electrode sheet machining apparatus, including an unwinder unit configured to supply an electrode sheet, a notching unit configured to notch the electrode sheet, a drying unit configured to dry the notched electrode sheet, a rewinder unit configured to wind the dried electrode sheet, and a second detection member located between the drying unit and the rewinder unit, configured to inspect a state of the electrode sheet prior to winding, and an electrode sheet machining method using the same.

Positive Electrode Material, Positive Electrode Including The Same, And Lithium Secondary Battery

NºPublicación:  US20260100363A1 09/04/2026
Solicitante: 
LG ENERGY SOLUTIION LTD [KR]
US_20260100363_A1

Resumen de: US20260100363A1

0000 A positive electrode material including a first positive electrode active material and a second positive electrode active material. The first positive electrode active material is in the form of a secondary particle in which a plurality of grains are aggregated, and includes an orientational structure in which the long axis of the grain is arranged toward the surface from the center of the secondary particle in at least a portion of the secondary particle. It also has a cobalt concentration at the grain boundary that is higher than a cobalt concentration inside the grains. The second positive electrode active material includes a center part having at least one form among a single particle composed of one nodule and a quasi-single particle composed of a composite of at most 30 nodules, and a coating layer formed on the center part and containing cobalt.

Cathode with Layers of Anode Reductant and Solid-Electrolyte Interphase

NºPublicación:  US20260100349A1 09/04/2026
Solicitante: 
ZETA ENERGY LLC [US]
US_20260100349_A1

Resumen de: US20260100349A1

0000 Described is a lithium-sulfur electrochemical cell in which the anode and the cathode are each equipped with a respective solid-electrolyte interphase (SEI) layer that inhibits lithium side reactions. On the cathode side, the SEI layer inhibits the shuttle effect by retaining soluble polysulfides within a cathode active layer while releasing and admitting lithium ions to and from the electrolyte. The cathode SEI is deposited, during cell formation, by depositing a layer of an anode reductant (e.g., metallic lithium) on the surface of the cathode. The resultant electrically conductive layer allows electrons to reduce adjacent electrolyte and form the cathode SEI from electrolyte decomposition products.

BATTERY MODULE AND BATTERY PACK INCLUDING THE SAME

NºPublicación:  US20260100446A1 09/04/2026
Solicitante: 
LG ENERGY SOLUTION LTD [KR]
US_20260100446_A1

Resumen de: US20260100446A1

A battery module including an upper battery cell stack and a lower battery, each of the upper and lower battery cell stacks including a plurality of battery cells; a cooling flow path located between the upper battery cell stack and the lower battery cell stack; a housing for the upper battery cell stack and the lower battery cell stack; an inlet port for supplying a refrigerant to the cooling flow path; and an outlet port for discharging the refrigerant from the cooling flow path, where the inlet and outlet ports are located opposite to each other, so that the refrigerant flows in one direction in the cooling flow path. A longitudinal direction of each of the plurality of battery cells is parallel to the one direction of flow of the refrigerant.

ALKALINE BATTERY AND METHOD FOR MANUFACTURING ALKALINE BATTERY

NºPublicación:  US20260100422A1 09/04/2026
Solicitante: 
SEIKO INSTR INC [JP]
US_20260100422_A1

Resumen de: US20260100422A1

0000 Alkaline batteries including a positive electrode, a negative electrode, a separator, and an electrolytic solution which are accommodated in a container are provided. The electrolytic solution is a potassium hydroxide aqueous solution having a concentration of 40% to 50%. The negative electrode consists of a gel-like negative electrode mixture containing a negative electrode active material and an alkaline aqueous solution. The alkaline aqueous solution contains potassium hydroxide and sodium hydroxide in a molar ratio range of 89:11 to 96:4. The positive electrode consists of a positive electrode mixture including a positive electrode active material containing silver oxide and manganese dioxide, and a blending ratio of manganese dioxide in the positive electrode mixture is 25% to 50% by mass.

BATTERY MODULE

NºPublicación:  US20260100459A1 09/04/2026
Solicitante: 
ARCHER AVIATION INC [US]
US_20260100459_A1

Resumen de: US20260100459A1

A battery module for a vehicle, in particular for an aircraft, comprises two end plates and a cell stack comprising an arrangement of several interconnected battery cells, in particular pouch cells, that are arranged in a row along a stacking direction, wherein the cell stack is sandwiched between the two end plates in the stacking direction, wherein the battery module further comprises a separate tube-like enclosure comprising a heat insulating material, the tube-like enclosure having a front opening and a back opening that are closed by the end plates, so that the tube-like enclosure and the two end plates form a housing in which the cell stack is accommodated.

BATTERY PACK AND DEVICE INCLUDING THE SAME

NºPublicación:  US20260100463A1 09/04/2026
Solicitante: 
LG ENERGY SOLUTION LTD [KR]
US_20260100463_A1

Resumen de: US20260100463A1

A battery pack according to an embodiment of the present disclosure includes one or more first battery modules, each including a plurality of battery cells, and one or more second battery modules, each disposed adjacent to the first battery modules and including a plurality of battery cells, wherein the first battery modules and the second battery modules are different from each other in a maximum state of charge (SOC).

Apparatus for Winding a Sheet for Manufacturing a Secondary Battery

NºPublicación:  US20260100401A1 09/04/2026
Solicitante: 
LG ENERGY SOLUTION LTD [KR]
US_20260100401_A1

Resumen de: US20260100401A1

An apparatus for winding a sheet for manufacturing a secondary battery includes at least two bobbins and a sensor. The at least two bobbins include a traveling bobbin on which a winding process proceeds and a standby bobbin that is in a standby state during the winding process; The sensor is disposed apart from the standby bobbin by a predetermined distance, and identifies the position where the sheet wound onto the traveling bobbin will be automatically attached to the standby bobbin. When the winding process on the traveling bobbin is completed, the sheet that was wound by the traveling bobbin is attached to the outer peripheral surface of the standby bobbin, and subsequently the winding process is performed.

CARBON NANOTUBE DISPERSION

NºPublicación:  US20260098174A1 09/04/2026
Solicitante: 
MITSUBISHI PENCIL COMPANY LTD [JP]
US_20260098174_A1

Resumen de: US20260098174A1

0000 A carbon nanotube dispersion may have excellent dispersibility. Such a carbon nanotube dispersion may include at least carbon nanotubes, oxidized cellulose nanofibers, and water, wherein, of the oxidized cellulose nanofibers, 85% or more of the oxidized cellulose nanofibers have a fiber length of 50 nm to 250 nm.

SECONDARY BATTERY

NºPublicación:  US20260100368A1 09/04/2026
Solicitante: 
TOYOTA JIDOSHA KK [JP]
DAIKIN IND LTD [JP]
US_20260100368_A1

Resumen de: US20260100368A1

Disclosed is a technology for reducing the resistance of a secondary battery including a sulfide solid electrolyte. The secondary battery of the present disclosure includes a first electrode, an electrolyte layer, and a second electrode, wherein at least one of the first electrode and the electrolyte layer contains a sulfide solid electrolyte, and the first electrode contains a perfluoropolyether represented:where Rf1 and Rf2 are each independently a C1-16 divalent alkylene group which may be substituted with one or more fluorine atoms, E1 and E2 are each independently a monovalent group selected from the group consisting of a fluorine group, a hydrogen group, a hydroxyl group, an aldehyde group, a carboxylic acid group, a C1-10 alkyl ester group, an amide group which may have one or more substituents, and an amino group which may have one or more substituents, and RF is a divalent fluoropolyether group.

PORTABLE HEATER WITH INTERCHANGEABLE BATTERY

NºPublicación:  US20260098646A1 09/04/2026
Solicitante: 
PINNACLE CLIMATE TECH INC [US]
US_20260098646_A1

Resumen de: US20260098646A1

0000 The present disclosure relates to portable forced air heaters and radiant heaters. Portable air forced air heaters include a blower, a blower housing, a burner disposed within the burner housing, a fuel tank in fluid communication with the burner, a fan pump and a battery connector. The battery connector of this disclosure allows for different batteries with different distinguishing features to be used.

BATTERY PACK AND DEVICE INCLUDING THE SAME

NºPublicación:  US20260100475A1 09/04/2026
Solicitante: 
LG ENERGY SOLUTION LTD [KR]
US_20260100475_A1

Resumen de: US20260100475A1

0000 A battery pack includes a plurality of battery modules; a vent frame disposed along the edges of the plurality of battery modules; and a housing accommodating the plurality of battery modules and the vent frame, wherein the vent frame includes a pair of vertical beams formed parallel to a first direction and a pair of horizontal beams formed parallel to a second direction intersecting the first direction, the vertical beam and the horizontal beam each having a shape of a tube and including a cover formed on the vertical beam or the horizontal beam in a length direction, and a passage surrounded by the cover for gas to pass through.

POSITIVE ELECTRODE ACTIVE MATERIAL, POSITIVE ELECTRODE, SECONDARY BATTERY, ELECTRONIC DEVICE, AND VEHICLE

NºPublicación:  US20260100360A1 09/04/2026
Solicitante: 
SEMICONDUCTOR ENERGY LABORATORY CO LTD [JP]
US_20260100360_A1

Resumen de: US20260100360A1

A positive electrode active material with high charge and discharge capacity is provided. A positive electrode active material with high charge and discharge voltage is provided. A secondary battery which hardly deteriorates is provided. A highly safe power storage device is provided. A novel secondary battery is provided. The positive electrode active material contains cobalt, oxygen, and fluorine and includes a bond of the cobalt and the fluorine in a surface portion or the vicinity of a grain boundary. By having the bond with fluorine, at least part of cobalt is high-spin (paramagnetic) Co2+. Thus, in ESR analysis, the spin concentration at 113 K is higher than the spin concentration at 300 K by 1.1×10−5 spins/g or more.

PREDICTING OF A BATTERY ISSUE OF A VEHICLE WITH MULTIPLE BATTERIES

NºPublicación:  US20260098911A1 09/04/2026
Solicitante: 
CPS TECH HOLDINGS LLC [US]
US_20260098911_A1

Resumen de: US20260098911A1

A battery device removably connectable at least to a first battery and a second battery is described. The battery device includes processing circuitry configured to determine a battery health condition of the first battery based at least in part on a plurality of first data samples, a plurality of second data samples, a plurality of third data samples, a plurality of fourth data samples, and a first spread. The plurality of first data samples is associated with the first sensor and a first electrical parameter of the first battery. The plurality of second data samples is associated with the first sensor and a second electrical parameter of the first battery. The plurality of third data samples is associated with the second sensor and a third electrical parameter of the second battery. One or more actions are performed based on the determination of the battery health condition.

Battery Module and Battery Pack Including the Same

NºPublicación:  US20260100445A1 09/04/2026
Solicitante: 
LG ENERGY SOLUTION LTD [KR]
US_20260100445_A1

Resumen de: US20260100445A1

0000 The battery module according to one embodiment of the present disclosure includes a battery cell stack that includes a first battery cell stack and a second battery cell stack in which a plurality of battery cells are stacked; a module frame that houses the battery cell stack; and an inlet and an outlet that circulate a coolant inside the module frame, wherein the coolant flows into the inside of the module frame through the inlet, and is discharged through the outlet, and wherein an insulating plate is arranged between the first battery cell stack and the second battery cell stack, and an opening through which the coolant passes is formed in the insulating plate.

NEGATIVE ELECTRODE AND SECONDARY BATTERY INCLUDING THE SAME

NºPublicación:  US20260100359A1 09/04/2026
Solicitante: 
LG ENERGY SOLUTION LTD [KR]
US_20260100359_A1

Resumen de: US20260100359A1

Provided are a negative electrode, which includes a current collector and a negative electrode active material layer disposed on the current collector, wherein the negative electrode active material layer includes a conductive material, a negative electrode active material, and a binder, the negative electrode active material includes a silicon-based active material having a convexity of 0.8 or more as measured using a particle shape analyzer, and the convexity is defined by the following Formula 1, and a secondary battery including the negative electrode.Convexity⁢(Cx)=Convex⁢hull⁢perimeter⁢(Pc)/Actual⁢
perimeter⁢(P)Formula⁢1

SENSING ASSEMBLY AND BATTERY MODULE COMPRISING THE SAME

NºPublicación:  US20260100430A1 09/04/2026
Solicitante: 
SK ON CO LTD [KR]
US_20260100430_A1

Resumen de: US20260100430A1

Provided are a more easily assembled sensing assembly and a battery module comprising the same by having a simplified process through a connection structure between a terminal portion and a signal connection portion which are respectively coupled to a case and lead portions of a battery cell, thereby solving a problem that an additional process is necessary for a conventional sensing block to be coupled to leads of the secondary batteries after being coupled to a case.

POWER SUPPLY UNIT FOR AEROSOL GENERATION DEVICE

NºPublicación:  US20260096606A1 09/04/2026
Solicitante: 
JAPAN TOBACCO INC [JP]
US_20260096606_A1

Resumen de: US20260096606A1

0000 A power supply unit for an aerosol generation device includes: a power supply configured to supply power to a heater configured to heat an aerosol source; a receptacle configured to receive power for charging the power supply from a plug connected to an external power supply; a charger configured to control charging of the power supply by power received by the receptacle; and a controller. The receptacle and the power supply are connected in parallel with the charger, and the charger is configured to supply power from the receptacle and the power supply to the controller via the charger.

METHOD OF SOLVENT AND ELECTROLYTE EXTRACTION AND RECOVERY OF ELECTRODE POWDER IN LITHIUM-ION RECYCLING PROCESS

NºPublicación:  US20260100434A1 09/04/2026
Solicitante: 
REGAIN SP Z O O [PL]
US_20260100434_A1

Resumen de: US20260100434A1

A method of solvent and electrolyte extraction and recovery of electrode powder from lithium-ion cells, from a batch mixture containing solvents, the electrolyte and anode and cathode powders, in which the electrolyte is separated from the anode and cathode powder with a solvent mixture, while the solvent mixture is separated from the electrolyte through vacuum evaporation. The subsequent portions of the anode and cathode powder are separated from the subsequent batch portions fed to a reactor, obtaining the subsequent portions of the solvent mixture with the electrolyte. The solvents are separated from the electrolyte salts and added to the previously recovered solvents from the previous portions of the mixture of solvents and of the electrolyte. The obtained solvent mixture is returned to the reactor and subjected to extraction, recovering the subsequent quantities of the solvent mixture with the electrolyte, separated from the cathode and anode powder.

BATTERY PACK AND VEHICLE INCLUDING THE SAME

NºPublicación:  US20260100449A1 09/04/2026
Solicitante: 
LG ENERGY SOLUTION LTD [KR]
US_20260100449_A1

Resumen de: US20260100449A1

0000 Discussed is a battery pack that includes a battery module, and a pack housing configured to accommodate the battery module The pack housing may include a lower case to accommodate the battery module, an upper case coupled to the lower case to cover an upper opening of the lower case, a gasket provided on an interface between the lower case and the upper case, and an insulating member disposed between the battery module and the gasket.

ELECTROACTIVE MATERIALS FOR METAL-ION BATTERIES

NºPublicación:  US20260100351A1 09/04/2026
Solicitante: 
NEXEON LTD [GB]
US_20260100351_A1

Resumen de: US20260100351A1

This invention relates to particulate electroactive materials consisting of a plurality of composite particles, wherein the composite particles comprise: (a) a porous carbon framework including micropores and mesopores having a total volume of 0.4 to 0.75 cm3/g, wherein the micropore volume fraction is in the range of 0.5 to 0.85 based on the total volume of micropores and mesopores; and (b) silicon located at least within the micropores of the porous carbon framework in a defined amount relative to the volume of the micropores and mesopores.

BATTERY PACK

NºPublicación:  US20260100444A1 09/04/2026
Solicitante: 
SAMSUNG SDI CO LTD [KR]
US_20260100444_A1

Resumen de: US20260100444A1

0000 A battery pack includes: battery cells, each including first and second end portions that are opposite each other in a length direction; a case having an accommodation space in which the battery cells and a fluid to cool the battery cells are configured to be accommodated, the case including first and second covers respectively covering the first and second end portions; first and second tab plates respectively on the first and second covers and connected to the first and second end portions; a circuit board on the first tab plate; and a first lead and a second lead through which the first and second tab plates are connected to the circuit board, the first and second leads connected to a first side portion of the circuit board. An arrangement of the leads connected to electrodes of the battery cells is improved, and heat is efficiently dissipated from a switch device.

DOUBLE-WALL BATTERY ENCLOSURE TO PROVIDE HEAT TRANSFER

NºPublicación:  US20260100437A1 09/04/2026
Solicitante: 
TI GROUP AUTOMOTIVE SYSTEMS LLC [US]
US_20260100437_A1

Resumen de: US20260100437A1

A double-wall enclosure for thermal management of a battery pack that includes an inner hollow structure having an internal and external surface; the inner hollow structure having one or more battery modules located therein; and an outer hollow structure having an interior surface, wherein the external surface of the inner hollow structure either contacts the interior surface of the outer hollow structure or forms at least one channel with the interior surface of the outer hollow structure through which a heat transfer fluid flows. The inner hollow structure is formed of a polymer material, such that the inner hollow structure is in thermal contact with the heat transfer fluid in order to provide for the thermal management of the battery pack.

Electrode Assembly and Secondary Battery Including the Same

NºPublicación:  US20260100424A1 09/04/2026
Solicitante: 
LG ENERGY SOLUTION LTD [KR]
US_20260100424_A1

Resumen de: US20260100424A1

0000 The present invention relates to an electrode assembly and a secondary battery including same. The electrode assembly according to an embodiment of the present invention is formed by a cathode, a separator, and an anode which are wound together, and may comprise a protective member which is arranged to face an end of at least one of the cathode and the anode and in which a flame retardant is filled.

Apparatus and Method for Diagnosing Battery Cell

NºPublicación:  US20260098908A1 09/04/2026
Solicitante: 
LG ENERGY SOLUTION LTD [KR]
US_20260098908_A1

Resumen de: US20260098908A1

0000 An apparatus and a method for diagnosing a battery cell. The apparatus may include a reference cell module including at least one reference cell composed of a super-capacitor, a measuring device configured to measure a reference impedance of the reference cell and a battery impedance of the battery cell, and a processor configured to compare the battery impedance with the reference impedance to determine whether there is an abnormality in the battery cell.

ELECTRONIC VAPING DEVICE HAVING FORMULATION LEVEL INDICATOR

NºPublicación:  US20260097173A1 09/04/2026
Solicitante: 
ALTRIA CLIENT SERVICES LLC [US]
US_20260097173_A1

Resumen de: US20260097173A1

The e-vaping device includes a vaporizer assembly, which includes a heating element, a pre-vapor formulation reservoir, a pre-vapor formulation level indicator including a plurality of discrete indicator segments, and at least one processor. The pre-vapor formulation reservoir may be configured to contain a pre-vapor formulation and the at least one processor may be configured to determine a difference between a first duty cycle of power supplied to the heating element and a second duty cycle of power supplied to the heating element; and adjust the indicator based on the determined duty cycle difference.

NEGATIVE ELECTRODE ACTIVE MATERIAL FOR LITHIUM SECONDARY BATTERY AND LITHIUM SECONDARY BATTERY COMPRISING THE SAME

NºPublicación:  US20260100352A1 09/04/2026
Solicitante: 
LG ENERGY SOLUTION LTD [KR]
US_20260100352_A1

Resumen de: US20260100352A1

0000 A negative electrode active material for a lithium secondary battery, the negative electrode active material including, based on 100 parts by weight of the total negative electrode active material, 5 parts by weight to 20 parts by weight of a first carbon-based particle, 55 parts by weight to 90 parts by weight of a second carbon-based particle, and 1 part by weight to 40 parts by weight of a silicon-based particle, wherein the specific surface area of the first carbon-based particle is 1.5 m<2>/g to 4.5 m<2>/g, the specific surface area of the second carbon-based particle is 0.4 m<2>/g to 1.5 m<2>/g, and the specific surface area of the first carbon-based particle is greater than the specific surface area of the second carbon-based particle, and capable of solving the problem of lifespan deterioration which may be caused by the use of a silicon-based particle as a negative electrode active material.

VALUABLE METAL PRODUCTION METHOD

NºPublicación:  US20260100433A1 09/04/2026
Solicitante: 
SUMITOMO METAL MINING CO LTD [JP]
US_20260100433_A1

Resumen de: US20260100433A1

0000 Provided is a method which makes it possible to suppress wear of a treatment furnace, and to safely and efficiently collect valuable metals from raw materials including waste lithium-ion batteries and the like. This method is for producing a valuable metal from a raw material including the valuable metal and comprises: a preparation step for preparing a raw material including at least lithium (Li), aluminum (Al), and a valuable metal; a reduction melting step for subjecting the raw material to a reduction melting treatment to obtain a reduced product including a slag and an alloy containing the valuable metal; and a slag separation step for separating the slag from the reduced product to collect the alloy. The preparation step and/or the reduction melting step include adding, to the raw material, a flux containing calcium (Ca), and also adding thereto magnesia (MgO).

SILICON-CARBON COMPOSITE MATERIAL, METHOD FOR PREPARING SILICON-CARBON COMPOSITE MATERIAL, NEGATIVE ELECTRODE PLATE, AND ELECTROCHEMICAL DEVICE

NºPublicación:  US20260100357A1 09/04/2026
Solicitante: 
NINGDE AMPEREX TECH LIMITED [CN]
US_20260100357_A1

Resumen de: US20260100357A1

A silicon-carbon composite material includes a core portion and a shell layer disposed on a surface of the core portion, where the core portion includes a silicon-based material and/or graphite, the shell layer includes a silicon-carbon composite, and the silicon-carbon composite includes a silicon-oxygen compound SiOx, where 0

LITHIUM-ION BATTERY, CHARGING METHOD AND LITHIUM-ION BATTERY SYSTEM

NºPublicación:  AU2025321418A1 09/04/2026
Solicitante: 
CONTEMPORARY AMPEREX TECHNOLOGY CO LTD
AU_2025321418_A1

Resumen de: AU2025321418A1

Abstract The present application aims to provide a high-capacity lithium-ion battery of which an explosion-proof valve will not be forced open during normal use. The present application provides A lithium-ion battery, comprising a case, a cell, and an electrolyte solution, wherein the cell and the electrolyte solution are arranged in the case; the cell comprises a positive electrode plate, a negative electrode plate, and a separator; the separator is arranged between the positive electrode plate and the negative electrode plate; the positive electrode plate comprises a positive electrode current collector and a positive electrode active material layer; the positive electrode active material layer is electrically connected to the positive electrode current collector; the negative electrode plate comprises a negative electrode current collector and a negative electrode active material layer; the negative electrode active material layer is electrically connected to the negative electrode current collector; at least one surface of the negative electrode current collector is provided with the negative electrode active material layer, and a thickness of the active material layer on one surface of the negative electrode plate is 50-95 μm; the negative electrode active material layer comprises a negative electrode active material, and the negative electrode active material comprises graphite; Dv50 of the graphite is 10-30 μm, and a graphitization degree of the graphite is greater t

POSITIVE ELECTRODE FOR NONAQUEOUS ELECTROLYTE SECONDARY BATTERIES, NONAQUEOUS ELECTROLYTE SECONDARY BATTERY USING SAME, AND POSITIVE ELECTRODE SLURRY FOR POSITIVE ELECTRODES OF NONAQUEOUS ELECTROLYTE SECONDARY BATTERIES

NºPublicación:  US20260100374A1 09/04/2026
Solicitante: 
PANASONIC INTELLECTUAL PROPERTY MAN CO LTD [JP]
US_20260100374_A1

Resumen de: US20260100374A1

0000 A disclosed positive electrode is a positive electrode for a nonaqueous electrolyte secondary battery. The positive electrode includes a positive electrode mixture layer. The positive electrode mixture layer contains a positive-electrode active material, a conductive material, a fluorine-containing polymer, and a dispersant. The positive-electrode active material includes a composite oxide represented by a composition formula LiNiM<(1-x)>O<2-δ> (where x, y, and δ satisfy 0.6≤x≤1, 0

POSITIVE ELECTRODE ACTIVE MATERIAL FOR NON-AQUEOUS ELECTROLYTE SECONDARY BATTERY, METHOD FOR PRODUCING POSITIVE ELECTRODE ACTIVE MATERIAL FOR NON-AQUEOUS ELECTROLYTE SECONDARY BATTERY, AND NON-AQUEOUS ELECTROLYTE SECONDARY BATTERY

NºPublicación:  US20260100362A1 09/04/2026
Solicitante: 
PANASONIC INTELLECTUAL PROPERTY MAN CO LTD [JP]
US_20260100362_A1

Resumen de: US20260100362A1

A positive electrode active material for a non-aqueous electrolyte secondary battery according to one embodiment comprises a lithium transition metal composite oxide represented by the compositional formula LiαNaβNi1-b-cMnbXcOd (where X is at least one element selected from metallic elements other than Li, Na, Ni, and Mn, 0.80≤α≤1.20, 0≤β≤0.05, 0.80≤α+β≤1.20, 0.25

DEVICE AND METHOD FOR CONNECTING MATERIAL WEBS FOR THE PRODUCTION OF ENERGY CELLS

NºPublicación:  US20260097919A1 09/04/2026
Solicitante: 
KOERBER TECH GMBH [DE]
US_20260097919_A1

Resumen de: US20260097919A1

0000 The invention relates to a device and a method for joining webs of material for the production of energy cells, wherein a running-out web of material can be joined to a new web of material. The running-out web of material and the new web of material are guidable at a distance from each other in a joining section, wherein two pivotable or rotatable pressure elements are provided with pressure surfaces which are adapted to press the running-out and the new web of material against each other in the joining section and to join the running-out web of material and the new web of material to each other. The pressure elements are adapted to join the webs of material during the movement in the conveying direction of the running-out and the new web of material. The device is adapted to produce a weakened line in the running-out and in the new webs of material and to separate the webs of material in each case by applying increased tensile stress in the webs of material at the weakened lines, preferably the perforation lines.

BOX BODY, BATTERY, AND ELECTRICAL DEVICE

NºPublicación:  US20260100442A1 09/04/2026
Solicitante: 
CONTEMPORARY AMPEREX TECH CO LIMITED [CN]
US_20260100442_A1

Resumen de: US20260100442A1

0000 A box body comprises an end plate, a face plate, and a medium flow channel, and the face plate is connected to one end of the end plate. The medium flow channel is used to accommodate a heat exchange medium. The medium flow channel is at least partially located on the end plate. The medium flow channel is provided with a medium inlet and a medium outlet, and the medium inlet and/or the medium outlet is arranged on the face plate. The box body is provided with the medium flow channel, and the medium flow channel is used for the heat exchange medium to pass through to carry out thermal management on a device in the box body.

SILICON-CARBON ANODE MATERIAL BASED ON ORGANOSILICON-DERIVED WASTE SILICON POWDER, AND PREPARATION METHOD THEREFOR AND USE THEREOF

NºPublicación:  US20260100366A1 09/04/2026
Solicitante: 
KUNMING UNIV OF SCIENCE AND TECHNOLOGY [CN]
YUNNAN UNIV [CN]
US_20260100366_A1

Resumen de: US20260100366A1

0000 The preparation method for a silicon-carbon anode material based on organosilicon-derived waste silicon powder includes: performing rapid annealing treatment on organosilicon-derived waste silicon powder, and mixing the rapidly annealed waste silicon powder with an acid solution for acid leaching to obtain modified waste silicon powder; performing mechanical grinding on the modified waste silicon powder to obtain a modified waste silicon powder abrasive; mixing the modified waste silicon powder abrasive with an organic carbon source and a solvent to obtain a precursor solution, and performing spray granulation on the precursor solution to obtain silicon-carbon microspheres; and introducing a carbon-deposition precursor source, and performing carbon deposition on the silicon-carbon microspheres to obtain a silicon-carbon anode material.

CELL FIXTURE ASSEMBLY AND METHOD OF USING THE SAME

NºPublicación:  US20260098902A1 09/04/2026
Solicitante: 
SOLITHOR BV [BE]
US_20260098902_A1

Resumen de: US20260098902A1

0000 The technology of the present invention generally relates to the field of battery technology, and more particularly relates to a cell fixture assembly for testing of a single electrochemical cell or a number of electrochemical cells stacked on top of each other, wherein the cell fixture assembly comprises at least one cell fixture and a base station; wherein the cell fixture comprises: at least one fixed base plate; at least two moveable plates arranged parallel to the base plate; whereby the moveable plates have oppositely arranged surfaces for contacting the electrochemical cell mounted between them; whereby the fixed and moveable plates comprise a plurality of apertures that are at least partially aligned to create a plurality of vertical channels that extend through said plates; a pressure sensor means, disposed between the base plate and at least one of the moveable plates, comprising a sensor member arranged to support said moveable plate, and configured for measuring a pressure applied to the electrochemical cells; a plurality of rotatable rods, insertable in the plurality of vertical channels, that are configured to rotatably couple with at least one of the moveable plates; whereby a rotation of the plurality of rotatable rods causes one of the moveable plates to move relative to the other moveable plate, thereby clamping or releasing the electrochemical cell mounted between them; and, a plurality of coupling members in connection with the plurality of rotatab

NON-AQUEOUS ELECTROLYTE SECONDARY BATTERY

NºPublicación:  US20260100378A1 09/04/2026
Solicitante: 
PANASONIC INTELLECTUAL PROPERTY MAN CO LTD [JP]
US_20260100378_A1

Resumen de: US20260100378A1

In a non-aqueous electrolyte secondary battery according to the present disclosure, a positive electrode comprises a lithium-containing composite oxide, and a sulfonic acid compound, and a negative electrode mixture layer of a negative electrode includes first graphite particles having an internal porosity of at most 5% and second graphite particles having an internal porosity of 8% to 20%. A thickness T1 of a first negative electrode mixture layer and a thickness T2 of a second negative electrode mixture layer satisfy 0.1≤TI/(T1+T2)≤0.9, and a ratio CI of the first graphite particles to the total mass in the first negative electrode mixture layer, and a ratio C2 of the first graphite particles to the total mass in the second negative electrode mixture layer satisfy C1

BUS BAR TEMPERATURE SENSOR, AND BUS BAR MODULE AND METHOD OF MANUFACTURING THE SAME

NºPublicación:  US20260098761A1 09/04/2026
Solicitante: 
MITSUBISHI MAT CORPORATION [JP]
AISIN CORP [JP]
US_20260098761_A1

Resumen de: US20260098761A1

0000 There are provided a bus bar temperature sensor capable of measuring a temperature of a bus bar with high accuracy by reliably bringing a heat receiving surface into tight contact, and a bus bar module and a method of manufacturing the same. The bus bar temperature sensor according to the present invention is a temperature sensor used by being attached to a bus bar, including: a heat-sensitive element; and a case portion in which the heat-sensitive element is housed, wherein the bus bar includes a through hole, the case portion includes a case body and a protrusion portion formed protruding from the case body and insertable into the through hole, and the heat-sensitive element is housed in the protrusion portion.

LARGE PARTICLE SIZE FLUOROPOLYMER LATEX PREPARATION

NºPublicación:  US20260098114A1 09/04/2026
Solicitante: 
ARKEMA INC [US]
US_20260098114_A1

Resumen de: US20260098114A1

Disclosed is a shear stable latex comprising fluoropolymer, a particle size modifier and a surfactant; said latex having solids content of at least 15 wt %, where the ratio of particle size modifier to surfactant is equal to or greater than 2 on a molar to molar basis.

LARGE PARTICLE SIZE FUNCTIONALIZED FLUOROPOLYMER LATEX PREPARATION

NºPublicación:  US20260098161A1 09/04/2026
Solicitante: 
ARKEMA INC [US]
US_20260098161_A1

Resumen de: US20260098161A1

0000 Disclosed is a shear stable latex comprising functionalized fluoropolymer, a particle size modifier and a surfactant; said latex having solids content of at least 15 wt %, where the ratio of particle size modifier to surfactant is equal to or greater than 2 on a molar to molar basis.

FLAME RETARDANT COMPOSITIONS, COMPOUNDS, AND METHODS OF MAKING

NºPublicación:  US20260098119A1 09/04/2026
Solicitante: 
FULLER H B CO [US]
US_20260098119_A1

Resumen de: US20260098119A1

A composition configured to cure to form a foam compound exhibiting at least a V2 level flame resistance as measured by the UL 94 Test for Flammability of Plastics, when measured with a sample of the foam compound having a thickness of no greater than one millimeter.

PACKAGING DEVICE AND PACKAGING METHOD

NºPublicación:  US20260097874A1 09/04/2026
Solicitante: 
EVE POWER CO LTD [CN]
US_20260097874_A1

Resumen de: US20260097874A1

The present disclosure provides a packaging device and a packaging method. The packaging device includes a conveying mechanism, a packaging mechanism and a guide mechanism. The conveying mechanism is configured to convey a battery in a first direction; the packaging mechanism comprises a driving assembly, two supports arranged at an interval and two pressing members arranged in parallel, and the supports are connected to the driving assembly; and the packaging mechanism is mounted on the guide mechanism.

POSITIVE ELECTRODE ACTIVE MATERIAL AND PREPARATION METHOD THEREFOR, POSITIVE ELECTRODE SHEET, BATTERY, AND ELECTRIC DEVICE

NºPublicación:  EP4723236A1 08/04/2026
Solicitante: 
BEIJING EASPRING MAT TECH CO LTD [CN]
EP_4723236_A1

Resumen de: EP4723236A1

0001 Provided are a cathode active material and a preparation method thereof, a positive electrode plate, a battery, and an electrical device. The cathode active material includes secondary particles. The secondary particles are formed with aggregated primary particles. The secondary particles include open pores and closed pores. An open pore porosity P of the cathode active material accounts for 25% to 85% of a total porosity P of the cathode active material.

LITHIUM-ION BATTERY AND ELECTRIC DEVICE

NºPublicación:  EP4723192A1 08/04/2026
Solicitante: 
SUNWODA MOBILITY ENERGY TECHNOLOGY CO LTD [CN]
EP_4723192_PA

Resumen de: EP4723192A1

Provided herein is a lithium-ion battery and an electrical apparatus. A cathode active material of the lithium-ion battery in this disclosure includes lithium nickel cobalt manganese oxide and manganese iron lithium oxide, and a cathode of the battery satisfies a formula as follows: 0.5 ≤ R = 10 × ω × PD / ln(H) ≤ 4; where ω is a weight percentage of manganese iron lithium oxide in the cathode active material; PD is a compaction density of the cathode in g/cm3; H is an enthalpy value of the cathode in J/g.

SPACE-SAVING BATTERY BOX AND SYSTEM

NºPublicación:  EP4723336A1 08/04/2026
Solicitante: 
JIANGSU ADVANCED CONSTRUCTION MACHINERY INNOVATION CENTER LTD [CN]
EP_4723336_PA

Resumen de: EP4723336A1

0001 The present invention relates to the technical field of power batteries, and particularly relates to a space-saving battery box and system. The battery box comprises a battery case, a liquid cooling interface, a high-voltage connector, a battery module, a busbar, and a quick-connection liquid cooling pipe; the battery module is located in the battery case; the battery module comprises a battery cell stack and a liquid cooling plate used for adjusting the temperature of the battery cell stack; the liquid cooling interface is located on the side wall of the battery case and is communicated with water nozzles of the liquid cooling plate by means of the quick-connection liquid cooling pipe located in the battery case; the high-voltage connector is located on the side wall of the battery case; and the high-voltage connector comprises a high-voltage positive electrode and a high-voltage negative electrode, and the high-voltage positive electrode and the high-voltage negative electrode are respectively communicated with a positive electrode and a negative electrode of the battery module by means of the busbar located in the battery case. The space-saving battery box provided by the present invention can be directly stacked layer by layer, and metal battery frames are omitted, so that the space of the battery system is greatly saved.

NEGATIVE ELECTRODE FOR A LITHIUM BATTERY

NºPublicación:  EP4721168A2 08/04/2026
Solicitante: 
UNIV RUTGERS [US]
EP_1000000_PA

Resumen de: EP1000000A1

The invention relates to an apparatus (1) for manufacturing green bricks from clay for the brick manufacturing industry, comprising a circulating conveyor (3) carrying mould containers combined to mould container parts (4), a reservoir (5) for clay arranged above the mould containers, means for carrying clay out of the reservoir (5) into the mould containers, means (9) for pressing and trimming clay in the mould containers, means (11) for supplying and placing take-off plates for the green bricks (13) and means for discharging green bricks released from the mould containers, characterized in that the apparatus further comprises means (22) for moving the mould container parts (4) filled with green bricks such that a protruding edge is formed on at least one side of the green bricks.

BATTERY FORMATION DIAGNOSTICS USING REAL-TIME EXPANSION

NºPublicación:  EP4720694A2 08/04/2026
Solicitante: 
UNIV MICHIGAN REGENTS [US]
EP_1000000_PA

Resumen de: EP1000000A1

The invention relates to an apparatus (1) for manufacturing green bricks from clay for the brick manufacturing industry, comprising a circulating conveyor (3) carrying mould containers combined to mould container parts (4), a reservoir (5) for clay arranged above the mould containers, means for carrying clay out of the reservoir (5) into the mould containers, means (9) for pressing and trimming clay in the mould containers, means (11) for supplying and placing take-off plates for the green bricks (13) and means for discharging green bricks released from the mould containers, characterized in that the apparatus further comprises means (22) for moving the mould container parts (4) filled with green bricks such that a protruding edge is formed on at least one side of the green bricks.

HANDLE FOR A LITHIUM ION BATTERY

NºPublicación:  EP4721182A2 08/04/2026
Solicitante: 
NOCO CO [US]
EP_1000000_PA

Resumen de: EP1000000A1

The invention relates to an apparatus (1) for manufacturing green bricks from clay for the brick manufacturing industry, comprising a circulating conveyor (3) carrying mould containers combined to mould container parts (4), a reservoir (5) for clay arranged above the mould containers, means for carrying clay out of the reservoir (5) into the mould containers, means (9) for pressing and trimming clay in the mould containers, means (11) for supplying and placing take-off plates for the green bricks (13) and means for discharging green bricks released from the mould containers, characterized in that the apparatus further comprises means (22) for moving the mould container parts (4) filled with green bricks such that a protruding edge is formed on at least one side of the green bricks.

BATTERY PRESSURIZATION SYSTEM

NºPublicación:  EP4721172A1 08/04/2026
Solicitante: 
TESLA INC [US]
EP_1000000_PA

Resumen de: EP1000000A1

The invention relates to an apparatus (1) for manufacturing green bricks from clay for the brick manufacturing industry, comprising a circulating conveyor (3) carrying mould containers combined to mould container parts (4), a reservoir (5) for clay arranged above the mould containers, means for carrying clay out of the reservoir (5) into the mould containers, means (9) for pressing and trimming clay in the mould containers, means (11) for supplying and placing take-off plates for the green bricks (13) and means for discharging green bricks released from the mould containers, characterized in that the apparatus further comprises means (22) for moving the mould container parts (4) filled with green bricks such that a protruding edge is formed on at least one side of the green bricks.

BATTERY PACK FOR A MOTOR VEHICLE AND METHOD FOR ASSEMBLING SAME

NºPublicación:  EP4721181A1 08/04/2026
Solicitante: 
AMPERE SAS [FR]
EP_1000000_PA

Resumen de: EP1000000A1

The invention relates to an apparatus (1) for manufacturing green bricks from clay for the brick manufacturing industry, comprising a circulating conveyor (3) carrying mould containers combined to mould container parts (4), a reservoir (5) for clay arranged above the mould containers, means for carrying clay out of the reservoir (5) into the mould containers, means (9) for pressing and trimming clay in the mould containers, means (11) for supplying and placing take-off plates for the green bricks (13) and means for discharging green bricks released from the mould containers, characterized in that the apparatus further comprises means (22) for moving the mould container parts (4) filled with green bricks such that a protruding edge is formed on at least one side of the green bricks.

SOLID ELECTROLYTE MATERIAL AND PREPARATION METHOD THEREFOR, POSITIVE ELECTRODE ACTIVE MATERIAL AND PREPARATION METHOD THEREFOR, POSITIVE ELECTRODE SHEET, BATTERY, AND ELECTRIC DEVICE

NºPublicación:  EP4723272A1 08/04/2026
Solicitante: 
BEIJING EASPRING MAT TECH CO LTD [CN]
EP_4723272_PA

Resumen de: EP4723272A1

The present disclosure provides a solid-state electrolyte material and a preparation method thereof, a cathode active material and a preparation method thereof, a cathode plate, a battery, and an electrical device, which are related to the field of battery technologies. The solid-state electrolyte material has a NASICON crystal structure. In an X-ray diffraction pattern of the solid-state electrolyte material, a 20 value of a diffraction peak representing LiTi2(PO4)3 is decreased by 0.02 °to 0.06 °compared with a 20 value of a corresponding diffraction peak in a standard pattern of LiTi2(PO4)3. Thus, use of the solid-state electrolyte material enables a battery loaded with the solid-state electrolyte material to have excellent rate performance.

BATTERY DEVICE

NºPublicación:  EP4723353A2 08/04/2026
Solicitante: 
SK ON CO LTD [KR]
EP_4723353_PA

Resumen de: EP4723353A2

0001 A battery device is disclosed, the battery device may include a plurality of cell assemblies including a plurality of battery cells; and a housing accommodating the plurality of cell assemblies therein, wherein upper surfaces of the plurality of cell assemblies may be spaced apart from the housing by a certain distance, a first venting passage may be formed in the housing facing the upper surfaces of the plurality of cell assemblies, and a second venting passage may be formed in a space between first side surfaces of the plurality of cell assemblies and the housing.

PRESSURE RELIEF COMPONENT, BATTERY CELL, BATTERY AND ELECTRICAL APPARATUS

NºPublicación:  EP4723346A1 08/04/2026
Solicitante: 
CONTEMPORARY AMPEREX TECHNOLOGY CO LTD [CN]
EP_4723346_PA

Resumen de: EP4723346A1

A pressure relief component, a battery cell, a battery and an electrical apparatus, belonging to the technical field of batteries. The pressure relief component includes a mounting member and a pressure relief valve plate; the mounting member is provided with an opening, the mounting member is provided with sinking recesses around a circumferential direction of the opening, and each sinking recess includes a recess bottom wall and a recess side wall; and the pressure relief valve plate covers the opening, and the pressure relief valve plate includes a body part and mounting parts, the body part being provided with weak areas, the mounting parts being connected to a periphery of the body part, and the mounting parts being bent to be supported on the recess bottom walls and being welded to the recess side walls.

POSITIVE ELECTRODE MATERIAL PRECURSOR, PREPARATION METHOD THEREFOR, AND USE THEREOF

NºPublicación:  EP4722164A1 08/04/2026
Solicitante: 
NINGBO RONBAY NEW ENERGY TECH CO LTD [CN]
EP_4722164_A1

Resumen de: EP4722164A1

0001 The present application relates to a positive electrode material precursor and a preparation method thereof and an application thereof. The positive electrode material precursor is a core-shell structure, including an inner core, an outer shell, and an intermediate layer provided between the inner core and the outer shell; where the inner core is formed by accumulating a first sheet-like material, and the first sheet-like material is formed by stacking a plurality of layers of a primary sheet-like material; the intermediate layer is formed by accumulating the primary sheet-like material; the outer shell is formed by accumulating a second sheet-like material, and the second sheet-like material is formed by stacking a plurality of layers of the primary sheet-like material; and a layer number of the layers of the primary sheet-like material in the second sheet-like material is less than a layer number of the layers of the primary sheet-like material in the first sheet-like material; the positive electrode material precursor has a specific surface area of 10 m<2>/g to 20 m<2>/g. The precursor described in the present application has a unique structure with compact inner core and outer shell, and the loose intermediate layer, and has a large specific surface area, resulting in a high tap density and a sintering yield when it is used to prepare a positive electrode material, and excellent cycle stability and rate capability can be achieved when it is used in a battery.

SECONDARY BATTERY, ELECTRIC DEVICE AND POSITIVE ELECTRODE ACTIVE MATERIAL

NºPublicación:  EP4723222A1 08/04/2026
Solicitante: 
CONTEMPORARY AMPEREX TECHNOLOGY CO LTD [CN]
EP_4723222_PA

Resumen de: EP4723222A1

A secondary battery, an electric device, and a positive electrode active material are provided. The secondary battery includes a positive electrode sheet, a negative electrode sheet, a separator disposed between the positive electrode sheet and the negative electrode sheet, and an electrolytic solution including an organic solvent and a lithium salt; where the positive electrode sheet includes a positive electrode current collector and a positive electrode film layer located on at least one surface of the positive electrode current collector, the positive electrode film layer includes a positive electrode active material; the positive electrode active material includes a lithium transition metal oxide, the lithium transition metal oxide includes element nickel and element cobalt, and includes at least one of element manganese and element aluminum; in the lithium transition metal oxide, a molar content of the element nickel is 85mol% or higher based on all metal elements except lithium; and in a DTG curve obtained by heating the positive electrode active material at a heating rate of 10°C/min, an absolute value of a peak value of a thermogravimetric change rate of the positive electrode active material is less than 7%/min.

BATTERY CELL, BATTERY, AND ELECTRICAL DEVICE

NºPublicación:  EP4723359A1 08/04/2026
Solicitante: 
CONTEMPORARY AMPEREX TECHNOLOGY CO LTD [CN]
EP_4723359_PA

Resumen de: EP4723359A1

A battery cell (200), a battery (B), and an electric device are provided. The battery cell (200) has a battery housing (220), where a pole assembly (100) is disposed on a first wall (210) of the battery housing (220), the pole assembly (100) includes a pole body (110), and the pole body (110) includes: a bearing portion (111), the bearing portion (111) being inserted through a mounting hole (211) of the first wall (210); and a bending portion (112), the bending portion (112) being connected to one end of the bearing portion (111) in a central axis direction (C), bent relative to the bearing portion (111), and disposed on one side of the first wall (210), and a bending resistance strength of the bending portion (112) being less than a bending resistance strength of the bearing portion (111). The battery (B) includes the battery cell described above. The electric device includes the battery (B) described above.

POSITIVE ELECTRODE ACTIVE MATERIAL AND PREPARATION METHOD THEREFOR, POSITIVE ELECTRODE SHEET, AND SODIUM-ION BATTERY

NºPublicación:  EP4723230A1 08/04/2026
Solicitante: 
NINGBO RONBAY NEW ENERGY TECH CO LTD [CN]
EP_4723230_PA

Resumen de: EP4723230A1

A positive electrode material, a preparation method thereof, a positive electrode sheet, and a sodium-ion battery are provided. The positive electrode active material has a chemical formula of NaxAyNiaFebMncCudAeOn, where A is selected from at least one of Zn, Mg, Ca, K, and Li, and the following conditions are satisfied: (1) 0.67 ≤ x ≤ 0.85, 0.01 ≤ y ≤ 0.2, and x + y ≤ 1; (2) 0.11 ≤ a ≤ 0.33, 0.11 ≤ b ≤ 0.33, 0.33 ≤ c ≤ 0.66, 0.11 ≤ d < 0.33, 0 ≤ e ≤ 0.1, and a + b + c + d = 1; (3) n satisfies that an algebraic sum of positive and negative valences in the chemical formula equals zero; under same values of x, a, b, c, d, and n, a sodium layer spacing in an unit cell of the positive electrode active material is reduced by 0.005 Å - 0.115 Å compared to that of NaxNiaFebMncCudOn. The positive electrode active material exhibits high rate performance, excellent cycling stability, and high-voltage durability, etc., and thus a resulting sodium-ion battery has excellent performance.

POSITIVE ELECTRODE MATERIAL AND PREPARATION METHOD THEREFOR, POSITIVE ELECTRODE SHEET AND SODIUM-ION BATTERY

NºPublicación:  EP4723224A1 08/04/2026
Solicitante: 
NINGBO RONBAY NEW ENERGY TECH CO LTD [CN]
EP_4723224_PA

Resumen de: EP4723224A1

The present application relates to the technical field of batteries, and in particular to a positive electrode material and a preparation method thereof, a positive electrode sheet, and a sodium-ion battery. The positive electrode material has a chemical general formula of NaaNibZncFedMneXfO2, where 0.85 ≤ a ≤ 1.1, 0.1 ≤ b ≤ 0.4, 0.05 ≤ c ≤ 0.4, 0.1 ≤ d ≤ 0.4, 0.1 ≤ e ≤ 0.5, 0 ≤ f ≤ 0.02, and X is at least one element selected from Ti, Al, Ta, Nb, Ge, Y, Nb, W, Zr, B, Ce, Ca, V, Si, Sr, Mg and Mo; and an X-ray diffraction pattern of the positive electrode material shows no diffraction peak in at least one of 2θ diffraction angle ranges of 31°-32° and 34°-35°. The present application can improve the problem of rapid degradation of the positive electrode material during cycling.

SINGLE-LAYER EDGE-OXIDIZED GRAPHENE AND PREPARATION METHOD THEREFOR

NºPublicación:  EP4722154A1 08/04/2026
Solicitante: 
SHENZHEN INTRINSIC EQUATION GRAPHENE TECH CO LTD [CN]
EP_4722154_PA

Resumen de: EP4722154A1

Disclosed are a single-layer edge-oxidized graphene and a preparation method therefor, which belong to the technical field of graphene materials. A single-layer graphene is used as a raw material and electrolyzed by applying an ultra-low-frequency alternating current with a low current density to prepare the single-layer edge-oxidized graphene. The number of oxygen free radicals generated from an electrolyte is regulated and controlled by adjusting the current intensity and frequency of the applied alternating current, a small number of oxygen free radicals are reacted at the sites having more active binding energy of the edge of the single-layer graphene, and the low current intensity and the short current time result in insufficient invasion of generated oxygen radicals into the plane of the single-layer graphene, thereby constructing the single-layer edge-oxidized graphene. The polarity of the prepared single-layer edge-oxidized graphene is increased on the basis of retaining the excellent physical and chemical properties of graphene, thereby greatly improving the dispersing capability of the graphene in polar solvents.

BATTERY CELL, BATTERY, AND ELECTRIC DEVICE

NºPublicación:  EP4723311A1 08/04/2026
Solicitante: 
CONTEMPORARY AMPEREX TECHNOLOGY CO LTD [CN]
EP_4723311_PA

Resumen de: EP4723311A1

0001 Disclosed are a battery cell (20), a battery (100), and an electric device, where the battery cell (20) includes a housing (21), an electrode assembly (22), a first insulating member (23), and an electrode terminal (24); the electrode assembly (22) includes a tab (221); the housing (21) is configured to accommodate the electrode assembly (22); the housing (21) includes a wall portion; the first insulating member (23) is disposed between the wall portion and the electrode assembly (22); the electrode terminal (24) is disposed on the wall portion; and the electrode terminal (24) passes through the first insulating member (23) and directly connects with the tab (221).

BATTERY AND ELECTRIC DEVICE

NºPublicación:  EP4723334A1 08/04/2026
Solicitante: 
CONTEMPORARY AMPEREX TECHNOLOGY CO LTD [CN]
EP_4723334_PA

Resumen de: EP4723334A1

0001 The present application provides a battery and an electrical apparatus. The battery includes a battery cell and a plurality of heat exchange plates. The battery cell includes a shell and an electrode unit accommodated in the shell, the electrode unit includes a plurality of first electrode plate layers, the plurality of first electrode plate layers have the same polarity and are stacked in a first direction, some of the first electrode plate layers are provided with first tabs and form two first tab groups, each first tab group includes a plurality of first tabs stacked and connected to one another, and a first electrode plate layer which is provided with no first tab is provided between the two first tab groups. The plurality of heat exchange plates are arranged in the first direction, the shell is arranged between adjacent heat exchange plates and can exchange heat with the heat exchange plates, and each first electrode plate layer at least partially overlaps with the heat exchange plate in the first direction.

POSITIVE ELECTRODE ACTIVE MATERIAL AND PREPARATION METHOD THEREFOR, POSITIVE ELECTRODE SHEET, BATTERY, AND ELECTRIC DEVICE

NºPublicación:  EP4723245A1 08/04/2026
Solicitante: 
BEIJING EASPRING MAT TECH CO LTD [CN]
EP_4723245_A1

Resumen de: EP4723245A1

0001 The present disclosure relates to the technical field of sodium-ion batteries, and particularly, to a cathode active material, a preparation method therefor, a cathode plate, a battery, and an electric device. The cathode active material is an iron-based sulfate cathode material for the sodium-ion battery. An X-ray diffraction pattern of the cathode active material has a first characteristic peak in a range from 34.9° to 35.3° and a second characteristic peak in a range from 35.3° to 35.5°. A peak intensity I<1> of the first characteristic peak and a peak intensity I<2> of the second characteristic peak satisfy: 1.1≤I<1>/I<2>≤1.5. When a ration of the peak intensity of the first characteristic peak to the peak intensity of the second characteristic peak in the X-ray diffraction pattern of the cathode active material satisfies the above condition, it indicates that Fe in the cathode active material exists mainly in the form of Fe<2+> and that a mass percentage of Fe<3+> in the material is smaller than 1.5%. A main existing form of Fe<3+> is a Fe<3>O<4> impurity phase, which reduces reaction activity of the cathode material.

POSITIVE ELECTRODE ACTIVE MATERIAL AND PREPARATION METHOD THEREFOR, POSITIVE ELECTRODE SHEET, BATTERY, AND ELECTRIC DEVICE

NºPublicación:  EP4723235A1 08/04/2026
Solicitante: 
BEIJING EASPRING MAT TECH CO LTD [CN]
EP_4723235_A1

Resumen de: EP4723235A1

A positive electrode active material and a preparation method therefor, a positive electrode sheet, a battery, and an electric device. The positive electrode active material comprises a plurality of primary particles. The equivalent number N(003) of layers of (003) crystal planes and the equivalent number N(104) of layers of (104) crystal planes of the positive electrode active material satisfy that: N(003)*N(104) is 1*104-3*104, and formula (I), wherein D(003) is the average thickness, in nm, of crystallites in the positive electrode active material in a direction perpendicular to the (003) crystal planes; d(003) is the interplanar spacing, in nm, of the (003) crystal planes in the crystallites of the positive electrode active material; D(104) is the average thickness, in nm, of the crystallites in the positive electrode active material in a direction perpendicular to the (104) crystal planes; and d(104) is the interplanar spacing, in nm, of the (104) crystal planes in the crystallites of the positive electrode active material. N003=D003d003,N104=D104d104

ENERGY STORAGE MODULE AND SEALING STRUCTURE THEREOF

NºPublicación:  EP4723335A1 08/04/2026
Solicitante: 
SUNGROW POWER SUPPLY CO LTD [CN]
EP_4723335_PA

Resumen de: EP4723335A1

0001 An energy storage module and a sealing structure thereof The sealing structure comprises a bottom plate (1), an enclosure portion (2) and a potting adhesive (4), wherein the bottom of the enclosure portion (2) is connected to the bottom plate (1) in a sealed manner; a module unit body (3) is loaded in an enclosed space of the enclosure portion (2); and the potting adhesive (4) is potted into an opening in the top of the enclosure portion (2) and covers the top of the module unit body (3). By means of designing the sealing structure of the energy storage module in the above structural form, the potting adhesive (4) can ensure a sealing effect on the module unit body (3); in addition, when the module unit body (3) loaded in the enclosure portion (2) has a fault and generates a high-temperature and high-pressure gas, after encountering the high-temperature and high-pressure gas, the potting adhesive (4) is heated and melts into a liquid state, and the high-temperature and high-pressure gas can escape from the liquid potting adhesive (4), thereby realizing the aim of pressure relief, such that the provisions of a box cover and a pressure relief valve are omitted, thus greatly saving on the cost.

SECONDARY BATTERY AND MANUFACTURING METHOD THEREFOR, AND ELECTRIC DEVICE

NºPublicación:  EP4723202A1 08/04/2026
Solicitante: 
CONTEMPORARY AMPEREX TECHNOLOGY CO LTD [CN]
EP_4723202_PA

Resumen de: EP4723202A1

A secondary battery (5) and a manufacturing method therefor, and an electric device (6). The secondary battery (5) comprises a positive electrode sheet and a negative electrode sheet. The negative electrode sheet comprises a negative electrode active material layer. The negative electrode active material layer comprises a negative electrode active substance. The negative electrode active substance comprises a silicon-based material. In the same charging and discharging cycle process, the volume ratio of the negative electrode sheet during charging and discharging of the secondary battery (5) is R, wherein R is less than or equal to 1.5; and the volume ratio of the positive electrode sheet during charging and discharging of the secondary battery (5) is Y, wherein Y is less than or equal to 0.98.

A METHOD FOR SURFACE-MODIFYING CARBONACEOUS PARTICLES

NºPublicación:  EP4719984A1 08/04/2026
Solicitante: 
VIANODE AS [NO]
EP_1000000_PA

Resumen de: EP1000000A1

The invention relates to an apparatus (1) for manufacturing green bricks from clay for the brick manufacturing industry, comprising a circulating conveyor (3) carrying mould containers combined to mould container parts (4), a reservoir (5) for clay arranged above the mould containers, means for carrying clay out of the reservoir (5) into the mould containers, means (9) for pressing and trimming clay in the mould containers, means (11) for supplying and placing take-off plates for the green bricks (13) and means for discharging green bricks released from the mould containers, characterized in that the apparatus further comprises means (22) for moving the mould container parts (4) filled with green bricks such that a protruding edge is formed on at least one side of the green bricks.

POSITIVE ELECTRODE SHEET AND SECONDARY BATTERY

NºPublicación:  EP4723244A1 08/04/2026
Solicitante: 
ZHEJIANG LIWINON ENERGY TECH CO LTD [CN]
EP_4723244_PA

Resumen de: EP4723244A1

The present disclosure relates to a positive electrode sheet and a secondary battery. The positive electrode sheet includes: a current collector; a multifunctional coating disposed on at least one side of the current collector; and a positive electrode active material layer disposed on a surface of the multifunctional coating at the side away from the current collector. The components of the multifunctional coating include a solid electrolyte, a first conductive agent, and a first binder. The resistance of the multifunctional coating, the resistance of the positive electrode sheet, and the thickness satisfy a relational formula: 2 ≤ R1*R2*d ≤ 45, where R1 is the resistance of the multifunctional coating, R2 is the resistance of the positive electrode sheet, and d is the total thickness of the multifunctional coating.

POSITIVE ELECTRODE ACTIVE MATERIAL AND PREPARATION METHOD THEREFOR, POSITIVE ELECTRODE SHEET, BATTERY AND ELECTRIC DEVICE

NºPublicación:  EP4723234A1 08/04/2026
Solicitante: 
BEIJING EASPRING MAT TECH CO LTD [CN]
EP_4723234_PA

Resumen de: EP4723234A1

0001 A positive electrode active material and a preparation method therefor, a positive electrode sheet, a battery and an electric device. The positive electrode active material is a secondary particle, and the equivalent layer number R<(003)> of the (003) crystal plane of the positive electrode active material and the equivalent layer number R<(104)> of the (104) crystal plane satisfy: R<(104)>/R<(003)> is 1.4-1.8, (I), wherein A<(003)> is the average thickness of a microcrystal of the positive electrode active material in a direction perpendicular to the direction of the (003) crystal plane, with the unit thereof being nm; B<(003)> is the spacing of the (003) crystal plane in the microcrystal of the positive electrode active material, with the unit thereof being nm; A<(104)> is the average thickness of the microcrystal of the positive electrode active material in a direction perpendicular to the direction of the (104) crystal plane, with the unit thereof being nm; and B<(104)> is the spacing of the (104) crystal plane in the microcrystal of the positive electrode active material, with the unit thereof being nm. R 003 = A 003 B 003 , R 104 = A 104 B 104

SOLID-STATE ELECTROLYTE MATERIAL AND PREPARATION METHOD THEREFOR, POSITIVE ELECTRODE ACTIVE MATERIAL, POSITIVE ELECTRODE SHEET, SOLID-STATE BATTERY AND ELECTRIC DEVICE

NºPublicación:  EP4723247A1 08/04/2026
Solicitante: 
BEIJING EASPRING MAT TECH CO LTD [CN]
EP_4723247_A1

Resumen de: EP4723247A1

0001 The present disclosure discloses provides a solid-state electrolyte material and a preparation method thereof, a cathode active material, a cathode plate, a solid-state battery, and an electrical device. The solid-state electrolyte has a NASICON crystal structure. In an X-ray diffraction pattern of the solid-state electrolyte material, the solid-state electrolyte material has a characteristic diffraction peak exhibit at a diffraction angle 20 values of 14.5 ° to 14.8 °, a characteristic diffraction peak at a diffraction angle 20 value of 19.5 ° to 19.7 °, and a characteristic diffraction peak at a diffraction angle 20 value of 22.5 °to 22.8 °. A ratio of a peak intensity I<1> of the characteristic diffraction peak at a 20 value of 14.5 °to 14.8 °to a peak intensity I<2> of the characteristic diffraction peak at a 20 value of 22.5 °to 22.8 °satisfies: 1.5≤I<2>/I<1>≤3. Thus, an ionic conductivity and structural stability of the solid-state electrolyte are improved.

LITHIUM METAL COMPOSITE OXIDE, POSITIVE ELECTRODE ACTIVE MATERIAL FOR LITHIUM SECONDARY BATTERY, POSITIVE ELECTRODE FOR LITHIUM SECONDARY BATTERY, AND LITHIUM SECONDARY BATTERY

NºPublicación:  EP4722162A1 08/04/2026
Solicitante: 
SUMITOMO METAL MINING CO [JP]
EP_4722162_PA

Resumen de: EP4722162A1

A lithium metal composite oxide and the like capable of improving an initial charge and discharge efficiency are provided. In a curve, pores of the lithium metal composite oxide include first pores in which a pore size dp and a maximum pore size dpm satisfy a relationship represented by dp/dpm < 0.10, second pores in which the pore size dp and the maximum pore size dpm satisfy a relationship represented by 0.10 ≤ dp/dpm ≤ 0.65, and third pores in which the pore size dp and the maximum pore size dpm satisfy a relationship represented by dp/dpm > 0.65. A volume V1 of the first pores, a volume V2 of the second pores, and a volume V3 of the third pores satisfy relationships represented by "0 < 100·V1/(V1 + V2 + V3) ≤ 70" and "0 < 100·V3/(V1 + V2 + V3) ≤ 15".

LITHIUM METAL COMPLEX OXIDE, POSITIVE ELECTRODE ACTIVE MATERIAL FOR LITHIUM SECONDARY BATTERIES, POSITIVE ELECTRODE FOR LITHIUM SECONDARY BATTERIES, AND LITHIUM SECONDARY BATTERY

NºPublicación:  EP4722163A1 08/04/2026
Solicitante: 
SUMITOMO METAL MINING CO [JP]
EP_4722163_PA

Resumen de: EP4722163A1

0001 A lithium metal composite oxide and the like capable of improving a discharge capacity at a high rate are provided. In the lithium metal composite oxide having pores, the maximum value dV1 of a proportion dVp/ddp in which a pore volume Vp of the pore increases with respect to an increase in a pore size dp of the pore satisfies a relationship represented by "dV1 ≤ 1.00 × 10<-4>" in a range in which a proportion dap/ddp in which a pore surface area ap of the pore increases with respect to the increase in the pore size dp of the pore satisfies a relationship of "dap/ddp ≤ 0.10", and the maximum value dV2 of the dVp/ddp satisfies a relationship represented by "dV2 ≥ 1.00 × 10<-4>" in a range in which the dap/ddp satisfies a relationship of "dap/ddp > 0.10".

BATTERY PACK AND VEHICLE INCLUDING THE SAME

NºPublicación:  EP4723308A2 08/04/2026
Solicitante: 
LG ENERGY SOLUTION LTD [KR]
EP_4723308_A2

Resumen de: EP4723308A2

Discussed is a battery pack including a plurality of battery cells; a bus bar assembly having a first side and a second side, the second side of the bus bar assembly provided to a first side of the plurality of battery cells and electrically connected to the plurality of battery cells; a cooling unit disposed at a second side of the bus bar assembly and arranged between the plurality of battery cells along a longitudinal direction of the battery pack; and side structure units configured to accommodate the cooling unit and the plurality of battery cells, wherein one side structure unit, a first set of the plurality of battery cells, the cooling unit, a second set of the plurality of battery cells and another side structure unit are coupled to be sequentially arranged in the named order along a width direction of the battery pack.

RECOVERY OF LITHIUM FROM BLACK MASS

NºPublicación:  EP4720355A1 08/04/2026
Solicitante: 
METSO FINLAND OY [FI]
US_2025300187_PA

Resumen de: US2025300187A1

0000 The present exemplary embodiments relate to a positive electrode active material for a lithium secondary battery, and a lithium secondary battery including the same. The positive electrode active material for a lithium secondary battery according to an exemplary embodiment includes: a metal oxide in the form of a single particle; and a coating layer positioned on the surface of the metal oxide, wherein a concentration of lithium in a ⅖ to ⅗ thickness area based on the total thickness of the coating layer has a lower value than a concentration of lithium in the metal oxide.

POSITIVE ELECTRODE MATERIAL AND PREPARATION METHOD THEREFOR, POSITIVE ELECTRODE SHEET, AND ALL-SOLID-STATE BATTERY

NºPublicación:  EP4723223A1 08/04/2026
Solicitante: 
NINGBO RONBAY NEW ENERGY TECH CO LTD [CN]
EP_4723223_PA

Resumen de: EP4723223A1

0001 The present application provides a positive electrode material, a preparation method thereof, a positive electrode sheet and an all-solid-state battery. The positive electrode material includes a lithium-rich manganese-based positive electrode active material and a coating layer covering at least part of a surface of the lithium-rich manganese-based positive electrode active material, where a molecular formula of the lithium-rich manganese-based positive electrode active material is xLi<2-α>MnO<3>·(1-x)Li<1-β>NiCoMnO<2-γ>, where a + b + c = 1, 0 < α + β ≤ 0.2, 0 < γ ≤ 0.1, and 0 < x < 1; the coating layer meets the following Formula 1 and Formula 2: 0.5 × 10<-3> S/cm ≤ T ≤ 5×10<-3> S/cm Formula 1, H ≤ 10<-9> S/cm Formula 2, where T is an ionic conductivity of the coating layer, and H is an electronic conductivity of the coating layer. The positive electrode material provided in the present application solves the problem of low initial coulombic efficiency of the lithium-rich manganese-based positive electrode material, and simultaneously improves the migration efficiency of interface ions and the stability of the positive electrode material.

SECONDARY BATTERY AND MANUFACTURING METHOD THEREFOR, POSITIVE ELECTRODE SHEET, NEGATIVE ELECTRODE SHEET, AND ELECTRIC DEVICE

NºPublicación:  EP4723190A1 08/04/2026
Solicitante: 
BATTERO TECH CORPORATION LTD [CN]
EP_4723190_A1

Resumen de: EP4723190A1

The present disclosure provides a secondary battery and a preparation method thereof, a positive electrode plate, a negative electrode plate and an electrically-powered device. A positive electrode active material includes a lithium iron phosphate (LFP) positive electrode material, Li2NiO2 and Li5FeO4. By adjusting a mixing ratio and limiting the mixing ratio, a specific capacity of active materials and an electrolyte filling coefficient to satisfy a specific relationship, the specific capacity and cycle performance of LFP batteries can be significantly improved, thereby making the lithium-ion batteries simultaneously exhibit superior energy density, cycle performance and safety.

MANUFACTURING METHOD FOR BATTERY ELECTRODE SHEET, BATTERY ELECTRODE SHEET, AND BATTERY

NºPublicación:  EP4723179A1 08/04/2026
Solicitante: 
HUIZHOU EVE POWER CO LTD [CN]
EP_4723179_PA

Resumen de: EP4723179A1

0001 Provided are a method for manufacturing a battery electrode sheet, a battery electrode sheet, and a battery. The battery electrode sheet includes a current collector (1), a first coating (2) and a second coating (3) which are disposed on one side surface of the current collector (1). The method for manufacturing the battery electrode sheet includes the following: one side surface of the current collector is divided into a first region and a second region; and the first region and the second region are coated by controlling a coater to form a first coating in the first region and a second coating in the second region, where the areal density of the first coating is greater than the areal density of the second coating. According to the manufacturing method for the battery electrode sheet, the manufactured battery electrode sheet and the manufactured battery, the flow guide channel for the circulation of electrolyte is reserved on the current collector in the coating process, the manufacturing method is simple and feasible, the problem of electrolyte infiltration in a cell and the problem of uneven distribution of the electrolyte caused by expansion of the electrode sheet during use of the cell are solved, whereby the high energy density of the battery is achieved while optimizing both the fast-charging performance and the service life.

SINGLE CRYSTAL TERNARY POSITIVE ELECTRODE MATERIAL AND PREPARATION METHOD THEREFOR AND USE THEREOF

NºPublicación:  EP4722426A1 08/04/2026
Solicitante: 
NINGBO RONBAY NEW ENERGY TECH CO LTD [CN]
EP_4722426_PA

Resumen de: EP4722426A1

The present application provides a single-crystal ternary positive electrode material and a preparation method and an application thereof. The single-crystal ternary positive electrode material satisfies the following relationships: 1 µm ≤ P < 5 µm, 1 ≤ D2/D1 < 10, and 3 µm < D50 < 8 µm, where P is a single-crystal size of the single-crystal ternary positive electrode material, D1 is a mass proportion of the single-crystal ternary positive electrode material with a single-crystal size < 2.5 µm, D2 is a mass proportion of the single-crystal ternary positive electrode material with a single-crystal size ≥ 2.5 µm, and D50 is a median particle size of the single-crystal ternary positive electrode material. The single-crystal ternary positive electrode material provided by the present application includes two single-crystal materials with different sizes, and with the limitation on the particle size and proportion of the single-crystal materials with different sizes, the single-crystal ternary positive electrode material has relatively high compaction density and excellent cycling performance.

NEGATIVE ELECTRODE MATERIAL AND BATTERY

NºPublicación:  EP4723219A1 08/04/2026
Solicitante: 
BTR NEW MAT GROUP CO LTD [CN]
EP_4723219_PA

Resumen de: EP4723219A1

The present application relates to the technical field of batteries, and particularly relates to an anode material and a battery. The anode material includes an active material including a silicon material and a carbon matrix with pores, where at least part of the silicon material is located into the pores of the carbon matrix. The anode material has a true density of ρ g/cm3 and a total pore volume of V cm3/g, and satisfies: M=pV/(p+V), and 0.020≤M≤0.085. With strong structural stability and low volume expansion rate, the anode material of the present application has the characteristics of high capacity, high initial coulombic efficiency, excellent cycle performance and the like.

POSITIVE ELECTRODE ACTIVE MATERIAL, AND PREPARATION METHOD THEREFOR AND USE THEREOF

NºPublicación:  EP4723221A1 08/04/2026
Solicitante: 
NINGBO RONBAY NEW ENERGY TECH CO LTD [CN]
EP_4723221_PA

Resumen de: EP4723221A1

A positive electrode active material, and a preparation method and a use thereof. The chemical formula of the positive electrode active material is Li1+aNaxPyNi0.5+bMn1.5+cMzOd, where -0.1≤a≤0.2, -0.2≤b≤0.2, -0.2≤c≤0.2, 3.8≤d≤4.3, 0

ELECTRICAL CONNECTION ASSEMBLY, BATTERY PACK, AND ELECTRIC APPARATUS

NºPublicación:  EP4723338A1 08/04/2026
Solicitante: 
BYD CO LTD [CN]
EP_4723338_PA

Resumen de: EP4723338A1

An electric connection assembly (20), a battery pack (10) using the electric connection assembly (20), and an electric apparatus using the battery pack (10). The electric connection assembly (20) comprises: a first connecting member (210), which comprises a first connection end and a second connection end, wherein the first connection end is adapted to be electrically connected to a first electrical assembly; a second connecting member (220), which comprises a third connection end and a fourth connection end, wherein the third connection end is adapted to be electrically connected to a second electrical assembly; and a first housing (230), in which an accommodating cavity (250) is formed, wherein the accommodating cavity (250) has an opened side, the second connection end and the fourth connection end are adapted to be accommodated in the accommodating cavity (250) via the opened side and are in electric connection with each other, and the opened side is formed as an adhesive injection opening, which is configured to inject an insulating adhesive into the accommodating cavity so as to coat the second connection end and the fourth connection end.

OXIDE PRECURSOR, PREPARATION METHOD THEREFOR AND USE THEREOF

NºPublicación:  EP4723232A1 08/04/2026
Solicitante: 
NINGBO RONBAY NEW ENERGY TECH CO LTD [CN]
EP_4723232_PA

Resumen de: EP4723232A1

An oxide precursor, a preparation method thereof, and an application thereof are provided. The oxide precursor has a chemical general formula of NixCoyMnzAldMeOn, where 0 < x ≤ 0.96, 0 ≤ y ≤ 0.96, 0 ≤ z ≤ 0.96, 0 ≤ d ≤ 0.15, 0 < e ≤ 0.015, 0.6 ≤ n ≤ 1.6, x + y + z + d = 1, and y, z, d are not all zero, an ionic radius of a metal element M is greater than or equal to 0.08 nm; the metal element M has a distribution uniformity in the oxide precursor of greater than or equal to 98.5%. The oxide precursor has a uniformly distributed doping element M with a large ionic radius, which is beneficial to improving the structural stability of positive electrode materials, thereby enabling lithium-ion batteries to exhibit excellent discharge capacity and cycling performance.

COOLING PLATE FOR BATTERY PACK, BATTERY PACK AND ELECTRICAL DEVICE

NºPublicación:  EP4723305A1 08/04/2026
Solicitante: 
BYD CO LTD [CN]
EP_4723305_PA

Resumen de: EP4723305A1

An electric device is provided, including a battery pack. The battery pack includes a cooling plate for the battery pack. The cooling plate for the battery pack includes a plate body. A cooling flow channel and a confluence flow channel that are used for a coolant to flow are constructed on the plate body, the cooling flow channel forms a plurality of cooling regions on the plate body, the confluence flow channel forms a liquid inlet confluence region and a liquid outlet confluence region on the plate body, and each cooling region separately communicates with the liquid inlet confluence region and the liquid outlet confluence region. The plurality of cooling regions are connected in parallel to each other, a throttling structure is disposed in at least one of the plurality of cooling regions, and a quantity of throttling structures in the plurality of cooling regions progressively decreases from upstream to downstream of a flow direction of the coolant in the liquid inlet confluence region.

Warehouse for storing battery unit and skid used in same

NºPublicación:  GB2644383A 08/04/2026
Solicitante: 
JGC HOLDINGS CORP [JP]
GB_2644383_PA

Resumen de: GB2644383A

This warehouse for storing a battery unit is characterized in that the ware house comprises a skid that holds a battery unit and has a terminal that can be connected to the battery unit, an electric conductor that can be electrically connected to the battery unit via the terminal when the skids are stacked to store the battery units, a ceiling crane that stacks the skids and removes the skids, and a control device that controls the ceiling crane.

APPARATUS AND METHOD OF MANUFACTURING BATTERY MODULE

NºPublicación:  EP4723269A1 08/04/2026
Solicitante: 
LG ENERGY SOLUTION LTD [KR]
EP_4723269_PA

Resumen de: EP4723269A1

0001 An apparatus of manufacturing a battery module according to an embodiment of the present disclosure includes a guide plate that wraps a battery cell stack from left and right sides, with the battery cell stack being configured to stack a plurality of battery cells, wherein the guide plate comprises a body part in contact with the battery cell stack, and an insertion part connected to one end part of the body part and bent and protruded to the inner side of the battery cell stack; and the battery cell stack is inserted into the interior of the frame member whose upper part is opened by the insertion part.

POSITIVE ELECTRODE SHEET AND PREPARATION METHOD THEREFOR, AND LITHIUM-ION BATTERY

NºPublicación:  EP4723189A1 08/04/2026
Solicitante: 
BEIJING EASPRING MAT TECH CO LTD [CN]
EP_4723189_PA

Resumen de: EP4723189A1

0001 The present invention relates to the technical field of lithium-ion batteries, and particularly provides a positive electrode sheet and a preparation method therefor, and a lithium-ion battery comprising the positive electrode sheet. The positive electrode sheet comprises a positive electrode active material layer, and the positive electrode active material layer comprises a positive electrode material, a negative thermal expansion material, a conductive agent, and a binder, wherein the characteristic value J of the positive electrode sheet satisfies: 0.001≤J≤0.005. wherein J=R(F)/p, R(F) represents the peak intensity ratio between the main peak (F) of the negative thermal expansion material and the (003) characteristic peak of the positive electrode material in the XRD pattern of the positive electrode sheet, and p represents the surface density of the positive electrode sheet, with a unit of mg/cm<2>. The provided positive electrode sheet has low volume expansion, high structural stability, and high temperature stability at the same time. In addition, the lithium-ion battery comprising the positive electrode sheet has excellent capacity performance, rate capability, cycle performance, and energy density.

POSITIVE ELECTRODE MATERIAL, AND PREPARATION METHOD THEREFOR AND USE THEREOF

NºPublicación:  EP4723231A1 08/04/2026
Solicitante: 
NINGBO RONBAY NEW ENERGY TECH CO LTD [CN]
EP_4723231_PA

Resumen de: EP4723231A1

0001 A positive electrode material, a preparation method thereof and application thereof are provided. The positive electrode material includes secondary particles formed by the agglomeration of primary particles, and each of the primary particles includes an active material having a chemical formula of LiM(MnFe<1-x>)<1-z>(BO<3>)(PO<4>)<1-y>, where M includes at least one of Mg, Ti, Nb, Al, Ni, and a rare earth element, 0.4 ≤ x ≤ 0.7, 0.0025 ≤ y ≤ 0.01, and 0 ≤ z ≤ 0.003; boron element in the primary particles has a mass percentage of 0.5% to 1%, and B-O bonds are provided between adjacent primary particles. In the positive electrode material, by introducing boron element into the active material, B-O bonds are formed between adjacent primary particles in the positive electrode material. The fluxing effect of the B-O bonds may enhance the compactness between the primary particles, reduce the spacing between adjacent primary particles. This is beneficial for improving the compaction density of a positive electrode active layer prepared by the positive electrode material, and enables the positive electrode material to have a high discharge capacity.

HOUSING ASSEMBLY FOR BATTERY AND POWER DEVICE

NºPublicación:  EP4723319A1 08/04/2026
Solicitante: 
BYD CO LTD [CN]
EP_4723319_PA

Resumen de: EP4723319A1

0001 Provided are a shell assembly for a battery, a battery, and a power device. The shell assembly includes: a shell, where a first mating surface and a first end surface are formed on an end portion of the shell, and an included angle between the first mating surface and the first end surface is α1; and a cover plate, where the cover plate covers the end portion of the shell and forms a first surface, a protruding portion protruding toward an interior of the shell is formed on the first surface, and a second mating surface adapted to abut against the first mating surface is formed on the protruding portion. An included angle between the second mating surface and the first surface is α2, and α1 and α2 satisfy: α1<90° and α2>90°.

POSITIVE ELECTRODE ACTIVE MATERIAL AND PREPARATION METHOD THEREFOR, POSITIVE ELECTRODE PLATE, BATTERY, AND ELECTRICAL APPARATUS

NºPublicación:  EP4723243A1 08/04/2026
Solicitante: 
NINGBO RONBAY NEW ENERGY TECH CO LTD [CN]
EP_4723243_PA

Resumen de: EP4723243A1

A positive electrode active material and a preparation method thereof, a positive electrode sheet, a battery and an electrical apparatus, where a chemical formula of the positive electrode active material is NaxM(1-y)CayO2, where M includes a transition metal element, x = 0.8 to 1.1, and 0.005 ≤ y ≤ 0.015; and where more than 95wt% of Ca element is distributed in a surface layer of a single-crystal particle of the positive electrode active material, and a thickness of the surface layer is 1 µm. The positive electrode active material has a relatively low residual alkali content and improved air stability, and thus cycle performance of batteries is improved when it is applied to the batteries.

BATTERY MODULE AND BATTERY PACK

NºPublicación:  EP4723360A2 08/04/2026
Solicitante: 
JINKO ENERGY STORAGE TECH CO LTD [CN]
EP_4723360_A2

Resumen de: EP4723360A2

A battery module includes a cell assembly, a collection assembly, a first heat insulating member, and a heat insulation cushion assembly. The cell assembly includes a plurality of cells arranged along a length direction of the battery module. The collection assembly is located on a side of the cell assembly along a height direction of the battery module, and is connected to the cell assembly. The first heat insulating member is located on a side of the collection assembly away from the cell assembly along the height direction of the battery module, and is connected to the collection assembly. The heat insulation cushion assembly is located between two adjacent cells, and includes a second heat insulating member and two cushion members. Each cushion member has one side connected to the second heat insulating member and the other side connected to the corresponding cell.

ELECTROLYTE FOR LITHIUM SECONDARY BATTERY, SECONDARY BATTERY, AND ELECTRIC DEVICE

NºPublicación:  EP4723279A1 08/04/2026
Solicitante: 
CONTEMPORARY AMPEREX TECHNOLOGY CO LTD [CN]
EP_4723279_PA

Resumen de: EP4723279A1

The present application discloses an electrolyte solution for a lithium secondary battery, a secondary battery, and an electrical device. The electrolyte solution for a lithium secondary battery includes a sulfate and fluorosulfonate ions, and a molar ratio of the sulfate to the fluorosulfonate ions is (8-223):1.

SEALING STRUCTURE AND ENERGY STORAGE MODULE

NºPublicación:  EP4723333A1 08/04/2026
Solicitante: 
SUNGROW POWER SUPPLY CO LTD [CN]
EP_4723333_PA

Resumen de: EP4723333A1

A sealing structure and an energy storage module. The sealing structure comprises a bottom supporting plate and a covering assembly, wherein at least one module unit body is mounted on the bottom supporting plate; the covering assembly has a covering inner cavity, which adapts to the module unit body in terms of shape and size, and a covering opening, which is in sealing fit with the bottom supporting plate, and the covering assembly is provided with a wiring slot for allowing an output member of the module unit body to lead out a wire; and the part of the output member passing through the wiring slot is filled and sealed in the wiring slot by means of a filling-sealing adhesive. By means of making improvements to the design for a casing of each module unit body of the energy storage module, a sealing effect which is required for the electrical safety of the module unit body can be achieved by the casing of the module unit body, and the overall structure of the energy storage module is simplified, such that the machining and assembly are more convenient, and the production cost is also reduced. When an electronic control assembly connected to the module unit body is maintained, the sealing performance of the module unit body itself is not affected, such that maintenance operations are safer and more convenient.

ELECTROLYTE, SECONDARY BATTERY, AND ELECTRIC DEVICE

NºPublicación:  EP4723284A1 08/04/2026
Solicitante: 
CONTEMPORARY AMPEREX TECHNOLOGY CO LTD [CN]
EP_4723284_PA

Resumen de: EP4723284A1

An electrolyte, a secondary battery, and an electric device. The electrolyte comprises a component, a nitrile solvent. The nitrile solvent comprises a compound represented by formula (1): wherein: L is selected from any one of C(R1R2), O, Si(R3R4), B(R5), P(R6R7R8), and N(R9); R1-R9 are each independently selected from at least one of H, halogen, substituted or unsubstituted alkyl having 1-3 carbon atoms, alkoxy having 1-3 carbon atoms, amino, and cyano, and R1 and R2 are not cyanos and H; R11 is an alkane chain containing 1-4 carbon atoms; R12-R14 are each independently selected from at least one of H, halogen, substituted or unsubstituted alkyl having 1-3 carbon atoms, alkoxy having 1-3 carbon atoms, amino, and cyano; and when L is C(R1R2), R12-R14 are not cyanos.

SECONDARY BATTERY AND ELECTRIC DEVICE

NºPublicación:  EP4723209A1 08/04/2026
Solicitante: 
CONTEMPORARY AMPEREX TECHNOLOGY CO LTD [CN]
EP_4723209_PA

Resumen de: EP4723209A1

The present application provides a secondary battery and an electrical apparatus. The secondary battery of the present application comprises an electrolyte solution; the electrolyte solution comprises a solvent and an additive; the solvent comprises ethylene carbonate; the additive comprises 1,3-propane sultone and fluoroethylene carbonate; the percentage mass content of the ethylene carbonate in the electrolyte solution is x%, the percentage mass content of the 1,3-propane sultone in the electrolyte solution is y%, and the percentage mass content of the fluoroethylene carbonate in the electrolyte solution is z%; and the x, the y, and the z satisfy: 10≤x/y≤950 and 2≤x/z≤10.

POSITIVE ELECTRODE OPTIMIZED FOR IMPROVING HIGH-TEMPERATURE LIFE CHARACTERISTICS AND SECONDARY BATTERY COMPRISING THE SAME

NºPublicación:  EP4722165A2 08/04/2026
Solicitante: 
LG ENERGY SOLUTION LTD [KR]
EP_4722165_A2

Resumen de: EP4722165A2

The present disclosure provides a positive electrode in which a positive electrode mixture containing a positive electrode active material is formed on a positive electrode current collector, wherein the positive electrode active material includes a lithium transition metal oxide powder represented by the following chemical formula 1,        LiaNixCoyMzO2-wAw     (1)wherein, M is at least one selected from the group consisting of Mn, Ti, Mg, Al, Zr, Mn and Ni, A is an oxygen-substituted halogen, and 1.00≤a≤1.05, 0.1≤x≤0.8, 0.1≤y≤0.8, 0.01≤z≤0.4, and 0≤w≤0.001,wherein the lithium transition metal oxide powder is composed of: large particles in which secondary particles are formed by aggregating primary particles, and an average particle diameter (D50) of the secondary particles is 7 µm to 17 µm, and small particles in which single particles are formed and having average particle diameter (D50) of 2 µm to 7 µm, wherein a mixing ratio of the large particles and the small particles is 5:5 to 9:1 based on the weight, and wherein the positive electrode mixture has a porosity of 22% to 35%.

ELECTRODE ASSEMBLY, BATTERY CELL, BATTERY AND ELECTRIC DEVICE

NºPublicación:  EP4723287A1 08/04/2026
Solicitante: 
CONTEMPORARY AMPEREX TECHNOLOGY CO LTD [CN]
EP_4723287_PA

Resumen de: EP4723287A1

0001 The present application provides an electrode assembly, a battery cell, a battery and an electrical apparatus, belonging to the technical field of batteries. The electrode assembly includes a main body part, a first tab and a second tab. The main body part is cylindrical. The polarities of the first tab and the second tab are opposite, the first tab and the second tab are arranged at the same end of the main body part along an axial direction of the main body part, and the electrical conductivity of the first tab is smaller than the electrical conductivity of the second tab. Along the axial direction of the main body part, the first tab has a first surface away from the main body part, and the second tab has a second surface away from the main body part, the area of the first surface being larger than the area of the second surface. By setting the area of the first surface of the first tab to be larger than the area of the second surface of the second tab, it is convenient to distinguish and identify the first tab and the second tab with different polarities during the assembly of a battery cell, and the electrode assembly can be assembled without secondary positioning, thereby being conducive to reducing the difficulty in the subsequent assembly of the electrode assembly.

BATTERY CELL, BATTERY, AND ELECTRICAL DEVICE

NºPublicación:  EP4723290A1 08/04/2026
Solicitante: 
CONTEMPORARY AMPEREX TECHNOLOGY CO LTD [CN]
EP_4723290_PA

Resumen de: EP4723290A1

The present application provides a battery cell, a battery, and an electrical apparatus, which belongs to the field of battery technologies. The battery cell includes a shell, an electrode terminal, and an electrode assembly. The shell has a wall portion. The electrode terminal is mounted on the wall portion in an insulated manner. The electrode assembly is accommodated in the shell, and the electrode assembly includes a main body part, a first tab, and a second tab. The first tab and the second tab have opposite polarities. In a thickness direction of the wall portion, the first tab and the second tab are both arranged at one end of the main body part facing the wall portion. The wall portion has a first surface facing the electrode assembly, a connecting portion is arranged to protrude from the first surface, the connecting portion is electrically connected to the first tab, and the electrode terminal is electrically connected to the second tab. This type of battery cell is conducive to optimizing the height of the first tab protruding from the main body part, and is capable of improving the contact effect between the connecting portion and the first tab, and there is no need to arrange a component of a special-shaped structure connecting the wall portion and the first tab between the wall portion and the first tab, so as to reduce the difficulty of assembling the battery cell.

AMMONIUM MANGANESE FERRIC PHOSPHATE AND LITHIUM MANGANESE IRON PHOSPHATE, PREPARATION METHODS THEREFOR, AND USES THEREOF

NºPublicación:  EP4722152A1 08/04/2026
Solicitante: 
NINGBO RONBAY NEW ENERGY TECH CO LTD [CN]
EP_4722152_PA

Resumen de: EP4722152A1

0001 The present application relates to ammonium manganese iron phosphate and lithium manganese iron phosphate, and preparation method and application thereof. The ammonium manganese iron phosphate has a chemical formula of (NH<4>)<(3-2x-2y)>FeMnPO<4>·H<2>O, where 0 < x ≤ 0.5, x + y < 1, a ratio of the diffraction peak area of (010) crystal plane to that of (121) crystal plane is less than 1.40, and the ammonium manganese iron phosphate is free of SO<4>2- , Cl<->, Na<+>, and K<+>, or the ammonium manganese iron phosphate includes at least one impurity ion of SO<4>2- , Cl<->, Na<+>, or K<+>, with a concentration of any one impurity ion in the ammonium manganese iron phosphate being less than 500 ppm. The ammonium manganese iron phosphate of the present application, serving as a precursor for the lithium manganese iron phosphate, not only enables the lithium manganese iron phosphate to have high compaction density but also can result in that (Fe + Mn)/P < 1 in the lithium manganese iron phosphate. Therefore, when used as a positive electrode material in lithium-ion batteries, the lithium manganese iron phosphate can improve specific capacity and cycling performance.

ELECTRODE SHEET FOLDING CONTROL METHOD AND APPARATUS, AND ELECTRODE SHEET FOLDING APPARATUS, AND BATTERY PRODUCTION SYSTEM

NºPublicación:  EP4723286A1 08/04/2026
Solicitante: 
CONTEMPORARY AMPEREX TECHNOLOGY CO LTD [CN]
EP_4723286_PA

Resumen de: EP4723286A1

0001 The present application relates to an electrode sheet folding control method and apparatus, and an electrode sheet folding apparatus, and a battery production system. During the process of folding an electrode sheet group, a conveying component is controlled to work, so as to drive the electrode sheet group to move towards a folding platform. When a lamination region on the folding table begins to be folded or has been folded, at least one of the conveying component and the folding table is controlled to translate transversely in a preset direction, such that the distance of a connecting line between a conveying end of the conveying component and a folding starting point of the lamination region on the folding table is increased. In this way, a clearance space can be provided for the folding of the lamination region, thereby facilitating stress release of the lamination region during folding, such that a pulling force of the lamination region that is being in a folded state on an unfolded lamination region is reduced, and the degree of bending and warping of the lamination region at a folding position is reduced. In this case, the probability of a gap anomaly being generated at a folding position of a formed laminated structure is reduced, such that the probability of a lithium plating phenomenon occurring in an electrode sheet at the folding position is effectively reduced, thereby improving the quality of a laminated battery.

POLE PIECE FOLDING CONTROL METHOD AND APPARATUS, POLE PIECE FOLDING APPARATUS, AND BATTERY PRODUCTION SYSTEM

NºPublicación:  EP4723285A1 08/04/2026
Solicitante: 
CONTEMPORARY AMPEREX TECHNOLOGY CO LTD [CN]
EP_4723285_PA

Resumen de: EP4723285A1

0001 The present application relates to a pole piece folding control method and apparatus, a pole piece folding apparatus, and a battery production system. During the folding process of a pole piece group, a conveying component is controlled to operate, and the pole piece group is driven to move towards a stacking platform. When a lamination area on the stacking platform starts to fold or has been folded, at least one of the conveying component and the stacking plaform is controlled to move such that the distance between a conveying end of the conveying component and at least part of an operating surface of the stacking platform is pulled open. In this way, a clearance space can be provided for folding of the lamination area, thereby facilitating stress relief of the lamination area during folding, reducing a pulling force of the lamination area in a folded state on a non-folded lamination area, and reducing a degree of bending and warping of the lamination area at a folding position. Thus, the probability of abnormal gaps being generated at the folding position of a laminated structure is reduced, thereby effectively reducing the probability of lithium deposition at the folding position of the electrode, and improving the quality of the laminated battery.

BATTERY CELL, BATTERY, AND ELECTRIC DEVICE

NºPublicación:  EP4723271A1 08/04/2026
Solicitante: 
CONTEMPORARY AMPEREX TECHNOLOGY CO LTD [CN]
EP_4723271_PA

Resumen de: EP4723271A1

0001 A battery cell, a battery, and an electrical apparatus are disclosed in the present application. The battery cell includes a shell, an electrode terminal, an electrode assembly, a first adapter, and a second adapter. The shell has a first wall. The electrode terminal is mounted on the first wall in an insulated manner. The electrode assembly includes a main body part, a first tab, and a second tab. The first tab and the second tab have opposite polarities. In a thickness direction of the first wall, the first tab and the second tab are both arranged at one end of the main body part facing the first wall. The first adapter includes a first connecting portion and a second connecting portion, the first connecting portion is connected to the first wall, and the second connecting portion is connected to the first tab. The second adapter connects the electrode terminal and the second tab. In the thickness direction of the first wall, an orthographic projection of the first adapter does not overlap an orthographic projection of the second adapter, and in the thickness direction of the first wall, an orthographic projection of the first connecting portion does not overlap an orthographic projection of the second tab. The technical solution provided in the present application is capable of improving the reliability of batteries.

BATTERY CELL, BATTERY, AND ELECTRIC DEVICE

NºPublicación:  EP4723289A1 08/04/2026
Solicitante: 
CONTEMPORARY AMPEREX TECHNOLOGY CO LTD [CN]
EP_4723289_A1

Resumen de: EP4723289A1

The present application provides a battery cell, a battery, and an electrical apparatus, which belongs to the field of battery technologies. The battery cell includes a case assembly, an end cover, and an electrode assembly. The case assembly is provided with an accommodating cavity having an opening formed therein. The case assembly has a first electrode lead-out portion and a second electrode lead-out portion. In a first direction, the first electrode lead-out portion and the second electrode lead-out portion are both located at one end of the case assembly away from the opening. The end cover covers the opening. The electrode assembly is accommodated in the accommodating cavity, and the electrode assembly includes a main body part, a first tab, and a second tab. The first tab and the second tab have opposite polarities. The first tab and the second tab are both arranged at one end of the main body part away from the end cover in the first direction. The first tab and the second tab are electrically connected to the first electrode lead-out portion and the second electrode lead-out portion, respectively. The end cover is provided with a pressure relief portion, and the pressure relief portion is configured to be capable of relieving an internal pressure of the battery cell. Therefore, it is conducive to reducing the difficulty of arranging the pressure relief portion on the battery cell.

LITHIUM-CONTAINING TRANSITION METAL COMPOSITE OXIDE, POSITIVE ELECTRODE ACTIVE MATERIAL FOR LITHIUM SECONDARY BATTERY, POSITIVE ELECTRODE FOR LITHIUM SECONDARY BATTERY, LITHIUM SECONDARY BATTERY, AND METHOD FOR MANUFACTURING LITHIUM-CONTAINING TRANSITION METAL COMPOSITE OXIDE

NºPublicación:  EP4723238A2 08/04/2026
Solicitante: 
SUMITOMO METAL MINING CO [JP]
EP_4723238_A2

Resumen de: EP4723238A2

A method for manufacturing a lithium-containing transition metal composite oxide including secondary particles that are aggregates of primary particles into or from which lithium ions are dopable or dedopable, the method comprising:a mixing step of mixing a lithium compound and a metal composite compound containing at least nickel to obtain a mixture;a calcining step of calcining the mixture to obtain a calcined product; anda washing step of washing the calcined product,wherein the lithium-containing transition metal composite oxide satisfies the following conditions,(1) the lithium-containing transition metal composite oxide is represented by Formula (I),        LiLix(Ni(1-y-z-w)CoyMnzMw)1-xO2 ...     (I)wherein in Formula (I), 0 ≤ x ≤ 0.2, 0 < y ≤ 0.5, 0 ≤ z ≤ 0.8, 0 ≤ w ≤ 0.1, and y + z + w < 1 are satisfied, and M represents one or more metals selected from the group consisting of Mg, Ca, Sr, Ba, Zn, B, Al, Ga, Ti, Zr, Ge, Fe, Cu, Cr, V, W, Mo, Sc, Y, Nb, La, Ta, Tc, Ru, Rh, Pd, Ag, Cd, In, and Sn(2) when an area value of a peak appearing at 53.8 eV in a lithium 1s spectrum is referred to as α and an area value of a peak appearing at 529.0 eV in an oxygen 1s spectrum is referred to as β when X-ray photoelectron spectroscopy is performed, and a ratio between α and β is referred to as γ (α/β = γ),γ is calculated for each of a surface of the secondary

MOBILE CONTAINER FOR CHARGING BATTERIES

NºPublicación:  EP4723342A2 08/04/2026
Solicitante: 
HOPPECKE BATTERIEN GMBH & CO KG [DE]
EP_4723342_PA

Resumen de: EP4723342A2

Die Erfindung betrifft einen mobilen Container zum Laden zumindest einer Batterie (2), mit einer Einhausung (3), die einen Laderaum (4) begrenzt und eine verschließbare Ladeöffnung (5) aufweist, einem im Laderaum (49 angeordneten Batterieladeplatz (10), der eine Aufnahme für einen Energiewandler (12) und eine Batterieaufnahme (13) aufweist, in die eine Batterie (2) über die Ladeöffnung einbringbar ist.

HIGHLY REACTIVE, DUST-FREE AND FREE-FLOWING LITHIUM SULFIDE AND PROCESS FOR THE PREPARATION THEREOF

NºPublicación:  EP4723293A2 08/04/2026
Solicitante: 
ALBEMARLE GERMANY GMBH [DE]
EP_4723293_A2

Resumen de: EP4723293A2

Die Erfindung betrifft ein hochreaktives, hochreines, freifließendes und staubfreies Lithiumsulfidpulver, welches eine mittlere Partikelgröße zwischen 250 und 1500 µm und BET-Oberflächen zwischen 1 und 100 m2/g aufweist. Die Erfindung betrifft weiterhin ein Verfahren zu dessen Herstellung, wobei in einer ersten Stufe Lithiumhydroxidmonohydrat in einem temperierbaren Aggregat auf eine Reaktionstemperatur zwischen 150°C und 450°C unter Luftausschluss erhitzt und mit einem Inertgas über- oder durchströmt wird bis der Restkristallwassergehalt des gebildeten Lithiumhydroxids kleiner 5 Gew.% beträgt und in einer zweiten Stufe das in der ersten Stufe gebildete wasserfreie Lithiumhydroxid mit einer gasförmigen Schwefelquelle aus der Gruppe Schwefelwasserstoff, elementarer Schwefel, Kohlenstoffdisulfid, Mercaptane oder Schwefelnitride gemischt, über- oder durchströmt wird.

NASICON-TYPE SOLID-STATE ELECTROLYTE, PREPARATION METHOD THEREFOR, AND USE THEREOF

NºPublicación:  EP4723275A1 08/04/2026
Solicitante: 
BEIJING EASPRING MAT TECH CO LTD [CN]
EP_4723275_PA

Resumen de: EP4723275A1

Provided are a NASICON-type solid-state electrolyte, a preparation method therefor, and a use thereof. The NASICON-type solid-state electrolyte comprises: LixM1yM2zM3uM4v(PO4)w1(PS4)w2, where y+z+u+v=2, w1+w2=3, 0

BATTERY CELL, BATTERY AND ELECTRIC DEVICE

NºPublicación:  EP4723340A1 08/04/2026
Solicitante: 
CONTEMPORARY AMPEREX TECHNOLOGY CO LTD [CN]
EP_4723340_A1

Resumen de: EP4723340A1

0001 Embodiments of the present application provide a battery cell, a battery, and a power consuming device, and belongs to the field of battery technologies. The battery cell includes a housing and an electrode assembly. The housing includes a first half region and a second half region. Along a length direction of the housing, a part from a middle section of the housing to an end of the housing is the first half region, a part from the middle section of the housing to the other end of the housing is the second half region, a length of the housing is L, L≥80 mm, and the middle section is perpendicular to the length direction. The electrode assembly is accommodated in the housing. The electrode assembly includes a body portion and a tab, at least one end of the body portion along the length direction is provided with the tab, a part of the body portion is located in the first half region, and the other part of the body portion is located in the second half region. The first half region and the second half region are each provided with at least one pressure relief mechanism, the body portion is provided with a central hole, along the length direction, the central hole runs through the body portion, and the central hole is configured to communicate an internal space of the first half region with an internal space of the second half region. The reliability of the battery cell can be effectively improved.

METHOD AND SYSTEM FOR PROCESSING AND UTILIZING BATTERIES

NºPublicación:  EP4723297A2 08/04/2026
Solicitante: 
PRIMOBIUS GMBH [DE]
EP_4723297_PA

Resumen de: EP4723297A2

0001 Die vorliegende Anmeldung betrifft ein Verfahren zur Aufbereitung und Verwertung von Lithium-Ionen-Batterien umfassend wenigstens einen Schritt, in dem eine Zerkleinerung der Batterien (2, 10) in Gegenwart eines wässrigen Mediums (12) erfolgt, wobei die Batterien (2, 10) noch mit einer Restladung von maximal 30 % unter Zugabe von Wasser (12) in einer Zerkleinerungseinrichtung (73) zerkleinert werden, wobei das Wasser (12) in einer solchen Menge und mit einer solchen Temperatur zugeführt wird, dass sich das Gemisch beim Zerkleinern nicht über eine Temperatur von mehr als 40 °C, bevorzugt nicht über eine Temperatur von 30 °C hinaus erwärmt; sowie eine entsprechende Anlage (71).

POLYCYCLIC COMPOUND AND PREPARATION METHOD THEREFOR, USE THEREOF, ELECTROLYTE, AND BATTERY

NºPublicación:  EP4722210A1 08/04/2026
Solicitante: 
GUANGZHOU TINCI MATERIALS TECH CO LTD [CN]
EP_4722210_PA

Resumen de: EP4722210A1

Provided are a polycyclic compound and a method for preparing the same, use, an electrolyte, and a battery. The polycyclic compound includes a compound represented by Formula I. In the compound represented by Formula I, a content of a cis-isomer represented by Formula II is greater than or equal to 98 wt%,R1 and R2 are each independently selected from any one of H, F, alkyl, or fluoroalkyl.

LITHIUM MANGANESE IRON PHOSPHATE POSITIVE ELECTRODE MATERIAL, AND PREPARATION METHOD THEREFOR AND USE THEREOF

NºPublicación:  EP4722151A1 08/04/2026
Solicitante: 
SHENZHEN DYNANONIC CO LTD [CN]
EP_4722151_PA

Resumen de: EP4722151A1

A lithium manganese iron phosphate cathode material, including a first lithium manganese iron phosphate particle and a second lithium manganese iron phosphate particle. A molar ratio of Mn to Fe in the first lithium manganese iron phosphate particle is greater than or equal to 1. A molar ratio of Mn to Fe in the second lithium manganese iron phosphate particle is smaller than or equal to the molar ratio of Mn to Fe in the first lithium manganese iron phosphate particle. A particle size of the first lithium manganese iron phosphate particle is smaller than or equal to a particle size of the second lithium manganese iron phosphate particle. A preparation method of the lithium manganese iron phosphate cathode material and an application thereof are provided. The first precursor, having a manganese content greater than or equal to that of iron, inhibits crystal growth during sintering, resulting in a smaller particle size. The second precursor, having a manganese to iron ratio smaller than or equal to the ratio in the first precursor, promotes crystal growth during sintering, resulting in a larger particle size. This results in a particle size grading between large particles and small particles, improves the spatial utilization of particle packing, and enhances the compaction density and volumetric capacity of the lithium manganese iron phosphate cathode material.

CATHODE ACTIVE MATERIAL AND LITHIUM SECONDARY BATTERY INCLUDING SAME

NºPublicación:  EP4723228A1 08/04/2026
Solicitante: 
POSCO FUTURE M CO LTD [KR]
EP_4723228_PA

Resumen de: EP4723228A1

The positive electrode active material according to the present invention is in the form of a secondary particle comprising a plurality of primary particles, and is characterized in that it satisfies Formula 1.

BATTERY AND METHOD FOR MANUFACTURING BATTERY

NºPublicación:  EP4723317A1 08/04/2026
Solicitante: 
LIBEST INC [KR]
EP_4723317_PA

Resumen de: EP4723317A1

A battery includes: an electrode assembly including a plurality of electrodes; and an exterior material which accommodates the electrode assembly and on which a concavo-convex pattern including at least one concave portion and at least one convex portion is formed, and a recess portion recessed at a part of the convex portion is formed at the convex portion.

SYSTEM AND METHOD FOR MONITORING A BATTERY MANUFACTURING PROCESS

NºPublicación:  EP4723270A2 08/04/2026
Solicitante: 
LG ENERGY SOLUTION LTD [KR]
EP_4723270_PA

Resumen de: EP4723270A2

0001 A monitoring system of monitoring a battery manufacturing process is provided. The system includes: a first server configured for storing a first coordinate-related data set in which coordinate data indicating lengthwise positions on an electrode are associated with inspection data and/or measurement data obtained from the positions of the electrode being subject to a plurality of manufacturing sub-processes, and an identification data set including an electrode identifier, ID, identifying a respective sectional electrode that has been obtained by cutting off a lengthwise section from the electrode, a memory storing instructions, and at least one processor configured to execute the instructions stored in the memory to perform operations of: 1) associating an electrode ID selected from the identification data set with the coordinate data of the first coordinate-related data set representing the lengthwise section of the electrode from which the sectional electrode identified by the electrode ID has been obtained, and 2) generating monitoring data on the battery manufacturing process based on the coordinate data associated with the electrode ID.

SECONDARY BATTERY

NºPublicación:  EP4723248A1 08/04/2026
Solicitante: 
TERAWATT TECH K K [JP]
EP_4723248_PA

Resumen de: EP4723248A1

0001 There is provided a technique for improving the usefulness of a secondary battery. The secondary battery includes a positive electrode 10, a first separator 30A disposed on a side of one surface of the positive electrode 10, and a first negative electrode 20A disposed to be spaced apart from the positive electrode 10 in a lamination direction with the first separator 30A interposed therebetween, where the first negative electrode 20A includes a first current collector 22A, the first current collector 22A is configured with a first resin layer 220A sandwiched between a pair of first conductive layers 222A, and the pair of first conductive layers 222A each have a thickness of 0.3 µm or more and less than 1.9 µm.

NON-AQUEOUS ELECTROLYTE SECONDARY BATTERY

NºPublicación:  EP4723203A1 08/04/2026
Solicitante: 
PANASONIC IP MAN CO LTD [JP]
EP_4723203_PA

Resumen de: EP4723203A1

A nonaqueous electrolyte secondary battery (10) comprises a wound-type electrode body (14) and a non-aqueous electrolyte. A negative electrode (12) has: a negative electrode current collector (30); a first negative electrode active material layer (31) provided on a first surface of the negative electrode current collector (30) facing the inner side of the electrode body (14); and a second negative electrode active material layer (32) provided on a second surface of the negative electrode current collector (30) facing the outer side of the electrode body (14). Each of the negative electrode active material layers has a density of 1.3 g/cm3 or more, and contains silicon or a silicon-containing material, and carboxymethyl cellulose or a salt thereof. The first etherification degree (DS1) of carboxymethyl cellulose or a salt thereof contained in the first negative electrode active material layer (31) is greater than the second etherification degree (DS2) of carboxymethyl cellulose or a salt thereof contained in the second negative electrode active material layer (32).

POWER STORAGE DEVICE

NºPublicación:  EP4723264A1 08/04/2026
Solicitante: 
PANASONIC IP MAN CO LTD [JP]
EP_4723264_PA

Resumen de: EP4723264A1

0001 This power storage device comprises: an electrode body (14) in which a positive electrode (11), a negative electrode (12), and a separator (13) are wound; a polygonal cylindrical case (20) that has a polygonal cylindrical part and an opening at one end of the cylindrical part, and in which the electrode body (14) and an electrolytic solution are accommodated; and a rectangular sealing body (30) that closes the opening of the case (20). A first holding member (41) is interposed between the case (20) and the upper end portion in the axial direction of the electrode body (14). The first holding member (41) has a wall part (41B) positioned in a corner space between the electrode body (14) and a corner portion of the cylindrical part.

USE OF LIQUID COMPOSITIONS OF CARBON FILLERS

NºPublicación:  EP4721153A1 08/04/2026
Solicitante: 
ARKEMA FRANCE [FR]
US_2025360356_PA

Resumen de: US2025360356A1

In a first step, a time series of images are resized to a smaller dimension, and the smaller images are fed into a first classifier that is trained to classify as a ball any objects in the smaller images that resemble a ball. In a second step, the smaller images are mapped back to the series of images, and regions in the series of images that contain the mapped ball are cropped from the series of images. The mapped ball is shifted based on a velocity of the mapped ball in the cropped regions, and the second classifier regresses center coordinates and a radius of the shifted ball, classifies whether the shifted ball is the ball based on a confidence score, and updates the shifted ball in the cropped regions based on the regressed center coordinates and radius.

POSITIVE ELECTRODE FOR SECONDARY BATTERY, SECONDARY BATTERY, AND POSITIVE ELECTRODE MIXTURE SLURRY

NºPublicación:  EP4723199A1 08/04/2026
Solicitante: 
PANASONIC IP MAN CO LTD [JP]
EP_4723199_PA

Resumen de: EP4723199A1

A positive electrode for secondary batteries includes a positive electrode current collector, and a positive electrode mixture layer disposed on a surface of the positive electrode current collector. The positive electrode mixture layer contains a positive electrode active material, a conductive agent, and a dispersant. The positive electrode active material contains 0.1 mass% or more of LiOH and 0.1 mass% or more of Li2CO3, and includes a first metal composite oxide having a first particle size distribution, and a second composite metal oxide having a second particle size distribution. A volume-based median diameter D1 of the first metal composite oxide and a volume-based median diameter D2 of the second metal composite oxide satisfy D1 > D2. The dispersant includes a nitrile resin, and a polyvinylpyrrolidone resin.

BATTERY SYSTEM AND CONTROL METHOD USING SAME

NºPublicación:  EP4723294A1 08/04/2026
Solicitante: 
LG ENERGY SOLUTION LTD [KR]
EP_4723294_PA

Resumen de: EP4723294A1

A battery system according to an embodiment of the present disclosure comprises: a battery cell that stores and supplies energy through charging and discharging, a sensing unit that collects status information of the battery cell, a cooling device that performs heat dissipation of the battery cell, and a BMS that controls the operation of the cooling device based on the status information collected from the sensing unit, wherein the cooling device includes a coolant for cooling the battery cell and a heat exchange unit for cooling the coolant, and wherein if it is determined that a fire has occurred in the battery cell, the heat exchange unit operates under a first condition or a second condition based on the status information.

BATTERY CELL, BATTERY AND ELECTRICAL APPARATUS

NºPublicación:  EP4723343A1 08/04/2026
Solicitante: 
CONTEMPORARY AMPEREX TECHNOLOGY CO LTD [CN]
EP_4723343_PA

Resumen de: EP4723343A1

The present application provides a battery cell, a battery, and an electric apparatus, and pertains to the field of battery technology. The battery cell includes a housing, a pressure relief mechanism, and a first shielding member. The housing has a wall portion, and along a thickness direction of the wall portion, the wall portion has a first surface facing away from an interior of the housing, the first surface is provided with a groove, and a groove bottom surface of the groove is provided with a pressure relief hole. The pressure relief mechanism is disposed in the pressure relief hole, and the pressure relief mechanism is configured to release an internal pressure of the battery cell. The first shielding member is connected to the first surface and covers the groove. With the first shielding member provided on the first surface, and the first shielding member covering the groove, the first shielding member can shield the groove, mitigating the entry of impurities or electrolyte into the groove. This helps reduce the accumulation of impurities or electrolyte in the groove, thereby reducing corrosion of the pressure relief mechanism caused by impurities or electrolyte accumulated in the groove entering the pressure relief hole, and facilitating the improvement of the use reliability and service life of the battery cell.

PRE-DOPING AGENT FOR POWER STORAGE DEVICE AND METHOD FOR PRODUCING SAME

NºPublicación:  EP4723242A1 08/04/2026
Solicitante: 
TAYCA CORP [JP]
EP_4723242_PA

Resumen de: EP4723242A1

A pre-doping agent for a power storage device, the pre-doping agent comprising, as a main component, a lithium iron oxide represented by the following formula (1), wherein the pre-doping agent exhibits an intensity ratio (I16.7/I23.6) of less than 40% between diffraction peak intensity at a diffraction angle (2θ) of 16.7 ± 0.5° (116.7) and diffraction peak intensity at a diffraction angle (2θ) of 23.6 ± 0.5° (123.6) in X-ray diffraction measurement. This configuration provides a pre-doping agent for a power storage device, the pre-doping agent being capable of preventing reduction in energy density in power storage devices in combination with achieving reduced production cost, being capable of preventing the decomposition of electrolytic solutions through allowing pre-doping with lithium ions at lower charging voltages, and having a very high irreversible capacity. Li5FexOy (1) wherein x satisfies 0.6 ≤ x < 1.0, and y satisfies 3.4 ≤ y < 4.0.

COMPOSITE PARTICLES AND METHODS OF MANUFACTURE THEREOF

NºPublicación:  EP4721154A1 08/04/2026
Solicitante: 
ASPEN AEROGELS INC [US]
US_2025360356_PA

Resumen de: US2025360356A1

In a first step, a time series of images are resized to a smaller dimension, and the smaller images are fed into a first classifier that is trained to classify as a ball any objects in the smaller images that resemble a ball. In a second step, the smaller images are mapped back to the series of images, and regions in the series of images that contain the mapped ball are cropped from the series of images. The mapped ball is shifted based on a velocity of the mapped ball in the cropped regions, and the second classifier regresses center coordinates and a radius of the shifted ball, classifies whether the shifted ball is the ball based on a confidence score, and updates the shifted ball in the cropped regions based on the regressed center coordinates and radius.

SLURRY FOR FORMING POSITIVE ELECTRODE OF NON-AQUEOUS ELECTROLYTE SECONDARY BATTERY, POSITIVE ELECTRODE SHEET, AND NON-AQUEOUS ELECTROLYTE SECONDARY BATTERY

NºPublicación:  EP4723206A1 08/04/2026
Solicitante: 
FUJIFILM CORP [JP]
EP_4723206_PA

Resumen de: EP4723206A1

0001 Provided are a slurry for forming a positive electrode, containing a positive electrode active material, an electrolyte, and a dispersion medium, in which the positive electrode active material includes a large particle group A having a particle diameter of 5.0 µm or more and a small particle group B having a particle diameter of less than 5.0 µm, in a number-based particle size distribution of the positive electrode active material, in a case where a total frequency is set to 100%, a frequency of the large particle group A is 60% or more and a frequency of the small particle group B is 40% or less, and a liquid absorption amount ηB (g/100 g) of the dispersion medium per 100 g of the small particle group B satisfies an expression B1: 15 ≤ ηB ≤ 30; a positive electrode sheet including a positive electrode active material layer formed of the slurry for forming a positive electrode; and a non-aqueous electrolytic solution secondary battery incorporating the positive electrode sheet as a positive electrode.

PROCESS FOR PRODUCING LITHIUM-CONTAINING MIXED METAL OXIDE MATERIAL

NºPublicación:  EP4721156A1 08/04/2026
Solicitante: 
ALBEMARLE CORP [US]
US_2025360356_PA

Resumen de: US2025360356A1

In a first step, a time series of images are resized to a smaller dimension, and the smaller images are fed into a first classifier that is trained to classify as a ball any objects in the smaller images that resemble a ball. In a second step, the smaller images are mapped back to the series of images, and regions in the series of images that contain the mapped ball are cropped from the series of images. The mapped ball is shifted based on a velocity of the mapped ball in the cropped regions, and the second classifier regresses center coordinates and a radius of the shifted ball, classifies whether the shifted ball is the ball based on a confidence score, and updates the shifted ball in the cropped regions based on the regressed center coordinates and radius.

CONTROL CIRCUIT, CONTROL SYSTEM AND VEHICLE

NºPublicación:  EP4723412A1 08/04/2026
Solicitante: 
CONTEMPORARY AMPEREX TECHNOLOGY CO LTD [CN]
EP_4723412_PA

Resumen de: EP4723412A1

0001 Disclosed in the present application are a control circuit, a control system, and a transportation device. The control circuit is configured to control connection or disconnection of a target loop after being connected to the target loop. The control circuit includes: a current detection unit, where the current detection unit is configured to: when being connected to a battery, output a first type signal when detecting that the battery has an overcurrent or a short circuit; and a driver circuit, where an input terminal of the driver circuit is connected to a signal output terminal of the current detection unit, an output terminal of the driver circuit is configured to connect to a safety module in the target loop, and the driver circuit is configured to output, in response to receiving the first type signal transmitted from the current detection unit, a drive signal to drive the safety module to be disconnected, where the target loop is a loop in the battery or a loop in a device in which the battery is located.

A FLEXIBLE INSULATING MEMBER

NºPublicación:  EP4720386A1 08/04/2026
Solicitante: 
CABOT CORP [US]
EP_1000000_PA

Resumen de: EP1000000A1

The invention relates to an apparatus (1) for manufacturing green bricks from clay for the brick manufacturing industry, comprising a circulating conveyor (3) carrying mould containers combined to mould container parts (4), a reservoir (5) for clay arranged above the mould containers, means for carrying clay out of the reservoir (5) into the mould containers, means (9) for pressing and trimming clay in the mould containers, means (11) for supplying and placing take-off plates for the green bricks (13) and means for discharging green bricks released from the mould containers, characterized in that the apparatus further comprises means (22) for moving the mould container parts (4) filled with green bricks such that a protruding edge is formed on at least one side of the green bricks.

METHOD

NºPublicación:  EP4720354A1 08/04/2026
Solicitante: 
WATERCYCLE TECH LTD [GB]
US_2025360356_PA

Resumen de: US2025360356A1

In a first step, a time series of images are resized to a smaller dimension, and the smaller images are fed into a first classifier that is trained to classify as a ball any objects in the smaller images that resemble a ball. In a second step, the smaller images are mapped back to the series of images, and regions in the series of images that contain the mapped ball are cropped from the series of images. The mapped ball is shifted based on a velocity of the mapped ball in the cropped regions, and the second classifier regresses center coordinates and a radius of the shifted ball, classifies whether the shifted ball is the ball based on a confidence score, and updates the shifted ball in the cropped regions based on the regressed center coordinates and radius.

METHOD OF REMOVING ONE OR MORE TARGET IMPURITIES FROM CRUDE FLUOROSULFONYLIMIDE COMPOUND

NºPublicación:  EP4719979A1 08/04/2026
Solicitante: 
SPECIALTY OPERATIONS FRANCE [FR]
EP_1000000_PA

Resumen de: EP1000000A1

The invention relates to an apparatus (1) for manufacturing green bricks from clay for the brick manufacturing industry, comprising a circulating conveyor (3) carrying mould containers combined to mould container parts (4), a reservoir (5) for clay arranged above the mould containers, means for carrying clay out of the reservoir (5) into the mould containers, means (9) for pressing and trimming clay in the mould containers, means (11) for supplying and placing take-off plates for the green bricks (13) and means for discharging green bricks released from the mould containers, characterized in that the apparatus further comprises means (22) for moving the mould container parts (4) filled with green bricks such that a protruding edge is formed on at least one side of the green bricks.

NON-AQUEOUS ELECTROLYTE SECONDARY BATTERY

NºPublicación:  EP4723186A1 08/04/2026
Solicitante: 
PANASONIC IP MAN CO LTD [JP]
EP_4723186_PA

Resumen de: EP4723186A1

0001 A non-aqueous electrolyte secondary battery (10) comprises a negative electrode (12) that includes: a negative electrode current collector (30); a first negative electrode active material layer (31) provided on the negative electrode current collector (30); and a second negative electrode active material layer (32) provided on the negative electrode current collector (30) with the first negative electrode active material layer (31) interposed therebetween. The ratio (S2/S1) of the interparticle void fractions of the active material layers is 1.1 to 2.0, and the ratio (D2/D1) of the densities of the active material layers is 0.9 to 1.1. The degree of etherification of carboxymethyl cellulose or a salt thereof contained in the active material layers is 0.7 to 1.8.

POSITIVE ELECTRODE FOR NONAQUEOUS ELECTROLYTE SECONDARY BATTERY, AND NONAQUEOUS ELECTROLYTE SECONDARY BATTERY

NºPublicación:  EP4723194A1 08/04/2026
Solicitante: 
PANASONIC IP MAN CO LTD [JP]
EP_4723194_PA

Resumen de: EP4723194A1

A positive electrode (11) for a nonaqueous electrolyte secondary battery according to one embodiment of the present disclosure is characterized by comprising, as a positive electrode mixture layer, a positive electrode active material and an electroconductive auxiliary agent, and is characterized in that: the positive electrode active material includes a lithium-containing transition metal composite oxide having a layered structure, and a sulfonic acid compound which is present on the surfaces of the particles of lithium-containing transition metal composite oxide; the sulfonic acid compound is represented by formula (I); and the electroconductive auxiliary agent includes at least one selected from the group consisting of carbon nanotubes having an average diameter of 20 nm or less, carbon black, and graphene having an average thickness of 50 nm or less. (In the formula, A represents a Group 1 element or a Group 2 element, R represents a hydrocarbon group, and n is 1 or 2.)

ELECTRODE ACTIVE MATERIAL, ELECTRODE, AND BATTERY

NºPublicación:  EP4723220A1 08/04/2026
Solicitante: 
PANASONIC IP MAN CO LTD [JP]
EP_4723220_PA

Resumen de: EP4723220A1

0001 An electrode active material (10) of the present disclosure includes an oxide particle (1) containing titanium and not containing lithium, and a carbon material (2). The oxide particle (1) has a plurality of pores (11) having an average pore diameter (S) of 50 nm or more and 200 nm or less. The carbon material (2) exists inside the pores (11). An electrode (100) of the present disclosure includes the electrode active material (10) and a solid electrolyte (20) in contact with the electrode active material (10). A battery (1000) of the present disclosure includes a positive electrode (200), a negative electrode (300), and an electrolyte layer (400) placed between the positive electrode (200) and the negative electrode (300). The positive electrode (200) or the negative electrode (300) includes the electrode (100).

COATING COMPOSITION, ELECTROCHEMICAL DEVICE CONTAINING SAME, AND ELECTRONIC DEVICE

NºPublicación:  EP4722302A2 08/04/2026
Solicitante: 
NINGDE AMPEREX TECHNOLOGY LTD [CN]
EP_4722302_PA

Resumen de: EP4722302A2

An coating composition includes a modified melamine salt and a binder. An endothermic temperature of the modified melamine salt is lower than an endothermic temperature of an unmodified melamine salt as characterized by a differential scanning calorimetry curve. A difference between the two endothermic temperatures is Δt, 5 °C ≤ Δt ≤ 100 °C. This configuration enables the electrochemical device to exhibit excellent high-temperature storage performance and mechanical safety performance.

STORAGE BATTERY MODULE

NºPublicación:  EP4723331A1 08/04/2026
Solicitante: 
TOSHIBA KK [JP]
EP_4723331_PA

Resumen de: EP4723331A1

To provide a storage battery module in which a module, including battery cells, accommodated inside is prevented from being deformed or damaged due to vibrations experienced by a fixing portion during operation.A storage battery module according to an embodiment is a storage battery module including: a plurality of battery cells; and a box-shaped case in which the battery cells are stored, in which the case includes a fixing surface, an upper surface facing the fixing surface, and a cover surface, a first side surface, a second side surface, and a third side surface connecting the fixing surface and the upper surface, and a lattice-truss rib including a lattice-shaped rib and a rhombus-shaped rib formed inside the lattice-shaped rib is regularly formed on outer walls of the first side surface, the second side surface, the third side surface, and the upper surface.

POSITIVE ELECTRODE FOR NON-AQUEOUS ELECTROLYTE SECONDARY BATTERIES, NON-AQUEOUS ELECTROLYTE SECONDARY BATTERY, AND METHOD FOR MANUFACTURING POSITIVE ELECTRODE FOR NON-AQUEOUS ELECTROLYTE SECONDARY BATTERIES

NºPublicación:  EP4723196A1 08/04/2026
Solicitante: 
PANASONIC IP MAN CO LTD [JP]
EP_4723196_PA

Resumen de: EP4723196A1

0001 A positive electrode (11) for non-aqueous electrolyte secondary batteries according to one aspect of the present disclosure is characterized by having a positive electrode core body and a positive electrode mixture layer formed on the surface of the positive electrode core body, and is characterized in that: the positive electrode mixture layer contains, as a positive electrode active material, a lithium-containing transition metal composite oxide having a layered structure; the lithium-containing transition metal composite oxide is in the form of secondary particles formed by aggregation of primary particles; a sulfonic acid compound represented by formula (I) is present on the surface of each of the secondary particles; and the positive electrode mixture layer includes a first compound containing at least one element of Ca and Sr, and a second compound containing P, or includes a phosphoric acid salt containing at least one element of Ca and Sr. (In the formula, A represents a group 1 element or a group 2 element, R represents a hydrocarbon group, and n is 1 or 2.)

POSITIVE ELECTRODE FOR NONAQUEOUS ELECTROLYTE SECONDARY BATTERY, AND NONAQUEOUS ELECTROLYTE SECONDARY BATTERY

NºPublicación:  EP4723195A1 08/04/2026
Solicitante: 
PANASONIC IP MAN CO LTD [JP]
EP_4723195_PA

Resumen de: EP4723195A1

0001 A positive electrode (11) for a nonaqueous electrolyte secondary battery according to one embodiment of the present disclosure has a positive electrode core body (30), and a positive electrode mixture layer (31) formed on the surface of the positive electrode core body, the positive electrode being characterized in that: the positive electrode mixture layer (31) includes a lithium-containing transition metal composite oxide as a positive electrode active material; a sulfonic acid compound represented by formula (I) is present on the particle surface of the lithium-containing transition metal composite oxide; and when the positive electrode mixture layer (31) is divided into two equal parts in the thickness direction, a region on the positive electrode core body (30) side of the positive electrode mixture layer (31) is defined as a first region (31a), and a region on the front surface side of the positive electrode mixture layer (31) is defined as a second region (31b), the content of the sulfonic acid compound in the second region (31b) is greater than the content of the sulfonic acid compound in the first region (31a). (In the formula, A represents a Group 1 element or a Group 2 element, R represents a hydrocarbon group, and n is 1 or 2.)

POSITIVE ELECTRODE ACTIVE MATERIAL AND PREPARATION METHOD THEREFOR, POSITIVE ELECTRODE SHEET, BATTERY AND ELECTRIC DEVICE

NºPublicación:  EP4723239A1 08/04/2026
Solicitante: 
CONTEMPORARY AMPEREX TECHNOLOGY CO LTD [CN]
EP_4723239_PA

Resumen de: EP4723239A1

A positive electrode active material, a method for preparing a positive electrode active material, a positive electrode plate, a battery, and a power consuming apparatus. The positive electrode active material includes a core and a first coating layer. The core includes NaxRy(PO4)z(P2O7)k. 1≤x≤7. 1≤y≤4. 1≤z≤4. 1≤k≤4. R includes at least one of Mg, Al, Sc, Ti, V, Cr, Mn, Fe, Co, Ni, Cu, Zn, Zr, Nb, Mo, Sn, Hf, Ta, W, or Pb. The first coating layer is formed on at least a part of the core. The first coating layer includes MaOb. M includes at least one of Ca, Bi, Ba, Ti, Al, Nb, Mg, Fe, Cu, Zn, Mn, Ni, or Co. 1≤a≤7. 1≤b≤12.

BUSBAR ASSEMBLY AND BATTERY PACK INCLUDING SAME

NºPublicación:  EP4723361A1 08/04/2026
Solicitante: 
LG ENERGY SOLUTION LTD [KR]
EP_4723361_PA

Resumen de: EP4723361A1

A busbar assembly according to one embodiment of the present disclosure comprises: a busbar; an insulating member that surrounds an outer surface of the busbar; and a foamed silicone part located between the outer surface of the busbar and the insulating member, wherein both end parts of the insulating member are spaced apart from each other, so that the foamed silicone part is exposed to the outside between the end parts of the insulating member.

POSITIVE ELECTRODE FOR NONAQUEOUS ELECTROLYTE SECONDARY BATTERIES, AND NONAQUEOUS ELECTROLYTE SECONDARY BATTERY

NºPublicación:  EP4723193A1 08/04/2026
Solicitante: 
PANASONIC IP MAN CO LTD [JP]
EP_4723193_PA

Resumen de: EP4723193A1

0001 A positive electrode (11) for nonaqueous electrolyte secondary batteries according to one embodiment of the present disclosure is characterized in that: the positive electrode (11) has a positive electrode core body (30) and a positive electrode mixture layer (31) that is formed on the surface of the positive electrode core body (30); the positive electrode mixture layer (31) contains a lithium-containing transition metal composite oxide as a positive electrode active material; a sulfonic acid compound represented by formula (I) is present on the surfaces of particles of the lithium-containing transition metal composite oxide; and if the positive electrode mixture layer (31) is divided into two equal parts in the thickness direction, and the region on the positive electrode core body (30) side of the positive electrode mixture layer (31) is defined as a first region (31a) and the region on the front surface side of the positive electrode mixture layer (31) is defined as a second region (31b), the content of the sulfonic acid compound in the first region (31a) is greater than the content of the sulfonic acid compound in the second region (31b). (In the formula, A represents a group 1 element or a group 2 element, R represents a hydrocarbon group, and n is 1 or 2.)

COMPOSITE PARTICLES FOR NEGATIVE ELECTRODE MATERIAL, AND SECONDARY BATTERY

NºPublicación:  EP4723218A1 08/04/2026
Solicitante: 
PANASONIC IP MAN CO LTD [JP]
EP_4723218_PA

Resumen de: EP4723218A1

A composite particle 10 for a negative electrode material according to the present disclosure, includes: a carbon phase 1; and silicon particles 2 dispersed in the carbon phase 1, wherein in an X-ray diffraction pattern obtained by X-ray diffraction measurement using Cu-Kα radiation, a full width at half maximum of an X-ray diffraction peak derived from a Si(111) plane is 0.1° or more and less than 0.75°, and an average value of aspect ratios of the silicon particles 2 is 1.0 or more and 1.6 or less.

SUPPORT ASSEMBLY, WIRE HARNESS INTEGRATED ASSEMBLY, AND BATTERY MODULE

NºPublicación:  EP4723332A1 08/04/2026
Solicitante: 
EVE ENERGY CO LTD [CN]
EP_4723332_PA

Resumen de: EP4723332A1

A support assembly (110), a wire harness integrated assembly (100), and a battery module (10). The support assembly (110) comprises an insulating plate (111) and a positioning support (112); the insulating plate (111) is provided with a mounting surface (1111), a first relief hole (1112) is provided on the insulating plate, and the insulating plate (111) has two opposite side surfaces (1113) in a first direction (X); the positioning support (112) is provided on the side of the insulating plate (111) facing away from the mounting surface (1111), a second relief hole (1121) is provided on the positioning support (112), and the positioning support (112) extends to a side surface of the insulating plate (111) in the first direction and is provided with a barrier portion (1122) so as to separate a connecting assembly (120) and an end plate (300).

POSITIVE ELECTRODE ACTIVE MATERIAL FOR NON-AQUEOUS ELECTROLYTE SECONDARY BATTERY, POSITIVE ELECTRODE FOR NON-AQUEOUS ELECTROLYTE SECONDARY BATTERY, AND NON-AQUEOUS ELECTROLYTE SECONDARY BATTERY

NºPublicación:  EP4723225A1 08/04/2026
Solicitante: 
PANASONIC IP MAN CO LTD [JP]
EP_4723225_A1

Resumen de: EP4723225A1

Provided is a non-aqueous electrolyte secondary battery in which reaction resistance is reduced while improving exposure resistance. A positive electrode active material for a non-aqueous electrolyte secondary battery according to the present invention contains: a lithium transition metal composite oxide; and a sulfonic acid compound that is present on the surface of the lithium transition metal composite oxide and is represented by general formula I. When the lithium transition metal composite oxide is added to an alkali solution and subsequently distilled, the distillate is absorbed by sulfuric acid, and the result is analyzed by ion chromatography, a predetermined amount of ammonia is detected. When a filtrate of an aqueous dispersion of the lithium transition metal composite oxide is titrated with hydrochloric acid, the acid consumption amount to a first inflection point of a pH curve is defined as X mol/g, and the acid consumption amount to a second inflection point is defined as Y mol/g, Y - X and X - (Y - X) are each within a predetermined range. (In the formula, A represents a group 1 element or a group 2 element, R represents a hydrocarbon group, and n is 1 or 2.)

SECONDARY BATTERY AND ELECTRONIC DEVICE

NºPublicación:  EP4723217A2 08/04/2026
Solicitante: 
NINGDE AMPEREX TECHNOLOGY LTD [CN]
EP_4723217_A2

Resumen de: EP4723217A2

A secondary battery, including a negative electrode plate and an electrolyte, where the negative electrode plate includes a negative electrode active material layer. The negative electrode active material layer includes graphite and a silicon-carbon material, and an average sphericity of the silicon-carbon material is 0.81 to 0.95. The electrolyte includes ethylene carbonate, propylene carbonate, ethyl propionate and propyl propionate, where based on a mass of the electrolyte, a mass percentage of the ethylene carbonate is a%, a mass percentage of the propylene carbonate is b%, a mass percentage of the ethyl propionate is c%, a mass percentage of the propyl propionate is d%, and (a+b)/(c+d) is in a range of 0.23 to 1.51.

POSITIVE ELECTRODE ACTIVE MATERIAL FOR NON-AQUEOUS ELECTROLYTE SECONDARY BATTERY AND NON-AQUEOUS ELECTROLYTE SECONDARY BATTERY

NºPublicación:  EP4723227A1 08/04/2026
Solicitante: 
PANASONIC IP MAN CO LTD [JP]
EP_4723227_PA

Resumen de: EP4723227A1

0001 Provided is a positive electrode active material that enables an improvement in durability of a non-aqueous electrolyte secondary battery. This positive electrode active material included in a non-aqueous electrolyte secondary battery comprises a lithium transition metal composite oxide. The lithium transition metal composite oxide contains Ni, Ca, and Sr, and contains secondary particles that are formed by agglutination of primary particles. In an element concentration distribution of a cross-section of the lithium transition metal composite oxide as determined using time-of-flight secondary ion mass spectrometry, the ratio I/I of the normalized intensity I of Sr in the surfaces of the secondary particles to the normalized intensity I of Sr inside the secondary particles is greater than the ratio I/I of the normalized intensity I of Ca in the surfaces of the secondary particles to the normalized intensity I of Ca inside the secondary particles.

ELECTRICAL ENERGY STORAGE UNIT

NºPublicación:  EP4721228A1 08/04/2026
Solicitante: 
COMMISSARIAT ENERGIE ATOMIQUE [FR]
EP_1000000_PA

Resumen de: EP1000000A1

The invention relates to an apparatus (1) for manufacturing green bricks from clay for the brick manufacturing industry, comprising a circulating conveyor (3) carrying mould containers combined to mould container parts (4), a reservoir (5) for clay arranged above the mould containers, means for carrying clay out of the reservoir (5) into the mould containers, means (9) for pressing and trimming clay in the mould containers, means (11) for supplying and placing take-off plates for the green bricks (13) and means for discharging green bricks released from the mould containers, characterized in that the apparatus further comprises means (22) for moving the mould container parts (4) filled with green bricks such that a protruding edge is formed on at least one side of the green bricks.

POSITIVE ELECTRODE ACTIVE MATERIAL FOR NONAQUEOUS ELECTROLYTE SECONDARY BATTERIES, AND NONAQUEOUS ELECTROLYTE SECONDARY BATTERY

NºPublicación:  EP4723226A1 08/04/2026
Solicitante: 
PANASONIC IP MAN CO LTD [JP]
EP_4723226_PA

Resumen de: EP4723226A1

The present invention provides a positive electrode active material for nonaqueous electrolyte secondary batteries, the positive electrode active material being capable of improving the initial efficiency. This positive electrode active material for nonaqueous electrolyte secondary batteries, which is contained in a nonaqueous electrolyte secondary battery, comprises a lithium transition metal composite oxide and a sulfonic acid compound that is present on the surface of the lithium transition metal composite oxide. The lithium transition metal composite oxide is a secondary particle that has a layered structure and contains 75% by mole or more of Ni with respect to the total number of moles of metal elements excluding Li. In the element concentration distribution of a cross-section of the secondary particle as determined using time-of-flight secondary ion mass spectrometry, the Gini coefficient on the secondary particle surface of SO3- is 0.7 or less. (In the formula, A represents a group 1 element or a group 2 element; R represents a hydrocarbon group; and n is 1 or 2.)

MODULE TO MODULE CONNECTOR

NºPublicación:  EP4721195A1 08/04/2026
Solicitante: 
A RAYMOND ET CIE [FR]
EP_1000000_PA

Resumen de: EP1000000A1

The invention relates to an apparatus (1) for manufacturing green bricks from clay for the brick manufacturing industry, comprising a circulating conveyor (3) carrying mould containers combined to mould container parts (4), a reservoir (5) for clay arranged above the mould containers, means for carrying clay out of the reservoir (5) into the mould containers, means (9) for pressing and trimming clay in the mould containers, means (11) for supplying and placing take-off plates for the green bricks (13) and means for discharging green bricks released from the mould containers, characterized in that the apparatus further comprises means (22) for moving the mould container parts (4) filled with green bricks such that a protruding edge is formed on at least one side of the green bricks.

POUCH CELL

NºPublicación:  EP4723341A1 08/04/2026
Solicitante: 
LG ENERGY SOLUTION LTD [KR]
EP_4723341_PA

Resumen de: EP4723341A1

0001 The present disclosure relates to a pouch cell for preventing or reducing the ingress of external moisture into a pouch through an area where gas inside the pouch is released to the atmosphere. The pouch cell according to the present disclosure includes an electrode assembly including a positive electrode, a negative electrode and a separator, a pouch accommodating the electrode assembly and having a hole, and a gas release film attached to the pouch to cover the hole and configured to allow gas to pass through, wherein the pouch includes a gas release portion having the hole and an outer packaging portion connected to the gas release portion, and wherein the gas release portion and the outer packaging portion have a stepped shape with each other.

LITHIUM SECONDARY BATTERY, AND BATTERY MODULE AND BATTERY PACK INCLUDING SAME

NºPublicación:  EP4723249A1 08/04/2026
Solicitante: 
LG ENERGY SOLUTION LTD [KR]
EP_4723249_PA

Resumen de: EP4723249A1

A lithium secondary battery according to the present invention includes: an electrode assembly having a structure in which a plurality of electrodes and a plurality of separators are alternately stacked; and a battery case for receiving the electrode assembly, wherein the electrodes include an electrode current collector and an electrode active material layer disposed on the electrode current collector, and at least one of the plurality of electrode current collectors includes a glass layer, a first metal layer disposed on one surface of the glass layer, and a second metal layer disposed on the other surface of the glass layer.

CELLULAR BATTERY WITH ONE OR MORE NON-DISRUPTIVE SWITCHING DEVICES, FOR A BATTERY ASSEMBLY OF A SYSTEM

NºPublicación:  EP4721229A1 08/04/2026
Solicitante: 
STELLANTIS AUTO SAS [FR]
EP_1000000_PA

Resumen de: EP1000000A1

The invention relates to an apparatus (1) for manufacturing green bricks from clay for the brick manufacturing industry, comprising a circulating conveyor (3) carrying mould containers combined to mould container parts (4), a reservoir (5) for clay arranged above the mould containers, means for carrying clay out of the reservoir (5) into the mould containers, means (9) for pressing and trimming clay in the mould containers, means (11) for supplying and placing take-off plates for the green bricks (13) and means for discharging green bricks released from the mould containers, characterized in that the apparatus further comprises means (22) for moving the mould container parts (4) filled with green bricks such that a protruding edge is formed on at least one side of the green bricks.

SYSTEM FOR REMOVABLY ATTACHING AND ELECTRICALLY CONNECTING AN ENERGY STORAGE ELEMENT

NºPublicación:  EP4721180A1 08/04/2026
Solicitante: 
AMPERE SAS [FR]
EP_1000000_PA

Resumen de: EP1000000A1

The invention relates to an apparatus (1) for manufacturing green bricks from clay for the brick manufacturing industry, comprising a circulating conveyor (3) carrying mould containers combined to mould container parts (4), a reservoir (5) for clay arranged above the mould containers, means for carrying clay out of the reservoir (5) into the mould containers, means (9) for pressing and trimming clay in the mould containers, means (11) for supplying and placing take-off plates for the green bricks (13) and means for discharging green bricks released from the mould containers, characterized in that the apparatus further comprises means (22) for moving the mould container parts (4) filled with green bricks such that a protruding edge is formed on at least one side of the green bricks.

PROCESS FOR RECOVERY OF BATTERY CATHODE METAL OXIDES AND COPPER FROM THE WASTES

NºPublicación:  EP4720353A1 08/04/2026
Solicitante: 
INDIAN INSTITUTE OF TECH KHARAGPUR [IN]
EP_1000000_PA

Resumen de: EP1000000A1

The invention relates to an apparatus (1) for manufacturing green bricks from clay for the brick manufacturing industry, comprising a circulating conveyor (3) carrying mould containers combined to mould container parts (4), a reservoir (5) for clay arranged above the mould containers, means for carrying clay out of the reservoir (5) into the mould containers, means (9) for pressing and trimming clay in the mould containers, means (11) for supplying and placing take-off plates for the green bricks (13) and means for discharging green bricks released from the mould containers, characterized in that the apparatus further comprises means (22) for moving the mould container parts (4) filled with green bricks such that a protruding edge is formed on at least one side of the green bricks.

BATTERY

NºPublicación:  EP4723358A1 08/04/2026
Solicitante: 
PANASONIC IP MAN CO LTD [JP]
EP_4723358_PA

Resumen de: EP4723358A1

0001 A disclosed battery 10 includes a bottomed cylindrical case 12 having an opening at one end, an electrode group 11 housed in the case 12 and including a first electrode and a second electrode 11a, a sealing cap 13 that seals the opening, and a plurality of first tabs 16 each electrically connected to the first electrode and each connected to the sealing cap 13 by welding. In the above configuration, the number of person-hours for manufacturing can be reduced.

SILICON-CONTAINING COMPOSITE PARTICLES

NºPublicación:  EP4719983A1 08/04/2026
Solicitante: 
NEXEON LTD [GB]
EP_1000000_PA

Resumen de: EP1000000A1

The invention relates to an apparatus (1) for manufacturing green bricks from clay for the brick manufacturing industry, comprising a circulating conveyor (3) carrying mould containers combined to mould container parts (4), a reservoir (5) for clay arranged above the mould containers, means for carrying clay out of the reservoir (5) into the mould containers, means (9) for pressing and trimming clay in the mould containers, means (11) for supplying and placing take-off plates for the green bricks (13) and means for discharging green bricks released from the mould containers, characterized in that the apparatus further comprises means (22) for moving the mould container parts (4) filled with green bricks such that a protruding edge is formed on at least one side of the green bricks.

ELECTRONIC DEVICE AND OPERATION METHOD THEREOF

NºPublicación:  EP4723425A1 08/04/2026
Solicitante: 
SAMSUNG ELECTRONICS CO LTD [KR]
EP_4723425_PA

Resumen de: EP4723425A1

0001 This electronic device may comprise: a connector for a connection to an external power source; a charging circuit for converting the power provided through the connector; a battery for receiving the power through the charging circuit; and a controller operatively and/or electrically connected to the charging circuit. The controller can be configured to: identify information related to charging; identify a first voltage conversion ratio of the charging circuit on the basis of the information related to charging; control the charging circuit so as to convert, on the basis of the first voltage conversion ratio, the power provided through the connector; identify, on the basis of the information related to charging, a second voltage conversion ratio that differs from the first voltage conversion ratio of the charging circuit while the battery is being charged on the basis of the first voltage conversion ratio; and control the charging circuit so as to convert, on the basis of the second voltage conversion ratio, the power provided through the connector.

ARTICLES COMPRISING ADHESIVE AND FILM SUITABLE FOR DISASSEMBLY AND METHODS

NºPublicación:  EP4719766A1 08/04/2026
Solicitante: 
3M INNOVATIVE PROPERTIES COMPANY [US]
EP_1000000_PA

Resumen de: EP1000000A1

The invention relates to an apparatus (1) for manufacturing green bricks from clay for the brick manufacturing industry, comprising a circulating conveyor (3) carrying mould containers combined to mould container parts (4), a reservoir (5) for clay arranged above the mould containers, means for carrying clay out of the reservoir (5) into the mould containers, means (9) for pressing and trimming clay in the mould containers, means (11) for supplying and placing take-off plates for the green bricks (13) and means for discharging green bricks released from the mould containers, characterized in that the apparatus further comprises means (22) for moving the mould container parts (4) filled with green bricks such that a protruding edge is formed on at least one side of the green bricks.

MULTILAYER LAMINATE COMPOSITE

NºPublicación:  EP4719768A1 08/04/2026
Solicitante: 
MATERION CORP [US]
EP_1000000_PA

Resumen de: EP1000000A1

The invention relates to an apparatus (1) for manufacturing green bricks from clay for the brick manufacturing industry, comprising a circulating conveyor (3) carrying mould containers combined to mould container parts (4), a reservoir (5) for clay arranged above the mould containers, means for carrying clay out of the reservoir (5) into the mould containers, means (9) for pressing and trimming clay in the mould containers, means (11) for supplying and placing take-off plates for the green bricks (13) and means for discharging green bricks released from the mould containers, characterized in that the apparatus further comprises means (22) for moving the mould container parts (4) filled with green bricks such that a protruding edge is formed on at least one side of the green bricks.

COMPOUND FOR ELECTROLYTE, COMPOUND FOR ELECTROLYTE ADDITIVE, ELECTROLYTE MATERIAL, ELECTROLYTE ADDITIVE, ELECTROLYTE FOR SECONDARY BATTERY, AND SECONDARY BATTERY

NºPublicación:  EP4723283A1 08/04/2026
Solicitante: 
SFC CO LTD [KR]
EP_4723283_PA

Resumen de: EP4723283A1

0001 The present disclosure relates to a compound for an electrolyte solution, a compound for an electrolyte solution additive, an electrolyte solution material, an electrolyte solution additive, an electrolyte solution for a secondary battery, and a secondary battery, and provides an electrolyte solution for a secondary battery, including a novel compound, or an isomer thereof.

BATTERY PACK AND ELECTRIC APPARATUS

NºPublicación:  EP4723339A1 08/04/2026
Solicitante: 
BYD CO LTD [CN]
EP_4723339_PA

Resumen de: EP4723339A1

0001 A battery pack (100) and an electric apparatus (1000). The battery pack (100) includes: a tray (10), in which an accommodating space (101) is formed; a separator, by means of which the accommodating space (101) is separated into at least two accommodating cavities and a clearance space is formed; at least two electrical assemblies, which are correspondingly disposed in the accommodating cavities; and an electrical connection assembly (20), which includes a first connecting member (210), a second connecting member (220) and an insulating adhesive member, wherein the first connecting member includes a first connecting end and a second connecting end, a second connecting member includes a third connecting end and a fourth connecting end, the second connecting end and the fourth connecting end are electrically connected and are coated with the insulating adhesive member, and the second connecting end, the fourth connecting end and the insulating adhesive member are accommodated in the clearance space.

CONTROLLER, ELECTRIC ASSEMBLY, DRIVING SYSTEM, AND VEHICLE

NºPublicación:  EP4722028A1 08/04/2026
Solicitante: 
BYD CO LTD [CN]
EP_4722028_PA

Resumen de: EP4722028A1

Disclosed are a controller, an electric powertrain, a drive system, and a vehicle. The controller includes a housing, a power module, and an A-line conductive component. The power module and the A-line conductive component are disposed in the housing. The power module is separately connected to a first end of a three-phase winding of a motor, a positive electrode of a positive battery pack, and a negative electrode of the battery pack. A first end of the A-line conductive component is configured to connect to a midpoint between two sub-battery packs that are connected in series in the battery pack. A second end of the A-line conductive component is configured to connect to a second end of at least one phase winding of the motor.

ADHESIVE TAPE ATTACHING DEVICE AND ADHESIVE TAPE ATTACHING METHOD

NºPublicación:  EP4723259A1 08/04/2026
Solicitante: 
CONTEMPORARY AMPEREX TECHNOLOGY CO LTD [CN]
EP_4723259_PA

Resumen de: EP4723259A1

Embodiments of this application disclose an adhesive tape attaching device and an adhesive tape attaching method. The device includes: an adhesive tape attaching assembly, where the adhesive tape attaching assembly includes a first adhesive tape attaching mechanism and a second adhesive tape attaching mechanism; and a control assembly configured to control the adhesive tape attaching assembly to move along a first direction toward a to-be-attached workpiece. The first adhesive tape attaching mechanism is configured to adhere a first portion of an adhesive tape to a region of a first wall of the to-be-attached workpiece close to a second wall of the to-be-attached workpiece, the second adhesive tape attaching mechanism is configured to adhere a second portion of the adhesive tape to a region of the second wall close to the first wall, the first portion is connected to the second portion, and the first wall intersects with the second wall. The adhesive tape attaching device and the adhesive tape attaching method provided by the embodiments of this application can improve adhesive tape attachment efficiency.

METHOD FOR OPERATING A BATTERY SYSTEM

NºPublicación:  EP4721226A1 08/04/2026
Solicitante: 
VOLKSWAGEN AG [DE]
EP_1000000_PA

Resumen de: EP1000000A1

The invention relates to an apparatus (1) for manufacturing green bricks from clay for the brick manufacturing industry, comprising a circulating conveyor (3) carrying mould containers combined to mould container parts (4), a reservoir (5) for clay arranged above the mould containers, means for carrying clay out of the reservoir (5) into the mould containers, means (9) for pressing and trimming clay in the mould containers, means (11) for supplying and placing take-off plates for the green bricks (13) and means for discharging green bricks released from the mould containers, characterized in that the apparatus further comprises means (22) for moving the mould container parts (4) filled with green bricks such that a protruding edge is formed on at least one side of the green bricks.

MODULAR SYSTEM AND METHOD FOR PRODUCING AN ELECTRICAL ENERGY STORE FOR A MOTOR VEHICLE

NºPublicación:  EP4721174A1 08/04/2026
Solicitante: 
BAYERISCHE MOTOREN WERKE AG [DE]
EP_1000000_PA

Resumen de: EP1000000A1

The invention relates to an apparatus (1) for manufacturing green bricks from clay for the brick manufacturing industry, comprising a circulating conveyor (3) carrying mould containers combined to mould container parts (4), a reservoir (5) for clay arranged above the mould containers, means for carrying clay out of the reservoir (5) into the mould containers, means (9) for pressing and trimming clay in the mould containers, means (11) for supplying and placing take-off plates for the green bricks (13) and means for discharging green bricks released from the mould containers, characterized in that the apparatus further comprises means (22) for moving the mould container parts (4) filled with green bricks such that a protruding edge is formed on at least one side of the green bricks.

FAILSAFE LIQUEFIED GAS ELECTROLYTES WITH SOLIDIFYING AGENTS

NºPublicación:  EP4721117A2 08/04/2026
Solicitante: 
SOUTH 8 TECH INC [US]
EP_1000000_PA

Resumen de: EP1000000A1

The invention relates to an apparatus (1) for manufacturing green bricks from clay for the brick manufacturing industry, comprising a circulating conveyor (3) carrying mould containers combined to mould container parts (4), a reservoir (5) for clay arranged above the mould containers, means for carrying clay out of the reservoir (5) into the mould containers, means (9) for pressing and trimming clay in the mould containers, means (11) for supplying and placing take-off plates for the green bricks (13) and means for discharging green bricks released from the mould containers, characterized in that the apparatus further comprises means (22) for moving the mould container parts (4) filled with green bricks such that a protruding edge is formed on at least one side of the green bricks.

BATTERY PACK AND ELECTRIC DEVICE

NºPublicación:  EP4723325A1 08/04/2026
Solicitante: 
EVE ENERGY CO LTD [CN]
EP_4723325_PA

Resumen de: EP4723325A1

0001 A battery pack (1) and an electric device. The battery pack (1) comprises a case (10), and a battery module (20) and a reinforcing module (12) which are located in the case (10); the battery module (20) comprises a plurality of cell groups (200); the reinforcing module (12) comprises a plurality of reinforcing beams (121); the plurality of reinforcing beams (121) are arranged at intervals in a first direction; two ends of each reinforcing beam (121) are respectively fixedly connected to the case (10); and a cell group (200) is arranged between every adjacent reinforcing beams (121). Thus, high-strength design is achieved while meeting the hardness requirements of a battery case.

CATHODE ACTIVE MATERIAL FOR LITHIUM SECONDARY BATTERY, PREPARATION METHOD THEREFOR, LITHIUM SECONDARY BATTERY COMPRISING SAME

NºPublicación:  EP4723229A1 08/04/2026
Solicitante: 
POSCO FUTURE M CO LTD [KR]
EP_4723229_PA

Resumen de: EP4723229A1

The present invention relates to a positive electrode active material for a lithium secondary battery, which is a single-particle-type nickel-containing lithium transition metal oxide, wherein the content of nickel is from 50 mol% to 70 mol% based on the total moles of transition metals, wherein the lithium transition metal oxide comprises zirconium (Zr) and yttrium (Y) as grain-growth-promoting elements, and wherein the total content of Zr and Y is from 2,500 ppm to 5,200 ppm based on the weight of the lithium transition metal oxide.

DRIVE SYSTEM AND VEHICLE

NºPublicación:  EP4723442A1 08/04/2026
Solicitante: 
BYD CO LTD [CN]
EP_4723442_PA

Resumen de: EP4723442A1

A drive system and a vehicle are provided. The drive system includes a battery pack, a motor, and a controller. The battery pack includes two sub-battery packs connected in series, an A-wire connection terminal of the battery pack with one end connected to a middle of the two sub-battery packs, a positive direct current bus connection terminal of the battery pack, and a negative direct current bus connection terminal of the battery pack. One end of at least one phase of winding of the motor is connected to the other end of the A-wire connection terminal of the battery pack. The controller includes a power module, and the power module is separately connected to the other end of the at least one phase of winding, a positive electrode of the battery pack, and a negative electrode of the battery pack. The A-wire connection terminal of the battery pack is disposed between the positive direct current bus connection terminal of the battery pack and the negative direct current bus connection terminal of the battery pack.

BATTERY HOUSING, BATTERY AND ELECTRIC DEVICE

NºPublicación:  EP4723324A1 08/04/2026
Solicitante: 
BYD CO LTD [CN]
EP_4723324_PA

Resumen de: EP4723324A1

0001 A battery housing, a battery, and an electric device are provided. The battery housing includes a housing body and a cover plate. The housing body and the cover plate are fixedly connected by using a weld portion. The welding portion includes a first weld portion. The first weld portion is simultaneously connected to at least the cover plate and an outer surface of a sidewall of the housing body.

BATTERY PACK AND VEHICLE COMPRISING SAME

NºPublicación:  EP4723355A1 08/04/2026
Solicitante: 
BYD CO LTD [CN]
EP_4723355_PA

Resumen de: EP4723355A1

A vehicle, comprising a battery pack. The battery pack comprises a case, a plurality of battery modules, and a conductive busbar. A power distribution cavity and a module cavity are defined in the case, and a total positive and a total negative are provided in the power distribution cavity. The plurality of battery modules are provided in the module cavity, the plurality of battery modules are provided with a first total connecting end, and the first total connecting end is connected to one of the total positive and the total negative. One end of the conductive busbar is connected to the plurality of battery modules, and the other end of the conductive busbar forms a second total connecting end. The second total connecting end of the conductive busbar extends into the power distribution cavity and is connected to the other one of the total positive and the total negative.

SOLID ELECTROLYTE CROSSLINKED WITH A VINYL SILOXANE CROSSLINKING AGENT

NºPublicación:  EP4721171A1 08/04/2026
Solicitante: 
IFP ENERGIES NOW [FR]
EP_1000000_PA

Resumen de: EP1000000A1

The invention relates to an apparatus (1) for manufacturing green bricks from clay for the brick manufacturing industry, comprising a circulating conveyor (3) carrying mould containers combined to mould container parts (4), a reservoir (5) for clay arranged above the mould containers, means for carrying clay out of the reservoir (5) into the mould containers, means (9) for pressing and trimming clay in the mould containers, means (11) for supplying and placing take-off plates for the green bricks (13) and means for discharging green bricks released from the mould containers, characterized in that the apparatus further comprises means (22) for moving the mould container parts (4) filled with green bricks such that a protruding edge is formed on at least one side of the green bricks.

COOLING DEVICE FOR INSTALLATION INTO A BATTERY HOUSING, BATTERY HOUSING FOR ACCOMMODATING AT LEAST ONE BATTERY COMPONENT, BATTERY HAVING A BATTERY HOUSING

NºPublicación:  EP4721173A1 08/04/2026
Solicitante: 
KAUTEX TEXTRON GMBH & CO KG [DE]
EP_1000000_PA

Resumen de: EP1000000A1

The invention relates to an apparatus (1) for manufacturing green bricks from clay for the brick manufacturing industry, comprising a circulating conveyor (3) carrying mould containers combined to mould container parts (4), a reservoir (5) for clay arranged above the mould containers, means for carrying clay out of the reservoir (5) into the mould containers, means (9) for pressing and trimming clay in the mould containers, means (11) for supplying and placing take-off plates for the green bricks (13) and means for discharging green bricks released from the mould containers, characterized in that the apparatus further comprises means (22) for moving the mould container parts (4) filled with green bricks such that a protruding edge is formed on at least one side of the green bricks.

COOLING PLATE, BATTERY PACK, AND ELECTRIC DEVICE

NºPublicación:  EP4723309A1 08/04/2026
Solicitante: 
ZHEJIANG ZEEKR INTELLIGENT TECH CO LTD [CN]
GEELY HOLDING GROUP CO LTD [CN]
EP_4723309_A1

Resumen de: EP4723309A1

A cooling plate (100), a battery pack (200), and an electric device (1000). The cooling plate (100) is provided with at least one flow channel (110); the flow channel (110) includes a first flow channel (111); the cross-sectional shape of the first flow channel (111) is non-circular. When the cooling plate (100) is subjected to external pressure, the cross-sectional shape of the first flow channel (111) changes so as to increase the volume of the first flow channel (111).

NONAQUEOUS ELECTROLYTE FOR SECONDARY BATTERY, SECONDARY BATTERY, AND ELECTRIC DEVICE

NºPublicación:  EP4723280A1 08/04/2026
Solicitante: 
CONTEMPORARY AMPEREX TECHNOLOGY CO LTD [CN]
EP_4723280_PA

Resumen de: EP4723280A1

Provided in the present application are a non-aqueous electrolyte solution for a secondary battery, a secondary battery, and an electrical apparatus. The non-aqueous electrolyte solution for a secondary battery of the present application comprises an additive and a non-aqueous solvent, wherein the non-aqueous solvent comprises a first solvent; the additive comprises a cyclic sulfate compound as shown in formula (I); and the first solvent is selected from one or more of ethylene glycol dimethyl ether, a compound as shown in formula A, and a compound as shown in formula B;

NON-AQUEOUS ELECTROLYTE, SECONDARY BATTERY, AND ELECTRIC DEVICE

NºPublicación:  EP4723281A1 08/04/2026
Solicitante: 
CONTEMPORARY AMPEREX TECHNOLOGY CO LTD [CN]
EP_4723281_PA

Resumen de: EP4723281A1

0001 Embodiments of the present application provide a non-aqueous electrolyte, a secondary battery and an electric device. The non-aqueous electrolyte comprises additives; the additives comprise a first additive and a second additive; the first additive is any one or more cyclic sulfate compounds having a structure represented by general formula (I); the second additive is an organic base additive; the organic base additive comprises any one or more of groups consisting of 5-12 membered aromatic heterocyclic organic bases or 5-12 membered aliphatic heterocyclic organic bases; ring structures in the 5-12 membered aromatic heterocyclic organic bases and the 5-12 membered aliphatic heterocyclic organic bases contain nitrogen atoms.

SECONDARY BATTERY AND ELECTRIC DEVICE

NºPublicación:  EP4723278A1 08/04/2026
Solicitante: 
CONTEMPORARY AMPEREX TECHNOLOGY CO LTD [CN]
EP_4723278_PA

Resumen de: EP4723278A1

The present application provides a secondary battery and an electrical apparatus. The secondary battery of the present application includes a negative electrode plate and a non-aqueous electrolyte solution. The negative electrode plate includes a negative electrode active material. The volume average particle size Dv50 of the negative electrode active material is 6-20 µm. The non-aqueous electrolyte solution includes an additive and a non-aqueous solvent. The additive includes a cyclic sulfate compound represented by Formula (I). The non-aqueous solvent includes ethylene carbonate.

BATTERY CELL, BATTERY, AND ELECTRIC DEVICE

NºPublicación:  EP4723347A1 08/04/2026
Solicitante: 
CONTEMPORARY AMPEREX TECHNOLOGY CO LTD [CN]
EP_4723347_A1

Resumen de: EP4723347A1

0001 The present application provides a battery cell, a battery, and an electrical device. The battery cell includes a shell and a pressure relief component. The shell has a wall portion, and the pressure relief component is arranged on the wall portion. The pressure relief component includes a first weak portion and a second weak portion, the first weak portion defines a predetermined pressure relief region, the pressure relief component is configured to be capable of cracking along at least a part of the first weak portion during pressure relief of the battery cell, and the second weak portion is configured to guide at least a part of the predetermined pressure relief region to flip over to open the at least a part of the predetermined pressure relief region. The first weak portion includes a first weak section, and the first weak section and the second weak portion are arranged at an interval in a first direction. In the first direction, a minimum distance between the first weak section and the second weak portion is L, and a cross-sectional area of the second weak portion perpendicular to its extension direction is S, meeting: 3.3 mm≤L≤48 mm, and 0.008 mm<2>≤S≤0.45 mm<2>. In this way, the battery cell is capable of achieving rapid pressure relief, and has a high reliability.

BATTERY CELL, BATTERY, AND ELECTRICAL DEVICE

NºPublicación:  EP4723349A1 08/04/2026
Solicitante: 
CONTEMPORARY AMPEREX TECHNOLOGY CO LTD [CN]
EP_4723349_PA

Resumen de: EP4723349A1

0001 Embodiments of the present application provide a battery cell, a battery, and an electrical device, which belong to the technical field of batteries. The battery cell includes a shell and a pressure relief component, where the shell includes a first wall portion, and the pressure relief component is disposed on the first wall portion. The pressure relief component is provided with a first groove, and the pressure relief component is configured to be capable of rupturing along at least part of the first groove when the battery cell undergoes pressure relief. The first groove includes at least one groove segment, a minimum width of a groove bottom surface of the groove segment being W, and along a thickness direction of the first wall portion, a minimum residual thickness of the groove segment being D<1>, satisfying: 0.005 mm<2> ≤ W×D<1> ≤ 0.12 mm<2>. It achieves a balance between the service lifetime requirements of the battery cell during normal use and the reliability requirements of the battery cell during thermal runaway.

DETECTION OF LITHIUM DEPOSITION IN A LITHIUM-ION BATTERY CELL

NºPublicación:  EP4723274A1 08/04/2026
Solicitante: 
COMMISSARIAT ENERGIE ATOMIQUE [FR]
EP_4723274_PA

Resumen de: EP4723274A1

L'invention concerne une méthode (100) pour détecter un dépôt de lithium sur une électrode négative d'une cellule d'une batterie lithium-ion lors de sa charge. La méthode comporte, pour au moins une phase CC d'un cycle de charge CC-CV de la cellule :- une collecte (110) d'une pluralité de mesures de température de surface de la cellule,- une formation (120) d'un signal de température à partir des mesures collectées,- une décomposition en modes empiriques (130) du signal de température,- une détermination (150) d'une énergie intrinsèque du signal de température, pour la phase CC considérée, à partir des composantes intrinsèques obtenues par la décomposition en modes empiriques,- une détermination (160) d'une valeur d'incidence représentative d'un risque de dépôt de lithium en fonction de l'énergie intrinsèque,- une évaluation (170) d'un critère de détection de dépôt de lithium à partir de la valeur d'incidence.

BATTERY PACK

NºPublicación:  EP4723300A1 08/04/2026
Solicitante: 
XING POWER INC [SC]
EP_4723300_PA

Resumen de: EP4723300A1

0001 An immersion-cooled battery pack(3030) includes at least one battery module(3010) having a plurality of battery cells(0020) held by a cell holder(0050) and electrically connected by battery-cell-connecting members(0026) inside a liquid-limiting casing(0080). The liquid-limiting casing(0080) provides a peripheral wall(0090) and top and bottom wall surfaces(0160, 0170) with interlocking structures(0180, 0190) for vertical stacking. Together with an interface module and a terminal or second interface module, the liquid-limiting casings(0080) form a liquid-tight battery-pack enclosure(3031) that contains thermal-management liquid. A liquid tank module(3070) acts as a buffer for liquid volume change and as an external liquid interface and is positioned above the liquid-tight battery-pack enclosure(3031) to provide a gravitational head. An electrical energy interface module(3060) relays high-voltage energy from the battery pack (3030) to a downstream load.

METHOD FOR RECYCLING POSITIVE ELECTRODE MATERIAL

NºPublicación:  EP4722396A1 08/04/2026
Solicitante: 
PRIME PLANET ENERGY & SOLUTIONS INC [JP]
EP_4722396_PA

Resumen de: EP4722396A1

0001 The present disclosure provides a new method capable of efficiently collecting Ni, Co, and Mn from battery waste containing Ni, Co, and Mn. A method for recycling a positive electrode material according to the present disclosure includes: a Mn leaching step of leaching Mn into an aqueous phase by performing ammonia leaching on battery waste containing Ni, Co, and Mn under a condition that a Mn leaching rate is 70% or more, and a ratio of the Mn leaching rate is 65% or more with respect to a total of a Ni leaching rate, a Co leaching rate, and the Mn leaching rate; and a Ni and Co leaching step of leaching Ni and Co into an aqueous phase by performing ammonia leaching on a solid residue obtained in the Mn leaching step under a condition that a Mn leaching rate is less than 1%.

POSITIVE ELECTRODE FILM, POSITIVE ELECTRODE FILM SHEET, SOLID-STATE BATTERY, ELECTRIC DEVICE, AND APPLICATION

NºPublicación:  EP4723200A1 08/04/2026
Solicitante: 
CONTEMPORARY AMPEREX TECHNOLOGY CO LTD [CN]
EP_4723200_PA

Resumen de: EP4723200A1

0001 A positive electrode film, a positive electrode film sheet, a solid-state battery, an electric apparatus, and applications thereof are provided. The positive electrode film includes a positive electrode active material layer, the positive electrode active material layer including a positive electrode active substance, a positive electrode solid electrolyte, and a conductive agent; where the positive electrode active substance includes an oxide positive electrode active substance, and the conductive agent includes a non-carbon conductive substance, the non-carbon conductive substance including at least one of elemental Se, elemental Te, and a Se/Te composite SeTe<1-x>, where 0 < x < 1.

POSITIVE ELECTRODE AND SECONDARY BATTERY INCLUDING SAME

NºPublicación:  EP4723233A1 08/04/2026
Solicitante: 
LG ENERGY SOLUTION LTD [KR]
EP_4723233_A1

Resumen de: EP4723233A1

0001 The present invention relates to a positive electrode which includes a positive electrode composite layer containing a high-nickel positive electrode active material having nickel in an amount of 80 mol% or greater in an entire metal excluding lithium, wherein A, defined by Equation (1) below, is 1 or less, and a preparation method of the positive electrode. A = 0.00076 ln − 2.435 × a / b + 268.4 × w where, in Equation (1) above, a is a length of the positive electrode composite layer measured in mm, b is a width of the positive electrode composite layer measured in mm, and w is a value of moisture content in the positive electrode measured in ppm.

NEGATIVE ELECTRODE, METHOD FOR PREPARING SAME, AND LITHIUM SECONDARY BATTERY COMPRISING SAME

NºPublicación:  EP4723204A1 08/04/2026
Solicitante: 
LG ENERGY SOLUTION LTD [KR]
EP_4723204_PA

Resumen de: EP4723204A1

0001 The present invention relates to a negative electrode having excellent rapid charging performance and swelling properties and a method for manufacturing the same, and the negative electrode of the present invention includes a negative electrode mixture layer including a Si-based negative electrode active material and a carbon-based negative electrode active material, wherein the surface of the negative electrode mixture layer has a 85° gloss of 14 to 25 in a fully-discharged state after activation.

PHYSICALLY AND ELECTRICALLY CONFIGURABLE BATTERY PACK

NºPublicación:  EP4721185A1 08/04/2026
Solicitante: 
CORVUS ENERGY INC [CA]
EP_1000000_PA

Resumen de: EP1000000A1

The invention relates to an apparatus (1) for manufacturing green bricks from clay for the brick manufacturing industry, comprising a circulating conveyor (3) carrying mould containers combined to mould container parts (4), a reservoir (5) for clay arranged above the mould containers, means for carrying clay out of the reservoir (5) into the mould containers, means (9) for pressing and trimming clay in the mould containers, means (11) for supplying and placing take-off plates for the green bricks (13) and means for discharging green bricks released from the mould containers, characterized in that the apparatus further comprises means (22) for moving the mould container parts (4) filled with green bricks such that a protruding edge is formed on at least one side of the green bricks.

ALIOVALENTLY SUBSTITUTED ARGYRODITE-TYPE SOLID ELECTROLYTES

NºPublicación:  EP4721169A1 08/04/2026
Solicitante: 
UMICORE NV [BE]
EP_1000000_PA

Resumen de: EP1000000A1

The invention relates to an apparatus (1) for manufacturing green bricks from clay for the brick manufacturing industry, comprising a circulating conveyor (3) carrying mould containers combined to mould container parts (4), a reservoir (5) for clay arranged above the mould containers, means for carrying clay out of the reservoir (5) into the mould containers, means (9) for pressing and trimming clay in the mould containers, means (11) for supplying and placing take-off plates for the green bricks (13) and means for discharging green bricks released from the mould containers, characterized in that the apparatus further comprises means (22) for moving the mould container parts (4) filled with green bricks such that a protruding edge is formed on at least one side of the green bricks.

ELECTROCHEMICAL DEVICE PROVIDED WITH A SAFETY ARRANGEMENT FOR A POUCH CELL

NºPublicación:  EP4721176A1 08/04/2026
Solicitante: 
ABB SCHWEIZ AG [CH]
EP_1000000_PA

Resumen de: EP1000000A1

The invention relates to an apparatus (1) for manufacturing green bricks from clay for the brick manufacturing industry, comprising a circulating conveyor (3) carrying mould containers combined to mould container parts (4), a reservoir (5) for clay arranged above the mould containers, means for carrying clay out of the reservoir (5) into the mould containers, means (9) for pressing and trimming clay in the mould containers, means (11) for supplying and placing take-off plates for the green bricks (13) and means for discharging green bricks released from the mould containers, characterized in that the apparatus further comprises means (22) for moving the mould container parts (4) filled with green bricks such that a protruding edge is formed on at least one side of the green bricks.

ELECTRODE PLATE LOADING SYSTEM

NºPublicación:  EP4723261A1 08/04/2026
Solicitante: 
CPS TECH HOLDINGS LLC [US]
EP_4723261_A1

Resumen de: EP4723261A1

The present disclosure provides an electrode plate loading system, including a negative electrode plate placement device, a positive electrode plate placement device, a negative electrode plate pickup device, a positive electrode plate pickup device, a negative electrode plate vibrating and separating device, a positive electrode plate vibrating and separating device, a negative electrode plate transport device, and a positive electrode plate transport device. The negative electrode plate pickup device converts horizontal placement of sets of negative electrode plates into vertical placement. The positive electrode plate pickup device converts horizontal placement of sets of positive electrode plates into vertical placement. The negative electrode plate vibrating and separating device separates each set of vertically placed negative electrode plates by means of vibration. The positive electrode plate vibrating and separating device separates each set of vertically placed positive electrode plates by means of vibration. The negative electrode plate transport device and the positive electrode plate transport device respectively transport the sets of vertically placed negative electrode plates and the sets of vertically placed positive electrode plates on the negative electrode plate vibrating and separating device and the positive electrode plate vibrating and separating device to the encapsulating machine. The electrode plate loading system has the advantages of converting the

BATTERY SUPPORTING MECHANISM AND BATTERY HEATING DEVICE

NºPublicación:  EP4723258A1 08/04/2026
Solicitante: 
CONTEMPORARY AMPEREX TECHNOLOGY CO LTD [CN]
EP_4723258_PA

Resumen de: EP4723258A1

0001 The present application is applicable to the technical field of battery manufacturing apparatuses and provides a battery support mechanism (30) and a battery heating device (1). The battery support mechanism (30) includes a base (100), a drive structure (200), and two end plate support structures (300). The two end plate support structures (300) are spaced apart along a first direction on the base (100), and at least one of the two end plate support structures (300) is in transmission connection to the drive structure (200) to move along the first direction under the drive of the drive structure (200). The battery support mechanism (30) provided by the present application is configured to support a battery (50). A distance between the two end plate support structures (300) can be adjusted through the drive structure (200) according to the size of the battery (50), so as to support batteries (50) of different sizes with higher compatibility.

ENERGY STORAGE APPARATUS AND ENERGY STORAGE SYSTEM

NºPublicación:  EP4723420A1 08/04/2026
Solicitante: 
CONTEMPORARY AMPEREX TECHNOLOGY CO LTD [CN]
EP_4723420_A1

Resumen de: EP4723420A1

An energy storage apparatus (10) and an energy storage system (100) are provided. The energy storage apparatus (10) is configured to be electrically connected to a power conversion system (20), where the power conversion system (20) is capable of cooperating with M energy storage apparatuses (10), a rated output power of the power conversion system (20) is P, an energy of the energy storage apparatus (10) is Q, a duration for the energy storage apparatus (10) to discharge from a fully charged state to a fully discharged state is A, satisfying: 0.7 ≤ P/(M * Q/A) ≤ 0.99. With P/(M * Q/A) ≤ 0.99, it is ensured that the power of all energy storage apparatuses (10) cooperating with the power conversion system (20) maintains sufficient margin relative to the power of the power conversion system (20), eliminating the need for capacity supplementation of the energy storage apparatus (10) over a long period, achieving long-term reliability of the energy storage apparatus (10). With P/(M * Q/A) 2: 0.7, it is ensured that the margin of the power of the energy storage apparatus (10) relative to the power of the power conversion system (20) is not excessive, reducing power waste and improving the economic efficiency of the energy storage apparatus (10). Thus, power matching between the energy storage apparatus (10) and the power conversion system (20) is improved.

BATTERY CELL, BATTERY, ELECTRIC DEVICE AND ENERGY STORAGE DEVICE

NºPublicación:  EP4723314A1 08/04/2026
Solicitante: 
CONTEMPORARY AMPEREX TECHNOLOGY CO LTD [CN]
EP_4723314_PA

Resumen de: EP4723314A1

0001 Embodiments of this application provide a battery cell, a battery, an electric apparatus, and an energy storage apparatus. The battery cell includes a housing and an electrode assembly, where the electrode assembly is accommodated within the housing, the housing is cylindrical, a height of the housing is H<1>, and a radius of the housing is R<1>. The housing includes a first end wall, a second end wall, and a side wall, where the first end wall and the second end wall are oppositely disposed along a height direction of the housing, and the side wall connects the first end wall and the second end wall. A sum of thicknesses of the first end wall and the second end wall is a, and a thickness of the side wall is b, satisfying: (R<1>-b)<2>*(H<1>-a)/(R<1>2 *H<1>)≥96%. Thus, the volumetric energy density of the battery cell is increased under a same chemical material system.

HEATING STRUCTURE, HEATING CHAMBER AND BATTERY PRODUCTION APPARATUS

NºPublicación:  EP4723301A1 08/04/2026
Solicitante: 
CONTEMPORARY AMPEREX TECHNOLOGY CO LTD [CN]
EP_4723301_PA

Resumen de: EP4723301A1

0001 This application discloses a heating structure for heating a side plate of a battery. The heating structure includes a heating element and a heat-conducting element, where the heat-conducting element is fitted to the heating element and configured to conduct heat to the side plate of the battery. The heat-conducting element is provided with a first clearance hole capable of avoiding a protruding structure on the side plate. This application further discloses a heating bank and a battery production device.

METHODS, SYSTEMS, ARTICLES OF MANUFACTURE AND APPARATUS TO MANAGE BATTERY OUTGASSING CONDITIONS

NºPublicación:  EP4720650A1 08/04/2026
Solicitante: 
INTEL CORP [US]
EP_1000000_PA

Resumen de: EP1000000A1

The invention relates to an apparatus (1) for manufacturing green bricks from clay for the brick manufacturing industry, comprising a circulating conveyor (3) carrying mould containers combined to mould container parts (4), a reservoir (5) for clay arranged above the mould containers, means for carrying clay out of the reservoir (5) into the mould containers, means (9) for pressing and trimming clay in the mould containers, means (11) for supplying and placing take-off plates for the green bricks (13) and means for discharging green bricks released from the mould containers, characterized in that the apparatus further comprises means (22) for moving the mould container parts (4) filled with green bricks such that a protruding edge is formed on at least one side of the green bricks.

METHOD FOR MANUFACTURING NON-AQUEOUS ELECTROLYTIC SOLUTION SECONDARY BATTERY, AND NON-AQUEOUS ELECTROLYTIC SOLUTION SECONDARY BATTERY

NºPublicación:  EP4723207A1 08/04/2026
Solicitante: 
FUJIFILM CORP [JP]
EP_4723207_PA

Resumen de: EP4723207A1

0001 Provided are a method for manufacturing a non-aqueous electrolytic solution secondary battery in which a positive electrode collector, a positive electrode active material layer, a separator, a negative electrode active material layer, and a negative electrode collector are laminated in this order, the method including applying a slurry for forming a positive electrode onto the positive electrode collector to form a slurry-like positive electrode active material layer, and adding a solvent having a vapor pressure of 4.0 kPa or more to the slurry-like positive electrode active material layer, the slurry for forming a positive electrode, containing a positive electrode active material at a content of 75% by mass or more, a conductive auxiliary agent, an electrolyte, and a non-aqueous solvent (I) in which a content of the solvent having a vapor pressure of 4.0 kPa or more is less than 1.0% by mass; and a non-aqueous electrolytic solution secondary battery which can be obtained by the manufacturing method.

POROUS MEMBRANE AND POLYMER COMPOSITIONS FOR MAKING SAME

NºPublicación:  EP4720186A2 08/04/2026
Solicitante: 
CELANESE INT CORP [US]
EP_1000000_PA

Resumen de: EP1000000A1

The invention relates to an apparatus (1) for manufacturing green bricks from clay for the brick manufacturing industry, comprising a circulating conveyor (3) carrying mould containers combined to mould container parts (4), a reservoir (5) for clay arranged above the mould containers, means for carrying clay out of the reservoir (5) into the mould containers, means (9) for pressing and trimming clay in the mould containers, means (11) for supplying and placing take-off plates for the green bricks (13) and means for discharging green bricks released from the mould containers, characterized in that the apparatus further comprises means (22) for moving the mould container parts (4) filled with green bricks such that a protruding edge is formed on at least one side of the green bricks.

ORGANIC THIN FILM COATINGS FOR BATTERY MATERIALS

NºPublicación:  EP4721152A2 08/04/2026
Solicitante: 
CORESHELL TECH INC [US]
EP_1000000_PA

Resumen de: EP1000000A1

The invention relates to an apparatus (1) for manufacturing green bricks from clay for the brick manufacturing industry, comprising a circulating conveyor (3) carrying mould containers combined to mould container parts (4), a reservoir (5) for clay arranged above the mould containers, means for carrying clay out of the reservoir (5) into the mould containers, means (9) for pressing and trimming clay in the mould containers, means (11) for supplying and placing take-off plates for the green bricks (13) and means for discharging green bricks released from the mould containers, characterized in that the apparatus further comprises means (22) for moving the mould container parts (4) filled with green bricks such that a protruding edge is formed on at least one side of the green bricks.

PRESSING DEVICE FOR A BATTERY CELL STACK

NºPublicación:  EP4723257A1 08/04/2026
Solicitante: 
BATTBELT S L [ES]
EP_4723257_PA

Resumen de: EP4723257A1

Pressing device for a battery cell stack (10) comprising a plurality of battery cells (11) of the prismatic type or of the pouch type, the pressing device (1) comprising a first pressure plate (2) and a second pressure plate (3) configured to be arranged at each end of the battery cell stack (10), and pressure elements (4) fixed to the first pressure plate (2) and to the second pressure plate (3) manufactured from a shape memory alloy and kept at a temperature greater than the final transformation temperature of the austenitic phase (Af) of the alloy, such that the pressing device (1) is expanded with an increase in the thickness of the battery cells (11) and is compressed with a decrease in the thickness of the battery cells (11).

ELECTRONICS TEMPERATURE-CONTROL DEVICE AND ELECTROCHEMICAL SYSTEM

NºPublicación:  EP4721530A1 08/04/2026
Solicitante: 
BOSCH GMBH ROBERT [DE]
EP_1000000_PA

Resumen de: EP1000000A1

The invention relates to an apparatus (1) for manufacturing green bricks from clay for the brick manufacturing industry, comprising a circulating conveyor (3) carrying mould containers combined to mould container parts (4), a reservoir (5) for clay arranged above the mould containers, means for carrying clay out of the reservoir (5) into the mould containers, means (9) for pressing and trimming clay in the mould containers, means (11) for supplying and placing take-off plates for the green bricks (13) and means for discharging green bricks released from the mould containers, characterized in that the apparatus further comprises means (22) for moving the mould container parts (4) filled with green bricks such that a protruding edge is formed on at least one side of the green bricks.

COMPOSITIONS FOR THE FORMATION OF BATTERY SHUTDOWN LAYERS

NºPublicación:  EP4721167A1 08/04/2026
Solicitante: 
DOW GLOBAL TECHNOLOGIES LLC [US]
EP_1000000_PA

Resumen de: EP1000000A1

The invention relates to an apparatus (1) for manufacturing green bricks from clay for the brick manufacturing industry, comprising a circulating conveyor (3) carrying mould containers combined to mould container parts (4), a reservoir (5) for clay arranged above the mould containers, means for carrying clay out of the reservoir (5) into the mould containers, means (9) for pressing and trimming clay in the mould containers, means (11) for supplying and placing take-off plates for the green bricks (13) and means for discharging green bricks released from the mould containers, characterized in that the apparatus further comprises means (22) for moving the mould container parts (4) filled with green bricks such that a protruding edge is formed on at least one side of the green bricks.

CATHOD ACTIVE MATERIAL FOR LITHIUM SECONDARY BATTERY AND MANUFACTURING METHOD THEREFOR

NºPublicación:  EP4723211A1 08/04/2026
Solicitante: 
POSCO HOLDINGS INC [KR]
RES INST IND SCIENCE & TECH [KR]
EP_4723211_A1

Resumen de: EP4723211A1

According to the present embodiment, a positive electrode active material for a lithium secondary battery may comprise: a lithium manganese-rich first positive electrode active material represented by Chemical Formula 1 below; and a high-nickel single-particle second positive electrode active material represented by Chemical Formula 2 below, and an average particle size (D501) of the lithium manganese-rich first positive electrode active material may be greater than an average particle size (D502) of the high-nickel single-particle second positive electrode active material.        Chemical Formula 1     Li1+x1(Ni(1-a1-b1)Coa1Mnb1)O2(where -0.5 ≤ x1 ≤ 0.5, 0 ≤ a1 ≤ 0.5, and 0.5 ≤ b1 ≤ 1.)        Chemical Formula 2     Li1+x2(Ni(1-a2-b2-c2)Coa2Mnb2Mc2)O2(where -0.5 ≤ x2 ≤ 0.5, 0 ≤ a2 ≤ 0.2, 0 ≤ b2 ≤ 0.1, 0 ≤ c2 ≤ 0.03, and M is at least one element selected from Fe, Cr, Ti, Zn, V, Al, Mg, and Zr.)

COMPOSITION FOR LITHIUM-ION BATTERY CATHODE

NºPublicación:  EP4721157A1 08/04/2026
Solicitante: 
KEMIRA OYJ [FI]
EP_1000000_PA

Resumen de: EP1000000A1

The invention relates to an apparatus (1) for manufacturing green bricks from clay for the brick manufacturing industry, comprising a circulating conveyor (3) carrying mould containers combined to mould container parts (4), a reservoir (5) for clay arranged above the mould containers, means for carrying clay out of the reservoir (5) into the mould containers, means (9) for pressing and trimming clay in the mould containers, means (11) for supplying and placing take-off plates for the green bricks (13) and means for discharging green bricks released from the mould containers, characterized in that the apparatus further comprises means (22) for moving the mould container parts (4) filled with green bricks such that a protruding edge is formed on at least one side of the green bricks.

LEAD ACID BATTERY, AND LIQUID PLUG FOR LEAD ACID BATTERIES

NºPublicación:  EP4723292A1 08/04/2026
Solicitante: 
GS YUASA INT LTD [JP]
EP_4723292_PA

Resumen de: EP4723292A1

A lead-acid battery 1 includes: a battery case 10; electrode plates 30 housed in the battery case 10; an electrolyte solution 35 housed in the battery case 10; and a vent plug 70A mounted to the battery case. The vent plug 70A includes a tubular plug body 71, a splash guard 150, and a catalytic device 100. The catalytic device 100 promotes a reaction that generates water from gas generated by charge-discharge reaction. The splash guard 150 has a holding portion positioned inside the plug body and holding the catalytic device.

HEAT EXCHANGER, AND ASSOCIATED ELECTRONIC SYSTEM AND MOTOR VEHICLE

NºPublicación:  EP4721175A1 08/04/2026
Solicitante: 
AMPERE SAS [FR]
EP_1000000_PA

Resumen de: EP1000000A1

The invention relates to an apparatus (1) for manufacturing green bricks from clay for the brick manufacturing industry, comprising a circulating conveyor (3) carrying mould containers combined to mould container parts (4), a reservoir (5) for clay arranged above the mould containers, means for carrying clay out of the reservoir (5) into the mould containers, means (9) for pressing and trimming clay in the mould containers, means (11) for supplying and placing take-off plates for the green bricks (13) and means for discharging green bricks released from the mould containers, characterized in that the apparatus further comprises means (22) for moving the mould container parts (4) filled with green bricks such that a protruding edge is formed on at least one side of the green bricks.

POWER STORAGE CELL

NºPublicación:  EP4723262A1 08/04/2026
Solicitante: 
TOYOTA MOTOR CO LTD [JP]
EP_4723262_PA

Resumen de: EP4723262A1

0001 In a power storage cell, a first electrode (10) includes: a current-collector foil (11); and an electrode material (12) partially coating the current-collector foil (11). The current-collector foil (11) has a coated portion (11a) and an uncoated portion (11b). The coated portion (11a) is coated with the electrode material (12). The uncoated portion (11b) is not coated with the electrode material (12), and is exposed to one side (Z1) of an axial direction (Z) of the wound electrode assembly (1) and extends in a winding direction (X) of the wound electrode assembly (1). The uncoated portion (11b) has a plurality of bent portions (11bC) bent toward a radial direction (R) of the wound electrode assembly (1), and a folded portion (11bD) formed by folding a region of the uncoated portion (11b) between adjacent bent portions among the plurality of bent portions (11bC).

ELECTRIC CELL LID

NºPublicación:  EP4721186A2 08/04/2026
Solicitante: 
CHARGE CCCV LLC [US]
EP_1000000_PA

Resumen de: EP1000000A1

The invention relates to an apparatus (1) for manufacturing green bricks from clay for the brick manufacturing industry, comprising a circulating conveyor (3) carrying mould containers combined to mould container parts (4), a reservoir (5) for clay arranged above the mould containers, means for carrying clay out of the reservoir (5) into the mould containers, means (9) for pressing and trimming clay in the mould containers, means (11) for supplying and placing take-off plates for the green bricks (13) and means for discharging green bricks released from the mould containers, characterized in that the apparatus further comprises means (22) for moving the mould container parts (4) filled with green bricks such that a protruding edge is formed on at least one side of the green bricks.

FINE GLASS FIBERS AND FIBER WEBS, SEPARATORS, AND PASTING PAPERS COMPRISING THEM

NºPublicación:  EP4721184A2 08/04/2026
Solicitante: 
HOLLINGSWORTH & VOSE CO [US]
EP_1000000_PA

Resumen de: EP1000000A1

The invention relates to an apparatus (1) for manufacturing green bricks from clay for the brick manufacturing industry, comprising a circulating conveyor (3) carrying mould containers combined to mould container parts (4), a reservoir (5) for clay arranged above the mould containers, means for carrying clay out of the reservoir (5) into the mould containers, means (9) for pressing and trimming clay in the mould containers, means (11) for supplying and placing take-off plates for the green bricks (13) and means for discharging green bricks released from the mould containers, characterized in that the apparatus further comprises means (22) for moving the mould container parts (4) filled with green bricks such that a protruding edge is formed on at least one side of the green bricks.

PROTECTIVE CHARGING CASE SYSTEM FOR ELECTRONIC DEVICES

NºPublicación:  EP4721231A2 08/04/2026
Solicitante: 
URBAN ARMOR GEAR LLC [US]
EP_1000000_PA

Resumen de: EP1000000A1

The invention relates to an apparatus (1) for manufacturing green bricks from clay for the brick manufacturing industry, comprising a circulating conveyor (3) carrying mould containers combined to mould container parts (4), a reservoir (5) for clay arranged above the mould containers, means for carrying clay out of the reservoir (5) into the mould containers, means (9) for pressing and trimming clay in the mould containers, means (11) for supplying and placing take-off plates for the green bricks (13) and means for discharging green bricks released from the mould containers, characterized in that the apparatus further comprises means (22) for moving the mould container parts (4) filled with green bricks such that a protruding edge is formed on at least one side of the green bricks.

NEGATIVE ELECTRODE FOR SECONDARY BATTERIES, SECONDARY BATTERY, AND METHOD FOR PRODUCING NEGATIVE ELECTRODE FOR SECONDARY BATTERIES

NºPublicación:  EP4723185A1 08/04/2026
Solicitante: 
PANASONIC IP MAN CO LTD [JP]
EP_4723185_A1

Resumen de: EP4723185A1

Provided is a negative electrode for secondary batteries that has satisfactory electrolyte solution permeability. The negative electrode for secondary batteries comprises a negative electrode current collector and a negative electrode mixture layer disposed on the negative electrode current collector.The negative electrode for secondary batteries comprises a negative electrode current collector and a negative electrode mixture layer disposed on the negative electrode current collector. The negative electrode for secondary batteries is characterized in that the negative electrode mixture layer includes a carbon material and a Si-based material, a pore size distribution of the negative electrode mixture layer as measured by mercury intrusion porosimetry has a peak R1 with a maximum value VR1 in a pore size range of 1-3 µm and a peak R2 with a maximum value VR2 in a pore size range of 30-100 µm, and the ratio (VR2/VR1) of the maximum value VR2 of the peak R2 to the maximum value VR1 of the peak R1 is 0.5-100.

SAFEGUARD AGENT AND USE THEREOF

NºPublicación:  EP4720212A1 08/04/2026
Solicitante: 
LI HAIBO [CN]
EP_1000000_PA

Resumen de: EP1000000A1

The invention relates to an apparatus (1) for manufacturing green bricks from clay for the brick manufacturing industry, comprising a circulating conveyor (3) carrying mould containers combined to mould container parts (4), a reservoir (5) for clay arranged above the mould containers, means for carrying clay out of the reservoir (5) into the mould containers, means (9) for pressing and trimming clay in the mould containers, means (11) for supplying and placing take-off plates for the green bricks (13) and means for discharging green bricks released from the mould containers, characterized in that the apparatus further comprises means (22) for moving the mould container parts (4) filled with green bricks such that a protruding edge is formed on at least one side of the green bricks.

CYLINDRICAL BATTERY CELL HOUSING WITH INTRINSIC PRESSURE RELIEF MEANS

NºPublicación:  EP4721177A1 08/04/2026
Solicitante: 
SPEIRA GMBH [DE]
EP_1000000_PA

Resumen de: EP1000000A1

The invention relates to an apparatus (1) for manufacturing green bricks from clay for the brick manufacturing industry, comprising a circulating conveyor (3) carrying mould containers combined to mould container parts (4), a reservoir (5) for clay arranged above the mould containers, means for carrying clay out of the reservoir (5) into the mould containers, means (9) for pressing and trimming clay in the mould containers, means (11) for supplying and placing take-off plates for the green bricks (13) and means for discharging green bricks released from the mould containers, characterized in that the apparatus further comprises means (22) for moving the mould container parts (4) filled with green bricks such that a protruding edge is formed on at least one side of the green bricks.

LITHIUM PRIMARY BATTERY

NºPublicación:  EP4723251A1 08/04/2026
Solicitante: 
PANASONIC IP MAN CO LTD [JP]
EP_4723251_PA

Resumen de: EP4723251A1

0001 A lithium primary battery includes a positive electrode, a negative electrode, a separator disposed between the positive electrode and the negative electrode, and a nonaqueous electrolyte solution. The positive electrode includes manganese dioxide, and the negative electrode includes a lithium alloy. The lithium alloy contains magnesium in an amount of 0.02 mass% or more and 11 mass% or less. A ratio N/P of a capacity N of the negative electrode to a capacity P of the positive electrode is 0.85 or more and 1.00 or less.

HOUSING PART WITH AN ELECTRICAL BUSHING FOR AN ELECTRICAL DEVICE, AND ENERGY STORE WITH SUCH A HOUSING PART

NºPublicación:  EP4721178A1 08/04/2026
Solicitante: 
SCHOTT AG [DE]
EP_1000000_PA

Resumen de: EP1000000A1

The invention relates to an apparatus (1) for manufacturing green bricks from clay for the brick manufacturing industry, comprising a circulating conveyor (3) carrying mould containers combined to mould container parts (4), a reservoir (5) for clay arranged above the mould containers, means for carrying clay out of the reservoir (5) into the mould containers, means (9) for pressing and trimming clay in the mould containers, means (11) for supplying and placing take-off plates for the green bricks (13) and means for discharging green bricks released from the mould containers, characterized in that the apparatus further comprises means (22) for moving the mould container parts (4) filled with green bricks such that a protruding edge is formed on at least one side of the green bricks.

A PROCESS FOR PRODUCING CARBON IMPURITY REDUCED/CARBON IMPURITY FREE LITHIUM SULFIDE, SAID CARBON IMPURITY REDUCED/CARBON IMPURITY FREE LITHIUM SULFIDE, AND ITS USE FOR PRODUCING SOLID-STATE ELECTROLYTES AND SOLID-STATE BATTERIES

NºPublicación:  EP4719989A1 08/04/2026
Solicitante: 
ALBEMARLE GERMANY GMBH [DE]
US_2025360356_PA

Resumen de: US2025360356A1

In a first step, a time series of images are resized to a smaller dimension, and the smaller images are fed into a first classifier that is trained to classify as a ball any objects in the smaller images that resemble a ball. In a second step, the smaller images are mapped back to the series of images, and regions in the series of images that contain the mapped ball are cropped from the series of images. The mapped ball is shifted based on a velocity of the mapped ball in the cropped regions, and the second classifier regresses center coordinates and a radius of the shifted ball, classifies whether the shifted ball is the ball based on a confidence score, and updates the shifted ball in the cropped regions based on the regressed center coordinates and radius.

BATTERY STATE DIAGNOSIS METHOD, BATTERY DIAGNOSIS DEVICE, AND BATTERY DIAGNOSIS SYSTEM

NºPublicación:  EP4722746A1 08/04/2026
Solicitante: 
HITACHI HIGH TECH CORP [JP]
EP_4722746_A1

Resumen de: EP4722746A1

0001 A battery state diagnosis method and a battery state diagnosis device are provided, which achieve a highly accurate battery capacity deterioration diagnosis when a diagnosis target is a battery system, such as a battery system using a LiFePO<4>-based active material for the positive electrode, that exhibits little voltage change in response to a change in the state-of-charge. A battery state diagnosis method is for diagnosing a deterioration state of a secondary battery mounted on equipment, and includes: a data acquisition step of acquiring pieces of data about a voltage, a current, and a temperature of the secondary battery from the equipment in operation; a table creation step of creating, based on the acquired pieces of data, a table including a state of health capacity and a state of health resistance of the secondary battery; and a diagnosis step of diagnosing, using the created table, a deterioration state of the secondary battery.

NON-AQUEOUS ELECTROLYTE SECONDARY BATTERY

NºPublicación:  EP4723197A1 08/04/2026
Solicitante: 
PANASONIC IP MAN CO LTD [JP]
EP_4723197_A1

Resumen de: EP4723197A1

0001 The present invention provides a positive electrode active material capable of improving battery capacity and output characteristics of a non-aqueous electrolyte secondary battery. This non-aqueous electrolyte secondary battery comprises a positive electrode, a negative electrode, and a non-aqueous electrolyte. The positive electrode contains a lithium transition metal composite oxide as a positive electrode active material, and a sulfonic acid compound represented by general formula I. The lithium transition metal composite oxide contains 50 mol% or more of Ni with respect to the total number of moles of metal elements excluding Li. The negative electrode contains a negative electrode active material and contains 200 ppm by mass or more of S with respect to the total mass of the negative electrode active material. (In the formula, A represents a group 1 element or a group 2 element, R represents a hydrocarbon group, and n is 1 or 2.)

SECONDARY BATTERY

NºPublicación:  EP4723187A1 08/04/2026
Solicitante: 
PANASONIC IP MAN CO LTD [JP]
EP_4723187_PA

Resumen de: EP4723187A1

A secondary battery includes a positive electrode 15, a negative electrode 16 including a negative electrode current collector and a negative electrode active material layer provided on a surface of the negative electrode current collector, a separator 17 provided between the negative electrode and the negative electrode, an electrode group 18 configured by winding the positive electrode and the negative electrode with the separator therebetween, an electrolyte, and a battery case that houses the electrode group and the electrolyte. The negative electrode is located at the outermost periphery of the electrode group. The outermost periphery has a current collector exposed portion 161A where the negative electrode current collector is exposed. The expansion percentage of the negative electrode active material layer in negative electrode charging and discharging is higher at its edge parts 16B and 16C in the widthwise direction parallel to the winding axis of the negative electrode than at its central part 16A in the widthwise direction.

CLADDING MATERIAL FOR LASER WELDING, BONDING STRUCTURE USING CLADDING MATERIAL FOR LASER WELDING, AND BATTERY MANUFACTURING METHOD

NºPublicación:  EP4721906A1 08/04/2026
Solicitante: 
PROTERIAL LTD [JP]
EP_4721906_PA

Resumen de: EP4721906A1

0001 A cladding material (1) for laser welding includes an Al layer (1a) and an Fe layer (1b), the Al layer has a thickness of 20 µm or more and 140 µm or less, and the cladding material for laser welding is laser-welded to another member by laser irradiation from a side of the Al layer.

BATTERY CELL STACK

NºPublicación:  EP4721166A1 08/04/2026
Solicitante: 
JAGUAR LAND ROVER LTD [GB]
EP_1000000_PA

Resumen de: EP1000000A1

The invention relates to an apparatus (1) for manufacturing green bricks from clay for the brick manufacturing industry, comprising a circulating conveyor (3) carrying mould containers combined to mould container parts (4), a reservoir (5) for clay arranged above the mould containers, means for carrying clay out of the reservoir (5) into the mould containers, means (9) for pressing and trimming clay in the mould containers, means (11) for supplying and placing take-off plates for the green bricks (13) and means for discharging green bricks released from the mould containers, characterized in that the apparatus further comprises means (22) for moving the mould container parts (4) filled with green bricks such that a protruding edge is formed on at least one side of the green bricks.

A BATTERY ASSEMBLY

NºPublicación:  EP4721165A1 08/04/2026
Solicitante: 
DYSON TECHNOLOGY LTD [GB]
EP_1000000_PA

Resumen de: EP1000000A1

The invention relates to an apparatus (1) for manufacturing green bricks from clay for the brick manufacturing industry, comprising a circulating conveyor (3) carrying mould containers combined to mould container parts (4), a reservoir (5) for clay arranged above the mould containers, means for carrying clay out of the reservoir (5) into the mould containers, means (9) for pressing and trimming clay in the mould containers, means (11) for supplying and placing take-off plates for the green bricks (13) and means for discharging green bricks released from the mould containers, characterized in that the apparatus further comprises means (22) for moving the mould container parts (4) filled with green bricks such that a protruding edge is formed on at least one side of the green bricks.

SPACER FOR A BATTERY CELL STACK

NºPublicación:  EP4721179A1 08/04/2026
Solicitante: 
JAGUAR LAND ROVER LTD [GB]
EP_1000000_PA

Resumen de: EP1000000A1

The invention relates to an apparatus (1) for manufacturing green bricks from clay for the brick manufacturing industry, comprising a circulating conveyor (3) carrying mould containers combined to mould container parts (4), a reservoir (5) for clay arranged above the mould containers, means for carrying clay out of the reservoir (5) into the mould containers, means (9) for pressing and trimming clay in the mould containers, means (11) for supplying and placing take-off plates for the green bricks (13) and means for discharging green bricks released from the mould containers, characterized in that the apparatus further comprises means (22) for moving the mould container parts (4) filled with green bricks such that a protruding edge is formed on at least one side of the green bricks.

BATTERY MANUFACTURING SYSTEM

NºPublicación:  EP4723181A1 08/04/2026
Solicitante: 
LG ENERGY SOLUTION LTD [KR]
EP_4723181_PA

Resumen de: EP4723181A1

0001 A battery manufacturing system includes an electrode processing device for performing the electrode process; and a roll map creation device for creating a roll map including coordinate data indicative of the location of an electrode and measurement and inspection data generated by the electrode process performed on the electrode and matched to the coordinate data. The electrode processing device includes an unwinder configured to unwind an electrode from a first electrode roll; a rewinder configured to wind the electrode onto a second electrode roll; an inspection measuring instrument for collecting the measurement and inspection data of the electrode being transferred; and a first encoder provided on one side of the electrode being transferred, and configured to detect a speed of movement of the electrode by irradiating the electrode with a laser, and the roll map creation device is configured to receive input of a defect location of the electrode and create an electrode removal section corresponding to the defect location, the electrode removal section being created based on data detected by the first encoder.

LITHIUM-ION BATTERY

NºPublicación:  EP4723321A1 08/04/2026
Solicitante: 
GREE ALTAIRNANO NEW ENERGY INC [CN]
EP_4723321_A1

Resumen de: EP4723321A1

A lithium-ion battery is provided, and includes a case (100) having a first opening and a second opening arranged opposite each other; a battery cell (200) provided within the case (100), the battery cell (200) having a positive tab (210) located at the first opening and a negative tab (220) located at the second opening; a positive cover plate assembly (300) that is fitted over the first opening and is electrically connected to the positive tab (210), where the positive cover plate assembly (300) is provided with an electrolyte injection port (301), a first electrolyte channel (302), and a second electrolyte channel (303), the first electrolyte channel (302) is communicated with the electrolyte injection port (301) and an internal roll (230) of the battery cell (200), and the second electrolyte channel (303) is communicated with the first electrolyte channel (302) and a gap between an outer wall of the battery cell (200) and the case (100); and a negative cover plate assembly (400) that is fitted over the second opening and is electrically connected to the negative tab (220). Therefore, the present invention addresses technical problems of low energy density and difficulty in electrolyte injection in conventional lithium-ion batteries.

BATTERY AND ELECTRONIC DEVICE COMPRISING SAME

NºPublicación:  EP4723265A1 08/04/2026
Solicitante: 
SAMSUNG ELECTRONICS CO LTD [KR]
EP_4723265_PA

Resumen de: EP4723265A1

According to an embodiment of the present disclosure, an electronic device may be provided. The electronic device may include a battery including a battery cell. The battery cell may include a plurality of positive electrode plates, a plurality of negative electrode plates stacked alternately with the positive electrode plates, and a single separator configured to separate the positive electrode plates from respective negative electrode plates facing same. The separator may form a plurality of layers in which the positive electrode plates and the negative electrode plates are alternately disposed one by one. The separator may include a plurality of folding regions surrounding at least a portion of first side surfaces facing a first direction of the positive electrode plates or the negative electrode plates and second side surfaces facing a second direction opposite to the first direction. The battery cell may have an atypical structure including at least one portion recessed from the folding regions in the first direction or the second direction.

POSITIVE ELECTRODE FOR SECONDARY BATTERY, AND SECONDARY BATTERY

NºPublicación:  EP4723198A1 08/04/2026
Solicitante: 
PANASONIC IP MAN CO LTD [JP]
EP_4723198_PA

Resumen de: EP4723198A1

0001 A positive electrode for secondary batteries includes a positive electrode current collector, and a positive electrode mixture layer disposed on a surface of the positive electrode current collector. The positive electrode mixture layer contains a positive electrode active material, a carbon conductive agent, and a dispersant. The positive electrode active material includes a first metal composite oxide having a first particle size distribution, and a second composite metal oxide having a second particle size distribution. A volume-based median diameter D1 of the first metal composite oxide and a volume-based median diameter D2 of the second metal composite oxide satisfy D1 > D2. The dispersant includes a nitrile group-containing rubber.

ANODE ACTIVE MATERIAL FOR LITHIUM SECONDARY BATTERY, MANUFACTURING METHOD THEREFOR AND LITHIUM SECONDARY BATTERY COMPRISING SAME

NºPublicación:  EP4723240A1 08/04/2026
Solicitante: 
POSCO FUTURE M CO LTD [KR]
EP_4723240_A1

Resumen de: EP4723240A1

The present invention relates to a negative electrode active material for a lithium secondary battery, comprising natural graphite, wherein the natural graphite satisfies the following Equation 1. P1.7−P1.3≥1200kg⋅f/cm2In Equation 1, P1.7 denotes an applied pressure at which the pellet density of the negative electrode active material becomes 1.7 g/cc, and P1.3 denotes an applied pressure at which the pellet density of the negative electrode active material becomes 1.3 g/cc.

ANODE ACTIVE MATERIAL FOR LITHIUM SECONDARY BATTERY, MANUFACTURING METHOD THEREFOR, AND LITHIUM SECONDARY BATTERY COMPRISING SAME

NºPublicación:  EP4723241A1 08/04/2026
Solicitante: 
POSCO FUTURE M CO LTD [KR]
EP_4723241_A1

Resumen de: EP4723241A1

The present invention relates to a negative electrode active material for a lithium secondary battery comprising natural graphite, wherein the natural graphite satisfies Equation 1.

METHOD FOR MANUFACTURING ELECTRODE ASSEMBLY

NºPublicación:  EP4723266A1 08/04/2026
Solicitante: 
LG ENERGY SOLUTION LTD [KR]
EP_4723266_PA

Resumen de: EP4723266A1

The present invention relates to a method for manufacturing an electrode assembly, and more particularly, to a method for manufacturing an electrode assembly, which is capable of improving limitations of conventional stacking technologies to secure a degree of freedom in cell design (a degree of freedom in tab position design, etc.), solving the problem of folding of a separator, and preventing a problem of non-cutting of the separator due to a process tolerance.

COMPOSITE POSITIVE ELECTRODE MATERIAL AND PREPARATION METHOD THEREFOR, POSITIVE ELECTRODE SHEET COMPRISING SAME, BATTERY, AND ELECTRIC DEVICE

NºPublicación:  EP4723188A1 08/04/2026
Solicitante: 
CONTEMPORARY AMPEREX TECHNOLOGY CO LTD [CN]
EP_4723188_PA

Resumen de: EP4723188A1

The present application provides a composite positive material and a preparation method therefor, a positive electrode plate comprising same, a battery, and an electrical apparatus. The composite positive electrode material comprises a positive electrode active material and a coating layer, wherein the coating layer coats at least part of the surface of the positive electrode active material, the coating layer comprises a composite material, the composite material comprises particles containing elemental M and a lithium-ion conductor material attached onto the surface of the particles containing elemental M, and M comprises at least one of S, Se and Te.

CATHODE ACTIVE MATERIAL FOR LITHIUM SECONDARY BATTERY, MANUFACTURING METHOD THEREFOR, AND LITHIUM SECONDARY BATTERY COMPRISING SAME

NºPublicación:  EP4723212A1 08/04/2026
Solicitante: 
POSCO FUTURE M CO LTD [KR]
EP_4723212_A1

Resumen de: EP4723212A1

0001 The present invention relates to a positive electrode active material for a lithium secondary battery, which is in a single-particle form and comprises a nickel-containing lithium transition metal oxide and a coating layer containing Al and W disposed on a surface of the lithium transition metal oxide, wherein a total content of the Al and W is from 2,000 ppm to 6,000 ppm based on the total weight of the positive electrode active material.

NEGATIVE ELECTRODE BODY AND METHOD FOR MANUFACTURING NEGATIVE ELECTRODE BODY

NºPublicación:  EP4723205A1 08/04/2026
Solicitante: 
SHINETSU CHEMICAL CO [JP]
EP_4723205_PA

Resumen de: EP4723205A1

The present invention is a negative electrode body including a negative electrode including a negative electrode current collector having a roughened surface, a negative electrode active material layer provided on the negative electrode current collector, and an ion-conductive layer having lithium-ion conductivity and disposed on a surface of the negative electrode active material layer, and a solid electrolyte layer disposed contiguous to the ion-conductive layer, in which the negative electrode active material layer comprises negative electrode active material particles having a compound containing lithium, silicon, and oxygen, the negative electrode active material particles are represented by SiOx1Liy1, and a value of "x1" is more than 0.8 and 1.2 or less, and a value of "y1" is 0.5 or more and 3.4 or less. This provides the negative electrode body having the negative electrode capable of significantly increasing capacity while maintaining excellent battery characteristics, and suppressing expansion at full charge.

CERAMIC SLURRY COMPOSITIONS

NºPublicación:  EP4721183A1 08/04/2026
Solicitante: 
DOW GLOBAL TECHNOLOGIES LLC [US]
US_2025360356_PA

Resumen de: US2025360356A1

In a first step, a time series of images are resized to a smaller dimension, and the smaller images are fed into a first classifier that is trained to classify as a ball any objects in the smaller images that resemble a ball. In a second step, the smaller images are mapped back to the series of images, and regions in the series of images that contain the mapped ball are cropped from the series of images. The mapped ball is shifted based on a velocity of the mapped ball in the cropped regions, and the second classifier regresses center coordinates and a radius of the shifted ball, classifies whether the shifted ball is the ball based on a confidence score, and updates the shifted ball in the cropped regions based on the regressed center coordinates and radius.

POWER STORAGE DEVICE

NºPublicación:  EP4723263A1 08/04/2026
Solicitante: 
PANASONIC IP MAN CO LTD [JP]
EP_4723263_A1

Resumen de: EP4723263A1

This power storage device (10) is provided with: an electrode body (14) which is obtained by winding a positive electrode (11), a negative electrode (12), and a separator (13); a polygonal tubular case (20) which has a polygonal tubular part and an opening provided at one end of the tubular part, and which houses the electrode body (14) and an electrolytic solution; and a polygonal sealing body (30) which closes the opening of the case (20). A groove-shaped thin part (34A) which releases a gas inside the case (20) to the outside is provided at a corner of a bottom surface part (20B) of the case (20) or at a corner of the sealing body (30).

PROCESS FOR THE AT LEAST PARTIAL REMOVAL OF FLUOROSULFONIC ACID AND/OR DERIVATIVES THEREOF FROM A CRUDE FLUOROSULFONYLIMIDE COMPOUND MIXTURE

NºPublicación:  EP4719980A1 08/04/2026
Solicitante: 
SPECIALTY OPERATIONS FRANCE [FR]
US_2025360356_PA

Resumen de: US2025360356A1

In a first step, a time series of images are resized to a smaller dimension, and the smaller images are fed into a first classifier that is trained to classify as a ball any objects in the smaller images that resemble a ball. In a second step, the smaller images are mapped back to the series of images, and regions in the series of images that contain the mapped ball are cropped from the series of images. The mapped ball is shifted based on a velocity of the mapped ball in the cropped regions, and the second classifier regresses center coordinates and a radius of the shifted ball, classifies whether the shifted ball is the ball based on a confidence score, and updates the shifted ball in the cropped regions based on the regressed center coordinates and radius.

MODIFIED LITHIUM IRON(III) OXIDE MATERIAL, PREPARATION METHOD THEREFOR AND USE THEREOF

NºPublicación:  EP4723213A1 08/04/2026
Solicitante: 
SHENZHEN YANYI NEW MAT CO LTD [CN]
EP_4723213_PA

Resumen de: EP4723213A1

The present application provides a modified lithium iron(III) oxide material, a method for preparing same, and use thereof. The modified lithium iron(III) oxide material comprises a nickel-doped lithium iron(III) oxide substrate, and an iron-nickel lithium oxide layer and a carbon coating layer sequentially stacked on the surface of the nickel-doped lithium iron(III) oxide substrate, wherein the iron-nickel lithium oxide layer is generated in situ on the surface of the nickel-doped lithium iron(III) oxide substrate, and in the modified lithium iron(III) oxide material, the molar ratio of lithium to iron is 5:(0.9 to 1.1), the molar ratio of nickel to lithium is (0.01 to 0.05):5, and the carbon coating content is 0.5 wt% to 5 wt%. The modified lithium iron(III) oxide material described herein comprises a unique thin nickel-iron-lithium oxide layer, and can significantly improve the stability of the lithium iron(III) oxide material and reduce or inhibit the generation of the residual base, thus possessing excellent lithium replenishment performance.

ELECTROLYTE, SECONDARY BATTERY, AND ELECTRICAL APPARATUS

NºPublicación:  EP4723282A1 08/04/2026
Solicitante: 
CONTEMPORARY AMPEREX TECHNOLOGY CO LTD [CN]
EP_4723282_PA

Resumen de: EP4723282A1

An electrolyte, a secondary battery, and an electrical apparatus. The electrolyte includes a first additive, a second additive, and a third additive. The first additive comprises an element-containing inorganic salt; the second additive comprises an unsaturated bond-containing compound, the reduction potential of the unsaturated bond-containing compound being greater than or equal to 0.8V(Li+/Li); and the third additive comprises an amide group-containing compound. The first additive, the second additive, and the third additive are added to the electrolyte, so as to improve both high-temperature performance and low-temperature performance of a secondary battery.

BATTERY COOLING/HEATING DEVICE

NºPublicación:  EP4723310A1 08/04/2026
Solicitante: 
TBK CO LTD [JP]
EP_4723310_PA

Resumen de: EP4723310A1

0001 A battery cooling and heating device comprising: a battery (BT); a heat conduction member (2) connected to one end of the battery (BT) for heat exchange; a thermoelectric element (3) connected to the other end of the heat conduction member (2) for heat exchange with the heat conduction member (2); a temperature detector unit (T) for detecting the temperature of at least the battery (BT) and the heat conduction member (2); and a control unit (TCU) that switches at least an amount and polarity of an electric current flowing to the thermoelectric element (3) based on a detected temperature, wherein the thermoelectric element (3)configured to cool or heat the battery (BT) by forming a high-temperature heating surface and a lower-temperature cooling surface on the thermoelectric element (3) when current flows through it.

BATTERY TEMPERATURE ADJUSTMENT SYSTEM

NºPublicación:  EP4723306A1 08/04/2026
Solicitante: 
TBK CO LTD [JP]
EP_4723306_PA

Resumen de: EP4723306A1

0001 A battery temperature adjustment system for temperature adjustment of multiple batteries (BT), comprising: a heat transfer medium; a circulation flow path (12); a plurality of branch flow paths (13); a pumping device; heat exchange units (HX); a plurality of temperature detector units (T); a plurality of control valves (SV); a control unit (TCU).

NON-AQUEOUS ELECTROLYTE SECONDARY BATTERY

NºPublicación:  EP4723288A1 08/04/2026
Solicitante: 
PANASONIC IP MAN CO LTD [JP]
EP_4723288_PA

Resumen de: EP4723288A1

0001 A disclosed cylindrical non-aqueous electrolyte secondary battery includes: an electrode group formed by spirally winding a positive electrode, a negative electrode, and a separator; a non-aqueous electrolyte; an outer casing can; a positive electrode lead; and a negative electrode lead. One end of the negative electrode lead is connected to a first negative electrode current collector exposed portion in which no negative electrode material mixture layer is provided. Another end of the negative electrode lead is electrically connected to the outer casing can. A second negative electrode current collector exposed portion provided in at least a portion of an outermost circumference of the negative electrode is in contact with an inner surface of the outer casing can. In a stretched-out state of the electrode group, the negative electrode lead is provided at a position between a first position of the negative electrode that faces a winding start end of the positive electrode and a second position of the negative electrode that faces the positive electrode lead. The positive electrode includes a notch at each of two positions that face the negative electrode lead across the separator. A thickness Td of the negative electrode lead is larger than a thickness Tn of the negative electrode.

CYLINDRICAL SECONDARY BATTERY

NºPublicación:  EP4723350A1 08/04/2026
Solicitante: 
SAMSUNG SDI CO LTD [KR]
EP_4723350_PA

Resumen de: EP4723350A1

An embodiment of the present invention relates to a cylindrical secondary battery that may comprise: an electrode assembly; a cylindrical can in which the electrode assembly is accommodated; and a cap assembly which is coupled to the can, is electrically connected to the electrode assembly, is insulated from the can, and includes a cap-up exposed to the outside, a cap-down supporting the cap-up, a vent plate arranged between the cap-up and the cap-down to be spaced apart from the cap-down and having at least one notch formed therein, and an insulator made of an insulating material and disposed between the cap-up and the cap-down and the can, wherein the cap-up includes a plurality of piercing holes formed through a plate surface, a plurality of bridges arranged between the piercing holes, and a plurality of discharge holes formed through the plate surface and spaced apart from the piercing holes. According to an embodiment of the present invention, the discharge direction of internal gas within the secondary battery is not bent and the gas can be discharged in a straight direction, so that the internal gas can be quickly discharged.

COMPOSITION FOR POSITIVE ELECTRODES OF NONAQUEOUS ELECTROLYTE SECONDARY BATTERIES, POSITIVE ELECTRODE SHEET, AND NONAQUEOUS ELECTROLYTE SECONDARY BATTERY

NºPublicación:  EP4723208A1 08/04/2026
Solicitante: 
FUJIFILM CORP [JP]
EP_4723208_PA

Resumen de: EP4723208A1

0001 Provided are a composition for a positive electrode containing a positive electrode active material consisting of a large particle group A having a particle diameter of 5.0 µm or more and a small particle group B having a particle diameter of less than 5.0 µm, in which, in a number-based particle size distribution of the positive electrode active material, in a case where the total frequency is set to 100%, a frequency of the large particle group A is 60% or more and a frequency of the small particle group B is 40% or less, and a surface tension γB (mN/m) of the small particle group B with respect to N-methylpyrrolidone satisfies an expression B1: 15.0 ≤ γB ≤ 40.0; a positive electrode sheet including a positive electrode active material layer formed of the composition for a positive electrode; and a non-aqueous electrolytic solution secondary battery using the positive electrode sheet.

CHARGING METHOD AND APPARATUS, COMPUTER DEVICE AND STORAGE MEDIUM

NºPublicación:  EP4722023A1 08/04/2026
Solicitante: 
CONTEMPORARY AMPEREX TECHNOLOGY CO LTD [CN]
EP_4722023_PA

Resumen de: EP4722023A1

Provided are a charging method and apparatus, a computer device, and a storage medium. The method includes: when a battery (102) reaches an end-of-charge phase, acquiring a charging mode of the battery during the end-of-charge phase, where in the charging mode, a charging current of the battery changes dynamically; then determining an electrical parameter value required for charging the battery during the end-of-charge phase on the basis of the charging mode and status information of the battery; and finally, sending the electrical parameter value to a charging pile of the battery until a charging cut-off condition of the battery is reached. The method can shorten the charging duration of the battery during the end-of-charge phase.

CYLINDRICAL BATTERY, BATTERY MODULE, AND ELECTRIC DEVICE

NºPublicación:  EP4723316A2 08/04/2026
Solicitante: 
XIAMEN AMPACE TECH LIMITED [CN]
EP_4723316_PA

Resumen de: EP4723316A2

0001 A cylindrical battery includes a housing, an electrode assembly, an end cover assembly, and an insulating member. The housing includes a bottom wall and a sidewall, where the sidewall includes a sidewall body and a first protrusion, the sidewall body is connected to the bottom wall, and the first protrusion protrudes from an inner surface of the sidewall body. In the axial direction, at least a portion of the first protrusion is located between the electrode assembly and the end cover assembly. The insulating member includes a first insulating portion and a second insulating portion, where a thickness of the first insulating portion is greater than a thickness of the second insulating portion. In a radial direction of the cylindrical battery, at least a portion of the first insulating portion is located at an inner side of the first protrusion. In the axial direction, at least a portion of the first insulating portion is located between the electrode assembly and the end cover assembly, and at least a portion of the second insulating portion is located between the electrode assembly and the first protrusion.

AN APPARATUS AND A METHOD FOR MANUFACTURING A SECONDARY BATTERY ASSEMBLY

NºPublicación:  EP4723260A1 08/04/2026
Solicitante: 
LG ENERGY SOLUTION LTD [KR]
EP_4723260_PA

Resumen de: EP4723260A1

0001 An apparatus for manufacturing a secondary battery assembly includes: a first hopper configured to contain a plurality of unit electrode cells; a stacking table configured to have the plurality of unit electrode cells stacked thereon to thereby form a cell stack; a transfer unit configured to sequentially pick a respective one of the plurality of unit electrode cells in the first hopper, move it to the staking table and place on top of one another; a detecting unit configured to detect a relative position of a unit electrode cell placed on top of the cell stack with respect to another unit electrode cell therebelow; and a control unit configured to determine whether or not the detected relative position of the top unit electrode cell is within a predetermined range with respect to the another unit electrode cell, wherein the control unit is further configured to, if the detected relative position is not within the predetermined range, remove the top unit electrode cell from the cell stack.

METHOD AND APPARATUS FOR SORTING LITHIUM ION BATTERY CELLS ACCORDING TO THEIR TYPE

NºPublicación:  EP4723296A1 08/04/2026
Solicitante: 
COMMISSARIAT ENERGIE ATOMIQUE [FR]
EP_4723296_PA

Resumen de: EP4723296A1

Méthode (100) pour identifier le type d'une cellule de batterie lithium-ion parmi au moins deux types de batterie associés chacun respectivement à une tension de pleine charge différente. La méthode comprend au moins une étape de discrimination (200) comprenant une ou plusieurs itérations (210). Chaque itération comprend :- une collecte (211) d'une pluralité de mesures de courant de floating effectuées au niveau de la cellule pendant une charge à tension constante effectuée à une tension correspondant à la tension de pleine charge la plus basse parmi celles associées aux différents types de batterie,- une décomposition (213) EMD de la dérivée du courant de floating,- un calcul (215) d'une densité spectrale à partir des composantes intrinsèques de la décomposition EMD,- une recherche (216) d'un minimum de la densité spectrale.Le type de la cellule est classé (220) en fonction du résultat de la recherche de minimum.

AN APPARATUS FOR INSPECTING A COATED ELECTRODE SHEET FOR A SECONDARY BATTERY AND A METHOD USING THE SAME

NºPublicación:  EP4722644A1 08/04/2026
Solicitante: 
LG ENERGY SOLUTION LTD [KR]
EP_4722644_PA

Resumen de: EP4722644A1

An apparatus for inspecting a coated electrode sheet for a secondary battery. The apparatus comprises: a radiation emitting part configured to emit an x-ray or a beta ray towards the coated electrode sheet; a radiation detecting part, disposed opposite the radiation emitting part so as to have the coated electrode sheet positioned therebetween, wherein the radiation detecting part is configured to detect an amount of the x-ray or the beta ray emitted by the radiation emitting part and transmitted through the coated electrode sheet, to thereby gauge the thickness of the coating; a first protective layer disposed between the coated electrode sheet and one of the radiation emitting/detecting parts to cover a surface of said one of the radiation emitting/detecting parts facing the coated electrode sheet; and a controller configured to relatively move the first protective layer parallel to said surface facing the coated electrode sheet, either at a predetermined constant speed or periodically by a preset length.

BATTERY CASE, BATTERY PACK, AND METHOD FOR MANUFACTURING BATTERY PACK

NºPublicación:  EP4723327A1 08/04/2026
Solicitante: 
SAMSUNG SDI CO LTD [KR]
EP_4723327_PA

Resumen de: EP4723327A1

A battery case, a battery pack, and a method for manufacturing a battery pack are provided. The battery case may include a first case, a second case fastened and coupled to the first case through a plurality of fastening parts, a vibration absorbing member in the plurality of fastening parts and configured to absorb vibration or shock applied to the plurality of fastening parts, and a coupling member adjacent to the vibration absorbing member and configured to prevent the vibration absorbing member from detaching and to couple the first case and the second case.

SPACER, METHOD OF MANUFACTURING THE SAME, AND BATTERY MODULE INCLUDING THE SPACER

NºPublicación:  EP4723337A1 08/04/2026
Solicitante: 
SAMSUNG SDI CO LTD [KR]
EP_4723337_PA

Resumen de: EP4723337A1

0001 Examples of the disclosure include a spacer including a polymer matrix, and an endothermic flame retardant dispersed in the polymer matrix. The polymer matrix includes a fiberized polymer, and the endothermic flame retardant is included in a content in a range of ≥ 60 wt% to ≤ 98 wt% with respect to a total weight of the spacer.

METHOD FOR RECYCLING POSITIVE ELECTRODE MATERIAL

NºPublicación:  EP4722395A1 08/04/2026
Solicitante: 
PRIME PLANET ENERGY & SOLUTIONS INC [JP]
EP_4722395_PA

Resumen de: EP4722395A1

The present disclosure provides a new method capable of separating Li and Al from waste of at least a positive electrode. A method for recycling a positive electrode material according to the present disclosure includes bringing waste of at least a positive electrode containing Li and Al into contact with water under presence of pressurized CO2 to allow Li and Al to leach into the water.

CURABLE COMPOSITIONS FOR THE MANUFACTURE OF ELECTRODES OF LITHIUM ION BATTERIES

NºPublicación:  EP4723180A1 08/04/2026
Solicitante: 
ARKEMA FRANCE [FR]
EP_4723180_A1

Resumen de: EP4723180A1

A curable composition in the form of a slurry comprises an electrode particulate material; a (meth)acrylate oligomer; a solvent; an adhesion promoter comprising a (meth)acrylated phosphate ester; and optionally a (meth)acrylate monomer and/or a free radical photoinitiator. This composition is suitable for use in the fabrication of electrodes of lithium ion batteries. In particular, the composition may be applied to a current collector, then cured to form a cathode or an anode. It has been found that this composition provides electrodes having an homogeneous surface which is deprived of cracks and also enhanced adhesion of the electrode particulate material to current collectors used in lithium-ion batteries.

METHOD AND SYSTEM FOR CHARGING A BATTERY

NºPublicación:  EP4723424A1 08/04/2026
Solicitante: 
COMMISSARIAT ENERGIE ATOMIQUE [FR]
EP_4723424_PA

Resumen de: EP4723424A1

La présente invention concerne un procédé de charge d'une batterie (BAT), comprenant les étapes suivantes :charge de la batterie (BAT) par application d'une tension de charge (Vmax) aux bornes de la batterie (BAT) ;interruption de la charge lorsque le différentiel entre la tension de charge et la tension à vide (VOCV) de la batterie (BAT) est inférieur à une marge (η) de manière à protéger la résistance interne de la batterie.

BATTERY HOUSING WITH UNIDIRECTIONAL VENTING PATH

NºPublicación:  EP4723352A1 08/04/2026
Solicitante: 
VOLVO TRUCK CORP [SE]
EP_4723352_PA

Resumen de: EP4723352A1

0001 A battery housing (100) for a vehicle, the battery housing comprising: a plurality of battery cells (102) arranged in at least one row, each battery cell comprising a vent (104) arranged on a top side of the battery cell and configured to release gas and particles; a venting channel (106) running circumferentially around the plurality of battery cells, the venting channel being closed in a first end (108), forming a first portion (110) of the venting channel adjacent to the first end, and having an opening (112) in a second end (114), forming a second portion (116) of the venting channel on an opposite side of the battery cells from the first portion of the venting channel, to enable unidirectional flow of gas in the venting channel; a top structure (118) dividing the battery cells into compartments (120), each compartment being open towards the first portion of the circumferential venting channel and closed towards the second portion of the circumferential venting channel; and a plurality of particle trapping structures (122a-b) arranged in the venting channel, the particle trapping structures being configured to trap particles in a gas flow comprising gas and particles.

THIN FILM BATTERY WITH MULTIPLE INDIVIDUAL ELECTROCHEMICAL CELLS

NºPublicación:  EP4723313A1 08/04/2026
Solicitante: 
VARTA MICROBATTERY GMBH [DE]
EP_4723313_PA

Resumen de: EP4723313A1

0001 Es wird eine Dünnschichtbatterie (100) mit mehreren elektrochemischen Einzelzellen (10) bereitgestellt. Die elektrochemischen Einzelzellen (10) sind auf einer Trägerfolie (50) als gemeinsamem Träger aufgebracht. Die elektrochemischen Einzelzellen (10) liegen gestapelt übereinander. Die elektrochemischen Einzelzellen (10) sind jeweils durch eine Faltkante (11) in der Trägerfolie von einer benachbarten elektrochemischen Einzelzelle getrennt. Die elektrochemischen Einzelzellen (10) sind durch mindestens eine Stromleiterschicht (12; 51) der Trägerfolie elektrisch miteinander verbunden. Die Dünnschichtbatterie zeichnet sich weiterhin dadurch aus, dass die Trägerfolie im Bereich der Faltkanten (11) Schwächungslinien (510) aufweist.

TECHNIQUES FOR CHARGING BATTERIES IN PARALLEL

NºPublicación:  EP4723427A1 08/04/2026
Solicitante: 
SCHNEIDER ELECTRIC IT CORP [US]
EP_4723427_PA

Resumen de: EP4723427A1

A charging apparatus is provided according to some embodiments. The charging apparatus includes (1) charging circuitry configured to connect to a plurality of battery packs in parallel and (2) processing circuitry configured to control the charging circuitry by: (a) obtaining a voltage reading from each of the plurality of battery packs; (b) initially setting a charging voltage of a charger to a lowest voltage reading obtained from any of the plurality of battery packs; (c) while applying the charging voltage to the plurality of battery packs, obtaining a current reading from each of the plurality of battery packs that is charging; and (d) in response to the obtained current reading from a battery pack being below a minimum threshold current, increasing the charging voltage by a voltage step value. A similar method and computer program product are also provided.

POSITIVE ELECTRODE ACTIVE MATERIAL, POSITIVE ELECTRODE SLURRY, POSITIVE ELECTRODE SHEET AND BATTERY

NºPublicación:  EP4723237A1 08/04/2026
Solicitante: 
EVE POWER CO LTD [CN]
EP_4723237_A1

Resumen de: EP4723237A1

0001 A positive electrode active material, a positive electrode slurry, a positive electrode sheet and a battery are provided herein. The positive electrode active material includes lithium manganese iron phosphate and lithium-rich lithium ferrite; where a mass ratio of the lithium-rich lithium ferrite added in the positive electrode active material is 0.5%-5%; a particle size D50 of the lithium manganese iron phosphate is d<1>, the particle size D50 of the lithium-rich lithium ferrite is d<2>, and 0.05 ≤ d<1>/d<2> ≤ 0.32.

BUSBAR HOLDER AND BATTERY MODULE INCLUDING SAME

NºPublicación:  EP4723356A1 08/04/2026
Solicitante: 
SAMSUNG SDI CO LTD [KR]
EP_4723356_PA

Resumen de: EP4723356A1

A busbar holder (200) includes: a bridge portion (240) between a plurality of through holes into which a busbar (30) is inserted; and a buffer portion (220, 230) extending inwardly from one side surface (280, 290) of a through hole from among the through holes, and having an upwardly bent shape, the one side surface (280, 290) facing the bridge portion (240).

CURRENT COLLECTOR, ELECTRODE SHEET, SECONDARY BATTERY, ELECTRIC DEVICE, COPPER FOIL, AND PREPARATION METHOD FOR COPPER FOIL

NºPublicación:  EP4723250A1 08/04/2026
Solicitante: 
CONTEMPORARY AMPEREX TECHNOLOGY CO LTD [CN]
EP_4723250_PA

Resumen de: EP4723250A1

A current collector, an electrode sheet, a secondary battery, an electric device, a copper foil, and a preparation method for the copper foil. The current collector comprises the copper foil, the average particle size of the crystal grains in the copper foil ranges from 50 nm to 400 nm, and based on the total number of crystal grains in the copper foil, the proportion of the crystal grains of nano twin crystals is greater than or equal to 60%. The combination of the high proportion nano twin crystal structure and the small crystal grain size functions to improve the mechanical strength of the current collector while maintaining the high plasticity of the current collector, thereby providing a material basis for further improvement of the energy density and safety of the battery.

SECONDARY BATTERY INCLUDING CENTRAL STRUCTURE AND MANUFACTURING METHOD THEREOF

NºPublicación:  EP4723320A1 08/04/2026
Solicitante: 
SAMSUNG SDI CO LTD [KR]
EP_4723320_PA

Resumen de: EP4723320A1

0001 A secondary battery includes an electrode assembly (100) including a first electrode, a separator, and a second electrode stacked sequentially, a first case (110) configured to accommodate a portion of the electrode assembly (100), a second case (120) configured to accommodate another portion of the electrode assembly (100), and a central structure (130) between the first case (110) and the second case (120).

WORKPIECE HOLDER FOR HOLDING A LOOSE STACK OF CELLS, USE THEREOF, AND CORRESPONDING HANDLINGPROCESS

NºPublicación:  EP4722139A1 08/04/2026
Solicitante: 
GROB GMBH & CO KG [DE]
EP_4722139_PA

Resumen de: EP4722139A1

0001 Zur Verbesserung einer Handhabung von losen Zellstapeln (12) bei einer Herstellung von elektrischen Energiequellen wird ein Werkstückträger (14) zum Halten des losen Zellstapels (12) vorgeschlagen. Der Werkstückträger (14) ist mit einem ersten und einem zweiten plattenförmigen Element (16, 18), einem zwischen den plattenförmigen Elementen (16, 18) gebildeten Aufnahmebereich (20), einem Haltemechanismus (22), der seitlich versetzt zu dem Aufnahmebereich (20) angeordnet ist und dazu eingerichtet ist, das erste und das zweite plattenförmige Element (16, 18) relativ zueinander beweglich aneinander zu halten und mittels eines Kraftspeichers (28) zueinander zu spannen, und einem Öffnungsmechanismus (30) zum zerstörungsfreien Lösen des zweiten plattenförmigen Elements (18) von dem ersten plattenförmigen Element (16) versehen.

ELECTROCHEMICAL DEPOSITION OF METAL PHOSPHATE

NºPublicación:  EP4722422A1 08/04/2026
Solicitante: 
IMEC VZW [BE]
KATHOLIEKE UNIV LEUVEN KU LEUVEN RESEARCH & DEVELOPMENT [BE]
EP_4722422_PA

Resumen de: EP4722422A1

In a first aspect, the present invention relates to a method for depositing a layer of metal phosphate (20), comprising: a) providing a working electrode (10) in contact with a solution (30) comprising metal cations and phosphate anions; and b) electrochemically forming the layer of metal phosphate (20) onto the working electrode (10); wherein the layer of metal phosphate (20) comprises a plurality of dome-shaped substructures (21) and the solution (30) further comprises an agent which promotes said dome-shaped substructures (21) being formed such that an average size thereof is reduced.

BATTERY CELL, AND BATTERY PACK AND VEHICLE INCLUDING THE SAME

NºPublicación:  EP4723322A1 08/04/2026
Solicitante: 
LG ENERGY SOLUTION LTD [KR]
EP_4723322_PA

Resumen de: EP4723322A1

A battery cell according to the present disclosure includes an electrode assembly, a cell housing, and a can lid. The can lid may include an edge portion formed on an edge to be coupled to the cell housing; and an electrode coupling portion coupled to the electrode assembly and recessedly formed. The edge portion of the can lid has a profiled geometry configured to deform in the radial direction when engaging an inner surface of the cell housing in a press-fit manner.

HEAT EXCHANGE PLATE AND METHOD FOR MANUFACTURING HEAT EXCHANGE PLATE

NºPublicación:  EP4722627A1 08/04/2026
Solicitante: 
AISIN CORP [JP]
EP_4722627_PA

Resumen de: EP4722627A1

A heat exchange plate (30) having a plurality of flow paths through which a heat medium flows and having an elongated rectangular plate shape includes: an upper wall (31) and a lower wall (32) that cover the plurality of flow paths from both sides of the heat exchange plate in a plate thickness direction; and a plurality of partition walls (35 to 37) that connect the upper wall and the lower wall in the plate thickness direction and that partition the plurality of flow paths. A direction in which the heat medium flows through the plurality of flow paths is a longitudinal direction of the heat exchange plate. At least one end portion of the heat exchange plate in the longitudinal direction is a closing portion that closes the plurality of flow paths. The upper wall, the lower wall, and the plurality of partition walls that constitute the closing portion are compressed in the plate thickness direction. The heat exchange plate further includes: a brazing portion (39) that fills a gap present between the upper wall, the lower wall, and the plurality of partition walls that constitute the closing portion.

APPARATUS FOR MANUFACTURING SECONDARY BATTERY

NºPublicación:  EP4723267A1 08/04/2026
Solicitante: 
SAMSUNG SDI CO LTD [KR]
EP_4723267_PA

Resumen de: EP4723267A1

0001 An apparatus for manufacturing a secondary battery includes a cap transporter including a cap seater, which is configured to receive a cap at a cap supplying position and on which the cap is to be seated, and is rotatable about a cap turntable axis to transport the cap to a cap welding position, a can transporter configured to move a can connected to a tab toward the cap located at the cap welding position, a can holder configured to move between a can separation position spaced apart from the can and a can pressing position at which the can holder comes into contact with the can and the can is pressed in a direction in which the cap transporter is arranged, a tab pusher, and a laser generator configured to emit a laser to the tab to weld the cap and the tab.

VENTING APPARATUS, SECONDARY BATTERY, AND METHOD OF MANUFACTURING SECONDARY BATTERY

NºPublicación:  EP4723344A1 08/04/2026
Solicitante: 
SAMSUNG SDI CO LTD [KR]
EP_4723344_PA

Resumen de: EP4723344A1

A venting apparatus for a secondary battery includes a spring having a top end and a bottom end, a sub-terminal plate connected to the top end of the spring, the sub-terminal plate being under a terminal plate having a vent, a vent plate connected to the bottom end of the spring, the vent plate having high and low positions changeable in response to a pressure within the secondary battery, and a discharge preventer on an opening of a case of the secondary battery, the discharge preventer being between the vent plate and the opening of the case, and the discharge preventer being configured to prevent a discharge of a material other than a gas within the secondary battery.

POSITIVE ELECTRODE ACTIVE MATERIAL, BATTERY, AND METHOD OF PRODUCING POSITIVE ELECTRODE ACTIVE MATERIAL

NºPublicación:  EP4723273A1 08/04/2026
Solicitante: 
TOYOTA MOTOR CO LTD [JP]
EP_4723273_PA

Resumen de: EP4723273A1

0001 A positive electrode active material comprises secondary particles, wherein each of the secondary particles includes primary particles, and each of the primary particles includes an olivine-type phosphate compound and lithium zirconate.

BATTERY CELL, BATTERY CELL MANUFACTURING DEVICE AND BATTERY CELL MANUFACTURING METHOD

NºPublicación:  EP4723268A1 08/04/2026
Solicitante: 
SK ON CO LTD [KR]
EP_4723268_PA

Resumen de: EP4723268A1

A device for manufacturing a battery cell is provided. The device includes a first pressing device including a first mold portion configured to press one side of a base material, and a second mold portion including a first protrusion configured to press the other side of the base material and configured to support the base material; and a second pressing device including a third mold portion including a second protrusion configured to press the one side of the base material, and a fourth mold portion including a third protrusion configured to press the other side of the base material, and configured to support the base material, wherein a first width of the first protrusion is greater than a third width of the third protrusion.

COPPER SUBSTRATE FOR NEGATIVE ELECTRODE CURRENT COLLECTOR OF RECHARGEABLE LITHIUM BATTERY, NEGATIVE ELECTRODE INCLUDING SAME, AND RECHARGEABLE LITHIUM BATTERY INCLUDING THE SAME

NºPublicación:  EP4723183A1 08/04/2026
Solicitante: 
SAMSUNG SDI CO LTD [KR]
EP_4723183_PA

Resumen de: EP4723183A1

0001 Disclosed are a copper substrate for a negative electrode for a rechargeable lithium battery, a negative electrode including the copper substrate, and a rechargeable lithium battery including the negative electrode. The copper substrate has a microstrain according to Lab source Powder X-ray diffraction analysis of from about 0.04% to about 0.17%.

DRY BINDER, AND ELECTRODE AND RECHARGEABLE LITHIUM BATTERY INCLUDING THE SAME

NºPublicación:  EP4723246A1 08/04/2026
Solicitante: 
SAMSUNG SDI CO LTD [KR]
EP_4723246_PA

Resumen de: EP4723246A1

0001 Provided are a dry binder including a crosslinking reaction product in which a polyurethane-based polymer is crosslinked by an epoxy crosslinking agent, an electrode including the dry binder, and a rechargeable lithium battery including the dry binder.

BATTERY ASSEMBLY AND BATTERY PACK

NºPublicación:  EP4723299A1 08/04/2026
Solicitante: 
EVE ENERGY CO LTD [CN]
EP_4723299_PA

Resumen de: EP4723299A1

Disclosed in the present disclosure is a battery assembly, including: a battery row unit (1) having a plurality of arranged battery cells; a heat exchange element (2) extending along a first direction, where the first direction is an arrangement direction of the plurality of battery cells (11), and the heat exchange element (2) is configured to cool each battery cell (11); and a heating element (3) mounted on the heat exchange element (2), in close contact with each battery cell (11) and configured to heat each battery cell (11). Meanwhile, further disclosed is a battery pack using the battery assembly, which achieves the purpose of quickly adjusting the battery cells (11) within an optimal temperature range on the premise of a simplified structure.

A POSITIVE ELECTRODE FOR LITHIUM-ION SECONDARY BATTERY AND LITHIUM-ION SECONDARY BATTERY

NºPublicación:  EP4723215A1 08/04/2026
Solicitante: 
TOYOTA MOTOR CO LTD [JP]
EP_4723215_PA

Resumen de: EP4723215A1

0001 The teaching herein provides an electrode for a lithium-ion secondary battery with excellent input/output characteristics, using an olivine type compound and a layered rocksalt type oxide as its positive electrode active materials. 0002 The description herein provides a positive electrode for a lithium-ion secondary battery. This positive electrode for a lithium-ion secondary battery comprises: a positive electrode current collector layer; and a positive electrode composite layer containing an olivine-type compound and a layered rocksalt-type oxide as its positive electrode active materials. The positive electrode composite layer comprises a first region on a side that is closer to a first surface of the positive electrode composite layer, the first surface being opposite to a second surface of the positive electrode composite layer facing the positive electrode current collector layer, and the first region contains the layered rocksalt-type oxide at a higher concentration.

POSITIVE ELECTRODE ACTIVE MATERIAL, ELECTRODE, AND BATTERY

NºPublicación:  EP4723214A1 08/04/2026
Solicitante: 
TOYOTA MOTOR CO LTD [JP]
EP_4723214_PA

Resumen de: EP4723214A1

0001 A positive electrode active material comprises a primary particle (1) and a covering (5). The primary particle includes lithium manganese phosphate. The covering (5) covers at least part of a surface of the primary particle (1). In a radial direction of the primary particle (1), the covering (5) includes a first region (5a) and a second region (5b). Each of the first region (5a) and the second region (5b) includes carbon. In TEM-EDS analysis, signal intensity of manganese in the second region (5b) is more than signal intensity of manganese in the first region (5a).

ENERGY STORAGE CELL AND ENERGY STORAGE DEVICE

NºPublicación:  EP4723315A1 08/04/2026
Solicitante: 
TOYOTA MOTOR CO LTD [JP]
EP_4723315_PA

Resumen de: EP4723315A1

0001 An energy storage cell has: a cell main body shaped as a solid cylinder; and an insulating film covering an outer peripheral surface of the cell main body, and having an easily-broken portion that breaks easily.

WATER PRESSURE MEASURING DEVICE AND WATER PRESSURE ANALYZING SYSTEM FOR BATTERY CLEANING PROCESS EQUIPMENT

NºPublicación:  EP4723363A1 08/04/2026
Solicitante: 
LG ENERGY SOLUTION LTD [KR]
EP_4723363_PA

Resumen de: EP4723363A1

A water pressure measuring device according to an embodiment of the present invention is a device for measuring the water pressure of a cleaning solution sprayed from battery cleaning process equipment. The water pressure measuring device may include: a housing having a shape corresponding to the housing of a battery cell and having an inner space; a sensor assembly disposed on the outer surface of the housing to sense the water pressure of the cleaning solution; and a control unit disposed in the inner space of the housing to collect water pressure sensing data from the sensor assembly.

SYSTEM AND METHOD FOR CONTROLLING ELECTRODE PLATE DRYING

NºPublicación:  EP4722618A1 08/04/2026
Solicitante: 
SAMSUNG SDI CO LTD [KR]
EP_4722618_PA

Resumen de: EP4722618A1

A system and method for controlling electrode plate drying, and more particularly a system and method for performing laser-based electrode plate drying control, are described. The method of controlling electrode plate drying may include the steps of (a) receiving electrode plate drying degree information, and (b) determining a beam energy intensity profile according to an electrode plate drying degree monitoring result.

COOLING STRUCTURE OF BATTERY PACK

NºPublicación:  EP4723307A1 08/04/2026
Solicitante: 
LG ENERGY SOLUTION LTD [KR]
EP_4723307_PA

Resumen de: EP4723307A1

Disclosed herein relates to a cooling structure of a battery pack including: a heat sink including a plurality of cooling flow paths; a plurality of battery assemblies mounted longitudinally and/or transversely on the heat sink; and a plurality of electrical components mounted on the heat sink, wherein at least one of the plurality of electrical components has an insulating oil sealed therein, and heat accumulating in the insulating oil is discharged to the outside via a cooling flow path of the heat sink.

BATTERY PACK

NºPublicación:  EP4723345A1 08/04/2026
Solicitante: 
LG ENERGY SOLUTION LTD [KR]
EP_4723345_PA

Resumen de: EP4723345A1

0001 Disclosed herein provides a battery pack including: a pack frame having an accommodation space; a battery cell assembly accommodated in the accommodation space of the pack frame and including a battery cell; and a venting device mounted on the pack frame, and configured to open and close an internal passage in response to pressure in the accommodation space of the pack frame, wherein the venting device is accommodated entirely within a venting passage of the pack frame provided between an inner wall and an outer wall of the pack frame.

MULTI-LAYER PACK STRUCTURE FOR HEAVY DUTY APPLICATIONS

NºPublicación:  EP4723303A1 08/04/2026
Solicitante: 
LG ENERGY SOLUTION LTD [KR]
EP_4723303_PA

Resumen de: EP4723303A1

0001 A vehicle battery pack assembly includes a plurality of sub pack assemblies, each sub pack including a box frame. An internal frame assembly is disposed within the box frame. The box frame includes a front wall, a rear wall and a pair of side walls, one of the front wall and the rear wall includes a first plurality of mounting flanges vertically spaced there along and the pair of sidewalls each include a second plurality of mounting flanges vertically spaced there along. The internal frame assembly includes a plurality of first cold plate structures mounted directly to at least one of the first and second plurality of mounting flanges. A thermal hose assembly is connected to each of the plurality of first cold plate structures and a plurality of battery modules are supported on the plurality of first cold plate structures.

ELECTROLYTE COMPOSITION

NºPublicación:  EP4723184A1 08/04/2026
Solicitante: 
II VI DELAWARE INC [US]
EP_4723184_A1

Resumen de: EP4723184A1

An electrolyte composition includes: an electrolyte; and an additive composition including: an inhibitor that reduces a topography variation resulting from material deposition on the anode of the battery during the charging process; and/or a leveler that reduces an effect of ion concentration gradient between a plurality of tips of the plurality of branches and the base from material deposition on the anode of the battery during the charging process. This electrolyte composition is for use with a battery including an anode and a cathode during a charging process. The anode includes a base and a plurality of branches protruding from the base and spaced apart from one another along the base to form a gap.

BATTERY DEVICE

NºPublicación:  EP4723295A1 08/04/2026
Solicitante: 
TOYOTA MOTOR CO LTD [JP]
EP_4723295_PA

Resumen de: EP4723295A1

0001 A battery device (1) includes a battery cell (10) having a sulfide-based electrolyte, a circuit board (20) having a detection part (21) that reacts to hydrogen sulfide, and an insulation member (30) interposed between a part of the circuit board (20) and the battery cell (10). A part or all of the detection part (21) is exposed to a space (40) surrounded by the battery cell (10), the circuit board (20), and the insulation member (30).

CONDUCTIVE STRUCTURE, COVER PLATE ASSEMBLY, AND BATTERY CELL

NºPublicación:  EP4723312A1 08/04/2026
Solicitante: 
HUIZHOU EVE POWER CO LTD [CN]
EVE POWER CO LTD [CN]
EP_4723312_PA

Resumen de: EP4723312A1

The present disclosure provides a conductive structure (10) for a battery cell, a cover plate assembly (100), and a battery cell (1000). The conductive structure (10) includes: a first-metal post (1) including a first end (11) and a second end (12) opposite to each other; and a second-metal layer (2) bonded to a surface of the first-metal post (1). The second-metal layer (2) wraps the first end (11) and extends toward the second end (12). The second-metal layer (2) is used to be connected to a tab (1210). In an axial direction of the first-metal post (1), a distance from an end portion (20) of the second-metal layer (2) to an end surface of the second end (12) is H1, a thickness D2 of the first-metal post (1), and a ratio of H1 to D2 ranges from 0 to 0.8.

TAPE ATTACHING APPARATUS

NºPublicación:  EP4723362A1 08/04/2026
Solicitante: 
LG ENERGY SOLUTION LTD [KR]
EP_4723362_PA

Resumen de: EP4723362A1

0001 The technical idea of the present disclosure provides a tape attaching apparatus. The tape attaching apparatus is configured to attach a first tape to a first side of a workpiece and a second tape to a second side of the workpiece. The tape attaching apparatus includes a tape holder including a first holder supporting the first tape and a second holder supporting the second tape, each configured to attach a center part of the first tape and a center part of the second tape to the workpiece and to attach a peripheral part of the first tape to a peripheral part of the second tape, wherein the tape holder includes a first holder supporting the first tape and a second holder supporting the second tape.

CELL VOLTAGE PICKUP SUB-ASSEMBLY AND ASSEMBLY FOR FUEL CELL AND ELECTROLYZER STACK VOLTAGE MONITORING

NºPublicación:  EP4723252A1 08/04/2026
Solicitante: 
AVL LIST GMBH [AT]
AVL FUEL CELL CANADA INC [CA]
EP_4723252_PA

Resumen de: EP4723252A1

0001 The invention is related to a cell voltage pickup ("CVP") sub-assembly (12) for conveying voltages of unit cells of a fuel cell or electrolyzer stack to a cell voltage monitoring ("CVM") system and a CVP assembly (100) for mounting to a fuel cell or electrolyzer stack. A CVP unit (10) comprises a printed circuit board ("PCB") (20) for conducting electricity, at least one pick-up (50) for electrically connecting one of the unit cells and the PCB (20), and a means of communicating stack voltages (22) to a CVM system. The CVP sub-assembly (12) comprises the CVP unit (10) and a carrier bracket (30) for retaining the CVP unit (10), wherein the carrier bracket (30) comprises at least one through-hole feature (40) for mounting to a glide rod (110). The CVP assembly (100) comprises a CVP sub-assembly (12), at least one glide rod (110), and mounting brackets (120) for mounting the CVP assembly (100) to a fuel cell or electrolyzer stack.

BATTERY MODULE AND BATTERY PACK INCLUDING THE BATTERY MODULE

NºPublicación:  EP4723298A1 08/04/2026
Solicitante: 
SAMSUNG SDI CO LTD [KR]
EP_4723298_PA

Resumen de: EP4723298A1

A battery module includes a plurality of battery cells, with each of the battery cells including battery cell terminals and a battery cell vent. The battery module also includes a reinforcement frame including a plurality of reinforcement frame connection vents in fluid communication with the battery cell vents and a reinforcement frame discharge vent in fluid communication with the reinforcement frame connection vents. A busbar module electrically connects the battery cell terminals.

APPARATUS FOR ADJUSTING POSITION OF SHIM FOR SLOT DIE COATER, AND METHOD FOR ADJUSTING POSITION OF SHIM BY USING SAME

NºPublicación:  EP4721876A1 08/04/2026
Solicitante: 
LG ENERGY SOLUTION LTD [KR]
EP_4721876_PA

Resumen de: EP4721876A1

A device may adjust a position of a shim plate mounted in a slot die coater for electrode manufacturing. The device may have a shim adjustment part including a displacement meter for measuring an offset value of a shim plate disposed in the die block and including a position adjuster for adjusting the position of the shim plate according to the measured offset value, so that the position of the shim plate can be precisely and easily adjusted to a micrometer level during the assembly of the slot die coater, thereby enabling excellent workability and productivity. Furthermore, the slot die coater with the adjusted position of the shim plate may be used in manufacturing electrodes for lithium secondary batteries with high reliability on the loading amount of the electrode slurry because the offset of the shim plate is precisely adjustable.

POWER STORAGE DEVICE

NºPublicación:  EP4723304A1 08/04/2026
Solicitante: 
TOYOTA MOTOR CO LTD [JP]
EP_4723304_PA

Resumen de: EP4723304A1

A power storage device includes: a lower case having a bottom wall portion (23); a cooler (30) disposed below the bottom wall portion (23); and a cover member (50) to cover the cooler (30) from below. The bottom wall portion (23) includes a first protrusion (26C) protruding downward. The cover member (50) includes a second protrusion (52C) that faces the first protrusion (26C) in an upward-downward direction and protrudes upward. The first protrusion (26C) protrudes more downward than a lower surface of the cooler (30).

NEGATIVE ELECTRODE HAVING IMPROVED SAFETY AGAINST INTERNAL SHORT CIRCUIT, SECONDARY BATTERY COMPRISING SAME, AND SECONDARY BATTERY SYSTEM FOR SAME

NºPublicación:  EP4723191A1 08/04/2026
Solicitante: 
LG ENERGY SOLUTION LTD [KR]
EP_4723191_PA

Resumen de: EP4723191A1

The present disclosure relates to a negative electrode, a secondary battery including the same, and a secondary battery system for the same. The negative electrode can implement a predetermined volume resistance by including aluminum-containing particles of specific components and a conductive material in a coating layer. Such a negative electrode can implement appropriate insulating properties on the negative electrode surface during an internal short-circuit while allowing a predetermined current to leak, thereby preventing melt-down phenomenon and/or rapid heat generation of the secondary battery due to internal short circuits.

SECONDARY BATTERY, BATTERY ASSEMBLY, AND ELECTRONIC DEVICE

NºPublicación:  EP4723291A1 08/04/2026
Solicitante: 
AESC JAPAN LTD [JP]
EP_4723291_PA

Resumen de: EP4723291A1

A secondary battery (1), a battery assembly (100), and an electronic device (1000) are provided. The secondary battery (1) includes: a housing (10) and an electrode assembly (20) accommodated in the housing (10). The electrode assembly (20) includes a wound structure (201) formed by a positive electrode sheet (21), a separator (22), and a negative electrode sheet (23). A positive electrode current collector (211) of the positive electrode sheet (21) includes a positive electrode coated region (212) and a positive electrode uncoated region (213). A negative electrode current collector (231) of the negative electrode sheet (23) includes a negative electrode coated region (232) and a negative electrode uncoated region (233). A part of the positive electrode uncoated region (213) is bent to form a stacked positive electrode tab region (2131). A part of the negative electrode uncoated region (233) is bent to form a stacked negative electrode tab region (2331).

ELECTRODE MANUFACTURING APPARATUS, ELECTRODE MANUFACTURING METHOD, AND SECONDARY BATTERY MANUFACTURING METHOD

NºPublicación:  EP4723357A1 08/04/2026
Solicitante: 
SAMSUNG SDI CO LTD [KR]
EP_4723357_PA

Resumen de: EP4723357A1

An electrode manufacturing apparatus includes an electrode plate transfer device configured to transfer an electrode plate in a first direction while supporting the electrode plate, with the electrode plate including a first region in which an active material layer is formed and a second region, in which the active material layer is not formed. The electrode manufacturing apparatus also including a camera configured to acquire an image of the electrode plate supported by the electrode plate transfer device and an electrode tab placement device that is configured to place an electrode tab in the second region, with the electrode tab placement device being movable in a second direction intersecting the first direction. The electrode manufacturing apparatus further includes a processor configured (i) to determine a placement position at which the electrode tab is to be placed using the image and (ii) to adjust a position of the electrode tab placement device in the second direction so that the electrode tab is placed at the determined placement position.

POWER STORAGE DEVICE

NºPublicación:  EP4723302A1 08/04/2026
Solicitante: 
TOYOTA MOTOR CO LTD [JP]
EP_4723302_PA

Resumen de: EP4723302A1

0001 The power storage device (10) includes a power storage stack (11, 12) which includes a plurality of power storage cells (100) arranged side by side in a first direction, and a side wall (212) disposed on a lateral side of the plurality of power storage cells in a second direction. Each power storage cell includes a cell case (114) and an external terminal (120). The side wall (212) includes an opposite portion (213) facing the side surface (114b) of the cell case in the second direction, and a recess (214) formed at a position facing the external terminal in the second direction and recessed from the opposite portion in a direction away from the external terminal. The length of the recess (214) in the vertical direction is greater than the length of the external terminal (120) in the vertical direction.

CLEANING APPARATUS AND FOR A ROLLER FOR MANUFACTURING A SECONDARY BATTERY AND SECONDARY BATTERY MANUFACURING APPARATUS

NºPublicación:  EP4721885A1 08/04/2026
Solicitante: 
SAMSUNG SDI CO LTD [KR]
EP_4721885_PA

Resumen de: EP4721885A1

0001 Roller cleaning device (40) comprising a cleaning part (41) configured to be provided in an apparatus (20) for manufacturing a secondary battery that includes one or more rollers (30) configured to contact a substrate (24) coated with slurry (24a) for a secondary battery and a support structure (50) supporting the rollers (30), the cleaning part (41) being operatively associated with one of the rollers (30) and configured to remove contaminants (z) from a surface of the roller (30) by contacting the roller; a driving part configured to drive the cleaning part; and a controller (53) configured to control the driving part. Apparatus (20) for manufacturing a secondary battery comprising the roller cleaning device (40) and associated cleaning method.

COMPOSITE POSITIVE ELECTRODE ACTIVE MATERIAL, MANUFACTURING METHOD THEREOF, AND ALL-SOLID-STATE BATTERY COMPRISING SAME

NºPublicación:  EP4723216A1 08/04/2026
Solicitante: 
SOLIVIS INC [KR]
EP_4723216_PA

Resumen de: EP4723216A1

The present disclosure relates to a composite cathode active material comprising an active material, a first electrolyte layer disposed on the active material, and a second electrolyte layer disposed on the first electrolyte layer, wherein the first electrolyte layer is present in an amount of 2.5 wt% to 5.0 wt% based on the active material, wherein the composite cathode active material of the present disclosure includes a thin and uniform electrolyte coating layer on its surface, thereby improving electrochemical characteristics and rate capability of an all-solid-state battery.

SULFIDE-BASED SOLID ELECTROLYTE AND METHOD FOR PREPARING SAME

NºPublicación:  EP4723276A1 08/04/2026
Solicitante: 
SOLIVIS INC [KR]
EP_4723276_PA

Resumen de: EP4723276A1

0001 The present disclosure relates to a sulfide-based solid electrolyte including an argyrodite-based compound that contains lithium, phosphorus, sulfur, a halogen element, and a Group 13 element and has an argyrodite crystal structure. The sulfide-based solid electrolyte of the present disclosure may exhibit enhanced electrochemical stability and atmospheric stability through substitution of some in the crystal structure with the Group 13 element.

CAP ASSEMBLY AND SECONDARY BATTERY INCLUDING A CAP ASSEMBLY

NºPublicación:  EP4723323A1 08/04/2026
Solicitante: 
SAMSUNG SDI CO LTD [KR]
EP_4723323_PA

Resumen de: EP4723323A1

0001 A cap assembly (130) for a secondary battery (100), includes: a cap plate seated on and coupled to an open end of a case accommodating an electrode assembly, the cap plate having a through-hole therethrough; a terminal plate electrically connected to the electrode assembly, and inserted into the through-hole of the cap plate; a first insulating member between the cap plate and the terminal plate to provide electrical insulation between the cap plate and the terminal plate; and a second insulating member at an outside of the first insulating member to provide electrical insulation between the cap plate and the terminal plate.

POWER STORAGE DEVICE

NºPublicación:  EP4723351A1 08/04/2026
Solicitante: 
TOYOTA MOTOR CO LTD [JP]
EP_4723351_PA

Resumen de: EP4723351A1

0001 A power storage device (10) comprises a plurality of power storage cells (100), a lower case including a bottom wall (212), and a partition plate (250) provided between the plurality of power storage cells and the bottom wall. Each power storage cell (100) has a lower surface provided with a safety valve (SV). The bottom wall (212) includes a supporting portion (212a) that supports the partition plate, and a groove (212b) that protrudes from the supporting portion downward and has a shape extending in one direction. The partition plate (250) includes a connected portion (252) connected to the supporting portion, and a lidding portion (254) located above the groove and cooperating with the groove to form an emission path (S). The lidding portion (254) has a plurality of through holes (254h) each provided at a position facing the safety valve (SV).

COMPOSITE POLYMER ELECTROLYTE, METHOD FOR MANUFACTURING SAME, AND ALL-SOLID-STATE BATTERY COMPRISING SAME

NºPublicación:  EP4723277A1 08/04/2026
Solicitante: 
LG ENERGY SOLUTION LTD [KR]
EP_4723277_A1

Resumen de: EP4723277A1

According to the present invention, a composite polymer electrolyte having excellent ionic conductivity as well as mechanical strength, and a method for manufacturing same can be provided. In addition, according to the present invention, the composite polymer electrolyte is particularly applied to an all-solid-state battery using lithium metal or lithium alloy as a negative electrode, thereby suppressing the generation of lithium dendrites and improving lifespan characteristics.

A BATTERY MODULE ASSEMBLY, A BATTERY PACK, AND A VEHICLE

NºPublicación:  EP4723328A1 08/04/2026
Solicitante: 
VOLVO TRUCK CORP [SE]
EP_4723328_PA

Resumen de: EP4723328A1

0001 The disclosure relates to a battery module assembly (1) for a battery pack (100), the battery module assembly (1) comprising at least two battery modules (BM1-BM3) arranged on top of each other in the height direction (H) with a first battery module (BM1) adjacently arranged on top of a second battery module (BM2). The disclosure further relates to a battery pack (100) and to a vehicle (200).

POWER STORAGE DEVICE

NºPublicación:  EP4723326A1 08/04/2026
Solicitante: 
TOYOTA MOTOR CO LTD [JP]
EP_4723326_PA

Resumen de: EP4723326A1

A power storage device (10) includes: a plurality of power storage cells (100); and an insulator member (150) having a shape extending from a power storage cell disposed at one end in a first direction to a power storage cell disposed at the other end in the first direction. Each power storage cell has a valve locating surface (114a), and each valve locating surface (114a) includes a safety valve (SV). The insulator member (150) is in contact with the valve locating surface (114a) and includes a plurality of intermediate vulnerable portions (152). Each intermediate vulnerable portion (152) is formed at a position between a pair of power storage cells (100) adjacent to each other in the first direction, and extends in the second direction.

BATTERY PACK

NºPublicación:  EP4723330A1 08/04/2026
Solicitante: 
SAMSUNG SDI CO LTD [KR]
EP_4723330_PA

Resumen de: EP4723330A1

A battery pack (1000) includes a plurality of battery cells (100) including a first battery cell (100a) and a second battery cell (100b), and a tab (200) electrically connecting the plurality of battery cells, and the tab includes a first joint portion (210) joined to the first battery cell and including a first material, and a second joint portion (220) joined to the second battery cell and including a second material.

CAP ASSEMBLY AND SECONDARY BATTERY USING THE SAME

NºPublicación:  EP4723318A1 08/04/2026
Solicitante: 
SAMSUNG SDI CO LTD [KR]
EP_4723318_PA

Resumen de: EP4723318A1

A cap assembly (30), including a cap plate (31) having a hole therein, a terminal plate (330) having a lower portion (332) in the hole, and an upper portion (331) above the cap plate and exposed, and a sub-plate (350) below the cap plate, the sub-plate being bonded to the lower portion of the terminal plate.

SINGLE CRYSTAL POSITIVE ELECTRODE MATERIAL, PREPARATION METHOD THEREFOR, AND LITHIUM-ION BATTERY

NºPublicación:  EP4723210A1 08/04/2026
Solicitante: 
BEIJING EASPRING MAT TECH CO LTD [CN]
EP_4723210_PA

Resumen de: EP4723210A1

The present disclosure relates to the field of lithium-ion batteries and discloses a single crystal cathode material, a preparation method thereof, and a lithium-ion battery. The single crystal cathode material has a size distribution B90=(P90-P10)/P50 of single crystal particles satisfying 0.9≤B90≤1.4. A Young's modulus E of the cathode material, measured by Atomic Force Microscopy, satisfies 100 GPa≤E≤200 GPa. The single crystal particles of the single crystal cathode material have a specific particle size distribution, enabling the single crystal cathode material to have a high compaction density, and to have a higher Young's modulus allowing the single crystal cathode material to withstand a higher rolling force during the preparation of the battery, thereby improving the volume energy density of the lithium-ion battery including the cathode material.

BATTERY CELL, BATTERY, AND ELECTRICAL DEVICE

NºPublicación:  EP4723348A1 08/04/2026
Solicitante: 
CONTEMPORARY AMPEREX TECHNOLOGY CO LTD [CN]
EP_4723348_PA

Resumen de: EP4723348A1

0001 The present application provides a battery cell, a battery, and an electrical apparatus, which belongs to the technical field of batteries. The battery cell includes a shell, the shell has a first wall and a second wall connected to each other, the first wall is provided with a first groove, the first wall is configured to be capable of rupturing along at least a part of the first groove during pressure relief of the battery cell, so as to release the internal pressure of the battery cell, the second wall is located on one side of the first wall in a first direction, the first groove includes a first groove segment, and the first groove segment and the second wall are arranged in the first direction. The first wall is also provided with a second groove, in the first direction, the second wall has a first outer surface facing away from an interior of the shell, and a projection of the second groove in a thickness direction of the first wall is located between the first outer surface and a projection of the first groove segment in the thickness direction of the first wall, so that the second groove can absorb the excess material from extrusion of the first groove segment during a forming process of the first groove segment, so as to alleviate a phenomenon that the battery cell partially arches or planeness of the first wall is reduced.

NEGATIVE ELECTRODE FOR SECONDARY BATTERY AND SECONDARY BATTERY WITH NEGATIVE ELECTRODE

NºPublicación:  EP4723201A1 08/04/2026
Solicitante: 
PRIME PLANET ENERGY & SOLUTIONS INC [JP]
EP_4723201_PA

Resumen de: EP4723201A1

0001 The negative electrode of the secondary battery of a present disclosure is a negative electrode for secondary battery that includes a negative electrode current collector, and a negative electrode active material layer supported by the negative electrode current collector. The negative electrode active material layer includes a lower layer positioned at a side of the negative electrode current collector and an upper layer positioned at a surface side, the upper layer contains a first graphite particle and a first Si-containing particle, as a negative electrode active material, and the lower layer contains a second graphite particle and a second Si-containing particle, as the negative electrode active material. Then, a mean circularity C1 of the first Si-containing particle is larger than a mean circularity C2 of the second Si-containing particle.

SEPARATOR INTEGRATED TYPE ELECTRODE, METHOD FOR MANUFACTURING THE SAME, ELECTRODE ASSEMBLY, AND RECHAREABLE LITHIUM BATTERY INCLUDING THE SAME

NºPublicación:  EP4723354A1 08/04/2026
Solicitante: 
SAMSUNG SDI CO LTD [KR]
EP_4723354_PA

Resumen de: EP4723354A1

0001 Disclosed are a separator-integrated type electrode, a manufacturing method thereof, and an electrode assembly and a rechargeable lithium battery including the separator-integrated type electrode, the separator-integrated type electrode including an electrode, and a polymer fiber layer on the electrode. The polymer fiber layer includes polyacrylic acid. A tensile strength of the polymer fiber layer in the MD direction is greater than or equal to about 120 kgf/cm<2>. Air permeability of the polymer fiber layer is less than or equal to about 500 sec/100 cc.

BATTERY PACK AND VEHICLE

NºPublicación:  EP4723329A1 08/04/2026
Solicitante: 
EVE ENERGY CO LTD [CN]
EP_4723329_PA

Resumen de: EP4723329A1

Provided is a battery pack including: a case, cell modules, first electrical connection member(s), and a second electrical connection member (s). The case includes a receiving cavity, and first opening(s) and second opening(s) in communication with the receiving cavity. The cell modules are stacked in the receiving cavity; each cell module includes a first electrical connection end and a second electrical connection end disposed opposite to each other. The first electrical connection member is connected to first electrical connection ends of two adjacent cell modules. A portion of the first electrical connection member connected to the first electrical connection ends is exposed through the first opening. The second electrical connection member is connected to second electrical connection ends of two adjacent cell modules. A part of the second electrical connection member connected to the second electrical connection ends is exposed through the second opening.

MAGNETIC ALIGNMENT APPARATUS AND MAGNETIC ALIGNMENT METHOD OF ELECTRODE ACTIVE MATERIAL IN ELECTRODE USING SAME

Nº publicación: EP4723182A1 08/04/2026

Solicitante:

LG ENERGY SOLUTION LTD [KR]

EP_4723182_PA

Resumen de: EP4723182A1

The present disclosure relates to a magnetic alignment device and a method of magnetic alignment of electrode active material in electrode using the same. The magnetic alignment device has a structure that controls the directionality of the N poles and S poles of each of a plurality of unit magnets included in a first magnetic portion and a second magnetic portion to magnetize magnetic members positioned between the unit magnets, and applies a magnetic field to electrode slurry through the magnetized magnetic members. Therefore, the magnetic alignment device can perform magnetic alignment of electrode active material in an electrode with high efficiency during manufacturing of electrodes for lithium secondary batteries. In addition, as the magnetic alignment device can easily control the application of a magnetic field depending on the magnetization of the magnetic members, it has the advantages of excellent workability and high economic efficiency in electrode manufacturing.

traducir