Ministerio de Industria, Turismo y Comercio LogoMinisterior
 

Almacenamiento en baterías

Resultados 1797 resultados
LastUpdate Última actualización 13/10/2025 [15:43:00]
pdfxls
Publicaciones de los últimos 15 días/Last 15 days publications (excluidas pubs. CN y JP /CN and JP pubs. excluded)
previousPage Resultados 275 a 300 de 1797 nextPage  

BATTERY MODULE

NºPublicación:  WO2025210698A1 09/10/2025
Solicitante: 
NISSAN MOTOR CO LTD [JP]
\u65E5\u7523\u81EA\u52D5\u8ECA\u682A\u5F0F\u4F1A\u793E

Resumen de: WO2025210698A1

A battery module 1 includes: a battery laminate 10 including a plurality of battery cells 11 electrically connected in series and laminated on each other; and a holding member holding the plurality of battery cells 11 from a side surface of the battery laminate 10 and formed of an electroconductive material. The holding member is an electroconductive member extending along the direction in which the plurality of battery cells 11 are laminated, and has a side wall part 430 covering at least a part of a side surface of the battery laminate 10 close to the bottom surface of the battery laminate. The side wall part 430 includes a first side wall portion in which the distance between the side wall part 430 and the battery laminate 10 is a first distance, and a second side wall portion in which the distance between the side wall part 430 and the battery laminate is a second distance which is longer than the first distance.

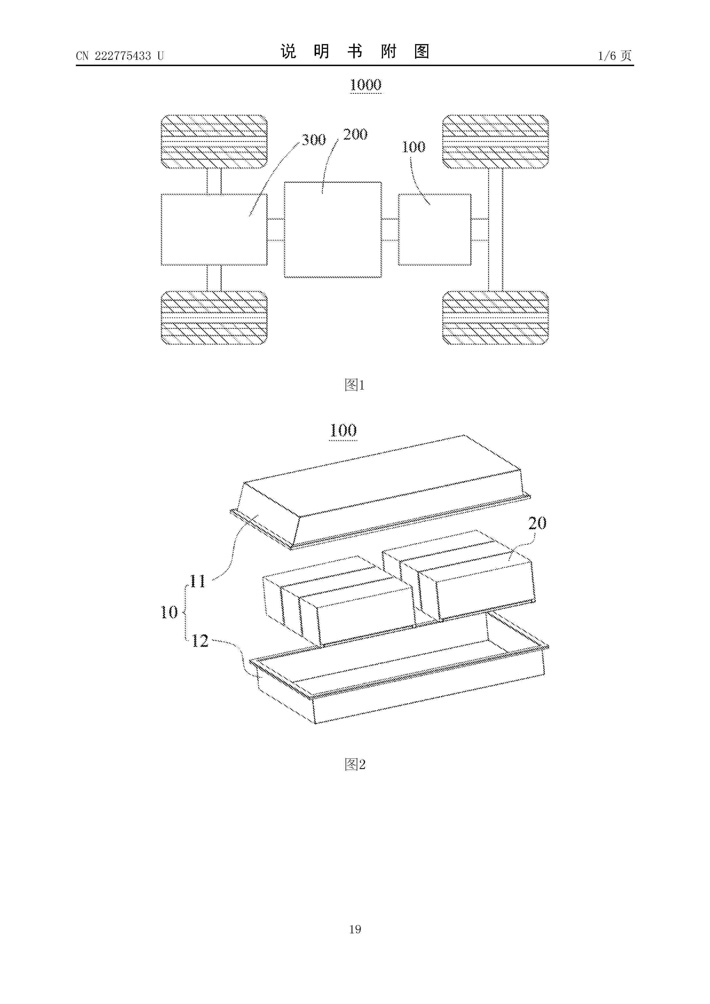
BATTERY CELL, BATTERY, AND ELECTRIC DEVICE

NºPublicación:  WO2025209029A1 09/10/2025
Solicitante: 
CONTEMPORARY AMPEREX TECH CO LIMITED [CN]
\u5B81\u5FB7\u65F6\u4EE3\u65B0\u80FD\u6E90\u79D1\u6280\u80A1\u4EFD\u6709\u9650\u516C\u53F8
CN_222775433_U

Resumen de: WO2025209029A1

A battery cell, a battery, and an electric device. The battery cell comprises a casing, an electrode terminal, and a sealing member. The casing comprises a first wall, and the first wall is provided with a first through hole. The electrode terminal is provided on the first wall, and the electrode terminal comprises a first portion, a second portion, and a third portion sequentially connected in the thickness direction of the first wall. At least a part of the first portion is located in the first through hole, and the second portion and the third portion are located on the side of the first wall facing away from the interior of the battery cell. In the radial direction of the electrode terminal, the second portion protrudes beyond the outer peripheral surface of the first portion and the outer peripheral surface of the third portion. In the thickness direction of the first wall, at least a part of the sealing member is located between the second portion and the first wall, and in the thickness direction of the first wall, the projection of the sealing member partially overlaps the projection of the third portion. The structure can improve the reliability of the battery cell.

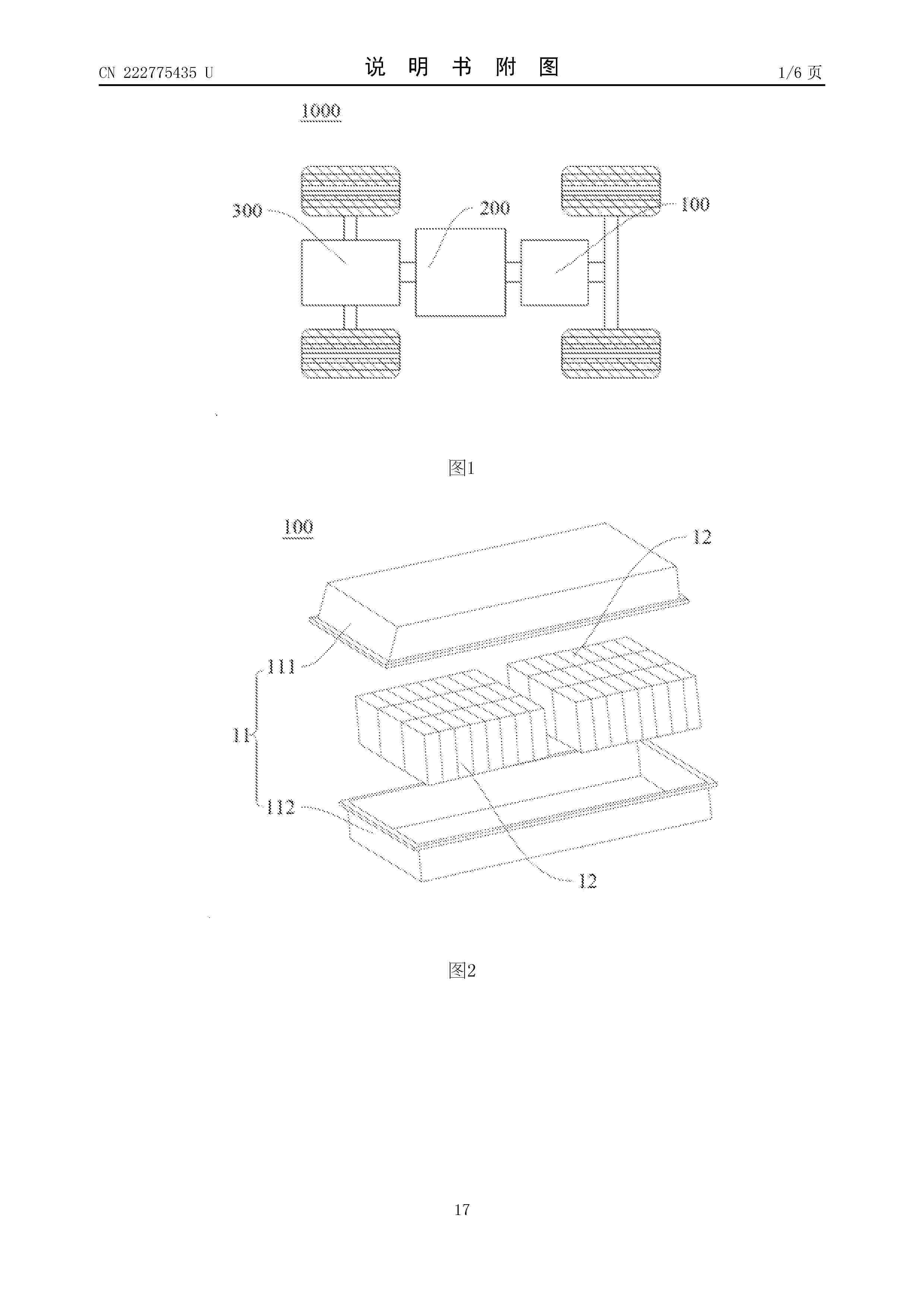
BATTERY CELL, BATTERY AND ELECTRIC DEVICE

NºPublicación:  WO2025209028A1 09/10/2025
Solicitante: 
CONTEMPORARY AMPEREX TECH CO LIMITED [CN]
\u5B81\u5FB7\u65F6\u4EE3\u65B0\u80FD\u6E90\u79D1\u6280\u80A1\u4EFD\u6709\u9650\u516C\u53F8
CN_222775435_U

Resumen de: WO2025209028A1

A battery cell, a battery and an electric device, which belong to the technical field of batteries. The battery cell comprises a casing, an electrode terminal and a sealing member, wherein the casing comprises a first wall, and a recess recessed in the direction of the thickness of the first wall is provided on an outer surface of the first wall. A part of the electrode terminal is accommodated in the recess. An outer peripheral face of the electrode terminal comprises a first pressing face; and in the radial direction of the electrode terminal, at least a part of the sealing element is arranged between the first pressing face and an inner peripheral face of the recess, and the first pressing face and an inner circumferential face of the recess jointly clamp the sealing member. The battery cell has high reliability.

ELECTROCHEMICAL DEVICE AND ELECTRONIC DEVICE

NºPublicación:  WO2025209088A1 09/10/2025
Solicitante: 
NINGDE AMPEREX TECH LIMITED [CN]
\u5B81\u5FB7\u65B0\u80FD\u6E90\u79D1\u6280\u6709\u9650\u516C\u53F8
CN_118173859_PA

Resumen de: WO2025209088A1

An electrochemical device and an electronic device. The electrochemical device comprises an insulating layer, a positive electrode sheet, a negative electrode sheet and a separator provided between the positive electrode sheet and the negative electrode sheet, the insulating layer comprising a porous substrate, the porous substrate comprising polypropylene, and the surface density of the porous substrate being 2 g/m2 to 11 g/m2. The described arrangements enable the electrochemical device to have a high capacity.

SECONDARY BATTERY AND ELECTRICAL DEVICE

NºPublicación:  WO2025209082A1 09/10/2025
Solicitante: 
NINGDE AMPEREX TECH LIMITED [CN]
\u5B81\u5FB7\u65B0\u80FD\u6E90\u79D1\u6280\u6709\u9650\u516C\u53F8
CN_118173985_PA

Resumen de: WO2025209082A1

Provided in the present application are a secondary battery and an electrical device. The secondary battery comprises a positive electrode sheet, a positive electrode tab and an adhesive tape, the positive electrode sheet being provided with a recess, and the positive electrode tab being connected to the positive electrode sheet; the adhesive tape is affixed to the positive electrode sheet and covers the recess and the positive electrode tab; the adhesive tape comprises a base material layer and a bonding layer, and the base material layer has pores allowing metal cations to pass through, the porosity of the base material layer being φ, wherein 30%≤φ≤60%; in the thickness direction of a positive electrode current collector, the projection area of the base material layer is S1, and the overlapping area of the projection of the bonding layer and the projection of the base material layer is S2, wherein 20%≤S2/S1≤45%. The present application enables the adhesive tape to have lower impedance, thus reducing the probability of lithium plating or formation of purple spots of the secondary battery, enabling the secondary battery to have better dynamic performance, and allowing metal cations to pass through the adhesive tape, so as to improve the discharge capacity of the secondary battery.

METHOD FOR MANUFACTURING SOLID-STATE BATTERIES

NºPublicación:  WO2025211161A1 09/10/2025
Solicitante: 
HONDA MOTOR CO LTD [JP]
\u672C\u7530\u6280\u7814\u5DE5\u696D\u682A\u5F0F\u4F1A\u793E

Resumen de: WO2025211161A1

Provided is a method for manufacturing solid-state batteries, whereby continuous and high-productivity manufacturing can be achieved while optimizing the adhesion and interface formation of each layer. The method for manufacturing solid-state batteries comprises: a positive electrode-side sheet member feeding step for feeding a positive electrode-side sheet member; a first solid electrolyte layer transfer step for transferring a first solid electrolyte layer to the positive electrode-side sheet member; a positive electrode pressing step for pressing the positive electrode-side sheet member to which the first solid electrolyte layer has been transferred; a negative electrode-side solid electrolyte layer transfer step for transferring a negative electrode-side solid electrolyte layer to a negative electrode active material layer to form a negative electrode-side sheet member; a negative electrode-side sheet member lamination step for laminating the negative electrode-side sheet member on the positive electrode-side sheet member; and an integrated pressing step for pressing the positive electrode-side sheet member and the negative electrode-side sheet member in a laminated state. Each step is successively performed on the positive electrode-side sheet member.

ALKALINE SECONDARY BATTERY AND MANUFACTURING METHOD THEREFOR

NºPublicación:  WO2025211162A1 09/10/2025
Solicitante: 
FDK CORP [JP]
\uFF26\uFF24\uFF2B\u682A\u5F0F\u4F1A\u793E

Resumen de: WO2025211162A1

This alkaline secondary battery has a wound body in which a positive electrode and a negative electrode are wound in a state in which the positive electrode and negative electrode are layered upon one another with a separator therebetween. The separator includes a nonwoven fabric and a microporous film disposed on the nonwoven fabric, and the microporous film does not face the central space of the wound body.

COMPOSITION FOR MODIFYING ELECTRODE ACTIVE MATERIAL COMPRISING CELLULOSE OR FUNCTIONALIZED CELLULOSE, ELECTRODE ACTIVE MATERIAL MODIFIED WITH CELLULOSE OR FUNCTIONALIZED CELLULOSE, AND SECONDARY BATTERY COMPRISING SAME

NºPublicación:  WO2025211783A1 09/10/2025
Solicitante: 
UIF UNIV INDUSTRY FOUNDATION YONSEI UNIV [KR]
\uC5F0\uC138\uB300\uD559\uAD50 \uC0B0\uD559\uD611\uB825\uB2E8

Resumen de: WO2025211783A1

The present invention relates to: a composition for modifying the surface of an electrode active material for a secondary battery, wherein the composition comprises cellulose, modified cellulose, or a mixture thereof; an electrode active material for a secondary battery, wherein the electrode active material is coated with cellulose, modified cellulose, or a mixture thereof; and a secondary battery comprising same. According to the present invention, a dry electrode can be manufactured by excluding the use of a fluorine-based binder or reducing the amount of the used fluorine-based binder, and excellent dispersibility and adhesion are achieved without using a PTFE binder conventionally used as a dry electrode binder, thereby enabling the production of a high-capacity thick film electrode.

SLOT DIE COATER FOR ELECTRODE AND METHOD FOR MANUFACTURING ELECTRODE USING SAME

NºPublicación:  WO2025211730A1 09/10/2025
Solicitante: 
LG ENERGY SOLUTION LTD [KR]
\uC8FC\uC2DD\uD68C\uC0AC \uC5D8\uC9C0\uC5D0\uB108\uC9C0\uC194\uB8E8\uC158

Resumen de: WO2025211730A1

A slot die coater for an electrode according to some embodiments may comprise: n (n is an integer from 2 to 5) blocks arranged adjacent to each other; a coating core that is positioned at one of the interfaces of the blocks and has an insulating liquid discharge flow path formed therein; and a variable unit for adjusting the degree of opening of the insulating liquid discharge flow path. Some embodiments of the present invention can, while simultaneously applying an electrode slurry and the insulating liquid onto a current collector, conveniently and precisely control the thickness of the insulating liquid being applied on the current collector.

A METHOD FOR RECOVERY OF METALS FROM CATHODE MATERIAL OF SPENT LITHIUM TITANIUM OXIDE BATTERY

NºPublicación:  WO2025210443A1 09/10/2025
Solicitante: 
ATTERO RECYCLING PVT LTD [IN]
ATTERO RECYCLING PVT. LTD
CN_120719122_PA

Resumen de: WO2025210443A1

The present invention relates to a method for recovery of metals from cathode material of spent lithium titanium oxide battery. The present invention provides a simple, easy to operate, environment friendly and commercially feasible method for recovery of metals from cathode material of spent lithium titanium oxide (TTO) battery that recovers metals with high purity. The method of the present invention involves recovery of metals from cathode material of the spent battery by processes of roasting, sonication, filtration, leaching, precipitation and electrolysis. The method recovers 97-98% of cobalt and manganese with % purity ranging from 98.5% to 99%.

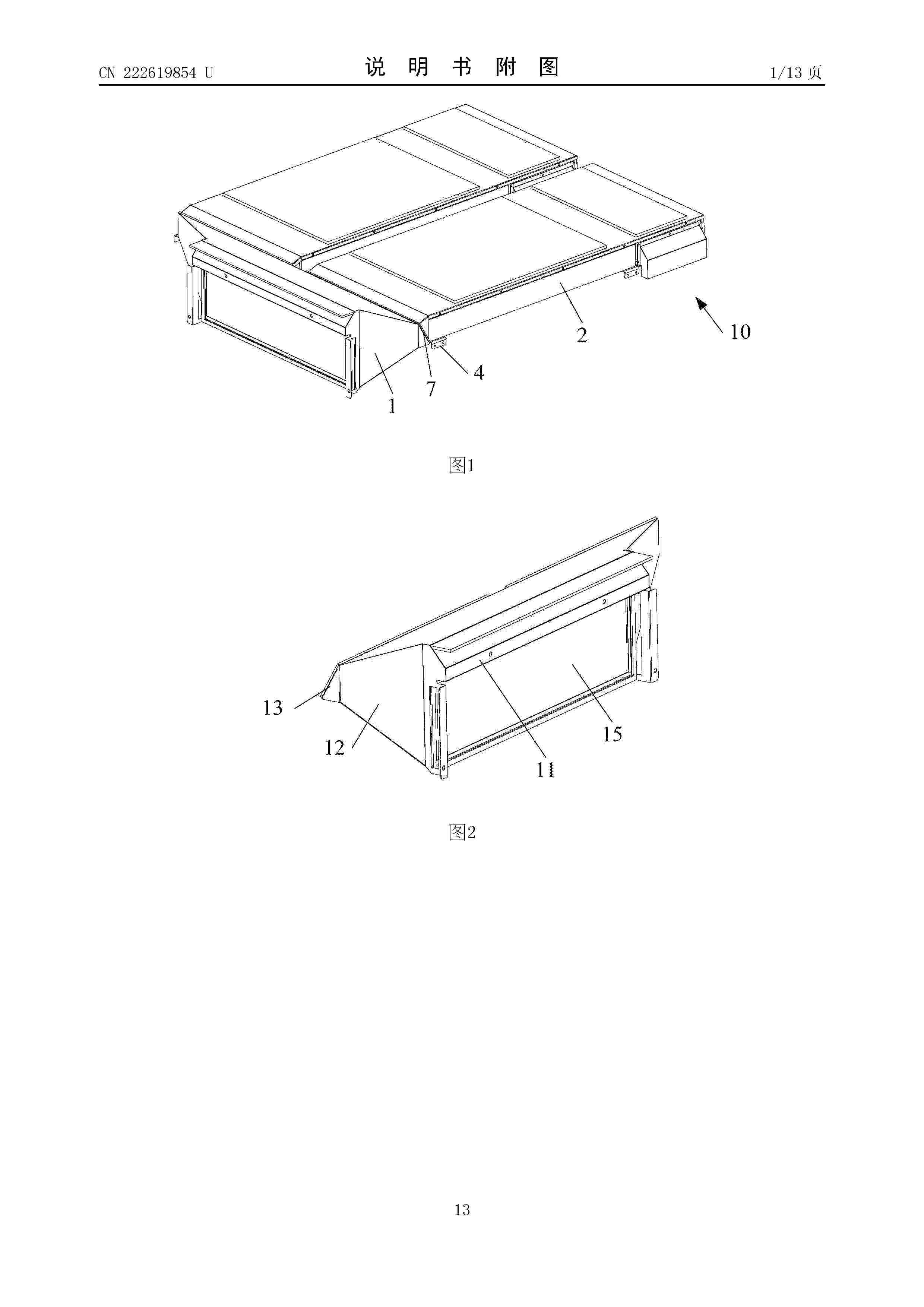
HEAT DISSIPATION DEVICE AND ENERGY STORAGE CABINET

NºPublicación:  WO2025209426A1 09/10/2025
Solicitante: 
PYLON TECH CO LTD [CN]
\u4E0A\u6D77\u6D3E\u80FD\u80FD\u6E90\u79D1\u6280\u80A1\u4EFD\u6709\u9650\u516C\u53F8
CN_222619854_U

Resumen de: WO2025209426A1

The embodiments of the present application relate to the technical field of energy storage cabinets, and in particular to a heat dissipation device and an energy storage cabinet. The heat dissipation device comprises an air guide member and a heat dissipation member, wherein the air guide member is provided with an air guide channel, and an air guide air inlet and an air guide air outlet which are respectively in communication with the air guide channel; and the heat dissipation member is provided with a cooling air channel, and a cooling air inlet and a cooling air outlet which are respectively in communication with the cooling air channel, the cooling air inlet being in communication with the air guide air outlets. In the heat dissipation device provided in the present application, an inherent cooling air channel is independent of an original energy storage cabinet, such that the number of heat dissipation members can be increased or decreased according to the actual number of battery columns, that is, the heat dissipation channel can be adaptively adjusted according to the actual number of battery columns, and air guide members are reasonably allocated to the heat dissipation members, such that each battery column can be properly cooled, thereby greatly improving the cooling effect, and further facilitating an improvement in the heat management efficiency; and the device has a simple structure and low costs.

MANUFACTURING METHOD FOR COMPOSITE CURRENT COLLECTOR ELECTRODE SHEET, AND EVALUATION METHOD FOR COMPOSITE CURRENT COLLECTOR ELECTRODE SHEET

NºPublicación:  WO2025209584A1 09/10/2025
Solicitante: 
SVOLT ENERGY TECH CO LTD [CN]
\u8702\u5DE2\u80FD\u6E90\u79D1\u6280\u80A1\u4EFD\u6709\u9650\u516C\u53F8
CN_117996370_PA

Resumen de: WO2025209584A1

The present application relates to the technical field of batteries. Disclosed are a manufacturing method for a composite current collector electrode sheet and an evaluation method for a composite current collector electrode sheet. During the manufacturing of an electrode sheet, two negative-electrode metal foil current collector tabs are welded to two sides of a tab of a composite negative-electrode current collector body by means of ultrasonic waves, wherein the welding amplitude ranges between 90% and 100%, and the welding pressure is within 0.5 MPa-1 MPa; and two positive-electrode metal foil current collector tabs are welded to two sides of a tab of a composite positive-electrode current collector body by means of ultrasonic waves, so as to form a composite positive-electrode current collector electrode sheet, wherein the welding amplitude ranges between 30% and 35%, and the welding pressure is within 0.3 MPa-0.8 MPa. By controlling the welding amplitude and the welding pressure, the tensile strength of a welded composite current collector electrode sheet in a welding mark area can be ensured; in addition, the resistance of the welding mark area can be controlled to be within an appropriate range, so as to ensure that the composite current collector electrode sheet has good electrical conduction performance and current collection performance, thereby improving the cycle performance and rate performance of a battery.

SECONDARY BATTERY, PREPARATION METHOD, AND ELECTRICAL APPARATUS

NºPublicación:  WO2025209002A1 09/10/2025
Solicitante: 
CONTEMPORARY AMPEREX TECH CO LIMITED [CN]
\u5B81\u5FB7\u65F6\u4EE3\u65B0\u80FD\u6E90\u79D1\u6280\u80A1\u4EFD\u6709\u9650\u516C\u53F8

Resumen de: WO2025209002A1

The present application provides a secondary battery, a preparation method, and an electrical apparatus. The secondary battery comprises a positive electrode plate and an electrolyte. The positive electrode plate comprises a positive electrode current collector, and a positive electrode film layer disposed on at least one surface of the positive electrode current collector. The positive electrode film layer comprises a lithium-containing transition metal oxide. The lithium-containing transition metal oxide and the electrolyte both comprise L metal cations, and the ion radius of the L metal cations is greater than that of Li ions.

BATTERY CELL MODULE AND AEROSOL FORMING DEVICE

NºPublicación:  WO2025208920A1 09/10/2025
Solicitante: 
SHENZHEN WOODY VAPES TECH CO LTD [CN]
\u6DF1\u5733\u5E02\u5409\u8FE9\u79D1\u6280\u6709\u9650\u516C\u53F8
CN_118104870_PA

Resumen de: WO2025208920A1

Provided in the present application are a battery cell module and an aerosol forming device. The battery cell module comprises a housing, a support and a mounting assembly. The support is used for accommodating a battery cell; the mounting assembly comprises a base, a swing member and a limiting member. A groove used for accommodating one end of the swing member is formed in the side of the base facing the support, the other end of the swing member is rotatably connected to the limiting member, and the limiting member is used for abutting against the support or is separated from the support. When the swing member is located at a first position of the groove, the limiting member abuts against the support, such that the support is fixed to the housing. The support can move relative to the base, such that the swing member moves from the first position to a second position of the groove, thus allowing at least part of the limiting member to be separated from the support, and causing at least part of the support to be moved out of the housing. The present application provides the mounting assembly on the battery cell module, uses the mounting assembly to fix and dismount the support used for accommodating a battery cell, has a simple structure, and achieves recycle and replacement of battery cells, thereby increasing the recovery rate of battery cells and reducing costs.

LITHIUM SECONDARY BATTERY SELF-POISONING SYSTEM AND POISONED DISABLED LITHIUM SECONDARY BATTERY

NºPublicación:  WO2025209438A1 09/10/2025
Solicitante: 
PROLOGIUM TECH CO LTD [CN]
\u8F89\u80FD\u79D1\u6280\u80A1\u4EFD\u6709\u9650\u516C\u53F8

Resumen de: WO2025209438A1

A lithium secondary battery self-poisoning system and a poisoned disabled lithium secondary battery. The lithium secondary battery self-poisoning system has a poisoning agent provided in or outside an electrochemical reaction system of a lithium secondary battery. When the temperature of lithium secondary battery rises to a poisoning starting temperature in the temperature range of 120°C-150°C, the poisoning agent is activated to release primary poisoning elements and auxiliary poisoning elements to the electrochemical reaction system of the lithium secondary battery, so as to form an oxide layer on the surface of a positive electrode active material and fill lithium-deficient vacancies with fluorine elements, thereby effectively stabilizing the crystal structure of the positive electrode active material, avoiding releasing oxygen, and allowing the positive electrode active material to lose the electrochemical reaction capability of participating in lithium ion transfer, which effectively terminates a thermal runaway reaction of the lithium secondary battery.

ALL-SOLID-STATE BATTERY

NºPublicación:  WO2025211497A1 09/10/2025
Solicitante: 
SAMSUNG SDI CO LTD [KR]
\uC0BC\uC131\uC5D0\uC2A4\uB514\uC544\uC774 \uC8FC\uC2DD\uD68C\uC0AC

Resumen de: WO2025211497A1

The present invention relates to an all-solid-state battery, more specifically to an all-solid-state battery comprising first and second unit cells connected in series, each of the first and second unit cells comprising: a negative electrode current collector; a lithium metal layer on the negative electrode current collector; a negative electrode coating layer on the lithium metal layer; a solid electrolyte layer on the negative electrode coating layer; a positive electrode active material layer on the solid electrolyte layer; and a positive electrode current collector on the positive electrode active material layer, wherein the positive electrode active material layer contains sulfide-based positive electrode active material, the sulfide-based positive electrode active material content being 40-90 wt% with respect to 100 weight parts of the positive electrode active material layer, and the change in thicknesses of the positive electrode active material layer and lithium metal layer being complementary.

METHOD FOR ASSEMBLING PLATE-SHAPED COOLING DEVICE, PLATE-SHAPED COOLING DEVICE, AND CLAMP DEVICE

NºPublicación:  WO2025210986A1 09/10/2025
Solicitante: 
SANGO CO LTD [JP]
\u682A\u5F0F\u4F1A\u793E\u4E09\u4E94

Resumen de: WO2025210986A1

Provided is a method for assembling a plate-shaped cooling device that includes a flow passage for circulating a coolant liquid, and that has greater liquid-tightness and airtightness than in the past. The method comprises: a clamping step of overlaying a first plate-shaped member (3) and a second plate-shaped member (2), and then using a clamping means to fix the first plate-shaped member and the second plate-shaped member to each other at a set of clamped regions, the set of clamped regions being two clamped regions (C) provided at the closest positions across a divided welding region (L1); and a welding step, during the clamping step, of welding the divided welding region (L1) in a state in which the clamped regions (C) are clamped.

ELECTRODE ASSEMBLY TAPING DEVICE AND ELECTRODE ASSEMBLY TAPING METHOD

NºPublicación:  WO2025211493A1 09/10/2025
Solicitante: 
SAMSUNG SDI CO LTD [KR]
\uC0BC\uC131\uC5D0\uC2A4\uB514\uC544\uC774 \uC8FC\uC2DD\uD68C\uC0AC

Resumen de: WO2025211493A1

The present disclosure relates to an electrode assembly taping device, and the technical task to be solved is to provide an electrode assembly taping device having improved reliability. To this end, the electrode assembly taping device of the present disclosure comprises: a frame extending in a first direction; a support member disposed on an upper portion of the frame; a guide rail coupled to one end of the frame and extending in a second direction; a tape attachment unit disposed on the guide rail and compressing tape to attach the tape to an electrode assembly; and an elastic member disposed between the tape attachment unit and the support member.

PACKAGE

NºPublicación:  WO2025211396A1 09/10/2025
Solicitante: 
TOPPAN HOLDINGS INC [JP]
\uFF34\uFF2F\uFF30\uFF30\uFF21\uFF2E\u30DB\u30FC\u30EB\u30C7\u30A3\u30F3\u30B0\u30B9\u682A\u5F0F\u4F1A\u793E

Resumen de: WO2025211396A1

This package is composed from a laminate in which at least a base material layer, an adhesive layer, a barrier layer, and a sealant layer are laminated in this order, and covers an electric storage device. The package includes: an accommodation portion for accommodating the electric storage device by the laminate; and a sealing portion which is arranged on the outside of the accommodation portion in a direction perpendicular to the lamination direction of the laminate, the laminate being formed into a two-layer structure so that the sealant layers face each other, and in which the sealant layers are thermally fused with each other. The sealing portion has a first region and a second region in which the thickness of the sealant layer is smaller than that of the first region. An end face of the second region in the lamination direction has a shape recessed with respect to an end face of the first region in the lamination direction.

CONDUCTIVE PILLAR, COVER PLATE ASSEMBLY, BATTERY, BATTERY DEVICE AND ELECTRICAL APPARATUS

NºPublicación:  WO2025209475A1 09/10/2025
Solicitante: 
BYD COMPANY LTD [CN]
\u6BD4\u4E9A\u8FEA\u80A1\u4EFD\u6709\u9650\u516C\u53F8
CN_222146502_U

Resumen de: WO2025209475A1

Disclosed in the present application are a conductive pillar, a cover plate assembly, a battery, a battery device and an electrical apparatus. The conductive pillar is electrically connected between a battery cell and a conductive terminal, and comprises a first section and a second section which are connected to each other, wherein the first section is configured to be electrically connected to the battery cell, the second section is configured to extend into a through hole of the conductive terminal, an inner hole is provided in an end surface of the second section away from the first section, and the second section is configured to be folded in the direction away from the center of the inner hole and make contact with an inner wall of the through hole for conduction; and the wall thickness of the through hole of the conductive terminal in a first direction is smaller than the wall thickness in a second direction, the wall thickness of the inner hole of the second section in the first direction is smaller than the wall thickness in the second direction, and the two directions are each perpendicular to an axial direction of the through hole. In the conductive pillar of the present application, the inner hole with the relatively thin wall thickness in the first direction is provided, to reduce the influence of the wall thickness of the inner hole on the wall thickness of the through hole, thereby reducing the influence of the folding force of the second section in the directi

CHARGING POWER MANAGEMENT SYSTEM AND METHOD, ELECTRONIC DEVICE, AND STORAGE MEDIUM

NºPublicación:  WO2025209287A1 09/10/2025
Solicitante: 
HUAWEI TECH CO LTD [CN]
\u534E\u4E3A\u6280\u672F\u6709\u9650\u516C\u53F8
CN_120728781_PA

Resumen de: WO2025209287A1

The present application provides a charging power management system and method, an electronic device, and a storage medium. A first charging port of a charging device is connected to a first electronic device, a second charging port of the charging device is connected to a second electronic device, the maximum charging power of the first charging port is a first charging power, the maximum charging power of the second charging port is a second charging power, and the sum of the first charging power and the second charging power is less than or equal to the maximum charging power of the charging device. The method comprises: the charging device acquires a third charging power of the first charging port, wherein the third charging power is different from the first charging power, and the third charging power is obtained on the basis of the maximum charging power of the first electronic device or the real-time charging power of the first charging port; and the charging device sets the maximum charging power of the first charging port to be the third charging power, wherein the third charging power is less than the maximum charging power of the charging device. The utilization rate of the charging power of the charging device is increased.

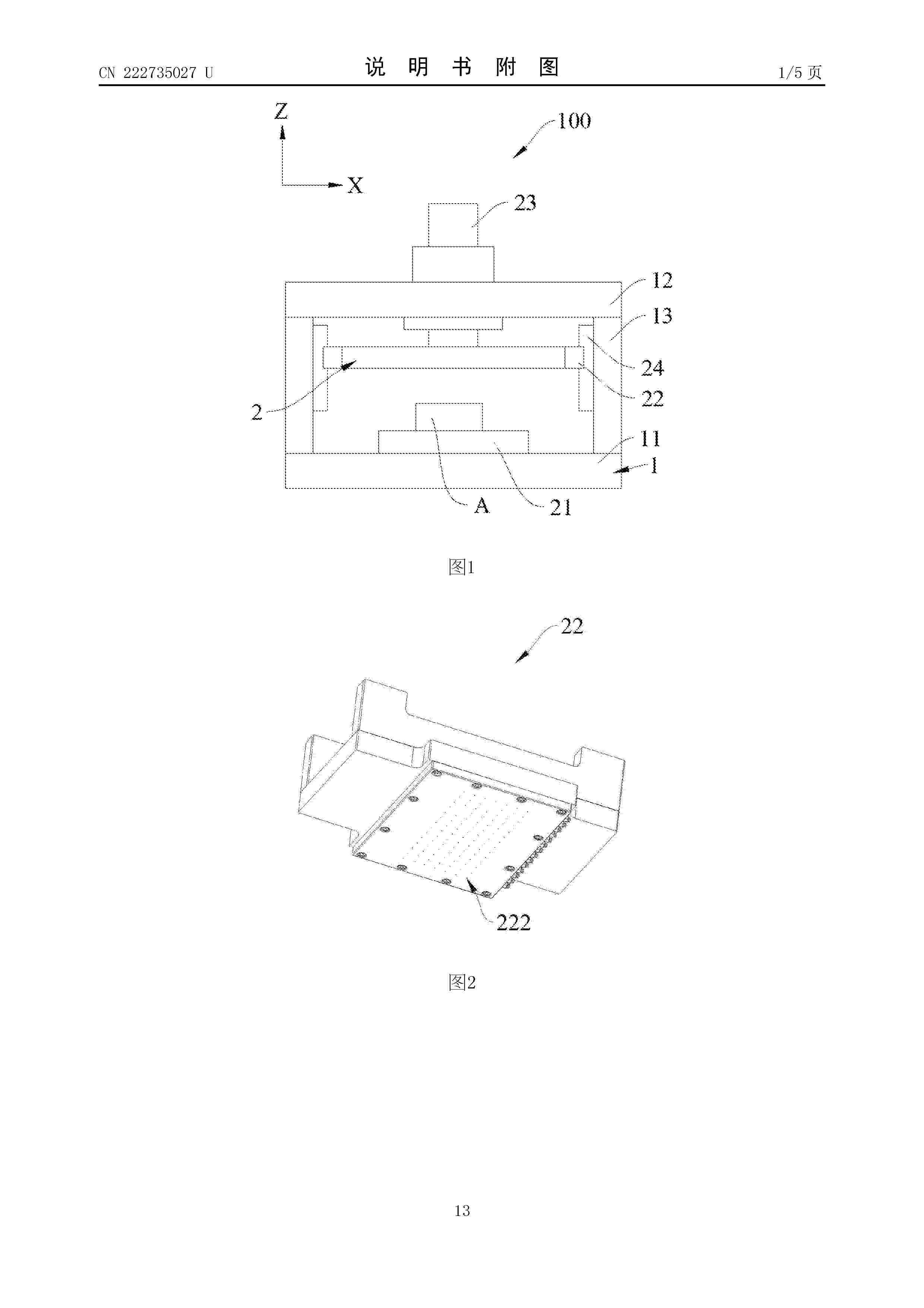
PRE-PRESSING DEVICE AND WINDING MACHINE

NºPublicación:  WO2025209280A1 09/10/2025
Solicitante: 
WUXI LEAD INTELLIGENT EQUIPMENT CO LTD [CN]
\u65E0\u9521\u5148\u5BFC\u667A\u80FD\u88C5\u5907\u80A1\u4EFD\u6709\u9650\u516C\u53F8
CN_222735027_U

Resumen de: WO2025209280A1

The present disclosure relates to the technical field of battery processing apparatuses, and specifically relates to a pre-pressing device and a winding machine. The pre-pressing device comprises a mounting frame; and a pre-pressing assembly, wherein the pre-pressing assembly is arranged on the mounting frame. The pre-pressing assembly comprises a first pressing member, a second pressing member and a pressing drive assembly, wherein the pressing drive assembly is configured to drive at least one of the second pressing member and the first pressing member to move in the direction closer to or away from the other, thus clamping or releasing a part to be pressed between the first pressing member and the second pressing member. At least one of the first pressing member and the second pressing member is a pressure detection sensor, the pressure detection sensor being configured to detect the pressure borne by said part when clamped between the first pressing member and the second pressing member. The pre-pressing device provided in the present disclosure has a simple structure and a small size.

SECONDARY BATTERY, ELECTRIC DEVICE AND PREPARATION METHOD FOR SECONDARY BATTERY

NºPublicación:  WO2025208988A1 09/10/2025
Solicitante: 
NINGDE AMPEREX TECH LIMITED [CN]
\u5B81\u5FB7\u65B0\u80FD\u6E90\u79D1\u6280\u6709\u9650\u516C\u53F8
CN_118198257_PA

Resumen de: WO2025208988A1

A secondary battery (100) comprises a negative electrode sheet (10), wherein the negative electrode sheet comprises a current collector and a first active material layer (2); the first active material layer (2) is arranged on at least one surface of the current collector; and the first active material layer (2) comprises a silicon-based material and a solid electrolyte, and the solid electrolyte is at least partially bonded to the surface of silicon in the silicon-based material. In the secondary battery and the electric device, the solid electrolyte is at least partially bonded to the surface of silicon in the silicon-based material; therefore, the problem of the expansion of the silicon-based material can be ameliorated, and the structural integrity and structural stability of the negative electrode sheet (10) can be enhanced. Moreover, compared with a binder-coated silicon-based material in the prior art, due to the utilization of the solid electrolyte, the lithium intercalation capability of the silicon-based material can be improved, and the ion conduction rate of the negative electrode sheet (10) can be improved, that is, the problem of deteriorated dynamic properties of the secondary battery caused by a binder-coated silicon-based material can be ameliorated.

BATTERY AND PREPARATION METHOD THEREFOR, AND ELECTRIC DEVICE

NºPublicación:  WO2025208989A1 09/10/2025
Solicitante: 
CONTEMPORARY AMPEREX TECH CO LIMITED [CN]
\u5B81\u5FB7\u65F6\u4EE3\u65B0\u80FD\u6E90\u79D1\u6280\u80A1\u4EFD\u6709\u9650\u516C\u53F8
CN_119833763_PA

Resumen de: WO2025208989A1

Disclosed in the present application are a battery and a preparation method therefor, and an electric device. The battery comprises a positive electrode sheet, a negative electrode sheet and an electrolyte, wherein the mass proportion of water is 50 ppm to 300 ppm based on the total mass of the positive electrode sheet, and the mass proportion of water is 30 ppm to 200 ppm based on the total mass of the negative electrode sheet; the electrolyte comprises a first lithium salt, the first lithium salt comprising LiN(SO2R)2, where R comprises at least one of F or F-substituted hydrocarbyl having 1-3 carbon atoms; and the mass proportion of the first lithium salt is 3% to 10% based on the total mass of the electrolyte. The battery of the present application has long cycle life.

SECONDARY BATTERY AND ELECTRIC EQUIPMENT

Nº publicación: WO2025208990A1 09/10/2025

Solicitante:

NINGDE AMPEREX TECH LIMITED [CN]
\u5B81\u5FB7\u65B0\u80FD\u6E90\u79D1\u6280\u6709\u9650\u516C\u53F8

CN_118198256_PA

Resumen de: WO2025208990A1

The present invention relates to the technical field of electrochemical devices, and particularly relates to a secondary battery and an electric equipment. The secondary battery (100) comprises a negative electrode sheet (10), and the negative electrode sheet (10) comprises a current collector (1), a first active material layer (2) and a second active material layer (3), wherein the first active material layer (2) is arranged on at least one surface of the current collector (1), and the second active material layer (3) is arranged on the side, away from the current collector (1), of the first active material layer (2). The first active material layer (2) comprises a silicon-based material and a first graphite material; and the second active material layer (3) comprises a second graphite material and an inorganic material, the ratio of the particle size Dv50 of the inorganic material to the particle size Dv50 of the second graphite material being less than 0.23. The secondary battery and the electric equipment can mitigate the problem of the overvoltage of the second active material layer (3), maintain the expansion inhibition effect of the second active material layer (3) on the silicon-based material, and enhance the structural integrity and structural stability of the negative electrode sheet.

traducir