Ministerio de Industria, Turismo y Comercio LogoMinisterior
 

Energía eólica

Resultados 320 resultados
LastUpdate Última actualización 30/04/2026 [07:10:00]
pdfxls
Solicitudes publicadas en los últimos 15 días / Applications published in the last 15 days
Resultados 1 a 320  

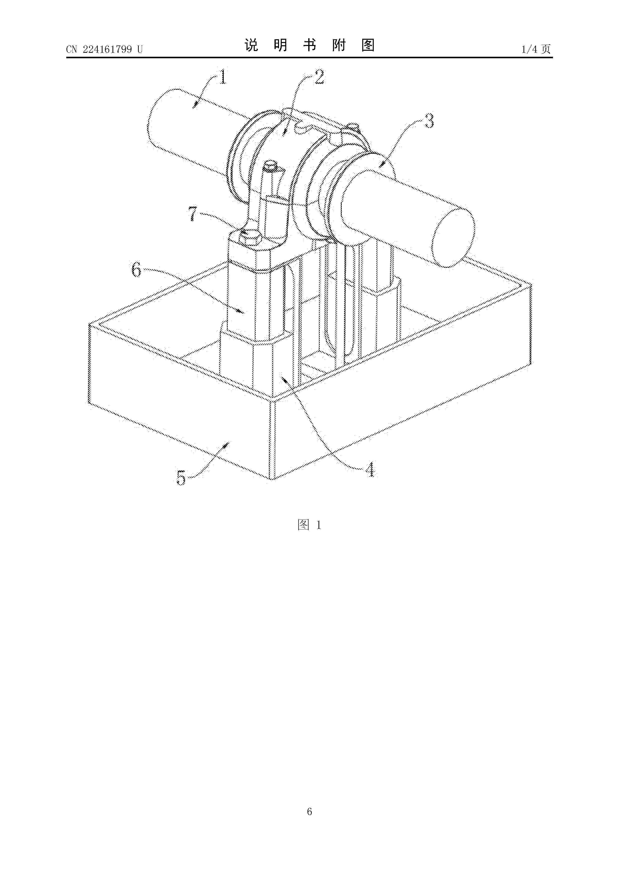
用于在风力涡轮机中紧固风力齿轮箱的钟形壳体

NºPublicación:  CN121941843A 28/04/2026
Solicitante: 
弗兰德有限公司
CN_121941843_PA

Resumen de: WO2025103784A1

The invention relates to a bell housing (26) for fastening a wind gearbox (18) in a wind turbine (10), with a first fastening region (30) for fastening to a gearbox housing of the wind gearbox (18) and a second fastening region (32), axially spaced from the first fastening region (30) by an annular body (28), for fastening to a nacelle housing of the wind turbine (10) and/or to a main shaft bearing supporting a wind rotor shaft (16) of a wind rotor (12) of the wind turbine (12), wherein the annular body (28) has at least two differently designed recesses (34) for damping structure-borne sound. As a result of the asymmetry achieved in the bell housing itself (26) as a result of the differently designed recesses (34), noise emissions can be reduced in a large number of differently designed wind turbines (10).

用于控制流体流向涡轮机的设备

NºPublicación:  CN121941842A 28/04/2026
Solicitante: 
新科有限公司
CN_121941842_PA

Resumen de: WO2025032216A1

The invention provides an apparatus for introducing skew to a fluid flow directed on to one or more vertical axis turbine, the apparatus comprising a support structure (2, 4, 6) having mounted thereon a plurality of vertically spaced aerofoils (8) arranged to surround the one or more vertical axis turbines, the vertical spacings being selected and the aerofoils being profiled and arranged at an angle such that fluid flow between the aerofoils is skewed before it is incident upon the vertical axis turbine(s).

具有轴承盖的风力涡轮机叶片、用于制造风力涡轮机叶片的方法和风力涡轮机

NºPublicación:  CN121941841A 28/04/2026
Solicitante: 
西门子歌美飒可再生能源公司
CN_121941841_PA

Resumen de: EP4530463A1

0001 The invention relates to a wind turbine blade (1) for a wind turbine (2), comprising a root section (3) for attaching the wind turbine blade (1) to a blade bearing of a wind turbine hub (4) of the wind turbine (2), a tip section (5), an intermediate section (6), interposed between the root section (3) and the tip section (5) and a bearing cover (7), attached to the root section (3) for shielding a gap between the wind turbine hub (4) and the wind turbine blade (1) in an assembled state of the wind turbine blade (1) to the wind turbine hub (4). The bearing cover (7) is fixed to the wind turbine blade (1) by an adhesive layer of a first adhesive. The invention further relates to a method for manufacturing a wind turbine blade (1) and a wind turbine (2).

制造翼梁帽的方法、相应地制造的翼梁帽和包括所述翼梁帽的风力涡轮机叶片

NºPublicación:  CN121925336A 24/04/2026
Solicitante: 
西门子歌美飒可再生能源创新与技术有限公司
CN_121925336_PA

Resumen de: EP4530049A1

A method of producing a spar cap or a part thereof comprises providing a plurality of structural elements (30) each comprising fibres and a weldable resin; arranging at least two of the structural elements (30) side by side, thereby forming a first layer (40); arranging at least two further structural elements (30) side by side, thereby forming a second layer (42); placing a resistive element (50) between the first and second layers (40, 42); and while pressing the first and second layers (40, 42) together, energising the resistive element (50) such that the weldable resin softens or melts, thereby joining the first and second layers (40, 42) of structural elements (30). The structural elements (30) may be pultrusion planks.Also disclosed is a spar cap obtainable by this method as well as a wind turbine blade comprising such spar cap.

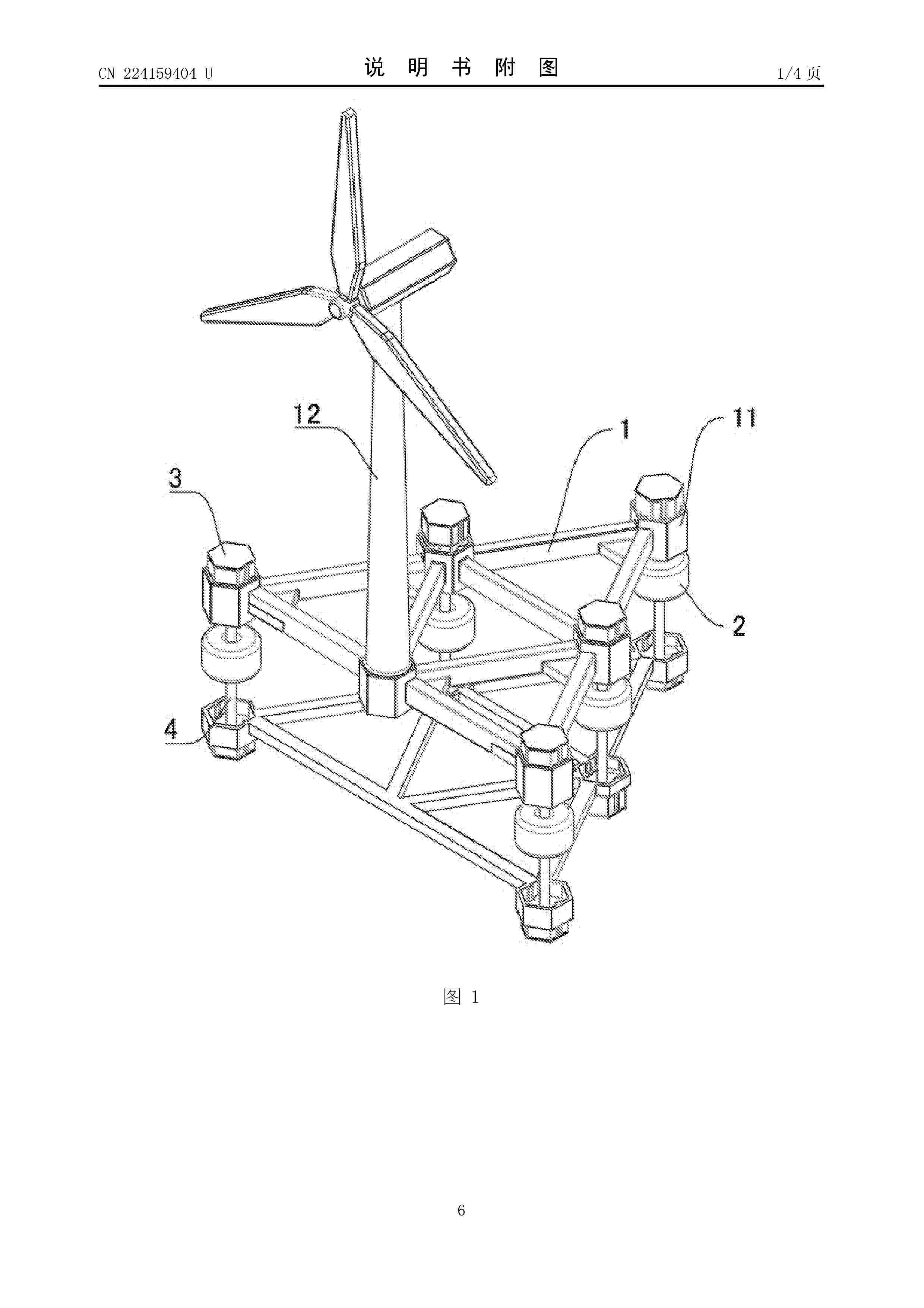
一种漂浮式风机安装平台

NºPublicación:  CN224159405U 24/04/2026
Solicitante: 
河海大学
CN_224159405_U

Resumen de: CN224159405U

本实用新型公开了一种漂浮式风机安装平台,包括多个竖向设置的浮筒,浮筒的底端与竖向设置的连接杆四固定,连接杆四上固定套设连接有圆形垂荡板,连接杆四的下端与伞形垂荡板滑动连接;伞形垂荡板与圆形垂荡板之间的连接杆四上套设有阻尼器,阻尼器的一端与圆形垂荡板底端固定连接,阻尼器的另一端与伞形垂荡板固定连接,伞形垂荡板能在连接杆四上滑动。通过在安装平台底端加装阻尼器、圆形垂荡板和伞形垂荡板,可以为漂浮式风机提供水动力阻尼,从而可以提升漂浮式风机平台的减振效果。

一种风机发电效率提升的导流增效装置

NºPublicación:  CN224161790U 24/04/2026
Solicitante: 
上海科雷斯普电力技术服务有限公司
CN_224161790_U

Resumen de: CN224161790U

本申请公开了一种风机发电效率提升的导流增效装置,属于风机发电领域,该导流增效装置包括安装架以及设置在安装架上的导流组件与调节组件;导流组件包括多个导流叶片,导流叶片靠近安装架的一端固定连接有与安装架转动连接的转动轴;调节组件包括转动设置于安装架的内部的主动锥齿轮,转动轴的一端伸出安装架并固定连接有从动锥齿轮,安装架的一侧固定安装有驱动电机,驱动电机的输出轴贯穿安装架并与主动锥齿轮固定连接。通过设置可转动的导流叶片和调节组件,能够根据不同的风速、风向等环境因素,自动调节导流叶片的角度,使气流能够以最佳的角度和速度流经风机叶轮,提高了气流的利用效率,从而有效提升了风机的发电效率。

一种风力发电机主轴监控润滑装置

NºPublicación:  CN224161800U 24/04/2026
Solicitante: 
国电投绿色能源有限公司
CN_224161800_U

Resumen de: CN224161800U

本实用新型涉及轴承润滑技术领域,公开了一种风力发电机主轴监控润滑装置,包括轴承座和其底部安装的支架,还包括:转动安装在轴承座内的主轴,且所述主轴与轴承座之间安装有两个主轴承;固定安装在轴承座两端的两个端盖,所述端盖与主轴之间安装有密封圈,且两个所述端盖使轴承座和主轴内形成润滑空间;开设在轴承座内的进油通道和回油通道,且所述进油通道、回油通道和润滑空间共同组成润滑通道。本实用新型通过根据主轴的实时转动状态来动态调节润滑油的添加速度,从而避免润滑油过度供应或供应不足的情况,确保主轴承始终保持良好的润滑状态,以延长设备使用寿命并提高运行效率。

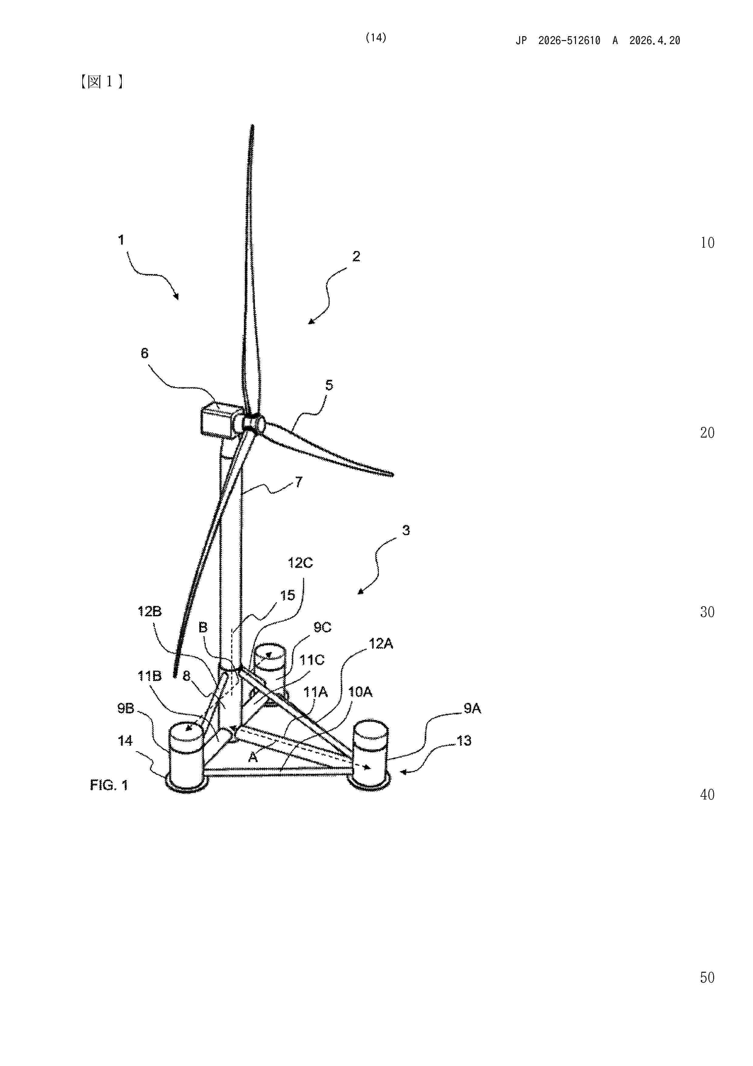
PROCEDE DE CONTROLE D’UNE FERME D’EOLIENNES

NºPublicación:  FR3167672A1 24/04/2026
Solicitante: 
IFP ENERGIES NOW [FR]
FR_3167672_A1

Resumen de: FR3167672A1

Procédé de pilotage d’une ferme d’éoliennes, chaque éolienne présentant un point de fonctionnement réglable par un actionneur :  a) une détermination par modélisation d’une région de l’espace approximant le sillage de chaque éolienne pour un angle de désalignement (θ) et pour un seuil de déficit de vitesse de vent (δ), b) une identification, à partir des sillages modélisés, des éoliennes qui sont dans le sillage modélisé d’une autre éolienne, puis un stockage de paramètres d’identification reliant chaque éolienne à l’éolienne dans le sillage modélisé de laquelle elle est, c) une prise en compte des paramètres d’identification stockés à l’étape b) pour regrouper des éoliennes en une pluralité de sous-fermes, d) une détermination d’au moins un point de fonctionnement de consigne, pour les éoliennes de chaque sous-ferme, par une méthode d’optimisation de la puissance générée par chaque sous-ferme e) une application dudit point de fonctionnement de consigne aux éoliennes. Figure 8 à publier

Dispositivo flotante de turbinas eólicas múltiples

NºPublicación:  ES3064438A1 24/04/2026
Solicitante: 
INST FOR ADVANCED ENGINEERING [KR]

一种风力发电机叶片前沿修复装置

NºPublicación:  CN121916131A 24/04/2026
Solicitante: 
深圳长钼智能科技有限公司
CN_121916131_PA

Resumen de: CN121916131A

本申请公开一种风力发电机叶片前沿修复装置,包括:夹持组件,夹持组件底部固定连接有转接板以及可择一与转接板配合的打磨组件、涂胶抹胶组件和修补贴覆组件;采用以上方法,通过夹持组件实现稳定定位,三个功能组件择一使用且协同作业,彻底替代了传统人工作业,显著降低了高空作业的安全风险。打磨组件借助弧形齿条和双微调装置,能精准适配叶片空气动力学外形;涂胶抹胶组件实现了涂料的定量涂覆与均匀抹匀,为修补基材的粘贴提供了可靠保障;修补贴覆组件则通过精准贴覆和自适应滚压,确保修补基材与叶片稳固贴合;可适用于不同型号的风力发电机叶片,实用性广泛。

一种用于风电机组的能效分级和碳排放的评价方法及装置

NºPublicación:  CN121920666A 24/04/2026
Solicitante: 
西安热工研究院有限公司
CN_121920666_PA

Resumen de: CN121920666A

本发明涉及一种用于风电机组的能效分级和碳排放的评价方法及装置。本发明包括:采集风能发电场的风机运行参数、气象预报数据、电网运行状态数据和碳交易市场数据作为初始数据集;采用有效性验证和不良数据修正的方法对初始数据集中的数据进行预处理,得到目标数据集;基于碳排放成本构建计及碳排放的日前调度优化模型,降低碳排放量和运行成本;构建分层约束体系,采用多类约束的方式对电网安全进行限制;基于电网实时运行数据与碳排放约束条件,得到最优低碳调度方案。本发明通过设置多源异构数据融合采集体系、计及碳排放成本的日前调度优化模型、分层分级电网安全约束体系以及滚动优化反馈机制,达到了风能发电系统兼顾经济性与低碳性协同优化的效果。

风机齿轮箱状态监测方法、系统及电子设备

NºPublicación:  CN121916129A 24/04/2026
Solicitante: 
华能重庆奉节风电有限责任公司中国华能集团清洁能源技术研究院有限公司
CN_121916129_PA

Resumen de: CN121916129A

本申请提供了一种风机齿轮箱状态监测方法、系统及电子设备,包括获取待监测风机齿轮箱的运行数据,运行数据包括风速、有功功率以及多个温度监测参数;根据风速与有功功率之间的映射关系,对运行数据进行筛选,保留符合预设关联模式的目标数据段,并基于各温度监测参数与非温度类监测参数在不同运行状态下的相关性变化,将目标数据段中符合预设相关性条件的监测指标确定为目标监测变量;通过目标时序预测模型对目标监测变量对应的时间序列进行处理,确定各监测指标的预测值;根据预测值与对应目标监测变量的实际测量值之间的偏差,对风机齿轮箱运行状态进行监测。本申请提高了风机齿轮箱状态监测的准确性与鲁棒性。

基于边缘计算的风力发电控制方法及系统

NºPublicación:  CN121923260A 24/04/2026
Solicitante: 
深圳市兆远科技有限公司
CN_121923260_PA

Resumen de: CN121923260A

本申请涉及一种基于边缘计算的风力发电控制方法,应用于风电厂,所述风电厂包括多个风电机组和储能电池,通过获取下一发电周期所述风电厂的下期风力数据;基于所述下期风力数据评估所述风电厂的下期目标发电量;实测所述风电厂的下期实际风力数据;基于所述下期实际风力数据评估所述风电厂的下期预估发电量;基于所述下期目标发电量和所述下期预估发电量向所述风电厂的储能电池充电、或通过所述储能电池向电网送电,能够解决现有风力发电的输出功率难以稳定控制,不仅给电网的实时调度、功率平衡及电能质量管控带来严峻挑战,还可能因供电稳定性不足影响电力系统的安全可靠运行的问题。

一种风力发电机组及其发电控制方法

NºPublicación:  CN121916120A 24/04/2026
Solicitante: 
国电联合动力技术有限公司
CN_121916120_PA

Resumen de: CN121916120A

本发明提供一种风力发电机组及其发电控制方法,风力发电机组包括传动组件、叶轮组件和发电机,还包括:阻尼永磁发电机,包括:箱体,其内设置有容置腔,其一组相对侧壁上分别开设有滑道;上永磁体,与箱体的内壁固定连接;下永磁体,与箱体的内壁固定连接,并与上永磁体相对设置,滑道设置于下永磁体与上永磁体之间;转子,设置于上永磁体与下永磁体之间,可沿滑道往复移动;风力发电机组还包括:变流器,与阻尼永磁发电机电连接;储能装置,与变流器电连接。采用本发明,能够有效抵消部分导致机组振动的激振力,平抑机组的晃动幅度,同时,又能够将废弃的晃动机械能有效捕获并转化为电能,提升了整体发电效率,杜绝了能量浪费。

一种监测叶片多振型的BTT测点轴向布置方法及装置

NºPublicación:  CN121916128A 24/04/2026
Solicitante: 
中国联合重型燃气轮机技术有限公司
CN_121916128_PA

Resumen de: CN121916128A

本申请公开了一种监测叶片多振型的BTT测点轴向布置方法及装置,该方法包括:获取叶尖在平衡位置下的节点坐标,获取叶尖节点的相对振动位移;基于所述节点坐标和相对振动位移得到振幅报警值;基于不同振型下的振幅报警值得到相对振幅;基于所述相对振幅得到监测点。该方法实现了对叶片低阶和高阶振型的全面监测,显著提升了叶尖定时技术的测试精度和对复杂振型的识别能力,确保了燃气轮机及航空发动机叶片的安全运行和性能优化。

风电机组异常运行识别方法、装置、介质和设备

NºPublicación:  CN121916124A 24/04/2026
Solicitante: 
国华能源投资有限公司吉鲁(乾安)新能源有限公司
CN_121916124_PA

Resumen de: CN121916124A

本申请涉及电力技术领域,尤其是涉及到一种风电机组异常运行识别方法、装置、介质和设备。所述方法通过按机组型号分组风电机组以构建识别组,针对不同异常识别目标独立提取识别组内工况参数的时域与频域特征,构建综合特征矩阵。并经主成分分析降维后,利用聚类算法划分目标运行工况簇,最终在同一目标运行工况簇内通过识别参数与群体统计分布的偏离检测异常机组。本申请通过无监督聚类建立动态工况基准,克服了固定阈值适应性差的问题,并利用多参数特征融合与群体对比机制,显著提升了对早期复合型故障的灵敏度,从而无需依赖标注数据即可实现精准异常识别,有效降低了误报率与运维成本,为风电机组预测性维护提供了可靠技术支撑。

一种风机大部件更换工艺和系统

NºPublicación:  CN121913428A 24/04/2026
Solicitante: 
远景能源有限公司
CN_121913428_PA

Resumen de: CN121913428A

本申请涉及风力发电机技术领域,公开了一种风机大部件更换工艺和系统。本申请中,风机包括风机轮毂、风机塔筒、风机机舱和风机大部件,风机大部件更换工艺包括:在风机轮毂上安装轮毂吊机,并利用轮毂吊机在风机机舱的顶部指定位置安装塔吊起升梁;在风机塔筒的底部平台,组装包含塔吊主体、爬行系统和起升系统的起升作业平台;通过起升系统和塔吊起升梁,将起升作业平台提升至风机机舱的侧边指定位置;通过爬行系统和塔吊起升梁,将塔吊主体从风机机舱的侧边指定位置运输至风机机舱的顶部指定位置;通过预设的刚性连接方式,将塔吊主体固定在风机机舱的顶部指定位置,并利用固定好的塔吊主体进行风机大部件的更换作业。

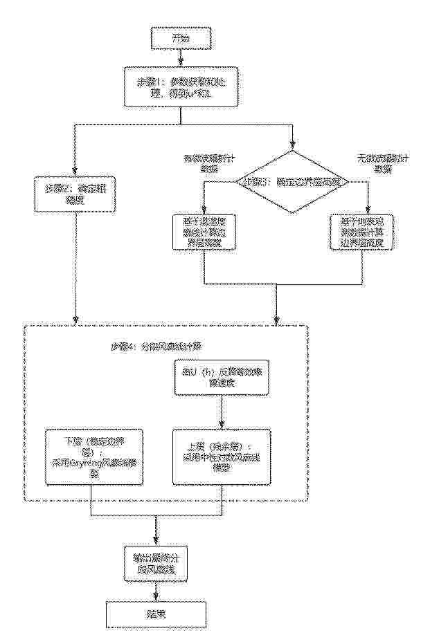
考虑残余层大气稳定度差异的风廓线推算方法

NºPublicación:  CN121916123A 24/04/2026
Solicitante: 
江苏沿海可再生能源技术创新中心
CN_121916123_PA

Resumen de: CN121916123A

本发明公开了一种考虑残余层大气稳定度差异的风廓线推算方法,属于风资源评估与风能工程领域。该方法通过地表观测获取摩擦速度、莫宁‑奥布霍夫长度等关键参数并确定边界层高度;随后,以边界层高度为界,在下部稳定边界层采用Gryning风廓线模型,在上部中性残余层采用对数风廓线模型,并创新性地利用边界层顶风速反算上层模型的等效摩擦速度,实现了两层模型的物理平滑衔接。本发明有效克服了传统模型在夜间稳定边界层发展时的模拟偏差,显著提高了大型风力发电机组轮毂高度以上的风速与风功率预测精度,为风电场精准选址和机组优化设计提供了可靠技术支撑。

一种风力发电机组机舱冷却用换热器

NºPublicación:  CN121916132A 24/04/2026
Solicitante: 
华能国际电力开发公司吉林通榆风电分公司
CN_121916132_PA

Resumen de: CN121916132A

本发明提供了一种风力发电机组机舱冷却用换热器,包括防护罩,所述防护罩的内部固定设置有换热器;所述防护罩的外侧固定安装有U形板,所述U形板上设置有用于容纳旋转电机和驱动电机的安装槽,所述驱动电机安装于安装槽内。本发明通过控制器根据采集到的运行数据向旋转电机发送角度调节指令。旋转电机的输出轴与位于U形板内部的转轴固定连接,当旋转电机运转时,通过带动转轴旋转,使与转轴端部连接的驱动电机随之绕轴产生空间角度变化,通过驱动电机与扇叶作为整体做角度调整,使扇叶的进风方向向机舱所需区域发生偏转,从而改变外部空气的进入角度,使通过换热器的空气路径适应不同的换热需求。

一种风电机组共模电流抑制与轴承的预警方法及系统

NºPublicación:  CN121916126A 24/04/2026
Solicitante: 
镇赉华兴风力发电有限公司
CN_121916126_PA

Resumen de: CN121916126A

本发明提供了一种风电机组共模电流抑制与轴承的预警方法及系统,应用于数据处理技术领域。本申请通过构建风电机组共模电流抑制与轴承预警体系基础数据池和目标机组运行信息;对共模电流抑制与轴承预警体系基础数据池数据进行特征提取与动态关联分析处理,生成目标关联模型数据;对目标关联模型数据进行处理,基于深度学习生成共模抑制与预警协同策略参数;对共模抑制与预警协同策略参数进行处理,生成动态抑制调节方案;对动态抑制调节方案和机组故障历史数据进行处理,基于智能诊断算法生成共模与轴承故障映射模型;基于共模与轴承故障映射模型对目标机组运行信息进行处理,生成风电机组共模抑制与轴承预警信息。

注排水压载大型浮式风力机坐底式离岸码头的策略方法

NºPublicación:  CN121913084A 24/04/2026
Solicitante: 
中国电建集团贵州工程有限公司
CN_121913084_PA

Resumen de: CN121913084A

本发明公开了一种注排水压载大型浮式风力机坐底式离岸码头的策略方法,包括:实现浮式风力机基础姿态稳定进行注水下沉的策略过程。由于浮式风力机基础的中柱通过抱桩器夹持提供竖向滑动导向,保证了浮式风力机基础在三处边柱注水下沉过程的姿态稳定,解决了直接向锚固基础注水下沉坐底到海床容易受到海浪影响发生姿态偏移的问题。

垂直轴风力发电机的过速制动装置

NºPublicación:  CN121916117A 24/04/2026
Solicitante: 
新高能源科技股份有限公司
CN_121916117_PA

Resumen de: CN121916117A

本发明提供一种垂直轴风力发电机的过速制动装置,包含:风机,具有多个叶片;以及过速扰流控制单元,设在该叶片内,并具有一过速扰流板,当该风机的转速大于额定转速时,该过速扰流板会部分伸出该叶片之外,当该风机的转速小于额定转速时,该过速扰流板会自动缩入该叶片之内。通过在风机的叶片内设有过速扰流控制单元的设计,该过速扰流控制单元能于高风速时能自动调控降低该风机的旋转速度,使得垂直轴风力发电机能于高风速时持续输出接近额定发电量的发电,以延伸垂直轴风力发电机的有效工作发电风速,实现垂直轴风力发电机有效发电量的大量增加。

一种海上风机塔筒运输增稳抱箍装置及海上风机塔筒运输船舶

NºPublicación:  CN121913068A 24/04/2026
Solicitante: 
天津大学
CN_121913068_PA

Resumen de: CN121913068A

本发明公开了一种海上风机塔筒运输增稳抱箍装置及海上风机塔筒运输船舶,该装置包括上连接杆、移动关节、下连接杆、万向节、缓冲材料;以及第一动态平台、第二动态平台和第三动态平台;塔筒位于第一动态平台、第二动态平台和第三动态平台内侧;塔筒的四周外侧壁与第一动态平台和第三动态平台之间的间隙中填充有缓冲材料;第二动态平台的上下两侧,分别通过多个组合杆件与第一动态平台的底部和第三动态平台的顶部相连接;每个组合杆件两端分别通过一个万向节与动态平台相连接。本发明能够适应海上恶劣作业环境,在塔筒的海上运输过程中,既能有效减少塔筒产生摇荡,又能有效避免损伤塔筒的筒壁,提升海上风机塔筒运输的安全性。

一种基于边缘计算的风机实时控制方法及系统

NºPublicación:  CN121916119A 24/04/2026
Solicitante: 
湖南鑫铭安机电科技有限公司
CN_121916119_PA

Resumen de: CN121916119A

本发明公开了一种基于边缘计算的风机实时控制方法及系统,通过环境传感器获取风速及湍流数据,采用分布式计算单元判断扰动是否存在,并结合闭环控制模拟和实时控制算法,确定叶片调节角度与偏航偏移值,进而优化执行器反馈信号以抑制功率波动,最终通过安全评估模型更新控制循环,确保响应时延符合要求,形成稳定调整方案。本发明将风场扰动检测与载荷优化无缝集成,实现对风力发电机的精准调控,有效降低载荷,提升系统稳定性和发电效率。

微风自适应叠瓦叶片微导流结构

NºPublicación:  CN121916114A 24/04/2026
Solicitante: 
深圳市十分阳光新能源有限公司
CN_121916114_PA

Resumen de: CN121916114A

本发明涉及导流结构技术领域,尤其为微风自适应叠瓦叶片微导流结构,包括支撑柱,所述支撑柱的顶部固定连接有运转箱,所述运转箱的外侧设置有永磁体,所述永磁体的外侧固定连接有风叶连接管,所述风叶连接管的外侧固定连接有光伏面板,所述光伏面板的外侧设置有导流机构,所述光伏面板与导流机构之间设置有调节机构,所述调节机构包括螺纹管,所述螺纹管的内部转动卡接有旋转手柄,所述旋转手柄的底部固定连接有螺杆,本发明中,调节机构借助气压传动、机械滑动及微型马达驱动的多重配合,可灵活调整导流机构的角度与位置,精准适配微风及不同风速工况的气流特性,有效解决传统叶片微风环境下启动难、运转效率低的痛点。

一种基于LSTM的风电机组的碳排放异常检测方法及装置

NºPublicación:  CN121919760A 24/04/2026
Solicitante: 
西安热工研究院有限公司
CN_121919760_PA

Resumen de: CN121919760A

本发明涉及碳排放技术领域,具体涉及一种基于LSTM的风电机组的碳排放异常检测方法及装置。本发明通过分工况建模与动态阈值设计,实现目标风电机组的碳排放异常的精准检测,具体将目标风电机组的运行状态划分为四类典型工况,结合LSTM时序预测模型捕捉各工况下碳排放与运行参数的时序关联,提升预测准确性。本发明通过设置动态自适应异常阈值适配不同工况波动特性,减少误报漏报;同时通过实时工况判定与LSTM时序预测模型调用确保碳排放异常检测的及时性,能有效识别碳排放异常,保障风电机组低碳运行,兼具运维与环保价值。

故障维护策略生成方法、装置、设备及存储介质

NºPublicación:  CN121920988A 24/04/2026
Solicitante: 
国能信控互联技术(河北)有限公司国能信控技术股份有限公司
CN_121920988_PA

Resumen de: CN121920988A

本公开涉及一种故障维护策略生成方法、装置、电子设备及存储介质,涉及计算机技术领域,方法包括:获取风电场中的变桨系统的多源实时监测数据;基于所述多源实时监测数据对所述变桨系统进行故障诊断,得到所述变桨系统的故障诊断结果;基于所述多源实时监测数据和所述故障诊断结果,生成风电场的故障维护策略,所述风电场的故障维护策略包括针对所述变桨系统的故障维护策略,通过采用上述方法,可以实现自动对风电场中的变桨系统进行故障诊断,并针对故障诊断生成维护策略,以提升对风电场的维护效率并降低维护成本。

多等级风电机组协同可靠性评级系统、方法、设备及存储介质

NºPublicación:  CN121916125A 24/04/2026
Solicitante: 
华电郑州机械设计研究院有限公司
CN_121916125_PA

Resumen de: CN121916125A

本发明的多等级风电机组协同可靠性评级系统、方法、设备及存储介质,系统包括:域自适应处理子模块,数字孪生工况标签通过MMD算法校准本地梯度,采用联邦迁移学习的域自适应校准算法,将数字孪生生成的虚拟故障样本与真实监测数据结合,构建覆盖全工况的混合数据集,使模型在无真实极端故障数据的情况下,仍能学习到对应的故障特征,安全聚合模块通过域自适应梯度处理公式对本地梯度进行跨域适配处理,再生成加密梯度,统一跨风场梯度方向,避免梯度冲突,根据区块链-联邦安全聚合公式计算聚合权重,并根据聚合权重,生成区块链存证哈希,融合实时真实数据与数字孪生虚拟数据,减少单一数据源的干扰,大大提高可靠性评级准确率。

发电机寿命的预测方法及装置

NºPublicación:  CN121917961A 24/04/2026
Solicitante: 
北京金风科创风电设备有限公司
CN_121917961_PA

Resumen de: CN121917961A

本公开提供一种发电机寿命的预测方法及装置,该预测方法包括:确定发电机的目标电压特征在预定时间的参考电压数据,目标电压特征表征发电机绕组的不同部位的电压;根据目标电压特征在预定时间的实际电压数据与参考电压数据之间的差异,确定针对寿命预测电压数据的电压权重;根据电压权重,对寿命预测电压数据进行权重分配,得到权重分配电压数据;基于权重分配电压数据,对发电机的寿命进行预测。本公开解决了由于仅能对发电机整体老化或绝缘进行评估而导致无法准确地预测发电机寿命的问题,可以在寿命预测电压数据中引入不同部位当前的状态,从而在预测寿命时考虑到老化或绝缘薄弱的部位,以能够更准确地预测发电机的寿命。

一种考虑机械系统的永磁直驱风机建模方法及相关设备

NºPublicación:  CN121920008A 24/04/2026
Solicitante: 
国网冀北电力有限公司电力科学研究院国家电网有限公司西安交通大学
CN_121920008_PA

Resumen de: CN121920008A

本发明涉及永磁直驱式风机技术领域,公开了一种考虑机械系统的永磁直驱风机建模方法及相关设备,通过建立机械系统传递函数及包含永磁同步发电机定子回路、机侧换流器、网侧逆变器等的完整电气系统传递函数,构建永磁直驱风机小信号导纳模型,弥补了以往模型忽略机械系统或部分电气系统的缺陷,模型能精准反映机械轴系动态特性通过电磁转矩扰动对电气子系统谐波传递的影响,提升风机宽频带导纳模型的精确性,为海上风电场并网系统宽频振荡分析提供可靠依据,助力提高新能源外送能力,保障新型电力系统安全稳定运行。

一种球节点型式海上风电一体化应用系统

NºPublicación:  CN121913065A 24/04/2026
Solicitante: 
中国能源建设集团江苏省电力设计院有限公司
CN_121913065_PA

Resumen de: CN121913065A

本申请公开了一种球节点型式海上风电一体化应用系统,涉及海上风电技术领域,旨在解决现有技术中问题。包括球节点型式结构模块、伸缩单元、锚具5以及锚链6;所述球节点型式结构模块包括风机1、塔筒2以及球节点型式基座4;所述塔筒2一端与所述风机1可拆卸固定连接;所述塔筒2另一端与所述球节点型式基座4固定连接;所述系统通过伸缩单元将多个所述球节点型式基座4连接形成协同受力整体;所述球节点型式基座4下表面设置系泊连接结构,所述系泊连接结构与所述锚链6一端连接,所述锚链6另一端与所述锚具5连接;所述锚具5埋设于海底地基内。能够达到构建高稳定性承载体系,实现环境载荷的有效分散的效果。

做功伞自平衡与气动稳定结构以及飞行风能机组装备

NºPublicación:  CN121916121A 24/04/2026
Solicitante: 
清云梯(上海)能源技术有限公司
CN_121916121_PA

Resumen de: CN121916121A

本发明提供了一种做功伞自平衡与气动稳定结构和飞行风能机组装备。该结构包括做功伞本体、牵引绳、飞控装置、连接件和配重件;做功伞本体上设有若干个射流口;做功伞本体与飞控装置通过牵引绳连接;连接件包括转动平台、以及分别设于转动平台两端的第一连接段和第二连接段,第一连接段与做功伞本体连接,第二连接段与配重件连接;转动平台上开设有镂空部,飞控装置设于镂空部中,连接件被配置为能相对于飞控装置进行上下转动。本发明装置的结构设计能提升做功伞本体的整体转动惯量,从而极大地提升工作稳定性;且该伞具有自平衡结构,保证对不同重量的做功伞本体实现轻松灵活的升力调节,极大地降低了做功伞本体的正常工作所需的风速要求。

用于风电机组减振的弹性支撑组件、风电机组以及风电机组减振方法

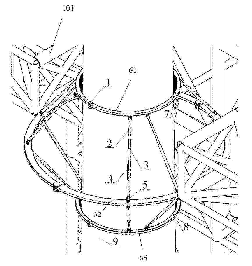
NºPublicación:  CN121916270A 24/04/2026
Solicitante: 
国电联合动力技术有限公司
CN_121916270_PA

Resumen de: CN121916270A

本申请公开了一种用于风电机组减振的弹性支撑组件、风电机组以及风电机组减振方法,用于风电机组减振的弹性支撑组件包括:两个弹性阻尼结构,两个所述弹性阻尼结构沿着齿轮箱扭力臂对称设置,所述弹性阻尼结构的相对两端分别与齿轮箱扭力臂和机舱底架可活动连接,所述弹性阻尼结构能够为所述齿轮箱扭力臂提供夹持力以及复位力;驱动机构,所述驱动机构分别与两个所述弹性阻尼结构连接,且能够协调两个所述弹性阻尼结构联动且同步动作。本申请公开了一种用于风电机组减振的弹性支撑组件、风电机组以及风电机组减振方法,来解决现有的减振设备性能不理想的问题。

固体储热耦合光热熔盐储热的发电系统

NºPublicación:  CN121916137A 24/04/2026
Solicitante: 
国家能源投资集团有限责任公司北京低碳清洁能源研究院
CN_121916137_PA

Resumen de: CN121916137A

本公开涉及一种固体储热耦合光热熔盐储热的发电系统,包括光热发电系统以及固体储热发电系统,所述光热发电系统包括熔盐储热回路,所述固体储热发电系统包括固体储热回路,所述熔盐储热回路和所述固体储热回路相互并联或串联,并连接至汽轮机。这样,光热熔盐储热与风电光伏弃电加热固体储热一体化耦合技术可提升光热电站发电效率、降低装机投资,填补风电、光伏、火电一体化项目与熔盐储能耦合技术的空白。本公开采用一定容量的耐高温固体储热以消纳弃风弃光电实现储热后再发电,进而降低镜厂投资,提升发电效率。

海上风电桩基多物理场耦合模型试验系统及耦合分析方法

NºPublicación:  CN121917378A 24/04/2026
Solicitante: 
武汉理工大学三亚科教创新园
CN_121917378_PA

Resumen de: CN121917378A

本发明涉及一种海上风电桩基多物理场耦合模型试验系统及耦合分析方法,试验系统包括填充有模拟土体的模型箱,模型箱内设有波浪模拟组件、海流模拟组件、风场模拟组件、海底滑移模拟组件以及桩基组件,桩基组件包括设置于模拟土体上的桩体,以及桩基监测单元。本发明构建风、浪、流与海底滑移四类物理场统一加载系统,结合模块化智能传感监测系统以及耦合分析方法,实现了多物理场条件下风电结构真实响应的高精度、多维度同步测量与耦合分析,适用性强,扩展性好,适配多种风电结构形式及复杂海洋地质条件,为海上风电结构在复杂海洋环境下的安全设计和灾害评估提供了先进的试验平台及耦合分析方法。

一种带减震降噪结构的静音型燃气调压箱

NºPublicación:  CN121916422A 24/04/2026
Solicitante: 
盐城市大丰燃气设备有限公司
CN_121916422_PA

Resumen de: CN121916422A

本发明公开了一种带减震降噪结构的静音型燃气调压箱,应用在燃气调压技术领域;包括隔音箱体,所述隔音箱体内部的两侧分别螺栓连接有进气管道和出气管道,所述进气管道和出气管道之间焊接有相互连通的连接管道,所述连接管道的顶部螺栓连接有燃气调压器,所述隔音箱体的内部分别安装有相互配合使用的密封机构和通风机构。通过在隔音箱体内部燃气到达一定浓度值后控制电动推杆带动滑动盖板向上移动,将通风网板打开,使隔音箱体内部可以进行通风,降低燃气浓度。同时在燃气溶度降低后,重新将通风网板盖住,使出气管道内部可以维持密封状态。这样可以杜绝隔音箱体内部气流力产生的噪音通过空气流动向外传播,从而起到隔音降噪的效果。

一种针对于海上风电厂维检飞攀复合机器人

NºPublicación:  CN121913159A 24/04/2026
Solicitante: 
武汉理工大学
CN_121913159_PA

Resumen de: CN121913159A

本发明公开了一种针对于海上风电厂维检飞攀复合机器人,包括无人机主体,所述无人机主体上对称安装有两个旋翼机构,所述无人机主体的底部固定连接有平衡行走机构,所述平衡行走机构的底部安装有吸附组件,所述无人机主体上安装有检测机构;所述吸附组件包括两个对称固定连接于平衡行走机构底部的安装柱,两个所述安装柱上活动套设有滑动板,所述滑动板上对称开设有两个滑动孔,两个所述安装柱分别通过两个滑动孔贯穿滑动板,两个所述安装柱上均螺纹套设有限位螺母。本发明能够使无人机稳定的固定在指定位置,从而能够使无人机在探查检测的过程中保持稳定,有效的提高了海上风电厂维检的稳定性,有效的提高了检查探测结果的准确度。

用于防控寒区路基冻胀病害的热泵系统及其设计方法

NºPublicación:  CN121916583A 24/04/2026
Solicitante: 
石家庄铁道大学
CN_121916583_PA

Resumen de: CN121916583A

本发明公开了一种用于防控寒区路基冻胀病害的热泵系统及其设计方法,属于寒区交通基础设施维护技术领域,热泵系统包括风能捕获单元、飞轮储能单元和热能转化单元,风能捕获单元捕获风能并将其转化为机械能并存储在飞轮储能单元内、再驱动热能转化单元,热能转化单元收集低品位可再生热能并转化为高品位热能,为路基冻胀病害部位输送热量;设计热泵系统,降低了造价,提高了转化效率;以地基中的浅层地温能为主热源,以风能提供驱动力,充分利用冬季风速大和地温能储量稳定的资源优势;利用飞轮储能单元对风能波动性进行平抑与滤波,将风速较大时溢出的机械能储存起来,以备在风速较低时输出,起到削峰填谷作用。

一种风电机组用具有防护功能的升降装置

NºPublicación:  CN121913436A 24/04/2026
Solicitante: 
新疆电投盛元能源有限公司
CN_121913436_PA

Resumen de: CN121913436A

本发明涉及风机机组安装技术领域,特别是涉及一种风电机组用具有防护功能的升降装置,包括两个支座,两个支座中间固定连接有承载杆,承载杆的顶部固定连接有支撑杆,支撑杆上设有用于将风电机组零件进行转移的启动组件,启动组件内设有齿环和活动臂,通过齿环和活动臂的配合能够为转移风电机组零件提供动力,本发明通过启动组件、转升组件和自定组件的配合使用,活动柱带动第二齿轮同步上升,当第二齿轮与齿条接触啮合时,借助抬升动力驱动第二齿轮旋转,进而带动活动柱、转盘及零件同步转动,旋转前定位轮在第一限位框内保持抬升稳定性,旋转后定位轮精准嵌入第二限位框锁定,精准满足重型零件高空安装时的方向调整需求。

风力发电机组风轮方位角传感器安装反向判定方法及系统

NºPublicación:  CN121916130A 24/04/2026
Solicitante: 
中车山东风电有限公司
CN_121916130_PA

Resumen de: CN121916130A

本发明提供了一种风力发电机组风轮方位角传感器安装反向判定方法及系统,属于风力发电机组风轮方位角传感器安装反向判定方法及系统领域。所述方法包括:同步采集风轮方位角传感器数据、状态字、通讯状态及发电机转速、低速轴转速;校验传感器状态与通讯正常后,通过转速偏差筛选有效工况,再基于方位角连续周期差值、发电机转速分别判定转动方向并设置标志位;最终通过对比两类标志位是否一致,精准判定传感器是否安装反向。本发明通过工况筛选、双维度方向判定与标志位对比,实现安装反向的自动化、高精度诊断,规避单一信号误判风险,保障机组运行安全与发电效率。

老旧风电机组原位扩容改造架空式基础和方法

NºPublicación:  CN121916122A 24/04/2026
Solicitante: 
瑞科同创电力工程设计有限公司
CN_121916122_PA

Resumen de: CN121916122A

本发明公开了一种老旧风电机组原位扩容改造架空式基础和方法,属于风力发电技术领域。老旧风电机组原位扩容改造架空式基础包括转换段、多个设置在旧基础外围的斜撑基础以及连接其间的斜撑支撑结构。转换段底板与保留的旧塔筒顶部连接,其钢塔筒用于承接新塔筒;斜撑支撑结构上端与转换段侧部连接,下端与斜撑基础连接,形成向外下方延伸的架空支撑框架。老旧风电机组原位扩容改造方法包括保留旧基础与部分塔筒、施工外围斜撑基础、安装预制转换段与斜撑支撑结构以形成协同承载体系。本发明实现了不拆除原结构条件下的快速装配化扩容改造,通过科学设计使旧塔筒受力不增反降,极大节约了成本与工期,并减少了建筑垃圾与环境影响。

基于频域能量分析的湍流尺度在线识别方法和装置

NºPublicación:  CN121916116A 24/04/2026
Solicitante: 
中车启航新能源技术有限公司
CN_121916116_PA

Resumen de: CN121916116A

本发明提供一种基于频域能量分析的湍流尺度在线识别方法和装置,涉及风电机组控制技术领域,该方法包括:对机组结构响应信号进行频域变换,基于转换后的机组结构响应信号计算多个关键频带中各关键频带的积分能量;将各关键频带的积分能量与动态能量阈值进行比较,根据比较结果识别得到主导的湍流尺度类型,主导的湍流尺度类型用于确定目标控制信号并输出至风电机组的控制系统,以实现风电机组的自适应载荷控制。本发明通过将风电机组的机组结构响应信号从时域转换到频域,提取不同频带的能量特征,并结合各关键频带的积分能量阈值反向映射和识别得到主导的湍流尺度类型,为风电机组的自适应控制提供了精确输入。

一种联排式高空风力发电系统

NºPublicación:  CN121916115A 24/04/2026
Solicitante: 
中国华电科工集团有限公司华电中光新能源技术有限公司
CN_121916115_PA

Resumen de: CN121916115A

本公开提出一种联排式高空风力发电系统,包括:浮力做功装置、发电装置和控制模块,控制模块用于根据预设高度处的风速控制第一调风机构调节中空通道的截面积,以使充气囊在系统为发电状态时沿中空通道的轴向形成第一风阻,以及,在系统为回程状态时沿中空通道的轴向形成第二风阻;以及,还用于在系统为发电状态时控制回程驱动机构释放主牵引缆绳,以使充气囊通过主牵引缆绳带动发电机构发电,以及,在系统为回程状态时,控制回程驱动机构回收主牵引缆绳并带动充气囊回程至初始位置。在本公开的联排式高空风力发电系统中,利用浮力做功装置和发电装置的配合,实现了高空风能的高效、稳定获取。

一种狭小空间双螺母松动的监测方法和设备

NºPublicación:  CN121916764A 24/04/2026
Solicitante: 
河北振创电子科技有限公司
CN_121916764_PA

Resumen de: CN121916764A

本发明公开了一种狭小空间双螺母松动的监测方法和设备,涉及风机技术领域,包括安装底座、调节架、传感器模块、螺栓螺母和法兰盘上端面,所述安装底座固定安装在法兰盘上端面上,所述调节架通过螺丝与安装底座固定连接,本发明传感器测量精度高,安装简单,维护便捷,能有效降低成本,可适用于狭小空间监测,传感器具备两个互补的连接器,适应环状分布的风电机组塔筒或轮毂高强度连接螺栓组的松动检测需求,减小布线长度,传感器分为两个组件,对松动的高强度连接螺栓维护而言,当通过传感器的监测发现有螺栓松动的情况时,仅需拨动调节架就可以腾挪出操作空间,旋紧后,释放调节架即可继续进行螺栓松动情况的监测。

复合桩筒型基础和风电机组塔筒

NºPublicación:  CN121915750A 24/04/2026
Solicitante: 
华能安达市清洁能源有限公司中国华能集团清洁能源技术研究院有限公司
CN_121915750_PA

Resumen de: CN121915750A

本发明提供了一种复合桩筒型基础和风电机组塔筒,涉及风力发电基础工程的技术领域,该复合桩筒型基础包括钻孔预制复合桩和承台,钻孔预制复合桩由多个中心呈闭合环形布置的钻孔构成,钻孔内灌注水泥灌浆体,相邻灌浆体在孔间土体中相互咬合,形成环向连续的筒状结构;预制管桩插入各钻孔内水泥灌浆体中心,其外表面设有抗滑凹槽。本发明实施例解决了传统风机基础承载力不足、稳定性差、施工效率低的技术问题,达到了兼具高承载、强适应、提高施工效率与优经济性的技术效果。

一种基于智能可变刚度节段的风电柔性钢塔动态调谐与疲劳缓释方法

NºPublicación:  CN121916127A 24/04/2026
Solicitante: 
重庆大学
CN_121916127_PA

Resumen de: CN121916127A

本发明公开了一种基于智能可变刚度节段的风电柔性钢塔动态调谐与疲劳缓释方法,涉及风力发电技术领域,包括在线采集并构建塔体实时动力学状态;识别塔体主导振动模态及漂移特征;动态调节智能可变刚度节段的刚度状态;对智能可变刚度节段实施周期性软化或刚化操作,引导塔体应变重新分布;对动态调谐与疲劳缓释效果进行反馈评估,并更新后续刚度调节与疲劳管理策略。本发明通过多源在线感知识别风电柔性钢塔主导振动模态及固有频率漂移,并基于频率匹配关系动态调节智能可变刚度节段,实现塔体振动自适应调谐,同时结合周期性软化引导应变重分布并闭环更新控制策略,从而降低疲劳损伤、提升塔体长期运行安全性与可靠性。

多列滚动轴承

NºPublicación:  CN121916231A 24/04/2026
Solicitante: 
斯凯孚公司
CN_121916231_PA

Resumen de: US20260110329A1

0000 A multi-row rolling bearing includes an inner ring having a first raceway on a first side of the bearing and a second raceway on a second side of the bearing, an outer ring having a raceway, and a first set of rolling elements between the first raceway and the raceway of the outer ring and a second set of rolling elements between the second raceway and raceway of the outer ring. The first set of rolling elements comprises a first number of rolling elements, the second set of rolling elements comprises a second number of rolling elements, and the first number of rolling elements is different from the second number of rolling elements.

一种收集风电机组主轴废油脂的装置

NºPublicación:  CN224161799U 24/04/2026
Solicitante: 
大唐景泰风电有限责任公司
CN_224161799_U

Resumen de: CN224161799U

本实用新型提供一种收集风电机组主轴废油脂的装置,包括风电主轴,所述风电主轴上套设有与风电主轴转动连接的轴承座,所述轴承座正下方设有集油盒,所述集油盒内底部安装有两个管套,所述管套下端贯穿集油盒,所述轴承座底部通过螺丝安装有两个支座,所述支座下端贯穿管套,所述轴承座沿着风电主轴长度方向的两侧均设有阻挡环,所述阻挡环套设在风电主轴上并与风电主轴连接固定,两个所述阻挡环相对面边缘处均安装有圈环,所述圈环和阻挡环形成的结构设置在集油盒正上方,本实用新型具有如下的有益效果:预防润滑油脂扩散至集油盒的收集范围外,提高废油脂的收集效果。

除霜无人机组件

NºPublicación:  CN224159439U 24/04/2026
Solicitante: 
山东莱茵科斯特智能科技有限公司
CN_224159439_U

Resumen de: CN224159439U

本实用新型公开了除霜无人机组件,涉及除霜设备技术领域,用于解决现在除霜效率低且除霜适应能力差、有除霜盲区的技术问题,除霜无人机组件,包括除霜无人机与除霜机器人,所述除霜机器人利用自动脱锁挂钩吊设在除霜无人机的底部;所述除霜无人机包括无人机本体,所述无人机本体上设置有无人机臂、无人机高压喷头与无人机摄像头,所述无人机本体自带电池、控制器、电磁阀组件与融雪剂箱;所述除霜机器人包括机器人本体,所述机器人本体上设置有机器人高压喷头与机器人摄像头,所述机器人本体连接有多根机械腿,采用本方案除霜不仅效率高而且适应能力好、减少了除霜盲区,解决了现在除霜效率低且除霜适应能力差、有除霜盲区的技术问题。

一种混凝土塔筒管片拼接设备

NºPublicación:  CN224161792U 24/04/2026
Solicitante: 
浙江巨杰混塔新能源科技有限公司
CN_224161792_U

Resumen de: CN224161792U

本实用新型涉及混凝土塔筒领域,具体为一种混凝土塔筒管片拼接设备,包括第一支座,第一支座上转动连接有旋转轴,第一支座上设置有用于对旋转轴旋转的旋转组件,旋转轴上固定连接有固定台,固定台上固定连接有呈圆周阵列的调节座,每个调节座上均开设有滑槽,每个滑槽内均滑动连接有滑块。本实用新型通过旋转轴、固定台、旋转组件和夹持组件的配合设置,旋转组件带动固定台旋转,可灵活适应吊装管片的初始位置偏差,而第二电机驱动的螺杆移动,并使铰接杆机构能同步控制多个滑块移动,确保所有夹持组件同步调节,避免了传统独立调节导致的累积误差,显著提升了管片的拼接精度,同时减少了人工干预,提高了施工效率。

一种风力发电机壳支撑座

NºPublicación:  CN224161793U 24/04/2026
Solicitante: 
青岛瑞莱斯机械有限公司
CN_224161793_U

Resumen de: CN224161793U

本实用新型公开了一种风力发电机壳支撑座,属于风力发电机技术领域,其技术要点包括发电机组件、缓冲组件和限位组件。该实用新型,在进行装置的安装时,先通过吊机将底座组件进行设置,之后先将发电机组件和风轮组件连接,通过吊机将发电机壳件吊起至支撑杆的正上方,通过将连接杆设置于插入孔内部,通过卡接组件对连接板进行卡接,从而可以使得发电机壳件能够初步稳定的与支撑杆连接,为了避免连接杆直接撞击插入孔底部,因此在插入孔内设置卡接组件,从而对连接杆的冲击力进行缓冲,进而保护发电机壳件内部的电子部件,而在安装期间,通过限位组件可以与连接板进行稳定的连接,从而可以使得发电机壳件能够进一步的与支撑杆稳定的连接率。

一种装配式抗震混凝土塔筒管片

NºPublicación:  CN224161795U 24/04/2026
Solicitante: 
巨杰科技发展集团股份有限公司
CN_224161795_U

Resumen de: CN224161795U

本实用新型涉及塔筒管片领域,具体为一种装配式抗震混凝土塔筒管片,包括管片本体和连接件,管片本体的两侧面均固定连接有连接块,每个连接块上均开设有连接槽,连接件的两端分别插接于两个连接槽内,管片本体的上表面固定连接有凸条块,管片本体的底面开设有与凸条块相匹配的定位槽。本实用新型通过连接件和连接块的配合设置使得相邻管片本体之间的连接更加稳固,不仅提升了单个管片的结构强度,还显著增强了整个塔筒的抗震性能,使其能够在恶劣环境如暴风暴雨甚至地震中保持稳定,确保了风电项目的长期安全运行,通过设置凸条块、定位槽以及相应的限位块和限位槽,有效解决了传统管片仅依靠螺栓连接导致承载能力不足的问题。

一种风电机组主轴轴承性能测试装置

NºPublicación:  CN224163357U 24/04/2026
Solicitante: 
江苏联益友测控技术有限责任公司
CN_224163357_U

Resumen de: CN224163357U

本实用新型公开了一种风电机组主轴轴承性能测试装置,包括测试台,测试台的上方设置有固定机构,测试台的上方设有检测机构,通过在测试台设置的固定机构,确保主轴轴承在测试过程中保持稳定的运转状态,增强了整个固定机构的抗振性和稳定性,有效减少外部振动干扰对测试结果的影响,确保主轴轴承在测试过程中不会发生位移或松动,可根据主轴轴承的尺寸和形状进行灵活调整,同时在测试台设置的检测机构,可以对主轴轴承在测试过程中振动、温湿度和转速等关键性能参数的实时监测,准确地捕捉主轴轴承的运行状态,为性能评估提供全面、精准的数据支持,能够实时拍摄主轴轴承在测试过程中的外观变化。

一种环抱式塔筒攀爬机器人

NºPublicación:  CN224159344U 24/04/2026
Solicitante: 
山东道与物联科技有限公司
CN_224159344_U

Resumen de: CN224159344U

本实用新型涉及一种环抱式塔筒攀爬机器人,属于机器人技术领域,包括主动车、至少两个从动车、多个驱动单元和吸附单元,主动车包括主车体和爬升轮,爬升轮与主车体转动连接,从动车包括车体框架和全向轮,车体框架与全向轮转动连接,从动车分布于主车体的两侧且通过拉紧机构与主车体连接,从动车之间通过锁止机构固定连接,驱动单元分别与爬升轮、全向轮固定连接,驱动单元用于驱动主动车以及从动车沿塔筒爬升,吸附单元设置于主动车以及从动车与塔筒贴合的一侧。利用拉紧机构、锁止机构使主动车与从动车处于绕塔筒的环抱状态,进而通过驱动件驱动爬升轮和全向轮转动实现攀爬机器人沿塔筒进行爬升动作。

一种漂浮式风电及波浪能发电装置

NºPublicación:  CN224159404U 24/04/2026
Solicitante: 
海南利策新能科技有限公司海南省深海技术创新中心
CN_224159404_U

Resumen de: CN224159404U

本实用新型涉及海上发电技术领域,且公开了一种漂浮式风电及波浪能发电装置,包括漂浮平台和振荡浮子,所述振荡浮子连接至pto系统,所述漂浮平台上下端均设置有漂浮结构,所述漂浮结构数量不小于六个,上下方向的两个所述漂浮结构之间位置相对应,中间设置有连杆,所述连杆圆周外表面套设有所述振荡浮子;所述漂浮结构均套设在限位框内部,所述漂浮结构在所述限位框内部能沿竖直方向运动,所述限位框与所述漂浮平台固定连接,所述振荡浮子能够穿过所述限位框;该设备解决了现有技术中,在风浪较大的情况下,浮子容易撞击支撑结构的问题。

一种风光波浪能综合海上发电平台

NºPublicación:  CN224159406U 24/04/2026
Solicitante: 
福州大学福建理工大学
CN_224159406_U

Resumen de: CN224159406U

本实用新型提出了一种风光波浪能综合海上发电平台,包括漂浮平台、系泊系统、风力发电模块、振荡浮子式波浪能发电模块和光伏发电模块,漂浮平台为圆形结构并在顶部中间设置凹槽机舱,风力发电模块居中矗立在漂浮平台上,振荡浮子式波浪能发电模块居中设置在漂浮平台正下方,光伏发电模块的太阳能光伏板绕漂浮平台中心均匀铺设;实现对海上风能、波浪能和太阳能多能互补的综合高效、可靠与稳定利用;减少波浪对平台的冲击载荷;突破风向限制,减少高空作业需求;提升抗横摇、纵摇能力,提高漂浮平台的耐波性,增加抵抗倾覆的能力;提高平台的耐波性及极端风浪条件下的安全性和自存性,提高了海上可再生能源利用率,降低海上作业风险和装机成本。

一种风电机组主轴轴承监测的设备

NºPublicación:  CN224161797U 24/04/2026
Solicitante: 
江苏能未来精密科技有限公司
CN_224161797_U

Resumen de: CN224161797U

本实用新型涉及风电机组监测设备技术领域,具体为一种风电机组主轴轴承监测的设备,包括:轴承监测箱体,轴承监测箱体的侧壁安装有若干个连接线,连接线的外端安装有检测探板,所述轴承监测箱体的侧壁开设有活动槽,活动槽的内部安装有转动杆,转动杆贯穿轴承监测箱体的侧壁,转动杆的外表面安装有一组对称放置的理线组件;有益效果为:本实用提出的一种风电机组主轴轴承监测的设备,利用转动杆带动活动块和理线组件监移动,方便对连接线进行移动固定的同时可以避免多个线缆缠绕,而使得温度升高造成设备烧损无法使用。

一种风力发电的抗腐蚀桨叶

NºPublicación:  CN224161791U 24/04/2026
Solicitante: 
张家口承尚新能源科技有限责任公司
CN_224161791_U

Resumen de: CN224161791U

本实用新型涉及风力发电配件技术领域,具体为一种风力发电的抗腐蚀桨叶,包括风力发电机壳和安装于风力发电机壳端部的转动机头,转动机头的外壁上安装有若干组均匀等距排列的可更换桨叶;可更换桨叶包括内芯体和防撞外壳体,内芯体与防撞外壳体之间设置有增强填充层,增强填充层包括若干纵横交错的加强筋和复合填料层,防撞外壳体的表面设置有抗腐蚀层。本实用新型通过若干组均匀等距排列的可更换桨叶于转动机头的外壁上,使得风力发电效率得以提升;内芯体与防撞外壳体之间设置的增强填充层,加强筋和复合填料层共同作用,显著增强桨叶的强度和稳定性;防撞外壳体表面设置的抗腐蚀层,有效抵抗外部环境中的腐蚀因素,延长桨叶的使用寿命。

支撑梁、塔筒及风力发电机组

NºPublicación:  CN224161801U 24/04/2026
Solicitante: 
北京天杉高科风电装备有限责任公司
CN_224161801_U

Resumen de: CN224161801U

本申请实施例提供一种支撑梁、塔筒及风力发电机组,支撑梁用于风力发电机组,支撑梁包括:连接组件,用于连接风力发电机的塔筒内侧;侧梁,连接于连接组件,侧梁上设置有多个间隔分布的塔筒附件连接部,塔筒附件连接部用于连接塔筒附件;其中,侧梁通过第一转轴可转动地连接于连接组件,以使支撑梁能够在展开状态和折叠状态之间转换,在展开状态,侧梁沿远离连接组件的方向延伸设置,并且侧梁能够绕第一转轴朝向连接组件转动至折叠状态。支撑梁具有展开状态和折叠状态,在折叠状态,部分侧梁在折叠状态下可以转动至主梁朝向连接梁的一侧,能够减小支撑梁整体占据的空间尺寸,便于支撑梁的运输和存放。

一种塔筒管片竖缝连接结构

NºPublicación:  CN224161794U 24/04/2026
Solicitante: 
浙江巨杰混塔新能源科技有限公司
CN_224161794_U

Resumen de: CN224161794U

本实用新型涉及混凝土塔筒领域,具体为一种塔筒管片竖缝连接结构,包括管片件和连接组件,管片件的两端均分别固定连接有第一挡条和第二挡条,管片件的两端分别开设有第一插槽和第二插槽,管片件的两端均开设有加固槽,加固槽内设置有用于辅助相邻管片件连接的加固组件。本实用新型通过第一挡条与第二挡条的配合设置,在管片拼接面形成双重折弯阻挡,有效分散横向剪切力,防止管片在外力作用下发生错位或滑移,并通过加固槽与加固组件的应用进一步增强了塔筒的整体结构稳定性,有效提高了风电塔筒在承受外力时的承载能力和可靠性,减少了因外力载荷导致的灌浆料脱落或螺栓松动的风险。

风力发电机叶片径流叶轮负压吸附攀爬原位检测机器人

NºPublicación:  CN224161796U 24/04/2026
Solicitante: 
中国农业大学
CN_224161796_U

Resumen de: CN224161796U

本实用新型涉及一种风力发电机叶片径流叶轮负压吸附攀爬原位检测机器人,包括检测执行装置、自由移动装置、负压吸附系统、控制系统与电源;所述检测执行装置,包括高清摄像头、摄像头支架;所述自由移动装置包括底盘、3个轮子驱动电机、全向轮;所述负压吸附系统包括径流叶轮、叶轮罩、叶轮驱动电机;控制系统通过控制板对检测执行装置和自由移动装置进行控制;电源为电机与控制板供能。本实用新型实现了稳定吸附在风力发电机叶片上,并且在叶片表面自由攀爬移动,通过高清摄像头对叶片表面进行检测,实现在叶片表面的原位检测作业。

一种海上风力发电平台防浪保护装置

NºPublicación:  CN224159392U 24/04/2026
Solicitante: 
中国石油化工股份有限公司中国石油化工股份有限公司胜利油田分公司
CN_224159392_U

Resumen de: CN224159392U

本实用新型提供了一种海上风力发电平台防浪保护装置,涉及海上风电平台防护技术领域,包括漂浮于海面上的防浪浮箱;防浪浮箱的内部开设有中空腔;防浪浮箱的上方固定安装有防浪挡板;中空腔的内部在沿防浪浮箱的长度方向开设有引绳孔,引绳孔内穿引有钢丝绳段;每根钢丝绳段的两端分别固定连接有弹性锁扣组件,每根钢丝绳段可从弹性锁扣组件处拆开并将防浪浮箱拆下;每相邻两处弹性锁扣组件之间可拆卸地连接于中间挂环上;所有防浪浮箱在钢丝绳段、弹性锁扣组件以及中间挂环的共同作用下串联形成一道“防浪墙”,该“防浪墙”漂浮固定于风力发电平台的周围并用于阻挡海浪。

一种具有高空警示装置的大型风电机组

NºPublicación:  CN224161798U 24/04/2026
Solicitante: 
中国电建集团北京勘测设计研究院有限公司
CN_224161798_U

Resumen de: CN224161798U

本实用新型属于风电机组领域,具体的说是一种具有高空警示装置的大型风电机组,包括底座,所述底座的顶部固定安装有塔筒,所述塔筒的顶部固定安装有机舱;本实用新型通过设置收纳机构,通过伺服电机带动蜗杆转动,通过蜗杆带动蜗轮转动,通过蜗轮带动丝杆转动,通过丝杆带动移动板移动,通过移动板带动定位杆移动,通过定位杆带动警示灯移动,直至将警示灯收纳进入收纳槽的内部,能够防止警示灯长时间暴露在外界环境,解决了警示装置在不使用时,其表面依然是裸露在外与外界环境接触的,长时间暴露在阳光下,警示装置的塑料、橡胶等材料可能会因紫外线辐射而老化、变脆,导致开裂或破损,影响警示装置效果和使用寿命的问题。

一种轴承加脂器

NºPublicación:  CN224162427U 24/04/2026
Solicitante: 
中广核(尚义)风力发电有限公司
CN_224162427_U

Resumen de: CN224162427U

本实用新型涉及轴承领域,公开了一种轴承加脂器,包括:分配器,设置轴承本体的一侧且通过分流管与所述轴承本体上的注油嘴相连,用于向多个所述注油嘴供油;快速接头,等角度设置在所述分配器的外圆端面上,用于将所述分流管与所述分配器进行连接;卡套接头,设置在所述分配器远离所述轴承本体的一侧且通过输油管与油泵相连,本实用新型通过设置该装置能够同时为轴承本体上的多个注油嘴提供润滑脂,极大地提高了润滑脂的分配效率,相较于传统逐个注油的方式,节省了大量时间,确保轴承各部位能迅速获得润滑,有效减少因润滑不及时导致的轴承磨损,保障设备高效稳定运行。

CRUSHER FOR A ROTOR BLADE OF A ROTOR OF A WIND TURBINE

NºPublicación:  WO2026083000A1 23/04/2026
Solicitante: 
SP TEAM OY [FI]
WO_2026083000_A1

Resumen de: WO2026083000A1

The application relates to a crusher (100) for a rotor blade of a rotor of a wind turbine according to an embodiment. The crusher comprises a cutting blade (215), a cutting blade counter structure (216), and a power transmission system (230). The cutting blade is configured to move towards the counter structure so that the cutting blade moves in an overlapping manner with respect to the counter structure. The power transmission system is configured to move the cutting blade towards the counter structure to cut the interposed rotor blade and away from the counter structure. The crusher further comprises a protective container (102) that can be transported by a transport vehicle, designed to protect the cutting blade, the counter structure, and the power transmission system installed inside (104) the protective container, as well as to collect crushing waste generated during the crushing of the rotor blade.

SCANNING SYSTEMS, METHODS, AND DEVICES WITH SLIDABLE AXIS MOBILITY CONTROL

NºPublicación:  US20260109046A1 23/04/2026
Solicitante: 
GMA WERKSTOFFPRUFUNG GMBH [DE]
US_20260109046_A1

Resumen de: US20260109046A1

0000 Systems, methods, and devices include a robotic scanning device for performing a test scan on a target surface. The robotic scanning device has a sliding axis-based mobility system, which includes one or more slide rails slidably coupled together by a control housing. A first pair of actuatable coupling feet extend from the first slide rail; and a second pair of actuatable coupling feet extend from the second slide rail, thus forming a four-foot configuration. A scanning system disposed on the sliding axis-based mobility system can collect, receive, and transmit scanning information (e.g., ultrasonic data). Moreover, the robotic scanning device includes an integrated computing device including a control system operable to perform various mobility maneuvers. The mobility maneuvers can involve movements generated by controlled actuation of the sliding axis-based mobility system, causing the slide rails to move, and attaching and detaching the actuatable coupling feet to the target surface.

TOOTH FOR A TOOTHED TORQUE TRANSMISSION ASSEMBLY, AND METHOD FOR MANUFACTURING SUCH A TOOTH

NºPublicación:  US20260110353A1 23/04/2026
Solicitante: 
FLENDER GMBH [DE]
US_20260110353_A1

Resumen de: US20260110353A1

A tooth for a toothed torque transmission assembly includes a tooth flank designed for torque exchange with a counter flank of a meshing partner. The tooth flank includes a periodically extending tooth flank correction including a sinusoidal corrugation having a locally extending period length T, wherein a development of the sinusoidal corrugation of the periodically extending tooth flank correction defines a center line. The periodic tooth flank correction is overlaid with a spatial microstructure having a local maxima and/or a local minima and a shortest distance t of t

PREVENTING BLADE TOWER STRIKE OF A WIND TURBINE

NºPublicación:  US20260110291A1 23/04/2026
Solicitante: 
SIEMENS GAMESA RENEWABLE ENERGY AS [DK]
US_20260110291_A1

Resumen de: US20260110291A1

A method of estimating a position of at least a part of a rotor blade of a rotor of a wind turbine during operation of the wind turbine is provided. The rotor blade is deflected due to a deflection motion of the rotor blade towards a tower of the wind turbine and the position is indicative of the deflection. The method includes measuring a first parameter indicative of an absolute and/or a relative position of at least a second part of the rotor blade or of a further rotor blade of the rotor. The method further includes measuring second parameters indicative of an absolute and/or a relative position of at least a third part of the rotor blade or of the further rotor blade of the rotor. The method further includes estimating a state of the rotor blade and deriving the position from the estimated state of the rotor blade.

A LIFTING ARRANGEMENT AND METHOD FOR INSTALLING A COMPONENT OF A WIND TURBINE

NºPublicación:  US20260109578A1 23/04/2026
Solicitante: 
VESTAS WIND SYSTEMS AS [DK]
US_20260109578_A1

Resumen de: US20260109578A1

A lifting arrangement for installing and uninstalling a component (16) of a wind turbine (15) is disclosed. The lifting arrangement comprises main yoke (1) being configured to be attached to a main crane (25), and a hoisting mechanism (2, 11) attached to the main yoke (1). The hoisting mechanism (2, 11) is configured to have a component (16) to be installed or uninstalled attached thereto and to move the component (16) relative to the main yoke (1). At least one connecting part (12) is each configured to establish 2024/067929 a pretensioned connection between the main yoke (1) and a nacelle (14) of the wind turbine (15). The pretension of the at least one connecting part (12) is provided by operating a main crane (25) having the main yoke (1) attached thereto. Methods for installing and uninstalling a component (16) in a nacelle (14), using the lifting arrangement, are also disclosed.

ROBOTIC APPLICATOR DEVICE AND METHOD FOR APPLYING A PROTECTOR TO A LEADING EDGE OF A WIND TURBINE BLADE

NºPublicación:  US20260110287A1 23/04/2026
Solicitante: 
VESTAS WIND SYSTEMS AS [DK]
US_20260110287_A1

Resumen de: US20260110287A1

0000 A robotic applicator device (40) for applying a protector (48) to a leading edge (30) of a wind turbine blade (20) includes a main frame (42), a drive (44) coupled to the main frame (42), and a plurality of stations (46) carried by the main frame (42) configured to apply the protector (48) to the leading edge (30) of the wind turbine blade (20). The stations (46) include a dispensing station (50) configured to hold and dispense a material (64) that forms the protector (48), an adhesive station (52) configured to apply adhesive (66) to an adherend surface (68) of the dispensed protector material (64) and/or the leading edge (30), an applicator station (54) configured to place the adherend surface (68) of the protector (48) onto the leading edge (30) of the wind turbine blade (20), and a curing station (56) configured to cure the adhesive (66) so as to bond the protector (48) to the leading edge (30). A method for applying the protector (48) to the leading edge (30) of the wind turbine blade (20) is also disclosed.

Vibration absorber arrangement for reducing the transmission of vibrations

NºPublicación:  US20260110289A1 23/04/2026
Solicitante: 
WOELFEL ENG GMBH CO KG [DE]
US_20260110289_A1

Resumen de: US20260110289A1

0000 The invention relates to a vibration damper assembly (40; 140) for an elongate first component (10; 30), which is arranged at a connecting end (11; 31) in a longitudinal direction (LD) of the first component (10; 30) for mechanical connection to a second component (20). The vibration damper assembly (40; 140) comprises at least two damper groups (41a, 41b, 41c, 41d, 41e ) which are arranged in an end section (12; 32) of the first component (10; 30) with the connection end (11; 31) and are spaced apart from one another in the longitudinal direction (LD), wherein each of the damper groups (41a, 41b, 41c, 41d, 41e ) comprises a plurality of individual vibration dampers (42a, 42b, 42c, 42d, 42e ) which are arranged distributed on a circumferential wall (14) of the first component (10; 30) in a circumferential direction (CD). In order to reduce the problems caused by tonalities in wind energy installations (1) in a simple and cost-effective way, the damper groups have different natural frequencies from each other. The invention also relates to a wind energy installation (1).

BARREL AND BOLT CONNECTING DEVICE, WIND TURBINE AND CONNECTING METHOD

NºPublicación:  WO2026082993A1 23/04/2026
Solicitante: 
AEROBLADE S A U [ES]
ACCIONA GENERACION RENOVABLE S A [ES]
WO_2026082993_A1

Resumen de: WO2026082993A1

The invention relates to an improved barrel and bolt connecting device, the purpose of which is to reduce the bending moment generated in the T-bolt connection by means of both components, with the structure of the two parts combining to enhance the connection under high bending loading and, in this way, the durability and performance of the connection are increased.

WINDMILL GENERATOR WITH LINEAR TO ROTARY ACTUATOR

NºPublicación:  US20260110290A1 23/04/2026
Solicitante: 
HENRY INVEST GROUP LLC [US]
US_20260110290_A1

Resumen de: US20260110290A1

A wind-based power generation system includes a windmill having a wheel assembly, a gearbox coupled to the wheel assembly and configured to convert rotational motion of the wheel assembly into a reciprocal motion, and a shaft coupled to the gearbox and driven in a reciprocal motion. The wind-based power generation system also includes a crank system comprising a linkage and a pitman arm, the linkage and pitman arm configured to convert the reciprocal motion of the shaft into a rotational motion that drive a generator to produce electric power that may be used or stored.

METHOD FOR OPERATING A WIND TURBINE AND WIND TURBINE

NºPublicación:  AU2024361768A1 23/04/2026
Solicitante: 
NORDEX ENERGY SPAIN S A U
NORDEX ENERGY SE & CO KG
AU_2024361768_PA

Resumen de: AU2024361768A1

According to an embodiment, the method is for operating a wind turbine (100) having a rotatable component (1 to 4) and N drives (di) for rotating the rotatable component by exerting torques, wherein N ≥ 2. The method comprises a step of providing first information (I1) which is representative of at least one operation parameter (P_i) of each drive. In a further step, second information (I2) is determined depending on the first information. The second information is representative of an operation parameter average (Pa, Pa_I, Pa_II) averaged over at least two drives. Third information (I3) is determined depending on the first and the second information, wherein the third information is representative of whether the operation parameter of at least one drive differs from the operation parameter average by more than a defined threshold (T). If this is the case, a first measure (M1) is executed. The first measure is configured to cause maintenance of the at least one drive. Additionally or alternatively, the first measure is configured to cause a change of the operation of the wind turbine.

METHODS FOR USING WIND TURBINE ROTOR OR BLADE MAINTENANCE TOOLS AND ROTOR OR BLADE TOOLS THEREFOR

NºPublicación:  AU2024343626A1 23/04/2026
Solicitante: 
VESTAS WIND SYS AS [DK]
VESTAS WIND SYSTEMS A/S
AU_2024343626_PA

Resumen de: AU2024343626A1

A method of repairing a wind turbine (10) including a tower (12) and a nacelle (14) connected to the tower (12). The nacelle (14) includes a main shaft (20) and a main bearing assembly (36). A rotor (16) is connected to the main shaft (20). The rotor (16) includes a hub (22) and a plurality of blades (24) connected at respective blade interfaces (28). The blade interfaces (28) define a rotor rotational plane (30). The method includes clamping a rotor maintenance tool (40) or a blade maintenance tool (70) to the tower (12). The rotor maintenance tool (40) or the blade maintenance tool (70) includes a tower clamp (42, 44, 84) for connecting the rotor maintenance tool (40) or the blade maintenance tool (70) to the tower (12) and a cradle assembly (46, 72) for supporting a portion of the rotor (16). The cradle assembly (46, 72) is movable relative to the tower (12) between a retracted position adjacent the tower (12) and an extended position. The method includes moving the cradle assembly (46, 72) from the retracted position to the extended position and into contact with the rotor (16) and disconnecting the rotor (16) from the nacelle (14) so that the rotor (16) is supported by the tower (12).

WIND TURBINE BLADE AND RAPID MAINTENANCE METHOD FOR WIND TURBINE BLADE

NºPublicación:  AU2023472641A1 23/04/2026
Solicitante: 
ENVISION ENERGY LTD COMPANY
AU_2023472641_PA

Resumen de: AU2023472641A1

A wind turbine blade, comprising a first blade layer (11), an original inner core layer (10) and a second blade layer (12) which are stacked, a repair through hole (16) being formed in the second blade layer, a damage removal hole (15) being formed in the original inner core layer, and the damage removal hole being communicated with the repair through hole and extending to the inner surface of the first blade layer. A recovery structure layer (17) connected to the second blade layer is provided at the repair through hole. One or more repair core members (14) are provided in the damage removal hole. By means of continuous filling and curing of adhesives, the one or more repair core members are connected to each other, and the repair core members are connected to the first blade layer, so as to form a repaired inner core layer. During maintenance of the power wind turbine blade in a wind farm, the device can achieve short maintenance time, simple operation, stable maintenance quality, excellent structural performance after maintenance, and lower maintenance cost. Also disclosed is a rapid maintenance method for a wind turbine blade.

METHOD AND SYSTEM FOR CONTROLLING ACTIVE POWER OF WIND POWER PLANT, AND DEVICE AND STORAGE MEDIUM

NºPublicación:  WO2026082177A1 23/04/2026
Solicitante: 
SHANGHAI ELECTRIC WIND POWER GROUP CO LTD [CN]
\u4E0A\u6D77\u7535\u6C14\u98CE\u7535\u96C6\u56E2\u80A1\u4EFD\u6709\u9650\u516C\u53F8
WO_2026082177_A1

Resumen de: WO2026082177A1

Provided in the present disclosure are a method and system for controlling an active power of a wind power plant, and a device and a storage medium. The method comprises: performing first amplitude-limiting processing on an acquired initial active power target value, so as to obtain an active power reference value; acquiring a proportional control parameter and an integral control parameter of PI control on the basis of the active power reference value and an actual active power feedback value; performing anti-windup threshold parameter fuzzy adjustment on the basis of a response time and a response time variation between a current execution cycle and the execution cycle preceding the current execution cycle, so as to acquire an anti-windup threshold parameter; and performing PI control on an active power on the basis of the proportional control parameter, the integral control parameter and a current integral value, so as to acquire an active power given value. In the present disclosure, a control mode centered on an anti-windup threshold parameter fuzzy regulator and adaptive switching of an integral windup limit value is added on the basis of a PI controller, so as to realize active power anti-windup control for a wind power plant, and the occurrence frequency of integral windup of the PI controller is reduced by means of amplitude limiting processing, thereby optimizing the adaptive PI controller.

ROTOR SAIL

NºPublicación:  WO2026082996A1 23/04/2026
Solicitante: 
NORSEPOWER OY LTD [FI]
WO_2026082996_A1

Resumen de: WO2026082996A1

The present disclosure relates to a rotor sail (100) comprising a rotor (110) having a lengthwise axis, an outer surface surrounding the lengthwise axis, a first end and a second end opposite to the first end, and the rotor having a first radius. A first end plate (114) is attached concentrically around the outer surface at the first end of the rotor. The first end plate includes a first circular edge having a second radius equal to the first radius of the rotor, a second circular edge having a third radius greater than the first radius, and a first slanted lateral surface extending between the first circular edge and the second circular edge, wherein the slanted lateral surface faces the second end and has an angle between 5 to 45 degrees in respect to a plane defined by the second circular edge.

PILE FOUNDATION CONNECTION DEVICE FOR TENSION-LEG FLOATING WIND TURBINE PLATFORM

NºPublicación:  WO2026082200A1 23/04/2026
Solicitante: 
JIANGSU ASIAN STAR ANCHOR CHAIN CO LTD [CN]
\u6C5F\u82CF\u4E9A\u661F\u951A\u94FE\u80A1\u4EFD\u6709\u9650\u516C\u53F8
WO_2026082200_A1

Resumen de: WO2026082200A1

The present invention relates to the technical field of mooring connection of tension-leg floating wind turbine platforms. Disclosed is a pile foundation connection device for a tension-leg floating wind turbine platform. The pile foundation connection device comprises a bottom connection mechanism and a steel cable protection mechanism, wherein the bottom connection mechanism comprises a welding back plate, a tongue plate is provided on the welding back plate, the upper end of the tongue plate is connected to a steel cable socket by means of a pin shaft, and a steel cable is connected to the steel cable socket, such that the steel cable is capable of two rotational degrees of freedom; both ends of the tongue plate are locked and fixed by means of locking mechanisms; and the steel cable protection mechanism is located on one side of a pile foundation, and the steel cable is placed on the steel cable protection mechanism after the steel cable is connected, so as to prevent over-bending damage to the steel cable when same is pre-laid on the seabed. The present invention features a simple structure, a reliable performance and convenient operation, and can adapt to underwater quick connection; and the entire operation process only requires the assistance of one ROV, thereby simplifying the tie-back installation procedure of mooring lines and anchoring devices for a tension-leg wind turbine platform, and reducing the mooring and installation costs of the tension-leg wind turbine p

ポンプ

NºPublicación:  JP2026068870A 23/04/2026
Solicitante: 
トヨタ自動車株式会社
JP_2026068870_A

Resumen de: US20260104042A1

0000 A pump configured to deliver a fluid in one direction includes a bag-shaped storage chamber formed of an expandable and contractible flexible material for storing a fluid, an expansion and contraction unit for expanding and contracting the storage chamber, an intake check valve communicating with the inside of the storage chamber and allowing only the flow of the fluid from the outside to the inside of the storage chamber, and an discharge check valve communicating with the inside of the storage chamber and allowing only the flow of the fluid from the inside to the outside of the storage chamber, and when the storage chamber expands by the expansion and contraction unit, the fluid flows into the storage chamber through the intake check valve, and when the storage chamber contracts by the expansion and contraction unit, the fluid flows out from the storage chamber through the discharge check valve.

Cimentación para aerogeneradores y procedimiento de construcción

NºPublicación:  ES3064194A1 23/04/2026
Solicitante: 
INGENIERIA ZERO S L [ES]
WO_2026074214_A1

Resumen de: WO2026074214A1

The invention relates to a wind turbine foundation and a construction method, the foundation comprising a bottom slab with a plurality of rectangular arms, optionally ending in footings; a core with means for securing a wind turbine tower on the central part of the bottom slab; and a plurality of arms comprising two flat parallel vertical side walls, the space between the two walls being filled up to the upper edge with one or more filler materials. The foundation may optionally include an upper closure slab on each pair of side walls and/or an external wall with anchors. The invention allows simple and efficient assembly with conventional auxiliary assembly means, using a smaller volume of concrete and steel to be able to withstand the same stresses as equivalent conventional foundations, by designing the arms with a structurally highly efficient hollow cross-section and optionally filling same with earth or other filler materials as counterweight.

DAMPING DEVICE, DAMPING SYSTEM, TOWER SYSTEM AND METHOD

NºPublicación:  US20260110187A1 23/04/2026
Solicitante: 
NORDEX ENERGY SE & CO KG [DE]
US_20260110187_A1

Resumen de: US20260110187A1

0000 In an embodiment a damping device includes a first rope configured to be connected to a tower and a first frame configured to be supported in a stationary manner on ground, to be coupled to the first rope, and to keep the first rope under tension.

ROTOR FÜR WINDKRAFTANLAGEN UND ENTSPRECHENDE WINDKRAFTANLAGE

NºPublicación:  DE102025105470A1 23/04/2026
Solicitante: 
WEG EQUIPAMENTOS ELETRICOS S/A [BR]
DE_102025105470_PA

Resumen de: DE102025105470A1

Die vorliegende Erfindung betrifft einen Windkraftanlagen-Rotor (100), umfassend eine Welle (200), auf der Welle (200) montierte Rotorträger (300), eine Vielzahl von auf den Rotorträgern (300) montierten Blechpaketen (400), wobei zwischen den Blechpaketen (400) eine Vielzahl von Abstandshalterprofilen (500, 1500, 2500) angeordnet ist, die eine Vielzahl von Radialkanälen (600) zwischen axial benachbarten Blechpaketen (400) bildet. Die vorliegende Erfindung betrifft weiterhin eine Windkraftanlage, die mindestens einen erfindungsgemäßen Rotor (100) umfasst.

SYSTEM TO GENERATE ELECTRICAL ENERGY FROM RENEWABLE ENERGY SOURCES AND METHOD THEREOF

NºPublicación:  WO2026083343A1 23/04/2026
Solicitante: 
BHARAT PETROLEUM CORPORATION LTD [IN]
WO_2026083343_A1

Resumen de: WO2026083343A1

The present disclosure discloses a system (102) and a method (200) for generating electrical energy from one or more renewable energy sources. The system (102) includes one or more energy generation units (104) having one or more horizontal axis wind turbines (HAWTs) (104-1) mounted at a predetermined location to capture wind energy, and one or more vertical axis wind turbines (VAWTs) (104-2) positioned in proximity of the HAWTs (104-1) to harness generated wind energy and environmental wind currents for producing electrical energy. The system (102) further includes one or more solar photovoltaic (PV) arrays (104-3) configured to receive solar energy and convert it into electrical energy. One or more energy storage units (106) are operatively coupled to store the generated electrical energy. A power management unit (108) regulates the flow of stored electrical energy and facilitates its utilization for one or more energy utilization tasks.

OPTIMIZATION OF TOWER DESIGNS

NºPublicación:  WO2026083437A1 23/04/2026
Solicitante: 
KEC INTERNATIONAL LTD [IN]
WO_2026083437_A1

Resumen de: WO2026083437A1

The present relates to methods and systems for optimizing tower design The system (100) includes a geometry module (210) to receive from a user, input data comprising plurality of parameters to model an initial geometry of a tower indicative of one or more physical parameters. A load case generation module (212) is configured to generate load cases for testing the initial geometry. An iteration module (214) is configured to apply each load case to assess the initial geometry to withstand loads. Based on this assessment, a design alteration module (216) may sequentially alter at least one physical parameter of the initial geometry to obtain a plurality of tower designs. The load case generation module (212) determines a set of load cases corresponding to each design, which may be applied iteratively to the respective designs. An optimization analysis module (218) may identify an optimized design based on outputs corresponding to execution of the load cases on each of the plurality of designs.

ENERGY TRANSPORT SYSTEM USING PRESSURISED FLUIDS

NºPublicación:  WO2026082989A1 23/04/2026
Solicitante: 
MUNOZ SAIZ MANUEL [ES]
WO_2026082989_A1

Resumen de: WO2026082989A1

The present invention relates to an energy transport system using pressurised fluids, comprising: pneumatic compressors or hydraulic pumps; fluid storage chambers or tanks at the discharge point and others at the receiving point; pipes for transporting or transferring the pressurised fluids; pressure sensors; fluid flow or pressure regulators and shut-off valves; multi-stage turbines actuated by the fluids, said turbines driving the electric generators or alternators; and a microprocessor controlling its operation. The materials used are stainless steels, reinforced concrete and corrosion-resistant plastic polymers, such as polyethylene. The compressors are driven mechanically or by means of electric motors powered by the power generators of wind turbines, water turbines or photovoltaic panels. The fluids used are carbon dioxide, ammonia, biofuels, synthetic fuels, natural gas, methane, biomethane, alcohols, water and mixtures thereof, and especially air.

METHOD FOR INSTALLING A WIND TURBINE TOWER

NºPublicación:  US20260110288A1 23/04/2026
Solicitante: 
SIEMENS GAMESA RENEWABLE ENERGY AS [DK]
US_20260110288_A1

Resumen de: US20260110288A1

A method for installing a wind turbine tower is provided, wherein the tower includes a tower fastening portion and a tower through hole in the tower fastening portion, including: providing a vessel with a vessel fastening portion and a vessel through hole in the vessel fastening portion, landing the tower onto the vessel with the tower through hole at the vessel through hole, positioning a stud in the tower through hole and the vessel through hole, wherein the stud includes an upper portion protruding from the tower through hole in an upward direction and a lower portion protruding from the vessel through hole in a downward direction, fastening the tower fastening portion to the vessel fastening portion by a lower fastening element attached to the lower portion and an upper fastening element attached to the upper portion, wherein the lower fastening element and the upper fastening element are both detachable from the stud in a non-destructive way.

LIFTING APPARATUS FOR LIFTING A WIND TURBINE COMPONENT

NºPublicación:  EP4727879A1 22/04/2026
Solicitante: 
SIEMENS GAMESA RENEWABLE ENERGY AS [DK]
EP_4491565_PA

Resumen de: EP4491565A1

0001 A lifting apparatus (10, 11) for lifting a wind turbine component (94, 96, 98, 100) is provided that comprises: a support frame (12) comprising a support (14) to hold the wind turbine component (94, 96, 98, 100); one or more lifting points (16) on the support frame (12) configured to be coupled to a lifting wire (76) of a crane (70); and a stabilizing arrangement (18). The stabilizing arrangement (18) comprises: a first coupling point (20) configured to couple a first stabilizing line (30) to the support frame and a second coupling point (22) configured to couple a second stabilizing line (32) to the support frame, wherein the first coupling point (20) is arranged at a first end portion (34) of the support frame and the second coupling point (22) is arranged at a second end portion (36) of the support frame opposite to the first end portion (34); and at least one actuator (50-56) provided on the support frame, wherein the at least one actuator (50-56) is configured to actuate the first stabilizing line (30) and/or second stabilizing line (32) relative to the support frame to move the first and/or second end portion (34, 36) of the support frame in a vertical direction.

風船型縦渦式風車

NºPublicación:  JP2026068505A 22/04/2026
Solicitante: 
株式会社パンタレイ
JP_2026068505_A

Resumen de: JP2026068505A

【課題】運搬が容易で、風車の大型化も可能な風船型縦渦式風車を提供する。【解決手段】風船型縦渦式風車が、流体を排出してコンパクトな状態である第1形態と、流体を注入して縦渦式風車の状態である第2形態2との間で形状を変更可能な風船型縦渦式風車であって、第2形態2の縦渦式風車が、流体の流れ方向に対して略垂直に交差する第1平面を有する第1後流物体4と、流体の流れ方向に略平行な回転軸体と、回転軸体に軸支されて第1後流物体4の上流側に配置され、流体の流れ方向に対して略垂直に交差する第1回転面内で回転軸体を中心に回転する第1回転体3と、を備え、第1回転体3は、第1後流物体4の上流側に離隔して第1平面と交差する第1交差部を有し、第1平面と第1回転面とが、略平行である。【選択図】図2

CONTROLLING A FLOATING WIND TURBINE SYSTEM BASED ON A SEA STATE PARAMETER

NºPublicación:  EP4728183A1 22/04/2026
Solicitante: 
VESTAS WIND SYS AS [DK]
WO_2024255979_PA

Resumen de: WO2024255979A1

Disclosed is a method for controlling a floating wind turbine system. The floating wind turbine system comprises a floating platform, a tower mounted to the floating platform and a nacelle. The method comprises receiving, from one or more sensors of the floating wind turbine system, a signal indicative of a vertical acceleration of the floating wind turbine system. The method comprises determining, based on the received signal, a sea state parameter indicative of an oscillation of the vertical acceleration. The method comprises controlling the floating wind turbine system based on the sea state parameter.

AIRBORNE WIND ENERGY SYSTEMS AND DEPLOYMENT METHODS

NºPublicación:  EP4727847A1 22/04/2026
Solicitante: 
WINDLIFT INC [US]
WO_2024259386_PA

Resumen de: WO2024259386A1

Airborne unit docking systems, wind energy systems, and methods relating to deployment and installation, comprising a floating platform having a dock configured to assist an airborne unit in landing on the floating platform, wherein the dock rotates correspondingly to a direction of the airborne unit to center the airborne unit relative to the dock; and an electrified tether electrically connecting the airborne unit to the floating platform.

SEMI-SUBMERSIBLE FLOAT FOR AN OFFSHORE WIND TURBINE

NºPublicación:  EP4727835A1 22/04/2026
Solicitante: 
SAIPEM SA [FR]
FR_3149859_PA

Resumen de: WO2024256782A1

The invention relates to a semi-submersible float (2) for an offshore wind turbine, comprising at least three vertical columns (4, 6), one of which is intended to receive a wind turbine mast, the vertical columns being connected together by pontoons (8) each formed by a plurality of planar panels (81 to 84) which are assembled together at edges (10) extending longitudinally between two columns, the edges of the pontoons being rounded and connected at each of their longitudinal ends to a column via a transition piece (12).

HYDRODYNAMIC OR HYDROSTATIC SLIDING BEARING, METHOD FOR SETTING A BEARING PLAY ON A HYDRODYNAMIC OR HYDROSTATIC SLIDING BEARING AND WIND TURBINE

NºPublicación:  EP4728204A1 22/04/2026
Solicitante: 
SCHAEFFLER TECHNOLOGIES AG [DE]
WO_2024255946_PA

Resumen de: WO2024255946A1

The invention relates to a hydrodynamic or hydrostatic sliding bearing (1) for rotatably supporting a shaft (3), in particular in a wind turbine (2), comprising at least one first sliding element (4) which has a first sliding surface (5) and is arranged on a connection structure (6) in a radially and/or axially displaceable manner, wherein a first ramp portion (7) on the at least first sliding element (4) and a corresponding second ramp portion (8) on the connection structure (6) are designed such that an axial offset of the sliding element (4) with respect to the connection structure (6) causes a radial offset of the sliding element (4), and/or vice versa, such that the bearing play of the sliding element (4) with respect to the shaft (3) can be adjusted, wherein the at least first sliding element (4) is braced against the connection structure (6) by means of at least one clamping element (9) which can be displaced with respect to the connection structure (6).

A METHOD AND ARRANGEMENT FOR CONTROLLING HEATING OF A WIND TURBINE BLADE

NºPublicación:  EP4728184A1 22/04/2026
Solicitante: 
WICETEC OY [FI]
WO_2024256752_PA

Resumen de: WO2024256752A1

A method for controlling at least one heating element of at least one wind turbine blade, the method comprising at least obtaining thermal properties relating to at least a first position on the at least one wind turbine blade and at least a second position on the at least one wind turbine blade, wherein said first position is associated with a first layer of a layer structure model representing the wind turbine blade and said second position is associated with a second layer of the layer structure model, obtaining a target temperature or a target temperature range for at least one target position on the at least one wind turbine blade, wherein said target position is associated with any layer of the layer structure model, obtaining one or more environmental parameters, and controlling at least one switching device provided in connection with the at least one heating element of the wind turbine blade to approach the target temperature or target temperature range at the target position based on the obtained environmental parameters and the obtained thermal properties and by utilizing a heat transfer model associated with the layer structure model.

INCREASED - EFFICIENCY ROTOR ON A VERTICAL AXIS OF ROTATION

NºPublicación:  EP4728182A1 22/04/2026
Solicitante: 
KOMAROW TOMASZ [PL]
WO_2024258303_PA

Resumen de: WO2024258303A1

Increased - efficiency rotor on a vertical axis of Rotation consists of two coaxial discs (1) permanently connected by rotor blades (2) and an axial profile (3) with the number of side walls equal to the number of blades (2). The blades (2) form vertical, narrowing flow gaps (4) with the edge of the axial profile (3).

A WIND TURBINE BLADE ASSEMBLY

NºPublicación:  EP4728178A1 22/04/2026
Solicitante: 
ANYTIME POWER LTD [IE]
WO_2024256684_PA

Resumen de: WO2024256684A1

The present invention is concerned with a wind turbine blade assembly, and in particular to a blade assembly including a primary blade having a leading edge and a trailing edge between which are defined a pressure side and a suction side, and an array of auxiliary blades mounted in spaced relationship to the pressure side, trailing the leading edge and extending substantially parallel to a longitudinal axis of the primary blade.

軽量垂直軸型風車及び軽量風力発電装置

NºPublicación:  JP2026068040A 22/04/2026
Solicitante: 
TOPWIND株式会社
JP_2026068040_A

Resumen de: WO2024185722A1

Problem In a conventional Saponius type wind-powered electricity generator, the electricity generator is connected to a lower portion of a wind turbine rotating shaft, making the overall wind-powered electricity generating apparatus large; an objective of the present invention is to make the apparatus more compact. Further, another objective of the present invention is to make rainwater, snow, dead leaves, etc., less liable to accumulate in various parts of the wind-powered electricity generating apparatus. Provided are compact and lightweight wind turbine and wind-powered electricity generating apparatus with which it is possible to obtain a stable torque and electromotive force even if the wind direction or wind speed changes suddenly, and which are capable of utilizing wind not only from horizontal directions but from all directions, including a vertical direction and oblique directions, allowing rotational torque to be obtained. Solution Provided are: a vertical axis wind turbine provided with buckets in which a paddle portion having a substantially hemispherical surface shape is formed in an upper portion and a semi-cylindrical bucket body portion is formed in a body portion, the buckets being arranged in a horizontally shifted state along a plane that cuts a cylinder in half vertically, and being arranged such that wind that flows into a concave surface of one bucket flows into the concave surface of the other bucket; and a wind-powered electricity generating device

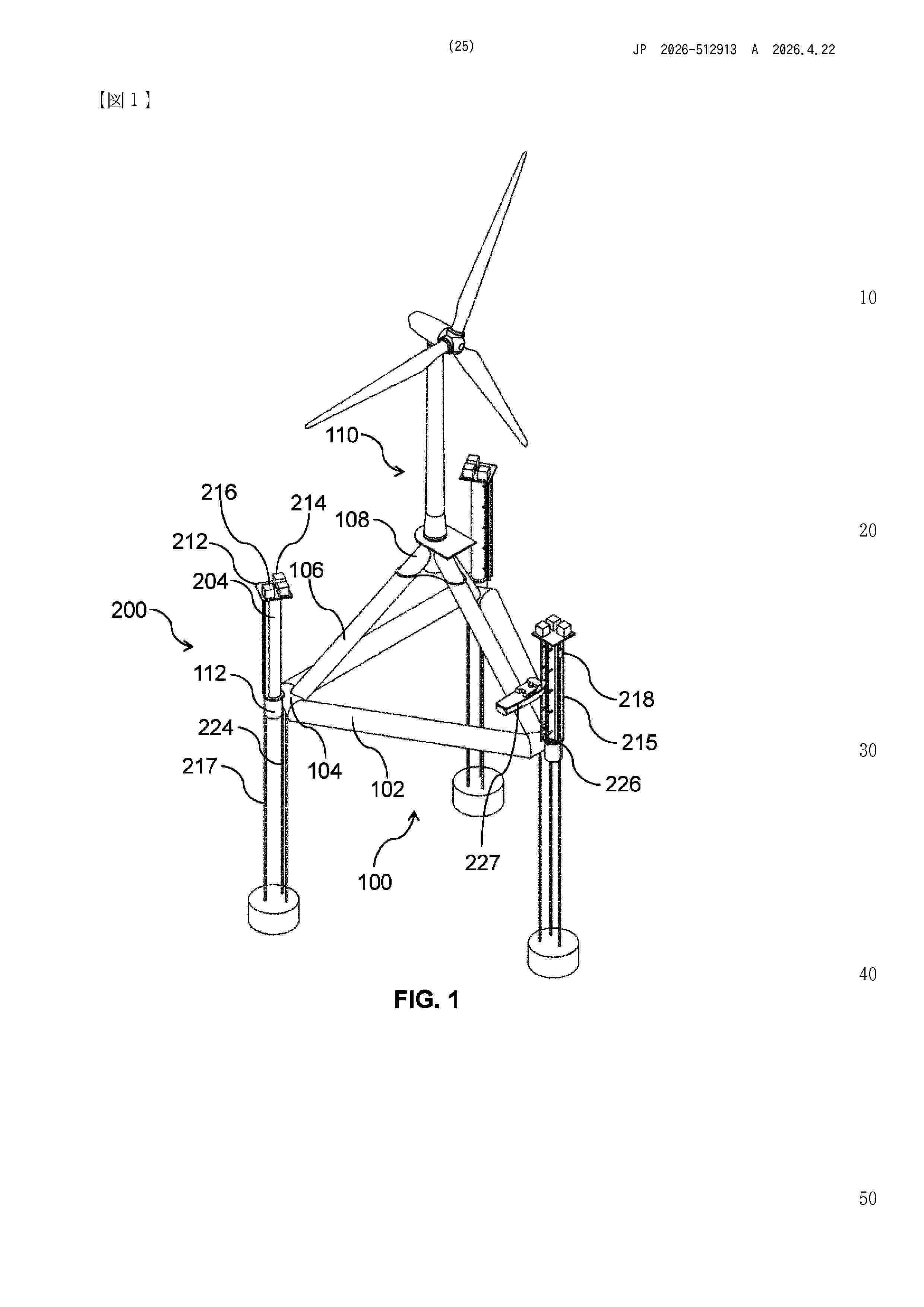
浮力式洋上プラットフォーム展開デバイス及び浮力式洋上プラットフォームを展開する方法

NºPublicación:  JP2026512913A 22/04/2026
Solicitante: 
マリンパワーシステムズリミテッド
JP_2026512913_A

Resumen de: WO2024089283A1

A deployment device is provided for use in deploying an offshore renewable energy system mounting platform to a submerged operating configuration. The deployment device comprises: a body portion comprising a platform engaging portion, the platform engaging portion arranged to fixably engage a corresponding portion of an offshore renewable energy system mounting platform; a mooring line tensioning member coupled to the body portion; wherein the platform engaging portion is further arranged to disengage from the corresponding portion of the platform; and further wherein, in use when the platform engaging portion is engaged with the corresponding portion of the platform, the mooring line tensioning member is arranged to apply a tensioning force to at least one mooring line of a said offshore renewable energy system mounting platform along a plane substantially perpendicular to a base of said platform, wherein under said tensioning force the body portion is arranged to move relative to the at least one mooring line from a first undeployed position to a second deployed position. The described deployment device aims to provide a safer and more efficient mode of deploying a buoyant offshore platform to a partially submerged operating configuration.

NON-CONTACT TRANSMISSION SYSTEMS AND MEDICAL SYSTEMS

NºPublicación:  EP4728600A1 22/04/2026
Solicitante: 
SHANGHAI UNITED IMAGING HEALTHCARE CO LTD [CN]
WO_2025026263_PA

Resumen de: WO2025026263A1

The present disclosure provides a non-contact transmission system, applied to medical system, comprising a stationary segment, a rotational segment and a non-contact coupling apparatus. A primary side of the non-contact coupling apparatus is connected with the stationary segment. A secondary side of the non-contact coupling apparatus is connected with the rotational segment. The non-contact coupling apparatus is configured to implement transmission of power and signals between the stationary segment and the rotational segment.

Rotor structure for fluid kinetic power generation turbine

NºPublicación:  GB2701141A 22/04/2026
Solicitante: 
CHE CHIH TSAO [TW]
US_2025067242_PA

Resumen de: GB2701141A

A rotor structure comprising a hub 110, blades 120A,120B and a restraining structure 230 located upstream of the hub. A set of guy wires 200F,200R are connected to the restraining structure which brace each of the blades at multiple brace positions along the span of the blades. The structure has a compression structure 240 which connects the restraining structure and the hub and is configured to resist forces generated on the guy wires due to fluid dynamics loads on the blades. Further rotor structures are also claimed that comprise the restraining structure. One rotor structure has a set of side guy wires 200S which connect the blades to side posts 110B and also has a tension structure (400,fig.11A) upstream of the restraining structure. The other rotor structure comprises the tension structure and the restraining structure has a restraining structure hub (2301,fig.12A) on a shaft (600,fig.12A) and a set of posts (2302,fig.12A) with a set of drive guy wires (320,fig.12A) connecting the posts to a drive hub (503,fig.12A), the drive hub driving a generator (550,fig.12A). FIG.5

BLADE SEGMENT, WIND TURBINE AND METHOD FOR MANUFACTURING A BLADE SEGMENT

NºPublicación:  EP4728181A1 22/04/2026
Solicitante: 
SIEMENS GAMESA RENEWABLE ENERGY INNOVATION & TECHNOLOGY SL [ES]
EP_4506559_PA

Resumen de: EP4506559A1

The invention relates to a blade segment (10) for a wind turbine (100), the blade segment (10) comprising at least one attachment device (20) for attaching the blade segment (10) in a transverse plane (yz) of the blade segment (10) to another blade segment (10) and/or a rotor hub (12) for a wind turbine (100), a down conductor (30), wherein the down conductor (30) is at least partially embedded into a longitudinal element (40) of the blade segment (10), wherein the longitudinal element (40) is arranged along a longitudinal axis (x) of the blade segment (10), and at least a first connection terminal (50), wherein the at least one first connection terminal (50) is at least partially embedded into the longitudinal element (40) and electrically connected to a first end of the down conductor (30). Furthermore, the invention relates to a wind turbine (100) with a blade segment (10) and a method for manufacturing a blade segment (10).

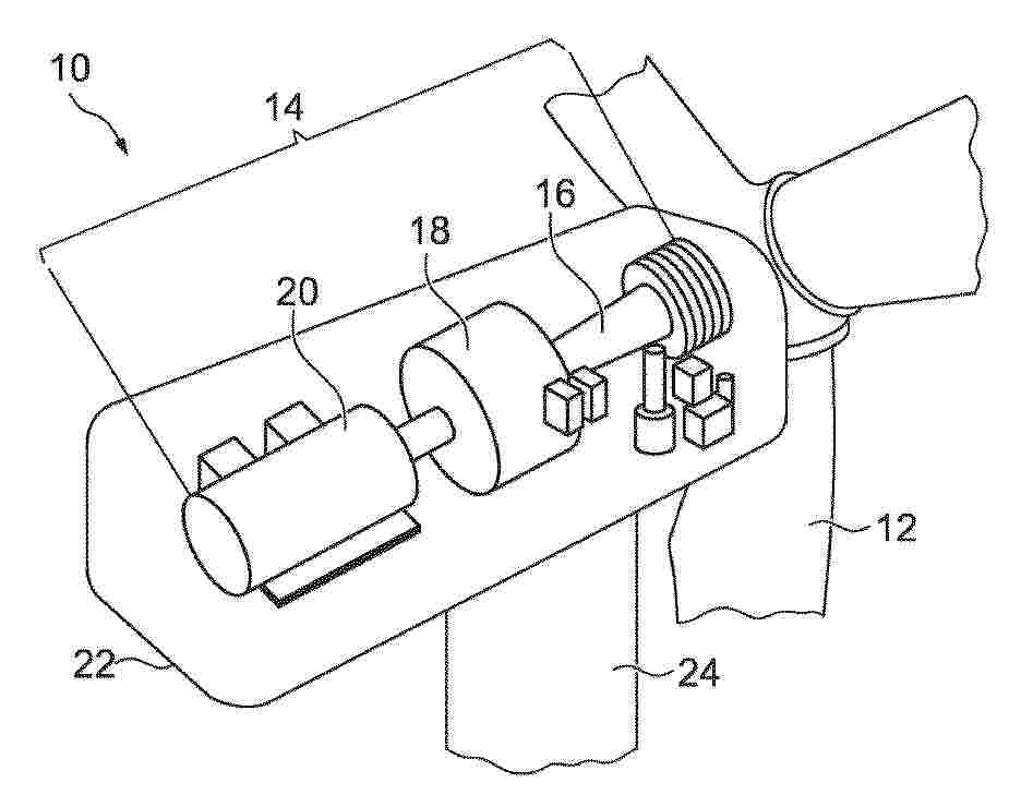
WIND TURBINE DRIVETRAIN

NºPublicación:  EP4728187A1 22/04/2026
Solicitante: 
SIEMENS GAMESA RENEWABLE ENERGY AS [DK]
EP_4502370_PA

Resumen de: EP4502370A1

The invention describes a wind turbine drivetrain (1) comprising a planetary gearbox (12) for converting rotation of a low-speed shaft (10) to rotation of a high-speed gearbox output shaft (122); a generator (14) mounted about an annular sleeve (124) extending axially outward from a gearbox housing (12H) and enclosing the gearbox output shaft (122); a bearing assembly (16) arranged between the generator (14) and the gearbox (12), comprising a rotary bearing part (16R) and a stationary bearing part (16S); and a torsional vibration damper (13) arranged between two rotary components (122, 122A, 122B, 14R, 16R) of the drivetrain (1), which torsional vibration damper (13) comprises a number of damping elements (13E). The wind turbine drivetrain is characterized in that the torsional vibration damper (13) is dimensioned to facilitate access from within the generator (14). The invention further describes a method of performing a maintenance procedure on such a wind turbine drivetrain (1).

BLADE FOR A WIND TURBINE, WIND TURBINE AND METHOD FOR MANUFACTURING

NºPublicación:  EP4728180A1 22/04/2026
Solicitante: 
SIEMENS GAMESA RENEWABLE ENERGY AS [DK]
EP_4502364_PA

Resumen de: EP4502364A1

A blade (3) for a wind turbine (1), comprising:an inboard section (7);an outboard section (8); andjoints (9) connecting the inboard section (7) and the outboard section (8) to each other, each joint (9) including:a first insert (16) attached to the inboard section (7) ;a second insert (17) attached to the outboard section (8), the first and second insert (16, 17) defining together a convex shape away from the blade (3) when seen in a cross-section along the lengthwise direction (11) of the blade (3); anda threaded connection means (24) connecting the first and second insert (16, 17) to each other, the threaded connection means (24) being configured to be tightened from outside of the blade (3).Advantageously, the connection thus formed is well suited to counteract blade loads and easy to access which simplifies assembly/disassembly and allows visual inspection of the screws.

HANDLING APPARATUS

NºPublicación:  EP4728189A1 22/04/2026
Solicitante: 
SIEMENS GAMESA RENEWABLE ENERGY AS [DK]
EP_4502369_PA

Resumen de: EP4502369A1

The invention describes a handling apparatus (1) for use in a maintenance procedure of a wind turbine drivetrain (2) comprising a low-speed unit (22) and a high-speed unit (24) coaxially coupled to the low-speed unit (22), which handling apparatus (1) is configured to be arranged in the interior of a wind turbine nacelle (6) and comprises a front-end anchor (10) configured for mounting onto the low-speed unit (22) of such a drivetrain (2); a suspension assembly (100) extending from the front-end anchor (10) towards the rear of the nacelle (6); a primary carriage (14) carried by the suspension assembly (100) and configured for attachment to the high-speed unit (24) of the drivetrain (2); and a displacement means (16, 160) realized to displace the primary carriage (14) along the suspension assembly (10) relative to the front-end anchor (10). The invention further describes a method of performing a maintenance procedure on a wind turbine drivetrain (2) using such a handling apparatus (1).

HANDLING APPARATUS

NºPublicación:  EP4728190A1 22/04/2026
Solicitante: 
SIEMENS GAMESA RENEWABLE ENERGY AS [DK]
EP_4502368_PA

Resumen de: EP4502368A1

The invention describes a handling apparatus (1) for use in a maintenance procedure of a wind turbine drivetrain (2, 4, 6) comprising a planetary gearbox (4) and a generator (6) coaxially mounted to the gearbox (4), which handling apparatus (1) comprises a suspension rail (10) dimensioned to extend from the interior of the generator rotor (64) outward to the exterior of the generator (6); a mounting means (100, 10F, 10B) for mounting the rail (10) to a stationary drivetrain part (42, 62, 64); at least one carriage (12) arranged to move along the underside of the suspension rail (10); and at least one lifting fitting (14, 140, 142) adapted for attachment to a drivetrain component (66, 68, 8, 44) and comprising a means of suspending that lifting fitting (14, 140, 142) from a carriage (12). The invention further describes a method of performing a maintenance procedure on a wind turbine drivetrain (2, 4, 6) using such a handling apparatus (1).

WIND TURBINE BLADE INTEGRATING AN ICE PROTECTION SYSTEM AND MANUFACTURING METHOD THEREOF

NºPublicación:  EP4728179A1 22/04/2026
Solicitante: 
SIEMENS GAMESA RENEWABLE ENERGY INNOVATION & TECHNOLOGY SL [ES]
EP_4502362_PA

Resumen de: EP4502362A1

0001 The invention refers to a wind turbine blade formed by two shell halves, wherein one shell half has a first pair of metallic sheets layered, on the outer surface of the shell half, and wherein each of the metallic sheets has been partially embedded within the shell half during the resin infusion process. A first heating mat made of an electrically conductive material is layered on resin-free parts of the metallic sheets, and is also embedded within the shell half so that the first heating mat is electrically in contact with the resin-free parts of the metallic sheets. The invention also refers to a method for manufacturing a wind turbine blade, integrating an Ice Protection System, the method comprising the steps of manufacturing first and second shell halves by means of a resin infusion process, and integrating an Ice Protection System in the same resin infusion process for manufacturing the shell halves.

WIND TURBINE DRIVETRAIN

NºPublicación:  EP4728188A1 22/04/2026
Solicitante: 
SIEMENS GAMESA RENEWABLE ENERGY AS [DK]
EP_4502367_PA

Resumen de: EP4502367A1

The invention describes a wind turbine drivetrain comprising a planetary gearbox (4) for converting rotation of a low-speed shaft (2) to rotation of a high-speed gearbox output shaft (44); an axial sleeve (42S) extending axially outward from the gearbox (4) and enclosing the gearbox output shaft (44); a generator (6) mounted coaxially to the gearbox (4), comprising a rotor (64) arranged about the cylindrical sleeve (42S); a bearing cartridge (8) arranged between the gearbox (4) and the generator (6), which bearing cartridge (8) comprises a number of roller bearings (80) held between a stationary bearing part (8S) and a rotary bearing part (8R); and a torque transfer assembly (1) for transferring rotation of the gearbox output shaft (44) to the generator rotor (64), which torque transfer assembly (1) incorporates the rotary bearing part (8R) and is arranged to extend between the nondrive end of the gearbox output shaft (44) and the generator rotor (64). The invention further describes a method of assembling such a wind turbine drivetrain.

SYSTEMS AND METHODS FOR MODULAR PUMPED STORAGE HYDROPOWER

NºPublicación:  EP4728185A2 22/04/2026
Solicitante: 
ENERGY FUTURE INC [US]
CN_121358948_A

Resumen de: CN121358948A

A modular pumped storage hydroelectric power generation system may include a shaft having a first end positioned opposite a second end. A reservoir is connected to a first end of the shaft. The second end of the shaft is configured to be located below the ground surface. The second end of the shaft has a first compartment and a second compartment. The first compartment accommodates a pump assembly having an inlet in hydraulic communication with the second compartment. The second compartment is configured to store water. The conduit has a first end connected to the pump assembly, the first end positioned opposite a second end of the cap extending through the first end of the shaft. The second end of the pipeline is in hydraulic communication with the reservoir. A conduit of the pump assembly transfers water from the second compartment of the second end of the shaft to the reservoir.

Wind turbine blade core

NºPublicación:  GB2701287A 22/04/2026
Solicitante: 
GURIT UK LTD [GB]
WO_2026073898_A1

Resumen de: GB2701287A

A kit of parts for manufacturing at least part of a cellular core of a wind turbine blade. The kit of parts includes a plurality of core sections 102, 104 composed of cellular material, each core section 102, 104 having a peripheral surface 111 which comprises a first side face 106, a second side face 108 and a third side face 110. Each core section 102, 104 has at least one hole 126 extending inwardly from at least one of first and second end faces 122, 124. The kit of parts further includes at least one dowel 130 composed of cellular material, the dowel 130 being shaped and dimensioned to fit within a respective hole of each of two adjacent core sections 102, 104 so that the at least 10 one dowel 130 connects together the two adjacent core sections 102, 104. Figure 5

CAROUSEL LIFTING TOWER

NºPublicación:  EP4729768A1 22/04/2026
Solicitante: 
TECHNIP ENERGIES FRANCE [FR]
EP_4729768_PA

Resumen de: EP4729768A1

A carousel lifting tower may facilitate assembly of a wind turbine generator (WTG) and other constructs. In one example, the carousel lifting tower includes a tower, which may be positioned in an upwardly angled orientation, and which may define a tower axis. In the example, the carousel lifting tower further includes a lift frame, which may be movably mounted on the tower to allow translation of the lift frame along the tower axis. Additionally, in the example, the carousel lifting tower includes a carousel coupled to the lift frame. The carousel may rotate about the tower axis. Moreover, in the example, the carousel lifting tower includes a load handler on the carousel. The load handler may releasably engage with a component to be lifted.

TRANSMISSION DRIVE TRAIN WITH TILT COMPENSATION

NºPublicación:  EP4729804A1 22/04/2026
Solicitante: 
FLENDER GMBH [DE]
EP_4729804_PA

Resumen de: EP4729804A1

Getriebeantriebsstrang 10 mit einer Triebstrangachse AD für eine Windkraftanlage 100, mit einem Getriebegehäuse 12, einer ersten und zumindest einer weiteren um die Triebstrangachse AD drehbare Planetenstufe und/oder Stirnradstufe 20, 22, wobei ein Hohlrad 14 der ersten Planetenstufe 12 als Gehäusekomponente des Getriebegehäuses 12 ausgebildet ist und die erste Planetenstufe 20 einen Planetenträger 16 mit darin aufgenommenen Planetenrädern 18 aufweist, wobei der Planetenradträger 16 zu einer ersten axialen Seite mit einer ersten Lagerung 26 und zu einer zweiten axialen Seite mit einer zweiten Lagerung 32 gegenüber dem Getriebegehäuse 12 drehbar gelagert ist. Ein Lagersitz 28 der ersten Lagerung 26 und ein Lagersitz 34 der zweiten Lagerung 32 weisen einen radialen Versatz Vr zueinander auf. In einem belasteten Zustand ist die Verkippung zwischen der Verzahnung aufgehoben.

COMPONENT INTERFACE BETWEEN TRANSMISSION UNIT AND GENERATOR UNIT

NºPublicación:  EP4729767A1 22/04/2026
Solicitante: 
FLENDER GMBH [DE]
EP_4729767_PA

Resumen de: EP4729767A1

0001 Komponentenschnittstelle 10 zwischen einer Getriebeeinheit 110 und einer Generatoreinheit 112 für eine um eine Triebstrangachse A angetriebene Windkraftanlage 100, mit einer zumindest eine Planetenstufe 12 ausweisenden Getriebeeinheit 110 und einer mit der Getriebeeinheit 110 um die Triebstrangachse A antriebsverbundene und einen Rotor 30 umfassende Generatoreinheit 112. Eine Abtriebswelle 14 der zumindest einen Planetenstufe 12 zumindest mittelbar mit dem Rotor 30 antrieb verbunden und über eine in einem generatorseitigen Gehäuseelement 16 der Getriebeeinheit 110 aufgenommene Lagereinheit 18 gelagert ist und wobei die Lagereinheit 18 und der Rotor 30 in axialer Richtung der Triebstrangachse A im gleichen Axialbereich zueinander angeordnet sind. Während des Betriebs wird das von dem Rotor 30 auf die Abtriebswelle 14 wirksame Kippmoment und die durch den Rotor 30 ausgeführten Bewegungen reduziert.

METHOD AND DEVICE FOR DETERMINING OPERATING PARAMETERS OF A WIND TURBINE

NºPublicación:  EP4729766A1 22/04/2026
Solicitante: 
ROESSLER JOCHEN [DE]
EP_4729766_PA

Resumen de: EP4729766A1

0001 Ein Verfahren zur Bestimmung von Betriebszuständen einer Windenergieanlage (2) umfasst das Bereitstellen eines Kl-Modells (10), wobei das Kl-Modell 10 trainierbar ist, um auf der Basis von eingelesenen Daten, die aktuelle und/oder künftige Umweltparameter (11a) und/oder Regeldaten (12a) beinhalteten, zumindest einen aktuellen und/oder künftigen Betriebszustand der Windenergieanlage (2) zu bestimmen, das Bestimmen des zumindest einen aktuellen und/oder zukünftigen Betriebszustandes (13) der Windenergieanlage (2) mithilfe des KI-Modells (10) auf Basis der eingelesenen Umweltparametern (11a) und/oder Regeldaten (12a).

STATOR CORE FOR ELECTRIC MACHINE

NºPublicación:  EP4730624A1 22/04/2026
Solicitante: 
FLENDER GMBH [DE]
EP_4730624_PA

Resumen de: EP4730624A1

Statorkern 10 für eine elektrische Maschine 84, insbesondere für einen Generator einer Windkraftanlage 100, umfassend eine Mehrzahl an Blechpaketen 12, die in ihrer Gesamtheit hohlzylindrisch um eine Längsachse AL angeordnet sind und eine zylindrische Außenumfangsfläche 14 bilden, zumindest zwei Aufnahmeelemente 16, wobei die zumindest zwei Aufnahmeelemente 16 über eine Vergussmasse 20 gegenüber der Außenumfangsfläche 14 befestigt sind. Die Vergussmasse 20 wirkt als eine Art Stoßdämpfer zwischen Blechpaket 12 und Statorgehäuse 6. Es entfällt eine mechanische Bearbeitung der Aufnahmeelemente 16. Das Paket kann ohne Gehäuseerwärmung eingesetzt und zentriert werden.

SYSTEM AND METHOD FOR PROVIDING HOME ENERGY

NºPublicación:  EP4728186A1 22/04/2026
Solicitante: 
YUKSEL EDIP [US]
WO_2025007116_PA

Resumen de: WO2025007116A1

A vertical axis wind turbine (VAWT) (100) is provided for structural support and aesthetic integration with residential homes and buildings. The turbine (100) is coupled to a substantially circular track (114), located proximal to its periphery, which at least partially supports the turbine's weight while allowing rotation. The VAWT (100) may function as the roof of a residential home or other conventional building type as the support structure (112). The number of blades (102) can be three or five, and the turbine (100) can be situated on buildings with polygonal shapes. The turbine (100) may be supported on a track (114) and may include a support overhang (116) that extends beyond the support structure (112) and connects to the track (114) using a c-shaped bearing (122). The shaft (106) of the turbine (100) connects to a gear (110) that transfers torque to one or more generators (108). This inventive wind generator system provides an efficient, visually appealing, and integrated solution for generating renewable energy.

电解系统以及用于运行电解系统的方法

NºPublicación:  CN121909330A 21/04/2026
Solicitante: 
西门子能源国际公司
CN_121909330_PA

Resumen de: WO2025067772A1

The invention relates to an electrolysis system (100) comprising: a wind turbine (1); an electrolysis plant (5) which is connected to the wind turbine (1) in order to supply electrolysis current, wherein an island network is implemented without connection to a power supply network; and a heat supply device (7) which is coupled to the electrolysis plant (5) and can be operated with a working medium (23), and which has an evaporator (13) and a condenser (11), and which is designed in such a way that, during a standstill mode, condensation heat of the working medium (23) can be transferred to the electrolysis plant (5) by means of the condenser (11) so as to maintain the temperature above a minimum temperature. During a standstill mode, the heat supply device (7) evaporates a working medium and condenses the evaporated working medium (23), condensation heat being generated and transferred to the electrolysis plant (5) so as to maintain the temperature above a minimum temperature and prevent freezing of water-carrying components of the electrolysis plant (5).

海上电解系统以及海上电解系统的运行方法

NºPublicación:  CN121909333A 21/04/2026
Solicitante: 
西门子能源国际公司
CN_121909333_PA

Resumen de: WO2025067773A1

The invention relates to an offshore electrolysis system (100) comprising: a wind turbine (1) having a platform (3) and an electrolysis plant (5) which is arranged on the platform (3) and is connected to the wind turbine (1) in order to supply electrolysis current; and a water supply device (7) which is connected to the electrolysis plant (5) and has a water collector (13) which is designed such that it is possible, without relying on seawater, to obtain water with little or no salt content which can be used as feed water for operating the electrolysis plant (5). The invention also relates to a method for operating a corresponding offshore electrolysis system (100), wherein, without relying on seawater, water is obtained in a water collector (13), the obtained water being of a quality with little or no salt content.

海上电解系统以及海上电解系统的运行方法

NºPublicación:  CN121909332A 21/04/2026
Solicitante: 
西门子能源国际公司
CN_121909332_PA

Resumen de: WO2025067765A1

The invention relates to an offshore electrolysis system (100) comprising: a wind turbine (1) with a platform (3) and with an electrolysis plant (5) which is arranged on the platform (3) and is connected to the wind turbine (1) in order to supply electrolysis current; and a heat supply device (7) which is coupled to the electrolysis plant (5) and is designed in such a way that heat can be transferred to the electrolysis plant by means of the heat supply device (7) during a standstill mode so as to maintain the temperature above a minimum temperature. The invention also relates to a method for operating a corresponding offshore electrolysis system. During a standstill mode, heat is transferred to the electrolysis plant (5) by means of the heat supply device (7) so as to maintain the temperature above a minimum temperature and prevent freezing of water-carrying components of the electrolysis plant (5).

风力涡轮机

NºPublicación:  CN121909329A 21/04/2026
Solicitante: 
雷奥内罗·加布里奇
CN_121909329_PA

Resumen de: WO2025069121A1

The present invention concerns a wind turbine (1 ) with a horizontal axis (X) which comprises a first rotor (13) having a center of rotation (130) and configured to rotate around a support rod (11 ) in a first direction of rotation arranged along an axis of rotation parallel to said horizontal axis (X), a second rotor (14) operatively coupled to said first rotor (13) and configured to rotate around said axis of rotation in said first direction of rotation, at least one further rotating member (15) operatively coupled to said support rod (11 ), a structure (3) having a first (33) and a second (34) vertical pillar sized to contain said first and second rotors, said at least one further rotating member (15) and said rod (11 ), a counter-rotation mechanism (12) arranged between said at least one further rotating member (15) and at least one of said first or second rotor, to invert the direction of rotation of said at least one further rotating member (15) with respect to said first and second rotors, said first rotor comprising a first plurality of blades (131 ), and said second rotor comprising a second plurality of blades (141 ), wherein said structure (3) comprises a conveyor (32) configured to convey the wind between a first blade (1ST, 14T) and a second blade (131", 141") of each of said plurality of blades, to modulate a rotation speed of at least one of said first and second rotor with respect to said at least one further rotating member (15).

海上电解系统以及海上电解系统的运行方法

NºPublicación:  CN121909331A 21/04/2026
Solicitante: 
西门子能源国际公司
CN_121909331_PA

Resumen de: WO2025067764A1

The invention relates to an offshore electrolysis system (100) comprising: a wind turbine (1) with a platform (3) and with an electrolysis plant (5) which is arranged on the platform (3) and is connected to the wind turbine (1) in order to supply electrolysis current; and a heat supply device (7) which is coupled to the electrolysis plant (5) and has a combustion device (13), wherein a fuel reservoir (15) is connected to the heat supply device (7) such that, during a standstill mode, heat generated by means of the combustion device (13) can be transferred to the electrolysis plant (5) so as to maintain the temperature above a minimum temperature. The invention also relates to a method for operating a corresponding offshore electrolysis system (100), wherein, during a standstill mode, heat is generated by means of the heat supply device (7) and transferred to the electrolysis plant (5) so as to maintain the temperature above a minimum temperature and prevent freezing of water-carrying components of the electrolysis plant (5).

一种基于转速偏差的风力发电系统变桨距控制方法及系统

NºPublicación:  CN121897518A 21/04/2026
Solicitante: 
华能广东汕头海上风电有限责任公司中国华能集团清洁能源技术研究院有限公司中国华能集团有限公司南方分公司
CN_121897518_PA

Resumen de: CN121897518A

本发明公开了基于转速偏差的风力发电系统变桨距控制方法及系统,该方法包括,获取发电机的实际转速,并计算实际转速与发电机额定转速的转速偏差;基于转速偏差,得到桨距角的参考值;基于桨距角的参考值,对风力发电系统的变桨距进行控制调节。由此,基于转速偏差对变桨距进行控制,减少了风电机组功率的波动,实现了风电机组功率的平稳输出,提升了发电效果。

一种基于波纹管-油液复合支撑的风电主轴滑动轴承

NºPublicación:  CN121897535A 21/04/2026
Solicitante: 
湖南大学
CN_121897535_PA

Resumen de: CN121897535A

本发明公开了一种基于波纹管‑油液复合支撑的风电主轴滑动轴承轴瓦,旨在解决风电机组动态载荷下传统轴承适配性不足、运维成本高的技术问题。风电机组运行过程中,叶片气动载荷与风况波动导致主轴承受动态变化的径向载荷及倾翻力矩,传统轴承的刚度‑阻尼特性难以适配工况波动,易引发油膜失稳、局部磨损等问题。本发明通过采用波纹管与内部油液构成的复合支撑结构,利用金属波纹管的弹性形变与油液的粘性阻尼协同作用,可根据动态载荷实时自适应调整支撑刚度与阻尼,有效抵消主轴错位、载荷突变带来的不利影响,保障油膜稳定性与轴承承载可靠性。同时,轴承采用分段式设计,波纹管及轴瓦可在塔上单独拆卸更换,无需拆解转子,大幅提升更换便捷性、降低运维成本。该轴承适配大兆瓦级风电机组的低转速、重载苛刻工况,能显著提升传动链运行稳定性与服役寿命。

一种准零刚度张力腿式浮动基础及发电平台

NºPublicación:  CN121894105A 21/04/2026
Solicitante: 
中国地质大学(武汉)中国地质大学深圳研究院
CN_121894105_PA

Resumen de: CN121894105A

本发明提供一种准零刚度张力腿式浮动基础及发电平台,包括浮式基础和张力筋腱;浮式基础包括环形水箱、塔架和多组零刚度连接组件;零刚度连接组件包括柔性直梁和柔性斜梁,柔性直梁位于柔性斜梁的上方;柔性直梁设置为正刚度梁;当柔性斜梁的位移处于第一位移区间时,柔性斜梁呈正刚度;当柔性斜梁的位移处于第二位移区间时,柔性斜梁呈负刚度。通过设置柔性直梁和柔性斜梁组成的零刚度连接组件对环形水箱和塔架进行连接,低频波浪作用时进入准零刚度状态,呈现高柔性,实现柔顺低频变形,有效缓冲隔离振动。

一种风电站构成法及风电站

NºPublicación:  CN121897522A 21/04/2026
Solicitante: 
邵波
CN_121897522_PA

Resumen de: CN121897522A

本发明公开了风电站构成法及风电站的独创技术,揭示了风电站构成法与风电机单机构成法之间的技术关系,及风电站与风电机之间的关系:风电站是运用风管网络技术联接若干风电机的聚能罩构成的,其技术创造点是它运用风管网络技术将从n座单独运行的风电机装备中分立出来的n个单独的聚能罩并联起来,通过具有单向流动特征的风管网络将若干分散在各个不同受风点的单独运行的聚能罩之输出口串接单向阀,通过各个单向阀的出风口将风能送进风管网络,使得来自不同地点的多个聚能罩所聚风能互补混合的风量,同时经过特定能量形式转换机以及四种稳速方式后,驱动发电机组,因此本发明公开的风电站启动风速低、发电效率高更重要的是输出电力品质优质稳定。

一种风电导管架TKY节点高效组装装置及其组装方法

NºPublicación:  CN121892953A 21/04/2026
Solicitante: 
中信重工机械股份有限公司
CN_121892953_PA

Resumen de: CN121892953A

本发明公开了一种风电导管架TKY节点高效组装装置及其组装方法,属于风电导管架组装技术领域,该装置包括门架式支架、组装架、以及固定于地基的轨道系统,门架式支架横跨在轨道系统上方,两组装架滑动设置于轨道系统上;组装架包括移动支架、顶升支架和斜面支架,移动支架顶部设置顶升支架,顶升支架顶部一侧与斜面支架铰接,顶升支架上设置千斤顶,千斤顶上端与斜面支架底面铰接。本发明采用对称布置双套结构,大幅减少了吊装设备的使用频次,有效降低了制作成本及吊装作业风险。组装过程中,通过集成千斤顶精准调整支管相对于主管的角度,操作简便且设备造价低廉。实现了导管架TKY节点的高精度组装,显著提升了制造效率与安全性。

一种风电机组在线能效分析方法、装置及电子设备

NºPublicación:  CN121902081A 21/04/2026
Solicitante: 
湖北迪科特新能源有限公司
CN_121902081_PA

Resumen de: CN121902081A

本申请提供一种风电机组在线能效分析方法、装置及电子设备,涉及数据处理领域。在该方法中,通过采集风场观测序列、应力响应序列与电磁转化状态序列构建能量状态序列,并生成不同时间尺度的能量状态轨迹写入能量记忆分层。在运行过程中提取当前能量轨迹片段并与历史轨迹关联匹配,识别结构性断裂后检索高效历史轨迹形成目标能量协同模式,生成期望能量相位协同轨迹;依据偏离生成控制修正量,引导机组回归高效模式并将修正后的轨迹写入记忆场,实现能效记忆回灌。实施本申请提供的技术方案,解决了风电机组在复杂风况与变化工况下难以识别能量流转异常,并无法自我恢复至高效能量协同状态,导致整体能效下降的技术问题。

抽水蓄能-风电联合系统的多频动态特性控制方法及系统

NºPublicación:  CN121906666A 21/04/2026
Solicitante: 
中国电建集团北京勘测设计研究院有限公司
CN_121906666_PA

Resumen de: CN121906666A

本发明涉及水电能源系统过渡过程技术领域,具体涉及抽水蓄能‑风电联合系统的多频动态特性控制方法及系统,方法包括:建立基于抽水蓄能电站、风力发电站及电网的11阶非线性数学模型;采用快速傅里叶变换分析法,分解电网频率相对偏差值的动态响应,得到不同频率子波;分析9个子系统特征参数对各子波频率及振幅的影响,明确耦合关系。系统对应包含模型建立模块、频谱分解模块、耦合分析模块。本发明实现多频子波精准拆分,填补技术空白,为控制策略设计提供理论支撑,助力系统稳定运行与多能互补。

一种基于PINN的风机尾流特征驱动的风电机组寿命预测方法

NºPublicación:  CN121902686A 21/04/2026
Solicitante: 
华能威宁风力发电有限公司西安热工研究院有限公司
CN_121902686_PA

Resumen de: CN121902686A

本发明公开了一种基于PINN的风机尾流特征驱动的风电机组寿命预测方法,属于风力发电技术领域。方法包括对第一类物理信息损失函数、第二类物理信息损失函数及根据尾流一阶演化微分模型获取第三类物理量信息损失函数进行最小化处理,得到多物理信息协同作用的总体损失函数模型;通过该总体损失函数,获取风机尾流特征与叶片动平衡、旋转系统激励及整机疲劳寿命,预测风电机组寿命。本方法以风机尾流的时空演化特征作为外部可观测量,引入物理信息神经网络,在数据驱动与物理机理双重约束下,从建立尾流到气动载荷再到叶片旋转动平衡最后至整机疲劳寿命之间的内在映射关系,反演风机动力系统的动平衡状态,实现对叶片、主轴及塔筒剩余寿命进行预测。

点検システム及び点検方法

NºPublicación:  JP2026067461A 21/04/2026
Solicitante: 
株式会社日立製作所
JP_2026067461_A

Resumen de: JP2026067461A

【課題】風力発電設備の点検を適切に行う点検システム等を提供する。【解決手段】点検システム100は、風力発電設備W1に設けられ、固定翼の無人飛行体20との間で通信を行う通信部17と、風力発電設備W1のアクチュエータを制御する制御部18と、を備え、制御部18は、風力発電設備W1のブレード14a,14b,14cの回転中に無人飛行体20のカメラ22でブレード14aが撮影される際、無人飛行体20との間で協調制御を行う。【選択図】図2

风电叶片的成型方法、风电叶片以及风力发电机组

NºPublicación:  CN121893567A 21/04/2026
Solicitante: 
中材科技(锡林郭勒)风电叶片有限公司
CN_121893567_PA

Resumen de: CN121893567A

本申请公开了一种风电叶片的成型方法、风电叶片以及风力发电机组,风电叶片的成型方法包括:提供叶片模具,叶片模具具有相连通的型腔和降噪槽;将增强层铺设在型腔的内壁上,使得增强层嵌入降噪槽;向增强层中注入树脂;固化注入到增强层中的树脂,以获得叶片半成品,叶片半成品包括叶片体和设置在叶片体上的降噪凸部,叶片体在型腔内成型,降噪凸部在降噪槽内成型;对叶片半成品进行整形以获得风电叶片,风电叶片包括叶片本体和设置在叶片本体上的降噪锯齿,降噪锯齿由降噪凸部整形而得,叶片本体由叶片体整形而得。根据本申请实施例,能够解决相关技术中的降噪附件容易掉落的问题,保证所成型的风电叶片及其所应用的风力发电机组的可靠性。

一种风电场有效湍流限值管理与风电机组控制方法及系统

NºPublicación:  CN121897516A 21/04/2026
Solicitante: 
明阳智慧能源集团股份公司
CN_121897516_PA

Resumen de: CN121897516A

本发明公开了一种风电场有效湍流限值管理与风电机组控制方法及系统,包括,获取风电场的基础数据;计算初始有效湍流强度;判断初始有效湍流强度是否超出有效湍流设计值;若否,则根据设定的有效湍流强度限值生成有效湍流限值曲线;若是,则计算有效湍流强度限值;计算等效有效湍流强度;判断等效有效湍流强度是否超出有效湍流设计值;若否,则生成有效湍流限值曲线;若是,则迭代优化环境湍流分位数,确定各风速对应的有效湍流强度限值,生成有效湍流限值曲线;对风电机组进行实时控制。本发明通过建立有效湍流限值曲线,根据实时湍流强度实施针对性调控,无需依赖风向判定,从而在保障机组安全的前提下最大限度减少发电量损失。

一种新能源电沉积铁系统及多尺度应力控制方法

NºPublicación:  CN121896686A 21/04/2026
Solicitante: 
鞍钢集团矿业有限公司中国科学院过程工程研究所
CN_121896686_PA

Resumen de: CN121896686A

本发明公开一种新能源电沉积铁系统及多尺度应力控制方法,属于能源与冶金领域。系统包含表面调控、电沉积、风光动力三大工序:表面调控工序含金属机械拉丝、表面喷砂、化学刻蚀、非稳态电流预沉积装置;电沉积工序含活化改性、离子态转化、固液分离、电沉积铁装置;风光动力工序含风电、光伏、光热、磁体加工装置。方法核心为:阴极种板经四步工艺构筑纳微表面结构;铁精矿活化、离子转化后电沉积;风光供能、光热供热,纯铁反哺磁体加工。解决沉积层开裂、新能源耦合差、资源利用率低等问题。

煤矿安全监测巡检装置及巡检方法

NºPublicación:  CN121897413A 21/04/2026
Solicitante: 
国能神东煤炭集团有限责任公司中国神华能源股份有限公司神东煤炭分公司
CN_121897413_PA

Resumen de: CN121897413A

本申请涉及煤矿安全监测技术领域,提出了一种煤矿安全监测巡检装置及巡检方法。煤矿安全监测巡检装置,包括:支撑板座;中心座,中心座的底部设有转轴座;多组吊杆机构,间隔设置于支撑板座上,并环绕中心座设置;监控探头;风鳍机构,可转动地连接于转轴座,风鳍机构配置为能够受风力作用而转动并保持与风向一致;无线传输传感探头,设置于风鳍机构,并随风鳍机构转动,使无线传输传感探头的检测头处于迎风方向;风力自转机构,设置于转轴座,风力自转机构的输入端与风鳍机构传动连接;清洁毛刷,与风力自转机构的输出端连接,清洁毛刷的刷头与监控探头接触。可以对煤矿开采情况及洞内气体进行监测巡检,并具备监控探头的镜头自动清洁功能。

一种抑制海浪冲击的海上风力发电设备

NºPublicación:  CN121897533A 21/04/2026
Solicitante: 
南通理工学院
CN_121897533_PA

Resumen de: CN121897533A

本发明公开了一种抑制海浪冲击的海上风力发电设备,包括风机塔筒及环绕其外周设置的多个防护与清理单元。每个单元集成有被动防护机构、主动防护机构和清理机构:被动防护机构通过挡浪板与减震器吸收常规波浪冲击能量;主动防护机构利用液压驱动造浪板生成反向干涉波,主动抵消入射海浪;清理机构则通过伸缩驱动刮除板沿塔筒外壁往复运动,清除附着的海洋污损生物。三者协同作用,有效降低塔筒所受动态载荷,防止防腐涂层被生物分泌物腐蚀,延长结构寿命。该设备结构紧凑、自适应性强,无需人工潜水作业,特别适用于高浪、高盐雾的深远海风电场景,显著提升海上风电系统的安全性和运维效率。

基于无人机巡检图像的风力发电设备故障智能诊断方法

NºPublicación:  CN121904619A 21/04/2026
Solicitante: 
华能新能源股份有限公司山西分公司
CN_121904619_PA

Resumen de: CN121904619A

本发明属于风力发电领域,涉及基于无人机巡检图像的风力发电设备故障智能诊断方法,包括:基于多个潜在螺栓松动区,生成无人机巡检航线;采用无人机上的图像获取设备拍摄无人机巡检航线上的目标锚栓区域,得到锚栓区域图像;锚栓区域图像至少包括一个或多个锚栓标记;对锚栓区域图像中的锚栓进行图像处理和分割,得到巡检图像序列;对巡检图像序列中的每张巡检图像进行特征提取,得到标记线组;对标记线组进行松动判定,并根据判定结果确定螺栓是否松动;基于无人机位姿,确定松动螺栓的位置,并基于松动螺栓的位置,确定故障信息;以降低巡检范围冗余,提高巡检效率。

一种用于分片式塔筒现场组装的装置及组合吊装方法

NºPublicación:  CN121897524A 21/04/2026
Solicitante: 
中国电建集团贵州工程有限公司
CN_121897524_PA

Resumen de: CN121897524A

本发明涉及山地风电施工技术领域的一种用于分片式塔筒现场组装的装置及组合吊装方法。装置包括滚动支撑机构与配重稳定机构。滚动支撑机构具有固定于场地的支撑架体及可转动的辊轮,用于承托塔筒瓣并允许其微调滚动。配重稳定机构通过牵引索连接塔筒瓣与配重体,在对接时提供反向稳定力。方法包括:固定支撑机构;吊装首个塔筒瓣至辊轮上;安装配重机构;吊装后续塔筒瓣并利用配重稳定力辅助对接;调整位置并连接各瓣;完成整体吊装。本发明解决了分瓣塔筒现场组装时对接不稳、效率低、安全性差的问题,实现了平稳、高效、安全的施工。

一种风力发电机塔筒的防结冰自清洁涂层材料及其制备方法和应用

NºPublicación:  CN121895810A 21/04/2026
Solicitante: 
中煤科工重庆工程技术有限公司
CN_121895810_A

Resumen de: CN121895810A

本申请涉及涂料组合物的领域,具体公开了一种风力发电机塔筒的防结冰自清洁涂层材料及其制备方法和应用。防结冰自清洁涂层材料包括底涂层材料和面涂层材料,底涂层材料含氟硅烷、氨基硅烷、乙酸乙酯、丁酮、填料、氟碳树脂和异氰酸酯固化剂,填料包括α‑Fe2O3改性介孔SiO2颗粒和羟基化氮化硼,面涂层材料包括氟改性SiO2颗粒和丙酮。本申请的防结冰自清洁涂层材料能够对风力发电机塔筒起到良好保护效果,涂层表面的水接触角>155°,水滚动角<5°,冰粘附强度<30kPa,20次冻融循环后水接触角仍高于150°,此时塔筒能够更加适应低温高湿环境,涂层剥落的可能性低,钢材腐蚀速度降低,从而具有较长的正常使用时限。

风电机组桨距角闭环控制方法、装置、设备及存储介质

NºPublicación:  CN121897514A 21/04/2026
Solicitante: 
中国华能集团清洁能源技术研究院有限公司华能广东汕头海上风电有限责任公司中国华能集团有限公司南方分公司
CN_121897514_PA

Resumen de: CN121897514A

本公开涉及计算机技术领域,尤其涉及一种风电机组桨距角闭环控制方法、装置、设备及存储介质。该方法包括:确定风电机组的风轮转速对应的第一桨距角调节值,以及风轮输出功率对应的第二桨距角调节值;根据第一桨距角调节值、第二桨距角调节值,确定桨距角调节参考值;根据桨距角调节参考值,对风电机组的桨距角进行闭环控制。采用上述方案的本公开可以实现风电机组功率的平稳输出。

一种海上风与潮流能耦合智能发电平台及其控制方法

NºPublicación:  CN121897521A 21/04/2026
Solicitante: 
武汉理工大学
CN_121897521_PA

Resumen de: CN121897521A

本发明公开了一种海上风与潮流能耦合智能发电平台及其控制方法。智能发电平台包括中枢仿生浮体、顶部风能捕获单元、左右舷辅浮体、梯度刚度传力脊、通道内嵌式潮流能转换单元、系泊系统、本体神经感知单元及结构状态自感知与协同调控中枢。本申请通过三体船式仿生布局、内嵌式分布式光纤传感与协同调控模块的物理与信息深度融合,有效解决了传统平台稳定性不足的问题,实现了多能源耦合获取以及主承力结构全生命周期内的无死角实时监控与主动自适应调控保护。

一种分片式风电支撑结构的可变形开槽接缝耗能节点

NºPublicación:  CN121897523A 21/04/2026
Solicitante: 
重庆大学
CN_121897523_PA

Resumen de: CN121897523A

本发明公开一种分片式风电支撑结构的可变形开槽接缝耗能节点,涉及开槽接缝耗能节点领域。该分片式风电支撑结构的可变形开槽接缝耗能节点包括下分片式塔筒、上分片式塔筒、多层耗能金属板与若干组槽口封闭条。该分片式风电支撑结构的可变形开槽接缝耗能节点,采用在上分片式塔筒与下分片式塔筒的对接位置对应设置有若干组槽口,槽口内滑动连接有组槽口封闭条,通过控制槽口封闭条的滑动来调节槽口开闭,多层耗能金属板与所述槽口封闭条协同配合在支撑结构的节点处形成多级耗能机制,仅需更换槽口内的多层耗能金属板即可恢复节点性能,提升混塔结构的震后恢复能力。

联轴器打滑故障预警方法及电子设备

NºPublicación:  CN121897530A 21/04/2026
Solicitante: 
东方电气风电股份有限公司
CN_121897530_PA

Resumen de: CN121897530A

本申请提供了一种联轴器打滑故障预警方法及电子设备。其中,该方法包括:根据联轴器在预设采样周期内的运行信息,确定总累积打滑角度;根据总累积打滑角度和当前预警阈值,确定当前预警结果;根据当前预警结果和联轴器的真实打滑信息,确定是否优化当前预警阈值;若是,则对当前预警阈值进行优化,得到新的当前预警阈值;若否,则将当前预警阈值作为目标预警阈值,基于目标预警阈值对联轴器进行打滑故障预警。本申请通过实地检测得到的真实打滑信息对当前预警结果的准确性进行校验,从而判断当前预警阈值是否合理,并在不合理时对当前预警阈值进行优化更新,以获得适用于当前机型与工况的新的预警阈值,从而实现对联轴器的健康监控和及时预警。

基于风电机组主轴位移的叶片疲劳载荷动态矫正控制方法

NºPublicación:  CN121897517A 21/04/2026
Solicitante: 
明阳智慧能源集团股份公司
CN_121897517_PA

Resumen de: CN121897517A

本发明公开了基于风电机组主轴位移的叶片疲劳载荷动态矫正控制方法,包括:在风电机组主轴位置安装位移传感器,通过位移传感器测量主轴形变位移,进而获取主轴载荷数据;基于主轴载荷数据获取风剪切工况特征;基于获取得到的风剪切工况特征,结合发电机转速、风速、功率判断风电机组所处的风剪切工况类型,确定剪切起始时刻和剪切结束时刻,得到叶片疲劳载荷控制周期,并计算所述叶片疲劳载荷控制周期内三个叶片对应的桨距角指令;根据三个叶片对应的桨距角指令控制变桨执行机构进行变桨动作,以降低叶片载荷波动。本发明具有成本低廉、不受天气影响、无需调整叶片结构且不依赖大量数据训练模型等优点。

一种风电混塔塔筒结构损伤预测方法及系统

NºPublicación:  CN121897525A 21/04/2026
Solicitante: 
国投广西新能源发展有限公司
CN_121897525_PA

Resumen de: CN121897525A

本发明提供一种风电混塔塔筒结构损伤预测方法及系统,涉及结构分析与设计技术领域,本发明对同规格塔筒按固定时间间隔采集螺栓孔周应变与锚栓轴力数据,同步记录风机转速并划分区间,筛选常规运行转速区间的数据,并计算许用应力阈值、确定设计预紧力作为阈值,当瞬时应力或轴力任一大于设定的对应阈值,判定为高程度损伤,对未达高程度损伤的塔筒筛选目标转速区间,在该区间提取连续两个滑动窗口的应变与轴力幅值并计算变化率,大于稳定性阈值则判定为中程度损伤,对未达中、高程度损伤的塔筒,提取历史基准数据与其他同规格塔筒的横向对比数据,计算动态时间规整距离,通过与预设距离阈值对比判定是否为低程度损伤。

一种油电混动船舶动力系统梯次配置及使用方法

NºPublicación:  CN121894139A 21/04/2026
Solicitante: 
董永岗
CN_121894139_PA

Resumen de: CN121894139A

一种油电混动船舶动力系统梯次配置及使用方法,属于船舶动力和温度气体减排技术,基于带电储能装置的船舶油电混合动力系统,分阶段分梯次配置节能减排装置/设备/系统,首阶段配置非直接供应电能节能装置/设备/系统,后面阶段,安装光伏发电装置、风力发电装置,增加电储能装置容量,安装氨燃料罐/舱及氨燃料系统及改造内燃机发电机组燃用氨燃料,并通过各阶段使用非直接供应电能节能装置/设备/系统降低船舶能耗,电储能装置对发电机发电削峰填谷,从码头携带更多岸电用于船舶航行,发电机组燃用氨绿色清洁燃料等各种节能减排措施的组合,使船舶能耗不断减小,温室气体排放不断减少,在不同阶段使船舶持续满足减少温室气体排放的要求。

一种基于多丝SMA的叶片微幅高频振动抑制装置、系统及方法

NºPublicación:  CN121897534A 21/04/2026
Solicitante: 
山东科技大学
CN_121897534_PA

Resumen de: CN121897534A

本发明公开一种基于多丝SMA的叶片微幅高频振动抑制装置、系统及方法,装置包括叶片,叶片包括闭合主体结构、外包覆机构,闭合主体结构连接有内控制机构、感应机构,外包覆机构包括设置在闭合主体结构外的填料层、蒙皮壳;内控制机构包括多个形状记忆合金丝、弧头、风箱、通电桩、弹簧、弹簧座。本申请的系统能避免叶片在长期微‑高振动状态下引起叶片组织内部的裂纹等隐性故障,方法能够在微‑高振动持续发生时,精准的通过系统的调节实现的振动的消除或减弱,同时能够更好的保护好整个叶片结构和整个抑制装置,提高了整个叶片的使用稳定性和使用寿命,减少了后期维护次数。

一种基于稀疏字典距离的风电机组健康指标构建及状态监测方法

NºPublicación:  CN121897528A 21/04/2026
Solicitante: 
华南理工大学
CN_121897528_PA

Resumen de: CN121897528A

本发明公开了一种基于稀疏字典距离的风电机组健康指标构建和状态监测方法,包括步骤:(1)采集风电机组在健康状态下的原始振动加速度信号;(2)采集信号训练样本,并结合稀疏编码算法和字典学习算法,构建表征设备健康运行模式的基准健康字典;(3)对实时的振动信号进行预处理,采集信号训练样本,并结合稀疏编码算法和字典学习算法获取实时特征字典;(4)计算基准健康字典和实时特征字典基于欧氏距离度量的稀疏字典距离;(5)获取所有稀疏字典距离计算结果并构造健康指标;(6)基于健康阶段统计特性设定动态故障阈值,并对风电机组运行状态进行评估。本发明能够更早地发现设备中的早期故障,实现风电机组的精准状态监测并具有更早的故障预警能力。

一种风力发电系统及风力发电方法

NºPublicación:  CN121897512A 21/04/2026
Solicitante: 
宫长亮
CN_121897512_PA

Resumen de: CN121897512A

本发明涉及风力发电领域,更具体的说是一种风力发电系统及风力发电方法。该方法包括如下步骤:步骤一、利用风力驱动齿轮组运作;步骤二、通过齿轮组分别驱动发电机和输入轴沿反方向转动;步骤三、对发电机进行风冷散热。其中,发电系统中的齿轮盒的上下两侧分别转动连接有齿轮Ⅰ和齿轮Ⅱ,齿轮盒内部的四周分别转动连接有齿轮Ⅲ,齿轮Ⅰ和齿轮Ⅱ分别与四个齿轮Ⅲ啮合连接;齿轮盒的下方固接有多个连接柱,连接柱的下方固接有电机盒;电机盒内转动连接有转盘Ⅰ,转盘Ⅰ的下方固接有电机。本发明的目的是可以提高风力发电机的发电效率,同时能够对发电机进行散热。

一种基于尾流快速预测的风电场动态偏航优化方法

NºPublicación:  CN121897519A 21/04/2026
Solicitante: 
大唐同心新能源有限公司
CN_121897519_PA

Resumen de: CN121897519A

本发明涉及风电场优化技术领域,具体地说,涉及一种基于尾流快速预测的风电场动态偏航优化方法。其包括以下步骤:实时采集风电场运行数据、气象塔数据和激光雷达测风数据;通过预训练的尾流快速预测模型,生成预测尾流场分布;通过数据同化算法融合激光雷达测风数据获得最优流场估计;构建以全场总发电量最大化为目标的优化问题,采用分布式优化算法求解最优偏航角指令序列;下发指令并实时监测运行数据;通过在线学习算法更新模型参数。本发明通过尾流快速预测模型结合卡尔曼滤波数据同化算法,充分考虑风速、风向及机组运行状态的动态变化对尾流场的影响,解决了传统静态偏航控制适配性差、全场发电效率提升有限的问题。

一种风电光伏储能耦合生物质供热装置系统及运行方法

NºPublicación:  CN121897909A 21/04/2026
Solicitante: 
上海发电设备成套设计研究院有限责任公司
CN_121897909_PA

Resumen de: CN121897909A

本发明提供一种风电光伏储能耦合生物质供热装置系统及运行方法,所述风电光伏储能耦合生物质供热装置系统包括新能源供电模块、固体储热装置、电加热装置、生物质锅炉和蒸汽用户;所述新能源供电模块包括并联设置的风电场站和光伏场站;所述新能源供电模块、生物质锅炉和蒸汽用户依次连接;所述新能源供电模块与电加热装置连接;所述电加热装置与固体储热装置循环连接;所述固体储热装置、生物质锅炉和蒸汽用户循环连接。本发明所述的风电光伏储能耦合生物质供热装置系统从源头上平抑风电和光伏发电产生的较大峰谷差,产生了绿色蒸汽,实现了绿色零碳清洁供热。

一种风力发电和太阳能发电相结合的系统

NºPublicación:  CN121907115A 21/04/2026
Solicitante: 
厦门火星岩科技有限公司
CN_121907115_PA

Resumen de: CN121907115A

本发明公开了一种风力发电和太阳能发电相结合的系统,包括太阳能光伏阵列、风力发电机、控制器A、总控制器、显示屏和电网,所述太阳能光伏阵列包括太阳传感器、朝向调节机构A、角度调节机构、多个光伏板和汇流箱A,多个光伏板均与朝向调节机构A和角度调节机构连接,太阳传感器、朝向调节机构A和角度调节机构均与控制器A电性连接,其中太阳传感器用于对太阳的朝向角度和倾斜角度进行监测。本发明通过风能和光能相结合发电的方式,提高发电效率,能够根据太阳光的角度和风向对光伏板的角度和风力发电机模组的角度进行调节,使得光伏板和风力发电模组分别能够持续得到太阳光的照射和风的吹动,提高发电效率。

一种水利工程检测装置

NºPublicación:  CN121898498A 21/04/2026
Solicitante: 
四川省紫坪铺开发有限责任公司
CN_121898498_PA

Resumen de: CN121898498A

本申请属于水利工程检测技术领域,具体公开一种水利工程检测装置,包括:储能装置,用于储存电能;支撑杆,所述支撑杆的顶部端面开设有滑动腔,所述滑动腔滑动设有限位盘,所述限位盘上设有立杆;发电装置,设置在所述立杆的顶部;所述发电装置包括发电扇叶;挤压环,位于所述限位盘的上方,滑动套设在所述立杆上,升降环,滑动套设在所述支撑杆的外部,与所述挤压环连接,用于带动所述挤压环上升或下降,以解锁或锁定所述立杆相对所述滑动腔的转动。通过设置挤压环和升降环,从而实现立杆的转动或锁定,最终使得发电扇叶的角度可以进行调整,从而提高发电转化率。

基于湍流尺度的风力发电机组分区自适应控制方法和装置

NºPublicación:  CN121897515A 21/04/2026
Solicitante: 
中车启航新能源技术有限公司
CN_121897515_PA

Resumen de: CN121897515A

本发明提供一种基于湍流尺度的风力发电机组分区自适应控制方法和装置,该方法包括:获取作用于风力发电机组的湍流对应的类型识别信号,所述类型识别信号用于表征湍流尺度的类型;基于类型识别信号,从多个预设控制回路中选择与类型识别信号对应的至少一个目标控制回路并调整各目标控制回路的控制权重;多个预设控制回路包括主控回路、IPC回路以及主动阻尼控制回路;基于各目标控制回路的输出以及各目标控制回路对应的调整后的控制权重,生成最终的控制指令,并基于最终的控制指令控制风力发电机组的执行机构调整风力发电机组的运行状态。本发明能够应对复杂多变的湍流风况,提升了风电机组控制的精确性和控制效率。

一种融合人工智能算法的风电机组健康度分析方法

NºPublicación:  CN121897526A 21/04/2026
Solicitante: 
大唐同心新能源有限公司
CN_121897526_PA

Resumen de: CN121897526A

本发明涉及风电机组监测技术领域,具体地说,涉及一种融合人工智能算法的风电机组健康度分析方法。其包括以下步骤:采集风电机时序数据、尾流数据及流场仿真数据并时空对齐生成多模态数据集;通过时序卷积网络与图卷积网络分别提取时序运行特征与空间关联特征,融合为统一特征向量;输入长短期记忆网络与高斯过程回归混合模型评估健康状态并预测关键部件剩余使用寿命;基于隐半马尔可夫模型识别退化阶段并生成分级预警信号;结合深度Q网络生成预防性维护策略,通过在线学习动态更新模型参数。该方法通过多模态数据融合与多算法协同建模,充分挖掘时空特征关联,提升了分析的全面性与准确性。

一种高空风力发电系统

NºPublicación:  CN121897513A 21/04/2026
Solicitante: 
中国华电科工集团有限公司华电中光新能源技术有限公司
CN_121897513_PA

Resumen de: CN121897513A

本公开提出一种高空风力发电系统,包括:内壳设置有沿竖向贯通的导风通道,导风通道的至少部分直径沿进风口到出风口的方向线性减小并使导风通道的直径最小位置形成喉部,外壳套设在内壳的外侧,外壳的内侧和内壳的外侧之间形成充气腔室,充气腔室内充入浮力气体;系泊装置设置在地面,且系泊装置的系泊端和外壳相连;控制模块用于控制系泊装置的系泊端张力,以配合浮力气体使浮力壳体漂浮在空中的预设高度处;风机设置在导风通道的喉部。在本公开的一种高空风力发电系统中,充气式浮力壳体与内部导风通道相结合,实现高空风的汇聚与加速,使通过浮力壳体的气流速度显著提升,进而驱动布置于最大风速截面的风机高效发电。

一种电场接地母线区域预埋结构及其施工方法

NºPublicación:  CN121897017A 21/04/2026
Solicitante: 
大唐山东清洁能源开发有限公司
CN_121897017_PA

Resumen de: CN121897017A

本发明属于风力发电技术领域,具体涉及一种电场接地母线区域预埋结构及其施工方法。本电场接地母线区域预埋结构,包括:塔架基础,其中设有从平台延伸至外壁的若干接地母线穿管;堵头,其设置在各接地母线穿管的两个管口处;预埋标记杆,其竖直设置所述塔架基础上,并位于各接地母线穿管在外壁上的出口的正上方;导电环安装座,其设置在所述塔架基础的平台上。本电场接地母线区域预埋结构可以使接地施工团队不需要再随着塔架基础建造进度的推进分步施工,尤其适合在土壤电阻率较高的地区需要专门的接地施工团队进行接地施工的场合。

一种一体化风机模型的实验箱

NºPublicación:  CN121897529A 21/04/2026
Solicitante: 
中广核风电有限公司
CN_121897529_PA

Resumen de: CN121897529A

本发明公开了一种一体化风机模型的实验箱,包括:一体化风机、水槽和辅助固定装置。其中,一体化风机包括桩基和设置于桩基一端的风机扇叶;水槽的底部沉积有土体,桩基的另一端插入土体内;辅助固定装置埋设于土体,辅助固定装置的承力架套设于桩基外侧,且两者之间通过弹簧连接,弹簧为沿桩基的径向的压缩弹簧,弹簧对桩基的轴向具有摩擦力。采用一体化风机模型,即风机模型具有下部桩基结构和上部风机结构,使得风机模型更贴近海上风机,在实验过程中风机模型模拟的结果更准确,有利于提高实验结果的准确性。辅助固定装置与土体耦合对桩基提供了更高的约束力,有利于减小一体化风机插入的深度,减小一体化风机模型的实验箱的尺寸,并降低成本。

一种电磁-摩擦复合的风能采集器

NºPublicación:  CN121906907A 21/04/2026
Solicitante: 
太原理工大学
CN_121906907_PA

Resumen de: CN121906907A

本发明属于其他类目不包含的电机技术领域,具体为一种电磁‑摩擦复合的风能采集器,解决了现有风能采集器能量转换效率低,强风工况时发电功率易超出储能模块承载上限等技术问题,其竖直转轴连有两组支撑臂结构,支撑臂结构包括弧形支撑臂、长支撑臂和短支撑臂,短支撑臂上设有第一竖杆,弧形支撑臂上设有第二竖杆,第一竖杆和第二竖杆之间连有复位弹簧,弧形支撑臂连有离心块;磁铁阵列嵌装至安装底板的底面上,线圈阵列嵌装至套筒的底部顶面上;摩擦层外壁沿其周向粘有叉指电极层,摩擦条粘贴至离心块上,竖直套筒的顶端与风杯固定连接。本发明结合摩擦发电与电磁转换,形成多模式能量回收,可同时实现发电、调速和风速监测的复合功能。

縦渦式風車

NºPublicación:  JP2026067453A 21/04/2026
Solicitante: 
株式会社パンタレイ
JP_2026067453_A

Resumen de: JP2026067453A

【課題】従来の縦渦式風車を改良して、風車性能のさらなる向上を図る。【解決手段】縦渦式風車1が、流体の流れ方向Fに対して略垂直に交差する第1平面6を有する第1後流物体2と、流体の流れ方向Fに略平行な回転軸体3と、第1後流物体2の上流側に配置され、流体の流れ方向Fに対して略垂直に交差する第1回転面8内で回転軸体3を中心に回転する第1回転体4と、第1回転体4の上流側に配置され、流体の流れ方向Fに対して略垂直に交差する第2平面7を有する第2後流物体5と、を備え、第1回転体4は、第1後流物体2の上流側に離隔して第1平面6と交差する第1交差部10を有し、第1平面6と、第1回転面8と、第2平面7とが、略平行である。【選択図】図1

强噪声工况下的齿轮箱故障诊断方法

NºPublicación:  CN121901986A 21/04/2026
Solicitante: 
南京工业大学
CN_121901986_PA

Resumen de: CN121901986A

本发明公开一种强噪声工况下的齿轮箱故障诊断方法,构建构建轻量化时空卷积网络,其中时空卷积注意力机制包括通道注意力模块和空间注意力模块,这两个模块均由轻量化卷积组合而成,注意力机制嵌入轻量化模型后可以有效降低噪声对模型诊断性能的影响,还使用基于小样本学习的对抗域适应方法来提取目标域小样本和源域数据之间的域不变特征;通过标签自校正相似性度量策略修正因噪声干扰而导致的分类混淆现象。本发明可以在风机齿轮箱强噪声环境下完成跨工况的迁移诊断任务。

风力机叶片防除冰一体化加热组件、设计方法及系统

NºPublicación:  CN121902530A 21/04/2026
Solicitante: 
南京航空航天大学
CN_121902530_PA

Resumen de: CN121902530A

本发明公开了风力机叶片防除冰一体化加热组件、设计方法及系统,解决现有电加热防除冰技术中组件设计精度低、能耗高、普适性差的技术问题。加热组件以超薄石墨烯薄膜为加热元件,与复合材料一体化成型,通过流场、水滴场、结冰及热载荷的高精度仿真,结合改进NSGA‑III多目标优化算法完成构型设计;防除冰系统基于组件热载荷特性,通过科学分区、三维仿真验证、多模式多级功率控制律设计,形成组件精准设计加上系统协同控制的一体化解决方案。本发明实现加热组件与叶片非均匀热载荷的精准匹配,系统能耗显著降低,控制智能化程度高,适配不同型号风力机叶片,大幅提升严寒地区风电机组运行的经济性与安全性。

一种基于胶结联接的分段式风力机叶片联接结构及工艺方法

NºPublicación:  CN121897532A 21/04/2026
Solicitante: 
中国科学院工程热物理研究所
CN_121897532_PA

Resumen de: CN121897532A

本发明公开了一种基于胶结联接的分段式风力机叶片联接结构及工艺方法,旨在解决大型风力机叶片制造、运输和安装过程中的技术难题。该叶片联接结构包括主叶片结构和联接销构件,主叶片结构利用联接销与销孔之间的胶结方式进行联接。由于采用了与叶片结构一致的材料制作联接销,并采用与叶片复合材料中树脂材料一致的胶材料将联接销与叶片分段进行粘和,保证了联接部分与叶片主结构一致的材料性能与力学性能,同时联接销的设计可以实现分段部件之间良好的载荷传递。而在联接销孔上预先设置的若干灌胶孔,可保证灌胶过程以及树脂固化过程的良好性能。本发明可有效实现分段式风力机叶片的有效联接,并满足风力机组长期运行的需要。

一种风机叶片激光超声无人机巡检装置

NºPublicación:  CN121894208A 21/04/2026
Solicitante: 
重庆理工大学
CN_121894208_PA

Resumen de: CN121894208A

本发明公开了一种风机叶片激光超声无人机巡检装置,包括无人机主体,无人机主体底部设置有安装基板,安装基板的底部通过缓冲机构设置有浮动平台;安装基板上设置有旋转框架,旋转框架上设置有俯仰轴和驱动俯仰轴的驱动电机,俯仰轴上固定套接有安装架;安装架上并排设置有激励激光器和探测激光器,安装架的底部前端设置有前置清洁模块;浮动平台的底部设置有后置吸附稳定模块;本发明通过缓冲机构、旋转框架、前置清洁模块和后置吸附稳定模块的协同工作,无人机飞近叶片,前置清洁模块首先清洁检测区域,随后后置吸附稳定模块吸附固定,激励激光器发射脉冲激光激发超声波,探测激光器接收振动信号,实现非接触式检测。

一种海洋环境监测浮标平台系统

NºPublicación:  CN121894101A 21/04/2026
Solicitante: 
河北农业大学
CN_121894101_PA

Resumen de: CN121894101A

本发明属于浮标平台技术领域,尤其是涉及一种海洋环境监测浮标平台系统,包括浮台模块、锚固模块、防护模块、多边控制柜和均布在多边控制柜外侧的若干个太阳能电池板组件,所述锚固模块安装在浮台模块的底部,所述浮台模块的侧壁安装有若干个传感器安装支架,所述防护模块包括:中空支撑柱,中空支撑柱固定在所述浮台模块的顶部,所述中空支撑柱的顶部同轴贯穿多边控制柜。本发明可以自动清洁太阳能电池板表面,保障持续供电以适配长期监测需求,且可以清理环境监测传感器周围附着物,保障监测数据准确稳定,同时还可以避免浮台模块旋转,维持传感器位置稳定及三杯风轮组件正常运作。

风电机组载荷预测方法、装置、设备及存储介质

NºPublicación:  CN121897527A 21/04/2026
Solicitante: 
华能托里风力发电有限公司
CN_121897527_PA

Resumen de: CN121897527A

本申请公开了一种风电机组载荷预测方法、装置、设备及存储介质,涉及风电运维技术领域,包括:获取风电机组的当前运行参数及当前环境参数,当前环境参数包括用于指示沙尘条件的第一环境参数,和用于指示温度条件的第二环境参数;将当前运行参数、第一环境参数和第二环境参数输入至预训练的载荷预测模型,以基于当前运行参数、第一环境参数和第二环境参数,确定沙尘条件对风电机组的第一影响因子,和温度条件对风电机组的第二影响因子,并基于第一影响因子、第二影响因子和当前运行参数,生成目标部件的载荷预测值。本申请在在线预测时仅需执行轻量级前向计算,降低了计算耗时,且克服了因忽略环境动态耦合作用而导致的预测误差,提高了预测精度。

风力涡轮机叶片噪声检测装置

NºPublicación:  CN121897531A 21/04/2026
Solicitante: 
内蒙古工业大学
CN_121897531_PA

Resumen de: CN121897531A

本发明涉及风力发电设备检测技术领域,公开了一种风力涡轮机叶片噪声检测装置,包括:检测腔为两端开放的管体,检测腔的内壁上设有弧形导向槽;移动部包括设置在检测腔内的内圈、与内圈转动连接的转动圈和与内圈相连接的第一驱动件,转动圈上设有伸入至弧形导向槽内的导向柱,噪声检测器设置在转动圈内壁上,第一驱动件用于带动内圈沿检测腔的长度方向运动;夹持件包括多个穿设在检测腔上的夹持柱以及与多个夹持柱相连接的第二驱动件,各夹持柱位于检测腔内的端部均设有弧形夹板,以对涡轮机进行夹持;该装置解决了现有检测装置夹持易移位、适配性差及易损伤设备以及传统检测装置仅能单一角度或固定高度采集噪声、检测范围有限的问题。

一种具有垃圾自动收集功能的海上风力发电设备

NºPublicación:  CN121896953A 21/04/2026
Solicitante: 
南通理工学院
CN_121896953_PA

Resumen de: CN121896953A

本发明公开了一种具有垃圾自动收集功能的海上风力发电设备,包括套设于风机塔筒外周的安装环,其上均匀分布多个防护机构和收集机构。防护机构由导流罩、挡流板及人字形导流板构成,引导海浪形成定向涡流以卷入漂浮垃圾;收集机构包括内外嵌套的双筒结构,利用垃圾重力与水流驱动内筒下降,通过螺旋传动带动叶轮排水,实现垃圾自动富集与沥水。设备还集成液压减震、缓冲气囊、浮力板及联动下压架,有效吸收波浪冲击、维持姿态稳定,并辅助垃圾入筒。该装置无需额外能源,可同步实现海洋垃圾清理与风机基础防护,显著提升海上风电设施的环保性、安全性与运维效率,适用于各类近海风电场。

一种风机叶片防坠冰偏航方法、设备及介质

NºPublicación:  CN121897520A 21/04/2026
Solicitante: 
长江三峡集团福建能源投资有限公司三峡新能源永安发电有限公司
CN_121897520_PA

Resumen de: CN121897520A

本发明涉及风力发电机组运行安全控制领域,公开了一种风机叶片防坠冰偏航方法、设备及介质,方法包括:获取所述风机叶片的观测数据、运行数据;根据所述风机叶片的观测数据,得到覆冰情况;根据所述覆冰情况、所述运行数据、预先构建的轨迹预测模型,得到覆冰掉落概率的危险区域;根据所述危险区域、预设的资产保护图,进行偏航决策,得到低损掉落区域、目标偏航角;根据所述目标偏航角偏航,以使覆冰掉落于所述低损掉落区域。本发明能够准确感知、预测覆冰坠落后果并且减少能耗,以防止覆冰坠落到开关键设备等重要设施。

一种气体压缩机进气阀防回流结构

NºPublicación:  CN224150237U 21/04/2026
Solicitante: 
扬州市宝华气阀有限公司
CN_224150237_U

Resumen de: CN224150237U

本实用新型公开了气体压缩机技术领域的一种气体压缩机进气阀防回流结构,包括阀仓,阀仓的左端固定连接有第一气管,阀仓的右端固定连接有第二气管,阀仓的内部安装有密封阀座,第二气管的右侧设置有蓄电机构和防回流机构,该气体压缩机进气阀防回流结构增设有防回流机构和蓄电机构,防回流机构采用双重封堵的结构,可以将管道进行快速封闭,避免气体回流至阀仓内,有效的提高了本进气阀的使用可靠性和稳定性,降低了回流的概率,蓄电机构借助进气阀内的气流风力,可以实现微型风力发电效果,可以进行内部供电操作,无需开槽从外部接电,确保了进气阀的密封性,防回流机构和蓄电机构均加装在管道上,对进气阀的密封性没有影响。

一种用于风电机组变桨轴承螺栓的更换装置

NºPublicación:  CN224149728U 21/04/2026
Solicitante: 
新疆吉木乃中广核风力发电有限公司
CN_224149728_U

Resumen de: CN224149728U

本实用新型属于变桨轴承领域,具体的说是一种用于风电机组变桨轴承螺栓的更换装置,包括轮毂;本实用新型通过设置更换机构,将定位环安装在轴承座表面后,将活动座放置在定位环表面,通过活动座在定位环表面转动带动液压扳手转动,在液压扳手转动过程中固定块的表面会卡接进入固定槽内部,使液压扳手与螺栓本体处于同一垂直位置,即可通过液压扳手将螺栓本体从变桨轴承本体的内部取出,能够提高螺栓本体更换的效率和质量,减少人工操作的误差和风险,解决了变桨轴承本体通常采用传统的人工更换方式,手动更换劳动强度大且容易疲劳,并且更换过程中容易出现对位不准确的情况,从而导致螺栓损坏,不利于变桨轴承维护的问题。

一种适用于塔式光热电站定日镜的防风挡风墙

NºPublicación:  CN224149723U 21/04/2026
Solicitante: 
四川大学
CN_224149723_U

Resumen de: CN224149723U

本实用新型涉及定日镜抗风技术领域,涉及一种适用于塔式光热电站定日镜的防风挡风墙。该防风挡风墙包括若干无叶片风力发电机;若干无叶片风力发电机均匀布置在定日镜场边缘和相邻定日镜之间;所述无叶片风力发电机由发电机、振动外壳、中心杆、调谐系统组成;发电机的定子安装在中心杆上,发电机的转子固定在振动外壳的内壁;所述调谐系统用于动态调整无叶片风力发电机的自振频率。与传统定日镜挡风墙相比,该挡风墙形成了风‑光协同发电体系,提高了定日镜场整体能量产出;还具有占地面积小,无叶片风机可以模块化装配的优点。

一种风机用电动葫芦

NºPublicación:  CN224147630U 21/04/2026
Solicitante: 
河北怀鸽起重机械集团有限公司
CN_224147630_U

Resumen de: CN224147630U

本实用新型公开了一种风机用电动葫芦,包括安装架和连接在安装架底部的电动葫芦,电动葫芦的进链口下方连接有导链组件,导链组件的底部内安装有两个对称设置的油刷,两个油刷的端部与导链组件内的链条相接触,油刷的另一端贯穿导链组件底部侧壁上开设的通孔后与供油组件相连接,导链组件的底部置于链条筐内。本实用新型能够通过导链组件对链条进行防护,防止链条被海风直吹,并且通过油刷和供油组件,能够在使用电动葫芦的时候对链条上油进行润滑,大大的提高了链条和电动葫芦的使用寿命。

一种偏航变桨齿轮用废油清理铲

NºPublicación:  CN224149729U 21/04/2026
Solicitante: 
鄢陵中广核新能源有限公司
CN_224149729_U

Resumen de: CN224149729U

本实用新型的技术方案为一种偏航变桨齿轮用废油清理铲,包括:手柄;铲头,与手柄可拆卸固定连接,包括多个铲齿,所述铲齿的侧面设置有多个出油通道;连接管,设置于铲头上,且与多个所述铲头上的出油通道连通,通过本申请提供的废油清理铲,在对偏航变桨齿圈清理时,可以通过铲头对废油刮拭清理,提高清理效率,在对齿圈刮拭清理后,通过控制黄油枪工作,通过出油通道流出附着在被清理后的齿圈上,从而能够进行抹油,能够提高清理效率和涂油效率,降低作业时长,降低作业者的劳动强度。

一种风电调度安全预警装置

NºPublicación:  CN224149726U 21/04/2026
Solicitante: 
东北电力大学
CN_224149726_U

Resumen de: CN224149726U

本实用新型涉及安全预警技术领域,具体涉及一种风电调度安全预警装置,包括主杆、风力发电组件、输送装置和检测装置,所述主杆固定,所述风力发电机组件安装在主杆上方,所述主杆外侧安装有输送装置,所述输送装置用于将检测装置输送至指定为位置进行检测;所述输送装置内安装有检测装置,所述检测装置用于检测风向、风力等数据进而根据不同的环境做出安全预警。

一种风电机组偏航刹车片粉末收集装置

NºPublicación:  CN224142454U 21/04/2026
Solicitante: 
神华(康保)新能源有限责任公司
CN_224142454_U

Resumen de: CN224142454U

本实用新型公开了一种风电机组偏航刹车片粉末收集装置,通过偏航台上设置的右侧导轨、左侧导轨和移动安装部并能够在对集粉盒进行操作时将安装平台位置外移方便对内部进行操作,通过采用防尘罩以及耐疲劳合金材料的弹簧,提高耐用性,保障正常的使用效果,通过在集粉盒内设置盒内分区结构对磁性粉末以及非磁性粉末进行分别,有利于材料的循环利用。

装配式风电塔筒和风电机组

NºPublicación:  CN224149725U 21/04/2026
Solicitante: 
华能吐鲁番风力发电有限公司
CN_224149725_U

Resumen de: CN224149725U

本实用新型公开了一种装配式风电塔筒和风电机组,涉及风电设备建设技术领域,其中,装配式风电塔筒包括筒座结构和筒段结构;筒座结构的顶部形成有第一卡接部,第一卡接部包括向上延伸的卡舌,卡舌上形成有第一锚固口,第一锚固口贯穿卡舌,各筒段结构的顶部形成有另一第一卡接部,各筒段结构的底部形成有第二卡接部;第二卡接部开设有第二锚固口,第二锚固口由内至外贯穿第二卡接部;在任意两个对应的第一卡接部和第二卡接部中,卡舌能穿过槽口伸入卡槽内,且使第一锚固口和第二锚固口对齐形成,以供一锚固块由内至外穿设于第一锚固口和第二锚固口,将第一卡接部和第二卡接部锚固。本实用新型提供的装配式风电塔筒装配效率高、装配稳定性好。

一种风电场塔筒门下电缆固定装置

NºPublicación:  CN224153878U 21/04/2026
Solicitante: 
中国电建集团江西省水电工程局有限公司
CN_224153878_U

Resumen de: CN224153878U

本实用新型涉及电力设备安装技术领域,具体为一种风电场塔筒门下电缆固定装置,包括定位块,所述定位块的中心处设有配合电缆贯穿的穿孔,所述定位块的穿孔两侧上下两端均设有固定块,所述固定块的外侧分别连接有可摆动角度的外支托架和内支托架,所述内支托架同组相对应的一侧设有开口方向相对应的夹持件,且所述夹持件的内端设有贯穿在内支托架上的活动压柱,所述活动压柱与夹持件连接的一端外部套设有伸缩弹簧,并且所述外支托架上通过螺纹结构穿插连接有定位螺栓。该风电场塔筒门下电缆固定装置采用全方位环绕固定结构和可调节夹持组件,实现了对不同直径电缆的稳固夹持,提升了电缆固定的稳定性和安全性。

一种风电机组塔筒的振动监测装置

NºPublicación:  CN224151826U 21/04/2026
Solicitante: 
昆明理工大学
CN_224151826_U

Resumen de: CN224151826U

本实用新型公开了一种风电机组塔筒的振动监测装置,其包括若干个固定组件、振动传感器,固定组件包括外壳、橡胶垫、工形滑块,工形滑块一端固定在磁性外壳一端内,外壳内另一端为开口空腔,2个以上的橡胶垫固定在磁性外壳并位于工形滑块的端部,振动传感器固定在外壳外表面上,固定组件通过工形滑块的另一端活动设置在另一个固定组件的外壳的空腔内并相互配合,实现多个固定组件首尾连接;本实用新型实现了快速安装(显著缩短工时)、对塔筒直径变化的广泛适应性以及高可靠性的振动监测,为风电机组塔筒的结构健康评估、疲劳分析及安全预警提供了高效且低成本的现场监测手段。

一种小容量风电支撑结构原位扩容加固结构

NºPublicación:  CN224149724U 21/04/2026
Solicitante: 
四川大学
CN_224149724_U

Resumen de: CN224149724U

本实用新型属于风力发电技术领域,涉及一种小容量风电支撑结构原位扩容加固结构。该结构包括FRP管和新增塔筒;FRP管包覆在原纯钢塔筒的外部,FRP管与原纯钢塔筒间夹层现场浇筑混凝土,形成FRP‑混凝土‑钢双壁空心组合塔筒;新增塔筒安装在FRP‑混凝土‑钢双壁空心组合塔筒上部;新增塔筒为预制FRP‑混凝土‑钢双壁空心组合塔筒或纯钢塔筒。相较于拆除重建的传统方式,本实用新型采用原位扩容技术,充分利用原有风电塔基础和塔筒结构,避免了大规模施工和设备拆除的高昂费用,大幅缩短工期。扩容加固后可显著提高风电塔的轮毂高度,使风电机组能够捕获更高海拔、风速更强的风能资源,进而大幅提升风电场的发电效率。

一种风力发电机组油液颗粒度在线检测装置

NºPublicación:  CN224152274U 21/04/2026
Solicitante: 
郑州奥特科技有限公司
CN_224152274_U

Resumen de: CN224152274U

本实用新型涉及油液检测技术领域,具体涉及一种风力发电机组油液颗粒度在线检测装置,包括:检测斜管;顶部贯通装配有油液进斗,且所述油液进斗顶部密封固定有连接斗。本实用新型具有自动清理过滤颗粒,避免了因颗粒堆积在滤网上导致的滤网堵塞问题,保证了过滤过程的持续有效进行,减少了人工维护的工作量和维护成本,借助光阻法颗粒计数器对排出的颗粒进行实时检测,能够及时准确地掌握油液中颗粒的数量、大小等信息,为设备的运行状态评估和维护决策提供重要的数据支持,便于操作人员根据颗粒情况及时调整设备运行参数或安排维护工作,进一步保障风力发电机组的安全可靠运行。

一种新型便携式齿轮油过滤装置及风力发电机组的变桨齿轮箱

NºPublicación:  CN224150667U 21/04/2026
Solicitante: 
漳州海电运维科技有限责任公司
CN_224150667_U

Resumen de: CN224150667U

本实用新型公开了一种新型便携式齿轮油过滤装置及风力发电机组的变桨齿轮箱。包括齿轮油过滤装置主体、进油管及出油管,主体集成油泵模块、过滤模块、油品在线检测模块和通讯模块。油泵模块驱动齿轮油循环,过滤模块通过标准化接口安装不同精度过滤单元实现多级过滤,油品在线检测模块利用激光颗粒计数器实时监测颗粒状态,通讯模块支持有线/无线数据传输至外部终端。装置可灵活安装于机舱或轮毂,通过自锁式快速接头密封连接管路,并配置防溢流阀保障安全。该装置实现齿轮油高效净化、实时监测及远程运维,提升设备可靠性,降低维护成本。风力发电机组的变桨齿轮箱集成该装置,显著延长使用寿命,适应高空作业需求。

ESTRUCTURA MOTORIZADA DE ANDAMIO

NºPublicación:  ES1328978U 21/04/2026
Solicitante: 
RESA FINANCIAL GROUP S L [ES]

一种大型海上风电机组的防腐蚀装置

NºPublicación:  CN224149727U 21/04/2026
Solicitante: 
南通丰和风电科技有限公司
CN_224149727_U

Resumen de: CN224149727U

本实用新型公开了一种大型海上风电机组的防腐蚀装置,属于风力发电设备相关技术领域,以解决现有技术中需要将前半圆板或后半圆板整体拆卸进行更换,在一定程度上维护效率较低的问题,包括弧形板一,将两组弧形板一与塔柱外壁贴合,将螺栓拧入块体三,将两组弧形板一固定在一起,将弧形板二一端块体一插入槽体一中,将弧形板一与弧形板二组装在一起,将螺栓拧入块体三,将两组弧形板二固定在一起,重复上述操作将弧形板三与弧形板二和弧形板一组装在一起,如果弧形板一、弧形板二或弧形板三损坏,只需拧出对应螺栓,取消限制,将弧形板一、弧形板二或弧形板三抽出并更换即可,不需要将装置整体拆卸,在一定程度上提高了维护效率。

一种可实时调控漂浮式海上风力发电机组高度的装置

NºPublicación:  CN224149722U 21/04/2026
Solicitante: 
西安热工研究院有限公司
CN_224149722_U

Resumen de: CN224149722U

本实用新型公开了一种可实时调控漂浮式海上风力发电机组高度的装置,包括支撑平台、设置于所述支撑平台上的浮力组件、支撑杆和风机,以及和所述浮力组件相互连通的动力组件,所述浮力组件包括设置于所述支撑平台上的浮动舱室和连通所述浮动舱室和所述动力组件的通气管,所述浮动舱室与所述支撑杆相连,所述浮动舱室上设有通水孔,所述动力组件包括气泵,所述气泵的出气口和所述通气管相连通。当海上风浪变化时,通过气泵对浮动舱室内抽气或输气,使得浮动舱室内的空气含量和水含量比例发生变化,从而实现根据风浪的大小对风机相对海平面的高度进行调节,使得风机相对海平面的高度能够适应风力的变化,从而提高风机的稳定性。

运行具有故障线圈的发电机

NºPublicación:  CN121907058A 21/04/2026
Solicitante: 
西门子歌美飒可再生能源公司
CN_121907058_PA

Resumen de: EP4730619A1

0001 It is described a method of operating a generator (2) having a stator (3) with at least one multi-phase winding set (4_1), the winding set comprising for each phase plural coils (5_1, 5_1*, 5_1, 16_1) arranged in slots between teeth of the stator, the plural coils in particular being connected in series and/or in parallel, in case that at least one coil (5_1*) is faulty, the method comprising: electrically disconnecting fully or partially the faulty coil (5_1*) and may or may not other healthy coils from a first conductor (7a) and another first conductor (7b); operating the generator (2) without the disconnected faulty coil (5_1*), thereby in particular keeping the disconnected faulty coil in place at the stator while the generator is in operation.

浮遊式の沖合における風力タービン構造物の、進水方法、回収方法、または検査方法

NºPublicación:  JP2026512610A 20/04/2026
Solicitante: 
スティースダルオフショアエー/エス
JP_2026512610_A

Resumen de: WO2024083295A1

Method of launching, recovering, or inspecting a floating offshore wind turbine construction After assembling a floating offshore wind turbine construction (1), which includes the wind turbine (2) as well as the support structure (3), it is transported to a platform (16) at a head of an inclined slipway (23) that extends from a level above a surface (4) of the water to a position under the surface (4) of the water. The construction (1) is launched by moving it from the platform (16) down along the slipway (23) into the water until the assembled floating offshore wind turbine (1) is lifted off the slipway (23) by the buoyancy on the floating support structure (3).

PALA ESTRIADA

NºPublicación:  ES3063767A1 20/04/2026
Solicitante: 
YANEZ VILLARREAL DAVID JESUS [ES]

Shaft for mounting a wind turbine generator with a vertical axis of rotation

NºPublicación:  PL132397U1 20/04/2026
Solicitante: 
MYSLIWIEC SEBASTIAN [PL]
MY\u015ALIWIEC SEBASTIAN

Resumen de: PL132397U1

Przedmiotem zgłoszenia jest wał do mocowania generatora turbiny wiatrowej o pionowej osi obrotu. Wał posiada czop do osadzania sekcji generatora zaopatrzony w poprzeczny przelotowy otwór ryglujący (12) tarczę znajdujący się w wale prostopadle do jego osi. Nad otworem ryglującym (12), w czopie do osadzania sekcji generatora, znajduje się obwodowy rowek (13) umieszczony na wale. Pod otworem ryglującym (12) czop do osadzania sekcji generatora zaopatrzony jest w otwór przelotowy (14) do wyprowadzenia przewodów elektrycznych.

Wind power plant

NºPublicación:  PL450083A1 20/04/2026
Solicitante: 
NAPIERALA JAROSLAW [PL]
NAPIERA\u0141A JAROS\u0141AW
PL_450083_A1

Resumen de: PL450083A1

Elektrownia wiatrowa zawierająca wieżę stalową albo żelbetową zaopatrzoną w silnik wiatrowy połączony z przetwornikiem mocy osadzonym na jej szczycie, obrotnicę, a ponadto umieszczony na podłożu generator prądu elektrycznego, charakteryzuje się tym, że wieża (1) ma postać kratownicy, zaś jako przetwornik mocy stosowana jest pompa hydrauliczna (3), na osi której osadzony jest silnik wiatrowy postaci pojedynczego trójramiennego śmigła (2), przy czym obrotnicę stanowią: płyta obrotowa (10), - na której osadzona jest wieża (1) - ze znanym mechanizmem obracającym (11), który posadowiony jest na podłożu (13), a ponadto, korzystnie, na płycie obrotowej (10) umieszone są silnik hydrauliczny (7) i połączony z nim mechanicznie generator prądu elektrycznego (8), przy czym pompa hydrauliczna (3) połączona jest z silnikiem hydraulicznym (7) poprzez przewody hydrauliczne (5 i 6), a połączenie hydrauliczne pompy hydraulicznej (3) z silnikiem hydraulicznym (7), korzystnie stanowi układ hydrostatyczny.

一种海塔塔段卧式发运装置

NºPublicación:  CN224134774U 17/04/2026
Solicitante: 
阳江大金风电海洋工程科技有限公司
CN_224134774_U

Resumen de: CN224134774U

本实用新型涉及海运工装技术领域,尤其为一种海塔塔段卧式发运装置,包括底座和内螺纹套,底座左右两端内侧安装有内螺纹套,内螺纹套内侧可拆卸螺纹连接有螺栓,底座上端外侧设有底板,本实用新型中,通过设置内螺纹套、螺栓、导向块、滚珠、连接框、压缩弹簧、刮板、导轨和限位涂层,底板、支撑板、筋板、面板和橡胶垫构成卧式发运装置,该卧式发运装置可以适应不同类型的塔段,根据需要对卧式发运装置进行位置调节,适应不同长度尺寸的塔段,还可以根据塔段重量适当增加卧式发运装置,使得该卧式发运装置整体的实用性得到有效提升,通用兼容性更强,还能够减少因塔段规格不同而需要定制化装置的情况,降低运营成本。

一种风力取水装置

NºPublicación:  CN121875900A 17/04/2026
Solicitante: 
朱骏卿
CN_121875900_PA

Resumen de: CN121875900A

本发明公开了一种风力取水装置,包括风力组件、水传输组件和过滤组件;风力组件在风力作用下,带动水传输组件对水进行提升;过滤组件设于水传输组件底部,对水进行过滤;风力组件采用垂直轴结构,水传输组件内部设有螺旋状叶片,风力组件与螺旋状叶片同轴转动。本发明的风力组件采用垂直轴结构,可以有效避免水平轴风力组件需要对风的问题,可以适用于各种风向,为提水装置提供持续的动力。本发明的水传输组件内部设有螺旋状叶片,在风力组件的带动下不断旋转,可以持续不断的对水进行提升;具有良好的取水效率和连续性。本发明无需消耗能源,仅依靠风力即可驱动装置运转,具有节能、无消耗的技术特征,可以适用于各种将水源提升的场景中。

一种新型风机过渡段结构及其施工方法

NºPublicación:  CN121875904A 17/04/2026
Solicitante: 
中国电建集团福建省电力勘测设计院有限公司海峡发电有限责任公司
CN_121875904_PA

Resumen de: CN121875904A

本发明公开一种新型风机过渡段结构及其施工方法,包括中心塔筒,以及至少三个设置于所述中心塔筒外侧的弦杆;所述中心塔筒与所述弦杆之间设置有上箱梁板组、下箱梁板组以及上下箱梁腹板;所述上箱梁板组的两端分别与所述中心塔筒以及所述弦杆连接;所述下箱梁板组的两端分别与中心塔筒以及弦杆连接;上箱梁板组与下箱梁板组之间形成第一夹角;上下箱梁腹板的两端分别与中心塔筒以及弦杆连接,并且上下箱梁腹板的一侧同时与上箱梁板组的侧面以及下箱梁板组的侧面贴合。通过上箱梁板组、下箱梁板组以及上下箱梁腹板布置,保证箱梁组抗弯刚度和抗扭刚度;同时,过渡段整体结构件数量少,方便加工减少了工程量。

一种复杂山地风电运维用防坠飞行器

NºPublicación:  CN121871828A 17/04/2026
Solicitante: 
南通大学
CN_121871828_PA

Resumen de: CN121871828A

本发明公开了一种复杂山地风电运维用防坠飞行器,包括机身,所述机身上通过开设通槽设置有存储箱,所述机身内嵌入设置有动力源和飞控系统,所述存储箱的下箱体上滑动连接有定位架,所述定位架的端部设置有具有缓冲功能的起落架组件,所述机身的外侧通过开设安装槽活动设置有若干个螺旋桨组件,所述机身内的安装腔中设置有用于调节所述起落架组件和所述螺旋桨组件的驱动机构;本发明结构简单,设计合理,在飞控系统判定飞行器有坠毁风险时,主动将上端的缓冲套伸出机身主体,使得机身的上下端均能都得到有效保护,降低了整体的运维成本,同时有效防止机身顶面或底面碰撞缓冲后的回弹和翻滚。

一种不确定参数影响下抽蓄风电互联并网系统动态响应的预测方法

NºPublicación:  CN121886612A 17/04/2026
Solicitante: 
中国电建集团北京勘测设计研究院有限公司
CN_121886612_PA

Resumen de: CN121886612A

本发明涉及非线性动力系统不确定分析技术领域,尤其涉及一种不确定参数影响下抽蓄风电互联并网系统动态响应的预测方法;包括以下步骤:S1、建立反映抽蓄风电互联并网系统动态特性的数学模型;S2、选取S1步骤构建的数学模型中的各个参数为不确定参数;S3、基于傅里叶幅值灵敏度检验扩展法计算出不确定参数影响下系统状态变量动态响应的振幅分布;S4、根据S3步骤得到的振幅,计算不确定度;S5、基于计算出的不确定度,对系统的动态响应进行预测;为系统开展不确定性分析和性能优化时提供重要理论依据。

一种预应力混凝土风力发电塔架结构

NºPublicación:  CN224134770U 17/04/2026
Solicitante: 
中铁十四局集团房桥有限公司
CN_224134770_U

Resumen de: CN224134770U

一种预应力混凝土风力发电塔架结构,包括基础、塔筒和预应力索;筒段采用双层预应力混凝土结构,分别为内筒层和外筒层;在内筒层的混凝土中布置有竖向预应力钢筋和环向预应力钢筋;外筒层中设有外包预应力钢缆进行环向加固;竖向相邻的筒段之间通过滑动套筒连接;滑动套筒包括外套筒和内套筒;外套筒固定在接缝一侧的套筒的顶部或底部;内套筒连接在接缝另一侧的套筒的对应位置,内套筒插入对应的外套筒中,在内外套筒之间留有相对滑动空间;在内外套筒之间的相对滑动空间中设滑动层;预应力索贯穿多个筒段,将多个筒段进行预应力拉结。本实用新型解决传统的风力发电塔架结构重量大、运输困难、施工不便捷以及后期维护成本高的技术问题。

一种用于风电机组叶片表面修复操作的装置

NºPublicación:  CN224134777U 17/04/2026
Solicitante: 
福建海电运维科技股份有限公司

Resumen de: CN224134777U

本实用新型涉及风力发电领域,尤其涉及一种用于风电机组叶片表面修复操作的装置,包括固定杆,固定杆的一端与固定板连接,固定板的边缘与折叠板铰接,固定板和折叠板的表面均设有刮板,固定杆的另一端设有可靠近或远离固定板的滑动件,滑动件通过连接件与折叠板铰接,固定板或折叠板上设有修复材料注入管,修复材料注入管用于向刮板上注入修复材料。本实用新型的用于风电机组叶片表面修复操作的装置具有缩短操作时间,增强装置适配性,降低人员操作风险的优点。

一种车载无叶片风力发电补能设备

NºPublicación:  CN224134769U 17/04/2026
Solicitante: 
玄铁风能(深圳)科技有限公司

Resumen de: CN224134769U

本实用新型提供了一种车载无叶片风力发电补能设备,包括:迎风罩、振动转换组件、连接件、发电机组件、调节组件和固定组件;迎风罩包括上迎风罩和下迎风罩,连接件设置于上迎风罩与下迎风罩之间,调节组件设置于连接件的下端,固定组件设置于调节组件的下端,发电机组件设置于固定组件的上端,振动转换组件固定于所述上迎风罩上,且设置于发电机组件的上端,与发电机组件连接;调节组件用于将迎风罩产生的风致诱导振动滤后传递给振动转换组件,带动振动转换组件转动,通过发电机组件将风致诱导振动产生的机械能转换为电能。本实用新型利用风致诱导振动产生的机械能转变为电能,提升了补电设备的环境适用性,降低了其体积和占用面积。

一种风机叶片检修装置

NºPublicación:  CN224129566U 17/04/2026
Solicitante: 
国投贵州新能源有限公司
CN_224129566_U

Resumen de: CN224129566U

本实用新型涉及风机叶片检修技术领域,公开了一种风机叶片检修装置,包括检修台,所述检修台上端的两边均固定连接有固定架,所述固定架上端两边均滑动连接有夹持架,两个所述夹持架的上端均固定连接有安装架,两个所述安装架的内部均滑动连接有夹持板,两个所述安装架的中部均转动连接有一号丝杆,两个所述一号丝杆的外表面分别与两个所述夹持板的中部螺纹连接,两个所述夹持架的内部均设置有调节机构。本实用新型可让装置在控制夹持板进行夹持工作时,仅需通过转动一号旋钮即可带动两边的夹持板进行同时移动,用于对叶片进行夹持工作,此方法可有效地降低在对叶片检修工作时的重复劳动,提高风机叶片检修的效率。

一种用于海上风电机组叶片防雷导线导通性检测的装置

NºPublicación:  CN224134776U 17/04/2026
Solicitante: 
福建海电运维科技股份有限公司

Resumen de: CN224134776U

本实用新型涉及风力发电领域,尤其涉及一种用于海上风电机组叶片防雷导线导通性检测的装置,包括:连接杆,两端分别设有转轮和翻转夹臂;拉绳,一端缠绕在转轮上,另一端与翻转夹臂连接;检测头,设置在翻转夹臂上,检测头通过测量导线与测量仪器连接;当转轮转动时,拉绳拉动翻转夹臂夹持叶片,使检测头接触叶片的接闪器。本实用新型针对目前存在的安全风险及经济成本较高的情况,提出更高效、更便携的检测装置,操作人员在塔基平台即可完成设备组装及测试,无需船舶配合,且机舱无需操作人员,降低人员操作风险。

一种风力发电机立柱清理装置及其方法

NºPublicación:  CN121875915A 17/04/2026
Solicitante: 
三峡新能源(凤凰)发电有限公司
CN_121875915_PA

Resumen de: CN121875915A

本发明提供了一种风力发电机立柱清理装置及其方法,风力发电机立柱包括柱体,设置在柱体上,用以承接叶片的基座。装置包括套设在柱体上的承接机构,与承接机构相连接的刮拭机构,所述刮拭机构构造成允许和柱体相互抵接在一起,并能够沿着由承接机构构成的路径运动,以对柱体进行刮拭。同时,装置还包括设置在基座上的卷收机构,以及与卷收机构相连接的拉索,所述拉索允许和承接机构相对固定在一起,以在卷收机构的作用下带动承接机构、刮拭机构沿着柱体轴向运动。通过这种方式,使得在卷收机构、承接机构、刮拭机构的相互配合下能够对柱体沿着周向以及轴向进行刮拭清理。由此,能够提高清洁效率,并还能够对其均匀清洁。

风向信号采集与输出偏航验证控制装置、方法及控制柜

NºPublicación:  CN121879248A 17/04/2026
Solicitante: 
山西大学国家电投集团山西新能源有限公司太原重工股份有限公司
CN_121879248_A

Resumen de: CN121879248A

本发明提出一种风向信号采集与输出偏航验证控制装置、方法及控制柜,通过扩展模块构建独立闭环,实时采集并处理风向标原始信号,输出修改后的模拟信号至风机主控,实现非侵入式验证。采用双电磁继电器构建硬件安全旁路:当PLC正常工作时,信号经程序处理后输出;当PLC故障或断电时,继电器自动复位,将原始风向信号无扰切换并直通输出至风机,从根本上保障了风机运行安全与验证系统的绝对可靠性。通过本发明,能够构建本质安全的硬件级故障旁路机制,确保在验证装置自身故障时,风机能自动、无扰地恢复至接收原始风向信号的状态,绝对保障风机运行安全。

机架及风力发电机组

NºPublicación:  CN121875902A 17/04/2026
Solicitante: 
金风科技股份有限公司
CN_121875902_PA

Resumen de: CN121875902A

本申请涉及一种机架及风力发电机组,机架包括底座以及轴承座,底座包括底座本体以及设置于底座本体上的支撑体,底座本体包括用于与风力发电机组的偏航组件相连的法兰,轴承座设置于支撑体背离底座本体的一侧,轴承座包括轴承座本体以及沿第一方向间隔分布于轴承座本体内的第一轴承安装部和第二轴承安装部。支撑体包括第一支撑壁以及第二支撑壁,第一支撑壁支撑于第一轴承安装部且其在法兰的连接位置形成第一连接区,第二支撑壁支撑于第二轴承安装部且其在法兰的连接位置形成第二连接区,第一连接区和第二连接区在第一方向相对经过法兰的中心的垂直面非对称设置。本申请实施例中的机架,能够优化机架至偏航组件的传力路径,提高传力的可靠性。

一种建筑储能一体化的住宅及其制备方法

NºPublicación:  CN121875511A 17/04/2026
Solicitante: 
中国建筑材料科学研究总院有限公司
CN_121875511_PA

Resumen de: CN121875511A

本申请是关于一种建筑储能一体化的住宅及其制备方法,住宅包括对所在建筑具有结构支撑作用的水泥基储能器件,该储能器件与外部电能和住宅内的用电设备通过导线连接;储能器件的制备方法包括:制备水泥基打印浆料,装入3D打印装置,逐层堆积形成打印体,固化养护、修整、干燥后,浸入可溶性碱/盐溶液中,得到水泥基电解质;在电极表面滴加可溶性碱/盐溶液,然后将电极与水泥基电解质叠合组装后密封包装,得到水泥基储能器件;水泥基电解质的打印层间界面具有定向排布的孔结构,孔径为0.5~20μm,孔隙率为10%~50%,孔结构的孔朝向与电极间的离子迁移方向一致。本申请提供的住宅具备较强的本体储能与自主供能的能力。

一种新能源风电场电路稳定控制装置

NºPublicación:  CN224134766U 17/04/2026
Solicitante: 
社旗国合风力发电有限公司中国三峡新能源(集团)股份有限公司中国长江三峡集团有限公司
CN_224134766_U

Resumen de: CN224134766U

本申请涉及风力发电技术领域,提供了一种新能源风电场电路稳定控制装置,包括控制箱、锁固结构和基座,控制箱的内部固定有电源模块、控制板、主芯片、通讯模块和串口,控制板位于电源模块的一侧,主芯片设于控制板的中心区域,通讯模块和串口设于控制板远离电源模块的一侧,控制箱的外部设有电路模块,电路模块位于通讯模块和串口远离控制板的一侧;锁固结构包括锁固座和锁固架,锁固座设于控制箱的底部外围区域,锁固架设于控制箱的顶部外围区域,锁固架与锁固座通过紧固结构固定连接;基座设于控制箱及锁固结构的底部,用于支撑控制箱和锁固结构。如此设置,增强了装置的抗干扰能力,减少了信号传输过程中的干扰,确保了电路的稳定运行。

一种基于PEM系统的氧能调度自供电装置

NºPublicación:  CN224134705U 17/04/2026
Solicitante: 
深圳市润世华氢能源有限公司
CN_224134705_U

Resumen de: CN224134705U

本实用新型属于PEM制氢资源再利用技术领域,具体涉及一种基于PEM系统的氧能调度自供电装置,包括:输入端管路通过流体控制阀一与PEM电解制氢系统的氧气排放管路连接的流体高压缓存装置,以及与所述PEM电解制氢系统的供电系统电连的储电装置,所述储电装置还电连有涡轮发电装置;所述流体高压缓存装置的输出端管路通过流体控制阀二连通所述涡轮发电装置。本实用新型通过对PEM制氢系统产生的高压氧气进行储存,再利用其可控制的排放,带动涡轮发电装置的涡轮转动,以实现与其轴接的发电机运行而发电,最终通过与涡轮发电装置电连的储电装置进行储电,以为PEM电解制氢系统的运行提供辅助供电,从而有效节约能耗。

一种风电塔筒卡槽防脱滑块结构

NºPublicación:  CN224134771U 17/04/2026
Solicitante: 
扬州丰盛机电有限公司
CN_224134771_U

Resumen de: CN224134771U

本实用新型涉及风电塔筒技术领域,具体涉及一种风电塔筒卡槽防脱滑块结构,包括若干滑动机构,若干所述滑动机构设置有塔筒体一与塔筒体二,所述塔筒体一内部固定连接有法兰环一,所述塔筒体二内部固定连接有法兰环二,所述滑动机构包括定位块,所述定位块滑动连接有限位块,所述限位块顶部转动连接有限位杆。本实用新型中,通过定位板开设有V形槽,可先使滑动机构沿法兰环一底部滑动,调整滑动机构与限位杆的位置,可使限位杆向V形槽移动,使限位杆抵在定位板内部,对定位板与法兰环二进行限位,尽量防止筒体二位移脱离筒体一的范围,有利于降低筒体二的晃动,进而有利于将筒体二与筒体一尽量对齐。

一种变桨电机电磁刹车回路及风力发电机组变桨系统

NºPublicación:  CN224134767U 17/04/2026
Solicitante: 
三峡新能源金昌风电有限公司中国三峡新能源(集团)股份有限公司
CN_224134767_U

Resumen de: CN224134767U

本公开涉及一种变桨电机电磁刹车回路及风力发电机组变桨系统,包括:第一继电器、第二继电器、第三继电器、变桨电机电磁刹车、第一限位开关,变桨电机电磁刹车与第一限位开关分别连接至变桨变频器不同的端子排;第二继电器与第一限位开关串联,第三继电器与第二继电器并联,第二继电器与第三继电器被配置为由第一限位开关同步控制;第一继电器包括两组辅助触点,第一继电器的两组辅助触点分别与变桨电机电磁刹车串联,两组辅助触点并联。如此,可降低第一继电器引起的变桨故障率,同时增加安全回路,杜绝齿形带拉断的风险。

一种风力发电机叶片调节装置

NºPublicación:  CN121875887A 17/04/2026
Solicitante: 
江苏锡华铸造有限公司
CN_121875887_PA

Resumen de: CN121875887A

本发明涉及风力发电机技术领域,具体公开了一种风力发电机叶片调节装置,包括扇叶结构,所述扇叶结构包括三组结构相同、尺寸不同的扇叶单元,三组所述扇叶单元相对套接串联,所述扇叶单元一端固定设置有转接座,三组所述扇叶单元中固定设置有伸缩结构,所述扇叶结构通过转接座固定设置于驱动结构上,所述驱动结构等距设置有三个扇叶结构,本发明通过三组扇叶单元的模块化嵌套伸缩设计,可大幅缩短叶片整体长度;在强风、台风工况下具有双重抗风防护,大幅降低叶片损坏风险;本装置传动效果简洁高效,动力传递精准且同步性强;结构设计模块化,通用性与组装性强,扇叶受风角度可调,能够有效契合风力大小,优化叶片气动性能。

融合三维解析尾流模型及动态分组的ADMM分布式偏航控制方法、系统、计算机及存储介质

NºPublicación:  CN121875896A 17/04/2026
Solicitante: 
南京理工大学
CN_121875896_PA

Resumen de: CN121875896A

本发明公开了一种融合三维解析尾流模型及动态分组的ADMM分布式偏航控制方法、系统、计算机及存储介质,提取风电场布局及风电机组参数;以风速为模值、风向为角度构建风速风向向量,计算每台风电机组的风速风向向量在笛卡尔坐标系中的坐标分量,并计算风电场主入流的风速和风向;基于尾流叠加面积和风电机组之间的间距计算尾流权重系数,并构建尾流权重系数矩阵;基于三维解析尾流模型和尾流叠加模型,计算每台风电机组的等效风速,进而计算风电机组的功率;结合权重系数矩阵,对风电场内的全部风电机组分组;基于ADMM优化方法,以最大化功率为目标,优化每一个分组中风电机组的偏航角。本发明提高了风电场发电效益的同时提升优化效率。

利用操作模式改变以防止鸟类碰撞的风力涡轮机

NºPublicación:  CN121889574A 17/04/2026
Solicitante: 
维斯塔斯风力系统有限公司
CN_121889574_PA

Resumen de: WO2025077982A1

A method for deterring airborne animals to prevent collision between the airborne animal and a wind turbine. The method comprises providing data (PD) from at least one data source regarding at least one parameter relevant for an airspace of 5 the wind turbine. Next, analyzing said data (AD) according to an algorithm to determine presence of any one or more airborne animals in the airspace. In case it is determined that airborne animals are present, then changing (C_O) one or more parameters of operation of a rotor of the wind turbine, so as to cause the wind turbine to invoke an air pressure and/or wind velocity variation at a distance 10 of the wind turbine, e.g. upstream of downstream of the wind turbine, to deter the airborne animal from approaching the wind turbine. This may be a static increase or decrease in air pressure and/or wind velocity, or an increase in audible noise generated by the wind turbine, e.g. caused by pitching rotor blade(s) to generate more aerodynamic noise. Finally, returning (RNO) to a normal mode of 15 operation of the wind turbine after having caused the wind turbine to invoke the air pressure and/or wind velocity variation.

一种风力发电机组散热装置

NºPublicación:  CN224134778U 17/04/2026
Solicitante: 
中广核新能源乐业有限公司
CN_224134778_U

Resumen de: CN224134778U

本实用新型涉及风力发电技术领域,具体涉及一种风力发电机组散热装置,包括:底座,所述底座上端密封固定连接有机舱,所述机舱内安装有齿轮箱,所述机舱内安装有发电机,所述齿轮箱一侧通过输入轴安装有风轮件,所述齿轮箱另一侧通过输出轴与发电机连接;散热机构,所述散热机构包括固定连接在输出轴侧壁的多个叶轮。本实用新型设置散热机构,当外界下雨时,此时雨量传感器感应到外界下雨的信号,此时会通过外界控制机构控制两个电动推杆收缩,使得横板带动两个第一杆下移,进而两个第一杆通过两个第二杆带动两个防护板向下转动,对多个进风口和多个出风口处倾斜遮挡,避免外界雨水通过多个进风口和多个出风口进入机舱内。

一种变桨轴承开裂预警装置

NºPublicación:  CN224136898U 17/04/2026
Solicitante: 
新疆大学
CN_224136898_U

Resumen de: CN224136898U

本实用新型提供一种变桨轴承开裂预警装置,包括固定座,所述固定座的边侧固定有限位座,所述限位座上焊接有螺纹座,所述螺纹座的内部转动安装有螺纹柱,所述固定座的内部转动安装有环座,所述环座的内壁上焊接有固定架,所述固定架上分别开有固定槽和开槽,所述固定槽的内部活动安装有固定块,所述开槽的内部活动安装有活动块,所述活动块和固定块上均活动安装有探针。该一种变桨轴承开裂预警装置,在使用时固定块和活动块上的探针分别与轴承的固定环和转动环相接触,通过探针实现轴承的全面检测,在检测时探针前后移动完成对轴承的全面快速检测。

一种防漏油罩

NºPublicación:  CN224134780U 17/04/2026
Solicitante: 
苏州新能健电气有限公司
CN_224134780_U

Resumen de: CN224134780U

本实用新型涉及变桨电机技术领域,尤其为一种防漏油罩,包括防漏油结构安装与变桨电机外表面,所述防漏油结构包括磁吸套环和金属密封垫;所述磁吸套环的内壁固定安装有锥形环,所述磁吸套环的外表面一侧固定安装有两个固定座,所述磁吸套环的内部开设有通孔,通过防漏油结构,在将防漏油结构固定在变桨电机上时,通过将磁吸套环套在输出轴外部并吸附在电机外表面,此时通过分别转动转把,使其转动,由于两侧限位杆的限位,可使螺纹杆推动安装座移动将输出轴夹持,由此可在电机工作时不妨碍输出轴的转动,同时由于锥形环的设置,可使润滑油停留在磁吸套环内部,而避免电机内部的润滑油从通孔处甩出,由此达到了防止变桨电机漏油的目的。

Éolienne modulaire à axe horizontal de rotation

NºPublicación:  FR3167410A1 17/04/2026
Solicitante: 
BRUN FABIEN [FR]
FR_3167410_A1

Resumen de: FR3167410A1

L’invention concerne une éolienne (100) modulaire à axe horizontal de rotation (114), comprenant au moins deux pales (140A, 140B, 140C, 140D) solidaires dudit axe horizontal de rotation et régulièrement espacées les unes par rapport aux autres, ladite éolienne (100) étant caractérisée en ce qu’elle comprend au moins un premier module (M) présentant une ossature cubique, une arête supérieure de ladite ossature cubique (M) formant ledit axe horizontal de rotation (114). Figure de l’abrégé : Fig 1

洋上風力発電設備

NºPublicación:  JP2026066592A 17/04/2026
Solicitante: 
清水建設株式会社
JP_2026066592_A

Resumen de: JP2026066592A

0001 【課題】洋上風力発電に適した設置、運用が可能な蓄電装置を備えた洋上風力発電設備を提供する。 【解決手段】洋上風力発電設備10であって、蓄電装置22は、圧縮空気を蓄えるエアタンク30と、連通先をエアタンク30と大気のいずれか一方に切り換え可能に設けられ、水と空気を混合して貯留可能な一対のタンク40と、大気に連通したタンク40から、もう一方のタンク40内に水を供給して水面を上昇させ、このタンク40内の空気を等温圧縮する空気圧縮手段34と、エアタンク30から圧縮空気をタンク40内に供給して水面を下降させ、このタンク40内の圧縮空気を等温膨張させてタンク40内の水を加圧し、加圧した加圧水の水力エネルギーを用いて水力発電を行う水力発電手段38とを有し、エアタンク30は、基礎構造12の内部に形成されるようにする。 【選択図】図1

风力发电机组的安装设备及安装方法

NºPublicación:  CN121872277A 17/04/2026
Solicitante: 
北京金风慧能技术有限公司
CN_121872277_PA

Resumen de: CN121872277A

本申请涉及一种风力发电机组的安装设备及安装方法,安装设备包括吊座、工装主体以及吊具主体,吊座连接于塔筒段的外壁面,工装主体包括安装平台以及设置于安装平台上的第一动力装置,第一动力装置包括第一驱动件以及第一牵引索,第一牵引索与吊座相连,第一驱动件用于收放第一牵引索,并使安装平台沿第一方向升降设置,吊具主体连接于安装平台并能够随安装平台移动,吊具主体用于夹取其中一个塔筒段或者风机部件,以使其中一个塔筒段安装至另一塔筒段上或者使风机部件安装至塔架上。本申请实施例中的风力发电机组,能够降低对吊具的性能要求,克服风力发电机组向高塔架、大容量发展的瓶颈,具有更广泛的应用前景。

一种适用于密集排布风电场的偏航优化方法

NºPublicación:  CN121875893A 17/04/2026
Solicitante: 
大唐同心新能源有限公司
CN_121875893_PA

Resumen de: CN121875893A

本发明涉及风电场智能控制技术领域,具体地说,涉及一种适用于密集排布风电场的偏航优化方法。其包括以下步骤:采集风电场的运行信息、布局参数、环境数据与机组三维时序运行数据,并构建风电场数字化流场描述体系,形成用于偏航决策的数据特征空间;基于数据特征空间引入虚拟激光雷达量测模型进行可观测性计算,筛选并判断激光雷达的最优安装位置;将最优安装位置与机组三维时序运行数据进行融合处理。本发明通过构建融合空间拓扑、时间动态与环境敏感性的高维数字化流场特征空间,并结合虚拟激光雷达可观测性分析与尾流影响规律建模,能够精准识别上游机组偏航对下游机组功率的耦合影响。

一种极限湍流预测方法、装置、电子设备、介质及产品

NºPublicación:  CN121880854A 17/04/2026
Solicitante: 
中国长江三峡集团有限公司
CN_121880854_PA

Resumen de: CN121880854A

本发明涉及海上风电技术领域,公开了一种极限湍流预测方法、装置、电子设备、介质及产品,该方法包括:获取海上风电场的多个实测风数据子集;提取多个实测风数据子集中的多个平均风速值和多个风速标准差值,并构建实时二维数据集;基于实时二维数据集,经过目标高斯混合模型和逆一阶可靠性方法处理,得到海上风电场的极限湍流预测结果,目标高斯混合模型用于拟合平均风速与湍流强度的联合概率分布。通过实施本发明,实现了精准、可靠的极限湍流预测,满足海上风电场应用需求。

具有主动散热功能的集成灶系统及其方法

NºPublicación:  CN121876488A 17/04/2026
Solicitante: 
珠海格力电器股份有限公司
CN_121876488_PA

Resumen de: CN121876488A

本发明公开了一种具有主动散热功能的集成灶系统及其方法。该系统包括:灶具组件,包括燃烧器以及设置于燃烧器下方的玻璃面板;烟机组件,设置于玻璃面板的下方,具有用于抽排油烟的主风道;导流通道,设置于玻璃面板和主风道之间,其进风端位于玻璃面板下方以形成与外部空间连通的空腔,其出风端与主风道连通;其中,烟机组件工作时在主风道内产生负压,该负压驱动气流自外部空间经由空腔和导流通道流向主风道。本发明利用烟机组件现有的抽吸能力作为驱动力,使气流流经玻璃面板下方进行对流换热,在不影响油烟抽排功能的前提下实现玻璃面板的主动散热,有效降低玻璃面板温度,减少用户烫伤风险和变形隐患,提高集成灶的安全性能。

一种电网侧储能协同的球壳夹层状三维晃液系统

NºPublicación:  CN121876122A 17/04/2026
Solicitante: 
国网吉林省电力有限公司经济技术研究院吉林省长春电力勘测设计院有限公司大连理工大学
CN_121876122_PA

Resumen de: CN121876122A

一种电网侧储能协同的球壳夹层状三维晃液系统,属于减振设备技术领域,其布置于风力机组的塔筒中空内部,包括晃液舱和卡盘结构。晃液舱由晃液舱外壁与晃液舱内壁同心设置形成封闭夹层,围成晃液舱腔体室;晃液舱外壁设置有灌液口;晃液舱腔体室内部设有水平挡板和垂直挡板;晃液舱下部与晃液舱固定底座连接。本发明能够在多方向激励作用下形成稳定有效的晃液耗能,实现对塔筒低频、大位移低阶振动模态的有效匹配,适用于不同容量等级和结构特性的风力机塔筒;无需外部供能,适于长期稳定运行,工程适用性强;同时可通过抑制由结构振动诱发的机组运行波动,降低储能系统在风电并网平滑调节过程中的瞬时调节压力,提高风机运行稳定性和并网友好性。

基于多传感器的变桨角度智能控制方法

NºPublicación:  CN121875891A 17/04/2026
Solicitante: 
北京华能新锐控制技术有限公司
CN_121875891_A

Resumen de: CN121875891A

本发明实施例提供了一种基于多传感器的变桨角度智能控制方法,其首先对多源传感器数据进行健康度初评,并利用贝叶斯网络实时评估各传感器的置信度。当核心的激光雷达传感器置信度下降时,系统能利用其他传感器数据通过LSTM模型生成虚拟风场数据,以保障前馈信息的连续性。同时,系统并行运行先进控制器与基线控制器,并基于动态评估的传感器置信度,对二者的控制指令进行平滑加权融合。通过这样的方式,不仅避免了因依赖不可靠数据而导致的控制精度下降,还确保了控制策略的平稳过渡,有效提升了整个系统的运行可靠性。

一种面向长历史数据的周期感知风电功率预测方法

NºPublicación:  CN121880861A 17/04/2026
Solicitante: 
重庆邮电大学
CN_121880861_PA

Resumen de: CN121880861A

本发明属于能源预测技术领域,具体涉及一种面向长历史数据的周期感知风电功率预测方法,包括:通过获取风力发电历史数据;基于自相关函数分析确定数据周期值,将历史数据按周期长度进行分片处理以及序列分解,得到季节性分量和趋势分量;对分片数据进行多尺度特征增强,提取丰富的时序动态信息;基于所述增强的分片表示,通过预测模型输出多个分片预测结果,并根据余弦相似度进行加权融合,得到最终的风力发电功率预测结果。采用时频域差分损失函数对预测模型进行优化训练。本发明能够有效利用长历史窗口中的周期性信息和时序特征,显著提高风力发电功率预测的准确性和计算效率,为电网调度和能源管理提供可靠支持。

一种广告传媒用自动变形过风广告牌

NºPublicación:  CN121884706A 17/04/2026
Solicitante: 
钱浩男
CN_121884706_PA

Resumen de: CN121884706A

本发明涉及广告传媒技术领域,具体涉及一种广告传媒用自动变形过风广告牌,通过传动组件驱动翻板相对于迎面而来的气流方向(即风力方向)发生转动,当翻板的表面转动到与气流方向呈平行状态后,一方面减少了翻板表面与风的接触面积,进而减少了面板所承受的风力面积,另一方面翻板与翻板之间将会产生缝隙,迎面而来的风将会从缝隙进入到圆柱形广告面板内部,然后再经过缝隙从圆柱形广告面板内部逸散到圆柱形广告面板外部,进而实现广告牌的自动变形过风功能。

一种抗风型悬臂式交通标志牌

NºPublicación:  CN121875206A 17/04/2026
Solicitante: 
高新博
CN_121875206_PA

Resumen de: CN121875206A

本发明涉及道路标志牌技术领域,具体为一种抗风型悬臂式交通标志牌,包括立柱,所述立柱上安装有指示牌,所述指示牌用于展示道路交通标志,还包括过载保护装置,所述立柱上安装有过载保护装置,当指示牌的牌面承载风压时,过载保护装置解放指示牌,避免指示牌所受的风压对立柱与地面的连接处造成损坏,所述过载保护装置包括活动安装在立柱内的套筒一,所述立柱内开设有用于限制套筒一转动的限位槽,所述套筒一内侧壁开设有螺纹。本发明通过过载保护装置,当指示牌的牌面承载风压时,过载保护装置解放指示牌,避免指示牌所受的风压对立柱与地面的连接处造成损坏。

一种风电机组自适应间隙密封结构及风电机组

NºPublicación:  CN121875913A 17/04/2026
Solicitante: 
中国电建集团西北勘测设计研究院有限公司
CN_121875913_PA

Resumen de: CN121875913A

本发明公开了一种风电机组自适应间隙密封结构及风电机组,涉及风电机组辅助设备技术领域。该一种风电机组自适应间隙密封结构及风电机组,包括固定端环,所述固定端环包括安装底环,所述安装底环正面固定连接有排油环,所述排油环正面转动连接有转动封环,所述转动封环包括转动连接于排油环外表面的转动体,所述转动体外表面内侧连通有三通环,所述三通环正面设置有外端固定环、随动罩。该一种风电机组自适应间隙密封结构及风电机组,通过设置固定端环、转动封环、随动罩,实现了结构的密封压力随油压的自适应调节,提高了风电机组的间隙密封效果和振动吸收效果,减少外界环境中对风电机组内部的不利影响。

基于乡村养殖场的风力发热装置

NºPublicación:  CN121875898A 17/04/2026
Solicitante: 
宋钰轩
CN_121875898_PA

Resumen de: CN121875898A

本发明属于风力发热领域,尤其涉及一种基于乡村养殖场的风力发热装置,包括交变电流发电机和与所述交变电流发电机电连接的漆包线圈,还包括驱动所述交变电流发电机发电的风机叶片,所述风机叶片垂直设置在转轴顶端,所述加速齿轮组与所述交变电流发电机转子通过直齿轮啮合连接并驱动交变电流发电机转动发电,还包括可以驱动所述交变电流发电机发电的沼气CNG发动机。低风速时,由沼气CNG发动机驱动交变电流发电机转动发电,产生的电流供给漆包线圈,电流流经漆包线圈时电场会产生变化的磁场,变化的磁场与漆包线圈上方的铁质储水装置之间会产生涡电流对水进行加热,加热后的水用于给养殖场供暖,适合广泛推广。

一种可根据高速公路横风强度自动调节的智能挡风屏

NºPublicación:  CN121875201A 17/04/2026
Solicitante: 
新疆大学
CN_121875201_PA

Resumen de: CN121875201A

本发明公开了一种可根据高速公路横风强度自动调节的智能挡风屏,包括挡板,固定在挡板两侧的支架,两个所述支架的下侧末端分别设置有支座,支座的上侧前方固定有固定环,所述挡板的下侧中间固定有玻璃,在玻璃所处挡板后侧位置处的上下两端中间分别固定有固定座,下侧固定座的上侧中间固定有套管,上侧固定座的下侧中间活动连接有转轴,本发明利用调节板两侧方向相反的弧形导板对横风的差异化受力,将风能直接转化为驱动调节板横向移动的机械能,并通过齿轮齿条传动转化为转轴的旋转势能,解决了现有智能挡风屏依赖电力供应、传感器及电子控制系统的问题,在高速公路等野外恶劣环境下,本装置仍能稳定工作,极大降低了维护成本和故障率。

风机控制方法、电子设备、存储介质及程序产品

NºPublicación:  CN121875895A 17/04/2026
Solicitante: 
远景能源有限公司
CN_121875895_PA

Resumen de: CN121875895A

本申请涉及风机技术领域,公开了一种风机控制方法、电子设备、存储介质及程序产品,本申请的风机控制方法包括:获取所述风机的叶片在当前的桨角配置策略下的振动参数;在所述振动参数满足预设条件的情况下,保持当前的所述桨角配置策略;在所述振动参数不满足预设条件的情况下,控制所述风机按照下一个桨角配置策略运行;重复执行所述获取风机叶片在当前的桨角配置策略下的振动参数的步骤。仅需切换不同的桨角配置策略以监测对应的振动参数,最终确定的桨角配置策略下,叶片的振动参数满足预设条件,从而不依赖复杂且精度较低的风速测量,提高了抑制叶片共振的效果。同时,也简化了抑制叶片共振的过程,降低了抑制叶片共振的成本。

一种风电机组主轴承寿命评估方法及装置

NºPublicación:  CN121881833A 17/04/2026
Solicitante: 
中国长江三峡集团有限公司
CN_121881833_PA

Resumen de: CN121881833A

本发明涉及风力发电技术领域,公开了一种风电场主轴承寿命评估方法及装置。该方法包括首先构建主轴承寿命响应面模型,确立以平均风速和湍流强度为核心的风载荷参数与主轴承寿命之间的映射关系;随后基于实测风参构建联合概率分布,通过对联合概率分布进行离散化采样,确定包含平均风速与湍流强度的环境特征对及其相应的概率权重;利用响应面模型确定各环境特征对对应的疲劳寿命,并将其与概率权重耦合,计算得到主轴承的综合疲劳寿命;最后通过遍历风电场内同型号机组的实测风参,实现每台风机主轴承寿命的个体化评估。本发明能够在保证准确性的前提下,显著提升风电场群主轴承寿命评估的效率。

一种用于半潜式风流联合发电装置的水池模型及试验方法

NºPublicación:  CN121875878A 17/04/2026
Solicitante: 
中山大学
CN_121875878_PA

Resumen de: CN121875878A

本发明公开一种用于半潜式风流联合发电装置的水池模型及试验方法,属于海洋工程试验技术领域。水池模型包括拖曳水池、半潜式风流联合发电装置、等效加载系统和数据采集系统。等效加载系统通过连接机构与半潜式风流联合发电装置连接,用于施加模拟竖轴双转子水轮机水动力载荷的等效外力,可精确模拟推力的定常与交变分量。试验方法包括:连接并设定加载系统以模拟水轮机载荷,同时启动造波造流模拟海洋环境,同步采集模型运动与载荷数据以评估装置性能。本发明解决了水池试验难以真实模拟风、浪、流及水轮机动态复杂载荷的难题,能为半潜式风流联合发电装置的稳性与性能评估提供准确、经济的试验手段。

一种太阳能发电机节能装置

NºPublicación:  CN121875897A 17/04/2026
Solicitante: 
广州贝斯特电子科技有限公司
CN_121875897_PA

Resumen de: CN121875897A

本发明涉及光伏发电领域,其公开了一种太阳能发电机节能装置,包括辅助蓄能构件,辅助蓄能构件包括安装架,安装架上设置有分配组件、蓄能组件以及扇轴,扇轴的输入端伸出至外界并设置有叶片,扇轴的输出端与分配组件的输入端连接,分配组件的输出端设置有多个且每个输出端均连接有一个蓄能组件,多个蓄能组件的输出端之间设置有发电机,蓄能组件包括底座、顶座以及用于两者连接的连接杆,底座与顶座之间安装有主丝杆与导杆,主丝杆与分配组件的输出端之间通过减速器实现动力连接,主丝杆的外部设置有升降件,升降件与导杆构成滑动连接,升降件与顶座之间设置有蓄能弹簧,底座与顶座之间安装有副丝杆,副丝杆与升降件构成螺纹连接。

用于野外光伏杆件的风能驱动自适应防松紧固辅助机构

NºPublicación:  CN121876042A 17/04/2026
Solicitante: 
湖南馨雅林工程技术有限公司
CN_121876042_PA

Resumen de: CN121876042A

本发明公开了新能源光伏发电技术领域的用于野外光伏杆件的风能驱动自适应防松紧固辅助机构,所述拼接环形板顶面等距开设有凹槽,且所述拼接环形板外围等距设有弧形围板;修正组件,所述导向框内倾斜设有修正杆,所述修正杆底端通过活动块与导向框活动连接;侧撑组件,所述侧撑组件设于拼接环形板上方;本发明通过呈圆周分布的修正组件应对强风,强风作用于来风方向的迎风板上,风流通过导风软管从出风板快速导出,对修正杆施加向下的作用力。不同于修正树苗的掰弯动作,本发明驱使修正杆顶端的柔性阻尼抱箍向光伏杆件施加侧向挤压力。风力越大,抱紧力越强,从而动态抑制光伏杆件的晃动。

智慧风场风力发电机组健康状态智能检测方法及系统

NºPublicación:  CN121875911A 17/04/2026
Solicitante: 
内蒙古海瑞科技有限责任公司
CN_121875911_PA

Resumen de: CN121875911A

本发明公开了智慧风场风力发电机组健康状态智能检测方法及系统,其包括采集主轴承、齿轮箱、发电机转子及塔筒法兰的振动、声发射、温度梯度与电磁噪声多模态信号;通过时频域联合特征提取生成多维状态特征向量;输入基于机械传动与热耦合关系构建的图注意力网络模型,输出局部健康指数;结合风速、功率及偏航角等工况参数,利用贝叶斯融合推理模型计算整体健康评分并划分状态等级。本申请能够实现早期微弱故障高灵敏识别,提升评估精度与工程可部署性。

一种分片式法兰拼装钢架工装

NºPublicación:  CN121875901A 17/04/2026
Solicitante: 
中水四局(辽宁)能源装备有限公司
CN_121875901_PA

Resumen de: CN121875901A

本发明提供了分片式法兰拼装钢架工装,属于法兰拼装技术领域,它解决了如何实现大直径分片式法兰的精准拼装与变形校正,降低安装难度、缩短施工周期,同时提高工装的通用性和稳定性的技术问题。一种分片式法兰拼装钢架工装,包括六边形型钢,六边形型钢外侧六边中部均固定连接有延伸钢,每个延伸钢底部均固定连接有两个第二支撑腿,每个第二支撑腿与延伸钢连接处的两侧均固定连接有第二加强筋,在本发明中,通过六边形型钢与六组延伸钢构成对称式支撑平台,能对三个分片法兰实现均匀承托,保障法兰放置的水平性,双重调节结构可让千斤顶精准对准分片法兰拼接处,结合千斤顶的顶升作用,有效校正法兰变形,确保塔架后续安装质量。

稀疏化数据条件下风力发电机主传动链部件寿命预测方法

NºPublicación:  CN121875909A 17/04/2026
Solicitante: 
西安交通大学
CN_121875909_PA

Resumen de: CN121875909A

一种稀疏化数据条件下风力发电机主传动链部件寿命预测方法,构建指数形式的退化演化模型对部件状态变化进行描述,并将工况扰动引入模型以提高对实际运行不确定性的表征能力;引入时间尺度平移机制,对观测数据在退化过程中的相对位置进行校准,实现不同观测点在统一时间尺度下与退化模型的匹配;在参数估计过程中,设计融合拟合误差与退化单调性约束的组合损失函数,并结合自适应回溯步长的参数寻优策略,提高模型在稀疏数据条件下的收敛稳定性与拟合可靠性;基于优化得到的退化模型参数,通过退化趋势外推与失效阈值判定实现主传动链部件剩余寿命的计算;本发明在有限观测条件下准确刻画部件退化规律,提升寿命预测结果的稳定性与工程适用性。

一种风力机组的轴向投影风速测量方法和系统

NºPublicación:  CN121878262A 17/04/2026
Solicitante: 
珩辉光电测量技术(吉林)有限公司
CN_121878262_PA

Resumen de: CN121878262A

一种风力机组的轴向投影风速测量方法和系统,涉及激光雷达领域,缓解了现有轴向投影风速的测量技术存在数据连续性不足,无法提供稳定的风速数据、易受到叶片伪影信号干扰和测量不准确的问题。一种轴向投影风速测量方法,获得多组测量数据,针对每一个距离门编号,遍历每一种光束编号,获得有效径向风速值和径向风速状态位,进而获得轴向投影风速。本发明所述的方法适用于风力机组控制领域,本发明所述的风力机组的轴向投影风速测量系统适用于嵌入现有风力机组控制设备中。

一种风力发电系统

NºPublicación:  CN121875888A 17/04/2026
Solicitante: 
孔美玲
CN_121875888_PA

Resumen de: CN121875888A

本发明涉及风力发电领域,更具体的说是一种风力发电系统。相较于传统的风力发电系统,本发明设计一种能够改变角度的扇叶,使得扇叶在顺风过程中角度垂直于风向,从而增大受力面积加快转动;扇叶在逆风转动时,平行于风向从而减少风阻,进而减少速度损失,防止减速造成转速损失;本发明还设计有制动装置,能够在扇叶过速时进行减速,防止发电功率过大造成发电机损坏。

一种风电机组调速系统线性自抗扰控制方法及装置

NºPublicación:  CN121875892A 17/04/2026
Solicitante: 
内蒙古工业大学
CN_121875892_PA

Resumen de: CN121875892A

本申请涉及新能源发电系统控制技术领域,公开了一种风电机组调速系统线性自抗扰控制方法及装置。方法包括:将可调导叶的控制过程抽象为二阶受扰系统,将系统中的未建模动态、参数摄动及外部扰动的总和定义为总扰动,构建线性扩张状态观测器,对系统状态和总扰动进行实时观测与估计,进而基于估计结果构建线性状态误差反馈控制律生成控制指令,该指令用于调节可调导叶开度,以使同步发电机的输入转速快速、稳定地跟踪设定值。本发明有效增强了系统的稳定性与抗干扰能力,显著提升了控制精度与响应速度,且结构简明、参数整定方便。

基于风电余电吸纳的快速启动压缩空气储能系统及其控制方法

NºPublicación:  CN121886515A 17/04/2026
Solicitante: 
华能中盐(常州)储能有限公司南京工程学院
CN_121886515_PA

Resumen de: CN121886515A

本申请公开了一种基于风电余电吸纳的快速启动压缩空气储能系统及其控制方法,该系统包括:功率分配器、锂电池、主压缩机组、至少一台调峰压缩机、多个压缩工质流量阀、多个空气压缩机级间冷却器、储气罐、压力调节阀、涡流管、分配阀、蓄热罐、多个热罐热源供给流量阀、循环工质流量阀、透平进气预冷器、透平发电机组、吸附塔、ORC发电系统和供电控制与黑启动模块;其中,供电控制与黑启动模块,用于根据多种电网运行数据和风电功率执行相应的控制策略。该系统可以自适应启动调峰压缩机吸纳过剩电能,结合混合调频架构与黑启动协议,显著提升了系统响应速度、储能密度、能源综合利用效率及电网支撑能力,实现了风电波动的高效消纳与快速调峰。

风电叶片叶根用内螺纹连接件、外螺纹连接件及紧固系统

NºPublicación:  CN121876054A 17/04/2026
Solicitante: 
中材科技风电叶片股份有限公司
CN_121876054_PA

Resumen de: CN121876054A

本发明涉及一种风电叶片叶根用内螺纹连接件、外螺纹连接件及紧固系统,该内螺纹连接件用于与外螺纹连接件配合,其内周壁面的内螺纹结构包括倒角段及非倒角段,倒角段从与非倒角段连接的一端开始直径逐渐增加,非倒角段具有沿轴向螺旋延伸的完整内螺纹牙,倒角段具有与非倒角段的完整内螺纹牙连接且沿轴向螺旋延伸的不完整内螺纹牙,不完整内螺纹牙的牙底径及螺距与完整内螺纹牙相同,高度随着与非倒角段距离的增加而降低,内螺纹连接件从倒角段一侧套装于外螺纹连接件。上述内螺纹连接件可减小外螺纹连接件与内螺纹连接件配合的第一外螺牙位置的应力水平,使载荷分布更均匀,外螺纹连接件不易断裂,进而提高外螺纹连接件及整个紧固系统的承载力。

一种摆尾式叶片、风电机组的叶轮和风电机组

NºPublicación:  CN121875889A 17/04/2026
Solicitante: 
北京三力新能电气设备有限公司
CN_121875889_PA

Resumen de: CN121875889A

本发明公开了一种摆尾式叶片、风电机组的叶轮和风电机组。叶片分为固定部分和摆动部分。摆动部分由多个链节单元和销轴共同建立的链接矩阵以及叶片壳体分段构成。链节单元包括链接件,套管和支撑件。两个链接件平行设置,之间设置套管和支撑件。套管套入销轴,支撑件支撑叶片壳体分段。一组沿着叶片的弦线方向布置并穿过多个销轴的链节单元为基本行,相邻的基本行构成链接结构。沿着叶片的展向的多个链节单元构成基本列,基本列中的支撑件共同支撑叶片壳体分段。多个叶片壳体分段共同拟合叶片的翼面。这种摆尾式叶片改变气动外形,改变攻角,改善叶片的气动性能,解决垂直轴机组启动难以及提速难的问题。同时成本低,结构简单,易加工制造。

一种适用于户外的折叠式遮阳篷

NºPublicación:  CN121875515A 17/04/2026
Solicitante: 
浙江索普实业有限公司
CN_121875515_PA

Resumen de: CN121875515A

本发明公开了一种适用于户外的折叠式遮阳篷,涉及户外折叠遮阳篷技术领域,包括:锥形座以及安装在其上的第一组件,第一组件包括:固定连接于锥形座上端的卡接体;通过第二组件中风速片的设置,通过风速片在大风天气下的风力驱动,带动环体在T型环槽内稳定滑动,进而同步驱动螺旋触发体与挡板转动。该组件无需额外能源供给,完全依赖自然风能实现动力转化,既符合绿色环保的使用理念,又能确保在户外无外接能源的场景下及时响应大风天气,且螺旋触发体的递增式螺旋结构设计,能使挡板的转动位移更具渐进性,避免动力传递过程中的冲击,保障后续第三组件触发动作的平稳性,有效提升了动力转化的可靠性与适配性。

用于风机塔筒的结构智能安全预警方法及系统

NºPublicación:  CN121875910A 17/04/2026
Solicitante: 
上海舸润电力科技有限公司
CN_121875910_PA

Resumen de: CN121875910A

本发明提供用于风机塔筒的结构智能安全预警方法及系统,涉及风力发电结构健康监测技术领域,其方法包括采集风机塔筒的物理感知和环境激发数据并进行预处理,汇总得到标准化结构数据;将该数据输入CNN‑LSTM‑Attention双通道路径神经网络模型,提取结构空间几何特征和结构时序演化特征,经注意力机制融合后输出健康响应预测值;获取实测健康值,比对健康响应预测值与实测健康值得到健康响应残差;比对健康响应残差与动态残差阈值进行预警判定,通过特征贡献度分析进行故障归因,输出综合预警信息,从而实现对风机塔筒结构状态的智能监测和安全预警,准确区分环境扰动和结构隐患,大幅降低误报率,提前识别倒塌前兆。

陆上风电预应力中空夹层钢管混凝土塔架及其施工方法

NºPublicación:  CN121875903A 17/04/2026
Solicitante: 
浙江运达擎风新能智能装备有限公司重庆大学中广核风电有限公司
CN_121875903_PA

Resumen de: CN121875903A

本发明公开陆上风电预应力中空夹层钢管混凝土塔架及其施工方法,涉及风电塔架技术领域。该陆上风电预应力中空夹层钢管混凝土塔架包括从下至上依次同轴设置的预应力中空夹层钢管混凝土段、钢塔段和顶部平台,塔架还内置有结构健康监测系统。应力中空夹层钢管混凝土段在保证抗弯刚度和承载能力的同时,减轻结构自重,既降低对地基要求,也使单个预制节段易于运输,采用工厂预制,施工过程受气候影响小,干式连接节点实现现场快速拼接,节点少,降低吊装要求,同时,该塔架结构为内置传感器组提供布设环境,便于对塔架状态进行监测,确保结构的整体性与长期可靠性。

一种用于超大风电主轴的自重承载式滚轮托架

NºPublicación:  CN121870686A 17/04/2026
Solicitante: 
江苏宏德特种部件股份有限公司
CN_121870686_PA

Resumen de: CN121870686A

本发明公开了一种用于超大风电主轴的自重承载式滚轮托架,属于风力发电机组技术领域,解决了现有刚性托架支撑受力不均、无法自动复位的问题。该托架包括包络装置、柔性托架、限位装置、支承架、自锁机构、托架支承车及压缩弹簧,借助主轴自重实现自动贴合与承载。主轴放入时,柔性托板下沉缓冲,限位装置随之下移,通过限位槽与夹板限位块的滑动配合驱动夹板包络主轴;自锁机构经重力作用自动复位形成被动自锁,防止主轴上跳滑移。主轴取出时,外力解锁自锁机构,弹簧拉力带动各部件自动复位,使包络装置恢复打开状态。本发明的托架无需人工调节,兼具支撑与移动功能,能吸收运输冲击、避免主轴表面损伤,且通过可靠自锁功能防止主轴上跳滑移。

风能循环发电用电装置

NºPublicación:  CN121875906A 17/04/2026
Solicitante: 
上海唯壹能源科技有限公司
CN_121875906_PA

Resumen de: CN121875906A

本发明公开了风能循环发电用电装置,属于风力发电技术领域,包括承载底板,所述承载底板的顶端面上固定连接有减速器,所述减速器的一侧设置有输入轴,所述输入轴与风电叶片相连接,所述减速器的输出端上安装有输出轴,本发明通过设置传动齿轮、从动齿轮、固定摩擦盘、伺服推杆、移动支座及活动摩擦盘等部件,可以通过伺服推杆驱动移动支座移动使活动摩擦盘与固定摩擦盘实现可控的摩擦接触,使得输出轴的动力能够选择性地传递至发电盘,本装置能够根据不同风速及发电需求灵活调整动力传递路径,实现动力分配与能量转换过程的精确控制,避免因动力持续输出造成的能量浪费,为系统内部循环供电提供了可控的动力基础。

一种风电混塔环向预应力锚具

NºPublicación:  CN121875433A 17/04/2026
Solicitante: 
天津银龙工程科技有限公司
CN_121875433_PA

Resumen de: CN121875433A

本发明提供一种风电混塔环向预应力锚具,包括锚环和调节环,所述调节环套设在所述锚环外侧,所述调节环通过螺纹与锚环连接;所述锚环上有一个锚孔,所述锚孔内安装有夹片,所述夹片上方设置有压板,所述夹片和压板之间设置有弹垫。本发明的有益效果是:本发明解决了张拉过程中,因回缩导致的钢绞线应力损失问题。可以有效控制钢绞线应力值,满足应力控制要求。

用于特殊升空桩位置高空风能的重载导向滑轮空间布置方法及设备

NºPublicación:  CN121881638A 17/04/2026
Solicitante: 
中国能源建设集团安徽省电力设计院有限公司
CN_121881638_PA

Resumen de: CN121881638A

本发明涉及一种用于特殊升空桩位置高空风能的重载导向滑轮空间布置方法,包括:判断升空桩在水平面的投影点是否位于卷扬机机组出绳方向在水平面投影线的延长线上;若否,需建立空间坐标系,确定重载导向滑轮前、后缆绳的方向向量,确定一个平面,计算平面方程,根据重载导向滑轮的半径,确定重载导向滑轮的中心坐标,结合平面方程完成重载导向滑轮的布置。本发明的高能风能发电机组布置突破了场地的限制,升空桩在水平面的投影点不再拘泥布置于卷扬机机组出绳方向在水平面投影线的延长线上,整个厂区布置更加灵活;利用建立空间坐标系,通过数学方法确定重载导向滑轮空间布置参数,方便准确,为设计和施工提供依据。

机架及其制造方法、制造模具、传动总成及风力发电机组

NºPublicación:  CN121875912A 17/04/2026
Solicitante: 
金风科技股份有限公司
CN_121875912_PA

Resumen de: CN121875912A

本申请涉及一种机架及其制造方法和制造模具、传动总成及风力发电机组,机架包括底座以及轴承座,底座包括底座本体以及支撑体,轴承座连接于支撑体背离底座本体的一侧,轴承座包括轴承座本体以及设置于轴承座本体且沿轴承座本体的轴向间隔分布的轴承安装部,轴承座本体包括沿径向设置的顶部和底部,顶部和底部均贯穿设置有工艺孔,工艺孔用于与型芯总成配合,轴承座与底座为一体式结构体。本申请实施例中的机架,能够在铸造的过程中保持型芯总成的稳定,更为可靠地实现机架的一体式铸造成型。

一种水下沉箱式数据中心结构

NºPublicación:  CN121875296A 17/04/2026
Solicitante: 
华南理工大学
CN_121875296_PA

Resumen de: CN121875296A

本发明涉及海洋工程中数据中心建设技术领域,公开一种水下沉箱式数据中心结构,包括一体化重力式复合结构沉箱、数据中心模块、散热系统、数据传输系统和风电系统;一体化重力式复合结构沉箱包括由上至下依次固接的竖井段、锥台段和圆柱段,竖井段的顶部伸出水面,圆柱段内腔底部设有配重结构;锥台段和圆柱段的内腔中均安装有环形加强肋;数据中心模块安装在锥台段和圆柱段的内腔中,并且数据中心模块呈矩阵式排布;散热系统安装在数据中心模块表面,散热系统与海水连通;数据传输系统安装在竖井段内腔,数据中心模块通过数据传输系统接入陆地骨干网。本发明可减少数据中心的占地和能耗,提升整体结构强度,提高运行稳定性。

一种水性树脂组合物及其制备方法和应用

NºPublicación:  CN121873652A 17/04/2026
Solicitante: 
万华化学集团股份有限公司
CN_121873652_A

Resumen de: CN121873652A

本发明提供一种水性树脂组合物及其制备方法和应用,包括水性聚氨酯分散体乳液和水性羟基丙烯酸分散体乳液;所述水性聚氨酯分散体乳液通过将第一原料混合物在包括两个伯胺的扩链剂下聚合得到,所述第一原料混合物包括多异氰酸酯、大分子多元醇、小分子多元醇;所述水性羟基丙烯酸分散体乳液中,羟值的质量百分含量不低于3%,且重均分子量不小于20000;其中,所述水性聚氨酯分散体乳液和水性羟基类丙烯酸分散体乳液的质量比为(1:2)~(2:1)。本发明的水性树脂组合物不仅粘度更加稳定,且固化成膜速度快,成膜在柔韧性、消光性、耐候性、耐腐蚀性方面均具有较为优异的表现。

一种结合柴油机及新能源的多能源互补发电车

NºPublicación:  CN121871489A 17/04/2026
Solicitante: 
江苏龙擎动力科技股份有限公司
CN_121871489_PA

Resumen de: CN121871489A

本发明公开了一种结合柴油机及新能源的多能源互补发电车,包括牵引车、箱架、光伏组件、H型架、风能组件、液压升降机、柴油机和储能控制箱,箱架固定在牵引车车板,光伏组件包括插销组件、H型架、锁紧螺栓、顶板和两个侧板,顶板架设在箱架顶部,两个侧板分别铰接在顶板两侧,且可向上翻转至与顶板平齐,多个插销组件对称设在顶板与两个侧板之间,H型架可升降滑动地卡设在箱架上,H型架顶部铰接在顶板前端,风能组件包括台架和风机,风机可转动地固定在台架顶部,台架侧部可升降地卡设在牵引车车头侧部,风机可降至不高于牵引车车顶,液压升降机可滑动地设在牵引车车头和箱架之间,储能控制箱分别与柴油机、光伏组件和风能组件电线连接。

一种基于传感监测的可收缩垂直轴风力发电装置及方法

NºPublicación:  CN121875890A 17/04/2026
Solicitante: 
烟台哈尔滨工程大学研究院哈尔滨工程大学
CN_121875890_PA

Resumen de: CN121875890A

本发明提供了一种基于传感监测的可收缩垂直轴风力发电装置及方法,属于海洋工程技术领域,该装置包括:三个圆周均匀分布的H型垂直轴风机叶片,所述H型垂直轴风机叶片通过斜撑杆件与可收缩连接结构连接,所述可收缩连接结构安装在中心立柱上,所述中心立柱内部嵌入上下不同高度的两个传感器,所述中心立柱下端安装有制动器、发电机,当可收缩连接结构驱动斜撑杆件运动时,H型垂直轴风机叶片能够实现同步收缩或展开,该装置通过传感监测系统、制动系统与机械收缩结构的协同配合,实现了风机叶片工作状态的智能调控。本发明实现了发电效率与运行安全性的平衡,具有自适应强、可靠性高、成本可控的显著优势。

一种建筑施工多功能用集装箱屋

NºPublicación:  CN121875513A 17/04/2026
Solicitante: 
中铁武汉电气化局集团第一工程有限公司
CN_121875513_PA

Resumen de: CN121875513A

本发明涉及集装箱技术领域,公开了一种建筑施工多功能用集装箱屋,包括箱体、隔热层、储物组件、屋顶组件和自发电组件,其中,所述箱体包括支撑框架、第一支撑侧板、支撑底板和支撑顶板,所述支撑框架围合形成有第一容纳空间,所述第一支撑侧板设置于所述支撑框架的外周面,所述支撑底板设置于所述支撑框架的底面,所述支撑顶板设置于所述支撑框架的顶面;所述第一支撑侧板内部中空形成安装区域,所述隔热层设置于所述安装区域内;所述储物组件设置于所述第一容纳空间内部且所述储物组件的底部与所述支撑底板固定连接;具有阻燃保温功能,且能够自发电满足电力需求,实现户外办公、多媒体信息展示、灾害后应急指挥、应急供电、货物储物功能。

一种电力保障户外用电源及操控方法

NºPublicación:  CN121876594A 17/04/2026
Solicitante: 
枣庄贵人科技服务有限公司
CN_121876594_PA

Resumen de: CN121876594A

本发明公开了一种电力保障户外用电源及操控方法,所述主壳体底部设有水平的风筒,所述风筒内壁前部固定有竖直的支撑架,所述支撑架中部转动连接有水平的空心轴,且上部转动连接有水平的二号轴,所述主壳体中部转动连接有水平的一号轴,且内壁固定有竖直的直流电机,所述主壳体前后两端各固定有两个上铰接座和两个上扣接座。本发明通过发电组件、挡风组件、鼓风管、放置架和支撑臂等的配合,能够实现鼓风机和太阳能灶的功能,从而能够辅助进行烹饪,且与直流电机配合能够充当风扇进行使用,从而能够提高野炊时的舒适性,而传动组件具有铲子和锄头的功能,便于进行掘土作业,方便进行埋锅造饭等,从而方便进行野炊。

一种抽水蓄能-风电联合运行系统的协同控制方法

NºPublicación:  CN121875884A 17/04/2026
Solicitante: 
中国电建集团北京勘测设计研究院有限公司
CN_121875884_PA

Resumen de: CN121875884A

本发明涉及水电能源系统过渡过程与控制技术领域,具体涉及一种抽水蓄能‑风电联合运行系统的协同控制方法,方法包括:获取系统多频动态特性分析结果,包括低频质量波、中频水锤波、高频电气波的动态响应及子系统与子波耦合关系;结合协同控制理论,选取水泵水轮机转速、导叶开度为关键状态变量,确定宏变量并推导控制方程;采用该策略针对性控制子波优先控制中频水锤波,通过调控调压室水位、机组转速等关键状态变量,实现系统协同精确控制。本发明可有效抑制多源耦合扰动,提升系统稳定性与调节性能,适配各类抽水蓄能‑风电联合运行场景,通用性强。

防雷保护结构、风机叶片和薄膜覆盖方法

NºPublicación:  CN121875914A 17/04/2026
Solicitante: 
国网湖南省电力有限公司湖南防灾科技有限公司国网湖南省电力有限公司防灾减灾中心国家电网有限公司
CN_121875914_PA

Resumen de: CN121875914A

本申请涉及风机叶片防护技术领域,公开了一种防雷保护结构、风机叶片和薄膜覆盖方法,包括依次层叠设置的基层、电加热层和绝缘防护层,基层为导热材质制件且铺设于风机叶片的表面,绝缘防护层铺设于基层背离风机叶片的一侧,电加热层位于基层与绝缘防护层之间,电加热层用于对基层热量传输,以将热量通过基层传导至风机叶片。加热件与电加热层电连接并对电加热层进行加热。温度传感器设于电加热层内并用于获取电加热层的当前温度信息,温度传感器的数量为多个且沿风机叶片的长度方向间隔布置。控制模块与温度传感器、加热件均电连接,控制模块用于根据当前温度信息控制加热件的启停。防雷保护结构能够有针对性地进行加热除冰,提升了除冰效果。

一种电网侧储能联动的升降挡板晃液阻尼装置

NºPublicación:  CN121876123A 17/04/2026
Solicitante: 
国网吉林省电力有限公司经济技术研究院吉林省长春电力勘测设计院有限公司大连理工大学
CN_121876123_PA

Resumen de: CN121876123A

一种电网侧储能联动的升降挡板晃液阻尼装置,属于减振设备技术领域,该阻尼装置套接在塔筒上,由晃液舱外壁、晃液舱内壁、晃液舱上盖和晃液舱下底包围构成封闭的晃液舱腔体室,内填充有上层液体和下层液体。晃液舱内外壁上设有滑槽用于安装可升降挡板,通过改变其相对高度,将晃液舱腔体室划分为主要晃液区和无隔板连通区。本发明通过双液分层与可升降挡板的创新设计,实现了晃液阻尼特性的动态调控,提升了阻尼装置对风力发电机不同运行工况的适配性,也可以有效规避共振风险、降低部件冲击损伤,延长阻尼装置与风力发电机的整体服役寿命,并有利于抑制塔筒异常振动向机组输出功率波动的传递效应,降低储能系统的瞬时补偿负担。

一种多应用场景下抽蓄风电耦联系统的参数敏感性评估方法

NºPublicación:  CN121881546A 17/04/2026
Solicitante: 
中国电建集团北京勘测设计研究院有限公司
CN_121881546_PA

Resumen de: CN121881546A

本发明涉及非线性动力系统的参数敏感性分析技术领域,尤其涉及一种多应用场景下抽蓄风电耦联系统的参数敏感性评估方法;包括以下步骤:S1、建立反映抽蓄风电耦联系统动态特性的数学模型;S2、选取不确定参数,计算出不确定参数对状态变量在时域内敏感性指数的动态过程;S3、计算一阶敏感性指数和总敏感性指数;S4、计算多个应用场景下系统参数的敏感性评估指标,包括一阶稳定灵敏度、总稳定灵敏度、最大一阶平均灵敏度、最大总平均灵敏度、一阶稳定平均灵敏度、总稳定平均灵敏度、最大一阶平均耦合性指数和最大总平均耦合性指数;S5、对系统进行参数敏感性分析;全面反映出抽蓄风电耦联系统在多种运行场景下的参数敏感性。

一种基于节点-线段链模型的风机叶片弯曲形态监测方法

NºPublicación:  CN121875908A 17/04/2026
Solicitante: 
浙江大学绍兴研究院
CN_121875908_PA

Resumen de: CN121875908A

本发明涉及结构健康监测与数据处理技术领域,尤其是一种基于节点‑线段链模型的风机叶片弯曲形态监测方法,包括以下步骤:在风机叶片上布置若干个传感节点;分别以各传感节点的三维坐标为中点,生成若干空间线段;将所有空间线段依次首尾相连,构建节点‑线段链模型;以最小化几何偏差并约束相邻线段间夹角为目标,对所述节点‑线段链模型中各空间线段的方向进行拟合优化;根据优化后的节点‑线段链模型、各传感节点的三维坐标和预存的风机叶片的设计模型,计算节点‑线段链模型的几何误差、平滑性指数和结构一致性,并生成综合评分。采用本方案,能够兼顾局部形变特征与整体平滑性、具备较高计算效率,实现拟合质量的可量化评价。

一种含广义卡诺电池的区域电网系统

NºPublicación:  CN121886590A 17/04/2026
Solicitante: 
中科南京未来能源系统研究院中国科学院工程热物理研究所
CN_121886590_PA

Resumen de: CN121886590A

本发明涉及供电技术领域,尤其是一种含广义卡诺电池的区域电网系统。该系统包括:风光互补发电系统,用于向电解制氢系统及其他设备供电;电解制氢系统,用于制取氢气;氢燃料电池,用于消耗氢气产生电力;超临界二氧化碳热泵熔盐储热系统,通过压缩机驱动的二氧化碳换热循环,将电能转化为热能并储存在熔盐介质中;蒸汽循环发电系统,包括熔盐循环和水循环,通过熔盐与给水换热生成水蒸气驱动透平发电。本发明采用风光富余电能的“热–氢”双路径储能方式,并通过超临界二氧化碳循环与熔盐、水双蓄热介质的耦合,提高电–热转换效率。本发明还可与蒸汽发电机组深度耦合,实现多维度调峰。

新型风力发电机

NºPublicación:  CN121875899A 17/04/2026
Solicitante: 
康国钧
CN_121875899_PA

Resumen de: CN121875899A

本发明公开了新型风力发电机,包括支架,所述支架由机舱、偏航舱和若干个用于连接机舱、偏航舱的管体组成,所述机舱和若干个管体依次固定连接,最顶端的所属管体通过轴承与偏航舱转动连接,所述偏航舱内转动连接有扇叶轴,所述扇叶轴的一端贯穿偏航舱后固定连接有扇叶,所述偏航舱、管体、机舱内共同穿设有传动轴,机舱内安装有发电机组;本发明通过将发电机组安装在位于支架底端的机舱内,在安装及检修时,无需使用吊车将发电机组吊起至数十米的高空,能够有效的降低风力发电机中发电机组的安全与检修难度,且有效的降低了风力发电机的顶端的重量,从而降低了风力发电机对塔杆的高度要求,节约了风力发电机的生产成本。

风力发电机机舱的通风除尘装置

NºPublicación:  CN224134775U 17/04/2026
Solicitante: 
昆明仟茂新能源有限公司
CN_224134775_U

Resumen de: CN224134775U

本实用新型公开了风力发电机机舱的通风除尘装置,包括:机舱主体,所述机舱主体底部的左端固定安装有进风框,所述进风框内腔的上端固定连接有导风壳。本实用新型通过进风框、导风壳和轴流风机的设置,能够带动外界的气流快速的向机舱主体的内部进行吹送的同时,在排风框、排风壳和排风口的作用下,能够将机舱主体内部所吹送的气流向外界进行排风,从而实现对机舱主体内部进行通风的目的,同时通过尾舵和容纳槽的设置,能够带动排风壳和排风口处跟随风向进行转动,以使排风口的排风路径能够跟随风向,则有效的避免了外界的空气对排风口处进行直吹而向机舱主体的内部灌流,从而确保机舱主体内部的通风作业能够正常进行。

一种基于风力发电检修的叶尖夹持装置

NºPublicación:  CN224129552U 17/04/2026
Solicitante: 
华电重庆新能源有限公司
CN_224129552_U

Resumen de: CN224129552U

本实用新型公开了一种基于风力发电检修的叶尖夹持装置,涉及风力发电检修设备技术领域,旨在解决当前夹持装置对叶尖夹持效果不好的技术问题,包括固定支架,所述固定支架内部两侧滑动布置有安装架。本实用新型通过设计的夹持架、顶持杆、传导架、第二电动液压推杆、定位齿板和配合齿板,在对风轮叶片的叶尖进行夹持时,可以通过固定支架上的第一电动液压推杆推动夹持架向叶尖移动,此时夹持架上若干组顶持杆的圆形顶块会通过橡胶垫与叶尖表面的不同局域接触,并且顶持杆会进行不同程度的滑动,然后若干组顶持杆会组合形成一个匹配于叶尖表面的形状。

一种传动链结构及风力发电机组

NºPublicación:  CN224135136U 17/04/2026
Solicitante: 
三一重能股份有限公司
CN_224135136_U

Resumen de: CN224135136U

本申请提供一种传动链结构及风力发电机组,涉及风电液压变桨技术领域。该传动链结构包括轮毂,具有第一容纳腔;安装支座,与机舱的底架连接;传力筒,传力筒转动设置在安装支座内,传力筒与轮毂连接且与轮毂同步旋转,传力筒具有第二容纳腔。通过将液压变桨系统的部件集成于传力筒内和轮毂内,由于传力筒与轮毂同步旋转,无需连接旋转轮毂与静止机舱的高压油电滑环传递液压动力,从而通过取消高压油电滑环,消除因其密封面磨损导致的泄漏路径。同时部分液压变桨系统的部件设置在传力筒内,减小对轮毂的占用空间,从而扩大了轮毂运维空间。

一种用于风电塔架的新型组合转接结构

NºPublicación:  CN224134772U 17/04/2026
Solicitante: 
重庆交通大学
CN_224134772_U

Resumen de: CN224134772U

本实用新型涉及风电塔架技术领域,尤其涉及一种用于风电塔架的新型组合转接结构。本实用新型包括与混凝土塔筒顶部连接的外钢壳和内钢壳,外钢壳内侧的底部固定有内钢壳,外钢壳和内钢壳之间填充有混凝土,外钢壳与内钢壳之间装配有加固机构,加固机构包括内腔、第一加劲肋、第二加劲肋和折型施力加劲肋。本实用新型通过加固机构、辅助机构和配合机构的结构设计,使本装置能够有效提高转接段的承载能力和整体强度,减少应力集中和裂缝产生的风险,能够为风电机组钢混塔架的安全稳定运行提供更加可靠的保障,且通过对螺杆长度的控制,可以把钢塔做得更大,有利于提升本装置适用范围。

风力发电机舱多部件故障智能诊断方法、系统、设备及介质

NºPublicación:  CN121875907A 17/04/2026
Solicitante: 
华能重庆奉节风电有限责任公司中国华能集团清洁能源技术研究院有限公司
CN_121875907_PA

Resumen de: CN121875907A

本发明公开了一种风力发电机舱多部件故障智能诊断方法、系统、设备、介质及程序,属于风力发电技术领域。方法包括采集风力发电机舱内部的多源声学信号,并进行预处理,得到预处理后的声纹信号,生成声谱图;对预处理后的声纹信号进行跨域特征提取,通过主成分分析进行特征降维和冗余消除,构建声纹特征向量;将声谱图及声纹特征向量输入CNN‑LSTM融合诊断模型中,进行故障诊断,得到故障诊断结果;将故障诊断结果与故障‑声纹知识图谱进行匹配,生成决策建议。本方法通过非接触式声纹监测与多维度分析,实现了对风力发电机舱多部件并发故障的高精度、实时诊断与主动决策,有效克服了传统振动监测部署复杂及声音信号抗干扰。

一种考虑空气密度变化的风电机组多参数协同控制方法

NºPublicación:  CN121875894A 17/04/2026
Solicitante: 
华能国际电力股份有限公司重庆清洁能源分公司中国华能集团清洁能源技术研究院有限公司
CN_121875894_PA

Resumen de: CN121875894A

本发明提出一种考虑空气密度变化的风电机组多参数协同控制方法。本发明通过在设计阶段仿真计算找出空气密度上下阈值边界,得到空气密度上阈值内风电机组的变桨、偏航、转速、转矩等组合控制方法,以及在空气密度下阈值最小桨距角、变桨、转速及转矩等控制参数的控制方法。通过本方法可以降低风电机组在寒潮等高空气密度下风电机组发生叶片扫塔、倒塔等事故概率,同时在夏季低空气密度时,尽可能提高风电机组发电效率。

一种综合发电装置及方法

NºPublicación:  CN121887082A 17/04/2026
Solicitante: 
张与琦
CN_121887082_PA

Resumen de: CN121887082A

本发明属于发电设备技术领域,公开了一种综合发电装置及方法,装置包括立柱一的侧壁设置链轮一和链轮二,立柱二的侧壁从上至下设置链轮三、链轮四和链轮五,并连接链条,链轮一至链轮五皆驱动连接发电机;第五链轮同轴连接桨轮;底座的上方竖直设置循环腔,循环腔的内壁被竖直的隔板分隔成左室和右室,隔板的两端留空将左室和右室连通,左室的左壁转动连接叶轮,叶轮驱动连接发电机,隔板的底端左侧固定连接水平的阻水板,阻水板具有向下开放的单向孔,右室内部设置液体,液体上方漂浮有小球,右室的右壁顶端设置朝左的电磁推杆。本发明综合利用重力、风能、光能进行发电,能够做到低能耗、低成本、绿色无污染地运作发电。

一种冷却系统及风力发电机组

NºPublicación:  CN121875916A 17/04/2026
Solicitante: 
华能国际电力开发公司吉林通榆风电分公司
CN_121875916_PA

Resumen de: CN121875916A

本发明提供了一种冷却系统及风力发电机组,包括机舱、集水装置、集水槽、集成冷却套、储液箱与散热装置,所述机舱其外部套设有一个集成冷却套,所述集水装置设置于机舱顶部,所述集水装置包括集水槽和与集成冷却套顶部连通的导流管,所述储液箱设置于机舱下方。本申请通过设置有集水装置、集成冷却套与散热翅片之间的相互配合,通过利用雨水等自然水源和高度差实现冷却液的初步循环,结构简单,降低了对外部能源的依赖,液体在重力作用下经导流管流下,同时液体进入集成冷却套的S形流道,带走机舱内部设备产生的热量,被加热的液体流经集成冷却套外侧的散热翅片时,与外界空气进行热交换而冷却,最后回流至储液箱,完成一个循环。

一种便携型氦气浮空发电装置

NºPublicación:  CN224134768U 17/04/2026
Solicitante: 
武汉船舶职业技术学院
CN_224134768_U

Resumen de: CN224134768U

本实用新型涉及电力工程技术领域,公开了一种便携型氦气浮空发电装置,包括机体,所述机体的内壁右侧设置有安装机构,所述安装机构用于方便对设备进行快速安装和拆卸,所述安装机构的左侧设置有发电机构,所述发电机构用于将风能转化成电能,所述安装机构包括安装环,所述安装环的外壁与机体的内壁右侧滑动连接,所述安装环的内壁右侧固定连接有多个支撑杆一,所述支撑杆一的端部设置有卡和组件,所述机体的内壁右侧靠近边缘处设置有导向组件。本实用新型中,将导向块推入导向槽二,转动安装环使导向块沿槽内壁滑动至弹簧柱位置,卡槽推动滑动块和导向块卡入弹簧柱,拉动按动块,简化了拆卸步骤,便于携带和使用。

一种风力发电机轴承润滑装置

NºPublicación:  CN224134779U 17/04/2026
Solicitante: 
海南新丰源实业有限公司
CN_224134779_U

Resumen de: CN224134779U

本实用新型涉及轴承加工技术领域,公开了一种风力发电机轴承润滑装置,包括固定台,所述固定台的前端沿圆周方向设有若干驱动轮,所述驱动轮与所述固定台转动连接,所述驱动轮的一侧设有滑动杆,所述滑动杆与所述固定台的前端壁面滑动连接,所述滑动杆的前端均指向由所述驱动轮围成的圆的圆心,所述滑动杆的一侧设有与驱动轮相啮合的矩形齿条,所述滑动杆的前端设有夹紧头,所述固定台上设有带动所述驱动轮同步转动的驱动组件,本装置通过滑动杆前端的夹紧头对轴承外壁进行夹持,呈环形分布的滑动杆会将不同大小的轴承牢牢卡紧在固定台的中心位置,从而完成对不同大小的轴承的有效固定,方便对其加注润滑油进行润滑。

一种便于调节的风力发电机支架

NºPublicación:  CN224134773U 17/04/2026
Solicitante: 
华能营口仙人岛热电有限责任公司明阳智慧能源集团股份公司
CN_224134773_U

Resumen de: CN224134773U

本实用新型公开了一种便于调节的风力发电机支架,涉及风力发电机技术领域。本实用新型包括底板和固定连接在底板的顶部的圆筒支架,所述圆筒支架的上方设置有安装板,还包括:自锁部,所述自锁部设置在圆筒支架上;以及高度调节部,所述高度调节部安装在圆筒支架上;其中,自锁部用于在高度调节后锁住高度调节部,圆筒支架固定连接在高度调节部顶部,高度调节部用于调节安装板的高度。本实用新型通过设置自锁部,解决了该装置在使用时,不便于防止螺纹杆因风力发电机的重量和装置运行时振动而倒转,导致风力发电机的高度偏离预设,使其难以长期维持在适宜风速的高度工作,从而降低了发电效率的问题。

FAULT EARLY WARNING METHOD AND APPARATUS FOR YAW SYSTEM OF WIND TURBINE GENERATOR UNIT

NºPublicación:  WO2026076914A1 16/04/2026
Solicitante: 
HUANENG ANHUI MENGCHENG WIND POWER GENERATION CO LTD [CN]
\u534E\u80FD\u5B89\u5FBD\u8499\u57CE\u98CE\u529B\u53D1\u7535\u6709\u9650\u8D23\u4EFB\u516C\u53F8
WO_2026076914_A1

Resumen de: WO2026076914A1

Provided are a fault early warning method and apparatus for a yaw system of a wind turbine generator unit. The method comprises: monitoring real-time data of a yaw system of a wind turbine generator unit, wherein the real-time data comprises an effective output power and an inflow wind speed, the inflow wind speed comprising an average inflow wind speed at the effective output power and an average inflow wind speed at a rated power; inputting the effective output power, the average inflow wind speed at the effective output power, and the average inflow wind speed at the rated power to a pre-constructed fault identification model, and outputting a fault identification result; and performing fault early warning on the basis of the fault identification result. By means of performing early warning by a fault identification model, the timeliness of the fault early warning is effectively ensured, enabling corresponding preventive maintenance to be performed during a fault incubation period, thereby ensuring the safety of a yaw system. Moreover, a fault early warning model is determined on the basis of multiple types of data, which further improves the accuracy of the fault early warning.

Windkraftanlage und Verfahren zum Betreiben

NºPublicación:  DE102024129900A1 16/04/2026
Solicitante: 
MAIER WALTER [DE]
DE_102024129900_PA

Resumen de: DE102024129900A1

Es wird eine Windkraftanlage (10) mit einem um eine Hauptdrehachse (20) drehbaren Tragabschnitt (16), welcher drehfest mit einem Generator koppelbar ist vorgeschlagen. Dabei sind wenigstens zwei Läufer (22, 22a, 22b, 22c) am oder im Tragabschnitt (16) jeweils um eine parallel zur Hauptdrehachse (20) verlaufende Läuferdrehachse (24) drehbar gelagert. Es wird vorgeschlagen, dass die Läufer (22, 22a, 22b, 22c) bei einer Umdrehung des Tragabschnitts (16) um die Hauptdrehachse (20) wenigstens abschnittsweise in einer Führung (26) geführt sind.

CONTROL METHOD AND SYSTEM FOR DOUBLE REHEAT UNIT TO QUICKLY RESPOND TO POWER GRID DEMANDS

NºPublicación:  WO2026077035A1 16/04/2026
Solicitante: 
CHN ENERGY JIANGSU ELECTRIC ENGINEERING TECH CO LTD [CN]
CHN ENERGY JIANGSU POWER CO LTD [CN]
CHN ENERGY SUQIAN POWER GENERATION CO LTD [CN]
\u56FD\u80FD\u6C5F\u82CF\u7535\u529B\u5DE5\u7A0B\u6280\u672F\u6709\u9650\u516C\u53F8
\u56FD\u5BB6\u80FD\u6E90\u96C6\u56E2\u6C5F\u82CF\u7535\u529B\u6709\u9650\u516C\u53F8
\u56FD\u5BB6\u80FD\u6E90\u96C6\u56E2\u5BBF\u8FC1\u53D1\u7535\u6709\u9650\u516C\u53F8
WO_2026077035_A1

Resumen de: WO2026077035A1

The present invention pertains to the field of power grid balance control, and particularly relates to a control method and system for a double reheat unit to quickly respond to power grid demands. The method comprises: acquiring boiler-side and turbine-side operation data via integrated sensors, performing preprocessing and then constructing and training a multivariable predictive control model, and acquiring boiler-side initial control parameters; second, by introducing a dynamic compensation strategy, acquiring boiler-side real-time heat flow distribution, and optimizing the boiler-side initial control parameters to ensure the accuracy of boiler-side control; third, acquiring turbine-side initial control parameters by using a turbine-side peak shaving strategy and a particle swarm algorithm; and fourth, constructing a wind and photovoltaic power output prediction model, and dynamically adjusting the output of the double reheat unit on the basis of the prediction result, and when the required output exceeds a threshold, applying pre-calculated boiler-side and turbine-side control parameters to control the unit to perform power generation, so as to ensure a quick response to power grid demands. The present invention effectively improves the response speed and operational efficiency of the double reheat unit, satisfying the requirements of rapid power grid changes.

AUTOMATIC MONITORING OF A FLUID FILLED DAMPER OF A WIND TURBINE

NºPublicación:  US20260104036A1 16/04/2026
Solicitante: 
SIEMENS GAMESA RENEWABLE ENERGY AS [DK]
US_20260104036_A1

Resumen de: US20260104036A1

A method for monitoring a fluid filled damper of a wind turbine is provided. The method for monitoring a fluid filled damper of a wind turbine includes the steps of measuring a pressure value inside a fluid filled damper of the wind turbine, comparing the pressure value with a predetermined threshold value and initiating an idle state of the rotor of the wind turbine if it is detected that the threshold value has been exceeded. Further, a leak monitoring device is described. Additionally, a wind turbine is provided.

SYSTEM AND METHOD FOR REDUCING POWER CHANGES ON A DRIVETRAIN OF A POWER GENERATING ASSET DURING A GRID EVENT

NºPublicación:  US20260104031A1 16/04/2026
Solicitante: 
GENERAL ELECTRIC RENOVABLES ESPANA S L [ES]
US_20260104031_A1

Resumen de: US20260104031A1

A method for controlling a power generating asset connected to an electrical grid includes receiving, via a controller, a grid power limit associated with one or more grid events occurring in the electrical grid. During the one or more grid events, the method includes implementing, via the controller, a power softening function. The power softening function includes increasing a power command of a generator above the grid power limit to avoid large changes in power of the generator, thereby reducing a likelihood of coupling slips of the drivetrain and diverting extra power generated during the one or more grid events to an energy buffer of the power converter based on an energy buffer power command, thereby maintaining a net power generated by the power generating asset within the grid power limit.

IMPROVEMENTS RELATING TO WIND TURBINE BLADE ANTI-ICING SYSTEMS

NºPublicación:  US20260104037A1 16/04/2026
Solicitante: 
VESTAS WIND SYSTEMS AS [DK]
US_20260104037_A1

Resumen de: US20260104037A1

A wind turbine blade comprising an anti-icing system (30) comprising an electrothermal heating arrangement (35) configured to provide heat to an external surface of the blade, wherein the electrothermal heating arrangement is connected to a power supply interface (38) of the wind turbine blade by way of a power supply conductor (40) and an earth conductor (44). The blade further comprises a lightning protection system (31) having a lightning strike protection device (56) associated with an electrothermal heating element of the heating arrangement, the lightning strike protection device being connected to a lightning down conductor (50) of the lightning protection system leading to a current transfer unit (54) configured to transfer lightning current to a rotor hub, in use. A transient current limiting device (60) is connected in a conductive path (62) between the lightning down conductor of the lightning protection system and the earth conductor of the anti-icing system, thereby permitting induced parasitic currents in the lightning down conductor to earth through the anti-icing system. This provides the benefit of preventing electromagnetic emissions that can, otherwise, cause interference with electronics in the vicinity of the wind turbine. Thus, allowing the wind turbine to comply with established EMC standards.

METHOD OF DETERMINING A TEMPERATURE OF A HEATING ELEMENT OF A WIND TURBINE BLADE

NºPublicación:  US20260104035A1 16/04/2026
Solicitante: 
LM WIND POWER AS [DK]
US_20260104035_A1

Resumen de: US20260104035A1

A method of determining a temperature of a heating element (210) of a wind turbine blade (200) includes heating the heating element by providing a heating current in the heating element. The method includes measuring a first value (I1) of the heating current at a first time. The method includes determining a first temperature (T1) of the heating element using the measured first value of the heating current and a known functional dependency (410) between the heating current in the heating element and the temperature of the heating element.

AUTOMATED TROLLEY SYSTEM FOR TIGHTENING TOWER SEGMENTS IN WIND TURBINES

NºPublicación:  US20260102858A1 16/04/2026
Solicitante: 
HYTORC DIV UNEX CORPORATION [US]
US_20260102858_A1

Resumen de: US20260102858A1

An automated trolley system for wind turbine tower segment tightening is presented. The system consists of a body with first and second portions at either end, with the first portion mounting close to bolts and driving on top of a flange while being guided by wheels, and the second portion pushing against the interior of the tower through wheels to move the body around a flange in order to automatically tighten the flange. The system includes at least one wrench socket with or without an internal pattern attached to a plate, and each wrench socket is designed to use electric or hydraulic torquing and/or tensioning to tighten each bolt that is placed on top rather than the bottom. The system comprises a winch with a balancer adapted to screwing the wrench socket with or without internal pattern.

GENERATOR ASSEMBLY

NºPublicación:  US20260106514A1 16/04/2026
Solicitante: 
PHOELENZ PTY LTD [AU]
US_20260106514_A1

Resumen de: US20260106514A1

A generator assembly (10) comprises a rotatable fan (12) with fan blades (14), and having blade magnets (16) at distal ends (11) of the fan blades (14). The assembly (10) further comprises a main tube (30) carrying a wire coil (32) and containing a movable magnet 34 therewithin. The main tube (30) has a recoil magnet (36) at a distal end (38) thereof which biases the movable magnet (34) towards the proximal end (40) of the main tube (30). The fan (12) in use is rotated by wind/airflow/fluid flow which causes the blade magnets (16) to interact with the movable magnet (34) causing the movable magnet (34) into a reciprocating motion within the main tube 30 through the wire coil (32), thus generating an electric current in the wire coil (32).

CONCRETE SEGMENT OF A SECTION OF A WIND TURBINE TOWER, MOULD CONFIGURED TO CAST A CONCRETE SEGMENT AND METHOD OF ASSEMBLING A WIND TURBINE

NºPublicación:  US20260104032A1 16/04/2026
Solicitante: 
NORDEX ENERGY SPAIN SAU [ES]
US_20260104032_A1

Resumen de: US20260104032A1

0000 The object of the invention is a concrete segment of a section of a wind turbine tower which minimizes the undesirable local effects in the connection area between adjacent concrete sections, a section comprising at least two concrete segments, a set comprising two adjacent sections and a joint disposed between the two adjacent sections, a tower comprising at least one set, a mould configured to cast a concrete segment and a method of assembling a wind turbine.

SYSTEMS AND METHODS FOR AUXILIARY POWER MANAGEMENT OF BEHIND-THE-METER POWER LOADS

NºPublicación:  US20260106459A1 16/04/2026
Solicitante: 
LANCIUM LLC [US]
US_20260106459_A1

Resumen de: US20260106459A1

A system includes a flexible datacenter and a power generation unit that generates power on an intermittent basis. The flexible datacenter is coupled to both the power generation unit and grid power through a local station. By various methods, a control system may detect a transition of the power generation unit into a stand-down mode and selectively direct grid power delivery to always-on systems in the flexible datacenter.

A CONNECTING SYSTEM FOR A WEATHERVANING FLOATING OFFSHORE WIND TURBINE, A FLOATING OFFSHORE WIND TURBINE SYSTEM, AND AN INTERCONNECTED SYSTEM

NºPublicación:  AU2024356626A1 16/04/2026
Solicitante: 
EXPONENTIAL RENEWABLES S L
AU_2024356626_PA

Resumen de: AU2024356626A1

A connecting system (100) for connecting a weathervaning floating offshore support structure (200) of a wind turbine (201) to a pre-laid mooring system (300), the connecting system (100) comprising: - a turret element (1) comprising: a base (2) for being solidly connected to the pre-laid mooring system (300); a support element (3) comprising a switchgear (31) connectable to one or more submarine cables (400) and connectable to receive a power generated by the wind turbine (201); a columnar body (4) extending from the base (2) to the support element (3), and comprising an inner passage (41); and a bearing system (5) configured to rotatably connect the turret element (1) to the weathervaning floating offshore support structure (200); and - a slip-ring connector (6) comprising a first connecting part (61) for receiving the power generated by the wind turbine (201), and a second connecting part (62) cable-connectable to the switchgear (31).

SUPPORT STRUCTURE FOR WIND BLADES

NºPublicación:  AU2024356332A1 16/04/2026
Solicitante: 
REWIND TURBINE S R L
AU_2024356332_PA

Resumen de: AU2024356332A1

Support structure (1) for wind blades (2), each wind blade (2) being associable to a rotor (3) and having a pressure side (4) and a suction side (5) defining a leading edge (6), a trailing edge (7), a back (8) and a belly (9), said support structure (1) comprising: a casing (10) insertable into a wing cavity (11) defined between the pressure side (4) and the suction side (5), said casing (10) extending along a direction of extension (X-X) between a first base (13) couplable to the rotor (3) and a second base (14) opposed thereto and having a side wall (15) connected to the first base (13) and to the second base (14) and configured for coupling to the pressure side (4) and to the suction side (5), said side wall (15) having a front portion (16) facing the leading edge (6) and a rear portion (17) opposed thereto and facing the trailing edge (7), an upper surface (18) facing the back (8) and a lower surface (19) facing the belly (9); said casing (10) has a cavity (20) which is pressurizable and defined among the side wall (15), the first base (13) and the second base (14), said casing (10) being configured for reversibly switching between a rest configuration and an operating configuration wherein said casing (10) is configured for preloading the upper surface (18) and the lower surface (19) by varying the pressure inside the cavity (20), said casing (10) maintaining substantially the same predefined shape while switching between the rest configuration and the operating configur

BELTLESS DRIVE SYSTEM USING MAGNETIC COUPLING

NºPublicación:  AU2024336349A1 16/04/2026
Solicitante: 
FRENCH EON
AU_2024336349_PA

Resumen de: AU2024336349A1

A beltless drive system (30) for power transmission, including a primary driving component (16) having a primary driving shaft (36B) which is configured to rotate a primary magnetic coupler (36); and, a secondary driven component (18) having a secondary driven shaft (38B) configured to be rotated by a secondary magnetic coupler (38) Each of said primary and secondary magnetic couplers (36, 38) include a plurality of spaced apart magnets (36C, 38C), such that upon rotation of said primary driving component (16), power is transmitted via said primary and secondary magnetic couplers (36, 38) to thereby drive said secondary driven component (18). At least one of the couplers (36, 38) includes a housing (41) which is substantially made of a resilient material such as rubber or urethane, and the plurality of spaced apart magnets (36C, 38C) are entombed or embedded within the housing (41).

Getriebeanordnung und Windkraftanlage

NºPublicación:  DE102024209977A1 16/04/2026
Solicitante: 
ZAHNRADFABRIK FRIEDRICHSHAFEN [DE]
ZF WIND POWER ANTWERPEN NV [BE]
DE_102024209977_PA

Resumen de: DE102024209977A1

Die Erfindung betrifft eine Getriebeanordnung für eine Windkraftanlage (10) mit einem Getriebe (22). Eine Welle (40) des Getriebes (22) ist mit einer weiteren Welle (16) der Windkraftanlage (10) in einem montierten Zustand der Windkraftanlage (10) durch eine formschlüssige Verbindung permanent drehfest verbunden. Die Getriebeanordnung weist eine Spannvorrichtung (60) auf, welche dazu ausgebildet ist, ein Spiel wenigstens in einem Teilbereich der formschlüssigen Verbindung aufzuheben. Zudem bezieht sich die Erfindung auf eine Windkraftanlage (10).

OFFSHORE WIND PLATFORM WITH ARTICULATED COLUMN

NºPublicación:  WO2026077972A1 16/04/2026
Solicitante: 
MARINE POWER SYSTEMS LTD [GB]
WO_2026077972_A1

Resumen de: WO2026077972A1

The present disclosure relates to an offshore wind turbine foundation comprising: a platform for the mounting of a wind turbine above the surface of a body of water, and at least three radial arms; a support column for supporting the platform above a bed of the body of water, the support column comprising, at a first end proximal to the platform, a first pivoting connection, and at a second end, distal to the first end, proximal to the bed of the body of water a second pivoting connection; and at least three tendons, each tendon connecting a respective radial arm of the platform to the bed of the body of water, wherein a length of each tendon is shorter than a length of the support column.

METHOD AND SYSTEM FOR DEPLOYING A STRUCTURE FOR OFFSHORE USE

NºPublicación:  WO2026078375A1 16/04/2026
Solicitante: 
PLANET 42B LTD [GB]
WO_2026078375_A1

Resumen de: WO2026078375A1

A method of deploying a structure for use in offshore assembly of a further structure, such as a wind turbine, is disclosed. The method comprises: providing the structure in an undeployed state at a deployment site located in a body of water, wherein the structure comprise a plurality of legs and the deployment site comprises a plurality of support structures; and transitioning the structure to a deployed state by extending each leg of the structure and then coupling each leg of the structure to a respective support structure of the plurality of support structures. Also disclosed is a corresponding system for deploying the structure for use in offshore assembly of the further structure.

SYSTEM AND METHOD FOR ASSEMBLING AN OFFSHORE STRUCTURE

NºPublicación:  WO2026078372A1 16/04/2026
Solicitante: 
PLANET 42B LTD [GB]
WO_2026078372_A1

Resumen de: WO2026078372A1

An assembly system (100) for assembling an offshore structure (110), the assembly system comprising: a floating base (112) of the offshore structure (110); a lifting structure (120) configured to perform a landing operation, the landing operation comprising landing one or more components (114) of the offshore structure (110) onto the floating base (112); and a heave reduction system configured to selectively adjust a draft of the floating base (112) during the landing operation. A method (500) of assembling an offshore structure is also disclosed.

WIND TURBINE

NºPublicación:  WO2026078351A1 16/04/2026
Solicitante: 
ALPHA 311 LTD [GB]
WO_2026078351_A1

Resumen de: WO2026078351A1

Wind Turbine A wind turbine comprising a stator frame, a rotor blade apparatus and an electrical energy generator; wherein the stator frame comprises a lower stator frame plate; an upper stator frame plate; and two or more stator blades located between the upper and lower stator frame plates, wherein a first end of each stator blade is coupled to the lower stator frame plate and a second end of each stator blade is coupled to the upper stator frame plate; wherein the rotor blade apparatus comprises a lower rotor support plate; an upper rotor support plate; and two or more rotor blades located between the upper and lower rotor support plates, wherein a first end of each rotor blade is coupled to the lower rotor support plate and a second end of each rotor blade is coupled to the upper rotor support plate; wherein the rotor blade apparatus is rotatably coupled to the stator frame; the rotor blade apparatus defines a rotational axis about which it rotates; the stator blades and the rotor blades are arranged co-axially with the rotational axis; the stator blades are disposed radially outwards from the rotor blades; and the electrical energy generator is coupled to and driven by the rotor blade apparatus, wherein the electrical energy generator generates electrical energy when the rotor blade apparatus rotates relative to the stator frame; and wherein at least one of the stator blades defines a channel therethrough.

METHOD AND SYSTEM FOR ASSEMBLING A STRUCTURE FOR OFFSHORE USE

NºPublicación:  WO2026078374A1 16/04/2026
Solicitante: 
PLANET 42B LTD [GB]
WO_2026078374_A1

Resumen de: WO2026078374A1

A method of assembling a structure, such as a lifting structure, for use in offshore assembly of a further structure, such as a wind turbine, is disclosed. The method comprises: coupling a first leg of the structure to a support apparatus disposed in a first assembly orientation; rotating the support apparatus to a second assembly orientation; and coupling a second leg of the structure to the support apparatus. A system for assembling the structure for use in offshore assembly of the further structure is also disclosed. A support apparatus for use in assembly of the structure is also disclosed.

Windkraftgetriebe ohne Hauptwelle

NºPublicación:  DE102024209941A1 16/04/2026
Solicitante: 
ZAHNRADFABRIK FRIEDRICHSHAFEN [DE]
ZF WIND POWER ANTWERPEN NV [BE]
DE_102024209941_PA

Resumen de: DE102024209941A1

Die Erfindung betrifft ein Windkraftgetriebe (103) mit einem drehbar gelagerten Planetenträger (111). Der Planetenträger (111) ist ausgebildet, direkt mit einer Rotornabe (101) gefügt zu werden.

A SYSTEM FOR GENERATING ELECTRICAL POWER BY MAXIMIZING THE POTENTIAL OF TIDAL MOVEMENT THROUGH A COASTAL DAM AND A VARIABLE HEIGHT TURBINE

NºPublicación:  WO2026079995A1 16/04/2026
Solicitante: 
ALABDULLAH MOHAMMED [SA]
WO_2026079995_A1

Resumen de: WO2026079995A1

This invention relates to a system for generating clean electrical energy by maximizing the utilization of seawater flow during tidal movements. The system comprises a C-shaped coastal marine dam open towards the shoreline, consisting of four walls (1, 2, 3, and 4). A fixed base (5) is installed between the two walls (2 and 3) farthest from the shore and includes two lateral sides, forming a narrow water passage (gate) (6) between them. The dam encloses a large area adjacent to the shore, preventing seawater from entering during high tide except through the narrow passage, thereby creating a highly concentrated water flow that can be harnessed for electricity generation. The system also includes two movable bases (13) mounted on the lateral sides of the fixed base, capable of moving vertically in response to the changing water levels during tides In order to move the giant turbine(14) in a vertical motion.. Each movable base(13) is connected to air tanks (13-2) positioned beneath the fixed base. A large circular turbine (14) is mounted on a shaft (15) supported by the two movable bases. Two large pulleys (17) are attached to both ends of the turbine shaft, transmitting rotational motion to gearboxes (19), which in turn drive electrical generators (21). During tidal movement, seawater flows exclusively through the gate (6), striking the turbine blades and causing the turbine (14) to rotate with high torque. This rotational energy is transmitted via the pulleys and gearboxes to

ARTIFICIAL INTELLIGENCE WIND POWER GENERATION SYSTEM AND POWER GENERATION METHOD THEREFOR

NºPublicación:  WO2026079873A1 16/04/2026
Solicitante: 
OH SUNG GU [KR]
\uC624\uC131\uADDC
WO_2026079873_A1

Resumen de: WO2026079873A1

The present invention relates to an artificial intelligence wind power generation system and a power generation method thereof, the system: steadily and continuously generating wind power (wind) for a dynamic artificial structure while generating wind power (wind) through the driving of an electric motor, and independently generating electricity by means of a generator for generating electric power on the basis of the wind power; improving usage quality by producing and supplying the power at a frequency of 60 Hz per second through a cyclo-converter to which digital control by artificial intelligence with respect to the electric motor is applied; and alleviating a reduction in a power generation rate due to irregular natural wind so as to produce the maximum electric power of the wind power generator (direct-current or alternating-current generator) and supply same to a user.

エネルギー貯蔵システム

NºPublicación:  JP2026065831A 16/04/2026
Solicitante: 
JFEエンジニアリング株式会社
JP_2026065831_A

Resumen de: JP2026065831A

0001 【課題】圧縮空気をエネルギー貯蔵媒体とするエネルギー貯蔵システムにおいて、製造やメンテナンスを含めたコストが極めて低廉なエネルギー貯蔵システムを提供する。 【解決手段】本発明に係るエネルギー貯蔵システム1は、発電設備10で得られた電力で稼動する空気圧縮機20と、海底に設置されて空気圧縮機20で得られた圧縮空気を貯留する蓄圧容器40と、蓄圧容器40内の圧縮空気によって稼動する空気膨張タービン30と、を備えたものであって、蓄圧容器40は、金属製で円筒形の胴体と、該胴体の底部に形成された開口部41を有し、開口部41が海底から離隔するように蓄圧容器40を支持する台座50を備えたことを特徴とするものである。 【選択図】 図1

アンカー、及びアンカーの設置方法

NºPublicación:  JP2026066079A 16/04/2026
Solicitante: 
五洋建設株式会社
JP_2026066079_A

Resumen de: JP2026066079A

【課題】係留ライン長の調整作業を回避し、安定した引抜き抵抗力を有するアンカーを実現する。【解決手段】アンカー(10)は、柱状の構造体(1)と、一部に係留ポイント(4)が設けられている羽板(6)とを備え、羽板(6)の基部(6a)は、柱状の構造体(1)根入れ区間に含まれ、係留ポイント(4)は、係留ポイント(4)を柱状の構造体(1)の外側面に投影した投影点が柱状の構造体(1)の突出区間及び仮想延長区間の少なくとも何れかに含まれる。【選択図】図2

INSTALLATION ASSEMBLY

NºPublicación:  WO2026077715A1 16/04/2026
Solicitante: 
SIEMENS GAMESA RENEWABLE ENERGY INNOVATION & TECHNOLOGY SL [ES]
WO_2026077715_A1

Resumen de: WO2026077715A1

The invention describes an installation assembly (1) for use in installing a secondary nacelle structure (20S) underneath a wind turbine nacelle (20), which installation assembly (1) comprises a winch assembly comprising at least a winch cable (16) and a winch (18); a means (10, 11) of connecting the winch cable (16) to the secondary nacelle structure (20S); a bracket (12) adapted for installation at the mounting height of the secondary nacelle structure (20S); and a means (10, 102, 122, 14) of connecting the bracket (12) to the secondary nacelle structure (20S) after raising the secondary nacelle structure (20S) to its mounting height using the winch assembly (16, 18). The invention further describes a method of mounting a secondary nacelle structure (20S) underneath a wind turbine nacelle (20) using a number of such installation assemblies (1).

FLOATING PLATFORM STABILIZATION SYSTEM AND METHOD OF INSTALLATION

NºPublicación:  WO2026077780A1 16/04/2026
Solicitante: 
TECHNIP ENERGIES FRANCE [FR]
WO_2026077780_A1

Resumen de: WO2026077780A1

A floating platform system can be provided to facilitate mounting of and for supporting a structure on a floating platform. For example, the floating platform system can include the floating platform. The floating platform system can also include a ballast receiving volume inside the floating platform for receiving a ballasting liquid. The floating platform system can further include a mounting surface on the floating platform for mounting a structure. Additionally, the floating platform can include a downwardly-oriented stabbing guide.

SYSTEM AND METHODS FOR OCEANIC AND ATMOSPHERIC CARBON DIOXIDE AND CLIMATE MANAGEMENT, ALGAL FOSTERING, AND INITIATION AND MAINTENANCE OF FISHERIES BY DEEPER NUTRIENT RICH WATER PUMPING

NºPublicación:  WO2026078440A2 16/04/2026
Solicitante: 
ORRIDGE ST JEAN [GB]
WO_2026078440_A2

Resumen de: WO2026078440A2

Provided herein are systems and methods for energy capture, energy storage, and stored energy translation to mechanical work, having: piston drive pump cylinder tube for housing a first volume of liquid, and a piston drive pump; wherein the piston drive pump is configured for motion; an energy storage tank for storage of a first volume of air and a second volume of liquid wherein the first volume of air is compressed air; a recovery tank for housing a second volume of air and a third volume of liquid; a liquid driven turbine connected to the energy storage tank and in communication with the second volume of liquid of the energy storage tank; a plurality of unidirectional liquid tubes and air tubes for connecting the piston drive cylinder tube, the energy storage tank, and the recovery tank; an impeller associated with the turbine; and a subsystem for energy generation.

SYSTEMS AND METHODS FOR HARVESTING AERODYNAMIC ENERGY

NºPublicación:  US20260103084A1 16/04/2026
Solicitante: 
DOTSON JR TYRONE L [US]
RABE JEREMIAH [US]
US_20260103084_A1

Resumen de: US20260103084A1

A system for harvesting kinetic wind energy for a vehicle includes a turbine drivingly connected to a motor/generator. The turbine is configured to be driven by the force of air encountered during operation of the vehicle and/or from wind when parked, and to drive the motor/generator to generate electrical power.

AUXILIARY APPARATUS FOR HOISTING OPERATION OF HYBRID TOWER OF WIND TURBINE

NºPublicación:  WO2026076761A1 16/04/2026
Solicitante: 
HUANENG RENEWABLES CORPORATION LTD LIAONING BRANCH [CN]
HUANENG NEW ENERGY ENG CONSTRUCTION BEIJING CO LTD [CN]
\u534E\u80FD\u65B0\u80FD\u6E90\u80A1\u4EFD\u6709\u9650\u516C\u53F8\u8FBD\u5B81\u5206\u516C\u53F8
\u534E\u80FD\u65B0\u80FD\u6E90\u5DE5\u7A0B\u5EFA\u8BBE\uFF08\u5317\u4EAC\uFF09\u6709\u9650\u516C\u53F8
WO_2026076761_A1

Resumen de: WO2026076761A1

An auxiliary apparatus for hoisting operation of hybrid tower segments of a wind turbine, comprising a fixed base (1), two first electro-hydraulic cylinders (101) being fixedly connected to the top of one end of the fixed base, and a mounting base (102) being fixedly connected to the top of the two first electro-hydraulic cylinders; a hoisting mechanism (2) is provided at the top of the mounting base, and second electro-hydraulic cylinders (103) are fixedly connected to one side of the mounting base; a positioning mechanism (3) is fixedly connected to one end of each second electro-hydraulic cylinder, and a safety lock device (4) is provided on one side of the positioning mechanism. The auxiliary apparatus facilitates hoisting of hybrid tower segments of wind turbines.

WAKE EVALUATION DEVICE AND WAKE EVALUATION METHOD

NºPublicación:  EP4726208A1 15/04/2026
Solicitante: 
SYNSPECTIVE INC [JP]
EP_4726208_PA

Resumen de: EP4726208A1

0001 A wake evaluation apparatus includes: a wake region detection unit 13 that analyzes an SAR image observed using a satellite's synthetic aperture radar using a machine learning model and detects one or more wake regions included in the SAR image; a wake position specifying unit 14 that specifies the position information of the wake region detected by the wake region detection unit 13 based on geographic information of the observation area measured by the satellite; and a wake region association unit 15 that associates the wake region with a wind power plant at a corresponding location based on the specified position information of the wake region and position information of the wind power plant specified in advance, and is configured to be able to evaluate wakes generated around a wind power plant without providing a transect by using a novel analysis method that is executed by applying the SAR image to the machine learning model.

GEAR ASSEMBLY AND WIND TURBINE

NºPublicación:  EP4726207A1 15/04/2026
Solicitante: 
ZAHNRADFABRIK FRIEDRICHSHAFEN [DE]
ZF WIND POWER ANTWERPEN NV [BE]
ZF Friedrichshafen AG
ZF Wind Power Antwerpen NV
EP_4726207_PA

Resumen de: EP4726207A1

0001 Die Erfindung betrifft eine Getriebeanordnung für eine Windkraftanlage (10). Ein Getriebe (22) weist wenigstens ein Getriebegehäuse (36) und einen darin angeordneten Planetenradsatz (32) auf. Ein Planetenträger (38) des Planetenradsatzes (32) bildet einen Antrieb des Getriebes (22) aus, wobei der Planetenträger (38) in der montierten Windkraftanlage (10) an einer Rotorwelle (16) der Windkraftanlage (10) gelagert ist. Das Getriebegehäuse (36) weist an einer in der montierten Windkraftanlage (10) einem Rotor (12) der Windkraftanlage (10) zugewandten Ende einen sich radial erstreckenden Endabschnitt (50) auf. Die Getriebeanordnung weist zudem ein Dichtelement (52) auf, welches den sich radial erstreckenden Endabschnitt (50) mit dem Planetenträger (38) abdichtet, um einen Innenraum des Getriebegehäuses (36) rotorseitig abzudichten. Zudem bezieht sich die Erfindung auf eine Windkraftanlage (10).

ELECTRIC GENERATOR FOR A WIND TURBINE, INNER ROTOR FOR AN ELECTRIC GENERATOR FOR A WIND TURBINE AND WIND TURBINE WITH AN ELECTRIC GENERATOR

NºPublicación:  EP4725099A1 15/04/2026
Solicitante: 
SIEMENS GAMESA RENEWABLE ENERGY INNOVATION & TECHNOLOGY SL [ES]
EP_4475395_PA

Resumen de: EP4475395A1

Electric generator for a wind turbine (1), comprising an outer stator (11) and an inner rotor (10) with a plurality of permanent magnets (18), wherein the rotor (10) is rotatably mounted about a rotation axis (6), wherein the rotor (10) is realized by a modular assembly of several modules (17) each comprising at least one of the permanent magnets (18), wherein at least one of the modules (17) delimits at least one air cooling channel (24) of the rotor (10).

DEMAGNETIZATION OF MAGNET ELEMENTS OF A WIND TURBINE GENERATOR

NºPublicación:  EP4725037A1 15/04/2026
Solicitante: 
SIEMENS GAMESA RENEWABLE ENERGY AS [DK]
EP_4475149_PA

Resumen de: EP4475149A1

0001 A demagnetization system for demagnetizing a magnet element (10) of a wind turbine generator component is provided. The magnet element (10) comprises at least one permanent magnet block (15). The demagnetization system (100) comprises a reluctance modulating component (20) and a moving arrangement (70) configured to provide a relative movement between the reluctance modulating component (20) and the magnet element (10). The reluctance modulating component (20) is configured to change a magnetic reluctance experienced by a magnetic flux of the one or more permanent magnet blocks (15) as the reluctance modulating component (20) moves past the magnet element (10). The system is configured to generate eddy currents in the at least one permanent magnet block (15) by providing said relative movement between the reluctance modulating component (20) and the magnet element (10), wherein the eddy currents heat the at least one permanent magnet block (15) to be demagnetized.

HYDRAULIC PITCH SYSTEM AND WIND TURBINE

NºPublicación:  EP4726202A1 15/04/2026
Solicitante: 
SANY RENEWABLE ENERGY CO LTD [CN]
EP_4726202_PA

Resumen de: EP4726202A1

The present invention discloses a hydraulic pitch system and a wind turbine, relating to the technical field of wind power pitch control. The hydraulic pitch system includes a hub and a hydraulic apparatus. The hydraulic apparatus is arranged in the hub. The hydraulic apparatus includes a cylinder for driving a blade movement and an oil tank for storing hydraulic oil. The cylinder is connected to the oil tank via a connecting pipeline. The connecting pipeline is provided with a valve assembly and a hydraulic drive apparatus for controlling a flow of hydraulic oil in the connecting pipeline. The valve assembly and the hydraulic drive apparatus are both mounted on the cylinder. By arranging the hydraulic apparatus in the hub, on the one hand, a hydraulic-electric slip ring can be omitted, which not only avoids a failure of the hydraulic-electric slip ring but also reduces the cost of the hydraulic pitch system; on the other hand, pipelines in a nacelle can be omitted, which helps reduce leakage points in the pipelines. At the same time, it is also convenient for the valve assembly to be integrated on the cylinder, which helps further reduce a length of pipelines, thereby solving problems of high cost of the hydraulic pitch system and a risk of oil leakage.

Wind turbine

NºPublicación:  GB2644476A 15/04/2026
Solicitante: 
FAIRFIELD IP LTD [GB]
GB_2644476_PA

Resumen de: GB2644476A

The invention relates to a wind turbine for the generation of electricity. The wind turbine has a number of blades carried by a hub which is rotatably mounted to a tower. The wind turbine has a first reservoir and a second reservoir for a working liquid, the working liquid in the second reservoir being above the working liquid in the first reservoir. The wind turbine also has a turbine with an inlet in communication with the second reservoir and an outlet in communication with the first reservoir, an output shaft of the turbine being connected to the rotor of an electrical generator. The hub is connected by way of a drive shaft to at least one positive displacement pump. The pump has an inlet and an outlet, the inlet being in communication with the first reservoir. The outlet of the pump has a two-way valve which is changeable between a first condition in which the outlet is in communication with the first reservoir and a second condition in which the outlet is in communication with the second reservoir. The outlet of the pump can be switched between a second condition in which working fluid is pumped into the second reservoir and a first condition in which the working fluid is pumped back into the first reservoir. There can be a plurality of pumps which are independently switchable between their first and second conditions whereby to enable the power consumed by the pumps to be adjusted substantially to balance the power being extracted from the wind. The displacement of the

Buoyant offshore renewable energy system mounting platform and a method of assembling and deploying buoyant offshore platforms

NºPublicación:  GB2644468A 15/04/2026
Solicitante: 
MARINE POWER SYSTEMS LTD [GB]
GB_2644468_PA

Resumen de: GB2644468A

A buoyant offshore renewable energy system mounting platform is provided for use in supporting a renewable energy system in a body of water. The platform (100) comprises: a support node (108); two distal nodes (110); and a first lateral brace and a second lateral brace (102, 104), each of the first and second lateral braces extending between the support node and a corresponding distal node to form a platform base; the platform further comprising a plurality of mooring lines (116), wherein a corresponding said mooring line is affixed to each of the support node and the two distal nodes and arranged to tether the support node and the two distal nodes to a bed of a body of water such that the support node and the two distal nodes are positioned in the body of water at an operating depth; wherein the support node is arranged to support a renewable energy converter (114) thereon, and wherein at the operating depth, the support node is arranged to support the renewable energy converter above a surface of the body of water. The described platform aims to provide a safer and more efficient mode of deploying a buoyant offshore platform to a partially submerged operating configuration.

WIND TURBINE ASSEMBLY FOR SELF-CHARGING THE VEHICLES

NºPublicación:  EP4724298A1 15/04/2026
Solicitante: 
GALISKA LTD [GB]
EP_4556293_PA

Resumen de: EP4556293A1

This patent application presents a groundbreaking self-charging wind-powered vehicle system designed for a wide range of transportation modes, including cars, lorries, trains, trams, and airplanes. The core innovation involves the integration of advanced wind turbines into these vehicles, enabling the capture of kinetic energy from the environment and its conversion into electrical power. This sustainable energy source offers a compelling solution to reduce carbon emissions, minimize reliance on fossil fuels, and deliver cost-effective and environmentally friendly transportation.Traditional transportation systems primarily rely on fossil fuels, resulting in environmental pollution and the depletion of finite resources. In contrast, the proposed self-charging wind-powered vehicle system addresses these challenges by harnessing the power of the wind efficiently.

STATOR SEGMENT, ELECTRICAL MACHINE AND WIND TURBINE

NºPublicación:  EP4725097A1 15/04/2026
Solicitante: 
SIEMENS GAMESA RENEWABLE ENERGY AS [DK]
EP_4701045_PA

Resumen de: EP4701045A1

0001 It is described a Stator segment (101a,b,c) for an electrical machine (100), in particular permanent magnet synchronous electrical generator, comprising: a core ring portion (106a,b,c) extending in a circumferential direction (cd) forming less than a whole circumference; plural first teeth (107a,b,c) extending radially from the ring portion (106a,b,c); two second teeth (108a,b,c) extending radially from the ring portion (106a,b,c) and being arranged at two circumferential ends of the ring portion; wherein between each of two adjacent first teeth (107a,b,c) a first slot (109a,b,c) is formed, wherein between each of the second teeth (108a,b,c) and an adjacent first tooth (107a,b,c) a second slot (110a,b,c) is formed, the stator segment further comprising: a multiple phase winding set (105A,B,C) wound according to a concentrated winding topology.

METHOD FOR OPERATING A WIND TURBINE AND WIND TURBINE

NºPublicación:  EP4726204A1 15/04/2026
Solicitante: 
NORDEX ENERGY SE & CO KG [DE]
NORDEX ENERGY SPAIN SAU [ES]
EP_4726204_PA

Resumen de: EP4726204A1

A method for operating a wind turbine (1) for reducing a risk of wind turbine overloading in the presence of a wind gust event is provided, the method comprising the steps:- providing first information (II) which is representative of a rate of change of a first wind turbine parameter (P1) comprising at least one of a first wind turbine loading parameter and a first wind turbine operating parameter over time, wherein each of the first wind turbine loading parameter and the first wind turbine operating parameter depends on a wind speed at the location of the wind turbine (1),- determining an adjustable first threshold (T1) considering the first information (I1),- comparing, in a first comparison step, the first information (II) to the first threshold (T1) and generating a first trigger signal (TS1) in case the first information (II) exceeds the first threshold (T1),- generating a control action (CA) intended to reduce the risk of wind turbine overloading caused by the wind gust event in case an action trigger (AT) is generated, wherein the generation of the action trigger (AT) requires that at least the first trigger signal (TS1) is generated.Furthermore, a wind turbine (1) with a control system (10) is provided.

HANDLING SYSTEM AND METHOD FOR TRANSFERRING AN ELONGATE OBJECT FROM A STORAGE POSITION INTO AN UPENDING SYSTEM

NºPublicación:  EP4725826A1 15/04/2026
Solicitante: 
DEME OFFSHORE BE NV [BE]
EP_4725826_PA

Resumen de: EP4725826A1

Handling system for transferring an elongate object from a storage location into an upending system, in particular on a vessel deck, the handling system comprising an upending system configured to upend said elongate object from a substantially horizontal position into a substantially vertical position; a skidding system configured to lift and skid said elongate object from a storage location into said upending system; wherein said upending system comprises a gripper unit configured to receive and grip a first end of the elongate object, the gripper unit including at least first ring element configured to engage an outer surface of the elongate object; and a support structure including two substantially parallelogram-shaped frames configured to support said gripper unit; wherein the gripper unit is tiltable between a first position in which a plane including the at least first ring element is substantially vertical and a second position in which said plane is substantially horizontal.

WATER DELIVERY APPARATUS

NºPublicación:  EP4725615A1 15/04/2026
Solicitante: 
OERSTED WIND POWER AS [DK]
EP_4725615_PA

Resumen de: EP4725615A1

0001 A water delivery apparatus 100 for an offshore structure 10 comprises a hose 102 comprising a water inlet 120 towards a first end of the hose 102; a pump 140 located along the hose 102 and configured to be switched between an on state and an off state; a plurality of nozzles 150 distributed along the hose 102 for delivering high pressure water; and a controller 180 configured to switch the water delivery apparatus 100 between a standby mode and a ready mode. When the water delivery apparatus 100 is in the ready mode, the controller 180 is controllable to control the pump 140 to switch between the on state and the off state. When the water delivery apparatus 100 is in standby mode, the controller 180 is controllable to control the pump 140 to switch to the off state. Wherein in the on state, the pump 140 is configured to draw water through the water inlet 120 to deliver said water to the plurality of nozzles 150 and wherein the plurality of nozzles 150 are positioned such that the delivered water cleans at least part of said offshore structure 10.

METHOD FOR DETERMINING A SPATIAL POSITION OF A PORTION OF AN INFRASTRUCTURE ELEMENT, METHOD FOR MONITORING AN INFRASTRUCTURE ELEMENT, METHOD FOR TRAINING A DATA MODEL, DATA PROCESSING APPARATUS, COMPUTER PROGRAM, COMPUTER-READABLE STORAGE MEDIUM, SYSTEM FOR MONITORING AN INFRASTRUCTURE ELEMENT, AND INFRASTRUCTURE ELEMENT

NºPublicación:  EP4726205A1 15/04/2026
Solicitante: 
TECHNISCHE UNIV MUENCHEN IN VERTRETUNG DES FREISTAATS BAYERN [DE]
EP_4726205_PA

Resumen de: EP4726205A1

The invention relates to a method for determining a spatial position of a portion of an infrastructure element (10), especially a wind energy plant (12). The method comprises obtaining first data (D1) indicative of an operational parameter of the infrastructure element (10) and/or indicative of an environmental parameter of the environment in which the infrastructure element (10) is located. The method further comprises inferring second data (D2) indicative of a position of the portion of the infrastructure element (10) based on the obtained first data (D1) and based on a trained data model (66), wherein the data model (66) is trained to provide a spatial position of the portion of an infrastructure element (10) based on the first data (D1). Moreover, the invention is directed to a method for monitoring the infrastructure element (10), to a method for training the data model (66) as well as to a data processing apparatus (30), a computer program and a computer readable storage medium for executing said methods. Furthermore, a system (28) for monitoring an infrastructure element (10) and an infrastructure element (10) are described.

METHOD FOR INSTALLING A RACK AND PINION LIFT SYSTEM IN A WIND TURBINE TOWER, RACK AND PINION LIFT SYSTEM AND TOWER SECTION FOR A WIND TURBINE TOWER

NºPublicación:  EP4726206A1 15/04/2026
Solicitante: 
SIEMENS GAMESA RENEWABLE ENERGY AS [DK]
EP_4726206_PA

Resumen de: EP4726206A1

0001 The present invention relates to a method for installing a rack and pinion lift system in a wind turbine tower. The method comprises the following steps: Providing a first tower section of a wind turbine, fixing a first lift mast at an inner wall of the first tower section, providing a second tower section of a wind turbine, fixing a second lift mast at an inner wall of the second tower section, and stacking the first and second tower sections upon each other and connecting the first and second lift masts, thereby forming a continuous rack. 0002 The present invention further describes a rack and pinion lift system that is obtainable by this installation method. 0003 Moreover, the present invention relates to a tower section for a wind turbine tower. The tower section comprises a lift mast that is fixed at an inner wall of the tower section via a lift mast support structure. The lift mast support structure is configured to allow for a vertical movement of the lift mast vis-à-vis the inner wall of the tower section.

Smart removal system for fine dust and greenhouse gases

NºPublicación:  KR20260050675A 15/04/2026
Solicitante: 
주식회사파워투팜스
KR_20260050675_PA

Resumen de: KR20260050675A

0001a 본 발명은 미세먼지 및 온실가스 스마트 제거시스템에 관한 것으로서, 더욱 상세하게는, 공기 중에 포함된 이산화탄소, 질소산화물 등의 가스 및 미세먼지를 제거하고 제거과정에서 전기에너지를 발전하여 재활용할 수 있고, 포집된 이산화탄소 및 질소산화물을 고부가 물질 전환을 통한 폐자원으로 활용할 수 있는 미세먼지 및 온실가스 스마트 제거시스템에 관한 것이다. 본 발명에 따른 미세먼지 및 온실가스 스마트 제거시스템은 벽체를 구성하도록 설치되는 태양전지모듈; 이산화탄소 및 질소산화물을 포함하는 외부 공기를 흡입하여 압축공기로 형성하는 압축기; 상기 압축기가 접속되고 상기 이산화탄소 및 질소산화물이 용해되는 용매가 수용되고 미세조류가 투입되어 성장하는 기체압축저장부; 상기 기체압축저장부로부터 압축공기가 배출되는 압축공기배출부; 자연 풍과 함께 상기 압축공기배출부로 배출되는 압축공기에 의해 회전되면서 전기를 생성하는 풍력발전부; 및 상기 미세조류의 생육을 위한 광합성에 이용되는 광을 제공하는 생육광원제공부;를 포함하는 것을 특징으로 한다.

A METHOD AND A SYSTEM FOR HANDLING PHYSICAL INTRUSION IN A WIND TURBINE

NºPublicación:  EP4726203A1 15/04/2026
Solicitante: 
VESTAS WIND SYS AS [DK]
VESTAS WIND SYSTEMS A/S
EP_4726203_PA

Resumen de: EP4726203A1

0001 A method for handling physical intrusion in a wind turbine (1) is disclosed. An intrusion detection system (3) detects an intrusion event in the wind turbine (1), generates a first intrusion alert signal and provides the first intrusion alert signal to a control system (4) of the wind turbine (1). In response to receiving the first intrusion alert signal, the control system (4) initiates at least one safety action at the wind turbine (1), wherein the at least one safety action comprises stopping power production of the wind turbine (1) and providing a second intrusion alert signal to an intrusion monitoring system (6). The intrusion monitoring system (6) communicatively isolates the wind turbine (1).

BEARING ASSEMBLY AND TRANSMISSION

NºPublicación:  EP4726234A1 15/04/2026
Solicitante: 
ZAHNRADFABRIK FRIEDRICHSHAFEN [DE]
ZF WIND POWER ANTWERPEN NV [BE]
ZF Friedrichshafen AG
ZF Wind Power Antwerpen NV
EP_4726234_PA

Resumen de: EP4726234A1

0001 Die Erfindung betrifft eine Lageranordnung für ein Getriebe (22). Die Lageranordnung weist wenigstens einen Planetenträger (54), ein stationäres Element (60) und eine Lagerung (94) auf. Der Planetenträger (54) weist einen ersten Endbereich (72) und axial dazu entgegengesetzten zweiten Endbereich (78) auf. Der erste Endbereich (72) ist für eine permanent drehfeste Verbindung mit einer Welle (16) ausgebildet. Der zweite Endbereich (78) bildet einen ersten Lagerbereich (90) aus, an welchem sich die Lagerung (94) mit einer radialen Außenseite abstützt. Das stationäre Element (60) bildet einen zweiten Lagerbereich (92) aus, an welchem sich die Lagerung (94) mit einer radialen Innenseite abstützt. Zudem bezieht sich die Erfindung auf ein Getriebe (22) und eine Windkraftanlage (10).

A SYSTEM AND A METHOD FOR HANDLING A LOAD IN AN ELEVATED POSITION

Nº publicación: EP4724375A1 15/04/2026

Solicitante:

ARCIM AS [DK]

WO_2024251337_PA

Resumen de: WO2024251337A1

The present invention relates to a crane system for handling a load (3, 4), and a method for controlling the load (3, 4) during hoisting operation. The method present acts for controlling the orientation of a load (3, 4) during hoisting operation using a speed controlling method. A winch (5) control system controls a winch (5) arrangement, wherein the winch (5) arrangement is arranged relative to a crane system. The method comprising the following steps, placing the load (3, 4) in a first load (3, 4) position, and attaching the first tagline (8) and the second tagline (8, L2) to a first and a second attachment point on the load (3, 4), determining a predicted virtual axis for a next load (3, 4) position relative to the previous virtual axis, moving the load (3, 4) to the next load (3, 4) position relative to the predicted virtual axis while controlling each of the first and second winch (9), such that each of the first and second tagline length (8) are adjusted separately relative to the predicted virtual axis, retrieving at least one first tagline length (LI) information from a first measuring device and at least one second tagline length (8) information from a second measuring device in the next load (3, 4) position, analysing the first and second tagline length (8) information relative to each other to determine an offset value for each of the first and second tagline length (8), and comparing the offset values to the predicted virtual axis related to a current load (3, 4)

traducir