Ministerio de Industria, Turismo y Comercio LogoMinisterior
 

Energía eólica

Resultados 541 resultados
LastUpdate Última actualización 31/03/2026 [07:10:00]
pdfxls
Solicitudes publicadas en los últimos 15 días / Applications published in the last 15 days
previousPage Resultados 525 a 541 de 541  

一种风力发电机塔筒病害监测维护机器人

NºPublicación:  CN121676305A 17/03/2026
Solicitante: 
内蒙古工业大学
CN_121676305_PA

Resumen de: CN121676305A

本发明属于风电设施运维机器人技术领域,尤其涉及一种风力发电机塔筒病害监测维护机器人,针对现有风电塔筒维护时检测覆盖存在盲区、运维作业效率低的问题,现提出如下方案,包括分体式拼装的环形轨道组件、多个环状均布的爬行组件以及一个具有环形移动轨迹的监护组件。爬行组件2具备独特的转向单元,能使爬行轮单元在竖直移动与螺旋移动模式间切换,驱动机器人沿塔筒壁螺旋攀升,实现无盲区连续扫描。监护组件通过搭载基座在环形轨道上移动,并借助由Z轴、Y轴、X轴移动单元构成的三维调节机构,带动工业相机、超声波定位组件、打磨组件和喷漆组件,实现精准定位与作业。本发明能够高效完成风力发电机的塔筒的病害监测与维护。

一种风力发电系统的运行控制方法

NºPublicación:  CN121676235A 17/03/2026
Solicitante: 
华能陇东能源有限责任公司
CN_121676235_PA

Resumen de: CN121676235A

本发明公开了一种风力发电系统的运行控制方法,涉及运行控制技术领域,包括:获取目标海域风力发电系统历史运行数据,以海上环境因素作为干扰因子,耦合海洋湍流强度、波浪载荷与盐雾腐蚀速率时空参数,建立风机‑海洋环境数字孪生体;实时获取运行数据,实现数字孪生体同步映射与动态更新,结合历史运行特征,建立状态预测模型;以最大化发电效率与最小化机械载荷作为多目标优化函数,引用模型预测控制器,得到每个控制周期未来时域内风力发电系统最优控制序列;选取最优控制序列中首个控制指令,实时下发至物理风机转矩控制器与变桨系统,实现风力发电系统滚动优化,得到风力发电系统自适应运行控制方案。本发明提升了全生命周期的发电效益。

风力发电机海上安装智能自适应软着陆的执行控制方法

NºPublicación:  CN121680101A 17/03/2026
Solicitante: 
中交第三航务工程局有限公司
CN_121680101_PA

Resumen de: CN121680101A

本发明提供的一种风力发电机海上安装智能自适应软着陆的执行控制方法,属于执行控制技术领域,其包括:步骤1:在原有的风力发电机海上安装软着陆系统的基础缓冲单元的基础上,新增动态感知模块、智能控制模块与自适应执行模块,以此形成执行控制系统;步骤2:对基础缓冲单元上对新增的动态感知模块、智能控制模块与自适应执行模块的设定部件进行优化设置;步骤3:智能控制模块的嵌入式控制器调用自适应算法模块执行自适应算法来进行控制。本发明引入智能感知与动态调节模块,结合液压控制技术与算法优化,实现缓冲性能的实时自适应调整,提升海上安装的安全性与效率。

一种环保型风能发电能力预测设备

NºPublicación:  CN121676294A 17/03/2026
Solicitante: 
四川华敬科技有限公司
CN_121676294_PA

Resumen de: CN121676294A

本发明公开了一种环保型风能发电能力预测设备,属于风能检测技术领域,包括:底座;风向叶,底座的顶部一侧转动连接有安装块,风向叶固定连接于安装块的顶部。该环保型风能发电能力预测设备,通过风向叶的使用,可以精准的判断风向,并且,配合控角机构的使用,可以稳定的调整计数箱的角度,使扇叶始终处于风向,保证使用,并且,可以保证扇叶使用过程中的方向,避免晃动,造成预测偏差,该环保型风能发电能力预测设备,通过显数机构的使用,将风力在特定时间内转动的圈数通过计数机构传动计数环上,以保证检测人员可以准确快速的进行观察,保证使用的整体效果,并且,单纯的机械机构,十分环保且节约能源。

一种利用气象数据融合的风力发电机冰冻检测方法及系统

NºPublicación:  CN121676304A 17/03/2026
Solicitante: 
北京妍鑫科技有限公司
CN_121676304_PA

Resumen de: CN121676304A

本申请提供一种利用气象数据融合的风力发电机冰冻检测方法及系统。其中,本申请首先获取风力发电机运行环境的近场气象数据与远场气象数据,近场气象数据包括实时温度与实时湿度,远场气象数据包括反射率因子数据,其次将实时温度与实时湿度输入至风力发电机叶片三维轮廓的叶片表面微气候模型中,模拟计算出叶片迎风面与背风面的实际露点温度分布图,然后将反射率因子数据与实际露点温度分布图进行融合判断,基于融合判断结果输出对应于风力发电机叶片局部区域的冰冻风险等级;本申请提供的技术方案不仅克服了传统方案对固定阈值和单点环境数据的依赖,还实现对风力发电机叶片局部冰冻风险更为精准和前瞻性的检测与评估。

一种直驱风机导纳自测方法、装置、电子设备及介质

NºPublicación:  CN121676291A 17/03/2026
Solicitante: 
华北电力大学
CN_121676291_PA

Resumen de: CN121676291A

本发明公开了一种直驱风机导纳自测方法、装置、电子设备及介质,涉及风力发电技术领域,包括:基于直驱风机,生成并注入扰动信号;利用扰动信号进行数据采集,获取直驱风机的时域信号;基于直驱风机的时域信号利用快速傅里叶变换,获取直驱风机的频域数据;根据直驱风机的频域数据进行测量验证,获取直驱风机导纳自测结果。本发明通过创新的扰动注入与频域辨识技术,在不依赖内部控制参数的情况下,实现了黑盒化直驱风机导纳特性的高精度测量,解决了传统方法依赖内部参数、频带受限、工程实施复杂等行业痛点。其高精度、宽频带、在线测量等优势,使其在新能源并网稳定性分析领域具有广阔的应用前景。

一种风机及其气热防冰式风机叶片

NºPublicación:  CN224002839U 17/03/2026
Solicitante: 
长沙理工大学
CN_224002839_U

Resumen de: CN224002839U

本实用新型公开了一种风机及其气热防冰式风机叶片,涉及风机技术领域,气热防冰式风机叶片包括叶片主体,叶片主体在易覆冰区域均匀设有若干个微型气孔,微型气孔贯通叶片主体的壁面设置,叶片主体的外表面在易覆冰区域覆盖有气动保护层,气动保护层的导热系数低于叶片主体的导热系数。易覆冰区域贯通的微型气孔,使得热空气可通过微型气孔直接到达叶片表面,无需通过热传导穿透叶片壁面,提高了传热效率,加热时间短;并在易覆冰区域的微型气孔外覆盖有气动保护层,避免了打孔操作影响叶片表面气动性能,保障了风机叶片原有的气动性能;此外,气动保护层的导热系数低于叶片主体的导热系数,减少了叶片表面的热量损失,能耗降低。

一种风电齿轮箱的振动测试装置

NºPublicación:  CN224004668U 17/03/2026
Solicitante: 
四川浩能新能源有限公司
CN_224004668_U

Resumen de: CN224004668U

本实用新型属于风电设备测试技术领域,尤其是一种风电齿轮箱的振动测试装置,针对现有的在对风电齿轮箱进行振动测试时,难以真实的测出风电齿轮箱的震动幅度的问题,现提出如下方案,其包括安装在风电齿轮箱上的吸引盒,吸引盒的顶部内壁上贯穿固定安装有支撑管,支撑管的顶端固定安装有安装板,该测试装置还包括测试机构,测试机构安装在安装板的顶部,测试机构的底部贯穿支撑管并延伸至吸引盒内,本实用新型在将吸引盒紧密的吸附在风电齿轮箱上后,能够在风电齿轮箱正常运行的过程中,对风电齿轮箱所产生的振动进行检测,以此能够得出风电齿轮箱的准确振动数据,所以具有良好的实用性。

风力发电机传动链关键部件寿命预测方法、装置、设备以及介质

NºPublicación:  CN121683587A 17/03/2026
Solicitante: 
华能新能源股份有限公司山西分公司
CN_121683587_PA

Resumen de: CN121683587A

本发明公开了风力发电机传动链关键部件寿命预测方法、装置、设备以及介质,包括:确定目标风力发电机的若干传动关联部件;获取模拟风况,并根据目标风力发电机的设备参数构建多体动力学仿真模型;向多体动力学仿真模型中输入模拟风况,得到各传动关联部件对应的模拟疲劳寿命组,模拟疲劳寿命组中包括若干模拟疲劳寿命;构建传动链模型,并根据若干传动关联部件对应的模拟疲劳寿命组,确定传动链模型的寿命概率分布。本发明属于风力发电机传动部件寿命预测领域。本发明可以实现传动链部件寿命的准确预测。

新型风机塔架转换段结构

NºPublicación:  CN121676255A 17/03/2026
Solicitante: 
龙源(北京)新能源工程设计研究院有限公司
CN_121676255_PA

Resumen de: CN121676255A

本申请涉及风机塔架技术领域,尤其涉及新型风机塔架转换段结构,设置于风机塔筒与风机支撑腿之间,用于将风机塔筒的载荷向下传递至风机支撑腿上,包括上层分散段、中层传力段和下层衔接段,上层分散段绕设于风机塔筒的侧壁,用于将风机塔筒的应力向四周分散;下层衔接段设置于风机支撑腿的上端;中层传力段设置于上层分散段与下层衔接段之间,包括多个周向分布的传力管,传力管的上端与上层分散段连接,下端与下层衔接段连接,相邻的两个传力管与上层分散段或与下层衔接段之间形成三角形传力结构。利用三角形稳定性原理和球形节点的受力特性,有效应对风机长期振动和360度方向荷载,应力集中现象显著降低,疲劳应力幅减小。

一种风电机组异常在线振动信号识别方法及系统

NºPublicación:  CN121676267A 17/03/2026
Solicitante: 
中广核(安徽)新能源投资有限公司
CN_121676267_PA

Resumen de: CN121676267A

本发明提供一种风电机组异常在线振动信号识别方法及系统,涉及新能源装备状态监测技术领域。本发明步骤如下:采集周期内,收集待识别风电机组主轴原始振动信号与运行工况数据并预处理。对预处理后的振动信号,经多尺度线调频基稀疏分解提取时频域核心特征,含多尺度线调频分量能量和故障特征频率清晰度;同时通过计算峭度、统计有效冲击次数,得到改进峭度及冲击脉冲计数的时域辅助特征;将两类特征输入权重模型获信号识别指数,结合历史正常振动数据与当前工况数据确定机组运行工况。把历史各工况对应的时频域、时域特征输入在线学习模型得到参考阈值,对比信号识别指数与参考阈值,最终输出诊断结论。

一种基于多源异构数据的风电机组运行状态监测方法

NºPublicación:  CN121676295A 17/03/2026
Solicitante: 
安徽大学
CN_121676295_PA

Resumen de: CN121676295A

本发明公开一种基于多源异构数据的风电机组运行状态监测方法,包括:采集SCADA多源异构数据,并剔除异常样本和标准化;基于空间秩,将采集到的非正态数据转化为近似多元正态分布;构建弹性网惩罚似然函数,求解表征SCADA稀疏故障信号的均值向量估计;基于均值向量估计计算基础监测统计量并鲁棒优化,得到鲁棒监测统计量和上控制限;计算实时鲁棒监测统计量,若超出上控制限,则发出故障警报;触发故障警报之后根据最优惩罚系数反推均值向量估计,识别并输出故障部件信息。本发明解决了现有技术中SCADA数据分布复杂、变量成组相关性干扰、稀疏故障难识别、受控样本不足及多机组监测成本高的问题。

一种基于风电机组偏航回正用调节装置

NºPublicación:  CN224002842U 17/03/2026
Solicitante: 
国家电投集团繁峙金丰新能源发电有限公司
CN_224002842_U

Resumen de: CN224002842U

本实用新型公开了一种基于风电机组偏航回正用调节装置,包括安装座,其特征在于:安装座的顶面活动安装有连接筒,还包括:检测机构,设置在连接筒的外侧用于监测风向;调节机构,设置在安装座的顶面用于调节安装座的转向角度,本实用新型涉及风电机组技术领域。该基于风电机组偏航回正用调节装置,通过设置的主动齿轮盘和从动齿轮可以调节连接筒的转动角度来适应风向,使用时启动直流电机带动直流电机转动使从动齿轮旋转,接着从动齿轮会通过齿块带动连接筒转动调节检测机构的转动角度,调节到合适的位置后关闭直流电机便可以固定住连接筒的位置,降低了整体的能耗,提高能源利用效率,实用性好。

一种漂浮式风电集成制氢模块的综合能源装置

NºPublicación:  CN224002844U 17/03/2026
Solicitante: 
海南利策新能科技有限公司海南省深海技术创新中心
CN_224002844_U

Resumen de: CN224002844U

本实用新型涉及海上发电装置技术领域,且公开了一种漂浮式风电集成制氢模块的综合能源装置,包括漂浮平台,所述漂浮平台下端设置有数量不小于三个的漂浮柱,所述漂浮柱均匀分布,所述漂浮平台的上表面开设有向下挖空的安装空间,所述安装空间内部设置有制氢系统、储氢设备和发电系统;所述漂浮柱的总重量大于所述安装空间内部设备总重量,所述漂浮平台上端设置有平台盖,所述平台盖设置在所述漂浮平台的上方,所述平台盖与所述漂浮平台之间实现密封连接;该设备解决了现有技术在风能资源匮乏的时段或区域里供能不稳定的问题,简化了现有设备的结构复杂度。

用于轮毂的人孔盖的锁具、人孔盖以及风力发电机组

NºPublicación:  CN224002535U 17/03/2026
Solicitante: 
北京金风科创风电设备有限公司
CN_224002535_U

Resumen de: CN224002535U

本公开提供一种用于轮毂的人孔盖的锁具、人孔盖以及风力发电机组,所述用于轮毂的人孔盖的锁具包括第一锁部、锁舌以及第二锁部,所述第一锁部用于连接在轮毂的人孔处;所述锁舌在锁定位置和解锁位置之间可转动地连接于所述第一锁部;所述第二锁部用于连接于轮毂的人孔盖;其中,在所述锁舌位于所述锁定位置时,所述锁舌能够卡设于所述第二锁部的背离所述第一锁部的一侧,使得所述人孔盖保持盖合所述人孔,通过锁舌可转动地连接在第一锁部上,在锁舌位于锁定位置时,锁舌可以卡设在第二锁部上,使得连接于第一锁部的轮毂和连接于第二锁部的人孔盖能够保持盖合。

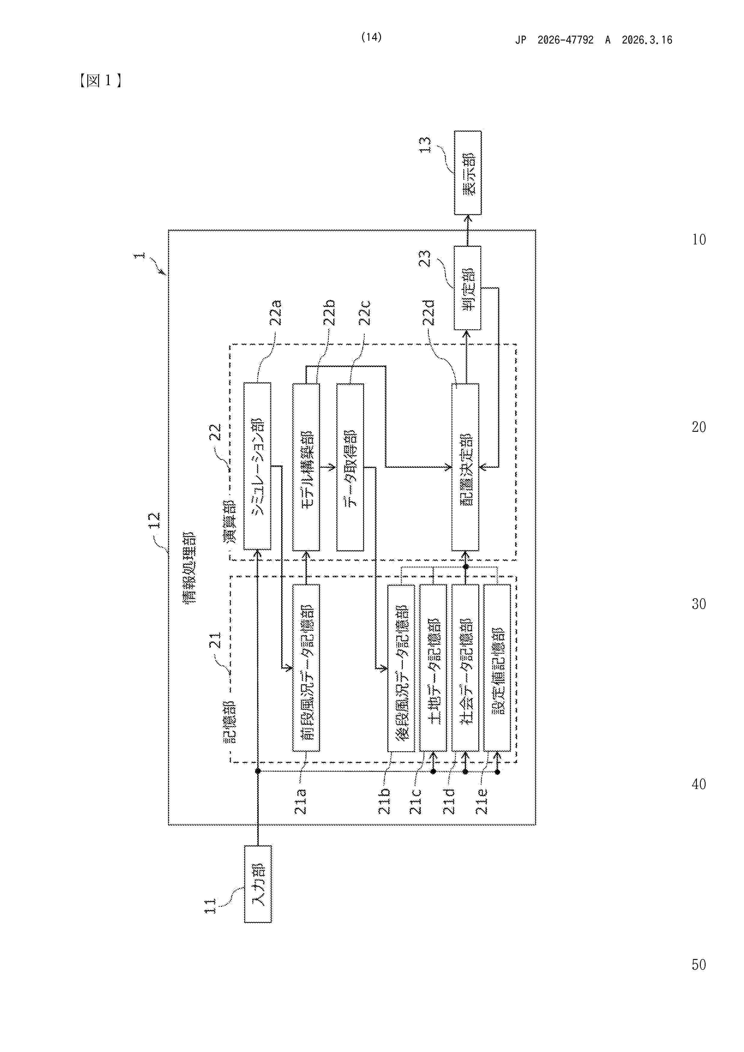
風車情報処理装置、風車情報処理方法、および風車情報処理プログラム

Nº publicación: JP2026047792A 16/03/2026

Solicitante:

株式会社東芝

JP_2026047792_A

Resumen de: JP2026047792A

【課題】風況観測機器の好適な配置を実現することが可能な風車情報処理装置を提供する。【解決手段】一の実施形態によれば、風車情報処理装置は、第1領域において風況をシミュレートして、前記第1領域内の複数の地点における風況の計算結果を含む第1風況データを出力するシミュレーション部を備える。前記装置はさらに、前記第1風況データに基づいて、前記第1領域の風条件の予測モデルを構築するモデル構築部を備える。前記装置はさらに、前記第1領域内の1つ以上の風車設置地点における風況の計算結果を含む第2風況データを取得するデータ取得部を備える。前記装置はさらに、前記第1風況データ、前記第2風況データ、および前記予測モデルの少なくともいずれかに基づいて、前記第1領域において風況観測機器が配置される候補地点を決定する配置決定部を備える。前記装置はさらに、前記第1領域内の前記候補地点を表示部に表示する。【選択図】図1

traducir