Ministerio de Industria, Turismo y Comercio LogoMinisterior
 

Energía eólica

Resultados 568 resultados
LastUpdate Última actualización 04/04/2026 [07:17:00]
pdfxls
Solicitudes publicadas en los últimos 15 días / Applications published in the last 15 days
Resultados 1 a 568  

风机润滑油精滤智控方法及系统

NºPublicación:  CN121782123A 03/04/2026
Solicitante: 
云南滇能智慧能源有限公司
CN_121782123_PA

Resumen de: CN121782123A

本发明涉及智能控制技术领域,提供了风机润滑油精滤智控方法,包括:获取目标风机润滑油的风机润滑油数据信息,对风机润滑油数据信息进行污染特征分析;构建风机润滑油过滤控制空间,将润滑油污染程度特征参数作为约束参数,在风机润滑油过滤控制空间内进行寻优,获得目标精滤控制参数;基于目标精滤控制参数对所述目标风机润滑油进行精滤监测,获取过滤监测数据流,基于过滤监测数据流对所述目标精滤控制参数进行优化管控。解决现有风机润滑油精滤方法存在实时感知不强、控制不够精准,从而无法获得最佳的精滤控制参数,导致润滑油的使用寿命短,维护成本高的技术问题。

不依靠电网电压的直驱风电机组提前启动方法及相关装置

NºPublicación:  CN121782096A 03/04/2026
Solicitante: 
国网湖北省电力有限公司电力科学研究院湖北方源东力电力科学研究有限公司
CN_121782096_PA

Resumen de: CN121782096A

一种不依靠电网电压的直驱风电机组提前启动方法及相关装置,包括:通过断开变压器电网侧开关、保持机组侧连接,将桨距角顺桨至90°并制动风轮;根据风力参数选取最低桨距角βmin,确保其对应机械功率大于直流母线电容充电功率;风速达标后降低桨距角至βmin并解除制动,利用风力升速提升直流母线电压;在电压达耐压值前启动发电机侧变流器,采用一阶惯性环节控制母线电压以降低冲击;稳定后根据发电机端电压动态调节参考值,满足调制约束;启动网侧变流器,通过“功率外环+电流内环”控制,以固定频率生成相位角作为逆变参考。本发明无需电网电压即可实现机组自主启动,可快速响应电网功率需求,提升风电场运行可靠性与电网支撑能力。

垂直轴风力涡轮机

NºPublicación:  CN121794466A 03/04/2026
Solicitante: 
GAG 414\u6709\u9650\u516C\u53F8
CN_121794466_PA

Resumen de: WO2024246508A1

The present invention provides a shroud for a vertical axis wind turbine. The shroud is configured in use to externally surround a rotor of a vertical axis wind turbine. The shroud comprises: upper and lower axially spaced apart supports, configured in use to be respectively positioned above and below the rotor, and each support has a radially outer periphery defining a polygonal shape with a plurality of circumferentially distributed corners. The shroud comprises a plurality of circumferentially distributed stators each extend longitudinal between a corner of the upper support and a corner of the lower support such that adjacent pairs of stators and the interposed sections of the outer periphery of the upper and lower support define a plurality of quadrilateral frames configured in use to circumferentially surround the rotor.

一种管道式风力发电机

NºPublicación:  CN121782105A 03/04/2026
Solicitante: 
神凯(永康市)机电有限公司杭州英凯佳企业管理有限公司
CN_121782105_PA

Resumen de: CN121782105A

本发明公开了一种管道式风力发电机,其包括进风底座组件、外壳体、文丘里发电组件和出风挡板组件;文丘里发电组件包括固定连通设置在进风底座组件上的进风腔,其为两端开口的喇叭状中空腔体;固定连通设置在进风腔上的发电机构;连通设置在发电机构上且与进风腔构成文丘里效应通道的出风腔机构,其为两端开口的倒喇叭状中空腔体;转动设置在出风腔机构出风端的出风扇叶。本发明通过文丘里发电组件依次把风能转换成机械能、电能,从而实现风力发电功能,有效地解决了现有风力发电装置结构复杂和体积庞大的问题。

一种基于主轴重心调节以降低跳动量的风电机组滑动轴承支承传动链

NºPublicación:  CN121782328A 03/04/2026
Solicitante: 
湖南大学
CN_121782328_PA

Resumen de: CN121782328A

本发明涉及风电技术领域,公开了一种基于主轴重心调节以降低跳动量的风电机组滑动轴承支承传动链,包括前后轴承座、主轴系统、主轴导轨机构、驱动机构和齿轮箱行星架,所述主轴系统设有可轴向移动的配重环,其通过内圈滑槽与主轴导轨机构配合;所述驱动机构对称布置于主轴两侧且其上安装有磁块,能以非接触磁驱方式驱动配重环;所述位移传感器用于检测主轴倾斜状态,并依此控制配重环位置。本发明通过移动配重环来调节主轴重心,实现前后主轴承支座反力的重新分配,从而有效解决因受力相差过大引起的主轴倾斜、跳动增大及齿轮箱载荷失衡问题,降低传动链振动、噪音与故障率,提高采用滑动轴承作为主轴承支承的风电机组实际使用寿命。

用于风力发电机组的除冰装置及风力发电机组

NºPublicación:  CN121782119A 03/04/2026
Solicitante: 
施正宝
CN_121782119_PA

Resumen de: CN121782119A

本发明提供了一种用于风力发电机组的除冰装置及风力发电机组。用于风力发电机组的除冰装置设置在风力发电机组上,风力发电机组包括定子和转子,转子包括转轴和至少一个桨叶,转轴的第一端与定子转动连接,桨叶固定在转轴的第二端,除冰装置包括加热电阻和电源,加热电阻设置在桨叶上,加热电阻的第一端与第一焊盘电连接,加热电阻的第二端与第二焊盘电连接,第一焊盘和第二焊盘设置在桨叶的根部,电源与第一焊盘和第二焊盘电连接,电源用于向加热电阻提供电能,加热电阻将电能转化为产生热能。该除冰装置可以防止桨叶结冰或融化桨叶表面的覆冰,从而提高风力发电机组运行的稳定性,进而提高风力发电机组的发电效率。

双模态海上漂浮式风机及其控制方法

NºPublicación:  CN121778098A 03/04/2026
Solicitante: 
中国海洋工程装备技术发展有限公司
CN_121778098_PA

Resumen de: CN121778098A

本发明涉及一种双模态海上漂浮式风机及其控制方法。与现有技术相比,本发明通过水泵调节浮箱主体内部空间的压载水改变重力和浮力的关系,带动套筒沿主轴上下移动,切换风机的工作状态,风机发电作业状态下,可移动式浮箱调节至半浸没状态,利用较大的水线面面积提供较大的静水恢复力以抵抗风载荷产生的倾覆力,从而使漂浮式风机具有较小的横摇和纵摇倾角,从而提高发电效率;在风机停机状态下,可移动式浮箱调节至全浸没状态,此时由于水线面面积较小,浮式基础的环境载荷较小,也具有较小的运动响应和较小的系泊张力,漂浮式风机受到的波浪载荷相对较小。在提升发电效率的同时减小了停机状态下的极端载荷,从而减小总体结构,经济性好。

一种建筑节能通风系统

NºPublicación:  CN121782675A 03/04/2026
Solicitante: 
温州职业技术学院
CN_121782675_PA

Resumen de: CN121782675A

本发明涉及建筑通风技术领域,具体为一种建筑节能通风系统,包括进气机构,安装在进气机构上的滤气机构,安装在滤气机构上的增程式进风机构,安装在增程式进风机构上的风动供能机构以及安装在进气机构上的清污机构;所述进气机构包括底座,所述底座的内部固定安装有导流管,所述导流管的顶部固定安装有锥形滤网。通过在屋顶的通风管上安装进气机构和滤气机构,并在滤气机构的顶部安装增程式进风机构,当扇叶树立在屋顶上且高于遮挡的墙体以上位置后,顺着建筑物外墙流动的气流会助转扇叶,而扇叶、横轴以及偏心齿轮会为叶轮轴提供稳定的机械能,最终可以确保该装置在屋顶低气流且气流受阻的状态下实现持续通风换气的目的。

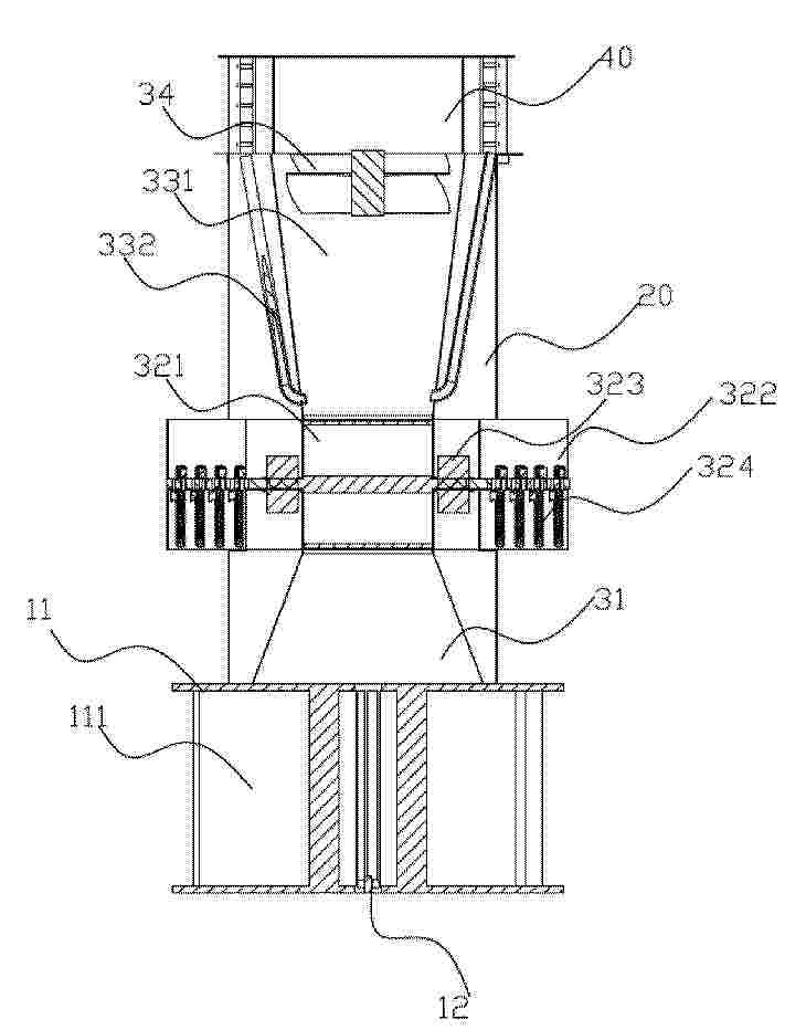
一种基于IPC带载偏航策略优化风机发电量的方法及系统

NºPublicación:  CN121782097A 03/04/2026
Solicitante: 
华能定边新能源发电有限公司华能陕西子长发电有限公司
CN_121782097_PA

Resumen de: CN121782097A

本发明涉及风力发电技术领域。提供一种基于IPC带载偏航策略优化风机发电量的方法及系统。步骤如下:实时采集风向数据,结合历史风向数据和实时风向数据,预测未来预设时间段内的风向变化趋势;根据风向变化趋势的预测结果和风机当前机舱朝向,计算出机舱与风向的预测偏差角度,同时设定动态偏航启动阈值;实时监测风机的运行参数数据,根据监测数据动态调整偏航速度和电机输出功率,并同步调节风轮桨距角,平衡风轮平面内的风载;根据此次偏航过程中的运行数据,优化动态偏航启动阈值和偏航调整参数。解决传统偏航控制策略因无法实时跟踪瞬时风向变化导致对风不准,进而造成风机部件疲劳损伤、硬件加速磨损、电量损失及运维成本增加的问题。

一种内外双索的混塔结构及其施工方法

NºPublicación:  CN121781810A 03/04/2026
Solicitante: 
山东电力工程咨询院有限公司
CN_121781810_PA

Resumen de: CN121781810A

本发明属于混塔结构技术领域,提出了一种内外双索的混塔结构及其施工方法,包括基础,以及设置在所述基础上的混凝土塔段;混凝土塔段的内部设置有内预应力索,外部设置有外预应力索,外预应力索上设置有阻尼器,通过外预应力索极大地增加了力臂,在混凝土用量不变的情况下,提高了塔筒受力性能,阻尼器起到减震作用,可以有效耗散外预应力索振动产生的能量,大大减轻风载对外预应力索的影响;采用内外双索和阻尼器结合的结构,有助于提高混塔的受力性能,可以消除混凝土表面的开裂风险,极大地提高了结构的耐久性和使用寿命。

落雷抑制型风力发电设备

NºPublicación:  CN121782117A 03/04/2026
Solicitante: 
株式会社落雷抑制系统
CN_121782117_PA

Resumen de: CN121782117A

本发明的目的是容易地将现有的落雷抑制装置应用到风力机中。解决上述技术问题的本申请发明是一种落雷抑制型风力发电设备(X),具备:竖立设置的支柱(11);经由支柱(11)设置于支柱(11)的上部的发电机(12);设置于对发电机(12)进行旋转驱动的驱动轴(13)的轮毂(H);以驱动轴(13)为中心呈放射状设置于轮毂(H)的多个叶片(B);设置于这些叶片(B)的前端的带电体(E);以及设置于轮毂(H)的内部空间的电容器,该电容器具有:经由接地线(L)接地的第一电极体(42);以及隔着电绝缘层(44)或电绝缘体(45)遍及大致全体地包围第一电极体(42)并与带电体(E)连接的第二电极体(43)。

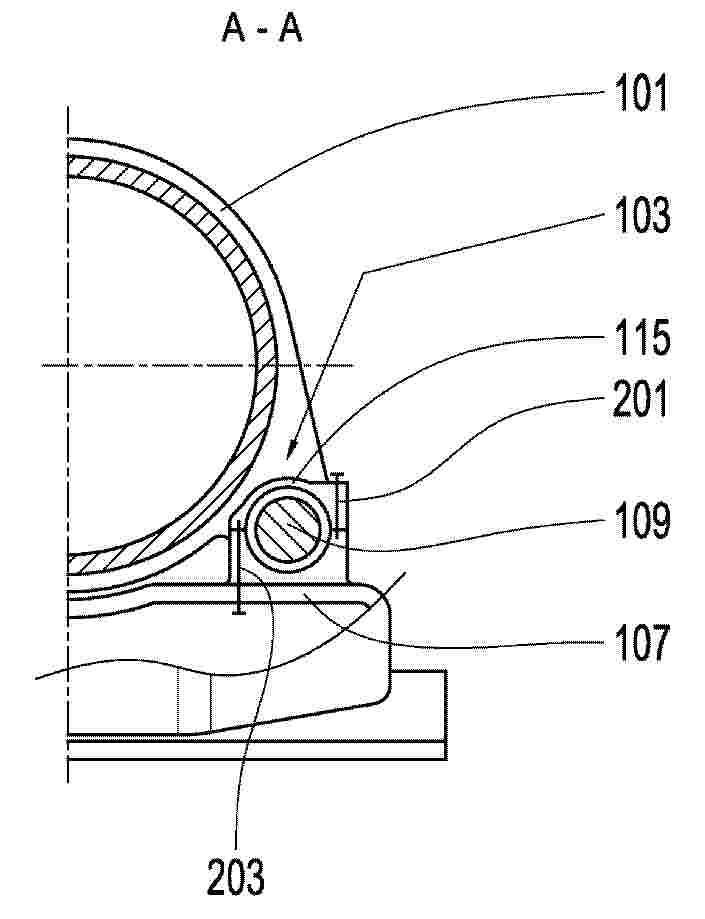
风力发电机齿轮箱的节省结构空间的支承

NºPublicación:  CN121794468A 03/04/2026
Solicitante: 
采埃孚股份公司风能安特卫普有限公司
CN_121794468_PA

Resumen de: WO2025061367A1

The invention relates to an assembly (103, 105) for a wind turbine; comprising a first means (107) fixed to the machine support, a first half shell (113, 115), a first screw (201) and a second screw (201); wherein the first half shell (113, 115) forms, together with the first means (107) fixed to the machine support, a first gudgeon pin recess (111) for accommodating a first gudgeon pin (109) for fixing a housing (101) in a machine support (107); wherein the first screw (201) is accommodated in a through-hole in the first half shell (113, 115) and screwed to a thread of the first means (107) fixed to the machine support. The second screw (201) is accommodated in a through-hole in the first means (107) fixed to the machine support and screwed to a thread of the first half shell (113, 105).

风沙防护方法、装置、设备及存储介质

NºPublicación:  CN121782115A 03/04/2026
Solicitante: 
华能托里风力发电有限公司
CN_121782115_A

Resumen de: CN121782115A

本申请公开了一种风沙防护方法、装置、设备及存储介质,涉及防护领域,方法包括:获取当前风力,在当前风力大于预设风力阈值的情况下,检测在风力发电机组的预设距离内是否存在目标沙尘,在预设距离内存在目标沙尘的情况下获取当前风向;对于每个目标沙尘,基于当前风向、当前风力和目标沙尘的沙尘粒径,在预设轨迹映射关系中获取目标沙尘对应的沙尘相对运动轨迹;获取目标沙尘的起始位置以及沙尘相对运动轨迹,确定目标沙尘在风力发电机组的风叶所处空间平面内的目标打击区域;依据各目标打击区域,控制风力发电机组运行,以使风力发电机组中的风叶至少避开一个目标打击区域。本申请解决了风力发电机组的风沙防护效果不佳的问题。

一种海能驱航船动力集成装置

NºPublicación:  CN121782087A 03/04/2026
Solicitante: 
广东信稳海能驱航船舶有限公司广东信稳能控技术研究有限公司
CN_121782087_PA

Resumen de: CN121782087A

本发明公开了一种海能驱航船动力集成装置,包括海波竖向能量收集器和风能收集柱,海波竖向能量收集器和风能收集柱均与同一条集能传动轴联动,集能传动轴设有与船体的螺旋桨相联动的动力输出端,海波竖向能量收集器和风能收集柱两者均联动有直流发电机。本发明提供的海能驱航船动力集成装置,能将收集得到的风柱机械能、浮萍机械能以及燃油发电机机械能集成到同一根集能传动轴上,驱动船舶航行,环保节能。风能和海波能可直接驱动螺旋桨,能量转化损耗少。

间歇输出的风力发电机桨距角时变神经元自适应控制方法

NºPublicación:  CN121782102A 03/04/2026
Solicitante: 
山东理工大学
CN_121782102_PA

Resumen de: CN121782102A

间歇输出的风力发电机桨距角时变神经元自适应控制方法,属于风力发电机控制领域。其特征在于:包括如下步骤:步骤1,建立具有间歇性的风力发电机模型;步骤2,根据步骤1中所确定的具有间歇性的风力发电机模型,确定其控制目标以及引理;步骤3,构建风力发电机模型的间歇输出‑切换结构的状态观测器;步骤4,基于时变神经元的径向基神经网络估计;步骤5,构建时变神经元自适应轨迹跟踪控制器。在本申请中,提出一种间歇输出切换状态观测器,通过划分是否可测设计开环观测器以及闭环观测器,利用神经网络估计干扰以及位置动态,降低观测器观测误差,提高系统在风速突变下的桨距角输出信息可靠性。

用于风电机组主轴制动的锁紧工装及锁紧方法

NºPublicación:  CN121782292A 03/04/2026
Solicitante: 
华锐风电科技(集团)股份有限公司
CN_121782292_PA

Resumen de: CN121782292A

本发明公开了一种用于风电机组主轴制动的锁紧工装及锁紧方法,该锁紧工装包括位于主轴中轴线左右两侧的两组工装组件,每组工装组件包括支撑座、立板、多个套筒和与套筒数量相等的多个工装双头螺柱,其中一组工装组件还包括垫板,支撑座与机组主轴的轴承座连接,立板和套筒通过工装双头螺柱连接至主轴法兰,使得套筒位于主轴法兰与立板之间,其中一组工装组件的立板与支撑座抵接,另外一组工装组件的立板与支撑座之间通过垫板接合。本发明锁紧工装利用机舱内的已有部件进行连接安装,安装方便且占用空间足够小,制动锁紧性能可靠。

大功率风力发电机以及风力发电机组

NºPublicación:  CN121782124A 03/04/2026
Solicitante: 
远景能源技术私人有限公司
CN_121782124_PA

Resumen de: CN121782124A

本发明提供了一种大功率风力发电机以及风力发电机组,大功率风力发电机包括转轴、壳体,转轴上设置有电机轴承,电机轴承为滚动轴承;壳体上设置有轴承室,电机轴承设置于轴承室内;轴承室上设置有连通润滑油供给装置的进油口、以及连通进油口的喷油口,以通过喷油口对电机轴承喷油润滑。本发明的大功率风力发电机采用滚动轴承配合喷油润滑的方案,替代传统的脂润滑方式,润滑油直接喷射至电机轴承,高效带走热量,显著降低运行温度与失效风险,从而规避脂润滑的固有缺陷。

一种在变桨电机旋变故障时的转子位置估算方法

NºPublicación:  CN121791728A 03/04/2026
Solicitante: 
福氏工业(北京)有限公司
CN_121791728_PA

Resumen de: CN121791728A

本发明公开了一种在变桨电机旋变故障时的转子位置估算方法,滑模观测器控制模型基于电机电流和电机电压的测量值,估算得到电机反电动势高频脉冲信号,对反电动势高频脉冲信号进行滤波处理得到呈连续波形状的反电动势观测信号,基于该反电动势观测信号计算得到转子磁链观测角度,对该转子磁链观测角度进行滞后角度theta补偿修正,将补偿修正后得到的转子磁链角度作为转子位置的估算结果;本发明的整个计算过程简单高效,且稳定性好;在应用时,当检测到旋转变压器的解码信号出现异常时,提取该转子位置的估算结果代替异常的旋转变压器解码信号,确保继续正常执行变桨驱动器的桨叶顺桨工作,使得桨叶回到安全位置,避免经济损失。

风力发电机塔筒的监测方法及装置、设备、存储介质

NºPublicación:  CN121782109A 03/04/2026
Solicitante: 
内蒙古新远景集团有限公司远景能源有限公司
CN_121782109_PA

Resumen de: CN121782109A

本申请涉及风力发电技术领域,公开一种风力发电机塔筒的监测方法,应用于电子设备,方法包括:获取风力发电机的载荷参数。将载荷参数输入训练好的风况重构模型,以使风况重构模型基于载荷参数生成风况数据。将风况数据输入训练好的载荷计算模型,以使载荷计算模型基于风况数据输出塔筒的载荷时序数据。该方法在监测塔筒的载荷时,相较于利用塔筒表面部署的传感器,检测塔筒所承受载荷的方式,可以减少监测盲区,从而更加全面地监测塔筒载荷,以提升监测塔筒载荷的准确性。本申请还公开一种风力发电机塔筒的监测装置及设备、存储介质。

基于截面曲率的风电叶片截面弯曲刚度的确定方法及系统

NºPublicación:  CN121786989A 03/04/2026
Solicitante: 
中国华能集团清洁能源技术研究院有限公司华能海上风电科学技术研究有限公司
CN_121786989_PA

Resumen de: CN121786989A

本申请提出基于截面曲率的风电叶片截面弯曲刚度的确定方法及系统,所述方法包括:基于风电叶片的三维铺层与结构参数,并采用有限元软件建立所述风电叶片的三维铺层有限元壳模型;对所述风电叶片的三维铺层有限元壳模型的叶尖区域施加多个不同的第一单向静力载荷,并获取所述风电叶片的各截面在各第一单向静力载荷作用下的实际位移;获取各截面在各第一单向静力载荷作用下的截面弯矩,然后根据所述各截面在各第一单向静力载荷作用下的截面弯矩和所述各截面在各第一单向静力载荷作用下的实际位移确定所述风电叶片的各截面的弯曲刚度。本申请提出的技术方案,提升了复合材料叶片截面的弯曲刚度计算精度。

制造风力涡轮机转子叶片的半壳体的方法

NºPublicación:  CN121777449A 03/04/2026
Solicitante: 
恩德能源欧洲股份两合公司
CN_121777449_PA

Resumen de: CN121777449A

本发明涉及一种制造风力涡轮机转子叶片的半壳体的方法,该方法使用模具(141)进行,模具(141)包括铺叠表面(142)和突出部(143),其中,突出部(143)限定模具(141)的边缘,该方法包括以下步骤:i. 将牺牲材料块(149)布置在突出部(143)上,ii. 将多个层压层(145、146、147)布置在铺叠表面(142)上,其中,多个层压层(145、146、147)中的至少一个层压层(145、146)覆盖突出部(143)上的牺牲材料块(149),iii. 将牺牲材料块(149)和至少一个层压层(145、146)的覆盖牺牲材料块(149)的部分去除。

一种预制混凝土塔筒结构及制作与施工方法

NºPublicación:  CN121782108A 03/04/2026
Solicitante: 
北京峰筑工程技术研究院有限公司
CN_121782108_PA

Resumen de: CN121782108A

一种预制混凝土塔筒结构及制作与施工方法,塔筒由筒节上下连接组成,筒节包括预制混凝土、钢筋和钢骨,钢筋包括环向钢筋和纵向钢筋,环向钢筋和纵向钢筋形成钢筋网,钢骨位于钢筋网之间,钢骨伸出预制混凝土的表面,上下相邻的筒节对应的钢骨连接,连接区浇筑有后浇料。本发明具有接缝处抗剪性能好,塔筒承载力与刚度和抗疲劳性能好的优点,而且提升施工期间的安全性。

使用磁联接的无带驱动系统

NºPublicación:  CN121794489A 03/04/2026
Solicitante: 
埃翁·弗伦奇
CN_121794489_PA

Resumen de: WO2025050173A1

A beltless drive system (30) for power transmission, including a primary driving component (16) having a primary driving shaft (36B) which is configured to rotate a primary magnetic coupler (36); and, a secondary driven component (18) having a secondary driven shaft (38B) configured to be rotated by a secondary magnetic coupler (38) Each of said primary and secondary magnetic couplers (36, 38) include a plurality of spaced apart magnets (36C, 38C), such that upon rotation of said primary driving component (16), power is transmitted via said primary and secondary magnetic couplers (36, 38) to thereby drive said secondary driven component (18). At least one of the couplers (36, 38) includes a housing (41) which is substantially made of a resilient material such as rubber or urethane, and the plurality of spaced apart magnets (36C, 38C) are entombed or embedded within the housing (41).

基于数字孪生技术的海上风电运维方法及系统

NºPublicación:  CN121786578A 03/04/2026
Solicitante: 
中交上海三航科学研究院有限公司
CN_121786578_PA

Resumen de: CN121786578A

本发明提供基于数字孪生技术的海上风电运维方法及系统,涉及海上风电运维方法技术领域,包括根据贝茨极限定义计算风机的最大理论功率;采用前向欧拉离散化将风能效率转换的动态比值转化为差分方程,采用卡尔曼滤波构建状态空间模型更新每个采样点的风能转换效率;采用指数加权移动法构建风能转换效率的动态阈值。通过温度补偿法动态修正空气密度,使理论功率计算更贴合风机所处的真实大气环境;采用卡尔曼滤波对离散化后的状态空间模型进行求解,能够最优地融合机理模型的预测与实际观测值;采用指数加权移动法生成动态阈值,该阈值能够跟随风能转换效率的长期趋势和短期波动而自适应调整。

一种基于太赫兹技术的风力叶片的清洗及故障扫描装置

NºPublicación:  CN121782121A 03/04/2026
Solicitante: 
共和华能太阳能发电有限公司中国华能集团清洁能源技术研究院有限公司
CN_121782121_PA

Resumen de: CN121782121A

本发明提出一种基于太赫兹技术的风力叶片的清洗及故障扫描装置,所述装置包括:轨道组件、清理组件和赫兹扫描仪,轨道组件包括导轨和吸盘,导轨相对于叶片可弯曲,以利用吸盘将轨道组件吸附在叶片表面,清理组件包括移动部件和清理部件,移动部件与导轨相连且沿导轨的延伸方向可移动,清理部件与移动部件相连且沿正交于导轨的延伸方向可移动,清理部件包括第一喷口和第二喷口,赫兹扫描仪与清理部件相连,且赫兹扫描仪位于清理部件邻近叶片一侧,赫兹扫描仪用于对清理后的叶片表面进行扫描。本发明的基于太赫兹技术的风力叶片的清洗及故障扫描装置具有清扫、扫描方便,工作效率高的优点。

一种农用风力抽水装置

NºPublicación:  CN121782106A 03/04/2026
Solicitante: 
重庆航天职业技术学院
CN_121782106_PA

Resumen de: CN121782106A

本申请为一种农用风力抽水装置,包括一体成型的大、中、小滑轮组成的三联滑轮,由三角十字架、弹簧等组成的传动机构,带螺旋状水管的抽水机和高空气球。通过升入高空的高空气球获取风力,再通过特长绳、三角十字架和三联滑轮与抽水机连接,利用高空风力不断变化的特性及三联滑轮的杠杆原理,在特长绳拉力大时,使得三联滑轮转及与大、中滑轮缠绕的长圆筒同向转动;而在特长绳拉力小时,利用与小滑轮连接的小重块使三联滑轮在反向转动的同时长圆筒静止,从而使得抽水机能断断续续地向单一方向转动,实现抽水功能。本申请成本低廉、动力充足,可用于在无电力的野外抽水抗旱。

一种风电混凝土塔架低温吊装施工保温装置及方法

NºPublicación:  CN121781812A 03/04/2026
Solicitante: 
东方电气风电股份有限公司
CN_121781812_PA

Resumen de: CN121781812A

本发明涉及风力发电技术领域,特别涉及一种风电混凝土塔架低温吊装施工保温装置及方法,包括顶部框架,所述顶部框架用以覆盖整环筒节的上端面,顶部框架上形成有覆盖层并设置观察区;覆盖层上设置有供起吊点穿过的起吊孔;所述顶部框架还连接若干向下垂落的保温围挡,相邻保温围挡连接后形成筒形的围挡结构,围挡结构内形成加热腔,整环筒节被笼罩在加热腔内;所述保温装置还包括加热源,用以维持加热腔内的温度。通过保温装置和施工方法,能够对整环筒节进行包裹笼罩,并形成加热腔对内部的进行加热,提供适宜的温度环境供固化胶进行固化反应,从而实现整环筒节的装配施工,实现了在低温条件下的混凝土塔架施工。

基于风力-雨淋的复合式发电装置

NºPublicación:  CN121782104A 03/04/2026
Solicitante: 
盐城工学院
CN_121782104_PA

Resumen de: CN121782104A

本发明公开了基于风力‑雨淋的复合式发电装置,包括:能量收集装置,用于收集可转化为电能的风能和雨滴能;能量转化装置,与能量收集装置连接,用于将能量收集装置采集的风能和雨滴能转化为电能;电能管理模块,与能量转化装置电连接,用于将能量转化装置转化的电能进行整流和储存,并向负载供电。通过上述结构设计,使得本申请可适配太阳能路灯等场景,通过能量收集装置对多种能量进行收集转化,实现在不同天气条件下稳定供电,从而使得本申请具有能量收集范围广、转换效率高、结构紧凑、环境适应性强等优势,适用于户外低功耗设备(如物联网传感器、野外监测终端等)的自主供电场景。

风电机组及其变桨控制方法、系统、设备、介质及产品

NºPublicación:  CN121782098A 03/04/2026
Solicitante: 
上海电气风电集团股份有限公司
CN_121782098_PA

Resumen de: CN121782098A

本公开提供了一种风电机组及其变桨控制方法、系统、设备、介质及产品,方法包括:获取所述风电机组的叶片在运行状态下的实际推力、功率推力以及气动推力;以满足预设条件的所述功率推力或所述气动推力为目标推力;根据所述实际推力和所述目标推力确定所述叶片的桨距角变化值,以控制所述叶片进行变桨,通过气动推力和功率推力作为目标推力与实际推力进行比较的设定,相较于现有技术的方案而言,目标推力可以随风电机组的功率约束和气动条件实时变化,使得变桨控制灵活性更高,在削减了风电机组的推力,减少对于塔架等结构的压力的同时,在风电机组的安全边界内对能量最大化捕获。

一种吸附式风机叶片内腔巡检装置

NºPublicación:  CN121782110A 03/04/2026
Solicitante: 
大唐国际茫崖新能源有限公司中国大唐集团科学技术研究总院有限公司中国大唐集团科学技术研究总院有限公司华北电力试验研究院
CN_121782110_A

Resumen de: CN121782110A

本发明公开了一种吸附式风机叶片内腔巡检装置,其中装置包括风机叶片内腔中的吸附式巡检机器人和风机叶片之外的通信中继单元;吸附式巡检机器人具有巡检控制器、驱动单元、图像采集单元与吸附单元,吸附单元固设于吸附式巡检机器人壳体的外表面,吸附单元的吸盘朝向内腔的内表面设置并与内表面接触;吸附单元通过吸附作用形成朝向内表面的附着力,驱动单元用于为吸附式巡检机器人提供行进动力,以使吸附式巡检机器人能在附着力的作用下,贴合于风机叶片内腔的内表面并沿预设路径行进;巡检控制器用于控制图像采集单元采集风机叶片内腔的环境图像,并将环境图像发送到通信中继单元以将环境图像发送到上位机。上述方案能提高对风机叶片的巡检效率。

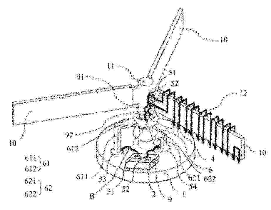
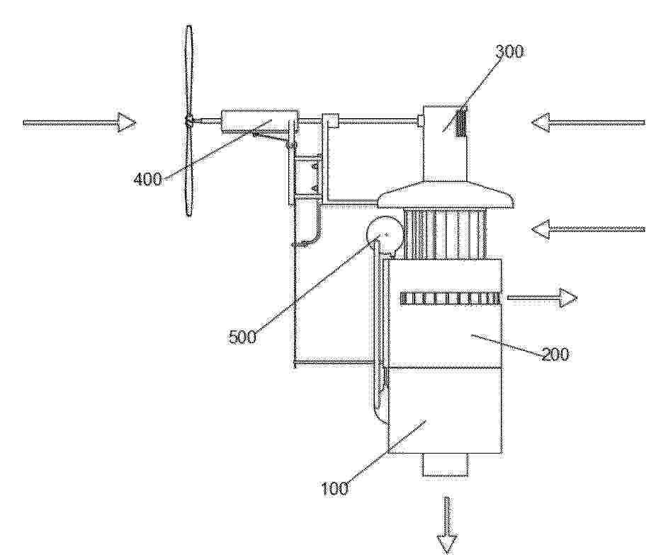
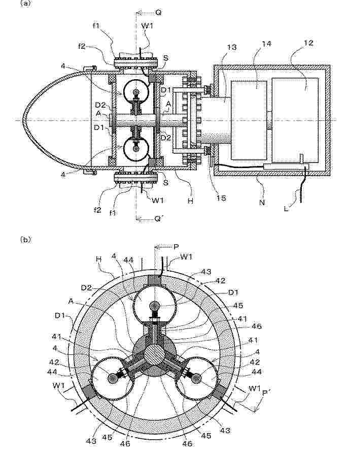
环境友好型风力发电系统及风光发电系统

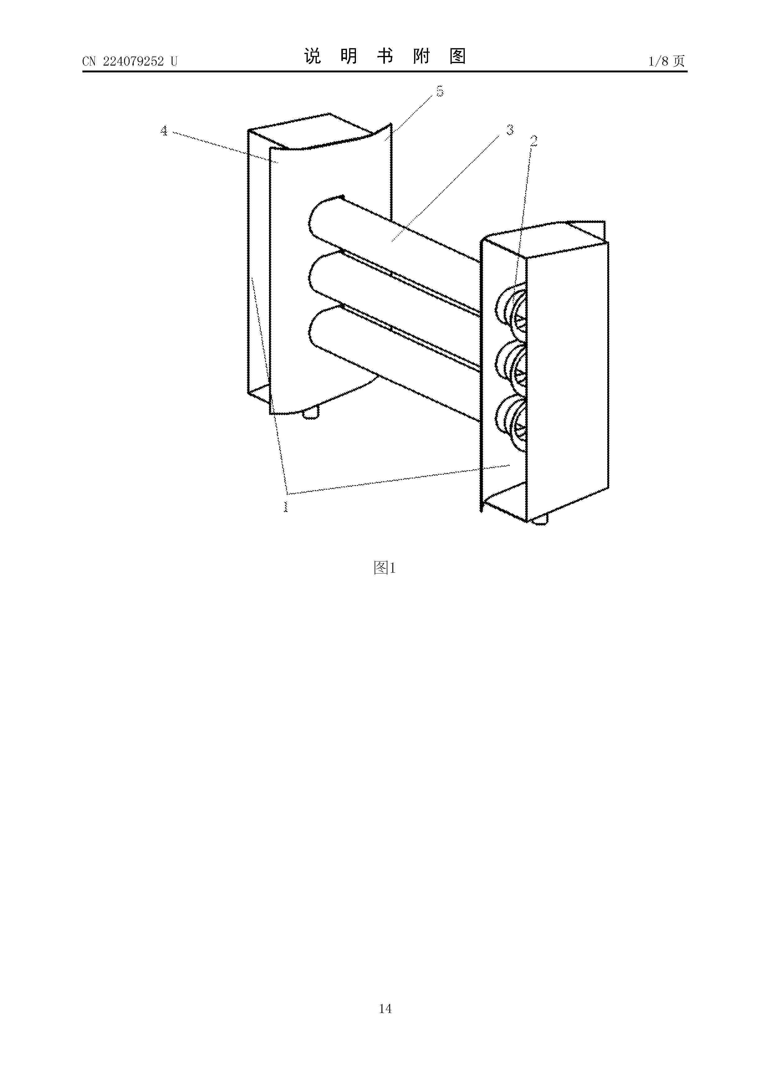
NºPublicación:  CN224079252U 03/04/2026
Solicitante: 
陕西国力信息技术有限公司
CN_224079252_U

Resumen de: CN224079252U

本实用新型涉及风力发电装置,具体涉及环境友好型风力发电系统及风光发电系统,解决现有风力发电设备应用于城市环境存在噪音大、易撞击到飞行的鸟类、占地面积大以及在低风速条件下发电效率大幅下降的问题。本实用新型包括至少一个兜风模块和N个中空风能采集柱,兜风模块包括一个兜风单元以及N组涡轮叶片和M个发电机,其中N≥1,1≤M≤N;兜风单元为涡轮叶片提供气流,N个中空风能采集柱沿竖直方向间隔设置在兜风单元的侧壁上,中空风能采集柱具有弯曲的迎风面;中空风能采集柱的一端与兜风单元的侧壁连接并且相互连通;N组涡轮叶片对应于N个中空风能采集柱设置且转动安装在兜风单元内;N组所述涡轮叶片用于驱动M个发电机转动。

一种水浮式轨道钢轮风力发电机

NºPublicación:  CN224079247U 03/04/2026
Solicitante: 
上海众风新能源科技有限公司
CN_224079247_U

Resumen de: CN224079247U

本实用新型涉及一种水浮式轨道钢轮风力发电机,包括风机底座、风机主轴和风机叶片,所述发电机还包括发电机组、辅助发电机组、传动轨道和电机支撑台;所述风机底座内设有风机水池,所述风机主轴可转动安装在风机底座上,并悬浮在风机水池内;所述电机支撑台安装在风机底座的外围,并位于风机叶片的正下方,所述发电机组和辅助发电机组均固定在电机支撑台上,所述传动轨道固定在风机叶片的下端,所述传动轨道分别传动连接发电机组和辅助发电机组。与现有技术相比,本实用新型具有结构稳定成本低且发电效率高等优点。

风电齿轮箱和风力发电机组

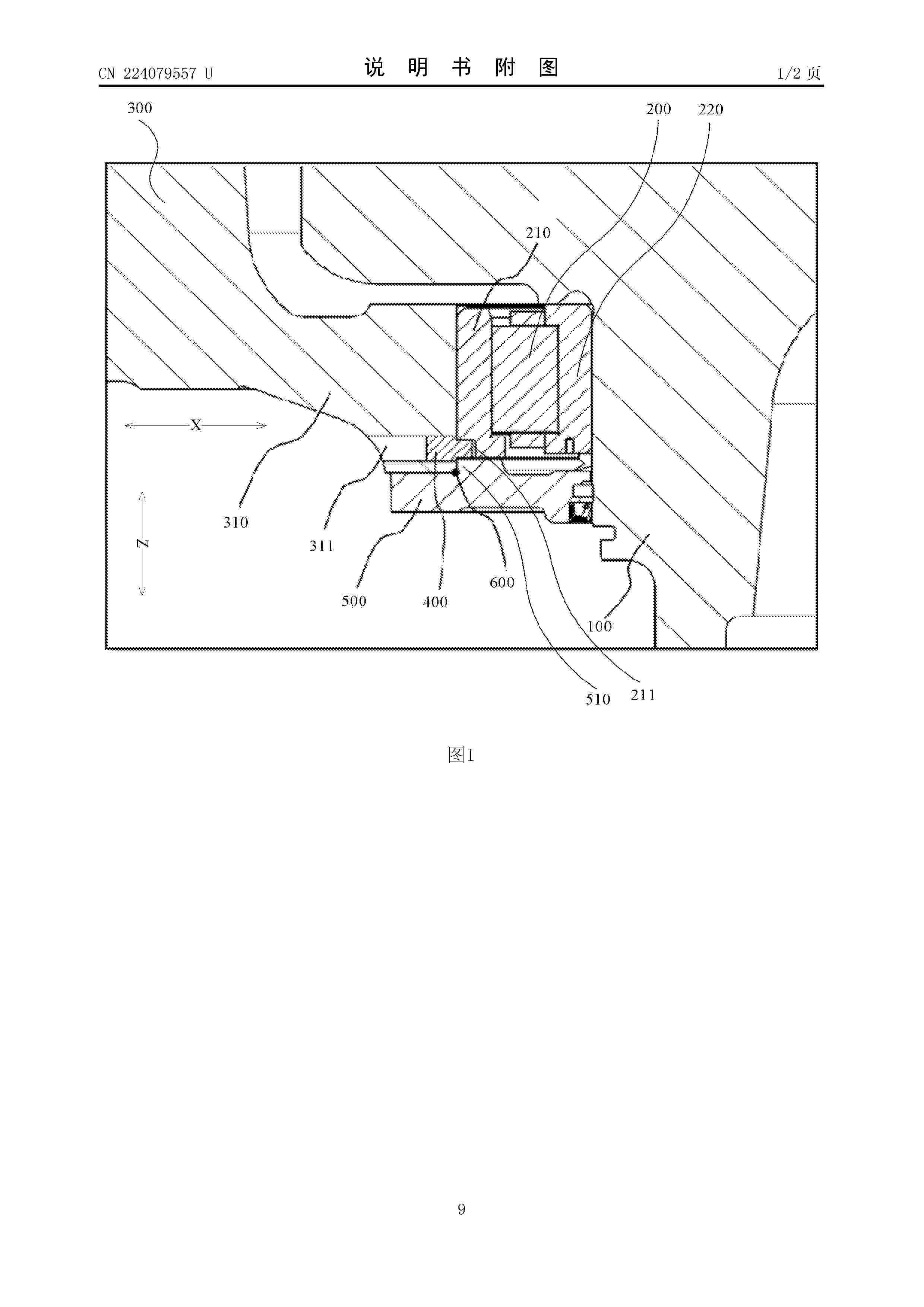
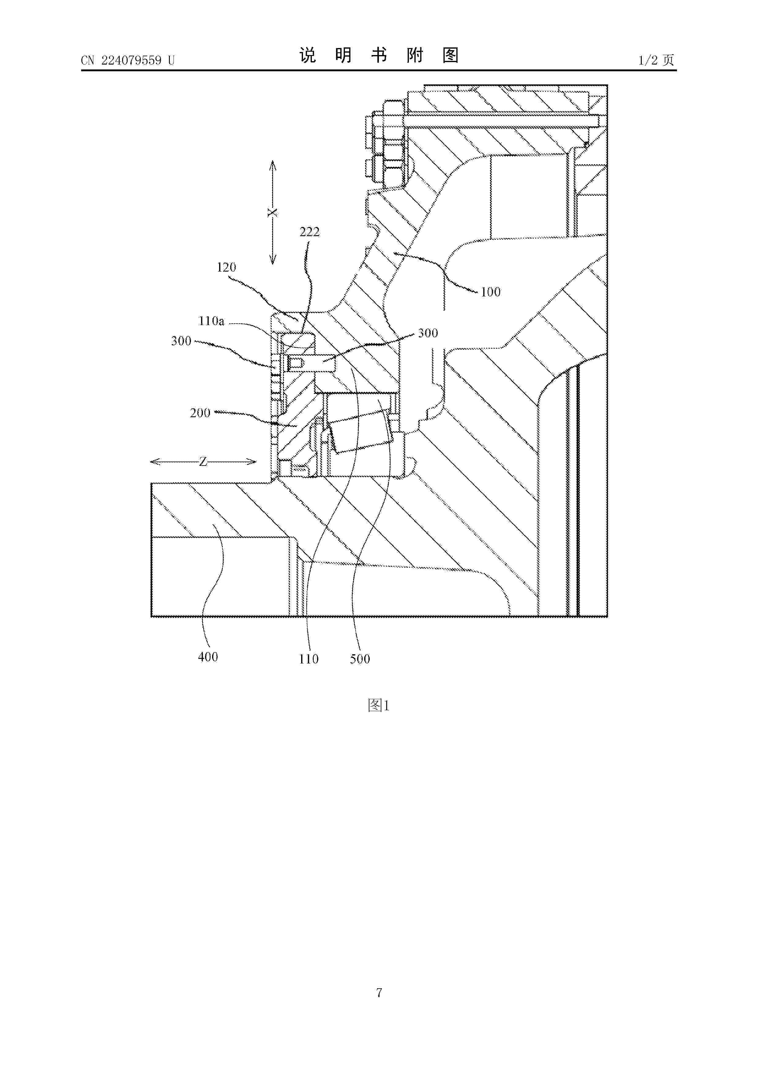
NºPublicación:  CN224079559U 03/04/2026
Solicitante: 
采埃孚(天津)风电有限公司
CN_224079559_U

Resumen de: CN224079559U

本实用新型涉及风电技术领域,提供风电齿轮箱和风力发电机组。风电齿轮箱的箱体设置有扭矩臂,扭矩臂的部分作为轴承座,扭矩臂设置有自轴承座的外沿轴向延伸的凸台,凸台与轴承座的端面形成承托槽,承托槽中嵌置轴承盖,轴承盖在径向上与凸台压配并在轴向上与轴承座的端面压配,轴承盖与轴承座之间通过紧固件紧固连接,轴承座与轴承盖共同支撑风电齿轮箱的行星架的圆锥滚子轴承。本实用新型的轴承盖与轴承座形成整体结构紧密配合,共同抵抗圆锥滚子轴承在运行过程中产生的轴向作用力和径向作用力,使轴承座与轴承盖共同稳定地支撑风电齿轮箱的行星架的圆锥滚子轴承,确保风电齿轮箱的稳定运行。

一种风电混凝土塔筒钢绞线穿束设备及其穿束方法

NºPublicación:  CN121781808A 03/04/2026
Solicitante: 
中国水利水电第四工程局有限公司
CN_121781808_PA

Resumen de: CN121781808A

本发明公开了一种风电混凝土塔筒钢绞线穿束设备及其穿束方法,涉及风电塔筒施工技术领域,包括钢制基座,还包括:位移机构,所述位移机构滑动连接于钢制基座的内部,吊装快速对接脱离机构,所述吊装快速对接脱离机构固定连接于位移机构的顶部,穿束机构,所述穿束机构固定连接于钢制基座的表面中间位置。本发明通过设置位移机构实现了塔顶稳固支撑与重心灵活调节,利用机械联动结构实现了吊装的自动锁紧与防脱,有效提升了作业安全性,同时改变了传统地面穿束模式,将牵引工装集成于塔顶,减少了对钢丝绳长度及地面设施的依赖,降低了运输布设成本,解决了复杂地形施工难题,显著提高了穿束效率。

一种海上漂浮式风光发电集成平台及其光伏组件调节方法

NºPublicación:  CN121791771A 03/04/2026
Solicitante: 
中国长江三峡集团有限公司
CN_121791771_PA

Resumen de: CN121791771A

本发明涉及海上发电技术领域,公开了一种海上漂浮式风光发电集成平台及其光伏组件调节方法,包括:漂浮式基础、风力发电组件、光伏发电组件和倾角调节组件;风力发电组件设置于漂浮式基础上;光伏发电组件包括:多个光伏组件,多个光伏组件环绕风力发电组件周向间隔设置,光伏组件靠近风力发电组件的一端与漂浮式基础铰接;倾角调节组件包括:多组调节机构和多个气隙检测装置,其驱动端与一个光伏组件远离风力发电组件的一端铰接,每个光伏组件远离风力发电组件的一端设置一个气隙检测装置,本发明对光伏组件与海面间距离进行实时检测,通过调节机构调节光伏组件与海面之间的高度,防止光伏组件收到海浪冲击出现损坏。

齿轮箱内齿圈动态啮合力反演方法

NºPublicación:  CN121787191A 03/04/2026
Solicitante: 
重庆大学
CN_121787191_PA

Resumen de: CN121787191A

本发明提供一种齿轮箱内齿圈动态啮合力反演方法,包括以下步骤:建立内齿圈‑箱体耦合系统初始有限元模型;基于初始有限元模型计算初始单位载荷‑表面应变影响矩阵;基于多种工况下内齿圈表面应变测试数据对初始单位载荷‑表面应变影响矩阵进行修正,得到修正后单位载荷‑表面应变影响矩阵;使用修正后单位载荷‑表面应变影响矩阵计算齿轮箱内部行星轮啮合力。采用本发明技术方案,经反演可获得的精确啮合力数据;能够实时监测齿轮箱是否发生超载或异常冲击,分析行星轮系的载荷分配均匀性,为齿轮箱的预测性维护和剩余寿命评估提供精确的载荷谱数据支撑。

基于多维数据的巡检方法、平台及介质

NºPublicación:  CN121782112A 03/04/2026
Solicitante: 
木垒东新新能源有限公司
CN_121782112_PA

Resumen de: CN121782112A

本发明提供基于多维数据的巡检方法、平台及介质,涉及数据处理技术,基于目标风机的叶片参数,确定所述目标风机对应巡检装置的分配数量;控制所述分配数量的巡检装置,依次分层进入目标风机的风机叶片进行巡检;响应协同信息,控制空闲装置至协同叶片处的协同段进行协同巡检,可以分层且有序的进行风机叶片的巡检,可以避免装置之间的磕碰的同时,从而提升巡检效率。

风力涡轮机装置、用于将空气输送到风力涡轮机装置的叶轮的方法以及用于产生电能的系统

NºPublicación:  CN121794464A 03/04/2026
Solicitante: 
桑格拉姆·普拉卡什·波瓦尔
CN_121794464_PA

Resumen de: WO2025040963A1

The present disclosure provides a wind turbine apparatus (200). The apparatus (200) includes an inlet (202) including a receiving section (204) adapted to receive air along a first direction (110); and a converging section (206) disposed subsequent to, and downstream of the receiving section (204), adapted to receive, and direct the air along a second direction (112). The converging section (206) is adapted to accelerate the received air as the air moves from a first end (208) to a second end (210) of the converging section (206). The apparatus (200) further includes an impeller (212) disposed along the second direction (112), downstream of the inlet (202), and adapted to receive the air from the converging section (206). The received air impinges on the impeller (212) to effect rotation of the impeller (212).

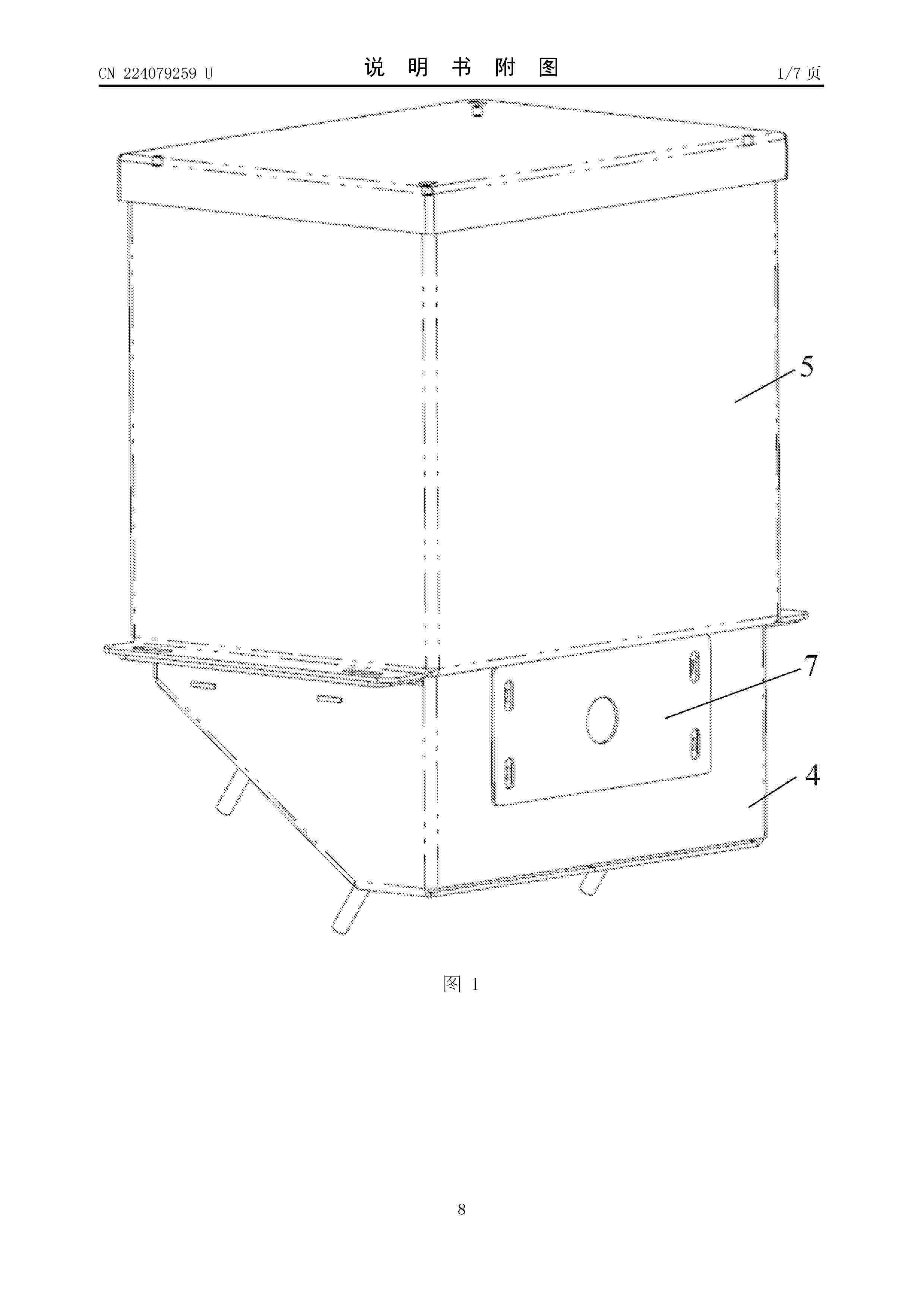
一种基于机器视觉的叶轮不平衡监测装置

NºPublicación:  CN224079259U 03/04/2026
Solicitante: 
国家电投集团江西电力有限公司新能源发电分公司
CN_224079259_U

Resumen de: CN224079259U

本实用新型提供了一种基于机器视觉的叶轮不平衡监测装置,摄像机通过安装调整模块安装于机舱内,安装调整模块包括X向调整支架、Y向调整支架和固定支架,X向调整支架由第一X向调整板和第二X向调整板连接而成,摄像机与第一X向调整板固定连接;Y向调整支架由Y向固定板和两个调整侧板连接而成,Y向固定板与第二X向调整板固定连接,使摄像机位于两个调整侧板之间;固定支架包括固定框和两个固定支座,固定框固定于机舱内,两个固定支座分别与两个调整侧板固定连接,使整个Y向调整支架位于固定框内。该装置通过安装调整模块将摄像机安装于机舱内,可实现摄像机在多个方向上的位置调整,且调整范围大。

声表面波传感装置和风力发电机组

NºPublicación:  CN224079260U 03/04/2026
Solicitante: 
深圳市湾区通信技术有限公司
CN_224079260_U

Resumen de: CN224079260U

本实用新型公开了一种声表面波传感装置和风力发电机组,涉及风电设备监测技术领域,声表面波传感装置应用于风力发电机组,风力发电机组具有主轴承和轴承安装座,主轴承安装在轴承安装座内,声表面波传感装置包括安装结构和多个传感器,安装结构用于安装于轴承安装座沿轴线的第一侧面;多个传感器间隔设置在安装结构上,传感器具有探头,多个探头用于与第一侧面抵接,以监测主轴承的声表面波。本实用新型通过在安装结构设置多个传感器,并让多个传感器的探头抵接轴承安装座的表面,形成了对主轴承的声表面波的多点监测,从而提升了对主轴承早期微弱缺陷信号的探测能力,并且能实现可靠的异常信号定位效果。

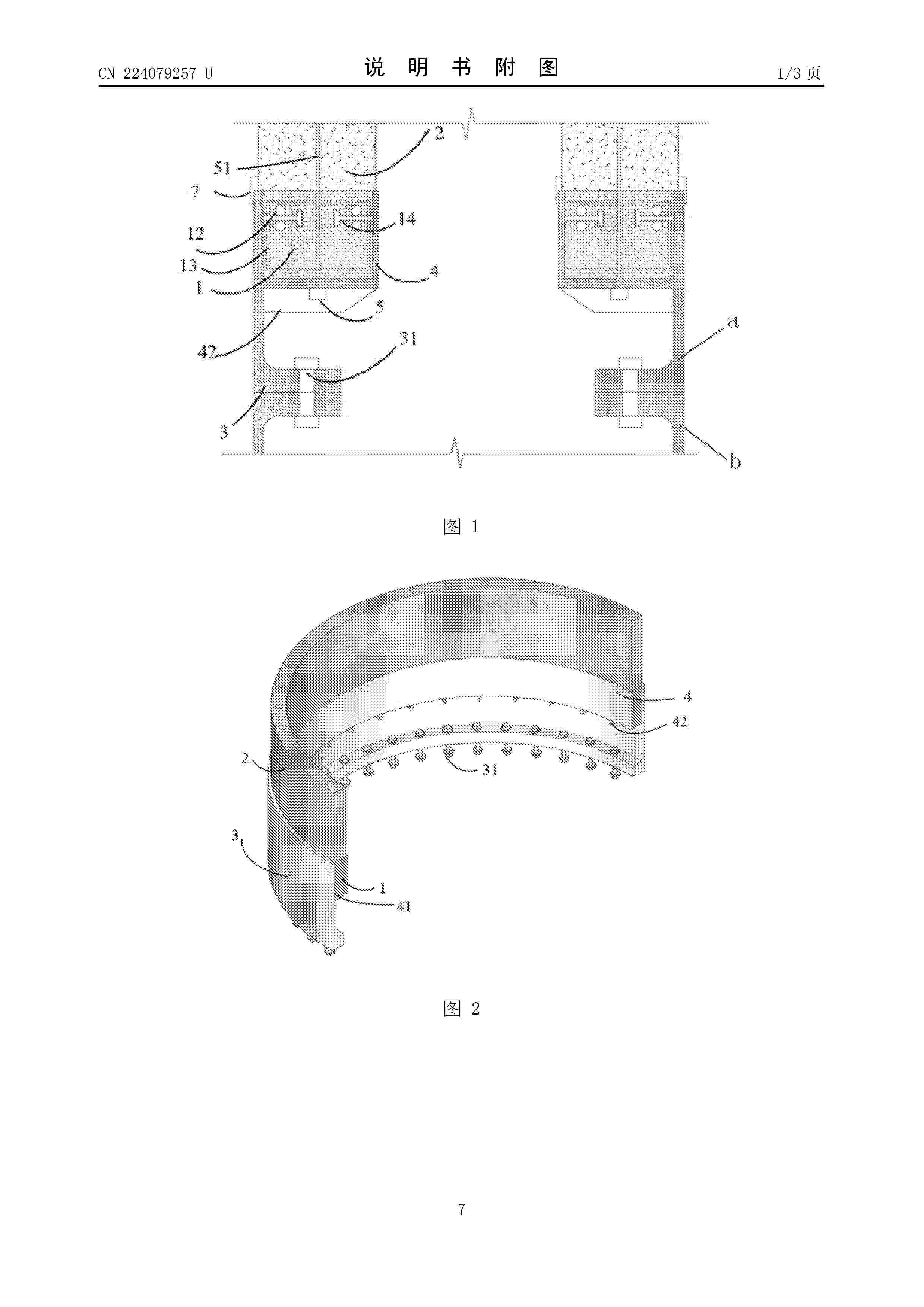
一种风电混凝土塔筒的连接头及塔筒节段

NºPublicación:  CN224079257U 03/04/2026
Solicitante: 
重庆大学
CN_224079257_U

Resumen de: CN224079257U

本实用新型公开了一种风电混凝土塔筒的连接头及塔筒节段,该连接头包括塔筒内底法兰和下翻边管筒,下翻边管筒同轴地焊接固定于塔筒内底法兰内壁获得环槽,环槽内填充超高性能混凝土。该塔筒节段为在普通混凝土管上下两端均装有本实用新型的连接头,预应力筋贯穿连接头的超高性能混凝土和普通混凝土管,用预应力锚具锁紧。施工方法包括步骤:1、工厂预制塔筒内底法兰和下翻边管筒;2、将塔筒内底法兰与下翻边管筒同轴焊接;3、制成连接头并制作普通混凝土管;4、现场依次序吊装就位;5、将预应力钢筋贯穿塔筒节段,并用预应力锚具锁紧。技术效果是:增强混凝土塔筒连接的承载能力,提高混凝土塔筒连接处的抗疲劳性能和塔筒整体稳定性,且施工成本低。

一种风电储能基础装置

NºPublicación:  CN224079256U 03/04/2026
Solicitante: 
北京项通全荣科技有限公司
CN_224079256_U

Resumen de: CN224079256U

本实用新型涉及风力发电技术领域,尤其是一种风电储能基础装置,包括储能装置本体,还包括:防护组件,包括设置于储能装置本体外表面的内护筒,以及设置于内护筒外部的外护筒,所述外护筒的底部外缘设置有底板;定位组件,包括设置于底板端角顶部的套筒,所述套筒的内部设置有定位柱,所述底板的底部开设有供定位柱穿透的套孔;行走组件,包括滑动设置于内护筒下端外表面的连接架,所述连接架的各边底部均连接设置有万向轮;通过设置内外护筒对储能装置本体起到防护作用,连接架和万向轮使装置在运输过程中具备良好的移动性,定位柱在装置移动状态下自动收纳,避免对地面或人员造成意外伤害,在定位状态下可下压插入地面进行锚固。

电动盘车工装

NºPublicación:  CN224079263U 03/04/2026
Solicitante: 
泰兴晨光索具有限公司
CN_224079263_U

Resumen de: CN224079263U

本实用新型涉及一种电动盘车工装,底座上支撑回转支撑,回转支撑上支撑回转工作台,回转工作台上锁紧连接轴系端部法兰圈,底座外接有横向固定座,横向固定座上连接纵向固定座,横向固定座和纵向固定座上分别锁紧支撑两靠接架,两靠接架上螺纹旋接止转抵接螺栓用于抵接或旋接轴系外轴承座结构外壁,或用于抵接旋接轴承座结构座脚,或用于抵接或旋接轴承座结构外法兰。该工装结构简单,盘车装机便捷、横纵方向定位稳定,能满足不同规格轴系在轴承座结构内高精盘车调整。

风力发电机组的叶片除冰的方法、装置以及风力发电机组

NºPublicación:  CN121782118A 03/04/2026
Solicitante: 
三一重能股份有限公司
CN_121782118_A

Resumen de: CN121782118A

本申请实施例提供一种风力发电机组的叶片除冰的方法、装置以及风力发电机组。该方法应用于风力发电机组的控制器;风力发电机组的轮毂上设置有第一鼓风机,第一鼓风机与风力发电机组的至少一个叶片连通,该方法包括:在对叶片进行气热除冰的过程中,控制第一鼓风机开启;对叶片进行加压处理、减压处理以及保压处理,以控制叶片内部的气压变化进行除冰。该方法用以实现对风力发电机组的叶片进行充分除冰的效果。

一种风机叶片故障检测的领域专用文本提示模板库构建方法

NºPublicación:  CN121786022A 03/04/2026
Solicitante: 
桂林电子科技大学
CN_121786022_PA

Resumen de: CN121786022A

本发明涉及一种面向风力涡轮机叶片故障检测的领域专用文本提示模板库构建方法。该方法从专业描述、损伤特征、检测场景三个维度系统性设计文本提示模板,包括故障专用模板、通用模板、技术模板和上下文模板四类。所有模板均包含领域限定词,将通用语义落实到风电叶片检测场景。本发明采用差异化表达设计,同一故障类别的多个模板在句式结构和描述角度上保持差异,增强特征表示的鲁棒性。相比使用通用文本提示,本发明构建的领域专用模板库可提升视觉‑语言模型的零样本分类准确率,且支持模块化扩展,可与多种视觉‑语言模型适配方法结合使用。

一种风电塔叶片翼型辅助受力结构

NºPublicación:  CN121782090A 03/04/2026
Solicitante: 
国网河南省电力公司登封市供电公司国家电网有限公司
CN_121782090_PA

Resumen de: CN121782090A

本发明属于风电设备领域,具体涉及一种风电塔叶片翼型辅助受力结构,包括叶片本体,所述叶片本体侧方向外伸出翼型辅助板,所述翼型辅助板靠近叶片本体根部的一侧为吸力面,翼型辅助板靠近叶片本体尖部的一侧为压力面,包括叶片本体,所述叶片本体侧方向外伸出翼型辅助板,所述翼型辅助板靠近叶片本体根部的一侧为吸力面,翼型辅助板靠近叶片本体尖部的一侧为压力面。

一种基于风力机械能采集的自发光风铃系统

NºPublicación:  CN121789617A 03/04/2026
Solicitante: 
深圳巨量星图出海信息技术有限公司
CN_121789617_PA

Resumen de: CN121789617A

一种基于风力机械能采集的自发光风铃系统,固定支架顶部设有用于悬挂的吊环,主轴竖直设置于固定支架内部,并通过轴承与固定支架转动连接;至少三个风叶组件,沿周向均匀分布并固定连接于主轴的上部外周,能量转换模块固定安装于固定支架内且位于主轴下部,能量转换模块包括压电陶瓷片或电磁线圈,其输入端与主轴传动连接;储能单元固定设于固定支架底部并与能量转换模块电连接。本发明通过至少三个沿主轴周向均匀分布的风叶组件,每个风叶由连接臂与弧形板状叶片本体构成,叶片本体迎风面朝向旋转前方,且所有曲率中心位于同一水平圆周上,确保旋转过程中气动载荷分布高度对称,有效抑制偏心振动与轴承磨损。

一种基于物联网的风电钢混塔筒智能监测系统

NºPublicación:  CN121782113A 03/04/2026
Solicitante: 
华能承德风力发电有限公司
CN_121782113_PA

Resumen de: CN121782113A

本发明公开了一种基于物联网的风电钢混塔筒智能监测系统,属于风电设施监测技术领域。本发明通过集成自学习能力的智能感知、自适应数据传输与云端智能预警子系统,实现了对塔筒结构状态的实时、精准与自主化监测。本发明采用强化学习动态优化监测点位与采集参数,基于历史数据自学习选择最优传输链路,并利用无监督学习建立动态健康基线模型进行智能预警,全程无需依赖人工经验与固定阈值,在监测精度、预警实时性、环境适应性及运维效率方面取得提升,推动了风电设施监测向全自主智能化运维的发展。

风电齿轮箱和风力发电机组

NºPublicación:  CN224079558U 03/04/2026
Solicitante: 
采埃孚(天津)风电有限公司
CN_224079558_U

Resumen de: CN224079558U

本实用新型涉及风电技术领域,提供风电齿轮箱和风力发电机组。风电齿轮箱的箱体设置有扭矩臂,扭矩臂集成有一体成型的轴承支撑部,轴承支撑部包括:轴承座部,在径向上支撑风电齿轮箱的第一行星架轴承的轴承外圈;轴承盖部,在轴向上支撑第一行星架轴承的轴承外圈。本实用新型利用轴承支撑部与扭矩臂一体成型,集成为整体构件的设计,实现紧凑的结构,提升整体强度,有效避免变形和松动,实现对行星架轴承的稳定支撑,确保风电齿轮箱及风力发电机组的稳定运行。得益于轴承支撑部与扭矩臂的集成设计,轴承支撑部可以在实现对行星架轴承的稳定支撑的同时适当减小尺寸,利于轻量化,并且可以省去连接件,从而简化风电齿轮箱及风力发电机组的结构。

风电齿轮箱和风力发电机组

NºPublicación:  CN224079556U 03/04/2026
Solicitante: 
采埃孚(天津)风电有限公司
CN_224079556_U

Resumen de: CN224079556U

本实用新型涉及风电技术领域,提供风电齿轮箱和风力发电机组。风电齿轮箱的箱体设置有扭矩臂,扭矩臂的轴孔中穿设销轴,销轴压配在轴孔中,扭矩臂与销轴之间还通过穿过扭矩臂并伸入销轴的定位销紧固连接;其中,在轴向上定位销在销轴上居中设置,和/或,在周向上定位销位于销轴的弯曲应力最小区域。本实用新型利用销轴与扭矩臂压配配合,同时利用穿过扭矩臂并伸入销轴的定位销紧固连接,有效抑制销轴的轴向位移,提升风电齿轮箱的稳定性,能够确保风电齿轮箱与风力发电机组的机舱结构件的稳定连接,从而进一步确保风电齿轮箱及风力发电机组的稳定运行。

一种具有双效垂直轴结构的风力发电机组件

NºPublicación:  CN224079248U 03/04/2026
Solicitante: 
中科天钒(江西)新能源设备有限公司
CN_224079248_U

Resumen de: CN224079248U

本实用新型公开了一种具有双效垂直轴结构的风力发电机组件,涉及风力发电设备技术领域,包括支柱,所述支柱垂直设置有两组,所述支柱的中部内侧设置有中支架,所述中支架的两端通过角板与支柱螺栓固定连接,所述支柱的底部内侧设置有下支架,所述支柱的顶部内侧设置有上支架,风力发电组件等间距设置于下支架与中支架和上支架与下支架之间实现风力发电,该具有双效垂直轴结构的风力发电机组件中双效垂直轴风力发电组件通过S型叶片与H型叶片的组合,实现低风速启动与高风速高效发电的协同,显著提升风能捕获效率,上下S型叶片和H型叶片反向旋转的设计减少了气流干扰,配合直驱式永磁电机能够降低传动损耗的同时延长维护周期。

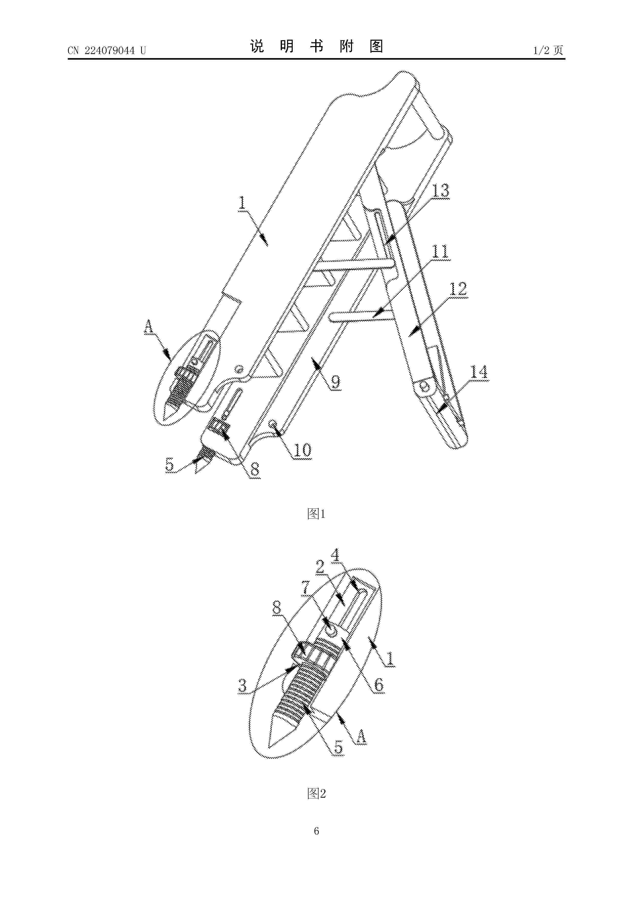
一种具有安全防护的风力发电设备检修用攀登架

NºPublicación:  CN224079044U 03/04/2026
Solicitante: 
瓦房店鑫光电控设备制造有限公司
CN_224079044_U

Resumen de: CN224079044U

本实用新型公开了一种具有安全防护的风力发电设备检修用攀登架,属于风电设备检修技术领域,其包括攀登架主体,所述攀登架主体两端的底部分别设有安装滑槽,所述安装滑槽内部中央位置处设有转动槽,所述安装滑槽内部的两侧顶部对称设有限位滑槽。该具有安全防护的风力发电设备检修用攀登架,固定钉顶端的端块在安装滑槽内部滑动,带动端块表面的限位滑块卡在对应的限位滑槽内部滑动,对固定钉进行卡紧限位,使固定钉不会随调节螺套同步在安装滑槽内部转动,直至固定钉扎在地面后,对攀登架主体进行固定,确保人员在登上攀登架主体时攀登架主体在地面不会出现滑动,从而提高人员登上攀登架主体对风电设备进行检修时的稳定性。

风力发电机组传动链轴承故障类型自动诊断方法及装置

NºPublicación:  CN121782111A 03/04/2026
Solicitante: 
中船海装风电有限公司
CN_121782111_PA

Resumen de: CN121782111A

本发明公开了一种风力发电机组传动链轴承故障类型自动诊断方法及装置,其包括:获取相关文件数据;进行多角度预处理,得到n个CMS重构振动数据;提取多维度特征值,并归一化加权后确定对应的故障等级;确定每个CMS重构振动数据的m个最佳共振带;确定n个振动特征指标以及m个故障诊断谱集,每个故障诊断谱集包含n个故障诊断谱;针对每个最佳共振带,从对应的n个故障诊断谱中筛选得到n1个有效图谱,确定每个有效图谱中各故障类型的发生概率,将发生概率最大的作为对应的轴承故障类型;将m个轴承故障类型、对应的最终故障图谱以及故障等级组合,形成故障类型诊断结果并输出。采用本发明能实现故障类型、故障程度的准确诊断,同时提高诊断精度。

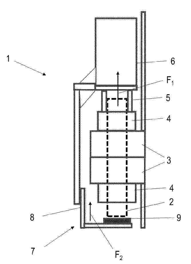
用于使法兰连接的螺纹杆或螺栓伸长的伸长工具

NºPublicación:  CN121794467A 03/04/2026
Solicitante: 
阿梅代股份公司
CN_121794467_PA

Resumen de: WO2025051623A1

Elongation tool (1) for elongating a threaded rod or bolt (2) of a flange connection (3) comprising a rotatable thread engagement means (5) and an expansion device (6), wherein the thread engagement means (5) are configured to be threaded onto the bolt (2), and the expansion device (6) is connected to the thread engagement means (5) and configured to exert a first force (F1) essentially perpendicular to and away from the flange connection (3) onto the thread engagement means (5), when the thread engagement means (5) are engaged with a thread of the bolt (2), wherein the elongation tool (1) comprises friction means (7) configured to be brought into contact with the bolt (2) and provide friction between the friction means (7) and the bolt (2) when the thread engagement means (5) are being threaded onto the bolt (2), and to arrest a rotational movement of the bolt (2).

一种风力发电导风装置

NºPublicación:  CN121782094A 03/04/2026
Solicitante: 
赖国荣
CN_121782094_PA

Resumen de: CN121782094A

一种风力发电导风装置,包括一导风装置本体,其具有一外壳体(100)、一设置于所述外壳体(100)内的内壳体(200)以及一转动安装于所述内壳体(200)内的涡轮(300),所述外壳体(100)与所述内壳体(200)之间形成一第一环形内腔(400),所述内壳体(200)与所述涡轮(300)之间形成一第二环形内腔(500),所述第一环形内腔(400)与所述第二环形内腔(500)之间设置有一第一涡流喷口(401),所述第二环形内腔(500)具有一第二涡流喷口(501),所述第一涡流喷口(401)与所述第二涡流喷口(501)对称设置。本发明高速气流通过第一涡流喷口和第二涡流喷口喷出并作用于涡轮上,在涡轮上形成一对力偶,力偶矩使涡轮高速旋转,产生强大的扭力,运行更加的安静和稳定。

风力发电装置

NºPublicación:  CN121794465A 03/04/2026
Solicitante: 
纳博特斯克有限公司
CN_121794465_PA

Resumen de: WO2025057505A1

This wind power generation device comprises: a rotor shaft body that is capable of rotating about a first rotation axis; a first power generator that converts rotational energy of the rotor shaft body into electric power; rotating bodies that are connected to the rotor shaft body and are capable of rotating about a second rotation axis that differs from the first rotation axis; blades that are fixed to the rotating bodies; and a second power generator that converts rotational energy of the rotating bodies into electric power.

一种屋顶定翼风机的叶片及其制备方法

NºPublicación:  CN121782093A 03/04/2026
Solicitante: 
国能联合动力技术(赤峰)有限公司
CN_121782093_PA

Resumen de: CN121782093A

本发明属于风电领域,涉及一种屋顶定翼风机的叶片及其制备方法,该叶片包括蒙皮、主骨架和填充物;主骨架包括多个第一翼型板、两个第二翼型板、连接杆和第二翼型板外侧的端面法兰;第一、第二翼型板均包括基板和外翻沿;多个第一、第二翼型板并排设置,且第一、第二基板相互平行、尺寸相同;两个第二翼型板位于第一翼型板的两侧,第二翼型板的内侧均朝向第一翼型板;第一、第二基板设有供连接杆穿设的第一通孔;第一、第二外翻沿上设有供蒙皮连接件连接的第二通孔;连接杆穿过第一通孔,其两端分别固定至端面法兰,以便将第一、第二翼型板连接形成主骨架。本发明通过优化叶片的结构和材质,降低了叶片成本、减轻重量,同时提高强度和寿命。

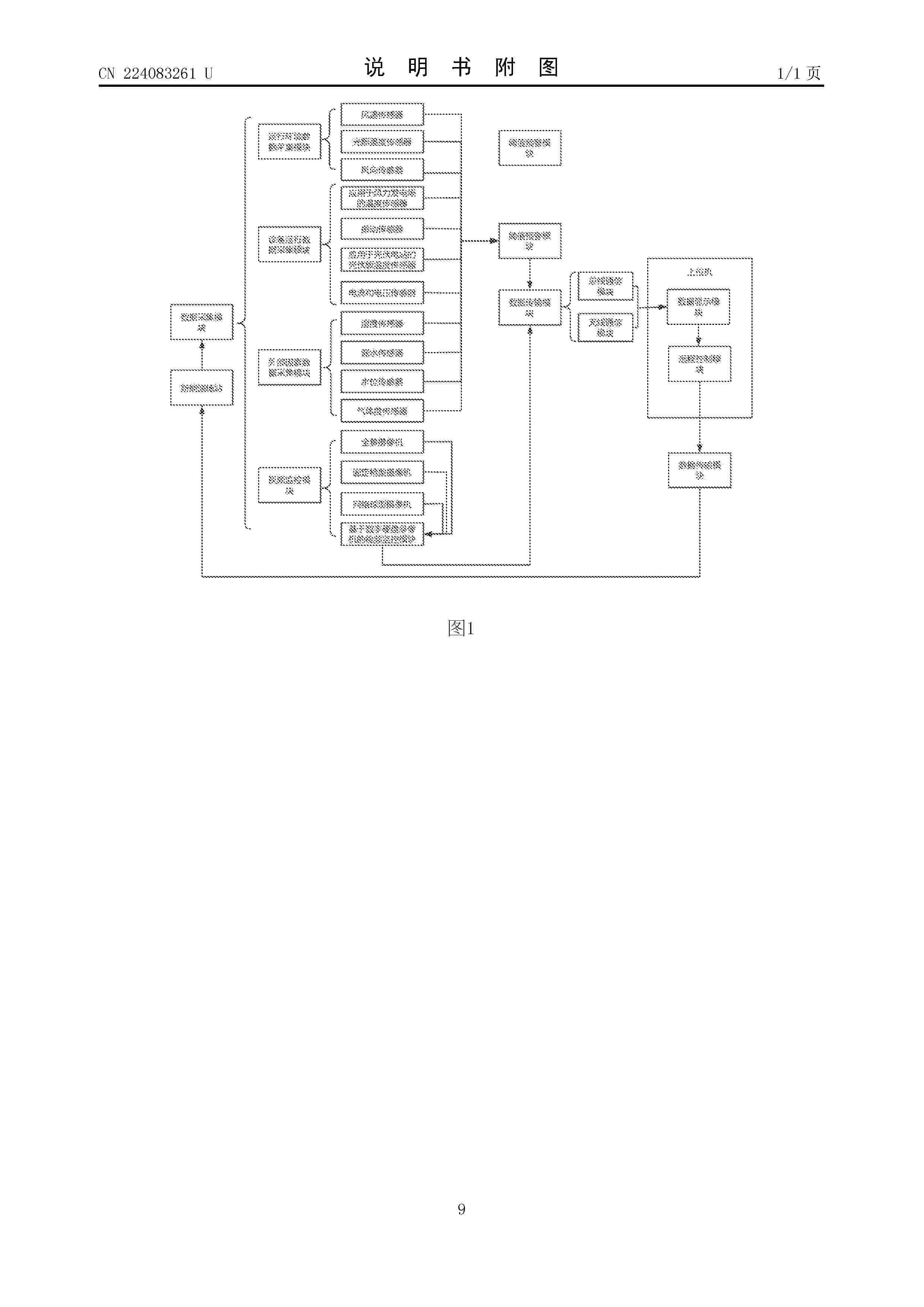
一种新能源场站智能监控系统

NºPublicación:  CN224083261U 03/04/2026
Solicitante: 
山东蒲葵电子科技有限公司
CN_224083261_U

Resumen de: CN224083261U

本实用新型公开了一种新能源场站智能监控系统,应用于新能源技术领域,包括:数据采集模块,包括:运行环境数据采集模块、设备运行数据采集模块、外部因素数据采集模块以及视频监控模块;阈值预警模块,用于根据预设监测数据阈值,对采集的数据进行阈值预警;数据传输模块,包括:总线通信模块和无线通信模块,用于分别进行近距离和远距离的新能源场站的监控数据传输;数据显示模块,用于显示新能源场站的监控数据,包括:数据采集模块采集的数据以及阈值预警模块的阈值预警信息;远程控制模块,用于根据监控数据,对新能源场站进行相应的远程控制。本实用新型实现了对新能源场站更精准的全方位监控及预警,确保了新能源场站的安全、高效运行。

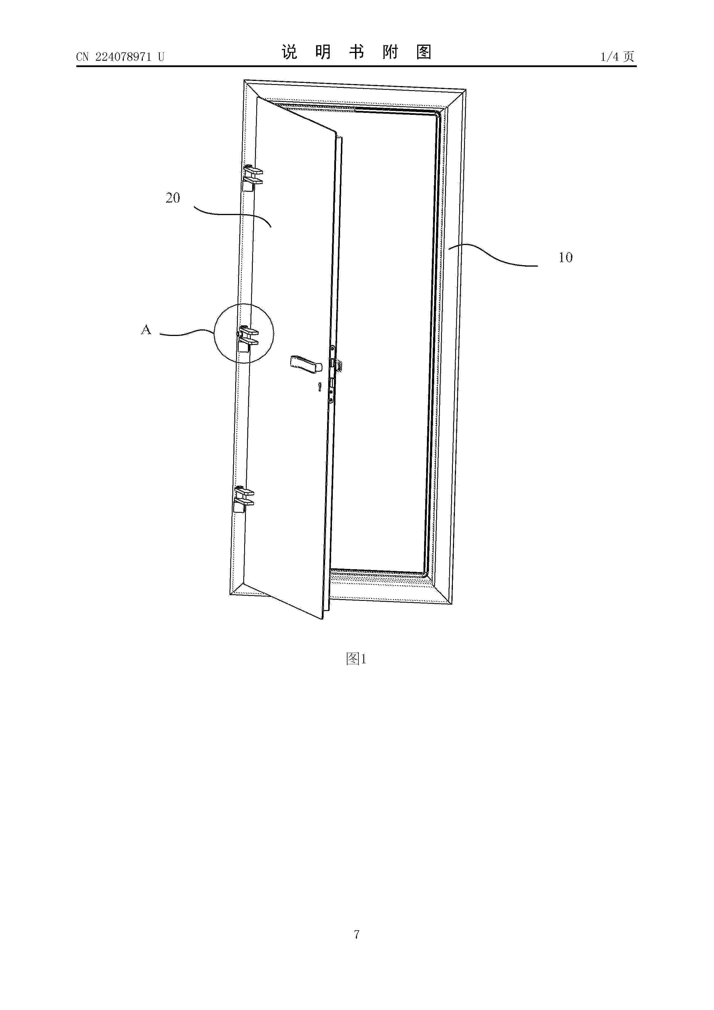
一种塔筒门及风电塔筒

NºPublicación:  CN224078971U 03/04/2026
Solicitante: 
中际联合(天津)科技有限公司
CN_224078971_U

Resumen de: CN224078971U

本申请提供了一种塔筒门及风电塔筒,该塔筒门包括用于固定在塔筒的门框以及门板;其中,所述门框上固定有转轴,所述门板上设置有套装在所述转轴上的转轴套;所述转轴位于所述门框朝向所述塔筒内空间的一侧,且所述转轴不外露在所述门框的中空区域;还包括锁定组件,所述锁定组件用于在所述门板向所述塔筒内空间推动至设定位置时,将所述门板与所述门框锁定。在上述技术方案中,通过转轴与转轴套的配合实现门板与门框的转动连接,并且转轴隐藏在门框朝向塔筒内空间的一侧,在塔筒门外部无螺栓,无钥匙情况无法拆卸,防盗性能提升。另外,打开后门板可通过锁定组件可自动锁止,防止大风将门关闭。

一种风力发电机的制动装置

NºPublicación:  CN224079249U 03/04/2026
Solicitante: 
四川升辉时代机电设备智能制造有限公司
CN_224079249_U

Resumen de: CN224079249U

本实用新型公开了一种风力发电机的制动装置,包括两侧固定连接有轴套的机箱,所述轴套内转动穿插有转动轴,转动轴的端部固定连接有扇叶,且机箱的内顶部通过螺栓固定有制动机构,制动机构的正面转动连接有辅助制动组件,机箱的顶部外壁固定连接有液压缸,液压缸的输出端与制动机构的驱动端相连接,制动机构包括连接轴、前板、导接板、固定件、后板、制动环、导孔一、限位条、导孔二、转轴、导轴、U型板、连接板、扇形齿和齿条板,且固定件固定连接于机箱的顶部内壁上。本实用新型不仅促进了对扇叶的转动轴进行有效制动,而且提高了制动效率和质量,且解决了现有技术中制动装置安装不便和维护效率低的问题,提高了制动机构的装卸效率。

一种带有辅助安装结构的叶片转运车

NºPublicación:  CN224075467U 03/04/2026
Solicitante: 
山东永阳汽车科技股份有限公司
CN_224075467_U

Resumen de: CN224075467U

本实用新型公开了一种带有辅助安装结构的叶片转运车,其包括叶片转运车,所述叶片转运车的表面固定连接有架体,所述架体的内壁螺纹连接有叶片,所述叶片转运车的表面固定连接有两个滑轨,两个所述滑轨的表面均滑动连接有两个对称的滑块,两个所述滑块的顶部共同固定连接有滑板,所述叶片转运车的表面转动连接有转板,所述滑板的底部转动连接有连接板。本实用新型通过启动气缸,使得气缸带动两个滑板相对移动,从而使得滑板通过竖杆带动弧形板相对移动,继而使得弧形板对叶片进行夹持限位,即可达到避免叶片吊装时出现螺栓未对其的情况发生,进而提高了叶片与叶片转运车之间安装精准度的目的。

风电叶片根部法兰装置

NºPublicación:  CN121777461A 03/04/2026
Solicitante: 
中材科技(锡林郭勒)风电叶片有限公司
CN_121777461_PA

Resumen de: CN121777461A

本申请公开了一种风电叶片根部法兰装置,风电叶片根部法兰装置包括模具结构、法兰结构和定位结构;定位结构包括多个第一定位组件,第一定位组件包括连接件、调节件和限位件,连接件与法兰结构连接,调节件与连接件连接,限位件与模具结构连接,限位件包括第一限位部和第二限位部,限位件还设置有沿第一方向呈凹陷设置的凹槽,调节件的至少部分位于凹槽中,第一限位部用于沿第二方向对调节件在凹槽中的位置进行限位,第二限位部用于沿第三方向对调节件在凹槽中的位置进行限位;其中,第一方向为法兰结构的高度方向,第二方向为法兰结构的轴向方向,提高叶根的预埋螺栓套位置的精确度,从而使得风电叶片稳定运行。

一种提高风电发电效率的叶片及设计方法

NºPublicación:  CN121782092A 03/04/2026
Solicitante: 
福建百博源风电科技有限公司
CN_121782092_PA

Resumen de: CN121782092A

本发明提供一种提高风电发电效率的叶片及设计方法,包括至少一个叶根、叶片主体,还包括导流翼、分流区、驱动机构、导向支撑件;包括以下步骤:确定叶片主体基础设计参数;构建仿生复合翼型基库;基于多目标遗传算法进行叶片主体参数全局优化;确定叶片主体几何构型;设计自适应被动导流翼;进行复合结构设计,与传统叶片结构的气流分散结构相比,通过增加叶片主体上表面的气流流速提高叶片主体的启动力,使低风速下风机叶片能够更有效地带动风机轮毂转动,进而提升发电效率。

一种风力发电机组塔筒检修装置

NºPublicación:  CN121778644A 03/04/2026
Solicitante: 
国华能源投资有限公司国华(宁夏)新能源有限公司
CN_121778644_PA

Resumen de: CN121778644A

本发明公开了一种风力发电机组塔筒检修装置,属于风电设备检修技术领域。该装置包括挂篮本体及安装机构,安装机构内设有磁性吸附机构。磁性吸附机构包含通过液压缸伸缩支撑的磁滚轮,可与塔筒外壁形成稳固的三角支撑结构,有效抑制高空横风引起的晃动。本发明创新性地采用了六角柱与六角通孔配合的滑动传动机制,结合双向丝杆调节组件,实现了磁吸附机构横向间距调节与角度偏转调节的解耦。该装置不仅能通过液压缸适应塔筒表面的凹凸,还能根据塔筒直径和锥度的变化,动态调整磁滚轮的位置和贴合角度,避免了刚性碰撞对防腐涂层的损伤,显著提升了高空作业的安全性、稳定性和对不同规格塔筒的适应性。

一种牵引式风机叶片内腔巡检装置

NºPublicación:  CN121782114A 03/04/2026
Solicitante: 
大唐和林格尔新能源有限公司
CN_121782114_PA

Resumen de: CN121782114A

本申请公开牵引式风机叶片内腔巡检装置,包括:牵引模块,设置在风机叶片内腔,牵引模块用于为巡检机器人提供牵引力;巡检机器人,与牵引模块连接,巡检机器人用于在牵引模块的牵引下在风机叶片内腔移动,采集风机叶片内腔的多个图像,并将图像传输至中继模块;中继模块,中继模块的第一数据输出端与牵引模块的控制数据输入端电连接,中继模块的第二数据输入输出端与巡检机器人的数据输入输出端电连接,中继模块用于接收巡检机器人传输的图像,基于图像对风机叶片内腔进行故障诊断。本申请巡检机器人在牵引模块的牵引下按预设路径移动,不会发生卡滞现象,提高了巡检效率,中继模块对巡检机器人采集的图像进行诊断分析,提高了故障诊断的准确性。

救援设备和风力发电建筑

NºPublicación:  CN224070991U 03/04/2026
Solicitante: 
中际联合(北京)装备制造有限公司
CN_224070991_U

Resumen de: CN224070991U

本实用新型涉及高空作业技术领域,尤其涉及一种救援设备和风力发电建筑,救援设备包括导向组件、救援套装和驱动装置,导向组件用于沿着建筑的高度方向设置于建筑;救援套装设于导向组件,并适于沿着导向组件进行移动,救援套装用于被救人员穿戴,并限制被救人员相对于导向组件的空间姿态;驱动装置设于导向组件,并与救援套装耦合,驱动装置用于驱动救援套装沿着导向组件进行移动。本实用新型提供的救援设备,用以解决现有技术中缓降器下降较慢的缺陷,导向组件、救援套装和驱动装置三者的协同作用下,救援设备整体可以在路径规划、动力驱动及姿态控制三个维度形成闭环,进而有效提升救援过程的连贯性、自主性与安全性。

一种导流型垂直轴磁悬浮风力发电装置

NºPublicación:  CN224079250U 03/04/2026
Solicitante: 
成都泰华中成科技集团有限公司
CN_224079250_U

Resumen de: CN224079250U

本实用新型公开了一种导流型垂直轴磁悬浮风力发电装置,属于电力设备领域,包括:安装主体和设置于安装主体的旋转部;驱动部,驱动部通过风力驱动带动旋转部转动;传动部,传动部将旋转部转动产生的动能传动到发电机部转化为电能;静态集风部,静态集风部用于将自然风集中和加速后导向驱动部。本实用新型解决了现有阻力型垂直轴风力发电机存在的因受自然风阻力影响而发电效率低的问题,其采用高效的双涡轮结构、聚磁式永磁悬浮轴承和无润滑合金滚动轴承轴系技术、以及高效的叶型设计及合理的叶片布局方案,实现了风能资源的高效利用,增加了风能的输入功率,提高了发电效率。

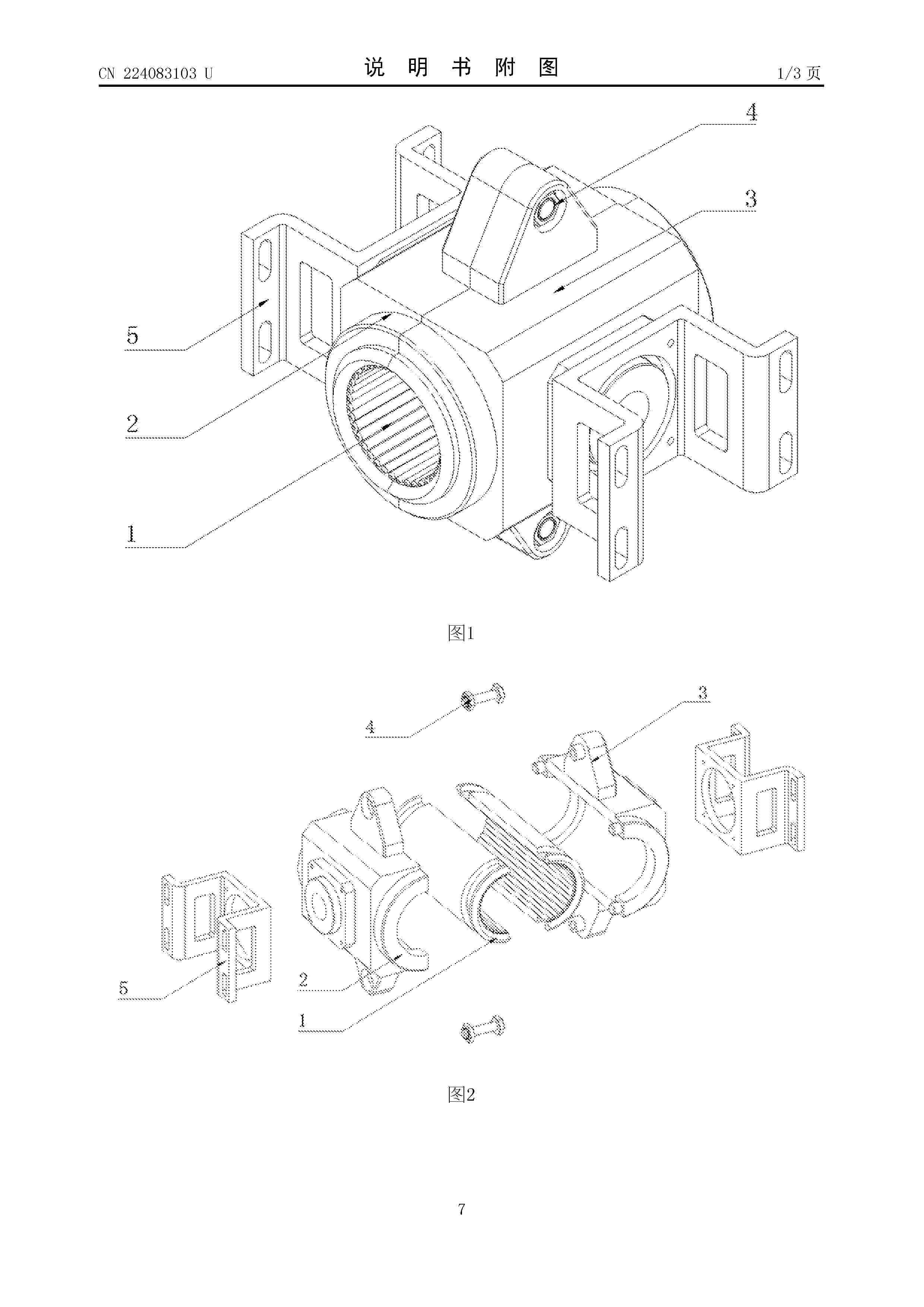
一种风力塔筒电缆夹组件

NºPublicación:  CN224083103U 03/04/2026
Solicitante: 
海力风电设备科技(启东)有限公司
CN_224083103_U

Resumen de: CN224083103U

本实用新型公开了一种风力塔筒电缆夹组件,涉及风力塔筒建造技术领域,包括夹持套筒和第一夹持构件,所述夹持套筒的外部一侧设置有第一夹持构件,且夹持套筒的另一侧设置有第二夹持构件,并且第一夹持构件和第二夹持构件远离夹持套筒的一侧表面均安装有组合架。该风力塔筒电缆夹组件,通过在夹持套筒的外部两侧分别设置有夹持套筒,由于两者均采用采用碳纤维复合材料制作,使得在保护夹持套筒的同时,还具有良好的强耐磨性和抗腐蚀性,以适应复杂环境,另外第一夹持构件、第二夹持构件配合组合架的结构使用,可以根据需要实现结构上的扩展组合,以满足在不同数量下处理电缆的使用灵活性与便捷性。

一种风力发电机叶片转运机构

NºPublicación:  CN224079258U 03/04/2026
Solicitante: 
天津明阳风能叶片技术有限公司
CN_224079258_U

Resumen de: CN224079258U

一种风力发电机叶片转运机构,包括转运车、双螺纹杆、螺杆电机、导向杆、托板、托轮、尾部夹持座、夹持座内螺纹筒、夹板螺杆座,所述转运车内部具有转运车内腔,转运车内腔内部具有丝杠槽,丝杠槽与丝杠相适应,丝杠槽连接丝杠,丝杠在丝杠槽内部转动,转运车后部与丝杠电机固定连接,丝杠电机输出轴与丝杠固定连接,延长架在转运车内腔内部滑动,延长架下部与内螺纹筒固定连接,内螺纹筒在丝杠内部螺纹连接,转运车侧部具有支撑杆滑槽,延长架侧部与支撑杆固定连接,支撑杆滑槽与支撑杆相适应,支撑杆滑槽连接支撑杆。

一种便于散热的风电机组

NºPublicación:  CN121782122A 03/04/2026
Solicitante: 
王景宇
CN_121782122_PA

Resumen de: CN121782122A

本发明公开了一种便于散热的风电机组,具体涉及风力发电技术领域,包括风电机组主体机构,风电机组主体机构的内部设有冷却散热机构;风电机组主体机构包括主轴承组件,导向承托板外壁固装有多个散热片,在实际使用时,使得多个导向衔接杆同步带动导向承托板及其对应的多个散热片开始旋转,配合散热片的波浪状的形态以及导流孔的由小到大的变化设置,不仅能够使得机舱内原本规则的气流流向发生不规则的变化,避免主轴承组件等发电关键组件在工作时出现局部过热现象,散热更加均匀,而且能够加速空气在导向承托板和散热片之间快速流通,防止热气热空气在散热片之间滞留,上述设置大大提高了风力发电组件的散热效率,大大提高长期风力发电的稳定性。

一种风力发电机叶片接闪器打磨和防雷导通检测一体装置

NºPublicación:  CN121776997A 03/04/2026
Solicitante: 
三峡新能源调兵山风电有限公司
CN_121776997_PA

Resumen de: CN121776997A

本发明公开了一种风力发电机叶片接闪器打磨和防雷导通检测一体装置,涉及叶片检测技术领域,包括无人吊篮主体,无人吊篮主体上端面两侧形成有弯折部,两侧弯折部相连,两侧弯折部之间形成有检测口,两侧弯折部相对应的设有开口,开口底端设置有旋转台,旋转台上端面设置有支撑座,支撑座上端面设置有活动座,活动座一端设置有支撑块,支撑块向外延伸形成有导通部和打磨部,还包括调节机构,本装置可检测叶尖接闪器至叶片根部的引雷通道的导通阻值,同时通过摄像头拍摄视频,同时记录接触点、连接线、塔筒号及仪器数值,且通过调节机构保证打磨时产生的碎屑不会落在摄像头外壁上,如此保证地面人员观测时的准确性。

可调整风叶迎风面积的发电装置

NºPublicación:  CN121782103A 03/04/2026
Solicitante: 
广西海豚风电有限公司
CN_121782103_PA

Resumen de: CN121782103A

本发明公开一种可调整风叶迎风面积的发电装置,包括支撑机构、叶轮发电机构、风叶迎风变向机构以及智能控制系统;本发电装置,将风叶迎风变向机构设于风叶前段的内侧,一方面可以满足风叶的直径可以无限大,另一方面也降低了风叶变向轨道的制造难度、便于运输与安装;风叶迎风变向轨道之间可相对转动且还设有可使其上下移动的伸缩构件,使风叶的方向改变从而改变迎风面积,进而降低整个装置的发电量,一方面防止发电机超负荷而损坏,另一方面避免因风叶迎风受力大而导致整个装置损坏,提高稳定性;此外,通过发电转轴和多级齿轮改向现有大尺寸的驱动齿轮结构,大大降低整个装置的加工工艺和安装运输难度,也进一步满足风叶可以无限大的要求。

用于风力发电机桨叶延长节的防雷系统及其安装方法

NºPublicación:  CN121782116A 03/04/2026
Solicitante: 
吉电滁州章广风力发电有限公司
CN_121782116_PA

Resumen de: CN121782116A

本发明涉及水平轴风力发电机领域,具体为一种用于风力发电机桨叶延长节的防雷系统及其安装方法。一种用于风力发电机桨叶延长节的防雷系统,包括桨叶(1),其特征是:还包括防雷器(2)和连接杆(3),桨叶(1)分割成桨叶本体(11)和桨叶尖套(12),防雷器(2)包括桨叶本体接闪器(21)、桨叶尖套接闪器(22)和导线(23);导线(23)的另一端拴系在连接杆(3)顶端后通过连接杆(3)伸入桨叶尖套(12)内腔内并连接桨叶尖套接闪器(22)。一种用于风力发电机桨叶延长节的防雷系统的安装方法,其特征是:按如下步骤依次实施:S1:分割;S2:开孔;S3:设防雷器;S4:连线;S5:粘接。本发明不易受损。

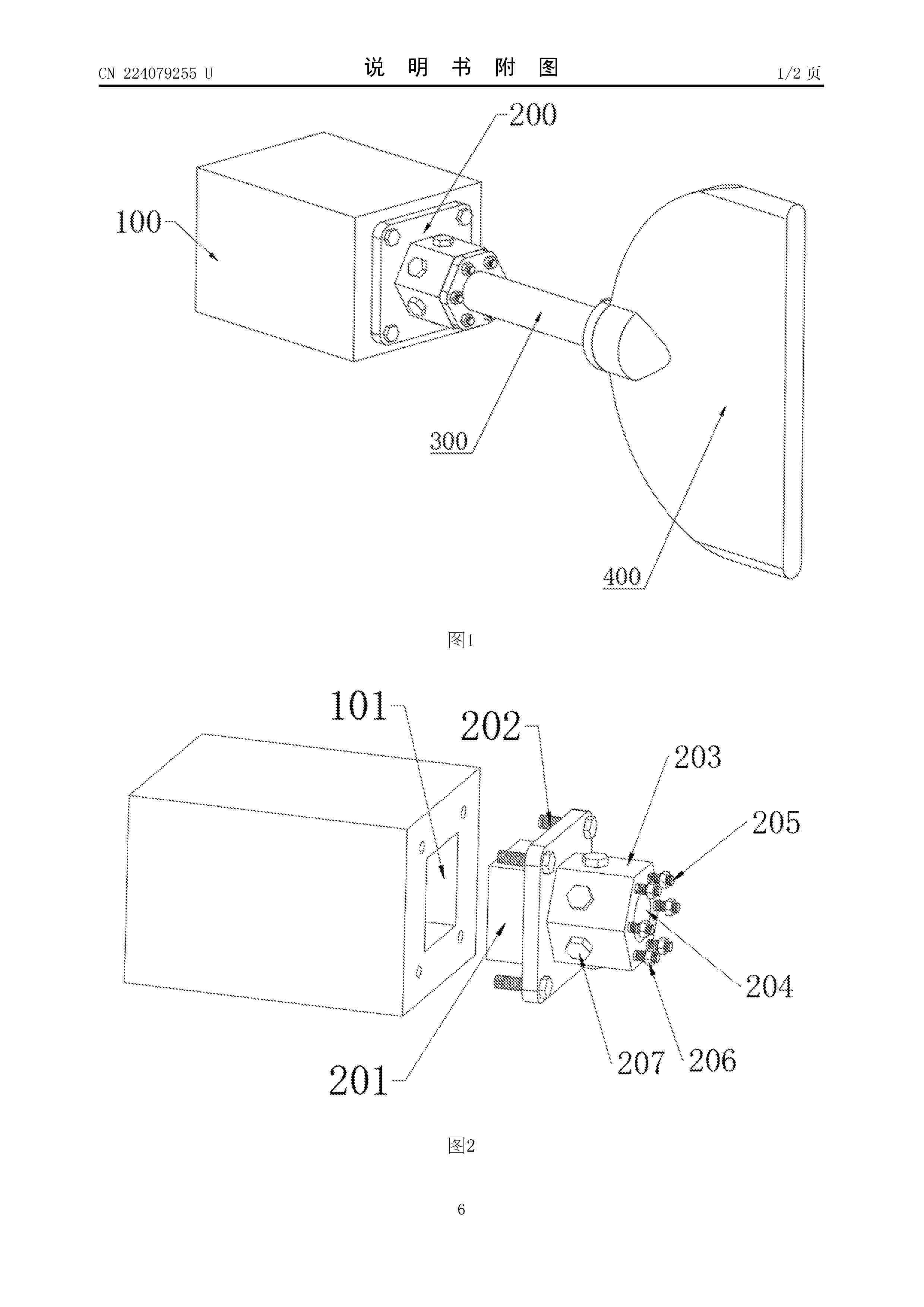
一种风力发电机的尾舵

NºPublicación:  CN224079255U 03/04/2026
Solicitante: 
上海汉洲实业有限公司
CN_224079255_U

Resumen de: CN224079255U

本实用新型涉及风力发电机技术领域,且公开了一种风力发电机的尾舵,包括机舵、固定板、尾舵杆和尾舵叶,所述固定板的一侧表面固定连接有内镶嵌块。该种风力发电机的尾舵,通过机舵与固定板的分体式设计,结合内镶嵌块与镶嵌槽的卡合结构,实现快速装配并防止横向位移,四角分布的紧固螺栓一均匀传递载荷,提升连接强度;尾舵杆与安装块采用插接配合与环形槽限位结构,通过紧固螺栓二周向卡接防止轴向窜动,同时固定圈板与螺纹杆一的螺纹套接配合螺母一双向锁紧,既支持角度微调又增强抗振动稳定性;限位翼子板与凹槽形成嵌合约束,结合安装头的螺纹杆二与螺母二双重压紧设计,消除安装间隙并限制尾舵叶的扭转位移。

一种风电叶片的腹板及叶根定位装置

NºPublicación:  CN224079254U 03/04/2026
Solicitante: 
瑞能工程有限公司
CN_224079254_U

Resumen de: CN224079254U

本实用新型公开了一种风电叶片的腹板及叶根定位装置,涉及风电叶片安装技术领域。包括底座,所述底座的内设有方型槽,所述方型槽内壁面之间连接有一对限位杆,所述方型槽内壁面之间转动连接有双向丝杆,所述双向丝杆的一端且位于所述底座外连接有第三转钮,所述双向丝杆上螺纹连接有一对移动块,一对所述移动块均滑动安装在一对所述限位杆上,一对所述移动块的上端均设有一对竖板,两对所述竖板内均设有高度调节机构,所述高度调节机构包括开设在所述竖板一侧壁面内的第一滑槽。本实用新型设计了用于固定不同弧度腹板和叶根部的结构,该装置能够通过多角度调节,对具有不同弧度的腹板以及叶根部进行固定,辅助其进行粘接,实用性较强。

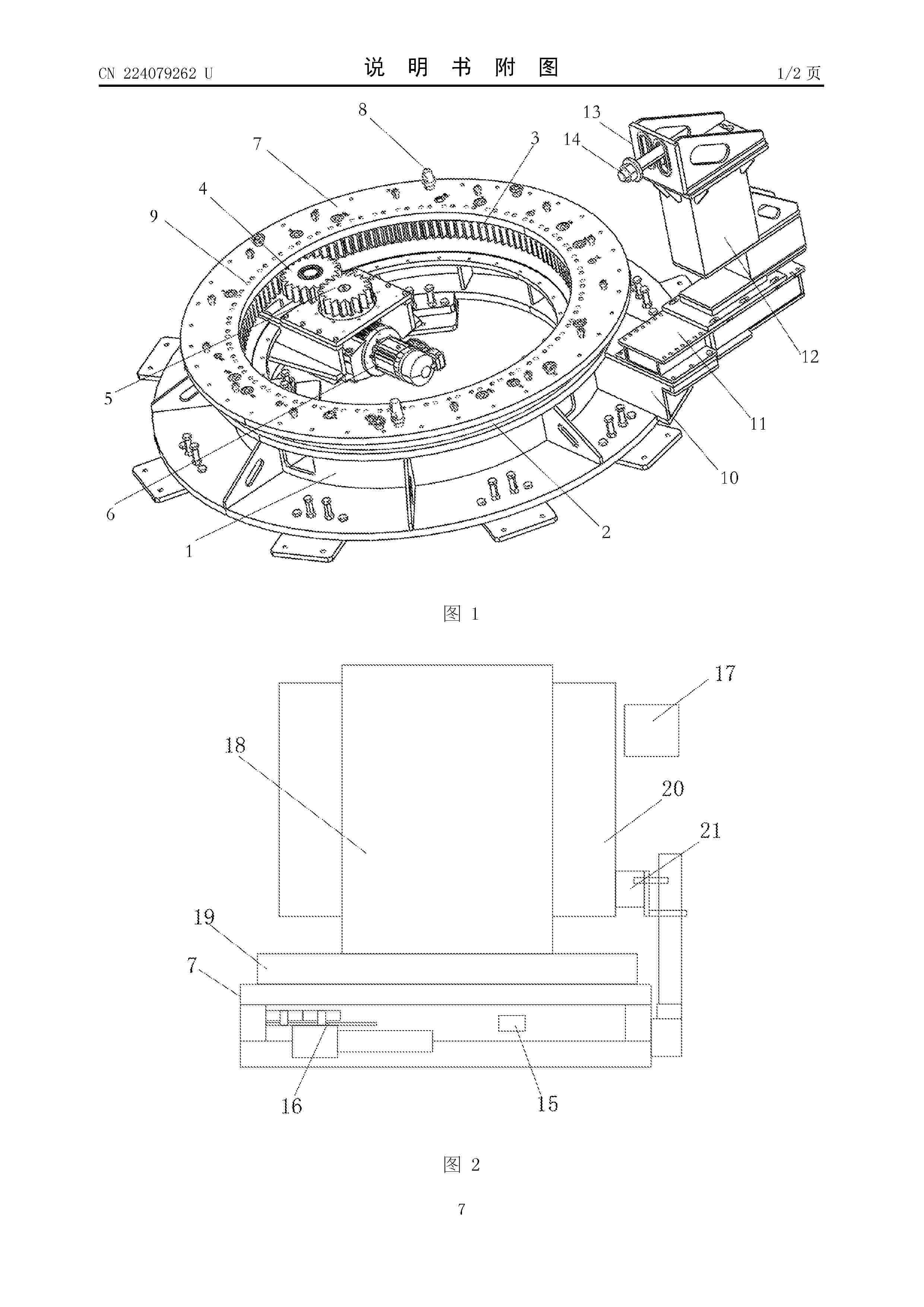
平台轴系电动盘车工装

NºPublicación:  CN224079262U 03/04/2026
Solicitante: 
泰兴晨光索具有限公司
CN_224079262_U

Resumen de: CN224079262U

本实用新型涉及一种平台轴系电动盘车工装,底座上旋转支撑回转支撑,底座内驱动电机经传动齿轮组啮合回转支撑内圈的回转内齿圈,回转支撑上定位锁紧支撑回转工作台,回转工作台上绕同回转中心设置多圈安装孔组,每组安装孔组包括绕圆周设置多个用于锁紧连接轴系端部法兰圈的安装孔,所述底座外接有靠接固定座,靠接固定座上锁紧支撑调节轨道座,调节轨道座上可调定位支撑靠接架,靠接架上穿接止转锁紧螺栓。该工装采用回转工作台带动轴系转动,同时靠接架定位轴系外的轴承座结构,结合扭矩、转速、圈数的监测,盘车作业调整轴系的安装精度调整。

一种风电光伏发电两用支架

NºPublicación:  CN224083458U 03/04/2026
Solicitante: 
深圳市普佳科科技有限公司
CN_224083458_U

Resumen de: CN224083458U

本实用新型涉及风电光伏发电技术领域,具体为一种风电光伏发电两用支架,包括立柱、支撑板和控制器,支撑板和控制器的一侧均固接有第一固定块,立柱的外壁套设有第二固定块,第一固定块与第二固定块相对应,第一固定块与第二固定块相对的一侧对称开设有螺纹孔。相比起现有技术,本专利通过设置第一的固定块、第二固定块、螺纹杆和限位结构,通过螺纹杆将第一固定块和第二固定块固定在一起,并将立柱夹持在第一固定块和第二固定块之间,然后通过调节限位结构,将带有固定杆的支撑杆插入到固定槽内部,并使得固定杆上的第一齿槽与第二齿槽相啮合,防止螺纹杆长时间不使用后出现生锈,导致螺纹杆脱落的情况,避免控制器和支撑杆掉落的技术问题。

基于失稳风险分析的风电机组控制方法、系统和电子设备

NºPublicación:  CN121782095A 03/04/2026
Solicitante: 
中国华能集团清洁能源技术研究院有限公司华能湖南北湖风电有限责任公司
CN_121782095_PA

Resumen de: CN121782095A

本发明提供一种基于失稳风险分析的风电机组控制方法、系统和电子设备,涉及风力发电控制的技术领域,该方法通过实时获取当前时刻与前一时刻的风速和风轮转速,计算叶尖速比及其变化量;结合当前与前一时刻的气动转矩,确定气动转矩变化量;进而生成反映运行状态的曲线变化斜率,并判断其是否大于零。若斜率大于零,则判定机组存在失稳风险,随即调整控制参数以维持稳定运行。本发明能够提前识别失稳风险,提升控制响应速度,解决了现有技术中失稳识别滞后、调控不及时的问题,提高了风电机组运行的稳定性与安全性。

一种基于TIP-Adapter的风机叶片故障小样本智能诊断方法

NºPublicación:  CN121786586A 03/04/2026
Solicitante: 
桂林电子科技大学
CN_121786586_PA

Resumen de: CN121786586A

本发明公开一种基于TIP‑Adapter的风力涡轮机叶片故障小样本智能诊断方法及系统,旨在解决叶片故障标注成本高、训练时间长与泛化能力不足的问题,实现无需训练的快速部署。该方法面向裂纹、侵蚀、正常、剥落、崩落等类别,构建领域专用文本提示模板库,并采用多模板特征集成策略对同一类别的多提示文本特征进行归一化融合,以增强文本侧语义鲁棒性。同时利用少量支持集图像构建特征缓存,将支持集图像特征作为缓存键、标签独热编码作为缓存值;推理时计算查询特征与缓存键的相似度并经温度参数归一化得到注意力权重,生成缓存预测logits,并与CLIP零样本预测按缓存权重进行融合输出最终诊断结果。本发明还提供超参数网格搜索策略以自动确定与的推荐配置,从而在不同shot设置下获得稳定的诊断性能,并适用于无人机巡检、智能运维平台与移动端等工业部署场景。

一种主动压载水系统对浮式风机的纠倾控制方法

NºPublicación:  CN121782099A 03/04/2026
Solicitante: 
中广核风电有限公司
CN_121782099_PA

Resumen de: CN121782099A

本发明公开了一种主动压载水系统对浮式风机的纠倾控制方法,具体为:构建浮式风机的动力模型,包括:定义浮式风机结构各个部件的自由度,计算浮式风机系统的动能,计算浮式风机系统的势能,计算结构外荷载考虑风荷载、水动荷载以及锚链荷载,建立浮式风机的动力模型,再加入风机的伺服系统,组成完整的风机动力模型。主动压载水系统‑纠倾控制,通过风速预测方法预知未来几分钟的平均风速以及风向变化,计算各舱室的压载水变化量,计算得海水和锚链提供的稳态恢复力;由力矩平衡算出各压载舱调配水产生的重力变化,再由变化重力算出各压载舱内水的变化体积,然后各舱室按照设定压载速度完成压载。本发明提高了主动压载水的控制效率。

风力发电机组的塔筒振动控制方法及装置

NºPublicación:  CN121782100A 03/04/2026
Solicitante: 
华能新能源股份有限公司蒙西分公司
CN_121782100_PA

Resumen de: CN121782100A

本申请公开了一种风力发电机组的塔筒振动控制方法及装置,涉及风力发电技术领域,公开了风力发电机组的塔筒振动控制方法,包括:获取振动加速度数据和初始风况参数;根据所述振动加速度数据进行时频分析,确定塔筒的实时主导振动频率,并根据所述初始风况参数和所述实时主导振动频率计算风况特征参数;根据实时主导振动频率和风况特征参数,确定是否进入强抑振模式;在进入强抑振模式时,根据风况能量控制策略确定目标阻尼力;根据目标阻尼力生成磁流变调谐质量阻尼器的目标控制电流,并根据目标控制电流进行塔筒振动控制。实现了在极端时变风况下让阻尼参数适配塔筒瞬时振动频率,提升全频带自适应抑振能力。

模块化拼接的风电储能一体化设备

NºPublicación:  CN224079261U 03/04/2026
Solicitante: 
中国水利水电第十二工程局有限公司
CN_224079261_U

Resumen de: CN224079261U

本实用新型公开了一种模块化拼接的风电储能一体化设备,属于风电储能技术领域,包括:开设在风力发电塔底用于安装锂电池组的安装室,其室壁上铰接设置有室门,所述室门上设置有锁芯,所述安装室的室壁上滑动设置有与锁芯插销配合的锁扣,所述锁扣上固定连接有弧形板;还包括与锁扣啮合设置的主动齿轮,其通过电机驱动旋转并带动锁扣围绕风力发电塔中轴线做圆周运动,以使锁扣与锁芯脱离配合。该实用新型通过设置的锁扣、主动齿轮、弧形板和抵推杆,能够实现安装室内外部的快速通风散热,能够便于维修人员在远处观察内部情况,排除危险后在靠近维修,避免人员受伤,从而提高设备的安全性能。

风电齿轮箱和风力发电机组

NºPublicación:  CN224079557U 03/04/2026
Solicitante: 
采埃孚(天津)风电有限公司
CN_224079557_U

Resumen de: CN224079557U

本实用新型涉及风电技术领域,提供风电齿轮箱和风力发电机组。风电齿轮箱包括容置在壳体中的行星齿轮组,行星齿轮组的行星架通过行星架轴承支撑于轴承座,其中:轴承座作为力矩臂的一端,力矩臂的另一端与壳体固定连接;轴承座设置有径向孔,行星架轴承的轴承外圈设置有插槽,轴承外圈与轴承座之间通过穿过径向孔并伸入插槽的锁紧销锁紧固定;轴承座的轴向端面与风电齿轮箱的端盖之间,通过密封圈密封配合。本实用新型能够有效实现轴承外圈与轴承座之间的锁紧配合,使行星架通过行星架轴承稳定支撑于轴承座,确保行星架、行星齿轮组及风电齿轮箱整体的稳定运转。此外,本实用新型的轴承座的轴向端面与端盖之间还通过密封圈实现有效的密封配合。

兼具文丘里效应的风力发电装置

NºPublicación:  CN224079251U 03/04/2026
Solicitante: 
陕西国力信息技术有限公司
CN_224079251_U

Resumen de: CN224079251U

本实用新型涉及风力发电,具体涉及兼具文丘里效应的风力发电装置,解决现有风力发电设备应用于城市环境存在噪音大、易撞击到飞行的鸟类、占地面积大以及在低风速条件下发电效率大幅下降的问题,本实用新型包括兜风单元、中空风能采集环、涡轮叶片以及发电机;兜风单元用于为涡轮叶片提供气流;中空风能采集环为内凹的弧形板或折形板围成的环状结构,且安装在兜风单元的顶部或底部,所述中空风能采集环与兜风单元连通;涡轮叶片对应于中空风能采集环设置且转动安装在兜风单元内,所述发电机与涡轮叶片连接。

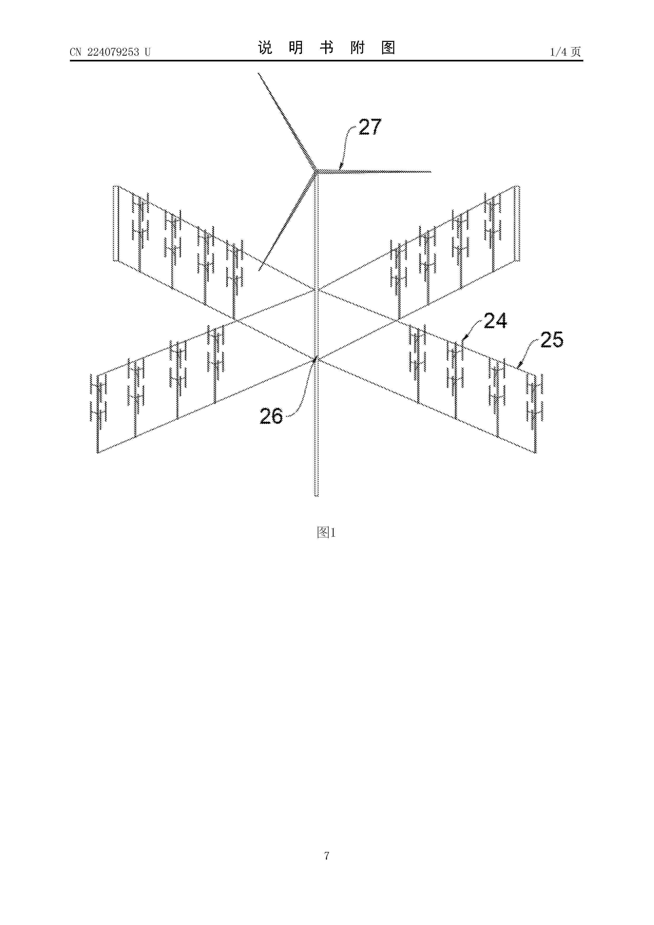
一种与大型风力场相耦合双效垂直轴微风发电机

NºPublicación:  CN224079253U 03/04/2026
Solicitante: 
广东中科天钒储能科技有限公司
CN_224079253_U

Resumen de: CN224079253U

本实用新型公开了一种与大型风力场相耦合双效垂直轴微风发电机,涉及风力发电技术领域,该与大型风力场相耦合双效垂直轴微风发电机,包括发电主体,其特征在于:所述发电主体的外部设置有横梁,且发电主体设置有多个,所述横梁的一端设置有机架,所述机架的顶端设置有风力片,所述发电主体包括涡轮和第一连接座,且第一连接座位于涡轮的顶端,所述涡轮的底端设置有第二连接座,所述涡轮的外部设置有叶片,本方案解决了现有垂直轴微风发电机的机箱通过箱门打开进行内部发电机本体进行检修,箱门打开角度有限,检修的时候,敞开的箱门会对检修人员胳膊进行阻挡,从而导致检修不便,并且锁扣结构容易损坏,不便于维修,维修成本高的问题。

基于卫星通信与定位的海上发电装置及其控制方法

NºPublicación:  CN121791784A 03/04/2026
Solicitante: 
中国大唐集团科学技术研究总院有限公司
CN_121791784_PA

Resumen de: CN121791784A

本发明涉及海上发电技术领域,公开了一种基于卫星通信与定位的海上发电装置及其控制方法,该海上发电装置包括:风机发电组件、光伏发电组件、绞盘机、连接链和控制机构,多个光伏平台形成光伏阵列,绞盘机设于风机立柱,连接链的一端缠绕于绞盘机,连接链的另一端连接至少一个位于外缘的光伏平台,控制机构包括监测模块、卫星通讯模块、控制模块和陆地监控模块,监测模块用于确定光伏阵列的运行信息,卫星通讯模块用于通过低轨通信卫星确定光伏阵列的卫星定位信息,控制模块用于基于运行信息和卫星定位信息用于控制绞盘机的运行。结合卫星定位全面分析光伏阵列的运行状态,使光伏阵列的监控更加智能和精准,提升了光伏平台运行的安全性和稳定性。

一种基于塔底载荷的风机逆向重构技术

NºPublicación:  CN121787044A 03/04/2026
Solicitante: 
海洋石油工程股份有限公司
CN_121787044_PA

Resumen de: CN121787044A

本发明涉及浮式风机时域一体化分析技术领域,具体地说,涉及一种基于塔底载荷的风机逆向重构技术。其包括以下步骤:采集塔底载荷时历数据和塔架截面参数,建立塔底载荷与风速的函数关系,并提取各风速下的风机转速函数;基于塔架沿高度方向的内外径离散数据,利用线性插值构建连续截面函数并建立塔架等效模型;结合风机发电功率、转速与扭矩间的关系,利用前述载荷与转速数据建立风机功率曲线,并以功率、转速、塔顶载荷为输出变量构建重构风机的目标函数。本发明通过重构可获得风机的功率曲线、转速特性、塔顶载荷响应及关键气动参数,弥补了原始数据缺失带来的信息盲区。

自构网型风电机组的控制方法及电子设备

NºPublicación:  CN121791338A 03/04/2026
Solicitante: 
国电联合动力技术有限公司
CN_121791338_PA

Resumen de: CN121791338A

本发明公开自构网型风电机组的控制方法及电子设备。自构网型风电机组的控制方法包括:采用虚拟同步发电机确定机侧参考角度和机侧参考虚拟电势,基于所述机侧参考角度和所述机侧参考虚拟电势控制机侧变流器;基于连接在机侧变流器和网侧变流器之间的直流母线电容的惯性计算网侧参考角度,基于所述网侧参考角度控制网侧变流器。本发明通过将虚拟同步控制的参考角度(相位)引入机侧变流器的控制中,使得风电机组在电网波动时能体现出类似同步发电机的电压源特性。同时,通过将直流电容惯性控制引入网侧变流器,使得风电机组网侧变流器也具备一定的构网功能,从而提高风电机组对电网的支撑能力,提高电力系统的稳定性。

一种风电塔筒修补固定装置及方法

NºPublicación:  CN121782120A 03/04/2026
Solicitante: 
三峡新能源(凤凰)发电有限公司
CN_121782120_PA

Resumen de: CN121782120A

本发明公开了一种风电塔筒修补固定装置及方法,装置包括带凸块的修补板、内侧垫板、高强度螺栓、应力结构、密封圈及支撑杆;凸块与塔筒缺口适配,修补板和垫板通过螺栓双向固定,应力结构分散螺栓压紧力,支撑杆与支撑块增强内侧支撑;方法包括部件准备、修补板定位满焊、垫板安装、螺栓装配、螺母拧紧及密封处理。修补板与凸块采用Q345钢,螺栓选用8.8级或10.9级,密封圈为氟橡胶材质,密封填料为环氧树脂基。本发明解决现有修补适配性差、强度不足及密封弱的问题,提升修补处承载能力与密封性,延长使用寿命,降低维护成本,适用于陆上及海上风电塔筒修补。

一种适用于复杂地形的地震预警台站风光互补支架调节装置

NºPublicación:  CN121781793A 03/04/2026
Solicitante: 
甘肃省地震局(中国地震局兰州地震研究所)
CN_121781793_PA

Resumen de: CN121781793A

本发明提供一种适用于复杂地形的地震预警台站风光互补支架调节装置,涉及可再生能源利用领域,包括发电底座、防护围栏、光电底座、太阳能板主体、发电扇叶、调节防护机构和除雪防护机构;所述防护围栏设置在发电底座的外周;所述支撑固定杆焊接在发电底座的上方;所述支撑伸缩杆分别滑动连接在支撑固定杆的内侧上方;所述光电底座焊接在支撑伸缩杆的上端;所述太阳能板主体铰接在光电底座的上方;所述角度调节底座转动连接在发电底座的内侧;所述调节防护机构设置在发电底座的上方;所述除雪防护机构设置在太阳能板主体的外侧,保障装置在地震环境下的安全运行,解决了风光互补发电装置高度较高,容易在地震中发生倾覆损坏的问题。

一种风热电储离网型热泵机组及其控制方法

NºPublicación:  CN121782795A 03/04/2026
Solicitante: 
山东华业电气有限公司天津绿能风光科技有限公司
CN_121782795_PA

Resumen de: CN121782795A

本发明涉及热泵机组控制领域,用于解决系统缺乏对供能、储能和负载之间的协同前瞻分析,无法精细化地控制热泵运行,影响供热连续性的问题,具体是一种风热电储离网型热泵机组及其控制方法,具体包括终端探测模块、混合调控模块、预测调控模块以及双向配置传输模块;本发明是通过终端探测模块实现全状态感知,经由混合调控模块完成实时动态优化与风险初判,再通过预测调控模块实施前瞻性资源调配与柔性负载管理,最终借助双向配置传输模块实现闭环交互与安全兜底,将离网系统中风电的间歇性、储能的有限性、热负荷的波动性以及人工干预的必要性深度融合,形成一套多层次、自适应、柔性的智能控制体系。

提升风电机组转子主轴关键区域寿命的主轴结构和方法

NºPublicación:  CN121782091A 03/04/2026
Solicitante: 
东方电气风电股份有限公司
CN_121782091_PA

Resumen de: CN121782091A

本发明涉及风力发电技术领域,特别涉及提升风电机组转子主轴关键区域寿命的主轴结构和方法,包括轴体,轴体的一端形成用以连接安装结构的固定法兰结构,所述固定法兰结构包括动轴体向外侧延伸的外侧法兰壁,和从轴体向内测延伸的内侧法兰壁,外侧法兰壁和内侧法兰壁均设置若干连接紧固件并将主轴连接至安装结构。本发明通过对轴体结构的改进处理,将单侧受力结构调整为双侧受力结构,避免了轴体上法兰结构处的应力集中,保障了轴体的结构稳定可靠,能够在实际使用过程中提高轴体的有效寿命。

一种基于边缘计算的风机轴承故障诊断方法及系统

NºPublicación:  CN121786700A 03/04/2026
Solicitante: 
桂林电子科技大学
CN_121786700_PA

Resumen de: CN121786700A

本发明公开了一种基于边缘计算的风机轴承故障诊断方法及系统,涉及风力发电的故障诊断技术领域。该方法采用“端‑边‑训”闭环架构,通过将原始振动信号转换为包含对数功率谱信息的二维时频谱图。在边缘端,设计了集成双重注意力机制与特征金字塔网络的轻量化学生网络,并采用对角马氏距离简化度量计算。在训练端,利用包含大核注意力与Transformer交叉注意力机制的高精度集成教师模型,通过输出层KL散度与中间特征层MSE的双重蒸馏损失,将复杂知识迁移至边缘学生模型。本发明在受限的参数量和算力下实现对风机轴承故障的快速、精准识别。

一种漂浮式风力机抗台风控制方法和控制系统

NºPublicación:  CN121782101A 03/04/2026
Solicitante: 
河海大学
CN_121782101_PA

Resumen de: CN121782101A

本发明公开一种风力机发电技术领域的漂浮式风力机抗台风控制方法和控制系统,旨在通过主动设定偏航角与俯仰角调节叶片攻角,改变作用于叶片的气动力,以实现更强的制动效果。该方法包括根据风速风向仪获取当前环境的风速和来流风向,当风速大于预设的强风风速阈值时,判断当前来流风向与风力机对航风向是否相同:若不相同,调整偏航角;若相同,通过偏航实现上部叶片达到预设攻角值,通过调节风力机重心实现下部叶片达到预设攻角值,通过调整平台状态抵消外部环境扰动使得风力机在预设攻角位置保持稳定。本发明通过将叶片攻角始终保持为恒定负攻角,在不增加叶片阻力的前提下,避免强台风风况下叶片升力持续过大导致的超限横风向振动。

一种风电机组混凝土塔筒拼装平台及施工方法

NºPublicación:  CN121782107A 03/04/2026
Solicitante: 
中国电建集团河南工程有限公司
CN_121782107_PA

Resumen de: CN121782107A

本发明公开了一种风电机组混凝土塔筒拼装平台及施工方法,其中:混凝土塔筒拼装平台包括中心支座和条形平台,在中心支座四周至少设置有四个条形平台,在条形平台上滑动连接有位移板,在位移板两侧分别设置有限位螺杆,并在位移板的中部设置间隙调整组件,间隙调整组件由第一支块、气缸和第二支块组成,在第二支块的底部设置有滚轮。本发明通过设置可移动的位移板,并在位移板上设置间隙调整组件,显著提高了塔筒片的拼装精度与效率,避免相邻塔筒片出现碰撞损失的情况,显著提升了拼接质量,降低了碰撞损伤风险,增强了拼装过程的安全可靠性,有效减少了劳动强度与成本,使用方便,操作简单。

TECHNIQUES TO PROVIDE IMPROVED WIND INPUT FOR OPERATING OFFSHORE WIND TURBINES

NºPublicación:  US20260092593A1 02/04/2026
Solicitante: 
RUTGERS THE STATE UNIV OF NEW JERSEY [US]
RUTGERS, THE STATE UNIVERSITY OF NEW JERSEY
US_20260092593_A1

Resumen de: US20260092593A1

Techniques for operating a wind farm include setting an area of interest, a forecast interval, and a maximum lag time for using mesoscale forecasts. Mesoscale forecasts are collected for a training time interval TT at model grid locations. TT is at least ten times the maximum lag time. Fine-scale wind measurements are collected in the area during TT. Selected parameters of the mesoscale forecasts, and coefficients of an evolving ML forecast model are determined based on the mesoscale forecasts and the fine-scale wind measurements during the TT ending at the current time. Then, the coefficients and the mesoscale forecast for the selected parameters during the lag time produce a forecast wind at the wind turbines during the forecast interval. Operation of the wind farm is based on the forecast wind.

JOINING COMPOSITE ELEMENTS OF WIND TURBINE BLADES

NºPublicación:  US20260091561A1 02/04/2026
Solicitante: 
LM WIND POWER AS [DK]
LM Wind Power A/S
US_20260091561_A1

Resumen de: US20260091561A1

In a first aspect, a method for joining a first composite element and a second composite element of a wind turbine blade is provided. The method comprises positioning one edge joining portion of the first composite element to face one edge joining portion of the second composite element. In addition, the method comprises plastic welding the one edge joining portion of the first composite element to the one edge joining portion of the second composite element. In a further aspect, a wind turbine blade comprising a first composite element joined to a second composite element according to any of the methods herein disclosed is provided.

SYSTEM AND METHOD FOR ESTIMATING WIND FARM POWER OUTPUT

NºPublicación:  US20260092594A1 02/04/2026
Solicitante: 
BP P L C [GB]
BP P.L.C
US_20260092594_A1

Resumen de: US20260092594A1

A system and method for predicting power output of a wind farm are disclosed. The method includes determining first and second parameter values of a power curve for a plurality of wind turbines. A second relationship is determined between the densities associated with the wind turbines and the values of the first parameter. A third relationship is determined between the densities associated with the wind turbines and the values of the second parameter. A value of the first parameter for a specified wind farm density is determined based on the second relationship. A value of the second parameter for the specified wind farm density is determined based on the third relationship. An indication of a power output for the specified wind farm density is generated by applying the determined values of the first and second parameters to the power curve.

THERMAL ENERGY STORAGE SYSTEMS FOR USE IN MATERIAL PROCESSING

NºPublicación:  US20260092542A1 02/04/2026
Solicitante: 
RONDO ENERGY INC [US]
Rondo Energy, Inc
US_20260092542_A1

Resumen de: US20260092542A1

An energy storage system (TES) converts variable renewable electricity (VRE) to continuous heat at over 900° C. Intermittent electrical energy heats a solid medium. Heat from the solid medium is delivered continuously on demand. Heat delivery via flowing gas establishes a thermocline which maintains high outlet temperature throughout discharge. The delivered heat which may be used for processes including power generation and cogeneration. In one application, thermal energy storage systems are used to improve efficiency and reduce carbon emissions associated with processing materials or other industrial applications.

SYSTEM AND METHOD FOR CONTROLLING A WIND TURBINE BASED ON AN ESTIMATED ROTOR AZIMUTH

NºPublicación:  US20260092591A1 02/04/2026
Solicitante: 
GE INFRASTRUCTURE TECH LLC [US]
GE Infrastructure Technology LLC
US_20260092591_A1

Resumen de: US20260092591A1

A method for controlling a wind turbine includes receiving, via a control system, at least one speed condition of a drivetrain of the wind turbine from a first sensor. The method also includes receiving, via the control system, a pulse from a second sensor mounted within a nacelle of the wind turbine, the pulse being generated when the drivetrain shifts to a known angle. The method also includes estimating, via the control system, an azimuth of a designated rotor blade based on a combination of the at least one speed condition of the drivetrain and the pulse. The method also includes implementing, via the control system, a control action for the wind turbine based on the estimated azimuth.

METHOD FOR OPERATING A WIND TURBINE, CONTROL SYSTEM AND WIND TURBINE

NºPublicación:  US20260092592A1 02/04/2026
Solicitante: 
NORDEX ENERGY SE & CO KG [DE]
Nordex Energy SE & Co. KG
US_20260092592_A1

Resumen de: US20260092592A1

The method is for operating a wind turbine having a rotor with at least one rotor blade, a tower and a pitch setting system. The method includes providing first information which is representative for the tilt bending moment acting on the rotor. Second information which is representative for the thrust force acting on the rotor is provided. Third information which is representative for a critical area of thrust forces and tilt bending moments is provided. Fourth information is determined depending on the first, the second and the third information. The fourth information is representative for whether the tilt bending moment and the thrust force lie within the critical area. If this is the case, an output signal is generated which is configured to cause the pitch setting system to change the pitch angle of the at least one rotor blade in order to leave the critical area.

Montageanordnung zur Montage eines Planetenradsatzes

NºPublicación:  DE102024208953A1 02/04/2026
Solicitante: 
ZAHNRADFABRIK FRIEDRICHSHAFEN [DE]
ZF WIND POWER ANTWERPEN NV [BE]
ZF Friedrichshafen AG,
ZF Wind Power Antwerpen N.V
WO_2026061688_A1

Resumen de: DE102024208953A1

Die vorliegende Offenbarung betrifft eine Montageanordnung zur Montage eines Planetenradsatzes (10). Ein Planetenbolzen (13) ist zur Montage an einem Planetenträger (12) ausgestaltet. Ein Gleitlagerelement (30) weist eine Außenlagerfläche (31) zum Lagern einer Innengleitfläche eines Planetenrads (14) an dem Planetenbolzen (13) auf. Eine Einführerhebung (20) ist drehfest mit dem Gleitlagerelement (30) verbunden, ist in einer Radialrichtung nach außen gerichtet und weist eine Erhebungskontur (21) zum Einführen des Gleitlagerelements (30) in das Planetenrad (14) und den Planetenträger (12) auf. Die Einführerhebung (20) ist in einer Einführrichtung vor der Außenlagerfläche (31) des Gleitlagerelements (30) angeordnet. Ein Kopfdurchmesser (Y) der Einführerhebung (20) ist größer als ein Durchmesser (X) der Außenlagerfläche (31) und ist zum Einführen in und zum Hindurchführen durch die Innengleitfläche des Planetenrads (14) ausgestaltet.

OFFSHORE ELECTROLYSIS SYSTEM, AND METHOD FOR OPERATING AN OFFSHORE ELECTROLYSIS SYSTEM

NºPublicación:  AU2024352604A1 02/04/2026
Solicitante: 
SIEMENS ENERGY GLOBAL GMBH & CO KG
SIEMENS ENERGY GLOBAL GMBH & CO. KG
AU_2024352604_PA

Resumen de: AU2024352604A1

The invention relates to an offshore electrolysis system (100) comprising: a wind turbine (1) with a platform (3) and with an electrolysis plant (5) which is arranged on the platform (3) and is connected to the wind turbine (1) in order to supply electrolysis current; and a heat supply device (7) which is coupled to the electrolysis plant (5) and is designed in such a way that heat can be transferred to the electrolysis plant by means of the heat supply device (7) during a standstill mode so as to maintain the temperature above a minimum temperature. The invention also relates to a method for operating a corresponding offshore electrolysis system. During a standstill mode, heat is transferred to the electrolysis plant (5) by means of the heat supply device (7) so as to maintain the temperature above a minimum temperature and prevent freezing of water-carrying components of the electrolysis plant (5).

OFFSHORE ELECTROLYSIS SYSTEM, AND METHOD FOR OPERATING AN OFFSHORE ELECTROLYSIS SYSTEM

NºPublicación:  AU2024349761A1 02/04/2026
Solicitante: 
SIEMENS ENERGY GLOBAL GMBH & CO KG
SIEMENS ENERGY GLOBAL GMBH & CO. KG
AU_2024349761_PA

Resumen de: AU2024349761A1

The invention relates to an offshore electrolysis system (100) comprising: a wind turbine (1) with a platform (3) and with an electrolysis plant (5) which is arranged on the platform (3) and is connected to the wind turbine (1) in order to supply electrolysis current; and a heat supply device (7) which is coupled to the electrolysis plant (5) and has a combustion device (13), wherein a fuel reservoir (15) is connected to the heat supply device (7) such that, during a standstill mode, heat generated by means of the combustion device (13) can be transferred to the electrolysis plant (5) so as to maintain the temperature above a minimum temperature. The invention also relates to a method for operating a corresponding offshore electrolysis system (100), wherein, during a standstill mode, heat is generated by means of the heat supply device (7) and transferred to the electrolysis plant (5) so as to maintain the temperature above a minimum temperature and prevent freezing of water-carrying components of the electrolysis plant (5).

SYSTEM FOR GENERATING ELECTRICITY VIA HELICOID VERTICAL AXIS WIND TURBINE AND METHOD THEREOF

NºPublicación:  US20260092590A1 02/04/2026
Solicitante: 
GORLOV ALEKSEI [AE]
GORLOV Aleksei
US_20260092590_A1

Resumen de: US20260092590A1

The present invention provide a system and method for generating electricity using a helicoid vertical axis wind turbine. The system comprises a rotor designed for rotation from airflow; a plurality of helicoid blades having an airplane wing profile to generate a lifting force from said airflow, enabling rotation of the rotor; a generator mechanically connected to the rotor to produce electricity upon the rotor's rotation; a controller connected to said generator to process the generated electricity; a battery connected to the controller for storing the processed electricity; and an inverter connected to the battery for converting and supplying the stored electricity. The invention provides more versatile, efficient, and reliable system and method for generating electricity via a helicoid vertical axis wind turbine.

FOUNDATION DEVICE FOR AN OFFSHORE WIND TURBINE TOWER

NºPublicación:  US20260091856A1 02/04/2026
Solicitante: 
BLUENEWABLES SL [ES]
BLUENEWABLES SL
US_20260091856_A1

Resumen de: US20260091856A1

The present invention relates to a device for supporting an offshore wind turbine tower. The device comprises a first body (1), a support body (3) attached to the first body (1), a second body (2) and a plurality of legs (4) attached to the second body (2). The support body (3) has a cylindrical interior and is configured to provide support for and connection of a wind turbine tower (10). The first body (1) comprises a central portion (5) connected to the support body (3) and a plurality of hollow arms (6), connected with the central portion (5). Each hollow arm (6) comprises a through-hole (7) configured to allow a leg (4) to pass through the through-hole. The first body (1) has a volume and a weight configured to provide, when empty, a buoyancy of at least 20% of the weight of the entire device, the weight of the first body (1) being less than 8% of the weight of the entire device. The legs (4) and/or the first body (1) have a locking system configured to lock the relative position between the legs and the first body.

ROTOR TURNING LIFTING YOKE

NºPublicación:  US20260091958A1 02/04/2026
Solicitante: 
LIFTRA IP APS [DK]
LIFTRA IP APS
US_20260091958_A1

Resumen de: US20260091958A1

Rotor lifting yoke for lifting a three bladed rotor, said rotor lifting yoke comprising: a lifting structure, a first and second flexible elongated element arranged to be connected both to the lifting structure and to a root portion of a first blade of the rotor, and a third and fourth flexible elongated element arranged to be connected both to the lifting structure and to a root portion of a second blade of the rotor. The rotor lifting yoke further comprises one or more length adjusting mechanisms which are arranged to adjust the effective length of the first and third and/or the second and fourth flexible elongated elements. The flexible elongated members are further arranged such that when said flexible elongated members are attached to the root portions of their respective blades, at least one point on the first and third and/or at least one point on the second and fourth flexible elongated elements is attached to their respective blades via a non-slip attachment. In this way, a rotor lifting yoke is provided which can rotate the rotor from a vertical to a horizontal position and back again in an easy and flexible manner just by adjusting the lengths of the flexible elongated members.

SYSTEM AND METHOD FOR DETECTING ANOMALIES ON A WIND TURBINE ROTOR BLADE

NºPublicación:  US20260094257A1 02/04/2026
Solicitante: 
GENERAL ELECTRIC RENOVABLES ESPANA S L [ES]
General Electric Renovables Espana, S.L
US_20260094257_A1

Resumen de: US20260094257A1

A method for improving quality of a rotor blade of a wind turbine includes receiving, via a data acquisition module of a controller, image data relating to the rotor blade. The image data is collected during or after manufacturing of the rotor blade before the rotor blade is placed into operation on the wind turbine. The method includes identifying, via a processor of the controller, an anomaly on the rotor blade using the image data relating to the rotor blade. The method also includes determining, via the processor, a location of the anomaly of the rotor blade using a combination of at least two of the following: an estimated location of an imaging device when the image data was collected, a known location of a pixel as represented by multiple angles that describe a location of the pixel and the anomaly within the image data as projected onto a spherical shell, Light Detection and Ranging (LIDAR) data of a cross section of the rotor blade at a time and location when the image data was collected, a specific internal cavity that the imaging device is in when the image data was collected, or a computer-aided design (CAD) model of the rotor blade. Further, the method includes displaying, via the processor, the location of the anomaly of the rotor blade. Moreover, the method includes implementing, via the processor, a corrective action for a subsequent manufacturing process of another rotor blade based on the location of the anomaly of the rotor blade.

MAGNETIZING PERMANENT MAGNET MODULES

NºPublicación:  US20260094753A1 02/04/2026
Solicitante: 
GE VERNOVA RENOVABLES ESPANA S L [ES]
GE Vernova Renovables Espana, S.L
US_20260094753_A1

Resumen de: US20260094753A1

The present disclosure relates to methods for magnetizing sections of one or more permanent magnets arranged substantially in a V-shape. The methods comprise applying a first magnetic field comprising activating an open end magnetizing coil arranged near an open end of the V-shape and generating a first magnetic flux, activating a first side magnetizing coil arranged at a first side of a first leg of the V-shape and generating a second magnetic flux, and activating a second side magnetizing coil arranged at a second side of a second leg of the V-shape and generating a third magnetic flux. The magnetizing coils are simultaneously activated, and the second side magnetizing coil is activated in reversed polarity to the first side magnetizing coil.

ROTOR CONSTRUCTION FOR WIND TURBINE GENERATORS

NºPublicación:  US20260095082A1 02/04/2026
Solicitante: 
THE TIMKEN COMPANY [US]
The Timken Company
US_20260095082_A1

Resumen de: US20260095082A1

Rotors and stators for use in electric machines and methods for refurbishing the same. One method for refurbishing a stator for use in an electric machine includes at least partially disassembling the stator to provide access to a plurality of stator windings connected in a four-circuit delta connection having three and four turns per coil, and reconfiguring the stator such that the plurality of stator windings are connected in an eight-circuit delta connection having seven turns per coil. One method for refurbishing a rotor for use in an electric machine includes at least partially disassembling the rotor to provide access to a rotor core, the rotor core including first rotor bars, and reconfiguring the rotor core to include second rotor bars that are longer than the first rotor bars.

STATOR CONSTRUCTION FOR WIND TURBINE GENERATORS

NºPublicación:  US20260095081A1 02/04/2026
Solicitante: 
THE TIMKEN COMPANY [US]
The Timken Company
US_20260095081_A1

Resumen de: US20260095081A1

Rotors and stators for use in electric machines and methods for refurbishing the same. One method for refurbishing a stator for use in an electric machine includes at least partially disassembling the stator to provide access to a plurality of stator windings connected in a four-circuit delta connection having three and four turns per coil, and reconfiguring the stator such that the plurality of stator windings are connected in an eight-circuit delta connection having seven turns per coil. One method for refurbishing a rotor for use in an electric machine includes at least partially disassembling the rotor to provide access to a rotor core, the rotor core including first rotor bars, and reconfiguring the rotor core to include second rotor bars that are longer than the first rotor bars.

GENERATION LOAD CONTROL

NºPublicación:  US20260091364A1 02/04/2026
Solicitante: 
GNG ELECTRICAL PTY LTD [AU]
GNG Electrical Pty Ltd
US_20260091364_A1

Resumen de: US20260091364A1

This invention relates to a device for controlling at least one of a plurality of electrical loads that are being supplied by at least one renewable energy generator and/or an electrical mains supply. The device comprises an energy sensor for measuring an energy parameter, wherein the energy parameter equates to a value representative of the amount of energy output by the energy sensor, the energy parameter of the energy sensor being directly proportional to the output of the at least one renewable energy generator; a controller means for determining the amount of electrical loads that can be connected or disconnected on the basis of the measured energy parameter; a switching device for connecting and disconnecting the at least one electrical load based on an output of the controller means; and wherein as the energy parameter varies the output of the controller means varies to connect and disconnect electrical loads.

TOWER-INTEGRATED OFFSHORE WIND POWER FLOATING BODY AND METHOD FOR MANUFACTURING SAME

NºPublicación:  US20260091857A1 02/04/2026
Solicitante: 
SAMWON MILLENNIA [KR]
SAMWON MILLENNIA
US_20260091857_A1

Resumen de: US20260091857A1

A tower-integrated offshore wind power floating body includes a tower formed under a power generation unit, transition pieces (TPs) spaced apart from a lower circumference of the tower at regular intervals, a seating part formed under the tower and the TP to support lower portions of the tower and the TP, a reinforcement column having the same axis as a vertical central axis of the tower and formed under the seating part, a buoyancy part formed under the reinforcement column, a ballast part formed under the buoyancy part such that the ballast part is spaced a length from the buoyancy part, a brace formed between the seating part and the buoyancy part, a brace formed between the buoyancy part and the ballast part, and main columns arranged in a vertical direction in the TP, the seating part, the buoyancy part, and the ballast part, and the main columns.

Rotor zur Nutzung von Windenergie und zum Betreiben in einer Windkraftanlage

NºPublicación:  DE102024003154A1 02/04/2026
Solicitante: 
ROLF BEINING GMBH [DE]
Rolf Beining GmbH

Resumen de: DE102024003154A1

Der Erfindung, welche einen Rotor (1) zur Nutzung von Windenergie und zum Betreiben in einer Windkraftanlage betrifft, liegt die Aufgabe zugrunde, einen Rotor (1) anzugeben, womit eine Nutzung von Windenergie in einer für fliegende Lebewesen ungefährlichen Weise ermöglicht wird. Diese Aufgabe wird dadurch gelöst, dass der Rotor (1) einen im Wesentlichen zylinderförmigen Grundkörper (3) mit feststehenden, einen unsymmetrischen Querschnitt aufweisenden Ausbuchtungen (2) aufweist, wobei der Rotor (1) eine den Grundkörper (3) mit seinen Ausbuchtungen (2) umgebende geschlossene Mantelfläche (5) aufweist.

METHOD FOR CONSTRUCTING A WIND FARM WITH ALIGNMENT CONSTRAINTS

NºPublicación:  US20260092595A1 02/04/2026
Solicitante: 
IFP ENERGIES NOW [FR]
IFP Energies nouvelles
US_20260092595_A1

Resumen de: US20260092595A1

The invention relates to a method for constructing a wind farm in a predetermined space, wherein at least the following successive steps are carried out: a) Forming (GR) various grids in the predetermined space,b) For each grid, determining the average annual energy production of a mini-farm (AEP-mf) consisting of wind turbines at the points of intersection of a unit cell,c) Choosing (Ch) a few grids that make it possible to maximize energy production,d) For each grid c in step c), determining a first layout (Alg1) of the predefined number of wind turbines on the grid,e) Modifying the position (Alg2) of the wind turbines on the grid,f) Determining a definitive layout (Disp_F) of the wind turbines in the predetermined space, and constructing (Const) the wind farm.

SPAR PLATFORM FOR A FLOATING OFFSHORE WIND TURBINE

NºPublicación:  EP4717581A2 01/04/2026
Solicitante: 
EQUINOR ENERGY AS [NO]
Equinor Energy AS
EP_4717581_PA

Resumen de: EP4717581A2

A floating spar platform 7 for supporting an offshore wind turbine comprises at least one first ballast tank 15 for holding adjustable ballast and at least one second ballast tank 16 for holding adjustable ballast. The second ballast tank 16 is arranged vertically higher than the first ballast tank 15, allowing a vertical distance between the bottom of the spar platform 7 and the centre of centre of gravity 31 of the spar platform 7 to be controlled by adjusting the amount of ballast held within the first and/or second ballast tanks 15, 16. This provides for control over the resonant response of the floating spar platform 7. During installation of a wind turbine on the floating spar platform 7, ballast associated with the spar platform may be adjusted in order to increase the vertical distance between the bottom of the spar platform 7 and the centre of gravity 31 of the spar platform 7, which reduces wave-induced resonant motions of the spar platform 7.

WING ARRANGEMENT COMPRISING A MAIN WING AND A SLAT ATTACHED THERETO IN FRONT OF THE MAIN WING IN A DIRECTION OPPOSITE TO A FLOW DIRECTION

NºPublicación:  EP4717591A2 01/04/2026
Solicitante: 
SCHLECHT PAUL MATTHIAS [DE]
Schlecht, Paul-Matthias
EP_4717591_PA

Resumen de: EP4717591A2

Die Erfindung betrifft eine Flügelanordnung (10) in der Form eines Propellers eines Flächenflugzeugs oder eines Tragschraubers oder in der Form eines Rotorblatts eines Haupt- und/oder Nebenrotors eines Flugzeugs mit Tragflächen, eines Hubschraubers oder eines Tragschraubers, oder in der Form eines Rotorblatts eines Rotors einer Windkraftanlage. Die Flügelanordnung (10) umfasst einen Hauptflügel (12) und einen entgegen einer Strömungsrichtung (22) vor dem Hauptflügel (12) daran befestigten Vorflügel (14), sodass zwischen dem Vorflügel (14) und dem Hauptflügel (12) ein Spalt (16) mit einem Strömungseinlass (18) und einem definierten, unveränderlichen Strömungsauslass (20) gebildet ist. In einem vertikalen Querschnitt längs der Strömungsrichtung (22) betrachtet beträgt eine Länge (D) eines sich entgegen der Strömungsrichtung (22) über eine Länge (A) des Hauptflügels (12) hinaus nach vorne erstreckenden Abschnitts (32) des Vorflügels (14) mindestens 20% einer Gesamtlänge (C) der Flügelanordnung (10) in Strömungsrichtung (22). Es wird vorgeschlagen, dass der Strömungseinlass (18) größer als der Strömungsauslass (20) ist, sodass sich durch eine Luftströmung (24) in dem Spalt (16) ein Bernoulli-Effekt einstellt.

A METHOD AND SYSTEM FOR MANUFACTURE OF A COMPOSITE STRUCTURE OF A WIND TURBINE BLADE

NºPublicación:  EP4716630A1 01/04/2026
Solicitante: 
ENVISION ENERGY CO LTD [CN]
Envision Energy Co., Ltd
AU_2023457078_PA

Resumen de: AU2023457078A1

The invention relates to a system and method for manufacture of a composite structure (17) of a wind turbine blade (5). Layers of a fibrous material (33) are arranged in a mould (16) and the top surface of the upper layer is scanned using a measuring device (25). The data inputted from the measuring device (25) is analysed in a processor (26) to identify the locations of defects (27) and detailed information thereof. The location data is then transmitted to a lighting system (28), where the locations of the defects (27) are visually indicated on or relative to the upper layer of the composite structure (17) using lighting devices (29). The present inspection method can be performed during dry layup of the respective layers, thereby allows defects (27) to be corrected be-fore infusion of the resin matrix material.

OFFSHORE WIND TURBINE SYSTEMS AND PROCESSES FOR INSTALLING SAME

NºPublicación:  EP4717580A2 01/04/2026
Solicitante: 
MODEC AMERICA INC [US]
MODEC America, Inc
EP_4717580_PA

Resumen de: EP4717580A2

Offshore wind turbine systems and processes for installing same. The system can include a wind turbine generator can include a plurality of blades connected thereto. The system can also include a first support arm and a second support arm each having a first end and a second end. The system can also include a support structure that can be configured to float on a surface of a body of water that can include first, second, and third columns. The first end of the first support arm and the first end of the second support arm can each support the wind turbine generator at an elevation above the support structure. The second end of the first support arm can be connected to and supported by the first column. The second end of the second support arm can be connected to and supported Q by the second column.

CLIMBING STRUCTURE FOR WIND TURBINES

NºPublicación:  EP4717660A1 01/04/2026
Solicitante: 
KIMUA ENG S L [ES]
Kimua Engineering, S.L
EP_4717660_PA

Resumen de: EP4717660A1

A climbing structure (100) comprising at least two holding devices (1) for securing the structure (100) to a tower (201) of a wind turbine. Each holding device (1) comprises three pushers, a central one (5.3) and side pushers (5.1, 5.2), with at least a respective supporting surface (3.1, 3.2, 3.3), the pushers being configured to press the tower (201) at a certain height on three angularly equally distributed areas. Each holding device (1) also comprises a main body (4) and two side arms (6.1, 6.2) cooperating with said main body (4) and comprising a respective side pusher (5.1, 5.2), the central pusher (5.3) being associated with the main body (4). Likewise, the main body (4) of each holding device (1) comprises two inclined side guide housings (8.1, 8.2), the central pusher (5.3) being arranged between both side arms (6.1, 6.2). Each holding device (1) comprises actuating means for moving the side arms (6.1, 6.2) with respect to the main body (4) guided in the corresponding side guide housing (8.1, 8.2), such that the respective holding device (1) can be coupled to towers (201) of different diameters.

SYSTEM AND METHOD FOR CONTROLLING A WIND TURBINE BASED ON AN ESTIMATED ROTOR AZIMUTH

NºPublicación:  EP4717907A1 01/04/2026
Solicitante: 
GE VERNOVA INFRASTRUCTURE TECH LLC [US]
GE Vernova Infrastructure Technology LLC
EP_4717907_PA

Resumen de: EP4717907A1

A method for controlling a wind turbine is provided. The method includes receiving, via a control system, at least one speed condition of a drivetrain of the wind turbine from a first sensor. The method also includes receiving, via the control system, a pulse from a second sensor mounted within a nacelle of the wind turbine, the pulse being generated when the drivetrain shifts to a known angle. The method also includes estimating, via the control system, an azimuth of a designated rotor blade based on a combination of the at least one speed condition of the drivetrain and the pulse. The method also includes implementing, via the control system, a control action for the wind turbine based on the estimated azimuth.

SYSTEM AND METHOD FOR CONTROLLING A SPEED OF A WIND TURBINE

NºPublicación:  EP4717908A2 01/04/2026
Solicitante: 
GE VERNOVA INFRASTRUCTURE TECH LLC [US]
GE Vernova Infrastructure Technology LLC
EP_4717908_PA

Resumen de: EP4717908A2

A method for controlling a wind turbine is provided. The method includes receiving, via a control system, at least one speed measurement from at least one sensor on a drivetrain of the wind turbine. The method also includes receiving, via the control system, at least one rate gyroscope speed measurement from at least one rate gyroscope on the drivetrain of the wind turbine. The method also includes calculating, via the control system, an offset for the at least one rate gyroscope speed measurement as a function of the at least one speed measurement. The method also includes adjusting, via the control system, the at least one rate gyroscope speed measurement by the offset. The method also includes implementing, via the control system, a control action for the wind turbine based on the adjusted at least one rate gyroscope speed measurement.

SYSTEM AND METHOD FOR IMPROVING WIND TURBINE ROTOR BLADE QUALITY USING ARTIFICIAL INTELLIGENCE

NºPublicación:  EP4717912A1 01/04/2026
Solicitante: 
GE VERNOVA INFRASTRUCTURE TECH LLC [US]
GE Vernova Infrastructure Technology LLC
EP_4717912_PA

Resumen de: EP4717912A1

A method for improving quality of a rotor blade of a wind turbine includes collecting, via a controller, data relating to the rotor blade during or after manufacturing of the rotor blade before the rotor blade is placed into operation on the wind turbine. The data includes visual data and multi-spectral infrared (IR) data. The method also includes fusing, via the controller, image data from the visual data and the multi-spectral IR data to determine an occurrence of one or more anomalies on or within the rotor blade. Further, the method includes automatically generating, via the controller, a quality report of the rotor blade comprising the one or more anomalies. Moreover, the method includes implementing, via the controller, a corrective action for the rotor blade or a subsequent manufacturing process of another rotor blade based on the quality report.

METHOD AND COMPUTATIONAL MONITORING SYSTEM FOR MONITORING, EVALUATING AND CONTROLLING NOISE EMISSIONS OF A WIND FARM

NºPublicación:  EP4717906A1 01/04/2026
Solicitante: 
EOLOGIX SENSOR TECH GMBH [AT]
eologix sensor technology gmbh
EP_4717906_PA

Resumen de: EP4717906A1

Method for computational monitoring, evaluating and controlling noise emissions of a wind farm (1), the wind farm (1) comprises an acoustic sensor (3a, 3b, 3c , 3d) for detecting noise emissions, said method comprising the following steps:a. setting up a digital map (dM) of the wind farm (1),b. providing the processing unit (4) with a first data stream (ds1) of wind turbine operational data (op-d_a, op-d_b, op-d_c, op-d_d) of each wind turbine (2a, 2b, 2c, 2d),c. providing the processing unit (4) with a second data stream (ds2) of noise emission data (ne-d_a, ne-d_b, ne-d_c, ne-d_d),d. calculating the noise level on at least one point of reference (pr1, pr2, pr3),e. evaluating the noise emission of the wind farm (1), andf. if the at least one calculated noise level (cn1, cn2, cn3) exceeds a threshold level (th1, th2, th3), reducing the noise emission of the wind farm (1).

TRANSPORTATION TOOL, TRANSPORTATION ARRANGEMENT, TRANSPORTATION SYSTEM AND METHOD

NºPublicación:  EP4717909A1 01/04/2026
Solicitante: 
NORDEX ENERGY SE & CO KG [DE]
Nordex Energy SE & Co. KG
EP_4717909_PA

Resumen de: EP4717909A1

A transportation tool (200) for a rotor hub (112) of a wind turbine (100) comprises:- a first fastener (300), the first fastener (300) being configured to be fixed to a first side (113) of the rotor hub (112) and to be coupled with a vehicle (500),- a second fastener (400), the second fastener (400) being configured to be fixed to a second side (114) of the rotor hub (112) and to be coupled with the vehicle (500), wherein the second side (114) is opposite the first side (113) along a first direction (121), wherein the first fastener (300) and the second fastener (400) are fixable to the rotor hub (112) independently of each other.

SYSTEM AND METHOD FOR DETECTING ANOMALIES ON A WIND TURBINE ROTOR BLADE

NºPublicación:  EP4717911A1 01/04/2026
Solicitante: 
GE VERNOVA RENOVABLES ESPANA S L [ES]
Ge Vernova Renovables Espa\u00F1a, S.L
EP_4717911_PA

Resumen de: EP4717911A1

A method for improving quality of a rotor blade of a wind turbine includes receiving, via a data acquisition module of a controller, image data relating to the rotor blade. The image data is collected during or after manufacturing of the rotor blade before the rotor blade is placed into operation on the wind turbine. The method includes identifying, via a processor of the controller, an anomaly on the rotor blade using the image data relating to the rotor blade. The method also includes determining, via the processor, a location of the anomaly of the rotor blade using a combination of at least two of the following: an estimated location of an imaging device when the image data was collected, a known location of a pixel as represented by multiple angles that describe a location of the pixel and the anomaly within the image data as projected onto a spherical shell, Light Detection and Ranging (LIDAR) data of a cross section of the rotor blade at a time and location when the image data was collected, a specific internal cavity that the imaging device is in when the image data was collected, or a computer-aided design (CAD) model of the rotor blade. Further, the method includes displaying, via the processor, the location of the anomaly of the rotor blade. Moreover, the method includes implementing, via the processor, a corrective action for a subsequent manufacturing process of another rotor blade based on the location of the anomaly of the rotor blade.

MODULAR HOLDING ARRANGEMENT

NºPublicación:  EP4717910A1 01/04/2026
Solicitante: 
SIEMENS GAMESA RENEWABLE ENERGY AS [DK]
Siemens Gamesa Renewable Energy A/S
EP_4717910_PA

Resumen de: EP4717910A1

The invention describes a modular holding arrangement (1) for a wind turbine rotor blade (2), comprising a plurality of triangular frames (10), wherein each triangular frame (10) comprises a base (10B), two inclined sides (10S) and an apex (10A); an apex connector (11A) arranged at the apex (10A) of each triangular frame (10); a base connector (11B) arranged at each outer corner of the base (10B) of each triangular frame (10); and wherein an apex connector (11A) is shaped to engage with a base connector (11B). The invention further describes a method of assembling a rotor blade array (A2) using such a modular holding arrangement (1).

MAGNETIZING PERMANENT MAGNET MODULES

NºPublicación:  EP4718478A1 01/04/2026
Solicitante: 
GE VERNOVA RENOVABLES ESPANA S L [ES]
Ge Vernova Renovables Espa\u00F1a, S.L
EP_4718478_PA

Resumen de: EP4718478A1

The present disclosure relates to methods for magnetizing sections of one or more permanent magnets arranged substantially in a V-shape. The methods comprise applying a first magnetic field comprising activating (402) an open end magnetizing coil (61) arranged near an open end of the V-shape and generating a first magnetic flux (MF61), activating (404) a first side magnetizing coil (63) arranged at a first side of a first leg (41) of the V-shape and generating a second magnetic flux (MF63), and activating (406) a second side magnetizing coil (62) arranged at a second side of a second leg (42) of the V-shape and generating a third magnetic flux (MF62). The magnetizing coils are simultaneously activated, and the second side magnetizing coil is activated in reversed polarity to the first side magnetizing coil.

IMPROVEMENTS RELATING TO COOLING WIND TURBINES

NºPublicación:  EP4716802A1 01/04/2026
Solicitante: 
VESTAS WIND SYS AS [DK]
VESTAS WIND SYSTEMS A/S
CN_121039393_PA

Resumen de: CN121039393A

A wind turbine cooling system comprises: a coolant circuit adapted to convey coolant between a first heat exchanger arranged to cool coolant flowing through the coolant circuit and a second heat exchanger arranged to heat coolant flowing through the coolant circuit; a coolant pump adapted to pump coolant around the coolant circuit; a first flow control valve having a first port and a second port wherein the coolant flows between the first port and the second port along the coolant circuit in a cooling mode of operation, the first flow control valve further having a third port to which the expansion tank is connected and a fourth port adapted to be connected to a coolant fill tank; and a second flow control valve having a first port and a second port, where coolant flows through the first port and the second port during a cooling mode of operation. The second flow control valve further includes a third port and a fourth port, where coolant flows between the second port and the third port during a bypass mode of operation in which the coolant bypasses the first heat exchanger, the fourth port being adapted to be connected to a coolant fill tank. Advantageously, three operating modes of the system are achieved only with two four-way valves and a single pump, which represents a significant reduction in complexity and cost compared to known systems with comparable functionality.

KITE SYSTEM AND METHOD FOR OPERATING A KITE SYSTEM

NºPublicación:  EP4716654A1 01/04/2026
Solicitante: 
SKYSAILS GROUP GMBH [DE]
SkySails Group GmbH
CN_121368557_PA

Resumen de: CN121368557A

A kite system includes a kite (14), a pod (25), and a line tree (24), where the kite (14) is bonded to the pod (25) by the line tree (24). The line tree (24) includes branch blocks (27, 28). The branch blocks (27, 28) are connected to the pod (25) by control cables (35, 36). The line tree (24) comprises a first cable segment (48) extending between the branch block (27, 28) and a first attachment point (61) of the kite (14). The line tree (24) includes a second cable segment (49) extending between the branch block (27, 28) and a second attachment point (62) of the kite (14). The lengths of the control cables (35, 36) between the pod (25) and the branch blocks (27, 28) are changed by a control mechanism (39). The length of the first cable segment (48) between the branch blocks (27, 28) and the first attachment point (61) is changed by a trimming mechanism (40). The invention also relates to a method for operating a kite system.

SYSTEM AND METHOD FOR CONNECTING A SERVICE VESSEL AND A FLOATING SUPPORT STRUCTURE

NºPublicación:  EP4716652A1 01/04/2026
Solicitante: 
OCEAN VENTUS AS [NO]
Ocean Ventus AS
KR_20260014575_PA

Resumen de: WO2024240532A1

The invention describes a system and a method for connecting a service vessel (1) and a floating support structure (2) for a wind turbine (3). The service vessel comprises an aft coupling section (5) and vessel contact means (6), that can be lifted by elevation means, positioned on the aft coupling section (5), upward and downward between a higher contact position and a lower free position. The floating support structure (2) comprises a central coupling space (7) capable of receiving the aft coupling section (5) and support structure contact means (8) for interacting with the vessel contact means (6) when the aft coupling section (5) is centrally positioned in the coupling space (7) and the vessel contact means (6) are moved upward. The vessel contact means (6) are positioned at an altitude below the support structure contact means (8) when the vessel contact means (6) are at the lower free position.

METHOD OF WAKE STEERING WIND TURBINE

NºPublicación:  EP4716800A1 01/04/2026
Solicitante: 
VESTAS WIND SYS AS [DK]
VESTAS WIND SYSTEMS A/S
CN_121511352_PA

Resumen de: WO2024240317A1

The invention pertains to wake steering. A second wind turbine is positioned downstream of the first wind turbine so that it can be affected by a wake of the first wind turbine. In a method of the invention, a yaw offset signal is applied to create a yaw offset between a rotor of the first wind turbine and the wind direction, and the yaw offset signal is varied based on a transfer function in response to changes in the wind direction. The transfer function comprises: a negative offset band, a negative transition, a positive offset band, a positive transition, and a dead band between the positive and negative transitions.

AN UNDERWATER UNMANNED VEHICLE DOCKING ARRANGEMENT

NºPublicación:  EP4716801A1 01/04/2026
Solicitante: 
ELEVATED LAUNCH AB [SE]
Elevated Launch AB
WO_2024242599_PA

Resumen de: WO2024242599A1

The present disclosure relates to an off-shore wind power plant arrangement (100) comprising a wind power plant tower (102) and a wind power plant nacelle arrangement (101) The wind power plant arrangement (100) comprises an unmanned underwater vehicle, UUV, docking arrangement (110a, 110b) that is adapted to accommodate at least one remotely controlled UUV (140) and comprises an electrical charging connection (112). The electrical charging connection (112) is adapted to electrically connect and charge a re-chargeable battery arrangement (141) comprised in a UUV (140) to an electrical power source (113) comprised in the wind power plant arrangement (100) via at least one power interface means (180). Furthermore, the wind power plant arrangement (100) comprises at least one hydroacoustic sensor arrangement (190a, 190b, 190c).

SYSTEMS AND METHODS FOR MANUFACTURING COMPOSITE LAMINATE STRUCTURES

NºPublicación:  EP4716631A2 01/04/2026
Solicitante: 
SUPERNAL LLC [US]
Supernal, LLC
CN_121175182_A

Resumen de: CN121175182A

A method is disclosed. The method includes applying a layer of woven fibrous material around a tool. The method further includes disposing the composite laminated sheet onto the woven fibrous material. The method further includes applying an additional layer of woven fibrous material onto the composite laminate sheet to form a spar. The method additionally includes joining the spar such that the woven fibrous material layer is fixedly coupled to the composite laminate sheet. The method includes removing the tool from the spar.

海上风电设备的故障检测方法及装置、存储介质、电子装置

NºPublicación:  CN121760890A 31/03/2026
Solicitante: 
华能辽宁清洁能源有限责任公司中国华能集团清洁能源技术研究院有限公司华能海上风电科学技术研究有限公司
CN_121760890_PA

Resumen de: CN121760890A

本申请公开了一种海上风电设备的故障检测方法,其中,上述方法包括:获取多个海上风电设备在当前时间段内的设备运行参数。接下来,对上述收集的设备运行参数进行相关性分析。通过相关性分析,确定待分析的参数分析组。这个参数分析组包含至少两个海上风电设备在当前时间段的设备运行参数。将确定的参数分析组输入到预先训练好的故障分析模型中。故障分析模型基于输入的参数分析组进行故障分析,输出故障分析结果。基于故障分析结果,确定海上风电设备中存在故障风险的故障风电设备。也就是说,通过相关性分析和故障分析模型,可以实现海上风电设备高效、准确的故障检测。

风机叶片的健康状态监测方法、系统、设备及介质

NºPublicación:  CN121765422A 31/03/2026
Solicitante: 
上海勘测设计研究院有限公司
CN_121765422_PA

Resumen de: CN121765422A

本发明提供一种风机叶片的健康状态监测方法、系统、设备及介质,所述方法包括:利用柔性叶片上的传感器捕捉关键位置的位移及载荷,作为训练PINN的监督点,在训练过程中,通过优化调整神经网络参数以最小化总损失函数,构建叶片气弹响应的代理模型;利用代理模型求解非线性结构动力学方程,获得柔性叶片在不同工况下的瞬态时历响应;采集传感器的当前时刻数据并输入代理模型,计算柔性叶片全场的载荷与应变分布以重建其运行姿态,并与历史基准状态对比,以实现结构健康监测与评估。本发明通过PINN融合物理模型与数据驱动的双重优化,有效弥合了叶片分析中物理模型简化与实测数据偏差,显著提升了叶片载荷计算健康监测的精度和可靠性。

模块化可扩展的风电叶片拼接结构及方法

NºPublicación:  CN121760878A 31/03/2026
Solicitante: 
上海瓯洋海上风电科技股份有限公司
CN_121760878_PA

Resumen de: CN121760878A

本发明涉及风电叶片制造技术领域,具体涉及模块化可扩展的风电叶片拼接结构及方法,包括轮毂连接模块,轮毂连接模块的一侧拼接有中部过渡模块,中部过渡模块的另一侧拼接有端部模块,轮毂连接模块、中部过渡模块和端部模块的拼接位置设置有弹性密封胶条,轮毂连接模块具有注胶口和止回阀,注胶口设置于轮毂连接模块的上方,止回阀设置于注胶口内,中部过渡模块具有多个固定杆,轮毂连接模块还包括连接多个固定槽的异形腔,以此使用辅助导向结构确保叶片拼接时精确度和拼接效率,并通过固定杆机械连接、加强架锁定和结构胶粘接的多维度加固方式大幅度降低叶片拼接处松动和开裂的风险,延长叶片的使用寿命。

风电混凝土塔筒拼装施工临时支撑系统

NºPublicación:  CN121760562A 31/03/2026
Solicitante: 
中国能源建设集团天津电力建设有限公司
CN_121760562_PA

Resumen de: CN121760562A

本发明风电混凝土塔筒拼装施工技术领域,具体说的是风电混凝土塔筒拼装施工临时支撑系统,包括支撑杆,所述支撑杆的内部设置有两个伸缩组件,位于下端的所述伸缩组件内滑动连接有夹持杆,位于下端的所述伸缩组件内滑动连接有安装杆,所述安装杆上固定连接有定位板,所述定位板的上端固定连接有导向坡块,所述定位板的下端固定安装有缓降坡块,所述支撑杆的上端转动连接有转动套筒,所述转动套筒内设置有滚珠组件,通过伸缩组件、转动套筒等实现塔筒快速对准与平稳贴合;操作简便,机械驱动简化流程、降低劳动强度,提升施工效率;支撑稳固、缓冲防坠,保障施工安全;模块化设计适配多种规格塔筒,可重复使用,大幅降低施工成本。

智能润滑系统自动调节策略及系统

NºPublicación:  CN121761231A 31/03/2026
Solicitante: 
青岛盘古智能制造股份有限公司
CN_121761231_PA

Resumen de: CN121761231A

本发明涉及智能润滑系统自动调节策略及系统,属于风电机组运维技术领域,其策略步骤如下:S1,分项得分计算方法;S2,获取设备运行振动状态指数S;S3,获取设备振动运行油脂指数 G;S4,获取设备运行温度指数 T;S5,获取实际应补润滑脂量Q。系统用于给轴承进行加注润滑剂;系统包括动态注脂执行模块;动态注脂执行模块包括管路连接的润滑执行部及润滑动力部;润滑动力部包括通过控制阀液路连接的定量的注脂泵及储油罐;润滑执行部通过进油管路a连接注脂泵;润滑执行部通过管路b连接储油罐;本发明设计合理、结构紧凑且使用方便。

一种叶根预制法兰盘固定安装方法及检测装置

NºPublicación:  CN121760887A 31/03/2026
Solicitante: 
辛帕智能科技(平湖)有限公司
CN_121760887_PA

Resumen de: CN121760887A

本发明公开了一种叶根预制法兰盘固定安装方法及检测装置,包括叶根预制法兰盘、第一安装架、第一对位架和第一固定装置,所述第一对位架设置于所述第一安装架的右端,所述第一固定装置包括第一检测机构和第一调整机构,所述第一检测机构包括至少六个高精度位移传感器,所述高精度位移传感器设置于所述第一安装架的右端,所述叶根预制法兰盘上设有若干标定点,所述高精度位移传感器与所述标定点一一对应,所述第一调整机构包括第一预压组件、第一推进组件和第一旋转组件。本发明提供的一种叶根预制法兰盘固定安装方法及检测装置,能够将叶根预制法兰盘定位数据实时反馈并保存,达到法兰预设的定位精度,并可以减轻人工劳动力,提高劳动效率。

一种船舶用圆筒形风力发电系统及方法

NºPublicación:  CN121760886A 31/03/2026
Solicitante: 
山东华岳智能装备有限公司
CN_121760886_PA

Resumen de: CN121760886A

本申请公开了一种船舶用圆筒形风力发电系统及方法,所述系统包括:导风管系统、发电机组、智能控制模块以及与所述智能控制模块电连接的风速传感器和风速调节系统,所述导风管系统用于对行驶过程中的高速气流进行捕获,所述智能控制模块根据所述风速传感器获取的风力强度信号控制风速调节系统进行风速调节后通过所述发电机组进行风力发电;所述发电机组设置有保护机构,用于防止逆向气流冲击所述发电机组内部结构。采用圆筒形导风管设计,内置防尘网与双风速传感器,基于实时风速的五挡分级控制策略,实现20‑200km/h宽风速范围内精细化管理,同时创新设计了双向安全保护系统,通过导风板调节和止逆阀配合形成前堵后防的安全闭环,提高了安全性。

磁化永磁体模块

NºPublicación:  CN121770263A 31/03/2026
Solicitante: 
通用电气可再生能源西班牙有限公司
CN_121770263_PA

Resumen de: EP4718478A1

The present disclosure relates to methods for magnetizing sections of one or more permanent magnets arranged substantially in a V-shape. The methods comprise applying a first magnetic field comprising activating (402) an open end magnetizing coil (61) arranged near an open end of the V-shape and generating a first magnetic flux (MF61), activating (404) a first side magnetizing coil (63) arranged at a first side of a first leg (41) of the V-shape and generating a second magnetic flux (MF63), and activating (406) a second side magnetizing coil (62) arranged at a second side of a second leg (42) of the V-shape and generating a third magnetic flux (MF62). The magnetizing coils are simultaneously activated, and the second side magnetizing coil is activated in reversed polarity to the first side magnetizing coil.

基于现场运行数据的风电机组叶片效能诊断方法及装置

NºPublicación:  CN121760895A 31/03/2026
Solicitante: 
内蒙古工业大学
CN_121760895_PA

Resumen de: CN121760895A

本发明提供基于现场运行数据的风电机组叶片效能诊断方法及装置,涉及风电机组叶片效能诊断方法技术领域,包括对应变时序数据进行特征提取以获得时序向量和空间向量,采用门控注意力权重动态分配法分别计算第一、第二和第三权重系数,获取当前状态叶片的融合向量;采用信息熵法计算叶片每个时刻的健康熵值,并且设置熵值的阈值范围,对叶片的健康熵值进行分类。提取的时序向量捕捉结构疲劳的渐变特征,提取的空间向量表征声学频谱的局部损伤模式,通过门控注意力机制动态分配权重,避免单一信号误判,通过健康熵值动态区分叶片损伤等级。

一种抗风的风能、波浪能一体化发电平台及其防倾倒方法

NºPublicación:  CN121760885A 31/03/2026
Solicitante: 
中国华能集团清洁能源技术研究院有限公司华能广东汕头海上风电有限责任公司华能广东能源开发有限公司华能海上风电科学技术研究有限公司
CN_121760885_PA

Resumen de: CN121760885A

本发明公开了一种抗风的风能、波浪能一体化发电平台及其防倾倒方法,属于海洋发电工程技术领域。发电平台包括浮体平台、风能发电组件、波浪能发电装置、抗风稳定机构及电能汇集存储单元;所述风能发电组件设置在浮体平台的上部,所述波浪能发电装置设置于浮体平台处于水面的周侧,所述抗风稳定机构连接于浮体平台底部并延伸至水下预设深度;所述电能汇集存储单元集成于浮体平台内部,且分别与风能发电组件和波浪能发电装置电连接;所述风能发电组件与波浪能发电装置协同捕获风能与波浪能并转化为电能,经电能汇集存储单元整合后输出。该平台将风机、波浪能装置与小型海洋平台结构有机融合,在单一平台上同步开发两种海洋清洁能源。

一种漂浮式风电机组转矩优化控制方法及装置

NºPublicación:  CN121760880A 31/03/2026
Solicitante: 
三峡新能源康保发电有限公司中国三峡新能源(集团)股份有限公司
CN_121760880_PA

Resumen de: CN121760880A

本发明涉及风力发电技术领域,公开了一种漂浮式风电机组转矩优化控制方法及装置,该方法包括:建立扩展卡尔曼滤波算法模型;获取目标漂浮式风电机组运行参数,基于目标漂浮式风电机组运行参数,利用扩展卡尔曼滤波算法模型确定漂浮式风电机组的有效风速;基于漂浮式风电机组的有效风速对漂浮式风电机组转矩进行优化控制。本发明通过结合有效风速预估的转矩优化控制策略,有效提升了机组的风能捕获能力,同时有效抑制了漂浮式风电机组的功率波动,提高了漂浮式风电机组的功率稳定性,对维持机组的稳定性有较好的优化效果。

一种外加电流保护的漂浮式风机基础以及设计方法

NºPublicación:  CN121757329A 31/03/2026
Solicitante: 
三峡新能源阳江发电有限公司上海勘测设计研究院有限公司三峡珠江发电有限公司中国长江三峡集团有限公司广东分公司中国三峡新能源(集团)股份有限公司
CN_121757329_PA

Resumen de: CN121757329A

本发明公开了一种外加电流保护的漂浮式风机基础以及设计方法,包括若干立柱及浮箱,立柱安装固定在浮箱上;还包括外加电流系统,外加电流系统包括若干辅助阳极和参比电极,辅助阳极和参比电极安装在风机基础的外壁;电源装置安装在其中一根立柱上,电源装置的正极通过电缆与各辅助阳极电性连接,电源装置的负极与风机基础电性连接,参比电极通过电缆与电源装置电性连接。本发明能够解决采用牺牲阳极防腐带来的消耗过快、需运维期水下补充焊接安装等问题,以实现漂浮式风机基础全寿命周期的有效防腐保护。

一种用于海上风电安装船的塔筒外部支撑框架

NºPublicación:  CN121757324A 31/03/2026
Solicitante: 
南通象屿海洋装备股份有限公司
CN_121757324_PA

Resumen de: CN121757324A

本发明涉及船用附件技术领域,具体地说,涉及一种用于海上风电安装船的塔筒外部支撑框架。包括外框架和内固定架,所述外框架两侧架体上设置有限位环,还包括环绕支撑组件和设置于外框架两端的对向缓冲组件。本发明通过环绕支撑组件与对向缓冲机构的协同作用,利用由驱动控制件调节的多个独立环形座,从四侧自适应贴合塔筒的锥度与直径变化,并通过阵列排布的充气球囊进行分区精准充气,动态填充并贴合塔筒外壁间隙,从而在海上发生晃动的情况下,实现对塔筒的环绕柔性支撑与动态力平衡。

轴承游隙的调整方法、装置、存储介质、处理器及系统

NºPublicación:  CN121761092A 31/03/2026
Solicitante: 
三峡(北京)可再生能源研究院有限公司北京怀柔实验室中国长江三峡集团有限公司
CN_121761092_PA

Resumen de: CN121761092A

本申请提供了一种轴承游隙的调整方法、装置、存储介质、处理器及系统。轴承游隙的调整装置包括:距离检测设备,位于轴承上,距离检测设备用于检测轴承的滚动体在紧贴主轴的内圈的情况下滚动体与外圈之间的径向距离;分析设备,用于根据径向距离确定轴承的游隙是否增大;调整设备,位于轴承的外圈上,调整设备用于在轴承的游隙增大的情况下对轴承的外圈进行预紧操作,以使得减少轴承的游隙并增大预紧力。该方案解决了现有技术中轴承游隙增大导致轴承稳定性较差,造成风电机组的运行效率和可靠性较低的问题。

基于多能源协同供电的智能潜油螺杆泵系统及控制方法

NºPublicación:  CN121760945A 31/03/2026
Solicitante: 
北京华晖恒泰能源科技有限公司
CN_121760945_PA

Resumen de: CN121760945A

本发明涉及油田采油设备技术领域,尤其涉及一种将光伏、风力、储能及备用柴油发电协同集成的智能潜油螺杆泵系统及其控制方法,适用于无电网覆盖的偏远油井或绿色低碳示范油田。一种用于离网油田的新能源潜油螺杆泵系统,由光伏、风电、储能、柴油备用四源微电网供电,通过智能微网控制器实现“新能源优先‑储能补充‑柴油保障”的能量调度;双向变频器根据井下压力实时闭环调整潜油螺杆泵转速,使油井液面保持在预定值,保证井下流压最优化,提升油井供液能力,同时确保潜油螺杆泵不会缺液烧泵。

一种风力偏航、变浆齿轮箱高效换油系统

NºPublicación:  CN121760897A 31/03/2026
Solicitante: 
平陆凯迪新能源开发有限公司
CN_121760897_PA

Resumen de: CN121760897A

本发明公开了一种风力偏航、变浆齿轮箱高效换油系统,涉及风力发电设备智能运维技术领域,该系统包括:数据采集预处理模块,负责采集并标准化齿轮箱数据;健康状态评估模块,动态调整指标权重并计算健康得分;换油参数调节模块,确定换油参数;换油作业执行模块,执行换油并修正参数;云端协同管理模块,存储数据并支持远程配置,共同实现齿轮箱高效换油管理;本发明通过数据采集预处理与动态健康评估机制精准把控齿轮箱状态,降低停机风险,提升系统稳定性与经济效益;同时,采用换油参数自适应调节与作业闭环控制,智能匹配换油策略,结合参数误差补偿与主备冗余单元,确保换油高效可靠,降低运维成本并延长设备寿命。

用于风机叶片的喷刷一体清洗机器人

NºPublicación:  CN121760898A 31/03/2026
Solicitante: 
深圳长钼智能科技有限公司
CN_121760898_PA

Resumen de: CN121760898A

本发明公开一种用于风机叶片的喷刷一体清洗机器人,包括:固定架、俯仰组件、水平驱动模组、摆动驱动装置、水平推动组件、喷水组件及盘刷组件。俯仰驱动装置驱动俯仰固定板俯仰运动;第一水平驱动装置用于沿第一水平方向驱动水平支架移动;摆动驱动装置驱动滑轨水平摆动;第二水平驱动装置用于沿第二水平方向驱动安装支架移动;喷水组件包括储水箱及至少一个喷嘴;盘刷组件包括固定于安装支架上的盘刷驱动装置及圆盘刷头。本发明通过集成多级调节机构,实现了清洗末端相对于风机叶片曲面的自适应精准定位与姿态调整,从而提升了清洗作业的质量和效率。

风电场中风力发电机组的雷击风险评估方法、装置及设备

NºPublicación:  CN121760891A 31/03/2026
Solicitante: 
国华能源投资有限公司国华新能源(双辽)有限公司
CN_121760891_PA

Resumen de: CN121760891A

本申请涉及一种风电场中风力发电机组的雷击风险评估方法、装置及设备,具体涉及风力发电机组监测技术领域,该方法包括:通过风电场中风力发电机组分别配置的采集设备,实时采集风力发电机组对应的多源机组监测数据;然后融合风力发电机组对应的多源机组监测数据,对风力发电机组进行单机风险评估,预测风力发电机组对应的雷击风险概率;再根据风力发电机组对应的雷击风险概率,确定风力发电机组对应的雷击风险等级;最后生成风力发电机组对应的雷击风险等级的雷击风险预警,雷击风险预警用于在雷击事件发生前,进行雷击风险等级对应的风险应对措施提示。本申请可精确反映单台机组的实际风险,进而提升风电场运行安全性与可靠性。

一种漂浮式风电机组联合储能与力矩控制飞轮的新能源发电平台

NºPublicación:  CN121757332A 31/03/2026
Solicitante: 
华北电力大学
CN_121757332_PA

Resumen de: CN121757332A

本发明公开了一种漂浮式风电机组联合储能与力矩控制飞轮的新能源发电平台,属海上风电与储能技术交叉领域。该平台将发电、储能与力矩控制功能深度集成,核心在于:漂浮式风电机组将风能转换为电能;储能与力矩控制飞轮系统,通过充放电平滑调节其输出功率,同时利用转子高速旋转产生的陀螺效应,产生抑制平台晃动的高频稳定力矩,辅助控制漂浮式风电机组在复杂海况下的姿态稳定。其有益效果为:将储能与力矩控制飞轮系统内嵌于基础浮筒,结构紧凑且功能协同,飞轮装置既作为储能单元平滑功率输出,又作为主动稳定单元改善平台姿态,提升发电系统稳定性、电能质量与运行寿命。

一种海上生产平台零碳供能控制系统及方法

NºPublicación:  CN121769876A 31/03/2026
Solicitante: 
中海石油(中国)有限公司中海石油(中国)有限公司北京研究中心
CN_121769876_PA

Resumen de: CN121769876A

本发明涉及海上生产平台供能领域,公开了一种海上生产平台零碳供能控制系统及方法,系统中包括控制器、连接控制器的储能子系统、压差发电子系统和风电子系统,储能子系统中包括卡诺电池储能和功率型储能。本发明可以构建对海上生产平台的储能发电‑压差发电‑风力发电互补零碳供能,替代平台的柴油发电,实现无人海上二氧化碳封存平台全绿电供应,通过储能子系统实现长时、大容量储能,彻底克服了风能的间歇性,保证了离网环境下能源供应的连续性和稳定性,有效增强海上生产平台可再生能源供电可靠性。

海上风电主动除冰系统及方法

NºPublicación:  CN121760896A 31/03/2026
Solicitante: 
中电建新能源集团股份有限公司
CN_121760896_PA

Resumen de: CN121760896A

本发明涉及海上风电技术领域,具体地公开了一种海上风电主动除冰系统及方法,其中,该系统包括:安装基座,安装基座设置在海上风电机组的塔筒的冰线区域上方;破冰执行装置,破冰执行装置安装于安装基座上,破冰执行装置包括动力驱动的破冰机构,破冰执行装置用于对塔筒周围的海冰进行机械破除;冰情感知装置,冰情感知装置设置于塔筒的冰线区域内,用于实时获取至少一种冰情监测数据;控制器,控制器与冰情感知装置和破冰执行装置通信连接,控制器被配置为:基于至少一种冰情监测数据确定当前冰荷载;根据当前冰荷载与预设破冰阈值之间的比较结果,控制破冰执行装置执行破冰作业或停止破冰作业。上述方案能够实现海上风电主动破冰。

一种基于建筑窗户的自适应风光互补发电系统及控制方法

NºPublicación:  CN121770437A 31/03/2026
Solicitante: 
华电河北新能源有限公司
CN_121770437_PA

Resumen de: CN121770437A

本发明属于节能绿色建筑技术领域,具体提供一种基于建筑窗户的自适应风光互补发电系统及控制方法,设置在建筑外窗上,包括发电模块、环境感知模块、智能控制模块、机械调节机构和电力管理模块。本发明通过环境多参数感知、多运行模式动态切换与精密机械执行机构联动,在保障窗户采光、通风、视野、安全等基本建筑功能前提下,最大化单位面积风光能源捕获效率,并提升用户舒适度与系统可靠性。

一种变桨驱动控制方法

NºPublicación:  CN121770392A 31/03/2026
Solicitante: 
重庆凯瑞测试装备有限公司中国汽车工程研究院股份有限公司
CN_121770392_PA

Resumen de: CN121770392A

本发明涉及风电叶片静态测试领域,公开了一种变桨驱动控制方法,包括正式运行前的静态负载预整定方法,静态负载预整定方法包括以下步骤:步骤1.1、将叶片安装在试验台底座上;步骤1.2、进入预整定模式,在第一固定时间段内,所有电机以相同的第一低速同向运行;步骤1.3、获取所有电机的负载信息,根据负载信息,计算所有电机的平均扭矩,根据平均扭矩设定扭矩阈值;步骤1.4、将扭矩小于扭矩阈值的电机识别为低负载电机,在第二固定时间段内,低负载电机以第二低速运行,其余电机停止运行;步骤1.5、重复步骤1.4,直至所有电机的扭矩均大于扭矩阈值。以在叶片测试中,提升调整周向角度的效率并保证测试精度。

海上风机结构健康监测方法及系统

NºPublicación:  CN121766044A 31/03/2026
Solicitante: 
清华大学深圳国际研究生院
CN_121766044_PA

Resumen de: CN121766044A

本发明公开一种海上风机结构健康监测方法及系统,该方法包括:离线阶段,通过有限元仿真构建应变快照矩阵,利用本征正交分解提取低维特征子空间基矩阵,并将结构网格映射为图;同时进行节点坐标的傅里叶特征映射,与重构应变特征拼接后,训练基于切比雪夫图卷积的谱图神经网络。在线监测阶段,根据实时采集的单侧稀疏应变数据,通过掩码矩阵和预存基矩阵快速求解模态系数并初步重构全场应变,进而输入训练好的网络模型,实时推演出高保真的全场位移场与应力场。本发明能够有效适应传感器布局的任意变化,在单侧稀疏测量的苛刻条件下,实现对复杂结构全场物理响应的实时、精准重构,解决了传统技术对固定布点及双侧测量的依赖问题。

一种建筑内置加固结构

NºPublicación:  CN121760554A 31/03/2026
Solicitante: 
河南文博建设工程有限公司
CN_121760554_PA

Resumen de: CN121760554A

本发明涉及既有构筑物改造的技术领域,特别是涉及一种建筑内置加固结构,其包括烟囱,所述烟囱底部设置有基座,所述烟囱的内部设置有内加固组件,所述烟囱的外部设置有外加固组件,所述烟囱的顶部还设置有风力转动组件,所述外加固组件与烟囱的连接处设置有调节组件,所述烟囱上设置有出光孔,所述调节组件包括稳定套,所述烟囱上设置有限位槽,所述烟囱内中心设置有稳定杆,老工业基地改造为工业遗址景区后,受外部天气的影响,风力转动组件会转动,而随着风力的增大,风力转动组件的转动速度会增加,而风力转动组件的转动、环形灯、挡光套和出光孔的配合,使烟囱上端产生灯光闪烁的效果。

一种塔筒的支撑装置

NºPublicación:  CN121757484A 31/03/2026
Solicitante: 
中车兰州机车有限公司
CN_121757484_PA

Resumen de: CN121757484A

本申请提供一种塔筒的支撑装置,涉及支撑装置技术领域。塔筒的支撑装置包括:底座结构;减震结构,减震结构包括减震件和第一连接件,第一连接件与底座结构连接,减震件设置在第一连接件上;支撑结构,支撑结构包括壳体和设置在壳体上的支撑件,支撑件呈弧形,支撑件用于支撑塔筒,减震件与壳体铰接,减震件被构造为,吸收经底座结构传递至支撑件的振动。在塔筒运输过程中,外部的震动冲击通过底座结构传递到第一连接件上,从第一支撑件再传递到减震件上,减震件通过自身活动,缓冲和吸收震动冲击后传递到支撑结构,使得支撑结构受到的震动冲击减小,从而使得支撑结构上的塔筒受到的震动冲击减小,以此达到减震的目的。

一种风电机组发电机绕组的热状态预警诊断方法及装置

NºPublicación:  CN121760889A 31/03/2026
Solicitante: 
特变电工新疆新能源股份有限公司
CN_121760889_PA

Resumen de: CN121760889A

本发明公开了一种风电机组发电机绕组的热状态预警诊断方法及装置。该方法包括如下步骤:获取风电机组发电机绕组的历史运行数据和实时运行数据;根据所述历史运行数据和所述实时运行数据,判断风电机组发电机绕组是否存在热状态预警,从而实现对风电机组发电机绕组热状态的预警诊断。所述热状态预警包括发电机u相绕组温度的热状态异常、发电机v相绕组温度的热状态异常、发电机w相绕组温度的热状态异常、发电机u相绕组温升的热状态异常、发电机v相绕组温升的热状态异常及发电机w相绕组温升的热状态异常。该方法能够有效提升发电机绕组的温度预警准确度,降低风电机组发电机绕组的热状态异常的误报和漏报风险。

大功率风电机组变桨驱动冗余容错方法及系统

NºPublicación:  CN121760893A 31/03/2026
Solicitante: 
华能陕西靖边电力有限公司华能山东发电有限公司蓬莱风电分公司北京华能新锐控制技术有限公司
CN_121760893_A

Resumen de: CN121760893A

本发明实施例提供了一种大功率风电机组变桨驱动冗余容错方法及系统,其通过构建并行的电气状态观测器与机械状态观测器,将复杂的机电耦合系统在诊断层面解耦为电气和机械两个独立的分析维度,并通过对比分析两个观测器产生的电气残差和机械残差,精准地溯源故障根本原因,从而实现对电气驱动失效和机械阻力增大这两类表象相似但根源不同的故障的清晰辨识,并进一步评估故障的置信度,生成明确的维护指令。通过这样的方式,避免了因故障误判导致的维修资源浪费和发电量损失,进而显著提升了大功率风电机组变桨驱动系统的运行可靠性与智能运维水平。

一种适配SL1500风电机组的大功率变桨系统及温度控制方法

NºPublicación:  CN121760894A 31/03/2026
Solicitante: 
锐源风能技术有限公司
CN_121760894_PA

Resumen de: CN121760894A

本发明提供了一种适配SL1500风电机组的大功率变桨系统及温度控制方法,应用于数据处理技术领域。本申请围绕SL1500风电机组变桨电机温度高问题展开,先获取机组运行数据、变桨系统影响因子及电机异常状态信息,经预处理得到变桨电机额定扭矩与运行温度基础数据。通过动态融合引擎强化叶片轴承磨损、润滑状态权重,结合时空关联分析与回归模型,算得大功率变桨系统控温改善概率,对比技改前后数据生成温度异常特征信息。再处理多模态特征得过载发热识别结果,结合多任务决策矩阵与技改关键指标生成风险影响因子,最终借时空关联预警引擎与多目标决策,输出电机温度过高动态预警结果,实现问题解决与风险管控。

风力推进装置和风力推进系统

NºPublicación:  CN121773267A 31/03/2026
Solicitante: 
纳博特斯克有限公司
CN_121773267_PA

Resumen de: WO2025052746A1

This wind force propulsion device is installed on a moving body and generates propulsion force by receiving wind. The wind force propulsion device is provided with an assembly comprising: a rotating body that can rotate around a rotating shaft extending in a predetermined direction; and a plurality of plate-shaped blades that are respectively fixed to the rotating body. The plurality of blades are provided so that virtual straight lines connecting both ends of each of the plurality of blades are parallel to each other.

极端天气下的风力发电功率预测方法、装置、设备以及介质

NºPublicación:  CN121769859A 31/03/2026
Solicitante: 
华能包头风力发电有限公司华能(北京)综合能源科技服务有限公司北京金风慧能技术有限公司
CN_121769859_PA

Resumen de: CN121769859A

本发明公开了极端天气下的风力发电功率预测方法、装置、设备以及介质,包括:根据历史风力发电多元数据构建多元功率影响因子映射关系;基于多元功率影响因子映射关系,划分每类功率影响因子的功率影响区间;基于长短期记忆网络,构建风力发电功率预测模型,并确定每个功率影响区间下,风力发电功率预测模型对应的神经网络训练参数;根据实时气象数据以及实时机组参数,确定目标神经网络训练参数,并将风力发电功率预测模型按照目标神经网络训练参数进行配置,待配置完成后,将风力发电功率预测模型用于实时风力发电功率预测。本发明属于风力发电功率预测领域。本发明可以实现极端天气下的风力发电功率预测。

基于动态权重分配的海上风电机组系统级健康度评价方法

NºPublicación:  CN121766832A 31/03/2026
Solicitante: 
江苏科技大学
CN_121766832_PA

Resumen de: CN121766832A

本发明属于海上风电运维及可靠性工程技术领域,公开了一种基于动态权重分配的海上风电机组系统级健康度评价方法,包括如下步骤:S1、采集并预处理海上风电机组多源数据;S2、构建分层健康度评价指标体系;S3、融合机理模型、数据驱动模型以及统计可靠性模型,构建子系统退化模型,得到子系统健康度;S4、结合静态权重和动态修正因子进行权重融合,获得动态权重;S5、融合子系统健康度和动态权重,得到系统级健康度;S6、根据系统级健康度进行置信区间排序以及风险等级划分。本发明提供的评价方法通过机理—数据驱动—统计三模型融合,既保留物理可解释性,又提升对非线性与耦合退化的拟合能力,降低误判与漏判风险。

一种icu科室暖通空调自清洁装置

NºPublicación:  CN121761391A 31/03/2026
Solicitante: 
中建八局第二建设有限公司
CN_121761391_PA

Resumen de: CN121761391A

本发明涉及空调自清洁装置技术领域,具体为一种icu科室暖通空调自清洁装置,包括:输风通道,输风通道的一侧固定安装有空调内机,所述输风通道的内侧靠近空调内机的一侧安装有滤芯一;本发明当输风通道输送空气时,流动的空气会使得扇叶进行旋转,而扇叶在进行旋转可通过清洁海绵条对滤芯二的右端外壁进行清刷,而通过设置的驱动部件可驱动清洁海绵块对滤芯二和滤芯一进行清刷,清刷的过程中设置的吸尘部件会对清刷出的灰尘进行吸取,通过上述方式可知本发明专利能自动对两组滤芯的过滤端面进行清洁,进而避免工人采用人工的方式将其取下进行清理,进而能有效降低工人的劳动量,且装置操作简单便捷,便于推广使用。

一种基于风电场尾流协同的功率控制方法及系统

NºPublicación:  CN121770017A 31/03/2026
Solicitante: 
朔州市太重风力发电有限公司繁峙县能裕风力发电有限公司
CN_121770017_PA

Resumen de: CN121770017A

本申请涉及风电场功率控制技术领域,特别是涉及一种基于风电场尾流协同的功率控制方法及系统。包括:构建功率协同模型和多个运行周期;根据预设监测时间节点获取当前运行周期的环境监测包,根据环境监测包和功率协同模型设定运行控制策略;根据预设修正时间节点获取运行记录包,根据运行记录包判断是否生成功率协同模型的修正指令;根据历史环境参数建立多种运行风场,并根据各个不同风场的运行特性,对风电场内全部风电机组进行聚合,生成对应的多组设备域,精准分析尾流扰动,并通过动态调整运行控制参数,确保协同控制效果的鲁棒性和持续性,提高风电场的整体运行效率。

钢混组合结构的单立柱海上漂浮式风电基础及其施工方法

NºPublicación:  CN121757330A 31/03/2026
Solicitante: 
中国电建集团华东勘测设计研究院有限公司
CN_121757330_PA

Resumen de: CN121757330A

本发明提供了钢混组合结构的单立柱海上漂浮式风电基础及其施工方法,包括浮式基础主体和用于连接浮式基础主体和风机底节塔筒的过渡段,浮式基础内部竖向通过设置多层内平台分隔有多个独立的水密舱室,水密舱室从下至上包括若干底部压载舱、若干中部压载舱、若干空舱,浮式基础主体为空心筒体结构,浮式基础主体的筒壁为外层钢板和内层钢板构成的双层钢壳,外层钢板与内层钢板之间通过周向分布的若干径向连接板连接,外层钢板、内层钢板、径向连接板合围形成的空腔内填充有混凝土,从而形成钢混组合式壳体,采用双层钢板结合混凝土形成钢混组合式壳体,显著增强抗水压和抗冲击能力,大幅减少用钢量,降低建造成本。

一种用于岩质山地的风力发电机基础锚固结构施工方法

NºPublicación:  CN121760391A 31/03/2026
Solicitante: 
三峡新能源(凤凰)发电有限公司
CN_121760391_PA

Resumen de: CN121760391A

本发明提供一种用于岩质山地的风力发电机基础锚固结构施工方法,本施工方法通过锚固定位板拼接定位,无需挖掘深大基坑,仅需开挖露出硬质岩层即可施工,大幅降低岩质山地开挖难度与成本,采用速干混凝土浇筑底板缩短养护周期,配合可张紧式锚杆与分层注浆工艺,提升锚固效率与抗拔、抗水平荷载能力,多层隔震支座减弱振动传递,监测盒与拉索实时监测摆动状态,整体工序简化,施工效率较传统方法更高,且基础与岩体结合紧密,显著提升风机在岩质山地的运行稳定性与安全性。

预应力储存棒及其制作设备、制作方法

NºPublicación:  CN121760499A 31/03/2026
Solicitante: 
山东领筑智控技术有限公司
CN_121760499_PA

Resumen de: CN121760499A

本申请提供了一种预应力储存棒,包括壳体、封堵板、预应力筋和填充料。壳体的两端具有开口;封堵板的数量为两个,分别封堵并固定连接在所述壳体的两端开口处;所述封堵板上开设有至少一个通孔;预应力筋的数量为至少一个;所述预应力筋穿过所述壳体,两端分别穿过所述壳体两端的封堵板的通孔;填充料填充并固化于所述壳体内,并对所述壳体和所述预应力筋进行固连,所述填充料包括砂浆和细石砼中至少一者。旨在使预应力储存棒具有较高的抗拉性能、抗压性能和结构刚度,在现场施工时可直接安装,无需在现场机进行张拉、注浆等复杂操作,提升安装便捷性,可显著减少现场施工工序和人力成本。

一种基于动态偏差跟踪的风机偏航自动控制方法及系统

NºPublicación:  CN121760884A 31/03/2026
Solicitante: 
湖南五凌电力科技有限公司五凌电力有限公司新能源分公司
CN_121760884_PA

Resumen de: CN121760884A

本发明属于风机控制领域,具体涉及一种基于动态偏差跟踪的风机偏航自动控制方法及系统,方法包括:通过风机配置的传感装置及监控系统,采集实时运行参数;筛选及标准化处理实时运行参数,形成偏航控制分析数据集;采用偏差分解算法分解偏航偏差,得到稳态偏差分量和动态波动偏差分量;将实时运行参数输入功率损失分析模型,输出功率损失敏感度系数,并计算纠偏角,作为动态校正指令;将动态校正指令下发至风机偏航驱动系统,控制机舱按纠偏角调整朝向,并基于机舱载荷数据进行安全监控。本发明解决了传统风机偏航控制因未区分稳态偏差与动态波动偏差,导致偏航控制精度不足、偏航相关功率损失较多的问题。

全场景抗阵风协同控制方法及系统

NºPublicación:  CN121760892A 31/03/2026
Solicitante: 
华能托里风力发电有限公司
CN_121760892_PA

Resumen de: CN121760892A

本申请公开了一种全场景抗阵风协同控制方法及系统,涉及风电调度技术领域,该方法包括:基于风速预测模型,确定当前风速与风速变化率对应的预测风速;基于当前风速与预测风速,确定当前阵风工况,当前阵风工况为普通阵风工况、强阵风工况以及极端阵风工况中任一项;基于当前阵风工况,确定对应的协同控制策略,协同控制策略包括姿态自适应控制策略、集群出力分配控制策略以及防护控制策略中至少一项;基于协同控制策略,对当前阵风工况下目标风电场中各风力发电机组的关键控制参数进行调整。通过上述方式,能够覆盖常规阵风、强阵风、台风全工况,形成单机响应、集群协同、极端防护预警的全链条协同控制体系,实现全场景下的抗阵风协同控制。

一种风电机舱巡检机器人

NºPublicación:  CN121761223A 31/03/2026
Solicitante: 
福建省晋江风电开发有限公司
CN_121761223_PA

Resumen de: CN121761223A

本发明公开了一种风电机舱巡检机器人,涉及风力发电设备运维技术领域。包括行走机构、安装机构和检测机构,行走机构包含左安装框,左安装框一侧设置有右安装框,右安装框一侧开设有槽口,槽口内插接有插接条。本发明通过行走机构、安装机构和检测机构的设置,在使用过程中,首先检测机构移动至目标区域后,第二电机驱动第三齿轮带动第二齿轮转动,使转动杆绕连接框旋转,扩大横向检测范围,同时第三电机驱动转动轴旋转,带动安装块上的红外热像仪与摄像头俯仰摆动,覆盖垂直方向盲区,该装置能够覆盖机舱内绝大部分设备和死角,无需移动机器人本体即可调整视角。

一种基于MR眼镜的风机维修辅助方法

NºPublicación:  CN121764333A 31/03/2026
Solicitante: 
北京优利康运数字科技有限公司
CN_121764333_PA

Resumen de: CN121764333A

本发明属于风机维修技术领域,且公开了一种基于MR眼镜的风机维修辅助方法,在数据初始化阶段校准视线、语音、姿态交互阈值,无需人员频繁切换工具与MR设备,减少注意力分散;在操作引导阶段中,智能工具与MR眼镜实时联动,扭矩偏差超过对应人员等级阈值时,立即语音提示调整值并冻结下一步指引,当心率超出80‑140次/分钟时拆分操作步骤、延长提示时间,既保障高空作业安全,又避免工具使用不当问题;MR眼镜通过摄像头扫描风机结构,标记非标部件改装时间、材质属性,叠加风机SCADA系统实时环境因子生成场景标签,若3次未识别非标部件则触发人工辅助标记,识别结果与历史档案偏差≥30%时弹窗提示确认。

一种风电机组基础的施工方法

NºPublicación:  CN121760389A 31/03/2026
Solicitante: 
华能安达市清洁能源有限公司中国华能集团清洁能源技术研究院有限公司
CN_121760389_PA

Resumen de: CN121760389A

本发明提供了一种风电机组基础施工方法,涉及风力发电工程施工技术领域,该方法通过在旋挖成孔过程中引入高压注浆预加固桩端及桩周土体,并结合提钻后复钻二次加固、预制管桩植入、高频振冲密实以及二次补浆等协同步骤,有效地消除了孔底沉渣和虚土,在桩端及桩侧形成复合受力体系,保证了桩端持力层的密实性与承载力,增强了桩‑土界面的摩阻性能,提升了桩基整体的抗压、抗弯及抗拔能力;预制管桩的引入提升了基础整体刚度与抗变形能力,继承和发扬了钻孔压浆桩与管桩的优点,实现了缩短施工周期、提升桩端承载力、提高施工适应性和增强基础稳定性的多重目的。该方法有效地缓解了现有咬合桩筒型基础钻孔质量和灌注质量控制难度较大的技术问题。

一种基于旋转叶片的自动加热挡雪板

NºPublicación:  CN224063299U 31/03/2026
Solicitante: 
新疆交通科学研究院有限责任公司西安世纪金属结构有限公司
CN_224063299_U

Resumen de: CN224063299U

本实用新型涉及一种基于旋转叶片的自动加热挡雪板。目前的挡雪板加热时能耗较高且不环保。本实用新型包括若干固定立柱和若干活动透风板;所述固定立柱平行且垂直于地面设置,相邻所述固定立柱之间设置有若干旋转轴,若干所述活动透风板分别铰接于所述旋转轴上;所述旋转轴一端固定于电动基座,另一端固定于转动基座;所述旋转轴内设置有电热丝,所述电热丝与所述电动基座连接。本实用新型通过活动透风板和旋转轴转动,带动电动基座中的多功能发电机和电机发电,从而对旋转轴内部的电热丝进行加热,通过将风能转换为电能,从而使得能耗较低,并且环保无污染。

垂直轴增速发电型风机系统

NºPublicación:  CN224064463U 31/03/2026
Solicitante: 
南京南高齿新能源汽车传动设备有限公司
CN_224064463_U

Resumen de: CN224064463U

一种垂直轴增速发电型风机系统,涉及风力发电技术领域,其包括塔架、机舱、发电机总成、传动总成和风轮总成。机舱设置有在其周向上间隔排布的多个通风窗,机舱安装于塔架的顶部;发电机总成安装于机舱内;发电机总成的输入轴通过传动总成与风轮总成连接,风轮总成用于在风力作用下转动并将扭矩通过传动总成传递至发电机总成。其能够兼顾防护性和通风效果,在提高增速发电总成防护性的同时省去冷却机构,有效降低产品制造和质量维护成本;同时能够缩短传动轴长度,提高发电效率。

一种折叠式风力发电机检修平台

NºPublicación:  CN224064474U 31/03/2026
Solicitante: 
江苏乃尔风电技术开发有限公司
CN_224064474_U

Resumen de: CN224064474U

本实用新型公开了一种折叠式风力发电机检修平台,包括承载平台,所述承载平台中部设置安装口,所述承载平台安装在风力发电机塔筒外表面上,所述承载平台四面分别设置可折叠或者展开的第一承载网架、第二承载网架、第三承载网架以及第四承载网架,所述第一承载网架、第二承载网架、第三承载网架以及第四承载网架一侧均设置可展开的扩展平台结构,本申请中的承载平台与风力发电机塔筒进行固定连接,在检修时,将第一承载网架、第二承载网架、第三承载网架、第四承载网架以及扩展平台结构展开即可,并不需要运行或者携带外部检修设备,同时不受地形环境的影响。

一种塔筒外壁清洗装置

NºPublicación:  CN224064475U 31/03/2026
Solicitante: 
新疆骏晟能源装备有限公司
CN_224064475_U

Resumen de: CN224064475U

本实用新型公开了一种塔筒外壁清洗装置,包括固定环,所述固定环设置有两个,两个所述固定环之间通过锁紧螺丝固定连接,所述固定环一侧设置有用于起吊固定环的起吊机构,所述起吊机构包括延伸杆、无人机、机翼组件、支脚、储存仓、吊钩、吊耳,所述固定环一侧固定设置有延伸杆,所述延伸杆上端设置有无人机,所述无人机外侧表面四角处均设置有机翼组件,所述无人机下端两侧设置有支脚。本实用新型利用现有技术中的无人机进行对塔筒外壁清洗装置改进,利用无人机进行起吊、泵水工作,可以显著提高本装置的冲洗效果,不用担心塔筒较高而影响的水压情况,并且也不需要利用非常长的管道,使得装置可以方便收纳使用。

一种风电混塔爬梯防坠落安全检修平台

NºPublicación:  CN224064472U 31/03/2026
Solicitante: 
中国电建集团建筑规划设计研究院有限公司中国电建集团北京勘测设计研究院有限公司
CN_224064472_U

Resumen de: CN224064472U

本实用新型涉及安全检修平台技术领域,且公开了一种风电混塔爬梯防坠落安全检修平台,包括底部支撑基座、侧面攀登爬梯、风电混塔、检修平台支撑板,所述底部支撑基座的顶面固定连接有风电混塔,所述风电混塔的侧面固定连接有侧面攀登爬梯,所述风电混塔的外侧固定连接有检修平台支撑板,还包括:护栏高度调节组件,设置于检修平台支撑板的顶部,用于对护栏高度的灵活调节;侧面防坠保护组件,设置于检修平台支撑板的侧面,用于对维修人员进行防坠保护,本实用新型的侧面防坠保护组件,以侧面转动支撑杆等配合,全方位防坠,降低操作风险,适应复杂环境;护栏高度调节组件可按需调高度,提升舒适度与操作灵活性,助力检修人员专注作业。

一种风机叶片组对装置

NºPublicación:  CN224064465U 31/03/2026
Solicitante: 
中国电建集团河北工程有限公司
CN_224064465_U

Resumen de: CN224064465U

本实用新型公开了一种风机叶片组对装置,包括升降平台、装配在升降平台底部的液压可调支脚以及装配在升降平台顶部的叶片水平调节组件;叶片水平调节组件包括固装在升降平台顶部的叶片托导轨、通过叶片托脚轮滑动装配在叶片托导轨上的叶片托以及固定端装配在升降平台上的水平液压缸;水平液压缸的活动端连接叶片托,用以驱动叶片托沿叶片托导轨滑动。风机叶片与轮毂组对时使用本实用新型可以避免风机叶片根部摆动,能有效解决采用传统双机抬吊组对时,因螺杆磕碰造成螺杆损伤的问题,进而能保证风机叶片的安装施工质量。

一种风电叶片长途运输车

NºPublicación:  CN224060902U 31/03/2026
Solicitante: 
山东世运专用汽车有限公司
CN_224060902_U

Resumen de: CN224060902U

本实用新型涉及运输车技术领域,公开了一种风电叶片长途运输车,包括运输车结构、固定结构和支撑结构,固定结构和支撑结构分别安装在运输车结构上,运输车结构包括第一车架,固定结构包括底座、支撑座和转盘,支撑座通过底座安装在第一车架的顶端一侧,支撑座的表面设置有环形滑槽,转盘通过滑块和环形滑槽滑动连接,转盘的表面设置有装配孔,转盘的侧壁固定安装手柄。本实用新型通过设置的固定结构,使得装配孔和叶片的螺孔对齐,可实现多方位的精细调整,能够精准地将装配孔与叶片螺孔对齐,避免因对位不准导致的安装困难,提高安装准确性,灵活调整,适应不同姿态、位置的叶片,扩大了运输车对不同叶片的适用性。

一种风机混塔结构连接结构

NºPublicación:  CN224064466U 31/03/2026
Solicitante: 
江苏筑岩建设有限公司
CN_224064466_U

Resumen de: CN224064466U

本实用新型涉及一种风机混塔结构连接结构,包括上、下堆叠设置的上预制筒段和下预制筒段,以及设置在上、下预制筒段之间的预制件水平连接密封件;所述预制件水平连接密封件为一扁平形状的环形件,在环形件内置有至少一道沿环形方向延伸的金属片,环形件的上端面具有至少一道上环形凸起,环形件的下端面具有至少一道下环形凸起;所述上预制筒段的下端面设置有刚好容纳上环形凸起的上嵌合槽,下预制筒段的上端面设置有刚好容纳下环形凸起的下嵌合槽。通过在上、下预制筒段之间设置预制件水平连接密封件来代替传统的密封垫与密封胶的组合,在实现了连接、找平、密封的基础上,取消了打胶的过程,也就不会受到天气环境的影响,施工更方便,效率更高。

一种防倾倒的海上风机单桩支撑托架

NºPublicación:  CN224064468U 31/03/2026
Solicitante: 
海力风电设备科技(威海)有限公司
CN_224064468_U

Resumen de: CN224064468U

本实用新型公开了一种防倾倒的海上风机单桩支撑托架,包括底安装组件,所述底安装组件上设置有支撑组件,两个支撑组件之间通过连接组件连接,所述支撑组件上设置有单桩限位组件,所述支撑组件上设置有辅助安装组件,所辅助安装组件上设置有防倾倒控制组件,所述防倾倒控制组件的输出端设置有夹紧组件。本实用新型的有益效果是,本技术方案的单桩支撑托架,结构设计巧妙,实用性较强,且稳定性高,运用此支撑托架,实现了对海上风机单桩的稳定存放,有效保证了海上风机单桩存放的稳定性,避免了海上风机单桩出现倾倒的问题。

一种风力发电旋转平台

NºPublicación:  CN224064471U 31/03/2026
Solicitante: 
山东能源装备集团中传矿用设备制造有限公司
CN_224064471_U

Resumen de: CN224064471U

本实用新型涉及风力发电技术领域,尤其涉及一种风力发电旋转平台,包括用于提供支撑的安装筒体、处于安装筒体内部的变速箱、以及处于安装筒体的外部且其驱动转杆的动力输出端与变速箱动力输入端连接的风轮,所述风轮的驱动转杆与安装筒体的端壁通过轴承进行转动连接,所述安装筒体的内侧壁上一体成型有与端壁平行的纵向立壁,所述纵向立壁与驱动转杆之间也通过轴承进行转动连接,通过对现有的安装筒体与驱动转杆的连接处进行改进,使得驱动转杆能够进行多点支撑,防止驱动转杆出现挠曲,通过设置纵向立壁与安装筒体的内侧壁转动连接,能够减少安装筒体的端壁所受载荷,防止端壁出现变形的风险。

接油结构及风力发电机组

NºPublicación:  CN224064811U 31/03/2026
Solicitante: 
三一重能股份有限公司
CN_224064811_U

Resumen de: CN224064811U

本申请涉及风力发电技术领域,尤其涉及一种接油结构及风力发电机组。接油结构包括:至少两个支撑件和多个接油件,各支撑件间隔设置,支撑件用于与风电齿轮箱的后底架相连。接油件相对的两侧分别搭设在相邻的两个支撑件上,且相邻的两个接油件相搭接以共同形成油液流道。本申请提供的接油结构及风力发电机组,接油结构安装方便,提高了接油结构的安装效率。

齿轮箱离线过滤装置及风力发电装置

NºPublicación:  CN224064806U 31/03/2026
Solicitante: 
远景能源有限公司射阳远景能源科技有限公司
CN_224064806_U

Resumen de: CN224064806U

本申请公开了一种齿轮箱离线过滤装置及风力发电装置。其中,齿轮箱离线过滤装置包括过滤机构、流量控制阀和控制器,过滤机构设有进液口和出液口,进液口通过进液管与齿轮箱的润滑系统连通,出液口通过出液管与齿轮箱的油箱连通,流量控制阀与进液管连通,并设于过滤机构与润滑系统之间,控制器与流量控制阀电连接,用于控制流量控制阀的开闭及流量调节。本申请提供的技术方案,可以在齿轮箱自带润滑系统基础上增设流量控制阀和控制器实现过滤功能,无需安装油泵和电机等部件,简化了系统配置,缩小了安装尺寸,降低了成本。

一种风力发电机偏航制动器安装结构

NºPublicación:  CN224064464U 31/03/2026
Solicitante: 
湖南达立新能源科技有限公司
CN_224064464_U

Resumen de: CN224064464U

本实用新型涉及制动器安装结构技术领域,公开了一种风力发电机偏航制动器安装结构,包括上钳体和下钳体,所述上钳体顶部设置有安装垫块,所述安装垫块顶部设置有薄板,所述上钳体和下钳体之间设置有制动盘,所述上钳体和下钳体内部均固定连接有摩擦片,所述摩擦片与所述制动盘相接触,所述上钳体和下钳体一侧均设置有油压口,所述上钳体和下钳体内部设置有固定组件,所述薄板一侧设置有连接组件。本实用新型中,通过将安装垫块贴合在薄板底部,上钳体和下钳体贴合在安装垫块底部,再用安装螺栓依次穿过薄板、安装垫块、上钳体和下钳体,拧紧螺帽和螺母,实现了保证偏航制动器整体结构稳定,使上钳体和下钳体与制动盘距离上下均匀的效果。

基于深度声纹的风机叶片材料疲劳度在线评估系统

NºPublicación:  CN121765289A 31/03/2026
Solicitante: 
国电投南通新能源有限公司
CN_121765289_PA

Resumen de: CN121765289A

本发明涉及大型旋转机械结构动态特性在线监测技术领域,公开一种基于深度声纹的风机叶片材料疲劳度在线评估系统,包括:利用机组自身运行数据流,同步采集发电机有功功率与结构振动信号;在运算前,先依据SCADA事件日志对数据段进行核查以剔除电网扰动工况;进而生成表征动态传递关系的气动弹性传递函数及表征振动源的相干函数,本发明利用机组自身运行产生的两个信号,通过构建传递函数,在随机激励源无法测量的环境中建立了一个稳定的动态特性观测方式,使得对叶片整体刚度这一核心结构参数的长期趋势监测脱离了对外部已知激励源的依赖,从而在连续运行工况下实现了对结构动态平衡状态的评估。

一种风力发电机组用油冷却器

NºPublicación:  CN121760899A 31/03/2026
Solicitante: 
华能国际电力开发公司吉林通榆风电分公司
CN_121760899_PA

Resumen de: CN121760899A

本发明提供了一种风力发电机组用油冷却器,包括冷却器壳体、进油口、出油口、换热芯体和散热风机,所述进油口和出油口分别设置于冷却器壳体的两端,所述换热芯体设置于冷却器壳体内部,其两端分别与进油口及出油口连通,所述散热风机设置于冷却器壳体的外侧。本申请通过设置螺旋形结构的冷却管和换热芯体外侧平行等距排列的散热片,极大地增加了有效换热面积,再配合散热风机强制对流,显著提升了冷却效率,能够根据润滑油的实时温度自动调节流经冷却器芯体的油量,在油温较低时,油液经旁通管路直接回流,避免过冷,在油温升高时,逐渐增加流经冷却管路的油量,实现智能温控,保证系统始终在最佳温度区间运行。

海上风电机组抗海浪扰动方法及系统

NºPublicación:  CN121760883A 31/03/2026
Solicitante: 
华能昌黎太阳能发电有限公司
CN_121760883_PA

Resumen de: CN121760883A

本发明提供一种海上风电机组抗海浪扰动方法及系统,该海上风电机组抗海浪扰动方法包括:步骤1:通过布置在塔筒上的传感器实时获取海面距离数据,并根据距离数据的变化判断海浪是否处于波峰接近状态;步骤2:当判定为波峰接近状态时,测量海浪冲击的能量等级;步骤3:根据判定出的能量等级,控制变刚度液压支撑系统的阀门开闭状态,以调节塔筒底部的连接刚度或执行锁止操作。本发明能够实现在海浪撞击前,通过物理传感器获取数据,通过一系列逻辑门判断,直接改变塔筒底部连接件的刚度和吸能策略,使塔筒在硬接触和卸力之间切换,从而破坏海浪的共振条件。

一种基于激光雷达前馈的风电机组载荷与功率协同控制方法

NºPublicación:  CN121760879A 31/03/2026
Solicitante: 
大唐同心新能源有限公司
CN_121760879_PA

Resumen de: CN121760879A

本发明涉及风电机组控制技术领域,具体地说,涉及一种基于激光雷达前馈的风电机组载荷与功率协同控制方法。其包括以下步骤:获取并归一化处理风电场监测数据流,输出标准化风场数据;通过滑动窗口平均法融合物理与虚拟激光雷达数据;利用时空克里金插值输出未来预测时域内的全场风况分布;通过尾流载荷耦合预测模型,输出预测入流条件、尾流速度亏损及关键部件载荷谱;构建多目标优化函数生成最优控制指令集;执行指令,通过递归最小二乘算法更新模型参数。本发明通过时空克里金插值实现风况精准预测,结合尾流载荷耦合模型量化机组间干扰,解决了传统控制对发电量与载荷平衡效果不佳的问题。

基于多模态协同Transformer网络的风电机组齿轮箱故障预警系统

NºPublicación:  CN121765570A 31/03/2026
Solicitante: 
广东工业大学
CN_121765570_PA

Resumen de: CN121765570A

本发明公开基于多模态协同Transformer网络的风电机组齿轮箱故障预警系统,涉及风电机组预警技术,针对现有技术中预警效果不理想的问题提出本方案。包括四路径特征提取模块、自适应融合模块、特征细化模块以及多尺度早期故障预警模块;利用Spearman相关分析选择齿轮箱平均油温相关的多模态特征;其优点在于,基于提前预警机制提供维护预警,突破人工设定阈值易受外部波动影响的局限性。在具体实施时有效提前14天预警且无误报出现,尤其适用于高温、高湿和风速多变的恶劣海洋环境。

变桨系统的控制方法及装置、设备、存储介质

NºPublicación:  CN121760881A 31/03/2026
Solicitante: 
远景能源有限公司
CN_121760881_PA

Resumen de: CN121760881A

本申请涉及风力发电技术领域,公开一种变桨系统的控制方法,应用于风力发电机,方法包括:获取变桨系统中变桨电机的运行参数,以及获取变桨系统中后备电源的电气参数。基于变桨电机的运行参数,计算变桨电机的功率,基于后备电源的电气参数,计算后备电源的充电功率。计算变桨电机的功率与后备电源的充电功率之和,得到变桨系统的输出功率,根据变桨系统预设的效率系数和变桨系统的输出功率,计算变桨系统的输入功率。方法在监测变桨系统的输入功率时,无需依赖变桨系统中额外配置的电流传感器,从而可以降低检测风力发电机变桨系统的成本。该方法的技术效果说明。本申请还公开一种变桨系统的控制装置及设备、存储介质。

风力发电机的合成惯性控制方法及系统

NºPublicación:  CN121769874A 31/03/2026
Solicitante: 
株式会社韩国再生能源研究院
CN_121769874_PA

Resumen de: CN121769874A

根据本发明的合成惯性控制方法包括如下几个步骤:执行最大功率点跟踪控制;检测电力系统的频率偏差;当频率偏差大于规定值时,将最大功率点跟踪控制转换为临时频率支持控制,临时频率支持控制包括对从最大功率点跟踪控制向临时频率支持控制变换的时间点开始的规定的第一时间期间,根据变换时间点的最大功率点跟踪控制比原来的基准值增加了的有功功率基准值进行计算和控制,根据临时频率支持控制增加的有功功率基准值可通过频率偏差和风力发电机的转子速度的函数算出。根据本发明,电力系统受到干扰以后,通过乘以与频率偏差成比例且根据转子速度而变动的控制增益来使得输出增加,因此当转子速度高时,输出增加量变大,从而最低频率上升效果明显。

用于提供家用能源的系统和方法

NºPublicación:  CN121773266A 31/03/2026
Solicitante: 
埃迪普·于克塞尔
CN_121773266_PA

Resumen de: US2025003386A1

A vertical axis wind turbine (VAWT) is provided for structural support and aesthetic integration with residential homes and buildings. The turbine is coupled to a substantially circular track, located proximal to its periphery, which at least partially supports the turbine's weight while allowing rotation. The VAWT may function as the roof of a residential home or other conventional building type as the support structure. The number of blades can be three or five, and the turbine can be situated on buildings with polygonal shapes. The turbine may be supported on a track and may include a support overhang that extends beyond the support structure and connects to the track using a c-shaped bearing. The shaft of the turbine connects to a gear that transfers torque to one or more generators. This inventive wind generator system provides an efficient, visually appealing, and integrated solution for generating renewable energy.

一种风电塔架的施工方法

NºPublicación:  CN121760526A 31/03/2026
Solicitante: 
中船海装风电有限公司
CN_121760526_PA

Resumen de: CN121760526A

本发明涉及风电技术领域,具体涉及一种风电塔架的施工方法,包括:采用离心成型工艺预制多个中空的钢管混凝土角柱段;将多个所述角柱段与横撑和斜撑在地面拼装形成至少一个格构塔段,并将所述格构塔段吊装至基础顶面,所述基础为整体浇注的混凝土承台;在所述格构塔段顶部安装转接段,所述转接段与所述基础之间形成贯通的预应力通道;向所述预应力通道内穿入预应力筋,使所述预应力筋沿各角柱段内壁延伸并穿过所述基础,对所述预应力筋进行张拉;张拉完成后,向各角柱段内部及所述预应力通道内灌注灌浆料,并回填所述基础周围区域,形成无张拉室的一体化基础结构;在所述转接段上方吊装上部塔筒段及风电设备。

一种用于风力发电场的风机控制方法及系统、设备、介质

NºPublicación:  CN121760882A 31/03/2026
Solicitante: 
华能包头风力发电有限公司
CN_121760882_PA

Resumen de: CN121760882A

本发明涉及风机控制技术领域,具体而言,涉及一种用于风力发电场的风机控制方法及系统、设备、介质,采用本发明所提供的方法,主要包括基于运行参数通过风机状态评估模型得到评估指数,基于评估指数得到风机运行状态;根据目标风机的判断指数设置不同的数据获取范围,获取目标风机在数据获取范围内的其余风机的评估指数和状态等级;基于其余风机的评估指数和状态等级对当前目标风机的评估指数进行修正。通过上述方法综合考虑了当前正在分析的风机周围的风机的状态,可能对当前目标风机所造成的影响,来更加准确的判断当前风机应该处于怎样的运行状态,提供给远程端进行参考,以便下达更准确的风机控制信号。

一种传感器漂移自补偿的风电机组状态预测方法和系统

NºPublicación:  CN121765580A 31/03/2026
Solicitante: 
江苏新能海力海上风力发电有限公司
CN_121765580_PA

Resumen de: CN121765580A

本发明公开了一种传感器漂移自补偿的风电机组状态预测方法和系统,属于风电机组运维技术领域。本发明的一种传感器漂移自补偿的风电机组状态预测方法,通过构建传感数据处理模型、传感漂移仿真模型、传感漂移补偿模型、传感融合模型、风电状态预测模型,充分考虑多类传感器的空间关联和漂移非平稳特性,并通过捕获多传感器融合信号序列中的空间依赖关系和时间序列的动态演化特征,得到风电机组状态预测结果,从而可以在多类传感器场景中,准确识别漂移量,生成高可靠的预测输入,因而可以有效提高预测模型的精度。因而本发明可有效提高风电机组数据的利用率,同时具备强兼容性与实时性,为风电机组长期稳定运行提供技术支撑。

传动装置、传动系统、风力发电机组及维护方法

NºPublicación:  CN121760888A 31/03/2026
Solicitante: 
金风科技股份有限公司
CN_121760888_PA

Resumen de: CN121760888A

本申请涉及一种传动装置、传动系统、风力发电机组及维护方法,传动装置包括轴系组件以及过盈量调节装置,轴系组件包括主轴以及轴承,轴承围绕主轴设置,轴承的内圈与主轴过盈配合,主轴具有中空腔。过盈量调节装置设置于中空腔,过盈量调节装置用于向主轴围合形成中空腔的内壁面施加作用力,使主轴产生形变以调节主轴与轴承的内圈之间的过盈配合量。本申请能够降低轴承跑圈的概率,保证风力发电机组的发电效益。

一种可变直径的法兰孔堵头

NºPublicación:  CN224064470U 31/03/2026
Solicitante: 
新疆骏晟能源装备有限公司
CN_224064470_U

Resumen de: CN224064470U

本实用新型公开了一种可变直径的法兰孔堵头,包括围边,所述围边顶端开设有凹槽,所述围边的顶端凹槽内部滑动设置有上控制按钮,所述围边外侧设置有上变径模组,所述围边下端设置有下变径模组,所述下变径模组包括下控制按钮、第二弹簧和第二槽体,所述第二槽体开设在围边下端,所述第二弹簧固定在第二槽体内部顶端位置,所述下控制按钮固定在第二弹簧底端位置。本实用新型根据法兰孔径大小,按压下控制按钮,通过下变径模组的第二弹簧伸缩进而与法兰孔进行适配;适配完成后,旋转上控制按钮,通过上变径模组中的内置第一弹簧的压缩,减小直径;反向旋转上控制按钮,通过上变径模组中的内置第一弹簧的伸长,增大直径。

风电齿轮箱和风力发电机组

NºPublicación:  CN224064797U 31/03/2026
Solicitante: 
采埃孚(天津)风电有限公司
CN_224064797_U

Resumen de: CN224064797U

本实用新型涉及风电技术领域,提供风电齿轮箱和风力发电机组。风电齿轮箱的箱体设置有扭矩臂,扭矩臂的轴孔中设置有销轴,销轴的沿轴向的中心区域设置有挡肩,轴孔的沿轴向的中心区域设置有台阶部,销轴的位于挡肩的两侧的轴部分别过盈压配在轴孔的位于台阶部的两侧的孔段中,且挡肩与台阶部形成轴向止挡配合结构。本实用新型通过销轴的挡肩与扭矩臂的轴孔的台阶部配合,形成轴向止挡配合结构,有效抑制销轴的一个方向的轴向位移;挡肩位于中心区域,能够优化销轴的载荷传递路径,避免局部应力集中,提升销轴的结构强度和应力承受能力;得益于销轴能够承受的应力增大,销轴的直径可以相应减小,进而降低销轴的重量,实现轻量化设计。

一种新型塔筒减震支架

NºPublicación:  CN224062238U 31/03/2026
Solicitante: 
江苏斯特郎电梯有限公司
CN_224062238_U

Resumen de: CN224062238U

本实用新型公开一种新型塔筒减震支架,包括位于箱体上的左右两个箱体固定支架;所述箱体固定支架上通过防脱落活动连接件与导向轮支架连接;所述导向轮支架内侧上下连接有导向轮;所述导向轮沿着爬梯导轨上下运行;位于箱体固定支架和导向轮支架之间设置有减震件。通过在箱体固定支架与导向轮支架之间设置减震件,有效减少了导向轮与爬梯导轨之间的硬连接带来的噪音和振动。具体而言,减震件的弹性特性能够吸收部分振动,降低运行过程中产生的噪音,提高乘坐舒适感。

风电机组轮毂主轴连接结构及风力发电机组

NºPublicación:  CN224064461U 31/03/2026
Solicitante: 
华能吉林新能源开发有限公司通榆分公司
CN_224064461_U

Resumen de: CN224064461U

本实用新型提供一种风电机组轮毂主轴连接结构及风力发电机组,涉及风力发电技术领域。本实用新型提供的风电机组轮毂主轴连接结构包括轮毂、过渡连接轴、主轴以及辐板,轮毂包括外壳和外壳围成的中心腔体,过渡连接轴沿轴向的第一端穿入中心腔体,过渡连接轴沿轴向的第二端和主轴的一端一体成型连接,且外壳和过渡连接轴一体成型连接;辐板位于中心腔体,辐板的第一端连接于过渡连接轴的第一端,辐板的第二端连接于外壳的内壁。本实用新型提供一种风电机组轮毂主轴连接结构及风力发电机组,可以降低成本、提高整体刚度。

风电机组的传动结构

NºPublicación:  CN224064469U 31/03/2026
Solicitante: 
华能吉林新能源开发有限公司通榆分公司
CN_224064469_U

Resumen de: CN224064469U

本申请实施例提供一种风电机组的传动结构,涉及风力发电技术领域。该传动结构包括轴体,呈空心筒状结构,所述轴体分别连接风轮和齿轮箱的传动接口;多个强化筋组,用以固定在所述轴体的内周壁,多个所述强化筋组沿所述轴体的长度方向两两间隔设置。本申请实施例提供的一种风电机组的传动结构,通过轴体的空心筒状结构与沿轴向间隔设置的强化筋组形成了复合抗扭结构,提高了风电机组在极端风况下的可靠性和使用寿命,减少了维护需求,提升了风电机组的整体性能。

一种风力发电用风车运维防护装置

NºPublicación:  CN224064473U 31/03/2026
Solicitante: 
江苏御电电力科技有限公司
CN_224064473_U

Resumen de: CN224064473U

本实用新型公开了一种风力发电用风车运维防护装置,包括运维防护机构,运维防护机构包括导向架,导向架U形状设置,且导向架的上端内对称滑动设有导向块,导向块的上端中部固定有轴座,且轴座的上方设有对接环,对接环外表面的下部设有柱状凸起,并套设延伸至轴座的中部内;还包括告警操作机构,告警操作机构包括滑动槽,滑动槽开设在机舵一侧以及前后的上部,且滑动槽内滑动设有滑动块,滑动块外侧的中部设有无线紧急报警器;无线紧急报警器的内侧中部同样设有柱状凸起,并套设延伸至滑动块的外侧中部内。本实用新型可无需拆卸绳索进行多位置的移动,以对风力发电风车进行运维,降低作业风险,提升使用效果,满足所需。

叶片组件、风力发电机和降噪器

NºPublicación:  CN224064460U 31/03/2026
Solicitante: 
远景能源有限公司
CN_224064460_U

Resumen de: CN224064460U

本公开涉及了一种叶片组件、风力发电机和降噪器,所述叶片组件包括:叶片本体,具有叶根、叶尖、前缘和后缘,所述前缘和所述后缘在所述叶根和所述叶尖之间延伸;降噪器,设置在所述叶片本体上,所述降噪器包括至少一个加强件和若干间隔件,若干所述间隔件沿所述叶片本体的展向间隔布置,所述加强件与至少一个所述间隔件相连,且所述加强件和所述间隔件邻近所述后缘布置;其中,在与所述叶片本体的弦相平行的方向上,所述间隔件的至少部分和所述加强件位于由所述弦所限定的边界外,且所述加强件与所述后缘之间存在间隔空间。本公开提供的技术方案,可以降低叶片转动噪声。

一种锁止限位装置及抽拉梁

NºPublicación:  CN224060904U 31/03/2026
Solicitante: 
江苏轲特特种运输机械制造有限公司
CN_224060904_U

Resumen de: CN224060904U

本实用新型属于风电叶片运输车的技术领域,具体涉及一种锁止限位装置及抽拉梁,包括限位销和固定管,所述固定管的管壁上开设有上下贯通的通孔,所述限位销的外壁上对应于通孔位置开设有上下贯通的腰形孔,所述腰形孔和通孔内同时贯穿有螺栓,所述螺栓的两端分别螺帽和螺母锁紧于固定管上并同时轴向移动于腰形孔内,所述限位销靠近腰形孔两侧通过销轴铰接有U型拉板并通过旋转拉动U型拉板、轴向移动于腰形孔内的螺栓与固定管轴向滑动连接。本实用新型更能适用风电叶片运输中抽拉梁之间间隙极小的工况,解决了现有锁止装置因结构、安装复杂及原理差异而难以应用的问题。

风电机组轮毂及风力发电机组

NºPublicación:  CN224064462U 31/03/2026
Solicitante: 
华能吉林新能源开发有限公司通榆分公司
CN_224064462_U

Resumen de: CN224064462U

本实用新型提供一种风电机组轮毂及风力发电机组,涉及风力发电技术领域。本实用新型提供的风电机组轮毂包括外壳、温度传感器、冷却介质循环装置以及控制设备,外壳围成的中心腔体,外壳内集成有主冷却通道;外壳的外侧连接有叶片,温度传感器设置于外壳内壁,冷却介质循环装置设置于中心腔体,并和主冷却通道连通;控制设备设置于中心腔体,温度传感器和冷却介质循环装置均和控制设备电连接,控制设备被配置为根据温度传感器的检测数据控制冷却介质循环装置的运转。本实用新型提供一种风电机组轮毂及风力发电机组,延长轮毂使用寿命。

一种新型全桁架式风电塔架结构

NºPublicación:  CN224064467U 31/03/2026
Solicitante: 
徐州建机工程机械有限公司
CN_224064467_U

Resumen de: CN224064467U

本实用新型涉及一种新型全桁架式风电塔架结构,属于风电塔架技术领域。包括恒截面式桁架结构上部和渐变截面式桁架结构下部,所述恒截面式桁架结构上部和渐变截面式桁架结构下部由多个节段构成,节段与节段采用杆片装配式结构,恒截面式桁架结构上部的节段为标准节段,渐变截面式桁架结构下部的节段为渐变节段,所述的节段由钢管主弦、横腹杆和斜腹杆组成,主弦内部增设预应力钢绞线。本实用新型的有益效果是:采用该结构形式,可解决160m超高高度以上风电机组的支撑结构问题,采用渐变截面和恒截面相结合的结构形式,整体结构采用杆片装配式,主弦内部增设预应力钢绞线,具有自重轻、刚度大、成本低、安拆及运输便捷、提高整机使用寿命的优点。

Method for generating electricity in mine shafts

NºPublicación:  PL453007A1 30/03/2026
Solicitante: 
GLOWNY INST GORNICTWA - PANSTWOWY INST BADAWCZY [PL]
ELEKTROMETAL SPOLKA AKCYJNA [PL]
G\u0141\u00D3WNY INSTYTUT G\u00D3RNICTWA \u2013 PA\u0143STWOWY INSTYTUT BADAWCZY,
ELEKTROMETAL SP\u00D3\u0141KA AKCYJNA

Resumen de: PL453007A1

Sposób wytwarzania energii elektrycznej w szybach kopalnianych, w szczególności w opuszczonych szybach górniczych bądź szybikach między poziomowych likwidowanych zakładów górniczych, z wykorzystaniem masy czynnej zawieszonej na układzie zawieszenia, którą przemieszcza się w pionie pod wpływem grawitacji z wyższej pozycji wysokości do niższej pozycji wysokości, co powoduje napęd generatora i wytworzenie energii elektrycznej, charakteryzuje się tym, że po przemieszczeniu masy czynnej z górnej — pierwszej pozycji wysokości I do niepełnej dolnej — drugiej pozycji wysokości II' pod wpływem siły grawitacji, kierunek transportu masy czynnej odwraca się i masę czynną przemieszcza się z niepełnej dolnej — drugiej pozycji wysokości II' do górnej - pierwszej pozycji wysokości I stosując siłę wyporu, przy czym siła wyporu jest większa od siły ciężkości masy czynnej i przy tym w trakcie sposobu, zmienia się ciężar masy czynnej i przy tym w sposobie, stosuje się wodę (4) kopalnianą.

洋上発電エネルギーの貯蔵媒体を回収する方法及びシステム

NºPublicación:  JP2026054986A 30/03/2026
Solicitante: 
トヨタ自動車株式会社
JP_2026054986_A

Resumen de: US20260077836A1

In a method for transferring a storage medium of power generation energy loaded by a power generation float to a collection base, a power generation float is connected to both sides of a deck part, a power generation float is moved to a collection base, a deck part straddles a long bank projecting on a water surface along a water channel through which a hull can pass along a quay wall of a collection base, a power generation float is anchored in a state where one of the hulls enters a water channel, a hull on at least one side of the deck part is separated from the deck part, and a storage medium capable of storing energy is connected on a side where the hull of the deck part is separated, and the float leaves with the hulls connected to both sides of the deck part.

電力ストレージシステム

NºPublicación:  JP2026054810A 30/03/2026
Solicitante: 
トヨタ自動車株式会社
JP_2026054810_A

Resumen de: US20260081431A1

An electric power storage system is provided with: an electric power supplier that is configured to supply at least a portion of electric power generated by repeatedly alternating unwinding and winding of a tether that moors a flying body to an electric power storage unit, which stores electric power in a predetermined manner, and an electric power holding unit, which is capable of charging and discharging electric power; and a controller that is configured to control the electric power holding unit so that electric power is supplied from the electric power holding unit to the electric power storage unit during winding the tether.

Installation for generating electricity in mine shafts

NºPublicación:  PL453006A1 30/03/2026
Solicitante: 
GLOWNY INST GORNICTWA - PANSTWOWY INST BADAWCZY [PL]
ELEKTROMETAL SPOLKA AKCYJNA [PL]
G\u0141\u00D3WNY INSTYTUT G\u00D3RNICTWA \u2013 PA\u0143STWOWY INSTYTUT BADAWCZY,
ELEKTROMETAL SP\u00D3\u0141KA AKCYJNA

Resumen de: PL453006A1

Instalacja do wytwarzania energii elektrycznej w szybach kopalnianych, w szczególności w opuszczonych szybach górniczych bądź szybikach między poziomowych likwidowanych zakładów górniczych, obejmująca co najmniej jedną masę czynną przemieszczającą się pod wpływem grawitacji z wyższej pozycji wysokości do niższej pozycji wysokości oraz generator energii elektrycznej sprzężony z tą masą czynną za pomocą cięgła, w celu napędzania go i generowania energii elektrycznej podczas przemieszczania się masy czynnej pod wpływem grawitacji, charakteryzuje się tym, że: masa czynna to zbiornik (1), wykonany z materiału kompozytowego, zlokalizowany w zbiorniku dolnym (2) wody (4) kopalnianej; masa czynna to zbiornik (1) o masie zmiennej, regulowanej dopływem wody (4) kopalnianej; generator energii elektrycznej to generator prądu (8), przynajmniej jeden, z bębnem pędnym sprzężonym z hamulcem manewrowym, z bębnem pędnym napędzanym przynajmniej jedną liną (3), połączony za pomocą sprzęgła poprzez przekładnię, z przynajmniej jednym kołem linowym (7), osadzonym na wale; cięgło to przynajmniej jedna lina nośna (3), połączona ze zbiornikiem (1) i opasająca przynajmniej jedno koło linowe (7), przy czym elementy te, tworzą razem układ zawieszenia zbiornika (1); oraz tym, że zawiera: przynajmniej jeden zbiornik dolny (2), w postaci zbiornika podziemnego, zlokalizowanego na poziomie dolnym - podziemnym, najlepiej w postaci wyrobiska, najle

一种基于图像识别的风电联轴器打滑故障智能检测方法

NºPublicación:  CN121738831A 27/03/2026
Solicitante: 
太原重工股份有限公司
CN_121738831_PA

Resumen de: CN121738831A

本发明属于风力发电技术领域,公开了一种基于图像识别的风电联轴器打滑故障智能检测方法,包括:在风电联轴器法兰两端粘贴反光胶带,机舱上方设置摄像头对风电联轴器进行图像数据的采集,获取第一联轴器图像数据和第二联轴器图像数据;基于像素颜色将第一联轴器图像数据、第二联轴器图像数据转换为二维平面矢量,进行实际偏差角度的分析;根据获取的第一偏差角度数据与第二偏差角度数据对风电联轴器的错位情况进行实时检测,并结合实时转速数据和实时扭矩数据进行风电联轴器打滑故障的分析,发出相应的预警提示,以提示工作人员检修,在保证风电机组安全运行的情况下,减少停机检修时间,降低了人工维护成本,有效地提高了机组可利用率。

海上柔性直流换流平台多物理场协同优化设计方法及系统

NºPublicación:  CN121744411A 27/03/2026
Solicitante: 
华能(浙江)能源开发有限公司清洁能源分公司中国华能集团清洁能源技术研究院有限公司
CN_121744411_PA

Resumen de: CN121744411A

本发明属于海上换流平台优化设计技术领域,具体涉及一种海上柔性直流换流平台多物理场协同优化设计方法及系统。该方法首先基于设计需求与设备选型,分别建立初始电路仿真模型和初始平台三维几何模型;其次,通过场‑路‑几何联合仿真,进行电‑磁‑热‑力多物理场耦合计算,获取平台的多物理场分布特性;然后,根据预设性能阈值进行评估与诊断;最后,依据诊断结果迭代更新电路参数或三维布局,并重复仿真与评估,直至各项性能达标,输出优化设计方案。本发明实现了从电路、三维结构到多物理场仿真的数据贯通与闭环迭代,解决了海上换流平台在紧凑空间内多物理场强耦合、难以协同优化的技术难题,能够有效指导高功率密度、高可靠性平台的设计。

一种海上柔直换流平台多物理场计算方法及相关装置

NºPublicación:  CN121744408A 27/03/2026
Solicitante: 
华能(浙江)能源开发有限公司清洁能源分公司中国华能集团清洁能源技术研究院有限公司
CN_121744408_PA

Resumen de: CN121744408A

本发明公开了一种海上柔直换流平台多物理场计算方法及相关装置,涉及高压直流输电技术领域。本发明通过对换流平台按功能划分为阀厅、交流场厅、直流场厅和GIS设备间,并设定设备、舱室、平台三级计算层级,依次开展设备级、舱室级和平台级多物理场仿真,以上一级仿真结果作为下一级激励条件,结合逐级几何简化建模,实现跨尺度电‑磁‑热‑力多物理场耦合分析。本申请解决了现有技术中因模型规模过大导致全平台仿真不可行、关键耦合变量难以辨识的问题,显著提升仿真效率与精度,支撑紧凑空间内多物理场均衡优化设计。

一种便于更换的风机叶片接闪器模块及风机叶片系统

NºPublicación:  CN121738837A 27/03/2026
Solicitante: 
国华能源投资有限公司国华新能源(双辽)有限公司
CN_121738837_PA

Resumen de: CN121738837A

本发明公开的一种便于更换的风机叶片接闪器模块及风机叶片系统,风机叶片接闪器模块包括预埋在风机叶片上的底座和可拆卸安装在底座上的接闪器本体,接闪器本体和底座之间设置有锁紧连接机构,接闪器本体与底座通过锁紧连接机构锁定和解锁;风机叶片系统,包括风机叶片本体和如上所述的风机叶片接闪器模块,风机叶片接闪器模块设置在风机叶片本体的尖端位置。与现有技术相比,本发明所设计的风机叶片接闪器模块及风机叶片系统具有可靠性高、易更换、维修成本低的特点。

一种基于空间光学的风机叶片动态应变载荷监测系统

NºPublicación:  CN121738830A 27/03/2026
Solicitante: 
无锡布里渊电子科技有限公司
CN_121738830_PA

Resumen de: CN121738830A

本发明涉及风机叶片状态监测技术领域,公开了一种基于空间光学的风机叶片动态应变载荷监测系统。所述系统包括激光发射组件、光反射组件、光电成像组件和数据分析组件。激光发射组件固定于风机叶片根部,向安装于叶片中远端的光反射组件发射激光光束;光反射组件将光束反射回叶片根部方向;布置于根部邻近位置的光电成像组件配备二维光电传感器阵列,用于捕获返回的反射光束并生成光斑图像;数据分析组件接收图像数据,通过分析光斑在传感器阵列上的位置变化,推断光反射组件的姿态偏移,并结合叶片力学参数计算动态应变载荷。本发明实现了对叶片变形的非接触、高可靠性监测。

生产风力涡轮机叶片的方法、相应生产的风力涡轮机叶片和适用于所述生产的树脂组合物

NºPublicación:  CN121752630A 27/03/2026
Solicitante: 
西门子歌美飒可再生能源公司
CN_121752630_A

Resumen de: WO2025045626A1

A resin composition suitable for use in the production of a wind turbine blade or a part of any of the foregoing by means of a vacuum infusion method is described. The resin composition comprises an epoxy component, an amine component further comprising at least one imine functional group, and a polyfunctional (meth)acrylate component. Moreover, a method of producing a wind turbine blade a nacelle or a part of any of the foregoing and a respectively produced wind turbine blade, a nacelle or a part of any of the foregoing are described.

信息处理装置及信息处理方法

NºPublicación:  CN121752966A 27/03/2026
Solicitante: 
NTN\u682A\u5F0F\u4F1A\u793E
CN_121752966_PA

Resumen de: JP2025030350A

To make a manager or the like aware of physical quantity information based on physical quantities detected before a maintenance of a power generation device and physical quantities detected after the maintenance of the power generation device.SOLUTION: A monitoring device 100 creates a report based on pre-maintenance physical quantities detected by a sensor S before a first maintenance for the abnormality in a wind power generation unit 45 and post-maintenance physical quantities detected after the first maintenance by the sensor S that has detected the pre-maintenance physical quantities, and outputs the report.SELECTED DRAWING: Figure 1

一种漂浮式前端调速风电机组稳定控制方法及系统

NºPublicación:  CN121738822A 27/03/2026
Solicitante: 
内蒙古工业大学
CN_121738822_PA

Resumen de: CN121738822A

本申请涉及风力发电技术领域,尤其涉及一种漂浮式前端调速风电机组稳定控制方法及系统。方法包括:采集风速数据,优化风轮气动效率,获取并升速处理第一变速机械能以得到第二变速机械能;基于第二变速机械能驱动行星架公转,生成风轮功率反馈并计算最小启动功率需求;根据最小启动功率需求生成并执行初始电能分配指令,获取启动过程状态反馈;基于该反馈切换飞轮储能系统至正常运行模式,输出补偿机械功率以合成总机械功率;基于该总机械功率驱动太阳轮,确保发电机转子恒速运转,执行并网操作。本申请有效提高了漂浮式风电机组的启动可靠性、运行稳定性和发电效率。

风力涡轮机的塔架的后张系统的后张元件的固定装置、风力涡轮机的塔架的导向系统、风力涡轮机的塔架及风力涡轮机的塔架的后张方法

NºPublicación:  CN121752810A 27/03/2026
Solicitante: 
恩德能源西班牙独资有限公司
CN_121752810_A

Resumen de: AU2024312012A1

The present invention relates to a retaining device of a post-tensioning element of a post-tensioning system of a tower of a wind turbine that maintains the distance between the interior wall of the tower and the post-tensioning element even if the tower suffers a bending moment due to lateral loads, to a post-tensioning system of a tower of a wind turbine comprising the retaining device and at least one post-tensioning element and the tower of a wind turbine comprising the post-tensioning system, and to a method of retaining a post-tensioning element of a post-tensioning system of a tower of a wind turbine.

一种风电机组叶片损伤定位系统

NºPublicación:  CN121738833A 27/03/2026
Solicitante: 
中国长江三峡集团有限公司
CN_121738833_PA

Resumen de: CN121738833A

本申请实施例提供了一种风电机组叶片损伤定位系统,风电机组叶片包括风电机组叶片本体和主承力结构,风电机组叶片本体的一端连接于主承力结构,风电机组叶片具有对应的数字孪生模型,系统包括:读写器,设置于主承力结构,用于发射射频信号,以及,接收后向散射信号;无源阻抗型传感组件,设置于风电机组叶片本体,用于在检测到风电机组叶片本体的应变信号时,将射频信号调制形成后向散射信号;处理器,与读写器电连接,用于提取后向散射信号的信号特征,根据信号特征确定无源阻抗型传感组件的当前空间坐标,确定当前空间坐标与预设的基准空间坐标之间的空间坐标偏移量,以及,基于空间坐标偏移量在数字孪生模型中确定风电机组叶片精确损伤位置。

一种采用可展式叶片的城市景观垂直轴风力机

NºPublicación:  CN121738811A 27/03/2026
Solicitante: 
大连理工大学
CN_121738811_PA

Resumen de: CN121738811A

本发明公开一种采用可展式叶片的城市景观垂直轴风力发电机,涉及风力发电技术领域。该发电机的垂直主轴顶端固接轮毂,若干支撑臂周向均布;各臂末端经限位装置安装可展式活动叶片,可根据迎风角度自适应调整叶片张开角度,当叶片正迎风时呈最大张开角,在正背风角度时呈最小张开角,循环切换,持续输出净正扭矩。限位装置集成限位器、铰链与扭簧,预设张合角度,适应城市低风速、高湍流环境。叶片翼型轮廓仿蝴蝶翅膀,翼型截面采用层流翼型。本发明采用四臂周向对称布置方式,消除力矩死区,实现低风速起动、宽风速高效运行,并将发电功能融入城市景观,适用于分布式绿色能源与美化建设。

半潜式漂浮风机平台及风力发电设备

NºPublicación:  CN121734601A 27/03/2026
Solicitante: 
惠生清洁能源科技集团股份有限公司
CN_121734601_PA

Resumen de: CN121734601A

本申请涉及一种半潜式漂浮风机平台及风力发电设备,一种半潜式漂浮风机平台包括:中心立柱;中心垂荡箱,设于中心立柱的底部;至少三个边立柱,围设于中心立柱的外周,且各边立柱通过支撑组件连接中心立柱及中心垂荡箱;边垂荡箱,设于边立柱的底部;其中,任一边立柱对应设有至少一个边垂荡箱,且边垂荡箱至少部分围设于边立柱的底部外侧。一种风力发电设备包括上述的半潜式漂浮风机平台。上述的半潜式漂浮风机平台及风力发电设备,能够更有效地分散和抵抗来自各个方向的载荷,利于提高平台整体的稳性和承载能力,不仅为支撑风机塔筒提供了所需浮力,还能够增加平台垂荡阻尼,进一步增强了平台整体的稳性和承载能力。

锚装置、锚系统以及锚系统的设置方法

NºPublicación:  CN121752489A 27/03/2026
Solicitante: 
国立大学法人东京海洋大学
CN_121752489_PA

Resumen de: WO2025005302A1

This anchor device (20) comprises a shaft member (22) which extends along a central axis (A) and which has a tension member (85) attached thereto, and a first plate member (30) and a second plate member (40) that are configured to be capable of rotating relative to one other about the central axis (A), wherein: the first plate member (30) has a first rear end portion (31) that is farthest from the center axis (A) in a direction in which the first plate member (30) extends and in a direction orthogonal to the center axis (A); the second plate member (40) has a second rear end portion (41) that is farthest from the central axis (A) in a direction in which the second plate member (40) extends and in a direction orthogonal to the central axis (A); and the anchor device (20) is configured to be capable of changing from a folded state in which the first rear end portion (31) and the second rear end portion (41) are close to each other to an unfolded state in which the first rear end portion (31) and the second rear end portion (41) are separated from each other.

一种水平全向自适应惯容减震系统及仿生风电塔筒

NºPublicación:  CN121739053A 27/03/2026
Solicitante: 
江苏科技大学
CN_121739053_PA

Resumen de: CN121739053A

本发明公开了一种水平全向自适应惯容减震系统及仿生风电塔筒,所述减震系统包括若干质量块,所述质量块下方固定有套筒,套筒两端成对设置与套筒相对滑动的导杆,两导杆外端部滑动设在风电塔筒内壁的第一圆形滑轨上,位于套筒外侧套设碟形弹簧,位于套筒内的一端通过第一齿轮传动单元联动,第一齿轮传动单元与设在套筒内的第一惯容飞轮连接;所述质量块上方设置与导杆垂直的第二齿轮齿条传动单元,套筒下方设有与导杆垂直的托架,所述托架滑动设在风电塔筒内壁的第二圆形滑轨上,套筒滑动设在托架上,第二齿轮齿条传动单元和设在托架上的第二惯容飞轮连接。本发明能够提高高柔风电塔筒对复杂多向风致及地震振动的适应性与减振效能。

一种隧道检测装置

NºPublicación:  CN121749420A 27/03/2026
Solicitante: 
华侨大学
CN_121749420_PA

Resumen de: CN121749420A

本发明公开了一种隧道检测装置,包括检测设备和行走轨道。检测设备设于沿隧道纵向延伸的行走轨道上。检测设备包含框体、电源模块及控制模块。电源模块包括蓄电池及风力发电器。控制模块内置环境模型及路径规划算法。环境模型内置有基于包括射流风机布置以及活塞风分布在内的环境数据所构建的充电效率分布模型,并对隧道沿线充电效率进行分级。路径规划算法根据巡检任务、充电效率等级等因素智能规划巡检路径,还根据充电效率等级、行程距离、供电稳定性和实时电量确定检测设备在任务执行阶段和待命阶段的充电时机和最佳充电点,实现环境能源的高效捕捉与巡检任务的连续执行。

一种海上风电换流平台布局优化方法

NºPublicación:  CN121744410A 27/03/2026
Solicitante: 
华能(浙江)能源开发有限公司清洁能源分公司中国华能集团清洁能源技术研究院有限公司
CN_121744410_PA

Resumen de: CN121744410A

本发明属于海上风电布局技术领域,具体公开了一种海上风电换流平台布局优化方法。方法包括:根据设计图划分若干区域模块;根据各区域模块的参数设置自变量取值范围;设置遗传算法参数,针对每个个体生成一个有效布局;引入随机扰动,扩充若干有效布局的数量;根据适应度函数计算每个有效布局的适应度;选择适应度最高的两个有效布局作为父代进行交叉、变异生成子代;计算新种群中每个有效布局的适应度;开始迭代直至迭代次数达到最大迭代次数,得到若干最佳适应度和若干最佳布局;选择最优布局,并输出最优布局的三维图形。解决了现有海上风电换流平台占地面积大的技术问题。

一种柔性直流海上平台模块化优化布置方法及系统

NºPublicación:  CN121744409A 27/03/2026
Solicitante: 
华能(浙江)能源开发有限公司清洁能源分公司中国华能集团清洁能源技术研究院有限公司
CN_121744409_PA

Resumen de: CN121744409A

本发明属于电力系统工程领域,具体涉及一种柔性直流海上平台模块化优化布置方法及系统。方法首先将海上换流站各功能舱室模块抽象为具有包络尺寸的三维矩形块,构建待布局集合;随后,采用改进的遗传算法进行自动化全局优化:通过编码生成随机布局方案种群,以适应度函数评价方案的紧凑性(总体积最小化)与对空间、位置、姿态、接触等多重工程约束的满足程度;算法在执行选择、交叉、变异操作的同时,引入防局部停滞的随机扰动机制;最终输出满足终止条件的最优三维布局方案。该方法实现了从依赖经验的手工设计向数字化、自动化优化的转变,能高效生成全局更优的紧凑型布置方案,提升了设计效率、经济性与工程可行性。

一种风力发电机塔筒爬升装置

NºPublicación:  CN121735179A 27/03/2026
Solicitante: 
湖南大唐先一科技有限公司
CN_121735179_PA

Resumen de: CN121735179A

本发明涉及发电机塔筒爬升技术领域,公开了一种风力发电机塔筒爬升装置,包括隔板,所述隔板的顶部开设有槽口,隔板的顶部设置有盖板,槽口的内部设置有支架,支架的正面设置有爬升组件,支架的内部对应盖板设置有开合驱动组件。本发明通过牵引组件将爬升组件牵引至预定位置上后,推拉组件可以对双向驱动组件进行驱动,从而使得开合驱动组件在双向驱动组件的驱动下将盖板打开,当牵引组件通过槽口移动到隔板的上侧后,推拉组件通过双向驱动组件对开合驱动组件反向驱动,从而使得盖板关闭;上述设置中,当爬升组件移动到预定的位置上后,盖板可以自动进行开启和关闭,整个过程操作人员无需手动干预,从而使得爬升装置整体的安全性可以得到保证。

用于基于估计的转子方位角控制风力涡轮的系统和方法

NºPublicación:  CN121738815A 27/03/2026
Solicitante: 
通用电气维诺瓦基础设施技术有限责任公司
CN_121738815_PA

Resumen de: CN121738815A

本发明涉及用于基于估计的转子方位角控制风力涡轮的系统和方法,具体而言,提供了一种用于控制风力涡轮的方法。该方法包括:经由控制系统,从第一传感器接收风力涡轮的传动系的至少一个速度状况。该方法还包括:经由控制系统,接收来自安装在风力涡轮的机舱内的第二传感器的脉冲,该脉冲是在传动系转换到已知角度时产生的。该方法还包括:经由控制系统,基于传动系的至少一个速度状况和该脉冲的组合,估计指定转子叶片的方位角。该方法还包括:经由控制系统,基于估计的方位角对风力涡轮实施控制动作。

用于检测风力涡轮转子叶片上的异常的系统及方法

NºPublicación:  CN121740861A 27/03/2026
Solicitante: 
通用电气维诺瓦可再生能源西班牙有限公司
CN_121740861_PA

Resumen de: CN121740861A

一种用于改进风力涡轮的转子叶片的质量的方法包括经由控制器的数据采集模块接收关于转子叶片的图像数据。图像数据在转子叶片的制造期间或之后,在转子叶片在风力涡轮上投入操作之前收集。方法包括经由控制器的处理器使用关于转子叶片的图像数据识别转子叶片上的异常。方法还包括经由处理器使用以下中的至少两个的组合确定转子叶片的异常的位置:收集图像数据时成像装置的估计位置、如由描述像素和异常在投影到球壳上时在图像数据内的位置的多个角度代表的像素的已知位置、收集图像数据时的时间和位置处的转子叶片的横截面的光检测和测距(LIDAR)数据、收集图像数据时成像装置所处的特定内部腔,或转子叶片的计算机辅助设计(CAD)模型。

一种风力发电机组变桨电机更换工装

NºPublicación:  CN224049331U 27/03/2026
Solicitante: 
大唐重庆市南川区新能源有限公司
CN_224049331_U

Resumen de: CN224049331U

本实用新型公开了风力发电技术领域的一种风力发电机组变桨电机更换工装,包括安装板、移动部和转动部,所述安装板包括板体,所述板体表面开设有安装孔,所述板体靠近两端的位置安装有安装座和中空限位部,所述移动部包括柱体,所述柱体水平插设于中空限位部中,所述柱体远离安装座的一端连接有端头,且端头的端部设置有胶垫,所述转动部包括弯折部,所述弯折部的下端与安装座转动连接,所述弯折部的下部与柱体靠近安装座的一端通过连接件传动连接,所述弯折部的上端安装有把手。本实用新型提供的风力发电机组变桨电机更换工装不受轮毂空间狭小等环境因素的制约,高强度材质确保承重可靠,降低了变桨电机更换的难度,降低了人力成本和时间成本。

一种风电叶片通用型支撑装置

NºPublicación:  CN224049328U 27/03/2026
Solicitante: 
明阳新能源材料科技(包头)有限公司
CN_224049328_U

Resumen de: CN224049328U

本实用新型公开的一种风电叶片通用型支撑装置,还包括两限位块、承载板和拓展防护组件,对称的所述限位块滑动设于底座内,所述底座内底壁设有驱动组件,用于驱动对称的限位块沿底座的长度方向相向移动,所述承载板固定连接于底座的相对内侧壁中间处,用于支撑风电叶片底部,所述承载板内上下滑动设有弹性支撑组件,所述拓展防护组件固定连接于限位块上部,且随限位块同步移动,用于风电叶片两侧的高度方向拓展支撑。本实用新型属于支撑设备技术领域,具体是一种用于解决现有支撑装置尺寸固定,运输时支撑转动角度有限,以及运输过程中减震不足导致叶片受损的问题。

一种用于风力发电机的散热装置

NºPublicación:  CN224049332U 27/03/2026
Solicitante: 
甘肃晟联科技有限公司
CN_224049332_U

Resumen de: CN224049332U

本实用新型涉及一种用于风力发电机的散热装置,包括设置在风力发电机的机体内的导热管;机体的上下两侧分别开设有和导热管相连通的进液口和出液口;机体上同轴转设有套环,套环套设在进液口和出液口上,且套环和风力发电机的叶轮相固接;套环上开设有若干通孔,通孔的运动轨迹分别相交进液口和出液口,且套环上固设有若干和通孔相连通的散热管;本实用新型通过叶轮带动套环和散热管在风力发电机的机体转动,通过导热管内的液体吸收热量,通过机体下侧的出液口将导热管内的液体输送到散热管内进行散热,并通过机体上侧的进液口将散热管内完成散热的液体会受到导热管内,从而完成风力发电机的自动散热,简单高效、安全可靠。

一种主动式同步偏航系统的双机组漂浮式风力发电系统

NºPublicación:  CN224049326U 27/03/2026
Solicitante: 
宁波大学
CN_224049326_U

Resumen de: CN224049326U

本实用新型提供一种主动式同步偏航系统的双机组漂浮式风力发电系统,涉及风力发电技术领域,以解决现有技术中的漂浮式双风电机组系统采用单点系泊系统进行定位,风能捕获效率低、寿命短、风险集中且事故后果严重的技术问题;两个风力发电系统同时收集风能,并转换成电能通过海底电缆输送至岸上的变电场,由两个风电机组各自的风速传感器分别检测两个风电机组处的风速大小,两个风速的差值就是风力推力差值,然后转化成风速线,风速线对应的电信号传输到主控制器中,由主控制器控制驱动组件驱动外壳转动从而带动两个风力发电系统同步转动,直到风电机组正对来流,可以最大效率的采集风能,提高风能的捕获效率。

一种防腐风力发电基座

NºPublicación:  CN224049327U 27/03/2026
Solicitante: 
内蒙古华电辉腾锡勒风力发电有限公司
CN_224049327_U

Resumen de: CN224049327U

本实用新型提供了一种防腐风力发电基座,属于风力发电技术领域,包括基座体,所述基座体的上端面安装有机桩,所述机桩的外侧设有第一卡套,所述第一卡套的内侧设有第二卡套,所述第一卡套和第二卡套分别通过第一固定栓与基座体固定连接,所述第一卡套和第二卡套的顶端均固定连接有第一密封圈,所述第一卡套上固定连接有对接套。本实用新型通过设置的第一卡套、第二卡套、第一固定栓、第一密封圈、对接套、对接条、第一螺栓组件和密封机构,实现了对机桩进行组合密封保护,有效的避免雨水浸入而造成的腐蚀,方便进行装配,便于后期的维护更换,同时具有双重密封提高防护的效果,实用性更强,解决了现有技术中不便进行装配和后期维护的问题。

一种风力发电机

NºPublicación:  CN224049325U 27/03/2026
Solicitante: 
深圳市瑞能时代科技有限公司
CN_224049325_U

Resumen de: CN224049325U

本实用新型提供的一种风力发电机,包括旋转组件、叶片组件和发电组件;所述发电组件与所述旋转组件相连接,所述叶片组件与所述旋转组件可拆卸地连接;所述风力发电机还包括可伸缩连杆;所述叶片组件由多个叶片组成,任一所述叶片通过所述可伸缩连杆与所述旋转组件连接;所述可伸缩连杆包括内杆、外杆和锁定单元,所述内杆和所述外杆中的一者连接所述叶片,另一者连接所述旋转组件,所述内杆可滑动设置在所述外杆内,所述锁定单元可将内杆和外杆锁定在不同的相对位置,在不使用时能够将叶片组件向旋转组件靠近,减小整机体积,降低了运输成本和存储场地要求,在需要使用发电的场合,可伸缩连杆能够将叶片组件最大程度地展开,提高发电效率。

一种风力发电塔筒阻尼结构

NºPublicación:  CN224049610U 27/03/2026
Solicitante: 
江苏航宸重工科技有限公司
CN_224049610_U

Resumen de: CN224049610U

本实用新型公开了一种风力发电塔筒阻尼结构,包括混凝土立柱,所述混凝土立柱的下端与地面基础固定连接,所述混凝土立柱的外壁与外界风力发电塔筒体的内壁之间连接有机械阻尼结构,所述机械阻尼结构包括第一支撑架、第二支撑架、伸缩阻尼杆、第一连接轴、第二连接轴、第一连接头与第二连接头,且所述混凝土立柱的外壁固定安装有至少一组的电磁铁,且设置有固定于外界风力发电塔筒体内壁的环形导磁体。本实用新型所述的一种风力发电塔筒阻尼结构,结构简单,便于生产制造与组装,结构简单,减少维护的成本,通过机械阻尼结构(低频)和磁力(高频)复合阻尼,提高阻尼的效率与效果。

一种用于风力发电安装的安全防护装置

NºPublicación:  CN224049329U 27/03/2026
Solicitante: 
广西刁江电力工程有限公司
CN_224049329_U

Resumen de: CN224049329U

本实用新型涉及风力发电安装技术领域,公开了一种用于风力发电安装的安全防护装置,包括固定板,固定板一侧开设有收纳槽,收纳槽内部对称滑动两个滑板,两个滑板远离收纳槽一侧表面均固定连接有卡板,两个卡板之间设置有同一爬梯,两个卡板靠近爬梯一侧表面均转动连接有多个滑轮,收纳槽内部设有用于调节卡板的调节机构,固定板远离爬梯一侧表面固定连接有四个支撑板,四个支撑板呈两两一组进行设置,两组支撑板一侧均转动连接有转轴,两组转轴表面均套设有挂钩,且挂钩与爬梯相互配合设置,两个转轴远离卡板一侧表面均设有用于转动挂钩的转动机构。本实用新型通过滑轮的设置,可以确保装置在使用的过程中不需要拆卸。

一种风机防沙除尘装置

NºPublicación:  CN224040353U 27/03/2026
Solicitante: 
中国葛洲坝集团装备工业有限公司
CN_224040353_U

Resumen de: CN224040353U

本实用新型公开了一种风机防沙除尘装置,属于风机防沙除尘装置技术领域,解决现有技术中的沙尘会附着在进风口的防尘网上无法自动清理,从而易造成进风量不足,大大降低散热效率,导致设备过热,影响风力发电机作业或会增加维护成本等问题。本实用新型包括进风管,设置在进风管上对吸风机抽入的进风进行防尘的防尘结构,利用吸风机抽入的进风对防尘结构上吸附的沙尘进行自动清理的清理结构和对清理结构清理的沙尘进行回收的回收结构。本实用新型用于风机防沙除尘。

一种风机叶片维护装置

NºPublicación:  CN224049330U 27/03/2026
Solicitante: 
内蒙古华电辉腾锡勒风力发电有限公司
CN_224049330_U

Resumen de: CN224049330U

本实用新型公开了一种风机叶片维护装置,涉及风机维护技术领域,包括底座、固定环以及顶圈;底座与固定环之间通过第一连接杆固定连接,固定环与顶圈之间通过第二连接杆固定连接;第二连接杆的外侧上下移动设置有升降圈,升降圈的内侧转动设置有转动环,转动环上固定安装有工具箱;底座与固定环之间限位转动安装有围挡门。本实用新型通过拨杆带动转动环在环形槽内旋转,使工具箱可度定位,可旋转调节的工具箱设计让工作人员无需移动位置即可快速取用工具,减少了高空作业时的移动风险,同时高度可调功能确保工具始终处于最舒适的操作高度。各结构协同作用实现了工具取用的便利性,提升了维护作业效率。

风力发电杀菌组件及具有其的空调器

NºPublicación:  CN224050487U 27/03/2026
Solicitante: 
海信(浙江)空调有限公司
CN_224050487_U

Resumen de: CN224050487U

本实用新型公开了一种风力发电杀菌组件及具有其的空调器,风力发电杀菌组件包括发电件和杀菌件,发电件构造成在风力驱动下发电;发电件包括:驱动件和摩擦件,驱动件构造成在风力驱动下进行转动;驱动件与摩擦件连接,驱动件用于驱动摩擦件进行转动摩擦发电;其中,摩擦件包括:第一摩擦部和第二摩擦部,第二摩擦部与第一摩擦部相对设置,第二摩擦部与驱动件连接,以驱动第二摩擦部可相对第一摩擦部摩擦运动以进行摩擦发电。通过驱动气流在流通过程中经过发电件,以让发电件能够进行风力发电,并将电量通入到杀菌件上以驱动杀菌件进行杀菌处理,以让作用到室内环境中的气流具有更高纯净度以让室内环境质量得到更好地改善。

风电齿轮箱和风力发电机组

NºPublicación:  CN224049655U 27/03/2026
Solicitante: 
采埃孚(天津)风电有限公司
CN_224049655_U

Resumen de: CN224049655U

本实用新型涉及风电技术领域,提供风电齿轮箱和风力发电机组。风电齿轮箱的箱体设置有带轴孔的扭矩臂,轴孔中穿设销轴,销轴的两端伸出轴孔形成伸出部;每个伸出部设置有:衬套,套设在伸出部;限位环,套设在伸出部,位于衬套的靠近扭矩臂的一侧;卡簧,套设在伸出部,位于衬套的另一侧;其中,扭矩臂、限位环、衬套及卡簧形成轴向约束配合。本实用新型通过套设在销轴的伸出部的卡簧、衬套及限位环与扭矩臂的轴向约束配合,利用机械限位与间隙控制的双重机制,有效抑制销轴的轴向位移,提升风电齿轮箱及风力发电机组的稳定性。

一种风电-光热-光伏一体化能源系统

NºPublicación:  CN224054138U 27/03/2026
Solicitante: 
中国华电科工集团有限公司华电中光新能源技术有限公司
CN_224054138_U

Resumen de: CN224054138U

本实用新型涉及太阳能发电技术领域,尤其是涉及一种风电‑光热‑光伏一体化能源系统。包括风力发电机构,风力发电机构包括塔筒,塔筒顶部设有发电机舱和风电叶片;光热发电机构包括安装在塔筒中部的集热器,塔筒四周的地面上设有多个反射镜,集热器接收反射镜聚焦的太阳光,并加热导热流体;光伏发电机构包括位于塔筒外周壁上的第一光伏电池组件及位于反射镜背面的第二光伏电池组件;风力发电机构、光热发电机构和光伏发电机构均与能源管理系统连接。本实用新型充分将风电、光热与光伏结合,提高了能源利用效率,减少功率波动,增强了系统的稳定性与适应性。

一种无人机风机叶片导通电阻测量设备

NºPublicación:  CN224052296U 27/03/2026
Solicitante: 
安徽金力防雷工程技术有限公司
CN_224052296_U

Resumen de: CN224052296U

本实用新型涉及风电设备检测和维护领域,具体为一种无人机风机叶片导通电阻测量设备,包括无人机连接板,所述无人机连接板的顶部安装有连接杆,连接杆上安装有减震组件,连接杆的顶部开设有螺纹槽,连接杆的顶部通过螺栓固定连接有铜网支架,铜网支架的顶部开设有与螺栓相适配的螺纹孔,铜网支架的顶部安装有铜网夹板,铜网夹板为两个环形板,环形板和铜网支架的顶部均开设有多个螺纹孔,环形板与铜网支架之间通过螺栓固定连接,所述连接杆包括与铜网支架的底部固定连接的连接上杆,螺纹槽开设在连接上杆的顶部。解决了现有的无人机测量风机叶片的电阻时对无人机的操控难度和动力性能要求都较高的问题。

一种净空超限控制方法、装置、系统及存储介质

NºPublicación:  CN121738820A 27/03/2026
Solicitante: 
国电联合动力技术有限公司
CN_121738820_PA

Resumen de: CN121738820A

本申请公开了一种净空超限控制方法、装置、系统及存储介质,所述方法包括:采集风力发电机组的预设参数的参数值,其中所述预设参数至少包括当前时刻的风速、发电功率、净空值和净空值变化率;根据当前时刻的风速和发电功率判断所述风力发电机组的净空设备有效性;当所述净空设备有效时,将所述净空值和净空值变化率与预设对应关系表进行比对,以确定所述风力发电机组的净空超限分级控制等级,其中,所述预设对应关系表为不同风速和发电功率组合下净空阈值和净空变化率阈值的对应关系表;根据所述净空超限分级控制等级,执行对应的超限分级控制。通过本方案可以提高净空预警的及时性。

一种风力机迎背风状态切换控制方法

NºPublicación:  CN121738813A 27/03/2026
Solicitante: 
江苏新扬新材料股份有限公司
CN_121738813_PA

Resumen de: CN121738813A

本发明公开了一种风力机迎背风状态切换控制方法,包括以下步骤:S1:监测所述风力机在当前运行状态下的风速;S2:基于至少两个不同时间尺度的风速监测结果进行状态决策,所述状态决策包括:A1:基于第一风速监测结果与第一阈值的比较,判断是否满足降载控制条件;A2:以及基于第二风速监测结果与第二阈值的比较,判断是否满足运行状态切换条件;S3:根据所述状态决策的结果,控制所述风力机执行相应的操作。本发明通过在小风速时切换至迎风状态运行、大风速时切换至背风状态运行,同时针对极端风况启动降载控制,既规避了传统迎风式风力机叶片与塔架碰撞的安全风险,又弥补了传统背风式风力机发电效率低的缺陷,实现了不同风况下安全性与发电效益的兼顾。

一种风机变桨与偏航控制方法和系统

NºPublicación:  CN121738818A 27/03/2026
Solicitante: 
华电电力科学研究院有限公司
CN_121738818_PA

Resumen de: CN121738818A

本申请涉及一种风机变桨与偏航控制方法和系统,其中,该方法包括:在风电机组的不同负荷工况下,分别计算得到每个相邻偏航角度之间的第一发电性能差异;在风电机组的不同负荷工况下,分别计算得到每个相邻桨距角度之间的第二发电性能差异;在风电机组的同一当前负荷工况下,基于第一发电性能差异和第二发电性能差异,确定偏航控制策略与变桨控制策略的优先执行顺序。通过本申请,实现了对不同负荷工况下偏航和变桨的发电能力评价,基于两种控制策略所带来的发电性能差异,合理确定策略执行优先级以有效提高机组的发电性能,解决了如何利用变桨与偏航来提高风电机组发电性能的问题。

一种可快速反应的通用柔性辅助拖航装置及其施工方法

NºPublicación:  CN121734584A 27/03/2026
Solicitante: 
中国电建集团贵州工程有限公司
CN_121734584_PA

Resumen de: CN121734584A

本发明公开了一种可快速反应的通用柔性辅助拖航装置,应用于浮式风机拖航系统,所述拖航系统包括浮式风机基础、浮式风机及拖拽船,所述风机基础包括多个风电基础桩,相邻的风电基础桩之间通过连杆固定连接。通过姿态感知组件实时监测、控制系统精准指令、动力组件动态调节的闭环控制,实现从被动辅助到主动稳定的技术跨越,可快速响应风浪流导致的姿态变化,提供针对性回复力,有效避免浮式风机基础大幅偏转及倾覆风险,无需在机位点进行压载调整,显著降低施工难度。

一种基于风电安装施工的远程智能监测系统

NºPublicación:  CN121740148A 27/03/2026
Solicitante: 
中建二局第二建筑工程有限公司
CN_121740148_A

Resumen de: CN121740148A

本发明涉及施工监测技术领域,尤其涉及一种基于风电安装施工的远程智能监测系统,包括:用以采集施工过程中的环境数据和施工数据,包括设置在安装船上的风速传感器、波浪传感器,以及设置在吊装叶片上的姿态传感器、振动传感器;数据分析模块,其与所述数据采集模块相连,用以根据采集的数据计算获取环境风险指数和叶片移动过程中的稳定性指数,并基于所述环境风险指数与预设风险指数的比对结果确定施工模式,以及基于所述稳定性指数判定施工是否合格或确定监测策略;控制模块,其与所述数据分析模块相连,用以调整施工策略和监测策略。本发明提高了施工的安全性。

一种风力发电机运行状态监测方法及系统

NºPublicación:  CN121743907A 27/03/2026
Solicitante: 
华能西藏雅鲁藏布江水电开发投资有限公司
CN_121743907_PA

Resumen de: CN121743907A

本发明公开了一种风力发电机运行状态监测方法及系统,涉及风力发电机与数据分析技术领域,包括采集电能运行参数数据进行预处理,提取特征值拼接高维特征向量;基于高维特征向量进行相似度分析和降维,得到高维特征向量在二维空间中的初始位置,并计算高维特征向量间的二维相似概率,定义目标函数进行迭代更新,输出二维位置集合,构建拓扑节点集合,计算节点的邻域关系及拓扑能量值,生成拓扑地形图进行节点聚类,得到健康簇和异常簇;本发明可实现风力发电机运行状态的动态聚类识别,并能够实现风力发电机运行状态的高精度、可视化监测与早期故障预警能够实现风力发电机运行状态的高精度、可视化监测与早期故障预警。

一种基于声场图神经网络的风机叶片内部损伤诊断方法

NºPublicación:  CN121738827A 27/03/2026
Solicitante: 
浙江大学台州研究院
CN_121738827_PA

Resumen de: CN121738827A

本发明公开了一种基于声场图神经网络的风机叶片内部损伤诊断方法,属于风电叶片状态检测技术领域,包括在机舱部署麦克风阵列,采集叶片旋转时的声学信号;以麦克风为节点,声波传播路径为边,构建空间声场图结构;使用物理约束图神经网络PC‑GNN提取非线性声学特征;基于自监督训练对比学习生成损伤嵌入向量;输出损伤概率热力图及定位信息。本发明通过在机舱部署定向麦克风阵列,构建声波传播的空间图结构;设计物理约束图神经网络PC‑GNN,嵌入声学波动方程作为正则化项;采用自监督对比学习解决损伤样本稀缺问题;最终输出叶片内部损伤的定位热力图。

用于制造风力涡轮机叶片或风力涡轮机叶片区段的方法和磨削设备

NºPublicación:  CN121752424A 27/03/2026
Solicitante: 
西门子歌美飒可再生能源公司
CN_121752424_PA

Resumen de: TW202516105A

A method for manufacturing a wind turbine blade, comprising the steps (a) Manufacturing a raw wind turbine blade (1) by lamination of one or multiple layers of fiber material, wherein the raw wind turbine blade (1) comprises at least one groove (2) running at least with a directional component along a spanwise direction (S); (b) Filling the at least one groove (2) with a hardenable filler material (3) so that a filled groove (21) is provided; (c) Providing a grinding apparatus (4) - comprising a tool head (41) with at least one grinding means (411, 415), - wherein the tool head (41) is moveable at least along the spanwise direction (S), - and wherein a shape of the tool head (41) is adaptable at least with respect to a plane running perpendicular to the spanwise direction (S); (d) Placing the grinding means (411,415) of the tool head (41) on a section of the filled groove (21); (e) Adapting the shape of the tool head (41) so that it corresponds with a shape of a cross-section of an airfoil geometry of the wind turbine blade at a given spanwise position; (f) Moving the tool head (41) in the spanwise direction (S), thereby continuously grinding of filler material (3) with the grinding means (411,415). The method allows for an automation of currently manually executed grinding steps and thus both increases production speed and lowers costs for wind turbine blades.

一种风电机组共振区间的控制方法

NºPublicación:  CN121738819A 27/03/2026
Solicitante: 
东方电气自动控制工程有限公司
CN_121738819_PA

Resumen de: CN121738819A

本发明公开了一种风电机组共振区间的控制方法,包括:在目标机组的实际转速满足共振调整条件的情况下,根据目标机组在对应的机位排布中的实际位置,确定目标机组的尾流区间;机位排布中的机组均处于同一方向线上;在目标机组的外部风向处在尾流区间的情况下,根据预设尾流风向共振转速系数和共振中心转速确定尾流风向转速区间,按照尾流风向转速区间控制目标机组;在目标机组的外部风向未处在尾流区间的情况下,根据预设非尾流风向共振转速系数和共振中心转速确定非尾流风向转速区间,按照非尾流风向转速区间控制目标机组。可见,通过结合目标机组在机位排布中的实际位置精准识别尾流区间,实现了共振区域的动态适配与精细化控制。

一种智能偏航系统及智能偏航控制方法

NºPublicación:  CN121738812A 27/03/2026
Solicitante: 
太原重工股份有限公司
CN_121738812_A

Resumen de: CN121738812A

本发明属于风能发电控制技术领域,公开了一种智能偏航系统及控制方法,该智能偏航系统包括风电机组偏航模块、偏航检测模块、液压控制模块,风电机组偏航模块包括风速风向仪、偏航电机、偏航减速机、偏航制动器、偏航轴承,偏航检测模块包括设置在电气控制柜中的电流互感器,对偏航电机的电流值进行实时监测,液压控制模块包括连通于偏航制动器的比例溢流阀,根据实时监测到的偏航电机电流值控制比例溢流阀的开口范围来降低或增加偏航制动器的压力,从而无极调节偏航制动器液压阻尼力矩。上述技术方案在实现对偏航制动器液压阻尼力矩无极可调的同时,实现了对机舱的平稳偏航和可靠制动。

基于MPC的风机运行优化控制方法

NºPublicación:  CN121738817A 27/03/2026
Solicitante: 
华电(宁夏)能源有限公司新能源分公司
CN_121738817_PA

Resumen de: CN121738817A

本发明公开了一种基于MPC的风机运行优化控制方法,具体涉及风机运行优化控制技术领域,通过实时采集风场环境、风机状态、机组载荷及电网适配多维度数据,构建融合多工况动态特性的MPC预测模型,建立尾流影响最小、功率跟踪精准、载荷损耗低、电网适配优的多目标优化函数,经带约束MPC求解器输出最优控制指令,并通过“预测‑控制‑反馈‑更新”闭环机制动态调整模型参数与权重。本发明所述的基于MPC的风机运行优化控制方法,提升了动态风况适配性与控制精度,兼顾发电效率、设备寿命与电网稳定性,适用于复杂工况下风电场高效稳定运行。

叶片腹板、叶片腹板制造方法、叶片和风力发电机组

NºPublicación:  CN121738835A 27/03/2026
Solicitante: 
北京金风科创风电设备有限公司
CN_121738835_PA

Resumen de: CN121738835A

本申请提供了一种叶片腹板、叶片腹板成型方法、叶片和风力发电机组。所述叶片腹板包括腹板面板和位于所述腹板面板端部的翻边,所述腹板面板包括:腹板芯材;第一蒙皮,包括多层第一铺层,铺设在所述腹板芯材的第一侧,并且具有延伸超过所述腹板芯材的端部的第一铺层延伸部;第二蒙皮,包括多层第二铺层,铺设在所述腹板芯材的第二侧,所述第一侧和所述第二侧相对;多层所述第一铺层延伸部中的一部分在所述腹板芯材的端部翻折到所述腹板芯材的第二侧,与所述多层第二铺层叠置,并位于所述多层第二铺层和所述腹板芯材之间。

用于制造风力涡轮机叶片的壳区段的方法以及用于制造风力涡轮机叶片的壳区段的组装架

NºPublicación:  CN121752421A 27/03/2026
Solicitante: 
西门子歌美飒可再生能源公司
CN_121752421_PA

Resumen de: TW202523970A

Method for manufacturing a shell section (17, 28, 53), particularly a half shell section, having a desired section geometry, wherein the shell section (17, 28, 53) is adapted to constitute a section of a wind turbine blade to be produced, wherein the method comprises the steps: - providing several preform elements (18, 29, 51), each comprising a stack of layers of fiber mats fixated to each other, - providing an assembly rack (1, 27, 50) with several supporting elements (7) which are arranged in a geometry which corresponds to the section geometry, - arranging the preform elements (18, 29, 51) on the supporting elements (7) side-by-side such that the preform elements (18, 29, 51) are relatively positioned to each other in a geometry which corresponds to the section geometry, and - adhering adjacent preform elements (18, 29, 51) with each other to constitute the shell section (17, 28, 53).

一种用于光伏板的环保型自动清洁装置

NºPublicación:  CN121749890A 27/03/2026
Solicitante: 
天天绿能科技有限公司
CN_121749890_PA

Resumen de: CN121749890A

本发明公开了一种用于光伏板的环保型自动清洁装置,包括支撑架,设置在支撑架上可移动的扫刷件,设置在支撑架旁侧的风力组件,以及连接扫刷件和风力组件的转能机构;所述风力组件用于捕获风能,并通过所述转能机构转化为动能,驱动扫刷件在支撑架上沿预设清扫路径移动,以对光伏板的向光面清扫;支撑架上设置有施力啮合部,扫刷件上设置有受力啮合部;扫刷件在支撑架上移动时,施力啮合部和受力啮合部相互啮合构成致动结构,使扫刷件的刷毛部滚动接触光伏板的向光面;本发明借助转能机构将风能转化为驱动扫刷件移动的动能,根据自然风力自动启动,实现常态化清扫作业,无需人工参与,特别适用于荒漠地区。

一种漂浮平台的偏航主动调节系统及方法

NºPublicación:  CN121734607A 27/03/2026
Solicitante: 
中国交通建设股份有限公司南方分公司
CN_121734607_PA

Resumen de: CN121734607A

本发明提供一种漂浮平台的偏航主动调节系统及方法,所述偏航主动调节系统包括监测单元锚索控制系统和三个锚系单元,且三个锚系单元分别安装于漂浮平台的三个直线型浮筒,锚系单元包括直线导轨、移动式锚机和锚索,直线导轨沿着直线型浮筒长度方向延伸,移动式锚机能够沿着直线导轨移动,并能够锁定在直线导轨上位置,锚索一端安装于移动式锚机,另一端设有设置于水底面的锚固件,移动式锚机能够收回或者放出锚索;相邻两个锚系单元的直线导轨之间的夹角为60°;控制系统与三个锚系单元的移动式锚机都控制相连;监测单元与控制系统通讯相连,包括用于获取波浪的周期和方向的波浪监测机构、以及用于监测漂浮平台方向的平台角度检测机构。

齿轮箱的润滑结构、齿轮箱、传动链及风力发电机组

NºPublicación:  CN121739089A 27/03/2026
Solicitante: 
上海电气风电集团股份有限公司

Resumen de: CN121739089A

本发明公开了一种齿轮箱的润滑结构、齿轮箱、传动链及风力发电机组,涉及风力发电机齿轮箱领域。该润滑结构用于润滑与主轴配合的齿轮箱,齿轮箱包括的行星包上设有行星轴、齿轮和输送润滑行星轴上的轴承和齿轮润滑油的第一、二进油通路,润滑结构还包括包含第一、二管路和转接组件的供油组件,第一、二管路分别与第一、二进油通路连通;转接组件设在齿轮箱外且转接组件的出油口分别与第一、二管路连通,进油口与外部进油管连通以获取润滑油。本申请提供的上述结构替代了传统齿轮箱行星包的分油环润滑结构,既解决了因分油环动静间隙设计不合理引发的润滑油泄漏问题,又降低了主轴变形给润滑结构带来的运行风险,有效提升润滑的可靠性与稳定性。

一种基于ESP32的海上风电水下作业机器人磁力抛载装置

NºPublicación:  CN121734635A 27/03/2026
Solicitante: 
福建省福能海峡发电有限公司

Resumen de: CN121734635A

本发明涉及水下机器人技术领域,提供一种基于ESP32的海上风电水下作业机器人磁力抛载装置,解决传统水下作业机器人在下潜和穿越表层强扰动水流时能耗高、难以支撑长时间作业的问题。本发明包括:控制模块,安装于机器人主体框架上;电磁铁,安装于机器人底部,包括失电型电磁铁及动力电缆,所述动力电缆一端与失电型电磁铁连接,另一端与所述控制模块连接;磁力钥匙,用于插入所述控制模块外壳预设位置,其内部设置的强磁体能够使所述干簧管导通以启动所述控制模块;一次性载荷,用于在作业前吸附在所述失电型电磁铁上;本发明通过挂载一次性载荷使机器人能够靠重力下潜,省去了水下机器人作业中最耗能的环节,有效延长作业时间。

浮式风机平台内置式复合阻尼抑振装置

NºPublicación:  CN121739051A 27/03/2026
Solicitante: 
哈尔滨工业大学(深圳)(哈尔滨工业大学深圳科技创新研究院)

Resumen de: CN121739051A

本发明公开了浮式风机平台内置式复合阻尼抑振装置,属于风电技术领域。核心筒带动横向滑板在横向滑轨内滑动连接,横向滑板上安装有限位柱,限位柱贯穿安装有横向调谐质量阻力器,横向调谐质量阻力器沿着限位柱滑动,限位柱与核心筒的外壁碰撞连接,通过横向弹簧使横向调谐质量阻力器做往返运动。本装置可以有效提升浮式风机平台的稳定性,其核心创新在于多场耦合控制机制,通过阻尼网隔板配合阻尼流体特性,实现能量快速耗散。装置以阻尼系统为核心单元,结合调谐质量阻尼器、调谐液柱阻尼器、弹簧以及隔板协等关键组件,通过多部件协同作用形成能量耗散,大幅提升平台运动能量的耗散效率。

一种风电机舱罩用防松防转的紧固件

NºPublicación:  CN121738980A 27/03/2026
Solicitante: 
江苏常友环保科技股份有限公司

Resumen de: CN121738980A

本发明涉及风电机舱罩技术领域,特别是一种风电机舱罩用防松防转的紧固件,包括罩体,所述罩体外侧设置有盖板,所述盖板通过方颈螺栓与六角薄螺母,所述六角薄螺母外侧套接有罩体,所述罩体的内侧通过垫圈与六角锁紧螺母连接。本发明实现了真正的单侧操作,提高了装配效率,降低了人工成本,从机理上分别解决了螺栓转动和螺母松动两个独立但又关联的技术问题,防松防转效果显著优于传统紧固件。

一种基于激光传感技术的在线风机叶片不平衡检测方法

NºPublicación:  CN121738834A 27/03/2026
Solicitante: 
华北水利水电大学
CN_121738834_PA

Resumen de: CN121738834A

本发明涉及风力发电机组状态监测领域,提供一种基于激光传感技术的在线风机叶片不平衡检测方法。针对传统振动分析法信号传递路径长、易受干扰等问题,通过在塔筒外壁竖向布置激光传感器阵列,实现非接触式实时测量去解决这类问题。核心方法基于叶片间相对变形分析:计算同一测量周期内两两叶片在相同测点的相对变形差,构建平均变形量和最大变形量指标,与预设阈值比较实现故障诊断。通过所有传感器数值计算,判断不平衡则发出短期警告;设定连续m个旋转周期内出现n次异常的阈值,以区分瞬时干扰与真实故障。该方法在线、实时、高精度,具有抗干扰强、定位准、维护成本低等优势,保障风机安全稳定运行。

叶根预埋组件和风电叶片

NºPublicación:  CN121738809A 27/03/2026
Solicitante: 
远景能源有限公司
CN_121738809_PA

Resumen de: CN121738809A

本公开涉及一种叶根预埋组件和风电叶片,风电叶片包括:叶根预埋组件,叶根预埋组件包括呈叶根连接件和叶片预埋件,叶根连接件的一端设有第一连接端,叶根连接件的另一端设有第二连接端,叶片预埋件的一端设有第三连接端,第一连接端和第三连接端互锁,以限制叶片预埋件相对叶根连接件沿轴线运动;第一铺层和第二铺层,第一铺层铺设在叶片预埋件的外周面,第二铺层铺设在叶片预埋件的内周面;叶片预埋件与第一铺层的弹性模量差值小于叶根连接件与第一铺层的弹性模量差值,和/或,叶片预埋件与第二铺层的弹性模量差值小于叶根连接件与第二铺层的弹性模量差值。本公开提供的技术方案,可以降低层间分离,提高风电叶片的叶根的承载能力。

一种用于输电线路状态监测的混合发电装置及其制作方法

NºPublicación:  CN121749624A 27/03/2026
Solicitante: 
广西电网有限责任公司电力科学研究院
CN_121749624_PA

Resumen de: CN121749624A

本发明公开了一种用于输电线路状态监测的混合发电装置及其制作方法,包括风驱动组件、底座、外壳以及电磁发电机。风驱动组件提供动力;底座设置有半齿轮传动结构,半齿轮传动结构包括主轴转子、两个半齿轮轴以及两个齿条,齿条的两端设置有挡板;风驱动组件驱动连接有主轴转子,主轴转子的另一端通过齿轮与两半齿轮轴啮合传动连接,两齿条呈十字交叉设置与两半齿轮轴对应高度的两个半齿轮啮合传动连接;挡板背离齿条的表面设置有叠层摩擦纳米发电机;电磁发电机部分转动连接于主轴转子,用于同步转动产生电流。该装置利用半齿轮传动机构,高效地将旋转风能转换为水平往复运动,以低传动比产生稳定的双向动能输出。

一种通信塔与社会塔双转用延伸抱杆

NºPublicación:  CN121738415A 27/03/2026
Solicitante: 
浙江千帆网络通信有限公司
CN_121738415_PA

Resumen de: CN121738415A

本发明公开一种通信塔与社会塔双转用延伸抱杆,包括:通信模组,包括信号中枢以及能源中枢,所述信号中枢用于保障保障 5G/6G 通信、应急通信覆盖,所述能源中枢用于集成绿色能源供给与储能,实现自给自足以及反哺周边的功能;社会模组,包括感知中枢和服务中枢,所述感知中枢用于实施采集环境、交通、安全数据,所述服务中枢用于一共便民交互、应急响应、社区服务功能;本发明结构简单,让每一座转用塔都成为 “小而全” 的城市智慧微枢纽,既盘活了现有基础设施资源,又为城市治理、公共服务、居民生活提供了全新的解决方案,真正实现 “一塔多用、一塔多能、一塔多赢”。

用于风电远程监控的动态阈值自适应报警方法及系统

NºPublicación:  CN121738828A 27/03/2026
Solicitante: 
华电甘肃能源有限公司景泰分公司

Resumen de: CN121738828A

本发明公开了一种用于风电远程监控的动态阈值适应报警方法及系统,其中方法包括:根据风电机组的历史振动频率确定其老化程度,根据风电机组的历史运行温度和历史润滑油粘度确定每个季节对风电机组的环境影响权重,并根据该环境影响权重得到当前季节对风电机组的当前影响权重;然后根据该当前影响权重和风电机组的老化程度对预设报警阈值进行优化,以得到优化报警阈值,并根据该优化报警阈值和风电机组的实时检测数据判断风电机组是否存在异常。由于本发明的技术方案在对风电机组进行报警的过程中,同时考虑到了风电机组的设备老化情况和季节变化的影响,因此与现有技术相比,可以提高对风电机组异常报警的准确性和可靠性。

漂浮式风机的控制方法、装置、电子设备及存储介质

NºPublicación:  CN121734611A 27/03/2026
Solicitante: 
中车启航新能源技术有限公司

Resumen de: CN121734611A

本发明提供一种漂浮式风机的控制方法、装置、电子设备及存储介质,涉及漂浮式风机设计技术领域,该方法包括:获取风险监测层采集的漂浮式风机的监测数据,所述监测数据包括系泊张力、浮体倾斜角和倾斜加速度中的至少一个;在所述监测数据符合风险条件的情况下,控制所述漂浮式风机按照分舱注水策略进行下沉,以躲避风险。本发明融合多维度传感数据进行多源协同诊断,可以降低误触发概率,确保自沉指令仅在真实危机时启动;通过主动自沉机制,在发生位移碰撞前即沉降至安全水深,彻底阻断事故链扩散路径;本发明独创分舱注水控制策略;通过分舱注水策略可以降低水流冲击对浮体结构的损伤风险,为后续复位创造有利条件。

具有涡轮机叶片应变控制的风力涡轮机

NºPublicación:  CN121752811A 27/03/2026
Solicitante: 
西门子歌美飒可再生能源公司
CN_121752811_PA

Resumen de: TW202516108A

The present invention relates to a wind turbine (1) with a wind turbine blade strain control, comprising a tower (2), a nacelle (3), a rotor (4), a hub (5), a plurality of wind turbine blades (6), a generator (7) and a controller (8). The wind turbine blades (6) comprise a root section (9), engaging the hub (5), a tip end section (10) and an intermediate section (11) between the root section (9) and the tip end section (10). The wind turbine blades (6) comprise a spar-cap (12), extending between the root section (9) and the tip end section (10). The wind turbine blade (6) comprises a first electrical path (13) from the root section (9) of the wind turbine blade (6) to the tip section (10) of the wind turbine blade (6), a second electrical path (14) from the tip section (10) to the root section (9) and an electrical time-domain reflectometry device (15) for performing electrical time-domain reflectometry measurements within the first electrical path (13) and the second electrical path (14). The invention also relates to a method for determining a strain of a wind turbine blade (6).

用于风力涡轮机的叶片、风力涡轮机和制造方法

NºPublicación:  CN121752809A 27/03/2026
Solicitante: 
西门子歌美飒可再生能源创新与技术有限公司
CN_121752809_PA

Resumen de: WO2025045597A1

Blade for a wind turbine, wind turbine and method for manufacturing A blade (3) for a wind turbine (1), comprising: a first and a second blade segment (7, 8) connected to each other using connecting elements (13); and a fairing (18) having an airfoil-shaped cross-section (19) and an opening (39, 40) for accessing the connecting elements (13). The fairing, by way of the opening, gives easy access to the connecting elements. This access can be used by operators during assembly and/or maintenance of the blade.

铺层布置结构

NºPublicación:  CN121752420A 27/03/2026
Solicitante: 
西门子歌美飒可再生能源公司
CN_121752420_PA

Resumen de: TW202513967A

The invention describes a layup arrangement (1) for use in a method of moulding a wind turbine rotor blade (2), comprising a number of hanging preforms (10), each comprising a shaped body (10B) formed from a plurality of reinforcement fibre sheets (10L) bonded by a previously activated binder (B), and a hang-off portion (10H) for hanging the shaped body (10B) from the upper edge of a mould (M2); and a number of holding means (11) provided at a tooling surface (4), each holding means (11) arranged to engage with a hang-off portion (10H) of a hanging preform (10). The invention further describes a method of manufacturing a wind turbine rotor blade (2) using such a layup arrangement (1).

一种漂浮式风机安装辅助装置及方法

NºPublicación:  CN121734604A 27/03/2026
Solicitante: 
广西蓝水海洋工程有限公司
CN_121734604_PA

Resumen de: CN121734604A

本发明提供一种漂浮式风机安装辅助装置及方法,涉及漂浮式风机领域。该漂浮式风机安装辅助装置及方法,包括浮箱以及固定漂浮结构的定位装置,所述浮箱的顶部固定连接有固定柱,所述固定柱的外表面固定有连接横杆,所述连接横杆远离浮箱的一端固定连接有中心连接件,中心连接件的内部设置有定位装置,所述中心连接件的顶部焊接固定有固定底座。该漂浮式风机安装辅助装置及方法,漂浮基础结构通过电机驱动收线机构来张紧固定绳,利用固定绳的牵引主动增加漂浮结构的吃水深度;另一方面,利用其张紧力抑制漂浮体的波浪运动,显著减少其晃动幅度,从而为后续的基础焊接等精密操作提供一个稳定的工作平台。

一种风电机组的桨距角控制方法、装置、系统及存储介质

NºPublicación:  CN121738821A 27/03/2026
Solicitante: 
国电联合动力技术有限公司
CN_121738821_PA

Resumen de: CN121738821A

本申请公开了一种风电机组的桨距角控制方法、装置、系统及存储介质,所述方法包括:对当前实际桨距角引入随机扰动,以生成候选桨距角;构建桨距角后验分布概率函数;根据实际桨距角、候选桨距角和所述桨距角后验分布概率函数,确定对应的后验分布概率值;根据所述实际桨距角和候选桨距角的后验分布概率值确定候选桨距角的接受概率;根据所述候选桨距角的接受概率确定当前的预测桨距角;循环上述过程至预设次数,并确定所有预测桨距角的平均值为最终预测桨距角;根据所述最终预测桨距角对风电机组进行控制。采用本申请所提供的方案可以提高风机的动态响应效率。

双风轮单齿轮箱传动链传动系统和双风轮风力发电机

NºPublicación:  CN121738825A 27/03/2026
Solicitante: 
华力绿能科技研究(珠海)有限公司
CN_121738825_PA

Resumen de: CN121738825A

本发明提供一种双风轮单齿轮箱传动链传动系统和双风轮风力发电机,包括:第一风轮组件、第二风轮组件、第一传动组件、中间级行星轮系、高速级行星轮系、第二传动组件及电力输出组件;中间级行星轮系包括第一内齿圈、第一行星架以及第一太阳轮轴;第一传动组件的一端与第二风轮组件传动连接,第一传动组件的另一端与第一内齿圈的外圈啮合;第一风轮组件驱动第一行星架转动;中间级行星轮系包括与箱体固定连接的第二内齿圈、第二行星架以及第二太阳轮轴;第一太阳轮轴的一端驱动第二行星架转动;第二太阳轮轴且远离中间级行星轮系的一端通过第二传动组件与电力输出组件传动连接。实现了前、后风轮的解耦控制,提高了系统的稳定性。

一种水平布置式双风轮专用的传动链传动结构

NºPublicación:  CN121738824A 27/03/2026
Solicitante: 
华力绿能科技研究(珠海)有限公司
CN_121738824_PA

Resumen de: CN121738824A

本发明提供了一种水平布置式双风轮专用的传动链传动结构,包括有箱体,箱体两端分别设置有可转动且对称布置的第一风轮和第二风轮,箱体内还设置有发电机和调速电机,箱体内可转动的设置有第一主传动轴和第二主传动轴,第一主传动轴与第一风轮通过第一多级行星轮系驱动机构连接,且第一主传动轴与发电机通过第一输出机构连接;第二主传动轴与第二风轮通过第二多级行星轮系驱动机构连接,且第二主传动轴与调速电机通过第二输出机构连接,第一主传动轴和第二主传动轴通过换向合流机构连接。该传动结构规避了特殊工况下的功率反流风险,减少额外能量损耗,且使扭矩分配更均匀,降低了传动连接部位的受力集中,提升了传动系统整体稳定性。

风电机群协同偏航及变桨控制方法、系统及控制器

NºPublicación:  CN121738816A 27/03/2026
Solicitante: 
陕西华电新能源发电有限公司
CN_121738816_PA

Resumen de: CN121738816A

本发明提供风电机群协同偏航及变桨控制方法、系统,包括:根据风电机组坐标位置和风向数据确定,根据各机组在虚拟投影坐标系中的相对位置关系,将满足预设尾流影响条件的机组配对;前导机组对入流风多层扫描,获取不同高度层级的风速数据,生成风切变状态信号和湍流强度信号;响应机组处于并网状态且前导机组处于预设风速区间,前导机组根据响应机组相对方位执行偏航诱导策略;当前导机组检测到风切变状态信号或湍流强度信号触发预设阈值,计算风流从前导机组传输至响应机组的时间延迟,生成带有时间戳的变桨前馈指令并发送至响应机组,响应机组在到达时间延迟时执行变桨动作。本发明能同时提升全场总发电量并降低机组载荷。

一种适应不同路况的风力发电叶片输送架

NºPublicación:  CN121734800A 27/03/2026
Solicitante: 
南京圣耀新能源科技有限公司
CN_121734800_PA

Resumen de: CN121734800A

本发明提供一种适应不同路况的风力发电叶片输送架,涉及风电叶片运输技术领域,包括:定位组件,所述定位组件由前固定机构和后约束机构组成,定位组件能够实现对风电叶片前端与输送托板之间的连接固定,同时还能够对风电叶片的中后段起到约束作用,从而避免风电叶片后续运输过程中因路面起伏出现大幅晃动的现象发生,运输稳定高效,能够适应不同路况下进行行进输送,解决了现有风力发电叶片的输送架仅能够固定风力发电叶片的前端,这种单一固定方式难以平衡叶片整体的受力稳定性,在运输过程中风电叶片的中后段容易因为晃动而损坏的问题。

用于涡流发生器的安装设备、安装系统和安装方法

NºPublicación:  CN121752390A 27/03/2026
Solicitante: 
西门子歌美飒可再生能源公司
CN_121752390_PA

Resumen de: WO2024212199A1

The invention relates to a mounting device, a mounting system and a mounting method for vortex generators. The mounting device comprises: a mounting template having, a pressing surface, and two lateral surfaces located on both sides of the pressing surface; a plurality of annular seals attached to the two lateral surfaces, the annular seals being configured to abut against the surface of the blade during mounting the vortex generators, so as to form a plurality of closed chambers among the two lateral surfaces, the annular seals and the surface of the blade; and a pressure source device connected to the chambers, and configured to apply vacuum pressure into the chambers during mounting the vortex generators such that the pressing surface presses the base plates against the surface of the blade, so as to adhere the base plates onto the surface of the blade.

一种基于云边协同的风机叶片机器人维护方法

NºPublicación:  CN121738838A 27/03/2026
Solicitante: 
上海亿为科技有限公司
CN_121738838_PA

Resumen de: CN121738838A

本发明涉及风机叶片维护技术领域,具体涉及一种基于云边协同的风机叶片机器人维护方法,包含以下步骤:首先部署由云端系统、边缘节点与风机叶片维护机器人构成的云边协同维护系统;再通过机器人的高清摄像头、超声波传感器等采集叶片表面图像、缺陷深度、振动及温度数据;随后机器人将数据传至边缘节点,边缘节点预处理数据后,依据预设阈值判断是否生成本地维护指令,不满足则传至云端;云端结合大数据分析与AI缺陷预测模型生成全局指令,经边缘节点验证后由机器人执行;最后边缘节点反馈维护结果,云端复盘并更新模型参数,本方法通过云边协同实现高效数据处理与精准决策,提升维护效率与质量,降低成本。

风力发电机的叶片及风力发电机

NºPublicación:  CN121738810A 27/03/2026
Solicitante: 
北京比特大陆科技有限公司
CN_121738810_PA

Resumen de: CN121738810A

本公开提供一种风力发电机的叶片及风力发电机,叶片包括叶片本体和气流通道,叶片本体包括沿第一方向相对设置的第一表面和第二表面,第一表面和第二表面能够交替切换为迎风状态;气流通道开设于叶片本体,气流通道包括进风口和出风口,进风口设置于第一表面,出风口设置于第二表面,气流通道用于在第一表面处于迎风状态的情况下引导气流贴合第二表面。

一种基于序列二次规划算法的导管架式海上电气平台优化方法

NºPublicación:  CN121744431A 27/03/2026
Solicitante: 
中国电建集团华东勘测设计研究院有限公司
CN_121744431_PA

Resumen de: CN121744431A

本发明提供一种基于序列二次规划算法的导管架式海上电气平台优化方法,包括如下步骤:S1、建立参数化的海上电气平台结构分析模型;S2、采用等效静力荷载法计算海上电气平台所受的环境载荷;S3、建立海上电气平台优化模型,包括目标函数、约束函数;S4、采用序列二次规范算法进行优化设计;S5、对最优结构进行动力分析,判断其在动力载荷工况下是否满足约束条件,若满足,优化结束,若不满足,则人工调整不满足约束的构件尺寸,直至满足约束条件。本发明方法采用序列二次规划算法,优化效率高,满足工程优化需求,可实现在风、浪、流加载下考虑桩土相互作用的海上结构物的尺寸优化,在保证结构稳定性、安全性的前提下更进一步降低成本。

用于使用人工智能来改善风力涡轮转子叶片质量的系统和方法

NºPublicación:  CN121738826A 27/03/2026
Solicitante: 
通用电气维诺瓦基础设施技术有限责任公司
CN_121738826_PA

Resumen de: CN121738826A

本发明涉及用于使用人工智能来改善风力涡轮转子叶片质量的系统和方法。具体而言,一种用于改善风力涡轮的转子叶片的质量的方法包括在转子叶片的制造期间或之后,在转子叶片在风力涡轮上被投入操作之前,经由控制器收集与转子叶片相关的数据。数据包括视觉数据和多谱红外(IR)数据。该方法还包括经由控制器融合来自视觉数据和多谱IR数据的图像数据,以确定转子叶片上或转子叶片内的一个或多个异常的发生。此外,该方法包括经由控制器自动地生成包括一个或多个异常的转子叶片的质量报告。此外,该方法包括经由控制器基于质量报告对转子叶片或另一转子叶片的后续制造过程实施纠正措施。

基于主轴编码器角度测量的风力发电机组自动盘车系统

NºPublicación:  CN121738836A 27/03/2026
Solicitante: 
福氏工业(北京)有限公司
CN_121738836_PA

Resumen de: CN121738836A

本发明公开了一种基于主轴编码器角度测量的风力发电机组自动盘车系统,包括:主轴编码器:用于实时测量风轮的绝对旋转角度或相对角位移,并将该测量得到的角度信号发送至主控制器;变流器:接收驱动指令,并驱动发电机作为电动机运行,产生旋转力矩来拖动风轮并实现盘车锁定对准;内置有自动盘车控制模块的主控制器;自动盘车控制模块包括:角度记录单元、目标位置计算单元和运动控制单元;本发明在维护模式下重构为一个高精度的位置伺服控制系统,用于执行自动盘车任务,实现了“一机两用”,完全实现人机隔离,维护人员无需靠近旋转部件,可远程操作,从根本上杜绝人身伤害事故;且显著减少机组停机时间;同时对准精度高,避免反复微调。

一种集成风光潮汐发电与监测功能的深海养殖网箱

NºPublicación:  CN121730225A 27/03/2026
Solicitante: 
鲁东大学
CN_121730225_PA

Resumen de: CN121730225A

本发明公开了一种集成风光潮汐发电与监测功能的深海养殖网箱,涉及深海网箱养殖领域;该集成风光潮汐发电与监测功能的深海养殖网箱,通过在箱体上设置风力发电件、光伏发电件和水轮机,风力发电件和光伏发电件能够分别收集风能和太阳能存储在控制室中,而且即使是在无风暗光时节,设备也能够通过开合闸门和水轮机配合采集潮汐能,能够拓宽养殖网箱的能源采集通道,提升设备能源采集量;风力发电件、光伏发电件和水轮机配合使用,通过多方面回收自然能源,能够有效降低养殖网箱对化石能源的依赖,减少养殖网箱对环境造成的污染。

基于改进YOLOv5的风机缺陷检测方法和装置

NºPublicación:  CN121746755A 27/03/2026
Solicitante: 
华电电力科学研究院有限公司
CN_121746755_A

Resumen de: CN121746755A

本发明公开了一种基于改进YOLOv5的风机缺陷检测方法和装置。该方法通过获取用于风机缺陷检测的数据集;构建改进YOLOv5网络框架,改进YOLOv5网络框架包括:在YOLOv5网络的主干网络和特征加强网络中施加注意力机制CBAM,以及在预测部分采用EIOU Loss结合Focal Loss得到Focal EIOU Loss;将风机缺陷检测的数据集输入改进YOLOv5网络框架进行训练,得到训练收敛的改进YOLOv5网络;将训练收敛的改进YOLOv5网络用于风机缺陷实时检测中,得到检测结果。本发明能够提高对风机缺陷特征的提取能力,加快模型的收敛能力,提升检测精度的技术效果。

一种风机叶片连接法兰面自适应调平装置及工艺

NºPublicación:  CN121738823A 27/03/2026
Solicitante: 
连云港合创节能科技有限公司
CN_121738823_PA

Resumen de: CN121738823A

本发明公开了一种风机叶片连接法兰面自适应调平装置及工艺,本发明涉及风机叶片的安装领域,包括装置本体,所述装置本体的外壁设置有感知组件,装置本体内腔的正中转动连接有第一丝杆,限位座的顶部通过万向轴安装有环形基座,环形基座的顶部安装有连接法兰;装置本体的内腔中活动连接有基座,基座的顶部安装有第一斜楔块,第一斜楔块的顶部贴合有第二斜楔块,第二斜楔块的内腔中活动连接有升降块。本发明所述的一种风机叶片连接法兰面自适应调平装置及工艺,通过设置的一级调平顶杆和二级液压伸缩柱,使得装置本体既具备应对大倾角偏差的快速行程,也拥有实现纳米级精平的能力,调平范围和精度远超单一原理的装置。

用于控制风力涡轮的速度的系统和方法

NºPublicación:  CN121738814A 27/03/2026
Solicitante: 
通用电气维诺瓦基础设施技术有限责任公司
CN_121738814_PA

Resumen de: US12416288B1

A method for controlling a wind turbine includes receiving, via a control system, at least one speed measurement from at least one sensor on a drivetrain of the wind turbine. The method also includes receiving, via the control system, at least one rate gyroscope speed measurement from at least one rate gyroscope on the drivetrain of the wind turbine. The method also includes calculating, via the control system, an offset for the at least one rate gyroscope speed measurement as a function of the at least one speed measurement. The method also includes adjusting, via the control system, the at least one rate gyroscope speed measurement by the offset. The method also includes implementing, via the control system, a control action for the wind turbine based on the adjusted at least one rate gyroscope speed measurement.

一种高空多层道路连接楼房防火、防震结构

NºPublicación:  CN121738075A 27/03/2026
Solicitante: 
易铭
CN_121738075_PA

Resumen de: CN121738075A

本发明公开了一种应用于高楼防震、防火的多层道路结构,应用于高楼住户的出行方便,遇地震、火灾时的逃生路径和城市立体绿化和高层楼房防震灭火。包括道路采用双立柱支撑,在双立柱上连接短梁、长梁、拉杆、拉绳,构成高空多层防震道路,在其上辅设路面护栏,并对应每层楼住户及公共场所出入口设分支路连接,采用防震式连接构成能防火防震的高楼户外多层防震道路,与电梯连接在户外,在道路的两边,延伸短梁和横梁,增加长梁,构成绿化平台,其上设置供水、控水、排水、装置及盛水盛土装置,种植以吊腾为主的各类植物。同时将供水装置连接每一住户及公共场所分支路,增设控水及水带等消防灭火装置,使高层楼房能防震防火,并能及时自行灭火。

一种风电机组超长柔性叶片的滑轮组行星复合阻尼减振器及其控制方法

NºPublicación:  CN121739050A 27/03/2026
Solicitante: 
三峡大学
CN_121739050_PA

Resumen de: CN121739050A

本发明提供了一种风电机组超长柔性叶片的滑轮组行星复合阻尼减振器及其控制方法,属于风电设备领域。该系统包括滑轮组及其组件、太阳惯容装置、行星惯容装置与壳体板件。当叶片挥舞、摆振与扭转时,其弯曲变形通过钢丝缆绳传递至滑轮组,将振动位移放大并驱动惯容系统高速旋转,在惯容效应与多种阻尼元件协调作用下,系统可将惯容装置的惯性力转化为反向减振力,并通过油液循环、颗粒碰撞等多路径高效耗散能量。通过弹性连接,行星惯容复合系统实现阻尼特性的调整与宽频抑振,显著降低风机叶片的振动幅值,提高风机叶片的使用寿命与可靠性。

一种双螺旋风力回收发电增程式电动车

NºPublicación:  CN121734119A 27/03/2026
Solicitante: 
矩阵汽车有限公司
CN_121734119_PA

Resumen de: CN121734119A

本发明属于电动汽车节能与增程领域,尤其是一种双螺旋风力回收发电增程式电动车,旨在解决现有新能源汽车尤其是纯电动汽车能耗较高、续航能力受限的技术问题。该设计通过双螺旋风力增程器的应用,可在车辆在行驶过程中基于风阻收集从而驱动双螺旋风力增程器发电,来实现能量回收,同时通过对车速的检测可适应性调整双螺旋风机叶片的角度来改变风阻从而达到发电与制动的协同。经测算,本设计可将新能源轿车百公里电耗较之常规车型降低40%‑60%,具备显著的节能与续航优势。

一种半潜式风机的风能利用系数确定方法

NºPublicación:  CN121738832A 27/03/2026
Solicitante: 
中国海洋大学
CN_121738832_A

Resumen de: CN121738832A

本发明公开了一种半潜式风机的风能利用系数确定方法,涉及海洋科学的技术领域,其技术方案要点是:(1)、根据微元点的叶素平面及流速三角形,确定风机叶轮微元点处的实际风速;(2)、确定入流角;(3)、修正轴向诱导因子a和径向诱导因子b;(4)、根据浮式平台六自由度运动关系,确定不规则波的浪载荷对风速产生实质影响的因素为纵荡、垂荡、纵摇,然后确定风速;(5)、确定风浪载荷耦合影响下的有效叶尖速比;(6)、将风能利用系数(Cp)的影响因素分解为叶尖速比和桨距角,由此得到Cp的修正公式。

一种风电塔架外壁爬升设备

NºPublicación:  CN121734539A 27/03/2026
Solicitante: 
江苏陆海工程科技有限公司
CN_121734539_PA

Resumen de: CN121734539A

本发明公开了一种风电塔架外壁爬升设备,涉及风电塔架维护检测技术领域,包括车架,所述车架包括上侧的盖板和下侧的底架,所述底架两侧分别连接有一组爬壁机构,所述盖板上安装有摆臂机构,所述车架内部设置有辅助吸附机构,所述辅助吸附机构包括旋转内筒,所述旋转内筒外部套设有活动外筒,所述活动外筒底部固定有底板,所述底板上设置有四组吸附组件,所述吸附组件包括吸附块一、吸附块二以及吸附块三,所述吸附块一、所述吸附块二以及所述吸附块三内部对应开设有中间长槽以及侧边长槽,所述中间长槽以及所述侧边长槽内部活动设置有导杆,所述导杆一端与所述吸附块三连接固定。本发明具有卓越的自适应吸附能力,提高了爬壁的稳定性。

一种风机智能诊断方法、系统、设备及介质

NºPublicación:  CN121743961A 27/03/2026
Solicitante: 
华润电力技术研究院有限公司
CN_121743961_PA

Resumen de: CN121743961A

本发明公开了一种风机智能诊断方法、系统、设备及介质,涉及风电设备诊断技术领域,方法包括:于风机端对多源传感器信号进行可变速率采集,得到原始数据;基于原始数据提取并物理对齐多尺度特征,得到物理特征向量;基于物理特征向量训练带物理约束的自编码器,得到本地模型参数;将本地模型参数经加权聚合与域适应,得到全局诊断模型,融合异常评分、分类概率及群体偏离度,得到故障概率分布与不确定性指标;基于故障概率分布与不确定性指标,通过时序逻辑规则库推理,得到诊断结论。本发明能够实现风电机组早期故障高敏感、跨域强泛化、诊断高置信且可解释。

基于调谐多液柱阻尼器的漂浮式风机阻尼控制装置与方法

NºPublicación:  CN121739054A 27/03/2026
Solicitante: 
河海大学
CN_121739054_PA

Resumen de: CN121739054A

本发明公开了基于调谐多液柱阻尼器的漂浮式风机阻尼控制装置与方法。所述系统包括:安装在浮动平台上的调谐多液柱阻尼器,其包含多个通过水平管道连接的垂直液柱,所述水平管道上设有流量控制阀以及控制器。所述方法通过统计线性化技术将TLMCD的非线性水晃动阻尼力等效为线性阻尼项,建立适用于模态分析的线性化模型;提取模态频率与模态阻尼比关键参数,对比主导模态阻尼比差异,揭示模态阻尼比对TLMCD减振性能的影响机制;基于所述最优阻尼参数,通过动态调节所述流量控制阀的水头损失系数,实现连续控制。本发明克服了TLMCD非线性阻尼的分析与设计难题,提升了半潜式风力机在复杂随机风浪激励下的振动抑制性能和系统鲁棒性。

未知Cp曲线的风机有效风速估计方法、系统、设备及介质

NºPublicación:  CN121744839A 27/03/2026
Solicitante: 
三峡智控科技有限公司武汉理工大学
CN_121744839_PA

Resumen de: CN121744839A

本公开属于风力发电技术领域,提供了一种未知Cp曲线的风机有效风速估计方法、系统、设备及介质,所述方法包括建立气动转矩与风速的关系函数;基于扩展卡尔曼滤波算法,推导气动转矩表达式;将气动转矩与风速的关系函数和气动转矩表达式联立方程,使用牛顿迭代法求解风速估计值。本公开的方法无需已知Cp曲线,计算快速、鲁棒性强,即使在复杂湍流工况下也能保持高精度,仅需常规运行数据,大幅提升了风机控制精度和发电效率。

一种风电叶片根部连接结构

NºPublicación:  CN121738808A 27/03/2026
Solicitante: 
华能山西综合能源有限责任公司华能左权羊角风电有限责任公司
CN_121738808_PA

Resumen de: CN121738808A

本发明公开了一种风电叶片根部连接结构,涉及风力发电技术领域,包括轮毂,所述轮毂的表面安装有连接组件,所述连接组件包含连接半环、弧形卡板、卡柱、卡头和第一弹簧,所述轮毂表面的上下两端设置有两个相对应的连接半环,两个连接半环的左右两端设置有四个相对应的开口,四个开口内部的前后两侧开设有两个相对应的卡槽,所述开口的内部设置有弧形卡板,所述弧形卡板的前侧开设有两个相对应的滑口,所述滑口的内部设置有两个相对应的卡头,所有的卡头分别卡接在对应的卡槽的内部,两个卡头之间固定有第一弹簧,所述弧形卡板的侧面固定有卡柱,能够实现快速安装、可靠载荷传递、一键式拆卸和抗振动稳定性。

用于将壳体区段布置在叶片模具上以用于制造风力涡轮机的叶片或叶片的半壳体的方法,以及用于将壳体区段布置在叶片模具上以用于制造风力涡轮机的叶片或叶片的半壳体的组装架

NºPublicación:  CN121752422A 27/03/2026
Solicitante: 
西门子歌美飒可再生能源公司
CN_121752422_PA

Resumen de: TW202516107A

Method for arranging a shell section (20, 35, 53), particularly a half shell section, on a blade mold (22) for manufacturing a blade or a half shell of a blade of a wind turbine, wherein the method comprises the steps: - providing several preform elements (21, 36, 51), each comprising a stack of layers of fiber mats fixated to each other, - arranging the preform elements (21, 36, 51) on supporting elements (8) of a frame (2, 50) of an assembly rack (1) and adhering the preform elements (21, 36, 51) with each other to constitute the shell section (20, 35, 53), - gripping the shell section (20, 35, 53) to the frame (2, 50) by gripper elements (17) of the assembly rack (1), - turning the frame (2, 50) and the shell section (20, 35, 53) upside down by at least one swivel joint (26) which rotatably connects the frame (2, 50) with a stand (3) of the assembly rack (1), - lifting the shell section (20, 35, 53) and placing it on the blade mold (22), wherein the frame (2, 50) being disconnected from the stand (3) is used as a lifting yoke.

用于从模具的内表面移除箔或带的方法和设备

NºPublicación:  CN121752425A 27/03/2026
Solicitante: 
西门子歌美飒可再生能源公司
CN_121752425_PA

Resumen de: TW202525546A

A method for removing a foil (17) or tape (46) from an inner surface (14) of a mold (7) for casting a wind turbine blade (3) or a part thereof, the foil (17) or tape (46) comprising a non-stick material (18) on the inside which is configured not to react with resin during casting (S1, S2, S3), and an adhesive material (19) on the outside to stick to the inner surface (14) of the mold (7), the method comprising: (a) locally heating (S5) the foil (17) or tape (46) to soften the adhesive material (19); and (b) exerting (S6) a pulling force on the foil (17) or tape (46) to remove the foil (17) or tape (46) from the inner surface (14) of the mold (7). By way of locally heating the foil or tape, it is no more required to rely on the remaining heat of the mold after removal of the cast wind turbine blade. This has ergonomic advantages and makes the process more flexible.

一种集装箱式风光储一体化发电塔及部署方法

NºPublicación:  CN121738418A 27/03/2026
Solicitante: 
恒运石化(烟台)有限公司
CN_121738418_PA

Resumen de: CN121738418A

本发明公开了一种集装箱式风光储一体化发电塔及部署方法,该发电塔包括标准集装箱模块垂直拼接的塔筒结构,塔筒结构顶部设有风力发电单元,底部侧方设有储能单元,储能单元顶部和/或塔筒结构外表面设有光伏发电单元。塔筒内的内部加强筋与减震装置形成的“刚柔耦合”抗振体系,能够降低关键部位振动30%以上;塔筒底层水箱作为“配重‑温控”复用单元,既能实现抗倾覆配重,又能为储能单元提供热管理;储能单元采用标准化集装箱设计,支持快速接驳与脱离,可作为独立移动电源使用。本发明能够实现模块化快速部署,并在台风、地震及宽温域等恶劣环境下稳定运行。

风电叶片覆冰-气动耦合损失在线评估系统

NºPublicación:  CN121744650A 27/03/2026
Solicitante: 
福建亿山能源管理有限公司
CN_121744650_PA

Resumen de: CN121744650A

本发明公开了风电叶片覆冰-气动耦合损失在线评估系统,包括数据采集模块、覆冰特征识别模块、气动性能估算模块、耦合损失评估模块、自学习校正模块及评估输出模块。该方法通过实时采集风电机组的运行数据和环境参数,利用功率曲线偏移与气象特征计算覆冰指标,并基于气动反演模型求取升力系数、阻力系数及气动效率,定量评估覆冰引起的气动耦合损失。系统采用滑动时间窗自学习算法实现模型参数的动态修正,可在不同工况下保持高精度识别。该方法以软件模块形式嵌入风电机组控制器或SCADA系统中运行,无需额外传感器即可实现在线评估。本发明具有实时性高、成本低、精度高和适应性强等优点,适用于风电机组覆冰监测及气动性能退化评估领域。

一种轻量化海上换流平台的变量计算方法及相关设备

NºPublicación:  CN121744412A 27/03/2026
Solicitante: 
华能(浙江)能源开发有限公司清洁能源分公司中国华能集团清洁能源技术研究院有限公司
CN_121744412_PA

Resumen de: CN121744412A

本发明属于海上换流平台技术领域,公开了一种轻量化海上换流平台的变量计算方法及相关设备;其中,所述一种轻量化海上换流平台的变量计算方法包括以平台构件尺寸、平台构件数量、电气设备外形参数和电气设备布局参数中的至少一项为变量,对所述变量进行灵敏度分析,基于灵敏度分析结果,采用代理模型方法对目标函数和约束函数进行优化求解,得到变量的近似最优解;本发明能够实现快速灵敏度辨识与全局自动化寻优,显著提升了计算效率与质量,有力推动了海上换流平台轻量化水平的进步。

一种减震自复位风电塔筒摩擦柱脚节点

NºPublicación:  CN121738422A 27/03/2026
Solicitante: 
中国铁塔股份有限公司文昌市分公司
CN_121738422_PA

Resumen de: CN121738422A

本发明涉及风力发电建筑技术领域,提供一种减震自复位风电塔筒摩擦柱脚节点。包括:钢底板基础、摇摆摩擦柱脚节点、聚乙烯涂层摩擦副以及预紧力控制装置。钢底板基础固定在场地上,摇摆摩擦柱脚节点作为连接设计在风电塔筒与钢地板基础之间,聚乙烯涂层材料镀在阶梯型摩擦面,通过镀锌预紧力控制装置连接。钢底板基础与柱脚连接处等距间隔设置周向摩擦副,以限制柱脚连接处的最大剪力以及倾覆力矩。本发明利用对称摩擦连接的特性和摇摆自复位机理,提高了结构整体的稳定性并实现了地震能量的耗散,同时借助预紧力控制装置与结构重力作用,实现塔筒震后自复位,最终形成低损伤的风电塔筒结构体系。

基于多数据融合与Informer模型的风电场形变智能预测方法

NºPublicación:  CN121738829A 27/03/2026
Solicitante: 
南宁师范大学北极星云(广西)数字技术有限公司
CN_121738829_PA

Resumen de: CN121738829A

本发明公开了一种基于多数据融合与Informer模型的风电场形变智能预测方法,风电场形变监测技术领域,通过采集绝对三维位移时间序列、高频相对位移时间序列、Insar时间序列和气象时间序列等数据,依据绝对三维位移时间序列并采用卡尔曼滤波算法对高频相对位移时间序列进行实时校正与补偿,输出得到高频精细形变序列,接着将其与Insar时间序列中的长期趋势项进行融合得到全尺度融合形变序列后与气象时间序列融合得到用于模型训练与预测的多变量时间序列样本,然后基于Informer模型构建形变预测模型并进行训练得到优化模型,最后根据实时数据进行风电场形变的预测。本发明解决了现有技术中难以实现对风机结构全尺度、高精度、长时序形变进行可靠预测与动态预警的难题。

塔筒模具、预制方法、预埋部件、塔筒预制结构和塔筒

NºPublicación:  CN121733699A 27/03/2026
Solicitante: 
上海风领新能源有限公司
CN_121733699_PA

Resumen de: CN121733699A

本发明提供一种塔筒模具、预制方法、预埋部件、塔筒预制结构和塔筒,包括具有预制空间的模具主体,预制空间用于供塔筒的预制结构主体的预制,模具主体设置有分别与模具主体的外部空间和预制空间连通的预埋开口,预埋开口用于供需要一部分设置在预制空间内且预埋在预制结构主体中的预埋部件的另一部分穿过且延伸至模具主体的外部空间。本发明便于预埋部件预埋在塔筒的预制结构主体中,并且当预埋部件为塔吊扶壁预埋件时,塔吊可以通过与预埋部件保留在塔筒的预制结构主体外的部分连接来与塔筒连接,从而能通过塔筒对塔吊进行支撑,在减少塔吊吊装意外发生概率,提高塔吊吊装稳定性和安全性的同时,降低吊装难度,减少塔吊自重,节省吊装成本。

一种风电塔筒用多向滑块式质量阻尼器

NºPublicación:  CN121739036A 27/03/2026
Solicitante: 
重庆佑航能源科技有限公司
CN_121739036_PA

Resumen de: CN121739036A

本发明涉及风电塔筒阻尼领域,具体涉及一种风电塔筒用多向滑块式质量阻尼器,包括中部连接块和N个阻尼机构,每个阻尼机构均包括阻尼杆、滑块、导向套和底座,阻尼杆的一端与中部连接块连接,阻尼杆的另一端与底座连接,底座与风电塔筒的内壁固定连接,滑块通过导向套与阻尼杆滑动连接,N根阻尼杆于同一水平面均匀布置在中部连接块周向,且以中部连接块为圆心呈中心对称分布,相邻阻尼杆轴心与中部连接块中心的连线间的夹角为360°/N。采用本技术方案,有利于实现良好的多向自适应能力,还能在有限空间内实现高效的能量转换与振动抑制,兼顾结构轻量化与安装可行性。

ROTOR STATION FOR TESTING WIND TURBINE BLADES MATERIAL COMPOSITION

NºPublicación:  HRP20241293A1 27/03/2026
Solicitante: 
DUREK DANIJEL [HR]
\u0110urek, Danijel

Resumen de: HRP20241293A1

A three-blade rotor station is described that can detect stresses in the blades and relate them to their reliability and durability. A hot-wire anemometer is used for remote detection of air turbulence caused by blade rotation and its output data is compared with King's law, and it is proposed to expand the standardisation of blade material testing.

一种树型垂直轴风机集群式多功能充电站

NºPublicación:  CN121734727A 27/03/2026
Solicitante: 
李容天刘天宇
CN_121734727_PA

Resumen de: CN121734727A

本发明提供一种树型垂直轴风机集群式多功能充电站,属于新能源供电设备技术领域。该充电站采用树型仿生结构与八面立柱外形设计,自上而下依次包括无人机充电平台组件、风力发电部分及基体底座;基体底座内设有储能电池,外部配置防水五孔插头,用于为地面用电设备供电;风力发电部分由两层交错排布的风力发电单元组成,每层含四个垂直轴风力发电机模组,模组采用S型五叶结构,通过树枝分叉式排布减少气流干涉;无人机充电平台组件内置无线充电模组,为无人机提供无线补给。集成风力发电、储能、陆空双方位供电功能,结构模块化、安装便捷、成本低廉,有效提升空间利用率与能源利用效率,适用于道路两侧、物流园区、农林作业区等多种场景。

風車監視装置、風車監視システム、風車監視方法、およびプログラム

NºPublicación:  JP2026054376A 26/03/2026
Solicitante: 
株式会社東芝
JP_2026054376_A

Resumen de: JP2026054376A

【課題】風車の状態に応じて適切に点検することが可能な風車監視装置を提供する。【解決手段】一実施形態に係る風車監視装置は、複数の機器と、複数の機器を収容するナセルと、を有する風車の監視装置である。この風車監視装置は、風車の設置場所における今後の風況を予測する風況予測処理部と、今後の風車の発電状況を予測する発電出力予測処理部と、複数の機器をセンシングしたセンシングデータと、風況の予測結果と、運転状況の予測結果と、を用いて、複数の機器の今後の運転状態を特定し、特定した運転状態に応じて複数の機器の中から点検対象機器を選定する判定処理部と、を備える。【選択図】図3

ADAPTIVE NOISE CONTROL OF WINDFARM

NºPublicación:  WO2026061593A1 26/03/2026
Solicitante: 
VESTAS WIND SYSTEMS AS [DK]
VESTAS WIND SYSTEMS A/S
WO_2026061593_A1

Resumen de: WO2026061593A1

The invention provides a method for controlling noise of wind turbines in a windfarm. Measured weather data measured noise data are obtained (O_WND) from a plurality of sensor nodes arranged at different positions in relation to the windfarm. Further, weather conditions (O_W_WT) are obtained at least at one wind turbine, e.g. from sensors/predictors in the wind turbine. The noise and weather data from the sensor nodes and wind turbine(s) along with distances (D) between at least some of the wind turbines and at least some of the sensor nodes are used to train a learning algorithm. Further, the learning algorithm is used to predict noise (P_N) at a position of one of the sensor nodes based on measured or predicted weather conditions at the windfarm. Next, extrapolating (EX_N) the predicted noise at said position of one of the sensor nodes to a predicted noise at a point of interest in surroundings of the windfarm. Further, changing mode of operation (C_M_O) of one or more wind turbines of the windfarm based on the predicted noise at the point of interest, especially if the predicted noise exceeds a noise limit for the point of interest P_I. The method allows compliance with noise limits e.g. by slightly re-orienting one or more wind turbines to reduce noise, if it is predicted that a noise limit is exceeded, and this only costs a slightly lower than optimal energy generation in a limited time period.

A NOVEL METHOD TO DESIGN AND FABRICATE AN INFLATABLE WIND TURBINE BLADE

NºPublicación:  WO2026061602A1 26/03/2026
Solicitante: 
ABDELMASEEH AMIR [EG]
ABDELMASEEH, Amir
WO_2026061602_A1

Resumen de: WO2026061602A1

As the demand for increased energy harvesting grows, wind turbine rotor diameters and blade lengths have been expanding. This, however, comes with rising manufacturing and transportation costs. Additionally, the non-recyclable nature of carbon fiber presents an environmental challenge. Consequently, there is a pressing need for innovative approaches in the design of large-scale wind turbine blades. The objective of this invention is to present a novel methodology for the design and fabrication of inflatable horizontal axis wind turbine blades. This approach incorporates critical geometrical and structural features, such as varying twist angles, trailing edges, and load-bearing structural components. The invention also outlines a robust, tested manufacturing process utilizing PVC-coated fabrics, resulting in blades that are significantly lighter and more energy-efficient. This proposed methodology is applicable to any wind turbine airfoil. For illustrative purposes, the NREL S822 airfoil is used as an example in the design and manufacturing of the inflatable blades

LAYER FOR INCREASING DAMPING ON WIND TURBINE BLADES

NºPublicación:  WO2026064499A1 26/03/2026
Solicitante: 
GULF WIND TECH LLC [US]
GULF WIND TECHNOLOGY, LLC
WO_2026064499_A1

Resumen de: WO2026064499A1

A system and method for manufacturing a hybrid composite laminate system. The method includes positioning a plurality of non-natural fiber layers comprising at least one of: glass fibers and carbon fibers, preparing at least one natural fiber layer, and positioning the at least one natural fiber layer adjacent to, and in contact with at least one of the plurality of non-natural fiber layers. The method also includes increasing a first structural damping coefficient of the hybrid composite laminate system to be more than a second structural damping coefficient of a reference composite laminate without the natural fiber layer.

FAULT DETECTION DEVICE AND FAULT DETECTION METHOD

NºPublicación:  WO2026062731A1 26/03/2026
Solicitante: 
NTT INC [JP]
\uFF2E\uFF34\uFF34\u682A\u5F0F\u4F1A\u793E
WO_2026062731_A1

Resumen de: WO2026062731A1

A fault detection device according to one embodiment of the present invention flies around an electric power facility and detects faults in the electric power facility, the fault detection device comprising: a measurement unit that measures the distance to the electric power facility and the shape of the electric power facility; a flight control unit that, on the basis of the results from the measurements made by the measurement unit, controls a flight path so that a constant distance from the electric power facility is maintained; a determination unit that determines noise data around the electric power facility while the flight control unit controls the flight path so that a constant distance from the electric power facility is maintained; and an assessment unit that assesses whether there is a fault in the electric power facility by comparing the noise data determined by the determination unit with noise data determined in advance for individual failure sites and noise data determined in advance for individual failure patterns.

FAULT DETECTION DEVICE AND FAULT DETECTION METHOD

NºPublicación:  WO2026062734A1 26/03/2026
Solicitante: 
NTT INC [JP]
\uFF2E\uFF34\uFF34\u682A\u5F0F\u4F1A\u793E
WO_2026062734_A1

Resumen de: WO2026062734A1

A fault detection device according to one embodiment of the present invention flies around an electric power facility and detects faults in the electric power facility, the fault detection device comprising: a measurement unit that measures the distance to the electric power facility and the shape of the electric power facility; a flight control unit that, on the basis of the results of the measurements made by the measurement unit, controls a flight path so that a constant distance from the electric power facility is maintained; a determination unit that determines noise data around the electric power facility while the flight control unit controls the flight path so that a constant distance from the electric power facility is maintained; and an assessment unit that assesses whether there is a fault in the electric power facility by comparing the noise data determined by the determination unit with prescribed reference data.

POLYESTER CORE MATERIAL AND PREPARATION METHOD THEREFOR, WIND TURBINE BLADE SKIN AND WIND TURBINE BLADE

NºPublicación:  WO2026061112A1 26/03/2026
Solicitante: 
SINOMA WIND POWER BLADE CO LTD [CN]
\u4E2D\u6750\u79D1\u6280\u98CE\u7535\u53F6\u7247\u80A1\u4EFD\u6709\u9650\u516C\u53F8
WO_2026061112_A1

Resumen de: WO2026061112A1

Provided in the present application are a polyester core material and a preparation method therefor, a wind turbine blade skin and a wind turbine blade. The polyester core material comprises a modified polyester, wherein the modified polyester material is obtained by introducing a chain segment of bisphenol A diglycidyl ether and a chain segment of methyl tetrahydrophthalic acid into a PET material, and controlling the molar ratio of the chain segment of bisphenol A diglycidyl ether to the chain segment of ethylene glycol to be 1: (10-50). A relatively high content of a group having a rigid structure and larger spatial internal resistance can be introduced into the PET material, such that the number-average molecular weight and the molecular-weight distribution of the PET material are in an appropriate range, the modified polyester molecules are difficult to move, and the heat resistance and mechanical properties of PET are also improved.

WIND TURBINE BLADE CONDUCTIVE FABRIC, SPAR CAP AND WIND TURBINE BLADE

NºPublicación:  WO2026060916A1 26/03/2026
Solicitante: 
SINOMA WIND POWER BLADE CO LTD [CN]
\u4E2D\u6750\u79D1\u6280\u98CE\u7535\u53F6\u7247\u80A1\u4EFD\u6709\u9650\u516C\u53F8
WO_2026060916_A1

Resumen de: WO2026060916A1

A wind turbine blade conductive fabric (307), a spar cap (305) and a wind turbine blade (300). The wind turbine blade conductive fabric (307) comprises first brained strands (100) and second braided strands (200), at least some of the plurality of first braided strands (100) comprise conductive materials, and the plurality of first braided strands (100) and the plurality of second braided strands (200) are interwoven with each other; the second braided strands (200) in a first interleaving region (101) and the second braided strands (200) in a second interleaving region (102) are placed on two sides of the first braided strands (100) in the thickness direction, and the first interleaving region (101) and the second interleaving region (102) comprise at least three second braided strands (200). The conductive fabric (307) can solve the technical problem of poor surface flatness of conductive fabric due to a braided structure of existing conductive fabric.

HANDLING SYSTEM FOR HANDLING SECTIONS OF A STRUCTURE

NºPublicación:  US20260084942A1 26/03/2026
Solicitante: 
NEIGHBOURS GREGORY JOHN [NZ]
NEIGHBOURS Gregory John
US_20260084942_A1

Resumen de: US20260084942A1

A handling system for assembling an elongate structure such as a wind tower from a plurality of sections thereof along a vertical axis, and methods for erecting said structure and aligning sections thereof. The handling system comprises a plurality of spaced apart interfacing elements for engaging a section to be handled and a jacking arrangement for moving the interfacing elements radially and vertically.

LUBRICATION RING, WIND TURBINE GEARBOX AND METHOD OF ASSEMBLY THEREOF

NºPublicación:  US20260085662A1 26/03/2026
Solicitante: 
ENVISION ENERGY CO LTD [CN]
ENVISION ENERGY TECH PTE LTD [CN]
Envision Energy Co., Ltd,
ENVISION ENERGY TECHNOLOGY PTE LTD
US_20260085662_A1

Resumen de: US20260085662A1

The present invention relates to a lubrication ring, a wind turbine gearbox, a method of assembly thereof and a wind turbine. The lubrication ring is formed by a number of ring segments that are positioned relative to each other in the circumference direction. The ring segments each have a first connection element and a second connection element, which are spaced apart to form a gap that takes up the thermal expansion of the ring segments. The lubrication ring forms at least one fluid channel for transferring lubrication fluid between a first gearbox part and a second gearbox part positioned relative to each other. Each ring segment has at least one mounting point for securing the ring segment to the first or second gearbox part and at least one first opening for guiding the lubrication fluid through the lubrication ring.

Method, System, and Device for Wind Speed Prediction and Layout optimization in Wind Power Generation

NºPublicación:  US20260085661A1 26/03/2026
Solicitante: 
SHANGHAI INVESTIGATION DESIGN & RES INSTITUTE CO LTD [CN]
Shanghai Investigation, Design & Research Institute Co., Ltd
US_20260085661_A1

Resumen de: US20260085661A1

A method, system, and device for wind speed prediction and layout optimization in wind power generation are provided. The method includes: obtaining a basic wind resource dataset of a target region; constructing a physics-informed neural network model based on the basic wind resource dataset; obtaining wind speeds data at a specific location in a velocity field based on the physics-informed neural networks and constructing a training dataset; training the physics-informed neural network model based on the training dataset; reconstructing a wind speed distribution within the velocity field and predicting wind speeds for a next time period with a wind farm using the trained physics-informed neural network model; and optimizing a layout of a wind turbine cluster based on a reconstructed wind speed distribution within the velocity field. The present application reconstructs a two-dimensional velocity field of the wind farm by training the PINN and enables accurate ultra-short-term wind speed prediction.

PLENUM RESIDENT WIND TURBINE SUSTAINABLE ENERGY GENERATING SYSTEM

NºPublicación:  US20260085658A1 26/03/2026
Solicitante: 
MILLS KIRK [US]
MILLS KIMBERLEY [US]
Mills Kirk,
Mills Kimberley
US_20260085658_A1

Resumen de: US20260085658A1

A plenum resident wind turbine sustainable energy generating system includes: a wind turbine assembly for installation within a heating, ventilating, and air conditioning (HVAC) unit, the wind turbine assembly including a rigid body with a plurality of blades mounted on an outer surface of the rigid body, the wind turbine assembly including a shaft positioned at an axis of the rigid body and configured for installation lengthwise perpendicularly to a flow of air within the HVAC unit; a generator in mechanical engagement with the shaft of the wind turbine assembly, the generator further including an electrical connector for coupling the generator to a battery or a power grid; and a computing device in wireless data communication with a software application program (App) running on a mobile device, the computing device being configured to control operation of the wind turbine assembly and generator based on controls received from the App.

ARRANGEMENT AND METHODS FOR INSTALLATION, CONSTRUCTION, REPLACEMENT OF PARTS, OR MAINTENANCE OF A WIND TURBINE

NºPublicación:  US20260085659A1 26/03/2026
Solicitante: 
WIND SPIDER AS [NO]
WIND SPIDER AS
US_20260085659_A1

Resumen de: US20260085659A1

An arrangement is for use in any of installing or replacing a part, maintaining, and constructing a wind turbine, the arrangement having a longitudinal structure at least partially supported on a wind turbine tower, a guide track connected to the longitudinal structure and a dolly arranged to follow the guide track along the longitudinal structure.

WIND TURBINE SYSTEM FOR POWER GENERATION

NºPublicación:  US20260085657A1 26/03/2026
Solicitante: 
PURUS POWER CORP [CA]
PURUS POWER CORPORATION
US_20260085657_A1

Resumen de: US20260085657A1

A flow driven turbine system is disclosed. The flow driven turbine system includes a flow consolidating conduit and a flow driven rotor assembly. The flow consolidating conduit is close sided and extends from a consolidating conduit upstream end to a consolidating conduit downstream end. The flow consolidating conduit includes a flow capture inlet at the consolidating conduit upstream end, and a plurality of flow partitions that subdivide a cross-sectional area of the flow consolidating conduit into three or more flow paths. Each flow partition and each flow path extend between the consolidating conduit upstream end and the consolidating conduit downstream end. Each flow partition has a partition downstream end located upstream of the consolidating conduit downstream end. At each partition downstream end, adjacent flow paths merge into a merged flow path. The three or more flow paths gradually merge into a single flow path at the consolidating conduit downstream end.

METHOD FOR OPERATING A WIND TURBINE, CONTROL SYSTEM AND WIND TURBINE

NºPublicación:  US20260085655A1 26/03/2026
Solicitante: 
NORDEX ENERGY SE & CO KG [DE]
Nordex Energy SE & Co. KG
US_20260085655_A1

Resumen de: US20260085655A1

The method is for operating a wind turbine having a rotor with at least one rotor blade, a tower and a pitch setting system. First information is provided which is representative for a bending moment of the rotor blade. Second information is provided which is representative for the wind turbulence intensity at the rotor. Third information is provided which is representative for a predetermined maximum allowed bending moment of the rotor blade. The maximum allowed bending moment depends on the wind turbulence intensity at the rotor. Fourth information is determined depending on the first, second and third information and is representative for whether the bending moment exceeds the maximum allowed bending moment. If so, an output signal is generated and configured to cause the pitch setting system to change the pitch angle of the rotor blade to reduce deflection of the rotor blade towards the tower when passing the tower.

SYNTHETIC INERTIA CONTROL METHOD AND SYSTEM OF A WIND TURBINE GENERATOR

NºPublicación:  US20260085656A1 26/03/2026
Solicitante: 
KOREA RENEWABLE ENERGY INST INC [KR]
Korea Renewable Energy Institute Inc
US_20260085656_A1

Resumen de: US20260085656A1

The present invention relates to a synthetic inertia control method that includes performing maximum power point tracking control, detecting a frequency deviation in a power system, and switching, when the frequency deviation is greater than a predetermined value, the maximum power point tracking control to temporary frequency support control, wherein the temporary frequency support control includes a first stage of calculating and controlling, for a predetermined first time period from a time point (conversion time point) at which the maximum power point tracking control is converted to the temporary frequency support control, an active power reference value that is increased from an original reference value according to the maximum power point tracking control at the conversion time point, and the increased active power reference value according to the temporary frequency support control is calculated as a function of the frequency deviation and a rotor speed of the wind turbine generator.

VERTICAL AXIS WIND TURBINE GUIDE AND ASSOCIATED SYSTEM AND METHOD

NºPublicación:  US20260085654A1 26/03/2026
Solicitante: 
YOUNGSTOWN STATE UNIV [US]
Youngstown State University
US_20260085654_A1

Resumen de: US20260085654A1

A system for utilizing wind generated by vehicles includes a vertical axis wind turbine and a plurality of guides configured to guide wind to the vertical axis wind turbine. The plurality of wind guides are aligned along a vehicle trajectory to capture more of the generated winds even after the vehicle has passed the turbine.

METHOD AND SYSTEM FOR DRIVETRAIN LOAD MITIGATION OF GRID-FORMING DOUBLY-FED INDUCTION GENERATOR-BASED WIND TURBINE GENERATORS BASED ON PHASE ANGLE FEEDFORWARD

NºPublicación:  US20260088626A1 26/03/2026
Solicitante: 
SHANDONG UNIV [CN]
SHANDONG UNIVERSITY
US_20260088626_A1

Resumen de: US20260088626A1

A method for drivetrain load mitigation of grid-forming (GFM) doubly-fed induction generator (DFIG)-based wind turbine generator (WTG) based on phase angle feedforward, wherein: acquiring active power of a GFM DFIG-based WTG; calculating difference value between acquired active power of GFM DFIG-based WTG and active power reference value; inputting difference value into GFM control to obtain output signal; adding output signal and reference frequency value of virtual synchronous coordinate system to obtain frequency of virtual synchronous coordinate system; integrating the frequency to obtain output value; multiplying additional damping active power reference value of GFM DFIG-based WTG by control gain of phase angle feedforward control to obtain product result; adding product result and output value to obtain angle of virtual synchronous coordinate system, and based on the angle, obtaining control quantity for generator output voltage phase; based on control quantity, adjusting phase of actual output voltage of GFM DFIG-based WTG by controlling rotor excitation current.

METHOD AND SYSTEM FOR UTILIZING WIND ENERGY IN MARICULTURE

NºPublicación:  US20260088619A1 26/03/2026
Solicitante: 
UNIV GUANGDONG OCEAN [CN]
GUANGDONG OCEAN UNIVERSITY
US_20260088619_A1

Resumen de: US20260088619A1

Disclosed are a method and system for utilizing wind energy in mariculture. The method includes performing fitting on a wind energy power time series and a historical actual wind energy power time series, obtaining a historical fitted wind energy power time series, inputting the historical fitted wind energy power time series into a wind energy power prediction model, and outputting a future wind energy power time series; inputting an obtained historical electricity consumption time series into an electricity consumption prediction model, and outputting a future electricity consumption time series; determining a future wind energy power shortage time series; and sequencing all electric devices in an offshore aquaculture platform based on priorities, obtaining an electric device sequence, and generating an electric device electricity consumption distribution strategy based on the future wind energy power shortage time series and the electric device sequence.

SYSTEM FOR SECURING CLIMBING STRUCTURES TO VERTICAL BODIES

NºPublicación:  US20260085660A1 26/03/2026
Solicitante: 
LEUNAMME TECH S L [ES]
LEUNAMME TECHNOLOGY S.L
US_20260085660_A1

Resumen de: US20260085660A1

A system for fastening climbing structures to vertical bodies, comprising fastening structures that allow a climbing structure to be moved in steps along a vertical body, such as a wind turbine tower, each fastening structure comprising a clamp jaw (1) with which it is pre-adjusted to the vertical body by a set of callipers (1.1), and a clamp (2) with which it is clamped to the vertical body by pads (4) which are joined to a hinged arm (6) and which are pressed by a webbing (7) against the surface of the vertical body.

Wind turbine blade, ladder support assembly, wind turbine and method for providing access to the interior of a hollow blade of a wind turbine

NºPublicación:  AU2026201701A1 26/03/2026
Solicitante: 
SIEMENS GAMESA RENEWABLE ENERGY AS
Siemens Gamesa Renewable Energy A/S
AU_2026201701_A1

Resumen de: AU2026201701A1

Abstract Wind turbine blade, ladder support assembly, wind turbine and method for providing access to the interior of a hollow blade of a wind turbine Wind turbine blade, comprising a hollow blade body with a blade root and a base plate arranged at a root-side end section of the blade, which base plate comprises a manhole through which the interior of the blade is accessible, wherein the base plate is provided with mounting means arranged at the or adjacent to the manhole and adapted to directly or indirectly mount at least one ladder to the base plate. wind turbine ar a r w i n d t u r b i n e

WIND TURBINE

NºPublicación:  AU2024352313A1 26/03/2026
Solicitante: 
GABRICI LEONELLO
GABRICI, Leonello
AU_2024352313_PA

Resumen de: AU2024352313A1

The present invention concerns a wind turbine (1 ) with a horizontal axis (X) which comprises a first rotor (13) having a center of rotation (130) and configured to rotate around a support rod (11 ) in a first direction of rotation arranged along an axis of rotation parallel to said horizontal axis (X), a second rotor (14) operatively coupled to said first rotor (13) and configured to rotate around said axis of rotation in said first direction of rotation, at least one further rotating member (15) operatively coupled to said support rod (11 ), a structure (3) having a first (33) and a second (34) vertical pillar sized to contain said first and second rotors, said at least one further rotating member (15) and said rod (11 ), a counter-rotation mechanism (12) arranged between said at least one further rotating member (15) and at least one of said first or second rotor, to invert the direction of rotation of said at least one further rotating member (15) with respect to said first and second rotors, said first rotor comprising a first plurality of blades (131 ), and said second rotor comprising a second plurality of blades (141 ), wherein said structure (3) comprises a conveyor (32) configured to convey the wind between a first blade (1ST, 14T) and a second blade (131", 141") of each of said plurality of blades, to modulate a rotation speed of at least one of said first and second rotor with respect to said at least one further rotating member (15).

A DEVICE FOR INSTALLING A BLADE ASSEMBLY, A ROTOR UNIT, A WIND-POWER PLANT, A METHOD FOR INSTALLING A BLADE ASSEMBLY, AND USE OF SUCH A DEVICE, ROTOR UNIT AND WIND-POWER PLANT

NºPublicación:  AU2024320285A1 26/03/2026
Solicitante: 
WORLD WIDE WIND TECH AS
WORLD WIDE WIND TECH AS
AU_2024320285_PA

Resumen de: AU2024320285A1

A device (10) for installing a blade assembly (12) at a rotor receiver unit (14) of a vertical axis wind turbine (3). The turbine is configured to be arranged at an elongated support pillar (5). The blade assembly comprises a blade (20) and a strut (22). The device comprises a first installation pivot (30) a second installation pivot (32), a third installation pivot (34) and a displacement arrangement (40) configured to hold and guide a displacement of one of the second installation pivot and the third installation pivot between a first position and a second position. The displacement of the second installation pivot or the third installation pivot is such that, in the first position, the second installation pivot or the third installation pivot is located further away from the first installation pivot than when the second installation pivot or third installation pivot is located in the second position.

Getriebeanordnung und Windkraftanlage

NºPublicación:  DE102024209146A1 26/03/2026
Solicitante: 
ZAHNRADFABRIK FRIEDRICHSHAFEN [DE]
ZF WIND POWER ANTWERPEN NV [BE]
ZF Friedrichshafen AG,
ZF Wind Power Antwerpen N.V

Resumen de: DE102024209146A1

Die Erfindung betrifft eine Getriebeanordnung für eine Windkraftanlage (10) mit einem Getriebe (22) und einer Rotorwellenanordnung. Das Getriebe (22) weist ein Getriebegehäuse (36) und einen in einem Innenraum des Getriebegehäuses (36) angeordneten Radsatz auf. Ein Drehelement (38) des Radsatzes bildet einen Antrieb des Getriebes (22) aus. Das Drehelement (38) ist mit einer Rotorwelle (16) der Rotorwellenanordnung permanent drehfest verbunden. Das Getriebegehäuse (36) und ein Rotorwellengehäuse (70) sind aneinander fixiert. Die Getriebeanordnung weist ein Dichtelement (72) auf. Das Dichtelement (72) ist dazu ausgebildet, das Getriebegehäuse (36) gegen ein Eindringen von Fremdstoffen aus dem Rotorwellengehäuse (70) abzudichten. Weiterhin ist das Dichtelement (72) dazu ausgebildet ist, eine Lageabweichung des Drehelements (38) relativ zu dem Getriebegehäuse (36) bei dem Abdichten zu kompensieren. Zudem bezieht sich die Erfindung auf eine Windkraftanlage (10).

Basis-Station

NºPublicación:  DE102025138557A1 26/03/2026
Solicitante: 
ENERKITE GMBH [DE]
EnerKite GmbH

Resumen de: DE102025138557A1

Eine Basis-Station (1) für eine Windkraftanlage (2) weist einen modularen Aufbau auf.

Werkzeug, System und Verfahren zum Bewegen einer Komponente in einer Gondel einer Windenergieanlage

NºPublicación:  DE102024127779A1 26/03/2026
Solicitante: 
NORDEX ENERGY SE & CO KG [DE]
Nordex Energy SE & Co. KG

Resumen de: DE102024127779A1

Ein Werkzeug zum Bewegen einer Komponente (113) in einer Gondel (106) einer Windenergieanlage (100), weist auf:- einen ersten Hebel (210) mit einem ersten Ende (211) und einem zweiten Ende (212),- einen zweiten Hebel (220) mit einem dritten Ende (221) und einem vierten Ende (222),- einen dritten Hebel (230) mit einem einem Mittelbereich (233),- wobei der erste Hebel (210) verschwenkbar mit dem dritten Hebel (230) verbunden ist und der zweite Hebel (220) verschwenkbar mit dem drittel Hebel (230) verbunden ist,- wobei das erste Ende (211) ortsfest relativ zu der Gondel (106) befestigbar ist und das dritte Ende (221) ortsfest relativ zu der Gondel (106) befestigbar ist beabstandet zu der ersten Halterung (201), sodass der Mittelbereich (233) sich entlang der ersten Richtung (121) bewegt, wenn sich der erste Hebel (210) und der zweite Hebel (220) verschwenken.

Triebflügel für eine Windkraftanlage und Windkraftanlage mit einem solchen Triebflügel

NºPublicación:  DE102024127416A1 26/03/2026
Solicitante: 
COLLING CLAUS [DE]
Colling, Claus

Resumen de: DE102024127416A1

Es ist ein Triebflügel (10) für eine Windkraftanlage offenbart, bei dem gegenüberliegende Breitseitenflächen (32, 34) über mindestens zwei in den Triebflügel (10) eingebrachte Öffnungen strömungstechnisch miteinander in Verbindung stehen, wobei den Öffnungen Funktionselemente (12) zugeordnet sind, die zur Strömungsbeeinflussung aus der jeweiligen Breitseitenfläche (32) heraus bewegbar sind, so dass die Funktionselemente (12) hierbei zunächst in eine jeweilige definierte Störposition gelangen, bei der die jeweilige Öffnung (36) verschlossen ist und wobei die Funktionselemente (12) bei weiterer Bewegung aus der jeweiligen Breitseitenfläche (32) heraus eine definierte Druckausgleichsposition erreichen, bei der eine jeweilige Öffnung (36) freigegeben ist.

SYSTEM AND METHOD FOR CONTINUOUS YAWING OF A WIND TURBINE WITHIN A CONSTRAINED YAW ANGLE SWEEP UPON DETECTION OF BLADE VIBRATIONS

NºPublicación:  WO2026063916A1 26/03/2026
Solicitante: 
GE INFRASTRUCTURE TECH LLC [US]
GE INFRASTRUCTURE TECHNOLOGY LLC
WO_2026063916_A1

Resumen de: WO2026063916A1

A system and method reduce vibrations in a blade mounted on a hub of a wind turbine rotor when the rotor is in a limited yaw capacity state with a defined allowable yaw sweep. An allowable yaw sweep is defined for the limited yaw capacity state. A sensor in communication with a controller monitors for vibrations in the blade with the rotor at an initial yaw position. Upon detection of vibrations, the controller determines a yaw sweep sector that is within and less than the allowable yaw sweep and issues a command to a yaw system to yaw the rotor in a continuous back and forth manner in the yaw sweep sector. The controller continues to monitor for vibrations in the blade during or after the continuous yawing of the rotor and stops the continuous yawing of the rotor when the blade vibrations reduce to below the threshold level.

Adapterstück zur Verbindung eines unteren, ringförmigen Betonturmabschnitts mit einem oberen, ringförmigen Stahlturmabschnitt sowie Turm mit einem Adapterstück

NºPublicación:  DE102024127388A1 26/03/2026
Solicitante: 
MAX BOEGL WIND AG [DE]
Max B\u00F6gl Wind AG
EP_4715142_PA

Resumen de: DE102024127388A1

Ein Adapterstück (1) zur Verbindung eines unteren, ringförmigen Betonturmabschnitts (2) mit einem oberen, ringförmigen Stahlturmabschnitt (3), insbesondere eines Windkraftturms (4) ist als Beton-Stahl-Verbundteil mit einem ringförmigen Stahlelement (5) und einem ringförmigen Betonelement (6) ausgebildet. Das ringförmige Stahlelement (5) umfasst einen oberen, insbesondere L-förmigen, Befestigungsflansch (7) zum Verbinden mit dem Stahlturmabschnitt (3). Das Adapterstück (1) umfasst eine Anlagefläche (8), mit der das Adapterstück (1) auf dem Betonturmabschnitt (2) anordenbar ist. Dabei weist das Betonelement (6) die Anlagefläche (8) auf und das ringförmige Stahlelement (5) weist einen unteren, insbesondere T-förmigen, Flansch (9) auf, welcher eine Oberseite (10) des Betonelements (6) bedeckt. Ein Turm mit einem unteren, ringförmigen Betonturmabschnitt (2) und einem oberen, ringförmigen Stahlturmabschnitt (3) weist ein solches Adapterstück (1) auf.

LOW SOLIDITY WIND TURBINE AMIABLE

NºPublicación:  WO2026063770A2 26/03/2026
Solicitante: 
CORTENERGY BV [NL]
CORTENERGY BV
WO_2026063770_A2

Resumen de: WO2026063770A2

A horizontal axis wind turbine, HAT wind turbine (151), for a bulk production of electricity from wind, comprising a tower (5), a nacelle (6), a generator, a rotor (152), and a blade (154), the rotor being rotatable about a rotor axis by the wind and having at least two blades, the rotor having a rotor solidity SOLrotor of maximally 0.05, the rotor configured to have a design tip speed ratio λdesign of at least 4, and an electric power coefficient CPE of at least 0.30, the rotor having a radius R and a diameter D which is at least 50m, the rotor further having an average radial solidity avgsol.25R in the radial range from 0.2R to 0.3R, and an average radial solidity avgsol.75R in the radial range from 0.7R to 0.8R, wherein the ratio between the average radial solidities avgsol.25R /avgsol.75R is one of: less than 2.00; less than 1.75; less than 1.50; less than 1.25; less than 1.00; less than 0.90; less than 0.75; less than 0.50; and less than 0.25.

WINCH APPARATUS

NºPublicación:  WO2026062275A1 26/03/2026
Solicitante: 
ENERKITE GMBH [DE]
ENERKITE GMBH
WO_2026062275_A1

Resumen de: WO2026062275A1

A winch apparatus (5) for a wind turbine (2) has a supporting structure (33) having a first supporting structure element with a receiving device for receiving a flying-vehicle starting device (6) extending along a longitudinal direction, a first drum for winding up a traction means which is connected to a flying vehicle, the first drum being mounted rotatably about a first axis of rotation, and a second drum for winding up a traction means which is connected to a flying vehicle, the second drum being mounted rotatably about a second axis of rotation, the axes of rotation of the drums being arranged in a fixed position relative to the receiving device (8).

METHOD AND ASSEMBLY FOR LOCATING AN ANOMALY IN A ROTOR BLADE OF A WIND TURBINE

NºPublicación:  WO2026061786A1 26/03/2026
Solicitante: 
WEIDMUELLER MONITORING SYSTEMS GMBH [DE]
WEIDM\u00DCLLER MONITORING SYSTEMS GMBH
WO_2026061786_A1

Resumen de: WO2026061786A1

The invention relates to a method for locating an anomaly in a rotor blade (6) of a wind turbine (1), said method having the following steps: - detecting airborne noise using at least one airborne noise sensor (11, 21, 31) arranged within the rotor blade (6); - detecting structure-borne noise using at least one structure-borne noise sensor (12, 22, 32) arranged in or on the rotor blade (6); - ascertaining times (tK, tL) at which an event during which airborne noise and structure-borne noise are emitted at an unknown source position in or on the rotor blade (6) is reflected in the detected airborne noise and in the detected structure-borne noise; - determining a time difference (Δt) between the times (tK, tL); and - ascertaining the source position on the basis of the time difference (Δt) and the positions of the airborne noise sensor (11, 21, 31) and the structure-borne noise sensor (12, 22, 32). The invention further relates to an assembly suitable for carrying out the method for locating an anomaly in a rotor blade (6) of a wind turbine (1).

BASE STATION

NºPublicación:  WO2026062276A1 26/03/2026
Solicitante: 
ENERKITE GMBH [DE]
ENERKITE GMBH
WO_2026062276_A1

Resumen de: WO2026062276A1

A base station (1) for a wind turbine (2) has a modular design.

WIND GEARBOX FOR A WIND TURBINE

NºPublicación:  WO2026061766A1 26/03/2026
Solicitante: 
FLENDER GMBH [DE]
FLENDER GMBH
WO_2026061766_A1

Resumen de: WO2026061766A1

The invention relates to a wind gearbox (118) for a wind turbine (110), having at least one planetary gearbox for transmitting and converting power generated by wind energy, wherein: the planetary gearbox has a plain bearing arrangement (10) for supporting a gearbox component; the plain bearing arrangement (10) has a workpiece produced from a weldable material and comprising, at least in a portion, a cylindrical bolt (12) and/or a hollow cylindrical hub, and has a plain bearing sleeve (20) fitted onto the bolt (12) or inserted into the hub; the plain bearing sleeve (20) has a plain bearing surface (24) facing away from the workpiece and has a weldable holding body (22) abutting the workpiece; the holding body (22) is welded to the workpiece along at least one fastening line extending in the circumferential direction; and a continuous weld seam (26), or a plurality of weld spots arranged in succession in the circumferential direction, is or are formed along the fastening line. By virtue of the plain bearing sleeve (20) being welded to the workpiece, a mechanically highly loadable plain bearing can be provided cost-effectively, making it possible to provide a cost-effective and highly loadable plain bearing arrangement (10) for use in industrial wind turbines (110).

ROTOR AZIMUTH ESTIMATOR

NºPublicación:  WO2026061733A1 26/03/2026
Solicitante: 
SIEMENS GAMESA RENEWABLE ENERGY AS [DK]
SIEMENS GAMESA RENEWABLE ENERGY A/S
WO_2026061733_A1

Resumen de: WO2026061733A1

The invention describes an azimuth estimator (1) for computing an estimate (αe) of the azimuth angle (20α) of the aerodynamic rotor (20) of a wind turbine (2), which azimuth estimator (1) comprises an input for receiving measurement values (270) of the rotational speed (20ω) of the aerodynamic rotor (20); an azimuth change computation module (10) for computing an azimuth angle change (100) on the basis of the measured rotor speed (270); and a summation unit (11, 13) configured to add at least the azimuth angle change (100) and a previously determined azimuth estimate (αeprev) to obtain an azimuth estimate (αe). The invention further describes a method of computing an estimate (αe) of the azimuth angle (20α) of the aerodynamic rotor (20) of a wind turbine (2).

Verfahren und Anordnung zur Lokalisierung einer Anomalie bei einem Rotorblatt einer Windenergieanlage

NºPublicación:  DE102024127164A1 26/03/2026
Solicitante: 
WEIDMUELLER MONITORING SYSTEMS GMBH [DE]
Weidm\u00FCller Monitoring Systems GmbH

Resumen de: DE102024127164A1

Die Erfindung betrifft ein Verfahren zur Lokalisierung einer Anomalie in einem Rotorblatt (6) einer Windenergieanlage (1), mit den folgenden Schritten:- Erfassen von Luftschall mittels mindestens einem innerhalb des Rotorblatts (6) angeordneten Luftschallsensor (11, 21, 31);- Erfassen von Körperschall mittels mindestens einem in oder an dem Rotorblatt (6) angeordneten Körperschallsensor (12, 22, 32);- Ermitteln von Zeitpunkten (tK, tL), zu denen sich ein Ereignis, bei dem Luftschall und Körperschall an einer unbekannten Ursprungsposition in oder an dem Rotorblatt (6) emittiert werden, in dem erfassten Luftschall und in dem erfassten Körperschall widerspiegelt;- Bestimmen einer Zeitdifferenz (Δt) zwischen den Zeitpunkten (tK, tL); und- Ermitteln der Ursprungsposition anhand der Zeitdifferenz (Δt) und den Positionen des Luftschallsensors (11, 21, 31) und des Körperschallsensors (12, 22, 32).Die Erfindung betrifft weiterhin eine zur Durchführung des Verfahrens geeignete Anordnung zur Lokalisierung einer Anomalie in einem Rotorblatt (6) einer Windenergieanlage (1).

Hohlrad mit Rotornabe

NºPublicación:  DE102024209144A1 26/03/2026
Solicitante: 
ZAHNRADFABRIK FRIEDRICHSHAFEN [DE]
ZF WIND POWER ANTWERPEN NV [BE]
ZF Friedrichshafen AG,
ZF Wind Power Antwerpen N.V

Resumen de: DE102024209144A1

Die Erfindung betrifft ein Windkraftgetriebe (101, 201) mit einem drehbar gelagerten Hohlrad (111). Das Hohlrad (111) ist ausgebildet, direkt mit einer Rotornabe (103) gefügt zu werden.

Winden-Vorrichtung

NºPublicación:  DE102025138556A1 26/03/2026
Solicitante: 
ENERKITE GMBH [DE]
EnerKite GmbH

Resumen de: DE102025138556A1

Eine Winden-Vorrichtung (5) für eine Windkraftanlage (2) weist eine Tragstruktur (33) mit einem ersten Tragstruktur-Element mit einer Aufnahme-Einrichtung zur Aufnahme einer sich entlang einer Längsrichtung erstreckenden Start-Einrichtung (6) für ein Fluggerät, eine erste Trommel zum Aufwickeln eines mit einem Fluggerät verbundenen Zugmittels, welche um eine erste Drehachse drehbar gelagert ist, und eine zweite Trommel zum Aufwickeln eines mit einem Fluggerät verbundenen Zugmittels, welche um eine zweite Drehachse drehbar gelagert ist, auf wobei die Drehachsen der Trommeln ortsfest relativ zur Aufnahme-Einrichtung (8) angeordnet sind.

LIGHTNING CURRENT TRANSFER UNIT AND WIND TURBINE COMPRISING SAME

NºPublicación:  WO2026061596A1 26/03/2026
Solicitante: 
VESTAS WIND SYSTEMS AS [DK]
VESTAS WIND SYSTEMS A/S
WO_2026061596_A1

Resumen de: WO2026061596A1

The present invention relates to a lightning current transfer unit for a wind turbine comprising: at least two contact means configured to connect two components of the wind turbine configured to rotate with respect to each other; and at least one electric conductor establishing an electrical connection between the at least two contact means, wherein the contact means and the electric conductor form a rolling bearing having a gear structure The present invention also relates to a wind turbine comprising one or more of such lightning current transfer units.

WIND TURBINE WITH LIGHTNING CURRENT TRANSFER SYSTEM

NºPublicación:  WO2026061598A1 26/03/2026
Solicitante: 
VESTAS WIND SYSTEMS AS [DK]
VESTAS WIND SYSTEMS A/S
WO_2026061598_A1

Resumen de: WO2026061598A1

The present invention refers to a wind turbine comprising a tower, a nacelle mounted on the tower and a rotor connected to the nacelle, wherein the rotor comprising a rotor hub and a plurality of blades connected to the rotor hub, and the rotor hub is coupled to a main shaft which is rotatably supported in the nacelle by a bearing arrangement According to the invention, the wind turbine further comprises a plurality of lightning current transfer systems, each lightning current transfer system being coupled to a corresponding blade and comprising a down conductor extending between a first end and a second end, wherein the down conductor extends at least within a root portion of the corresponding blade, within the rotor hub and the main shaft, and the down conductor is guided from an interior to an exterior of the main shaft. The first end of the down conductor is located at the exterior of the main shaft and is coupled with a first contact element that is configured to provide an electrical connection with a second contact element connected to the nacelle, in such a way that, lightning current can be transferred from the corresponding blade to the second contact element by means of the down conductor.

LIGHTNING CURRENT TRANSFER UNIT WITH SLIDING ELECTRICAL CONTACTS AND WIND TURBINE COMPRISING SAME

NºPublicación:  WO2026061597A1 26/03/2026
Solicitante: 
VESTAS WIND SYSTEMS AS [DK]
VESTAS WIND SYSTEMS A/S
WO_2026061597_A1

Resumen de: WO2026061597A1

The present invention relates to a lightning current transfer unit for a wind turbine comprising a conductive element suitable for coupling the lightning current transfer unit to a first component of the wind turbine, a pair of sliding-contact pads biased against the conductive element and towards each other so as to clamp the conductive element, and one or more electric conductors electrically connected to the pair of sliding-contact pads The conductive element has a ring-shape with a central axis and is arranged in such a way that its central axis coincides with the axis of rotation of the first component on which is mounted with respect to a second component of the wind turbine that is rotatably connected to the first component. Moreover, the conductive element has a first surface and a second surface, opposite to the first surface, and a first sliding-contact pad is configured to establish a sliding electrical connection with the first surface and a second sliding-contact pad is configured to establish a sliding electrical connection with the second surface during the rotation. In the lightning current transfer unit according to the invention, lightning current can be transferred between the conductive element and the one or more electric conductors via the sliding-contact pads. The present invention also refers to a wind turbine comprising such a lightning current transfer unit.

BLADE BEARING

NºPublicación:  WO2026061899A1 26/03/2026
Solicitante: 
THYSSENKRUPP ROTHE ERDE GERMANY GMBH [DE]
THYSSENKRUPP AG [DE]
THYSSENKRUPP ROTHE ERDE GERMANY GMBH,
THYSSENKRUPP AG
WO_2026061899_A1

Resumen de: WO2026061899A1

The present invention relates to a blade bearing for mounting a rotor blade of a wind turbine on a hub, the blade bearing comprising an inner ring element (1) and an outer ring (2) which is arranged concentrically to the inner ring element (1). In order to provide such a blade bearing which has high rigidity, and thus high deformation resistance, and is at the same time light-weight, at least one tension element (4) is attached to an inner lateral surface (3) of the inner ring element (1), the at least one tension element (4) allowing mutually opposing tensile forces to be applied to the inner ring element (1) at at least two opposite points of application (5).

ASSEMBLY STAND AND METHOD FOR ASSEMBLING CONCRETE SEGMENTS INTO A CONCRETE RING

NºPublicación:  WO2026061700A1 26/03/2026
Solicitante: 
SIEMENS GAMESA RENEWABLE ENERGY INNOVATION & TECH S L [ES]
SIEMENS GAMESA RENEWABLE ENERGY INNOVATION & TECHNOLOGY, S.L
WO_2026061700_A1

Resumen de: WO2026061700A1

An assembly stand (1) and associated method for assembling a concrete ring (11) from a plurality of concrete segments (10), the assembly stand (1) comprising a plurality of beams (2) configured to support the concrete segments during their assembly into the concrete ring, in particular the beams mounted with a star configuration from the central axis, a movement mechanism (3) mounted on one or of more of the plurality of beams (2), in particular mounted on all beams (2), wherein each movement mechanism (3) is configured to contact or engage with an underside of the concrete segments (10) and to allow a controlled movement of the concrete segments (10) relative to the beam (2) when an assembly force (F) is applied.

WIND FARM SAFETY CONTROL

NºPublicación:  WO2026062124A1 26/03/2026
Solicitante: 
SIEMENS GAMESA RENEWABLE ENERGY AS [DK]
SIEMENS GAMESA RENEWABLE ENERGY A/S
WO_2026062124_A1

Resumen de: WO2026062124A1

The present invention relates to a method to control a wind turbine (2) in a wind farm (1) with multiple wind turbines (2), the method including providing detection means (7) adapted to detect objects (6) entering a detection zone (8) associated with at least one of the wind turbines (2), wherein the method further includes, - a step (100) of detection of an object (6) entering the associated detection zone (8) of a wind turbine (2), the wind turbine (2) upon detection of such an object (6) being an affected wind turbine (2'), - a step (110) of operating the affected wind turbine (2') in a safety mode involving at least reducing the spinning speed of the affected wind turbine (2') rotor, The present invention further relates to the wind farm (1) controlled accordingly, and a controller performing the control. (Figure 1)

垂直軸風車の緊急停止構造

NºPublicación:  JP2026054423A 26/03/2026
Solicitante: 
三鷹光器株式会社
JP_2026054423_A

Resumen de: JP2026054423A

【課題】大きな予備電源が不要で且つ風車を停止させる力が強い垂直軸風車の緊急停止構造を提供する。【解決手段】垂直回転軸2が予め設定された限界回転速度に達した場合に、ウェイトWのストッパー19が解除され、ウェイトWの自重によりブレーキ部14が駆動してロータ10を所定の圧力で挟込むため、風車の回転を緊急停止することができる。ウェイトWの自重によりブレーキ部14を駆動させるため大きな予備電源が不要である。また垂直回転軸2と一体のロータ10をブレーキ部14が直接挟み込むため風車を停止させる力が強い。また復元機構が設けられているため、復元して再度使用することができる。【選択図】 図4

布地の自動裁断機

NºPublicación:  JP2026509784A 25/03/2026
Solicitante: 
モルガンテクニカエス.ピー.エー.
JP_2026509784_A

Resumen de: MX2025009976A

Machine (1 ) for automatic cutting of fabric comprising: - a cutting plane (7) at an upper face (8) of a box (3) and comprising a plurality of pass- through openings; - a suction system (9) for drawing air from the interior (4) of the box; - a turbine (30) located downstream of the suction system and structured to extract energy from the exhaust air flow generated by the suction system and convert it into rotational mechanical energy; - an electric generator (40) mechanically coupled to the turbine (30) and structured to convert the rotational mechanical energy of the turbine into electrical energy.

FLOATING OFFSHORE PLATFORM WITH AN INTEGRATED TANK AND A BOLTED FLANGE CONNECTION

NºPublicación:  EP4713249A1 25/03/2026
Solicitante: 
TOTALENERGIES ONETECH [FR]
TotalEnergies OneTech
KR_20260012249_PA

Resumen de: WO2024236111A1

A support structure (4) of the floating offshore platform comprises a beam (8) formed of one or several tubes (10) with a tank (12) delimited inside one or several tubes (10) of the beam (8), and a least one bolted flange connection (16) connecting an end of one tube (10) of the beam (8) to another structural element (6) of the support structure (4), each bolted flange connection (16) comprising a first flange (20) and a second flange (22) bolted together with bolts (24), wherein at least one bolted flange connection (16) is sealed with a sealing assembly (32) comprising at least one sealing member (34) configured for sealing the bolted flange connection (16).

WIND TURBINE, METHOD OF ACQUIRING INFORMATION, AND WIND TURBINE MANAGEMENT SYSTEM

NºPublicación:  EP4715202A1 25/03/2026
Solicitante: 
NABTESCO CORP [JP]
Nabtesco Corporation
EP_4715202_PA

Resumen de: EP4715202A1

An aerial vehicle obtains information regarding the external condition of a wind turbine. The wind turbine includes a tower, a nacelle rotatably supported by the tower, and a wireless charging device provided in the nacelle for charging the aerial vehicle. The aerial vehicle charged by the wireless charging device can stably acquire information regarding the appearance of the wind turbine without being limited in an available flight time.

FLOATING PLATFORM MOORING SYSTEM AND METHOD OF INSTALLATION

NºPublicación:  EP4714816A1 25/03/2026
Solicitante: 
TECHNIP ENERGIES FRANCE [FR]
Technip Energies France
EP_4714816_PA

Resumen de: EP4714816A1

A tensioned leg floating platform mooring system and related methods may be used to secure the position of a floating platform. For example, the floating platform mooring system may include at least three fixed-length mooring lines coupled at different locations between a floating platform and one of one or more mooring piles. Additionally, the tensioned leg floating platform mooring system can include an adjustable-length mooring line coupled between the floating platform and one of the one or more mooring piles. The floating platform mooring system may further include a mooring line tension device coupled to the adjustable-length mooring line. The mooring line tension device may adjust a tension of the adjustable-length mooring line by adjusting a length of the adjustable-length mooring line in situ.

LOAD MEASURING SYSTEM, DAMAGE PROBABILITY ESTIMATING SYSTEM, LIFESPAN PREDICTING SYSTEM, LOAD MEASURING METHOD, DAMAGE PROBABILITY MONITORING METHOD AND PROGRAM

NºPublicación:  EP4715200A1 25/03/2026
Solicitante: 
NABTESCO CORP [JP]
Nabtesco Corporation
EP_4715200_PA

Resumen de: EP4715200A1

It is determined which of the teeth of a ring gear are subject to a load and to what extent the load is exerted. A load measuring system includes: a load detecting part for use in a moving part of a wind turbine, the moving part including a ring gear with a plurality of teeth and at least one drive unit with a pinion meshing with the ring gear, the load detecting part being configured to detect an applied load that is exerted on a tooth of the ring gear due to application of an external force or a driving force of the drive unit via the pinion with the ring gear meshing with the pinion; and a position identifying part for identifying, from among the teeth of the ring gear, a target tooth subject to the applied load.

ASSEMBLY STAND AND METHOD FOR ASSEMBLING CONCRETE SEGMENTS INTO A CONCRETE RING

NºPublicación:  EP4715143A1 25/03/2026
Solicitante: 
SIEMENS GAMESA RENEWABLE ENERGY INNOVATION & TECHNOLOGY SL [ES]
Siemens Gamesa Renewable Energy Innovation & Technology S.L
EP_4715143_PA

Resumen de: EP4715143A1

An assembly stand (1) and associated method for assembling a concrete ring (11) from a plurality of concrete segments (10), the assembly stand (1) comprising a plurality of beams (2) configured to support the concrete segments during their assembly into the concrete ring, in particular the beams mounted with a star configuration from the central axis, a movement mechanism (3) mounted on one or of more of the plurality of beams (2), in particular mounted on all beams (2), wherein each movement mechanism (3) is configured to contact or engage with an underside of the concrete segments (10) and to allow a controlled movement of the concrete segments (10) relative to the beam (2) when an assembly force (F) is applied.

WIND TURBINE ROTOR LOCKING

NºPublicación:  EP4715205A1 25/03/2026
Solicitante: 
SIEMENS GAMESA RENEWABLE ENERGY AS [DK]
Siemens Gamesa Renewable Energy A/S
EP_4715205_PA

Resumen de: EP4715205A1

It is described a method of detecting when a rotor (3) of a wind turbine (40) is in a rotor locking position for locking the rotor, the wind turbine comprising a stator (2) relative to which the rotor (3) is rotatable, the method comprising: rotating the rotor (3); receiving sensor output data (12) from a sensor system (10) sensitive to distance between stator and rotor components; analysing the sensor output data (12); indicating when the rotor locking position is reached based on the analysed sensor output data.

WIND TURBINE ROTOR LOCKING

NºPublicación:  EP4715204A1 25/03/2026
Solicitante: 
SIEMENS GAMESA RENEWABLE ENERGY AS [DK]
Siemens Gamesa Renewable Energy A/S
EP_4715204_PA

Resumen de: EP4715204A1

It is described a locking system, including an electric motor system and method of locking a rotor and in particular detecting when a rotor (3) of a wind turbine (40) is in a rotor locking position for locking the rotor, the wind turbine comprising a stator (2) relative to which the rotor (3) is rotatable, the method comprising: rotating the rotor (3); receiving sensor output data (12) from a sensor system (10) sensitive to distance between stator and rotor components; analysing the sensor output data (12); indicating when the rotor locking position is reached based on the analysed sensor output data.

SYSTEM AND METHOD FOR MONITORING VIBRATIONS IN A DRIVETRAIN OF A WIND TURBINE

NºPublicación:  EP4715197A1 25/03/2026
Solicitante: 
GE VERNOVA INFRASTRUCTURE TECH LLC [US]
GE Vernova Infrastructure Technology LLC
EP_4715197_PA

Resumen de: EP4715197A1

A method for damping drivetrain vibrations of a wind turbine. The drivetrain has, at least, a rotor and a generator. The method includes receiving a first rotational speed signal at a first location along the drivetrain, the first rotational speed signal being a proxy for rotor speed of the rotor. The method also includes receiving a second rotational speed signal at a second location along the drivetrain, the second location being downwind from the first location, the second rotational speed signal being a proxy for generator speed of the generator. Further, the method includes determining a speed error based on a comparison of the first and second rotational speed signals. Moreover, the method includes determining a torque deviation signal for the wind turbine configured to dampen the drivetrain vibrations when the speed error exceeds a first speed threshold. In addition, the method includes applying the torque deviation signal to the generator to dampen the drivetrain vibrations.

SYSTEM AND METHOD FOR MINIMIZING TRIPS IN A POWER GENERATING ASSET

NºPublicación:  EP4716048A1 25/03/2026
Solicitante: 
GE VERNOVA INFRASTRUCTURE TECH LLC [US]
GE Vernova Infrastructure Technology LLC
EP_4716048_PA

Resumen de: EP4716048A1

A method for minimizing trips in a power generating asset prior to synchronization includes providing a dynamic trip threshold to a protection scheme of the power generating asset and modifying the dynamic trip threshold prior to and after synchronization of the power generating asset to minimize the trips in the power generating asset caused by the protection scheme of the power generating asset.

A WIND TURBINE

NºPublicación:  EP4715195A1 25/03/2026
Solicitante: 
VESTAS WIND SYS AS [DK]
VESTAS WIND SYSTEMS A/S
EP_4715195_PA

Resumen de: EP4715195A1

In a first aspect of the present invention there is provided a wind turbine comprising a hub assembly, a blade part attached to the hub assembly, and a displacement sensor array comprising a plurality of displacement sensors. Each displacement sensor is attached to one of the blade part or the hub assembly. Each displacement sensor comprises a physical contact probe which is slidable along a probe axis in a probe direction. The physical contact probe of each displacement sensor physically contacts the other of the blade part or the hub assembly such that the displacement sensor is arranged to detect relative movement between the blade part and the hub assembly in the probe direction.

WIND POWER MAIN-SHAFT SLIDING BEARING WITH BIDIRECTIONAL STRESSES AND WIND POWER GENERATION SYSTEM

NºPublicación:  EP4713594A1 25/03/2026
Solicitante: 
JIANGSU ZHENJIANG NEW ENERGY EQUIP CO LTD [CN]
Jiangsu Zhenjiang New Energy Equipment Co., Ltd
US_12435757_PA

Resumen de: US12435757B1

A wind power main-shaft sliding bearing with bidirectional stresses and a wind power generation system are disclosed. The wind power main-shaft sliding bearing includes an outer ring, an inner ring and a tile block. The outer ring has an isosceles trapezoidal cross-section where the inner ring slides. The inner ring has a trapezoidal groove matching the outer ring shape. Symmetrical chutes are in two inner sloping faces of the trapezoidal groove. The tile block is in a cavity between the chute and the outer ring. The face of the tile block near the inner ring is spherical. The tile block separates first and second oil cavities, respectively near the outer and inner rings. Even when the sliding bearing is stressed with a load that deforms the inner ring, the tile block automatically adjusts the tilting angle, thereby avoiding tilting the outer ring due to operating pressure loss.

FLOATING OFFSHORE POWER GENERATION DEVICE

NºPublicación:  EP4714818A2 25/03/2026
Solicitante: 
POSCO CO LTD [KR]
POSCO Co., Ltd
EP_4714818_PA

Resumen de: EP4714818A2

A floating wind power generation device may include a power generation unit configured to perform a wind power generation action, and a floating body provided to support the power generation unit, wherein the floating body includes a main column configured to support the power generation unit, a plurality of auxiliary columns provided around the main column, a plurality of connecting members configured to connect the main column and each of the plurality of auxiliary columns, and a plurality of pontoons provided below the plurality of connecting members with respect to the direction of gravity to support a self-weight of the main column and the plurality of auxiliary columns.

A METHOD FOR CONTROLLING TRANSFER OF A SUSPENDED LOAD BETWEEN AN OFFSHORE WIND TURBINE AND A FLOATING VESSEL

NºPublicación:  EP4714817A2 25/03/2026
Solicitante: 
VESTAS WIND SYS AS [DK]
VESTAS WIND SYSTEMS A/S
EP_4714817_PA

Resumen de: EP4714817A2

A method and a system (1) for controlling transfer of a suspended load (2) between an offshore wind turbine (3) and a floating vessel (4) are disclosed. Movements, relative to the floating vessel (4), of a load (2) suspended in a hoisting mechanism (6, 15) and/or of a hooking part (9) of the hoisting mechanism (6, 15), are detected. A position and/or inclination of a landing platform (8) arranged on the floating vessel (4) is adjusted, based on the detected movements, in order to compensate for relative movements between the floating vessel (4) and the suspended load (2) and/or the hooking part (9), thereby synchronizing movements of the landing platform (4) to movements of the suspended load (2) and/or the hooking part (9), while moving the suspended load (2) and/or the hooking part (9) towards the adjustable landing platform (8). The step of detecting movements of a load (2) suspended in the hoisting mechanism (6, 15) and/or of a hooking part (9) of the hoisting mechanism (6, 15) comprises detecting the movements by means of one or more sensors arranged on the suspended load (2) and/or the hooking part (9). A step of communicating sensor readings from the one or more sensors to a control unit for controlling the adjustable landing platform (8) is further comprised

TRANSPORTATION AND STORAGE SYSTEM FOR WIND TURBINE ROTOR BLADES AND RELATED METHOD

NºPublicación:  EP4715199A2 25/03/2026
Solicitante: 
NORDEX ENERGY SPAIN SAU [ES]
Nordex Energy Spain, S.A.U
EP_4715199_A2

Resumen de: EP4715199A2

The present invention relates to a wind turbine rotor blade spacer, a transportation and storage system for wind turbine rotor blades and a related method that prevent the vertical flexion of each one of the blades assemblies, minimizing the stresses and avoiding the contact between vertically and/or horizontally adjacent blades, and in consequence, blade damage. Also, the overall occupied surface by the system once assembled is minimised.

ADAPTER PIECE FOR CONNECTING A LOWER ANNULAR CONCRETE TOWER SECTION TO AN UPPER ANNULAR STEEL TOWER SECTION, AND TOWER COMPRISING AN ADAPTER PIECE

NºPublicación:  EP4715142A1 25/03/2026
Solicitante: 
MAX BOEGL WIND AG [DE]
Max Boegl Wind AG
EP_4715142_PA

Resumen de: EP4715142A1

Ein Adapterstück (1) zur Verbindung eines unteren, ringförmigen Betonturmabschnitts (2) mit einem oberen, ringförmigen Stahlturmabschnitt (3), insbesondere eines Windkraftturms (4) ist als Beton-Stahl-Verbundteil mit einem ringförmigen Stahlelement (5) und einem ringförmigen Betonelement (6) ausgebildet. Das ringförmige Stahlelement (5) umfasst einen oberen, insbesondere L-förmigen, Befestigungsflansch (7) zum Verbinden mit dem Stahlturmabschnitt (3). Das Adapterstück (1) umfasst eine Anlagefläche (8), mit der das Adapterstück (1) auf dem Betonturmabschnitt (2) anordenbar ist. Dabei weist das Betonelement (6) die Anlagefläche (8) auf und das ringförmige Stahlelement (5) weist einen unteren, insbesondere T-förmigen, Flansch (9) auf, welcher eine Oberseite (10) des Betonelements (6) bedeckt. Ein Turm mit einem unteren, ringförmigen Betonturmabschnitt (2) und einem oberen, ringförmigen Stahlturmabschnitt (3) weist ein solches Adapterstück (1) auf.

DUCT SUPPORT SYSTEM FOR A WIND TURBINE BLADE

NºPublicación:  EP4715203A1 25/03/2026
Solicitante: 
FABRICAIR CANADA INC [CA]
FabricAir Canada Inc
EP_4715203_PA

Resumen de: EP4715203A1

Provided herein are duct support systems and methods for installing and supporting a flexible duct in an interior of a wind turbine blade. The system comprises a duct support including an eyelet and at least one bonding surface, wherein the bonding surface is glued to an interior surface of the wind turbine blade near a tip of the wind turbine blade, and a cable, wherein the cable is connected to a tip-most end of the flexible duct, the cable passes through the eyelet of the duct support, and the cable passes through the flexible duct, whereby the flexible duct can be retracted from or deployed to the tip of the wind turbine blade by pulling the cable in a respective direction.

WIND FARM SAFETY CONTROL

NºPublicación:  EP4715196A1 25/03/2026
Solicitante: 
SIEMENS GAMESA RENEWABLE ENERGY AS [DK]
Siemens Gamesa Renewable Energy A/S
EP_4715196_PA

Resumen de: EP4715196A1

The present invention relates to a method to control a wind turbine (2) in a wind farm (1) with multiple wind turbines (2), the method including providing detection means (7) adapted to detect objects (6) entering a detection zone (8) associated with at least one of the wind turbines (2), wherein the method further includes,- a step (100) of detection of an object (6) entering the associated detection zone (8) of a wind turbine (2), the wind turbine (2) upon detection of such an object (6) being an affected wind turbine (2'),- a step (110) of operating the affected wind turbine (2') in a safety mode involving at least reducing the spinning speed of the affected wind turbine (2') rotor,The present invention further relates to the wind farm (1) controlled accordingly, and a controller performing the control.

SLIDING BEARING ARRANGEMENT

NºPublicación:  EP4715233A1 25/03/2026
Solicitante: 
FLENDER GMBH [DE]
Flender GmbH
EP_4715233_PA

Resumen de: EP4715233A1

Es ist eine Gleitlageranordnung (10) vorgesehene mit einem aus einem schweißbaren Material hergestellten Werkstück, wobei das Werkstück zumindest in einem Teilbereich einen zylindrischen Bolzen (12) und/oder eine hohlzylindrische Nabe aufweist, und einer auf den Bolzen (12) aufgesteckten oder in die Nabe eingesteckten Gleitlagerhülse (20), wobei die Gleitlagerhülse (20) eine von dem Werkstück wegweisende Gleitlagerfläche (24) und einen an dem Werkstück anliegenden schweißbaren Haltekörper (22) aufweist, wobei der Haltekörper (22) mit dem Werkstück verschweißt ist. Durch das Verschweißen der Gleitlagerhülse (20) mit dem Werkstück kann kostengünstig ein mechanisch hochbelastbares Gleitlager bereitgestellt werden, so dass eine kostengünstige und hochbelastbare Gleitlageranordnung (10), insbesondere für den Einsatz in industriellen Windkraftanlagen, ermöglicht ist.

ROTOR AZIMUTH ESTIMATOR

NºPublicación:  EP4715201A1 25/03/2026
Solicitante: 
SIEMENS GAMESA RENEWABLE ENERGY AS [DK]
Siemens Gamesa Renewable Energy A/S
EP_4715201_PA

Resumen de: EP4715201A1

The invention describes an azimuth estimator (1) for computing an estimate (αe) of the azimuth angle (20α) of the aerodynamic rotor (20) of a wind turbine (2), which azimuth estimator (1) comprises an input for receiving measurement values (270) of the rotational speed (20ω) of the aerodynamic rotor (20); an azimuth change computation module (10) for computing an azimuth angle change (100) on the basis of the measured rotor speed (270); and a summation unit (11, 13) configured to add at least the azimuth angle change (100) and a previously determined azimuth estimate (αeprev) to obtain an azimuth estimate (αe). The invention further describes a method of computing an estimate (αe) of the azimuth angle (20α) of the aerodynamic rotor (20) of a wind turbine (2).

WIND TURBINE SERVICE SYSTEM AND METHOD

NºPublicación:  EP4713583A1 25/03/2026
Solicitante: 
SIEMENS GAMESA RENEWABLE ENERGY AS [DK]
Siemens Gamesa Renewable Energy A/S
CN_121548692_PA

Resumen de: WO2025021602A1

A wind turbine service system configured to perform at least one service task in a wind turbine (200) is provided. The wind turbine (200) comprises at least two floors (211, 212) at different vertical positions. The wind turbine service system (10) comprises a service robot (100) that is self-propelled and that is controllable to perform the at least one service task and a vertical movement aid (250) extending between at least two of the floors (211, 212). The wind turbine service system (10) is configured to have a first mode of locomotion in which the service robot (100) is moved self-propelled and without mechanical guidance on at least one of the floors (211, 212), and wherein the wind turbine service system (10) is further configured to have a second mode of locomotion in which the service robot (100) interacts with the vertical movement aid (250) to move the service robot between the at least two floors (211, 212).

METHOD FOR MANUFACTURING A WIND TURBINE BLADE AND WIND TURBINE BLADE

NºPublicación:  EP4713193A1 25/03/2026
Solicitante: 
SIEMENS GAMESA RENEWABLE ENERGY AS [DK]
Siemens Gamesa Renewable Energy A/S
CN_121586640_PA

Resumen de: TW202513282A

The present invention relates to a method for manufacturing a wind turbine blade (1), comprising the steps: (a) Premanufacturing an inboard blade section (15) by lamination of one or multiple layers of fiber material, wherein the premanufactured inboard blade section (15) comprises a main joining region (11) at an outboard end (151), (b) Providing an openable mold (3) having the shape of a negative impression of an outboard blade section (16) of the wind turbine blade (1), (c) Inserting the premanufactured inboard blade section (15) at least with the main joining region (11) into the openable mold (3); (d) Extending the premanufactured inboard blade section (15) with an outboard blade section (16) by lamination of one or multiple layers of fiber material (45,46,85,86) in the openable mold (3), thereby connecting the main joining region (11) of the premanufactured inboard blade section (15) to the outboard blade section (16). The method involves less steps than current manufacturing methods and can, even with further increasing blade lengths, be executed within existing production facilities.

A SUPPORTING PILLAR FOR A WIND POWER PLANT, A METHOD FOR ESTABLISHING A SUPPORTING PILLAR FOR A WIND POWER PLANT AND USE OF A SUPPORTING PILLAR

NºPublicación:  EP4713581A1 25/03/2026
Solicitante: 
WORLD WIDE WIND TECH AS [NO]
WORLD WIDE WIND TECH AS
CN_223523877_U

Resumen de: CN223523877U

A support column (1) for a wind power plant. The support column comprises an elongate body (5) configured to hold the wind turbine in a raised position or to transfer rotational energy to a rotor of the wind turbine. The elongated body comprises: a central structure (10) configured to provide structural stability to the support post; and a protective layer (20) on the central structure, the protective layer configured to protect the central structure from interaction with the ambient environment. The central structure mainly comprises a biologically derived fibrous composition and the protective layer comprises at least one rigid plate (22) arranged to be attached in a prestressed manner to at least an outer surface of the central structure.

TENSION CONTROL OF ROTOR SUPPORT CABLES IN A WIND TURBINE

NºPublicación:  EP4713580A1 25/03/2026
Solicitante: 
VESTAS WIND SYS AS [DK]
VESTAS WIND SYSTEMS A/S
CN_121464275_PA

Resumen de: WO2024235412A1

Wind turbines (10) and methods of controlling wind turbines (10) including cable supported rotors (22). The cable supported rotor (22) includes a plurality of blades (26) and a plurality of cable assemblies (32) that support the blades (26). A plurality of tension mechanisms (44) controls the amount of tension in each of the cable assemblies (32). At start up, the tension is increased until a tension setpoint is reached, and tension levels are balanced across the plurality of cable assemblies (32). Tension may be readjusted periodically, and may be actively controlled during operation of the wind turbine (10) based on functions of tension versus azimuth, wind speed, rotor or generator speed, and blade pitch angle.

A GENERATOR FOR USE IN A WIND TURBINE

NºPublicación:  EP4714013A1 25/03/2026
Solicitante: 
VESTAS WIND SYS AS [DK]
VESTAS WIND SYSTEMS A/S
CN_121488389_PA

Resumen de: WO2024235406A1

A generator rotor for a wind turbine, comprising a cylindrical ring structure defining a radially inner surface and a central hollow portion, and being arranged to rotate around a rotational axis. The cylindrical ring structure comprise a plurality of permanent magnet packages arranged coaxially around the rotational axis, the plurality of permanent magnet packages being adapted to form at least one coolant passage through the cylindrical ring structure. The cylindrical ring structure is adapted to serve as a sump for coolant, such that the sump is defined, at least in part, by the radially inner surface of the cylindrical ring structure, and further comprises at least one coolant passage inlet that extends from the radially inner surface of the cylindrical ring structure to the at least one coolant passage and wherein at least one coolant passage outlet is arranged at one axial end of the cylindrical ring structure.

POSITIONING MOUNTING GUIDE SYSTEMS ON BLADE ROOT PORTIONS

NºPublicación:  EP4713579A1 25/03/2026
Solicitante: 
LM WIND POWER AS [DK]
LM Wind Power A/S
CN_120898070_PA

Resumen de: CN120898070A

In a first aspect, a method for positioning a mounting guide assembly on a blade root portion of a wind turbine blade is provided. The method includes removably joining the first positioning member to the blade root flange, engaging the first guide member and the first positioning member, and joining the first mounting guide member to the blade root portion. The method further includes removably coupling a second positioning member to the blade root flange, engaging a second guide member and the second positioning member, and coupling a second mounting guide member to the blade root portion. In another aspect, a positioning member for positioning a mounting guide member on a blade root portion of a wind turbine blade is provided. In yet another aspect, a positioning assembly is provided for positioning a mounting guide assembly on a blade root portion.

METHOD FOR PREPARING A REPAIR OF A ROTOR BLADE OF A WIND TURBINE, SUPPORT STRUCTURE, ROTOR BLADE SYSTEM AND REPAIR METHOD

NºPublicación:  EP4713582A1 25/03/2026
Solicitante: 
FRAUNHOFER GES FORSCHUNG [DE]
Fraunhofer-Gesellschaft zur F\u00F6rderung der angewandten Forschung e.V
DE_102023204709_PA

Resumen de: WO2024240545A1

The present application relates to a method for preparing a repair of a damaged area (32) of a load-bearing structure of a rotor blade (2') of a wind turbine (1), wherein the method comprises: Determining a first rotor blade position, which can be a single set position or a set range, in such a way that a first mechanical load of the load-bearing structure in the first rotor blade position is smaller than a second mechanical load of the load-bearing structure in a second rotor blade position and/or that a first mechanical strength of the load-bearing structure and/or the non-load-bearing structure in the first rotor blade position is higher than a second mechanical strength of the load-bearing structure and/or a non-load-bearing structure in the second rotor blade position (S3); determining whether the first mechanical load and/or the first mechanical strength of a first condition is sufficient, such that the rotor blade (2') can remain connected (E1) ready for operation to the wind turbine (1) during the repair. The application further relates to a support structure, a rotor blade system and a repair method.

A GENERATOR FOR USE IN A WIND TURBINE

NºPublicación:  EP4714012A1 25/03/2026
Solicitante: 
VESTAS WIND SYS AS [DK]
VESTAS WIND SYSTEMS A/S
CN_121444310_PA

Resumen de: CN121444310A

A generator rotor for a wind turbine comprises a cylindrical ring structure defining a radially inner surface and a central hollow portion and arranged to rotate about an axis of rotation. The cylindrical ring structure includes a plurality of annular permanent magnet enclosures coaxially arranged about the axis of rotation, the plurality of permanent magnet enclosures being adapted to form at least one coolant passage through the cylindrical ring structure. The cylindrical ring structure is adapted to act as a reservoir for coolant such that the reservoir is at least partially defined by a radially inner surface of the cylindrical ring structure, and further comprises at least one coolant channel inlet extending from the radially inner surface of the cylindrical ring structure to the at least one coolant channel, and wherein the coolant channel inlet is at least partially defined by the radially inner surface of the cylindrical ring structure. At least one coolant passage outlet is disposed at one axial end of the cylindrical ring structure.

IMPROVEMENTS RELATING TO COOLING OF ELECTRIC MACHINES

NºPublicación:  EP4714014A1 25/03/2026
Solicitante: 
VESTAS WIND SYS AS [DK]
VESTAS WIND SYSTEMS A/S
CN_121511545_PA

Resumen de: WO2024235404A1

An electric machine comprising a rotor including a plurality of hollow conductor bars adapted for carrying cooling fluid therein, the conductor bars extending between first and second short circuit rings. At least one of the short circuit rings is adapted to provide an annular sump volume that feeds cooling fluid to at least some of the hollow conductor bars. Restricted spray orifices are provided in communication with the hollow conductor bars to provide a spray of cooling fluid towards other generator components. The restricted orifices are configured to have a flow area (A') that is less than the average flow area (B') of the respective first hollow conductor bar such that, in use, the flow of cooling fluid through the outlet end of the plurality of first hollow conductor bars is balanced with cooling fluid delivered to the annular sump volume to maintain a flow of fluid through the respective fluid conduits.

FLOATING OFFSHORE PLATFORM COMPRISING A BEAM WITH AN INTEGRATED TANK DELIMITED IN TWO TUBES OF THE BEAM

NºPublicación:  EP4713250A1 25/03/2026
Solicitante: 
TOTALENERGIES ONETECH [FR]
TotalEnergies OneTech
KR_20260012247_PA

Resumen de: WO2024236128A1

The floating offshore platform (2) comprises a support structure (4) having a beam (8) configured for extending between first and second structural elements (6, 7), the beam (8) being formed of several tubes (10) connected together and comprising a tank (12) delimited within at least two tubes (10) connected such that the individual internal volumes of said at least two tubes (10) are in fluid communication, and at least three connections (16) each configured for mechanically connecting an end of one tube (10) of the beam (8) to one of the first and second structural elements (7), wherein each connection (16) with the first structural element (6) is a bolted flange connection (16) and/or each connection (16) with the second structural element (7) is a bolted flange connection (16).

METHOD FOR ASSEMBLING AN OFFSHORE WIND TURBINE AND SYSTEMS ASSOCIATED WITH THE ASSEMBLY THEREOF

NºPublicación:  EP4715198A1 25/03/2026
Solicitante: 
NABRAWIND TECH S L [ES]
INGECID INVESTIG Y DESARROLLO DE PROYECTOS S L [ES]
Nabrawind Technologies, S.L,
Ingecid, Investigaci\u00F3n Y Desarrollo de Proyectos, S.L
EP_4715198_A1

Resumen de: EP4715198A1

The invention relates to a method for assembling an offshore wind turbine that is separated in two parts that are pre-assembled in a port: a jacket-type lattice structure (15) anchored to the seabed with a foundation and a superstructure that includes a transition piece (4), a tower (1), a nacelle (2) and blades (3) transported floating in a vertical position. Tripod supports (5) are anchored on the double-pontoon vessel (8) that is braced (9) at the bow and stern, and a triangle (7) supporting the superstructure is disposed in the tripod supports.During the transport phase, the hydraulics (14) included in the inside the tripod supports (5) are retracted, the movable parts are connected by a bolted joint, and the vessel (8) is ballasted. Once the positioning of the jacked (15) has been carried out, both parts are fastened by moorings (16), movement limiters (18) and impact limiters (18'), the load is transferred with the lowering of the hydraulic cylinders (14), and contact occurs between the upper portion of the jacket (15) and the receiver of the passive coupling system (23). Once the assembly is complete, the passive coupling system (23) arranged on the transition piece is recovered, the triangle (7) is dismantled, and the bracing (9) of the stern is folded down or removed to release the vessel (8).

一种改良轨道移动机构的风力发电设备

NºPublicación:  CN224032695U 24/03/2026
Solicitante: 
福建百博源风电科技有限公司
CN_224032695_U

Resumen de: CN224032695U

本实用新型涉及一种改良轨道移动机构的风力发电设备,包括环形导轨以及多个于环形导轨上滑动的轨道移动机构;所述轨道移动机构包括架板;升力叶片;滑轮;以及应力调节件,应力调节件包括第一齿轮、第二齿轮、驱动电机、风向感应器以及PLC,第一齿轮与升力叶片连接并设于架板的下侧;所述驱动电机安装于架板的下侧,驱动电机的输出轴向下延伸并与第二齿轮转动连接,第二齿轮与第一齿轮啮合。利用应力调节件,包括驱动电机、齿轮、变桨轴承以及风向感应器以及PLC的配合,能够实现感知风向的能力并自主调节升力叶片的迎风面,让升力叶片具有更好的自适应调节能力,在风速突变或风向频繁变化的情况下,升力叶片的姿态调节能够迅速反应。

一种防涡激振动的混凝土-钢混合塔架结构

NºPublicación:  CN224032700U 24/03/2026
Solicitante: 
明阳智慧能源集团股份公司
CN_224032700_U

Resumen de: CN224032700U

本实用新型公开了一种防涡激振动的混凝土‑钢混合塔架结构,包括塔架本体,所述塔架本体包括相互连接的上部钢塔段和下部混凝土塔段,所述下部混凝土塔段由多个预制混凝土环段现场吊装拼接而成;所述下部混凝土塔段上位于漩涡脱落位置的预制混凝土环段预埋有用于安装扰流装置的预埋件,所述扰流装置在预制混凝土环段吊装拼接前通过预埋件快速安装于预制混凝土环段的外表面。本实用新型能够在机组吊装和运行周期有效避免塔架发生涡激振动。

一种风电机组风速风向修正装置

NºPublicación:  CN224032703U 24/03/2026
Solicitante: 
国电电力发展股份有限公司国电电力内蒙古新能源开发有限公司
CN_224032703_U

Resumen de: CN224032703U

本实用新型涉及风电机组领域,公开了一种风电机组风速风向修正装置,包括箱体,所述箱体的上端两侧分别设置有气温传感器和气压传感器,所述箱体的内部上端一角处设置有信号输入接口,所述箱体的内部由上而下依次设置有单片机、风电机组控制系统、互斥继电器、蓄电池。本实用新型中,该装置通过实时补偿温度和压力,提升测风精度,优化风机性能,独立运行能力增强系统可靠性,确保网络中断时持续运行,掉电保护功能提升运行安全性,避免数据中断风险,内置单片机实时修正响应,适应风况变化,提高控制精度和响应能力,综合提升了风电机组的发电效率、稳定性和安全性。

一种风力发电空心基础预留索道固定装置

NºPublicación:  CN224031737U 24/03/2026
Solicitante: 
山西省安装集团股份有限公司
CN_224031737_U

Resumen de: CN224031737U

本实用新型涉及风力发电技术领域,具体涉及了一种风力发电空心基础预留索道固定装置,与风力发电空心基础的预留孔以及预留孔下方设置的沉孔相适配,包括连接座、调节套、固定组件、第一螺旋筋、第二螺旋筋和保护壳,连接座与风力发电空心基础通过螺栓紧固连接,调节套穿设在连接座内且与连接座螺纹连接,固定组件穿设在调节套内且与调节套转动连接,固定组件包括锚垫板,锚垫板上部设置锥形台,锥形台上部设有波纹管,波纹管外侧套设第一螺旋筋,调节套上部位于锚垫板外侧设有第二螺旋筋,保护壳套设在连接座上且与连接座下部螺纹连接。本实用新型能方便工人根据环境状况,调节预留索道预应力,提高风力发电空心基础和预留索道的使用寿命。

一种小型微风捕获发电装置

NºPublicación:  CN224032694U 24/03/2026
Solicitante: 
河南工业大学
CN_224032694_U

Resumen de: CN224032694U

一种小型微风捕获发电装置,包括传动立杆、发电机构以及多片扇叶,多片扇叶可拆卸安装于传动立杆上端部,传动立杆的下端部与发电机构传动连接,传动立杆外周沿其轴向由上至下同心套设有多个聚风环罩,多个聚风环罩的直径由上至下逐渐减小,多个聚风环罩之间通过多个沿其周向分布的连接斜板间隔连接,多个聚风环罩均为敞口大端朝下分布的喇叭形。本实用新型便于安装的同时能够利用微风资源发电,提高发电效率。

一种可升降的风电塔筒及漂浮式风机

NºPublicación:  CN224032702U 24/03/2026
Solicitante: 
广东海洋大学
CN_224032702_U

Resumen de: CN224032702U

本实用新型提供一种可升降的风电塔筒及漂浮式风机,涉及风电设备技术领域,风电塔筒包括:上塔筒;下塔筒,内壁设有内螺纹,下塔筒的上端设有齿圈;以及中塔筒,中塔筒下端插入下塔筒内、上端连接上塔筒,中塔筒的外壁设有外螺纹,外螺纹与内螺纹螺纹连接,支撑圈可竖直滑动的套设于中塔筒的外壁,支撑圈的下端固定连接支撑轴承内圈,齿圈套设于支撑轴承外圈上,支撑圈上设有驱动件,驱动件包括电机和齿轮,电机用于驱动齿轮沿着齿圈滚动,来带动中塔筒转动,中塔筒与下塔筒螺纹传动,使中塔筒螺旋升降,从而带动上塔筒升降。本实用新型的有益效果:能够自动调节风电塔筒的高度,增强风电机组在极端天气条件下的稳定性,从而提高抗风能力。

一种风电机组塔筒振动检测装置

NºPublicación:  CN224032705U 24/03/2026
Solicitante: 
国电投河南新能源有限公司
CN_224032705_U

Resumen de: CN224032705U

本实用新型公开了一种风电机组塔筒振动检测装置,具体涉及振动检测技术领域,包括风电机组塔筒,所述风电机组塔筒上端的外部设有连接塔筒,所述风电机组塔筒和连接塔筒内端面的上侧均设有检修平台,所述风电机组塔筒和连接塔筒内端面在检修平台的上端设有安装支架。本实用新型实际使用时,通过在限位顶板、U型安装槽、支撑滑杆、支撑弹簧、振动检测探头和连接导线的对应设置状态下,能够拉开限位顶板将振动检测探头安装在U型安装槽的内部,随后设置的支撑弹簧会顶住限位顶板,使振动检测探头的一端贴合在风电机组塔筒和连接塔筒的内端面同时使振动检测探头安装和拆卸更加方便。

风电偏航变桨减速器的输出结构

NºPublicación:  CN224033022U 24/03/2026
Solicitante: 
银川威力传动技术股份有限公司
CN_224033022_U

Resumen de: CN224033022U

一种风电偏航变桨减速器的输出结构,涉及风电减速器技术领域,其能够使成本更低,且可靠性更强。所述风电偏航变桨减速器的输出结构中,一体式输出轴装配有行星轮及内齿圈,以构成低速级行星齿轮系统;一体式输出轴与输出齿轮连接,以构成输出传动系统;低速级行星齿轮系统与输出传动系统结合形成扭矩传输路线时,原材料采用42CrMoA,以在锻造时形成锻坑并减少材料浪费及降低材料成本。

一种风道结构

NºPublicación:  CN224032696U 24/03/2026
Solicitante: 
福建百博源风电科技有限公司
CN_224032696_U

Resumen de: CN224032696U

本实用新型涉及风道设计领域,本实用新型的目的在于提供一种风道结构,包括外壳,前侧开设有进风口,后侧开设有出风通道;引风斗;风轮组件,位于引风斗后侧,且转动连接在外壳内侧中部;其中,所述外壳后段左右两侧具有第一导风弧面,两所述第一导风弧面的凸面相对设置,所述外壳前段左右两侧具有第二导风弧面,两所述第二导风弧面的凸面相背设置;两所述第二导风弧面位于两所述第一导风弧面之间,并且所述第一导风弧面与其对应的第二导风弧面之间形成辅助进风口;两所述第一导风弧面之间形成低压区,外部风源经辅助进风口进入低压区,以降低风轮组件后侧的风压。本实用新型可以降低风轮后侧风压,提升风道整体进风量以及风轮转动效率。

采用少齿差结构传动的风电偏航变桨减速器

NºPublicación:  CN224033023U 24/03/2026
Solicitante: 
银川威力传动技术股份有限公司
CN_224033023_U

Resumen de: CN224033023U

一种采用少齿差结构传动的风电偏航变桨减速器,涉及风力发电机偏航传动技术领域,其通过少齿差结构传动机构与行星传动结构相结合,能够实现偏航减速器大速比要求的同时减少行星齿轮传动级数,从而有效降低减速器重量与体积,并实现降本增效的功能。所述采用少齿差结构传动的风电偏航变桨减速器中,偏航减速器箱体由电机座、上机体、固定齿圈和下机体组成;下机体固定于风力发电机组的机架,电机座与上机体、上机体与固定齿圈、固定齿圈与下机体分别通过螺栓连接;偏航减速器箱体在工作时固定不动,电机动力通过减速器内部齿轮降速增扭后由开式齿轮输出至偏航齿圈。

用于对浮式风力涡轮机的拖拽操作进行辅助的系统

NºPublicación:  CN121729358A 24/03/2026
Solicitante: 
康士伯海事有限公司
CN_121729358_PA

Resumen de: CN121241002A

A system and method for assisting in towing a floating object is disclosed. The floating object is provided with a wireless communication system and at least one position sensor for measuring the position of the floating object in at least three degrees of freedom. The main towing vessel is connected with the floating object through a towing cable. The main towing vessel comprises a winch, a DP system and a bidirectional wireless communication system. A tow assist system/module/controller may be integrated with the DP system. One or more auxiliary towing boats are connected to the floating object by towing cables. The one or more auxiliary towing boats are provided with a bidirectional wireless communication system. The tow assist system/module/controller calculates setpoints (forces and directions) for all tow vessels based on one or more input parameters from the floating object, one or more input parameters from each auxiliary tow vessel, and one or more input parameters from the main tow vessel.

基于内外声纹融合的风力发电机叶片状态监测方法与系统

NºPublicación:  CN121719708A 24/03/2026
Solicitante: 
南京土星信息科技有限公司
CN_121719708_PA

Resumen de: CN121719708A

本发明公开了基于内外声纹融合的风力发电机叶片状态监测方法与系统,涉及风力发电机叶片状态监测与故障诊断技术领域,本发明无需依赖风机被严格管控的核心生产数据,避免了因数据获取障碍导致的时间对齐难题,同时借助外部扫塔声音信号独立进行工况判定,摆脱了内部复杂声学环境对工况识别的干扰,通过多模态声纹融合及基于工况档位的差异度分析,能够精准区分工况变化与结构损伤带来的声纹差异,从而实现风力发电机叶片状态的精准、可靠监测,有效解决了现有技术中因依赖内部声纹推导工况易受噪声干扰、数据获取受限导致监测准确性与可靠性不足的问题,为风力发电机叶片的早期损伤预警与运维决策提供了高效、可靠的技术支撑。

风电机组齿轮箱故障诊断方法、系统、设备及存储介质

NºPublicación:  CN121719702A 24/03/2026
Solicitante: 
中国华能集团清洁能源技术研究院有限公司
CN_121719702_PA

Resumen de: CN121719702A

本发明提供了一种风电机组齿轮箱故障诊断方法、系统、设备及存储介质,涉及故障诊断技术领域,该方法包括:获取风电机组齿轮箱的目标SCADA数据和目标振动数据;根据目标SCADA数据和预先建立的状态监测策略,确定齿轮箱中出现故障的异常部件;其中,状态监测策略用于对齿轮箱中各部件在不同运行工况下的温度状态进行监测;基于希尔伯特变换对目标振动数据生成目标时频图;根据预先建立的故障诊断模型和目标时频图,确定齿轮箱中异常部件的目标故障类型。本发明能够提高故障诊断的准确性和通用性。

一种垂直轴风机叶片收缩控制装置及方法

NºPublicación:  CN121719688A 24/03/2026
Solicitante: 
长江勘测规划设计研究有限责任公司
CN_121719688_PA

Resumen de: CN121719688A

本发明涉及海上风电技术领域,尤其涉及一种垂直轴风机叶片收缩控制装置及方法,包括主筒体,滑块,叶片支撑杆件,连接杆件;通过设置可被动闭合滑块,实现在海上恶劣环境下自动收缩的垂直轴风机以控制转速,避免垂直轴风机发生损坏,实现垂直轴风机的安全运行。通过主动或被动控制机制,动态调整风机叶片与主筒体之间的径向间距,从而实现对风机转速,使其在恶劣风况下得以保持安全、高效的运行。设置可被动闭合滑块,实现在海上恶劣环境下自动收缩的垂直轴风机以控制转速,避免垂直轴风机发生损坏。设置主动牵引绳,可对滑块进行主动收紧,提升垂直轴风机的运行过程中的安全性。本发明能够解决垂直轴风机无法实现对转速的有效调控的技术问题。

一种新型水滴形漂浮式风机平台结构

NºPublicación:  CN121716849A 24/03/2026
Solicitante: 
大连理工大学
CN_121716849_PA

Resumen de: CN121716849A

本发明涉及海上风力发电平台结构技术领域,具体涉及一种新型水滴形漂浮式风机平台结构;该平台结构包括浮体主体和系泊系统,浮体主体整体呈水滴形,上部为颈部圆柱段,中部为喉部收敛段,底部为球形鼓出段,颈部圆柱段内设有空舱,球形鼓出段内设有压载舱,系泊系统采用多点系泊布置。本发明通过独特的水滴形结构设计使重心下移,大幅提高了平台的稳性和抗倾覆能力,降低了波浪载荷影响,且结构简单、施工维护便捷,适用于深远海大型风机的支撑,解决了现有漂浮式平台在大型风机应用中稳性不足、结构复杂、成本高等问题。

一种海上风电导管架型工艺基准与定位设计的工艺工法

NºPublicación:  CN121723605A 24/03/2026
Solicitante: 
青岛天能重工股份有限公司
CN_121723605_PA

Resumen de: CN121723605A

本发明涉及海上风电导管架技术领域,公开了一种海上风电导管架型工艺基准与定位设计的工艺工法,包括如下模块:总合拢模块、TP过渡段合拢模块、导管架合拢模块、附件合拢模块、电缆护管合拢模块、吸力锚合拢模块、TP过渡段预制模块、导管架构件预制模块、吸力锚构件预制模块及附件预制模块,本发明通过海上风电导管架构件预制与结构合拢全流程的、统一的几何基准网络与定位操作体系,并采用专用符号系统进行标准化标识,系统化地控制了制造与装配过程中的累积误差,显著提升了整体尺寸精度与结构一致性;该体系实现了工艺标准化,大幅提高了不同工序间的协作效率并缩短了工期,同时通过关键部位科学预设与修整加工余量。

漂浮式海洋结构物及具有其的漂浮式海洋发电装置

NºPublicación:  CN121716850A 24/03/2026
Solicitante: 
现代重工业株式会社
CN_121716850_PA

Resumen de: US2025341202A1

A floating offshore structure of the present disclosure includes: a plurality of columns; and a plurality of pontoons installed at lower ends of the columns, respectively, wherein a polygonal shape is formed by an imaginary line connecting the columns, the pontoons are installed inside the polygonal shape, a cross-sectional area in a direction parallel to sea level of the pontoons is greater than or equal to the cross-sectional area in the direction parallel to the sea level of the columns, and the pontoons may have a shape protruding outward at the lower ends of the columns.

一种风电齿轮箱油液在线监测及过滤一体装置

NºPublicación:  CN121719699A 24/03/2026
Solicitante: 
广西大唐桂冠新能源有限公司
CN_121719699_PA

Resumen de: CN121719699A

本发明公开了一种风电齿轮箱油液在线监测及过滤一体装置,涉及风电齿轮箱油液在线监测技术领域,包括风力发电机壳体和齿轮箱本体,齿轮箱本体安装于风力发电机壳体的内部。本发明通过设置的监测维护机构,借助放油接管、回油接管、导油连接软管、连接弯管和排出管以及回油连接软管构成的闭合回路配合参数铁磁颗粒传感器和压力传感器以及可拆卸过滤器,实现油液参数监测与过滤,而通过放油接管、回油接管、导油连接软管、第一外接通管和回油连接软管以及第二外接通管构成的另一闭合回路,能够外接冲洗和换油管道,从而实现齿轮箱本体内部的清洗和油液的更换,通过阀门组合实现两种工作模式的自动切换,无需拆卸传感器或管道,操作简单便捷。

基于无人机的风力发电机巡检方法、无人机及巡检系统

NºPublicación:  CN121719696A 24/03/2026
Solicitante: 
中车永济电机有限公司
CN_121719696_PA

Resumen de: CN121719696A

本申请提供了一种基于无人机的风力发电机巡检方法、无人机及巡检系统。其中,该巡检方法包括:响应于巡检指令,移动至初始位置;在初始位置,基于预先训练的第一检测模型和采集的第一图像确定轮毂的中心位置坐标,基于中心位置坐标和第一点云数据确定所述待巡检风力发电机的偏向角;根据中心位置坐标和偏向角移动至目标位置;在所述目标位置,确定每一叶片对应的第一位置补偿因子,以及确定每一叶片对应的第二位置补偿因子;根据中心位置坐标、偏向角、第一位置补偿因子和第二位置补偿因子规划巡检目标飞行路径,并根据目标飞行路径对待巡检风力发电机进行巡检。

基于风电机组历史功率曲线的风电场可用功率计算方法

NºPublicación:  CN121723432A 24/03/2026
Solicitante: 
道莅智远科技(青岛)有限公司
CN_121723432_PA

Resumen de: CN121723432A

本发明公开了基于风电机组历史功率曲线的风电场可用功率计算方法,涉及新能源风电技术领域,包括以下步骤:S1、采集风电机组的历史运行数据,所述历史运行数据包括风速和输出功率,并以不低于1分钟的粒度进行高频采集;S2、采用滑动时间窗口策略将所述历史运行数据划分为多个子区间,每个子区间的长度基于预设时间周期配置。本发明提出的基于风电机组历史功率曲线的风电场可用功率计算方法,通过深入挖掘风电机组历史运行数据,动态构建反映机组实际运行特性的功率曲线,有效克服了传统静态功率曲线方法因环境变化、设备老化等因素导致的预测偏差问题,实现对动态功率曲线的周期性修正,通过高频数据采集与实时计算。

风电机组变桨轴承声学监测方法和系统

NºPublicación:  CN121719692A 24/03/2026
Solicitante: 
远景能源有限公司
CN_121719692_PA

Resumen de: CN121719692A

本发明涉及一种风电机组故障诊断领域,尤其是风电机组变桨轴承声学监测方法和系统。该方法和系统采集三个叶片的叶根挡板处的声音,获取对应的三组声音信号;通过AI音频分类模型对三组声音信号进行特征提取,生成三组一维特征向量;根据三组一维特征向量获取显著性差异系数;将显著性差异系数与预设阈值进行比较,根据比较结果获取检测结果;根据检测结果建立并扩充案例数据库;根据案例数据库训练所述AI音频分类模型。本发明可通过对三个叶片的叶根处的声音信号来精准地检测变桨轴承的运行状态,声源处便于安装采集设备,采集设备的机型选择和安装方式更加灵活,降低了硬件成本,同时通过模型训练和持续学习可以逐步提升预警的准确率。

风机叶片安全监测系统

NºPublicación:  CN121719691A 24/03/2026
Solicitante: 
华能昭觉风力发电有限公司
CN_121719691_PA

Resumen de: CN121719691A

本发明公开了风机叶片安全监测系统,具体涉及风力发电安全监测技术领域,包括轨迹追踪传感单元部署模块、风机叶片数据采集模块、风机叶片轨迹重构模块、风机叶片净空监测模块、风机叶片全生命周期数据管理模块以及风机叶片净空安全预警与决策模块;所述风机叶片数据采集模块通过轨迹追踪传感单元,采集叶片尖端数据并进行修正、风机运行状态数据和环境数据,得到风机叶片数据集;本发明基于风机叶片数据集中的叶片尖端状态向量,通过三次样条插值进行风机叶片三维轨迹重构,能够准确计算出叶片与塔筒、地面之间的最小净空距离,及时发现风机叶片运动异常,保障风机的安全稳定运行。

一种风力发电机保护结构

NºPublicación:  CN121719685A 24/03/2026
Solicitante: 
南京欧陆电气股份有限公司
CN_121719685_PA

Resumen de: CN121719685A

本发明涉及一种风力发电机保护结构,包括机头、风轮和尾翼杆;所述机头的输出端安设有风轮,在风力作用下旋转产生动力,其中机头的背部铰接有尾翼杆,所述尾翼杆的尾端安装有尾翼叶片,尾翼叶片在风力作用下,尾翼叶片保持与风向平行。当风速达到额定风速时,机头和风轮的推力大于尾翼杆及尾翼叶片的自身重力,机头以支轴为轴转向,与风向形成夹角,减小风轮受风面,从而降低风轮转速,避免因高风速过载对风力发电机造成损坏;当风速降低至一定阈值时,尾翼杆及尾翼叶片的自身重力大于风轮推力,机头自动回转,使风轮正面迎风,恢复正常发电运转,无需额外的电控或驱动装置,实现风速变化的自适应调节与保护。

一种固体蓄热锅炉

NºPublicación:  CN121720209A 24/03/2026
Solicitante: 
青岛宏迅达电气有限公司
CN_121720209_PA

Resumen de: CN121720209A

本发明公开了一种固体蓄热锅炉,涉及海洋采样技术领域,包括绝热箱,所述绝热箱内部设有分隔板,所述分隔板将绝热箱内部分隔为蓄热仓和换热仓,蓄热仓内设有风道,蓄热仓内设有蓄热砖,所述蓄热砖内设有电热丝,蓄热仓和换热仓之间设有风道口,换热仓内设有架体,所述架体端部设有换热管,所述架体端部设有除湿组件,本发明通过设置多组换热管,循环电机对换热管内部注入水体,注入完成后关闭靠近进水罐一侧的电磁阀,通过风道对换热管内部水体进行换热,加热的水体流入至出水罐内部进行暂存使用,从而能够实现在无储水罐的情况下,不间断提供热水服务,减小固体锅炉的占地面积。

适应极端环境的风电机组联动控制方法及系统

NºPublicación:  CN121719687A 24/03/2026
Solicitante: 
华能昌黎太阳能发电有限公司
CN_121719687_PA

Resumen de: CN121719687A

本发明提供一种适应极端环境的风电机组联动控制方法,包括:实时采集机舱外的环境数据,所述环境数据包括大气压力值、环境温度值和瞬时风速值;根据采集的环境数据进行多维特征识别,以锁定机组的运行模式,所述运行模式包括低密度散热优先模式、极寒防冰监测模式和阵风机械保护模式;根据锁定的运行模式,采集机组的物理部件状态信号,并执行对应的多级耦合控制策略;当机组执行完运行模式的动作后,判断是否满足复位条件,若满足则自动解除锁定并恢复并网运行。本发明能够实现将环境参数(温度、气压、风速)与机组本体状态(振动、油压、温升速率)进行多级耦合判断及联动控制。

风电机组传动链和塔筒振动的在线智能故障定位方法

NºPublicación:  CN121719700A 24/03/2026
Solicitante: 
国网吉林省新能源集团有限公司
CN_121719700_PA

Resumen de: CN121719700A

本申请提供了一种风电机组传动链和塔筒振动的在线智能故障定位方法,根据本申请的方法包括:采集风电机组的SCADA运行状态数据,通过设置在风电机组传动链关键机械部件和塔筒结构上的振动传感器获取振动波形数据;对振动波形数据进行多维度信号分析,提取用于表征风电机组传动链机械异常的第一故障特征集,以及用于表征塔筒结构动力学异常的第二振动特征集;结合SCADA运行状态数据,对第一故障特征集和第二振动特征集进行融合分析,根据预设的诊断规则与阈值,从而实现对风电机组传动链和塔筒振动进行故障定位,本申请实现了传动链与塔筒耦合振动的在线智能诊断与溯源,有效提升了故障定位的准确性、时效性与运维决策效率。

一种风机叶片异常检测方法、电子设备及介质

NºPublicación:  CN121719693A 24/03/2026
Solicitante: 
华电重庆新能源有限公司
CN_121719693_PA

Resumen de: CN121719693A

本申请提供一种风机叶片异常检测方法、电子设备及介质,方法包括:获取麦克风阵列所采集到的第一声纹脉冲阵列;基于第一预设算法,提取所述第一声纹脉冲的包络信号;根据所述包络信号,基于第一预设策略,确定所述风机叶片的叶尖通过频率;根据所述包络信号和叶尖通过频率,基于第二预设算法,得到虚拟相位数据;基于所述第一声纹脉冲阵列和虚拟相位数据,得到第二声纹脉冲阵列;将所述第二声纹脉冲阵列输入至训练后的深度学习模型中,通过所述深度学习模型,得到所述风机叶片的异常信息。本申请消除了相对运动引起的多普勒效应,确保深度学习模型能够准确识别和定位异常。

一种风电机组检测参数的动态控制方法、系统和存储介质

NºPublicación:  CN121721934A 24/03/2026
Solicitante: 
华电(福建)风电有限公司浙江中自庆安新能源技术有限公司
CN_121721934_PA

Resumen de: CN121721934A

本申请涉及海上风电的技术领域,公开一种风电机组检测参数的动态控制方法、系统和存储介质,方法通过预设的短时环境传感器与长时环境传感器分别获取短时环境数据和长时环境数据,计算得到反映海上环境特征的环境参考值;利用检测传感器和使用参数数据库分别获取风电机组的使用工况数据与使用时间数据,计算得到体现机组自身状态的使用参考值;随后结合环境参考值、使用参考值及对应占比参数算出参数调整值,基于参数调整值正相关调节检测传感器的正向偏置数据;并在预设设定时长内计算参数调整值的波动幅值与波动趋势,根据波动幅值正相关调节检测周期,根据波动趋势反相关调节环境参考值的占比参数;显著提升传感器后期检测准确度。

一种格构式风机塔架及风电系统

NºPublicación:  CN121719689A 24/03/2026
Solicitante: 
阳光新能源开发股份有限公司
CN_121719689_PA

Resumen de: CN121719689A

本申请公开了一种格构式风机塔架及风电系统,其中,格构式风机塔架包括N个塔架角柱和连接腹杆,其中,N为≥3的正整数,各个塔架角柱均为直线型角柱,且任意两个塔架角柱的中心轴线互为异面直线;连接腹杆连接于相邻两个塔架角柱之间,以与塔架角柱组成格构式塔架框架,格构式塔架框架的外轮廓横截面自第一方向上的两端向中段预设位置渐缩,并且风力发电机组上叶片的叶尖距离安装基准平面的高度的最小值正好位于中段预设位置处所形成的蛮腰结构的高度区间内,蛮腰结构能够对叶尖扫过时提供一定的避让空间,从而降低了格构式风机塔架在应用至风电系统时出现叶尖扫塔的风险。

叶片段、风力涡轮机和用于制造叶片段的方法

NºPublicación:  CN121729559A 24/03/2026
Solicitante: 
西门子歌美飒可再生能源创新与技术有限公司
CN_121729559_PA

Resumen de: WO2025031779A1

The invention relates to a blade segment (10) for a wind turbine (100), the blade segment (10) comprising at least one attachment device (20) for attaching the blade segment (10) in a transverse plane (yz) of the blade segment (10) to another blade segment (10) and/or a rotor hub (12) for a wind turbine (100), a down conductor (30), wherein the down conductor (30) is at least partially embedded into a longitudinal element (40) of the blade segment (10), wherein the longitudinal element (40) is arranged along a longitudinal ax- is (x) of the blade segment (10), and at least a first connection terminal (50), wherein the at least one first connection terminal (50) is at least partially embedded into the longitudinal element (40) and electrically connected to a first end of the down conductor (30). Furthermore, the invention relates to a wind turbine (100) with a blade seg- ment (10) and a method for manufacturing a blade segment (10).

用于液化石油气传输管道阀门组件的防冻装置

NºPublicación:  CN121719975A 24/03/2026
Solicitante: 
中石油昆仑燃气有限公司成都液化气储配库
CN_121719975_PA

Resumen de: CN121719975A

本发明公开了用于液化石油气传输管道阀门组件的防冻装置,涉及防冻装置领域,包括用于夹持和密封阀门组件的上密封箱和下密封箱,所述上密封箱和下密封箱上皆开设有用于容纳传输管道的容纳槽,所述上密封箱和下密封箱之间通过连接机构连接,所述上密封箱内部安装有防冻机构,所述连接机构包括上连接板,所述上密封箱前后两侧底部皆设置有上连接板,所述上连接板与上密封箱固接。本发明通过设置电池、加热板、上密封箱、下密封箱,使上密封箱、下密封箱内持续保持零度以上的温度,避免阀门组件冻结,且利用液化石油气传输时的动能,持续的驱动小型发电机运转,给电池及加热板供电,使加热板能持续运转,不需要再外接电源。

一种风电叶片扰流元件的熔断式脱离装置

NºPublicación:  CN121719683A 24/03/2026
Solicitante: 
河南科技大学
CN_121719683_PA

Resumen de: CN121719683A

一种风电叶片扰流元件的熔断式脱离装置,使绳索靠近轮毂一侧的半绳圈套设在套筒的端盖外壁的绕绳环槽中,端盖内部的熔断组件具有供电装置和多个导电片,在锁定状态下通过扭簧的弹性力能够避免导通,而当拉动牵引绳时,棘爪盘相对于棘轮盘会转动至棘爪和棘齿相互阻挡的脱离位置,此时由于多个导电片在转动后停留至相互接触的位置,供电装置两端的导电部就能相互导通而形成加热回路,加热回路的热量能够传递至绕绳环槽并将定位绳烧断,因此定位绳就会从端盖上的脱离,扰流元件就能够可靠且高效的从风电叶片上脱离,仅需要操作者随意的拉动牵引绳即可实现,大幅减小风电叶片安装过程的工作量。

风电叶片运输装置的扬举液压缸平衡回路、装置及方法

NºPublicación:  CN121719794A 24/03/2026
Solicitante: 
西格玛智能装备(山东)有限公司济南大学
CN_121719794_PA

Resumen de: CN121719794A

本发明公开了风电叶片运输装置的扬举液压缸平衡回路及方法,解决了现有技术中风电叶片运输装置无法满足复杂工况引起的压力变化需求的问题,具有保证运输安全性的有益效果,具体方案如下:风电叶片运输装置的扬举液压缸平衡回路,包括第一油箱,第一油箱通过油泵与换向阀连接,换向阀的第一位与平衡阀连通,平衡阀具有先导油口,平衡阀通过对应的单向调速阀与扬举液压缸无杆腔连通,各扬举液压缸的活塞杆伸出,扬举液压缸用于扬举风电叶片;换向阀的第二位与扬举液压缸有杆腔连通以使得液压油进入扬举液压缸有杆腔,平衡阀的先导油口与扬举液压缸有杆腔连通。

一种永磁直驱风力发电机风轮转动惯量在线辨识方法

NºPublicación:  CN121719701A 24/03/2026
Solicitante: 
重庆大学
CN_121719701_PA

Resumen de: CN121719701A

本发明公开了一种永磁直驱风力发电机风轮转动惯量在线辨识方法,包括:在发电机转速稳定情况下向发电机的转子施加预设的电磁转矩阶跃量;获取在施加所述电磁转矩阶跃量后发电机转速的瞬态响应数据,根据所述瞬态响应数据计算转速变化率;将电磁转矩阶跃量和转速变化率带入风机旋转运动方程计算得到风轮的转动惯量。本发明永磁直驱风力发电机风轮转动惯量在线辨识方法,操作便捷,无需额外施加机械激励或复杂的信号处理,能够有效、经济地实现对永磁直驱风机风轮转动惯量的准确辨识,为风机控制系统参数的整定与优化提供了关键依据。

一种利用化纤回收料制备的PET泡沫板及其制备方法与应用

NºPublicación:  CN121718133A 24/03/2026
Solicitante: 
固瑞特(天津)复合材料有限公司
CN_121718133_A

Resumen de: CN121718133A

本申请涉及塑料的技术领域,具体公开了一种利用化纤回收料制备的PET泡沫板及其制备方法与应用。本申请公开的利用化纤回收料制备的PET泡沫板,由以下组分制备得到:PET颗粒、改性化纤颗粒、交联剂、成核剂、发泡剂、抗氧化剂、润滑剂;所述改性化纤颗粒的制备方法经过结晶化处理、增粘处理得到。利用本申请提供的技术方案,制备得到的PET泡沫板具有较低的开孔率,且该PET泡沫板具有良好的机械性能。

一种旋转变压器故障检测方法及相关装置

NºPublicación:  CN121720516A 24/03/2026
Solicitante: 
阳光电源股份有限公司
CN_121720516_PA

Resumen de: CN121720516A

本申请提供了一种旋转变压器故障检测方法及相关装置,涉及风力发电技术领域。本申请中,通过预设判断逻辑以及位置偏差超过位置偏差阈值的连续次数来综合判断是否存在由于旋变安装角滑移所导致的旋转变压器的故障。由于计算位置偏差所需的第二位置信息基于变桨电机的运行数据估算得到,准确度高,因此,能够在旋变安装角发生较小角度的滑移时,也能够及时准确的检测出旋转变压器的滑移故障。另外,通过预设判断逻辑能够在旋变安装角发生较大角度的滑移时,能够及时准确的检测出旋转变压器的滑移故障。

一种基于风电塔筒子母机爬壁机器人检测方法

NºPublicación:  CN121719695A 24/03/2026
Solicitante: 
石家庄东方热电热力工程有限公司
CN_121719695_PA

Resumen de: CN121719695A

本发明公开了一种基于风电塔筒子母机爬壁机器人检测方法,本发明通过在子母机爬壁机器人上搭载GPS,通过高度参数控制子、母机在风电塔筒的同一高度,子、母机上安装的IMU,控制子、母机在风电塔筒同一高度所在圆上的位置处于直径线上;此外,子、母机均安装有小型卷扬机,通过卷扬机上的安全绳将子、母机相连,在机器人运动过程中给卷扬机一个力矩,使绳索处于张紧状态;当子、母机中其中一台发生故障时,另一台充当救援机器人,将故障机器人送下来;本发明提出了子母机爬壁机器人检测方案及同步行走策略;提出了爬壁机器人安全绳的控制策略;提出了子母机互为安全锚点的策略;提出了子母机互为救援机器人的方案。

一种海上风电塔筒的防腐结构

NºPublicación:  CN121719709A 24/03/2026
Solicitante: 
江苏天能海洋重工有限公司
CN_121719709_A

Resumen de: CN121719709A

本发明涉及风电塔筒防腐技术领域,尤其是提供了一种海上风电塔筒的防腐结构,包括基座、连接在基座上方的法兰,以及设置在法兰与基座之间的防腐结构,基座的顶端设有基座连接部,法兰的底端连接基座连接部上,并与基座连接部的顶面之间形成重合面,外密封环的上端设有紧贴在重合面外边缘上的塑性变形部,塑性变形部的底部设有紧贴着基座连接部外圆面向下延伸的第一延伸部,防腐结构还包括防腐蚀套,防腐蚀套的上端设有扣接在法兰上的环形定位部,环形定位部的底部设有第二延伸部,第二延伸部对第一延伸部具有较好的定位作用,装配时能够保证第二延伸部的内圆面与基座连接部的外圆面紧密配合,针对于重合面的外边缘形成两层抗腐蚀屏障。

联轴器打滑监测方法、装置、服务器及计算机存储介质

NºPublicación:  CN121719705A 24/03/2026
Solicitante: 
安徽容知日新科技股份有限公司
CN_121719705_PA

Resumen de: CN121719705A

本发明涉及风机传动技术,提供一种联轴器打滑监测方法、装置、服务器及计算机存储介质,所述方法包括:获取风机的工况数据、风机的齿轮箱输出轴转速和发电机轴转速;计算齿轮箱输出轴转速和发电机轴转速之间的转速差;根据工况数据对转速差进行修正,得到修正转速差;根据工况数据及修正转速差,对风机的联轴器进行打滑监测。本发明能够修正转速差,结合工况数据降低误报率。

一种风电前缘防护膜的安装施工方法

NºPublicación:  CN121716323A 24/03/2026
Solicitante: 
北京智天新航科技有限公司
CN_121716323_A

Resumen de: CN121716323A

本发明属于防护膜安装领域,具体涉及一种风电前缘防护膜的安装施工方法。所述安装施工方法包括:(1)依据风电前缘形状,将多个防护膜沿纵向从叶尖向叶根方向依次叠合,得到预成型防护膜;或,依据风电前缘形状设计一体化防护膜,并作为预成型防护膜;(2)确定叶片的粘接区域并依次进行打磨、清洁;再将剩余的非粘接区域进行保护;(3)在清洁完毕的所述粘接区域和所述预成型防护膜的内表面涂抹水性/油性聚氨酯胶水;(4)待所述水性/油性聚氨酯胶中的水分/溶剂挥发完毕后,将所述预成型防护膜铺贴到叶片上,加热胶层并赶出气泡;(5)最后使用密封胶封边即可。该方法粘接强度高、施工简便、成本低,贴合性好,可避免防护膜脱落,提升施工效率。

吊运工装及其装配方法

NºPublicación:  CN121717284A 24/03/2026
Solicitante: 
远景能源有限公司
CN_121717284_PA

Resumen de: CN121717284A

本申请涉及起重设备技术领域,公开了一种吊运工装及其装配方法。吊运工装包括立柱、第一吊臂、平衡臂、第二吊臂及牵引装置。立柱沿预设方向可拆卸地安装在位于空中的待维护设备上,立柱沿预设方向依次设置有第一安装结构与第二安装结构。第一吊臂的一端与第一安装结构可拆卸连接,第一吊臂的另一端远离立柱,第一吊臂设置有可移动的提升装置。平衡臂的一端与第一安装结构可拆卸连接,并远离第一吊臂的一端,平衡臂的另一端远离立柱,平衡臂设置有可移动的配重装置。第二吊臂与第二安装结构连接,第二吊臂设置有可移动的滑动件。本申请提供的吊运工装及其装配方法,能够有利于在风电设备维护时进行部件的吊运转移。

风电塔筒的存放工装

NºPublicación:  CN121719690A 24/03/2026
Solicitante: 
中车兰州机车有限公司
CN_121719690_PA

Resumen de: CN121719690A

本申请实施例提供一种风电塔筒的存放工装,涉及风电塔筒设备技术领域。存放工装包括:弧形支撑单元,弧形支撑单元包括弧形件和支撑件,支撑件与弧形件连接,弧形件背离支撑件的表面用于与风电塔筒的部分外周表面相匹配,支撑件用于支撑弧形件。如此设置,使得风电塔筒存放在弧形件上时,弧形件与风电塔筒之间形成面接触,相比于线接触的接触面积增大,可将风电塔筒的重力载荷均匀分散至弧形件的整个贴合区域,避免局部应力集中,从而避免了风电塔筒在长期存放过程中因局部受力不均发生塑性变形损伤。

变桨轴承、风力发电机及风力发电装置

NºPublicación:  CN121719835A 24/03/2026
Solicitante: 
远景能源有限公司
CN_121719835_PA

Resumen de: CN121719835A

本申请涉及风电技术领域,公开了一种变桨轴承、风力发电机及风力发电装置。变桨轴承包括内圈及外圈。内圈包括环绕预设方向设置的主体部,以及环绕主体部设置的延伸部,主体部靠近中心的内侧设置有齿圈。外圈套装在内圈上,并可与内圈绕预设方向相对转动,外圈包括相连的第一外圈与第二外圈,第一外圈与第二外圈将延伸部容纳在内,第一外圈和第二外圈均与延伸部滚动连接。内圈和外圈采用碳含量质量百分比为0.46%至0.8%的合金钢制作而成。本申请提供的变桨轴承、风力发电机及风力发电装置,能够有利于确保变桨轴承的结构强度,以避免影响风力发电机的正常运行。

风力发电机叶片损伤定位方法及相关设备

NºPublicación:  CN121719694A 24/03/2026
Solicitante: 
清华大学
CN_121719694_PA

Resumen de: CN121719694A

本申请公开了一种风力发电机叶片损伤定位方法及相关设备,涉及智能运维技术领域。该方法包括:基于风力发电机叶片的初始位置角度和旋转角速度,确定高频扬声器的第一空间位置建模和损伤位置处的第二空间位置建模;基于第一空间位置建模和第二空间位置建模,计算第一时延信息;基于目标麦克风传感器的第三空间位置建模和第二空间位置建模,确定第二时延信息;基于第一时延信息及第二时延信息,根据多普勒效应确定目标物理建模;基于目标物理建模及旋转窗口函数,确定声激励信号能量,并建立麦克风阵列声激励信号能量最大化准则,通过参数迭代确定损伤位置信息。根据本申请实施例,能够对风力发电机叶片损伤位置进行准确定位。

一种基于风机工况的混塔缝隙激光监测自适应调整方法

NºPublicación:  CN121719707A 24/03/2026
Solicitante: 
北京英华达电力电子工程科技有限公司
CN_121719707_PA

Resumen de: CN121719707A

本发明涉及风力发电机组结构健康监测领域,公开了一种基于风机工况的混塔缝隙激光监测自适应调整方法;包括:采集风速、功率、偏航角和塔体根部载荷形成工况数据,并进行时间对齐后采用卡尔曼滤波去噪。基于混塔三维有限元基准模型建立工况与应力耦合模型,计算各区域实时应力,并按混凝土段第一应力阈值与钢段第二应力阈值进行分区。中央控制器依据分区确定采样频率和激光偏振角并下发至分布式激光节点,节点采用激光三角法获取缝隙宽度。采集固定参考点位移生成基线修正量,更新基线长度参数以补偿测量值。补偿后的监测数据回传,在满足变化判定条件时更新模型参数并更新后续分区与监测策略。

一种基于叶尖净空时序数据的风机气动不平衡诊断方法

NºPublicación:  CN121720646A 24/03/2026
Solicitante: 
国华(乾安)风电有限公司
CN_121720646_PA

Resumen de: CN121720646A

本发明属于风力发电机组动平衡测试技术领域,公开一种基于叶尖净空时序数据的风机气动不平衡诊断方法,包括:对单一叶尖净空传感器获取的原始时序数据流进行时序微分,生成一个剔除了机组整体运动干扰的相对偏差序列;接着对该序列进行同步累加,提纯出不平衡特征签名;同时,通过分析诊断过程的残差序列来在线评估传感器自身的健康状态,并最终在确认传感器健康的基础上,依据不平衡特征签名进行诊断,本发明通过构建一种无需依赖外部固定参考系的诊断范式,其最终提取的不平衡特征签名在物理上已不受机组塔筒晃动等整体结构动态响应的影响,从而能够稳定识别在传统方法中被坐标系噪声淹没的微弱早期故障信号。

一种装配式风电塔筒垂直度检测装置及方法

NºPublicación:  CN121719697A 24/03/2026
Solicitante: 
中国核工业华兴建设有限公司
CN_121719697_PA

Resumen de: CN121719697A

本发明涉及风电塔筒检测技术领域,尤其涉及一种装配式风电塔筒垂直度检测装置及方法,装置包括:用于测量当前吊装筒节的顶端高度和平面偏移量的检测组件、控制器和移动设备,检测组件将当前吊装筒节的顶端高度数据和平面偏移量数据输送至控制器,控制器通过当前吊装筒节的顶端高度数据和平面偏移量数据计算出当前吊装筒节的垂直度,并将该垂直度数据传输给移动设备,移动设备显示垂直度数据。本发明结构简单,操作方便,且不受场地限制,能够快速的测量出当前吊装筒节的垂直度,便于实时快速矫正。

一种风电机组阵风识别系统

NºPublicación:  CN121719698A 24/03/2026
Solicitante: 
明阳智慧能源集团股份公司
CN_121719698_PA

Resumen de: CN121719698A

本发明公开了一种风电机组阵风识别系统,包括:风速信号预处理模块,用于采集原始风速信号,对原始风速信号进行滤波及异常校验的预处理,得到有效风速信号;风速特征量化提取模块,用于缓存有效风速信号、计算有效风速信号中的多维度核心动态特征以及存储多维度核心动态特征;阵风多条件判定模块,判定有效风速信号中阵风持续时间是否有效;若判定阵风持续时间有效,则输出阵风事件有效信号;若判定阵风持续时间无效,则输出阵风事件无效信号;完成对风电机组的阵风识别。本发明基于风速时间序列提取多维度核心动态特征,根据多维度核心动态特征与预存的可调整阈值,实现阵风事件的识别,并能够对阵风事件的停机策略进行精细化分类。

一种风力发电机塔筒消防烟雾疏导装置

NºPublicación:  CN121719710A 24/03/2026
Solicitante: 
华能新能源股份有限公司陕西分公司
CN_121719710_PA

Resumen de: CN121719710A

本发明公开了一种风力发电机塔筒消防烟雾疏导装置,涉及风力发电机技术领域。该装置包括在塔筒主体内侧壁安装的至少一层导流机构,导流机构由环形导轨、周向分布的导流板及驱动组件组成。导流板可在驱动组件作用下由收起状态切换至工作状态,通过改变展开角度来主动干预塔筒内部的烟气流场。系统还包括控制单元、传感器组、排烟风机及数字孪生系统。方法包括:接收火警信息,通过数字孪生系统模拟并选择最优导流方案,动态调整导流板角度以执行烟气聚集、通道净化或机舱阻隔等模式。本发明解决了现有技术无法主动、智能疏导烟雾的难题,能有效引导烟气排出、维持逃生通道畅通并保护机舱安全,显著提升了塔筒消防的安全性与可靠性。

用于监测风力涡轮的驱动系中的振动的系统和方法

NºPublicación:  CN121719686A 24/03/2026
Solicitante: 
通用电气维诺瓦基础设施技术有限责任公司
CN_121719686_PA

Resumen de: US12448948B1

A method for damping drivetrain vibrations of a wind turbine. The drivetrain has, at least, a rotor and a generator. The method includes receiving a first rotational speed signal at a first location along the drivetrain, the first rotational speed signal being a proxy for rotor speed of the rotor. The method also includes receiving a second rotational speed signal at a second location along the drivetrain, the second location being downwind from the first location, the second rotational speed signal being a proxy for generator speed of the generator. Further, the method includes determining a speed error based on a comparison of the first and second rotational speed signals. Moreover, the method includes determining a torque deviation signal for the wind turbine configured to dampen the drivetrain vibrations when the speed error exceeds a first speed threshold. In addition, the method includes applying the torque deviation signal to the generator to dampen the drivetrain vibrations.

一种高圣生风光电驱动碳氢氧氮元素循环增益负墒类生命体系统

NºPublicación:  CN121719625A 24/03/2026
Solicitante: 
高圣生
CN_121719625_A

Resumen de: CN121719625A

本发明公开了一种高圣生风光电驱动碳氢氧氮元素循环增益负墒类生命体系统,包括常规版系统与超级版系统;所述常规版系统包括普通风光电模块、空压与空分一体化系统、电解槽、多介质储罐组、燃烧室、常规发电机;所述普通风光电模块与空压与空分一体化系统、电解槽电连接;所述电解槽通过管路与多介质储罐组连接,所述燃烧室分别与多介质储罐组、常规发电机连接。摆脱化石能源依赖:通过风光电作为初始能源,结合元素循环与能量回收,实现能源自给,常规版可满足平常时期廉价电力与物质自由需求,超级版适配末日场景;元素循环增益:基于简单化学方程式实现碳、氢、氧、氮元素闭环循环,实现物质自给(如甲醇、甲烷、氨等)。

叶根螺栓的剩余寿命监测方法、风电机组、系统、设备、介质及产品

NºPublicación:  CN121719704A 24/03/2026
Solicitante: 
上海电气风电集团股份有限公司
CN_121719704_PA

Resumen de: CN121719704A

本公开提供了一种叶根螺栓的剩余寿命监测方法、风电机组、系统、设备、介质及产品,方法包括:获取载荷集合,载荷集合中包括风电机组中各个叶根螺栓的预设载荷,以及装配到风电机组中各个叶根螺栓的实测载荷;对载荷集合中的各个载荷进行疲劳损伤识别,得到模拟疲劳损伤值集合;根据模拟疲劳损伤值确定危险螺栓位置;危险螺栓位置包括与预设载荷对应的预设危险螺栓位置,以及与实测载荷对应的实测危险螺栓位置;在风电机组的运行工况下,对危险螺栓位置的叶根螺栓进行监测,并基于监测结果确定危险螺栓位置上的叶根螺栓的剩余寿命。在对叶根螺栓进行监测的过程中,能够充分考虑多个维度下的载荷对叶根螺栓的影响,提升叶根螺栓的准确性和全面性。

一种基于端云协同的风电机组运行风险检测方法

NºPublicación:  CN121719703A 24/03/2026
Solicitante: 
国电投江苏海上风力发电有限公司
CN_121719703_PA

Resumen de: CN121719703A

本发明公开了一种基于端云协同的风电机组运行风险检测方法,包括如下步骤:采集风电机组的运行参数集合生成结构化运行时序数据;构建时序表示重组结构,生成重组时序表示;构建运行风险分布建模框架,执行分布式风险建模处理,生成运行风险分布;执行风险分布构建处理,生成云端全局演化风险分布先验和端侧个体运行风险残差分布表示;基于重组时序表示与端侧个体运行风险残差分布表示,生成运行风险检测结果;计算分布距离指标并生成风险分布偏移触发信号;基于风险分布偏移触发信号对云端全局演化风险分布先验执行重校准并回传端侧。本发明实现复杂工况下运行风险检测的稳定性与自适应能力提升。

用于风力涡轮机的齿轮装置

NºPublicación:  CN121729560A 24/03/2026
Solicitante: 
拉温德有限公司
CN_121729560_PA

Resumen de: WO2025034117A1

There is described a gear device (1) comprising: - two parallel planetary gears (22) arranged one behind the other along a rotation axis (A) of the gear device (1), each planetary gear comprises a sun gear (24), a ring gear (28) and a set of planet gears (26), the two sets of planet gears (26) are arranged in a common planet gear carrier (30), and the two sun gears (24) are connected to a common rotary shaft (32) along the rotation axis (A) of the gear device (1); - a gear device housing (42) which encircles at least a portion of the two planetary gears (22), where the gear device (1) further comprises an internal torque distributor (43) connected to each of the ring gears (28) and to the gear device housing (42), so that the two ring gears (28) are allowed to twist relative to each other around the rotation axis (A) during use. Also described is a gear assembly (10) comprising two such gear devices (1) as well as a wind turbine comprising a gear device (1) or a gear assembly (10).

一种基于应变监测的叶片根部螺栓状态监测装置及方法

NºPublicación:  CN121719706A 24/03/2026
Solicitante: 
中国华能集团清洁能源技术研究院有限公司
CN_121719706_PA

Resumen de: CN121719706A

本发明公开了一种基于应变监测的叶片根部螺栓状态监测装置及方法,属于风电叶片技术领域。方法包括:在叶片根部段、叶片叶尖段的螺栓连接部位,以及连接所述叶片根部段与叶片叶尖段的螺栓组件上布置应变监测单元;对所述应变监测单元进行校准,使监测的应变方向与螺栓组件轴线平行;对螺栓组件施加预紧力,通过应变监测单元采集的应变信号计算预紧力大小;监测螺栓连接受外载荷作用时应变监测单元的应变信号变化;根据所述应变信号变化规律,判断螺栓连接的载荷类型、接触分离状态及连接有效性。本发明将应变监测单元与数据处理模块联动,实现了叶片根部螺栓连接状态的实时、精准、多维度监测,有效解决了传统监测手段的诸多缺陷。

一种交通安全自清洁自发光式轮廓标

NºPublicación:  CN224031526U 24/03/2026
Solicitante: 
北京深华科交通工程有限公司
CN_224031526_U

Resumen de: CN224031526U

本申请涉及交通设施技术领域,尤其是涉及一种交通安全自清洁自发光式轮廓标,包括基板、反光板、刷板和驱动件,反光板可拆卸设置于基板上,反光板上转动设置有刷轴,刷板设置于刷轴上,刷板上设置有刷毛,刷毛抵接于反光板的迎光面,驱动件用于驱动刷轴转动,驱动件包括设置于刷板上的扇板,反光板沿着车辆行驶方向且朝向车辆倾斜布置,刷板在刷轴上周向均匀设置有多个,扇板与刷板一一对应,扇板的横截面呈弧形,扇板的弧形凹侧朝向车辆。本申请具有自动清洁反光板和自动发光的效果。

一种风电机组吊物孔防坠落闭锁保护系统

NºPublicación:  CN224032706U 24/03/2026
Solicitante: 
华润新能源(德州)有限公司
CN_224032706_U

Resumen de: CN224032706U

本实用新型涉及一种风电机组吊物孔防坠落闭锁保护系统,属于风力发电领域,包括铰接装于风电机组吊物孔处的双开式盖板、安全带、安全绳和锚固件,所述双开式盖板包括两个板体,两个所述板体分别铰接在所述风电机组吊物孔的相对两侧,二者可翻转至相互靠拢以闭合所述风电机组吊物孔,或翻转至打开;两个所述板体相互靠近的一侧上部设有电子锁具,并在二者靠拢后通过所述电子锁具锁紧,所述锚固件装于风电机组的机舱内,所述安全绳一端与安全带可拆卸连接,另一端与锚固件可拆卸连接,所述电子锁具电连接控制器。优点:能够通过电子锁具以及安全绳与锚点的配合来加强工人作业的安全性,降低坠落风险。

一种风力机单叶片吊装系统纵向晃动气动阻尼辨识方法

NºPublicación:  CN121723689A 24/03/2026
Solicitante: 
广东工业大学
CN_121723689_PA

Resumen de: CN121723689A

本申请公开了一种风力机单叶片吊装系统纵向晃动气动阻尼辨识方法,涉及空气动力学领域。该方法包括:基于预设的简化条件建立单叶片吊装系统纵向晃动的单自由度动力学方程;基于叶片翼型气动数据和稳态入流条件,计算翼型截面在挥舞方向的气动阻尼贡献;将挥舞方向的气动阻尼贡献转化为垂直平面内的纵向晃动气动阻尼贡献,并沿叶片径向积分,得到纵向晃动气动阻尼;根据所述纵向晃动气动阻尼、单叶片吊装系统的转动惯量及固有圆频率,计算得到单叶片吊装系统纵向晃动的气动阻尼比。本发明能够计算不同叶片摆放角度下的纵向晃动气动阻尼比,显著缩短了计算时间,同时为吊装作业提供了更高效、更科学的指导。

一种风力发电机蒸发冷却散热系统稳定性监测方法

NºPublicación:  CN121723192A 24/03/2026
Solicitante: 
中国科学院赣江创新研究院
CN_121723192_PA

Resumen de: CN121723192A

本发明涉及风力发电机技术领域,公开了一种风力发电机蒸发冷却散热系统稳定性监测方法,包括:采集风力发电机组的温度等多源数据;采用粒子群优化的变分模态分解方法对数据进行降噪处理;等间距抽取降采样和三次样条插值方法统一数据长度;使用基于KAN网络与Transformer网络融合预测模型,结合所预测的电机未来温度判断散热系统是否会发生不稳定性。本发明实现对潜在故障的提前预警,能够提高系统的稳定性。

一种具有动态视觉驱鸟功能的垂直轴风力发电装置

NºPublicación:  CN121719684A 24/03/2026
Solicitante: 
盐城师范学院
CN_121719684_A

Resumen de: CN121719684A

本发明提供一种具有动态视觉驱鸟功能的垂直轴风力发电装置,包括塔架、发电机及至少3个叶片,所述叶片的表面设有复合光谱涂层,其外轮廓呈波浪形或锯齿形的非直线连续曲线,所述复合光谱涂层与所述非直线连续曲线轮廓相配合,使得叶片在旋转时,其表面对入射光的反射方向发生非线性周期性变化,从而生成动态的视觉驱鸟信号。相关系统设有多台如上所述的装置,各装置依据场地风向与鸟类活动路径规划布置,共同构成一个分布式动态视觉驱鸟网络。本试验装置对试验鸟群的初始驱避率比传统叶片提高40%以上,且鸟类习惯化周期延长3倍,该方案不仅节约了传统驱鸟设备的购置与运维成本,具经济效益与环境效益。

用于最小化功率生成资产中的跳闸的系统和方法

NºPublicación:  CN121726922A 24/03/2026
Solicitante: 
通用电气维诺瓦基础设施技术有限责任公司
CN_121726922_PA

Resumen de: US20260081547A1

A method for minimizing trips in a power generating asset prior to synchronization includes providing a dynamic trip threshold to a protection scheme of the power generating asset and modifying the dynamic trip threshold prior to and after synchronization of the power generating asset to minimize the trips in the power generating asset caused by the protection scheme of the power generating asset.

一种风力发电机基础施工用定型装置

NºPublicación:  CN224031736U 24/03/2026
Solicitante: 
能建绿色氢氨新能源(松原)有限公司中国能源建设集团山西电力建设有限公司
CN_224031736_U

Resumen de: CN224031736U

本申请涉及一种风力发电机基础施工用定型装置,涉及风力发电机基础保护装置的技术领域,其包括数量不少于四个的侧板,数量不少于四个的侧板为弧形板,数量不少于四个的侧板依次首尾连接;连接块,连接块固定安装在侧板一侧;连接槽,连接槽开设在侧板远离连接块的一端,连接块嵌设在相邻侧板的连接槽内。本申请具有提高定型装置稳固性的效果。

用于风力发电机组的轴承座

NºPublicación:  CN224032708U 24/03/2026
Solicitante: 
常州市永峰风能设备制造有限公司
CN_224032708_U

Resumen de: CN224032708U

本实用新型涉及轴承座技术领域,公开了用于风力发电机组的轴承座,包括下座,用于支撑轴承和风力发电机组的至少一个部件,上盖,其设置于下座的顶部,所述下座和上盖通过螺栓连接为一个整体,所述下座和上盖之间设置有空腔,所述空腔的内部设置有轴承本体。本实用新型通过驱动组件带动调节组件中的第二环推动第一环,使第一环在轴向将轴承本体推向空腔一端的内壁,进而消除轴承本体在空腔内的轴向间隙,通过消除轴承本体轴向的间隙,可以确保轴承本体和轴承座的紧密配合与协同工作,避免因间隙变化或不均匀受力引起的机械故障,提高轴承本体承载能力,从而提升整个风力发电机组系统的可靠性和运转精度。

一种风电机组塔筒除湿的设备

NºPublicación:  CN224032701U 24/03/2026
Solicitante: 
江苏能未来精密科技有限公司
CN_224032701_U

Resumen de: CN224032701U

本实用新型涉及空气除湿技术领域,具体为一种风电机组塔筒除湿的设备,包括:除湿机、电源底座和角柱,除湿机通过安装槽与电源底座连接,电源底座的下端电性连接有连接座,连接座连接有三个万向轮,除湿机的下端连接有角柱和接头;本实用新型的有益效果为:通过万向轮便于对整体的位置进行移动,同时电源底座通过接头为除湿机持续充电,当需要单独拎出除湿机时,角柱可以为其提供支撑,以此使得除湿机的使用环境不易受限制,便于多场景使用。

风电偏航减速器

NºPublicación:  CN224032698U 24/03/2026
Solicitante: 
银川威力传动技术股份有限公司
CN_224032698_U

Resumen de: CN224032698U

一种风电偏航减速器,涉及风力发电机偏航传动技术领域,其通过改型齿轮传动结构,采用2Z‑X加3Z型两级行星结构,能够实现偏航减速器大速比要求,同时能够有效减少行星齿轮传动级数,并减少零件数量、重量、以及整体外形尺寸,且方便后期维修。所述风电偏航减速器中,电机座及上机体通过螺栓与下机体连接,且下机体固定于风力发电机机架;偏航减速器箱体在工作时固定不动,电机动力通过减速器内部齿轮降速增扭后由开式齿轮输出至偏航齿圈。

一种自调整的海上风电安全登陆平台

NºPublicación:  CN224029192U 24/03/2026
Solicitante: 
南通丰和风电科技有限公司
CN_224029192_U

Resumen de: CN224029192U

本实用新型公开了一种自调整的海上风电安全登陆平台,涉及海上风电技术领域,包括风机桩基,所述风机桩基的外部设置有调整机构,所述调整机构包括承载箱,所述承载箱的内壁和风机桩基固定连接,所述承载箱的内壁转动连接有两个主动蜗杆,所述两个主动蜗杆之间啮合连接有从动蜗轮,该自调整的海上风电安全登陆平台通过调整机构中零部件的配合设置,从而实现了通过多维度的对对接台调整,能够更方便的与工作平台对接登陆,通过这种优化不仅解决了现有装置中液压气缸不稳定的技术瓶颈,而且还能动态适配不同登陆工况和根据船舶结构高度进行智能调节,显著提升了本装置在使用时的实用性。

便于攀爬检修的发电机塔架

NºPublicación:  CN224030441U 24/03/2026
Solicitante: 
湖北瑞莱斯精工科技有限公司
CN_224030441_U

Resumen de: CN224030441U

本实用新型公开了便于攀爬检修的发电机塔架,属于发电机塔架技术领域,其技术要点包括塔架组件、攀爬组件、升降组件、运输组件和驱动组件。该实用新型,在对塔架组件1进行检修作业时,可以先让工人进入运输组件4中,之后可以通过升降组件3对运输组件4的高度进行调整,从而可以使得工人能够到达指定的检修位置,进而可以进行检修,通过快速带动工人进行升降,从而可以提升检修效率,而当需要携带较多或较重的工具进行检修时,此时可以将工件放置于运输组件4中进行运输,而工人可以通过攀爬攀爬组件2进行升降,从而可以实现工人和工具同时到达检修位置,且可以避免因工人携带大量或较重的工具,从而造成风险。

一种风电高空施工作业平台

NºPublicación:  CN224030587U 24/03/2026
Solicitante: 
广东能源青洲海上风电有限公司西安热工研究院有限公司
CN_224030587_U

Resumen de: CN224030587U

本实用新型涉及风电施工技术领域,具体涉及一种风电高空施工作业平台,包括工作台和调节组件,所述工作台包括移动平台和固定平台,所述固定平台为半圆形平台,移动平台为弧形平台,所述移动平台设置有两个,两个移动平台对称套设在固定平台两端,且移动平台与固定平台伸缩连接,使工作台可以延伸形成一个近环形的大平台,能够扩大施工范围,方便工人沿风电塔筒周向施工,所述调节组件设置在固定平台内,齿轮同时与内侧齿条和外侧齿条啮合连接,可以快速调节工作台大小,转换施工方位,提高施工效率。

互导件固定支架结构

NºPublicación:  CN224032697U 24/03/2026
Solicitante: 
宜兴乃尔风电科技有限公司
CN_224032697_U

Resumen de: CN224032697U

本实用新型公开了互导件固定支架结构,包括中心连接杆,所述中心连接杆一端设置上支架,所述中心连接杆底部设置与上支架对应的下支架,所述上支架包括中心盘,所述中心盘一侧设置上安装套,所述上安装套与中心连接杆一端连接,所述中心盘上还均匀设置向下倾斜布置的上定位板;所述下支架包括下安装套,所述下安装套外表面均匀设置与上定位板对应的下定位板,所述下定位板呈向上倾角布置;所述上定位板与下定位板上还设置用于对弧形互导叶片端部进行固定的加强结构,本申请能够将弧形互导叶片进行快速固定安装,且能够对弧形互导叶片与上支架以及下支架连接处加固连接,提高了其抗变形性能,延长使用寿命。

一种风力发电机叶片运行声音采集装置

NºPublicación:  CN224032704U 24/03/2026
Solicitante: 
平顶山学院
CN_224032704_U

Resumen de: CN224032704U

本实用新型公开了一种风力发电机叶片运行声音采集装置,包括塔柱、发电机组和三个风力发电叶片,所述发电机组底部设置有声音采集模组壳,所述声音采集模组壳顶端固定连接有连接块,所述发电机组底部焊接有U型支撑顶座,其中,所述声音采集模组壳一侧安装有若干个声音传感器,所述U型支撑顶座一侧转动连接有限位板,所述限位板滑动连接于所述连接块一侧;通过连接块、U型支撑顶座和限位板的配合使用,使得声音采集模组壳能够实现快速安装和拆卸,从而便于检修和维护工作,无需使用螺栓的方式,从而防止检测设备逐渐松动,保证声音采集的准确性和稳定性,且避免采集装置脱落,造成设备损坏和安全隐患问题。

一种具有自动调节叶片净空尺寸功能的风力发电机组

NºPublicación:  CN224032699U 24/03/2026
Solicitante: 
明阳智慧能源集团股份公司
CN_224032699_U

Resumen de: CN224032699U

本实用新型公开了一种具有自动调节叶片净空尺寸功能的风力发电机组,包括主机和塔架,还包括机座和举升装置,其中,所述主机的末端铰接在机座上,所述机座通过偏航轴承安装在塔架顶部,所述举升装置安装在机座上,并与主机相连接,用于驱动主机绕铰接点摆动来调节主机前端的叶片叶尖至塔架的净空尺寸。本实用新型适应安装不同叶片长度,并可在不同风速下自动调节叶片净空尺寸。

一种加热控制电路及风电机组变频系统

NºPublicación:  CN224032707U 24/03/2026
Solicitante: 
国华能源投资有限公司神华(故城)新能源有限责任公司
CN_224032707_U

Resumen de: CN224032707U

本实用新型公开了一种加热控制电路及风电机组变频系统。其中加热控制电路包括第一温度传感器、第二温度传感器、差分放大器、第一电压比较器、电压源与加热器;第一温度传感器位于电力电子器件的外表面,用于向差分放大器的第一端发送第一温度信号;第二温度传感器位于电力电子器件所处的功率柜内,用于向差分放大器的第二端发送第二温度信号;差分放大器的输出端与第一电压比较器的同相输入端连接,电压源用于向第一电压比较器的反相输入端输送输出电压;第一电压比较器的输出端与加热器的控制端连接,用于在从同相输入端接收到的电压值高于输出电压时,使加热器对电力电子器件进行加热。本申请的技术方案能防止电力电子器件的表面出现凝露现象。

浮体式海洋プラットフォームおよびその組立て

NºPublicación:  JP2026509627A 23/03/2026
Solicitante: 
オセルギーインク
JP_2026509627_A

Resumen de: CN120659741A

The invention relates to a kit comprising a floating ocean platform and an assembly tool for assembling the floating ocean platform, a floating ocean platform includes a central post, a plurality of peripheral posts circumferentially surrounding the central post, a radially extending overhang bracket connecting the peripheral posts with the central post, and a tendon spanning between each pair of adjacent peripheral posts, where the peripheral posts include tendon receptors having tool interfaces, shim chambers, and tendon channels, and where the shim chambers are disposed between the central post and the peripheral posts, and where the shim chambers are disposed between the central post and the peripheral posts, and the shim chambers are disposed between the central post and the peripheral posts. An assembly tool includes a tool connector, a tendon tensioner, and a tension shim installer, where the tendon tensioner includes a tendon puller.

UNA PALA DE ROTOR DE TURBINA EOLICA CON UN ELEMENTO DE CALENTAMIENTO

NºPublicación:  ES3059719A2 23/03/2026
Solicitante: 
NORDEX ENERGY SE & CO KG [DE]
Nordex Energy SE & Co. KG
US_20260078743_A1

Resumen de: US20260078743A1

A wind turbine rotor blade including a wind turbine rotor blade shell structure including a fiber reinforced composite material; an electrical heating element arranged on an outer surface of the wind turbine rotor blade shell structure, the electrical heating element having an electrical heating conductor with an end section; an electrical supply line running along a longitudinal direction of the wind turbine rotor blade; and, a connector connecting the end section of the heating conductor electrically to the electrical supply line wherein the connector includes an outer thread screwed directly into the fiber reinforced composite material and into the electrical supply line.

損傷検知装置、損傷検知システム、損傷検知方法、及びプログラム

NºPublicación:  JP2026051620A 23/03/2026
Solicitante: 
コスモエコパワー株式会社
JP_2026051620_A

Resumen de: JP2026051620A

【課題】本開示は、風車のブレードの損傷の確認漏れを抑制することを目的とする。【解決手段】本開示は、風力発電を行なう所定の風車に設けられ、当該所定の風車のブレードの損傷を検知する損傷検知装置であって、前記所定の風車に設けられた所定の撮影装置が前記ブレードを撮影して得た所定の撮影画像と、前記所定の風車の所定距離内に設置された他の撮影装置が前記ブレードを撮影して得た他の撮影画像とに基づいて、前記ブレードの損傷を検知する損傷検知部を有する損傷検知装置である。である。【選択図】図8

风力发电机组的净空保护系统及方法、风力发电机组

NºPublicación:  CN121701417A 20/03/2026
Solicitante: 
北京金风慧能技术有限公司江苏金风软件技术有限公司
CN_121701417_PA

Resumen de: CN121701417A

本公开提供一种风力发电机组的净空保护系统及方法、风力发电机组,所述净空保护系统包括:保护罩,所述保护罩设置在所述风力发电机组的塔架上,位于所述风力发电机组的叶片尖部在扫风过程中所经过的塔架高度处,并且与所述塔架之间形成腔体,所述腔体内的气压在所述保护罩受到所述叶片碰撞时产生变化;压力传感器,所述压力传感器设置在所述腔体中,以用于感测所述腔体内的气压。本公开解决了叶片净空监测设备的成本高、稳定性和普适性差的问题,可以在降低成本的同时提高净空保护的可靠性。

一种风电机组混凝土环片及其设计方法

NºPublicación:  CN121701012A 20/03/2026
Solicitante: 
湖南科技大学
CN_121701012_PA

Resumen de: CN121701012A

本发明公开了一种风电机组混凝土环片及其设计方法,属于风电场建设施工领域,风电机组混凝土环片的设计方法包括以下步骤:根据变径处塔段的设计荷载要求,确定混凝土环片中UHPC层的厚度;对变径处混凝土环片内外壁的UHPC层进行钢模制作;预埋连接钢筋,浇筑混凝土环片内外壁的UHPC层构件并养护;待UHPC层达到规定的龄期要求后,将UHPC层作为模板,开展内层钢筋绑扎、高强混凝土芯的浇筑和养护;待内层高强混凝土芯达到规定龄期后,运输至现场,进行现场吊装并使用。本发明基于变径塔段的受力特性,提出了UHPC层厚度的计算方式,能够得到满足抗裂控制的最小薄层厚度,从而得到最优的混凝土环片,满足使用需求。

基于LSTM的风电机组转速开环保护控制方法及相关装置

NºPublicación:  CN121701392A 20/03/2026
Solicitante: 
中车启航新能源技术有限公司
CN_121701392_PA

Resumen de: CN121701392A

本发明提供一种基于LSTM的风电机组转速开环保护控制方法及相关装置,通过采集风电机组的运行时序数据;将所述时序数据输入至预先训练好的LSTM转速预测模型中,以获取未来指定时间段的转速预测值;将未来指定时间段的转速预测值与预设的预警转速阈值进行直接比较,当所述未来指定时间段的转速预测值达到所述预警转速阈值时,基于比较结果直接生成前馈控制指令;根据所述前馈控制指令,调整桨距角和/或发电机扭矩,以抑制风机超速,本发明不依赖于当前转速的反馈误差,而是基于比较结果直接生成前馈控制指令,实现超前防护,从根本上克服了风机因大惯量导致的转速控制滞后问题,有效防止超调与系统振荡,提升复杂风况下的发电效率。

发电机组状态检测系统

NºPublicación:  CN121703641A 20/03/2026
Solicitante: 
国能信控互联技术(河北)有限公司国能信控技术股份有限公司
CN_121703641_PA

Resumen de: CN121703641A

本公开涉及风力发电技术领域,提供一种发电机组状态检测系统,包括:控制器;姿态传感器,用于采集叶轮姿态,并传输给控制器;位置传感器,设置于发电机组的变桨电机驱动轴上,用于检测叶片位置并传输给控制器;风速仪,用于检测发电机组所在位置的风速;风向标,用于检测发电机组所在位置的风向;电流传感器,用于检测发电机组的电机电流值;控制器用于根据电机电流值确定出第一发电机组载荷,根据叶轮姿态、叶片位置、风速、风向预测得到第二发电机机组载荷,并根据第一发电机组载荷和第二发电机组载荷确定发电机组是否故障。作为参考标准的第二发电机组载荷随不同工况进行变化,使得发电机组状态判断准确。

风力发电机组运维系统以及叶片轴承的更换方法

NºPublicación:  CN121701423A 20/03/2026
Solicitante: 
华能吉林清洁能源发电有限公司洮南分公司中水东北勘测设计研究有限责任公司上海电气风电集团股份有限公司
CN_121701423_PA

Resumen de: CN121701423A

本发明公开了一种风力发电机组运维系统以及叶片轴承的更换方法,风力发电机组运维系统包括轮毂、导流罩、吊装机构和盘车机构,轮毂包括轴承安装孔,用于安装叶片轴承,叶片轴承用于安装风机叶片;导流罩围设于轮毂外周,导流罩包括装配孔,轴承安装孔外露于装配孔,且叶片轴承在装配孔所在平面的中垂线方向上的投影位于轴承安装孔的暴露区域内;吊装机构用于吊装风机叶片或叶片轴承;盘车机构用于在拆装叶片轴承时对轮毂进行盘车。该风力发电机组运维系统通过将装配孔设置成足够将叶片轴承从轮毂上直接取下,避免将风轮整体拆卸对叶片轴承进行更换,从而实现了对机组上对叶片轴承进行维修替换。

一种可快速拆解回收的分片式风电混合支撑结构绿色连接体系

NºPublicación:  CN121701402A 20/03/2026
Solicitante: 
重庆大学
CN_121701402_PA

Resumen de: CN121701402A

本发明公开一种可快速拆解回收的分片式风电混合支撑结构绿色连接体系,涉及风电装备领域。该可快速拆解回收的分片式风电混合支撑结构绿色连接体系,包括第一支撑塔筒和第二支撑塔筒,所述第一支撑塔筒由多个第一分片呈圆周拼接而成,所述第二支撑塔筒由多个第二分片呈圆周拼接而成,所述第一分片与第二分片沿竖向拼接固定,且二者拼接处装配有多个连接单元,所述第一支撑塔筒和第二支撑塔筒的外侧均布设有多个加强单元。该可快速拆解回收的分片式风电混合支撑结构绿色连接体系,竖向拼接处装配的连接单元可保障第一支撑塔筒与第二支撑塔筒连接的稳定性,外侧布设的加强单元能够提升整个支撑结构的承载能力和抗变形能力。

基于视频与毫米波协同的风机叶片净空识别方法

NºPublicación:  CN121708427A 20/03/2026
Solicitante: 
华能昭觉风力发电有限公司
CN_121708427_PA

Resumen de: CN121708427A

本发明公开了基于视频与毫米波协同的风机叶片净空识别方法,具体涉及风机叶片净空识别领域,包括数据获取、特征数据处理、配准特征数据、计算实时净空值、计算净空风险系数、制定参数调整方案、筛选最优执行方案及可视化展示;本发明通过数据获取模块采集雾霾环境下风机叶片的点云数据与二维图像数据,再构建动态三维包围盒模型计算实时净空值,结合预设净空值计算风险系数并触发多级预警,本发明通过数据融合与动态优化,实现雾霾环境下风机叶片净空的精准识别与高效处置,避免因监测精度不足或处置滞后引发的设备碰撞风险,同时减少参数调整的盲目性,兼顾风机运行安全与发电效率。

一种变桨轴承及其废弃润滑脂收集装置

NºPublicación:  CN121701427A 20/03/2026
Solicitante: 
太原重工股份有限公司
CN_121701427_PA

Resumen de: CN121701427A

本申请公开了一种变桨轴承及其废弃润滑脂收集装置,涉及风电机组技术领域,包括变桨轴承和废脂收集装置,变桨轴承包括同轴设置的内圈和外圈,以及安装于内圈与外圈之间的密封组件。该变桨轴承及其废弃润滑脂收集装置,内侧组合式密封与外侧适配性密封结构,均采用定位棱边与防松棱边的固定方式与多重密封唇与槽体嵌合的密封设计,密封唇宽度与槽宽精准适配轴承径向变形量,无论轴承发生变形还是密封件弹性下降,密封唇均能保持与槽体或套圈的紧密贴合,解决了现有技术中密封易失效、润滑脂泄漏的核心问题,维护时无需拆解复杂的轴承或集油盒结构,仅需拆卸集油瓶即可完成废脂清理,极大降低了维护工作量与维护难度。

一种风电机舱罩玻璃钢复合材料百叶窗结构及其制造方法

NºPublicación:  CN121701425A 20/03/2026
Solicitante: 
江苏常友环保科技股份有限公司
CN_121701425_PA

Resumen de: CN121701425A

本发明公开了一种风电机舱罩玻璃钢复合材料百叶窗结构及其制造方法,包括通风罩主体,所述通风罩主体包括安装于风电机舱顶部的安装底板以及设置在安装底板上的通风弯头,通风弯头与安装底板中心镂空与机舱内部导通,通风弯头出口设置有斜面,斜面处通过紧固件安装有百叶窗本体,所述百叶窗本体与通风弯头的斜面之间设置有防鸟网,百叶窗本体由玻璃钢一体成型,制造方法包括三维建模、模具制作、真空成型或手糊工艺、后处理与装配。本发明的玻璃钢百叶窗结构具有耐腐蚀、轻质、高强度、寿命长等优点,适用于风力发电机组在腐蚀性环境中的长期使用。

一种在复杂地形条件下使用的风电场偏航控制方法

NºPublicación:  CN121701393A 20/03/2026
Solicitante: 
大唐同心新能源有限公司
CN_121701393_PA

Resumen de: CN121701393A

本发明涉及风电场控制技术领域,具体地说,涉及一种在复杂地形条件下使用的风电场偏航控制方法。其包括以下步骤:采集风电场入流条件,生成覆盖多工况的尾流基准数据集;采集风电场历史运行数据,通过时空特征提取得到时空特征数据样本集;将样本集输入尾流场快速预测模型,输出任意偏航角组合下的预测有效入流风速与湍流强度;构建目标优化函数,通过分布式协同进化算法生成全局最优偏航角指令集;采集实际运行数据,基于实际与预测发电量的偏差修正尾流场快速预测模型。该方法通过将风机建模为图节点、尾流影响关系建模为边且可动态更新图结构,解决了传统方法难以精准适配复杂地形风场尾流分布、预测误差大的问题。

一种风机塔筒可靠性评估方法、系统、电子设备及介质

NºPublicación:  CN121701411A 20/03/2026
Solicitante: 
华能新能源股份有限公司山西分公司
CN_121701411_PA

Resumen de: CN121701411A

本发明属于风力发电技术领域,涉及一种风机塔筒可靠性评估方法、系统、电子设备及介质,包括:根据不同天气数据信息获取天气疲劳累积损伤系数;基于载荷应力和预设的许用应力得到载荷系数;通过倾角传感器实时采集倾斜度,根据倾斜度和预设的倾斜阈值,通过归一化处理获得倾斜系数;获取风机塔筒的服役时间和设计寿命,基于服役时间和设计寿命得到寿命衰减系数;根据天气疲劳累积损伤系数、载荷系数、倾斜系数、寿命衰减系数,以及预设的天气疲劳累积损伤权重、载荷权重、倾斜权重和寿命衰减权重,获得可靠度。本发明通过天气疲劳累积损伤系数、载荷系数、倾斜系数、寿命衰减系数获得可靠度,解决了现有风机塔筒可靠性评估精准度低的问题。

一种模块化风力发电机组的塔筒及其使用方法

NºPublicación:  CN121701403A 20/03/2026
Solicitante: 
山东轻工职业学院山东创索智能科技有限公司
CN_121701403_PA

Resumen de: CN121701403A

本发明公开了一种模块化风力发电机组的塔筒及其使用方法,涉及风力发电机组的塔筒技术领域。该模块化风力发电机组的塔筒,包括:筒体,所述筒体内设有沿轴向延伸的环形空腔,用于浇筑混凝土以形成钢-混凝土复合承载结构;螺旋肋槽,所述螺旋肋槽开设于环形空腔的内壁两侧,两侧螺旋肋槽的旋向相反且沿筒体轴线连续延伸,用于增大筒体内壁与混凝土之间的有效粘结面积,并在轴向与周向共同提供抗剪阻力。通过在筒体环形空腔的内壁两侧分别设置两条旋向相反的螺旋肋槽,形成双侧、双旋的复合肋槽结构,显著增大了钢筒内壁与混凝土之间的有效粘结面积,并在轴向、周向及斜向多个方向形成空间交错的机械咬合效应。

一种隔热型海上风力发电机舱罩

NºPublicación:  CN121701419A 20/03/2026
Solicitante: 
大丰锦辉风电设备有限公司
CN_121701419_PA

Resumen de: CN121701419A

本发明涉及风力发电技术领域,公开了一种隔热型海上风力发电机舱罩,包括舱罩本体,舱罩本体表面设置有开口,舱罩本体内安装有支座,支座上安装有支撑杆架,支撑杆架一端安装有弹性记忆金属;舱罩本体内壁对称安装有机架,机架之间转动连接有主轴,主轴内部连接有移动式轴体,主轴通过多个连接部连接有反射面板、吸热面板和通风面板,此隔热型海上风力发电机舱罩,通过齿排与齿轮本体的啮合传动,将温度信号转化为圆形盘架的旋转运动,并利用离心力使磁制滑块伸出,以磁力耦合方式带动铁制圆盘、移动式轴体及主轴旋转,从而精确地将反射面板、吸热面板或通风面板中的一者切换至舱罩开口下方,从而有效维持了发电机舱内部设备的最佳热平衡。

一种适用于海上风机备电的氨氢发动机发电装置

NºPublicación:  CN121701334A 20/03/2026
Solicitante: 
福大紫金氢能科技股份有限公司福州大学
CN_121701334_A

Resumen de: CN121701334A

本发明公开了一种适用于海上风机备电的氨氢发动机发电装置,氨氢发动机发电单元包括氨氢混合燃料发动机、氢氮气供给系统、氨气供给系统、燃料预混器和发电机机组,控制系统设置混合燃料与空气比例并输入燃料预混器中,供给氨氢混合燃料发动机工作,并驱动发电机机组产生电力;高倍率储能单元通过功率转换系统分别与风机不间断电源和风机偏航系统连接;氨氢发动机发电单元通过功率转换系统分别与风机交流电网和控制系统电性连接,高倍率储能单元经功率转换系统为氨氢发动机发电单元提供启机动力;控制系统通过通信单元分别与远程监控单元、风机主控系统和安全系统连接。本发明解决了大容量锂电池、柴油发电机以及氨氢燃料电池存在的各种技术问题。

一种风电机组保护方法

NºPublicación:  CN121701416A 20/03/2026
Solicitante: 
华能新能源股份有限公司河北分公司
CN_121701416_PA

Resumen de: CN121701416A

本发明公开了一种风电机组保护方法,涉及风机保护技术领域。包括以下步骤:获取电池的实时工作温度,结合风电机组中各目标风机的固有参数,确定各目标风机在工作温度下对应的标准工作参数阈值;采集各目标风机的实时工作参数,将其与对应目标风机的标准工作参数阈值进行比对,计算得到各目标风机的第一工作参数偏差值,结合其对应的参数类型,制定该偏差值所对应各子工作参数的针对性调整策略;依据制定的参数调整策略,结合风电机组系统的响应特性,对对应工作参数进行动态调整,进而实现对目标风机及电池单元的放电保护。本发明能够最大限度降低参数异常对机组的损害,为风电机组的可靠运行提供技术支撑。

一种同时具有升力和阻力特征的升阻混合翼型叶片

NºPublicación:  CN121701387A 20/03/2026
Solicitante: 
江苏祥风新能源科技有限公司
CN_121701387_PA

Resumen de: CN121701387A

本发明公开了一种同时具有升力和阻力特征的升阻混合翼型叶片,所述的混合型叶片固定安装在风机上,用于风机旋转的部件,包括:叶片前端件、叶片后端件、叶片窗口和叶片安装固定件;所述的叶片后端件由外壁和内壁组成,所述的外壁和内壁相互配套相连,所述的内壁从上到下均匀开设有若干个尺寸相同的叶片窗口。本发明的叶片窗口改变了原来升力型翼型结构的特征,同时由于叶片窗口可吸纳流过的空气,使空气在混合型叶片上产生阻力,从而利用空气的流动推动混合型叶片的转动,呈现出阻力型翼型结构的特征。本发明利用升阻翼型结构的双重特征,在不同风机转速下,通过改变其运行状态,使其在低转速下,阻力型特征更明显,在高速时,升力型特征更明显。

一种混塔筒段可拆卸自锁式齿状钢管混凝土垫梁

NºPublicación:  CN121701401A 20/03/2026
Solicitante: 
浙江华东新能科技有限公司
CN_121701401_PA

Resumen de: CN121701401A

本发明涉及风电塔筒技术领域,具体涉及一种混塔筒段可拆卸自锁式齿状钢管混凝土垫梁。该混塔筒段可拆卸自锁式齿状钢管混凝土垫梁,包括:若干筒节,相邻筒节固定连接,筒节由多个相互连接的管片组成;连接组件,连接组件包括连接孔和第一连接件,管片朝向相邻筒节的端面设置有至少两个连接孔,第一连接件具有至少两个凸起部,凸起部插设在连接孔内以使第一连接件至少连接两个管片,凸起部的两侧设置有可运动的第一抵接件,凸起部具有为第一抵接件提供偏压力以使第一抵接件与连接孔内壁抵接的第一配合件。第一抵接件通过与连接孔内壁摩擦和承压可抵抗部分外荷载弯矩产生的拉力,并且缓解了管片错动导致的管片角部应力集中,避免了角部裂缝生成。

一种风力发电机

NºPublicación:  CN121701397A 20/03/2026
Solicitante: 
无锡风腾新能源科技发展有限公司
CN_121701397_PA

Resumen de: CN121701397A

本发明属于风力发电技术领域,具体的说是一种风力发电机,包括转子发电机,转子发电机的前端设置有扇叶模组;调整部件,设置在转子发电机的背部,用于固定转子发电机;调整部件包括引导底座,引导底座的内腔均匀开设有调整滑槽。该装置设置完毕后,当遇到不定向的风力作用时,可以通过四周设置的加固部件自动对引导底座受风侧进行加固工作,从而抵抗此处受到的风力作用,避免竖直固定的引导底座发生侧翻的问题,并且相邻两侧的加固部件可以通过分力作用,对引导底座的四处边角位置也能实现加力作用,从而使引导底座对周围所有位置都具备良好的抗风能力。对野外的适应能力也更强。

一种基于毫米波的叶片净空监测系统

NºPublicación:  CN121701408A 20/03/2026
Solicitante: 
华能昭觉风力发电有限公司

Resumen de: CN121701408A

本发明涉及净空监测技术领域,更具体地涉及一种基于毫米波的叶片净空监测系统,包括数据采集与预处理模块,用于发射毫米波信号并接收由风机叶片反射的回波,通过FMCW技术解算生成原始点云数据,并对点云数据进行预处理;叶片点云识别与追踪模块,用于识别并锁定属于叶片尖部的动态点云簇,并对其进行持续追踪;净空距离解算模块,用于计算实时净空值;智能预警判断模块,用于生成分级预警信号;输出与执行模块,用于接收预警信号,并将其转化为多种形式的输出以执行相应操作;本发明消除了因监测点有限而导致的漏报风险,全面掌握叶片的整体运动状态,为风机安全提供了全局性保障。

一种自主巡航监测风机叶片裂纹的无人机及其工作方法

NºPublicación:  CN121697900A 20/03/2026
Solicitante: 
天津国投新能源有限公司
CN_121697900_PA

Resumen de: CN121697900A

本发明公开了一种自主巡航监测风机叶片裂纹的无人机及其工作方法,在无人机主体的机头两侧分别安装有距离感知模块,在无人机主体的机腹下面通过云台挂载有视觉采集装置,在无人机主体上还安装有控制系统,控制系统分别与距离感知模块、云台的控制端和视觉采集装置电连接。本发明从源头消减数据冗余:本装置采用到位即拍的逻辑,杜绝了飞行过程中的无效连拍。实验表明,该机制可减少约43%的图像数据冗余,使得后续数据处理效率大幅提升。双超声波雷达的差分测距机制,确保了每一次拍摄都是在无人机正对叶片且距离固定的状态下进行的。这使得采集到的裂纹图像具有统一的比例尺和清晰度,极大有利于后续基于MI‑YOLO等算法的自动化识别。

可移动式风力发电机叶片表面自动清洁特种节能装备及使用方法

NºPublicación:  CN121701424A 20/03/2026
Solicitante: 
重庆交通大学
CN_121701424_PA

Resumen de: CN121701424A

本发明公开了一种可移动式风力发电机叶片表面自动清洁特种节能装备,包括升降装置和位于升降装置上的工作模块,所述工作模块包含底板,底板上设有储蓄箱、电机和一对支柱,所述电机的输出轴上通过联轴器与转轴连接,转轴上安装有两个第一锥齿轮,锥齿轮通过轴承与转轴连接;在支柱上安装有丝杠,丝杠的下端通过轴承安装在支柱上,丝杠末端通过第二锥齿轮与第一锥齿轮啮合,丝杠上套有滑台,滑台通过螺纹与丝杠配合,两个滑台之间安装有支撑板。本发明的一种可移动式风力发电机叶片表面自动清洁特种节能装备及使用方法,该装置能实现对叶片的自动清洁和喷漆作业,显著提高了维护效率和质量。

电氢耦合驱动的铁路自洽能源系统的优化调度方法

NºPublicación:  CN121710414A 20/03/2026
Solicitante: 
北京能高自动化技术股份有限公司
CN_121710414_PA

Resumen de: CN121710414A

本发明涉及电氢耦合驱动的铁路自洽能源系统的优化调度方法,其中铁路自洽能源系统集成光伏、风机、电储能和氢储能等多种能源,并根据铁路不同场景可接入电网,对于离网场景下通过燃油机车提供应急牵引,整个调度方法首先构建各个能量单元的模型,并根据运行场景设置三种不同的运行模式,之后构建包含日前与日内阶段的多时间尺度优化调度模型,最后通过设定优化目标及约束条件确定铁路自洽能源系统的各个能量单元在不同时间尺度下的输出。采用本发明的调度方法,能够实现经济性最佳,降低限电率,提升可再生能源渗透率与系统自给能力。

一种风电场智能运维与数据分析管理系统

NºPublicación:  CN121707541A 20/03/2026
Solicitante: 
内蒙古东润能源科技有限公司
CN_121707541_PA

Resumen de: CN121707541A

本发明公开了一种风电场智能运维与数据分析管理系统,包括风场监视模块、智能预警模块、预测性维护模块、信息编辑模块、数据查询模块和系统管理模块,所述风场监视模块实时展示风机运行状态、环境与电气参数,并支持发电量统计与可视化展示;智能预警模块基于LSTM神经网络建立基准模型,实现异常检测与故障分类;预测性维护模块基于Weibull分布模型预测部件剩余寿命,并自动生成维护计划,支持多终端访问,具备数据预处理、智能分析与多维度展示功能,可实现风电场的实时监测、智能预警、预测性维护与规范化管理。本发明具有实时采集、智能分析、故障预警与预测性维护,有效提升运维效率、发电可靠性与智能化水平的效果。

风电升压站故障预警系统

NºPublicación:  CN121702452A 20/03/2026
Solicitante: 
华能新疆三塘湖风力发电有限责任公司
CN_121702452_PA

Resumen de: CN121702452A

本发明提供风电升压站故障预警系统,通过非接触式传感器融合红外超声与特高频技术,突破传统单点监测的局限性,使早期故障检出率大幅提升;复合散热系统基于相变材料与热管的动态热管理机制,将变压器热点的温升进行抑制,增加节能能效;边缘计算预警中枢通过加权融合算法将温度、局放、应变等多源异构数据转化为统一的健康度指数,结合设备拓扑关联分析模型,大幅提高故障源的定位准确率,并大大降低了预警响应时延。

一种围塘养殖用浮标式驱鸟装置

NºPublicación:  CN121694299A 20/03/2026
Solicitante: 
浙江省舟山市水产研究所
CN_121694299_PA

Resumen de: CN121694299A

本发明公开了一种围塘养殖用浮标式驱鸟装置,属于驱鸟装置技术领域,该装置包括浮体,浮体上部设有:至少两组发电单元,每组包括两个共面且间隔设置的太阳能板;声波发生器,与发电单元电连接,具有发射端,发射端对应设置在各间隔内且发射方向固定;调制构件,与发电单元对应设置,配置为可响应外部流体作用而相对太阳能板活动,且活动范围与发射端发射的声波信号的传播路径形成空间交叠。本发明能实现对投放区域上空鸟类多频段、高效的驱赶,且依靠自然能源驱动和供电,具有良好的稳定性和持续性。

一种风电机组偏航的控制方法、系统、设备及介质

NºPublicación:  CN121701394A 20/03/2026
Solicitante: 
中广核数字科技有限公司
CN_121701394_PA

Resumen de: CN121701394A

本发明提供一种风电机组偏航的控制方法、系统、设备及介质,控制方法包括根据风速‑风向数据,获取沿机舱坐标系的理论推力‑侧向力;将真实推力‑侧向力与理论推力‑侧向力进行矢量融合,以获取风载荷合力方向及其对塔筒中心产生的偏航力矩估值;当风载荷合力方向与当前风向的偏差方向一致,且偏航力矩估值超过预设力矩阈值时,获取风向在未来预设时间内的风向预测数据:当风向预测数据是否满足预设条件时,进入风载荷辅助模式,控制偏航制动器释放制动力,利用风载荷主导为主,偏航电机以部分额定转矩柔顺跟随的方式驱动机舱转动,以使机舱轴线方向与当前风向一致。本发明的风电机组偏航控制具有低滞后性、低频冲击、低能耗的优势。

更换轴承的方法以及风力发电机

NºPublicación:  CN121701426A 20/03/2026
Solicitante: 
远景能源有限公司
CN_121701426_PA

Resumen de: CN121701426A

本申请公开了一种更换轴承的方法以及风力发电机,其中,风力发电机的主轴通过轴承可转动地设置于轴承座,轴承包括下环段以及上环段,下环段和上环段可拆卸连接,轴承座包括下壳体以及上壳体,下壳体和上壳体可拆卸连接,更换轴承的方法包括:顶升主轴预定距离,以在主轴和下壳体之间形成活动空间,活动空间用于解除下壳体与旧的轴承的下环段之间的第二限位配合结构。本申请提供的技术方案能够降低更换轴承的难度。

一种漂浮式风电自升式起重机及塔筒吊装方法

NºPublicación:  CN121698242A 20/03/2026
Solicitante: 
中交四航局第二工程有限公司
CN_121698242_PA

Resumen de: CN121698242A

本发明涉及一种漂浮式风电自升式起重机及塔筒吊装方法,通过自升式组件套设于已安装塔筒外侧,底座连接于自升式组件顶部,自升式组件能够沿着已安装塔筒自爬升,进而能够实现更高塔筒的吊装;待安装塔筒节段能够从起重机组件的门型起重架的两个斜臂之间移动至已安装塔筒的正上方,为底座套设在已安装塔筒提供条件,使得底座、自升式组件均能够套设在已安装塔筒外侧,使得自升式起重机的重心更接近于已安装塔筒的中心轴,进而能够减少塔筒和起重机整体重心偏移,降低水平力,而且由于自升式起重机和已安装塔筒部分重合,进而能够减少受风面积,进而使得自升式起重机利用已安装塔筒自爬升的过程更加安全和稳定,使得浮态吊装的时候更容易控制。

一种基于摩擦纳米发电机的电力机柜除灰装置

NºPublicación:  CN121696022A 20/03/2026
Solicitante: 
国网湖北省电力有限公司超高压公司湖北省超能电力有限责任公司
CN_121696022_PA

Resumen de: CN121696022A

本发明涉及电力机柜技术领域,且公开了一种基于摩擦纳米发电机的电力机柜除灰装置,包括发电机主体,发电机主体的内部固定连接有高压除尘电极,发电机主体的正面固定连接有绝缘支架;发电机主体的输出端固定连接有转轴,转轴的外壁固定连接有扇叶,首先扇叶将风能转化为机械能,接着发电机主体将机械能转化为高压电能,最后高压电极将电能转化为静电力实现除尘,本发明利用电力机柜换气设备产生的风能进行驱动,利用摩擦纳米发电机产生高压电,通过本发明设计的高压除尘结构进行机柜内空气的高效除尘,在不改变原设备供电及空间的情况下高效工作,减少了供电设备机柜的维护时间,降低了成本。

一种风机叶片碰撞在线监测系统

NºPublicación:  CN121701407A 20/03/2026
Solicitante: 
华能会理风力发电有限公司
CN_121701407_PA

Resumen de: CN121701407A

本发明涉及风力发电设备状态监测技术领域,且公开了一种风机叶片碰撞在线监测系统,本发明包括模型库训练模块、音频采集模块、特征提取模块、特征匹配模块、碰撞判定模块、智能预警模块和自优化模块;本发明识别到碰撞特征即刻触发预警,能在损伤扩展初期发现问题,估算出碰撞点在叶片上的大致方位,并生成包含时间、位置、置信度等信息的结构化预警,提升了运维效率;构建声纹模型库,并结合双重阈值判定以及根据背景噪声动态调整阈值的机制,从而在复杂环境下保持高识别率与低误报率;建立了完整的反馈闭环,将每次预警结果经人工确认后反馈至模型库,通过增量学习技术不断微调优化模型。

载荷测量系统、损伤率估计系统、寿命预测系统、载荷测量方法、损伤率监视方法以及计算机程序产品

NºPublicación:  CN121701406A 20/03/2026
Solicitante: 
纳博特斯克有限公司
CN_121701406_PA

Resumen de: US20260079060A1

It is determined which of the teeth of a ring gear are subject to a load and to what extent the load is exerted. A load measuring system includes: a load detecting part for use in a moving part of a wind turbine, the moving part including a ring gear with a plurality of teeth and at least one drive unit with a pinion meshing with the ring gear, the load detecting part being configured to detect an applied load that is exerted on a tooth of the ring gear due to application of an external force or a driving force of the drive unit via the pinion with the ring gear meshing with the pinion; and a position identifying part for identifying, from among the teeth of the ring gear, a target tooth subject to the applied load.

风力涡轮机塔架的上部混凝土段的混凝土节段、用于浇筑该混凝土节段的模具及包含该混凝土节段的风力涡轮机的组装方法

NºPublicación:  CN121712956A 20/03/2026
Solicitante: 
恩德能源西班牙独资有限公司
CN_121712956_PA

Resumen de: AU2024314486A1

The object of the invention is a concrete segment of a section of a wind turbine tower which minimizes the undesirable local effects in the connection area between adjacent concrete sections, a section comprising at least two concrete segments, a set comprising two adjacent sections and a joint disposed between the two adjacent sections, a tower comprising at least one set, a mould configured to cast a concrete segment and a method of assembling a wind turbine.

一种高强度耐用型风力发电机舱罩

NºPublicación:  CN121701420A 20/03/2026
Solicitante: 
大丰锦辉风电设备有限公司
CN_121701420_PA

Resumen de: CN121701420A

本发明涉及发电机技术领域,公开了一种高强度耐用型风力发电机舱罩,包括多个首尾串联在一起的内衬框,其中两个所述内衬框底部之间固定连接有立柱,其中一个所述内衬框一侧固定安装有封边板,所述封边板一侧固定安装有罩头,每个所述内衬框四周拐角处均开设有扩胶腔,每个扩胶腔内部均固定安装有加强肋,所述加强肋呈十字型状让所述加强肋在扩胶腔内部形成一对固定腔和一对排胶腔,此高强度耐用型风力发电机舱罩,内衬框两侧边缘的连接条插接在固定腔内部,从而使得固定腔可以将加强肋进行填充,让多个内衬框可以很容易连接在一起,操作简单,同时稳定型加强,而在多个内衬框连接在一起之后,并通过局部点焊方式固定,简化了安装复杂难度。

电力储存系统

NºPublicación:  CN121710554A 20/03/2026
Solicitante: 
丰田自动车株式会社
CN_121710554_PA

Resumen de: US20260081431A1

An electric power storage system is provided with: an electric power supplier that is configured to supply at least a portion of electric power generated by repeatedly alternating unwinding and winding of a tether that moors a flying body to an electric power storage unit, which stores electric power in a predetermined manner, and an electric power holding unit, which is capable of charging and discharging electric power; and a controller that is configured to control the electric power holding unit so that electric power is supplied from the electric power holding unit to the electric power storage unit during winding the tether.

风机传动链系统扭振抑制方法、装置、设备及存储介质

NºPublicación:  CN121710755A 20/03/2026
Solicitante: 
三峡智控科技有限公司武汉理工大学
CN_121710755_PA

Resumen de: CN121710755A

本公开属于风力发电技术领域,提供了一种风机传动链系统扭振抑制方法、装置、设备及存储介质,所述方法包括建立风机传动链的等效双质量块数学模型;基于等效双质量块数学模型,导出关于风机传动链扭振的固有特性模型;基于扭振固有特性模型,得到发电机转速到电磁转矩的传递函数;选择发电机转速作为控制量,设计带通滤波器的参数;利用带通滤波器提取的实时扭振信息,并根据所述传递函数计算出实时电磁转矩值;根据实时电磁转矩值,通过反馈机制调整发电机的电磁转矩,实现扭振的自适应抑制。本公开针对风机传动链系统的实际工况,利用带通滤波器闭环反馈机制动态调整风力发电机的电磁转矩,实现了风机传动链系统扭振的自适应抑制。

风力涡轮机转子锁定

NºPublicación:  CN121701390A 20/03/2026
Solicitante: 
西门子歌美飒可再生能源公司
CN_121701390_PA

Resumen de: CN121701390A

本发明描述了一种包括电动马达系统的锁定系统以及一种锁定转子并且尤其是检测风力涡轮机(40)的转子(3)何时处于用于锁定转子的转子锁定位置的方法,风力涡轮机包括定子(2),转子(3)可相对于该定子旋转,该方法包括:使转子(3)旋转;从对定子与转子部件之间的距离敏感的传感器系统(10)接收传感器输出数据(12);分析所述传感器输出数据(12);基于所分析的传感器输出数据来指示何时到达转子锁定位置。

与冷却风力涡轮机有关的改进

NºPublicación:  CN121712984A 20/03/2026
Solicitante: 
维斯塔斯风力系统有限公司
CN_121712984_PA

Resumen de: WO2025036537A1

A wind turbine cooling system comprising: a power converter enclosure having an first air cooling circuit being adapted to pass airflow over at least one power converter component, the blown-air cooling circuit comprising an air-to air heat exchanger and an air-to-liquid heat exchanger which are configured to cool air flowing in the blown-air cooling circuit; a second air cooling circuit configured to convey a flow of air between an air source and the air-to-air heat exchanger of the power converter enclosure to cool the air flowing in the first air cooling circuit; a liquid coolant circuit adapted to convey a flow of coolant between the air-to-liquid heat exchanger of the power converter enclosure, wherein the air-to-liquid heat exchanger is at is arranged to heat coolant flowing through the liquid coolant circuit; and, wherein the liquid coolant circuit further comprises a further heat exchanger configured to cool coolant flowing through the liquid coolant circuit. Beneficially, the cooling system of the invention provides cooling functionality for a power system of a wind turbine which is effective over a wider range of ambient conditions which means that the power generation systems of the wind turbine can maintain output power generation at extreme temperature ranges.

用于将至少一个阻尼器单元安装在风力涡轮机的塔架区段中的方法和套件

NºPublicación:  CN121712982A 20/03/2026
Solicitante: 
维斯塔斯风力系统有限公司
CN_121712982_PA

Resumen de: US2025188908A1

A method for installing at least one damper unit in a tower section of a wind turbine tower is disclosed. The tower section is arranged with its centre axis in a substantially horizontal orientation, and a guiderail is introduced into the tower section. A trolley is mounted on a part of the guiderail extending out of the tower section, the damper unit is mounted on the trolley, and the trolley with the damper unit is moved along the guiderail to a position inside the tower section. The damper unit is positioned in an installation position being vertically offset from the centre axis of the tower section, wherein the positioning comprises elevating the damper unit, and the damper unit is attached to the tower section at the installation position.

一种风力发电运行优化方法及系统

NºPublicación:  CN121710433A 20/03/2026
Solicitante: 
湖南电气职业技术学院
CN_121710433_PA

Resumen de: CN121710433A

本发明公开了一种风力发电运行优化方法及系统,涉及风力发电机组运行优化技术领域,包括:获取风力发电机组的运行监测数据与运维事件数据;建立和更新数字孪生模型,输出运行响应数据;构建贝叶斯推断模型并进行推断,得到关键部件的健康状态参数及其剩余使用寿命的概率分布;生成运行控制指令;执行运行控制指令,获取控制执行反馈数据;更新所述数字孪生模型与所述贝叶斯推断模型。本发明通过证据化组织监测与运维数据,形成机理一致的虚拟观测并开展概率推断,将寿命不确定性纳入目标权衡,输出风险感知控制指令,并以反馈闭环更新抑制模型漂移,提升寿命预测可信度与可审计性,在满足安全与并网约束下实现收益提升与载荷风险协同控制。

一种风电叶片检测机器人

NºPublicación:  CN121697761A 20/03/2026
Solicitante: 
武汉理工大学
CN_121697761_PA

Resumen de: CN121697761A

本发明公开一种风电叶片检测机器人,包括机身、攀爬机构、仿生吸附机构及旋翼机构,多个所述攀爬机构设置于所述机身底部四周,包括连接座及仿生章鱼吸附爪,所述连接座转动连接于所述攀爬机构远离所述机身的一端,多个所述仿生章鱼吸附爪固定于所述连接座远离所述攀爬机构的一端,所述仿生章鱼吸附爪具有可变形性,所述旋翼机构设置于所述机身顶部。本发明解决了现有用于风电叶片检测的爬壁机器人存在的动态曲率适应能力不足导致局部脱附,进而不利于机器人对风电叶片进行检测和维护的技术问题。

一种用于风电混塔基础空腔悬挑部分的模板撑脚

NºPublicación:  CN224016357U 20/03/2026
Solicitante: 
中建六局第七建设有限公司中建科技天津有限公司中国建筑第六工程局有限公司
CN_224016357_U

Resumen de: CN224016357U

一种用于风电混塔基础空腔悬挑部分的模板撑脚,包括支撑钢筋I、底部钢板、支撑钢管和可调节托撑,底部钢板设置在风电混塔基础空腔悬挑部分下方的混凝土中,支撑钢筋I的下方垂直焊接一根与底部钢板焊接的钢筋,钢筋的底部与底部钢板焊接,支撑钢筋I的上部四周焊接四根支撑钢筋II,支撑钢管套接在支撑钢筋I的顶部,且支撑钢筋II与支撑钢管的管壁接触。本实用新型的支撑钢管可以回收再利用,避免了传统支模方法中钢管无法回收的情况,从而减少了钢管浪费,降低施工成本,基础钢筋加工的废料可以作为模板撑脚的原材料,合理利用废料,底部钢板的设计相较于钢管支撑延长了渗水路径,有效防止混凝土渗水,增强了结构的防水效果。

一种可调风速的风力发电机

NºPublicación:  CN224017331U 20/03/2026
Solicitante: 
银川科技学院
CN_224017331_U

Resumen de: CN224017331U

本实用新型属于风力发电技术领域,具体涉及一种可调风速的风力发电机;包括:风力组件,用于被风吹动旋转;外壳组件,所述发电组件转动连接于所述外壳组件中,所述外壳组件包括导向部,所述导向部用于调整风作用在所述风力组件上的面积;发电组件,所述发电组件设置于所述外壳组件外部且与所述发电组件连接,由所述发电组件驱动产生电能;使流过风力组件的风量趋于稳定,实现稳定的发电;降低风速的复杂变化对风力组件的影响,杜绝在风力发电的过程中出现间歇性导致风电并网困难,并且能够使风力组件的转速保持稳定稳定,提高能量转换效率。

一种风机除冰系统的安装结构

NºPublicación:  CN224017338U 20/03/2026
Solicitante: 
湖南拓天节能控制技术股份有限公司
CN_224017338_U

Resumen de: CN224017338U

本申请属于风力发电技术领域,具体是涉及一种风机除冰系统的安装结构,包括:支座、第一安装板和防扭支架;支座设于风力发电机的叶片叶根内以安装防扭支架;第一安装板连接于轮毂外侧靠近叶片叶根位置,第一安装板用于安装轮毂控制柜,除冰控制系统设置在轮毂控制柜内。通过第一安装板固定在轮毂外侧靠近叶片叶根位置,用于集中安装除冰轮毂控制柜,将除冰控制系统整合至柜内,简化线路布局。解决现有风机无专用除冰系统安装位的问题,通过标准化支座和安装板设计,减少对原风机结构的改动,降低安装难度,合理分配除冰轮毂控制柜位置,避免设备拥挤,便于后期维护。

一种风力发电机组锚板

NºPublicación:  CN224017336U 20/03/2026
Solicitante: 
江阴市崎美机械有限公司
CN_224017336_U

Resumen de: CN224017336U

本实用新型公开了一种风力发电机组锚板,包括锚板本体,所述锚板本体呈圆形板状结构,所述锚板本体的中心位置开设有中心通孔,所述锚板本体的边缘均匀分布有多个锚栓安装孔,每个锚栓安装孔的周围均设置有加强凸台,所述加强凸台与锚板本体一体成型,所述锚板本体的外圈固定安装有加强部,所述加强部在锚板本体的外圈均匀分布设置有若干组,每组加强部上设置有滑槽,所述滑槽内安装有活动压块,所述活动压块在滑槽内滑动连接,所述活动压块上安装有紧固螺栓。本实用新型的风力发电机组锚板,具有结构稳定、强度高、抗变形能力强、安装方便等优点,能够有效解决现有技术中存在的问题,提高风力发电机组的稳定性和安全性。

一种双风轮垂直轴风力发电机

NºPublicación:  CN224017327U 20/03/2026
Solicitante: 
内蒙古工业大学
CN_224017327_U

Resumen de: CN224017327U

本实用新型涉及一种双风轮垂直轴风力发电机,低风速环境下,由集风风轮对微小风力进行捕捉,其外叶片通过支座与主轴固定,在风力作用下外叶片转动带动主轴转动,同时内叶片响应风力开始转动,内叶片上的传动齿轮与和主轴齿轮相啮合,内叶片转动所产生的转动力为主轴提供额外的转动力。与此同时,主风轮的伸缩叶片在感受到初始风力时即刻展开,增大受风面积,进一步增强风对主轴的作用力。通过集风风轮和主风轮的相互配合、协同工作,使风机在低风速环境下也能快速启动,提高了发电机对低风速风能资源的捕捉和响应效率。在高风速环境下,伸缩叶片的辅助叶片相对于主叶片收缩,减小受风面积,有效调整主风轮的转速,避免因转速过快进入失速状态。

一种基于风力驱动的废气净化处理设备

NºPublicación:  CN224009366U 20/03/2026
Solicitante: 
北京泷涛能源科技有限公司
CN_224009366_U

Resumen de: CN224009366U

本实用新型公开了一种基于风力驱动的废气净化处理设备,属于废气净化机技术领域,包括雾化仓,所述雾化仓右侧设有雾化器,所述雾化器的出气口与所述雾化仓连通,所述雾化仓的顶部设有环形管网,所述环形管网的内侧连通有多个雾化喷嘴,所述环形管网的一侧连通有进水管,所述雾化仓的顶部设有出气管,所述出气管末端连通有水洗仓,且连通处设有气泵一,所述气泵一的出气口连通有连接管,所述连接管的下端连通有微孔曝气管,所述气泵一的传动轴通过皮带传动连接有风力驱动机构,所述水洗仓的顶部还设有排气管,所述排气管与所述水洗仓的顶部连通,本实用新型净化废气的效果好,且无污染,通过水滤的方式处理废气效率高,成本低。

一种风光互补供电装置及系统

NºPublicación:  CN224017329U 20/03/2026
Solicitante: 
中国电力工程顾问集团中南电力设计院有限公司
CN_224017329_U

Resumen de: CN224017329U

本实用新型属于新能源技术领域,具体涉及一种风光互补供电装置及系统,上述风光互补供电装置包括立杆、安装在立杆的顶端的偏航单元、安装在偏航单元上的安装座、固定连接在安装座顶端的风力发电机组、安装在立杆上的光伏电池板组件、以及安装在风力发电机组上的反力单元;偏航单元用于驱动风力发电机组的机舱旋转,使风力发电机组的第一风轮始终对准风向;反力单元包括安装在机舱上的第二风轮,以及安装在第二风轮上的反力机构;第二风轮的旋转轴与第一风轮的旋转轴平行设置;第一风轮和第二风轮同向设置;反力机构用于随第二风轮转动,以对机舱施加与风力方向相反的水平拉力。

一种便于提高稳定性的风力发电机用支撑装置

NºPublicación:  CN121701404A 20/03/2026
Solicitante: 
河南城建学院
CN_121701404_PA

Resumen de: CN121701404A

本发明涉及一种便于提高稳定性的风力发电机用支撑装置,包括水泥基座、固定设于水泥基座顶部的底座、可拆卸连接于底座上方的顶板以及安装于顶板上的风力发电机本体;底座与顶板之间设有用于对风力发电机本体进行自动定心的位置调整机构。本发明通过内置的机械式位置调整机构,操作人员仅需在地面转动转盘,即可通过一系列确定的机械传动(转盘带动内盘,内盘通过锁定块推动调节筒),最终将旋转运动转换为多个定心板的同步径向扩张,该过程自动引导并抱紧风力发电机塔筒或底座,使其中心轴线快速与支撑装置中心自动对准,消除了吊装状态下的反复微调作业,对位精度由机械结构保证,提高了一次安装合格率,并大幅缩短了安装时间。

柔性连接与中心分离的半潜式基础结构

NºPublicación:  CN121701405A 20/03/2026
Solicitante: 
上海勘测设计研究院有限公司中国三峡新能源(集团)股份有限公司中国长江三峡集团有限公司广东分公司三峡新能源阳江发电有限公司三峡珠江发电有限公司
CN_121701405_PA

Resumen de: CN121701405A

本发明涉及风电技术领域,公开了柔性连接与中心分离的半潜式基础结构,包括一个风机立柱、三个侧立柱、浮箱以及运维通道。风机立柱用于支撑风电机组塔筒,三个侧立柱周向布置于风机立柱的周围,浮箱连接于风机立柱底部与每个侧立柱底部之间,运维通道连接各侧立柱上部,且运维通道绕开风机立柱。本发明中运维通道与侧立柱之间的柔性连接,可传递侧立柱之间的受力和变形。且运维通道与中间立柱的结构分离,使得风机荷载无需传递给运维通道,从而实现上部结构的轻量化,并能降低结构整体重心;同时风机荷载全部作用于下部浮箱,由于浮箱本身属于强结构,额外荷载对于浮箱而言结构加强较小,可进一步优化结构工程量。

多叶轮浮式风机

NºPublicación:  CN121701385A 20/03/2026
Solicitante: 
中国船舶集团有限公司第七○八研究所
CN_121701385_PA

Resumen de: CN121701385A

本发明涉及海上风力发电技术领域,具体公开了一种多叶轮浮式风机,包括单桩、多个支撑柱、连接环和多个叶轮,单桩安装在下浮体上,多个支撑柱的一端均固定连接在单桩上,多个支撑柱的另一端均通过连接套与连接环固定连接,连接环上固定连接有多个发电头,多个发电头沿连接环的周向间隔设置,多个叶轮与多个发电头一一对应,叶轮能够带动发电头发电。实现任意风向均能够带动部分叶轮带动发电头发电,实现较高的装机容量,并且能够减小叶轮的尺寸,对应的叶轮自重得以减小,进而实现通过小尺寸叶轮满足较大的装机容量需求,并且小尺寸叶轮的维保难度低,在作业窗口期内能够维保的数量增加。

一种考虑风机设备运行状态的风力发电量预测方法及系统

NºPublicación:  CN121701413A 20/03/2026
Solicitante: 
华能包头风力发电有限公司华能(北京)综合能源科技服务有限公司北京金风慧能技术有限公司
CN_121701413_PA

Resumen de: CN121701413A

本发明提供了一种考虑风机设备运行状态的风力发电量预测方法及系统,涉及风力发电预测技术领域,包括以下步骤:在时间周期内周期性采集多种风力数据和多种风机运行状态数据;根据风机运行状态数据构建风机运行状态特征;对风机运行状态特征进行量化得到风机的运行状态系数;根据风力数据计算下一时间周期的风机理论发电功率;通过运行状态系数对风机理论发电功率进行修正,得到考虑设备运行状态影响的预测发电功率。本发明的优点是可以提高预测结果的准确性。

一种风电场的消防监控方法及监控系统

NºPublicación:  CN121702453A 20/03/2026
Solicitante: 
华能陇东能源有限责任公司
CN_121702453_PA

Resumen de: CN121702453A

本发明公开了一种风电场的消防监控方法及监控系统,涉及消防预警技术领域,本发明通过设定风电场消防监控区域,并基于设定的风电场消防监控区域采集历史风电数据,同时基于采集的历史风电数据,通过数据处理方式进行处理,处理完成后基于处理后的历史风电数据构建风速概率模型和风电功率模型,构建完成后,采集风电场消防监控区域内的历史电能数据和线缆损耗数据,同时基于电网约束方法对采集到的历史电能数据和线缆损耗数据进行处理,得到电网约束目标函数,最后结合电网约束目标函数、风速概率模型和风电功率模型构建消防预警模型,并基于构建模型进行实时监控管理,提高了风电场消防监控的实时性。

一种用于风力发电机组的高强螺栓优化连接结构

NºPublicación:  CN121701399A 20/03/2026
Solicitante: 
中国能源建设集团山西电力建设有限公司山西电建华鼎机械工程有限公司
CN_121701399_PA

Resumen de: CN121701399A

本发明提供了一种用于风力发电机组的高强螺栓优化连接结构。该一种用于风力发电机组的高强螺栓优化连接结构包括发电机组、调节组件和保护组件,本发明的一种用于风力发电机组的高强螺栓优化连接结构,当载荷超出高强螺栓断裂槽的承受范围导致高强螺栓断裂时,缓冲部可以防止断裂的高强螺栓弹出安装槽口,避免发生二次事故,同时通过保护部可以及时采取补救措施,避免其余未断裂高强螺栓载荷激增的可能,保护了整个风力发电机组的连接结构安全,降低了设备故障和经济损失的风险。

一种基于水平升力叶片的垂直轴风力发电机

NºPublicación:  CN121701396A 20/03/2026
Solicitante: 
武汉为微新能源科技有限公司
CN_121701396_PA

Resumen de: CN121701396A

本发明公开了一种基于水平升力叶片的垂直轴风力发电机包括:水平升力叶片、垂直升力叶片、传动组件、阻力型风轮和发电装置。所述水平升力叶片平行于地面设置,所述垂直升力叶片垂直于地面设置。水平升力叶片耦合垂直升力叶片与传动组件构成垂直轴向约束的风轮。本发明双层叶片组合成在叶片之间形成通道,产生狭管效应,形成局部空气流速增加,水平升力叶片旋转使风轮获得向上的升力,减轻了风轮重力对发电机轴承的压迫减少维护强度,采用叶片尾端翘起设置能够起到增大受风面积的作用获得更多的风动能,还能起到抵消叶片尾端的向下重力。适用于城市和乡村风力发电系统,或安装在建筑楼顶,具有很好的推广前景。

耐磨传动装置

NºPublicación:  CN121713007A 20/03/2026
Solicitante: 
弗兰德有限公司
CN_121713007_PA

Resumen de: WO2025040529A1

The invention relates to a transmission (18) having: a first transmission stage (26); a second transmission stage (28) directly downstream of the first transmission stage (26) in the torque flow direction; a casing tube (48) which radially outwardly delimits a lubricating channel (34); and a bearing assembly (42) for mounting the casing tube (48), which bearing assembly is provided in a transition region (40) between the first transmission stage (26) and the second transmission stage (28); wherein: the bearing assembly (42) has a first bearing (60) and a second bearing (61) which is axially offset with respect to the first bearing (60); the first bearing (60) and the second bearing (61) are fastened to a common bearing bushing (58) for conjoint rotation; and a supply channel (68) which extends in the radial direction and which fluidically communicates, through the bearing bushing (58), with the lubricating channel (34) is provided in the axial direction between the first bearing (60) and the second bearing (61) for the purpose of supplying lubricant from the lubricating channel (34) to the first transmission stage (26) and/or to the second transmission stage (28). Owing to the axially mutually spaced bearings (60, 61) for the casing tube (48), it is possible to dispense with a contact seal between the lubricating channel (34) and the supply channel (68), making it possible to implement a wear-resistant, lubricated transmission (18).

用于接合风力涡轮机叶片的第一叶片模块和第二叶片模块的方法

NºPublicación:  CN121712643A 20/03/2026
Solicitante: 
西门子歌美飒可再生能源公司
CN_121712643_PA

Resumen de: TW202513966A

It is described a method of joining a first blade module (1) and a second blade module (2) of a blade (3) for a wind turbine to each other, the method comprising steps of: Applying a hot melt adhesive layer (4) to an inner or outer shell surface (5) of the first blade module (1) and/or an inner or outer shell surface (6) of the second blade module (2); Aligning the first and second blade modules (1, 2) to each other with a joining insert (7) arranged at a joining interface of the first and second blade modules (1, 2) so that the joining insert (7) is in contact with the hot melt adhesive layer (4); Heating the hot melt adhesive layer (4); and Joining the first and second blade modules (1, 2) via the joining insert (4) to each other by vacuum infusion, wherein the joining insert (4) is materially bonded to the first and second blade modules (1, 2).

用于海上风力发电机的支撑结构及该支撑结构的安装方法

NºPublicación:  CN121712983A 20/03/2026
Solicitante: 
道达尔能源万泰克公司
CN_121712983_PA

Resumen de: AU2024314546A1

The present invention relates to a support structure (1) for an offshore wind turbine, said support structure (1) comprising: - a first structure part (A) destined to be fixed to the seabed (Sb), said first structure part (A) comprising at least three dummy legs (3) distributed regularly on a first circle (X1) having as center a longitudinal axis (Y) of the support structure (1) and extending along said longitudinal axis (Y) of the support structure (1), said dummy legs (3) comprising a lower extremity (3a) designed to face the seabed (Sb) and an upper extremity (3b) opposed to the lower extremity (3a), the first structure part (A) also comprising at least three anchor devices (5) to the seabed (Sb) linked to the at least three dummy legs (3), - a second structure part (B) comprising at least three structure legs (4) comprising a lower extremity (Ba) facing the first structure part (A) and an upper extremity (Bb) configured to be placed above the sea level (Sl), wherein at least one anchor device (5) of the first structure part (A) is positioned angularly between two adjacent dummy legs (3) on a second circle (X2) having as center the longitudinal axis (Y) of the support structure (1), and wherein at least one of the dummy legs (3) of the first structure part (A) and/or of the structure legs of the second structure part (B) are at least partially filled with a solid ballast (10).

包括分布式变压器装置的海底功率收集系统

NºPublicación:  CN121713347A 20/03/2026
Solicitante: 
ABB\u745E\u58EB\u80A1\u4EFD\u6709\u9650\u516C\u53F8
CN_121713347_PA

Resumen de: AU2024330912A1

A power collection system (100) for collecting power from a plurality of offshore power generation units comprises a three-phase subgrid (120) and a subsea power substation (130). The subgrid has a plurality of power input points (121) towards the power generation units and a shared three-phase power output point (122). The power substation (130) is connected to the power output point, and its secondary side (132) is arranged to be connected to a power consumer (170). The power substation shall comprise three one-phase transformers (140), which are contained in respective housings (143), wherein each housing is arranged to rest on the seabed and to be liftable to the sea surface separately from the other housings. Each phase of the power output point is connected to a primary side (141) of a corresponding one of the one-phase transformers.

集成防冰系统的风力涡轮机叶片及其制造方法

NºPublicación:  CN121712980A 20/03/2026
Solicitante: 
西门子歌美飒可再生能源创新与技术有限公司
CN_121712980_PA

Resumen de: WO2025031648A1

The invention refers to a wind turbine blade formed by two shell halves, wherein one shell half has a first pair of me- tallic sheets layered, on the outer surface of the shell half, and wherein each of the metallic sheets has been par- tially embedded within the shell half during the resin infu- sion process. A first heating mat made of an electrically conductive material is layered on resin-free parts of the me- tallic sheets, and is also embedded within the shell half so that the first heating mat is electrically in contact with the resin-free parts of the metallic sheets. The invention also refers to a method for manufacturing a wind turbine blade, integrating an Ice Protection System, the method com- prising the steps of manufacturing first and second shell halves by means of a resin infusion process, and integrating an Ice Protection System in the same resin infusion process for manufacturing the shell halves.

齿轮箱单元和风力发电装置

NºPublicación:  CN121713006A 20/03/2026
Solicitante: 
远景能源有限公司
CN_121713006_PA

Resumen de: AU2024438852A1

The disclosure is directed to a gearbox unit for a wind power generation device (2), comprising a gearbox (14); an oil supply system (30) for cooling and/or lubricating the gearbox (14), the oil supply system (30) comprising an electrical pump (32) discharging the lubricant; a primary power source (34); a backup power source (36); and a power controller (38) configured to control a supply of the electrical power from the primary power source (34) and the backup power source (36) to the electrical pump (32). Further, the disclosure is directed to a wind power generation device (2) comprising a rotor (6); a main shaft (18); the gearbox unit; and a generator (16).

用于风力涡轮机叶片中的防雷系统的绝缘叶片末梢

NºPublicación:  CN121712981A 20/03/2026
Solicitante: 
西门子歌美飒可再生能源创新与技术有限公司
CN_121712981_PA

Resumen de: WO2025031639A1

It is described an insulated blade tip (11) for a lightning protection system in a wind turbine blade (5). The described insulated blade tip (11) comprises: an electrically conductive receptor unit (12) having an external part (121) and an internal part (122), wherein the external part (121) forms a lightning receptor; a lightning cable (13) electrically connected to the internal part (122) and configured for being connected to an insulated electric cable for conducting a lightning from the insulated blade tip (11) to a blade root of the wind turbine blade (5); an electrically insulating block (14) having an internal cavity (16), in which the internal part (122) and the lightning cable (13) are placed. The external part (121) is arranged at a first external surface (1411) of the electrically insulating block (14). Further, a space (19) between the (i) the internal part (122) and/or the lightning cable (13) and (ii) an inner surface (171, 181) of the cavity (16) is filled at least partially with resin (20). Further, it is described a method for fabricating such an insulated blade tip (11) and a wind turbine blade (5) as well as a wind turbine (1) with such an insulated blade tip (11).

一种利用风电光伏制冷和昼夜温差耦合储水的技术

NºPublicación:  CN121700875A 20/03/2026
Solicitante: 
牛嘉尹
CN_121700875_PA

Resumen de: CN121700875A

本发明公开了一种利用风电光伏制冷和昼夜温差耦合储水的技术,属于风电光伏耦合制冷储水技术领域。其核心结构包括热气抽排组件、制冷管、防渗导热导流板、集热箱、有机吸水禁耕区、有机改造耕作区、太阳能光伏风能发电设备、防渗集水层等关键组件。本技术通过光伏风能发电设备为制冷机供电,利用制冷管构建低温区,结合沙漠昼夜温差实现有机吸水禁耕区的水汽“吸附‑解吸”循环,为核心冷凝区持续供汽;冷凝水经防渗集水层收集后,通过毛细作用及滴灌管为耕作区供水,冷凝热由热气抽排组件排出以避免冷能损耗。本发明解决了现有技术水汽供给不足、冷凝热排出受阻、结构稳定性差的缺陷,具备水汽吞吐效率高、储水效果稳定、适配性强的优势,可有效应用于干旱沙漠地区的水资源捕获与生态修复。

一种潮汐能发电装置及发电方法和应用

NºPublicación:  CN121701383A 20/03/2026
Solicitante: 
北京千帆动力科技有限公司
CN_121701383_PA

Resumen de: CN121701383A

本发明公开了一种潮汐能发电装置,属于新能源发电技术领域;该装置主要包括:皮带轮(1)、皮带()2、风筝(3)、发电机(5)、以及发电机皮带(6)组成,其特征是:至少由两个双槽皮带轮(1)与皮带(2)组成带传动,皮带(2)上系有多个风筝(3)组成风筝串,皮带(2)沿两个双槽皮带轮(1)的下槽循环转动,皮带轮上槽通过皮带6与发电机5的皮带轮相连;风筝受水流冲击产生升力,对与其连接在一起的皮带(2)产生拖拽力,皮带(2)受风筝升力的拖拽带动皮带轮(1)下槽旋转,从而使上槽皮带轮连动,上槽皮带轮与发电机(5)的皮带轮由皮带(6)连接起来形成带传动,带动发电机(5)旋转发电,该装置结构简单,易于制作,成本低,效益高,发电稳定。

一种风电变桨双刹车系统的刹车故障处理策略

NºPublicación:  CN121701414A 20/03/2026
Solicitante: 
重庆华渝重工机电有限公司
CN_121701414_PA

Resumen de: CN121408159A

The invention relates to the technical field of wind power variable pitch control, and discloses a brake fault processing strategy of a wind power variable pitch double-brake system. The strategy comprises the step of continuously monitoring three types of key signals: a brake fault signal of a driver of the wind power variable pitch system, brake loop current signals collected by two Hall sensors respectively, and output current of the driver. Comprehensive evaluation is carried out based on the real-time states of the signals, the brake system fault, the Hall sensor fault and the normal operation state of the system can be accurately distinguished, and corresponding processing operation is executed. When the brake system fails, the driver stops output and triggers the generator to freely stop and brake; when the Hall sensor breaks down, a fault is reported, and the paddle is controlled to be feathered to a safe position emergently; if the system is normal, operation is maintained. According to the strategy, comprehensive fault monitoring and accurate judgment are achieved, and the safety and stability of a variable pitch system are improved.

一种基于流态冰浆蓄冷的海上风电就地消纳系统

NºPublicación:  CN224018603U 20/03/2026
Solicitante: 
中国电建集团城市规划设计研究院有限公司

Resumen de: CN224018603U

本实用新型属于风电应用技术领域,具体公开了一种基于流态冰浆蓄冷的海上风电就地消纳系统,利用海水冰浆作为储冷介质,将海上风电机组发电量通过制冷机组转为冷量,再将冷量以冰浆的形式存储,最后供给过往的渔船使用或运输,形成了用电‑制冷‑蓄冷‑用冷的一套高效风电就地消纳系统。本实用新型可为深远海设施提供制冷服务,实现了深远海风电的就地消纳与高效利用,解决了深远海风电并网难、弃风率高的问题,同时为深远海设施提供了稳定的冷能供应。本实用新型一方面可降低渔船的投资、运营成本,另一方面可独立消纳深远海风电,无须建设电缆,减少高额的建设、维护成本,且存储冷量损失少,存储效率高。

一种风电叶片安装辅助装置

NºPublicación:  CN224017332U 20/03/2026
Solicitante: 
张家口巨雷建筑装饰有限公司
CN_224017332_U

Resumen de: CN224017332U

一种风电叶片安装辅助装置,涉及风电叶片安装领域,包括:侧抬升机构和组合推动结构;侧抬升机构有两个,两个侧抬升机构的结构完全相同,两个侧抬升机构能够自由活动,两个侧抬升机构的长度与风电叶片长度大致相同,两个侧抬升机构能够与组合推动结构相互配合;本设备能够对风电叶片进行自动化抬升以及对接,相较于现在的吊车抬升以及对接,更加节省时间,而且自动化抬升以及对接减少人工劳动;并且本设备能够分体使用,增加使用性能。

一种风力发电机高塔结构自适应减振装置

NºPublicación:  CN224017622U 20/03/2026
Solicitante: 
湘潭科技职业学院
CN_224017622_U

Resumen de: CN224017622U

本实用新型公布了一种风力发电机高塔结构自适应减振装置,涉及高塔结构自适应减振技术领域,包括塔筒,塔筒内设置有十字型直线电机和偏航装置。塔筒上安装有振动角度传感器。十字型直线电机包括动子部件和定子部件。动子部件包括圆筒轴,圆筒轴上安装有构成十字形的动子板。定子部件由单边定子组合构成,定子部件内设有铁芯。偏航装置包括安装架,安装架上包括有偏航轴承,其内圈设有齿轮;偏航齿轮与偏航轴承的内圈齿轮内啮合传动;偏航电机用于带动偏航齿轮旋转。本实用新型具有自适应调节抑制减振的方向和反向电磁出力抑制减振,提升风力发电机的运行稳定性和可靠性,降低高塔结构的振动影响。

一种基于齿轮原理的直升机排泄管

NºPublicación:  CN224013885U 20/03/2026
Solicitante: 
中国直升机设计研究所
CN_224013885_U

Resumen de: CN224013885U

本申请提供了一种基于齿轮原理的直升机排泄管,所述直升机排泄管包括:管体;齿轮泵壳体,安装在所述管体内;齿轮泵,安装在所述齿轮泵壳体内,所述齿轮泵用于对进入所述齿轮泵壳内的废液进行加压加速;进液孔,设置在所述齿轮泵壳体的一侧;排液孔,设置在所述齿轮泵壳体的另一侧;涡轮,安装在所述管体外,所述涡轮与所述齿轮泵连接,所述涡轮用于给所述齿轮泵提供动力;本申请基于齿轮泵的原理,通过使用风力使得装置本身不需要额外设置动力驱动,便实现了废液的高压高速排出,使用效果好。

一种风力发电机组维护用的防坠装置

NºPublicación:  CN224017153U 20/03/2026
Solicitante: 
安徽省财洁建设工程有限公司
CN_224017153_U

Resumen de: CN224017153U

本实用新型公开了一种风力发电机组维护用的防坠装置,包括防坠垂直架和升降限位槽,所述防坠垂直架上开设有升降限位槽,且防坠垂直架的后侧边框开设有限位支撑孔,所述升降限位槽的内部安装有防坠滑块,且防坠滑块穿过升降限位槽和防坠垂直架的前表面,所述防坠滑块的外侧开设有衔接凹槽,且衔接凹槽与防坠垂直架的边框相互连接。该风力发电机组维护用的防坠装置,防坠滑块可通过升降限位槽在防坠垂直架上升降滑动,同时防坠滑块根据衔接凹槽和稳固球体提高升降滑动的稳定性,利于风力发电机组维护人员带动该结构进行升降移位,滑动稳定不会产生晃动。

一种油液检测和诊治系统

NºPublicación:  CN224017686U 20/03/2026
Solicitante: 
珠海市鑫世达测控技术有限公司
CN_224017686_U

Resumen de: CN224017686U

本实用新型提供了一种油液检测和诊治系统,通过设有齿轮箱、主路结构和旁路结构,齿轮箱设有第一三通接头和第二三通接头,第一三通接头的输入端与齿轮箱的排油口相连通,第二三通接头的输出端与齿轮箱的进油口相连通;主路结构设有油液检测器和风机油泵,油液检测器的一端与第一三通接头的第一输出端管路连接,风机油泵的一端与油液检测器的另一端管路连接,风机油泵的另一端与第二三通接头的第一输入端管路连接;旁路结构设有油液精滤再生装置,油液精滤再生装置的进油端与第一三通接头的第二输出端管路连接,油液精滤再生装置的排油端与第二三通接头的第二输入端管路连接。进而实现了对齿轮箱内的润滑油进行实时检测与诊治。

一种减小混塔预应力钢绞线磨损的转向支座

NºPublicación:  CN224017333U 20/03/2026
Solicitante: 
中铁十四局集团房桥有限公司江苏瑞科同创新能源工程技术有限公司
CN_224017333_U

Resumen de: CN224017333U

本实用新型涉及风塔建筑技术领域,公开了一种减小混塔预应力钢绞线磨损的转向支座,包括:塔壁和设置于所述塔壁内侧的钢绞线;所述塔壁和钢绞线之间设置有转向调节机构,所述转向调节机构包括固定于塔壁上的底座,设置于底座一侧的支撑架,设置于所述支撑架上的转轴,设置于所述转轴上的转向滚筒,所述底座的四角设置有长条孔,所述长条孔内设置有螺栓,所述螺栓相对位置的塔壁预埋有螺栓套筒,螺栓延伸至螺栓套筒内,用于限制塔壁和底座之间的位移,支撑架上穿设有头带孔销,所述转向滚筒套设于头带孔销的外表面,所述钢绞线接触于转向滚筒的外表面,转向滚筒可在预应力钢绞线系统中减少钢绞线转折处的应力损耗,减慢钢绞线寿命的损失速度。

风机安装垂直度控制装置

NºPublicación:  CN224019068U 20/03/2026
Solicitante: 
中国能源建设集团安徽电力建设第二工程有限公司
CN_224019068_U

Resumen de: CN224019068U

本实用新型涉及风机安装技术领域,具体为风机安装垂直度控制装置,包括风机安装筒和校准块,所述校准块的侧壁固定连接有中空圆板,所述中空圆板的外表面固定安装有中心点,所述中心点的两侧固定连接有水平线,所述中空圆板的内侧装有中空圆板一半体积的水溶液,所述水溶液为绿色水溶液,所述中空圆板的表面均匀开设有若干个外刻度线,所述校准块远离中空圆板的一侧开设有横截面为V形的预留槽,所述中空圆板的圆弧面开设有若干个侧刻度线。本实用新型通过设置上述结构,利用液体在重力作用下保持水平的特性来辅助判断垂直度,方便了在室外对风机安装筒进行安装后的校准工作,一定程度上提高了对风机安装筒的安装效率。

一种漂浮式风电基座

NºPublicación:  CN224013833U 20/03/2026
Solicitante: 
中交海峰新能源科技(汕尾)有限公司

Resumen de: CN224013833U

本实用新型公开了一种漂浮式风电基座,涉及风电基座技术领域,包括基座平台以及风电机组本体,风电机组本体固定安装于基座平台上,基座平台下方设置有浮座,浮座呈圆盘状,浮座内部中心设置有三角隔框,三角隔框内部设置有若干浮筒,基座平台与下方浮座之间设置有液压平衡机构以及若干缓冲机构。本实用新型由多个独立浮筒和连接结构组成,便于运输和组装,浮筒内部设有加强筋和隔舱结构,提升了整体强度和稳定性,配备液压平衡机构,可实时调整浮座与基座平台位置,确保平台在动态海洋环境中的水平稳定,缓冲机构有效吸收冲击和振动,基座采用高强度复合材料,减轻重量并具柔韧性,适应海浪冲击,安装效率提升,降低深水风电基座建设成本。

一种用于风电混塔基础空腔悬挑部分的模板支撑结构

NºPublicación:  CN224016358U 20/03/2026
Solicitante: 
中建六局第七建设有限公司中建科技天津有限公司中国建筑第六工程局有限公司

Resumen de: CN224016358U

一种用于风电混塔基础空腔悬挑部分的模板支撑结构,包括PVC管、上部支撑钢管、下部支撑钢管和底部钢板,风电混塔基础空腔悬挑部分下方的混凝土中设置PVC管,PVC管的底板固定底部钢板,PVC管内套入下部支撑钢管,下部支撑钢管的顶部承插上部支撑钢管,上部支撑钢管上安装可调节托撑,可调节托撑支撑在模板底部。本实用新型通过PVC管代替钢管,降低了传统支撑钢管的使用量,钢管可重复使用,减少了对新材料的需求,上下支撑钢管采用承插式支撑结构,拆模时只需将钢管分段取下,无需锯切钢管,简化了拆模操作,提高了工作效率;底部钢板不仅提高了支撑力,还有效地替代了传统的止水钢板,进一步提高了施工质量。

一种风车灯

NºPublicación:  CN224018368U 20/03/2026
Solicitante: 
香港理工大学

Resumen de: CN224018368U

本申请公开了一种风车灯,涉及灯具技术领域,为解决相关技术中风车灯的便携性较差和安装方式单一的问题而发明。该风车灯,包括灯柱、风车、光源和风力发电机,灯柱设有安装部,安装部用于与目标物体相连接;风车转动连接于灯柱的一端;光源连接于灯柱的另一端,光源用于照明;风力发电机设置于灯柱的内部,风力发电机的输入轴与风车连接,风力发电机的电源输出端与光源电连接。

一种驱鸟器

NºPublicación:  CN224007619U 20/03/2026
Solicitante: 
河南豫光锌业有限公司
CN_224007619_U

Resumen de: CN224007619U

本实用新型涉及电力防鸟害技术领域,具体涉及一种驱鸟器,包括基座和设置在基座上方的箱体,基座的上表面设置有电机,箱体的外周面上呈环形阵列有多个太阳能板;箱体内设置有蓄电池和发电机,发电机的输入轴连接有驱动组件,驱动组件包括套筒和连接杆,每根连接杆的一端固定至套筒上、另一端设置有风斗;套筒的内部穿设有与之同轴转动的转动轴,转动轴的底部与电机的输出轴相连接,转动轴的顶部设置有多面体,多面体的各个面上分别安装有反射镜片一。本实用新型通过在多面体的各个面上安装反射镜片一,扩大了驱鸟器的驱鸟范围,减小了盲区,并且通过发电机和太阳能板进行风光互补发电工作,将风能和光能转化为电能进行储存,降低了使用成本。

风电塔筒便捷冲洗清洁系统

NºPublicación:  CN224017339U 20/03/2026
Solicitante: 
内蒙古国领科技有限公司常州国领智能科技有限公司
CN_224017339_U

Resumen de: CN224017339U

本实用新型属于发电塔筒维护技术领域,具体涉及一种风电塔筒便捷冲洗清洁系统。该风电塔筒便捷冲洗清洁系统系统包括若干层清洗环、供水管、第二管接头、节流阀、水泵、水箱和运输车;其中所述清洗环用于设置在塔筒的外壁上;相邻层清洗环之间通过供水管连通,且各清洗环上设置有用于冲洗塔筒的喷头;所述水箱由运输车运载,且水箱依次通过水泵、节流阀、第二管接头和供水管向清洗环供水。清洗塔筒时只需将连接清洗环的供水给接通水源,通过水泵提供动力并利用摆动的喷头形成高压水雾完成塔筒表面清洁工作,无需复杂操作及登高作业,且清洗覆盖面积大、清洗时间短。

一种风电塔架过渡转换连接装置及风电塔架

NºPublicación:  CN224017334U 20/03/2026
Solicitante: 
中车山东风电有限公司
CN_224017334_U

Resumen de: CN224017334U

本发明涉及风力发电机组塔架结构技术领域,尤其涉及一种风电塔架过渡转换连接装置及风电塔架。连接装置包括连接筒、连接柱、支撑柱和钢绞线;所述连接筒与塔筒连接,所述连接柱具有多根并位于连接筒的周圈,所述支撑柱的一端与连接柱连接,支撑柱的另一端与连接筒或者连接柱连接;所述连接柱与角柱同轴布置,连接柱的下端与角柱连接,所述角柱和连接柱均具有轴孔,所述钢绞线位于所述轴孔内,钢绞线上端与连接柱连接,钢绞线下端连接基础。通过本发明提高了塔架连接处的结构稳定性和抗疲劳性,延长使用寿命。

带检测功能的风电变桨调向装置、风力发电装置

NºPublicación:  CN224017328U 20/03/2026
Solicitante: 
江苏恒立液压股份有限公司
CN_224017328_U

Resumen de: CN224017328U

本实用新型涉及风力发电领域,尤其涉及一种带检测功能的风电变桨调向装置及具有其的风力发电装置。其中,带检测功能的风电变桨调向装置包括缸筒和连接在缸筒一端的缸筒盖,缸筒内设置有活塞杆,活塞杆在缸筒内的一端安装有活塞:还包括分体式传感器和磁性组件,磁性组件设置在活塞杆上,分体式传感器包括电子仓和测量杆,电子仓和测量杆通过导线连接,电子仓拆卸固定在缸筒盖上,活塞杆内设置有轴向延伸盲孔,测量杆部分穿设在盲孔内。该带检测功能的风电变桨调向装置同时兼备了结构紧凑与外置维护方便的优点,不光增加了风机上设备的维护效率,更是降低了高空、狭窄通道内拆卸装置带来的安全问题。

一种用于风电机组塔架的过渡转接段结构及风电机组塔架

NºPublicación:  CN224017335U 20/03/2026
Solicitante: 
中车山东风电有限公司
CN_224017335_U

Resumen de: CN224017335U

本实用新型公开了一种用于风电机组塔架的过渡转接段结构及风电机组塔架,解决了传统塔架的过渡转接段结构稳定性差的问题,技术方案包括:多个分瓣结构,并拼接组成上圆下方结构,每个所述分瓣结构的侧部设置有角柱座;所述过渡转接段的上端面上设置有钢塔连接法兰,用于连接所述钢塔段;所述钢塔连接法兰的下部还设置有补强法兰,所述补强法兰由多个分瓣法兰组成,每个所述分瓣法兰与一个分瓣结构固定连接为一体结构;所述过渡转接段的相邻分瓣结构拼接缝的内侧和外侧均设置有一根板条,每根板条上设置有双排连接孔,所述过渡转接段的相邻分瓣结构靠近拼接缝处均设置有一排连接孔,并利用双排高强紧固件及两根板条将相邻分瓣结构拼接缝夹紧固定连接。

一种双机头同轴风力发电机

NºPublicación:  CN224017330U 20/03/2026
Solicitante: 
山东华业电气有限公司
CN_224017330_U

Resumen de: CN224017330U

本申请提供了一种双机头同轴风力发电机,包括:塔架;机舱,设置于塔架的顶部;发电机,设置于机舱,发电机包括电机主轴,电机主轴包括沿长度方向的第一连接端和第二连接端;第一风轮,包括多个第一叶片;第二风轮,包括多个第二叶片,第二叶片比第一叶片大;其中,第一风轮通过第一离合器与电机主轴的第一连接端连接,第二风轮通过第二离合器与电机主轴的所述二连接端连接,第一离合器和第二离合器配置为使第一风轮和/或第二风轮与所述电机主轴连接。本申请能够提升风能利用率,从而提升发电效率。

一种风力发电机散热型防雷装置

NºPublicación:  CN224017337U 20/03/2026
Solicitante: 
扬州华铁机电集团有限公司
CN_224017337_U

Resumen de: CN224017337U

本申请公开了一种风力发电机散热型防雷装置,属于风力发电机技术领域。主要包括接闪器,接闪器分别通过叶片中排布的第一导线与引雷组件固定连接,引雷组件包括导电环、定环、插板、钢刷和引雷导线,第一导线分别与导电环的侧壁固定连接,定环的一侧分别与插板的一端固定连接,插板的另一端位于导电环的内侧,钢刷固定安装在插板的另一端上,钢刷在滑槽中滑动连接,定环的另一侧分别固定连接有多个引雷导线,引雷组件采用铜、铝等具有高导热系数的金属材料,利用其良好的导热性能,在传导雷电电流过程中能迅速将电流热效应产生的热量吸收并传导至周围空气,通过空气对流实现散热。

一种立式风力发电浮标

NºPublicación:  CN224013824U 20/03/2026
Solicitante: 
长江宜昌航道局船舶修造厂
CN_224013824_U

Resumen de: CN224013824U

一种立式风力发电浮标,属于航道航标领域。该浮标在支撑外框架表面设置航道通航标志,内侧安装可转动的风叶转动组件,其与发电机转子配合,发电机定子连接蓄电装置。支撑外框架可为三棱体或柱形结构,顶部和底部设轴承座支撑风叶组件转动,风叶包括三角形叶片和螺旋形叶片两种形式。本浮标将风力发电与浮标功能结合,解决了传统航标单一太阳能供电可靠性低、受光照影响大、供电能力不足等问题,利用风能补充电能,满足设备用电需求;同时不占用甲板平面空间,便于人员作业。

用于风力涡轮机模块的维修或安装的可充胀部件

NºPublicación:  CN121701418A 20/03/2026
Solicitante: 
西门子歌美飒可再生能源公司
CN_121701418_PA

Resumen de: US2021270246A1

Provided is an inflatable component usable during service and/or in-stallation of a wind turbine module, including an inflation structure with an air tight shell and a sealable package in the inflation structure for ingress or discharge of air into or from the air tight shell for inflating or deflating struc-ture. The inflation structure is dimensioned to provide a thermal and/or physical barrier in respect of external fluids and/or physical objects or particles acting upon the infla-tion structure in case the inflation structure is inflated and inserted in a hollow section of the wind turbine module. Further provided is a wind tur-bine arrangement including such an inflatable component and also to a servicing or installation method of a wind turbine module by using the inflatable component.

风车、信息获取方法以及风车管理系统

NºPublicación:  CN121701395A 20/03/2026
Solicitante: 
纳博特斯克有限公司
CN_121701395_PA

Resumen de: US20260078740A1

An aerial vehicle obtains information regarding the external condition of a wind turbine. The wind turbine includes a tower, a nacelle rotatably supported by the tower, and a wireless charging device provided in the nacelle for charging the aerial vehicle. The aerial vehicle charged by the wireless charging device can stably acquire information regarding the appearance of the wind turbine without being limited in an available flight time.

一种在海上发电系统中的发电浮体与运输船之间搬运能量的储能介质的方法

NºPublicación:  CN121697803A 20/03/2026
Solicitante: 
丰田自动车株式会社
CN_121697803_PA

Resumen de: US20260077835A1

A method of transferring a storage medium loaded on a power generation float from a float that generates electricity on the ocean to a transport vessel on the ocean includes a first process of fixing the power generation float to the transport vessel so that a height of a loading place of the storage medium of the power generation float is higher than a height of a storage place of the storage medium of the transport vessel, a second process of forming a first path in which the storage medium can move between the loading place of the storage medium of the power generation float and the storage place of the storage medium of the transport vessel, and a third process of moving the storage medium from the loading place of the power generation float to the storage place of the transport vessel by gravity through the first path.

一种风电机组叶片结冰清除装置及方法

NºPublicación:  CN121701421A 20/03/2026
Solicitante: 
江苏沿海可再生能源技术创新中心
CN_121701421_PA

Resumen de: CN121701421A

本发明公开了风电设备技术领域一种风电机组叶片结冰清除装置,包括连接板,连接板的两端均设置有转动环,转动环内均通过转动组件套接有定位柱,转动组件能够驱动连接板分别绕两组定位柱转动,且具有锁止功能,定位柱底部均设置有吸附设备,吸附设备能够吸附在风电机组表面,定位柱上均设置有除冰组件,吸附设备包括:吸附盘,吸附盘内均设置有电磁线圈,吸附盘的底部环绕设置有橡胶圈层,橡胶圈层的底部固定安装有金属底片;升降组件,升降组件设置在吸附盘的上端,升降组件能够调整电磁线圈的高度,本发明通过设备在风电设备表面移动,通过摩擦力进行物理除冰,且能够快速将碎冰扫除,提高除冰效率,降低新冰层凝结的可能。

一种基于结构自适应宽度学习网络的风电机组故障智能诊断方法及系统

NºPublicación:  CN121705933A 20/03/2026
Solicitante: 
广西大学
CN_121705933_PA

Resumen de: CN121705933A

本发明提供一种基于结构自适应宽度学习网络的风电机组故障智能诊断方法及系统,方法包括以下步骤:S1,对采集的风电机组的历史故障数据进行预处理,得到处理后的数据集X及故障标签Y;S2,利用清洗后数据集X和故障标签Y为训练样本训练初始的宽度学习网络,获得初始故障诊断模型;S3,对初始宽度学习网络进行T次结构扩张,每次结构扩张时,在原宽度学习网络的基础上新增个强化节点进行结构扩张,并对原宽度学习网络进行更新,获得更新后的宽度学习网络,T次结构扩张后得到结构自适应更新后的宽度学习网络,获得最终的故障诊断模型;S4,将待诊断风电机组的数据样本输入至最终的故障诊断模型,获得诊断结果。其能够有效提升模型的诊断能力。

一种风机叶片的积灰检测与清洁方法

NºPublicación:  CN121701409A 20/03/2026
Solicitante: 
朔州市太重风力发电有限公司繁峙县能裕风力发电有限公司
CN_121701409_PA

Resumen de: CN121701409A

本申请涉及风机叶片维护技术领域,特别是涉及一种风机叶片的积灰检测与清洁方法。该方法包括:基于风机叶片的弦长分布和历史积灰数据,将叶片划分为多个积灰敏感区域;构建风机叶片积灰检测的基准数据库,生成包含区域基础积灰参数、环境关联积灰参数及工况关联积灰参数的基准参数集;基于所述基准参数集,对所述多个积灰敏感区域执行多维度数据采集,生成感知数据集;将所述感知数据集与所述基准参数集进行多级判断,生成积灰异常判定结果,根据所述积灰异常判定结果,制定清洁策略并执行清洁操作。该方法能够提升风机叶片积灰检测的精准性、清洁操作的高效性,保障风机稳定高效运行。

适用于风电塔架的多粘滞阻尼器耦合质量块减振装置

NºPublicación:  CN121701010A 20/03/2026
Solicitante: 
重庆佑航能源科技有限公司
CN_121701010_PA

Resumen de: CN121701010A

本发明涉及塔架减振领域,具体涉及适用于风电塔架的多粘滞阻尼器耦合质量块减振装置,包括质量块、分布于质量块上下的两组粘滞阻尼器和两个环形安装架,环形安装架与塔架内壁连接,质量块通过粘滞阻尼器与环形安装架连接;每组粘滞阻尼器均包括N个粘滞阻尼器,N个粘滞阻尼器均匀分布于质量块周向且以质量块的中心轴线呈环形对称分布,相邻粘滞阻尼器轴心与质量块中心的连线间的圆周间隔角为360°/N。采用本技术方案,有利于满足风电塔架多方向的减振效果。

一种风光一体路灯的风机主动保护系统

NºPublicación:  CN121701389A 20/03/2026
Solicitante: 
上海博昂电气有限公司
CN_121701389_PA

Resumen de: CN121701389A

本申请公开了一种风光一体路灯的风机主动保护系统,属于新能源照明设备保护技术领域。系统包括:感知模块、通信模块、决策控制模块以及执行模块。决策控制模块适于:获取感知模块采集的实时风速和实时温度,以及通信模块从气象平台获取的未来预报风速;基于实时风速、实时温度和未来预报风速,利用三重冗余保护触发逻辑进行决策判断;当满足任一触发条件时,生成保护指令以驱动执行模块执行保护动作。本申请解决了现有保护机制响应滞后、维度单一及低温适应性差的问题,实现了对风机的提前主动保护。

一种基于多模态协同的风力发电机组叶片除冰系统及方法

NºPublicación:  CN121701422A 20/03/2026
Solicitante: 
道莅智远科技(青岛)有限公司
CN_121701422_PA

Resumen de: CN121701422A

本发明涉及风力发电技术领域,公开了一种基于多模态协同的风力发电机组叶片除冰系统及方法,包括:获取叶片历史结冰数据及环境参数,分析结冰特征,建立叶片结冰特征库;基于多传感器实时监测叶片冰层状态及环境参数,结合结冰特征库,启动气热预融模块与复合涂层防护功能,进行冰层预融处理;当冰层厚度达到预设阈值时,触发电热强化模块分区加热,结合叶片变桨动作实现冰层剥离,构建冰层清除效果评估模型。基于气热预融、电热强化、涂层防护的多层级协同架构,结合智能决策算法动态调控各模块的启动时序与运行参数,通过LSTM神经网络预测结冰概率、Q‑learning算法优化协同时序,实现冰层从预融到清除的全流程精准协同,让除冰过程更高效。

一种利用组合式液压设备的优化式发电系统

NºPublicación:  CN121701398A 20/03/2026
Solicitante: 
武汉聚建新能源有限公司
CN_121701398_PA

Resumen de: CN121701398A

本发明公开了一种利用组合式液压设备的优化式发电系统,涉及发电系统技术领域,包括依次传动连接的动力源、组合式液压水泵、蓄能器、同步多路换向阀、多组液压动力曲轴、变速器以及发电机;本发明采用组合式液压水泵设计形成持续稳定的液压油流;配合蓄能器的缓冲稳压作用,有效抵消压力波动,为后续系统提供平稳的液压动力输入;同步多路换向阀配置三组油缸组,每组油缸组含进油油缸与回油油缸,且相邻凸轮呈120°夹角、两同步轴对应凸轮呈180°夹角,实现三组油缸组交替进油、回油动作;搭配周向间隔120°的液压推杆组,推动转动板与圆板持续旋转,解决传统系统动力输出间断的问题,为发电机提供匀速连续的机械动能。

用于风电机组的电动升降装置

NºPublicación:  CN121698202A 20/03/2026
Solicitante: 
华锐风电科技(集团)股份有限公司
CN_121698202_PA

Resumen de: CN121698202A

本发明公开了一种用于风电机组的电动升降装置,包括支撑框架、轿厢、驱动传动系统、导向组件和控制系统,支撑框架固定连接至机舱主机架,包括框架主体和导轨,驱动传动系统安装在框架主体上,包括驱动部分和与轿厢连接的传动部分,用于根据控制系统的指令使轿厢相对于支撑框架上升或下降,导向组件与轿厢固定连接,并且与导轨滚动连接。本方案通过全流程自动升降完成从塔底到机舱的最后一段,无需人工攀爬环节,大幅降低运维人员体力消耗,提升作业舒适度,降低作业风险;该装置能够显著提升运维效率,运维人员无需多次吊运沉重的工具,通过一次性搬运即可完成,节省维护时间。

风力发电机故障模拟装置

NºPublicación:  CN121701412A 20/03/2026
Solicitante: 
福建省晋江风电开发有限公司
CN_121701412_PA

Resumen de: CN121701412A

本发明公开了风力发电机故障模拟装置,涉及风力发电机技术领域。包括主块以及安装在主块两端的放置机构,所述放置机构上安装有若干个放置板,若干个所述放置板上分别安装有螺栓紧固机构和桨叶转动机构。本发明通过设置的螺栓紧固机构用于模拟螺栓紧固性故障,通过设置的桨叶转动机构模拟可模拟散热风扇故障和风力发电机桨叶故障,其故障模拟均集中于主块上的放置机构,提高故障模拟的丰富度,通过放置机构使得放置板可旋转,便于工作人员同时进行不同故障的模拟学习,提高学习效率,且放置板可拆卸,利于工作人员根据螺栓紧固机构和桨叶转动机构使用的磨损情况对其进行更换或定期维护,提高使用时的灵活性。

一种用于风电塔筒安装的对接装置

NºPublicación:  CN121701400A 20/03/2026
Solicitante: 
能建绿色氢氨新能源(松原)有限公司中国能源建设集团东北电力第二工程有限公司
CN_121701400_PA

Resumen de: CN121701400A

本申请涉及一种用于风电塔筒安装的对接装置,涉及风电设备安装的技术领域,其包括支撑座、旋转座、定位组件、稳定组件和纠偏组件,旋转座转动连接在支撑座上,定位组件用于使支撑座支撑在已安装塔筒顶端的中心位置处;稳定组件包括稳定单元和稳定动力部,稳定单元环绕旋转座的轴线设置有多个,稳定单元包括稳定支撑杆和稳定斜撑杆,稳定支撑杆连接在旋转座上,稳定斜撑杆与稳定支撑杆铰接;稳定动力部用于驱动所有的稳定斜撑杆同步摆动相同的角度,稳定斜撑杆能恰好摆入到已安装塔筒的内部;在待安装塔筒的底端稳定放置到稳定斜撑杆后,纠偏组件用于使待安装的塔筒摆动至竖直状态。本申请使待安装的塔筒易于以竖直状态同心靠近已安装的塔筒。

融合信号分解与深度学习的风电功率预测系统及方法

NºPublicación:  CN121710192A 20/03/2026
Solicitante: 
杭州品联科技有限公司
CN_121710192_PA

Resumen de: CN121710192A

本申请提供了融合信号分解与深度学习的风电功率预测系统及方法,涉及风电功率预测技术领域,所述系统包括:相关性分析模块对环境气象数据及风电功率数据进行相关性分析,信号分解模块将风电功率数据进行不少于二级信号分解,数据筛选模块采用最大信息系数算法分别计算各平稳子序列与所述相关气象变量之间的相关性,筛选输入特征数据,功率预测模块为每个平稳子序列构建深度学习预测模型,将平稳子序列及其对应的输入特征数据作为模型输入,并行对各分量进行功率值预测,将各分量的预测结果进行融合,输出风电功率预测结果。解决了现有技术中存在风电功率预测可靠性和准确性低的技术问题。达到了提高风电功率预测准确性和可靠性的技术效果。

风机叶片气道封堵程度的确定方法、装置及风机叶片

NºPublicación:  CN121701410A 20/03/2026
Solicitante: 
国网湖南省电力有限公司湖南防灾科技有限公司国网湖南省电力有限公司防灾减灾中心国家电网有限公司
CN_121701410_PA

Resumen de: CN121701410A

本申请实施例提供一种风机叶片气道封堵程度的确定方法、确定装置、风机叶片及存储介质。方法包括:获取风机叶片气道模拟装置运行时不同阀门开合度和在不同阀门开合度时对应的加热器温度,并基于阀门开合度和加热器温度生成加热器温度随阀门开合度变化的变化曲线;获取实际风机叶片的实际加热器温度,基于变化曲线确定实际加热器温度对应的阀门开合度,阀门开合度作为风机叶片气道的封堵程度,通过建立加热器温度与阀门开合度之间的对应关系,将传统难以直接检测的气道封堵程度转化为可通过温度测量间接反演的参数,实现一种无需侵入式检测即可完成气道封堵程度评估的技术路径。

风电变桨控制箱箱体及风电变桨控制箱

NºPublicación:  CN121711920A 20/03/2026
Solicitante: 
国能信控互联技术(河北)有限公司国能信控技术股份有限公司
CN_121711920_PA

Resumen de: CN121711920A

本公开涉及一种风电变桨控制箱箱体及风电变桨控制箱,其中箱体包括主体框架及盖板,主体框架呈盒状,其中设置有至少一个隔板,以将主体框架的内腔分隔为至少两个子腔室,盖板设置有至少两个,用于盖设并密封子腔室。本公开的风电变桨控制箱箱体通过在主体框架的内腔中设置至少一个隔板以及多盖板,通过隔板将内腔分隔为至少两个子腔室,子腔室能够安装风电变桨控制箱箱体中的不同控制元件,在控制元件安装完成后则可以通过盖板盖设并密封子腔室。当子腔室中的控制元件出现损坏时,工作人员则可以根据元件的位置,打开其对应的子腔室的盖板进行检修,避免拆卸体积较大的盖板费时费力,还容易在拆卸和安装的过程中造成盖板的损坏。

一种基于超疏水非晶碳/碳纳米管防除冰涂层及其应用

NºPublicación:  CN121700359A 20/03/2026
Solicitante: 
兰州理工大学
CN_121700359_PA

Resumen de: CN121700359A

本申请公开了一种基于超疏水非晶碳/碳纳米管防除冰涂层及其应用,涉及防除冰技术领域,包括耐高温基底以及形成于所述基底上的复合功能层;所述复合功能层为包含非晶碳、碳纳米管和石墨烯的三元复合结构;所述三元复合结构具有微纳米级粗糙表面;所述涂层兼具光热转换性能与电热转换性能;被动防冰与主动除冰机制协同作用,显著降低能耗,提高环境适应性。该涂层尤其适用于风力发电机叶片等设备的全天候防除冰保护,具有高效、耐久和低能耗的优点,为风力发电机叶片等设备提供了高效、持久的全天候防护解决方案。

一种带自适应锁扣装置的风机叶片检测吸附式机器人

NºPublicación:  CN121701415A 20/03/2026
Solicitante: 
香港理工研究院有限公司
CN_121701415_PA

Resumen de: CN121701415A

本发明涉及一种带自适应锁扣装置的风机叶片检测吸附式机器人,属于风机运维检测设备技术领域,包括机器人主体、设置在所述机器人主体侧部的行进模块和自适应锁扣防护装置、设置在所述行进模块底部的吸附模块、设置在所述机器人主体底部的检测模块、设置在所述机器人主体上部的无线通信模块以及设置在所述机器人主体内部的集成电源单元、控制单元及信号传输单元;本发明通过机器人主体、履带及吸附装置、行进模块、检测模块、自适应锁扣装置、控制系统及防护模块,各模块协同工作,实现风机叶片的高效、安全、稳定检测,解决现有吸附式机器人吸附稳定性差、无自适应锁止机构、防护性能不足的技术痛点。

一种船帆百叶式发电机组及发电方法

NºPublicación:  CN121701388A 20/03/2026
Solicitante: 
西安热工研究院有限公司
CN_121701388_PA

Resumen de: CN121701388A

本发明公开了一种船帆百叶式发电机组及发电方法,包括海底支座柱,海底支座柱上固定连接有发电机,发电机上连接有发电机轴,发电机轴上固定安装有方框;方框被发电机轴分割为第一框和第二框,第一框和第二框相互平行的内侧壁面上均开设有若干组对称的轴孔,每组轴孔内均转动连接有百叶片轴,百叶片轴上可转动连接有百叶片,百叶片轴的轴线与发电机轴的轴线相垂直。整体结构无复杂电控元件,百叶片的旋转仅依赖机械联动与风场作用,相比传统风机的电控调节系统,降低故障发生率且百叶片可单独拆卸更换,无需整体停机检修,减少维护时间。

一种风电机组有功功率控制装置

NºPublicación:  CN121701391A 20/03/2026
Solicitante: 
中电建(玉门)新能源有限公司
CN_121701391_PA

Resumen de: CN121701391A

本发明公开了一种风电机组有功功率控制装置,属于功率控制装置技术领域。包括支撑板,所述支撑板的左侧对称固定连接有支撑柱,所述支撑柱的左端共同固定连接有一个承重板,所述承重板与所述支撑板的内部均开设有圆槽,所述圆槽的内部转动连接有转柱,所述转柱的左侧固定连接有风机头,所述风机头的外侧壁对称固定连接有扇叶;该装置通过构建精准的转速管控机制,大幅提升了风电机组运行过程中的安全性。在机组运行时,核心控制单元能够实时追踪风机头的转动状态,一旦发现转速接近或超过安全运行的临界值,会迅速启动调控程序。其通过信号传递触发动力部件调整输出强度。

一种风电叶片的贯索缠绕式扰流元件安装装置

Nº publicación: CN121701386A 20/03/2026

Solicitante:

河南科技大学

CN_121701386_PA

Resumen de: CN121701386A

一种风电叶片的贯索缠绕式扰流元件安装装置,包括绳索和多个定位块,两组定位块分别位于风电叶片沿宽度方向的两侧,定位块通过叶片定位槽卡设安装在风电叶片的侧棱上,定位块包括长条定位块和/或单式定位块,长条定位块远离定位槽的一侧间隔连接有多个绳索限位块,单式定位块远离定位槽的一侧连接有一个绳索限位块,绳索限位块的一侧开设有绳索限位槽,绳索以螺旋形式缠绕在风电叶片上,并依次穿设在风电叶片两侧的绳索限位槽内。本发明通过"缠绕+定距"的双约束机制协同作用,实现叶片与扰流元件之间的稳定连接与精准定位,从而保证扰流元件的间距、位置精度满足气流调控需求。

traducir