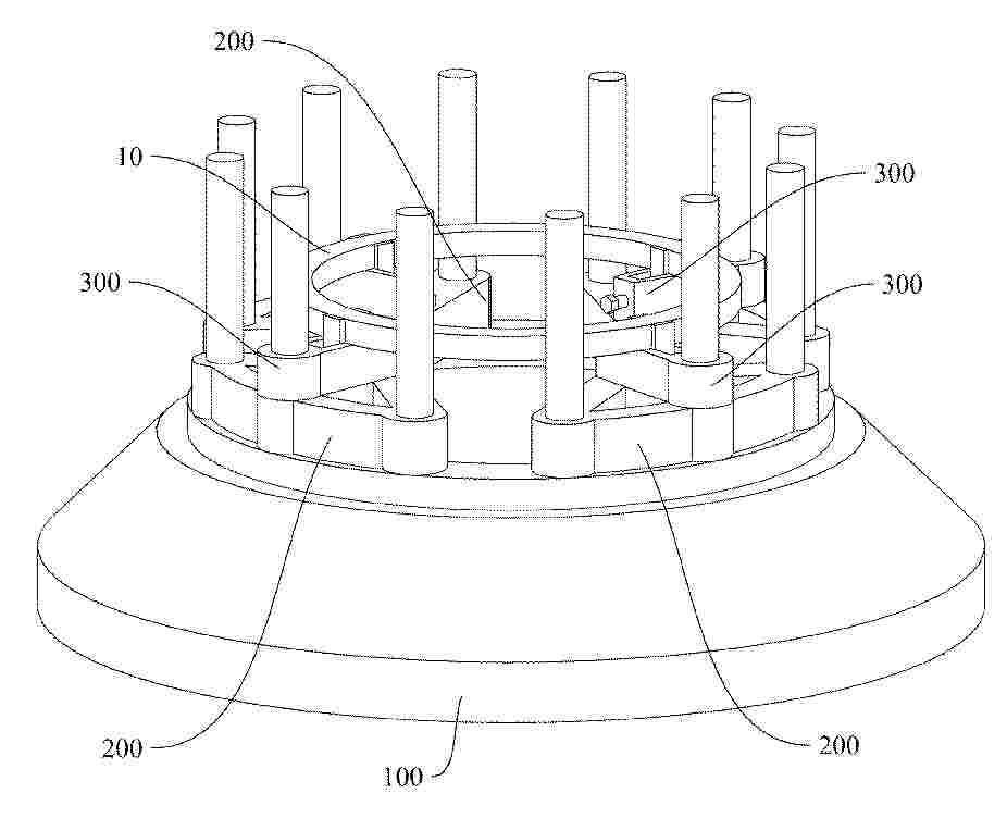
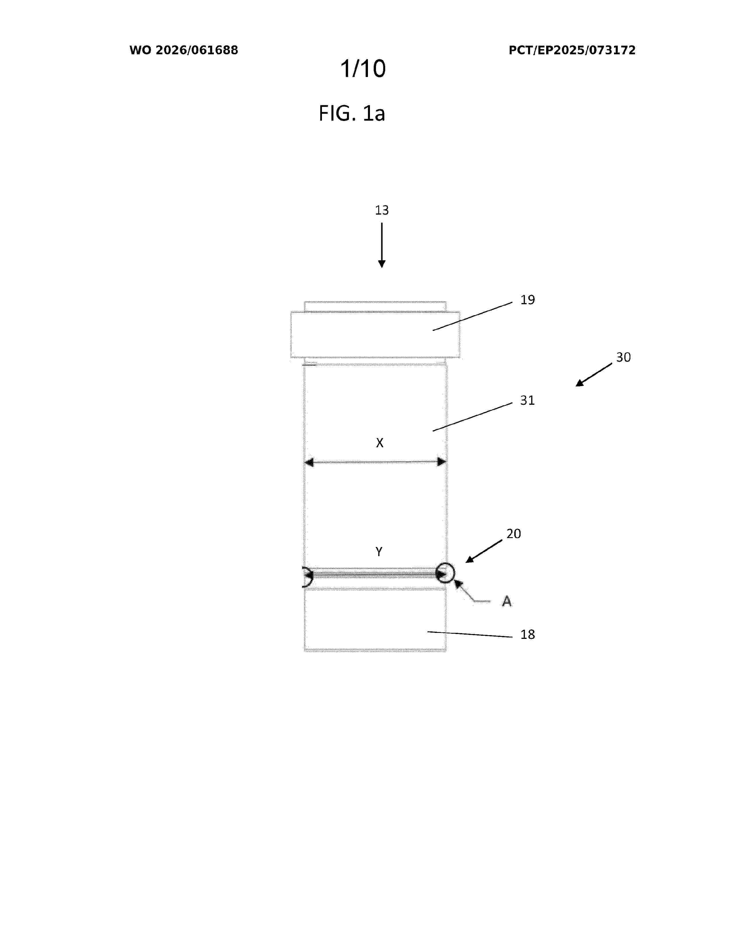
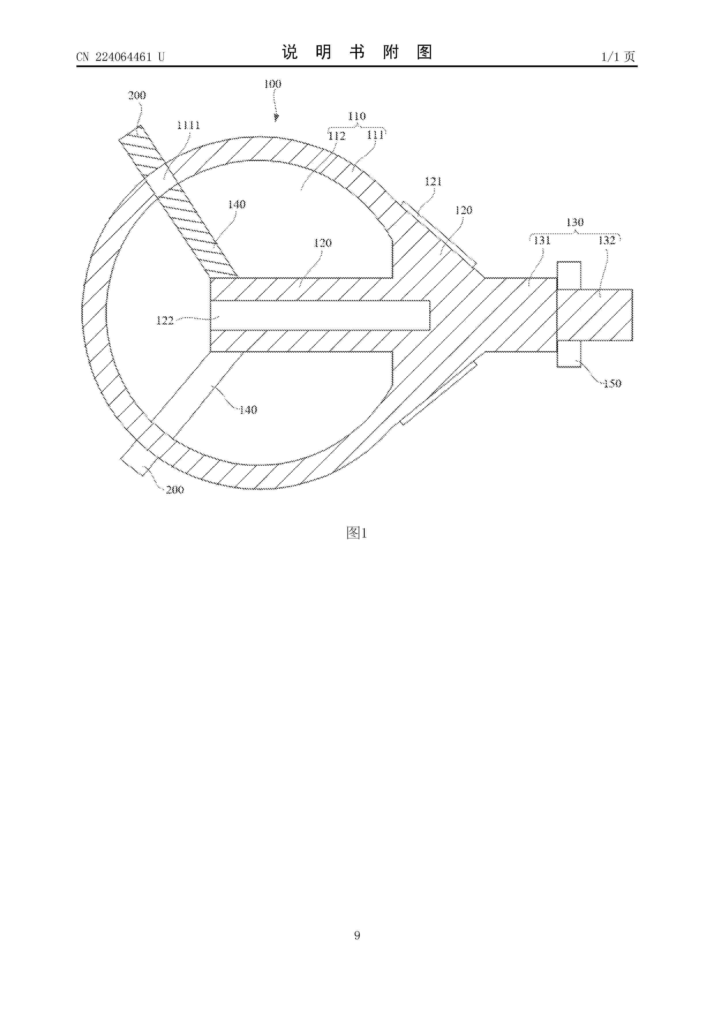
Resumen de: DE102024111451A1
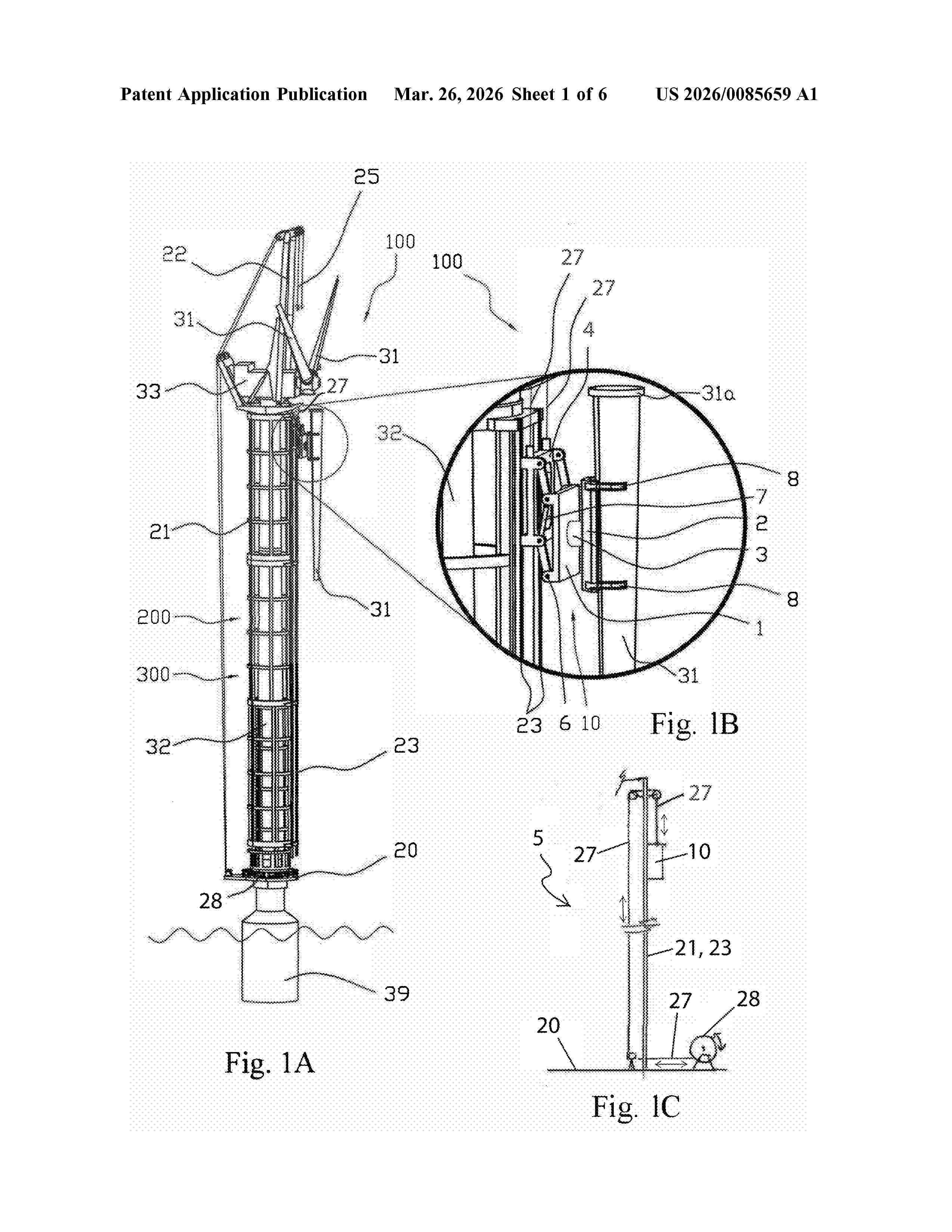
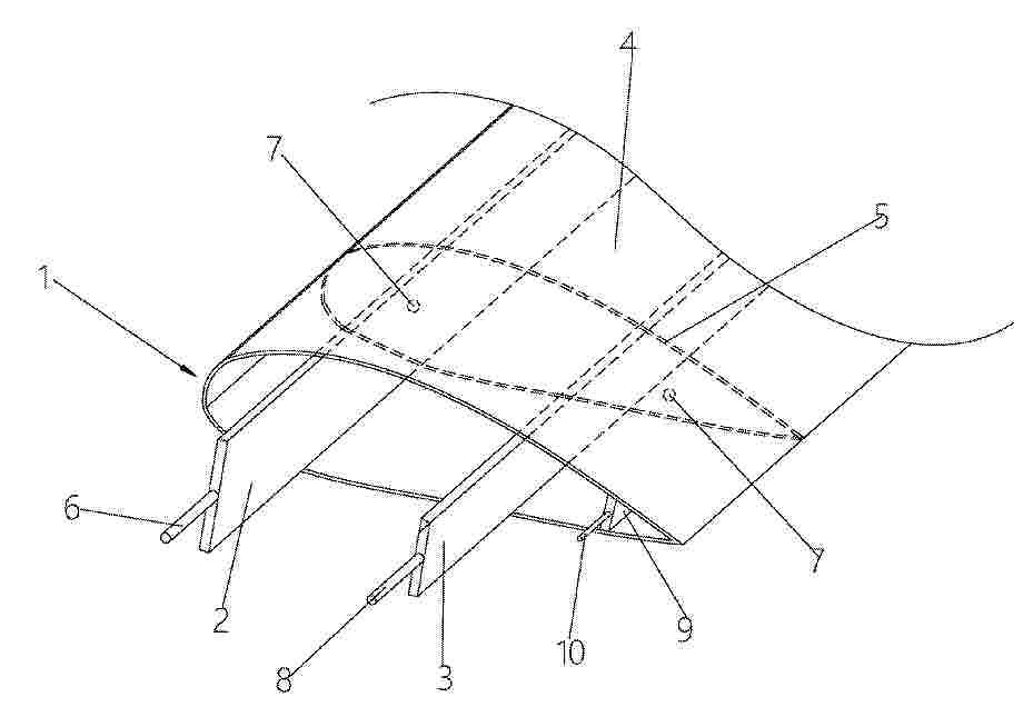
Die Erfindung betrifft ein hydrodynamisches oder hydrostatisches Gleitlager (1) zur drehbaren Lagerung einer Welle (3), insbesondere in einer Windkraftanlage (2), mit wenigstens einem ersten Gleitelement (4) mit einer ersten Gleitfläche (5), welches an einer Adapterstruktur (9) angeordnet ist, sowie einer Anbindungsstruktur (6), die der Befestigung der Adapterstruktur (9) dient, wobei die Adapterstruktur (9) radial und/oder axial versetzbar angeordnet ist und wobei an der Adapterstruktur (9) ein erster Rampenabschnitt (7) und an der Anbindungsstruktur (6) ein korrespondierender zweiter Rampenabschnitt (8) so ausgebildet sind, dass ein axialer Versatz der Adapterstruktur (9) gegenüber der Anbindungsstruktur (6) einen radialen Versatz des Gleitelements (4) bewirkt und/oder umgekehrt, so dass das Lagerspiel des Gleitelements (4) gegenüber der Welle (3) einstellbar ist. Der axiale Versatz wird mittels mindestens eines Zwischenstücks (10) festgelegt, welches in einen durch den axialen Versatz hervorgerufenen Zwischenraum (11) eingebracht wird und so einen reproduzierbaren radialen Versatz des wenigstens einen Gleitelements (4) erzeugt.
Resumen de: DE102024111806A1
Die Erfindung betrifft eine Überwachungsanordnung für eine Windenergieanlage (1), aufweisend mindestens zwei in oder an der Windenergieanlage (1) angeordneten Mikrofonen (21), die mit einer Auswerteeinrichtung (20) gekoppelt sind, wobei die Auswerteeinrichtung (20) dazu eingerichtet ist, Signale der Mikrofone (21) gemeinsam auszuwerten. Die Erfindung betrifft weiterhin ein Überwachungsverfahren für eine Windenergieanlage (1).
Resumen de: DE102024111742A1
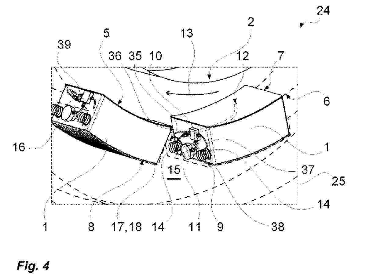
Die Erfindung betrifft eine Anordnung zum Prüfen von Großlagern und Großlagereinheiten, umfassend:- eine Basisstruktur (1), eingerichtet zum Aufnehmen einer Rahmenstruktur (2, 2') mit einem in der Rahmenstruktur angeordneten zu prüfenden Prüfbauteil (3, 3'), wobei das Prüfbauteil (3, 3') ein Großlager oder eine Großlagereinheit ist,- einen Lastrahmen (4) mit einem Prüfstandlager (5), wobei das Prüfstandlager (5) zwei ölgeschmierte vorgespannte Kegelrollenlager aufweist, wobei das Prüfstandlager (5) eingerichtet ist zum drehbaren Lagern eines Lasthebels (6, 6'), der mit dem Prüfbauteil (3, 3') verbindbar ist, so dass das Prüfbauteil (3, 3') zwischen dem Lasthebel (6, 6') und der Rahmenstruktur (2, 2') angeordnet ist,- Antriebsmittel zum Beaufschlagen des Prüfbauteils (3, 3') mit einer Rotationsbewegung,- eine mit dem Lastrahmen (4) verbundene Aktuatoranordnung, die eine Mehrzahl von in Bezug auf den Lasthebel (6) axial wirkenden Lastzylindern (7) sowie mindestens einen in Bezug auf den Lasthebel radial wirkenden Lastzylinder (8) umfasst.Die Erfindung betrifft auch ein Verfahren zum Prüfen von Großlagern und Großlagereinheiten.
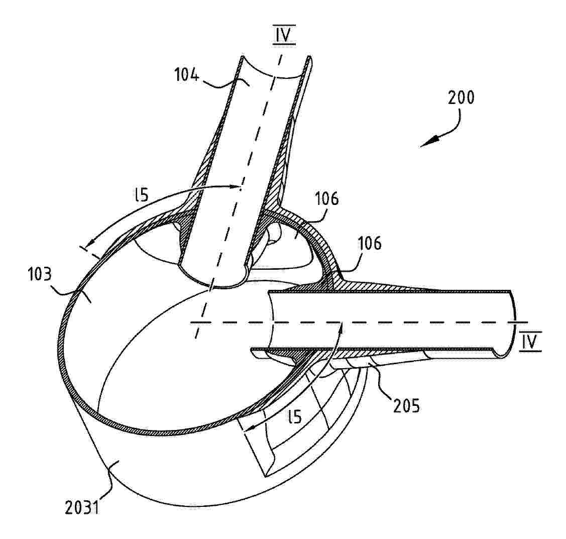
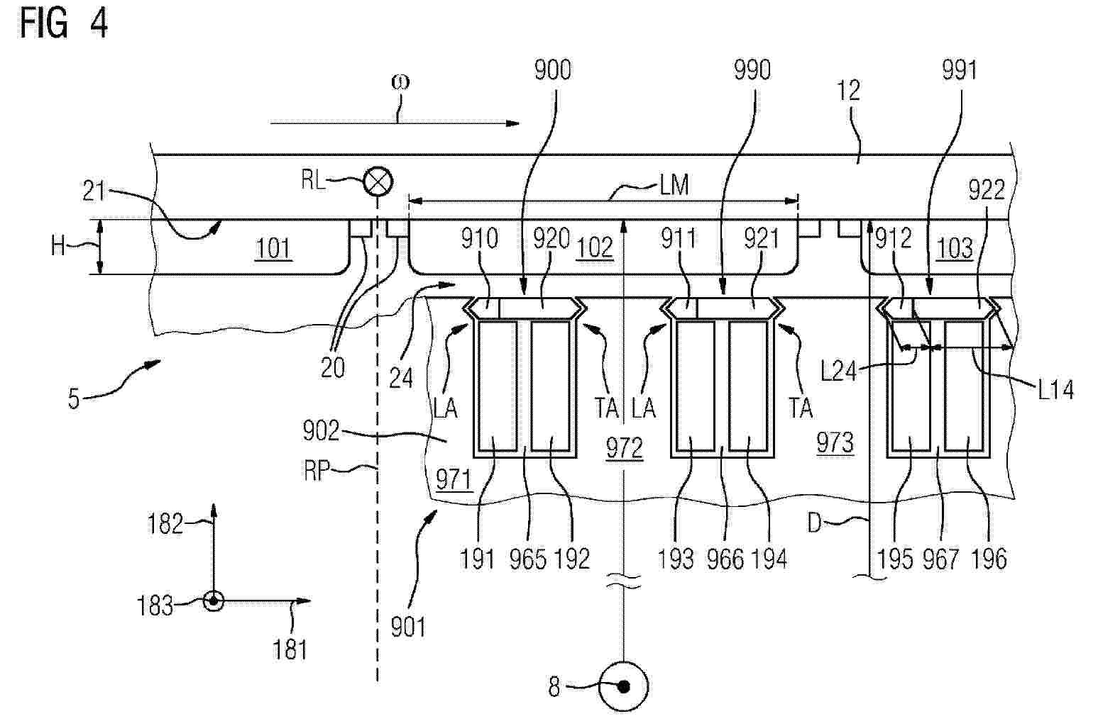
Resumen de: DE102024131832A1
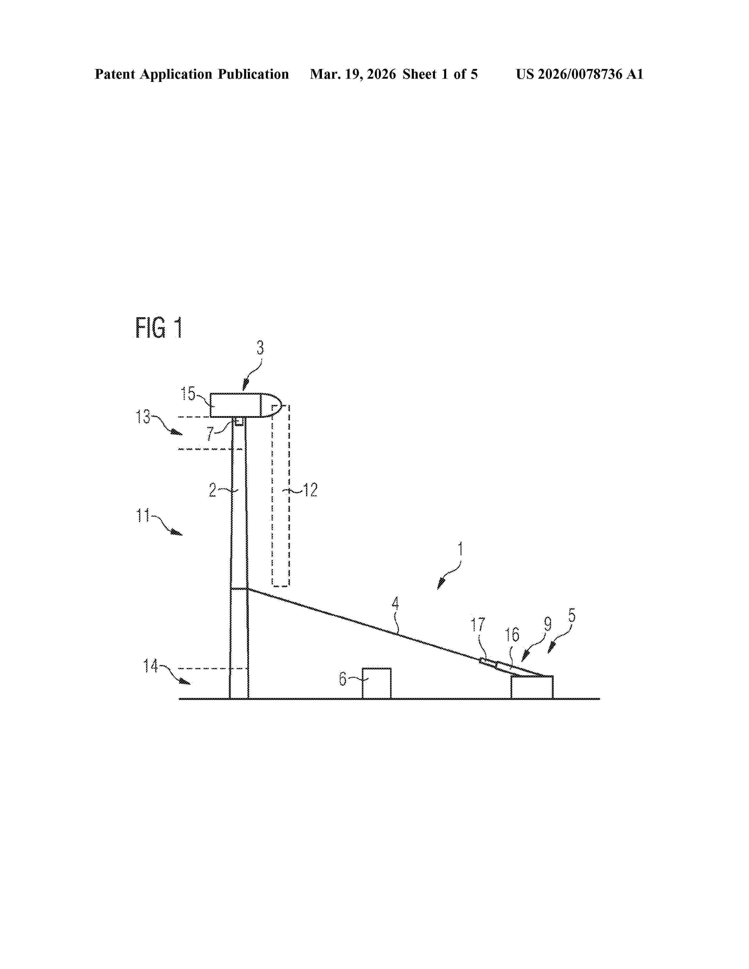
Gleitlageranordnung für eine Windkraftanlage aufweisend einen um eine Lagerachse konzentrischen Innenring und einen um die Lagerachse konzentrischen Außenring, wobei in radialer Richtung zur Lagerachse zwischen dem Innenring und dem Außenring ein die Lagerachse umlaufender Zwischenraum ausgebildet ist, wobei wenigstens ein Gleitelement im Zwischenraum angeordnet ist.
Resumen de: EP4641012A1
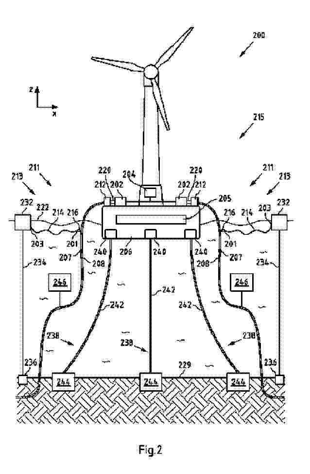
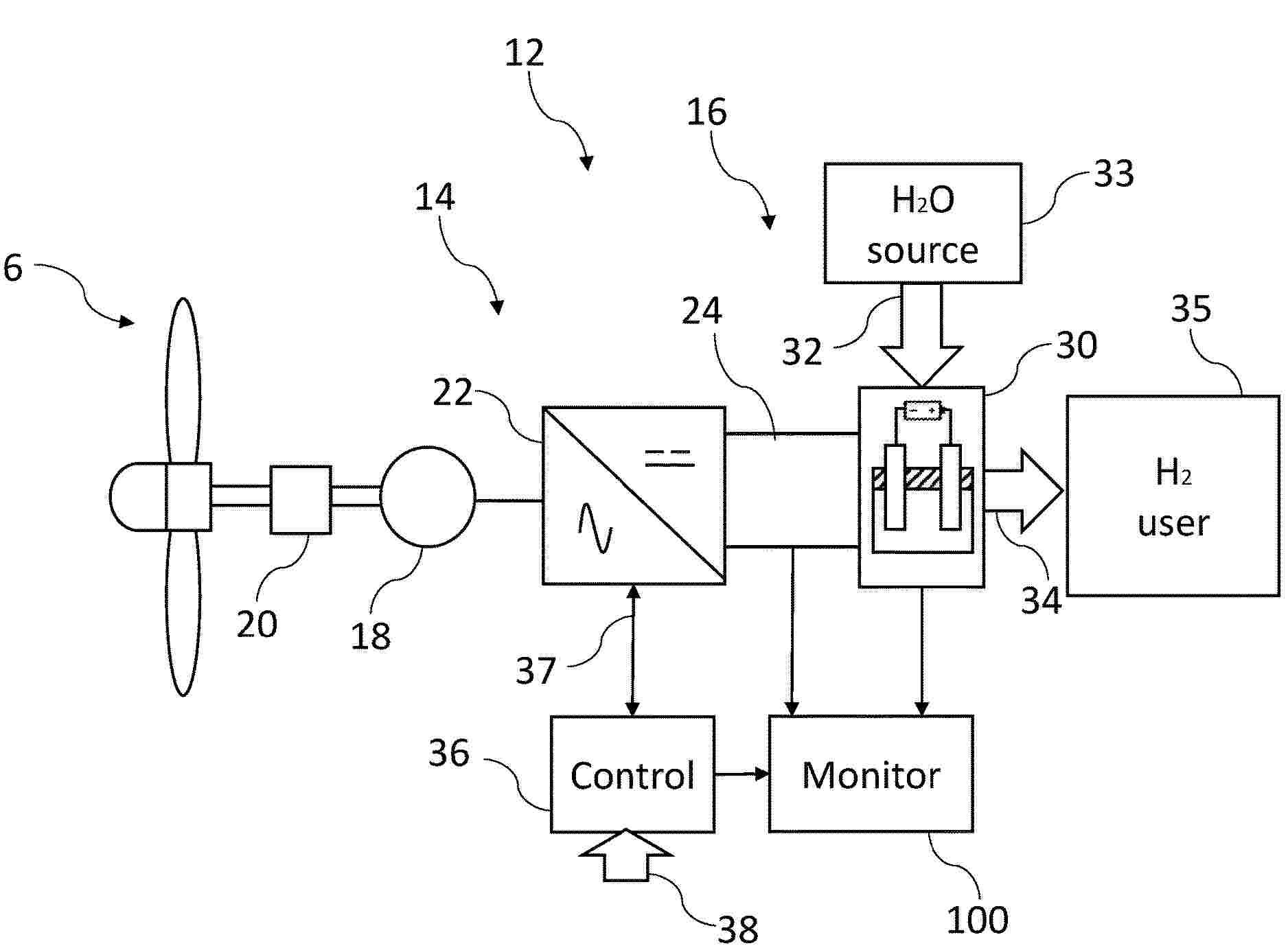
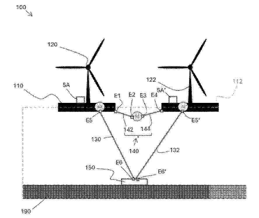
La présente divulgation concerne une installation de production d'énergie en mer (100) comprenant une plateforme flottante (110), un système de production d'énergie monté sur la plateforme et comprenant préférentiellement au moins une éolienne (120), une amarre (130, 140) reliée à la plateforme, et un système de génération et/ou stockage d'énergie (G2, G1), par exemple électrique, à partir d'une tension mécanique subie par l'amarre.Cela constitue une installation de production d' énergie en mer améliorée.
Resumen de: CN120418535A
The invention relates to a power train (102) for a wind turbine (100), comprising a planetary gear (10) for a wind turbine (100) driven by a rotor (106), comprising at least one planetary stage (14) rotating about an axis of rotation AD in a gear housing (12), the at least one planetary stage (14) having a planet carrier (16) and a ring gear (20), and the planet carrier (16) or the ring gear (20) is at least indirectly drivingly connected to the rotor (106). The planet carrier (16) has a plurality of planet gears (18) which rotate within the planet carrier (16), are mounted radially on the plain bearing, and mesh with the ring gear (20) and the sun gear (22) in a corresponding manner. A guide element (24) is arranged between the transmission housing (12) and the planet carrier (16). By means of the guide element (24), the self-centering function of the tooth elements, i.e. The planetary gear (18) and the sun gear (22), can be carried out in a controllable manner in the planetary stage (14) and is supported for weight reduction.
Resumen de: CN120359140A
The invention relates to a power supply for electric vehicles and can be used in the transportation industry. The aim of the invention is to reduce the risk of damage to electronic components of an electric vehicle during operation of a modular battery (100, 200, 300, 400). This object is achieved by a modular battery (100, 200, 300, 400) of an electric vehicle in that a control unit (110, 210, 310, 410) enables execution of traction motor inverter capacitor pre-charge logic.
Resumen de: WO2025098776A1
It is described a method of installing magnet modules (9) at a rotor house (4) of a rotor (10) of a permanent magnet synchronous electrical machine (1), the method comprising: determining a radial distance (r1, r2, r3) between a center point (CP) at a rotation axis (2) and a surface measurement location (s1, s2, s3) at an inner surface (5) at an axial end portion (6) of the rotor house (4) at plural circumferential positions (cp1, cp2, cp3); selecting, from plural magnet installation tracks (8_1, 8_2, 8_3) running in an axial direction and being spaced apart in the circumferential direction (cd), an installation track (8_1) having a determined radial distance greater than a threshold, wherein the selected installation track (8_1) is in particular attributive to a greatest radial distance (r1); inserting magnet modules (9) at the selected installation track (8_1), in particular from the axial end portion (6), along the axial direction (2); repeating at least the steps of selecting and inserting with respect to unfilled installation tracks (8_2, 8_3), until plural installation tracks are filled with magnet modules (9).
Resumen de: TW202520622A
Stator for a wind turbine generator, comprising several phase windings (4) of at least two phases (U, V, W), which phase windings (4) are arranged in several winding segments (5), wherein each segment (5) has at least one output terminal (6, 7, 8) per phase (U, V, W), to which the respective phase windings (4) are connected and which output terminals (6, 7, 8) are connected to a busbar structure (18), characterized in that each output terminal comprises (6, 7, 8) a holder (11) attached to a stator structure (2) and a bar- or box- or plate-like connection terminal (14) connected to the holder (11) by at least one insulator element (13), wherein the connection terminal (14) comprises connection means to which flexible winding connection cables (9) connecting the respective phase winding (4) to the connection terminal (14) are connected, wherein for arranging the connection terminals (14) in different planes the holders (11) have different heights.
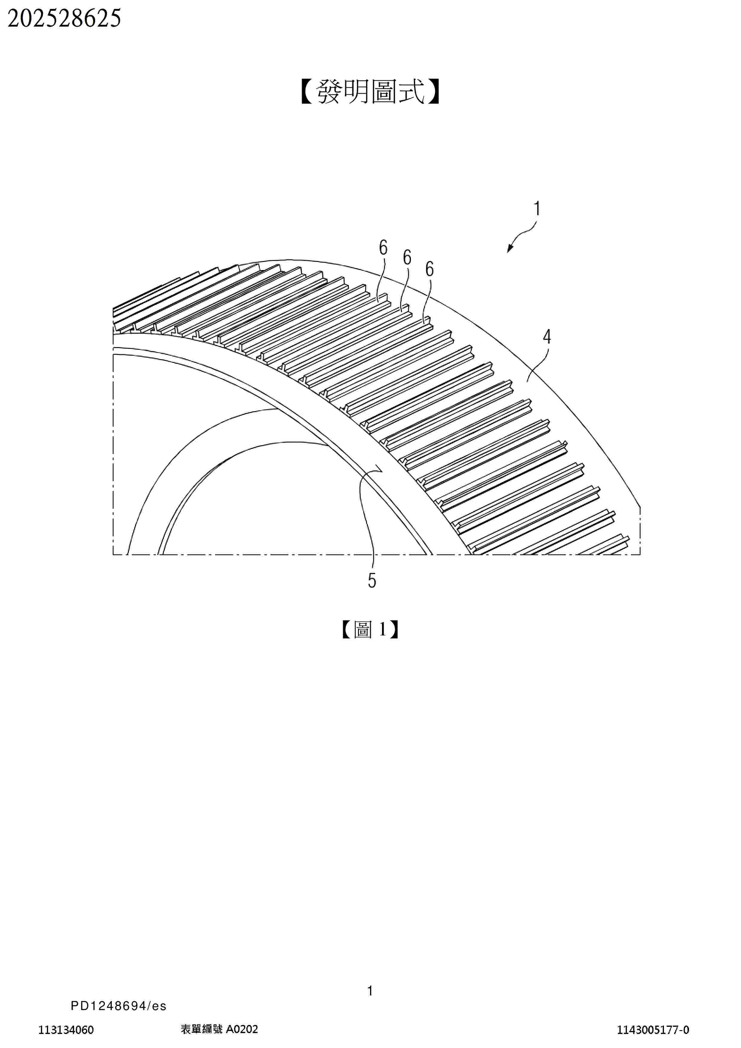
Resumen de: TW202528625A
Wind turbine generator, comprising an inner stator (3) and an outer rotor (1) comprising a cylindrical rotor yoke (4), wherein to an outside surface of the rotor yoke (4) several cooling elements (6) are attached, wherein the cooling elements (7) are cooling fins (7) comprising a plate-like attachment base (8) attached to the outside of the rotor yoke (4) and a fin part (9) extending in an angle from the attachment base (8).
Resumen de: EP4641011A1
Disclosed are a cabin structure and a wind turbine generator set. The cabin structure includes: a cabin body extending along a first direction and a box transformer structure including a box transformer unit and a box transformer bracket. The cabin body is provided with a main body frame, the box transformer bracket is provided at the main body frame and is provided at a side end of the cabin body in a second direction, and the box transformer unit is provided at the box transformer bracket at least for voltage conversion.
Resumen de: EP4640610A1
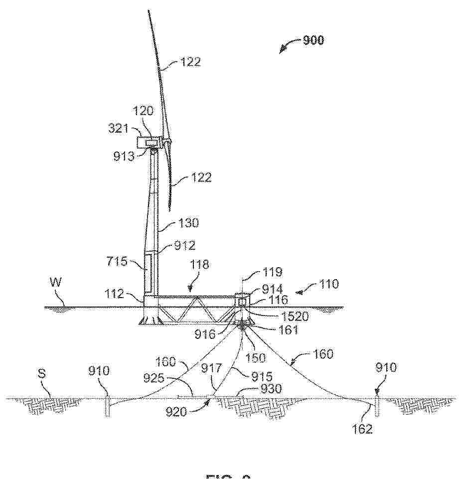
The invention relates to a guiding system for exchanging a wind turbine blade (4), which uses an internal lifting and lowering system fixed to a rotor (3). The guiding system is characterised in that it comprises semi-rigid passive retaining lines (5) that form a safe catenary or track for lowering the blades (4) without same hitting the tower (1) or the ground as a result f incident winds of up to 15 m/s. A clip (7) fastened to the end part of the Blade (4) slides along the retaining lines (5) with the horizontal movement of the Blade (4). The catenary may optionally have intermediate points, and the tension thereof is dependent on the incident wind: the greater the wind, the greater tension. The guiding system can be used for onshore wind turbines, floating offshore wind turbines connected to a spring, and boat-assisted offshore wind turbines on the high seas.
Resumen de: EP4641025A1
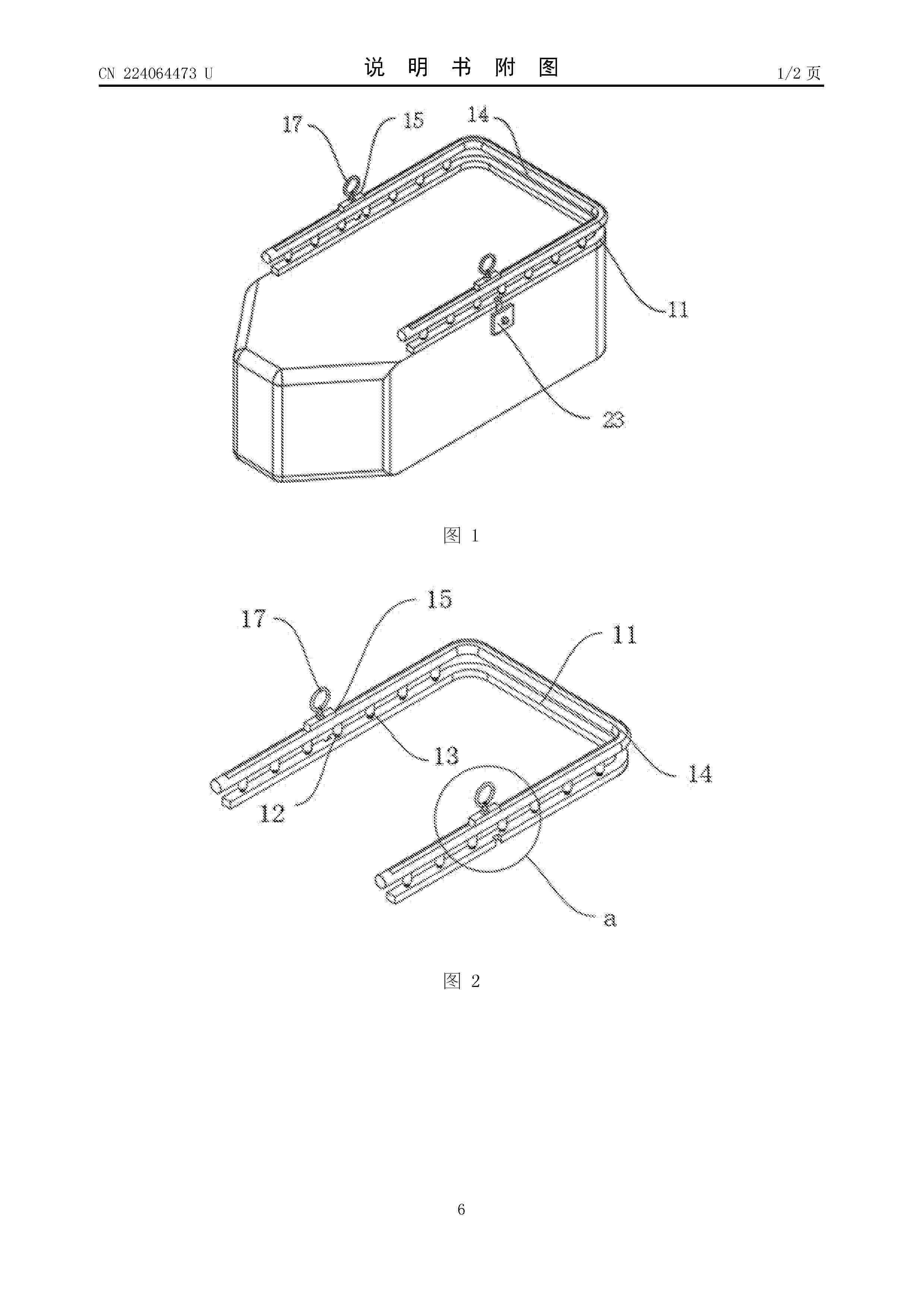
A hoisting structure and a fan lamp. The fan lamp comprises: a mounting bracket (10) and a hanging rod (20), wherein the mounting bracket (10) is configured to be mounted on a mounting surface; the upper end of the hanging rod (20) is provided with a fixing portion (22), which is configured to fit with the mounting bracket (10); the hanging rod (20) and the fixing portion (22) are integrally configured; the mounting bracket (10) is provided with a through hole for supporting the fixing portion (22); a limiting portion (222) is formed on an outer side wall of the fixing portion (22); the mounting bracket (10) is provided with a fitting portion (131) corresponding to the limiting portion (222); and the limiting portion (222) fits with the fitting portion (131), so as to prevent the hanging rod (20) from horizontally rotating relative to the mounting bracket (10). Compared with the prior art, the fan lamp is simple and reliable, and a pin does not need to be arranged on the hanging rod, thereby reducing assembly components, such that costs can be reduced.
Resumen de: WO2025016633A1
Manufacturing a wind turbine generator It is described a method of assembling a generator (1) for a wind turbine (50), the method comprising: determining (RBMS) plural first inner radii (r1) of an assembly comprising a ro- tor house (6) and a bearing (5); measuring (IMIC) heights (h) of plural magnet modules (9); determining positions of the plural magnet modules (9) at the rotor house (6); calculating second inner radii (r2) of the rotor house-bearing assembly and determining a minimum second inner radius; measuring ge- ometry information (FSMS) of a first mounting surface (3) and/or a second mounting surface (4) of a stator base struc- ture (2); mounting (FSAC) plural stator segments (8) at the stator base structure (2), in order to obtain a stator assem- bly; coupling the rotor house-bearing assembly (5, 6) with the stator assembly (2, 8, 7); mounting (MMIC) the magnet modules (9) at the rotor house (6).
Resumen de: WO2025011866A1
It is described a method of controlling an electrical, in particular synchronous, generator system (4) comprising a generator (7) including a stator (8) having stator windings and a rotor (9) having plural permanent magnets (10), in particular of a wind turbine, the method comprising: monitoring when a magnet temperature indicates a critical condition; in case of the critical condition, entering a magnet preventive protection control mode including to shift a phase of a generator current/s (21).
Resumen de: EP4640609A1
There is provided a lifting tool 400 for placing a spar cap 500 in a blade mould. The lifting tool 400 comprises a lifting structure 410, a plurality of vacuum elements 420 connected to the lifting structure 410 for releasably attaching the spar cap 500 and an anti-falling mechanism 430 connected to the lifting structure 410. The anti-falling mechanism 430 is configured to change between a closed state for blocking a movement of the spar cap 500 and an open state for allowing a movement of the spar cap 500 relative to the anti-falling mechanism 430.
Resumen de: AU2024226393A1
Method for lowering and/or lifting a rotor blade (3) of a wind turbine (1) to change the distance (6) between an end face (7) of a blade root (8) of the rotor blade (3) and a contact surface (64) of a blade bearing (8) of the rotor blade (3), comprising the steps of providing multiple actuators (27-34), in particular at least four actuators (27-34), each actuator (27-34) having a first portion (48) and a second portion (49), wherein the second portion (49) is moveable in a respective actuator movement direction (50, 55) with respect to the first portion (48) by controlling the actuator (27-34), wherein the respective first portion (48) is coupled to the blade bearing (9) and the respective second portion (49) is coupled to the rotor blade (3) in such a way that all actuator movement directions (50, 55) deviate by less than 20° or less than 10° or less than 5° from the vertical direction (14, 15) when the rotor blade is in the given orientation (42), controlling the actuators (27-34) to lower and/or rise the rotor blade (3) while the rotor blade (3) is in the given orientation (42) in such a way that a first group (35) of the actuators (27-34) each exert a vertical upward force on a first circumferential section (40) of the blade root (8), and that a second group (36) of the actuators (27-34) exerts a vertical downward force on a second circumferential section (41 ) of the blade root (8).
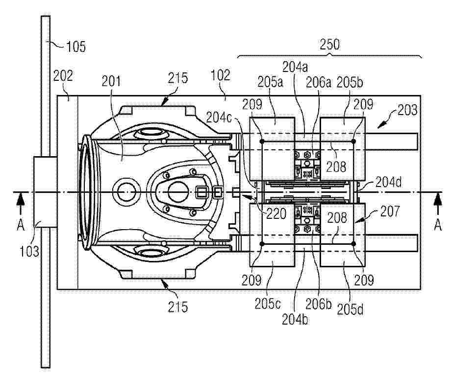
Resumen de: WO2024179849A1
Power conversion system arrangement of a wind turbine A power conversion system arrangement of a wind turbine is provided. The arrangement (250) may comprise a support structure (203) which supports a power conversion system of the wind turbine (100) and which is configured to be mechanically coupled with a tower (101) of the wind turbine. The arrangement (250) may comprise two or more converters (205a-d) of the power conversion system, wherein the two or more converters are configured to convert electrical power generated by the wind turbine and wherein the two or more converters are positioned and supported on a first side (420) of the support structure (203), the first side being an upper or lower side of the support structure (203). The arrangement (250) may comprise one or more transformers (206a-b) of the power conversion system, wherein the one or more transformers are configured to transform electrical power received from the converters and wherein the one or more transformers are positioned and supported on a second side (430) of the support structure which is in a vertical direction opposite to the first side (420).
Resumen de: CN120418154A
The invention relates to an anti-icing mat (1) for a component (BA), in particular for an aircraft component (BA), comprising: a multilayer structure having at least one heating layer (3) capable of generating a heat flux; a contact layer (2) forming at least one thermal barrier between the heating layer (3) and the component (BA); and at least one intermediate layer (4) and/or reinforcing layer (5) and/or outer layer (6), which is thermally conductive and is arranged between the heating layer (3) and the external environment.
Resumen de: WO2024175263A1
Stator winding arrangement (1) for a wind turbine generator (25), comprising at least one electrical conductor (3) forming turns of at least one coil and an interturn insulation (7) extending around the conductor (3), the coil running in a geometrical shape having at least one bend (6, 14), wherein the smallest bending radius of each bend (6, 14) is in the range from 25 to 35 mm and the interturn insulation (7) at least at the at least one bend (6, 14) comprises at least one layer (11, 12, 13) of a mica insulation tape (8) wrapped around the conductor (3).
Resumen de: WO2024132076A1
Aspects of the invention relate to a method of controlling a wind turbine comprising a rotor and a plurality of rotor blades. The method comprises: receiving a plurality of blade flap load signals indicative of measured flap loading on respective rotor blades, each blade flap load signal being received from a blade flap load sensor of a respective rotor blade; determining an average blade flap load signal based, at least in part, on the plurality of blade flap load signals; and determining a maximum thrust level for a thrust limit controller based on the average blade flap load signal and a reference load value that is indicative of a maximum allowable variation of the average blade flap load signal from a normal value.
Resumen de: WO2024132074A1
A method of operating an obstacle warning system (4) for a wind turbine installation (2) comprises: operating a radar system (14) to obtain scan data for an area around the installation (2); analysing the scan data to identify a pair of signals comprising a first signal corresponding to a first location (34) and a second signal corresponding to a second location (32), the first location (34) being spaced from the second location (32); comparing the first signal and the second signal to determine a value indicative of the performance of the radar system (14) for an area including the second location (32); and activating the warning system (4) if the value is below a threshold.
Resumen de: CN120457278A
A connector (40) for connecting a stent (30) to a structure (4) via an anchoring member (20). The connector (40) comprises: a proximal end portion (43) configured to support, in use, an end portion (31) of the stent (30); and a distal end portion (41), the distal end portion (41) having a curved outer surface (44). The curved surface (44), in use, abuts a surface (24) of the anchoring member (20). The bracket (30) includes an elongated I-beam portion and a portion (50) configured to engage the ladder (10) in use. A kit of parts includes the connector and a gasket configured to conform to a shape of an inner surface (42) of the connector.
Resumen de: CN120380249A
A tower section for a wind turbine is provided. The tower section includes an annular wall portion defining a tower section axis and having an annular connecting flange portion, where the annular connecting flange portion defines a first array of bolt holes. An annular flange reinforcement is located on the annular connecting flange portion, the annular flange reinforcement defining a second array of bolt holes, each bolt hole in the first array of bolt holes being aligned with a respective bolt hole in the second array of bolt holes. A plurality of mechanical fasteners is provided, each of the plurality of mechanical fasteners extending through a respective bolt hole of the first and second arrays of bolt holes. Advantageously, the annular flange portion and the annular flange reinforcement are configured to define an annular gap therebetween. The annular void provides a degree of flexibility to the annular flange reinforcement, which changes the stiffness ratio between the flange portion and the mechanical fastener. Advantageously, this improves the stressability of the interface between the mechanical fasteners that clamp the annular flange reinforcement to the annular flange connection portion.
Resumen de: WO2024132068A1
The invention relates to adjusting pitch of wind turbine rotor blades. A wind turbine controller includes a collective pitch control module for determining a collective pitch reference, and one or more pitch offset control modules. The controller receives a 5 collective pitch signal indicative of collective pitch angle of the rotor blades; receives a power signal indicative of power output of the wind turbine; and, for each of the one or more pitch offset control modules, determines a respective dynamic maximum pitch amplitude value based on the received collective pitch signal and power signal. Each pitch offset control module determines a respective pitch reference offset value in accordance 10 with the respective dynamic maximum pitch amplitude value. The controller determines an overall pitch reference based on the collective pitch reference and the one or more pitch reference offset values. Figure 5 15
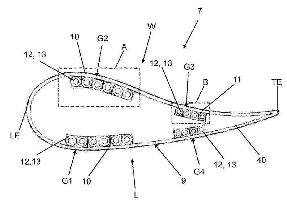
Resumen de: WO2024132066A1
A first aspect of the invention provides a wind turbine blade comprising an inboard wind turbine blade portion and an outboard wind turbine blade portion for joining together by a joint, each of the inboard and outboard wind turbine blade portions having an end with an aerofoil profile, wherein the aerofoil profile has both concave and convex geometric portions, the end of each of the respective wind turbine blade portions having a plurality of inserts embedded therein, each insert comprising an end portion having a connection for coupling the insert to another of the inserts across the joint and an extension portion which extends away from the end portion to a tip, wherein the plurality of inserts of one of the respective wind turbine blade portions includes: at least one first insert; and at least one second insert, wherein the first insert has a geometry different than a geometry of the second insert.
Resumen de: EP4640545A1
Anchoring system and installation and uninstallation procedures of anchoring system. The anchoring system (10) comprises:- a floating platform (1) from which a plurality of first anchoring lines (11) emerge,- at least one anchoring block (2) with at least three non-aligned anchoring points,- a central float (3),- a plurality of swinging arms (4), each swinging arm (4) being joined by means of an articulated joint (5) to an anchoring block (2), said articulated joint (5) being located in an intermediate area of the swinging arm (4) so that each swinging arm (4) comprises an internal section (6) and an external section (7) joined in the intermediate area of the swinging arm (4) corresponding to the articulated joint (5), the internal section (6) being located between the intermediate area of the swinging arm (4) and an inner free end and the outer section (7) being located between the intermediate area of the swinging arm (4) and an outer free end, the inner free end being closer to the central float (3) than the outer free end, so that the first anchoring lines (11) leaving the floating platform (1) are joined to the outer end containing the outer free end of the outer sections (7) of the swinging arms (4), and- second anchoring lines (12) between the central float (3) and the inner end portions containing the inner free ends of the inner sections (6) of the swinging arms (4).
Resumen de: WO2024134491A1
Method for controlling a wind power plant for generating and delivering electrical energy to an electrical grid (2), the wind power plant (1) comprising a wind turbine (3) configured to be selectively connected to the electrical grid (2), the method comprising controlling the wind turbine (3) among a plurality of operational modes on the basis of different weather conditions.
Resumen de: WO2024133785A1
The invention relates to a lifting system (1) for erecting, maintaining or dismantling a floating wind turbine (4), which comprises: - a tower (11) comprising at least two elements (11A-11D) which can be telescoped together such that it can assume at least a retracted position, and a deployed position; - and a crane (12) mounted on an upper element (11A), this crane being mobile in rotation about a vertical axis (X1) of the system. Such a system, mounted on a dock, can be used in the deployed position to work on a wind turbine, and, in the retracted position, as a harbour crane.
Resumen de: WO2024134421A1
A floating substation for managing electrical power generated by an offshore wind power production plant has a floating platform (11) comprising a hull (12) configured to receive a hydrostatic force from the bottom upwards, and an open-air main deck (13), which is directly supported by the hull (12); and an electrical power management unit (14), which is arranged on the main deck (13) and is configured to receive electrical power from the wind power production plant (2) via at least one electric inlet cable (5), to transform the voltage of the received electrical power, and to supply the transformed electrical power to a remote station (7) via at least one electric outlet cable (6).
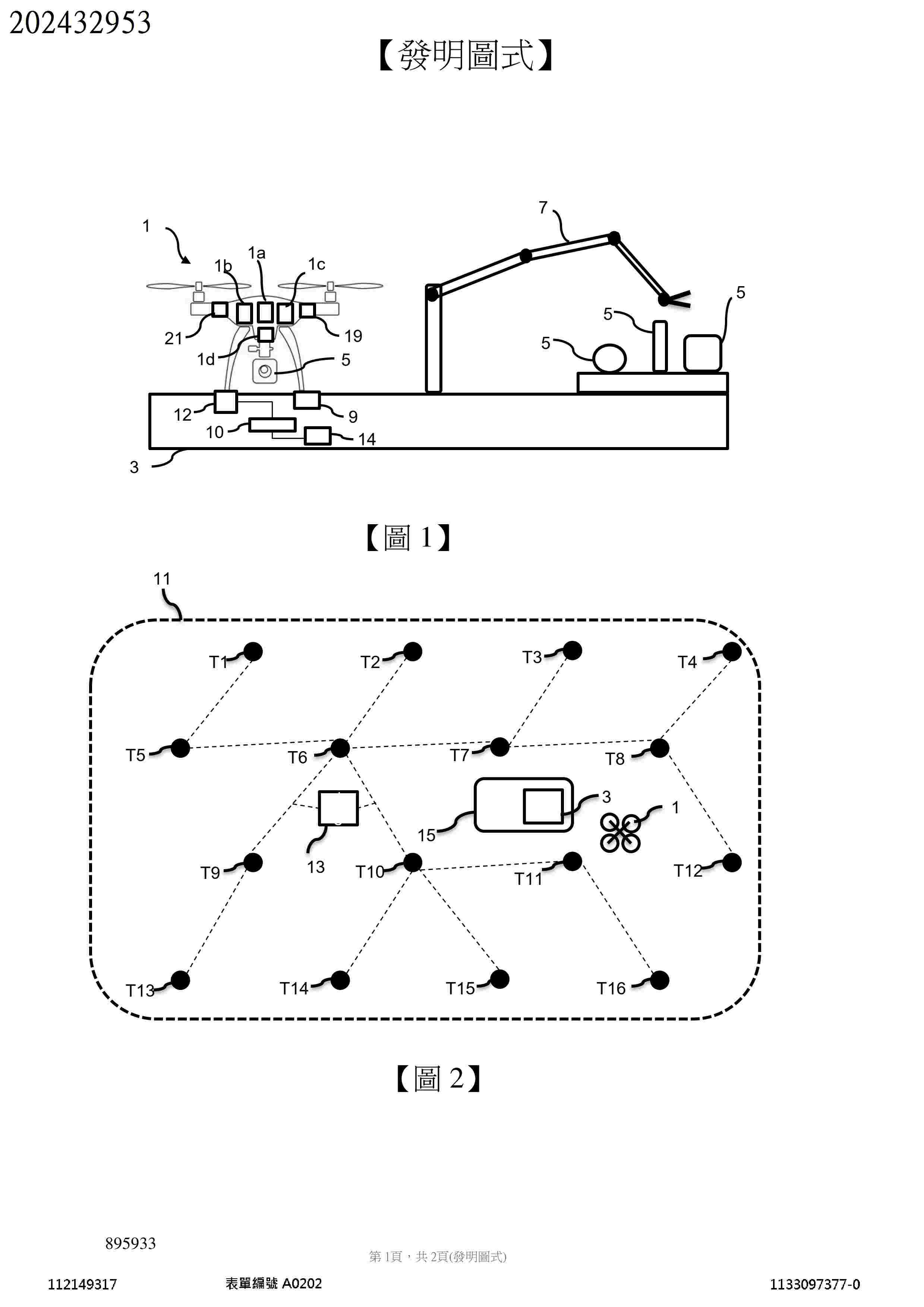
Resumen de: TW202432953A
The present invention refers to an equipment for inspecting wind turbines (T1...T16) of an offshore wind farm (11) comprising: - a drone docking station (3), - a drone (1) associated with the docking station (3) and equipped with an inspection device (5), wherein the drone (1) is configured for flying from the drone docking station (3) to a selected wind turbine (T1...T16) of the offshore wind farm (11) using a first positioning device (1b) and for inspecting the selected wind turbine (T1...T16) based on a second positioning device (1c) different than the first positioning device (1b).
Resumen de: US2025314236A1
A method is for yaw control of a wind turbine. The wind turbine includes a wind turbine controller, a regular power supply to supply the wind turbine with electric power in case of a normal mode of operation, and a power backup system to supply the wind turbine with electric power in case of a grid outage. The method includes: detecting a grid outage for the wind turbine, switching from the regular power supply to the power backup system in case of the detected grid outage, and switching the wind turbine from the normal mode of operation to a less-active mode of operation in which the electric power consumption of the wind turbine is reduced compared to the normal mode of operation.
Resumen de: WO2024132713A1
It is disclosed a floating wind turbine, comprising a mast, a nacelle and a plurality of rotating blades, the floating wind turbine being subjected to vibrations, and further comprising a vibration control system (20), characterized in that the vibration control system comprises a nonlinear energy sink (21), comprising a movable mass (210) and a coupling device (211) connecting the mass to a wall of the floating wind turbine, the coupling device having non-linear stiffness when biased in a direction perpendicular to the axis of the mast and being configured to perform non-linear viscous damping of a motion of the mass perpendicular to the axis of the mast.
Resumen de: WO2024132324A1
A system for flushing a bearing (120) of a wind turbine (100) comprises: - a cover (201), wherein the cover (201) is configured to be mounted on a bearing housing (121) of the bearing (120) to seal an interior space (123) of the bearing (120), the cover (201) comprising a plurality of injection holes (204), - a pump system (210), wherein the pump system (210) is configured to supply cleaning fluid to the bearing (120), - a pipe system (220), wherein during use the pipe system (220) is connected to the pump system (210) and to the plurality of injection holes (204) such that cleaning fluid is injectable into the interior space (123) via the plurality of injection holes (204).
Resumen de: CN120855547A
本发明公开了一种基于减载运行的直驱风机惯量及调频支撑能力评估方法,包括:当交流系统频率波动、直驱风机提供惯量支撑时,计算风轮转速变化过程中产生的风能捕获功率变化量;根据风能捕获功率变化量,求解风机风轮在惯量响应过程中的等效惯量时间常数;基于风机风轮等效惯量时间常数,计算风机在超速减载控制下附加虚拟惯量控制时的虚拟惯量时间常数;根据风电机组参数及运行状态,计算风电机组在减载控制下可提供的上调/下调备用容量。本发明有助于准确量化直驱风机在电网频率波动时采用减载运行模式下调用风轮转子动能提供惯量支撑的能力及调用备用容量参与一次调频的能力,对维护高比例新能源渗透的电力系统频率稳定具有重要意义。
Resumen de: CN120845258A
本发明公开了一种半潜‑Spar混合式风机基础及海上安装方法,属于海上风力发电技术领域,包括半潜式浮体,半潜式浮体的中心位置插设有Spar立柱式浮体,半潜式浮体通过锚链与锚固基础连接;半潜式浮体上均匀设置有若干楔合凹槽,半潜式浮体中心位置设置有与Spar立柱式浮体相适配的圆柱形贯穿通道;Spar立柱式浮体上均匀设置有与若干楔合凹槽相适配的若干长条状连接楔块,Spar立柱式浮体贯穿半潜式浮体并通过长条状连接楔块与楔合凹槽楔合连接。本发明采用上述的一种半潜‑Spar混合式风机基础及海上安装方法,可以提升风机基础的稳定性、简化施工流程、降低开发成本。
Resumen de: CN120845254A
本发明属于海洋风电工程技术领域,具体的说是一种海上风电筒体翻转装置,包括浮游平台,所述浮游平台的左端设置有牵引端头;装载部件,通过串联部件均匀设置在浮游平台的上部;拼装筒体,均匀设置在装载部件的内部。该装置能够将装载的拼装筒体设置在海平面上,配合起吊装置,完成拼装筒体的组装工作,而每段平放的拼装筒体在翻转为竖直状态的过程中,塔筒底端所承受的重量会逐渐增大,进而导致塔筒底端容易发生挤压形变现象,所以对装载部件进行改装,在拼装筒体翻转的过程中,配合拼装筒体不断变化的重心部位,对拼装筒体进行有效的托举工作,从而通过减小拼装筒体底端承压的方式,避免拼装筒体底端发生挤压形变的问题。
Resumen de: CN120845240A
本发明公开了一种基于阿基米德螺旋结构的多叶旗帜风力发电装置,涉及风力发电技术领域,包括阿基米德螺旋骨架、柔性织物TENG旗帜、TENG摩擦风道,TENG摩擦风道安装在阿基米德螺旋骨架上,且阿基米德螺旋骨架贯穿TENG摩擦风道;柔性织物TENG旗帜安装在阿基米德螺旋骨架的边缘,柔性织物TENG旗帜的外缘与TENG摩擦风道的内壁滑动连接。本发明一种基于阿基米德螺旋结构的多叶旗帜风力发电装置,螺旋几何的连续曲面设计降低了启动风速阈值,能够将风能高效转化为旋转运动,提升能量转换效率,确保稳定的能量输出,增强了装置的捕风能力,提升能量捕获密度,旗帜的柔性设计可随风速自适应形变,避免强风损坏,提高了装置的耐用性和长期运行的稳定性。
Resumen de: CN120845261A
本发明属于风机主齿轮箱领域,尤其是一种具有自动定位功能的风机主齿轮箱,包括底座,所述底座的顶部滑动安装有纵向调节板,纵向调节板的顶部滑动安装有横向调节板,横向调节板的顶部固定安装有两个固定架,且两个固定架上安装有同一个风机主齿轮箱本体,所述底座的后侧固定安装有固定板,固定板的后侧固定安装有推杆电机一,推杆电机一的输出轴与纵向调节板固定连接,纵向调节板的一侧固定安装有竖板,竖板的一侧固定安装有推杆电机二,推杆电机二的输出轴与横向调节板固定连接。本发明设计合理,通过电动推杆、推杆电机、激光测距仪及各传动、固定机构配合,实现自动定位与精准调节,提升安装效率和精度,保障风机稳定运行。
Resumen de: CN120845284A
本发明公开了一种风力发电机组叶片内气热除冰设备安装支架及安装方法。所述安装支架包括鼓风机安装架和加热器安装架,鼓风机安装架和加热器安装架安装在相对叶片腹板平行的叶片后缘腔内表面;鼓风机安装架的鼓风机安装面和加热器安装架的加热器安装面分别呈斜向上分布,鼓风机安装架和加热器安装架相隔间距L依次设置,且加热器安装面和鼓风机安装面具有相同的倾斜角θ,鼓风机安装架和加热器安装架的间距L=S cosθ‑H sinθ‑(L1+L2)/2。本发明可通过一次变桨完成气热除冰系统在一只叶片内的全部气热除冰设备安装,且安装支架、导风管、气流挡板可以同时手糊施工,大幅缩短气热除冰设备的施工安装周期。
Resumen de: CN120845288A
本发明属于风力发电技术领域,且公开了一种机舱散热导流罩,包括机舱主体,还包括:导热组件,所述导热组件固装于所述机舱主体的端部;导流组件,所述导流组件安装于所述导热组件上。本发明外界气体通过导流罩主体中部的进风口进入导流罩主体内并穿过防护网进入导热组件与机舱主体的内部,通过程序控制使与配重块接触的电磁铁断电,随着导热组件持续传动,清理轮转动至顶端脱离与电磁铁的吸附,在配重块自身重量作用下使导流罩主体沿着导向杆下移,而传动齿轮沿着齿条下移带动清理轮转动,通过清理轮转动对防护网表面附着的灰尘进行清理,提高防护网的通风效率,保证机舱主体散热的效果,避免人工定期清理存在安全隐患的问题。
Resumen de: CN120845259A
本发明涉及海上风电工程技术领域,特别涉及一种应用于海上风电多式联运方法及其联运设备,包括前端固定架结构和后端加高固定架结构,其特征在于:所述前端固定架结构包括前端框架主体,所述前端框架主体由第一上部连接框架和第一下部连接框架组合构成,所述第一上部连接框架和第一下部连接框架连接处设有第一固定螺栓件,所述后端加高固定架结构包括后端加高框架主体,本发明提供海上风电多式联运设备,采用模块化高强合金钢框架,配置减震箱体与波浪夹持槽精准固定叶片,结合斜向支撑、加强角板及反光板,实现叶片稳固支撑、减振防损、便捷吊装与夜间警示,有效提升运输安全性与适应性,解决传统装置强度不足、防护弱等问题。
Resumen de: CN116993784A
The invention relates to the field of fan control algorithms, in particular to a fan non-stop routing inspection blade tracking algorithm and system, and the algorithm comprises the steps: S1, tracking a fan in a fan image in a subsequent frame through a long video object segmentation model XMem, and carrying out the semantic segmentation to generate a mask graph; s2, the longest intersecting line section of the vertical line of the adjacent points in the boundary point set and the contour and a corresponding vertical line equation are calculated and screened out, two vertical lines meeting preset conditions are determined, the intersection point is determined, and the intersection point is the center point of the draught fan; and S3, carrying out position offset and change analysis on each blade key point so as to realize accurate tracking of the blade key points. According to the method, the fan blade can be accurately segmented and tracked, the fine positioning of the blade is realized by accurately extracting the edge, key point and form information of the blade, the accuracy and stability during tracking are improved, shutdown and manual intervention are avoided, the workload and maintenance cost of manual inspection are reduced, and the working efficiency is improved. And misjudgment and risks caused by human factors are reduced.
Resumen de: CN120845269A
本发明提供了基于半直驱风力发电机组齿轮油超声波传感器安装方法,涉及风力发电机技术领域,包括拆除液压站上原超声波传感器及组合垫圈;将防护钢管装配至新盖板的螺纹接头处,其中防护钢管下端伸入齿轮油液面区域,上端通过螺纹接头固定于新盖板上;将传感器高度可调式组件安装于防护钢管内,将原超声波传感器安装于传感器高度可调式组件上;拆除液压站上的原安装盖板,更换为带防护钢管的新盖板,基于实时齿轮油湍流强度通过传感器高度可调式组件动态调节超声波传感器高度,并执行多参数融合补偿算法优化检测值。本发明通过加装防护钢管能有效减少齿轮箱油位晃动,为超声波传感器提供稳定的检测环境,保障齿轮油状态监测的实时性和精准性。
Resumen de: CN120845266A
本发明属于风机损伤检测技术领域,具体公开提供的基于无人机的海上风机叶片损伤检测系统,该系统包括检测分区确定模块、无人机采集控制模块、损伤图像采集模块、风机损伤分析模块和风机损伤反馈终端。本发明通过利用无人机初步巡航定位损伤点和叶片区域并将风机阵列划区,改变了传统检测方式在海上高风速环境下易受干扰的困境,能够灵活应对复杂的海上环境,同时通过结合损伤点空间坐标以及实时叶片转速和实时海上风况调整无人机的拍摄间距和拍摄时间点生成拍摄参数指令,打破了传统固定视角监测的局限和监测死角和限制,最后通过通过对光学图像和射线图像进行不同深度层的裂缝剖析,能更全面、准确地评估损伤程度。
Resumen de: CN120855458A
本发明涉及电力调度技术领域,提出了一种智能电网削峰填谷调度装置,包括底座,底座顶部固定连接有支撑柱,支撑柱的顶部设置有风力发电结构,支撑柱的外侧固定连接有光伏板,储能设备上设置有冷却机构,冷却机构包括固定连接在储能设备内侧的冷却盘管,底座的外侧固定安装有泵体,泵体的进口端固定连接进水管,进水管的进口端固定连接有水箱,泵体的出口端固定连接有导水管,导水管的出口端与冷却盘管的进口端接通,冷却盘管的出口端固定连接有回水管,回水管的出口端与水箱内部接通,底座的内侧设置有传动机构。本发明通过叶轮的转动可以直接将风能转化为泵体的机械动力,驱动冷却水循环,规避传统双重转换损耗,能源利用率大大提升。
Resumen de: CN120845260A
本发明公开了一种风力发电机机舱罩运输系统,涉及到机舱罩运输技术领域,包括:支撑装置,用于对机舱罩支撑;由捆扎带、止回锁紧装置、收紧装置和外框架组成的捆扎组件;捆扎带,用于与止回锁紧装置和收紧装置配合对机舱罩进行捆扎;止回锁紧装置,用于实现捆扎带的收紧及止退;收紧装置包括安装结构和收卷结构;本发明收卷结构能带动捆扎带收紧捆绑机舱罩,当捆扎带产生永久性拉伸的形变时或因捆扎带滑动导致对机舱罩捆绑松动、紧固失效时,收卷结构自动转动缠绕捆扎带,有效保持捆扎带的捆扎力度,避免了因捆扎松动导致机舱罩在运输过程中发生晃动损坏,且降低人工干预,提高了运输的安全性和便利性。
Resumen de: CN120845252A
本发明提供了一种集成风能‑太阳能‑雨水势能‑波浪能的多能协同发电平台,属于清洁能源发电技术领域。该平台包括风力发电组件、太阳能光伏发电组件、多级势能发电组件、波浪能发电组件、储电系统、塔架及机舱;塔架为管柱型,顶部设机舱,底部固定于海床或浮动于海面,用于连接各发电组件;风力发电组件位于塔架上端,太阳能光伏发电组件位于塔架外部,多级势能发电组件含内置于塔架的多级势能发电装置及与机舱合一的雨水收集装置,所述波浪能发电组件用于利用波浪的波动产生电能;储电系统位于塔架内部储存电能。本发明通过整合四类能源实现多维度时空互补,提升供电连续性,复用支撑结构提高空间利用率并降低成本。
Resumen de: CN120845244A
本发明公开了一种多层联轴式局域垂直轴型风力发电设备,涉及风力发电设备技术领域,包括:固定块,与所述固定轴固定连接;固定槽,开设于所述固定块上;夹持机构,设置于所述支撑盘上,用于对固定盘进行快速的夹持固定;夹持块,具有两个,且两个夹持块对称设置于所述固定槽内,与固定槽滑动连接;夹持板,与所述夹持块固定连接;调节机构,设置于所述固定轴上,用于调节发电设备的高度;通过设置夹持机构、夹持块、夹持板和固定块、固定槽,实现了对支撑叶片进行快速的夹持固定,便于对支撑叶片进行安拆;通过设置调节机构,实现了对发电设备的高度进行相应的调节。
Resumen de: CN120845263A
本发明提供了一种风机叶片损伤识别系统与风机,属于风机技术领域,包括:声阵列模块,包括多个阵列排布的声音传感器,被配置为采集风机叶片运行时的声音数据;图像采集模块,被配置为在风机叶片运行至预设位置时,采集风机叶片的图像数据;处理模块,分别与声阵列模块和图像采集模块连接,处理模块包括处理器端,处理器端部署有主核与副核;其中,主核被配置为对所述声音数据进行异常识别,并在声音数据异常的情况下,通过共享内存向副核发送使能信号;副核,被配置为响应使能信号,基于图像数据识别风机叶片的损伤类型。通过本实施例提供的风机叶片损伤识别系统,可以实现在风机运行的状态下,准确识别风机叶片的损伤。
Resumen de: CN120844499A
本发明涉及挡风障技术领域,公开了一种桥梁用自动追踪型能源集成式智能挡风障。该装置包括挡风障本体,其内部自上而下依次设有风力发电组件、光能发电组件、逆变器、汇流箱和蓄电池。本发明中可通过调节电机转速,实现光伏板对太阳光的自动追踪,始终保持最佳入射角,提高光能利用效率。同时,光伏板设于具有防护功能的强固件内,在实现自动开合的过程中,有效提升其抗风能力与结构稳定性。该挡风障适用于桥梁道路环境,在大风条件下仍能实现风能与光能的高效协同发电,并对电能进行储存利用。
Resumen de: CN120845264A
本发明公开了一种基于深度学习的风电机组智能故障诊断方法,S1.实时采集风电机组运行过程中产生的风电机组监测数据集;S2.生成预处理后监测数据;S3.将预处理后监测数据输入时序卷积网络模型中;S4.利用改进Snake优化算法对时序卷积网络模型中的关键超参数进行全局搜索与局部微调;S5.使得到风电机组齿轮断齿故障诊断模型;S6.生成实时的断齿故障诊断结果;S7.当实时断齿故障诊断结果达到或超过预设的异常阈值时,自动触发故障报警及早期预警机制,并将诊断结果及报警信息反馈给运维人员。本发明有效提升了模型在复杂工况下对断齿故障的识别能力。
Resumen de: CN120845274A
本发明涉及一种风力发电机叶片声学双路径异常检测方法及系统,通过采集多路声音信号并结合SCADA系统筛选有效数据。建立噪声模型,采用动态谱减法进行噪声抑制,再进行时间对齐。分别从时间对齐后的叶片根部声音信号中构建叶片结构特征集,从塔筒声音信号构建塔筒气动特征集。本方法利用Transformer网络的自注意力机制融合叶片结构特征集与塔筒气动特征集生成联合特征向量;通过记忆增强型深度自编码器计算重构误差转换为结构异常概率。同步分析扫塔脉冲的幅值、脉宽及互相关一致性,生成综合一致性指标并转换为扫塔异常概率。最终,基于实时功率占比对上述两类异常概率进行动态加权融合,生成综合异常概率判定叶片状态。该方法深度融合多源声学信号与运行数据,运用深度特征提取与自适应融合技术,可精准识别叶片结构损伤与气动异常,为风电叶片预防性维护提供技术支撑。
Resumen de: CN120845257A
本发明涉及一种风力发电机组钢制塔筒大面积变形缺陷加固方法,包括以下步骤:S1. 清除钢制塔筒中变形缺陷处的油漆涂层;S2. 搭建加固结构,所述加固结构包括内钢壳和底部封板,所述内钢壳设置于所述钢制塔筒的内侧,所述内钢壳的底部通过所述底部封板与钢制塔筒连接形成环形型腔,且所述内钢壳和钢制塔筒之间还间隔连接有多个竖向隔板,通过各所述竖向隔板将所述环形型腔分隔为多个分仓型腔;S3. 向所述分仓型腔内浇筑灌浆料,通过所述灌浆料与钢制塔筒、内钢壳、底部封板和竖向隔板形成钢混加固结构。本发明在不拆塔的前提下,实现了对风电机组钢制塔筒大面积变形缺陷进行高效、经济、可靠的加固。
Resumen de: CN120845255A
本发明提供一种风电塔筒稳定加固结构,属于风电塔筒技术领域,包括固定半环、快速更换组件和抗风加固组件,快速更换组件包括设置在第一连接板外壁的固定架,固定架的内部滑动连接有两个移动块,两个移动块和固定架的一端均设置有若干个固定框,本发明有益效果:在使用能够控制辅助组件和联动组件带动移动条移动,继而使移动条从插杆内滑出,解除对插杆的限位,此时使用人员通过握持握持头将插杆从固定框内拉出,继而解除对移动块的限位,此时使用人员将移动块顺着固定架拉出,继而连同固定柱、连接头和钢丝绳取出更换,从而实现快速更换钢丝绳目的,提高了工作效率。
Resumen de: CN120845253A
本发明提出一种新能源空气发电系统及控制方法。通过主动造风突破自然风限制,利用通风机产生可控风流并结合虹吸效应显著提升发电效率;优化的风道设计采用串联、并联、重叠及回流‑旋流结构使风流多次冲击叶片,大幅提高能量利用率,智能控制系统通过实时监测风速和发电状态,自动调节通风机参数并实现电源无缝切换,确保系统稳定运行不受自然条件影响。在军事领域凭借环境适应性强、自主性高的特点,为复杂环境下的军事设施提供可靠能源保障。本发明通过减少对传统能源的依赖降低碳排放,兼具经济效益与环保价值,其模块化设计和智能化控制为新能源领域提供了高效、稳定且易于推广的解决方案,具有广阔的市场前景和社会意义。
Resumen de: CN120855649A
本发明公开了基于移动自组网与智能锁具的山地风电场智慧运维方法、系统、设备及介质,属于风电智能运维技术领域。该方法包括:获取设备节点运行数据及运维终端信息,基于运维终端构建移动自组网并汇聚信息至运维管理平台;所述平台确定运维需求并生成对目标设备节点智能锁具的控制指令;该指令经移动自组网下发至指定运维终端,终端操作智能锁具执行运维并反馈数据。本发明通过构建动态通信网络,结合智能化权限控制,提升了山地风电场运维的效率和安全性,降低了运维难度,实现了精准、高效、安全的风电机组管理。
Resumen de: CN120855748A
本发明公开了一种压电纳米‑电磁发电复合的全向流动能量发电装置,包括电磁发电机构、联轴器、传动轴、弧形流室结构以及安装架结构;电磁发电机构通过联轴器与传动轴连接;安装架结构包括间隔设置在传动轴上的第一梯形臂与第二梯形臂,通过第一梯形臂与第二梯形臂将弧形流室结构与传动轴固定连接;腔室结构内设有压电纳米发电结构;压电纳米发电结构包括柱体结构与压电发电构件,且柱体结构通过开设的卡槽结构与压电发电构件卡接;全向流动能量发电结构中的弧形流室结构被流经的流体驱动,进而带动传动轴转动,传动轴通过联轴器驱动电磁发电机构转动发电。本发明解决了当前流体能量收集技术存在单一技术效率瓶颈、全向响应能力不足的问题。
Resumen de: CN120845630A
本发明公开了一种流体驱动发电一体化管道清检同步机器人,包括流体驱动发电一体化管道清检同步机器人本体,所述流体驱动发电一体化管道清检同步机器人本体包括清检机构、柔性接头、轮组装置、涡轮发电结构和变径结构;所述柔性接头前端设置清检机构,后端设置变径结构,变径结构外侧通过连杆与轮组装置固定,变径结构后端设置涡轮发电结构。具有通过能力性强、检测精度高、作业时间长的特点。
Resumen de: CN120851628A
本申请公开了一种风力发电机组故障冗余系统,涉及风电领域,该方法包括对传感器故障,则确定故障源所监测的是否为基础设备,若是基础设备,则确定故障监测设备与正常监测设备之间的功能关系;基于功能关系,确定故障监测设备的第一工作数据,根据第一工作数据对风力发电机组进行评估,并根据评估结果输出对应的停机报警信号;对基础设备故障,则根据响应数据与调控数据确定故障源的故障类型;若为不响应故障,则根据故障前的监测数据对风力发电机组进行安全性评估;若为响应结果故障,则对故障后的监测数据进行数据稳定性判断,得到第二调控区间,并根据第二调控区间进行故障冗余运行。本申请具有提高故障冗余运行安全性的效果。
Resumen de: CN120845250A
本发明涉及风力发电技术领域,公开了一种漂浮式风电机组变桨控制方法、装置、设备及产品,本发明通过综合考虑空气动力学、水动力学及系泊动力学等多方面因素构建风电机组模型,并在预设PI控制方法中引入增益调度控制模型,能够适应不同工况,有效克服了传统PID控制在漂浮式风电机组复杂动态环境下的局限性,减少了功率波动,降低了结构共振风险;在专家PID控制中引入预设平台纵摇值,并结合科勒曼坐标变换,解决了统一变桨的漂浮式风机出现的“负阻尼问题”,实现了控制信号的精准分配。最后,通过统一变桨与独立变桨的控制结合,减少了纵摇幅度,降低了叶片载荷,显著提高了漂浮式风电机组的稳定性与安全性,保障了机组的可靠运行。
Resumen de: CN120845238A
本发明公开了一种双轮毂叶片组可同向转动的垂直轴风力发电机,包括塔架顶部的差速器传动系统、双轮毂叶片组、塔架内垂直布置的万向传动轴及底部的变速箱与发电机。差速器将叶片组的水平旋转转换为垂直输出轴的逆时针旋转,经传动系统驱动发电机。本发明融合水平轴与垂直轴优势,在同等功率下缩短叶片长度20%‑35%、降低塔架高度20%‑25%,并提升维护便利性及土地利用率,适用于低风速区域及紧凑型风电场。
Resumen de: CN120855021A
本发明涉及一种风塔用无接缝滑触线集电器,在实际风塔升降机使用过程中可将无接缝滑触线通过防护组件安装于风塔的内壁,并将安装组件安装于升降机上,当升降机需要进行取电时无接缝滑触线通过弹性取电组件对升降机进行供电,在进行滑触取电时,弹性连接组件将集电仓向无缝滑触线的方向挤压,使弹性取电组件更好的与无缝滑触线接触,同时弹性取电组件依靠弹性保持与无缝滑触线的接触,由此能够更好的对升降机进行移动供电,提升输电时的稳定性,避免集电器与滑触线分离,并且提高防护效果较差。
Resumen de: CN120845239A
本发明公开了一种腹板节流型TLCD液体阻尼器、风电叶片及制作方法,包括前缘瓣管、后缘瓣管和两个节流组件,两个节流组件沿腹板长度方向间隔布置,所述前缘瓣管的两端分别为第一前缘承台口和第二前缘承台口,所述后缘瓣管的两端分别为第一后缘承台口和第二后缘承台口,将前缘瓣管和后缘瓣管分别设置于叶片的前缘内腔和后缘内腔,使第一前缘承台口和第二前缘承台口分别对准两个节流组件,使第一后缘承台口和第二后缘承台口分别对准两个节流组件,且前缘瓣管和后缘瓣管内部填充有阻尼液。本发明能够有效解决阻尼器在叶片内安装时需要贯穿腹板的技术难题,且制作工艺简单、成本低、便于安装、阻尼效果好、能够实现终生免维护。
Resumen de: CN120845281A
本申请涉及风力发电技术领域,尤其涉及一种风电设备雷击防护装置,包括支撑板和云端服务器,所述支撑板的底面固定连接有两个支撑座,两个所述支撑座的上表面均安装有电液推杆,两个所述电液推杆的伸缩端共同连接有升降板,所述升降板的固定连接有螺纹连接座,所述螺纹连接座的内圈螺纹连接有接闪器。本风电设备雷击防护装置,通过升降板和接闪器向上移动,能够增加接闪器的高度,从而显著扩大接闪范围,有效降低风机叶片处于防雷保护盲区的风险,提高了对风电设备整体的雷击防护性能,保证风电设备运行的稳定性与可靠性,并且雷电发生后,能够使接闪器向下移动收纳,可以减少其体积,能够使风力发电机更好的接收风能进行发电工作。
Resumen de: CN120845248A
本申请公开一种“机‑群‑域”架构的风电智能运维系统,包括:多个风机管理模块、多个场群管理模块和区域管理模块;风机管理模块用于根据风机的运行数据和环境参数,调整风机的控制参数,场群管理模块用于根据风机的运行数据和天气预测信息进行电量预测,得到场群发电预测数据,区域管理模块用于根据每个场群管理模块的场群发电预测数据和电网的实际载荷对风电场群进行调度,生成场群调度信息,场群管理模块用于根据场群调度信息、风机的运行数据和环境参数,生成风机控制指令并发送至风机管理模块。本申请不仅实现单台风机的管理控制,还实现风电场群和风电区域的管理控制,实现风电场全域的无人化、智能化管理,提升风电利用效率和电网稳定性。
Resumen de: CN120836341A
本发明公开了一种多能互补供热温室系统。本发明中,通过整合太阳能、地热能、生物质能等多元热源与仿生多孔热能存储模块,显著提升了能源供应的稳定性与互补性。太阳能模块在光照充足时高效集热,地热能模块提供稳定的基础热量,生物质能模块则可灵活补充阴雨天或夜间的用能缺口,三者通过仿生多孔存储模块的热交换接口协同输入,有效解决了单一能源受气候、时间限制的短板,确保温室全天候获得持续热能供给,通过多参数传感器实时监测各模块运行状态,精准调节电动阀门、循环泵等执行设备,动态平衡不同热源的输入比例与存储模块的释热节奏,减少了热能在传输、存储过程中的无谓损耗,为温室作物生长创造了更稳定、可控的环境条件。
Resumen de: CN120857221A
本发明公开了一种基于LoRa技术的电力站点无线通信系统,系统包括多个站点LoRa无线通信设备,与站点LoRa无线通信设备无线通信的中继器,以及与中继器无线通信的服务器终端;站点LoRa无线通信设备包括处理器,信号接受模块,电源模块,LoRa通信发射模块、LoRa通信接收模块、数据存储模块和信号接口模块;中继器包括MCU,LoRa发送模块和LoRa接收模块,可实时的中继传输无线信号。本发明具有独立的不依赖电力站点供电的LoRa电力站点无线通信系统,通过可再生能源供电的中继器接力进行无线信号传输,具有更高的可靠性和低维护需求。有望在未来的电力系统建设与改造中发挥关键作用,助力实现电力资源的优化配置与高效管理,为电力行业的可持续发展提供强大助力。
Resumen de: CN120845285A
本发明公开了一种风电机组叶片覆冰故障检测方法,括以下步骤:采用Relief算法对风电机组SCADA系统收集的多维度特征数据进行特征选择,根据特征对区分叶片覆冰与正常状态的贡献评估特征权重,筛选出关键特征;基于筛选出的特征数据及其可视化图并结合覆冰规律,构建风速—功率的新特征X1和环境温度—机舱温度的新特征X2;构建交叉LSTM预测模型,根据多组数据的特点对其中一组数据进行预测,生成残差信号;涉及风电机组故障检测技术领域,本发明通过特征选择和改进LSTM算法,本发明能够更准确地捕捉叶片覆冰过程中的时序变化特征,提高故障检测的准确率,有效提高了检测的准确性。
Resumen de: CN120845246A
本公开实施例涉及风电控制技术领域,提供了一种风电机组偏航极限位置保护方法及装置、电子设备、介质,方法包括:响应于风电机组的偏航速度到达额定速度;根据本次偏航的开始时刻和停止时刻分别对应的偏航计数器的脉冲统计值,计算对应的机舱偏航速度实际值;根据偏航系统的工作参数,计算机舱偏航速度参考值;将机舱偏航速度实际值和机舱偏航速度参考值进行比较,根据比较结果,对偏航极限位置进行保护。本公开实施例在不改变硬件设备的前提下,即可对偏航极限位置进行保护,确保风电机组的电缆安全及运行安全。
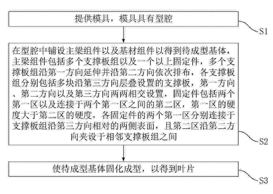
Resumen de: CN120840112A
本申请涉及一种叶片加工方法、固定件、叶片及风力发电机组,其中,叶片加工方法包括:提供模具,模具具有型腔;在型腔中铺设主梁组件以及基材组件以得到待成型基体,主梁组件包括多个支撑板组以及一个以上固定件,多个支撑板组沿第一方向延伸并沿第二方向依次排布,各支撑板组分别包括多块沿第三方向层叠设置的支撑板,固定件包括两个第一区以及连接于两个第一区之间的第二区,第一区的硬度大于第二区的硬度,各固定件的两个第一区分别连接于支撑板组沿第三方向相对的两侧表面,且第二区沿第二方向夹设于相邻支撑板组之间;使待成型基体固化成型以得到叶片。本申请中的叶片加工方法能够提高产品良率。
Resumen de: CN120839768A
本发明提供一种风电叶片自主修复机器人及其多源协同作业方法,包括用于修复作业的机器人本体、三合一牵引绳、空压机、卷扬机,所述空压机、卷扬机设置在风电机舱上,所述三合一牵引绳的一端与机器人本体相连,所述三合一牵引绳由远程PU气管、安全绳、电缆线构成,所述远程PU气管与空压机相连,所述安全绳的另一端收卷在卷扬机上,所述电缆线接到风电机场的内部电源。在实现机器人本体从地面到叶片表面时,通过安装在风电塔筒上的卷扬机将机器人本体抬升至叶片表面附近,在机器人抬升的过程中,机器人本体下端引出两根牵引绳,由地面操作人员辅助牵引,防止机器人本体抬升时受环境风场的影响而水平偏离叶片表面。
Resumen de: CN120845273A
本发明提供一种叶根载荷标定数据监控方法、系统、设备及介质,属于涉及风电机组控制技术领域,根据风资源参数及IEC载荷计算标准,对机组载荷进行迭代,获取机组叶根载荷设计最大值;对载荷进行坐标变换以及对载荷信号进行移动均值滤波处理;分别计算三叶片叶根载荷均值以及每只叶片叶根载荷与三叶片叶根载荷均值之差;将差值与叶根挥舞方向载荷理论最大值进行比对判断,判断是否大于载荷偏差告警阈值;若大于,则发出风机故障告警,并根据载荷偏差查桨距角限制表执行变桨优化动作。方法可以对叶根载荷标定数据进行监控,还能够不断优化风机的运行状态,降低载荷偏差,提高风机的安全性和稳定性。
Resumen de: CN120855727A
本发明提供了一种防止轴承座处轴电流形成的介电隔离环结构及安装方法,属于双馈风力发电机件技术领域。该结构包括环状本体,环状本体为绝缘结构件,环状本体的内壁上设有与外部连通的容纳槽,容纳槽内放置有固态润滑剂,环状本体被配置为通过热套工艺套装在发电机的轴承座内圈上,以供发电机的端盖套装在环状本体上,环状本体与端盖刚性连接。该发明利用绝缘结构件制成的环状本体,可将轴承座内圈和端盖隔离开来,利用环状本体的绝缘特性和支撑性能,避免轴承通过轴承座内圈与端盖电连接而产生轴电流,保证轴承的使用寿命和发电机的结构稳定性,同时,利用环状本体内壁的固态润滑剂和容纳槽,可保证环状本体的安装便捷稳定性。
Resumen de: CN120159699A
The invention relates to the technical field of intelligent management, and particularly discloses an operation maintenance management system and method for wind power generation equipment, and the system employs an artificial intelligence technology based on deep learning to monitor and analyze the operation data and environment data of the wind power generation equipment, and captures the operation state time sequence change characteristics of the wind power generation equipment. And whether the performance of the equipment is abnormal or not is intelligently judged based on the time sequence response characteristics of the operation state of the wind power generation equipment relative to the environment data. Therefore, real-time monitoring, performance evaluation and intelligent maintenance of the wind power generation equipment can be realized, so that the operation efficiency and stability of the wind power generation equipment are improved.
Resumen de: CN120845267A
本发明公开了一种漂浮式海上风电装备的健康安全管控系统及方法,包括监测系统模块、阈值预警模块、在役检测数据分析模块、结构健康状态评估模块、运维建议模块、设备管理模块以及三维可视化展示模块。本发明通过多源传感器实时采集浮式基础与塔筒的振动、姿态、应变等参数,建立三维可视化模型实现动态监测,采用三级预警机制实现闭环管理,结合仿真模型与实测数据进行结构健康评估,并生成智能运维建议。本发明解决了漂浮式海上风电装备在复杂海洋环境下实时监测难、预警滞后、运维效率低等问题,显著提升了结构安全性与运维效率。
Resumen de: CN120845265A
本发明公开了一种海上风电机组故障预警监测装置,具体涉及风电机组技术领域,包括:立柱,所述立柱上设置有风力机组,所述风力机组包括风扇机构及风力发电机构,所述风扇机构包括设置在风力发电机构的三个连接杆,所述连接杆上设置有叶片,所述风力机组上卡接有对内部进行防护的遮盖罩,所述风力发电机构上设置有温度传感器,所述连接杆的侧壁固定安装有振动传感器,所述立柱的中端及底部区域均固定安装有倾角传感器,所述立柱的底端设置有控制箱。本发明通过三个不同的传感器的配合,可以对扇叶轴承转动情况以及立柱倾斜程度进行监测,从而使得风电机组在发生故障的时候,可以快速对风电机组进行维修。
Resumen de: CN120845276A
本发明涉及图像拍摄控制技术领域,具体为一种风机叶片不停机状态下的智能拍摄控制方法及系统,包括获取目标风机的叶片几何特性,将叶片沿径向划分为多个速度特性区间,建立速度特性区间与径向位置的对应关系;通过传感器实时监测叶轮转速和叶片角度位置,基于叶轮转速和径向位置计算速度特性区间的实时线速度,计算速度特性区间对应的最优曝光时间,并结合当前光照条件和成像质量,确定速度特性区间对应的光圈值和感光度参数;基于叶轮转速和叶片角度位置,预测目标叶片速度特性区间到达预设拍摄位置的时间,生成拍摄控制信号,在目标叶片到达拍摄位置时,切换拍摄参数,获取速度特性区间图像,当图像质量低于预设阈值时,调整拍摄参数范围。
Resumen de: CN120845251A
本发明公开了一种共轴式双轮风力发电系统及其协同驱动方法,包括以下步骤:步骤S1:根据测风仪检测的风场方向和风速动态调节小轮扇叶的倾角;步骤S2:通过设置于小轮与大轮之间的导流板,引导高速气流定向冲击大轮的叶尖区域;步骤S3:根据转矩和角加速度判定大轮是否转动;步骤S4:大轮进入稳定转动状态,将与大轮相连的发电装置接入到储电装置中,步骤S5:当环境风场的风速达到后置大轮转动所需的切入风速时,同时调节小轮和大轮的扇叶倾角,实现大轮与小轮功率的叠加输出;通过小轮捕获低风速风能并初步加速气流,结合导流板二次加速形成高速射流,定向冲击大轮叶尖,使大轮在低于自身切入风速的环境下可启动,拓展风机有效工作风速范围。
Resumen de: CN120845235A
本发明公开了一种混合发电系统,涉及发电装置技术领域,包括半潜式平台、风力发电机组和气动式波浪能装置;所述风力发电机组设置于半潜式平台顶部,用于将风能转换为电能;所述气动式波浪能装置搭载于半潜式平台上;所述气动式波浪能装置用于将波浪能转换为电能,且能吸收波浪能以提升半潜式平台稳定性。本发明提供的混合发电系统,既能提高能源利用效率,又能增强平台稳定性。
Resumen de: CN120845256A
本发明公开了一种模块化预制风力发电机组塔筒基础,涉及风力发电机组塔筒基础技术领域,其中,该模块化预制风力发电机组塔筒基础包括预制基础座、多个模块化连接结构和多个模块化减振结构,多个模块化连接结构沿风力发电机组塔筒的周向间隔分布,多个模块化连接结构能拆卸地设置于预制基础座;模块化减振结构的数量与模块化连接结构的数量一致且一一对应设置,多个模块化减振结构共同夹持于风力发电机组塔筒的法兰,且各模块化减振结构能在受到法兰的径向振动时沿法兰的径向伸缩。本发明实现了基础结构的模块化安装与维护,并能有效吸收塔筒法兰的径向振动,解决了传统基础结构刚性连接导致的振动传递问题,提高了风力发电机组的运行稳定性。
Resumen de: CN120845287A
本发明涉及风力发电技术领域,且公开了一种具有散热机构的风力发电装置,包括扇叶,所述扇叶右侧固定连接有旋转杆,所述旋转杆右侧转动连接有水平柱,所述水平柱右侧固定连接有出风口,所述水平柱圆周面固定连接有风冷机构,所述水平柱圆周面固定连接有扫灰机构,所述扫灰机构右侧固定连接有除灰机构,所述水平柱圆周面固定连接有支撑柱,所述水平柱内壁固定连接有电机,所述水平柱内壁固定连接有清扫机构,所述清扫机构内壁滑动连接有聚集机构,所述电机圆周面接触有水冷机构,本发明水箱内的水通过水泵进入出水管,在通过包围在电机圆周面的水管进入进水管,从而可以使电机降温防止电机温度过高而损坏。
Resumen de: CN120840817A
本发明提供了一种漂浮式风机基础的被动减摇系统及风机基础,包括第一水舱、第二水舱和第三水舱,第一水舱、第二水舱以及第三水舱围合形成三角形结构。每个水舱包括水平主体段、第一竖直段和第二竖直段,每个水舱的第一竖直段和第二竖直段分别位于水平竖直段的两端,第一竖直段通过水平竖直段连通于第二竖直段;其中,相邻的两个水舱中相邻的两个竖直段位于风机基础的同一立柱内。沿各水舱的延伸方向,各水舱的固有频率与风机基础在对应方向的固有频率相差不超过5%。第一水舱、第二水舱以及第三水舱均设有第一控制阀。解决了现有技术中存在的风机基础减摇设备效果差、易失效且能耗大的问题。
Resumen de: CN120850572A
本发明涉及风力发电技术领域,本发明公开了一种风电场实时仿真建模系统和方法;包括计算出风电机组在仿真周期内的风力发电功率,将风电机组划分至机组群内,从机组群中识别出目标风电机组,实时采集目标风电机组的综合运行参数,构建出具有子模型和并网通道的风电场模型,建立虚拟链路,配置出控制虚拟链路通断状态的通断触发条件;本发明能够进行局部区域化的仿真建模,确保同一个机组群内的风电机组可以形成独立的子模型,并能够将多个独立的子模型电网系统之间起到整体性的动态关联操作,满足风电场内风电机组与电网系统之间的并网输电状态的准确控制需求,也实现各个子模型与电网系统之间关联状态适应性控制的效果。
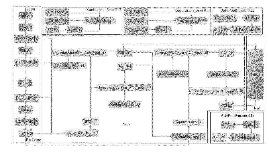
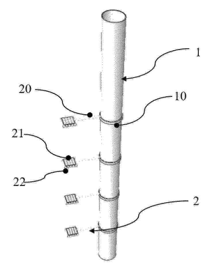
Resumen de: CN223481798U
本申请公开了一种漂浮式海上风电近海固定码头双机组整装施工结构,包括:吊装平台;吊装平台外侧固定安装有起到弹性缓冲的防撞设施。叶片通过运输驳船运输到吊装平台侧边,运输驳船与吊装平台上的防撞设施弹性缓冲接触,进而避免了硬性接触,解决了运输驳船在海上受到海浪硬冲击海上吊装平台的问题。
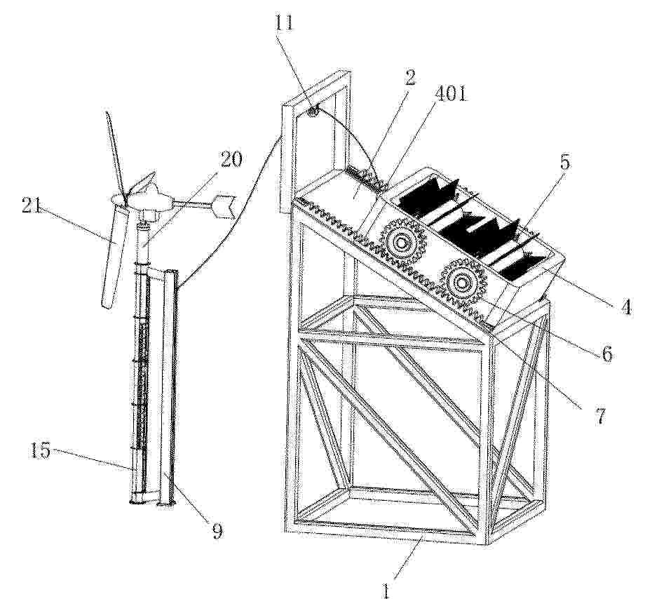
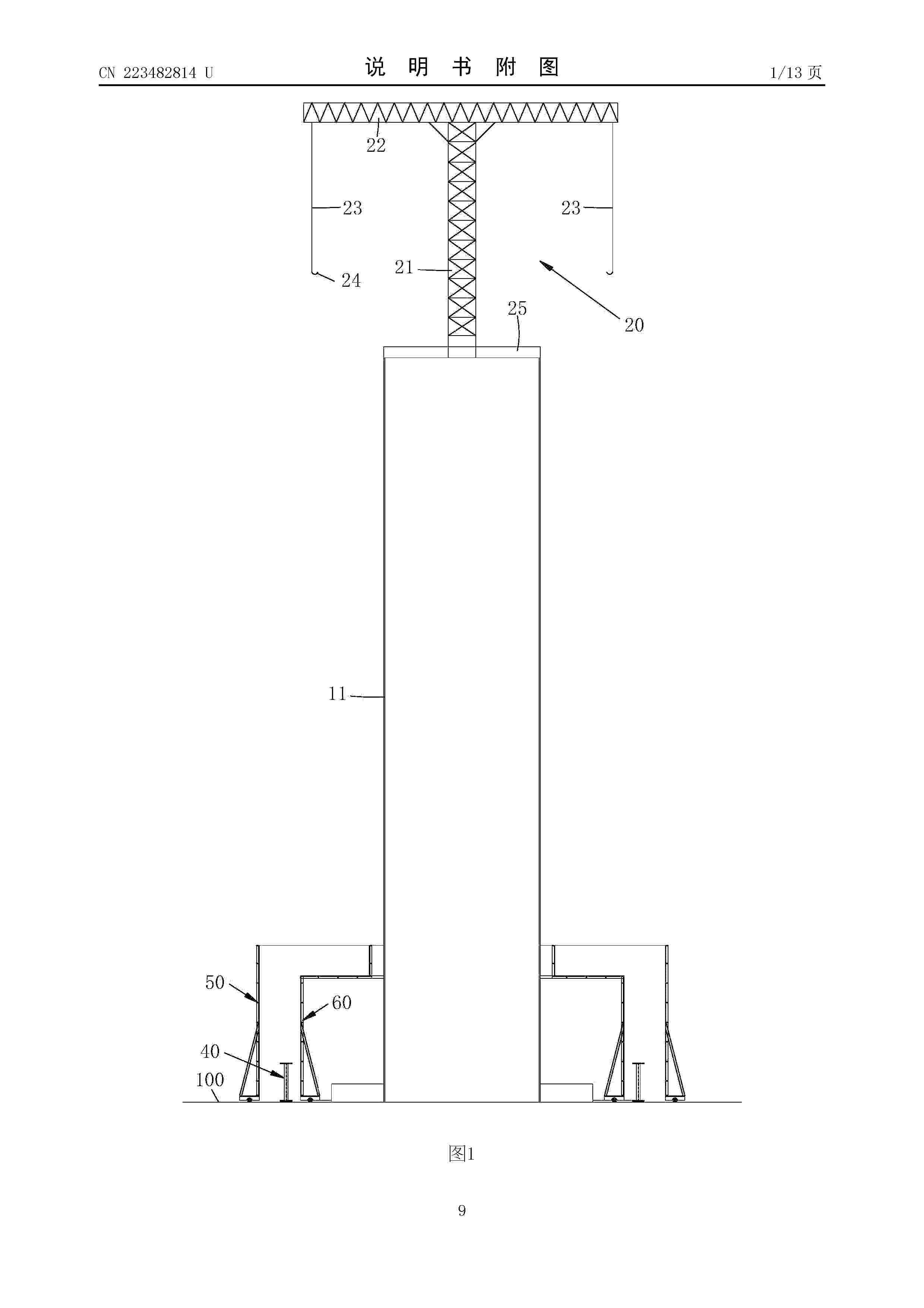
Resumen de: CN223482814U
本申请提出了一种逆作法现浇钢筋混凝土塔筒的施工装置,钢筋混凝土塔筒由从上向下顺次浇注而成的塔筒段所形成,在钢筋混凝土塔筒的顶部固定安装有钢塔筒,在完成钢筋混凝土塔筒的施工前,钢塔筒安装在基础上;施工装置包括塔吊、内模板与外模板,塔吊安装在位于基础上的钢塔筒的顶部,内外模板可拆卸地安装在基础上并环绕在钢塔筒的外侧,内外模板之间形成用于布置塔筒段的钢筋笼并浇注混凝土的塔筒腔;内外模板均由若干个可移动地支撑在基础上的模板瓣片构成。利用本申请施工钢筋混凝土塔筒时,钢筋笼绑扎、混凝土浇注、振捣等工作均能够在地面进行,降低了高空作业的比例、施工难度,能够对浇注质量进行精确控制,提高施工质量,降低施工成本。
Resumen de: CN223482825U
本申请提供一种散热装置,涉及风力发电技术领域。该散热装置,包括制冷组件、送风管、制冷风扇、控制器和至少三个第一温度传感器;送风管的一端与制冷组件连接,另一端与各变桨控制柜连通,制冷风扇与制冷组件连接且位于送风管内;各第一温度传感器分别对应设置在各变桨控制柜内;控制器被配置为,当各变桨控制柜之间的温度差值小于预设温度差值,且至少一个变桨控制柜的温度大于或等于温度预设值时,控制制冷组件和制冷风扇同时启动。本申请的散热装置,在变桨控制柜内的温度过高时,自动开启制冷组件,并通过制冷风扇和送风管将冷空气输送至变桨控制柜内,有效降低变桨控制柜内的温度,提高散热效率。
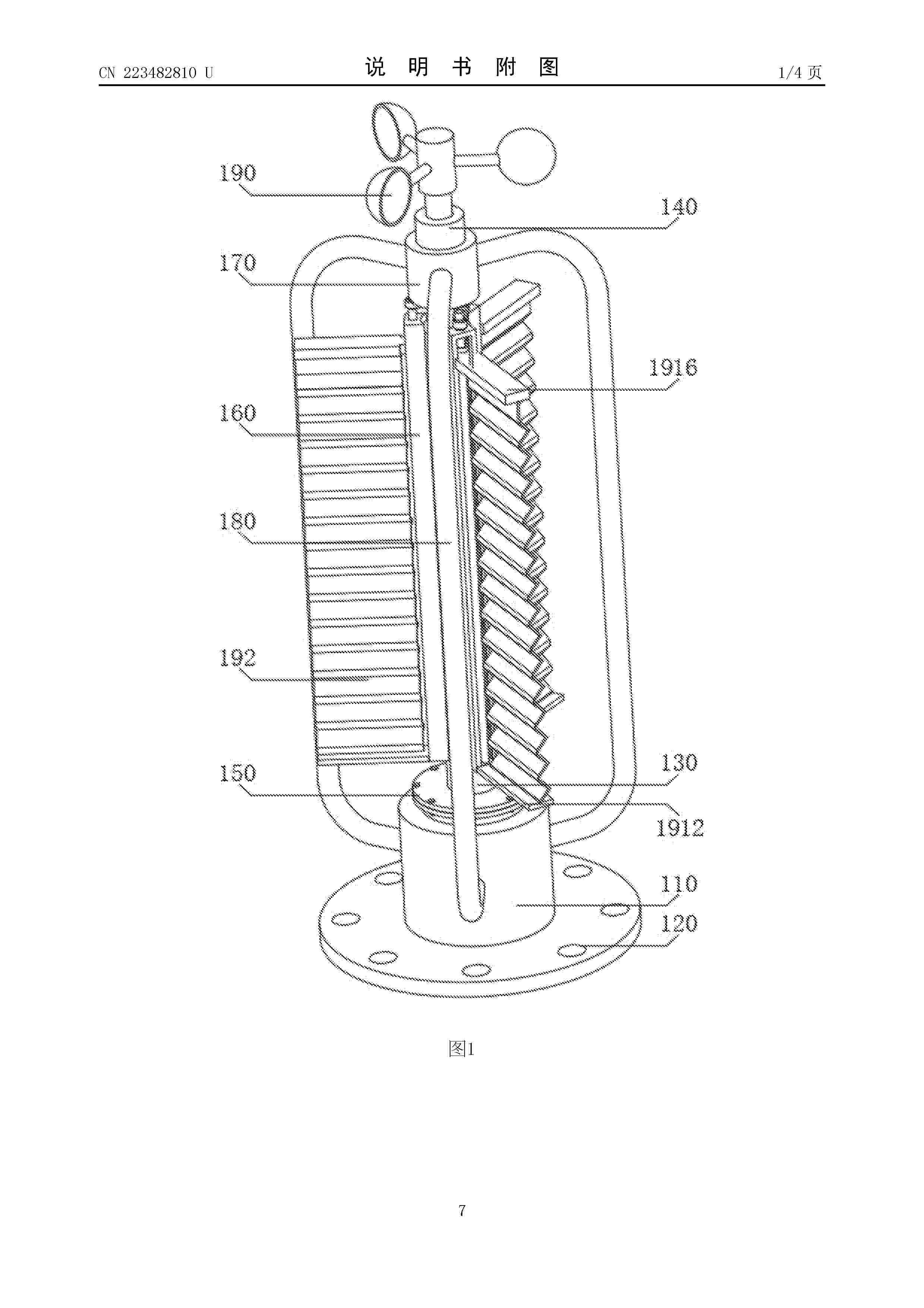
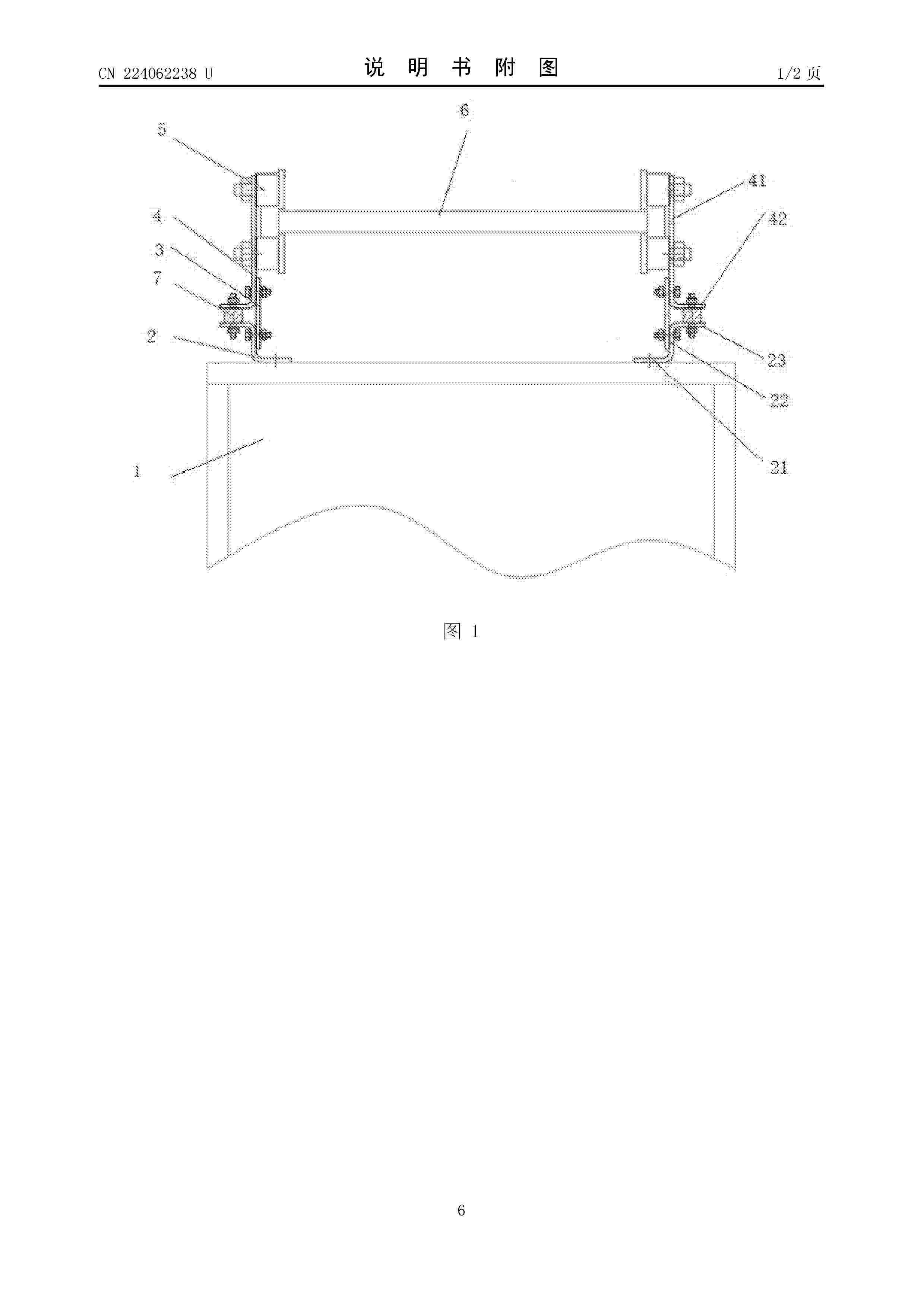
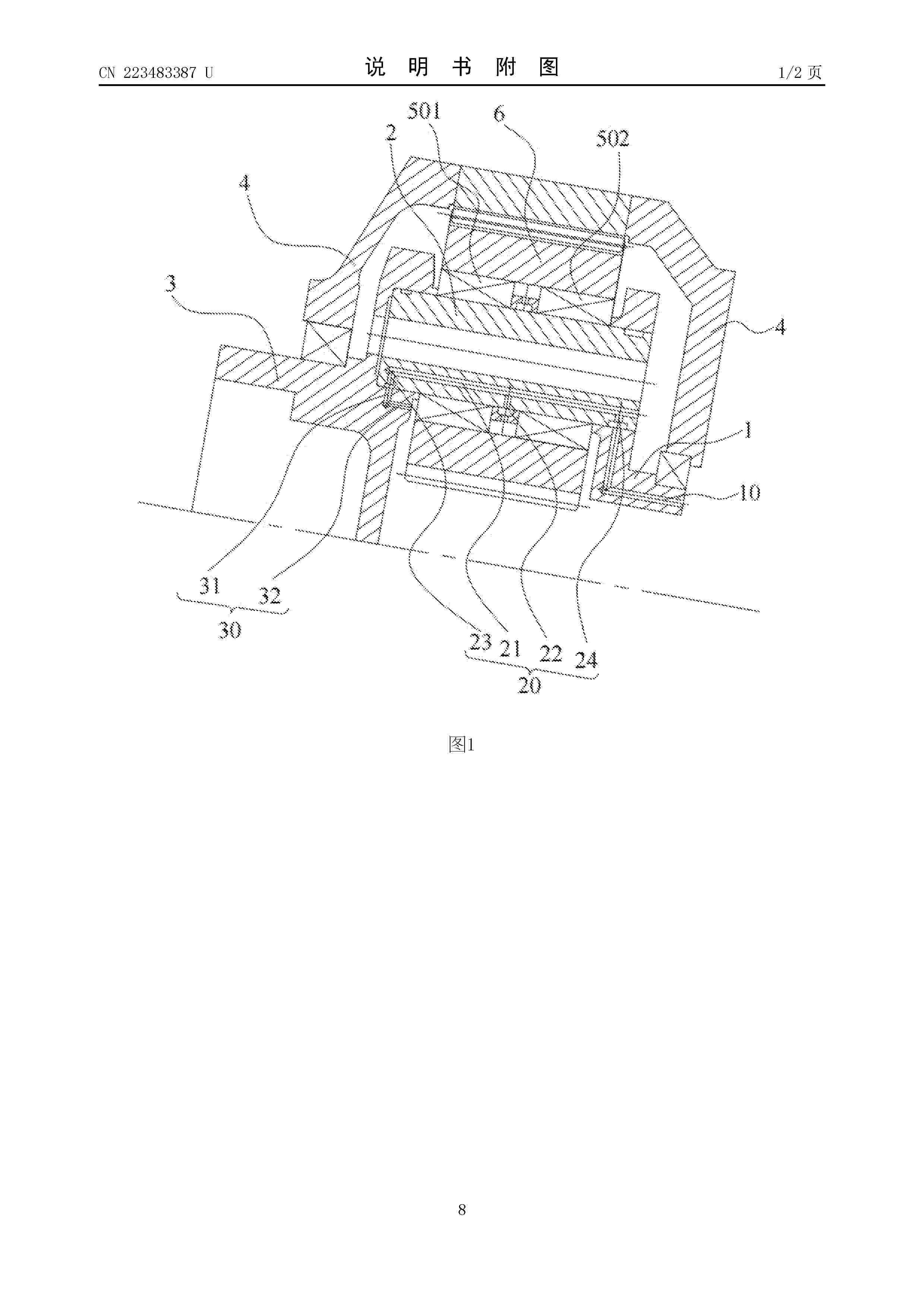
Resumen de: CN223483387U
本实用新型属于风电设备技术领域,公开了一种齿轮箱润滑结构及风电齿轮箱。该齿轮箱润滑结构用于行星轮系的轴承组的润滑,齿轮箱润滑结构包括进油油路、润滑油路和辅助油路,进油油路开设于行星轮系的第一行星架,进油油路连通于外部供油装置,以用于润滑油供给;润滑油路开设于行星轮系的销轴,润滑油路连通于进油油路;润滑油路连通于轴承组的外周,以向轴承组的进行供油;辅助油路连通于轴承组的上风向轴承,以用于向上风向轴承进行供油。该齿轮箱润滑结构能够实现对上风向轴承的辅助供油,提高了对行星轮系的轴承组的润滑效果,降低了轴承组失效风险,提升了齿轮箱可靠性。
Resumen de: CN223482824U
本实用新型公开了一种海上风机维护装置,包括立杆,所述立杆下部安装底板,立杆上端安装机体,机体侧面设置三个叶片,立杆外表面设置清理环一,清理环一侧面安装清理环二,且清理环二对应叶片的位置,清理环一和清理环二内壁安装若干个喷头,清理环一侧面对称安装拉块。本实用新型清理环一和清理环二内部的喷头将水喷向立杆和叶片表面,同时,收放轮转动将拉绳收卷起来,通过拉绳带动清理环一和清理环二上升,使喷头上升对立杆和叶片进行全面的冲洗,方便快捷,省时省力。
Resumen de: CN223482818U
本实用新型公开了一种垂直轴轻量化叶片万向微风发电设备用连接中轴,包括筒体、连接机构、回转轴承、支撑机构、轴承;支撑机构连接在筒体内部,回转轴承连接在支撑机构顶部,连接机构安装在回转轴承上;轴承连接在连接机构靠近下端的位置,且位于支撑机构内部;下连接板安装在回转轴承顶部,加强板固定在下连接板顶部,上连接板固定在加强板远离下连接板的一端,且通过螺栓安装在回转轴承上;连接轴穿过上连接板和下连接板,并分别与上连接板和下连接板固定连接。本实用新型能够减少连接轴的摩擦力,能够增强对对叶轮的支撑强度,进一步提高整个装置的稳定性。
Resumen de: CN223482826U
本公开提供一种用于液压变桨系统的散热模块、散热系统和风力发电机组,所述散热系统能够安装在风力发电机组的轮毂上,所述散热系统包括散热模块和至少一个介质输送单元,所述散热模块包括支架组件和散热器组件,所述支架组件用于与所述轮毂连接;所述散热器组件连接在所述支架组件上;所述介质输送单元连接在所述散热器组件与叶片的液压变桨系统之间,用于使介质在所述散热器组件与所述液压变桨系统之间循环,使得所述介质降温,以对变桨系统进行散热,以避免变桨系统温度过高,从而提高变桨系统的运行可靠性。
Resumen de: CN223479271U
本实用新型公开了一种海上风电设备运输船,包括船体和风电设备,所述船体驳船主甲板上设置有叶片搁置装置、塔筒搁置区、主机搁置区和轮毂搁置区,所述叶片搁置装置包括搁置架和滚轮,搁置架为门字形结构,滚轮与搁置架腿部底端连接,船体长度方向的两侧均设置有滚轮槽,滚轮与滚轮槽滚动连接,叶片搁置装置置于塔筒搁置区的上方,塔筒搁置区置于船体驳船主甲板的中间位置,风电设备包括叶片、塔筒、主机和轮毂,叶片置于叶片搁置装置上,塔筒置于塔筒搁置区上,主机置于主机搁置区上,轮毂置于轮毂搁置区上。本实用新型实现了风电设备一船次整套运输,既节省了运输资源,又节约了现场施工窗口期,可为项目建成节约成本。
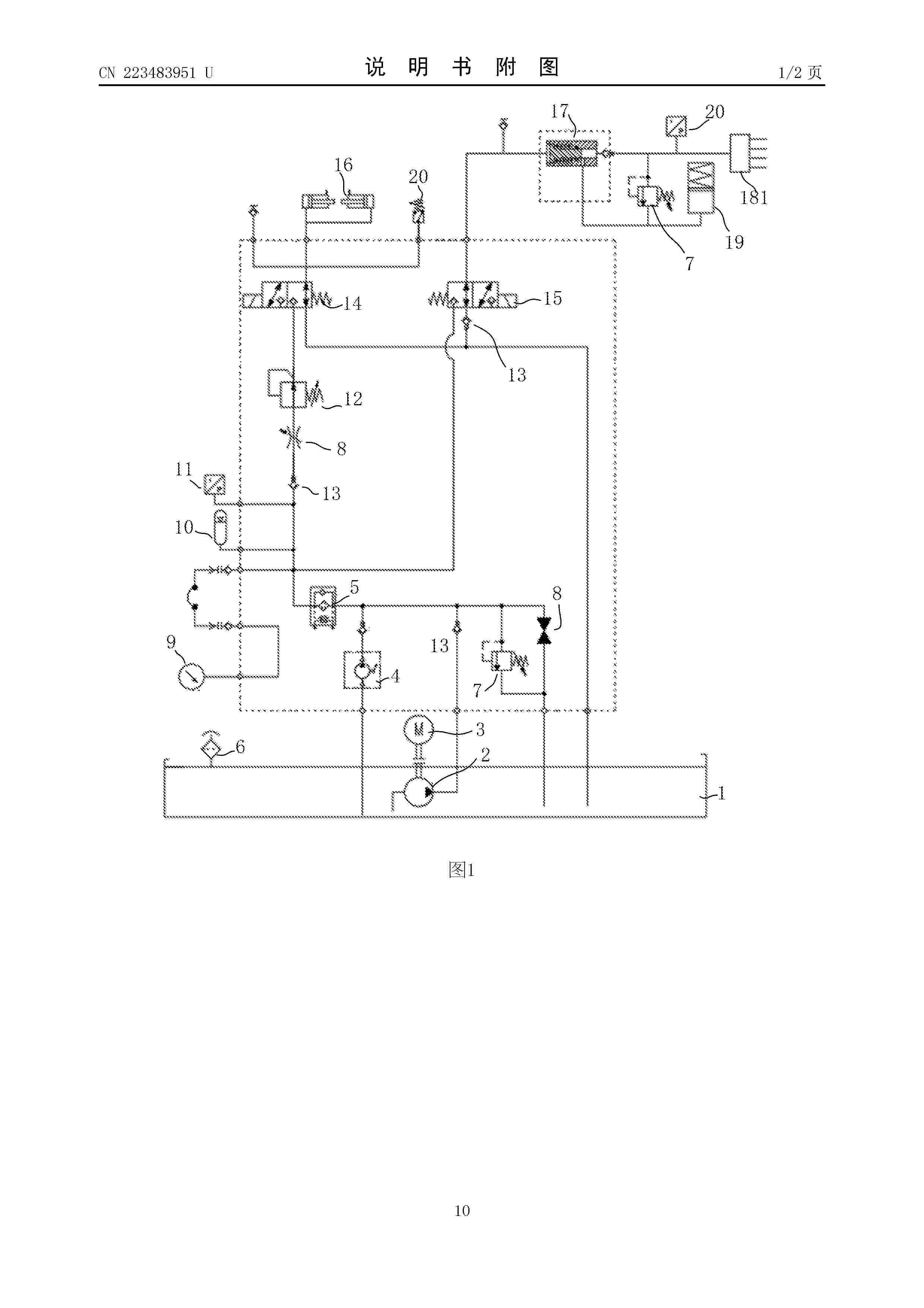
Resumen de: CN223483951U
本实用新型涉及一种液压润滑集成系统及风力发电机组。注脂器的阀体上仅设置液压进油口、进脂口和出脂口,注脂器的柱塞滑动密封装配在注脂器的阀腔内,柱塞包括大径段和小径段,阀腔包括对应大径段和小径段设置的大径腔和小径腔,复位弹簧套在小径段上,复位弹簧的一端与大径段抵顶配合、另一端与阀体抵顶配合,以提供给柱塞弹性复位力,液压进油口设在大径腔的外端,进脂口设置在小径腔的靠近复位弹簧的一端,出脂口设置在小径腔的远离复位弹簧的一端;液压油推动柱塞运动时,将小径腔内的润滑脂朝向出脂口和进脂口挤压,当小径段前端封堵进脂口后,润滑脂仅从出脂口流出。具有成本更低、结构更简单、注油器两侧的介质不易混合污染的优点。
Resumen de: CN223479695U
本实用新型涉及一种运输框架、支撑运输装置、运输系统、风场以及风力发电机组,运输框架用于与支撑组件配合,支撑组件被配置为支撑叶片,运输框架包括:框架本体,包括第一框体、第二框体,第一框体具有第一凹腔,第二框体具有第二凹腔,第一框体、第二框体相互对接,第一凹腔、第二凹腔连通形成有空腔;第一对接件,设置于第一框体朝向空腔的一侧,第一对接件包括第一连接销、第一连接孔中的一者,第一对接件被配置为与支撑组件可拆卸连接。本实用新型实施例提供的运输框架,能够保证叶片的支撑需求,并且其能够适配不同的叶片的支撑组件,通用性好。
Resumen de: CN223481797U
本申请公开了一种漂浮式海上风电近海临时码头双机组整装施工结构,包括:平台甲板;插入海床固定的平台桩腿,平台甲板可升降安装在平台桩腿上;所述平台甲板斜向对角处均固定有向外悬挑的平台面板,两个平台面板斜向分布在平台甲板对角处。风机的两个轮毂分别与在平台甲板对角处的法兰盘对接固定,每个轮毂上吊装三个叶片,已安装有三片叶片的一个轮毂吊装到浮体基础的塔筒上,另一个轮毂与运输船运输而来的叶片进行吊装对接,提高了风机安装效率,解决了三片叶片依次吊装到轮毂上,存在风机安装效率低的问题。
Resumen de: CN223482820U
本实用新型公开了一种电磁防护的风雷叶片延展金属网,此装置包括延展组件和防护组件,其中延展组件,包括滑道、设置于滑道内的转动杆、设置于滑道内的滑块、固定设置于滑块上的移动杆、套接于移动杆外的连接杆;防护组件,包括与移动杆连接的金属网、设置于滑道外的绝缘壳;本实用新型中的电磁防护的风雷叶片延展金属网,其可设置在叶片表面,金属网随时展开随时收起,对叶片进行电磁防护,同时在延展组件外设置绝缘壳可保护内部零件,即使遭受雷击也不会损害内部零件,只需更换金属网即可,降低维护成本。
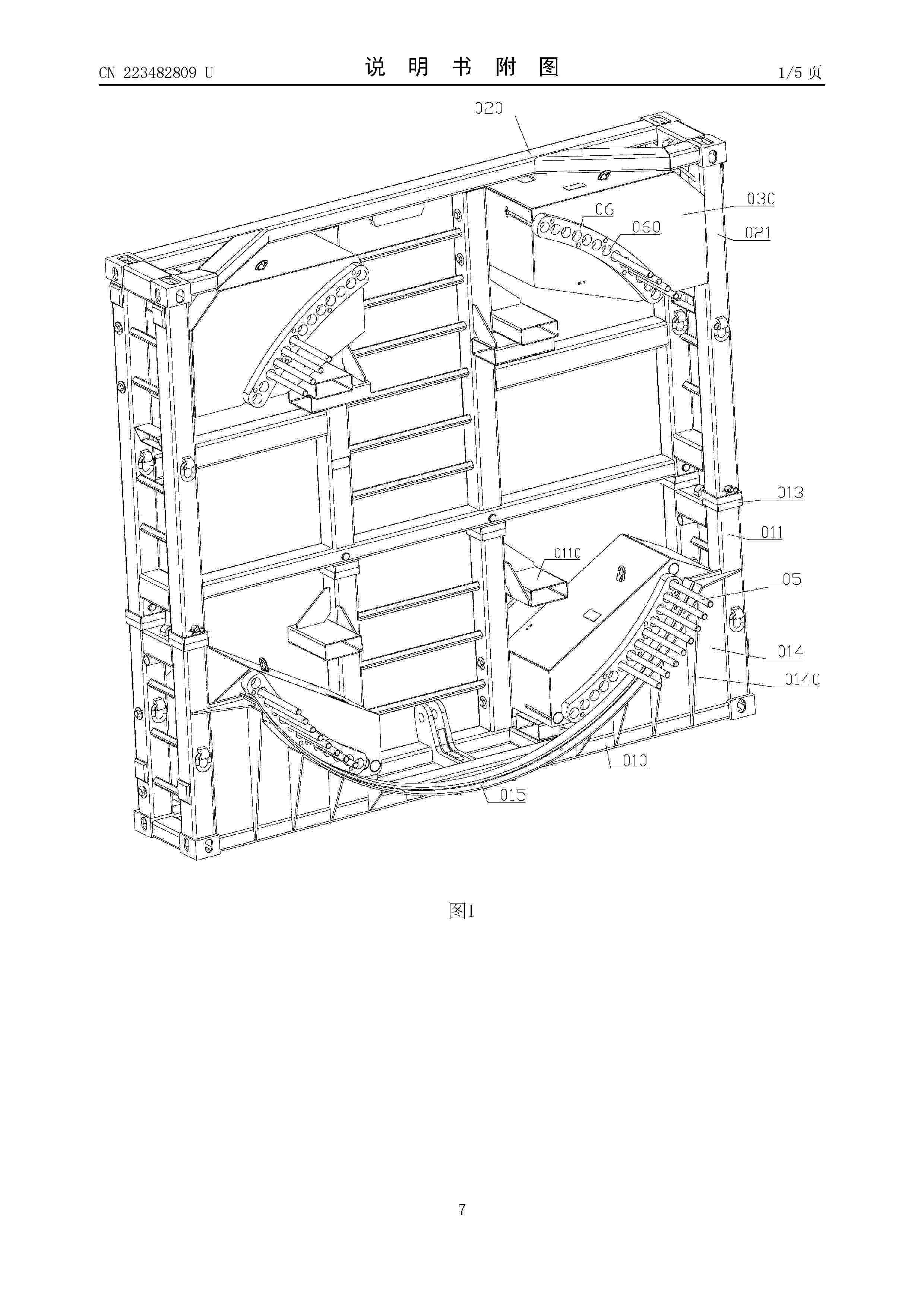
Resumen de: CN223482809U
本实用新型公开一种新型叶根侧面支架,其通过底架和顶架拼接安装,叶根的螺柱分别固定在底架和顶架上,实现固定。底架包括若干根水平设置的第一横管,包括若干根竖直设置的第一竖管,第一横管和第一竖管拼接成矩形的底框;第一竖管的顶部设置有限位顶尖,限位顶尖开设有表面贯通的第一通孔;底框上安装有定位机构,定位机构用于叶根上的螺柱穿过旋上螺母固定;顶架包括若干根水平设置的第二横管,包括若干根竖直设置的第二竖管,第二横管与第二竖管拼接成矩形的顶框;第二竖管的底面开设有第一限位孔,第二竖管的侧壁上开设有贯通的第二通孔,顶框上安装有定位机构,定位机构用于叶根上的螺柱穿过旋上螺母固定。
Resumen de: CN223482819U
本实用新型涉及风电机组技术领域,尤其是一种风电机组防雷接地装置,包括避雷针,避雷针设置在第一支撑座上,且避雷针贯穿第一支撑座设置,而在避雷针的底部连接有接地导线,且接地导线的另一端连接有接地件;在第一支撑座的下方设有第二支撑座,在第二支撑座的中部开设有开槽,且避雷针贯穿开槽设置,而沿第二支撑座的顶部边缘处设置有若干个间隔排列的压缩弹簧,且压缩弹簧的另一端固定在第一支撑座的底部。本实用新型在使用时,该风电机组防雷接地装置通过多个压缩弹簧对两个支撑座之间进行连接,可在避雷针受到强风冲击时起到缓冲作用,从而对避雷针起到保护,以防避雷针受强风影响而出现弯折损坏的情况。
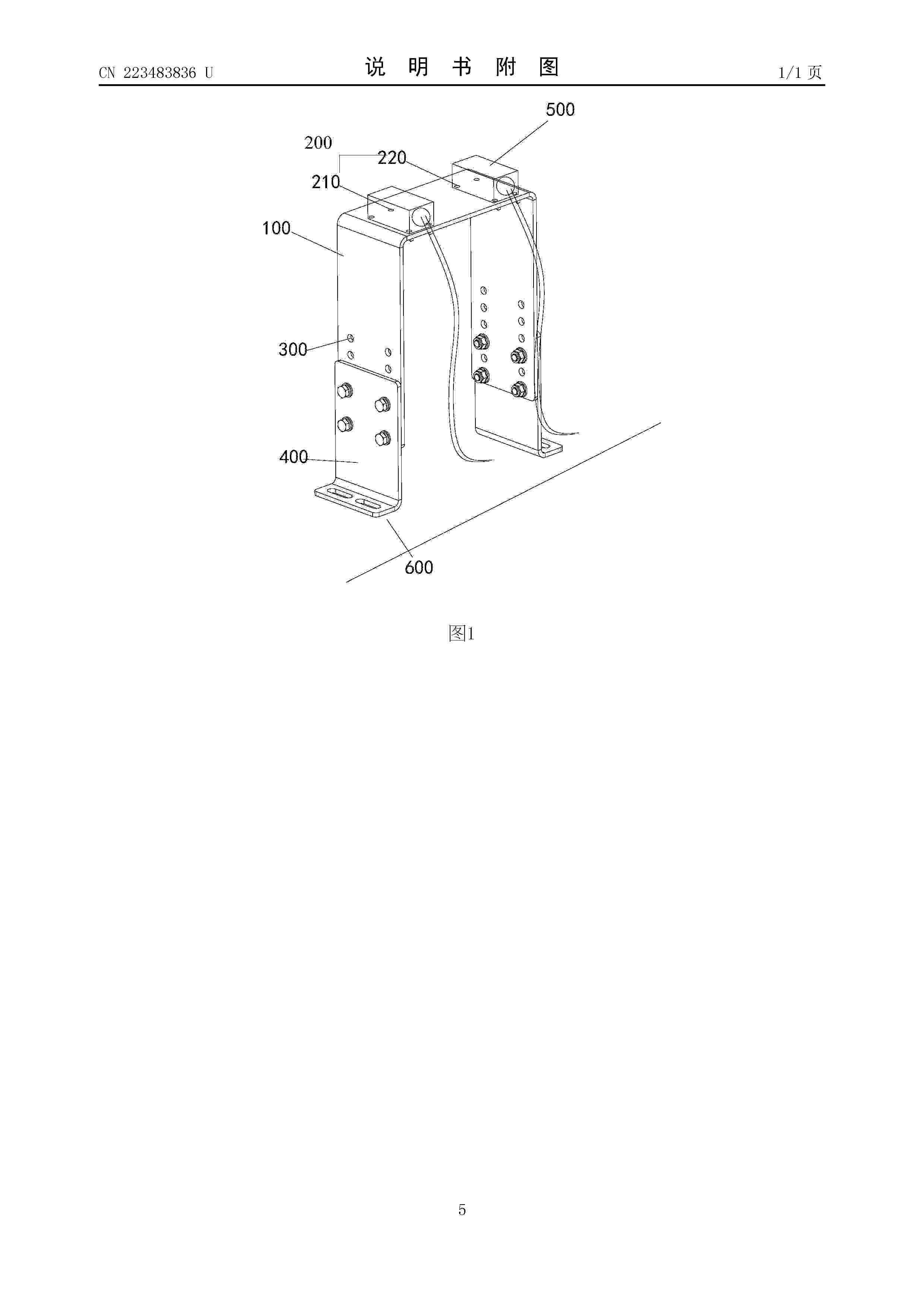
Resumen de: CN223483836U
2MW水平轴风力发电机变桨系统的限位开关支架,包括:固定支架、限位开关安装孔、位置调整孔和调整支架,固定支架为U型结构,固定支架的顶端设有限位开关安装孔,固定支架通过限位开关安装孔与限位开关连接,固定支架的两侧设有垂直对齐的位置调整孔,位置调整孔为复数个,固定支架通过位置调整孔与调整支架连接,调整支架的底端与安装位置螺栓固定。本实用新型与传统技术相比,采用单独的固定支架实现两个限位开关的固定,同时设置垂直对齐位置调整孔,整个支架可以通过不同的连接,实现高度调节。
Resumen de: CN223482808U
本申请提供垂直轴发电组件及具有其的发电设备,涉及发电设备的技术领域,其中,垂直轴发电组件,主要包括转动结构、转动轴和感应线圈,通过风叶筒上设置的多个导风槽实现一体式的设计,形成可借风力转动的转动体,从而带动转动轴进行转动,转动轴再将动力传递给第一磁性件,第一磁性件与感应线圈配合将风能转换为电能。导风槽实现了风力的利用,通过加工的方式形成,并非装配,使得风叶筒形成一个整体的结构,避免了装配导致的零部件增多,装配困难的情况,整体的结构紧凑,质量相对较轻,更利于风力的采集与传递。本申请有效地解决了现有技术中的垂直轴发电组件采用分体式的翼片设计,其结构复杂,质量较大,不利于发电的问题。
Resumen de: CN223482811U
本实用新型公开了一种风力发电机塔筒底座的锚板结构,包括锚板、固定销、连接座和支撑机构,本实用新型通过设置锚板、固定销、连接座、支撑机构和定位机构的配合使用,达到了现有的风力发电机塔筒底座的锚板在固定时,通过长螺杆与地基之间的摩擦力进行固定,在对锚板进行安装打孔时,锚板容易发生偏移,导致所打的孔与锚板的安装孔出现偏差,不便于对锚板进行固定,在对锚板进行浇注固定时不方便,使水泥浇注极为不便,为了能够便于对锚板进行安装,从而提出一种风力发电机塔筒底座的锚板结构,在对锚板进行安装时,通过四周的支撑组件能够稳定的对锚板进行固定,防止在安装时出现偏移的同时便于对锚板浇注进行二次固定的效果。
Resumen de: CN223483252U
本实用新型涉及一种万向弹性支撑装置,包括导柱、减震橡胶环、金属骨架、限位外壳和底座,所述导柱、减震橡胶环和金属骨架一体硫化成型,所述导柱设置在减震橡胶环内,所述金属骨架设置在减震橡胶环外,所述底座对应金属骨架设有环形凸台,金属骨架搁置在环形凸台的顶面,所述环形凸台的外周面螺纹连接限位外壳,所述限位外壳对应金属骨架设有环形限位槽。本实用新型将导柱、减震橡胶环和金属骨架硫化于一体,外侧的金属骨架限位固定在限位外壳内,内侧的导柱与底座之间悬空,实现安装阻尼器的导柱与安装叶片的底座之间弹性连接,保证支撑刚度的同时,减少了阻尼器在工作中失效的风险。
Resumen de: CN223482823U
本实用新型涉及风电叶片技术领域,具体是一种风电叶片用维护平台,包括有平台本体,平台本体两侧设置有伸展机构;伸展机构包括有伸展架、双轴电机和调节块;平台本体两侧设置有安装槽,伸展架滑动设置在安装槽内,安装槽两侧侧壁设置有调节槽,伸展架外侧壁两侧设置有调节块,调节块贯穿并滑动设置在调节槽内;双轴电机固定设置在伸展架外侧壁中间处,双轴电机两端的输出端连接有丝杆,伸展架外侧壁上设置有支撑板,丝杆转动设置在支撑板上,调节块安装在丝杆上。本实用新型通过将伸展架从平台本体两侧伸出,能够扩大平台本体整体的工作空间,方便工作人员对风电叶片进行维护,同时能够针对不同尺寸和形状的风电叶片维护,提高适用范围。
Resumen de: CN223482817U
本实用新型涉及单桩工装技术领域,尤其涉及一种单桩大径滚装工装楔块结构,包括底座,底座上有第一支撑杆和多个第二支撑杆;第一支撑杆包括第一横杆和两个第一支腿;第二支撑杆包括第二横杆和固定设置于第二横杆底部两端的两个第二支腿,底座上设置有多个与第二支腿相对应的活动槽,活动槽的顶部开设有与外界相连通的通孔,第二支腿的下端穿过通孔活动设置于活动槽内,第二支腿的底部固定连接有限位块,限位块滑动设置于活动槽内;限位块的下端固定连接有弹簧,弹簧的下端与活动槽的底部固定连接。本实用新型解决了现有技术中单桩大径滚装工装楔块结构表面弯曲弧度固定,无法与单桩表面贴合的问题,可以适用于不同尺寸的单桩的放置。
Resumen de: CN223482807U
本实用新型公开了一种垂直轴轻量化叶片万向微风发电装置,包括塔筒、立柱、网架、叶片、发电机组、安装座、承载机构;网架设于立柱上,叶片设有若干组并固定在网架上,塔筒设为中空并且内部设有攀爬用的步梯,发电机组通过安装架固定设于塔筒内部,立柱底端连接安装座,安装座设于承载机构上并转动连接,承载机构设于塔筒顶端,安装座一端通过联轴器连接发电机组;通过微风吹动叶片带动网架、立柱以及安装座转动,进而带动发电机组转动运行发电。本实用新型通过叶片的垂直、密集阵型的设置方式,能够不受风向限制,在各种风向上都可以产生作用力带动发电机组运行发电。
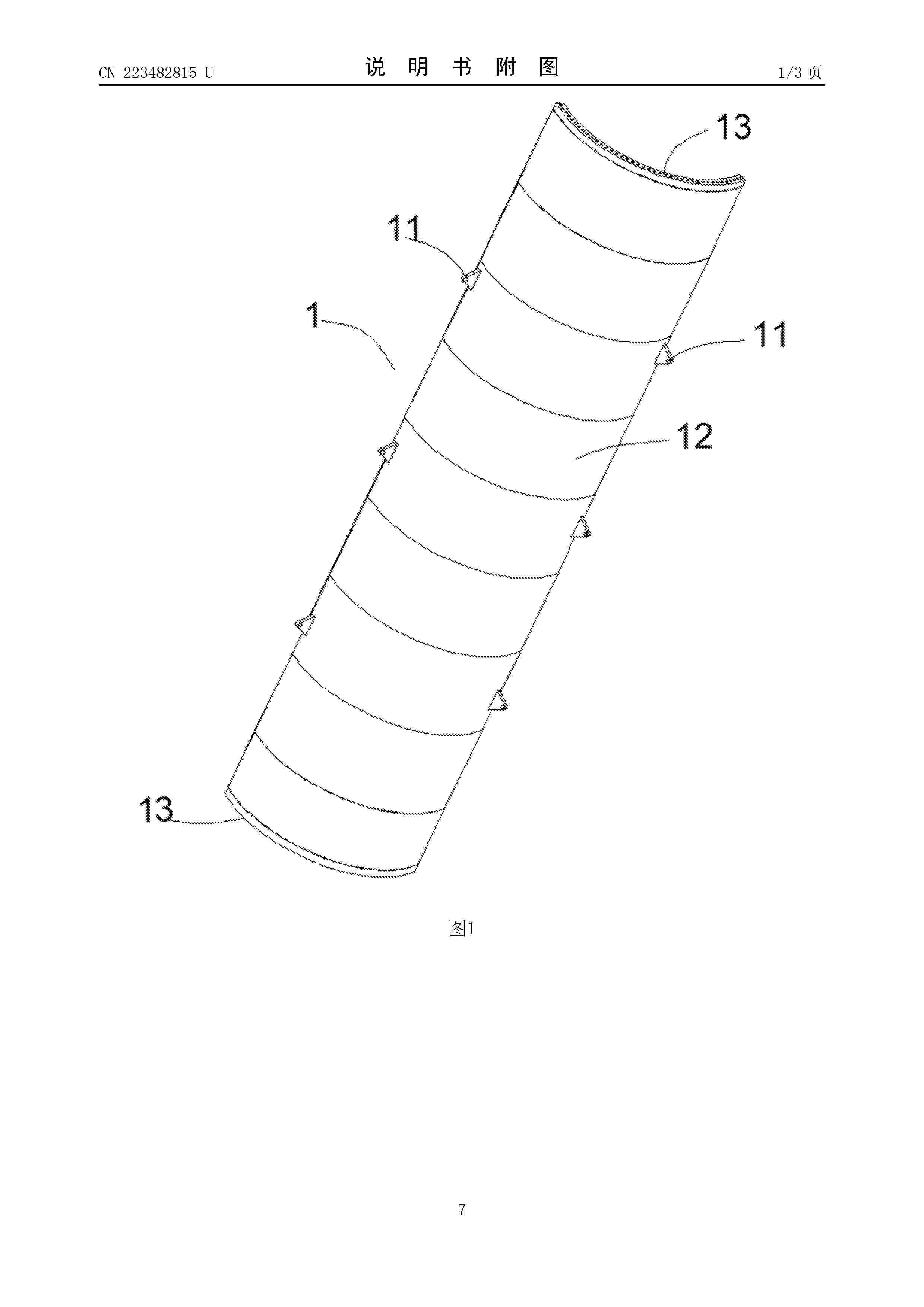
Resumen de: CN223482815U
本实用新型公开了一种能改善塔拼装过程中塔筒变形的分片段及分片塔筒,涉及塔筒结构领域;分片段包括分片段本体,分片段本体的两侧均设置有耳板,并且耳板位于分片段本体母线的中部位置处,以及分片段本体的外表面上;耳板上耳孔的轴线垂直于分片段本体的母线。分片塔筒包括多块所述的能改善塔拼装过程中塔筒变形的分片段,多块分片段本体周向拼装形成360°的筒型。本实用新型能有效改善分片塔筒在拼装过程中塔筒中部变形,进而提高了塔筒拼装效率。
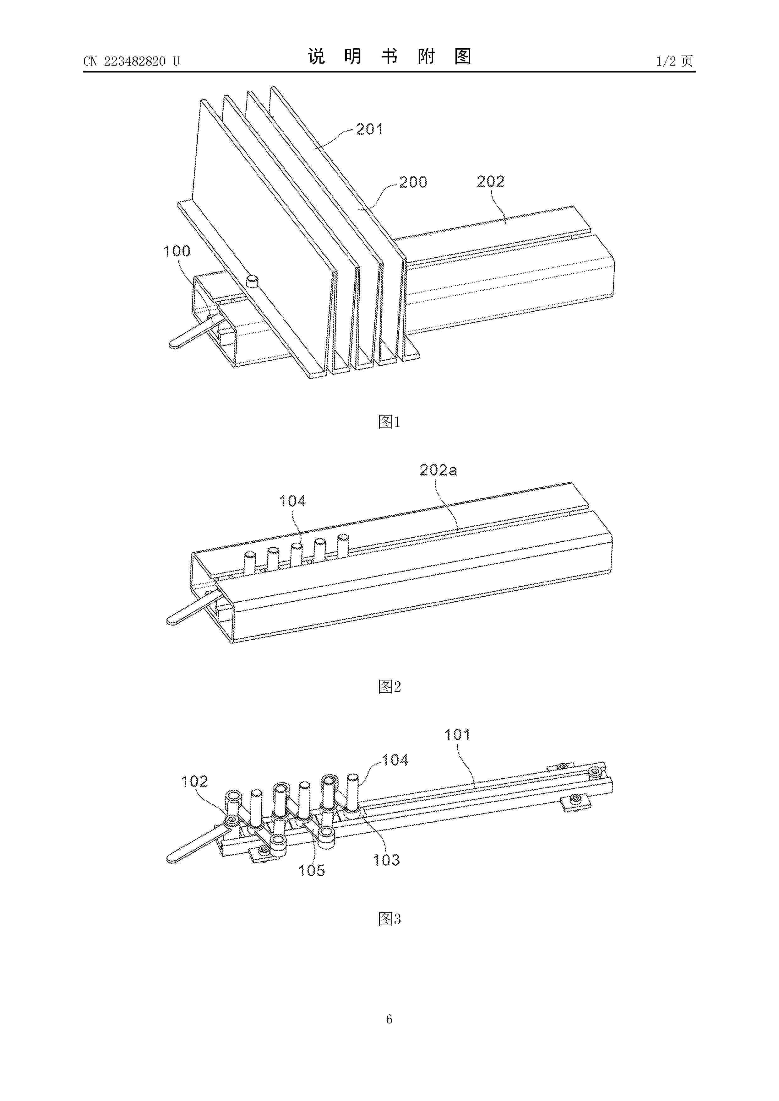
Resumen de: CN223482810U
本申请提供了一种集群式微风发电的发电单元,属于风力发电装置技术领域。该集群式微风发电的发电单元包括发电机以及与所述发电机配套设置的底座、底台、中心柱、安装台、百褶板以及升降机构,所述发电机固定在所述底座内,所述发电机的转轴穿过所述底座的顶面并与所述底台固定在一起,所述中心柱的下端和所述底台的上端固定在一起,所述安装台设置有多个,多个所述安装台轴向等距的固定在所述中心柱的外壁上,所述升降机构安装在所述中心柱和所述安装台上,该集群式微风发电的发电单元通过一个双输出轴电机和多个皮带传动件即可实现多个百褶板的展开或回缩,降低了设备成本的同时,也节省了资源。
Resumen de: CN223482821U
本实用新型涉及风电设备技术领域,尤其涉及一种风力发电机叶片双线圈电脉冲除冰装置。风力发电机叶片包括叶片本体,叶片本体内具有空腔,除冰装置包括除冰控制器、脉冲电源以及与脉冲电源并连的多组脉冲除冰单元,任一组脉冲除冰单元都包括第一脉冲线圈和第二脉冲线圈,第一脉冲线圈和第二脉冲线圈固定于叶片本体内或空腔的腔壁上,第一脉冲线圈和第二脉冲线圈正对设置且存在相对面空隙,多组脉冲除冰单元间隔分布在风力发电机叶片上。本实用新型对现有电脉冲除冰技术进行改进,简化了风力发电机叶片电脉冲除冰装置的结构,提高了实用性和安全性的同时降低了安装成本,能够在节约能量的同时达到高效除冰的目的。
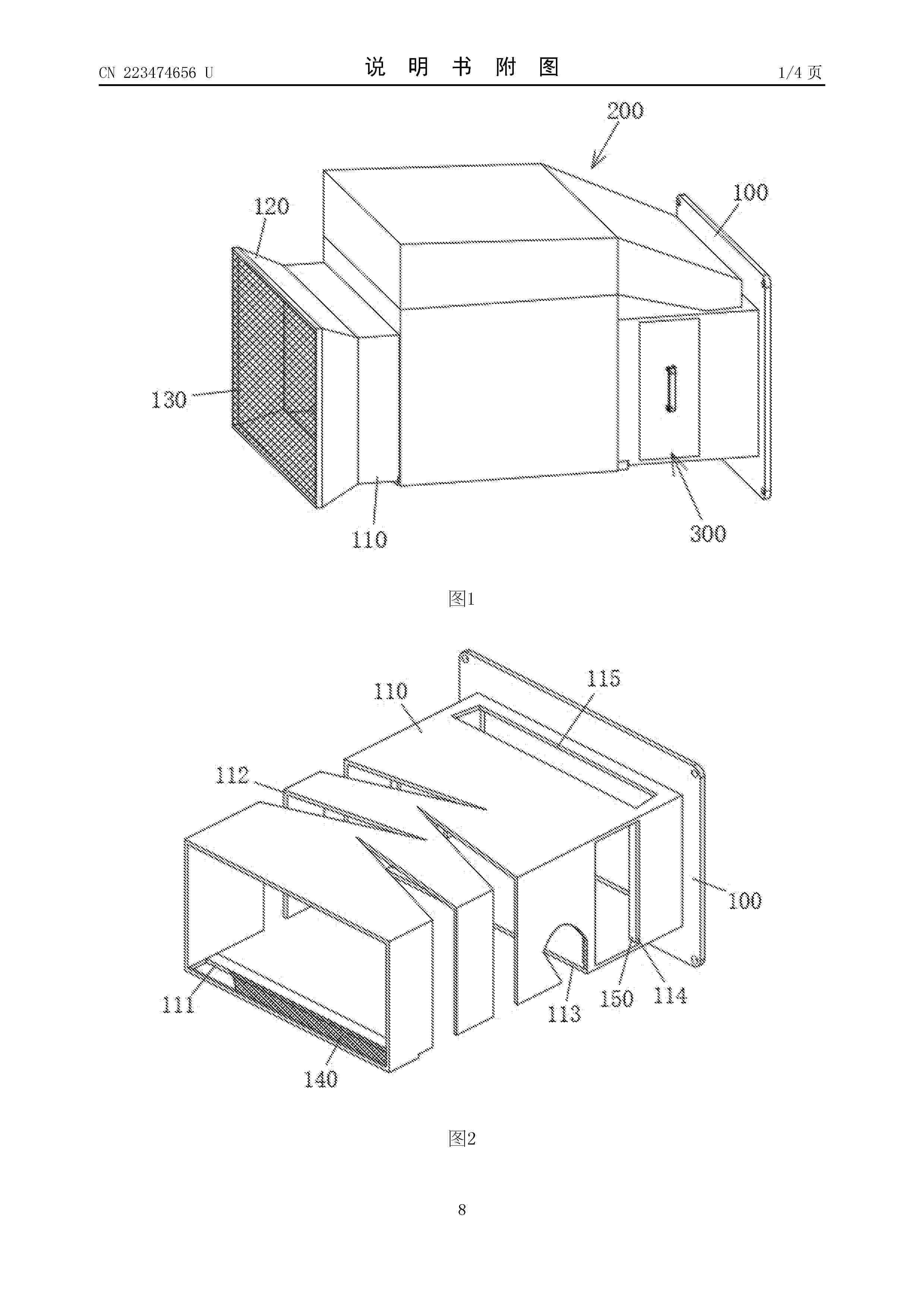
Resumen de: CN223474656U
本实用新型涉及防盐雾处理设备技术领域,具体涉及一种用于海上风力发电平台的防盐雾处理装置,包括:安装框、矩形壳、冷凝机构和过滤机构。本实用新型中,通过在矩形壳上安装固定有冷凝机构,并利用多个V型板和矩形壳配合使用形成一个风道,且利用风在穿过风道时会与多个V型板接触,使得风中的水汽和盐雾在多个V型板表面凝结,再通过启动多个制冷片,从而对多个铜板进行制冷,水汽和盐雾在接触到铜板后能够被快速凝结,保证了该用于海上风力发电平台的防盐雾处理装置吸入气体的干燥,并利用收集壳和排水管便于对收集后的水排出,再利用散热组件便于对使用后的制冷片进行散热,保证了冷凝机构的使用效果。
Resumen de: CN223482813U
本实用新型提供一种桁架式塔架模块化连接装置,涉及桁架式塔架技术领域,包括若干塔杆,若干所述塔杆之间通过塔架进行连接,每个所述塔杆上端周面均安装有上安装盘,每个所述塔杆下端周面均安装有下安装盘,所述塔杆周面设置有二次定位组件,每个所述塔杆下端表面固定安装有定位柱,所述定位柱通过二次定位组件设置在定位孔内部,本实用新型将定位柱设置在定位孔内部,此时工作人员转动安装螺套,便能够驱动安装螺杆向安装螺套内部移动,驱动两个卡柱向相互靠近的一面移动,使卡柱设置在卡孔内部,便能够将定位柱设置在定位孔内部,通过与螺栓等工具,便能够将上安装盘与下安装盘连接起来,进行二次连接,来保证塔架组件连接的稳定性。
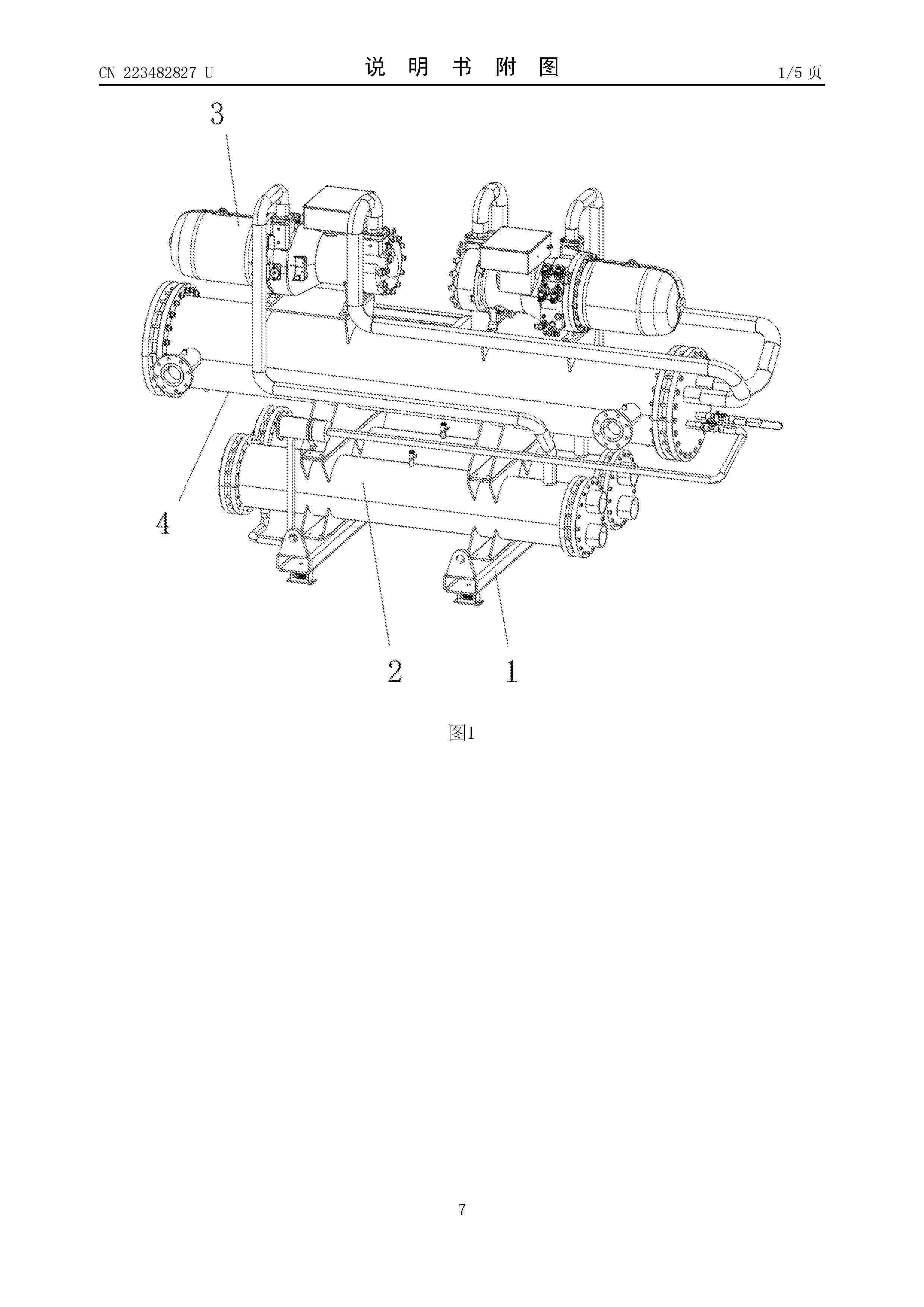
Resumen de: CN223482827U
本实用新型涉及风电机组技术领域,尤其为一种用于风电机组的水冷系统,包括安装架,安装架上固定的蒸发器,蒸发器上设置的压缩机,所述蒸发器与压缩机之间设置的冷凝器,冷凝器包括:外部组件,包括固定在安装架上端的壳体,壳体两端均固定的法兰座;内部组件,包括安装在壳体内部的框架,框架内部安装的若干个管束,框架内部固定的多个支撑组件并用于将管束固定在框架中;通过增加支撑组件结构强度,使其更能抵抗来自流体压力和温度变化产生的应力的影响,从而提高设备的稳定性和安全性;并且,内部组件整体可从外部组件中拆装,以及内部组件内部多个组件可进行拆装,使得局部某处零件损坏时方便进行更换。
Resumen de: CN223481879U
本申请公开了一种漂浮式海上风电浮体基础施工用负压承台,包括:漂浮式机组的浮体基础与吸力承台的橡胶包裹层对接接触后,发生弹性密封接触,空压机通过压力控制阀将桶底内部空气抽真空,使漂浮式机组的浮体基础在吸力承台上保持稳定位置支撑,在需调整浮体基础与吸力承台对接位置时,通过压力控制阀向桶底内输入空气形成轻微高压,浮体基础只有重力调整,而没有受到磁吸力影响,解决了浮体基础在与承台对接后受到磁吸力的影响对位过程不方便调整的问题。
Resumen de: CN223482822U
本实用新型涉及风电设备技术领域,尤其涉及一种改进的风力发电机叶片电脉冲除冰装置。风力发电机叶片包括叶片本体,叶片本体内具有空腔,除冰装置包括除冰控制器、脉冲电源以及与脉冲电源并连的多组脉冲除冰单元,任一组脉冲除冰单元都包括脉冲线圈和金属片,金属片的面积大于脉冲线圈的面积,脉冲线圈跟脉冲电源电线连接,金属片和脉冲线圈固定于叶片本体内或空腔的腔壁上,金属片和脉冲线圈正对设置且存在相对面空隙,多组脉冲除冰单元间隔分布在风力发电机叶片上。本实用新型对现有电脉冲除冰技术进行改进,简化了风力发电机叶片电脉冲除冰装置的结构,提高了实用性和安全性的同时降低了安装成本,能够在节约能量的同时达到高效除冰的目的。
Resumen de: CN223482812U
本实用新型公开了一种轻量化风电桁架式塔架连接节点,包括节点连接管、斜杆。本实用新型,斜杆与节点连接管连接时,节点连接管通过内侧壁设置的多组竖筋提高自身强度,同时在节点连接管外壁还焊接有加固套,通过加固套进一步提高节点连接管的强度,提高连接的稳定性,在加固套外壁设置具有与斜杆外形相适配的连接腔的节点固定座,斜杆插入连接腔后,将工字型斜杆的竖长边和两组横短边分别通过多组第二铆钉和第一铆钉与节点固定座铆合固定,即斜杆与节点连接管连接的一端被全包围式固定,使得连接状态非常稳定,且节点固定座外壁还设置有四组斜筋,更进一步提升连接稳定性。
Resumen de: CN223482816U
本实用新型涉及风力发电装置技术领域,提供一种风力发电架设装置,包括下杆体,下杆体外表面固定设置有两个固定板,两个第一连接板,分别转动连接在两个固定板外表面,电控液压杆收缩带动转动块移动,带动两个第一连接板在固定板表面转动,带动两侧第二连接板转动,带动转臂绕固定板转动,转臂带动上杆体相对下杆体进行转动弯折,通过上杆体弯折提高装置灵活性,两侧第一连接板表面设置的两个第一阻尼降低转臂和上杆体向下杆体方向进行转动弯折的速度,提高装置稳定性,两个安装板配合第二螺栓和第二螺母对下杆体和上杆体进行紧固连接,第一螺母和第一螺栓对底板进行稳固安装。
Resumen de: CN223482806U
本实用新型公开了一种风力机叶片的支撑结构和风力发电设备,涉及风力机叶片的支撑装置技术领域,其中,多个风力机叶片沿主轴的周向间隔分布,各风力机叶片设置有连接区;该风力机叶片的支撑结构包括柔性连接件和多个滑轮组件,滑轮组件的数量与风力机叶片的数量一致且一一对应设置,各滑轮组件安装于对应的风力机叶片的连接区;柔性连接件围设于主轴外,柔性连接件通过多个滑轮组件与多个风力机叶片活动连接,以使柔性连接件形成串连多个风力机叶片的支撑环。本实用新型通过柔性连接件和滑轮组件的配合,能够优化风力机叶片的受力分布,减轻叶片根部的负担,提高风力发电机的整体性能和可靠性,延长风力机叶片的使用寿命。
Resumen de: CN223482805U
本实用新型涉及自发电监测设备技术领域,尤其涉及一种自发电装置及输电线路动态增容用监测设备。自发电装置包括安装主体、立杆、扰流板、异形罩壳和发电模块;所述立杆竖直设置于所述安装主体上;所述扰流板沿竖直方向设置,且所述扰流板通过所述立杆与所述异形罩壳连接;所述异形罩壳转动设置于所述安装主体上,所述异形罩壳内形成有沿所述扰流板长度方向设置的通风通道;所述发电模块设置于所述通风通道内,且所述发电模块能够在风力的作用下发电。本实用新型中的扰流板在风力的作用下转动并通过立杆带动异形罩壳转动,以使通风通道中的发电模块始终朝向风向,有效地提高了发电模块的发电效率,从而保证自发电装置的供电效率。
Resumen de: CN120845286A
本申请公开了一种风力发电机冷却系统及风力发电机。其中,风力发电机冷却系统包括喷淋设备、储水箱和除湿机,储水箱与喷淋设备连通,储水箱用于向喷淋设备供水,除湿机设于风力发电机的机舱内部,并与储水箱连通,除湿机具有内进气口、外进气口和出气口,内进气口与机舱内部连通,外进气口与机舱外部连通,除湿机通过内进气口和/或外进气口吸入的湿空气,将湿空气处理为干空气后经出气口排入机舱内部,并将除湿机处理过程中生成的水分输送至储水箱。本申请提供的技术方案,无需依赖人工搬运或外部动力源传输补水,降低水源获取成本。
Resumen de: CN120840813A
本发明公开了一种用于布置海上风力发电系统的半潜式复合减摇支撑平台,属于海上风力发电设备设计制造技术领域。提供一种能依据监测到的实时摇摆幅度进行主动干预,有效减小摇摆幅度的半潜式复合减摇支撑平台。该半潜式复合减摇支撑平台包括风力发电机组、系泊系统、支撑连接架、垂荡支撑增稳系统和复合减摇稳定装置,垂荡支撑增稳系统通过复合减摇稳定装置布置在支撑连接架的下方,风力发电机组布置在支撑连接架上,系泊系统的上端与垂荡支撑增稳系统固定连接,下端与海床的相应位置固定锚接;半潜式复合减摇支撑平台通过复合减摇稳定装置监测其实时摇摆状况,在复合减摇稳定装置和垂荡支撑增稳系统的配合下调整减轻海上风力发电系统的摇摆幅度。
Resumen de: CN120845283A
本发明属于风力发电技术领域,具体为一种海上风力发电机组及其工作方法;包括机体、避雷接闪器;所述避雷接闪器位于机体顶部;所述机体上设置有锁止穿插器件;所述锁止穿插器件包括装卸箱体,其固定连接于机体顶部;所述装卸箱体上设置有冗余接闪组件;所述冗余接闪组件包括折弯管道,其一端安装于装卸箱体上,另一端开口朝向机体;所述装卸箱体上安装有旋动转轴;所述旋动转轴上设置有吸能防晃单元;所述吸能防晃单元包括旋动齿轮;得以快速安装与拆卸避雷接闪器与机体顶部,避免拆卸过程复杂影响或降低对避雷接闪器的维护效率,提升在有效作业窗口期内的可完成维护量,使得机组使用过程中的安全性能得以得到充分保障。
Resumen de: CN120840815A
本发明公开了一种漂浮式海上风力发电设备用浮体,涉及风力发电浮体技术领域,包括支撑框架和转动座,其转动座通过焊接方式固定安装在支撑框架的上端中心位置处,其立柱的底端插接在转动座的内部位置处,其主浮筒固定安装在支撑框架的下端中心位置处,其副浮筒固定安装在支撑框架的下端且位于主浮筒的四周位置处,且副浮筒通过稳定连接管与主浮筒的内部连通,本发明的技术方案通过按压调节部和主稳定部的联动结构,实现风力冲击下的自平衡,立柱倾斜时带动主稳定部挤压按压调节部,推动活塞改变调节浮筒内配重液分布,倾斜侧通过配重液转移增加浮力,对侧降低浮力,形成反向平衡力矩,同时配备复位弹簧,在风力消散后自动驱动浮体立柱恢复平衡。
Resumen de: CN120845280A
本发明公开了一种悬浮式转向装置,属于风电塔筒技术领域,解决现有转向装置通过塔筒内壁传递转向力导致塔筒结构耐久性下降的问题。它包括多个转向器,还包括钢索,所述的钢索位于混凝土塔筒内,且所述钢索的首尾两端可拆卸连接形成一环向布置的钢索,多个所述的转向器均安装在该环向的钢索上,且每个所述的转向器均径向滑动插接在混凝土塔筒中。本发明的悬浮式转向装置,可以将转向器对塔筒本身的压力转移到环向钢索上,降低塔筒受拉力,且方便对所有预应力钢束进行应力补充。本发明还公开了一种悬浮式转向装置施工方法,该方法可以有效提高施工效率。
Resumen de: CN120845262A
本发明公开了一种基于YOLO与大语言模型的风电机组叶片故障检测与诊断方法、系统、设备及存储介质,属于风电设备故障检测领域,包括:采集风电机组叶片图像并进行标签标注,形成包含故障标记的图像数据集;通过图像增强策略进行数据预处理;将数据集输入目标检测模型,输出包含故障识别信息的图像及对应的特征向量;基于获得的特征向量,采用文本映射技术将结构化特征信息转换为自然语言文本描述;基于目标检测模型输出的故障识别图像与文本映射技术转换得到的自然语言文本共同输入大语言模型进行诊断分析输出结果。本发明仅需无人机采集图像,结合YOLO、键值图像文本映射和大语言模型技术,实现叶片故障的检测与诊断,无需复杂的额外设备,降低检测成本。
Resumen de: CN120845275A
本申请公开了一种云边协同风力发电设备故障诊断方法、装置、设备及存储介质,涉及风力发电技术领域,应用于边缘设备的云边协同风力发电设备故障诊断方法包括:采集风力发电设备的实时风机运行状态数据;将实时风机运行状态数据输入至预设的本地故障诊断模型,由本地故障诊断模型输出第一故障诊断结果;将实时风机运行状态数据和第一故障诊断结果上传至云端设备,以供云端设备根据实时风机运行状态数据以及预设的深度故障诊断模型预测得到第二故障诊断结果,并在第一故障诊断结果与第二故障诊断结果之间的差异过大时将第二故障诊断结果返回边缘设备。本申请解决了目前对于风力发电设备的故障诊断方案无法兼顾时效性和精度的技术问题。
Resumen de: CN120845245A
本发明公开了一种风电机组多目标优化的变桨控制系统及方法,包括:气动载荷分析模块,基于叶素动量理论建立叶片挥舞和摆振力矩模型,用于分析载荷来源;气动噪声分析模块,用于分析气动噪声产生机理并建立数学模型;WSA‑ICN优化PID控制器模块,用于优化PID参数以实现系统多目标控制;Coleman变换与逆变换模块,具体涉及风电机组技术领域。本发明在载荷抑制上,通过优化独立变桨控制策略,叶根挥舞弯矩均方差显著降低,相比传统统一变桨控制(CPC)降低29.17%,相比现有独立变桨控制(IPC)降低26.99%,极大值也大幅下降,同时俯仰和偏航力矩均方差也有明显降低,有效减少叶片疲劳损伤,延长叶片寿命15%‑20%。
Resumen de: WO2024193776A1
A transmission comprises a fixed gear ring, a first drive member that defines a plurality of bores, each of which accommodates a tooth element. A second drive member extends within the first drive member, and defines a cam surface or profile which engages each of the plurality of tooth elements. A body region of the tooth elements comprises: a generally cylindrical first body portion proximate the tooth tip region, a generally cylindrical second body portion distal from the tooth tip region, wherein the first body portion and second body portion are spaced apart along a body axis (A), a reduced-mass portion intermediate the first and second body portions. The reduced mass portion comprises an external surface. An imaginary cylindrical surface extends between the generally cylindrical first body portion and the generally cylindrical second body portion, and wherein the external surface of the reduced mass portion shares less than 95% of its surface area with the imaginary cylindrical surface.
Resumen de: CN120845271A
本发明提供了一种风轮方位角测量装置的故障诊断方法和系统。该方法包括:获取风电机组中目标变桨轴的机组运行参数;将机组运行参数输入方位角模型进行计算,得到目标变桨轴的风轮方位角参考值,其中,风轮方位角参考值用于表征目标变桨轴的电机最大驱动电流对应的风轮方位角;获取风电机组在运行过程中目标变桨轴的风轮方位角实际值;当风轮方位角参考值减去风轮方位角实际值得到的偏差值大于预设阈值时,对定位挡块进行故障报警,解决了现有技术中对风轮方位角的测量偏差较大的技术问题。
Resumen de: CN120845247A
为解决上述偏航系统成本压力增大且偏航在轻载运行时经济性也较差的问题,本申请提供了一种风力发电机组的偏航控制系统及风力发电机组。该系统中,偏航保护断路器连接于配电变压器的二次侧;第一接触器连接于偏航保护断路器与偏航电机的定子之间;第二接触器并联于各偏航电机的定子两端;第三接触器连接于偏航保护断路器与偏航变频器的输入端之间;第四接触器连接于偏航变频器的输出端与各偏航电机的转子之间;第五接触器并联于各偏航电机的转子两端;系统配置为通过控制第一接触器至第五接触器的通断及偏航变频器的启停,实现在双馈变速运行模式与异步定速运行模式之间的自动切换。
Resumen de: CN120845272A
本发明公开了一种海上风电机组预防性维护及故障诊断系统及方法,涉及海上风电机组技术领域,声音采集器硬件部署模块针对海上恶劣环境,采用高强度耐腐蚀支架及防水密封设计,采集各部件声纹信号与环境数据;故障实时预测模块基于多源数据融合计算故障评估值,实现故障提前预判;故障类型分析模块通过与数据库对比,精准识别故障类型与危险等级;预防性维护策略分析模块依据故障危险等级,分别执行动态监测与隐患预控、计划停机与精准修复、紧急停机与应急抢险策略。该系统可提升故障诊断准确性,优化运维策略,保障海上风电机组稳定运行,降低运维成本与安全风险。
Resumen de: CN120856000A
本发明公开了一种船用风光混合驱动装置及控制方法,涉及船舶动力系统技术领域,该驱动装置包括风能收集单元、太阳能收集单元、传导单元与动力分配结构。本发明所述的一种船用风光混合驱动装置及控制方法,通过构建实时能量流网络并采用模型预测控制算法,实现了风能与太阳能的高效协同利用;在典型工况下,风光协同发电效率较传统方案显著提升,能量切换损耗大幅降低;其次,针对极端环境设计的自适应调节机制,有效保障了系统在高温、低温等特殊条件下的稳定高效运行,避免了传统系统中能源转换效率大幅衰减的问题。
Resumen de: CN120845270A
本申请涉及风力发电技术领域,特别涉及一种风电机组健康状态诊断系统及方法。该系统包括:用于利用预设传感器组获取多源数据的监测模块;用于接收所述多源数据,并对所述多源数据进行特征提取操作,得到多源特征信息的计算模块;用于融合所述多源特征信息,并基于融合结果评估发电机组的健康状态的分析模块。由此,通过该发电机组健康状态诊断系统,集成多传感器融合、边缘计算和云端智能分析,解决了现有技术缺乏系统级健康状态评估能力,以及缺乏智能诊断能力的问题,实现风电机组全系统健康状态的实时监测和早期故障预警。
Resumen de: CN120844632A
本发明公开一种海上风机桩基无损健康检测方法、装置及存储介质,属于桩基结构安全检测领域,所述方法包括以下步骤:将桩身等分分段形成若干个测试单元,基于移动式三维数字图像相关法对测试单元进行图像采集得到测试图像,然后对测试图像进行数据处理,获得各分段全场位移时程响应;进行分段频域识别,得到各分段振型;进行整体振型重构,得到整体拼接振型;将结构未损伤振型和整体拼接振型对比,结合动力指纹指标,识别出海上风机桩基损伤位置。本发明能够获取整体拼接振型,克服传统利用加速度传感器的动力测试方法在实际操作中难以获取空间密度高的测试信息、成本高昂的不足的缺陷,从而获取更精确的损伤位置识别结果。
Resumen de: CN120845277A
本发明涉及参数检测技术领域,具体为一种风力机叶片的气动参数检测系统及方法,包括:检测布局单元,用于获取目标风力机叶片的结构设计信息,根据结构设计信息构建叶片气动拓扑结构,对气动拓扑结构进行气动特性突变分析,确定初始传感器布设区域;采集叶片运行状态数据,对运行状态数据进行时频域解析,提取气流场特性与结构响应特征,生成气动‑结构耦合敏感描述符;检测配置单元,用于基于初始传感器布设区域和气动‑结构耦合敏感描述符,计算叶片各区域的气动敏感指数。本发明通过对叶片气动特性进行分析,确定了气动敏感区域,从而能在这些区域布设传感器,这种优化布局能够有效提高数据采集的精度与效率,减少冗余传感器的使用。
Resumen de: CN120845268A
本申请涉及一种基于光纤应变与双光谱相机联动的风机结构异常智能识别方法与系统,包括以下步骤:利用光纤传感系统实时获取风机的塔筒和叶片上多个测量点处的状态信息;存在测量点的状态信息超出预设的第一状态阈值区间时,标记为异常测量点,标记检出时间以及异常测量点的位置信息。根据异常测量点的位置信息,获取异常测量点处的可见光图像信息和红外光图像信息;判定异常测量点的可见光图像信息和红外光图像信息中的至少一个是否存在异常,若存在异常,则判定异常测量点为缺陷点位,并进行告警。本申请,实现“先感知后看见”的双重验证机制,发挥了光纤高灵敏预警与视觉直观复核的互补优势,大幅提升异常确认可靠性,降低漏报和误报风险。
Resumen de: CN120845279A
本发明公开了一种用于风电塔筒抑振的集群扰流系统,包括无人机、若干扰流机器人,所述扰流机器人包括扰流条、真空泵、车体外壳、主控板、光敏电阻、发光二极管、升降装置、驱动底盘,所述扰流条可拆卸地安装于所述车体外壳上,所述驱动底盘与所述车体外壳之间通过所述升降装置连接,所述真空泵用于使所述车体外壳与所述柱体表面之间形成负压;所述主控板与所述无人机建立无线连接,所述无人机通过视觉获得所述发光二极管的信号提取所述扰流机器人的标注识码,所述主控板通过所述光敏电阻感应所述无人机投射于所述柱体上的激光信号,控制所述驱动底盘的移动。本发明还公开了一种应用于上述用于风电塔筒抑振的集群扰流系统的移动引导方法。
Resumen de: CN120844616A
本发明属于风利发电施工技术领域,公开了一种多场景风电基础及施工方法,包括预制单元和承托结构;所述预制单元为钢筋混凝土预制构件,包括底板、垂直设于底板上的肋板以及中心柱,所述肋板的一端与所述中心柱连接,所述底板上设有预留孔;所述承托结构包括承托板或垫层,承托结构顶部设有预留钢筋;所述预制单元通过预留孔套设于预留钢筋上,且相邻预制单元的中心柱侧壁通过结构胶粘接;所述肋板两侧填充有灌浆层。本发明能够通过标准化预制单元适配多类地质场景。
Resumen de: CN120845278A
本发明公开一种用于风力机叶片的多自由度振动检测系统及方法,涉及风力发电设备监测领域,通过采集风力机叶片运行振动数据,按运行阶段分段处理并提取主频信息确定振动状态;构建振动特征空间建立多自由度振动分量间映射关系,计算振动耦合度;当振动耦合度超过预设阈值时,将振动分量解耦为独立振动源,追踪其演变规律确定主导振动源;通过建立振动传播链组合构建关联映射网络,基于主导振动源的传播特征计算叶片组振动风险指数,实现对叶片组振动的预警。该方法能有效检测风力机叶片的异常振动状态,及时发现潜在故障,提高风力机运行安全性和可靠性。
Resumen de: CN120845243A
本发明涉及风力发电技术领域,尤其涉及基于变桨距调节的风力发电机叶片,包括支撑塔架,所述支撑塔架上活动安装有用于风力发电的变桨距叶片机构,支撑塔架的上端设有根据风向来调节变桨距叶片机构朝向的角度调节机构,角度调节机构包括固定安装在支撑塔架上端的顶部齿台。本发明通过设置变桨距叶片机构,能够根据实时风速动态调节桨距角,在低风速时减小桨距角以增大攻角,显著提高叶片的升阻比,从而最大化风能捕获效率,在高风速或紧急情况下快速增大桨距角,使叶片进入失速状态,降低气动升力,防止发电机超功率运行,确保机组安全停机,这种自适应调节机制不仅提升了风能利用率,还增强了极端工况下的可靠性,延长了设备使用寿命。
Resumen de: CN120841356A
本发明公开了一种安装拆卸两用风力发电机单叶片吊具,包括吊具主结构,吊具主结构的左右两端分别设有挂钩组,每个挂钩组包括前后分布的第一挂钩装置和第二挂钩装置,第一挂钩装置用于同吊带的一端连接,第二挂钩装置用于同吊带的另一端连接;还包括与挂钩组对应布置的叶片拆卸梁,叶片拆卸梁上设有吊带固定点;叶片拆卸梁处于拆卸状态时,吊具主结构上不安装叶片拆卸梁,此时吊具为叶片安装模式;叶片拆卸梁处于安装状态时,吊具主结构上安装叶片拆卸梁,此时吊具为叶片拆卸模式。本发明通过安装或拆卸叶片拆卸梁实现了吊具在叶片安装模式和叶片拆卸模式的切换,从而能够很好完成单叶片安装作业和单叶片拆卸作业,且安全系数高,作业效率高。
Resumen de: CN120845282A
本申请提供的风力发电机组等离子雷击防护装置,叶片单元包括至少三个叶片,叶片安装有具有至少两个引导针的引电导体;滑动接触单元包括滑环,滑环包括至少三个沿环向均匀分布的弧形体,相邻的两个弧形体通过绝缘体相间隔,叶片内设置有电连接引电导体和对应的弧形体的第一导线;电离放电单元包括机舱、设于机舱上并且电连接的滑块和导电电极,滑块抵接在滑环上,滑块与弧形体在接触后导电,并在与绝缘体接触后断电;接地单元包括塔筒,机舱与塔筒相连接,塔筒内设置有接地导线,接地导线与导电电极相连通。本申请实现电离放电功能,保护风电机组不被雷击,避免直击雷产生的大电流对叶片、机舱内电气设备的危害,降低成本和安装、维护难度。
Resumen de: CN120845242A
本发明公开了风机叶片生产制造技术领域的一种分段式风机叶片,包括沿轴向方向顺序设置的多个叶片分段,每个叶片分段均包括前梁和后梁,前梁和后梁的间距为弦长尺寸的60%~75%,且每个叶片分段的前梁和后梁沿轴线方向延伸至相邻叶片分段内并与相邻叶片分段固定连接。本发明改善了后缘粘接区的载荷工况,降低了后缘粘接区发生失效现象的概率,从而提高了后缘粘接区的安全水平。
Resumen de: CN120845241A
本发明公开了一种基于一体化设计的变桨控制系统,包括:三个独立变桨机构,每个独立变桨机构包括:轮毂柜;一体化变桨驱动器;限位开关;感应开关以及连接电缆;一体化变桨驱动器,包括:永磁同步电机;设置在永磁同步电机的转动轴头部的刹车;设置在永磁同步电机的转动轴尾部的编码器;以及安装在永磁同步电机的外壳上的伺服驱动器。本发明采用一体化变桨驱动器,将碳化硅半导体器件应用到风电变桨领域,将传统结构中分立的变桨驱动器、变桨电机、变桨控制器进行一体化设计,将电动变桨系统的核心模块由之前的四个减少到两个,不仅可以大大提高变桨系统的安全性能及可维护性,还能有效降低系统成本。
Resumen de: JP2024149046A
To provide a method for manufacturing wind turbine blades capable of improving position accuracy of thermal spraying to obtain a protective layer with a desired thickness and quality.SOLUTION: A manufacturing method for a wind turbine blade 5 in which a protective layer is provided on a tip part 12 and a front edge 16 side in a blade length direction L1 of a wind turbine blade body 5a formed from FRP, comprises: a first thermal spraying process of performing thermal spraying in the blade length direction L1; a blade chord position changing process of changing a position so that a protective layer 30 formed in the first thermal spraying process is sprayed at an adjacent position adjacent in a blade chord direction C1; and a second thermal spraying process of performing thermal spraying in the blade length direction L1 at the adjacent position.SELECTED DRAWING: Figure 8
Resumen de: CN120845249A
本说明书实施例提供风力发电机组安全链触发状态下的偏航控制系统,包括:安全链信号解耦模块,用于将机组主安全链信号拆分为主安全链信号和偏航使能信号,主安全链信号维持原有保护功能,偏航使能信号经逻辑与门处理后输入偏航控制单元;偏航控制指令生成模块,用于根据风向传感器数据和机组状态数据生成动态偏航指令,并在安全链触发时降级为应急偏航模式;时序优化模块,用于控制电磁刹车的泄压、延时释放和启动时序;硬件适配模块,用于根据控制器型号选择适配的硬件改造方案。通过本方案的时序优化模块,在安全链触发时仍能执行分阶段偏航控制,既维持了保护功能又实现了动态响应,填补了行业技术空白。
Resumen de: CN223048936U
The utility model relates to the technical field of offshore wind turbine foundations, and discloses an integrated wind turbine foundation, which comprises a culture net cage, a wind turbine foundation, a wind turbine foundation and a wind turbine foundation, the photovoltaic structure is mounted at the top of the culture net cage; and the fan structure is fixedly mounted above the aquaculture net cage, so that the functions of offshore wind power generation, photovoltaic power generation and net cage aquaculture are integrated, effective utilization of sea area resources is realized, self-sufficiency of energy can be realized, comprehensive utilization of the resources is realized, and further economic benefits are increased.
Resumen de: FR3161459A1
Installation de production d’énergie en mer La présente divulgation concerne une installation de production d’énergie en mer (100) comprenant une plateforme flottante (110), un système de production d’énergie monté sur la plateforme et comprenant préférentiellement au moins une éolienne (120), une amarre (130, 140) reliée à la plateforme, et un système de génération et/ou stockage d’énergie (G2, G1), par exemple électrique, à partir d’une tension mécanique subie par l’amarre. Cela constitue une installation de production d’énergie en mer améliorée. Fig 1
Resumen de: CN120830603A
本发明公开了一种深远海风电机组离网期塔筒结构安全保障系统及方法,属于风力发电技术领域。本发明通过布置在风机内外部的传感器,实现风机离网期的塔筒整体刚度、局部刚度、法兰连接状态、螺栓预紧状态以及对风状态的监测;通过北斗控制风机底部柴发,通过柴发供电实现风机偏航系统工作;通过风机偏航工作中采集到的传感器信号,利用布置在风机底塔处的边缘计算终端,实现对影响风机塔筒结构安全故障的诊断,并经北斗通讯收发终端,将故障诊断结果发送回陆上集控中心。本发明可实现深远海场址风电机组塔筒离网期日常安全检测、台风来临前的对风检测和台风过后的安全检测。
Resumen de: CN120834638A
本发明涉及电力监控技术领域,且公开了一种用于电力监测控制的网络安全管理方法,包括:获取实时信息数据,根据实时信息数据,通过数据分析策略,形成分析数据,根据分析数据,通过数据调整策略,形成调整结果,根据调整结果,对电力进行调控和远程控制,该用于电力监测控制的网络安全管理方法,根据地形优势及时调整风机的运行策略,根据山地地区坡度的不同,对不同位置的风机进行调整,避免造成风能的浪费,提高发电效率,根据风速的不同,对风机风轮和风机叶片进行调整,防止风速过大,造成风机的损坏,保证机组安全,根据风机风轮及风机叶片调整的时长和风速持续的时长,对风机进行相应的调整,防止风机反向消耗能源。
Resumen de: CN120830601A
本发明公开了一种漂浮式海上风力发电安全监测设备及方法,涉及安全监测设备技术领域。检测箱的上端固定连接有外防护罩、风速检测传感器和风向检测传感器,外防护罩的内侧设置有监控装置,检测箱的内侧设置有摄像调节机构,外防护罩的上方设置有清理机构。装置中通过旋转电机、主动齿轮、从动齿轮和转动杆组成的摄像调节机构,实现监控装置的多角度调节,扩大监测范围,避免视觉盲区;且在监控装置的外侧设置有透明的外防护罩,避免监控装置受外部环境影响;且清理机构包括旋转筒、擦拭板、内连接齿环、中间齿轮一、中间齿轮二和传动齿轮,能够自动清洁外防护罩表面,防止高湿度环境下的镜面结露和盐雾沉积,确保监控装置的清晰度和稳定性。
Resumen de: CN120830604A
本发明旨在提供一种信号识别精准、计算逻辑清晰、控制闭环高效的基于激光雷达的净空距离信号提取与安全控制方法。本发明方法包括以下步骤:a.在风力发电机机舱下方固定激光雷达系统;b.采用飞行时间原理测量激光雷达单元到叶片尾端的目标点的距离;c.风机的数据处理单元接收若干个所述激光雷达单元的测量数据,采用信号聚合统计方法识别有效的叶片反射信号,根据所述反射信号计算叶片与塔架之间的净空距离;d.实时监测的叶片与塔架之间净空距离数据,结合风速和转子转速参数,通过风机控制系统计算最优的桨距角调整量;e.通过风机的变桨执行机构动态调整叶片的桨距角。本发明应用于激光雷达技术领域。
Resumen de: EP4636244A1
One objective of the invention is to provide a modular transport system (1) for supporting a wind turbine component arranged in a wind turbine support equipment during transport and storage, wherein the modular transport system (1) comprises:- a base support (10) configured for distributing a load onto a surface at a first end (11), wherein the base support (10) comprises a plurality of coupling interfaces (40) arranged at a second end (12) being opposite to the first end (11) and wherein the coupling interfaces (40) are configured for releasably interlocking with another plurality of coupling interfaces (40);- two side sections (20) each comprising a plurality of coupling interfaces (40) arranged at a third end (21) of the side section (20) and another plurality of coupling interfaces (40) arranged at a fourth end (22) being opposite to the third end (21), wherein the third end (21) and the fourth end (22) are separated by a side section length; and- a top support (30) comprising a plurality of coupling interfaces (40) arranged at a fifth end (31) and a top cover (35) arranged at a sixth end (32) being opposite to the fifth end (31) and wherein the top cover (35) is configured for supporting the wind turbine support equipment,wherein the top support (30) is configured for being connected to the two side sections (20), and wherein the two side sections (20) are configured for being connected to the base support (10) with a side section width measured perpendicular to the side
Resumen de: CN120830594A
本发明公开了一种用于风力发电机组塔筒与基础的消能结构,涉及风电施工技术领域,其中,该用于风力发电机组塔筒与基础的消能结构包括法兰、限位组件和多个消能组件,法兰与风力发电机组塔筒连接;限位组件预埋于基础内,限位组件套设于法兰外,限位组件与法兰之间设置有环形消能空间;多个消能组件沿法兰的周向间隔设置于环形消能空间内;各消能组件包括安装部和消能部,安装部铰接于限位组件,安装部的部分抵紧于法兰的外缘,消能部沿法兰的径向能伸缩的设置于安装部和限位组件之间。本发明通过设置于法兰与限位组件之间的消能组件,提升了风力发电机组塔筒与基础连接结构的抗风性能,提高了风力发电机组的运行稳定性和结构安全性。
Resumen de: CN120830597A
本发明提供了一种基于气象数据和物理特性的叶片覆冰监测方法、电子设备及介质,本发明基于直接影响叶片覆冰的气象数据,结合编码方法和重构方法对气象数据进行处理;编码方法将气象数据分为多个关键覆冰特征类,有助于区分气象数据在时间维度上的不同覆冰信息;重构方法耦合气象数据之间的关系,提取气象数据中的覆冰物理特征,增强气象数据表达覆冰的能力;本发明结合编码方法和重构方法对气象数据进行处理,提高了叶片覆冰监测精度和准确度。
Resumen de: CN120832986A
本发明涉及效率优化领域,公开了基于风向风速监控的风电机组发电效率优化方法及系统,用于实现风电机组长期稳定高效运行。包括利用传感器获取原始风速、风向序列,经计算生成含湍流强度特征的增强标准化风速序列与含变化量特征的标准化风向序列,输出标准化风速和风向预测序列,并结合湍流强度修正,提高预测精度与实用性,构建连续可微的能量捕获效率曲面,沿曲面梯度方向解析得到偏航角和桨距角指令序列,实现全局优化控制,还能动态调整指令以适应风况变化。该方法能够生成风机风电效率评估报告,依据风机风电效率评估报告进行发电效率优化。
Resumen de: CN120830592A
一种风力发电方法,现有风扇型风力发电造价高,尤其是海上风力发电造价更高,还有圆圈氦气球中设风扇,飘到600米高空发电,存在很多缺点,为了解决现有风力发电的缺点,做到经济实惠制作简单,实现方法是风力发电机就是采用高空风发电,越高风力越大尤其是海上风力大,气球相对造价低而且飞的高,采用气球代替现有风力发电设备来降低价格,采用简单结构的气球发电使得风力发电结构简单,利用栓气球的绳索伸缩发电,气球是在风吹动下移动,用俩根绳索像人俩条腿走路一样,交替前进并发电,或者采用气球带动下方能源舟移动发电,这个方法尤其适合海上发电,造价低以及海面没有障碍物能源舟畅通无阻,在天空上设置气球(1),利用风吹动气球(1),气球(1)带动下方能源舟移动,能源舟(2)利用移动发电,尤其适合海上发电,能源舟(2)如果是船,气球用绳索(7)拉着船移动,船在水下部分可以安装发电叶轮(8),利用船的移动发电。
Resumen de: CN120828679A
本发明公开了一种电动汽车传动发电设备,本发明涉及新能源汽车能量回收技术领域,包含与电机传动轴机械耦合的变速齿轮组,以及连接齿轮组的永磁机器人发电机;包含集成于汽车刹车盘外缘之外的环形齿圈(注:汽车轮胎锅子),以及可径向移动接触所述齿圈的摩擦轮组件;控制单元:配置为实时监测蓄电池荷电状态(SOC),当SOC≤60%时驱动所述摩擦轮组件机器人发电机压紧刹车盘外缘之外的环形齿圈(注:汽车轮胎锅子);能量管理单元:将齿轮啮合发电单元及摩擦发电单元产生的电能存储至蓄电池组,摩擦组件可分离设计兼顾发电效率与机械耐久性;整体技术以简洁可靠的机械结构,为新能源汽车提供持续、清洁的能源供给路径,推动绿色交通可持续发展。
Resumen de: CN120830593A
本发明提出一种风电机组叶片的桨距角补偿方法、设备、介质和产品,方法包括:根据采样周期实时采集发电机实时转速数据;根据实时转速数据计算实时转速偏差和实时转速偏差变化率;根据实时转速偏差和实时转速偏差变化率查询最优补偿变桨速率表,找到对应的最优的补偿变桨速率;若补偿变桨速率大于设定阈值,则将补偿变桨速率转换为补偿桨距角,触发风电机组的防超速功能,使风电机组根据补偿桨距角调整收桨角度。本发明通过当前发电机实时转速偏差和实时转速偏差变化率两个方面判断风电机组是否面临发电机转速过大的问题,提前给出最优的补偿桨距角命令风电机组增大收桨角度,可有效防止风电机组超速,保持发电机转速稳定。
Resumen de: CN120831419A
本发明提供一种风机主轴轴承位的柔性相控阵检测装置及检测方法,属于风电设备检测技术领域,其可至少部分解决现有的风机主轴轴承位检测中探头无法良好贴合曲面、信号失真、人工操作风险高、漏检率高的问题,本发明包括碳纤维骨架模块、柔性相控阵探头模块以及气囊调压与驱动模块,其中,碳纤维骨架模块包括多组碳纤维壳体和探头滑轨;柔性相控阵探头模块包括柔性相控阵探头,该探头包括接触层、传声层和支撑层;气囊调压与驱动模块包括气囊、驱动电机和耦合剂喷嘴;本发明通过柔性探头自适应贴合曲面、气囊动态调节压力以及自动驱动旋转,实现高效、可靠的自动检测,提高检测精度并减少人工干预。
Resumen de: CN120832556A
本发明实施例提供了一种基于智慧运维平台的风电机组运行参数预警方法及装置。方法包括:从风电机组的预收桨数据特征数据库中,获取风电机组的预收桨数据特征,得到预收桨数据特征表;对预收桨数据特征表进行预处理,得到预处理后的目标预收桨数据特征表;基于预处理后的目标预收桨数据特征表,识别预收桨关键参数;其中,预收桨关键参数至少包括起始桨角、起始功率系数和桨角差值;根据预收桨关键参数,计算预收桨程度量化指标;基于预收桨程度量化指标与预设阈值的比较结果,生成预警事件并推送至智慧运维平台。通过识别风电机组预收桨关键参数、预收桨程度的指标量化,产生并推送预收桨程度预警事件,实现定期的机组预收桨策略的运行监测。
Resumen de: CN120834605A
本发明提供了一种基于疲劳载荷的风电场有功功率分配方法,属于风电控制技术领域,解决了风电场在参与调频过程中风电机组疲劳载荷剧增的技术问题。其技术方案为:包括以下步骤:根据风电机组动力学模型和传动链模型,构建状态空间方程;建立风电机组疲劳载荷模型,基于模型预测控制MPC,以采样周期将状态空间方程离散化,对每台风电机组的桨距角、转速、风速、当前发出的有功功率输出值进行采集,计算各风电机组的疲劳信息;结合每台风电机组的疲劳信息、叠加的调频有功功率、优化目标和约束条件,进行有功功率的优化分配。本发明在满足风电场调频需求的同时,改善了风电机组疲劳载荷剧增的技术问题,确保风电机组长期稳定运行。
Resumen de: CN120830605A
本发明公开了风电机技术领域的一种风电机组叶片防覆冰装置,包括塔架、转动连接在塔架上的偏航箱、转动连接在偏航箱上的转筒与圆周阵列设置在转筒上的叶片;每个叶片靠近转筒的一端均固定连接有用于对叶片进行加热的导热块,所述导热块贯穿并延伸至转筒的内部;转筒的内部滑动连接有能够对导热块进行间歇加热的接电块,接电块能够在转筒内进行间歇往复运动,且所述接电块通过外接电路,在接电块与导热块接触时,导热块的电路被连通,使导热块进行发热,对叶片上进行加热防覆冰;通过导热块的间歇性加热,使叶片局部始终保持相对稳定的温度,水滴不会因其温度过低冷凝在叶片上,形成整体式覆冰,同时节约了电能,保证了叶片内部零件的稳定性。
Resumen de: CN120830599A
本发明提出一种高山地区风力发电机组叶片雷电监测系统,通过多传感器协同监测、高精度信号处理及冗余数据传输,显著提升了高山地区风机叶片雷击监测的可靠性与精确性。电磁脉冲、声发射及光纤应变传感器的组合设计,实现了雷击事件的时空定位与能量量化;信号处理模块的宽带滤波与高速采样保障了瞬态雷电信号的完整性;光纤与无线双通道传输机制克服了恶劣环境下的通信中断风险。中央处理模块结合小波变换与损伤模型,可实时评估叶片累积损伤并预警潜在裂纹,可视化平台通过数据融合与机器学习优化了运维决策效率。该系统有效解决了传统防护中监测盲区问题,延长了叶片寿命并降低了雷击故障率。
Resumen de: EP4637001A1
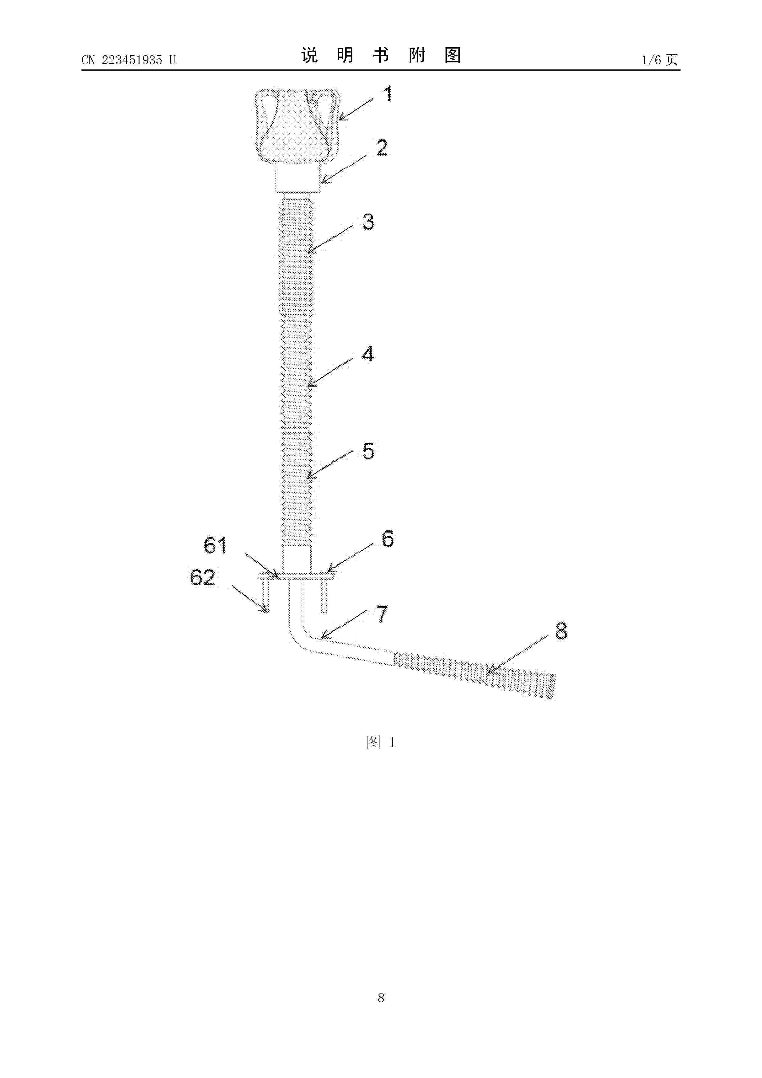
Verfahren zur Reparatur eines Generators mit Formspulen, insbesondere eines Generators einer Windenergieanlage mit Formspulen, umfassend die Schritte: Entkoppeln (1010) des ersten und zweiten Anschlusses (18, 19) einer defekten Formspule (11) von zwei weiteren der mehreren Formspulen (10); Abtrennen (1020) des ersten und zweiten Spulenkopfes (14, 16) der defekten Formspule (11); Auftrennen (1030a) eines Nutenverschlusskeils, der eine Nut verschließt, in der ein erster Schenkel (12a) der defekten Formspule (11) eingesetzt ist; Entfernen (1040a) des ersten Schenkels (12a) der defekten Formspule (11) aus der Nut (38); Einsetzen (1050a) eines ersten Schenkels (12a) einer neuen Formspule (13) mit einem elektrischen Leiter aus Kupfer oder Aluminium; Einsetzen (1060a) eines neuen Nutenverschlusskeils (39) in die Nut (38), in welche der erste Schenkel (12a) der neuen Formspule (13) eingesetzt wurde, wobei die Nut (38) durch den neuen Nutenverschlusskeil (39) in Richtung des im Betriebszustand zwischen Stator und Rotor bestehenden Luftspalts verschlossen wird; Einbringen (1070a) von Harz in die Nut, in welche der erste Schenkel (12a) der neuen Formspule (13) eingesetzt wurde; Verbinden (1080) des ersten Schenkels (12a) mit dem zweiten Schenkel (12b); und Koppeln (1090) des ersten und zweiten Anschlusses mit dem ersten Anschluss und zweiten Anschluss der zwei weiteren Formspulen (10).
Resumen de: CN120832500A
本发明实施例提供了一种风电机组运行策略变化检测及预警方法、装置,通过识别当前时间及历史同期风电机组预收桨关键参数、分别对当前时间和历史同期机组预收桨程度进行指标量化,对比两者量化指标变化,对指标变化超过预期的风电机组产生并推送预收桨策略变化预警事件,实现定期(默认和预警周期同步)的机组预收桨策略变化的运行监测,丰富风电机组智慧运维的内涵。
Resumen de: WO2024184930A1
Machine (1 ) for automatic cutting of fabric comprising: - a cutting plane (7) at an upper face (8) of a box (3) and comprising a plurality of pass- through openings; - a suction system (9) for drawing air from the interior (4) of the box; - a turbine (30) located downstream of the suction system and structured to extract energy from the exhaust air flow generated by the suction system and convert it into rotational mechanical energy; - an electric generator (40) mechanically coupled to the turbine (30) and structured to convert the rotational mechanical energy of the turbine into electrical energy.
Resumen de: CN120830602A
本发明涉及风电设备叶片故障检测技术,其公开了一种基于相位感知平行注意力机制的无监督风电设备叶片故障检测方法,解决现有风电设备叶片故障检测方法对标注数据依赖性强、在强噪声和变工况下泛化能力不足,难以鲁棒捕捉微弱瞬态故障信号和动态变化特征的问题。本发明方案通过采集叶片运行音频信号,经改进短时傅里叶变换提取含幅度谱和相位谱的双通道时频特征;利用含相位感知平行注意力模块的编码器、解码器及辅助编码器构建深度对抗自编码器,离线训练时通过重构误差损失、潜在表征一致性损失、对抗损失及相位一致性损失优化模型,学习正常工况特征分布;在推理阶段,基于特征距离评分和重构误差评分判断故障。
Resumen de: CN120830595A
本发明公开了一种风力发电用稳固支架,涉及风力发电技术领域,该风力发电用稳固支架包括风力发电机,所述风力发电机的表面固定安装有防护筒,所述风力发电机的圆周面固定安装有夹持固定环,所述夹持固定环的圆周面转动安装有夹持适应环,所述风力发电机的表面转动贯穿有螺钉,所述转动杆一转动安装在夹持固定环的圆周面,所述转动杆一的表面固定贯穿有避震弹簧,该风力发电用稳固支架通过调节插销将调节套筒固定在转动杆二的内壁实现对夹持固定环与固定板之间的距离调节,避免特殊地形对设备安装造成限制,提高了设备的适应性和通用性,使其能够在各种复杂地形条件下进行安装和使用,拓宽了设备的应用范围。
Resumen de: CN120830598A
本申请提供了一种基于物联网安全的风机塔筒形变实时监测与预警系统、方法和设备,涉及风力发电技术领域。该系统包括:传感器模块,用于采集风机塔筒的形变数据,形变数据包括:分布式光纤的应变数据、倾斜数据、微应变数据、振动数据、风荷载谱和温湿度参数;数据分析与预警模块,用于将标准形变数据输入到形变预测模型中,输出形变预测值;将标准形变数据输入到健康评估单元中,得到健康评分;在目标时长内形变预测值的变化量大于第一阈值的情况下,和/或在健康评分小于第二阈值情况下,发送红色预警信息。本申请通过关联多参数的异常模式进行复合预警,可以更准确地判断风机塔筒的健康状况。
Resumen de: CN120828913A
本发明提供的一种具有分层阻尼效果的高稳定性半潜式风电平台,包括风电机组、多个浮筒组件、多层垂荡机构和锚链。各浮筒组件包括自上而下依次连接的上浮筒、水面线浮筒和下浮筒。多层垂荡机构包括至少一个中部垂荡单元和一个底部垂荡单元。利用阶梯式设计浮筒组件,有助于模块化建造、降低建造成本。同时,通过中部垂荡单元连接相邻浮筒组件,以提升整体结构的刚度,通过底部垂荡板和底部旁通连接相邻浮筒组件底部的下浮筒,可以分别针对不同频段的波浪实现能量耗散及增加结构物的附加质量,形成分层阻尼系统以协同抑制垂荡、横摇及纵摇运动。本发明有效调和了平台稳定性与经济性的矛盾,在保证平台稳性的前提下,能够有效降低平台的建造成本。
Resumen de: CN120830336A
本发明涉及风电设备监测技术领域,公开了一种风力发电机组基础锚板不均匀沉降监测方法,包括以下监测步骤:步骤一、在风力发电机基础锚板施工阶段沿锚板圆周预埋磁致伸缩传感器阵列,利用所述传感器阵列实时监测锚板与地基接触面的应力应变;步骤二、对采集的应力应变信号进行时频域处理,分离环境振动信号与沉降特征信号。通过提出在基础锚板施工阶段预埋磁致伸缩传感器阵列,构建具备实时感知能力的锚板‑地基接触面应力应变监测网络,相比传统人工定期测量的滞后性监测模式,该阵列处理方式可对沉降信号进行动态捕捉,有效解决了极端工况下瞬时沉降突变难以及时发现的行业难题,为风机基础的安全运行提供了实时、精准的数据支撑。
Resumen de: CN223469375U
本实用新型涉及风力发电塔架技术领域,尤其是一种风力发电塔架安装用可调节支撑架,包括支撑件,所述支撑件套设在塔身外围,位于所述支撑件的外围连接有支撑机构,所述支撑机构包括第一支撑杆和第二支撑杆,所述第一支撑杆与所述支撑件之间通过纵向调节组件连接;其中,所述第一支撑杆与所述第二支撑杆之间通过卡接结构固定,通过弹簧插杆组件调节固定件与活动件之间的高度,以及通过止挡杆与凹槽之间卡接的方式能够对支撑机构的高度进行调节,可以调节支撑机构对塔身的支撑高度,提高了支撑机构对塔身的支撑作用,此外,通过弹性爪卡接防护罩的方式,能够利用防护罩对止挡杆进行固定,防止止挡杆意外脱离凹槽的情况出现。
Resumen de: CN223469382U
本实用新型公开了一种风电机组叶片零位调整结构,包括由内轴承圈和外轴承圈组成的风电轴承,所述内轴承圈的内壁上设有内齿圈,内轴承圈的外端部设有与叶片连接的盖板,外轴承圈与风电轮毂相固定,风电轮毂上安装有与内齿圈啮合的传动齿轮,风电轮毂上还设有驱动内齿圈转动的减速电机,内轴承圈与外轴承圈之间设有原点定位机构,所述内轴承圈和外轴承圈之间安装有用于对内轴承圈转动角度进行检测的角度传感器;所述外轴承圈设有与风电轮定点对接的对接标志,所述盖板上设有与叶片定点连接的连接标;本实用新型保证每个叶片安装后的角度都一直,而方便后续对叶片的零位进行调整,而无需外部测量装置进行测量,省时省力。
Resumen de: CN223469374U
本实用新型公开了一种风力发电用风机支架,包括安装架,所述安装架,所述安装架内部上端通过轴承活动设置有转轴,所述转轴外侧固定设置有支架,所述支架上端设置有风机组件,所述风机组件包括固定框架、风机叶轮、发电机,所述支架上端固定设置有固定框架,所述固定框架表面两侧均通过轴承活动设置有风机叶轮,所述固定框架下端两侧均固定设置有发电机,所述风机叶轮与发电机的动力输入轴端之间传动连接。本实用新型使用效果好,可以根据需要对支架进行旋转,以使得支架以及风机整体组件进行上下倒转,以使得上端的风机组件降低到合适高度,从而可以方便工作人员对风机组件进行检查维修以及零部件的更换。
Resumen de: CN223469376U
本实用新型公开了一种稳定加固机构的海上风电塔筒,包括底座与挤压环,所述底座顶端固定连接有塔筒,所述底座顶端固定安装有阵列设置的多个液压缸,所述挤压环的外壁上固定连接有阵列设置的多个连体板,所述挤压环的内圈对应连体板位置处均固定连接有导向板,多个所述导向板上均开设有通行槽,所述底座上对应导向板位置处均固定连接有定位杆,多个所述定位杆的顶端均螺纹连接有限位环,所述底座顶端固定连接有阵列设置的多个安装座,多个所述安装座上均开设有滑槽,本实用新型的有益效果是:各部件的配合达到为风电塔筒增加一层固定的效果,可以与螺栓共同的为塔筒提供稳定性,降低塔筒在大风天气下出现稳定性下降的可能性。
Resumen de: CN223467337U
本实用新型公开了一种用于巡检风力发电机叶片的无人机,涉及无人机技术领域,包括无人机主体和摄像头,所述无人机主体由无人机机身、四个螺旋桨臂和四个螺旋桨组成,所述螺旋桨臂顶部安装有防鸟机构,所述无人机机身底部安装有防护机构,所述防鸟机构包括立杆,所述立杆插接在螺旋桨臂顶部远离螺旋桨的一侧,所述螺旋桨上方安装有环形杆,所述立杆和环形杆之间固定连接有两个连接杆,所述连接杆和环形杆的顶部均固定连接有多个尖刺;通过在螺旋桨臂上可拆卸安装一个防鸟机构,可避免螺旋桨被飞鸟损坏,其中的尖刺可刺痛飞鸟使其不敢再攻击,同时配合蜂鸣器发出的蜂鸣声音吓退驱赶,可对无人机起到有效的保护作用,整体安全性较高。
Resumen de: CN223469379U
本实用新型公开了一种风力发电机组及其集成式传动链,集成式传动链包括齿轮箱和发电机,齿轮箱的输出轴连接发电机的转子,齿轮箱和发电机之间具有空腔。齿轮箱和发电机之间设有隔离结构,隔离结构安装于齿轮箱上,隔离结构包裹于输出轴外且与发电机的转子间隙配合,以将空腔分隔为包绕输出轴的输出轴区域和位于外侧的冷却空气循环区域。上述风力发电机组及其集成式传动链,发电机冷却空气流在经过转子轮毂区域时不会进入齿轮箱输出轴区域,避免齿轮箱输出轴区域受发电机冷却气流影响而产生有害的正压或负压,由此避免了齿轮箱输出轴区域由具有正压或负压而导致润滑油泄漏的问题。
Resumen de: CN223469373U
本实用新型涉及风电场设备安装技术领域,尤其是一种风电叶片的便捷安装支架,包括基座以及固定于基座顶部的圆形立板,在所述基座侧面开设有环形槽,所述环形槽的表面转动连接有转动座,在所述转动座表面铰接有至少三个横板,在所述横板的表面设有滑动支撑机构,且所述横板与转动座之间设有定位机构;本实用新型通过三个横板可以对叶片进行快速定位,之后通过电机带动移动座可以便捷的移动风电叶片将其固定在中心座上,并且通过升降单元可以调整支撑的高度从而方便进行定位,通过固定销配合铰接的横板可以将三个横板收起并固定,不仅可以便捷的对风电叶片进行组装,并且安装支架也方便进行运输。
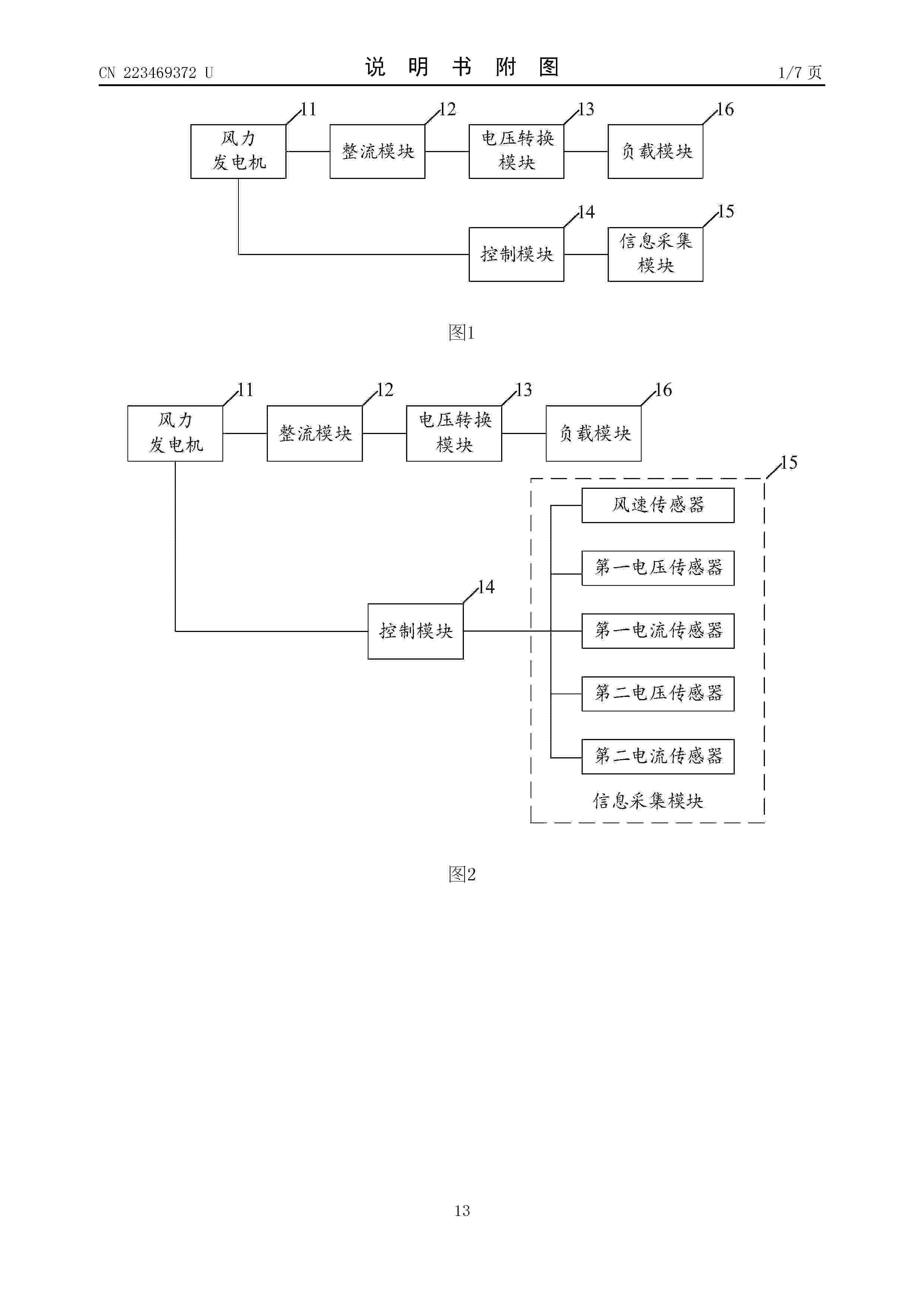
Resumen de: CN223469372U
本申请公开了一种风力发电机控制系统,该系统包括风力发电机、整流模块、电压转换模块、控制模块、信息采集模块以及负载模块;风力发电机,用于产生交流电压;整流模块,用于将交流电压转换成第一直流电压;电压转换模块,用于将第一直流电压转换成第二直流电压;信息采集模块,用于采集风力发电机的第一信息和负载模块的第二信息;控制模块,用于采用扰动观察法调整风力发电机产生的交流电压,以使电压转换模块的输出功率达到预设目标功率。本申请实施例不仅避免卸荷装置频繁使用对系统造成的压力及弃风现象的发生,而且避免长时间使用卸荷模块造成风力发电机由于长时间带载过大导致发热现象的发生。
Resumen de: CN223469370U
本实用新型公开了一种风力发电设备叶片挡雨环,属于风力发电设备技术领域,包括环形叶根,环形叶根的外环面设有环形凹槽,环形凹槽沿环形叶根的外环面延伸成环,环形叶根的外侧固定连接有挡雨叶片,挡雨叶片与环形叶根的轴线的第一方向呈锐角,且挡雨叶片在第一方向上与环形叶根之间固定连接有加强筋。本实用新型的优点在于:节省生产、运输和安装成本。
Resumen de: CN223469377U
本实用新型涉及一种叶身支撑装置、运输组件、运输系统、风场及机组,叶身支撑装置包括:支撑底座,包括座本体以及设置于座本体上的第一配合部;叶片保持器,设置于支撑底座,叶片保持器包括支撑本体以及设置于支撑本体上的第二配合部,支撑本体能够支撑叶片,支撑底座与叶片保持器通过第一配合部与第二配合部彼此可拆卸连接。本实用新型实施例提供的叶身支撑装置、运输组件、运输系统、风场及机组,能够满足不同工况下叶片的运输,通用性好,且无需叶片反复拆装,能够降低叶片损伤概率。
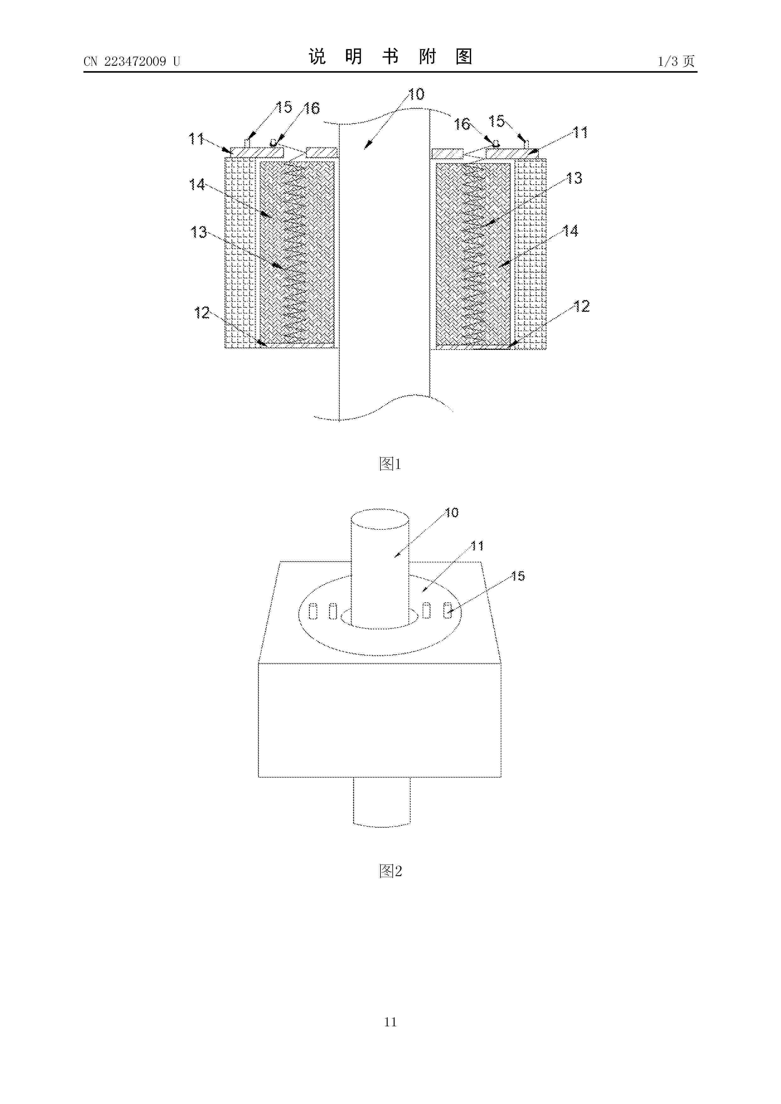
Resumen de: CN223472009U
本申请实施例提供一种用于塔筒电缆孔洞的封堵装置。该封堵装置包括环形顶盖、环形底板和至少两个弹性牵拉件;环形顶盖覆盖设置在电缆孔洞外侧,环形顶盖的侧壁与塔筒的表面接触设置;每个弹性牵拉件的一端均与环形顶盖连接,另一端均与环形底板连接,且弹性牵拉件呈拉伸状态;弹性牵拉件沿环形顶盖和环形底板的周向均匀布置,并沿电缆孔洞的轴向分布;环形底板位于电缆孔洞内,且通过弹性牵拉件沿电缆孔洞的轴向移动;电缆由外向内依次穿过环形顶盖和环形底板,环形顶盖、电缆孔洞的内侧壁和环形底板共同围合形成空腔,防火封堵填充于空腔中。本申请实施例通过环形顶盖、环形底板和弹性牵拉件的结构组合,实现了电缆孔洞的紧密封堵和防火保护。
Resumen de: CN223469380U
本实用新型属于风电技术领域,公开了风电传动结构及风电驱动装置。该风电传动结构包括收缩紧固结构和增磨层,收缩紧固结构包括固定环和收紧环,固定环固定套设于插接配合结构的外周,收紧环套设于固定环且与固定环可拆卸连接,且固定环的外周面和收紧环的内周面锥面配合。增磨层固定设置于主轴和输入轴的插接配合处,增磨层用于增大主轴和输入轴之间的相互摩擦力。通过采用该风电传动结构,能够有效提升主轴向输入轴传递扭矩的可靠性,也能有效降低由于齿轮箱兆瓦级的增大所导致的收缩盘尺寸大、重量重和制造成本高等问题。
Resumen de: CN223471772U
本实用新型公开了一种风力发电机防雷接地装置,包括固定板,所述固定板的底面固定连接有两个支撑座,每个所述支撑座的上表面均开设有两个安装孔,所述固定板的上表面固定连接有防护框,所述防护框的上表面固定连接有固定架,所述防护框的上表面固定连通有两个引雷线,且引雷线与固定架相卡接,所述防护框的内部设有绝缘板。本装置通过设有的固定架和定位块的配合,起到对固定架进行固定的同时,也可以对引雷线进行卡接的作用,并利用压线卡板,达到对引雷线进行卡接的目的,进而确保引雷线在引雷过程中更加稳定,通过设有的定位板、定位卡座和卡线槽的配合,便于对定位卡座和卡线槽进行防护,进而增加了引雷线的稳定性。
Resumen de: CN223467334U
本实用新型公开了一种基于激光雷达的风力机叶片检测无人机,包括无人机机身,所述无人机机身的底部设置有底座,所述底座的两侧底部均安装有支撑腿,所述底座的外壁前后均等距开设有卡口,所述底座位于卡口远离支撑腿的一侧设置有安装孔,所述安装孔的内部活动连接有限位杆,所述限位杆的外壁一侧设置有拨块。本实用新型涉及风力机巡检设备技术领域,解决了现有技术中,用于风力机叶片检测的无人机在运输和存放过程中,激光雷达感测模块在无人机的底部缺少有效防护,容易因意外磕碰造成激光雷达感测模块损坏,影响无人机的检测精度和设备安全性的问题。
Resumen de: CN223467289U
本实用新型涉及漂浮式风电平台技术领域,且公开了深远海漂浮式风电平台调平装置,包括底架,所述底架的内壁固定装配有气囊,所述底架的顶部设置有辅助架,所述辅助架的内壁转动连接有转动架,所述转动架的顶部固定装配有外筒,所述外筒的内壁滑动套接有滑筒,所述滑筒的顶部固定装配有固定架。通过凸杆与凹筒的配合使用,当底架和气囊受到外界环境影响时,风电平台本体在配重球的辅助作用下辅助风电平台本体在底架倾斜时保持平衡,并利用风电平台本体带动凸杆向凹筒内壁的方向移动,进而利用凸杆的底部与压力传感器的顶部接触,从而利用压力传感器控制相邻气泵运作,并利用相邻气泵通过连接管对气囊内部送气,从而辅助装置进行调平。
Resumen de: CN223469378U
本申请实施例公开了一种套笼加固装置和海上运输系统,套笼加固装置包括了支撑组件、第一液压伸缩装置、第二液压伸缩装置和限位板,基于此在使用过程中,在通过套笼进行海上运输时,可以将套笼加固装置设置在套笼之内,第一液压伸缩装置能够抵接在套笼的内壁上,使得第二液压伸缩装置的限位板能够卡接在套笼的卡槽之内。该套笼加固装置主要是为解决超高套笼重心偏高,固定绳索无法有效固定等问题。通过套笼加固装置大大增强了套笼下部结构的支撑能力,保证套笼下部结构不发生变形,提高产品质量。同时,套笼加固装置也限制了套笼运输过程中的水平位移,减少超高套笼对固定钢丝绳的作用力,大大提高运输安全保障,实现高效、安全运输目的。
Resumen de: CN223467162U
本实用新型公开了运输工程技术领域的一种风电叶片的运输装置,包括定位板和平板车,定位板和平板车之间设置有调节机构,平板车的顶部连接有支撑杆,定位板顶部的一端连接有调节板,调节板靠近定位板中心的一侧连接有固定盘,调节板和定位板之间对称安装有液压杆,两组液压杆的两端分别与定位板和调节板之间设置有限位块。本实用新型通过液压杆的伸缩,方便调整调节板和定位板之间的夹角,通过旋转调节板改变叶片的角度,使得叶片尾部可以抬升,避免因叶片过长导致的运输困难,方便装置根据需要调节叶片的角度,减少叶片在运输时的扫尾面积,同时通过支撑杆的设置能够对叶片进行支撑,避免叶片在运输途中晃动,增加装置的便捷性。
Resumen de: CN223463458U
本申请涉及一种海上风电一体化蓝碳生态系统,包括蓝碳生态单元、摩擦电水涡轮装置和海上风电机组,蓝碳生态单元包括LED灯带和海藻,LED灯带环绕设置于海藻的外侧;摩擦电水涡轮装置包括转动件、上底盘和摩擦电小球,上底盘的壁面设置有由摩擦电材料制成的第一摩擦面,摩擦电小球位于上底盘内,且摩擦电小球的表面设置有与第一摩擦面极性相反的摩擦电材料,转动件与上底盘活动连接,且转动件能够带动摩擦电小球在上底盘内滚动;摩擦电水涡轮装置与LED灯带电性连接,摩擦电水涡轮装置能够利用摩擦纳米发电向LED灯带供电;海上风电机组与LED灯带电连接,海上风电机组能够利用风力发电向LED灯带供电。
Resumen de: CN223463508U
本公开涉及一种风渔结合的风机基础总成和风渔结合养殖系统,本风机基础总成包括漂浮基础和养殖网箱;所述漂浮基础设置有容纳空间,所述养殖网箱设置在所述容纳空间内;所述养殖网箱包括箱体、漂浮部件以及连接件,所述箱体用于养殖海洋生物,所述漂浮部件连接于所述箱体,所述漂浮部件用于控制所述箱体上浮或下沉,所述连接件的一端连接于所述漂浮部件和/或所述箱体,所述连接件的另一端与所述漂浮基础连接。本风机基础总成通过设置的漂浮部件能够实现箱体的上浮或下沉,将箱体与漂浮基础进行拆卸分离,实现箱体的维护或更换。
Resumen de: CN223469371U
本实用新型提供一种风机叶片及包含其的风力发电机。风机叶片包括靠近主机的主叶片和远离主机的尾叶片,主叶片和尾叶片可拆卸连接,主叶片和尾叶片的连接处的安全系数为a,主叶片靠近尾叶片的部分的安全系数为b,a<b。通过将主叶片和尾叶片设置为可拆卸连接,并且主叶片和尾叶片的连接处的安全系数小于主叶片靠近尾叶片的部分的安全系数,使得风机叶片在运行过程中打到风机塔筒时,风机叶片能够在主叶片和尾叶片的连接处断开,且由于主叶片靠近尾叶片的部分的安全系数较大,撞击过程中主叶片不受损。在后续的修复过程中,只需要更换尾叶片即可,降低了修复的材料费和机械费,缩短了工期,降低了因叶片维修而引起的正常发电损失。
Resumen de: CN223469381U
本实用新型属于风力发电技术领域,公开了一种主轴压紧装置。该主轴压紧装置包括压块和第一抵接机构,压块用于抵压主轴;第一抵接机构包括抵接块和第一驱动组件,抵接块转动连接于压块,第一驱动组件设置于压块;压块沿第一方向抵压于主轴时,第一驱动组件能够驱动抵接块转动并沿第一方向的相反方向抵压于机架。该主轴压紧装置为整体式结构,使用时仅需通过第一驱动组件驱动抵接块转动即可使抵接块抵压于机架,结构简单、操作方便,极大地便利了操作人员。
Resumen de: CN120830600A
本申请涉及一种基于双源异构传感的风机轴承安全诊断方法及系统,属于轴承故障诊断技术领域,包括以下步骤:通过振动传感器和声纹传感器同步采集轴承的振动信号和声音信号,在采集端生成量子随机密钥对信号实时加密,并通过量子密钥分发通道传输至云端。云端解密后提取振动信号的时频域特征和声音信号的声纹特征,输入跨模态注意力融合层生成融合特征向量。该向量经量子衍生故障诊断模型处理,通过时空融合模块捕捉瞬态冲击与长周期退化特征,并利用量子归一化模块在希尔伯特空间计算故障概率分布,最终输出轴承故障类别及置信度。本发明融合量子加密保障数据传输安全,结合双模态特征增强诊断准确性,适用于风机轴承的智能化安全监测。
Resumen de: WO2025219651A1
Disclosed is a method for obtaining sensor data, the method comprising: obtaining, using a first sensing device, a first sensor data from one or more sensors of the first sensing device, wherein the first sensing device is associated with a first wind turbine located at a first location, receiving the obtained first sensor data by a computing system, receiving, by the computing system, a second sensor data obtained by a second sensing device located at a second location, the second location being different than the first location, and combining, by the computing system, the first sensor data and the second sensor data.
Resumen de: WO2025219612A1
The invention relates to a wind turbine having a rotational body and wind generators, the rotational body being spherical or toroidal and having, on its surface, non-continuous openings comprising flaps, or having flaps located directly on the rotational body, and the rotational body being mounted rotatably about the x-axis and/or y-axis and/or z-axis via at least two mounting devices each having two opposing wind generators. The invention also relates to a method for generating electric energy using a wind turbine of this kind.
Resumen de: WO2025217723A1
A vertical axis wind turbine with at least one deflector is provided. In some embodiments, the vertical axis wind turbine comprises: a rotor assembly comprising a shaft, a support structure, and at least two blades connected to the shaft via the support structure, the rotor assembly having an outer circumference; and a deflector assembly comprising at least one deflector, the at least one deflector extending outwards from the rotor assembly at an angle of between 15° and 40° with respect to the tangent of the outer circumference of the rotor assembly. In some embodiments, there are two deflectors of different sizes, which create a Venturi tube therebetween. Related methods of customizing the vertical axis wind turbine are also provided.
Resumen de: WO2025217731A1
A rotor lock system for locking a rotor of a wind turbine has a bracket that is slidably mountable on a forwardly protruding projection of a nacelle of the wind turbine so that the bracket is slidable on the projection, and a lock arm connected to the bracket so that the lock arm extends radially away from the projection. The bracket has opposed backing plates and opposed connecting shafts that connect the backing plates together so that at least one of the backing plates is slidable on the connecting shafts when the bracket is mounted on the projection. The lock arm has a protrusion that engages an aperture in a rotor plate when the bracket slides forward on the projection to lock rotation of the rotor plate and disengages from the aperture when the bracket slides rearward on the projection to unlock the rotation of the rotor plate.
Resumen de: US2025328778A1
An example method comprises receiving first historical data of a first time period and failure data, identifying at least some sensor data that was or potentially was generated during a first failure, removing the at least some sensor data to create filtered historical data, training a classification model using the filtered historical data, the classification model indicating at least one first classified state at a second period of time prior to the first failure indicated by the failure data, applying the classification model to second sensor data to identify a first potential failure state based on the at least one first classified state, the second sensor data being from a subsequent time period, generating an alert if the first potential failure state is identified based on at least a first subset of sensor signals generated during the subsequent time period, and providing the alert.
Resumen de: US2025327673A1
In the sea route plan generating system, a sea route plan generating unit that generates a sea route plan for sailing the power generation floating body that performs wind power generation using a kite while sailing at sea, at a predetermined sailing angle based on the wind conditions and a tidal current determining unit that determines whether or not there is an opposing tidal current opposed to the wind direction based on the wind conditions are provided for the power generation floating body that generates wind power using kite while sailing on the sea. When it is determined that there is an opposite tidal current, the sea route plan generating unit generates the sea route plan such that the power generation floating body proceeds at the sailing angle at which the power generation efficiency increases in the sea area of the opposite tidal current.
Resumen de: US2025327438A1
A wind turbine rotor blade that includes a blade body having a shape that generates a lift when impacted by an incident airflow. The blade body includes a pressure side and a suction side shell joining at a leading and a trailing edge, and a load-shedding assembly mechanically coupled with the trailing edge and configured to move from an original position to a reversibly deformed position under an application of an external load, and back to the original position on withdrawal of the external load. The load-shedding assembly includes the pressure and suction side shells, and a number of flexible structural elements mechanically coupled with the shells and configured to cause the load-shedding assembly to move from the original position to the deformed position under the external load and back to the original position on withdrawal of the external load, and thereby, reduce an overall load on the blade body.
Resumen de: US2025327439A1
A system for harvesting energy from wind flow includes a bluff body comprising an elongate member having a non-circular cross-section. The bluff body is configured for creating movement when placed in a wind stream. The system includes a compliant mechanism comprising a translating shuttle coupled to the bluff body for moving in a transverse galloping motion when the bluff body is placed in the wind stream and moves. The system includes a mechanical to electrical energy conversion mechanism coupled to the compliant mechanism for generating electrical energy in response to movement of the translating shuttle.
Resumen de: US2025327440A1
A wind power generating apparatus (1) comprising: a rotatable track (3) rotatably mounted in an at least substantially horizontal plane; at least one power generator (7) associated with the rotatable track such that power from the power generator(s) is generated by rotation of the rotatable track; a plurality of elongate aerofoil modules (9) rotatably supported on the rotatable track, each of the aerofoil modules extending at least substantially laterally from the rotatable track, the rotation of each of the aerofoil modules about an elongate axis of the aerofoil module being independently controllable to thereby maximise. a motive force applied to the aerofoil modules.
Resumen de: US2025327441A1
A floatable, semi-submersible platform for a wind turbine includes a central turbine-tower-hosting column and three or more stabilizing columns. Upper main beams connect the top ends of the stabilizing columns to a top node that is itself connected about the turbine-tower-hosting column. Lower main beams connect the bottom ends of the stabilizing columns to a bottom node that is also connected about the turbine-tower-hosting column. Fixed ballast components may be located within the turbine-tower-hosting column and within the lower main beams. Hull trim compartments for containing ballast may be provided in the three stabilizing columns, and/or lower main beams, with transfer of ballast between the compartments being controlled by a hull trim system (HTS).
Resumen de: US2025327442A1
An online testing and diagnosis method for vibration characteristics of blades of wind turbine is disclosed. Steps of testing and diagnosing blade vibration comprises: S1: installing vibration sensors at key positions of a blade, designing an adaptive data acquisition strategy, and automatically adjusting a sampling rate according to a vibration amplitude and environmental changes monitored in a real time; S2: extracting key features reflecting health status of the blade from massive data, and evaluating an impact of wind speed, temperature, and environmental factors on vibration characteristics; S3: designing a customized deep learning model for damages of the blade of a wind turbine, extracting a time sequence data and a vibration signal, identifying a damage among different types of damages and evaluating a damage degree; and S4: automatically adjusting a warning threshold based on a real-time data stream and a historical trend, and drafting a preventive maintenance plan.
Resumen de: US2025327692A1
Disclosed is an integrated DFOS system and method for enhanced offshore wind turbine monitoring using physics-informed machine learning algorithms that advantageously utilizes existing optical fiber communication cables, distributed fiber optic sensing (DFOS), Physics-informed machine learning algorithms, monitoring of critical underwater components, integrated data processing (DPU), and comprehensive monitoring.
Resumen de: US2025327192A1
A hydrogen generation system comprising a hydrogen electrolyser, a power converter connected to the electrolyser, and a control system configured to control the power converter to supply power to the electrolyser The system further includes a monitoring system configured to monitor the operation of the generation system, wherein the monitoring system is configured to: determine a plurality of operational parameters of the electrolyser, and, generate one or more performance metrics based on the determined operational parameters, the one or more performance parameters including: the electrical capacitance of the electrolyser, and/or the equivalent series resistance of the electrolyser. Also disclosed is a method for determining operational performance of a hydrogen generation system including an electrolyser.
Resumen de: US2025326883A1
Disclosed herein is a gasket for formfitting the bottom part of an upper structure of a wind turbine, such as a transition piece or a turbine tower, with one or more foundation piles, where the gasket includes a polyurethane obtained by mixing (a) organic polyisocyanate, (b) polymeric compounds having at least two isocyanate-reactive hydrogen atoms, (c) 1 to 12 wt.-%, based on the total weight of components a) to c), of one or more chain extenders, (d) catalyst and (e) optionally fillers and/or polyurethane additives to give a reaction mixture and allowing the reaction mixture to cure where the polymeric compounds having at least two isocyanate-reactive hydrogen atoms (b) include polyetherol obtained by alkoxylation of a difunctional starter molecule (b1) and polyetherol obtained by alkoxylation of a trifunctional starter molecule (b2). Further disclosed herein is a method for mounting a transition piece of a wind turbine to a monopile.
Resumen de: WO2024236105A1
A method of monitoring an operation of a wind turbine is provided. The wind turbine (100) is an upgraded wind turbine that comprises at least one performance enhancing upgrade (90) that increases the energy production of the wind turbine (100) compared to the wind turbine without the performance enhancing upgrade (90). The method monitors an additional active power output (dP) of the upgraded wind turbine (100) that is caused by the performance enhancing upgrade (90), wherein the monitoring compares an active power output (Pmeas) of the upgraded wind turbine (100) to an estimated active power output (Pest) of a reference wind turbine that corresponds to the upgraded wind turbine without the at least one performance enhancing upgrade (90).
Resumen de: WO2025220289A1
Provided is a floating offshore wind turbine system having a structure useful for implementing replacement of a large component of a floating offshore wind turbine. The floating offshore wind turbine system includes a floating offshore wind turbine, a main floating body, and a mooring body. The floating offshore wind turbine has: blades that receive wind; a hub to which the blades are fixed; a nacelle that houses a generator that converts rotational energy of the hub into electric power; a tower that supports the nacelle; and a sub-floating body that supports the tower. The main floating body is moored to the sea bottom by the mooring body, and has a sub-floating body insertion space into which the sub-floating body is inserted. The sub-floating body inserted into the sub-floating body insertion space is detachably connected at a connection part with the main floating body.
Resumen de: WO2025220486A1
Provided is a power generation device that is attached to a wind-receiving body which oscillates due to wind, said power generation device comprising: a rotary part; a wire that is wrapped around the rotary part and that can be let out from the rotary part; and a generator that converts, into electric power, the letting-out rotational force of the rotary part rotating in the letting out direction in which the wire is let out, wherein the wire is let out in the lengthwise direction of the wire from the rotary part by oscillation of the wind-receiving body, and the rotary part rotates in the letting out direction due to the wire being let out from the rotary part.
Resumen de: WO2025219445A1
The present invention relates to a coating composition comprising: a) a base composition comprising a polyetheraspartic ester having the formula (I) wherein each R represents a linear or branched C1-C10 alkyl residue, such as a linear or branched C1-C6 alkyl residue; and wherein X is a polyether; and an aminosilane with at least one amino group, wherein the amount of aminosilane is at least 0.5 wt.% based on the overall amount of the base composition; and b) a curing agent.
Resumen de: WO2025219372A1
The invention concerns a method for repairing a sub surface defect (144) of a wind turbine rotor blade (110), wherein - the wind turbine rotor blade (110) comprises a sh ear web (140) which connects two spar caps (136) to each other, and - the defect (144) is located in a joint (143) between the shear web (140) and one of the spar caps (136), the method comprising: - drilling a first pair of bore holes (150), wherein one bore hole (150) is arranged in the suction-side half she ll (132) and the other one is arranged in the pressure-side half shell (132), both bore holes (150) being arranged in the vicinity of the spar caps (136), - inserting a first reinforcing element (152) into the first pair of bore holes (150), and - fixedly connecting the half shells (132) by means of the first reinforcing element (152) such that a clamping force (F) acts on the two half shells (132) to at least partially bridge the defect (144). The invention also addresses a wind turbine rotor b lade (110) and a wind turbine (110).
Resumen de: WO2025219943A1
The present disclosure relates to a wind energy extraction device. The wind energy extraction device comprises at least one rotating turbine blade. The at least one rotating turbine blade is mechanically coupled to a power converter. Additionally, the wind energy extraction device further comprises a collision prevention apparatus. The collision prevention apparatus is configured in close proximity to the at least one rotating turbine blade. The configuration of the collision prevention apparatus is such that it prevents objects from coming into contact with the blades during operation.
Resumen de: WO2025218867A1
A transmission arrangement for a wind turbine, comprising a gearbox having a drive output, an electrical generator having a drive input, a drive shaft extending between the drive output and drive input and which defines a rotational axis. In use, torque is transmitted from the drive output to the drive input through the drive shaft. The transmission arrangement further comprises a torque bypass arrangement associated with the drive shaft, wherein the torque bypass arrangement is configured such that torque is transmitted by the torque bypass arrangement, in use, from the drive output of the gearbox to the drive input to the generator upon mechanical failure of the drive shaft. A benefit of the transmission arrangement is that the torque bypass arrangement serves as a failsafe mechanism in the event that the drive shaft experiences a failure event which compromises its capacity to transmit torque between its input end and its output end.
Resumen de: WO2025218853A1
The invention relates to a sliding bearing element (1) for a rotor shaft (2) with a rotor axis (3) of a wind turbine (4), comprising at least the following components: - a bearing surface (5) for hydrodynamic mounting of a corresponding abutment surface (6) via a bearing gap (7) therebetween which is covered with a film of bearing oil during operation; - a circumferential bearing surface (8) for mounting the sliding bearing element (1) with respect to a bearing receptacle (9) for the sliding bearing element (1); - a hydraulic cylinder (10), by means of which bearing oil can be displaced from an oil chamber (11); - an oil feed (12) between the hydraulic cylinder (10) and the bearing surface (5), wherein bearing oil displaced from the oil chamber (11) via the oil feed (12) can be fed to the bearing gap (7), and wherein the circumferential bearing surface (8) of the sliding bearing element (1) is mounted such that the sliding bearing element is movable with low friction in the circumferential direction (13) with respect to the bearing receptacle (9). The sliding bearing element proposed here makes it possible to considerably and fail-safely reduce a starting torque after a hydrodynamic bearing gap has run dry.
Resumen de: WO2025219000A1
A method of controlling the operation of one or more wind turbines (100) of a wind farm (300) is provided. An electrical power output of the wind farm (300) is provided to a power grid (200). Each of the one or more wind turbines (100) comprises a damping controller (120) configured to provide a damping action that counteracts structural oscillations by modulating the operation of a power generation system (102) of the wind turbine (100). Providing the damping action results in a power oscillation of a power output of the respective wind turbine (100). In the method, monitoring data (51) is obtained that is indicative of power oscillations. From the monitoring data, a rate of change of an amplitude of power oscillations in the power output of the one or more wind turbines (100) is estimated. Based on the estimated rate of change of the amplitude of the power oscillations, the damping controller (120) of at least one of said one or more wind turbines (100) is controlled to adjust the damping action of the damping controller (120).
Resumen de: DE102024111205A1
Ein Rotorsystem, mit wenigstens einem Rotor, der eine Geometrie aufweist, die über eine Stelleinrichtung veränderbar ist und der über eine Rotorwelle mit einer Generatoreinrichtung verbunden ist, um eine durch Drehung des Rotors vorhandene Bewegungsenergie in elektrische Energie umzuwandeln, und mit einer Steuereinrichtung, ist dadurch gekennzeichnet, dass eine Kupplung zwischen dem wenigstens einen Rotor und der Rotorwelle angeordnet ist, um eine Verbindung zwischen dem Rotor und der Rotorwelle herzustellen oder zu lösen, wobei die Stelleinrichtung bei gelöster Kupplung dazu geeignet ist, die Geometrie des Rotors in Abhängigkeit von einer Differenz zwischen einer ersten Drehgeschwindigkeit der Rotorwelle und einer zweiten Drehgeschwindigkeit des Rotors zu verändern.
Resumen de: DE102024001276A1
Windkraft-Modul für E-Fahrzeuge, gekennzeichnet durch laden während des Fahrens , mittels Ausnutzung des Fahrtwindes durch das Prinzip von Windradgeneratoren/ Dynamo ohne kabelunterstütztes Laden.
Resumen de: DE102024110862A1
Die Erfindung betrifft eine multidimensionale Windkraftanlage und ein Verfahren zur Elektroenergieerzeugung.Die erfindungsgemäße Windkraftanlage (1) weist einen Rotationskörper (2) und Windgeneratoren (7) auf und ist dadurch gekennzeichnet, dassder Rotationskörper (2) kugelförmig ausgebildet ist und auf seiner Oberfläche nicht durchgehende Öffnungen (4) aufweist und der kugelförmige Rotationskörper (2) über auf einer Grundplatte (3) angeordneten, beweglich ausgebildeten Halterungsvorrichtungen (9) mit jeweils zwei gegenüber liegenden Windgeneratoren (7) um die x-, y,- oder die z-Achse rotierbar gelagert ist.
Resumen de: WO2025219628A1
The present invention relates to a method for controlling the angles of attack of wind turbine blades, based on a linear model of the wind turbine using a parameter indicative of the acceleration of the wind turbine tower, the linear model being constant across the entire wind turbine operating range. The invention further relates to processing means configured to execute the model-based predictive control. The invention further relates to a method for controlling the position of a moving mass coupled to the wind turbine, based on a linear model of the wind turbine using a parameter indicative of the acceleration of the wind turbine tower and a parameter indicative of the position of the moving mass, the linear model being constant across the entire wind turbine operating range.
Resumen de: US2022259013A1
A hoisting arrangement for hoisting an offshore wind turbine blade, comprising a gripper attachment 150 arranged to be connected to the wind turbine blade, comprising a set of cable attachment points 191, 192,193 arranged as a first polygon, a vessel attachment module 194 arranged to be connected to a vessel, comprising a plurality of cable guide elements 190 arranged as a second polygon, a plurality of cables 141, 142, 143, 144 spanned between the cable attachment points and the cable guide elements, and a control system for controlling a position and/or orientation of the gripper attachment within a work space by controlling a spanned length of at least two cables of the plurality of cables between the cable attachment points and the cable guide elements.
Resumen de: WO2024165206A1
The invention relates to an active flap (100) for a blade (40) of a wind turbine. The active flap (100) comprises an upper part (10) configured to connect the active flap (100) to an interface (20) positioned at the blade (40). The active flap (100) further comprises a lower part (12) and an adjustment means (16). The lower part (12) is configured to move relatively to the upper part (10). The adjustment means (16) is arranged in an openable cavity (38) between the upper part (10) and the lower part (12) and is configured to reversibly provoke a movement of the lower part (12). The active flap (100) further comprises a hinge part (14) configured to connect the lower part (12) to the upper part (10). The adjustment means (16) is connected to the upper part (10). The upper part (10) comprises an extension means (34) detachably mounted to the lower part (12) and configured to open and/or close the openable cavity (38).
Resumen de: US2025314238A1
A controller for controlling a wind power generation device including a tower and a nacelle includes: a processing circuit configured to control a motor for rotating the nacelle relative to the tower; and a torque information sensor for sensing information about a torque acting from the nacelle to a gear mechanism, the gear mechanism connecting the tower and the nacelle so as to be capable of relative rotation. The processing circuit drives the motor based on a sensing value of the torque information sensor.
Resumen de: JP2025159785A
【課題】摩擦等による機械損失の低減、損傷故障の低減及び保守点検・修理復旧に要するコストの低減を図ることができる、可変ピッチ機構及び発電装置を提供する。【解決手段】可変ピッチ機構2は、閉じた曲線形状のガイドレール21と、ガイドレール21に沿って移動可能なガイドローラ22と、ブレード31の後縁側の端面に配置されガイドローラ22を回転可能に支持するガイドロッド23と、ガイドレール21を回転軸32に対して偏心可能かつ偏心した状態を位置決め可能に構成されたガイドレール位置調整手段24と、を備えている。【選択図】図1
Resumen de: WO2024048754A1
Provided is a power generation device that has little effect on the natural environment and little effect on the climate and that exhibits excellent energy efficiency and has low manufacturing costs compared to the prior art. This wind-power/buoyancy hybrid power generation device comprises: (A) a wind power generation unit including a tower, a nacelle that is provided to a top part of the tower so as to be capable of pivoting around a center axis of the tower, a hub that is provided to an end part of the nacelle so as to be capable of rotating around an axis which is orthogonal to the center axis, at least one blade that is provided to the hub, and a first power generator that is disposed on the inside of the nacelle and connected to the hub; and (B) a buoyancy power generation unit including a water storage tank that is configured to be capable of storing water, a fuel gas introduction part, a fuel gas recovery part that is positioned above the water surface of the water which can be stored, a fuel gas discharge part that is connected to the fuel gas recovery part, an air bubble receiving part, a belt that is connected to the air bubble receiving part, a rotary body that is connected to the belt, and a second power generator that is connected to the rotary body.
Resumen de: WO2024160409A1
Electric generator for a wind turbine (1), comprising at least one brake support plate (23) having at least one braking arrangement (21) mounted thereon, an outer rotor (11) which is rotatably mounted with respect to the brake support plate (23), wherein the at least one braking arrangement (21) is adapted to interact with at least one brake disk (22) which is attached to the rotor (11) to brake a relative rotation between the rotor (11) and the at least one brake support plate (23), wherein an airgap securing element (33) is mounted on the brake support plate (23) and adapted to get in contact with the at least one brake disk (22) if a distance between the at least one brake disk (22) and the brake support plate (23) and/or between an inner stator (10) of the electric generator (7) and the rotor (11) is reduced below a predetermined reference value, wherein the at least one airgap securing element (33) is mounted on the at least one braking arrangement (21).
Resumen de: WO2024170118A1
Method for operating a cooling system (12) in a nacelle (9) of a wind turbine (1), wherein the wind turbine (1) comprises a generator (5) and at least one transformer (11) located in the nacelle (9), wherein the cooling system (12) comprises - an air-cooling subsystem (14) for cooling at least the generator (5), comprising an inflow unit (15) for drawing inflow ambient air (36) into the nacelle (9), - temperature sensors (33, 34, 35) for measuring the temperature of the ambient air and at least one temperature in the nacelle (9), and - a control device (31) for controlling the operation of the cooling system (12) using the measured temperatures, wherein the control device (31), - a temperature difference between the ambient air and at least a part of the components in the nacelle (9) is determined from measured temperature values of the temperature sensors (33, 34, 35), and - if the temperature difference fulfils a exchange criterion indicating possible condensation of air humidity on at least one of the part of the components in the nacelle (9), the cooling system (12) is controlled to temper the inflow ambient air (36) by exchanging heat between at least one of the components in the nacelle (9) and the ambient air to reduce the temperature difference.
Resumen de: EP4636972A2
A method for controlling a power generating asset connected to an electrical grid includes receiving (402) a grid power limit associated with a grid event and, based on the grid power limit, determining (404) a target grid power for the generator during recovery from the grid event. During the recovery, a first power softening function is implemented (406) that includes receiving (410) at least one of a torsional angle signal or change in speed signal associated with the drivetrain. Upon the torsional angle or change in speed crossing a threshold value, the method decreases (412) a power command on the generator below the target grid power to reduce the torsional angle at a later point in time. A power difference between the target grid power and the decreased power command of the generator is determined (414) and power is supplied (416) from an energy storage device in communication with the converter to make up the power difference.
Resumen de: EP4636162A1
Methods of constructing a jacket foundation 100 for a wind power plant may comprise preparing a first part 1 and a second part 2. The first part 1 is prepared by providing a first leg section 10 at a plurality of first supports 20; and a second leg section 11 at a plurality of second supports 21; at a construction site S. First braces 30 are fixed between the first and second leg sections 10,11. The second part 2 is prepared by providing a third leg section 12 on an elevated support structure 22,22a-d; and a plurality of second and third braces 31,32 are fixed to the third leg section 12. The second part 2 is lifted onto the first part 1 and connected thereto by fixing the pluralities of second and third braces 31, 32 to the respective first and second leg sections 10, 11.
Resumen de: WO2024130021A1
An example method comprises receiving sensor data from multiple wind turbines. A wind turbine includes a gearbox, a generator, and multiple gearbox and generator subcomponents. Health indicators may be determined for the gearbox and generator subcomponents with varying lead times. The health indicators correspond to alerts for current or predicted problems of the gearbox and generator subcomponents and have either low severity, medium severity, or high severity risk levels. A machine learning model trained on sensor data may generate the alerts. The multiple wind turbines may be displayed in a list that may be sortable by health indicators for the gearbox subcomponents and the generator subcomponents. The list may be filterable by alerts for the gearbox subcomponents or the generator subcomponents.
Resumen de: WO2024256188A1
It is described a stator (110) of an electrical machine (100), in particular permanent magnet synchronous machine, comprising: plural stator segments (S1, S2) arranged circumferentially adjacent to each other to form a ring covering a whole circumference; each stator segment (S1, S2) having plural teeth (115) with plural slots (116) in between the teeth and having a, in particular exactly one, multiple phase winding set (117) at least partially arranged in the slots; wherein the stator segments are grouped in at least two stator segment groups; wherein winding sets of each group of the stator segment groups are connected in parallel to each other; wherein each of the stator segments (S1, S2) of any considered stator segment group has at least one stator segment of another stator segment group different from the considered stator segment group immediately circumferentially adjacent arranged.
Resumen de: GB2640440A
A wind extraction device (wind turbine) having a collision prevention apparatus proximate to the wind turbine’s blade 1 to prevent objects from coming into contact with the blades. The collision prevention apparatus may have a protective mesh 2 with wire strands of 5mm thickness and interstitial spaces of 10mm that occupies a parallel plane to the swept area of the turbine blades, and a solid sheet cowl 6 arranged around the turbine blades. The device may also comprise a power converter 5 that is mechanically coupled to the turbine blade.
Resumen de: EP4636243A1
A wind turbine comprising a stator which has a plurality of vertical baffles which are mutually inclined and define a substantially pyramidal or conical internal chamber for the rotation of N rotors provided with rotary support means and with a plurality of V vertical vanes which are mutually inclined and distributed with a constant spacing, the outer edges of said vanes being adapted to skim the inner surface of the chamber.
Resumen de: EP4636996A1
The present invention describes a covering element (100, 300, 900, 990, 991) for covering a slot (565) between two adjacent teeth (561, 562) of an electric machine, a stator for an electric machine and a method of forming a covering element (100). The covering element (100, 300, 900, 990, 991) comprises a first sub-element (110, 310, 910, 911, 912) and a second sub-element (120, 330, 920, 921, 922). The first sub-element (110, 310, 910, 911, 912) and the second sub-element (120, 330, 920, 921, 922) are arranged adjacent to each other in a first direction (181). Further, the second sub-element (120, 330, 920, 921, 922) is made of a different material, is longer than the first sub-element (110, 310, 910, 911, 912) and has a lower relative magnetic permeability. The location of the first sub-element is defined by the rotation direction during operation of the machine.
Resumen de: EP4636244A1
One objective of the invention is to provide a modular transport system (1) for supporting a wind turbine component arranged in a wind turbine support equipment during transport and storage, wherein the modular transport system (1) comprises:- a base support (10) configured for distributing a load onto a surface at a first end (11), wherein the base support (10) comprises a plurality of coupling interfaces (40) arranged at a second end (12) being opposite to the first end (11) and wherein the coupling interfaces (40) are configured for releasably interlocking with another plurality of coupling interfaces (40);- two side sections (20) each comprising a plurality of coupling interfaces (40) arranged at a third end (21) of the side section (20) and another plurality of coupling interfaces (40) arranged at a fourth end (22) being opposite to the third end (21), wherein the third end (21) and the fourth end (22) are separated by a side section length; and- a top support (30) comprising a plurality of coupling interfaces (40) arranged at a fifth end (31) and a top cover (35) arranged at a sixth end (32) being opposite to the fifth end (31) and wherein the top cover (35) is configured for supporting the wind turbine support equipment,wherein the top support (30) is configured for being connected to the two side sections (20), and wherein the two side sections (20) are configured for being connected to the base support (10) with a side section width measured perpendicular to the side
Resumen de: EP4636975A1
A method of controlling the operation of one or more wind turbines (100) of a wind farm (300) is provided. An electrical power output of the wind farm (300) is provided to a power grid (200). Each of the one or more wind turbines (100) comprises a damping controller (120) configured to provide a damping action that counteracts structural oscillations by modulating the operation of a power generation system (102) of the wind turbine (100). Providing the damping action results in a power oscillation of a power output of the respective wind turbine (100). In the method, monitoring data (51) is obtained that is indicative of power oscillations. From the monitoring data, a rate of change of an amplitude of power oscillations in the power output of the one or more wind turbines (100) is estimated. Based on the estimated rate of change of the amplitude of the power oscillations, the damping controller (120) of at least one of said one or more wind turbines (100) is controlled to adjust the damping action of the damping controller (120).
Resumen de: EP4637001A1
Verfahren zur Reparatur eines Generators mit Formspulen, insbesondere eines Generators einer Windenergieanlage mit Formspulen, umfassend die Schritte: Entkoppeln (1010) des ersten und zweiten Anschlusses (18, 19) einer defekten Formspule (11) von zwei weiteren der mehreren Formspulen (10); Abtrennen (1020) des ersten und zweiten Spulenkopfes (14, 16) der defekten Formspule (11); Auftrennen (1030a) eines Nutenverschlusskeils, der eine Nut verschließt, in der ein erster Schenkel (12a) der defekten Formspule (11) eingesetzt ist; Entfernen (1040a) des ersten Schenkels (12a) der defekten Formspule (11) aus der Nut (38); Einsetzen (1050a) eines ersten Schenkels (12a) einer neuen Formspule (13) mit einem elektrischen Leiter aus Kupfer oder Aluminium; Einsetzen (1060a) eines neuen Nutenverschlusskeils (39) in die Nut (38), in welche der erste Schenkel (12a) der neuen Formspule (13) eingesetzt wurde, wobei die Nut (38) durch den neuen Nutenverschlusskeil (39) in Richtung des im Betriebszustand zwischen Stator und Rotor bestehenden Luftspalts verschlossen wird; Einbringen (1070a) von Harz in die Nut, in welche der erste Schenkel (12a) der neuen Formspule (13) eingesetzt wurde; Verbinden (1080) des ersten Schenkels (12a) mit dem zweiten Schenkel (12b); und Koppeln (1090) des ersten und zweiten Anschlusses mit dem ersten Anschluss und zweiten Anschluss der zwei weiteren Formspulen (10).
Resumen de: WO2024223176A1
It is described a method of aiding unlocking, and in particular unlocking, a rotor of a wind turbine (1570) locked by a locking system (1575), the rotor being coupled to an electrical machine (1571) and rotatably supported by a rotor bearing, the method comprising: providing a torque reference (100, 200, 300, 700, 1100) or an equivalent current reference (1300); controlling the electrical machine (1571) based on the torque reference (100); generating, by the electrical machine, a mechanical torque acting on the rotor according to the torque reference; wherein the torque reference (100) defines a time course (t1,t2) of a target torque (tt1, tt2).
Resumen de: WO2024208552A1
It is described a magnet module (130) for a rotor (110) of an electrical machine (100), in particular a wind turbine gener- ator, comprising: a base member (132) extending in a width direction (103), in particular circumferential direction, in a length direction (101), in particular axial direction, and in a thickness direction (102), in particular radial direction, and having a rotor house mounting surface (133) and, at an opposite side, a magnet mounting surface (134) both extending in the width direction (102) and the length direction (101); a magnet (135) mounted at the magnet mounting surface (134) of the base member (132), wherein the base member (132) has at least one first base member recess (137) at the rotor house mounting surface (133), the first base member recess extending in the length direction (101).
Resumen de: WO2024127050A1
A vertical axis wind turbine system for power generation which has at least one wind rotor which has at least three blades spaced apart from each other in a uniform angle pitch, the blades have a concave and an opposite convex surface, and in at least one wind rotor the blades are arranged in a plane perpendicular to the axis (13), and the at least one wind rotor is supported by bearings for rotation about the vertical axis (13) and located on the top of a column (10) and/or support rod (52), and the system includes a device for converting the rotational energy of the rotated axis (13) into another type of energy, wherein the blades (15, 16, 17; 59, 60, 61, 62) are arranged along the sides of a regular polygon (21) surrounding the axis (13) as the center and in the plane, and their extensions where each side has a side length M, and the convex side of the blades faces the inside of the polygon, the inner end of each blade (15, 16, 17; 59, 60, 61, 62) extends at least to the midpoint of the side to which it belongs, and the total length (L) of blades (15, 16, 17; 59, 60, 61, 62) shall be at least 2.5 times the mentioned length of the side (M) that is L > 2.5 M, and the number of the sides of the polygon being not less than 3 and not more than 6.
Resumen de: WO2024125748A1
According to the present invention there is provided a wind turbine blade comprising a blade shell that extends longitudinally in a spanwise direction from a root end to a tip end, and transversely in a chordwise direction between a leading edge and a trailing edge. The blade shell is formed from first and second opposing half shells of composite laminate construction. Each half shell comprises an inner skin on an inside of the blade shell and an outer skin on an outside of the blade shell. The blade further comprises a first spar cap located between the inner and outer skins of the first half shell and a second spar cap located between the inner and outer skins of the second half shell. The first and second spar caps are mutually opposed. The first spar cap comprises a plurality of side-by-side stacks of longitudinally-extending strips of reinforcing material, the stacks including at least one web-supporting stack and at least one non-web-supporting stack. The blade further comprises a shear web connected between the first and second spar caps. The shear web comprises a longitudinally-extending web panel and first and second mounting flanges, the first and second mounting flanges extending transversely to the web panel along respective longitudinal edges of the web panel. The first mounting flange is adhesively bonded to the inside of the first half shell in the region of the web-supporting stack(s) of the first spar cap and the second mounting flange is adhesively bonded to
Resumen de: WO2024125747A1
According to the present invention there is provided a family of wind turbine blades of substantially equal length and of substantially the same external shape. Each blade comprises a blade shell that extends longitudinally in a spanwise direction from a root end to a tip end and transversely in a chordwise direction between a leading edge and a trailing edge. The blade shell is formed from first and second opposing half shells. Each blade further comprises a first spar cap associated with the first half shell and a second spar cap associated with the second half shell. The first and second spar caps are mutually opposed. The first spar cap comprises a plurality of side-by-side stacks of longitudinally- extending strips of reinforcing material, the stacks including at least one web-supporting stack and at least one non-web-supporting stack. Each blade further comprises a shear web connected between the first and second spar caps. The family of wind turbine blades comprises a first blade designed for a first wind turbine operating in a first wind class or having a first rated power, and a second blade designed for a second wind turbine operating in a second wind class or having a second rated power. The second wind class or second rated power is different to the first wind class or first rated power. At a first spanwise location along the blade, the number of strips in a non-web-supporting stack of the first spar cap of the first blade is different to the number of strips in a
Resumen de: CN120380223A
A structural joint for use in a support structure bearing cyclic loads, the structural joint comprising a first structural member having a first cross-section defined at least in part by a first dimension, such as a width, height or diameter, and a second tubular structural member having a second cross-section defined at least in part by a second dimension, such as a width, height or diameter. Wherein the first dimension is the maximum dimension of the first cross section; a second tubular structural member having a second cross-section, the second cross-section being at least partially defined by a second dimension, such as width, height or diameter, where the second dimension is a maximum dimension of the second cross-section, where the first dimension is greater than the second dimension; wherein the structural members are arranged relative to each other at a non-zero angle measured between a longitudinal direction of the first structural member and a longitudinal axis of the second tubular structural member, and wherein the second tubular structural member protrudes from a wall section of the first structural member, wherein the first structural member and the second tubular structural member are connected to each other by means of an inner fiber-reinforced polymer coating applied around a preferably complete outer periphery of the second tubular structural member and applied to and connected to the inside of a wall section of the first structural member.
Resumen de: WO2024127032A1
The invention relates to monitoring attachment integrity of a wind turbine blade by measuring displacement between the blade root and pitch bearing. Example5 embodiments include a method of monitoring attachment integrity of a wind turbine blade having a blade root (301) attached to a pitch bearing (303) of a wind turbine, the method comprising measuring during operation of the wind turbine a displacement of the blade root (301) relative to the pitch bearing (303) in a direction parallel to a longitudinal axis (310) of the blade. The displacement may be recorded over time and10 an amplitude determined. An alert may be triggered if the displacement amplitude exceeds a predetermined displacement threshold.
Resumen de: WO2024126438A1
A method (100) for determining wake conditions (90) at a wind turbine generator (WTG) by measuring blade deflection from an ideal blade trajectory, wherein wind turbine generator (WTG) comprising a blade (16), said blade comprising an accelerometer (20), the method (100) comprising steps of - measuring (200) sensory data (80) of the accelerometer (20) during operation, - time-stamping and time-synchronizing (210) the sensory data (80) collected by the accelerometer (20); - dividing (300) the sensory data (80) into sub-data groups (82), wherein each sub-data group (82) comprises at least one full rotation of the blade (16); - determining (400) wake conditions (90) as a function of at least one of the sub-data groups (82) and a wave function (84).
Resumen de: WO2024125745A1
A wind turbine blade is disclosed. The wind turbine blade comprises a core material, a first fibre reinforced plastic, a shear web comprising a second fibre reinforced plastic and an adhesive. The shear web is adhered to the blade shell with the adhesive and the first fibre reinforced plastic, the second fibre reinforced plastic, and adhesive each comprise an acid breakable epoxy polymer. Further disclosed is a method of disassembling such a wind turbine blade by exposing the wind turbine blade to an acid to cause the acid breakable epoxy polymer to disintegrate into particles of swelled epoxy polymer; and recovering fibres from the first fibre reinforced plastic and/or the second fibre reinforced plastics.
Resumen de: EP4636245A2
Disclosed are wind turbines suitable for floating application. The wind turbines include multiple floats and multiple towers connected to the floats, a turbine rotor, including a hub and a plurality of blades, structurally supported by the plurality of towers, the turbine rotor coupled to an electrical generator; and have a very shallow draft even for rated capacities of at least 1 MW. The wind turbines can have a single mooring line for yawing eliminating the need for a nacelle, and can allow for deck-level belt driven electrical generators without the need for gear boxes.
Resumen de: EP4636988A2
Disclosed is an apparatus that adapts the rate of its computational work to match the availability of energy harvested from a stochastic energy source; and, with respect to some types of energy harvesting, regulates the rate of energy capture, the rate of energy conversion, and the rate of consumption of stored potential energy, through its alteration, regulation, and/or adjustment, of that same computational work load.
Resumen de: WO2024125744A1
A wind turbine blade is disclosed. The wind turbine blade comprises a core material, a first fibre reinforced plastic and a spar cap comprising a third fibre reinforced plastic, and a shear web comprising a second fibre reinforced plastic. The first fibre reinforced plastic, the second fibre reinforced plastic, and the spar cap each comprise a chemically disassemblable polymer. Further disclosed is a method of disassembling such a wind turbine blade by exposing the wind turbine blade to an acid to cause the chemically disassemblable polymer to disassemble; and recovering fibres from at least of one of the first fibre reinforced plastic, the second fibre reinforced plastics and the third fibre reinforced plastic.
Resumen de: WO2024125742A1
A method of recycling composite material, the composite material comprising reinforcement fibres embedded in a matrix material. The method comprises: loading the composite material into a container; treating the composite material in the container with a liquid; transporting the container to a recycling station, wherein the liquid degrades the matrix material in the container during the transporting of the container; and at the recycling station, recycling the reinforcement fibres by separating them from the matrix material.
Resumen de: WO2024125741A1
A method of transporting pieces of composite material, the pieces of composite material comprising reinforcement fibres embedded in a matrix material. The method comprises: loading the pieces into a container; and then transporting the container, the method further comprising softening the matrix material before transporting the container by treating the pieces with a liquid, wherein the liquid transforms the pieces into softened pieces, the softened pieces form a pile of softened pieces in the container, and at least some of the pieces change shape after they have been softened.
Resumen de: DK202270621A1
Disclosed is a method for assembling a tower part of a wind turbine (1). The method comprises placing an elongated tubular tower section (6) of the wind turbine (1) so that it is laying down and so that at least a part of an outer elongated surface (7) of the tower section (6) is supported by an underlying surface (8) and forming an electrical module (9) comprising at least one electronic subsystem (10) of the wind turbine (1). The method further comprises transporting the electrical module (9) into the elongated tubular tower section (6) and tilting the electrical module (9) substantially 90 degrees. Even further the method comprises connecting the electrical module (9) to at least two opposing inside surfaces (11) of the elongated tubular tower section (6).
Resumen de: CN120380251A
The invention relates to a wind turbine blade having a profiled profile comprising a pressure side and a suction side, and a leading edge and a trailing edge wherein a chord having a chord length extends between the leading edge and the trailing edge, the wind turbine blade extending in a spanwise direction between a root end and a tip end, wherein the wind turbine blade comprises a trailing edge section defined between a first trailing edge section end and a second trailing edge section end, where the trailing edge section comprises a plurality of slits comprising: a first plurality of slits extending a first distance from the first trailing edge section end towards the second trailing edge section end, and a second plurality of slits extending a second distance from the first trailing edge section end toward the second trailing edge section end, where the second distance is less than the first distance, and where the trailing edge section is part of the wind turbine blade, or where the trailing edge section is part of a trailing edge panel attached to the wind turbine blade.
Resumen de: US2025317019A1
The present disclosure relates to coils (121), electrical machines (100) comprising coils (121), e.g. a wind turbine generator (42), and methods for cooling coils (121) of electrical machines (100) and for winding and/or electrically insulating (200) coils (121). An electrical machine (100) comprises a rotor (110) and a stator (120). At least one of the rotor (110) and the stator (120) comprises a plurality of teeth (119) and a plurality of coils (121), the coils (121) comprising strand (150) which is wound around the teeth (119) in layers (130, 131). A first axial end portion of a first layer (130) of at least one of the coils (121) is axially displaced (117) with respect to a first axial end portion of a second layer (131) of the coil (121).
Resumen de: CN120820797A
本发明属于风电机组测试技术领域,公开一种风电机组子部件测试评价系统及控制方法;系统包括:综合变流器、六自由度加载子系统、风电机组和电网模拟器;风电机组包括齿轮箱、发电机和风电变流器;六自由度加载子系统、齿轮箱和发电机依次连接;发电机的输出端连接风电变流器;综合变流器通过第一开关连接拖动电机,通过第二开关连接风电变流器;所述综合变流器用于控制拖动电机或模拟发电机;风电变流器的输出端连接电网模拟器;所述电网模拟器用于接收风电变流器输出的电能信号模拟电网工况。本发明具备传动链测试和独立变流器测试功能,可以根据测试需求灵活切换运行模式,减小传动链磨损与能量损失,降低测试成本,拓宽测试场景。
Resumen de: CN120819480A
本发明涉及风机缺陷检测技术领域,具体涉及基于无人机的风机叶片巡检方法,包括:获取风机静态基础数据;基于风机静态基础数据构建叶片基准模型,并根据预设短时动态振动激发规则采集动态振动响应数据;根据动态振动响应数据识别叶片高危区域,结合叶片基准模型生成分层环绕航线;控制无人机根据分层环绕航线采集叶片多角度图像,对叶片多角度图像进行处理识别表面缺陷并生成视觉置信度;利用时空对齐模型将动态振动响应数据映射至叶片基准模型,提取对应位置的功率谱密度特征,融合视觉置信度计算损伤指数,输出巡检报告。其目的在于,解决静态巡检模式下难以识别叶片内部损伤的技术问题。
Resumen de: CN120819417A
本公开涉及一种基于火力发电的能源综合利用系统。其中,基于火力发电的能源综合利用系统包括:所述风光发电系统,用于在正常发电时将电能传输至电网,在电网峰谷期将弃电供给所述火力发电系统和所述二氧化碳储能利用系统;所述火力发电系统,用于通过发电后产生的蒸汽进行供暖,并收集产生的二氧化碳进行存储;所述二氧化碳储能利用系统,用于对所述火力发电系统中存储的二氧化碳进行处理,进行供暖和生成甲醇存储;所述水资源回收和净化系统,用于对收集的废水进行净化。根据本公开实施例,能够提升了能量转化率,降低了建设和运营成本,提升了水资源的利用率。
Resumen de: CN120819477A
本发明属于风电机组设备检测技术领域,涉及一种基于相控阵超声的风电机组缺陷检测方法及相关装置。包括以下步骤:确定待检测的风电机组关键部件及其检测区域;根据所述检测区域的几何特征,配置相控阵超声探头的扫描路径、聚焦法则及声束偏转角度;将所述相控阵超声探头耦合至部件表面,并沿所述扫描路径移动,同时依据所述聚焦法则和声束偏转角度发射超声波并接收相应的回波信号;根据所述回波信号生成所述检测区域的超声图像;对所述超声图像进行分析,以识别、定位并评估缺陷的尺寸和性质。
Resumen de: WO2024179937A1
The invention relates to a tooth (10) for a toothed torque transmission assembly, said tooth comprising a tooth flank (18) for exchanging torque with a mating flank of a toothing partner, wherein the tooth flank (18) has a periodic progressing tooth flank correction (22) with a sinusoidal waviness having a locally extending period length T, wherein the periodic tooth flank correction (22) is superimposed with a spatial microstructure (26), wherein a localised local maximum (28) is at the shortest distance t from the nearest local minimum (30), where t < T/2. By increasing the white noise in the structure-borne sound emitted by the tooth (10) with the aid of the microstructures (26), it is possible to reduce human-disturbing noise emissions in torque transmission devices.
Resumen de: CN120819465A
本发明涉及风力发电技术领域,提供一种风电叶片和风电设备,风电叶片包括叶片主体、驱动装置、第一扰流结构及传感器,叶片主体设有安装空间以及连通安装空间的第一安装孔;驱动装置设于安装空间内;第一扰流结构连接于驱动装置,第一扰流结构活动穿设于第一安装孔;传感器设于叶片主体,驱动装置驱动第一扰流结构伸出于第一安装孔外或收缩于安装空间内。本发明的风电叶片,通过传感器实时检测叶片运动信号并联动驱动装置控制扰流结构的伸缩动作,能够在颤振发生时快速形成气动阻尼,有效耗散振动能量,具有能够主动感知叶片振动状态并及时采取抑振措施,避免因颤振能量累积导致的疲劳损伤或极限破坏事故的优点。
Resumen de: CN120819463A
本发明涉及风力发电设备技术领域,提供一种新型风电机组,包括主塔架、多个分塔架及多个叶轮,分塔架的一端连接主塔架,多个分塔架相互之间呈夹角设置;每一叶轮设于一分塔架远离主塔架的一端,多个叶轮至少朝向两个不同的方向设置。本发明的新型风电机组,通过主塔架与多个呈夹角设置的分塔架配合,并在分塔架末端设置朝向不同的叶轮,解决了传统单塔架结构空间利用率低、多叶轮协同工作困难的问题,具有提高空间利用率、增强结构稳定性、便于运输吊装以及实现多叶轮协同工作的优点。
Resumen de: CN120819469A
本申请提供一种风力发电机组变桨系统防超速装置及控制方法,装置包括控制单元,设置于所述变桨系统中;以及,设置于轮毂中的:转速传感器,用于检测轮毂转速得到轮毂转速检测值发送至所述控制单元;振动传感器,用于检测轮毂振动得到轮毂振动检测值发送至所述控制单元;所述控制单元,在所述轮毂转速检测值超过所述预设转速阈值、所述轮毂振动检测值超过所述预设振动阈值,执行收桨动作。本申请方案提高了变桨系统的安全性,确保风力发电机组的安全运行,避免引发安全隐患和设备损坏。
Resumen de: CN120819478A
本发明涉及叶片控制领域,尤其涉及一种海上大兆瓦风机叶片减震控制方法,包括根据实际环境评价值确定振动数据的采集频率,并且针对目标风机振动数据进行采集;根据历史异常次数确定目标风机的类别为一类监测风机或二类监测风机;周期性根据一类监测风机和二类监测风机的比例参考值确定数据均衡状态为第一数据均衡状态或第二数据均衡状态;第一数据均衡状态下,根据各一类监测风机的监测曲线波动度与预设监测曲线波动度的比对结果确定是否针对一类监测风机对应的振动传感器的采集频率进行调节;第二数据均衡状态下,针对目标风机进行分组处理,并将风机组合;减小监测人员的监测压力大,提供叶片减震控制的监测效果。
Resumen de: CN120819473A
本发明公开了一种具有自适应连接减振功能的浮式风机及工作过程,包括安装壳,安装壳与风机本体之间连接有多个减振组件,减振组件包括第一机壳和第二机壳,第一机壳固定在安装壳顶部,第二机壳固定在风机本体侧壁,第一机壳与第二机壳之间活动连接有支撑板,第一机壳内设有第一滑块,第一滑块与第一机壳之间沿水平方向贯穿有第一滑杆,第一滑杆的两端分别固定在第一机壳内侧壁,第一滑块与第一机壳两侧壁之间的第一滑杆上均套有第一弹簧;第二机壳内设有第二滑块,第二滑块与第二机壳之间沿垂直方向贯穿有第二滑杆,第二滑杆的两端分别固定在第二机壳内侧壁,第二滑杆与第二机壳两侧壁之间的第二滑杆上均套有第二弹簧。本发明可以提高风机稳定性。
Resumen de: CN120819466A
本发明涉及一种填充式可调刚度的叶片及其制作方法,叶片包括外壳、刚度支撑杆和填充材料,所述外壳的内部设置填充空腔,并外壳上设有与填充空腔相连通的填充口,所述外壳内部还设有定位孔,所述刚度支撑杆可拆卸式地固定安装于定位孔中,且刚度支撑杆沿着外壳的叶根端至叶尖端的方向延伸,所述填充材料填充在外壳的填充空腔中。能够方便快速制作,且方便调整并精确控制叶片的质量分布和力学性能,可满足快速优化迭代要求。
Resumen de: CN118088390A
The invention discloses a draught fan inspection method and device, a storage medium and electronic equipment. The method comprises the steps that first equipment is controlled to move to the position above a target draught fan to obtain a reference draught fan yaw angle of the target draught fan; based on the reference fan yaw angle and a real-time fan yaw angle change value sent by the second equipment, the first equipment is controlled to move to the position right in front of a fan hub of the target fan; the method comprises the following steps: taking the front of a fan hub as a first waypoint, taking one side of a fan blade rotating plane of a target fan as a second waypoint, taking the right rear of the fan hub as a third waypoint, and taking the other side, opposite to the second waypoint, of the fan blade rotating plane as a fourth waypoint; generating an inspection route of the first equipment based on the waypoint position of each waypoint; and updating the inspection route in real time based on the real-time fan yaw angle change value. According to the method and the device provided by the invention, the inspection route of the first equipment can be determined under the condition that the fan is not stopped, so that the inspection efficiency of the fan is improved.
Resumen de: CN120819476A
本申请提出一种风电叶片早期损伤识别方法及系统,属于风力发电机组状态监测技术领域,其中方法包括:对所述SCADA系统的风速‑功率实时数据进行两次数据清洗;将最后一次清洗后的风速‑功率实时数据与标准风速‑功率曲线进行对比,得到初步风电叶片损伤状态;将实时声发射信号输入风电叶片早期损伤预测模型中,得到风电叶片早期损伤识别的类型以及程度,风电叶片早期损伤预测模型,通过改进的K‑means 算法对疲劳加载试验采集的声发射信号进行分类,构建卷积神经网络。本申请的方法避免了无监督学习算法过于依赖经验设定阈值的问题,解决了数据清洗质量差、算法泛化性不强弊端,提高了SCADA数据的可靠性、准确性与可用性。
Resumen de: CN120819460A
本发明涉及潮汐能相关技术领域,尤其涉及一种潮汐发电系统及其潮汐发电方法,包括支柱,所述支柱的内侧表面设置有升降机构,所述连接块的一侧表面设置有发电机构,该一种潮汐发电系统及其潮汐发电方法,通过升降机构和发电机构的设置,启动第一电机通过螺纹杆使升降块升降,带动支撑杆及连接块一侧的发电机构升降,使设备根据涨落潮调整到合适位置工作,同时退潮后发电机组露出水面时,可以提升高度以利用风力继续发电,由于叶片呈半圆形,当水流通过时可以推动其内侧面带动旋转轴转动,并驱动发电机机舱内的发电机发电,四组叶片绕旋转轮均匀设置,涨退潮的水流均可以带动叶轮旋转,实现潮汐发电的同时,进一步提高了发电效率。
Resumen de: CN120819470A
本申请公开了一种风力发电控制方法、装置、设备及计算机可读存储介质,涉及风力发电技术领域,通过获取当前环境信息,当前环境信息包括风向偏移量、风切变变化率和湍流强度;根据风向偏移量、风切变变化率和湍流强度确定发电风险指数;在发电风险指数为预设正常指数的情况下,根据发电风险指数和预设的协调控制策略进行发电控制,协调控制策略依据风力发电控制设备的外部环境参数或内部性能参数,对风力发电控制设备的转速和转矩中的至少一项进行发电控制;在发电风险指数为预设预警指数的情况下,基于预设的保守控制策略进行发电控制,保守控制策略依据预设的固定控制参数,对风力发电控制设备的参数进行发电控制,提高了风力发电控制的效果。
Resumen de: CN120817228A
本发明公开了一种基于风力实现叶轮角度改变和浮力板伸缩的装置,包括船体,船体的侧壁设置有导向槽,船体上设置有防护壳体,防护壳体的底部设置有连接架;防护壳体的一侧设置有角度改变组件,角度改变组件包括转轴,转轴转动连接在防护壳体的中心位置,且与防护壳体轴承连接;防护壳体内设置有驱动伸缩组件,驱动伸缩组件包括第一曲柄、第一连接杆和浮力板,浮力板通过第一连接杆沿导向槽直线移动实现伸缩运动;本发明采用纯机械结构替代复杂的电动、液压系统,从根本上消除电子元件易受海水腐蚀、线路老化、液压泄漏等故障隐患,并且通过机械联动设计,将叶轮角度调节与浮力板伸缩两个功能强耦合,实现对风浪变化的实时、同步响应。
Resumen de: CN120819481A
本发明涉及一种基于多源信息融合的叶片除冰自适应定位方法,首先构建风电机组主控系统除冰模式,使覆冰叶片运行至指定位置;其次通过视频目标检测设备检测叶片形态,获取叶片各节点和塔筒之间的距离;然后通过红外融冰设备检测叶片覆冰位置节点,结合各设备坐标、叶轮位置、塔筒高度和叶片形态等数据计算投射方向和距离。该方法实现了叶片除冰的自适应定位,可以快速、高效地除冰,是风电机组叶片除冰方法上的创新。
Resumen de: CN120820099A
本发明公开了一种风力发电机的塔筒螺栓松动视觉检测装置及方法,塔筒螺栓松动视觉检测装置能够利用水平减振弹簧能够有效地吸收来自水平方向的振动,利用垂向减振弹簧能够有效地吸收来自竖直方向的振动,利用质量块、吊索和阻尼组件减少和控制相机基座与相机主体之间的振动和晃动,从而使视频拍摄模组能够获取更加清晰的图像;塔筒螺栓松动视觉检测方法能够在复杂多变的风机运行环境中,通过双阈值协同判定策略,解决单一特征误报问题,大幅提高了检测精度,精准识别螺栓是否发生松动,为及时开展螺栓松动修复工作和保障风机持续稳定运行提供了坚实有力的支撑,避免出现不必要的人工巡检问题,降低了人力成本,提高了人工巡检的效率。
Resumen de: US12404835B1
A method for controlling a power generating asset connected to an electrical grid includes receiving a grid power limit associated with a grid event and, based on the grid power limit, determining a target grid power for the generator during recovery from the grid event. During the recovery, a first power softening function is implemented that includes receiving at least one of a torsional angle signal or change in speed signal associated with the drivetrain. Upon the torsional angle or change in speed crossing a threshold value, the method decrease a power command on the generator below the target grid power to reduce the torsional angle at a later point in time. A power difference between the target grid power and the decreased power command of the generator is determined and power is supplied from an energy storage device in communication with the converter to make up the power difference.
Resumen de: CN120819468A
本发明涉及人工智能与风力发电技术领域,尤其涉及大模型驱动的风电机组智能运维决策方法及系统,通过融合传感器、文本、视觉及环境多维数据,利用跨模态特征对齐构建统一表征;结合动态RAG引擎实现时效性权重优化的知识匹配,注入领域约束的因果推理引擎解析故障逻辑链;最终集成设备健康度、气象窗口与成本约束生成帕累托最优策略,形成“数据融合‑知识增强‑因果推演‑动态优化”闭环体系,实现故障精准关联与可解释诊断,提升运维响应效率并降低全生命周期管理成本。
Resumen de: CN120819482A
本说明书实施例提供风电机组塔基复合降温系统,其中系统包括:热管散热模块、智能通风模块和温控中枢模块;热管散热模块由垂直布置在塔基内壁的热管阵列构成,热管阵列的热管蒸发段嵌入发热设备外壳的散热槽,冷凝段延伸至塔基顶部的翅片散热器;智能通风模块包含塔基底部设置的进风百叶窗和顶部安装的双向变频风机,风机通过光伏供电系统驱动;温控中枢模块集成温度传感器、湿度传感器和风速传感器,通过分析传感器数据动态调节热管散热模块和智能通风模块的工作状态。通过构建热管‑相变材料‑智能通风的多级散热体系使系统在维持设备温度稳定性的同时,显著降低了对外部能源的依赖,为大型风力发电装备的无人值守运维提供了新的技术范式。
Resumen de: WO2024254758A1
The present invention relates to a lubrication ring, a wind turbine gearbox, a wind turbine and a method of assembly thereof. The lubrication ring is formed by a number of ring segments that are positioned relative to each other in the circumference direction. The ring segments each has a first connection element and a second connection element, which are spaced apart to form a gap that takes up the thermal expansion of the ring segments. The lubrication ring forms at least one fluid channel for transferring lubrication fluid between a first gearbox part and a second gearbox part positioned relative to each other. Each ring segment has at least one mounting point for securing the ring segment to the first or second gearbox part and at least one first opening for guiding the lubrication fluid through the lubrication ring.
Resumen de: CN120819479A
本申请公开了一种风电叶片故障检测方法、装置、设备及存储介质,涉及叶片检测技术领域,通过获取风电叶片的运行参数信息和在运行参数信息控制下的反馈参数信息,其中,运行参数信息包括运行控制参数和运行环境参数,反馈参数信息包括振动及应变参数和阻抗及声波参数;根据运行控制参数和运行环境参数确定风电叶片的质量变化状态,并确定质量变化状态的趋势对应的拟故障类型;在拟故障类型为增大趋势的叶片腐蚀类型的情况下,根据阻抗及声波参数和运行环境参数确定风电叶片的腐蚀检测结果;在拟故障类型为降低趋势的叶片裂纹类型的情况下,根据振动及应变参数和运行环境参数确定风电叶片的裂纹检测结果,提高了风电叶片故障检测的准确率。
Resumen de: CN120819467A
本发明涉及高空风力发电技术领域,尤其涉及一种适用于高空风力发电的蓄能装置、工作方法及系统。该蓄能装置包括:轨道,内部设置有可移动的滑块,所述滑块的一端通过缆绳与高空风力发电系统的电机连接,另一端通过缆绳与高空风力发电系统的空中组件连接;蓄能器,包括固定端和活动端,所述固定端固定于所述轨道上,所述活动端固定于所述滑块上;在所述空中组件向上做功时,所述蓄能器蓄能;在所述空中组件向下回收时,所述蓄能器释能。上述技术方案通过在轨道上设置蓄能器,可以在空中组件向上做功时蓄能,所储蓄的能量在空中组件向下回收时便可以释放,从而可以大大减少空中组件的回收能耗。
Resumen de: CN120822664A
本申请公开了一种齿轮箱寿命预测方法及装置,属于机械性能预测技术领域。它通过同步采集振动、油液、温度等多维度数据并融合分析,打破单一信号监测的局限,实现对齿轮箱运行状态的全方位掌握;采用深度学习与统计分析混合模型,结合联邦学习框架,在保障数据安全的同时,显著提高状态评估与寿命预测的精度;装置的集成化设计和动态优化展示功能,增强了技术落地的实用性,为工业场景中齿轮箱的健康管理提供了有力支持。
Resumen de: CN120820204A
本发明涉及海洋风电设施监测设备技术领域,主要涉及一种可实时监测海洋风电设施安全的装置,包括安装平台,安装平台的底部固定有定位桩,且安装平台上安装有风力发电设备,还包括若干个监测座,安装平台上开设有若干个用于监测座滑动的滑口,监测座内滑动安插有两个监测绳,且监测绳底部对接有吸附部件,两个监测绳顶部固定有连板,且监测座上安装有监测部件,以及固定在连板顶部的牵引绳一和固定在监测座上的牵引绳二,本发明在传统的单桩基础式海洋风电设施,在定位桩外侧增设吸附部件和监测部件,通过监测吸附框架上附着物以及锈蚀后的重量变化,来判断定位桩外侧是存在附着物以及锈蚀,从而能及时做出应对措施。
Resumen de: CN120819464A
本发明公开一种压差驱动式机舱废热回收型防除冰风电叶片结构,属于风力发电机组叶片覆冰防护技术领域。该结构包括叶片,叶片内部设有叶根渐缩管、特斯拉阀和出气区,叶片外表面背风面的叶尖区域形成涡流制造区。叶根渐缩管实现热气流加速导入,特斯拉阀通过交错排布的水滴形结构抑制冷气倒灌,出气区的导气孔与出气孔导通并配置遮挡板,涡流制造区的涡流发生器延长热气与冰层作用时间。通过各结构协同,实现机舱废热高效回收、定向传输及叶片表面精准利用,显著提升防除冰效果,降低能耗,增强风力发电机组在低温高湿环境下的运行安全性与经济性。
Resumen de: CN120819475A
本申请涉及风电机组的故障监测技术领域,具体涉及一种基于频率监测的双馈风电机组故障监测方法及系统,所述方法包括:获取双馈风电机组的运行参数数据,基于聚类算法根据所述运行参数数据生成双馈风电机组中齿轮箱的相似工况时间段;提取目标振动数据;根据所述目标振动数据生成模态分量和各模态分量对应的中心频率,生成模态分量能量;根据所述模态分量能量生成融合模态能量值,生成机组故障预警结果。本申请仅提取与相似工况对应时间段的振动数据,排除了不同工况下信号差异对振动特征的干扰,通过基于融合模态能量值进行机组故障的综合判据,实现尽可能精准地预警齿轮箱故障风险,减少漏报。
Resumen de: CN120819339A
本发明涉及油田采油设备领域,具体涉及一种U型风机驱动的风光电多能耦合新能源抽油机,本发明包括风力机、抽油机、调速电机和液压回路;风力机设有主轴;主轴远离风力机的一端设有行星轮系,主轴用于驱动行星轮系的行星架,行星轮系的太阳轮同轴固定连接有输出轴,行星轮系的齿圈外侧设有同步带,调速电机用于在风力小于第一预设值时,驱动同步带带动齿圈转动对输出轴进行调速;抽油机和液压回路均由输出轴驱动,液压回路用于在当风力大于第一预设值时消耗输出轴驱动力进行蓄能,当风力小于第二预设值时,液压回路释放蓄能驱动输出轴转动。采用本发明的技术方案,用于通过风力混合电控与液压蓄能,使抽油机的驱动受到风力变化的影响更小。
Resumen de: CN120819471A
本发明涉及垂直轴风力发电技术领域,具体为一种变径自启动垂直轴风力发电装置,包括主杆,主杆的顶端设置有扇叶,主杆的顶端设置有调节装置,调节装置包括第一电机,第一电机与主杆的顶端固定连接,第一电机的驱动端固定连接有调节杆,调节杆的外表面螺纹连接有推环,推环的一端与扇叶的内侧固定连接,主杆的顶端固定连接有引导条,引导条的两侧固定连接有限位块,扇叶的内侧固定连接有滑套,滑套的一侧设置有引导组件。本发明,通过设置调节装置,可以有效的方便工作者调节扇叶与主杆之间的距离,避免了风力发电装置在使用的过程中出现易受损和发电效率低下的情况,进而提高了风力发电装置的工作效果和使用寿命。
Resumen de: CN223459487U
本实用新型属于风力发电技术领域,具体涉及一种矩阵风能模块;其具备环保、低噪音、安全、布置方便、便携等特性,解决了家庭或单位无法有效利用风资源的问题,并且为户外风能应用提供全新路线;本技术方案包括快速组合式垂直轴风能发电机月牙阵列叶轮、叶轮电机连接器、发电机、通用底座,其中所述快速组合式垂直轴风能发电机月牙阵列叶轮组成部分有轴心、轴心连杆、叶片、轴心锁盖;其最大优势在于快速拆卸,方便简单,创新结构使其既能适应简单外出携带使用,更能满足大工程量密集布置的运输及安装需求。
Resumen de: CN223463225U
本公开涉及一种安装工装以及散热组件。安装工装用于将散热风扇固定安装于控制器,安装工装设置有固定部并且形成有送风管道,送风管道设置有第一开口和第二开口,第一开口和第二开口分别布置在送风管道延伸方向上的两端部,固定部布置在第二开口处并且用于与散热风扇固定连接,第一开口用于将来自第二开口的气流送至控制器。通过上述技术方案,本公开提供的安装工装能够提高散热风扇与控制器的安装可靠性,提升散热风扇为控制器散热的可靠稳定性。
Resumen de: CN223459488U
本实用新型公开了一种螺旋式风力发电机,包括底座,设置在底座上的旋转平台,旋转平台的顶面固定有支架,支架上设置有螺旋式风叶,支架的顶部设置有V形避位槽,V形避位槽内设置有轴杆;V形避位槽的一端外壁上固定有与轴杆端部相连接的发电机本体、V形避位槽的另一端通过轴承与轴杆的另一端相连接;螺旋式风叶固定在轴杆的中部且螺旋式风叶的下部处于V形避位槽内;螺旋式风叶转动并通过轴杆使发电机本体发电。本实用新型的结构设置合理,可以保证轴杆的使用可靠性,将螺旋式风叶固定在轴杆上,轴杆的两端进行支撑,提高整体结构的使用平稳性,有利于防止螺旋式风叶出现晃动或震动的情况,有利于提高使用寿命和有效性,方便拆装及维护操作。
Resumen de: CN223459490U
本实用新型属于纠正回转角度偏转技术领域,尤其涉及一种可纠正回转角度偏转的机构,包括固定座,还包括:所述固定座的顶部固定安装有连接座,所述连接座的顶部固定安装有减速机,所述减速机的顶部固定安装有伺服电机,所述固定座的底部固定安装有液压扳手,通过固定座对连接座进行安装作用,接着通过连接座对减速机进行安装作用,然后通过减速机对伺服电机进行连接作用,接着通过伺服电机对液压扳手进行连接作用,在紧固工装用于风力发电机塔筒安装及维护的现场,将紧固工装吊到塔筒内部,然后通过伺服电机与减速机的配合使用,带动液压扳手进行转动作用,从而避免人工操作,降低了人工强度并且提高了工作效率。
Resumen de: CN223459489U
本实用新型公开了一种大兆瓦风电机组塔筒法兰防变形装置,涉及风电机组塔筒固定技术领域,具体涉及一种大兆瓦风电机组塔筒法兰防变形装置,包括:塔筒法兰、拉杆和销螺栓,塔筒法兰设置有螺栓孔,拉杆两端设置有连接件,连接件通过销螺栓固定于塔筒法兰;拉杆中部设置有用于调整拉杆长度的正反螺旋套。其好处在于:本装置通过合理的结构设计和精确的调节机制,能够有效抵抗外部载荷对塔筒法兰的作用,防止法兰在存放、运输和安装过程中发生变形,确保法兰螺孔的准确对接,提高风电机组的安装质量和运行稳定性。
Resumen de: CN223459491U
本实用新型涉及风力发电设备技术领域,提供了一种风力发电机塔杆,包括:承重箱和两组三角支撑板;安装面板,设置在所述承重箱的表面上;还包括:多个安装孔,开设在所述安装面板表面的四角处,所述安装面板的表面设置有圆盘;主杆,通过螺栓固定设置在其中一组所述三角支撑板的内壁上,另一组所述三角支撑板的内壁通过螺栓固定设置有副杆。本实用新型,把主杆和副杆横置于地面上,通过起重设备把嵌设卡块吊起沿着槽口进行套设,同时副杆套设在安装部的表面上,此时主杆表面的三角支撑板与副杆表面的三角支撑板进行对齐,无需转动塔杆,即可借助螺栓和螺帽对主杆和副杆进行快速组装工作,无需在空中进行组装工作。
Resumen de: CN223459492U
本实用新型属于风力发电领域,具体地说是一种基于PLC控制架构的偏航角检测设备,包括承载台,所述承载台装配有支撑块,支撑块装配有收纳盒,收纳盒设置有开口,收纳盒装配有引导杆,两个引导杆装配有限位块,引导杆装配有活动块,活动块装配有操作板,活动块装配有竖杆,竖杆装配有延伸杆,延伸杆装配有遮挡板,上述一种基于PLC控制架构的偏航角检测设备通过活动块和遮挡板的配合解决了现有的偏航角检测设备在冬季使用时,飘落的白雪容易附着在风向传感器以及风速传感器上,积雪融化较慢,影响后期使用效果和检测数据异常的问题。
Resumen de: CN223458861U
本实用新型公开了一种风机基础加固结构及风机总成,风机基础加固结构包括老旧基础、基础环、法兰锚板和多根锚杆,基础环的上端的具有位于老旧基础上方的上法兰,上法兰上具有多个第一连接孔,法兰锚板水平设置并同轴分布在基础环的上端,法兰锚板上具有多个第二连接孔,多个第二连接孔与多个第一连接孔一一对应并相互对齐,以用于安装风机塔筒,多根锚杆绕基础环环向间隔分布,且法兰锚板通过多根锚杆与老旧基础锚接,如此可在原先的老旧基础和基础环上,增设法兰锚板与老旧基础之间通过锚杆进行加固,而法兰锚板与上法兰共同与风机塔筒进行连接以实现风机塔筒在老旧基础上的安装,从而实现合理的节省成本。
Resumen de: CN223459138U
本实用新型提供了一种模板支护装置,涉及风力发电机安装技术领域,包括:支护板,多个支护板之间相互搭接配合制成,多个支护板顶部设有上盖;搭扣组件,搭扣组件设于多个支护板之间,用于连接多个支护板用于进行固定安装;及支撑组件,支撑组件设于支护板外侧,用于对支护板进行支撑固定。该种装置利用搭扣组件能够让多个支护板之间进行快速的扣接安装,在提高安装效率的同时,利用圆柱状的搭接块和从外方固定的支撑组件相互进行配合,能够更加稳定的对支护板进行加固支撑,防止其松动脱落。
Resumen de: CN223457090U
本实用新型涉及海上风电工程技术领域,提供一种用于漂浮式风电基础结构下水的升降装置,包括:运输平台,承载运输漂浮式风电基础结构;升降平台,紧邻所述运输平台布置,并且支撑在水中,承接由运输平台运输的漂浮式风电基础结构,带动漂浮式风电基础结构下降至水中;升降平台包括多组升降模块,各组所述升降模块紧邻对齐布置,并且各组升降模块能够单独升降或者彼此配合联动升降;所述升降平台根据运输平台运输的漂浮式风电基础结构的体积启动对应数量的所述升降模块带动漂浮式风电基础结构下水。本实用新型实现了漂浮式风电基础结构批量化、规模化下水的可能性,解决了漂浮式海上风电整体下水的难点,提高了漂浮式海上风电施工的效率。
Resumen de: CN223459493U
本实用新型公开了一种风力发电机机舱维护手柄,包括手柄主体、开设在手柄主体顶面的按钮槽;以及设置在手柄主体顶部的防护机构,包括活动安装在手柄主体右侧顶部的旋转轴柱、固定在旋转轴柱顶端表面的活动压座、转动套设在旋转轴柱表面且处于活动压座顶部的旋转顶座、固定在旋转顶座一侧且与按钮槽相对应的防护遮板;本实用新型通过对现有技术中的风力发电机机舱维护手柄进行改进优化,在手柄主体的顶部设计了相应的旋转式防护机构,可以通过防护遮板的旋转下移实现对按钮槽的有效覆盖封堵,从而起到防水防护,以及防止维护按钮和维护旋钮被误触误旋的情况发生,表面因误触误旋导致风电机组误运行的情况出现。
Resumen de: CN223457085U
本实用新型公开一种TLP腿式小型漂浮发电装置,涉及海上发电装置技术领域,包括半潜式压水板张力支撑平台,所述半潜式压水板张力平台上安装有光能部件、涡流能部件和风能部件,所述光能部件、涡流能部件和风能部件从下至上依次排布,通过半潜式压水板张力平台、光能部件、涡流能部件和风能部件,将自然存在的风能、光能以及动能转换为电能,使得自然资源得到充分的利用,进一步地,本实用新型能够将自身结合形成多种开发模式,本实用新型可以多个进行组合形成自给自足的养殖体系,也可实现结合海上救援系统,形成绿色环保的新型海上救援系统。
Resumen de: US2025253641A1
An offshore structure that is a floatable offshore structure that includes at least one submarine cable connector configured to connect a submarine power cable to an electrical device of the offshore structure. The offshore structure also includes at least one messenger line. A first end of the messenger line is fixed to the submarine power cable and a further end of the messenger line is fixed to the offshore structure.
Resumen de: CN120819472A
本发明涉及风力发电技术领域,公开了一种筒节、塔筒及塔筒施工方法,包括:至少一个塔筒段,塔筒段适于沿竖直方向堆叠设置;塔筒段沿竖直方向中心开孔,塔筒段的内侧端面上沿轴向从所述塔筒段的一端向另一端延伸设置有加强肋,加强肋的上端面设置有预应力孔,预应力孔沿竖直方向贯穿加强肋,预应力孔用于穿设预应力线,本发明通过在塔筒段的内部设置加强肋,将预应力孔开设在加强肋上,有效避免了塔筒段开孔导致的结构强度薄弱问题,提升了塔筒的整体稳定性和耐久性。
Resumen de: CN120819483A
本发明涉及风力发电机技术领域,公开了一种小型风力发电机,包括:底面通过螺栓固定安装在塔架上的底座;还包括:底座的内部固定安装有发电器,所述发电器的传动轴顶端固定连接有叶轮架,叶轮架在风力的推动下带动发电器运行,所述底座的两侧顶部转动贯穿安装有连接架,且连接架的顶部固定连接有风向板,所述底座的两侧转动嵌设有筒架,所述连接架的底部活动连接有角度传动模组,连接架通过角度传动模组带动筒架转动朝向对应风向。该小型风力发电机,装置设置有可依据外界风向进行适应性角度调节的进风机构,使得外界冷风能够更加充分的进入装置内部,从而提高了电机的散热效果,且装置能够对气流过滤板进行自动清理。
Resumen de: CN120817246A
本发明涉及一种蓄电器切换冷却风轮增量自发电自充电的纯电动飞行器,包括飞行器。其特征在于:飞行器安装有力矩转换装置、蓄电器组,充电器,380V交流电动机连接飞行器推进器驱动。其特征在于:有电蓄电器组连接力矩转换装置内直流电动机带动连接装风轮380V交流发电机供电,连接380V交流电动机,连接飞行器推进器驱动。其特征在于:380V交流发电机发电,接二相220V交流电连接充电器,为切换蓄电器组电量不足的蓄电器充电,使蓄电器组给直流电动机供电,使直流电动机连续运转。本发明的优点是可以循环产生电力输出驱动推进器及供配电用电器使用,节能环保。
Resumen de: CN120819484A
本申请涉及风力发电机组偏航系统润滑技术领域,尤其涉及一种风力发电机组偏航齿轮分区润滑方法,包括区域划分,将偏航齿轮工作面沿轴向均分为上、中、下三个独立润滑区域;裸露检测;分级判定,对存在裸露的区域,基于裸露面积占比与预设判定阈值判定是否需要对注脂小齿轮的出油孔进行封堵,并对所需封堵区域进行确定;对不存在裸露的区域,通过厚度检测设备检测润滑油脂覆盖厚度,并计算膜厚占比,根据膜厚差异比例确定所需封堵区域以及所需封堵个数;执行操作。本发明通过对出油孔的动态封堵,实现对齿宽方向润滑量的精准调控,以提升其润滑均匀性,减少油脂在下侧堆积所造成的浪费与污染。
Resumen de: CN120821962A
本发明公开了一种风电机组全寿命数据增强方法,属于数据处理技术领域,包括对风电机组寿命预测数据进行预处理;选取两组具有相同退化趋势的全寿命预测数据;进行降维处理;对特征向量z1和z2采用混合因子λ进行线性插值混合,生成混合特征向量z0;整合原始特征向量z1、z2及混合特征向量z0形成混合数据集Zmix;训练Informer模型;训练DDPM模型,并生成新特征向量zgen;训练时间序列预测模型;将zgen输入Informer解码器还原为增强时间序列数据;整合所有增强数据形成完整扩充数据集Xaug;通过独立测试集评估模型性能,本发明解决了现有技术中数据量不足、特征学习不充分以及模型泛化能力差的问题。
Resumen de: FI20246242A1
The present disclosure relates to a rotor sail (100) comprising a rotor (110) having a lengthwise axis, an outer surface surrounding the lengthwise axis, a first end and a second end opposite to the first end, and the rotor having a first radius. A first end plate (114) is attached concentrically around the outer surface at the first end of the rotor. The first end plate includes a first circular edge having a second radius equal to the first radius of the rotor, a second circular edge having a third radius greater than the first radius, and a first slanted lateral surface extending between the first circular edge and the second circular edge, wherein the slanted lateral surface faces the second end and has an angle between 5 to 45 degrees in respect to a plane defined by the second circular edge.
Resumen de: FI20245491A1
Disclosed is a method for obtaining sensor data, the method comprising: obtaining, using a first sensing device, a first sensor data from one or more sensors of the first sensing device, wherein the first sensing device is associated with a first wind turbine located at a first location, receiving the obtained first sensor data by a central computing entity, receiving, by the central computing entity, a second sensor data obtained by a second sensing device located at a second location, the second location being different than the first location, and combining, by the central computing entity, the first sensor data and the second sensor data.
Resumen de: CN120798671A
本发明属于风力发电技术领域,具体的说是一种用于山地风电场风电机组叶轮吊装的定位结构,包括:机舱,所述机舱内部设置有风力发电机组,所述风力发电机组的动力输入轴上固定连接有连接盘,所述连接盘上固定有轮毂,所述轮毂的侧壁上沿周向均布有多个固定筒,所述固定筒端部上固定有叶片;预固定组件,用于预先固定叶片的空间位置,所述预固定组件包括设置于固定筒内部的活动筒;调节组件,用于在叶片预固定后驱动其绕自身轴线旋转以调节安装角度;本发明通过设置预固定组件在轮毂的外侧对叶片进行预固定操作,无需人工进入轮毂内侧,大大简化了操作流程,使得整个过程更加简单便捷。
Resumen de: CN120798658A
本发明涉及风力发电机PHM系统技术领域,具体为基于分布式计算架构的风力发电机PHM系统。为了解决现有的风力发电机PHM系统存在不足的问题,故提供了一种新的基于分布式计算架构的风力发电机PHM系统,包括风机侧单元和场控侧单元,采用分布式计算方法将故障诊断功能用不同的单元实现,即将部分低复杂度的功能在边缘侧实现,一方面能够增加判断的及时性,另一方面能够减少数据的传输量,减轻场控侧服务器数据接收压力,通过适当增加风机侧系统配置来降低场控侧服务器数据接收处理压力,提升整体系统经济性,同时,融合多源信号进行关键部件故障诊断及预测,克服单一信号在故障诊断中的局限性,提升故障诊断实时性、准确性。
Resumen de: CN120798704A
本发明涉及风力发电技术领域,具体公开了一种风力发电齿轮箱润滑系统,包括:齿轮箱本体;所述齿轮箱本体的底端安装有过滤机构,所述齿轮箱本体的两侧外壁上部均穿插安装有润滑机构,所述过滤机构的两侧外壁均安装有冷却机构;本发明通过过滤箱、磁性过滤筒、清洁机构和同步皮带等部件的协同工作,磁性过滤筒利用磁场吸附润滑油中的铁磁性金属微粒,有效减少因金属磨损产生的杂质对齿轮和轴承的损害,同时,静电吸附板分解润滑油中的氧化产物和其他非铁磁性微小颗粒,进一步净化润滑油,延长油液使用寿命,配合自清洁机构自动清除磁性过滤筒内壁附着的杂质,避免其堵塞,降低更换成本,提高整个润滑系统的可靠性和经济性。
Resumen de: CN120798686A
本发明公开了一种基于OFDR的风机叶片净空监测方法,包括在风电机组的叶片部署传感光纤,实时采集应变数据;利用应变数据计算叶片不同位置的变形后坐标;利用变形后坐标计算净空距离;将净空距离与预先设置的安全阈值进行比较,进行净空预警。本发明同时公开了一种风机叶片净空监测系统,包括依次电性连接的光纤、OFDR解调仪和数据处理单元,数据处理单元通过远程监控中心与运维终端通信,所述的远程监控中心通过网络与风机控制系统通信。本发明能够精确获取叶片在运行过程中的应变分布,进而准确计算叶片与塔筒的净空距离,实现对风机叶片净空的实时、稳定测量,有效提高风机运行安全性和可靠性。
Resumen de: CN120798698A
本发明公开了一种基于机器学习预测与自适应调节的电加热除冰系统及方法,属于风力发电技术领域。系统包括设置在叶片上的多物理传感器阵列和动态加热执行模块;所述多物理传感器阵列和动态加热执行模块均连接有CAN总线;所述CAN总线连接有智能控制模块、云端协同平台和边缘计算节点。方法包括:获取原始机组历史运行数据,对其进行预处理得到预处理数据;所述原始机组历史运行数据包括环境参数和叶片状态监测数据;基于机器学习算法分析所述预处理数据,建立叶片结冰预测模型;获取实时环境参数和叶片状态监测数据,并基于所述叶片结冰预测模型预测叶片表面覆冰情况;基于所述叶片表面覆冰情况确定叶片加热需求,进行除冰。
Resumen de: CN120798685A
本申请涉及无人机自主巡检技术领域,公开了一种风机的叶片位置角计算方法、装置、设备及介质,方法包括:获取目标风机的第一点云模型;根据高度阈值,对目标坐标系中的第一点云模型进行过滤,获得第二点云模型;将第二点云模型中投影至目标坐标系的水平面后处于目标范围内的点删除,获得第三点云模型;将第三点云模型中位于几何中心区域的中心轮毂部分特征点删除,获得第四点云集合;获取第四点云模型中各个点簇的包围盒,并将各个点簇的包围盒的朝向角度确定为目标风机的叶片位置角。上述方案在保证角度识别准确率的同时,提高了计算效率,提高了风机的叶片位置角计算的时效性。
Resumen de: CN120801758A
本发明公开了一种MEMS自动校准安装误差的方法及系统,方法包括:采集MEMS中三轴加速度计的数据ax(i)、ay(i)、az(i),缓存一段时间的数据,得到三个加速度数组ax(N)、ay(N)、az(N);判断风机是否处于未发电状态;若处于未发电状态,对加速度数组进行静态分量提取,得到ax_static、ay_static、az_static;将提取的静态分量写入数据库,当数据库中的数据数量大于门限值M时,取出最新的M个静态分量数据;利用聚类算法求和均值的方得计算得到向量ax,ay,az;计算向量ax,ay,az到向量0,0,1的空间旋转矩阵,作为安装误差校准矩阵G。
Resumen de: CN120798684A
本发明实施例公开了一种风光储系统测试方法,包括:获取在不同测试参数下风光储系统的多组测试数据,并根据每组测试数据中的输出功率、最大功率点效率和剩余容量,确定每组测试数据对应的风光储系统的性能指标,然后根据每组测试数据中的热性衰退活化能、累计损伤效果和老化因子,确定每组测试数据对应的风光储系统的性能衰减值,最后根据各组测试数据中的输出功率、最大功率点效率和剩余容量,及各组测试数据对应的性能指标和性能衰减值,确定风光储系统的测试结果;通过提供一套全面、有效的测试解决方案,能够全面、准确地评估风光储系统在实际运行工况下的性能表现,以满足对风光储系统进行精准测试和可靠评估的需求。
Resumen de: CN223448171U
本申请涉及照明设备领域,具体公开了一种户外发电照明装置,其包括壳体、风叶组件、发电机、储能电池、照明装置以及控制器,该装置的发电机、储能电池、照明装置以及控制器均集成安装在壳体内,保证了整体的紧凑性。壳体包括相互拼接的下壳体、上壳体,上壳体的内侧设有弧形反光板和弧形出光板,照明装置位于弧形反光板和弧形出光板之间的空腔内,上壳体的周面包覆在弧形出光板的外侧并形成透明保护罩,下壳体的内侧设有安装部,安装部的一端开口且伸入到上壳体的内腔中,储能电池插入到安装部内,储能电池占用的是壳体内部空腔的中间位置,照明装置占用的是储能电池与壳体内壁之间的空间位置,储能电池和照明装置在壳体内部安装紧凑。
Resumen de: CN223447179U
本公开提供一种通风帽、通风系统以及风力发电机组,所述轮毂设置有通风口,所述通风帽用于安装在所述通风口处,所述通风帽包括端盖和帽本体,所述帽本体具有通风孔,所述端盖设置在所述帽本体的顶端,所述帽本体的底端设置有开口,所述开口用于罩设在所述通风口处,所述端盖包括中心凸部,所述中心凸部占所述端盖的至少一部分且设置为从所述端盖的中心向周向边缘逐渐远离所述开口设置,通过在端盖的内壁设置中心凸部,以对气流进行定向引导,使气流可以从中心凸部的中心向边缘平滑拐弯,并向帽本体的通风孔流动,减少帽本体内湍流的产生,从而降低风阻。
Resumen de: CN223447169U
本公开涉及一种风电机组控制装置及其固定结构,该控制装置包括沿第一方向排布的多个数字模块,相邻两个数字模块之间通过导电轨电连接,该固定结构包括驱动件和两个固定件,两个固定件在第一方向上间隔设置且位于控制装置的相对两侧,驱动件沿第一方向驱动连接于至少一个固定件,以使得两个固定件能够相互靠近并夹紧多个数字模块。通过上述技术方案,固定件能够在驱动件的驱动下沿第一方向移动,以使得操作人员能够根据实际情况的需要调整两个固定件之间的距离,以通过驱动固定件进一步夹紧稳固多个数字模块,使得相邻两个数字模块之间的连接更加稳定,并且能够适应于不同大小的控制装置,适应性更好,更具有使用的可靠性和安全性。
Resumen de: CN223447178U
本公开提供一种通风帽、通风系统以及风力发电机组,通风帽适用于风力发电机组的轮毂,轮毂具有通风口,通风帽用于安装在通风口处,通风帽包括帽本体和第一挡环,帽本体在沿通风帽的高度方向设置有通风区域,通风区域设置有多个通风孔,帽本体的底端设置有开口,开口用于罩设在通风口处,第一挡环设置于帽本体的内壁上且沿通风帽的周向延伸,第一挡环沿通风帽的高度方向设置于通风区域背离开口的一侧,通过在通风区域的背离开口的一侧设置第一挡环,使得第一挡环设置于通风道上,且该通风道与开口连通,通过设置该第一挡环能够拦截进入轮毂内的气流中夹杂的杂尘,从而净化进入到通风帽中的气流,提高了轮毂运行的可靠性。
Resumen de: CN223447163U
本实用新型提供了一种供电系统、叶片组件和风力发电机组。所述供电系统安装在风力发电机组的叶片上,其中,所述供电系统用于为安装在风力发电机组的叶片的内侧的电子装置供电,并且包括:太阳能模块,安装在所述叶片的外表面上,并且包括太阳能板;储能模块,安装在所述叶片的内侧并连接到所述电子装置,并且被构造为能够从所述太阳能模块接收并储存电能;以及无线充电组件,连接在所述太阳能模块与所述储能模块之间,并且被构造为通过无线传输从所述太阳能模块接收的电能。根据本实用新型的所述供电系统能够通过太阳能结合无线充电技术来实现叶片的内侧的电子装置的太阳能自供电,使得可确保电子装置能够长期连续工作,并且可降低雷击风险。
Resumen de: CN223447382U
本实用新型公开了一种风力驱动自锁紧固件,属于风力发电机叶片紧固技术领域,包括机械自锁紧固件和轮毂,所述机械自锁紧固件包括底座,所述轮毂安装在底座上,所述底座表面的四周设置有自锁装置,所述自锁装置位于轮毂的内圈,所述底座的表面与自锁装置对应的位置开设有通孔,所述自锁装置的一端贯穿通孔并向外延伸,通过在风力驱动的连接处增加了机械自锁紧固件能够对收风力驱动的叶片进行自动锁紧功能,使得叶片能够停止转动,从而方便了工作人员对叶片连接处的位置进行维修和检测,降低了工作人员的工作难度,通过设置的滑槽和滑块的配合,能够对推板在支撑架上移动的限位效果,提高了推板移动的稳定性。
Resumen de: CN223447173U
本实用新型公开了一种用于风电机组的新型液压式聚氨酯弹性支撑,包括安装板、设置于安装板上的橡胶腔、设置于安装板上且位于橡胶腔外侧的聚氨酯弹性体,所述橡胶腔安装于安装板上,所述聚氨酯弹性体与橡胶腔卡合。本实用新型的有益效果是,采用多个零件分体式设计,单件重量更小,便于运输,安装拆卸方便,适用性更强。
Resumen de: CN223447167U
本实用新型公开了一种风电叶片叶根预制件结构,所述叶根预制件沿周向切分为至少两个预制分块,相邻两个预制分块之间预留有便于树脂通过的间隙;每个预制分块的分切面呈非直线型,且每个预制分块上最靠近分切面的螺栓孔与分切面之间的壁厚大于预设间距。本实用新型能够有效解决现有叶根预制分块的螺栓孔与分块界面之间壁厚太薄,造成叶根强度不足的问题。
Resumen de: CN223447171U
本实用新型公开了一种风力发电机的稳固塔架,包括固定设置于混凝土基座的塔架本体和风力发电机本体,所述风力发电机本体通过螺栓固定设置于塔架本体的顶部,所述塔架本体的顶部滑动设置有若干个斜架,且若干个斜架呈环绕等距设置,本实用新型涉及风力发电技术领域。该风力发电机的稳固塔架,通过在塔架本体的顶部滑动设置若干个斜架和夹持板,并在塔架本体的顶部滑动设置与斜架相配套使用的挤压环,以及在挤压环与斜架之间设置插销柱和插销槽,使得塔架本体在通过螺栓与风力发电机本体连接后,还能够通过上述配合,便捷对风力发电机本体进行夹紧支撑加固,提高风力发电机本体的稳固性。
Resumen de: CN223451543U
本实用新型涉及线缆夹持紧固技术领域,具体涉及一种风力发电机的线缆安装套,包括固定在塔体上的线缆固定座、盖板以及线缆标识组件,所述盖板可拆卸连接于所述线缆固定座上,所述盖板和所述线缆固定座的相对侧分别设有用于限制线缆晃动的若干个卡槽,所述线缆标识组件设于所述盖板背离所述线缆固定座一侧的表面。本实用新型能固定线缆的同时,通过所设的线缆标识组件能让工作人员更快的识别各条线缆,便于线缆的整理和维护。
Resumen de: CN223447168U
本实用新型涉及风力发电技术领域,尤其是公开了一种风力发电装置,包括中心发电系统,所述中心发电系统四周设置有至少两个边缘发电系统,所述中心发电系统包括第一支撑底座,所述第一支撑底座上端转动安装有第一转动轴,所述第一转动轴下端传动连接有第一发电机。有益效果在于:通过在中心发电系统四周安装边缘发电系统,利用中心发电系统受风面广更容易启动的方式改变边缘发电系统周围的气流方向,从而加快边缘发电系统启动进行发电,使得风力利用率增加,效率变大;第一叶片通过固定机构安装在第一支撑架上,通过倾角调节机构可以调节第一叶片的倾斜角度,实现根据所在区域风力自由和中心发电系统与边缘发电系统的位置调节受风面朝向。
Resumen de: CN223447172U
本实用新型公开了一种便于电缆固定的塔筒平台及风力发电机组,包括第一平台面板、第二平台面板、橡胶件和平台支撑件,所述第一平台面板和第二平台面板通过螺栓组件可拆卸式对接,且所述第一平台面板和第二平台面板的对接处形成有多个一一对应的半圆形孔,每个半圆形孔处均设置有用于防止割伤电缆的橡胶件,两个平台面板的半圆形孔对接构成用于电缆固定的电缆孔,电缆孔的数量和电缆的数量相同且一一对应,所述第一平台面板和第二平台面板与塔筒的内壁通过平台支撑件连接。本实用新型能够有效解决塔筒内部动力电缆敷设及固定的问题。
Resumen de: CN223446030U
本实用新型涉及工地施工安全警示技术领域,且公开了一种基于工地施工用的安全警示装置,包括控制箱,控制箱上方设置有警示装置。该基于工地施工用的安全警示装置,通过设置电机、第一限位杆、套筒、限位套筒、第二限位杆、反光板、风力驱动杆、T型杆、定位螺栓和转轴,利用风力驱动风力驱动杆,使转轴和反光板转动,或者利用电机驱动反光板转动,使反射光线处于动态,更容易引起路人的注意;通过设置光伏板、连接杆、T型滑块和磁块,将光伏板左端向上抬起,利用足有磁块之间的相互吸引,对T型滑块进行定位对光伏板进行定位,通过设置伸缩杆、安装筒、限位杆和弹簧,利用弹簧的拉力,使限位件对伸缩杆进行定位,便于调整装置的高度。
Resumen de: CN223447594U
本实用新型公开一种风力发电机齿轮箱油液检测装置,包括:主油管、进油口三通、出油口三通、双头取油管、双头回油管、油液传感器、进油阀门、出油阀门;所述主油管的两端分别进油口三通、出油口三通连通;所述进油阀门的两端分别与进油口三通、双头取油管的一端连通,所述双头取油管的另一端与油液传感器连通;所述出油阀门的两端分别与出油口三通、双头出油管的一端连通,所述双头出油管的另一端与油液传感器连通。本实用新型可以在不改变风机原来的结构,安装在风机润滑油路管道中相连接并形成副油管通道,形成副油管回路对油液进行检测。
Resumen de: CN223447489U
本实用新型涉及一种轴承及风力发电机组,轴承包括轴承本体以及滚动体,轴承本体包括内圈以及围绕内圈设置的外圈,内圈、外圈围合形成有环形滚道;滚动体设置于环形滚道,内圈以及外圈通过滚动体转动配合;其中,沿轴承本体的轴向,内圈和外圈中的至少一者包括两个以上层叠设置的环体,相邻两个环体中的一者包括第一对接面且另一者包括第二对接面,沿轴向,第一对接面包括间隔分布的第一端口、第二端口,由第一端口至第二端口,第一对接面的径向尺寸呈增大趋势,第二对接面与第一对接面的形状相匹配并彼此贴合设置。本方案能够使轴承更好的承受径向载荷,降低轴承环体的分型面在径向上的滑移,提高了轴承整体的安全稳定性。
Resumen de: CN114623048A
The wind power generation blade range radar device based on the Internet of Things comprises millimeter wave radar modules in multiple detection directions, an IOT communication module, a battery module, a solar charging module, an IOT host module and a rubber cable. Wherein the millimeter wave radar module, the IOT communication module and the battery module are uniformly wrapped in the rubber cable, and the solar charging module is arranged on the surface layer of the rubber cable and is wrapped by a transparent plastic layer; and the IOT host module is positioned at the tower top, performs information interaction with the wind generating set, and provides information for the control of the wind generating set. The millimeter wave module accurately measures the distance through the blade, the distance measurement information is transmitted to the IOT host through the IOT module in real time, the IOT host gathers the information and transmits the information to the wind generating set so that the wind generating set can be controlled, the whole design is achieved through the low-power-consumption design of the IOT, power is supplied by the solar cell, and long-time high-reliability work can be achieved. The method has the advantages of low cost, high performance, easy realization of accurate distance measurement and easy installation.
Resumen de: CN120798647A
本发明公开了一种高效自动保护的风力发电装置,涉及风力发电技术领域,一种高效自动保护的风力发电装置,包括支撑柱,所述支撑柱顶部外壁转动安装有离心轴,所述离心轴圆周面固定安装有外杆,所述外杆内壁滑动安装有内杆,所述内杆远离支撑柱的一端固定安装有固定架,所述固定架远离支撑柱的一侧固定安装有扇叶,所述支撑柱表面还设有保护装置,扇叶向外移动后,其旋转半径增大,导致转动惯量增加,其迎风角度会发生变化,降低离心轴的转速,从而减少风能吸收,防止超速运行。
Resumen de: CN120811176A
本申请提供一种风力发电机组的控制方法、装置、设备、介质及程序产品。涉及发电机组控制技术领域。该方法包括:获取目标风力发电机组的当前转速;在当前转速位于第一转速范围内时,获取从当前时刻起的回看步长为预设长度的第一风速数据;将第一风速数据输入预先训练好的风速预测模型,得到下一时刻的第一预测风速数据;根据第一预测风速数据,确定风速变化趋势;根据风速变化趋势,确定目标风力发电机组的发电模式;其中,目标风力发电机组的发电模式为双馈模式或者鼠笼模式。通过本申请以达到提高风力发电机组发电的可靠性和电网稳定性的目的。
Resumen de: CN120798648A
本发明公开了一种微风发电设备,涉及风力发电领域,其风向识别组件用于识别风力方向,底座上设置回转轴承,回转轴承的活动端连接架体且由第一驱动件驱动转动,转动轴竖直贯穿底座,其位于架体内的第一段设置多组风轮组,每组风轮组由多个风轮组成,转动轴位于底座内的第二段连接发电机,聚风组件固定在架体上,具有入风口和汇风口,汇风口朝向风轮组,同步控制模块分别与风向识别组件和第一驱动件电连接,用于控制聚风组件入风口朝向判断的风向。本申请达到了精准捕捉风向,在微风环境下实现集中聚风,提高风速,进而实现高效发电,充分利用微风资源的技术效果。
Resumen de: CN120798660A
本发明涉及垂直轴风力发电机领域,提供了一种1MW垂直轴风力发电机组,包括,风轮系统以及用于将风轮系统捕获的动能转换为电能的发电系统,本发明克服了现有技术的不足,通过动态调节叶尖速比,使其控制在5至7的区间内,以优化气动效率,确保风轮在不同风速条件下都能获得最佳的气动性能,从而提高发电效率;根据风向、叶片位置和风速调节叶片角度,使不同位置的叶片都能获得最大扭矩,从而提高整体发电效率,克服了传统叶片固定角度的缺陷。
Resumen de: CN120798643A
本公开涉及一种连接盘部件、风电叶片和风力发电机组,风电叶片包括叶片主体、防雷层和连接组件,叶片主体围设形成空腔,空腔内设有导电器件;防雷层设于叶片主体上且邻近叶片主体的外表面设置;连接组件包括连接盘部件和第一紧固件,其中,连接盘部件包括第一盘件和第二盘件,第二盘件位于第一盘件和导电器件之间,第一盘件和第二盘件连接并将所述防雷层夹持在所述第一盘件和所述第二盘件之间;所述第一紧固件的一端穿过所述第一盘件、所述第二盘件和所述叶片主体与所述导电器件电连接,所述第一紧固件的另一端与所述第一盘件抵靠。本公开提供的技术方案,可以提高防雷层与导电器件的电连接可靠性,保障防雷作用的有效性。
Resumen de: CN120798649A
本发明一种活页式风力机及其可变力矩风力发电装置涉及风力发电技术领域,解决了目前风力发电装置生产和使用成本过高、发电效率低、噪音大等诸多缺陷,采用活页设计和可变力矩设计,有效提高了发电机的工作效率,安全性和稳定性也得到增强,同时,风力机在低速大扭力和接近无风阻运动的过程中也减少了空气摩擦、降低了噪音,不仅如此,叶片的设计和制作更加简单,各种硬质或软质材料均可用于设计生产,真正实现了材料选用的多样化和轻量化,降低了风力发电机的生产成本和使用成本,本发明风力机发电装置具有起动快、效率高、安全、平稳、低噪音等特点,同时更易于生产、安装和维护,实用性更强、适用范围更广,具有很高的市场推广价值。
Resumen de: CN120798659A
本发明公开了一种风力发电机的控制方法、装置、终端及存储介质,具体涉及风力发电机运行控制技术领域,用于解决现有控制方法在海洋环境中因风与波浪载荷方向动态响应差异导致支撑结构承受剧烈不对称载荷的问题,通过实时同步获取风向与波浪方向数据,计算风向变化率并分析支撑结构振动信号以识别波浪激励主导频率成分,当检测到波浪激励能量突变且风向变化率超限时,分析风浪方向差异,同时通过分析塔顶运动轨迹确定波浪谱能量集中频带,结合方向差异和波浪能量集中频带评估载荷不对称风险等级,最终根据风险等级自适应调整偏航速度和变桨速率,实现对风浪载荷方向错配工况的精准识别与预警,提升极端天气下风力发电机的运行可靠性。
Resumen de: CN120793089A
大型漂浮式张力腿式海上风力发电系统及其运输、安装及维护方法,属于海上风电领域,浮式张力腿风机基础各所述横撑上设置至少两组所述辅助浮筒,其中的一组所述辅助浮筒在所述横撑上设置为靠近于连接在所述横撑两端中的一个所述侧浮筒,则另一组所述辅助浮筒在所述横撑上设置为靠近于连接在所述横撑两端中的另一个所述侧浮筒,其中,一组所述辅助浮筒包括至少一个所述辅助浮筒,本发明能够降低浮式风机运输和安装难度,提升安装精度,同时辅助浮筒方便拆卸,在运维过程中可快速更换,具有安装便利性。
Resumen de: CN120797728A
本发明属于风利发电施工技术领域,公开了一种嵌入式耦合风机基础和施工方法,包括桩基、垫层和预制装配式承台结构;所述预制装配式承台结构由至少两个预制单元拼装组成;所述预制单元包括底板、垂直设于底板上的肋板以及中心柱;所述底板底部中心位置设有预留孔,所述桩基顶部嵌入预留孔内;所述桩基的桩顶预留钢筋穿过预留孔后弯折固定于底板上表面;相邻预制单元的中心柱侧壁通过结构胶粘接;所述肋板内侧与桩基之间填充灌浆层。本发明的目的在于提高风力发电项目基础设施建设效率,降低项目成本、缩短建设周期,减少冬季施工成本与质量问题,提高基础承载能力。
Resumen de: CN120798696A
本发明涉及电子技术领域,公开了风力机的气动及尾流特性测量系统、方法、装置及设备,系统通过气动测量模块采集风力机的气动数据,功率测量模块采集直流发电机的电压数据以及电路中的电流数据,粒子图像测速模块采集风力机在尾流区域的流场图像。数据采集分析模块作为数据中枢,分别与气动测量模块、功率测量模块以及粒子图像测速模块连接,支持多通道同步触发,能够同时接收来自气动测量模块的气动数据、功率测量模块的电压数据和电流数据,以及粒子图像测速模块的流场图像。这保证了不同类型的数据在采集时间上的一致性,为后续的同步分析提供了基础,实现了风力机气动及尾流参数进行同时同步测试。
Resumen de: CN120798695A
本申请提出了一种用于风电机组变桨功能验证的测试方法及系统,涉及风电机组技术领域。本申请通过基于测试模块模拟风电机组从待机状态到启动以及并网的完整运行过程,并在并网阶段,基于上位机向测试模块下发参数调整指令,测试模块根据参数调整指令将变桨系统对应的目标信号修改为故障值;在主控模块检测到测试模块中的变桨系统发生故障时,触发故障告警信号并发送停机指令至测试模块;基于测试模块在接收到停机指令之后模拟风电机组的停机过程;基于上位机向测试模块和主控模块下发复位指令;基于测试模块在接收到复位指令之后复位测试模块内的故障值,以及,基于主控模块在接收到复位指令之后复位主控模块内的故障告警信号。
Resumen de: CN120798691A
本发明公开了一种基于多源数据融合的风电机组综合性能评估方法及相关装置,包括:获取风电机组的监测数据;根据所述风电机组的监测数据计算风电机组的理论功率;根据风电机组的理论功率计算风电机组的总损失;根据风电机组的总损失计算风电机组中各部件的损失分量;生成风速‑功率对比图、损失占比图、部件故障统计图及维护优先级矩阵图,该方法及相关装置能够准确评估风电机组的综合性能。
Resumen de: CN120798667A
本发明公开了一种具有过载保护功能的风电机组,涉及风电机组技术领域,包括底座,所述底座的上方设置有固定座,所述固定座的顶部设置有转动组,所述转动组与固定座转动连接,所述转动组由转动柱和转动管组成,所述转动环与转动架之间设置有若干个叶片,通过改变叶片迎风面的形状,从而在较大风力环境下,增加风所需推动叶片转动的作用力,同时,利用转动板的反向转动,使得转动管与转动柱的转动方向相反,从而利用磁力块的磁力对磁铁块进行牵制,从而降低驱动齿轮的转动速度,从而实现过载保护的效果;通过转动板的转动,实现转动管不同方向的转动,从而在风速变化的环境下,均能够使风电机组处于正常工作范围内。
Resumen de: CN120798692A
本申请提供一种风力发电机主轴故障检测方法、电子设备及程序产品,在主轴故障检测中引入雷达传感器,利用微多普勒效应直接检测主轴表面状态,雷达可捕捉主轴旋转时表面的微小形变或磨损导致的表面粗糙度变化,即使磨损量极小,也能通过反射波的相位/频率变化精准识别。结合偏心距特征,可进一步反映主轴平衡状态异常,为早期故障提供更敏感的检测手段,提高了故障检出率。本实施例采用雷达+温度传感器的多模态融合,温度传感器提取的温升率可反映主轴摩擦状态的异常,与雷达检测的表面粗糙度、偏心距形成互补,同样提升了故障检出率。
Resumen de: CN120798680A
本发明公开了一种海上自提升塔筒的自锁连接结构及实施方法,该结构包括第一节塔筒、第二节塔筒和筒节间连接结构;第二节塔筒位于第一节塔筒的内侧;筒节间连接结构,包括第一节塔筒顶法兰、第二节塔筒底法兰、可伸缩牛腿、多个螺栓、自锁连接装置和抗弯销钉;第一节塔筒和第二节塔筒通过筒节间连接结构相连接;第一节塔筒包括第一节塔筒筒壁;第二节塔筒包括第二节塔筒筒壁;第二节塔筒底法兰位于第一节塔筒顶法兰下方;每个自锁连接装置用于通过自动锁紧对应的螺栓,将第一节塔筒和第二节塔筒紧固连接。本发明的自锁连接结构在伸缩提升过程中既能保证平稳运行,又具备优异受力性能,显著提升升降式塔筒在复杂海上环境中的可靠性和安全性。
Resumen de: CN120792525A
本发明涉及一种基于清洁能源的电力服务车续航装置,包括承载车,承载车上架设有储物框,储物框上安装有立柱,立柱底端通过铰接固定机构与储物框相连接,且立柱上由顶到底至少套设有两个能转动的套筒,套筒上均螺纹连接有第一定位螺杆,且至少一个套筒上安装有风力发电机构,其余套筒上安装有光伏发电机构;铰接固定机构包括U型铰接座,U型铰接座两个相对设置的内壁上均开设有第一通孔,且U型铰接座的顶面上螺纹连接有两个第二定位螺杆,第二定位螺杆的底端分别位于第一通孔内,立柱的底部位于U型铰接座内,且立柱的底部两侧均通过铰接轴与U型铰接座转动连接,本发明能为电力服务车提供充电服务,以保障电力服务车的续航能力,可便于使用。
Resumen de: CN119759094A
The invention belongs to the technical field of aircraft control, and relates to a multi-shaft control system instruction control and processing method, which comprises the following steps of: acquiring an output voltage signal of a control shaft instruction sensor; collecting the power supply voltage 4VPS of the control shaft instruction sensor; according to the output voltage signal of the control shaft instruction sensor and the power supply voltage 4VPS, the angle of the control shaft is obtained through calculation; according to the output voltage signal of the pitch axis instruction sensor and the power supply voltage 4VPS, a control shaft transient self-monitoring result is obtained through a control shaft sensor self-monitoring algorithm; through inter-channel data link transmission, two redundant channels of the control system exchange control shaft data with each other; and in the inter-channel data link transmission process, through a CCDL monitoring and data processing algorithm, obtaining control angles of other channels for voting processing and control shaft transient self-monitoring results of other channels.
Resumen de: WO2024200061A1
A wind turbine blade and a wind turbine having such wind turbine blade is disclosed. The wind turbine blade having a profiled contour including a pressure side and a suction side, and a leading edge and a trailing edge with a chord extending therebetween defining a chordwise direction. The wind turbine blade extends in a longitudinal direction between a root end and a tip end and having a blade length along the longitudinal direction. The wind turbine blade has a first airfoil blade section along the longitudinal direction being located between 40% and 100% of the blade length measured from the root end. Within the first airfoil blade section, the pressure side is substantially straight near the trailing edge.
Resumen de: CN120798638A
本发明涉及新能源发电技术领域,提出了一种潮汐风浪发电装置,包括竖向插设于海底的管桩,所述管桩靠近岸边,所述管桩底部背向海岸的一侧开设有进水口,所述管桩的顶端固定有顶盖,所述顶盖上固定有框架,所述框架上设置有随着潮汐海面高度变化而升降的浮动机构以及利用浮动机构的升降进行发电的第一动力装置;通过浮动机构带动第一动力装置发电,而管桩面向海岸侧设活动组件,受风浪作用往复摆动,通过第二动力装置将摆动动能转化为电能,两者共用同一管桩,顶盖和框架为潮汐能系统提供支撑,管桩外侧为风浪能系统提供安装基础,将两种能源利用系统整合于同一管桩结构中,实现潮汐能与风浪能的同步回收,提升单位空间的能源利用效率。
Resumen de: CN120798670A
本发明涉及风力发电机部件安装技术领域,且公开了一种风力发电机塔筒曲面上安装部件粘合轨道及黏合方法,包括:轨道,固定于塔筒的外壳上;轨道滑块,与所述轨道滑动连接;紧固件,用于将所述轨道滑块固定于所述轨道上;连接件,用于将轨道滑块与塔架内部组件相连,同时轨道通过滑块接触面承载负荷;安全失效点,设置在轨道滑块或一体式轨道滑动紧固件上,锁定板,用于在装配后固定位置。本发明通过轨道与塔筒外壳的黏合设计,既避免了焊接导致的塔筒增厚和成本增加,又克服了磁铁的环境污染问题,轨道在塔筒焊接后直接黏合于裸钢表面。
Resumen de: CN120798705A
本申请提供一种风力发电机组主轴轴承过盈量调节装置及方法。风力发电机组主轴轴承过盈量调节装置,用于安装在风力发电机组主轴内,包括:中心支撑组件;胀紧力施加组件,胀紧力施加组件安装在中心支撑组件,胀紧力施加组件设有胀紧力施加部,胀紧力施加部用于向风力发电机组主轴的内壁施加增大轴径的胀紧力;胀紧力保持组件,胀紧力保持组件安装在中心支撑组件,胀紧力保持组件设有胀紧力保持部,胀紧力保持部用于使膨胀后的风力发电机组主轴轴径保持不变。能够消除主轴轴承跑圈的问题,具有更好的执行性。
Resumen de: CN120797649A
本发明公开了一种用于深水环境的分布式抗力矩单桩基础及其实施方法,所述分布式抗力矩单桩基础包括桩基础和多个间隔固定在桩基础上的力矩补偿器,力矩补偿器具有气囊,气囊上连接有充气管,充气管连接位于桩基础顶部的充气阀门;充气的气囊能够产生浮力并在对应力矩补偿器与桩基础的连接处产生反向力矩。本发明可显著提升桩基础的抗弯性能,突破单桩基础的水深应用瓶颈,实现增加同等直径单桩基础的适用水深,或者在同等水深情况下缩小桩径。
Resumen de: CN120798666A
本申请公开了一种基于仿生涡流调控和磁致变桨的发电机控制方法及系统。基于仿生涡流调控和磁致变桨的发电机控制方法,包括获得风速,并根据风速对可变几何涡流发生器进行调控,在风速小于第一预定风速时,增大可变几何涡流发生器的翼片高度,在风速大于第二预定风速时,降低翼片高度,第一预定风速小于第二预定风速;获得叶片表面的压力分布,并在叶片表面的压力分布异常时,定位变形区域,并控制仿生自适应变形结构在变形区域进行自适应变形,以引导气流附着;根据风速和叶片表面的压力分布,控制磁致伸缩变桨系统驱动叶片改变角度以及长度,本申请的实施例,可以有效地提升风力发电机的环境适应性、可靠性以及工作效率。
Resumen de: CN120798644A
本发明涉及风力发电装置技术领域,尤其是涉及一种叶片可拆卸的风电机组。包括发电机舱,发电机舱内部设有发电机组件,发电机组件的主轴与连接模块连接,连接模块上设有叶片;其中主轴与连接模块固定连接或可拆卸连接,叶片与连接模块固定连接或可拆卸连接;还包括预写入叶片的结构和参数信息的芯片,芯片通过芯片读取组件与控制系统连接。本发明的技术方案采用模块化设计,便于对多规格叶片进行灵活组合与更换,简化了传统风电设备在叶片损坏或升级过程中的复杂作业流程。通过在连接模块或叶片上设置的芯片,将叶片相关信息传递至控制系统中,完成匹配确认与运行策略调整,从而实现智能化的叶片管理与调度系统。
Resumen de: CN120798655A
本发明提供一种基于风况的风电机组的控制方法,包括:获取风电机组的运行数据和风况数据;对运行数据和风况数据进行预处理;对预处理后的运行数据和风况数据进行特征提取,得到运行特征数据和风况特征数据;识别风况特征数据表示的风况类型;当风况特征数据表示当前风况为预设风况类型时,结合预设风况类型和运行特征数据,选择对应的机组控制规则;基于机组控制规则,控制风电机组,能够有效提升风电机组在复杂风况下的适应能力,通过动态特征识别和自适应控制策略选择,既保障了机组运行安全性,又维持了发电效率,避免了响应滞后、策略单一的技术缺陷,实现了风电机组控制策略的智能化和精细化。
Resumen de: CN120798676A
本发明涉及技术领域,公开了一种集装箱式风力发电设备及其风力发电集群系统,包括:箱体,箱体内设置有运输固定位和安装固定位,运输固定位设置于箱体的侧壁,安装固定位设置于箱体的底壁,箱体的顶部开设有塔筒孔位;塔筒,塔筒的中部直径与塔筒孔位的直径相匹配;其中,塔筒在运输时水平放置于集装箱内,塔筒的底部与运输固定位固定,塔筒在安装位风力发电设备时,竖直设置于箱体内并穿设于塔筒孔位,塔筒的底部与安装固定位固定。本申请,避免超限运输导致的收费站拆除或道路加固,设备物流成本降低,复用箱体的钢结构作为塔筒基础,省去传统混凝土基座的大量占地面积,形成运输‑发电‑储能的物理载体统一,降低能量传输损耗。
Resumen de: AU2024291100A1
The invention relates to an energy supply system (20) for coupling to a wind turbine (30) used in island mode, wherein the wind turbine (30) is configured to operate an electrolysis system (11) for producing green hydrogen using wind energy, wherein the energy supply system (20) has a solar energy source (21), comprising a photovoltaic module (22) and/or a solar thermal collector (23), which is configured to supply the electrolysis system (21), in particular an enclosure (12) and water-conducting lines of electrolysis units of the electrolysis system (11), with thermal energy in the event of the absence of wind energy. The invention also relates to a corresponding method for supplying solar energy to a wind turbine (30) used in island mode.
Resumen de: WO2024165735A1
The invention relates to an updraft power plant having at least one chimney (1), which extends at least partially underground and is connected at its lower end to an air collection chamber (7), in which air from all of the air-carrying system parts is collected and through which the air can flow into the chimney (1), and having fresh air channels (9), through which ambient air can be supplied to the air collection chamber (7) so that the air in the fresh air channels (9) is heated by the surrounding ground, the air collection chamber (7) being divided into at least four sectors, and the chimney (1) having an inside diameter of at least 20 m and a height of at least 100 m.
Resumen de: CN120798149A
本发明公开了一种泡沫混凝土建筑保温节能装置,涉及建筑保温节能门窗技术领域,旨在解决现有的泡沫混凝土建筑保温节能装置通过风力驱动,无法单向稳定驱动且闲置时间较长的技术问题,包括断桥隔热窗;卷收组件和丝杆组件;金属网,一端固定在卷收组件的动力输出端,另一端固定在丝杆组件的动力输出端;风力驱动组件,本发明通过V形风道进风,可驱动风轮单向旋转、稳定展开柔性金属网,风力驱动组件的动力输出端连接有分级传动组件,在风速慢时驱动换气扇排出室内浊风,风速快时驱动柔性金属网展开进行防护,且展开后,通过触压弹压组件,关闭V形风道进风口,保持柔性金属网展开状态的稳定。
Resumen de: CN120798703A
本申请涉及风力涡轮机技术领域,具体提供一种滑动轴承系统及其维护方法,该滑动轴承系统包括一对径向滑动轴承,分别位于主轴的轮毂端和齿轮箱端,主轴通过该对径向滑动轴承可转动地连接至机舱;轴向滑动轴承,位于主轴的齿轮箱端的相对外侧,轴向滑动轴承连接机舱和主轴;轴向滑动轴承包括环形板和若干卡钳式滑块模块,环形板可拆卸地连接至主轴的齿轮箱端,若干卡钳式滑块模块沿环形板的周向彼此间隔地布置并可拆卸地连接至机舱,并且各自可松开地夹紧环形板。通过上述配置,卡钳式滑块模块可松开地夹紧环形板,由此能够松开卡钳式滑块模块并进而从环形板上拔出卡钳式滑块模块,从而实现两侧滑块均可更换的轴向滑动轴承。
Resumen de: CN120798665A
本发明涉及联合发电系统,具体为一种深远海浮式风能与波浪能联合发电系统,包括固定平台和设于固定平台上的垂直轴向风机,还包括风能发电装置和波浪能发电装置,所述风能发电装置有若干个,均分布于固定平台上,所述风能发电装置用于将风能转换成电能;所述波浪能发电装置有若干个,用于将波浪能转换成电能;本发明通过设置风能发电装置将风能转化为电能;通过设置波浪能发电装置将波浪能转化为电能,且波浪能发电装置具有两种能量转化方式,两种方式协同作用,提高能量转化效率。风能发电装置设于固定平台顶部,而波浪能发电装置设于固定平台外围,对风能发电装置影响较小,能够独立设计、施工、建造、安装,方便实施。
Resumen de: CN120798687A
本发明涉及设备状态监测技术领域,公开了基于风电齿轮箱润滑油检测的多参数集成传感器模块,该模块包括:用于同步采集润滑油物理、化学及污染等多维度数据的传感器阵列,以及核心处理单元,其采用微控制器与FPGA协同的硬件架构,由FPGA对高速传感器数据进行硬件加速预处理,由微控制器执行动态温度补偿、特征工程及模型推理。所述核心处理单元将提取的多维特征向量输入至一预训练的神经网络模型,计算出表征润滑油综合健康状态的单一量化指数。本发明还包括用于应对宽温域、强电磁干扰等恶劣环境的适应性设计和支持加密传输的通信单元。本发明实现了对润滑油状态的精准、智能评估,具有集成度高、抗干扰能力强、诊断结果直观可靠的优点。
Resumen de: CN120811167A
本发明公开了一种风致振动压电俘能装置及俘能方法,涉及风能发电技术领域;风致振动压电俘能装置包括风能驱动机构、作动杆、作动环、柔性压电片、整流滤波单元和储能单元;风能驱动机构包括风动叶片和驱动杆,风动叶片能够带动驱动杆沿圆周方向旋转;作动杆包括移动槽以及与移动槽连接的撞针,驱动杆的一端与移动槽插接,驱动杆旋转能够沿移动槽滑动且带动移动槽和撞针往复直线移动;作动环上设置有柔性压电片,撞针往复直线移动能够撞击作动环以使得作动环发生形变,柔性压电片能够随作动环形变而形变并产生交变电压;整流滤波单元分别与柔性压电片和储能单元电性连接。本发明能够能够实现风能俘获与储存,有效收集、转换和管理能量。
Resumen de: CN120798679A
本发明公开了一种风电塔筒自锁式法兰盘连接结构和风电塔筒安装方法,一种风电塔筒自锁式法兰盘连接结构,包括高度相同的第一圆柱筒和第二圆柱筒,第一圆柱筒的柱面上镂空开设有第一螺旋,第二圆柱筒的柱面上镂空开设有第二螺旋,第一螺旋与第二螺旋的螺旋轴线均与圆柱筒中心轴线重合,且第一螺旋与第二螺旋的螺旋升角不同以实现螺旋配合,形成螺旋副;当第一圆柱筒底部置于第二圆柱筒顶部时,在重力作用下,第一圆柱筒沿螺旋方向向下旋转,随着旋转的进行,第一圆柱筒与第二圆柱筒逐渐螺旋自锁咬合,最终形成一个完整的圆柱筒。本发明摒弃螺栓连接、能够实现重力自锁,从根本上提升风电塔筒的安装效率与长期可靠性。
Resumen de: CN120798673A
本发明属于风机安装技术领域,且公开了一种可调节型风机安装装置及其调节方法,包括桩柱,所述桩柱的顶部拼接设置有四组稳定组件,所述稳定组件包括组合板,且组合板一端的顶部焊接安装有主限位轴架,所述主限位轴架的内侧转动设置有液压缸,本发明通过设置稳定组件和组合塔架等结构的配合,利于通过稳定组件上液压缸进行调节来改变自适应引导板的位置适应不同需求的风机塔架结构,同时有效地实现通过限制的自适应引导板对于组合塔架提供竖向的稳定限制来增加调节稳定性,避免晃动导致无法稳定上下增加安装花费的时间,同时可以通过限制下端来降低晃动导致撞击产生安全事故的问题。
Resumen de: CN120798672A
本发明涉及风力发电技术领域,具体是一种混凝土塔筒管片的液压同步智能拼装装置,包括限位装置、限位装置底座、水平调整支撑组件、千斤顶、液压泵管、数据线、集成智能控制系统、支撑梁及中心框架,各部件通过螺纹、丝扣和栓接等方式连接,集成智能控制系统通过智能同步液压顶推系统控制千斤顶同步作业,结合位移和压力传感器形成闭环控制,实现管片同时精准移动至设定位置,本发明混凝土塔筒管片的液压同步智能拼装装置,改变了传统人工操作模式,保证了管片拼缝大小和真圆度,显著提升了拼装一次成功率和施工速度,为大型装配式混凝土塔筒的高质量、高效率建造提供关键技术支撑。
Resumen de: CN120798645A
本发明公开了一种自适应降载风电叶片组件及风力发电机组,涉及风力发电技术领域,包括叶片本体、螺旋叶板和盖体;叶片本体内设有连通后缘的第一降载气道和第二降载气道,第二降载气道环绕第一降载气道设置并形成过流腔室;叶片本体的前缘设有进气口;螺旋叶板在过流腔室中延伸而形成螺旋状的过流通道;盖体铰接于前缘并封盖进气口;盖体在外部气流冲击下向内转动第一预设角度时,进气口连通第一降载气道;盖体在外部气流冲击下向内转动第二预设角度时,进气口连通第一降载气道和过流通道。本方案通过盖体在两个预设角度的自适应摆动,可基于不同风况分别实现轻度泄流和重度泄流,可兼顾极端风况下风电叶片的结构安全性及常规高风速下的发电效率。
Resumen de: CN120798656A
本发明公开了一种基于数据驱动与多目标优化的偏航控制方法,风速区间划分步骤:依据山地风电场的风资源特性、偏航行为、风向分布特性、风速频率分布、不同风速区间内的湍流强度以及偏航偏差角在不同风速区间对输出功率的影响,将额定风速以下的风速范围划分为低速稳定区间3‑6m/s、中速优化区间6‑8m/s和高速平衡区间8‑11m/s,涉及涉及风电机组控制技术领域。本发明采用数据驱动与多目标优化算法,使偏航系统能够实时依据风速、风向及湍流强度的动态变化,灵活调整偏航控制参数。无论是风向的突然改变,还是湍流强度的波动,偏航系统都能迅速做出响应,确保风电机组始终处于最佳迎风状态。
Resumen de: CN120798663A
本发明公开了一种浮式风机—水压感知型波浪能装置集成系统,集成系统包括风机、半潜式平台、水压感知型波浪能装置及系泊系统;风机设置在半潜式平台上,水压感知型波浪能装置设置在半潜式平台上,水压感知型波浪能装置利用海水波峰、波谷的压力差将机械能转化为电能发电,与风机的风能发电共同实现风浪协同发电;系泊系统设置在半潜式平台上。本发明能够实现风浪能量的深度协同与互补。
Resumen de: CN120798664A
本发明公开了一种深远海风浪联合发电装置,涉及海洋可再生能源利用技术领域。本发明包括中心浮筒,所述中心浮筒的顶部同轴安装有风力转轴,所述风力转轴的顶部固定连接有多个伸缩支撑杆,所述伸缩支撑杆的自由端安装有风力机叶片机构,风力机叶片机构能够变换形状对不同风速、风向进行适配。本发明通过将风能发电与波浪能发电结合,可以在风速较低、风力发电功率不足时,由波浪能发电进行补充,反之亦然,从而平滑发电功率输出,提高发电系统的整体稳定性和可靠性,减少因单一能源波动导致的停电或设备闲置等问题,并且将风力发电和海浪发电相结合,还能充分利用海洋空间资源,提高海域空间的利用效率。
Resumen de: CN120798449A
一种非稳定条件下煤矿井下人员无源感知系统及方法,系统:发电模块安装在矿井井下的通风系统中,电源管理模块与发电模块连接,用于输出电能;信息采集单元包括LoRa发射器,用于在得电启动工作后向外部发送LoRa信号;智能识别单元包括LoRa接收器和感知处理模块,用于在得电启动工作后接收LoRa信号,并进行人员的感知及手势动作的识别。方法:利用能量转换模块将风能转换为电能,并为信息采集单元和智能识别单元进行供电;利用信息采集单元发送LoRa信号至智能识别单元;通过感知处理模块接收LoRa信号,并实现人员与行为的感知识别。该系统及方法能实现井下环境下的无源低功耗智能无线感知,能为煤矿井下的智能监测与安全预警提供可靠技术支撑。
Resumen de: CN120798725A
本发明公开了基于恒压压缩二氧化碳储能的海上多能联供系统及其运行方法,该系统包括工质储存装置、热能储存装置、充电过程模块、气液转换回路、放电过程模块、冷能供应模块以及热能供应模块;本发明通过改进压缩二氧化碳储能系统的释能过程结构,高压二氧化碳在一次膨胀后压力降低至常压,使发电的同时产生低温冷能,并且节省了储热的消耗,将剩余的储热用于供热,提高了能源的综合利用率,实现冷热电多能联供;本发明的系统还包括一种可切换发电/制冷模式的集成型热驱动冷电联供子系统,将有机朗肯循环与喷射制冷循环高度集成,减少了投资成本与空间占用,通过将多余热能灵活高效的转换为电能或冷能,提升了系统多能联供的灵活性。
Resumen de: CN120798690A
一种风机塔筒水平晃动位移融合方法及存储介质,包括:通过最小二乘法对IMU传感器进行校准得到校准参数,基于所述校准参数,对IMU采集的加速度及角速度进行补偿;基于补偿后的加速度及角速度,通过扩展卡尔曼滤波得到塔筒晃动的欧拉角;利用所述欧拉角构建旋转矩阵,将载体坐标系下的加速度转换至导航坐标系,并消除重力加速度分量;对导航坐标系下的水平方向的加速度进行二次积分生成作为预测值的第一水平位移估计量;基于塔筒安装高度及所述欧拉角生成作为观测值的第二水平位移估计量;通过卡尔曼滤波将所述预测值和观测值进行数据融合输出最优位移估计。本发明通过多源数据融合与系统化误差控制,实现了风机塔筒水平晃动位移的高精度实时监测。
Resumen de: CN120798688A
本发明涉及风力发电机技术领域,具体而言,涉及基于视频分析的风力发电转子气动不平衡检测方法及系统,包括:多角度获取风力发电机转子的运行视频数据;对风力发电机转子运行视频数据进行帧提取,并对提取的关键帧进行特征提取,得到风力发电机转子的多个特征数据;基于随机森林算法构建转子气动不平衡状态预测模型,经训练后,将将风力发电机转子的多个特征数据输入至转子气动不平衡状态预测模型进行计算,得到转子气动不平衡预测状态。本发明利用视频数据提取风力发电机转子的特征,通过随机森林算法准确预测气动不平衡状态,提高监测实时性与准确性,降低故障发生率,提升风力发电机的运行效率与可靠性。
Resumen de: CN119755020A
The wind power generation tower comprises a tower frame barrel and an electric tower emergency box arranged on the tower frame barrel, an emergency guide pipe bag is inserted into a connection coupling piece, the outer wall of the emergency guide pipe bag is sleeved with a matched shell cover, a movable pressing rod is inserted into the matched shell cover, and a second spring is fixedly arranged in the matched shell cover. The second springs are fixedly mounted on the outer walls of the symmetrical clamping plates; after water enters the emergency catheter bag, the water expands to the position extruded by the symmetrical clamping plates, so that the emergency catheter bag continues to expand to push the symmetrical clamping plates to slide along the outer wall of the emergency catheter bag, and then the symmetrical clamping plates push knots generated when the emergency catheter bag is unfolded; the knots generated when the emergency guide pipe bag is unfolded are pushed to the joint of the emergency guide pipe bag and the water gun, then the emergency guide pipe bag is rotationally connected with the water gun, the knots generated by the emergency guide pipe bag can be eliminated, the water gun cannot be driven to rotate together, and the fire fighting operation efficiency is greatly improved.
Resumen de: CN120793062A
本申请公开了一种漂浮式风电平台,涉及风力发电技术领域,本方案包括半潜漂浮式平台、第一系泊系统、混凝土块、第二系泊系统和减摇发电装置,其中,减摇发电装置的主体设置在半潜漂浮式平台上,减摇发电装置的第一动力端通过第一系泊系统与混凝土块连接,减摇发电装置的第二动力端通过第二系泊系统与海底连接,以捕捉波浪能或者潮汐能。由于使用本申请的漂浮式风电平台,可以捕获波浪能或潮汐能将其转化为电能,从而拓展了漂浮式风电平台的能源利用途径,使能源利用更充分。
Resumen de: CN120798702A
本发明公开了一种风力发电机组用导热降温式散热结构,底座,所述底座的上方固定连接有支撑柱,且支撑柱的顶端固定连接有机舱,且机舱的内部固定连接有固定座,并且固定座的上侧固定连接有电机本体,同时电机本体的外输出端固定连接有扇叶,所述透气孔开设在机舱的下侧,且透气孔的内部嵌套连接有阻挡塞。该风力发电机组用导热降温式散热结构,当温度传感器检测到电机本体的温度较高时,会启动电动伸缩杆,此时电动伸缩杆会通过推板拉动固定板上移,阻挡塞会在固定板的带动下同步的上移,从而不对透气孔进行堵塞,机舱内部的热量可通过透气孔向外排出,在一定程度上防止了热量聚集在机舱的内部,无法排出的可能。
Resumen de: CN120798689A
本发明公开了一种风力发电叶片检测辅助装置及其检测方法,属于风力发电叶片检测设备技术领域,包括底板,所述底板的上方中间位置螺栓连接有两组安装座,所述安装座的两侧设置有气缸,所述左侧气缸的上方安装有第一支撑座,且右侧气缸的上方安装有第二支撑座,所述第一支撑座和第二支撑座的上方分别固定连接有右底托和左底托,所述右底托和左底托的上方分别固定连接有固定筒;通过设置两组底托组件分别设于气缸的上方,利用气缸带动底托组件移动至适宜位置,此时,将风力发电叶片置于右底托和左底托的上方,转动手轮带动调节杆转动,使得限位板贴合于风力发电叶片的上方,整体摆放方便,局限性较低,方便进行使用。
Resumen de: CN223447175U
本实用新型属于风机叶片运输的技术领域,具体涉及一种抽拉承重梁及风机叶片运输车,包括至少两节相互连接的连接梁,每节所述连接梁均沿其长度方向设置有预定曲率的弧形结构,上一节所述连接梁的尾部以套接方式装配于下一节连接梁的头部,从第二节所述连接梁开始,每一节所述连接梁的头部下表面均设置有与其相邻的前一节所述连接梁尾部下表面相匹配的斜坡结构。本实用新型能够自然抵消自重和间隙造成的下凹,始终保持直线状态,解决了连接梁下平面拖地的问题,提高了运输车辆行驶的安全性和稳定性,满足了长距离、重载叶片的运输需求。
Resumen de: CN223447568U
本实用新型公开了一种应用于风机的混合式齿轮箱及风机,包括箱体,第一、二主轴,输出轴,第一、二主齿轮,第一、二辅齿轮和侧吸装置,第一、二主轴和输出轴装配在箱体上,第一主轴前端与风机叶轮的轮毂连接,第一主齿轮装配在第一主轴,第二主齿轮装配在输出轴,第一、二主齿轮啮合,侧吸装置分布在第二主轴两侧,其转轴末端装配第一锥齿轮,第二主轴装配第二锥齿轮,第一、二锥齿轮啮合,第一辅齿轮装配在第二主轴,第二辅齿轮装配在输出轴,第一、二辅齿轮啮合,输出轴后端与发电机相连接,最终将叶轮产生的扭矩和侧吸装置产生的扭矩一起传递给发电机。本实用新型可以通过捕捉风力前方和两侧的风来提高风机的发电量。
Resumen de: CN223447164U
本申请提供了一种风力叶片,涉及风力叶片技术领域。该风力叶片包括叶片主体和主梁结构件,叶片主体沿第一方向具有主梁和后缘,叶片主体包括沿第二方向排布的第一叶片段和第二叶片段,主梁结构件设置于主梁,以连接第一叶片段和第二叶片段,该风力叶片能够在疲劳测试过程中保证较高的测试频率,缩短验证周期。
Resumen de: CN223447170U
本实用新型涉及风力发电机技术领域,具体为一种风力发电机叶片拆卸辅助工装,包括第一调节组件,所述第一调节组件的顶部表面安装有固定块,所述固定块的顶部表面安装有连接块的一端,所述连接块的另一端安装有吊耳。改良后的拆卸辅助工装,采用了便于调节的设计,可以对第三调节组件与第二调节组件的间距进行调节,便于对风力发电机叶片进行吊装,装置可以快速进行调节,有效的提高拆卸效率,同时采用了防滑动的设计,可以对风力发电机起到一定的限位作用,而且第一吊带和第二吊带的内侧均设有橡胶涂层,通过橡胶涂层可以有效的增大第一吊带和第二吊带与叶片之间的摩擦力,防止叶片在吊装中发生滑动,造成叶片的脱落。
Resumen de: CN223446207U
本实用新型公开了一种超大型海上风电单桩基础,包含桩体、外平台结构、第一爬梯结构和第二爬梯结构,外平台结构设置在桩体上端外侧,第一爬梯结构和第二爬梯结构设置在桩体的两侧,第一爬梯结构和第二爬梯结构分别包含上爬梯、上爬梯护笼、下爬梯、靠泊构件和休息平台,下爬梯固定在桩体外侧下端,上爬梯固定在桩体外侧上端并且上爬梯的下端与下爬梯的上端相接但不接触,上爬梯护笼固定在上爬梯外侧,靠泊构件固定在下爬梯外侧,休息平台位于上爬梯下端与下爬梯上端连接处并且休息平台固定在下爬梯上端。本实用新型施工方便、简单,施工效率高,且避免变形。
Resumen de: CN120795962A
本发明为一种生物质气化直燃耦合绿氢制甲醇系统及方法,特别涉及可再生能源与化工技术交叉领域。系统包括生物质气化单元、直燃发电单元、绿氢制备单元和甲醇合成单元;其中生物质气化单元的流化床气化炉通过高温合成气管道分流连接直燃发电单元的燃烧室和甲醇合成单元的混合器;绿氢制备单元的氢气出口连接混合器。方法包括:生物质在750‑900℃富氧气化生成合成气;40‑60%合成气直燃发电供系统自用;剩余合成气与电解水绿氢混合;混合气加压后在220‑280℃催化合成甲醇。本发明实现生物质全组分高效利用,能源效率超60%,甲醇产率达0.5吨/吨生物质,碳排放降至0.1吨/吨甲醇以下,显著优于传统工艺。
Resumen de: CN120798697A
本发明涉及风能产业技术领域,尤其是一种风力发电机用叶片的强度检测装置,包括,第一驱动件;设于所述第一驱动件驱动端的旋转机构;设于所述第一驱动件上的支撑架;能够和支撑架发生相对转动的活动架;滑动设于所述支撑架上的滑动架,所述滑动架通过控制其滑动位置控制活动架的可转动角度;推动机构,其用于控制活动架进行偏转;摆锤件,其设于所述旋转机构的输出端,本发明通过调整滑动架的位置以限制活动架的偏转,配合推动机构控制活动架进行偏转,可以使得摆锤件的形态改变,以便于模拟出不同方向和不同大小的力,混合施加力进行检测可以提升检测的标准化程度,更易找到风机叶片的薄弱部分。
Resumen de: CN120798674A
本发明公开了一种风电塔筒内平台安装装置,属于风电塔筒安装技术领域,本发明包括多组支撑平台板及用于将多组支撑平台板进行组装的安装调节组件,每组支撑平台板的底部均固定连接有辅助支脚,安装调节组件包括固定架,固定架的顶部固定连接有底部支撑板,底部支撑板的上方设置有顶部支撑板,底部支撑板和顶部支撑板之间铰接有支撑机构。本发明中,安装支撑与辅助支撑组件配合,可连续焊接多组支撑平台板,通过电动导轨和导轨滑块快速切换焊接位置,大幅提升安装效率,可移动安装调节组件能直接将焊接后平台移至吊装位,省时省力,导轨滑块移动时,辅助杆能自动翻出为平台提供额外固定,保证了焊接准确性。
Resumen de: CN120798683A
本申请提出了一种风机润滑油的在线监测方法及其装置,涉及风电机组、数据处理技术领域。本申请通过基于风机在线监测系统对风机进行润滑油数据采集,获取采集得到的润滑油监测数据;根据润滑油监测数据对风机进行润滑质量分析,获取风机对应的润滑质量分值;根据润滑油监测数据,结合预先构建的风机孪生模型,对风机进行润滑失效分析,获取风机对应的润滑失效分析结果;根据润滑质量分值和润滑失效分析结果,生成风机对应的告警信号,并基于告警信号进行告警。本申请可以帮助相关人员及时采取措施,改善润滑状态,防止故障扩大,降低故障率,提高风机的运行效率,延长风机的使用寿命,保障设备安全经济高效运行。
Resumen de: CN120798055A
本发明提供一种风力发电预应力装配式塔身结构及其施工方法。所述风力发电预应力装配式塔身结构包括塔架基础、钢塔和塔身、连接于所述塔身上的钢制转换层、及锚固于所述塔架基础与钢制转换层之间的预应力索,所述钢塔连接于所述钢制转换层的上端;所述塔身包括沿塔身的轴向依次拼接的多个预制混凝土环体,所述预制混凝土环体包括径向对接的第一预制混凝土塔片和第二预制混凝土塔片。本发明将塔身分为多个轴向拼接的预制混凝土环体,再将预制混凝土环体分为径向拼接的两个预制混凝土塔片,能实现工厂预制,现场装配,便于运输与安装,减轻自身重量,保障质量,节约施工工期,并利用预应力体系提高装配式塔身的整体性及抗风振性能。
Resumen de: CN120801881A
本发明涉及风力发电防护技术领域,公开了一种风机叶片避雷线故障的智能监测系统及方法。该系统包括避雷线状态采集模块、雷击阻抗谱分析模块、故障定位决策模块和预警执行反馈模块。其中,避雷线状态采集模块实时采集多维度运行参数,包括电流强度波形、电压波动数据、接地电阻值及环境温湿度;雷击阻抗谱分析模块对避雷线进行空间分段,计算各分段雷击阻抗特征值;故障定位决策模块结合阻抗特征值、接地电阻及环境参数,计算故障概率指数并输出故障空间坐标;预警执行反馈模块根据坐标及概率指数生成多级预警指令,调节保护装置响应强度并反馈执行状态。该系统实现了避雷线故障的精准监测、定位及动态预警,提升了风机叶片防雷的可靠性。
Resumen de: CN120801878A
本发明提供了风力发电机防雷系统的检测方法及系统,涉及防雷系统检测技术领域,包括以下步骤:通过脉冲电流模拟闪电,根据引下线的材质和引下线与风机的连接节点总数确定脉冲注射周期;按照脉冲注射周期将脉冲电流周期性注入叶片上的接闪器;沿着引下线的传输路径依次设置M个检测点位,每个点位上分别布置一组检测装置;基于检测到的电流值,通过异常检测模型判断是否存在异常,并在存在异常的时候输出异常线路范围;根据接地电阻的阻抗生命曲线以及当前检测的实测阻抗确定当前检测到下一次检测的时间间隔。本发明具有提高对风机防雷系统的检测的准确性与针对性的优点。
Resumen de: CN120798662A
本发明涉及垂直轴风力发电机技术领域,公开了垂直轴风力发电机的控制方法、装置、设备、介质及产品,垂直轴风力发电机的控制方法包括:根据目标垂直轴风力发电机周围的历史环境数据和目标垂直轴风力发电机的历史运行数据,确定环境条件与最佳运行参数组合之间的目标关系;根据目标垂直轴风力发电机周围的当前环境数据,对预设时间段的环境趋势进行预测,得到环境预测数据;根据环境预测数据和环境条件与最佳运行参数组合之间的目标关系,确定目标运行参数组合;在预设时间段根据目标运行参数组合对目标垂直轴风力发电机进行控制,本发明根据动态环境变化对目标垂直轴风力发电机进行控制,提高了发电效率。
Resumen de: CN120793690A
本发明公开了一种风电场机组叶轮吊装装置,包括用于安装在轮毂上的连接组件;以及,与连接组件配合的插块;其中,插块的两侧具有平台部,且平台部顶部滑动连接有推板,推板与连接组件相抵接。该风电场机组叶轮吊装装置,通过可在轮毂内部通过手盘操控的螺杆机构,驱动压条、连杆组、推板联动运动,实现对锁定结构的释放,整个过程无需离开轮毂仓即可完成吊具卸载,从根本上降低高空作业频次和强度,极大提升了安全保障水平,当吊装作业完成后,通过第一密封板、第二密封板、滑板及密封胶条与密封片的配合,形成对安装槽出口的全封闭式保护,有效防止灰尘、雨水、盐雾等外界杂质进入机组内部,从而避免因积尘或水气侵蚀而导致部件锈蚀、电气故障等问题,提高了整机的运行稳定性与使用寿命。
Resumen de: CN120798668A
本发明提出一种安装于建筑幕墙间隙处的风力发电装置及发电方法,属于建筑墙体发电设备技术领域,包括拉力绳和发电机,拉力绳与发电机的拉绳端头连接,且拉力绳固定在内衬连接板上;内衬连接板上设置滑移限位组件,滑移限位组件连接串联长轴,串联长轴上依次串接多个风能捕获组件,相邻两个风能捕获组件交叉设置;风能捕获组件包括铰接在内衬连接板上的弧形导板,弧形导板上设置用于穿设串联长轴的导向槽,弧形导板上连接弧形安装板,弧形安装板上连接转动增幅件;弧形安装板上设置弧形齿条,内衬连接板上安装往复位移组件,往复位移组件连接在拉力绳上,往复位移组件上设置与弧形齿条啮合的第一齿轮。本装置提高了幕墙之间间隙处风能的利用率。
Resumen de: CN120797635A
本申请实施例提供一种用于海底地震监测系统的施工系统及施工方法。该系统包括:风电平台、施工船、水下机器人和海底监测基站;其中风电平台上用于布设卷扬机、吊带、抱梁卡、倒链和滑轮;施工船用于装载水下机器人、入水桥、护管、海底监测基站、海缆、卷扬机、吊带、抱梁卡、倒链、滑轮、脱钩器、声学释放器和作业人员;水下机器人用于监控护管的抽拉;海底监测基站用于监测海底地震数据。通过利用已有的风电平台的现有结构和设施,无需额外建造专门的监测平台或基础,有效减少了基础建设材料、人力和时间的成本,避免了大量的重复成本投入;且通过释放水下机器人即可完成护管抽拉的监控,减少人力成本,提高安全性。
Resumen de: CN120798661A
本发明公开了一种海上风力发电装置及发电方法,包括塔架,所述塔架的一侧外壁上安装有发电机机组,且所述发电机机组的驱动端竖直朝上并安装有垂直主轴,垂直主轴的顶端向上延伸并安装有若干个等间距的三叉架,竖直方向上的多个所述三叉架的端部之间安装有迎风板。本发明由电动三通道液压分配总成开始动作并将液压油同步送入至双位式卡钳刹车总成、液压钳式对位辅助刹车总成中,双位式卡钳刹车总成对垂直主轴形成一级摩擦制动,而液压钳式对位辅助刹车总成同垂直主轴上的钢套形成二级摩擦制动,从而在垂直主轴的延伸方向上形成大范围的制动作用力。
Resumen de: CN120798480A
本发明公开了一种耦合风光发电、氨储能和超临界水热燃烧发电系统及方法,所述系统中:电解水制氢单元的氢气出口连接电化学合成氨储能单元,风光发电单元连接电解水制氢单元、电化学合成氨储能单元;电解水制氢单元和电化学合成氨储能单元连接超临界水热燃烧发电单元中的超临界水热燃烧蒸汽发生装置,电化学合成氨储能单元至超临界水热燃烧蒸汽发生装置的管路上设置氨水加热装置;电解水制氢单元的进水口连接有储水箱,储水箱设置两路管道连接超临界水热燃烧蒸汽发生装置,超临界水热燃烧蒸汽发生装置连接汽轮机;通过绿氨储能技术将新能源发电与超临界水热燃烧发电有机结合,有效解决风光发电的间歇性与波动性问题。
Resumen de: CN120798700A
本发明属于风力发电设备智能运维技术领域,具体涉及一种基于数据驱动的风力机叶片预测性防冰系统及方法,包括:数据采集与预处理模块,用于采集多源异构数据并进行清洗、融合与特征提取;预处理包括异常值剔除、时空对齐与特征工程;数据驱动预测模型模块,基于预处理后的数据构建并训练预测模型,输出叶片表面结冰风险预测结果;智能防冰执行模块,包括分布式电加热单元与碳纤维自适应气流调控单元;所述分布式电加热单元嵌入叶片前缘及易结冰区域;本发明能够通过多源异构数据的采集、融合与建模,构建高精度结冰预测模型,驱动防冰执行机构实现动态协同控制,显著提升防冰效率并降低能耗。
Resumen de: CN120792567A
本发明提供基于光储充热协同的能源循环系统、应用及其控制设备,该系统包括光伏发电模块、电力转换装置、储能‑充电站模块、热能回收装置和冷却液循环装置;光伏发电模块通过电力转换装置与储能‑充电站模块、电网、用电系统连接;储能‑充电站模块,与电网连接,其包括储能站和充电桩集群,用于电能的存储、充放电以及电动汽车的充电;热能回收装置,与冷却液循环装置、充电桩集群、储能站以及电力转换装置的冷却系统连接,用于回收冷却系统中冷却液产生的余热;冷却液循环装置,与充电桩集群、储能站以及电力转换装置的冷却系统连接,形成冷却液循环系统。本发明有效解决现有技术中能源利用效率低、依赖传统电网、调控不智能等问题。
Resumen de: CN120798654A
本发明涉及风力发电机技术领域,具体为一种风力发电机的调节机构,包括:支撑杆,支撑杆的顶部固定有防护杆,支撑杆的顶部固定有气缸,气缸的端部设置有连接架,连接架的表面固定有限位板,防护杆的顶部设置有固定架,固定架之间设置有转动轴,转动轴的表面设置有限位槽;有益效果为:限位板卡在另一组限位槽中,将转动轴稳定,升降环随着限位板上升后顶持在受力板的表面,受力板带动移动杆进行移动,移动杆带动移动板移动,移动板表面的插接块插接进延伸板表面的插接槽中,使得扇叶不再转动,保护扇叶转速过快,且摆动杆位于两组防护杆之间,也对摆动杆起到防护作用。
Resumen de: CN223447174U
本申请一个实施例提供一种叶身支撑组件以及运输系统,叶身支撑组件用于叶片,叶片包括叶根、叶尖以及位于叶根与叶尖之间的叶身,叶身支撑组件包括:连接结构,在第一方向具有相对的第一端、第二端,第一端用于与第一运输设备连接;第一叶身保持器,设置于第二端并与连接结构连接,第一叶身保持器用于支撑固定叶身。本申请能够满足对叶片的支撑以及与第一运输设备之间的连接,保证对叶片运输的可靠性。
Resumen de: CN223447177U
本实用新型公开了一种风电轮毂及风力发电机组,风电轮毂包括轮毂本体和螺套,轮毂本体具有法兰面,法兰面上环设有多个安装孔,安装孔内嵌设有螺套,螺套的材料硬度大于轮毂本体的材料硬度,螺套具有内螺纹,螺套用于与外部组件通过螺纹件连接。该风电轮毂通过在安装孔内嵌设有硬度大于轮毂本体的螺套,螺纹件通过螺套连接于轮毂,螺套可以消除螺纹件与安装孔之间的螺距和牙型偏差,使载荷分布均匀,提高螺纹连接的强度,增加螺纹连接的承载力和抗疲劳强度,同时,螺套能够在螺纹件和轮毂本体之间起到缓冲的作用,减小冲击,防止螺套的内螺纹和安装孔的内螺纹损坏,从而保障机组安全运行,延长轮毂的使用寿命,提高经济效益。
Resumen de: CN223446369U
本实用新型公开了一种绿色装配式移动房屋,涉及移动房屋技术领域,包括装配屋体、以及安装于装配屋体外侧的光伏发电系统,所述装配屋体包括地板、可拆装设在地板顶部的外墙、以及可拆装设在外墙顶部的屋顶,所述光伏发电系统包括转动设在屋顶顶部的第一太阳能板、以及固定安装在外墙两侧的第二太阳能板。本实用新型通过第一太阳能板的设置,能从房屋上方接受光照进行发电,角度调节机构能驱动第一太阳能板跟随太阳转动最大限度接受光照,来提高发电量,外墙上的第二太阳能板既可为房屋提供额外的太阳能发电功率,还可改善建筑内部的隔音和绝热性能,配合风力发电机的发电,能尽量满足移动房屋的用电,降低移动房屋的用电焦虑。
Resumen de: WO2024195964A1
A wind power generation apparatus of the present invention comprises: a frame part including a plurality of upper horizontal frames each being connected by one end and the other end thereof so as to be arranged in a pentagonal structure, a plurality of upper support frames each having one end connected to each vertex of the upper horizontal frames and having the other ends gathered together in the upward direction and connected, side frames each having one end connected to each vertex of the upper horizontal frames and arranged in the downward direction, a plurality of lower horizontal frames each being connected by one end and the other end thereof so as to be arranged in a pentagonal structure, being arranged to be spaced apart below the upper horizontal frames, and having respective vertices to which each of the other ends of the side frames is connected, and a plurality of lower support frames each having one end connected to each vertex of the lower horizontal frames and having the other ends gathered together in the downward direction and connected; a rotary shaft to which the other ends of the upper support frames and the other ends of the upper support frames are connected, and which rotates integrally with the frame part by means of the wind; and a generator for generating electricity by means of the rotation of the rotary shaft.
Resumen de: CN120798681A
本发明属于漂浮式风机海上安装技术领域,提出了一种针对漂浮式风机海上静对动安装的装备及其工作方法,在吊机连接件与吊钩连接件之间设置多个伸缩杆,吊机连接件上设置距离传感器,以及在吊钩连接件上的不同位置设置多个距离传感器;其中,根据所述吊钩连接件上不同位置距离传感器检测的距离比较结果,通过所述多自由度补偿机构对横摇角度和纵摇角度进行调整,使得吊装对象和安装对象之间处于相对静止状态,使得两个需要连接的连接面相互平行或静止,便于连接作业,且避免了吊装对象与安装对象发生碰撞的问题。
Resumen de: CN120798652A
本申请提供了一种磁悬浮微风发电系统的平衡补偿方法及装置,所述平衡补偿方法包括:在磁悬浮微风发电系统处于静态悬浮状态时,利用激励信号对磁悬浮微风发电系统进行激励,得到第一响应数据,对静态转子运动模型进行参数辨识,得到估算支承参数;控制磁悬浮微风发电系统进行旋转,得到每个转速值下的第二响应数据;对旋转转子运动模型进行参数辨识,得到不平衡质量参数,以确定不平衡力补偿信号,并将不平衡力补偿信号添加至磁悬浮微风发电系统中。通过上述方法,提高了对磁悬浮微风发电系统进行动平衡的准确性和效率,进而延长了磁悬浮微风发电系统的使用寿命。
Resumen de: CN120811068A
本申请涉及一种电热多能柔性磁控发电设备,包括发热定子、发电定子、转子、永磁体、绕组;发热定子和发电定子分别围绕转子设置,发热定子、发电定子以及转子同轴设置,沿所处的同轴线的方向上,发热定子与发电定子之间具有间隔;转子的与发热定子相对的表面上和转子的与发电定子相对的表面上均表贴有永磁体;绕组绕设于发电定子上;发热定子包括外层定子和内层定子,内层定子位于外层定子和转子之间;外层定子的材料和内层定子的材料不同,外层定子的磁导率大于预设磁导率,内层定子的电导率大于预设电导率;提升了发热定子的制热功率,降低了发热定子的转矩脉动,保证了发热定子的机械强度,还实现了设备在热场和电磁场上的有效隔离。
Resumen de: CN120798678A
本发明公开了一种用于风电塔筒的梁杆支撑基础结构,涉及风电设备技术领域,用于风电塔筒的梁杆支撑基础结构包括:第一承台,设于桩基础上,第一承台的顶面设置筒状支撑构件,筒状支撑构件的顶端部设置用于连接风电塔筒底部的环梁;第二承台,若干个第二承台分别设于桩基础上,且若干个第二承台阵列布设在第一承台的周向外侧;支撑杆,若干个支撑杆阵列布设在筒状支撑构件的周向外侧,支撑杆的一端连接环梁的外周侧面,支撑杆的另一端连接第二承台的顶面。上述用于风电塔筒的梁杆支撑基础结构解决了现有的桩基础使用大底板,大部分底板受力较小,受力不直接,传力路径不合理;而且混凝土的工程量用量较多,施工成本较高的技术问题。
Resumen de: CN120793027A
本发明涉及船舶技术领域,具体涉及一种具有自适应补能降阻装置的小型船舶,包括船舶本体以及安装于船舶本体后侧底部的动力螺旋桨,所述船舶本体前侧设有弧形的减阻船头,所述船舶本体上设有发电吹风装置,所述船舶本体内设有蓄电池,所述蓄电池通过电缆与发电吹风装置电连接,所述减阻船头一侧上还设有沿着减阻船头外表面向下延伸的吹风管,所述船舶本体上还固定安装有稳定装置。
Resumen de: CN120798651A
本发明公开了一种用于水平风场的系留降落伞结构,包括迎风面伞衣、背风面伞衣和侧风面伞衣;迎风面伞衣、背风面伞衣和两个侧风面伞衣组合形成降落伞伞衣;迎风面伞衣为无缝结构;背风面伞衣沿纬向开缝;侧风面伞衣沿经向开缝。本发明降落伞采用不对称设计,可以在气动力作用下保持稳定,且能产生足够升力,有利于有效利用高空风,提升发电效率。
Resumen de: CN120798657A
本发明公开了海上漂浮式风电场的风机偏航协同控制方法及系统,涉及海上风电技术领域,所述方法包括:构建海上漂浮式风电场的数字孪生体,得到孪生风电场;本地调用历史风况数据,基于历史风况数据在孪生风电场内进行偏航协同策略求解,构建基准协同控制库;接入远端气象预报中心,获取落入预测时间窗的预测风况数据;基于预测风况数据遍历基准协同控制库,输出基准协同偏航角度;以基准协同偏航角度为初始点,依据预测风况数据在孪生风电场内进行偏航协同控制寻优,输出预测协同偏航角度;在预测时间窗内,根据预测协同偏航角度对海上漂浮式风电场执行发电干预。进而达成前瞻性发电干预、提高发电效率与稳定性的技术效果。
Resumen de: CN120805010A
本发明涉及风电运维管理技术领域,具体提供一种针对风力发电机系统的异常状态检测方法及系统,首先获取包含振动、温度、转速三类具有时间戳对齐的连续监测记录的多源监测数据流,接着通过特征编码网络对多源监测数据流进行联合特征提取,生成状态演化特征序列和跨源关联特征集,然后调用预训练的异常诊断模型对上述特征进行融合分析,生成包含异常置信分布信息的异常诊断结果,并从中解析异常类型、时间维度发展轨迹和空间维度影响部件标识后,生成包含时间空间定位信息的设备预警指令并发送至目标管理终端,从而能够全面、准确地检测风力发电机系统的异常状态,及时提供详细的异常信息,有效降低设备故障风险和运维成本。
Resumen de: CN120793063A
本发明涉及海上风电领域,具体公开了一种海上浮式风电基础平台,包括浮式平台机构、升降机构和风力发电机;所述浮式平台机构包括浮式平台组件,所述浮式平台组件的上侧固定安装有定位组件;所述升降机构包括支撑组件和三组升降组件,所述支撑组件滑动卡嵌于浮式平台组件上,三组所述升降组件呈三角分布固定安装于浮式平台组件上,用于驱动支撑组件沿着浮式平台组件升降;本发明通过设置定位组件,在支撑组件和风力发电机升降到达极限位置时进行定位,使得装置能够根据不同天气状况灵活应对。遇到风浪天气时,定位组件将支撑组件和风力发电机定位在较低位置,降低重心,增强整个装置的稳定性,减少风浪对风力发电机的直接冲击。
Resumen de: CN120811220A
本发明涉及一种PVT与垂直轴风机结合的屋顶发电系统,包括:PVT棚,所述PVT棚安装在屋顶的立柱上;垂直轴风力机,数量若干,若干所述垂直轴风力机阵列安装在屋顶和所述PVT棚之间;导流组件,包括导流板和栅格导流装置,二者均安装在女儿墙上,所述导流板用于对流体产生向上的导流效果,所述栅格导流装置用于调整气流方向,以减少气流向所述立柱方向的分量。本发明解决了气流经过女儿墙后产生回流降低来流风速,垂直轴风力机可以实现360度无盲区发电,无论风向如何,都可以利用风能发电,PVT棚对风速流场产生一定的加速效果,能够提高风力机的发电量。风流场的加速流动可以降低PVT组件背面的温度,对PVT发电量有增益效果。
Resumen de: CN118601801A
The invention discloses an offshore wind power tower installation auxiliary device which comprises a first butt joint mechanism, a supporting mechanism is arranged at the bottom of the first butt joint mechanism, the first butt joint mechanism comprises two first cover cylinders, a plurality of first through holes are formed in the outer walls of the two first cover cylinders, and connecting rods are slidably connected into the first through holes; locking arms are arranged at the ends, extending out of the outer wall of the first cover cylinder, of the multiple connecting rods, the lower ends of the locking arms are rotationally connected with the connecting rods, a supporting frame is fixedly connected to the outer wall of the first cover cylinder, and the middle positions of the locking arms are rotationally connected with the supporting frame; during use, the connecting rods are made to move towards the outer wall of the first cover cylinder, the locking arms can be jacked to rotate around the connecting positions of the locking arms and the supporting frame, then the multiple locking arms synchronously move towards the direction close to the circle center of the first supporting table, and therefore when a flange is placed on the top of the first supporting table, the locking arms can rotate around the connecting positions of the locking arms and the supporting frame. A plurality of locking arms can be limited and supported on the periphery of a flange, so that the limit
Resumen de: CN120798682A
本申请公开了一种风机平台及漂浮式海上风机,其中风机平台包括漂浮式平台和振荡水柱式波浪能发电装置,还包括中心立柱,中心立柱位于漂浮式平台的中部。中心立柱用于安装塔筒,中心立柱内开设空腔,以形成振荡水柱式波浪能发电装置的气室,中心立柱上设置振荡水柱式波浪能发电装置的水室和进出气孔,水室和进出气孔与气室连通。本申请公开的风机平台在中心立柱上集成振荡水柱式波浪能发电装置和风机,实现振荡水柱式波浪能发电装置与漂浮式平台结合,同一漂浮式平台能够同时捕获风能和波浪能,即具有该风机平台的漂浮式海上风机既能利用风能进行发电,也能够利用波浪能进行发电,实现了风能与波浪能的互补发电,提高了能源利用效率和发电总量。
Resumen de: CN120798653A
本申请提供了发电机组变桨系统及提升响应时间的方法、设备及介质,解决了现有技术中提升变桨系统响应时间时对机械负载和减速箱有相当大冲击的技术问题。该风力发电机组变桨系统包括:主控制器,用于下发位置阶跃响应指令;变桨控制器,通过CANopen总线与主控制器通信连接,变桨控制器用于获取位置阶跃响应指令和当前风力发电机组叶片的位置信息,并根据位置阶跃响应指令和位置信息得到控制指令;驱动器,通过CAN总线与变桨控制器通信连接,驱动器用于反馈的当前位置信息以及接收控制指令,并基于控制指令驱动电机运转;主控制器、变桨控制器和驱动器之间具有双线程通讯模式;第一线程用于运行目标代码;其中,第一线程的优先级高于第二线程。
Resumen de: CN120798056A
本发明公开了一种适用于风电预应力钢绞线的减振装置,包括:底板、抱箍和弹性内衬,底板与塔筒内壁连接固定;所述抱箍和弹性内衬均为分体式结构,弹性内衬用于集束分散的钢绞线,抱箍用于固定弹性内衬,且抱箍与底板之间通过活动限位组件进行连接,活动限位组件用于约束钢绞线的摆动。本发明具有结构紧凑、拆装便捷、可靠性高等特点,在钢绞线中部的塔筒壁集装集束底板,利用分体式的抱箍和弹性内衬集束钢绞线,抱箍与底板之间采用活动式限位组件限制钢绞线活动,解决了超高塔预应力系统中部区域无约束,摆动量大从而与塔筒壁及附件干涉摩擦的问题,也解决了中部钢绞线在集束固定处憋力破坏失效的问题。
Resumen de: CN120797757A
本发明涉及一种用于海上风电筒型基础下沉监测及辅稳的格栅装置,该格栅装置,包括设置在筒型基础分仓板内的格栅本体,格栅本体上设有至少一根弹簧,弹簧下端固定设置在格栅本体上,上端顶靠在筒型基础顶板下表面;每根弹簧顶部均设有压力传感器;通过弹簧压缩能够有效监测筒型基础下沉过程中筒内土体隆起变形情况;格栅本体可减少抽气抽水时筒内泥面位置的水流流速,起到缓流作用,并减轻筒型基础内部土体隆起导致的土塞效应,起到辅助筒型基础下沉稳定性的作用;本发明结构简单、安装方便、成本较低,具有较强的实用性。
Resumen de: CN120798650A
本申请属于风力发电机技术领域,尤其涉及一种水平翼角度可调整的水平翼风力发电机,包括增速器、旋转铰接座,增速器的输出轴连接发电机,旋转铰接座上铰接设置有水平翼,旋转铰接座的上端设置有立柱,立柱上设置有定滑轮组,立柱内设置有收放绳装置,收放绳装置上设置有吊绳,吊绳穿过定滑轮组并与水平翼连接,旋转铰接座下方设置有柔性联轴器,柔性联轴器的末端连接增速器,本申请利用能够调整角度的水平翼配合柔性传感器等设备,使得风力发电机的启动性好,对风能的捕获效果好。
Resumen de: WO2025211489A1
The present invention provides an electric vehicle capable of charging using wind power energy, comprising: an air inlet part (110) formed on the front surface of an electric vehicle (10) traveling by using an electric motor (11) to rotatably drive wheels (12), thereby allowing wind to flow therein during traveling; a turbine (120) formed at the rear end of the air inlet part (110) so as to be rotated using wind power; a power generation part (130) composed of a rotor (131), which is coupled to a rotary shaft (121) extending from the turbine (120), and a stator (132), which is arranged in a ring shape on the outer side of the rotor (131), thereby producing electricity by using the rotation of the rotor (131); a power source part (140) which converts the electricity produced by the power generation part (130) into chargeable voltage so as to charge a battery (141), and which supplies driving voltage from the battery (141) to the electric motor (11); and a controller (150) for electrically connecting the battery (141) and the electric motor (11) through an electrical system, and controlling charging from the power generation part (130) to the battery (141), and thus the electricity produced using wind power generation is used to enable traveling.
Resumen de: CN120812887A
本发明涉及试验线收纳技术领域,尤其公开了一种自动补液充压装置及方法,包括,壳体,壳体内安装有补水箱和循环部件,循环部件一端与水循环系统连接;当循环部件检测到水循环系统的水压力降低时,循环部件控制补水箱中的水进入到水循环系统中,增加水压力,本发明通过压力变送器实时监测水循环系统的压力值,结合控制器对动力水泵与电动球阀的联动控制,在压力不足时快速启动补液流程,实现压力的动态稳定。该闭环机制不仅能够毫秒级响应压力波动,还通过标准化电信号传输与程序逻辑运算,确保补液过程的高精度与高可靠性,同时止逆阀与电动球阀协同作用,单向阻断循环水系统内介质的逆向流动,防止高压液体回流。
Resumen de: CN120807468A
本发明涉及一种改进的风力机叶片微小缺陷识别方法,包括:采集待识别的风力机叶片图像数据;改进YOLOv8模型,其中,在主干网络中引入C2f‑EMBC模块和在颈部网络中采用动态优化特征融合机制;将所述待识别的风力机叶片图像数据,输入改进的YOLOv8模型,进行风力机叶片微小缺陷识别。本发明通过在主干网络中引入C2f‑EMBC模块,并采用Gold‑YOLO动态融合机制对特征进行自适应优化融合,从而显著提高了风力机叶片缺陷检测的精度和鲁棒性,特别是在复杂环境下和细小缺陷识别中的表现。
Resumen de: CN120799036A
本发明公开了一种风电联轴器的联动式支架,属于风电设备技术领域,包括升降底座,升降底座设置有浮动式支撑组件及转动支撑组件;浮动式支撑组件包括浮动底座及主承托,主承托顶部与风电联轴器的圆周面接触并可在浮动底座作用下升降和/或左右摆动;转动支撑组件包括升降支架及转动承托,转动承托初始时与所述风电联轴器的圆周面间隔设置;还包括联动组件,主承托和两侧的转动承托均通过联动组件连接。本发明可实现对风电联轴器有效支撑,同时在风电联轴器异常时对其进行限制和调整,整体实用性和安全性强。
Resumen de: CN120798646A
本发明公开了一种多桨叶风力发电机,包括基座、叶片组件和发电机,所述基座顶端安装有塔杆组件,所述塔杆组件顶端安装有旋转座,所述旋转座转动安装有安装座,所述安装座安装有驱动自身转动的驱动组件,所述安装座的顶端安装有齿轮箱,所述齿轮箱的两端分别安装有叶片组件和发电机,所述齿轮箱位于发电机的外侧安装有电机罩,所述电机罩开设有进风口和出风口;所述发电机包括发电机主体,所述发电机主体的电机轴的两端分别安装有第一散热叶片和第二散热叶片,第一散热叶片和第二散热叶片分别位于发电机主体的两端,所述发电机主体设置有供气流贯穿的通道。本发明,散热效率大幅提升,可有效避免发电机因过热影响运行稳定性和使用寿命。
Resumen de: CN120798669A
本发明公开了一种车间热量收集发电装置,包括发电箱与烟囱管,所述发电箱的一端固定连通有过滤箱,所述过滤箱的一侧固定连通有固定壳,所述固定壳卡设安装在烟囱上,所述发电箱内固定连接有发电机与齿轮箱,所述齿轮箱的一侧安装有轴杆,所述轴杆的一端固定连接有叶轮,所述齿轮箱的另一侧安装有转子,所述转子的一端与发电机连接,所述发电箱内固定连接有基座,所述齿轮箱固定安装在基座上,所述过滤箱内插设安装有安装板,该车间热量收集发电装置,通过固定壳固定在烟囱管上,烟囱管热空气集中排放时可促使发电箱内的叶轮转动,叶轮联动转子促使发电机发电,通过装置收集烟囱废弃能量,实现能量再利用,适合推广使用。
Resumen de: JP2025158881A
【課題】サボニウス風車の特徴である簡易構造の形状を極力継承し、その回転力が高まり低風速域で回転数の増加が可能な構造を実現する。【解決手段】サボニウス風車の湾曲羽根5,6の外端寄りのピーク点を含む中央部をインボリュート曲線部51,61とし、その外端側で正接する外端円弧部52,62と併せて風圧を効率的に捕捉したのち内端側で正接する内端直線部54,64に導く。本課題の構造は、ピーク位置長さα、ピーク値βと内外端長さγの3つの独立した変数をもとに構造設計の係数と計算式を使用して実現する。【選択図】図1
Resumen de: CN223451935U
本实用新型公开了一种自循环式风光热棒,包括地表固定器和蒸发器,蒸发器位于地表固定器的下方,地表固定器与蒸发器之间设置有过渡绝热段,地表固定器顶部自下而上依次焊接有冷凝器、散热器和太阳能集热器。本实用新型通过增加叶片装置和发电储能组件,将风能和太阳能转换为电能并存储,供电热管在夜间发热,提高能源的利用效率,日间夜间均能自主热交换;利用调节组件调节波纹管伸缩结构的弯折角度和折叠伸缩状态,能够调节本装置在地面上露出部分的高度以及倾角,从而能够避开可能存在的障碍物,令多个卷状叶片组成的叶轮朝向来风方向或者适应最佳太阳高度角,提高风能和太阳能转换效率,能够确保在不同深度下均能达到最佳的热传导效果。
Resumen de: CN120798701A
本申请涉及风电机组技术领域,特别是涉及一种多功能海上风力发电系统的维护方法及系统。包括:根据风力发电系统的设备参数设定多个设备点;构建各个设备点的诊断子模型,并根据预设监测时间节点生成各个设备点的检修评价值;根据全部检修评价值设定风险设备点,根据全部风险设备点生成一级维护策略;基于各个风电机组的特征参数构建对应的诊断子模型,提高对于风电机组的故障诊断效率,同时通过构建各个风电机组之间的关联关系,对风电机组的故障进行辅助诊断,提高对于各个风电机组的故障诊断精度,为制定检修维护策略提供数据支撑。通过对风险设备点的综合分析结合路径优化技术,设定最佳巡检路径,降低检修维护过程中的整体成本。
Resumen de: CN120798699A
本发明公开了一种具有叶片抗结冰功能的风电机组,涉及风力发电技术领域,所述风电机组包括机舱、叶片和导流罩,所述导流罩设置在机舱的侧端,所述导流罩内部设置有轮毂,本发明相比于目前的风电机组设置有热风循环机构与分流机构,通过热风循环机构与分流机构的协同作用,使得三个叶片内部的气流能够循环流动并在流动的过程中加热,一方面确保风电机组在冬天工作时叶片表面不会出现结冰现象,另一方面能够有效回收热风中的余热,本发明在热风循环机构中设置有能独立运行的第一加热腔与第二加热腔,避免了单一加热元件故障导致的整机停机,为维修人员争取了充足的故障处理时间,显著提升了设备的连续运行能力。
Resumen de: WO2024193917A1
A method for controlling a wind power plant (1), the wind power plant (1) comprising one or more generator devices (14) and a grid-forming component (5) electrically connected to an output terminal (17) of the one or more generator devices (14), the wind power plant (1) including an electrical grid and/or being electrically connected to an electrical grid (4), and the method comprising: a) determining (S4) a frequency deviation (ΔF) of a current frequency (FC) of the respective electrical grid (4) from a nominal frequency (FN), b) determining (S6) a droop characteristic (27, 28) for the grid-forming component (5) based on a current power output (PGC) of the one or more generator devices (14), and c) controlling (S7) a power output (PB) of the grid- forming component (5) based on the determined frequency deviation (ΔF) and the determined droop characteristic (27, 28). Thus, frequency regulation of the grid can be improved.
Resumen de: CN120798641A
本发明属于风力发电机技术领域,尤其为一种减震降噪的风力发电机机舱,包括机舱外壳,所述机舱外壳的一侧面设置有散热件,所述机舱外壳的底面固定连接有两个弧形块,两个所述弧形块的底面共同固定连接有连接座,所述连接座的内圈连接有螺纹连接环,所述螺纹连接环的底端固定连接有环形橡胶减震垫,所述机舱外壳的内底壁固定安装有两组弹簧隔震器。本发明通过连接座和环形橡胶减震垫的设置,能够缓冲机舱外壳向下传递的震动,减少对塔筒的直接冲击,通过机舱外壳内部设置的两组弹簧隔震器和两组气压减震器,能够共同支撑减震台,相较于传统单一的橡胶垫减震设备,这种组合式的减震结构,能够增强减震时的性能,可以减少震动产生的噪音。
Resumen de: CN223447176U
本实用新型公开了一种风力发电机组基础预应力管道安装结构,涉及风力发电技术领域,包括安装管和两个安装板,所述安装管的两端管壁均开设有第一安装槽,所述安装管的表面固定连接有安装环,所述安装环的内部对称开设有两个卡接槽,每个所述安装板的侧壁均固定连接有卡接环,每个所述卡接环的一端侧壁均设置有卡接机构,每个所述卡接环的一端均通过卡接机构与对应的卡接槽卡接,每个所述安装板的侧壁均与第一安装槽对应开设有第二安装槽。本实用新型实现了利用安装板和两个安装管对第一预应力波纹管和第二预应力波纹管进行卡接,避免在安装时对预应力波纹管造成损伤,提高其耐久性和抗裂性能。
Resumen de: CN223449329U
本实用新型公开了一种风机振动频率监测结构,包括适配安装座,所述适配安装座的顶部安装有固定座,所述固定座的顶部安装有振动传感器,所述振动传感器的顶部安装有线束连接头,所述振动传感器的底部设置有固定块,所述固定座的内侧开设有嵌入槽,所述固定座的两侧开设有卡块安装槽,所述卡块安装槽内安装有限位卡杆,且所述限位卡杆上安装有复位弹簧;当使用该申请中的监测结构安装在风机上进行监测时,通过设置可便捷拆装的方式,当使用该装置进行监测时,当适配安装座固定在风机上后,可通过卡合结构的作用,对振动传感器进行便捷的拆装,方便在使用过程中对振动传感器进行检修维护,从而提高了该装置的实用性与便捷性。
Resumen de: CN223447180U
本实用新型公开了一种具有自适应功能的风电主轴滑动轴承,包括轴承座和轴瓦;所述轴承座中部设有油腔;所述轴承座底部设有进油孔;所述油腔通过进油孔注入润滑油;所述轴瓦设于油腔上方,且下端周面处于轴承座内;所述轴瓦上表面为凹陷设计。本申请具有自适应功能的风电主轴滑动轴承,由于油的流动特性,当轴瓦受到来自主轴的作用力时可以迅速流动重新分布,使得轴瓦对主轴的跟随性更好;同时由于避免了定位销结构,使得整个轴承系统的鲁棒性显著提高;在成本上,由于舍弃了弹性垫和钢背结构,仅增加了成本非常低的油,因此轴承的整体成本大幅下降。
Resumen de: CN223452217U
本实用新型公开了一种机组状态监测装置,包括显示层组件、操作层组件、设备层组件和通讯组件,显示层组件、操作层组件和设备层组件依次相接,通讯组件位于显示层组件的一侧并且与显示层组件固定连接。操作层组件包括操作层侧板,操作层组件具有操作层内腔,操作层组件内置有滑板和滑轨,滑轨分设于滑板的两侧,滑板与滑轨滑动连接,滑轨与操作层侧板固定连接。本实用新型公开的机组状态监测装置,其有益效果在于,避免操作设备的线缆与监测设备的线缆相互错接,还便于按操作层和设备层分类归集和收纳对应的设备。
Resumen de: CN120798694A
本发明涉及风力发电机组组监测技术领域,具体涉及一种用于风机齿轮箱的集油装置及漏油监测系统,包括:获取当前时刻及之前预设时间范围内齿轮箱部位的温度数据、集油槽内油液的液位数据,以及齿轮箱内的压力数据,基于温度数据的升温变化,确定温度特征影响的第一漏油风险指标;基于液位的下降速率与升温变化之间的相关性,确定液位特征影响的第二漏油风险指标,结合第一漏油风险指标、第二漏油风险指标,以及齿轮箱内的压力数据分布,确定漏油可能性,根据漏油可能性进行漏油监测。本发明能够综合多维度参数进行判断,各参数相互验证,精准且可信地实现漏油判定,有效排除了单一参数受干扰产生的误判,大大提高了漏油监测的精准度。
Resumen de: CN120798642A
本发明公开了一种风电机组的机舱支撑装置和风电机组,包括主机架、过渡段、发电机支架和行走平台框架,主机架和过渡段各自采用一体铸造成型结构,发电机支架和行走平台框架各自采用钢板焊接结构,过渡段的前端与主机架连接,后端与发电机支架和行走平台框架分别连接,发电机支架位于行走平台框架内侧并且与行走平台框架相互间隔开,使得发电机支架与行走平台框架彼此相互独立。本发明能够降低发电机支撑部分受力的复杂性,并切断发电机自身重力及产生的载荷对于机舱平台框架的影响;通过设置一体铸造成型的过渡段,能够使机舱支撑装置整体的悬臂刚度得到强化,并实现行走平台框架的小型化,从而有效化解机组运行时变形过大而导致的晃动问题。
Resumen de: CN120799418A
本发明公开了一种垃圾焚烧电站及基于垃圾焚烧电站的综合能源系统,涉及固废资源化利用技术领域。综合能源系统包括:供电模块、供热模块、供冷模块、冷能发生模块和控制器;供电模块用于获取并传输垃圾焚烧电站产生的电能;供热模块用于获取并传输垃圾焚烧电站输出的热能;冷能发生模块用于获取垃圾焚烧电站输出的烟气,并在烟气的驱动下产生冷能;供冷模块用于获取并传输冷能发生模块输出的冷能;控制器分别与供电模块、供热模块、供冷模块以及冷能发生模块连接;控制器用于根据用户当前的需求负荷,控制供电模块、供热模块、冷能发生模块以及供冷模块的工作状态。本发明通过电、热、冷多种负荷的联产联供,促进了固废资源化利用以及可持续发展。
Resumen de: CN120811184A
本发明提供一种基于PMSM的新型模型预测的变桨电机控制方法,包括:Step1、建立电机数学模型;Step2、建立开关状态与电压矢量的对应表;Step3、建立坐标系下电机电流方程如式,并进行离散化处理,得到下一时刻的电流预测值;Step4、基于新型代价函数,遍历逆变器的所有开关状态组合,选取使代价函数最小的最优电压矢量作为下一控制周期的输出;Step5、根据风速预测值与参考值的偏差,实时调整桨叶变桨角度,以消除风速突变导致的飞车隐患。本发明提出的新型代价函数控制方式相较于传统代价函数提高了控制性能,电流及转矩波动较小,控制更稳定。通过引入N+1时刻风速预预测代价变量引入代价函数,实现了预测变桨动作,可以实现准确变桨,避免了飞车隐患。
Resumen de: CN223447165U
本实用新型公开了一种风力发电机组叶片防涡激和空转降载装置,包括气囊组件、导向轮组和转运索线,其中,所述叶片的叶根处设置有一个气囊回收仓,所述气囊组件储存在该气囊回收仓中,所述导向轮组和转运索线均安装在叶片的外表面,且所述转运索线穿过导向轮组,并通过所述导向轮组带动气囊组件运输至叶片上接近叶尖段的指定区域进行安装或者回收气囊组件至气囊回收仓。本实用新型可以在机组空转状态下通过释放气囊组件,将气囊组件运输至指定区域,破坏叶片后缘的漩涡的形成,防止涡激振动的发生和降低空转风速时的叶片载荷,当需要发电时可以及时收回气囊组件,保持叶片整体气动外形不变,保持叶片良好的发电效率,提高机组的安全性。
Resumen de: CN223447166U
本实用新型属于风力发电设备技术领域,公开了一种具有融冰抗霜功能的风力发电机扇叶结构;包括叶片,在每个叶片的内腔中均设有一组摩擦生热组件;摩擦生热组件包括沿叶片的中心线延伸的摩擦套筒,在摩擦套筒内设有滚动的摩擦球;摩擦套筒两侧均设有导热片;其中一组导热片贴合接触叶片的迎风面,另一组导热片贴合接触叶片的背风面;摩擦套筒内设有反弹器,且反弹器安装于叶片内远离塔架的一端;本实用新型摩擦生热组件通过结合叶片旋转时的离心力和反弹器所产生的反弹力,实现摩擦球在摩擦套筒内往复滚动,显著降低了叶片本体表面的覆冰现象,通过导热片的布置位置提高了热量传导效率,加速叶片迎风面和背风面的冰霜层的融化。
Resumen de: CN223447492U
本实用新型提供的一种风机变桨和偏航轴承用多唇口密封圈属于风力发电机技术领域,克服了现有橡胶密封圈密封效果差的缺陷,所述密封圈设有上封唇、下封唇和下封唇二,所述的上封唇的剖切面呈三角状,其两条边夹角为锐角,所述的下封唇剖切面呈长条状,其端部设有圆角,所述的上封唇和下封唇一起形成右上和左下倾斜状布置,所述的下封唇二呈短条状,其一侧与上封唇形成首尾相接的外凸圆和内凹圆弧,唇口端部形成圆角,另一边通过锐角式的内凹圆弧与下封唇平滑相接,本实用新型产品多道唇口分别与密封槽的上下侧面接触,密封效果好;防尘唇下部内凹弧面,充分润滑防尘唇,防尘唇与密封唇之间的内凹半圆为唇口提供充足的弹性空间而不被撕裂。
Resumen de: WO2025216897A1
A shared mooring-anchor system may have one or more variable resource foundations, the one or more variable resource foundations supporting a variable resource. A shared mooring-anchor system may have at least one near-surface buoy and at least one seabed anchor. A shared mooring-anchor system may orient the variable resource near, at, or above a waterline of a source of water. A shared mooring-anchor system may connect the one or more variable resource foundations to the at least one near-surface buoy, the at least one near-surface buoy is connected to the at least one seabed anchor, the at least one seabed anchor is not vertically in alignment underneath the at least one near-surface buoy, an angle between the one or more variable resource foundations, the at least one near-surface buoy, and the at least one seabed anchor is not a right angle.
Resumen de: WO2025217084A1
A wind turbine rotor blade is disclosed that includes a blade body having a shape that generates a lift when impacted by an incident airflow. The blade body includes a pressure side and a suction side joining at a leading edge and a trailing edge, and a chord extension system mechanically coupled with the trailing edge. The chord extension system may be configured to enhance an aerodynamic performance of the wind turbine rotor blade. The chord extension system may include either a flat plate or a serration. The chord extension system may include a multi-layer composite body that includes a first composite layer having a first elasticity parameter and a second composite layer mechanically coupled with the first composite layer. The second composite layer may have a second elasticity parameter different from the first elasticity parameter.
Resumen de: WO2025214562A1
A method for predicting power production loss of a wind turbine due to ice formation on the wind turbine blades of the wind turbine is disclosed. Expected ice formation on the wind turbine blades is simulated, based on generic climate data (1) and using a first ice growth model (2), and a plurality of power coefficient (Cp) curves (5) are generated corresponding to the modified blade profiles (3) representing various degrees of ice formation on the wind turbine blades. Power production loss of the wind turbine due to ice formation on the wind turbine blades is estimated, based on expected local climate data (6) related to a site where the wind turbine is located or is to be located, and on the generated power coefficient (Cp) curves (5).
Resumen de: WO2025214803A1
A mooring line tensioning device is disclosed. The mooring line tensioning device may be coupled to a floating platform, such as a floating wind turbine platform. The mooring line tensioning device may include a housing, a proximal suspension element that can pivotably couple the housing to the floating platform, and a linearly displaceable element of a linear actuator that may extend through the base portion of the housing and may be linearly displaced relative to the housing. The linear actuator may be a jackscrew assembly and the linearly displaceable element may be a lifting screw of the jackscrew assembly. A mooring line may be coupled between a submerged anchor and a coupling element located at a distal end of the linearly displaceable element. Linear displacement of the linearly displaceable element by operation of the linear actuator can be used to adjust the tension of the mooring line.
Resumen de: WO2025214769A1
The invention relates to an assembly aid (1) for securely placing a fixation bolt (2) for fixing two tower segments (3) of a tower of a wind turbine. The assembly aid (1) comprises a mast (4) for being arranged vertically and parallel aside the fixation bolt (2), a lifting shoe (5) for being moved under a bolt head (6) of the fixation bolt (2), a lifting mechanism (7) for lifting the lifting shoe (5) with respect to the mast (4) and an actuator (8) for operating the lifting mechanism (7). The invention further relates to a method for assembling two tower segments (3) of a wind turbine tower.
Resumen de: WO2025214658A1
Wind turbine comprising a generator (2) and a first and a second electric power converter (3, 4) for converting power provided by the generator (2), wherein the wind turbine (1) comprises a junction box (8), wherein the first electric power converter (3) is electrically connected to the junction box (8) via at least one first conductor (9-11), wherein the second electric power converter (4) is electrically connected to the junction box (8) via at least one second conductor (12-14), wherein the junction box (8) electrically connects each first conductor (9-11) to a respective one of the second conductors (12-14) and a respective third conductor (15-17), wherein at least a section of the third conductor (15-17) is arranged within a tower (18) of the wind turbine (1).
Resumen de: WO2025214645A1
The invention relates to a method of manufacturing a wind turbine rotor blade (110), the wind turbine rotor blade (110) having a first section (148) comprising a blunt trailing edge (142) and being located close to a rotor blade root region (114), a second section (150) comprising a sharp trailing edge (136) and being located in direction towards a rotor blade tip region (152) and a third section (154) being located between the first section (148) and the second section (150), wherein - a transition piece (156) is arranged between two half shells (132) along the trailing edge (136) of the third section (154) firmly connecting both half shells (132), - the transition piece (156) has a root-side end (162) and a tip-side end (164) and extends along a main extension direction (166) from the root-side end (162) to the tip-side end (164), - the transition piece (156) has, along the main extension direction (166), a root-side section (168) being formed as a C-shaped bonding flange and a tip-side section (170) being formed as a monolithic wedge. The invention also concerns a wind turbine rotor blade (110) and a transition piece (156).
Resumen de: WO2025214581A1
The present disclosure relates to a device for aligning a wind turbine blade with a mounting area of a hub The device is configured for being mounted to the hub, wherein the device comprises one or more actuators, and wherein the actuators are configured for contacting an inside of the blade, and wherein the actuators are configured to pull the blade towards the hub. The present disclosure further relates to a method for mounting a wind turbine blade to a hub, comprising mounting an alignment device for aligning the blade with the hub on the hub and hoisting the wind turbine blade with a crane and positioning the wind turbine blade in proximity of the hub. The method further comprises actuators of the alignment device extending towards the blade for contacting an inside of the blade and pulling the actuators towards the hub to guide the blade to the hub.
Resumen de: US2025320851A1
A hybrid wind and solar energy generating system includes one or more solar arrays of solar panels arranged at an angle relative to a horizontal plane of reference, defining leading and trailing boundaries on such panels. A wind turbine is mounted proximate to the trailing boundary on a horizontal axis with blades extending longitudinally and in operative proximity to the trailing boundaries. A source of wind is amplified passing over the windward side of the solar panels to form a resultant wind vector extending outwardly off the trailing boundary.
Resumen de: US2025320725A1
A system for improving airflow to a vertical turbine on a flat roof, the flat roof defining a mounting platform for the vertical turbine, and the building having an edge between the flat roof and a vertical side, the system comprising: a deflector of at least one meter; a plurality of arms interconnecting the deflector to the vertical side or the edge of the building, to space the deflector and permit airflow between the deflector and the building, wherein the deflector and the arms separate turbulent airflow impacting the vertical side from laminar airflow above, and for directing the laminar airflow to the turbine while redirecting the turbulent airflow away from the turbine; a flow entry area under the deflector separating the turbulent airflow from the laminar airflow; and a flow exit area for redirecting the turbulent airflow below the turbine blades, permitting the laminar airflow to impact the blades.
Resumen de: US2025320849A1
A brake unit for a wind turbine is provided. The brake unit can include a mounting ring configured to couple the brake unit with the wind turbine, a piston movably coupled with the mounting ring such that an upper portion of the piston is positioned and located proximate to the mounting ring, a lining coupled with the piston, wherein the lining is positioned and located adjacent to an opposing end of the piston from the mounting ring, and a gap positioned between a first component of the brake unit and a second component of the brake unit, wherein the gap is configured to indicate a thickness of the lining.
Resumen de: US2025320850A1
A method is for operating a wind turbine having a tower, a rotor with a rotor blade and a generator coupled to the rotor. The wind turbine further includes a pitch setting system for changing the pitch angle of the rotor blade and a generator controller for controlling the generator torque. The method includes providing first information representative of at least two motion variables. The motion variables are motion variables of an oscillation of the tower and/or of an oscillation of the rotor blade. Then, an operating setpoint is determined for the pitch setting system and the generator controller depending on the first information. The operating setpoint is determined such that, when the pitch setting system and/or the generator controller is operated according to the respective operating setpoint, it sets the pitch angle of the rotor blade or the generator torque, respectively, in order to damp the oscillation.
Resumen de: US2025319961A1
Wingtip shields are described. In one embodiment, a wingtip shield includes an inner surface facing a high-pressure side of an airfoil. The airfoil is attached to the main body. The wingtip shield also includes an outer surface configured opposite from the inner surface. The wingtip shield is attachable to the airfoil along a peripheral edge of the airfoil from a first point of a leading edge of the airfoil to a second point of a trailing edge of the airfoil. A first span distance from the first point at the leading edge to the main body is less than a second span distance of the second point at the trailing edge to the main body.
Resumen de: US2025319972A1
A defrosting (or de-icing) system mountable on a surface of a mechanical part to be de-iced, comprising including a piezoelectric actuator, a fastening device to secure the actuator to the surface, and at least one control unit to activate the actuator to excite the part for defrosting. The actuator features a stacked structure of prestressed piezoelectric elements along its longitudinal axis. The fastening device secures the actuator parallel to the surface and includes fastening elements at each end, enabling excitation of the part in extension and bending modes.
Resumen de: US2025319673A1
A method is provided of manufacturing a wind turbine blade shell member (36, 38), the method comprising the steps of providing a blade mould (96) for the blade shell member, arranging one or more layers of fibre material in the moulding cavity to provide a fibre layup (97), and providing a pre-manufactured spar cap member (62). The surface of the spar cap member is treated with a primer composition to provide a primer-treated surface. Heat is then applied to the primer-treated surface of the spar cap member to provide an activated surface, for improving the bonding in a subsequent resin co-infusion of the spar cap member and the fibre layup.
Resumen de: AU2024204232A1
A vehicle including a vehicle body having a front portion defining a first forward projection area, and a wind turbine system. The wind turbine system includes an airflow capture inlet, a flow consolidating conduit, an air driven rotor assembly, and an electric generator. 5 The airflow capture inlet has an inlet upstream end, an inlet downstream end, an air entry window, and a flow directing floor. The air entry window and the flow directing floor each extends from the inlet upstream end to the inlet downstream end. The air entry window defines a second forward projection area that is at least 10% of the first forward projection area. The flow directing floor is sloped upwardly. The flow consolidating conduit is close 10 sided. The air driven rotor assembly is downstream of a consolidating conduit downstream end. The air driven rotor assembly includes an air driven rotor connected to the electric generator. A vehicle including a vehicle body having a front portion defining a first forward projection area, and a wind turbine system. The wind turbine system includes an airflow capture inlet, a flow consolidating conduit, an air driven rotor assembly, and an electric generator. The airflow capture inlet has an inlet upstream end, an inlet downstream end, an air entry window, and a flow directing floor. The air entry window and the flow directing floor each extends from the inlet upstream end to the inlet downstream end. The air entry window defines a second forward projection ar
Resumen de: DE102024110596A1
Eine segmentierte Gleitlagerung (1) umfasst mehrere Gruppen (4, 5) an Axial-Lagersegmenten (3), welche zur Aufnahme von in einer Welle (10) wirkenden Axialkräften vorgesehen und in Axialrichtung der Welle (10) gegeneinander versetzt sind. Die Welle (10) ist betriebsbedingt durchgebogen, so dass eine Wellenmittellinie (WM) von einer im lastfreien Zustand gegebenen Rotationsachse (RA) der Welle (10) abweicht. Die maximale Abweichung der gekrümmten Wellenmittellinie (WM) von der Rotationsachse (RA) ist zwischen den verschiedenen Gruppen (4, 5) an Axial-Lagersegmenten (3) gegeben.
Resumen de: DE102025109601A1
Die Erfindung betrifft ein Gleitlagerelement (1) für eine Rotorwelle (2) mit einer Rotorachse (3) einer Windenergieanlage (4), aufweisend zumindest die folgenden Komponenten:- eine Lagerfläche (5) zum hydrodynamischen Lagern einer korrespondierenden Gegenlauffläche (6) über einen dazwischen im Betrieb mit einem Film von Lageröl belegten Lagerspalt (7);- eine Umfangslagerfläche (8) zum Lagern des Gleitlagerelements (1) gegenüber einer Lageraufnahme (9) für das Gleitlagerelement (1);- einen Hydraulikzylinder (10), mittels welchem Lageröl aus einer Ölkammer (11) verdrängbar ist;- eine Ölzuführung (12) zwischen dem Hydraulikzylinder (10) und der Lagerfläche (5), wobei über die Ölzuführung (12) aus der Ölkammer (11) verdrängtes Lageröl dem Lagerspalt (7) zuführbar ist, wobei das Gleitlagerelement (1) mittels seiner Umfangslagerfläche (8) gegenüber der Lageraufnahme (9) in Umfangsrichtung (13) reibungsarm bewegbar gelagert ist.Mit dem hier vorgeschlagenen Gleitlagerelement ist ein Anlaufmoment nach einem Trockenfallen eines hydrodynamischen Lagerspalts erheblich und dabei ausfallsicher reduzierbar.
Resumen de: WO2025215424A1
A floating wind turbine platform is disclosed. The floating wind turbine platform may include a floatable structure that is deployable to a body of water and includes a plurality of semisubmersible columns. The semisubmersible columns may be interconnected. Each semisubmersible column can define an internal ballast volume. An intake port in each semisubmersible column can place the internal ballast volume of the semisubmersible column into fluid communication with the body of water. A ballast control system may be provided to balance the floatable structure upon a detected inclination thereof. Balancing of the floatable structure may be accomplished by selectively controlling a transfer of water from the body of water to the internal ballast volume of at least one of the semisubmersible columns, and/or by selectively controlling a transfer of water from the internal ballast volume of at least one of the semisubmersible columns to the body of water.
Resumen de: WO2025215420A1
A floating wind turbine platform is disclosed. The floating wind turbine platform may include a floatable structure having multiple semisubmersible columns. The semisubmersible columns may be interconnected by pontoons, at least some of which may contain a ballast. The floating wind turbine platform may also include a ballast distribution system having a sensor that is usable to detect an inclination of the floatable structure in a body of water. The ballast distribution system can balance the floatable structure in response to a signal from the sensor by operating a pump to distribute the ballast within the pontoons. Distributing the ballast within the pontoons may include selectively adjusting a position of the ballast contained within the internal volume of at least one of the pontoons, or transferring at least some of the ballast between the internal volumes of the pontoons.
Nº publicación: WO2025213767A1 16/10/2025
Solicitante:
SHANGHAI INVESTIGATION DESIGN & RES INSTITUTE CO LTD [CN]
 SINO PORTUGUESE NEW ENERGY TECH CENTER SHANGHAI CO LTD [CN]
\u4E0A\u6D77\u52D8\u6D4B\u8BBE\u8BA1\u7814\u7A76\u9662\u6709\u9650\u516C\u53F8, 
\u4E2D\u8461\u65B0\u80FD\u6E90\u6280\u672F\u4E2D\u5FC3\uFF08\u4E0A\u6D77\uFF09\u6709\u9650\u516C\u53F8
Resumen de: WO2025213767A1
Disclosed in the present application is a blade installation system and method for a wind turbine generator in a floating offshore wind power system. The blade installation system comprises a nacelle gripper, a blade gripper and a lifting installation vessel, wherein the nacelle gripper comprises a gripping housing and a plurality of telescopic tightening block assemblies; the blade gripper comprises a gripping cylinder which is arranged on a front outer side surface of the gripping housing and can slide left and right, the inner circumferential surface of the gripping cylinder being provided with a plurality of telescopic driving wheel assemblies; a crane on the lifting installation vessel is configured to hoist the nacelle gripper to or away from a nacelle, and the plurality of telescopic tightening block assemblies cooperate to grip or release the nacelle; and the crane is further configured to hoist a blade root into the gripping cylinder in an open state, the plurality of telescopic driving wheel assemblies cooperate to grip or release the blade root, and the plurality of telescopic driving wheel assemblies cooperate to horizontally drive the gripped blade root from the front to the rear into a mounting hole of a hub. At a working sea area, the blade root can be conveniently mounted in the mounting hole of the hub; the installation difficulty is low.
