Ministerio de Industria, Turismo y Comercio LogoMinisterior
 

Energía eólica

Resultados 361 resultados
LastUpdate Última actualización 17/10/2025 [07:10:00]
pdfxls
Solicitudes publicadas en los últimos 15 días / Applications published in the last 15 days
Resultados 1 a 361  

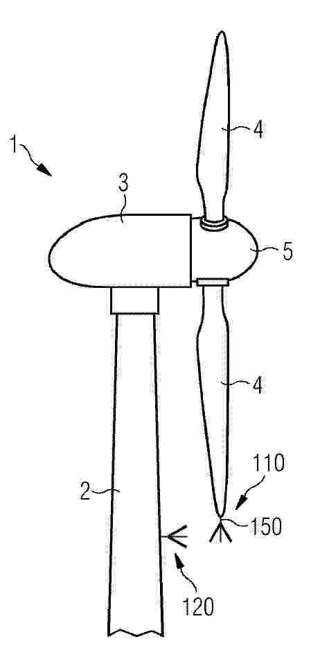
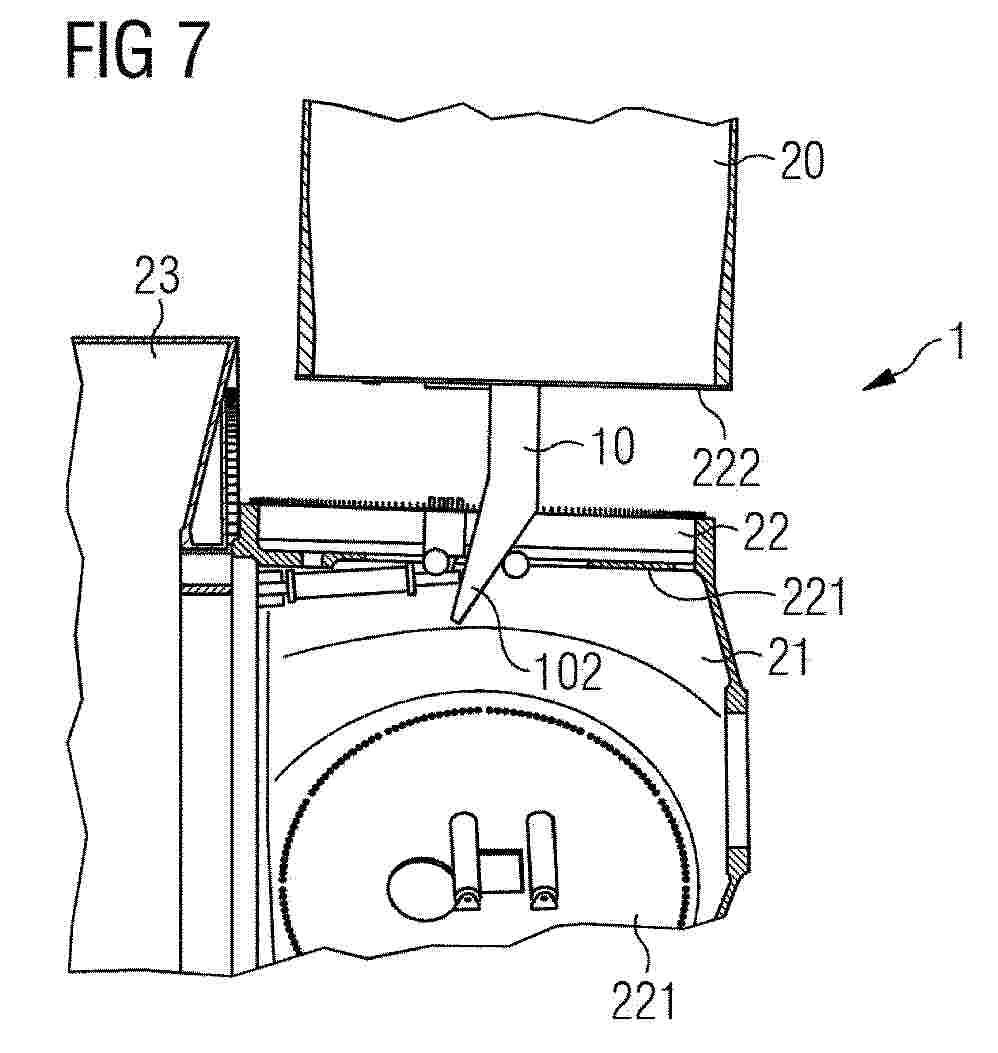
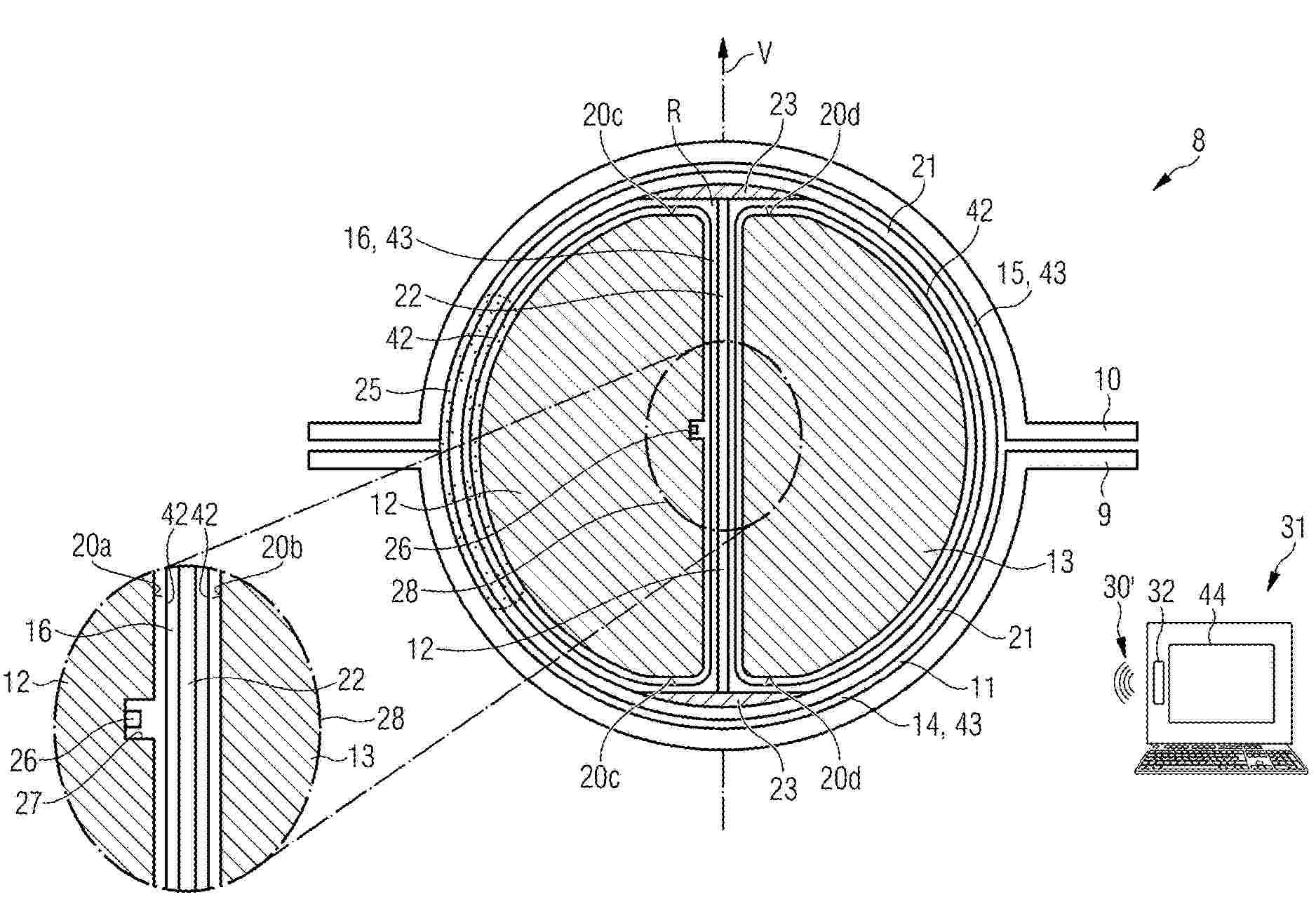
Segmentierte Gleitlagerung

NºPublicación:  DE102024110596A1 16/10/2025
Solicitante: 
SCHAEFFLER TECHNOLOGIES AG [DE]
Schaeffler Technologies AG & Co. KG

Resumen de: DE102024110596A1

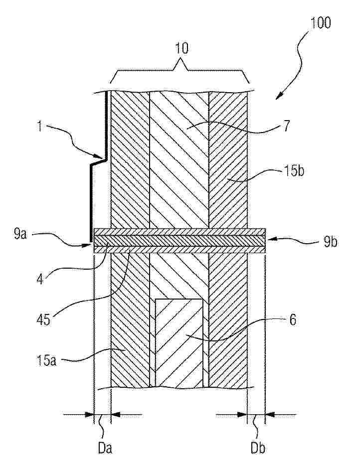
Eine segmentierte Gleitlagerung (1) umfasst mehrere Gruppen (4, 5) an Axial-Lagersegmenten (3), welche zur Aufnahme von in einer Welle (10) wirkenden Axialkräften vorgesehen und in Axialrichtung der Welle (10) gegeneinander versetzt sind. Die Welle (10) ist betriebsbedingt durchgebogen, so dass eine Wellenmittellinie (WM) von einer im lastfreien Zustand gegebenen Rotationsachse (RA) der Welle (10) abweicht. Die maximale Abweichung der gekrümmten Wellenmittellinie (WM) von der Rotationsachse (RA) ist zwischen den verschiedenen Gruppen (4, 5) an Axial-Lagersegmenten (3) gegeben.

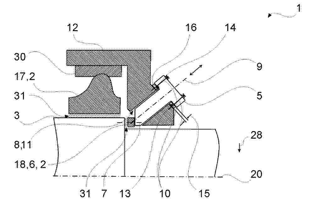
Gleitlagerelement für eine Rotorwelle mit einer Rotorachse einer Windenergieanlage

NºPublicación:  DE102025109601A1 16/10/2025
Solicitante: 
SCHAEFFLER TECHNOLOGIES AG [DE]
Schaeffler Technologies AG & Co. KG

Resumen de: DE102025109601A1

Die Erfindung betrifft ein Gleitlagerelement (1) für eine Rotorwelle (2) mit einer Rotorachse (3) einer Windenergieanlage (4), aufweisend zumindest die folgenden Komponenten:- eine Lagerfläche (5) zum hydrodynamischen Lagern einer korrespondierenden Gegenlauffläche (6) über einen dazwischen im Betrieb mit einem Film von Lageröl belegten Lagerspalt (7);- eine Umfangslagerfläche (8) zum Lagern des Gleitlagerelements (1) gegenüber einer Lageraufnahme (9) für das Gleitlagerelement (1);- einen Hydraulikzylinder (10), mittels welchem Lageröl aus einer Ölkammer (11) verdrängbar ist;- eine Ölzuführung (12) zwischen dem Hydraulikzylinder (10) und der Lagerfläche (5), wobei über die Ölzuführung (12) aus der Ölkammer (11) verdrängtes Lageröl dem Lagerspalt (7) zuführbar ist, wobei das Gleitlagerelement (1) mittels seiner Umfangslagerfläche (8) gegenüber der Lageraufnahme (9) in Umfangsrichtung (13) reibungsarm bewegbar gelagert ist.Mit dem hier vorgeschlagenen Gleitlagerelement ist ein Anlaufmoment nach einem Trockenfallen eines hydrodynamischen Lagerspalts erheblich und dabei ausfallsicher reduzierbar.

ROOFTOP WIND TURBINE FLOW IMPROVEMENTS

NºPublicación:  US2025320725A1 16/10/2025
Solicitante: 
FLOWER TURBINES INC [US]
Flower Turbines, Inc
CN_109844307_A

Resumen de: US2025320725A1

A system for improving airflow to a vertical turbine on a flat roof, the flat roof defining a mounting platform for the vertical turbine, and the building having an edge between the flat roof and a vertical side, the system comprising: a deflector of at least one meter; a plurality of arms interconnecting the deflector to the vertical side or the edge of the building, to space the deflector and permit airflow between the deflector and the building, wherein the deflector and the arms separate turbulent airflow impacting the vertical side from laminar airflow above, and for directing the laminar airflow to the turbine while redirecting the turbulent airflow away from the turbine; a flow entry area under the deflector separating the turbulent airflow from the laminar airflow; and a flow exit area for redirecting the turbulent airflow below the turbine blades, permitting the laminar airflow to impact the blades.

PASSIVE BRAKE UNIT FOR A WIND TURBINE

NºPublicación:  US2025320849A1 16/10/2025
Solicitante: 
THE CARLSON COMPANY INC [US]
The Carlson Company, Inc

Resumen de: US2025320849A1

A brake unit for a wind turbine is provided. The brake unit can include a mounting ring configured to couple the brake unit with the wind turbine, a piston movably coupled with the mounting ring such that an upper portion of the piston is positioned and located proximate to the mounting ring, a lining coupled with the piston, wherein the lining is positioned and located adjacent to an opposing end of the piston from the mounting ring, and a gap positioned between a first component of the brake unit and a second component of the brake unit, wherein the gap is configured to indicate a thickness of the lining.

WINGTIP SHIELD

NºPublicación:  US2025319961A1 16/10/2025
Solicitante: 
LEE SHIANG YU [US]
LEE DYLAN H [US]
Lee Shiang Yu,
Lee Dylan H
US_2025178718_PA

Resumen de: US2025319961A1

Wingtip shields are described. In one embodiment, a wingtip shield includes an inner surface facing a high-pressure side of an airfoil. The airfoil is attached to the main body. The wingtip shield also includes an outer surface configured opposite from the inner surface. The wingtip shield is attachable to the airfoil along a peripheral edge of the airfoil from a first point of a leading edge of the airfoil to a second point of a trailing edge of the airfoil. A first span distance from the first point at the leading edge to the main body is less than a second span distance of the second point at the trailing edge to the main body.

DEFROSTING SYSTEM FOR A MECHANICAL PART, COMPRISING AT LEAST ONE PIEZOELECTRIC ACTUATOR

NºPublicación:  US2025319972A1 16/10/2025
Solicitante: 
PYTHEAS TECH [FR]
AVIONS DE TRANSP REGIONAL GIE ATR [FR]
PYTHEAS TECHNOLOGY,
Avions de Transports R\u00E9gional GIE (ATR)
WO_2023222549_PA

Resumen de: US2025319972A1

A defrosting (or de-icing) system mountable on a surface of a mechanical part to be de-iced, comprising including a piezoelectric actuator, a fastening device to secure the actuator to the surface, and at least one control unit to activate the actuator to excite the part for defrosting. The actuator features a stacked structure of prestressed piezoelectric elements along its longitudinal axis. The fastening device secures the actuator parallel to the surface and includes fastening elements at each end, enabling excitation of the part in extension and bending modes.

METHOD OF IMPROVING THE ADHESIVE BONDING OF WIND TURBINE BLADE COMPONENTS

NºPublicación:  US2025319673A1 16/10/2025
Solicitante: 
LM WIND POWER AS [DK]
LM WIND POWER A/S
CN_119255904_PA

Resumen de: US2025319673A1

A method is provided of manufacturing a wind turbine blade shell member (36, 38), the method comprising the steps of providing a blade mould (96) for the blade shell member, arranging one or more layers of fibre material in the moulding cavity to provide a fibre layup (97), and providing a pre-manufactured spar cap member (62). The surface of the spar cap member is treated with a primer composition to provide a primer-treated surface. Heat is then applied to the primer-treated surface of the spar cap member to provide an activated surface, for improving the bonding in a subsequent resin co-infusion of the spar cap member and the fibre layup.

Vehicular wind turbine system for power generation and drag reduction

NºPublicación:  AU2024204232A1 16/10/2025
Solicitante: 
PURUS POWER CORP
Purus Power Corporation
AU_2024204232_A1

Resumen de: AU2024204232A1

A vehicle including a vehicle body having a front portion defining a first forward projection area, and a wind turbine system. The wind turbine system includes an airflow capture inlet, a flow consolidating conduit, an air driven rotor assembly, and an electric generator. 5 The airflow capture inlet has an inlet upstream end, an inlet downstream end, an air entry window, and a flow directing floor. The air entry window and the flow directing floor each extends from the inlet upstream end to the inlet downstream end. The air entry window defines a second forward projection area that is at least 10% of the first forward projection area. The flow directing floor is sloped upwardly. The flow consolidating conduit is close 10 sided. The air driven rotor assembly is downstream of a consolidating conduit downstream end. The air driven rotor assembly includes an air driven rotor connected to the electric generator. A vehicle including a vehicle body having a front portion defining a first forward projection area, and a wind turbine system. The wind turbine system includes an airflow capture inlet, a flow consolidating conduit, an air driven rotor assembly, and an electric generator. The airflow capture inlet has an inlet upstream end, an inlet downstream end, an air entry window, and a flow directing floor. The air entry window and the flow directing floor each extends from the inlet upstream end to the inlet downstream end. The air entry window defines a second forward projection ar

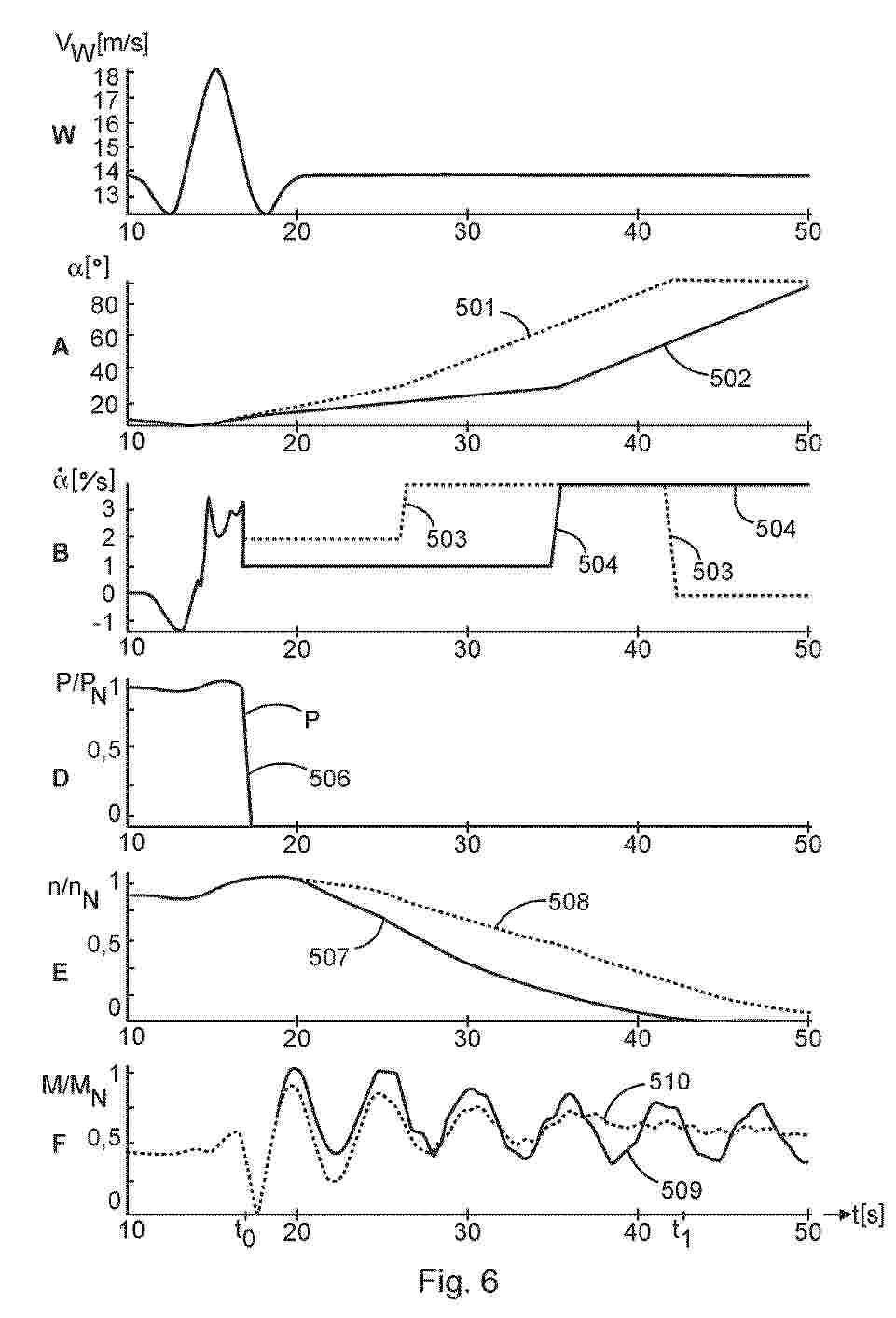
METHOD FOR OPERATING A WIND TURBINE AND WIND TURBINE

NºPublicación:  US2025320850A1 16/10/2025
Solicitante: 
NORDEX ENERGY SE & CO KG [DE]
Nordex Energy SE & Co. KG
EP_4632219_PA

Resumen de: US2025320850A1

A method is for operating a wind turbine having a tower, a rotor with a rotor blade and a generator coupled to the rotor. The wind turbine further includes a pitch setting system for changing the pitch angle of the rotor blade and a generator controller for controlling the generator torque. The method includes providing first information representative of at least two motion variables. The motion variables are motion variables of an oscillation of the tower and/or of an oscillation of the rotor blade. Then, an operating setpoint is determined for the pitch setting system and the generator controller depending on the first information. The operating setpoint is determined such that, when the pitch setting system and/or the generator controller is operated according to the respective operating setpoint, it sets the pitch angle of the rotor blade or the generator torque, respectively, in order to damp the oscillation.

FABRICATION AND TRANSPORT TOOLING

NºPublicación:  EP4630687A1 15/10/2025
Solicitante: 
ARVOS LJUNGSTROM LLC [US]
Arvos Ljungstrom LLC
AU_2023390217_PA

Resumen de: AU2023390217A1

A transport and assembly alignment tool, for prefabrication, transport and/or erection/assembly of a plurality of arcuate segments or near identical modules into a large annular or toroidal structure includes one or more alignment fixtures that have a matched pair of mating alignment members. The alignment members each have a first circularity and/or axial alignment member which aligns to a second circularity and/or axial alignment member. The first circularity and/or axial alignment member is held in alignment with the second circularity and/or axial alignment member by a radially extending alignment feature to establish circumferential alignment thereof and are locked together by locking means. The first axial alignment member is rigidly secured to a first one of the arcuate segments proximate to one circumferential end thereof and the second axial alignment member rigidly secured to a second one of the arcuate segments proximate to one circumferential end thereof.

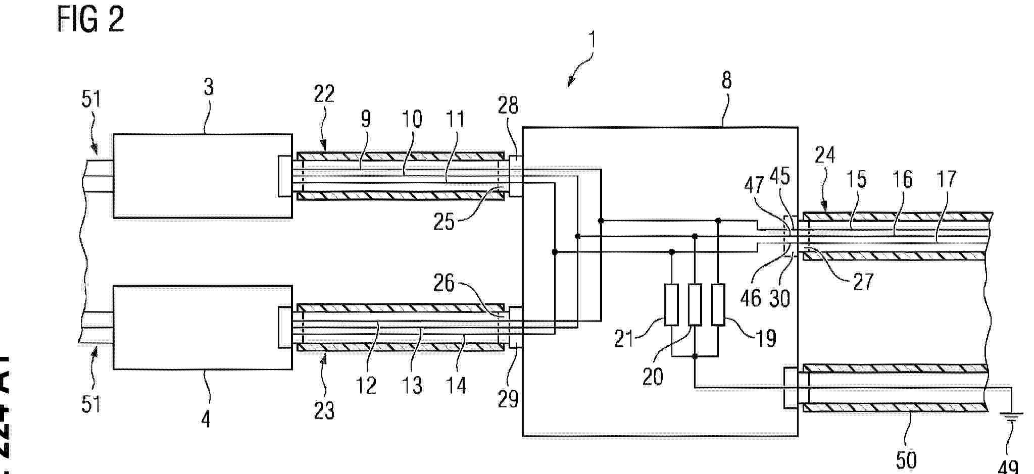
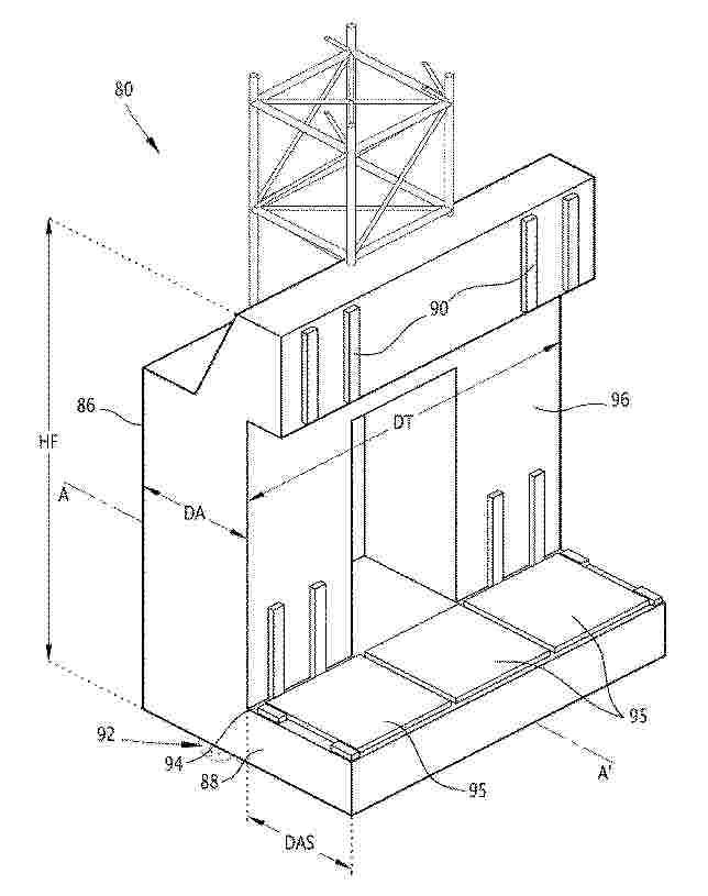
WIND TURBINE AND MODULE AND METHOD FOR CONSTRUCTING A WIND TURBINE

NºPublicación:  EP4632224A1 15/10/2025
Solicitante: 
SIEMENS GAMESA RENEWABLE ENERGY AS [DK]
Siemens Gamesa Renewable Energy A/S
EP_4632224_PA

Resumen de: EP4632224A1

Wind turbine comprising a generator (2) and a first and a second electric power converter (3, 4) for converting power provided by the generator (2), wherein the wind turbine (1) comprises a junction box (8), wherein the first electric power converter (3) is electrically connected to the junction box (8) via at least one first conductor (9-11), wherein the second electric power converter (4) is electrically connected to the junction box (8) via at least one second conductor (12-14), wherein the junction box (8) electrically connects each first conductor (9-11) to a respective one of the second conductors (12-14) and a respective third conductor (15-17), wherein at least a section of the third conductor (15-17) is arranged within a tower (18) of the wind turbine (1).

REPOWERED WIND TURBINE

NºPublicación:  EP4630684A1 15/10/2025
Solicitante: 
VESTAS WIND SYS AS [DK]
VESTAS WIND SYSTEMS A/S
CN_120344763_PA

Resumen de: CN120344763A

According to the present invention, there is provided an upgraded retrofit wind turbine comprising a rotor rotatably mounted to a nacelle. The rotor defines a rotor axis. The rotor includes a plurality of upgraded wind turbine blades connected to a hub. Each upgraded blade extends in a radial direction from a blade root to a blade tip and in a chordwise direction between a leading edge and a trailing edge, and each upgraded blade includes a blade shell. At least a portion of each blade shell is formed from at least a portion of a used blade shell of a used wind turbine blade. The upgraded wind turbine also includes a connection fixture attached to each upgraded blade. Each connection fixture defines a connection point for connecting the blade connection member to the upgraded blade. The upgraded wind turbine also includes one or more blade connection members. Each blade connection member is connected between a corresponding connection point of a pair of upgraded wind turbine blades such that each upgraded blade is connected to at least one other upgraded blade by the blade connection member.

METHOD OF REPOWERING A WIND TURBINE

NºPublicación:  EP4630683A1 15/10/2025
Solicitante: 
VESTAS WIND SYS AS [DK]
VESTAS WIND SYSTEMS A/S
CN_120457275_PA

Resumen de: CN120457275A

According to a first aspect of the invention, a method of upgrading a horizontal axis wind turbine is provided. The wind turbine comprises a rotor rotatably mounted to the nacelle, the rotor comprising a plurality of used first wind turbine blades connected to a hub, and each blade comprising a blade shell. Each blade extends in a radial direction from a blade root to a blade tip and in a chordwise direction between a leading edge and a trailing edge. The rotor defines a rotor axis and a first rotor diameter. The method includes increasing the rotor diameter such that the rotor defines a second rotor diameter greater than the first rotor diameter. The method further includes attaching a connection clamp to each blade, each connection clamp defining a connection point for connecting a blade connection member to the blade. The method further includes connecting the blade connection members between the corresponding connection points of the pair of wind turbine blades such that each blade is connected to at least one other blade by the blade connection members.

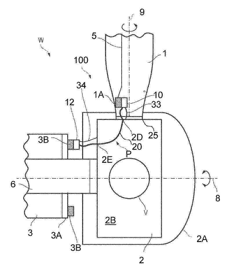
A WIND TURBINE WITH A LIGHTNING CURRENT TRANSFER SYSTEM

NºPublicación:  EP4630690A1 15/10/2025
Solicitante: 
VESTAS WIND SYS AS [DK]
VESTAS WIND SYSTEMS A/S
CN_120322617_PA

Resumen de: CN120322617A

A wind turbine (W) has a hub (2) rotatably supported relative to a nacelle (3) and a plurality of blades (1) mounted on the hub (2). The lightning current transmission system (100) is arranged to provide a lightning current transmission path (P) from at least one of the blades (1) to the nacelle (3). The lightning current transfer system (100) has at least one electrical conductor (20) passing through the hollow interior portion of the hub (2) between the at least one of the plurality of blades (1) and the nacelle (3). A cover (24) for attenuating an electromagnetic field generated by a lightning current in an electrical conductor (20) passing within the hollow interior portion of the hub is provided.

ADHESIVE DISPENSING VEHICLE AND METHOD

NºPublicación:  EP4630170A1 15/10/2025
Solicitante: 
VESTAS WIND SYS AS [DK]
VESTAS WIND SYSTEMS A/S
CN_120712148_PA

Resumen de: WO2024120595A1

Adhesive dispensing vehicle and method A vehicle for dispensing adhesive on the surface of a wind turbine blade component is described. The vehicle comprises a drive system for moving the vehicle in a direction of travel on the surface of the wind turbine blade component. The vehicle also comprises an adhesive shovel connected to a supply of adhesive. The shovel is configured to dispense a bead of adhesive behind the vehicle when the vehicle moves in the direction of travel. The vehicle includes a sensor for determining a position of an adhesive flow front near a front end of the shovel. A controller of the vehicle is configured to control the speed of the vehicle in the direction of travel in dependence upon the monitored position of the adhesive flow front. An associated method of dispensing adhesive using the vehicle is also described.

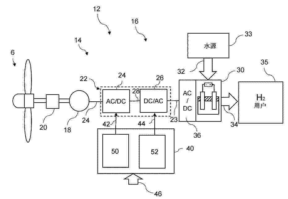
IMPROVEMENTS RELATING TO HYDROGEN ELECTROLYSIS SYSTEMS

NºPublicación:  EP4630686A1 15/10/2025
Solicitante: 
VESTAS WIND SYS AS [DK]
VESTAS WIND SYSTEMS A/S
CN_120187948_PA

Resumen de: CN120187948A

A hydrogen production system comprising a wind turbine facility comprising a wind turbine generator (18) connected to a hydrogen electrolyser (30) by a power converter system (22). A power converter system (22) includes a generator-side converter (24) and an electrolyzer-side converter (26) electrically coupled together by a DC link (28), and a converter controller (50) including a generator-side control module (50) coupled to the generator-side converter and an electrolyzer-side control module (52) coupled to the electrolyzer-side converter. The converter controller is configured to control the load torque on the wind turbine generator and the electrical power fed to the electrolysis cell to achieve a mechanical damping function associated with the wind turbine facility while maintaining a stable DC link voltage. Accordingly, advantageously, the wind turbine facility can achieve active control of the electromechanical damping system while operating the electrolysis cell at an effective operating point.

METHODS FOR OPTIMIZING A WIND TURBINE BLADE ASSEMBLY INCLUDING A WIND TURBINE BLADE AND AERODYNAMIC ADD-ONS

NºPublicación:  EP4630959A1 15/10/2025
Solicitante: 
LM WIND POWER AS [DK]
LM Wind Power A/S
CN_120322772_PA

Resumen de: CN120322772A

The present disclosure relates to a wind turbine blade assembly comprising a wind turbine blade and a plurality of aerodynamic appendages. The aerodynamic appendages may be asymmetrically disposed on the suction and pressure sides of the blade. The aerodynamic appendages may include a plurality of different types of appendages. The disclosure also relates to a computer-implemented method for determining a configuration of a wind turbine blade assembly comprising a wind turbine blade and a plurality of aerodynamic appendages, as well as to a data processing system and a computer program configured to perform such a method.

METHOD OF MANUFACTURING A FLOATER, IN PARTICULAR A FLOATER OF A FLOATING STRUCTURE OF AN OFFSHORE WIND TURBINE

NºPublicación:  EP4630313A1 15/10/2025
Solicitante: 
TOTALENERGIES ONETECH [FR]
TotalEnergies OneTech
KR_20250121362_PA

Resumen de: WO2024121391A1

The method of manufacturing a floater (2) comprises the steps of obtaining a plurality of wall portions (12), each wall portion (12) corresponding to an angular sector of an axial section (10) of a sidewall (6) of the floater, and assembling the wall portions (12) such as to manufacture axial sections (10) of the sidewall (6) sequentially. The assembly of the wall portions (12) starts with the assembly of a first axial section (10) onto one of the end plates (8) and at least one wall portion (12) is stiffened and/or at least one of the end plates (8) is stiffened.

FLOATING INTERVENTION VESSEL FOR TEMPORARILY DOCKING ON AN OFFSHORE WIND TURBINE PLATFORM AND ASSOCIATED INTERVENTION ASSEMBLY AND SYSTEM

NºPublicación:  EP4630316A1 15/10/2025
Solicitante: 
TECHNIP ENERGIES FRANCE [FR]
Technip Energies France
KR_20250116710_PA

Resumen de: TW202446669A

The vessel comprises a float (80) and an intervention assembly on the wind turbine, carried by the float (80). The float (80) comprises a buoyant body (86) and a fastening baseplate (88) protruding relative to the buoyant body (86) along a fastening axis (A-A') on a lower surface of the offshore wind turbine platform. The buoyant body (86) defines a ballast-receiving volume, the vessel comprising a ballast controller configured to control the amount of ballast received in the ballast-receiving volume to raise an upper contact surface (94) of the baseplate (88) to place it in contact with a lower surface of the offshore wind turbine platform, the float (80) being monohull.

WIND TURBINE BLADE AND WIND TURBINE

NºPublicación:  EP4630682A1 15/10/2025
Solicitante: 
SIEMENS GAMESA RENEWABLE ENERGY AS [DK]
Siemens Gamesa Renewable Energy A/S
CN_120641653_PA

Resumen de: US2024254965A1

A wind turbine blade, comprising a sensor device for detecting properties of flow-induced noise produced by the blade and an actuator device for emitting an anti-noise signal for at least partially cancelling out the flow-induced noise, wherein the actuator device comprises an aerodynamically shaped housing attached to an outer surface of the blade. The aerodynamically shaped housing of the actuator device reduces a deterioration the aerodynamic efficiency of the blade. Further, the generation of turbulences at sharp edges of the housing is avoided.

ELECTRIC GENERATOR FOR A WIND TURBINE, STATOR FOR AN ELECTRIC GENERATOR AND WIND TURBINE

NºPublicación:  EP4631155A1 15/10/2025
Solicitante: 
SIEMENS GAMESA RENEWABLE ENERGY AS [DK]
Siemens Gamesa Renewable Energy A/S
KR_20250142309_PA

Resumen de: WO2024160404A1

Electric generator for a wind turbine (7), comprising an inner stator (10) and a rotatably mounted outer rotor (11), wherein on at least one brake support plate (23) of the electric generator (7) at least one braking member (21) is arranged, wherein the at least one braking member (21) is 10 adapted to interact with at least one brake disk (22) which is attached to the rotor (11) to brake and/or to lock a rotation of the rotor (11), wherein the at least one brake support plate (23) is one of several laminated stator plates (14) which constitute an iron core (13) of the stator (10).

A METHOD OF MANUFACTURING A WIND TURBINE ROTOR BLADE PART HAVING AN EMBEDDED PLACEHOLDER

NºPublicación:  EP4630230A1 15/10/2025
Solicitante: 
NORDEX BLADE TECH CENTRE APS [DK]
Nordex Blade Technology Centre APS
US_2025290484_PA

Resumen de: US2025290484A1

A method of manufacturing a wind turbine rotor blade part, the method including: providing a placeholder including a core member and a sleeve, wherein the core member defines a longitudinal direction and has a circumferential surface, a front end and a back end, and the sleeve includes a peel ply layer, wherein the sleeve covers the circumferential surface and the back end of the core member and is affixed to the back end of the core member; arranging the placeholder together with reinforcing fibers and a matrix material in a mold; curing of the matrix material, so that the placeholder is embedded in a fiber-reinforced composite material.

SYSTEMS AND METHODS FOR INSPECTING WIND TURBINES USING UNMANNED AUTONOMOUS TECHNOLOGY

NºPublicación:  EP4630689A1 15/10/2025
Solicitante: 
GENERAL ELECTRIC RENOVABLES ESPANA SL [ES]
General Electric Renovables Espa\u00F1a S.L
KR_20250121035_PA

Resumen de: CN120457279A

A system for inspecting an offshore wind farm having one or more wind turbines includes an unmanned autonomous vessel. The unmanned autonomous vessel comprises a positioning module for navigating the unmanned autonomous vessel to a wind turbine of interest in an offshore wind farm and positioning the unmanned autonomous vessel in the vicinity of the wind turbine of interest, comprising one or more sensors for collecting local data relating to a wind turbine of interest, and a controller comprising at least one processor. The processor (s) is configured to implement a number of operations, including, for example, receiving local data from one or more sensors and transmitting the local data to a remote command center via a satellite communication link.

CONNECTOR

NºPublicación:  EP4632238A2 15/10/2025
Solicitante: 
BALLTEC LTD [GB]
Balltec Limited
EP_4632238_PA

Resumen de: EP4632238A2

An elongate connector for subsea connection of cables and the like to wind turbine generators has a plurality of locking elements arranged on ramp surfaces and held in a plurality of cages on the connector. The cages are moveable to move the locking elements along the ramp surfaces between an engaged position and a disengaged position and the plurality of cages are moveable independently of each other. A release collar is provided, which can move all the cages simultaneously to the disengaged position, in order to allow removal of the connector.

USER-INSTALLABLE PART INSTALLATION DETECTION TECHNIQUES

NºPublicación:  EP4631462A2 15/10/2025
Solicitante: 
INTUITIVE SURGICAL OPERATIONS [US]
Intuitive Surgical Operations, Inc
EP_4631462_PA

Resumen de: EP4631462A2

Techniques are described for testing whether an end effector, or component thereof, is correctly or incorrectly installed to a manipulation system. In an example, a manipulation system can include a manipulator arm configured to receive an end effector having a first moveable jaw, a transducer configured to provide first effort information of the end effector as the end effector moves, and a processor configured to provide a command signal to effect a first test move of the first moveable jaw, and to provide an installation status of the end effector using the first effort information of the first test move.

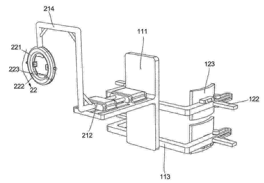
TWISTED BLADE ROOT

NºPublicación:  EP4632217A2 15/10/2025
Solicitante: 
WOBBEN PROPERTIES GMBH [DE]
Wobben Properties GmbH
EP_4632217_PA

Resumen de: EP4632217A2

The invention is related to a rotor blade for a wind turbine comprising a blade root, a transition piece and an aerodynamic part, wherein the blade root essentially is optimized for fixation of the blade to the hub and the aerodynamic part essentially is optimized to extract energy from the wind and wherein the transition part realizes a beneficial transition between the blade root and the aerodynamic part. According to the invention the rotor blade can perform better both aerodynamically and structurally compared to a classic design when the blade part located near the axis, approximately the part between 0%L and 50%L is provided with one or more of the following characteristics: more twist than usual, attached flow stimulating measures at the suction side, flow blocking measures at the pressure side, thicker profiles than usual, a triangular shape of the profile back and back twist.

MASS AUGMENTATION OF A TENSION-LEG PLATFORM

NºPublicación:  EP4630688A1 15/10/2025
Solicitante: 
PELASTAR LLC [US]
PelaStar, LLC
WO_2025178634_PA

Resumen de: WO2025178634A1

Tension-leg platforms for supporting wind turbines are augmented with surge plates. The surge plates increase the amount of water that is displaced when a tension-leg platform is accelerated horizontally, which reduces wave induced accelerations. The surge plates are mounted to the deepest parts of the submerged structure of each platform to minimize wave loading.

SYSTEM AND METHOD FOR DETECTING AND RESPONDING TO FAILURES IN A DRIVETRAIN OF A WIND TURBINE

NºPublicación:  EP4632223A1 15/10/2025
Solicitante: 
GENERAL ELECTRIC RENOVABLES ESPANA SL [ES]
General Electric Renovables Espa\u00F1a S.L
EP_4632223_PA

Resumen de: EP4632223A1

A method for detecting and responding to a failure in a drivetrain of a wind turbine includes estimating a first rotational speed signal at a first location along the drivetrain via one or more rate gyroscopes mounted in a hub, the first rotational speed signal being a proxy for rotor speed of a rotor. The method also includes processing the first rotational speed signal to account for a bias in the first rotational speed signal due to use of the rate gyroscope(s). Further, the method includes receiving a second rotational speed signal at a second location along the drivetrain, the second location being downwind from the first location, the first and second locations being on opposing sides of a potential slip location of the drivetrain. Moreover, the method includes determining a speed error based on a comparison of the first and second rotational speed signals. In addition, the method includes comparing the speed error to a threshold and implementing a control action when the speed error exceeds the threshold.

CONTROLLER, PROCESSING CIRCUIT, METHOD, AND NON-TRANSITORY COMPUTER-READABLE MEDIUM FOR CONTROLLING WIND POWER GENERATION DEVICE

NºPublicación:  EP4632220A1 15/10/2025
Solicitante: 
NABTESCO CORP [JP]
Nabtesco Corporation
EP_4632220_PA

Resumen de: EP4632220A1

A controller (600) for controlling a wind power generation device (100) including a tower (110) and a nacelle (160) includes: a processing circuit (501) configured to control a motor (60) for rotating the nacelle relative to the tower; and a torque information sensor (21) for sensing information about a torque acting from the nacelle to a gear mechanism (200), the gear mechanism connecting the tower and the nacelle so as to be capable of relative rotation. The processing circuit drives the motor based on a sensing value of the torque information sensor.

NEGATIVE TIP VORTICES BLADE

NºPublicación:  EP4630685A1 15/10/2025
Solicitante: 
ALLIANCE SUSTAINABLE ENERGY [US]
Alliance for Sustainable Energy, LLC
US_2024191686_PA

Resumen de: US2024191686A1

A design for wind turbine rotor blades, aircraft wings, and/or other aerodynamic applications which may reduce the vorticity downstream and thus improve lift is described. The blade designs may include an increase in the blade chord towards the tip of the blade, a change in the twist angle at least once along the length of the blade, and/or a change in the thickness of the blade at least once along the length of the blade. These changes individually or in combination may allow for the creation of a counter-rotating vortex behind the blade, increasing power generation and/or lift.

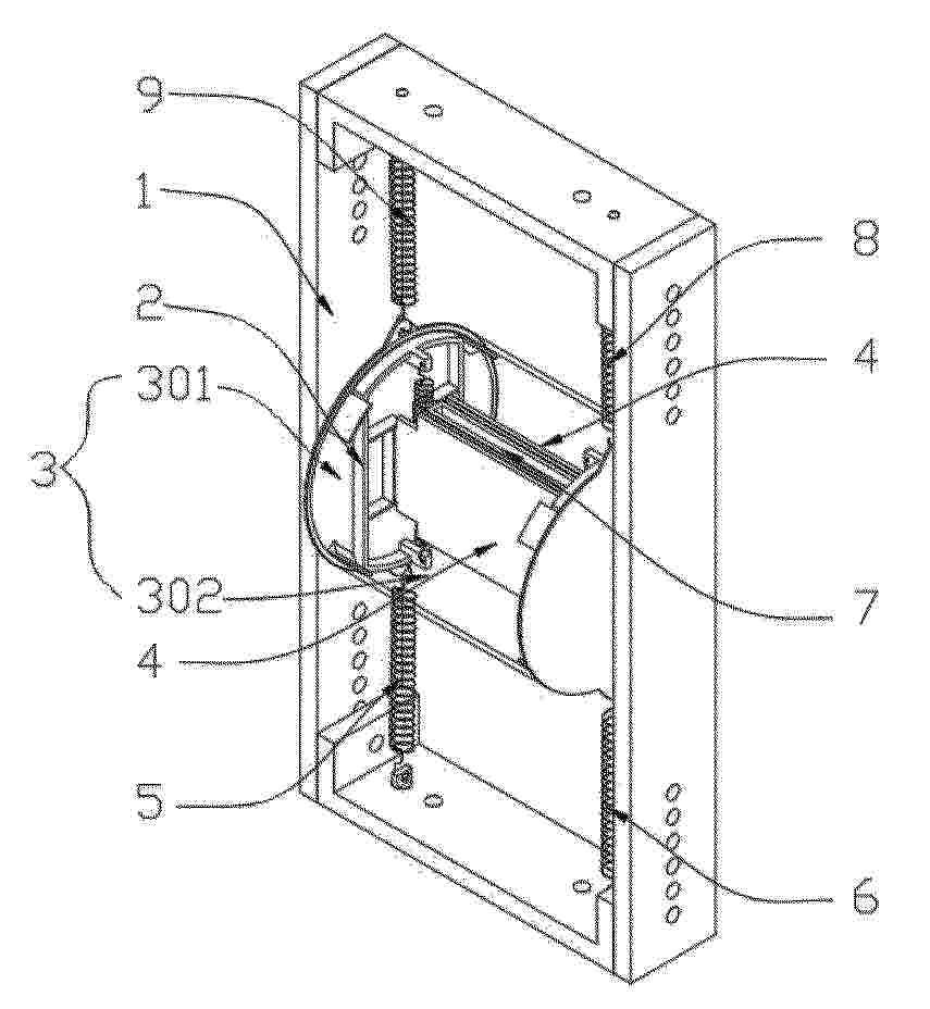
A PROTECTOR AND A METHOD FOR PROTECTING A PORTION OF A CABLE

NºPublicación:  EP4632973A1 15/10/2025
Solicitante: 
FUNDACION TECNALIA RES & INNOVATION [ES]
UNIV DEL PAIS VASCO EUSKAL HERRIKO UNIBERTSITATEA UPV/EHU [ES]
Fundaci\u00F3n Tecnalia Research & Innovation,
Universidad del Pais Vasco - Euskal Herriko Unibertsitatea (UPV/EHU)
EP_4632973_A1

Resumen de: EP4632973A1

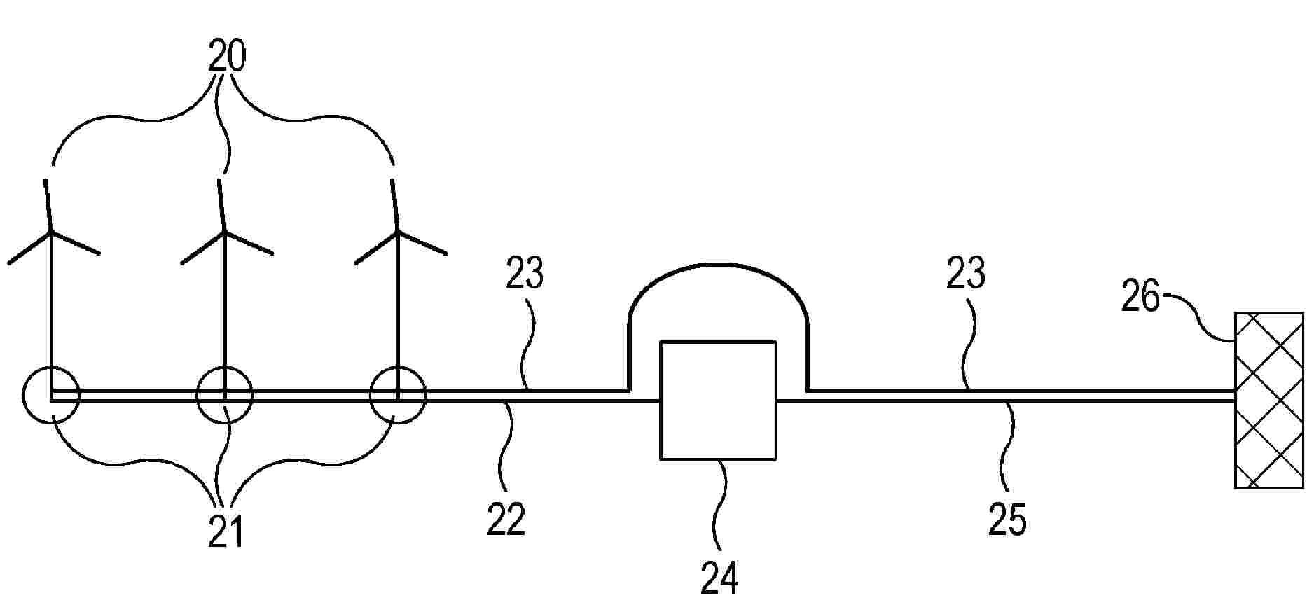
The invention relates to a protector for a portion of an underwater electricity-carrying, fluid-carrying and/or data-carrying cable and to a method for protecting a portion of the cable. The protector comprises:- a cover (1) comprising a first open end (2) for receiving a cable (7) and a second open end (3) for receiving a cable (7); the cover comprising a groove (4) from the first end (2) to the second end (3); the groove (4) being for housing a portion of a cable; the groove (4) comprising a first opening (41) of the cover (1) from the first end (2) of the cover to the second end (3) of the cover, the first opening (41) being for introducing a portion of a cable into the groove (4); and- a supporting body (6) for supporting a cable, the supporting body (6) comprising a blocking device (61, 23); the supporting body (6) being attachable to a cable so that when the supporting body (6) is attached to the cable the blocking device (61, 23) comprises a section having a direction outwards from the cable (7);wherein the groove (4) comprises a narrow portion (5); the cover (1) comprises a second opening for introducing the blocking device (61, 23) into the groove (4); the blocking device (61, 23) being small enough with respect to the groove to move within the groove from the second opening to the narrow portion (5) of the groove.

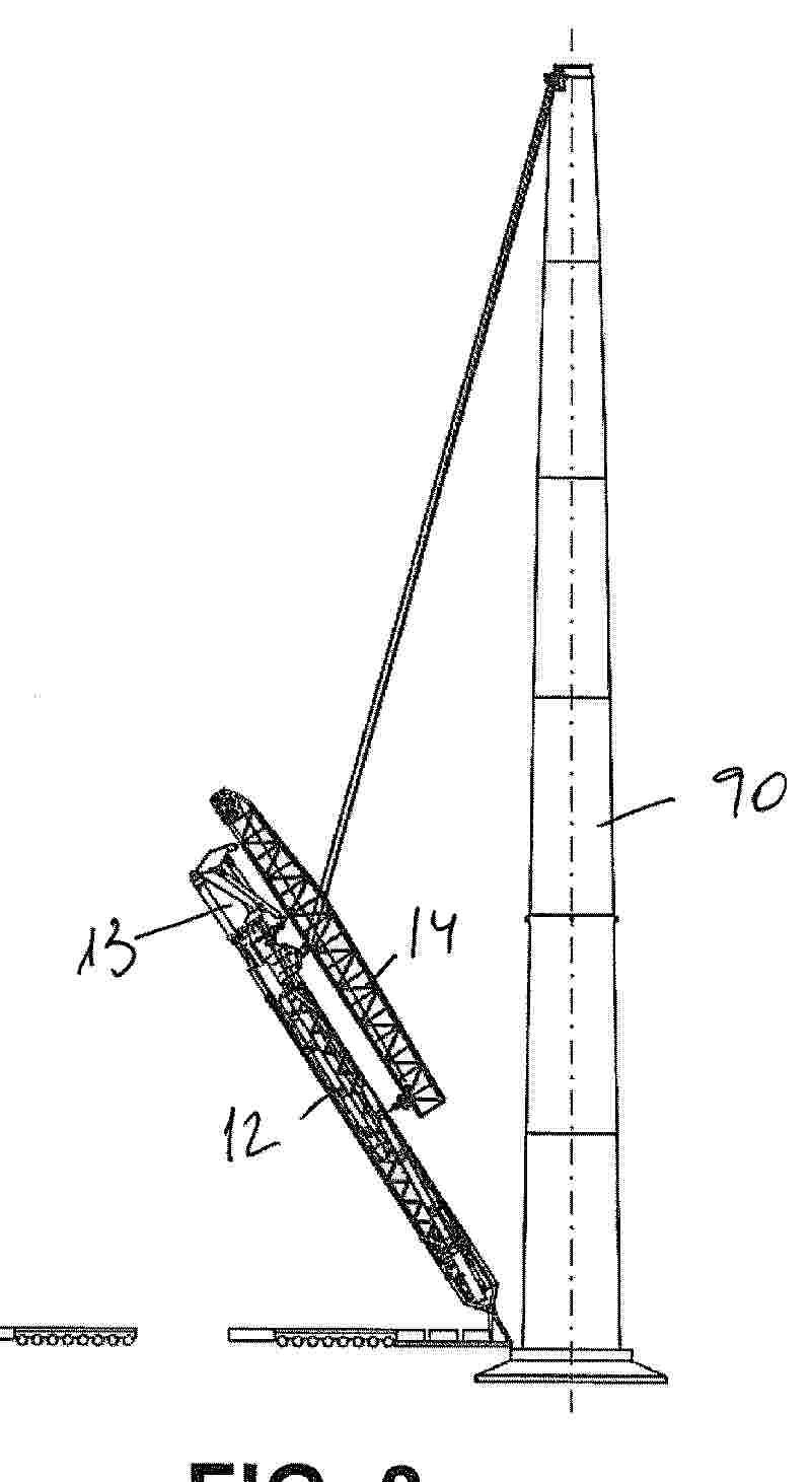
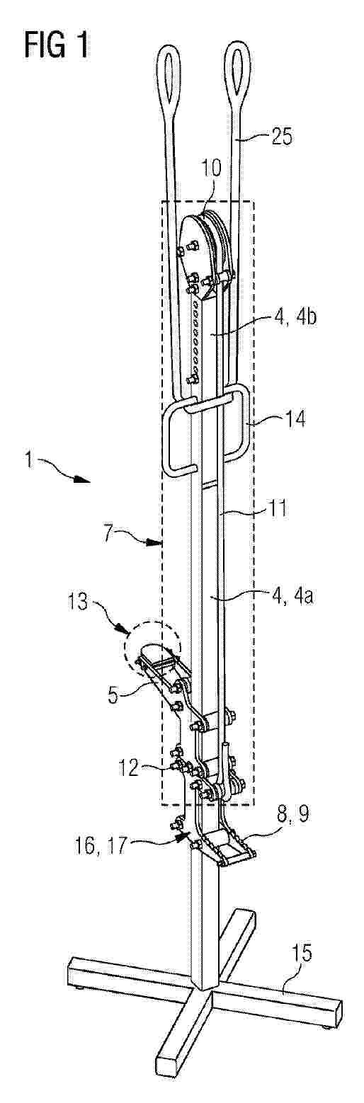
ASSEMBLY AID AND METHOD FOR ASSEMBLY OF TOWER SEGMENTS OF A WIND TURBINE TOWER

NºPublicación:  EP4632221A1 15/10/2025
Solicitante: 
SIEMENS GAMESA RENEWABLE ENERGY INNOVATION & TECHNOLOGY SL [ES]
Siemens Gamesa Renewable Energy Innovation & Technology S.L
EP_4632221_PA

Resumen de: EP4632221A1

The invention relates to an assembly aid (1) for securely placing a fixation bolt (2) for fixing two tower segments (3) of a tower of a wind turbine. The assembly aid (1) comprises a mast (4) for being arranged vertically and parallel aside the fixation bolt (2), a lifting shoe (5) for being moved under a bolt head (6) of the fixation bolt (2), a lifting mechanism (7) for lifting the lifting shoe (5) with respect to the mast (4) and an actuator (8) for operating the lifting mechanism (7). The invention further relates to a method for assembling two tower segments (3) of a wind turbine tower.

METHOD FOR CONTROLLING A WIND TURBINE IN THE EVENT OF A SAFETY STOP

NºPublicación:  EP4632218A1 15/10/2025
Solicitante: 
WOBBEN PROPERTIES GMBH [DE]
Wobben Properties GmbH
EP_4632218_PA

Resumen de: EP4632218A1

Die Erfindung betrifft ein Verfahren zum Steuern einer Windenergieanlage, wobei die Windenergieanlage einen aerodynamischen Rotor mit in ihrem Blattwinkel verstellbaren Rotorblättern aufweist, und der Rotor mit einer variablen Rotordrehzahl betreibbar ist, wobei zum Anhalten des Rotors, die Rotorblätter in Richtung zu einer Fahnenstellung hin verstellt werden, das Anhalten durch ein Auslöseereignis ausgelöst wird und wenn in Abhängigkeit vom Auslöseereignis ein Sicherheitsstopp ausgelöst wird, zusätzlich in Abhängigkeit von dem Auslöseereignis eine von mehreren Steuerstrategien zum Ausführen des Sicherheitsstopps ausgewählt wird.

METHOD FOR CALIBRATING A MEASURING DEVICE OF A WIND TURBINE

NºPublicación:  EP4632222A1 15/10/2025
Solicitante: 
WOBBEN PROPERTIES GMBH [DE]
Wobben Properties GmbH
EP_4632222_PA

Resumen de: EP4632222A1

Die Erfindung betrifft ein Verfahren zum Kalibrieren einer Messeinrichtung zur Lastmessung eines Rotorblattes einer Windenergieanlage, wobei die Windenergieanlage einen Rotor mit einer Rotorachse und mehreren in ihrem Blattwinkel verstellbaren Rotorblättern aufweist, und für jeweils ein Rotorblatt, zur Kalibrierung wenigstens ein Umrechnungsfaktor zum Umrechnen eines erfassten Sensorwertes eines Lastsensors in einen auf das Rotorblatt, insbesondere im Bereich ihrer Blattwurzel, wirkenden Lastwert bestimmt wird, in einem Erfassungsschritt durch den Lastsensor ein Sensorwert aufgenommen wird, und der Umrechnungsfaktor aus einem Zusammenhang zwischen in dem Erfassungsschritt erfasstem Sensorwert und dabei auf das Rotorblatt wirkender Vergleichskraft berechnet wird, wobei die Vergleichskraft in Abhängigkeit von einer auf das Rotorblatt wirkenden Gewichtskraft berechnet wird, und die Vergleichskraft zusätzlich in Abhängigkeit von einem Korrekturanteil bestimmt wird, der eine Abweichung zwischen Vergleichskraft und Gewichtskraft berücksichtigt.

METHOD OF MANUFACTURING A WIND TURBINE ROTOR BLADE, WIND TURBINE ROTOR BLADE AND TRANSITION PIECE

NºPublicación:  EP4631707A1 15/10/2025
Solicitante: 
NORDEX ENERGY SE & CO KG [DE]
NORDEX ENERGY SPAIN SAU [ES]
Nordex Energy SE & Co. KG,
Nordex Energy Spain, S.A.U
EP_4631707_PA

Resumen de: EP4631707A1

The invention relates to a method of manufacturing a wind turbine rotor blade (110), the wind turbine rotor blade (110) having a first section (148) comprising a blunt trailing edge (142) and being located close to a rotor blade root region (114), a second section (150) comprising a sharp trailing edge (136) and being located in direction towards a rotor blade tip region (152) and a third section (154) being located between the first section (148) and the second section (150), wherein- a transition piece (156) is arranged between two half shells (132) along the trailing edge (136) of the third section (154) firmly connecting both half shells (132),- the transition piece (156) has a root-side end (162) and a tip-side end (164) and extends along a main extension direction (166) from the root-side end (162) to the tip-side end (164),- the transition piece (156) has, along the main extension direction (166), a root-side section (168) being formed as a C-shaped bonding flange and a tip-side section (170) being formed as a monolithic wedge.The invention also concerns a wind turbine rotor blade (110) and a transition piece (156).

METHOD FOR OPERATING A WIND TURBINE AND WIND TURBINE

NºPublicación:  EP4632219A1 15/10/2025
Solicitante: 
NORDEX ENERGY SE & CO KG [DE]
Nordex Energy SE & Co. KG
EP_4632219_PA

Resumen de: EP4632219A1

According to an embodiment, the method is for operating a wind turbine (100) having a tower (20), a rotor (10) with a rotor blade (1, 2, 3) and a generator (50) coupled to the rotor (10). The wind turbine further comprises a pitch setting system (13) for changing the pitch angle of the rotor blade and a generator controller (51) for controlling the generator torque of the generator. The method comprises a step of providing first information (I1) which is representative of at least two motion variables (v_t, a_t, v_b, a_b). The motion variables are motion variables of an oscillation of the tower and/or of an oscillation of the rotor blade. Then, an operating setpoint (OS_i) is determined for at least one of the pitch setting system and the generator controller depending on the first information. The at least one operating setpoint is determined such that, when the pitch setting system and/or the generator controller is operated according to the respective operating setpoint, it sets the pitch angle of the rotor blade or the generator torque, respectively, in order to damp the oscillation.

CLIMBING DEVICE

NºPublicación:  EP4630125A1 15/10/2025
Solicitante: 
SIEMENS GAMESA RENEWABLE ENERGY AS [DK]
Siemens Gamesa Renewable Energy A/S
CN_120476008_PA

Resumen de: WO2024149649A1

The present invention relates to a climbing device (10) for improving an access for a person (11) to a mold of a large wind turbine part, comprising a flexible ladder structure (12) with rungs (13), a suction unit (14) for attaching the ladder structure (12) to a surface (15) of the mold via suction force, and an activation unit (16) for activating the suction unit (14) to generate the suction force and for deactivating the suction unit (14) to release the suction force. The suction unit (14) is configured for independently holding the ladder structure (12) at the surface (15) of an inclined section of the mold via the suction force.

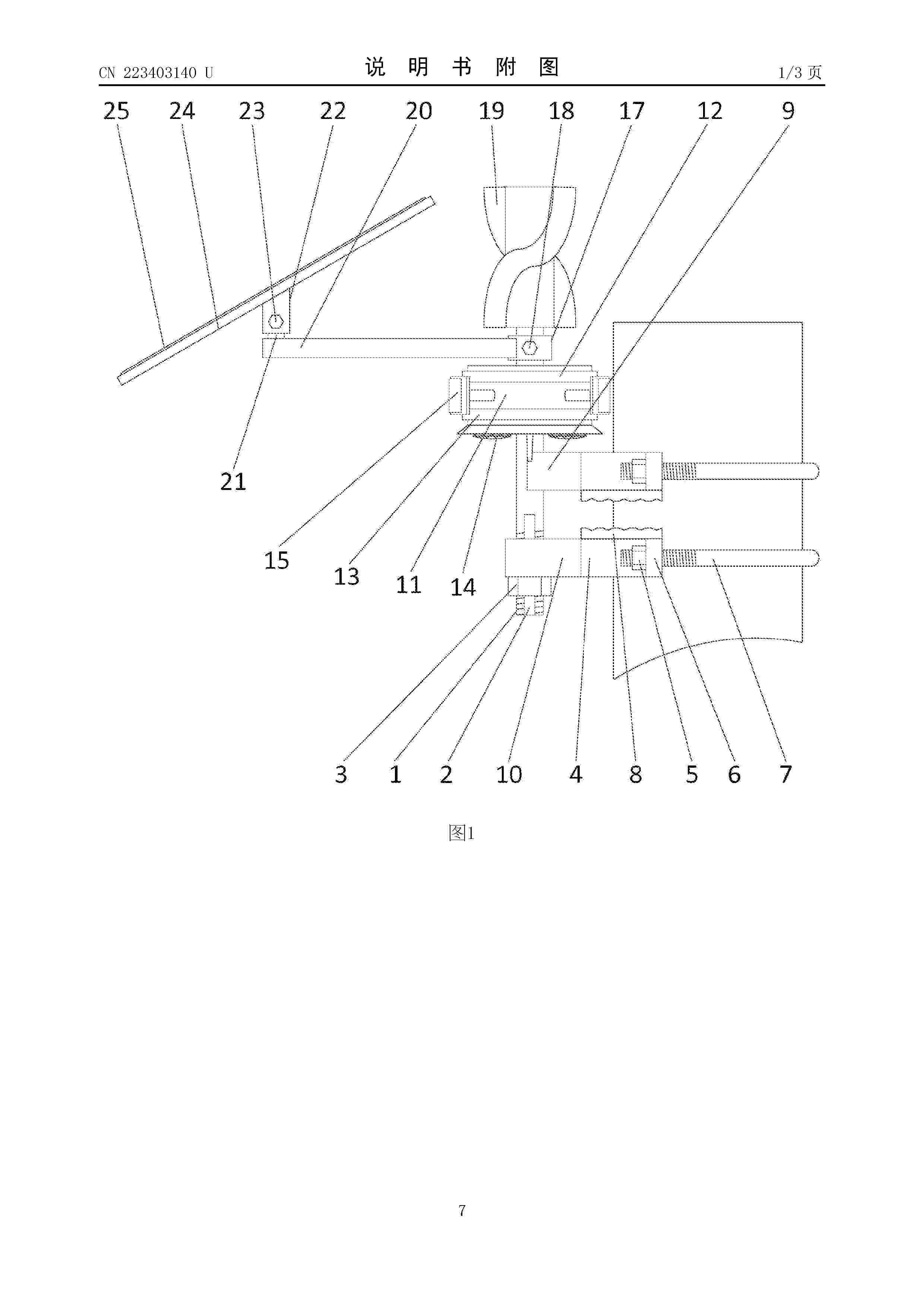
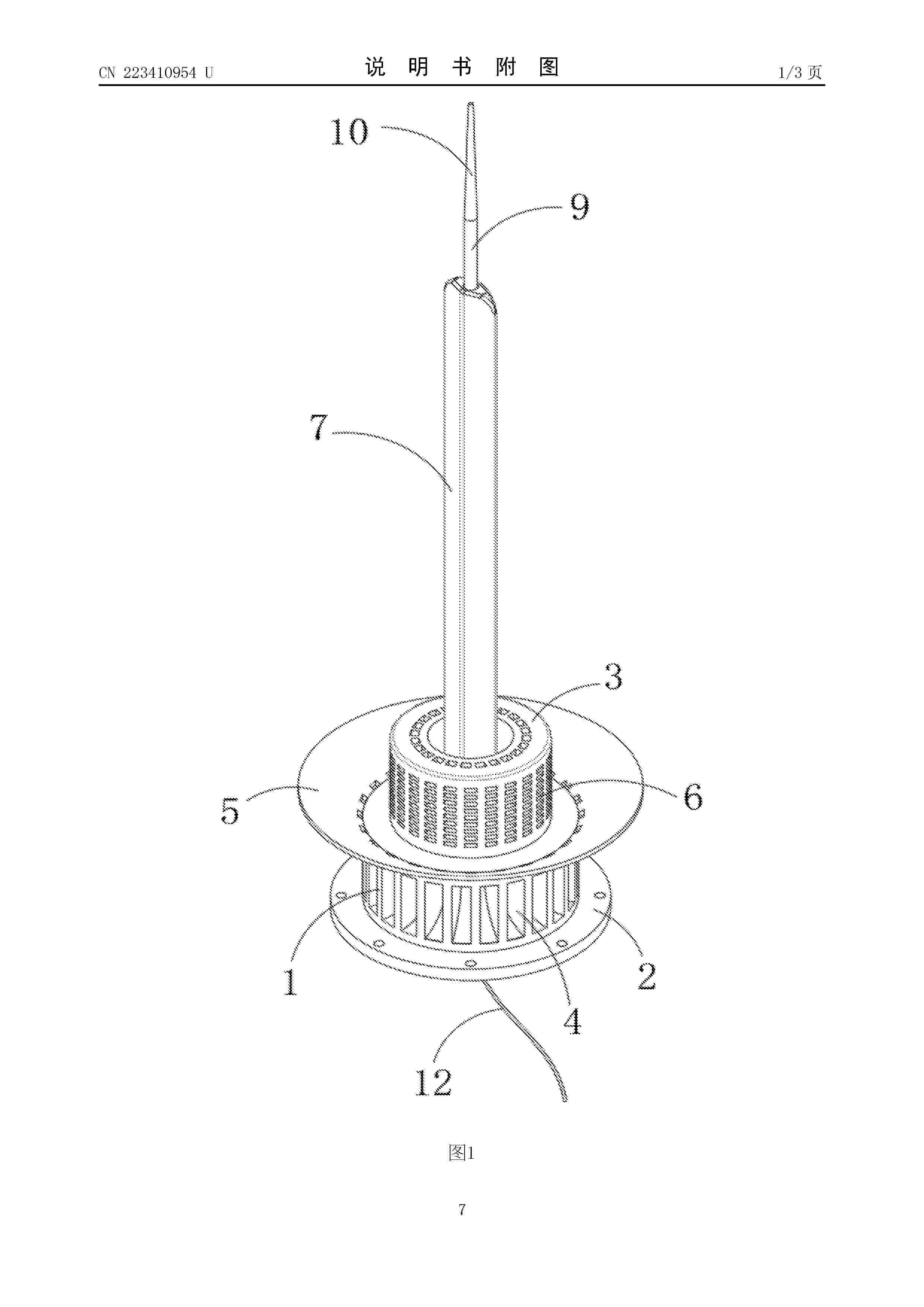
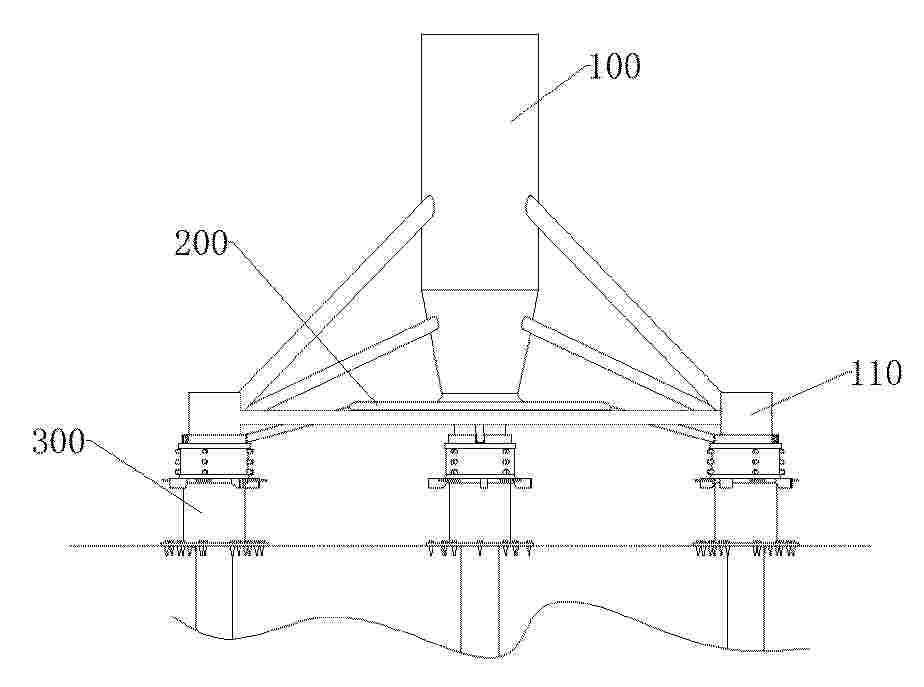
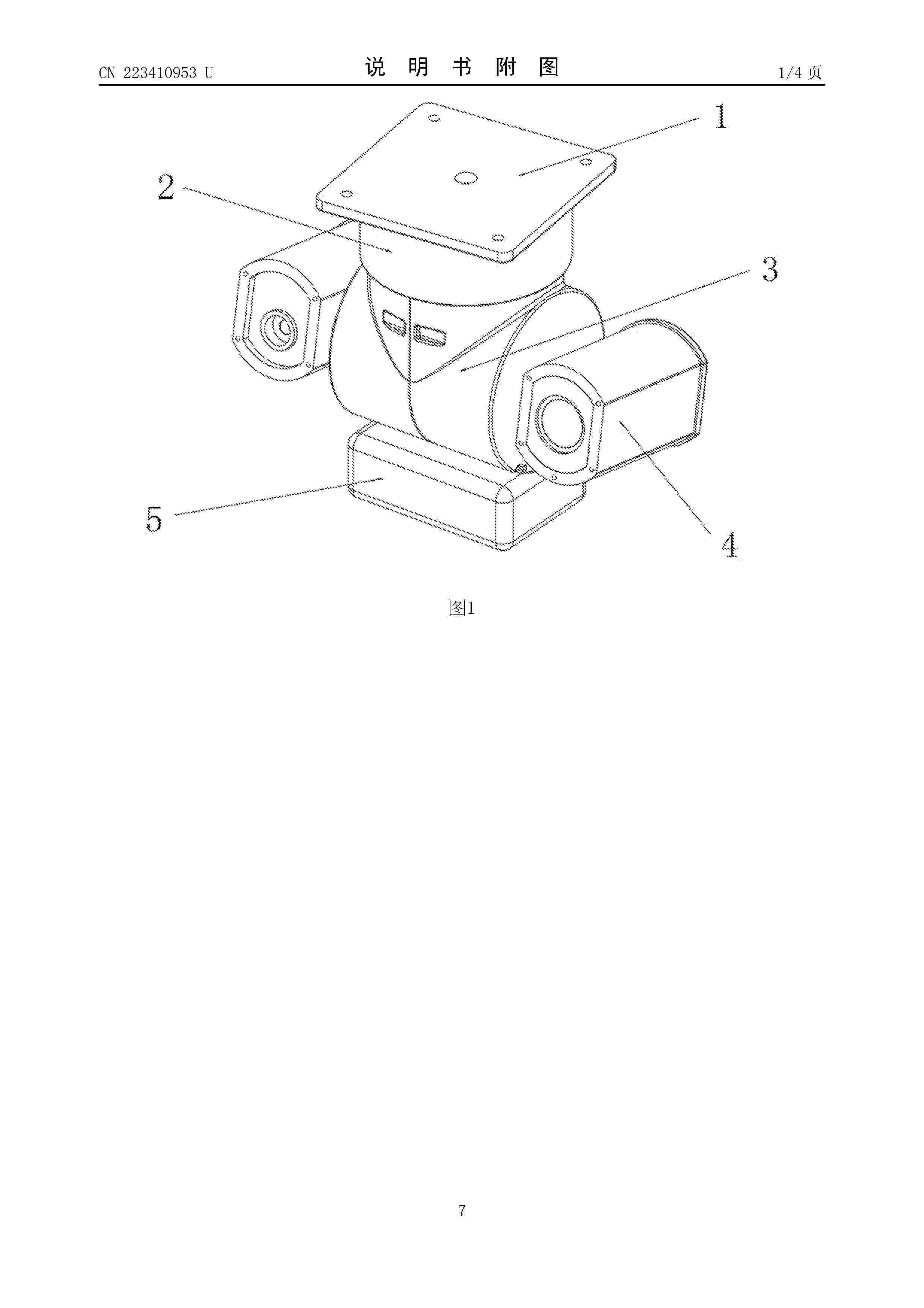
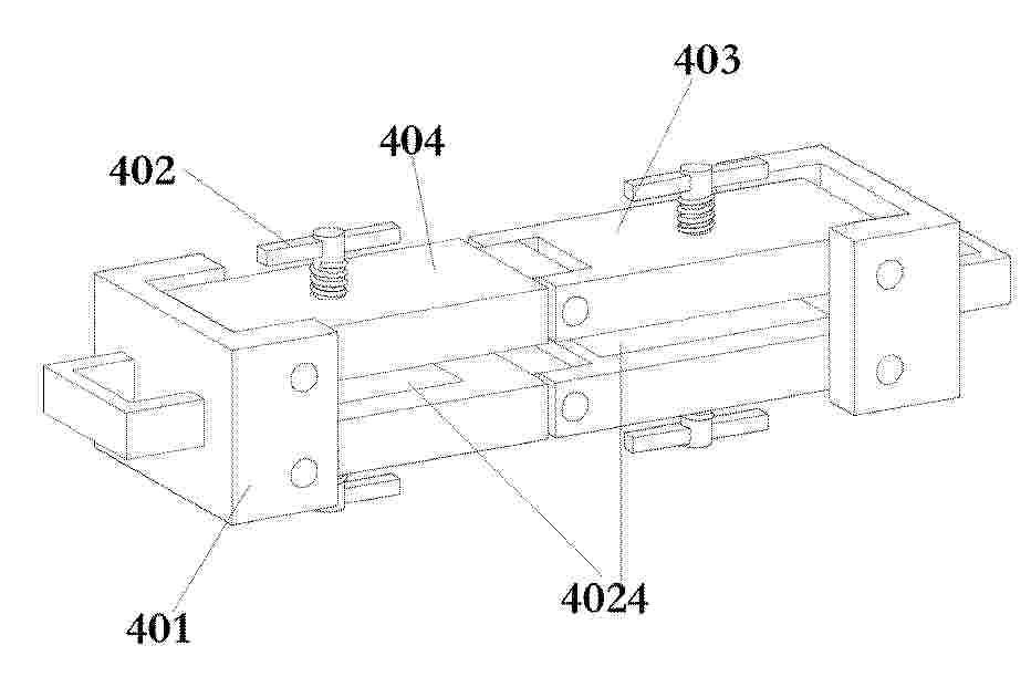
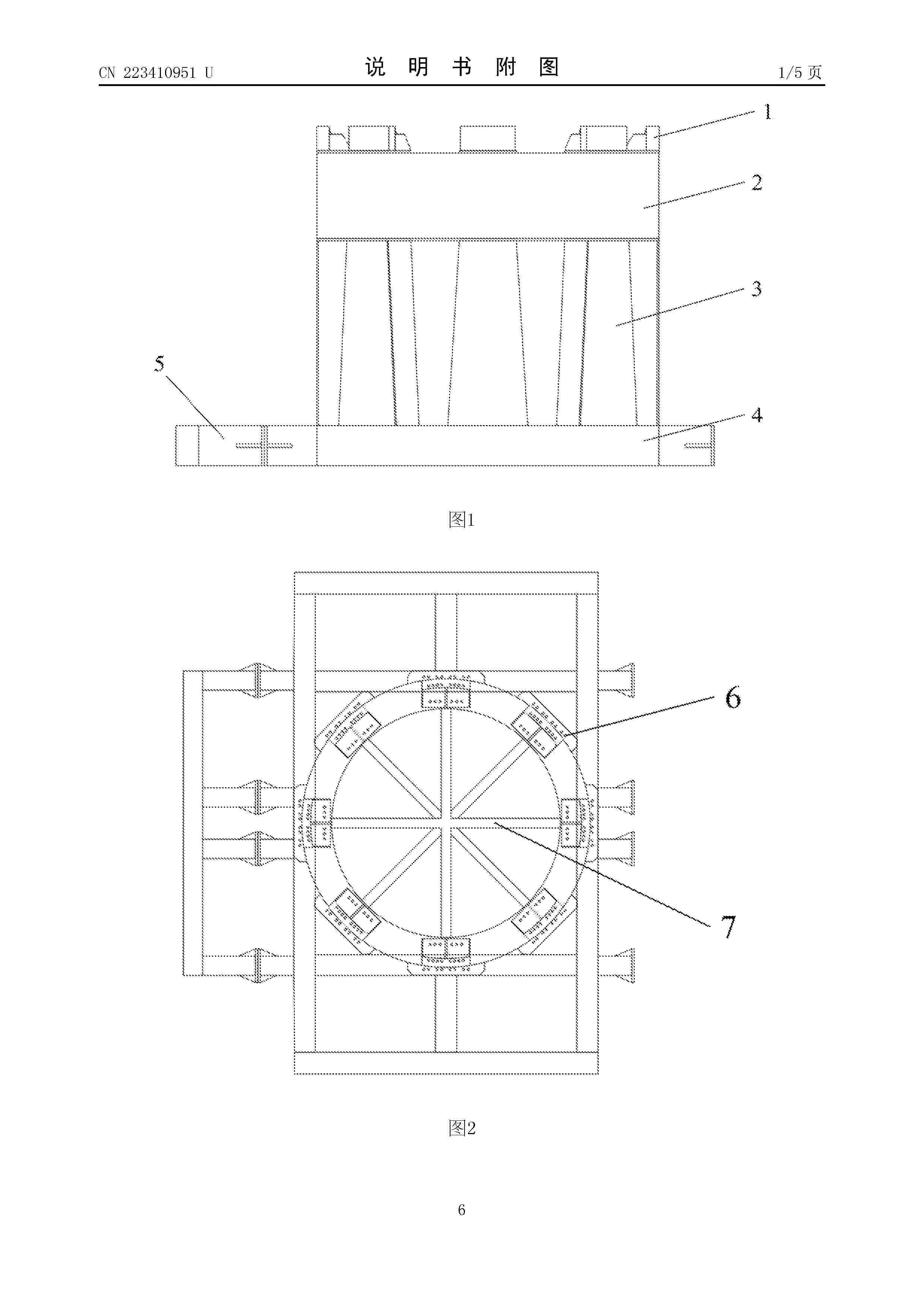
主轴后移检测装置

NºPublicación:  CN223435553U 14/10/2025
Solicitante: 
辽宁大唐国际新能源有限公司中国大唐集团新能源股份有限公司辽宁分公司
CN_223435553_U

Resumen de: CN223435553U

本实用新型涉及风力发电设备技术领域,公开了一种主轴后移检测装置,包括主轴和轴承座,主轴通过轴承设置在轴承座上,轴承座的侧壁上设有端盖,端盖上均匀设有若干组螺纹孔,螺纹孔内可拆卸设有丝套,丝套内滑动设有刻度顶杆,刻度顶杆的内端与轴承抵接,刻度顶杆的外端设置在丝套的外侧。本实用新型既无需停机检测,又可方便检测,检测精度高,有效提高了主轴后移的检测效率。

风电机组大齿圈齿轮磨损修复方法

NºPublicación:  CN120776296A 14/10/2025
Solicitante: 
国华能源投资有限公司
CN_120776296_PA

Resumen de: CN120776296A

本发明提供了一种风电机组大齿圈齿轮磨损修复方法,属于风力发电技术领域,用于解决大齿圈齿轮磨损修复的难题。包括步骤:S1.检测齿轮的磨损状态,以判断齿轮是否具有塔上修复价值;S2.若具有塔上修复价值,则获取齿轮未磨损处的齿形参数,以作为磨损处的修复参数;S3.根据磨损深度和修复参数,对磨损处进行激光涂覆;S4.对涂覆处进行粗修,并检测涂覆处的齿面硬度,以判断齿面硬度是否达标;S5.若齿面硬度达标,则根据修复参数对涂覆处进行精修;S6.进行试车运行,以确认齿面啮合状态。本发明能够最大限度的恢复齿轮的原有性能,并降低维修成本。

一种单叶片吊具应力形变实时监测装置

NºPublicación:  CN223433142U 14/10/2025
Solicitante: 
华电四川发电有限公司宝珠寺水力发电厂
CN_223433142_U

Resumen de: CN223433142U

本实用新型公开了一种单叶片吊具应力形变实时监测装置,属于吊具结构形变监测技术领域。包括:超声探头以及滑行组件;滑行组件设置于吊具的横梁平衡杆上,滑行组件上活动设置两组超声探头;横梁平衡杆的两端分别居中设置于第一承托吊杆以及第二承托吊杆上;两组超声探头分别对应监测所述第一承托吊杆以及第二承托吊杆的应力形变;第一承托吊杆以及第二承托吊杆上方连接吊索的第一端,吊索的第二端均设置于吊机挂钩上;位于第一承托吊杆以及第二承托吊杆的下方各设置一条悬吊带;风机叶片放置于悬吊带上;本实用新型解决了现有技术监测结果不准确,整体形变情况反应准确度低,监测组件与吊具之间有介入的问题。

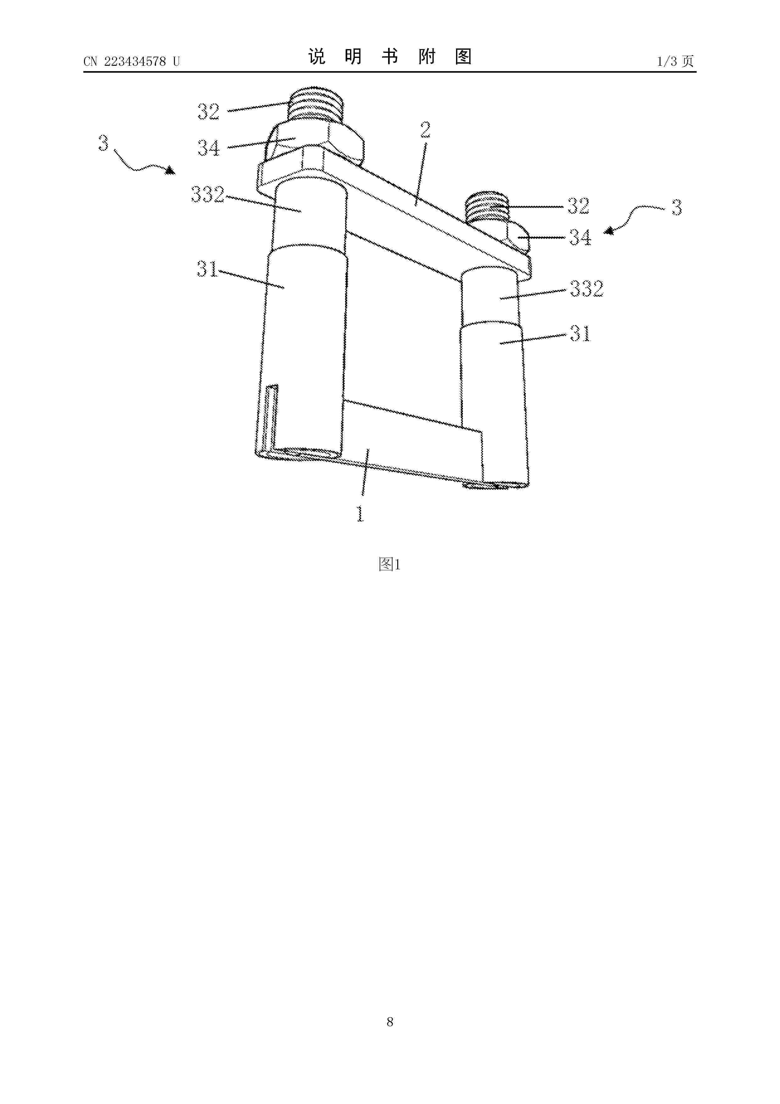
格栅连接结构及海上风机平台

NºPublicación:  CN223434578U 14/10/2025
Solicitante: 
长江三峡集团江苏能源投资有限公司
CN_223434578_U

Resumen de: CN223434578U

本实用新型属于海上风电技术领域,公开了格栅连接结构及海上风机平台,该格栅连接结构,第一连接臂的两端、第二连接臂的两端和两个连杆结构均一一对应设置。连杆结构包括第一连接杆、第二连接杆、弹性调节结构和锁定件。第一连接杆沿轴向的第一端与第一连接臂的端部连接。第二连接杆沿轴向的第一端固定设置于第一连接杆内,第二连接杆沿轴向的第二端伸出第一连接杆沿轴向的第二端。弹性调节结构设置于第一连接杆,锁定件可拆卸连接于第二连接杆;第二连接臂的端部套设于第二连接杆且支撑于弹性调节结构,弹性调节结构的弹性恢复力能带动第二连接臂沿第一连接杆的轴向弹性抵紧于锁定件。该格栅连接结构通用性好、使用成本低,且结构简单。

一种风电机组机舱前端防护装置

NºPublicación:  CN223434438U 14/10/2025
Solicitante: 
国家能源(山东)新能源有限公司
CN_223434438_U

Resumen de: CN223434438U

本实用新型公开了一种风电机组机舱前端防护装置,包括前端板、安装板、后端板,所述前端板外侧设置有四个安装条,所述前端板内侧设置有防护板,所述防护板内侧设置有弹簧,所述弹簧连接前端板,所述安装板左右两侧设置有连接轨,所述安装条两侧设置有连接条,所述后端板外侧设置有对接口,所述安装条顶部设置有螺口,本实用新型:该装置通过连接轨连接连接条,从而使安装板安装在安装条上,通过第二安装口连接安装栓,从而使后端板安装在安装板上,通过螺栓进行固定,即比较方便进行安装以及拆卸,当刹车导致风电机组机舱前端活动时,防护板通过弹簧起到一定的缓冲作用,从而对风电机组机舱前端进行防护。

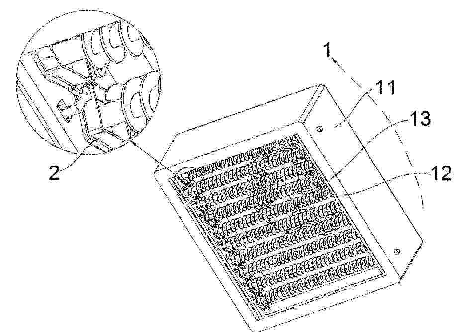
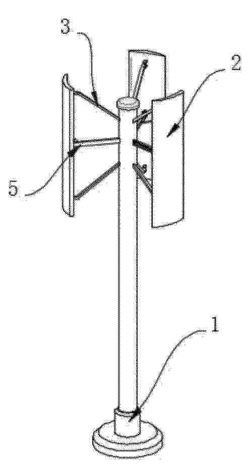
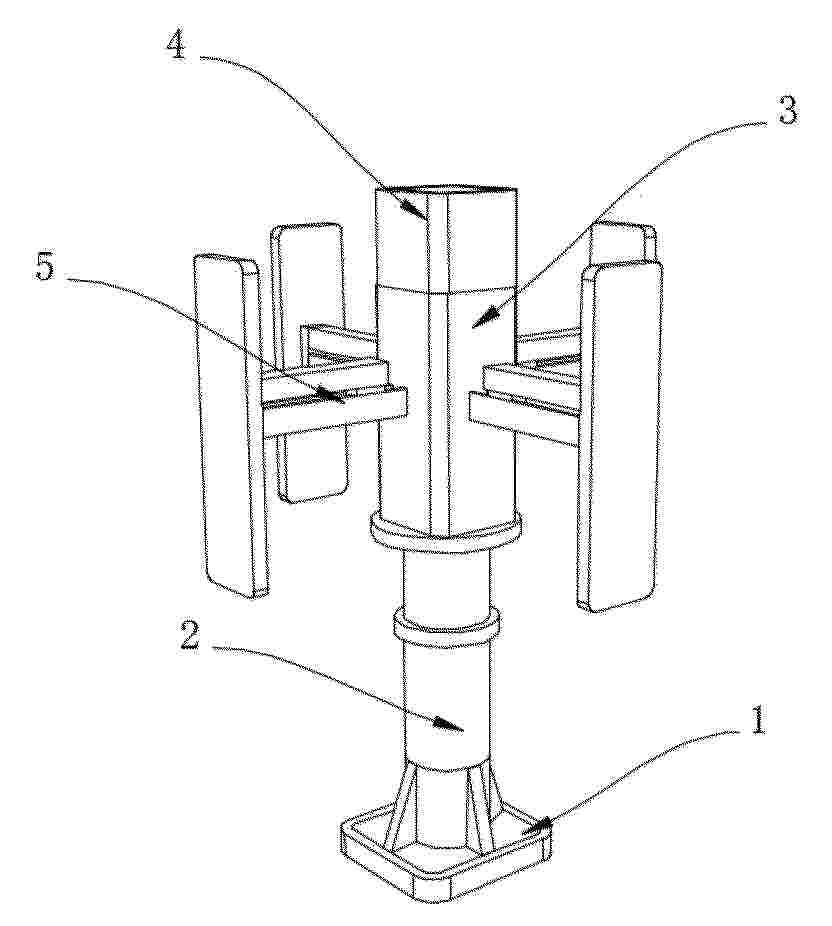
风力发电装置

NºPublicación:  CN223434432U 14/10/2025
Solicitante: 
庄建发
CN_223434432_U

Resumen de: CN223434432U

本实用新型是提供一种风力发电装置,主要是采取低成本的模块化机构,使其能被一般大众广泛地设置于海边、市区、大楼或山上,利用风力的气流通过该中置扇叶模块及该多个环周扇叶模块产生转动后,该中置扇叶模块及该多个环周扇叶模块并带动该中心轴及该驱转轴转动,以传递动能至发电机,进而可带动发电机运转发电,使该风力发电装置达到节能的实用进步性。

一种螺旋布置直叶片的垂直轴风力发电机转子

NºPublicación:  CN223434434U 14/10/2025
Solicitante: 
中信重工机械股份有限公司
CN_223434434_U

Resumen de: CN223434434U

一种螺旋布置直叶片的垂直轴风力发电机转子,包括风轮转轴、风轮支撑架和直叶片,风轮转轴垂直设置,沿垂直方向风轮转轴上连接有三排风轮支撑架,每排风轮支撑架的端部均连接有直叶片,位于同一排中的直叶片的数量为5件,5个直叶片按圆周方向均匀分布,上排的一个直叶片的轴线和风轮支撑架的轴线确定的平面为第一平面,与上排相邻的中排直叶片的轴线和风轮支撑架的轴线确定的平面为第二平面,与中排相邻的下排直叶片的轴线和风轮支撑架的轴线确定的平面为第三平面,第一平面、第二平面的夹角与第二平面、第三平面的夹角相等,用造价成本低的直叶片代替复杂的螺旋叶片,其效果达到接近SH型螺旋叶片转矩均匀的功能。

一种拼接式钢-混凝土塔筒结构

NºPublicación:  CN223434436U 14/10/2025
Solicitante: 
中国华电科工集团有限公司华电中光新能源技术有限公司
CN_223434436_U

Resumen de: CN223434436U

本实用新型提供了一种拼接式钢‑混凝土塔筒结构,包括从下至上依次连接的多个塔筒连接段,每个塔筒连接段均包括相互拼接的下节塔筒连接部和上节塔筒连接部,下节塔筒连接部包括多个下部钢圆管和上连接组件,多个下部钢圆管之间呈环状布置,各下部钢圆管的上端分别与上连接组件相连,且各下部钢圆管中均浇筑有混凝土;上节塔筒连接部包括多个上部钢圆管和下连接组件,多个上部钢圆管呈环状布置,各上部钢圆管的下端分别与下连接组件相连,且各上部钢圆管中均浇筑有混凝土;上连接组件与下连接组件之间相互拼合连接。本实用新型提供的拼接式钢‑混凝土塔筒结构,能够在满足风机塔筒高度、刚度和强度需求的同时兼顾工程造价。

一种新型航道浮标

NºPublicación:  CN223432427U 14/10/2025
Solicitante: 
长江武汉航道工程局
CN_223432427_U

Resumen de: CN223432427U

本实用新型涉及一种新型航道浮标,包括浮体,所述浮体的下表面固定有外壳,所述外壳左右两端前后两侧的底部均设置有波轮,所述外壳的下表面固定有引线,所述引线的另一端固定有三角锚,所述外壳正面底部的左端设有用于提高在使用时便捷性的智能机构。该新型航道浮标,帮助操作人员通过人机对话的方式,快速获取浮标的监测信息和收集到的数据,改变了传统需要多系统登录、层层查找的数据获取方式,数据获取效率大大提高,降低了对操作人员的专业要求,结果获取直接、直观,具有更加友好的用户体验,利用人工智能技术进行智能化人机交互控制实践,能提高浮标的无人化、自动化、智能化管理和利用水平,推动航道观测技术的创新。

基于多驱动切换的轻风储能型绿色可回收风力发电系统

NºPublicación:  CN120777147A 14/10/2025
Solicitante: 
利全(海南)新能源投资有限责任公司
CN_120777147_PA

Resumen de: CN120777147A

本发明涉及风力发电技术领域,具体的是基于多驱动切换的轻风储能型绿色可回收风力发电系统,本发明包括支撑底座、塔架、圆盘支撑座、第一齿轮箱、叶片链接杆以及可调叶片;所述塔架固定连接于支撑底座上,塔架上端口固定安装有圆盘支撑座,第一齿轮箱转动安装于圆盘支撑座上方;所述第一齿轮箱内侧设有调节机构与切换传动组件,所述切换传动组件用于驱动调节机构。本发明通过各调节机构和切换传动组件协同作用实现对可调叶片角度和位置的精确控制,能在不同风速和风向条件下实时调整叶片姿态以保持最佳风能捕获状态,相较于传统固定叶片风力发电系统,显著提高了风能转化效率及风能利用效率和发电效率。

一种风电机组风轮自平衡控制方法、装置、设备及介质

NºPublicación:  CN120777146A 14/10/2025
Solicitante: 
运达能源科技集团股份有限公司
CN_120777146_PA

Resumen de: CN120777146A

本申请公开了一种风电机组风轮自平衡控制方法、装置、设备及介质,涉及风电技术领域,包括:根据极限学习机算法并基于待训练样本构建载荷估计模型;将当前模型输入数据输入至所述载荷估计模型以得到当前轮毂载荷估计数据;模型输入数据包括风速、桨距角、风轮转速和叶轮方位角;基于所述当前轮毂载荷估计数据得到风轮的三个桨叶分别对应的最终变桨控制指令;将所述最终变桨控制指令发送至变桨执行机构,以便所述变桨执行机构基于所述最终变桨控制指令进行独立变桨控制以控制风电机组风轮自平衡。本申请能够在确保独立变桨控制的可靠性的基础上,降低成本和工作量。

基于双重优化的风电场规则优化方法、系统、设备及介质

NºPublicación:  CN120781700A 14/10/2025
Solicitante: 
三峡金沙江云川水电开发有限公司中国长江三峡集团有限公司
CN_120781700_PA

Resumen de: CN120781700A

本发明公开了基于双重优化的风电场规则优化方法、系统、设备及介质,涉及风电场优化设计技术领域,包括基于规则化布局参数,生成具有空间规律性的初始风机阵列排布种群,通过参数化搜索策略独立优化风机的运行参数组合,并计算目标函数值作为个体的适应度,基于目标函数值对种群执行适应性进化机制,并引入可控扰动生成新一代风机排布方案,重复执行迭代优化,直至达到预设迭代次数,输出最优规则化排布方案及运行参数集。本发明显著提升了风电场的综合性能,在确保风机阵列符合工程实际巡检维护要求的同时,有效降低了尾流效应导致的发电量损失,提高了风速预测的精度,为海上风电大规模开发提供了兼具理论先进性和工程实用性的优化解决方案。

一种分片式钢混塔筒、混凝土塔筒及风电装置

NºPublicación:  CN120777150A 14/10/2025
Solicitante: 
重庆大学
CN_120777150_PA

Resumen de: CN120777150A

本发明公开的分片式钢混塔筒、混凝土塔筒和风电机组,分片式钢混塔筒包括多个预制混凝土管片结构,所述预制混凝土管片结构上预留有连接安装孔,多个所述多个预制混凝土管片结构沿着轴向从下至上顺次层叠为筒状的分片式钢混塔筒;干式连接结构用于通过所述连接安装孔将相邻的所述多个预制混凝土管片结构连接。混凝土塔筒包括上述分片式钢混塔筒,风电机组包括上述混凝土塔筒。本分片式钢混塔筒、混凝土塔筒和风电装置,在分片式钢混塔筒装配时,能够有效节省工期,提升装配质量,并简化施工工序,增强塔筒耗能能力,减少传统施工时结构胶涂抹的人工投入。

一种用于支撑风电机组的塔架结构

NºPublicación:  CN223434437U 14/10/2025
Solicitante: 
中国华电科工集团有限公司华电中光新能源技术有限公司
CN_223434437_U

Resumen de: CN223434437U

本发明提供了一种用于支撑风电机组的塔架结构,包括风机基础和沿高度方向上拼合设置的多个塔筒管节,所述塔筒管节由低到高管径逐渐减小,每个所述塔筒管节内部沿周向等间距设有若干根支撑连接管,塔筒管节内部在每两根相邻的所述支撑连接管之间沿高度方向间隔设置有轻质填充板,所述支撑连接管和所述轻质填充板均埋设在塔筒管节的混凝土内,每两个相邻所述塔筒管节中的支撑连接管均相互固定连接。通过在塔筒管节内沿周向设置多根支撑连接管,在不增加塔筒壁厚的条件下,提高了原有钢塔筒的刚度和强度,并在每两个相邻的支撑连接管之间沿高度方向间隔设置多个轻质填充板,在不影响结构刚度的情况下减小结构自重。

一种便于拼装的活页叶片式风轮

NºPublicación:  CN223434433U 14/10/2025
Solicitante: 
常州市武进区洛阳创鑫凯电机有限公司
CN_223434433_U

Resumen de: CN223434433U

本实用新型公开了一种便于拼装的活页叶片式风轮,包括底板,其上端中侧固定安装有安装板,且安装板的上侧连接有顶板;固定杆,其安装在顶板的上端中侧,且顶板的内部外侧和底板的内部外侧均连接有移动块,所述移动块的上端外侧固定安装有推块,且推块的外侧螺纹连接有安装杆;活动板,其安装在移动块的下端外侧,且活动板的内侧固定安装有拆卸结构,所述拆卸结构的内侧连接有连接叶片,且连接叶片的外侧转动连接有活页叶片体,所述连接叶片的内部中侧设置有弹簧,且弹簧的外侧固定安装有定位杆。该便于拼装的活页叶片式风轮,方便对活页叶片式风轮进行拼接,方便对单一的叶片进行拆卸,且方便对活页叶片进行定位。

一种用于风力发电塔筒焊缝检测的自爬升装置

NºPublicación:  CN223434982U 14/10/2025
Solicitante: 
湖南恒岳重钢钢结构工程有限公司
CN_223434982_U

Resumen de: CN223434982U

本申请公开了一种用于风力发电塔筒焊缝检测的自爬升装置,涉及风电塔筒维护技术领域。本申请包括:导轨,设置在风电塔筒内部,所述导轨上开设有多个导槽;两个连接架,可围合呈环形结构且位于导轨外周侧,所述连接架上转动设置有多个均与导槽滚动配合的导向轮,所述连接架上设置有滑轨,两个滑轨可围合呈环轨,所述环轨上活动设置有移动架,所述移动架上设置有安装架,所述安装架上设置有焊缝检测装置;爬升机构,设置在连接架与导轨上且用于驱使连接架升降。本申请在对风电塔筒进行焊缝检测时,无需依靠人工攀爬或搭载大型平台,不仅降低了危险性,同时提高了检测效率,使用灵活性强,因此更具有实用性。

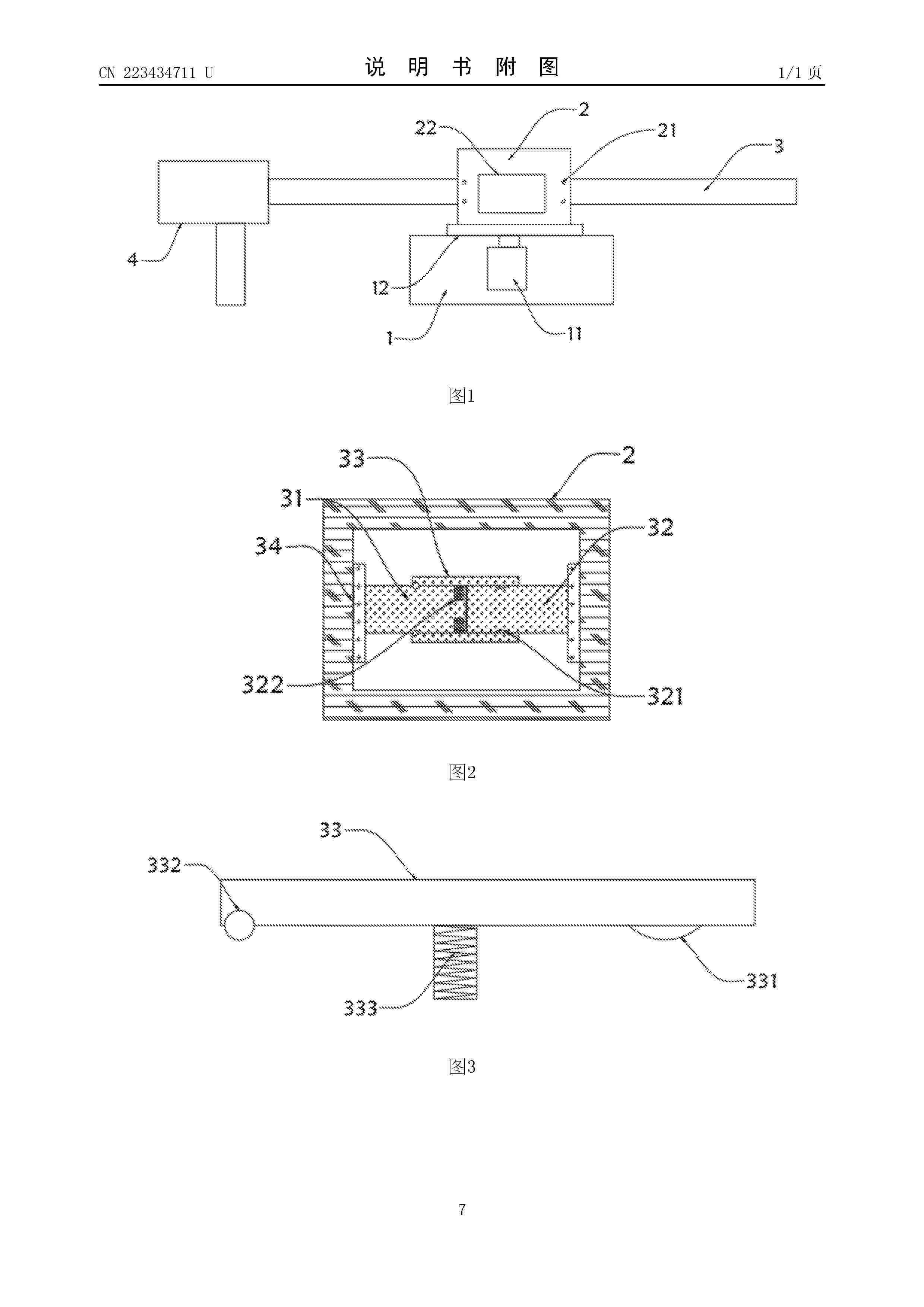
一种便于维修的低速风电转动轴

NºPublicación:  CN223434711U 14/10/2025
Solicitante: 
重庆瀚宇创新能源科技有限公司
CN_223434711_U

Resumen de: CN223434711U

本实用新型涉及风电设备技术领域,具体为一种便于维修的低速风电转动轴,包括底座,底座的顶部转动安装有传动仓,传动仓内穿设安装有传动轴,传动轴的一端通过驱动电机驱动转动,传动仓的底部固定安装有转动盘,转动盘的底部通过驱动电机驱动转动,传动仓内部的两侧壁通过轴承与传动轴转动连接。该便于维修的低速风电转动轴中,通过采用模块化设计和可拆卸连接件,如第一轴和第二轴之间的夹持杆与卡槽配合结构,使得在维修时无需拆卸大量零部件,即可快速对传动轴进行检修或更换。传动仓内部的两侧壁通过轴承与传动轴转动连接,确保了传动轴在运转过程中的稳定性和可靠性,减少了因振动或外力影响而导致的故障。

前缘保护涂层组合物及其用途

NºPublicación:  CN120775476A 14/10/2025
Solicitante: 
艾若克斯先进聚合物有限责任公司
CN_120775476_A

Resumen de: US2025313714A1

A Leading Edge Protection (LEP) coating composition is characterized by comprising a curable polyurethane material. The polyurethane material is a solvent-free two component polyurethane material comprising: Component A includes at least 10% by weight of biobased carbon polycarbonate diol in respect of the total weight of Component A, calculated according to method C14 using ASTM D6866; and one or more additives wherein the total quantity of additives is in the range of 5-15% by weight in the respect of the weight of the total Component A; and Component B includes an aliphatic isocyanate with an isocyanate (—NCO) content between 10-25%; and uses thereof.

用于检测和响应风力涡轮的传动系中的故障的系统和方法

NºPublicación:  CN120777151A 14/10/2025
Solicitante: 
通用电气可再生能源西班牙有限公司
CN_120777151_PA

Resumen de: US12292031B1

A method for detecting and responding to a failure in a drivetrain of a wind turbine includes estimating a first rotational speed signal at a first location along the drivetrain via one or more rate gyroscopes mounted in a hub, the first rotational speed signal being a proxy for rotor speed of a rotor. The method also includes processing the first rotational speed signal to account for a bias in the first rotational speed signal due to use of the rate gyroscope(s). Further, the method includes receiving a second rotational speed signal at a second location along the drivetrain, the second location being downwind from the first location, the first and second locations being on opposing sides of a potential slip location of the drivetrain. Moreover, the method includes determining a speed error based on a comparison of the first and second rotational speed signals. In addition, the method includes comparing the speed error to a threshold and implementing a control action when the speed error exceeds the threshold.

电机的线圈的冷却

NºPublicación:  CN120785115A 14/10/2025
Solicitante: 
通用电气可再生能源西班牙有限公司
CN_120785115_PA

Resumen de: US2025317019A1

The present disclosure relates to coils (121), electrical machines (100) comprising coils (121), e.g. a wind turbine generator (42), and methods for cooling coils (121) of electrical machines (100) and for winding and/or electrically insulating (200) coils (121). An electrical machine (100) comprises a rotor (110) and a stator (120). At least one of the rotor (110) and the stator (120) comprises a plurality of teeth (119) and a plurality of coils (121), the coils (121) comprising strand (150) which is wound around the teeth (119) in layers (130, 131). A first axial end portion of a first layer (130) of at least one of the coils (121) is axially displaced (117) with respect to a first axial end portion of a second layer (131) of the coil (121).

用于控制风力发电装置的控制装置、处理电路、方法、非暂态计算机可读介质以及计算机程序产品

NºPublicación:  CN120777142A 14/10/2025
Solicitante: 
纳博特斯克有限公司
CN_120777142_PA

Resumen de: US2025314238A1

A controller for controlling a wind power generation device including a tower and a nacelle includes: a processing circuit configured to control a motor for rotating the nacelle relative to the tower; and a torque information sensor for sensing information about a torque acting from the nacelle to a gear mechanism, the gear mechanism connecting the tower and the nacelle so as to be capable of relative rotation. The processing circuit drives the motor based on a sensing value of the torque information sensor.

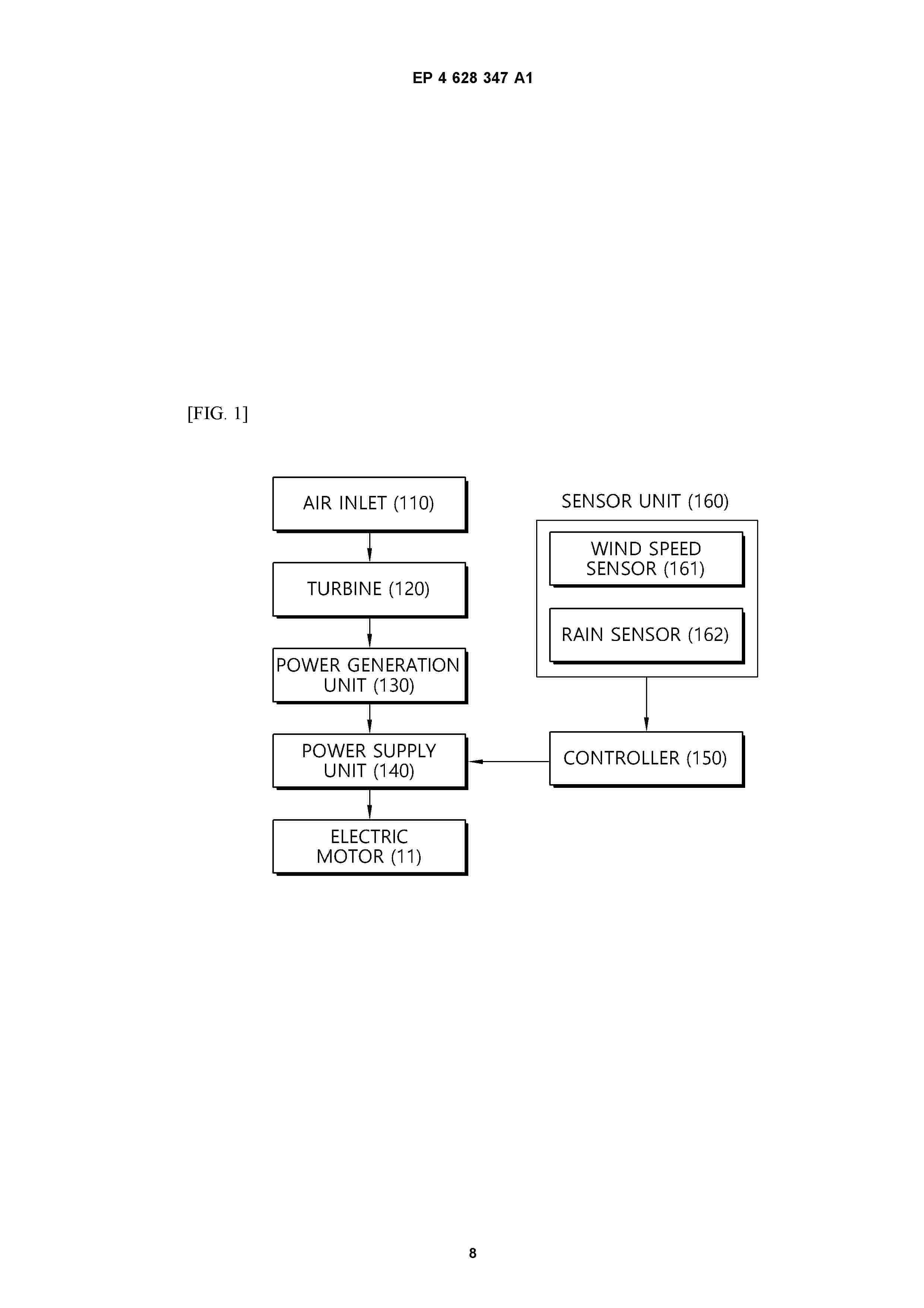
能够由风能充电的电动汽车

NºPublicación:  CN120773561A 14/10/2025
Solicitante: 
金龙镐
CN_120773561_PA

Resumen de: WO2025211489A1

The present invention provides an electric vehicle capable of charging using wind power energy, comprising: an air inlet part (110) formed on the front surface of an electric vehicle (10) traveling by using an electric motor (11) to rotatably drive wheels (12), thereby allowing wind to flow therein during traveling; a turbine (120) formed at the rear end of the air inlet part (110) so as to be rotated using wind power; a power generation part (130) composed of a rotor (131), which is coupled to a rotary shaft (121) extending from the turbine (120), and a stator (132), which is arranged in a ring shape on the outer side of the rotor (131), thereby producing electricity by using the rotation of the rotor (131); a power source part (140) which converts the electricity produced by the power generation part (130) into chargeable voltage so as to charge a battery (141), and which supplies driving voltage from the battery (141) to the electric motor (11); and a controller (150) for electrically connecting the battery (141) and the electric motor (11) through an electrical system, and controlling charging from the power generation part (130) to the battery (141), and thus the electricity produced using wind power generation is used to enable traveling.

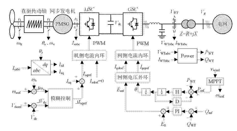
风光发电系统及方法

NºPublicación:  CN120784942A 14/10/2025
Solicitante: 
中国石油化工股份有限公司中石化(大连)石油化工研究院有限公司
CN_120784942_PA

Resumen de: CN120784942A

本发明提供一种风光发电系统及方法,所述系统包括:光伏电池板、励磁控制器、风轮机、同步发电机、同步控制器以及第一并网开关;光伏电池板用于为励磁控制器供电,励磁控制器用于为同步发电机的励磁绕组提供励磁电流,风轮机用于带动同步发电机的功率绕组转动,同步控制器用于在检测到第一位置的电信号与第二位置的电信号满足并网条件的情况下,闭合第一并网开关,以使同步发电机与电网连通。本发明将风电和光伏结合起来,采用风光一体化的协同控制方法实现电网‑新能源电力的单相流动,避免电网潮流方向反复,最大限度提供绿色电力,并且可以实现零电压下机组启动,避免传统方法中需要增加电能质量治理设备带来投资增加和度电成本增加的问题。

一种分段式垂直风力发电机外轴结构

NºPublicación:  CN120777154A 14/10/2025
Solicitante: 
上海楚水风电科技有限公司
CN_120777154_PA

Resumen de: CN120777154A

本发明属于风能发电设备技术领域,具体涉及一种分段式垂直风力发电机外轴结构,包括主轴和外轴组件,所述外轴组件包括从上至下依次套设于主轴上的多个轴承法兰台,所述轴承法兰台上均对应设有平面轴承,所述平面轴承上均安装设有套拨,所述套拨上均开设有安装孔,所述套拨之间通过安装孔对应安装设有旋转外轴,本发明结构可靠,拆装方便可重复使用,发电量大,可应用于大型垂直风力发电机。

一种风力发电设备偏航角度监测仪

NºPublicación:  CN120777454A 14/10/2025
Solicitante: 
李岩
CN_120777454_PA

Resumen de: CN120777454A

本发明公开了一种风力发电设备偏航角度监测仪,涉及偏航角度监测技术领域,包括风机塔筒,所述风机塔筒的底部设置有减震机构,所述减震机构的底部设置有便捷拆装机构。该一种风力发电设备偏航角度监测仪,通过设置便捷拆装机构,安装时,将第二定位块插入第二定位槽内,随后将第一定位块插入第一定位槽内,通过驱动机构带动第二楔形块移动,第二楔形块移动解除了对第一楔形块的限制,使得在复位弹簧的弹力作用下推动移动板移动,从而带动限位杆进入固定孔,实现了监测仪器与防护壳的同步安装固定,解决了现有的装置在使用过程中,对检测器安装完成后,需要再对保护壳进行固定,增加了安装步骤的繁琐性,降低了安装效率的问题。

一种风力机机阵引流降风阻沙的方法

NºPublicación:  CN120776686A 14/10/2025
Solicitante: 
内蒙古农业大学
CN_120776686_PA

Resumen de: CN120776686A

本发明涉及降风阻沙技术领域,公开了一种风力机机阵引流降风阻沙的方法,第一步:设置多级风力机组,多级风力机组包括小型风机、中型风机和大型风机,小型风机、中型风机和大型风机按叶轮直径和安装高度依次递增的方式组合布设,小型风机、中型风机和大型风机的各机组基座内置柔性阻尼件,通过高强度螺栓与地基连接。本技术方案结合了风机机组的阵列布设、引流导风结构与尾流减速沙尘沉降技术,旨在实现风能开发与生态防护的双重目标,从而为风沙区提供可持续的风能利用与沙化抑制。通过对风电场合理配置和布局大、中、小各型风力发电机,组合成“机阵”作为风障,抬升气流,在机阵背风面形成开阔的低风区,达到引流治沙的目的。

一种可模块化建造的深远海张力腿风电平台

NºPublicación:  CN120773888A 14/10/2025
Solicitante: 
中车科技创新(北京)有限公司中车大连机车车辆有限公司
CN_120773888_PA

Resumen de: CN120773888A

本发明提供的一种可模块化建造的深远海张力腿风电平台,通过多个相互连接的底部浮筒和一个中心浮筒,可以形成稳定的支撑框架。利用系泊装置将底部浮筒锚定于海床上,通过中心浮筒对风电机组提供支撑。在各底部浮筒和中心浮筒的外表面呈螺旋状环绕设置螺纹板,一方面可防止某些海况条件下激发的涡激振动,有效避免结构损伤,另一方面可增加垂荡与横荡阻尼,极大提升平台水动力性能。采用上述设置的深远海张力腿风电平台,能够有效防止涡激振动,极大提升平台水动力性能。

一种利用风机叶片自身特征的智能检修平台

NºPublicación:  CN120777155A 14/10/2025
Solicitante: 
盐城工学院
CN_120777155_PA

Resumen de: CN120777155A

本发明公开了一种利用风机叶片自身特征的智能检修平台,涉及风机叶片检修设备领域,包括安装座、第一夹紧平台和第二夹紧平台,第一夹紧平台、第二夹紧平台通过抱紧驱动装置可移动地连接在安装架上,安装架固定在安装座的上下两侧,第一夹紧平台、第二夹紧平台上安装有固定装置和移动装置,第一夹紧平台或第二夹紧平台上设置有至少一组负载机械臂组件或其它检修工况装置。本发明布局合理,结构紧凑,多装置协同作业,能够实现风机叶片的自主精准对接与稳定固定,适应叶片表面的曲率变化,进而保持稳定可靠的夹持状态,适应性显著提升,从而实现了风机叶片停机收桨状态下任意位置处的检修任务。

一种风电基础混凝土抹平装置

NºPublicación:  CN120776702A 14/10/2025
Solicitante: 
能建绿色氢氨新能源(松原)有限公司中国能源建设集团东北电力第二工程有限公司
CN_120776702_PA

Resumen de: CN120776702A

本申请涉及一种风电基础混凝土抹平装置,涉及混凝土施工的技术领域,其包括支撑框架、移动板、调节电缸、多级伸缩电缸、动力组件、抹平组件和辅助组件,支撑框架尺寸可调节,移动板与动力组件连接,调节电缸和多级伸缩电缸均滑动连接在移动板上,多级伸缩电缸连接在调节电缸的活动端上,多级伸缩电缸的活动端与抹平组件连接,动力组件用于驱动抹平组件移动,抹平组件用于抹平混凝土表面,辅助组件用于使抹平组件能够在相邻两个支撑框架之间平稳流转,调节电缸用于驱动抹平组件在圆环区域内进行抹平,多级伸缩电缸用于驱动抹平组件快速更换抹平区域。本申请具有提高抹平装置通用性和使用便捷度的效果。

一种建筑一体化风电系统

NºPublicación:  CN120777148A 14/10/2025
Solicitante: 
华能吉林新能源开发有限公司中国华能集团清洁能源技术研究院有限公司华能吉林发电有限公司
CN_120777148_PA

Resumen de: CN120777148A

本发明属于风电技术领域,公开了一种建筑一体化风电系统,包括:建筑框架结构,采用钢筋混凝土框架构造;塔筒,垂直贯穿建筑框架结构的中心区域,与建筑框架结构形成一体化承重体系;加固斜梁,设置于建筑顶部屋面,斜向支撑塔筒,用于增强屋面结构强度;机舱,设置于建筑底部;低速轴,位于塔筒顶部;传动轴,纵向贯穿塔筒内部,两端分别连接低速轴和机舱内的高速轴。本发明的目的在于实现风能在建筑领域更高效合理以及安全经济的利用。

一种偏航刹车片的失效预警方法、装置、电子设备及存储介质

NºPublicación:  CN120777296A 14/10/2025
Solicitante: 
广东电网有限责任公司电力调度控制中心
CN_120777296_PA

Resumen de: CN120777296A

本发明公开了一种偏航刹车片的失效预警方法、装置、电子设备及存储介质,属于海上风力发电技术领域,所述方法为:通过放置于偏航刹车盘中的传感器获取偏航刹车片的当前磁场强度;其中,偏航刹车片中均匀分布有预设比例含量的纳米磁性粒子;根据所述当前磁场强度,得到偏航刹车片对应的当前磨损程度;将所述当前磨损程度与预设的磨损程度阈值进行比对,当所述当前磨损程度大于所述磨损程度阈值时,生成对应的刹车片失效预警信息,以使对应的工作人员根据所述刹车片失效预警信息,对偏航刹车片进行更换,因此,通过实施本发明,能够解决现有技术存在的没有设置相应的刹车片更换提醒预警装置,当刹车片被失效后,会造成偏航刹车盘损坏的问题。

一种风机基础附着式接地网及其施工方法

NºPublicación:  CN120784650A 14/10/2025
Solicitante: 
中国建筑第六工程局有限公司内蒙古电力勘测设计院有限责任公司中建六局第一建设有限公司国电电力陕西新能源开发有限公司
CN_120784650_PA

Resumen de: CN120784650A

本发明是一种风机基础附着式接地网及其施工方法,接地网包括接地体、顶部均压环、石墨基柔性接地线、第一非金属导电卷材、上锚板、第二非金属导电卷材;接地体、顶部均压环、石墨基柔性接地线、第一非金属导电卷材、第二非金属导电卷材与大地共同形成防雷接地体系。本发明接地网施工简单,能够提高风机基础接地导体的耐久性、易于保证接地网的低阻抗特性,不受风机基础周边土方作业的影响。

一种船载风能与海流能联合发电及助航系统及其控制方法

NºPublicación:  CN120773901A 14/10/2025
Solicitante: 
芜湖造船厂有限公司
CN_120773901_PA

Resumen de: CN120773901A

本发明涉及船舶远洋航行技术领域,具体地说,本发明涉及一种船载风能与海流能联合发电及助航系统,包括船载风帆装置和船载海流助航涡轮装置;所述船载风帆装置设在船舶甲板上;所述船载海流助航涡轮装置设在船体两侧;本发明中风能与海流动态切换发电与助航模式,提升了综合能源利用率;在助航模式下,船载风帆装置与船载海流助航涡轮装置联合提供辅助动力,降低主机油耗;在发电模式下,船载风帆装置展开叶片发电联合船载海流助航涡轮装置液压发电,提升了综合转换效率;风能与海流能的能量链复用,船载风帆装置在助航模式下产生推力,发电模式下输出电能,提高了设备利用率。

一种基于滑环振动过大导致测速异常的解决方法

NºPublicación:  CN120777152A 14/10/2025
Solicitante: 
海南州华豫新能源开发有限公司
CN_120777152_PA

Resumen de: CN120777152A

本发明提供了一种基于滑环振动过大导致测速异常的解决方法,涉及风电机组技术领域,包括S1、将风力发电机组停机断电,拆除滑环处原接近开关;S2、将新型接近开关安装至滑环码盘测量位置;S3、使用塞尺校准新型接近开关与滑环码盘之间的间距,使得新型接近开关与滑环码盘之间的间距调整至预设范围,并进行动态工况校准;S4、锁紧新型接近开关安装螺母,并在螺母处标记紧固标识。本发明动态工况校准能验证其在实际运行中的稳定性,喷涂抗振动磨损涂层可增强滑环码盘表面抗振动磨损能力,延长部件使用寿命,嵌入压电薄膜传感器可实时监测振动冲击力,实现故障提前预警,减少非计划停机,有效降低因接近开关测速异常引发的故障发生率。

一种海上风电单桩基础防护装置

NºPublicación:  CN120776722A 14/10/2025
Solicitante: 
南通道达风电科技有限公司
CN_120776722_PA

Resumen de: CN120776722A

本发明涉及海上风电技术领域,具体是涉及一种海上风电单桩基础防护装置,应用于稳固主桩基础,防护装置包括副桩基础、牵引器、拉力检测器和钢索,副桩基础均沿纵向设置在海床上,副桩基础的顶端设置有连接口,牵引器和拉力检测器均沿周向分布在主桩基础的外侧,牵引器具有能够旋转以进行收放卷的工作辊,拉力检测器的一端与主桩基础连接,钢索穿过连接口,钢索的两端分别与牵引器的工作辊和拉力检测器的另一端连接,本申请通过将副桩基础在主桩基础周围均匀分布,提供了额外的支撑力,有效提高了风电基础的抗压能力和稳定性。这种分布式的支持系统能够更均衡地承受来自海洋环境的各种力量,减少了单点受力的风险。

一种基于大数据分析的风电场运行状态优化方法及系统

NºPublicación:  CN120784943A 14/10/2025
Solicitante: 
金杰融和电力有限公司
CN_120784943_PA

Resumen de: CN120784943A

本发明涉及人工智能技术领域,一种基于大数据分析的风电场运行状态优化方法及系统,包括:对所述预测风速信息进行基于风速适用区间集合的分段,得到未切入时间段风速信息、切入时间段风速信息及切出时间段风速信息;根据额外需求电量、未切入时间段风速信息、切入时间段风速信息及切出时间段风速信息,生成叶片速度调节信息及动能回收信息;根据所述叶片速度调节信息,对所述风力发电机中预构建的电机进行基于叶片提速的预配置操作,并根据所述动能回收信息,对所述风力发电机中预构建的动能回收设备进行基于叶片转速压制的预配置操作,得到外设备接入发电机。本发明可优化风电场运行状态,从而降低风电发电量与用电需求量之间的差值。

混凝土塔筒安装施工装置

NºPublicación:  CN120777149A 14/10/2025
Solicitante: 
中国二十二冶集团有限公司
CN_120777149_PA

Resumen de: CN120777149A

本发明混凝土塔筒施工技术领域,具体的说是一种混凝土塔筒安装施工装置,包括支撑底座和操作台,支撑底座的上方设置有安装板,安装板的外侧周向设置有若干个操作台,安装板的底部设置有引导组件,引导组件用于对塔筒安装的引导。本发明能够实现在塔筒吊装拼接时,对待安装塔筒起到引导作用,能够快速完成塔筒拼装,节省安装时间。

一种新能源发电风力叶片检修锁止装置

NºPublicación:  CN120777156A 14/10/2025
Solicitante: 
国投甘肃新能源有限公司国投青海风电有限公司
CN_120777156_PA

Resumen de: CN120777156A

本发明提供一种新能源发电风力叶片检修锁止装置,涉及风电新能源领域,该新能源发电风力叶片检修锁止装置,包括叶片轴,所述叶片轴的外表面设有减速盘,所述减速盘的外表面设有一组等距离排列的减速环A,每两个相邻减速环A之间形成减速槽A,每个所述减速槽A的内部均设有减速环B,每两个相邻减速环B之间形成减速槽B,所述减速槽A与减速槽B通过“凹凸嵌套”适配;该新能源发电风力叶片检修锁止装置,通过“凹凸嵌套”结构与水膜阻力的结合,能快速实现叶片轴锁止,“凹凸嵌套”增加了减速环A与减速环B的接触面,配合窄间隙,让水膜在压力、表面张力和毛细管效应作用下紧密附着,锁止响应迅速且阻力稳定。

一种可自适应转向角度的钢绞线转向装置及其施工方法

NºPublicación:  CN120776876A 14/10/2025
Solicitante: 
柳州欧维姆机械股份有限公司
CN_120776876_PA

Resumen de: CN120776876A

本发明公开了一种可自适应转向角度的钢绞线转向装置,属于风电塔筒技术领域,解决现有开放式转向装置容易造成钢绞线的PE护套破损的问题。它包括多个转向器,多个所述的转向器呈环形安装在混凝土塔筒内,所述的转向器包括橡胶支撑座和内衬钢板,所述的内衬钢板嵌入至橡胶支撑座内,所述的橡胶支撑座中设有多个贯穿内衬钢板及橡胶支撑座的通孔,所述通孔的数量与每束钢束对应的钢绞线数量相同,且每个所述的通孔中均嵌入安装有不锈钢管。本发明的钢绞线转向装置,可以有效降低钢绞线在张拉时的摩阻,同时还可以在钢绞线的压力作用下发生弯曲变形。本发明还公开了一种可自适应转向角度的钢绞线转向装置施工方法,该方法可以有效提高施工效率。

风电变桨控制方法、装置、设备、存储介质及程序产品

NºPublicación:  CN120777145A 14/10/2025
Solicitante: 
山西迎润新能源有限公司
CN_120777145_PA

Resumen de: CN120777145A

本发明涉及风机控制技术领域,公开了一种风电变桨控制方法、装置、设备、存储介质及程序产品,该风电变桨控制方法包括:当检测到风电变桨控制系统触发故障时,基于顺桨策略正向转动风机桨叶;监测风机桨叶的第一桨距角;当第一桨距角达到预设限位角时,利用变桨电机的刹车控制回路停机抱闸;监测风机桨叶是否继续转动,当风机桨叶继续转动时,监测风机桨叶的转动方向和第二桨距角;判断第二桨距角是否在安全桨距角范围内;当判断第二桨距角不在安全桨距角范围内时,利用变桨电机的驱动器,基于风机桨叶的第二桨距角和转动方向调整风机桨叶,将第二桨距角调整到安全桨距角范围内。本发明能够提高风电机组的安全性。

风电场多目标偏航尾流优化方法、电子设备及存储介质

NºPublicación:  CN120777144A 14/10/2025
Solicitante: 
华北电力大学南方电网科学研究院有限责任公司
CN_120777144_PA

Resumen de: CN120777144A

本申请涉及风力发电技术领域,具体提供一种风电场多目标偏航尾流优化方法、电子设备及存储介质,旨在解决现有偏航控制策略考虑全场发电量而未考虑机组疲劳损伤可能导致风电机组的寿命显著缩短的技术问题。为此目的,本申请的风电场多目标偏航尾流优化方法包括:获取目标风电场的机组信息、入流条件信息和疲劳损伤代理模型;基于机组信息建立初始种群;从初始种群出发,利用遗传算法进行目标迭代以最大化第一优化目标和最小化第二优化目标;当第一优化目标和第二优化目标均收敛时,获得多目标优化的帕累托前沿;基于帕累托前沿获取目标风电场的最优偏航角组合。通过将机组疲劳损伤纳入控制优化目标,在提升总发电量的同时有效抑制机组疲劳损伤。

具有空隙确定装置的风力涡轮机

NºPublicación:  CN120787279A 14/10/2025
Solicitante: 
西门子歌美飒可再生能源公司
CN_120787279_PA

Resumen de: WO2024188488A1

A wind turbine with a clearance determination device There is described A wind turbine (1) comprising: (i) a tower (2); (ii) a nacelle (3) coupled to the tower (2); (iii) a wind rotor (5) arranged at the nacelle (3), and comprising at least one blade (4); and (iv) a clearance determination device (100) to determine a distance (D) between the tower (2) and the at least one blade (4), the clearance measuring device (100) comprising: a transmitter (110) configured to transmit an electromagnetic signal (20), a receiver (120) configured to directly receive the signal (23) transmitted by the transmitter (110), and a processing unit (130) configured to determine the distance based on the transmission and the direct reception of the electromagnetic signal (20); wherein one of the transmitter (110) and the receiver (120) is arranged at the blade (4) and the other one is arranged at the tower (2), and wherein the transmitter (110) and/or the receiver (120) comprises a leaky feeder (150).

山地风电设备运输路径规划与吊装控制方法及系统

NºPublicación:  CN120782089A 14/10/2025
Solicitante: 
中铁建大桥工程局集团电气化工程有限公司
CN_120782089_PA

Resumen de: CN120782089A

本申请涉及路径规划技术领域,公开了一种山地风电设备运输路径规划与吊装控制方法及系统。该方法包括:通过激光测距阵列扫描山地道路得到道路横截面数据库,建模得到叶片扫掠包络数据;采用地形适应性预测控制算法进行动态路径规划,根据应力约束验证得到安全运输路径;传感器阵列实时监测叶片状态并修正轨迹;温度传感器采集塔筒温度数据,通过热变形补偿机制预测尺寸变化;定位系统获取吊装基准坐标,结合补偿参数控制吊装姿态。本申请解决了山地环境下风电设备运输路径规划缺乏动态扫掠建模、应力约束验证和实时轨迹修正,以及吊装控制缺乏热变形补偿和多系统协同优化的技术问题。提高了山地风电设备运输的安全性和吊装控制的精度。

一种风力发力机机舱用自洁式齿轮散热器

NºPublicación:  CN120777158A 14/10/2025
Solicitante: 
华能营口热电有限责任公司
CN_120777158_PA

Resumen de: CN120777158A

本发明涉及散热器清理技术领域,公开了一种风力发力机机舱用自洁式齿轮散热器,包括,散热器部分;清洁部分,包括导向槽和清扫辊,所述导向槽对称设置于框体的内侧;所述导向槽位于换热管的外部,其具有两个弧形段以及将两个弧形段相连的波浪段,所述波浪段的顶峰位于换热管中轴线的正上方,且波浪段的低峰位于相邻的两个换热管之间中轴线的水平方向;所述清扫辊通过驱动机构沿导向槽滚动,实现清扫辊于换热管外部作往复绕行动作;本发明通过导向槽的波浪段、清扫辊、传动带和齿轮等结构的协同作用,实现了对散热翅的无死角、自动化清洁,这种设计不仅提高了清洁效率,降低了维护成本,还增强了散热器的散热性能和设备运行的稳定性。

一种龙门风力发电装置

NºPublicación:  CN120777157A 14/10/2025
Solicitante: 
调兵山市宇博电子科技有限公司
CN_120777157_PA

Resumen de: CN120777157A

本发明涉及风力发电技术领域,且公开了一种龙门风力发电装置,包括机体,所述机体侧面开设有转动结构,所述转动结构圆周面开设有扇叶,所述机体内壁设置有清洁机构,所述机体内壁设置有通气机构,所述机体内壁底部固定连接有变速机,所述变速机侧面固定连接有发电机,所述机体内壁底部固定连接有控制面板,所述机体侧面开设有转动机构,所述转动机构底部转动连接有支撑杆,所述支撑杆底部固定连接有底盘,通过往复转杆、滑槽、清洁环、限位块的配合运作下,往复转杆被转动结构带动旋转,使清洁环在滑槽与限位块的限定轨道下在往复转杆上往复运动清洁杆体,防止往复转杆上沾染灰尘卡顿机体。

一种风机叶片损伤检测装置

NºPublicación:  CN120777153A 14/10/2025
Solicitante: 
国投广西风电有限公司
CN_120777153_PA

Resumen de: CN120777153A

本发明涉及风机叶片检测技术领域,具体是涉及一种风机叶片损伤检测装置,包括主支架及其设置于所述主支架上的主行走机构,主行走机构可沿主支架长度方向移动;副行走机构,所述副行走结构安装于主行走结构上,副行走结构上安装有相控阵探头,用于驱动相控阵探头垂直主支架长度方向移动;爬行机构,安装于主支架的一端,且所述爬行结构上设置有第一真空吸盘,所述主支架的另一端设有第二真空吸盘;本发明通过合理的结构设计和多机构协同工作,实现了风机叶片损伤检测过程中装置的整体移动控制、精准定位及安全监测。

风力发电机组偏航对风误差动态校正方法、装置及系统

NºPublicación:  CN120777143A 14/10/2025
Solicitante: 
中船海装风电有限公司
CN_120777143_PA

Resumen de: CN120777143A

本发明涉及一种风力发电机组偏航对风误差动态校正方法、装置及系统,包括:采集风力发电机组的运行数据,包括机组有功功率、风速、风向数据,并将采集的数据存储在系统中;对采集到的原始数据进行清洗、滤波和修正,采用异常剔除、实际功率曲线筛选、数据滑动平均进行数据处理;根据预处理后的数据,采用对风角度‑有功功率的拟合模型进行偏航对风误差求解,并采取风速分仓、风向分区计算风向分区的功率总和,获取机组偏航对风误差;将偏航对风误差计算结果,动态下发至机组主控系统,补偿机组偏航偏差。本发明能够实现偏航对风误差实时校正。

一种小型垂直轴风力发电机的叶片组件

NºPublicación:  CN120777141A 14/10/2025
Solicitante: 
重庆电力高等专科学校
CN_120777141_PA

Resumen de: CN120777141A

本发明公开了一种小型垂直轴风力发电机的叶片组件,用于与发电机支架连接,叶片组件包括与支架连接的主轴、一端与主轴连接并呈间隔分布的若干连接组件以及与连接组件另一端一一对应连接的若干叶片,叶片包括与连接组件连接的叶片本体、贯穿叶片本体的安装腔、转动连接在安装腔内的第一风板和第二风板以及与第一风板和第二风板一一对应连接的若干自锁式调节机构,自锁式调节机构能够驱动第一风板和第二风板分别绕其自身的旋转轴心转动,以调节安装腔的开启/闭合程度;自锁式调节机构停止驱动后,通过自锁式调节机构维持对应的第一风板和/或第二风板的当前转动位置,第一风板和第二风板的开度可根据风速调节,避免过载,避免结构损坏。

一种海上风电机组塔筒通道密封装置

NºPublicación:  CN223434435U 14/10/2025
Solicitante: 
中国电建集团西北勘测设计研究院有限公司
CN_223434435_U

Resumen de: CN223434435U

本实用新型公开了一种海上风电机组塔筒通道密封装置,包括两组密封组件,所述密封组件包括封堵板、两个卡条以及两个连接板,两个所述封堵板分别转动安装在通道两端口处且两个封堵板之间形成待留室,所述通道端口的两侧均开设有与卡条相适配的卡槽,所述封堵板的两侧均开设有与卡条相适配的移动槽,两个所述卡条分别滑动装设在移动槽中,所述卡条与移动槽内端面之间通过弹性连接件相接,两个所述连接板分别与两个卡条固定连接且均与封堵板滑动连接。本实用新型通过卡合的方式来对封堵板进行开启,相对于螺栓固定拆卸,通常更容易操作和锁定拆卸,省时省力,提高此结构的使用效果,满足实际使用需求。

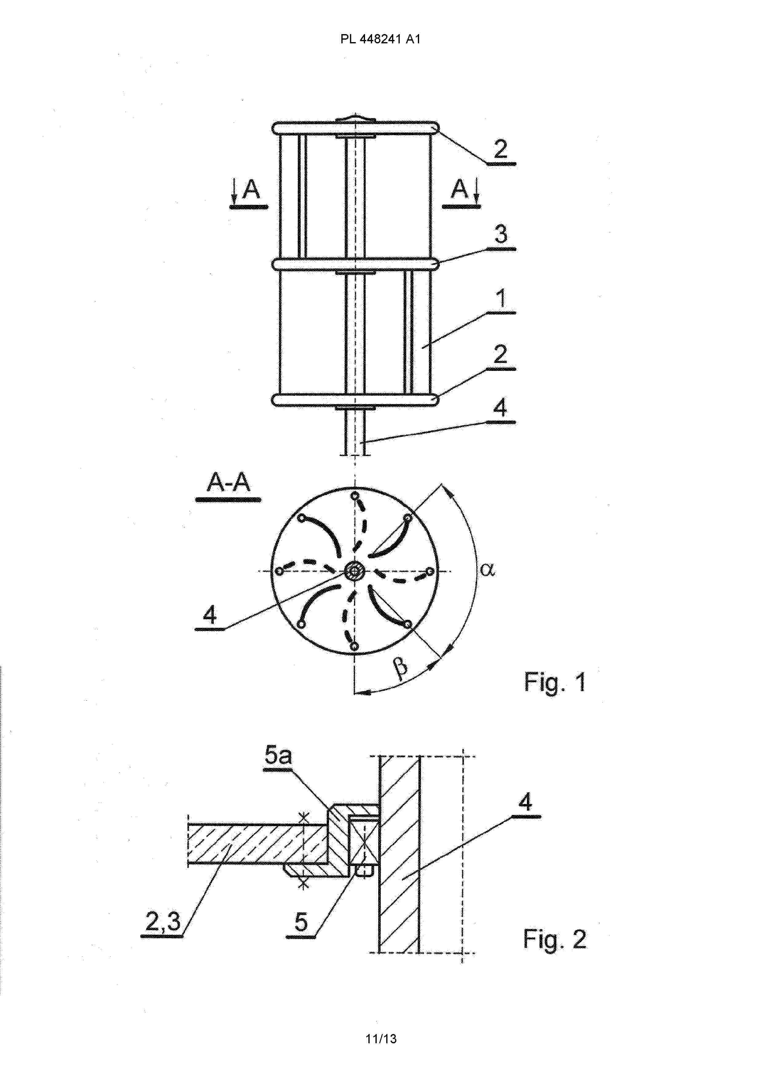
Method of making wind turbine rotors with a vertical axis of rotation

NºPublicación:  PL448241A1 13/10/2025
Solicitante: 
POLITECHNIKA SLASKA [PL]
POLITECHNIKA \u015AL\u0104SKA
PL_448241_A1

Resumen de: PL448241A1

Sposób wykonania wirników siłowni wiatrowych o pionowej osi obrotu polega na tym, że formuje się łopatki (1): na folię polietylenową nakłada się centralnie arkusz tekstolitu o grubości od 1 mm do 2 mm, korzystnie zawierający wzmocnienie tkaninowe, który pokrywa się warstwą tworzywa klejowego o grubości co najwyżej 0,5 mm, korzystnie stosując chemoutwardzalną żywicę epoksydową, po czym nakłada się siatkę z włókna szklanego lub węglowego oraz arkusz tekstolitu pokryty warstwą tworzywa klejowego o grubości co najwyżej 0,5 mm, który przykrywa się folią polietylenową i pozostawia do częściowego utwardzenia w czasie od 1 h do 2 h. Następnie nadaje się profil poprzeczny w półcylindrycznej formie, korzystnie w postaci odlewu z betonu ze stemplem, korzystnie w postaci odcinka grubościennej rury o promieniu zbliżonym do średniego promienia profilu poprzecznego łopatek(1), pozostawia do pełnego utwardzenia na czas 1 doby, tak uformowane łopatki (1) osadza się w profilowanych rowkach tarcz (2, 3) wypełnionych tworzywem klejowym na głębokości co najmniej połowy grubości tarcz (2 i 3) z napięciem wstępnym wywołanym pod naciskiem obejm dociśniętych do powierzchni bocznych łopatek (1) zaciskami, po czym każdą z tarcz (2 i 3) mocuje się do pionowego, korzystnie rurowego wału siłowni (4) pierścieniami rozporowymi (5) za pomocą piasty (5a), wykonanej korzystnie ze stopu aluminium.

Relaxation chair with a charging system for mobile electronic devices

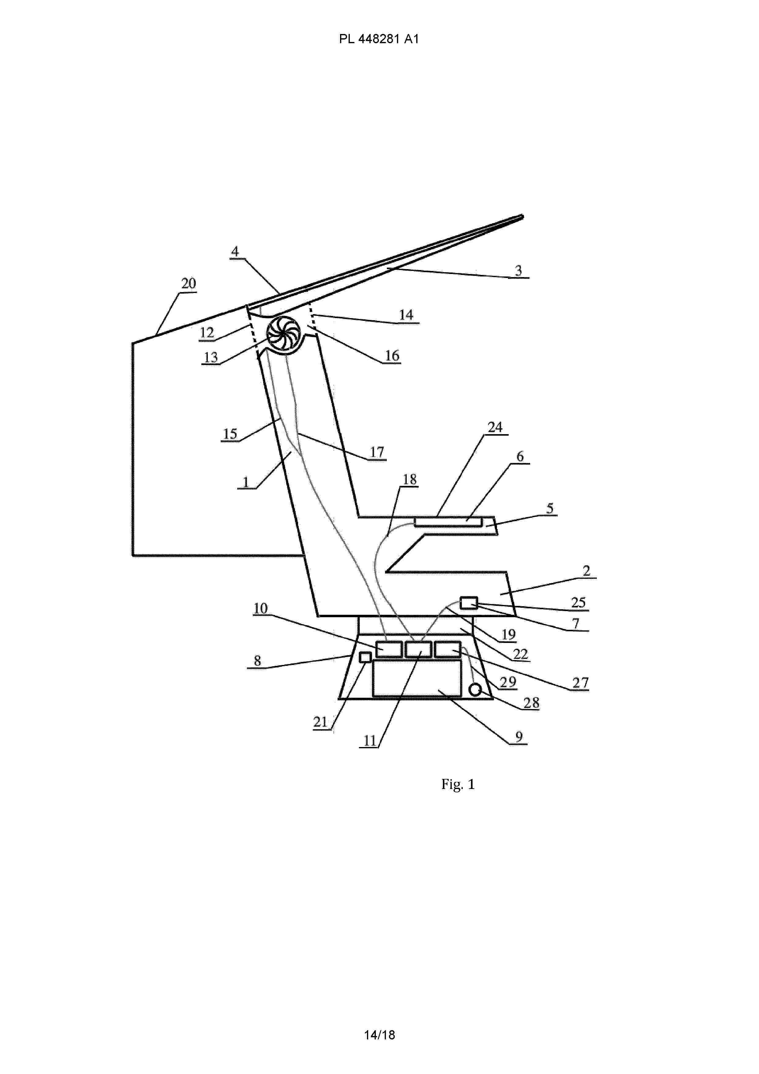
NºPublicación:  PL448281A1 13/10/2025
Solicitante: 
FECHTER TOMASZ ECA GROUP [PL]
FECHTER TOMASZ ECA GROUP
PL_448281_A1

Resumen de: PL448281A1

Fotel relaksacyjny z systemem ładowania mobilnych urządzeń elektronicznych, posiadający oparcie, podłokietniki oraz siedzisko, które połączone jest z posadowioną na podłożu nieruchomą podporą za pośrednictwem urządzenia obrotowego, zaopatrzony w elementy robocze pozyskujące i przetwarzające energię oraz dostarczające przetworzoną energię do mobilnych urządzeń elektronicznych, charakteryzuje się tym, że na szczycie oparcia (1) znajduje się skośne zadaszenie (3), a górna płaszczyzna zadaszenia (3) wyposażona jest w skierowany ku górze panel fotowoltaiczny (4), umiejscowiony nad siedziskiem (2), natomiast do górnych powierzchni podłokietników (5) zamocowane są stanowiące ładowarki indukcyjne górne złącza ładowania (6), do bocznych powierzchni siedziska (2) zamontowane są środkowe złącza ładowania (7), z kolei do podpory (8) zamocowane są dolne złącza ładowania (28), przy czym we wnętrzu podpory (8) posadowiony jest akumulator energii (9), a także zespolone z nim urządzenia w postaci regulatora ładowania (10), kontrolera zasilania (11) oraz przetwornicy napięcia (27), jednocześnie od panelu fotowoltaicznego (4) we wnętrzach oparcia (1) oraz urządzenia obrotowego (22) poprowadzony jest przewód fotowoltaiczny (15) dochodzący do regulatora ładowania (10), zaś od kontrolera zasilania (11) poprzez wnętrza urządzenia obrotowego (22) oraz siedziska (2) poprowadzone są górne przewody ładowania (18) dochodzące do górnych

一种垂直轴风力发电的传动系统

NºPublicación:  CN120759713A 10/10/2025
Solicitante: 
四川升辉时代机电设备智能制造有限公司
CN_120759713_PA

Resumen de: CN120759713A

本发明涉及风力发电机技术领域,具体为一种垂直轴风力发电的传动系统,包括立杆、基座、发动机组、叶片和防护装置,基座与立杆的下表面固定连接,发动机组设置在立杆的上方,叶片设置在立杆的表面,发动机组上设有散热槽,发动机组的表面设置有防护装置,防护装置包括防护罩,发动机组的上表面转动连接有螺柱,螺柱的表面设置有套柱,防护罩与套柱的上表面固定连接。本发明,通过设置防护装置,便于对发动机组进行防护,避免现有的大部分发动机组表面开有散热孔,当出现雷雨天气,发动机组长时间受到雨水侵蚀,会进入发动机组内部,造成设备零件腐蚀损坏,对此有效的提升了设备的安全性。

基于无线传感网络的风电混塔施工环境监测方法和系统

NºPublicación:  CN120759717A 10/10/2025
Solicitante: 
中国电建集团重庆工程有限公司
CN_120759717_PA

Resumen de: CN120759717A

本发明涉及智能监测技术领域,尤其涉及基于无线传感网络的风电混塔施工环境监测方法和系统。本发明将环境参数输入到网格划分后的风电混塔的几何模型中的每一个网格区域块,得到风电混塔的仿真模型;其中,环境参数包括压强数据和温度数据,对风电混塔的仿真模型进行特征提取,得到多维度的特征矩阵,其中,多维度的特征矩阵用于表征风电混塔在三维空间的状态,将多维度的特征矩阵输入到预设的风电混塔监测模型中,得到风电混塔的状态得分;基于风电混塔的状态得分,确定风电混塔的监测结果,通过上述配置方式,本发明能够准确地对风电混塔施工的环境进行监测,为施工人员的安全提供保障。

风电场的尾流控制方法、设备、存储介质及程序产品

NºPublicación:  CN120759699A 10/10/2025
Solicitante: 
广东省能源集团西南(贵州)电力投资有限公司江苏分公司
CN_120759699_PA

Resumen de: CN120759699A

本申请提供一种风电场的尾流控制方法、设备、存储介质及程序产品,涉及新能源技术领域。风电场包含至少一机组群,机组群中的机组连线与风电场的主风向平行,尾流控制方法包括:确定风电场对应的任一机组群是否受尾流影响;针对受尾流影响的目标机组群,确定目标机组群中各机组所处位置的湍流强度;将湍流强度大于湍流强度阈值的机组,确定为目标机组;若目标机组群中目标机组的占比大于占比阈值,则基于轴向诱导因子控制策略对目标机组群进行尾流控制;若目标机组群中目标机组占比小于或等于占比阈值,则基于尾流重定向控制策略对目标机组群进行尾流控制。本申请可以减少风电场中的尾流干扰,提升风电场的整体发电效率。

用于超低频振荡抑制的风机调桨补偿阻尼控制系统及方法

NºPublicación:  CN120759697A 10/10/2025
Solicitante: 
中国长江三峡集团有限公司中国长江电力股份有限公司
CN_120759697_PA

Resumen de: CN120759697A

本发明公开了一种用于超低频振荡抑制的风机调桨补偿阻尼控制系统及方法,包括风电机组一次调频控制模块,和附加阻尼控制器,附加阻尼控制器与风电机组一次调频控制模块并联后接入桨距角补偿控制系统中;附加阻尼控制器包括依次串联的电网频率监测与低通滤波模块、附加阻尼控制器增益调节模块、隔离直流模块以及频率控制信号相位补偿模块。本发明通过在风机一次调频处并联附加阻尼控制器,来抑制水风联合系统的超低频振荡行为,通过动态调桨来改变功率输出有功,从而抑制超低频段的功率振荡。

基于云计算的风力塔筒内壁加工缺陷智能监测系统及方法

NºPublicación:  CN120759714A 10/10/2025
Solicitante: 
安徽达必立新能源科技有限公司
CN_120759714_PA

Resumen de: CN120759714A

本发明涉及缺陷检测技术领域,公开了一种基于云计算的风力塔筒内壁加工缺陷智能监测系统及方法。该方法通过在风力塔筒两端安装风力监测设备,并在风力塔筒内壁均匀安装传感器,同时基于安装的传感器实时采集风力数据,并通过云计算方式对实时采集的风力数据进行分析,当监测到风力塔筒内壁存在加工缺陷,通过激光校准的方式实时采集风力塔筒内壁激光数据,并通过云计算方式对实时采集的激光数据进行分析,并确定风力塔筒内壁加工缺陷位置,同时确定风力塔筒内壁加工缺陷位置后,通过在加工缺陷位置两侧进行超声检测,实时采集超声检测数据并进行处理并分析确定风力塔筒内壁加工缺陷大小,提高了风力塔筒内壁加工缺陷监测的智能化。

叶根结构、预埋套筒、叶片及叶根结构的制造方法

NºPublicación:  CN120759695A 10/10/2025
Solicitante: 
中材科技风电叶片股份有限公司
CN_120759695_PA

Resumen de: CN120759695A

本申请公开了一种叶根结构、预埋套筒、叶片及叶根结构的制造方法,叶根结构包括叶根本体、预埋套筒以及多个横孔螺母,叶根本体呈环状结构,叶根本体具有轴向端面,预埋套筒插接于叶根本体内,预埋套筒具有沿叶根本体的轴向延伸的第一孔道,预埋套筒数量为多个且沿叶根本体的周向间隔分布,叶根本体对应各预埋套筒沿自身径向贯通设置有径向孔,每个横孔螺母对应嵌设于其中一个径向孔且与预埋套筒相连,横孔螺母具有沿轴向延伸的第二孔道,第二孔道与第一孔道相连通,以使连接螺栓能够穿设第一孔道并与横孔螺母的第二孔道相连。本申请实施例中的叶根结构,能够提高叶根结构的承载性能,满足大叶片的高载荷需求。

一种沉箱基础锚固多立柱型浮式风机及其实施方法

NºPublicación:  CN120759710A 10/10/2025
Solicitante: 
中国科学院广州能源研究所
CN_120759710_PA

Resumen de: CN120759710A

本发明公开了一种沉箱基础锚固多立柱型浮式风机及其实施方法,包括沉箱基础、悬浮基础和用于发电的风机;所述风机包括塔筒、主机和与主机连接的叶片,所述叶片安装在所述塔筒上端;所述悬浮基础包括第一立柱和第二立柱,所述第二立柱设有若干根,均匀设置在所述第一立柱周围;所述第二立柱上段通过连接结构与所述第一立柱连接,其下端铰接在所述沉箱基础上;所述塔筒下端安装在所述第一立柱的顶部;所述第一立柱和第二立柱均设置有可变压载舱。本结构建造及安装方便且安全,有效防止平台的垂荡,降低水流引起的涡激运动,不需要打桩和锚链,即可实现锚固。

一种往复流作用下海上三桩基础局部加厚装置及方法

NºPublicación:  CN120759286A 10/10/2025
Solicitante: 
华能如东八仙角海上风力发电有限责任公司水利部交通运输部国家能源局南京水利科学研究院华能国际电力江苏能源开发有限公司清洁能源分公司
CN_120759286_PA

Resumen de: CN120759286A

本发明公开了一种往复流作用下海上三桩基础局部加厚装置及方法,包括:加固框架,三个加厚套筒分别套设于三桩基础的三个桩基外侧;密封组件,设置于加厚套筒的两端形成密封空间;固定板设置于加厚套筒的底端,用于将加厚套筒的下端固定在海底;导流罩可转动地套设于加厚套筒外侧;多个导流鳍片以及导气机构。本发明通过加厚套筒与桩基间填充柔性材料的环形空隙吸收振动能量,抑制海床冲刷并提升基础适应性;其导流罩底部固定鳍片与可调鳍片在往复流作用下自主响应-可调鳍片自适应偏转使气幕喷嘴始终垂直水流方向,高效破坏桩周涡流结构,冲刷深度显著降低;固定板集成锚固与配重功能,结合导流罩定位强剪切流层,实现精准抑涡与抗倾覆强化。

一种风电设备清理装置

NºPublicación:  CN120759722A 10/10/2025
Solicitante: 
华能营口热电有限责任公司
CN_120759722_PA

Resumen de: CN120759722A

本发明涉及风力发电设备维护技术领域,尤其是一种风电设备清理装置,包括吸附移动车,所述吸附移动车上设有驱动电机,所述驱动电机的输出端设有旋转轴,所述旋转轴上设有叶片轮;所述吸附移动车上设有固定架,所述旋转轴的外部旋转设有导流罩,所述固定架上设有推动件,所述推动件上设有环罩;所述导流罩上设有锁定环,所述锁定环上设有齿槽,所述环罩上设有卡接块;所述导流罩上旋转设有若干呈圆周设置的清理刷;叶片轮的转动能够使得气体进入各个清理刷中对清理刷上的灰尘污渍进行清理,配合导流罩的旋转可以切换不同清理刷进行工作,实现快速刷洗的同时还能保障每个清理刷的洁净。

一种风电偏航制动闸片及其制备方法

NºPublicación:  CN120759873A 10/10/2025
Solicitante: 
宁波宁杰新材料有限公司
CN_120759873_PA

Resumen de: CN120759873A

本发明提供了一种风电偏航制动闸片及其制备方法,涉及风力发电制动系统技术领域。所述风电偏航制动闸片从结构和组成两方面进行改进,通过一体成型结合纤维穿插,形成机械锚固界面,这是实现超高抗压强度、抗弯强度、剪切强度以及整体结构稳定性的核心,同时有效抑制了噪音。并结合控制高强度纤维玄武岩纤维和玻璃纤维、降噪功能纤维海泡石纤维、轻质减重填料焦粉、增硬抗压刚性填料刚玉粉、降噪润滑功能填料云母和硅藻土、粘结耐热的高性能树脂酚醛的合适配比,使风电偏航制动闸片能够同时满足轻量化、低噪音、高摩擦系数、高抗压/抗弯折/抗剪切强度以及优异耐腐蚀性的严苛要求。

一种能够动态调节排脂的发电机轴承密封结构及控制方法

NºPublicación:  CN120759725A 10/10/2025
Solicitante: 
江苏中车电机有限公司
CN_120759725_PA

Resumen de: CN120759725A

本发明公开了一种能够动态调节排脂的发电机轴承密封结构,包括分级式密封腔体、自适应排脂通道与多级密封组件,通过双腔物理隔离+离心杂质分离,降低新旧油脂混脂率,采用“螺旋导流槽+温控节流阀”动态调节油脂排出量,再通过“压力‑温度‑流量”三重监控体系及粘度‑温度耦合控制,确保在低温环境下也能够正常排出油脂,确保废油脂排出的稳定性和可控性,利用螺旋导流槽与磁性吸附环的有机结合,形成了高效的杂质分离机制。离心力作用下固态杂质向副密封腔壁面聚集,而磁性吸附环能够捕获废油脂中的金属磨损颗粒,有效减少杂质对轴承的磨损,提高轴承的使用寿命和润滑系统的运行效率。

一种风电互补的高效储能装置

NºPublicación:  CN120768207A 10/10/2025
Solicitante: 
保定恒纳新能源科技有限公司
CN_120768207_PA

Resumen de: CN120768207A

本发明涉及风力发电技术领域,公开一种风电互补的高效储能装置,包括:风电基座,顶端固接有支撑杆,支撑杆的顶端设置有风力发电机构;光伏发电机构,包括设置在风电基座顶面的若干光伏板,风电基座顶面设置有压力调节组件,压力调节组件的调节端与光伏板相连,以使光伏板相对于风电基座转动;蓄电箱,设置在风电基座一侧,蓄电箱分别与风力发电机构和若干光伏板通电连接;蓄水箱的一侧连通有管道,且管道沿支撑杆轴线方向延伸,支撑杆上分别设置有与管道相连的第一散热单元和第二散热单元,第一散热单元的散热端作用于光伏板,第二散热单元的散热端作用于风力发电机构。能够实现提高风力发电效果,并保障风电储能效率稳定。

一种试验台的叶片锚栓定位安装架

NºPublicación:  CN120759718A 10/10/2025
Solicitante: 
中国电建集团福建省电力勘测设计院有限公司
CN_120759718_PA

Resumen de: CN120759718A

本发明涉及风电实验台技术领域,具体涉及一种试验台的叶片锚栓定位安装架,包括支撑架和定位钢管,所述支撑架上设置有定位环,所述定位环上沿周向设置多根定位钢管,所述定位钢管沿支撑架的厚度方向贯穿支撑架。本发明在支撑架上增设定位环,定位钢管通过定位环设置在支撑架上,以使得在后续浇筑支撑架形成试验台后,能够由定位钢管为锚栓提供通道,并且法兰盘能够通过定位钢管快速在试验台上定位。从而简化了施工流程,缩短了试验台的建造周期。

一种偏航系统接近开关防油污染装置

NºPublicación:  CN120759724A 10/10/2025
Solicitante: 
海南州华豫新能源开发有限公司
CN_120759724_PA

Resumen de: CN120759724A

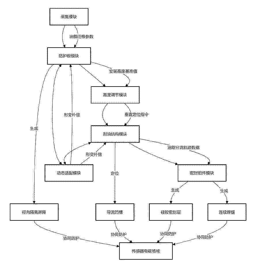
本发明涉及风力发动机偏航系统传感器防护技术领域,尤其涉及一种偏航系统接近开关防油污染装置,包括:采集模块实时获取齿轮啮合区油脂迁移参数;防护板模块生成与轴承端面平行的径向隔离屏障,维持恒定间隙阻截油脂径向飞溅;高度调节模块根据安装基准值输出垂直定位指令;刮油结构模块依据指令定位导流凹槽至传感器上方预设位置,密封组件模块响应油膜轨迹坐标生成硅胶膨胀密封层与定向焊缝,动态阻断毛细渗透;动态适配模块通过腰形孔位移阈值控制变刚度补偿,维持防护结构位姿精度;三级防护数据链闭环优化油脂拦截、导流以及阻断协同作用,消除油脂与电磁感应场域接触可能,保障位置检测信号完整性。

一种基于CNN-LSTM的风电叶片寿命预测方法

NºPublicación:  CN120763891A 10/10/2025
Solicitante: 
上海电力实业有限公司上海第二工业大学
CN_120763891_PA

Resumen de: CN120763891A

本发明公开了一种基于CNN‑LSTM模型的风电叶片寿命预测方法,本发明结合采集的风电机组的运行数据,通过数据预处理等操作得到关键特征,并与CNN‑LSTM模型相结合构建风电叶片寿命预测模型;该模型用于根据风电监测系统的实时运行数据进行风电叶片寿命预测;进一步地,为增强模型的实用性和工程适应性,本发明引入风电场建场年限、整机更换策略以及政策因素。通过模型预测结果,本发明系统可提供实时的故障预警与维护策略建议,辅助风电场在延寿运行与整机更换之间作出科学决策,从而降低运维成本,提升风电机组运行效率与全生命周期经济效益。

风力发电机组超级电容失效检测方法、系统、装置及设备

NºPublicación:  CN120759715A 10/10/2025
Solicitante: 
太重集团(上海)装备技术有限公司
CN_120759715_A

Resumen de: CN120759715A

本发明公开了一种风力发电机组超级电容失效检测方法、系统、装置及设备,属于风电机组技术领域,其中该方法包括实时采集风电机组的运行数据;对风电机组进行预处理,在预处理后对风电机组上的超级电容进行充电;分别计算风电机组上的各个超级电容的电容容量和电容内阻,得到各个超级电容对应的电容容量值和电容内阻值;分别对所得到的电容容量值和电容内阻值与对应的预设超级电容容量和预设超级电容内阻进行比较,并根据比较结果判断超级电容是否失效。通过本发明的方法,能够在风电机组停机或者待机的情况下通过简单的控制实现超级电容的失效检测,该检测方式能够且便于对未配置超级电容失效检测装置的风电机组进行升级改造。

二自由度双稳态流体摩擦纳米发电机、发电方法及应用

NºPublicación:  CN120768149A 10/10/2025
Solicitante: 
西南交通大学
CN_120768149_PA

Resumen de: CN120768149A

本发明公开了二自由度双稳态流体摩擦纳米发电机、发电方法及应用,属于风能发电技术领域。本发明解决了现有技术中风能发电设备所存在的难以微型化且风能利用率有待提升的问题。本发明包括发电模块,发电模块中活动板的两侧分别和两个固定板形成两个摩擦纳米发电机构,摩擦介质层采用栅格型结构,两对磁铁构成磁性双稳态机制;流体能捕获模块,包括用于容纳发电模块的圆柱形壳体;外框架,套设于圆柱形壳体的外部,且圆柱形壳体与外框架通过第一弹性组件连接。本发明通过涡激振动激励活动板振动,使得摩擦纳米发电机构完成发电,相比于传统的电磁式风能采集器,其材料成本低,设计简单,结构小型化,易于维护。

一种垂直轴风力发电机降噪装置

NºPublicación:  CN120759709A 10/10/2025
Solicitante: 
四川升辉时代机电设备智能制造有限公司
CN_120759709_PA

Resumen de: CN120759709A

本发明涉及风力发电技术领域,具体为一种垂直轴风力发电机降噪装置,包括底座、风力发电机本体,所述风力发电机本体固定连接于底座的表面,所述风力发电机本体的上表面固定连接有安装框。本发明,通过设置伸缩调节装置当其装置在使用时,首先通过集风板对其风力进行收集,于此同时可通过驱动电机带动活动齿轮转动,从而使转动杆运转,以此将带动主动锥齿轮转动,通过活动块带动活动杆以及连接板移动,以此将其集风板进行伸缩前后移动,然后再通过吸音棉对其产生的噪音进行进一步的吸收,通过伸缩调节装置叶片长度伸缩能依据实时风速调整迎风面积,风速较低时将其叶片向前延伸,通过增加有效集风面积提升气流能量捕获效率。

基于多传感器融合的风电系统电机控制及故障处理方法

NºPublicación:  CN120768174A 10/10/2025
Solicitante: 
华能新能源股份有限公司山西分公司
CN_120768174_PA

Resumen de: CN120768174A

基于多传感器融合的风电系统电机控制及故障处理方法,涉及风力发电技术领域,包括实时采集风电设备的电机数据和环境数据;预处理电机数据和环境数据,并计算各项数据的置信度;构建由电磁‑热力学‑机械应力耦合的物理模型;基于预处理后的数据,由物理模型判断当前风电设备的运行工况,并根据当前运行工况执行相应的运行策略;构建三级故障响应模型,根据电机数据和置信度,判断故障类型,并解决相应的故障;用于解决传统风电系统控制不稳定,且无法准确预测风电设备故障情况的问题。

一种收集风能的摩擦纳米发电机及发电方法

NºPublicación:  CN120768148A 10/10/2025
Solicitante: 
西南交通大学
CN_120768148_PA

Resumen de: CN120768148A

本发明公开了一种收集风能的摩擦纳米发电机及发电方法,属于风能发电技术领域。本发明解决了如何提供一种结构简单且能高效收集风能的风能发电设备的问题。本发明包括壳体、风能捕集模块和摩擦纳米发电机模块;摩擦纳米发电机模块的保持架与设置于壳体外的风能捕集模块联动;摩擦纳米发电机模块还包括顶部发电模块、底部发电模块以及侧面发电模块;且均包括电极结构和摩擦结构;风能捕集模块带动保持架活动的过程中使得电极结构和摩擦结构完成接触和分离。本发明通过所述风能捕集模块带动保持架进行旋转来实现摩擦起电,且有效的运用了摩擦发电中的独立电极模式,大大提高了能量转换效。

一种计及多因素的新能源多能互补微网系统

NºPublicación:  CN120767830A 10/10/2025
Solicitante: 
国网河南省电力公司许昌供电公司
CN_120767830_PA

Resumen de: CN120767830A

本发明公开了一种计及多因素的新能源多能互补微网系统,包括光伏、风电、储能和新能源汽车充电站;光伏和风电采用风光互补;充电站通过公共节点与外部大电网进行能量交互;当外部大电网供电正常时,微网系统与外部大电网并网运行,在满足自身储能用负荷与充电站用负荷需求的同时,将多余电力输送至外部大电网中,获取经济收益,同时根据外部大电网的电价信息与自身发电成本,优化发电计划,实现多能互补和经济收益最大化;当外部大电网故障或偏远地区无法接入外部大电网时独立运行,依靠自身的风光发电和储能装置,维持负荷的正常供电,同时通过实时监测风光发电功率和负荷需求,动态调整储能装置的充放电状态,确保系统的功率平衡与稳定运行。

一种便于更换的风力机叶片及其更换方法

NºPublicación:  CN120759706A 10/10/2025
Solicitante: 
南通大学
CN_120759706_PA

Resumen de: CN120759706A

本发明公开了一种便于更换的风力机叶片及其更换方法,属于风力发电设备技术领域,包括风机设备,所述风机设备上安装有叶片组件,所述叶片组件连接有叶片固定组件,所述叶片固定组件和风机设备的驱动端连接,所述风机设备上安装有第二叶片定位组件,所述第二叶片定位组件和风机设备的驱动端连接,所述第二叶片定位组件和叶片组件活动连接;所述叶片固定组件包括第二驱动组件、旋转组件和固定组件,所述第二驱动组件安装于风机设备的驱动端上,所述旋转组件安装于风机设备上。通过上述方式,本发明实现了对风机叶片的两次定位,同时自动完成对风机叶片的固定。

一种风电发电机冷却降温装置

NºPublicación:  CN120768058A 10/10/2025
Solicitante: 
华能新疆三塘湖风力发电有限责任公司
CN_120768058_PA

Resumen de: CN120768058A

本发明公开了一种风电发电机冷却降温装置,包括:发电机机箱、叶片组件、支撑组件、水冷组件和风冷组件,其中,叶片组件与发电机机箱相连接;支撑组件安装在发电机机箱的底部;水冷组件安装在发电机机箱的顶部;风冷组件安装在发电机机箱内侧的顶部。水冷组件的设置避免了水体温度较高影响散热的情况出现,结合供水泵的抽水能力和水管的传导,能够使水体的冷气对发电机机壳内部的发电机组进行冷却。风冷组件通过散热扇能够将水冷组件的冷气吹动至发电机组的表面,同时动力电机的旋转能够带动丝杆在轴承座的内圈旋转,进而带动安装板和散热扇移动,移动中对发电机组进行冷却降温,配合散热鳍片,提高了对发电机组的冷却效果。

用于风力涡轮机叶片构件的引导系统

NºPublicación:  CN120769951A 10/10/2025
Solicitante: 
LM\u98CE\u529B\u53D1\u7535\u516C\u53F8,
\u827E\u5C14\u59C6\u98CE\u80FD\u53F6\u7247\u5236\u54C1(\u79E6\u7687\u5C9B)\u6709\u9650\u516C\u53F8
CN_120769951_PA

Resumen de: WO2024152147A1

In a first aspect, a guiding system for a wind turbine blade component is provided. The guiding system comprises a guide member configured to guide the wind turbine blade component relative to an inner surface of the blade shell. The guide member is removably attached to a base which is configured to be connected to the inner surface of the blade shell. In a further aspect, a method for mounting a wind turbine blade component within a wind turbine blade is provided. In a further aspect, a wind turbine blade is provided as well.

一种基于风机转子动能的自抗扰全风速功率平滑方法

NºPublicación:  CN120767951A 10/10/2025
Solicitante: 
华能国际电力江苏能源开发有限公司清洁能源分公司华能如东八仙角海上风力发电有限责任公司河海大学
CN_120767951_PA

Resumen de: CN120767951A

本发明提供了一种基于风机转子动能的自抗扰全风速功率平滑方法,属于风电控制技术领域。解决了传统风电机组因风速随机波动导致的输出功率不稳定的技术问题。其技术方案为:包括以下步骤:S1:基于风机动力学模型,计算转子动能并分析其在功率波动平抑中的作用;S2:设计一阶线性自抗扰控制器用于转速环控制;S3:设计二阶线性自抗扰控制器用于变桨距控制;S4:结合转子动能与自抗扰控制技术动态生成有功功率参考值,通过协调转速环和变桨距控制。本发明的有益效果为:本发明能够在风速波动和复杂工况下显著降低功率波动,提升功率输出的平滑性,同时增强系统的抗干扰能力和动态稳定性,确保风力发电机系统的高效、稳定运行。

一种基于风力发电的电动汽车空调装置

NºPublicación:  CN120756392A 10/10/2025
Solicitante: 
华北电力大学(保定)
CN_120756392_PA

Resumen de: CN120756392A

本发明公开了一种基于风力发电的电动汽车空调装置,属于空调供电技术领域,包括导风机构、风力机、发电机、整流器、蓄电池、逆变器、控制器和空调装置,所述导风机构对称安装在车辆发动机舱左右两侧,所述导风机构包括盖板和导风板,所述盖板前后均设置有开口,分别作为进风口和出风口,所述导风板安装在所述盖板内侧,所述盖板上设置有立轴座,所述风力机通过所述立轴座转动设置在所述盖板内侧。本发明采用上述的一种基于风力发电的电动汽车空调装置,代替了车载空调装置原本的供电方式,能够增加在车载空调运行时车辆行驶的稳定性。

一种海上风电结构振动控制方法及系统

NºPublicación:  CN120759696A 10/10/2025
Solicitante: 
江苏省地震局南京工业大学
CN_120759696_PA

Resumen de: CN120759696A

本发明属于电力自动化控制技术领域,涉及一种海上风电结构振动控制方法及系统,方法包括:采集海上风电结构的振动加速度数据;根据所述的振动加速度数据,获取基频偏移率;若所述基频偏移率超过阈值,则通过调控磁场强度对多重调谐质量阻尼器的刚度参数进行调整,实现对海上风电结构的振动控制,若所述基频偏移率不超过阈值,则所述多重调谐质量阻尼器正常工作。本发明能够有效抑制多灾害作用下的宽频振动以及基频偏移后的结构振动,同时结合海上风电结构动态倾斜的监测,也能够实现多灾害作用下的海上风电结构安全评估与告警。

风力蓄电器

NºPublicación:  CN120768056A 10/10/2025
Solicitante: 
王照龙
CN_120768056_PA

Resumen de: CN120768056A

本发明属于风力蓄能领域,提供了风力蓄电器,包括保护壳,所述保护壳包括缸体,其内部设有通风腔与设备腔,所述通风腔的进风口设有风力控制装置,若干个所述风力发电机组并排设于通风腔内,所述环境监测模块与除冰装置设于通风腔内,分别用于监测风力、温度及解除部件冻结,所述储能电池组及充放电系统设于设备腔内,所述充放电系统用于控制储能电池组的充放电,所述功能接口设于保护壳上;本发明通过风力控制装置与风速传感器的配合,可根据实时风力自动调节进风口大小,显著提升风力利用效率,避免设备因风力过大损坏,通过输出端口和兼容端口,可满足汽车充电、露营用电及兼容其他发电设备等多种需求,功能接口外侧的挡水板提升了设备防水性能。

一种风力发电机装置及风力发电机的智能监控测量系统

NºPublicación:  CN223424160U 10/10/2025
Solicitante: 
合肥移瑞通信技术有限公司

Resumen de: CN223424160U

本实用新型实施例涉及风力发电机监控技术领域,公开了一种风力发电机装置及风力发电机的智能监控测量系统。本实用新型中,通过将基准站安装于风力发电机塔筒,并将移动站安装于风力发电机叶片,通过基准站的位置信息确定塔筒的位置,并根据移动站的位置信息和基准站的位置信息以确定叶片的位置,根据塔筒的位置和叶片的位置确定风力发电机叶片与所述风力发电机塔筒的距离,从而判断是否存在安全隐患,由于没有使用视觉测量计算的方式进行风力发电机塔筒和叶片距离的测算,仅通过基准站和移动站的定位功能实现风力发电机塔筒和叶片距离的测算,降低了在极端环境条件下的测算要求,提高在恶劣天气下的风力发电机塔筒和叶片距离的测算精度。

用于海上风电塔筒的对接装置

NºPublicación:  CN223424157U 10/10/2025
Solicitante: 
三峡新能源阳江发电有限公司

Resumen de: CN223424157U

本实用新型提供用于海上风电塔筒的对接装置,包括上塔筒和下塔筒,上塔筒与下塔筒之间设有内夹持装置,内夹持装置包括固定筒和夹持板,固定筒一端设有转动丝杆,转动丝杆上设有移动滑套,筒体包括第一连接套和第二连接套,移动滑套、第一连接套和第二连接套均与夹持板铰接,夹持板抵靠在夹持板内壁上。整体结构使上塔筒节段和下塔筒节段轴向对撑过程简单,能够大量的节省吊装时间。内夹持装置能够开合,以使下塔筒相对上塔筒转动,以使上塔筒底部的法兰螺栓孔与下塔筒顶部的法兰螺栓孔对齐,上塔筒和下塔筒能够固定连接,整体装置结构简单,操作快捷,消耗窗口期较短,极大的降低了施工成本,提升了施工效率,具有较大的推广价值。

储能系统和风力发电机组

NºPublicación:  CN223427555U 10/10/2025
Solicitante: 
北京金风零碳能源有限公司

Resumen de: CN223427555U

本实用新型提供了一种储能系统和风力发电机组。其中储能系统包括:柜体,柜体具有在第一水平方向上相邻设置的储能单元存放区和回风区域,储能单元存放区内具有在第二水平方向上间隔设置的至少两列储能单元存放架,在每列储能单元存放架在第二水平方向上的两侧均具有沿高度方向延伸的通风通道,通风通道能够通过储能单元存放架朝向回风区域的一侧与回风区域连通;送风管道设置在柜体的上部,送风管道具有送风管道进风口和与送风管道进风口连通的多个送风管道出风口,送风管道出风口与通风通道一一对应且彼此连通;空调单元设置在柜体的顶部,空调单元的内循环进风口与回风区域连通,空调单元的内循环出风口与送风管道进风口连通。散热效果好。

一种复杂山区风机基础锚杆安装用转运装置

NºPublicación:  CN223424158U 10/10/2025
Solicitante: 
中国电建集团河南工程有限公司
CN_223424158_U

Resumen de: CN223424158U

本实用新型公开了一种复杂山区风机基础锚杆安装用转运装置,包括侧挡板、坡板和连接板,侧挡板为两个,并在两个侧挡板之间设置有连接板,在连接板的顶部设置有导向轮,在侧挡板的右端设置有坡板,在侧挡板的左端设置有转运小车,转运小车由支撑底板、支架和动力机构组成。本实用新型通过在支撑底板的底部设置滚轮,便于工作人员对锚杆进行移动,通过在底部支座之间转动连接有锚杆插筒,能够对锚杆底部进行卡紧固定,保证锚杆转运的稳定性与安全性,降低了工作人员的负担,减少了人员投入,使用方便,操作简单,易于推广。

风致磁驱压电俘能装置及俘能方法

NºPublicación:  CN120768155A 10/10/2025
Solicitante: 
湖南科技大学
CN_120768155_PA

Resumen de: CN120768155A

本发明公开了一种风致磁驱压电俘能装置及俘能方法,涉及风力发电技术领域;风致磁驱压电俘能装置包括风致磁旋机构、形变环、柔性压电片、内圈磁体组、外圈磁体组、整流滤波单元和储能单元;风驱叶片能够带动旋盘旋转,旋盘上设置有内圈磁体组;形变环的内环壁设置有外圈磁体组,且形变环的外环壁设置有柔性压电片;旋盘位于形变环的内环区域内,旋盘旋转能够带动内圈磁体组旋转至与外圈磁体组处于相对的位置且通过磁力使得形变环发生形变,柔性压电片能够随形变环的形变而形变并产生交变电压;整流滤波单元分别与柔性压电片和储能单元电性连接。本发明能够利用磁力将风能转换为电能,有效收集风能、转换和管理能量。

面向无人区监测的太阳能混合供能系统及动态调节策略

NºPublicación:  CN120767935A 10/10/2025
Solicitante: 
四川思极科技有限公司
CN_120767935_PA

Resumen de: CN120767935A

本发明公开了一种面向无人区监测的太阳能混合供能系统及动态调节策略法。系统集成太阳能采集模块、储能模块、风力/燃油辅助供能模块及监测负载模块,通过多能源协同架构实现供电保障。动态调节策略基于实时数据采集,利用机器学习预测模型与多目标优化算法,优先调度太阳能与风能,结合储能电池缓冲及燃油发电机备用机制,形成“预测‑调度‑容错”的闭环管理。该发明解决了无人区传统供能方式中能源不稳定、运维成本高的问题,实现7×24小时持续供电,可再生能源利用率提升显著,且具备故障自修复与远程监控功能,适用于极端环境下的长期监测场景。

一种垂直轴风力发电支承平台

NºPublicación:  CN120759703A 10/10/2025
Solicitante: 
四川升辉时代机电设备智能制造有限公司
CN_120759703_PA

Resumen de: CN120759703A

本发明涉及垂直轴风力发电设备技术领域,公开了一种垂直轴风力发电支承平台,包括底板,所述底板的顶部设置有支撑机构,所述底板的顶部设置有旋转机构,所述支撑机构的内部设置有支撑延伸台,所述支撑延伸台的顶部设置有行星齿轮,所述支撑延伸台的底部设置有从动齿轮。本发明通过隔断板将装置内部分成几个小空间,将三组发电机和内部轴体隔开,防止一组发电机故障时影响其余发电机和轴体的正常工作,同时隔断板作为支撑桶和底板之间的加强筋结构,提高装置结构稳定性,通过支撑架支撑限位石墨圈对轴体摆动进行限位支撑,减小轴体受到的偏向力,同时限位石墨圈的石墨作为优异的润滑耐磨材料不影响能量传递,延长装置使用寿命。

制造风力涡轮机发电机

NºPublicación:  CN120770106A 10/10/2025
Solicitante: 
西门子歌美飒可再生能源公司
CN_120770106_PA

Resumen de: WO2025016633A1

Manufacturing a wind turbine generator It is described a method of assembling a generator (1) for a wind turbine (50), the method comprising: determining (RBMS) plural first inner radii (r1) of an assembly comprising a ro- tor house (6) and a bearing (5); measuring (IMIC) heights (h) of plural magnet modules (9); determining positions of the plural magnet modules (9) at the rotor house (6); calculating second inner radii (r2) of the rotor house-bearing assembly and determining a minimum second inner radius; measuring ge- ometry information (FSMS) of a first mounting surface (3) and/or a second mounting surface (4) of a stator base struc- ture (2); mounting (FSAC) plural stator segments (8) at the stator base structure (2), in order to obtain a stator assem- bly; coupling the rotor house-bearing assembly (5, 6) with the stator assembly (2, 8, 7); mounting (MMIC) the magnet modules (9) at the rotor house (6).

用于电机的转子的磁体模块

NºPublicación:  CN120770107A 10/10/2025
Solicitante: 
西门子歌美飒可再生能源公司
CN_120770107_PA

Resumen de: WO2024208552A1

It is described a magnet module (130) for a rotor (110) of an electrical machine (100), in particular a wind turbine gener- ator, comprising: a base member (132) extending in a width direction (103), in particular circumferential direction, in a length direction (101), in particular axial direction, and in a thickness direction (102), in particular radial direction, and having a rotor house mounting surface (133) and, at an opposite side, a magnet mounting surface (134) both extending in the width direction (102) and the length direction (101); a magnet (135) mounted at the magnet mounting surface (134) of the base member (132), wherein the base member (132) has at least one first base member recess (137) at the rotor house mounting surface (133), the first base member recess extending in the length direction (101).

一种基于风向预测的风力发电机组偏航控制方法

NºPublicación:  CN120759698A 10/10/2025
Solicitante: 
大唐河南清洁能源有限责任公司中国大唐集团科学技术研究总院有限公司中国大唐集团科学技术研究总院有限公司中南电力试验研究院
CN_120759698_PA

Resumen de: CN120759698A

本发明涉及一种基于风向预测的风力发电机组偏航控制方法,通过风电场区域实时气象数据可以对实时短期内风速、风向进行预测,针对机组所在位置的预测风速风向,通过多参数风向预测与非线性优化实现主动式偏航控制,使得风电机组利用风资源最大化。本发明创新性地融合风速、风向、气温、气压、湿度、辐射强度、能见度、云层覆盖比共8维气象数据作为输入,构建更全面的短期风速风向预测模型;突破性地将预测的未来风速风向序列作为输入,构建非线性优化模型求解未来时段综合风能捕获最大化对应的最优机舱方向,实现基于预测的偏航控制。

一种分片预制式塔基础装置和安装方法

NºPublicación:  CN120759290A 10/10/2025
Solicitante: 
运达能源科技集团股份有限公司
CN_120759290_PA

Resumen de: CN120759290A

本发明公开了一种分片预制式塔基础装置和安装方法,涉及风力涡轮机支撑结构技术领域,分片预制式塔基础装置包括中心柱、位于中心柱周向上的侧向支撑部件、位于中心柱底部的底板、以及位于中心柱顶部的转接段,侧向支撑部件的延伸方向与中心柱呈角度设置,且侧向支撑部件包括远离中心柱的第一连接端和背离第一连接端的第二连接端,中心柱与底板之间设有第一连接结构,底板与第一连接端之间设有第二连接结构,中心柱与第二连接端通过转接段连接,且转接段用于与风电塔连接,使中心柱和风电塔同轴设置,底板包括若干预制底板片,且相邻预制底板片相向的一侧设有第三连接结构。可以有效提高塔基础装置的顶高程,保证底板质量的一致性和稳定性。

一种风机咬合桩注浆补强施工方法

NºPublicación:  CN120759264A 10/10/2025
Solicitante: 
华能新能源股份有限公司河北分公司
CN_120759264_PA

Resumen de: CN120759264A

本发明属于咬合桩施工技术领域,具体涉及一种风机咬合桩注浆补强施工方法,包括清理场地内地上和地下的障碍物;在咬合桩的桩外1m的外圈采用地质钻机成孔,外注浆孔的设置数量为50个;在咬合桩的桩内1m的内圈均匀布置20个注浆孔;将注浆管伸入注浆孔中,注浆管与孔壁间隙采用速凝水泥封堵;采用间隔法跳孔注浆,注浆管伸入开挖深度以上0.5m,采用低压注浆,形成厚度≥0.3m的封闭浆膜,注浆管下放至目标深度,注浆扩散;保压和补注浆。本发明通过注浆补强直接修复扰动桩体的薄弱环节,采用内外双圈分层注浆工艺,结合间隔跳孔施工,既对桩周土体形成环形包裹加固,又对桩底沉渣及扰动区域进行底部封堵,实现桩周土体的立体补强。

一种风力发电机的过滤除尘系统及控制方法

NºPublicación:  CN120754628A 10/10/2025
Solicitante: 
国电联合动力技术有限公司
CN_120754628_PA

Resumen de: CN120754628A

本发明公开一种风力发电机的过滤除尘系统及控制方法,属于风力发电技术领域。该系统包括:机座,所述机座内部安装发电机绕组,所述机座上设有至少一组第一过滤装置;冷却组件,包括:安装于机座上的冷却外壳以及安装于冷却外壳内的冷却风机与第二过滤装置,所述冷却外壳远离所述机座的一侧设有进出风口,所述冷却风机采用可逆转轴流式风机;控制单元,所述控制单元控制过滤除尘系统在冷却模式与除尘模式切换;冷却模式下,控制冷却风机正转,外部空气经所述第一过滤装置进入机座并沿冷却外壳的进出风口排出;除尘模式下,控制冷却风机反转,外部空气经冷却外壳的进出风口进入机座内部并沿机座的第一过滤装置排出。

一种超高速蓝激光熔覆滑动轴承及其制备方法和应用

NºPublicación:  CN120758871A 10/10/2025
Solicitante: 
广东省科学院新材料研究所
CN_120758871_PA

Resumen de: CN120758871A

本发明提供一种超高速蓝激光熔覆滑动轴承及其制备方法和应用,该制备方法包括以下步骤:S1.按所需配比将Cu基多元合金粉末和陶瓷颗粒分别混合,得到不同配比的复合粉末;所述Cu基多元合金粉末,按质量百分比计包括以下元素成分:65‑75%Cu、12‑18%Ni、5‑11%Sn、0.8‑1.2%Nb、0.8‑1.2%Si以及0.8‑1.2%B;S2.对基体进行前处理,预热,将S1所得复合粉末用超高速蓝激光熔覆逐层沉积到基体表面,依次得到第一涂层和第二涂层;所述超高速蓝激光熔覆的工艺参数包括:蓝激光波长455nm,激光功率为2000‑2800W,光斑直径为1‑3mm,送粉速率为20‑30g/min,激光扫描速率为20‑50m/min,搭接率为45‑65%;即得所述超高速蓝激光熔覆滑动轴承。所述超高速蓝激光熔覆滑动轴承,表面涂层成型质量高,耐磨损和耐腐蚀性能优异。

一种风力发电机组故障诊断方法、装置及计算机设备

NºPublicación:  CN120763562A 10/10/2025
Solicitante: 
中国长江三峡集团有限公司
CN_120763562_PA

Resumen de: CN120763562A

本发明涉及风电技术领域,公开了一种风力发电机组故障诊断方法、装置及计算机设备,该风力发电机组故障诊断方法包括:构建不同型号规格的风力发电机组的故障特征库、故障识别算法、故障评估算法和故障预警算法;获取风力发电机组实时运行过程中的运行参数,运行参数包括运行工况数据和振动信号数据;利用故障识别算法,对比运行参数和故障特征库,确定风力发电机组的故障类型,故障类型包括风机叶片断裂故障和风机传动系统故障;利用故障评估算法,基于运行参数确定风力发电机组的故障严重度;利用故障预警算法,基于故障类型和故障严重度进行故障预警。本发明能够解决风力发电机组故障监测困难的问题。

一种垂直轴风力发电机的自动垂直结构

NºPublicación:  CN120759700A 10/10/2025
Solicitante: 
四川升辉时代机电设备智能制造有限公司
CN_120759700_PA

Resumen de: CN120759700A

本发明涉及风力发电机技术领域,具体为一种垂直轴风力发电机的自动垂直结构,包括支撑杆、扇叶、支杆、第一转动座和稳定装置,支撑杆上设有连接杆,连接杆固设于支撑杆的表面,连接杆的表面开设有滑槽,滑槽的内壁设置有稳定装置,稳定装置包括丝杆和拉杆,丝杆与滑槽的内壁转动连接。本发明,通过设置稳定装置,便于对扇叶的角度进行调节稳定,避免现有的垂直轴风力发电机在实施时,扇叶相对于主轴是不可转动的,这使得扇叶处于迎风状态下,受到阻力增大,导致风能利用率较低,当调节扇叶至灵活状态,则易导致扇叶吹动幅度不一,导致损坏率大幅上升,较为耗材,对此有效的提升了设备的稳定性。

风力机叶片的翼型确定方法及阻力型垂直轴风力机

NºPublicación:  CN120764081A 10/10/2025
Solicitante: 
中国长江三峡集团有限公司
CN_120764081_PA

Resumen de: CN120764081A

本发明涉及电子技术领域,公开了风力机叶片的翼型确定方法及阻力型垂直轴风力机,方法本发明提供的风力机叶片的翼型确定方法,基于预先构建的第一翼型方程来确定风力机叶片的翼型参数,第一翼型方程是基于最速降线方程构建的;基于叶片的翼型参数确定风力机叶片的翼型。本发明提供的方法,通过预先构建的第一翼型方程来确定风力机的叶片翼型参数,基于叶片翼型参数确定风力机叶片的剖面翼型,剖面翼型为最速降线翼型的叶片,其阻力系数大于传统半圆型风力机叶片的阻力系数,将风力机的叶片调整为最速降线翼型的叶片,可以有效提高风力机的风能利用率。

一种漂浮式海上风电装置

NºPublicación:  CN120759705A 10/10/2025
Solicitante: 
四川华建云智能科技有限公司
CN_120759705_PA

Resumen de: CN120759705A

本发明公开了一种漂浮式海上风电装置,涉及海上风电技术领域,包括主轴以及承托主轴的安装壳,安装壳的内部设置有:前引导环,其内部设置有多个阵列分布的缓冲室;后引导环,其内部设置有多个阵列分布的连接腔;换气腔,其位于前引导环与后引导环之间,且其上设置有排气孔,后方机舱内空气由后引导环缓冲并与穿过前引导环的空气碰撞并于排气孔排出,该发明在通过前引导环缓冲来自外侧的海风,降低海风流速,后引导环引导机舱内部的空气向外流动,并给主轴降温,海风和机舱内部外流的空气在换气腔接触,两股气流在持续输入并交汇的过程中导致换气腔内部气压升高,并通过排气道排出,避免海风向机舱内部移动而腐蚀机舱内部设备。

一种内置式箱变上移机舱罩

NºPublicación:  CN120759721A 10/10/2025
Solicitante: 
江苏常友环保科技股份有限公司
CN_120759721_PA

Resumen de: CN120759721A

本发明涉及风力发电机机舱罩技术领域,具体为一种内置式箱变上移机舱罩,包括机罩组件,设置在机罩组件上的上移舱盖机构,设置在上移舱盖机构上的户外吊装机构,设置在机罩组件内的组合梯机构以及设置在机罩组件和上移舱盖机构之间的供能推进机构。通过将传统封闭式机舱罩设置为上移分体结构的机舱主体以及上移舱盖机构,当机舱罩内部仪器或者设备出现故障且需要整体更换时,将上移舱盖机构向上抬升,机舱主体顶部的端口裸露在外界环境中,直至机舱主体顶端外张至最大,配合空降装置将需要更换的仪器或者设备直接从机舱主体顶部的端口送入以及送出,从而可以在风力发电机断电期间提高工作人员的抢修速度。

一种风机基础大体积混凝土的浇筑方法

NºPublicación:  CN120759287A 10/10/2025
Solicitante: 
华能新能源股份有限公司河北分公司
CN_120759287_PA

Resumen de: CN120759287A

本发明公开一种风机基础大体积混凝土的浇筑方法,属于风机发电设备施工技术领域,S1:施工前准备;S2:安装预埋件和电缆管道;所述预埋件沿所述基坑中心线周向均匀设置有多组;预埋件上方设置底部垫板;S3:基础垫层施工;S4:安装第二套管与顶部垫板;在第二套管上部设置顶部垫板;S5:第一次基础浇筑;设置模板并在浇筑区域设置基础钢筋网;向模板内泵送混凝土,直至将顶部垫板浇筑于内;S6:安装基础环;S7:安装锚杆;S8:第二次混凝土浇筑;向模板与基础环之间浇筑,将基础环以及基础环与浇筑基础连接处浇筑于其中;S9:拆除模板并进行回填。本发明具有稳定性高、寿命长的优点。

一种风力发电机水冷系统的自动补水装置及压力调节系统

NºPublicación:  CN120759723A 10/10/2025
Solicitante: 
国华爱依斯(黄骅)风电有限公司
CN_120759723_PA

Resumen de: CN120759723A

本发明涉及自动化调节技术领域,具体涉及一种风力发电机水冷系统的自动补水装置及压力调节系统,本发明的压力调节系统通过设置散热有效性分析模块评估当前风力发电机所处的发电环境,判断其外部散热条件;以及设置可预冷幅度获取模块、水冷系统启动模块和预冷有效性分析模块,进一步评估当前外部散热条件下,发电机的输出稳定性,判断发电机在当前工作状态下的冷却负荷,实现冷却效果的自适应监测;设置压力调节模块,根据预冷操作产生的温度变动趋势,实现冷却液压力的自适应控制,保障风力发电机的稳定运行。本发明的自动补水装置与压力调节系统信号连接,自动检测冷却液压力变化并补液,有效维持循环冷却管路内的冷却液的压力稳定。

一种风力发电装置及风力发电系统

NºPublicación:  CN120759704A 10/10/2025
Solicitante: 
北京临一云川能源技术有限公司
CN_120759704_PA

Resumen de: CN120759704A

本发明公开了一种风力发电装置及风力发电系统,包括:主囊体,所述主囊体沿前后方向延伸,其外周面为回转形面;环形翼,所述环形翼套在所述主囊体的径向外侧,并与所述主囊体间隔,环形翼内壁与主囊体外壁之间形成气流通道;气流通道通过构件划分出若干风道,若干风道沿主囊体周向设置,若干风道中至少部分风道内设置有风叶。通过主囊体与环形翼的同轴布局,结合构件对气流通道的划分,实现了风能的高效捕获与能量转化。相比传统浮空发电装置,能够在相同发电功率下显著降低风叶的扫风面积,提高风力发电装置的经济性,具有向更高空层、更高风能密度区域迈进的技术可行性。

风机叶片故障检测振动信号去噪方法、装置、设备及介质

NºPublicación:  CN120763470A 10/10/2025
Solicitante: 
中国长江三峡集团有限公司
CN_120763470_PA

Resumen de: CN120763470A

本发明涉及风力发电技术领域,公开了一种风机叶片故障检测振动信号去噪方法、装置、设备及介质,该方法包括:获取风机叶片振动调制信号;对所述风机叶片振动调制信号进行局部均值分解LMD分解,得到LMD分量;分别计算所述LMD分量和所述风机叶片振动调制信号的方差比;分别基于所述方差比,计算对应的所述LMD分量的加权因子;基于所述加权因子对应的预设阈值,去除冗余的所述LMD分量,并将剩余的所述LMD分量合成,得到去除噪声的叶片调制振动信号。本发明不仅能够有效的剔除风机叶片故障检测振动信号中的噪声并且能够防止小故障信号被剔除。

塔架结构和风力发电机组

NºPublicación:  CN223424156U 10/10/2025
Solicitante: 
金风科技股份有限公司
CN_223424156_U

Resumen de: CN223424156U

本公开提供一种塔架结构和风力发电机组,所述塔架结构包括第一塔段、第二塔段以及连接组件,所述第一塔段的底法兰设置有第一异形槽,所述第一异形槽沿所述第一塔段的横截面的尺寸自第一槽口向第一槽底逐渐增大;所述第二塔段叠放设置于所述第一塔段的下方,所述第二塔段的顶法兰设置有第二异形槽,所述第二异形槽沿所述第二塔段的横截面的尺寸自第二槽口向第二槽底逐渐增大,所述第一槽口和所述第二槽口至少部分相对设置,使得所述第一异形槽和所述第二异形槽相连通;所述连接组件设置于所述第一异形槽和所述第二异形槽形成的容纳空间中,以将所述第一塔段和所述第二塔段连接一起,提高了塔架结构的承载能力,从而提高了风力发电机组的承载能力。

一种风能充电控制装置

NºPublicación:  CN223428192U 10/10/2025
Solicitante: 
无锡莱万电子有限公司

Resumen de: CN223428192U

本实用新型涉及一种风能充电控制装置。包括风叶、整流器、储能电池、MOS管及单片机;所述风叶转动切割磁力线产生交流电,经所述整流器整流后产生直流电,且直流电通过MOS管给所述储能电池充电;所述单片机根据所述储能电池电压上限自动控制所述MOS管的导通与截止。解决了现有技术方案中风能充电控制器主要采用可控硅对风叶短路锁死,这种做法虽然能够实现对风叶的控制,但存在一定的局限性,如设备易发热、损坏,稳定性较差的技术问题。

一种风力发电机冷却器

NºPublicación:  CN223424163U 10/10/2025
Solicitante: 
华润新能源(凌海)风能有限公司

Resumen de: CN223424163U

本实用新型公开了一种风力发电机冷却器,包括器体,顶部连接有多根管道,而在其底部安装有支架;还包括限位组件;该限位组件由导向件与卡接件组成,其中所述导向件安装在器体的顶端面上,所述管道处于所述导向件的内侧;所述卡接件可调式安装在器体的侧边,所述管道通过弯折卡入所述卡接件的内部,通过导向件实现对管道的整合,再通过卡接件完成对管道的分隔安装,所述导向件包括两个对称固定在器体上的走线板,在两个所述走线板的顶部内壁处分别固定有呈高低状的导向板二、导向板一;通过设计的限位组件,能够将管道快速卡入对应的位置,并且无需扎带等结构即可实现安装,操作起来十分方便,同时该限位组件结构简单,方便加工生产。

一种风电机组监测装置

NºPublicación:  CN223424159U 10/10/2025
Solicitante: 
华润新能源(黎平)风能有限责任公司运维分公司

Resumen de: CN223424159U

本实用新型涉及风机监测装置技术领域,具体涉及一种风电机组监测装置,包括滑轨、固定架、第一驱动机构、第二驱动机构以及用于监测热源的第一监测机构,所述固定架滑动连接在所述滑轨的底部,所述第一驱动机构设于所述滑轨上且所述第一驱动机构的动力输出端与所述固定架连接,所述第一监测机构转动连接在所述固定架上,所述第二驱动机构设于所述固定架上且所述第二驱动机构的动力输出端与所述第一监测机构连接。本实用新型第一驱动机构和第二驱动机构带动第一监测机构平移或转动,监测范围覆盖风电机机舱内部,监测更全面,安全性高。

一种用于风电机组的清雪装置

NºPublicación:  CN223424162U 10/10/2025
Solicitante: 
内蒙古智慧运维新能源有限公司

Resumen de: CN223424162U

本实用新型涉及清雪装置技术领域,特别涉及一种用于风电机组的清雪装置,包括风电机组本体,所述风电机组本体下端安装连接有支撑柱,所述风电机组本体后端安装连接有扇叶,所述风电机组本体右端固定连接有清雪机构。本实用新型所述的一种用于风电机组的清雪装置,通过设置清雪机构,将驱动电机安装在底座上,且底座固定安装在风电机组本体右端,启动驱动电机工作,驱动电机输出端的传动杆和风机同时旋转,在驱动电机的作用下,传动杆往复旋转,使风机往复摆动,再启动风机和加热丝工作,加热丝运行产生热能,风机将加热丝产生的热能向风电机组本体上方位置输送,配合风能和热流将风电机组本体上方的积雪清。

一种陆上风力发电机组装配式支撑结构

NºPublicación:  CN223424155U 10/10/2025
Solicitante: 
中船海装风电有限公司

Resumen de: CN223424155U

本实用新型提供了一种陆上风力发电机组装配式支撑结构,包括有装配式基础、装配式塔筒、转接段和钢绞线组成,装配式基础由多组环向布置的预制基础构件拼接形成,预制基础构件上预埋有张拉埋管;装配式塔筒设置在装配式基础上,由多段呈环状的塔筒构件层叠搭接组成,塔筒构件由多组环向布置的C型预制片拼接构成;转接段设置在装配式塔筒顶部,用以承载发电机组钢塔;钢绞线设置有多组,且贯穿张拉埋管并与转接段连接,装配式塔筒与装配式基础通过灌注灌浆料与钢绞线连接。该支撑结构相较于传统的浇筑和绑扎施工而成的支撑结构,其施工周期更短,且机组在服役寿命周期后,基础可进行拆除,有效降低了施工成本。

一种风力发电幕墙

NºPublicación:  CN223423461U 10/10/2025
Solicitante: 
珠海逸鹏科技有限公司
CN_223423461_U

Resumen de: CN223423461U

本实用新型涉及幕墙技术领域,尤其涉及一种风力发电幕墙,本实用新型的风力发电幕墙在现有幕墙本体的基础上设计了安装连接件,其主要连接在幕墙本体上两块相邻玻璃之间,这样有利于与幕墙本体的内部结构进行连接;设计遮阳安装型材,不仅能够实现遮阳效果和美化幕墙本体的外观,还能为风力发电装置提供安装的接触,此外,遮阳安装型材遮挡在两块玻璃的接缝处,在一定程度上能够有效地遮挡阳光对接缝处密封胶的照射,降低老化程度。此外在遮阳安装型材上开孔并沿自身长度方向安装叶轮,这样极大的增加了叶轮的受风面积,提高发电的效率,同时降低了叶轮的宽度,适配整个遮阳安装型材,保证了建筑的美观。

同旋式风力机组件和风力机设备

NºPublicación:  CN223424153U 10/10/2025
Solicitante: 
广东美的制冷设备有限公司美的集团股份有限公司
CN_223424153_U

Resumen de: CN223424153U

本实用新型涉及风力机技术领域,提供一种同旋式风力机组件和风力机设备,同旋式风力机组件包括集流器、前叶轮及后叶轮,集流器环设形成有安装空间,定义集流器在轴向方向上具有前侧和后侧,集流器的内径在集流器的轴向方向上先减小后扩大;前叶轮设于安装空间内,前叶轮与集流器同轴设置,前叶轮的叶尖邻近集流器的内壁,以在前叶轮的叶尖和集流器的内壁之间形成局部高速区;后叶轮设于前叶轮的后侧,后叶轮与集流器同轴设置,后叶轮与前叶轮的同轴转动,前叶轮和后叶轮均朝向后侧方向送风。通过加装集流器和采用同旋设计,以提高风能利用率。

一种便于维护的微型风力发电机

NºPublicación:  CN223424154U 10/10/2025
Solicitante: 
广东鸿耀智慧电能有限公司

Resumen de: CN223424154U

本实用新型公开了一种便于维护的微型风力发电机,包括发电机支撑杆与风力发电机主体,所述风力发电机主体的下端固定安装有上法兰盘,所述上法兰盘表面的通孔内设有六角螺栓,所述上法兰盘通过六角螺栓固定安装有发电机支撑杆的上端,所述风力发电机主体的转动轴外侧活动安装有风力发电机叶片,所述风力发电机叶片的前表面固定安装有发电机头部,所述风力发电机主体的后表面固定安装有发电机尾部,所述发电机尾部的后端固定安装有尾翼。本实用新型所述的一种便于维护的微型风力发电机,通过发电机支撑杆下降维护微型风力发电机时更加方便与省力,不用频繁拧动螺栓与搬运支撑杆,下降维护方式更加简单,重新安装过程更加容易。

一种风电机舱罩可移动式吊物口盖板结构

NºPublicación:  CN223424161U 10/10/2025
Solicitante: 
江苏常友环保科技股份有限公司
CN_223424161_U

Resumen de: CN223424161U

本实用新型涉及一种风电机舱罩可移动式吊物口盖板结构,包括风电机舱罩玻璃钢主体,所述风电机舱罩玻璃钢主体表面开口,开口沿其顶部边沿向上延伸至形成边框,所述边框处设置有吊物口盖板,所述吊物口盖板将开口遮挡,所述风电机舱罩玻璃钢主体上设置有移动组件,所述移动组件带动所述吊物口盖板水平移动。本实用新型涉及风电装备的技术领域。本实用新型具有使操作人员在打开吊物口盖板时,吊物口盖板与相邻零部件不会发生碰触,进而保证正常的吊物作业的效果。

一种新型张力腿海上风机系统

NºPublicación:  CN120759711A 10/10/2025
Solicitante: 
海隆石油工程(天津)有限公司海隆石油海洋工程有限公司
CN_120759711_PA

Resumen de: CN120759711A

本发明涉及海上风机技术领域,具体涉及一种新型张力腿海上风机系统,包括高压气体调节装置、辅助安装平台、张力腿、风机组件,所述辅助安装平台与所述张力腿卡接,并用于提前临时固定所述张力腿,所述风机组件与所述张力腿连接,所述风机组件包括平台立柱、横梁、斜撑、风机塔筒,所述平台立柱外侧周面间隔设置有多个横梁,所述斜撑用于连接所述横梁与所述平台立柱,所述风机塔筒安装于所述平台立柱的顶部,所述平台立柱底部为开口结构并与海水直接连通形成水腔,所述平台立柱内部设有高压气体调节装置,用于向所述平台立柱内部注气以与海水形成高压空气塞以产生减震效果,本发明能有效改善张力腿结构的疲劳寿命。

一种利用文丘里效应的风力发电装置

NºPublicación:  CN120759694A 10/10/2025
Solicitante: 
深圳和钜峰清能源科技有限公司
CN_120759694_PA

Resumen de: CN120759694A

本发明公开了一种利用文丘里效应的风力发电装置,包括:风力捕捉单元,包括弧形结构件;风力增速单元,包括风力采集管和文丘里管,风力采集管连接于弧形结构件与文丘里管之间,自风力采集管指向文丘里管的方向,风力采集管的横截面逐渐减小;其中,文丘里管具有喉部横截面极限值。该利用文丘里效应的风力发电装置。该风力发电装置中,文丘里管利用常态下相同流量的流体通过不同截面时流速与截面积成反比的流体性质,文丘里管末端处的风速由于截面积变小而成倍增加,使得该风力发电装置可以实现低风速条件下的高效风能捕获,使风速呈倍数提升,整体风能转化效率大幅提升。

零碳通风控温和零碳能源系统

NºPublicación:  CN120759701A 10/10/2025
Solicitante: 
北方华热(北京)科技有限公司
CN_120759701_PA

Resumen de: CN120759701A

本发明提供一种零碳通风控温和零碳能源系统,该系统主要利用烟囱效应、风力发电和储能技术原理实现零碳通风控温和零碳能源的产生;主要由风力管道、风力发电机和储能装置构成;风力管道产生风力,该风力推动风力发电机发电,该电力由储能装备储存备用。在夏季,各种建筑物和大棚利用该系统实现零碳通风、降温和储能,储存的绿色能源可用于冬季供暖。

一种便捷的大型风电叶片维修装置及其操作方法

NºPublicación:  CN120759712A 10/10/2025
Solicitante: 
射阳中车风电叶片工程有限公司
CN_120759712_PA

Resumen de: CN120759712A

本发明公开了一种便捷的大型风电叶片维修装置及其操作方法,包括运输机构和电控机构,所述运输机构包括拖车、通过轴承与所述拖车转动连接的支撑台、连接于所述拖车和支撑台之间的电机。本发明中,作业人员通过踩压开关启动电机,驱动支撑台旋转,直至所需工件(例如工具箱)靠近施工板,然后作业人员站立于施工板时,其体重触发重量传感器检测信号并传递至PLC,同时,摄像头将工具箱相对于作业人员的位置信息传送给PLC,PLC依据预设算法计算后,控制液压缸活动端伸长,驱动推块挤压挡板,带动柱形套和垫板上升,从而将工具箱抬升至作业人员手部高度,此设计有效避免了频繁下蹲,提升了舒适度并降低了作业风险。

基于单列处风机导管架叶片安装方法

NºPublicación:  CN120759707A 10/10/2025
Solicitante: 
中国电建集团贵州工程有限公司中电建海上风电工程有限公司
CN_120759707_PA

Resumen de: CN120759707A

本发明公开了一种基于单列处风机导管架叶片安装方法,包括:将风机叶片运输至风机导管架附近并间隔单列独立放置在风机导管架上,再吊装转移至与就近轮毂进行拼接的安装过程。三片风机叶片能在风机导管架将上进行单列过驳放安置,风机导管架为风机叶片在大海风海浪环境提供稳定放置,避免叶片运输船舶遇到大海风海浪时需载着风机叶片返航返港,保证了风机施工时部件及时到场,提升了风机安装效率,降低了船舶往返成本。

一种故障处理方法、装置、系统及存储介质

NºPublicación:  CN120763699A 10/10/2025
Solicitante: 
国能思达科技有限公司
CN_120763699_PA

Resumen de: CN120763699A

本申请公开了一种故障处理方法、装置、系统及存储介质,用以提高风力发电机组的维护效率。所述方法包括:实时获取风力发电机组的当前环境数据和风力发电机组的实际运行数据;将所述风力发电机组的当前环境数据和风力发电机组的实际运行数据发送给预设模型,所述预设模型用于通过风力发电机组的当前环境数据和风力发电机组的实际运行数据对风力发电机组的故障信息进行预测;当所述预设模型输出故障信息时,根据所述故障信息进行故障处理。本申请降低了工程师进行现场监测和维护的频率,提高了风力发电机组的维护效率。

一种基于数物融合的风机故障预警方法

NºPublicación:  CN120759716A 10/10/2025
Solicitante: 
大连蓝雪智能科技有限公司大连理工大学
CN_120759716_PA

Resumen de: CN120759716A

本发明涉及风机故障预警技术领域,提供一种基于数物融合的风机故障预警方法包括采集多源数据;根据双列调心滚子轴承高精度机理模型,计算轴承最大接触应力;对多源数据进行前处理;建立PEAKR模型,并将处理后的多源数据和最大接触应力数据输入PEAKR模型中进行训练;利用PEAKR模型对待监测的运行数据进行预测,生成预测值并计算残差序列,并根据残差序列确定MSE指标;采用基于移动窗口策略的MSE指标,对PEAKR模型输出残差进行分析;当MSE指标超过MSE报警阈值则表示设备健康状态出现异常,触发报警。本发明能够实现对设备状态监测中潜在故障的精准识别,最大程度的保证机器设备安全平稳高效运行。

固定式海上风机系统实时混合模拟试验方法及系统

NºPublicación:  CN120764396A 10/10/2025
Solicitante: 
天津大学
CN_120764396_PA

Resumen de: CN120764396A

本发明提供了一种固定式海上风机系统实时混合模拟试验方法及系统。该固定式海上风机系统实时混合模拟试验方法包括:按照风参数比例,将第i‑1风荷载参数进行缩小,并利用缩小后的第i‑1风载荷参数驱动复杂边界协调加载装置向海上风机系统模型施加第i风荷载;采集海上风机系统模型在第i模拟自然条件影响下的第i运动特征;按照特征比例关系,对第i运动特征进行扩大,得到第i扩大运动特征;利用目标神经网络处理第i扩大运动特征,得到第i风荷载参数;目标神经网络表征实际海上风机系统的风荷载参数和与风荷载参数相对应的运动特征的非线性映射关系。

一种利用公路隧道射流风机发电并供隧道自身照明的装置

NºPublicación:  CN120759702A 10/10/2025
Solicitante: 
贵州中交安江高速公路有限公司
CN_120759702_PA

Resumen de: CN120759702A

本发明提供了一种利用公路隧道射流风机发电并供隧道自身照明的装置,包括直流发电机、射流风机和隧道照明系统,所述射流风机的电机轴一端连接有轴向连接器,所述轴向连接器的另一端连接于所述直流发电机的输入端,所述直流发电机的一侧设有逆变器,所述逆变器的一侧设有双电源开关柜,所述双电源开关柜电性连接有隧道照明配电柜。本发明通过直流发电机利用射流风机在自然风和活塞风的作用下产生的动能进行发电,并利用逆变器用于对直流发电机发出的电进行变频并升压,以便利用变频升压后的交流电为隧道照明系统提供照明所需的电能,使隧道照明用电可以做到自给自足,极大的降低了隧道的运营成本,而地方电网供电便可只作为隧道照明的备用电源。

一种新能源风机设备的故障预警系统

NºPublicación:  CN120763507A 10/10/2025
Solicitante: 
辽宁工业大学
CN_120763507_PA

Resumen de: CN120763507A

本发明涉及新能源设备故障预警技术领域,公开了一种新能源风机设备的故障预警系统,包括:数据采集模块,用于采集新能源风机设备的运行数据和环境数据,并进行预处理,所述运行数据包括振动数据、温度数据,所述环境数据包括风速数据、风向数据、湿度数据和气压数据;数据处理模块,用于对所述预处理后的数据进行处理,得到故障预测参照值,并进行分类,得到故障预测结果。本发明通过数据采集模块采集新能源风机设备的运行数据和环境数据,数据处理模块对多源数据进行综合处理和分析,得到故障预测参照值和故障预测结果,故障预警模块根据故障预测结果提供相应的故障决策结果,为维护人员提供了准确的故障预警和决策支持。

用于风力发电机多驱变桨控制的远程监控方法

NºPublicación:  CN120759720A 10/10/2025
Solicitante: 
湖南工程学院
CN_120759720_PA

Resumen de: CN120759720A

本发明公开了用于风力发电机多驱变桨控制的远程监控方法,涉及风力发电设备远程控制技术领域,该方法通过系统识别和权限验证后,采集各驱动器响应时延、偏差角、扭矩波动率与过温触发率,构建驱动行为指数,判断第一合格驱动单元;基于响应延迟、误差率与报警次数,计算驱动行为差异系数,识别第二合格驱动单元;监测协同执行行为,构建多驱协同偏移指数,判断响应一致性;若协同异常,启动深度闭环干预,远程下发微调指令,采集响应启动与恢复时长、风速曲线等,计算远程控制耗散系数,评估调控效果。该方法实现了对多驱动系统的状态分级识别与精准远程干预,提升风电系统运行的稳定性与智能化水平。

一种风电机组的转矩系数确定方法、装置、设备及介质

NºPublicación:  CN120759719A 10/10/2025
Solicitante: 
重庆清电新能源开发有限公司上海发电设备成套设计研究院有限责任公司
CN_120759719_PA

Resumen de: CN120759719A

本发明公开了一种风电机组的转矩系数确定方法、装置、设备及介质。该方法包括:获取目标风电机组的待处理数据,并对所述待处理数据进行预处理得到待修正数据,所述待处理数据至少包括风速数据、转速数据和功率数据;基于所述目标风电机组的出厂功率曲线,对所述待修正数据中的风速数据进行修正,得到目标处理数据;基于所述目标处理数据和风电机组转矩系数计算模型,从所述目标风电机组的多个预设转矩增益系数中确定目标转矩增益系数;基于所述目标转矩增益系数与所述目标风电机组的预设转矩系数的乘积,确定目标转矩系数。该方案可以提高转矩系数的设置精准度,进而提升风电机组整体运行效果。

一种风力发电机叶片安装辅助工具

NºPublicación:  CN120759708A 10/10/2025
Solicitante: 
华能通渭风电有限责任公司
CN_120759708_PA

Resumen de: CN120759708A

本发明公开了一种风力发电机叶片安装辅助工具,包括承载部,其上设置有连接部和调节部;所述连接部由控制件、连接件、夹持件和微调件组成;所述控制件的设置用于在设备和叶片完成对接之后,辅助叶片安装在轮毂上,方便其的安装;所述连接件的设置用于连接叶片和控制件,进而使得控制件配合吊机带动叶片的移动;所述夹持件的设置用于固定叶片的端部;该设备通过安装件和驱动件的相互配合将整个设备安装在风力发电机的立柱上,再通过连接件和叶片连接,使得叶片的端部得到固定,之后通过微调件控制叶片端部微调,使得叶片上螺纹杆和轮毂上的安装孔对准,之后通过控制件和吊机的相互配合完成叶片的安装。

送風装置及び気体処理装置

NºPublicación:  JP2025154512A 10/10/2025
Solicitante: 
株式会社大気社
JP_2025154512_PA

Resumen de: JP2025154512A

【課題】風車を駆動源とする送風機の配置自由度の高い技術を提供すること。【解決手段】建物の外部に設置された風車と、前記建物の内部に設置され、前記風車の回転力により駆動する送風機と、前記風車の回転力を前記送風機に伝達する伝達機構と、を備えた送風装置であって、前記伝達機構は、前記風車の回転軸と軸方向が異なる第一の駆動伝達軸と、前記回転軸から前記第一の駆動伝達軸へ駆動力を伝達する第一の歯車装置と、前記第一の駆動伝達軸と軸方向が異なる第二の駆動伝達軸と、前記第一の駆動伝達軸から前記第二の駆動伝達軸へ駆動力を伝達する第二の歯車装置と、を備える。【選択図】 図6

Fluidogenerador de geometría variable

NºPublicación:  ES1323174U 09/10/2025
Solicitante: 
CALERO GOMEZ VICTOR JULIAN [ES]
CALERO GOMEZ, V\u00EDctor Juli\u00E1n

TOOLS, TOOL KITS, SYSTEMS AND METHODS FOR GRIPPING FASTENERS

NºPublicación:  WO2025209648A1 09/10/2025
Solicitante: 
GENERAL ELECTRIC RENOVABLES ESPANA S L [ES]
GENERAL ELECTRIC RENOVABLES ESPA\u00D1A, S.L

Resumen de: WO2025209648A1

The present disclosure relates to tools (1), tool kits, systems and methods (100) for gripping a plurality of fasteners (43) and carrying the fasteners (43) to a wind turbine component (47) where they are to be inserted. The present disclosure further relates to wind turbine components (47) such as wind turbine tower sections, and to wind turbines (10). The present disclosure further relates to methods for joining two wind turbine components with fasteners (43). A tool (1) for gripping a plurality of fasteners (43) to be inserted in a plurality of through holes (51) of a wind turbine component (47) having a first pitch, the through holes (51) being arranged along an imaginary line having a first curvature, comprises: a first spreader bar (3) including a plurality of recesses (27) configured to receive the plurality of fasteners (43) and a frame (2) configured to support the first spreader bar (3). The plurality of recesses (27) is arranged along an imaginary line having the first curvature, and the recesses have the first pitch.

FLOATING POWER GENERATION PLATFORM WITH WATER PLANE PLATFORM

NºPublicación:  WO2025212571A1 09/10/2025
Solicitante: 
MIGHTY WAVES ENERGY LLC [US]
MIGHTY WAVES ENERGY, LLC

Resumen de: WO2025212571A1

A floating power generation platform includes a water plane platform having a plurality of hydrodynamically fared columns respectively connected with a plurality of buoyant subsurface hulls. At least one tower extends above the water plane platform and is configured to support at least one power generation system. The at least one tower has a center core capable of hosting a stowed member. A deployable spar is movable between a stowed position, in which the deployable spar is stowed within the center core of the tower, and a deployed position, in which the deployable spar is extended below the water plane platform and each of the plurality of hydrodynamically fared columns.

WIND GENERATOR ROTOR

NºPublicación:  WO2025212075A1 09/10/2025
Solicitante: 
KRYSAK FEDIR [UA]
KRYSAK ALLA [UA]
KRYSAK ANDRIAN [UA]
KRYSAK MATVII [UA]
KRYSAK, Fedir,
KRYSAK, Alla,
KRYSAK, Andrian,
KRYSAK, Matvii
UA_157239_U

Resumen de: WO2025212075A1

A low-noise rotor for centrifugal/axial fans, vertical wind turbines and hydromachines is disclosed. The rotor comprises at least two blades fixed around a central shaft (1) by fastening elements (4). Each blade incorporates a first helical plate formed from a concave -convex (2) rotation surface and a second helical plate formed from a convex-concave (3) rotation surface. The convex-concave (3) plates of the blades, the radii of rotation of the points of the surfaces of which in the planes perpendicular to the axis of rotation of the rotor are larger than the radii of rotation of the points of the surfaces of the concave -convex (2) plates, are placed more distant from the rotor's axis of rotation than the concave -convex (2) plates, which reduces turbulence, noise and vibration while improving flow efficiency.

ELECTRIC VEHICLE CAPABLE OF CHARGING USING WIND POWER ENERGY

NºPublicación:  WO2025211489A1 09/10/2025
Solicitante: 
KIM YONG HO [KR]
\uAE40\uC6A9\uD638
US_2025313108_PA

Resumen de: WO2025211489A1

The present invention provides an electric vehicle capable of charging using wind power energy, comprising: an air inlet part (110) formed on the front surface of an electric vehicle (10) traveling by using an electric motor (11) to rotatably drive wheels (12), thereby allowing wind to flow therein during traveling; a turbine (120) formed at the rear end of the air inlet part (110) so as to be rotated using wind power; a power generation part (130) composed of a rotor (131), which is coupled to a rotary shaft (121) extending from the turbine (120), and a stator (132), which is arranged in a ring shape on the outer side of the rotor (131), thereby producing electricity by using the rotation of the rotor (131); a power source part (140) which converts the electricity produced by the power generation part (130) into chargeable voltage so as to charge a battery (141), and which supplies driving voltage from the battery (141) to the electric motor (11); and a controller (150) for electrically connecting the battery (141) and the electric motor (11) through an electrical system, and controlling charging from the power generation part (130) to the battery (141), and thus the electricity produced using wind power generation is used to enable traveling.

WIND TURBINE TOWER AND TRANSPORT METHOD

NºPublicación:  WO2025210284A1 09/10/2025
Solicitante: 
NABRAWIND TECH S L [ES]
NABRAWIND TECHNOLOGIES, S.L

Resumen de: WO2025210284A1

The invention relates to a wind turbine tower and transport method. The tower sections (1, 4, 5) are stacked where the towers are manufactured. The first tower section (5) is placed upright using a crane (6) and a flange thereof is screwed to a lower attachment (10). A new tower section (4) is added and screwed onto the attachment (10), which, being stepped, leaves the tower sections (1, 4, 5) at different heights. The operation is repeated in this way until all the sections have been completed. An upper attachment (11) is then attached by screwing. Using cables (9) directly secured to the attachments (10 and 11), the assembly is tipped over to leave the nested tower (7) in a horizontal position ready for transport.

CRYPTO SOLAR WIND OASIS TREE

NºPublicación:  WO2025210380A1 09/10/2025
Solicitante: 
CHOW MICHAEL [CA]
CHOW, Michael

Resumen de: WO2025210380A1

The present disclosure pertains to the Crypto Solar Wind Oasis Tree, an inventive cryptocurrency mining system engineered to harmonize with environmental sustainability goals. This system integrates renewable energy sources, including vertical axis wind turbines and photovoltaic solar panels, with a novel water reservoir that facilitates both cooling and hydroelectric power generation. Designed to mimic the natural structure of a tree, this invention optimizes the capture and utilization of solar and wind energy, while its innovative cooling system leverages water from the integrated reservoir, reducing the thermal load on the mining hardware. An advanced control system, employing artificial intelligence and real-time data analysis, dynamically manages energy production, storage, and operational efficiency, ensuring the system's adaptability to varying environmental conditions. Additionally, the inclusion of green walls or vertical gardens enhances its aesthetic appeal and environmental benefits, making the Crypto Solar Wind Oasis Tree a cutting-edge solution for sustainable cryptocurrency mining. The present disclosure pertains to the Crypto Solar Wind Oasis Tree, an inventive cryptocurrency mining system engineered to harmonize with environmental sustainability goals. This system integrates renewable energy sources, including vertical axis wind turbines and photovoltaic solar panels, with a novel water reservoir that facilitates both cooling and hydroelectric power generati

風力発電ユニット制御キャビネットの簡易作業台

NºPublicación:  JP3253178U 09/10/2025
Solicitante: 
華能新泰風力発電有限公司

Resumen de: JP3253178U

【課題】風力発電ユニット制御キャビネットの簡易作業台を提供する。【解決手段】作業台アセンブリ100を含み、折り畳みブラケット固定プレート101の両端に折り畳みブラケット固定ロッド102が取り付けられており、折り畳みブラケット固定ロッドは2組設けられ、且つ折り畳みブラケット固定ロッドの外壁上端には折り畳みブラケットの折り畳み可能ロッド103が可動的にヒンジされており、折り畳みブラケットの折り畳み可能ロッドの表面には、作業台板104がネジで固定的に取り付けられている。本考案に係る装置は、ナセルの制御キャビネット外部のキャビネットドアの空きスペースを利用して、このスペースに耐荷重ブラケットとプラットフォームを取り付けて簡易な作業台を形成することで、点検作業者がナセルの制御キャビネット部分で作業しやすくなり、ノートパソコンのトレイとしても使用できる。使用しない時に折りたたんで、スペースを合理的に利用して、風力発電ユニットの点検作業環境と人員の作業姿勢を改善して、従業員の作業不良姿勢を適時に是正して、人を中心とした思想を十分に体現して、点検作業の効率も向上できる。【選択図】図1

風力発電機の自己適応型風速調整装置

NºPublicación:  JP3253203U 09/10/2025
Solicitante: 
三峡国▲際▼能源投▲資▼集▲団▼有限公司

Resumen de: JP3253203U

【課題】周囲環境における風速に基づいて羽根の受風面積を適応的に調整できる風力発電機の自己適応型風速調整装置を提供する。【解決手段】自己適応型風速調整装置は、羽根アセンブリ1、調整アセンブリ2及び発電アセンブリ3を含み、羽根アセンブリは取り付け座11及び取り付け座の周囲に設けられる複数組の羽根機構12を含み、羽根機構はスリーブ板及び延在板を含み、延在板はスリーブ板の高さ方向に沿って摺動することができ、調整アセンブリは駆動機構21及び複数組の調整機構22を含み、調整機構は移動ブロック及び接続ロッドを含み、接続ロッドは、一端が移動ブロックにヒンジ接続され、他端が延在板の側壁にヒンジ接続され、駆動機構は、羽根機構に接近し又は離れる方向に沿って移動するように移動ブロックを制御することができ、発電アセンブリは取り付け座に接続される。【選択図】図1

LEADING EDGE PROTECTION (LEP) COATING COMPOSITION AND USES THEREOF

NºPublicación:  US2025313714A1 09/10/2025
Solicitante: 
AEROX ADVANCED POLYMERS SL [ES]
Aerox Advanced Polymers, SL
US_2025313714_A1

Resumen de: US2025313714A1

A Leading Edge Protection (LEP) coating composition is characterized by comprising a curable polyurethane material. The polyurethane material is a solvent-free two component polyurethane material comprising: Component A includes at least 10% by weight of biobased carbon polycarbonate diol in respect of the total weight of Component A, calculated according to method C14 using ASTM D6866; and one or more additives wherein the total quantity of additives is in the range of 5-15% by weight in the respect of the weight of the total Component A; and Component B includes an aliphatic isocyanate with an isocyanate (—NCO) content between 10-25%; and uses thereof.

A METHOD FOR HANDLING GEARBOX VIBRATIONS IN A WIND TURBINE

NºPublicación:  US2025314237A1 09/10/2025
Solicitante: 
VESTAS WIND SYSTEMS AS [DK]
VESTAS WIND SYSTEMS A/S
US_2025314237_PA

Resumen de: US2025314237A1

A method for controlling operation of a generator for a wind turbine is disclosed. A measure for a rotational speed of the generator, and a measure for vibrations originating from gear tooth meshing of a gearbox of the wind turbine, at the rotational speed of the generator, and at least one amplitude of a harmonic in the gearbox vibrations is determined. An initial phase angle and an initial amplitude are selected, based on the rotational speed, on initial characteristics of the wind turbine, and on the at least one amplitude of the harmonic. An optimization process is performed to obtain an adjusted phase angle and an adjusted amplitude. A torque modulating signal for the generator, specifying the adjusted phase angle and the adjusted amplitude, is generated and injected into the generator. Information regarding residual vibrations at the minimised resultant vibration is derived.

OFFSHORE ENERGY HARVESTER

NºPublicación:  US2025314235A1 09/10/2025
Solicitante: 
THE REGENTS OF THE UNIV OF MICHIGAN [US]
The Regents of the University of Michigan
US_2025314235_PA

Resumen de: US2025314235A1

An energy harvester simultaneously generates electrical energy from more than one source of natural fluidic motion, including wind motion and water motion. The energy harvester includes a wind turbine generator, a hydrokinetic turbine generator, or a wave energy generator. The impedance of the generators can be modulated to selectively control pitch, roll, and yaw motions of the energy harvester to stabilize external forces on the energy harvester and/or control the orientation of the energy harvester with respect to a wind direction or water movement direction. The generators may thus synergistically serve the dual purposes of electrical energy generation and energy harvester stability control.

PASSIVE TRAILING EDGE INCLUDING CHORD EXTENSIONS

NºPublicación:  US2025314234A1 09/10/2025
Solicitante: 
GULF WIND TECH [US]
Gulf Wind Technology
US_2025314234_PA

Resumen de: US2025314234A1

A wind turbine rotor blade is disclosed that includes a blade body having a shape that generates a lift when impacted by an incident airflow. The blade body includes a pressure side and a suction side joining at a leading edge and a trailing edge, and a chord extension system mechanically coupled with the trailing edge. The chord extension system may be configured to enhance an aerodynamic performance of the wind turbine rotor blade. The chord extension system may include either a flat plate or a serration. The chord extension system may include a multi-layer composite body that includes a first composite layer having a first elasticity parameter and a second composite layer mechanically coupled with the first composite layer. The second composite layer may have a second elasticity parameter different from the first elasticity parameter.

MOUNTING EQUIPMENT ON WIND TURBINE STRUCTURES

NºPublicación:  US2025314242A1 09/10/2025
Solicitante: 
SUBSEA 7 LTD [GB]
SUBSEA 7 LIMITED
US_2025314242_PA

Resumen de: US2025314242A1

A support system arranged to support equipment such as electrolysers externally on a wind turbine. A hub encircling or coextensive with a tower or transition piece of the wind turbine surrounds a central vertical axis. The hub defines at least one docking bay having mounting formations to which a support module can be releasably engaged, thereby providing an equipment platform cantilevered from the hub. Where the hub comprises a plurality of docking bays spaced apart angularly around the central axis, a corresponding plurality of support modules are engageable with the hub in a petaloid arrangement. In plan view, the docking bays correspond with respective sides of a polygon. On installation, each support module is suspended on hook formations of a docking bay and is then pivoted into engagement with other mounting formations of the docking bay. The hub can be assembled from sections around the tower in a retrofitting operation.

Offshore Floating Platform for Aeolian Generators

NºPublicación:  US2025314239A1 09/10/2025
Solicitante: 
MC2WORLD S R L [IT]
MC2WORLD S.R.L
US_2025314239_PA

Resumen de: US2025314239A1

An offshore floating platform includes a plurality of aeolian generators having: an aeolian tower having a longitudinal extension and provided with a first and a second end; a blade-type aeolian generator positioned at the first end; and an engagement base positioned at the second end; a connection section, which joins two aeolian generators, including at least one connection element; wherein each engagement base is engaged with the connection element in such a way that each aeolian tower can move independently in a direction substantially parallel to the axis of longitudinal development of an aeolian tower.

SENSING WITHIN A SUBSEA ELECTRIC ARCHITECTURE IN A WIND FARM

NºPublicación:  US2025314240A1 09/10/2025
Solicitante: 
EQUINOR ENERGY AS [NO]
Equinor Energy AS
US_2025314240_PA

Resumen de: US2025314240A1

A system for monitoring properties within a subsea electrical architecture of an offshore windfarm including one or more wind turbines incudes first passive optical sensors within the subsea unit for monitoring an electrical or environmental property within the subsea unit, a first optical fibre bundle extending integrally within a power cable, a first optical interconnection unit within the subsea unit and optically coupling one or more optical fibres of the optical fibre bundle to the passive optical sensors, a monitoring unit located at an onshore grid connection point, and a second optical interconnection unit optically coupling one or more optical fibres of the optical fibre bundle to said monitoring unit. The monitoring unit is configured to transmit monitoring light signals along one or more optical fibres of the first optical fibre bundle to said first optical interconnection unit and to localise a fault and/or operate a circuit breaker in dependence upon optical signals transmitted from the or each first passive optical sensor over the first optical fibre bundle.

METHOD FOR YAW CONTROL OF A WIND TURBINE AND A WIND TURBINE HAVING A YAW CONTROL

NºPublicación:  US2025314236A1 09/10/2025
Solicitante: 
NORDEX ENERGY SE & CO KG [DE]
Nordex Energy SE & Co. KG
US_2025314236_PA

Resumen de: US2025314236A1

A method is for yaw control of a wind turbine. The wind turbine includes a wind turbine controller, a regular power supply to supply the wind turbine with electric power in case of a normal mode of operation, and a power backup system to supply the wind turbine with electric power in case of a grid outage. The method includes: detecting a grid outage for the wind turbine, switching from the regular power supply to the power backup system in case of the detected grid outage, and switching the wind turbine from the normal mode of operation to a less-active mode of operation in which the electric power consumption of the wind turbine is reduced compared to the normal mode of operation.

INTEGRATED SENSOR FOR COMPOSITE MATERIALS

NºPublicación:  US2025314233A1 09/10/2025
Solicitante: 
FOOTFALLS AND HEARTBEATS UK LTD [GB]
Footfalls and Heartbeats (UK) Limited
US_2025314233_PA

Resumen de: US2025314233A1

The invention provides a composite material comprising a fibre material, a resin and an array comprising a conductive yarn, wherein the spatial configuration of the array is configured to change in response to a load applied to the composite material such that the resistance of the conductive yarn changes. The invention also provides a method of making a composite material. The method comprises: providing a fibre material; arranging an array comprising conductive yarns around the fibre material; and setting the fibre material and the array in place using a polymer matrix.

YAW CONTROL FAULT DETECTION SYSTEM

NºPublicación:  US2025314241A1 09/10/2025
Solicitante: 
INVENTUS HOLDINGS LLC [US]
Inventus Holdings, LLC
US_2025314241_PA

Resumen de: US2025314241A1

One example includes a wind turbine yaw control fault detection system. The system includes current monitors that are each configured to monitor a current amplitude of a respective one of a plurality of yaw motors of a wind turbine and to generate a current signal that is indicative of the respective current amplitude. The system further includes a processor to compare the current amplitude of each of the yaw motors relative to each other and relative to at least one threshold based on the current signal from each of the current monitors. The fault detection algorithm further determines a fault condition associated with at least one yaw mechanical drive component of the wind turbine based on the comparison of the current amplitude of each of the yaw motors relative to each other and relative to at least one threshold.

WIND TURBINE

NºPublicación:  US2025314232A1 09/10/2025
Solicitante: 
VESTAS WIND SYSTEMS AS [DK]
VESTAS WIND SYSTEMS A/S
US_2025314232_PA

Resumen de: US2025314232A1

In a first aspect of the present invention there is provided a wind turbine comprising a tower, a nacelle mounted on the tower, and a rotor mounted to the nacelle. The rotor comprises a hub and at least three wind turbine blades. Each blade extends between a root and a tip. Each blade further comprises a connection point located between the root and the tip. The wind turbine further comprises a plurality of blade connecting members, each blade connecting member being connected between corresponding connection points of a pair of wind turbine blades. The wind turbine further comprises a tensioning system for adjusting the tension in each blade connecting member. The tensioning system comprises a plurality of linear actuators, each linear actuator being coupled between the hub and a respective blade connecting member. Each linear actuator is configured to adjust the tension in the blade connecting member.

CONTROLLER, PROCESSING CIRCUIT, METHOD, AND NON-TRANSITORY COMPUTER-READABLE MEDIUM FOR CONTROLLING WIND POWER GENERATION DEVICE

NºPublicación:  US2025314238A1 09/10/2025
Solicitante: 
NABTESCO CORP [JP]
NABTESCO CORPORATION
US_2025314238_PA

Resumen de: US2025314238A1

A controller for controlling a wind power generation device including a tower and a nacelle includes: a processing circuit configured to control a motor for rotating the nacelle relative to the tower; and a torque information sensor for sensing information about a torque acting from the nacelle to a gear mechanism, the gear mechanism connecting the tower and the nacelle so as to be capable of relative rotation. The processing circuit drives the motor based on a sensing value of the torque information sensor.

SUBSEA CONFIGURATION FOR FLOATING STRUCTURES OF AN OFFSHORE WIND FARM

NºPublicación:  US2025313305A1 09/10/2025
Solicitante: 
TOTALENERGIES ONETECH [FR]
TOTALENERGIES ONETECH
US_2025313305_PA

Resumen de: US2025313305A1

An offshore wind farm includes at least four floating structures designed to receive a wind turbine, with each floating structure having at least three mooring lines, and each mooring line is attached to a mooring point arranged around said floating structure. The mooring lines facing inward from the offshore wind farm form the inner mooring lines of the offshore wind farm and the mooring lines facing outward from the offshore wind farm form the peripheral mooring lines of the offshore wind farm, wherein two adjacent floating structures have at least one of their peripheral mooring lines crossing each other, with at least one of these peripheral mooring lines comprising a buoyancy element.

RACK FOR TRANSPORTING AND/OR STORING BUILDING ELEMENTS WHICH ARE USED FOR BUILDING ROTOR BLADES OF WIND TURBINES

NºPublicación:  US2025313409A1 09/10/2025
Solicitante: 
SIEMENS GAMESA RENEWABLE ENERGY AS [DK]
Siemens Gamesa Renewable Energy A/S
US_2025313409_PA

Resumen de: US2025313409A1

A rack for transporting and/or storing building elements is provided which are used for building rotor blades of wind turbines, wherein the rack includes a holding structure and several holding arms which are attached or attachable to the holding structure, wherein the holding arms are arranged offset in several rows when they are in a holding position in which they project from the holding structure, wherein the holding arms arranged in each row build a respective reception plane for receiving at least one building element extending over at least several of the holding arms of this row, wherein at least two vertically staggered reception planes are built, wherein at least one of the holding arms is movable from the holding position into a non-holding position, in which the respective holding arm is moved out of the storage space above the reception plane below the upper reception plane, and vice versa.

ASYMMETRIC FLOATING WIND TURBINE INSTALLATION

NºPublicación:  US2025313310A1 09/10/2025
Solicitante: 
EQUINOR ENERGY AS [NO]
EQUINOR ENERGY AS
US_2025313310_PA

Resumen de: US2025313310A1

A floating wind turbine installation including an asymmetric floating wind turbine structure that is tethered to the floor of a body of water by a mooring system. The floating wind turbine structure includes a wind turbine mounted on a semi-submersible floating platform, and is oriented such that the wind turbine is positioned on an upwind side of the centre of mass of the floating wind turbine structure when the wind approaches the wind turbine structure in the direction of the prevailing wind at the location of the wind turbine installation.

ELECTRIC VEHICLE CHARGEABLE BY WIND ENERGY

NºPublicación:  US2025313108A1 09/10/2025
Solicitante: 
KIM YONG HO [KR]
KIM Yong Ho
US_2025313108_PA

Resumen de: US2025313108A1

The present invention provides an electric vehicle chargeable by wind energy, enabling travel using electricity generated by wind power generation. The electric vehicle includes an air inlet 110 that is formed on the front of the electric vehicle 10 traveled by rotating a wheel 12 by an electric motor 11 to allow wind to flow in during traveling, a turbine 120 that is formed at a rear end of the air inlet 110 and rotated by wind power, a power generation unit 130 that includes a rotor 131 coupled to a rotating shaft 121 extended from the turbine 120 and a stator 132 disposed in a ring shape on the outside of the rotor 131 and generates power by rotation of the rotor 131, a power supply unit 140 that converts power from the power generation unit 130 into a chargeable voltage to charge a battery 141 and supplies a driving voltage from the battery 141 to the electric motor 11, and a controller 150 that electrically connects the battery 141 and the electric motor 11 through an electrical system and controls charging from the power generation unit 130 to the battery 141.

METHOD FOR MANUFACTURING A WIND TURBINE BLADE AND MOLD ARRANGEMENT

NºPublicación:  US2025312978A1 09/10/2025
Solicitante: 
SIEMENS GAMESA RENEWABLE ENERGY AS [DK]
Siemens Gamesa Renewable Energy A/S
US_2025312978_PA

Resumen de: US2025312978A1

A method for manufacturing a wind turbine blade is provided, including arranging a first and second mandrel and an upper mold on a lower mold, wherein a fiber lay-up is arranged in the lower mold, the upper mold and between the first and second mandrels for molding a lower shell, an upper shell and a shear web of the blade, respectively, and wherein the first and/or second mandrels includes one or more sensors arranged at an outer surface thereof and adjacent the fiber lay-up provided for molding the shear web, infusing the fiber lay-up with resin and curing the resin, and monitoring the infusion and/or curing of the resin by the one or more sensors.

Air-Water Thermal Power Plants

NºPublicación:  US2025314179A1 09/10/2025
Solicitante: 
CAO YIDING [US]
Cao Yiding
US_2025314179_PA

Resumen de: US2025314179A1

This invention provides air-water thermal power plants that utilize hot water as a heat-supply fluid and operate at relatively low temperatures without combustion, yet are capable of producing utility-scale power with relatively high second-law efficiency. The air-water power plant uses both air and water as working fluids and incorporates a direct-contact mass and heat (or heat and mass) exchanger (or packing) to facilitate the transfer of latent heat (in the form of vapor) and sensible heat from hot water to a gaseous working fluid, which then expands in an expander to generate power. One of the further objectives of this invention is to recover heat and water from the working fluid exiting the expander through a regenerator condenser.

COOLING OF COILS OF ELECTRICAL MACHINES

NºPublicación:  US2025317019A1 09/10/2025
Solicitante: 
GENERAL ELECTRIC RENOVABLES ESPANA S L [ES]
General Electric Renovables Espana, S.L
US_2025317019_PA

Resumen de: US2025317019A1

The present disclosure relates to coils (121), electrical machines (100) comprising coils (121), e.g. a wind turbine generator (42), and methods for cooling coils (121) of electrical machines (100) and for winding and/or electrically insulating (200) coils (121). An electrical machine (100) comprises a rotor (110) and a stator (120). At least one of the rotor (110) and the stator (120) comprises a plurality of teeth (119) and a plurality of coils (121), the coils (121) comprising strand (150) which is wound around the teeth (119) in layers (130, 131). A first axial end portion of a first layer (130) of at least one of the coils (121) is axially displaced (117) with respect to a first axial end portion of a second layer (131) of the coil (121).

CONVERTER AND CHOPPER TRANSISTOR BLOCKING CONTROL METHOD THEREFOR

NºPublicación:  US2025317049A1 09/10/2025
Solicitante: 
SUNGROW POWER SUPPLY CO LTD [CN]
Sungrow Power Supply Co., Ltd
US_2025317049_PA

Resumen de: US2025317049A1

The present application provides a converter and a chopper transistor blocking control method therefor. According to the chopper transistor blocking control method, when switching transistors in a converter need to be blocked, switching transistors in a primary side circuit connected to a transformer of the converter are blocked, and switching transistors in a secondary side circuit are blocked when the current on a branch where a secondary side winding in the transformer is located is zero, or batch blocking of the switching transistors in the secondary side circuit is completed after the current on the branch where the secondary side winding is located recirculates to zero, thereby avoiding overvoltage damage to the switching transistors caused by the current on the branch where the secondary side winding is located recirculating by means of the junction capacitance of the switching transistors in the secondary side circuit.

TRAILING-EDGE ADD-ON

NºPublicación:  AU2024255078A1 09/10/2025
Solicitante: 
SIEMENS GAMESA RENEWABLE ENERGY AS
SIEMENS GAMESA RENEWABLE ENERGY A/S
AU_2024255078_PA

Resumen de: AU2024255078A1

Trailing-edge add-on The invention describes a wind turbine rotor blade add-on (1) comprising a plurality of serration teeth (10) arranged to extend outward from the trailing edge (20TE) of the rotor blade (20), wherein a serration tooth (10) has an elongate shape defined by a base (10B) and two at least partially curved side edges (10S) converging at a tip (10T), and wherein the length of a serration tooth (10) from base (10B) to tip (10T) exceeds the width of the serration tooth (10) at its base (10B) by a factor of at least 6; a side edge (10S) of the serration tooth (10) includes a convex curved portion; and the closest distance (1G) between adjacent serration teeth (10) is at most 1 mm. The invention further describes a A wind turbine rotor blade (20) comprising a number of such add-ons (1) mounted to the trailing edge (20TE) of the airfoil portion of the rotor blade (20).

Speed control device for control of idler of wind turbine to rotate at constant speed

NºPublicación:  AU2025202074A1 09/10/2025
Solicitante: 
TSAI JUI AN
Tsai, Jui-An
AU_2025202074_A1

Resumen de: AU2025202074A1

A speed control device for control of idlers of wind turbines is provided. The speed control device includes a wind-powered electrical generator, a first speed control unit, a transmission gear set, an idler energy storage unit, and a second speed control unit. A wind activation gear set of the wind-powered electrical generator is driven by a wind force with a preset value. When the wind force is lower than the preset value, a rack unit on a speed-control motor is driven by power so that a speed-control gear set and the transmission gear set are respectively driven by a first and a second unidirectional gear of the first and the second speed control units. Thus the transmission gear set is rotated for a period and an idler drives a generator main shaft of the idler energy storage unit to rotate for a period. Therefore, the idler rotates constantly, without stopping. A speed control device for control of idlers of wind turbines is provided. The speed control device includes a wind-powered electrical generator, a first speed control unit, a transmission gear set, an idler energy storage unit, and a second speed control unit. A wind activation gear set of the wind-powered electrical generator is driven by a wind force with a preset value. When the wind force is lower than the preset value, a rack unit on a speed-control motor is driven by power SO that a speed-control gear set and the transmission gear set are respectively driven by a first and a second unidirectional gear of th

PASSIVE TRAILING EDGE INCLUDING CONTROLLED BUCKLING LAMINATES

NºPublicación:  WO2025212704A1 09/10/2025
Solicitante: 
GULF WIND TECH [US]
GULF WIND TECHNOLOGY
US_2025305476_A1

Resumen de: WO2025212704A1

A multi-layer composite body includes a first composite layer having a first elasticity parameter and a second composite layer mechanically coupled with the first composite layer. The second composite layer has a second elasticity parameter that is different from the first elasticity parameter of the first composite layer. The first composite layer and the second composite layer may extend in a continuous manner with respect to each other, forming a substantially two- dimensional, homogenous structure. Further, the first composite layer and the second composite layer may respond to a common external mechanical force in a different manner.

PASSIVE TRAILING EDGE INCLUDING COMPOSITE HINGE

NºPublicación:  WO2025212706A1 09/10/2025
Solicitante: 
GULF WIND TECH [US]
GULF WIND TECHNOLOGY
US_2025305477_A1

Resumen de: WO2025212706A1

A multi-layer composite body that includes a first composite layer having a first elasticity parameter and a second composite layer mechanically coupled with the first composite layer. The second composite layer may have a second elasticity parameter that is different from the first elasticity parameter of the first composite layer. The first composite layer may include at least two transverse parts joined by a flexible folding zone such that the at least two transverse parts and the folding zone form a reversibly foldable and substantially two-dimensional homogenous structure. Further, the first composite layer and the second composite layer may respond to a common external mechanical force in a different manner.

SERRATED TRAILING EDGE PANEL FOR A WIND TURBINE BLADE

NºPublicación:  WO2025210224A1 09/10/2025
Solicitante: 
LM WIND POWER AS [DK]
LM WIND POWER A/S

Resumen de: WO2025210224A1

A serrated panel (70) for a wind turbine blade (10) is provided. The serrated panel (70) is configured to be attached to the trailing edge (20) of the wind turbine blade (10) to form a one or more, preferably a plurality of, serrations (80) at the trailing edge (20) of the wind turbine blade (10), The serrated panel comprises a base part (72) for attachment to the trailing edge (20) of the wind turbine blade (10), the base part (72) comprising a first longitudinal end (73) for arrangement nearest a tip end of the wind turbine blade, a second longitudinal end (74) for arrangement nearest a root end of the wind turbine blade, a first side (75) for arrangement nearest a leading edge of the blade, and a second side (76) for arrangement farthest from the leading edge of the blade. One or more serrations (80) extend from the second side (76) of the base part (72), wherein each serration (80) comprises: a base portion (81) proximal to the second side (76) of the base part (72), an apex portion (82) distal to the second side (76) of the base part (72), a first side portion (83) arranged nearest the first longitudinal end (73) of the base part (72), and a second side portion (84) arranged nearest the second longitudinal end (74) of the base part (72). Each of the serrations (80) have a corrugated cross-sectional profile with alternating grooves (85) and ridges (86) as seen in a transverse direction between the first side portion (83) and the second side portion (84) along at least a m

YAW CONTROL FAULT DETECTION SYSTEM

NºPublicación:  WO2025212220A1 09/10/2025
Solicitante: 
INVENTUS HOLDINGS LLC [US]
INVENTUS HOLDINGS, LLC
US_2025314241_PA

Resumen de: WO2025212220A1

One example includes a wind turbine yaw control fault detection system. The system includes current monitors that are each configured to monitor a current amplitude of a respective one of a plurality of yaw motors of a wind turbine and to generate a current signal that is indicative of the respective current amplitude. The system further includes a processor to compare the current amplitude of each of the yaw motors relative to each other and relative to at least one threshold based on the current signal from each of the current monitors. The fault detection algorithm further determines a fault condition associated with at least one yaw mechanical drive component of the wind turbine based on the comparison of the current amplitude of each of the yaw motors relative to each other and relative to at least one threshold.

WIND TURBINE BLADES, METHODS AND INSPECTION DEVICES

NºPublicación:  WO2025210039A1 09/10/2025
Solicitante: 
LM WIND POWER AS [DK]
LM WIND POWER A/S
EP_4628727_PA

Resumen de: WO2025210039A1

The present disclosure relates to wind turbine blades (10) comprising an inspection device (30) for inspecting an inside of the wind turbine blade (10), to methods (100) for mounting an inspection device (30) in a wind turbine blade shell (24, 26) and to methods (200) for inspecting an inside of a wind turbine blade (10). The present disclosure further relates to inspection devices (30). A wind turbine blade (10) comprises a shell (24, 26) having a hole and comprises an inspection device (30). The inspection device (30) comprises a housing (31) arranged at least partially in the hole. The inspection device (30) further comprises an image acquisition system (36) arranged at a longitudinal end portion (43) of the housing (31) having a field of view of at least a portion of an inside of the wind turbine blade (10).

WIND TURBINE ASSEMBLY SYSTEM AND RELATED ASSEMBLY METHOD

NºPublicación:  WO2025210048A1 09/10/2025
Solicitante: 
NORDEX ENERGY SPAIN S A U [ES]
NORDEX ENERGY SPAIN, S.A.U
EP_4628726_PA

Resumen de: WO2025210048A1

The present invention can be included in the technical field of the wind turbine assembly systems, wherein the wind turbine assembly system of the present invention proposes an alternative to assembly systems using climbing cranes that install the tower sections sequentially as they climb on the previous section already in place, being an additional object of the invention an assembly method for a wind turbine.

A METHOD FOR HANDLING A WIND TURBINE ROTOR BLADE

NºPublicación:  WO2025209633A1 09/10/2025
Solicitante: 
VESTAS WIND SYSTEMS AS [DK]
VESTAS WIND SYSTEMS A/S

Resumen de: WO2025209633A1

The invention provides a method for handling a wind turbine rotor blade (11) of a horizontal axis wind turbine (1), which wind turbine comprises a tower (14) supported by and fixed to a foundation (17), a nacelle (15) on the tower, and a rotor hub (18) rotatably mounted to the nacelle, the method comprising - fixedly mounting a blade supporting device (21a, 21b) to the foundation and/or to the wind turbine, - lifting the blade to the hub, or lowering the blade from the hub, and - positioning the blade on the blade supporting device (21a, 21b) so as to be supported by the blade supporting device, before the blade is lifted to the hub, or upon lowering the blade from the hub.

A WIND TURBINE ROTOR BLADE WITH A TIP SECTION

NºPublicación:  WO2025209826A1 09/10/2025
Solicitante: 
NORDEX ENERGY SE & CO KG [DE]
NORDEX ENERGY SE & CO. KG
EP_4628724_PA

Resumen de: WO2025209826A1

A wind turbine rotor blade comprising - a root section defining a pitch axis, - a tip section including a blade tip and a chord line, - a blade length, - a leading edge, - a trailing edge, and - a local chord length measured between the leading edge and the trailing edge, - wherein a reference plane is defined such that it includes the pitch axis and such that the chord line is normal to the reference plane, characterised in that - in the tip section, the trailing edge is an essentially straight line arranged at an angle in a range of 0° to 20° with reference to the reference plane.

PERMANENT MAGNET ROTORS FOR ELECTRICAL MACHINES

NºPublicación:  WO2025209649A1 09/10/2025
Solicitante: 
GENERAL ELECTRIC RENOVABLES ESPANA S L [ES]
GENERAL ELECTRIC RENOVABLES ESPA\u00D1A S.L

Resumen de: WO2025209649A1

The present disclosure relates to permanent magnet rotors for an electrical machine. The permanent magnet rotors comprise a rotor rim, comprising a circumferential surface with at least a first rib and a second rib extending along an axial direction, and a plurality of permanent magnet modules mounted on the rotor rim surface extending along an axial direction, each of the modules comprising a module base supporting one or more permanent magnets. The module base comprises a first lateral surface and a second lateral surface. Further, a shape of the first and second lateral surfaces is substantially complementary to a shape of the first and second ribs such that the first and second ribs at least partially support the first and second lateral surfaces of the module base. The present disclosure also relates to wind turbines generators comprising the permanent magnet rotors.

A NEW WINDMILL STRUCTURE

NºPublicación:  WO2025212074A1 09/10/2025
Solicitante: 
KOCHAN SINAN [TR]
KO\u00C7HAN, Sinan

Resumen de: WO2025212074A1

The invention relates to a new windmill structure that operates in low and medium wind conditions, causing the windmill to rotate, thereby increasing the speed and torque of the windmill. It improves efficiency in power generation by stabilizing the windmill and allows for the redirection of wind pressure. The structure consists of an octagonal connection plate (2), with eight wing connection profiles (3) extending from the corners of the octagonal plate (2) to its right side at a 90-degree angle. These profiles are connected to eight wings (1), forming a flat windmill (10). The flat windmill (10) can be inverted to create a counter windmill (20). The wing connection profiles (3) and wings (1) are positioned in such a way that the flat windmill (10) and counter windmill (20) rotate in opposite directions under the same wind, with the flat windmill and counter windmill arranged vertically one above the other, creating the new windmill structure (30).

A DEVICE FOR PATCHING WIND TURBINE BLADE SURFACE

NºPublicación:  EP4626686A1 08/10/2025
Solicitante: 
AERONES ENG SIA [LV]
Aerones Engineering, SIA
AU_2024220884_PA

Resumen de: AU2024220884A1

The invention relates to the wind turbines and wind turbine blades' maintenance devices, in particular, to the methods and devices for patching wind turbine blade surface. The claimed device comprises: a patching head, comprising: a frame enclosure open on one side; the frame enclosure having a patch placement area designed to be in the form of a UV-transparent membrane, configured to be substantially flat at least in its center and have a border that extends outward; the frame enclosure further comprising suction interface, configured to be applied to a surface of a wind turbine blade and to hold the frame enclosure in the place, in respect to the blade; a curtain with curtain holding arrangement. The curtain is designed to be UV-opaque and configured to be removably attached in front of the membrane, so to close the open side of the frame enclosure and to guard a patch from the ambient UV light exposure, when the patch is placed on the membrane. The frame enclosure further comprising a UV light source configured to expose a patch placed on the patch placement area to the UV light. The device further comprises a pump system, connected to the suction interface of the patching head; a robotic arm, designed to grip and position the patching head, to exert substantially perpendicular pressure onto the blade surface via the frame enclosure during activation of the vacuum pump system.

電力変換装置、風力発電システム、及び電力変換装置の制御方法

NºPublicación:  JP2025149075A 08/10/2025
Solicitante: 
ミネベアミツミ株式会社
JP_2025149075_PA

Resumen de: JP2025149075A

【課題】MPPT制御装置でのMPPT制御に対応した出力制御を行う電力変換装置、風力発電システム、及び風力発電方法の提供を目的とする。【解決手段】電力変換装置は、風力発電機からの入力電力を、MPPT制御を行うMPPT制御装置への出力電力に変換する電力変換部と、前記風力発電機からの入力電圧及び入力電流を検知する第1検知部と、前記第1検知部で検知された前記入力電圧及び前記入力電流の情報を取得し、前記電力変換部を制御する制御部と、を備え、前記制御部は、前記入力電圧と、前記入力電流と、前記風力発電機の発電特性情報と、に基づいて、風速を推定するとともに、前記風速下での最大電力を算出し、算出した前記最大電力と、太陽電池の発電特性を模擬した電力と電圧に関する模擬特性情報であって、電力が所定の電圧値で極大値となる前記模擬特性情報と、に基づいて、目標電圧を算出し、前記電力変換部からの出力電圧が、算出した目標電圧になるように、前記電力変換部を制御する。【選択図】図1

CONTROLLING THE PITCH ANGLE OF A ROTOR BLADE OF A WIND TURBINE

NºPublicación:  EP4627214A1 08/10/2025
Solicitante: 
VESTAS WIND SYS AS [DK]
VESTAS WIND SYSTEMS A/S
CN_120641654_PA

Resumen de: WO2024114875A1

The invention provides a method for controlling a pitch angle of a rotor blade (6) of a wind turbine (1) with a hydraulic pitch actuator system (200). The method comprises a step of receiving a current pitch signal of the rotor blade (6) and a pitch reference signal indicating a desired pitch angle for the rotor blade (6), a step of receiving an operating parameter signal (63) from the hydraulic pitch actuator system (200), a step of generating a feedback signal based on the operating parameter signal (63), a step of using a gain scheduler (150) to provide a variable feedback gain, a step of generating a damping signal based on the feedback signal and the variable feedback gain, a step of generating a pitch control command based on a difference between the current pitch signal and the pitch reference signal, and on the damping signal, and a step of sending the pitch control command to the hydraulic pitch actuator system (200).

BASE ELEMENTS AND EDGE ELEMENTS FOR WIND TURBINE BLADE SECTIONS

NºPublicación:  EP4627213A1 08/10/2025
Solicitante: 
LM WIND POWER AS [DK]
LM Wind Power A/S
CN_120615145_PA

Resumen de: WO2024115703A1

The present disclosure relates to a wind turbine blade section comprising a base and an edge element. The base is made of fiber reinforced composite material and comprises a suction surface, a pressure surface and at least one outer surface portion between the suction surface and the pressure surface and comprising a first base positioning feature. The edge element comprises an inner surface including a first edge positioning feature. The first edge positioning feature is configured to engage with the first base positioning feature and the edge element is configured to be joined to the suction surface and/or to the pressure surface of the base.

PROCESS OF ANCHORING A FLOATING PLATFORM ON A ROCKY SEABED

NºPublicación:  EP4627158A1 08/10/2025
Solicitante: 
TOTALENERGIES ONETECH [FR]
TotalEnergies OneTech
WO_2024115444_PA

Resumen de: WO2024115444A1

Process of anchoring a floating platform on a rocky seabed, comprising: - providing a trench portion (20) in the seabed, - installing an anchor structure (22) in the trench portion, comprising a steel reinforcement cage (34) extending in a longitudinal direction (L), and a chain supporting system (36) fixed to the reinforcement cage and including at least one plate (38), - connecting a mooring chain (26) to the chain supporting system, - injecting grout (24) in the trench portion, the reinforcement cage and the chain supporting system being at least partly surrounded by the injected grout, - after curing of the injected grout, connecting the mooring chain to the platform. Corresponding anchoring system.

INSULATED LIGHTNING TRANSMISSION SYSTEM FOR WIND TURBINE BLADES

NºPublicación:  EP4627216A1 08/10/2025
Solicitante: 
SIEMENS GAMESA RENEWABLE ENERGY INNOVATION & TECHNOLOGY SL [ES]
Siemens Gamesa Renewable Energy Innovation & Technology S.L
CN_120604037_PA

Resumen de: WO2024160410A1

A wind turbine blade (100) comprising a lightning transmission system for the transmission of lightning current through the wind turbine blade (100). The lightning transmission system comprises one or more lightning receptors (20), a down conductor (1) electrically connected to each of the one or more lightning receptors (20) and extending along an interior of the wind turbine blade (100), and a first conductor element (4) proximate a base portion (6) of the wind turbine blade (100). The first conductor element (4) is electrically connected to the down conductor (1) and extends through a surface of the blade (100) between an interior and exterior of the blade wall (10). The first conductor element (4) comprises an electrically insulating element (45) that configures the first conductor element (4) to be electrically insulated from the blade wall (10). The dielectric strength of the electrically insulating element (45) is greater than the dielectric strength of the blade wall (10) at the location through which the first conductor element (4) extends.

A ROBOTIC METHOD FOR INTRODUCING A SOLIDIFYING SUBSTANCE INTO THE INNER CAVITY OF WIND TURBINE BLADES

NºPublicación:  EP4626688A1 08/10/2025
Solicitante: 
AERONES ENG SIA [LV]
Aerones Engineering, SIA
WO_2024172637_PA

Resumen de: WO2024172637A1

The invention relates to the wind turbines and wind turbine blades' maintenance devices, in particular, to the methods and devices for introducing a solidifying substance into the inner cavity of wind turbine blades. The method for introducing a solidifying substance into an inner cavity of a wind turbine blade, the method comprising the following steps: (i) drilling coaxial apertures in a wind turbine blade opposite walls by a filing means comprising a drilling means, a rod and a core fixed together, wherein the core is provided with a channel and one or more apertures connected with the channel and designed to allow supply of a liquid or semiliquid solidifying material through the channel and the apertures; wherein the rod is made from the same material as the wind turbine blade, or a material having equivalent properties; (ii) pushing out the drilling means through the created apertures so that the apertures in the core part of the filling means are located in the inner cavity of the blade; (iii) supplying a solidifying substance in the liquid or semiliquid form into the inner cavity of the blade through the channel and aperture or apertures of the core part of the filling means; (iv) partially pulling or pushing out the filling means so that only the rod part of the filling means remains within the inner cavity of the blade; (v) cutting away the ends of the rod of the filling means from the outer sides of the wind turbine blade, so that the rod part of the filling means r

METHOD FOR TRANSPORTING HYDROGEN FROM A FLOATING WIND TURBINE TO A WATER VEHICLE

NºPublicación:  EP4627215A1 08/10/2025
Solicitante: 
CRUSE OFFSHORE GMBH [DE]
CRUSE Offshore GmbH
KR_20250099193_PA

Resumen de: WO2024115474A1

The aim of the invention is to transport energy produced in an environmentally friendly manner by means of an offshore wind turbine to land in a simple and reliable manner. This is achieved by a method (100) for transporting hydrogen from a floating wind turbine (10) to a water vehicle (11), wherein hydrogen is provided in a storage tank (31) of a floating wind turbine (10), and a water vehicle (11) with a transport tank (36) is positioned by the floating wind turbine (10). The hydrogen is transported from the storage tank (31) to the transport tank (36) using a line (35) which is designed to transport the hydrogen.

SYSTEM AND METHOD FOR OPERATING AN INVERTER-BASED RESOURCE IN GRID-FORMING MODE (GFM) FOR ENHANCED STABILITY

NºPublicación:  EP4627690A1 08/10/2025
Solicitante: 
GENERAL ELECTRIC RENOVABLES ESPANA SL [ES]
General Electric Renovables Espa\u00F1a S.L
CN_120380675_PA

Resumen de: CN120380675A

A method for operating a renewable energy source having an inverter-based resource (IBR) system connected to a power grid, the method comprising: operating the IBR system as a virtual synchronous machine (VSM) in a grid formation mode (GFM) control; deriving a power error signal (PERR) between an actual real power output (Pfbk) and a power reference (Pref) from the IBR system; using a power error signal (PERR) to generate a power angle command signal received by the voltage regulator with the inertial power regulator; generating, with a voltage regulator, an x-direction current command (IRCmdx) signal and a y-direction current command (IRCmdy) signal, both the x-direction current command (IRCmdx) signal and the y-direction current command (IRCmdy) signal being received by a current regulator; and generating and adding an incremental x-direction current (delta IRx) component to the (IRCmdx) signal.

SYSTEM AND METHOD FOR OPERATING AN INVERTER-BASED RESOURCE IN GRID-FORMING MODE (GFM) FOR ENHANCED STABILITY DURING A TRANSIENT GRID POWER EVENT

NºPublicación:  EP4627689A1 08/10/2025
Solicitante: 
GENERAL ELECTRIC RENOVABLES ESPANA SL [ES]
General Electric Renovables Espa\u00F1a S.L
CN_120303850_PA

Resumen de: CN120303850A

A method for operating a renewable energy source having an inverter-based resource (IBR) system connected to a power grid, the method comprising: operating the IBR system as a virtual synchronous machine (VSM) under grid formation mode (GFM) control; deriving a power error signal (Perr) between a real power output (Pfbk) and a power reference (Pref) from the IBR system; generating an internal frequency signal (omega 1) using the power error signal (Perr) using an inertial power regulator having an integral characteristic, the internal frequency signal being used to generate a phase shifted signal (delta IT) applied to a power angle command signal used by an inverter controller in the IBR system; and generating a compensation signal for modifying the internal frequency signal (omega 1) or the phase shift signal (delta IT) based on the power error signal (Perr) via a control function having at least one of proportional, differential or washout characteristics.

Recirculating inertial hydrodynamic pump and wave engine

NºPublicación:  GB2640093A 08/10/2025
Solicitante: 
LONE GULL HOLDINGS LTD [US]
Lone Gull Holdings, Ltd
GB_2640093_PA

Resumen de: GB2640093A

Embodiments disclosed herein include a buoyant wave energy converter. In an embodiment, the wave energy converter comprises an upper chamber having a first fluid reservoir and a first gas pocket, and a lower chamber having a second fluid reservoir and a second gas pocket. In an embodiment, an injection tube is between and fluidly coupled to the upper chamber and the lower chamber, where the injection tube is to impel a fluid from the second fluid reservoir into the first fluid reservoir when the upper chamber, the lower chamber and the injection tube oscillate about a waterline with the upper chamber adjacent to the waterline and the lower chamber submerged below the waterline and vertically beneath the upper chamber. In an embodiment, an effluent tube is fluidly coupled to the upper chamber and the lower chamber, where the effluent tube is to return the fluid from the first fluid reservoir to the second fluid reservoir.

PROPELLER

NºPublicación:  EP4628703A2 08/10/2025
Solicitante: 
SHARROW ENG LLC [US]
Sharrow Engineering LLC
EP_4628703_PA

Resumen de: EP4628703A2

It is provided a method of manufacturing a propeller having a plurality of blades, each of the plurality of blades having an intake portion, an exhaust portion, and a tip portion extending from the intake portion to the exhaust portion, the method comprising: defining a plurality of parameter sections by selecting some of the parameters including skew angle, roll angle, rake, radius, pitch angle, vertical angle values defining a parameter section at the transition from the intake portion to the tip portion by parameters to cause the amount of non-axial lift in the tip portion to be greater than the axial lift in the tip portion defining parameter sections to include a roll value of 90 degrees in the tip portion and extrapolating between parameter sections to form smooth lines to form a blade configured to form a loop when attached to a hub.

FLOATING OFFSHORE STRUCTURE AND FLOATING OFFSHORE POWER GENERATION APPARATUS HAVING SAME

NºPublicación:  EP4628398A2 08/10/2025
Solicitante: 
HYUN DAI HEAVY IND CO LTD [KR]
Hyundai Heavy Industries Co., Ltd
EP_4628398_A2

Resumen de: EP4628398A2

A floating offshore structure of the present disclosure includes: a plurality of columns; and a plurality of pontoons installed at lower ends of the columns, respectively, wherein a polygonal shape is formed by an imaginary line connecting the columns, the pontoons are installed inside the polygonal shape, a cross-sectional area in a direction parallel to sea level of the pontoons is greater than or equal to the cross-sectional area in the direction parallel to the sea level of the columns, and the pontoons may have a shape protruding outward at the lower ends of the columns.

COOLING OF COILS OF ELECTRICAL MACHINES

NºPublicación:  EP4629485A1 08/10/2025
Solicitante: 
GENERAL ELECTRIC RENOVABLES ESPANA SL [ES]
General Electric Renovables Espa\u00F1a S.L
EP_4629485_PA

Resumen de: EP4629485A1

The present disclosure relates to coils (121), electrical machines (100) comprising coils (121), e.g. a wind turbine generator (42), and methods for cooling coils (121) of electrical machines (100) and for winding and/or electrically insulating (200) coils (121). An electrical machine (100) comprises a rotor (110) and a stator (120). At least one of the rotor (110) and the stator (120) comprises a plurality of teeth (119) and a plurality of coils (121), the coils (121) comprising strand (150) which is wound around the teeth (119) in layers (130, 131). A first axial end portion of a first layer (130) of at least one of the coils (121) is axially displaced (117) with respect to a first axial end portion of a second layer (131) of the coil (121).

WIND TURBINE-PARTICIPATING POWER SYSTEM, AND WIND TURBINE TORQUE OSCILLATION SUPPRESSION METHOD AND APPARATUS

NºPublicación:  EP4629469A1 08/10/2025
Solicitante: 
HUANENG CLEAN ENERGY RES INST [CN]
Huaneng Clean Energy Research Institute
EP_4629469_PA

Resumen de: EP4629469A1

The present invention discloses a power system using a wind turbine, a method for suppressing torsional oscillation of a wind turbine and device. The method comprises: receiving a rotor angular speed information of the wind turbine in the power system using a wind turbine; in respond to the frequency regulation performed by the power system using a wind turbine, inputting the rotor angular speed information of the wind turbine to a preconfigured wind turbine torsional oscillation damper, so as to cause the wind turbine torsional oscillation damper outputting a reactive power compensation information, wherein the wind turbine torsional oscillation damper is configured based on a weighting function of the power system using a wind turbine, and the weighting function is configured based on the Grey Wolf Optimizer; according to the reactive power compensation information, suppressing the wind turbine torsional oscillation generated by the frequency regulation. Through the present invention, a robust wind turbine torsional oscillation damper can be configured to provide stable damping support for the system, effectively ensuring the stability of the wind turbine shaft system.

ELECTRIC VEHICLE CHARGEABLE BY WIND ENERGY

NºPublicación:  EP4628347A1 08/10/2025
Solicitante: 
KIM YONG HO [KR]
Kim, Yong Ho
EP_4628347_A1

Resumen de: EP4628347A1

The present invention provides an electric vehicle chargeable by wind energy, enabling travel using electricity generated by wind power generation. The electric vehicle includes an air inlet 110 that is formed on the front of the electric vehicle 10 traveled by rotating a wheel 12 by an electric motor 11 to allow wind to flow in during traveling, a turbine 120 that is formed at a rear end of the air inlet 110 and rotated by wind power, a power generation unit 130 that includes a rotor 131 coupled to a rotating shaft 121 extended from the turbine 120 and a stator 132 disposed in a ring shape on the outside of the rotor 131 and generates power by rotation of the rotor 131, a power supply unit 140 that converts power from the power generation unit 130 into a chargeable voltage to charge a battery 141 and supplies a driving voltage from the battery 141 to the electric motor 11, and a controller 150 that electrically connects the battery 141 and the electric motor 11 through an electrical system and controls charging from the power generation unit 130 to the battery 141.

PERMANENT MAGNET MOTOR

NºPublicación:  EP4627702A1 08/10/2025
Solicitante: 
GRANDICS PETER [US]
Grandics, Peter
WO_2024130235_PA

Resumen de: WO2024130235A1

A permanent magnet motor is disclosed. The motor may include: a permanent magnet rotor placed on a shaft having magnetic disks at the ends of the shaft. The magnetic disks may be disposed at the shaft ends and may be facing two fixed driver magnets of opposing polarity. The driver magnets may also serve as core for electromagnets. The magnetic interactions of the magnetic disks and the driver magnets leads to a spontaneous acceleration of the rotor. The rotor magnet may spin inside a stator having windings for generating alternating current (AC) electricity. The AC electricity after rectification may be fed back to the two electromagnets generating exponentially increasing magnetic fields and revolutions for the rotor. A load circuit may regulate the rotation speed of the rotor.

DUAL DRUM TENSION-CONTROLLED WINCH SYSTEMS AND METHODS OF OPERATING THE SAME

NºPublicación:  EP4626784A1 08/10/2025
Solicitante: 
ZSM HOLDINGS LLC [US]
ZSM Holdings LLC
WO_2024118989_PA

Resumen de: WO2024118989A1

A rigging system for loading and unloading a cargo aircraft includes a front portion inside the aircraft and a rear portion outside, the portions being separable at one or more break locations therebetween. A rope extends from a first winch in the rear portion, to a turn-around sheave within the aircraft, and back to a second winch in the rear portion. The rope includes connections enabling separation of opposing sides of the loop at the break. When disconnected, a first rope length remains with the front portion and second and third rope lengths remain attached the first and second winches respectively. When connected, the winches operate to payout one side of the loop while another side is taken in, with cargo being advanced into or out of the aircraft depending on which side of the rope the cargo is coupled to, with the winches maintaining tension in the entire loop.

Near-shore floating wind turbine assembly base and method

NºPublicación:  GB2639974A 08/10/2025
Solicitante: 
JIN WANG [US]
Jin Wang
GB_2639974_PA

Resumen de: GB2639974A

A floating wind turbine assembly base (FWTAB) consists of a modular wind turbine assembly platform (WTAP) 2 comprising a crane module 12 and at least one work module 14 for temporary storage of wind turbine components, and a modular floating hull assembly platform (FHAP) (4, Fig 10) comprising a crane module (12, Fig 10) and at least one work module (14, Fig 10) for temporary storage of floating platform hull components and a large floating mat (42, Fig 9). Each of the modules comprises a rectangular hull and a plurality of retractable legs 16 with each leg featuring a large-size footing (16B1, Fig 7A). A method for assembly of a floating offshore wind turbine comprises the FWTAB deployed at a near-shore site in shallow water and assembling a floating platform hull and lowering it into the water using the FHAP with the floating mat, then assembling and integrating a wind turbine with the floating platform hull using the WTAP.

WIND TURBINE BLADES, METHODS AND INSPECTION DEVICES

NºPublicación:  EP4628727A1 08/10/2025
Solicitante: 
LM WIND POWER AS [DK]
LM Wind Power A/S
EP_4628727_PA

Resumen de: EP4628727A1

The present disclosure relates to wind turbine blades (10) comprising an inspection device (30) for inspecting an inside of the wind turbine blade (10), to methods (100) for mounting an inspection device (30) in a wind turbine blade shell (24, 26) and to methods (200) for inspecting an inside of a wind turbine blade (10). The present disclosure further relates to inspection devices (30). A wind turbine blade (10) comprises a shell (24, 26) having a hole and comprises an inspection device (30). The inspection device (30) comprises a housing (31) arranged at least partially in the hole. The inspection device (30) further comprises an image acquisition system (36) arranged at a longitudinal end portion (43) of the housing (31) having a field of view of at least a portion of an inside of the wind turbine blade (10).

WIND TURBINE ASSEMBLY SYSTEM AND RELATED ASSEMBLY METHOD

NºPublicación:  EP4628726A1 08/10/2025
Solicitante: 
NORDEX ENERGY SPAIN SAU [ES]
Nordex Energy Spain, S.A.U
EP_4628726_PA

Resumen de: EP4628726A1

The present invention can be included in the technical field of the wind turbine assembly systems, wherein the wind turbine assembly system of the present invention proposes an alternative to assembly systems using climbing cranes that install the tower sections sequentially as they climb on the previous section already in place, being an additional object of the invention an assembly method for a wind turbine.

LEADING EDGE PROTECTION (LEP) COATING COMPOSITION AND USES THEREOF

NºPublicación:  EP4628520A1 08/10/2025
Solicitante: 
AEROX ADVANCED POLYMERS SL [ES]
Aerox Advanced Polymers, SL
EP_4628520_A1

Resumen de: EP4628520A1

The current invention relates to a Leading Edge Protection (LEP) coating composition characterized by comprising a curable polyurethane material, wherein said polyurethane material is a solvent-free two component polyurethane material comprising: Component A comprising at least 10% by weight of biobased carbon polycarbonate diol in respect of the total weight of Component A, calculated according to method C14 using ASTM D6866; and one or more additives wherein the total quantity of additives is in the range of 5-15% by weight in the respect of the weight of the total Component A; and Component B comprising an aliphatic isocyanate with an isocyanate (-NCO) content between 10 - 25%; and uses thereof.

ROTOR BLADE LANDING SYSTEM

NºPublicación:  EP4628725A1 08/10/2025
Solicitante: 
SIEMENS GAMESA RENEWABLE ENERGY AS [DK]
Siemens Gamesa Renewable Energy A/S
EP_4628725_PA

Resumen de: EP4628725A1

The invention describes a landing system (1) for use in a rotor blade installation procedure, which landing system (1) comprises a guide arm (10); a mounting assembly configured to secure the guide arm (10) to the rotor blade (20) such that the guide arm (10) extends beyond the root end (20R) of the rotor blade (20); and a guide arm aperture (22A) formed in a reinforcing plate (221) of the pitch system (21) of that rotor blade (20), which guide arm aperture (22A) is dimensioned to allow the guide arm (10) to pass into the interior of the hub (21) during the rotor blade installation procedure. The invention further describes a method of installing a rotor blade (20) at the hub (21) of a wind turbine (2) using such a landing system (1).

A WIND TURBINE ROTOR BLADE WITH A TIP SECTION

NºPublicación:  EP4628724A1 08/10/2025
Solicitante: 
NORDEX ENERGY SE & CO KG [DE]
Nordex Energy SE & Co. KG
EP_4628724_PA

Resumen de: EP4628724A1

A wind turbine rotor blade comprising• a root section defining a pitch axis,• a tip section including a blade tip and a chord line,• a blade length,• a leading edge,• a trailing edge, and• a local chord length measured between the leading edge and the trailing edge,• wherein a reference plane is defined such that it includes the pitch axis and such that the chord line is normal to the reference plane, characterised in that• in the tip section, the trailing edge is an essentially straight line arranged at an angle in a range of 0° to 20° with reference to the reference plane.

METHOD FOR PRODUCING A WIND TURBINE ROTOR BLADE

NºPublicación:  EP4628288A1 08/10/2025
Solicitante: 
WOBBEN PROPERTIES GMBH [DE]
Wobben Properties GmbH
EP_4628288_PA

Resumen de: EP4628288A1

Es wird ein Verfahren zum Herstellen eines Windenergieanlagen-Rotorblattes (200) vorgesehen. Das Verfahren weist folgende Schritte auf: Herstellen einer Holmgurteinheit (300) mit einem ersten und zweiten Ende und einer ersten und zweiten Seite, Herstellen einer Rotorblattschale (210) mit einer Längsrichtung (L), wobei die Holmgurteinheit (300) in eine Rotorblattform platziert wird und die Rotorblattschale (210) um bzw. an der Holmgurteinheit (300) platziert ist, Durchführen einer Vakuum-Matrixinfusion mit der Rotorblattschale (210) und der Holmgurteinheit (300). Das Herstellen der Holmgurteinheit weist ein Einlegen von mindestens zwei Keilen (310) an gegenüberliegenden Seiten einer Holmgurtform, ein Einlegen von Faserlagen (320a), insbesondere von Fasermatten, zumindest teilweise über die nach innen weisenden Enden der Keile (310), ein Durchführen einer Vakuum-Matrixinfusion mit den Keilen (310) und der Mehrzahl von Faserlagen (320a) und ein Aushärten der harzgetränkten Holmgurteinheit (300) auf.

INSTALLATION OF SUBSEA RISERS

NºPublicación:  EP4627175A1 08/10/2025
Solicitante: 
SUBSEA 7 NORWAY AS [NO]
Subsea 7 Norway AS
AU_2023401279_PA

Resumen de: AU2023401279A1

A steep-configuration subsea riser is installed by supporting an elongate flexible riser element underwater with a portion of the riser element ascending from the seabed. The ascending portion of the riser element is captured in a guide formation of an anchoring support. The anchoring support is then moved to a final position on the seabed while the riser element remains captured by the guide formation. When in the final position, the anchoring support anchors the riser element in a steep configuration. The anchoring support is lowered to the riser element to capture the riser element and is further lowered to the final position after capturing the riser element. In this way, after installing the riser element in a lazy configuration, capturing the ascending portion of the riser element and moving the anchoring support to the final position, the riser element is reconfigured into a steep configuration.

着脱補助装置

NºPublicación:  JP3253142U 07/10/2025
Solicitante: 
国宏新能源発電有限公司
JP_3253142_U

Resumen de: CN222903960U

The embodiment of the utility model provides an auxiliary dismounting device, and relates to the technical field of wind power generation equipment. The device comprises a support, a driving part, a bearing part and an adjusting assembly, the driving part is arranged on the support, the bearing part is connected with an output part of the driving part, and the driving part can drive the bearing part to ascend and descend; the bearing piece is provided with a positioning hole, a connecting piece is arranged in the positioning hole and used for being detachably connected with a detached object, and the adjusting assembly is used for adjusting the angle of the bearing piece. According to the embodiment of the invention, the bearing piece is driven to ascend and descend through the driving piece, so that the bearing piece bears the yaw brake caliper at a higher position, and the bearing piece and the yaw brake caliper are fixed through the connecting piece, so that the yaw brake caliper is conveniently and stably transferred to the bearing piece, the dismounting difficulty of the yaw brake caliper is remarkably reduced, and the working efficiency is improved.

Wind turbine with a vertical, coaxial screw intake

NºPublicación:  PL448167A1 06/10/2025
Solicitante: 
POLITECHNIKA POZNANSKA [PL]
POLITECHNIKA POZNA\u0143SKA
PL_448167_A1

Resumen de: PL448167A1

Przedmiotem zgłoszenia jest turbina wiatrowa z pionową, współosiową czerpnią śrubową. Stanowią ją cztery łopaty helikoidalne (1) umieszczone trwale na zewnętrznym wale obrotowym (2) z umieszczonym w nim wewnętrznym wale śrubowym (3) zwieńczonym u góry kopułą (4) z kanałami powietrznymi (5) i kanałami dolotowymi powietrza (6) połączonymi z wewnętrznym kanałem powietrznym (7), przy czym wewnątrz zewnętrznego wału obrotowego (2), umieszczony jest wewnętrzny wał śrubowy (3), który obraca się w przeciwnym kierunku obrotu, względem kierunku obrotu zewnętrznego wału obrotowego (2).

风电机组安全运行方法、风电机组及程序产品

NºPublicación:  CN120739647A 03/10/2025
Solicitante: 
华亭煤业集团有限责任公司
CN_120739647_PA

Resumen de: CN120739647A

本申请公开了一种风电机组安全运行方法、风电机组及程序产品,涉及风力发电的技术领域。在本申请中,将包括实时风速、风电机组的机组状态信息以及电网指令信息的风电机组的监测数据,作为输入数据,输入至预训练得到的深度强化学习模型中,通过深度强化学习模型,输出风电机组的目标运行模式以及切换至目标运行模式的切换时机,并在切换时机,将风电机组的当前运行模式切换至目标运行模式。由此,利用预先训练得到的深度强化学习模型,学习复杂环境(非平稳风速、湍流、负载变化)下最优的风电机组运行模式的切换策略,使得风电机组运行模式的切换时机更加准确。

风力发电机组齿轮箱传感器防误报装置

NºPublicación:  CN120740723A 03/10/2025
Solicitante: 
海南州华豫新能源开发有限公司
CN_120740723_PA

Resumen de: CN120740723A

本发明提供风力发电机组齿轮箱传感器防误报装置,涉及风力发电机组监测领域,包括:微压传感器,所述微压传感器用于检测液压站的油箱液位,所述微压传感器的膜片受介质压力产生与介质压力成正比的微位移,使微压传感器的电阻发生变化,经电子线路检测并转换输出对应压力的标准信号;线缆,所述线缆与所述微压传感器自带插头适配,沿原超声波液位传感器线缆路径布线,用于信号传输。该型传感器既能有效保证传感器的水密性,又能确保测量的高精度和稳定性,可有效降低半直驱机型因为油位传感器误报而触发的故障率。加装此发明风力发电设备运行、环保、能耗等方面均未受到改造影响,且此发明所需物料为常规材料,资金投入小,提升效益明显。

一种用于离岸深水的稳定系统和组件

NºPublicación:  CN120752175A 03/10/2025
Solicitante: 
史蒂文·皮斯
CN_120752175_PA

Resumen de: WO2024165862A1

A stabilisation assembly for use in deep water. The assembly comprises a telescopic spar for securement within a moon pool of a floating support vessel. The securement mechanism includes a gimbal joint secured within the moon pool through which the spar is suspended to allow movement of the vessel with respect to the spar during use.

操作风力涡轮机的机舱中的冷却系统的方法及风力涡轮机

NºPublicación:  CN120752434A 03/10/2025
Solicitante: 
西门子歌美飒可再生能源公司
CN_120752434_PA

Resumen de: WO2024170118A1

Method for operating a cooling system (12) in a nacelle (9) of a wind turbine (1), wherein the wind turbine (1) comprises a generator (5) and at least one transformer (11) located in the nacelle (9), wherein the cooling system (12) comprises - an air-cooling subsystem (14) for cooling at least the generator (5), comprising an inflow unit (15) for drawing inflow ambient air (36) into the nacelle (9), - temperature sensors (33, 34, 35) for measuring the temperature of the ambient air and at least one temperature in the nacelle (9), and - a control device (31) for controlling the operation of the cooling system (12) using the measured temperatures, wherein the control device (31), - a temperature difference between the ambient air and at least a part of the components in the nacelle (9) is determined from measured temperature values of the temperature sensors (33, 34, 35), and - if the temperature difference fulfils a exchange criterion indicating possible condensation of air humidity on at least one of the part of the components in the nacelle (9), the cooling system (12) is controlled to temper the inflow ambient air (36) by exchanging heat between at least one of the components in the nacelle (9) and the ambient air to reduce the temperature difference.

一种风力发电机组巡检机器人负压腔吸附力分配方法

NºPublicación:  CN120735869A 03/10/2025
Solicitante: 
陕西中科启航科技有限公司
CN_120735869_PA

Resumen de: CN120735869A

本发明涉及风力发电机组巡检机器人技术领域,具体涉及一种适用于风力发电机组检测的巡检机器人负压腔吸附力分配方法,巡检机器人作业时,风力发电机组的待检部位即巡检机器人的吸附壁面的倾斜角α满足10°≤α≤80°,巡检机器人的横摆角β恒等于0;再基于动态力学平衡原理,对巡检机器人底部的三个负压腔进行吸附力的实时动态分配,确保机器人在10°‑80°的叶片腹板内部行走时均能保持稳定吸附,提升检机器人在风机叶片检测作业时的安全性和工作效率。

可变径混凝土塔筒施工平台

NºPublicación:  CN120739303A 03/10/2025
Solicitante: 
中国二十二冶集团有限公司
CN_120739303_PA

Resumen de: CN120739303A

本发明涉及混凝土塔筒搭建技术领域,具体的说是一种可变径混凝土塔筒施工平台,包括工作平台,还包括安装板,安装板置于工作平台的下方,安装板与工作平台之间通过支撑柱连接,工作平台上滑动设置有延长平台。本发明通过在工作平台的两侧增加可滑动的延长平台,能够根据施工的塔筒直径随时调节工作平台台面的宽度,提高工作平台的适用范围,以满足对不同管径的混凝土塔筒的搭建。

一种船用风水一体环保能源冷却系统

NºPublicación:  CN120735937A 03/10/2025
Solicitante: 
江苏兆胜空调有限公司
CN_120735937_PA

Resumen de: CN120735937A

本发明公开了一种船用风水一体环保能源冷却系统,涉及节能冷却技术领域,包括冷却组件、获能组件、输送组件和水箱组件,且冷却组件与获能组件之间活动连接有连接皮带。该船用风水一体环保能源冷却系统,通过船只航行使风车旋转,带动输送叶轮转动,使管道内部的淡水不断循环,达到水冷降温的效果,另一个风车旋转带动两个驱动风扇转动,进行风冷降温,通过太阳能板吸收太阳能量,在风力不足时驱动伺服电机和驱动风扇,实现风水一体的冷却功能,通过光伏控制器对用电量进行控制,环境温度较高时,增加用电量,提高冷却效果,环境温度较低时,减少用电量,降低冷却效果,从而达到节能的效果。

一种多功能高效螺杆空压机

NºPublicación:  CN120739695A 03/10/2025
Solicitante: 
力达(中国)机电有限公司
CN_120739695_PA

Resumen de: CN120739695A

本发明涉及空气压缩机技术领域,公开了一种多功能高效螺杆空压机,包括底座和固定在底座上的固定外壳,所述底座的顶端通过两侧的滑轨滑动安装有滑动外壳,所述滑动外壳的外壁安装有多个太阳能板,所述固定外壳的内部安装有通风扇、照明灯和安装座,所述固定外壳的外壁固定有防护壳,所述固定外壳和防护壳的内壁贯穿转动有输入轴,所述输入轴的外壁固定有多个风力扇叶,所述固定外壳的内部设置有空气压缩机构。通过固定外壳和滑动外壳的配合,为内部的空压机提供防护,通过外壳上设置的风力发电和太阳能发电组件为内部的照明灯和风扇供电,提高工作环境舒适度,保证了空压机户外工作的安全性。

一种用于风力发电机组轮毂内部的防护装置、检修设备

NºPublicación:  CN120739662A 03/10/2025
Solicitante: 
华能饶平风力发电有限公司
CN_120739662_PA

Resumen de: CN120739662A

本发明公开了一种用于风力发电机组轮毂内部的防护装置、检修设备,属于风力发电机组轮毂检修设备技术领域,装置包括覆盖件以及设置于覆盖件上的防滑部和安装组件;覆盖件与风力发电机组轮毂内部的螺栓观察孔的形状相适配,以便覆盖件能够覆盖螺栓观察孔;防滑部设置于覆盖件的一端;防滑部的一端远离螺栓观察孔,以便防滑部能够为作业人员提供防滑区域;安装组件设置于覆盖件的另一端,安装组件能够将覆盖件以可拆卸的方式安装于风力发电机组轮毂表面并密封螺栓观察孔;还包括携带连接件,携带连接件能够为作业人员提供抓取的区域。本发明有效提升了风力发电机组轮毂内部检修作业的效率和安全性,装置简便易拆装和携带,具有较佳的适用性。

一种风机测温数据处理方法及系统

NºPublicación:  CN120744586A 03/10/2025
Solicitante: 
珠海中科先进技术研究院有限公司广东中科传感智慧科技有限公司深圳中质安股份有限公司
CN_120744586_PA

Resumen de: CN120744586A

本申请涉及风力发电机组测温数据处理技术领域,具体而言,涉及一种风机测温数据处理方法及系统。方法包括:获取实时有功功率数据和实时温度数据;进行时间对齐处理,构建功率温度同步数据序列,识别动态响应工况,并提取动态响应功率输入序列与动态响应温度输出序列,计算动态响应特征参数,记录其参考基准值;构建动态响应特征参数序列;判断该动态响应特征参数序列是否为变化模式;在识别到良性响应改变后,更新该动态响应特征参数的参考基准值;判断该动态响应特征参数序列是否为变化模式,识别真实故障。具有解决现有系统难以区分良性响应改变与真实设备故障,从而导致误判、不必要的运维成本和对诊断系统信任度降低的问题的优点。

风机防护方法、装置、计算机设备、可读存储介质和程序产品

NºPublicación:  CN120739646A 03/10/2025
Solicitante: 
深圳中广核工程设计有限公司中广核工程有限公司
CN_120739646_PA

Resumen de: CN120739646A

本申请涉及一种风机防护方法、装置、计算机设备、计算机可读存储介质和计算机程序产品。所述方法包括:对每一型号风机进行试验,得到每一型号风机的不平衡力矩与变桨方向、转动速度之间的对应关系;基于对应关系,建立工况数据库;获取气象信息与风机实测数据;基于气象信息与风机实测数据,计算不平衡力矩;根据不平衡力矩,在工况数据库中,确定风机的变桨方向和转动速度;基于变桨方向和转动速度,对风机进行控制。采用本方法能够有效延长风机的使用寿命。

基于声纹数据的海上风电场风机螺栓松动预警方法及系统

NºPublicación:  CN120739659A 03/10/2025
Solicitante: 
长江三峡集团江苏能源投资有限公司北京谛声科技有限责任公司
CN_120739659_PA

Resumen de: CN120739659A

本发明公开了一种基于声纹数据的海上风电场风机螺栓松动预警方法及系统,包括:首先通过在风机塔筒螺栓连接处预置抗腐蚀声学传感器阵列采集原始声纹数据,经预处理去除风噪和海浪冲击噪声,切割后提取信号频谱特征,再分别进行状态特征抽取和特征扩展,得到故障状态特征和声纹高维特征,据此识别出目标螺栓松动原因与状态,最后生成维护工单触发运维系统的螺栓紧固预警机制,实现对海上风电场风机螺栓松动的有效预警。

水下压缩空气储能系统以及水下压缩空气储能的协同运行方法

NºPublicación:  CN120739679A 03/10/2025
Solicitante: 
广东新型储能国家研究院有限公司中国南方电网有限责任公司
CN_120739679_PA

Resumen de: CN120739679A

本申请涉及一种水下压缩空气储能系统、水下压缩空气储能的协同运行方法、装置、计算机设备、存储介质和计算机程序产品。所述系统包括:通过智能控制单元,在检测到海上可再生能源的出力信息低于第一出力阈值的情况下,关闭进水口的阀门,同时开启输水口的阀门,使储水腔与反渗透海水淡化组件之间的管路连通;启动压缩机组;进而使用压缩机组对外部空气进行空气压缩处理,得到压缩空气,并将压缩空气输送至储气腔中存储;在储气腔内的压缩空气不断增加的情况下,储水腔不断受到储气腔内压缩空气的挤压,进而储水腔利用挤压力将储水腔内存储的海水通过输水口输送至反渗透海水淡化组件。采用本系统能够提高海上可再生能源储能、释能的效率。

仿生海上光伏和风力发电装置及发电方法

NºPublicación:  CN120750269A 03/10/2025
Solicitante: 
中国船舶集团风电发展有限公司
CN_120750269_PA

Resumen de: CN120750269A

本申请涉及一种仿生海上光伏和风力发电装置及发电方法,其中,仿生海上光伏和风力发电装置,包括:风力发电机构,风力发电机构包括塔架组件和风力发电组件,风力发电组件安装在塔架组件的上端;光伏发电机构,光伏发电机构设置在塔架组件上,光伏发电机构具有展开的发电状态,或收起的待发电状态,或折叠的避险状态。本申请的技术方案有效地解决了现有技术中的海上光伏和风力发电装置在极端天气情况下容易损坏的问题。

保护层施工装置及保护层施工装置的控制方法

NºPublicación:  CN120752094A 03/10/2025
Solicitante: 
三菱重工业株式会社
CN_120752094_PA

Resumen de: JP2024149042A

To improve the accuracy of construction work of a protective layer.SOLUTION: A protective layer construction device includes: a material injector 110 that injects an injection frame 112 including a construction material from an injection port 111; a movement mechanism that moves the material injector 110 along a predetermined scanning direction; a distance sensor 120 which is installed in the movement mechanism at a prescribed distance D from the material injector 110, is moved along the scanning direction, and measures a distance from a wing surface A in a non-contact manner; and a control unit that controls a distance H between the injection port 111 of the material injector 110 and the wing surface A on the basis of a measured distance H' acquired by the distance sensor 120. The prescribed distance D is determined on the basis of an injection angle θ of the injection frame 112 and a set distance between the injection port 111 and the wing surface A.SELECTED DRAWING: Figure 11

一种抑制风电塔筒表面涡激振动的方法

NºPublicación:  CN120745510A 03/10/2025
Solicitante: 
华电重工机械有限公司
CN_120745510_PA

Resumen de: CN120745510A

本发明提出了一种抑制风电塔筒表面涡激振动的方法,涉及涡激振动抑制技术领域,建立塔筒三维模型,对塔筒三维模型进行模态分析,计算第1阶模态的最大位移高度H1,第2阶模态的波腹高度H2;基于最大位移高度H1和波腹高度H2确定涡激振动敏感区,并在涡激振动敏感区内安装多个尾流控制结构;计算单个尾流控制结构的长度和尾流控制结构间的间隔,通过风洞试验优化尾流控制结构张角,使多个尾流控制结构覆盖涡激振动敏感区;安装多个尾流控制结构后,验证尾流宽度压缩率,保证尾流宽度压缩率小于阈值,大幅提升抑制风电塔筒表面涡激振动的效果。

一种基于智能化的新能源设备能耗预测系统

NºPublicación:  CN120739654A 03/10/2025
Solicitante: 
大唐(内蒙古)能源开发有限公司
CN_120739654_PA

Resumen de: CN120739654A

本发明涉及能耗预测技术领域,具体公开了一种基于智能化的新能源设备能耗预测系统,包括风力发电机运行过程划分模块、风力发电机运行环境分析模块、风力发电机运行状态监测模块、风力发电机能耗预测模块、风力发电机能耗预测修正模块、风力发电机能耗成本评估模块以及能耗预测结果输出模块;本发明通过时间序列划分监测子区域,分析运行环境影响系数和运行状态监测系数,进而分析能耗预测指数;通过获取风力发电机表面特征信息,分析故障预警指数实现故障预警,并对能耗预测结果进行修正,为管理人员提供能耗预测结果与成本控制建议;本发明的实施不仅提高了风力发电机的运行效率与经济效益,还促进了行业的智能化管理与可持续发展。

一种可吸收波流能的漂浮式风机基础平台

NºPublicación:  CN120735903A 03/10/2025
Solicitante: 
中山大学
CN_120735903_PA

Resumen de: CN120735903A

本发明属于海上风电技术领域,具体公开一种可吸收波流能的漂浮式风机基础平台,包括中间浮筒和其周侧环形分布的多个外浮筒,外浮筒通过连梁与中间浮筒固定连接;各浮筒上活动连接有吸能支架,包括套设于中间浮筒上的中间套管、套设于外浮筒上的外套管、固定连接中间套管和外套管的支撑肋板;外套管内密封有电磁线圈,外浮筒内固定有永磁体,电磁线圈与永磁体配合用于将吸能支架的往复运动动能转化为电能;还包括套设于中间浮筒外周且位于吸能支架底部的吸能浮筒,用于带动所述吸能支架沿中间浮筒轴向往复运动。本发明显著提升了平台在复杂海洋环境中的稳定性,降低了涡激振动和大幅运动对风机的影响,还能回收波浪和水流能量,产生电力。

一种用于风力发电机叶片状态监测的传感器

NºPublicación:  CN120740989A 03/10/2025
Solicitante: 
北京纳米能源与系统研究所
CN_120740989_PA

Resumen de: CN120740989A

本申请公开了一种用于风力发电机叶片状态监测的传感器,传感器安装于叶片的吸力面,传感器包括转子、壳体、第一导电部和第二导电部,壳体位于转子和叶片的前缘之间,转子朝向前缘的投影落在壳体的投影面内,转子的轴线的延伸线与吸力面相交。沿转子的径向,转子的部分位于壳体的两个侧壁之间。沿转子的轴向,第一导电部设置于转子的端面的部分,且第二导电部与转子用于设置第一导电部的端面的部分相对设置。采用本申请提供的传感器,当吸力面产生涡流时,涡流将带动转子转动,则两个导电部摩擦产生交流电信号,操作人员可根据该信号,判断出吸力面出现涡流,进而通过改变叶片的角度来避免叶片失速。其有利于提升传感器的监测准确性,降低成本。

一种小型化微风风力发电机

NºPublicación:  CN120739663A 03/10/2025
Solicitante: 
四川升辉时代机电设备智能制造有限公司
CN_120739663_PA

Resumen de: CN120739663A

本发明涉及微风风力发电机技术领域,具体为一种小型化微风风力发电机,包括支撑座、主轴、翼叶和清洁装置,所述支撑座的顶部固定通过第一法兰盘固定连接有主轴,所述主轴的外表面固定连接有翼叶,所述翼叶的外表面滑动连接有清洁装置,所述清洁装置包括设置在翼叶侧面的滑槽,所述滑槽的内部滑动连接有移动刷,所述翼叶的上下两端均固定连接有限位板。本发明,通过设置清洁装置,操作人员只需握住移动刷外表面的把手,沿着滑槽推动移动刷,利用移动刷内壁的清洁刷即可对翼叶表面进行清洁,操作简单便捷,无需拆卸翼叶,有效解决了现有技术中翼叶清洁不便的问题,保障了翼叶的空气动力学性能,提高了发电效率。

用于维护多年冻土地基热稳定的风能制冷系统、运行方法及应用方法

NºPublicación:  CN120739092A 03/10/2025
Solicitante: 
石家庄铁道大学
CN_120739092_PA

Resumen de: CN120739092A

本发明公开了一种用于维护多年冻土地基热稳定的风能制冷系统、运行方法及应用方法,属于多年冻土保护技术领域,通过沿路基两侧间隔布置多套制冷设备,利用风能捕获单元捕获风能,以风能来驱动制冷单元,利用蒸发器对路基下方多年冻土进行降温;运行时,风能捕获单元将风能转化为机械能先驱动制冷单元,剩余机械能转化为电能,电能驱动电动机一方面补充平抑风能直接驱动制冷单元的波动性、另一方面在微风环境中辅助启动风能捕获单元。本发明利用风能驱动制冷与发电,电动机为制冷设备及风力发电机补充机械能,形成机械能与电能的互馈利用,提升风能捕获单元在微风环境中的启动性能与发电量,改善风能捕获效率,提高制冷设备的连续性与平稳性。

一种风力发电机导流罩

NºPublicación:  CN120739644A 03/10/2025
Solicitante: 
江苏海锋能源科技有限公司
CN_120739644_PA

Resumen de: CN120739644A

本发明提供一种风力发电机导流罩,属于风力发电技术领域,包括罩体,罩体上设有安装口;套体,位于安装口和叶片之间;动态密封件,可周向旋转的设置在罩体内并套接在叶片上,常态下,套体压紧动态密封件,调桨过程中,套体释放动态密封件。该风力发电机导流罩,在安装口和叶片之间设置套体并在套体与叶片之间增设动态密封件,动态密封件在调浆的过程中随着叶片转动,此时,套体释放动态密封件,充分降低了调浆过程中动态密封件的磨损情况,调桨完成后,使导流罩与叶片的连接处长期保持稳定的密封状态,提高风力发电机在复杂环境下长期工作的稳定性。

风电齿轮箱及风电设备

NºPublicación:  CN120739856A 03/10/2025
Solicitante: 
南京高速齿轮制造有限公司
CN_120739856_PA

Resumen de: CN120739856A

本发明涉及风电设备技术领域,提供了一种风电齿轮箱及风电设备,空心外环转动穿设于端盖总成,端盖总成与空心外环限定出第一油腔,空心外环开设有第一进油孔和第一排油孔,第一进油孔与第一油腔连通;毛毡密封件设置于空心外环与端盖总成之间,第一油腔位于毛毡密封件的外侧;空心管插设于空心外环且两者同轴固定,空心管开设有第二进油孔和第二排油孔,第二进油孔连通第一进油孔,第二排油孔连通第一排油孔;密封环设置于空心管的内侧且与空心管固定,密封环与空心管限定出第二油腔,第二油腔连通第二进油孔与第二排油孔;油液收集件设置于空心外环且与第一排油孔连接。如此能够降低自毛毡密封件处泄漏的油液对发电机及机舱的污染。

一种风电钢混塔筒预应力智能监测系统、方法、设备及介质

NºPublicación:  CN120739657A 03/10/2025
Solicitante: 
华能新能源股份有限公司河北分公司
CN_120739657_PA

Resumen de: CN120739657A

本发明涉及风电预应力监测技术领域,特别是一种风电钢混塔筒预应力智能监测系统、方法、设备及介质,其包括监测模块,配置用于从风电钢混塔筒上的多个传感器获取多源结构状态数据;处理单元,与监测模块连接;处理单元配置用于:对多源结构状态数据进行数据处理;基于处理后的多源结构状态数据,构建用于表征预应力数据与结构健康指标数据之间关联关系的预应力状态评估模型;根据预应力状态评估模型的输出结果,触发多级预警模块,生成与输出结果相对应的预警信号。本发明通过构建多传感器融合的监测网络,实现预应力数据与结构健康指标的关联分析,为塔筒结构安全评估和维护提供全面依据。

风洞-水池联合加载的浮式风机分布式混合试验方法

NºPublicación:  CN120740912A 03/10/2025
Solicitante: 
武汉理工大学三亚科教创新园
CN_120740912_PA

Resumen de: CN120740912A

本发明公开了一种风洞‑水池联合加载的浮式风机分布式混合试验方法,建立浮式风机多体/多物理场协同缩尺准则,将浮式风机划分为两个独立的物理模型以及数值模型并置于不同实验室中;集成物理模型、数值模型、加载系统与测量系统,搭建浮式风机物理‑数值分布式混合试验平台;物理‑数值混合试验平台的数据交互与闭环控制。本发明采用将风机和浮式平台作为两个相对独立的试验子结构,通过建立不同的相似准则和几何缩尺比,可在不同的实验室进行试验加载或计算机模拟,经网络交互数据开展协同联机试验及在风、浪、流耦合作用下的气动‑水动载荷加载,解决缩尺模型试验中环境载荷高精度模拟与动态耦合响应的技术问题。

一种风电混塔用混凝土与钢构件高效连接结构装置

NºPublicación:  CN120739394A 03/10/2025
Solicitante: 
华能安徽蒙城风力发电有限责任公司西安热工研究院有限公司
CN_120739394_PA

Resumen de: CN120739394A

本发明公开了一种风电混塔用混凝土与钢构件高效连接结构装置,所述混凝土筒体的顶端安装有钢结构筒体,所述混凝土筒体与钢结构筒体之间设置有连接机构;所述连接机构包括设置在混凝土筒体和钢结构筒体内壁的连接圈,所述连接圈的内壁均匀设置有第一连接块,所述第一连接块与连接圈之间设置有第一调节机构,所述第一连接块的内壁设置有安装块,所述第一连接块与安装块之间设置有第二调节机构,所述安装块的内壁设置有安装孔,所述安装孔的内壁设置有固定螺栓,所述固定螺栓穿过混凝土筒体内壁的安装孔和钢结构筒体内壁的安装孔将混凝土筒体和钢结构筒体连接在一起,该装置的连接强度及结构稳定性较高,且施工难度及施工成本较低。

一种漂浮式风电机组叶轮组合用吊装装置的叶中夹持机构

NºPublicación:  CN120736400A 03/10/2025
Solicitante: 
中国电建集团贵州工程有限公司中电建海上风电工程有限公司
CN_120736400_PA

Resumen de: CN120736400A

本发明公开了一种漂浮式风电机组叶轮组合用吊装装置的叶中夹持机构,需调节叶片中部夹持夹紧力时,处于上方的第六连接块、第五连接块上的螺杆进行竖向旋转调节,使得相对的第三抵接块对叶片中部进行上下夹持受力,解决了夹板相对水平运动带着挤压板对叶片叶中部夹持,会导致挤压板贴着叶片下方表面运动会发生摩擦的问题。

基于AI增强的漂浮式风机气动载荷实时混合试验方法和系统

NºPublicación:  CN120739656A 03/10/2025
Solicitante: 
浙江大学
CN_120739656_PA

Resumen de: CN120739656A

本发明公开了一种基于AI增强的漂浮式风机气动载荷实时混合试验方法和系统,包括:基于实时浮式基础动力学方程,利用数值计算模型计算浮式基础六自由度运动信息;将缩尺风机模型搭载在六自由度运动平台上,置于风洞大气边界层,基于浮式基础六自由度运动信息控制六自由度运动平台,驱动缩尺风机模型运动,在模拟风环境中生成气动载荷,测量原始载荷信号并进行修正,同步记录六自由度平台实际位姿;对修正后的载荷信号和六自由度平台实际位姿进行AI校正,获取净气动载荷,将净气动载荷反馈至数值计算模型,闭环更新实现耦合循环。本发明解决了数值与物理边界交互难题,可显著提高大型漂浮式风机复杂环境载荷下试验测试精度。

基于数字孪生的风电变桨故障预诊断系统及方法

NºPublicación:  CN120739653A 03/10/2025
Solicitante: 
沈阳工程学院辽宁新能数智科技有限公司
CN_120739653_PA

Resumen de: CN120739653A

本发明公开了基于数字孪生的风电变桨故障预诊断系统及方法,涉及风电变桨故障预诊断技术领域,具体包括以下步骤:在变桨设备进入故障状态的情况下,持续监测变桨设备的故障恢复过程,并构建数字孪生虚拟模型,用于判断变桨设备是否出现频繁故障状态切换的现象;在变桨设备出现频繁故障状态切换的现象时,实时获取变桨设备在进行频繁故障状态切换的过程中的行为切换信息,并对其进行分析,确定变桨设备在出现频繁故障切换现象时的切换幅度;根据确定结果,动态调整虚拟模型的故障诊断过程,以适应变桨设备的故障切换模式。本发明解决了变桨设备频繁故障切换时诊断响应迟滞问题,实现了故障诊断过程的动态调控与准确预测。

一种漂浮式海上风电平台及风力发电机

NºPublicación:  CN120735907A 03/10/2025
Solicitante: 
中车科技创新(北京)有限公司中车大连机车车辆有限公司
CN_120735907_PA

Resumen de: CN120735907A

本申请公开了一种漂浮式海上风电平台及风力发电机,该漂浮式海上风电平台包括:中柱,周向设置有至少两个连接组件;侧柱,第一端设置与连接组件装配连接锁紧组件,侧柱为空腔结构;调节杆,装配于中柱轴向底部,调节杆为空腔结构并滑动连接有伸缩杆,伸缩杆通过动力部驱动以沿调节杆的轴向移动,伸缩杆远离调节杆的一端固定设置压载筒。本申请通过连接组件与锁紧组件的模块化装配结构,实现漂浮式海上风电平台的分体输运,以及现场便捷装配,降低输运检修成本,同时设置装配于中柱底部的调节杆,以实现压载筒的高度调节而满足漂浮式海上风电平台的重心调节,提升漂浮式海上风电平台对不同海面环境的适应能力。

半潜水浮体式基礎

NºPublicación:  JP2025147046A 03/10/2025
Solicitante: 
大成建設株式会社
JP_2025147046_PA

Resumen de: JP2023180624A

To propose a semisubmersible floating type foundation which enables reduction of the weight and relatively easy construction, and to propose a construction method of the semisubmersible floating type foundation.SOLUTION: A semisubmersible floating type foundation 2 of a wind generating facility includes: a center column 3 supporting a column 12 of a wind mill 11; three side columns 4, 4, 4 arranged at intervals, centered on the center column 3; and beams 5 each connecting the center column 3 with the side column 4. The center column 3 includes: a steel slab 31; and a cylindrical body 32 erected from the slab 31. The beam 5 is made of pre-stress concrete in which beam tension materials 55 are arranged. A composite precast segment 6 formed by combining concrete with a steel material is disposed between each beam 5 and the slab 31. The composite precast segment 6 is formed with a fixation part 62 of the beam tension material 55.SELECTED DRAWING: Figure 2

風力発電装置

NºPublicación:  JP2025146164A 03/10/2025
Solicitante: 
三菱重工業株式会社
JP_2025146164_PA

Resumen de: JP2025146164A

【課題】製造コストや維持コストを増加させずに風力発電装置の状態を検知するセンサへの電力供給を行う。【解決手段】風車翼が取り付けられるハブ4と、ハブ4に連結されるとともに第1軸線X1回りに回転する回転軸と、第1ロータの第1軸線X1回りの回転に応じて電力を発生する発電機と、ハブまたは回転軸に取り付けられるとともにこれらの回転に応じて電力を発生する第1センサ用発電機21と、第1センサ用発電機21が発生する電力により動作する第1センサと、を備え、第1センサ用発電機21は、軸部材21aと、発電部21bと、軸部材21aに連結されるとともに軸部材21aが第2軸線X2回りに回転することを阻止する回転阻止部21dと、を備え、発電部21bのステータ21b2は、ハブ4に取り付けられるとともにハブ4の第1軸線X1回りの回転に応じて第1軸線X1回りに回転する風力発電装置を提供する。【選択図】図3

風力タービンを備えた浮遊又は半潜水式設備

NºPublicación:  JP2025533172A 03/10/2025
Solicitante: 
テクニップエナジーズフランス
JP_2025533172_PA

Resumen de: CN119998544A

A floating or semi-submersible facility (1) comprising a deck (2), a hull (3) and a wind turbine (5) with a mast wherein the deck covers the hull so as to form an enclosed space divided by partitions (4) into compartments, the base (6) of the mast is located below the deck and is fixed to at least two of the bulkheads (4) by means of a foundation system (7) comprising free spaces (9), (10).

浮体式風力タービンの製造、組立、メンテナンス、および/または解体用の沖合浮体式プラットフォーム

NºPublicación:  JP2025532877A 03/10/2025
Solicitante: 
サフィエ、アンジェニリ
JP_2025532877_PA

Resumen de: CN119894767A

The invention relates to a floating offshore platform (1) configured for offshore manufacturing and/or assembly and/or maintenance and/or disassembly of a floating wind turbine (2) comprising a floating foundation (4), a tower (6), a nacelle (8) and at least one blade (10), the platform (1) comprises at least one first area (22) dedicated to the manufacture of a floating foundation (4) configured to accommodate a tower drum (6), at least one second area (24) dedicated to the assembly and/or disassembly of the floating foundation (4) and the tower drum (6), and a third area (26) equipped with a lifting platform capable of being at least partially submerged underground, the platform (1) comprising a plurality of integral floating caissons (16).

風力発電のアイドラーホイールの等速回転を制御する速度制御装置

NºPublicación:  JP2025146803A 03/10/2025
Solicitante: 
蔡瑞安
JP_2025146803_PA

Resumen de: AU2025202074A1

A speed control device for control of idlers of wind turbines is provided. The speed control device includes a wind-powered electrical generator, a first speed control unit, a transmission gear set, an idler energy storage unit, and a second speed control unit. A wind activation gear set of the wind-powered electrical generator is driven by a wind force with a preset value. When the wind force is lower than the preset value, a rack unit on a speed-control motor is driven by power so that a speed-control gear set and the transmission gear set are respectively driven by a first and a second unidirectional gear of the first and the second speed control units. Thus the transmission gear set is rotated for a period and an idler drives a generator main shaft of the idler energy storage unit to rotate for a period. Therefore, the idler rotates constantly, without stopping. A speed control device for control of idlers of wind turbines is provided. The speed control device includes a wind-powered electrical generator, a first speed control unit, a transmission gear set, an idler energy storage unit, and a second speed control unit. A wind activation gear set of the wind-powered electrical generator is driven by a wind force with a preset value. When the wind force is lower than the preset value, a rack unit on a speed-control motor is driven by power SO that a speed-control gear set and the transmission gear set are respectively driven by a first and a second unidirectional gear of th

洋上風車システム

NºPublicación:  JP2025145129A 03/10/2025
Solicitante: 
日鉄エンジニアリング株式会社
JP_2025145129_PA

Resumen de: JP2025145129A

【課題】洋上風車が発電した電気を変圧可能な洋上風車システムを提供することを目的とする。【解決手段】洋上風車10を支持する下部構造20と、洋上風車10が発電する電気を蓄電する蓄電池30と、蓄電池30が放電する電気を交流に変換するコンバータ50と、コンバータ50が変換した電気の電圧を変圧する変圧器40と、を有することを特徴とする。【選択図】図6

電力供給システム、電力供給方法、集合住宅及び複合需要家施設

NºPublicación:  JP2025146997A 03/10/2025
Solicitante: 
京セラ株式会社
JP_2025146997_PA

Resumen de: JP2024074822A

To realize a reduction in electricity bill in performing low-voltage batch power reception.SOLUTION: A power supply system 90 is a power supply system 90 in one apartment house that performs low-voltage batch power reception from a system 80, the apartment house having a plurality of dwelling units and a shared part to which an electricity bill is to be distributed according to the usage of electric power from a business entity different from an electric power company that concludes a low-voltage batch power reception contract. The power supply system 90 has a high-order meter device 1, a low-voltage batch power reception board 2 that has a first breaker connected to the system 80, a distribution switchboard 4 that has a plurality of second breakers respectively connected to the plurality of dwelling units and the shared part, a plurality of low-order meter devices 5 that measure the power consumption of the plurality of dwelling units, and a dispersion type power source 3 that is connected between the high-order meter device 1 and the plurality of low-order meter devices 5. The capacity of the first breaker is smaller than the total value of the capacities of the second breakers.SELECTED DRAWING: Figure 1

風力発電機の角度修正方法および修正装置

NºPublicación:  JP2025146655A 03/10/2025
Solicitante: 
華能広西清潔能源有限公司
JP_2025146655_PA

Resumen de: CN118188320A

The method comprises the steps that a wind measuring device is installed on a wind driven generator body, wind direction information fed back by the wind measuring device is transmitted to a central control room, a driving motor is started in the central control room, an output shaft of the driving motor drives an annular gear through a driving gear, and the annular gear drives an installation cylinder to rotate. The installation cylinder drives the fan blades to rotate through the wind driven generator body until the wind receiving angles of the fan blades need to be adjusted to the direction opposite to the airflow, and the wind receiving angles of the fan blades of the wind driven generator can be rapidly adjusted. The method is used for angle correction of the wind driven generator.

一种可随风机叶轮转动的电动盘车装置

NºPublicación:  CN223410947U 03/10/2025
Solicitante: 
巨力索具股份有限公司
CN_223410947_U

Resumen de: CN223410947U

本实用新型提供了一种可随风机叶轮转动的电动盘车装置,涉及风电机组吊装技术领域,包括主架体和支撑组件,所述支撑组件设在主架体的一侧,且主架体的内部设有内槽,所述内槽的内部转动设有传动回转支撑圈,且传动回转支撑圈的外侧设有啮合齿,所述内槽四角处的所述主架体上均设有齿轮,且齿轮与啮合齿相适配,所述传动回转支撑圈的前端设有转接盘,且转接盘前端的中间位置处设有随动回转支撑内圈;本实用新型采用双回转机构,通过随动销轴控制回转机构分离与固定,达到无电条件下电动盘车装置需要随风机叶轮摆动的目的,既不影响此装置正常使用的功能,又解决了电动盘车装置的断电自锁导致风机无法转动的问题。

一种风力发电叶片检测装置

NºPublicación:  CN223410953U 03/10/2025
Solicitante: 
馆陶辉能新能源有限公司
CN_223410953_U

Resumen de: CN223410953U

本实用新型属于叶片检测装置技术领域,尤其为一种风力发电叶片检测装置,包括安装座,安装座上设有连接孔,安装座通过连接孔与无人机机架进行螺栓安装,所述安装座的下方固定连接水平转动装置;水平转动装置包括与安装座进行固定连接有外壳,所述外壳的中心处固定连接有旋转马达,所述旋转马达输出端固定连接有旋转盘。本实用新型,通过安装座与无人机配合,实现高空检测,降低人工风险与成本,水平和竖直转动装置的设计,利用正反转马达精确控制激光发射器角度,全方位检测叶片,存储模块保障数据安全与分析,4G/5G通信模块实时传输数据,便于远程监控和操作,提升检测效率与准确性,有效保障风力发电叶片的质量和运行安全。

风电机组发电机转矩优化方法及相关装置

NºPublicación:  CN120739645A 03/10/2025
Solicitante: 
中国电力科学研究院有限公司国家电网有限公司国网福建省电力有限公司
CN_120739645_PA

Resumen de: CN120739645A

本发明属于风力发电控制技术领域,公开了一种风电机组发电机转矩优化方法及相关装置,包括获取风电机组发电机的状态数据;根据风电机组发电机的状态数据,通过预训练的发电机转矩控制模型得到风电机组发电机的转速控制值;其中,所述发电机转矩控制模型基于强化学习模型构建,所述发电机转矩控制模型的奖励函数基于动态加权发电量奖励和机械应力惩罚构建,所述动态加权的权重基于风电机组发电机的系统健康度确定。基于强化学习技术具备的自主优化潜力,具有较好的适应性,能够精确和快速实现发电机转矩优化。通过采用多目标协同优化的奖励函数设计,有效融合设备健康状态监测数据,实现发电效率与机械损耗的平衡,确保风电机组发电机稳定运行。

风力涡轮的操作

NºPublicación:  CN120752433A 03/10/2025
Solicitante: 
通用电气可再生能源西班牙有限公司
CN_120752433_PA

Resumen de: WO2024188415A1

The present disclosure is related to methods for determining a thrust limit for a wind turbine and methods for operating a wind turbine. The methods comprise determining an operational state of a blade load monitoring system of the wind turbine. Additionally, the methods comprise adjusting a thrust threshold of the wind turbine at least partially based on the operational state of the blade monitoring system. Further, the methods also comprise operating the wind turbine such that a thrust load on a rotor of the wind turbine is maintained at or below the adjusted thrust threshold. A control system suitable to maintain thrust loads at or below a thrust threshold is also provided, as well as wind turbines including such a control system.

用于限制转子推力的风力涡轮机控制

NºPublicación:  CN120752432A 03/10/2025
Solicitante: 
维斯塔斯风力系统集团公司
CN_120752432_PA

Resumen de: WO2024132076A1

Aspects of the invention relate to a method of controlling a wind turbine comprising a rotor and a plurality of rotor blades. The method comprises: receiving a plurality of blade flap load signals indicative of measured flap loading on respective rotor blades, each blade flap load signal being received from a blade flap load sensor of a respective rotor blade; determining an average blade flap load signal based, at least in part, on the plurality of blade flap load signals; and determining a maximum thrust level for a thrust limit controller based on the average blade flap load signal and a reference load value that is indicative of a maximum allowable variation of the average blade flap load signal from a normal value.

双重冷却系统及风力发电机组

NºPublicación:  CN120739665A 03/10/2025
Solicitante: 
华能吉林新能源开发有限公司通榆分公司
CN_120739665_PA

Resumen de: CN120739665A

本发明公开了一种双重冷却系统及风力发电机组,涉及风力发电技术领域,其中,双重冷却系统包括塔筒、机舱、第一冷却系统和第二冷却系统,塔筒内形成有换热空间;机舱安装于塔筒顶端,机舱形成容纳腔,容纳腔连通换热空间,容纳腔内安装有发电机;第一冷却系统包括液冷板和热管,液冷板设置于换热空间内,热管连接液冷板和发电机,以将发电机所产生的热量传导至液冷板;第二冷却系统包括进气风机、出气风机和散热器,散热器连接液冷板,进气风机安装于塔筒的侧壁,进气风机的出风口连通换热空间,出气风机安装于换热空间内,出气风机用于将换热空间内的热量引出至塔筒外;本发明提高了风力发电机的散热可靠性并降低冷却液泄漏风险。

一种风力发电机塔筒风致振动监测方法及系统

NºPublicación:  CN120739660A 03/10/2025
Solicitante: 
湖南趣和互动科技有限公司
CN_120739660_PA

Resumen de: CN120739660A

本发明公开了一种风力发电机塔筒风致振动监测方法及系统,包括以下步骤:利用多模态传感器采集数据;对采集到的数据进行数值模拟,得到训练数据集;构建初始风力发电机塔筒风致振动监测模型;采用训练数据集对初始风力发电机塔筒风致振动监测模型进行训练,得到风力发电机塔筒风致振动监测模型;利用风力发电机塔筒风致振动监测模型,进行实际的风力发电机塔筒风致振动监测。本发明方法通过多传感器协同与跨模态数据融合、物理机理约束及边缘轻量化设计,从多维度反映塔筒运行状态,极大的提升了故障诊断的准确性,实现了风电塔筒螺栓松动的高精度监测。

一种智能温控风电机组叶片电加热除冰系统及方法

NºPublicación:  CN120739661A 03/10/2025
Solicitante: 
中国华能集团清洁能源技术研究院有限公司华能新能源股份有限公司云南分公司
CN_120739661_PA

Resumen de: CN120739661A

本发明公开了一种智能温控风电机组叶片电加热除冰系统及方法,属于风力发电技术领域。系统包括设置在叶片上的电加热膜、红外热像仪和若干个传感器;所述电加热膜、红外热像仪和若干个传感器均连接有智能控制单元;所述智能控制单元连接有搭载激光雷达的无人机,用于定期扫描叶片表面冰层分布;所述电加热膜采用分区控制。方法包括:获取环境参数及叶片状态监测数据,并启动除冰系统;实时收集来自除冰系统的除冰数据并进行预处理,得到预处理后除冰数据;基于所述环境参数及叶片状态监测数据建立智能温控模型;将所述预处理后除冰数据输入智能温控模型,计算得到加热功率的动态调整数据并将其传输至除冰系统进行除冰。

蒸发冷却系统的故障诊断方法、装置和蒸发冷却系统

NºPublicación:  CN120739655A 03/10/2025
Solicitante: 
中国科学院赣江创新研究院
CN_120739655_PA

Resumen de: CN120739655A

本发明公开了一种蒸发冷却系统的故障诊断方法、装置和蒸发冷却系统,通过采用定窗口动态模式分解得到不同运行状态下的模态信息和模态数量,并利用多种机器学习模型中分类准确率最高的模型进行故障诊断,解决了现有技术中使用传统的故障诊断技术对风电机组的蒸发冷却系统进行故障诊断时所存在的准确度较低、自适应性差、安全性和可靠性较低的技术问题,实现了高自适应性、高诊断准确率的对蒸发冷却系统进行智能化故障诊断的技术效果,提升了系统运行的可靠性和安全性。

海上平台

NºPublicación:  CN120735905A 03/10/2025
Solicitante: 
广船国际有限公司
CN_120735905_PA

Resumen de: CN120735905A

本发明属于海上建筑物技术领域,公开了海上平台,海上平台中,平台本体能够漂浮在海面上;系泊缆绳一端连接在平台本体,连接处为系泊点,另一端用于连接海底,平台本体能够相对于系泊点在海面上转动,即仅通过一根系泊缆绳将平台本体连接于海底;风力发电设备包括塔架、叶片以及发电机,塔架固定安装于平台本体,叶片能够相对于塔架转动,以带动发电机产生电能,海面起风时,风力推动叶片相对于塔架转动,以带动发电机产生电能,当风向变化时,由于海面风力较大,且风向变化较为平缓,因而风力会推动整个平台本体相对于系泊点在海面上转动,以使风力推动叶片始终迎着风向,无需额外设置调向器(尾翼),结构简单,成本较低。

モノパイルを吊り上げるための吊り上げシステム、クレードル、船舶、及び船舶上のモノパイルを格納する方法

NºPublicación:  JP2025533067A 03/10/2025
Solicitante: 
アイキューアイピーホールディングビー.ブイ.
JP_2025533067_PA

Resumen de: CN119998222A

A lifting system (1) for lifting a single pile (3, 6) comprises a pair of coupling members (2) for coupling to the single pile at a distance from each other in the longitudinal direction of the single pile. Each coupling member has: a support (7) for coupling to a hoisting apparatus, such as a crane (21); a sling (8) for at least partially surrounding the single pile, the sling being suspended from the support so as to form a loop; and a tightening device (14) for changing the length of the sling.

一种多边形张拉式海上垂直轴风电机组结构

NºPublicación:  CN120739650A 03/10/2025
Solicitante: 
哈尔滨工程大学
CN_120739650_PA

Resumen de: CN120739650A

本发明提出了一种多边形张拉式海上垂直轴风电机组结构,属于海洋浮式风电工程领域。解决多台垂直轴风机组合缺乏有效的结构支撑和振动抑制手段的问题。它包括浮式平台,全部边浮筒的虚拟轴线在水平面的投影为多边形且至少为五边形,每个边浮筒均与系泊系统相连;风电机组,包括设置在中心浮筒顶端的双转子垂直轴风机和设置在每个边浮筒顶端的单转子垂直轴风机;张拉结构,每个单转子垂直轴风机顶端通过第三连接组件与双转子垂直轴风机顶端和底端相连,每个单转子垂直轴风机顶端连接两根斜拉索,每个斜拉索的另一端连接在当前单转子垂直轴风机非相邻单转子垂直轴风机的底端。它主要用于支撑海上风机组。

一种防止高压电坠落的分析方法及系统

NºPublicación:  CN120744528A 03/10/2025
Solicitante: 
佛山环球电力设备有限公司
CN_120744528_PA

Resumen de: CN120744528A

本申请涉及电力技术领域,尤其是涉及一种防止高压电坠落的分析方法及系统。该方法包括:获取风机所处环境信息及风机固有特性信息,基于风机固有特性信息,分析风机所处环境信息,确定风机发电状态波动信息;获取高压电输电线路信息,基于高压电输电线路信息,分析风机发电状态波动信息导致的输电线路动态波动,确定线路动态振动信息;获取线路背景信息的振动固有频率特征,将线路动态振动信息与振动固有频率特征进行对比分析,评估动态振动引发的线路共振风险,并输出实时线路共振风险信息。有效预防了共振可能导致的导线断裂、杆塔倾覆等恶性事故,显著提升了高压输电系统的安全稳定性。

一种基于运行数据的风电设备的故障监测方法及系统

NºPublicación:  CN120744649A 03/10/2025
Solicitante: 
广东海洋大学
CN_120744649_PA

Resumen de: CN120744649A

本发明公开了一种基于运行数据的风电设备的故障监测方法及系统,首先获取包含故障类型的历史运行数据,利用预设的关联性算法量化各运行参数与故障之间的相关度,并映射至二维平面,构建结构化点集,增强了多维数据的可视性与可处理性。在关键影响因子筛选过程中,选择相关度最大的运行参数作为基准点,具有明确的物理故障表征意义,可聚焦于与目标故障机理高度相关的核心参数,从源头上提高候选因子集的准确性,从而进一步筛选关键影响因子。并据此构建专属故障监测子模型,能够确保模型输入具有高度针对性,从而大幅提升对各类故障的识别准确率和分类清晰度,提高风电设备的故障检测准确性。

一种基于动态重心调节的深海浮式风机

NºPublicación:  CN120735909A 03/10/2025
Solicitante: 
福建平潭大唐海上风电有限责任公司大唐三亚未来能源研究所有限公司
CN_120735909_PA

Resumen de: CN120735909A

本发明涉及浮式风机领域,公开了一种基于动态重心调节的深海浮式风机,包括中央立柱,所述中央立柱的上方安装有风力发电机组,所述中央立柱的外侧设置有浮动架,所述浮动架包括侧位立柱,所述侧位立柱通过连接杆与中央立柱相互固定,所述连接杆的外壁设置有重心调节机构;所述重心调节机构包括滑块,所述滑块的内壁设置有配重块,所述连接杆的内壁设置有滑槽,所述滑块滑动在滑槽的内壁,所述滑块的下表面安装有钢索。本发明中,通过设置重心调节机构,可以根据风浪来袭方向调节整体装置重心位置,例如,当风浪由左至右来袭时,可以调节位于装置右侧的中心调节结构,使该组重心调节机构内部的滑块与配重块向左移动。

一种风力发电装置水平稳定机构

NºPublicación:  CN223410944U 03/10/2025
Solicitante: 
北京航空航天大学
CN_223410944_U

Resumen de: CN223410944U

本实用新型涉及高空风力发电技术领域,尤其涉及一种风力发电装置水平稳定机构。其技术方案包括:风力发电主体,风力发电主体包括发电机组,发电机组两端的外周表面套接有用于固定双系留绳用的一组固定环,两根双系留绳之间呈夹角,双系留绳上并行有电缆。两根双系留绳之间呈夹角,两根系留绳的受力在风力大小发生变化时随之改变,从而防止俯仰角的产生,双系留绳上并行有电缆,电缆用于电力的传输。双系留绳并非是两根独立的系留绳,而是两根并行的系留绳在靠近高空风力发电装置的位置分开,分别系于轻型桨叶式发电机的前后两端。两根系留绳的受力在风力大小发生变化时随之改变,从而避免了俯仰角的产生。

垂直轴风力发电装置

NºPublicación:  CN223410946U 03/10/2025
Solicitante: 
湖北省正鸿元新能源科技有限公司
CN_223410946_U

Resumen de: CN223410946U

本实用新型提供了垂直轴风力发电装置,包括支撑立柱,所述支撑立柱的外壁上以支撑立柱为圆心水平方向转动套接有叶片架,所述叶片架上活动设置有若干个翻转叶片,所述支撑立柱的顶部水平设置有稳定架,所述稳定架远离所述支撑立柱的端部设置有稳定件,所述稳定件的底部与地面固定相连。本实用新型提供的垂直轴风力发电装置能够发电效果较佳。

一种新型轮毂主轴连接结构

NºPublicación:  CN223410940U 03/10/2025
Solicitante: 
安阳市福沃德机械有限责任公司
CN_223410940_U

Resumen de: CN223410940U

本实用新型公开了一种新型轮毂主轴连接结构,涉及到轮毂主轴连接技术领域,包括:轮毂,所述轮毂的中心位置穿过有主轴轴体;多边形插环,所述多边形插环插接在轮毂与主轴轴体之间,实现主轴轴体与轮毂的传动;夹持装置,所述夹持装置被适配为将轮毂夹持固定的结构;辅助组件,所述辅助组件设置有多个,且辅助组件的两端分别与轮毂和主轴轴体固定连接;本实用新型通过多边形插环的设置实现主轴轴体和轮毂的同步旋转,使主轴轴体和轮毂在旋转时的扭力进行分摊,避免主轴轴体和轮毂之间扭力过大造成夹持装置的损坏;通过第一螺纹杆和第二螺纹杆的配合设置能够将主轴轴体和轮毂进行临时连接固定。

一种风力发电机用轴承

NºPublicación:  CN223410955U 03/10/2025
Solicitante: 
六安蔚恒新能源有限公司
CN_223410955_U

Resumen de: CN223410955U

本实用新型公开了一种风力发电机用轴承,涉及轴承技术领域,包括轴承座,所述轴承座的内部从上到下依次开设有第一圆槽、第二圆槽、第三圆槽、第四圆槽和第五圆槽,所述轴承座的上端设置有连接盘,所述连接盘的内部固定套设有主轴,所述主轴延伸至第五圆槽内,所述第一圆槽内安装有第一圆锥滚子轴承,所述第二圆槽内安装有上密封挡圈,所述上密封挡圈内设置有第一外漏骨架无副唇密封圈,所述第四圆槽内安装有第二圆锥滚子轴承,所述第五圆槽内安装有下密封挡圈。本实用新型通过设置第三圆槽和第二通槽共同配合能够对黄油进行存储,减少频繁加注润滑脂的需求,延长轴承的维护周期,从而降低维护成本和停机时间。

一种用于风力发电设备的加固结构

NºPublicación:  CN223410948U 03/10/2025
Solicitante: 
肖进兴
CN_223410948_U

Resumen de: CN223410948U

本实用新型公开了一种用于风力发电设备的加固结构,包括风力发电设备本体,所述风力发电设备本体的表面固定连接有连接柱,所述连接柱的表面套设有固定板,所述固定板顶部的四角均固定连接有固定螺栓,所述固定螺栓的底部与地面预埋的安装螺管内腔固定连接。本实用新型通过设置的固定板,能够对风力发电设备本体的表面进行包围固定,且通过设置的固定结构,能够将固定板快速牢固的与风力发电设备本体进行连接,能够保证安装的稳定,同时通过设置斜支撑结构,能够对风力发电设备本体进一步的进行支撑,能够进一步的提高风力发电设备本体的稳定性,不会发生折断的现象,也不会发生倾斜倒塌的现象。

一种风电塔筒混凝土泵送装置

NºPublicación:  CN223410576U 03/10/2025
Solicitante: 
哈尔滨国统管道有限公司
CN_223410576_U

Resumen de: CN223410576U

本实用新型公开一种风电塔筒混凝土泵送装置,包括安装在混凝土泵上的泵料橡胶管;泵料橡胶管上安装有用于摇摆下料的摇摆机构,摇摆机构包括套接在泵料橡胶管上的套环体,套环体同心设置有外摇摆环杆,外摇摆环杆与套环体之间通过若干个摇摆结构装配连接;摇摆结构包括固定连接在套环体内侧壁上的固定凸座,所述固定凸座上开设有滑口,滑口内滑动连接有摇摆滑板,摇摆滑板通过安装螺杆结构固定安装在套环体上;摇摆滑板的两端贯穿所述滑口的两侧;摇摆滑板内固定连接有若干个弹簧,弹簧固定连接在滑口的内侧壁上。上述装置实现风电塔筒浇筑混凝土过程中,将泵料橡胶管充分以摇摆方式的充分将混凝土摆进到钢筋笼内,实现提高浇筑效率。

冷却装置及风电齿轮箱

NºPublicación:  CN223411432U 03/10/2025
Solicitante: 
南高齿(淮安)高速齿轮制造有限公司
CN_223411432_U

Resumen de: CN223411432U

本实用新型属于电池冷却设备技术领域,公开了一种冷却装置及风电齿轮箱。该冷却装置包括散热器、防尘网和密封防尘结构。其中,散热器包括散热翅片,以用于散热;散热器设置有散热翅片的一侧设有安装边框,防尘网的固定边框固定连接于散热器的安装边框,防尘网上设有加强结构,以提高防尘网的结构强度;密封防尘结构设置于固定边框和/或安装边框上,以使密封防尘结构填充于固定边框和安装边框之间,密封防尘结构用于阻挡杂质的进入;提高了防尘网和散热器之间的连接间隙的密封防尘效果和防尘网的自身强度,减少了柳絮等杂质的进入,提高冷却装置的使用寿命,减少了冷却装置的清洗频率。

一种风电场风机防雷装置

NºPublicación:  CN223410954U 03/10/2025
Solicitante: 
华能会理风力发电有限公司
CN_223410954_U

Resumen de: CN223410954U

本实用新型提出了一种风电场风机防雷装置,包括基座,所述基座的底部固定连接有固定盘,所述基座的顶部固定连接有导流环,所述基座与导流环之间开设有整体呈L状结构的导风孔。本实用新型的优点在于:当风吹到装置上,水平方向的气流在引导板的引导下进入导风孔,气流在导风孔内转向形成竖向气流,减小风力对装置的影响。竖向气流向上吹出,还可扰乱上方的水平向的气流,如此可进一步减小水平气流的影响。防风柱通过转动环转动连接在基座上,使其可在风力作用下进行转动。防风柱转动可将风能转化为动能,实现对风能的消耗。支杆和接闪器等结构被基座、防风柱等结构保护,可大大减小它们所受风力的影响,提高装置的牢靠性。

溜尾吊具

NºPublicación:  CN223409188U 03/10/2025
Solicitante: 
上海电气风电集团股份有限公司
CN_223409188_U

Resumen de: CN223409188U

本实用新型提供一种溜尾吊具,该溜尾吊具包括主体部和若干连接部,溜尾吊具具有供螺栓穿过的若干连接孔,连接孔形成在连接部上,连接部能够相对主体部沿第一方向和第二方向移动,第一方向和第二方向不平行。通过设置连接部,将连接孔设置在连接部上,连接部能够相对主体部沿不平行的第一方向和第二方向移动,使得形成在不同连接部上的连接孔的能够被设置在第一方向和第二方向上的不同位置,从而使得连接孔之间的相对位置能够改变以适配不同的螺纹孔的间距不同的风机塔筒,提高溜尾吊具的兼容性,降低报废率。

一种风力发电机组的风向调节装置

NºPublicación:  CN223410945U 03/10/2025
Solicitante: 
陕西君诚汇达工程有限公司
CN_223410945_U

Resumen de: CN223410945U

本实用新型公开了一种风力发电机组的风向调节装置,包括支撑柱,所述支撑柱的顶端固定连接有支撑盘,所述支撑盘的上方设有连接盘,所述连接盘的上表面固定连接有调节罩,所述调节罩的上表面固定镶嵌有第一轴承,所述第一轴承的内圈固定连接有调节轴。本实用新型通过支撑盘和连接盘的设置,可以使调节罩在支撑柱的顶部进行安装,同时利用调节罩内部的调节齿轮、调节轴和驱动齿轮的设置,并且通过驱动电机和驱动轴提供动力,能够带动调节轴和连接座顺时针或逆时针转动,并且连接座上方的风力发电机组也会随之风向调节,继而通过该装置,能够对风力发电机风向角度灵活调试,将会对不同角度的风力更好的利用,提高该装置的风力发电效率。

一种风电场防雷系统故障定位仿真测试装置

NºPublicación:  CN223410952U 03/10/2025
Solicitante: 
长江三峡集团江苏能源投资有限公司
CN_223410952_U

Resumen de: CN223410952U

本实用新型提出了一种风电场防雷系统故障定位仿真测试装置,包括风机叶片、电磁感应装置、脉冲发生器、数据采集装置、接闪器、计算机和无人机;所述接闪器设置在风机叶片内部空腔中,接闪器通过引下线与数据采集装置连接,所述电磁感应装置分别套接在接闪器和引下线分支点的两侧,所述脉冲发生器设置在远离接闪器的风机叶片的一端,本实用新型可对引下线分支处、接闪器的电流和脉冲反射波同时进行采集,可精确确定引下线分支点是否存在故障,并且可对故障判断区段内其他的故障点进行定位,实现了风机叶片引下线故障检测与准确定位。

模块化漂浮式基础平台及漂浮式风力发电机

NºPublicación:  CN223408095U 03/10/2025
Solicitante: 
中国交通建设股份有限公司南方分公司
CN_223408095_U

Resumen de: CN223408095U

本申请提出一种模块化漂浮式基础平台及漂浮式风力发电机,包括:多个浮体模块;以及多个连接器,各连接器设于相邻两个浮体模块之间且将相邻两个浮体模块连接在一起。由于浮体模块的结构标准,可以实现浮体模块的标准化生产和批量制造,能够降低制造成本,也即有效降低模块化漂浮式基础平台的成本;其次,浮体模块的模块化设计能够减少现场施工的工作量,降低了施工成本和时间;再次,由于浮体模块体积较小,体积较小的浮体模块可以通过船舶或其他运输工具运送到安装现场,再通过预先设置的连接器进行快速组装,使得浮体模块的运输和安装更加便捷,减少了运输和安装过程中的复杂性和风险;另外,模块化漂浮式基础平台的设计更加灵活。

一种引水灌溉装置

NºPublicación:  CN223402988U 03/10/2025
Solicitante: 
山西省水利发展中心榆社县农业农村和水利局
CN_223402988_U

Resumen de: CN223402988U

本实用新型公开了一种引水灌溉装置,涉及园林灌溉技术领域,旨在解决当前园林灌溉方式使用起来成本较高,增加园林日常维护成本的技术问题,包括风车、立筒、走液管、连接机构、分液罩、活塞组件和联动组件,所述走液管的上端设有上管口,所述连接机构安装在走液管中间部位外侧,所述连接机构由底壳和卡壳构成,所述卡壳两侧贯穿安装有插杆,且插杆插接在底壳上,所述分液罩安装在卡壳上侧,所述卡壳的上端面中间处贯穿安装有通管,且通管套接在上管口处,所述通管顶部转动安装有聚液罩,所述立筒位于聚液罩上侧,所述立筒下端滑动套接有升降筒。本实用新型具有自动化灌溉结构,无需人工或电力驱动,降低成本的优点。

一种风电叶片延长工装

NºPublicación:  CN223406334U 03/10/2025
Solicitante: 
宁夏博阳新能源有限公司
CN_223406334_U

Resumen de: CN223406334U

本实用新型涉及加工工装技术领域,具体为一种风电叶片延长工装,包括:固定框,所述连接固定组件包括对称开设在固定框表面的两个条形开口,以及分别滑动设置在两个条形开口内壁的两个对称的升降板,上方两个所述升降板与下方两个所述升降板的端部均固设有与风电叶片主体以及风电叶片延长体相适配的金属连接框。通过设置连接固定组件,使该工装在对风电叶片主体与风电叶片延长体进行连接时,能够使两个金属连接框同时向中间移动,对风电叶片主体与风电叶片延长体的连接处进行有效夹紧固定,进而使该工装能够实现快速对风电叶片主体与风电叶片延长体的连接处进行有效固定并连接的目的,有效地提高了工作效率。

新型浮式风电基础

NºPublicación:  CN223408094U 03/10/2025
Solicitante: 
中国海洋工程装备技术发展有限公司上海能源科技发展有限公司国家电投集团广东电力有限公司
CN_223408094_U

Resumen de: CN223408094U

本实用新型提供了一种新型浮式风电基础,包括第一立柱、第二立柱、第三立柱、浮体组件以及支撑组件。第一立柱、第二立柱和第三立柱呈三角形分布,浮体组件呈三角形结构,浮体组件的三个顶端分别连接于一个立柱的底部侧壁,支撑组件呈A形结构并具有一个尖端和两个凸出端,尖端连接于第一立柱的顶部侧壁,两个凸出端分别连接于第二立柱的顶部侧壁和第三立柱的顶部侧壁。海上风机设备设于第一立柱,本实用新型具有结构简单,建造成本低廉,便于运营维护等优点。

一种适用于混凝土塔筒的快装式钢塔过渡段

NºPublicación:  CN223410950U 03/10/2025
Solicitante: 
江苏正锐达新能源有限公司
CN_223410950_U

Resumen de: CN223410950U

本实用新型公开了一种适用于混凝土塔筒的快装式钢塔过渡段,包括过渡段筒体,所述过渡段筒体的下方设置有混凝土塔筒本体,且混凝土塔筒本体的顶部焊接有第二法兰盘,所述过渡段筒体的上下两端均焊接有第一法兰盘;上方所述第一法兰盘的顶部设置有连接板。该适用于混凝土塔筒的快装式钢塔过渡段,通过正向旋转驱动齿环,能够同时带动多个从动齿轮转动,使得套筒发生转动,此时位于套筒内部的两个固定螺栓相反移动,并旋入相对应的连接板、第一法兰盘和第二法兰盘上的螺纹孔内,能够将连接板、第一法兰盘和第二法兰盘固定在一起,从而可以快速完成过渡段筒体与混凝土塔筒本体之间的安装,反之即可快速拆卸,方便工作人员使用。

一种垂直轴风力发电机的限速保护叶片

NºPublicación:  CN223410942U 03/10/2025
Solicitante: 
湖北省正鸿元新能源科技有限公司
CN_223410942_U

Resumen de: CN223410942U

本实用新型提供了一种垂直轴风力发电机的限速保护叶片,包括叶片框,叶片框的内侧水平设置有支撑柱,支撑柱上转动设置有转动座,转动座的顶部设置有上框体,底部设置有下框体,上框体的内侧设置有上受风部,下框体的内侧设置有下受风部,下受风部的面积大于上受风部的面积;支撑柱上还转动套接有活动件,活动件位于转动座与叶片框之间,活动件与转动座之间设置有第一弹性件,且第一弹性件的两端分别与活动件和转动座固定相连,活动件的侧部设置有延伸臂,延伸臂的侧部设置有与延伸臂相垂直的垂直臂,叶片框的侧部设置有防转座。本实用新型提供的一种垂直轴风力发电机的限速保护叶片能够使得使用效果更佳。

拼装型塔筒结构及风力发电机组

NºPublicación:  CN223410949U 03/10/2025
Solicitante: 
中国华电科工集团有限公司华电中光新能源技术有限公司
CN_223410949_U

Resumen de: CN223410949U

本实用新型提供了一种拼装型塔筒结构及风力发电机组,该拼装型塔筒结构包括可拼装的多个塔筒组件,每个塔筒组件包括两个塔筒主体,每个塔筒主体包括多个环形阵列的竖向型钢;塔筒主体还包括连接到多个竖向型钢的开放端的环形钢板;塔筒主体还包括连接到每个竖向型钢的连接端的连接板;每个塔筒组件还包括连接件,两个塔筒主体的多个竖向型钢的连接端通过对应的连接板与连接件的两端连接。该实施方式采用多个塔筒组件拼装,为运输和施工过程提供了便利。由竖向型钢拼接而成的塔筒主体,能够增强塔筒主体的强度。连接板的设置便于与连接件连接,还能提高连接强度。

一种升空辅助系统

NºPublicación:  CN223410943U 03/10/2025
Solicitante: 
上海井蹊科技合伙企业(有限合伙)
CN_223410943_U

Resumen de: CN223410943U

本公开涉及一种升空辅助系统,包括牵引体、平衡伞和辅助机构;牵引体用于为高空做功模块提供初始升力,初始升力引导高空做功模块上升至第一海拔高度;平衡伞连接牵引体,平衡伞迎风开启后与牵引体共同继续引导高空做功模块至第二海拔高度进行做功;辅助机构分别连接平衡伞和高空做功模块,包括牵引绳和控制牵引绳的释放和回收的控制件;当第一海拔高度处的风速不足以使平衡伞开启时,控制件释放所述牵引绳,牵引体继续上升直至风速足以使平衡伞开启。该方案通过辅助机构能够使牵引体继续带动平衡伞至风速足以使其开启的高度,避免空中做功模块悬停,确保在低空风速相对较低的时候伞梯组合式高空风能做功模块依然能顺利升空做功。

一种风力发电装置

NºPublicación:  CN223410941U 03/10/2025
Solicitante: 
楚河汉风(河南)新能源科技有限公司
CN_223410941_U

Resumen de: CN223410941U

本实用新型公开了一种风力发电装置,属于风力发电技术领域,具体包括机架,所述机架的上方转动连接主轴,所述主轴的外侧设置有内叶片机构,所述主轴上位于内叶片机构的外侧还设置有外叶片机构;本实用新型通过设置的内叶片机构和外叶片机构,提高了该设备整体的发电效率,并且在外叶片本体边缘处设置的进风槽,空气在外叶片本体的边缘形成涡流,这些涡流以旋转的方式向后移动,与周围空气相互作用,产生向后的推力,这些涡流同时也对外叶片本体施加了一个向前的反推力,更好利用流体力学压力差,从而进一步提高了整个风力发电机的效率。

一种浅水浮式风力发电平台

NºPublicación:  CN223408096U 03/10/2025
Solicitante: 
福建平潭大唐海上风电有限责任公司大唐三亚未来能源研究所有限公司
CN_223408096_U

Resumen de: CN223408096U

本实用新型公开了一种浅水浮式风力发电平台,应用在海上风电技术领域,本实用新型启动第一电机带动蜗杆转动,蜗杆转动时可带动蜗轮转动,蜗轮转动时可使连接轴带动风机进行转动,从而对风机的角度进行调整,提高了发电效率:启动第二电机带动丝杆转动,丝杆转动时在限位块的作用下可使连接柱通过支撑柱升降,从而带动固定座和风机升降,进而可对风机的高度进行调节;此外还能利用配重筒降低锚链受到的冲击载荷,提高系泊结构的安全性。

一种海上风电机舱拼装箱变用高位支撑工装

NºPublicación:  CN223410951U 03/10/2025
Solicitante: 
三峡物资招标管理有限公司中国长江三峡集团有限公司
CN_223410951_U

Resumen de: CN223410951U

一种海上风电机舱拼装箱变用高位支撑工装,包括底座、上支承、下支承,在上支承、下支承之间安装有基础盘,基础盘为环形且上下对应与上支承、下支承固定。本实用新型提供的一种海上风电机舱拼装箱变用高位支撑工装,既可以实现机舱与高位支撑工装的快速对位,提升施工效率,还避免了预装上支承时人员暴露在机舱正下方,消除了安全隐患。

一种电气化铁路用驱鸟器

NºPublicación:  CN223403140U 03/10/2025
Solicitante: 
南京铁道职业技术学院
CN_223403140_U

Resumen de: CN223403140U

本实用新型公开了一种电气化铁路用驱鸟器,包括支柱、控制盒、驱鸟机构、通用安装机构以及风光互补发电机构。该电气化铁路用驱鸟器利用两个夹板以及两个抱杆,使通用安装机构够安装在板状的安装位置处以及柱状的安装位置处,适应不同的安装条件,使驱鸟器能够安装在电气化铁路的供电铁塔或接触网支架的不同位置处,提高驱鸟器的安装通用性;利用驱鸟机构满足驱鸟的需求;利用风光互补发电机构为蓄电池充电,实现清洁能源供电,减少污染,同时降低成本。

一种漂浮式风电机组叶轮组合用吊装装置

NºPublicación:  CN120736426A 03/10/2025
Solicitante: 
中国电建集团贵州工程有限公司中电建海上风电工程有限公司
CN_120736426_PA

Resumen de: CN120736426A

本发明公开了一种漂浮式风电机组叶轮组合用吊装装置,叶片安装在第一夹持机构、第二夹持机构内,第一夹持机构、第二夹持机构对应将叶片的根部、中部夹持,以稳定处于海面上的浮台为受力基础,第一伸缩机构对应伸缩,第一旋转机构对应旋转,第二伸缩机构对应伸缩,实现叶片与轮毂进行吊装组合,由于以浮台稳定漂浮在海面上为受力基础,不需以海床受力,解决了升降腿插入或拔出时会破坏海床生态环境的问题。

一种小型风力发电装置

NºPublicación:  CN120739649A 03/10/2025
Solicitante: 
河源市云健新能源科技有限公司
CN_120739649_PA

Resumen de: CN120739649A

本发明涉及风力发电装置技术领域,且公开了一种小型风力发电装置,包括底座,所述底座四周安装有收折机构,所述底座顶部固定连接有伸缩外杆,所述底座顶部设置有收卷机构,所述伸缩外杆圆周面固定连接有安装环,所述伸缩外杆圆周面螺纹连接有锁紧钮,所述伸缩外杆内壁滑动连接有伸缩内杆,所述伸缩内杆顶部通过收折机构安装有机舱,所述机舱内部设置有除湿机构,所述机舱一侧安装有扇叶,所述机舱另一侧设置有尾翼,所述收折机构包括有:支撑板、连接板、固定销、连接头、折板、卡块,本发明收起后体积减少,便于车辆或航空运输,尤其适合偏远地区,当遇台风、暴雪时还可快速收起,避免结构损坏。

一种悬臂载荷监测装置及其制造工艺

NºPublicación:  CN120739658A 03/10/2025
Solicitante: 
浙江贝良风能电子科技有限公司
CN_120739658_PA

Resumen de: CN120739658A

本发明提出一种悬臂载荷监测装置及其制造工艺,安装底板的基准定位系统确保悬臂梁固定座和传感器固定座的初始安装位置以及精确度,悬臂梁固定座和保持垫组成的双位支撑结构更好地保证了悬臂梁的中轴线的状态,使得长度较长的悬臂梁中轴线始终能够保持与传感器的中轴线重合,进而在整个悬臂载荷监测装置被安装至风叶时,中轴线重合这一特定位置关系得以保持;传感器与悬臂梁间距校准后进行固定,使得传感器与悬臂梁保持固定间距,进而在整个悬臂载荷监测装置被安装至风叶时,间距这一特定位置关系得以保持;在中轴线重合和间距两个特定位置关系同时获得保持的情况下,增加了悬臂载荷监测装置的精度,减少了误报警情况。

用于吊装风力涡轮机部件的起重机系统

NºPublicación:  CN120736398A 03/10/2025
Solicitante: 
力富特有限公司
CN_120736398_PA

Resumen de: PH12021552451A1

A crane system for moving a burden, such as a wind turbine component, between the nacelle or rotor of a wind turbine and a location at a lower end of the wind turbine at a distance from the wind turbine, wherein the crane system comprises a crane, said crane being adapted to be mounted near or in the nacelle of the wind turbine, wherein said crane comprises a boom and wherein the crane has at least one rotational axis, about which sections of the crane can rotate. The invention further relates to a method for moving a burden, such as a wind turbine component, between the nacelle or rotor of a wind turbine and a location at a lower end of the wind turbine at a distance from the wind turbine.

一种基于电磁主动悬挂的浮式平台及浮式风电装置

NºPublicación:  CN120735902A 03/10/2025
Solicitante: 
深圳大学
CN_120735902_PA

Resumen de: CN120735902A

本发明公开了一种基于电磁主动悬挂的浮式平台及浮式风电装置,基于电磁主动悬挂的浮式平台包括:风机浮体;浮筒;电磁主动悬挂,包括活动支架、电磁作动器及铰链支架;活动支架包括支架主体及第一摆臂及第二摆臂,支架主体与浮式平台连接;电磁作动器的一端与支架主体铰接,另一端与第二摆臂铰接;铰链支架的一侧与浮筒连接,另一侧的两端分别与第一摆臂的一端及第二摆臂的一端铰接。在本发明中,当浮筒受到风浪打击产生晃动时,浮筒将波浪载荷及时传递至铰链支架及活动支架,活动支架及时将波浪载荷传递至电磁作动器,电磁作动器根据波浪载荷实时伸缩并产生与风浪力矩相反的力,主动抵消浮式平台晃动,相比现有的压载舱稳定方式减振响应更及时。

一种基于EMTP-RV的风力涡轮机雷击监测系统控制方法

NºPublicación:  CN120739652A 03/10/2025
Solicitante: 
重庆大学许凯铭
CN_120739652_A

Resumen de: CN120739652A

本发明公开了一种基于EMTP‑RV的风力涡轮机雷击监测系统控制方法,主要涉及风电场控制技术领域,其中包括步骤:S1、对雷击状况下风机上的过电压和电磁瞬态特征进行建模;S2、对风力涡轮机的叶片和塔架进行建模,基于电磁瞬变程序的重组版本(EMTP‑RV)进行建模分析;S3、建立可以保护多个相互连接的风力涡轮机免受雷击的影响的EMTP‑RV综合计算机监测系统;本发明构造了一种基于EMTP‑RV的风力涡轮机雷击监测模型,该模型在有多个风力涡轮机互相连接,考虑叶片的直接雷击或考虑雷击塔附近的土壤,构建基于EMPT‑RV的综合计算机监测系统,实现了对于直接雷击和间接雷击情况下的雷击监测,有效地实现了降低多个风力涡轮机在受到雷击状况下的防护。

一种风电齿轮箱传感器安装方法及系统

NºPublicación:  CN120744716A 03/10/2025
Solicitante: 
华能(临高)新能源有限公司浙江中自庆安新能源技术有限公司
CN_120744716_PA

Resumen de: CN120744716A

本申请涉及一种风电齿轮箱传感器安装方法及系统,涉及风电监测设备的技术领域,包括获取预设传感器的传感器类型;根据传感器类型和预设的安装规则库确定初始安装区域;对初始安装区域和预设的风电齿轮箱进行分析,以确定实际安装区域;对实际安装区域和预设的传感器尺寸进行分析,以确定可能安装位置;对可能安装位置进行分析,以确定安装收益分数;对安装收益分数进行分析,以确定实际安装部件和实际安装位置;根据实际安装位置控制预设的自动安装装置安装实际安装部件。本申请具有提高对风电齿轮箱运行状态的监测效果的效果。

一种用于风力发电组的安保电源系统

NºPublicación:  CN120749972A 03/10/2025
Solicitante: 
福建永强力加动力设备有限公司
CN_120749972_PA

Resumen de: CN120749972A

本发明提供一种用于风力发电组的安保电源系统,包括:多能源供电模块、监测与控制模块、应急启动与储能模块和风力发电组转向系统;所述监测与控制模块的输入端无线连接于所述多能源供电模块的输出端;所述应急启动与储能模块的输入端无线连接于所述监测与控制模块的输出端;所述风力发电组转向系统的输入端无线连接于所述应急启动与储能模块的输出端。本发明提供的一种用于风力发电组的安保电源系统,多能源供电模块实现能源互补,降低自然条件对发电的影响,提高供电稳定性,监测与控制模块实时监控关键信息,为系统稳定运行提供保障。

一种单摆式相对重力仪

NºPublicación:  CN120742435A 03/10/2025
Solicitante: 
中地装(北京)地质仪器厂有限公司
CN_120742435_PA

Resumen de: CN120742435A

本发明属于重力测试技术领域,尤其是一种单摆式相对重力仪,针对现有的技术中,在对重力进行测试时,需要利用真空泵维持真空腔内部的真空状态,真空泵在运行的过程中所产生的机械振动能量无法被有效回收利用,导致整体能源利用率偏低,且在偏远地区容易因为电力不足而导致测量中断的问题,现提出如下方案,其包括重力仪主体、真空腔、摆体、摆杆、两个球体和横梁,真空腔的内部固定设置有两个支架,本发明能够对真空泵产生的机械振动能量进行有效回收利用,提高能源的利用率,且能够利用风能和太阳能进行发电,确保其在野外或偏远地区长时间稳定运行,能够减少因电力不足而导致的测量中断。

一种基于高阶超声零群速兰姆波的风电塔筒防腐涂层在线监测方法及相关装置

NºPublicación:  CN120741632A 03/10/2025
Solicitante: 
广东工业大学
CN_120741632_PA

Resumen de: CN120741632A

本发明公开了一种基于高阶超声零群速兰姆波的风电塔筒防腐涂层在线监测方法及相关装置;方法包括:确定目标风电塔筒对应的高阶ZGV模态,确定传感器阵列在目标风电塔筒上的部署位置和激励频率;通过传感器阵列向目标风电塔筒发送满足高阶ZGV模态的激励频率的激励信号,采集传感器阵列在目标风电塔筒位置下的ZGV频率和ZGV幅值;采用与目标风电塔筒关联的预设ZGV‑涂层厚度参数关联模型确定预设脱落涂层和预设良好涂层对应的频率和幅值;基于预设脱落涂层和预设良好涂层对应的频率和幅值,通过ZGV频率和ZGV幅值判断目标风电塔筒在不同传感器位置下的涂层状态,从而能实时对风电机组塔筒的防腐涂层状态进行高精度检测。

一种风力发电传动组件及风力发电机组

NºPublicación:  CN120739651A 03/10/2025
Solicitante: 
铨吉成能源技术(重庆)有限公司
CN_120739651_PA

Resumen de: CN120739651A

本发明公开了一种风力发电传动组件及风力发电机组,包括相连接的主轴机构和齿轮箱机构,主轴机构包括主轴、三排滚柱轴承、支撑座和圆环滚子轴承,主轴的端面与齿轮箱机构相连接,支撑座与齿轮箱机构相连接,三排滚柱轴承和圆环滚子轴承分别设置在支撑座的两端内部,主轴用于支撑三排滚柱轴承和圆环滚子轴承并传递前端载荷给轴承和齿轮箱机构,支撑座用于轴承外圈支撑并传递轴承载荷给机组机座。本发明的整体结构简单可靠,装配方便,减少了维护成本,提高了系统的可靠性和使用寿命,降低了故障率。

一种直驱风机轴系扭振的抑制方法、系统、介质及程序

NºPublicación:  CN120749800A 03/10/2025
Solicitante: 
国网甘肃省电力公司庆阳供电公司
CN_120749800_PA

Resumen de: CN120749800A

本发明公开了一种直驱风机轴系扭振的抑制方法、系统、介质及程序,属于风电机组轴系扭振抑制技术领域,包括以下步骤:在风电机组网侧控制器中,使用最佳叶尖速比的最大功率追踪控制策略,得到系统有功功率给定值和转速给定值;通过内置传感器,得到永磁同步发电机的实际转速以及直流母线实际电压;将永磁同步发电机转速和直流母线电压偏差引入机侧控制器的模糊控制环节中;通过内置模糊控制策略,得到q轴电流增量参考值;将现有q轴电流和q轴电流增量参考值之和作为q轴电流的参考值,控制永磁同步发电机的运行状态。本发明将发电机转速偏差和直流电压偏差共同引入运行状态控制决策,从而有效抑制风电机组参与频率调节时的轴系扭振。

一种海上风机基础结构的模块化防撞装置

NºPublicación:  CN120739174A 03/10/2025
Solicitante: 
三峡新能源阳江发电有限公司
CN_120739174_PA

Resumen de: CN120739174A

一种海上风机基础结构的模块化防撞装置及其安装方法,该装置采用模块化防撞单元、可调式连接部件及智能监测系统的组合设计,模块化单元由外层抗腐蚀壳体、中间能量吸收层与内层连接基板构成,通过预埋法兰或可调式卡箍固定于基础外壁,内置传感器实现碰撞载荷实时监测。安装方法包括预制适配基础弧度的防撞单元、海上环形拼接成型、系统调试及分级更换受损部件。本发明通过多级能量耗散机制高效吸收碰撞能量,显著降低基础结构应力,模块化设计实现受损部件快速更换,大幅降低维护成本,可调式连接结构适配不同直径基础且无需定制模具,智能监测系统实时预警提升防护主动性,为海上风机基础提供高可靠性的防撞保护方案。

一种人工地热储能与光风联供发电系统及方法

NºPublicación:  CN120739601A 03/10/2025
Solicitante: 
中国地质大学(武汉)
CN_120739601_PA

Resumen de: CN120739601A

本发明提供了一种人工地热储能与光风联供发电系统及方法,涉及光风发电的储能技术领域。系统包括供电装置、加热装置、地下水库、换热装置和发电装置。所述地下水库由钢铁骨架、钢铁墙体及外绝热材料构成封闭盛水容体,内部注入低矿化度水体。风能或太阳能经供电装置向加热装置供能,对水体加热储能,换热装置提取热水产生有机工质蒸汽,驱动发电装置发电。本发明能够实现可再生能源的高效利用与调峰发电。

一种风力发电机

NºPublicación:  CN120739648A 03/10/2025
Solicitante: 
四川天机创科智能科技有限责任公司
CN_120739648_PA

Resumen de: CN120739648A

本发明涉及风力发电机技术领域,具体为一种风力发电机,包括塔筒、支撑柱、叶片、稳定块、基板、螺栓和升降装置,稳定块上设有开槽和凹槽,开槽和凹槽均开设于稳定块的内壁,开槽的内壁固定连接有转动电机,转动电机的驱动端转动连接有转杆,转杆的表面设置有升降装置,升降装置包括驱动齿轮和螺杆,驱动齿轮与转杆的表面固定连接。本发明,通过设置升降装置,便于对叶片的高度进行调节,避免现有的风力发电机不能对设备主体进行高度调节,在遇到强风等情况超出风力发动机的承受范围时,往往只是将扇叶进行调整以此降低受到的风力影响,缺乏有效的调节能力进行防护,会降低其使用寿命,对此有效的提升了设备的易用性。

一种风力发电叶片清洁装置

NºPublicación:  CN120739664A 03/10/2025
Solicitante: 
华能昭觉风力发电有限公司沈阳东北电力调节技术有限公司中国华能集团清洁能源技术研究院有限公司
CN_120739664_PA

Resumen de: CN120739664A

本发明涉及风力发电领域,公开了一种风力发电叶片清洁装置,包括:风电叶片,其内部开设有内腔;清洁片,数量为两个,对称设置在风电叶片表面;连接带,数量为两个,套设于两个清洁片外侧且平行布置,收紧连接带两端可使清洁片贴合叶片曲面,且两个连接带可独立控制收放;控制座,滑动连接于风电叶片内腔。本发明中,通过柔性清洁片与可独立收放连接带的设计,实现了清洁部件与叶片表面的紧密贴合,清洁片采用柔性硅胶基复合材料,能顺应叶片曲面变形;两个平行布置且可独立控制收放的连接带,可根据叶片表面形状变化自动调整收紧程度。

一种适用于风电支撑结构的多立柱环形调谐液柱阻尼器

NºPublicación:  CN120739244A 03/10/2025
Solicitante: 
重庆大学
CN_120739244_PA

Resumen de: CN120739244A

本发明涉及阻尼器领域,具体涉及一种适用于风电支撑结构的多立柱环形调谐液柱阻尼器,包括若干阻尼机构,每个阻尼机构均包括竖管立柱、竖管支撑单元、T形三通、弯折管和底部支撑单元,T形三通包括主管和支管,竖管立柱与支管连通且竖管立柱通过竖管支撑单元与塔筒内壁固定连接,弯折管两端分别与相邻两个T形三通的主管连通形成环形流道且弯折管与主管通过底部支撑单元与塔筒内壁固定连接,竖管立柱、T形三通和弯折管内填充有工作介质;采用本技术方案,以实现水平多向的有效减振。

利用风力涡轮机来产生和收集能量的HVAC系统

NºPublicación:  CN120752482A 03/10/2025
Solicitante: 
S\u00B7\u54B8
CN_120752482_PA

Resumen de: WO2025058998A1

The heating, ventilation and air conditioning system of the present invention includes air delivery modules that have an air flow housing with an impeller blade located therein. Air passing through the housing creates electricity which can be stored in an energy storage device. An individual presence sensor is electrically interconnected to and powered by the energy storage device. The modules are mounted via a pan and tilt mechanism, whereby servo motors attached thereto direct the output of the modules in response to individual presence sensor data to turn and/or direct air toward the individual. The system provides a self-powered system that provides controlled flow and direction of air to provide a custom heating, ventilation and air conditioning system.

VEHICULAR WIND TURBINE SYSTEM FOR POWER GENERATION AND DRAG REDUCTION

NºPublicación:  WO2025199609A1 02/10/2025
Solicitante: 
PURUS POWER CORP [CA]
PURUS POWER CORPORATION

Resumen de: WO2025199609A1

A vehicle including a vehicle body having a front portion defining a first forward projection area, and a wind turbine system. The wind turbine system includes an airflow capture inlet, a flow consolidating conduit, an air driven rotor assembly, and an electric generator. The airflow capture inlet has an inlet upstream end, an inlet downstream end, an air entry window, and a flow directing floor. The air entry window and the flow directing floor each extends from the inlet upstream end to the inlet downstream end. The air entry window defines a second forward projection area that is at least 10% of the first forward projection area. The flow directing floor is sloped upwardly. The flow consolidating conduit is close sided. The air driven rotor assembly is downstream of a consolidating conduit downstream end. The air driven rotor assembly includes an air driven rotor connected to the electric generator.

DRILLED PILE ANCHOR AND METHOD

NºPublicación:  WO2025202681A1 02/10/2025
Solicitante: 
NOBLE DRILLING AS [DK]
NOBLE DRILLING A/S

Resumen de: WO2025202681A1

A method for setting an anchor pile includes moving a mobile offshore drilling unit (MODU) such that at least one hoist unit in the MODU is disposed over a water bottom location for setting the anchor pile. A hole is drilled through the water bottom for receiving the anchor pile. A drill string and bottom hole assembly (BHA) used to drill the hole are removed. The anchor pile is extended into the hole; Cement is pumped through a cementing string extended from the MODU and through the anchor pile. The cementing string is disconnected from the anchor pile. After the cement is cured, tension is applied from a line or string extended from the MODU to test mooring strength of the anchor pile.

METHOD AND APPARATUS FOR CONTROLLING AERIAL VEHICLE BY USING BOUNDING BOX

NºPublicación:  WO2025206495A1 02/10/2025
Solicitante: 
NEARTHLAB INC [KR]
(\uC8FC)\uB2C8\uC5B4\uC2A4\uB7A9

Resumen de: WO2025206495A1

A method for controlling an aerial vehicle according to an aspect comprises the steps of: acquiring an image by photographing a target object through a camera of an aerial vehicle; identifying the target object included in the image and generating a bounding box; comparing the image with the bounding box; and controlling the aerial vehicle on the basis of a result of the comparison.

仮想輸送経路の提案方法及び仮想輸送経路の提案システム

NºPublicación:  JP2025144069A 02/10/2025
Solicitante: 
戸田建設株式会社
JP_2025144069_PA

Resumen de: JP2025144069A

【課題】本発明は、風車のブレードを実際に輸送する前に車両及びブレードと干渉して樹木の伐採及び道路の拡幅が必要となる範囲と共に複数の仮想輸送経路52を提案する方法を提供する。【解決手段】仮想輸送経路52の提案方法は、風力発電設備の風車に用いるブレードを輸送する輸送経路に沿った三次元経路データと、前記ブレードを輸送する車両と当該車両に積載された前記ブレードとを含む三次元データの車両モデルと、を取得し、地物データに属性を付与し、少なくとも2つの基準点を結ぶ仮想輸送経路を設定し、仮想輸送経路に沿って車両モデルを移動させて、地物データとの干渉範囲を算出し、干渉範囲における樹木を伐採する伐採量と、干渉範囲における道路を拡幅する拡幅面積とを算出し、仮想輸送経路と伐採量及び拡幅面積とのデータセットを記憶し、所定回数繰り返し実行し、複数の前記仮想輸送経路を提案する。【選択図】図5

TRANSMISSION ARRANGEMENT FOR A WIND TURBINE

NºPublicación:  DK202430601A1 02/10/2025
Solicitante: 
VESTAS WIND SYS AS [DK]
VESTAS WIND SYSTEMS A/S
DK_202430601_A1

Resumen de: DK202430601A1

A transmission arrangement for a wind turbine, which comprises a main rotor shaft coupled to a gearbox. The main rotor shaft extends along a rotational axis. The arrangement also comprises a main bearing housing a bearing arrangement adapted to rotationally support the main rotor shaft. The gearbox includes an input drive member and an output drive member. The input drive member is integrated with the main rotor shaft so as to define a single monolithic part. The gearbox is an epicyclic gearbox, and the input drive member is a planet carrier of the epicyclic gearbox. By combining the main rotor shaft and the planet carrier of the gearbox as a single manufacturable entity, the combined main shaft and gearbox input member is lighted than its bolted equivalent and also has a lower maintenance demand.

SEPARABLE WIND TURBINE MOUNTING SYSTEM

NºPublicación:  WO2025200096A1 02/10/2025
Solicitante: 
SHANGHAI BESTWAY MARINE ENG DESIGN CO LTD [CN]
BESTWAY MARINE & ENERGY TECH CO LTD [CN]
\u4E0A\u6D77\u4F73\u8C6A\u8239\u6D77\u5DE5\u7A0B\u7814\u7A76\u8BBE\u8BA1\u6709\u9650\u516C\u53F8,
\u5929\u6D77\u878D\u5408\u9632\u52A1\u88C5\u5907\u6280\u672F\u80A1\u4EFD\u6709\u9650\u516C\u53F8
CN_118358717_A

Resumen de: WO2025200096A1

A separable wind turbine mounting system, comprising a separable platform (100), a mother vessel (200) and guide devices (300), wherein the separable platform is of a liftable structure, can ascend and descend relative to the mother vessel, and can fit with the guide devices and is guided thereby so as to combine with the mother vessel and detach from the mother vessel. On the basis of the overall layout of a conventional wind turbine mounting vessel, no big changes need to be made, and a large crane, a lifting mechanism, a deck surface, etc. related to wind turbine mounting form an independent unit, namely, the separable platform. The vessel on which the separable platform depends is the mother vessel, and the separable platform after being combined with the mother vessel is similar to the conventional wind turbine mounting vessel; and when the mother vessel arrives at a wind turbine mounting station for operation, the separable platform can ascend and descend independently, such that the technical defects of the conventional wind turbine mounting vessel can be overcome.

AN IMPROVED POWER GENERATION SYSTEM

NºPublicación:  WO2025202711A1 02/10/2025
Solicitante: 
GUPTA RISHI [IN]
MITTAL GASU [IN]
GUPTA, Rishi,
MITTAL, Gasu
WO_2025202711_A1

Resumen de: WO2025202711A1

An improved power generation system (100) includes a circular track (102), a plurality of primary coils (104) configured within the circular track (102) at a predefined position, a plurality of rolling bogies (108) electromagnetically coupled to the plurality of primary coils (104), and a rotor hub (110) positioned at a center of the circular track (102). The rotor hub (110) is coupled to the plurality of rolling bogies (108) via a plurality of radially positioned connecting pipes (112). In power generation mode, the system (100) activates the power supply unit (106) to energize each of the primary coils (104) to create a magnetic field that propels the rolling bogies (108) along the circular track (102) at the predefined speed, thereby rotating the rotor hub (110) and facilitating the generation of electrical power.

FLOATING MARINE PLATFORM AND THE MANUFACTURING THEREOF

NºPublicación:  US2025304223A1 02/10/2025
Solicitante: 
OCERGY INC [US]
OCERGY, INC
US_2025304223_A1

Resumen de: US2025304223A1

A floating marine platform and a method for manufacturing a floating marine platform by means of templates are provided. The floating marine platform comprises a central column, multiple peripheral columns circumferentially around the central column, and radially extending outriggers from the central column that connect the peripheral columns with the central column. The templates comprise an inner outrigger template, an outer outrigger template, a central column template and a peripheral column template. On a first location under a first temperature a first pair with the inner outrigger template and the central column template is formed, and on a second location under a second temperature a second pair with the outer outrigger template and the peripheral column template is formed. Subsequently the central column, the peripheral columns and the outriggers are formed by means of the templates, under different temperatures.

DENSE FLUIDS FOR BALLASTS

NºPublicación:  US2025304222A1 02/10/2025
Solicitante: 
MAGELLAN & BARENTS S L [ES]
Magellan & Barents, S.L
US_2025304222_A1

Resumen de: US2025304222A1

Disclosed are dense fluids for use in offshore applications, such as wind turbine platforms, oil and gas platforms, gravity anchors, catenary weights as well as other gravity-based structures. The dense fluid can be mixed with low-density fluid and high-density solid particles to form an intermediate dense fluid. The intermediate dense fluid is mixed with intermediate-density solid particles having the same density as the intermediate dense fluid to form a dense fluid with the desired target density. The dense fluid can be produced cost-effectively by selecting intermediate-density particles which are plentiful and can be obtained cheaply.

VERTICAL AXIS TURBINES AND BLADES FOR VERTICAL AXIS TURBINES

NºPublicación:  US2025305478A1 02/10/2025
Solicitante: 
LAHEY DANIEL [US]
LAHEY Daniel
WO_2023220330_PA

Resumen de: US2025305478A1

The disclosure relates to vertical axis turbines comprising a blade support and two or more turbine blades. The blade support is configured to rotate about a central axis. The two or more turbine blades are secured to the blade support and configured to orbit the central axis during rotation of the blade support around the central axis. Each of the two or more turbine blades includes a first edge opposed to a second edge. The first edge is rounded and the second edge is sharp relative to the first edge, and includes first and second sides that extend between the first and second edges. At least one of the first and second sides includes a hook shaped recess, is configured to pivot relative to the blade support about a pivot axis that is offset from and parallel to the central axis.

KITE LAUNCHING AND LANDING GUIDE DEVICE

NºPublicación:  US2025305480A1 02/10/2025
Solicitante: 
TOYOTA JIDOSHA KK [JP]
TOYOTA JIDOSHA KABUSHIKI KAISHA
CN_120716988_PA

Resumen de: US2025305480A1

A launching and landing guide device is arranged in a floating side unit having a winch and a sail for unwinding and winding the tether. The launching and landing guide device includes a position setting unit that sets a position at which the tether is unwound or unwound, and a launching and landing guide unit that is capable of fixing the kite when the tether is wound and guides the kite and the tether when the tether is unwound or unwound.

PASSIVE TRAILING EDGE INCLUDING COMPOSITE HINGE

NºPublicación:  US2025305477A1 02/10/2025
Solicitante: 
GULF WIND TECH [US]
Gulf Wind technology

Resumen de: US2025305477A1

A multi-layer composite body that includes a first composite layer having a first elasticity parameter and a second composite layer mechanically coupled with the first composite layer. The second composite layer may have a second elasticity parameter that is different from the first elasticity parameter of the first composite layer. The first composite layer may include at least two transverse parts joined by a flexible folding zone such that the at least two transverse parts and the folding zone form a reversibly foldable and substantially two-dimensional homogenous structure. Further, the first composite layer and the second composite layer may respond to a common external mechanical force in a different manner.

SUBSEA CONFIGURATION FOR FLOATING STRUCTURES OF AN OFFSHORE WIND FARM

NºPublicación:  US2025305483A1 02/10/2025
Solicitante: 
TOTALENERGIES ONETECH [FR]
TOTALENERGIES ONETECH
JP_2025516670_PA

Resumen de: US2025305483A1

An offshore wind farm includes at least three floating structures designed to receive a wind turbine, with each floating structure having at least three mooring lines, and each mooring line is attached to a mooring point arranged around a floating structure. The mooring lines facing inward from the offshore wind farm form the inner mooring lines of the offshore wind farm, and the mooring lines facing outward from the offshore wind farm form the peripheral mooring lines of the offshore wind farm. A peripheral mooring line includes a first segment able to be attached to the floating structures, and at least one intermediate segment formed of an elastomeric material attached to the first segment and the second segment.

CONTROLLING A WIND TURBINE BASED ON WEAR TO WIND TURBINE ROTOR BLADE PITCH BEARINGS

NºPublicación:  US2025305481A1 02/10/2025
Solicitante: 
VESTAS WIND SYSTEMS AS [DK]
VESTAS WIND SYSTEMS A/S
WO_2023213366_PA

Resumen de: US2025305481A1

The invention provides for controlling a wind turbine comprising pitch-adjustable rotor blades. The invention involves determining, based on detected wind conditions, wind turbine control parameters for controlling the wind turbine in accordance with a defined wind turbine control strategy, where the control parameters include a reference pitch angle for the rotor blades. The invention involves obtaining bearing control parameters each indicative of a parameter for controlling pitch bearings of the wind turbine that is for adjusting pitch of the rotor blades. The invention involves determining whether a defined set of operational parameters of the wind turbine, including the bearing control parameters, in combination correspond to a combination of operational parameters defined to be indicative of a level of wear above a threshold wear level. The pitch bearings are then controlled based on the reference pitch angle and on the threshold determination.

PASSIVE TRAILING EDGE INCLUDING CONTROLLED BUCKLING LAMINATES

NºPublicación:  US2025305476A1 02/10/2025
Solicitante: 
GULF WIND TECH [US]
Gulf Wind Technology

Resumen de: US2025305476A1

A multi-layer composite body that includes a first composite layer having a first elasticity parameter and a second composite layer mechanically coupled with the first composite layer. The second composite layer may have a second elasticity parameter that is different from the first elasticity parameter of the first composite layer. The first composite layer and the second composite layer may extend in a continuous manner with respect to each other, forming a substantially two-dimensional, homogenous structure. Further, the first composite layer and the second composite layer may respond to a common external mechanical force in a different manner.

WIND TURBINE ROTOR BLADE HAVING A BASE PLATE WITH ACCESS OPENING

NºPublicación:  US2025305484A1 02/10/2025
Solicitante: 
NORDEX ENERGY SE & CO KG [DE]
Nordex Energy SE & Co. KG
CN_120720163_PA

Resumen de: US2025305484A1

A wind turbine rotor blade has a base plate having an access opening, and having a cover via which the access opening can be closed. A holding arrangement is configured such that a movement of the cover relative to the base plate in a predetermined direction parallel to the plane of the base plate causes the cover to be held in a form-fitting manner on the base plate, and a locking device blocks a movement of the cover in a direction opposite to the predetermined direction.

STATOR FOR WIND TURBINE GENERATORS

NºPublicación:  US2025309738A1 02/10/2025
Solicitante: 
THE TIMKEN COMPANY [US]
The Timken Company
US_2025141326_PA

Resumen de: US2025309738A1

Stators for use in electric machines and methods for refurbishing the same. One method for refurbishing a stator for use in an electric machine includes at least partially disassembling the stator to provide access to a plurality of stator windings connected in a four-circuit star connection having three turns per coil, and reconfiguring the stator such that the plurality of stator windings are connected in a four-circuit delta connection having five turns per coil.

ELECTRIC MACHINE STATOR WINDING LEAD CONNECTIONS

NºPublicación:  US2025309739A1 02/10/2025
Solicitante: 
THE TIMKEN COMPANY [US]
The Timken Company
US_2025141326_PA

Resumen de: US2025309739A1

Stators for use in electric machines and methods for refurbishing the same. One method for refurbishing a stator for use in an electric machine includes at least partially disassembling the stator to provide access to a plurality of stator windings connected in a four-circuit star connection having three turns per coil, and reconfiguring the stator such that the plurality of stator windings are connected in a four-circuit delta connection having five turns per coil.

Wind Power Generation Structure and Method for Vertiport

NºPublicación:  US2025305482A1 02/10/2025
Solicitante: 
HYUNDAI MOTOR COMPANY [KR]
KIA CORP [KR]
Hyundai Motor Company,
Kia Corporation
EP_4624748_PA

Resumen de: US2025305482A1

A wind power generation structure for a vertiport includes a takeoff-and-landing deck and a plurality of duct structures provided along an edge of the takeoff-and-landing deck. Each duct structure of the plurality may individually have a wind turbine and be individually rotatable in a vertical direction.

ENERGY HARVESTER DEVICE AND METHOD OF MANUFACTURING SAME

NºPublicación:  US2025305479A1 02/10/2025
Solicitante: 
HYUNDAI MOTOR COMPANY [KR]
KIA CORP [KR]
Hyundai Motor Company,
Kia Corporation

Resumen de: US2025305479A1

An embodiment energy harvester device includes a metal foam including a conductive material and having a plurality of fluid flow holes disposed in an outer surface thereof and a plurality of beads comprising a non-conductive material and disposed separately inside the metal foam, wherein the beads are configured to be moved by a fluid passing through the fluid flow holes to cause movement of electrons due to a change in contact state between the beads and the metal foam.

VARIABLE TRAJECTORY NON-CIRCULAR DRIVE SYSTEM

NºPublicación:  US2025305419A1 02/10/2025
Solicitante: 
MAHANOGLU ALI MAHIR [TR]
MAHANOGLU Ali Mahir
JP_2025517666_PA

Resumen de: US2025305419A1

Disclosed is a variable trajectory non-circular drive (propulsion) system developed for use in all systems that have an energy relationship with air, such as aircraft, wind turbines, automobiles, ventilation and circulation systems, and fluid motion and drive systems. The system has a motion axis of a geometric shape that can be adjusted and which is noncircular instead of a circular route to ensure optimum efficiency. The system also has an adjustment mechanism that adjusts the geometric route of the axis of motion.

STATOR LEAD CONNECTION OPTIMIZATION

NºPublicación:  US2025309740A1 02/10/2025
Solicitante: 
THE TIMKEN COMPANY [US]
The Timken Company
US_2025141326_PA

Resumen de: US2025309740A1

Stators for use in electric machines and methods for refurbishing the same. One method for refurbishing a stator for use in an electric machine includes at least partially disassembling the stator to provide access to a plurality of stator windings connected in a four-circuit star connection having three turns per coil, and reconfiguring the stator such that the plurality of stator windings are connected in a four-circuit delta connection having five turns per coil.

WIND ENERGY HARVESTER

NºPublicación:  AU2024256060A1 02/10/2025
Solicitante: 
ARCHIMEDES IP PTY LTD
ARCHIMEDES IP PTY LTD
AU_2024256060_PA

Resumen de: AU2024256060A1

Provided is a wind energy harvester 10 comprising a turntable platform 12 positionable on a surface 14 and comprising a generator 16. Harvester 10 includes at least one elongate support boom 18 pivotably arranged at one proximal end 20 thereof on said turntable platform 12 such that the support boom 18 is oscillatable, and configured such that oscillations thereof actuates said fluid pump 16. Harvester 10 also includes a high- lift aerofoil 24 swivelably arranged at a distal end 22 of said support boom 18 to stand proud of the turntable platform 12 and surface 14, an orientation arrangement 26 configured to invert the aerofoil 24 between oscillations to maintain a desired angle of attack of said aerofoil 24 relative to the turntable 12 during such oscillation, and a wind vane arrangement 28 arranged on the support boom 18 between the proximal and distal ends 20 and 22 of the support boom 18 and which is configured to correct the angle of attack of said aerofoil 24 according to a relative wind direction relative to the turntable 12. In this manner, oscillation of the support boom enables wind energy harvesting via the generator.

CONTROL METHOD, DEVICE, AND SYSTEM FOR WIND TURBINE SET, AND STORAGE MEDIUM

NºPublicación:  AU2023433517A1 02/10/2025
Solicitante: 
BEIJING GOLDWIND SCIENCE & CREATION WINDPOWER EQUIPMENT CO LTD
BEIJING GOLDWIND SCIENCE & CREATION WINDPOWER EQUIPMENT CO., LTD
AU_2023433517_PA

Resumen de: AU2023433517A1

The present disclosure provides a control method, device, and system for a wind turbine set, and a storage medium. The control method comprises: acquiring a preset value of a control parameter and a plurality of historical measurement signals of a wind turbine set in a historical time period; according to the preset value and the plurality of historical measurement signals, determining an estimated distribution parameter of a control signal at a current moment; and determining the control signal at the current moment according to the estimated distribution parameter of the control signal at the current moment.

NEW TRANSITION PIECE FOR A WIND TURBINE

NºPublicación:  AU2023440540A1 02/10/2025
Solicitante: 
NABRAWIND TECHNOLOGIES S L
NABRAWIND TECHNOLOGIES, S.L
AU_2023440540_PA

Resumen de: AU2023440540A1

The invention relates to a new transition piece for a wind turbine, formed by a hollow cylindrical monotubular segment (1) with multiple connected rings (1a, 1b, 1c, 1d, 1e), the upper part of the transition piece being the tower ferrule (11), the upper third comprising platforms (7, 8) and ribs (12), and the bottom part being a radial platform (9) with brackets. The transition piece also comprises three bracing posts (2), each comprising a bracing connector (4) and a corner connector (5), and six radial posts (3), which are horizontal tubes narrower than the bracing posts (2). The bracing connector (4) is a piece that connects the monotubular segment (1) by means of an internally threaded joint into blind holes, and the upper part of the bracing post (2) by means of a circular joint. The corner connector (5) is a piece with three joints: a first joint connecting to the bottom part of the bracing post (2); a second joint connecting to the ground or to modules that complete a lower truss tower; and a third joint connecting the two radial posts (3) that extend horizontally to the monotubular segment (1). All the joints are circular joints. An X-shaped radial connector (6) is a cast iron piece with two joints: a joint connecting the monotubular segment (1) by means of a flat joint; and a joint connecting the two radial posts (3) by means of a circular joint.

Errichtungsvorrichtung und Verfahren zum Errichten einer Windkraftanlage

NºPublicación:  DE102024108609A1 02/10/2025
Solicitante: 
GERSTER JOSEF [DE]
Gerster, Josef

Resumen de: DE102024108609A1

Die Erfindung betrifft eine Errichtungsvorrichtung und ein Verfahren zum Errichten einer zwei Segmente aufweisenden Windkraftanlage. In einem ersten Schritt des Verfahrens wird ein erstes Ende eines ersten Segments an einer vordefinierten Position an einem Turmfuss vertikal angeordnet. In einem weiteren Schritt wird eine Errichtungsvorrichtung an einer ersten Arretiereinrichtung angeordnet und temporär arretiert, welche an einer Außenwandung des ersten Segments angeordnet ist, wobei die Errichtungsvorrichtung zumindest ein erstes Auslegerpaar und eine zweites Auslegerpaar aufweist, wobei durch Zusammenwirken des ersten Auslegerpaars und des zweiten Auslegerpaars ein im Wesentlichen neben dem ersten Segment und über einem dem ersten Ende gegenüberliegend angeordneten zweiten Ende des ersten Segments vorliegender Wirkbereich der Errichtungsvorrichtung aufgespannt ist. Schließlich wird in einem letzten Schritt das zweite Segment mittels der Errichtungsvorrichtung aufgenommen und transportiert sowie ein erstes Endes des zweiten Segments an dem zweiten Ende des ersten Segments in einer vordefinierten Position positioniert, sodass das die Windkraftanlage errichtet ist.

Gleitlageranordnung

NºPublicación:  DE102024108596A1 02/10/2025
Solicitante: 
SCHAEFFLER TECHNOLOGIES AG [DE]
Schaeffler Technologies AG & Co. KG

Resumen de: DE102024108596A1

Ein Gleitlageranordnung (1) umfasst ein Gleitlagerelement (2), durch welches eine Gleitfläche (3) zur Lagerung einer Welle bereitgestellt wird, sowie ein das Gleitlagerelement (2) zumindest geringfügig kippbar abstützendes Gehäuseelement (5). Das Gleitlagerelement (2) weist einen von der Gleitfläche (3) abgewandten, einer Oberfläche (6) des Gehäuseelementes (5) zugewandten Dorn (8) auf. Zwischen derjenigen Oberfläche (9) des Gleitlagerelementes (2), aus welcher der Dorn (8) herausragt, und der Oberfläche (6) des Gehäuseelementes (5) ist ein Freiraum (11) gebildet. im Freiraum (11) ist ein ringscheibenförmiges elastisches, zur Übertragung von Kräften zwischen dem Gleitlagerelement (2) und dem Gehäuseelement (5) vorgesehenes Element (7) mit nicht zylindrischer Außenumfangsfläche (12) angeordnet.

Windenergieanlagenrotorblatt mit einer Bodenplatte mit Durchstiegsöffnung

NºPublicación:  DE102024108676A1 02/10/2025
Solicitante: 
NORDEX ENERGY SE & CO KG [DE]
Nordex Energy SE & Co. KG
CN_120720163_PA

Resumen de: DE102024108676A1

Windenergieanlagenrotorblatt mit einer Bodenplatte, die eine Durchstiegsöffnung aufweist, und eine Abdeckung, mit dem die Durchstiegsöffnung verschließbar ist, gekennzeichnet durch• eine Halterung, die so ausgebildet ist, dass eine Bewegung der Abdeckung relativ zu der Bodenplatte in einer vorgegebenen Richtung parallel zur Ebene der Bodenplatte einen formschlüssigen Halt der Abdeckung an der Bodenplatte bewirkt, und• eine Verriegelung, die eine Bewegung der Abdeckung in zu der vorgegebenen Richtung entgegengesetzten Richtung blockiert.

Vorrichtung und Verfahren zur Herstellung von Wasserstoff

NºPublicación:  DE102024108849A1 02/10/2025
Solicitante: 
DOEPKE NILS [DE]
D\u00F6pke, Nils
EP_4624630_PA

Resumen de: DE102024108849A1

Die Erfindung betrifft eine Vorrichtung zur Herstellung von Wasserstoff mittels eines Elektrolyseurs (1), wobei dem Elektrolyseur (1) Wasser aus einer Wassererzeugungsvorrichtung (6) zugeführt wird, wobei die Wassererzeugungsvorrichtung (6) Mittel zum Entziehen und Verflüssigen der Feuchtigkeit der Umgebungsluft (5), insbesondere in Form eines Wärmetauschers der die Feuchtigkeit der Umgebungsluft kondensieren lässt, aufweist, wobei die Energie der Abwärme (2) des Elektrolyseurs (1) der Umgebungsluft (5) vor dem Feuchtigkeitsentzug zugeführt wird, um diese zu erwärmen.

Lageraufnahme für ein Gleitlager für eine Rotorwelle einer Windenergieanlage

NºPublicación:  DE102024108943A1 02/10/2025
Solicitante: 
SCHAEFFLER TECHNOLOGIES AG [DE]
Schaeffler Technologies AG & Co. KG

Resumen de: DE102024108943A1

Die Erfindung betrifft eine Lageraufnahme (1) für ein Gleitlager (2) für eine Rotorwelle (3) einer Windenergieanlage (4), aufweisend zumindest die folgenden Komponenten:- eine Positioniereinrichtung (5) zum Positionieren eines Lagerelements (6), wobei das Lagerelement (6) eine definierte Lagerachse (7) aufweist;- eine Führungsschiene (8) zum Führen der Positioniereinrichtung (5) entlang einer Positionierachse (9); und- eine Fixiereinrichtung (10) zum Fixieren der Positioniereinrichtung (5) in einer bei der Montage eingestellten Position. Die Lageraufnahme (1) ist vor allem dadurch gekennzeichnet, dass die Positionierachse (9) zu der Lagerachse (7) des zu positionierenden Lagerelements (6) geneigt ausgerichtet ist.Mit der hier vorgeschlagenen Lageraufnahme ist eine Einstellung eines Lagerspalts dauerhaft gesichert.

INSTALLATION FOR PRODUCING OFFSHORE ELECTRICITY COMPRISING A WIND TURBINE, A JACKET STRUCTURE AND A VERTICALLY SUPPORTED MONOPILE

NºPublicación:  WO2025202457A1 02/10/2025
Solicitante: 
TOTALENERGIES ONETECH [FR]
TOTALENERGIES ONETECH
EP_4624668_PA

Resumen de: WO2025202457A1

Installation (10) for producing offshore electricity comprising: - a wind turbine (12), - a monopile (14) extending along a vertical direction (V) for supporting the wind turbine, - a jacket structure (16) submerged in a body of water (18). The jacket structure comprises: - N outer supports (24) around the vertical direction, lying on or anchored in a seabed (26), with N ≥ 3, - a support (28) located above the seabed, for vertically receiving and supporting a lower extremity (30) of the monopile, the support comprising a lower collar (32) surrounding the lower extremity, - an upper collar (34) vertically aligned with the support and adapted for surrounding the monopile. The monopile is adapted for being moved in the upper collar until the lower extremity is received in the support. The jacket structure is adapted for resisting bending moments (M) applied by the monopile via the support and the upper collar.

BRAKE CALIPER AND DISC BRAKE WITH HYDRAULICALLY ELASTIC BRAKE PISTONS

NºPublicación:  WO2025202084A1 02/10/2025
Solicitante: 
FM ENERGIE GMBH & CO KG [DE]
FM ENERGIE GMBH & CO.KG

Resumen de: WO2025202084A1

The invention relates to a disc brake having a novel hydraulic brake caliper, which is suitable in particular for systems and vehicles in which high braking forces are required for braking rotating system or vehicle parts, in particular wind turbines. The invention relates in particular to a brake caliper for a disc brake, in which the conventional hydraulically actuated brake pistons are replaced by hydraulically expandable elastomer cushions which are flexible in shape and design.

BEARING RECEPTACLE FOR A PLAIN BEARING FOR A ROTOR SHAFT OF A WIND TURBINE

NºPublicación:  WO2025201591A1 02/10/2025
Solicitante: 
SCHAEFFLER TECH AG & CO KG [DE]
SCHAEFFLER TECHNOLOGIES AG & CO. KG
DE_102024108943_PA

Resumen de: WO2025201591A1

The invention relates to a bearing receptacle (1) for a plain bearing (2) for a rotor shaft (3) of a wind turbine (4), having at least the following components: - a positioning device (5) for positioning a bearing element (6), wherein the bearing element (6) has a defined bearing axis (7); - a guide rail (8) for guiding the positioning device (5) along a positioning axis (9); and - a fixing device (10) for fixing the positioning device (5) in a position set during assembly. The bearing receptacle (1) is primarily characterised in that the positioning axis (9) is oriented at an angle to the bearing axis (7) of the bearing element (6) to be positioned. A setting of a bearing gap is permanently ensured by means of the bearing receptacle proposed here.

Off-grid powered arrangement

NºPublicación:  WO2025202587A1 02/10/2025
Solicitante: 
KIGHT GROUP LTD [GB]
KIGHT GROUP LIMITED

Resumen de: WO2025202587A1

HPKGL010WO 24 Version 2024-03-25 ABSTRACT: An off-grid arrangement 10 comprises a post 20 with head end to carry modules, wherein the post 20 is of articulated form comprising a first post member and a second post member connected via an articulating joint 28, alignable to form a pole structure, 5 wherein the articulating joint 28 is connected to at least one of the post members 22,24 partway along its length extension and a free portion 24b of a post member provides a lever arm. The arrangement 10 comprises a fixing arrangement 30 to affix the lever arm to the other post member. The fixing arrangement 30 maintains the pole structure when aligned.10 {Fig. 1}

DEVICE FOR REDUCING TENSILE LOAD OF OFFSHORE FLOATING BODY

Nº publicación: WO2025206546A1 02/10/2025

Solicitante:

ACE ENGINEERING & TECH CO LTD [KR]
\uC8FC\uC2DD\uD68C\uC0AC \uC5D0\uC774\uC2A4\uC774\uC564\uD2F0

KR_102677456_B1

Resumen de: WO2025206546A1

A device for reducing the tensile load of an offshore floating body is provided. According to embodiments of the present invention, a tensile load caused by a mooring chain can be more efficiently reduced by using a pneumatic cylinder. In particular, through-holes are formed in the upper and lower portions of the pneumatic cylinder, and when a tensile load is applied by the mooring chain, air suction and air discharge can be alternately performed in each through-hole, thereby efficiently reducing the tensile load applied by the mooring chain.

traducir