Ministerio de Industria, Turismo y Comercio LogoMinisterior
 

Pilas de combustible

Resultados 474 resultados
LastUpdate Última actualización 30/12/2025 [06:47:00]
pdfxls
Solicitudes publicadas en los últimos 15 días / Applications published in the last 15 days
Resultados 1 a 215 de 474 nextPage  

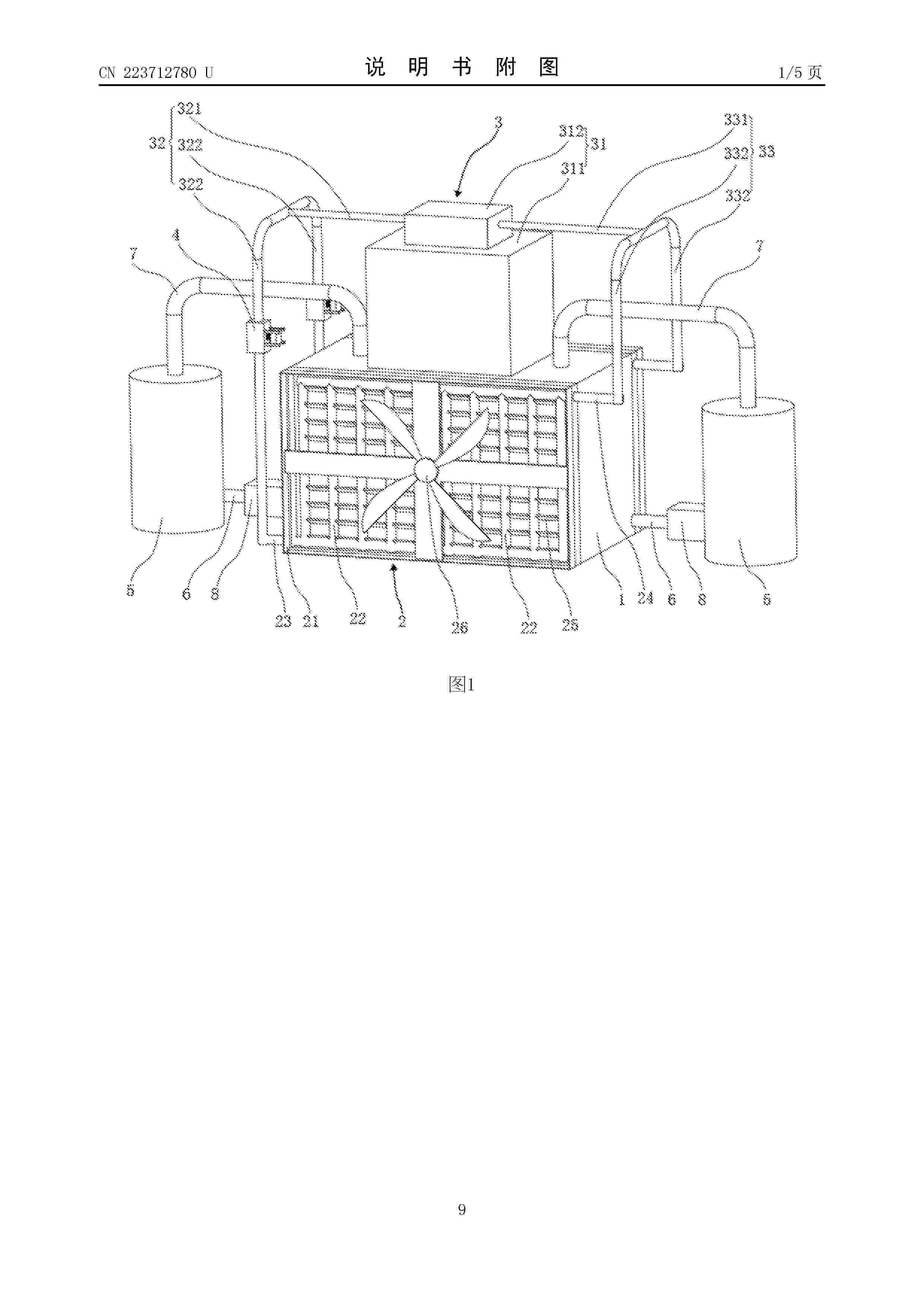
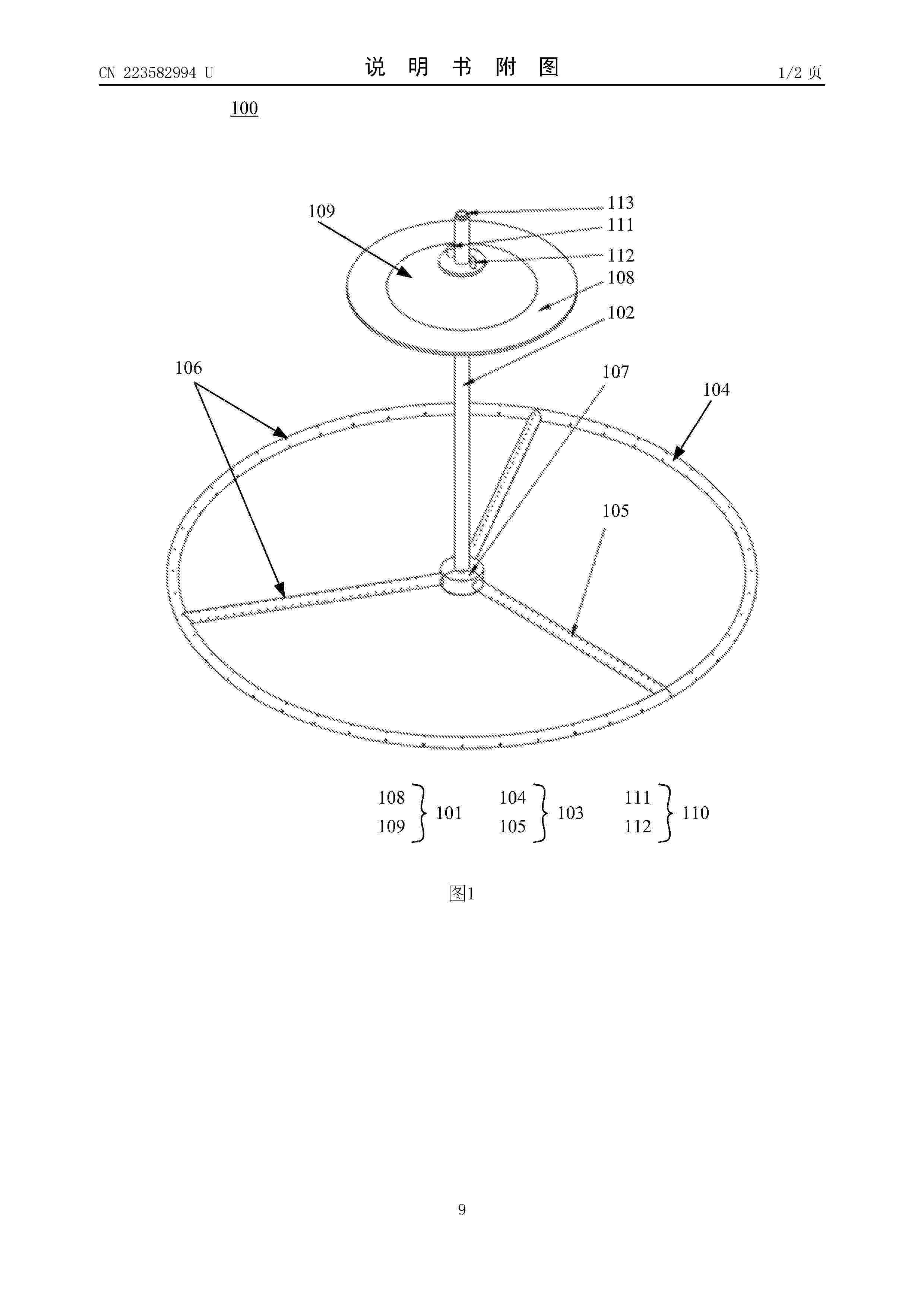
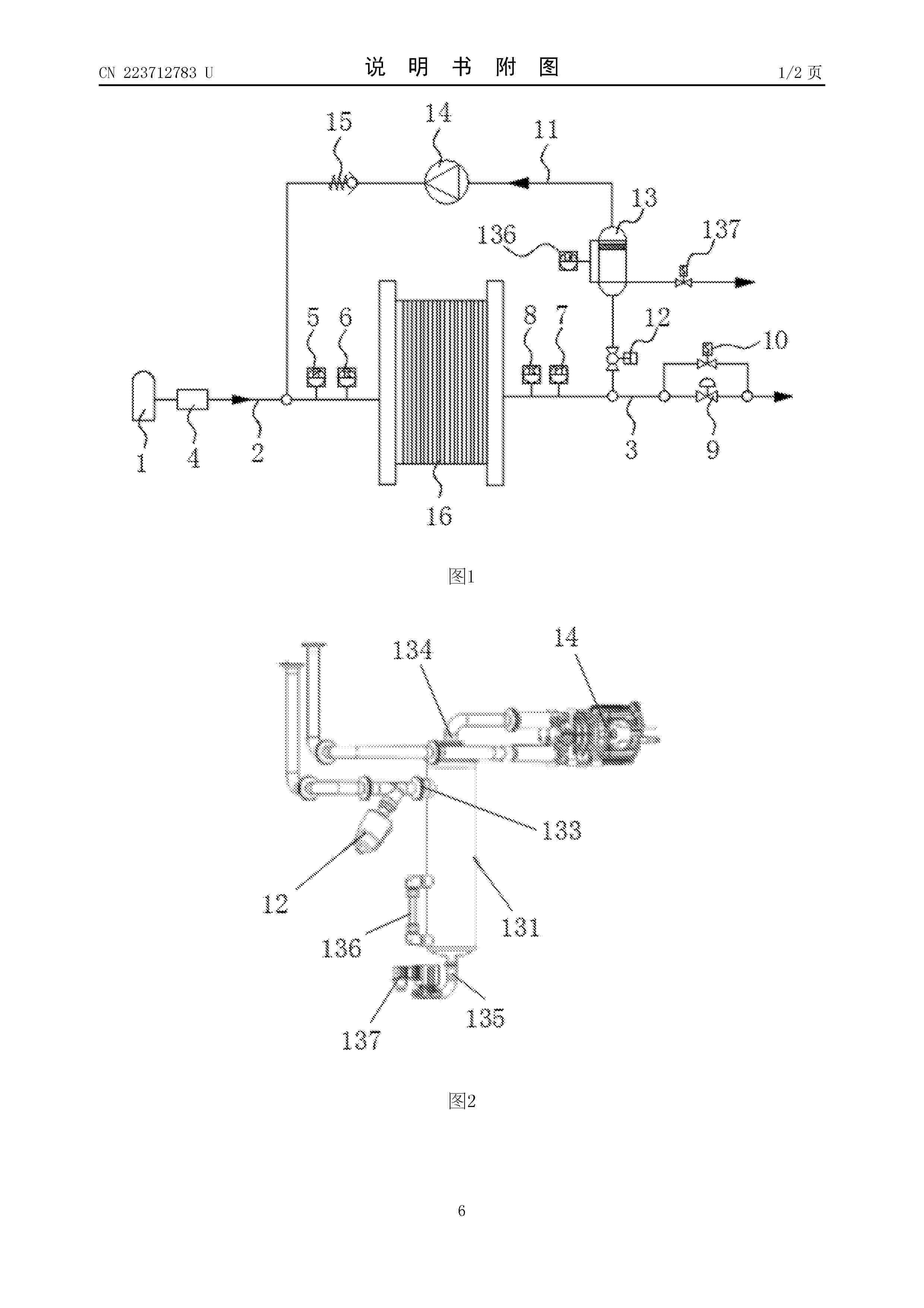
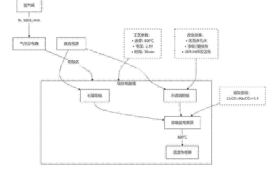
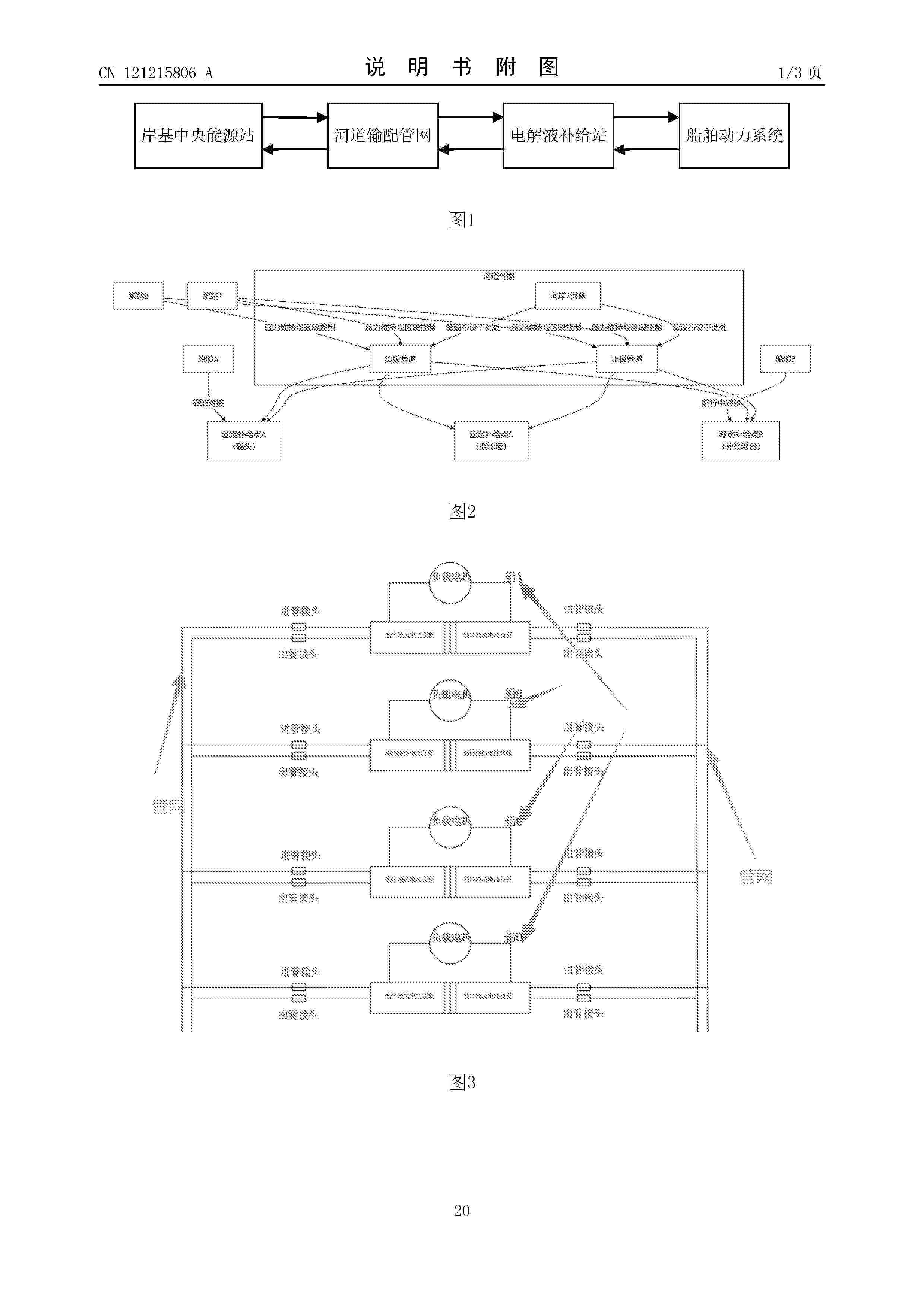
一种浪流联合发电平台及发电方法

NºPublicación:  CN121205850A 26/12/2025
Solicitante: 
重庆华渝重工机电有限公司
CN_121205850_PA

Resumen de: CN121205850A

本发明涉及浪流能发电技术领域,尤其涉及一种浪流联合发电平台及发电方法,圆柱箱体内设置有三组圆柱箱体发电组件,每组圆柱箱体发电组件均能够通过波浪能发电,波浪发电组件能够通过波浪能发电,海流发电组件能够通过海流能发电,浪流耦合组件能够将波浪能与海流能耦合输出,每个浮子上壳体的下方均连接有浮子下壳体,浮子下壳体的内部设置有储能增效组件;浪流联合发电平台的发电方法步骤包括:浮子上壳体相对于圆柱箱体浮动,圆柱发电组件发电;波浪发电组件与海流发电组件将动力输出至耦合组件后发电。本发明的稳定性更强,且将潮流能和波浪能收集耦合叠加输出,海洋单位面积能量利用率更高。

海上漂浮式自清洁太阳能与波浪能联合发电装置及方法

NºPublicación:  CN121216973A 26/12/2025
Solicitante: 
南京理工大学
CN_121216973_PA

Resumen de: CN121216973A

本发明提供了一种海上漂浮式自清洁太阳能与波浪能联合发电装置及方法,属于绿色可再生能源领域。所述装置中设置有第一类波浪能发电装置和第二类波浪能发电装置;第一类波浪能发电装置中,叶片与第一传动轴相连;第一传动轴可旋转地设置在主支架的中间;保护壳内依次设置有与第一传动轴相连的第一传动盘,以及第一齿轮组、第一中心齿轮、中心传动轴、第二中心齿轮、第二齿轮组和第二传动盘;在第二传动盘的上端面固定有第二传动轴,第二传动轴与清洁刷的限位端固定连接;清洁刷的自由端沿光伏板的径向向外伸出,清洁刷的主体与光伏板的上表面平行,且紧密接触。本发明同时利用波浪能和太阳能联合发电,并直接采用波浪能对光伏发电板进行清洁。

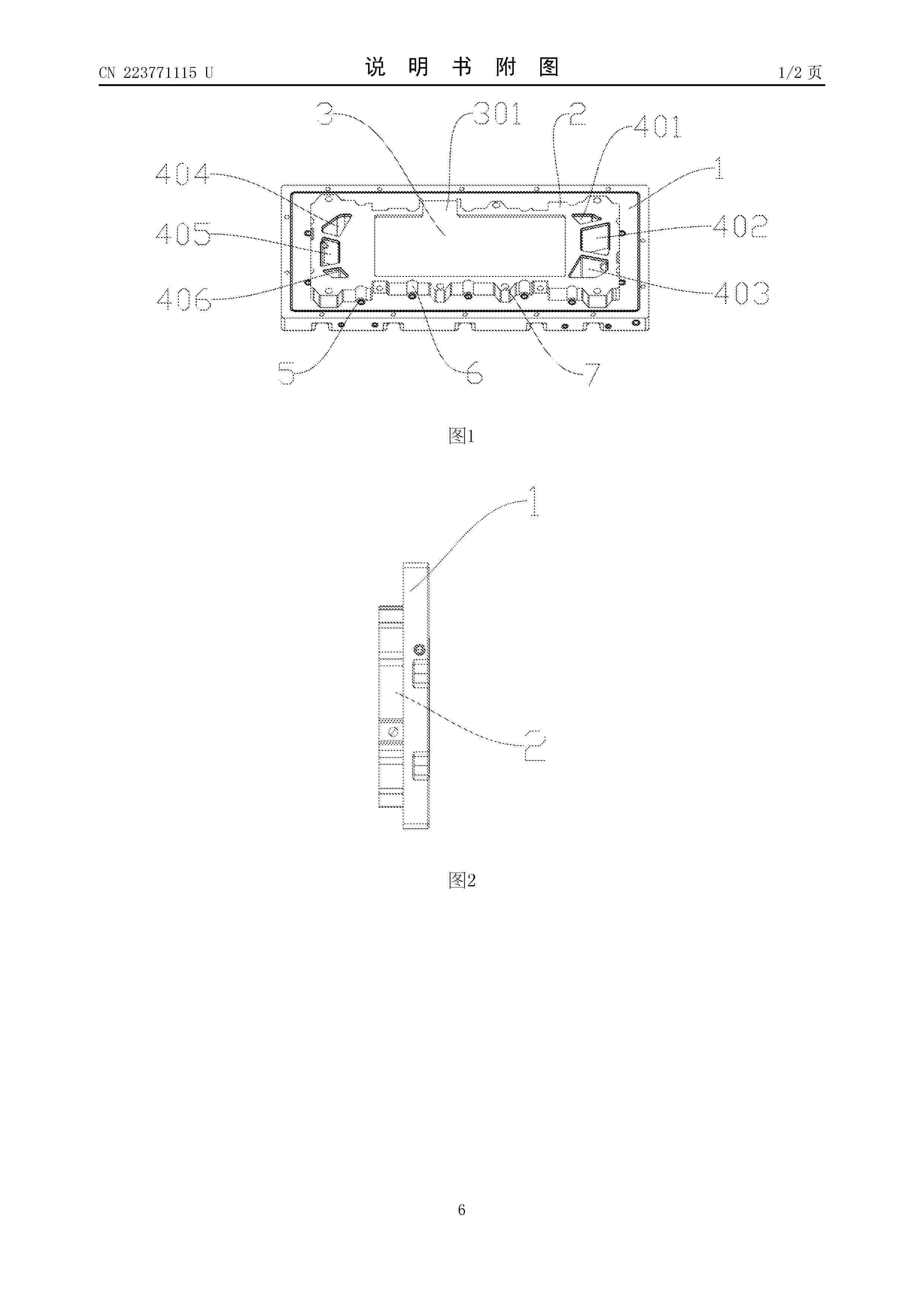
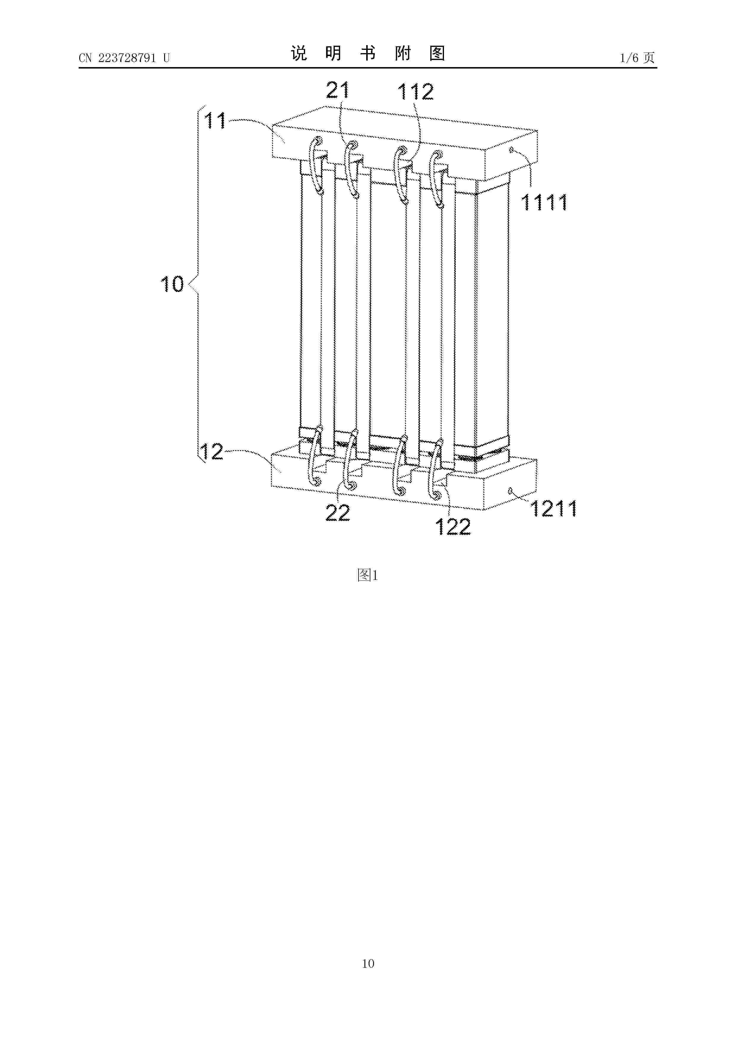
一种接驳水下潜航器的锚系浮标系统

NºPublicación:  CN223721102U 26/12/2025
Solicitante: 
崂山国家实验室
CN_223721102_U

Resumen de: CN223721102U

一种接驳水下潜航器的锚系浮标系统,包括锚系浮标和接驳装置;锚系浮标包括浮标本体和重力锚,浮标本体连接位于水下的接驳装置;浮标本体上安装有发电装置,发电装置与接驳装置电性连接,用以为接驳装置充电,水下潜航器接驳在接驳装置上时,接驳装置为水下潜航器充电。本实用新型实施例中利用锚系浮标固定接驳装置进行水下潜航器的接驳和充能,接驳装置随着漂浮的浮标本体能够处于水体上层的位置,水下潜航器前往接驳装置进行充能的过程中,路径相对较短,耗能较少,水下潜航器处于较小水压的环境下,不易损坏,能够降低因能源耗尽导致水下潜航器沉入海底的风险。

一种面向深远海台风频发区域的风浪联合发电装置

NºPublicación:  CN121205865A 26/12/2025
Solicitante: 
河海大学
CN_121205865_PA

Resumen de: CN121205865A

本发明公开了一种浮式平台海上发电技术领域的面向深远海台风频发区域的风浪联合发电装置,旨在解决现有技术中动态稳定性不足和供电持续性差的问题。该装置包括半潜式风力发电机平台和波浪能发电装置。所述波浪能发电装置位于所述半潜式风力发电机平台的底座的导管架上,包括横向主导减振装置、PTO装置和第一传动杆;所述横向主导减振装置沿周向滑动连接于所述导管架上,所述横向主导减振装置上集成可调节角度的挡水板;所述PTO装置通过第一传动杆与若干横向主导减振装置连接,所述第一传动杆限制所述横向主导减振装置的水平位移范围。本发明面向极端台风工况能够保持高韧性以及对水平振荡的高效率抑制能力,同时兼顾发电效率。

一种基于摩擦纳米发电机的波浪能收集装置

NºPublicación:  CN121205848A 26/12/2025
Solicitante: 
安徽大学
CN_121205848_PA

Resumen de: CN121205848A

本发明公开了一种基于摩擦纳米发电机的波浪能收集装置,属于发电技术领域,包括浮标,所述浮标的顶部安装有十字轴,所述十字轴的水平部分开设有凹槽;滑块,所述滑块与所述十字轴的竖直部分滑动连接,所述滑块的第一端伸入所述浮标的内部,并连接有配重结构;所述滑块的第二端开设有连接孔;以及圆筒和飞轮,所述圆筒设置在所述浮标的上方,所述圆筒的内周面设置有金属电极;所述飞轮与所述圆筒同轴心设置,所述飞轮通过曲柄轴与所述连接孔连接;本发明采用半球形的浮标结构,配合飞轮实现海浪能量的全方位收集,优化摩擦纳米发电机的结构,以减少摩擦损耗高效转化电能,可较好地满足使用需求。

一种定压储能系统及恒压膨胀发电方法

NºPublicación:  CN121205900A 26/12/2025
Solicitante: 
中国电力工程顾问集团东北电力设计院有限公司
CN_121205900_PA

Resumen de: CN121205900A

本发明提供一种定压储能系统及恒压膨胀发电方法,包括:一级压缩机电动机、一级压缩机、二级压缩机电动机、二级、高压缸、低压缸、发电机、排气筒、储热水罐、储冷水罐、压缩空气冷凝器、地面管线钢储气库、储热水泵、储冷水泵、液态空气升压泵、进气冷却器、一级储冷水加热器、一级空气冷却器、一级气水分离器、二级储冷水加热器、二级空气冷却器、二级气水分离器、二级储热水冷却器、一级储热水冷却器、海水预热器、海水加热器、压缩机出口关断阀、稳压调节阀、液态空气供气阀。本发明使储气装置小型化,冷能高效利用,系统效率提升。

一种基于双体船的单点系泊漂浮式潮流能发电装置

NºPublicación:  CN121205851A 26/12/2025
Solicitante: 
山东大学
CN_121205851_PA

Resumen de: CN121205851A

一种基于双体船的单点系泊漂浮式潮流能发电装置,包括:双体船浮式平台,用于采用单点系泊主动偏航的方式来调节发电装置的水平受力,确保水轮机准确对流;潮流能捕获系统,用于采用交叉布置的水平轴S型叶片在潮流和波浪的作用下实现叶轮回转带动发电机发电并增大潮流能捕能效率;能量转换系统,用于采用增大定子和转子相对运动速度的方式来提升发电量和能量转换效率;单点系泊系统,用于利用流载荷驱动双体船浮式平台绕系泊点转动以带动潮流能捕获系统移动实现朝向变化,从而完成对流;通过左右两端同轴反向放置的水平轴S型叶片分别与发电机的转子与定子相连,在相同叶片转速情况下,增大转子与定子之间的相对运动速度,带动发电机发电。

一种基于Kresling折纸结构的海洋发电装置及其发电方法

NºPublicación:  CN121205849A 26/12/2025
Solicitante: 
上海海事大学
CN_121205849_PA

Resumen de: CN121205849A

本申请涉及海洋发电技术领域,尤其涉及一种基于Kresling折纸结构的海洋发电装置及其发电方法,其中海洋发电装置具体包括折叠面板系统、伸缩杆以及发电装置,折叠面板系统包括底板、顶板以及多个等腰三角形折叠面板,底板定位于发电装置的输入轴上,顶板与底板相对平行且间隔布置,多个折叠面板以Kresling折纸形式折叠连接于底板与顶板之间,伸缩杆包括外管和内杆,内杆可伸缩地连接于外管内,外管被构造为阻止内杆与外管相对转动,外管与发电装置的输入轴连接,内杆的顶端与顶板连接,多个折叠面板环向分布于伸缩杆的外周侧,该海洋发电装置具有结构简单、稳定可靠的优点,该发电方法具有波浪能利用率更高、综合发电效率更高的优点。

FLOATING OFFSHORE STRUCTURE AND FLOATING OFFSHORE POWER GENERATION APPARATUS HAVING SAME

NºPublicación:  EP4667346A1 24/12/2025
Solicitante: 
HYUN DAI HEAVY IND CO LTD [KR]
Hyundai Heavy Industries Co., Ltd
EP_4667346_A1

Resumen de: EP4667346A1

A floating offshore structure of the present disclosure includes: a plurality of columns; and a plurality of pontoons installed at lower ends of the columns, respectively, wherein a polygonal shape is formed by an imaginary line connecting the columns, the pontoons are installed inside the polygonal shape, a cross-sectional area in a direction parallel to sea level of the pontoons is greater than or equal to the cross-sectional area in the direction parallel to the sea level of the columns, and the pontoons may have a shape protruding outward at the lower ends of the columns.

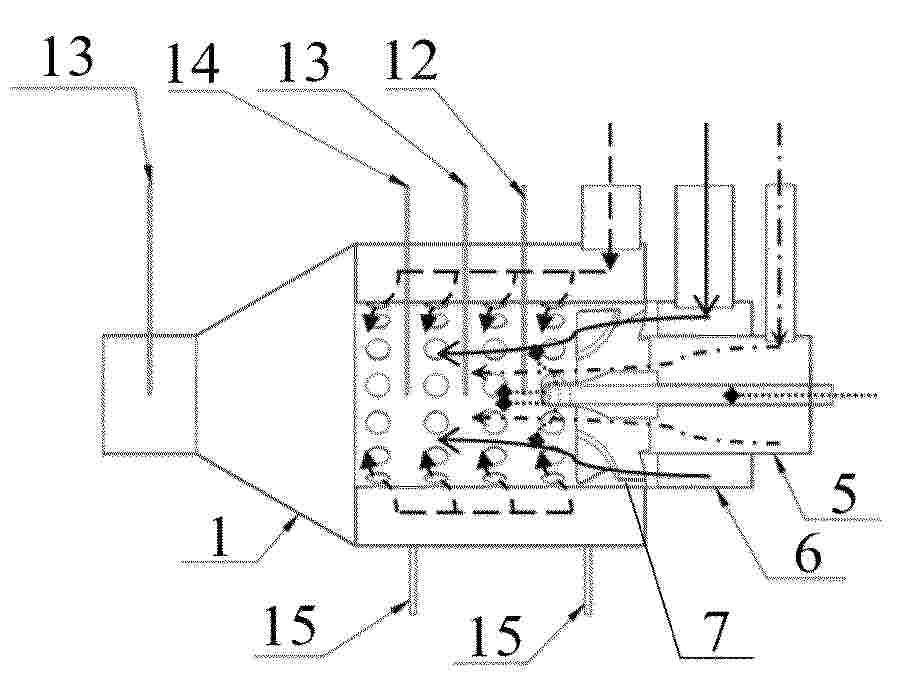
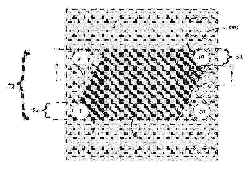
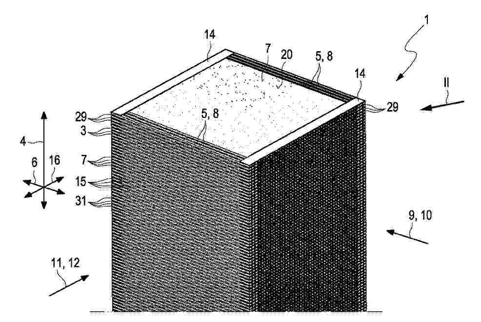
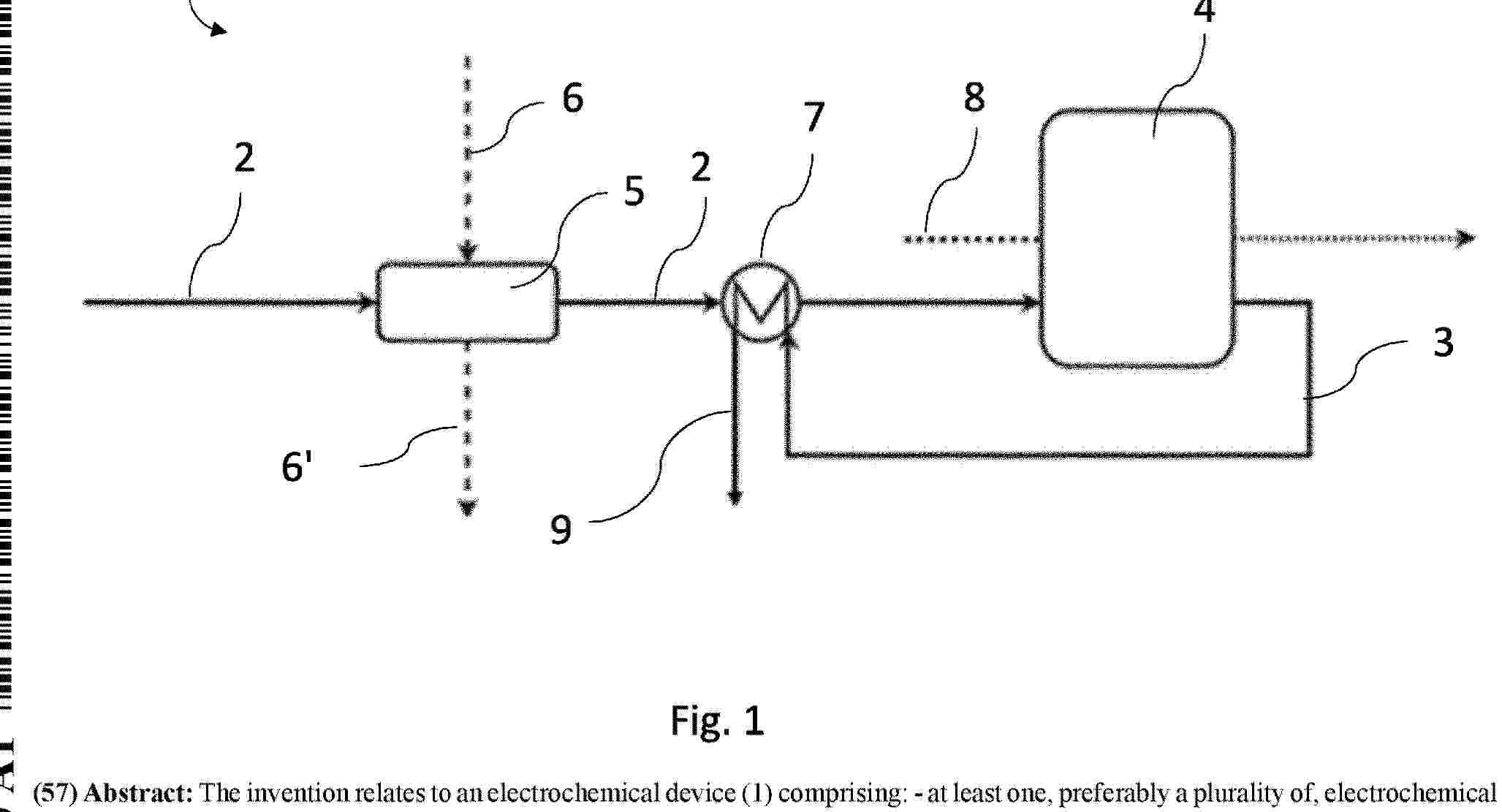
COMBINED BREAKWATER AND WAVE ENERGY CONVERTER

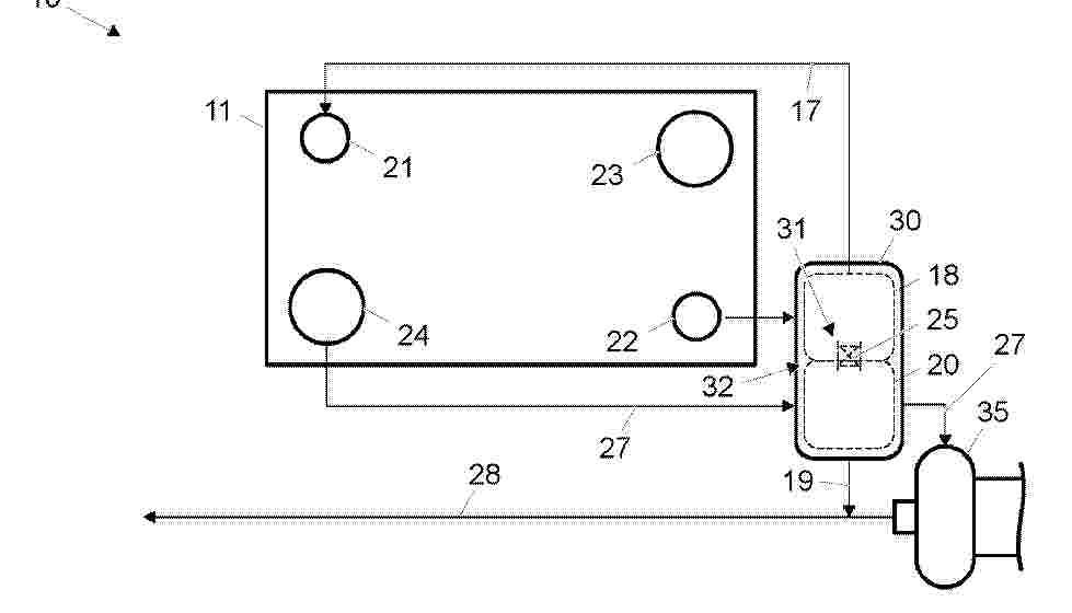
NºPublicación:  EP4665966A1 24/12/2025
Solicitante: 
SCHNEIDER JONATHAN [ES]
Schneider, Jonathan
CN_120693456_PA

Resumen de: CN120693456A

An apparatus for converting a multidirectional fluid flow into a unidirectional flow may be provided in a system of a combined breakwater and energy converter to generate electricity from coastal waters. Concrete stators 8 form part of the barrier of the breakwater, the stators being arranged around a central rotating chamber 6, adjacent stators forming a fluid passage 10 leading to the chamber, the chamber having a rotor 2 with a central rotatable shaft mounted to at least two blades 4. The channel is funnel-shaped to set the size of the inlet to the chamber larger than the size of the outlet to the chamber, the vector path of the outlet of the channel being angled with respect to the central axis and directed toward the blades. A multidirectional wave flow may enter the channel and into the chamber to be converted into a unidirectional flow to effect unidirectional rotation of the shaft. The rotational motion is used to generate electrical power.

CHEMICAL COLLECTION AND PROCESSING VESSEL AND METHODS FOR FLUID TRANSFER AT SEA

NºPublicación:  EP4665965A1 24/12/2025
Solicitante: 
LONE GULL HOLDINGS LTD [US]
Lone Gull Holdings, Ltd
KR_20250149749_PA

Resumen de: US2025340275A1

Embodiments disclosed herein include a vessel for floating and traveling adjacent to an upper surface of a body of water. In an embodiment, the vessel comprises a support structure, a first floatation chamber coupled to the support structure, a second floatation chamber coupled to the support structure, the second floatation chamber laterally spaced apart from and fluidly coupled to the first floatation chamber, and a third floatation chamber coupled to the support structure, the third floatation chamber laterally spaced apart from the first floatation chamber and from the second floatation chamber. In an embodiment, the vessel further comprises a robot system coupled to the support structure, where the robot system comprises an end effector and a nozzle head coupled to the end effector.

一种用于双振子波浪能转换装置的延迟补偿控制方法

NºPublicación:  CN121184289A 23/12/2025
Solicitante: 
中国海洋大学
CN_121184289_PA

Resumen de: CN121184289A

本发明提出一种用于双振子波浪能转换装置的延迟补偿控制方法,包括:对双振子波浪能转换装置进行数值建模及水动力分析,建立其时域运动方程,并在时域运动方程中引入时间延迟函数模拟控制信号传输延迟,使用偏微分方程模拟制动器的执行延迟;建立装置的状态空间方程,用其替代时域运动方程的卷积项,计算得到装置的运动状态;定义哈密顿函数将约束优化问题转化为无约束优化问题,求解哈密顿函数得到考虑控制延迟的最优控制准则,以实现在最优控制准则下实现能量捕获的最大化。本发明通过引入控制延迟真实反映物理系统的运行特性,使闭锁控制方法在实际物理装置中得到有效实施,有效提升波浪能转换装置的能量捕获效率和系统运行的可靠性。

温差能发电系统海水举升装置

NºPublicación:  CN223707834U 23/12/2025
Solicitante: 
宝鸡石油机械有限责任公司中国石油天然气集团有限公司
CN_223707834_U

Resumen de: CN223707834U

本实用新型公开了温差能发电系统海水举升装置,包括支撑平台和举升泵,支撑平台上表面设置有悬挂组件,悬挂组件的下端通过球型接头与处于最上端的第一个举升立管单根连通;最上端的第一个举升立管单根外圆周上还安装有张紧组件和伸缩组件;第一个举升立管单根向下依次连通多个举升立管单根,直至向下深入海水深处;举升泵安装于预定深处相邻的两个举升立管单根之间,最下端的一个举升立管单根下端口与吸入滤器及配重组件连通。本实用新型属于抽吸海水设备技术领域,采用大通径刚性立管作为海水举升系统主体,解决了现有技术中存在的没有足够的强度,抽吸软管寿命短,难以长期使用的问题。

一种海上救援设备

NºPublicación:  CN223702908U 23/12/2025
Solicitante: 
武汉瑞思创物科技有限公司

Resumen de: CN223702908U

一种海上救援设备,包括装置主体,所述装置主体包括漂浮装置、驱动装置、电能装置;所述漂浮装置包括漂浮柱、中心轴、连接杆,多个漂浮柱首尾相连形成漂浮环,中心轴外部套设有圆盘,漂浮环与圆盘之间通过充气囊连接,两两充气囊之间通过绳网连接;所述电能装置包括风力发电器、太阳能发电板、海浪发电器,所述风力发电器、太阳能发电板、海浪发电器皆与驱动装置电性连接,风力发电器安装于中心轴顶端,太阳能发电板安装于风力发电器下方,海浪发电器安装于漂浮柱内部。装置主体上设有风力、水力及太阳能三种为驱动装置提供电能的装置,带动装置主体移动,且装置主体上设有多个漂浮组件,可以供多人使用。

利用液压与纳米摩擦联合减振的漂浮式海上光伏电站及方法

NºPublicación:  CN121158137A 19/12/2025
Solicitante: 
东南大学
CN_121158137_PA

Resumen de: CN121158137A

本发明公开了一种利用液压与纳米摩擦联合减振的漂浮式海上光伏电站及方法,发电站包括漂浮基础,用于提供浮力支撑;支撑平台,固定设置于所述漂浮基础之上,其上安装有光伏发电系统;波浪能发电装置阵列,由多个波浪能发电装置沿周向均匀布置于所述支撑平台的外缘,用于吸收来自各个方向的波浪能以产生电能,并为所述光伏发电系统形成低波高环境;其中,所述波浪能发电装置包括液压波浪能发电子系统和纳米摩擦波浪能发电子系统,所述纳米摩擦波浪能发电子系统集成于所述液压波浪能发电子系统的浮球内部,通过联合作用将波浪能转换为电能。

一种海洋载体随动式波浪能发电装置

NºPublicación:  CN121162443A 19/12/2025
Solicitante: 
大连海事大学
CN_121162443_PA

Resumen de: CN121162443A

本发明提供一种海洋载体随动式波浪能发电装置,包括:圆筒型直线发电机、直线运动滑台、双稳态运动单元和转向调节单元,圆筒型直线发电机放置于直线运动滑台上,电机整体可以滑动,上滑轨两侧与双稳态运动单元中的上支杆架固定连接,下滑轨与双稳态运动单元中的双稳态运动框架相连接,双稳态运动单元放置于转向调节单元上形成发电装置整体结构。装置可安装在各种适宜的海洋载体,利用双稳态运动原理提高发电装置的发电效能;通过将圆筒型直线发电机、直线运动滑台,以双稳态运动弹簧为主要工具的双稳态运动单元及转向调节单元相组合,实现基于跨势能阱的双稳态运动发电,增加波浪能频率较低时的能量捕获效率,提升装置对不同海况下的发电适应性。

基于分控式电地暖的天然气水合物储层加热与采收系统

NºPublicación:  CN121162237A 19/12/2025
Solicitante: 
中国石油大学(华东)
CN_121162237_PA

Resumen de: CN121162237A

本发明公开了基于分控式电地暖的天然气水合物储层加热与采收系统,涉及海洋能源开发技术领域,海面集能供电平台实现多能综合协同发电,并为采收系统供能;分控式电地暖加热装置通过分区加热的方式实现对储层的分区温控与分解速率调节;海水提温自循环管网位于储层内部,通过泵控推拉式循环,实现表层温热海水与深层水合物储层之间的高效热交换,并为海水温差能发电提供冷源;储层热解与气体采收管网通过控制开关阀组开闭实现分区智能采收;海面作业船舶能源处理模块用于采收气体,并与采收系统交互,实现远程监控和控制。本发明构建了一种能源自给、加热均匀、可分区控制且环境友好的高效加热采收系统,实现了能源低消耗条件下的稳定安全采气。

多参数协同优化的自适应液压PTO波浪能发电系统

NºPublicación:  CN121162440A 19/12/2025
Solicitante: 
哈尔滨工业大学(威海)山东船舶技术研究院
CN_121162440_PA

Resumen de: CN119084211A

The invention provides a multi-parameter collaborative optimization self-adaptive hydraulic PTO wave energy power generation system. The system comprises a hydraulic energy storage and release PTO unit, a hydraulic motor, a direct-current generator, a detection unit, an optimization unit and a control unit. The hydraulic energy storage and release PTO unit comprises a floater, a hydraulic cylinder and an energy storage unit, the energy storage unit comprises two energy accumulators, and a hydraulic motor drives a direct-current generator to generate power by using pressure potential energy released by the energy accumulators; the detection unit is used for acquiring real-time motion data of the floater and real-time pressure data of the energy accumulator; the optimization unit uses the power-stability combined optimal target function to search and obtain the optimal value of the multi-parameter combination of the wave energy power generation system, and the control unit adjusts the displacement of the hydraulic motor and the load resistance of the direct-current generator based on the optimal value of the multi-parameter combination and switches the energy storage and release processes of each energy accumulator. The power generation system provided by the invention can adaptively realize the optimal output of the generated power while ensuring the stability of power generation.

一种水下可控升力翼驱动的发电装置及其使用方法

NºPublicación:  CN121162444A 19/12/2025
Solicitante: 
中国船舶集团有限公司第七一九研究所
CN_121162444_PA

Resumen de: CN121162444A

本发明提出了一种水下可控升力翼驱动的发电装置及其使用方法,属于水下发电领域,包括平台设置在水下;霍尔发电机设置在平台上并具有旋转端;绞轮设置在旋转端上并同步转动;浮子通过绞绳连接在绞轮上;浮子在水中具有第一位置与第二位置,第一位置位于第二位置下方;当浮子在水流作用下从第一位置上浮至第二位置时,浮子带动绞轮转动并驱使旋转端同步转动,霍尔发电机将机械能转化为电能。本发明通过浮子反复升降带动霍尔发电机的旋转端转动进行发电,尽利用洋流驱使浮子升降而无需控制浮子依靠洋流进行复杂的轨迹移动,大幅降低了发电难度,而通过控制升降高度,限制了浮子带动旋转端的旋转圈数与转速,使发电效率能够保持稳定。

一种具备姿态自适应调整功能的浮式储能与消波平台

NºPublicación:  CN121161767A 19/12/2025
Solicitante: 
江苏科技大学
CN_121161767_PA

Resumen de: CN121161767A

本发明公开了一种具备姿态自适应调整功能的浮式储能与消波平台,包括整体呈倒T形式的浮式结构,浮式结构的左右两个上表面布置多个透水舱室;透水舱室的正面为进水面,背面为透水面,进水面左右两侧各布置一个导流板,两个导流板间的开口朝透水舱室内,在两个导流板间形成进水口;每个透水舱室透水面上设置分流柱体;每个导流板与透水舱室内壁间形成夹角,夹角区竖直布置导流叶片;浮式结构的顶面设置上甲板,上甲板顶面设置储能装置,所有导流叶片与储能装置相连;进入透水舱室的流体经过分流柱体,在导流板背侧形成旋涡区,从而驱动处于旋涡区的导流叶片转动进行发电,储能装置储存电能。本发明能够降低浮式防波堤在运动状态下消波性能。

一种波浪能发电用飞轮组件

NºPublicación:  CN121162442A 19/12/2025
Solicitante: 
南京激扬智慧信息技术研究院有限公司
CN_121162442_PA

Resumen de: CN121162442A

本发明公开了一种波浪能发电用飞轮组件,包括转轴和同轴套接在所述转轴上,且间隔设置的若干组飞轮,每组飞轮均包括内飞轮和外飞轮,内飞轮两侧对称设置有第一保持架,两个第一保持架相对面均设置凹槽,内飞轮两端分别插入两个凹槽内,两个第一保持架之间设置有间隔;外飞轮同轴设置在所述内飞轮上,外飞轮中心设置有联动件,通过多组飞轮配合,以及每组飞轮均包括内飞轮和外飞轮,配合联动件的作用,能联动内飞轮和外飞轮同步转动,通过飞轮的组合获取更大的旋转动能可以储存更多的能量,接受更大的外置动力;在外置动力在减少时,将外飞轮脱离,降低了转动惯量;使得在外置力变小的情况,飞轮依然能正常旋转和储能,适用于不同需求使用。

一种用于波浪能发电的半潜浮体闭环阵列组网

NºPublicación:  CN121158140A 19/12/2025
Solicitante: 
集美大学
CN_121158140_PA

Resumen de: CN121158140A

本发明涉及波浪能发电浮标技术领域,具体涉及一种用于波浪能发电的半潜浮体闭环阵列组网,包括若干个呈阵列分布的波浪能发电装置,相邻的两个波浪能发电装置之间通过伸缩连杆模块连接,所述伸缩连杆模块的两端与波浪能发电装置之间铰接设置,若干个波浪能发电装置在海中通过一系泊系统定位。采用空间闭环阵列组网构型,占用海域面积小,框架结构重量轻和功率重量比高,任一机组故障不影响其他机组工作,具有很高的冗余度,更容易实现共享式系泊系统定位,针对闭环阵列组网结构仅需使用一套系泊系统,从而节省建造成本。

一种用于海上光伏漂浮平台的波浪能利用方法

NºPublicación:  CN121162441A 19/12/2025
Solicitante: 
中国能源建设集团广西电力设计研究院有限公司
CN_121162441_PA

Resumen de: CN121162441A

本发明涉及海上新能源综合利用技术领域,尤其涉及一种用于海上光伏漂浮平台的波浪能利用方法,包括:通过传感器网络采集海上光伏漂浮平台外周的波浪特征参数,基于采样频率将波浪特征参数传输至中央控制器;中央控制器调用波浪能转换优化算法,通过时频特性分析生成液压能转换控制指令,控制指令动态匹配液压系统与波浪能输入的特性;依据液压能转换控制指令调节液压回路的流量与压力参数,将波浪机械能转换为直流电能;通过能量管理算法对直流电能与光伏阵列输出电能优化分配,调整能量流向,将电能存储至储能系统或直接供给负载。本发明通过采集波浪参数、优化液压与控制、双环架构及能量管理,实现了波浪能高效转换、系统稳定及多能源供给。

一种气液孔腔共振波浪俘能装置及其工作方法

NºPublicación:  CN121173131A 19/12/2025
Solicitante: 
汉江国家实验室
CN_121173131_PA

Resumen de: CN121173131A

本发明属于海洋可再生能源利用技术领域,公开了一种气液孔腔共振波浪俘能装置及其工作方法。本发明提供的装置包括外壳、变频共振腔、伸缩机构、控制单元和储能单元;变频共振腔包括液腔和气腔,液腔位于装置的入水侧,气腔位于空气侧;液腔用于在装置的独立运行模式下作为主要调节腔,气腔用于在装置搭配二级能量转换装置的组合运行模式下作为主要调节腔;伸缩机构用于调节液腔和/或气腔的尺寸;控制单元分别与变频共振腔、伸缩机构连接,用于将变频共振腔的频率调节至与波浪的峰值频率相同;储能单元用于存储转换的电能。本发明相比于振荡水柱等传统装置具有更宽的频率调节范围,并实现小型化。

一种基于波流转化效应的浮式防波堤

NºPublicación:  CN121161768A 19/12/2025
Solicitante: 
江苏科技大学
CN_121161768_PA

Resumen de: CN121161768A

本发明公开了一种基于波流转化效应的浮式防波堤,包括多个隔箱,每相邻两个隔箱之间固定设置波流转化组件;所述波流转化组件包括渐变段、圆形通道和叶片,两个渐变段设置在隔箱两端,每个渐变段的上表面和下表面各设置一个浮式结构;所述渐变段内部开设圆形通道,圆形通道内部设置叶片,叶片与设置在隔箱上表面的发电机组连接;两个渐变段之间的区域作为月池,月池底部与外部流体域连通;利用渐变段的聚集效应,将浮式防波堤周边的波浪汇集,并通过圆形通道经叶片进入月池,圆形通道用于将波浪转变为水流,实现波流转化,圆形通道内部的水流带动叶片转动,进而带动发电机组,将水流动能转变为电能。本发明能够实现波浪向水流的转化,实现消波。

一种进水通道可调式OWC波浪能发电装置

NºPublicación:  CN121162439A 19/12/2025
Solicitante: 
中交天津港湾工程研究院有限公司中交第一航务工程局有限公司天津港湾工程质量检测中心有限公司
CN_121162439_PA

Resumen de: CN121162439A

本发明公开了一种进水通道可调式OWC波浪能发电装置,包括结构主体,在结构主体内部设置有气室,结构主体的面向海浪一侧设置进水口,气室的顶部设置有气道,气道连通至空气涡轮机,空气涡轮机连接发电机;在结构主体的进水口的上方外壁上设置有一气囊装置,并且在结构主体的进水口的下方设置有基台,气囊装置和基台之间形成进水通道。本发明利用气囊的充/放气状态来调节气室进水通道的长度尺寸,来改变其进水动力特性,提升水柱‑气柱系统的共振作用,可使OWC波浪能发电装置适应宽频波浪条件,有助于提升装置的波浪能发电转换效率。

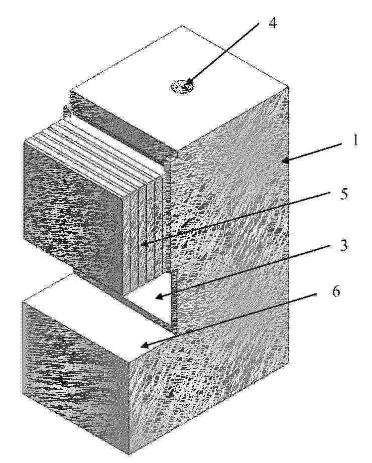
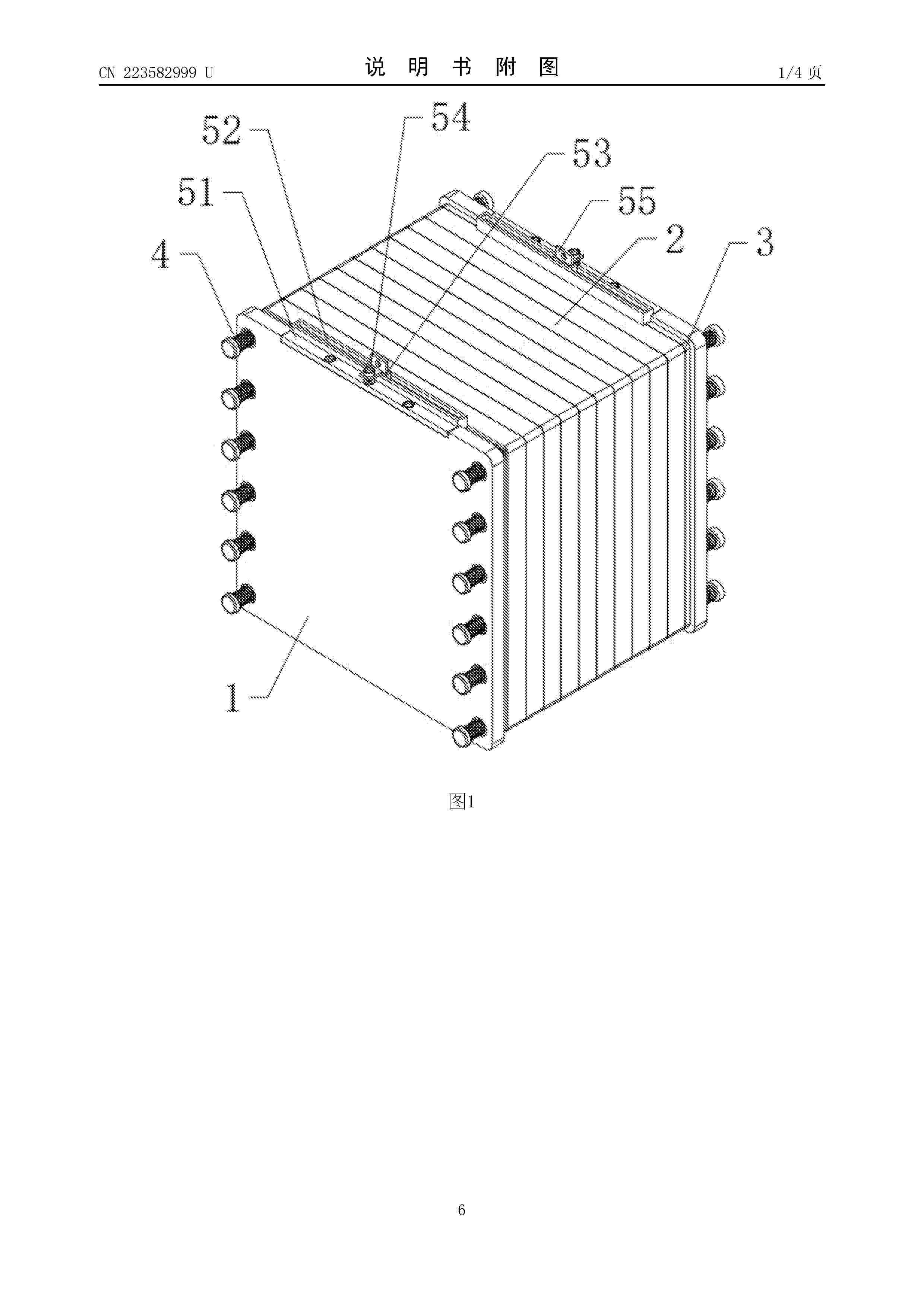
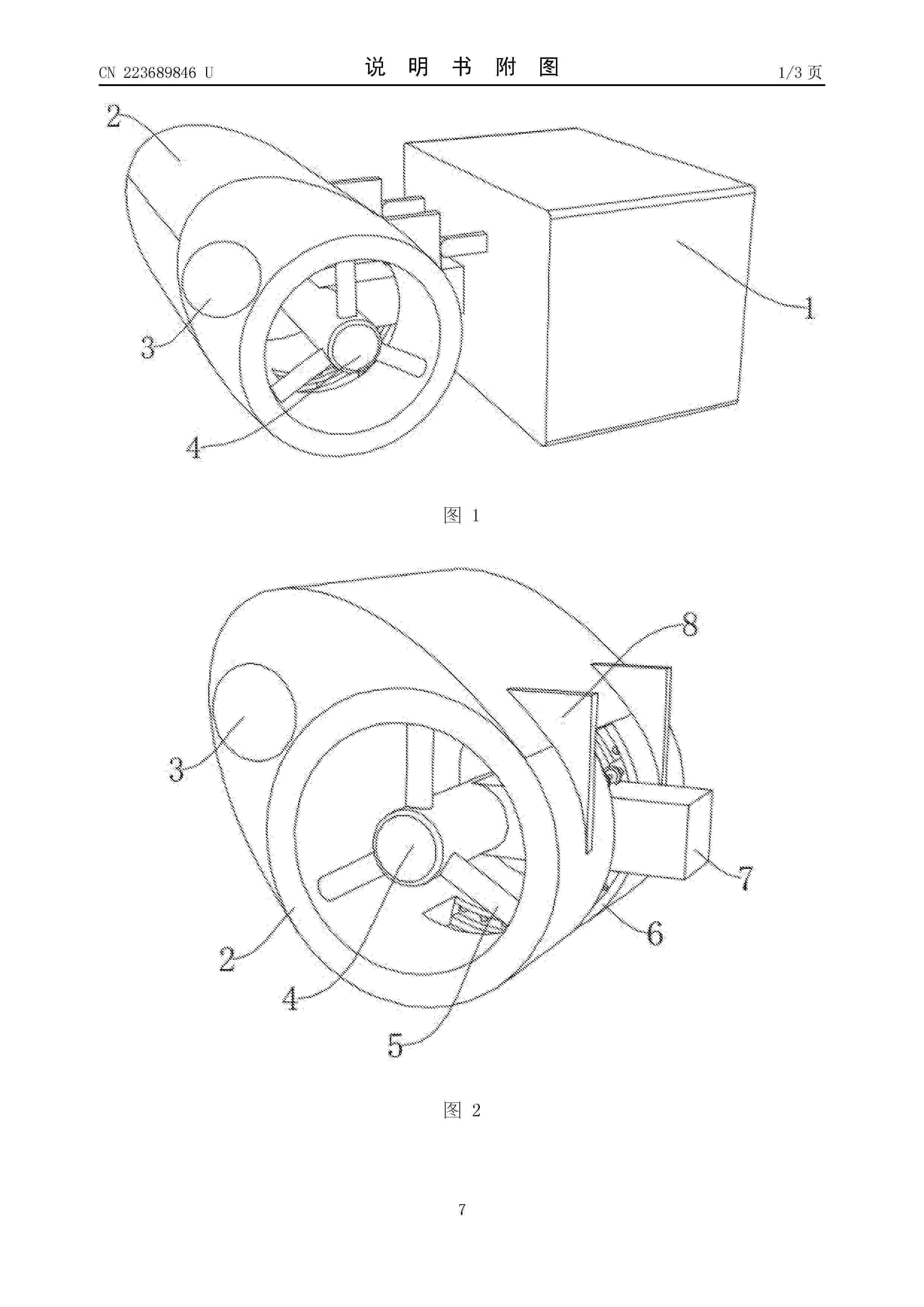
一种波浪能发电装置的能量转换机构

NºPublicación:  CN223689846U 19/12/2025
Solicitante: 
青岛蓝海未来海洋科技有限责任公司
CN_223689846_U

Resumen de: CN223689846U

本实用新型属于波浪能发电领域,尤其是一种波浪能发电装置的能量转换机构,针对现有的装置往往难以根据波浪的幅度进行自适应调整,导致在波浪较小或较大时能量转换效率降低。此外,一些装置的结构复杂,维护成本高,且难以适应不同海域的波浪条件的问题,现提出如下方案,其包括安装盒,所述安装盒的一侧固定连接有第二连接杆,所述第二连接杆的一端转动连接有固定轴,所述固定轴的外壁固定连接有多个第一连接杆,本实用新型中,能够将波浪能高效地转换为电能。当弧形块受波浪推动转动时,会带动凸块和推动杆移动,进而驱动齿条和齿轮传动系统工作,最终带动发电机发电。这种传动方式具有较高的能量传递效率和稳定性。

一种模块化风-光-浪能综合应用的深远海养殖平台

NºPublicación:  CN223681785U 19/12/2025
Solicitante: 
中国电建集团华东勘测设计研究院有限公司
CN_223681785_U

Resumen de: CN223681785U

本实用新型提供了一种模块化风‑光‑浪能综合应用的深远海养殖平台,包括中央漂浮式综合平台,中央漂浮式综合平台上设置有海上风力发电模块、海上光伏发电模块和海上波浪能发电模块,海上波浪能发电模块包括波浪能液压杆,中央漂浮式综合平台的周侧通过分离式液压铰链结构和波浪能液压杆连接可以上下摆动的桁架式养殖网箱,通过将供电设备的集成化,为桁架式养殖网箱进行原位供电,实现深远海养网箱电力自给,弥补现有深远海养殖平台在能源自给方面的不足;形成了综合多能互补供电体系,多能互补发电的形式充分利用了海上风能、光能以及波浪能,为深远海养殖提供了绿色、零排放、可持续的原位供电。

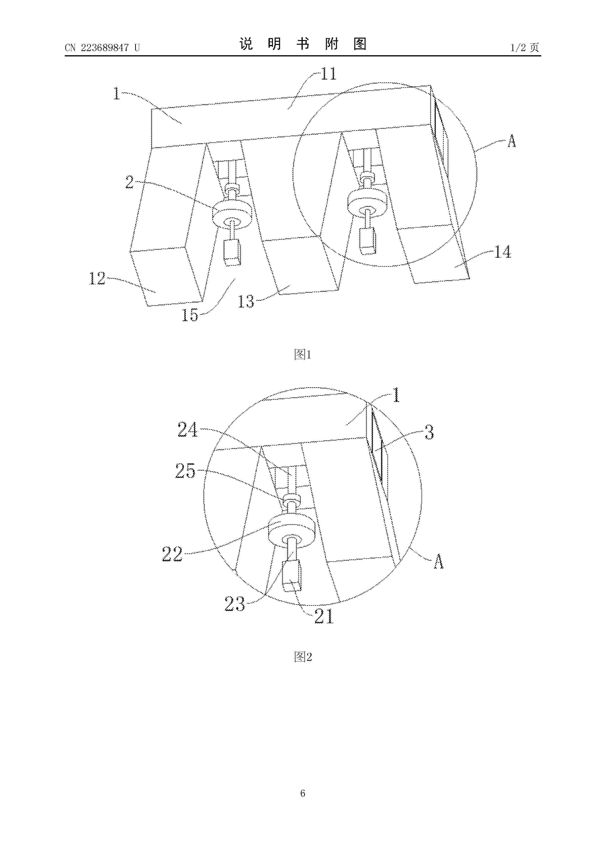
一种混合波浪能发电装置

NºPublicación:  CN223689847U 19/12/2025
Solicitante: 
江苏科技大学
CN_223689847_U

Resumen de: CN223689847U

本实用新型公开了一种混合波浪能发电装置,包括浮体,浮体包括第一腔体、第二腔体、第三腔体、第四腔体,第三腔体分别与第二腔体、第四腔体形成用于放置振荡水柱发电机构的V型槽;第一腔体的至少一个相对面上设置气室,气室通过连通管与V型槽相连通,气室内设置威尔斯涡轮;第二腔体、第三腔体、第四腔体内均设置定磁芯;振荡水柱发电机构包括动磁芯、振荡浮子,振荡浮子能够上下移动从而切割动磁芯、定磁芯间的磁感线进行发电。本实用新型通过安装M型浮体,可实现装置主体采用M型浮体构型设计,从而提高装置的稳定性与抗浪能力,减少波浪对装置的冲击力,机电转换效率高;振荡水柱发电机构利用中长波能量,有效提高腔室内的空气压缩率。

一种流致涡激振动电能转化自持仿生蝠鲼潜航器及方法

NºPublicación:  CN121158169A 19/12/2025
Solicitante: 
中国科学院水生生物研究所大连海洋大学郑子龙
CN_121158169_PA

Resumen de: CN121158169A

本发明公开了一种流致涡激振动电能转化自持仿生蝠鲼潜航器及方法,其包括躯干框架,躯干框架的前部连接有头部框架,躯干框架的中部安装有控制装置,控制装置的两侧均连接有胸鳍驱动装置,胸鳍驱动装置包括若干串联的伺服电机,伺服电机的前后两侧均连接有柔性鳍板,控制装置的后部连接有尾鳍驱动装置,躯干框架的后部连接有拖尾及声纳装置,躯干框架的后顶部安装有立鳍框架,立鳍框架的内部安装有涡激振动直线发电装置,潜航器外部还包覆有一体化仿生蒙皮,本发明创新性地将涡激振动直线发电装置集成于潜航器的立鳍和背部,提供了两种利用涡激振动能量自持的方案;并采用多个伺服电机串联驱动胸鳍,实现高度仿生运动。

FLOATING POWER GENERATION UNIT

NºPublicación:  US2025382035A1 18/12/2025
Solicitante: 
ANZAI SATOSHI [JP]
ANZAI Satoshi
US_2025382035_PA

Resumen de: US2025382035A1

A floating power generation unit is provided which, by dispersing oxygen content in water as fine air bubbles while generating power on the water, increases the activity of aerobic organisms, promotes plankton growth, and improves fishing grounds. This floating power generation unit is provided with a power generator, an oxygen separator, and a float. The power generator and the oxygen separator are arranged on the top surface of the float. The floating power generation unit is provided with a first fine air bubble generating medium which supplies the oxygen separated by the oxygen separator into the water as fine air bubbles and is provided with a second fine air bubble generating medium which supplies the nitrogen separated by the oxygen separator into the water as fine air bubbles.

WAVE ENERGY CONVERTER, POWER GENERATION DEVICE AND POWER GENERATION SYSTEM

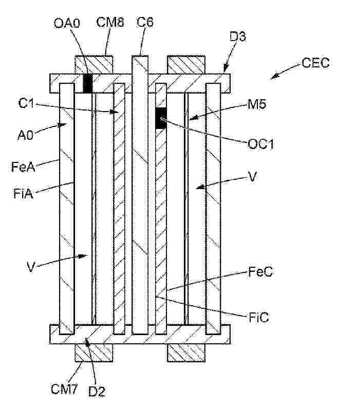
NºPublicación:  WO2025256410A1 18/12/2025
Solicitante: 
WANG YAN [CN]
\u738B\u7130
WO_2025256410_A1

Resumen de: WO2025256410A1

A wave energy converter, a power generation device and a power generation system. The wave energy converter comprises a pile foundation (1), a central column (2), and a floating body; the floating body comprises an inner float (3) and an outer float (4); the inner float (3) and the outer float (4) are both sleeved on the central column (2) and can move up and down along the central column (2); the inner float (3) is provided with an air inlet valve (8), a water inlet valve (10, 12), and a discharge valve (6, 7); and the outer float is provided with an exhaust valve (14) and a drain valve (15). The power generation device comprises the wave energy converter and a hydro-generator. The power generation system comprises an energy harvesting array module, an energy storage module, a power generation module (32), a rectifier module (39) and an energy storage battery module (40). The system can effectively improve the utilization rate of wave energy, and can also achieve grid peak regulation.

SYSTEM AND METHOD FOR CHANGING TEMPERATURE OF SHALLOW SEA WATER

NºPublicación:  WO2025257610A1 18/12/2025
Solicitante: 
TYAGI SUNIT DHARAMVEER [IN]
TYAGI, Sunit Dharamveer
WO_2025257610_A1

Resumen de: WO2025257610A1

A system 100 to change temperature 722 of shallow sea water 704 can include a plurality of a first set of equipment 200; a plurality of energy generating sources 300; a plurality of a second set of equipment 400; and a control and command station 500 such that when the control and command station 500 receives a plurality of data from the plurality of the second 5 set of equipment 400, compares data with a plurality of predefined optimal data values, and in case one or plurality of values is different from the corresponding predefined optimal data value that affecting temperature of the shallow sea water 704, the control and command station 500 generate commands to operate the plurality of the first set of equipment 200 to bring back the parameters to the predefined optimal data value to change temperature 722 of 0 the shallow sea water 704 that helps to avoid induced bleaching of coral reefs 102.

UNIDAD DE DEFENSA COSTERA ALIMENTADA MEDIANTE ENERGIA UNDIMOTRIZ

NºPublicación:  ES1325916U 18/12/2025
Solicitante: 
RENEWABLE OCEAN ENERGY S L [ES]
RENEWABLE OCEAN ENERGY S.L

ARRANGEMENT FOR CONDENSING AND CIRCULATING FLUID IN A SYSTEM

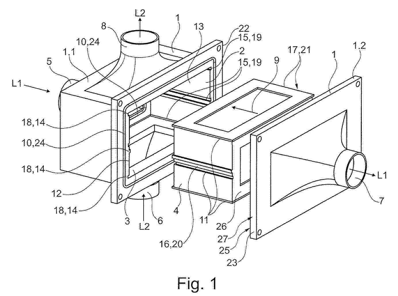
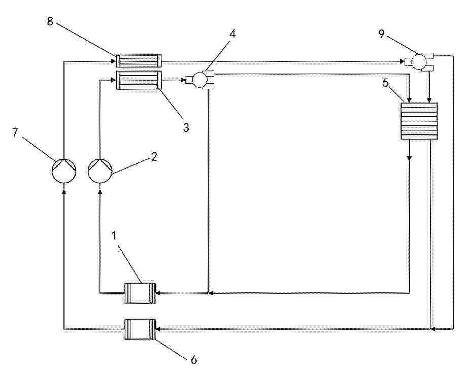
NºPublicación:  EP4662391A1 17/12/2025
Solicitante: 
CLIMEON AB [SE]
Climeon AB
KR_20250143788_PA

Resumen de: CN120693448A

A device for condensing and circulating a fluid in a system comprises a condenser (2) arranged to condense a working fluid from a gas phase to a liquid phase; a fluid pump (5) arranged to pump a liquid working fluid from the condenser; and a piping system (6) connecting the condenser and the fluid pump, where the condenser has a height (H), a longitudinal length (L) and a transverse width (W) and comprises two outlet ports (21a, 21b) for the working fluid arranged on opposite sides of the condenser and in fluid communication with each other via a through conduit (21) extending along the longitudinal length of the condenser, and where the two outlet ports (21a, 21b) are in fluid communication with each other via a through conduit (21) extending along the longitudinal length of the condenser. The fluid pump comprises an inlet (5a) and an outlet (5b). An inlet of the fluid pump is arranged in fluid communication with each of the outlet ports of the condenser through the piping system, and the fluid pump is arranged such that the inlet of the fluid pump is substantially centered between the outlet ports along a longitudinal length of the condenser.

TURBINE WITH MOVING BLADES USING SHALLOW FLOW

NºPublicación:  EP4662402A1 17/12/2025
Solicitante: 
NORWEGIAN WATER POWER SOLUTION AS [NO]
Norwegian Water Power Solution AS
WO_2024167412_A1

Resumen de: WO2024167412A1

The invention concerns a turbine comprising multiple blades 3 on at least one continuously shaped belt 4, adapted to be run in a loop, where each blade 3 is rotatably secured with its first end to the inside of the belt 4 and is arranged to fold out from the belt, toward the center of the loop, to be carried with the flow of the fluid 7, and is arranged to fold in toward the belt when the blade is led against the flow.

一种磁约束波浪能发电装置

NºPublicación:  CN121139251A 16/12/2025
Solicitante: 
常州工学院常州元生至梦新能源科技有限公司
CN_121139251_PA

Resumen de: CN121139251A

本发明公开一种磁约束波浪能发电装置,包括位于纵向方向的芯杆和内套管,芯杆滑动贯穿内套管,芯杆下端延伸至内套管下端外部并固设有浮球,浮球外径>内套管内径,内套管和芯杆之间设有线圈切割磁感线发电模块和若干组磁斥力居中限位模块,芯杆和内套管二者上端设有上限位组件、下端设有下限位组件。浮球跟随波浪垂荡运动带动线圈切割磁感线发电模块进行发电,上下限位组件协同限位芯杆在内套管中的纵向垂荡运动行程,稳定性好;芯杆始终基本保持在内套管的轴向中心线位置进行无接触垂荡运动,有效避免碰撞摩擦和机械磨损,从根源解决水平晃动严重导致的能量损耗大、电能转换效率低、机械传动腐蚀等问题,便于与中小型海洋监测设备适配。

一种陀螺稳定式海浪能发电装置

NºPublicación:  CN121139250A 16/12/2025
Solicitante: 
武汉理工大学
CN_121139250_PA

Resumen de: CN121139250A

本发明涉及一种陀螺稳定式海浪能发电装置,其包括球壳、磁感应组件、内轴、磁球、储能组件和陀螺稳定组件;磁感应组件设置于球壳内并与球壳转动连接;内轴与磁感应组件转动连接;磁球与内轴转动连接;储能组件与内轴固定连接,储能组件与磁感应组件电连接;陀螺稳定组件与储能组件电连接,储能组件设置于磁球内并与内轴固定连接,陀螺稳定组件的输出端与磁球连接;当球壳受到外部海浪冲击时,磁感应组件相对磁球转动,用于切割磁球形成的磁感线并产生电流,为提高海浪能发电装置的能量捕获效率,陀螺稳定组件动作,驱动磁球绕内轴转动,磁球旋转形成的陀螺定轴性有效隔离球壳的外部晃动干扰。

一种混合式波浪能量采集装置

NºPublicación:  CN121139257A 16/12/2025
Solicitante: 
聊城大学
CN_121139257_PA

Resumen de: CN121139257A

本发明公开了一种混合式波浪能量采集装置,包括由上球壳和下球壳组成的球壳组件、设置于所述球壳组件内的用于捕获多方向波浪能并将其转换为机械能的波浪能量捕获模块、以及用于将机械能转换为电能的能量转换模块,所述的波浪能量捕获模块将波浪运动转换为相对直线运动和变半径摆动运动,所述波浪能量捕获模块包括:移动杆,其顶端与上球壳内壁顶端可转动的连接;支架组件,包括上支架、下支架和多个连接支架,所述上支架中部设有通孔,所述下支架中心设置有安装孔,所述下支架底部设置有连接杆;滑动体,与所述连接杆可转动的连接,所述滑动体的下端面为球面,与所述下球壳的内壁相配合设置;所述移动杆穿过所述支架组件上支架的通孔,并嵌入下支架的安装孔设置;所述移动杆与支架组件的中心轴线重合。本发明具有工况适应性强、回收效率高、功率输出密度高、空间位置利用率高和电能输出稳定等特点,可为低功耗无线传感器供电,为实现水域中无线传感设备的自驱动,提供了可靠的技术方案。

一种多自由度的波浪能发电装置及其发电方法

NºPublicación:  CN121139256A 16/12/2025
Solicitante: 
华能太仓发电有限责任公司
CN_121139256_PA

Resumen de: CN121139256A

本发明涉及新能源发电技术领域,具体公开了一种多自由度的波浪能发电装置及其发电方法,包括:固定杆,所述固定杆的表面固定连接有多个连接链,所述连接链的底端固定连接有漂浮框,所述漂浮框的表面固定连接有弧形气囊,所述固定杆的底端固定连接有套接框,所述套接框的表面插接有依次增高的多个连接板,所述连接板的表面固定连接有卡齿,所述连接板的一侧固定连接有连接球,所述连接板的内壁插接有伸缩柱,所述伸缩柱的表面套接有挤压弹簧,且伸缩柱与挤压弹簧的一端均固定连接于套接框的内壁;本发明通过在套接框的表面依次插接多个高度与角度不同的连接板,使得装置能够对多个角度的海浪推动进行发电,从而提高了发电效率。

一种算珠式波浪能发电装置

NºPublicación:  CN121139252A 16/12/2025
Solicitante: 
天津大学
CN_121139252_PA

Resumen de: CN121139252A

本发明公开了一种算珠式波浪能发电装置,属于波浪能发电技术领域。包括螺纹圆角棱柱,螺纹圆角棱柱竖向设置,螺纹圆角棱柱下端依次穿过珠形浮子、下止动器和升降底座,螺纹圆角棱柱与升降底座活动连接;下止动器与升降底座固定连接,上止动器固定于螺纹圆角棱柱上端。珠形浮子随波浪起伏运动,通过齿爪与螺纹圆角棱柱的啮合与脱离实现上下行动作的转换,下行动作中磁体阵列与绕组相对运动产生电能。通过升降底座调节螺纹圆角棱柱裸露的螺纹长度,可便捷调节发电动作周期,从而调节其可捕获的波浪频率范围。本发明有效解决了现有波浪能发电装置频率适应性窄的问题,具有适应频带宽、发电效率稳定、环境友好、部署简便等优点。

一种具有垂直导向机构的双电机摆臂式波浪能发电装置

NºPublicación:  CN121139253A 16/12/2025
Solicitante: 
昆明理工大学
CN_121139253_PA

Resumen de: CN121139253A

本发明属于海洋能源再生技术领域,尤其涉及一种具有垂直导向机构的双电机摆臂式波浪能发电装置。该装置包括:浮子机构;基座,其上转动地安装有主轴和与主轴平行设置的副轴;摆臂机构,安装于基座上,摆臂机构包括主臂和与主臂平行设置的副臂,主臂的后端与主轴固定连接,副臂的后端与副轴铰接连接,且主臂与副臂的前端共同铰接于浮子机构;驱动机构,安装于基座上,驱动机构可选择地与主轴耦合连接或分离;机械储能机构,安装于基座上,机械储能机构与主臂传动连接,用于将波浪能量输入峰值时的盈余能量转化为机械能储存,并在能量输入谷值时释放机械能平滑传递至主轴;发电单元,安装于基座上,发电单元的输入端与主轴传动连接,用于将主轴的往复旋转运动转换为电能。

一种震动往复式推力浮标发电机装置

NºPublicación:  CN223676412U 16/12/2025
Solicitante: 
山东大地新能源科技有限公司
CN_223676412_U

Resumen de: CN223676412U

本实用新型涉及新能源发电技术领域,具体涉及一种震动往复式推力浮标发电机装置,包括支架,所述支架的顶部固定连接有底板,所述底板的顶部设置有防护结构,所述底板的表面设置有浮标结构,所述浮标结构包括浮标本体,所述浮标本体的顶部固定连接有齿条,所述浮标本体的顶部固定连接有两组辅助杆,所述齿条的表面活动连接有齿轮一,所述齿轮一的内部固定连接有单向轴承,所述单向轴承远离所述齿轮一的一侧固定连接有齿轮二,所述支架的表面设置有辅助结构。本实用新型设置了防护结构,该防护结构维修时的步骤简单,拆卸效率较高,设置了辅助结构和气泵,更加便于该装置的维修,使用起来较为方便。

一种基于气压防水的振荡浮子式波能装置

NºPublicación:  CN121139255A 16/12/2025
Solicitante: 
山东大学
CN_121139255_A

Resumen de: CN121139255A

本发明公开了一种基于气压防水的振荡浮子式波能装置,属于振荡浮子式波能装置可靠性技术领域。包括浮体,内腔为密封的舱体;填充物,位于浮体内,为体积不受浮体内腔气压变化的轻质材料;套管,与浮体固定连接,两端开口,上端位于浮体的内腔中,下端自浮体底部伸出;导杆,上部套设于套管内,下端伸出套管并铰接于海底锚石或固定深度的潜体上,与套管之间存在间隙;滚动件,与套管、导杆构成直线滚动副;阻水器,套设于套管的底端外部并与套管固定连接,具有阻水器腔室、通水孔、通气孔,通水孔开设于阻水器的底部,通气孔连通阻水器腔室与套管内腔。本发明用于解决现有振荡浮子式波能装置的防水问题,具有结构简单、防水可靠、成本低廉的特点。

一种多关节混合纳米发电机

NºPublicación:  CN121150516A 16/12/2025
Solicitante: 
中国石油大学(华东)
CN_121150516_PA

Resumen de: CN121150516A

本发明公开了一种多关节混合纳米发电机,包括:多关节往复摩擦纳米发电机和径向起伏电磁发电机,多关节往复摩擦纳米发电机和径向起伏电磁发电机通过多关节连接杆连接;其中,多关节往复摩擦纳米发电机包括外壳、设置于外壳底部的滑杆和滑槽、设置于外壳顶部的封装盖以及多层并联的TENG单元,TENG单元设置于外壳内,滑杆沿滑槽滑动;径向起伏电磁发电机包括固定杆、绕制于固定杆上的铜线圈以及固定于多关节连接杆上的磁铁,固定杆设置于封装盖上。本发明提供的多关节混合纳米发电机提高了摩擦层的接触频率,配合硅胶/硫化锌和玻璃纤维摩擦层,使摩擦纳米发电机的输出得到了极大的提升,以高效收集波浪能。

一种复合式波浪能发电装置

NºPublicación:  CN121139254A 16/12/2025
Solicitante: 
武汉理工大学广东省内河港航产业研究有限公司
CN_121139254_PA

Resumen de: CN121139254A

本申请提出了一种复合式波浪能发电装置,涉及发电技术领域,该装置包括固定于水域中的基体、铰接于基体外部的浮子组件以及设于基体内的发电机构。浮子组件包括中间摆臂、上摆臂、下摆臂和浮子,通过三级摆臂结构将波浪能转化为机械运动。发电机构采用液压与机械并联设计,液压发电单元通过分别连接上、下摆臂的液压缸及发电组件将液压能转换为电能;机械发电单元通过运动转换机构将中间摆臂的摆动转换为机械发电机组的旋转运动。通过基体‑浮子组件‑发电机构的协同设计,实现了波浪能的分频捕获与高效转换。液压能与机械并联的发电克服了传统单一转换系统的技术局限,显著提高了波浪能发电装置的整体能量转换效率。

一种采取混合动力定位的漂浮式鹰式波浪能发电装置及控制方法

NºPublicación:  CN121133928A 16/12/2025
Solicitante: 
中国科学院广州能源研究所
CN_121133928_PA

Resumen de: CN121133928A

本发明公开一种采取混合动力定位的漂浮式鹰式波浪能发电装置及控制方法,属于可再生能源利用技术领域。该装置包括主体、转塔式单点系泊系统与辅助动力定位系统,主体包括半潜式平台、通过铰链连接平台的鹰式吸波浮子及能量转换系统;系泊系统设在平台艏部,辅助系统含平台艉部立柱底部的推进器。控制方法通过传感器采集位置、艏向及波浪方向确定目标艏向,系泊系统借风标效应初步定位,辅助系统用低频运动模型、LQR控制器、推力分配优化及双回路PID控制,准确调整艏向并抑制漂移,偏差小时低功耗运行。

用于强波浪海域的光能-波浪能发电装置

NºPublicación:  CN121139258A 16/12/2025
Solicitante: 
中联西北工程设计研究院有限公司
CN_121139258_PA

Resumen de: CN121139258A

本发明涉及一种用于强波浪海域的光能‑波浪能发电装置,属于海上发电技术领域,包括支架以及设置在支架上的多个漂浮筒,发电机设置在支架上,受浪驱动结构包括拉力绳、多个连接臂以及多个受浪板,多个连接臂以支架的竖向中心线为中心等间距环绕设置在支架的底部,连接臂的一端与支架铰接,多个受浪板一一对应水平设置在连接臂的另一端,拉力绳的一端与发电机连接,另一端依次从连接臂靠近受浪板的一侧穿过,本发明能够实现海浪的竖向冲击通过受浪板带动连接臂上下摆动,连接臂上下摆动对拉力绳进行抽拉,使得拉力绳带动发电机进行发电,并且受浪驱动结构的连接臂、受浪板位于海水中,能够提高波浪能发电装置的稳定性,避免在强波浪海域发生倾覆。

一种航道维护工程岸坡护岸用防护装置及方法

NºPublicación:  CN121138202A 16/12/2025
Solicitante: 
中国核工业华兴建设有限公司
CN_121138202_PA

Resumen de: CN121138202A

本发明属于岸坡防护技术领域,尤其公开了一种航道维护工程岸坡护岸用防护装置及方法,包括混凝土护堤,所述混凝土护堤呈梯形,且两侧为倾斜状,所述混凝土护堤的一侧设置有背坡土壤,所述混凝土护堤的内部靠近底部边缘处开设有排水通道,所述排水通道的一侧开设有调节槽;本发明,通过浮板感应往来船只引起的水面波浪,通过波浪的起伏带动浮板上下滑动,配合盘状发条使第一提拉绳上下抽拉,从而带动发电机转轴在发电机外壳内部转动进行发电,并且后续将截断装置打开会同时触发定位装置,此时河床内部的水流即可通过贯穿口排入排水通道,以此达到排水的目的,在排水时还会带动发电装置工作。

一种基于亥姆霍兹共振原理的波能俘获与消波一体化装置

NºPublicación:  CN121138201A 16/12/2025
Solicitante: 
大连理工大学
CN_121138201_PA

Resumen de: CN121138201A

本发明公开了一种基于亥姆霍兹共振原理的波能俘获与消波一体化装置,包括堤身主体,所述堤身主体沿波浪入射方向依次设置有前挡板、前气室、中气室、后气室和后挡板,共同形成三级串联式消波结构;所述前气室和所述后气室顶部分别设有前导气管和后导气管,所述前导气管、所述中气室的顶部气腔、以及所述后导气管分别通过管道连接汇流总管;在所述各气室顶部及各导气管路上设置有单向进气阀和单向排气阀;所述汇流总管的出气端连接单向空气透平。本发明能够在不显著增加结构物理尺寸和建造成本的前提下,有效拓宽消波频带,特别是显著提升对长周期波浪的消波性能,从而弥补传统防波堤和传统OWC装置在上述方面的缺陷。

一种振荡浮子海浪能液压采集系统及其液压能转换方法

NºPublicación:  CN121111570A 12/12/2025
Solicitante: 
赵祖良
CN_121111570_PA

Resumen de: CN121111570A

本发明涉及的一种振荡浮子海浪能液压采集系统及其液压能转换方法,采集系统包括浮子、三段变径推拉杆、上下双油缸、单向阀组和导轨导轮导向机构等,可将浮子垂荡运动的浮力与重力高效转化为液压能;转换方法通过储能罐缓冲压力脉动,并采用多档位液压马达并联方案,根据系统压力自动切换不同规格马达工作,实现对0.3~4m波高范围内海浪能的高效、平稳转换。本发明结构可靠,能量捕获效率高,自适应性强,输出平稳,显著提升了波浪能发电装置的综合性能与经济性。

一种漂浮式风电平台

NºPublicación:  CN121106604A 12/12/2025
Solicitante: 
中车科技创新(北京)有限公司中车大连机车车辆有限公司
CN_121106604_PA

Resumen de: CN121106604A

本申请公开了一种漂浮式风电平台,包括风电组件、半潜漂浮式平台和波浪能发电组件;半潜漂浮式平台包括中心立柱、边立柱组和立柱框架,中心立柱与边立柱组通过立柱框架固定连接;风电组件与中心立柱的一端固定连接;波浪能发电组件与边立柱组传动连接,螺旋鳍片套筒套设在波浪能发电组件的外周,可在波浪的推动下带动波浪能发电组件绕边立柱组做旋转运动。在进行海洋资源综合开发时,当漂浮式风电平台受到不同方向的波浪作用时,螺旋鳍片套筒均可稳定带动波浪能发电组件旋转,进行波浪能向电能的转换,提高了能量转换效率。同时,螺旋鳍片套筒可有效增强平台对波浪和洋流的阻尼效应,抑制波浪和洋流引起的平台运动响应,有效改善平台运动性能。

潮汐能发电海洋清污浮式防波单元及堤坝

NºPublicación:  CN121110572A 12/12/2025
Solicitante: 
辽宁科技大学
CN_121110572_PA

Resumen de: CN121110572A

本发明公开了一种潮汐能发电海洋清污浮式防波单元及堤坝,单元包括:主体模块、海洋清污模块和潮汐能发电模块,主体模块包括主体壳体、浮筒和电路控制装置,主体壳体前端开设集污窗口,后端设有储存仓;浮筒设置在主体壳体的侧面上;导流板结构用于引导水流和污染物进入集污窗口;海洋清污模块包括:拔禾轮和带棘传送带,红外检测装置与电路控制装置电性连接,用于检测到污染物时驱动拔禾轮和带棘传送带;潮汐能发电模块将产生的电能输送至电路控制装置中进行存储和管理,本发明的潮汐能发电海洋清污浮式防波单元将发电、清污与消波过程深度耦合,使单个单元成为一个高效、多能的海洋环境节点,能够在远海长期部署。

一种基于波浪能发电装置的正浮力剖面浮标

NºPublicación:  CN121106578A 12/12/2025
Solicitante: 
天津大学
CN_121106578_PA

Resumen de: CN121106578A

本发明公开了一种基于波浪能发电装置的正浮力剖面浮标,属于海洋观测设备技术领域。包括导流罩、主密封舱、被动变浮力密封舱、浸水尾舱,完全浸没呈正浮力。导流罩为流线型空心壳体,集成通讯模块与温盐深传感器,经穿舱件连主密封舱;主密封舱用带孔分舱板分波浪发电舱与控制舱,外部均布稳定鳍板;被动变浮力密封舱内置活塞、压缩弹簧及限位块,活塞随水深压力调浮力;浸水尾舱开进水孔,内设耐腐蚀敞水电机与非对称双叶桨,周期变速实现矢量推进。工作时,水面借波浪垂荡发电储能,下潜时电机驱动桨叶且活塞压缩减能耗,上升时电机停机且活塞释出增浮力,全程采数据。本发明以波浪能自给,结构简单、升潜高效,适用于海洋剖面数据长期观测。

一种浮式防波堤与波浪能发电一体化装置

NºPublicación:  CN121111568A 12/12/2025
Solicitante: 
广东海洋大学
CN_121111568_PA

Resumen de: CN121111568A

本发明涉及防波堤发电技术领域,具体涉及一种浮式防波堤与波浪能发电一体化装置,包括浮式防波箱的箱体,箱体底部设有用于利用波浪发电的波浪发电组件,箱体顶部固定连接有支架;箱体顶部转动配合有若干帆板,箱体内设有用于调节帆板的角度的调节组件;箱体内底壁上设有压载水仓,箱体内底壁上设有用于控制压载水仓进水排水来调节箱体吃水深度的给排水组件。本发明能够根据海浪的大小自适应调节箱体吃水深度以及抗浪能力,能够减少因海浪冲击造成的装置倾覆损坏的风险。

一种涡激振动发电装置

NºPublicación:  CN121111565A 12/12/2025
Solicitante: 
大连理工大学
CN_121111565_PA

Resumen de: CN121111565A

本发明属于新能源发电技术领域,具体涉及一种涡激振动发电装置,包括支撑架、轨道、发电机和旋转圆柱振动系统。该装置基于流体力学中经典的涡激振动原理,能够有效捕获来流中的水流能并将其转化为电能。依据库塔‑儒可夫斯基升力理论,通过旋转圆柱振子主动引入环量,可显著增强涡激振动所产生的升力,进而增大振动幅值,有效提升发电效率与环境适应性。该装置结构简单、成本低廉,可广泛应用于海洋潮流能、风能等多种可再生能源场景。

一种水利工程堤坝的加固防护组件及加固方法

NºPublicación:  CN121110581A 12/12/2025
Solicitante: 
浙江铸坤科技有限公司常山县水土保持科学试验站(常山县水资源管理站)
CN_121110581_PA

Resumen de: CN121110581A

本发明公开了一种水利工程堤坝的加固防护组件及加固方法,属于水利工程技术领域。其中防护组件包括水浪挡板,设置于所述堤坝的朝水面上,用于引导水浪流动方向,所述水浪挡板包括贴合部与导流部,所述贴合部底面与所述堤坝的朝水面贴合;分流杆,分流杆一端转动连接于所述导流部固定点位,另一端转动连接于所述贴合部上且能在所述贴合部上滑移,分流杆包括前部杆与后部杆,所述后部杆上设置有阻流板;通过本发明,能够有效的提高堤坝对水浪的导向作用,使得水浪冲击堤坝时能够沿着水浪挡板的贴合部与导流部流动重新冲向后续水浪中,从而有效的避免了水浪过大冲击至堤坝上方,有效的提高了堤坝对水浪的防护作用。

液压马达

NºPublicación:  CN121127684A 12/12/2025
Solicitante: 
世界强国有限公司
CN_121127684_PA

Resumen de: AU2024253856A1

A hydraulic motor for energy conversion and method for operating a hydraulic motor5 for energy conversion are provided. The present invention attains the above-described objective by a pressure annulling unit that can selectively annul the ambient pressure outside the pressure annulling unit.

一种潮流风力复合发电系统的发电质量控制方法及系统

NºPublicación:  CN121111600A 12/12/2025
Solicitante: 
江苏科技大学
CN_121111600_PA

Resumen de: CN121111600A

本发明提供一种潮流风力复合发电系统的发电质量控制方法及系统,本发明在传统的复合发电系统基础上设计新型发电质量控制方法,通过实时监测环境物理参数进行数值模拟,得到风力机和水轮机的输出功率,进而计算功率供需误差和对应的误差变化率,并利用PID控制和预设的优先级策略实现不同类型发电单元的功率比例调整。相较于传统复合发电系统对不同发电单元进行单独控制,本发明采用统一控制方式能够降低硬件成本和通讯延迟,在复合发电系统发电效率提升的同时增强电力输出的稳定性。

一种波浪发电浮体结构

NºPublicación:  CN223661999U 12/12/2025
Solicitante: 
河南工学院
CN_223661999_U

Resumen de: CN223661999U

本实用新型公开了一种波浪发电浮体结构,包括壳体,所述壳体的顶部一侧固定连接有安装支架,所述壳体的内部和壳体远离安装支架的一侧设置有转换装置,所述转换装置包括:斜杆,转动连接于所述壳体的外壁远离安装支架的一侧上方;浮块,转动连接于所述斜杆的末端。本实用新型涉及新能源发电技术领域,该波浪发电浮体结构通过壳体和转换装置的配合,哪怕水面反复起伏,也可以持续施加齿轮正转的驱动力,进而可以保证齿轮可以持续的正转,保证发电效率,提高了能源的利用率,同时也降低了发电机发生损坏的风险,进而可以降低工作人员的检修频率,降低了工作人员的作业强度,因此给工作人员的使用带来了便利。

一种跨介质耦合转换波浪能的发电浮标

NºPublicación:  CN121111569A 12/12/2025
Solicitante: 
集美大学
CN_121111569_PA

Resumen de: CN121111569A

本发明涉及海洋能开发利用技术领域,具体为一种跨介质耦合转换波浪能的发电浮标,包括环形浮体、空气轮机、水轮机、连接管、发电模块和系泊系统,空气轮机固定安装在环形浮体的甲板面上方的空气中,水轮机固定安装在环形浮体的下方的水中,空气轮机和水轮机通过连接管连接,空气轮机与发电模块连接,发电模块固定在环形浮体的上方,系泊系统系泊在环形浮体的水线下方。本发明发电模块中的外转子、定子和内转子同轴心设置,外转子和内转子发生相对转动时,内、外磁场在电磁上耦合,实现了装置跨介质耦合转换波浪能发电;通过连接管将空气轮机和水轮机连接,空气轮机的管轴和水轮机的输出轴将能量传递到发电模块,实现力量聚合,提高发电效率。

OCEAN WAVE AND TIDAL CURRENT ENERGY CONVERSION SYSTEM

NºPublicación:  US2025376968A1 11/12/2025
Solicitante: 
WADSWORTH RAY [US]
Wadsworth Ray
US_2025376968_PA

Resumen de: US2025376968A1

An ocean wave and tidal current energy conversion system includes a frame that has supports that receive cylinders or rotating portions that rotate from ocean or river currents to create hydraulic oil pressure via hydraulic cylinders. The hydraulic oil in the energy conversion system is pumped into a pressure accumulator that removes hydraulic surges and operates an electric generator. The electric generator may power an electrolysis batch system for the production of hydrogen.

受動ピッチシステム

NºPublicación:  JP2025540471A 11/12/2025
Solicitante: 
プロテウスマリンリニューアブルズリミテッド
JP_2025540471_PA

Resumen de: GB2626669A

A passive pitch system for a tidal turbine with a rated power comprises a rotor with a hub having a blade receiving portion for engagement with a blade 16. The blade 16 has an elongate blade body with leading and trailing edges, and radially inner 18i and outer 18o portions and a blade root portion 24 configured for rotatable engagement with the rotor blade receiving portion of the hub about a pitch axis P. A lever 28 is fixed to the blade root portion, and has a portion for engagement with a resilient biasing means 26, and a portion for engagement with a stop member 34. The resilient biasing means 26 has a preload selected in dependence upon the rated power of the tidal turbine so that the lever 28 is biased into engagement with the stop member 34 when the hydrodynamic moment acting on the blade about the pitch axis P is less than the resilient bias, and blade is rotatable about the pitch axis to move the lever in a direction away from the stop member when the hydrodynamic exceeds the moment applied by the resilient biasing means.

MOORING APPARATUS AND METHOD OF INSTALLATION THEREOF

NºPublicación:  WO2025253096A1 11/12/2025
Solicitante: 
MOCEAN ENERGY LTD [GB]
MOCEAN ENERGY LTD
WO_2025253096_PA

Resumen de: WO2025253096A1

A mooring apparatus (100) for connecting a plurality of floating bodies (110a, 110b, 110c, 110d, 110e), the plurality of floating bodies comprising: at least one floating body (110a, 110c, 110e) located on a first side (115a) of a first axis (115) extending in a first horizontal direction; and at least two floating bodies (110b, 110d) located on a second side (115b) of the first axis, the second side being opposite to the first side in a second horizontal direction orthogonal to the first horizontal direction, wherein the floating bodies are arranged in a first sequence, wherein each floating body in the first sequence is located on the opposite side of the first axis to the subsequent floating body in the first sequence, wherein each floating body is connected to the subsequent floating body in the first sequence by an inter-floating-body connection member, and wherein one or more of the plurality of floating bodies is anchored by a mooring member (130a, 130b, 130c, 130d, 130e). A method of installing a mooring apparatus is also disclosed.

REGENERATIVE ENERGY SYSTEM USING KINETIC ENERGY TRANSFER FROM WAVE MOTION AND TRAIN MOTION TO A GENERATOR

NºPublicación:  WO2025255174A1 11/12/2025
Solicitante: 
G R E S LLC [US]
G.R.E.S. LLC
WO_2025255174_PA

Resumen de: WO2025255174A1

The present invention is a system and method for providing a regenerative energy system and method for capturing kinetic energy from wave motion or the relative motion of train cars on tracks to generate electricity, wherein the system uses a hydraulic mechanism coupled to a wave motion capture system or train track components to convert vertical movement into rotational motion, wherein this rotational motion is amplified by a gear reduction assembly, driving one or more generators to produce electrical power. The generated electricity can be utilized in real time by electrical motors, stored in batteries or supercapacitors, or supplied directly to the power grid, wherein the invention integrates hydraulic conversion, motion amplification, and efficient energy transformation to create a durable, scalable system for renewable energy production, and wherein it is designed to harness repetitive, continuous movements, making it applicable for sustainable energy in coastal and transportation infrastructures.

OCEAN CURRENT POWER GENERATION SYSTEM

NºPublicación:  WO2025253797A1 11/12/2025
Solicitante: 
NIPPON KAIYOU HATSUDEN CO LTD [JP]
\u682A\u5F0F\u4F1A\u793E\u65E5\u672C\u6D77\u6D0B\u767A\u96FB
WO_2025253797_PA

Resumen de: WO2025253797A1

This ocean current power generation system includes a floating body that floats on the sea surface, a rope body connected to the floating body, a support column of which an end part is connected to the rope body or passes through the rope body inside a vertically extending cylinder, a power generation device connected to the support column, a first mooring rope connected to a first anchor fixed to a quay or the seabed, and a power transmission cable that is wound around the mooring rope and extends.

WAVE POWERED GENERATOR DEVICE AND SYSTEM

NºPublicación:  WO2025255525A1 11/12/2025
Solicitante: 
JOHNSON SHAWN [US]
PANDAK JOSEPH [US]
FONTENOT ERNEST [US]
JOHNSON, Shawn,
PANDAK, Joseph,
FONTENOT, Ernest
WO_2025255525_PA

Resumen de: WO2025255525A1

The wave powered generator device and system provides a system for generating electricity using wave energy. The force exerted on the float body by the waves moves the float body in two directions, up and down. The float body aligns toothed rails with rail gears that drive the PTO. The toothed rails secured to the float body travel vertically in relation to the rail gears. The vertical motion of the neck and the float body moves the toothed rails in relation to the rail gears. Such vertical motion of the toothed rails rotates the rail gears to drive the generator to generate electricity. The toothed rails are located on opposite sides of the rail gears to generate electricity during bi-directional movement of the neck, the float body, and the rail gears.

波力発電システム用エフェクタおよび波力発電システム

NºPublicación:  JP2025539941A 10/12/2025
Solicitante: 
ウェイヴピストンエイ/エス
JP_2025539941_PA

Resumen de: AU2023380648A1

An effector for a wave power system and a wave power system are disclosed. The effector comprises a beam structure and a plurality of paddles. Each paddle has a paddle shaft and at least one paddle blade with a first and a second opposite blade surfaces, a blade length along the paddle shaft and a blade width perpendicular to the blade length. The plurality of paddles are fixed to the beam structure, to provide that the paddle blades are located to form part of at least one common sail arrangement when said paddles are in unloaded condition. Each of the paddle blades, at least in a compliant blade section thereof is elastically deflectable upon a selected load applied to one of a first and a second opposite compliant blade section surfaces of the compliant blade section of the paddle blade.

DEVICE RECEIVING ENERGY FROM SEA WAVES AND CONVERTING IT INTO ELECTRICITY

NºPublicación:  GEAP202516541A 10/12/2025
Solicitante: 
SHIOSHVILI TAMAZ [GE]
Shioshvili, Tamaz
GE_AP202516541_A

Resumen de: GEAP202516541A

A device includes a float 1 connected to executed with rigid material and arranged at obtuse angle the double-sided lever 3 withlower part 2 thereon from shore side. Support center 5 of double-sided lever is hingedly connected to an axis fixed between device walls 4, flexible rod 7 is attached to the end of lever 6 disposed on shore side and placed in the groove of pulley 8 rotatably mounted above the lever and between device walls, below the pulley, the rope is doubled and the ends of rope are hung with regulating loads 9a and 9b, at that, a reducer 11 having larger diameter than the pulley is placed on common axis together therewith. The reducer is connected to rotating shaft 14 of electric generator 13 rigidly attached to the walls of device by means of belt or toothed transmission 12. In addition, the device has vertical wall 20 nearby sea shore.

一种基于振荡水柱的波能转换设备

NºPublicación:  CN223647948U 09/12/2025
Solicitante: 
山东科技大学
CN_223647948_U

Resumen de: CN223647948U

本实用新型涉及水利工程技术领域,尤其涉及一种基于振荡水柱的波能转换设备。其技术方案包括:箱体、驱动机构和清理机构,箱体内部的底部一侧固定安装有清理机构,清理机构包括伺服电机,伺服电机输出端固定安装有螺杆,螺杆外侧螺纹安装有螺套,且螺套一侧固定安装有固定板,固定板底部固定安装有网兜。本实用新型通过伺服电机通电运行带动螺杆进行旋转,通过进行旋转的螺杆可带动螺套进行垂直位置移动,通过进行垂直位置移动的螺套可带动固定板进行同步位置移动,通过进行垂直位置移动的固定板可带动网兜对负压箱内部漂浮的海洋垃圾进行收集作业,实现了提高装置环保效果的功能。

一种基于浮子的波浪发电装置

NºPublicación:  CN223647950U 09/12/2025
Solicitante: 
青岛蓝海未来海洋科技有限责任公司
CN_223647950_U

Resumen de: CN223647950U

本实用新型公开了一种基于浮子的波浪发电装置,本实用新型涉及发电装置技术领域,包括锚泊组件,所述锚泊组件外侧固定安装有发电组件,所述发电组件包括换能腔,所述换能腔内部转动连接有叶轮,所述换能腔一侧设有发电机,所述发电机输入端与叶轮固定连接,所述换能腔顶部和底部均连通有液压管,所述液压管内部滑动连接有滑动活塞,所述滑动活塞远离换能腔一侧固定安装有活塞杆,两个所述活塞杆远离滑动活塞一端固定安装有安装条,所述安装条一侧固定安装有浮子,所述液压管与换能腔连通处固定安装有两个方向相反的单向阀,所述换能腔同一侧的单向阀方向相同;该实用新型,能有效提高发电效率,且结构简单,维护成本低,具有较高的实用价值。

一种机械复合传动式波浪能发电装置

NºPublicación:  CN223647949U 09/12/2025
Solicitante: 
张永文
CN_223647949_U

Resumen de: CN223647949U

本实用新型提供一种机械复合传动式波浪能发电装置,涉及海洋发电技术领域,包括:收纳筒;底座,螺纹安装在收纳筒内部的底端,实现对传动装置进行拆解和组装;把手,固定连接在底座的下表面上,实现对底座进行安装和拆卸;传动装置,设置于收纳筒的内部,用于对波浪的动能进行传动;辅助装置,设置于收纳筒的内部,实现对传动装置进行辅助。本实用新型,通过设置牵引绳拉力简化了波浪能量传递时浮力方向不一致的问题,通过改变支撑臂与转动臂夹角来适应不同波浪情况下发电能力变化的问题,该结构的可组合性更强可以并联增强发电能力和质量。

一种可增流速的双胞胎半直驱潮流能发电机组

NºPublicación:  CN223647951U 09/12/2025
Solicitante: 
内蒙古霍煤鸿骏铝电有限责任公司扎哈淖尔分公司
CN_223647951_U

Resumen de: CN223647951U

本实用新型公开了一种可增流速的双胞胎半直驱潮流能发电机组,包括抱箍、导流增速管道、第一固定平台、机舱和双输入中速发电机,抱箍下端沿其轴向连接有间隔排列的多个刚性支柱,多个刚性支柱远离抱箍的一端连接有半潜式导管架基础,导流增速管道套设安装于抱箍内,导流增速管道的两端开口呈喇叭状设置,第一固定平台设于导流增速管道内壁下端,机舱下端连接有间隔排列的多个支撑柱,多个支撑柱安装于第一固定平台上,双输入中速发电机的部分设于机舱内,双输入中速发电机包括伸出机舱的两端外的两个外伸轴部,各外伸轴部上均设有叶轮。本实用新型提供的技术方案可以在对海水进行导向增速的情况下,加倍发电量。

一种内置封闭循环气动式潜标波浪能装置

NºPublicación:  CN121084553A 09/12/2025
Solicitante: 
中国科学院广州能源研究所
CN_121084553_PA

Resumen de: CN121084553A

本发明公开的一种内置封闭循环气动式潜标波浪能装置,涉及海洋探测潜标技术领域,其包括潜标本体、Y型刚结构连接件和锚泊沉块,潜标本体的内部设置有封闭式气动发电组件,Y型刚结构连接件的上端通过轴承与潜标本体的中心轴的两端连接,锚泊沉块通过钢丝绳与Y型刚结构连接件的下端连接;其中,潜标本体通过锚泊沉块浮潜固定在水下,当波浪对潜标本体产生作用力时,潜标本体在Y型刚结构连接件的支撑下进行纵摇,从而使得封闭式气动发电组件进行发电。本发明可以解决传统潜标供电采用蓄电池导致使用寿命较短问题以及其他类气动潜标转换效率较低问题。

海上灯光栈桥施工平台

NºPublicación:  CN121087949A 09/12/2025
Solicitante: 
山西机械化建设集团有限公司
CN_121087949_PA

Resumen de: CN121087949A

本发明涉及栈桥施工平台技术领域,具体为海上灯光栈桥施工平台,包括支柱,支柱的上端可拆卸安装有桥面,且支柱的上下两端均固定连接有限位座,支柱的外表面套设有活动筒,支柱的外表面还套设有配重环,且配重环位于活动筒的下方,活动筒的外表面套设有辅助环,辅助环的外表面转动安装有多根延伸杆,延伸杆的外表面套设有浮带,浮带能够漂浮于海平面上方,活动筒在浮带的浮力作用下随海平面自动升降,且连通筒与外部水体保持等压连通,使海浪及潮汐上升过程中形成的水柱压力能够自动驱使驱动筒内的涡扇旋转,从而无需额外动力便可实现持续的机械能输出,进而带动清理圈对支柱外表面进行循环清理。

一种能量自供给海上无线通信浮标

NºPublicación:  CN121084549A 09/12/2025
Solicitante: 
齐鲁空天信息研究院
CN_121084549_PA

Resumen de: CN121084549A

本发明提供一种能量自供给海上无线通信浮标,包括:无线传感模块、波浪能发电模块、太阳能发电模块、电能管理模块、浮标基体模块,浮标基体模块包括浮标壳体;波浪能发电模块、太阳能发电模块以及电能管理模块均设于浮标壳体内部;波浪能发电模块包括的直流发电机以及太阳能发电模块包括的光伏太阳能板,均与电能管理模块进行电连接;电能管理模块包括的驱动电路与无线传感模块电连接;无线传感模块用于执行海洋环境监测,并与海岸站进行无线通信。通过本发明,用以解决现有技术中海上浮标依赖电池储能无法实现持续的能源供应,导致监测能力受制约的缺陷。

一种多波向自适应波浪能采能装置

NºPublicación:  CN121088555A 09/12/2025
Solicitante: 
南京激扬智慧信息技术研究院有限公司
CN_121088555_PA

Resumen de: CN121088555A

本发明公开了一种多波向自适应波浪能采能装置,包括浮箱、纵向采能机构和水平采能机构,浮箱内置有能量转换机构,纵向采能机构包括浮体,浮体底部安装有连杆,浮体随波浪起伏在竖直方向带动连杆往复移动;水平采能机构包括支撑平台和迎浪筒,迎浪筒在水平方向滑动安装在支撑平台上,且迎浪筒外表面设置有多个凹面,迎浪筒上设置有拉索,凹面承接波浪的水平作用力,同步带动迎浪筒同向位移,并牵引拉索移动,拉索一端竖直向下连接复位机构;通过能量转换机构的第一输入端和第二输入端将连杆和拉索的往复运动转换为旋转运动,以实现利用多波向进行能量采集,充分利用波浪能,提高装置采能效率。

一种基于压电效应的风电机组能量收集系统

NºPublicación:  CN223647959U 09/12/2025
Solicitante: 
三峡珠江发电有限公司三峡新能源汕头发电有限公司
CN_223647959_U

Resumen de: CN223647959U

一种基于压电效应的风电机组能量收集系统,包括安装外壳,所述的安装外壳上装有能量收集结构;所述的能量收集结构包括设置于安装外壳上的安装框,安装框的左右两侧对称设有与其滑动配合的限位滑头,对称设置的限位滑头之间通过连接管连接,连接管上设有与其滑动连接的永磁铁质量块,永磁铁质量块的前后两面上对称设有悬梁臂,安装框的边缘上设有多个永磁铁配合块。采用上述结构,可以捕获海上风电机组在运行过程中产生的多个方向上的振动能量,并将其转换为电能,从而提高风电机组的整体能量利用效率;控制和减少风电机组的结构振动,减少结构的疲劳载荷,降低因振动引起的安全风险,延长风电机组的使用寿命,提高风电机组的运行安全性。

エネルギー生成における改善又はエネルギー生成に関する改善

NºPublicación:  JP2025539527A 05/12/2025
Solicitante: 
ハイドローイングリミテッド
JP_2025539527_PA

Resumen de: WO2024126971A1

Apparatus and method comprising alleviating load upon a first rotor blade and a second rotor blade connected to each other at a rotor hub and allowing independent turning of each of the first and second blades about a pitch axis.

海洋エネルギーに基づく発電装置

NºPublicación:  JP3253871U 05/12/2025
Solicitante: 
徐子揚

Resumen de: JP3253871U

【課題】環境の影響による位置ずれを防ぎ、エネルギー捕集方式の多様化を実現し、風力エネルギーを十分に活用できる、海洋エネルギーに基づく発電装置を提供する。【解決手段】海洋エネルギーに基づく発電装置は、底板1及び底板1に設けられた位置決めロッド2、立設ロッド8を備える。位置決めロッド2内にはアンカーロッド3、伝動ロッド6が設けられ、立設ロッド8には水車発電機10、箱体11が設けられ、箱体11上には取付板12を介して風力発電機13が設けられる。箱体11内には角度調整部品、駆動部品が設けられ、駆動部品が伝動ロッド6を運動させてアンカーロッド3を突出させることで固定を強化し、角度調整部品が風力発電機13の向きを調整し、水車発電機10と風力発電機13が協働して多様なエネルギーを捕集する。本考案は、アンカーシステムの安定性不足、エネルギー捕集形態の単一化、風力発電機の角度調整不能という問題を解決する。【選択図】図1

波力発電装置

NºPublicación:  JP3253880U 05/12/2025
Solicitante: 
欧国初
CN_119754994_PA

Resumen de: CN119754994A

The invention discloses a wave power generation device and a power generation method thereof, and relates to the technical field of power generation, the wave power generation device comprises a mounting base, a first supporting frame is mounted at the top of the mounting base, and a same-direction rotating piece located on the inner side of a U-shaped frame is mounted at one end of a transmission shaft. According to the device, the homodromous rotating part is arranged, when a transmission shaft drives a large bevel gear disc to rotate clockwise, the large bevel gear disc can drive a third ratchet wheel to rotate, at the moment, a second pawl cannot limit a second ratchet wheel, and therefore a rotating connecting shaft can rotate anticlockwise along with the third ratchet wheel; when a transmission shaft drives a large bevel gear disc to rotate anticlockwise, a second transmission bevel gear drives a rotary connecting shaft to rotate anticlockwise, and meanwhile, a third pawl swings back and forth along a third ratchet wheel, so that when the transmission shaft rotates back and forth, the rotary connecting shaft rotates in the same direction all the time; therefore, the utilization rate of sea waves is improved, and the power generation efficiency is improved.

一种固定式海浪起伏发电系统及发电方法

NºPublicación:  CN121066753A 05/12/2025
Solicitante: 
都江堰市飞罗电站综合开发有限责任公司
CN_121066753_PA

Resumen de: CN121066753A

本发明公开了一种固定式海浪起伏发电系统及方法,涉及海洋能开发技术领域。系统包括稳固发电浮体的框架或固定立柱和随海浪起伏的发电浮体,立柱的侧面设置有竖直安装的齿条,发电浮体的侧面设置有与齿条啮合的发电齿轮,还设置有发电装置,装置的主轴连接传动离合机构,与发电齿轮传动连接,离合机构设置有发电飞轮和传动杆,与发电装置的主轴连接,传动杆与发电齿轮连接,发电飞轮设置有安装孔,传动杆设置有直角卡槽,飞轮设置有单向限位轴。本方法采用固定式海浪起伏系统进行发电。本系统和方法能实现稳定、高效的持续海浪能发电,具有系统寿命长,发电成本低优势。若本技术得以推广应用,将对海洋能开发和能源绿色转型产生积极深远影响。

一种可抗台风强适应潮差的导管架融合导轨振荡浮子直驱式波浪能发电平台及方法

NºPublicación:  CN121066754A 05/12/2025
Solicitante: 
中国科学院广州能源研究所
CN_121066754_PA

Resumen de: CN121066754A

本发明公开了一种可抗台风强适应潮差的导管架融合导轨振荡浮子直驱式波浪能发电平台及方法,涉及可再生能源发电技术领域,包括导管架主体平台、吸波浮体、导轨、齿轮连杆、定滑轮以及棘轮直驱式能量转换发电系统;导轨设置在导管架主体平台上,吸波浮体上安装有滚轮,滚轮与导轨配合,使吸波浮体能够沿导轨上下滑动;齿轮连杆的一端与吸波浮体连接,齿轮连杆的齿轮部分与棘轮直驱式能量转换发电系统的外齿轮啮合,齿轮连杆的背面与定滑轮连接,定滑轮安装在导管架主体平台上;棘轮直驱式能量转换发电系统包括外齿轮、棘轮和发电机,外齿轮与棘轮连接,棘轮与发电机连接,外齿轮能够带动棘轮转动,进而带动发电机运行。

一种浮子阵列及杠杆支点可调的双向波浪能采集装置

NºPublicación:  CN121066755A 05/12/2025
Solicitante: 
西南科技大学

Resumen de: CN121066755A

本发明公开了一种浮子阵列及杠杆支点可调的双向波浪能采集装置,属于波浪能发电技术领域。该装置包括搭载平台、俘能装置、杠杆转换装置和波能转换装置。所述俘能装置通过多向转动机构与杠杆转换装置的一端铰接,其包括浮子阵列安装盘和多个可拆卸地安装于其上不同位点的陀螺型浮子,形成可调阵列。所述杠杆转换装置的杠杆支点位置可调地安装于搭载平台上,其另一端与波能转换装置的拉杆传动连接。波能转换装置采用低摩擦滑动密封圈和导向环结构。本发明通过可调的浮子阵列和杠杆支点,自适应匹配不同波况,并利用杠杆转换装置和独立的液压缸驱动机构,捕获纵向和横向波浪能;通过低摩擦密封结构和导向环,显著减少机械损耗,提高能量转换效率;特别适用于低能量密度的波浪环境,显著提高了能量捕获和转换效率。

一种可升降式能源自给海洋通信浮标系统

NºPublicación:  CN121062879A 05/12/2025
Solicitante: 
华南理工大学
CN_121062879_PA

Resumen de: CN121062879A

本发明涉及一种可升降式能源自给海洋通信浮标系统,包括浮标主体;波浪能发电装置,安装于浮标主体内,用于在浮标主体随着波浪上下运动时将波浪机械能转换为电能;储能装置,电连接于波浪能发电装置;升降系统,包括压载舱和机械升降装置;其中,压载舱设于浮标主体内,用于通过调节舱内水量以调节所受浮力;机械升降装置固定于外部的锚固基础且连接于浮标主体,用于驱动浮标主体在水中做升降运动;通信装置,用于在水面状态或水下隐蔽状态下进行数据通信;控制装置,用于根据环境参数或远程指令控制浮标主体的升降与通信装置的通信模式切换,具有抗恶劣海况能力强、隐蔽性与场景适应性高、能源自给且稳定、运维成本低、通信功能可靠的优点。

一种用于船舶海水淡化的方法及系统

NºPublicación:  CN121063741A 05/12/2025
Solicitante: 
江苏科技大学南通象屿海洋装备股份有限公司江苏现代造船技术有限公司
CN_121063741_PA

Resumen de: CN121063741A

本发明涉及一种用于船舶海水淡化的方法及系统,属于船舶海水淡化技术领域。方法包括以下步骤:首先,利用集振发电装置收集能量;其次,驱动抽水单元抽取海水并过滤后存储;然后,将海水输送至推进仓并施加压力,引导其进入反渗透结构进行淡化;最后,将淡化后的淡水根据用途输送至生活淡水仓或工业淡水仓。该系统包括集振发电单元、抽水单元、海水箱、推进仓、竖向位移单元、反渗透结构、净水空间以及生活淡水仓和工业淡水仓等组件。本发明通过收集船舶自身振动能量和海浪撞击振动能量,驱动海水淡化过程,以实现高效淡水制造和能源自给,能够有效降低船舶淡水制造的能量消耗和运行成本,同时提高能源利用率,适用于各种规模的船舶。

一种底部带有聚能结构的振荡水柱式波能发电系统

NºPublicación:  CN121066756A 05/12/2025
Solicitante: 
大连理工大学
CN_121066756_PA

Resumen de: CN121066756A

本发明涉及海洋新能源技术利用技术领域,且公开了一种底部带有聚能结构的振荡水柱式波能发电系统,包括导管架、气室、涡轮发电系统、雷达高度计、红外摄像头、气流速度传感器和控制主机,还包括底部聚能组件,底部聚能组件安装在气室的下端并配置有传动机构,通过设置有的水平底板和对称设置的两个聚能板实现在气室底部对海水进行反射导流,完成气室宽度以外的能量汇聚,利用传动机构同步控制聚能板的开合,改变入水口处涌入气室内的海水量。本波能发电系统,可以根据海面波浪的变化调节气室内水柱的振荡强度,使产生的气流速度够匹配涡轮发电系统的最佳工作频率,保证装置的发电效率,还可以对振荡水柱式波能发电装置进行保护,避免因海浪冲击。

动能和势能的海洋涡轮机

NºPublicación:  CN121079499A 05/12/2025
Solicitante: 
波塞冬智能股份有限公司
CN_121079499_PA

Resumen de: MX2025009883A

The invention relates to a system for harnessing the kinetic energy of ocean, sea or river estuary currents by transferring the energy of water motion to a turbine that moves an electric generator. This system comprises several parts, primarily including: A) the intakes and ejector pump with a mixing chamber; and B) a cross-flow turbine (M1) (revolving door type, double blade).

A LATCHING FULL-LENGTH HOLLOW SHAFT WAVE ENERGY CONVERTER FOR SCALABLE CONVERSION AND STORAGE

NºPublicación:  US2025369416A1 04/12/2025
Solicitante: 
WALL BRIAN [IE]
Wall Brian
IE_20220183_A1

Resumen de: US2025369416A1

The present invention relates to the use of marine devices for ocean energy extraction.The invention provides for a wave energy converter that uses latching to control a buoyant moving component that comprises a float attached to a shaft with a piston that pressurises fluid in a compression chamber within a submerged floatation component.According to the present invention, the shaft is a full-length hollow shaft that extends down through the compression chamber and is attached to a rotatable float with submerged vanes.

Subsea Power Generation

NºPublicación:  US2025369426A1 04/12/2025
Solicitante: 
SAPPHIRE TECH INC [US]
Sapphire Technologies, Inc
WO_2025250640_PA

Resumen de: US2025369426A1

The subject matter of this specification can be embodied in, among other things, a subsea energy recovery system for generating electric power that includes an inlet flow line configured to couple to a subsea tree of a subsea gas well to receive gas produced from the subsea gas well, and a subsea electric power generation system, the subsea electric power generation system configured to reside subsea on a subsea production site of the subsea gas well and including a turbine wheel configured to rotate in response to expansion of the gas, a rotor configured to rotate with the turbine wheel, a stationary electric stator, the rotor and electric stator defining an electric generator configured to generate current, and a hermetically sealed housing enclosing the turbine wheel, the rotor, and the electric stator and hermetically sealed inline in the first flow line.

REGENERATIVE ENERGY SYSTEM USING KINETIC ENERGY TRANSFER FROM WAVE MOTION AND TRAIN MOTION TO A GENERATOR

NºPublicación:  US2025369414A1 04/12/2025
Solicitante: 
G R E S LLC [US]
G.R.E.S. LLC

Resumen de: US2025369414A1

The present invention is a system and method for providing a regenerative energy system and method for capturing kinetic energy from wave motion or the relative motion of train cars on tracks to generate electricity, wherein the system uses a hydraulic mechanism coupled to a wave motion capture system or train track components to convert vertical movement into rotational motion, wherein this rotational motion is amplified by a gear reduction assembly, driving one or more generators to produce electrical power. The generated electricity can be utilized in real time by electrical motors, stored in batteries or supercapacitors, or supplied directly to the power grid, wherein the invention integrates hydraulic conversion, motion amplification, and efficient energy transformation to create a durable, scalable system for renewable energy production, and wherein it is designed to harness repetitive, continuous movements, making it applicable for sustainable energy in coastal and transportation infrastructures.

PRESSURE-REGULATING HYDRODYNAMIC PUMP AND WAVE ENGINE WITH ENERGY PRODUCT GENERATION AND TRANSPORT

NºPublicación:  US2025369415A1 04/12/2025
Solicitante: 
LONE GULL HOLDINGS LTD [US]
Lone Gull Holdings, Ltd
WO_2025122658_PA

Resumen de: US2025369415A1

A pressure-regulating buoyant hydrodynamic pump is disclosed that floats adjacent to a surface of a body of water over which waves tend to pass. In response to wave-induced movements of the device, water is drawn into a mouth at a lower end of an injection tube, and water is ejected from a mouth at an upper end of the injection tube. The ejected water is deposited into an interior of the hollow buoy thereby augmenting a water reservoir therein. And water flows from the water reservoir to and through a water turbine, thereby energizing a generator, power electronics, and an electrical load. A novel water-turbine effluent buffering tube, or chamber, smooths pressure variations felt across the water turbine.

SYSTEM FOR GENERATING ELECTRICITY FROM AN UNDERWATER OCEAN STREAM

NºPublicación:  US2025369413A1 04/12/2025
Solicitante: 
ENERGY VAULT INC [US]
Energy Vault, Inc
AU_2024217457_PA

Resumen de: US2025369413A1

A system for generating electricity from an underwater stream for generating electricity for the electric grid or for producing hydrogen includes an underwater turbine. The underwater turbine includes an upper pontoon, a lower pontoon, and a pylon structure that extends between and interconnects the upper pontoon and the lower pontoon. The underwater turbine also includes a single propeller assembly rotatably coupled to the lower pontoon. Rotation of the propeller operates a generator to generate electricity. The underwater turbine can be moored to a sea floor via a mooring weight. An optional friction winch is operable to raise or lower the underwater turbine relative to the sea floor.

WAVE POWER GENERATION DEVICE CAPABLE OF DEALING WITH TIDAL FLUCTUATIONS

NºPublicación:  WO2025249795A1 04/12/2025
Solicitante: 
KIM JUN YONG [KR]
NAM HUI OK [KR]
KIM YU JEONG [KR]
KWON OH CHAN [KR]
KIM YU KYEONG [KR]
LEE JIN UK [KR]
\uAE40\uC900\uC6A9,
\uB0A8\uD76C\uC625,
\uAE40\uC720\uC815,
\uAD8C\uC624\uCC2C,
\uAE40\uC720\uACBD,
\uC774\uC9C4\uC6B1
WO_2025249795_PA

Resumen de: WO2025249795A1

The purpose of the present invention is to provide a wave power generation device capable of dealing with tidal fluctuations. That is, the present invention comprises: a foundation structure (10) that is installed upright on the seabed and has a pile member driven therein; leveling structures (20A, 20B) that are installed on the foundation structure (10) and are adjusted in height in response to changes in sea level caused by tidal fluctuations; and a seawater guide pipe (30) which is installed on the leveling structures (20A, 20B) and has an inclined flow path (31) having one end submerged in seawater and the other end exposed outside the surface of the seawater, and which drives a wave power generator (100) by collectively utilizing the longitudinal and transverse wave energy of seawater moving at an inclined angle along the inclined flow path (31). The wave power generation device has an improved structure in which the height of the seawater guide pipe changes in response to changes in sea level, and thus can uniformly sustain wave power generation even in environments with significant tidal fluctuations.

Self-propelled buoyant energy converter and method for deploying same

NºPublicación:  AU2025263901A1 04/12/2025
Solicitante: 
LONE GULL HOLDINGS LTD
Lone Gull Holdings, Ltd
AU_2025263901_A1

Resumen de: AU2025263901A1

WO 2018/156959 PCT/US20198/019529 The present invention provides a floating computational network, comprising: a plurality of buoyant energy converters configured to run onboard computers from power developed directly from one of ocean waves and wind; a plurality of flexible connectors each coupling a pair of said buoyant energy converters, where each buoyant energy converter is coupled to at least one other buoyant energy converter to establish a maximum distance between said pair of buoyant energy converters; wherein at least one flexible connector further comprises a data transmission cable for exchanging data between said pair of buoyant energy converters. WO 2018/156959 PCT/US20198/019529 The present invention provides a floating computational network, comprising: a plurality of buoyant energy converters configured to run onboard computers from power developed directly from one of ocean waves and wind; a plurality of flexible connectors each coupling a pair of said buoyant energy converters, where each buoyant energy converter is coupled to at least one other buoyant energy converter to establish a maximum distance between said pair of buoyant energy converters; wherein at least one flexible connector further comprises a data transmission cable for exchanging data between said pair of buoyant energy converters. ov o v

A WAVE ENERGY DEVICE

NºPublicación:  AU2024258310A1 04/12/2025
Solicitante: 
CRESTWING APS
CRESTWING APS
AU_2024258310_PA

Resumen de: AU2024258310A1

A wave energy device (1) adapted for extracting and converting mechanical energy of sea-waves to electrical energy. The wave energy device (1) comprises a first float (2) and a second float (3) connected to each other along a common hinge axis (4), so as to be movable with respect to each other. A plurality of force transmission members (9) extend between the first float (2) and the second float (3), each force transmission member having a passive end (10) and an active end. The passive end is movably connected to one of said first and second floats (2, 3) in a rotatable manner, and each force transmission member (9) is associated with at least one of a plurality of electrical generators so as to allow the electrical generator to be driven by relative motion between the first and second floats (2, 3).

WAVE ENERGY CONVERTER

NºPublicación:  AU2023447621A1 04/12/2025
Solicitante: 
BREAKING WAVE TECH LTD
BREAKING WAVE TECHNOLOGIES LTD
AU_2023447621_PA

Resumen de: AU2023447621A1

A wave energy converter is provided. The converter includes a first frame with buoyancy means, and a second frame with buoyancy means and a displaceable member. The first frame is hingedly connected to the second frame. The converter further includes a linkage assembly with a first end hingedly connected to the first frame, and a second end that is actuatingly engageable with the displaceable member. The linkage assembly is configured to translate hinged motion between the first frame and the second frame to the displaceable member. A generator may be connected to the displaceable member for generating electricity from pressure pulses from compression and extension of the displaceable member.

MULTIPURPOSE WAVE ENERGY CONVERTER

NºPublicación:  EP4655497A1 03/12/2025
Solicitante: 
VULJAJ SOKOLJ [ME]
VULJAJ, Sokolj
WO_2025219751_PA

Resumen de: WO2025219751A1

The multipurpose wave energy converter with accumulative spring enables the conversion of sea and ocean wave energy into stable rotational energy with minimal losses. This converter is provided with multiple surge protections. The accumulator spring of the invention is a torsion or helical spring mounted in a mechanical interface that rotates constantly in one direction only and serves as a rotary accumulator to convert stepped rotations to uniform rotations without energy loss. This invention represents a multi-purpose wave energy converter to stable rotational energy constructed in three different models: - stationary power plant for fixed areas on ocean shores, - floating power plant anchored near or far from the coast, - converter of wave energy into rotational energy for the propulsion of cargo or recreational vessels that do not move at high speed.

DEVICE FOR GENERATING POWER BY SALINITY GRADIENT COMPRISING AN ACTIVATED CARBON FABRIC

NºPublicación:  EP4655832A1 03/12/2025
Solicitante: 
SWEETCH ENERGY [FR]
Sweetch Energy
KR_20250166883_PA

Resumen de: CN120584417A

The invention relates to a device for generating electricity, comprising: two electrodes (1); -a stack of membranes (9) arranged between the two electrodes and comprising an alternation of membranes (2) selectively permeable to cations and membranes (3) selectively permeable to anions, such that each membrane is separated from adjacent membranes by an inter-membrane space in which an activated carbon fabric (4) is located; and-means (5) capable of collecting the electrical power generated by the potential difference present between the two electrodes (1), the stack (9) of membranes being intended to be supplied with an electrolyte solution (7) of a solute with a concentration CA and an electrolyte solution (8) of the same solute with a concentration CB, CB being greater than CA, said solutions being circulated alternately in the inter-membrane spaces of the stack (9).

基于波流驱动的水下永磁-机电式发电装置

NºPublicación:  CN121055809A 02/12/2025
Solicitante: 
温州大学
CN_121055809_PA

Resumen de: CN121055809A

本发明公开了一种基于波流驱动的水下永磁-机电式发电装置,包括密闭壳体、弹性支撑件、能量激发组件、转杆机构、压电悬臂梁阵列;密封壳体采用弹性支撑件设置于海底或既有基础上;能量激发组件包括横向设置的上轨道板和下轨道板,上轨道板和下轨道板上下间隔着架设于主轴杆上,上轨道板下侧带有上环形轨道槽,下轨道板上侧带有上环形轨道槽,小球设置于下环形轨道槽和上环形轨道槽包围的空间中并可沿轨道槽滚动;转杆可摆动的连接在主轴杆上并处于上轨道板和下轨道板之间;压电悬臂阵列包括围绕转杆圆周转动轨迹周围的压电悬臂梁,压电悬臂梁上设置有压电片。该装置能够吸收低频且多源振动产生的动能,通过压电转化为电能,便于为水下设备供电。

海基中央管理平台的太阳能与波浪能复合供电装置

NºPublicación:  CN121055863A 02/12/2025
Solicitante: 
浙江中惟东寨岛养殖有限公司
CN_121055863_PA

Resumen de: CN121055863A

本发明公开海基中央管理平台的太阳能与波浪能复合供电装置,发电设备技术领域,本发明的复合供电装置包括第一平台,第一平台通过锚绳连接有至少一个浮力组件,浮力组件上方设有光伏组件,浮力组件下方设有波浪发电组件,浮力组件包括两块相对设置的第一浮板,第一浮板底部之间间隔设置有第二浮板,第二浮板上方设有分别于光伏组件以及波浪发电组件连接的电控箱,解决了现有海基平台供电装置中单一能源模式稳定性差、浮力结构抗风浪能力弱、设备易受波浪冲击损伤等问题。

一种自适应柔性护裙式风机基础防冲刷系统

NºPublicación:  CN121047305A 02/12/2025
Solicitante: 
山东渤海一号风电有限公司浙江大学
CN_121047305_PA

Resumen de: CN121047305A

本发明公开了一种自适应柔性护裙式风机基础防冲刷系统,具体涉及海洋工程领域,包括风机基柱,所述风机基柱的外侧固定连接有柔性护裙本体,所述柔性护裙本体由聚酯纤维基布与氟碳涂层复合制成,环绕基础设置且下缘呈波浪褶皱形态;所述柔性护裙本体的底部通过链条固定连接有一组呈圆周排布的配重块,所述柔性护裙本体的底部通过柔性的铰接件铰接有一组呈圆周排布且与一组配重块间隔排列的沉积袋,所述沉积袋的袋体孔隙率为40‑60%。通过波浪褶皱式护裙下缘设计配合间隔分布的配重‑沉积袋复合结构,首次实现“材料自适应释放+沉积自增稳”双重防护机制;能自由适配海床的不同形状,达到装置维护成本体低、安装方便、修复容易以及稳定性强的效果。

弹性锚链能量回收控制方法及装置、设备及存储介质

NºPublicación:  CN121043990A 02/12/2025
Solicitante: 
南方海洋科学与工程广东省实验室(湛江)
CN_121043990_PA

Resumen de: CN121043990A

本发明公开了一种弹性锚链能量回收控制方法及装置、设备及存储介质,涉及能量回收技术领域,包括:获取布置在弹性锚链两端的传感器信号;根据传感器信号判断弹性锚链的伸缩状态;基于伸缩状态选择作动器的工作模式,工作模式包括能量回收模式和耗能驱动模式;在能量回收模式下,控制储能装置使作动器工作在馈能制动状态,以将弹性锚链伸缩运动的机械能转换为电能存储至储能装置;在耗能驱动模式下,控制储能装置向作动器供电,使作动器产生附加锚泊力作用于弹性锚链,通过弹性锚链伸缩运动的机械能捕获与双向能量转换控制,在维持锚泊物位置稳定的同时,实现波浪能量的回收利用,从而达成能源回收与主动稳位的协同增益。

一种可自动调节运行深度的潜式潮流能发电装置及调节方法

NºPublicación:  CN121047706A 02/12/2025
Solicitante: 
河海大学
CN_121047706_PA

Resumen de: CN121047706A

本发明公开了一种可自动调节运行深度的潜式潮流能发电装置及调节方法,包括浮体,所述浮体上方设有压载水舱,浮体下方设有潮流能发电机,浮体内部安装有工况控制器,压载水舱内部设置有水舱、气泵和储气罐,水舱固定于压载水舱底部,水舱底部设置通海阀,水舱上方安装有储气罐和气泵,气泵与储气罐之间连接有充气管道。本发明可自动调节运行深度的潜式潮流能发电装置采用潜式设计,有效避免海面风浪载荷;同时可自动调节深度的设计使得潮流能发电机能随着潮流流速的变化自动调节工作的深度,以实时处于最优工况,大幅提升发电效率;此外,当海面工况恶劣,如台风等极端天气时,可将水轮机深度调节至安全位置,以免损坏装置。

一种巨型潮汐发电站

NºPublicación:  CN223621716U 02/12/2025
Solicitante: 
杨志君
CN_223621716_U

Resumen de: CN223621716U

本实用新型公开了一种巨型潮汐发电站,涉及潮汐发电技术领域,该巨型潮汐发电站包括相互平行的进水通道和排水通道,进水通道和排水通道通过隔墙分隔,隔墙上沿进水通道的延伸方向直线阵列设置有若干发电涡轮;进水通道和排水通道均具有进水口和排水口,涨潮时海水从进水通道的进水口流入进水通道内;退潮时,进入进水通道内的海水可经排水通道的进水口流至排水通道的排水口。通过在两个围堰之间设计进水通道和排水通道,进水通道和排水通道通过隔墙分隔开来,并在隔墙上沿进水通道的延伸方向直线阵列设置有若干发电涡轮,涨潮和退潮时海水的流动产生的动能都能利用起来以进行发电,提高了发电量。

用于海上风能与波浪能的发电装置及其控制方法

NºPublicación:  CN121047719A 02/12/2025
Solicitante: 
南方电网电力科技股份有限公司
CN_121047719_PA

Resumen de: CN121047719A

本发明涉及海洋能源利用技术领域,公开了一种用于海上风能与波浪能的发电装置及其控制方法,发电装置包括浮式基础平台、风能发电模块、波浪能发电模块、能量管理模块以及控制模块,风能发电模块设于浮式基础平台上;波浪能发电模块包括浮筒、液压传动系统和发电机,浮筒内设有磁流变液,浮筒连接于浮式基础平台,浮筒与液压传动系统连接,液压传动系统与发电机连接;能量管理模块设于浮式基础平台上,能量管理模块与风能发电模块和波浪能发电模块电连接;控制模块设于浮式基础平台上,控制模块与风能发电模块、波浪能发电模块和能量管理模块通信连接。本发明可使发电装置整体的输出电能稳定,提高风能发电模块和波浪能发电模块的协同性。

波浪能转换装置及其控制方法、控制装置、存储介质

NºPublicación:  CN121024827A 28/11/2025
Solicitante: 
中国地质大学深圳研究院
CN_121024827_PA

Resumen de: CN121024827A

本公开涉及波浪能转换装置及其控制方法、控制装置、存储介质,涉及波浪能发电领域。该波浪能转换装置包括波浪能转换单元、固定式反射墙结构及系泊与锚固系统;波浪能转换单元包括浮子、动力输出装置及连接浮子和动力输出装置的连接结构;浮子在初始状态下其静态吃水深度被配置为响应波浪激励以垂荡运动为主,动力输出装置用于将浮子的上下垂荡运动转换为可利用的能量输出;波浪能转换单元连接至海床或固定式反射墙结构;固定式反射墙结构设置于波浪能转换单元的一侧,用于反射传播方向相对的波浪,以使波浪能在波浪能转换单元周围的局部区域内形成能量聚集;系泊与锚固系统用于将波浪能转换单元和固定式反射墙结构共同稳固于预定的水域环境中。

一种两栖车光伏-波浪能复合供电装置及其供电方法

NºPublicación:  CN121019296A 28/11/2025
Solicitante: 
芜湖造船厂有限公司安徽海智装备研究院有限公司
CN_121019296_PA

Resumen de: CN121019296A

本发明公开了一种两栖车光伏‑波浪能复合供电装置,两栖车包括车载电池组和车辆用电设备;复合供电装置包括发电设备,复发电设备设置柔性光伏板组件和波浪能发电机组,并将柔性光伏板和可折叠式波浪能发电机集成在两栖车车身上。本发明还公开了该复合供电装置的供电方法。采用上述技术方案,实现能量的高效利用,光能与波浪能的利用率大幅提升,有效保障车辆在不同环境下的能源供应;延长续航能力;实现环保目的,显著降低对传统燃油的依赖,减少碳排放;实现智能稳定供电、能源的合理分配与存储,确保供电的稳定性与可靠性。

一种基于磁流变的海浪能多重发电装置

NºPublicación:  CN121024824A 28/11/2025
Solicitante: 
嘉兴大学
CN_121024824_PA

Resumen de: CN121024824A

本发明公开了一种基于磁流变的海浪能多重发电装置,包括势能利用装置、永磁发电装置、动能利用装置、磁流变阻尼器和励磁发电装置;本发明结构简单,能将海浪能多重利用,通过势能利用装置和永磁发电装置产生的电量,存储在其中一个蓄电池中,给本装置提供所需的电量;通过动能利用装置和励磁发电装置产生的电量储存到其它三个蓄电池中,进行电量收集。

一种收集多种能量的水上光伏模组

NºPublicación:  CN121036641A 28/11/2025
Solicitante: 
广东安拓普聚合物科技股份有限公司
CN_121036641_PA

Resumen de: CN121036641A

本发明公开了一种收集多种能量的水上光伏模组,属水上光伏技术领域,其特征在于:水上光伏模组包括漂浮体和包裹漂浮体的带鳍状水囊的胶片、漂浮体上面的光伏组件和连接光伏组件的折叠支架、漂浮体底面的潮汐能发电装置,以及相邻光伏模组彼此连接的连接锁扣,将漂浮体采用带鳍状水囊胶片包裹,底部可随水流变形缓冲光伏组件飘动,侧面防撞,延长使用寿命,折叠支架由潮汐能供电每天可随太阳转动,进一步增大发电功率。

自主供能型Semi-Spar海上风机结构及其运动控制装置和方法

NºPublicación:  CN121019784A 28/11/2025
Solicitante: 
长沙理工大学
CN_121019784_PA

Resumen de: CN121019784A

本发明公开了自主供能型Semi‑Spar海上风机结构及其运动控制装置和方法,属于海上风电技术领域,包括分离式平台,所述分离式平台包含Semi半潜平台、Spar单柱平台,所述Semi半潜平台包含浮体和中心筒,所述中心筒设置在Semi半潜平台中央位置,所述Spar单柱平台上方设置有上部结构,所述Spar单柱平台设置在所述中心筒中心,所述分离式平台上设置有运动控制系统和供能系统。本发明采用上述的自主供能型Semi‑Spar海上风机结构及其运动控制装置和方法,通过分离式平台,加上运动控制系统,实现了对海上风机系统的运动抑制,提升了结构安全可靠性;通过波浪能发电装置,转化波浪能为电能,且实现了对风机停机状态下的供能,解决了极端环境下半主动控制的自主供能问题。

一种双螺旋内循环PTO结构及直驱波浪能发电装置

NºPublicación:  CN121024825A 28/11/2025
Solicitante: 
中国长江三峡集团有限公司清华大学
CN_121024825_PA

Resumen de: CN121024825A

本申请提供了一种双螺旋内循环PTO结构及直驱波浪能发电装置,结构包括:主轴,用于与浮体连接,以接收所述浮体传递的波浪能;同轴传动机构,包括传动连接的套筒和滑块,且所述滑块内置于所述套筒内;发电机,所述发电机的转子轴与所述套筒连接;其中,所述主轴远离所述浮体的一端轴向穿过所述套筒,并与所述套筒内的所述滑块同轴连接。通过本发明提供的PTO结构,解决了传统滚珠丝杠式PTO结构难以实现同轴运动以及高负载弯曲的问题。

一种电磁混合波浪能收集装置及方法

NºPublicación:  CN121036423A 28/11/2025
Solicitante: 
吉林大学
CN_121036423_PA

Resumen de: CN121036423A

本发明公开了一种电磁混合波浪能收集装置及方法,属于海洋波浪能收集提取技术领域,包括:浮球组件、传动组件、电磁发电组件和摩擦发电组件。本发明通过浮球组件与水面配合,能高效捕捉波浪带动转动杆、支撑固定杆转动产生的机械能;再经传动组件将机械能分别传递至两侧的电磁发电组件和摩擦发电组件,促使两者同步产生电能,实现了电磁发电与摩擦发电的协同作用,显著提升了波浪能的收集效率及对不同波浪条件的适应能力,双模态结构兼顾大功率输出与高灵敏度检测,适应复杂海洋环境同时浮球组件与两种发电组件间隔设置,减少了各组件间的相互干扰,保障了装置运行的稳定性。

海洋中阵列布置的振子点吸收与悬臂梁压电联合发电装置

NºPublicación:  CN121024826A 28/11/2025
Solicitante: 
天津大学
CN_121024826_PA

Resumen de: CN121024826A

本发明涉及一种海洋中阵列布置的振子点吸收与悬臂梁压电联合发电装置,包括下部结构与上部浮子系统,下部结构包括空心浮体平台和与其固定连接的海底锚固物,所述上部浮子系统包括阵列式浮子框架、若干浮子和链条,交流发电机。阵列式浮子框架包括若干个用于容纳和限制浮子的导向框架和连接各个导向框架的总体框架;浮子为双层结构,包括相互连接的浮子外壳和内部浮子外壳以及固定在内部浮子外壳里的变速器阵列;每个变速器包括主动齿轮、若干从动齿轮和输出转轴;输出转轴连接到交流发电机;链条一端固定,另一端伸入内部浮子外壳里,绕过固定在内部浮子外壳里的各个变速器的主动齿轮之后伸出内部浮子外壳,再连接到配重。

一种多级联动摆翼式波浪能发电装置

NºPublicación:  CN121024828A 28/11/2025
Solicitante: 
江苏科技大学
CN_121024828_PA

Resumen de: CN121024828A

本发明公开了一种多级联动摆翼式波浪能发电装置,包括若干横向依次转动连接的运动发电单元,所述运动发电单元之间的转动连接轴呈纵向设置,每个所述运动发电单元设有浮筒壳体,所述浮筒壳体内设有第一传动机构、第二传动机构、第一发电组件、第二发电组件和拍杆轴,所述转动连接轴通过所述第一传动机构驱动所述第一发电组件的发电机轴转动以发电,所述拍杆轴通过所述第二传动机构驱动所述第二发电组件的发电机轴转动以发电,所述拍杆轴上转动连接有若干拍杆,所述拍杆在纵向延伸并从浮筒壳体的两侧伸出,所述拍杆的头端设有浮动拍板。本发明提升了对于纵向上波浪能的利用率。

一种海水压力驱动的能量转换器

NºPublicación:  CN223608685U 28/11/2025
Solicitante: 
云南大学昆明市东川区环卫站昆明市东川区科技信息中心昆明市东川区项目管理中心北京理工大学
CN_223608685_U

Resumen de: CN223608685U

本实用新型公开了一种海水压力驱动的能量转换器,包括波浪收集空心漂浮球,所述波浪收集空心漂浮球的外表面设置有收集海水压力对波浪收集空心漂浮球的机械应力的压电叠层结构,压电叠层结构包裹波浪收集空心漂浮球,压电叠层结构的外表面设置有结构防水膜;波浪收集空心漂浮球的内部设置有实心小球和压电拔式结构,压电拔式结构设置在实心小球的运动路径上,实心小球可在波浪收集空心漂浮球内部自由移动;压电拔式结构上均覆盖有压电PVDF薄膜,通过波浪引起波浪收集空心漂浮球运动带动实心小球对压电拔式结构和压电PVDF薄膜产生压迫力进而产生电力。所提供的能量转换器具有高灵敏度和宽频带响应,能够高效地将微小的机械振动或压力变化转化为电能。

Inertial pneumatic wave energy device

NºPublicación:  NZ770165A 28/11/2025
Solicitante: 
LONE GULL HOLDINGS LTD
LONE GULL HOLDINGS LTD
AU_2025204066_A1

Resumen de: NZ770165A

A buoyant wave energy device is disclosed that incorporates an open-bottomed tube (1304) of substantial length in which is partially enclosed a first body of water that oscillates in response to wave action. The device incorporates a buoy (1302) to which an upper end of the tube is connected and inside of which is trapped a second body of water (1329) of substantial mass. A differential phase in the oscillations of the water trapped in the tube, and the oscillations of the buoy of augmented mass, result in the periodic compression of a pocket of air (1325) trapped at the top of the tube. The pressurised air passes through valve (1327) into an accumulator (1326) partially formed by the body of water (1329) within the upper part of the buoy (1302) and the subsequent expulsion of pressurized air through a turbine (1322) in a duct (1308) thereby generates electrical power. A second valve (1331) allows for the return of air to the top of the column as the pressure of the pocket of air is periodically reduced.

压水驱动式的波浪与潮汐能联合发电装置及功率计算方法

NºPublicación:  CN121024829A 28/11/2025
Solicitante: 
天津大学
CN_121024829_A

Resumen de: CN121024829A

本发明涉及一种压水驱动式的海洋波浪与潮汐能联合发电装置,包括桩体,水轮发电机,进水转换器,出水转换器,上部圆筒,外部浮体,单向阀和进出水管道。上部圆筒顶部设有圆形盖板,其上开设有两个孔洞,分别用于穿过出水硬管一和进水硬管二;水轮发电机置于圆形盖板上,其进口和出口分别与进水转换器和出水转换器相连通;进水转换器的转换侧板连接有出水硬管一和进水硬管一,在进水硬管一上设置有进水单向阀一,在出水硬管一上设置有出水单向阀一;出水转换器的转换侧板连接有进水硬管二和出水硬管二,在进水硬管二上设置有进水单向阀二,在出水硬管二上设置有出水单向阀二。本发明还给出其发电功率和波能转换效率计算方法。

一种波浪动能和太阳能转电能的自供电海洋漂流浮标

NºPublicación:  CN121019772A 28/11/2025
Solicitante: 
湖北中南鹏力海洋探测系统工程有限公司
CN_121019772_PA

Resumen de: CN121019772A

本发明涉及海洋监测设备新能源供电技术领域,特别涉及一种波浪动能和太阳能转电能的自供电海洋漂流浮标。本发明包括下安装板组水平安装于球壳内腔底部,两个电路板组对称安装于下安装板组两侧边缘,中安装板组安装于下安装板组的中部正上方,蓄电池组安装于下安装板组与中安装板组之间的空隙中,波浪动能捕获转电能装置安装于中安装板组上方,上安装板组安装于球盖下部,球盖安装于球壳顶口,波浪动能捕获转电能装置与上安装板组底部扣合固定,太阳能板组安装于球壳外部。本发明能够适用于远深海长期水文监测场景,尤其服务于台风路径追踪、远海气象水文探测系统数据验证等领域。

一种利用海洋能发电系统为风力发电系统提供应急供电的方法、系统、电子设备、存储介质、监控系统

NºPublicación:  CN121036302A 28/11/2025
Solicitante: 
中船海装风电有限公司
CN_121036302_PA

Resumen de: CN121036302A

本公开涉及海上风电机组技术领域,尤其涉及一种利用海洋能发电系统为风力发电系统提供应急供电的方法、系统、电子设备、存储介质、监控系统。本发明公开了应急供电的方法,风力发电系统设有储能后备电源模块和电能接入与切换控制模块,海洋能发电系统与风力发电系统的主控系统之间配置有通讯连接。在风力发电系统高压侧断电或电网中断时,主控系统判断储能后备电源是否需补充电能;若需要则启动海洋能发电系统为其充电;若不需要则由储能模块为控制系统供电;当储能模块失效,控制海洋能系统直接为控制系统供电;并通过通讯连接实现能量调度、状态监控与远程控制,提升系统在极端工况下的供电可靠性与运行安全性。

一种带垂荡板的半潜式风机-振荡水柱波能装置集成装置

NºPublicación:  CN121024860A 28/11/2025
Solicitante: 
大连理工大学
CN_121024860_PA

Resumen de: CN121024860A

本发明公开了一种带垂荡板的半潜式风机‑振荡水柱波能装置集成装置,包括:浮式风机设备、中心平台、浮筒、液压垂荡板连接杆、上层透空垂荡板、下层非透空垂荡板、控制系统、风速监控传感器、激光波面位移传感器;浮式风机设备安置于所述中心平台上部;浮筒由透空保护罩、液压连接杆、OWC装置、气压增强装置、内部支撑杆、可伸缩支板、气动涡轮机连接组成;上层透空垂荡板与下层非透空垂荡板通过液压垂荡板连接杆连接在浮筒底部;控制系统位于中心平台下部水平板内;风速监控传感器、激光波面位移传感器安置在风机设备的立柱上。本发明提高了风机运行效率与系统可靠性,有效降低了全生命周期成本,具备良好的耐久性与可维护性。

활성탄 직물을 포함하는 염도 구배에 의한 전력 생성 장치

NºPublicación:  KR20250166883A 28/11/2025
Solicitante: 
SWEETCH ENERGY [FR]
\uC2A4\uC704\uCE58 \uC5D0\uB108\uC9C0
KR_20250166883_PA

Resumen de: CN120584417A

The invention relates to a device for generating electricity, comprising: two electrodes (1); -a stack of membranes (9) arranged between the two electrodes and comprising an alternation of membranes (2) selectively permeable to cations and membranes (3) selectively permeable to anions, such that each membrane is separated from adjacent membranes by an inter-membrane space in which an activated carbon fabric (4) is located; and-means (5) capable of collecting the electrical power generated by the potential difference present between the two electrodes (1), the stack (9) of membranes being intended to be supplied with an electrolyte solution (7) of a solute with a concentration CA and an electrolyte solution (8) of the same solute with a concentration CB, CB being greater than CA, said solutions being circulated alternately in the inter-membrane spaces of the stack (9).

APPARATUS FOR GENERATING ENERGY FROM A WAVE

NºPublicación:  AU2024265268A1 27/11/2025
Solicitante: 
SWELLGEN LTD
SWELLGEN LIMITED
AU_2024265268_PA

Resumen de: AU2024265268A1

A wave powered apparatus for generating rotational mechanical energy, having a buoyant energy generation capsule and upper and lower inclined guide surfaces to restrain and guide movement of the energy generation capsule. The apparatus is partly submerged in a body of water and the energy generation capsule rolls in a unidirectional manner about a capsule axis of rotation along the guide surfaces, rolling up the incline in response to forces from waves in the body of water and rolling down the incline in response to gravitational force.

OCEAN ENERGY POWER GENERATION DEVICE

NºPublicación:  WO2025241344A1 27/11/2025
Solicitante: 
GUANGZHOU BLUE ENERGY RES INSTITUTE [CN]
\u5E7F\u5DDE\u84DD\u8272\u80FD\u6E90\u7814\u7A76\u9662
WO_2025241344_PA

Resumen de: WO2025241344A1

The present application relates to an ocean energy power generation device, comprising: a cylindrical housing, a speed reducer, a connection assembly, and a triboelectric nanogenerator. The cylindrical housing comprises a first cylindrical portion and a second cylindrical portion that are rigidly connected, wherein the second cylindrical portion is located on one side of the first cylindrical portion. The speed reducer has an output torque less than an input torque thereof, and comprises an input shaft and an output shaft that respectively pass through two end walls of the first cylindrical portion. The connection assembly comprises a first connecting member and a second connecting member that are respectively located outside the two end walls of the first cylindrical portion, the first connecting member is sleeved on the input shaft of the speed reducer, the input shaft of the speed reducer can only enable unidirectional rotation relative to the first connecting member, and the second connecting member is rotatably sleeved on the output shaft of the speed reducer. The triboelectric nanogenerator comprises a first stator and a first rotor, the first stator is rigidly connected to the first cylindrical portion, and the first rotor is rigidly connected to and coaxial with the output shaft of the speed reducer. The present invention solves the problem of relatively low energy conversion efficiency of existing ocean energy power generation devices.

STRUCTURAL ARRANGEMENT APPLIED TO A MULTIFUNCTIONAL STRUCTURE FOR CONVERTING WIND, SOLAR AND TIDAL ENERGY INTO ELECTRICITY

NºPublicación:  WO2025241011A1 27/11/2025
Solicitante: 
COSTA SABRINA VALERIA DA SILVA [BR]
RAMOS THIAGO BESSON [BR]
COSTA, Sabrina Val\u00E9ria da Silva,
RAMOS, Thiago Besson
WO_2025241011_PA

Resumen de: WO2025241011A1

The present application for a utility model relates to a product pertaining to the renewable energy sector, and more particularly to a product which is useful in installations in marine and coastal environments, where conditions are conducive to the simultaneous exploitation of wind, solar and tidal energy. The application provides a multifunctional structure (1) intended for generating electricity, comprising an integrated set of aerodynamic blades (2) provided with photovoltaic solar panels (5) and an inverted and submerged tidal turbine (6), the configuration of which allows the simultaneous and optimized capture of wind, solar and tidal energy, thereby increasing energy efficiency and continuous energy production capacity. Integration of the three energy sources into a single structure reduces the need for multiple installations, maximizes the use of available space and minimizes the environmental impacts associated with the construction and operation of separate energy infrastructures.

A wave energy device

NºPublicación:  DK202570133A1 27/11/2025
Solicitante: 
CRESTWING APS [DK]
Crestwing ApS
DK_202570133_A1

Resumen de: DK202570133A1

A wave energy device (1) adapted for extracting and converting mechanical energy of sea-waves to electrical energy. The wave energy device (1) comprises a first float (2) and a second float (3) connected to each other along a common hinge axis (4), so as to be movable with respect to each other. A plurality of force transmission members (9) extend between the first float (2) and the second float (3), each force transmission member having a passive end (10) and an active end. The passive end is movably connected to one of said first and second floats (2, 3) in a rotatable manner, and each force transmission member (9) is associated with at least one of a plurality of electrical generators so as to allow the electrical generator to be driven by relative motion between the first and second floats (2, 3).

APPARATUS GENERATING ELECTRIC POWER USING WAVEFORCE FOR SHIP

NºPublicación:  KR20250165738A 27/11/2025
Solicitante: 
권순덕

Resumen de: KR20250165738A

본 발명은 선박용 파력 발전 장치에 관한 것으로, 선체 바닥 상부에 마련되며, 내부공간을 제공하는 하우징; 상기 하우징 하부면의 상부에 마련되며, 파력에 의한 선체의 움직임에 따라 무게중심이 변화되어 극성을 가진 양단이 서로 번갈아 상하 이동하는 시소부; 상기 시소부 양단 상부에 기 설정된 높이만큼 이격되어 마련되며, 상기 시소부 양단과의 자성 작용에 의해 발생하는 척력을 직선 운동으로 변환하는 한 쌍의 변환부; 상기 변환부와 연결되며, 상기 변환부의 직선 운동을 회전 운동으로 변환시켜 발전을 수행하는 한 쌍의 발전부; 및 일단은 상기 하우징과 연결되고 타단은 발전부와 연결되며, 상기 발전부를 고정시키는 고정부를 포함한다. 본 발명에 따르면, 친환경에너지인 파력을 이용한 발전을 통해 전력을 생산하여 이를 선박에 공급함으로써 선박의 운항비 및 유지비를 절감할 수 있으며, 화석 연료 감소를 통해 환경 오염을 방지할 수 있는 효과가 있다.

RECIRCULATING INERTIAL HYDRODYNAMIC PUMP AND WAVE ENGINE

NºPublicación:  EP4652366A1 26/11/2025
Solicitante: 
LONE GULL HOLDINGS LTD [US]
Lone Gull Holdings, Ltd
GB_2640093_PA

Resumen de: GB2640093A

Embodiments disclosed herein include a buoyant wave energy converter. In an embodiment, the wave energy converter comprises an upper chamber having a first fluid reservoir and a first gas pocket, and a lower chamber having a second fluid reservoir and a second gas pocket. In an embodiment, an injection tube is between and fluidly coupled to the upper chamber and the lower chamber, where the injection tube is to impel a fluid from the second fluid reservoir into the first fluid reservoir when the upper chamber, the lower chamber and the injection tube oscillate about a waterline with the upper chamber adjacent to the waterline and the lower chamber submerged below the waterline and vertically beneath the upper chamber. In an embodiment, an effluent tube is fluidly coupled to the upper chamber and the lower chamber, where the effluent tube is to return the fluid from the first fluid reservoir to the second fluid reservoir.

A renewable energy generation module

NºPublicación:  GB2641205A 26/11/2025
Solicitante: 
AEON ENERGY LTD [GB]
Aeon Energy Limited
GB_2641205_PA

Resumen de: GB2641205A

A renewable energy generation module 1 for use in a body of water comprises a plurality of floatation devices 3 supported by and located outside of a structural frame 2 to maintain an upper portion of the module above the surface of the body of water, a wave energy generation device 5 located centrally within the structural frame, and a renewable energy generation device receiving platform 6 located on an upper end 7 of the structural frame. The wave energy generation device may comprise an oscillating water column 51 having a wind turbine (54, fig 4). A plurality of solar panels 8 or wind turbines may be mounted on the platform. A renewable energy generation system comprises a plurality of renewable energy generation modules, each connected to adjacent modules, and a tidal wave energy generation device (101, fig 7) suspended between the plurality of modules.

一种复合型波浪能发电装置

NºPublicación:  CN223594329U 25/11/2025
Solicitante: 
武汉理工大学
CN_223594329_U

Resumen de: CN223594329U

本实用新型公开了一种复合型波浪能发电装置,包括波浪能发电系统,波浪能发电系统包括浮筒、上底座、下底座以及安装于浮筒内部的发电组件;浮筒为环状结构,包括沿周向交替排布的若干弧形外壳和多孔弧形外壳,多孔弧形外壳为波浪入口;发电组件包括支撑柱、安装于支撑柱外围的扇叶组件、安装于支撑柱上下两端的压电片以及安装于下底座内部的永磁体;波浪从多孔弧形外壳进入浮筒内部,带动扇叶组件在永磁体产生的磁场中绕支撑柱旋转从而产生感应电流;波浪带动扇叶组件沿着支撑柱上下振荡,对上下两端的压电片施加周期性压力使压电片发电。本实用新型波浪能发电系统可以同时利用波浪横向和纵向的能量,提高发电效率。

具备高波浪能捕获性能的MB型叶轮,以及MB型叶轮组

NºPublicación:  CN223594324U 25/11/2025
Solicitante: 
浙大宁波理工学院
CN_223594324_U

Resumen de: CN223594324U

本实用新型公开了一种MB型叶轮,特别是一种具备高波浪能捕获性能的MB型叶轮,以及一种MB型叶轮组。所述MB型叶轮包括两个叶片,每个叶片均由截面为大劣弧段的第一部分、截面为直线段的第二部分以及截面为小劣弧段的第三部分组成,并且第一部分的大劣弧段截面和第三部分的小劣弧段截面的圆心位于第二部分的相同一侧;以及,两个盖板;其中,每一个叶片的第三部分正对着另外一个叶片的第二部分,并且在两个叶片之间形成以供水流通过的通道。其解决了“提高MB型叶轮的波浪能捕获性能”的技术问题,其结构设计中凹面向流的叶片受到的驱动MB型叶轮旋转的力和力矩在同一旋转方向上能够再次作用于凸面向流的叶片,进而提高波浪能捕获性能(效率)。

Easy to move power generation vessel

NºPublicación:  KR20250163444A 21/11/2025
Solicitante: 
양길종

Resumen de: KR20250163444A

본 발명은 물의 흐름이 빠른 하천이나 강변, 또는 조수(潮水)가 심한 바다에 위치되는 유선형 선박의 양측 단부에 유속의 증가 및 배출을 위한 유수 유입부 및 유수 배출부가 각각 설치되며, 이때 상기 유수 유입부 및 유수 배출부는 나팔 형상으로 경사지게 개방토록 설치되어, 상기 유선형 선박의 내부로 많은양의 물이 선내 수로로 빠르게 유입 및 배출될 수 있도록 하며, 상기 유선형 선박의 중앙에는 발전용 수차가 입설되어 상기 유수 유입부와 연결된 선내 수로를 통하여 빠르게 유입되는 물에 의해 상기 발전용 수차의 회전을 가일층 증대시키고, 이에따라 발전기를 통한 전기의 생산을 향상시킬 수 있도록 함은 물론, 특히 상기 유선형 선박의 전후 양측에 설치되어 선체를 고정하는 선체 고정파일을 인출하여 발전용 선박의 이동이 간편하고, 용이하게 이루어질 수 있도록 하며, 상기 발전용 수차의 상부에 설치되는 호형 바람차단구를 통하여 바람에 의해 발전용 수차의 흔들림을 미연에 예방하고, 상기 선미의 유수 배출부 내부에는 다수의 외류 방지판이 설치되어, 배출되는 물의 와류발생을 방지하면서 신속한 배수를 유도할 수 있는 수 있는 이동이 용이한 발전용 선박에 관한 것이다. 이는 특히, 하천이나 강변, 바다에

一种模拟多工况波浪能发电实验系统及方法

NºPublicación:  CN120990792A 21/11/2025
Solicitante: 
山东华特拓疆智能装备有限公司
CN_120990792_PA

Resumen de: CN120990792A

本发明涉及海洋可再生能源利用技术领域,具体的是一种模拟多工况波浪能发电实验系统及方法,包括:底座,上方设置有运动平台;摆臂浮子波浪能发电装置,设置有两组;潮差模拟单元,与运动平台传动连接以驱动运动平台升降;波浪生成单元,与摆臂浮子波浪能发电装置传动连接以驱动其运动;以及能量回收及控制单元,与摆臂浮子波浪能发电装置连接;本发明波浪生成单元和对称摆臂装置的组合设计,实现高频极端海况、低海况以及波浪衰减工况的全工况覆盖模拟,同时配合潮差模拟单元实现潮位变化模拟,解决传统系统工况覆盖不全、与实际海洋环境脱节的问题。

一种气囊型自适应潮位振荡水柱波能发电装置

NºPublicación:  CN223578106U 21/11/2025
Solicitante: 
华电(福建)风电有限公司中国海洋大学
CN_223578106_U

Resumen de: CN223578106U

本申请公开了一种气囊型自适应潮位振荡水柱波能发电装置,属于波浪能领域,解决了现有技术中潮位的变化导致OWC的入水口淹没于水中过深,进而降低波能效率的问题。本申请中,OWC气室的侧壁下部具有气室入水口;OWC气室滑动安装于移动导向部上并沿移动导向部的长度延伸方向滑动;OWC气室与移动导向部之间具有移动部,OWC气室通过移动部沿移动导向部的长度延伸方向移动;OWC气室包括柔性气囊,OWC气室全部或者部分由柔性气囊充气膨胀后成型。本实用新型的气囊型自适应潮位振荡水柱波能发电装置,通过柔性的气室对体积的可变性来控制入水口的淹没深度,旨在提高波能利用装置的利用效益和稳定可行性。

MODÜLER SU ENERJİ DÖNÜŞTÜRÜCÜ MEKANİZMA

NºPublicación:  TR2025016690A2 21/11/2025
Solicitante: 
ISTANBUL GELISIM UENIVERSITESI [TR]
\u0130STANBUL GEL\u0130\u015E\u0130M \u00DCN\u0130VERS\u0130TES\u0130
TR_2025016690_A2

Resumen de: TR2025016690A2

Bu buluş, deniz ve okyanus yüzeyinde meydana gelen dalga hareketlerini gerçek zamanlı olarak algılayarak bu hareketlerden elde edilen kinetik enerjiyi yüksek verimle elektrik enerjisine dönüştürmek amacıyla, yenilenebilir enerji üretiminde, açık deniz platformlarında, kıyı enerji sistemlerinde ve bağımsız deniz üstü yapıların güç ihtiyacını karşılamada kullanılabilen modüler su enerji dönüştürücü mekanizma ile ilgili olup, özelliği; sistemin deniz veya okyanus tabanına sabitlenmesini sağlayan, ağırlığı ve denge momenti, dalga ve akıntı kuvvetlerine karşı sistemin stabilitesini koruyacak şekilde yüksek yoğunluklu beton veya paslanmaz metal alaşımdan oluşan sabitleyici taban (1), modülleri dalga yüzeyinde optimum yükseklikte tutmak üzere tasarlanmış paslanmaz çelikten imal edilen ve yapısal rijitliği yüksek olan taşıyıcı kolon (2), dalga yönüne bağlı olarak modüllerin açısal hareketini sağlayan, esnek elastomerik contalarla takviye edilmiş, sistemin mekanik rezonansını sönümleyerek hem titreşim dayanımını hem de enerji dönüşüm etkinliğini artıran hareketli mafsal (3), dalga hareketinden kaynaklanan mekanik salınımları elektrik enerjisine çeviren, deniz suyuna dayanıklı polimer-kompozit malzemeden imal edilen ve içinde enerji dönüştürme mekanizması, sensör kartı ve veri iletişim birimi bulunan modüler hücre dönüştürücü (4), modüler hücre dönüştürücü (4) i�

一种浮体式风力发电装置

NºPublicación:  CN120990806A 21/11/2025
Solicitante: 
肇庆市慧达新能源科技有限公司
CN_120990806_PA

Resumen de: CN120444189A

The invention discloses a floating body type wind power generation device, and relates to the technical field of distribution box assembly. The outdoor distribution box assembling device comprises a base, and the top of the base is movably connected with a bottom plate; the surface of the turnover fixing plate is movably connected with a side plate; the side face of the overturning fixing plate is fixedly connected with an arc-shaped pushing block, the side face of the arc-shaped pushing block is movably connected with a first hydraulic block, the bottom of the first hydraulic block is fixedly connected with a second hydraulic block, and the rear side of the second hydraulic block is movably connected with a limiting sliding block through the first pushing block. The other end of the first hose is fixedly connected with a third hydraulic block, and the side face of the third hydraulic block is fixedly connected with a fourth hydraulic block. According to the outdoor distribution box assembling device, through compression of a first hydraulic block, a second hydraulic block, a first push block, a limiting sliding block, a first hose, a third hydraulic block and a fourth hydraulic block, the base and the ground are kept in a fixed state while the bottom plate is fixed, and the device is more stable.

一种用于剖面观测的环形组合浮子波浪能自持供电浮标

NºPublicación:  CN120990791A 21/11/2025
Solicitante: 
山东大学
CN_120990791_PA

Resumen de: CN120990791A

本发明涉及一种用于剖面观测的环形组合浮子波浪能自持供电浮标。一种用于剖面观测的环形组合浮子波浪能自持供电浮标,所述自持供电浮标包括:相配合设置的浮筒,第二液压缸连接铰链,第一液压缸连接铰链,铁链,铁锚,剖面观测设备,第二液压缸,第二液压缸连接平台,钢缆,卷扬机,液压发电机,液压管路,第一液压缸。波浪能发电结构和浮标结构融合在一起,节约了材料、降低了装置体积和造价成本,能量转化率高,能够稳定可靠的保证自持设备的用电需求,并且在发电的过程中不会产生二氧化碳和其他污染物质,对海洋环境和大气环境友好。

一种振荡水柱与浮式风机结合的风浪能集成系统

NºPublicación:  CN120990793A 21/11/2025
Solicitante: 
江苏海洋大学
CN_120990793_PA

Resumen de: CN120990793A

本发明公开了一种振荡水柱与浮式风机结合的风浪能集成系统,涉及风浪能集成利用技术领域,包括:浮式基础模块,为半潜式三角形桁架结构,通过锚泊系统固定;振荡水柱能量转换模块,设于浮舱外侧,含气水室、可调节导流板及双向气动涡轮,配套永磁同步发电机;浮式风机模块,装于中央桁架,含三叶片水平轴风机、液压变桨系统及永磁直驱发电机;能量管理模块,含整流、逆变、混合储能及监控单元,实现功率平滑输出;姿态稳定模块,配4‑6个液压主动稳定鳍及姿态传感器,控制浮体倾斜角在±5°内。本发明提升能源利用效率与输出稳定性,增强抗风浪能力与防腐寿命,降低成本,适配多海况,为风浪能规模化开发提供支撑。

一种适用于工程船舶的装配式海洋能捕获转换装置

NºPublicación:  CN120986650A 21/11/2025
Solicitante: 
武汉船舶职业技术学院
CN_120986650_PA

Resumen de: CN120986650A

本发明公开了一种适用于工程船舶的装配式海洋能捕获转换装置,包括:波浪能捕获模块、波浪能转换模块、潮流能发电模块、控制系统及发电平台。所述波浪能捕获模块包括:浮体、可调节连接架和液压伸缩机构;多个流线型浮体,采用耐腐蚀材料制成;可调节连接架,通过球形铰接结构连接浮体,使浮体在海面上自由摆动;液压伸缩机构,设于浮体上方,用于船舶吃水深度变化时调整浮体位置。本发明具有结构简单、安装拆卸方便、与工程船舶适配性好以及能量转换效率高的优点,能够有效利用波浪能、潮流能为工程船舶提供能源,降低施工成本,减少环境污染。

利用体积效应采集低频全向海浪能量的摩擦电纳米发电机的结构

NºPublicación:  CN121000086A 21/11/2025
Solicitante: 
香港大学
CN_121000086_PA

Resumen de: CN121000086A

可漂浮瞬时发电机包括半球形可漂浮支撑碗形式的外层和液‑固摩擦电纳米发电机(ls TENG)形式的内层,该内层包括在碗内侧上的氟化乙烯丙烯(FEP)层、围绕其周边位于FEP层的上表面上的环形电极、位于FEP层的中心部分处的底表面上的圆形电极以及可在FEP层的上表面上滑动的液滴。当受到开阔海浪作用时,碗使ls TENG漂浮并倾斜,以便使液滴在FEP的上表面上滑动,从而形成和断开环形电极和圆形电极之间的接触,并向连接在环形电极和圆形电极之间的电路提供电力。

一种多舱室气动压差自供能系统及方法

NºPublicación:  CN120990707A 21/11/2025
Solicitante: 
东莞理工学院
CN_120990707_PA

Resumen de: CN120990707A

本发明涉及海浪发电领域,具体是涉及一种多舱室气动压差自供能系统,包括发电单元和供能单元,所述发电单元包括发电舱和设置在发电舱内的用以发电的气动发电机构,气动发电机构具有进气口和出气口,气体从进气口进入,出气口排出,发电舱的截面呈正多边形;供能单元包括多个供能舱,每个供能舱的形状和尺寸均与发电舱相同,每个供能舱均通过供能管道与气动发电机构的进气口连通,每个供能舱均通过回流管道与气动发电机构的出气口连通,在每个供能管道上设置有第一单向阀,所述第一单向阀使供能管道沿着从供能舱向着气动发电机构的方向单向导通,在每个回流管道上设置有第二单向阀,所述第二单向阀使回流管道沿着从气动发电机构向着供能舱的方向单向导通,每个供能舱的底部采用弹性材料制成的覆盖膜,覆盖膜在海浪的作用下会发生形变。

AERATING APPARATUS AND METHOD

NºPublicación:  WO2025238586A1 20/11/2025
Solicitante: 
BLUE CARBON PTY LTD [AU]
BLUE CARBON PTY LTD
WO_2025238586_PA

Resumen de: WO2025238586A1

A marine aquaculture installation is provided, the installation comprising a floating enclosure adapted for containing marine life and a wave-driven water conditioning apparatus, the conditioning apparatus comprising a buoyant module connected with a buoyant structure, the module and structure being independently buoyant from each other so as to be capable of independent relative movement when driven by wave action, the module including a cylinder having inlets for air and water and an outlet, and being adapted to receive a piston connected to the structure, wherein reciprocating motion of the piston, generated by wave action and the independent buoyancy of the module and the structure, expels water and air from the outlet into a body of water to be conditioned.

TIDAL POWER GENERATING DEVICE

NºPublicación:  WO2025238096A1 20/11/2025
Solicitante: 
ODIN GLOBAL TIDAL INVEST APS [DK]
ODIN GLOBAL TIDAL INVEST APS
WO_2025238096_PA

Resumen de: WO2025238096A1

The present invention relates to a tidal power generating device with a vertical rotor unit comprising a plurality of blades arranged in a circumferential direction. A tail unit is configured for directing a water inlet towards the flow of water, thereby allowing the tidal power generating device to harvest energy during both high tide and low tide.

ELECTRONIC DEVICE AND METHOD FOR SCHEDULING MAINTENANCE PLAN OF OFFSHORE POWER PLANT

NºPublicación:  WO2025239478A1 20/11/2025
Solicitante: 
KEPCO ENG & CONSTRUCTION COMPANY INC [KR]
AJOU UNIV INDUSTRY ACADEMIC COOPERATION FOUNDATION [KR]
\uD55C\uAD6D\uC804\uB825\uAE30\uC220 \uC8FC\uC2DD\uD68C\uC0AC,
\uC544\uC8FC\uB300\uD559\uAD50 \uC0B0\uD559\uD611\uB825\uB2E8
WO_2025239478_PA

Resumen de: WO2025239478A1

Disclosed are an electronic device and a method for scheduling a maintenance plan of an offshore power plant. This method for scheduling a maintenance plan of an offshore power plant comprises the steps of: receiving comprehensive maintenance information including information for maintenance of cluster power generation facilities of the offshore power plant; scheduling, for a first maintenance period, a macro-maintenance plan so as to minimize maintenance costs on the basis of a total effective output of the cluster power generation facilities while satisfying constraints on the basis of the comprehensive maintenance information; and scheduling, for a second maintenance period included in the first maintenance period, a micro-maintenance plan so as to maximize maintenance efficiency of the cluster power generation facilities on the basis of the macro-maintenance plan.

SIMPLIFIED ENHANCED OCEAN THERMAL ENERGY CONVERSION (EOTEC) SYSTEM

NºPublicación:  WO2025239893A1 20/11/2025
Solicitante: 
EXCIPIO ENERGY INC [US]
ROBINSON ROY E [US]
ENGELMANN GEORG E [US]
EXCIPIO ENERGY, INC,
ROBINSON, Roy, E,
ENGELMANN, Georg, E
WO_2025239893_PA

Resumen de: WO2025239893A1

An improved Ocean Thermal Energy Conversion system (called OTEC) is presented herein by the addition of a closed heat transfer loop. In conventional OTEC, warm surface waters are used to vaporize a working fluid for use in a turbine, and cold waters are then brought up from deep water, typically more than 1000 meters, to condense the working fluid. In simple terms conventional OTEC brings the cooling potential up to the warm surface. In contrast the disclosed OTEC system brings the heat down to the deep cold waters by using a separate heat transfer fluid loop. We refer to this as Enhanced OTEC or E-OTEC. A key feature of the process is descending to the depths as a dense fluid thereby gaining a gravitational boost in pressure and temperature. This leads to several technological, performance, and economic advantages over prior art.

SUBMERSIBLE POTENTIAL ENERGY STORAGE AND POWER

NºPublicación:  EP4649235A1 19/11/2025
Solicitante: 
RIAHMEDIA INC DBA MARINE KINETIC ENERGY [US]
Riahmedia Inc. DBA Marine Kinetic Energy
WO_2024151739_PA

Resumen de: WO2024151739A1

Long duration energy storage via pressure at ocean depths is provided via a shell having an outer wall; a tank, disposed within the shell; a first pipe, in fluid communication with the tank; a second pipe, in fluid communication with the tank; an inlet defined in the outer wall having an open state that places the tank in fluid communication with an environment outside of the shell via the first pipe and a closed state that blocks fluid communication between the tank and the environment via the first pipe; an outlet defined in the outer wall having an open state that places the tank in fluid communication with the environment via the second pipe and a closed state that blocks fluid communication between the tank and the environment via the second pipe; and a turbine assembly.

一种模块化风-光-浪能综合应用的深远海养殖平台

NºPublicación:  CN120959182A 18/11/2025
Solicitante: 
中国电建集团华东勘测设计研究院有限公司
CN_120959182_PA

Resumen de: CN120959182A

本发明提供了一种模块化风‑光‑浪能综合应用的深远海养殖平台,包括中央漂浮式综合平台,中央漂浮式综合平台上设置有海上风力发电模块、海上光伏发电模块和海上波浪能发电模块,海上波浪能发电模块包括波浪能液压杆,中央漂浮式综合平台的周侧通过分离式液压铰链结构和波浪能液压杆连接可以上下摆动的桁架式养殖网箱,通过将供电设备的集成化,为桁架式养殖网箱进行原位供电,实现深远海养网箱电力自给,弥补现有深远海养殖平台在能源自给方面的不足;形成了综合多能互补供电体系,多能互补发电的形式充分利用了海上风能、光能以及波浪能,为深远海养殖提供了绿色、零排放、可持续的原位供电。

一种可监测螺旋锚装置

NºPublicación:  CN120967940A 18/11/2025
Solicitante: 
中国科学院武汉岩土力学研究所
CN_120967940_PA

Resumen de: CN120967940A

本申请公开了一种可监测螺旋锚装置,包括:螺旋锚,螺旋锚包括主体结构和设置于主体结构外周的锚翼;监测组件,监测组件包括应变片和/或剪切板,应变片设置于锚翼内和/或主体结构侧壁内,剪切板设置于主体结构面向施工面顶部,应变片用于监测螺旋锚的应力变化,剪切板用于监测螺旋锚的抗剪强度变化;信号处理组件,信号处理组件包括信号接收单元和信号处理单元,信号接收单元分别与应力片和剪切板通信连接;信号处理单元与信号接收单元通信连接,信号处理与外部服务器通信连接;供电组件,供电组件分别监测组件和信号处理组件电连接,用于为供电组件分别监测组件提供工作时所需要的电力;信号处理组件和供电组件设置于主体结构内。

一种用于收集波浪能的振荡摆翼式颗粒基摩擦纳米发电机及方法

NºPublicación:  CN120969021A 18/11/2025
Solicitante: 
三峡大学
CN_120969021_PA

Resumen de: CN120969021A

本发明提供了一种用于收集波浪能的振荡摆翼式颗粒基摩擦纳米发电机及方法,包括中心轴体,中心轴体的两个侧面分别铰接有能够跟随波浪摆动的摆页结构,摆页结构的另一端铰接有浮子摆动单元,浮子摆动单元的内部安装有密封箱,密封箱的内部设置有用于发电的摩擦纳米发电单元。能够对海洋波浪能进行收集利用,摩擦有效接触面积大,提高能量转换效率。

一种半潜式波浪能-风能集成发电平台及其阻尼调控系统的阻尼调控方法

NºPublicación:  CN120969060A 18/11/2025
Solicitante: 
江苏科技大学
CN_120969060_PA

Resumen de: CN120969060A

本发明公开了一种半潜式波浪能‑风能集成发电平台及其阻尼调控系统的阻尼调控方法,所述平台包括半潜式风力发电机平台、风力发电机组、波浪能发电装置、蓄能系统、海域检测系统以及阻尼调控系统,所述波浪能发电装置分平台内侧平台外侧两组,所述波浪能发电装置包括平台内侧波浪能发电装置和平台外侧波浪能发电装置组成,波浪能发电装置包括摆臂浮子、万向铰,连接臂以及阻尼调节模块。本发明结合了半潜式风力发电装置和波浪能发电装置综合利用海上可再生资源;采用六浮筒设计,分散浮力,提高稳定性与安全性的同时为波浪能发电装置提供了空间;浮子呈六边形对称布置,并搭载阻尼调控系统,更容易通过调节各方向浮子阻尼来稳定整体结构。

利用波浪能发电的空气透平式发电装置

NºPublicación:  CN120968762A 18/11/2025
Solicitante: 
中国电建集团成都勘测设计研究院有限公司
CN_120968762_PA

Resumen de: CN120968762A

本发明公开了一种空气透平式发电装置,尤其是公开了一种利用波浪能发电的空气透平式发电装置,属于波浪能利用装备设计制造技术领域。提供一种能有效改善振荡气流流场、流态特性,有效提高发电效率的利用波浪能发电的空气透平式发电装置。所述的空气透平式发电装置包括漂浮式布置基础、振荡气室和空气透平发电机本体,空气透平发电机本体与振荡气室连接,布置在漂浮式布置基础上的振荡气室在波浪的配合下输出有压发电气流,所述的空气透平式发电装置还包括有压气流复合调节机构,振荡气室输出的有压发电气流通过有压气流复合调节机构分别至少进行一次流场、流态和/或流量的调整,空气透平发电机本体通过输入调整后的有压发电气流驱动发电。

一种基于点吸收式波能转换器的压缩空气储能系统

NºPublicación:  CN120969020A 18/11/2025
Solicitante: 
海南大学
CN_120969020_A

Resumen de: CN120969020A

本发明公开了一种基于点吸收式波能转换器的压缩空气储能系统,其包括点吸收式波能转换器、取力器传动机构、压缩‑膨胀机组、热交换系统、储气系统。1.所述点吸收式波能转换器包括吃水深度可调的圆柱体浮子;2.所述取力器传动机构包括齿条‑齿轮机构、曲柄连杆机构;3.所述压缩膨胀机组包括往复活塞式压缩机组和膨胀机,压缩机组共四组,每组压缩机呈1+2N数量水平中心对称排列,每级膨胀机的膨胀比相同;4.所述热交换器为表层海水换热器,用于提高后一级膨胀机入口气体温度至表层海水温度;5.所述储气系统包括高压储气室、低压循环储气室,高压储气室用于存储高压压缩空气,低压循环储气室的工作入口和工作出口分别与最后一级膨胀机出口和压缩机入口相连,使空气始终在闭式循环系统内流转。本发明通过对所述浮子吃水深度和所述压缩机组压缩机数量的调控,实现了在不同波况下能量转换的高鲁棒性,高效的储能方案有望为沿海、近岸用户提供稳定且相对廉价的电力供应。

재순환 관성 유체역학 펌프 및 파동 엔진

NºPublicación:  KR20250162598A 18/11/2025
Solicitante: 
론걸홀딩스엘티디
KR_20250162598_PA

Resumen de: US2025327434A1

Embodiments include a buoyant wave energy converter. In an embodiment, the wave energy converter comprises an upper chamber having a first fluid reservoir and a first gas pocket, and a lower chamber having a second fluid reservoir and a second gas pocket. In an embodiment, an injection tube is between and fluidly coupled to the upper chamber and the lower chamber, where the injection tube is to impel a fluid from the second fluid reservoir into the first fluid reservoir when the upper chamber, the lower chamber and the injection tube oscillate about a waterline with the upper chamber adjacent to the waterline and the lower chamber submerged below the waterline and vertically beneath the upper chamber. An effluent tube is fluidly coupled to the upper chamber and the lower chamber, where the effluent tube is to return the fluid from the first fluid reservoir to the injection tube.

一种多模态波浪发电装置

NºPublicación:  CN120969022A 18/11/2025
Solicitante: 
南京激扬智慧信息技术研究院有限公司
CN_120969022_PA

Resumen de: CN120969022A

本发明涉及一种多模态波浪发电装置,包括壳体和振荡体,振荡体被配置成在壳体内随波浪起伏相对与壳体在竖直方向发生相对移动,振荡体包括用于将振荡体的直线移动转化为输出端的旋转运动的能量转化机构,以及用于储存输出端产生的旋转动能的飞轮机构;壳体顶部还安装有直线发电机构,直线发电机构的定子安装在壳体上,直线发电机构动子的直轴与振荡体相连,随着振荡体在竖直方向发生相对移动,振荡体同时作为直线发电机构的配重通过直轴带动动子在定子内沿竖直方向直线移动,利用集成了飞轮储能和旋转电机的振荡体作为配重,既增加发电机数量以及储能结构,又不影响整体质量以及大小,同时能兼容不同波况,提升能量转换效。

一种振荡浮子液压式波浪能发电装置

NºPublicación:  CN223562964U 18/11/2025
Solicitante: 
大连海洋大学
CN_223562964_U

Resumen de: CN223562964U

本实用新型公开一种振荡浮子液压式波浪能发电装置,其特征在于:所述的发电装置包括沉子(1),所述沉子(1)的顶端面通过多个在圆周方向上均匀分布的第一连杆(2)与液压缸缸体(3)固定连接,所述液压缸缸体(3)内活动连接有活塞(4),所述活塞(4)的底部通过弹簧(5)与沉子(1)连接,活塞(4)的顶端面设置有第二连杆(6),第二连杆(6)活动穿接在液压缸缸体(3)的上板(7)上,且第二连杆(6)的顶端与浮子(8)的底端面连接,所述上板(7)与活塞(4)之间为作业腔(9),在上板(7)上还开设有过水口,过水口处设置有第一单向阀(10),所述第一单向阀(10)允许海水流入作业腔(9)中。

一种基于多浮子共气压舱室的波浪能发电装置

NºPublicación:  CN120969023A 18/11/2025
Solicitante: 
江苏科技大学
CN_120969023_PA

Resumen de: CN120969023A

本发明公开了一种基于多浮子共气压舱室的波浪能发电装置,包括多个浮子组件、周期循环系统,所述周期循环系统包括外部筒体、安装于外部筒体内的多个内部气压筒体、共气压舱室、发电风机,外部筒体内设有安装板,内部气压筒体安装于安装板上,内部气压筒体与浮子组件数量相等;所述安装板使外部筒体下部形成密闭腔体;浮子组件围绕于外部筒体外侧,各浮子组件相互独立,浮子组件一端连接有活塞,活塞伸入内部气压筒体,浮子组件带动活塞运动以改变内部气压筒体内部气压。活塞向上或向下运动时,气流均可带动发电风机发电。本发明通过浮子组件与周期循环系统的配合,实现对一个完整波浪周期的利用,提高了波浪能的转化利用效率。

一种潮流能水轮机功率预测和转速调节方法

NºPublicación:  CN120969013A 18/11/2025
Solicitante: 
江苏海洋大学
CN_120969013_PA

Resumen de: CN120969013A

本发明公开了一种潮流能水轮机功率预测和转速调节方法,涉及近海潮流能发电技术领域,包括:潮流数据采集步骤,获取潮流速度、流向等参数,存储历史数据;功率预测步骤,基于改进LSTM神经网络构建模型,输出未来5‑30min功率预测值;转速调节决策步骤,接收预测值及实时参数,制定调节指令;执行驱动步骤,执行指令,通过液压执行器等实现转速控制,形成闭环;监控预警步骤,监测各步骤状态,异常时报警并生成报告。本发明提升功率预测精度与转速调节响应速度,减少设备损耗,增强与电网协同性,保障系统稳定运行,提升潮流能利用效率。

一种可调式防波堤

NºPublicación:  CN120967864A 18/11/2025
Solicitante: 
江苏集智海洋科技有限公司江苏科技大学
CN_120967864_PA

Resumen de: CN120967864A

本发明公开了一种可调式防波堤,包括浮体、配重体、套筒和振动发电系统;浮体套设于套筒上段,配重体套设于套筒下段,套筒内设有驱动机构,浮体上设有波高传感器;驱动机构根据波高数据驱动浮体和配重体分离或靠近;振动发电系统根据产生的结构振动发电;通过浮体与配重体在驱动机构控制下的反向自适应滑动,扩展了防波堤的垂直防护范围,并结合振动发电系统将结构振动高效转化为电能,形成了一体化、自适应的波能转换与消波防护系统,既提高了消波效果的可靠性与能源自给率,又解决了现有装置因功能冲突、调节能力不足及发电不稳定导致的防护失效与可靠性低下问题,提升了浮式防波堤在深远海应用中的综合性能与经济性。

一种新型的波浪驱动的漂流浮标

NºPublicación:  CN120963935A 18/11/2025
Solicitante: 
西北工业大学
CN_120963935_PA

Resumen de: CN120963935A

本发明一种新型的波浪驱动的漂流浮标,属于海洋新能源发电技术的波浪能利用领域。该漂流浮标包括球状浮体组件及安装于浮体组件内的俘能发电装置、电力存储组件和数据采集监测系统,浮体组件密封自漂浮于水面,俘能发电装置能够高效将浮体组件在波浪能作用下产生的六自由度运动转化为电能,电力存储组件用于存储俘能发电装置的电能并将电能供给外部用电设备,数据采集监测系统用于漂流浮标的运动监测和定位,并将监测数据和定位信息反馈给控制端。该漂流浮标解决了现有波浪能发电装置因方向敏感性强和窄频响应局限导致在复杂海况下发电量不足,电压波动范围较大,生存能力不足,受波浪冲击与盐雾腐蚀导致可靠性下降的问题。

一种基于Helmholtz共振原理的振荡水柱式波能发电装置

NºPublicación:  CN120946495A 14/11/2025
Solicitante: 
鲁东大学
CN_120946495_PA

Resumen de: CN120946495A

本发明公开了一种基于Helmholtz共振原理的振荡水柱式波能发电装置,属于海洋可再生能源技术领域;该装置由沉箱式结构、聚波水道、气室组、渐缩渐扩通道组、单向气阀组和空气涡轮机组组成;气室组由多个气室串联而成,气室内分别设置渐缩渐扩通道;当波峰作用时,水柱向上运动推动主气室内空气通过渐缩渐扩通道进入辅气室;当波谷作用时,单向气阀阀门在向下运动的气体推力作用下开启,辅气室内大部分的气体通过阀门返回主气室,少部分气体通过渐缩渐扩通道返回主气室;利用聚波水道诱导的水体共振,以及渐缩渐扩通道所引发的脉冲射流效应,显著提升波能装置在各级能量转换过程中的捕能效率,且结构简单、维护成本低。

一种海洋能发电装置

NºPublicación:  CN120942505A 14/11/2025
Solicitante: 
大连科技学院
CN_120942505_PA

Resumen de: CN120942505A

本发明提供一种海洋能发电装置,适用于海洋能发电技术领域,包括浮板箱;浮板箱表面固定连接有发电部;浮板箱各内壁之间均匀设置有固定轴;固定轴转动连接有收卷部;收卷部包括与固定轴转动连接的柔性基板;柔性基板端部对称开设有贯穿孔;柔性基板表面对称固定连接有柔性筋条;柔性基板底面对称开设有插槽;柔性筋条与插槽插接配合连接。该装置通过柔性基板的收卷,配合可快速拆卸的浮板和支撑杆使得发电装置的受力面积和支撑面积增加,提高了发电装置的运输效率以及发电装置工作过程中的稳定性。

风机耦合多重共振OWC波能发电装置

NºPublicación:  CN223549360U 14/11/2025
Solicitante: 
华电(福建)风电有限公司中国海洋大学

Resumen de: CN223549360U

本申请公开了一种风机耦合多重共振OWC波能发电装置,属于能源利用设备领域,解决了现有技术中“现有的振荡水柱式波浪能装置在不同波况下转换效率低”的问题。本申请的技术方案中,全部的振荡水柱被布置为若干排振荡水柱组;前排振荡水柱组的振荡水柱的管长小于后排振荡水柱组的振荡水柱的管长;前排振荡水柱组的振荡水柱连接有高潮位气室腔体并通过高潮位气室腔体与电力集装箱的发电装置连接;后排振荡水柱组的振荡水柱连接有低潮位气室腔体并通过并通过电力集装箱的发电装置连接。本申请的技术方案,针对不同的波高波况,开启不同的振荡水柱,能够有效的适应当地潮位变化。

一种波浪能采集的摩擦纳米发电机及其制备方法

NºPublicación:  CN120956106A 14/11/2025
Solicitante: 
暨南大学
CN_120956106_PA

Resumen de: CN120956106A

本申请涉及纳米发电机技术领域,特别涉及一种波浪能采集的摩擦纳米发电机及其制备方法。波浪能采集的摩擦纳米发电机,包括:外壳体;内壳体,设置在外壳体的内部;滚动发电模块,包括蜂巢块和聚四氟乙烯球体,蜂巢块设置在内壳体内部,蜂巢块中分布多条第一直线通道,聚四氟乙烯球体设置在第一直线通道中;折纸发电模块,设置在蜂巢块与内壳体之间。波浪能采集的摩擦纳米发电机的制作方法,制备外壳体、内壳体、蜂巢块和弹性部件;在第一直线通道和第二直线通道喷铜电极,聚四氟乙烯球体放在第一直线通道和第二直线通道;在内壳体与蜂巢块之间设置接触分离发电模块;将内壳体设置在外壳体内部。本申请实现了对波浪运动多维特性的充分利用。

一种潜航器单向储热式海洋温差能发电系统

NºPublicación:  CN120946531A 14/11/2025
Solicitante: 
中国船舶集团有限公司第七〇三研究所
CN_120946531_PA

Resumen de: CN120946531A

本发明提供一种潜航器单向储热式海洋温差能发电系统,包括潜航器机体、单向储热式蒸发器发电系统和升潜系统;所述单向储热式蒸发器发电系统和升潜系统设置在潜航器机体内部,发电系统包括透平发电机组、冷凝器、工质泵和储热式蒸发器;所述储热式蒸发器出口与透平发电机组入口连接,透平发电机组依次连接透平发电机组、冷凝器、工质泵和储热式蒸发器入口。本发明实现将海表温海水热量通过储能相变材料储存,在潜航器下潜过程中不向环境释放热量,当潜航器到达海底时,利用储存热量和环境冷海水的冷量构建温差,构成朗肯循环实现发电。使潜航器具备了航行过程中利用海洋温差自主发电能力,提升了水下航行器的续航里程及传感器搭载能力。

一种基于柔性腔体的液压及压电双重耦合波浪能发电装置

NºPublicación:  CN120946496A 14/11/2025
Solicitante: 
哈尔滨工程大学三亚南海创新发展基地
CN_120946496_PA

Resumen de: CN120946496A

本发明涉及波浪能发电技术领域,具体为一种基于柔性腔体的液压及压电双重耦合波浪能发电装置,包括内部中空的封闭式俘能体以及液压蓄能式发电系统,俘能体的迎浪面为柔性前墙,俘能体的顶部为柔性顶墙,柔性前墙及柔性顶墙均由柔性压电材料制成,液压蓄能式发电系统的液压缸设置于俘能体内部,液压缸的活塞杆与水平正面的柔性前墙连接。本发明通过两种发电方式相互耦合协同作用,不仅能够使波浪能发电装置主动适应不同类型的波浪,拓宽能量捕获频段,在更广泛的海况下保持发电装置的整体发电效率更高且更稳定,还可以将具有破坏性的波浪冲击力吸收转化为电能,当极端波浪来袭时实现结构减载,减小装置的整体载荷,提高装置寿命和可靠性。

APPARATUS TO CONVERT HYDROKINETIC ENERGY INTO ELECTRICAL ENERGY

NºPublicación:  WO2025235242A1 13/11/2025
Solicitante: 
HARRIS MARTIN [US]
HARRIS, Martin
WO_2025235242_PA

Resumen de: WO2025235242A1

A hydrokinetic apparatus, suitable for use on land, comprising a gear with an attached counterweight, which enables the gear to rotate alternately between a rightmost clockwise position and a leftmost counterclockwise position. As the gear rotates clockwise, a rod attached to the gear is moved to the left, and as the gear rotates counterclockwise, the rod is moved to the right. The rod supports a piston at both ends. The pistons travel within a conduit that comprises two segments in fluid communication with each other. The first segment, through which the piston travels, is horizontal and contains a water turbine at its distal end. The second segment includes an air turbine at its distal end and is oriented at an obtuse angle to the first segment, preferably in the range of 90 degrees to 135 degrees.

BODILY EMISSION ANALYSIS

NºPublicación:  US2025347262A1 13/11/2025
Solicitante: 
OUTSENSE DIAGNOSTICS LTD [IL]
OUTSENSE DIAGNOSTICS LTD
JP_2025124625_PA

Resumen de: US2025347262A1

Apparatus and methods are described for use with a bodily emission of a subject that is disposed within a toilet bowl. One or more light sensors are configured to receive light from the toilet bowl, while the bodily emission is disposed within the toilet bowl. A computer processor detects one or more spectral components that are characteristic spectral components at which white blood cells emit fluorescent light, by analyzing the received light, and in response thereto, determines that there is a presence of white blood cells within the bodily emission. Other applications are also described.

HORIZONTALLY-ORIENTED CONICAL-HELICAL HYDROKINETIC TURBINE

NºPublicación:  WO2025235332A1 13/11/2025
Solicitante: 
HATCHTANK LLC [US]
HATCHTANK LLC
WO_2025235332_PA

Resumen de: WO2025235332A1

A fully-submerged multi-stage Horizontally-oriented Conical-helical Hydrokinetic Turbine that captures water stream flows (river, tidal, deep ocean currents) and funnels this kinetic-rich concentrated flow into a conical turbine system consisting of a rotating arrangement of helical hydrofoil blades wherein the internal stream is forced to exit out through the frustum turbine blade assembly. With a higher Capacity Factor and Power Coefficient than conventional renewables, this turbine is designed to be an environmentally friendly baseload electricity generator to meet the ever-increasing electricity demands.

海洋自然エネルギマルチ発電装置

NºPublicación:  JP2025169393A 12/11/2025
Solicitante: 
株式会社ドクター中松創研
JP_2025169393_PA

Resumen de: JP2024033384A

To provide an integrated power generation system capable of effectively utilizing wind, wave, photovoltaic energy, and other renewable energy available offshore at a low cost.SOLUTION: When generating power offshore, a power generation system utilizing multiple types of ocean natural energy integrates wind, wave and/or photovoltaic energy for power generation in a manner that combines a wind power generation device 1 with a wave force power generation device 5 using a vertically movable electromagnetic force and/or a photovoltaic power generation device (panel) 6 installed on an entire surface of an extended float 52. Also, the power generation system incorporates another type of power generation device utilizing current, photovoltaic and ocean thermal energy.SELECTED DRAWING: Figure 13

자체 완결형 고에너지 밀도 컴퓨팅 시스템 및 그 사용 방법

NºPublicación:  KR20250160206A 11/11/2025
Solicitante: 
오션비트인크
AU_2024252001_PA

Resumen de: MX2025011803A

Self-contained blockchain mining and high-energy-density computing systems have a low temperature heat engine (LTHE) with a working fluid loop extended between a heat source and a heat sink; a biockchain mining device connected to receive electricity generated from the LTHE; a heat exchanger on the working fluid loop; and a coolant loop extended between the blockchain mining device and the working fluid loop (heat exchanger). A self-contained high-energy-density computing data center (HEDC) system is disclosed comprising: a low temperature heat engine (LTHE) with a working fluid loop extended between a heat source and a heat sink; an HEDC device connected to receive electricity generated from the LTHE; a heat exchanger on the working fluid loop; and a coolant loop extended between the HEDC device and the working fluid loop (heat exchanger). A method is also disclosed comprising: generating electricity using a low temperature heat engine (LTHE); operating an HEDC device, using electricity generated by the LTHE, to carry put computer processes; and cooling the HEDC device by heat exchange with working fluid of the LTHE.

一种能量转化结构及波浪能转化装置

NºPublicación:  CN120926008A 11/11/2025
Solicitante: 
武汉理工大学
CN_120926008_PA

Resumen de: CN120926008A

本申请公开了一种能量转化结构及波浪能转化装置,涉及波浪能发电技术领域,能量转化结构包括两件平行设置的导向件;限位件,设置于所述导向件的一端;阻尼系统,设置于所述导向件的另一端;两个浮体,滑动设置于所述导向件,两个所述浮体之间通过弹性件连接,其中,靠近所述阻尼系统的所述浮体与所述阻尼系统连接;能量转换单元,设置于所述浮体内,所述能量转换单元能够将所述浮体的直线运动转换为电能。相较于以往的单浮体结构,本申请的能量转换装置设置两个浮体,应用于波浪能转换装置上时,在同等空间尺寸条件下,可以有效增加结构对于波浪能的捕获和转化效率。

一种叶片轮毂后掠式自整流轴流空气透平转轮

NºPublicación:  CN120925913A 11/11/2025
Solicitante: 
哈尔滨电机厂有限责任公司
CN_120925913_PA

Resumen de: CN120925913A

一种叶片轮毂后掠式自整流轴流空气透平转轮,属于波浪能发电装置领域。本发明包括轮毂,轮毂转动设置于转轮室内,轮毂布置于前置导叶和后置导叶之间,轮毂上设置有多个叶片,所述叶片以轮毂的轴线为中心,圆周方向均匀布置,所述叶片包含紧邻前置导叶的进气边和紧邻后置导叶的出气边,轴向气流沿前置导叶流出,经进气边进入轮毂的叶片之间,做功产生力矩后,从出气边流出,经后置导叶整流后,沿轮毂的轴向流出。本发明研发目的是为了解决当前轴流空气透平因轮毂到轮缘进口液流角差异较大,导致局部损失增大、影响效率的问题,减少叶轮局部损失,提高透平效率。

一种面向海洋波浪能的压电电磁俘获装置

NºPublicación:  CN120934375A 11/11/2025
Solicitante: 
江苏大学
CN_120934375_PA

Resumen de: CN120934375A

本发明公开了一种面向海洋波浪能的压电电磁俘获装置,该装置在海水表面上受波浪能作用,发生振动激励模块8中的球形磁铁8‑2会在模块内部的滑道中反复摆动,球形磁铁8‑2运动的过程中会在撞击模块两端的圆形压电片8‑1并发电,球形磁铁8‑2在反复运动的过程中在模块的外部缠绕的铜线会切割磁感线并发电,球形磁铁8‑2运动时,会激励矩形磁铁7,矩形磁铁7带动压电片Ⅱ6来回进行摆动运动发电,压电片Ⅱ6运动过程中会带动压电片Ⅰ4一同运动并发电。本发明涉及纳米发电机领域,特别涉及一种面向海洋波浪能的压电电磁俘获装置。本发明在不同波浪频率和强度下均能高效地进行能量转化;装置设计得相对小巧;装置工作原理相对简单,运行维护成本较低。

一种基于数据反馈的波浪能设备自适应调节方法及系统

NºPublicación:  CN120909131A 07/11/2025
Solicitante: 
南京激扬智慧信息技术研究院有限公司
CN_120909131_PA

Resumen de: CN120909131A

本发明公开了一种基于数据反馈的波浪能设备自适应调节方法及系统,属于波浪能技术领域。该方法通过加速度传感器、流量计和压力传感器实时采集波浪振动行为数据、称重块振动行为数据及液体体积与压力信息;利用插值算法实现波浪振动数据的等间隔采样,结合自相关分析量化波浪主频并设置滑动窗;基于滑模面控制模型动态计算称重块质量变化量,通过离散时间自适应反馈模型实时更新控制参数,调节抽水泵流量以改变称重块质量,使其振动频率与波浪主频匹配,形成闭环控制。本发明解决了现有波浪能设备因频率失配导致的能量转换效率低、抗干扰能力弱的问题,通过动态质量调节和自适应反馈机制,有利于提升设备对复杂海洋环境的适应性及能量捕获效率。

波浪发电装置

NºPublicación:  CN223523871U 07/11/2025
Solicitante: 
天合光能股份有限公司
CN_223523871_U

Resumen de: CN223523871U

本实用新型涉及发电设备技术领域,具体提供一种波浪发电装置,旨在解决现有波浪发电装置结构复杂、维护成本高的问题。为此,本实用新型的波浪发电装置,包括支架、浮体以及安装于支架上的传动组件和发电组件。传动组件包括驱动机构、杠杆机构和齿轮组,驱动机构分别与浮体和杠杆机构连接,浮体能够带动驱动机构上下移动,使得杠杆机构能够在驱动机构的带动下迫使齿轮组转动;发电组件包括壳体、设置于壳体中的线圈以及与线圈相对应的磁体,磁体与齿轮组连接,齿轮组能够带动磁体转动。通过浮体、驱动机构、杠杆机构和齿轮组的协同作用,能够高效地捕捉和利用波浪的能量。整个装置结构紧凑,占地面积小,便于安装和维护。

一种波浪能驱动空气碳捕集转化系统

NºPublicación:  CN120905695A 07/11/2025
Solicitante: 
天津大学
CN_120905695_PA

Resumen de: CN120905695A

本发明公开了一种波浪能驱动空气碳捕集转化系统,涉及碳捕集技术领域,包括取能组件、捕集组件和转化组件,捕集组件中的空气泵和智能精密蠕动泵通过取能组件中的柔性多层环和简谐摆通过电力传输电缆连接,捕集组件中的酸罐通过橡胶管连接转化组件中的二氧化碳口。本发明采用上述的一种波浪能驱动空气碳捕集转化系统,结合近海渔场的设施分布且省却了以往高昂的回收成本,高效采集波浪能和太阳能这类可再生能源,直接从空气中捕集CO2,且变废为宝利用回收废旧铅酸电池制成的催化剂通过电催化转化将CO2转化为高价值有机物。

仿生蜗牛黄金螺旋结构全方位收集波浪能摩擦纳米发电机

NºPublicación:  CN120915163A 07/11/2025
Solicitante: 
大连海事大学
CN_120915163_PA

Resumen de: CN120915163A

本发明属于发电机装置技术领域,是一种仿生蜗牛黄金螺旋结构全方位收集波浪能摩擦纳米发电机,包括封装外壳、弹簧、弹跳仓、摆锤、SR‑TENG和VF‑TENG。水平方向SR‑TENG通过依附摆锤,与非弹性连接棒密封在弹跳仓中,作为弹跳仓上方连接弹簧,下方竖直方向VF‑TENG连接整体密封在封装外壳内。本发明中的仿生蜗牛贝壳黄金螺旋线结构,空间利用率高,装置体积小,相比于其他多自由度的TENG,本发明做到了水平360°全方向收集波浪能,整体性高,水平结构内外两层只需要两根导线,布线简单,摆锤运动频率高,能够收集低频能量,曲面软接触摩擦结构,有效增大接触面积。

一种波浪能发电与海水淡化一站式系统

NºPublicación:  CN120906729A 07/11/2025
Solicitante: 
广东海洋大学
CN_120906729_PA

Resumen de: CN120231684A

The invention discloses a wave power generation and sea water desalination one-stop system which is characterized in that a wave power generation device, a supercharging device, a hydraulic energy storage and release device and a sea water desalination device are sequentially connected, and the functions of wave power generation, sea water supercharging, hydraulic energy storage and sea water desalination are integrated into the same system, so that multifunctional one-stop utilization is realized; the technical problem of low seawater resource utilization efficiency caused by lack of joint coordination ability among existing seawater resource utilization devices is solved.

一种浪涌自发电浮标

NºPublicación:  CN120902882A 07/11/2025
Solicitante: 
考克(福建)工业设计有限公司
CN_120902882_PA

Resumen de: CN120902882A

本发明涉及一种浪涌自发电浮标,包括活动连接的浮标本体与发电部;所述发电部设置于浮标本体的下方;所述浮标本体与发电部间连接有弹簧;所述发电部内的空腔中设有旋转轴;所述旋转轴上止转连接有偏心块;所述偏心块朝向远离旋转轴的方向延伸;所述旋转轴与发电机相连以利用旋转轴的旋转带动发电机发电;所述旋转轴上还连接有用于驱动旋转轴转动的驱动电机。本发明的驱动电机能够在小振幅波浪情况下主动驱动旋转轴转动,从而有效的驱动偏心块转动,弹簧还能与发电部在波浪激励下协同作用,当发电部在波浪作用下偏转时,弹簧会储存一部分能量用于延长发电部的摇摆时长,发电部能够在更小的波浪激励下有效实现偏心块的转动。

一种基于柔性腔体的气动及液压双重耦合波浪能发电装置

NºPublicación:  CN120906728A 07/11/2025
Solicitante: 
哈尔滨工程大学三亚南海创新发展基地
CN_120906728_PA

Resumen de: CN120906728A

本发明涉及波浪能发电技术领域,具体为一种基于柔性腔体的气动及液压双重耦合波浪能发电装置包括内部中空、底部开口、顶部开孔的俘能体,以及液压蓄能式发电系统、涡轮发电系统,俘能体的正面为具有弹性形变的柔性前墙,液压蓄能式发电系统的液压缸设置于俘能体内部,液压缸的活塞杆与柔性前墙连接,涡轮发电系统的涡轮机设置于俘能体的顶部开孔处。本发明通过气动和液压双重发电方式相互耦合协同作用,不仅能够使波浪能发电装置主动适应不同类型的波浪,拓宽能量捕获频段,而且柔性前墙的设置可以实现对波浪冲击力的降低和减缓,减小装置的整体冲击载荷,提高装置的安全性。

一种水上发电装置及其使用方法

NºPublicación:  CN120906727A 07/11/2025
Solicitante: 
重庆工程学院
CN_120906727_PA

Resumen de: CN120906727A

本发明涉及发电设备技术领域,公开了一种水上发电装置及其使用方法,包括:船体,所述船体内开设有流道,所述流道内固定安装有磁悬浮轴承发电机,所述船体顶部固定安装有发电扇叶,所述发电扇叶与磁悬浮轴承发电机连接,本发明通过磁悬浮轴承发电机和发电扇叶主动利用水流和风力稳定发电,还能将航道中形成的波浪转化为有益动能,让环形浮球在波浪作用下上下移动通过传动组件带动清理刷自动清理流道进水口处的过滤网,如此从根本上解决了水下发电装置因进水口堵塞导致的效率衰减难题,确保了水流发电时的水流效率,保障了整体发电效果的稳定。

用于能量收集的波动换能器和推进设备、方法和系统

NºPublicación:  CN120917225A 07/11/2025
Solicitante: 
柔韧能源系统公司
CN_120917225_PA

Resumen de: WO2024191410A1

Embodiments disclosed may comprise a pump, a generator, or a propulsion system. Two flexible fins are coupled via their longitudinal inner edges to fin coupling modules. An external fluid flow causes traveling fin undulations. The angle of the fins relative to each other changes as undulations travel along the fins a which can be translated through the fin coupling modules into mechanical work, powered by the external fluid flow. The mechanical work of the fin coupling modules may be the cyclical extension and contraction of pistons or bellows incorporated into the fin coupling modules, which may draw ambient fluid during their extension cycles and compress fluid during their contraction cycles to create a pump. The pistons or bellows may also be sealed from ambient fluid but connected through conduits through which contained fluid is exchanged in a continuous circulation of fluid to power a pump or a turbine.

運動体連結動力変換装置

NºPublicación:  JP2025536586A 07/11/2025
Solicitante: 
チェ,ミンホ
JP_2025536586_PA

Resumen de: CN120092129A

The invention relates to a moving body connection power conversion device. The present invention for implementing the moving body-connected power conversion device comprises: a moving body having a certain weight so as to be able to flow in multiple directions by the force of an external fluid; a support housing that supports the moving body; a connecting body for connecting the support housing and a moving body to each other; hinge shafts which are configured at a plurality of joint parts provided on the connecting body so as to be capable of articulating; and a power conversion means that is provided on the hinge shaft and converts the power of a moving body.

固定式海上风电与波浪能耦合发电系统

NºPublicación:  CN120906752A 07/11/2025
Solicitante: 
华能广东汕头海上风电有限责任公司中国华能集团清洁能源技术研究院有限公司华能(广东)能源开发有限公司
CN_120906752_PA

Resumen de: CN120906752A

本申请涉及海上风力发电技术领域,尤其是涉及一种固定式海上风电与波浪能耦合发电系统,包括支撑基体、塔管、风电机组、盖板及流体发电装置,塔管安装于支撑基体上;风电机组安装于塔管上;盖板固定于支撑基体的空腔内;空腔的侧壁形成有通水口及通气口,海水经由通水口进入到盖板的下方空间,且内部液面与盖板之间形成气室;流体发电装置安装于盖板,且其与风电机组和电网之间相连接的电缆相连接;通气口通过流体发电装置与气室相连通,当外界水平面随着波浪起伏时,气室的空间会发生变化,使得气室和通气口之间所流通的空气流经流体发电装置,而使得流体发电装置发电。可见,本申请可将波浪能发电和风力发电结合在一起,结构简单,成本低廉。

WAVE ENERGY CONVERSION SYSTEM WITH CAPITULATING BODIES AND NOVEL INSTALLATION

NºPublicación:  AU2024240054A1 06/11/2025
Solicitante: 
IYER NARAYAN R
IYER, Narayan R
AU_2024240054_PA

Resumen de: AU2024240054A1

The invention introduces a wave energy conversion system that utilizes the kinetic energy of water body waves, transforming it into usable energy. The system is innovatively designed with two buoyant bodies that, through their multi-dimensional non-parallel arrangement, form a recess optimized for capturing wave energy from. One of the system's distinctive features is its capacity to passively modify the relative orientation of the buoyant bodies, to become more parallel, in response to large wave forces, which serves to maintain stability under varying sea conditions. Concurrently, the system boasts advancements in the realm of installation and maintenance, presenting a streamlined approach that significantly alleviates the challenges traditionally associated with deploying and upkeeping marine energy converters. These aspects together underscore the system's novel contributions to enhancing the operational efficiency and sustainability of wave energy conversion technology.

FLOATING OFFSHORE STRUCTURE AND FLOATING OFFSHORE POWER GENERATION APPARATUS HAVING SAME

NºPublicación:  US2025341203A1 06/11/2025
Solicitante: 
HYUNDAI HEAVY IND CO LTD [KR]
HYUNDAI HEAVY INDUSTRIES CO., LTD
US_2025341203_PA

Resumen de: US2025341203A1

A floating offshore structure of the present disclosure includes: a plurality of columns; and a plurality of pontoons installed at lower ends of the columns, respectively, wherein a polygonal shape is formed by an imaginary line connecting the columns, the pontoons are installed inside the polygonal shape, a cross-sectional area in a direction parallel to sea level of the pontoons is greater than or equal to the cross-sectional area in the direction parallel to the sea level of the columns, and the pontoons may have a shape protruding outward at the lower ends of the columns.

FLOATING OFFSHORE STRUCTURE AND FLOATING OFFSHORE POWER GENERATION APPARATUS HAVING SAME

NºPublicación:  US2025341202A1 06/11/2025
Solicitante: 
HYUNDAI HEAVY IND CO LTD [KR]
HYUNDAI HEAVY INDUSTRIES CO., LTD
US_2025341202_PA

Resumen de: US2025341202A1

A floating offshore structure of the present disclosure includes: a plurality of columns; and a plurality of pontoons installed at lower ends of the columns, respectively, wherein a polygonal shape is formed by an imaginary line connecting the columns, the pontoons are installed inside the polygonal shape, a cross-sectional area in a direction parallel to sea level of the pontoons is greater than or equal to the cross-sectional area in the direction parallel to the sea level of the columns, and the pontoons may have a shape protruding outward at the lower ends of the columns.

CHEMICAL COLLECTION AND PROCESSING VESSEL AND METHODS FOR FLUID TRANSFER AT SEA

NºPublicación:  US2025340275A1 06/11/2025
Solicitante: 
LONE GULL HOLDINGS LTD [US]
Lone Gull Holdings, Ltd
US_2025340275_PA

Resumen de: US2025340275A1

Embodiments disclosed herein include a vessel for floating and traveling adjacent to an upper surface of a body of water. In an embodiment, the vessel comprises a support structure, a first floatation chamber coupled to the support structure, a second floatation chamber coupled to the support structure, the second floatation chamber laterally spaced apart from and fluidly coupled to the first floatation chamber, and a third floatation chamber coupled to the support structure, the third floatation chamber laterally spaced apart from the first floatation chamber and from the second floatation chamber. In an embodiment, the vessel further comprises a robot system coupled to the support structure, where the robot system comprises an end effector and a nozzle head coupled to the end effector.

SELF-DEPLOYING TETHERED BALLAST SYSTEM FOR A WAVE ENERGY CONVERTER

NºPublicación:  WO2025230892A1 06/11/2025
Solicitante: 
UNIV OF MASSACHUSETTS [US]
UNIVERSITY OF MASSACHUSETTS
WO_2025230892_PA

Resumen de: WO2025230892A1

The present disclosure proposes a unique self-deploying ballast system (18) for a small wave energy converter that will fit within the cylindrical housing (12) of a common Class A- Type sonobuoy (10) creating an integrated system that can be deployed in a conventional manner by aircraft. The present design replaces established "bucket and flaps" designs for a folding umbrella-like design, which utilizes arms (24, 26) which fold out twice to provide maximum possible surface area while still being able to be compactly folded up in order to fit seamlessly into the bottom end of a conventional sonobuoy housing (12).

HORIZONTALLY-ORIENTED CONICAL-HELICAL HYDROKINETIC TURBINE

NºPublicación:  US2025341197A1 06/11/2025
Solicitante: 
HATCH TANK LLC [US]
HATCH TANK LLC
US_2025341197_PA

Resumen de: US2025341197A1

A fully-submerged multi-stage Horizontally-oriented Conical-helical Hydrokinetic Turbine that captures water stream flows (river, tidal, deep ocean currents) and funnels this kinetic-rich concentrated flow into a conical turbine system consisting of a rotating arrangement of helical hydrofoil blades wherein the internal stream is forced to exit out through the frustum turbine blade assembly. With a higher Capacity Factor and Power Coefficient than conventional renewables, this turbine is designed to be an environmentally friendly baseload electricity generator to meet the ever-increasing electricity demands.

Captador flotante de energía marina

NºPublicación:  ES1323874U 05/11/2025
Solicitante: 
CASTILLA VILET JOSE [ES]
CASTILLA VILET, Jos\u00E9

WAVE SWELL ENERGY CAPTURE INFRASTRUCTURE

NºPublicación:  EP4643008A1 05/11/2025
Solicitante: 
HALL JR GEORGE B [US]
Hall Jr., George B
US_2024287959_PA

Resumen de: US2024287959A1

Example methods, apparatuses, and/or articles of manufacture are disclosed herein that may be utilized, in whole or in part, to facilitate and/or support one or more operations and/or techniques for wave swell energy capture infrastructure, such as implemented, in whole or in part, via utilization of an energy conversion apparatus.

도관의 가역적 결합을 위한 방법 및 시스템

NºPublicación:  KR20250158050A 05/11/2025
Solicitante: 
론걸홀딩스엘티디
AU_2024232160_PA

Resumen de: AU2024232160A1

Methods and systems are provided for transient fluidic coupling via reversibly couplable conduits. In one example, a method includes directing a conduit assembly to a receiving port by releasing one or more fluid streams from the conduit assembly. The method may further include fluidly coupling an internal passage of the conduit assembly to the receiving port. The internal passage may extend from the conduit assembly and along a conduit between a pair of free-floating bodies, such as between a wave engine and a tanker ship, so as to exchange one or more fluids, such as an electrolysis reactant and an electrolysis product. The fluidic coupling may be reversible, in that the conduit assembly may be detached from the receiving port to sever the fluidic coupling. In certain examples, the detaching may be actuated by releasing one or more additional fluid streams from the conduit assembly.

FLOATING VARIABLE LEVERAGE PUMP

NºPublicación:  EP4642559A1 05/11/2025
Solicitante: 
BLUEDESAL INC [US]
Bluedesal Inc
CN_120712134_PA

Resumen de: MX2025007477A

Systems and methods for operation and assembly of a floating variable leverage pump are provided. The floating variable leverage pump includes a first floating vessel pivotally coupled to a second floating vessel along an axis. Both the first floating vessel and the second floating vessel are configured to oscillate about the axis. The floating variable leverage pump includes a pump including a first end pivotally coupled to a first fulcrum of the first floating vessel, and a second end pivotally coupled to a second fulcrum of the second floating vessel. The pump is positioned (i) perpendicular to the axis and (ii) in an area between the first floating vessel and the second floating vessel. Displacement of at least one of the first floating vessel or the second floating vessel causes actuation of the pump.

一种自适应波向的双向波浪能高效转换装置

NºPublicación:  CN120889696A 04/11/2025
Solicitante: 
西南科技大学
CN_120889696_A

Resumen de: CN120889696A

本发明解决传统波浪能装置转换效率低的问题,提供一种自适应波浪能转换装置。该装置由能量转换系统、俘能系统和搭载平台组成;其中,搭载平台所包含的支撑平台在鱼鳍尾翼驱动下随波向自转动,使波浪板正交横向波浪;俘能系统下的球形浮子捕获纵向波浪能,波浪板捕获横向波浪能;能量转换系统下的创新液压模块采用弹珠点接触加双级滑动密封圈降低摩擦损耗,摩擦阻力可降低39.3%,并引入预压弹簧实现波谷阶段压缩储能,波峰阶段释放弹力增加冲程。通过弹簧增加冲程和自适应机构,能量转换效率提升20%以上,适用于低密度波浪环境。

一种三体波浪能动力艇

NºPublicación:  CN223508462U 04/11/2025
Solicitante: 
首船(福建)科技发展有限公司

Resumen de: CN223508462U

本实用新型提供的一种三体波浪能动力艇,包括主船体、侧船体、下甲板、气动推进器、海浪能采集机构以及发电机构,主船体上安装有下甲板,侧船体设置有两组,呈左右对称设置在下甲板底部,气动推进器安装在侧船体的尾部,海浪能采集机构设置有多组,布设在主船体的两侧侧壁上,海浪能采集机构用于将海浪能转化为高压气体,海浪能采集机构采集的高压气体用于发电机构以及气动推进器供能;三船体的设置能够使得水流从主船体和侧船体间的间隙向后流出,既能够减少主船体船头收到的水的阻力,同时能够作用在海浪能采集机构中,通过海浪能采集机构将采集的海浪能转化为高压气体,同时为发电机构以及气动推进器功能,能够最大程度上对海浪能进行利用。

抗盐雾腐蚀的港口钢混组合防波堤结构及施工方法

NºPublicación:  CN120889231A 04/11/2025
Solicitante: 
江苏筑港建设集团有限公司
CN_120889231_A

Resumen de: CN120889231A

本发明公开抗盐雾腐蚀的港口钢混组合防波堤结构及施工方法,涉及防波堤技术领域。该抗盐雾腐蚀的港口钢混组合防波堤结构包括斜坡基础结构、钢混组合直立墙、电化学保护单元、防波区、第一消浪发电单元和第二消浪发电单元,内部预埋有第一耐候钢骨架,钢混组合直立墙内部预埋有第二耐候钢骨架。该抗盐雾腐蚀的港口钢混组合防波堤结构将耐候钢‑混凝土组合结构、实时阴极保护监控与波浪能发电集成于一体,在提高防波堤抗盐雾腐蚀寿命的同时,还通过防波区和两种消浪发电单元结合,多形式组合降低波浪强度,把波浪能转化为电力。

一种波浪能驱动的海岸带漂浮垃圾自动收集装置

NºPublicación:  CN120889250A 04/11/2025
Solicitante: 
海南省海洋地质调查院

Resumen de: CN120889250A

本发明公开了一种波浪能驱动的海岸带漂浮垃圾自动收集装置,涉及海岸带漂浮垃圾收集技术领域,包括收集桶、大滤网孔、小滤网孔和内置盘,所述收集桶的中部设置有外滤网架,且外滤网架的中部安装有内滤网架,所述小滤网孔环形开设于内滤网架的内部,所述大滤网孔环形开设于外滤网架的内部,所述外滤网架的内侧滑动安装有辅助桶。该波浪能驱动的海岸带漂浮垃圾自动收集装置,通过辅助组件的设计,能够对重力作用转送至收集框内部的漂浮物进行挤压处理,通过挤压能够对漂浮物中携带的海水进行挤出的同时还能够对漂浮物进行压缩,挤压之后的水能够从带有排水孔的盖板排出,不仅便于使用者进行收集,还能够节省收集框内部的占用空间。

一种波浪能发电与海水淡化一站式系统

NºPublicación:  CN120889697A 04/11/2025
Solicitante: 
广东海洋大学
CN_120231684_PA

Resumen de: CN120231684A

The invention discloses a wave power generation and sea water desalination one-stop system which is characterized in that a wave power generation device, a supercharging device, a hydraulic energy storage and release device and a sea water desalination device are sequentially connected, and the functions of wave power generation, sea water supercharging, hydraulic energy storage and sea water desalination are integrated into the same system, so that multifunctional one-stop utilization is realized; the technical problem of low seawater resource utilization efficiency caused by lack of joint coordination ability among existing seawater resource utilization devices is solved.

一种适用抽水蓄能电站的水库无效蒸发生态化抑制装置

NºPublicación:  CN223510336U 04/11/2025
Solicitante: 
国网新源集团有限公司国网新源控股有限公司西北开发建设分公司
CN_223510336_U

Resumen de: CN223510336U

本实用新型公开了一种适用抽水蓄能电站的水库无效蒸发生态化抑制装置,包括漂浮单元,漂浮单元设置有多个,多个所述漂浮单元相互连接漂浮并覆盖于水库水面上;光伏板,每个所述漂浮单元上方均安装有光伏板;浮球,所述浮球漂浮于水库水面上,并且浮球置于多个所述漂浮单元之间缝隙处。本实用新型采用太阳能光伏板铺设在水库水面上来防止太阳直射水面,减少水面蒸发量,降低水库水面蒸发,延库岸周边及局部光伏板缝隙采用橡胶球浮在水面上,进一步遮挡太阳直射光,减少水米那蒸发量,不仅可以克服以往方法的不足,还可以产生巨大的经济和社会效益。

一种深海热液发电装置

NºPublicación:  CN120896474A 04/11/2025
Solicitante: 
上海海洋大学
CN_120896474_PA

Resumen de: CN120896474A

本发明公开了一种深海热液发电装置,包括热液喷口,提供高温热液作为能量源;基于热液喷口提供持续向上的热面温度场;滞留罩,设置于热液喷口上方形成滞留空间,用于容纳喷发热液,以延长热液滞留时间和扩大热影响范围;所述滞留罩包括罩体、镶嵌在罩体上的热电模块;其中:热电模块包括2个接触面,分别为热面和冷面,热面朝向热液喷口的热液、冷面接触深海海水,通过温差驱动产生电能;电压转换模块,电连接各热电模块,用于集中处理热电模块产生的电能并输出稳定电压,电压转换模块通过电缆连接至数据采集终端,用于实现对热液喷口区域的原位观测数据采集及存储。

SELF-CONTAINED HIGH-ENERGY-DENSITY COMPUTING SYSTEMS, AND METHODS OF USE

NºPublicación:  MX2025011803A 03/11/2025
Solicitante: 
OCEANBIT INC [US]
OCEANBIT INC
AU_2024252001_PA

Resumen de: MX2025011803A

Self-contained blockchain mining and high-energy-density computing systems have a low temperature heat engine (LTHE) with a working fluid loop extended between a heat source and a heat sink; a biockchain mining device connected to receive electricity generated from the LTHE; a heat exchanger on the working fluid loop; and a coolant loop extended between the blockchain mining device and the working fluid loop (heat exchanger). A self-contained high-energy-density computing data center (HEDC) system is disclosed comprising: a low temperature heat engine (LTHE) with a working fluid loop extended between a heat source and a heat sink; an HEDC device connected to receive electricity generated from the LTHE; a heat exchanger on the working fluid loop; and a coolant loop extended between the HEDC device and the working fluid loop (heat exchanger). A method is also disclosed comprising: generating electricity using a low temperature heat engine (LTHE); operating an HEDC device, using electricity generated by the LTHE, to carry put computer processes; and cooling the HEDC device by heat exchange with working fluid of the LTHE.

Harvesting energy from wave motion

NºPublicación:  IL312162A 01/11/2025
Solicitante: 
SWE [IL]
SWE
IL_312162_A

Resumen de: WO2025219996A1

An energy harvesting system for converting wave motion into mechanical energy, the system including a plurality of floating modules configured to float on a body of water, at least one side of a first floating module includes a unidirectional engagement mechanism configured to interact with a rotational mechanism included in a side of a second, neighboring floating module to produce rotational motion of a pulley in the second floating module, wherein the unidirectional engagement mechanism of the first floating module and the rotational mechanism of the second floating module are arranged so that vertical relative motion between the first floating module and the second floating module causes rotation of the rotational mechanism of the second floating module, thereby converting the vertical motion into mechanical energy of rotation. Related apparatus and methods are also described.

POWER AMPLIFICATION, STORAGE AND REGENERATION SYSTEM AND METHOD USING TIDES, WAVES AND/OR WIND

NºPublicación:  CA3262507A1 31/10/2025
Solicitante: 
MATHERS HYDRAULICS TECH PTY LTD [AU]
MATHERS HYDRAULICS TECHNOLOGIES PTY LTD
AU_2025200643_A1

Resumen de: AU2025200643A1

Methods, systems and apparatuses including systems and methods that can be used for operating a water turbine in combination with a system including a plurality of tidal estuaries and flow channels created by human activity for power generation and further including plurality of man-made dams communicating with at least some of the tidal estuaries and the flow channels. Methods, systems and apparatuses including systems and methods that can be used for operating a water turbine in combination with a system including a plurality of tidal estuaries and flow channels created by human activity for power generation and further including plurality of man-made dams communicating with at least some of the tidal estuaries and the flow channels. an a n e t h o d s , s y s t e m s a n d a p p a r a t u s e s i n c l u d i n g s y s t e m s a n d m e t h o d s t h a t c a n b e u s e d f o r o p e r a t i n g a w a t e r t u r b i n e i n c o m b i n a t i o n w i t h a s y s t e m i n c l u d i n g a p l u r a l i t y o f t i d a l e s t u a r i e s a n d f l o w c h a n n e l s c r e a t e d b y h u m a n a c t i v i t y f o r p o w e r g e n e r a t i o n a n d f u r t h e r i n c l u d i n g p l u r a l i t y o f m a n - m a d e d a m s c o m m u n i c a t i n g w i t h a t l e a s t s o m e o f t h e t i d a l e s t u a r i e s a n d t h e f l o w c h a n n e l s ,1 ,1 ,1 13,18A of & d 17,17A 18C 18B,19 an a n , + + + , ,

一种浮式波浪能发电装置

NºPublicación:  CN120867936A 31/10/2025
Solicitante: 
湖南科技大学三亚研究院
CN_120867936_PA

Resumen de: CN120867936A

本发明涉及波浪发电技术领域,尤其涉及一种浮式波浪能发电装置,包括能量捕获系统、发电系统和转向系统;波浪聚能整流罩通过倒置喇叭形结构在波峰时聚集波浪形成向上加速水流并挤压空气,形成有序上升气流,配合顶部的倒立锥形的空气聚能整流罩,形成向上加速气流;在波谷时形成向下水流,同时在装置内部产生局部负压,配合顶部的空气聚能整流罩,形成有序向下的气流;第一沉井式气流/水流发电机利用双向气流或水流驱动发电,第二沉井式气流/水流发电机在另一侧气流通道内由双向气流驱动发电;转向系统的偏航轴承与风叶共同驱动第二发电机导管随风向偏转以优化气流方向,加速气流或水流流动。该装置能实现波浪能的高效转换与稳定电能输出。

一种海水直接冷却的温差发电核动力潜航器

NºPublicación:  CN120863845A 31/10/2025
Solicitante: 
哈尔滨工程大学
CN_120863845_PA

Resumen de: CN120863845A

本发明属于核能开发和高效能量转换技术领域,尤其涉及一种海水直接冷却的温差发电核动力潜航器,包括:金属壳体,内部设置有堆芯;传热组件,蒸发段设置在堆芯内;热电转换组件,与传热组件的冷凝段连接,热电转换组件用于将传热组件传递的热能转换为电能并储存在电能管理系统中;散热组件,设置在金属壳体上,热电转换组件设置在散热组件内部,散热组件通过与外界的海水对流换热来对热电转换组件进行冷却。本发明利用流动的海水直接冷却温差热电转换装置,温差发电装置阵列在无需任何旋转机械的情况下持续输出电能。整个能量转换链路无阀门启闭、无旋转部件,显著降低了装置的可探测性,可为隐蔽航行提供了可靠的能源保障。

一种基于耦合梁结构的波浪能收集装置

NºPublicación:  CN120867937A 31/10/2025
Solicitante: 
赵兴庄
CN_120867937_PA

Resumen de: CN120867937A

本发明涉及波浪能收集技术领域,尤其涉及一种基于耦合梁结构的波浪能收集装置。该装置由外壳、支撑系统和耦合梁系统组成,耦合梁系统包括内梁子系统、外梁子系统及耦合弹簧。当装置漂浮在水面上时,波浪作用使外壳产生浮动和摆动,激励内外梁异步振动,外梁磁体与内梁线圈产生相对运动,在线圈中产生感应电动势并输出电能,实现波浪能向电能的转换。装置具有低频宽频带响应特性,磁体与线圈采用非接触式布置,无机械传动损耗,且无活动部件直接与水接触,可靠性高。该装置可单机使用,也可通过点状、线状或面状阵列部署,适用于不同规模的海洋波浪能收集。

海浪发电柔性网箱

NºPublicación:  CN120858916A 31/10/2025
Solicitante: 
海南艾锐奥科技有限公司
CN_120858916_PA

Resumen de: CN120858916A

本发明提供了一种海浪发电柔性网箱,涉及深远海养殖技术领域,具体包括箱中浮架、发电组件和浮架组件,箱中浮架和浮架组件连接构成水滴形外轮廓,水流能够更顺畅地绕流,减少涡流和阻力峰值,从而有效降低水流载荷,在经受波浪冲击时,可通过铰接点进行摆动,从而卸载波浪负荷,箱中浮架和浮架组件之间相对转动,带动发电机的驱动端转动,将波浪机械能转化为电能,实现自供电或储能,提升能源自给能力,且发电机在转动过程中还能够提供阻尼力,吸收并分散了波浪冲击能量,避免结构局部应力集中,从而延长海浪发电网箱的寿命,进而提升了在恶劣海况下的适应性,还能够将波浪机械能转化为电能,对风浪的抵抗效果优异,造价低廉。

一种自供能海洋垂直生态养殖系统及方法

NºPublicación:  CN120858906A 31/10/2025
Solicitante: 
东莞理工学院
CN_120858906_PA

Resumen de: CN120858906A

本发明提供了一种自供能海洋垂直生态养殖系统,包括圆形的养殖仓,养殖仓具有多个沿竖直方向设置的多个养殖层,养殖仓具有多个支撑杆,多个支撑杆相对于养殖仓等角度的设置,在每个养殖层的底部设置有圆弧形的连接杆,所述养殖系统还包括设置于每个支撑杆顶端的发电装置,发电装置包括固定在养殖层的FRP型材上的发电机和设置于发电机的转轴上的叶轮,叶轮位于所述支撑杆内,每个支撑杆的在靠近下部的位置处设置有多个第一通孔以便于海水能够进入到支撑杆内,同时在最上方的一组连接杆的至少部分上设置有第二通孔;当支撑杆内的海水高度发生变化时,支撑杆上端的气体的流动能够带动叶轮的转动进而实现发电。

基于多发电场景耦合的多自由度波浪能发电装置

NºPublicación:  CN120867938A 31/10/2025
Solicitante: 
中国电建集团贵阳勘测设计研究院有限公司
CN_120867938_PA

Resumen de: CN120867938A

本发明公开了基于多发电场景耦合的多自由度波浪能发电装置,涉及波浪能发电技术领域,本申请通过海浪产生的扭力,从而对转动盘施加压力带动内部齿轮机械发电机进行发电,此外,通过海水平面上下起伏或海浪冲击力使得传动箱摇摆从而带动机箱和传动箱之间设置的调节组件运动,带动与发电机相连接的传动轴和传动轮转动,从而实现发电,通过上述过程,本装置实现了至少两个发电场景耦合(洋流的推力、海浪冲击力、海水平面起伏高度差)、上下段不同自由度(不同平面利用波浪能)、不同维度(海浪的作用方向)地利用波浪能发电,且这些发电模式相互耦合又彼此独立互不影响,可以根据海洋情况独立发电也能相互叠加,使得发电效率得到了大幅提高。

Pneumatic energy storage wave power generation apparatus

NºPublicación:  KR20250155862A 31/10/2025
Solicitante: 
김기선김정숙

Resumen de: KR20250155862A

본 발명은 공압에너지 저장 파력 발전장치에 관한 것으로서, 더욱 상세하게는 수면에 떠있는 부유탱크가 파도의 상하 운동에 의해 승강되는 압축실린더를 작동시킬 수 있고, 상기 압축실린더에 의해 압축되는 공기가 고압의 압축 공기로 변환되어 저장할 수 있는 공압에너지 저장 파력 발전장치에 관한 것이다. 본 발명의 일 실시 예에 따른 공압에너지 저장 파력 발전장치는 파도의 상하운동 에너지를 이용해서 동력을 얻는 파력 발전장치에 있어서, 메인프레임과, 상기 메인프레임 높이방향으로 부유롤러를 따라 승강(昇降)되는 부유탱크와, 상기 부유탱크와 이격되게 배치되는 균형부재와, 일측이 상기 부유탱크에 연결되고 타측이 상기 균형부재에 연결되되 상기 메인프레임에 고정된 복수의 도르래를 따라 움직이는 링크부, 및 상기 메인프레임에 일측이 고정되되 상기 도르래의 회동에 따라 타측이 피스톤이 승강되는 압축실린더를 포함하고, 상기 압축실린더에 의해 압축되는 공기가 상기 부유탱크에 저장되어 공압에너지를 생성할 수 있다.

一种含波浪能发电功能的半潜式海洋平台

NºPublicación:  CN223494724U 31/10/2025
Solicitante: 
中国石油化工股份有限公司中国石油化工股份有限公司胜利油田分公司
CN_223494724_U

Resumen de: CN223494724U

本实用新型涉及半潜式海洋平台和波浪能发电技术领域,提出一种含波浪能发电功能的半潜式海洋平台,包括半潜式海洋平台,所述半潜式海洋平台设有立柱,所述立柱上设有轴向滑动配合的浮体,所述浮体与半潜式海洋平台之间连接有液缸总成,所述液缸总成的入油口和出油口设置为一个油口,所述油口通过单向液压管路分别与液压能量转换系统和液压油箱连通;本实用新型实现了利用清洁的波浪能为海洋平台供电,减少了海洋平台由于利用化石能源供给而产生的环境污染问,并节约了能源利用成本。

一种水路航道界限标

NºPublicación:  CN223494718U 31/10/2025
Solicitante: 
湖北长泽船舶重工有限公司
CN_223494718_U

Resumen de: CN223494718U

本实用新型涉及一种水路航道界限标,包括浮架、支撑筒及发电件,浮架设有主支块,主支块上连接有至少一个副支块;支撑筒连接于主支块上;发电件包括浮力驱动件、牵引绳及发电机,浮力驱动件转动连接在副支块上;牵引绳一端与浮力驱动件连接;发电机连接于支撑筒内,且牵引绳另一端与发电机连接。本申请的技术方案有益技术效果:将本装置放置在水中,浮架浮在水面上。当水面存在波浪时,浮力驱动件运动,从而带动牵引绳移动,牵引绳带动发电机发电。因此,本装置在无阳光照射的情况下,能在波浪的带动下进行发电。有效解决了现有技术容易在连续出现无阳光照射的情况下,很容易出现电量不足,导致指示灯不亮的问题。

一种双稳态折纸仿海蟒波浪能发电装置

NºPublicación:  CN223498035U 31/10/2025
Solicitante: 
湖南大学江苏省无锡交通高等职业技术学校
CN_223498035_U

Resumen de: CN223498035U

本实用新型公开了一种双稳态折纸仿海蟒波浪能发电装置,包括锚定部,所述锚定部包括浮漂;装置头部,所述装置头部与锚定部通过锚定线相连;储能部,所述储能部一端与装置头部相连;身体部,所述身体部一端与储能部的另一端相连;其中,身体部由多节Kresling折纸结构串联组成,所述折纸结构上设有摩擦纳米发电装置。具有可增大摩擦纳米发电装置不同两摩擦层的有效接触面积,有效解决将不稳定的波浪能转换为稳定输出的电能的问题,提高发电效率的优点。

一种船载摆动发电系统

Nº publicación: CN120867939A 31/10/2025

Solicitante:

中国科学院广州能源研究所

CN_120867939_PA

Resumen de: CN120867939A

本发明涉及船舶工程技术领域,尤其涉及一种船载摆式发电系统。在本发明中,当船舶未航行时,处于初始状态,此时摆杆呈垂直状态,永磁体位于轨道的最低位置;当船舶在航行时,受波浪作用整船产生沿浪方向的摇摆。轨道与船舶一起做摇摆运动,永磁体偏离了垂直方向。在重力的作用下,永磁体回归至新的铅垂方向的位置。在这个过程中,永磁体与轨道之间的相对位置发生了变化。线圈切割永磁体的磁力线,线圈内部产生了电流,实现了发电的效果。本发明利用船舶自身摇摆驱动摆杆摆动,以实现发电的效果,满足船舶用电需求、减少对环境的污染以及有效利用船舶运动中的能量,充分利用船舶航行中在波浪作用下产生的机械能,将其转化为电能。

traducir