Resumen de: WO2024133627A2
An energy generation system (1) comprises: a catalytic burner (40) for producing heat energy; an insulated vessel (32), wherein the insulated vessel (32) surrounds the catalytic burner (40); and a fuel cell, wherein waste heat from the fuel cell can be provided to the catalytic burner (40) and/or to the insulated vessel (32); wherein the catalytic burner (40) includes a catalytic coil comprising a coil-shaped fluid flow path for flow of a fuel mixture and a catalytic surface extending along at least a part of the coil-shaped fluid flow path.
Resumen de: AU2023413829A1
A gasket arrangement (G) for sealing between two corrugated heat transfer plates (5) is provided. The gasket arrangement (G) comprises an annular field gasket part (41) enclosing a field gasket area (A1), and a plurality of annular ring gasket parts (47c, 47d, 47e, 47f) arranged outside said field gasket area (A1). Each of said plurality of annular ring gasket parts (47c, 47d, 47e, 47f) encloses a ring gasket area (A2) which is smaller than the field gasket area (A1) and extends in a central extension plane (p2) of the ring gasket parts (47c, 47d, 47e, 47f). A third and a fourth ring gasket part (47c, 47d) of said plurality of annular ring gasket parts (47c, 47d, 47e, 47f) are arranged on opposite sides of a transverse center axis (T1) of the field gasket area (A1). The gasket arrangement (G) is characterized in that a fifth ring gasket part (47e) of said plurality of annular ring gasket parts (47c, 47d, 47e, 47f) is arranged on the same side of the transverse center axis (T1) as the third ring gasket part (47c). Further, the third and fifth ring gasket parts (47c, 47e) are arranged on opposite sides of a longitudinal center axis (L1) of the field gasket area (A1). Further, the longitudinal center axis (L1) of the field gasket area (A1) extends through 1 of said plurality of annular ring gasket parts (47c, 47d, 47e, 47f).
Resumen de: AU2023413832A1
A sealing arrangement (S1, S2) for sealing between two corrugated heat transfer plates (5, 90, 92) is provided. It comprises an annular outer field gasket part (86) enclosing an outer field gasket area (AO), and a plurality of annular ring gasket parts (49) arranged outside the outer field gasket area (AO). A first, a third and a fifth ring gasket part (49a, 49c, 49e) of said plurality of ring gasket parts (49) are arranged on one side of a transverse center axis (TA) of the outer field gasket area (AO). A second and a fourth ring gasket part (49b, 49d) of said plurality of ring gasket parts (49) are arranged on the other side of the transverse center axis (TA). The third and fifth ring gasket parts (49c, 49e) are arranged on opposite sides of a longitudinal center axis (LA) of said outer field gasket area (AO). The sealing arrangement (S1, S2) further comprises a separation means (6) extending within, and closing, the outer field gasket area (AO). The separation means (6) includes a membrane (45).
Resumen de: CN120500557A
A corrugated heat transfer plate (5, 90, 92). It has opposite front and rear sides (7, 9) and comprises a first end (11), a central portion (13) and a second end (15). It further comprises first and third port apertures (17, 19) arranged in the first end (11), second and fourth port apertures (27, 29) arranged in the second end (15), and a heat transfer region (4) comprising alternately arranged elongated ridges (6) and valleys (8) and arranged in the central portion (13). An outer front field gasket groove (36) extends on the front side (7) and surrounds the heat transfer region (4), and a rear field sealing region (40) extends on the rear side (9) and surrounds the heat transfer region (4). The heat transfer plate (5, 90, 92) is characterized in that it further comprises a fifth port hole (21) arranged in the first end (11), a first transfer hole (25) arranged in the first half (h1) of the heat transfer plate (5, 90, 92) and a second transfer hole (35) arranged in the second half (h2) of the heat transfer plate (5, 90, 92). The first and second transfer holes (25, 35) are arranged within the outer front-field gasket groove (36) and outside the back-field sealing region (40). The first and second port apertures (17, 27) are arranged within the backfield sealing region (40), the third, fourth and fifth port apertures (19, 29, 21) are arranged outside the backfield sealing region (40), and the first, second, third, fourth and fifth port apertures (17, 27, 19, 29, 21) are arran
Resumen de: CN120390828A
A device (1, 2), a method for electrolysis and the use of the device to carry out electrolysis are provided. The device (1, 2) comprises a heat transfer plate (5) defining a first gap (I1) and a second gap (I2) arranged alternately and a first flow channel (C1) and a second flow channel (C2) within these. A first fluid path (P1) for conveying a first fluid through the device (1, 2) extends through the first flow channel (C1). The device is characterized in that a diaphragm (45) is arranged in the second flow channel (C2) so as to divide them into a second primary sub-channel (C2P) and a second secondary sub-channel (C2S). Furthermore, a second fluid path (P2) for conveying a second fluid through the device (1, 2) comprises a second primary fluid path (P2p) and a second secondary fluid path (P2s). The second primary fluid path (P2p) extends into and out of the second primary sub-channel (C2P) via a first gap (I1) outside the first flow channel (C1). The second secondary fluid path (P2s) extends into and out of the second secondary sub-channel (C2S) via a first gap (I1) outside the first flow channel (C1).
Resumen de: CN120435439A
The present invention relates to a novel coated graphite particle material comprising graphite particles coated with an amorphous carbon layer wherein the coated graphite particle material is characterized by a D50 of a particle size distribution (PSD) of at least about 20 mu m, a BET specific surface area (BET SSA) of less than about 3.0 m2/g, and a crystallographic Lc value of at least about 210 nm. The invention also provides a method for manufacturing the coated graphite particulate material, and a polymer composite composition comprising the coated graphite particulate material. The invention further relates to a bipolar plate comprising said coated graphite particulate material and a downstream product, such as a fuel cell, comprising such a bipolar plate.
Resumen de: WO2024133419A1
A power balancing system and process is provided, in which an air separation unit (ASU) outputs a nitrogen-rich stream, a first electrolysis unit outputs a hydrogen rich-stream, and said nitrogen-rich stream and hydrogen rich-steam is converted in an ammonia synthesis unit to a first ammonia-rich stream. When additional electrical power is required, ammonia from the ammonia storage unit can be converted in an ammonia fuel cell and thereby result in power generation. The system and process allow excess electrical power to be converted into and stored as ammonia during periods of low energy demand, and used to generate electrical power when the energy demand is higher.
Resumen de: WO2024084104A1
The present invention pertains to a process to manufacture an electro-catalyzed ion exchange membrane, wherein electro catalytic particles are anchored on and/or below the 1st and/or 2nd surface of said membrane without pressing. The membrane may be flat- or hollow fiber-shaped. For the hollow fiber-shaped embodiment a spinning and electro-catalyzing nozzle is presented which allows production of a hollow fiber-shaped electro-catalyzed ion exchange membrane mono- or multifilament exhibiting electro catalytic particles anchored on and/or below the lumen and shell surfaces of said filaments. And the present invention pertains to a device to convert electrical energy into chemical energy or vice versa, like an electrolyzer, a fuel cell, a unitized reversible fuel cell, or a redox flow battery, comprising one or more flat- or hollow fiber shaped electro-catalyzed ion exchange membranes.
Resumen de: CN120418034A
The invention relates to a method for manufacturing a double-layer sheet (1) comprising channels (2) forming at least one fluid circulation network or circuit, the method mainly comprising: a first step of providing two flat aluminum sheets (3 and 3 '); a subsequent step of joining the two flat aluminum sheets (3 and 3 ') together by laser welding to form the double-layer sheet (1) according to a linear pattern (4) following the pattern of the circulating channel (2); and a final step of forming the circulation channel (2) by injecting a pressurized liquid or gaseous fluid (LP) between the two sheets (3 and 3 '). The method is characterized in that it further comprises a step of leveling or flattening the plate (1) consisting of two plates (3 and 3 ') joined by laser welding, before the step of forming the circulation channel (2) by pressure deformation.
Resumen de: CN120418034A
The invention relates to a method for manufacturing a double-layer sheet (1) comprising channels (2) forming at least one fluid circulation network or circuit, the method mainly comprising: a first step of providing two flat aluminum sheets (3 and 3 '); a subsequent step of joining the two flat aluminum sheets (3 and 3 ') together by laser welding to form the double-layer sheet (1) according to a linear pattern (4) following the pattern of the circulating channel (2); and a final step of forming the circulation channel (2) by injecting a pressurized liquid or gaseous fluid (LP) between the two sheets (3 and 3 '). The method is characterized in that it further comprises a step of leveling or flattening the plate (1) consisting of two plates (3 and 3 ') joined by laser welding, before the step of forming the circulation channel (2) by pressure deformation.
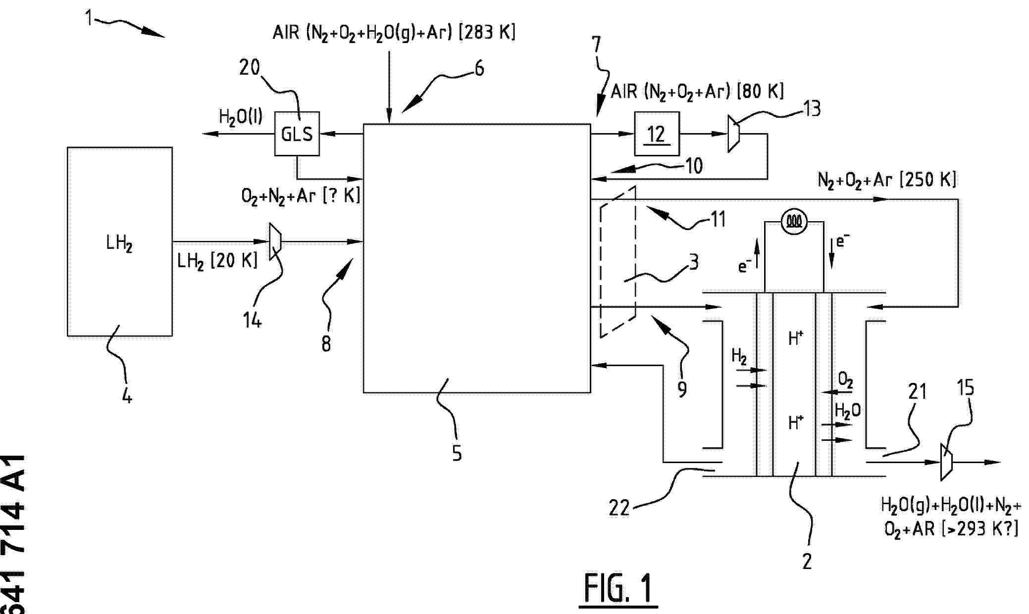
Resumen de: EP4641714A1
The invention relates to a fuel cell system for increasing the efficiency of a fuel cell and auxiliary devices. The system uses a cryogenic fuel to increase the density of an incoming stream of air. The denser stream can be pumped or compressed more efficiently in the denser state. Density is increased using a heat exchange system. It is proposed to condense the stream of air, and optionally to perform cryogenic separation. The invention also relates to method applying these steps.
Resumen de: CN120390673A
The invention relates to a catalyst body in the form of a substrate monolith, and to a device for reforming, in particular adiabatic reforming, hydrocarbons, in particular methane from natural gas. The catalyst body contains a noble metal and a support oxide for the noble metal. A method for producing the catalyst and the use of the catalyst for producing hydrogen are also claimed. The noble metal is selected from platinum, palladium and rhodium, and the molar ratio M1/M2 at the inlet region of the substrate monolith is higher than the molar ratio M1/M2 at the other end, where M1 is Pt and/or Pd, and M2 is Rh.
Resumen de: CN120390673A
The invention relates to a catalyst body in the form of a substrate monolith, and to a device for reforming, in particular adiabatic reforming, hydrocarbons, in particular methane from natural gas. The catalyst body contains a noble metal and a support oxide for the noble metal. A method for producing the catalyst and the use of the catalyst for producing hydrogen are also claimed. The noble metal is selected from platinum, palladium and rhodium, and the molar ratio M1/M2 at the inlet region of the substrate monolith is higher than the molar ratio M1/M2 at the other end, where M1 is Pt and/or Pd, and M2 is Rh.
Resumen de: CN120359134A
A thermal system (70) for a motor vehicle (100) equipped with an electric motor (20) and an internal combustion engine (10), characterized in that the thermal system comprises a fuel cell (30) capable of powering the electric motor (20), an after-treatment system (60) for the exhaust gases of the combustion engine (10), and a circuit (71) comprising a first set of lines (101), the first set of lines (101) is arranged to enable a first circulation of a heat transfer fluid from the fuel cell (30) to the aftertreatment system (60).
Resumen de: CN120476486A
A solid oxide cell stack has a combined flow distributor and contact enabler made of a pressed metal foil with diversion structures and contact regions between interconnect layers and cell layers in the stack.
Resumen de: CN120476486A
A solid oxide cell stack has a combined flow distributor and contact enabler made of a pressed metal foil with diversion structures and contact regions between interconnect layers and cell layers in the stack.
Resumen de: CN120380626A
The invention relates to a method for ascertaining information about a fuel cell stack (100) of a vehicle (200) after switching off. The method comprises, as a step, identifying (320) a turn-off command and, as a step, closing (341) the cathode gas input valve and closing (342) the cathode gas output valve in order to fluidically block the cathode region (K). Furthermore, the method comprises, as a step, applying (360) an electrical load device (230) to the fuel cell stack (100) until a predefined target voltage is detected (370), and comprises, as a step, closing (381) the anode gas inlet valve and closing (382) the anode gas outlet valve in order to fluidically block the anode region (A). Furthermore, the method comprises, as one step, applying (400) an electrical measurement signal to the fuel cell stack (100), and comprises, as another step, detecting (420) a signal response. Furthermore, the method comprises, as a step, ascertaining (440) information at least about at least one stack portion of a fuel cell stack (100) of the fuel cell system (210) on the basis of the applied measurement signal and the detected signal response.
Resumen de: CN120344419A
The invention relates to a method for managing a hybrid drive train of a hydrogen motor vehicle, comprising an internal combustion engine (2), a fuel cell (3), a hydrogen storage tank (14) and a line C1 connecting an air outlet (10) of the fuel cell (3) to an air inlet (12) of the internal combustion engine (2), the line having a shut-off valve V1, the method comprises the following steps: a) controlling the shutdown of the fuel cell (3); b) shutting down the internal combustion engine (2); c) opening the shut-off valve V1 when the fuel cell (3) and the internal combustion engine (2) are shut down; and d) operating the internal combustion engine (2) without injecting hydrogen from the tank (14) in order to draw the fluid present in the fuel cell (3) into the internal combustion engine (2) via the line C1.
Resumen de: EP4641715A1
L'invention concerne un module d'alimentation en air comportant un boîtier qui comporte un orifice d'entrée et un orifice de sortie et dans lequel s'écoule un flux d'air. Selon l'invention, le module comporte, logés dans le boîtier, un premier filtre et un premier échangeur thermique qui sont en communication fluidique directement l'un avec l'autre.La mise en œuvre d'un tel module d'alimentation en air permet de s'affranchir de l'utilisation de tuyaux de raccordement entre les éléments du module. Ceci permet de diminuer le volume (et donc l'encombrement) ainsi que le poids du module de sorte à faciliter son intégration au sein d'un système de production d'énergie électrique comportant une pile à combustible. Ceci est également avantageux lorsque le module doit être embarqué dans un aéronef.
Resumen de: CN120345084A
The invention relates to a gas management system (1) in a hydrogen hybrid vehicle, comprising an electric motor (2) and a hydrogen internal combustion heat engine (3), a fuel cell (4) supplying electric power to the electric motor (2), a hydrogen tank (5) supplying hydrogen to the cell (4) and the heat engine (3), an aftertreatment device (6) adapted to treat exhaust gases at the outlet of the heat engine (3), the system comprises gas flow management means (16, 17, 18, 19) capable of selectively transferring a flow of gas from the fuel cell (4) to the aftertreatment device (6) and/or to the heat engine (3), and/or from the hydrogen tank (5) to the fuel cell (4) and/or to the heat engine (3), and an electronic controller (15) capable of selectively transferring a flow of gas from the fuel cell (4) to the aftertreatment device (6) and/or to the heat engine (3). The electronic controller is configured to be able to control the gas flow management means (16, 17, 18, 19) as a function of the temperature of the first and/or second gas flow emitted at the outlet of the fuel cell (4).
Resumen de: CN120418526A
The invention relates to a power train (1, 100) operated with hydrogen, said power train (1, 100) comprising a hydrogen tank (2), an internal combustion engine (5) supplied with hydrogen by said hydrogen tank, and an electric motor (6) operated by a fuel cell (3) supplied with hydrogen from the hydrogen tank (2). According to the invention, the power train (100) comprises an air circulation connection circuit (101) provided with opening/closing means (102) and connecting the air outlet of the fuel cell (3) to the air inlet (103) of the internal combustion engine (5) to allow oxygen-depleted air from the fuel cell (3) to supply the internal combustion engine (3).
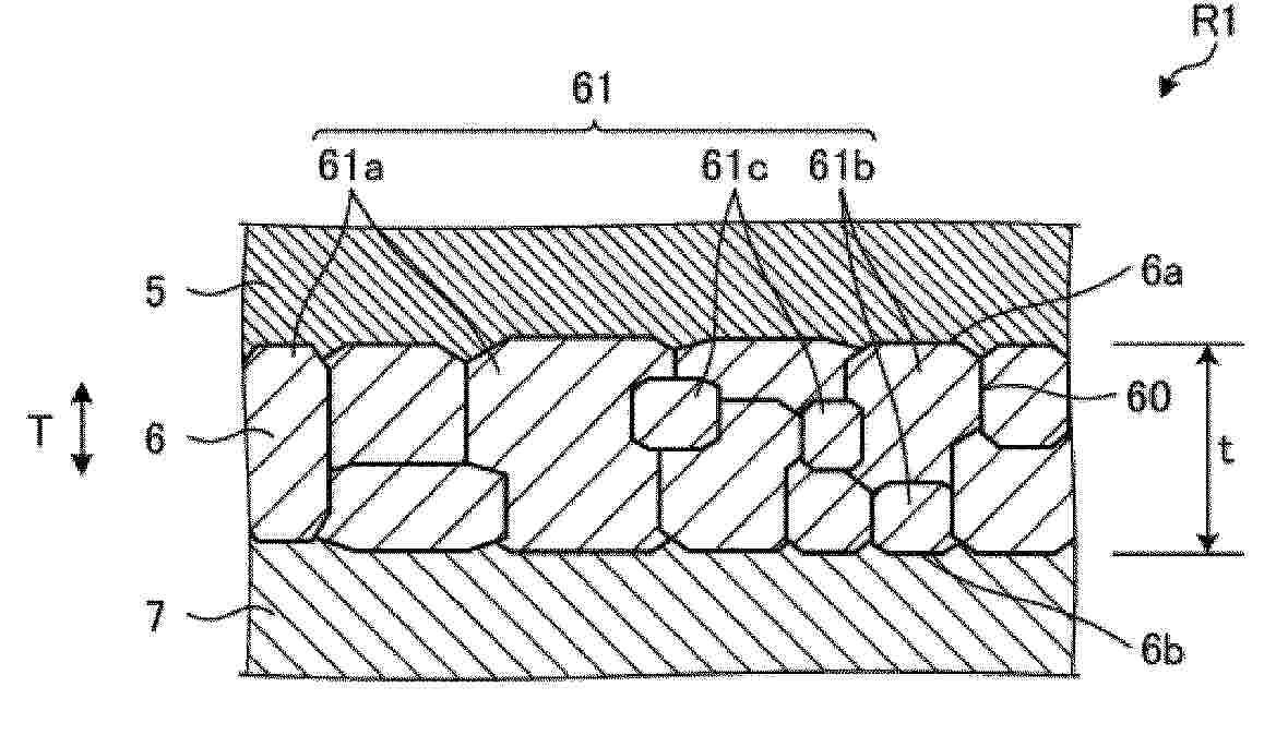
Resumen de: EP4641719A1
A solid electrolyte layer (6) includes a first surface (6a) and a second surface (6b) facing each other in a thickness direction, and has a plurality of electrolytic particles (61) containing an oxide. The plurality of electrolytic particles (61) includes at least one first particle (61a) and a second particle (61b). The at least one first particle (61a) is in contact with both the first surface (6a) and the second surface (6b). The second particle (61b) is in contact with either one of the first surface (6a) and the second surface (6b) and is in no contact with the other.
Resumen de: EP4641189A1
Disclosed is a method for manufacturing an enzyme electrode. This method for manufacturing an enzyme electrode includes preparing a multilayer body including an electrode and a mediator layer provided on a surface of the electrode and containing a mediator crosslinked by a crosslinking agent, and forming a reaction layer by adding a solution containing an enzyme to the mediator layer of the multilayer body.
Resumen de: CN119968425A
An anion exchange membrane obtainable by curing a curable composition comprising component (a) comprising: compound (A) and/or compound (B) and/or compound (C); wherein: (A) is an optionally substituted non-aromatic bicyclic structure comprising two nitrogen atoms wherein the ring of the non-aromatic bicyclic structure is independently a 4, 5, 6 or 7 membered ring; wherein the rings each comprise a nitrogen atom which may be located at the bridgehead position; wherein each of the nitrogen atoms is attached with one or two groups independently selected from hydrogen, C1-3 alkyl, C5-6 cycloalkyl and vinylbenzyl, provided that the compound comprises at least two vinylbenzyl groups; (B) is an optionally substituted 5, 6 or 7-membered non-aromatic heterocyclic ring comprising one nitrogen atom, and a C1-6 alkyl group comprising a nitrogen atom as a substituent of the ring; wherein one or two groups independently selected from hydrogen, C1-3 alkyl, C5-6 cycloalkyl and vinylbenzyl are attached to the nitrogen atom of the non-aromatic heterocyclic ring, with the proviso that the compound comprises at least two vinylbenzyl groups; (C) is an optionally substituted non-aromatic spiro structure comprising two nitrogen atoms, wherein the ring of the non-aromatic spiro structure is independently a 4, 5 or 6 membered ring; wherein the rings each comprise at least one nitrogen atom, which may be located at the bridgehead position; wherein each of the nitrogen atoms is attached with one or tw
Nº publicación: EP4638567A1 29/10/2025
Solicitante:
FUJIFILM MFG EUROPE BV [NL]
 FUJIFILM CORP [JP]
Fujifilm Manufacturing Europe BV, 
FUJIFILM Corporation
Resumen de: CN119968424A
An anion exchange membrane obtainable by curing a curable composition comprising: (a) a component (a) of formula (I); and a component (b) of formula (I), (b) and formula (II): AR1-(CH2) n-N + (RaRb)-(CH2) n-AR2, X-; aR3-(CH2) n-N + (RcRd)-L-N + (ReRf)-(CH2) n-AR4, 2X-wherein: n, L, X-, Ra, Rb, Rc, Rd, Re and Rf are as defined in claim 1; aR1, AR2, AR3, and AR4 each independently comprise an aromatic group; and wherein component (a) of formula (I) and component (b) of formula (II) each comprise at least two curable ethylenically unsaturated groups.
