Resumen de: CN120344419A
The invention relates to a method for managing a hybrid drive train of a hydrogen motor vehicle, comprising an internal combustion engine (2), a fuel cell (3), a hydrogen storage tank (14) and a line C1 connecting an air outlet (10) of the fuel cell (3) to an air inlet (12) of the internal combustion engine (2), the line having a shut-off valve V1, the method comprises the following steps: a) controlling the shutdown of the fuel cell (3); b) shutting down the internal combustion engine (2); c) opening the shut-off valve V1 when the fuel cell (3) and the internal combustion engine (2) are shut down; and d) operating the internal combustion engine (2) without injecting hydrogen from the tank (14) in order to draw the fluid present in the fuel cell (3) into the internal combustion engine (2) via the line C1.
Resumen de: CN120345084A
The invention relates to a gas management system (1) in a hydrogen hybrid vehicle, comprising an electric motor (2) and a hydrogen internal combustion heat engine (3), a fuel cell (4) supplying electric power to the electric motor (2), a hydrogen tank (5) supplying hydrogen to the cell (4) and the heat engine (3), an aftertreatment device (6) adapted to treat exhaust gases at the outlet of the heat engine (3), the system comprises gas flow management means (16, 17, 18, 19) capable of selectively transferring a flow of gas from the fuel cell (4) to the aftertreatment device (6) and/or to the heat engine (3), and/or from the hydrogen tank (5) to the fuel cell (4) and/or to the heat engine (3), and an electronic controller (15) capable of selectively transferring a flow of gas from the fuel cell (4) to the aftertreatment device (6) and/or to the heat engine (3). The electronic controller is configured to be able to control the gas flow management means (16, 17, 18, 19) as a function of the temperature of the first and/or second gas flow emitted at the outlet of the fuel cell (4).
Resumen de: CN120418526A
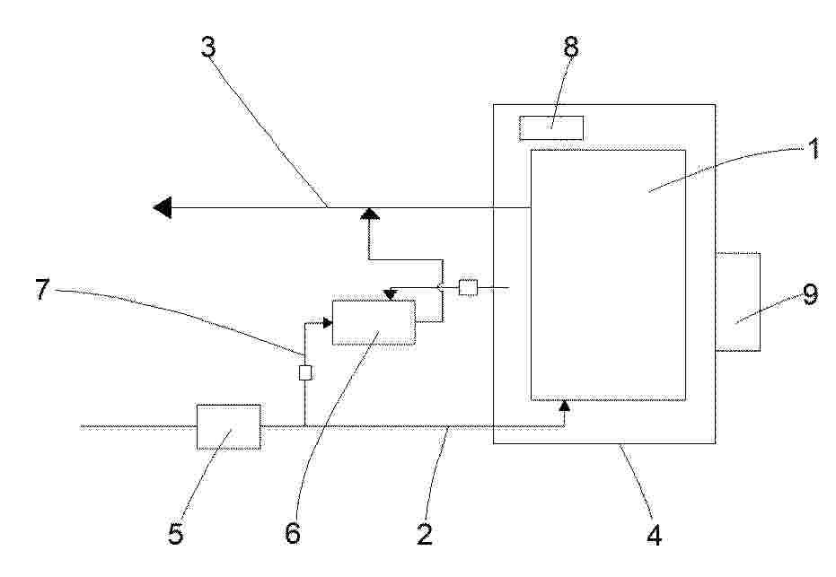
The invention relates to a power train (1, 100) operated with hydrogen, said power train (1, 100) comprising a hydrogen tank (2), an internal combustion engine (5) supplied with hydrogen by said hydrogen tank, and an electric motor (6) operated by a fuel cell (3) supplied with hydrogen from the hydrogen tank (2). According to the invention, the power train (100) comprises an air circulation connection circuit (101) provided with opening/closing means (102) and connecting the air outlet of the fuel cell (3) to the air inlet (103) of the internal combustion engine (5) to allow oxygen-depleted air from the fuel cell (3) to supply the internal combustion engine (3).
Resumen de: CN119968425A
An anion exchange membrane obtainable by curing a curable composition comprising component (a) comprising: compound (A) and/or compound (B) and/or compound (C); wherein: (A) is an optionally substituted non-aromatic bicyclic structure comprising two nitrogen atoms wherein the ring of the non-aromatic bicyclic structure is independently a 4, 5, 6 or 7 membered ring; wherein the rings each comprise a nitrogen atom which may be located at the bridgehead position; wherein each of the nitrogen atoms is attached with one or two groups independently selected from hydrogen, C1-3 alkyl, C5-6 cycloalkyl and vinylbenzyl, provided that the compound comprises at least two vinylbenzyl groups; (B) is an optionally substituted 5, 6 or 7-membered non-aromatic heterocyclic ring comprising one nitrogen atom, and a C1-6 alkyl group comprising a nitrogen atom as a substituent of the ring; wherein one or two groups independently selected from hydrogen, C1-3 alkyl, C5-6 cycloalkyl and vinylbenzyl are attached to the nitrogen atom of the non-aromatic heterocyclic ring, with the proviso that the compound comprises at least two vinylbenzyl groups; (C) is an optionally substituted non-aromatic spiro structure comprising two nitrogen atoms, wherein the ring of the non-aromatic spiro structure is independently a 4, 5 or 6 membered ring; wherein the rings each comprise at least one nitrogen atom, which may be located at the bridgehead position; wherein each of the nitrogen atoms is attached with one or tw
Resumen de: CN119968424A
An anion exchange membrane obtainable by curing a curable composition comprising: (a) a component (a) of formula (I); and a component (b) of formula (I), (b) and formula (II): AR1-(CH2) n-N + (RaRb)-(CH2) n-AR2, X-; aR3-(CH2) n-N + (RcRd)-L-N + (ReRf)-(CH2) n-AR4, 2X-wherein: n, L, X-, Ra, Rb, Rc, Rd, Re and Rf are as defined in claim 1; aR1, AR2, AR3, and AR4 each independently comprise an aromatic group; and wherein component (a) of formula (I) and component (b) of formula (II) each comprise at least two curable ethylenically unsaturated groups.
Resumen de: CN120418995A
The invention relates to an electrochemical reactor (1), in particular a redox flow cell, a fuel cell, an electrolytic cell or an electrosynthesis cell, comprising a stack (Z) consisting of a plurality of cells (2) which are separated from each other by at least one bipolar plate (3) and are stacked in a stacking direction (R), wherein the cells (2) each have two electrodes (5, 6) and a separator (10) arranged between the two electrodes (5, 6), and wherein the at least one bipolar plate (3) is flexible. In order to be able to increase mass transfer and material distribution with low construction and equipment investment and low material load, an oscillator (13) which excites at least one bipolar plate (3) to generate oscillations is integrated in the bipolar plate (3).
Resumen de: CN120457273A
An apparatus (100, 200) suitable for hydrogen applications, comprising: a hydrogen preparation unit (102) suitable for supplying a gaseous medium containing hydrogen at a pressure between a lower limit and an upper limit, the gaseous medium containing at least 85 volume percent hydrogen; a hydrogen collector unit (101, 201) comprising one or more duct elements (300, 301), which together define an internal space delimited by a wall portion; a hydrogen treatment unit (103) adapted to treat and/or use a hydrogen-containing medium wherein the apparatus (100, 200) is adapted to: feed the hydrogen-containing medium from the hydrogen production unit (102) to the hydrogen collector unit (101, 201); the hydrogen-containing medium is supplied from the hydrogen collector unit (101, 201) to the hydrogen treatment unit (103), where the upper limit is at most 50 bar, and each of the one or more conduit elements (300, 301) is a casting made of nodular cast iron having a tensile strength of at most 600 MPa.
Resumen de: WO2024138017A2
A multiphase reaction process includes feeding a feed stream to a first reactor to form one or more products, entraining at least a portion of the solid carbon within a gas phase product leaving the first reactor, removing a portion of the carrier particles from the first reactor as a cold carrier stream, heating the carrier particles in the cold carrier stream in a second reactor to form a heated carrier stream, passing the heated carrier stream from the second reactor to the first reactor, and providing a heat of reaction for the conversion of the feed stream to the product in the first reactor with the heated carrier stream. The feed stream comprises a hydrocarbon, and the one or more products comprise hydrogen and solid carbon. The first reactor comprises catalyst particles and carrier particles.
Resumen de: CN120569430A
Embodiments according to the present invention include a composition for forming an anion exchange membrane comprising one or more polycyclic olefin monomers of general formula (I) and one or more monomers of general formula (III), and may optionally be used in combination with one or more monomers of general formula (II). The composition undergoes bulk vinyl addition polymerization under thermal or photolysis conditions and is capable of forming ionomers on suitable membrane supports. The membrane support thus formed is suitable as an anion exchange membrane for preparing various electrochemical devices and the like. More specifically, the ionomer membrane is formed on a variety of supports that contain a variety of quaternized amino-functionalized norbornene monomer units that are lightly crosslinked (degree of crosslinking less than 5 mol%). The membranes thus formed exhibit very high ionic conductivity at 80 DEG C up to 280 mS/cm. The electrochemical device formed according to the present invention can be used as a fuel cell, a gas separator, or the like.
Resumen de: EP4641715A1
L'invention concerne un module d'alimentation en air comportant un boîtier qui comporte un orifice d'entrée et un orifice de sortie et dans lequel s'écoule un flux d'air. Selon l'invention, le module comporte, logés dans le boîtier, un premier filtre et un premier échangeur thermique qui sont en communication fluidique directement l'un avec l'autre.La mise en œuvre d'un tel module d'alimentation en air permet de s'affranchir de l'utilisation de tuyaux de raccordement entre les éléments du module. Ceci permet de diminuer le volume (et donc l'encombrement) ainsi que le poids du module de sorte à faciliter son intégration au sein d'un système de production d'énergie électrique comportant une pile à combustible. Ceci est également avantageux lorsque le module doit être embarqué dans un aéronef.
Resumen de: CN120854603A
本申请公开了一种径向阵列空冷高温质子交换膜燃料电池空气供应系统及其控制方法,涉及燃料电池领域,该系统包括电动废气涡轮增压器、多个模块化高温质子交换膜燃料电池堆、多个进气压力调节阀、多个循环压力调节阀、多个排气压力调节阀和集成控制模块,集成控制模块用于根据监测到的各模块化高温质子交换膜燃料电池堆的工作参数调节电动废气涡轮增压器中电机转速、进气压力调节阀开度、循环压力调节阀开度和排气压力调节阀开度。本申请采用简单空冷双极板结构可实现增压效果,循环高压空气和废气回收利用可提升燃料电池输出性能,同时减少了压缩空气所需功耗,从而提升了系统整体输出效率。
Resumen de: CN120854587A
本发明专利涉及电化学制氢技术领域,公开了质子交换膜层被两个半圆管件夹紧、带横向波纹的阳极层、及带横向波纹的阴极层将质子交换膜层连同两个半圆管一起在四周胶合固定后,上下两面先用导热胶胶接贴合温差发电芯片膜再贴合聚砜层,围绕两个半圆构成的圆轴线进行旋转缠绕,构成燃料电池膜层卷。最后在膜卷两端装上端盖,外管缠绕玻璃钢外壳形成温差发电膜管燃料电池芯。将多个温差发电膜管燃料电池芯装在不锈钢的膜壳中,构成膜管燃料电池成品。
Resumen de: CN120854579A
本发明公开了一种高性能氨催化材料及其在质子导体燃料电池上的应用,具体涉及一种基于FeNi/BaZr0.8Y0.2O3‑δ负载型催化剂的阳极催化层及其在直接氨质子陶瓷燃料电池(DA‑PCFC)中的应用。在600℃的直接氨燃料电池运行条件下,该单电池实现了高达745mWcm‑2的峰值功率密度。该方法避免了传统分离式氨裂解装置,具有系统集成度高、热效率高、结构简单等优势,且工艺简便、成本可控,具备优异的规模化制备潜力,为直接氨燃料电池提供了解决思路,具有重要的实用价值和推广前景。
Resumen de: CN120854606A
本申请涉及一种抽真空排湿装置,包括:壳体;电堆,其设置在所述壳体内,所述电堆的阳极出口设有排气管路,所述电堆的阴极进气口设有空气供应管路;检测组件,设置在壳体内,其用于检测所述壳体内的湿度数据和真空度数据;控制器,其用于接收所述检测组件发送的湿度数据和真空度数据并发送指令;阀门组件,其用于接收控制器的指令并调整开启程度;空压机,设置空气供应管路上。该抽真空排湿装置及控制方法,通过在空气供应管路上开设一条抽气管路,利用空压机作为驱动源,在引射器的作用下可以将壳体内部的湿气抽出,从而实现壳体内部空腔的全面排湿,使得各零部件能得到更好的保护,提高了电堆的使用寿命。
Resumen de: CN120854617A
本发明公开了一种氢燃料电池寿命预测方法及系统,涉及新能源领域,该方法包括利用降维算法压缩特征维度,得到反映氢燃料电池退化状态的特征向量序列;构建反映氢燃料电池性能退化程度的健康状态指标,并结合时间序列构建健康状态曲线;基于健康状态曲线变化趋势,采用分段建模算法对氢燃料电池寿命过程划分为早期稳定阶段、中期缓慢退化阶段和后期快速退化阶段;基于健康状态指标与特征向量序列,构建时序预测模型,预测燃料氢燃料电池的剩余使用寿命;监测健康状态曲线的突变行为,识别非预期退化情况。本发明通过对氢燃料电池运行数据进行特征提取与降维处理,构建健康状态指标与曲线,显著提高剩余使用寿命的预测精度。
Resumen de: CN120854625A
本发明涉及新能源技术领域。本发明提供了一种盐穴大规模电池储能系统,所述系统包括:液囊模块、地表反应模块、数据采集模块、数据传输模块、数据存储模块、数据处理模块。以此方式,通过边缘智能与云端深度学习的层级化部署,最终形成具备自主优化能力的盐穴储能控制范式,为解决地下密闭空间储能系统面临的实时性差、环境适应性弱及安全冗余不足等共性难题提供创新技术路径。
Resumen de: WO2024203988A1
One embodiment of the present invention pertains to a laminate comprising: a resin substrate; a cured product layer of an active energy ray-curable adhesive provided on at least one surface of the resin substrate; and a heat-adhesive resin layer provided on the surface on the reverse side of the cured product layer from the resin substrate, wherein the resin substrate is selected from among a polyphenylsulfone, a polyethersulfone, and a polysulfone, the heat-adhesive resin layer contains a polyolefin and/or an acid-modified polyolefin, and the adhesive is a composition containing, at a specific ratio, an (A) component which is a compound having at least two glycidyl ether groups, a (B) component which is a curable component containing an epoxy compound other than the (A) component as an essential component, and a (C) component which is a photocationic polymerization initiator.
Resumen de: CN120854624A
本发明涉及一种高温质子交换膜及其制备方法和应用,该制备方法包括如下步骤:S1. 将含芳香环的支化单体、含两个反应活性位点的芳香环单体和含氮杂环单体混合,然后发生傅克反应缩聚得到超支化的三元共聚物;S2. 将包括所述三元共聚物和溶剂的组分混合,得到铸膜液,浇筑,干燥,得到薄膜;S3. 将所述薄膜吸附磷酸,即得所述高温质子交换膜。本发明的高温质子交换膜的磷酸吸附量不变或降低的情况下具有优异的质子传导率、质子传导率保持率、磷酸保持率和峰值功率密度,适合制备高性能、耐久性优良的高温质子交换膜燃料电池。
Resumen de: CN120854597A
本发明公开了一种燃料电池发动机控制方法、装置、燃料电池车辆及介质。该方法包括:获取燃料电池发动机的发动机状态信号、进口水温和出口水温,并确定燃料电池发动机处于低温开机状态或常温开机状态;在燃料电池发动机处于低温开机状态或常温开机状态时,采用燃料电池电压巡检模块检测得到燃料电池堆对应的第一单体电压,并根据第一单体电压和多级开机反极阈值确定燃料电池堆是否存在开机反极故障;在确定燃料电池堆不存在开机反极故障时,控制燃料电池发动机进入正常运行状态,并根据检测得到燃料电池堆对应的第二单体电压和多级运行反极阈值,确定燃料电池堆是否存在运行反极故障。本发明实现对燃料电池发动机反极故障的多层次分类处理。
Resumen de: CN120854599A
本发明涉及一种自适应航空高温氢燃料电池风冷散热系统及其设计方法,散热系统包含高温氢燃料电池、冷却风机、废气涡轮、转速传感器、电磁阀和控制器,设有冷却气与反应废气两条气体通道。冷却气从大气引入,流经燃料电池冷却通道、冷却风机后排出;反应废气从燃料电池排出后,部分经废气涡轮、部分经电磁阀排入大气。废气涡轮、冷却风机、转速传感器共轴形成一体化驱动单元,废气驱动涡轮带动风机运转,转速传感器向控制器传递转速信号,实现自适应风冷散热。本发明,风冷散热系统位于飞机机腹设备舱,可以在整个飞行包线为燃料电池换热提供均匀且压力足够的冷却气,且不需要使用外部能源。
Resumen de: CN120839979A
本发明属于石墨双极板加工技术领域,且公开了一种柔性石墨制备双极板的加工成型装置,包括放置组件,还包括:封闭组件,其设置在放置组件的外侧;分隔件,其设置有多组,均滑动设置于放置组件的内部;活动组件,其安装在放置组件内腔的上下两端;其中,所述分隔件包括石墨支架,所述石墨支架上开设有两种不同尺径的第一槽孔和第二槽孔;本发明通过设置烘烤固化模块、活动组件和第二槽孔等结构的配合,当壳体在与箱体对接时,会抵触折叠板,并通过位于石墨支架中心区域的第二槽孔向石墨双极板的中心区域进行热气的释放,通过额外补充的热气进而大幅度降低相邻双极板在堆叠烘烤时出现的中心区域烘烤效果较差的情况。
Resumen de: CN120854588A
本发明涉及燃料电池的制造装置以及燃料电池的制造方法,燃料电池的制造装置具备:第1冲压模具;第2冲压模具,通过与第1冲压模具一同夹着燃料电池的包括膜电极接合体、粘接剂以及隔膜的层叠体进行加压来借助粘接剂将膜电极接合体与隔膜接合。第1冲压模具和第2冲压模具的至少一方具有对燃料电池中的发电区域的周缘部进行加压的第1部分和对燃料电池中的歧管的周缘部进行加压的第2部分。
Resumen de: CN120854604A
本申请提供了一种余氢回收装置、系统、控制方法及车辆,涉及氢燃料电池技术领域。余氢回收装置用于回收氢燃料电池系统的尾气中的氢气,余氢回收装置包括罐体和固态储氢结构,罐体具有进气口和出气口,进气口用于连通氢燃料电池系统的排气口,出气口用于可选择性地连通外界或氢燃料电池系统的氢气路进口,固态储氢结构设置于罐体内,固态储氢结构内设置有均将固态储氢结构贯通的多个气流通道和多个换热通道,气流通道分别连通进气口和出气口。余氢回收装置一方面能够吸收尾气中的氢气,另一方面能够将氢气释放至氢燃料电池系统中,能够实现氢气的循环利用,能够提高氢气的利用率,解决氢燃料电池系统对氢气的利用率较低的问题。
Resumen de: CN120854630A
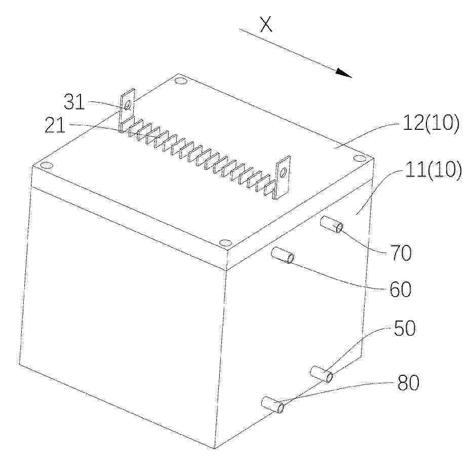
本公开涉及一种箱式液流电池,包括电池箱和电芯组件,电池箱包括用于容纳电芯组件的容纳腔,容纳腔的内壁上设置有卡接槽,卡接槽包括第一卡槽,电芯组件的各边沿均卡接于第一卡槽中。在该箱式液流电池中,电芯组件通过第一卡槽卡接于电池箱的容纳腔内,相较于现有的液流电池,该箱式液流电池结构简单,便于装配,且还便于电芯组件的更换。此外,电芯组件的各边沿均卡接于第一卡槽中,能够使得电芯组件卡接的更稳固。
Nº publicación: CN120854631A 28/10/2025
Solicitante:
协氢(深圳)无人机科技有限公司
Resumen de: CN120854631A
本发明申请涉及氢燃料电池领域,具体是涉及一种具有快拆功能的氢燃料电池安装壳。包括壳体,所述壳体上设有包围结构,所述包围结构包括底托和外框,所述底托由两个对称设置的翻板构成,在两个翻板打开状态下,形成垂直通道,所述外框由两个对称设置的侧壳构成,在两个侧壳打开状态下,形成平移通道,壳体上设有快拆驱动组件。本发明申请通过双向驱动器控制两个对称侧壳同步反向移动,带动底部托板切换对翻板的支撑状态,实现包围结构在平移通道、垂直通道与密封防护空间之间的自动转换,结合行程控制器的多开关感应机制,精准识别各行程终点,确保不同快拆模式间的稳定切换。
