Resumen de: CN120854600A
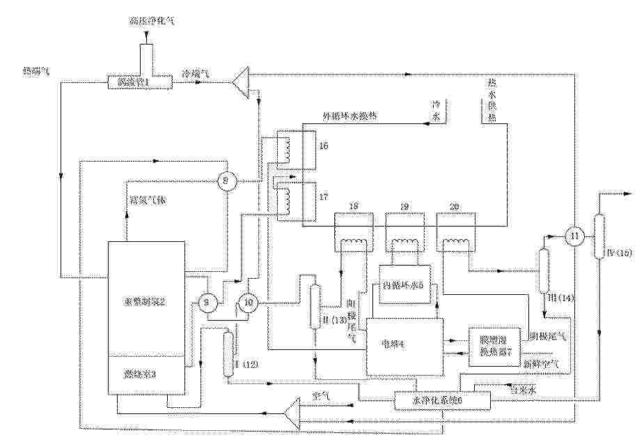
本发明公开了一种燃料电池热电联供系统。该系统包括:涡流管,其接收高压净化气作为进料,并得到热端净化气和冷端净化气;重整制氢系统:其接收热端净化气、依次与电堆阳极尾气和燃烧室尾气换热后的一路冷端净化气以及换热后水蒸气为原料,经重整反应得到转化气体;燃烧室,其接收空气和另一路冷端净化气为燃料,对重整制氢催化剂进行加热;电堆,其接收重整制氢系统转化气为阳极进料,接收换热后新鲜空气作为阴极进料,得到阳极尾气和阴极尾气,并提供电能。本发明实现了对重整系统余热和电堆反应生成热的有效回收利用,并减少了工艺水的补充。
Resumen de: WO2024189288A1
The invention relates to a part comprising a metal substrate and a layer of material based on amorphous carbon having sp2 hybridised bonds and sp3 hybridised bonds, wherein the layer has: - a first content of sp3 hybridised bonds on the substrate side; and - a second content of sp3 hybridised bonds on the side of an outer surface of the layer; - the first content being greater than the second content, characterised in that an average content within the layer of sp3 hybridised bonds is between 5% and 65%, and preferably between 5% and 45%, and in that the content of sp3 hybridised bonds changes continuously within the layer.
Resumen de: CN120854628A
本发明公开一种利用铁铬合金生产铁铬液流电池电解液的方法,包括铁铬合金溶液的制备、加还原铁粉、沉淀铬离子、除杂、过滤、溶解Cr(OH)3、滤液除杂:得到氯化亚铁溶液;配制铁铬液流电池电解液。本发明所涉及的一种利用铁铬合金生产铁铬液流电池电解液的方法,利用铁铬合金与盐酸反应,制备含铁、铬的溶液,再通过调节溶液的pH值将铬离子生成氢氧化铬沉淀分离,再通过加入还原铁粉将三价铁离子生成亚铁离子,再加入经过除杂后得到纯净的氯化亚铁溶液,现将氢氧化铬沉淀与盐酸反应从而形成纯净三氯化铬溶液,再与盐酸相复配形成铁铬液流电池电解液,具有工艺简单和降低成本的效果。
Resumen de: CN120854592A
本发明公开了一种抗硬水的多层复合质子交换膜及其制备方法与应用,属于质子交换膜技术领域。本发明解决了现有质子交换膜质子传导率低、抗硬水能力差的问题。本发明的多层复合质子交换膜包括中间层及其上下两侧的表面层,中间层在使用过程中为磺化水凝胶,具有数量多、孔径大的质子通道,提高质子在膜内的传导速度,表面层结构致密,避免氢气渗透。本发明通过水分子调控各层表面极性和含碳网络,提高各层之间的兼容性;此外,在各层形成了亲水簇聚集区和亲水簇分散区,通过格罗特斯机制促进质子高效跳跃以及溶胀吸水增强载体机制的质子扩散,提高质子交换膜质子传导率与抗硬水性能。本发明的质子交换膜无需改变产线即可生产,具有一定的经济价值。
Resumen de: CN120837329A
本发明公开了一种基于燃料电池的氢理疗系统,涉及燃料电池技术领域,其中,所述燃料电池包括池体、电网子系统以及燃料电池子系统,所述池体具有能够容纳池水的腔体,用于理疗;所述电网子系统用于向所述池体周边的用电设备供电;所述燃料电池子系统包括电堆,所述电堆具有电能输出端子以及阳极排气口,所述电能输出端子与所述电网子系统电连接,用以向所述电网子系统供电,所述阳极排气口与所述腔体连通,用于将所述电堆内部的过量氢气通入至池水中,以形成富氢水。本发明提供的技术方案,通过设置所述燃料电池子系统,不仅将电堆中过量的氢气进行了合理的应用,同时还能够为电网子系统提供电能,从而提高了能量利用率,降低了运营成本。
Resumen de: CN120845150A
一种液氢能量梯级利用多源发电系统及发电方法,属于航空发电领域。解决了氢燃料电池动力系统整体能效受限以及燃气涡轮氢燃料系统能源利用率低的问题。系统包括:液氢罐出口依次与液氢泵进口、液氢—氦氙热交换器冷端进口连通,冷端出口连通燃料电池氢气进口,未反应氢气出口连通燃烧室氢气进口;氦氙压气机出口连通回热器冷端进口,冷端出口连通冷却通道进口,出口连通氦氙涡轮进口;氦氙涡轮出口连通回热器热端进口,热端出口连通液氢—氦氙热交换器热端进口,热端出口连通氦氙压气机进口;压气机第一出口与燃料电池空气进口连通,第二出口与燃烧室空气进口连通,燃烧室出口与涡轮进口连通。主要用于能源领域。
Resumen de: CN120854581A
本发明属于燃料电池技术领域,特别涉及一种抗反极催化剂及其制备方法和应用。本发明抗反极催化剂为碳掺杂的氧化铱空心纳米球。本发明碳以原子级别掺杂到氧化铱中,使得抗反极催化剂具有良好的催化活性、稳定性,作为质子交换膜燃料电池阳极侧抗反极催化剂,可有效缓解阳极侧发生氢气供给不足时造成的碳载体腐蚀和铂团聚长大,使抗反极时间得到延长,提高质子交换膜燃料电池阳极侧抗反极能力。
Resumen de: WO2024200295A1
The invention relates to a method and a device for producing a bipolar plate, a unipolar plate, a separator plate or the like, wherein the method comprises the following steps, which can be carried out in a different order: - providing a material web of metal or graphite, or a polymer-based material web; - roll-forming the material web; and - cutting the material web, wherein a plurality of cut-outs are produced in a region of the material web which is or was formed during the roll-forming, or adjacent to said region; characterised in that the cutting is carried out in a roll-to-roll, roll-to-sheet or roll-to-product method, preferably roll-punching and/or roll-cutting.
Resumen de: CN120854595A
本发明公开了一种甲醇燃料电池汽化室密封结构及其使用方法,包括下盖板、上盖板以及连接下盖板和上盖板的盖板固定机构,下盖板和上盖板连接后的内部形成了汽化空腔,下盖板和上盖板的对应两侧壁均等距开设有加热孔,且加热孔与汽化空腔内部连通,加热孔内配合设置有电加热棒,上盖板的底部一体设置有框型凸板,下盖板的顶部开设有框型槽,框型凸板配合连接在框型槽内,本发明的有益效果:本发明的上盖板和下盖板之间能够快速且紧密连接,密封板的配合设置能够起到高密封效果,避免了以往多个螺栓连接费时费力且密封性能差的情况,采用蛇形分隔板构成的U型流道,能够延长甲醇水溶液的流动路径,提高燃料电池的反应效率。
Resumen de: CN120854594A
本申请涉及一种燃料电池极板及其设计方法,其入口汇流出口与所述汇流入口相对于活性部呈对角设置;汇流出口和汇流入口均连接有表面平滑的混合部;混合部通过分流部与活性部的流道连通;所述分流部表面设有多个朝向活性部延伸的脊背,所述脊背为凸起结构,用于支撑膜电极;相邻所述脊背之间凹陷形成分流道;其中增设的表面平滑的混合部通过扩大容积的方式利用流体自扩散效应实现均流,通过无流道腔体结构降低流速,利用流体惯性实现自均流,使得速度降低,使水滴重力沉降分离;另外,根据活性部不同部位设置不同的分流流道,将活性部的不均匀度控制在合理的波动范围内。
Resumen de: CN120854572A
本发明实施例公开了一种燃料电池的装配方法、装配装置及燃料电池。该燃料电池的装配方法包括:获取气体扩散层的尺寸特征;尺寸特征包括厚度、长度、宽度以及预设厚度变化量;其中,预设厚度变化量为相同材料的气体扩散层在燃料电池中实际使用预设时间后的厚度变化量;根据尺寸特征,确定预压压力和预压次数;根据预压压力和预压次数对气体扩散层施加压力;使用施加压力后的气体扩散层形成膜电极;对膜电极施加压力,使用施加压力后的膜电极装配形成燃料电池。本发明实施例的技术方案,通过在装配单个燃料电池之前对气体扩散层施加压力,将燃料电池内部的应力提前释放,确保装配后的燃料电池压力维持稳定,提高燃料电池的稳定性和可靠性。
Resumen de: CN120854629A
本发明涉及一种含多羟基化合物添加剂的全钒液流电池负极电解液,所述添加剂所述多羟基化合物为葡萄糖、甘露糖、山梨醇、肌醇、木糖醇、核糖醇、阿拉伯糖醇的一种或二种以上;所述多羟基化合物在负极电解液的水溶液中的浓度为0.01mol/L~0.5mol/L。所述含多羟基化合物在负极电解液中的优选浓度为0.02mol/L~0.05mol/L。本发明使用的物质作为全钒液流电池负极电解液添加剂,能够有效改善二、三价钒离子的低温稳定性,提高负极电解液的低温稳定性,并且能有效地提高低温时电池在长期循环过程中的容量保持率,实现电池低温时的稳定运行。本发明制备工艺操作简单、节能环保、成本低、同时能够实现电解液在电池中的稳定运行。
Resumen de: CN120854626A
本发明公开一种含添加剂的混酸基全钒液流电池正极电解液及其应用,属于液流电池储能技术领域。该正极电解液包括添加剂和活性物质,添加剂选自盐酸二甲胺、盐酸二乙胺、二丙胺、丁二胺、氮基三乙酸中的一种或两种及以上;活性物质为VO2+、VO2+。制备包括以下步骤:步骤1:首先将硫酸氧钒溶于盐酸得到硫酸氧钒的盐酸溶液,再通过电解的方式得到电解液;步骤2:将所述添加剂加入到步骤1的电解液中,室温下搅拌至完全溶解。本发明正极电解液应用于混酸基全钒液流电池时能够明显改善电池充电过程中的氯气析出问题,提高正极电解液的稳定性,并且有效地提高电池在长期循环过程中的电池性能,实现电池长期的稳定运行。
Resumen de: CN120854591A
本发明提供一种一体式燃料电池气体扩散层结构及其制备方法,结构包括纤维骨架以及分别设置在纤维骨架两侧的大孔层和微孔层;制备方法包括以下步骤:步骤S1.制备疏水剂溶液、大孔层浆料和微孔层浆料;步骤S2.将纤维骨架浸入疏水剂溶液中,轧液,烘干;步骤S3.将大孔层浆料涂覆至纤维骨架一侧,烘干;步骤S4.将微孔层浆料涂覆至纤维骨架的另外一侧,烘干得到一体式扩散层半成品;步骤S5.将半成品进行热处理。本发明通过正反涂布碳纤维骨架的形式在不经过碳化石墨化处理的前提下,使得碳纤维骨架正反面以及内部形成导电网络,满足燃料电池导电性需求,且微孔层具有均匀的孔隙结构,有效提高燃料电池的气体扩散能力。
Resumen de: WO2024175430A1
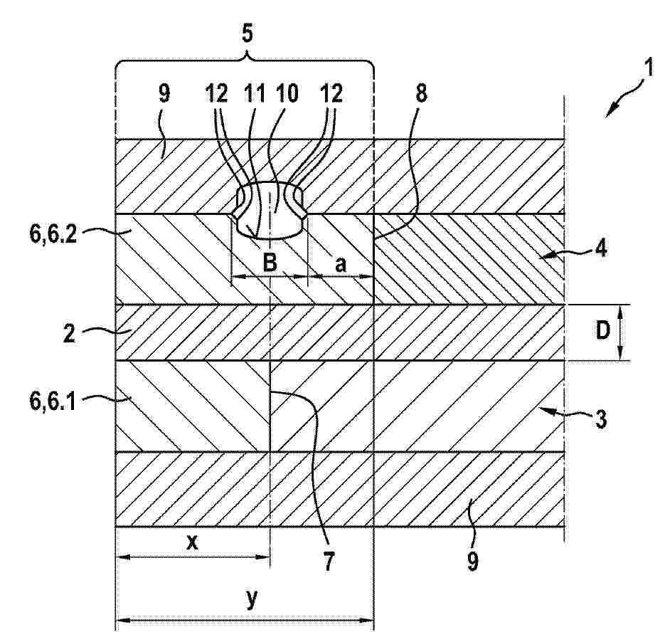
The invention relates to an electrochemical cell (1), in particular a fuel cell or an electrolysis cell, comprising a membrane (2) which is arranged between two transport layers (3, 4) and, in at least one edge region (5), between two frame parts (6.1, 6.2) of a frame (6), wherein the two frame parts (6.1, 6.2) each abut, in an abutment region (7, 8), the transport layer (3, 4) arranged on the same side of the membrane (2), and the frame parts (6.1, 6.2) are of different widths, such that the abutment regions (7, 8) on both sides of the membrane (2) are offset with respect to one another. According to the invention, the wider frame part (6.2) and a bipolar plate (9) that bears against the outside of the wider frame part (6.2) together delimit a relief space (10) that is situated opposite the abutment region (7) arranged on the other side of the membrane (2).
Resumen de: CN120840148A
本发明涉及燃料电池制备的技术领域,尤其是涉及一种利用连续等静压的热压结构及CCM的制备方法,热压结构包括从上到下依次设置的第一输送辊、第二输送辊和第三输送辊,其特征在于:还包括底座,所述底座上设有沿质子膜输送方向排布的入料辊和出料辊,所述入料辊和所述出料辊上包覆有金属带,所述金属带内设有压板,所述压板在所述质子膜的上下两侧。本发明能够保持CCM生产效率的同时,提升CCM的加工质量。
Resumen de: CN120854593A
本申请涉及一种燃料电池双极板及燃料电池。燃料电池双极板包括:双极板本体。双极板本体表面排布着数个脊部,数个脊部间隔设置,且任一脊部与其相邻的脊部均具有相对的侧壁,相邻脊部的侧壁之间形成气流流道,同时,在脊部用于形成气流流道的侧壁上开设有沟槽。相邻脊部的侧壁之间形成的气流流道,能为气体提供流通路径,保障燃料电池内部物质传输的顺畅性,确保电化学反应能持续高效进行。脊部用于形成气流流道的侧壁上开设的沟槽,可增加气流与脊部侧壁的接触面积,促进反应气体在流道内的均匀分布,提高气体的利用率。
Resumen de: CN120854596A
本发明公开了一种可激光焊接的质子交换膜及其制备方法。所述激光焊接的质子交换膜为由可焊接层和质子交换层组成的双层复合结构;可焊接层由混料经压延或熔融挤出成型,混料包括聚烯烃树脂、增塑剂、亲水型二氧化硅、着色剂和抗氧化剂;质子交换层由含磺酸基团的非氟高分子树脂的树脂浆料涂覆于可焊接层表面形成;质子交换膜可实现与电极板框的激光焊接,且焊接部位在电解液中浸泡后无开裂。本发明膜材可实现与电极板框的激光焊接,能够提高电堆稳定性,减少密封垫用量,减少装堆体积和成本。本发明膜材基于质子交换和微孔筛分的协同作用,具备优异的质子传导率和阻钒性。本发明膜材均采用无氟环保材料,耐酸碱,成本低,可实现连续化批量加工。
Resumen de: CN120854620A
本申请公开了一种适用于碳氢燃料的SOFC发电系统,包括燃料电池和一氧化碳脱除罐,一氧化碳脱除罐上设置有第一进气管和第一排气管,一氧化碳脱除罐内设置有若干相互独立的脱除单元,各脱除单元的入口端并联后与第一进气管相连,各脱除单元的出口端并联后与第一排气管相连,脱除单元的入口端和出口端均设置有调节阀;燃料电池的阳极与第一排气管相连;本申请通过气流流量和一氧化碳浓度计算单位时间内一氧化碳的输出量,结合单个脱除单元的处理量即可计算需要多少个脱除单元才能完成脱除作业,从而保证无论一氧化碳浓度如何变化,脱除单元能够将一氧化碳脱除到规定的浓度以下,从而降低一氧化碳浓度的波动,保证燃料电池的稳定运行。
Resumen de: CN120845811A
本申请涉及一种热电联供系统、热电联供控制方法、装置和计算机设备,系统包括相连接的燃料电池发电子系统和余热锅炉,以及与余热锅炉连接的蒸汽发电供热子系统和储热子系统,燃料电池发电子系统供电并产生烟气,余热锅炉通过烟气加热水,并将产生的蒸汽输入蒸汽发电供热子系统的蒸汽透平中,蒸汽透平将部分蒸汽用于驱动发电机供电,以及将部分蒸汽抽入至热网加热器中供热,余热锅炉还通过烟气加热第一储热装置输送的储热介质,并将加热后的储热介质输入第二储热装置中,第二储热装置中将已加热的储热介质输送至补充热网加热器中供热。采用本系统能够更好地满足热负荷需求。
Resumen de: CN120854609A
本申请涉及一种可检测燃料电池窜氢的系统及使用方法,涉及车辆检测技术领域,包括氢气输入管路,其用于连接氢气瓶和电堆,氢气输入管路上设有氢气热交换器;冷却回路,其与电堆的冷却管路连通,且与氢气热交换器连通,冷却回路上连接有膨胀水壶;检测管路,其一端连接膨胀水壶的排气口,另一端设有车载浓度传感器,且检测管路上设有阀门。由于检测管路连通膨胀水壶和车载浓度传感器,通过车载浓度传感器检测膨胀水壶内的氢气,通过阀门开启时间,以及车载浓度传感器测出氢气的时间判断车载浓度传感器检测出的氢气来源,准确度高,解决了现有技术中外接氢气检测设备较为麻烦,且难以判断氢气泄露来源,存在难以确定氢气泄露位置,难以维修的问题。
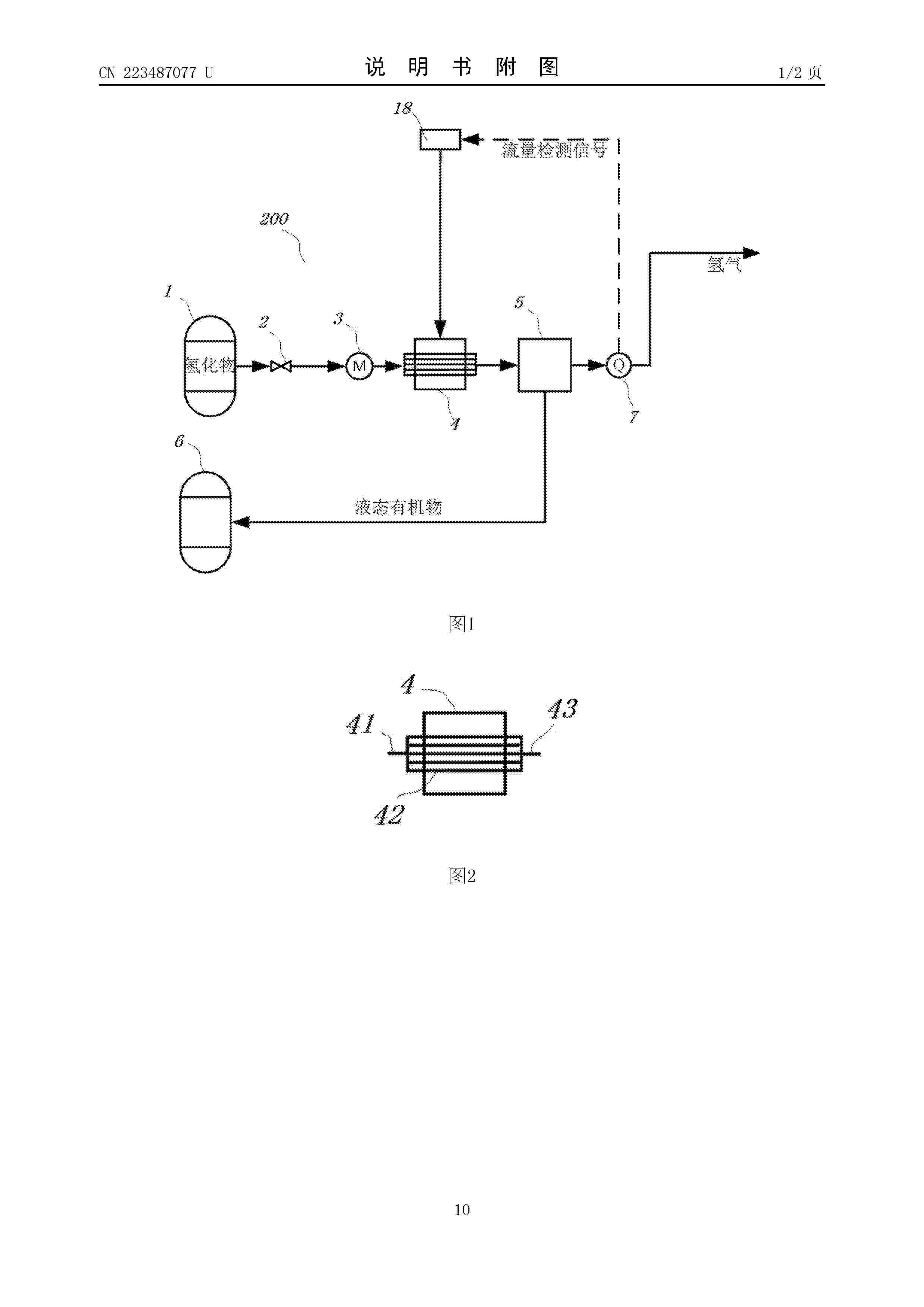
Resumen de: CN223487077U
本实用新型公开了一种储氢供氢装置和氢燃料电池热电联供系统,涉及燃料电池技术领域。储氢供氢装置基于液态有机物储氢技术实现了氢气的常温常压储存,原理是借助某些烯烃、炔烃或芳香烃等不饱和液体有机物和氢气的可逆反应、加氢反应实现氢的储存,再借助脱氢反应实现氢气的释放。这种液态有机物储氢技术的储氢密度在5%~10%,储氢量大;且储氢载体为液态有机物,可以实现常温常压运输,方便安全,对氢液箱的要求低,在输送时也基本不会出现氢气的泄露。脱氢反应时,放氢所需的温度低,耗能低,且放氢速率可调节,可适配各种氢燃料电池。氢燃料电池热电联供系统将电池损失热量收集起来并利用,提高了氢燃料电池的综合利用率。
Resumen de: CN223480912U
本实用新型涉及微生物电化学技术领域,具体是多级MFC串联去除水中金属离子的装置。该装置包括多级MFC单元,各级MFC单元包括:阴极室和阳极室,其中阴极室内部具有废水,阴极室自下而上依次设有进口和出口;阳极室内部具有废水,阳极室与阴极室通过质子交换膜连通;每个阴极室上的出口与每个阴极室上的进口通过串联管路依次串联连接,用于将多个阴极室串联连接;加液时,用于使串联管路上一阴极室内处理后的废水补充到下一阴极室内,以使串联尾端的阴极室中废水排出。本实用新型将多个阴极室串联,间接地增加了电极吸附时间,增大了接触面积,提高了水中金属离子的去除率。同时下进上出的进出水方式,也提高了水中金属离子的去除率。
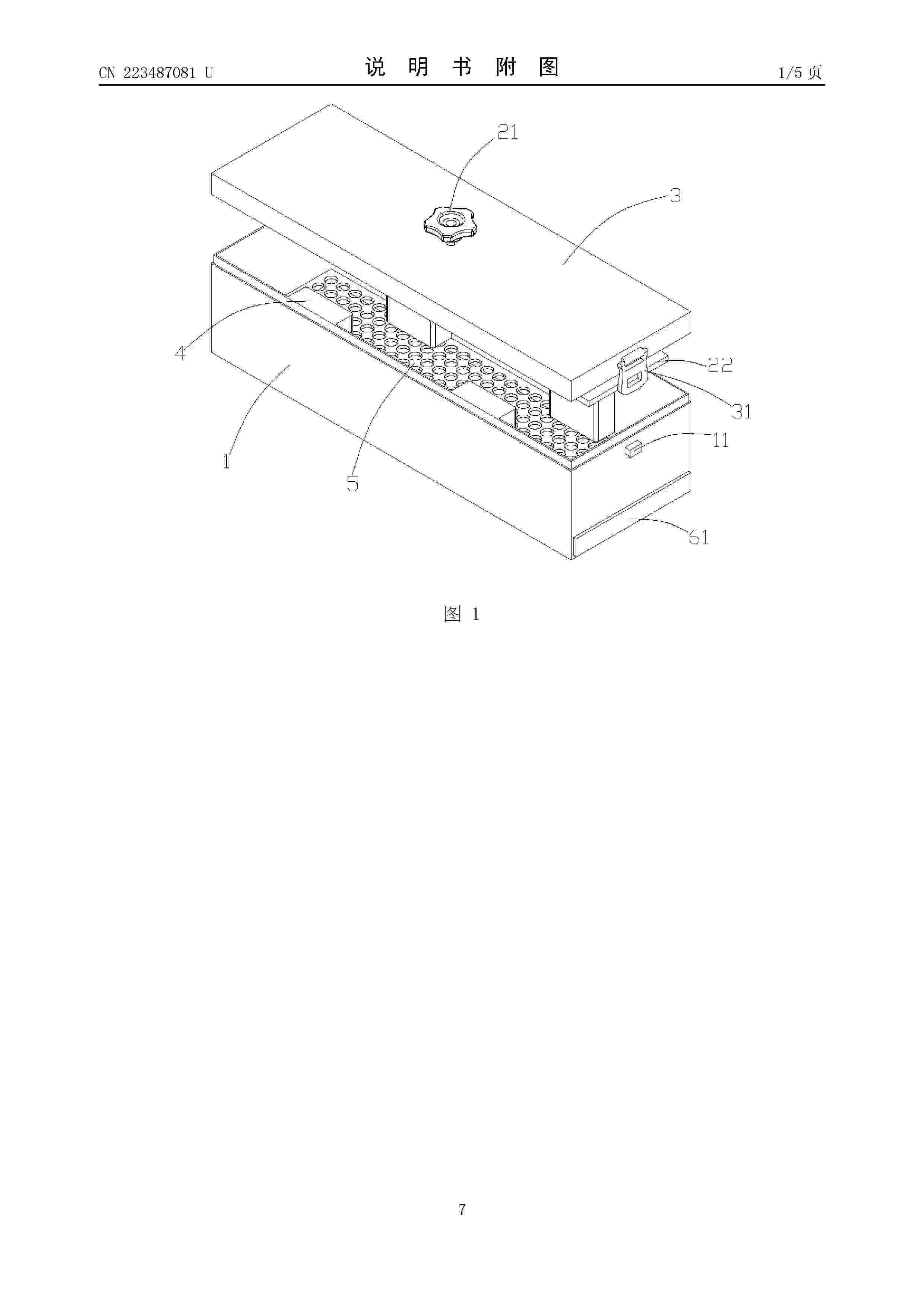
Resumen de: CN223487081U
本实用新型公开了一种GDL料盒,包括盒体以及用于固定物料的下压装置,盒体上方设有盖体,盒体内设有容置腔,下压装置包括转动把手以及在转动把手一端设置的压板,盒体内设有方便物料放置与拿取的若干定位块,盒体的底面设有筛网层,筛网层的下方设有收集盒,可通过转动把手带动压板在容置腔内进行上下往复运动,将物料固定在盒体内,防止转运过程中的晃动造成更多的碳粉和碳纤维脱落,提高工人的操作效率,保证后续工序的上料定位精度,通过收集盒对碳粉和碳纤维进行后续处理,避免对环境以及燃料电池膜电极的性能造成影响,本实用新型属于GDL存放技术领域。
Nº publicación: CN223487078U 28/10/2025
Solicitante:
九氢(上海)新能源科技有限公司
Resumen de: CN223487078U
本实用新型公开了一种氢燃料电池系统的氢气过滤装置,涉及氢气过滤技术领域,包括罐体、进气导管和排气导管,所述罐体上侧贯穿连接有进气导管和排气导管,所述罐体的一侧连接有换液管,所述罐体内部安装有散热盘管,且散热盘管的一端与罐体贯穿连接。该氢燃料电池系统的氢气过滤装置,过滤时氢气经过均气盘和均气框打散后,可以充分与溶液接触反应,且设置有二次过滤的过滤框,能够有效提高氢气的过滤效果和效率,设置有多层过滤结构,能够有效除去氢气中含有的杂质,提高氢气质量,使得该氢燃料电池系统的氢气过滤装置解决了氢气过滤罐导入氢气时采用单根进气管进行,导致气体无法在溶液内部被均匀分散的问题。
