Ministerio de Industria, Turismo y Comercio LogoMinisterior
 

Pilas de combustible

Resultados 654 resultados
LastUpdate Última actualización 05/10/2025 [06:48:00]
pdfxls
Solicitudes publicadas en los últimos 15 días / Applications published in the last 15 days
previousPage Resultados 8624 a 654 de 654  

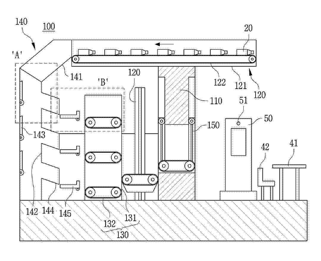
一种重载车辆运输系统效率的优化方法

NºPublicación:  CN120748184A 03/10/2025
Solicitante: 
三峡大学
CN_120748184_PA

Resumen de: CN120748184A

本发明提供了一种重载车辆运输系统效率的优化方法,具体实施方法为分析交通流理论流量、车流密度与车辆行驶速度三者之间的关系,结合道路参数与车辆载重,提出一种改进的Greenshields交通流模型,动态计算各路段的最大车流量,并结合最小割据理论确定运输系统的最大运输效率,计算最佳车速区间与车流密度区间。在车辆运行时利用车载定位终端与路侧感知单元实时采集车辆位置、速度及路段车流密度,上传至中央调度系统进行全局调度。本发明的优点是基于交通流模型结合实际道路情况,动态计算各路段最大车流量及最佳车速区间,提升运输效率,采用中央调度与边缘计算协同架构,实现快速响应和精准控制,使运输系统始终运行在最优状态。

汽车衡无人值守电子磅单系统及方法、装置、设备和介质

NºPublicación:  CN120746412A 03/10/2025
Solicitante: 
北方联合电力有限责任公司呼和浩特金桥热电厂
CN_120746412_PA

Resumen de: CN120746412A

本申请公开了汽车衡无人值守电子磅单系统及方法、装置、设备和介质,涉及通信技术领域,服务端用于获取客户端所在的目标运煤车的目标标识信息;服务端还用于根据目标标识信息,在预设磅单库中查找目标标识信息对应的目标电子磅单;预设磅单库用于存储标识信息与电子磅单之间的映射关系;服务端还用于将目标电子磅单传输至客户端;客户端用于接收目标电子磅单,以便基于目标电子磅单进行出票。本申请实施例通过服务端获取目标运煤车的标识信息,在预设磅单库中自动查找对应的目标电子磅单,将目标电子磅单传输至客户端。客户端接收目标电子磅单后,可进行出票,无需人工打印和司机下车取单,实现磅单出票自动化,提高汽车衡磅单的出票效率。

Dispositif 'Accroche Porte' de Notification pour Gestion du Service de Ménage d'Hôtel

NºPublicación:  FR3160717A1 03/10/2025
Solicitante: 
JOUAULT SEBASTIEN [FR]
Jouault S\u00E9bastien
FR_3160717_A1

Resumen de: FR3160717A1

Le dispositif 'Accroche Porte' est une innovation destinée à signaler l'état de disponibilité d'une chambre d'hôtel pour le ménage, en détectant le sens de rotation de la poignée de la porte...

能源和资源一体化循环利用的分布式系统及控制方法

NºPublicación:  CN120746762A 03/10/2025
Solicitante: 
昆明学院
CN_120746762_PA

Resumen de: CN120746762A

本发明公开了能源和资源一体化循环利用的分布式系统及控制方法,属于分布式系统领域,系统包括数据采集终端、综合分析模块、路线规划模块、应急处理模块、预警分级模块、通知模块,其中,所述数据采集终端包括若干个节点数据采集模块与数据分析模块;所述节点数据采集模块用于采集所在节点的能源生产量、能源消耗量、资源使用量与资源库存量,并将采集到的信息发送给对应的数据分析模块;所述数据分析模块用于对接收的所有数据进行分析,并输出分析结果给综合分析模块;所述综合分析模块用于对接收的所有数据进行分析。本发明,能够及时精准的确定各个节点的资源与能源是否失衡异常,并在出现异常时为检修人员规划合理的检修路线。

企业供应链风险识别方法、设备、存储介质和程序产品

NºPublicación:  CN120746261A 03/10/2025
Solicitante: 
四川大学锦江学院
CN_120746261_A

Resumen de: CN120746261A

本申请公开了一种企业供应链风险识别方法、设备、存储介质和程序产品,涉及供应链管理的技术领域,通过预先制定的量化诊断标准,对企业的供应链数据进行风险评估,确定企业是否存在供应链风险,以此,企业可以根据识别到的其当前存在的供应链风险,采用对应的风险规避手段,对企业供应链进行优化。相较于当前仅根据企业部分数据的单一维度评估结果直接作为企业供应链风险评估结果,在本申请中,综合考虑不同的量化诊断标准和对应的供应链相关数据,对企业的供应链风险进行全面、准确的评估。

一种活塞式航空发动机智能装配系统

NºPublicación:  CN120746103A 03/10/2025
Solicitante: 
芜湖钻石航空发动机有限公司
CN_120746103_PA

Resumen de: CN120746103A

本发明属于航空发动机装配技术领域,具体的说是一种活塞式航空发动机智能装配系统,包括远程服务器,企业资源计划系统服务器、手工单据输入端、显示大屏、显示大屏服务器、工位设备、制造执行系统服务器、库房管理计算机、工业以太网、模块、激光打标机、试漏仪、打印机、无线网、扫码枪、AGV、AGV调度系统、以太网,本发明本制造执行系统的功能模块分为计划管理,质量数据,实时数据,统计分析,设备管理,系统设置,系统管理等大类。

基于角色权限动态物流管理方法、装置、设备及存储介质

NºPublicación:  CN120746410A 03/10/2025
Solicitante: 
上海乾臻信息科技有限公司
CN_120746410_PA

Resumen de: CN120746410A

本发明涉及信息处理技术领域,尤其涉及一种基于角色权限动态物流管理方法、装置、设备及存储介质,通过基于角色标签生成当前操作主体的站点名称映射,并配置站点名称映射对应的角色权限,减少用户手动筛选操作,防止数据冗余,实现精细化权限管理,识别角色权限的非权限内数据表单字段,对非权限内数据表单字段进行隐藏,得到可展示数据信息;根据可展示数据信息渲染可视化交互界面,能根据时间段智能调整横轴粒度优化数据的展示效果,提高用户体验度和满意度,对可展示数据信息进行备份,历史数据不回算确保统计报表的可追溯性,降低参数调整的错误率,利用分层级参数录入信息对可展示数据信息进行更新,分层级独立参数录入避免跨层级干扰。

一种贸易全产业链数据智能匹配与资源对接方法

NºPublicación:  CN120746464A 03/10/2025
Solicitante: 
浙江理工大学
CN_120746464_PA

Resumen de: CN120746464A

本发明提供一种贸易全产业链数据智能匹配与资源对接方法,涉及国际贸易数据分析与地理信息系统技术领域,方法包括:通过标准化接口实时采集海关申报数据、物流追踪数据、企业供应链数据及市场舆情数据,构建区块链存证的多源异构数据融合体系;基于知识图谱动态建模全产业链关系网络,量化供应链依存度、贸易流向及政策影响权重;计算产业链关联度指数ICRI与资源匹配优先级系数RMPC,结合地理空间分析算法优化物流路径,实时规避政策限制区域;通过三维可视化平台渲染匹配结果,并基于用户交互反馈迭代更新模型参数。本发明突破传统数据孤岛限制,实现动态量化分析与精准资源匹配,通过智能路径规划与交互式决策支持,显著提升贸易数据整合效率。

一种供应链多仓协同配送的最优路径规划方法

NºPublicación:  CN120745993A 03/10/2025
Solicitante: 
长沙丰达智能科技有限公司
CN_120745993_PA

Resumen de: CN120745993A

本发明涉及路径规划技术领域,具体涉及一种供应链多仓协同配送的最优路径规划方法,该方法包括:获取每个待送货点的位置和待送货重量,以及服务待送货点的目标仓库的位置;对待送货点进行分类;构建每个目标仓库对应的初始优化路径;确定每个重叠送货点在服务重叠送货点的每个目标仓库对应的初始优化路径上每个路段的节点添加成本,从而对初始优化路径进行修正;根据每个目标仓库对应的修正优化路径上所有待送货点,构建每个目标仓库对应的参考优化路径;基于每个目标仓库对应的修正优化路径和参考优化路径之间的差异情况,对修正优化路径进行调整,得到目标优化路径。本发明实现了路径规划,并提高了路径规划的合理性。

一种智能仓储出库风险控制设备

NºPublicación:  CN120745663A 03/10/2025
Solicitante: 
云思考科技(杭州)有限公司
CN_120745663_PA

Resumen de: CN120745663A

本发明公开了一种智能仓储出库风险控制设备,包括在仓库出库时对货物条码进行扫码出库的PDA手持机以及位于该PDA手持机一端的扫码头,PDA手持机的底端设有放置盒,放置盒内设有辅助放大部件,放置盒内设有调出收入组件,调出收入组件由移动件、升降件、齿轮组件和齿轮条组成。本发明通过增设辅助放大部件,该辅助放大部件由凸透镜组成,在仓库出库时,对极小尺寸条码或带有磨损模糊的近距离条码进行扫描时可以更快的识别,避免反复识别造成不便;通过放置盒一侧设有调节转动轮带动内部的齿轮板移动,进而时转动齿轮移动到齿轮条位置,带动辅助放大部件移出和上移,使该辅助放大部件使用时正对扫码头辅助扫码头进行识别。

一种基于大数据的智慧工厂仓储管理方法与系统

NºPublicación:  CN120746449A 03/10/2025
Solicitante: 
南通师道智能科技有限公司
CN_120746449_PA

Resumen de: CN120746449A

本申请公开了一种基于大数据的智慧工厂仓储管理方法与系统,该方法包括:通过确定货物的动态位置分布和计算货物的取用频率波动,以量化货物的需求变化趋势;通过货物的需求变化趋势的量化值,将货物分为高频和低频两类,以确定高频货物的优化存放的区域范围;通过高频货物的优化存放的区域范围,确定存储位置的布局方案和无冲突的最优取货路径序列,从而得到优化后的资源分配方案。该方法能够提高仓储系统的效率和灵活性。

一种基于区块链的服装供应链管理方法

NºPublicación:  CN120746132A 03/10/2025
Solicitante: 
达达辛巴达(广州)科技有限公司
CN_120746132_PA

Resumen de: CN120746132A

本发明公开了一种基于区块链的服装供应链管理方法,所述方法包括:基于爆款识别合约确定目标爆款服装;基于爆款销量预测合约预测目标爆款服装的销量需求;基于采购智能合约生成面料采购订单,将面料采购订单分发至对应的面料供应商节点;面料供应商将面料直发至公共货仓;基于第一排产智能合约生成第一排产计划,并将各第一排产计划分发至对应的生产商节点,并同步下发生产授权凭证;以使生产商根据生产授权凭证,从公共货仓领取面料,并在服装生产完成后,存入公共货仓并上链登记;基于物流配送智能合约选取物流商,并下发提货凭证至物流商节点,以使物流商根据提货凭证从公共货仓提货,完成权属转移上链,并将服装货品直发至销售商。

一种基于物联网的大宗商品物权数字化智能标注管理系统

NºPublicación:  CN120746446A 03/10/2025
Solicitante: 
西安货达网络科技有限公司
CN_120746446_PA

Resumen de: CN120746446A

本发明公开了一种基于物联网的大宗商品物权数字化智能标注管理系统,涉及物联网与大宗商品管理技术领域,该系统包括:环境参数监测模块、氧化速率计算模块、物权标注模块、动态定价决策模块、交易管理模块,本发明通过环境参数监测模块实时收集仓储温湿度、堆压数据,经氧化速率计算模块处理后,物权标注模块能精准动态标注煤炭剩余保质期与库存优先级,这一过程使煤炭在仓储期间的质量变化被及时捕捉并转化为物权信息,优化库存管理,交易管理模块依据实时物权信息与动态定价机制,为交易双方提供公允的定价参考,加速交易流程,这种精准物权动态管理减少了因信息滞后导致的交易纠纷,缩短煤炭周转周期,显著提升仓储空间利用率。

用于确定跨国铺货地点的方法、装置及存储介质

NºPublicación:  CN120746637A 03/10/2025
Solicitante: 
中科云谷科技有限公司
CN_120746637_PA

Resumen de: CN120746637A

本申请公开了一种确定跨国铺货地点的方法、装置及存储介质,属于物流仓储技术领域。该方法包括:获取多个候选跨国铺货地点的历史铺货参数;基于预构建的销售量预测模型,根据各种产品对应的铺货成本和历史偏好产品,确定各候选跨国铺货地点在未来目标时间段内关于各种产品的第一预测产品销售量;根据历史产品销售量,确定每两个候选跨国铺货地点之间的产品销售相似度;根据产品销售相似度和第一预测产品销售量,确定各候选跨国铺货地点的第二预测产品销售量;将多个候选跨国铺货地点中,各种产品的第二预测产品销售量中的最大者所对应的候选跨国铺货地点,确定为各种产品对应的目标跨国铺货地点。本申请可减少库存积压的问题。

一种基于联邦学习的港口信息处理方法

NºPublicación:  CN120746417A 03/10/2025
Solicitante: 
燕山大学
CN_120746417_PA

Resumen de: CN120746417A

本发明公开了一种基于联邦学习的港口信息处理方法,属于联邦学习技术领域,包括以下步骤:S1、确定任务类型,并针对数据集选择评价指标并进行预训练;S2、根据预训练得到的全局梯度,由服务器挑选部分客户端进行本地训练,训练结束后上传梯度;S3、收集所有梯度,对所有梯度进行梯度评分,然后根据阈值筛选优秀梯度;筛选过程中,设定评分权重并依据当前轮次动态调整阈值,若全部梯度低于阈值,则执行软加权处理保留全部梯度参与更新;S4、每轮训练结束后,服务器记录客户端验证集上的平均损失与精确度,采用元学习的方法训练并对梯度更新参数进行修改。本发明能够解决目前联邦学习中面对强异质性数据训练精度低,通讯负担大等问题。

一种基于蚁群优化与神经网络的三维仓库路径规划方法

NºPublicación:  CN120746437A 03/10/2025
Solicitante: 
浙江大学软件学院(宁波)创新与管理中心
CN_120746437_PA

Resumen de: CN120746437A

本发明公开了一种基于蚁群优化与神经网络的三维仓库路径规划方法,包括:构建多维张量货物建模模块,将货物坐标、尺寸、重量、特殊属性等映射为多维特征张量,刻画3D仓库货物空间分布与操作约束;通过GNN提取节点与边的时空特征,结合自适应注意力机制实现静态空间结构与动态拥堵信息的跨尺度融合;引入CARL,基于实时交通流与路径容量动态调整路径成本,引导蚁群算法优先选择低拥堵、高效率路径;利用MLP构建启发式解码模块,将神经网络输出的特征嵌入转化为动态启发式信息,实现路径选择策略的自适应优化。本发明显著提升AGV在复杂3D仓库中的路径规划效率,降低计算时间与拥堵概率,支持实时动态环境下的高效物流调度。

一种煤矿运输任务调度方法及系统

NºPublicación:  CN120746127A 03/10/2025
Solicitante: 
华亭煤业集团有限责任公司山寨煤矿陕西力拓技术有限公司
CN_120746127_PA

Resumen de: CN120746127A

本申请公开了一种煤矿运输任务调度方法及系统,涉及煤矿运输管理技术领域。本申请提供的一种煤矿运输任务调度方法中,通过将运输车辆抽象后汇总为车辆资源池,同时将通过审核的煤矿运输申请分解为一个煤矿运输任务,实现了煤矿运输任务全流程的数字化管理,减少了人工干预,之后利用贪心算法对运输车辆和煤矿运输任务进行优化,通过精确的时空冲突避免机制,有效提高了车辆资源利用率,降低了运输成本,同时提高了运输任务调度的效率和准确性,有效的降低了了现有技术中公开的调度方式中因运输任务冲突导致的运输延误和资源浪费的缺陷。

基于高频射频标签的电力物资智能盘点方法、装置及设备

NºPublicación:  CN120746440A 03/10/2025
Solicitante: 
国网河北省电力有限公司物资分公司国家电网有限公司
CN_120746440_PA

Resumen de: CN120746440A

本发明提供一种基于高频射频标签的电力物资智能盘点方法、装置及设备,涉及物资盘点技术领域。该方法包括:基于预先获取的目标室外堆场的初始物资盘点信息,确定多个目标安装位置;其中,目标安装位置位于目标室外堆场内,用于设置探测设备;基于目标室外堆场内的所有电力物资上预设好的高频射频标签的标签信息,得到目标室外堆场的第一物资信息;基于所有探测设备的探测信息,得到目标室外堆场的初始物资信息,并基于第一物资信息对初始物资信息进行修正,得到第二物资信息;基于第一物资信息以及第二物资信息,得到目标室外堆场的物资盘点信息。本发明能够提高室外堆场的电力物资的盘点效率以及盘点准确度。

一种基于WORD字符替换的入库单自主打印方法及系统

NºPublicación:  CN120746457A 03/10/2025
Solicitante: 
南京东华智能转向系统有限公司
CN_120746457_PA

Resumen de: CN120746457A

本发明公开一种基于WORD字符替换的入库单自主打印方法及系统,基于扫码枪、电脑、打印机的配合,实现公司RPA无人化,提升工作效率;自主打印过程中采用自动查询逻辑、数据查询逻辑、替换字符逻辑、入库回执单打印逻辑,避免文档的生成及打印过程中出现不可预估的问题,操作简单不易出错,替换字符逻辑全程傻瓜式操作,流程简单、效率高和自动化程度高,无需依赖仓储人员即可自行操作,节约人力成本。

一种基于物联网的仓储管理方法及系统

NºPublicación:  CN120746455A 03/10/2025
Solicitante: 
重庆耐视特科技有限公司
CN_120746455_PA

Resumen de: CN120746455A

本申请公开了一种基于物联网的仓储管理方法及系统,该方法包括:根据制造执行系统下发的生产任务,确定目标物料及其需求数据;基于需求数据,获取目标物料的属性信息,并根据属性信息为目标物料分配优先级,得到目标物料的优先级信息;其中,目标物料包括多种物料时,目标物料中不同种类的物料按照一类信息分配优先级,目标物料中的同一种物料按照二类信息分配优先级;获取当前平台的布局信息,布局信息包括存储位置信息和运输路径信息;根据目标物料的优先级信息,对目标物料在当前平台的存储位置进行调整,使优先级较高的目标物料能以较短的运输路径出库。本申请能够根据物料的优先级信息调整物料的存储位置和运输路径,保证生产环节有效运作。

基于深度学习的珠宝库存智能预测方法

NºPublicación:  CN120746454A 03/10/2025
Solicitante: 
天比高零售管理(深圳)有限公司
CN_120746454_PA

Resumen de: CN120746454A

本发明公开了基于深度学习的珠宝库存智能预测方法,涉及珠宝库存智能预测技术领域,包括:采集展柜的环境数据和蛋白石的相关数据;基于采集的数据计算冲突窗口指数序列;基于采集的数据和蛋白石相关数据计算含水迟滞代理态;基于含水迟滞代理态,计算蛋白石的冲突暴露量;用时序深度模型对数据向量的历史滑动窗口进行建模,得到下柜风险强度;基于下柜风险强度和短期预测期,计算短期可售存活概率;基于短期可售存活概率,得到有效可售库存;根据冲突窗口指数、有效可售库存与下柜风险强度,触发告警和生成下柜建议。本发明能够有效识别并解决在珠宝混陈列场景下蛋白石因吸脱附迟滞导致的短期可售库存预测失真与货损风险。

一种基于视觉动态分析的特定场景安全风险识别方法

NºPublicación:  CN120746429A 03/10/2025
Solicitante: 
天津东方泰瑞科技有限公司
CN_120746429_PA

Resumen de: CN120746429A

本发明公开了一种基于视觉动态分析的特定场景安全风险识别方法,属于安全监测技术领域,具体包括:采集监测区域的环境参数时序数据和货物状态时序数据;分别提取环境特征分量和货物响应分量;通过信息熵算法计算两者关联强度的量化值,并标记为货物响应熵值;监测货物响应熵值演化曲线,当演化曲线的变化率超过历史阈值且变化加速度非零时,判定出现状态转变事件;提取状态转变事件的环境诱因参数与货物响应参数,编码为风险特征张量输入事故致因链知识库,输出匹配的临界干预参数集,根据临界干预参数集制定环境重构指令集和货物干预指令集;本发明有效提升了危险货物安全预警的智能化水平和风险应对能力。

一种危险品货物运输车辆状态监测管理方法及系统

NºPublicación:  CN120746419A 03/10/2025
Solicitante: 
北京大鑫汇德运输有限公司
CN_120746419_PA

Resumen de: CN120746419A

本发明实施例提供了一种危险品货物运输车辆状态监测管理方法及系统,其方法包括:获取危险品货物运输车辆的车辆状态信息;对所述车辆状态信息进行数据预处理,以得到第一数据;对所述第一数据进行异常检测,并根据异常检测结果确定车辆状态等级;在所述车辆状态等级达到预设等级的情况下,进行风险报警。通过本发明,解决了单一传感器下危险品货物运输车辆监测精度低的问题,进而达到了提高危险品货物运输车辆监测精度的效果。

基于AI的电子商务多目标优化方法及系统

NºPublicación:  CN120746681A 03/10/2025
Solicitante: 
东莞市信息技术学校
CN_120746681_PA

Resumen de: CN120746681A

本发明公开了基于AI的电子商务多目标优化方法及系统,涉及多目标优化领域,包括:实时获取用户行为日志、商品特征、库存动态数据、实时价格数据;获取用户意图向量和商品嵌入向量,基于库存周转率与价格弹性系数构建供应链风险特征矩阵;建立加权联合优化函数;基于深度强化学习决策,定义多目标奖励函数,基于双深度Q网络架构,通过优先级经验回放机制更新网络参数;使用非支配排序遗传算法对联合优化函数求解,生成Pareto最优解集,基于用户实时点击拒绝行为,从Pareto解集中选择最终推荐项。本发明的优点在于:通过深度学习与优化算法融合多维数据,动态平衡用户满意度、平台收益与库存健康,实现精准推荐与高效运营。

基于人工智能的工装管理器具仓储布局优化方法

NºPublicación:  CN120746453A 03/10/2025
Solicitante: 
广州广海轨道交通减振设备有限责任公司
CN_120746453_PA

Resumen de: CN120746453A

本申请涉及数据处理技术领域,尤其涉及一种基于人工智能的工装管理器具仓储布局优化方法,方法包括:构建反映各工装之间历史共用频率的加权工装图谱;对加权工装图谱进行多尺度社区发现扫描,以生成初始划分集,计算加权工装图谱中任意两个工装节点之间的共现频率;依据预设的多个稳定性阈值和共现频率,逐层构建出分层稳定度社群树;基于预设的仓储适用性评估函数对分层稳定度社群树进行最优切分,以确定最优工装社区划分方案,并基于最优工装社区划分方案对工装进行仓储布局优化。通过本申请的技术方案,能够精确稳定地识别出多尺度的工装工具组,显著提高了仓储布局方案的可靠性。

一种库存管理系统

NºPublicación:  CN120746452A 03/10/2025
Solicitante: 
北京晋辉科技有限公司
CN_120746452_PA

Resumen de: CN120746452A

本发明公开了一种库存管理系统,包括:请求接收模块,用于接收外围系统的库存操作请求;参数校验模块,所述参数校验模块与请求接收模块连接;处理模式决策模块,处理模式决策模块与参数校验模块连接;分布式锁控模块,分布式锁控模块与处理模式决策模块连接;缓存预热模块,缓存预热模块与分布式锁控模块连接;策略化计算模块,策略化计算模块与缓存预热模块连接。该发明通过模块化设计,实现了库存管理系统的高性能、高扩展性、高一致性和高可靠性,请求接收与参数校验模块确保数据准确,处理模式决策模块灵活应对不同场景,分布式锁控与缓存预热模块提升并发处理能力,策略化计算模块增强系统灵活性。

基于联邦学习的医疗采购参数隐私保护方法及相关设备

NºPublicación:  CN120744976A 03/10/2025
Solicitante: 
绵阳市第三人民医院
CN_120744976_PA

Resumen de: CN120744976A

本发明公开了基于联邦学习的医疗采购参数隐私保护方法及相关设备,本发明通过采用分层隐私保护策略对医疗采购参数进行预处理获得隐私化医疗采购参数,再利用DeepFM神经网络和SecureBoost+协议构建联邦学习模型对隐私化医疗采购参数进行处理得到隐私化医疗采购结果,最后对隐私化医疗采购结果进行多维度分析生成分析报告;保障了医疗采购数据的隐私安全,避免了数据泄露风险,同时借助联邦学习模型能够充分发挥数据价值,提高医疗采购决策的科学性和准确性。

一种物流运输路径和时间的规划方法、设备及介质

NºPublicación:  CN120745981A 03/10/2025
Solicitante: 
山东浪潮数智供应链科技有限公司
CN_120745981_PA

Resumen de: CN120745981A

本申请公开了一种物流运输路径和时间的规划方法、设备及介质,涉及技物流运输术领域。方法包括:采集物流订单的配送信息、实时交通数据和历史交通数据,配送信息包括配送时间和路径节点;采用主成分分析和奇异值分解对采集的数据进行降维处理;针对降维后的数据,执行路径规划算法、时间规划算法和车辆调度算法生成路径;在检测到拥堵时间超过预设时间时,通过车载GPS实时监控车辆位置,通过LSTM网络进行预测,通过马尔可夫决策过程调整路径。本申请通过上述方法合理的车辆调度使得车辆能够高效地完成多个运输任务,减少车辆的空驶里程,从而大大提高了物流运输的整体效率。

一种智能运输用仓储调控方法、系统

NºPublicación:  CN120736143A 03/10/2025
Solicitante: 
徐州方德食品有限公司
CN_120736143_A

Resumen de: CN120736143A

本发明公开了一种智能运输用仓储调控方法、系统,涉及空气调节技术领域。所述方法包括:获取食品运输任务的仓储场景,进行仓储需求分析并划分空间网格,确定仓储条件;引入基于双腔空气模式的仓储管理模块;根据统一空气条件,触发仓储管理模块进行第一单腔空气导流决策,根据特异性空气条件进行第二单腔空气导流决策,确定双腔调节策略;仓储系统执行双腔调节策略的下放驱动,响应于第一支路微型气泵进行统一导流控制,响应于第二支路微型气泵与涡流发生器进行特异性导流控制,执行仓储空间的双腔协同的空气调节管理。解决了现有技术中仓储空间空气调节不够灵活,难以适应不同装载场景的技术问题,达到了提高空气调节的灵活性的技术效果。

一种基于北斗导航的无人物流配送系统

NºPublicación:  CN120746434A 03/10/2025
Solicitante: 
南京卿欢益网络科技有限公司
CN_120746434_PA

Resumen de: CN120746434A

本发明公开了一种基于北斗导航的无人物流配送系统,属于物流配送技术领域;从导航信号强度方面来进行数据统计以及处理分析来获取到不同服务商的不同配送车在不同配送途中的实时导航信号情况,可以为后续不同异常区域的导航信号异常影响分析和数据共享提供可靠的局部数据支持;通过将导航异常区域出现的不同异常导航数据进行整合计算并对其导航异常影响状态进行评估分类来提高不同导航异常区域的提示共享效果和规避处理效果;本发明用于解决现有方案中不能对无人物流配送的过程实施异常数据的监测统计以及分析,并将不同目标提供的异常数据分析结果进行整合来对不同异常区域进行异常影响的评估并针对性的动态告警提示的技术问题。

面向生产和仓储管理业务的领域驱动设计方法

NºPublicación:  CN120746477A 03/10/2025
Solicitante: 
中海油能源发展股份有限公司中海油信息科技有限公司
CN_120746477_PA

Resumen de: CN120746477A

本发明提供了一种面向生产和仓储管理业务的领域驱动设计方法,包括以下步骤:S1、构建领域设计标准对领域和子域进行划分。S2、通过领域设计标准进行聚合划分。S3、通过领域设计标准实现限界上下文识别,基于聚合信息划分业务边界,识别界限上下文;将微服务拆分为聚合服务层和原子服务层,将领域设计标准作为聚合服务和原子服务的划分依据。S4、采用四层代码架构开发原子服务。S5、通过微服务编排实现跨域业务流程。本发明的有益效果为:通过引入聚合+原子服务架构,实现了高内聚、低耦合的服务设计,使系统能够更灵活地响应业务需求的变化。通过强调领域驱动设计,构建统一的领域模型,确保了各业务模块间数据的一致性,降低了集成难度。

基于人脸识别的无人机物流配送方法及相关设备

NºPublicación:  CN120746411A 03/10/2025
Solicitante: 
深圳市环国运物流股份有限公司深圳大学
CN_120746411_PA

Resumen de: CN120746411A

本发明提供了一种基于无人机物流配送的人脸检测识别方法及相关设备,包括通过在YOLOv8的Bottleneck模块嵌入自适应特征融合模块,增强多尺度人脸特征的全局与局部上下文融合能力,有效提升复杂场景下的检测精度;通过裁剪浅层检测头与TensorRT加速引擎优化计算效率,在保障实时性的同时降低资源消耗。将检测结果传输至云端进行特征比对,结合二维码/验证码双重验证机制完成身份确认,最终实现无人机直接交付至用户。本方案突破传统配送依赖固定接收站的局限,通过轻量化模型与边缘‑云端协同架构,在动态飞行环境中实现高精度、低延迟的身份认证,显著提升物流末端交互效率与用户体验。

一种出入库自动登记系统及方法

NºPublicación:  CN120745662A 03/10/2025
Solicitante: 
浪潮智慧科技创新(山东)有限公司
CN_120745662_PA

Resumen de: CN120745662A

本申请公开了一种出入库自动登记系统及方法,属于出入库登记技术领域,用于解决如何在不增加成本的前提下,降低出入库无感登记的漏识别率的技术问题。系统包括:RFID天线组,包括设置在仓库门框上的多个RFID天线,用于检测出入库物品上的电子标签;图像采集设备,用于对仓库进行视频监控,得到监控视频流;控制器,用于从接收到的监控视频流中识别对出入库人员的人脸特征,以根据所述人脸特征确定出入库人员,以及用于将所述出入库物品和所述出入库人员进行绑定后登记。本申请通过上述方案实现了低成本的出入库无感登记,且登记的漏识别率低。

一种用于智慧供应链平台的边缘数据传输方法

NºPublicación:  CN120750924A 03/10/2025
Solicitante: 
泰拓尔(江苏)数字科技有限公司
CN_120750924_PA

Resumen de: CN120750924A

本发明涉及边缘数据处理的技术领域,尤其提供了一种用于智慧供应链平台的边缘数据传输方法,通过分布在供应链各环节的传感器和设备;将采集到的数据在边缘计算设备上进行初步处理;根据数据的紧急程度、处理复杂度、网络状况因素,动态分配数据处理任务,决定一部分数据在边缘设备上处理,另一部分数据上传到云端处理;优化数据传输协议,采用压缩算法、差分传输等技术,降低数据量,减少传输延迟和带宽占用;将上传到云端的数据进行进一步的分析和处理,生成决策支持信息;根据处理结果和系统反馈,动态调整任务分配策略和数据传输参数,优化系统的整体性能,本发明具有在边缘和云端处理之间找到最佳平衡,避免数据丢失或处理不及时的效果。

一种自动执行订单处理的方法、装置、设备和介质

NºPublicación:  CN120746439A 03/10/2025
Solicitante: 
拉扎斯网络科技(上海)有限公司
CN_120746439_PA

Resumen de: CN120746439A

本申请提供了一种自动执行订单处理的方法、装置、设备和介质,该方法应用于数据处理领域,该方法包括:获取骑手的实时参数和当前订单关联的订单参数;基于骑手的实时参数和/或订单参数,实时判断第一预设条件是否满足;当第一预设条件满足时,自动触发对骑手进行第一语音提醒;对骑手应答的第一语音指令进行意图识别;基于意图识别结果确定是否自动执行目标处理动作。该方法能够当检测到满足订单处理动作的执行条件时,自动触发语音提醒并基于骑手回复的语音指令,自动为骑手执行订单的处理动作,从而使得订单处理过程更加智能化,减少了订单处理过程中骑手手动操作的频率,提升了骑手的配送体验。

航空物流对账系统及方法

NºPublicación:  CN120746740A 03/10/2025
Solicitante: 
中国航空结算有限责任公司
CN_120746740_PA

Resumen de: CN120746740A

本发明公开了一种航空物流对账系统及方法,该系统包括多系统集成模块、计算引擎模块、账单管理模块、决策支持模块和监控模块;多系统集成模块用于实时获取多个航空业务系统的数据;计算引擎模块用于利用获取的数据计算得到多项费用结果,生成预账单;将多项费用结果与供应商开账数据进行一致性分析;账单管理模块用于将获取的数据和计算结果展示在用户界面;接收用户在用户界面输入对预账单的调整数据;决策支持模块用于生成分析图表;监控模块用于:监测进入系统的数据是否存在缺陷、监测系统每个模块的计算结果是否存在缺陷;当监测到缺陷,发出与缺陷对应的处理指令。本发明可以提高航空物流对账的准确性和效率。

特殊物品的识别上报方法、装置、设备及存储介质

NºPublicación:  CN120746426A 03/10/2025
Solicitante: 
上海韵达高新技术有限公司
CN_120746426_PA

Resumen de: CN120746426A

本发明公开了一种特殊物品的识别上报方法,方法包括:建立特殊物品数据库,用于收集禁止运输的特殊物品信息,确定特殊物品的类目,为特殊物品的类目生成标识编码;获取待检物品图像,用于通过移动终端的摄像头拍摄待检物品的RGB图像及深度图像数据;识别特殊物品,使用训练好的特殊物品识别模型对待检物品图像进行识别,得到待检物品识别结果;若待检物品识别结果为特殊物品,由快递员确认物品为特殊物品;校验特殊物品的信息,用于对特殊物品的信息进行校验;若特殊物品的信息校验通过,暂停特殊物品的运输。本发明能够及时地对运输过程中发现的特殊物品进行上报处理、简化特殊物品的上报处理流程、准确地对上报的快递业务员进行奖励。

农特产品业务量统计方法、装置、存储介质、程序产品

NºPublicación:  CN120746422A 03/10/2025
Solicitante: 
国家邮政局邮政业安全中心
CN_120746422_PA

Resumen de: CN120746422A

本公开实施例公开了一种农特产品业务量统计方法、装置、存储介质、程序产品。其中,方法包括:获取农特产品数据集、农村网点数据集、快递的面单数据集和轨迹数据集;将所述面单数据集与所述农特产品数据集进行匹配,获取地区产品快递数据集;将所述轨迹数据集与所述农村网点数据集进行匹配,获取农村快递数据集;将所述地区产品快递数据集与所述农村快递数据集进行匹配,获取农特产品快递数据集;对所述农特产品快递数据集进行统计,获取农特产品的业务量。该方法能够通过多数据集的融合和匹配,能够显著提高对农特产品快递业务量的统计准确性和全面性,从而提升乡村在农特产品发展中的数据支持。

基于潮汐算法的钢筋配送管理方法、装置、设备及介质

NºPublicación:  CN120746421A 03/10/2025
Solicitante: 
中交一航局第五工程有限公司
CN_120746421_A

Resumen de: CN120746421A

本发明公开了一种基于潮汐算法的钢筋配送管理方法、装置、设备及介质,涉及钢筋配送管理技术领域,包括:利用视觉识别模型对钢筋捆进行扫描,将钢筋状态信息与钢筋捆上的RFID绑定;利用电子围栏读取RFID标签,更新电子围栏的钢筋库存信息;识别需要配送的钢筋生成钢筋配送任务;获取海洋潮汐数据并根据潮汐影响信息对钢筋配送任务进行优化。可以通过钢筋数字标签快速掌握钢筋信息,同时利用电子围栏识别标签对钢筋采购入库、加工、配送等流转环节自动化管理,根据需求自动生成钢筋配送任务,降低了寻料难度和错配概率。结合潮汐数据对钢筋配送任务进行优化,避免了钢筋受到海洋气候影响造成锈蚀等影响钢筋质量的情况。

智能供应链仓储安全管理系统

NºPublicación:  CN120746445A 03/10/2025
Solicitante: 
哈尔滨职业技术大学
CN_120746445_PA

Resumen de: CN120746445A

本发明实施例公开了一种智能供应链仓储安全管理系统,所述系统包括:数据采集模块,用于获取实时的监测数据;其中,所述监测数据包括多媒体数据;处理模块,用于:将所述监测数据传送至预先训练完成的预警模型中进行处理,以得到对应的预测结果;所述预警模型包括多个子模型;基于所述预测结果判断是否发布报警信息;交互模块,用于接收并展示所发布的所述报警信息;其有益效果是:本方案充分利用各子模型的快速处理能力,使得复杂的仓储环境得以被识别,适用当前仓储安全涉及的多方面情况;从而克服了现有技术中所存在的安全问题发现不及时的缺陷。

基于大数据分析的产品销量预测系统及方法

NºPublicación:  CN120746630A 03/10/2025
Solicitante: 
珠海华发供应链金融服务有限公司珠海华发金融科技研究院有限公司
CN_120746630_PA

Resumen de: CN120746630A

本发明涉及产品管理技术领域,且公开了一种基于大数据分析的产品销量预测系统及方法,包括多维采集模块和智能预测模块。该系统通过多维采集模块获取所有文化的发展历史数据和所有IP文化产品的销售记录,并分类组成数据集,智能预测模块分析每种IP文化的讨论热度,生成热度系数,为预测提供动态依据,同时,灵活配置参数权重,可根据行业特性调整,多维分析适应能力强,智能预测模块分析每个时间点的库存量和产品销量变化,生成监测数据组,为后续动态匹配库存阈值提供了数据支持,智能预测模块判断IP文化生命周期的发展阶段、IP文化产品的受欢迎程度、市场饱和度和消费者偏好,自动划分IP阶段,制定差异化策略,销量预测精准度高。

商品类型的验证方法、设备及存储介质

NºPublicación:  CN120746443A 03/10/2025
Solicitante: 
广东瀚墨科技股份有限公司
CN_120746443_PA

Resumen de: CN120746443A

本申请公开了一种商品类型的验证方法、设备及存储介质,属于数据处理技术领域。该方法包括:在触发商品验证进程后,获取货架推进器对应的商品类型和商品排列长度,获取商品类型对应的商品单件长度,并计算商品排列长度与商品单件长度的商值,对比商值和预设取值范围,根据对比结果得到货架推进器的商品验证结果。本申请根据不同商品单件长度存在差异的情况,在出现非本类商品的错误放置,而导致实际排列长度与标准商品单件长度的商值超出预设合理范围时,判断商品类型异常,避免将异类商品尺寸错误计入总量计算,从而提高商品数量统计的准确性。

基于深度学习的物流路径规划方法、装置、设备及介质

NºPublicación:  CN120746436A 03/10/2025
Solicitante: 
牡丹江医科大学
CN_120746436_PA

Resumen de: CN120746436A

本申请涉及一种基于深度学习的物流路径规划方法、装置、设备及介质。所述方法包括:获取物流需求预期拓扑信息和物流需求预期验证信息;基于物流需求预期验证信息校验物流需求预期拓扑信息,得到物流需求实时拓扑信息;对物流需求实时拓扑信息进行物流需求规划,生成各物流节点的物流车辆调度信息;基于实时出发节点信息、实时目标节点信息和物流标签信息筛选每辆物流车辆的可用路径信息,并获取可用路径信息对应的可用路径的物流路段预期信息;将物流路段预期信息和物流标签信息输入至物流路径规划深度学习模型中,进行物流路径规划,生成物流路径规划结果。采用本方法能够提升物流路径规划的准确性、可靠性、适应性和智能化程度。

一种数字孪生驱动固废实时匹配优化方法及系统

NºPublicación:  CN120746241A 03/10/2025
Solicitante: 
湖南省交通科学研究院有限公司中国建筑材料科学研究总院有限公司
CN_120746241_PA

Resumen de: CN120746241A

本发明涉及数字孪生技术领域,尤其涉及一种数字孪生驱动固废实时匹配优化方法及系统。该方法包括以下步骤:获取建筑固废源端数据,并根据建筑固废源端数据进行固废源端孪生建模,得到数字孪生源端模型;获取建筑固废接收端数据,并根据建筑固废接收端数据进行接收点孪生建模,得到数字孪生接受端模型;根据数字孪生源端模型以及数字孪生接受端模型进行匹配,得到固废匹配模型;根据固废匹配模型进行任务分裂融合调度,得到固废调度数据。本发明通过构建建筑固废源端与接收端的数字孪生模型,实现了对固废属性、处理能力与污染负荷的精细建模与动态映射,有效降低了运输过程中的环境扩散风险,增强了任务分裂融合的可行性与资源承载效率。

一种基于公证人机制和国密算法的仓单跨链管理方法及系统

NºPublicación:  CN120746451A 03/10/2025
Solicitante: 
江苏微锐超算科技有限公司
CN_120746451_PA

Resumen de: CN120746451A

本发明公开了计算机技术领域的一种基于公证人机制和国密算法的仓单跨链管理方法及系统,包括生成初始仓单并对所述初始仓单进行初步验证,当初步验证通过后,向初始仓单补充生产端信息,得到第一仓单,对第一仓单进行数据加密,得到第二仓单;对第二仓单记载的数据信息进行验证,验证通过后,对第二仓单进行广播,采集第二仓单的购买请求数据,获得购买请求数据。本发明通过对仓单进行分层并实施差异化国密算法加密和细粒度权限控制,以及通过公证人机制确保跨链信息交互的安全可信与高效性,有利于支持复杂的跨链业务协同作用,能够有效保障仓单管理过程中的数据安全性和高并发性能。

钢结构材料清单生成方法、装置、设备及介质

NºPublicación:  CN120746459A 03/10/2025
Solicitante: 
中建科工集团武汉有限公司
CN_120746459_PA

Resumen de: CN120746459A

本发明涉及数据处理技术领域,提供一种钢结构材料清单生成方法、装置、设备及介质,能够根据配置规则生成每个钢结构零构件的编号,并根据零构件装配关系及每个钢结构零构件的编号构建BOM树,以提供遍历基础;解析钢结构材料清单生成指令以自动获取遍历范围,根据遍历范围对BOM树进行筛选得到目标零构件编号,实现对零构件的初步筛选,去除冗余信息,从而提高遍历效率;采用深度优先搜索算法依次遍历目标零构件编号,并在遍历过程中基于递归传递机制对目标属性数据进行处理得到多个BOM行,整合多个BOM行得到钢结构材料清单,从而结合深度优先搜索算法及递归传递机制自动化且全面准确地快速生成钢结构材料清单。

一种订单物流时效管理系统

NºPublicación:  CN120746281A 03/10/2025
Solicitante: 
广东安优物流供应链有限公司
CN_120746281_PA

Resumen de: CN120746281A

本发明公开了一种订单物流时效管理系统,涉及物流智能技术领域,包括,风险预测模块,采集订单物流全链路数据并进行预处理,通过虚拟干预场景和因果图模型计算物流节点延误风险概率,得到延误风险预测结果;可视化模块,将延误风险预测结果与预处理后的订单物流全链路数据进行叠加分析,生成延误风险热力图;抗毁模块,对延误风险热力图进行脆弱性评估,生成脆弱性分析报告,并通过k‑最短路径算法进行多目标优化评估,生成抗毁策略表;调度模块,基于抗毁策略表,利用多目标资源优化模型进行运力资源匹配与调度方案选择,得到调度指令集;本发明通过构建虚拟干预场景与因果图模型的协同预测机制,实现了对物流延误风险的因果溯源与概率量化。

基于物联网的医疗物品派送管理方法及系统

NºPublicación:  CN120746416A 03/10/2025
Solicitante: 
广州旭源健康科技有限公司
CN_120746416_PA

Resumen de: CN120746416A

本发明公开了基于物联网的医疗物品派送管理方法及系统,涉及医疗物品派送管理技术领域。该基于物联网的医疗物品派送管理方法,包括以下步骤:基站覆盖干扰监测;冷链医疗物品通信合格性监测;传感器数据上传准确性监测。本发明通过判断是否进行冷链医疗物品通信合格性评估,若不进行冷链医疗物品通信合格性评估,则将数据上传至医疗物品派送中心,否则确定是否采取冷链医疗物品通信合格优化措施,最后在进行冷链医疗物品通信合格性评估合格后,确定是否采取传感器数据上传优化措施,达到了提升冷链医疗物品派送至偏远地区过程中派送数据准确性的效果,解决了现有技术中存在冷链医疗物品派送至偏远地区过程中派送数据准确性低的问题。

一种城乡物流无人驾驶配送系统

NºPublicación:  CN120745990A 03/10/2025
Solicitante: 
华中师范大学
CN_120745990_PA

Resumen de: CN120745990A

本申请涉及物流配送技术领域。通过提供一种城乡物流无人驾驶配送系统,该系统包括:基于用户订单的时空特征进行自适应资源分配处理,生成动态配送任务;通过异构传感器网络进行多模态环境感知处理,生成融合感知数据集;执行跨场景鲁棒OCR解析处理,生成可验证的结构化配送地址;进行动态路径优化处理,生成抗干扰配送路径;基于方言语音指令进行多意图协同响应处理,生成系统控制指令集;基于抗干扰配送路径与系统控制指令集进行自主决策交付处理,完成物流闭环控制,以达到提升复杂场景下面单地址识别准确率、增强动态障碍响应能力并降低重规划延迟、改善方言指令与物流状态协同性的技术效果。

适用于汽车内饰生产线的AGV路径优化方法及系统

NºPublicación:  CN120745989A 03/10/2025
Solicitante: 
西安乔路铭科技有限公司
CN_120745989_PA

Resumen de: CN120745989A

本申请涉及数据处理技术领域,公开了一种适用于汽车内饰生产线的AGV路径优化方法及系统。该方法包括:对内饰生产线布局数据进行多维约束建模处理得到五维约束地图,然后根据五维约束地图对内饰件敏感度系数进行路径平滑化处理得到候选路径数据集,接着将候选路径数据集与供应商工艺节拍时间进行同步匹配处理得到时序路径调度表,继而对时序路径调度表进行冲突检测和动态避让处理得到多车协同路径序列,最终根据多车协同路径序列对内饰件搬运任务进行负载分配处理得到AGV路径执行方案。本申请解决了现有技术中AGV路径优化无法兼顾内饰件表面质量保护、多供应商协同调度实时性差、缺乏内饰工艺特异性约束的技术问题。

面向城市物流配送的多方协同优化方法及系统

NºPublicación:  CN120745944A 03/10/2025
Solicitante: 
咸阳师范学院
CN_120745944_PA

Resumen de: CN120745944A

本发明涉及物流优化管理技术领域,提出了面向城市物流配送的多方协同优化方法及系统,包括:获取城市物流配送车队中多种类型车辆的车辆信息及若干物流订单的订单信息;提取城市物流配送的若干集散中心、网点及配送目的地并构建配送图结构,对各物流订单获取配送最短路径;得到若干订单类别及各订单类别的货物总重量;获取优选运输因子;量化时间运输成本;结合优选运输因子,构建运输目标函数;对各订单类别的配送最短路径中各段道路获取最优运输车辆类型,以此对各物流订单进行物流车辆分配,实现城市物流的多方协同优化配送。本发明旨在解决物流配送车队车辆种类复杂无法精准分配任务的问题。

基于养车供应系统的物流时效确定方法、装置及电子设备

NºPublicación:  CN120746420A 03/10/2025
Solicitante: 
杭州智联畅行科技有限公司
CN_120746420_PA

Resumen de: CN120746420A

本申请提供了一种基于养车供应系统的物流时效确定方法、装置及电子设备,该方法包括获取商家在线上商城上下单商品的订单信息,所述订单信息包括下单时间以及下单地址;基于下单地址及预先配置的仓库的配送区域确定目标仓库;基于下单地址及目标仓库的仓库地址确定实际配送距离;基于实际配送距离及目标仓库的配送半径、仓库类型确定配送方式;基于配送方式与时效表达模板的预设对应关系确定目标时效表达模板;基于下单时间及目标时效表达模板确定预计送达时间;将预计送达时间显示在下单商品的预设位置。本发明通过考量仓库的多维信息来确定物流时效,有效提高了物流时效的准确度。

一种社区智能快递管理方法及系统

NºPublicación:  CN120746444A 03/10/2025
Solicitante: 
浙江三网科技股份有限公司
CN_120746444_PA

Resumen de: CN120746444A

本发明涉及智能快递管理技术领域,公开了一种社区智能快递管理方法及系统,其中,方法包括:获取社区居民的历史出行行为数据、快递取件行为数据和住址信息,构建多快递柜部署空间模型,输出投放柜箱候选集合;确定目标柜箱号;向居民推送入库状态数据;采用长短期记忆网络进行温度预测并结合包裹温控需求调控温度。相较于现有技术中多基于静态地址或固定路径的快递柜分配方法,尤其是在社区中存在多个快递柜和居民出行习惯多样化条件下,难以实现高效柜格调度与环境适配的技术问题,由于本申请通过行为预测建模与多目标柜格匹配策略,实现了更优快递投放决策,从而避免了快递误投、滞投或温控不当的问题,提高了投递准确率与包裹安全性。

一种用于多式联运网络的物流运输方案规划方法及装置

NºPublicación:  CN120745974A 03/10/2025
Solicitante: 
中国铁建股份有限公司中铁十四局集团有限公司
CN_120745974_PA

Resumen de: CN120745974A

本发明属于智能物流技术领域,公开了一种用于多式联运网络的物流运输方案规划方法及装置,包括:基于真实物流网络的多源运输数据,构建反映真实物流网络的加权有向图模型;根据预确定的优化优先级目标,对反映真实物流网络的加权有向图模型的边的权重进行动态配置调整,获得权重配置调整后的加权有向图模型;基于待运输货物的特征属性和权重配置调整后的加权有向图模型,生成满足优化优先级目标的最优路径序列;其中,满足优化优先级目标的最优路径序列中包含若干条备选运输路径;根据最优路径序列,生成待运输货物的物流运输方案;本发明显著提升了物流运输方案规划的科学性、灵活性与实用性,对物流行业的智能化发展具有重要推动作用。

一种基于大数据的燃料智慧监察策略规划方法及系统

NºPublicación:  CN120746323A 03/10/2025
Solicitante: 
国家能源集团公司宁夏电力有限公司
CN_120746323_PA

Resumen de: CN120746323A

本发明公开了一种基于大数据的燃料智慧监察策略规划方法,涉及燃料智慧监察领域,包括:将燃煤供应链划分成供应区域、储存区域、运输区域、消耗区域和监察区域,并获取燃煤参数、设备运行数据、储存场地信息、环境数据及运输数据。获取掺杂的燃煤指数,通过机器学习掺杂的燃煤指数,选取供应区域中的最佳燃煤类型和最佳燃煤投料比,构建安全储存量的计算公式,获取各类型燃煤的安全储存量,同步基于计划集合模型,结合各类型燃煤的安全储存量、场地最大储存容量,获取采购计划集合。基于购买成本总和、运输总成本和储存成本总和,构建采购优化模型,获取最优采购计划,并监察最优采购计划异常变化,调整最优采购计划。

一种基于物理状态哈希与节点记账机制的实物区块链库存管理方法与系统

NºPublicación:  CN120746450A 03/10/2025
Solicitante: 
广东算子连线智能科技有限公司
CN_120746450_PA

Resumen de: CN120746450A

本发明涉及物联网及仓储管理技术领域,具体为一种基于物理状态哈希与多节点协同记账机制的实物区块链库存管理方法与系统。该系统由多个具备感知与计算能力的智能节点组成,每个终端可绑定特定实物并感知其状态(包括姿态、温度、位置、绑定状态等)。通过定期生成物理状态哈希摘要,并在同一区域内通过局域网络与云端同步,构建出一套分布式的、链式的实物状态变更日志机制。结合“智能绑定合约”功能,实现实物与管理权限的动态映射与过期管控,具备拜占庭容错特性,在节点缺失、拆除或异常情况下仍可保障仓储状态的可信可溯。系统可广泛应用于物流、仓储、资产监管、质押金融等场景,为构建可信库存管理体系提供硬件级基础支撑。

一种矿山设备智能制造生产调度优化系统及方法

NºPublicación:  CN120746183A 03/10/2025
Solicitante: 
济宁安泰矿山设备制造有限公司
CN_120746183_PA

Resumen de: CN120746183A

本发明涉及数据推理技术领域,揭露了一种矿山设备智能制造生产调度优化系统及方法,该系统中包括拓扑图生成模块、初始调度甘特图生成模块、需求强度系数获取模块、柔性调度甘特图获取模块及最终调度指令集生成模块,基于矿山设备的工艺联系,构建拓扑图;以零部件任务集作为纵轴、对应总装线任务序列作为横轴,生成初始调度甘特图;当出现扰动事件时,提取受影响的工艺依赖树,评估任务延滞成本,并输出为制造过程重调度的需求强度系数;基于同步调节制造过程中工序节拍偏差与设备利用率,以生成柔性调度甘特图;通过工艺路径动态修正和工序优化结果,确认最终调度指令集;本发明可以提高矿山设备制造生产过程调度方案的效率。

一种用于港口拖车的智能化调度方法及系统

NºPublicación:  CN120748195A 03/10/2025
Solicitante: 
广东数字港航科技有限公司
CN_120748195_PA

Resumen de: CN120748195A

本发明公开了一种用于港口拖车的智能化调度方法及系统,包括当拖车抵达港口分岔口时,获取其状态信息和目标作业区域信息,基于分岔口位置与目标区域生成多条可行路径,获取各路径拖车实时状态代入堵塞指标预测模型计算堵塞指标值,筛选出与可行路径重叠的实际路径集合,根据拖车作业优先级规则,排除存在高优先级拖车且堵塞指标超阈值的路径,从剩余路径中选堵塞指标值最小的作为调度路径。本发明通过多维度数据和模型实现精准拥堵预测,结合优先级规则保障紧急作业通行,动态优化路径减少等待时间,均衡道路负荷,提升港口拖车调度效率与安全性,适应智慧港口精细化管理需求。

一种智能运输车调度方法及系统

NºPublicación:  CN120746418A 03/10/2025
Solicitante: 
天津亿境达物流科技有限公司太川鲲(天津)物流科技有限公司巨年(上海)供应链管理有限公司
CN_120746418_PA

Resumen de: CN120746418A

本发明公开了一种智能运输车调度方法及系统,涉及运输车辆调度数据处理技术领域。该一种智能运输车调度方法及系统,包括以下步骤:S1,采集任务执行过程中的运输车辆调度数据,并对运输车辆调度数据进行去噪、补全、对齐和归一化处理;S2,实时监听任务状态变化,识别任务取消后分析车辆的插单能力,并根据插单阈值筛选出进入插单调度流程的候选车辆;S3,为候选车辆匹配待插任务,分析插单任务匹配效果,并完成任务路径重构与插单任务标记;S4,执行插单任务并记录状态,分析插单任务评分与实际执行之间的偏差,提出评分结构更新建议,完成反馈归档并恢复车辆调度状态。解决了任务取消时原来路径和时间窗口未能被快速回收重用造成浪费的问题。

一种路径规划方法、设备、介质及程序产品

NºPublicación:  CN120746438A 03/10/2025
Solicitante: 
中国工商银行股份有限公司
CN_120746438_PA

Resumen de: CN120746438A

本发明涉及金融科技领域,公开了一种路径规划方法、设备、介质及程序产品。该方法包括:获取各节点,并根据各节点,生成交通图谱;通过对交通图谱中每对节点进行双向最优路径计算,获取每对节点之间的运输代价权重,并根据交通图谱,以及每对节点之间的运输代价权重,生成网点运输图谱;通过最小生成树算法,获取网点运输图谱对应的最小运输成本生成树,并根据最小运输成本生成树,以及各网点对应的每日运钞量,生成运钞方案,并基于运钞方案进行现金运输。本实施例的方案,可以实现对现金运输路线的自动规划,可以提升现金运输的安全性和准时性。

一种基于人机协作的企业智能管理系统

NºPublicación:  CN120746172A 03/10/2025
Solicitante: 
南京十问科技有限责任公司
CN_120746172_PA

Resumen de: CN120746172A

本发明涉及企业管理软件技术领域,具体为一种基于人机协作的企业智能管理系统,包括:客户集管理模块、AI辅助挂价模块、库存挂载模块、款项自动识别确认模块;其中,客户集管理模块用于创建和管理同属于一个关系人但法律上无直接关联的企业集合,对客户集的信用额度、账期、交货、签收、发票、账款整体管控;AI辅助挂价模块用于根据文字或语音指令辅助快速检索产品并执行定价、调价操作;库存挂载模块用于对不同公司间库存进行共享与管理,可设置价格查看权限、库存共享类型参数;款项自动识别模块基于平台交易数据,确认款项对应的订单、送货单,保障数据隐私。由此,解决现有技术中管理效率低下、数据孤岛、智能化不足等问题。

一种军械装备单品和成套物资质量评定方法

NºPublicación:  CN120746378A 03/10/2025
Solicitante: 
中国人民解放军海军士官学校
CN_120746378_PA

Resumen de: CN120746378A

本发明提出一种军械装备单品和成套物资质量评定方法。通过将军械装备物资按材质分为金属器材、非金属器材等6大类,并依据技术性能、贮存时间等6项指标量化评定,将物资质量科学划分为新品、堪用品等7个等级,实现了评定标准的统一化和流程的规范化;按待报废品占比分情形确定成套物资质量等级的方法,显著提升了评定的精准性和可靠性。本发明通过多维度指标的综合评估,有效减少了人为因素影响,解决了现有技术中主观性强、标准不一的问题,同时通过规范危险品评定流程降低了安全隐患;基于量化数据的评定结果能够准确反映物资质量状况,为库存优化和资源调配提供科学依据,显著降低了管理成本。

一种仓储系统及调度方法

NºPublicación:  CN120736119A 03/10/2025
Solicitante: 
一汽丰田汽车有限公司
CN_120736119_PA

Resumen de: CN120736119A

本申请实施例提供了一种仓储系统及调度方法,涉及自动化技术领域,用于至少可以避免台车出库顺序错乱的问题。仓储系统包括控制设备、入口区、存储区和出口区;入口区设置有第一识别设备;出口区设置有第二识别设备;控制设备用于,在台车在通过入口区进入存储区时,通过第一识别设备确定台车的进入顺次;在台车通过出口区离开储存区时,通过第二识别设备确定台车的离开顺次;在台车进入顺次于离开顺次不匹配的情况下,禁止台车出库,并输出提示信息。

一种贸易数据分析和物流资源智能优化方法以及相关设备

NºPublicación:  CN120745916A 03/10/2025
Solicitante: 
重庆邮电大学
CN_120745916_PA

Resumen de: CN120745916A

本发明涉及一种贸易数据分析和物流资源智能优化方法以及相关设备,属于贸易数据分析和物流资源管理技术领域。本发明通过采集贸易数据并进行数据去噪和结构化处理,采用基于ChatGLM大语言模型的物流需求预测模型对结构化贸易数据进行语义分析和挖掘,预测物流需求;然后根据物流需求预测结果结合实时物流资源的具体状态,采用智能优化算法生成物流资源分配方案;此外,通过实时对实际物流实施数据与物流需求预测结果进行比较,识别差异并生成反馈信号以调整优化物流需求预测模型的参数,增强物流需求预测模型对物流需求变化的敏感性与预测准确度。本发明可显著降低物流成本,提升物流服务效率与质量,增强企业市场竞争力。

履约预测方法、装置、电子设备与存储介质

NºPublicación:  CN120745895A 03/10/2025
Solicitante: 
拉扎斯网络科技(上海)有限公司
CN_120745895_PA

Resumen de: CN120745895A

本申请实施例提供一种履约预测方法、装置、电子设备与存储介质,该方法包括:通过响应于针对目标配送订单的履约评估请求,获取目标配送订单的订单相关特征,获取目标配送订单对应的用户在下单之后的用户实时行为特征,基于订单相关特征和用户实时行为特征,生成目标配送订单的时效取消概率。采用该方式,获取用户实时行为特征作为反映用户对当前订单时效是否满意的主要参照,并结合订单相关特征准确预测针对目标配送订单用户本次履约的取消概率。

一种跨领域多重不确定性下港口综合能源系统与轮渡物流系统协同调度方法

NºPublicación:  CN120746112A 03/10/2025
Solicitante: 
河海大学
CN_120746112_PA

Resumen de: CN120746112A

本发明公开了一种跨领域多重不确定性下港口综合能源系统与轮渡物流系统协同调度方法,涉及港口综合能源与轮渡物流领域,该方法包括:对港口能源生产和物流作业多重不确定性表征模型的准确性进行优化;确定多重不确定性场景下的调度优化模型;基于区间建模进行调度约束优化;实现物流作业多重不确定性下港口轮渡物流系统用能与能源生产多重不确定性下港口综合能源系统供能之间的动态平衡;建立港口综合能源系统与轮渡物流系统协同调度鲁棒优化模型;通过构建的结合列与约束生成算法和自适应交替方向乘子法的分布式协同优化求解框架,求解得到港口综合能源系统与轮渡物流系统协同鲁棒调度方案。本发明可以提升港口的协同效率、经济性与鲁棒性。

优先级排序的物流大包差重费率结算方法及装置

NºPublicación:  CN120746561A 03/10/2025
Solicitante: 
上海东普信息科技有限公司
CN_120746561_PA

Resumen de: CN120746561A

本发明涉及费率计算技术领域,公开了一种优先级排序的物流大包差重费率结算方法;包括构建动态称重调整机制,设计动态称重调整规则,依照动态称重调整机制对物流大包差重费率进行匹配;构建多级优先级费率匹配方法;依据多级优先级费率匹配方法对物流大包差重费率进行匹配;基于层次分析法构建运输方法评价体系,构建自适应运输决策引擎以及多维度评价模型;通过运输方法评价体系对物流大包差重费率进行匹配;基于时间序列分析与竞品数据,构建非线性动态费率策略以及市场需求响应模型;通过市场响应模型求解物流大包差重匹配最优费率;具有提高结算精度与效率的优点。

一种用于海运物流的智能跟踪方法及系统

NºPublicación:  CN120746432A 03/10/2025
Solicitante: 
易豹网络科技有限公司
CN_120746432_PA

Resumen de: CN120746432A

本申请涉及一种用于海运物流的智能跟踪方法及系统,涉及海运管理技术的领域,该方法包括获取航运实际位置以及上报剩余时长;于物流航运线中根据航运实际位置以及上报剩余时长确定预测上报点;构建历史区间并获取物流航运线上各位置点的信息上报状态;根据信息上报状态定义中断时间点以及通畅时间点;根据中断时间点以及通畅时间点确定中断占比,并将中断占比大于许可占比的位置点定义为屏蔽点,且将除屏蔽点以外的位置点定义为传输点;于预测上报点为屏蔽点时将与处于预测上报点之前且最近的传输点定义为实际上报点,且于航运实际位置与实际上报点一致时进行数据上报。本申请具有提高海运物流的追踪效果的功能。

基于动态风险学习的跨境电子报关查验预警方法及系统

NºPublicación:  CN120746425A 03/10/2025
Solicitante: 
洛塔科技(宁波)有限公司
CN_120746425_PA

Resumen de: CN120746425A

本发明提供了一种基于动态风险学习的跨境电子报关查验预警方法及系统,该方法包括:获取历史申报数据和实时申报数据,历史申报数据包括结构化字段和半结构化字段,实时申报数据包括状态标记、申报时间戳及企业编号;从结构化字段和半结构化字段中提取静态特征,并从状态标记、申报时间戳及企业编号中提取动态特征;构建双通道深度森林模型,并将静态特征和动态特征分别输入至双通道深度森林模型中,得到静态风险概率和动态风险概率;根据静态风险概率和动态风险概率得到风险概率,并根据风险概率执行对应策略。本发明通过综合提取静态特征和动态特征,并构建双通道深度森林模型进行风险评估,能够实现了对报关数据的全面、动态分析。

跨库房设备调拨方法、设备、介质及程序产品

NºPublicación:  CN120746175A 03/10/2025
Solicitante: 
郑州云海信息技术有限公司
CN_120746175_PA

Resumen de: CN120746175A

本发明公开了一种跨库房设备调拨方法、设备、介质及程序产品,涉及数据中心运维技术领域,包括:根据设备的多维度特征和对应的维度权重,构建设备兼容性量化模型;利用包含任务紧急程度的运输决策影响因素,定义运输成本函数;接收并响应于调拨任务,根据设备兼容性量化模型结合运输成本函数,对设备兼容性、运输经济性和任务时效性进行多目标分层求解;基于运输过程的相关数据对维度权重和/或运输成本函数进行调整,生成符合预设约束的最优调拨方案。这样运用多目标分层求解策略,在大幅缩短调拨方案生成时间的同时,有效规避传统调拨决策中兼容性误判、运输成本波动及紧急响应延迟等弊端,实现设备调拨全流程精准化、智能化及自适应优化。

一种用于物流运输车辆的管理方法及系统

NºPublicación:  CN120746091A 03/10/2025
Solicitante: 
南京钢铁股份有限公司
CN_120746091_PA

Resumen de: CN120746091A

本发明公开了一种用于物流运输车辆的管理方法及系统,涉及物流管理技术领域,包括:实时采集物流车辆的运行状态数据和车辆驾驶行为数据,对采集到的数据进行多源异构数据融合和标准化处理,得到预处理数据;基于预处理数据构建驾驶风险指数模型,并基于驾驶风险指数模型确定驾驶员驾驶风险等级;基于驾驶员驾驶风险等级对驾驶员进行安全管理。本发明实时监控物流车辆运行状态和车辆驾驶行为的数据,获取运输车辆运行轨迹和安全行为数据,全面感知车辆运行态势,充分运用车载动态监控装置加强对货车的日常监督,确保车载动态监控装置工作正常、监控有效。

一种基于大数据的餐饮配送信息智能管理系统

NºPublicación:  CN120746413A 03/10/2025
Solicitante: 
湖南省祺超科技有限公司
CN_120746413_PA

Resumen de: CN120746413A

本发明提供一种基于大数据的餐饮配送信息智能管理系统,本系统包括:读取配送设备所采集到的实时配送数据,并将采集到的原始信息流输入到数据处理模块;对采集的原始数据执行三级串行清洗操作,生成结构化数据集,并将该结构化数据集输入到异常检测引擎;对所述清洗后数据进行检测,并输出检测结果;根据检测结果分类处置,同时将仲裁结果和人工干预记录输入到自优化知识库;动态更新所述异常检测规则,并向相关模块反馈优化后的决策策略;对正常数据执行路径优化算法和资源调度策略,生成配送指令并下发至执行终端。本发明有效解决了传统系统数据处理效率低、异常响应滞后的问题,具有提升配送时效性和服务质量的显著优势。

电子雷管全周期数据管理方法及系统

NºPublicación:  CN120746456A 03/10/2025
Solicitante: 
辽宁隆烨科技有限公司
CN_120746456_PA

Resumen de: CN120746456A

本发明公开了电子雷管全周期数据管理方法及系统,涉及电子雷管数据管理技术领域,电子雷管全周期数据管理方法的具体步骤包括:步骤一、采集影响电子雷管质量属性的多维度参数,并提取不同维度的参数特征,步骤二、综合多维度参数特征确定电子雷管的关键质量指标,结合存储环境参数,确定不同关键质量指标电子雷管的最佳存储时间上限,步骤三、监测电子雷管性能进入稳定可靠状态的最短时长,确定电子雷管的最佳存储时间下限,步骤四、基于最佳存储时间下限与最佳存储时间上限划分存储区域,实现电子雷管全周期数据的实时监控与异常处置,本发明通过将时间上下限区间转化为可执行的存储规则与分发策略,平衡电子雷管的安全性与库存利用效率。

基于飞行器空间测距的空间堆场快速清点方法及产品

NºPublicación:  CN120746460A 03/10/2025
Solicitante: 
数字太空(北京)科技股份公司
CN_120746460_PA

Resumen de: CN120746460A

本申请公开了一种基于飞行器空间测距的空间堆场快速清点方法及产品。方法用于快速清点空间堆场中码放的箱体的数量,该方法包括:在全满码放的三维模型中,对每个虚拟码垛单元内位于顶部位置的虚拟箱体添加标记点;基于多个标记点的位置信息,生成一个能够覆盖每一个标记点的轨迹线,将轨迹线转换为实际空间轨迹作为飞行器执行清点任务时的飞行路径;控制飞行器按照飞行路径飞行,采集飞行器与各个目标箱体的距离信息,以及采集飞行器距地面的距离信息;基于飞行器与各个目标箱体的距离信息、飞行器距地面的距离信息以及单个目标箱体的尺寸信息,计算当前目标码垛区域内的目标箱体的总数。利用本申请实施例可以对堆场中的箱体实现快速清点。

基于数字化的工程进度管控方法及系统

NºPublicación:  CN120745880A 03/10/2025
Solicitante: 
国网辽宁省电力有限公司经济技术研究院国家电网有限公司
CN_120745880_PA

Resumen de: CN120745880A

本发明公开了基于数字化的工程进度管控方法及系统,包括:获取当前的工程进度,将一级数据与工程进度进行匹配;根据二级数据进行用料可持续时间的预测;根据用料可持续时间的预测结果,设置最晚的补料节点,并进行补料提醒;工程进展的时间到达每个节点时,更新每个节点的状态,形成节点标签,同时在每个节点的标签处插入工程管理时的报告,同时在每个节点的标签处插入工程管理时的报告;在可视化界面,实时展示工程进度,并在进度条上标注每个节点,并将每个节点的标签内容进行展示。能够实时预测资源需求、优化库存管理,并及时发出补料提醒,有效避免因资源短缺或调度失误导致的工程停滞。

一种预制梁场的布局方法、装置、设备及介质

NºPublicación:  CN120745925A 03/10/2025
Solicitante: 
中国水利水电第五工程局有限公司
CN_120745925_PA

Resumen de: CN120745925A

本发明公开了一种预制梁场的布局方法、装置、设备及介质,涉及建筑工程施工规划技术领域。本发明的预制梁场布局方法首先通过布局生成模型基于预制梁场的基础数据预测得到各设施单元的位置拓扑图,再根据拓扑关系将设施单元分配到地形图中并进行子区域划分;建立基于物流成本、土地利用率的多目标优化函数,在多目标优化求解过程中,将各设施单元的约束限制在子区域内,从而在寻优过程中保留初始拓扑中各设施单元之间的功能联系和逻辑关系,大大缩小了优化搜索空间,提高了寻优效率,同时提高了布局的效率、灵活性和适应性。

一种基于视觉图像处理的危化品运输监控系统

NºPublicación:  CN120746269A 03/10/2025
Solicitante: 
东莞致远物流有限公司
CN_120746269_PA

Resumen de: CN120746269A

本发明属于危化品运输安全监控技术领域,提供一种基于视觉图像处理的危化品运输监控系统,包括:多维数据采集模块,用于采集包括GIS地理信息、危化品运输任务数据、危化品运输车辆的光谱视觉数据和危化品运输路线的环境气象数据的多维数据;多维数据处理模块,用于基于配置的边缘计算单元和云平台,对多维数据进行建模分析和风险评估,获得风险评估结果;自适应预警模块,用于基于风险评估结果,实施危化品运输的安全监控预警。本发明采用多维数据采集、处理以及自适应预警等模块协同工作,实现了对危化品运输全过程的全面精准监控。

基于用户行为数据的垃圾分类清运路径优化系统

NºPublicación:  CN120745991A 03/10/2025
Solicitante: 
西安赛克斯物联网有限公司
CN_120745991_PA

Resumen de: CN120745991A

本发明涉及数据分析领域,具体涉及一种基于用户行为数据的垃圾分类清运路径优化系统,包括:通过实时采集各垃圾投放点的垃圾桶容量使用率数据,结合历史行为数据,动态计算每个点位在不同时刻的第一优先级权重与第二优先级权重,分别反映垃圾存量与增长趋势的常态风险及突发性波动;采用加权移动平均法预测未来时刻的优先级权重,并融合生成清运优先级系数;最终以“导航距离×优先级系数倒数”作为决策指标,动态规划清运路径。本发明实现清运路线的智能优化,提升清运效率,降低垃圾满溢风险。

一种基于AI算法的供应链履约路径优化与协同决策方法

NºPublicación:  CN120745992A 03/10/2025
Solicitante: 
青岛巨商汇网络科技有限公司
CN_120745992_PA

Resumen de: CN120745992A

本发明公开了一种基于AI算法的供应链履约路径优化与协同决策方法,具体涉及供应链履约路径优化领域,包括:首先获取订单货物信息及仓库资源数据,通过匹配判断单一仓库能否独立履约:若可行,则构建包含运输总时间、时间冗余量、路径复杂度及资源利用率的综合评价函数,生成该仓库至交付地的最优路径;若需多仓协同,则动态选择集中点仓库,通过综合计算各仓库的货物转运成本与历史履约风险值,生成综合预警评分并选定最优集中点,最终规划从供应仓库向集中点的转运路径及集中点至终端的履约路径,形成全链路协同方案;本发明突破传统单仓决策模式,通过双路径优化机制实现资源全局调度,显著降低运输延误风险并提升供应链运作效率。

海港综合能源系统全流程物流-能量联合调度方法及系统

NºPublicación:  CN120746242A 03/10/2025
Solicitante: 
山东大学
CN_120746242_PA

Resumen de: CN120746242A

本发明公开一种海港综合能源系统全流程物流‑能量联合调度方法及系统,涉及海港综合能源系统技术领域,包括:构建海港综合能源系统模型和海港物流系统模型;以最小化综合能源系统成本和船舶平均在港时长为优化目标,根据船舶到港信息,采用改进的多目标差分进化算法进行优化目标的求解,得到多个帕累托解,根据层次分析法结合熵权法对多个帕累托解进行赋权,以在多个帕累托解集中筛选最优解,得到包括船舶泊位分配和各物流设备运行状态的物流调度计划,以及各能源设备的出力,从而完成物流‑能量联合调度。在提升物流调度效率的同时,降低海港综合能源系统的能耗和碳排放。

页面跳转的方法、页面跳转的装置、电子设备和存储介质

NºPublicación:  CN120743414A 03/10/2025
Solicitante: 
拉扎斯网络科技(上海)有限公司
CN_120743414_PA

Resumen de: CN120743414A

本申请提供了一种页面跳转的方法、页面跳转的装置、电子设备和存储介质,应用于计算机技术领域。该方法应用于服务器,该方法包括:响应于骑手的输入语音,对输入语音进行意图识别,得到输入语音的目标操作意图;基于目标操作意图,确定目标页面;确定当前页面是否为目标页面;当检测到当前页面不是目标页面时,向用户端发送控制指令,以使用户端自动跳转至目标页面,控制指令包括目标页面的目标页面地址。该方法能够提高页面跳转的便利性。

一种基于多式联运的装车时间预测方法及系统

NºPublicación:  CN120746067A 03/10/2025
Solicitante: 
南昌丹巴赫科技有限公司
CN_120746067_PA

Resumen de: CN120746067A

本发明提供了一种基于多式联运的装车时间预测方法及系统,该方法包括:当实时检测到目标物品出现在预设物流区域时,实时检测出与目标物品对应的目标物品信息;根据目标物品信息在预设数据库中实时确定出与目标物品对应的目标转运方案,并实时检测出目标转运方案中对应包含的若干转运节点;根据若干转运节点将目标转运方案实时拆分成若干对应的局部转运方案,并基于预设规则实时生成与每一局部转运方案分别对应的局部时间轴;对每一局部时间轴进行实时拼接处理,以实时生成对应的目标时间轴,并根据目标时间轴对应输出与目标物品适配的装车预测时间。本发明能够全面、准确的预测出物品的装车时间,对应提升了装车效率。

破损智能预警与高效管控方法、装置、设备及介质

NºPublicación:  CN120746424A 03/10/2025
Solicitante: 
深圳市跨越新科技有限公司
CN_120746424_PA

Resumen de: CN120746424A

本申请涉及物流运输与供应链管理技术领域,提供一种破损智能预警与高效管控方法、装置、设备及介质,方法对运单数据、破损数据、客诉数据和理赔数据进行标准化处理,形成统一格式的基础数据集;针对运营管控维度设定第一监控规则,基于基础数据集和第一监控规则识别异常破损行为,若识别到异常则生成包含组织现状、整改目标、整改说明的组织命中任务;针对客户管控维度设定第二监控规则,基于基础数据集和第二监控规则识别异常客户破损行为,若识别到异常则生成管控任务;根据组织命中任务和管控任务对预警信息进行记录,预警信息包括执行时间、阈值调整、命中率和审批信息,并生成历史统计与查否方案,形成管控结果闭环。

基于移动人工智能的智慧应急医疗物流配载方法

NºPublicación:  CN120746435A 03/10/2025
Solicitante: 
浙江万里学院
CN_120746435_PA

Resumen de: CN120746435A

本发明涉及一种基于移动人工智能的智慧应急医疗物流配载方法,通过预先构建陆空协同物流配送系统并处理得到应急医疗物流配载方案,再进一步分别得到医疗物流陆运配送初始线路和医疗物流陆运配送优化线路,将依据应急医疗物流配载方案配载的应急医疗物资按照医疗物流陆运配送优化线路进行物流陆运配送,且根据应急医疗物流配送时效需求和已执行的物流陆运配送进度执行针对当前应急医疗物资配送的无人机协同配送规划路径,并令无人机按照当前的无人机协同配送规划路径执行应急医疗物流配送。如此,实现了针对应急医疗物资陆运和空运的多式联运,避免了陆运交通拥堵对应急医疗物资运输的不利影响,提高了配载和配送效率。

一种基于深度学习的车辆-货场匹配优化模型构建方法

NºPublicación:  CN120746105A 03/10/2025
Solicitante: 
海南中远海运科技有限公司
CN_120746105_PA

Resumen de: CN120746105A

本发明提供一种基于深度学习的车辆‑货场匹配优化模型构建方法,涉及物流决策优化技术领域,利用深度学习模型结合车辆历史运输记录和车辆特征,实现精准的运力调度。本发明主要包括数据预处理、运力池构建、深度学习匹配、运力扩展和调度决策等步骤,通过构建基于深度学习的匹配模型,引入注意力机制分析车辆历史运输记录,并结合车辆的物理特征,提高货物与车辆的匹配精度。此外,本发明还引入运力池扩展机制,结合车辆的最大承载能力,允许一定范围的超载松弛,增强运力调度的灵活性,以优化整体运输效率,减少车辆空驶率,提升物流系统的智能化水平。

危废物管理方法、系统和程序产品

NºPublicación:  CN120746458A 03/10/2025
Solicitante: 
国能龙源环保有限公司
CN_120746458_PA

Resumen de: CN120746458A

本发明提出一种危废物管理方法、系统和程序产品,方法包括:接收外部请求并执行对应动作,若外部请求为入库请求,则判断是逐件扫码入库,还是整车统一入库,若为逐件扫码入库,则扫描危废物的二维码;若为整车统一入库,则输入车辆联单信息,扫码整车二维码;对危废物或整车自动称重,并自动更新入库台账;若外部请求为出库请求,则判断是逐件扫码出库,还是整车统一出库,若为逐件扫码出库,则扫描危废物的二维码;若为整车统一出库,则输入车辆联单信息,扫码整车二维码;对危废物或整车自动称重,并自动更新入库台账。本发明解决了对危废物管理方式效率低、易出错的技术问题,使对危废物的管理进行了区分,使危废物的管理智能化、精细化。

基于RFID的装备出入库批量快速登记方法

NºPublicación:  CN120745672A 03/10/2025
Solicitante: 
星际控股集团有限公司
CN_120745672_PA

Resumen de: CN120745672A

本发明公开了一种基于RFID的装备出入库批量快速登记方法,包括以下步骤:(1)为任务人员配发唯一的RFID人员标签,为装备库中的装备配发唯一的RFID装备标签;(2)在出入装备库必经的通行区域布置RFID读取器,用于实时采集与RFID人员标签和RFID装备标签相对应的唯一标识、读取时间戳和RSSI值;(3)计算规定时间窗口内获取的每个RFID装备标签与各位RFID人员标签所对应的RSSI平均值的差值;(4)将RSSI平均值差值最小的RFID人员标签与RFID装备标签建立或解除临时绑定关系。本发明解决了存取装备时,特别是多人同时存取装备时操作繁琐、效率低下的问题。

载荷承载架控制设备、操作方法以及用途

NºPublicación:  CN120752650A 03/10/2025
Solicitante: 
海福和博克公司
CN_120752650_PA

Resumen de: WO2024170530A1

A load carrier control apparatus (1) comprising a control device (50), the control device (50) comprising a sensor device (51) and a computing device (52). The computing device (52) is suitable and designed for using an evaluation based on an automated application to inspect a quality feature of a controllable load carrier (100) on the basis of the data captured by the sensor device (51), the automated application comprising an AI application and/or at least one computer vision application. The method for operating such a load carrier control apparatus (1) involves using the automated application to infer at least one quality feature and initiating an accordingly predetermined action. The use relates to an automated application comprising at least one AI application and/or at least one computer vision application for controlling load carriers (100).

用于预测仓库物料短缺情况的方法、处理器及存储介质

NºPublicación:  CN120745889A 03/10/2025
Solicitante: 
中科云谷科技有限公司
CN_120745889_PA

Resumen de: CN120745889A

本申请公开了一种用于预测仓库物料短缺情况的方法、处理器及存储介质,属于仓库物料管理技术领域,该方法包括:获取预设历史时间段内的待预测物料的历史物料相关数据;对历史物料相关数据进行预处理,以得到对应的目标时间序列数据;基于预构建的目标预测模型,根据目标时间序列数据确定未来预设时间段内的待预测物料的预测物料相关数据,其中,目标预测模型基于深度学习模型和时间序列预测模型构建;根据预测物料相关数据,确定未来预设时间段内待预测物料的物料短缺情况。本申请通过结合深度学习模型和时间序列模型构建目标预测模型,以对仓库内物料未来的短缺情况进行预测,有利于提高预测结果的准确性。

商品规格信息处理方法、电子设备、计算机程序产品

NºPublicación:  CN120746441A 03/10/2025
Solicitante: 
盒马(中国)有限公司
CN_120746441_A

Resumen de: CN120746441A

本申请实施例公开一种商品规格信息处理方法、电子设备、计算机程序产品。该方法包括:获得商品信息库,库中保存有具有转换关系的商品的规格信息;规格信息与单件商品的构成数量和商品形态相关;确定具有规格转换需求的目标商品,并通过商品信息库确定与目标商品具有转换关系的关联商品;根据目标商品的规格信息、关联商品的规格信息以及关联商品的可用库存信息,确定将关联商品规格转换为目标商品时的转换数量信息;根据转换数量信息以及目标商品与关联商品的转换关系,生成商品转换任务,以加工获得与转换数量信息相匹配的新的目标商品。如此方案,通过准确可靠的对不同规格的商品进行规格转换的方式,解决商品缺货问题,及时补充缺货商品库存。

物流客户的筛选方法、装置及设备

NºPublicación:  CN120743970A 03/10/2025
Solicitante: 
上海东普信息科技有限公司
CN_120743970_PA

Resumen de: CN120743970A

本发明公开了一种物流客户的筛选方法、装置及设备,所述方法应用于物流技术领域,所述方法包括:构建多维度数据集;将多维度数据集输入混合时序预测模型,混合时序预测模型包括三层LSTM网络以及多头注意力网络,通过三层LSTM网络提取长期依赖特征,通过多头注意力网络识别长期依赖特征中的关键节点,并基于关键节点输出动态阈值浮动区间;构建强化学习规则引擎优化物流客户的筛选权重,并结合异常检测算法以及动态阈值浮动区间,识别临时亏损潜力客户;利用自然语言处理技术解析临时亏损潜力客户的运营报告并构建知识图谱,得到降本增效策略。本发明可以准确筛选出亏损潜力客户,并快速构建相应的优化策略。

药品库存监测方法及相关装置、设备和存储介质

NºPublicación:  CN120748636A 03/10/2025
Solicitante: 
江苏人先医疗科技股份有限公司
CN_120748636_PA

Resumen de: CN120748636A

本申请公开了一种药品库存监测方法及相关装置、设备和存储介质,其中,药品库存监测方法包括:基于目标药品在第一历史时段的历史用药数据,得到待预测周期的预测用药量,以及基于在第二历史时段与目标药品相关的历史手术数据,得到在待预测周期与目标药品相关的预测手术数据;其中,第二历史时段覆盖第一历史时段;基于预测手术数据和在待预测周期关于目标药品的手术排班数据,生成调整系数;基于调整系数和预测用药量,得到目标药品的库存监测值;基于库存监测值与目标药品实际库存值之间的比较结果,确定监测结果。上述方案,能够提升药品库存监测的有效性。

用于在途电动车辆的策略机会充电

NºPublicación:  CN120752651A 03/10/2025
Solicitante: 
感应电动车有限公司
CN_120752651_PA

Resumen de: MX2025007579A

Electric vehicles (EVs) for pick-up and delivery services using opportunity charging are routed in response to a task request for package or person pick-up and drop-off. A candidate EV for the task is determined based on a preliminary route analysis of routes between the pick-up and drop-off locations including an estimate of point-to-point travel time and electrical power consumption for each candidate EV. The candidate EVs are winnowed by determining which candidate EV is available during a time window of service that has sufficient state of charge to reach at least the pick-up location. Routing calculations are performed for each remaining candidate to develop an individual route between the pick-up location and the drop-off location and a predicted power consumption for the individual route. A candidate EV is assigned to service the task request that has sufficient state of charge, with minimal recharging delay, to meet the predicted power consumption for its individual route.

一种基于MES的数字化工厂柔性排产系统

NºPublicación:  CN120746217A 03/10/2025
Solicitante: 
山东劳动职业技术学院(山东劳动技师学院)
CN_120746217_PA

Resumen de: CN120746217A

本发明提供一种基于MES的数字化工厂柔性排产系统,涉及数字化管理技术领域,所述方法包括:通过MES与ERP的集成接口实时捕获订单变更指令并转化为标准化工单数据流;基于结构化数据对象,融合设备实时传感数据与预存储的工艺约束矩阵、动态物料拓扑数据,生成包含设备状态向量、工艺约束矩阵及物料拓扑数据的三层实时资源模型;基于三层实时资源模型执行分层优化,第一层优化以设备状态向量和工艺约束矩阵为硬约束,生成初始可行解集;第二层优化对初始可行解集执行多目标评估,得到非支配解集作为排产计划。本发明实现订单‑资源‑执行的全流程智能协同。

运输路径规划方法、装置及存储介质

NºPublicación:  CN120745985A 03/10/2025
Solicitante: 
中科云谷科技有限公司
CN_120745985_PA

Resumen de: CN120745985A

本申请实施例提供一种运输路径规划方法、装置及存储介质,涉及路径规划技术领域。方法包括:针对任意一个非起点的第一节点,在第一节点不是终点的情况下,确定第一节点的上一个节点至第一节点的行进方向;在行进方向上确定与第一节点相邻的第二节点;判断第二节点是否为跳点;在第二节点为跳点的情况下,将第二节点加入至节点集合,并结束在当前行进方向上的搜索,其中,节点集合中包括起点位置所在的节点;从节点集合中选出与第二节点之间移动代价最小的节点作为新的第一节点;回到判断第一节点是否为终点的步骤,直到轮询到的第一节点为终点,则将终点加入至节点集合;根据节点集合中的节点确定出目标路径。

基于分层优先级的物流数据传输验证方法及系统

NºPublicación:  CN120750492A 03/10/2025
Solicitante: 
天津洪荒科技有限公司
CN_120750492_PA

Resumen de: CN120750492A

本申请涉及数据处理技术领域,公开了一种基于分层优先级的物流数据传输验证方法及系统。该方法包括:采集物流数据,按业务重要性建立分级体系,生成权重矩阵和敏感性矩阵;计算数据变更差值,与矩阵加权运算输出偏差向量;提取向量中位置、状态、时间信息,计算关联度和一致性生成多维校验值;根据校验值分配编码位长度,动态哈夫曼编码生成数据包;验证数据包,增量解码恢复信息,重建数据库状态。本申请解决了现有物流数据传输验证方法中验证效率低下、无法适应业务差异化需求以及在带宽受限环境下验证开销过大的问题,提高了物流数据传输验证的效率和针对性。

一种智慧港口作业车辆调度系统及调度机器人

NºPublicación:  CN120746080A 03/10/2025
Solicitante: 
宁波港信息通信有限公司
CN_120746080_PA

Resumen de: CN120746080A

本发明公开了一种智慧港口作业车辆调度系统及调度机器人,涉及智慧港口作业技术领域。为了解决传统港口车辆调度中人工调度响应慢、错误率高、资源分配不均、人力成本过高,以及难以满足现代港口高效、智能化需求的问题;本发明通过利用二部图匹配策略降低车辆空载距离,提高重载率,同时预测调度模块提前规划,减少任务积压和车辆闲置,有效提升运营效率,约束处理模块依据任务和车辆情况优化任务分配,多目标优化模块兼顾重载率和派单公平性,使得资源分配更合理,调度机器人集成系统功能,通过采集数据和在线学习技术持续优化,能适应不同作业环境,实现智能化调度,不仅提高调度准确性和效率,还降低人力成本,提升港口整体竞争力。

基于语义分析与多源数据融合的工单费用预测方法和系统

NºPublicación:  CN120746208A 03/10/2025
Solicitante: 
广州市神州联保科技有限公司
CN_120746208_A

Resumen de: CN120746208A

本发明提供一种基于语义分析与多源数据融合的工单费用预测方法,属于人工智能的技术领域。方法包括:获取故障文本描述、设备参数、历史维修记录、备件库存信息及环境数据;通过BERT‑base模型和注意力机制提取故障语义特征向量;融合语义特征与标准化结构化数据构建多源特征矩阵;采用神经网络级联模型预测工单费用;根据预测值生成维修资源配置策略。本发明解决了传统工单费用预测中文本信息利用率低、多源数据协同不足的技术问题,显著提升预测精度与维修资源配置效率。

餐厨设备通过模拟POS打印机自动接收订单的方法

NºPublicación:  CN120746771A 03/10/2025
Solicitante: 
新乡市嘉数科技有限公司
CN_120746771_PA

Resumen de: CN120746771A

本发明公开了餐厨设备通过模拟POS打印机自动接收订单的方法,涉及餐厨设备技术领域。本发明包括以下步骤:设备协议伪装与连接建立:智能餐厨设备通过网线、wifi或蓝牙通信链路与店内收银机建立数据连接,所述智能餐厨设备基于设备驱动层模拟POS协议的指令集架构,将自身硬件接口伪装为符合POS小票打印机通信规范的虚拟外设。本发明构建了一套完整且系统的订单处理流程,从设备与收银机的连接建立、订单的精准分配,到信息的准确解析与制作反馈,每个环节紧密相扣,有效解决了传统人工传递订单效率低下、易出错的问题,通过模拟POS打印机的通信规范,实现了智能餐厨设备与现有收银系统的无缝对接。

一种用于锁鲜快速送达配送方法及配送系统

NºPublicación:  CN120746428A 03/10/2025
Solicitante: 
广东鲜康达食品科技有限公司
CN_120746428_A

Resumen de: CN120746428A

本发明公开了一种用于锁鲜快速送达配送方法及配送系统,包括有:获取配送起点到目标距离、路段和天气数据,车辆最大速度数据;建立配送网络,通过中控端与移动端监控查询配送和库存状况,采用智能算法分析并推荐配送路段;划分配送区域,客户在线预约订单,整合订单配送;设置两个配送时间段,并在距离送达1公里时自动发送短信通知;保温箱锁鲜内部署温度传感器实时显示温度,接近常温时发出提示通知进行降温处理;在配送目标区域部署智能冷藏箱,通过密码或扫码取货,远程监控和锁定;本发明的一种用于锁鲜快速送达配送方法及配送系统,通过优化物流规划与管理,提升配送可靠性,并采用智能冷藏箱确保生鲜商品在客户未及时取走时依然保鲜。

一种危化品道路运输的多目标路径优化系统及方法

NºPublicación:  CN120745976A 03/10/2025
Solicitante: 
东莞致远物流有限公司
CN_120745976_A

Resumen de: CN120745976A

本发明公开了一种危化品道路运输的多目标路径优化系统及方法,该系统包括:数据获取模块,用于获取危化品运输需求信息和道路网络信息,生成基础数据集;多目标优化模块,用于基于基础数据集进行路径规划与风险管控的协同优化,生成优化方案;路径生成模块,用于基于优化方案,生成最终运输路径、时间安排和应急预案,并根据实时路况动态调整。显著提高了危化品道路运输的安全性、可靠性和效率,减少了潜在风险暴露,为危化品运输管理提供了全面的技术支持。

一种药品入库数据的药品自动管理方法及系统

NºPublicación:  CN120746461A 03/10/2025
Solicitante: 
铜川市人民医院
CN_120746461_PA

Resumen de: CN120746461A

本申请涉及药品管理技术领域,尤其是涉及一种药品入库数据的药品自动管理方法及系统,其包括获取药品入库时序数据,识别相似入库数据集并进行动态关联存储,计算入库交互评分值;同时获取药品出库时序数据,识别相似出库数据集并计算出库交互评分值,最终根据综合评分规则生成药品自动管理综合评分值。本发明还提供对应的系统、电子设备及存储介质。本申请能够提升药品入库与出库管理的智能化水平,优化库存管理,增强异常响应能力,解决现有系统在数据处理、跨系统集成及库存优化等方面的不足问题。

仓储物料的状态识别方法、仓储物料的状态识别设备及介质

NºPublicación:  CN120747842A 03/10/2025
Solicitante: 
广州平云小匠科技股份有限公司
CN_120747842_PA

Resumen de: CN120747842A

本申请公开了一种仓储物料的状态识别方法、仓储物料的状态识别设备及介质,涉及仓储物料管理技术领域,公开了仓储物料的状态识别方法,包括:获取仓储物料的物料图像,所述物料图像包括多个不同采集角度采集的图像;根据滑动窗口遍历所述物料图像,并基于预训练模型确定各个所述滑动窗口中,所述仓储物料的物料状态的检测结果和置信度,所述物料状态包括好件、坏件、新件及维修件中的其中一个;根据所述检测结果以及所述置信度,更新所述仓储物料的所述物料状态。基于此,通过自动识别及数据自动更新的方式,提升仓储物料状态识别的准确性、库存管理的实时性以及整体操作的可信度。

一种发动机生产控制系统及方法

NºPublicación:  CN120746324A 03/10/2025
Solicitante: 
一汽解放汽车有限公司
CN_120746324_PA

Resumen de: CN120746324A

本申请涉及装配管理技术领域,提供了一种发动机生产控制系统及方法,包括:MES系统,配置为根据设备能力及作业计划生成生产任务,并发送至LES物流系统;LES物流系统,配置为根据MES系统下发的生产任务生成物料需求订单,并监控订单的完成进度;WCS系统,配置为基于物料需求订单及生产任务,生成生产规划,以驱动装配产线执行零件装配工作;所述装配产线,包括立库系统、装配执行单元及AGV中控系统。本发明提升了零件的加工精度,解决了传统制造中计划与执行脱节、物流响应滞后、设备协同效率低等问题。

智慧茶园区块链溯源系统及方法

NºPublicación:  CN120746610A 03/10/2025
Solicitante: 
武夷山市叶嘉岩茶业有限公司
CN_120746610_PA

Resumen de: CN120746610A

本发明公开了智慧茶园区块链溯源系统及方法,包括如下步骤:对各环节数据进行标准化处理与聚合,并生成事件集合标识;采用RSA累加器对事件集合进行紧凑承诺,生成阶段性承诺值;引入BLS门限签名机制,对事件集合由多个可信节点联合签名,生成聚合签名;将承诺值与聚合签名绑定写入区块链;在溯源查询中,通过RSA累加器验证事件存在性,并通过BLS门限签名验证节点共识,从而构建安全、透明、可验证的溯源体系。本发明覆盖茶叶从种植、加工、仓储、运输到销售的全流程信息管理。

基于GIS的空间数字孪生可视化方法及平台

NºPublicación:  CN120744020A 03/10/2025
Solicitante: 
深圳数影科技有限公司
CN_120744020_PA

Resumen de: CN120744020A

本申请涉及一种基于GIS的空间数字孪生可视化方法及平台,其中方法包括:通过二维编辑器基于基础地理数据和业务参数构建标准化的二维空间要素集;根据预置的三维资产库将二维空间要素集构建三维场景和空间索引表;获取实时的IoT数据流,并基于IoT数据流和空间索引表和三维场景进行实时数据联动,生成更新后的三维场景和预警信号;将更新后的三维场景进行模型发布与复用。本申请解决了传统三维建模依赖固定模板、多源数据融合困难的问题,具有提高跨行业应用的普适性,实现高效构建与动态更新标准化三维空间模型的优点。

一种彩票物流管理方法、装置、设备、介质及产品

NºPublicación:  CN120746447A 03/10/2025
Solicitante: 
豪波安全科技有限公司
CN_120746447_PA

Resumen de: CN120746447A

本申请公开了一种彩票物流管理方法、装置、设备、介质及产品,涉及数据处理技术领域,该方法包括采集彩票销售数据、彩票库存数据、配送需求信息以及配送车辆载重;将彩票销售数据输入至预先构建的销量预测模型,得到预设时间段内的彩票销售预测数量;根据彩票销售预测数量和彩票库存数据,确定彩票目标库存数据和彩票补充库存数据;将彩票目标库存数据、配送需求信息以及配送车辆载重输入至预先构建的物流规划模型,得到与各个彩票销售点的目标配送需求分别对应的物流规划信息;物流规划信息中至少包括每一彩票销售点对应的配送彩票类型、配送彩票数量、配送车辆以及配送时间,本申请可以避免造成彩票配送延误的情况,以使彩票能够正常销售。

一种基于便携式共享黄疸仪的智慧医疗系统及使用方法

NºPublicación:  CN120748659A 03/10/2025
Solicitante: 
南京南科华工科技开发有限公司
CN_120748659_PA

Resumen de: CN120748659A

本发明公开了一种基于便携式共享黄疸仪的智慧医疗系统及使用方法,所述系统包括:患者端,用于设备租赁、缴费及测量显示;便携式黄疸仪终端,采集数据并无线传输;云服务平台,基于AI算法分析数据并生成诊断建议;医护端,审核数据并推送结果;租赁柜终端,管理设备存取;数据协同模块,实现各终端及医院服务器间的数据同步。本发明通过深度融合共享租赁模式与AI云辅助诊断,实现黄疸检测的三大突破:物联网化硬件与云辅助体系将专业检测延伸至家庭;云端动态校准算法有效辅助家庭测量操作并消除地域性肤色干扰,降低系统与人为测量偏差;构建“用户‑云‑医生”三级闭环体系,提高整体筛查效率,支撑黄疸全链路管理与分级诊疗。

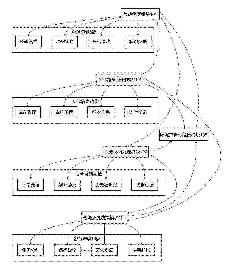
道路冷链运输规模预测方法、装置、设备、介质及产品

NºPublicación:  CN120745909A 03/10/2025
Solicitante: 
交通运输部公路科学研究所
CN_120745909_A

Resumen de: CN120745909A

本申请公开了一种道路冷链运输规模预测方法、装置、设备、介质及产品,涉及公路运输领域。本申请首先基于道路冷链运输的历史数据构建了训练集和测试集,然后利用训练集和测试集对随机森林决策树模型进行训练和测试,并利用训练好的随机森林决策树模型对道路冷链运输规模进行预测。本申请结合道路冷链运输的电子运单数据、车辆动态运行数据、人口规模数据及随机森林决策树模型实现道路冷链运输规模预测,提高了道路冷链运输规模预测在时间和空间上的预测颗粒度。

一种智慧血液管理方法及系统

NºPublicación:  CN120748641A 03/10/2025
Solicitante: 
首都医科大学附属北京儿童医院
CN_120748641_PA

Resumen de: CN120748641A

本申请提出一种智慧血液管理方法及系统,包括识别血液制品和预设血液分类单元之间的映射关系;响应于映射关系符合预设规则,确定血液制品的使用数量估计值;由预设血液分类单元内血液制品的历史库存数据,对使用数量估计值进行贝叶斯更新,得到当前时刻预设血液分类单元内血液制品的实时库存数据。通过血液制品和预设血液分类单元之间的映射关系,可以较为准确地跟踪和管理不同类型血液制品的库存。根据当前时刻预设血液分类单元内血液制品的重量变化来确定使用数量估计值,进一步提高了库存管理的实时性和准确性。采用贝叶斯更新方法对使用数量估计值进行修正,可以更加准确地反映当前时刻的库存状况,提高血液制品库存管理的智能化水平。

基于BIM模型的型钢柱自适应模板加固系统及方法

NºPublicación:  CN120739372A 03/10/2025
Solicitante: 
中铁城建集团第二工程有限公司中铁城建集团有限公司
CN_120739372_PA

Resumen de: CN120739372A

本发明涉及型钢柱加工领域,公开了基于BIM模型的型钢柱自适应模板加固系统,包括:数据获取单元,在BIM模型中确定型钢柱位置,得到型钢柱模板加固生根点位置数据;根据型钢柱模板加固生根点位置数据,将道轨焊接在型钢柱的腹板和翼缘板上,得到焊接有道轨的型钢柱数据;数据配套单元,利用型钢柱时加工产生的余料加工螺杆卡板;基于所述焊接有道轨的型钢柱数据,将螺纹卡板和螺杆焊接在一起,得到带有加固组件的型钢柱数据,本发明通过BIM模型精确确定型钢柱的位置及模板加固的生根点数据,从而确保加固点的定位精准,为后续施工提供科学依据,避免了人为错误或偏差,确保了结构的稳定性和安全性。

一种配套航空行李变更信息的调度方法和系统

NºPublicación:  CN120746430A 03/10/2025
Solicitante: 
上海朋邦实业有限公司
CN_120746430_PA

Resumen de: CN120746430A

本发明公开了一种配套航空行李变更信息的调度方法和系统,涉及航空运输智能调度技术领域,包括,实时采集航空运输场景中的行李变更信息、旅客行程数据和机场设备状态数据,输出原始数据流;在元宇宙构建机场运营数字孪生体,将协同转运路径导入数字孪生环境进行时空预演仿真,实时检测行李流冲突点并标记物理约束冲突区域坐标集;通过逆强化学习算法反解预演仿真中的冲突事件,溯源策略缺陷特征并重建奖励函数空间,输出梯度补偿参数;融合物理约束冲突区域坐标集与梯度补偿参数,生成三维空间调度指令集并执行指令下发。本发明基于时空预演仿真方法,准确识别行李转运路径的安全边界,有效降低物理约束超限风险。

基于云边协同的库房视频分析的资源调度方法及系统

NºPublicación:  CN120747715A 03/10/2025
Solicitante: 
北京淇骏科技有限公司
CN_120747715_PA

Resumen de: CN120747715A

本发明涉及资源调度技术领域,公开了一种基于云边协同的库房视频分析的资源调度方法及系统,该方法包括:获取库房各摄像头的监控视频流并确定每一摄像头的监控区域,将全部监控区域根据货物存储要求划分区域优先级,基于目标帧图像和卷积神经网络模型确定相应监控区域是否存在货物摆放错误,当存在货物摆放错误时,根据对应监控区域的区域优先级发出相应预警,当不存在货物摆放错误时,基于对应的区域优先级确定边缘处理策略或云端处理策略,并基于迁移复杂度调整云端服务器的资源分配。本发明确保了库房监控的运行效率和可靠性,从而保障了资源调度的效率与稳定性的平衡。

基于智慧工厂管理平台系统的数据实时监控方法

NºPublicación:  CN120746504A 03/10/2025
Solicitante: 
深圳市奕扬科技有限公司
CN_120746504_PA

Resumen de: CN120746504A

本发明涉及智慧工厂管理平台技术领域,公开了一种基于智慧工厂管理平台系统的数据实时监控方法,该方法包括:对智慧工厂ERP系统中的供应商Excel数据、承运商GPS轨迹数据流和仓库RFID货位数据进行标准格式转换,得到标准化业务数据;基于标准化业务数据计算供应商综合评分并生成动态排序列表;接收采购订单信息并创建物流调度计划,同时为入库商品预先分配最优货位,得到仓储预分配方案;实时监控仓储预分配方案的执行进度,同步更新业务状态信息;基于业务状态信息监测采购订单信息的审核状态并生成智能协同决策方案,本发明确保了供应商管理、物流调度和仓储管理三个模块业务状态的实时同步更新,提升了供应链协同管理效率。

基于人工智能的冷链运输温控监测方法及系统

NºPublicación:  CN120746427A 03/10/2025
Solicitante: 
路通数联(北京)信息技术有限公司铜仁北科科技有限公司
CN_120746427_PA

Resumen de: CN120746427A

本发明公开了一种基于人工智能的冷链运输温控监测方法及系统,包括:首先获取运输主体的属性数据和温控参量的状态数据;利用针对不同数据类预训练的编码器提取初步编码特征;通过各监测场景的处理单元对特征进行场景关联融合,突出场景专用信息;结合时序关联模型挖掘场景间的时序传导关系;最终融合场景关联特征与时序关联特征,输出各场景的温控异常监测结果。本方法通过多源数据融合、场景针对性分析及时序传导挖掘,实现了对冷链温控异常的精准识别和前瞻性预警。

一种实物资源集成化管理方法、系统、装置及存储介质

NºPublicación:  CN120746442A 03/10/2025
Solicitante: 
国网山东省电力公司物资公司
CN_120746442_PA

Resumen de: CN120746442A

本发明提出的一种实物资源集成化管理方法、系统、装置及存储介质,所述方法包括:结合地理信息系统技术构建预设区域内的三维实景电子地图,并识别出区域内的物资库和相应的地图信息;集成预设区域内物资库的智能设备,通过IoT技术收集智能设备的状态信息和作业进度信息,作为基础数据;利用大数据处理框架对基础数据进行清洗、整合,并应用及其学习算法对物资库内的物资状态、物资库龄进行分析,并生成预警信息;以图表形式展示预设区域内物资状态,并利用三维实景电子地图显示预警信息。本发明通过整合各物资库空间信息,汇聚区域内的全量实物资源信息,实现区域内实物可视、可查、可用,支撑实物资源运营体系,有效保障了数智化电网建设。

一种物流车辆监管系统

NºPublicación:  CN120746433A 03/10/2025
Solicitante: 
江苏新天国际物流有限公司
CN_120746433_PA

Resumen de: CN120746433A

本发明涉及车辆监管系统领域,公开了一种物流车辆监管系统,包括:数据采集模块,用于实时获取车辆的运行状态数据及车辆所处环境的环境数据;事件检测模块,与所述数据采集模块通信连接,用于基于所述环境数据中的交通拥堵指数和天气类型,动态判断是否触发路径调整事件;路径优化模块,与所述事件检测模块通信连接,包括:快速响应单元,被配置为在触发所述路径调整事件时,根据预存的路径片段库生成临时绕行方案。本发明采用路径优化与执行模块结合的技术方案,通过实时监控交通与天气条件,动态调整运输路径,达到了在复杂环境下为车辆提供最优行驶路线的技术效果。

串区派货识别方法、装置、计算机设备及存储介质

NºPublicación:  CN120746423A 03/10/2025
Solicitante: 
深圳市跨越新科技有限公司
CN_120746423_PA

Resumen de: CN120746423A

本申请涉及物流配送管理技术领域,提供一种串区派货识别方法、装置、计算机设备及存储介质,方法通过从运单表中筛选派送方式为内部派送的有效记录,并剔除整车类型运单和内部件类型运单;从运单表中对同一轨迹的运单按收件片区统计,统计票数最多的收件片区为主派送片区;在运单表剔除主派送片区的运单,对剩余运单判断是否为串区问题票;对每张串区问题票,根据串区问题票和相邻的主派送片区的实际距离之和与串区问题票对应相邻的主派送片区的直线距离,获取增距值,以生成每个所述串区问题票对应的分析结果,完成串区派货识别。方法适用于物流企业内部派送业务的智能化调度与优化,解决现有技术中派货识别粗放、资源配置不合理的问题。

一种烟草物流实时配送线路优化方法及系统

NºPublicación:  CN120745979A 03/10/2025
Solicitante: 
山东浪潮数字商业科技有限公司
CN_120745979_PA

Resumen de: CN120745979A

本发明公开了一种烟草物流实时配送线路优化方法及系统,属于物流配送优化技术领域,该方法的实现包括:实时获取订单数据、车辆数据、零售户地理信息及实时路网数据;采用改进的K‑Means聚类算法对零售户进行动态聚类,生成多个配送区域,其中聚类过程引入配送户数上下界和配送量上下界约束;计算各配送区域的几何中心,并基于旅行商问题算法生成区域之间的全局最优路径;对每个配送区域内部的零售户,采用两阶段优化算法进行实时路径规划;根据车辆装载量和最大送货户数,动态分配配送任务,生成当日配送线路。本发明能够根据当日订单、车辆状态、零售户位置实时生成最优线路,实现跨车辆、跨区域的订单‑车辆的匹配,降低计算复杂度。

煤炭物流园区无人值守磅房管理方法及系统

NºPublicación:  CN120746415A 03/10/2025
Solicitante: 
中科富创(贵州)智能技术有限公司
CN_120746415_PA

Resumen de: CN120746415A

本发明涉及无人化管理技术领域,具体公开了一种煤炭物流园区无人值守磅房管理方法及系统,所述方法包括创建煤炭运输任务,同步确定煤炭运输任务的标准参数;对物流园区进行实时检测,当检测到车辆信息时,基于标准参数对车辆信息进行识别,根据识别结果生成引导信息;当车辆到达称重区后,生成称重指令,基于称重设备获取称重数据,生成电子磅单;实时监测称重过程中的称重信息,对称重信息进行识别,确定异常情况,当存在异常情况时,生成预警信号,向管理端发送。本发明人工成本低,磅房称重过程的效率高,极大地减少了人力资源的消耗和工作量,通过多模态大模型车牌识别能够综合多种类型的数据,车辆识别的准确性和鲁棒性较高。

一种智慧物流配送数据管理平台

NºPublicación:  CN120746414A 03/10/2025
Solicitante: 
厦门华厦学院
CN_120746414_PA

Resumen de: CN120746414A

本发明公开了一种智慧物流配送数据管理平台,包括:数据治理层:负责多模态数据融合、特征解耦与增强,用双通道特征编码网络结合对比增强学习构建特征向量;动态需求预测层:基于混合记忆网络建模需求演化规律,基于混合记忆状态转移网络,利用短期记忆单元建模短期马尔可夫性状态转移,通过时序自注意力融合长期历史记忆与外部事件嵌入,并借助SHAP值量化事件影响进行门控融合,动态生成需求状态转移概率矩阵与订单优先级评分;智能资源匹配层:通过时空注意力机制实现成本‑时效联合优化,通过多头时空注意力机制结合时效敏感门控和动态成本校对公式,最终输出兼具时效与成本优势的配送资源决策。

一种基于物联网的大货车运输安全管理方法、系统及存储介质

NºPublicación:  CN120746431A 03/10/2025
Solicitante: 
合肥维天运通信息科技股份有限公司
CN_120746431_PA

Resumen de: CN120746431A

本发明公开了一种基于物联网的大货车运输安全管理方法,包括:运输货物装载完成后,记录车厢内n个区域的初始重量;记录车厢内n个区域的初始图像;运输过程中,动态记录车厢内n个区域的实时重量;比对Lm与Wm的变化率qm,当qm超过预设单变化值q0时,启动车厢货物位移监测模式;所述车厢货物位移监测模式包括:获取车厢内n个区域的实时图像;分别比对n个区域的实时图像与初始图像的偏移量fj,当fj超过预设单偏移值f0或超过预设总偏移值F0时,启动预警。通过在大货车车厢内安装多种传感器、定位设备和监控装置,通过数据分析和处理,及时发现异常情况并发出预警,实现对大货车运输的智能化、精细化管理,有效提高运输安全水平。

多品规卷烟商品的存储分配方法、系统、设备和存储介质

NºPublicación:  CN120746448A 03/10/2025
Solicitante: 
湖南省烟草公司常德市公司
CN_120746448_A

Resumen de: CN120746448A

本发明涉及货品存储商业管理技术领域,具体为多品规卷烟商品的存储分配方法、系统、设备和存储介质;本发明方法首先基于卷烟商品年出库总量、年入库总次数及单次入库量峰值,将卷烟商品划分为高、中、低需求类别;对于属于高需求的卷烟商品,使用多穿库和三层货架库均储存卷烟商品的方式进行储存,既满足峰值存储需求,又降低搬运成本;对于属于中需求的卷烟商品,根据入库峰值和入库次数,灵活分配多穿库和备用三层货架库资源,既缓解来货高峰时的存储压力,又提升卷烟商品整体存储效率;对于属于低需求卷烟商品,依据来货形态适配单库制存储,避免资源浪费,最终实现卷烟商品存储的科学合理性与整体成本的降低。

结合云计算的智能订单分配方法及系统

NºPublicación:  CN120746135A 03/10/2025
Solicitante: 
嘉兴云切在线科技有限公司
CN_120746135_PA

Resumen de: CN120746135A

本发明公开了结合云计算的智能订单分配方法及系统,涉及物流管理技术领域,该方法包括:通过集中管理多个加盟工厂的钢板切割设备资源,并整合物流资源,接收并分析客户的切割和交货需求。系统根据切割需求与设备能力进行初步匹配,筛选出合适的工厂集合,再结合交货要求和物流情况,利用多目标优化算法确定最优的订单与工厂匹配方案,最终高效地将订单分配给最合适的工厂,从而优化资源利用和提升订单处理效率。解决了现有订单分配方法在资源整合与快速响应方面存在不足,导致难以实现高效和精准的订单处理的技术问题,达到了提升订单处理的效率和准确性的技术效果。

跨境数据合规处理方法、装置及设备

NºPublicación:  CN120745765A 03/10/2025
Solicitante: 
中国电信股份有限公司技术创新中心
CN_120745765_PA

Resumen de: CN120745765A

本申请涉及计算机数据处理技术领域,提供了跨境数据合规处理方法、装置及设备,用以解决相关技术中跨境数据处理的效率较低以及数据处理策略出现错误的问题。本申请实施例,预先建立了多法域法规知识图谱,汇总了多个区域的法律法规,多法域法规知识图谱能够进行实时更新,并根据多法域法规知识图谱建立了跨境场景模版库及数据标签模版基库,跨境场景模版库及数据标签模版基库能够随着知识图谱更新实现动态更新,通过跨境场景模版库可以使得跨境关口根据数据跨境场景采用合规策略对数据进行处理,使得相关数据管理企业和机构高效、合规地管理数据出境,通过数据标签模板库使得跨境关口快速准确地进行数据打标工作,提高了数据分类处理的效率。

一种基于MIMO-SAR成像的物流涉烟包裹检测方法及系统

NºPublicación:  CN120742308A 03/10/2025
Solicitante: 
西安电子科技大学西安电子科技大学杭州研究院
CN_120742308_PA

Resumen de: CN120742308A

本申请的实施例涉及雷达技术领域,特别涉及一种基于MIMO‑SAR成像的物流涉烟包裹检测方法及系统,该方法包括:将由双向步进移动导轨、数据采集板、MIMO毫米波雷达和设备支架组成的检测设备放置在目标包裹上方,对检测设备进行参数设置和初始化配置;启动检测设备,使得双向步进移动导轨带动MIMO毫米波雷达匀速滑行,MIMO毫米波雷达则对目标包裹进行扫描;在每帧扫描中,所有接收天线同时接收,并将接收到的数据传输至数据采集板,再由数据采集板上传至上位机;利用补偿系数对收发回波数据进行误差补偿,基于误差补偿后的数据成像,得到目标包裹的扫描图像;对目标包裹的扫描图像进行涉烟特征检测,在检测到涉烟特征的情况下,确认目标包裹为涉烟包裹。

一种基于大模型的医疗应急物资管理调拨的方法、系统、设备及介质

NºPublicación:  CN120746100A 03/10/2025
Solicitante: 
山东浪潮智慧医疗科技有限公司
CN_120746100_PA

Resumen de: CN120746100A

本发明属于物资调拨智能化技术领域,具体涉及一种基于大模型的医疗应急物资管理调拨的方法、系统、设备及介质,所述方法包括:接收突发事件的相关信息,通过调用医疗大模型和通用大模型生成推荐的医疗物资种类及数量;对推荐的医疗物资进行审核和调整,确定最终调拨的医疗物资清单;根据医疗物资需求信息和仓库的储备量,计算满足储备条件的仓库,并筛选出推荐仓库列表;规划无人机从仓库到事件发生地点的最优路径,以及应急车辆从仓库到事件发生地点的最优路径,并结合实时道路拥堵数据对应急车辆的路径进行校准;将物资调拨信息和路径规划发送至仓库管理员、应急车辆驾驶员和无人机驾驶系统。提升应急响应速度和救援效率。

一种物流仓储AGV路径规划方法及系统

NºPublicación:  CN120745977A 03/10/2025
Solicitante: 
广东工业大学
CN_120745977_PA

Resumen de: CN120745977A

本发明公开了一种物流仓储自动引导车(AGV)路径规划方法、装置和设备,包括构建物流仓储的栅格地图,确定AGV数量和决策目标,并以此确定决策变量维度;根据所述栅格地图、AGV数量和决策目标初始化种群,接着修复种群;根据标量化适应度计算公式计算种群每个个体的适应度,同时逐一确定种群个体待调整码位;然后依据所述适应度将种群划分为最优学生、优等生、中等生和差等生,其中最优学生进行强扰动操作,优等生和中等生进行学习操作,差等生进行弱扰动操作,产生新的个体直至待调整码位与决策维度相等或者达到最大进化代数时输出最优路径规划结果。本发明可用于减少智能仓储AGV路径规划中的路径规划时间,提高AGV的工作效率。

一种自动产销一体管理系统及方法

NºPublicación:  CN120746143A 03/10/2025
Solicitante: 
湖南锦迈科技股份有限公司
CN_120746143_PA

Resumen de: CN120746143A

本申请涉及智能制造及工业自动化技术领域,公开了一种自动产销一体管理系统及方法,包括状态建模模块,用于构建并实时更新一个表征所述产销系统当前状态的动态状态向量;预测优化决策模块,用于基于所述动态状态向量,采用模型预测控制方法进行滚动优化,以生成一个旨在最小化预设综合成本函数的最优决策序列;决策执行模块,用于从所述最优决策序列中提取并执行第一个决策,并在下一决策时刻,触发所述状态建模模块基于所述产销系统的真实状态进行更新,以形成闭环控制。通过采用模型预测控制方法,并设计了一个包含延期成本、运营成本和创新性的风险成本项的综合成本函数,使得调度决策不再是短视地追求局部或单点的效率最优。

一种建筑工程材料和运输的碳排放监管方法及系统

NºPublicación:  CN120744744A 03/10/2025
Solicitante: 
上海建工四建集团有限公司
CN_120744744_PA

Resumen de: CN120744744A

本发明公开了一种建筑工程材料和运输的碳排放监管方法及系统,属于建筑工程碳排放技术领域;其中,一种建筑工程材料和运输的碳排放监管方法,包括以下步骤:获取建筑施工过程中的监控时间内的用材数据、用量数据和运输数据;其中,运输数据包括:运输方式和运输距离;获取大量的工程碳排放数据构建碳排放量模型,并将用材数据、用量数据和运输数据输入碳排放量模型中得到碳排放量数据;其中,碳排放量数据包括:建材碳排放量和运输碳排放量;判断碳排放量数据是否存在异常;若存在,向管理员发出提醒,并传输根据碳排放量数据生成可视化监测报告。

一种医院综合运营管理方法及系统

NºPublicación:  CN120748638A 03/10/2025
Solicitante: 
中国人民解放军陆军军医大学第一附属医院
CN_120748638_PA

Resumen de: CN120748638A

本发明提出了一种医院运营管理数智化建设解决方案,旨在通过构建一体化的运营管理信息系统,全面提升医院运营管理的科学化、规范化、精细化与智能化水平。该方案涵盖了人力、财经、物资、项目、教学、科研、决策等多个领域,通过数据整合、业务流程优化、智能化分析和全面绩效管理,实现医院运营管理的全面升级。该方案利用大数据、人工智能等先进技术,打破数据孤岛,实现各部门之间的信息共享与协同工作,提高运营效率。同时,方案还注重移动化和便捷化设计,支持医院管理者和员工随时随地访问和处理业务。本发明能够有效解决传统医院运营管理中存在的诸多问题,提升医院的整体竞争力,为医院的高质量发展提供有力支撑。

SERVER FOR CALCULATING ORDER QUANTITY ON BASIS OF MATERIAL USAGE AND DEMAND PREDICTION OF UNMANNED STORE, AND CONTROL METHOD THEREFOR

NºPublicación:  WO2025206647A1 02/10/2025
Solicitante: 
BEAT CORP CO LTD [KR]
\uC8FC\uC2DD\uD68C\uC0AC \uBE44\uD2B8\uCF54\uD37C\uB808\uC774\uC158
KR_102723880_B1

Resumen de: WO2025206647A1

The present disclosure relates to a server for calculating an order quantity on the basis of material usage and demand prediction of an unmanned store, and a control method therefor, wherein a machine learning model may be trained on the basis of material usage data of the unmanned store, and the order quantity may be calculated by calculating, on the basis of a plurality of first prediction variables and second prediction variables, a result value including the order quantity and an available sales period for each product of the unmanned store, by using the trained machine learning model.

SYSTEM, METHOD AND APPARATUS FOR INVENTORYING COMMODITIES ON SHELF

NºPublicación:  WO2025201009A1 02/10/2025
Solicitante: 
HANSHOW TECH CO LTD [CN]
\u6C49\u6714\u79D1\u6280\u80A1\u4EFD\u6709\u9650\u516C\u53F8
CN_117974018_PA

Resumen de: WO2025201009A1

Disclosed in the present disclosure are a system, method and apparatus for inventorying commodities on a shelf. In the system, millimeter wave radar terminal devices are each used for: upon receiving a signal transmission instruction, transmitting a millimeter wave signal, collecting an echo signal, calculating the angle and distance of the echo signal, and transmitting the angle and distance of the echo signal to a cloud server by means of a wireless base station communication device; and the cloud server is used for: sending the signal transmission instruction to different millimeter wave radar terminal devices by means of the wireless base station communication device; upon receiving the angle and distance of the echo signal, acquiring space information of a vacant position of a shelf grid where each millimeter wave radar terminal device is located; on the basis of appearance and size information of commodities stored in the shelf grid where each millimeter wave radar terminal device is located, calculating space information needing to be occupied by each commodity; and calculating the number of actual commodities and the number of out-of-stock commodities on the basis of the space information of the vacant position, the space information of the shelf grid, and the space information needing to be occupied by each commodity. The present invention can realize timely and accurate inventory of commodities on the shelf.

SYSTEM FOR CONSTRUCTING BOM FOR SHIP PRODUCTION AUTOMATION AND METHOD THEREFOR

NºPublicación:  WO2025206908A1 02/10/2025
Solicitante: 
HD HYUNDAI MIPO CO LTD [KR]
\uC5D0\uC774\uCE58\uB514\uD604\uB300\uBBF8\uD3EC \uC8FC\uC2DD\uD68C\uC0AC

Resumen de: WO2025206908A1

The present invention relates to a system for constructing a BOM for ship production automation and a method therefor. According to the present invention, the system for constructing a BOM for ship production automation comprises: a CAD-EBOM generation unit that generates engineering BOM (EBOM) data of a CAD area based on a design model structure by modeling a panel-specific member of each block for ship design in the CAD area; a PLM-EBOM generation unit that generates EBOM data of a PLM area based on an assembly unit structure by reflecting a production assembly order of each block to the EBOM data of the CAD area; an MBOM generation unit that generates manufacturing BOM (MBOM) data by combining production information including work process information and welding information of each block with the EBOM data of the PLM area; and a BOP generation unit that generates bill of process (BOP) data by combining the MBOM data corresponding to product information of each block with plant BOM (PBOM) data which is plant information for each work task of each block.

MERCHANT WEBSITE FEATURING RELATED THIRD-PARTY PRODUCTS OF MULTIPLE COMPANIES TO BE PURCHASED WITH A SINGLE TRANSACTION

NºPublicación:  WO2025208141A1 02/10/2025
Solicitante: 
MNO MARKETING & DESIGN LLC D/B/A DERM RESOURCE GROUP [US]
MNO MARKETING & DESIGN LLC D/B/A DERM RESOURCE GROUP
US_2025307904_A1

Resumen de: WO2025208141A1

A multi-merchant architecture website allows a customer to make online purchases of multiple products from different companies with a single online transaction. The companies may sell products that are third-party products sold by a merchant on the merchant's website and related to the merchant's primary business. The single transaction includes a total transaction cost that is allocated among the multiple companies. Each company fulfills the purchase of their products.

PRODUCT PROVIDING DEVICE, PROGRAM, AND PRODUCT PROVIDING SYSTEM

NºPublicación:  US2025307763A1 02/10/2025
Solicitante: 
BANDAI CO LTD [JP]
BANDAI CO., LTD
US_2025307763_A1

Resumen de: US2025307763A1

A product providing device capable of communicating with a terminal of a user includes an inventory managing unit that manages inventory statuses of products in a product group including a plurality of types of products, and a first type option presenting unit that presents to the terminal a first type option associated with the product group and including an inventory status image representing the inventory status of the product group in such a manner that the user is able to select the first type option.

AUTOMATING OPTIONS CLAUSE MANAGEMENT USING INFERENCE MODELS

NºPublicación:  US2025307760A1 02/10/2025
Solicitante: 
DELL PRODUCTS L P [US]
Dell Products L.P
US_2025307760_A1

Resumen de: US2025307760A1

Methods and systems for managing contracts are disclosed. To manage contracts with a supplier of products, a recommendation may be obtained indicating that an options clause is to be added to a contract. An options offer may then be obtained using the recommendation indicating a first quantity of the products to be provided by the supplier and a first price to be paid for the products. A counteroffer may then be obtained from the supplier indicating a second quantity of the products to be provided by the supplier and a second price to be paid for the products. A determination may then be made using the counteroffer and acceptability criteria regarding whether the counteroffer is acceptable. If the counteroffer is acceptable, the contract may be updated to include the options clause indicating the second quantity of products and the second price to be paid for the products.

TRACHEAL COLLAR WITH INTEGRATED SENSORS

NºPublicación:  US2025303090A1 02/10/2025
Solicitante: 
BIOVENTURES LLC [US]
BioVentures, LLC
US_2025303090_A1

Resumen de: US2025303090A1

Disclosed herein is a tracheal collar having a device receptacle. The tracheal collar is operable to stabilize the tracheostomy tube of the patient when the collar is secured around the neck of the patient. A monitoring device is operable to be inserted into the device receptacle. The monitoring device includes a microcontroller and one or more sensors operable to monitor one or more physiological parameters of the patient when the monitoring device is inserted into the device receptacle of the tracheal collar.

IMPROVEMENTS IN OR RELATING TO CATALYST CARRIERS FOR TUBULAR REACTORS

NºPublicación:  US2025303379A1 02/10/2025
Solicitante: 
JOHNSON MATTHEY DAVY TECH LIMITED [GB]
JOHNSON MATTHEY DAVY TECHNOLOGIES LIMITED
JP_2025525295_PA

Resumen de: US2025303379A1

A method of tracking use of catalyst carriers within a tubular reactor, the tubular reactor comprising a plurality of reactor tubes, each reactor tube being configured to receive a plurality of catalyst carriers, the method comprising for each of at least some of the catalyst carriers, the steps of: —marking the catalyst carrier with a carrier identifier; —reading the carrier identifier when installing the catalyst carrier into a reactor tube; and —accessing a database to retrieve and/or record installation data associated with the identified catalyst carrier.

System and Method for Controlling a Fleet of Unmanned Aerial Vehicles Based on Multi-Stage Optimization

NºPublicación:  US2025306611A1 02/10/2025
Solicitante: 
MITSUBISHI ELECTRIC RES LABORATORIES INC [US]
MITSUBISHI ELECTRIC US [US]
Mitsubishi Electric Research Laboratories, Inc,
Mitsubishi Electric US
WO_2025059161_PA

Resumen de: US2025306611A1

The present disclosure provides a system and a method for controlling a fleet of Unmanned Aerial Vehicles (UAVs) to perform a mission. The method comprises receiving request data for the mission, obtaining assignments corresponding to one or more UAVs of the fleet of UAVs, and obtaining assignment data corresponding to each assignment. The method further comprises determining an assignment for the one or more UAVs by performing a first stage of a multi-stage optimization subject to a first set of constraints and updating the first list of assignments by adding the determined assignment to the first list of assignments. The method further comprises determining a second list of assignments for the one or more UAVs by performing a second stage of the multi-stage optimization subject to a second set of constraints and controlling the one or more UAVs based on the second list of assignments.

SAFETY SYSTEM ASSEMBLY FOR MONITORING A ZONE AND A METHOD OF MONITORING SUCH A ZONE

NºPublicación:  US2025306609A1 02/10/2025
Solicitante: 
SICK AG [DE]
SICK AG
CN_120704407_PA

Resumen de: US2025306609A1

A safety system assembly (1) serves to monitor a zone (5), such as a warehouse or a factory, in which objects (8), such as autonomously driving vehicles (4) and persons (8a), move together. The safety system assembly (1) comprises a central processing device (3) that is configured to receive sensor data (6) from a plurality of monitoring units (2), in which sensor data (6) the objects (8) detected in the monitored zone (5) by the monitoring units (2) are included. The central processing device (3) is configured to consolidate the received sensor data (6). The central processing device (3) is configured to create object lists (7) from the consolidated sensor data, with the object lists (7) including the detected objects (8) together with the respective object information, and to transmit these object lists (7) to the autonomously driving vehicles (4).

ASSET TRACKING DEVICE AND SYSTEM

NºPublicación:  US2025308367A1 02/10/2025
Solicitante: 
NAGRAVISION SARL [CH]
Nagravision S\u00E0rl
EP_4625285_PA

Resumen de: US2025308367A1

The tracking device is configured to be physically associated with an asset and configured to wirelessly communicate with at least one master computing device. It comprises:an inductor having an inductance and configured to vary the inductance depending on whether the tracking device is physically associated with the asset or not, anda processor configured to detect an inductance variation of the inductor that is indicative of an event of physically separating the tracking device and the asset and to wirelessly notify said detected event to the master computing device.

INVENTORY INTELLIGENCE FOR PARTS USING COMBINATION METADATA IDENTIFIER

NºPublicación:  US2025307769A1 02/10/2025
Solicitante: 
EBAY INC [US]
eBay Inc
CN_120725585_PA

Resumen de: US2025307769A1

Some aspects relate to technologies for employing metadata identifiers for part item listings on a listing platform to generate inventory intelligence. In accordance with some aspects, textual analysis of listing data for each of a plurality of part item listings on a listing platform is performed to assign a metadata identifier to each part item listing. The metadata identifier for each part item listing comprises a combination of an inventory segment identifier, a category identifier, and fitment data. For a first metadata identifier, a set of part item listings having the first metadata identifier is identified. Demand data and/or supply data is aggregated for the set of part item listings to provide aggregated data. A user interface with one or more metrics is generated using the aggregated data, and the user interface is communicated over a network to a computing device for presentation.

PRODUCT PROVIDING DEVICE, PROGRAM, AND PRODUCT PROVIDING SYSTEM

NºPublicación:  US2025307764A1 02/10/2025
Solicitante: 
BANDAI CO LTD [JP]
BANDAI CO., LTD
CN_119992704_PA

Resumen de: US2025307764A1

A product providing device capable of communicating with a terminal of a user includes an inventory managing unit that manages inventory statuses of products in a product group including a plurality of types of products, an option presenting unit that presents to the terminal a plurality of options associated with the product group in such a manner that the user is able to select an option, and a product providing unit that provides, by a lottery, a product from the product group associated with the option. The option presenting unit searches for, based on the inventory statuses of the products, an option that satisfies a search condition, and presents the option that satisfies the search condition.

TRANSACTION PLATFORM FOR INTELLECTUAL PROPERTY BASED ON BLOCKCHAIN

NºPublicación:  US2025307930A1 02/10/2025
Solicitante: 
YANG ZIYAN [CN]
YANG Ziyan
WO_2025076889_A1

Resumen de: US2025307930A1

A transaction platform for intellectual property based on blockchain includes an identity authentication module, a smart contract module, a legal status authentication module and a contract verification module. The identity authentication module is configured to authenticate a user's identity and authorize user's behavior. The smart contract module is configured to allow a user to publish intellectual property products and customizably publish smart contracts, where the smart contracts provide basic information and transaction contract information, and the intellectual property products comprise ungranted products and granted product. The legal status authentication module is configured to authenticate authenticity and consistency of ownership information and legal status information of the intellectual property products published by the user. The contract verification module is configured to verify the basic information and the transaction contract information in the smart contracts during the transaction processes of the intellectual property products.

Method and System for Assembling and Completing a Collection of Individual Disparate-Shaped Components with Identification via Electronic Images

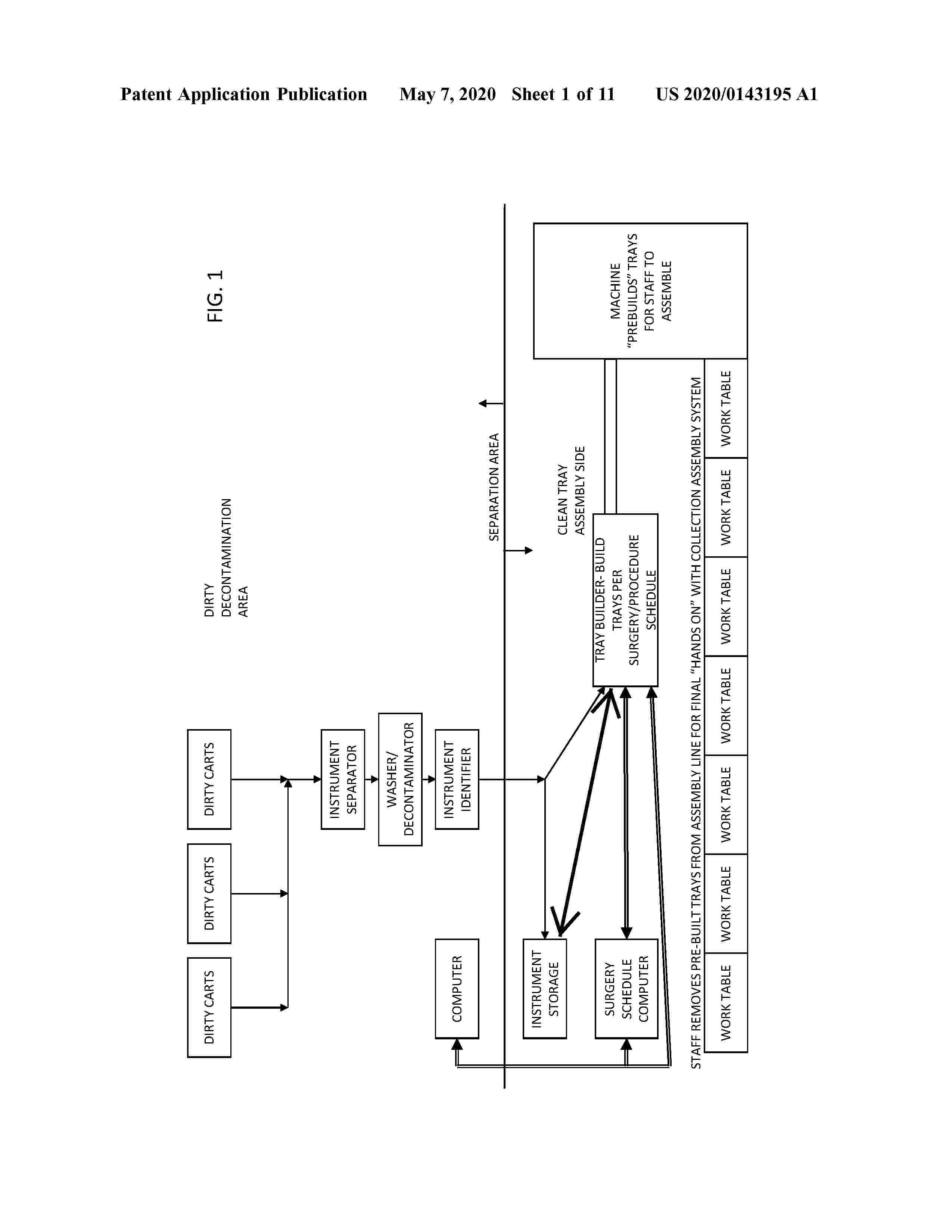
NºPublicación:  US2025307754A1 02/10/2025
Solicitante: 
MONTANO ROBERT A [US]
Montano Robert A
US_2020143195_A1

Resumen de: US2025307754A1

The instant disclosure relates to camera-based and image-based methods and systems for accurately and efficiently assembling and assisting assembly of and completing stocked or arranged disparate-shaped components of a collection using electronic images for identification. In one implementation, for example, methods and system are provided for accurately and efficiently assembling and completing stocked and/or arranged surgical instrument trays. These services are, for the most part, provided by Sterile Processing Departments (SPD) of any hospital or surgical center. SPD service facilities are common to hospital and surgery centers throughout the world.

SYSTEMS AND METHODS FOR COMMERCIAL INVENTORY MAPPING INCLUDING DETERMINING IF GOODS ARE STILL AVAILABLE

NºPublicación:  US2025307768A1 02/10/2025
Solicitante: 
STATE FARM MUTUAL AUTOMOBILE INSURANCE COMPANY [US]
STATE FARM MUTUAL AUTOMOBILE INSURANCE COMPANY
US_2025225479_PA

Resumen de: US2025307768A1

The following relates generally to light detection and ranging (LIDAR) and artificial intelligence (AI). In some embodiments, a system: receives sensor data via wireless communication; updates an electronic inventory of goods within a store based upon the received sensor data associated with the item movement or purchase; receives an electronic order of goods from a customer mobile device via wireless communication or data transmission over one or more radio frequency links; determines if the goods in the electronic order received from the customer are still available; generates a LIDAR-based virtual map of the store; determines a location of the goods in the electronic order that are still available; overlays the determined location of the goods onto the LIDAR-based virtual map of the store; and displays an updated LIDAR-based virtual map of the store displaying aisles of the store and the determined location of the goods within the store.

AUTOMATED PRIOR AUTHORIZATION FOR GENETIC EFFICACY TESTING WITH PRESCRIPTION DISPENSATION

NºPublicación:  US2025308665A1 02/10/2025
Solicitante: 
XACT LABORATORIES LLC [US]
Xact Laboratories, LLC
US_2022036990_A1

Resumen de: US2025308665A1

System and methods for providing interoperable, automated, real-time genetic efficacy contraindication checks are provided. Coverage requests involving for medications for patients from nodes of an electronic network. A testing results query is made for each request at database(s) with identifying information for the patients to determine if genetic efficacy testing results are available. If so, a testing results query is performed to determine if any of the medications in a respective coverage request are contraindicated for a respective patient based on the genetic efficacy testing results. And, if so, a standardized, encoded message is returned to the originating node for the respective coverage request query indicating each contraindicated medication.

METHOD AND SYSTEM FOR AUTOMATED COLOR MATCHING

NºPublicación:  US2025307906A1 02/10/2025
Solicitante: 
SYNTES INC [US]
SYNTES, INC

Resumen de: US2025307906A1

Disclosed herein are a system and method for managing color matching for a project of a customer. In one aspect, the method comprises, defining a coloring project using a graph structure, receiving input user data for the coloring project, organizing elements of the coloring project using the graph structure, selecting a target color for each element or group of elements, for each element or group of elements, finding a respective paint that has a color matching the selected target color of the element or group of elements, after the selected paint is applied to the element or group of elements, comparing the paint applied to the element or group of elements with the respective target color, and making an adjustment to the selection when further optimization of the selection of the paint is needed based on the comparison.

SCHEDULING OF ORDER PROCESSING FOR REMOTELY ORDERED GOODS

NºPublicación:  US2025307905A1 02/10/2025
Solicitante: 
EXPOSE RETAIL STRATEGIES INC [CA]
Expose Retail Strategies, Inc
US_2024029146_PA

Resumen de: US2025307905A1

A computer-implemented method for scheduling processing of an order for goods at a provider location obtains an arrival estimate for when a user associated with the order is expected to arrive at the provider location and uses the arrival estimate to schedule processing of the order. Processing may be scheduled so that completion of order processing is expected to substantially coincide with arrival of the user at the provider location. The method may also obtain an order completion estimate for when processing of the order is expected to be completed and use both the arrival estimate and the order completion estimate to schedule processing of the order. The method may update one or both of the arrival estimate and the order completion estimate. The method may be executed by a networked mobile wireless telecommunication computing device of the user, or by a data processing system associated with the provider.

Matching Images of Current Inventory with Machine Learning Predictions of User Preferences to Customize User Interface

NºPublicación:  US2025307896A1 02/10/2025
Solicitante: 
MAPLEBEAR INC [US]
Maplebear Inc

Resumen de: US2025307896A1

An online system retrieves user data for a user and applies a machine-learning model to predict a measure of preference of the user associated with an item category based on the user data. For an item included in the item category, the system receives information describing an inventory of the item at a retailer location and a request from a client device of the user to access a user interface describing items included among the inventory at the retailer location. The system determines a measure of similarity between the information describing the inventory of the item and the predicted measure of preference of the user and computes a score based on the measure of similarity. The system selects items to include in the user interface based on the score, generates the user interface including information describing the selected items, and sends the user interface to the client device.

MERCHANT WEBSITE FEATURING RELATED THIRD-PARTY PRODUCTS OF MULTIPLE COMPANIES PURCHASED WITH A SINGLE TRANSACTION

NºPublicación:  US2025307904A1 02/10/2025
Solicitante: 
MNO MARKETING & DESIGN LLC D/B/A DERM RESOURCE GROUP [US]
MNO Marketing & Design LLC d/b/a Derm Resource Group

Resumen de: US2025307904A1

A multi-merchant architecture website allows a customer to make online purchases of multiple products from different companies with a single online transaction. The companies may sell products that are third-party products sold by a merchant on the merchant's website and related to the merchant's primary business. The single transaction includes a total transaction cost that is allocated among the multiple companies. Each company fulfills the purchase of their products.

METHOD AND SYSTEM FOR PROCESSING INTERACTIVE MESSAGE ON SOCIAL PLATFORM

NºPublicación:  US2025307900A1 02/10/2025
Solicitante: 
SHENZHEN DOUXUN NETWORK TECH CO LTD [CN]
SHENZHEN MEIYUNJI NETWORK TECH CO LTD [CN]
SHENZHEN DOUXUN NETWORK TECHNOLOGY CO., LTD,
SHENZHEN MEIYUNJI NETWORK TECHNOLOGY CO., LTD
CN_117972096_PA

Resumen de: US2025307900A1

A method and system for processing interactive message on a social platform. The method includes: obtaining target product information, creating an information matching table, and establishing a corresponding relationship between keywords in the information matching table and the target product information; obtaining interactive message generated by live broadcasts, and in response to that the interactive message include keywords in the information matching table, adding the interactive message to a message queue and forming a queue message; grouping the queue messages according to the target user ID, and in response to the queue messages including same contents, retaining the queue message with an earliest or a latest generation time; and processing interactive message including multiple keywords, and selecting highly correlated keywords to send corresponding transaction links.

SECURITY SCHEME FOR IDENTIFICATION TAGS

NºPublicación:  US2025307588A1 02/10/2025
Solicitante: 
UNITED PARCEL SERVICE OF AMERICA INC [US]
United Parcel Service of America, Inc
CA_3215897_A1

Resumen de: US2025307588A1

Various embodiments are related to anonymizing an identification code using internal data. Once anonymized, the identification code may be written to a tag, such as an RFID tag. Anonymizing the identification code using internal data may protect potentially sensitive tag data from outsiders while operating while operating within tag memory constraints.

SYSTEMS AND METHODS FOR PACKING VISUALIZATIONS

NºPublicación:  US2025307753A1 02/10/2025
Solicitante: 
WALMART APOLLO LLC [US]
Walmart Apollo, LLC
US_2023401519_PA

Resumen de: US2025307753A1

In some embodiments, apparatuses and methods are provided herein useful to presenting packing instructions to a user. In some embodiments, a system for presenting packing instructions to a user comprises a database configured to store packing information and item visualizations, wherein the packing information includes placements of items in orders in containers, and wherein the item visualizations depict appearances of items sold by the retailer, a control circuit configured to receive an order identifier for an order, retrieve packing information associated with the order and item visualizations for the items in the order, generate a packing visualization for the order, wherein the packing visualization for the order depicts placement of the items in the order in the container, transmit, to a display device for presentation, the packing visualization for the order, and a display device configured to present the packing visualization for the order to the user.

SYSTEMS AND METHODS OF CONTROLLING RETAIL PRODUCT ALLOCATION AND RETAIL MARKET VARIATIONS BASED ON CUSTOMIZED INSIGHT

NºPublicación:  US2025307852A1 02/10/2025
Solicitante: 
WALMART APOLLO LLC [US]
Walmart Apollo, LLC
MX_2024013848_A

Resumen de: US2025307852A1

Some embodiments provide a system to control retail product allocation, comprising: an anomaly detection system applying a series of anomaly detection models to business metric data to identify an anomaly of a category of products; a contextualization detection system applying contextual models to data relative to the anomaly and identifying contextual factors; a causal detection system applying causal inference and determination models to sets of relevance data as a function of the contextual factors to determine influence attribution factors that are predicted to have been factors in causing the threshold variation, and apply attribution prioritization models to define relevancy scores to the influence attribution factors and prioritize the influence attribution factors; a personalization recommendation system applying personalization models to the prioritized influence attribution factors and the contextual factors as a

METHOD AND SYSTEM FOR MANAGING ITEM RETURNS

NºPublicación:  AU2025201820A1 02/10/2025
Solicitante: 
TATA CONSULTANCY SERVICES LTD
Tata Consultancy Services Limited
AU_2025201820_A1

Resumen de: AU2025201820A1

The present disclosure estimates items to be returned based on nature of items picked online in association with the context. The context includes time, shopper details, local events and the like. It is addressed by mapping return spread and similarity spread or linkage spread in unique format. Further, the intrinsic mechanism that result 5 returns are captured by training a multivariate Machine Learning (ML) model using the actual return spread, the similarity spread, or the linkage spread and the customer profile data. The captured return mechanism is leveraged to pre-empt the returns online in the form of return spread at the time of ordering in real time. To be published with FIG. 1B 10 AbstractAbstract The present disclosure estimates items to be returned based on nature of items picked online in association with the context. The context includes time, shopper details, local events and the like. It is addressed by mapping return spread and similarity spread or linkage spread in unique format. Further, the intrinsic mechanism that result returns are captured by training a multivariate Machine Learning (ML) model using the actual return spread, the similarity spread, or the linkage spread and the customer profile data. The captured return mechanism is leveraged to pre-empt the returns online in the form of return spread at the time of ordering in real time. ar a r b s t r a c t h e p r e s e n t d i s c l o s u r e e s t i m a t e s i t e m s t o b e r e t u r n e d b a s

ALPHANUMERIC RECOGNIZER FOR UNIQUE IDENTIFIERS OF ARTICLES OF MANUFACTURE

NºPublicación:  AU2024231533A1 02/10/2025
Solicitante: 
CATERPILLAR INC
CATERPILLAR INC
AU_2024231533_PA

Resumen de: AU2024231533A1

Techniques for determining a unique identifier (108). In examples, an image (104) of a string of alphanumeric characters representing a unique identifier (108) disposed on an article of manufacture (106) may be input into an image processing pipeline (112) that is configured to determine a first possible identifier (122) and a second possible identifier (122). The techniques may also include generating a third possible identifier (122) by replacing a first character included in the first possible identifier (122) or the second possible identifier (122) with a second character that the first character is mapped to in a confusing alphanumeric characters map (200). The techniques may also include determining whether the first possible identifier (122), the second possible identifier (122), or the third possible identifier (122) matches the unique identifier (108) disposed on the article of manufacture (106). Based at least in part on a determination that the first possible identifier (122) matches the unique identifier (108), a software file (126) related to the article of manufacture (106) may be obtained.

SCALABLE VECTOR CAGES: VECTOR-TO-PIXEL METADATA TRANSFER FOR OBJECT PART CLASSIFICATION

NºPublicación:  AU2024241078A1 02/10/2025
Solicitante: 
DISCOVERY LOFT INC
DISCOVERY LOFT INC
AU_2024241078_PA

Resumen de: AU2024241078A1

Improved and alternative processes for object segmentation segment from captured images are presented. According to an aspect there is provided, systems and methods for classifying segments of an object. The systems and methods include processing captured images using a plurality of cages to identify a cage for image alignment, the cage defining segments of the object, aligning the captured images onto the cage to identify segments of the object in the captured images, and detecting one or more defects in the segments of the object in the captured images.

Betriebsplan-Erzeugungsvorrichtung, Betriebsplan-Erzeugungsverfahren und Programm

NºPublicación:  DE102025109162A1 02/10/2025
Solicitante: 
HONDA MOTOR CO LTD [JP]
Honda Motor Co., Ltd
DE_102025109162_PA

Resumen de: DE102025109162A1

Lösung: Es wird eine Betriebsplan-Erzeugungsvorrichtung bereitgestellt, welche Informationen erzeugt, welche einen Betriebsplan für eine Arbeitsmaschine angeben, welche mit elektrischer Leistung gefahren wird, um eine vordefinierte Arbeit durch die Arbeitsmaschine auszuführen. Die Betriebsplan-Erzeugungsvorrichtung erfasst Arbeitsstandortinformationen, welche Routeninformationen umfassen, welche einen befahrbaren Weg angeben, welcher auf einer Karte für die Arbeitsmaschine an einem Arbeitsstandort festgelegt ist, an welchem die Arbeitsmaschine eine Arbeit ausführt; Informationen erfasst, welche eine Bedingung bezüglich einer Leistungsversorgungsausrüstung angeben, welche elektrische Leistung an die an dem Arbeitsstandort installierte Arbeitsmaschine liefern kann; basierend auf den Arbeitsstandortinformationen und einer Mehrzahl von voneinander verschiedenen Bedingungen, wobei jede Bedingung mit der Bedingung identisch ist, Informationen erzeugt, welche den Betriebsplan in jedem der Mehrzahl von Bedingungen angeben.

VERBESSERTES ERNTELOGISTIKSYSTEM MIT ENTLADEZONEN BASIEREND AUF ERNTEZONEN

NºPublicación:  DE102025107568A1 02/10/2025
Solicitante: 
DEERE & CO [US]
Deere & Company
DE_102025107568_PA

Resumen de: DE102025107568A1

Ein landwirtschaftliches Erntesystem umfasst einen oder mehrere Prozessoren und einen Speicher, in dem Anweisungen gespeichert sind, die durch den einen oder die mehreren Prozessoren ausführbar sind und die beim Ausführen durch den einen oder die mehreren Prozessoren den einen oder die mehreren Prozessoren veranlassen, Schritte durchzuführen, die Folgendes umfassen: Erhalten von Erntelogistikdaten; Identifizieren, zumindest basierend auf den Erntelogistikdaten, einer oder mehrerer Erntezonen, wobei jede Erntezone einen jeweiligen Bereich eines abzuerntenden Arbeitsgeländes anzeigt; Auswählen, zumindest basierend auf der einen oder den mehreren Erntezonen, einer oder mehrerer Entladezonen, wobei jede Entladezone einen jeweiligen Bereich auf dem Arbeitsgelände anzeigt, in dem eine Materialübernahmemaschine positioniert werden soll, um geerntetes Material zu übernehmen; und Erzeugen eines Steuersignals zumindest basierend auf der einen oder den mehreren Entladezonen.

Verfahren, System und Computerprogrammprodukt zum gemeinsamen Kontrollieren mehrerer Vorrichtungen

NºPublicación:  DE102024108833A1 02/10/2025
Solicitante: 
STIHL AG & CO KG ANDREAS [DE]
Andreas Stihl AG & Co. KG

Resumen de: DE102024108833A1

Die Erfindung bezieht sich auf ein Verfahren zum gemeinsamen Kontrollieren mehrerer, insbesondere mobiler, Vorrichtungen (1a, 1d, 1f, 1h) ausgewählt aus einer Menge aufweisend mindestens ein Bearbeitungsgerät (1a, 1c, 1d, 1e, 1f, 1g, 1h, 1i, 1j), mindestens einen Akkupack (1b) für das Bearbeitungsgerät (1c, 1e, 1g, 1i) oder mindestens ein Ladegerät (1k) für den Akkupack (1b), wobei das Verfahren die Schritte aufweist:a) Erfassen mindestens einer ersten Benutzereingabe (VBa, VBd, VBf, VBh) auswählend die mehreren Vorrichtungen (1a, 1d, 1f, 1h), insbesondere aus der Menge von ausgegebenen Vorrichtungen (1a, 1b, 1c, 1d, 1e, 1f, 1g, 1h, 1i, 1j),b) Ausgeben mindestens einer ausführbaren gemeinsamen Zuweisung (gZa, gZb, gZc, gZd), die basierend auf der erfassten mindestens einen ersten Benutzereingabe (VBa, VBd, VBf, VBh) bestimmt ist derart, dass sie für die ausgewählten mehreren Vorrichtungen (1a, 1d, 1f, 1h) gemeinsam ausführbar ist,c) Erfassen, insbesondere genau, einer zweiten Benutzereingabe (ZBb, ZBc, ZBd) bestimmend mindestens, insbesondere genau, eine gemeinsame Zuweisung (gZb, gZc, gZd) aus der ausgegebenen mindestens einen ausführbaren gemeinsamen Zuweisung (gZa, gZb, gZc, gZd), undd) Senden der basierend auf der erfassten zweiten Benutzereingabe (ZBb, ZBc, ZBd) bestimmten gemeinsamen Zuweisung (gZb, gZc, gZd) oder einer dazu korrespondierenden Größe zu den ausgewählten mehreren Vorrichtungen (1a, 1d, 1f, 1h).

Dynamische Erzeugung und Aktualisierung von Gegenstandslager-Abbildungsdaten

NºPublicación:  DE102025108532A1 02/10/2025
Solicitante: 
ZEBRA TECH CORP [US]
Zebra Technologies Corporation

Resumen de: DE102025108532A1

Ein Verfahren umfasst: Empfangen einer Auswahl eines aktiven Betriebsmodus, der aus einem Erzeugungsmodus und einem Aktualisierungsmodus ausgewählt ist; Erhalten eines Bildes, das einen Lagerbereich darstellt; Detektieren, in dem Bild, eines Etiketts, das auf einem Gegenstand in dem Lagerbereich angeordnet ist; Bestimmen (i) einer Kennung des Etiketts und (ii) einer Position des Etiketts in dem Lagerbereich; Bestimmen, ob das Etikett in einer Karte des Lagerbereichs enthalten ist; und wenn das Etikett nicht in der Karte enthalten ist: (i) wenn der Erzeugungsmodus aktiv ist, Einfügen einer Aufzeichnung in die Karte, wobei die eingefügte Aufzeichnung die Kennung des Etiketts und die Position des Etiketts enthält, und (ii) wenn der Aktualisierungsmodus aktiv ist, Erzeugen einer Benachrichtigung über eine Ausgabevorrichtung.

ASSET TRACKING DEVICE AND SYSTEM

NºPublicación:  WO2025201929A1 02/10/2025
Solicitante: 
NAGRAVISION SARL [CH]
NAGRAVISION S\u00C0RL
US_2025308367_A1

Resumen de: WO2025201929A1

The tracking device (100) is configured to be physically associated with an asset (200) and configured to wirelessly communicate with at least one master computing device (400). It comprises: an inductor (L1) having an inductance (L) and configured to vary the inductance (L) depending on whether the tracking device (100) is physically associated with the asset (200) or not, and a processor (110) configured to detect an inductance variation of the inductor (L1) that is indicative of an event of physically separating the tracking device (100) and the asset (200) and to wirelessly notify said detected event to the master computing device (400).

INVENTORY INTELLIGENCE FOR PARTS USING COMBINATION METADATA IDENTIFIER

NºPublicación:  EP4625300A1 01/10/2025
Solicitante: 
EBAY INC [US]
eBay Inc
EP_4625300_PA

Resumen de: EP4625300A1

Some aspects relate to technologies for employing metadata identifiers for part item listings on a listing platform to generate inventory intelligence. In accordance with some aspects, textual analysis of listing data for each of a plurality of part item listings on a listing platform is performed to assign a metadata identifier to each part item listing. The metadata identifier for each part item listing comprises a combination of an inventory segment identifier, a category identifier, and fitment data. For a first metadata identifier, a set of part item listings having the first metadata identifier is identified. Demand data and/or supply data is aggregated for the set of part item listings to provide aggregated data. A user interface with one or more metrics is generated using the aggregated data, and the user interface is communicated over a network to a computing device for presentation.

PRODUCT PROVIDING DEVICE, PROGRAM, AND PRODUCT PROVIDING SYSTEM

NºPublicación:  EP4625288A1 01/10/2025
Solicitante: 
BANDAI CO [JP]
Bandai Co., Ltd
EP_4625288_PA

Resumen de: EP4625288A1

A product providing device (1) capable of communicating with a terminal (2) of a user includes an inventory managing unit (116) that manages inventory statuses of products in a product group including a plurality of types of products, an option presenting unit (112) that presents to the terminal (2) a plurality of options associated with the product group in such a manner that the user is able to select an option, and a product providing unit (117) that provides, by a lottery, a product from the product group associated with the option. The option presenting unit (112) searches for, based on the inventory statuses of the products, an option that satisfies a search condition, and presents the option that satisfies the search condition.

PRODUCT PROVIDING DEVICE, PROGRAM, AND PRODUCT PROVIDING SYSTEM

NºPublicación:  EP4625287A1 01/10/2025
Solicitante: 
BANDAI CO [JP]
Bandai Co., Ltd
EP_4625287_PA

Resumen de: EP4625287A1

A product providing device (1) capable of communicating with a terminal (2) of a user includes an inventory managing unit (116) that manages inventory statuses of products in a product group including a plurality of types of products, and a first type option presenting unit (112) that presents to the terminal (2) a first type option associated with the product group and including an inventory status image representing the inventory status of the product group in such a manner that the user is able to select the first type option.

ARTICLE SORTING WITH INTERMINGLED ROBOTS OF ASSORTED SIZES

NºPublicación:  EP4623392A1 01/10/2025
Solicitante: 
TOMPKINS ROBOTICS INC [US]
Tompkins Robotics, Inc
US_2024367905_A1

Resumen de: US2024367905A1

System for use in directing an article sorting operation includes a routing engine, first and second vehicles, and a grid comprising a plurality of grid cells, each grid cell having a grid cell length X. First size vehicle has a first vehicle length greater than the grid cell length X and second size vehicle has a second vehicle length greater than the first vehicle length. The system is configured to: receive article information of first and second articles; assign the first article to be transported by the first size vehicle, and the second article to be transported by the second size vehicle; determine a first route for the first size vehicle such that the first route has a first width equaling A*X, and a second route for the second size vehicle such that the second route has a second width equaling B*X.

MARINE WASTE DISPOSAL DEVICE USING SATELLITE IMAGE

NºPublicación:  EP4625304A1 01/10/2025
Solicitante: 
CONTEC CO LTD [KR]
Contec Co., Ltd
EP_4625304_PA

Resumen de: EP4625304A1

A marine waste disposal apparatus according to an embodiment of the present invention comprise a satellite image processing unit that receives satellite images to identify and locate marine waste, and generates a map of marine waste, a waste change reasoning unit for receiving at least one or more pieces of information selected from the group consisting of tide, temperature, wind direction/speed, seawater flow, and wave height information to reason changes in the marine waste map, a ship control and management units that control general ships and control waste disposal ships based on marine waste maps.

ASSET TRACKING DEVICE AND SYSTEM

NºPublicación:  EP4625285A1 01/10/2025
Solicitante: 
NAGRAVISION SARL [CH]
Nagravision S\u00E0rl
EP_4625285_PA

Resumen de: EP4625285A1

The tracking device (100) is configured to be physically associated with an asset (200) and configured to wirelessly communicate with at least one master computing device (400). It comprises:- an inductor (L1) having an inductance (L) and configured to vary the inductance (L) depending on whether the tracking device (100) is physically associated with the asset (200) or not, and- a processor (110) configured to detect an inductance variation of the inductor (L1) that is indicative of an event of physically separating the tracking device (100) and the asset (200) and to wirelessly notify said detected event to the master computing device (400).

SECURITY SYSTEM COMBINATION FOR MONITORING AN AREA AND A METHOD FOR MONITORING SUCH AN AREA

NºPublicación:  EP4625284A1 01/10/2025
Solicitante: 
SICK AG [DE]
SICK AG
EP_4625284_PA

Resumen de: EP4625284A1

Ein Sicherheitssystemverbund (1) dient zur Überwachung eines Bereichs (5), wie beispielsweise einer Lagerhalle oder Fabrik, in welcher sich Objekte (8), wie autonom fahrende Fahrzeuge (4) und Personen (8a), gemeinsam bewegen. Der Sicherheitssystemverbund (1) umfasst eine zentrale Verarbeitungseinrichtung (3), die dazu ausgebildet ist, um von einer Vielzahl von Überwachungseinheiten (2) Sensordaten (6) zu empfangen, in denen die im überwachten Bereich (5) von den Überwachungseinheiten (2) erfassten Objekte (8) enthalten sind. Die zentrale Verarbeitungseinrichtung (3) ist dazu ausgebildet, um die empfangenen Sensordaten (6) zu konsolidieren. Die zentrale Verarbeitungseinrichtung (3) ist dazu ausgebildet, um aus den konsolidierten Sensordaten Objektlisten (7) zu erstellen, wobei die Objektlisten (7) die erfassten Objekte (8) nebst den jeweiligen Objektinformationen enthält, und um diese Objektlisten (7) an die autonom fahrenden Fahrzeuge (4) zu übertragen.

COMPUTER-IMPLEMENTED METHOD FOR ASSESSING COTTON SUPPLIERS

NºPublicación:  EP4623395A1 01/10/2025
Solicitante: 
USTER TECHNOLOGIES AG [CH]
Uster Technologies AG
WO_2024108315_PA

Resumen de: WO2024108315A1

The computer-implemented method serves for assessing cotton suppliers supplying raw cotton to cotton processors (21-2.4). It comprises the steps of: receiving by a server computer system (1) from at least one cotton processor (2.1-2.4) measurement sets for different cotton samples, each measurement set comprising at least one measured value for at least one cotton-quality parameter (a-h), and information on the cotton supplier of the cotton sample; assigning to each measurement set the information on the cotton supplier; storing in a database (12) the measurement sets together with the assigned information; statistically evaluating the measurement sets; and transmitting a result of the statistical evaluation comparing at least two different cotton suppliers, together with the information on the at least two cotton suppliers, to a client computer (8). The method facilitates an efficient and environmentally friendly trading of raw cotton.

ANALYSING TEXTILE BALES IN THE OPENER OF A SPINNING PREPARATION SYSTEM

NºPublicación:  EP4623394A1 01/10/2025
Solicitante: 
USTER TECHNOLOGIES AG [CH]
Uster Technologies AG
CN_120266141_PA

Resumen de: CN120266141A

A computer-implemented method is disclosed for analyzing a plurality of textile packages (41) arranged in a row to form a package feed (4) and according to which values of a parameter are measured by a sensor device (2). The measured parameter values are transmitted from the sensor device (2) to a computer (3). Each of the parameter values is assigned a graphic code symbol that depends on the parameter value. Each textile package (41) is assigned an associated symbol of the graphic code and a position of the textile package (41) within the package feed (4). For each fiber package (41), the symbol of the assigned graphic code and the assigned position are sent from the computer (3) to an output unit (31). The symbols of the graphical code are output in a graphical representation (500) according to the associated positions.

Inventory system

NºPublicación:  GB2639549A 01/10/2025
Solicitante: 
OCTOPUS ENERGY SERVICES LTD [GB]
Octopus Energy Services Limited
GB_2639549_PA

Resumen de: GB2639549A

An inventory system for a vehicle 100 includes a plurality of containers 104 for holding items. Stock level data for each item is measured and transmitted to an inventory engine which generates a reference file. Each file includes parameters for a premises, details of a job and a list of items associated with the job. A survey engine has a classifier trained to identify relationships between the parameters for each premises and the associated lists of items. In response to an input of a first plurality of parameters for a premises, the survey engine generates a first confidence level. If the confidence level exceeds a threshold, a list of items required for installation of hardware is generated. If the confidence level is not exceeded, the survey engine requests information from a resident of the premises and generates a second plurality of parameters to be used to generate the list of items required. The first plurality of parameters may include an address and the second may include room dimensions. The need for a survey before an installation job may be avoided.

一种基于充电与换电混合策略的电动车辆货运规划系统

NºPublicación:  CN120725337A 30/09/2025
Solicitante: 
深圳职业技术大学
CN_120725337_PA

Resumen de: CN120725337A

一种基于充电与换电混合策略的电动车辆货运规划系统,包括网络构建模块、优化模型模块及算法求解模块。网络构建模块通过时空回旋网络建模,将时间离散为多个时间点,空间定义为货运站点节点,并构建充电弧、服务弧及回旋弧。优化模型模块基于该网络建立混合整数规划模型:目标函数最小化总运输成本,约束条件包括商品流量平衡、运力限制、采购预算及换电容量约束。算法求解模块采用列生成算法生成路径环,结合多维动态规划求解子问题;动态规划通过分层标签传递更新电量状态,应用支配规则筛选非劣解路径。系统根据电量状态智能触发换电或充电,优化电动卡车补能策略与货运路径,提升运输效率并降低能耗成本,减少空驶时间及增强车队利用率。

基于机器狗的物资智能盘点实现方法、装置、设备及介质

NºPublicación:  CN120725586A 30/09/2025
Solicitante: 
三峡高科信息技术有限责任公司
CN_120725586_PA

Resumen de: CN120725586A

本发明公开了一种基于机器狗的物资智能盘点实现方法、装置、设备及介质,涉及资产盘点技术领域,该方法包括基于多传感器数据融合方式实现机器狗的导航和避障,以对物资所在场所建模得到环境地图;根据所述环境地图规划盘点路径,结合所述盘点路径驱使机器狗移动至货架处并对货架的货位进行识别;基于机器狗的机械臂调整所搭载RFID读写器的位置和角度,以识别货位上物资的RFID标签,实现物资盘点。本申请能够极大提升盘点效率和准确性,并降低人工成本。

物品盘点方法、装置、服务器、存储介质和系统

NºPublicación:  CN120725570A 30/09/2025
Solicitante: 
杭州海康机器人股份有限公司
CN_120725570_PA

Resumen de: CN120725570A

本申请公开了一种物品盘点方法、装置、服务器、存储介质和系统,涉及机器视觉技术领域,至少用于改善对仓库中物品盘点时效率较低的问题。该方法包括:获取待盘点物品垛的托盘位置信息、当前物品位置信息和垛型信息;托盘位置信息用于指示待盘点物品垛中托盘的空间位置范围;当前物品位置信息用于指示待盘点物品垛当前包括的物品的空间位置范围;垛型信息用于指示待盘点物品垛满垛时包括的各个物品和预设托盘点位之间的相对位置关系;预设托盘点位为托盘上的任一位置点;根据托盘位置信息和垛型信息,确定满垛物品位置信息;根据当前物品位置信息和满垛物品位置信息,确定待盘点物品垛的盘点结果。

データ処理方法及び電子機器

NºPublicación:  JP2025142367A 30/09/2025
Solicitante: 
日本電気株式会社
JP_2025142367_PA

Resumen de: JP2024035167A

SOLUTION: A method comprises: acquiring a time-series dataset comprising multiple time-series data items each comprising a time and multiple attribute parameters corresponding thereto; acquiring a target attribute parameter being at least one of the multiple attribute parameters; determining, based on a time-series model, an influence factor of the target attribute parameter, the influence factor indicating an attribute parameter influencing the target attribute parameter and a time corresponding thereto; and outputting the influence factor.EFFECT: For a target attribute parameter, at least one influence factor of a target attribute parameter can be determined based on a time-series dataset and a time-series model, thereby facilitating provision of accurate reference information for a decision on the target attribute parameter and enabling the decision more accurate.SELECTED DRAWING: Figure 2

拣货任务的创建方法、装置、设备及存储介质

NºPublicación:  CN120725563A 30/09/2025
Solicitante: 
北京京东远升科技有限公司
CN_120725563_PA

Resumen de: CN120725563A

本发明实施例公开了一种拣货任务的创建方法、装置、设备及存储介质,涉及计算机技术领域,该方法可以包括:在检测到拣货任务生成指令时获取当前的内配任务列表;根据内配任务列表中的各目标内配任务分别对应的内配任务信息,对各目标内配任务进行合并,得到各内配汇总任务、并确定各内配汇总任务分别对应的汇总任务信息;内配任务信息包括目标任务信息,目标任务信息包括起始派送位置和目的派送位置,组成同一内配汇总任务的目标内配任务的目标任务信息相同;基于各内配汇总任务分别对应的汇总任务信息,分别创建针对各内配汇总任务的拣货任务。采用本发明实施例的技术方案,可以在确保快速送达业务的时效性的基础上,减少物流资源的占用。

基于大规模邻域搜索的电动车辆路径规划方法及系统

NºPublicación:  CN120725564A 30/09/2025
Solicitante: 
株式会社日立制作所
CN_120725564_PA

Resumen de: CN120725564A

本申请提供了一种基于大规模邻域搜索的电动车辆路径规划方法及系统。本申请实施例在重建处理中能够在多个插入位置进行电站插入,从而避免在仅插入单个电站仍无法满足电量约束条件的问题,提高了电动车辆路径规划的实用性。本申请实施例还使用非线性电动汽车电池电耗的计算方式,能够很好地反映真实交付场景中的电池行为,使电动汽车路线规划更科学、更易于实施。另外,本申请实施例在构造初始解的过程中,提前对所有客户站点进行优先级排序,确保具有严格约束的客户站点可以优先得到服务,从而提高了客户站点的整体插入效率,节省了计算时间。

物料清单的修正方法、系统和程序产品

NºPublicación:  CN120725583A 30/09/2025
Solicitante: 
日立解决方案(中国)有限公司安海斯布希企业管理(上海有限公司武汉分公司
CN_120725583_PA

Resumen de: CN120725583A

本申请涉及数据处理领域,特别涉及一种物料清单的修正方法、系统和程序产品。方法包括:获取历史设备维保信息以及物料信息;基于历史设备维保信息和物料信息,确定各物料领用率、各物料的第一活跃度和工单数等级;对各物料的第一活跃度进行标准化,得到各物料的第二活跃度;基于各物料领用率、各物料的第二活跃度和工单数等级,确定各物料的维保得分;根据各物料的维保得分,确定物料清单的数据修正建议。如此,可以提高PM BOM数据的准确性。并且,随着历史设备维保信息和物料信息的更新,可自动更新数据修正建议,可以提高数据维护效率。

一种基于智慧城市的环卫监视方法及系统

NºPublicación:  CN120730021A 30/09/2025
Solicitante: 
中科晟通(山东)信息技术有限公司
CN_120730021_PA

Resumen de: CN120730021A

本发明涉及一种基于智慧城市的环卫监视方法及系统,所述系统包括:数据采集服务系统:其通过数据采系统将外部获取到的GIS矢量数据文件进行导入,并将数据信息上传到文件服务器;物联数据采集服务系统:其包含了支持MQTT服务器,将通过监控获取到的物联监测数据传入物联数据采集系统进行数据分析存储;业务基础数据服务系统:用于对环卫基础信息进行管理;城市环卫系统:用于接收环卫系统移动应用APP上报的案件;环卫系统移动应用APP:环卫工人在环卫系统移动应用APP中查看自己负责清洁的区域。本发明解决了对城市环卫工种以及车辆的规划问题,以及对城市的环卫工作监视和管理,保证城市环卫工作的有序进行。

一种基于高频RFID的AI动态物品清点方法及系统

NºPublicación:  CN120725588A 30/09/2025
Solicitante: 
福建中科智与科技有限公司
CN_120725588_PA

Resumen de: CN120725588A

本发明公开了一种基于高频RFID的AI动态物品清点方法及系统,包括如下步骤:步骤一:采集RFID标签的初始响应行为数据;步骤二:获取稳定标签集合;步骤三:生成动态噪声剖面并构建特征屏蔽掩码;步骤四:利用改进Perceiver IO模型进行分析,获取强依附RFID标签和弱依附RFID标签;步骤五:对强依附RFID标签进行跳频读取,生成清点置信度评分;步骤六:筛选高置信度RFID标签,进行物品识别与清点;步骤七:对弱依附RFID标签执行标签位置回推并计算回推存在概率,获取最终清点结果。本发明融合动态噪声建模与改进Perceiver IO模型,实现复杂环境下RFID清点的高精度识别。

风险场景下土石方运输方案确定方法、装置、设备和介质

NºPublicación:  CN120725556A 30/09/2025
Solicitante: 
中交疏浚技术装备国家工程研究中心有限公司
CN_120725556_PA

Resumen de: CN120725556A

本发明公开了一种风险场景下土石方运输方案确定方法、装置、设备和介质,该方法包括:获取目标风险场景下的第一数据;所述第一数据为与土石方运输相关的数据;基于单纯形算法和所述第一数据对土石方调配优化模型进行求解,获得目标风险场景下的土石方运输方案;所述土石方调配优化模型为以最小化发车频率和最小化完工时间为目标的数学模型;所述土石方调配优化模型包含对第一数据进行分析整理的数据结构网。本发明拟用于制定土石方运输计划时,为土石方运输工程实时调整及优化方案的决策提供科学指导,达到降本增效的优化运输目标。

一种基于网络博弈的多物流中心数智化改造投资决策方法

NºPublicación:  CN120725500A 30/09/2025
Solicitante: 
东南大学
CN_120725500_PA

Resumen de: CN120725500A

本发明属于物流工程领域,提供了一种基于网络博弈的多物流中心数智化改造投资决策方法。本发明运用Stackelberg博弈理论构建了“政府投资决策‑企业路径规划”的双层规划模型。在此框架下,政府先制定对物流中心数智化改造的投资政策,凭借上层模型将投资额度分配至多个物流中心;物流企业依据该投资政策规划货物运输路径,并通过运营成本反馈机制触发政府投资策略的优化。本发明上层模型运用遗传算法求解,下层模型采用欧拉算法求解。该方法借助“政府投资决策→企业路径优化→政府优化投资决策”的闭环反馈机制,既能实现物流系统降本提质增效,又可为国家扩大有效投资、畅通国内大循环、加速实体经济高质量发展提供可复制、可落地的决策范式。

基于多数据融合的物流到货时间预报系统及方法

NºPublicación:  CN120725557A 30/09/2025
Solicitante: 
天津小铁马科技有限公司
CN_120725557_PA

Resumen de: CN120725557A

本发明公开了一种基于多数据融合的物流到货时间预报系统及方法,涉及物流到货时间预测技术领域,旨在解决现有的物流到货时间预测系统的预报结果与实际到货时间偏差较大的技术问题,数据采集模块、路径规划模块、时间计算模块以及预警与输出模块;所述数据采集模块的输出端分别与路径规划模块和时间计算模块连接,用于采集多源数据,多源数据包括历史物流数据、订单及发货信息数据、天气数据、实时路况数据、地图数据、运输工具特性数据、货物特殊需求数据、运输工具衔接隐性损耗数据、运输工具协同延误关联数据;所述路径规划模块的输出端与时间计算模块连接。本发明具有提高多式联运场景下到货时间预报的准确性的优点。

基于机器学习的元器件订单波次智能分拣系统

NºPublicación:  CN120725579A 30/09/2025
Solicitante: 
厦门唯创盈智能科技有限公司
CN_120725579_PA

Resumen de: CN120725579A

本发明提供基于机器学习的元器件订单波次智能分拣系统,涉及数据处理技术领域,该系统用于:根据订单数据集,确定各订单涉及的通道编号和货架层级,计算各订单的货位标签值,得到多个订单组,并计算各订单组的元器件覆盖因子,得到订单组特征数据集,基于分层感知网络构建波次评分模型,将订单组特征数据集输入至波次评分模型,得到各订单组的波次评分值,确定各波次任务的订单组,得到波次任务数据,计算各波次任务的结构均衡值,得到均衡任务数据集,确定分拣的路径规划和任务调度,得到分拣数据。本发明能够优化订单波次任务的分配,提高分拣效率。

基于物联网的元器件智能仓库库存精准管理系统

NºPublicación:  CN120725582A 30/09/2025
Solicitante: 
厦门唯创盈智能科技有限公司
CN_120725582_PA

Resumen de: CN120725582A

本发明提供基于物联网的元器件智能仓库库存精准管理系统,涉及自动控制技术领域,所述方法包括:根据环境参数和物理属性特征数据,通过数据融合计算,生成关联数据报文;基于关联数据,当环境参数触发预设低温条件时,生成第一调控指令,用于调整RFID读写器的工作模式,以得到读写器回传的实时工作状态帧;根据读写器回传的实时工作状态帧及料盒物理属性特征数据库,将目标料盒的初始存放位置信息转换为唯一空间编码,依据空间编码确定目标料盒所属的三维网格单元区域。本发明实现元器件仓库库存的精准化和智能化管理。

基于有向无环图建模的单载自动导引车车间路径规划方法

NºPublicación:  CN120722845A 30/09/2025
Solicitante: 
沈阳中科数控技术股份有限公司
CN_120722845_PA

Resumen de: CN120722845A

本发明针对数字化车间生产线的自动化仓储物流系统建设,提出基于有向无环图建模的单载自动导引车车间路径规划方法,包括任务选择、任务执行顺序规划等功能,包含一个基于二进制离散粒子群优化算法的融合算法框架和一个遗传算法组件,能够根据已知任务到达时刻和运输起点等信息,在短时间内求解充分考虑任务选择策略多样性,保证生产正常进行,且行驶总距离最短的最优(或者接近最优)任务执行顺序。

企业采购异常检测的多维度数据整合与动态风险评估方法

NºPublicación:  CN120725468A 30/09/2025
Solicitante: 
厦门美亚亿安信息科技有限公司
CN_120725468_PA

Resumen de: CN120725468A

本发明涉及工业互联网技术领域,揭露了一种企业采购异常检测的多维度数据整合与动态风险评估方法,包括:建立多维度采购数据的可靠性验证矩阵,提取异常数据点;识别异常数据点的交叉关联模式,构建目标企业的采购行为交互图;分析采购风险因子的风险演化路径,计算风险传导熵值;根据风险传导熵值,生成采购风险因子的风险分级标签,以输出目标企业的采购异常检测报告。本发明可以提高企业采购异常检测的精准度。

非等间隔退化的接触网关键部件强化学习维修优化方法

NºPublicación:  CN120725655A 30/09/2025
Solicitante: 
华东交通大学
CN_120725655_PA

Resumen de: CN120725655A

本发明提供一种非等间隔退化的接触网关键部件强化学习维修优化方法,方法包括收集接触网系统历史设备故障数据,并进行分类统计,并拟合得到威布尔分布的参数;基于可靠性函数推导出接触网系统的动态可靠性模型,并建立分阶段维修费用模型;动态优化各个阶段的维修间隔以及次数;并输入至多目标优化模块,采用深度强化学习辅助的AGSEA算法求解出关键部件的帕累托维修计划集;根据接触网系统运行的可靠性约束条件筛选出关键部件在各维修阶段下的最终维修计划,并输出当前接触网系统整体可靠性以及维修费用。本发明能够有效适应设备非等间隔的劣化过程以及维持系统高可靠性的同时兼顾经济性。

商品自动补货方法、装置、设备、存储介质及产品

NºPublicación:  CN120725587A 30/09/2025
Solicitante: 
万家数科商业数据有限公司
CN_120725587_PA

Resumen de: CN119941120A

The invention relates to the technical field of warehouse logistics, in particular to an automatic commodity replenishment method and device, equipment, a storage medium and a product. Historical commodity sales data of a store is analyzed to obtain commodity attribute levels and historical commodity sales data of the store in multiple dimensions; the method comprises the following steps: establishing a plurality of commodity attribute levels, constructing a level conversion table among the plurality of commodity attribute levels to represent historical sales proportions among the commodities, and finally traversing the replenishment amount of each commodity according to historical commodity sales data and a level conversion coefficient, thereby establishing a unified automatic commodity replenishment framework, improving the economic benefit of automatic commodity replenishment, and improving the commodity replenishment efficiency. The technical problem that the replenishment amount and the economic benefit cannot be accurately controlled during manual replenishment of commodities in a store in the prior art is solved.

一种核电运行备件二次确认的方法及系统

NºPublicación:  CN120725574A 30/09/2025
Solicitante: 
华能海南昌江核电有限公司
CN_120725574_PA

Resumen de: CN120725574A

本发明涉及核电技术领域,特别是一种核电运行备件二次确认的方法及系统。方法包括:收集同行备件历史数据和经验反馈;在采购发标前,制定一份运行备件清单;在开始制造前,对运行备件清单进行二次确认;运行备件到货后,由总承包单位定期对运行备件移交给业主单位;定期对到货运行备件的领用率和领用时间进行统计分析。本发明通过备件管理,确保在设备检修和维护时能够及时获取到符合要求的备件,减少因备件短缺导致的设备停机时间;通过二次确认优化采购清单,剔除不必要的备件采购需求,避免因过度采购或错误采购导致的资源浪费。同时,科学确定采购数量,减少因采购过多或过少导致的成本增加。

基于规则图驱动的电力工程物资技术性审查方法及系统

NºPublicación:  CN120725595A 30/09/2025
Solicitante: 
嘉兴恒创电力设计研究院有限公司
CN_120725595_PA

Resumen de: CN120725595A

本发明属于工程物资审查领域,公开了一种基于规则图驱动的电力工程物资技术性审查方法及系统,方法包括根据专家经验构建初始的规则图;利用大语言模型提取历史技术性审查结果中的物资、规格以及物资之间的关系,将物资之间的关系转化为规则约束,完善初始的规则图中的边以及边的属性;根据待审查的物资与规则图中的物资之间的相似度校验错误物资项并生成工程物资图,基于工程物资图与规则图校验缺失/多余物资项,根据规则图中的规则约束校验物资规格错误项;根据错误物资项、缺失/多余物资项和物资规格错误项的校验结果生成最终的技术性审查结果。本发明可以更好地推动工程设计审查工作,提升电力工程物资技术性审查的准确性和效率。

钢铁制造流程铁素物质流运行优化的能效评价方法、生产运行优化方法及系统

NºPublicación:  CN120725495A 30/09/2025
Solicitante: 
重庆大学
CN_120725495_PA

Resumen de: CN120725495A

本发明公开了一种钢铁制造流程铁素物质流运行优化的能效评价方法、生产运行优化方法及系统,该方法包括如下步骤:确定钢铁制造过程及流程对象,基于不同区段的铁素物质流运行方式及冶金过程特征,计算钢铁制造的过程能效和不同工艺路径下的流程能效,还能通过物流衔接关系将包含铁钢界面和铸轧界面的流程能效计算方法拓展至全流程;建立以流程能效、运行效率和成本的多目标生产运行优化模型,进行流程的多工艺路径优化。本技术方案以钢铁制造流程中物质流携带的能量流为对象,聚焦工序设备的冶金过程与生产流程运行管控的不同层面,实现从过程到流程的能效动态追踪,优化钢铁企业生产运行的工艺路径选择,有利于生产动态运行管控优化及节能降碳。

一种基于YOLOv11的托盘识别及多托盘位姿判定方法

NºPublicación:  CN120726284A 30/09/2025
Solicitante: 
无锡捷普迅智能科技有限公司
CN_120726284_PA

Resumen de: CN120726284A

本发明涉及仓储物流自动化技术领域,尤其涉及一种基于YOLOv11的托盘识别及多托盘位姿判定方法,收集不同种类托盘,得到数据集,并对数据集进行标注和增强后搭建模型训练数据库,数据库内包括训练集、测试集和验证集;在YOLOv11模型中融合VFL和角度敏感CIoU损失,并且引入形态约束项,强化托盘矩形特征的几何约束;加载预训练模型,使用训练集对改进后的YOLOv11模型进行训练,并在验证集上评估模型性能,根据验证集的表现调整学习率和数据增强策略;加载训练好的YOLOv11模型,并部署至工控机上,根据车体通信指令,在需要时进行托盘识别及多托盘位姿判定,以此方式解决了现有技术中所使用的YOLO模型存在计算资源高,识别率低,精度也较差的问题的技术问题。

转运物流调度方法、装置、设备和介质

NºPublicación:  CN120725549A 30/09/2025
Solicitante: 
北京京东乾石科技有限公司
CN_120725549_A

Resumen de: CN120725549A

本发明实施例公开了一种转运物流调度方法、装置、设备和介质,其中,方法包括:在将目标物品转运至原始目标仓库过程中,基于预设频率获取与目标物品的转运情况关联的预设仓储及运输实时数据;将预设仓储及运输实时数据数输入到经过预先训练的转运仓库分配模型中,并根据模型输出结果确定目标物品的实时分配目标仓库;在实时分配目标仓库与原始目标仓库不同的情况下,进行转运仓库切换提示预警,以实现目标物品在转运过程中的物流调度。本发明实施例的技术方案解决了物品转运过程中不能及时响应目标仓库异常情况的问题,可以及时获取目标仓库的仓储状态并进行转运物流调度,提高物流调度的准确度,以避免大批量物品不能及时转运入仓的情况发生。

设备备件库存确定方法、系统、可读存储介质和程序产品

NºPublicación:  CN120725584A 30/09/2025
Solicitante: 
日立解决方案(中国)有限公司安海斯布希企业管理(上海有限公司武汉分公司
CN_120725584_PA

Resumen de: CN120725584A

本申请涉及计算机领域,特别涉及一种设备备件库存确定方法、系统、可读存储介质和程序产品。其中,设备备件库存确定方法包括:获取目标备件的使用信息;基于使用信息,确定目标备件在不同历史时刻的第一故障率,第一故障率表征目标备件在历史时刻内未发生故障,而在历史时刻后的第一时间段内发生故障的概率;根据目标备件在不同历史时刻的第一故障率,拟合目标备件的故障率函数;基于故障率函数,确定在未来的第一时间段内,目标设备因目标备件发生故障的第二故障率;基于目标设备因目标备件发生故障的第二故障率,确定目标备件的库存。如此,可以在保证设备的平稳运行的前提下,实现对设备备件库存的精准设定,提高资源利用效率。

一种仓储任务执行方法及设备

NºPublicación:  CN120723496A 30/09/2025
Solicitante: 
上海格物致远网络科技有限公司
CN_120723496_PA

Resumen de: CN120723496A

本申请实施例提供了一种仓储任务执行方法及设备,涉及仓库管理技术领域。该方法包括:接收云端服务器发送的任务信息集合,所述任务信息集合包括所述目标仓库的多个目标仓储任务依赖的任务信息,所述目标仓储任务为预计执行时间满足预设条件的仓储任务;将所述任务信息集合保存至所述终端设备的预设存储空间中;在接收到指示执行第一仓储任务的任务执行指令,且所述预设存储空间中包括所述第一仓储任务依赖的任务信息的情况下,从所述预设存储空间中获取所述第一仓储任务依赖的任务信息;基于所述第一仓储任务依赖的任务信息执行所述第一仓储任务。本申请实施例用于减少或避免实时从云端服务器获取任务信息,进而提升仓储任务的执行效率。

一种订单提交方法和订单处理方法

NºPublicación:  CN120725749A 30/09/2025
Solicitante: 
拉扎斯网络科技(上海)有限公司
CN_120725749_PA

Resumen de: CN120725749A

本申请公开了一种订单提交方法和订单处理方法,所述订单提交方法包括:展示目标商户的可预订商品列表,可预订商品列表中的商品为目标商户提供的可预订商品,针对目标商户提供的可预订商品提交预订订单所需满足的预订起送费低于针对目标商户提供的商品提交非预订订单所需满足的非预订起送费;响应于检测到针对目标可预订商品进行的加购操作,展示已加购的目标可预订商品的数据;响应于检测到针对已加购的目标可预订商品的预订结算操作,展示预订提单页面;响应于检测到提交订单操作,执行针对目标可预订商品的提单操作。该方法可以使用户在已加购的商品所需支付的费用不满足即时配送需达到的起送费的情况下提交预订订单,提升了用户的购物体验。

一种用于耗材监管的数据归集处理方法与系统

NºPublicación:  CN120725589A 30/09/2025
Solicitante: 
浙江微萌医院管理有限公司
CN_120725589_PA

Resumen de: CN120725589A

本发明提供一种用于耗材监管的数据归集处理方法与系统,属于耗材监管技术领域,具体包括:利用各个科室的短缺影响类型以及短缺影响耗材的使用匹配情况,确定短缺影响耗材的短缺影响情况满足要求时,以耗材在各个短缺影响类型的科室的使用数据,确定进行实时的数据归集处理的耗材,通过各个科室中进行实时的数据归集处理的耗材数据以及短缺影响耗材数据,确定科室在不同的住院患者数据下需要进行数据归集处理的耗材,提升了耗材监管处理的可靠程度。

用于多机器人的资源调度系统及方法

NºPublicación:  CN120725395A 30/09/2025
Solicitante: 
浙江科聪控制技术有限公司
CN_120725395_PA

Resumen de: CN120725395A

本发明公开了用于多机器人的资源调度系统及方法,涉及多机器人调度技术领域,包括任务状态确认模块,心跳机制构建模块,评估调度模块。本发明所述系统通过实时获取机器人任务执行状态并构建任务状态字典,有效地提升了任务管理的精度与实时性;通过机器人侧的周期性心跳反馈机制,实时监控任务子状态并同步反馈时间戳,确保任务的实时更新;调度系统通过健康度预测,结合机器人执行过程中的任务风险评估,实现了更精准的任务调度与管理;通过动态调整调度策略,尤其是在任务健康度评分不同区间内采取不同响应措施,能够确保任务执行的稳定性和高效性,弥补了现有技术在应对机器人任务异常、任务替换和风险预警方面的不足。

一种基于云计算的仓储物流资源优化调度系统及方法

NºPublicación:  CN120725572A 30/09/2025
Solicitante: 
福州为正科技有限公司
CN_120725572_PA

Resumen de: CN120725572A

本发明公开了一种基于云计算的仓储物流资源优化调度系统及方法,涉及资源调度技术领域。包括:将物流设备对时间资源进行分割,生成时空资源矩阵,将每个时间片映射为非同质化代币;企业提交设备使用需求,通过智能合约参与空闲时段竞拍非同质化代币,中标的企业解锁对应时段的设备使用权;将竞拍结果作为约束条件,结合深度强化学习进行分析,获得智能调度动作;根据智能调度动作进行统计,采用Shapley值算法计算企业的分摊费用,汇总获得企业成本分摊报表。本发明克服了传统A*算法在高密度仓储场景下的死锁难题,显著提升多AGV协同效率,降低仓储物流运营成本,实现资源的精细化管理与动态优化配置。

面向动态需求的机场供应链配送优化方法及系统

NºPublicación:  CN120725558A 30/09/2025
Solicitante: 
厦门民航凯亚有限公司
CN_120725558_PA

Resumen de: CN120725558A

本发明公开了面向动态需求的机场供应链配送优化方法及系统,涉及机场配餐优化技术领域。包括以下步骤:S1,实时采集多源航班数据和外部信息数据,进行数据预处理,并评估数据源的对齐度,根据数据源对齐度评估结果,进行数据修正操作,识别高可信度数据集;S2,通过外部信息数据,构建多因子特征集,并预测餐食需求量,根据餐食需求量预测结果实施预测反馈优化机制;S3,对餐食补货周期内的库存补货量进行预测,并根据库存补货量预测结果,实施补货策略;S4,分配配送资源并生成配送路径,同时进行可视化反馈分析。解决了由于数据存在孤岛和壁垒,导致难以预测餐食需求进行准确的供应链配送的问题。

一种工程项目供应链协同管理系统

NºPublicación:  CN120725386A 30/09/2025
Solicitante: 
江苏新纪元信息发展有限公司
CN_120725386_PA

Resumen de: CN120725386A

本发明涉及工程项目管理技术领域,公开一种工程项目供应链协同管理系统,所述工程项目供应链协同管理系统,包括:统一数据接口模块,用于由工程项目总包方、分包方、材料供应商及物流服务商的异构信息系统中获取多源业务数据,且将所述多源业务数据处理为标准化的业务数据模型;业务流程管理模块。采用统一数据接口模块与工作流引擎协同工作的技术方案,达到贯通供应链各参与方信息系统,实现采购、库存与施工进度数据自动同步与业务流程联动的技术效果,相较于现有技术中各方采用不兼容信息系统且依赖人工传递信息的技术方案,解决因数据不通造成协同作业困难,进而损害项目计划精确性的不足。

一种物流报价管理方法及系统

NºPublicación:  CN120725567A 30/09/2025
Solicitante: 
南京联畅云科技有限公司
CN_120725567_PA

Resumen de: CN120725567A

本发明公开了一种物流报价管理方法及系统,属于物流报价管理技术领域,其方法具体包括:采集用户物流报价的历史行为数据,基于所述历史行为数据建立用户行为模型,所述用户行为模型用于表征用户的博弈行为,根据用户行为模型,识别用户对初始报价策略产生影响的行为模式,生成对应的扰动因子,基于扰动因子调整初始报价策略,获得包含用户行为扰动的报价结果,根据订单履约情况与用户实际行为之间的偏差,动态更新用户行为模型与扰动因子;本申请能够在报价生成过程中实现对用户行为扰动的主动识别与抑制,使报价计算具备自适应性与稳定性,提升在复杂交互场景下的处理一致性与响应效率。

基于人工智能的跨境电商供应链数据分析方法和系统

NºPublicación:  CN120725764A 30/09/2025
Solicitante: 
中武(福建)跨境电子商务有限责任公司
CN_120725764_PA

Resumen de: CN120725764A

本发明公开了基于人工智能的跨境电商供应链数据分析方法和系统,属于跨境电商供应链技术领域,具体包括:构建全链路、地域标签化的数据采集体系,涵盖基础销售数据和关联数据,并通过ETL工具统一格式、AI模型填补缺失值;基于全链路、地域标签化的数据采集体系,通过AI模型生成四类核心指标,根据四类核心指标进行量化目标商品地域受欢迎度的当前状态;同时构建预览行为与地域特征的多维度数据集,并设置数据处理原则;基于构建预览行为与地域特征的多维度数据集,评估目标商品的预期状态;根据对目标商品地域受欢迎度的当前状态和目标商品的预期状态的综合分析,调整目标商品基于目标地域的供应链环节。

一种o2o模式下的医疗即时零售洞察系统

NºPublicación:  CN120725577A 30/09/2025
Solicitante: 
北京亿家老小科技有限公司
CN_120725577_PA

Resumen de: CN120725577A

本发明公开了一种o2o模式下的医疗即时零售洞察系统,涉及智慧供应链管理技术领域,用于解决当有订单生成或库存变动时,系统无法即时更新库存信息,导致信息滞后和不准确的问题;通过结合订单影响度量的实时分析,动态调整更新频率,解决了传统系统信息滞后、不准确的问题,确保库存信息与实际需求同步;并针对药物存储环境和药物类型的特殊性,量化药物复杂性,通过TOPSIS算法差异化选择更新方法,降低因存储条件不当或更新不及时导致的药物失效风险,保障医疗安全。

基于大数据的物流电子围栏采样点精确分析系统

NºPublicación:  CN120725562A 30/09/2025
Solicitante: 
天津小铁马科技有限公司
CN_120725562_A

Resumen de: CN120725562A

本发明公开了一种基于大数据的物流电子围栏采样点精确分析系统,涉及电数字数据处理技术领域,旨在解决现有物流采样点定位误差大、数据采集效率低、难以实现动态精准管控的技术问题,包括:采样点规则生成与数据预处理模块,用于电子围栏位置信息、围栏范围和电子围栏预警规则的设置;采样点数据动态分析与偏离度计算模块,用于对各个司机和各个货物的电子围栏采样点;数据处理中枢,用于接收、存储和传输各模块之间的数据信息;用户终端。本发明实现了预警规则的动态迭代,能够持续优化预警时间阈值和距离阈值,从根本上解决了静态规则导致的采样点分析精准度不足问题,提升了电子围栏预警的时效性与适配性。

一种基于改进K-means算法的订单分批方法和设备

NºPublicación:  CN120725580A 30/09/2025
Solicitante: 
北自所(北京)科技发展股份有限公司北京邮电大学
CN_120725580_PA

Resumen de: CN120725580A

本发明涉及聚类分析技术领域,具体涉及一种基于改进K‑means算法的订单分批方法和设备,其中,所述方法首先基于EIQ分析框架,采用one‑hot编码将订单映射为高维特征向量,并通过两阶段特征选择构建低维特征子集,以缓解“维度灾难”并提升特征代表性;其次,针对传统K‑means对初始中心敏感及欧氏距离在高维稀疏数据中的局限性,一方面使用轮盘赌的策略优化聚类中心的选取,降低局部最优风险,另一方面采用余弦距离替代欧氏距离,以方向相似性度量订单间的SKU重叠度,从而更精准聚合需求相似的订单至同一批次。

一种供应商智能推荐方法及系统

NºPublicación:  CN120725765A 30/09/2025
Solicitante: 
紫金智信智控(厦门)科技有限公司
CN_120725765_PA

Resumen de: CN120725765A

本发明提供一种供应商智能推荐方法及系统,涉及供应链管理技术领域,所述方法包括:步骤1,将供应商评价指标数据映射至多维空间,生成每个供应商对应的独立空间坐标,形成空间坐标集合;步骤2,基于空间坐标集合,计算空间分布核心坐标,以该核心坐标为原点建立两条正交的参考方向线,并根据参考方向线形成的张角划定评估范围区。本发明可客观地综合多维度指标推荐供应商,并可动态更新以保障推荐质量。

用于物流配送的无人机集群路径规划与通信资源分配联合优化方法

NºPublicación:  CN120725566A 30/09/2025
Solicitante: 
沈阳航空航天大学
CN_120725566_PA

Resumen de: CN120725566A

本发明公开了一种用于物流配送的无人机集群路径规划与通信资源分配联合优化方法。该方法包括:构建无人机集群物流配送的场景模型,包括无人机集群配送模型和无人机集群通信模型;对无人机集群配送模型中的地面客户即目标点进行聚类分析,将所述目标点划分成Kclus个簇,使得同一簇内的目标点在地理位置上相对集中,同时通过密度约束确保各簇所包含的目标点数量分布均衡,实现对初始物流配送任务的优化;利用模拟退火算法进行无人机集群路径规划,获得无人机集群的最优飞行路径;基于无人机集群的最优飞行路径所确定的无人机在未来每一个时隙t的位置,利用竞争架构深度Q网络对动态飞行过程中的无人机集群进行分布式通信资源分配。

一种数字孪生驱动的智能物流调度系统及方法

NºPublicación:  CN120725551A 30/09/2025
Solicitante: 
江苏澳倚蓝智能科技有限公司
CN_120725551_PA

Resumen de: CN120725551A

本发明涉及物流调度技术领域,公开了一种数字孪生驱动的智能物流调度系统及方法,包括进行货物运输承载的智能集装箱模块,以及对智能集装箱模块进行控制的监管控制模块;还包括:云端调度平台,其中云端调度平台内设有运力平衡模块,用于客车、列车及货轮的相互转接动态匹配,进行货物转载;同时云端调度平台还设有策略计算模块,用于货类拼箱冲突决策以及货类运输限行政策计算。能够进行物流输送时进行高效调度控制,实现物流运输中的货类拼箱调度,提高物流效率,避免不同货类在拼箱输送作业中,因地区政策、习俗等问题,造成拼箱时的货类冲突,达到辅助纠错的效果,并且进行运力的平衡及接力调度,提高物流时效。

基于订单数据的售货柜库存控制方法

NºPublicación:  CN120725573A 30/09/2025
Solicitante: 
浙江嗨便利网络科技有限公司
CN_120725573_PA

Resumen de: CN120725573A

本发明涉及库存控制技术领域,具体涉及基于订单数据的售货柜库存控制方法。包括以下步骤,根据区域范围内的售货柜,将收集的实时售货柜订单数据划分为多个订单子序列数据,通过进行第一层异常数据删除,引入周期性趋势识别修正机制进行第二层异常数据剔除,计算订单量的局部波动率进行第三层不稳定序列数据剔除;以及,基于处理后的订单数据进行售货柜库存控制管理是通过交叉遗传算法执行对应的售货柜库存控制策略;本发明通过三层次剔除机制,提高了订单数据质量,有效剔除异常与扰动数据,保障库存控制精度;基于交叉遗传算法的库存控制策略生成机制,能够避免传统策略静态配置带来的缺货或浪费,动态进化出更优库存调度方案。

一种用于粮食行业的物流信息管理方法

NºPublicación:  CN120725550A 30/09/2025
Solicitante: 
浙江省粮食集团有限公司
CN_120725550_PA

Resumen de: CN120725550A

本发明公开了一种用于粮食行业的物流信息管理方法,该方法包括以下步骤:获取物流合同信息并提取要求;基于多式联运特征生成合同‑委托‑订单‑运单四维业务实体;通过智能配载算法拆解任务并匹配自有及第三方物流资源,生成可行运输子路径;利用多式联运成本优化算法综合评价路径,选择最优方案执行;生成弹性委托任务和运单,实时采集物流数据并构建“流程元”进行动态管理;基于多维度预警模型监控时效性和货物品质劣变风险;整合任务执行数据,优化物流管理闭环。本发明提升运输效率与资源利用率,降低运输成本,保障粮食质量,增强运输过程可控性,适应复杂运输场景,并通过数据驱动持续优化管理。

基于移动终端的业务协同与仓储智能调度集成系统及方法

NºPublicación:  CN120725578A 30/09/2025
Solicitante: 
杭州致梦科技有限公司
CN_120725578_PA

Resumen de: CN120725578A

本发明属于信息技术与物流管理技术领域,公开了基于移动终端的业务协同与仓储智能调度集成系统及方法;系统包括:移动终端用于信息交互与任务处理,业务协同处理模块处理业务请求并生成协同指令,仓储信息管理模块管理实时仓储数据,智能调度决策模块根据业务协同指令及仓储数据用优化算法生成调度方案,数据同步与通信模块确保数据实时一致与通信;方法为:移动终端处理业务需求驱动协同,业务协同模块解析需求并联动仓储信息,智能调度模块依据策略与数据智能调度,下发任务至仓储人员移动终端后反馈状态,实现业务与仓储闭环协同。本发明能显著提升业务处理与仓储作业的协同效率、信息透明度和调度智能化水平,降低运营成本。

一种基于云端的绿色供应链优化方法及系统

NºPublicación:  CN120725351A 30/09/2025
Solicitante: 
青岛中云城事大数据有限公司
CN_120725351_PA

Resumen de: CN120725351A

本发明涉及供应链优化管理相关领域,公开了一种基于云端的绿色供应链优化方法及系统,适用生产资料及生活产品的供应链物流管理中,通过在云端同步供应链各个供应线路的地理落差及供应载荷等影响平均能耗的基本数据,并对管辖内的转运物流车辆进行数据同步监管,以评估车辆在各种道路运输状态下的能耗情况,进而对管辖内的车辆进行合理的调度管理,使得转运车辆能够在最适合的供应路线中运行,使得管辖区域内在完成同等数量的生产资料供应转移时能够达成最少的能源消耗,实现供应链绿色管理优化的目的。

一种基于大数据分析的食品质量风险评估系统

NºPublicación:  CN120725559A 30/09/2025
Solicitante: 
兰陵县市场监督管理局
CN_120725559_PA

Resumen de: CN120725559A

本发明涉及食品质量风险评估技术领域,具体公开了一种基于大数据分析的食品质量风险评估系统,所述系统包括食品物流跟踪模块及风险管理中心;所述食品物流跟踪模块集成有温度传感器、湿度传感器及振动传感器,用于实时采集每批食品物流的温湿度数据及振动数据;所述风险管理中心用于根据食品的类别、实时采集的温湿度数据及振动数据对食品质量风险进行评估。本发明能够保证风险管理中心获取数据的准确性及可控性,在获取食品运输过程中的温湿度条件基础上,通过采集食品运输过程中的振动数据,根据温湿度数据及振动数据综合对食品的质量风险进行评估判断,进而能够更加准确的对食品状态,提高判断结果的准确性。

一种养路机械备件管理方法和装置

NºPublicación:  CN120725575A 30/09/2025
Solicitante: 
中国铁道科学研究院集团有限公司铁道建筑研究所中国国家铁路集团有限公司川藏铁路技术创新中心有限公司
CN_120725575_PA

Resumen de: CN120725575A

本申请提供一种养路机械备件管理方法和装置。本申请提供的方法,包括:获取养路机械的备件库的实时备件信息,确定各个零件之间的零件组合关系,构建部件子链条;根据各个部件子链条所完成的功能确定各个部件子链条之间的部件组合关系,构建备件链接图谱;基于所述备件链接图谱中的组合关系确定各个零件对应的需求零件数量;获取所述养路机械的实时运行状态数据;基于所述实时运行状态数据预测所述养路机械的预测故障;基于所述预测故障预测目标零件需求数量;根据所述备件链接图谱和目标零件预测关联零件需求数量;汇总得到零件需求总量;基于所述零件需求总量和所述备件链接图谱生成备件采购方案。提高备件管理的效率。

一种智能识别并优化环保包装盒材料用量的方法及系统

NºPublicación:  CN120725339A 30/09/2025
Solicitante: 
深圳市丽德宝纸品有限公司
CN_120725339_PA

Resumen de: CN120725339A

本发明公开了一种智能识别并优化环保包装盒材料用量的方法及系统,方法包括:S1、接收用户输入的包装盒设计参数;S2、基于包装盒设计参数,识别材料类型和初始材料用量需求;S3、结合环保材料数据库提取加权优化因子;S4、应用加权优化计算对初始材料用量需求进行优化调整,以生成优化材料用量方案;S5、输出优化材料用量方案并显示在用户界面;S6、接收用户反馈并基于反馈迭代更新优化材料用量方案。本发明通过集成动态运输环境模拟机制,从源头上精准识别冗余区域,避免不必要的材料消耗,直接应对电商物流中资源浪费问题,协同优化模块使环保指标与物理耐久性在单次优化中实现平衡,大幅降低跨境供应链中的破损风险。

基于ERP系统电力施工现场物资供应管理系统

NºPublicación:  CN120725249A 30/09/2025
Solicitante: 
国网安徽省电力有限公司物资分公司
CN_120725249_PA

Resumen de: CN120725249A

本发明公开了基于ERP系统电力施工现场物资供应管理系统,涉及物资供应管理技术领域,解决了现有技术没有考虑到由于施工现场路况复杂,导致运输效率低下,以及没有考虑到部分物资会受车内环境因素的影响的技术问题;本发明通过采集电力施工现场的三维数据,基于三维数据构建电力施工现场的三维模型,并通过三维模型规划最佳运输路线,解决了现有技术没有考虑到由于施工现场路况复杂的问题;通过实时采集运输物资过程中车内的环境数据,基于环境数据计算得到物资预警评估系数,并通过物资预警评估系数与预设阈值判断是否对运输物资进行预警,解决了现有技术没有考虑到部分物资会受车内环境因素的影响的问题。

一种跨企业执行SMT工艺的转换方法、系统及设备

NºPublicación:  CN120725590A 30/09/2025
Solicitante: 
中国电子科技集团公司第十研究所
CN_120725590_PA

Resumen de: CN120725590A

本发明提供了一种跨企业执行SMT工艺的转换方法、系统及设备,所述方法包括:获取企业A执行SMT工艺的物料清单;基于预设规则将物料清单中各物料的第一编号转换为第二编号,形成企业B的物料清单,所述企业B的物料清单包括物料及对应的第二编号;在装配协同知识库中预先指定各企业间工艺规程的映射关系;获取企业A在工艺完成后生成的工艺规程文件;根据装配协同知识库的映射关系确定企业B的工艺规程文件;企业B基于所述企业B的物料清单与工艺规程文件执行SMT工艺。本发明可以实现企业间的工艺快速转换,提升了工艺转换效率。

基于区块链的疫苗管理方法、系统、设备及介质

NºPublicación:  CN120725560A 30/09/2025
Solicitante: 
四川互慧软件有限公司桂林医学院第二附属医院
CN_120725560_PA

Resumen de: CN120725560A

本发明涉及疫苗管理技术领域,具体涉及基于区块链的疫苗管理方法、系统、设备及介质,所述方法包括:获取疫苗相关数据并进行预处理;基于预处理后的疫苗相关数据构建多角色联盟链网络,并分层存储疫苗相关数据;基于多角色联盟链网络中的可信数据构建疫苗动态分配决策模型,根据预设约束条件以最小化疫苗管理成本为目标进行优化求解,生成决策结果;基于多角色联盟链网络中的智能合约对所述决策结果进行链上验证,生成多角色协同决策指令;响应实时环境状态数据的变化,并进行疫苗动态分配决策模型的动态优化决策。其目的在于,实现基于区块链的多方协同决策,降低协同决策成本,提升决策可信度及动态响应能力。

基于车辆轨迹的粮食运输异常行为监控方法、设备及介质

NºPublicación:  CN120725561A 30/09/2025
Solicitante: 
郑州华粮科技股份有限公司
CN_120725561_PA

Resumen de: CN120725561A

本申请提供了基于车辆轨迹的粮食运输异常行为监控方法、设备及介质,属于粮食运输技术领域。该基于车辆轨迹的粮食运输异常行为监控方法,包括:使用GPS设备采集粮食运输车辆的车辆轨迹数据;对车辆轨迹数据进行数据预处理,使用地图信息匹配车辆轨迹数据至实际路网,得到路网轨迹信息;使用预训练的异常行为检测模型对路网轨迹信息进行特征提取和匹配,输出得到粮食运输异常行为;对粮食运输异常行为进行安全预警。本申请能够解决现有技术中存在定位数据不全面,难以通过车辆轨迹实现对粮食行为的全方位、实时和准确研判,导致运输异常行为响应滞后、准确性低和实时性差的问题。

一种适应低碳需求的垃圾智能化收运系统

NºPublicación:  CN120725252A 30/09/2025
Solicitante: 
中国建筑第二工程局有限公司
CN_120725252_A

Resumen de: CN120725252A

本发明提供了一种适应低碳需求的垃圾智能化收运系统,包括依次连接的智能感知模块、数据融合分析模块、动态路径规划模块、碳排放计量模块和用户交互模块;智能感知模块用于垃圾桶状态监测,数据融合分析模块作为云端数据处理中心,动态路径规划模块作为收运车辆调度引擎,碳排放计量模块作为环境效益评估单元,用户交互模块作为多终端管理平台。本发明通过感知‑预测‑优化‑验证闭环,实现垃圾收运从经验驱动向数据驱动的转型。

一种基于启发式算法的多阶段混流装配生产调度优化方法

NºPublicación:  CN120725327A 30/09/2025
Solicitante: 
西南交通大学
CN_120725327_PA

Resumen de: CN120725327A

本发明公开了一种基于启发式算法的多阶段混流装配生产调度优化方法。先构建多阶段混流装配调度模型,将生产划分为L个阶段,各阶段含Jl个工位,建立多目标函数。接着初始化启发式算法框架,构建高层次启发式(HLH)策略与低层次启发式(LLH)方法集合。通过多阶段迭代优化,先随机或按优先级规则生成初始调度解,再基于HLH策略选LLH方法生成新解,以占优解更新当前解,并利用粒子群算法优化阶段间协同参数。实时采集数据,触发阈值即动态调整。当调度方案收敛或达最大迭代次数,输出最优调度方案。该方法通过超启发式框架实现多目标优化与策略组合,结合粒子群算法与三角模糊数、动态调整与强化学习,提升系统协调性,适应个性化制造复杂性。

使用组合元数据标识符的部件库存情报

NºPublicación:  CN120725585A 30/09/2025
Solicitante: 
电子湾有限公司
CN_120725585_PA

Resumen de: CN120725585A

一些方面涉及用于采用针对列表平台上的部件项目列表的元数据标识符来生成库存情报的技术。根据一些方面,执行针对列表平台上的多个部件项目列表中的每个部件项目列表的列表数据的文本分析,以将元数据标识符分配给每个部件项目列表。针对每个部件项目列表的元数据标识符包括库存段标识符、类别标识符和装配数据的组合。针对第一元数据标识符,识别具有第一元数据标识符的一组部件项目列表。针对该组部件项目列表汇总需求数据和/或供应数据,以提供汇总数据。使用汇总数据生成具有一个或多个指标的用户界面,并通过网络将该用户界面传送到计算设备用于呈现。

数据联动系统、数据联动方法以及计算机可读记录介质

NºPublicación:  CN120725594A 30/09/2025
Solicitante: 
株式会社日立制作所
CN_120725594_PA

Resumen de: CN120725594A

一种数据联动系统、数据联动方法以及计算机可读记录介质。作为数据联动系统的计算机将包含业务连锁的业务流程和业务流程所处理的案件的信息的业务流程案件数据存储在存储部。另外,计算机在存储部存储联动对象数据,其包含保持在业务流程间联动的联动源与联动目的地的数据项目间的关系的信息。计算机使第一主业务流程的第一联动源的数据项目的业务数据与从第一主业务流程接受供给并实施业务的第一副业务流程的第一联动目的地的数据项目的业务数据进行映射并联动。并且在第一主业务流程的第一联动源的数据项目的第一业务的实施中,使第一主业务流程的第一联动源的数据项目的业务数据与第一副业务流程的第一联动目的地的数据项目的业务数据联动。

基于RFID识别的光伏发电工程设备信息化管理系统及方法

NºPublicación:  CN120725619A 30/09/2025
Solicitante: 
中国安能集团第三工程局有限公司湖南科技大学
CN_120725619_PA

Resumen de: CN120725619A

本发明公开了基于RFID识别的光伏发电工程设备信息化管理系统及方法,包括:设备库,用于存放外部运输至光伏发电场地的光伏设备;入库登记部分,出库识别部分,运输部分,具有运输平台、卸装设备以及定位模块,通过人工或自动化控制在设备库以及施工场地之间转移物料;安装识别部分,具有RFID识别设备对施工场地中安装到位的光伏设备的RFID标签进行识别;以及本地服务器,搭建在光伏发电场地记录所有进入光伏发电场地的光伏设备信息,并接入光伏发电场地的BIM系统数据形成工程云系统,通过工程云系统获取入库登记部分、出库识别部分、运输部分和安装识别部分的数据。本发明通过低成本的方式来实现更高效的物流运输管理。

一种基于大数据的供应链调配系统及其方法

NºPublicación:  CN120725565A 30/09/2025
Solicitante: 
浙江百杭供应链有限公司
CN_120725565_PA

Resumen de: CN120725565A

本申请公开了一种基于大数据的供应链调配系统及其方法,具体涉及供应链调配技术领域,所述供应链调配系统包括:数据采集模块:用于收集供应链各个环节的数据;数据存储与处理模块;需求预测模块:运用时间序列分析模型和回归分析模型进行市场需求预测;智能调配模块:运用优化算法制定最优的供应链调配方案;物流优化模块:对物流运输路线和车辆进行优化调度;监控与反馈模块:实时监控供应链各个环节的运行状态;该一种基于大数据的供应链调配系统及其方法,提高需求预测准确性:通过大数据分析和先进的预测算法,充分考虑多种影响因素,能够更准确地预测市场需求,减少库存积压和缺货现象,降低企业的库存成本和机会成本。

基于叉车定位的仓库管理方法、设备及存储介质

NºPublicación:  CN120725569A 30/09/2025
Solicitante: 
昆明凯玛智能科技有限责任公司
CN_120725569_PA

Resumen de: CN120725569A

本申请公开了一种基于叉车定位的仓库管理方法、设备及存储介质,属于仓库管理系统技术领域。该方法包括:接收叉车上传的第一标识码信息,并确定所述第一标识码信息对应的目标货位信息;获取叉车位置以及对应的停留时间,基于所述叉车位置和所述停留时间形成所述叉车的移动轨迹,并提取所述移动轨迹的轨迹特征集;基于所述轨迹特征集,确定所述移动轨迹与所述目标货位信息的偏离度,在所述偏离度大于或等于预设偏离度阈值时,触发所述叉车的告警动作。本申请通过对连续轨迹特征的动态评估,提前识别叉车偏离最优路径的风险,在偏离度达到阈值时主动触发告警,减少因路径偏差导致的货物错放和作业时间浪费。

基于区块链和动态风险评估的跨境数据流动安全管理方法

NºPublicación:  CN120724493A 30/09/2025
Solicitante: 
四川丝路易购科技有限公司
CN_120724493_PA

Resumen de: CN120724493A

本发明提供了基于区块链和动态风险评估的跨境数据流动安全管理方法,涉及跨境数据处理技术领域,包括:进行数据采集并按照数据的敏感信息种类进行分类提取;建立和量化多维度的风险评估指标;根据多维度的风险评估指标,通过综合风险计算模型进行动态跨境风险评估,得到数据到传输目标的综合风险分值;根据综合风险分值的大小执行自适应安全策略;基于执行自适应安全策略处理后的数据生成安全事务摘要并上链存证;向传输目标发送执行自适应安全策略后的数据,传输目标对数据进行验证。本发明具有提升跨境数据安全管控的智能化、精细化与可靠性的优点。

UNMANNED STORE SYSTEM

NºPublicación:  KR20250142643A 30/09/2025
Solicitante: 
주식회사제이엠로보틱스
KR_20250142643_PA

Resumen de: KR20250142643A

본 발명은 무인화 점포 자동 운영시스템에 관한 것으로써, 구체적으로는 점포의 천장 공간을 활용할 수 있고, 물품의 주문, 결제부터 인도까지 자동화로 운영될 수 있으며, 물품을 지정된 위치에 출고할 수 있는 시스템에 관한 것이다. 본 발명은 점포의 실내에서 천장에 설치되어 복수 개의 물품을 순차적으로 운반하는 입고부; 입고부에서 운반되는 물품이 수용되는 보관부; 주문된 물품이 수용되는 출고부; 및 보관부와 출고부 간에 설치되고, 주문된 물품을 보관부에서 출고부로 운반하는 선별부를 포함할 수 있다.

METHOD AND SYSTEM FOR PROVIDING ORDER MEDIATION SERVICE

NºPublicación:  KR20250143138A 30/09/2025
Solicitante: 
네이버주식회사
KR_20250143138_PA

Resumen de: JP2025028162A

To provide an order mediation service providing method and system capable of providing accurate information to a user.SOLUTION: An order mediation service providing method may comprise the steps of: specifying delivery cost budget and order budget for a delivery order; searching for at least one deliverable store within the delivery cost budget with an order amount satisfying the order budget from among a plurality of stores subscribed to the order mediation service as a reference; and providing a list including menu information on the searched store to a user terminal.SELECTED DRAWING: Figure 1

一种快递分拣过程中的漂件检测方法、装置、设备及介质

NºPublicación:  CN120725553A 30/09/2025
Solicitante: 
石家庄邮电职业技术学院(中国邮政集团有限公司培训中心)
CN_120725553_PA

Resumen de: CN120725553A

本发明涉及快递分拣技术领域,公开了一种快递分拣过程中的漂件检测方法、装置、设备及介质,方法包括:实时获取目标快递位置、目标台车位置和多个预设分拣口位置;根据当前采样时刻的目标快递位置并利用预设轨迹预测模型预测下一采样时刻的目标快递位置,得到目标快递下一采样时刻的预测位置;获取目标快递下一采样时刻的实际位置,并将实际位置与预测位置进行比较,确定目标快递的分拣轨迹偏差;根据分拣轨迹偏差与预设偏差阈值的关系确定目标快递是否为漂件。本发明凭借轨迹预测相关技术手段,在分拣流程中实现对漂件的精准识别与监测,提前确定漂件发生并及时重新分拣,有效降低快递错误派件情况的发生概率,提升快递分拣的准确性与派件效率。

化工生产数据处理方法、装置、电子设备和介质

NºPublicación:  CN120725223A 30/09/2025
Solicitante: 
中化信息技术有限公司
CN_120725223_PA

Resumen de: CN120725223A

本公开涉及化工生产技术领域,提供了一种化工生产数据处理方法、装置、电子设备和介质。该方法包括:获取化工生产数据;根据上述化工生产数据,构建生产优化模型;根据上述生产优化模型,得到目标销售方案。本公开提供的化工生产数据处理方法,更灵活地应对动态市场环境,扩展应用场景,为化工生产企业提供更精准的成本控制和收益优化方案。

一种极端破坏事件下港口群能源与物流网络弹性协同提升方法

NºPublicación:  CN120725332A 30/09/2025
Solicitante: 
河海大学
CN_120725332_PA

Resumen de: CN120725332A

本发明公开了一种极端破坏事件下港口群能源与物流网络弹性协同提升方法,涉及港口综合能源与集装箱物流领域,包括:构建跨港整合框架,并分别建立综合能源系统调度优化模型与集装箱物流系统调度优化模型;结合极端破坏场景生成算法,生成能源与物流网络动态耦合模型;运用多维非对称合作博弈理论构建能源与物流网络弹性协同提升框架,并建立多港口多维非对称合作博弈模型;利用多层次交替方向乘子法对多港口多维非对称合作博弈模型进行求解,生成极端破坏事件下多港口综合能源系统与集装箱物流系统的协同调度方案,并评估协同调度方案对提升能源与物流网络弹性的效果。本发明显著提升港口群能源与物流网络的弹性,有效应对极端破坏事件的冲击。

深海矿物提升无人运输系统

NºPublicación:  CN120725552A 30/09/2025
Solicitante: 
武汉理工大学
CN_120725552_PA

Resumen de: CN120725552A

本发明公开了一种深海矿物提升无人运输系统。本系统构建“无人载具‑智能执行‑弹性调度”框架,包括无人运载装备、通信网络系统、调度控制中心和支持保障系统四大模块。无人运载装备基于浮力驱动实现矿物运输;通信网络采用水声OFDM与激光应急链路的分层冗余架构,保障高可靠通信与厘米级定位;调度控制中心通过智能任务分配与轨迹规划提升作业效率;支持保障系统集成能源管理、数字孪生监测与应急响应机制。作业流程采用“无人自主为主,远程监控为辅”模式,涵盖压载下潜、声光对接、浮力调控及母船动态卸载等环节。本发明显著提升深海矿物提升效率、机动性与可靠性,为深海资源开发提供核心技术支撑。

METHOD APPARATUS AND RECORDING MEDIUM FOR PROCESSING DATA OF E-COMMERCE SERVICES

NºPublicación:  KR20250142272A 30/09/2025
Solicitante: 
쿠팡주식회사
KR_20250142272_PA

Resumen de: TW202514480A

The present disclosure relates to a technology for processing data related to an e-commerce service. The method according to an embodiment of the present disclosure may comprise the steps of: obtaining call information of a search result page from a user terminal, wherein the call information includes a search word; determining a product set as a search result on the basis of the search word; determining whether to allow the search result page to include a filter for a first delivery type on the basis of the search word or the product set; generating a search result page including the filter for the first delivery type in response to determining that the search result page includes the filter for the first delivery type; and providing the generated search result page to the user terminal.

APPARATUS FOR PROVIDING RECOMMENDATION INFORMATION OF STORES AND METHOD THEREOF

NºPublicación:  KR20250142763A 30/09/2025
Solicitante: 
쿠팡주식회사
KR_20250142763_PA

Resumen de: WO2025198147A1

According to the present disclosure, disclosed is a method for providing information in an electronic device, the method comprising the steps of: acquiring location information of a plurality of couriers; acquiring information about relationship between the location information of the plurality of couriers and location information of a plurality of stores; generating store recommendation information on the basis of the relationship information; and providing the store recommendation information to a user.

비-소매 애플리케이션에 내장된 물리적 소매 상거래를 가능하게 하는 장치를 제어하는 시스템 및 방법

NºPublicación:  KR20250142906A 30/09/2025
Solicitante: 
월마트아폴로엘엘씨
KR_20250142906_PA

Resumen de: WO2024163895A1

Some embodiments provide systems to control user computing devices to enable purchases, the system comprising: a product database; an inventory database; and a purchasing control circuit configured to: receive a prepare order API call from a third party gaming server and without a third party intermediary service, the prepare order API call comprises product identifying information of a first product, and is initiated through a separate gaming application executed on a remote user computing device; execute the prepare order API to obtain first product information and communicate directly with the gaming server a purchase order comprising at least some of the first product information to control the user computing device through the gaming application to render within a gaming graphical user interface a purchase order user interface; and complete a sale in response to receiving a confirmation directly from the gaming server, without the third party intermediary service.

METHOD AND ELECTRONIC DEVICE FOR PROVIDING INFORMATION

NºPublicación:  KR20250142225A 30/09/2025
Solicitante: 
쿠팡주식회사
KR_20250142225_PA

Resumen de: WO2025198150A1

Disclosed is a method for providing information by an electronic device for providing an item delivery service. Specifically, the method for providing information by an electronic device may comprise the steps of: identifying a store search request received from a terminal of a user; identifying multiple stores corresponding to the store search request; determining, on the basis of equidistant map data for each of the multiple stores, a distance corresponding to a route from each of the multiple stores to the user's location; determining an arrangement order related to the multiple stores by using a score calculated on the basis of the distance; and providing, to the terminal, information on the multiple stores arranged on the basis of the arrangement order.

Method of managing worker in fulfillment center and apparatus thereof

NºPublicación:  KR20250142827A 30/09/2025
Solicitante: 
쿠팡주식회사
KR_20250142827_PA

Resumen de: TW202349292A

An embodiment of a method of managing workers in a fulfillment center including determining a plurality of picking locations for each of a plurality of items included in a first order within a picking region in the fulfillment center, determining, based on the plurality of picking locations, whether to split a picking task for the first order into a plurality of picking subtasks, assigning the picking task to at least one worker based on the determination of whether to split, and transmitting information about the assignment to a terminal of the at least one worker may be provided. And another embodiment of a worker management device for performing a method of managing workers are disclosed may be also provided.

基于区块链的即时配送订单预测方法及系统

NºPublicación:  CN120725220A 30/09/2025
Solicitante: 
赣州市岚欣电子商务有限公司
CN_120725220_PA

Resumen de: CN120725220A

本发明涉及人工智能、区块链及配送服务领域,具体而言,涉及基于区块链的即时配送订单预测方法及系统,特别适用于餐饮外卖、即时零售等需要准确预测订单量并进行高效配送资源调度的场景,本发明融合时空注意力网络,构建精准的备餐速度与订单关联模型;利用交叉注意力网络算法,动态预测短时订单量,依据周末与否调整模型,实现高效预测;输出环节,结合线性预测,精准匹配短期订单与短时预测结果,显著提升预测准确性,降低误差30%‑45%;双目标协同预测机制优化备餐与配送效率,减少等待时间20%‑35%;创新引入区块链技术,保障数据安全,降低篡改风险,为餐饮业提供智能化、高效化的订单管理与备餐优化解决方案。

穿梭车任务分配方法、装置、计算机设备、存储介质和程序产品

NºPublicación:  CN120725348A 30/09/2025
Solicitante: 
四川中烟工业有限责任公司
CN_120725348_PA

Resumen de: CN120725348A

本申请涉及一种穿梭车任务分配方法、装置、计算机设备、存储介质和程序产品,涉及烟草制造技术领域。所述方法包括:根据制烟车间的至少两个生产线各自包括的送料站台数量,构建堆栈;在任一送料站台接收到所述穿梭车运输的货物的情况下,根据所述任一送料站台的标识,执行入栈操作;根据所述堆栈的内容、各个所述生产线的货物情况和各个所述生产线的紧急系数中的至少一项,从多种出栈方式中确定目标出栈方式;根据所述目标出栈方式,对所述堆栈的目标内容进行出栈操作,并调度所述穿梭车将货物运输至所述目标内容对应的送料站台。采用本方法能够提高穿梭车的调度效率。

一种建筑材料的管理方法、系统、电子设备及存储介质

NºPublicación:  CN120725511A 30/09/2025
Solicitante: 
深圳市建筑设计研究总院有限公司
CN_120725511_PA

Resumen de: CN120725511A

本申请实施例提出了一种建筑材料的管理方法、系统、电子设备及存储介质,应用于建筑材料的管理系统,包括:获取与建设单位创建的目标项目对应的目标产品清单,所述目标产品清单包括至少一个目标材料,不同的目标材料对应不同的材料供应商以及不同的材料类型;在所述目标项目结束后,获取目标单位对每个材料供应商的每个目标材料的评价,所述目标单位包括所述建设单位、设计单位、施工单位以及监理单位;根据所述评价,获得每一个目标材料在对应的材料类型中的排名信息,所述排名信息包括材料供应商、等级以及得分。提供客观、公正的材料设备排行榜,进而实现建筑工程项目材料设备择优问题。

城市公路运输价格预测方法、装置、电子设备及存储介质

NºPublicación:  CN120725744A 30/09/2025
Solicitante: 
北京汇通天下物联科技有限公司
CN_120725744_PA

Resumen de: CN120725744A

本发明提供一种城市公路运输价格预测方法、装置、电子设备及存储介质,通过收集车辆数据、货物数据、线路数据、文本数据和原始时序数据;对车辆数据、货物数据和第一部分线路数据进行第一预处理,得到结构性非时序特征,对第二部分线路数据和文本数据进行第二预处理,得到类别型特征,对原始时序数据进行第三预处理,得到结构性时序特征;将结构性非时序特征、类别型特征和结构性时序特征转化为数值型特征;将数值型特征输入运价回归预测模型,输出运价预测结果;本发明通过大语言模型对文本类数据进行特征提取,转化为结构化特征,从而实现深度时序模型与大语言模型的有机融合,实现高精度的运价动态预测,提升对突发事件的实时响应能力。

一种基于强化学习的螺旋卸船机作业工单处理方法及系统

NºPublicación:  CN120725633A 30/09/2025
Solicitante: 
华能国际电力股份有限公司上海石洞口第二电厂
CN_120725633_PA

Resumen de: CN120725633A

本发明公开了一种基于强化学习的螺旋卸船机作业工单处理方法及系统,方法包括:接收螺旋卸船机的外部作业工单,生成可执行的任务指令;采集螺旋卸船机作业环境的实时环境信息;基于Actor‑Critic架构的强化学习模型,根据任务指令和实时环境信息生成作业策略;根据作业策略,采用启发式搜索算法,以路径优化、避障和效率优化为优先级,规划螺旋卸船机的作业路径与动作序列,控制螺旋卸船机依据作业路径与动作序列进行动作。通过将强化学习智能决策与启发式搜索路径规划相结合,实现了对无人值守螺旋卸船机作业全过程的多目标协同优化,显著提升了作业效率、安全性与自适应能力。

城市公路运输价格预测方法、装置、电子设备及存储介质

NºPublicación:  CN120725743A 30/09/2025
Solicitante: 
北京汇通天下物联科技有限公司
CN_120725743_PA

Resumen de: CN120725743A

本发明提供一种城市公路运输价格预测方法、装置、电子设备及存储介质,通过采集影响货运价格的静态数据和动态数据;将货运的起点城市和终点城市映射为城市群类别,城市群类别采用聚类算法对静态数据和动态数据进行聚类分析得到;将数值型特征和类别型特征以及起点城市和终点城市映射为对应的城市群类别输入公路货运价格预测模型,得到城市公路运输价格预测结果,其中,公路货运价格预测模型根据历史影响货运价格的静态数据和动态数据、货运的起点城市和终点城市以及对应的货运价格进行训练得到,可以降低了特征的稀疏性,增加了模型的泛化能力,并且,除线路静态特征外,还引入了实时动态特征,提高了预测准确性。

基于时空特征与注意力机制的物料成套状态预警模型

NºPublicación:  CN120725465A 30/09/2025
Solicitante: 
中航国际金网(北京)科技有限公司
CN_120725465_PA

Resumen de: CN120725465A

本申请属于信息技术领域,具体涉及一种基于时空特征与注意力机制的物料成套状态预警模型,该模型包括:多源数据采集与预处理模块,用于整合“计划‑库存‑供应链‑运输‑生产”全链路数据;Transformer预测模块,负责输出预测结果;动态优化模块,通过强化学习机制动态调整预警阈值、时间窗口长度和特征权重等参数,并形成“预测-优化-再预测”的闭环反馈机制;分级预警输出模块,根据预测结果和优化参数生成分级预警等级。本模型通过精准捕捉物料状态的时空变化规律,实现对复杂产品物料成套状态的动态预警,解决了传统方法评估滞后、数据孤岛及静态模型僵化问题,并显著提升预测准确性及时效性。

一种基于RFID电子标签定位的库房管理系统及方法

NºPublicación:  CN120725045A 30/09/2025
Solicitante: 
福建中科智与科技有限公司
CN_120725045_PA

Resumen de: CN120725045A

本发明公开了一种基于RFID电子标签定位的库房管理系统及方法,包括如下步骤:部署多个RFID读写器,构建时序共振激发场;写入响应控制参数集合,并将RFID电子标签绑定至待管理物品;判定是否进入响应状态,并构建标签响应时间集合;进行初步标签定位,生成初始三维空间坐标;采集电磁环境信息执行进一步判定,联合判断是否进入响应状态;构建虚拟标签响应模型,生成补全后的三维空间坐标;构建标签响应行为特征,并生成扰动调度参数;将RFID电子标签的空间行为属性集写入库房管理系统。本发明采用时序共振与虚拟标签建模,实现RFID库房精准定位、异常补全与高密度高效盘点。

一种仓储管理方法、装置、设备及存储介质

NºPublicación:  CN120725576A 30/09/2025
Solicitante: 
中国工商银行股份有限公司
CN_120725576_PA

Resumen de: CN120725576A

本发明公开了一种仓储管理方法、装置、设备及存储介质,涉及信息处理技术领域以及金融科技领域,该仓储管理方法包括:获取目标货物的历史交易数据、目标代理商所处区域的历史环境数据、目标代理商的历史人流数据以及目标货物的历史成本数据;根据时间戳信息,对获取的历史数据进行时间窗聚合;针对聚合后的时间窗口,确定出时间窗口内各数据维度对应的目标货物的历史交易矩阵,并基于历史交易矩阵确定各数据维度对应的目标货物的销量权重;根据销量权重生成仓储动作预测模型,并根据仓储动作预测模型的预测结果,生成目标仓库中的目标货物的补货提示信息。通过上述技术方案,提高了仓储管理的准确性。

基于大数据技术的用户信息分析方法

NºPublicación:  CN120725731A 30/09/2025
Solicitante: 
浙江宁银消费金融股份有限公司
CN_120725731_PA

Resumen de: CN120725731A

本发明公开了基于大数据技术的用户信息分析方法,涉及大数据分析技术领域。本发明包括以下步骤,执行用户分析进程得到用户画像,将用户画像输入多目标优化库中,执行平台分析进程得到平台特征,将平台特征输入多目标优化库中,执行商家分析进程得到商家特征,将商家特征输入多目标优化库中,执行商品分析进程得到商品特征,将商品特征输入多目标优化库中,多目标优化库结合用户画像、平台特征、商家特征和商品特征,本发明通过多目标优化库结合用户画像、平台特征、商家特征、商品特征、支付特征和物流特征,可以得到更符合用户预期的商品列表,商家可以选择用户偏好的物流渠道,用户可以选择商家偏好的支付渠道。

一种基于区块链的食品供应链溯源系统及实现方法

NºPublicación:  CN120725689A 30/09/2025
Solicitante: 
深圳市德汇隆食品有限公司
CN_120725689_PA

Resumen de: CN120725689A

本申请公开了一种基于区块链的食品供应链溯源系统及实现方法,涉及区块链的技术领域,其包括加密存证模块:用于获取养殖户的口述喂养信息,生成声纹加密存证;物流处理模块:用于获取物流运输过程中的食品运输数据,得到安全数据和异常数据;单据防伪模块:用于对纸质单据进行扫描,在扫描过程中自动抓取卫星点位坐标和拍摄设备序列号,生成三维防伪水印上传至区块链;溯源标签模块:用于获取区块链中的食品数据,生成溯源标签;多国认证模块:用于获取多个国家的检疫认证体系,生成对应电子证书;溯源展示模块:用于构建溯源剧本引擎,生成食品全生命周期旅程。本申请具有提升食品供应链溯源的效率、真实性和可视性的效果。

仓储配置方法及其装置、设备、介质

NºPublicación:  CN120725571A 30/09/2025
Solicitante: 
广州商研网络科技有限公司
CN_120725571_PA

Resumen de: CN120725571A

本申请涉及电商技术领域中一种仓储配置方法及其装置、设备、介质,所述方法包括:监听仓储服务集群内各个库存节点中商品的当前库存量,并预测出未来预期时长内该商品在各个库存节点相对应的预期出库总量;判断每个库存节点中商品的当前库存量是否满足预期出库总量,若满足确定为可调拨节点并确定其相应的可调拨库存量,否则确定为待补货节点并确定其相应的待补库存量;针对待补货节点的待补库存量,基于各个可调拨节点及其相应的可调拨库存量制定调拨计划,并基于待补货节点相对应的预配供应源制定采购计划;从调拨计划和采购计划中优选其一作为补货计划,执行补货计划以在未来预期时长内补全待补库存量。本申请提供自动化且稳健的商品供应服务。

一种基于数字孪生的虚拟权益运营可视化监控平台

NºPublicación:  CN120725704A 30/09/2025
Solicitante: 
广东嘉航科技有限公司
CN_120725704_PA

Resumen de: CN120725704A

本发明公开了一种基于数字孪生的虚拟权益运营可视化监控平台,通过数字孪生模型动态映射虚拟权益的实时状态、历史流转记录及业务指标,实现物理与虚拟世界的毫秒级同步,消除监控延迟,并构建流转路径图,支持动态回溯与异常路径识别,快速定位问题节点,虚拟权益状态计算单元基于综合评估公式,实时计算运营状态,动态生成策略建议,通过监控库存、持有量及流转效率,优化发放策略,降低过期率与资源浪费,可视化监控模块实时展示全局状态,减少人工统计工作量,支持交互式筛选与钻取,提升分析效率,该方案解决了传统监控的延迟性、异常定位难、策略调整滞后及全局状态掌握难问题,实现了虚拟权益运营的实时监控、智能决策与高效分析。

服务器设备、信息处理方法和非暂时性存储介质

NºPublicación:  CN120731433A 30/09/2025
Solicitante: 
丰田自动车株式会社
CN_120731433_PA

Resumen de: JP2024123744A

To generate information on a supply chain.SOLUTION: A server device is configured to: issue, to an upstream company, a key indicating writing authority for a dedicated storage area dedicated to a downstream company, in accordance with a request from an account of the downstream company, between the companies in adjacent two layers in a supply chain; receiving a designation of the downstream company from an account of the upstream company, the downstream company being allowed to access first product information on an upstream product of the upstream company; use the key issued from the designated downstream company, in accordance with the permission to access, to write the first product information into the dedicated storage area of the downstream company; receive, from the account of the downstream company, an association request including selection of first product information to be associated with second product information on a downstream product of the downstream company, out of the first product information written to the dedicated storage area; and generate association information indicating a designated relationship of association in accordance with the association request.SELECTED DRAWING: Figure 1

服务器装置、信息处理方法以及程序

NºPublicación:  CN120731438A 30/09/2025
Solicitante: 
丰田自动车株式会社
CN_120731438_PA

Resumen de: JP2024120839A

To improve security in a system for collecting information about a supply chain.SOLUTION: A server device comprises: a storage device that stores, for each company, product information relating to a product of each company included in a supply chain; and a control section. The supply chain includes a first company and a second company, and the storage device stores first product information on the first company and second product information on the second company. The control section is configured to execute: acquiring association information for associating first identification information included in the first product information with second identification information included in the second product information; and receiving a setting relating to access permission of the first company to the second product information in accordance with the association between the first identification information and the second identification information in the association information.SELECTED DRAWING: Figure 1

分布式项目BOM数据传输系统和装置

NºPublicación:  CN120725821A 30/09/2025
Solicitante: 
上海航天设备制造总厂有限公司
CN_120725821_PA

Resumen de: CN120725821A

本发明提供了一种分布式项目BOM数据传输系统和装置,包括:指令机、连接设备、BOM数据存储设备、基准BOM计算设备和版本BOM比对设备;指令机接收外部系统的调用,外部系统通过指令机访问分布式项目BOM数据传输系统;BOM数据存储设备定义BOM树结构数据分布式计算与存储步骤,建立项目BOM树结构数据存储分桶机制;基准BOM计算设备用于基准BOM结构数据分布式计算,加快构建获取基准BOM信息,建立基准BOM副本共享机制,减少重复数据存储;版本BOM比对设备用于对比BOM树结构数据版本差异,获得增量差异数据集合,并可视化差异信息将增量差异数据作为新版本BOM树结构数据存储。

基于医药流通行业的订单处理决策方法、装置及存储介质

NºPublicación:  CN120725581A 30/09/2025
Solicitante: 
北自所(北京)科技发展股份有限公司北京邮电大学
CN_120725581_PA

Resumen de: CN120725581A

本发明涉及基于医药流通行业的订单处理决策方法、装置及存储介质,应用于医药物流自动化仓储技术领域,包括:通过计算订单间的相似系数,将耦合度较高的订单分配至同一拣选台,增强料箱复用的可能性;针对每个拣选台内部订单,采用基于邻域搜索的单拣选台订单排序算法,以最小化料箱更替次数为目标,通过局部交换、片段翻转等邻域操作对订单序列进行优化,提高订单排序的质量与稳定性;在各拣选台内部订单排序完成的基础上,以每一阶段全局同步、无冲突的执行逻辑为核心,联合多个拣选台的拣选需求进行状态扩展,通过构建全局候选状态集、执行笛卡尔积组合与冲突检测,有效剔除料箱冲突状态,通过全局料箱排序,实现并行无耦合的高效拣选。

AGV集群调度方法及其系统

NºPublicación:  CN120725555A 30/09/2025
Solicitante: 
成都理工大学
CN_120725555_PA

Resumen de: CN120725555A

本发明涉及自动导引车技术领域,具体涉及AGV集群调度方法及其系统,将多源订单信息转换为标准订单格式,并基于时间紧迫度、订单来源权重、物料重要性和历史配送评价生成订单优先级,创建配送任务;同时,获取配送约束条件,对配送任务进行可行性分析,生成可执行任务;根据AGV状态信息,通过多维度属性匹配机制选择最适合的AGV执行可执行任务;实时监测AGV执行状态,当检测到异常状态时,保存任务上下文并重新选择AGV继续执行任务;生成调度指令,对调度指令进行安全封装并发送至目标AGV,目标AGV对接收到的调度指令执行多层级安全校验后执行任务;通过多源订单智能融合机制,实现了不同渠道订单的统一处理,提高了系统的业务适应性。

基于遗传算法的水运约船方法及装置

NºPublicación:  CN120725186A 30/09/2025
Solicitante: 
鞍钢集团自动化有限公司
CN_120725186_PA

Resumen de: CN120725186A

本发明提供了一种基于遗传算法的水运约船方法及装置,包括:基于当前日期的多源数据集合,预测未来日期对应的物料到港量和物料开限量;从预先配置的目标函数集合中确定至少一个指定目标函数;初始化订单分配种群和水运约船种群,利用指定目标函数和约束集合,基于物料到港量和物料开限量,对订单分配种群包含的子种群和水运约船种群包含的子种群,交替进行基于协同进化的遗传操作,以得到目标订单分配计划和目标水运约船计划。本发明可以显著提升水运约船的自动化水平、提升水运约船的效率以及降低水运约船所耗费的人力、时间成本。

基于区块链的产品物流管理调度方法、介质及设备

NºPublicación:  CN120725554A 30/09/2025
Solicitante: 
龙岩学院
CN_120725554_PA

Resumen de: CN120725554A

本发明公开了一种基于区块链的产品物流管理调度方法、介质及设备,通过采集物流运输需求信息及供应链节点数据,生成初始运输路径方案;构建去中心化物流资源池,采集并验证运输波动参数生成可信状态矩阵;将初始运输路径方案与物流资源可信状态矩阵输入图神经网络调度模型,输出动态调度方案;通过智能合约自动执行任务分配与调度指令的合规验证;最终更新调度执行结果及物流资源可信状态矩阵至分布式账本并输出物流管理报告。本发明通过智能合约与动态路径优化的深度协同,实现了运输过程的实时可信调度,解决了现有物流系统动态响应不足与多方协作信任缺失的问题,提升了冷链等敏感商品运输的可靠性与效率。

基于大数据分析针对多药企多门店场景的药品供应方法

NºPublicación:  CN120725726A 30/09/2025
Solicitante: 
北京健易保科技有限公司
CN_120725726_PA

Resumen de: CN120725726A

本发明适用于药店供药方法技术,提供了一种基于大数据分析针对多药企多门店场景的药品供应方法,获取门店基础信息,获取药企基本信息;对异构数据源进行特征工程映射得到敏感因子,根据敏感因子构建药品需求预测模型,比对预测模型与模型阈值;结合预测模型和药企基本信息预测库存是否覆盖未来高需求峰值,若判定不能够覆盖,则获取同属配送区的库存共享接口,对库存共享接口进行判定;通过量变化趋势计算单位时间内销量增幅,通过周转时间衡量补货节奏与销售节奏的匹配程度,根据人工调整结果调节补货方案,具有显著提升门店在面对高峰需求或突发情况时的响应能力,避免断供与过剩并存现象的优点。

基于人工智能的退货快递平台信息自动区分方法

NºPublicación:  CN120725568A 30/09/2025
Solicitante: 
小仙炖霸州食品有限公司
CN_120725568_PA

Resumen de: CN120725568A

本发明公开了基于人工智能的退货快递平台信息自动区分方法,具体涉及人工智能领域,包括S1:退货快递平台关键信息提取、S2:退货消费端口获取、S3:对应关系建立、S4:异常检测、S5:退货快递异常分析、S6:风险评估、S7:可视化展示。本发明通过提取收货人标识、快递单号等关键信息,建立多平台数据映射关系,构建退货欺诈系数和退货风险系数进行双维度评估,并结合异常特征参数,实现对客户风险的精细化分类,避免单一指标误判,提升风险评估的准确性和灵活性,增强整体反欺诈能力,降低多平台协同治理的成本和漏洞。

半导体物料搬送方法、控制装置、电子设备及存储介质

NºPublicación:  CN120727633A 30/09/2025
Solicitante: 
深圳市章阁仪器有限公司
CN_120727633_PA

Resumen de: CN120727633A

本申请属于半导体集成电路技术领域,揭示一种半导体物料搬送方法、搬送装置、电子设备以存储介质,该方案在规划半导体物料的搬送路径时,综合考虑了第一参数、第二参数和第三参数,第一参数基于搬送路段的理论搬送时间和/或历史最短搬送时间获得,第二参数基于搬送设备的搬送能力、搬送设备的忙碌程度、搬送设备的历史搬送效率中的至少一者获得,第三参数基于搬送设备的工作状态、搬送路段的通断状态和调整基数中的至少一者获得,基于第一参数、第二参数和第三参数计算各搬送路段的路段开销,从而获得各搬送路径的路径开销,基于路径开销确定物料搬送任务的物料搬送路径。减少了搬送过程中的搬送拥堵,提高了半导体物料的搬送效率。

分析装置、分析システム、分析方法、プログラムおよび作業服

NºPublicación:  JP2025139765A 29/09/2025
Solicitante: 
日本電気株式会社
JP_2025139765_PA

Resumen de: US2025292164A1

An analysis device acquires an image including a worker and a marker. The marker is attached to the worker and indicates an identifier unique to the worker. The analysis device identifies the worker based on the identifier. The analysis device specifies work content based on a position of the marker. The analysis device outputs data including the identified worker and the specified work content that are linked to each other.

配管破損を予測するデータの処理

NºPublicación:  JP2025141973A 29/09/2025
Solicitante: 
フラクタ
JP_2025141973_PA

Resumen de: US2025190877A1

A system receives and automatically transforms utility pipe attribute data and pipe break data. The missing and/or incorrect entries in the pipe attributes and/or break 5 data is automatically identified and correct values for these entries are is automatically imputed to generate improved datasets of the pipe attribute data and break data. The improved data can be used to build a model with machine learning. Predictions of future likelihood of failure for pipe sections in a network of pipes can be made based on the model. A national database can be created that is filled with environmental data that has been transformed, optimized, merged, and imputed. The national database can be used for many customers to save computational costs. The national database can be used to build the failure prediction model for utility companies thereby saving computational costs.

情報処理方法、及び情報処理装置

NºPublicación:  JP2025140793A 29/09/2025
Solicitante: 
トヨタ自動車株式会社
JP_2025140793_PA

Resumen de: JP2025140793A

【課題】配送に用いられる技術を改善する。【解決手段】情報処理装置30は、荷物が誤配達された場所の画像を受信する。次に情報処理装置30は、当該画像から当該場所の位置を特定する。そして情報処理装置30は、特定された位置を用いて、誤配達された荷物の受取人、正しい受取人、又は配達業者に、再配達に関する作業を依頼する。【選択図】図5

情報処理方法、及び情報処理装置

NºPublicación:  JP2025140754A 29/09/2025
Solicitante: 
トヨタ自動車株式会社
JP_2025140754_PA

Resumen de: JP2025140754A

【課題】配送の質を向上させる技術を改善する。【解決手段】情報処理装置20は、配達物の配達が完了する予定時刻までの残り時間に基づいて、当該配達物をピッキングする第1作業の開始時刻である第1時刻を算出する。そして情報処理装置20は、第1作業の作業者である第1作業者に第1時刻を通知する。【選択図】図4

情報処理方法、及び情報処理装置

NºPublicación:  JP2025140780A 29/09/2025
Solicitante: 
トヨタ自動車株式会社
JP_2025140780_PA

Resumen de: JP2025140780A

【課題】配送の質を向上させる技術を改善する。【解決手段】冷蔵品又は冷凍品を含む配達物の配送方法を決定する情報処理装置20は、当該配達物の配送準備開始から配達完了までに掛かる予定時間を算出する。そして情報処理装置20は、予定時間が所定時間未満の場合、当該配達物の配送に保冷ボックスを使用するように当該配送方法を決定し、予定時間が所定時間以上の場合、当該配達物の配送に冷凍車を使用するように当該配送方法を決定する。【選択図】図4

商品管理装置、商品管理方法、及び、プログラム

NºPublicación:  JP2025139643A 29/09/2025
Solicitante: 
日本電気株式会社
JP_2025139643_PA

Resumen de: US2025292204A1

A product management device comprising a memory storing instructions; and a processor connected to the memory and configured to execute the instructions to: acquire shelf monitoring information indicating a change in a display status of a product included in a photographed image based on the photographed image obtained by photographing a product shelf; acquire sales management information of the product; determine a criteri on for generating an alert based on a possibility of including a product whose sales management expiration has expired, the possibility being evaluated based on the shelf monitoring information and the sales management information; and generate an alert of the product based on the criterion.

部品管理装置、プログラムおよび方法

NºPublicación:  JP2025140957A 29/09/2025
Solicitante: 
沖電気工業株式会社
JP_2025140957_PA

Resumen de: JP2025140957A

【課題】作業者の作業効率を向上する。【解決手段】複数の部品収納部を有する収納ユニットへ収納される電子部品の、複数の収納ルールの設定を記憶する記憶部と、前記複数の収納ルールのうちのいずれかの収納ルールを使用収納ルールとして決定するルール決定部と、収納対象の電子部品の収納の際に、前記使用収納ルールに応じた誘導通知の実行を制御する通知制御部と、を備える、部品管理装置。【選択図】図2

情報処理装置、情報処理方法及びMaaS提供方法

NºPublicación:  JP2025140674A 29/09/2025
Solicitante: 
トヨタ自動車株式会社
JP_2025140674_PA

Resumen de: JP2025140674A

【課題】配達員の稼働時間の効率化を図るための技術を提供する。【解決手段】本開示の一側面に係る情報処理装置は、配達員のスケジュール及び各店舗からの配送要求を参照して、物流センタから1以上の店舗への配送タスクを配達員に割り当て、割り当てられた配送タスクの遂行指示を配達員の端末に送信する。情報処理装置は、配達員の稼働終了地点の設定を受け付ける。稼働終了地点が設定されている場合、情報処理装置は、1日の稼働における最終の配送タスクとして、物流センタから稼働終了地点の方面に存在する1以上の店舗への配送タスクを割り当てる。【選択図】図1

情報処理装置、及び方法

NºPublicación:  JP2025140619A 29/09/2025
Solicitante: 
トヨタ自動車株式会社
JP_2025140619_PA

Resumen de: JP2025140619A

【課題】配送の質を向上させる技術を改善する。【解決手段】情報処理装置である端末装置10又はサーバ30は、配達物の配送に使用される車両20が配達地付近で停止したことを検出する。そして、端末装置10又はサーバ30は、車両20が停止してから所定時間が経過すると、当該配達物の配達を完了したと判定する。【選択図】図5

物流管理装置、物流管理方法、及び物流管理プログラム

NºPublicación:  JP2025140071A 29/09/2025
Solicitante: 
株式会社オービック
JP_2025140071_PA

Resumen de: JP2025140071A

【課題】グループ会社間で商品を配送する場合に、物流コストを低減すること。【解決手段】物流管理装置は、出荷対象データについて、(1)配送会社が商品を出荷元会社からそれぞれ出荷先会社に配送する第1の配送ルートの場合において、出荷元会社毎に、出荷先会社までの距離を取得し、配送会社毎に、運送費を算出し、その運送費の合計を算出し、運送費が最小となる配送会社を算出し、(2)配送会社が、全ての出荷元会社で集荷した後、出荷先会社に配送する第2の配送ルートの場合において、配送ルートの組み合わせを算出し、算出した配送ルートの組み合わせ毎に、距離を算出し、距離が最も短いものを配送ルートに選択し、当該選択した配送ルートで運送費が最小となる配送会社を算出し、(3)前記第1の配送ルートと、第2の配送ルートで算出した最小の運送費を比較して、運送費が小さい方の配送ルート及び配送会社を選択する。【選択図】図1

情報処理装置

NºPublicación:  JP2025140204A 29/09/2025
Solicitante: 
トヨタ自動車株式会社
JP_2025140204_PA

Resumen de: US2025292195A1

The cost and delivery date of the dealer delivery and the cost and delivery date of the factory delivery are calculated, and comparison information based on the cost and delivery date of the dealer delivery and the cost and delivery date of the factory delivery and delivery date of the factory delivery is presented to the user, and the selection of either the dealer delivery or the factory delivery is accepted.

REAL-TIME CONTROL SYSTEM AND METHOD FOR CARBON INTENSITY COMPLIANCE IN A HYDROGEN SUPPLY NETWORK

NºPublicación:  KR20250141631A 29/09/2025
Solicitante: 
에어프로덕츠앤드케미칼스인코오포레이티드
US_2025298393_PA

Resumen de: US2025298393A1

A method of operating a hydrogen supply network responsive to carbon intensity (CI) requirements comprising: determining the CI for hydrogen produced at the hydrogen production facilities; determining a network flow solution for the hydrogen supply network, the network flow solution defining a network solution space specifying a range of values for production rates of the hydrogen production facilities and a range of values of delivery rates for the hydrogen delivery points which satisfy predefined operational constraints of the hydrogen supply network; allocating production rates from the hydrogen production facilities to each of the plurality of delivery points based on predetermined criteria associated with the delivery points to define an allocation mapping for the hydrogen supply network; generating control variables for controlling the production rates of each of the hydrogen production facilities; and controlling the hydrogen production facilities in accordance with the determined control variables.

SECURITY SYSTEM FOR TRACKING REAL TIME LOCATION OF CARGO

NºPublicación:  KR20250141323A 29/09/2025
Solicitante: 
김진일

Resumen de: KR20250141323A

화물을 운송하는 운송 수단에 마련되고, 상기 운송 수단의 GPS 정보를 획득하며, 상기 화물 위치 추적 및 운송 관리 어플리케이션이 설치되어 실행되는 운송 수단 단말; 및 상기 운송 수단 단말과 통신하여 화물 운송 상태를 모니터링하는 보안 서버;를 포함하는, 보안 시스템을 개시한다.

METHOD FOR GENERATING PREDICTION MODEL FOR SUPPLY LEAD TIME OF PARTS

NºPublicación:  KR20250141674A 29/09/2025
Solicitante: 
주브이엠에스솔루션스
KR_20250067537_PA

Resumen de: US2025148310A1

Provided is a method for generating a lead time prediction model including: receiving input data for a final part from a user, wherein the final part is composed of one or more component parts; obtaining a first data for each of the one or more component parts, wherein the first data includes at least price data and historical lead time data; performing preprocessing on the first data to generate second data; and generating a model for generating a predicted lead time for at least one of the final part and the one or more component parts by performing learning using the second data as a training dataset.

物流費処理システム、物流費処理方法、及び物流費処理プログラム

NºPublicación:  JP2025140075A 29/09/2025
Solicitante: 
株式会社オービック
JP_2025140075_PA

Resumen de: JP2025140075A

【課題】グループ会社内において、発注元会社と調達会社間の社内取引で発生する物流費の管理を効率的に行うこと。【解決手段】物流費処理システムは、発注元会社、調達会社である仕入先、商品、数量を含む発注元会社の発注データに基づいて、仕入先、発注元会社、商品、数量、単価、仕入金額、重量計を含む調達会社の仕入データを作成し、仕入データに基づく発注後に商品が入荷した際に、物流費を含む物流費データを作成する仕入入力手段と、仕入データ及び物流費データに基づいて、第1のマスタを参照して、調達会社、発注元会社である請求先、商品、収益科目、発注元会社及び商品をキーとして第1のマスタから取得した物流費設定情報に基づいて算出した物流費の請求金額を含む調達会社の請求データを作成する物流費計上処理手段と、を備えている。【選択図】図1

武器押运路线动态优化与风险预警平台

NºPublicación:  CN120706667A 26/09/2025
Solicitante: 
石家庄保安服务集团国鑫护卫有限公司
CN_120706667_PA

Resumen de: CN120706667A

本发明涉及智能安防与路径规划领域,公开了武器押运路线动态优化与风险预警平台,所述平台包括多模态数据采集模块,通过时空对齐与张量填充整合交通流量、地理高程及威胁舆情数据,构建多通道时空特征张量;动态风险评估模块,基于对抗博弈模型与纳什均衡求解生成动态风险场,量化攻击方策略下的风险梯度;量子协同优化模块,通过张量隐变量分解生成量子参数,结合量子退火算法求解多目标最优路线;超图应急响应模块,在检测超阈值风险时重构互斥冗余路径并反馈更新策略空间;策略协同更新模块,融合风险梯度与博弈效用生成联合奖励信号,驱动强化学习模型动态优化决策策略。本发明提升押运任务的安全性、效率与可靠性。

物流差重费用计算方法、装置、设备及存储介质

NºPublicación:  CN120707006A 26/09/2025
Solicitante: 
上海东普信息科技有限公司
CN_120707006_PA

Resumen de: CN120707006A

本发明公开了一种物流差重费用计算方法,所述方法包括:判断是否批量揽收,获取物流大包进入分拨之前的揽收重量数据,根据物流大包中的物流小件是否有批量揽收重量记录,判断该物流大包中是否存在批量揽收的物流小件;存储物流小件有效重量;确定物流大包的有效重量,累加物流小件的有效重量,计算物流大包的有效重量;物流大包差重结算,计算物流大包的签收重量与有效重量之差,对物流大包的差重进行结算;确认物流小件的差重运费。本发明能够区分物流大包中的物流小件是否具有单件揽收重量记录,并优先采用单件有效重量进行差重计算,避免了因批量揽收数据不精确而导致的误差,提高了整体差重费用分配的准确性和合理性。

物流网点的收益分析方法、装置及设备

NºPublicación:  CN120707314A 26/09/2025
Solicitante: 
上海东普信息科技有限公司
CN_120707314_PA

Resumen de: CN120707314A

本发明公开了一种物流网点的收益分析方法、装置及设备,所述方法应用于物流技术领域,所述方法包括:从预付款系统实时获取物流网点的周结均重补收金额并获取物流网点的当日签收主表的揽件量数据;计算周结均重补收金额与揽件量数据的比值,得到物流网点的单票分摊金额;将单票分摊金额动态合并至运费折扣项,并进行多维度汇总分析,得到不同业务场景下的成本核算结果;根据物流网点的返利策略,确定物流网点的返利金额;调用预付款系统接口实时同步周结均重补收金额与物流网点的返利金额,并将成本核算结果与物流网点的返利金额嵌入成本模块,以使全链路成本收益可视化。本发明提高了成本核算精度,实现了全链路成本收益可视化。

一种电商销售平台后台数据管理方法及系统

NºPublicación:  CN120707246A 26/09/2025
Solicitante: 
福州微象信息技术有限公司
CN_120707246_PA

Resumen de: CN120707246A

本发明涉及电子商务数据处理技术领域,尤其涉及一种电商销售平台后台数据管理方法及系统。方法包括:S1:实时采集商品动态数据流、用户行为事件流及促销策略流,通过时序对齐生成标准化数据流;S2:构建动态耦合数据立方体;S3:执行实时决策:响应支付请求,基于商品‑用户耦合矩阵值选择库存分配或替代商品推送策略;响应资源超负荷状态,触发资源调度策略;S4:根据决策执行反馈,动态调整耦合矩阵的计算参数。通过解决多源异构数据的实时标准化处理和动态库存与用户行为的实时耦合问题,显著提升了平台的数据处理能力、库存分配效率及推荐精准度。

一种基于物联网和大数据的储物空间共享服务集成方法及系统

NºPublicación:  CN120707059A 26/09/2025
Solicitante: 
李友新
CN_120707059_PA

Resumen de: CN120707059A

本发明实施例公开了一种基于物联网和大数据的储物空间共享服务集成方法及系统,属于网络技术领域。方法包括:根据空间主所闲置的不同空间安装相对应规格和功能的智能储物设施设备;储物主在线创建储物需求;为储物匹配契合的储物空间;储置物品;对储物进行实时监管;储物交割。本发明可将社会上闲置的不同空间进行有效整合,为万千有储物需求的物主提供各种短、中、长期的储物保管服务,能使各种闲置的空间得到有效利用,发挥空间最大的功用和价值,改善储物主的居住、生活、生产环境,提升其生活品质、生产效率,提高幸福感。

一种适用于三峡-葛洲坝枢纽的待闸船舶安检指泊调度一体化方法

NºPublicación:  CN120706733A 26/09/2025
Solicitante: 
长江三峡通航管理局
CN_120706733_PA

Resumen de: CN120706733A

本发明公开了一种适用于三峡‑葛洲坝枢纽的待闸船舶安检指泊调度一体化方法,包括设置水利枢纽河段锚地泊位申请报道线及锚泊区域分界线,同时对锚地分类并对锚地的泊位进行划分;根据库区流量、待闸船舶数量及水文气象信息对不同锚地的容量进行动态控制,设定待闸船舶锚泊方式;依据船舶类型及其货种、船舶过闸安检计划次序和船舶参数对船舶进行精准指泊,指引船舶成组编队靠泊,船舶靠泊结束后,原地待闸安检并对船舶进行调度安排;调度结束后,船舶等候闸次计划,有序离泊过闸。本发明对于坝上锚地泊位资源配置的优化,指泊调度工作效率的提升,船舶待闸及通航秩序的维护、安全的保障,具有极其重要的意义。

利用电力线通信的半导体工艺物流管理系统

NºPublicación:  CN120707005A 26/09/2025
Solicitante: 
肯塔斯股份有限公司
CN_120707005_PA

Resumen de: CN120707005A

本发明涉及一种半导体工艺物流管理系统,更详细地讲,涉及一种利用电力线通信的半导体工艺物流管理系统。本发明的半导体工艺物流管理系统包括:从站控制装置,执行对保管物品的物品保管装置的控制;电力线通信线路,向所述从站控制装置传递电力及通信信号;以及主站控制装置,与所述电力线通信线路连接,并通过所述电力线通信线路与所述从站控制装置进行通信,其中,所述从站控制装置包括:识别模块,能够与保管在所述物品保管装置的所述物品的识别标签进行通信。

机场行李流群体智能AI驱动的数字孪生低碳调度系统

NºPublicación:  CN120707020A 26/09/2025
Solicitante: 
厦门民航凯亚有限公司
CN_120707020_PA

Resumen de: CN120707020A

本发明涉及智能机场物流技术领域,尤其为机场行李流群体智能AI驱动的数字孪生低碳调度系统,包括物理感知层、数字孪生引擎层、群体智能决策层、区块链存证层及动态调度执行层,形成“感知‑建模‑决策‑存证‑执行”闭环;物理感知层采集设备与行李状态数据;数字孪生引擎层构建全要素孪生体,实现物理系统同步映射与碳核算;群体智能决策层采用改进的碳敏感蚁群算法,生成总能耗、滞留时间与负载均衡的多目标优化策略;区块链存证层保障碳数据可信与可追溯;动态调度执行层转换决策为控制信号,并修正仿真与实际偏差。本发明实现了行李调度的低碳化、高效化与可靠化,适用于智慧机场的绿色运营。

一种基于商品SKU的信息验证方法、设备及介质

NºPublicación:  CN120706450A 26/09/2025
Solicitante: 
安徽九曜智能科技有限公司
CN_120706450_PA

Resumen de: CN120706450A

本发明公开了一种基于商品SKU的信息验证方法、设备及介质,属于扫码验证技术领域,用于解决现有的商品SKU信息一般为人工校验处理或者人工登记,容易造成效率慢,还会大大浪费人力成本,不利于商品SKU信息的智能验证监测的技术问题。方法包括:对自动上传的商品扫码数据进行实时数据解码处理,得到具体产品SKU信息;通过产线产品SKU信息,对具体产品SKU信息进行有关生产层面的验证处理,得到第一验证结果信息;根据第一验证结果信息中的验证通过信息,对具体产品SKU信息进行有关业务层面的验证处理,得到第二验证结果信息;对第一验证结果信息与第二验证结果信息均进行商品SKU异常监测处理,确定出验证异常信息。

物流订单与异常处理方法、装置、设备及存储介质

NºPublicación:  CN120707238A 26/09/2025
Solicitante: 
上海东普信息科技有限公司
CN_120707238_PA

Resumen de: CN120707238A

本发明涉及物流运输领域,公开了一种物流订单异常处理方法、装置、设备及存储介质。该方法包括:获取物流订单的特征数据,所述物流订单的特征数据包括订单标识信息、物流轨迹信息、时间戳信息、包裹状态信息;基于所述物流订单的特征数据,确认所述物流订单的初始状态,得到初始状态判断结果;根据所述初始状态判断结果,将所述物流订单分类为状态正常物流订单或状态异常物流订单;对所述状态异常物流订单进行订单关联分析,根据分析结果对所述状态异常物流订单进行处理,并生成处理结果。本发明提供一种物流订单异常处理方法,形成从数据采集、状态判断、分类管理到异常处理的全流程智能化闭环,有效提升物流运营效率与用户体验。

循环包装的使用信息的确定方法、装置、设备及介质

NºPublicación:  CN120707030A 26/09/2025
Solicitante: 
深圳市欣旺达能源科技有限公司
CN_120707030_PA

Resumen de: CN120707030A

本发明提供了一种循环包装的使用信息的确定方法、装置、设备及介质,涉及运输技术领域。方法包括:接收循环包装上的定位装置发送的位置坐标;根据位置坐标和定位装置的工作时长,计算循环包装的已使用时长;根据已使用时长和时长阈值的比较结果,确定循环包装的使用状态并展示,使用状态表征循环包装是否需要更换,时长阈值由循环包装在运输过程中的振动数据和堆叠形态数据计算得到。本发明能够评估循环包装的具体使用状态,实现对众多的循环包装进行精细化管理。

一种医用耗材智能配送系统及方法

NºPublicación:  CN120707009A 26/09/2025
Solicitante: 
江西栢泰医疗科技有限公司
CN_120707009_PA

Resumen de: CN120707009A

本申请涉及医用耗材配送技术领域,尤其是涉及一种医用耗材智能配送系统及方法。该方法包括:获取耗材需求信息集,根据耗材需求信息集,生成配送任务队列;获取实时设备节点状态信息集,基于实时设备节点状态信息集,根据配送任务队列,确定目标取药节点信息集、起始配送节点信息集和交接配送节点信息集;根据目标取药节点信息集、起始配送节点信息集和交接配送节点信息集,进行动态配送任务合并,确定并执行耗材配送计划,确定并输出耗材配送报告。本申请实现了医用耗材配送效率与配送灵活性之间的平衡,有效覆盖不同医疗场景下的医用耗材需求形式。

烟叶库存管理方法、装置、计算机设备及可读存储介质

NºPublicación:  CN120707051A 26/09/2025
Solicitante: 
四川中烟工业有限责任公司
CN_120707051_PA

Resumen de: CN120707051A

本申请涉及一种烟叶库存管理方法、装置、计算机设备及可读存储介质,涉及卷烟生产技术领域。方法包括确定当前库存管理周期内各品规卷烟的预设产量;获取各烟叶模块的当前库存量;其中,各烟叶模块是按照卷烟品规、烟叶产地和烟叶功能确定的,每一烟叶模块的当前库存量即成品片烟库存量;根据预设的各品规卷烟产量与烟叶模块用量的第一对应关系,确定预设产量对应的各烟叶模块的使用量;根据各烟叶模块的库存预警标准量、当前库存量和使用量,确定当前库存管理周期内各烟叶模块对应的采购量。采用本方法能够提高烟叶库存管理效果,打造全方位、全要素、全过程烟叶原料高标准信息化管控体系,推动烟叶原料实现更高水平的供需动态平衡。

一种基于风险因素评估模型的危化品出入库管理方法及系统

NºPublicación:  CN120707053A 26/09/2025
Solicitante: 
长治医学院
CN_120707053_PA

Resumen de: CN120707053A

本发明公开了属于危化品管理技术领域,特别涉及一种基于风险因素评估模型的危化品出入库管理方法及系统,所述方法包括:定义风险因素列表,所述风险因素列表包括人员安全知识水平因素、危化品毒性因素、腐蚀性因素、易燃性因素、稳定性因素、反应性因素及稀有性因素;为每种风险因素预设风险等级评级规则;响应于管理员客户端的危化品登记请求,调用风险因素评估模型生成危险积分及危险等级;基于危险积分生成包含危化品信息的二维码;将更新后的危化品信息存储至信息列表。实现对危化品信息科普、领用归还申请、扫码出入库登记、监督检查、实时统计与检索、数据共享的管理,满足在复杂环境中的高质量危化品出入库管理的要求。

请求处理方法、装置、存储介质及电子设备

NºPublicación:  CN120705384A 26/09/2025
Solicitante: 
中国民航信息网络股份有限公司
CN_120705384_A

Resumen de: CN120705384A

本发明公开了一种请求处理方法、装置、存储介质及电子设备。涉及人工智能领域,该方法包括:通过目标交互界面接收由目标对象发送的文本内容,并基于文本内容确定运价搜索请求;通过目标识别模型对运价搜索请求进行信息识别处理,得到目标信息,其中,目标信息包括多个搜索条件字段以及每个搜索条件字段的字段值,目标识别模型基于训练样本集训练得到,训练样本集基于预设的配置文件和基础数据集确定,配置文件用于记录训练样本集中待生成的样本搜索请求所需的搜索条件字段。本发明解决了相关技术中采用由人工标注得到的训练样本集训练模型,再基于训练好的该模型从用户的运价搜索请求中提取关键信息,从而存在人工成本高的技术问题。

知识图谱与跨系统集成的仓储销售管理自动化方法及系统

NºPublicación:  CN120707049A 26/09/2025
Solicitante: 
上海幕库科技发展有限公司
CN_120707049_PA

Resumen de: CN120707049A

本发明涉及一种知识图谱与跨系统集成的仓储销售管理自动化方法及系统,属于仓储销售管理技术领域。其中,该方法包括获取跨系统仓储销售数据,根据所述跨系统仓储销售数据构建乘用车零部件仓储销售知识图谱;通过动态规则建模处理所述乘用车零部件仓储销售知识图谱生成RPA动态脚本;根据所述RPA动态脚本处理乘用车零部件仓储销售事件输出乘用车零部件仓储销售管理异常事件;通过闭环异常处理所述乘用车零部件仓储销售管理异常事件得乘用车零部件仓储销售管理开票信息,能够根据预设业务知识进行自主决策管理并进行闭环异常处理,实现自动化、科学化、智能化的乘用车零部件仓储销售管理。

贵重物品安全配送智能物流管理方法

NºPublicación:  CN120707016A 26/09/2025
Solicitante: 
浙江万里学院
CN_120707016_PA

Resumen de: CN120707016A

本发明涉及一种贵重物品安全配送智能物流管理方法,通过预先形成贵重物品物流区块链并生成具备有效时限限制且相互不重复的贵重物品配送码,而后按照预设匹配规则为每个贵重物品匹配贵重物品配送码,再基于已形成的贵重物品物流区块链对每个贵重物品配送过程执行物流监控以得到针对各贵重物流的物流监控数据,并基于已形成的贵重物品物流区块链对每个贵重物品配送过程执行物流监控,得到针对各贵重物流的物流监控数据。如此,实现了基于区块链和贵重物品配送码而实现对贵重物品的物流监控,满足了对贵重物品配送过程中物流监控数据的防篡改修改,从而提高了贵重物品的配送安全和配送效率。

基于AGV技术的医疗器械管理系统及方法

NºPublicación:  CN120708838A 26/09/2025
Solicitante: 
上海倍通医疗器械管理咨询有限公司
CN_120708838_PA

Resumen de: CN120708838A

本发明公开基于AGV技术的医疗器械管理系统及方法,涉及医疗器械管理技术领域,包括多个AGV移动单元、多个移动式仓库管理终端、仓库进出库计算机和顶层无线通信模块。本发明能提供基于AGV技术的医疗器械管理系统及方法,通过AGV移动单元地面运输与轨道式多个移动式仓库管理终端的空中作业形成三维协同,AGV移动单元负责水平运输,移动式仓库管理终端执行垂直存储,大幅提升仓储空间利用率,特别适用于医疗器械分类存储要求高的场景。通过机电一体化设计、智能算法优化和医疗合规性改造,使医疗器械仓储作业效率大幅提升,特别适用于三级医院中心库、区域医疗物资配送中心等对存储精度和时效性要求高的场景。

采用RFID识别药品的药品库存管理系统和方法

NºPublicación:  CN120707050A 26/09/2025
Solicitante: 
复旦大学附属中山医院
CN_120707050_PA

Resumen de: CN120707050A

本发明公开了一种采用RFID识别药品的的药品库存管理系统和方法。该药品库存管理系统和方法包括入库RFID读取设备、出库RFID读取设备和库存RFID读取设备;所述入库RFID读取设备设置在所述入库区处,其用于读取入库药品随附RFID标签中的数据信息;所述出库RFID读取设备设置在所述出库区处,其用于读取出库药品随附RFID标签中的数据信息;所述库存RFID读取设备设置在药品存储区内,其用于读取库存药品随附RFID标签中的数据信息。采用RFID技术来实现药品从入库到出库的全流程信息传递,信息传递的过程具有快速、高效、无接触、批量化的优点,从而大幅提升了药品库房管理运营的效率和准确性。

用于对分析物数据进行分类的方法和系统

NºPublicación:  CN120708713A 26/09/2025
Solicitante: 
贝克顿·迪金森公司
CN_120708713_PA

Resumen de: US2025297940A1

Computer-implemented methods of classifying analyte data are provided. Methods of interest include categorizing the analyte data based on analyte features associated therewith by generating a predicted class for the analyte data using a decision tree ensemble, and refining the categorized analyte data based on the analyte features and the predicted class using a distance-based classification model to classify the analyte data. Systems and non-transitory computer-readable storage media for carrying out the subject methods are also provided.

基于强化学习的动态路径规划优化方法

NºPublicación:  CN120706669A 26/09/2025
Solicitante: 
瑞泊(北京)人工智能科技有限公司
CN_120706669_A

Resumen de: CN120706669A

本发明公开的属于路径规划技术领域,具体为基于强化学习的动态路径规划优化方法,包括具体步骤如下:S1,环境感知:实时获取环境信息,包括智能体自身的位置、速度、方向,以及周围环境中的障碍物位置、动态物体的运动状态、目标位置信息;S2,环境预感知与动态预测:在环境感知收集到原始环境信息后,先对环境的未来变化趋势进行分析和预测,再将处理后的信息进行传递。本发明能够使智能体实时感知环境状态变化,智能体通过与环境不断交互,依据奖励信号调整策略,及时适应交通流量变化、道路临时管制等动态情况,如在城市交通中,能实时避开突发拥堵路段,重新规划最优路径,极大提升通行效率。

碳足迹报告生成方法、装置、电子设备及存储介质

NºPublicación:  CN120706703A 26/09/2025
Solicitante: 
中国电信股份有限公司
CN_120706703_PA

Resumen de: CN120706703A

本发明公开了碳足迹报告生成方法、装置、电子设备及存储介质,包括:确定目标产品在原材料获取阶段、原材料运输阶段、生产制造阶段以及产品运输阶段的多个碳排放项目;根据碳排放项目匹配对应的碳排放核算模板和排放因子信息,并通过数据中台获取各碳排放项目对应的项目活动数据;根据项目活动数据、碳排放核算模板以及排放因子信息确定各碳排放项目的碳排放核算结果;根据各个阶段对应的碳排放项目的碳排放核算结果生成目标产品的碳足迹报告。本发明提高了碳足迹报告的生成效率和可靠性,降低了碳足迹的核查认证成本,可广泛应用于碳足迹管理技术领域。

一种面料评估决策方法、装置、设备及存储介质

NºPublicación:  CN120706838A 26/09/2025
Solicitante: 
杭州知衣科技有限公司
CN_120706838_PA

Resumen de: CN120706838A

本发明涉及智能面料决策技术领域,尤其涉及一种面料评估决策方法、装置、设备及存储介质;对市场表现数据和服饰需求数据进行衰减分析,以得到衰减因子;对预设的基准时间、衰减因子、当前销售数据和当前时间进行计算,以得到需求衰减系数;根据需求衰减系数、预设的需求预测模型和预设的关联规则挖掘算法对社交媒体数据和电商平台关键事件进行预测,以得到备货量决策和最优库存量;根据备货量决策和最优库存量生成面料评估决策;通过生成备货及面料决策,实现库存最优、缺货与积压双降,供应链敏捷响应,显著提升服饰企业竞争力和盈利水平。

一种仓库管理方法及装置

NºPublicación:  CN120706757A 26/09/2025
Solicitante: 
北京京东远升科技有限公司
CN_120706757_A

Resumen de: CN120706757A

本发明提供了一种仓库管理方法及装置,其中,该方法包括:基于预先采集的多源数据,得到工作数据表;根据工作数据表,确定预设工作指标下的指标数据,并基于指标数据判断是否触发预设的预警条件;响应于指标数据触发预设的预警条件,生成预警信息与调配决策,以基于调配决策对仓库内的工作部署进行调整。该实施方式能够实现独立系统之间的数据共享,监控仓库人员的工作情况与仓库内的人员部署情况,优化仓库资源配置,提高仓库作业效率。

一种物流配送路径优化方法、装置、计算机设备及介质

NºPublicación:  CN120707035A 26/09/2025
Solicitante: 
贵州理工学院
CN_120707035_PA

Resumen de: CN120707035A

本发明提供了一种物流配送路径优化方法、装置、计算机设备及介质,属于物流配送领域,该方法包括:获取所有配送中心和站点的位置坐标,根据配送中心的位置坐标确定重心位置以及相邻配送中心连线的中点位置;通过重心位置与各中点位置构建射线方程,划分出覆盖全部站点的多个扇形分区;将站点的位置坐标代入射线方程,确定各站点所属的唯一扇形分区;基于每个扇形分区构建蚁群算法,在每个站点和配送中心设置至少一只蚂蚁,并根据当前时段设置蚂蚁路径选择概率公式参数,对蚁群算法进行迭代,在达到最大迭代次数的情况下,根据信息素浓度确定从配送中心出发,依次连接各站点并回到配送中心的配送路径。全面解决传统物流效率低下的问题。

一种医院药房库存智能管理系统及方法

NºPublicación:  CN120708840A 26/09/2025
Solicitante: 
温州医科大学附属第二医院(温州医科大学附属育英儿童医院)
CN_120708840_PA

Resumen de: CN120708840A

本发明公开了一种医院药房库存智能管理系统及方法,属于数据管理技术领域,通过获取药品基础信息及多个批次库存记录;基于药品用途标签提取用途风险等级R;结合剩余有效期、稳定性参数与风险因子构建批次出库优先级评分模型P;生成排序出库列表并执行调拨与出库操作;在监测到药品临期或库存异常时,动态调整评分并更新排序结果;通过本发明,可实现对药品出库顺序的精细控制,优先保障高风险用途药品的临床可得性,同时提升库存使用效率和用药安全性。

地址解析与标签生成方法、装置、设备及存储介质

NºPublicación:  CN120706408A 26/09/2025
Solicitante: 
上海东普信息科技有限公司
CN_120706408_PA

Resumen de: CN120706408A

本发明涉及物流数据处理技术领域,特别涉及一种地址解析与标签生成方法、装置、设备及存储介质。其中,所述地址解析与标签生成方法,包括如下步骤:构建NLP模型,为NLP模型的接口动态更新响应超时阈值;获取订单数据,对订单数据进行预处理,获得预处理数据;将预处理数据中的收件信息与关键词库进行匹配,获得匹配结果;若匹配结果为成功,将匹配成功的收件信息输入至NLP模型,获得分析结果,根据分析结果生成标签。本发明通过关键词触发机制,仅在必要时调用大模型,相比全量调用降低90%以上的资源消耗。同时为大模型接口设置超时阈值,超时后自动切换至原流程。此外,还增加了数据源适配,通过过滤非目标订单来源,保障数据完整性与处理效率。

标签信息发送方法、设备、存储介质和程序产品

NºPublicación:  CN120711368A 26/09/2025
Solicitante: 
深圳云里物里科技股份有限公司
CN_120711368_PA

Resumen de: CN120711368A

本申请公开了一种标签信息发送方法、设备、存储介质和程序产品,属于计算机技术领域。所述方法包括:接收第一电子标签发送的第一标签信息,第一标签信息包括第一标签标识和第一标签状态;根据第一标签状态确定第一电子标签是否满足第一预设异常条件;在第一电子标签满足第一预设异常条件的情况下,向云平台发送第一标签信息;在第一标签状态不满足第一预设异常条件的情况下,不向云平台发送第一标签信息。本申请中该网关仅将大概率会出现异常的电子标签的标签信息发送给云平台进行监测。如此,可以在满足电子标签监测需求的情况下,降低云平台的处理压力,降低云平台的负载,提高云平台监测电子标签的效率,保证云平台性能。

订单分配方法、装置及电子设备

NºPublicación:  CN120707040A 26/09/2025
Solicitante: 
北京极智嘉科技股份有限公司
CN_120707040_PA

Resumen de: CN120707040A

本公开实施例提供一种订单分配方法、装置及电子设备,涉及仓储管理技术领域,方法包括:确定多个工作站的风险值以及未完成订单数据,风险值用于表示工作站出现人机协作风险,未完成订单数据用于表示多个搬运设备基于当前订单分配情况下对订单的处理效率;基于风险值以及未完成订单数据,确定订单分配决策指标;基于订单分配决策指标,确定多个待分配订单的多个综合评分;根据多个综合评分,将多个待分配订单中的第一待分配订单分配至第一待分配订单对应的第一工作站。实现实时根据订单分配决策指标选取第一待分配订单优先进行分配,实现订单高效分配,提高工作效率,减少出现人机协作风险的概率。

人工智能区块链港口物流状态监控方法

NºPublicación:  CN120707015A 26/09/2025
Solicitante: 
浙江万里学院
CN_120707015_A

Resumen de: CN120707015A

本发明涉及一种人工智能区块链港口物流状态监控方法,通过预先形成港口物流原始区块链并对该港口物流原始区块链布设边缘存储初始网络,在利用港口物流区块链存储不断上传到该区块链上大量物流数据的同时,还不断检测港口物流区块链的数据分布式实时存储能力;一旦港口物流区块链存储能力低于预设能力阈值时就将当前上传到港口物流区块链的物流数据存储到当前的边缘存储网络,为当前港口物流区块链减轻存储大量物流数据的存储压力,并借助港口物流区块链方式对港口物流监控过程中产生的大量物流数据以分布式方式存储到该港口物流区块链上,确保港口物流数据的安全,防止了物流数据被轻易篡改,满足了后续针对港口物流数据的数据溯源和调取需求。

自动移动机器人工作调度方法、系统、设备及介质

NºPublicación:  CN120706826A 26/09/2025
Solicitante: 
奇瑞汽车股份有限公司
CN_120706826_PA

Resumen de: CN120706826A

本发明提出自动移动机器人工作调度方法、系统、设备及介质,结合自动移动机器人的实际利用率确定完成当前任务的自动移动机器人数量,动态调整设备开机数量,减少不必要的设备运行时间,降低能源浪费,确保设备资源的合理利用;此外,通过对自动移动机器人实时监测,根据自动移动机器人所处的状态,确定是否加入调度任务,避免完成任务的自动移动机器人加入调度任务,耽误任务完成情况。

一种包裹热力图生成与风险提示系统和方法

NºPublicación:  CN120707027A 26/09/2025
Solicitante: 
上海宝九诚信息科技有限公司
CN_120707027_PA

Resumen de: CN120707027A

本发明提供了一种包裹热力图生成与风险提示系统和方法,其中系统包括:订单信息库,用于记录订单信息,并对高风险地址进行标注,形成高风险标签;所述订单信息至少包括用户地址;坐标库,用于将用户地址经地理编码转换为经纬度坐标;热力图模块,用于将所述订单信息结合经纬度坐标,在地图上进行可视化的网格热力图呈现;风险提示模块,用于筛选出带有高风险标签的坐标,统计其网格并合并相邻网格形成高风险围栏,动态显示在所述网格热力图上。

新能源大功率高频变压器的柔性自动化生产管控系统

NºPublicación:  CN120706754A 26/09/2025
Solicitante: 
广东瑞格精密技术有限公司
CN_120706754_PA

Resumen de: CN120706754A

本发明公开了一种新能源大功率高频变压器的柔性自动化生产管控系统,涉及生产管控领域,包括生产需求接收模块、生产资源管理模块、生产规划模块、生产执行模块和质量控制模块,通过API或EDI接收订单并生成工单;实时采集设备和物料信息,构建生产资源关联网络;采用改进深度学习模型进行生产排程与工序匹配;基于多层次分析控制模型调度物料、工序与设备;使用二维云模型评估质量并通过分布式数据库进行数据记录,确保质量问题可追溯。此系统有效提升生产效率和质量管理水平,解决的是现有刚性自动化设备缺乏灵活性的问题,本发明通过多个模块协同工作,确保新能源大功率高频变压器的生产高效和精准,以应对不同生产需求。

一种带软时间窗的快递车辆调度优化方法与系统

NºPublicación:  CN120706626A 26/09/2025
Solicitante: 
青岛恒星科技学院
CN_120706626_PA

Resumen de: CN120706626A

本发明公开了一种带软时间窗的快递车辆调度优化方法与系统,涉及车辆调度技术领域,包括CVRPSTW建模与分析模块、算法求解CVRPSTW模块和实验设置与结果分析模块;CVRPSTW建模与分析模块通过构建快递车辆调度问题模型;算法求解CVRPSTW模块是将节点特征嵌入和位置特征嵌入分别输入到编码器中;实验设置与结果分析模块用于生成可供输入至强化学习网络的实例,并验证随机实例训练的CT模型泛化到真实世界实例的能力。该带软时间窗的快递车辆调度优化方法与系统,能够在多个规模的数据集上取得优异的结果,证明了该方法实施的有效性和应用潜力,为快递物流中的车辆调度问题提供高效的优化方案。

机械装备维修和备件决策方法、系统、介质及设备

NºPublicación:  CN120707097A 26/09/2025
Solicitante: 
西安交通大学
CN_120707097_PA

Resumen de: CN120707097A

一种基于强化学习的机械装备维修和备件决策方法、系统、介质及设备,方法中,采用主成分分析法对机械装备连续监测数据降噪后,基于维纳过程拟合退化曲线,并确定失效阈值;基于设备劣化和库存的离散状态构建状态空间,基于维修动作和订购时机构建动作空间;基于维修成本与备件管理成本建立成本函数,并计算期望奖励值;采用多智能体DDQN强化学习算法以期望奖励值最大为优化目标,获得机械装备劣化的离散状态下的最佳维护和备件管理行为。

基于云计算的智慧产业链大数据管理系统

NºPublicación:  CN120706678A 26/09/2025
Solicitante: 
青岛兮易信息技术有限公司
CN_120706678_PA

Resumen de: CN120706678A

本发明公开了基于云计算的智慧产业链大数据管理系统,涉及产业链管理技术领域。该基于云计算的智慧产业链大数据管理系统,基于云计算平台,构建了针对产业链中各生产设备的实时运行状态数据的集中处理机制,通过健康分析单元计算设备的运行健康指数,并由判断管理单元对比预设异常区间,实现对异常设备的识别与分类处理,及时触发相应管理措施,本发明本系统通过引入多源运行参数采集与云端融合处理机制,基于运行状态参定集与敏感系数构建健康指数模型,实现了对设备状态的动态评估与异常等级化判断,相比传统单参监测方式,具备更高的准确性与实时性,能够提前预警性能退化风险,显著提升设备管理智能化水平与产业链运行韧性。

一种多式联运服务网络优化方法

NºPublicación:  CN120707022A 26/09/2025
Solicitante: 
西安货达网络科技有限公司
CN_120707022_PA

Resumen de: CN120707022A

本发明公开了一种多式联运服务网络优化方法,涉及货运运输技术领域,包括以下步骤:构建统一纳秒级全域同步时钟基准,对多种运输模式下的枢纽节点进行时间同步,基于该时钟基准实时采集第一频率数据和第二频率数据,第一频率数据为信息流刷新频率,第二频率数据为物流物理流转位移频率。本发明通过统一纳秒级同步时钟与区块链时间戳,实现多运输模式下信息流与物流流的高精度同步与深度校准,提升多式联运时间一致性与数据可信度。结合速度对标矩阵与小波相位差分析,精准量化同步失衡,并以实时失衡指数驱动数字孪生体动态补全信息流,保障调度决策的连续性与准确性,降低作业失误与运输风险。

车辆资源配送的控制方法和装置、存储介质和电子设备

NºPublicación:  CN120707036A 26/09/2025
Solicitante: 
中国星网数字科技有限公司
CN_120707036_PA

Resumen de: CN120707036A

本申请实施例提供了一种车辆资源配送的控制方法和装置、存储介质和电子设备,其中,该方法包括:基于目标区域当前的区域采集数据,生成当前环境状态特征,并将当前环境状态特征转换为当前环境状态;将当前环境状态输入到当前策略网络,得到当前策略网络输出的初始配送路径,其中,当前策略网络用于表示在环境状态下,采用动作空间中的不同动作的概率,动作空间中的一个动作是指配送车辆选择一组节点中对应的节点进行资源配送;对初始配送路径循环执行破坏操作和修复操作,直到满足循环结束条件,得到目标配送路径,并控制配送车辆按照目标配送路径执行资源配送任务。通过本申请,可以解决相关技术中的路径规划方法存在的路径质量低的问题。

基于改进鲸鱼优化算法的冷链配送路径优化方法

NºPublicación:  CN120707026A 26/09/2025
Solicitante: 
南陵县邮政业发展中心
CN_120707026_PA

Resumen de: CN120707026A

本发明公开了一种基于改进鲸鱼优化算法的冷链配送路径优化方法,其特征在于:包括如下步骤:获取需求点与配送中心的初始信息,构建信息矩阵;在交通管理系统中获取配送中心和各需求点周边的历史路况信息;构建冷链物流配送路径优化数学模型;计算相应的运输时间;通过建模方法将随机变量组成的搜索代理地址转化为车辆路径矩阵;计算车辆正常行驶与怠速时的油耗;对鲸鱼种群进行分类,使用聚类鲸鱼优化算法对模型进行求解。对车辆调度与路径规划进行指导。本发明综合考虑制冷、货损、碳排放、载重量、交通状况等因素,建立以总成本最小为目标的冷链低碳物流配送路径优化模型,并提出改进鲸鱼优化算法进行优化求解。

一种区域边界确定方法、装置、设备和存储介质

NºPublicación:  CN120707807A 26/09/2025
Solicitante: 
北京京邦达贸易有限公司北京京东远升科技有限公司
CN_120707807_PA

Resumen de: CN120707807A

本发明实施例公开了一种区域边界确定方法、装置、设备和存储介质,涉及计算机技术领域,该方法包括:获取区域相邻处的实时图像;在确定实时图像包含车辆的情况下,基于实时图像进行车辆跟踪,直至车辆静止;根据实时图像的车道线检测结果以及车辆静止时确定的车辆边界,确定区域边界。上述技术方案,在确定获取到的区域相邻处的实时图像包含车辆的情况下,通过对实时图像进行车辆追踪,可以在车辆静止时实现确定车辆边界,还可以对静止的实时图像进行车道线检测结果,进而可以根据车道线检测结果以及车辆静止时确定的车辆边界,确定区域边界,实现区域边界的自动化确定,提升区域边界确定的效率以及准确度,并且,降低区域边界确定的人工成本。

基于多路线偏离预警的物流路线优化系统及方法

NºPublicación:  CN120707037A 26/09/2025
Solicitante: 
天津小铁马科技有限公司
CN_120707037_PA

Resumen de: CN120707037A

本发明公开了一种基于多路线偏离预警的物流路线优化系统及方法,涉及物流技术领域,旨在解决现有技术难以适应复杂多变的实际运输场景的技术问题。该系统包括多路线选择模块、数据采集与分析模块、动态评估模块以及路线预警与切换子系统;所述多路线选择模块为用户提供多条备选路线选择界面,并展示每条路线的轨迹信息,用户可结合地图信息,自主选择多条物流运输路线,构建初始路线集合;所述数据采集与分析模块实时采集包括交通流量、拥堵情况、天气状况的实时路况信息和包括行驶速度、通行流畅度的行驶状态数据以及收集包括历史行驶时间、延误概率、路段故障率的历史运输数据。本发明具有动态优化物流路线的优点。

一种预期海外货仓分货转运计划管理方法及系统

NºPublicación:  CN120707025A 26/09/2025
Solicitante: 
广东拓威天海科技股份有限公司
CN_120707025_PA

Resumen de: CN120707025A

本发明涉及转运数据管理技术领域,具体公开一种预期海外货仓分货转运计划管理方法及系统,该方法将复杂的海外货仓分货转运计划路径标记为转运路径并细分为多个转运子路径,让整个转运流程清晰呈现,便于宏观与微观层面全面把控,极大提升了管理效率与精准度,在转运过程中,实时获取各转运子路径的环境参数,尤其是冷链运输至关重要的指标,为冷链货物的品质安全筑牢防线,同时,持续监测管理目标货物的转运状态,精准获取管理过程参数,依据这些数据自动判定是否需对转运过程进行优化调节,如动态调整制冷设备运行等,一旦发现潜在风险,立即触发转运预警反馈,使管理人员能迅速响应,从而有效保障了冷链货物的安全与品质。

一种基于电子围栏的物流装卸效率分析系统

NºPublicación:  CN120707021A 26/09/2025
Solicitante: 
天津小铁马科技有限公司
CN_120707021_PA

Resumen de: CN120707021A

本发明公开了一种基于电子围栏的物流装卸效率分析系统,涉及装卸效率分析系统技术领域,旨在解决现有物流装卸效率评估不准确、资源配置缺乏数据支撑的技术问题,包括装卸货地物流管理模块和物流服务器;所述装卸货地物流管理模块分别与装卸货地的若干装卸货地电子围栏、装卸货地装卸终端连接,且装卸货地物流管理模块包括装卸货地装卸监控单元,该单元配置有装卸货地进站监控信号、装卸货地进站时间、装卸货地装卸开始监控信号和装卸货地装卸开始时间;所述物流服务器与装卸货地物流管理模块连接,用于获取装卸货地装卸监控单元的数据。本发明具有提升物流装卸效率分析准确性的优点。

基于季节性商品的多策略动态预测方法、系统、设备及存储介质

NºPublicación:  CN120707054A 26/09/2025
Solicitante: 
深圳九章数据科技有限公司
CN_120707054_PA

Resumen de: CN120707054A

本发明涉及大模型预测的技术领域,公开了基于季节性商品的多策略动态预测方法、系统、设备及存储介质;所述多策略动态预测方法,应用于电子预测设备,具体包括以下步骤:S101:获取历史网络公布的多维度数据信息,所述多维度数据信息携带有区域业务数据、营销活动数据、日期特征数据、商品属性数据、历史经营数据,以及扩展的季节性气候特征数据;S102:对获取的多维度数据信息进行预处理,获取历史及同比促销时段的库存缺货情况特征,基于库存缺货情况特征进行识别,完成历史销售数据补偿,获取历史销售补偿数据。本发明通过农历滑动窗口与三角函数耦合突破了公历固定周期限制,相较传统LSTM模型预测准确率提升。

一种智能货架的管理方法、装置、设备及存储介质

NºPublicación:  CN120707045A 26/09/2025
Solicitante: 
中国工商银行股份有限公司
CN_120707045_PA

Resumen de: CN120707045A

本申请公开了一种智能货架的管理方法、装置、设备及存储介质,涉及物联网技术领域。该方法包括若识别到目标电子配件的入库申请,则从智能货架获取目标电子配件的配件入库数据;根据配件入库数据中的配件总重量和目标配件类型,以及候选存储单元的当前存储重量、存储重量阈值和当前配件类型,从候选存储单元中确定可用存储单元;根据配件入库数据,以及可用存储单元的当前位置和当前环境数据,确定目标电子配件的目标存储单元;根据配件入库数据中的目标配件类型,从候选抓手中确定目标抓手,并控制自动化机械臂采用目标抓手将目标电子配件放置在目标存储单元。上述技术方案,有助于提高配件入库的管理效率和精准度。

一种物流运输管理与实时数据共享方法及其系统

NºPublicación:  CN120707029A 26/09/2025
Solicitante: 
河北名途运输有限公司
CN_120707029_PA

Resumen de: CN120707029A

本发明公开了一种物流运输管理与实时数据共享方法及其系统,涉及物流运输技术领域,包括:S1、在物流运输车辆上实时采集物流运输数据;S2、利用边缘计算技术对采集的实时数据进行预处理后通过无线网络加密后传输至云计算平台;S3、云计算平台对实时数据进行整合储存,使用机器学习算法进行智能分析;S4、根据分析结果给出优化建议,生成报告并实时更新;S5、提供自助服务平台查询货物状态。本发明能够增强物流运输信息的透明性,使各方都能及时了解物流运输的情况,提升用户体验,增强用户信任度,同时减少承运方企业成本,提高企业管理的效益。

一种动态行李预约虚拟窗口调试方法和系统

NºPublicación:  CN120707019A 26/09/2025
Solicitante: 
中国东方航空设备集成有限公司
CN_120707019_PA

Resumen de: CN120707019A

本申请涉及一种动态行李预约虚拟窗口调试方法和系统。该方案包括:设定相邻行李之间的距离;测量等待运输的行李的长度;根据测得的行李的长度与设定的相邻行李之间的距离来确定与所述行李相关联的虚拟窗口的长度;以及为所述行李向系统申请预约在收集输送机上的具有所确定的长度的虚拟窗口。该方法还包括动态调整值机通道预约虚拟窗口时间、通过改变值机通道预约虚拟窗口的起始位置来动态调整从该起始位置移动到该过渡输送机可投放位置的时间以及通过改变值机通道过渡输送机的输送速度来动态调整行李在过渡输送机上完全投放下去的时间。

一种基于时空耦合与轨迹匹配的物流拥堵预警方法及系统

NºPublicación:  CN120707017A 26/09/2025
Solicitante: 
浙江中烟工业有限责任公司
CN_120707017_PA

Resumen de: CN120707017A

本发明实施例提供一种基于时空耦合与轨迹匹配的物流拥堵预警方法及系统,属于物流管理技术领域。所述预警方法包括:获取烟箱物流小车的实时分布数据;构建并训练分布预测网络模型;将所述实时分布数据输入至所述预测网络模型以获取实时预测分布数据;根据所述实时预测分布数据获取小车实时轨迹数据;根据所述实时轨迹数据计算轨道拥堵指标并进行拥堵预警。本发明通过图卷积网络和循环网络构建分布预测模型,结合深度优先搜索与匈牙利算法实现小车轨迹精准匹配,并通过历史轨迹数据计算拥堵指标以实现无调度依赖的拥堵预警,显著减少对人工判断的依赖。

一种检验科库房智能管理系统及其方法

NºPublicación:  CN120708841A 26/09/2025
Solicitante: 
广西医科大学第二附属医院(广西医科大学第二临床医学院)
CN_120708841_PA

Resumen de: CN120708841A

本发明涉及一种检验科库房智能管理系统及其方法,包括电子门禁模块、RFID防盗模块、语音播报模块、射频标签打印机、超频感应模块、超声波探测模块和扫码模块,所述检验科库房智能管理系统及方法主要解决的是现有检验科库房出入库操作繁琐,商品库存信息滞后和出库商品难以溯源,导致管理效率低,管理成本过高的问题。

异常订单检测方法和系统

NºPublicación:  CN120707008A 26/09/2025
Solicitante: 
拉扎斯网络科技(上海)有限公司
CN_120707008_PA

Resumen de: CN120707008A

本申请实施例提供一种异常订单检测方法和系统,涉及人工智能技术领域,异常订单检测方法包括:获取第一订单的第一物流信息;第一物流信息包括第一物流轨迹信息和第一订单地址信息;调用人工智能模型,并获取人工智能模型的提示词;提示词用于指示第一订单对应的异常检测策略;将提示词和第一物流信息输入人工智能模型中,通过人工智能模型对提示词和第一物流信息进行文本分析,得到第一订单的异常检测结果;异常检测结果包括:第一订单是否为异常订单。本申请实现了利用人工智能模型智能化地分析异常订单的效果,提升了异常订单检测的效率和准确性,并且提升了物流流转的效率和妥投率。

集装箱多式联运网络碳排放核算方法

NºPublicación:  CN120706684A 26/09/2025
Solicitante: 
上海海事大学
CN_120706684_PA

Resumen de: CN120706684A

本发明公开了一种集装箱多式联运网络碳排放核算方法,首先,确定集装箱多式联运网络建模边界与数据集,其中,建模边界包括空间范围、时间范围和建模对象,数据集包括构建多式联运网络模型所需数据的节点属性、连边属性及节点运量数据;然后,建立数据驱动的多式联运网络模型,通过模型识别网络拓扑结构,估算网络边点流量;最后,结合不同运输方式与不同联运中转模式的能耗特性,计算网络碳排放量。该方案不仅可服务于单一枢纽集疏运网络碳排放评估,实现枢纽企业货运网络碳排放足迹追踪与驱动因素识别,更能服务于区域多式联运网络碳排放评估,实现区域货运网络碳排放治理水平评估与驱动因素识别,为衡量不同维度的多式联运网络碳减排发展水平提供理论工具。

生鲜冷链信息化水平自适应优化方法及装置

NºPublicación:  CN120706611A 26/09/2025
Solicitante: 
北京市农林科学院信息技术研究中心
CN_120706611_PA

Resumen de: CN120706611A

本发明提供一种生鲜冷链信息化水平自适应优化方法及装置,涉及物流与供应链管理技术领域,所述方法基于生鲜冷链信息化水平的多个关联特征维度,确定关联特征维度之间的耦合关联因子;基于耦合关联因子,获取生鲜冷链多源数据;基于生鲜冷链多源数据,确定不同时间间隔下生鲜冷链信息化水平变化速率;基于不同时间间隔下生鲜冷链信息化水平变化速率,确定生鲜冷链信息化水平变化速率的关键影响因子;基于关键影响因子、生鲜冷链信息化水平动态预测模型以及粒子群算法模型,确定优化生鲜冷链信息化水平的投入成本以及对应的时间节点。本发明提供的生鲜冷链信息化水平自适应优化方法,实现了生鲜冷链信息化水平的自适应优化。

基于机器学习与多因子综合分析的公转水潜力评估方法

NºPublicación:  CN120706944A 26/09/2025
Solicitante: 
湖南省交通科学研究院有限公司
CN_120706944_PA

Resumen de: CN120706944A

本发明公开了基于机器学习与多因子综合分析的公转水潜力评估方法,属于公转水潜力评估领域,该方法包括获取货物流量流向数据,对货物流向进行分类;收集影响公转水的因子;通过主成分分析法提取主要影响因子;基于得出的主要影响因子,计算各货物流向的主要影响因子综合得分,对影响因子综合得分进行动态修正;采用机器学习生成模拟数据,引入随机性扰动;采用K均值聚类法设定转水阈值,并结合热力图分析高潜力流向,输出优先转水、适度转水和不适合转水的决策分类。本发明利用模拟数据生成结合机器学习优化的方法,解决转水潜力评估中缺乏历史数据的问题,同时保证数据生成过程的科学性和实用性,基于模型潜力评分展示高潜力流向的分布和特征。

一种基于人工智能的机器人人机交互监管系统

NºPublicación:  CN120707047A 26/09/2025
Solicitante: 
杭州信圣泰智能科技有限公司
CN_120707047_PA

Resumen de: CN120707047A

本发明公开了一种基于人工智能的机器人人机交互监管系统,属于机器人监管技术领域;通过对用户的主动询问情况以及主动询问处理结果进行整合获取不同物品对应的库存不足物品排序表和不存在物品排序表,根据库存不足物品排序表和不存在物品排序表可以更精准高效的获取到不同用户的物品需求情况以及不同上架货物的缺货情况和补货情况;通过将每日出现的不同异常反馈类型以及对应出现的总次数进行整合计算来对不同的异常反馈类型进行分类和标记,使得管理人员和运维人员可以及时高效的获取到不同异常反馈类型产生的影响;本发明用于解决现有方案中机器人人机交互的监测数据挖掘整合维度单一以及监测数据利用效果不佳的技术问题。

一种信息确定方法、装置、设备及计算机可读存储介质

NºPublicación:  CN120706730A 26/09/2025
Solicitante: 
北京京东远升科技有限公司
CN_120706730_PA

Resumen de: CN120706730A

本申请实施例公开了一种信息确定方法,该方法包括:确定目标区的每一分拣区域的订单的第一单量和第二单量;其中,第一单量表征与目标区外交互的订单的单量,第二单量表征与目标区内交互的订单的单量;基于多个第一单量和多个第二单量,确定目标区的第一总单量;基于每一分拣区域对应的工作对象的历史日度产出效率,确定每一分拣区域的总日度产出效率;其中,日度产出效率是指工作对象每天的工作效率;基于第一总单量和总日度产出效率,确定每一子分拣区域对应的工作对象的日度数量;其中,子分拣区域是订单的每一作业类型对应的区域。本申请实施例还公开了一种信息确定装置、设备及计算机可读存储介质。

一种线材库房仓储智能化识别系统及方法

NºPublicación:  CN120707052A 26/09/2025
Solicitante: 
日照钢铁控股集团有限公司京华日钢(日照)信息技术有限公司北京国芯智科科技发展有限公司
CN_120707052_PA

Resumen de: CN120707052A

本发明公开了一种线材库房仓储智能化识别系统及方法,包括如下步骤:S1、采集多角度图像并识别线材特征;S2、将识别结果映射至库房空间坐标生成仓储状态图;S3、读取电子标签并与识别目标绑定确认身份;S4、构建动态库存数据库并实时更新线材状态;S5、接收出库请求,规划路径并生成搬运指令;S6、控制自动设备执行搬运并监测路径偏移;S7、搬运完成后更新库存状态并记录出库日志。本发明实现了线材仓储全流程自动识别与精准出入库控制,显著提升仓储效率与管理智能化水平。

一种托盘循环调度系统及应用方法

NºPublicación:  CN120706834A 26/09/2025
Solicitante: 
国网江苏省电力有限公司江苏电力信息技术有限公司
CN_120706834_PA

Resumen de: CN120706834A

本发明公开了一种托盘循环调度系统及应用方法,融合历史数据与生产计划,采用改进算法预测托盘需求,引入注意力机制提升精度;通过多模态传感器采集托盘多维状态信息,利用数据融合算法消除噪声,构建数字孪生模型实现状态同步;构建双层优化架构,上层结合改进粒子群与模拟退火算法求解全局方案,下层通过强化学习动态调整路径;基于数字孪生模型生成指令,采用事件触发机制减少通信负载,实现虚实交互闭环控制;建立实时评估指标体系,利用元学习算法快速适应新环境,持续优化系统参数。本发明多模块协同创新,显著提升托盘调度效率与智能化水平,实现生产物流全流程协同优化,为企业降本增效提供核心支撑。

一种全国播商智能化运营系统及方法

NºPublicación:  CN120707013A 26/09/2025
Solicitante: 
吴凯
CN_120707013_PA

Resumen de: CN120707013A

本发明公开一种全国播商智能化运营系统及方法,融合AI智能分身、播商楼优化、供应链协同、品牌管理、退货保障及播商APP集成等技术手段;AI智能分身模块依策略自动生成直播内容,实现与用户实时互动;播商楼提供专业直播与办公环境;紧密合作厂家与快递公司及外卖员保障商品供应与快速配送;品牌管理策略提升品牌知名度与形象;完善退货系统保护用户权益;播商APP提供一站式购物体验。该系统整合多方资源与技术,打造智能化、高效化、便捷化的运营体系,显著降低运营成本,提升销售效率与用户体验,增强品牌忠诚度,为直播电商行业带来革命性变革,引领行业发展新趋势。

一种数控刀具全生命周期管理的智能仓储系统及方法

NºPublicación:  CN120707044A 26/09/2025
Solicitante: 
无锡天仁致帧智能装备有限公司
CN_120707044_PA

Resumen de: CN120707044A

本发明公开了一种数控刀具全生命周期管理的智能仓储系统,涉及刀具管理技术领域;智能仓储模块采用RFID与双目视觉融合定位,配合多层穿梭车与智能货架实现高效存储;刀具管理模块构建数字孪生模型,利用LSTM‑GRU网络预测刀具寿命;库存优化模块运用算法预测需求并动态调整库存;质量追溯模块基于区块链实现数据存证与秒级溯源;决策支持模块通过多属性决策实现刀具选型和工艺优化;系统还包括能耗管理、人机交互等扩展模块,实现刀具从入库、存储、使用到报废的全流程智能化管理。本发明实现数控刀具全生命周期智能化管理,通过多技术融合与算法优化,提升仓储空间利用率、刀具寿命预测精度和库存周转率,增强企业在数控加工领域的竞争力。

智能头戴设备的配送方法

NºPublicación:  CN120707014A 26/09/2025
Solicitante: 
北京三快网络科技有限公司
CN_120707014_PA

Resumen de: CN120707014A

本公开提供一种智能头戴设备的配送方法,包括:确定配送运力对应的运单的配送进度信息以及配送运力的配送状态;根据配送运力的智能头戴设备或者与智能头戴设备通信连接的终端设备的位置服务功能确定配送运力位于配送运力的待取运单对应的取货点位置附近第一范围;获取智能头戴设备配置的图像采集装置采集运单货品对应的小票标识码,其中,智能头戴设备与配送运力当前登录的配送端服务应用账号绑定关联;基于对小票标识码的识别结果查询得到关联小票标识码的智能头戴设备的配送运力当前登录的配送端服务应用账号对应的运单信息,配送系统将小票标识码对应的运单的配送进度信息更新为已取货。本公开实施例可以提高本地配送服务的配送效率。

一种智能售货柜的库存盘点方法

NºPublicación:  CN120707043A 26/09/2025
Solicitante: 
浙江嗨便利网络科技有限公司
CN_120707043_PA

Resumen de: CN120707043A

本发明公开了一种智能售货柜的库存盘点方法,属于智能售货柜领域,通过划分监控区域、建立三维坐标系并识别商品坐标,闭柜期间构建自检曲线链,计算链间欧氏距监测盘存状态,发现异常触发商品量盘存机制并生成预警指令通知运维人员;同时记录自检盘存结果及链间欧氏距变化趋势值,分析调整因子动态更新盘存间隔;购物期间,以闭柜间隔期间最后一次自检曲线链为购物参考链,启动低频坐标采集并与购物参考链比对,动态欧氏距超阈值时切换至高频采集,闭柜时生成购物链比对更新库存,计算售货柜翻找指数和周转指数,分析调整需求值与陈列优先值动态调整货架;可实时监测盘点系统运行状态,动态调整盘存间隔,优化商品陈列,提高库存管理效率。

基于大数据的医疗仓库数据管理方法

NºPublicación:  CN120708849A 26/09/2025
Solicitante: 
烟台岸基网络科技有限公司
CN_120708849_PA

Resumen de: CN120708849A

本发明涉及医疗仓库数据管理领域,尤其涉及基于大数据的医疗仓库数据管理方法。包括:从医疗仓库数据管理系统中提取原始数据,对每个批次进行有效性筛选,得到有效批次,并对有效批次的库存量进行汇总,生成总可用库存量;从医疗仓库数据管理系统中获取医疗订单数据,基于总可用库存量,使用基于关联规则挖掘的动态补货算法计算得到最终补货量。解决了传统的库存管理方法依赖人工检查药品或医疗器械的过期日期和存储条件,耗时长且易出错,难以确保库存数据的实时准确性;传统补货策略忽略药品或器械在临床使用中的关联性,无法根据库存状态和市场需求动态调整,容易造成缺货或库存积压的技术问题。

一种基于数字化平台的铝模自动化排产方法

NºPublicación:  CN120706786A 26/09/2025
Solicitante: 
北京中铁建建筑科技有限公司中铁建设集团有限公司
CN_120706786_PA

Resumen de: CN120706786A

本发明公开了一种基于数字化平台的铝模自动化排产方法,包括如下步骤:将铝模BOM清单上传至铝模排产平台系统,铝模排产平台系统基于筛选功能对铝模BOM清单上的器件进行自动化识别,并生成生产任务单和打包清单;输出生产任务单和打包清单;基于生产任务单筛选出工厂库存里面内已有的器件直接进行提取,在工厂库存里面内已有的器件提取完成后,安排生产任务单中剩余器件的生产;根据生产计划或任务需求,铝模排产平台系统生成一份分拣总单,根据分拣总单对生产任务单中已准备好的器件进行分拣打包;对分拣打包好的器件进行扫码入库及扫码出库。通过本申请方法可以对每块铝模的流转进行有效追踪与管理,能更好的对资产进行精准的掌控。

基于改进遗传算法和层次聚类算法的多载量AGV任务调度方法

NºPublicación:  CN120706783A 26/09/2025
Solicitante: 
浙江工业大学
CN_120706783_PA

Resumen de: CN120706783A

本发明公开提供了基于改进遗传算法和层次聚类算法的多载量AGV任务调度方法,包括:首先,使用分层聚类算法的初始解生成方法,将任务点进行聚类,进行簇间和簇内的双层编码,随机生成初始配送顺序;同时,对遗传算法改进,用差分操作替代遗传算法中的变异操作;然后,进行改进遗传算法和双层编码策略的迭代更新;最后,将染色体的编码方式改为单层编码方式,继续改进遗传算法的迭代,得到多载量AGV调度方案。本发明公开的多载量无人牵引车任务调度方法,减少了多载量无人牵引车的行走距离,提高了任务完成的及时性。

一种基于货运碳排放与利润的多目标优化设计建模方法

NºPublicación:  CN120706243A 26/09/2025
Solicitante: 
南通大学
CN_120706243_PA

Resumen de: CN120706243A

本发明涉及多目标优化函数建模技术领域,尤其涉及一种基于货运碳排放与利润的多目标优化设计建模方法,包括:步骤一:根据最优化设计定义目标函数,目标函数分别为最小化货运碳排放和最大化货运利润;步骤二:设计决策变量;步骤三:验证约束条件确保模型的可行性和合理性;步骤四:对实验数据的六个决策变量进行多目标函数的运算,运算出每个决策变量如何单独满足最小货运碳排放和最大货运利润;步骤五:根据粒子群优化算法运算出满足所有目标函数的最优化设计的整体条件。本发明通过创新的建模和优化方案,能够有效减小货运碳排放、提高货运利润,并使得优化模型具有合理性、有效性。

港口堆场垛位全生命周期管理方法及装置

NºPublicación:  CN120706635A 26/09/2025
Solicitante: 
山东港口科技集团日照有限公司日照港集装箱发展有限公司日照港股份岚山港务有限公司
CN_120706635_PA

Resumen de: CN120706635A

本发明提供了一种港口堆场垛位全生命周期管理方法及装置,周期性获取堆场的地面信息和原始点云数据以及堆场各垛位的空间位置信息,并在创建新垛位时采用预设优化算法规划新垛位的位置;基于得到的原始点云数据、地面信息和空间位置信息构建堆场数字模型,并基于得到的原始点云数据确定各垛位的堆垛参数信息,之后将得到的地面信息、空间位置信息和堆垛参数信息存储至数据库;实时监控各垛位的状态信息,并基于各垛位的状态信息变化情况更新数据库中的目标数据,通过数据库记录目标数据的更新时间。采用本发明可以实现对港口堆场垛位的全生命周期管理,从而利于更充分利用港口堆场的承载能力。

大屏物流数据动态展示方法、系统、设备及存储介质

NºPublicación:  CN120705209A 26/09/2025
Solicitante: 
浪潮云洲工业互联网有限公司
CN_120705209_PA

Resumen de: CN120705209A

本发明涉及可视化技术领域,具体提供一种大屏物流数据动态展示方法、系统、设备及存储介质,包括:获取物流轨迹数据,并对物流轨迹数据进行正交解耦,得到多个字段各自的取值集合;基于每个字段的取值集合,计算字段的信息熵值,基于所述信息熵值确定字段对可视化决策的贡献度;对所述物流轨迹数据进行异常分析,确定异常事件;根据字段对可视化决策的贡献度将相应的取值集合转换为三维物流拓扑的显示参数,并在所述三维物流拓扑中标注异常事件。本发明在降低信息冗余的同时,提升关键物流指标与异常事件的全局可视化效果,为实时决策提供高效支持。

用于监控区域的安全系统网络以及用于监控该区域的方法

NºPublicación:  CN120704407A 26/09/2025
Solicitante: 
西克股份公司
CN_120704407_PA

Resumen de: CN120704407A

一种安全系统网络(1),用于监控例如仓库或工厂等区域(5),在区域(5)中,诸如自主驾驶的车辆(4)和人等的对象(8)一起移动。安全系统网络(1)包括中央处理设备(3),中央处理设备(3)设计为接收来自多个监控单元(2)的传感器数据(6),在传感器数据(6)中包含监控单元(2)在监控的区域(5)中检测到的对象(8)。中央处理设备(3)设计为用于合并接收的传感器数据(6)。中央处理设备(3)设计为根据合并的传感器数据创建对象列表(7),其中,对象列表(7)包含检测到的对象(8)以及相应的对象信息,并且将对象列表(7)传输到自主驾驶的车辆(4)。

一种电力安全工器具检测装置及其检测方法

NºPublicación:  CN120707042A 26/09/2025
Solicitante: 
国网湖北省电力有限公司咸宁供电公司
CN_120707042_PA

Resumen de: CN120707042A

本发明涉及电力施工器具检测管理技术领域,且公开了一种电力安全工器具检测装置及其检测方法,该检测装置包括:标签信息管理模块:配合融合标签用于进行RF ID、二维码、序列号数据的存储、同步和查询。本发明使用时,信息一致性高,RFID、二维码、序列号三者数据同步存储,确保信息实时更新,提升数据管理精准度;维护成本低,无需频繁更换标签,减少人工干预,提高管理效率;智能化管理,结合后台管理系统,可实现工器具的全生命周期追踪、自动核验和智能预警,提升管理的智能化水平,且融合标签使用时,能减少对RFID电子标签的冲击力,使得对RFID电子标签进行保护。

一种物流运输信息的生成方法和装置

NºPublicación:  CN120707023A 26/09/2025
Solicitante: 
北京京东远升科技有限公司
CN_120707023_PA

Resumen de: CN120707023A

本发明公开了一种物流运输信息的生成方法和装置,涉及物流管理技术领域。该方法的一具体实施方式包括:根据获取的待运输产品的产品信息进行产品打包,得到打包结果,并根据打包结果中各包裹对应的产品列表生成头程运单号,以及根据打包结果中的耗材属性与尾程物流服务的匹配结果生成尾程运单号,最终根据各包裹对应的产品列表、头程运单号和尾程运单号,生成待运输产品的物流运输信息。该实施方式能够在对产品进行打包操作完成后,再进行物流运输信息的生成,有助于提高物流运输信息的准确性。

一种无人机检测追踪适配低空经济道路纠察和物流方法

NºPublicación:  CN120708393A 26/09/2025
Solicitante: 
浙江省通信产业服务有限公司浙江省邮电工程建设有限公司
CN_120708393_PA

Resumen de: CN120708393A

本发明公开了一种无人机检测追踪适配低空经济道路纠察和物流方法,涉及无人机技术领域,本发明在道路纠察方面,通过无人机搭载的组合传感器系统采集道路车辆视频,经信息处理计算司机行为危险系数和驾驶危险系数,基于两者评估车辆危险等级并采取对应管控措施,如不同等级分别进行常规监控、重点跟踪、紧急预警等。在物流应用方面,包括订单接收处理、路径规划与无人机调度、飞行配送、货物签收与返程,涵盖了物流各环节的具体操作及判断方法。

物流订单的拣选处理方法、装置、设备及存储介质

NºPublicación:  CN120707245A 26/09/2025
Solicitante: 
深圳市信诚数字科技有限公司
CN_120707245_PA

Resumen de: CN120707245A

本申请涉及物流技术领域,提供了物流订单的拣选处理方法、装置、设备及存储介质。该方法包括获取预设时长内的第一订单信息,所述第一订单信息包括至少一个订单;判断各订单中是否存在紧急订单;若存在,分别生成各紧急订单的初始拣选路径;其中,各所述紧急订单均至少包括一条初始拣选路径;将初始拣选路径相同的紧急订单进行聚类,得到至少一个紧急订单集合;基于预设的紧急订单集合拣选方法分别对各所述紧急订单集合对应的物品进行拣选。该方法有效解决了传统模式下高优先级订单因排队等待导致的延迟问题。

作业对象的拣选方法、装置、存储介质和车辆

NºPublicación:  CN120706453A 26/09/2025
Solicitante: 
一汽物流(天津)有限公司
CN_120706453_PA

Resumen de: CN120706453A

本发明公开了一种作业对象的拣选方法、装置、存储介质和车辆。其中,放置作业对象的作业位部署有电子标签,电子标签与作业对象一一相对应,该方法包括:获取用于待拣选作业对象的目标对象的数量信息,并基于数量信息,设置电子标签的灯光提示信息,其中,灯光提示信息的类型的数量与数量信息相同;响应于检测到作业对象的拣选任务,控制电子标签至少显示灯光提示信息和拣选数量信息,其中,拣选任务用于指示待执行拣选操作,拣选数量信息用于表示待执行拣选操作的作业对象的数量;控制灯光提示信息的类型对应的目标对象,在作业位,对满足拣选数量信息的作业对象执行拣选操作。本发明解决了作业对象的拣选效率低的技术问题。

基于动态需求预测的多目标库存优化方法及智能决策系统

NºPublicación:  CN120707041A 26/09/2025
Solicitante: 
南京航空航天大学中船数字信息技术有限公司
CN_120707041_PA

Resumen de: CN120707041A

本发明公开了一种基于动态需求预测的多目标库存优化方法及智能决策系统,本发明首先采集缓存库系统的缓存库库存状态,包括考虑生产订单数据及AGV运输能力数据,并对其进行标准化处理,之后将该数据输入动态需求预测模块的LSTM神经网络模型中以预测未来时段原辅料需求;基于改进的多目标优化算法NSGA‑II求解补货量与补货周期,优化目标为总成本最低、缺货率最低及库存波动最小;通过生产管理系统下发补货指令至缓存库系统,调度AGV执行运输任务;并在生产过程中实时监控库存状态,根据波动系数触发策略调整或模型重训练,最终输出零缺货、低波动且成本最优的补货策略,适用于高动态制造环境。

应用于运输服务的询价方法、装置和系统

NºPublicación:  CN120707033A 26/09/2025
Solicitante: 
北京京东乾石科技有限公司
CN_120707033_PA

Resumen de: CN120707033A

本公开的实施例公开了应用于运输服务的询价方法、装置和系统。该方法的一具体实施方式包括:接收第一客户端针对运输任务发送的询价请求;根据询价请求,向第一客户端展示运输配置页面;通过运输配置页面获取第一客户端配置的运输需求信息,根据获取到的运输需求信息生成询价单;通过询价配置页面获取针对询价单的询价需求信息,根据获取到的询价需求信息,启动针对询价单的询价处理,得到询价处理结果,询价处理结果包括与询价单匹配的第二客户端;向第一客户端发送询价处理结果,以及通知第二客户端处理运输任务。该实施方式对不同询价场景的统一配置和支持。

一种稀土矿深加工分级包装与跨境物流集成方法

NºPublicación:  CN120707024A 26/09/2025
Solicitante: 
达茂旗巴音敖包资源有限公司
CN_120707024_A

Resumen de: CN120707024A

本发明提供了一种稀土矿深加工分级包装与跨境物流集成方法,该方法包括:对稀土矿跨境业务数据进行功能模型分层处理,形成功能模块调用关系网络;基于功能模块调用关系网络进行流程模板构建处理,获取动态流程组装规则库;对动态流程组装规则库实施服务埋点处理,生成用户行为分析数据集;对用户行为分析数据集进行引导策略构建处理,构建服务引导规则库;运用知识抽取算法对所述服务引导规则库进行知识图谱构建处理,得到稀土业务知识推理规则集;基于稀土业务知识推理规则集开展稀土矿跨境业务数据处理,生成口岸业务智能决策方案;借助信息共享,大幅缩短通关时间,降低物流成本,以及智能分级确保产品质量一致性,保障产业链各方权益。

一种多车型绿色车辆路径问题下的深度强化学习方法与系统

NºPublicación:  CN120707011A 26/09/2025
Solicitante: 
青岛恒星科技学院
CN_120707011_PA

Resumen de: CN120707011A

本申请公开了一种多车型绿色车辆路径问题下的深度强化学习方法与系统,涉及多车型绿色车辆路径优化技术领域,通过构建融合运输成本、惩罚成本与碳排放成本的多目标优化模型,采用创新性的LSTTC混合神经网络架构,结合长短期记忆网络的时间序列建模能力与Transformer的全局注意力机制,有效捕捉车辆调度中的时空关联特征。基于Actor‑Critic框架,通过双分支网络分别输出动作概率分布与状态价值评估,利用优势函数驱动策略参数更新,实现路径决策的在线强化学习。该方法可显著降低物流运输的综合成本并减少碳排放,适用于复杂动态环境下的多车型车辆路径规划场景。

客户管理方法、装置、设备及存储介质

NºPublicación:  CN120707155A 26/09/2025
Solicitante: 
上海东普信息科技有限公司
CN_120707155_PA

Resumen de: CN120707155A

本发明涉及数据处理技术领域,公开了客户管理方法、装置、设备及存储介质,该方法用于建立动态客户画像,并根据动态客户画像对客户进行管理。该方法包括:获取多源异构物流数据,并进行预处理,得到预处理数据;使用训练好的多模态数据融合模型对预处理数据进行融合,得到融合数据;基于预设的客户标签体系,通过机器学习算法对融合数据进行特征提取,并根据提取的特征生成动态客户画像;根据动态客户画像和实时物流状态,通过多目标优化算法生成个性化服务策略,并存储在预设的个性化服务策略库中;实时监控客户物流数据,当出现预设异常情况时,触发预警机制并从个性化服务策略库中匹配对应的个性化服务策略以启动相应的客户服务响应流程。

基于区块链的食材供应链全流程溯源系统及方法

NºPublicación:  CN120707166A 26/09/2025
Solicitante: 
广西猫头鹰科技有限公司
CN_120707166_PA

Resumen de: CN120707166A

本发明公开了一种基于区块链的食材供应链全流程溯源系统及方法,其中,信息采集模块,用于按照目标食材商品的流转过程,采集流转过程中所包含的每一个步骤所对应的步骤信息;关联模块,用于基于目标食材商品流转过程中各个步骤的步骤信息与目标食材商品进行关联;存储模块,用于将与目标食材商品完成关联的步骤信息通过区块链服务网络进行数据存储。通过本发明对食材商品的流转过程的每个步骤均进行信息采集,并将采集到的信息与目标食材商品进行关联后通过区块链技术完成数据存储,以此对食材流转全过程完成了数据留痕,使用户可以准确获取任一个步骤的相关数据,来对食材的流转过程进行完整溯源,大大提高了食材供应的安全性。

基于大数据的物流货运平台数据匹配方法及系统

NºPublicación:  CN120705602A 26/09/2025
Solicitante: 
张家港电子口岸有限公司
CN_120705602_PA

Resumen de: CN120705602A

本发明涉及工业过程控制领域,具体涉及一种基于大数据的物流货运平台数据匹配方法及系统。该方法首先每辆物流车在历史运输过程所选择的运输路径和在运输路径上的历史运输时长,根据物流车在各历史运输过程选择同一运输路径的次数和历史运输时长,确定当前运输路径,分析当前运输路径的可行性,并筛选出需要调整路径的待调整物流车,并确定每辆待调整物流车的多条可行运输路径以及每条可行运输路径的适宜指标,进而分析在路径调整时,每辆待调整物流车的优先级,并基于待调整物流车的优先级和各可行运输路径的适宜指标,对各待调整物流车的运输路径进行匹配调整。本发明能够准确对物流车的运输路径进行实时调整,提高路径规划匹配的效果。

基于BLM与MM的智能决策动态优化方法和系统

NºPublicación:  CN120706793A 26/09/2025
Solicitante: 
深圳市汉捷管理咨询有限公司
CN_120706793_PA

Resumen de: CN120706793A

本发明涉及企业战略决策优化技术领域,具体涉及基于BLM与MM的智能决策动态优化方法和系统,包括:通过MM系统采集供应链波动指数、社交媒体情感极性值、竞品价格变异系数和渠道库存饱和度,生成结构化市场特征数据集,将所述数据输入BLM模型解析引擎,计算价值主张权重偏移量、任务冲突矩阵和市场机会窗概率分布,输出战略要素状态向量,解析状态向量,识别资源冲突项、生成帕累托最优策略簇并计算风险熵值,形成可执行决策策略集,基于库存周转加速度与客户流失率变化曲率的反馈数据,动态更新BLM模型参数与MM系统采集权重。本发明,实现了从市场感知到策略执行的高效闭环优化,具备实时性强、风险控制精度高与系统自适应性优良等优势。

一种基于无人快递车与机器狗协同的自动化配送方法及系统

NºPublicación:  CN120707012A 26/09/2025
Solicitante: 
扬州大学
CN_120707012_PA

Resumen de: CN120707012A

本发明公开了一种基于无人快递车与机器狗协同的自动化配送方法及系统,所述方法包括无人车装载与路径执行,单元门基础定位,机器狗单次配送,返回与切换楼栋以及异常处理;所述系统包括单台无人快递车,单台机器狗以及人工操作平台,所述单台无人快递车配置有固定路径执行模块、楼栋号识别模块及机器狗装载舱;单台机器狗,配置有激光雷达、基础视觉传感器、通信模块及货箱;人工操作平台,用于接收异常事件通知并启动远程人工干预流程。本发明设备精简,仅需单台无人车与单台机器狗,硬件成本降低50%以上;流程稳定,固定楼栋号顺序配送,避免动态算法引入的不确定性;人工介入高效,异常事件直接上报人工平台,响应速度提升30%。

一种基于BIM的装饰供应链数据协同管理方法

NºPublicación:  CN120705218A 26/09/2025
Solicitante: 
湖北中建三局建筑工程技术有限责任公司中建三局集团有限公司
CN_120705218_PA

Resumen de: CN120705218A

本发明属于装饰工程技术领域,具体涉及一种基于BIM的装饰供应链数据协同管理方法,通过生成包含编码、型号及参数的商品ID,并将其与BIM模型组件建立唯一绑定关系,实现了模型数据与供应链信息的深度融合。进一步地,利用校验码机制对模型修改和库存变动进行差异检测,在差异超出阈值时触发回溯处理,从而精准定位并修复异常节点。该方法有效提升了BIM模型与供应链数据库之间的同步效率与数据一致性,解决了因信息不同步、版本错乱造成的协同障碍问题,为装饰工程的数字化管理提供了可靠的数据支撑。

一种基于多模态AI大模型的冷链仓库系统构建方法及冷链仓库系统

NºPublicación:  CN120707028A 26/09/2025
Solicitante: 
四川参盘供应链科技有限公司
CN_120707028_PA

Resumen de: CN120707028A

本发明公开了一种基于多模态AI大模型的冷链仓库系统构建方法及冷链仓库系统,属于智能冷链仓储领域,所述方法包括:在目标冷链仓库中部署多种类型的传感器,边缘网关对采集到的数据进行预处理,将处理后的数据发送到云端;云端接收将边缘网关的数据,将数据存储到云端部署的云计算平台的目标冷链仓库的多模态数据库;通过云计算平台的多模态融合模型处理多模态数据库中的数据,得到不同模态的融合模态特征;使用Transformer编码器处理融合后的特征张量,得到通用高级特征,根据目标冷链仓库的业务需求设计多任务输出头对高级特征进行处理。本发明提高了冷链仓库的运营效率和产品安全水平。

一种基于多模态融合算法的化工品泄露预警系统

NºPublicación:  CN120708165A 26/09/2025
Solicitante: 
上海朗晖慧科技术有限公司
CN_120708165_PA

Resumen de: CN120708165A

本发明提供了一种基于多模态融合算法的化工品泄露预警系统,包含影像监控模块、气压监控模块、试纸监测模块、温度监测模块、车辆行驶监控模块,以及泄露风险预估模块;所述泄露风险预估模块,基于影像监控模块、气压监控模块、试纸监测模块、温度监测模块、车辆行驶监控模块的回传数据,评估泄露风险等级。基于本系统的多维度融合评价泄露风险,能够精准、快速的发现化工品泄露的发生。

基于云计算的园林材料供应链协同管理系统

NºPublicación:  CN120706916A 26/09/2025
Solicitante: 
闽南理工学院
CN_120706916_PA

Resumen de: CN120706916A

本发明涉及供应链管理技术领域,公开了基于云计算的园林材料供应链协同管理系统,该系统为每项园林材料创建动态生命周期物料权属单元,并利用其动态健康指数和生长趋势预测,实现远期合约的智能匹配;风险监控引擎主动监控已签约物料的健康状况,一旦低于预设的风险阈值,即触发风险事件;全域替代品搜索模块将自动在供应商库存及项目余料循环池中寻找合格替代品;采购方确认后,合约重组模块以原子性事务完成标的物变更。本发明通过对活体物料的全生命周期动态跟踪与主动风险对冲,显著提高了远期合约的履约保障率,并实现了项目余料的价值再利用,提高了供应链的稳定与效率。

成套物资管控方法、系统及计算机设备

NºPublicación:  CN120707253A 26/09/2025
Solicitante: 
山东浪潮通软信息科技有限公司
CN_120707253_PA

Resumen de: CN120707253A

本发明属于数据处理技术领域。提出了一种成套物资管控方法、系统及计算机设备,建立成套件与子项的双向关联索引,当接收到成套件采购申请时,根据双向关联索引,关联显示待采购的成套件及包含的子项;根据接收到的采购订单到货信息,生成到货的子项的到货追溯码;根据接收到的成套件领用申请,根据双向关联索引确定成套件的子项,根据确定的子项的追溯码以及已审批的领用申请单,确定待出库的成套件并更新成套件库存;当接收到子项领用申请时,根据子项的到货追溯码以及已审批的领用申请单,确定待出库的子项并同时更新子项库存,根据双向关联索引以及更新的子项库存更新成套件库存,提升了库存利用效率和领用准确性。

一种多端协调优化拣货路径的方法

NºPublicación:  CN120707038A 26/09/2025
Solicitante: 
河北同福共享科技有限公司
CN_120707038_PA

Resumen de: CN120707038A

本发明涉及一种多端协调优化拣货路径的方法,包括:将各个仓库的物理布局转化为图结构;获取订单并查货;以图结构为基础,获取各PDA的实时位置信息等;筛选出距离目标货架号最近且行进方向朝向目标货架号;下发拣货任务单;使用PDA扫描条码号;生成出库单明细数据;将出库单状态更新为待审核,并通知后台服务器。本发明,通过将仓库物理布局转化为图结构,并综合考虑通道距离、宽度等因素,实现了拣货路径的智能规划与优化;通过实时获取PDA及拣货车的状态信息,实现了任务的精准分配与高效执行;提升了拣货效率与准确性,能够显著降低拣货成本,提高物流运作效率,为仓库管理提供了智能化、高效化的解决方案。

基于人工智能的无人仓管理方法及系统

NºPublicación:  CN120707056A 26/09/2025
Solicitante: 
上海通贸国际供应链管理有限公司
CN_120707056_PA

Resumen de: CN120707056A

本申请公开了基于人工智能的无人仓管理方法及系统,涉及人工智能技术领域,解决了现有技术往往依赖人工调度或简单排队规则处理预约请求,易因突发订单、资源冲突导致入库延迟或拥堵,进而导致无人仓管理方法效率较低的技术问题;通过基于预约数据生成物料入仓优先级并以此结合预约数据生成物料入仓时间数据;基于检测数据生成检测异常系数;当检测异常系数小于异常阈值时,基于检测数据和仓储数据生成最优匹配位置;将物料按照最优匹配位置进行物料存储,通过预约数据动态生成物料入仓优先级,量化存储紧急性与资源需求,同时结合物料入仓时间数据精确规划设备与人力调度,减少等待时间,提高了无人仓的吞吐量,进而提高无人仓管理方法的效率。

一种基于物联网综合数据分析的智能仓储监管系统

NºPublicación:  CN120707055A 26/09/2025
Solicitante: 
四川银谷碳汇再生资源有限公司
CN_120707055_PA

Resumen de: CN120707055A

本发明公开了一种基于物联网综合数据分析的智能仓储监管系统,属于仓储监管系统领域,包括:自助过磅子系统,用于对入库目标废旧物进行自动称重,获取并加密存储毛重数据和皮重数据,同时捕获废旧物的初始状态图像集;中央控制服务器,通信连接自助过磅子系统,包含:状态比对模块,用于在目标废旧物出库时调取其入库状态图像集,并与实时采集的出库状态图像集进行多维度相似度匹配;异常溯源引擎,当重量偏差率超过预设阈值或图像相似度低于设定标准时激活;调取目标废旧物存储周期内的连续监控视频流进行异常事件识别。本发明,能够更全面的监管废旧物出入库阶段,出现异常时及时发现异常并进行补救。

物流路径的规划方法、装置、电子设备及存储介质

NºPublicación:  CN120706673A 26/09/2025
Solicitante: 
赛力斯汽车有限公司
CN_120706673_A

Resumen de: CN120706673A

本申请涉及物流技术领域,公开了一种物流路径的规划方法、装置、电子设备及存储介质,规划方法包括:响应于物流指令,根据当前场景数据生成表征当前场景线路的栅格地图;其中,物流指令是表征将指定物流对象移动至指定位置的指令;栅格地图包括表征各个栅格占用情况的栅格状态值,栅格状态值的大小与占用解除率呈反比;将栅格地图输入预测模型,得到目标移动策略,以确定出表征指定物流对象移动至指定位置的目标移动路径;其中,目标移动策略中所有物流对象对应的移动路径中经过栅格的栅格状态值之和,是所有移动策略中栅格状态值之和的最小值。本申请目标移动策略能保证指定物流对象顺利移动至指定位置,提高了移动策略的实用性。

一种物料配送方法、装置、电子设备及计算机程序产品

NºPublicación:  CN120707048A 26/09/2025
Solicitante: 
蔚来汽车科技(安徽)有限公司
CN_120707048_PA

Resumen de: CN120707048A

本申请适用于生产制造技术领域,提供了一种物料配送方法、装置、电子设备及计算机程序产品。包括:获取各个物料库位的剩余物料信息、各个配送车辆的车辆位置信息和第一工作状态,以及各个配送人员的配送能力信息和第二工作状态;根据剩余物料信息,生成配送订单和/或返空订单;根据配送订单和/或返空订单、车辆位置信息、第一工作状态、配送能力信息以及第二工作状态,确定目标配送车辆和目标配送人员;将配送订单和/或返空订单发送至目标配送车辆和目标配送人员,以指示目标配送人员通过目标配送车辆完成配送订单和/或返空订单。通过本方法,可以充分获取生产线上的各种信息后再指挥物料配送,可以充分利用配送资源,提高了物料配送的效率。

一种基于传感器定位和身份识别的立体化仓储管理系统

NºPublicación:  CN120707046A 26/09/2025
Solicitante: 
广州市公用事业技师学院(广州市公用事业高级技工学校、广州市公用事业高级职业技术培训学院)
CN_120707046_PA

Resumen de: CN120707046A

本发明涉及仓储智能管理技术领域,且公开了一种基于传感器定位和身份识别的立体化仓储管理系统,包括传感器网络、中央处理单元及数据库、货物识别单元、移动机器人,所述传感器网络由多个传感器组成,用于实时监测货架上的货物位置和状态;中央处理单元及数据库用于收集和分析传感器网络提供的数据。本发明通过设置货物识别单元,实现了对货物信息的精确追踪与管理,大大提高了物流效率;采用先进数据加密和错误检测技术,增强了系统的安全性;智能分析模块与输入输出控制模块的结合,确保了数据处理的高效性和准确性,移动机器人的导航系统显著提高了货物搬运的自动化和准确性,减少了人为错误和作业时间,实现了仓库管理的智能化和精准化。

料箱型机器人仓储系统全流程订单履约优化方法

NºPublicación:  CN120706631A 26/09/2025
Solicitante: 
清华大学深圳国际研究生院
CN_120706631_PA

Resumen de: CN120706631A

本发明提供一种料箱型机器人仓储系统全流程订单履约优化方法,包括:S1、针对料箱型机器人仓储系统中订单到达、料箱需与订单匹配出库、机器人负责搬运的全流程特点,建立“订单分配‑存储命中‑机器人调度”三层业务环节柔性耦合决策框架;S2、采用基于数学规划的模型分解算法,通过分层分解与迭代优化,实现联合决策问题的高效求解;S3、根据步骤S2的逻辑,设计适应中大规模问题的基于旋转固定变量的数学启发式算法,以构造出满足多料箱机器人仓库实际需求的订单、料箱和机器人最优指派和排序结果;S4、根据步骤S3构造的所述订单、料箱和机器人最优指派和排序结果进行作业,实现料箱型机器人系统的全流程订单履约联合优化。

一种用于集装箱多式联运网络的物流报价方法及装置

NºPublicación:  CN120707034A 26/09/2025
Solicitante: 
中国铁建股份有限公司中铁十四局集团有限公司
CN_120707034_PA

Resumen de: CN120707034A

本发明属于智能物流技术领域,公开了一种用于集装箱多式联运网络的物流报价方法及装置,包括:从集装箱多式联运网络的运输数据中,提取得到与运输成本相关的参数;获取预确定的运输路径、待运输货物的货物重量和预确定的目标结算货币;根据预确定的运输路径、待运输货物的货物重量和预确定的目标结算货币,并结合与运输成本相关的参数,计算得到预确定的运输路径中的每个运输段的成本;其中,每个运输段的成本包括每个运输段的动态运费、固定费用和附加费用;基于预确定的运输路径中的每个运输段的成本,生成待运输货物的物流报价方案;本发明实现了集装箱多式联运网络物流报价的自动化、准确化和透明化,有力推动物流行业智能化发展。

商品对象流转过程的数据处理方法、装置及电子设备

NºPublicación:  CN120707032A 26/09/2025
Solicitante: 
昆山斯迈尔包装制品有限公司
CN_120707032_PA

Resumen de: CN120707032A

本发明涉及供应链技术领域,具体涉及商品对象流转过程的数据处理方法、装置及电子设备,其中,商品对象流转过程的数据处理方法包括以下步骤:商品入库,分配唯一编码,关联商品的卖家流转信息和卖家的第一评价信息;存储商品时,通过预设的边缘采集设备获取商品的中间流转信息和第二评价信息;分销商品时,进行数据追踪获取商品的买家流转信息和买家的第三评价信息;建立流转过程数据库,根据流转过程数据库进行商品的流转追踪以及优化管理。本发明能够实现商品流转的全时段追踪,通过监控商品流转的工作流实现对商品流转中产生的数据的自动化处理,提高商品流转的效率,能够根据流转过程数据库进行商品的流转追踪以及优化管理。

一种物流运输车辆的调度方法及相关装置

NºPublicación:  CN120707010A 26/09/2025
Solicitante: 
广东职业技术学院
CN_120707010_PA

Resumen de: CN120707010A

本发明公开了一种物流运输车辆的调度方法及相关装置,涉及物流运输技术领域,所述方法包括:基于货物订单数据分析各货物订单的优先级;结合负载分析进行物流运输车辆的调度分析和订单分配,获得各目标物流运输车辆的目标订单分配方案;基于当前天气信息结合加权有向图进行各道路通行的天气影响分析;基于多模态交通数据进行各道路的交通流量预测;基于交通流量预测数据和天气影响数据结合各货物订单的优先级和目标订单分配方案进行运输路线规划;分析各初始运输路线的车辆行驶能耗和车辆损耗成本以确定目标运输路线,将其传输至车辆终端。本发明使所规划出的目标运输路线更为准确,从而能够保证目标物流运输车辆将货物及时送达。

用于将硬件-软件-云转换为即服务(AAS)的系统和方法

NºPublicación:  CN120707177A 26/09/2025
Solicitante: 
英迈国际有限公司
CN_120707177_PA

Resumen de: EP4621691A1

Computerized systems and methods are described for converting traditional technology products into an "As a Service" (AaS) model, facilitating the transition from capital expenses (CapEx) to operational expenses (OpEx). Methods include receiving user inputs for technology product selections and accessing a Real-Time Data Mesh (RTDM) to retrieve data. An Advanced Analytics and Machine Learning (AAML) Module analyzes user inputs and market data, optimizing the conversion into subscription-based services. Process results are displayed to the user through a Single Pane of Glass User Interface (SPoG UI). An AaS Conversion Module performs transition of products into customizable subscription packages. This method emphasizes dynamic pricing based on usage, flexibility, and/or scalability of services. Methods are provided for real-time reporting, subscription management, and vendor system integration, enabling a comprehensive AaS conversion process suitable for modern technology products and services.

一种基于流量驱动的水泥动态物质流模型

NºPublicación:  CN120707039A 26/09/2025
Solicitante: 
哈尔滨工业大学
CN_120707039_PA

Resumen de: CN120707039A

一种基于流量驱动的水泥动态物质流模型,它涉及一种水泥动态物质流模型。本发明为了解决现有物质流模型无法表征大尺度动态特征、嵌入不确定性分析框架、覆盖全生命周期细节的问题。本发明的步骤包括步骤1、通过对水泥的生产量、进出口流量以及进出口水泥产品的水泥流量,得到水泥的表观消费量;步骤2、根据水泥流入各终端使用部门的市场份额,计算每年水泥流入各使用部门的数量;步骤3、基于水泥生存函数和各终端使用部门的实际水泥流入情况,计算水泥的在用库存量和报废流出量;步骤4、运用蒙特卡洛模拟算法,对水泥动态物质流模型进行不确定性分析。本发明属于水泥资源可持续管理与循环利用技术领域。

一种基于多模态数据融合的电动货车动态调度系统、计算机可读存储介质和计算机程序产品

NºPublicación:  CN120706818A 26/09/2025
Solicitante: 
威海一道电动汽车科技有限公司
CN_120706818_A

Resumen de: CN120706818A

本发明提供一种基于多模态数据融合的电动货车动态调度系统、计算机可读存储介质和计算机程序产品,其解决了现有的系统未能将电动货车的能耗预测、电池状态等关键数据与路线规划深度融合,无法为用户提供兼顾能效和时效性的最优行驶方案,难以满足电动货车高效、智能的运行需求的技术问题,可广泛应用于电动货车控制系统领域。具体包括数据输入模块,用于接收运输任务的数据信息;数据采集模块,用于采集电动货车的数据和路况的数据;路线生成模块,用于依据运输任务的数据,生成有效路线集;成本评估模块,用于对有效路线集进行成本评价,生成最优路线方案;还包括电量监控模块,用于采集电动货车当前电量,并依据当前电量,给出充电决策。

一种银行的同号卡的交付进度确定方法及相关装置

NºPublicación:  CN120707262A 26/09/2025
Solicitante: 
中国农业银行股份有限公司河北省分行
CN_120707262_PA

Resumen de: CN120707262A

本申请公开了一种银行的同号卡的交付进度确定方法及相关装置,涉及银行卡处理技术领域,该方法包括:首先接收银行操作设备发送的多个快递单号。然后从银行数据仓库和银行报表服务器分别获取多个同号卡的信息和多个人物卡的信息,并将其存储至应用表。再根据快递单号获得收件人信息,利用收件人信息在应用表中查询,获得与快递单号对应的目标人物卡的信息,利用目标人物卡的卡号在应用表中查询,获得与快递单号对应的目标同号卡的信息,自动将快递单号与同号卡的信息进行匹配。最后,将快递单号及根据快递单号获取的物流信息添加至目标同号卡的信息中并更新,以使客户可以随时查看同号卡的物流进度,简化了同号卡的交付进度跟踪过程。

一种AMR运输控制方法及系统

NºPublicación:  CN120707018A 26/09/2025
Solicitante: 
奇瑞汽车股份有限公司
CN_120707018_PA

Resumen de: CN120707018A

本发明公开一种AMR运输控制方法及系统,涉及物流运输技术领域,包括:确定空闲AMR到每个任务需求站点所途径的运输节点个数;根据单个工位下对任务需求站点的排序和每个工位的剩余消耗时间,对批次内所有任务需求站点进行排序,得到任务需求站点的分配顺序;以距离各任务需求站点运输节点最少的空闲AMR为预选AMR,判断当前任务需求站点是否落入预选AMR的配送范围内,若落入,则控制AMR执行任务需求站点对应的任务,以将需求的物料运输至对应任务需求站点。减少因拥堵导致的AMR等待时间,提升车间物料运输效率,缩短物料运输时长。

一种无人车自动呼叫方法及设备

NºPublicación:  CN120706649A 26/09/2025
Solicitante: 
安徽九曜智能科技有限公司
CN_120706649_PA

Resumen de: CN120706649A

本发明公开了一种无人车自动呼叫方法及设备,属于无人车调度技术领域,用于解决现有无人车取货呼叫方式无法自动确定最优取货位和最优放货位从而自动取货放货,导致仓库内出货放货顺序无规划性且过于依赖人工参与的技术问题。方法包括:基于当前取货任务的取货信息,分配第一无人车进行任务执行;根据取货信息以及当前仓库货物信息,生成最优取货位置及最优取货路径,并向第一无人车发送取货指令;基于当前放货任务的放货信息,分配第二无人车进行任务执行;根据放货信息以及当前仓库货物信息,生成最优放货位置及最优放货路径,并向第二无人车发送放货指令;监控第一无人车和/或第二无人车的实时位置与行驶路线,并进行异常反馈告警。

一种基于AI的智慧校园物资配送方法及系统

NºPublicación:  CN120707031A 26/09/2025
Solicitante: 
武汉伊格尔网络科技有限公司
CN_120707031_PA

Resumen de: CN120707031A

本发明公开了一种基于AI的智慧校园物资配送方法及系统,涉及物资配送技术领域,通过采集小车定位的多模态数据,基于图优化模型融合各模态数据,输出小车在校园地图内的三维位置,构建小车随时间变化的位置动态图;分析动态图中各时刻融合位置与各模态数据输出位置的差值,计算每种模态数据在各时刻的贡献权重,计算数据贡献不稳定值;记录图优化模型在多轮迭代中的状态增量变化,计算迭代收敛过程的收敛异常值;最终,结合收敛异常值与数据贡献不稳定值综合判断融合结果是否可靠。若判断结果显示数据融合出现错误,系统将立刻停止当前小车的物资配送任务,防止因定位误差导致配送故障或安全隐患,确保配送系统整体运行的安全性与准确性。

一种基于多模态自适应学习的大模型在智慧物流中的应用方法及系统

NºPublicación:  CN120707007A 26/09/2025
Solicitante: 
浪潮云信息技术股份公司
CN_120707007_PA

Resumen de: CN120707007A

本发明涉及人工智能技术领域,具体为一种基于多模态自适应学习的大模型在智慧物流中的应用方法及系统,包含以下步骤:多模态数据采集,数据预处理,数据转换,数据融合;有益效果为:提升决策准确性:多模态数据融合模块能够处理和整合多种类型的数据,提供更全面的信息支持,使模型在决策时能够综合考虑更多因素,提高决策的准确性和可靠性。

危险品运输车辆管制系统

NºPublicación:  CN120712587A 26/09/2025
Solicitante: 
韩国天然气公社
CN_120712587_PA

Resumen de: WO2025159342A1

According to an embodiment of the present application, a dangerous material transportation vehicle control system is provided. The system may comprise: an IoT module unit mounted in one area of a dangerous material transportation vehicle so as to generate location information about the vehicle on the basis of a GPS signal; a pressure sensing unit and a temperature sensing unit provided in a manifold device for a dangerous material storage container of the vehicle so as to generate each of pressure information and temperature information related to the dangerous material storage container; and a control server, which receives the location information, the pressure information and the temperature information through at least one from among the IoT module unit, the pressure sensing unit and the temperature sensing unit so as to monitor the location of the vehicle and a dangerous state of the dangerous material storage container.

具有至少一个产品载体和至少一个数据介质的系统、用于提供系统的方法和用于确定存储在系统的数据介质上的特征数据集的方法

NºPublicación:  CN120712583A 26/09/2025
Solicitante: 
TDK\u7535\u5B50\u80A1\u4EFD\u6709\u9650\u516C\u53F8
CN_120712583_PA

Resumen de: WO2024179930A1

The invention relates to a system (1000) having at least one goods carrier (1) and at least one data medium (3), wherein: a plurality of the same type of electronic components (2) are arranged on the at least one goods carrier (1); each of the electronic components (2) has an individual position (20) on the at least one goods carrier (1); each of the electronic components (2) can be detached from the at least one goods carrier (1) manually by a user or automatically; the at least one goods carrier (1) has a unique label (10); an individually assigned identification dataset (30) is stored on the at least one data medium (3) for each of the electronic components (2); and for each of the electronic components (2), the individually assigned identification dataset (30) stored on the data medium (3) can be obtained using the unique label (10) of the goods carrier (1) and the individual position (20) on the goods carrier (1). A method is also disclosed for providing a system and a method for determining a characteristic data set stored on a data medium of a system.

METHOD AND ELECTRONIC DEVICE FOR PROVIDING INFORMATION

NºPublicación:  KR20250141119A 26/09/2025
Solicitante: 
쿠팡주식회사
KR_20250141119_PA

Resumen de: WO2025150629A1

Disclosed is a method by which an electronic apparatus provides information. Particularly, the method by which an electronic apparatus provides information may comprise the steps of: from among orders that can be automatically allocated to a plurality of delivery persons related to a service, checking at least one first order for which a delivery operation has not been performed for a first set time or more; on the basis of information regarding a first delivery person from among the plurality of delivery persons and information regarding the at least one first order, checking, from among the at least one first order, at least one second order that satisfies a set condition; and providing a terminal of the first delivery person with a page on which delivery information regarding each of the at least one second order is displayed.

오더 처리 방법, 태스크 스캐쥴링 방법, 장치 및 전자 기기

NºPublicación:  KR20250141236A 26/09/2025
Solicitante: 
항저우히크로봇씨오엘티디
KR_20250141236_A

Resumen de: WO2024199517A1

Embodiments of the present application provide an order processing method and apparatus, a task scheduling method and apparatus, and an electronic device. In the present embodiment, workstations in a warehouse are grouped, and the workstations which are close to each other or process orders having the same service attribute are divided into one group; during determining a shelf for a target order, whether a shelve corresponding to a current workstation meets the target order or not is determined first, and if not, whether a shelve corresponding to a current workstation group to which the current workstation belongs meets the target order or not is further determined. The priority of shelf matching is enriched, and compared with determining a shelf only according to the distance between the shelf and the current workstation, the shelf carrying distance can be reduced, the order processing efficiency is improved, and the material warehouse exit efficiency is improved.

SYSTEM FOR PROVIDING GOODS TRADING SERVICE USING PUBLIC LOCKER AND METHOD THEREOF

NºPublicación:  KR20250141093A 26/09/2025
Solicitante: 
김동묵
KR_20250141093_PA

Resumen de: KR20250141093A

본 발명은 물품 보관함을 이용한 물품 거래 서비스 제공 시스템 및 그 방법에 관한 것으로 물품 보관함을 이용한 물품 거래 서비스 제공 시스템은, 공공 장소에 비치되어 판매 물품을 보관하고, 상기 판매 물품에 대한 광고 출력 및 결제 수단을 제공하는 물품 보관함; 및 상기 판매 물품의 판매자가 온라인으로 구매자와 거래 협상을 완료하거나, 상기 물품 보관함을 통해 상기 판매 물품에 대한 실시간 오프라인 거래가 완료되면 상기 판매 물품을 해당 구매자가 수령할 수 있도록 상기 물품 보관함을 제어하는 관리 서버를 포함한다. 이를 통해 공공 장소에 비치되고 결제 시스템과 디스플레이 화면이 제공되는 물품 보관함을 이용하여 중고 또는 일반 물품의 거래가 이루어지도록 함으로써 판매자와 구매자 간 거래 시간 약속 및 대면이 불필요하고 중고 거래의 편의성을 향상시킬 수 있다.

보관 및 회수 시스템

NºPublicación:  KR20250141217A 26/09/2025
Solicitante: 
오카도이노베이션리미티드
KR_20250141217_PA

Resumen de: AU2024217146A1

A storage and retrieval system comprising: a first zone (100) comprising a storage structure (1), the storage structure comprising: a plurality of horizontal members arranged to form a grid pattern defining a plurality of grid cells; a plurality of upright members (3) configured to support the horizontal members (5,7) from below to define a storage area below the grid cells for storing stacks of storage containers (9); a second zone (200) separated from the first zone (100) by a divider (150), wherein the divider comprises an opening (152) such that the first zone (100) is in fluid communication with the second zone (200); a passage (160) extending from an associated grid cell (14a) of the storage structure into the second zone (200) via the opening (152) in the divider (150) such that a storage container can be moved between the first zone (100) and the second zone (200) via the passage (160); and a dehumidifier system (300) configured to draw and dehumidify air from the second zone (200) and discharge the dehumidified air into the first zone (100).

BUILDING MANAGEMENT SERVICE PLATFORM

NºPublicación:  KR20250140888A 26/09/2025
Solicitante: 
주식회사성우서비스
KR_20250140888_PA

Resumen de: KR20250140888A

본 발명은 건축물 관리 서비스 플랫폼에 관한 것으로, 보다 상세하게는 아파트, 오피스텔 또는 집합 건축물의 관리 요청 사항, 민원 요청 내용과 하자 수리 및 보수 요청 내용을 간편하게 접수하고, 접수된 요청 정보를 담당자에게 신속히 배정한 후, 처리 결과를 효과적으로 모니터링 할 수 있도록, 일반관리요청정보(110)와 하자처리요청정보(120)가 네트워크를 통해 수집되는 경우 처리요청이벤트(130)를 생성하고 수집되는 원 정보를 데이터베이스(140)에 저장하고 데이터 전처리모듈(210)에 전달하도록 구비되는 요청정보 수집부(100);와 상기 데이터 전처리모듈(210)에 전달되는 상기 일반관리요청정보(110)와 상기 하자처리요청정보(120)를 처리하여 정규화된 처리대상정보(220)를 생성하여 상기 데이터베이스(140)에 저장하고 상기 처리대상정보(220)를 이용하여 처리특성정보(230)를 생성하도록 구비되는 관리정보 생성부(200);와 사전에 상기 데이터베이스(140)에 설정된 처리정보(310)와 처리매핑정보(320)를 기초로 매핑프로세서(330)를 통해 처리특성정보(230) 별 처리담당정보(340)를 생성하고, 생성된 상기 처리담당정보(340)를 상기 데이터베이스(140)에 저장하며, 처리담당자(341), 하자처리요청자(121) 또는 관련담당자(111)에 네트워크로 상기

Congratulations and condolences event management system and method

NºPublicación:  KR20250140685A 26/09/2025
Solicitante: 
연제홍
KR_20250140685_PA

Resumen de: KR20250140685A

본 개시는 경조사 이벤트의 유족 단말, 상기 경조사 이벤트에 참여하는 방문객 단말, 및 상기 유족 단말과 방문객 단말과 통신하는 서버를 포함하는 경조사 이벤트 관리 시스템에 관련된다. 특정 유족 단말은 로비 페이지 상에서 제1 사용자 입력에 따라 경조사 관련 정보를 획득하고 - 상기 로비 페이지는, 상기 로비 페이지 상에 사용자의 경조사 이벤트를 생성하기 위한 제1 사용자 입력, 로비 페이지 상에 표시되는 적어도 하나의 경조사 이벤트 중 접속을 원하는 특정 경조사 이벤트에 접속하기 위한 제2 사용자 입력을 획득하도록 구성됨 -, 그리고 특정 유족 단말의 회원 ID, 및 상기 경조사 관련 정보를 포함한 경조사 이벤트에 대한 생성 요청을 생성하여 상기 서버로 전송하고, 상기 서버의 이벤트 관리 모듈은 상기 경조사 이벤트에 대한 생성 요청 내 회원 ID에 기초하여 회원 ID에 대응한 상기 유족 단말의 회원 정보를 회원 DB에서 검색하고, 상기 유족 단말의 회원 정보 및 상기 경조사 관련 정보에 기초하여 상기 경조사 이벤트를 생성하고, 상기 경조사 이벤트의 생성 결과인 경조사 이벤트 정보를 상기 특정 유족 단말로 전송하고, 상기 서버의 이벤트 처리 모듈은, 상기 서버로부터 수신한 경조사 이벤트 식별자에 기초하여

Apparatus and Method for Providing Container Truck Dispatch Service

NºPublicación:  KR20250140667A 26/09/2025
Solicitante: 
주식회사영연
KR_20250140667_PA

Resumen de: KR20250140667A

본 발명은 실시예는 컨테이너선 선적 계획 최적화에 따른 컨테이너 트럭 반입 순서 결정 서비스 제공 기술에 관한 것으로 터미널 서버로부터 야드 운영 계획 데이터를 수집하는 단계, 상기 수집된 터미널의 야드 운영 계획 데이터에 기반하여 터미널에서 컨테이너 단위로 반출입 순서를 결정하는 단계, 상기 결정된 컨테이너 반출입 순서에 기반하여 터미널에서의 컨테이너별 반출입 시간을 결정하는 단계 및 상기 결정된 컨테이너별 반출입 시간 정보를 반영하여 트럭기사 단말로 트럭 배차 시간 정보를 제공하는 단계를 포함하는, 컨테이너선 선적 계획 최적화에 따른 컨테이너 트럭 반입 순서 결정 방법에 의해 최적 컨테이너 야드 플래닝에 따른 트럭 도착 순서 결정 및 통지가 가능하여 터미널 게이트에서의 컨테이너 트럭 병목 현상을 해소할 수 있는 컨테이너선 선적 계획 최적화에 따른 컨테이너 트럭 반입 순서 결정 방법 및 서비스 제공 장치를 제공할 수 있는 효과가 도출된다.

作業管理装置、作業管理システム、作業管理方法及びプログラム

NºPublicación:  JP2025139023A 26/09/2025
Solicitante: 
日本電気株式会社
JP_2025139023_PA

Resumen de: JP2025139023A

【課題】車両の運転者が荷物について行う作業が規定の範囲内の作業であるか否かを映像に基づいて判定する。【解決手段】作業情報指定手段は、車両に積み下ろしされる荷物のうちで特定の荷物の荷主との間で定められた、前記特定の荷物に対して行う所定の作業を示す作業情報を指定する。作業情報取得手段は、作業情報指定手段が指定した作業情報を取得する。映像データ取得手段は、特定の荷物に対して前記車両の運転者が行う作業を撮像することで生成された映像データを取得する。作業分析手段は、映像データに基づいて運転者が行った作業を識別する。判定手段は、作業分析手段で識別された作業が作業情報で規定された所定の作業であるか否かを判定し、判定結果を出力する。【選択図】図4

荷物管理装置、荷物管理システム、荷物管理方法及びプログラム

NºPublicación:  JP2025139024A 26/09/2025
Solicitante: 
日本電気株式会社
JP_2025139024_PA

Resumen de: JP2025139024A

【課題】車両に積載される荷物の外観に基づく荷姿が、荷物の荷姿を示す情報と一致しているか否かを、効率的に判定する。【解決手段】荷物情報取得手段は、車両に積み下ろしされる荷物のうちで特定の荷物の荷姿を示す荷姿情報を取得する。映像データ取得手段は、特定の荷物を撮像することで生成された映像データを取得する。荷姿分析手段は、映像データから、特定の荷物の外観に基づく荷姿を識別する荷姿分析手段と、判定手段は、荷姿分析手段で識別された特定の荷物の荷姿が、荷姿情報が示す特定の荷物の荷姿と一致するか否かを判定し、判定結果を出力する。【選択図】図4

CARGO COMPARTMENT MONITORING DEVICE AND CARGO COMPARTMENT MONITORING METHOD

NºPublicación:  US2025299553A1 25/09/2025
Solicitante: 
NISSAN MOTOR CO LTD [JP]
Nissan Motor Co., Ltd
CN_119156654_PA

Resumen de: US2025299553A1

A cargo compartment monitoring device and a cargo compartment monitoring method acquire cargo information including at least information indicating a position of a cargo loaded in a cargo compartment of a vehicle in the cargo compartment, via an acquiring unit, record the cargo information related to the cargo newly loaded on the vehicle in association with a user when the new user boards the vehicle, determine whether the cargo information has been updated, determines whether the vehicle has arrived at a destination point of the user, and notify a first alert via the notifying unit in a case of determining that the cargo information has not been updated and the vehicle has arrived at the destination point.

TEMPERATURE-WEIGHTED UNIVERSAL NODE COORDINATION

NºPublicación:  WO2025199397A1 25/09/2025
Solicitante: 
LINEAGE LOGISTICS LLC [US]
LINEAGE LOGISTICS, LLC

Resumen de: WO2025199397A1

Disclosed is a system for interpolating ambient conditions across a facility, the system including: sensors to generate sensor data indicating ambient conditions in a facility and a computer system that can: receive the sensor data from the sensors, determine real-time temperature information for different locations of the facility based on processing the received sensor data, retrieve a machine learning model that was trained using historic facility data to interpolate ambient conditions across a facility using temperature information that corresponds to a portion of the facility, apply the model to the real-time temperature information for the different locations of the facility, determine, based on applying the machine learning model, real-time temperature information for the facility, and return the real-time temperature information for the facility.

ARTICLE MANAGEMENT SYSTEM, ARTICLE MANAGEMENT METHOD, AND RECORDING MEDIUM HAVING RECORDED THEREON ARTICLE MANAGEMENT PROGRAM

NºPublicación:  US2025299130A1 25/09/2025
Solicitante: 
SHARP KK [JP]
SHARP KABUSHIKI KAISHA

Resumen de: US2025299130A1

The management server includes an acquisition processing circuit that acquires an individual picking processing time when each of a plurality of articles is arranged at each of a plurality of arrangement positions, a prediction processing circuit that acquires picking prediction information of the article, an evaluation processing circuit that evaluates a combination picking processing time corresponding to a plurality of arrangement position combinations based on the individual picking processing time and the picking prediction information, and a determination processing circuit that determines one arrangement position combination from the plurality of arrangement position combinations based on the combination picking processing time.

INFORMATION PROCESSING SYSTEM, INFORMATION PROCESSING APPARATUS, INFORMATION PROCESSING METHOD, AND NON-TRANSITORY RECORDING MEDIUM

NºPublicación:  US2025299152A1 25/09/2025
Solicitante: 
WATANABE SHOTA [JP]
OKAMOTO TOSHIHIRO [JP]
KAKINUMA AKIHIRO [JP]
RICOH COMPANY LTD [JP]
Watanabe Shota,
Okamoto Toshihiro,
Kakinuma Akihiro,
Ricoh Company, Ltd
EP_4621680_PA

Resumen de: US2025299152A1

An information processing system includes a terminal device including a reader and first circuitry, and a server including second circuitry. The first circuitry reads, with the reader, a first code including first identification information identifying a package and a second code including second identification information identifying a position of the package; extracts the first identification information and the second identification information from the first code and the second code, respectively; and transmits the first identification information and the second identification information to the server. The second circuitry manages, in a memory, information on the package identified by the first identification information and information on the position identified by the second identification information in association with each other based on the first identification information and the second identification information.

An Inventory Management System

NºPublicación:  AU2025201629A1 25/09/2025
Solicitante: 
COBALT EXTREME PTY LTD
Cobalt Extreme Pty Ltd
AU_2025201629_A1

Resumen de: AU2025201629A1

1. A method for monitoring and/or tracking inventory items, the method comprising the steps of: a) Applying a machine-readable identifier to a portion of an inventory item that, in use, is substantially protected from environmental conditions; b) Storing one or more pieces of data relating to the inventory item at a first time in an electronic database and associating the one or more pieces of data with the identifier; c) Reading the identifier at a second time subsequent to the first time and updating the electronic database with one or more pieces of additional data relating to the inventory item at the second time; d) Comparing, using a computing device, the one or more pieces of data at the first time with the one or more additional pieces of data at the second time to generate information relating to performance characteristics of the inventory item; and e) Making, based on the performance characteristics, one or more changes to a design of the inventory item to alter the performance of the inventory item. 1. A method for monitoring and/or tracking inventory items, the method comprising the steps of: a) Applying a machine-readable identifier to a portion of an inventory item that, in use, is substantially protected from environmental conditions; b) Storing one or more pieces of data relating to the inventory item at a first time in an electronic database and associating the one or more pieces of data with the identifier; c) Reading the identifier at a second time subsequ

SMART SENSOR DEVICE FOR CONTAINER SYSTEMS

NºPublicación:  US2025297882A1 25/09/2025
Solicitante: 
READYBIT INC [US]
READYBIT INC

Resumen de: US2025297882A1

Systems, methods, and devices relate to a smart sensor usable for monitoring materials within container systems. A smart sensor device may include a base portion provided on an exterior of a tank containing a material, and an internal cavity housing a sensor to detect a level of the material within the tank through an outer surface of the container. The smart sensor device may track readings over time, from one or more container systems, and identify various usage trends. Usage trends and safety alerts may include current supply levels, historical usage rates, and low-level alerts. Such alerts and notifications may be communicated to a dashboard on a remote computing device.

SYSTEM AND METHOD FOR VAPORIZATION DEVICE RESUPPLY BASED ON USAGE DATA

NºPublicación:  US2025295177A1 25/09/2025
Solicitante: 
GLAS INC [US]
GLAS, INC
GB_2614163_A

Resumen de: US2025295177A1

Systems, methods, devices, and computer-readable media storing instructions for predicting and facilitating resupply of vaporization device cartridges are disclosed. Vaporization usage data generated by a vaporization device is sent to a mobile device or remote server for analysis to determine when additional supply of cartridges will be needed. The vaporization usage data may include information regarding usage of the vaporization device by a user (e.g., puff count, average puff length, average daily use), which information may be used to estimate when a current cartridge (and any known spare cartridges) will be depleted. Based upon this estimate, a resupply order may be automatically placed or may be proposed to the user. Alternatively, information regarding nearby retail locations having appropriate replacement cartridge inventory may be generated and sent to the user to facilitate the user obtaining a resupply.

SECURE PLATFORM AND DATA REPOSITORY FOR FUR OR SKIN COMMODITIES

NºPublicación:  US2025299234A1 25/09/2025
Solicitante: 
WE PLAN FOR S A [PA]
We Plan For S.A

Resumen de: US2025299234A1

A method of tracking a provenance of a fur or a leather skin includes providing at least one of an animal, a fur pelt, and a leather skin, removing a DNA sample from the at least one of the animal, the fur pelt, and the leather skin, and storing the DNA sample. The DNA sample and DNA information is stored in a DNA repository that may be securely accessed by authorized individuals through a networked device, such as a computer, smart phone, or tablet. The method further includes assigning a globally unique identifier number to the at least one of the animal, the fur pelt, and the leather skin and storing the identifier number. The method further includes selling the at least one of the animal, the fur pelt, and the leather skin and storing sale information and associating the sale information with at least one of the identifier number and the DNA sample.

SYSTEMS AND METHODS FOR LIGHT DETECTION AND RANGING (LIDAR) BASED GENERATION OF A HOMEOWNERS INSURANCE QUOTE

NºPublicación:  US2025299263A1 25/09/2025
Solicitante: 
STATE FARM MUTUAL AUTOMOBILE INSURANCE COMPANY [US]
State Farm Mutual Automobile Insurance Company
US_2023368304_PA

Resumen de: US2025299263A1

The following relates generally to light detection and ranging (LIDAR). In some embodiments, a homeowners insurance quote is produced based upon data received from a LIDAR camera. For instance, in some embodiments, a system: receives light detection and ranging (LIDAR) data generated from one or more LIDAR cameras; analyzes the LIDAR data to determine or identify one or more features or characteristics of a home; and generates an electronic homeowners insurance quote based upon, at least in part, the one or more features or characteristics of the home determined or identified from the LIDAR data.

QUANTUM SYSTEM FOR A CENTRALIZED AND CLOUD-BASED, REAL-TIME ON-SHELF MERCHANDISE INVENTORY MONITORING SYSTEM

NºPublicación:  US2025299158A1 25/09/2025
Solicitante: 
POGGI INC [US]
POGGI, INC
CN_120476411_PA

Resumen de: US2025299158A1

There is provided a Quantum system for a centralized and cloud-based, real-time merchandise inventory monitoring system. This system comprises multiple layers or shells αp, αa, αd, αe, αc, and αc1 represent perception, analog signals, digital signals, Ethernet processing, the cloud database, and client apps and processes, respectively. Connections βpa, βad, βde, βec and βcc1 represent (1) analog signal generation, (2) analog signal-to-digital signal conversion, (3) signal processing and real-time inventory data generation in the Ethernet, (4) data transferred from the Ethernet space to the cloud database, and (5) client apps and processes sending requests for data and services to the cloud database through the public API. These connections are represented from lower to higher levels, respectively. A node comprises ap, da and ad. The multiple layers or shells perform as a quantum structure working for data generation and communications. One embodiment of a shelving system comprised by individual tracks with photoresistors is used to show the system monitoring the real-time on shelf merchandise inventory.

AUTOMATIC RMA FOR HARDWARE FAILURES OR PREDICTED FAILURES

NºPublicación:  US2025299151A1 25/09/2025
Solicitante: 
ARISTA NETWORKS INC [US]
Arista Networks, Inc
EP_4621676_PA

Resumen de: US2025299151A1

A return merchandise authorization (RMA) monitor may monitor an operating status of a device continuously, periodically, or on demand. The RMA monitor may receive signals from the device, the signals containing telemetry data about the device. The RMA monitor may determine whether the signals include a fault signal containing an error code which indicates that a hardware failure of the device or a component thereof has occurred. Alternatively or additionally, the RMA may determine a health status of the device based on the telemetry data about the device and predict whether the device and/or which component thereof faces an imminent failure. Responsive to the hardware failure or the imminent failure of the device or the component thereof, the RMA monitor can automatically initiate an RMA process to send an RMA code or number to an owner of the device, for instance, through a communication channel indicated by the owner.

PROVIDING CONTEXTUAL INFORMATION FOR ISOLATED PASSIVE DEVICES WITH HIGH CONFIDENCE

NºPublicación:  WO2025199284A1 25/09/2025
Solicitante: 
QUALCOMM INCORPORATED [US]
QUALCOMM INCORPORATED

Resumen de: WO2025199284A1

Techniques are described for wireless communications. For example, a device can transmit, to passive devices, a transmit signal with a first phase. The device can receive, from each passive device, a respective response signal based on the transmit signal and determine, based on a difference between the first phase and a respective phase of each respective response signal, distances for the passive devices. The device can determine a respective confidence level for each respective distance of each passive device to the device based on a variance of the respective phase of each respective response signal. The device can compare the respective distance of each passive device with each other distance to determine a passive device with a smallest distance. The device can output contextual information based on the passive devices first having the smallest distance, with a confidence level determined for a distance from the passive device to the device.

ITEM INVENTORY DETERMINATION USING CONFIDENCE-BASED RADIO FREQUENCY IDENTIFICATION RANGING

NºPublicación:  WO2025199283A1 25/09/2025
Solicitante: 
QUALCOMM INCORPORATED [US]
QUALCOMM INCORPORATED

Resumen de: WO2025199283A1

Systems and techniques are provided for wireless communications. For example, a process can include receiving, by a wireless communication device, a plurality of backscatter signals from a Radio Frequency Identification (RFID) tag, wherein each backscatter signal comprises a reflection of a respective RFID ranging signal. An estimated distance from the wireless communication device to the RFID tag can be determined, using a respective RFID measurement associated with each backscatter signal of the plurality of backscatter signals. The estimated distance can be compared to a configured threshold distance that is indicative of a volume associated with a container. A container content item inventory indicative of one or more items included within the volume associated with the container can be determined, wherein an item associated with the RFID tag is included in the container content item inventory based on the estimated distance being less than or equal to the configured threshold distance.

ITEM INVENTORY DETERMINATION USING CONFIDENCE-BASED RADIO FREQUENCY IDENTIFICATION RANGING

NºPublicación:  US2025299157A1 25/09/2025
Solicitante: 
QUALCOMM INCORPORATED [US]
QUALCOMM Incorporated

Resumen de: US2025299157A1

Systems and techniques are provided for wireless communications. For example, a process can include receiving, by a wireless communication device, a plurality of backscatter signals from a Radio Frequency Identification (RFID) tag, wherein each backscatter signal comprises a reflection of a respective RFID ranging signal. An estimated distance from the wireless communication device to the RFID tag can be determined, using a respective RFID measurement associated with each backscatter signal of the plurality of backscatter signals. The estimated distance can be compared to a configured threshold distance that is indicative of a volume associated with a container. A container content item inventory indicative of one or more items included within the volume associated with the container can be determined, wherein an item associated with the RFID tag is included in the container content item inventory based on the estimated distance being less than or equal to the configured threshold distance.

Intelligent System for Predicting the Harmonized Commodity Description and Coding System HS Code for Commercial Products

NºPublicación:  US2025299159A1 25/09/2025
Solicitante: 
MANAFETH ALWATANIA INFORMATION TECH CO [SA]
Manafeth Alwatania Information Technology Co

Resumen de: US2025299159A1

The present invention is directed at a system of determining a product's HS-Code based on the product's title. The system may employ ML models to assign the HS-Codes. Efficiently and accurately determining a product's HS-Code using machine learning reduces the manual inspection of shipments entering customs, saving time and effort for workers, and improves the detection of prohibited or controlled products.

Global Defense Asset Management System

NºPublicación:  US2025299153A1 25/09/2025
Solicitante: 
MAYFIELD JR ALLEN R [US]
Mayfield, JR. Allen R

Resumen de: US2025299153A1

A Global Defense Asset Management System capable of spanning across all service branches of the military and upward to the Joint Command and Department of Defense (DoD) comprising a command center dashboard having filterable and queryable data points in search of decisional information as set forth by the DoD or Joint Command. This GDAM system comprises a plurality of GPS tracking units, each unit being secured to a unique asset, a tracking and monitoring system, and a web-based central database. Each of the GPS tracking units carries specific GDAM information about the unique asset including (1) its most recently detected location, (2) a service code and (3) asset details specific to the unique asset. Each GPS tracking unit transmits the GDAM information to the central database by means of satellite communication via the tracking and monitoring system. The web-based central database comprises a command center dashboard having filterable and queryable data points to enhance access to decisional and pre-decisional GDAM information about each unique asset.

APPARATUS, SYSTEM, AND METHOD FOR PROVIDING A SMART CONTAINER

NºPublicación:  US2025299000A1 25/09/2025
Solicitante: 
NYPRO INC [US]
NYPRO INC
US_2023409851_PA

Resumen de: US2025299000A1

Apparatuses, systems and methods of providing a smart container. The smart container contains a consumable, and includes: a container body; a label affixed to the container body; and a passive sensing tag (PST) embedded in the label. The PST includes: a backscatter antenna; a radio-frequency identification (RFID) communicative with the backscatter antenna; and at least one sensor communicative with the backscatter antenna. Responsive to a ringing from a radio frequency transceiver, the backscatter antenna provides the RFID and data from the at least one sensor. The RFID and the data are then processed to provide usage information of the consumable to a user via a dashboard available at least on a smartphone and on a desktop.

DETECTING EQUIPMENT STATE VIA TAG-READER MODULATIONS

NºPublicación:  US2025298999A1 25/09/2025
Solicitante: 
UNITED PARCEL SERVICE OF AMERICA INC [US]
United Parcel Service Of America, Inc
US_2024220747_PA

Resumen de: US2025298999A1

In general, various embodiments of the present disclosure provide systems, methods, apparatus, and technologies, and/or the like for generating predicted states of apparatus, equipment, items, and/or the like based at least in part on associated tag-reader modulations such as, for example, a presence of an RFID tag, an absence of an RFID tag, a combination of the two, and/or a metric of one or more reads of an RFID tag.

PICK PATH ROUTE OPTIMIZATION

NºPublicación:  US2025298418A1 25/09/2025
Solicitante: 
BJ\u2019S WHOLESALE CLUB INC [US]
BJ\u2019s Wholesale Club, Inc

Resumen de: US2025298418A1

Method and system and computer product for picking orders disposed at a plurality of locations in an establishment. A method includes constructing a table of distance values between the plurality of locations; associating a plurality of inventory products with the plurality of locations of the table; and applying an optimization algorithm to the table to determine a shortest path for picking an order.

COORDINATED TRACKING OF RFID TAGS BASED ON OPTICAL READ TRIGGERS

NºPublicación:  WO2025199082A1 25/09/2025
Solicitante: 
WILKINSON BRUCE WALTER [US]
WILKINSON, Bruce, Walter

Resumen de: WO2025199082A1

Systems and methods for radio-frequency identification (RFID) are disclosed where session control tasks are coordinated with optical reads of RFID-tagged items so that the optical reads can serve as a basis for deciding which RFID tags within a population of RFID tags should be controlled to be in a readable or unreadable state. Such coordination can help systems generate any of a plurality of conclusions about RFID-tagged items in environments such as retail stores, warehouses, and others. For example, with respect to purchase transactions, the coordination of optical reads with RFID tag reads can help detect potential optical overcount conditions, optical undercount conditions, data mapping errors. Further still, the coordination of optical reads with RFID tag reads can help refine estimates regarding which RFID-tagged items are moving with which people in an environment.

APPARATUS AND METHOD FOR PROVIDING STORE RECOMMENDATION INFORMATION

NºPublicación:  WO2025198147A1 25/09/2025
Solicitante: 
COUPANG CORP [KR]
\uCFE0\uD321 \uC8FC\uC2DD\uD68C\uC0AC
KR_102768309_B1

Resumen de: WO2025198147A1

According to the present disclosure, disclosed is a method for providing information in an electronic device, the method comprising the steps of: acquiring location information of a plurality of couriers; acquiring information about relationship between the location information of the plurality of couriers and location information of a plurality of stores; generating store recommendation information on the basis of the relationship information; and providing the store recommendation information to a user.

FULL-PROCESS DATA PROTECTION METHOD AND SYSTEM FOR PROCUREMENT MANAGEMENT

NºPublicación:  WO2025194529A1 25/09/2025
Solicitante: 
SHANGHAI HANDPAL INFORMATION TECH SERVICE CO LTD [CN]
\u4E0A\u6D77\u701A\u4E4B\u53CB\u4FE1\u606F\u6280\u672F\u670D\u52A1\u6709\u9650\u516C\u53F8
CN_118037197_PA

Resumen de: WO2025194529A1

The present invention relates to the technical field of data security. Disclosed are a full-process data protection method and system for procurement management. The method comprises: acquiring a target access request, wherein the target access request refers to a data access request made by a target user under a target role thereof; determining whether the target access request complies with a predetermined access logic; if the target access request complies with the predetermined access logic, constructing a target digital middle platform for a procurement management full-process database by combining the target user and the target role, wherein the procurement management full-process database is stored on a blockchain information chain; performing indexing in the target digital middle platform on the basis of target object information in the target access request to obtain a target object code; retrieving and downloading an order from the blockchain information chain on the basis of the target object code to obtain a target object order; and sending the target object order to the target user. The technical effects of enhancing full-process data security and also ensuring data calling responsiveness are achieved.

Apparatus and Method for Providing Automated Container Ship Stowage Planning Service

NºPublicación:  KR20250140263A 25/09/2025
Solicitante: 
주식회사영연

Resumen de: KR20250140263A

본 발명은 컨테이너 선박의 최적 선적 계획 산출 서비스 제공 기술에 관한 것으로 선사 서버로부터 선박 정보 데이터를 수집하고, 터미널 서버로부터 화물 정보 데이터 및 터미널 상태에 대한 데이터를 수집하며 운송사 서버로부터 운송 정보 데이터를 수집하는 단계, 컨테이너 선박의 크기 별로 상이하게 구축된 선박 설계 모델(Vessel Define Model)에 기반하여 상기 수집된 데이터를 이용한 컨테이너 선박의 선적 계획을 수립하는 단계 및 상기 수립된 컨테이너 선박의 선적 계획 정보를 제공해주는 단계를 포함하는, 컨테이너 선박의 최적 선적 계획 산출 서비스 제공 방법에 관한 것으로, 선사, 터미널, 운송사로부터 선박 컨테이너 정보를 취합하여 최적화된 적제 계획을 수립하고 해운 항망 물류 작업자에게 실시간 데이터를 공유할 수 있으며, 전체 기항 항만별 물량 예측 정보의 정확도를 향상시키고 최적화된 적제 계획 수립이 가능한 컨테이너 선박의 최적 선적 계획 산출 서비스 제공 장치 및 방법을 제공할 수 있는 효과가 있다.

WASTE OIL COLLECTION SYSTEM AND WASTE OIL COLLECTION METHOD USING CENTRIFUGES

NºPublicación:  KR20250140291A 25/09/2025
Solicitante: 
주식회사에스앤디컴퍼니

Resumen de: KR20250140291A

본 발명의 일 실시예에 따른 원심분리기를 이용한 폐유 수집 시스템은 투입된 폐유를 정제, 분석 및 보관하는 복수의 폐유수집기 및 상기 폐유수집기로부터 수집된 폐유의 보상을 산정하고 지급하는 폐유수집서버를 포함하고, 상기 폐유수집기는 원심분리기를 이용하여 폐유를 정제하는 것을 특징으로 한다.

Automatic Quotation and Ordering System Using IoT Sensor and Artificial Intelligence

NºPublicación:  KR20250140161A 25/09/2025
Solicitante: 
우정석

Resumen de: KR20250140161A

본 발명은 물품제조공장에 설치된 공장설비의 구동일정을 예측하여, 이를 토대로 구동을 하지 않는 일정에 제품의 제조를 요청하는 업체의 물품을 제조할 수 있도록 자동견적 및 발주를 수행하는 사물인터넷 센서와 인공지능을 활용한 자동 견적 및 발주 시스템에 관한 것으로, 자신이 필요하고자 하는 제품의 견적을 요청하는 제품견적요청정보 및 발주를 요청하는 제품발주요청정정보를 생성하여 전송하는 발주자업체단말과; 사물인터넷 센서가 설치되는 공장설비가 구비된 다수의 물품제조공장업체에서 운영하는 물품제조공장단말과; 상기 다수의 물품제조공장업체에 구비된 공장설비의 구동여부를 사물인터넷 센서를 통해 획득하고, 그 획득된 구동여부에 따라 일자별로 구동시간을 누적하여, 향후 구동예측시간을 데이터베이스화한 공장별 구동예측 스케줄정보 DB, 상기 물품제조공장업체에 구비된 공장설비의 종류, 소재, 단가 및 업체정보를 포함하는 물품제조공장업체정보 DB를 포함하는 DB부;가 탑재되고, 상기 발주자업체단말로부터 제품견적요청정보가 전송되면, 그 전송된 제품견적요청정보와 상기 물품제조공장업체정보 DB를 매칭하여, 제품의 제조가 가능한 물품제조공장업체를 특정하고, 그 특정된 물품제조공

METHOD APPARATUS AND RECORDING MEDIUM FOR MERGING ORDERS

NºPublicación:  KR20250140285A 25/09/2025
Solicitante: 
쿠팡주식회사

Resumen de: KR20250140285A

본 개시는 전자 장치에서 수행되는 방법, 장치 및 기록매체에 관한 것이다. 본 개시의 일 실시예에 따른 방법은, 사용자 단말로부터 수신한 제1 주문 요청에 응답하여, 하나 이상의 아이템을 포함하는 제1 주문에 관한 제1 주문 정보를 생성하는 단계; 상기 사용자 단말로부터 하나 이상의 추가 아이템을 포함하는 제2 주문에 관한, 제2 주문 요청을 수신하는 단계; 상기 제1 주문 정보 및 상기 제2 주문 요청에 기반하여, 상기 제2 주문이 병합 조건을 만족하는지 여부를 확인하는 단계; 및 상기 병합 조건을 만족하는 경우, 상기 제1 주문에 상기 제2 주문을 병합하는 단계를 포함할 수 있다.

自動化されたツール管理システムにおける言語管理

NºPublicación:  JP2025138623A 25/09/2025
Solicitante: 
スナップ-オンインコーポレイテッド
JP_2025138623_PA

Resumen de: CN114127763A

An automated inventory control system is described that includes a storage device, an access control device, and a data storage. The storage device includes a plurality of storage locations for storing objects. The access control device is configured to receive user credentials for accessing the storage device. The data storage is configured to store configurable parameters associated with the storage device in a plurality of languages, and to store information corresponding to respective users of the storage device, including an assigned language. In response to the access control device receiving the user credentials through the access control device, the storage device is configured to obtain the configurable parameters from the data storage.

バース情報連携システム、バース管制システム、バース情報連携方法、プログラム

NºPublicación:  JP2025138123A 25/09/2025
Solicitante: 
三菱地所株式会社
JP_2025138123_PA

Resumen de: JP2025138123A

【課題】タイプの異なる自動運転トラックが存在しても適切にバースを管理することができるバース情報連携システムを提供する。【解決手段】バース情報連携システムは、自動運転トラックのIDと予約されたバース番号を紐付けて記憶する予約情報記憶部と、自動運転トラックが物流施設に入場する際に自動運転トラックの認証を実行する入場時認証システムからIDと自動運転トラックのタイプを含む認証情報を受信する認証情報受信部と、タイプが第1のタイプである場合にIDに紐付けられて予約されたバース番号を自動運転トラックを遠隔制御するFMシステムに送信するバース番号送信部と、タイプが第2のタイプである場合にIDに紐付けられて予約されたバース番号までの走行経路付きの物流施設の場内3Dデジタル地図をFMシステムまたは対応する自動運転トラックに送信する場内3Dデジタル地図送信部を含む。【選択図】図2

保管システムからユニットを回収するための装置

NºPublicación:  JP2025138668A 25/09/2025
Solicitante: 
オカド・イノベーション・リミテッド
JP_2025138668_PA

Resumen de: MY203928A

A storage system and a load handling device (100) for lifting and moving containers stacked in the storage system are described. The storage system includes a plurality of rails or tracks arranged in a grid pattern above the stacks (12) of containers (106). The grid pattern comprises a plurality of grid spaces and each stack (12) is located within a footprint of only a single grid space. The load handling device (100) is configured to move laterally on the rails or tracks (22a,22b) above the stacks (12). The load-handling device (100) includes a container-receiving space (120) located above the rails or tracks (22a,22b) in use and a lifting device arranged to lift a container (106) from a stack (12) into the container-receiving space. The load handling device (100) has a footprint that, in use, occupies only a single grid space in the storage system. The most suitable drawing: Figure 7.

商品受渡システム、店員端末およびプログラム

NºPublicación:  JP2025138422A 25/09/2025
Solicitante: 
東芝テック株式会社
JP_2025138422_PA

Resumen de: JP2025138422A

【課題】顧客や店員が、注文商品の状況を容易に確認することができる商品受渡システム、店員端末およびプログラムを提供する。【解決手段】商品受渡システムは、店員が所持する店員端末と、店員端末と通信可能に接続されて、顧客が所持する顧客端末から注文された商品に係る注文情報と当該商品の受取方法に係る受取情報とを取得する注文情報取得部(第1の注文情報取得部)と、店員端末に対して、注文情報と受取情報とを表示可能に出力する注文情報出力部と、店員端末から、注文された商品の準備状態に係るステータス情報を取得して更新するステータス情報更新部と、更新したステータス情報を、顧客端末に表示可能に出力するステータス情報出力部と、を有する販売管理装置と、を備える。【選択図】図9

PRODUCT MANAGEMENT DEVICE, PRODUCT MANAGEMENT METHOD, AND RECORDING MEDIUM

NºPublicación:  US2025299273A1 25/09/2025
Solicitante: 
NEC CORP [JP]
NEC Corporation

Resumen de: US2025299273A1

A product management device includes an acquisition means for acquiring a discard time of a product based on a photographed image obtained by photographing the product displayed on a furniture and an expiration date of the product; a prediction means for predicting a sales quantity for each time zone based on a prediction model created using past sales quantity information of the product; an estimation means for estimating a number of products to be cooked for each time zone based on the discard time and the sales quantity of the product; and an output means for outputting the number of products to be cooked.

DETECTION OF CLOSE ENCOUNTERS WITH OBSTACLES BY AERIAL VEHICLES

NºPublicación:  EP4619707A1 24/09/2025
Solicitante: 
WING AVIATION LLC [US]
Wing Aviation LLC
AU_2023380237_PA

Resumen de: AU2023380237A1

Techniques for identifying a close encounter between an aircraft and an obstacle are disclosed. The technique includes acquiring a video stream of a ground area below the aircraft with a stereovision camera system disposed onboard the aircraft. A depth perception map is generated with a stereovision processing pipeline indicating stereovision depth estimates of first image pixels from the video stream. An optical flow map is generated with an optical flow processing pipeline indicating optical flow depth estimates of second image pixels from the video stream. The depth perception and optical flow maps are compared. An encounter flag indicating that the close encounter between the aircraft and the obstacle occurred is asserted based at least on the comparing.

A METHOD AND A SYSTEM FOR AUTOMATICALLY MANAGING IN REAL-TIME A TOTAL STABILITY TIME BUDGET PROFILE ASSIGNED TO A PRODUCT

NºPublicación:  EP4619917A1 24/09/2025
Solicitante: 
CONTROLANT HF [IS]
Controlant hf
WO_2024105248_PA

Resumen de: WO2024105248A1

This invention relates to a method and a system for automatically managing in real-time the total stability time budget profile assigned to a product while the product is being transported in a supply chain, where the supply chain comprises two or more different transport legs, where for a given transport leg selected from the two or more different transport legs, the method comprising at least: • Measuring an environmental related parameter associated with the product, • transmitting the measured environmental related parameter to an external control computer, • determining, by the external computer, if the measured environmental related parameter deviates from at least one pre- defined reference value, • adding together, in case of a deviation from the at least one pre- defined reference value, the time where the environmental related parameter deviates from the at least one pre-defined reference value, • using the added deviation time as an input parameter in determining a remaining stability time budget profile, and • utilizing the remaining stability time budget profile as an input parameter in deciding on release of the product to a subsequent transport leg.

METHOD AND A SYSTEM FOR PREPARING A SHIPMENT CONSISTING OF MULTIPLE SHIPMENT UNITS EACH HAVING ASSOCIATED A WIRELESS LOGGER DEVICE

NºPublicación:  EP4619915A1 24/09/2025
Solicitante: 
CONTROLANT HF [IS]
Controlant hf
WO_2024105170_PA

Resumen de: WO2024105170A1

This invention relates to method and a system of preparing a shipment consisting of multiple shipment units each having associated a wireless logger device, where the wireless logger device is configured to measure environmental parameter while transporting the asset from an origin location to a destination location and regularly transmit the measured environmental parameters together with positional data of the logger devices to an external data processing device, where the wireless logger device comprises: • a power source, • at least one sensing device for measuring at least one environmental parameter of the asset, • a communication module for transmitting the measured environmental parameter to the external data processing device, • a storage medium for storing the measured environment related parameters, • a processor for controlling the at least one sensing device, the communication module and the storage medium, and • a unique logger identifier for uniquely identifying the wireless logger device, wherein the method comprises: • uniquely identifying each shipment unit with a unique identifier (ID), where the unique shipment unit ID contains data structure containing characteristic information about the asset within the shipment unit, and • pairing the unique logger identifier with the unique shipment unit ID.

SYSTEMS AND METHODS TO ENSURE ASSET AND SUPPLY CHAIN INTEGRITY

NºPublicación:  EP4621681A2 24/09/2025
Solicitante: 
STOLLMAN JEFF [US]
MATEEV MARTIN [BG]
Stollman, Jeff,
Mateev, Martin
EP_4621681_A2

Resumen de: EP4621681A2

A system for tracking and recording the chain-of-custody for assets within a supply chain that creates a non-repudiatableelectronic log of each custody transfer at each transfer point from initial creation, to final transfer or disposal. In oneembodiment, the system uses encryption technology to register assets that are to be transferred and whose chain ofcustody is to be ensured. Through use of encryption key pairs and blockchain encryption technology, an electronicdocument is created in an encrypted transaction log updated at each change of custody point. At each such change ofcustody point, the new custodians who receive the product are provided with the information generated by the originator.By way of one example, because the system tracks all inputs and outputs to the system at each change of custody point,any alteration in product quantities are immediately identified, and a chain-of-custody integrity problem is identified.

CHAIN OF AUTHENTICATION USING PUBLIC KEY INFRASTRUCTURE

NºPublicación:  EP4621688A2 24/09/2025
Solicitante: 
CHOI UNHO [KR]
Choi, Unho
EP_4621688_PA

Resumen de: EP4621688A2

A method for sequential authentication based on chain of authentication using public key infrastructure (PKI) is provided. The method includes receiving, by an n<sup>th</sup> party, an (n-1)<sup>th</sup> modified public key from an (n-1)<sup>th</sup> party; generating, by the n<sup>th</sup> party, an n<sup>th</sup> private key and an n<sup>th</sup> public key corresponding to each other; generating, by the n<sup>th</sup> party, an n<sup>th</sup> modified public key by concatenating the (n-1)<sup>th</sup> modified public key and the n<sup>th</sup> public key signed with the n<sup>th</sup> private key; and transmitting, by the n<sup>th</sup> party, the n<sup>th</sup> modified public key, where n is a natural number greater than 1, and when n=2, the first modified public key is the first public key signed with the first private key.

CHAIN OF AUTHENTICATION USING PUBLIC KEY INFRASTRUCTURE

NºPublicación:  EP4621690A2 24/09/2025
Solicitante: 
CHOI UNHO [KR]
Choi, Unho
EP_4621690_PA

Resumen de: EP4621690A2

A method for sequential authentication based on chain of authentication using public key infrastructure (PKI) is provided. The method includes receiving, by an n<sup>th</sup> party, an (n-1)<sup>th</sup> modified public key from an (n-1)<sup>th</sup> party; generating, by the n<sup>th</sup> party, an n<sup>th</sup> private key and an n<sup>th</sup> public key corresponding to each other; generating, by the n<sup>th</sup> party, an n<sup>th</sup> modified public key by concatenating the (n-1)<sup>th</sup> modified public key and the n<sup>th</sup> public key signed with the n<sup>th</sup> private key; and transmitting, by the n<sup>th</sup> party, the n<sup>th</sup> modified public key, where n is a natural number greater than 1, and when n=2, the first modified public key is the first public key signed with the first private key.

APPARATUS AND METHOD FOR PROVIDING MANAGEMENT SERVICES FOR SUPPLY AND DEMAND OF RAW MATERIALS

NºPublicación:  KR20250140024A 24/09/2025
Solicitante: 
숭실대학교산학협력단

Resumen de: KR20250140024A

본 발명은 원자재 공급망 관리 서비스 제공 방법 및 장치에 관한 것으로서, 특히, 그 방법은, 일정 기간 동안 수집된 대상 원자재의 수요데이터를 사전 학습된 제1 인공지능 모델에 입력하여 사전 설정된 기간에 대한 예측수요치를 출력으로 제공받는 단계; 상기 일정 기간 동안 수집된 상기 대상 원자재의 공급데이터를 사전 학습된 제2 인공지능 모델에 입력하여 상기 사전 설정된 기간에 대한 예측공급치를 출력으로 제공받는 단계; 및 상기 예측수요치 및 상기 예측공급치를 결합하여 상기 예측수요치 및 상기 예측공급치 간 수급 차이를 산출하는 단계를 포함할 수 있다.

AUTOMATIC RMA FOR HARDWARE FAILURES OR PREDICTED FAILURES

NºPublicación:  EP4621676A1 24/09/2025
Solicitante: 
ARISTA NETWORKS INC [US]
Arista Networks, Inc
EP_4621676_PA

Resumen de: EP4621676A1

A return merchandise authorization (RMA) monitor may monitor an operating status of a device continuously, periodically, or on demand. The RMA monitor may receive signals from the device, the signals containing telemetry data about the device. The RMA monitor may determine whether the signals include a fault signal containing an error code which indicates that a hardware failure of the device or a component thereof has occurred. Alternatively or additionally, the RMA may determine a health status of the device based on the telemetry data about the device and predict whether the device and/or which component thereof faces an imminent failure. Responsive to the hardware failure or the imminent failure of the device or the component thereof, the RMA monitor can automatically initiate an RMA process to send an RMA code or number to an owner of the device, for instance, through a communication channel indicated by the owner.

METHOD, SYSTEM, AND COMPUTER PROGRAM PRODUCT FOR AUTOMATIC SUPPLIER MANAGEMENT ACTIVATION

NºPublicación:  EP4619914A1 24/09/2025
Solicitante: 
BAPTIST HEALTH SOUTH FLORIDA INC [US]
Baptist Health South Florida, Inc
WO_2024108030_PA

Resumen de: WO2024108030A1

A system, method, and computer program product for automatically diagnosing a condition of a case of a resource planning system using at least one operating parameter, the case including one or more new activities to order one or more new items, substitute one or more items, restock one or more items, replace one or more damaged items, or recall one or more items in a plurality of accounts of a resource planning system, correlating at least one operating parameter with at least one critical parameter of the resource planning system, comparing the at least one critical parameter with a predefined threshold value to identify at least one deviation including one or more discrepancies when a critical parameter falls, and controlling an supplier management activity by generating a response, communication, or action and adapting the prediction engine to eliminate the at least one deviation by correcting the discrepancy.

METHOD, SYSTEM, AND COMPUTER PROGRAM PRODUCT FOR AUTOMATIC CONTRACT MANAGEMENT ACTIVATION

NºPublicación:  EP4619913A1 24/09/2025
Solicitante: 
BAPTIST HEALTH SOUTH FLORIDA INC [US]
Baptist Health South Florida, Inc
WO_2024108006_PA

Resumen de: WO2024108006A1

A method, system, and computer program product for diagnosing a condition of a case of a resource planning system using at least one operating parameter, correlating, by perception nodes of a procurement inference engine, at least one operating parameter with at least one critical parameter of the resource planning system, to generate a prediction of an activity aligned with the at least one critical parameter, comparing the at least one critical parameter with a predefined threshold value to identify at least one deviation including one or more discrepancies when a critical parameter falls, and controlling a contract management activity, based on the prediction of the activity aligned with the at least one critical parameter, by generating at least one of a response, a communication, or an action of a contract management system and adapting by automatically adjusting settings or operations to eliminate the deviation to maintain optimal performance.

METHOD AND SYSTEM FOR PROVIDING ENERGY TO VEHICLES USING SECURE CREDENTIAL TRANSFER

NºPublicación:  EP4619927A1 24/09/2025
Solicitante: 
VISA INT SERVICE ASS [US]
Visa International Service Association
CN_120202481_PA

Resumen de: CN120202481A

A method is disclosed. The method includes receiving, by a user device, transaction data from an energy supply terminal, the transaction data including an energy provider identifier for a transaction for providing energy from the energy supply terminal to a vehicle. The user device then determines a credential, and then transmits the energy provider identifier and a selection of the credential to a secure remote transaction server. The secure remote transaction server initiates a transmission of an authorization request message to an authorization entity computer, the authorization request message including the energy provider identifier, the credential or a token corresponding to the credential, and an amount of money. The secure remote transaction server then receives an authorization response message for the transaction from the authorization entity computer. The secure remote transaction server may also provide an indication of authorization of the transaction to the user device.

ROBOTIC DIVESTITURE SYSTEM

NºPublicación:  EP4619918A1 24/09/2025
Solicitante: 
LEIDOS SECURITY DETECTION & AUTOMATION INC [US]
Leidos Security Detection & Automation, Inc
AU_2023379530_PA

Resumen de: AU2023379530A1

A security checkpoint system is provided. The security checkpoint system includes an automated robotic vehicle including a chassis having a bin secured thereto. The security checkpoint system further includes an identification system to associate an individual that has placed an object into the bin with the automated robotic vehicle. The security checkpoint system further includes a scanner to scan the object in the automated robotic vehicle as the automated robotic vehicles passes therethrough. The security checkpoint system further includes a computing device including a processing unit to cause the automated robotic vehicle to navigate to a location of the individual after the automated robotic vehicle has passed through the scanner.

METHOD AND DEVICE FOR MEASURING THE QUALITY OF SEPARATED WASTE

NºPublicación:  EP4619908A1 24/09/2025
Solicitante: 
CORTEXIA SA [CH]
Cortexia SA
WO_2024105613_PA

Resumen de: WO2024105613A1

The invention concerns a method for analysing and qualifying collected waste in a waste management chain, wherein said method comprises at least the following steps: -) defining at least one waste transfer event in the waste management chain where a waste flux is optically accessible; -) defining the measurement of at least one type of impurity in said waste flux; -) measuring said at least one type of impurity during said waste transfer event in the waste flux; -) attributing a quality index value to the collected waste depending on the result of the measurement step.

CHAIN OF AUTHENTICATION USING PUBLIC KEY INFRASTRUCTURE

NºPublicación:  EP4621689A2 24/09/2025
Solicitante: 
CHOI UNHO [KR]
Choi, Unho
EP_4621689_PA

Resumen de: EP4621689A2

A method for sequential authentication based on chain of authentication using public key infrastructure (PKI) is provided. The method includes receiving, by an n<sup>th</sup> party, an (n-1)<sup>th</sup> modified public key from an (n-1)<sup>th</sup> party; generating, by the n<sup>th</sup> party, an n<sup>th</sup> private key and an n<sup>th</sup> public key corresponding to each other; generating, by the n<sup>th</sup> party, an n<sup>th</sup> modified public key by concatenating the (n-1)<sup>th</sup> modified public key and the n<sup>th</sup> public key signed with the n<sup>th</sup> private key; and transmitting, by the n<sup>th</sup> party, the n<sup>th</sup> modified public key, where n is a natural number greater than 1, and when n=2, the first modified public key is the first public key signed with the first private key.

基于RGV小车的高密度立体仓库出库调度与运输系统及方法

NºPublicación:  CN120688713A 23/09/2025
Solicitante: 
惠州市宏大自动化涂装系统工程有限公司惠州市宏瑞智能装备有限公司惠州市宏大智慧科技有限公司
CN_120688713_PA

Resumen de: CN120688713A

本发明公开了基于RGV小车的高密度立体仓库出库调度与运输系统及方法,涉及仓库出库调度与运输技术领域,包括调度管理中心,所述调度管理中心通信连接有虚拟模型构建模块、任务解析及规划模块、任务分配模块和实时监控干预模块,其中,各模块间电信号连接;所述虚拟模型构建模块,用于构建仓库及RGV小车的虚拟模型。本发明通过构建仓库及RGV小车的虚拟模型,并结合数字孪生技术,能够实时同步物理实体的状态,精确模拟多RGV小车的时空路径,有效避免路径冲突和交通拥堵,不仅显著提高了出库作业的效率,还大大减少了因路径冲突导致的任务延误,确保了出库作业的准确性和及时性,从而提升了整体物流效率。

一种空地协同末端配送的动态规划方法、设备及介质

NºPublicación:  CN120688967A 23/09/2025
Solicitante: 
北京迈拓规划设计有限公司
CN_120688967_PA

Resumen de: CN120688967A

本说明书实施例公开了一种空地协同末端配送的动态规划方法、设备及介质,涉及路径规划技术领域,用于解决当前无法快速响应突发道路失效问题导致的规划效果差的问题。方法包括:实时更新当前配送区域所对应的路网图,基于路网图的失效单元,确定是否触发当前配送区域的配送方案更新;若是,则基于路网图所对应的信息,构建当前配送区域的空地协同末端配送模型;基于双阶段分层初始化策略与双层混合交叉策略对空地协同末端配送模型进行求解,获得车辆与无人机的初始空地协同末端配送路径;基于帕累托前沿对初始空地协同末端配送路径进行迭代更新,获得最优解作为当前配送区域的最优空地协同末端配送路径。

一种产品碳足迹建模方法及系统

NºPublicación:  CN120688943A 23/09/2025
Solicitante: 
南京复创大数据产业发展有限公司
CN_120688943_PA

Resumen de: CN120688943A

本发明属于碳管理技术领域,具体涉及一种产品碳足迹建模方法及系统。该发明通过节点示例网络的动态构建与优化机制,显著提升了复杂生产流程中碳排放数据的建模精度与计算效率,相较于传统的基于树结构的数据模型,本方案不仅解决了数据层级语义不清晰、存储效率低下、递归计算复杂性高等问题,还增强了碳排放追踪模型的动态调整能力,使其能够更好地适应生产流程的频繁变更,实现了对主副产品排放比例的校验与多维度碳排放数据的整合,为碳管理决策提供可靠的数据支撑,同时通过异构子图间的计算资源动态调度机制,有效提升了在大规模碳足迹计算场景下的稳定性和响应速度,在保证计算精度的同时,也大幅缩短了碳足迹评估的周期。

一种基于物联网的农业仓储保鲜监控方法及系统

NºPublicación:  CN120688984A 23/09/2025
Solicitante: 
上海张珏生物科技有限公司
CN_120688984_PA

Resumen de: CN120688984A

本发明属于农业仓储技术领域,本发明提供了一种基于物联网的农业仓储保鲜监控方法及系统,包括:在粮食存储区域中部署物联网传感器网络,根据流体力学算法,实时采集粮仓表面的空气流动数据,识别粮仓表面的潜在涡流区域;通过对潜在涡流区域的涡流中心空间位置的变化,结合潜在涡流区域Q值时间维度的变化进行综合分析,识别潜在涡流区域的稳态涡流区域;提取监测周期内稳态涡流区域粮食的氧气浓度,识别稳态涡流区域粮食在监测周期内存在的潜在呼吸跃变现象程度,本发明利用熵理论对非线性呼吸信号的敏感性,为粮仓精准防霉提供数据支撑,可有效降低稳态涡流区域粮食因代谢异常引发的霉变风险。

一种生鲜果蔬冷链物流质量的预警方法

NºPublicación:  CN120688960A 23/09/2025
Solicitante: 
陕西科技大学
CN_120688960_PA

Resumen de: CN120688960A

本发明公开了一种生鲜果蔬冷链物流质量预警方法,包括以下步骤;1)构建完善的生鲜果蔬质量预警指标体系;2)采集大量影响生鲜果蔬质量的相关原始数据,对原始数据采用熵权TOPSIS法对数据进行求解进行异常值分析与处理;去除指标之间的量纲限制;3)构建生鲜果蔬质量指标预警模型,提出SG‑NRBO‑CNN‑LSTM‑Attention模型,并进行预警模型参数优化,对该数学模型进行训练;4)将处理后数据输入该模型,进行针对生鲜果蔬质量冷链物流总体和生鲜果蔬质量冷链物流各个环节的警情预测。本发明在生鲜果蔬冷链过程中,能够利用生鲜果蔬编码进行物流全流程生鲜果蔬各项指标信息提前预警。

包裹号生成方法和装置

NºPublicación:  CN120688951A 23/09/2025
Solicitante: 
北京京东远升科技有限公司
CN_120688951_PA

Resumen de: CN120688951A

本发明公开了一种包裹号生成方法和装置,涉及计算机技术领域。该方法的一具体实施方式包括:接收用户发送的下单请求;响应于下单请求符合总包裹数不确定条件,生成并返回下单请求对应的运单号,并为运单号设置无包裹数服务标识;接收包裹号生成请求;其中,包裹号生成请求包括:运单号及目标包裹数;响应于运单号设置有无包裹数服务标识,生成数量为目标包裹数的序列串;针对各序列串,组合序列串与运单号,生成运单号下的包裹号。即使在运单下的包裹数量不确定的情况下,该实施方式也能够动态生成用户所需要的包裹号,保证后续的揽收等工作灵活高效地执行,减少操作流程及耗时,方便用户邮寄包裹,提升用户的寄件体验。

一种基于三维点云坐标映射的实物资产空间管理方法

NºPublicación:  CN120688982A 23/09/2025
Solicitante: 
广东算子连线智能科技有限公司
CN_120688982_PA

Resumen de: CN120688982A

本发明公开了一种基于三维点云坐标映射的实物资产空间管理方法,涉及三维坐标重建和仓储管理领域。该方法包括:对仓库空间进行三维点云建模,建构统一坐标系;采集货物的三维点云数据,生成唯一标识并绑定数字模型;通过点云配准算法将货物的数字模型锚定至仓储坐标系中,计算其姿态角与空间位置;分析货物与储位之间的几何关系,识别越界、堆叠、姿态异常等空间状态;基于货物体积与储位体积计算空间利用率,并输出优化建议。本发明实现了货物与仓储空间的本体级耦合管理,支持空间推演式核账盘点与异常检测,适用于异形物体、高密度堆垛等复杂仓储场景。

用于管理矿物类元素物料的流程控制方法、设备及介质

NºPublicación:  CN120688842A 23/09/2025
Solicitante: 
浪潮通用软件有限公司
CN_120688842_PA

Resumen de: CN120688842A

本说明书实施例公开了一种用于管理矿物类元素物料的流程控制方法、设备及介质,涉及ERP技术领域,方法包括:获取回收资源物料的实时物料检测信息,以将实时物料检测信息和回收资源物料对应的供应商信息,上传至ERP系统的入库节点,实时物料检测信息包括元素物料种类和元素物料含量;调用ERP系统中预先存储的元素指标集合,根据元素指标集合和实时物料检测信息,对回收资源物料进行元素物料质量判定,以生成质量判定结果;当质量判定结果满足预设要求时,根据实时物料检测信息和供应商信息,按照元素物料种类对元素物料进行结算,生成元素物料处理结果数据,以同步至ERP系统的指定流程节点,生成电子凭证单据并关联对应的供应商主数据。

人工智能最佳应急医疗物流配送方法

NºPublicación:  CN120688968A 23/09/2025
Solicitante: 
浙江万里学院
CN_120688968_PA

Resumen de: CN120688968A

本发明涉及一种人工智能最佳应急医疗物流配送方法,通过将所提取医疗物资物流配送单中的始发点和收件点的线段作为医疗物资配送路径起止参考线段,并基于对该参考线段的处理构建对应该医疗物资物流配送单的物流配送覆盖区域,且在所有配送点中选取适合物流配送覆盖区域的初选配送点集合和优选配送点,再构建应急医疗物资配送路径,结合物流配送覆盖区域内环境信对应急医疗物资配送路径做优化处理,得到应急医疗物资最佳配送路径,之后按照应急医疗物资最佳配送路径对应急医疗物资做配送。如此,实现了基于医疗物资物流配送单所记载信息来制定适合应急医疗物资运输的最佳配送路径,确保应急医疗物资可以及时快速高效地配送至医疗物资急需地。

一种基于云计算的物流运输规划管理系统及方法

NºPublicación:  CN120688958A 23/09/2025
Solicitante: 
深圳市九州通医疗科技有限公司
CN_120688958_A

Resumen de: CN120688958A

本发明公开了一种基于云计算的物流运输规划管理系统及方法,涉及数据分析技术领域,包括如下步骤:在冷藏车厢内均匀布置若干个温湿度传感器,实时采集传感器数据,上传至云平台;以传感器数据和数据分析的全过程数据为基底,在云端建立温湿度异常检测算法,训练温控预测模型,提前预警和处理异常;对未来冷机设备的设备状态进行拟合预测,判断冷机设备是否发生故障,进行预警,并进行人为检修;进行数据备份,将备份数据作为数据分析的全过程数据输入云存储数据库,进行数据更新。本发明通过云平台实现数据的实时上传、集中存储和动态更新,存储大量数据作为数据分析的基础数据,具有普遍性。

INFORMATION PROCESSING METHOD ELECTRONIC DEVICE THEREOF AND NON-TRANSITORY COMPUTER-READABLE RECORDING MEDIUM HAVING PROGRAM FOR EXECUTING THE METHOD

NºPublicación:  KR20250139790A 23/09/2025
Solicitante: 
쿠팡주식회사
KR_20250139790_PA

Resumen de: WO2025192784A1

An information processing method of an electronic device is disclosed. Specifically, the information processing method of an electronic device may include the steps of: identifying a plurality of couriers related to allocation of a plurality of delivery tasks; for each pair including a combination of any one of the plurality of couriers and any one of the plurality of delivery tasks, obtaining first information of an estimated arrival time until the courier arrives at a store corresponding to the delivery task, second information of a consumed time related to allocation of the delivery task, and third information of an acceptance rate of the courier for the delivery task; obtaining a score corresponding to each pair on the basis of the first information, the second information, and the third information; and determining a delivery task to be allocated to each of one or more couriers included in the plurality of couriers on the basis of the plurality of delivery tasks and the score.

OPERATING METHOD FOR ELECTRONIC APPARATUS FOR ASSIGNING A COURIER FOR AN ORDER AND ELECTRONIC APPARATUS SUPPORTING THEREOF

NºPublicación:  KR20250139628A 23/09/2025
Solicitante: 
쿠팡주식회사
KR_20250139628_PA

Resumen de: WO2025192786A1

Disclosed is a method for allocating a courier for an order, the method comprising the steps of: when an order to a store is acquired on a service, determining a target item preparation completion time point for the order and an estimated time required for delivery completion, which is estimated to be taken to complete delivery for the order; identifying an actual item preparation completion time point at which the store completes preparation of an item included in the order; on the basis of the target item preparation completion time point, the estimated time required for delivery completion, and the actual item preparation completion time point, determining a courier allocation scheme to be applied to allocate a courier for the order at the current time point among one or more courier allocation schemes configured to be applied in a stepwise manner for courier allocation; and allocating a courier for the order on the basis of the determined courier allocation scheme.

Relay server and method for product ordering

NºPublicación:  KR20250139469A 23/09/2025
Solicitante: 
윤지홍
KR_20250139469_PA

Resumen de: KR20250139469A

상품 주문 중계 서버는, 오프라인 매장 별로 상품 정보가 표시되는 구매 페이지를 생성하는 구매 페이지 생성부와, 주문자 단말기로부터 오프라인 매장에 배치된 링크 수단을 인식한 인식 신호를 수신하는 인식 신호 수신부와, 상기 인식 신호에 따라 상기 주문자 단말기로 상기 구매 페이지를 제공하는 구매 페이지 제공부와, 상기 주문자 단말기로부터 상기 구매 페이지를 통해 상기 상품에 대한 주문 정보를 수신하는 주문 정보 수신부 및 상기 상품의 배송을 위해 오프라인 매장의 매장 단말기로 상기 주문 정보를 송신하는 주문 정보 송신부를 포함할 수 있다.

작업 진척 추정 장치 및 작업 진척 추정 방법

NºPublicación:  KR20250139392A 23/09/2025
Solicitante: 
미쓰비시덴키가부시키가이샤
KR_20250139392_PA

Resumen de: WO2024189772A1

A work progress estimating device (3) comprises: an acquisition unit (31) for acquiring images (IM) including an airplane parking area of an airport; and an estimation unit (32) for estimating work progress information indicating the progress of work performed in the airplane parking area, such estimation being on the basis of the images (IM) and flight information of the airplanes in the airplane parking area.

AI Warehouse management system with cloud-based AI

NºPublicación:  KR20250138944A 23/09/2025
Solicitante: 
주식회사인포마인드
KR_20250138944_PA

Resumen de: KR20250138944A

본 발명은 특정 관광지역에서 판매되는 제품의 판매량에 영향을 줄 수 있는 다양한 변수 인자들을 사전 수집 및 빅데이터화하고 이를 기계 학습한 AI예측 모델을 생성하게 됨으로써 보다 신뢰도 있는 예측 결과를 제공하며 예측 결과를 기반으로 물류창고에서 제품의 적재 위치에 대한 의사결정 지원할 수 있는 클라우드 기반 AI 적용 창고 관리 시스템에 관한 것으로, 보다 상세하게는 특정 관광지역으로 유입되는 관광객의 일별 유입인구 데이터와 상기 관광지역 내의 선택된 물류창고의 제품별 재고, 발주 및 입출고 데이터를 수집하는 정보수집부; 상기 정보수집부에서 수집되는 데이터를 저장하는 데이터베이스부; 및 상기 데이터베이스부에 저장된 데이터를 기계 학습하여 AI예측 모델을 생성하고 상기 AI예측 모델을 기반으로 설정된 미래의 제품별 판매량을 예측하며, 예측된 제품별 판매량을 제공하는 예측부;를 포함하는 것이 특징이다.

考虑播种墙容量的拣选分拣决策方法、服务平台及存储介质

NºPublicación:  CN120688988A 23/09/2025
Solicitante: 
暨南大学想送物流有限公司
CN_120688988_PA

Resumen de: CN120688988A

本申请涉及考虑播种墙容量的拣选分拣决策方法、服务平台及存储介质,该方法包括:按预设的编码方式,对获取的多个待拣选的拣选订单所关联的SKU进行随机编码和种群初始化,生成多个第一排序编码体;利用堆优化模拟退火算法,对多个第一排序编码体对应的子码进行排序修正预处理,生成多个第二排序编码体,并基于多个第二排序编码体,重复执行利用NSGA‑Ⅱ算法和对应的排序编码体的适应度,进行非支配解排序和遗传进化操作迭代,直至生成多个备选排序编码体;根据备选排序编码体的适应度,从多个备选排序编码体中选取目标排序编码体,并将按拣选分拣决策规则处理目标排序编码体所得到的多个目标拣选批次和目标拣选批次所映射的拣选路径,作为决策结果。

一种仓储建设综合效益评估方法及装置

NºPublicación:  CN120688937A 23/09/2025
Solicitante: 
军事科学院系统工程研究院后勤科学与技术研究所
CN_120688937_PA

Resumen de: CN120688937A

本发明公开了一种仓储建设综合效益评估方法及装置,该方法:S1、响应于用户操作,得到标记指标树;S2、对所述标记指标树进行处理,得到重分配指标树;S3、对所述重分配指标树进行处理,得到综合效益值。本发明方法能够实现仓储建设综合效益的按需评估,提高评估结果的合理性和准确性。

基于ESG指标的酒店管理绿色供应链系统及其优化方法

NºPublicación:  CN120688987A 23/09/2025
Solicitante: 
沈欣
CN_120688987_A

Resumen de: CN120688987A

本发明适用于绿色供应链技术领域,提供了一种基于ESG指标的酒店管理绿色供应链系统及其优化方法,系统包括管理端、供货端、用户端、审批端和物流端。在供应链优化方法中系统根据供货商自填的ESG指标项目信息自动赋予评分,对供应商选择与评估满足在供应链基本需求的基础上选择满足ESG指标赋分的供货商,过程中若价格及库存数据不满足供货条件,则系统自动选择下一分级的供货商;同时通过物流信息的碳足迹计算及供货商归属地归一分析的供货商复选;借此,本装置能够优化供应商选择方案,降低物流成本和环境影响,建立了精确到细分产品的基于ESG指标的供应链绿色管理优化体系。

一种基于多目标强化学习的“无人机+卡车”协同配送方法及系统

NºPublicación:  CN120688764A 23/09/2025
Solicitante: 
陕西工业职业技术学院
CN_120688764_PA

Resumen de: CN120688764A

本发明属于物流配送技术领域,尤其涉及一种基于多目标强化学习的“无人机+卡车”协同配送方法,该方法包括:订单聚类,物流服务提供商将订单按照K‑means方法进行聚类,使得配送时间和地址相近的订单能够被分成一个订单簇,并由交由卡车及其运载的无人机进行配送;NSGA‑II算法,考虑路径成本、配送时间以及碳排放量多个目标,并提供多种方案的最优路径;采用强化学习的方法进行最优路径的规划。本发明提出的“无人机+卡车”的协同物流配送方法,既考虑了物流配送的时间、成本以及碳排放量三个目标,同时也考虑了无人机的低空限行、卡车的道路拥堵状况及载荷约束等动态情况,采用强化学习的方式优化处最优的路径,并使用非支配排序算法自动更新强化学习的参数设置,能够为物流服务提供商提供多维度的最优路径选择。

一种基于物联网的LNG接收站库存优化平台和优化方法

NºPublicación:  CN120688977A 23/09/2025
Solicitante: 
江苏华电赣榆液化天然气有限公司
CN_120688977_PA

Resumen de: CN120688977A

本发明公开了一种基于物联网的LNG接收站库存优化平台和优化方法,属于计算机智能控制技术领域,包括:S1、通过物联网获取基础数据;S2、数据预处理:通过初始数据、LNG接收站在未来预设时间内的LNG输入计划和LNG外输计划数据,获取当前时刻和未来预设时间内LNG接收站的理论库存;S3、库存优化:根据预知因素获取影响未来预设时间内执行LNG输入计划的库存和LNG外输计划的调整量;将调整量与理论库存进行叠加;得到优化库存;S4、将优化库存与预设的库存平衡量进行比较,根据比较结果对未来预设时间内执行LNG输入计划和LNG外输计划进行调整。本发明能够避免在接收站出现任何形式的库存短缺或过剩的情况。

一种基于区块链的商品批发溯源追踪方法

NºPublicación:  CN120689065A 23/09/2025
Solicitante: 
广州有鱼科技有限公司
CN_120689065_PA

Resumen de: CN120689065A

本发明涉及商品溯源技术领域,具体涉及一种基于区块链的商品批发溯源追踪方法,基于私有链和公有链构建区块链平台混合架构,实现共识机制的分层应用,私有链采用权益证明PoS或实用拜占庭容错PBFT,实现轻量化存储,公有链采用工作量证明PoW,利用其去中心化特性保障根节点安全。本发明通过RFID技术实现对商品的唯一性标记,区块链的分布式存储和共享机制,使得所有参与方能够实时获取和查看商品的完整溯源信息,消费者可以清晰地了解商品的来源和生产过程,区块链可以保证了溯源信息无法被恶意篡改,实现商品从原材料生产、加工、包装、流通的全过程溯源,解决现有商品溯源系统中存在的信息不连贯、易篡改、溯源效率低等问题。

一种大规模非均匀分布配送场景下有人无人系统协同路径规划方法、程序、设备及存储介质

NºPublicación:  CN120688708A 23/09/2025
Solicitante: 
哈尔滨工程大学
CN_120688708_PA

Resumen de: CN120688708A

本发明属于运输路径规划技术领域,具体涉及一种大规模非均匀分布配送场景下有人无人系统协同路径规划方法、程序、设备及存储介质。本发明设计了改进的聚类算法将包裹递送任务分配给各个编队并对分配结果进行优化调整,实现降低算法计算复杂度的同时,避免编队工作量出现失衡;基于任务分配结果,设计低成本路径搜索算法为每个编队制定低成本的初始路由方案;最后在优化过程中设计种群重构策略和优势个体补充策略选择具有高质量多样性和收敛性的帕累托边界。本发明可以实现在大规模非均匀分布配送场景下规划低成本和编队工作量均衡的订单交付路由方案,有效提高配送效率。

一种快递转投的方法和装置

NºPublicación:  CN120688944A 23/09/2025
Solicitante: 
北京京东远升科技有限公司
CN_120688944_PA

Resumen de: CN120688944A

本发明公开了一种快递转投的方法和装置,涉及计算机技术领域。该方法的一具体实施方式包括:响应于接收到快递转投请求,获取所述快递转投请求对应的转投站点,所述快递的收件方联系信息为虚拟信息;在所述转投站点非所述快递的合作站点的情况下,开启信息获取权限,向所述快递转投请求的请求方发送所述虚拟信息对应的真实信息,以便所述请求方根据所述真实信息对所述快递进行转投。该实施方式实现了一种支持非合作转投站点的快递转投方法,不仅免去了快递员人工查找真实号码的转投流程,提高了工作效率,而且也保证了快递的服务质量。

基于大数据的工业互联网数据处理方法和系统

NºPublicación:  CN120688809A 23/09/2025
Solicitante: 
北京睿智联科技有限公司
CN_120688809_PA

Resumen de: CN120688809A

本发明提供一种基于大数据的工业互联网数据处理方法和系统,涉及工业互联网技术领域。根据订单信息识别其中的零件需求并进行排产调度,将零件需求信息发给供应商,并及时将采购回的零件调运至排产方案信息指示的生产线,记录每个零件的安装位置和安装参数,对零件、安装位置、供应商进行对应编码,根据用户反馈的损坏零件信息,周期性的调用与损坏零件编码对应的信息进行分析,从而对生产过程进行改进。该方法设计供应商、工厂内零件调度,排产调度、生产线组装生产以及客户等多端,通过对多端统一编码,增强工厂内外的数据相互关联,从而便于对数据进行深度挖掘,从而改进生产过程,提高数据利用率。

一种用于供应链管理的物流数据分析方法

NºPublicación:  CN120688976A 23/09/2025
Solicitante: 
杭州鑫麦克斯机械有限公司
CN_120688976_PA

Resumen de: CN120688976A

本发明公开了一种用于供应链管理的物流数据分析方法,物流数据分析技术领域;本发明根据供应链获取供应链物流网络,并根据供应链物流网络获取各个物流途径,进而采集各个物流途径中对应的物流数据;对各个物流途径中的物流数据进行分析,获取异常物流数据;根据异常物流数据获取正确物流数据,并根据正确物流数据获取各个物流数据值,所述物流数据值包括生产物流数据值和销售物流数据值;将物流数据值生成对应的报警信号,根据报警信号对各个物流途径进行决策并整改;本发明提高了供应链管理的物流数据的运输精准性和提高了客户的满意程度。

一种基于RFID识别技术的模具生命周期管理方法及系统

NºPublicación:  CN120688787A 23/09/2025
Solicitante: 
深圳市智宇云科技技术有限公司
CN_120688787_PA

Resumen de: CN120688787A

一种基于RFID识别技术的模具生命周期管理方法及系统,它涉及模具管理领域,特别是一种基于RFID识别与PLC设备协同的数据采集与分析,用于实现模具生命周期全过程管理的方法及系统。它采用以下管理步骤:步骤1.模具信息初始化与RFID绑定;步骤2.RFID读写器部署与工位识别;步骤3.模具状态感知与数据过滤;步骤4.生产过程使用数据采集;步骤5.RFID与PLC数据融合校验;步骤6.数据上云与生命周期管理平台;步骤7.模具的状态自动判定与管理建议输出。解决了现有模具管理过程中存在的识别效率低、状态追踪不精准、生命周期管理缺失等问题,实现模具在整个生命周期内的实时感知、自动统计、状态判断、可视化展示与智能决策支持,从而提升模具管理的效率、准确性和智能化水平。

一种一体化防火风管施工方法

NºPublicación:  CN120688182A 23/09/2025
Solicitante: 
中国建筑第八工程局有限公司
CN_120688182_PA

Resumen de: CN120688182A

本发明提供一种一体化防火风管施工方法,属于防火风管施工技术领域,本发明首先构建热流传导矢量图和分段长度调整增益函数,基于傅里叶热传导定律科学确定风管分段长度和连接位置,然后运用嵌入热质传递物理机理模型的遗传算法优化分段方案,通过最小生成树算法求解最优连接路径,完成管道自动分段和二维码编码,在预制加工厂进行镁晶板隔热材料的切割加工和半成品预制,采用半成品运输方式将构件送至现场并通过二维码追踪定位,在现场完成板材打胶和构件组装,安装快速支架并利用管道升降机将风管分段提升至指定位置,对相邻分段进行连接并安装调差段,最后进行风管系统漏风量测试完成验收。

METHOD FOR PROVIDING INFORMATION AND ELECTRONIC DEVICE USING THE SAME

NºPublicación:  KR20250139259A 23/09/2025
Solicitante: 
쿠팡주식회사
KR_20250139259_PA

Resumen de: TW202314632A

A method for providing information of an electronic device according to the various example embodiments includes identifying first information related to expected delivery demand for a specific time period, identifying second information related to expected delivery supply for the specific time period, identifying whether an event for the specific time period is set based on the first information and the second information, and if the event is set based on results of the identifications, providing information about the specific time period and information on the event to a terminal of a delivery person.

一种基于多因素的外卖驿站选址方法、设备及介质

NºPublicación:  CN120688945A 23/09/2025
Solicitante: 
浪潮卓数大数据产业发展有限公司
CN_120688945_PA

Resumen de: CN120688945A

本申请公开了一种基于多因素的外卖驿站选址方法、设备及介质,涉及驿站选址技术领域。方法包括:通过空间网格划分外卖目标区域,生成目标网格单元;获取目标网格单元的多因素数据和历史订单,并在历史订单中提取热力分布图和时间维度波动特征;构建多维度的评估矩阵,计算目标网格单元在每个维度的得分;基于层次分析法确定每个维度的权重系数,生成加权评分,并根据加权评分对目标网格单元进行排序,选取预设排名的目标区域为驿站选址。本申请通过上述方法通过网格化精准分析、多维度科学评估、动态化需求捕捉、竞争差异化定位,显著提升了外卖驿站选址的精准度。

配送任务的优化方法、配送机器人、售货系统和程序产品

NºPublicación:  CN120688946A 23/09/2025
Solicitante: 
优地机器人(无锡)股份有限公司
CN_120688946_PA

Resumen de: CN120688946A

本申请适用于机器人技术领域,提供了一种配送任务的优化方法、配送机器人、售货系统和程序产品。其中,所述配送任务的优化方法包括:响应于接收到配送任务,与自动售货机的传送带对接,所述传送带用于将所述自动售货机中的目标货物输送至所述配送机器人的货舱内;响应于接收到所述自动售货机的已发货消息,对所述货舱内部进行感知,得到货物感知结果;若所述货物感知结果为不存在所述目标货物,则执行纠错操作;若所述货物感知结果为存在所述目标货物,则执行配送操作。本申请的实施例可以避免空舱配送的情况出现。

一种资源分配方法、装置、电子设备和存储介质

NºPublicación:  CN120693625A 23/09/2025
Solicitante: 
京东方科技集团股份有限公司北京京东方技术开发有限公司
CN_120693625_PA

Resumen de: WO2025129637A1

Provided in the present application are a resource allocation method and apparatus, and an electronic device and a storage medium. The method comprises: on the basis of required quantities of a plurality of resources by each resource demander, determining respective total required quantities of the plurality of resources; comparing respective stock quantities of the plurality of resources with the respective total required quantities of the plurality of resources, so as to determine requirement satisfaction information of each of the plurality of resources; and on the basis of the requirement satisfaction information of each of the plurality of resources and the total number of resource demanders for each resource, generating a resource allocation scheme. Thus, the problem of resource allocation in the case of insufficient resource stock is solved; and instead of random allocation, a resource allocation scheme is generated on the basis of satisfaction information of each resource and the total number of resource demanders for each resource, such that the resource requirements of multiple resource demanders can be satisfied to the greatest extent possible, thereby improving the degree of satisfaction of the resource demanders.

基于溜井料位监测的矿车调度系统及方法、存储介质

NºPublicación:  CN120681203A 23/09/2025
Solicitante: 
中国恩菲工程技术有限公司中国有色工程有限公司
CN_120681203_PA

Resumen de: CN120681203A

本申请涉及矿山开采与物料运输技术领域,公开了一种基于溜井料位监测的矿车调度系统及方法、存储介质,系统包括:边缘数控基站用于向多模态料位探测器下发料位测量指令;多模态料位探测器,用于响应于料位测量指令,实时探测溜井内的料位平均高度,通过矿山以太网环网,将探测到的料位平均高度上传至云端服务器;边缘数控基站,用于当基于云端服务器中存储的料位平均高度,查询到有料位平均高度达到满仓限位高度的目标溜井时,调度矿车驶向目标溜井;矿车到位感知终端,用于在矿车行驶过程中,实时监测矿车位置,当监测到矿车到达目标溜井位置时,控制矿车停止行驶。通过溜井料位实时监测与矿车精准调度,提升运输效率,保障生产连续性与安全性。

基于数字孪生体时空轨迹聚类的智能工厂物流路径动态优化方法

NºPublicación:  CN120688714A 23/09/2025
Solicitante: 
山东捷瑞信息技术产业研究院有限公司
CN_120688714_PA

Resumen de: CN120688714A

本发明公开了基于数字孪生体时空轨迹聚类的智能工厂物流路径动态优化方法。本发明中,通过引入图神经网络与拓扑数据分析技术进行轨迹解耦,有效分离了轨迹中的“固有路径偏好”与“瞬时空间耦合”分量,从根本上解决了轨迹空间耦合导致的伪团簇生成问题:能够为物流任务提供更合理的路径规划。新任务AGV不再被强制编入现有队列,能够根据实际情况启用备用通道,提高了物流设备运行的灵活性:优化后的物流路径动态优化方法使物流系统的效率得到显著提升,物流设备的运行效率提高,减少了货物在运输过程中的等待时间和拥堵情况,能够更快速、准确地完成物流任务,为智能工厂的高效生产提供了有力保障。

一种商品配送处理方法和装置

NºPublicación:  CN120688950A 23/09/2025
Solicitante: 
北京沃东天骏信息技术有限公司
CN_120688950_PA

Resumen de: CN120688950A

本发明公开了一种商品配送处理方法和装置,涉及计算机技术领域。该方法的一具体实施方式包括:响应于用户对商品执行的交易相关操作,获取商品的商品数据,获取用户的当前收货地址;确定与当前收货地址对应的物理环境数据,基于商品数据和物理环境数据,确定商品的配送风险评估结果;在配送风险评估结果为高风险的情况下,显示对交易相关操作预置的风险处理方案,响应于用户对其中一个风险处理方案的选择操作,执行所选择的风险处理方案。该实施方式在交易早期引入物理环境数据,能够提前识别如物理空间不匹配等潜在风险,并针对高风险情况提供处理方案,从而有效降低大件商品因物理环境限制导致的误购率和退货率,提升用户体验与平台履约效率。

基于多模态感知与区块链的便利店智能管理方法、装置、设备及存储介质

NºPublicación:  CN120688978A 23/09/2025
Solicitante: 
安徽省烟草公司阜阳市公司
CN_120688978_PA

Resumen de: CN120688978A

本发明属于计算机技术领域,公开了一种基于多模态感知与区块链的便利店智能管理方法、装置、设备及存储介质。该方法包括:基于采集到的商品图像识别商品缺货状态与商品堆叠状态,并基于商品重量、商品缺货状态以及商品堆叠状态,得到实时库存量;将商品进行品类划分,并基于分类结果将商品标识数据与商品进行关联,生成区块链溯源码;将实时库存量输入至LSTM模型预测销量,根据商品缺货状态计算综合指标值,并基于综合指标值剔除备删除商品;通过区块链溯源码定位剩余的若干商品的位置,基于位置触发电子价签调价或步进电机调整货架,以实现智能管理。通过上述方式,能够及时感知缺货状态,避免补货延迟,同时还能够针对商品的分类进行优化管理。

一种基于边缘计算的物流车辆路线异常检测方法

NºPublicación:  CN120687841A 23/09/2025
Solicitante: 
安徽共生众服供应链技术研究院有限公司
CN_120687841_PA

Resumen de: CN120687841A

本发明属于车辆轨迹检测技术领域,具体涉及一种基于边缘计算的物流车辆路线异常检测方法,包括下列步骤:S1、引入了动态道路曲率计算模型,在边缘端进行轨迹偏移检测;基于检测结果,进而动态适应不同路段形态,实现在直线路段与弯曲路段采用不同的监测标准;直线路段采用步骤S2进行偏移检测,弯曲路段采用步骤S3进行偏移检测;S2、在直线路段上,引入滑动偏移量计算模型和局部直线拟合方法来计算垂直距离,用于检测轨迹偏移;S3、在弯曲路段上通过增加曲率感知因子改进DTW算法,检测轨迹偏移。本发明依据实时行驶环境动态切换适用的检测模型,确保检测结果的准确性和适应性。

一种基于RFID技术的计量标准器具智能化管理方法

NºPublicación:  CN120688529A 23/09/2025
Solicitante: 
无锡市检验检测认证研究院(无锡市计量测试院、无锡市纤维检验中心)
CN_120688529_PA

Resumen de: CN120688529A

本发明公开了一种基于RFID技术的计量标准器具智能化管理方法,属于RFID射频标签技术领域,包括通过双频RFID标签、状态机模型与辅助感知单元,实现计量器具从入库、上架、盘点、出库到信息清除全过程的自动识别、状态追踪与事件记录管理,解决了提高计量标准器具在仓储、检定与流转全流程中的识别能力、追踪能力和异常盘点效率的技术问题,本发明实现计量器具全生命周期的数字化管理,兼顾远距快速识别与近距精确写入,提升适应性与可靠性,实现器具位置的视觉+射频双重验证,有效减少误识与漏识,动态优化盘点策略,提高盘点效率与准确性,支持离线追溯与异常诊断,保障数据安全与隐私合规。

基于袋装奖励框架的换电站调度方法、系统及存储介质

NºPublicación:  CN120688774A 23/09/2025
Solicitante: 
智租物联科技集团有限公司
CN_120688774_PA

Resumen de: CN120688774A

本发明公开了基于袋装奖励框架的换电站调度方法、系统及存储介质,包括对电池状态、换电站点状态和环境状态数据进行采集,并进行预处理;时空轨迹袋构建模块构建多维度状态表征和多维度动作表征,并划分轨迹袋;延迟奖励聚合器模块基于轨迹袋并通过延迟反馈计算器生成袋级奖励的多目标奖励函数;奖励袋变换器RBT模型将轨迹袋的状态‑动作对映射至隐空间,结合时空注意力机制并采用奖励分解算法进行奖励分配;基于RLBR框架和奖励袋变换器RBT模型,并结合时空轨迹袋构建模块和延迟奖励聚合器模块,构建基于强化学习袋装奖励框架的换电站动态调度模型;对模型进行多任务的优化以及训练;根据训练完成的模型输出的动态决策行为进行换电站点的动态调度。

一种分布式仓储盘点机器人协同作业方法、设备及介质

NºPublicación:  CN120688773A 23/09/2025
Solicitante: 
山东浪潮数智供应链科技有限公司
CN_120688773_PA

Resumen de: CN120688773A

本申请公开了一种分布式仓储盘点机器人协同作业方法、设备及介质,方法包括:获取分布式网络架构,并对分布式网络架构进行状态实时同步,以得到节点状态数据;基于节点状态数据,通过动态任务迁移,确定迁移任务元数据;获取当前任务需求,并根据当前任务需求和任务元数据,通过改进的合同网协议,确定任务分配数据;对任务分配数据进行任务约束处理,以得到任务优先执行列表,并基于任务优先执行列表,通过时空走廊机制,得到路径时空预留参数;根据任务分配数据和路径时空预留参数,通过动态路径避障规划,确定仓储盘点机器人的协同执行路径。本申请通过上述方法解决了仓储盘点机器人在协同中存在时空冲突与能耗不均衡的技术问题。

物联网设备(IoT)的风险管理和路线规划

NºPublicación:  CN120693624A 23/09/2025
Solicitante: 
高通股份有限公司
CN_120693624_PA

Resumen de: TW202507584A

Systems and techniques are described herein for route planning for delivery of assets. For example, a network entity can receive, from one or more devices associated with one or more users, one or more sets of delivery criteria for delivery of one or more assets for the one or more users. The network entity can determine delivery planning information for delivery of the one or more assets based on the one or more sets of delivery criteria. The network entity can transmit, to the one or more devices associated with the one or more users, one or more delivery notifications associated with the delivery of the one or more assets. Delivery information of the one or more delivery notifications is based on a respective level of service (e.g., a priority level of service, a basic level of service, etc.) associated with each user of the one or more users.

一种基于多源信息融合的智能物流调度系统及方法

NºPublicación:  CN120688953A 23/09/2025
Solicitante: 
山东外事职业大学
CN_120688953_PA

Resumen de: CN120688953A

本申请提供一种基于多源信息融合的智能物流调度系统及方法,涉及物流调度技术领域,通过物流任务的执行状态特征和调度策略确定调度资源对物流任务的协同适配度;将运输资源划分为多个资源分配单元,确定各个资源分配单元之间的资源协同关系,根据资源协同关系和物流网络的调度周期约束条件确定各个资源分配单元对物流任务的调度代价;通过所有的调度代价和协同适配度对物流网络中资源分配与任务需求间的调度适配关系进行模糊评价,确定基于模糊逻辑的调度优化指标;基于调度优化指标对各资源分配单元的物流任务进行负载均衡调度。本申请通过模糊逻辑对复杂物流调度中的资源协同关系与调度适配度进行综合评价,可以实现物流调度的负载均衡。

一种限量弧路径规划方法及相关设备

NºPublicación:  CN120688966A 23/09/2025
Solicitante: 
华南理工大学
CN_120688966_PA

Resumen de: CN120688966A

本发明公开了一种限量弧路径规划方法及相关设备,涉及神经网络的技术领域,其中方法包括:首先以仓库为起点通过广度优先搜索将无向图中的顶点进行重新排序,再根据重新排序的无向图信息和车辆的最大容量对道路进行特征表达。将边的特征向量通过线性映射层映射到高维向量空间。使用多层基于邻接注意力的编码器对高维特征向量进行编码,生成编码向量。再通过多起点策略进行解码,根据当前车辆的剩余容量与前一时刻选择的边,进行当前时刻的道路选择。在所有需要服务的边都完成选择后,通过动态算法确定方案中每条边的行驶方向,并将确定了边方向的方案作为输出。本发明大幅提升对于限量弧路径规划问题的求解效率,有效提高了车辆调度效率。

一种钢铁物流全流程实时动态管理方法及装置

NºPublicación:  CN120688949A 23/09/2025
Solicitante: 
邯郸钢铁集团有限责任公司邯钢能嘉钢铁有限公司
CN_120688949_PA

Resumen de: CN120688949A

本发明涉及一种钢铁物流全流程实时动态管理方法及装置,属于钢铁物流控制方法及装置技术领域。本发明的技术方案是:数据采集与监控,追踪运输车辆与货物状态;需求预测与库存动态调整,根据出货频率分配高频货物响应紧急订单;供应链可视化管理,建立供应链各环节共享数据,构建3D物流地图,实时显示库存、运输状态和瓶颈节点;风险控制管理,在触发预警时快速启动备选方案。本发明的有益效果是:优化效率,降低了传统单一运输模式的局限性,实现需求预测的滚动更新与突发事件响应,提升数据透明度和信任度,实现风险快速响应,具备实现物流全生命周期管理的优点。

一种基于信息融合与智能调度的物流仓储系统

NºPublicación:  CN120688975A 23/09/2025
Solicitante: 
天津恩佐科技发展有限公司
CN_120688975_PA

Resumen de: CN120688975A

本发明属于信息技术领域,具体通过多源信息融合与深度学习算法融合多种传感器数据,运用特定融合网络与优化算法,识别错误与定位偏差大幅降低,抓取错误减少,货物损坏率显著下降。动态搬运路径规划上,传统预设地图算法易碰撞、延误久;强化学习与实时环境感知算法构建实时地图,依奖励函数训练,碰撞次数锐减,搬运时间缩短,能源消耗降低。仓储空间利用时,传统随机存储效率低;空间优化与智能存储策略算法利用遗传算法建模,仓储空间利用率提升,货物寻找时间缩短,损坏率降低。

收寄标准获取方法、装置、计算机设备和存储介质

NºPublicación:  CN120688957A 23/09/2025
Solicitante: 
顺丰科技有限公司
CN_120688957_PA

Resumen de: CN120688957A

本申请涉及一种收寄标准获取方法、装置、计算机设备和存储介质。所述方法包括:对目标文本进行文本分割,得到多个文本块;从多个文本块中筛选出目标文本块;其中,目标文本块为与收寄标准相关的文本块;对目标文本块进行特征提取,得到物品的特征属性;将特征属性相同的目标文本块进行拼接,得到特征文本块;对特征文本块进行文本总结,得到物品的收寄标准。本申请可以从庞大而复杂的目标文本中提炼出寄递物品的收寄标准,收寄标准中包括企业或个人在寄递过程中需要准备的相关材料,从而提高跨境物流的效率。

一种库存现金管理系统及方法

NºPublicación:  CN120689123A 23/09/2025
Solicitante: 
东亚银行(中国)有限公司
CN_120689123_PA

Resumen de: CN118365253A

The invention provides a bank-present interval prediction method, a bank-present interval model and an inventory cash management method. The bank-present interval prediction method comprises the following steps: determining an early warning value of an inventory cash interval based on historical daily cash net outflow data and an early warning value discrimination model; determining a lower limit value of the inventory cash interval based on the historical continuous cash net outflow data and a lower limit value discrimination model; the early-warning value is smaller than the lower limit value; determining an upper limit value of the inventory cash interval based on the optimal control model; determining a first cash deposit prediction interval based on the upper limit value and the lower limit value, wherein the first cash deposit prediction interval is used for providing reference for cash withdraw frequency and withdraw amount; and determining a second deposit prediction interval based on the early warning value and the lower limit value, wherein the second deposit prediction interval is used for providing buffering after cash payment. According to the invention, on the premise of ensuring that the liquidity risk of cash shortage does not occur, the fund occupation is reduced to the greatest extent, the cash benefit maximization is realized, and the cash management cost and the management risk are reduced.

一种多维度数字孪生工厂物料全生命周期数据可视化管理系统及其构建方法

NºPublicación:  CN120687517A 23/09/2025
Solicitante: 
江苏小梦科技有限公司南京大学
CN_120687517_A

Resumen de: CN120687517A

本发明提供了一种多维度数字孪生工厂物料全生命周期数据可视化管理系统及其构建方法。包括:空间建模模块、数据聚合模块和决策分析模块;空间建模模块用于构建工厂拓扑模型;数据聚合模块实时获取工厂内与生产相关的数据;决策分析模块对数据聚合模块获取的数据进行分析,依据分析结果在工厂拓扑模型中进行标示,生成可视化模型。本发明的系统在可视化展示、数据处理和决策支持等方面带来了显著的技术效果,有力地提升了制造业企业管理层对生产效能、库存周转及质量风险的实时监控与决策分析能力,具有良好的社会、经济和技术效益。

一种考虑渔汛变化的渔业码头泊位与冷库规模确定方法及系统

NºPublicación:  CN120688790A 23/09/2025
Solicitante: 
大连理工大学
CN_120688790_PA

Resumen de: CN120688790A

本发明提供一种考虑渔汛变化的渔业码头泊位与冷库规模确定方法及系统,属于渔业资源开发与渔业设施规划技术领域。首先,通过分析渔汛信息得到渔场位置分布和预期渔获量;其次,建立渔业捕捞船队配置和调度模型,对其求解输出最优的船队配置方案和船舶到港时间数据,进行数据统计后形成船队配置数据集和船舶到港信息数据集。再次,基于船队配置数据集,建立渔业码头泊位与库场规模仿真优化模型,并对其进行求解,输出最优的泊位规模和库场规模配置方案。本系统主要包括处理器、输入设备、输出设备和存储器。本发明可以帮助港口建设者根据当地鱼汛状态在规划和建设阶段,决定渔港泊位规模和渔港库场规模,以降低港方和船方的成本。

基于数字化的铁路施工方法及系统

NºPublicación:  CN120688839A 23/09/2025
Solicitante: 
中铁二十四局集团江苏工程有限公司
CN_120688839_PA

Resumen de: CN120688839A

本发明公开了基于数字化的铁路施工方法,包括:S1、在施工区段及相邻营业线段布设相关设备;S2、建立数字孪生模型;S3、计算可供施工车辆使用的安全作业时间窗;S4、当预测在未来的安全作业时间窗内出现交叉时,禁止施工车辆进入该区间,并为施工车辆分配无冲突的最优行进路径;S5、实时监测施工车辆,系统根据实时状态指令其他施工车辆调整任务顺序;S6、施工车辆执行任务并回传位置及进度信息,数字孪生系统根据数据再次执行S3‑S5。本发明通过构建“实时—预测—调度—反馈”数据闭环,动态计算安全作业时间窗并分量化预测轨迹,实现空间与时间双重碰撞检测;同时最短路径和任务优先级重排。

基于大数据分析的冷链物流数据溯源方法

NºPublicación:  CN120688956A 23/09/2025
Solicitante: 
西安交通工程学院
CN_120688956_PA

Resumen de: CN120688956A

本发明涉及冷链物流技术领域,尤其涉及一种基于大数据分析的冷链物流数据溯源方法,该方法包括,生产端生成针对单批货物的溯源码;采集端获取运输数据;采集端基于运输聚集表征值划分针对单批货物的监测类别,并基于监测类别对货物进行监测;中间端基于监测类别和监测数据生成异常报表,中间端将异常报表传输至售卖端。根据货物的堆积聚集情况,针对性调整监测参数,提高了对货物的监测精度,进而提高了物流数据的可靠性。

一种基于二维码的生鲜果蔬智能验收方法及系统

NºPublicación:  CN120689011A 23/09/2025
Solicitante: 
吉林大学吉数研院(吉林省)信息技术咨询设计有限责任公司
CN_120689011_PA

Resumen de: CN120689011A

本发明适用于智能采购技术领域,提供了一种基于二维码的生鲜果蔬智能验收方法及系统,系统包括物料订单模块、二维码管理模块、智能称重模块、质量监测模块、屏幕显示模块、语音播报模块及过程监察模块。方法通过生成订单二维码绑定采购信息,扫码后自动启动图像采集、物料识别、称重与质量评估,基于综合评估值判定验收结果并同步反馈,全程记录音视频数据用于追溯。本发明实现了生鲜果蔬验收的自动化与标准化,提升了验收效率,消除了人为偏差,保障了过程可追溯,降低了物流成本并构建了透明的供应链风控体系。

货位智能分配方法及装置、电子设备、存储介质

NºPublicación:  CN120688980A 23/09/2025
Solicitante: 
曹妃甸港集团股份有限公司
CN_120688980_PA

Resumen de: CN120688980A

本公开提供了货位智能分配方法及装置、电子设备、存储介质,属于货位分配技术领域,该方法包括:响应于收到货物存储指令,对货物存储指令进行解析得到待存储的货物信息。基于待存储的货物信息确定目标货位类型和货物摆放垛型。从目标货位类型对应的所有货位中进行搜索,得到第一货位集合。第一货位集合包括多个未满垛货位。基于第一货位集合中每个货位的位置信息筛选出第二货位集合,基于第二货位集合中每个货位的货位剩余空间和货物存放信息确定目标存储货位。基于目标存储货位和货物摆放垛型对待存储的货物进行存储。本公开能够提高对于件杂类非标准货物的货位分配的准确性,满足高质量管理需求。

一种垃圾收运监控方法、装置、电子设备及存储介质

NºPublicación:  CN120688963A 23/09/2025
Solicitante: 
中环洁集团股份有限公司
CN_120688963_PA

Resumen de: CN120688963A

本申请提供了一种垃圾收运监控方法、装置、电子设备及存储介质,属于垃圾收运领域,包括获取预安装在各收运车上的GPS设备上报的轨迹点位置信息;将每个收运车的轨迹点位置信息与对应的收运线路上的所有收运点位的作业范围进行匹配;基于匹配结果分别确定各收运点位的实际收集次数以及实际作业停留时长;基于实际收集次数、各收运点位的预配置的收集频次及预设的收运完成率算法确定每条收运线路的收运完成率;基于实际作业停留时长、各收运点位的预配置的作业时间范围及预设的准时进站率算法确定每条收运线路的准时进站率;基于收运完成率以及准时进站率生成每条收运线路的监控信息。本发明实现了对垃圾收运状态的高效监控,保证了收运效率。

一种基于数据分析的物流运输路径规划系统及方法

NºPublicación:  CN120688712A 23/09/2025
Solicitante: 
深圳得一国际数字物流有限公司
CN_120688712_PA

Resumen de: CN120688712A

本发明公开了一种基于数据分析的物流运输路径规划系统及方法,涉及运输路径规划技术领域,包括,路径区段化模块、辅助验证分析模块、区段路径划分修正模块及路径微调模块。通过将目标运输路径动态划分为初始区段单元,结合本体特征数据及运输环境数据构建路径区段运输数据,利用监管函数识别异常区段生成有效路径数据集;基于路径异常值触发辅助验证机制,补充实际轨迹偏差、吃水深度变化率反馈数据;通过环境动态因子与本体特征数据关联分析,动态修正区段长度;采用遗传算法结合角度约束参数与曲率变化阈值,生成第一微调角度、第二微调角度;解决了传统路径规划在动态环境适应性、异常检测精度及多目标优化效率方面的不足。

一种基于供应链的石化仓储管理追溯方法及系统

NºPublicación:  CN120689069A 23/09/2025
Solicitante: 
北京知达客信息技术有限公司
CN_120689069_PA

Resumen de: CN120689069A

本发明公开了一种基于供应链的石化仓储管理追溯方法及系统,涉及石化仓储管理领域,包括获取当下仓储基地的地理位置信息,结合货运路线和基地地图构建平面信息图,将视频采集基础信息和传感器采集基础信息标记在平面信息图中;构建异常识别网络,获取视频采集数据和传感器数据,采用异常识别网络进行异常识别得到储存数据;基于储存数据在平面信息图中建立区块链拓扑关系形成供应链追溯系统;获取当下追溯需求,根据追溯需求在供应链追溯系统中进行追溯生成动态追溯图。本发明采用区块链对供应链进行赋能,提升了管理过程中的透明度,增强追溯功能对石化仓储管理进行优化。

基于蚁群优化与变邻域搜索的电动货运车智能调度方法

NºPublicación:  CN120688954A 23/09/2025
Solicitante: 
华南理工大学
CN_120688954_PA

Resumen de: CN120688954A

本发明公开了一种基于蚁群优化与变邻域搜索的电动货运车智能调度方法,包括下述步骤:采集交通网络和电力网络的历史数据,将历史数据与虚拟道路仿真模型结合,构建电动货运车智能调度仿真模型;构建有向图,构建最优路径集,计算电动货运车的总行驶距离;基于蚁群算法与变邻域搜索算法,以电动货运车的总行驶距离最小为优化目标,计算电动货运车的行驶路线,得到行驶的路径方案。本发明将蚁群优化与变邻域搜索算法运用到了电动货运车辆的多订单调度问题中,在同时面临交通网络拥堵与电力资源受限的实际环境中,具有良好的调度效果与能耗控制能力。

基于无人机设备的实体对象遍历识别检测方法和装置

NºPublicación:  CN120688985A 23/09/2025
Solicitante: 
深圳市阿拉丁无人机有限公司
CN_120688985_PA

Resumen de: CN120688985A

本申请涉及一种基于无人机设备的实体对象遍历识别检测方法和装置。所述方法包括:获取由无人机设备在货物储存区域中采集的货物信息,货物信息表示无人机设备按照预设飞行轨迹运行并对货物储存区域中的各个储存位置依序采集得到的货物储存相关的信息;根据货物信息中的实体特征类别,确定货物信息匹配的货物识别算法,基于货物识别算法识别货物信息对应的货物特征信息,货物特征信息包括相应货物的产品型号、储存数量以及储存位置;将货物特征信息与在预设数据库中的库存信息进行比对,得到货物储存区域的库存分析结果。采用本方法能够实现对货物储存状态的系统化分析,有助于提高库存管理的准确性与信息更新的实时性。

基于动态隐私保护的全球快递系统及方法

NºPublicación:  CN120688084A 23/09/2025
Solicitante: 
秦明粤
CN_120688084_PA

Resumen de: CN120688084A

本申请提供了一种基于动态隐私保护的全球快递系统及方法,首先获取用户的账号、联系方式及地址信息,每个地址信息对应至少一个地址触发规则;对地址信息进行加密;在获取到用户对应的配送请求之后,根据地址触发规则从加密后地址信息中确定目标加密地址信息;在接收到配送员基于用户的账号或联系方式发送的地址查询申请后,解密目标加密地址信息得到解密地址。通过地址触发规则将用户的账号或联系方式动态映射地址信息,对用户真实的地址信息加密,这样在快递单上只会显示用户的账号,只有处于物流运输末端的配送员才能根据用户的账号或联系方式获取临时密钥解密快递单上的用户地址信息,该地址信息可以包含一个联系电话,保护了用户的隐私信息。

一种EPC项目中全过程工程咨询的方法及系统

NºPublicación:  CN120689000A 23/09/2025
Solicitante: 
湖南万达项目管理有限公司
CN_120689000_A

Resumen de: CN120689000A

本发明公开了一种EPC项目中全过程工程咨询的方法及系统,包括如下步骤:步骤一、项目启动与规划阶段:启动项目规划模块,根据EPC项目的总体需求,制定项目总体目标和阶段性计划;步骤二、设计优化阶段:启动设计优化模块,依据规划阶段制定的目标和计划;步骤三、采购管理阶段:启动采购管理模块,根据优化后的设计方案,制定详细的设备及材料采购计划;步骤四、施工监督与质量控制阶段:启动施工监督模块,配备高清摄像头和传感器实时监控施工现场;步骤五、竣工验收与交付阶段:启动竣工验收模块。该发明集成多环节、依托信息化系统和利用智能技术,实现高效协同、智能管理和精准风控,提升EPC项目管理效益。

一种园区数智化物流供应系统

NºPublicación:  CN120688947A 23/09/2025
Solicitante: 
安徽云易智能技术有限公司
CN_120688947_PA

Resumen de: CN120688947A

本发明公开了一种园区数智化物流供应系统,涉及园区数智化物流供应技术领域,用于解决现有园区物流供应中数据孤立、决策滞后以及资源配置不合理的问题,本发明包括数据采集模块、数据处理模块以及智能分析与决策模块;数据采集模块通过预设的多元感知网络进行多维度数据采集;数据处理模块基于所采集的数据进行特征提取并计算得到健康度评估指数;智能分析与决策模块基于本健康度评估指数进行分析与判断并生成相应策略组合;本发明通过多元感知网络进行数据采集、多维度特征分析及智能策略生成,实现物流运营状态的动态监测、供需动态平衡与协同优化,提高了园区物流运营效率与供应链韧性。

物流检测方法、装置、介质及电子设备

NºPublicación:  CN120688970A 23/09/2025
Solicitante: 
上海烟草集团有限责任公司
CN_120688970_PA

Resumen de: CN120688970A

本申请提供一种物流检测方法、装置、介质及电子设备。所述物流检测方法包括:获取生产物流数据;基于所述生产物流数据对所述生产物流的数字孪生模型进行模拟测试,以获取所述数字孪生模型中设备空闲状态、运行状态以及等待状态的时长占比值;基于所述时长占比值,获取物流检测信息,若所述时长占比值中空闲状态的时长占比值最大,则所述物流检测信息为生产物流的瓶颈设备在所述目标设备的前级,若所述时长占比值中运行状态的时长占比值最大,则所述物流检测信息为所述瓶颈设备为所述目标设备,否则所述物流检测信息为所述瓶颈设备在所述目标设备的后级。所述物流检测方法能够快速排查出生产物流中的瓶颈设备,从而提升检测效率。

基于RPA机器人的仓储分拣管理办法及系统

NºPublicación:  CN120688832A 23/09/2025
Solicitante: 
广东广物互联网科技有限公司
CN_120688832_PA

Resumen de: CN120688832A

本发明涉及仓储分拣技术领域,具体涉及基于RPA机器人的仓储分拣管理办法及系统。该办法包括:获取仓储分拣订单信息,基于仓储分拣订单信息确定待分拣货物的分拣存储空间;获取待分拣货物的属性信息和分拣存储空间对应的存出特征值,对属性信息和存出特征值进行联合推理,推理出待分拣货物的分拣优先指数;基于待分拣货物的分拣优先指数和处在空闲状态的RPA机器人确定待分拣货物的分拣顺序;以待分拣货物的位置信息为分拣起点,待分拣货物的分拣存储空间位置信息为分拣终点,确定分拣路径,并根据分拣拥堵信息对分拣路径进行动态更新,基于待分拣货物的分拣顺序和更新后的分拣路径依次完成分拣,能够提升分拣效率和降低分拣错误率。

智能物流系统、控制方法、装置以及介质

NºPublicación:  CN120688948A 23/09/2025
Solicitante: 
广东智科电子股份有限公司广东伊莱智科科技有限公司佛山市佰特智慧物联科技有限公司广东智科实业有限公司
CN_120688948_PA

Resumen de: CN120688948A

本申请公开了一种智能物流系统、控制方法、装置以及介质,智能物流系统包括控制模块和多个受控制模块控制的搬运设备,控制方法包括:响应于货物运输任务,根据货物运输任务确定货物起点、货物终点、货物体积以及货物重量;获取各个搬运设备的状态信息,根据各个状态信息、货物体积以及货物重量,确定出目标搬运设备;获取当前物流信息,根据当前物流信息、货物起点、货物终点以及预设的仓库地图数据,确定货物路径;根据货物路径,控制目标搬运设备进行货物运输。本申请能够能够提高运输效率。

信息获取方法、装置、设备及存储介质

NºPublicación:  CN120688961A 23/09/2025
Solicitante: 
北京京东远升科技有限公司
CN_120688961_PA

Resumen de: CN120688961A

本公开提供了一种信息获取方法、装置、设备及存储介质,可以应用于智慧物流技术领域。该方法包括:基于目标物品在存储区域中的存储位置和存储区域的预设物品分布规则,确定目标物品的存储状态;在存储状态为异常状态的情况下,在区域平面图中确定目标路径,以便于可移动终端设备基于目标路径移动至与存储位置对应的目标位置;根据存储位置和可移动终端设备在移动过程中的设备位置,确定目标物品与可移动终端设备之间的相对角度;基于相对角度调整由可移动终端设备向目标物品发送射线的发射角度,以便于在可移动终端设备基于目标路径移动至目标位置的情况下,基于发射角度利用可移动终端设备获取目标物品的物品信息。

一种电动列车甩挂运输方法、可读存储介质及设备

NºPublicación:  CN120688952A 23/09/2025
Solicitante: 
徐州徐工汽车制造有限公司
CN_120688952_PA

Resumen de: CN120688952A

本发明公开了一种电动列车甩挂运输方法、可读存储介质及设备,属于物流运输技术领域,本发明基于目标货物属性数据、货物目的地站点位置、货物所处站点位置、货物所处站点停靠电动牵引车及挂车属性数据,形成能够运送目标货物及时到达目的地站点且货物装载率最高的最优物流计划,通过最优物流计划将对应的电动牵引车与电动挂车进行装载,避免了列车在货物运输过程中途补能,提高了运输效率,解决了当前新能源列车在甩挂运输过程中主要面临续航里程不足,自重大载货量小的问题。

一种基于旁通双向动态优化分配策略的船舶智能配载方法

NºPublicación:  CN120688686A 23/09/2025
Solicitante: 
天津大学
CN_120688686_PA

Resumen de: CN120688686A

本发明公开了一种基于旁通双向动态优化分配策略的船舶智能配载方法,属于船舶智能货运技术领域,包括以下步骤:S1、根据给定的船舶信息,初步建立布置区域数据库;S2、根据需要运输的重大货物以及其他货物信息,建立货物数据库;S3、选择某一舱室,利用双向分配择优机制与旁通板动态调整算法开展货物配载;S4、判断是否有剩余舱室未配载,若有则重新进入S3,若无则进入S5;S5、进行剩余旁通板分配;S6、输出所有舱室布置方案、旁通板分配方案。本发明采用上述的一种基于旁通双向动态优化分配策略的船舶智能配载方法,在配载重大件货物的同时对舱室内旁通板进行智能分配,从而提升重大件货物运输的舱室装载率。

一种电力物资补库方法及系统

NºPublicación:  CN120688972A 23/09/2025
Solicitante: 
国网福建省电力有限公司物资分公司
CN_120688972_PA

Resumen de: CN120688972A

本发明公开了一种电力物资补库方法及系统,基于基础数据对电力物资进行特性分析,得到物资特性,并基于基础数据确定电力物资的指标因子,根据指标因子对电力物资进行聚类分析,得到物资类别,并根据物资类别确定电力物资的库存管理策略,基于基础数据构建电网项目的项目描述词向量和项目物资特征向量,并根据其对电网项目进行聚类分析,得到项目类型,根据物资特性确定与项目类型对应的需求预测模型,并基于物资特性、项目描述词向量和项目物资特征向量使用需求预测模型对电力物资进行需求预测,基于库存管理策略和需求预测值确定电力物资的智能补库策略,从而提高了物资管理的科学性、响应性和智能化水平。

一种数智化园区供应链仓配一体服务系统

NºPublicación:  CN120688973A 23/09/2025
Solicitante: 
安徽云易智能技术有限公司
CN_120688973_PA

Resumen de: CN120688973A

本发明公开了一种数智化园区供应链仓配一体服务系统,涉及物流供应链技术领域,本发明包括动态仓储资源协同调度模块、多模态智能路径规划模块和区块链联邦学习安全中枢模块;通过5G‑IoT实时采集数据,结合量子遗传算法动态分配库位与设备,优化冷热区存储比例;利用改进蚁群算法和动态代价函数实时规划路径,支持无人车、无人机多载具协同配送;采用分层区块链与联邦学习技术,确保数据加密存储与跨企业安全共享;本发明提升了仓储效率与库存周转率,缩短了配送时间,降低了能耗,并保障了数据隐私与合规性,适用于现代化园区供应链管理。

加油站销量预测方法、装置、电子设备及存储介质

NºPublicación:  CN120689086A 23/09/2025
Solicitante: 
中国石油化工股份有限公司中石化(大连)石油化工研究院有限公司
CN_120689086_PA

Resumen de: CN120689086A

本发明涉及计算机技术领域,提供一种加油站销量预测方法、装置、电子设备及存储介质,该方法首先获取目标加油站目标类型油品的历史销量数据;然后基于特征提取模型,采用注意力机制,提取历史销量数据中具有时段销量特性的逐小时的目标时段销量特征;最后基于时序预测模型,应用历史销量数据以及目标时段销量特征,预测目标加油站目标类型油品的未来销量数据。该方法通过提取具有时段销量特性的逐小时的目标时段销量特征,可以实现逐小时的细粒度销量预测,兼顾预测细粒度与准确度,为成品油配送计划制定提供准确的决策指导,为企业经营提供更加准确细致的数据指导。

基于动态多目标优化的库存分布决策方法及系统

NºPublicación:  CN120688986A 23/09/2025
Solicitante: 
久爱致和(北京)科技有限公司
CN_120688986_PA

Resumen de: CN120688986A

本申请提供一种基于动态多目标优化的库存分布决策方法及系统,其中,该方法包括:获取目标商品的实时订单数据、货品重量数据、历史需求数据以及环境状态数据;基于货品重量数据,结合预设的货架承重约束条件,生成目标商品在货架上的分布调整策略;将分布调整策略、实时订单数据、历史需求数据以及环境状态数据相结合,构建以最小化补货周期、最小化仓储成本及优化风险均衡为优化目标的多目标决策模型;基于多目标决策模型,采用交互式迭代方式输出最优库存分布决策方案。本申请提升了库存周转效率并降低了运营风险。

基于物联网的智能仓储数字可视化管理系统及方法

NºPublicación:  CN120688979A 23/09/2025
Solicitante: 
无锡职业技术学院
CN_120688979_PA

Resumen de: CN120688979A

本发明涉及物联网感知技术领域,尤其涉及一种基于物联网的智能仓储数字可视化管理系统及方法。该方法包括以下步骤:获取智能仓储结构数据;根据智能仓储结构数据构建仓储三维模型;基于仓储三维模型进行物资搬运模拟,得到物资搬运数据;基于物资搬运数据识别高频拥堵区域;根据高频拥堵区域进行货物摆放分析,得到货物摆放数据;基于货物摆放数据识别货物空间形态,得到货物空间形态数据;根据货物空间形态数据进行货物重心偏移检测,得到货物重心偏移数据;根据货物重心偏移数据采集货物唯一标签,得到货物标签数据。本发明基于物联网感知技术提高智能仓储中货物堆放安全率与货架结构运行稳定率。

数字化制造平台的协同调度方法、装置及设备

NºPublicación:  CN120688800A 23/09/2025
Solicitante: 
广东盘古信息科技股份有限公司
CN_120688800_PA

Resumen de: CN120688800A

本发明涉及生产管理的技术领域,公开了一种数字化制造平台的协同调度方法、装置及设备,本发明通过实时模拟工厂运作状况生成实况感知矩阵,根据实时生产工单和物料需求预测缺料信息,获取自动运载单元的定位数据,构建运输目标图谱及物料运载特性矩阵,利用图神经网络模拟运输路径并优化,驱动自动运载单元进行运输,同时通过多模态感知数据进行风险评估,生成最优调整策略,此方法通过实时数据驱动和路径优化,提高了生产调度的精度与效率,减少了运输过程中的风险,提升了生产资源的利用率,解决了现有技术中难以快速响应物料需求变化的问题。

一种基于区块链的航油结算智能合约方法及相关设备

NºPublicación:  CN120689137A 23/09/2025
Solicitante: 
中国南方航空股份有限公司华南理工大学
CN_120689137_PA

Resumen de: CN120689137A

本发明公开了一种基于区块链的航油结算智能合约方法及相关设备,其中系统包括:数据采集层,用于获取加油信息和航班信息,根据获取的信息自动生成链上交易事件;区块链网络层,基于区块链搭建多方参与的分布式账本,其中区块链节点包括航空公司、燃油供应商、机场及监管机构;智能合约层,用于部署自动结算规则、支付逻辑及异常处理机制;应用接口层,用于通过标准化API与外部系统对接,以支持数据交互与业务扩展。本发明由数据采集层、区块链网络层、智能合约层、应用接口层组成的四层架构,通过区块链实现多方参与的分布式账本,兼顾效率与权限控制;且支持与现有系统的无缝集成。本发明可广泛应用于航空燃料结算技术领域。

一种油库隐患排查的风险动态量化评估及预警方法

NºPublicación:  CN120688848A 23/09/2025
Solicitante: 
雍歧东
CN_120688848_PA

Resumen de: CN120688848A

本发明涉及油库安全管理相关领域,尤其涉及一种油库隐患排查的风险动态量化评估及预警方法,包括以下步骤:S1、构建指标体系;S2、确定指标权重;S3、制定评分标准;S4、数学模型构建;S5、确定综合风险等级。本发明的方法通过区分隐患与风险等级,建立风险评估指标体系及权重评分标准,并运用数学模型进行风险计算,制定评估及预警准则,实现油库隐患风险信息可知、可视、可控。本发明结合实际案例验证方法的有效性,为运用大数据手段管控油库风险提供科学技术支持。

一种库位分配方法、烟叶入库方法、存储介质及电子设备

NºPublicación:  CN120688971A 23/09/2025
Solicitante: 
上海烟草集团有限责任公司
CN_120688971_PA

Resumen de: CN120688971A

本申请提供一种库位分配方法、烟叶入库方法、存储介质及电子设备。所述库位分配方法包括:获取待入库烟叶的烟叶品名;获取所述烟叶品名的烟叶在每个巷道中的库存数量;选择所述库存数量最低的巷道作为目标巷道;根据所述目标巷道的库位状态为所述待入库烟叶分配库位,所述库位状态用于表示库位是否可用。根据本申请提供的上述方法能够根据烟叶的库存数量和巷道的库位状态为烟叶分配库位。

基于人工智能技术的多式联运一箱制智能可信协同方法

NºPublicación:  CN120688969A 23/09/2025
Solicitante: 
上海文景信息科技有限公司
CN_120688969_PA

Resumen de: CN120688969A

本发明涉及多式联运技术领域,尤其涉及基于人工智能技术的多式联运一箱制智能可信协同方法,包括:S1:运输数据根据约定规则得到标准化JSON数据包,进行三重加密得到加密数据包并广播至区块链;S2:验证节点对物联网设备数据和电子运单关键字段进行共识验证,若验证通过后则写入区块链;S3:数字孪生系统融合多源数据,并提取计算数据,人工智能根据计算数据计算最优装卸顺序和运输路径;S4:通过北斗定位终端与沿途5G/LoRa网关,上传经纬度数据至区块链节点,并基于地理围栏技术自动识别运输阶段异常。本发明统一数据规则,实现跨运输方式的高效衔接,防止人工录入错误或违规操作,通过动态规划路线降低货损风险并提升转运效率,减少物流时间和成本消耗。

一种工地物料追踪管理方法及系统

NºPublicación:  CN120688965A 23/09/2025
Solicitante: 
华川建设集团有限公司
CN_120688965_PA

Resumen de: CN120688965A

本发明公开了一种工地物料追踪管理方法及系统,包括在工地关键节点布设视频监测点,并在物料堆放区域部署重量传感器;当检测到物料重量变化超过阈值时,获取前后时段关键帧图像,通过像素变化率算法提取移动对象,选取距离堆放点最近的目标对象;同步调取各监测点视频数据,提取各点位移动对象并采用聚类算法匹配时空特征,筛选与目标对象相似度最高的集合,按时间序列生成物料移动路径;将路径与预设运输路线库进行偏离度分析,超过阈值时触发异常告警。本发明通过多源数据融合与轨迹匹配,有效解决工地物料运输路径偏移监测的技术难题,提升物料管理实时性与精准度。

一种基于云的钟表销售数据分析系统

NºPublicación:  CN120689083A 23/09/2025
Solicitante: 
湖南芒果钟表制造有限公司
CN_120689083_PA

Resumen de: CN120689083A

本发明涉及零售数据分析技术领域,具体为一种基于云的钟表销售数据分析系统,系统包括交易时间密度识别模块、时序消费轨迹重构模块、空间热点动态检测模块、库存波动趋势判定模块、库存联动调节控制模块。本发明中,通过对钟表交易订单时间戳与交易笔数的动态比对,能够实现交易活跃时段的精准刻画,通过同步映射SKU销售数量,构建交易时间密度结构,使得交易波动规律具备更强的时序敏感性,通过地理位置编码与交易金额变化趋势的联动分析,有效捕捉热点区域的形成与扩散路径,结合库存消耗速度与交易金额增幅趋势,精准判定库存波动节点,能够有效缓解热点仓储节点库存紧张风险,提升SKU库存的空间流动性与供需平衡能力。

一种模块化智能装配式联运集装系统

NºPublicación:  CN120688959A 23/09/2025
Solicitante: 
河南工程学院
CN_120688959_PA

Resumen de: CN120688959A

本发明公开了一种模块化智能装配式联运集装系统,涉及集装领域,包括:信息采集单元,用于获取待运输货物的敏感因子信息;模块功能库,用于存储多种具备不同功能特性的标准模块;匹配评分单元,用于构建模块匹配评分模型,基于各标准模块的功能特性与货物敏感因子之间的适配关系,生成模块适配评分表;组合优化单元,用于根据模块适配评分表,采用优化算法从模块功能库中选择一组满足保护需求的最优模块组合方案;结构生成单元,用于基于最优模块组合方案生成集装结构蓝图。本发明能够根据货物特性智能匹配标准模块并输出结构化装配方案,解决了现有集装系统无法根据货物个性化需求自动配置模块、效率低、适配性差的问题。

商品补货计数方法、设备及计算机可读存储介质

NºPublicación:  CN120688974A 23/09/2025
Solicitante: 
广东瀚墨科技股份有限公司
CN_120688974_PA

Resumen de: CN120688974A

本申请公开了一种商品补货计数方法、设备及计算机可读存储介质,涉及数据处理技术领域,包括:响应于补货完成操作,于缓存区中获取补货过程中滚轮计数传感器反馈的脉冲信号,以及重量传感器反馈的重量信号;根据所述脉冲信号计算目标商品的补货长度信息,并根据所述目标商品的标准长度信息和所述补货长度信息,确定第一商品数量数据;基于所述重量信号确定所述目标商品的补货重量信息,并根据所述目标商品的标准重量信息,确定第二商品数量数据;若所述第一商品数量数据与预设补货数量不匹配,基于所述第二商品数量数据对所述第一商品数量数据进行校正。本申请达成了提高商品补货数量统计的准确性的技术效果。

一种订单检测方法及装置

NºPublicación:  CN120688962A 23/09/2025
Solicitante: 
达疆网络科技(上海)有限公司
CN_120688962_A

Resumen de: CN120688962A

本发明提供了一种订单检测方法及装置,其中,该方法包括:获取目标订单对应的配送轨迹数据表与配送行为数据表;基于配送轨迹数据表,和/或,配送行为数据表,确定目标订单在预设检测指标下的检测数据,以基于检测数据判断目标订单的检测指标是否异常;响应于目标订单对应的至少一个检测指标异常,将目标订单标记为异常订单。该实施方式能够基于目标订单的配送数据来识别目标订单是否异常,不依赖特定的异常特征,提高了订单检测的效率、适应性与及时性。

一种数字物流与农村经济协同发展的动态评估系统及方法

NºPublicación:  CN120688745A 23/09/2025
Solicitante: 
昆明理工大学
CN_120688745_PA

Resumen de: CN120688745A

本发明涉及数字物流与农村经济领域,提出了一种数字物流与农村经济协同发展的动态评估系统及方法。该系统通过集成大数据、物联网、人工智能(AI)及地理信息系统(GIS),旨在实现对农村地区物流系统的全面评估与优化,推动数字物流与农村经济的高效融合与协同发展。系统通过以下步骤完成评估任务:首先,收集与整理农村数字物流相关的基础数据,建立数据集;其次,设计并构建评估模型,基于大数据和AI技术进行模型训练与优化;然后,将优化后的评估模型部署至云平台,进行实时监控与评估;最后,通过可视化展示评估结果,并动态优化物流系统。

一种跨境电商自动报关装置及方法

NºPublicación:  CN120688999A 23/09/2025
Solicitante: 
深圳市泰洲科技有限公司
CN_120688999_PA

Resumen de: CN120688999A

本发明公开了一种跨境电商自动报关装置及方法,报关装置包括自动报关器,所述自动报关器与计算机通过有线方式相连,所述自动报关器通过无线连接的方式连接有远程移动终端;所述自动报关器内部集成有MCU控制模块,所述MCU控制模块连接有数据采集模块、数据处理模块、报关单生成模块、税费计算模块、申报模块和反馈模块;所述数据采集模块用于从电商平台采集商品相关的数据以及物流数据,所述数据处理模块用于对商品数据进行分类,并对报关商品的价值进行计算,所述报关单生成模块用于生产报关单,所述税费计算模块用于计算报关商品所需要缴纳的税费,所述申报模块用于提交报关单,所述反馈模块用于在报关完成后接收反馈消息。

基于物联网的实时动态库存监控与预测系统

NºPublicación:  CN120688981A 23/09/2025
Solicitante: 
深圳市泓龙电子有限公司
CN_120688981_PA

Resumen de: CN120688981A

本申请公开了基于物联网的实时动态库存监控与预测系统,涉及库存管理的技术领域,其包括数据采集模块:用于获取仓库中库存货物的标识数据、空间位置数据以及质量变化数据;库存监控模块:用于提取变化数据,并根据变化数据进行监控设备调整;库存提示模块:用于获取库存货架上的货物数量,生成货物操作;动态预测模块:用于获取历史市场数据,库存货物进行动态预测,分别得到短期预测结果以及长期预测结果;短期调整模块:用于根据短期预测结果进行货物调整;长期调整模块:用于根据长期预测结果进行货物调整。本申请具有提升仓库的利用效率和仓库的智能性,降低人力成本和仓库的使用成本的效果。

一种物资智能调配方法及系统

NºPublicación:  CN120688814A 23/09/2025
Solicitante: 
国网福建省电力有限公司物资分公司
CN_120688814_PA

Resumen de: CN120688814A

本发明公开了一种物资智能调配方法及系统,根据供应商储备订单和获取的领料计划从多个供应商中选择目标供应商,根据领料计划确定物资需求数量和装载特性,并根据物资需求数量和装载特性确定物资供应策略,获取目标供应商的装载点和领料计划的卸货点,基于装载点和卸货点得到物资运输调度方案,获取目标供应商的最低发货条件,并根据最低发货条件和领料计划确定物资补库方案,将物资供应策略、物资运输调度方案和物资补库方案发送至目标供应商,以使目标供应商进行物资供应,实现了统一补库、集中下单、统一调配,在保障物资供应的同时,实现供应商与项目现场的对接,大幅压缩供货流程,从而提高电力物资调配的效率和准确性。

一种物料盛具定位跟踪管理方法、系统和存储介质

NºPublicación:  CN120688964A 23/09/2025
Solicitante: 
重庆长安汽车股份有限公司
CN_120688964_PA

Resumen de: CN120688964A

本申请实施例提供一种物料盛具定位跟踪管理方法、系统和存储介质,所述方法包括步骤:获取目标盛具的定位数据;对目标盛具以及物料进行绑定;根据定位数据和起始地电子围栏和目的地电子围栏之间的空间关系,确定目标盛具的目标物流状态和对应的持续时长,物流状态包括起始地在库状态、在途状态、目的地入库状态;在目标物流状态为目标地入库状态的情况下,解除所述目标盛具与对应物料的绑定关系;根据目标物流状态的持续时长,确定目标盛具是否异常。本申请准确把控运输状况、提高物流运输的效率、提高对盛具遗失风险的控制。

一种基于多角色协同的医疗业务自动化推单方法及系统

NºPublicación:  CN120690396A 23/09/2025
Solicitante: 
广东一方制药有限公司
CN_120690396_PA

Resumen de: CN120690396A

本发明公开了一种基于多角色协同的医疗业务自动化推单方法及系统,涉及医疗管理自动化技术领域,所述方法包括接收上游业务系统推送的单据数据,基于字段映射关系表,将中文字段数据转换为结构化的目标单据数据,将目标单据数据拆分为多个下游单据,得到完整的单据数据,对完整的单据数据进行库存批次分配,基于区块链技术生成哈希签名存证,实现全链路可追溯,计算历史采购单价,并输出税务拆分结果;该基于多角色协同的医疗业务自动化推单方法及系统,实现医疗业务数据的高效流转与合规管理,处理效率提升,错误率下降,具有数据可追溯性,满足医疗供应链对精准性与时效性的严苛需求。

一种面向电力应急物资调度的物流网络布局方法

NºPublicación:  CN120688185A 23/09/2025
Solicitante: 
江苏电力信息技术有限公司
CN_120688185_PA

Resumen de: CN120688185A

本发明公开了一种面向电力应急物资调度的物流网络布局方法,该方法通过构建网络布局模型,能够对应急物资的布局进行优化,能够更快速地在电力系统出现突发故障时及时响应,尽快保障电力系统的恢复;而且,通过对物资配送的时间和成本进行综合考虑,可以在保障电力系统应急物资满足需求的同时,尽可能地降低成本。本发明方法结合电力系统应急管理的现状,以应急服务水平最大化为目标,构建了一个数据驱动的应急物流网络基础模型。这种方法在电力应急领域创造了社会效益,它改良了现有的电力系统应急管理方法,最大限度地减少影响和损失,进一步提升了电力系统中应急物资调度的效率、灵活性并且有效控制了应急响应成本。

一种厨余垃圾温室气体排放量核算方法

NºPublicación:  CN120687725A 23/09/2025
Solicitante: 
中国环境科学研究院北京智通博瑞科技发展有限公司
CN_120687725_PA

Resumen de: CN120687725A

本申请公开一种厨余垃圾温室气体排放量核算方法,涉及温室气体排放量计算技术领域,所述方法包括:确定厨余垃圾处理过程中各子过程的温室气体排放量;子过程包括:收集子过程、运输子过程、处理子过程和处置子过程;基于所有子过程的温室气体排放量,确定厨余垃圾处理过程的温室气体排放总量。本申请实现了厨余垃圾温室气体排放量的综合核算。

一种基于三维装箱的智能化电网物资配送规划方法

NºPublicación:  CN120688955A 23/09/2025
Solicitante: 
南方电网供应链(云南)有限公司
CN_120688955_PA

Resumen de: CN120688955A

本发明提出了一种基于三维装箱的智能化电网物资配送规划方法,该方法结合了电力系统物资分布广泛和运输过程中车辆空间利用率的问题,设计了一种空间降维方法和启发式进化算法,来解决三维装箱约束下的电力基础设施物资配送优化问题。本方法通过适应性的扩展和虚拟装箱技术,可以更好地适应各种不同形状、大小和重量的电力设备。同时,该方法还通过优化配送路线以降低配送时间并提高配送效率,从而降低配送成本和提升电力系统的运行效率。另外,本发明在设计装箱算子及启发式进化过程中还详细考虑了货物稳定性,保证了配送过程中货物的安全。总的来说,本发明提供了一种有效、高效且智能的电力系统物资配送规划方案。

基于UHF-RFID的通道门出入库识别方法及识别系统

NºPublicación:  CN120688520A 23/09/2025
Solicitante: 
西安邮电大学
CN_120688520_PA

Resumen de: CN120688520A

本发明涉及射频识别技术领域,具体涉及一种基于UHF‑RFID的通道门出入库识别方法及识别系统。方法包括获取识读区域内货物上RFID标签阵列被激活散射的信号数据,获取RFID标签阵列中各标签的位置信息和信号变化特征,并结合识读区域内货物的路径信息,建立RFID标签阵列的多特征数据模型,计算获取多天线空间中RFID标签阵列的高维多源数据特征,输入预训练的标签分类模型中识别出目标标签,获取目标标签通过不同天线识读区域的时空动态特征向量,并输入预训练的出入库分类模型中,识别出识读区域内货物的出入库状态。本发明能够对通道门内的目标货物进行准确识别,以及对目标货物上的目标标签出入库状态进行可靠判断,实现了对出入库过程的实时监控和管理。

一种高密度仓储智能管理系统、方法及应用

NºPublicación:  CN120688983A 23/09/2025
Solicitante: 
惠州市宏大自动化涂装系统工程有限公司惠州市宏瑞智能装备有限公司惠州市宏大智慧科技有限公司
CN_120688983_PA

Resumen de: CN120688983A

本发明公开了一种高密度仓储智能管理系统、方法及应用,本发明涉及智能仓储物流技术领域,包括:动态协同决策框架,其输入端与多模态感知模块连接,输出端分别与动态博弈调度模块、冲突自主消解模块连接。该高密度仓储智能管理系统、方法及应用,通过动态协同决策框架与多模态感知机制,提升了高密度仓储系统的实时响应能力与资源利用率。基于增量式状态迁移模型与局部重计算策略,系统能够及时更新设备能力与环境约束数据,避免传统全局优化带来的算力消耗与响应延迟;通过任务‑设备双向匹配博弈算法与分级冲突消解机制,实现异构设备群的自主协同调度,有效减少路径交叉死锁与货架争抢冲突,使系统吞吐量波动率降低。

Control method of electronic devices that provide helper matching service

NºPublicación:  KR20250138453A 22/09/2025
Solicitante: 
주식회사실버스랩
KR_20250138453_PA

Resumen de: KR20250138453A

본 발명은, 심부름 요청에 따른 헬퍼 매칭 서비스를 제공하는 전자 장치의 제어 방법에 관한 것으로, 특히, 전자 장치가, 고객의 제1 단말로부터 서비스 요청을 수신하는 단계, 전자 장치가, 서비스 요청에 대한 정보를, 심부름 의뢰에 대한 적정가를 산출하도록 기 학습된, 제1 모델에 입력하는 단계, 전자 장치가, 제1 모델로부터 획득된 출력을 바탕으로, 서비스 요청에 대한 심부름 가격을 식별하는 단계, 전자 장치가, 서비스 요청에 대스 요청을 바탕으로, 선택된 헬퍼 각각의 서비스 요청에 대한 스케줄을 획득하는 단계, 전자 장치가, 선택된 헬퍼 각각의 제2 단말로, 스케줄을 제공하는 단계, 전자 장치가, 제2 단말 중, 스케줄에 따른 심부름 가격을 수락한 헬퍼의 제3 단말을 식별하는 단계, 및 전자 장치가, 제1 단말과 제3 단말을 매칭하여, 제1 단말로 심부름 가격에 따른 헬퍼 매칭이 완료된 것에 대한 알람을 제공하는 단계를 포함한다.

METHOD AND SYSTEM FOR PROVIDING GENUINE GUARANTEE SERVICE

NºPublicación:  KR20250138689A 22/09/2025
Solicitante: 
네이버주식회사
KR_20250138689_PA

Resumen de: KR20250138689A

본 개시는 적어도 하나의 프로세서에 의해 수행되는, 정품 보증서 서비스 제공 방법에 관한 것이다. 정품 보증서 서비스 제공 방법은 제1 사용자가 제2 사용자로부터 물품 구매를 확정하는 것에 응답하여, 제1 사용자의 물품 구매 완료 정보를 수신하는 단계, 제1 사용자의 물품 구매 완료 정보를 기초로 정품 보증서를 생성하는 단계 및 정품 보증서의 생성 완료 정보를 제1 사용자의 제1 사용자 단말로 전송하는 단계를 포함하고, 정품 보증서는 본인 인증된 구매자에 의해 열람 가능하다.

METHOD APPARATUS AND PROGRAM FOR PROVIDING AN UNMANNED STORE MANAGEMENT PLATFORM SERVICE

NºPublicación:  KR20250138346A 22/09/2025
Solicitante: 
임한위
KR_20250138346_PA

Resumen de: KR20250138346A

본 발명의 다양한 실시예에 따른 무인매장 관리 플랫폼 서비스 제공 방법이 개시된다. 상기 방법은: 무인매장을 운영하는 복수의 점주 단말로부터 긱워크 정보를 수집하는 단계; 상기 긱워크 정보를 기초로, 상기 복수의 점주 단말과 사전 등록된 복수의 긱워커 단말을 매칭하는 단계; 및 상기 복수의 긱워커 단말 중 특정 긱워커 단말에서 특정 긱워크에 대한 완료를 인증한 경우, 상기 특정 긱워크에 대응하는 보상을 상기 특정 긱워커 단말로 제공하는 단계;를 포함할 수 있다.

SYSTEM AND METHOD FOR BROKERING MIXED CARGO

NºPublicación:  KR20250138443A 22/09/2025
Solicitante: 
주화물천국
KR_20250138443_PA

Resumen de: KR20250138443A

본 발명은 혼적 화물 중개 시스템 및 방법에 관한 것으로서 본 발명의 일 실시예에 따른 혼적 화물 중개 방법은 화주로부터 혼적 화물 정보를 수신하는 단계; 혼적 가능 화물차를 매칭하는 단계; 매칭된 화물차의 차주에게 혼적을 제안하는 단계; 차주로부터 혼적 수락이 수신되면 혼적을 위한 경로를 안내하는 단계; 및 변경된 수수료를 적용하는 단계를 포함하고, 혼적 가능 화물차를 매칭하는 단계는 혼적 가능 공간 내에 상기 혼적 화물을 실을 수 있는지 여부를 판단하는 단계; 검색된 화물차의 현재위치, 혼적 화물의 출발지, 혼적 화물의 도착지, 본 화물 도착지를 연결하는 혼적 경로를 생성하는 단계; 및 상기 혼적 경로를 이용하여 혼적 가능 여부를 판단하는 단계를 포함하고, 상기 혼적 가능 여부를 판단하는 단계에서, 혼적 경로를 따라 주행했을 때 혼적 화물의 출발 가능 시간 범위 내에 혼적 화물의 출발지에 도착하고, 본 화물의 도착 요청 시간 범위 내에 본 화물의 도착지에 도착할 때 혼적이 가능한 것으로 판단하는 것을 특징으로 한다.

System for managing production planning and work instruction using artificial intelligence model integrating AI vision and natural language processing model and method thereof

Nº publicación: KR20250138319A 22/09/2025

Solicitante:

주식회사팀에브리웨어

KR_20250138319_PA

Resumen de: WO2025192901A1

Disclosed are a production planning and work instruction management system using an artificial intelligence model that integrates artificial intelligence vision and a natural language processing model, and a method thereof. The present invention: by using an image corresponding to a work instruction document, generates a prediction value from artificial intelligence vision and a separate prediction value from a natural language processing model; generates a final prediction value based on the two generated prediction values, through additional learning by the artificial intelligence model; and manages production planning and work instruction corresponding to the work instruction document on the basis of the generated final prediction value, thereby improving operational efficiency and performance throughout the entire operation, and enhancing the accuracy of classification tasks tailored to manufacturing sites by applying domain-based information processing algorithms.

traducir