Ministerio de Industria, Turismo y Comercio LogoMinisterior
 

Blockchain

Resultados 121 resultados
LastUpdate Última actualización 04/12/2025 [07:26:00]
pdfxls
Solicitudes publicadas en los últimos 30 días / Applications published in the last 30 days
Resultados 1 a 25 de 121 nextPage  

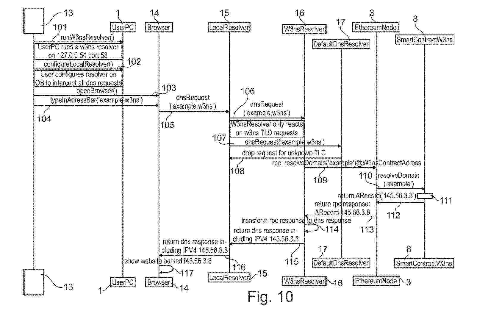
BLOCKCHAIN AND CLOUD CONNECTIVITY-BASED SELF-REGISTRATION AND INVENTORYING OF ENTERPRISE IOT ASSETS

NºPublicación:  EP4655908A1 03/12/2025
Solicitante: 
MICROSOFT TECHNOLOGY LICENSING LLC [US]
Microsoft Technology Licensing, LLC
US_2024259269_A1

Resumen de: US2024259269A1

Embodiments provide for the self-registration and automatic inventorying of enterprise Internet-of-Things (IoT) devices in an enterprise environment. An asset inventory agent on a network among many networks (i.e., within the enterprise environment) can receive a data packet from a computing device. The data packet is communicated via the network shared between the asset inventory agent and the computing device. The asset inventory agent can analyze the data packet, which can reveal a communication protocol associated with the computing device. A discovery rule associated with the protocol can be selected to extract inventory information from the data packet. The inventory information can be utilized to generate a distributed ledger transaction, which is communicated to a set of nodes adapted to collectively store the inventory information associated with the computing device onto the distributed ledger.

BLOCKCHAIN AND CLOUD CONNECTIVITY-BASED SELF-REGISTRATION AND INVENTORYING OF ENTERPRISE IOT ASSETS

NºPublicación:  EP4655694A1 03/12/2025
Solicitante: 
MICROSOFT TECHNOLOGY LICENSING LLC [US]
Microsoft Technology Licensing, LLC
US_2024249033_PA

Resumen de: US2024249033A1

The technology described herein secures input data during communication between an input device and an input destination, such as an application or container. In an aspect, the input device is a keyboard. The technology described herein may enable a keyboard to communicate in a standard mode and a secure mode. In the standard mode, the keyboard communicates like currently available keyboards. In secure mode, the keyboard may provide several security enhancements including the encryption of keystrokes with decryption occurring at the input destination. The security enhancements can include building a secure communication channel between the keyboard and the input destination. The security enhancements can include an attestation to the user that the keyboard is operating in secure mode.

METHOD AND SYSTEM FOR ACTIVATING WALLET PRIVATE KEYS THROUGH BLOCKCHAIN ADDRESSES

NºPublicación:  EP4655741A1 03/12/2025
Solicitante: 
MASTERCARD INTERNATIONAL INC [US]
Mastercard International Incorporated
KR_20250143093_PA

Resumen de: CN120604251A

A method of registering an identified blockchain wallet using a payment card includes receiving payment detail information of a payment card issued for a transaction account, the payment detail information including a card identifier and being received from one of an integrated circuit payment card and a financial application; receiving wallet detailed information of the block chain wallet, wherein the wallet detailed information comprises a wallet identifier; transmitting the card identifier and the wallet identifier to an activation server storing an association between the wallet identifier and the transaction account; receiving an activation message from an activation server; and transmitting an instruction to an integrated circuit payment card or a financial application to enable use of a private key in a cryptographic key pair associated with the blockchain wallet.

SYSTEM AND METHOD FOR PROVIDING CONTRACT SUPPORT SERVICE

NºPublicación:  US2025363247A1 27/11/2025
Solicitante: 
KIM SUNG CHUL [KR]
CHO SEONG EUN [KR]
KIM Sung Chul,
CHO Seong Eun
US_2025363247_PA

Resumen de: US2025363247A1

A server for providing a contract support service communicates with a plurality of contractor terminals, the InterPlanetary File System (IPFS) and a blockchain network, and manages member information for the plurality of contractor terminals. The contract support service provision server acquires audio/video contents including audio/video files in which contract-related audio/video data are stored and metadata for audio/video, in response to a request for contract support from one contractor terminal of the plurality of contractor terminals, generates contract document information corresponding to the contract-related audio/video data, generates a provisional contract content including the generated contract document information and audio/video contents, generates first link information adapted to provide access to the generated provisional contract content and second link information adapted to provide connection with a web page to receive electronic signatures of the plurality of contractor terminals as an input, and transmits the generated first link information and second link information to the plurality of contractor terminals included in the request for contract support. In addition, when a plurality of electronic signatures are input for each contracting party from the plurality of contractor terminals that have confirmed the provisional contract content, contract support service provision server generates audio/video watermarks for the contract content including the

System and Method with Cryptography, Biometrics, and Artificial Intelligence for Verifying Consent to a Property Transaction

NºPublicación:  US2025363505A1 27/11/2025
Solicitante: 
GORDON ROGER NORRIS [US]
GORDON Roger Norris
US_2025363505_PA

Resumen de: US2025363505A1

A system and method are provided for implementing an autonomous, biometric and artificial intelligent transfer agent to prevent unauthorized or fraudulent real property transfers by verifying informed consent using multi-factor biometrics and cryptographically enforced compliance on a blockchain. In an exemplary embodiment, an automated enforcement agent captures a property owner's biometric identifiers to authenticate the owner's identity and uses artificial intelligence to detect signs of duress or anomaly in the transaction. Upon confirming the owner's consent and verifying the authenticity of the transaction, the automated enforcement agent generates a digitally signed certificate of compliance, which is then recorded on a blockchain distributed ledger in association with the property's title.

BLOCKCHAIN-BASED BLIND BOX MANAGEMENT METHOD AND APPARATUS, DEVICE, AND STORAGE MEDIUM

NºPublicación:  US2025363504A1 27/11/2025
Solicitante: 
TENCENT TECH SHENZHEN COMPANY LIMITED [CN]
TENCENT TECHNOLOGY (SHENZHEN) COMPANY LIMITED
US_2025363504_PA

Resumen de: US2025363504A1

A blockchain-based blind box management method includes: receiving blind box generation information and corresponding item configuration information; verifying the blind box generation information and the item configuration information, and generating a block based on the blind box generation information and the item configuration information and storing the generated block in a blockchain in response to that the blind box generation information is determined to match the item configuration information; receiving blind box obtaining information; performing a verification of the blind box obtaining information based on the blind box generation information and blind box delivery information; and generating a block based on the blind box obtaining information and storing the generated block in the blockchain in response to that the verification of the blind box obtaining information succeeds.

SYSTEMS AND METHODS FOR BLOCKCHAIN-BASED SECURE MULTIPARTY COMPUTATION

NºPublicación:  US2025363486A1 27/11/2025
Solicitante: 
THE FLORIDA INTERNATIONAL UNIV BOARD OF TRUSTEES [US]
THE US SECRETARY OF THE AIR FORCE [US]
The Florida International University Board of Trustees,
The United States of America as represented by the Secretary of the Air Force
US_2025363486_PA

Resumen de: US2025363486A1

Systems and methods for secure multiparty computation (MPC) over blockchain that packs messages into blockchain transactions are provided. MPC can be over Algorand blockchain that packs messages into Algorand transactions and utilizes its fast gossip protocol to transmit them efficiently among MPC parties (e.g., MPC nodes). The messages can be appended to a note field in the respective Algorand transactions.

SYSTEMS AND METHODS FOR A PERMISSIONLESS DECENTRALIZED VIRTUAL ASSET NETWORK

NºPublicación:  US2025363493A1 27/11/2025
Solicitante: 
PYLONS INC [US]
Pylons, Inc
US_2025363493_PA

Resumen de: US2025363493A1

A blockchain system for containing authority within a distributed consensual system includes a blockchain network of participating user devices. A participating user device, having a memory and a processor, is configured to create an account linking blockchain transaction to link a developer account with an external authority account of a user of the device. The user device is further configured to publish a recipe associated with the user's developer account, receive, from an external authority, a receipt indicating purchase of the recipe by another user connected to the distributed consensual system, create a recipe blockchain transaction including data identifying the recipe and the receipt, and broadcast the recipe blockchain transaction on the blockchain network. Upon validation, the user receives payment via one or more additional blockchain transactions.

METHOD AND SYSTEM FOR AUDITABLE OFF-CHAIN TRANSACTION IN BLOCK-CHAIN NETWORK

NºPublicación:  US2025363489A1 27/11/2025
Solicitante: 
JINAN UNIV [CN]
Jinan University
US_2025363489_PA

Resumen de: US2025363489A1

A method for auditable off-chain transaction in block-chain network includes: defining counterparties, auditors and their responsibilities; creating an off-chain payment channel between the counterparties and initializing the off-chain payment channel by both of the counterparties; updating channel status during each transaction process; and initiating an audit process to verify an integrity of a history of the off-chain transaction after the off-chain payment channel is closed; wherein a hash chain linking current and previous transactions of the off-chain payment channel in a chronological order is established during the transaction processes, and an Accountable Assertions with Flexible Public Key (AAFPK) mechanism is used to bind fund and commitment information generated by counterparties to a flexible public key through assertions, the hash chain is submitted to auditors for verifying when off-chain payment channel is closed, and AAFPK mechanism binds inconsistencies or differences of the off-chain transaction to a responsible party.

SECURE AND TRUSTWORTHY BRIDGE FOR TRANSFERRING ASSETS ACROSS NETWORKS WITH DIFFERENT DATA ARCHITECTURE

NºPublicación:  US2025363483A1 27/11/2025
Solicitante: 
AVA LABS INC [US]
Ava Labs, Inc
US_2025363483_PA

Resumen de: US2025363483A1

Described herein is technology for providing the secure transfer of assets between blockchain networks. A secure-execution server can be configured to execute a bridge program in a secure execution environment to interact with a first pool of warden servers to facilitate secure transfer of assets between a first blockchain network and a second blockchain network. The bridge program may include instructions that, when executed by the secure execution environment, cause the secure-execution server to perform operations that may include performing lock operations that lock first assets from a contractless blockchain network and mint second assets representing the first assets in a contracting blockchain network, where the contracting blockchain network supports smart-contracts that are unsupported on the contractless blockchain network; and performing unlock operations that unlock the first assets by transferring the first assets in the first blockchain network in response to the second assets being returned or destroyed.

Method of minting an NFT from a timed transactional QR code generator for a payment receipt

NºPublicación:  US2025363479A1 27/11/2025
Solicitante: 
HD NETWORKS LLC [US]
HD Networks, LLC
US_2025363479_PA

Resumen de: US2025363479A1

A method for minting Non-Fungible Tokens from a captured transactional QR code generator at a point of purchase for payment receipts within a timed allotment is disclosed. The generator provides an on-the-fly transactional QR code that contains details pertaining to a specific transaction at point of purchase. The QR code is accessible to the buyer to scan with their mobile device within a predetermined time period. The buyer's mobile device decodes the QR code to retrieve an embedded tokenized URL within a predetermined time period. The buyer's mobile device connects to the tokenized URL string and mints the receipt into an NFT that is stored on a blockchain ledger. This allows the user to access a digital form of the receipt and store the receipt for later review or retrieval.

GENERATING AND MAINTAINING DIGITAL TOKENS ON A BLOCKCHAIN USING PHYSICAL DEVICE IDENTIFIERS

NºPublicación:  US2025363482A1 27/11/2025
Solicitante: 
LITH LLC [US]
LITH LLC
US_2025363482_PA

Resumen de: US2025363482A1

Certain aspects of the present disclosure provide techniques for generating digital tokens associated with an asset on a blockchain. An example method generally includes receiving a request to create a digital token corresponding to an asset. A first private key is received. This first private key may be associated with a wallet in which the digital token is to be stored. A second private key is received from a physical device associated with an owner of the asset. An address of the asset is encrypted with a public key associated with the second private key. Metadata associated with the digital token is encrypted with a public key associated with the first private key. The digital token is minted on a blockchain based on the encrypted address of the asset and the encrypted metadata.

BLOCKCHAIN-BASED TRANSACTION MANAGEMENT METHOD AND APPARATUS, COMPUTER, AND STORAGE MEDIUM

NºPublicación:  US2025363470A1 27/11/2025
Solicitante: 
TENCENT TECH SHENZHEN COMPANY LIMITED [CN]
TENCENT TECHNOLOGY (SHENZHEN) COMPANY LIMITED
US_2025363470_A1

Resumen de: US2025363470A1

A blockchain-based transaction management method includes obtaining transaction data, generating a Merkle management tree based at least on the transaction data, invoking a privacy contract based on privacy transaction data in the transaction data, verifying a data execution state of the privacy transaction data through the privacy contract, generating a transaction block based on the Merkle management tree and the transaction data, and performing on-chain processing on the transaction block.

SYSTEMS AND METHODS FOR TRACKING NFT-BACKED INSTRUMENTS

NºPublicación:  US2025363485A1 27/11/2025
Solicitante: 
WELLS FARGO BANK N A [US]
Wells Fargo Bank, N.A
US_2025363485_PA

Resumen de: US2025363485A1

Systems, apparatuses, methods, and computer program products are disclosed for tracking NFT-backed instruments. An example method includes identifying a plurality of NFTs on a distributed blockchain ledger, associating an instrument with the cryptographic NFTs, determining a value of the cryptographic NFTs based on transactions on the distributed blockchain ledger that are associated with one or more of the cryptographic NFTs, monitoring the distributed blockchain ledger to detect transaction data of a block of the distributed blockchain ledger, the transaction data indicative of a transaction associated with a first cryptographic NFT of the cryptographic NFTs, determining a modified value of the cryptographic NFTs responsive to the transaction data, and terminating the instrument associated with the cryptographic NFTs in response to a comparison of the modified value to a predetermined threshold value indicating that the modified value is less than the predetermined threshold value.

BLOCKCHAIN SYSTEMS AND METHODS FOR USER AUTHENTICATION

NºPublicación:  US2025365274A1 27/11/2025
Solicitante: 
CAPITAL ONE SERVICES LLC [US]
Capital One Services, LLC
US_2025365274_PA

Resumen de: US2025365274A1

Computer-implemented methods and systems are provided for blockchain-mediated user authentication. Consistent with disclosed embodiments, authentication may comprise operations including receiving, from a user system, an authentication request for a user. The operations may also include determining a root system for the user using a blockchain, and redirecting the user system to the root system. The operations may include receiving, following redirection, a verification message indicating that the root system successfully authenticated the user, and including an authorization code for receiving, from the root system, a root system secret. The operations may include receiving from a database, identification data using the root system secret. Determining the root system may comprise identifying, using the authentication request and index information stored in the blockchain, a block of the blockchain storing root system information for the user. Receiving the identification data may comprise retrieving identification data from the database.

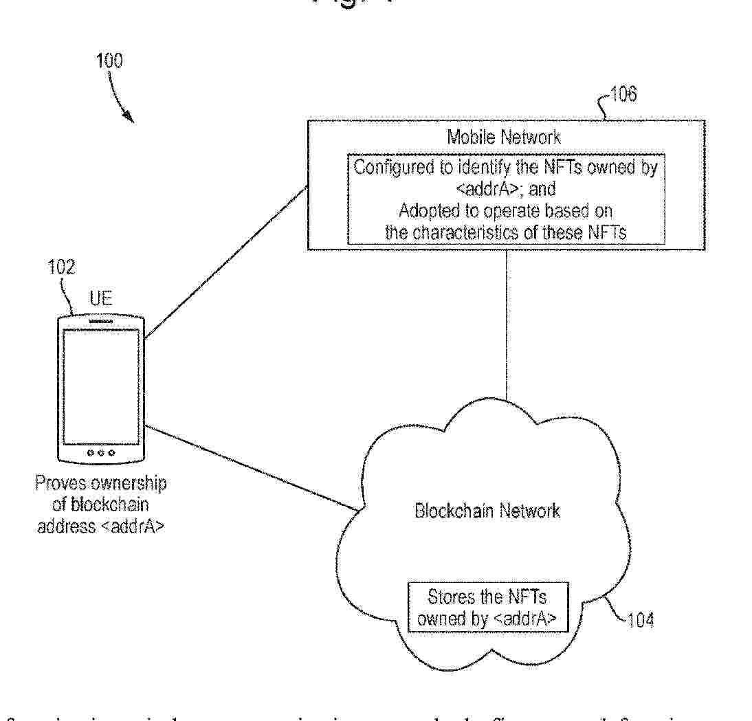
DYNAMIC, COMPREHENSIVE, AND INTELLIGENT INTEGRATION OF TELECOMMUNICATION NETWORK RESOURCES FOR BLOCKCHAIN OPERATIONS

NºPublicación:  US2025365156A1 27/11/2025
Solicitante: 
T MOBILE USA INC [US]
T-Mobile USA, Inc
US_2025365156_PA

Resumen de: US2025365156A1

The disclosed technology relates to utilizing computing resource nodes available to a wireless telecommunications network to distribute performance of blockchain operations throughout the wireless telecommunication network nodes. A wireless telecommunication network includes computing resources across multiple domains, including core network servers, base stations, and user devices. An example wireless telecommunication network includes a network-integrated blockchain service via which a blockchain node can submit a service request for usage of network resources to complete a blockchain operation (e.g., determining a cryptographic hash of data to be added to a blockchain) and via which a service result (e.g., a final hash value) can be returned to the blockchain node. The network-integrated blockchain service uses a machine learning (ML) model to predict and select certain network computing devices with resource availability.

CRYPTOASSET CUSTODIAL SYSTEM WITH DIFFERENT RULES GOVERNING ACCESS TO LOGICALLY SEPARATED CRYPTOASSETS

NºPublicación:  US2025365161A1 27/11/2025
Solicitante: 
ANCHOR LABS INC [US]
Anchor Labs, Inc
US_2025365161_PA

Resumen de: US2025365161A1

Methods, systems, and apparatus, including medium-encoded computer program products, for secure storage and retrieval of information, such as private keys, useable to control access to a blockchain, include, in at least one aspect, a method including: receiving a request to take an action with respect to a vault of multiple different vaults in a cryptoasset custodial system; authenticating, by an HSM, the policy map for the vault based on a cryptographic key controlled by the HSM; checking, by the HSM, the action against the policy map for the vault when the policy map for the vault is authenticated based on the cryptographic key controlled by the HSM; and effecting, by the HSM, the action when the action is confirmed to be in accordance with the policy map for the vault.

SYSTEMS AND METHODS FOR CREATING SEED AND MASTER KEYS FOR BLOCKCHAIN WALLETS FROM USER BIOMETRICS

NºPublicación:  US2025365154A1 27/11/2025
Solicitante: 
CAPITAL ONE SERVICES LLC [US]
Capital One Services, LLC
US_2025365154_PA

Resumen de: US2025365154A1

Systems and methods are directed to optimizing a security and recoverability trade-off generally associated with cryptocurrency master key storage. Exemplary embodiments provide a biometrically derived cryptographic seed using a measurement of one or more scale invariant biometric attributes associated with a user. The measured user biometric data is then processed into a repeatable biometric identifier and formatted into a (biometric) cryptographic seed, for derivation of a master extended private key, which may be stored in an HD wallet or used dynamically to conduct a blockchain transaction. The biometric seed and master key generation process may be facilitated by a mobile application responsive to a readout of biometric data from sensors integrated/associated with the mobile device. The captured biometric data may be cryptographically combined with a user-inputted password and/or an authentication data record wirelessly retrieved from an OTP card, to generate a cryptographic seed with greater security attributes.

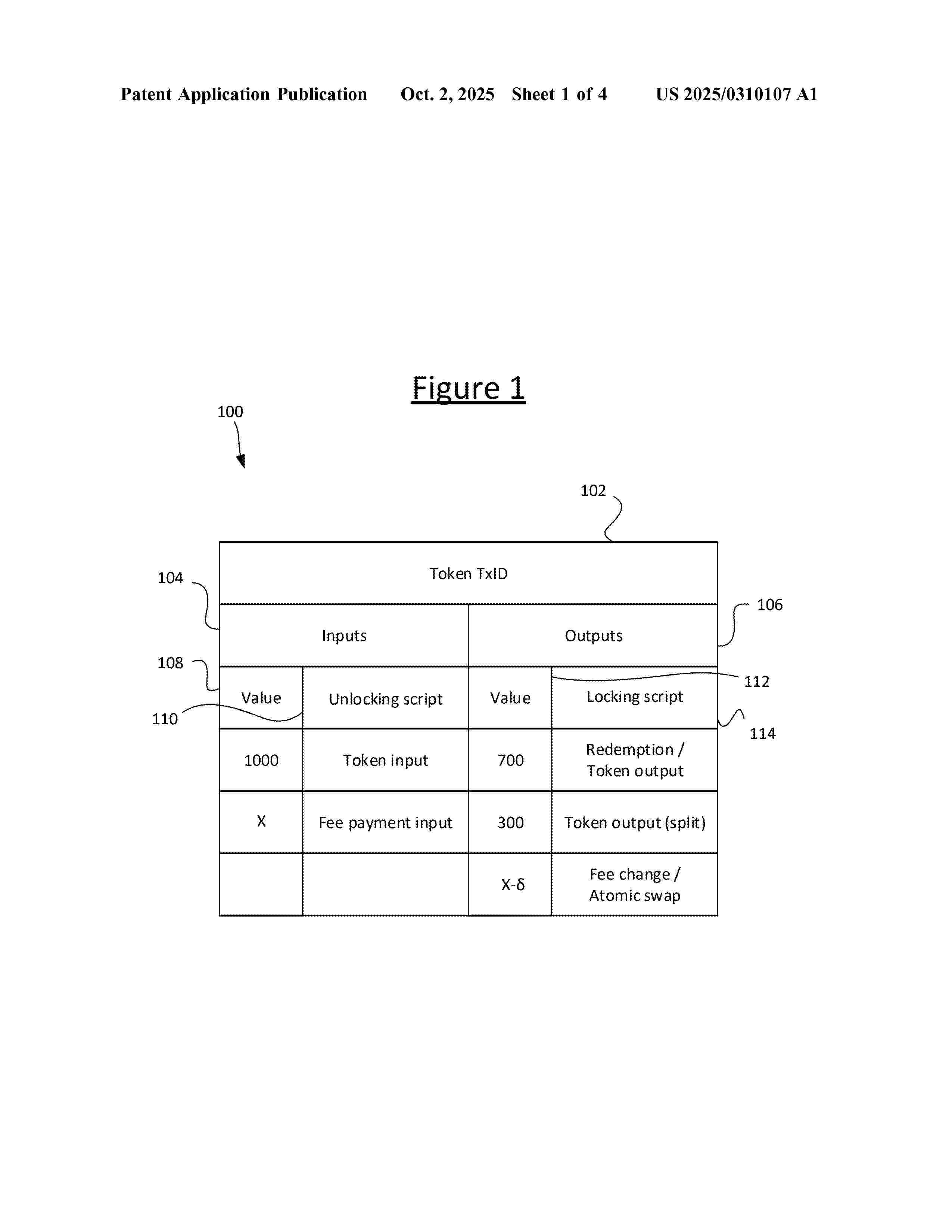
COMPUTER IMPLEMENTED METHOD AND SYSTEM FOR STORING CERTIFIED DATA ON A BLOCKCHAIN

NºPublicación:  US2025365170A1 27/11/2025
Solicitante: 
NCHAIN LICENSING AG [CH]
nChain Licensing AG
US_2025365170_PA

Resumen de: US2025365170A1

A method of storing certified data on a blockchain is disclosed. The method comprises generating a first blockchain transaction (Tx1) having a first output (Output 3) containing a first public key of a first private/public key pair, comprising a first private key and a first public key, of a cryptography system, first data related to the first public key, and a first digital signature applied, using a second private key of a second private/public key pair, comprising a second private key and a second public key, of a cryptography system, to the first data and to the first public key. The first blockchain transaction is broadcast to the blockchain.

SYSTEM AND METHOD FOR STORING INPUT DATA AND/OR OUTPUT DATA OF A QUANTUM COMPUTER IN A BLOCKCHAIN

NºPublicación:  US2025365168A1 27/11/2025
Solicitante: 
GOUDJIL RYAN G [US]
Goudjil Ryan G
US_2025365168_PA

Resumen de: US2025365168A1

A system for storing a quantum computer input data or a quantum computer output data, or both in a blockchain. The system includes a network of a plurality of nodes, each node in the plurality of nodes being configured to store a copy of a plurality of blockchains, a first blockchain having a first plurality of blocks and a second blockchain having a second plurality of blocks, a block in the first plurality of blocks includes a quantum computer input data; and a quantum computer in communication with the network of nodes, the quantum computer being configured to receive or retrieve the quantum computer input data from the network of the plurality of nodes and to output the quantum computer output data to the network of nodes and to store the quantum computer output data in a block of the second blockchain within the network of nodes.

SYSTEMS AND METHODS FOR LOAD-BALANCED CHAINCODE EXECUTION AND VERIFICATION IN A BLOCKCHAIN NETWORK

NºPublicación:  US2025365169A1 27/11/2025
Solicitante: 
VERIZON PATENT AND LICENSING INC [US]
Verizon Patent and Licensing Inc
US_2025365169_PA

Resumen de: US2025365169A1

A system described herein may receive a request for a blockchain network to perform a particular set of operations, such as executing chaincode recorded to a blockchain associated with the blockchain network. The system may receive Key Performance Indicators (“KPIs”) of nodes of the blockchain network, and may receive a consensus policy associated with the blockchain network. The consensus policy may indicate a particular quantity of result sets used to verify execution of a given operation by the blockchain network. The system may assign different nodes of the blockchain network to perform different portions of the requested set of operations. The assignments may be determined based on the consensus policy and the KPIs of the nodes. The system may aggregate result sets from different nodes in order to generate aggregated result sets, where the quantity of aggregated result sets satisfies the consensus policy.

BLOCKCHAIN-BASED REGULATION AND GOVERNANCE METHOD, SYSTEM AND APPARATUS BASED ON GROUP ATTRIBUTE-BASED ENCRYPTION

NºPublicación:  WO2025241256A1 27/11/2025
Solicitante: 
HANGZHOU YUNPHANT NETWORK TECH CO LTD [CN]
\u676D\u5DDE\u4E91\u8C61\u7F51\u7EDC\u6280\u672F\u6709\u9650\u516C\u53F8
WO_2025241256_PA

Resumen de: WO2025241256A1

Disclosed in the present invention are a blockchain-based regulation and governance method, system and apparatus based on group attribute-based encryption. The method comprises: generating a regulation and governance group public key, generating private keys of objects under regulation, and forming a regulation key for a regulator; on the basis of a smart contract, selecting whether to configure an access structure for the related information, and uploading the related information to a blockchain; selecting an object under regulation and performing attribute encryption on the related information to generate an attribute key, and allowing access when the regulation key, the attribute key and the access structure are kept consistent; verifying the object under regulation by the regulator and verifying the related information on the blockchain, and performing tracking to obtain a tracking result; on the basis of the tracking result, setting a regulation mark for the object under regulation by the regulator, and uploading the tracking result to the blockchain; and checking the tracking result on the basis of the regulation and governance group public key, and performing a next governance operation on the basis of the regulation mark. The present invention achieves effective regulation on ecological security by regulators.

MULTI-ENERGY NETWORK DOUBLE-LAYER OPTIMIZATION METHOD AND SYSTEM BASED ON PRIVACY-PRESERVING BLOCKCHAIN TECHNOLOGY

NºPublicación:  WO2025241716A1 27/11/2025
Solicitante: 
ELECTRIC POWER RES INSTITUTE OF GUANGXI POWER GRID CO LTD [CN]
ELECTRIC POWER RES INSTITUTE CHINA SOUTHERN POWER GRID [CN]
\u5E7F\u897F\u7535\u7F51\u6709\u9650\u8D23\u4EFB\u516C\u53F8\u7535\u529B\u79D1\u5B66\u7814\u7A76\u9662,
\u5357\u65B9\u7535\u7F51\u79D1\u5B66\u7814\u7A76\u9662\u6709\u9650\u8D23\u4EFB\u516C\u53F8
WO_2025241716_PA

Resumen de: WO2025241716A1

A multi-energy network double-layer optimization method and system based on privacy-preserving blockchain technology. The method comprises: constructing a microgrid lower-layer optimization model that takes the sum of an electricity purchasing cost and a gas purchasing cost as an optimization objective; collecting information of all microgrids in a cluster, converting an optimization problem of a lower-layer autonomous optimization model, and further establishing a microgrid collaborative optimization upper-layer model; while balancing supply and demand and limiting a transformer capacity within each time period, enabling the microgrids to establish, within remaining time period, an objective function with the objective of minimizing a total cost; and integrating a distributed system manager inside a blockchain system to manage a blockchain network, and finally establishing an interconnected multi-energy microgrid double-layer optimization model based on privacy-preserving blockchain technology. The energy optimization problem is modeled into a double-layer optimization problem based on blockchain technology, so that the decision-making mechanism is simpler, the optimization performance is better, the transaction process is safer, and the transaction cost is lower.

METHOD AND SYSTEM FOR PROVIDING BLOCKCHAIN-BASED INTELLECTUAL PROPERTY TRANSACTION

NºPublicación:  WO2025244404A1 27/11/2025
Solicitante: 
LEE SUNG YONG [KR]
\uC774\uC131\uC6A9
WO_2025244404_PA

Resumen de: WO2025244404A1

The present invention relates to a method and system for providing a blockchain-based intellectual property transaction, and the method for providing a blockchain-based intellectual property transaction, according to the present invention, comprises: a first step of being provided with, from a user terminal by an intellectual property transaction provision server, information and data of IP possessed by a user; a second step of pre-evaluating, by the intellectual property transaction provision server, whether or not there is a reason for restriction, before going through a detailed examination procedure by using the information and data of the IP; a third step of performing, by the intellectual property transaction provision server, detailed evaluation through qualitative evaluation and quantitative evaluation of the information and data of the IP when it is determined as a result of the pre-evaluation that there is no reason for restriction; a fourth step of determining, by the intellectual property transaction provision server, whether to list or abolish the IP, by using a detailed evaluation item; and a fifth step of issuing, by the intellectual property transaction provision server, a token corresponding to the IP so as to enable a distributed transaction of a value for the IP which has been determined to be listed.

SYSTEM AND COMPUTER-IMPLEMENTED METHOD FOR GENERATING, CUSTOMIZING, AND MANAGING BLOCKCHAIN-BASED SMART INSURANCE CONTRACTS

Nº publicación: WO2025243070A1 27/11/2025

Solicitante:

IZZAT ISSA BATAH ABDALLAH [AE]
IZZAT ISSA BATAH, Abdallah

WO_2025243070_PA

Resumen de: WO2025243070A1

Embodiments of the present invention provide a system for a system for generating, customizing, and managing blockchain-based smart insurance contracts for marine and offshore operations, the system comprises one or more user devices, one or more service provider devices and a computer system hosting a contract generation platform including a processor and a memory unit. The one or more user devices are associated with respective insurers and insured parties involved in marine and offshore operations. It is configured to input data related to specific requirements, preferences, and scenarios for insurance contracts. The one or more service provider devices are associated with respective regulatory and compliance entities. It is configured to provide regulatory requirements and compliance checks for the insurance contracts. The computer system hosting a contract generation platform is connected with the one or more user devices and the one or more service provider devices.

traducir