Ministerio de Industria, Turismo y Comercio LogoMinisterior
 

Machine learning

Resultados 66 resultados
LastUpdate Última actualización 18/03/2026 [07:20:00]
pdfxls
Solicitudes publicadas en los últimos 30 días / Applications published in the last 30 days
Resultados 1 a 25 de 66 nextPage  

DIGITAL PATHOLOGY MACHINE LEARNING INFRASTRUCTURE

NºPublicación:  WO2026055331A1 12/03/2026
Solicitante: 
PROSCIA INC [US]
PROSCIA INC
WO_2026055331_PA

Resumen de: WO2026055331A1

Techniques for using a digital pathology machine learning model implementation without requiring transmission of digital pathology images to a location of the digital pathology machine learning model implementation are presented. The techniques may include: providing, on a server computer, a digital pathology image embeddings API; receiving, from a client computer, an embeddings job request including an identification of at least one digital pathology image, an image resolution instruction, and an identification of an embeddings network; passing, to an embeddings server, metadata characterizing the digital pathology image(s) resolved according to the resolution instruction; obtaining, from the embedding server, at least one embeddings vector after the embeddings server transforms a resolved set of digital pathology image(s) into at least one embeddings vector; and transmitting, by the server computer, the embeddings vector(s) to a storage location, without the client computer transmitting or receiving the digital pathology image(s).

COMPUTER SYSTEM AND METHOD FOR PROVIDING A SUBJECT-RELATED DATA DEVELOPMENT PLATFORM

NºPublicación:  WO2026052797A1 12/03/2026
Solicitante: 
LIZAI INC [US]
NGUYEN TRUNG TIN [DE]
LIZAI INC,
NGUYEN, Trung Tin
WO_2026052797_PA

Resumen de: WO2026052797A1

A method (200), performed by a computer system (110) connected to a network (150), comprises receiving (210), by means of a data receiving module (122) of the computer system (110) and from at least one of a plurality of sources connected to the network (150), at least one input data object (162-1 - 162-n, 172-1 - 172-n, 182-1 - 182-n) containing subject-related information according to at least one of a plurality of information types encoded in at least one of a plurality of data formats; processing (220, 300), by means of a data extraction and classification module (124) of the computer system (110), the at least one input data object (162-1 - 162-n, 172-1 - 172-n, 182-1 - 182-n) for standardizing the subject-related information; subjecting (230), by means of a data engineering module (126) of the computer system (110), the subject-related information contained in the processed at least one input data object to a first machine learning model for generating a uniform dataset containing the subject-related information in a uniform structured format; storing (240), by means of a storing module (128) of the computer system (110), the uniform dataset in one or more secured data repositories (140, 181-1 - 181- n) connected to the network (150); and, providing (250), by means of a workspace module (130) of the computer system (110), a secured virtual environment accessible to users (180-1 - 180- n, 190) connected to the network (150), the secured virtual environment enabling impor

ANOMALY DETECTION BASED ON ENSEMBLE MACHINE LEARNING MODEL

NºPublicación:  US20260073310A1 12/03/2026
Solicitante: 
CISCO TECH INC [US]
Cisco Technology, Inc
US_20260073310_PA

Resumen de: US20260073310A1

A security platform employs a variety techniques and mechanisms to detect security related anomalies and threats in a computer network environment. The security platform is “big data” driven and employs machine learning to perform security analytics. The security platform performs user/entity behavioral analytics (UEBA) to detect the security related anomalies and threats, regardless of whether such anomalies/threats were previously known. The security platform can include both real-time and batch paths/modes for detecting anomalies and threats. By visually presenting analytical results scored with risk ratings and supporting evidence, the security platform enables network security administrators to respond to a detected anomaly or threat, and to take action promptly.

MULTI-SCALE SPEAKER DIARIZATION FOR CONVERSATIONAL AI SYSTEMS AND APPLICATIONS

NºPublicación:  US20260073937A1 12/03/2026
Solicitante: 
NVIDIA CORP [US]
NVIDIA Corporation
US_20260073937_PA

Resumen de: US20260073937A1

Disclosed are apparatuses, systems, and techniques that may use machine learning for implementing speaker diarization. The techniques include obtaining a speaker embedding for various reference times of a speech and for various differently-sized time intervals, identifying a plurality of clusters, each cluster associated with a different speaker of the speech. The techniques further include computing, using the speaker embeddings, a set of embedding weights for various differently-sized time intervals, and identifying, using the computed set of the embedding weights, one or more speakers speaking at a respective reference time.

TECHNIQUES FOR INTUITIVE MACHINE LEARNING DEVELOPMENT AND OPTIMIZATION

NºPublicación:  US20260073308A1 12/03/2026
Solicitante: 
HYLAND UK OPERATIONS LTD [GB]
Hyland UK Operations Limited
US_20260073308_PA

Resumen de: US20260073308A1

Various embodiments are generally directed to techniques for intuitive machine learning (ML) development and optimization, such as for application in a content services platform (CSP), for instance. Many embodiments include a ML model developer and a ML model evaluator to provide a graphical user interface that guides ML layman in developing, evaluating, implementing, managing, and/or optimizing ML models. Some embodiments are particularly directed to a common interface that provides a step-by-step user experience to develop and implement ML techniques. For example, embodiments may include computing a health score for various aspects of developing and/or optimizing ML models, and using the health score, and the factors contributing thereto, to guide production of a valuable ML model. These and other embodiments are described and claimed.

SYSTEM FOR TIME BASED MONITORING AND IMPROVED INTEGRITY OF MACHINE LEARNING MODEL INPUT DATA

NºPublicación:  US20260073309A1 12/03/2026
Solicitante: 
BANK OF AMERICA CORP [US]
BANK OF AMERICA CORPORATION
US_20260073309_PA

Resumen de: US20260073309A1

Embodiments of the invention are directed to systems, methods, and computer program products for providing intelligent system and methods for identifying and weighting volatile data in machine learning data sets. The system is adaptive, in that it can be adjusted based on the needs or goals of the user utilizing it, or may intelligently and proactively adapt based on the data set or machine learning model being employed. The system may be seamlessly embedded within existing applications or programs that the user may already use to interact with one or more entities, particularly those which aid in the managing of user resources.

GENERATION OF DIGITAL STANDARDS USING MACHINE-LEARNING MODEL

NºPublicación:  US20260073251A1 12/03/2026
Solicitante: 
SAE INT [US]
SAE International
US_20260073251_PA

Resumen de: US20260073251A1

One embodiment provides a method for generating a digital standard, the method including: receiving an underlying standard; extracting conceptual units from the underlying standard; classifying at least a portion of the extracted conceptual units into one of a plurality of classification groups, wherein the classifying includes classifying conceptual units from the underlying standard based upon sections of a schema corresponding to a digital standard; storing the classified extracted conceptual units into a data repository, wherein the storing is performed as defined by the schema; displaying, within a user interface, a digital standard in a format based upon the schema, wherein the displaying includes accessing conceptual units from the data repository corresponding to the digital standard and displaying the conceptual units in a format in accordance with the schema; and providing, within the user interface, search and filter functions allowing for finding information related to the digital standard.

Control Logic for Thrust Link Whiffle-Tree Hinge Positioning for Improved Clearances

NºPublicación:  US20260073240A1 12/03/2026
Solicitante: 
GENERAL ELECTRIC COMPANY [US]
General Electric Company
US_20260073240_PA

Resumen de: US20260073240A1

Systems and methods for optimizing clearances within an engine include an adjustable coupling configured to couple a thrust link to the aircraft engine, an actuator coupled to the adjustable coupling, where motion produced by the actuator adjusts a hinge point of the adjustable coupling, sensors configured to capture real time flight data, and an electronic control unit. The electronic control unit receives flight data from the sensors, implements a machine learning model trained to predict clearance values within the engine based on the received flight data, predicts, with the machine learning model, the clearance values within the engine based on the received flight data, determines an actuator position based on the clearance values, and causes the actuator to adjust to the determined actuator position.

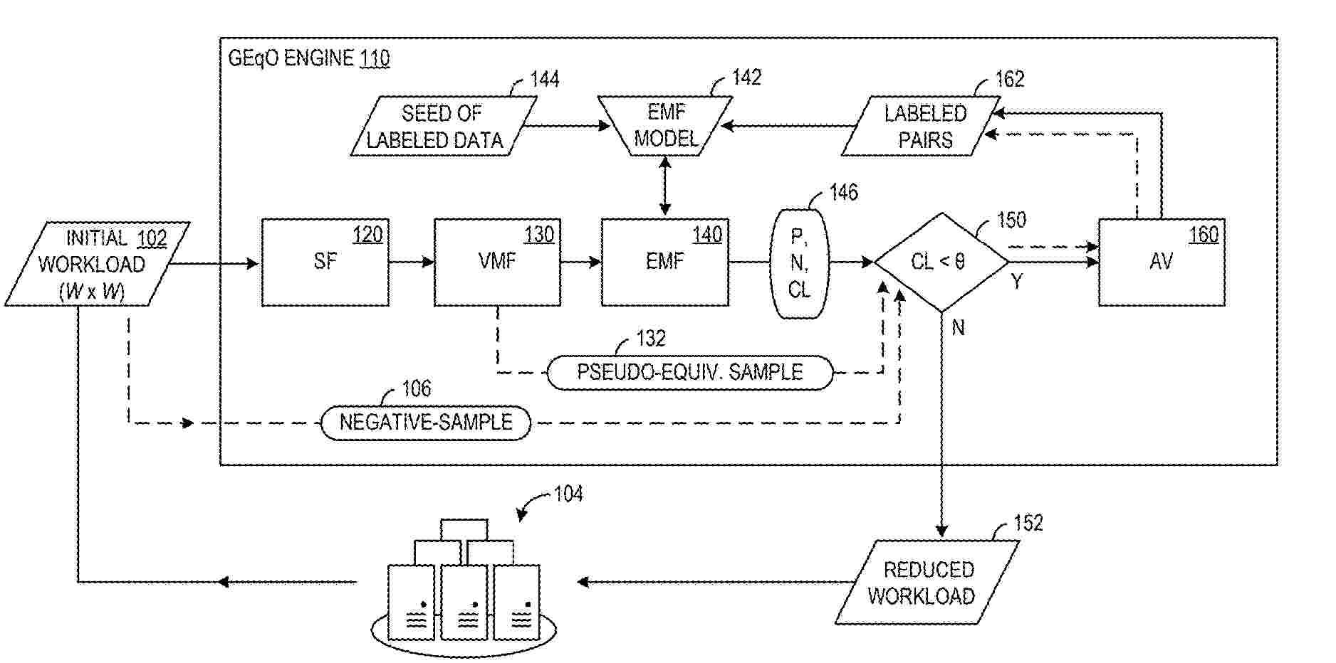
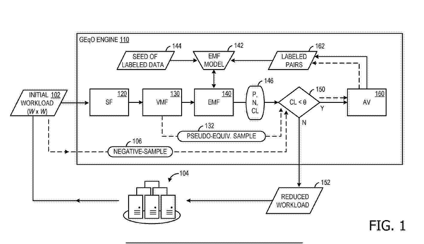
MACHINE LEARNING ACCELERATED SEMANTIC EQUIVALENCE DETECTION

NºPublicación:  US20260072913A1 12/03/2026
Solicitante: 
MICROSOFT TECH LICENSING LLC [US]
Microsoft Technology Licensing, LLC
US_20260072913_PA

Resumen de: US20260072913A1

Examples detect equivalent subexpressions within a computational workload. Examples include converting a query plan tree associated with a first subexpression into a matrix. The first subexpression is a portion of a database query from the computational workload. Each node in the query plan tree is represented as a row of the matrix. The matrix is converted into a first vector. The first subexpression is determined to be equivalent to a second subexpression by comparing the first vector to a second vector associated with the second subexpression. The comparison includes computing a distance between the first and second vectors that is lower than a distance threshold. The computational workload is modified, based on the determining, to perform the first subexpression and exclude performance of the second subexpression as duplicative.

PRESERVING PRIVACY IN GENERATING A PREDICTION MODEL FOR PREDICTING USER METADATA BASED ON NETWORK FINGERPRINTING

NºPublicación:  US20260074958A1 12/03/2026
Solicitante: 
ANAGOG LTD [IL]
ANAGOG LTD
US_20260074958_PA

Resumen de: US20260074958A1

A method, an apparatus and a computer program product for machine learning based on network fingerprinting, while preserving privacy in generating a prediction model for predicting user metadata. Routing information of a device is obtained based probe packets sent by the device to a server that is connectable to the device via the Internet, such as a series of packet hops implemented to route the packets to the server or a series of Internet Protocol (IP) addresses of the series of packet hops until reaching the Internet. A fingerprint describing an architecture of connection path of the device to the Internet is created based on the routing information. The prediction model is trained using training dataset that includes pairs of fingerprints and labels using edge devices having known labels, that are indicative of a routing information of an edge device to the Internet.

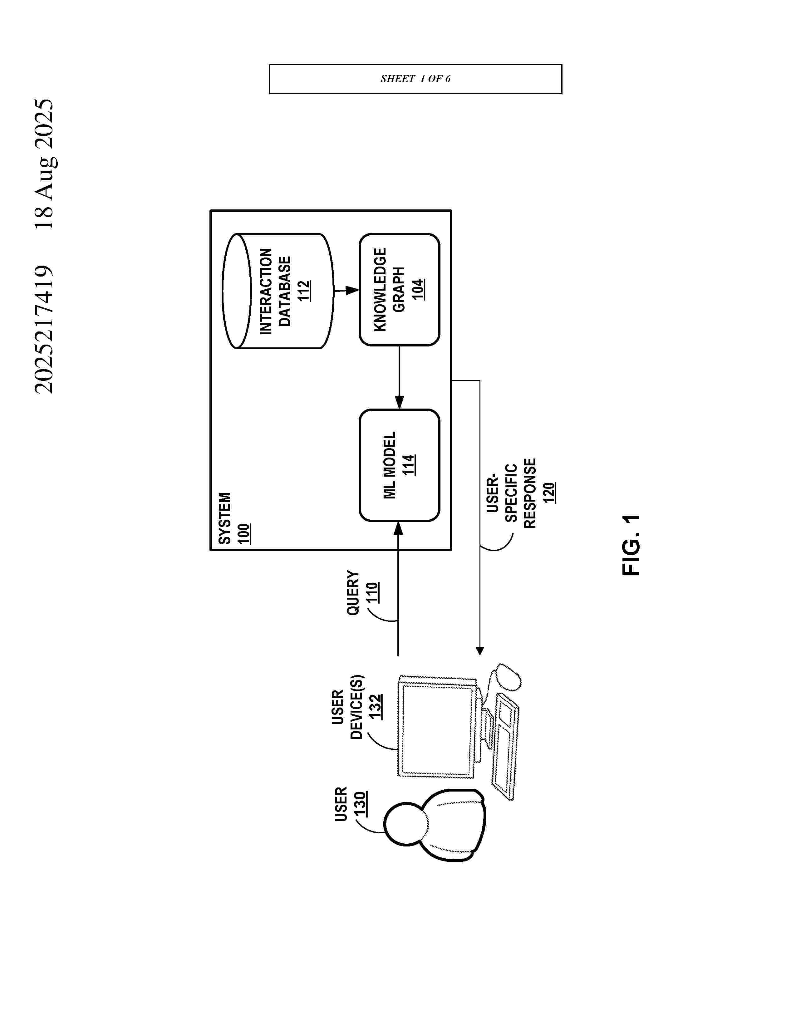
User profiling using chain-of-thought knowledge graphs for querying a machine learning system

NºPublicación:  AU2025217419A1 12/03/2026
Solicitante: 
EQUINIX INC
Equinix, Inc
AU_2025217419_A1

Resumen de: AU2025217419A1

Techniques are disclosed for a machine learning model, such as a large learning model (LLM), that incorporates a model of a chain of thought of a particular user when responding to a query from the user. In one example, a system generates a knowledge graph of a chain of thought of the user. The knowledge graph comprises nodes representing topics present within past queries by the user and edges representing a co-occurrence between the topics. The system determines, based on a topic present within a query from the user and the knowledge graph, a goal query comprising a goal topic. The system provides, to a machine learning model, the user to generate, by the machine learning model, a response. The machine learning model is constrained to include the goal topic of the goal query within the response. The system outputs, for display, the response to the query. Techniques are disclosed for a machine learning model, such as a large learning model (LLM), that incorporates a model of a chain of thought of a particular user when responding to a query from the user. In one example, a system generates a knowledge graph of a chain of thought of the user. The knowledge graph comprises nodes representing topics present within past queries by the user and edges representing a co-occurrence between the topics. The system determines, based on a topic present within a query from the user and the knowledge graph, a goal query comprising a goal topic. The system provides, to a machine learning m

SYSTEM AND METHOD FOR CONTROLLING RESOURCE MANAGEMENT USING MACHINE LEARNING

NºPublicación:  AU2024327251A1 12/03/2026
Solicitante: 
EQUIFAX INC
EQUIFAX INC
AU_2024327251_PA

Resumen de: AU2024327251A1

In some aspects, a computing system can use a machine learning model for resource management. For example, the system can receive a request for a set of steps associated with a target model output of a machine learning model. The request can include a starting input feature set and a number of steps. For each of the number of steps, the system can calculate a change to one or more features from the starting input feature set to arrive at the target model output based on a current position in feature space of the machine learning model. The system can update a feature vector by applying the change to the features of the starting input feature set and transmitting the set of steps. The system can then cause a resource of the external computing system to transition toward a position defined by the target model output.

AUTOMATED SOURCE ROCK CHARACTERISTICS AND CLASS PREDICTION

NºPublicación:  WO2026054765A1 12/03/2026
Solicitante: 
SCHLUMBERGER TECH CORPORATION [US]
SCHLUMBERGER CANADA LTD [CA]
SERVICES PETROLIERS SCHLUMBERGER [FR]
GEOQUEST SYSTEMS B V [NL]
SCHLUMBERGER TECHNOLOGY CORPORATION,
SCHLUMBERGER CANADA LIMITED,
SERVICES PETROLIERS SCHLUMBERGER,
GEOQUEST SYSTEMS B.V
WO_2026054765_PA

Resumen de: WO2026054765A1

Disclosed is a method comprising: determining a computing platform for modeling source rocks, the computing platform including a database system, a data processing system, and a machine learning engine; generating, using the database system, analyzed graph data; filtering, using the data processing system, the analyzed graph data based on vitrinite reflectance data and thereby generate trainable data; resolving, using the data processing system, data discrepancies within the trainable data and thereby generate resolved data; holistically enhancing, using the data processing system, the resolved data to be compatible with a plurality of subterranean structures and thereby generate training data; applying, using the machine learning engine, the training data to train a subterranean model and thereby generate a trained subterranean model; and testing, using the machine learning engine, the trained subterranean model and thereby generate a prediction report indicating rock characteristics and classification of a source rocks.

USING MACHINE LEARNING ALGORITHMS TO PREDICT TRANSACTIONS THAT MATCH EACH OTHER USING PATTERNS FROM MATCHING FEEDBACK

NºPublicación:  WO2026054830A1 12/03/2026
Solicitante: 
ORACLE INT CORPORATION [US]
ORACLE INTERNATIONAL CORPORATION
WO_2026054830_PA

Resumen de: WO2026054830A1

Systems, methods, and computer-readable media are provided for determining matches between records of different systems based on aggregate record data, and graphically marking potentially matched groups of data along with predicted confidence levels. Preliminary matching tools may allow allow users to define various rules based on which a majority of the transactions can be matched and reconciled. However, remaining transactions are disposed of in an interactive matching process. The matches may be determined unidirectionally from a source transaction to transactions from a target ledger, or bidirectionally from transactions in the target ledger to transactions other than the source transaction. Transactions may be matched many-to-many, one-to-many, or many-to-one, and a proposed order of match selections may be presented in a user interface. Match metadata or insights may be displayed to show a confidence of the match, reasons for the confidence, and/or a confidence of other matches that may be more beneficial than a match with a source transaction. The confidence and match insights may be generated by a machine learning model with access to transactions from a source transaction ledger and a target transaction ledger. The machine learning model may be trained on manual activity for prior matches that have been made. Matches may be performed using a hybrid machine learning model that accounts for random forests, decision trees, neural networks, naïve bayes algorithm, and/or

SYSTEM AND METHOD FOR USE WITH A DATA ANALYTICS ENVIRONMENT TO ENABLE USE OF AI IN PROVIDING CUSTOMER SUPPORT

NºPublicación:  WO2026055146A1 12/03/2026
Solicitante: 
ORACLE INT CORPORATION [US]
ORACLE INTERNATIONAL CORPORATION
WO_2026055146_PA

Resumen de: WO2026055146A1

Embodiments described herein are generally related to data analytics environments, and are particularly directed to systems and methods for use with a data analytics environment to enable use of AI in providing customer support. Machine learning AI models are trained based on one or more previous service request lifecycles of service requests of a customer to determine latent emotions of the customer based on determined customer problem data. A customer service prioritization signal related to a current service request of the customer is generated by a predictive analytics application that includes the models. The customer service prioritization signal is indicative of a need to prioritize a current service request of the customer based on the determined latent emotions of the customer and is generated during and prior to the end of the lifecycle of the current service request whereby escalation of the current service request may be deferred or prevented.

Computer System and Method for Providing a Subject-Related Data Development Platform

NºPublicación:  US20260072930A1 12/03/2026
Solicitante: 
LIZAI INC [US]
LizAI Inc
US_20260072930_PA

Resumen de: US20260072930A1

A method, performed by a computer system connected to a network, comprises processing at least one input data object for standardizing subject-related information. The method further comprises subjecting the subject-related information contained in the processed at least one input data object to a first machine learning model for generating a uniform dataset containing the subject-related information in a uniform structured format, and storing the uniform dataset in one or more secured data repositories connected to the network. The method further comprises providing a secured virtual environment accessible to users connected to the network, the secured virtual environment enabling importation of datasets stored in the one or more secured data repositories and a use of imported datasets as part of one or more user-controlled subject-related data development operations for generating at least one workspace-developed data object.

VISUAL LOCATION OF AERIAL VEHICLES USING DYNAMIC ALEATORIC UNCERTAINTY

NºPublicación:  EP4707735A1 11/03/2026
Solicitante: 
BOEING CO [US]
The Boeing Company
EP_4707735_PA

Resumen de: EP4707735A1

Techniques for localizing a vehicle in real time using dynamic uncertainty estimates are presented. The techniques include obtaining a terrain image captured by the vehicle; passing the terrain image to a trained evidential deep learning neural network subsystem, from which a dynamic uncertainty value and a first feature vector are obtained in real time; for each of a plurality of candidate terrain locations, comparing the first feature vector to a respective second feature vector representative of a candidate terrain location, from which a respective similarity score is obtained; for at least one of the plurality of candidate terrain locations, updating in real time, by a recursive Bayesian estimator, a respective location weight based on the dynamic uncertainty value and the respective similarity score; estimating, in real time, a location of the vehicle based on the plurality of location weights; and providing the location of the vehicle.

MACHINE-LEARNING TECHNIQUES FOR PREDICTING UNOBSERVABLE OUTPUTS

NºPublicación:  AU2024322317A1 05/03/2026
Solicitante: 
EQUIFAX INC
EQUIFAX INC
AU_2024322317_PA

Resumen de: AU2024322317A1

In some aspects, a computing system can generate and optimize a machine learning model to estimate an unobservable capacity of a target system or entity. The computing system can access training vectors which include training predictor variables, training performance indicators, and task quantities. A training performance indicator indicating performance outcome corresponding to the predictor variables and a task quantity associated with a task assigned to the target entity that leads to the training performance indicator. The machine learning model can be trained by performing adjustments of parameters of the machine learning model to minimize a loss function defined based on the training vectors. The trained machine learning model can be used to estimate the capacity of the target system or entity for handling tasks and be used in assigning tasks to the target entity according to the determined capacity.

APPARATUS AND METHOD FOR EMERGENCY DISPATCH

NºPublicación:  US20260067398A1 05/03/2026
Solicitante: 
RAPIDSOS INC [US]
RapidSOS, Inc
US_20260067398_PA

Resumen de: US20260067398A1

An emergency data manager includes a mapping module that is operative to generate a map view in a cloud-based user interface provided to a public safety answering point (PSAP) by the emergency data manager. The map view displays location indicators for emergencies being handled by the PSAP. Machine learning trained logic is operatively coupled to the mapping module and is operative to correlate incoming emergency data and provide contextual data to PSAP dispatchers via the cloud-based user interface. The contextual data includes time, location, and event type. The machine learning trained logic may be further operative to provide a dispatch recommendation based on the contextual data, or based on contextual data and a set of dispatch rules. The machine learning trained logic may be further operative to provide a simulation of an experienced PSAP call taker or dispatcher.

BUSINESS PROCESS MANAGEMENT USING ADVERSIAL AGENTS

NºPublicación:  WO2026050742A1 05/03/2026
Solicitante: 
ERP AI INC [US]
ERP.AI, INC
WO_2026050742_PA

Resumen de: WO2026050742A1

Systems and methods for improving business processes. In some embodiments, the method includes receiving business process data; generating, based on the business process data, a process map representing a business process using a first machine learning model deployed at the cloud-based cluster; generating, based on the process map, at least one alternative process map using a second machine learning model; evaluating the generated process maps using at least one business objective; selecting an improved process map from the generated process maps based on the evaluation; presenting, at an interactive user interface, at least one of the generated process maps, the at least one generated process map including the improved process map; receiving, at the interactive user interface, a user selection indicating a preferred process map from the at least one generated process map; and implementing the preferred process map.

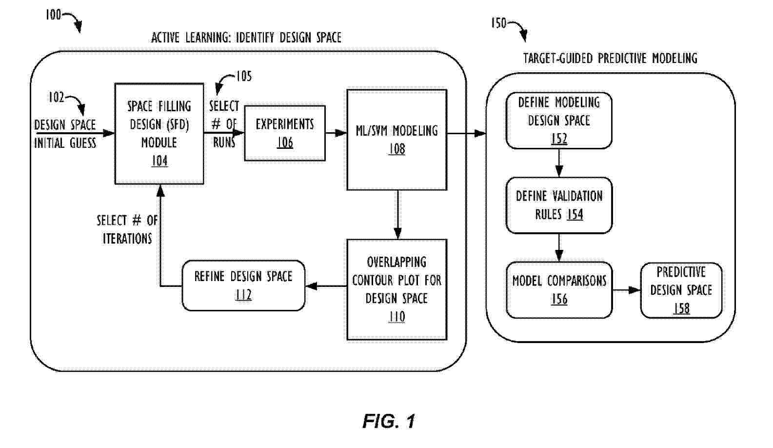
JOINT APPLICATION OF DESIGN OF EXPERIMENTS (DOE) AND MACHINE LEARNING (ML) IN A DESIGN SPACE

NºPublicación:  WO2026050081A1 05/03/2026
Solicitante: 
HENKEL AG & CO KGAA [DE]
CHENG CHIH MIN [US]
HENKEL AG & CO. KGAA,
CHENG, Chih-Min
WO_2026050081_PA

Resumen de: WO2026050081A1

Disclosed herein are methods and systems for the optimization of target-guided machine learning (ML) and Design of Experiments (DOE). More particularly, some embodiments focus on ML/DOE for an adhesive material design space, although the disclosure is not intended to be limited to this particular field of use. In some embodiments, an active learning ML/DOE process is incorporated with target-guided consideration. For example, a space-filling DOE approach assisted with ML, e.g., SVM-based ML, may be used to identify a design space for adhesive materials. The disclosed techniques have shown a 2x increase in efficiency over using DOE alone. The target-guided process may involve: 1) augmenting space filling design (SFD) ranges; 2) narrowing ML model prediction ranges; and 3) selecting validation experimental runs. Refining the design space in a target-guided fashion may also help to eliminate the inclusion of "outlier" runs in the modeling process and improve predictive capabilities for small datasets.

CYBERSECURITY EVENT DETECTION, ANALYSIS, AND INTEGRATION FROM MULTIPLE SOURCES

NºPublicación:  US20260067304A1 05/03/2026
Solicitante: 
SECURITYSCORECARD INC [US]
SecurityScorecard, Inc
US_20260067304_PA

Resumen de: US20260067304A1

The present disclosure presents methods and systems for determining cybersecurity risk exposure for entities. In one aspect, a method is provided that includes providing first text data to a trained LLM to identify data associated with a first candidate cybersecurity event for an entity, comparing the entity's identifier to domain information to verify the entity's identifier, determining if the first candidate cybersecurity event represents a new cybersecurity event based on com with previous data, and updating a cybersecurity risk score for the entity based on this determination. Further enhancements include training the LLM with cybersecurity event data, outputting documentation of the event source, and various methods for evaluating the novelty and severity of the cybersecurity event, including similarity measures and manual review triggers. The techniques leverage LLMs, machine learning models, and automated actions to provide a comprehensive approach to cybersecurity risk assessment and response. Other aspects are also provided.

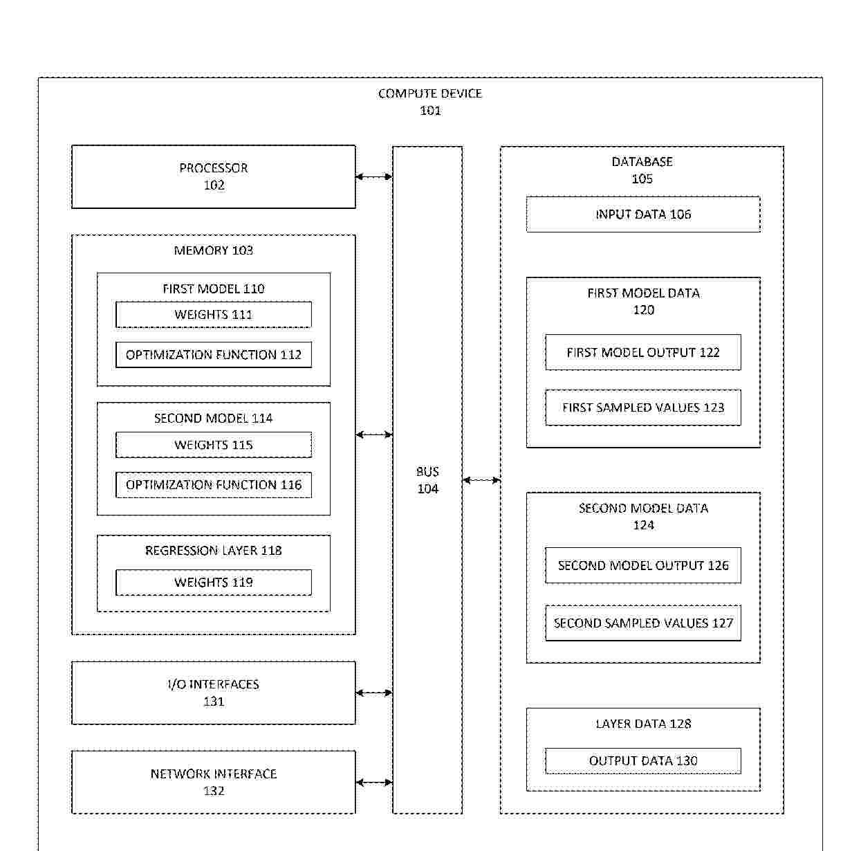
METHODS AND APPARATUS FOR TIME-SERIES FORECASTING USING DEEP LEARNING MODELS OF A DEEP BELIEF NETWORK WITH QUANTUM COMPUTING

NºPublicación:  US20260065109A1 05/03/2026
Solicitante: 
ERNST & YOUNG LLP [CA]
Ernst & Young LLP
US_20260065109_PA

Resumen de: US20260065109A1

An apparatus including a Deep Belief Network is configured to receive, via a processor, input data. The processor is caused to initialize, based on the input data, weights for a learning model of the DBN. The processor is further caused to generate, via the learning model, a representation of the input data. The weights, the input data, and the representation is to be transmitted to a quantum compute device. The processor is caused to receive sampled values from the quantum compute device using an optimization function associated with the quantum compute device. The processor is further caused to update, based on the sampled values, the weights to train the learning model to produce a trained learning model. The trained learning model is configured to generate an updated representation of the input data. The processor is further caused to generate, via a regression layer, output data based on the updated representation.

PROVIDING INTELLIGENT STORAGE LOCATION SUGGESTIONS

NºPublicación:  US20260065099A1 05/03/2026
Solicitante: 
DROPBOX INC [US]
Dropbox, Inc
US_20260065099_PA

Resumen de: US20260065099A1

One or more embodiments of a content system provide machine-learned storage location recommendations for storing content items. Specifically, an online content management system can train a machine-learning model to identify a storage pattern from previously stored content items in a plurality of storage locations corresponding to a user account of a user. Training the machine-learning model includes training a plurality of classifiers for the plurality of storage locations. The online content management system uses the classifiers to determine whether a content item is similar to the content items in any of the storage locations, and based on the output of the classifiers, provides graphical elements indicating recommended storage locations within a graphical user interface. The user can select a graphical element to move the content item to the corresponding storage location.

MODEL UNINTERRUPTED SERVING AND EVOLUTION

Nº publicación: US20260065166A1 05/03/2026

Solicitante:

FEEDZAI CONSULTADORIA E INOVACAO TECNOLOGICA S A [PT]
FEEDZAI - CONSULTADORIA E INOVA\u00C7\u00C3O TECNOL\u00D3GICA, S.A

US_20260065166_PA

Resumen de: US20260065166A1

Computer-implemented method and system for deployment of a first machine-learning model, and replacement, without service interruption, of a second machine-learning model in active on-line use, comprising: receiving, at a controller, a replacement request; in response to said replacement request, triggering the deployment of the first model and triggering the calculation of features to be used, collecting output data from the first model, fitting and inserting one or more calibration functions downstream from the first model, and routing inference requests to the first model instead of the second model; wherein the triggered deployment of the first model comprises preloading the first model into CPU or GPU memory, and making available the calculated features and the preloaded first model by CPU or GPU, respectively, before the inference requests are routed to the first model, thus enabling that no additional latency is added when traffic is rerouted to the first model.

traducir