Ministerio de Industria, Turismo y Comercio LogoMinisterior
 

Materiales y envases plásticos biodegradables

Resultados 94 resultados
LastUpdate Última actualización 28/11/2025 [07:07:00]
pdfxls
Solicitudes publicadas en los últimos 30 días / Applications published in the last 30 days (excluidas publicaciones Chinas / Chinese publications excluded)
Resultados 1 a 25 de 94 nextPage  

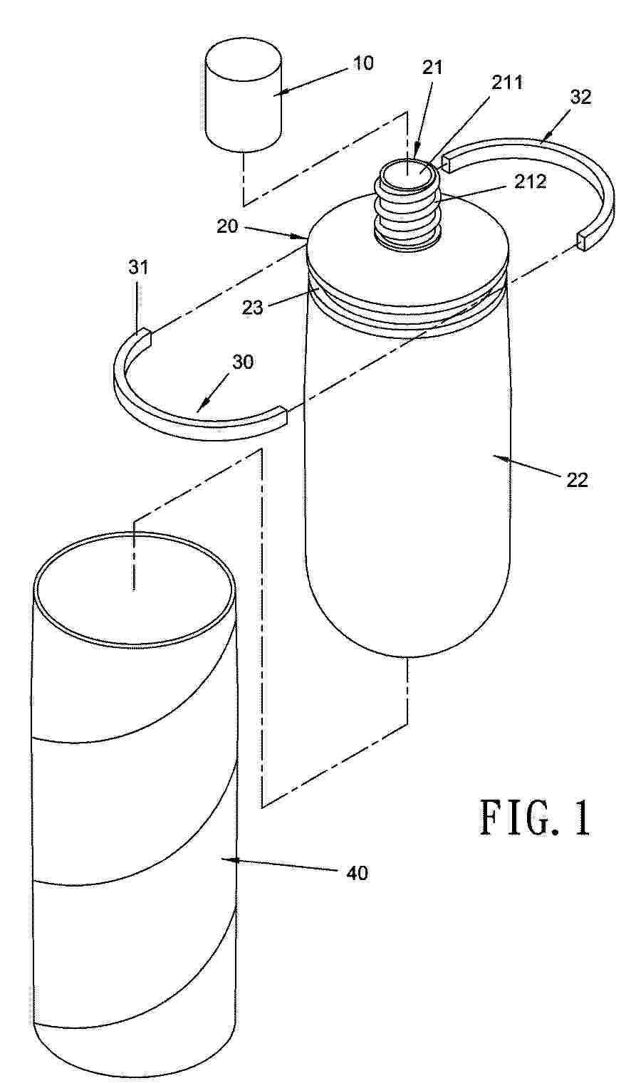
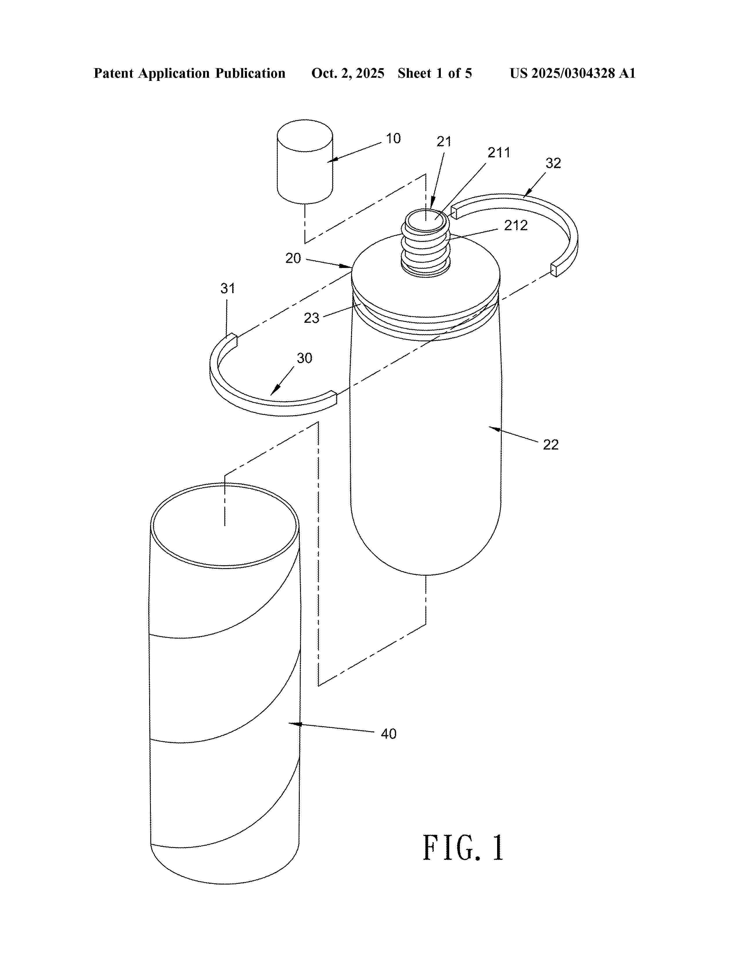
HYDROGEN FUEL CELL HYBRID POWER-BASED REFRIGERATED CONTAINER

NºPublicación:  AU2024276831A1 27/11/2025
Solicitante: 
CRRC YANGTZE GROUP CO LTD
CRRC YANGTZE GROUP CO., LTD
AU_2024276831_PA

Resumen de: AU2024276831A1

A hydrogen fuel cell hybrid power-based refrigerated container. The refrigerated container comprises a container body (1), a refrigerating unit (2), and a hydrogen fuel cell hybrid power system (3). The hydrogen fuel cell hybrid power system (3) comprises a hydrogen fuel cell power generation system (104), a hydrogen storage and supply system (101), a lithium battery (106), and a master controller (113); and the master controller (113) is configured to cut off hydrogen supply of the hydrogen storage and supply system (101) and start energy supply of the lithium battery (106) when the power level of the lithium battery (106) is sufficient, or start the hydrogen supply of the hydrogen storage and supply system (101) and stop the energy supply of the lithium battery (106) when the power level of the lithium battery (106) is insufficient. According to the present application, the lithium battery (106) is configured for a hydrogen fuel cell, and the lithium battery (106) and the hydrogen fuel cell jointly supply power to the refrigerating unit, solving the problems of power mismatch, high fuel cell cost, weak risk resistance and the like due to a conventional hydrogen fuel cell power system being directly applied to a refrigerated container.

Ventilvorrichtung, Ventil und Verfahren zu einem Enteisen eines Ventilzulaufkanals des Ventils

NºPublicación:  DE102024114525A1 27/11/2025
Solicitante: 
ETO MAGNETIC GMBH [DE]
ETO MAGNETIC GmbH

Resumen de: DE102024114525A1

Die Erfindung geht aus von einer Ventilvorrichtung (46a-c), insbesondere einer Drain-Ventilvorrichtung für ein Brennstoffzellen-System, mit einer Zuleitungseinheit (10a-c), welche zumindest zu einem Teil, insbesondere Großteil, aus einem gut wärmeleitenden, insbesondere metallischen, Material ausgebildet ist, und welche zumindest einen durch eine Betätigung eines Ventilelements (12a-c) wahlweise verschließbaren und zu einem Abschöpfen von Flüssigkeiten, insbesondere Wasser eines Wasserabscheiders des Brennstoffzellen-Systems, vorgesehenen Ventilzulaufkanal (14a-c) zumindest teilweise, insbesondere zumindest zu einem Großteil, ausbildet, und mit zumindest einer in die Zuleitungseinheit (10a-c) zumindest teilweise integrierten Heizeinheit (16a-c), welche zumindest zu einer Beheizung zumindest einer Kanalwand (18a-c) des Ventilzulaufkanals (14a-c) vorgesehen ist.Es wird vorgeschlagen, dass die Ventilvorrichtung (46a-c) eine Hülleinheit (20a-c) aufweist, welche zumindest einen Großteil der Zuleitungseinheit (10a-c) zumindest in Umfangsrichtung umgibt und welche aus einem Material, insbesondere einem Kunststoff, ausgebildet ist, das einen wesentlich geringeren Wärmeleitkoeffizienten aufweist als das gut wärmeleitende Material der Zuleitungseinheit (10a-c).

Luftversorgungssystem für einen Brennstoffzellenstapel

NºPublicación:  DE102024114835A1 27/11/2025
Solicitante: 
MTU AERO ENGINES AG [DE]
MTU Aero Engines AG

Resumen de: DE102024114835A1

Die Erfindung betrifft ein Luftversorgungssystem (10) für einen Brennstoffzellenstapel (2), insbesondere für einen Brennstoffzellenstapel (2) eines Flugzeug-Brennstoffzellen-Antriebs (1), umfassend eine Luftbereitstellungseinrichtung (20) zum Bereitstellen eines Luftstroms für den Brennstoffzellenstapel (2), eine stromabwärts der Luftbereitstellungseinrichtung (20) angeordnete Luftzufuhreinrichtung (30), die an den Brennstoffzellenstapel (2), insbesondere dessen Kathodenseite, angeschlossen werden kann und die Luft an den Brennstoffzellenstapel (2) leiten kann, wobei in der Luftzufuhreinrichtung (30) eine Befeuchtungsvorrichtung (31) zur Befeuchtung der Luft für den Brennstoffzellenstapel (2) angeordnet ist. Es ist eine Aufgabe der Erfindung ein Luftversorgungssystem für einen Brennstoffzellenstapel anzugeben, das eine höhere Robustheit gegenüber einer Austrocknung des Brennstoffzellenstapels bietet. Ein Luftversorgungssystem (10), das diese Aufgabe löst, wird erfindungsgemäß dadurch geschaffen, dass zwischen der Luftbereitstellungseinrichtung (20) und der Luftzufuhreinrichtung (30) eine Wassereinspritzvorrichtung (40) zum Einspritzen von Wasser in den Luftstrom angeordnet ist.

Verfahren zum Betreiben einer Brennstoffzellenvorrichtung und Brennstoffzellenvorrichtung

NºPublicación:  DE102024114118A1 27/11/2025
Solicitante: 
EKPO FUEL CELL TECH GMBH [DE]
EKPO Fuel Cell Technologies GmbH

Resumen de: DE102024114118A1

Um ein Verfahren zum Betreiben einer Brennstoffzellenvorrichtung, die mindestens einen Brennstoffzellenstapel aus Brennstoffzelleneinheiten umfasst, zu schaffen, bei welchem die ungünstigen Betriebszustände beim Anfahren eines Brennstoffzellenstapels möglichst vermieden oder zumindest möglichst kurz gehalten werden, um eine erhöhte Degradation der Brennstoffzelleneinheiten des Brennstoffzellenstapels möglichst zu vermeiden, wird vorgeschlagen, dass das Verfahren Folgendes umfasst:- Rückführen eines Kühlmittels, das einen Brennstoffzellenstapel verlässt, in einem inneren Kühlmittel-Kreislauf in den Brennstoffzellenstapel während eines Aufheiz-Betriebszustands des Brennstoffzellenstapels;- Rückführen des Kühlmittels, das den Brennstoffzellenstapel verlässt, in einem äußeren Kühlmittel-Kreislauf in den Brennstoffzellenstapel während eines Kühl-Betriebszustandes des Brennstoffzellenstapels;wobei in dem äußeren Kühlmittel-Kreislauf mindestens ein Wärmetauscher angeordnet ist undwobei der Brennstoffzellenstapel mittels eines Kühlmittel-Regelventils von dem Aufheiz-Betriebszustand des Brennstoffzellenstapels in den Kühl-Betriebszustand und/oder von dem Kühl-Betriebszustand in den Aufheiz-Betriebszustand des Brennstoffzellenstapels umschaltbar ist.

Brennstoffzellensystem und Verfahren zum Betreiben eines korrespondierenden Brennstoffzellensystems

NºPublicación:  DE102024204861A1 27/11/2025
Solicitante: 
BOSCH GMBH ROBERT [DE]
Robert Bosch Gesellschaft mit beschr\u00E4nkter Haftung

Resumen de: DE102024204861A1

Die Erfindung betrifft ein Brennstoffzellensystem (100) mit mehreren Brennstoffzellenstacks (101), wobei die Brennstoffzellenstacks (101) korrespondierende Luftsysteme (10) aufweisen,wobei die Luftsysteme (10) jeweils einen Zuluftpfad (11) und einen Abgaspfad (12) aufweisen,wobei zwischen einem Abgaspfad (12) von mindestens einem Brennstoffzellenstack (101) und einem Zuluftpfad (11) von mindestens einem anderen Brennstoffzellenstack (101) mindestens ein Abgastransferpfad (EGT) vorgesehen ist,um zumindest ein Teil eines, insbesondere feuchten, Abgases (L2) von dem Abgaspfad (12) in den Zuluftpfad (11) zu leiten,und wobei der mindestens eine Abgastransferpfad (EGT) stromabwärts eines Luftfilters (AF) und stromaufwärts eines, vorzugsweise einstufigen oder zweistufigen, Luftverdichtungssystems (Comp) in dem Zuluftpfad (11) mündet.

Membranstapel-Anordnung für einen Befeuchter eines Brennstoffzellensystems

NºPublicación:  DE102024114189A1 27/11/2025
Solicitante: 
MAHLE INT GMBH [DE]
MAHLE International GmbH

Resumen de: DE102024114189A1

Die Erfindung betrifft eine Membranstapel-Anordnung (30). Die Membranstapel-Anordnung umfasst einen Membranstapel (1) mit von einem ersten Fluid durchströmbaren ersten Fluidpfaden und mit von einem zweiten Fluid durchströmbaren zweiten Fluidpfaden. Die ersten und die zweiten Fluidpfade sind dabei mittels entlang einer Stapelrichtung (S) im Abstand zueinander aufeinandergestapelter, jeweils gasdichter und feuchtigkeitsdurchlässiger Membranen fluidisch voneinander getrennt. Ferner umfasst die Membranstapel-Anordnung (30) eine erste und eine zweite Endplatte (3a, 3b), die einander entlang der Stapelrichtung (S) gegenüberliegen und zwischen welchen der Membranstapel (1) mit den einzelnen Membranen (2) angeordnet ist. Die beiden Endplatten begrenzen die Membranstapel-Anordnung entlang der Stapelrichtung. Als Material für die Endplatten kann ein Kunststoff oder ein Metall, insbesondere Aluminium, gewählt werden. Zur mechanischen Aussteifung kann wenigstens eine Endplatte eine Rippenstruktur aufweisen. Des Weiteren umfasst die Membranstapel-Anordnung wenigstens ein Band (4), welches mit einem ersten Bandabschnitt (6a) auf einer vom Membranstapel (1) abgewandten Außenseite (7a) der ersten Endplatte (3a) anliegt und mit einem zweiten Bandabschnitt (6b) auf einer vom Membranstapel (1) abgewandten Außenseite (7b) der zweiten Endplatte (3b) anliegt.

Bipolarplatte und elektrochemische Einheit

NºPublicación:  DE102024114703A1 27/11/2025
Solicitante: 
EKPO FUEL CELL TECH GMBH [DE]
EKPO Fuel Cell Technologies GmbH

Resumen de: DE102024114703A1

Um eine Bipolarplatte (100) für eine elektrochemische Einheit bereitzustellen, durch die ein optimiertes Zu- und Abführen eines fluiden Mediums zu und von einer Membran-Elektroden-Einheit erreicht ist, wird vorgeschlagen, dass diese wenigstens einen Bipolarplattenkörper (102) umfasst, an dem eine Vielzahl Strömungskanäle vorgesehen sind, die wenigstens ein Strömungsfeld (104) für eine fluides Medium bilden, wenigstens eine Medienzuführung (106) zum Zuführen und/oder wenigstens eine Medienabführung (108) zum Abführen des fluiden Mediums ausgebildet ist, und wenigstens ein Dichtsteg (110) ausgebildet ist, der das Strömungsfeld (104), die wenigstens eine Medienzuführung (106) und/oder die wenigstens eine Medienabführung (108) zumindest abschnittsweise begrenzt, wobei an dem wenigstens einen Dichtsteg (110) zumindest eine Funktionsstruktur (118) vorgesehen ist, durch die zumindest bereichsweise eine strukturelle Versteifung des Dichtstegs (110) gebildet ist.

Schaltbare Elektrodenanordnung

NºPublicación:  DE102024114129A1 27/11/2025
Solicitante: 
RHEINISCH WESTFAELISCHE TECHNISCHE HOCHSCHULE AACHEN ABGEKUERZT RWTH AACHEN KOERPERSCHAFT DES OEFFEN [DE]
Rheinisch-Westf\u00E4lische Technische Hochschule Aachen, abgek\u00FCrzt RWTH Aachen, K\u00F6rperschaft des \u00F6ffentlichen Rechts

Resumen de: DE102024114129A1

Die vorliegende Erfindung betrifft eine Elektrodenanordnung (10) für eine elektrochemische Zelle, wobei die Elektrodenanordnung wenigstens eine erste Elektrode (14) und eine zweite Elektrode (16) aufweist, wobei die erste Elektrode (14) und die zweite Elektrode (16) in der gleichen Polarität betreibbar sind, wobei die erste Elektrode (14) in einer ersten Elektrodenkammer (18) angeordnet ist und wobei die zweite Elektrode (16) in einer, von der ersten Elektrodenkammer (18) durch einen Separator (22) getrennten, zweiten Elektrodenkammer (20) angeordnet ist, wobei die erste Elektrode (14) und die zweite Elektrode (16) getrennt betreibbar sind derart, dass die erste Elektrode (14) in Kontakt mit einem ersten Fluid und die zweite Elektrode (16) in Kontakt mit einem von dem ersten Fluid verschiedenen zweiten Fluid betreibbar ist, und wobei die erste Elektrode (14) für eine erste Reaktion ausgestaltet ist und wobei die zweite Elektrode (16) für eine von der ersten Reaktion verschiedene zweite Reaktion vorgesehen ist.

Verfahren zur Herstellung einer keramischen Funktionsschicht, elektrochemische Zelle und Lambdasonde mit einer solchen keramischen Funktionsschicht

NºPublicación:  DE102024204709A1 27/11/2025
Solicitante: 
BOSCH GMBH ROBERT [DE]
Robert Bosch Gesellschaft mit beschr\u00E4nkter Haftung

Resumen de: DE102024204709A1

Die Erfindung geht aus von einem Verfahren (10a) zur Herstellung einer keramischen Funktionsschicht (14a, 18a; 12b, 14b, 16b) einer elektrochemischen Zelle (20a; 20b), wobei eine Rohmasse der keramischen Funktionsschicht (14a, 18a; 12b, 14b, 16b) vor einem Aushärten mit zumindest einem Dotierstoff (22a) versehen wird.Es wird vorgeschlagen, dass in zumindest einem Verfahrensschritt des Verfahrens zumindest ein Dotieredukt (24a, 26a) in zumindest einem Lösungsmittel der Rohmasse chemisch gelöst wird, um den Dotierstoff (22a) bereitzustellen.

Brennstoffzellenanordnung und Wasserfahrzeug mit einer solchen Brennstoffzellenanordnung

NºPublicación:  DE102024114868A1 27/11/2025
Solicitante: 
ROLLS ROYCE SOLUTIONS GMBH [DE]
Rolls-Royce Solutions GmbH

Resumen de: DE102024114868A1

Die Erfindung betrifft eine Brennstoffzellenanordnung (1), mit einem ersten Gehäuse (3), in dem ein elektrochemischer Zellenstapel (5) der Brennstoffzellenanordnung (1) angeordnet ist, und mit einem zweiten, geschlossenen Gehäuse (7), in dem eine strömungstechnische Brennstoffführung (9) angeordnet ist, wobei der elektrochemische Zellenstapel (5) mit einer Brennstoff-Zufuhrleitung (11) der Brennstoffführung (9) strömungstechnisch verbunden ist, sodass dem Zellenstapel (5) Brennstoff über die Brennstoff-Zufuhrleitung (11) zugeführt werden kann, und wobei dem zweiten Gehäuse (7) eine Ventilationsvorrichtung (13) zur Spülung des zweiten Gehäuses (7) mit Spülgas zugeordnet ist.

Verfahren zum Assemblieren einer Dünnschichteinheit und Anlage

NºPublicación:  DE102024114407A1 27/11/2025
Solicitante: 
SCHAEFFLER TECHNOLOGIES AG [DE]
Schaeffler Technologies AG & Co. KG

Resumen de: DE102024114407A1

Die Erfindung betrifft ein Verfahren zum Assemblieren einer Dünnschichteinheit, vorzugsweise einer Membran-Elektroden-Einheit, mit einer Mehrzahl übereinander gestapelter Schichten (10, 20), umfassend die Schrittea) Bereitstellen einer ersten Schicht (10) mit definierter Länge,b) Aufwickeln der ersten Schicht (10) auf eine Greifwalze (2), wobei die erste Schicht (10) zumindest abschnittsweise am Umfang der Greifwalze (2) fixiert wird,c) Abwickeln der ersten Schicht (10) von der Greifwalze (2) auf eine zweite Schicht (20),d) Fixieren der aufeinander gestapelten Schichten (10, 20),e) Wiederholen der Schritte a) bis d) bis zum Erreichen einer vorbestimmten Anzahl von gestapelten Schichten (10, 20).

Brennstoffzellensystem zum Wandeln von Energie

NºPublicación:  DE102024204863A1 27/11/2025
Solicitante: 
BOSCH GMBH ROBERT [DE]
Robert Bosch Gesellschaft mit beschr\u00E4nkter Haftung

Resumen de: DE102024204863A1

Brennstoffzellensystem (100) zum Wandeln von Energie,wobei das Brennstoffzellensystem (100) umfasst:- eine Vielzahl Brennstoffzellenstapel (101, 103),- eine Anzahl Kühler (105, 135),- eine Anzahl Pumpen (109, 121),- eine Anzahl Temperierungsleitungen (111),- eine Anzahl Druckaktuatoren (107, 137),wobei die Anzahl Pumpen (109, 121) dazu konfiguriert ist, ein Temperierungsmedium durch die Temperierungsleitungen (111) zu pumpen, wobei die Anzahl Druckaktuatoren (107, 137) dazu konfiguriert ist, einen Druck in den Temperierungsleitungen (111) einzustellen,wobei die Temperierungsleitungen (111) mindestens einen Hauptkreislauf (113, 133) bilden, der mindestens einen Brennstoffzellenstapel (101, 103) der Vielzahl Brennstoffzellenstapel (101, 103) mit mindestens einem Kühler (105, 135) der Anzahl Kühler (105, 135) und mindestens einer Pumpe (109, 121) der Anzahl Pumpen (109, 121) verbindet, undwobei die Temperierungsleitungen (111) mindestens einen Bypasskreislauf (115, 123) bilden, der mindestens einen Brennstoffzellenstapel (101, 103) der Vielzahl Brennstoffzellenstapel (101, 103) direkt mit mindestens einer Pumpe (109, 121) der Anzahl Pumpen (109, 121) verbindet,wobei die Anzahl Druckaktuatoren (107, 137) in den mindestens einen Hauptkreislauf (113, 133) und den mindestens einen Bypasskreislauf (115, 123) eingebunden und dazu konfiguriert ist, einen Druck in der Anzahl Temperierungsleitungen (111) einzustellen.

Strömungskanal einer Bipolarplatte einer Protonenaustauschmembran-Brennstoffzelle und Wasserstoffbrennstoffzelle

NºPublicación:  DE102025120194A1 27/11/2025
Solicitante: 
FEV GROUP GMBH [DE]
FEV Group GmbH
CN_118610507_A

Resumen de: DE102025120194A1

In der vorliegenden Erfindung werden ein Strömungskanal einer Bipolarplatte einer Protonenaustauschmembran-Brennstoffzelle und eine Wasserstoffbrennstoffzelle bereitgestellt, umfassend: einen Bipolarplattenkörper, in dem mehrere Strömungskanäle ausgebildet sind, die sich in dieselbe Richtung erstrecken, wobei der Strömungskanal ein kontinuierlich zirkulierender, nichtlinearer Strömungskanal ist und in dem Strömungskanal mehrere Drosselmerkmale vorgesehen sind. Erfindungsgemäß ist ein nichtlinearer Strömungskanal so ausgestaltet, dass aufgrund einer querlaufenden Geschwindigkeitskomponente im Strömungskanal die Wirkung einer Querübertragung von Materialien verbessert werden kann. Durch die Drosselmerkmale können zudem die Durchflussgeschwindigkeit und der Druck im Strömungskanal eingestellt werden, um dort Turbulenzen lokal zu erzeugen und damit die Fähigkeit zur Materialübertragung unter Rippen zu erhöhen.

Bipolarplatte und Brennstoffzellenvorrichtung mit einer Bipolarplatte

NºPublicación:  DE102024114370A1 27/11/2025
Solicitante: 
EKPO FUEL CELL TECH GMBH [DE]
EKPO Fuel Cell Technologies GmbH

Resumen de: DE102024114370A1

Die vorliegende Erfindung betrifft eine Bipolarplatte (100) für eine Brennstoffzellenvorrichtung, aufweisend: zumindest einen Gas-Führungsbereich (138, 140, 142), welcher auf zumindest einer Bipolarplattenlage (118, 120) der Bipolarplatte (100) zwischen einer Gas-Öffnung (126, 130, 132, 136) der Bipolarplatte (100) und einem Reaktionsbereich (114) der Bipolarplatte (100) angeordnet ist und über welchen die Gas-Öffnung (126, 130, 132, 136) mit dem Reaktionsbereich (114) in Fluidverbindung steht, wobei der Gas-Führungsbereich (138, 140, 142) mehrere, vorzugsweise drei oder mehr, Führungskanäle (144) aufweist, welche in der Bipolarplattenlage (118, 120) nebeneinander verlaufend, vorzugsweise zwischen der Gas-Öffnung (126, 130, 132, 136) und dem Reaktionsbereich (114), ausgebildet sind, wobei mehrere, vorzugsweise alle, Führungskanäle (114) mit voneinander verschiedenen Querschnittsflächen (156) vorgesehen sind, und wobei die Führungskanäle (144) in Abhängigkeit eines Betrags ihrer Querschnittsfläche (156) der Größe nach, insbesondere zunehmend und/oder abnehmend, nebeneinander angeordnet sind.Ferner betrifft die vorliegende Erfindung eine Brennstoffzellenvorrichtung mit zumindest einer Bipolarplatte (100).

GAS-FLÜSSIGKEITS-ABSCHEIDER

NºPublicación:  DE102024128013A1 27/11/2025
Solicitante: 
HYUNDAI MOTOR CO LTD [KR]
KIA CORP [KR]
Hyundai Motor Company,
Kia Corporation
CN_120984049_PA

Resumen de: DE102024128013A1

Gas-Flüssigkeits-Abscheider mit einem Gehäuseelement, das eine Lufteinlassöffnung, eine Luftauslassöffnung und eine Ablassöffnung umfasst, durch die von der Luft abgeschiedene Tröpfchen abgeleitet werden, einer Schaufelbaugruppe, die drehbar in dem Gehäuseelement angeordnet und dazu eingerichtet ist, einen Wirbel in der in die Einlassöffnung eingeleiteten Luft zu erzeugen, einer Tröpfchen-Aggregationsführung, die an einer stromabwärtigen Seite der Schaufelbaugruppe angeordnet ist und mit der Luft in Kontakt kommt, die die Schaufelbaugruppe passiert hat, wobei die Tröpfchen-Aggregationsführung die Aggregation der in der Luft enthaltenen Tröpfchen leitet, und ein Führungselement in dem Gehäuseelement an einer stromabwärtigen Seite der Tröpfchen-Aggregationsführung, wobei das Führungselement einen Luftauslassströmungspfad definiert, der die Luft, die von den Tröpfchen abgeleitet ist, zu der Auslassöffnung leitet, und einen Tröpfchen-Auslassströmungspfad, der die von der Luft abgeleiteten Tröpfchen zu der Ablassöffnung leitet.

HYDRIERTE SEITENKETTENFUNKTIONALISIERTE POLYNORBORNEN- ANIONENAUSTAUSCHERPOLYMERE ALS MEMBRANMATERIALIEN FÜR ALKALISCHE WASSERELEKTROLYSE UND BRENNSTOFFZELLEN

NºPublicación:  DE102024114623A1 27/11/2025
Solicitante: 
FORSCHUNGSZENTRUM JUELICH GMBH [DE]
Forschungszentrum J\u00FClich GmbH

Resumen de: DE102024114623A1

Die vorliegende Erfindung betrifft wasserunlösliche Polymermembranen (AEM) auf Basis neuer seitenkettenfunktionalisierter Copolymere auf Basis hydrierter Polynorbornene und deren Verwendung als alkalische Anionenaustauschermembranmaterialien, beispielsweise in alkalischen Wasserelektrolyseuren, Brennstoffzellen oder Flow-Batterien.

Membrananordnung für einen Membranstapel eines Befeuchters

NºPublicación:  DE102024114188A1 27/11/2025
Solicitante: 
MAHLE INT GMBH [DE]
MAHLE International GmbH

Resumen de: DE102024114188A1

Die Erfindung betrifft eine Membrananordnung (15) mit einer Membran (1), die wenigstens eine Membranlage (2a-2c) aus einem gasdichten und feuchtigkeitsdurchlässigen Material aufweist. Auf der Membran (1) ist eine Abstandsstruktur (3) aus einem thermoplastischen Kunststoff zum Anordnen der Membran (1) im Abstand zu einer anderen Membran angeordnet. Dabei ist die Abstandsstruktur stoffschlüssig mit der Membran (1) verbunden. Die Abstandstruktur (3) weist eine Mehrzahl von Distanzelementen (4) auf, die im Abstand zueinander auf der Membran (1) angeordnet sind.

Verfahren zum Betreiben eines Brennstoffzellensystems, Steuergerät

NºPublicación:  DE102024204862A1 27/11/2025
Solicitante: 
BOSCH GMBH ROBERT [DE]
Robert Bosch Gesellschaft mit beschr\u00E4nkter Haftung

Resumen de: DE102024204862A1

Die Erfindung betrifft ein Verfahren zum Betreiben eines Brennstoffzellensystems mit einem Brennstoffzellen-Stack und einem Anodensubsystem zur Versorgung eines Anodenbereichs des Brennstoffzellen-Stacks mit einem wasserstoffhaltigen Anodengas, wobei aus dem Brennstoffzellen-Stack austretendes, mit Stickstoff angereichertes Anodengas passiv mit Hilfe einer Strahlpumpe über einen Anodenkreis des Anodensubsystems rezirkuliert wird. Erfindungsgemäß werden zur Detektion eines erhöhten Stickstoffgehalts des Anodengases folgende Schritte ausgeführt:- Erzeugen von Druckpulsen im Anodenkreis, die zu negativen Drucksprüngen führen,- Erfassen der Spannung auf Zellebene und/oder auf Stackebene während der negativen Drucksprünge und- Vergleichen der erfassten Spannung mit einem vorab definierten Schwellwert, wobei auf einen unzulässig hohen Stickstoffgehalt geschlossen wird, wenn der Schwellwert unterschritten wird.Die Erfindung betrifft ferner ein Steuergerät für ein Brennstoffzellensystem.

Bipolarplatte und elektrochemische Einheit

NºPublicación:  DE102024114698A1 27/11/2025
Solicitante: 
EKPO FUEL CELL TECH GMBH [DE]
EKPO Fuel Cell Technologies GmbH

Resumen de: DE102024114698A1

Um eine Bipolarplatte (100) für eine elektrochemische Einheit bereitzustellen, durch die ein optimiertes Zu- und Abführen eines fluiden Mediums zu und von einer Membran-Elektroden-Einheit erreicht ist, wird vorgeschlagen, dass die Bipolarplatte (100) wenigstens einen Bipolarplattenkörper (102) umfasst, an dem mehrere Strömungskanäle ausgebildet sind, die wenigstens ein Strömungsfeld (104) für eine fluides Medium bilden, wenigstens eine Medienzuführung (106) zum Zuführen und/oder wenigstens eine Medienabführung (108) zum Abführen des fluiden Mediums ausgebildet ist, und wenigstens ein Dichtsteg (110) ausgebildet ist, der das Strömungsfeld (104), die wenigstens eine Medienzuführung (106) und/oder die wenigstens eine Medienabführung (108) zumindest abschnittsweise begrenzt, wobei an dem wenigstens einen Dichtsteg (110) eine Dichtungsanordnung (118) vorgesehen ist, die wenigstens zwei Dichtelemente (122, 124) umfasst.

VERFAHREN ZUM REGENERIEREN EINER BRENNSTOFFZELLE EINES FAHRZEUGS

NºPublicación:  DE102024204648A1 27/11/2025
Solicitante: 
STELLANTIS AUTO SAS [FR]
STELLANTIS AUTO SAS

Resumen de: DE102024204648A1

Die Erfindung betrifft ein Verfahren zum Regenerieren einer Brennstoffzelle eines Fahrzeugs, wobei das Fahrzeug eine Brennstoffzelleneinheit, einen elektrischen Energiespeicher, der durch die Brennstoffzelleneinheit elektrisch aufladbar ist, einen elektrischen Antrieb, der allein durch die Brennstoffzelle, der allein durch den Energiespeicher und der in einem Hybrid-Betrieb durch Brennstoffzelle und Energiespeicher mit elektrischer Energie versorgbar ist, und ein Fahrzeugsteuerungs- und Regelungssystems umfasst, mit den Schritten:a. 100: Erfassen eines anstehenden Streckenabschnitts durch das Fahrzeugsteuerungs- und Regelungssystems, der zum Durchführen mindestens eines Regenerationsbetriebs der Brennstoffzelle geeignet ist;b. 101: Erfassen des Ladezustands des elektrischen Energiespeichers durch das Fahrzeugsteuerungs- und Regelungssystems;c. 102: Vorbereiten des elektrischen Energiespeichers auf das Durchführen eines Regenerationsbetriebs der Brennstoffzelle;d. 103: Durchführen eines Regenerationsbetriebs der Brennstoffzelle, wenn der geeignete Streckenabschnitt erreicht ist und wenn der elektrischen Energiespeicher vorbereitet ist, insbesondere wobei der Regenerationsbetrieb einen konstanten, stationären Betriebszustand der Brennstoffzelle umfasst.

VERFAHREN UND SYSTEM ZUR TEMPERIERUNG EINER BRENNSTOFFZELLE

NºPublicación:  DE102024204890A1 27/11/2025
Solicitante: 
STELLANTIS AUTO SAS [FR]
STELLANTIS AUTO SAS

Resumen de: DE102024204890A1

Die vorliegende Entwicklung betrifft ein Verfahren und ein System (5) zur Temperierung einer Brennstoffzelle (20) eines Kraftfahrzeugs (1) umfassend:- einen Kühlmittelkreislauf (11) einer Kraftfahrzeug-Klimaanlage (10), welcher eine Kühlmittelleitung (15) aufweist,- einen fluidführenden Kreislauf (21), welcher mit der Brennstoffzelle (20) thermisch gekoppelt ist und welcher eine fluidführende Leitung (25) aufweist, wobei der fluidführende Kreislauf (21) eine über ein regelbares Ventil (19) von der fluidführenden Leitung (15) abzweigende erste Bypassleitung (13) aufweist, und- einen Wärmetauscher (30), mittels welchem die Kühlmittelleitung (15) und die erste Bypassleitung (13) zum Temperieren der Brennstoffzelle (20) thermisch miteinander koppelbar sind.

Dichtungsanordnung, Zellelement einer elektrochemischen Zelle, Zellenstapel mit einer Verteilerstruktur und Elektrolyseur

NºPublicación:  DE102024204759A1 27/11/2025
Solicitante: 
SIEMENS ENERGY GLOBAL GMBH & CO KG [DE]
Siemens Energy Global GmbH & Co. KG

Resumen de: DE102024204759A1

Es wird eine Dichtungsanordnung (21, 21A, 21B) umfassend einen ebenen Metallträger (23A) und ein auf den Metallträger (23A) aufgebrachtes Dichtungselement (23B) vorgeschlagen, wobei der Metallträger (23) als ein dünner Umfassungsrahmen mit einer Außenkante und mit einer Innenkante ausgestaltet ist, wobei in den Metallträger (23) eine Vielzahl von Öffnungen (31) entlang einer Kante eingebracht ist und die Öffnungen (31) entlang einer Geraden angeordnet und zur Außenkante hin betrachtet bündig ausgerichtet sind, so dass ein Lochmuster ausgebildet ist. Das Lochmuster ist derart ausgeführt, dass Öffnungen (31) eines ersten Typs und eines zweiten Typs vorgesehen sind, wobei die Längserstreckung senkrecht zu der Geraden für eine Öffnung (31) des ersten Typs größer ist als die Längserstreckung für eine Öffnung (31) des zweiten Typs, wobei entlang der Geraden ein lineares, alternierendes Lochmuster ausgebildet ist, und wobei das Dichtelement (23B) ein Elastomer aufweist, das zumindest auf den Rand der Öffnungen (31) auf den Metallträger (23A) aufgebracht ist.Weiterhin werden ein die Dichtungsanordnung (21, 21A, 21B) aufweisendes Zellelement, ein Zellenstapel mit einer Vielzahl von elektrochemischen Zellen und ein Elektrolyseur angegeben.

Befeuchtermodul

NºPublicación:  DE102024114191A1 27/11/2025
Solicitante: 
MAHLE INT GMBH [DE]
MAHLE International GmbH

Resumen de: DE102024114191A1

Die Erfindung betrifft ein Befeuchtermodul (1) für ein Brennstoffzellensystem (36). Das Befeuchtermodul (1) weist ein Gehäuse (2) und einen in dem Gehäuse (2) angeordneten Membranstapel (8) auf. Zudem weist das Befeuchtermodul (1) wenigstens ein Funktionsmodul (3) auf, das mit dem Gehäuse (2) lösbar und austauschbar verbunden ist.

Verfahren zum Kontrollieren einer Brennstoffkonzentration im Kathodenabgas, Brennstoffzellensystem, Fahrzeug, Computerprogrammprodukt und Speichermedium

NºPublicación:  DE102024114121A1 27/11/2025
Solicitante: 
BAYERISCHE MOTOREN WERKE AG [DE]
Bayerische Motoren Werke Aktiengesellschaft

Resumen de: DE102024114121A1

Die hier offenbarte Technologie betrifft erfindungsgemäß ein Verfahren zum Kontrollieren einer Brennstoffkonzentration im Kathodenabgas eines Brennstoffzellensystems (10), aufweisend: Ermitteln eines Brennstoff-Massenstroms durch einen Purgepfad (18), Ermitteln eines Verdünnungsgas-Massenstroms durch einen Verdünnungsgasabschnitt (26) und Kontrollieren des Verdünnungsgas-Massenstroms basierend auf dem ermittelten Brennstoff-Massenstrom. Die Technologie betrifft ferner ein Brennstoffzellensystem (10), ein Fahrzeug (100) und ein Computerprogrammprodukt (70) zum Durchführen des Verfahrens sowie ein computerlesbares Speichermedium (80), auf welchem das Computerprogrammprodukt (70) gespeichert ist.

Verfahren zum Betreiben eines Brennstoffzellensystems, Steuergerät

Nº publicación: DE102024204859A1 27/11/2025

Solicitante:

BOSCH GMBH ROBERT [DE]
Robert Bosch Gesellschaft mit beschr\u00E4nkter Haftung

Resumen de: DE102024204859A1

Die Erfindung betrifft ein Verfahren zum Betreiben eines Brennstoffzellensystems, umfassend einen Brennstoffzellen-Stack mit einem Stackeinlass und einem Stackauslass für ein Kühlmittel, das dem Brennstoffzellen-Stack über einen Kühlkreis mit Hilfe einer in den Kühlkreis integrierten Kühlmittelpumpe zugeführt wird. Erfindungsgemäß wird bei einem Gefrierstart die Drehzahl der Kühlmittelpumpe im Kühlkreis abhängig von der Kühlmitteltemperatur (T_clt_in) am Stackeinlass sowie der Kühlmitteltemperatur (T_clt_out) am Stackauslass und/oder deren Gradienten geregelt wird, wobei über die Drehzahl der Kühlmittelpumpe ein dem Brennstoffzellen-Stack zugeführter Kühlmittelmassenstrom (m_clt) eingestellt wird.Die Erfindung betrifft ferner ein Steuergerät für ein Brennstoffzellensystem.

traducir