Ministerio de Industria, Turismo y Comercio LogoMinisterior
 

Logística: sistemas de gestión

Resultados 583 resultados
LastUpdate Última actualización 21/02/2026 [06:53:00]
pdfxls
Solicitudes publicadas en los últimos 15 días / Applications published in the last 15 days
Resultados 1 a 25 de 583 nextPage  

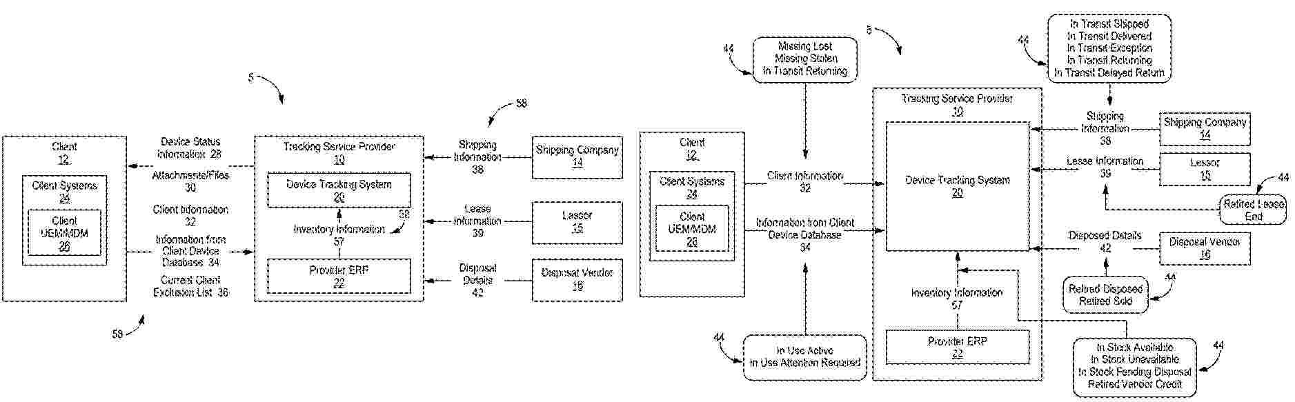
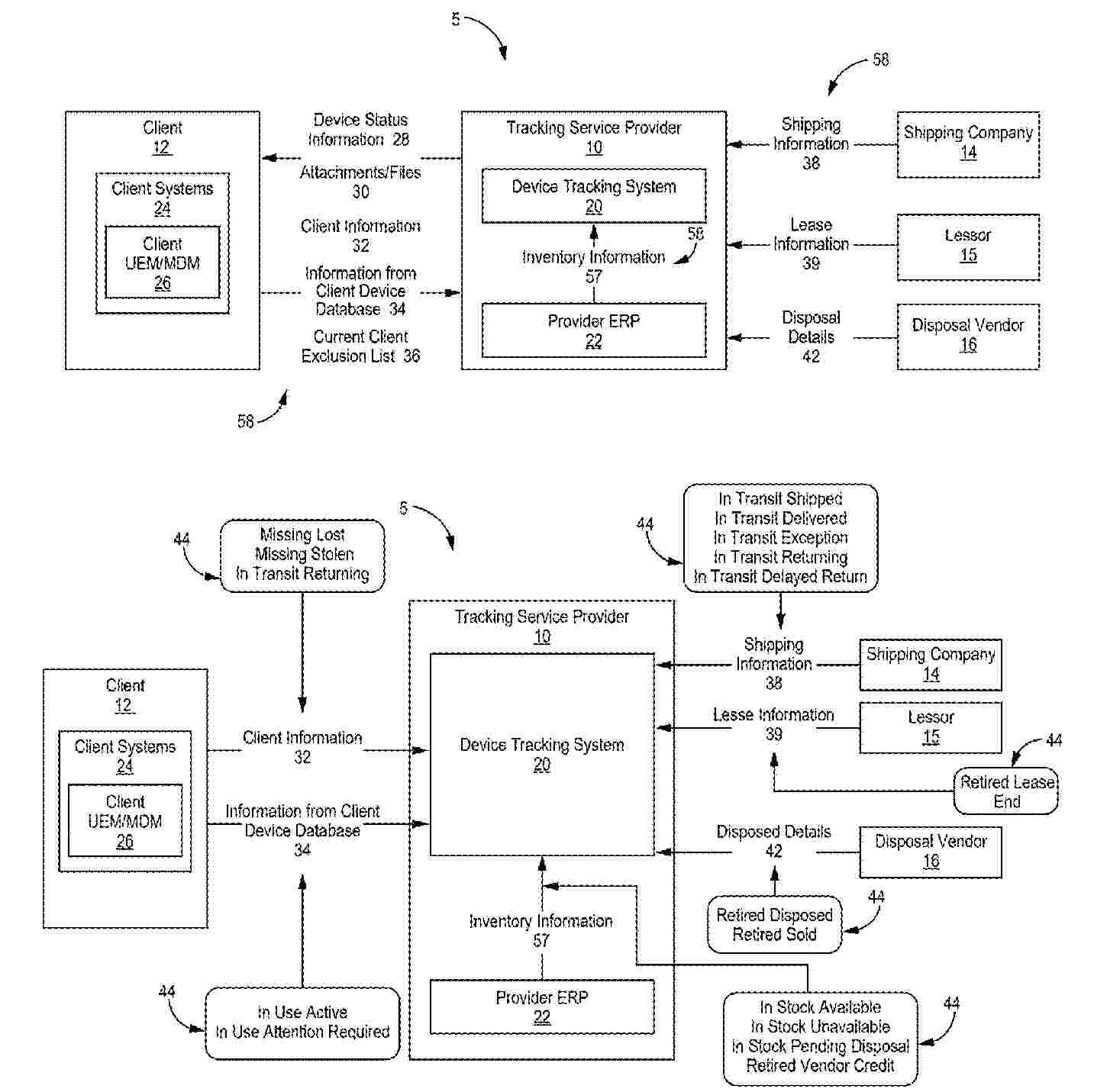
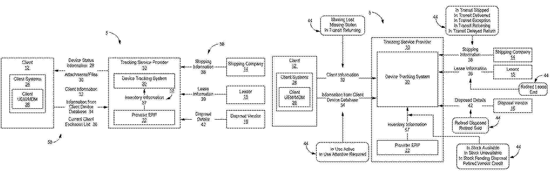
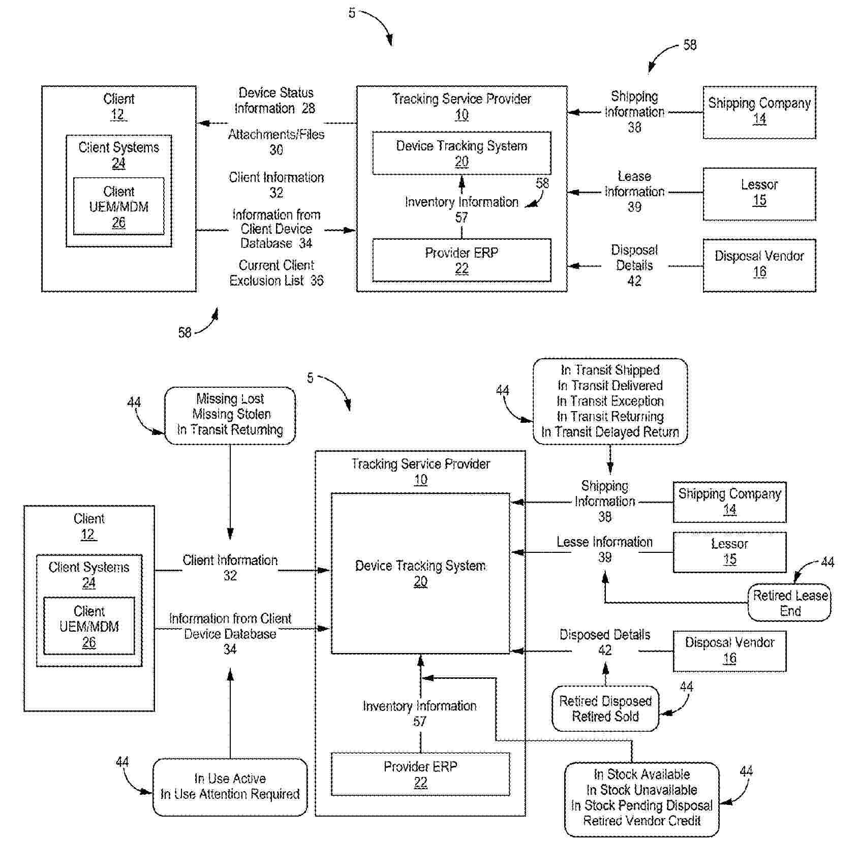
SYSTEMS AND METHODS FOR ELECTRONIC DEVICE TRACKING AND STATUS ANALYSIS

NºPublicación:  US20260050876A1 19/02/2026
Solicitante: 
INSIGHT DIRECT USA INC [US]
Insight Direct USA, Inc
US_20260050876_PA

Resumen de: US20260050876A1

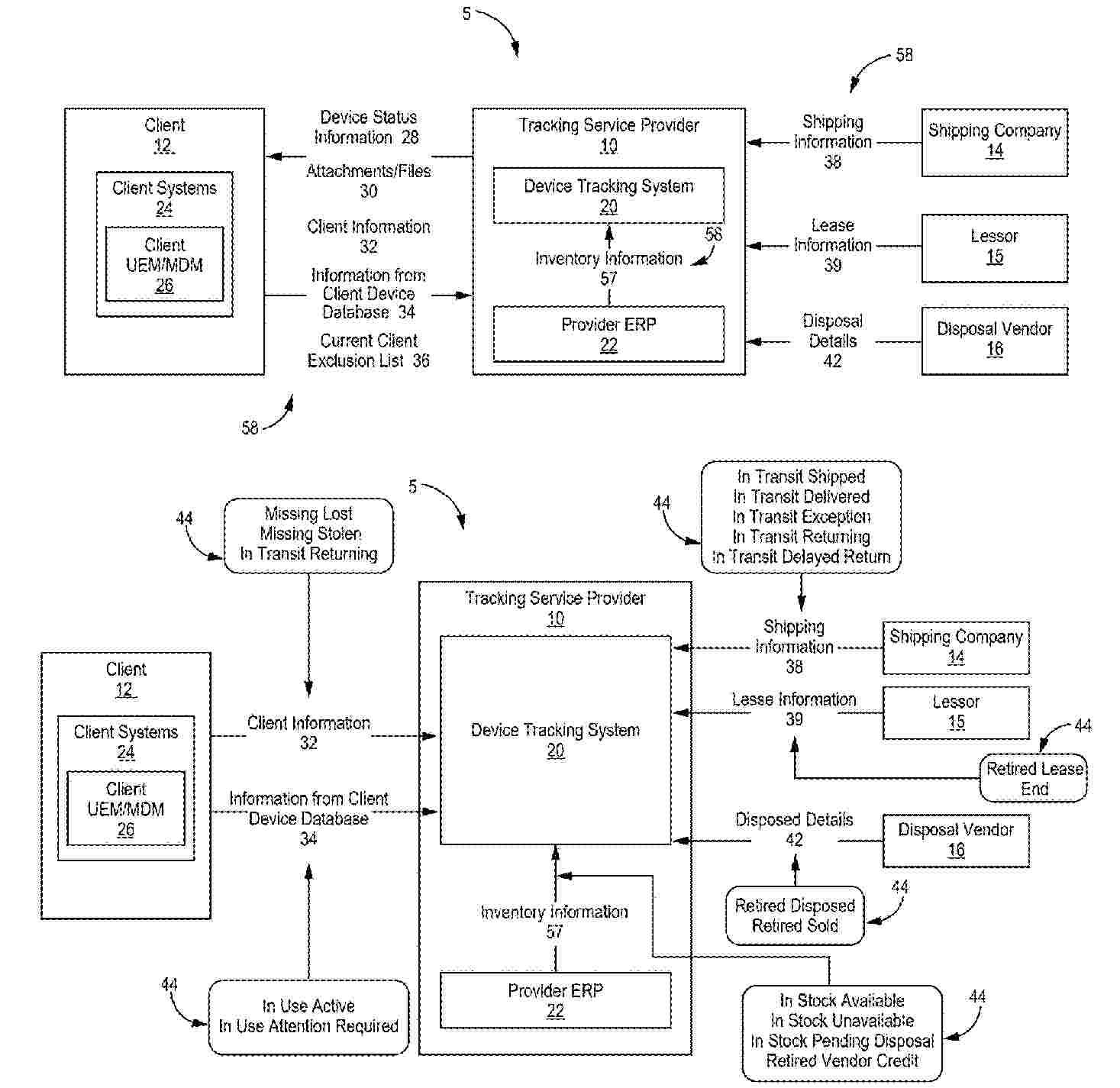
An example method of tracking multiple electronic devices is described herein that can include accessing first information regarding the multiple electronic devices with the first information including a connection state for a first plurality of electronic devices of the multiple electronic devices representative of a most recent timestamp that each of the first plurality of electronic devices was active and concurrently determining a first status for each applicable electronic device of the multiple electronic devices dependent upon the first information. The method can further include assigning the first status as a current status for each of the multiple devices in a device tracking database, accessing second information regarding the multiple electronic devices with the second information including the connection state for a second plurality of electronic devices of the multiple electronic devices, and concurrently determining a second status for each of the multiple electronic devices dependent upon the second information.

USE OF LARGE LANGUAGE MODEL IN SOURCE-TO-PAY PLATFORM

NºPublicación:  WO2026037885A1 19/02/2026
Solicitante: 
IVALUA SAS [FR]
IVALUA SAS
WO_2026037885_PA

Resumen de: WO2026037885A1

A computer implemented method of using a large language model (LLM) in a Source-to-Pay platform. The method comprises receiving a user query associated with context data; estimating a number of tokens associated with the context data and dividing the context data into a plurality of context data parts each having an estimated number of tokens below a maximum number of tokens per transaction associated with the LLM; determining a user intent from the user query and selecting one or more of a plurality of predetermined processing workflows based on the user intent; processing the context data parts according to said workflow to generate one or more LLM prompts each comprising a respective context data part; forwarding the one or more LLM prompts to the LLM and receiving a respective response; and using at least some content from the one or more responses to generate an answer to the user query.

SYSTEMS AND METHODS FOR ELECTRONIC DEVICE TRACKING AND STATUS ANALYSIS

NºPublicación:  US20260050874A1 19/02/2026
Solicitante: 
INSIGHT DIRECT USA INC [US]
Insight Direct USA, Inc
US_20260050874_PA

Resumen de: US20260050874A1

An example method of tracking multiple electronic devices is described herein that can include accessing first information regarding the multiple electronic devices with the first information including a connection state for a first plurality of electronic devices of the multiple electronic devices representative of a most recent timestamp that each of the first plurality of electronic devices was active and concurrently determining a first status for each applicable electronic device of the multiple electronic devices dependent upon the first information. The method can further include assigning the first status as a current status for each of the multiple devices in a device tracking database, accessing second information regarding the multiple electronic devices with the second information including the connection state for a second plurality of electronic devices of the multiple electronic devices, and concurrently determining a second status for each of the multiple electronic devices dependent upon the second information.

SYSTEMS AND METHODS FOR ELECTRONIC DEVICE TRACKING AND STATUS ANALYSIS

NºPublicación:  US20260050873A1 19/02/2026
Solicitante: 
INSIGHT DIRECT USA INC [US]
Insight Direct USA, Inc
US_20260050873_PA

Resumen de: US20260050873A1

An example method of tracking multiple electronic devices is described herein that can include accessing first information regarding the multiple electronic devices with the first information including a connection state for a first plurality of electronic devices of the multiple electronic devices representative of a most recent timestamp that each of the first plurality of electronic devices was active and concurrently determining a first status for each applicable electronic device of the multiple electronic devices dependent upon the first information. The method can further include assigning the first status as a current status for each of the multiple devices in a device tracking database, accessing second information regarding the multiple electronic devices with the second information including the connection state for a second plurality of electronic devices of the multiple electronic devices, and concurrently determining a second status for each of the multiple electronic devices dependent upon the second information.

SYSTEMS AND METHODS FOR ELECTRONIC DEVICE TRACKING AND STATUS ANALYSIS

NºPublicación:  US20260050850A1 19/02/2026
Solicitante: 
INSIGHT DIRECT USA INC [US]
Insight Direct USA, Inc
US_20260050850_PA

Resumen de: US20260050850A1

An example method of tracking multiple electronic devices is described herein that can include accessing first information regarding the multiple electronic devices with the first information including a connection state for a first plurality of electronic devices of the multiple electronic devices representative of a most recent timestamp that each of the first plurality of electronic devices was active and concurrently determining a first status for each applicable electronic device of the multiple electronic devices dependent upon the first information. The method can further include assigning the first status as a current status for each of the multiple devices in a device tracking database, accessing second information regarding the multiple electronic devices with the second information including the connection state for a second plurality of electronic devices of the multiple electronic devices, and concurrently determining a second status for each of the multiple electronic devices dependent upon the second information.

SYSTEMS AND METHODS FOR ELECTRONIC DEVICE TRACKING AND STATUS ANALYSIS

NºPublicación:  US20260050869A1 19/02/2026
Solicitante: 
INSIGHT DIRECT USA INC [US]
Insight Direct USA, Inc
US_20260050869_PA

Resumen de: US20260050869A1

An example method of tracking multiple electronic devices is described herein that can include accessing first information regarding the multiple electronic devices with the first information including a connection state for a first plurality of electronic devices of the multiple electronic devices representative of a most recent timestamp that each of the first plurality of electronic devices was active and concurrently determining a first status for each applicable electronic device of the multiple electronic devices dependent upon the first information. The method can further include assigning the first status as a current status for each of the multiple devices in a device tracking database, accessing second information regarding the multiple electronic devices with the second information including the connection state for a second plurality of electronic devices of the multiple electronic devices, and concurrently determining a second status for each of the multiple electronic devices dependent upon the second information.

SYSTEM AND METHOD FOR FACILITATING MOBILE VENDORS TO ADVERTISE THEIR GOODS AND/OR SERVICES

NºPublicación:  US20260050947A1 19/02/2026
Solicitante: 
NOLAN TAMMY [AU]
NOLAN Tammy
US_20260050947_PA

Resumen de: US20260050947A1

A computer-implemented system and method that enables mobile vendors of goods and/or services to advertise the future location regarding availability of their goods and/or services to consumers, in an effort to generate and/or increase sales of their products and/or services. The present invention finds particular application with respect to mobile vendors such as owners of food vans, pop-up food stores and market stall holders and enables such owners to alert customers regarding their proposed presence at specific geographic locations at particular dates and times.

SYSTEMS AND METHODS FOR ELECTRONIC DEVICE TRACKING AND STATUS ANALYSIS

NºPublicación:  US20260050883A1 19/02/2026
Solicitante: 
INSIGHT DIRECT USA INC [US]
Insight Direct USA, Inc
US_20260050883_PA

Resumen de: US20260050883A1

An example method of tracking multiple electronic devices is described herein that can include accessing first information regarding the multiple electronic devices with the first information including a connection state for a first plurality of electronic devices of the multiple electronic devices representative of a most recent timestamp that each of the first plurality of electronic devices was active and concurrently determining a first status for each applicable electronic device of the multiple electronic devices dependent upon the first information. The method can further include assigning the first status as a current status for each of the multiple devices in a device tracking database, accessing second information regarding the multiple electronic devices with the second information including the connection state for a second plurality of electronic devices of the multiple electronic devices, and concurrently determining a second status for each of the multiple electronic devices dependent upon the second information.

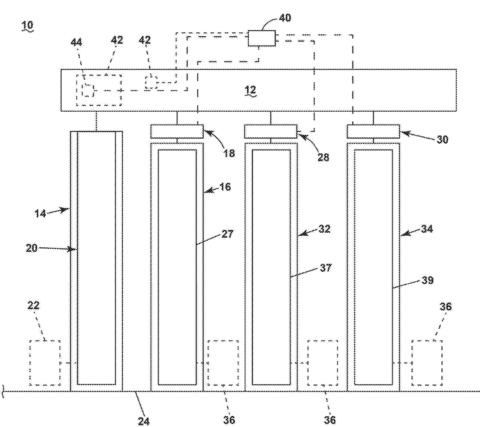
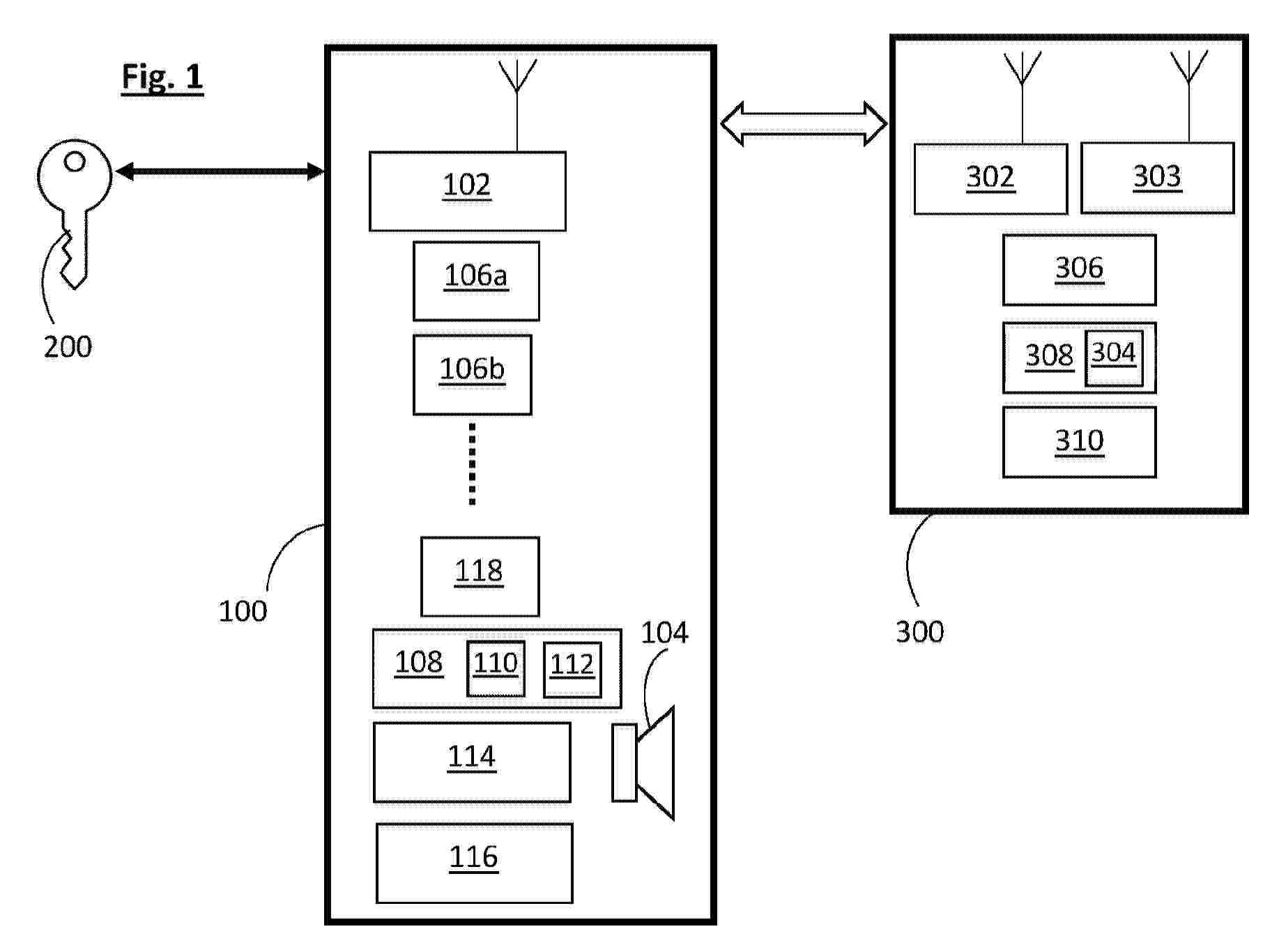
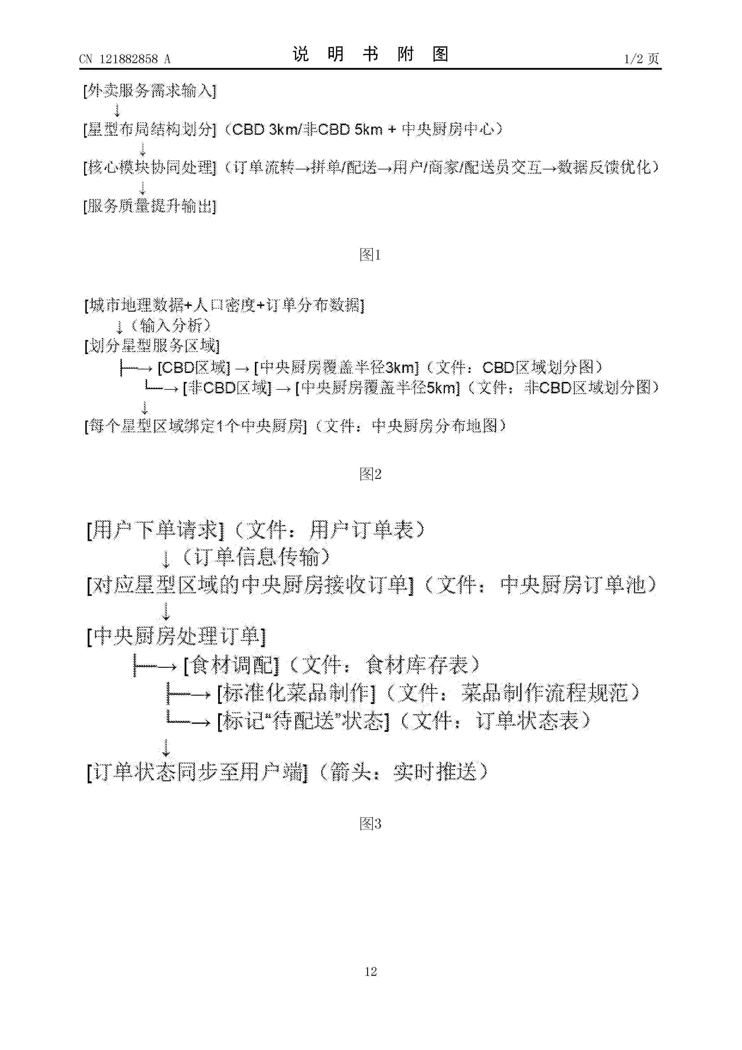
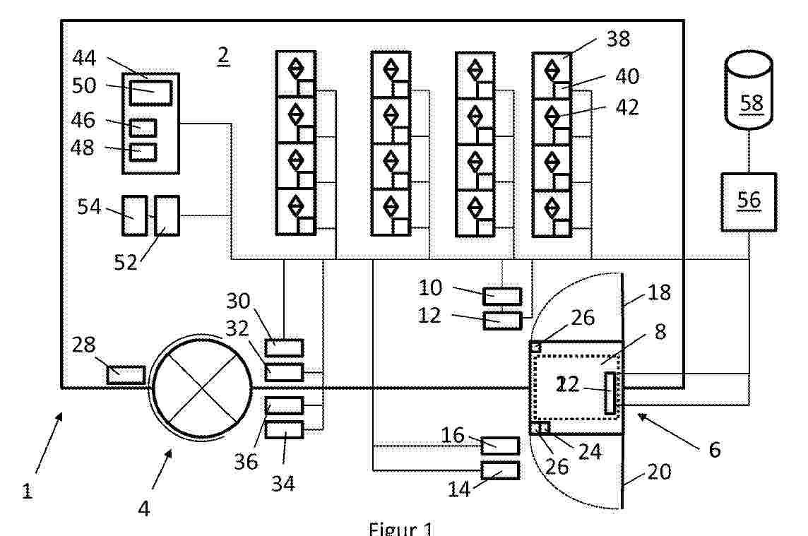
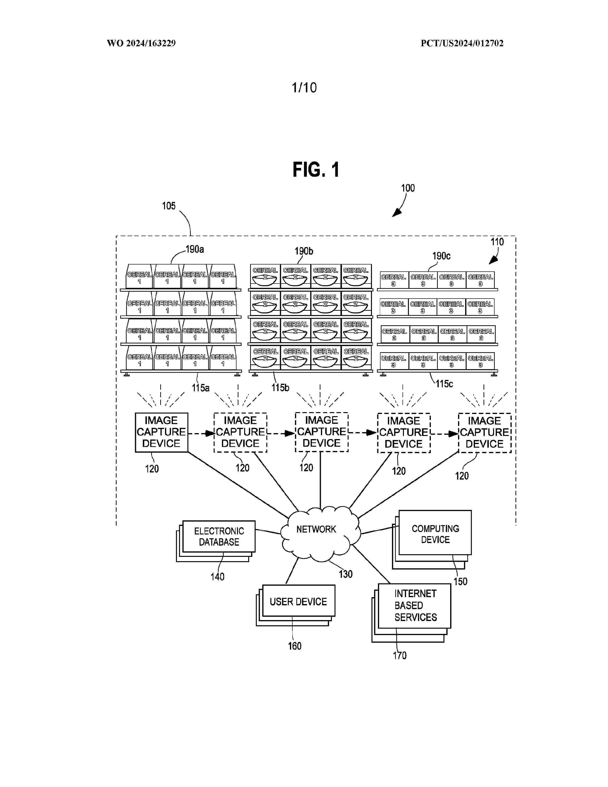
Home stock management system

NºPublicación:  AU2026200695A1 19/02/2026
Solicitante: 
ARES TRADING S A
Ares Trading S.A
AU_2026200695_A1

Resumen de: AU2026200695A1

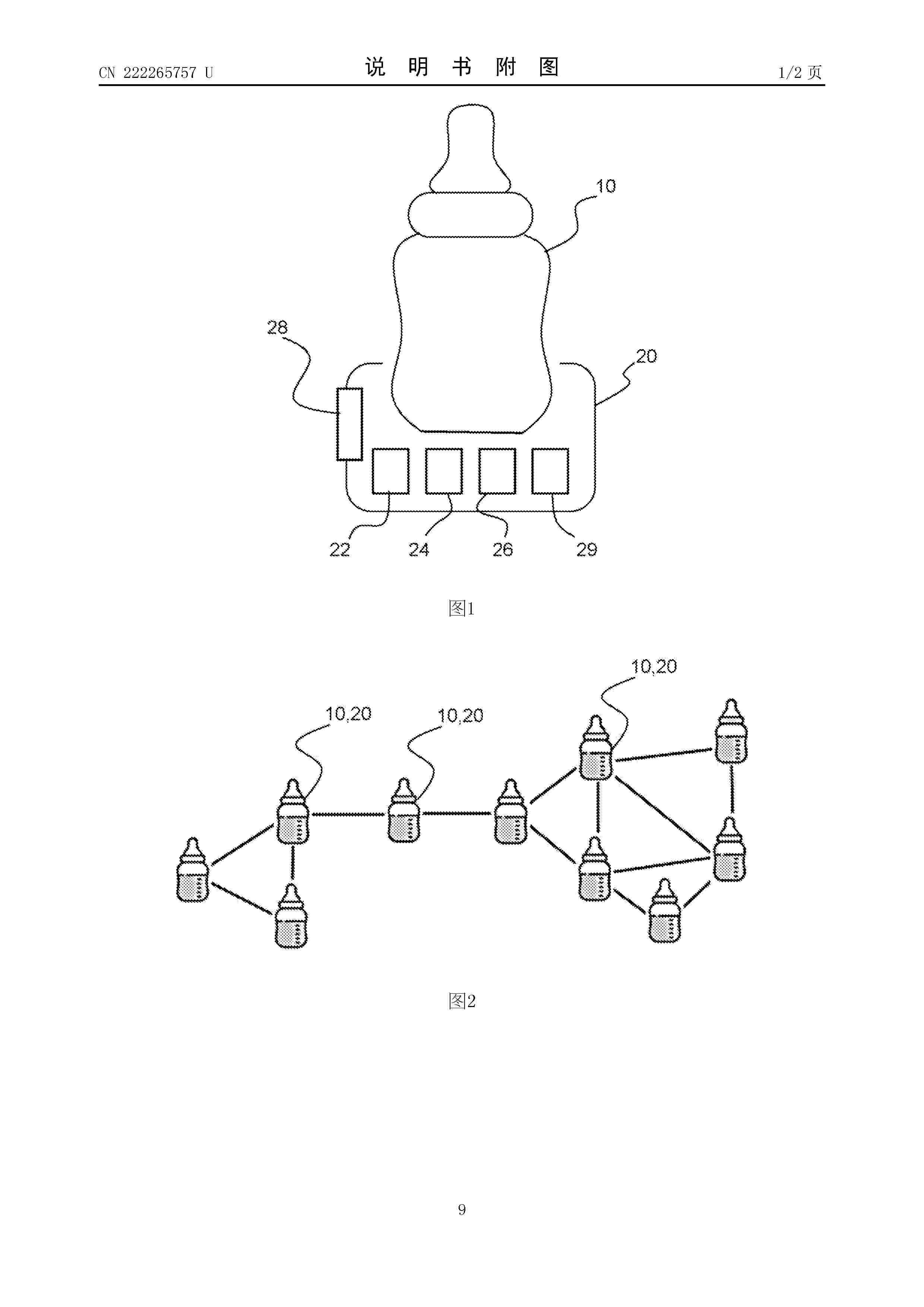
Described herein is a home stock management system (1) for packaged items comprising a stationary data collection module (10) configured to wirelessly collect data from one or more packaged items (11) and to transmit the collected data to a processing module (12) wherein the packaged item(s) (11) include(s) a wireless tag (15), a processing module (12) for receiving, storing and processing the collected data from the collection module (10), and a notification means (13), wherein, the data collection module (10) is configured to collect data from the one or more packaged items (11) present in the home without user intervention. The processing module (12) is configured to process the collected data to determine status information and the notification means (13) is configured to communicate to one or more authorized users the status information. The home stock management system (1) can be used for the monitoring of consumable packaged items in the house or for monitoring and managing the stock and use of medication in a patient home or residence. communicate to one or more authorized users the status information. The home stock home or residence. an a n c o m m u n i c a t e t o o n e o r m o r e a u t h o r i z e d u s e r s t h e s t a t u s i n f o r m a t i o n h e h o m e s t o c k h o m e o r r e s i d e n c e

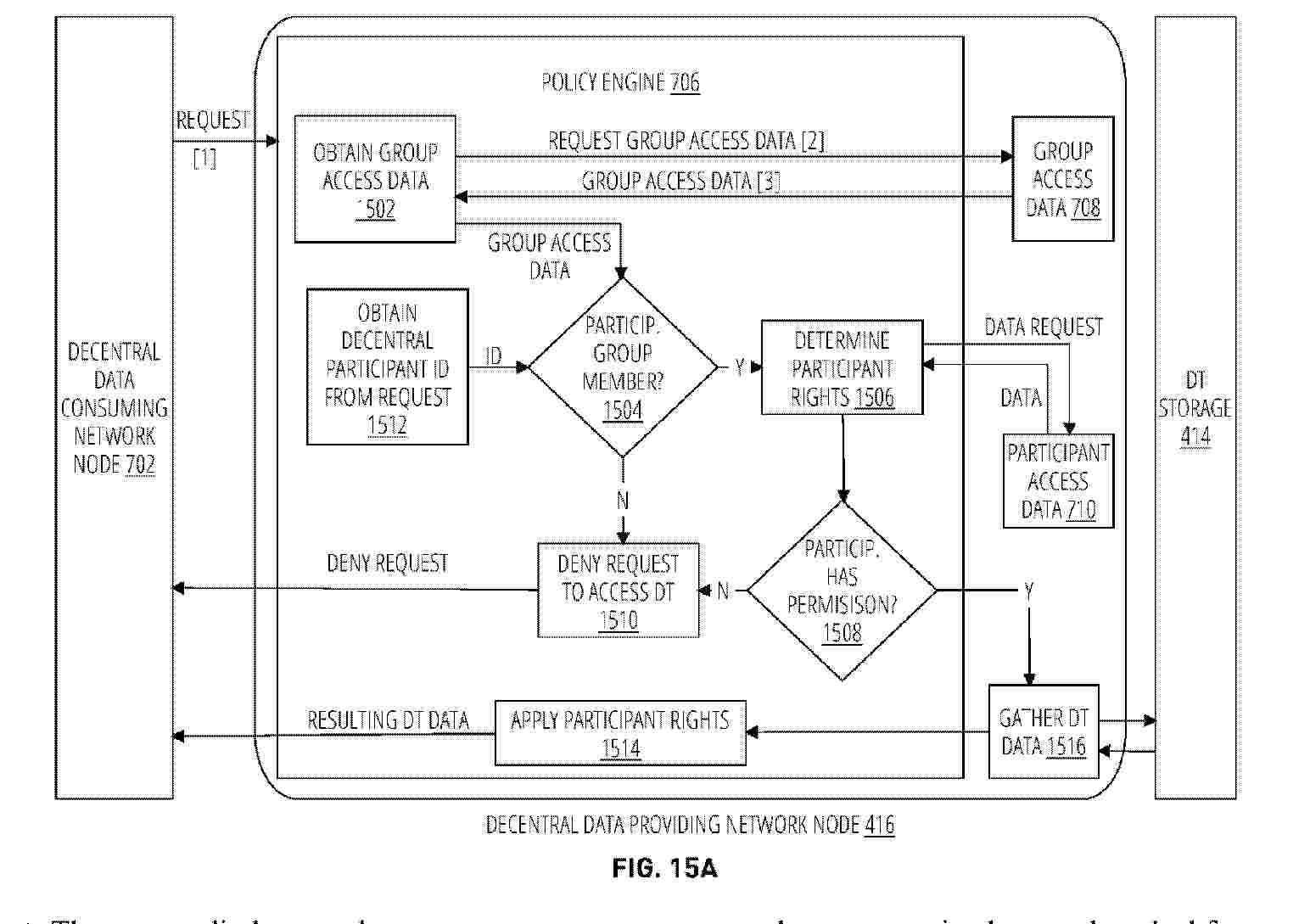
METHODS AND SYSTEMS FOR DYNAMIC UPDATE TO ACCESS CONTROL RULES IN A COMPUTING SYSTEM BASED ON BLOCKCHAIN MONITORING

NºPublicación:  AU2026200632A1 19/02/2026
Solicitante: 
SHOPIFY INC
SHOPIFY INC
AU_2026200632_A1

Resumen de: AU2026200632A1

A computer-implemented method, including generating an access condition at a server with regard to an online resource by identifying a token collection associated with access to the online resource, wherein ownership of the tokens is managed using a blockchain, obtaining, from a blockchain network associated with the blockchain, data regarding the token collection including a count of tokens circulating and ownership data, and selecting, as the access condition based on the data regarding the token collection, one or more token criteria based on an intended number of qualified wallets, receiving, at the server, an access request for the online resource from a user device associated with a wallet, obtaining token data from the blockchain network with regard to the wallet, and authorizing access to the online resource for the user device responsive to determining that the token data meets the access condition. an a n

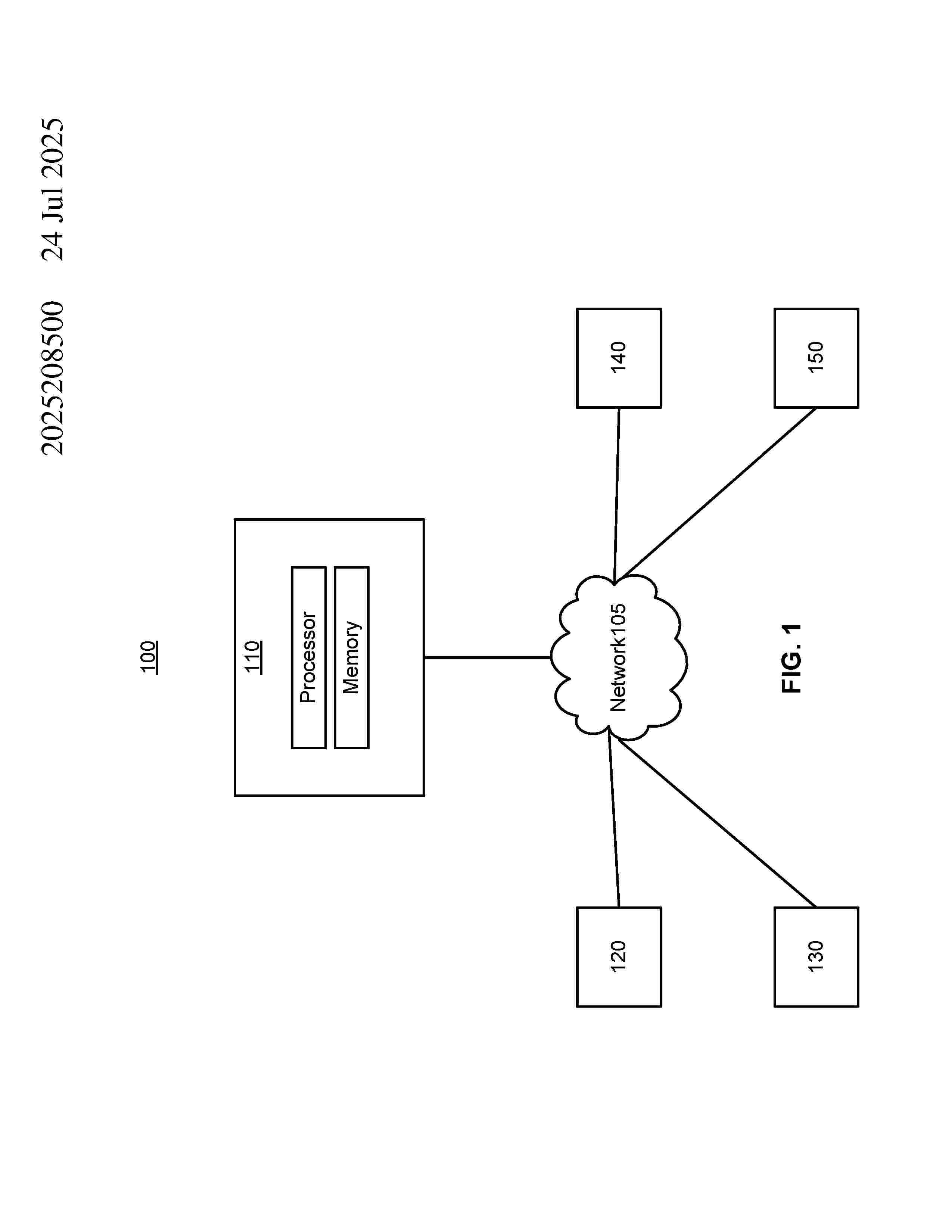
SYSTEMS AND METHODS FOR AUTOMATED PREDICTION OF INSIGHTS FOR VENDOR PRODUCT ROADMAPS

NºPublicación:  AU2025208500A1 19/02/2026
Solicitante: 
INGRAM MICRO INC
Ingram Micro Inc
AU_2025208500_A1

Resumen de: AU2025208500A1

- 49 - Computerized systems and methods are described for generating and optimizing vendor product roadmaps using predictive insights. Leveraging a Real-Time Data Mesh (RTDM) module, data from diverse sources including market trends, customer feedback, and technological advancements is aggregated and standardized. An Analytics and Machine- Learning (AAML) module analyzes this data to generate predictive insights, facilitating adjustments to existing product roadmaps. Dynamic adjustments are made using a roadmap optimization module, with communication facilitated through a Single Pane of Glass (SPoG) user interface (UI). Scenario analysis, decision-support systems, and continuous monitoring improve strategic decision-making. Computerized systems and methods are described for generating and optimizing vendor product roadmaps using predictive insights. Leveraging a Real-Time Data Mesh (RTDM) module, data from diverse sources including market trends, customer feedback, and technological advancements is aggregated and standardized. An Analytics and Machine- Learning (AAML) module analyzes this data to generate predictive insights, facilitating adjustments to existing product roadmaps. Dynamic adjustments are made using a roadmap optimization module, with communication facilitated through a Single Pane of Glass (SPoG) user interface (UI). Scenario analysis, decision-support systems, and continuous monitoring improve strategic decision-making. - 49 ul u l (ee ) (o ) Initiate Predict

SYSTEMS AND METHODS FOR PERSONALIZING BUNDLES BASED ON PERSONAS

NºPublicación:  AU2025208498A1 19/02/2026
Solicitante: 
INGRAM MICRO INC
Ingram Micro Inc
AU_2025208498_A1

Resumen de: AU2025208498A1

- 54 - Computerized systems and methods are described for executing personalized bundling processes. Methods include receiving user inputs specifying preferences for product bundles and utilizing a Real-Time Data Mesh (RTDM) to retrieve relevant real-time data. An Advanced Analytics and Machine Learning (AAML) Module analyzes these inputs alongside market data to generate personalized bundle recommendations. Recommendations are then displayed to the user via a Single Pane of Glass User Interface (SPoG UI) and, upon user confirmation, transferred as orders to a vendor system. Validation steps use algorithms within the AAML Module to ensure accuracy and relevance of the bundles. Real-time reports on user engagement and bundle success rates are generated. The system, accessible on multiple devices, integrates machine learning models that continually refine the bundling process based on evolving data patterns and user feedback, enhancing personalization and efficiency. Computerized systems and methods are described for executing personalized bundling processes. Methods include receiving user inputs specifying preferences for product bundles and utilizing a Real-Time Data Mesh (RTDM) to retrieve relevant real-time data. An Advanced Analytics and Machine Learning (AAML) Module analyzes these inputs alongside market data to generate personalized bundle recommendations. Recommendations are then displayed to the user via a Single Pane of Glass User Interface (SPoG UI) and, upon user c

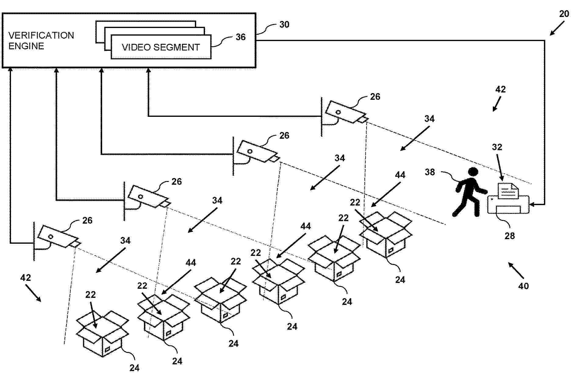
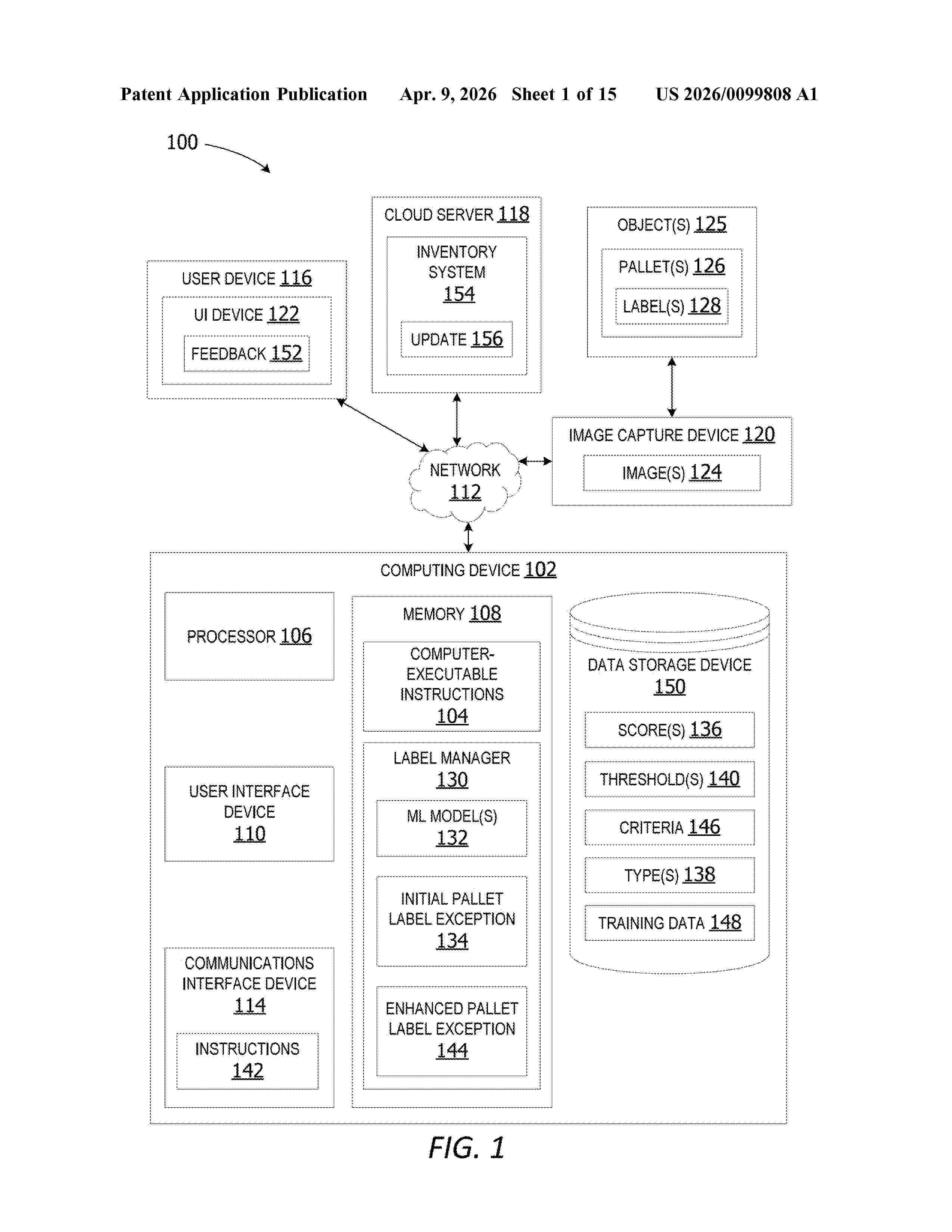
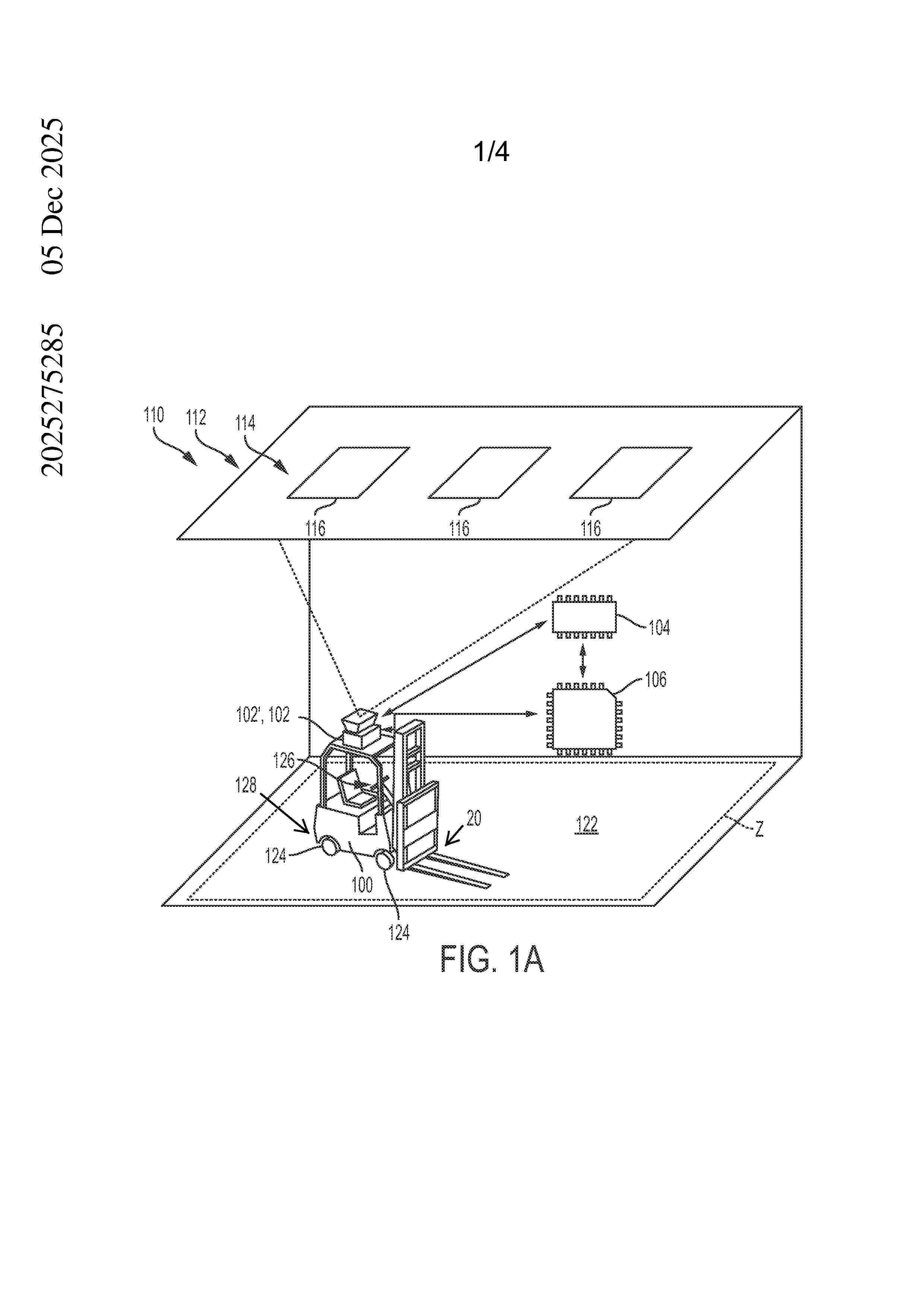
Visual pick validation

NºPublicación:  US20260051173A1 19/02/2026
Solicitante: 
FLYMINGO INNOVATIONS LTD [IL]
FLYMINGO INNOVATIONS LTD
US_20260051173_PA

Resumen de: US20260051173A1

A method, including collecting overlapping video segments (36) that cover a warehouse (20) storing items (22) in respective bins (24), and stitching together the videos so as to generate a merged video (54). In the merged video, individuals (38) are identified performing picking actions (144) from different bins at respective coordinates (146), and based on the merged video, respective coordinates (84) of the bins from which the picking actions were performed are identified. A set of orders are retrieved from a warehouse management system (86), each of the first orders performed by a given individual and including one or more of the items. The picking actions, the coordinates of the bins, and the first orders are analyzed so as to establish a correspondence between the bins and the items, and the correspondence is applied to verify execution of second orders performed subsequent to performance of the set of first orders.

USE OF LARGE LANGUAGE MODEL IN SOURCE-TO-PAY PLATFORM

NºPublicación:  US20260050738A1 19/02/2026
Solicitante: 
IVALUA SAS [FR]
Ivalua SAS
US_20260050738_PA

Resumen de: US20260050738A1

There is provided a computer implemented method of using a large language model (LLM) in a Source-to-Pay platform. The method comprises receiving a user query associated with context data; estimating a number of tokens associated with the context data and dividing the context data into a plurality of context data parts each having an estimated number of tokens below a maximum number of tokens per transaction associated with the LLM; determining a user intent from the user query and selecting one or more of a plurality of predetermined processing workflows based on the user intent; processing the context data parts according to the selected workflow to generate one or more LLM prompts each comprising a respective context data part; forwarding the one or more LLM prompts to the LLM and receiving a respective response; and using at least some content from the one or more responses to generate an answer to the user query.

SYSTEM

NºPublicación:  US20260050965A1 19/02/2026
Solicitante: 
SOFTBANK GROUP CORP [JP]
SOFTBANK GROUP CORP
US_20260050965_PA

Resumen de: US20260050965A1

A system includes a processor that is configured to receive user information, obtain store information, generate a recipe based on the user information and the store information, present the generated recipe to a user, and guide the user regarding the required ingredients for the recipe.

SYSTEM AND METHOD FOR FULFILLING A GROUP ORDER USING BUNDLED TOTE

NºPublicación:  WO2026038609A1 19/02/2026
Solicitante: 
TWINNY CO LTD [KR]
TWINNY CO., LTD
WO_2026038609_PA

Resumen de: WO2026038609A1

A method for fulfilling a group order using a bundled tote is disclosed. The order fulfillment method using the bundled tote according to the present invention includes generating, by a first processor, order information in which a first type of a first bundled tote and the group order link each other; transmitting, by the first processor, the order information to the robot; when the second bundled tote is already loaded on the robot, determining, by a second processor, whether a type of the second bundled tote corresponds to the type of the first bundled tote of the order information; and fulfilling, by the second processor, the group order without replacing the second bundled tote, if it corresponds.

METHOD AND SYSTEM FOR ESTIMATING A TIME OF ARRIVAL OF A DRIVER AT A LOCATION

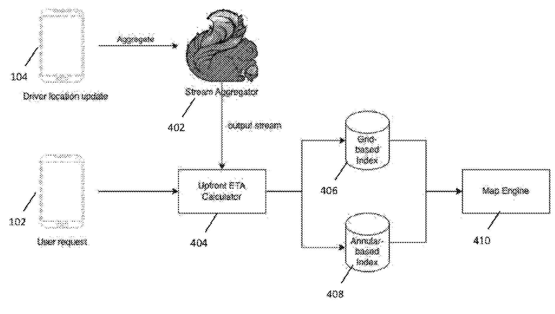
NºPublicación:  US20260050877A1 19/02/2026
Solicitante: 
GRABTAXI HOLDINGS PTE LTD [SG]
GRABTAXI HOLDINGS PTE. LTD
US_20260050877_PA

Resumen de: US20260050877A1

The present disclosure provides methods and systems for estimating a time of arrival of a driver at a location. In some examples, there is provided a method comprising: defining, by a server, a search area divided into a plurality of cells, the search area having a location as a centre point of the search area, the location being indicated in a request for a driver from a requestor device, the requestor device being a computing device associated with a user; determining, by the server, a number of provider devices located in each cell of the plurality of cells based on a location of each provider device of a plurality of provider devices, each provider device being a computing device associated with a driver located within the search area; and estimating, by the server in real time and in response to the request for a driver, a time of arrival of a driver at the location based on a relative distance between the location and the plurality of cells based on the determined number of provider devices.

MULTI-COMMUNICATION-INTERFACE SYSTEM FOR FINE LOCATIONING

NºPublicación:  US20260050878A1 19/02/2026
Solicitante: 
TRACKONOMY SYSTEMS INC [US]
Trackonomy Systems, Inc
US_20260050878_PA

Resumen de: US20260050878A1

A multi-communication-interface system methods implement fine locationing while conserving battery power. A first wireless-communication interface of a first multi-communication-interface tape node located at a first location in an area detect a first wireless signal from a second tape node at a first time. A first receiver of a second wireless-communication interface of the first multi-communication-interface tape node is activated in response to detecting the first wireless signal and used to receive a first response signal from a first wireless tag in response to an interrogation signal. The first receiver is deactivated to conserve power within an internal battery of the at least one second multi-communication-interface tape node and a location of the first wireless tag at the first time is determined as the first location.

SYSTEMS AND METHODS FOR ELECTRONIC DEVICE TRACKING AND STATUS ANALYSIS

NºPublicación:  US20260050872A1 19/02/2026
Solicitante: 
INSIGHT DIRECT USA INC [US]
Insight Direct USA, Inc
US_20260050872_PA

Resumen de: US20260050872A1

An example method of tracking multiple electronic devices is described herein that can include accessing first information regarding the multiple electronic devices with the first information including a connection state for a first plurality of electronic devices of the multiple electronic devices representative of a most recent timestamp that each of the first plurality of electronic devices was active and concurrently determining a first status for each applicable electronic device of the multiple electronic devices dependent upon the first information. The method can further include assigning the first status as a current status for each of the multiple devices in a device tracking database, accessing second information regarding the multiple electronic devices with the second information including the connection state for a second plurality of electronic devices of the multiple electronic devices, and concurrently determining a second status for each of the multiple electronic devices dependent upon the second information.

SYSTEMS AND METHODS FOR ELECTRONIC DEVICE TRACKING AND STATUS ANALYSIS

NºPublicación:  US20260050867A1 19/02/2026
Solicitante: 
INSIGHT DIRECT USA INC [US]
Insight Direct USA, Inc
US_20260050867_PA

Resumen de: US20260050867A1

An example method of tracking multiple electronic devices is described herein that can include accessing first information regarding the multiple electronic devices with the first information including a connection state for a first plurality of electronic devices of the multiple electronic devices representative of a most recent timestamp that each of the first plurality of electronic devices was active and concurrently determining a first status for each applicable electronic device of the multiple electronic devices dependent upon the first information. The method can further include assigning the first status as a current status for each of the multiple devices in a device tracking database, accessing second information regarding the multiple electronic devices with the second information including the connection state for a second plurality of electronic devices of the multiple electronic devices, and concurrently determining a second status for each of the multiple electronic devices dependent upon the second information.

SYSTEMS AND METHODS FOR ELECTRONIC DEVICE TRACKING AND STATUS ANALYSIS

NºPublicación:  US20260050871A1 19/02/2026
Solicitante: 
INSIGHT DIRECT USA INC [US]
Insight Direct USA, Inc
US_20260050871_PA

Resumen de: US20260050871A1

An example method of tracking multiple electronic devices is described herein that can include accessing first information regarding the multiple electronic devices with the first information including a connection state for a first plurality of electronic devices of the multiple electronic devices representative of a most recent timestamp that each of the first plurality of electronic devices was active and concurrently determining a first status for each applicable electronic device of the multiple electronic devices dependent upon the first information. The method can further include assigning the first status as a current status for each of the multiple devices in a device tracking database, accessing second information regarding the multiple electronic devices with the second information including the connection state for a second plurality of electronic devices of the multiple electronic devices, and concurrently determining a second status for each of the multiple electronic devices dependent upon the second information.

SYSTEMS AND METHODS FOR ELECTRONIC DEVICE TRACKING AND STATUS ANALYSIS

NºPublicación:  US20260050868A1 19/02/2026
Solicitante: 
INSIGHT DIRECT USA INC [US]
Insight Direct USA, Inc
US_20260050868_PA

Resumen de: US20260050868A1

An example method of tracking multiple electronic devices is described herein that can include accessing first information regarding the multiple electronic devices with the first information including a connection state for a first plurality of electronic devices of the multiple electronic devices representative of a most recent timestamp that each of the first plurality of electronic devices was active and concurrently determining a first status for each applicable electronic device of the multiple electronic devices dependent upon the first information. The method can further include assigning the first status as a current status for each of the multiple devices in a device tracking database, accessing second information regarding the multiple electronic devices with the second information including the connection state for a second plurality of electronic devices of the multiple electronic devices, and concurrently determining a second status for each of the multiple electronic devices dependent upon the second information.

SYSTEMS AND METHODS FOR ELECTRONIC DEVICE TRACKING AND STATUS ANALYSIS

NºPublicación:  US20260050866A1 19/02/2026
Solicitante: 
INSIGHT DIRECT USA INC [US]
Insight Direct USA, Inc
US_20260050866_PA

Resumen de: US20260050866A1

An example method of tracking multiple electronic devices is described herein that can include accessing first information regarding the multiple electronic devices with the first information including a connection state for a first plurality of electronic devices of the multiple electronic devices representative of a most recent timestamp that each of the first plurality of electronic devices was active and concurrently determining a first status for each applicable electronic device of the multiple electronic devices dependent upon the first information. The method can further include assigning the first status as a current status for each of the multiple devices in a device tracking database, accessing second information regarding the multiple electronic devices with the second information including the connection state for a second plurality of electronic devices of the multiple electronic devices, and concurrently determining a second status for each of the multiple electronic devices dependent upon the second information.

SYSTEMS AND METHODS FOR ELECTRONIC DEVICE TRACKING AND STATUS ANALYSIS

NºPublicación:  US20260050875A1 19/02/2026
Solicitante: 
INSIGHT DIRECT USA INC [US]
Insight Direct USA, Inc
US_20260050875_PA

Resumen de: US20260050875A1

An example method of tracking multiple electronic devices is described herein that can include accessing first information regarding the multiple electronic devices with the first information including a connection state for a first plurality of electronic devices of the multiple electronic devices representative of a most recent timestamp that each of the first plurality of electronic devices was active and concurrently determining a first status for each applicable electronic device of the multiple electronic devices dependent upon the first information. The method can further include assigning the first status as a current status for each of the multiple devices in a device tracking database, accessing second information regarding the multiple electronic devices with the second information including the connection state for a second plurality of electronic devices of the multiple electronic devices, and concurrently determining a second status for each of the multiple electronic devices dependent upon the second information.

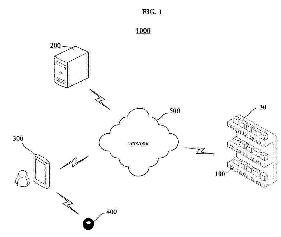
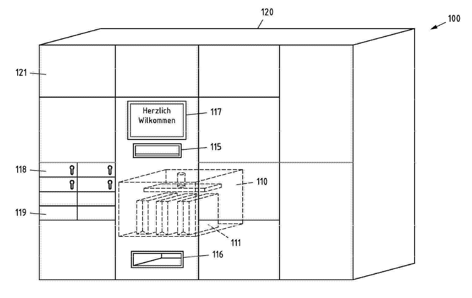
Verfahren und Vorrichtung für die effiziente Zustellung von Sendungen mit unterschiedlicher Größe in eine Fachanlage

Nº publicación: DE102024123411A1 19/02/2026

Solicitante:

DEUTSCHE POST AG [DE]
Deutsche Post AG

EP_4697246_PA

Resumen de: DE102024123411A1

Offenbart wird u.a. ein Verfahren ausgeführt durch eine erste Vorrichtung oder durch eine Komponente davon, wobei die erste Vorrichtung eine Vielzahl von Registerfächern umfasst, das Verfahren umfassend: Erhalten einer Sendung, insbesondere einer Briefsendung; Prüfen, ob die Sendung in ein Registerfach der Vielzahl von Registerfächern aufgenommen werden soll; Aufnehmen der Sendung in ein Registerfach, falls die Prüfung ergeben hat, dass die Sendung in ein Registerfach der Vielzahl von Registerfächern aufgenommen werden soll; und Ablehnen der Sendung, falls die Prüfung ergeben hat, dass die Sendung nicht in ein Registerfach der Vielzahl von Registerfächern aufgenommen werden soll. Darüber hinaus werden entsprechende Vorrichtungen, Systeme und Computerprogramme zur jeweiligen Ausführung und/oder Steuerung des offenbarten Verfahrens offenbart.

traducir