Ministerio de Industria, Turismo y Comercio LogoMinisterior
 

Seguridad vial

Resultados 41 resultados
LastUpdate Última actualización 05/12/2025 [06:57:00]
pdfxls
Solicitudes publicadas en los últimos 30 días / Applications published in the last 30 days
Resultados 1 a 25 de 41 nextPage  

METHOD AND APPARATUS FOR DISPLAYING EGO VEHICLE, MEDIUM, AND ELECTRONIC DEVICE

NºPublicación:  EP4657405A2 03/12/2025
Solicitante: 
BEIJING HORIZON INFORMATION TECH CO LTD [CN]
Beijing Horizon Information Technology Co., Ltd
EP_4657405_PA

Resumen de: EP4657405A2

Disclosed are a method and apparatus for displaying ego vehicle, a medium, and an electronic device. The method includes: determining respective target collision points of ego vehicle and a target obstacle; determining a target observation point based on the respective target collision points; determining a target observation angle of view based on the target observation point; and displaying, based on the target observation angle of view, a three-dimensional image containing the ego vehicle and the target obstacle. With the solution, as it is enabled to determine in real time a best observation angle of view for observing the ego vehicle and a closest obstacle, a real-time case between the ego vehicle and the target obstacle is observed through the best observation angle of view with a greater range of angles of view, and thereby the three-dimensional image of the ego vehicle and the closest obstacle displayed based on the best observation angle of view is enabled to show information on a distance between the ego vehicle and the closest obstacle more intuitively and accurately, to facilitate a reminder enabling the driver to adjust the vehicle in time to avoid a risk of collision of the vehicle due to a blind spot problem, and then improving vehicle driving safety.

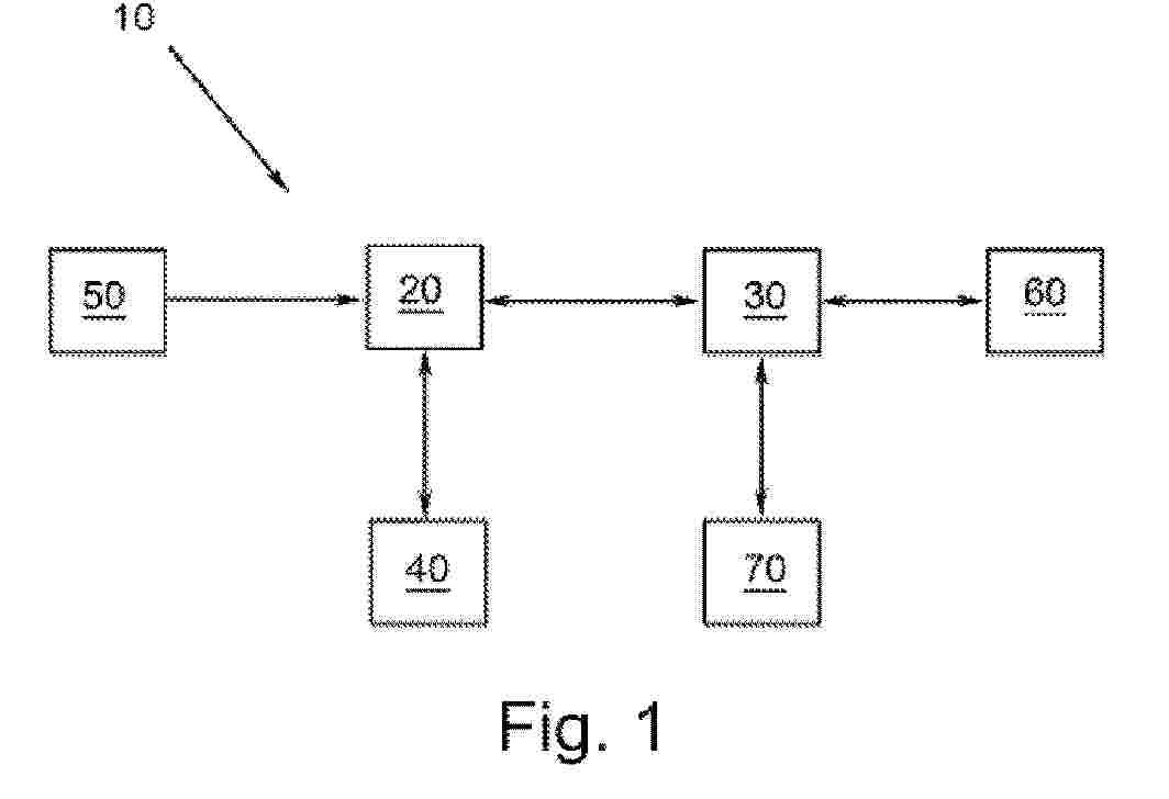
MEASURE EXECUTION PROGRAM, MEASURE EXECUTION METHOD, AND INFORMATION PROCESSING DEVICE

NºPublicación:  EP4657900A1 03/12/2025
Solicitante: 
FUJITSU LTD [JP]
FUJITSU LIMITED
EP_4657900_PA

Resumen de: EP4657900A1

An information processing device (10) generates a digital twin that reproduces the real world in a virtual space and acquires information regarding a person present in a predetermined area of the real world. The information processing device (10) performs a simulation of the movement of the person in the generated digital twin using the acquired information regarding the person. The information processing device (10) generates information indicating a result of verification of a measure to be applied to the predetermined area based on the result of the performed simulation, and outputs the generated information indicating the verification result to a display screen.

METHOD AND APPARATUS FOR TRANSFERRING MESSAGES TO VEHICLES USING MESSAGE QUEUES

NºPublicación:  EP4657834A1 03/12/2025
Solicitante: 
NOKIA SOLUTIONS & NETWORKS OY [FI]
Nokia Solutions and Networks Oy
EP_4657834_PA

Resumen de: EP4657834A1

An apparatus comprises means for: storing a plurality of message queues associated with respective priorities in a scale of priorities assigned locally by the apparatus; receiving a message to be transmitted to one or more destination vehicles in a vehicle formation; determining, from the scale of priorities, a priority for the received message by applying a priority assignment algorithm based at least on vehicle formation information related to the vehicle formation; storing the received message in the message queue corresponding to the priority determined for the received message; controlling extraction of messages from the plurality of message queues for transmission to one or more vehicles in the vehicle formation according to an extraction order based at least on the respective priorities of the plurality of message queues.

METHOD FOR CONDUCTING AN EMERGENCY COMMUNICATION INVOLVING BOTH AN IN-VEHICLE SYSTEM OF A VEHICLE AND AT LEAST ONE USER EQUIPMENT ASSOCIATED WITH THE IN-VEHICLE SYSTEM, IN-VEHICLE SYSTEM, USER EQUIPMENT, SYSTEM COMPRISING AN IN-VEHICLE SYSTEM AND AT LEAST ONE USER EQUIPMENT, PROGRAM AND COMPUTER PROGRAM PRODUCT

NºPublicación:  EP4657903A1 03/12/2025
Solicitante: 
DEUTSCHE TELEKOM AG [DE]
Deutsche Telekom AG
EP_4657903_PA

Resumen de: EP4657903A1

The present invention relates to a method for conducting an emergency communication involving both an in-vehicle system of a vehicle and at least one user equipment associated with the in-vehicle system, wherein the in-vehicle system and the user equipment are involved for conducting the emergency communication as a first and a second device, respectively, wherein the first device has or is assigned to at least one piece of identifier information,wherein the first and second device are configured to be paired with one another and/or the first device to be registered with the second device in a manner such that the at least one piece of identifier information is transmitted to or, at least, stored in the second device,wherein, in order to conduct the emergency communication involving both the first and the second device, the method comprises the following steps:-- in a first step, the first device is paired with and/or registered to the second device resulting in storing the at least one piece of identifier information in the second device,-- in a second step, subsequent to the first step, and in case of a situation resulting in the second device being triggered to perform an emergency communication to either a public safety answering point or to a private safety answering point, the at least one identifier information of or associated or assigned to the first device is transmitted, by the second device and as part of the emergency communication, to the public safety answering

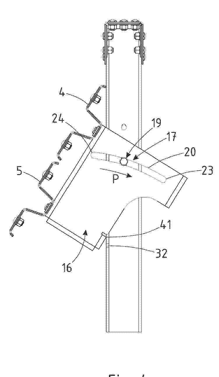
BALIZA Y EQUIPAMIENTO DISUASORIO DE FAUNA

NºPublicación:  ES3046553A1 02/12/2025
Solicitante: 
VISEVER S L [ES]
VISEVER, S.L

OSC MODULAR MOVABLE RIGID PROTECTIVE BARRIER SYSTEM FOR UNDERGROUND ROAD

NºPublicación:  WO2025244445A1 27/11/2025
Solicitante: 
GLOBALSTEC CORP [KR]
(\uC8FC)\uAE00\uB85C\uBC8C\uC5D0\uC2A4\uD14D
WO_2025244445_PA

Resumen de: WO2025244445A1

The present invention relates to an OSC modular movable rigid protective barrier system for an underground road, the barrier system comprising: a movable rigid protective barrier provided inside a tunnel, the barrier including a plurality of protective blocks of which at least two are arranged in the forward-backward longitudinal direction of a tunnel between a roadway and a wall inside the tunnel, and connecting devices each having one end connected to one protective block of the front from among the plurality of protective blocks disposed to be adjacent to each other at the front and rear, and having the other end connected to the other protective block of the rear; and a plurality of power transmission modules which are embedded and provided in the inner wall of the tunnel at predetermined intervals in the forward-backward longitudinal direction of the tunnel, and which receive power from an external power supply means electrically wired thereto. The movable rigid protective barrier provided inside the tunnel includes: a light-emitting module provided at one side of at least one of both the left and right surfaces of the protective block in the width direction so as to output and provide a light source when operated; and a power reception module which is embedded and provided in the protective block, and which is electrically and wirelessly connected to an adjacent power transmission module from among the plurality of power transmission modules so as to receive power and s

CONTROL SYSTEM

NºPublicación:  WO2025243857A1 27/11/2025
Solicitante: 
ASTEMO LTD [JP]
\uFF21\uFF53\uFF54\uFF45\uFF4D\uFF4F\u682A\u5F0F\u4F1A\u793E
WO_2025243857_PA

Resumen de: WO2025243857A1

The purpose of the present invention is to suppress a drop in productivity of an entire automatic driving system introduced in an area where automatic driving vehicles and workers coexist, and to ensure the safety of the workers. A control system according to the present invention comprises: a vehicle section setting unit that sets a vehicle blocked section indicating a section that has been set exclusively for a vehicle; a worker section setting unit that sets a first blocked section into which a worker can enter and a second blocked section that includes the first blocked section and into which the vehicle cannot enter; a buffer necessity determination unit that determines whether a buffer section must be set around the first blocked section; a vehicle communication unit that transmits, to the vehicle, a travel instruction within the vehicle blocked section; and a worker communication unit that transmits an instruction to allow the worker to work or move within the first blocked section. The vehicle section setting unit sets the vehicle blocked section while avoiding the second blocked section.

OSC MODULAR MOVABLE RIGID PROTECTIVE BARRIER WITH ENHANCED MOUNTING STABILITY

NºPublicación:  WO2025244448A1 27/11/2025
Solicitante: 
GLOBALSTEC CORP [KR]
(\uC8FC)\uAE00\uB85C\uBC8C\uC5D0\uC2A4\uD14D
WO_2025244448_PA

Resumen de: WO2025244448A1

The present invention relates to an OSC modular movable rigid protective barrier with enhanced mounting stability, comprising: a plurality of protective blocks of which at least two are arranged in the forward-backward longitudinal direction; pile accommodation structures respectively embedded and coupled in a plurality of mounting recesses recessed at predetermined intervals on a surface, to which the plurality of protective blocks are to be mounted, and each having, therein, a first pile insertion recess opened upward; and pile structures each provided in a cylindrical shape so as to be insertively provided in the first pile mounting recess provided in the pile accommodation structure such that a portion of the upper side thereof protrudes from the ground, wherein the protective block includes: a protective block body which is provided in a tapered shape in which the horizontal width thereof narrows toward the upper side, and which has at least one second pile insertion recess recessed upward on the lower surface thereof in the forward-backward longitudinal direction such that a portion, which protrudes from the ground, of the pile structure insertively provided in the first pile insertion recess is inserted thereinto; and a reinforcing structure which is buried in the protective block body, and which includes a plurality of first reinforcing parts provided as an "inverted-U" structure using a reinforcing bar and disposed to be spaced apart from each other in the forward-ba

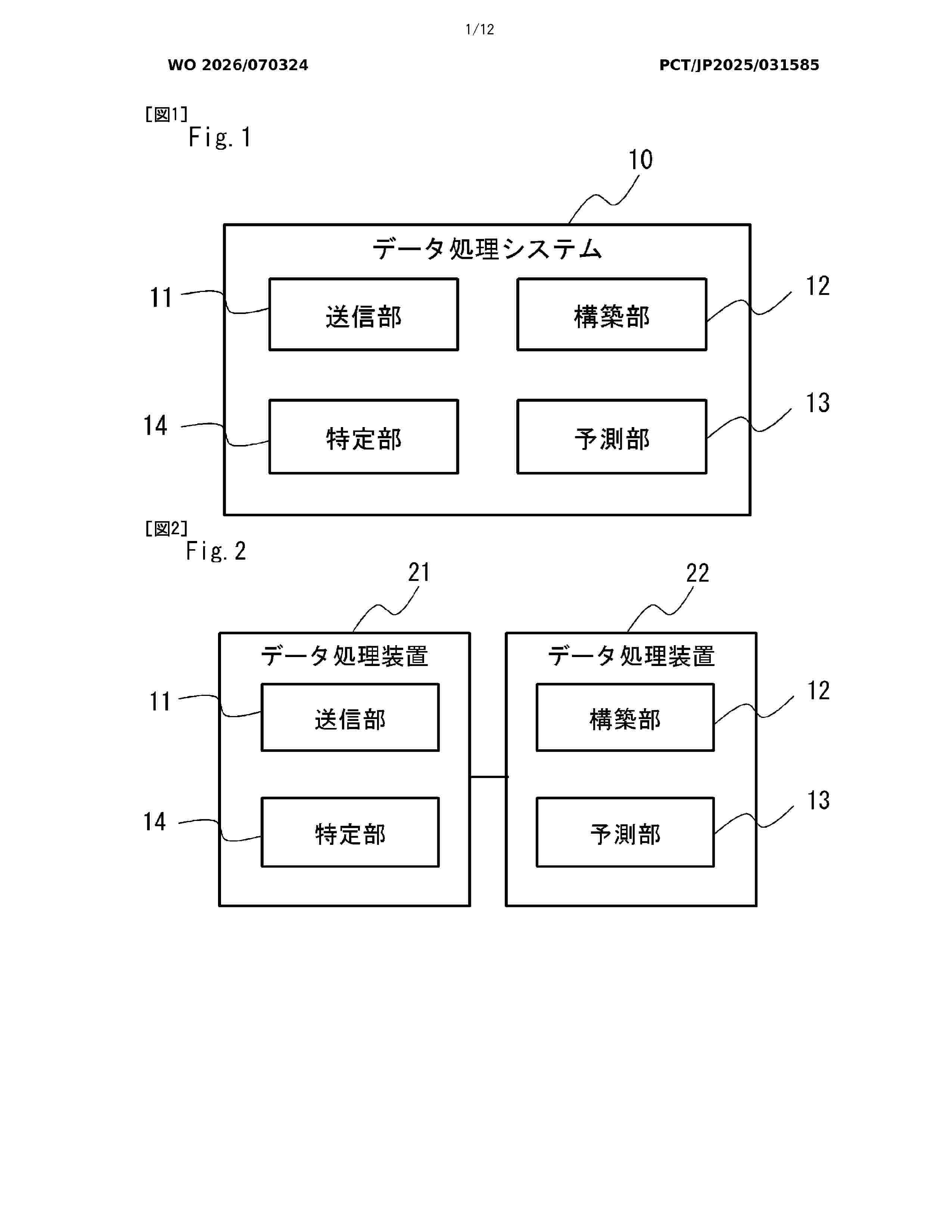
DATA PROCESSING DEVICE, DATA PROCESSING METHOD, AND PROGRAM

NºPublicación:  WO2025243821A1 27/11/2025
Solicitante: 
NEC CORP [JP]
\u65E5\u672C\u96FB\u6C17\u682A\u5F0F\u4F1A\u793E
WO_2025243821_PA

Resumen de: WO2025243821A1

The present invention performs more accurate agent simulation. A data processing device according to the present invention comprises: a first data acquiring means for acquiring three-dimensional data of a city; a second data acquiring means for acquiring route data including at least road data; an area information calculating means for calculating movement possible/not-possible area information indicating areas in which it is possible for an agent to move and areas in which it is not possible for the agent to move, on the basis of the three-dimensional data acquired by the first data acquisition means; a consistency evaluating means for evaluating consistency between the movement possible/not-possible area information calculated by the area information calculating means and the route data acquired by the second data acquiring means; and a correcting means for correcting the movement possible/not-possible area information by comparison with the route data on the basis of the evaluation results obtained by the consistency evaluating means.

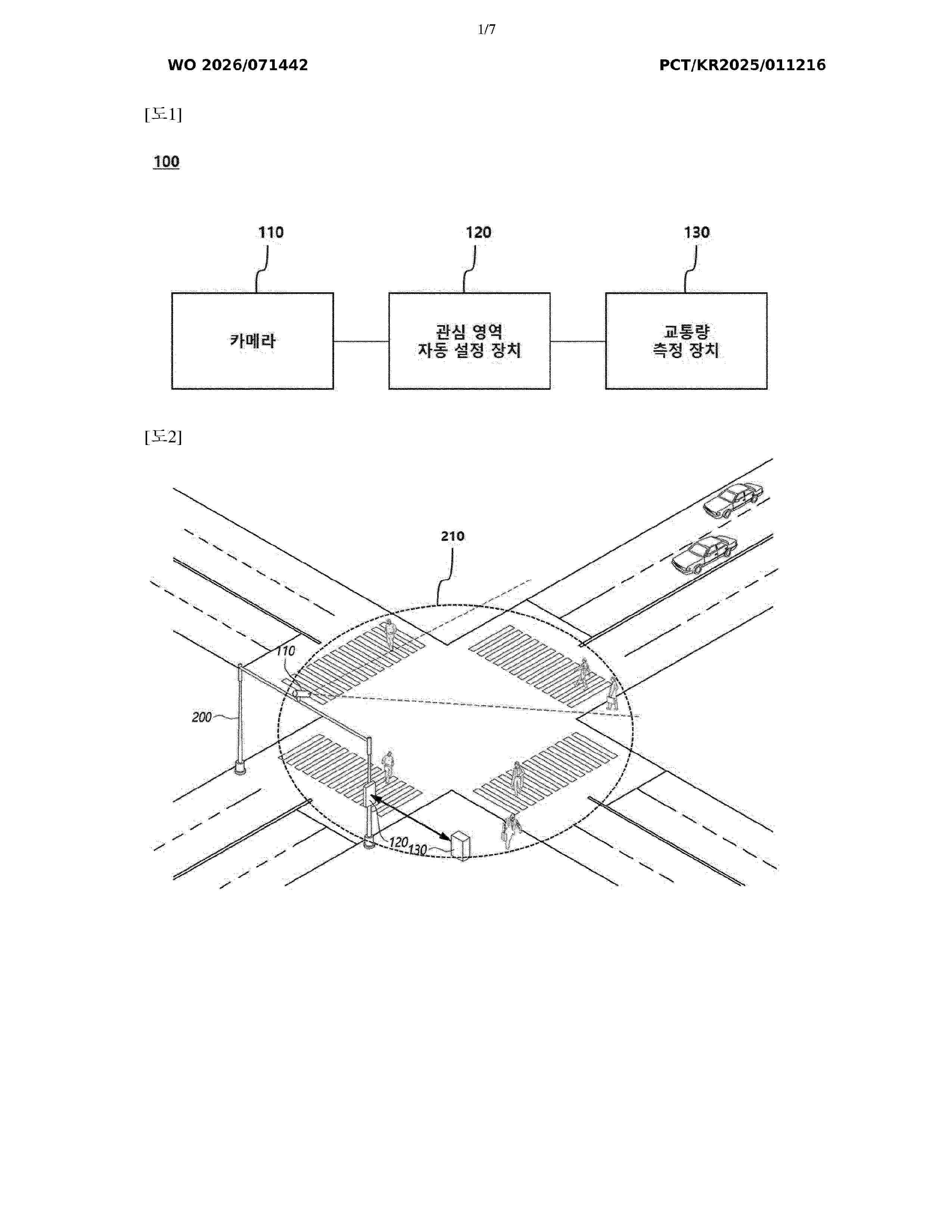
AUXILIARY TRAFFIC LIGHT DEVICE USING BOLLARD, AND CONTROL METHOD

NºPublicación:  WO2025244214A1 27/11/2025
Solicitante: 
KOREA PHOTONICS TECH INSTITUTE [KR]
\uD55C\uAD6D\uAD11\uAE30\uC220\uC6D0
WO_2025244214_PA

Resumen de: WO2025244214A1

An auxiliary traffic light device using a bollard, and control method are disclosed. The present invention is provided at a crosswalk so as to output a pedestrian signal in synchronization with pedestrian detection results and a crosswalk pedestrian signal, and thus can provide safe crossing of a pedestrian at the crosswalk.

OSC MODULAR MOVABLE RIGID PROTECTIVE BARRIER INTEGRATED WITH SAFETY GUIDANCE SYSTEM

NºPublicación:  WO2025244447A1 27/11/2025
Solicitante: 
GLOBALSTEC CORP [KR]
(\uC8FC)\uAE00\uB85C\uBC8C\uC5D0\uC2A4\uD14D
WO_2025244447_PA

Resumen de: WO2025244447A1

The present invention relates to an OSC modular movable rigid protective barrier integrated with a safety guidance system, comprising: a plurality of protective blocks of which at least two are arranged in the forward-backward longitudinal direction; and a light-emitting module provided at one side of the protective block so as to output and provide a light source when operated, wherein the protective block includes: a protective block body provided in a tapered shape in which the horizontal width thereof narrows toward the upper side; and a reinforcing structure which is buried in the protective block body, and which includes a plurality of first reinforcing parts provided as an "inverted-U" structure using a reinforcing bar and disposed to be spaced apart from each other in the forward-backward direction, and second reinforcing parts provided as a "straight-line" structure using a reinforcing bar and spaced from each other in the vertical direction and orthogonally connected to both the left and right sides of the plurality of first reinforcing parts so as to form a latticed reinforcing structure on both the left and right sides inside the protective block body, and the light-emitting module includes: a module body part provided at one side of at least one of both the left and right surfaces of the protective block body in the width direction; a light-emitting part provided in the module body part so as to output a light source; and an independent power generation part whic

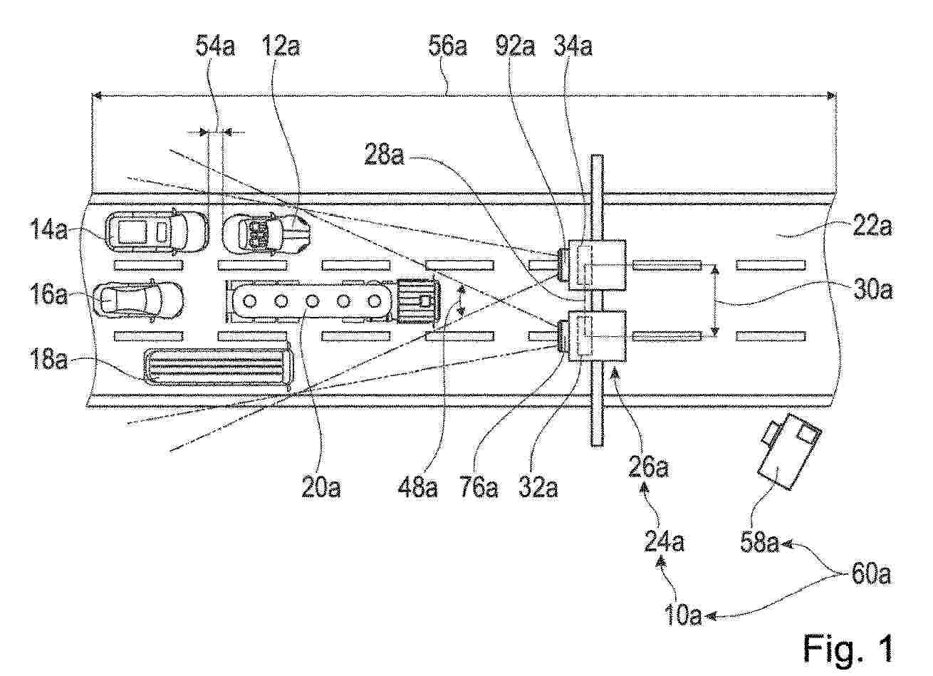
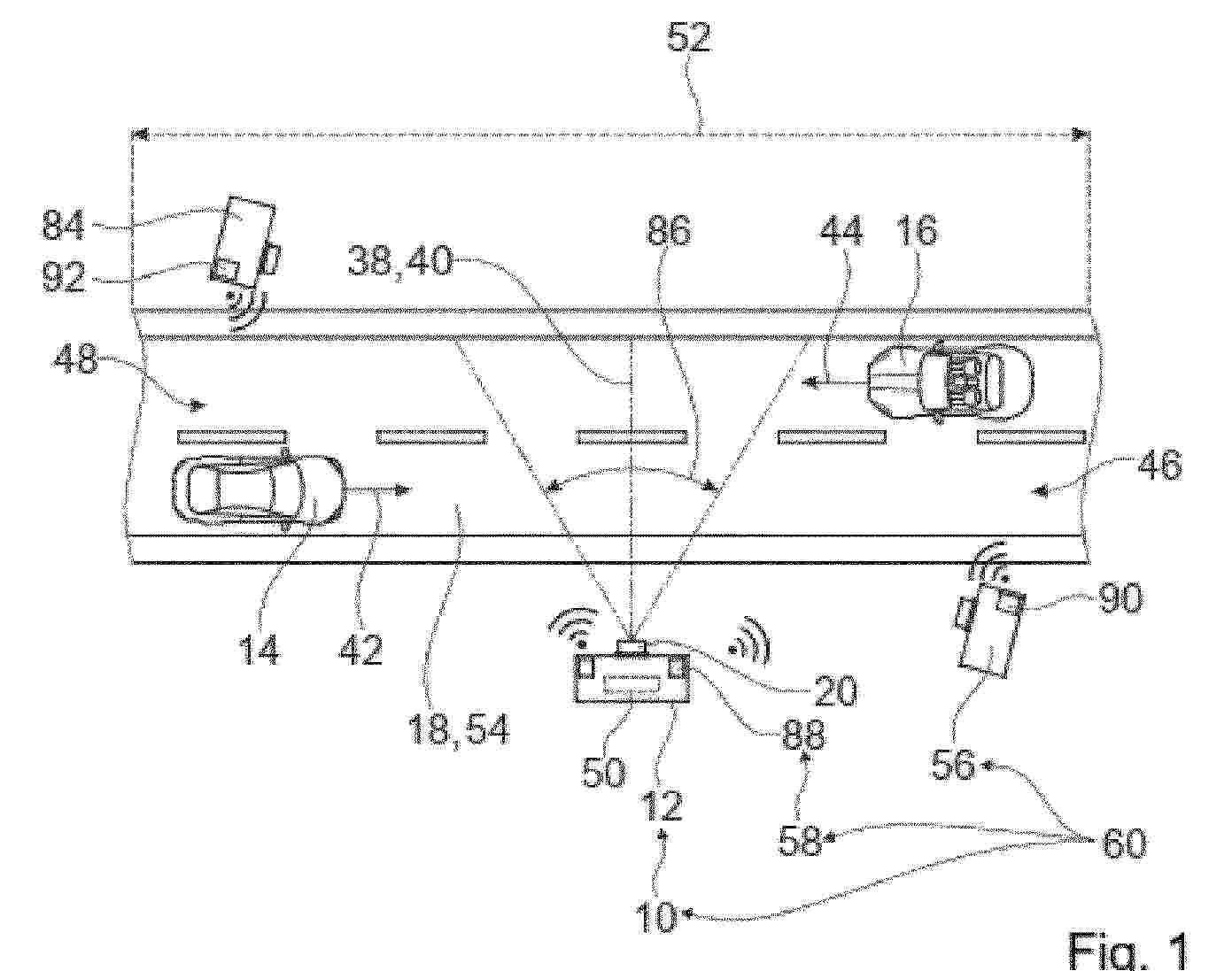
A METHOD FOR EVALUATING OCCLUDED AREAS FROM A VEHICLE, VEHICLE, AND VEHICLE CONTROL UNIT

NºPublicación:  WO2025244562A1 27/11/2025
Solicitante: 
SCANIA CV AB [SE]
SCANIA CV AB
WO_2025244562_PA

Resumen de: WO2025244562A1

A method for evaluating occluded areas from a vehicle having a first sensor. The method includes receiving a message from the remote sensor unit being configured to detect objects and free space regions within a detection region, wherein the message relates to a free space region within the detection region occluded from the first sensor, obtaining a time delay between a first time when the remote sensor unit generates the message and a second time when a vehicle control unit of the vehicle processes the message, obtaining parameter information relating to the detection region, and obtaining an updated free space region within the detection region based on the obtained time delay and the parameter information of the detection region.

BUFFERING COMPRESSION-RESISTANT PROTRUDING REFLECTIVE ROAD STUD

NºPublicación:  WO2025241653A1 27/11/2025
Solicitante: 
LONGLOW TRAFFIC SAFETY DEVICE CO LTD [CN]
\u6D59\u6C5F\u957F\u8F89\u4EA4\u901A\u5B89\u5168\u79D1\u6280\u6709\u9650\u516C\u53F8
WO_2025241653_PA

Resumen de: WO2025241653A1

A buffering compression-resistant protruding reflective road stud. The main body structure of a road stud base body is similar to a frustum structure having a large bottom part and a small top part. The front side part and/or the rear side part of the main body structure of the road stud base body is provided with a plurality of laterally outward-opening accommodating cavities having cylindrical main bodies. Retroreflective bodies are each a retroreflective body which has a cylindrical main body and a bottom coated with a reflective coating layer and satisfies a retroreflection condition, are implanted into the accommodating cavities, and are structurally fixed by means of adhesive layers. The position of the road stud base body beneath the accommodating cavities is provided with an outward-extending base plate extending outwards. Between the outward-extending base plate and left and right side parts of the main body structure of the road stud base body, ramp bodies I are provided which start from the outward-extending base plate and have lower outsides and higher insides. The positions of the outward-extending base plate between adjacent accommodating cavities are provided with ramp bodies II which start from the outward-extending base plate and have lower outsides and higher insides. Lengths, widths and heights can be matched and combined, so as to have a gentle ramp transition effect and disperse an impact force from vehicle tires to withstand vehicle rolling, reducing jol

OSC MODULAR RIGID PROTECTIVE FENCE WITH SELF-POWER GENERATION AND LIGHT-EMITTING FUNCTIONS INSTALLED ON ROAD

NºPublicación:  WO2025244446A1 27/11/2025
Solicitante: 
GLOBALSTEC CORP [KR]
(\uC8FC)\uAE00\uB85C\uBC8C\uC5D0\uC2A4\uD14D
WO_2025244446_PA

Resumen de: WO2025244446A1

The present invention relates to an OSC modular rigid protective fence with self-power generation and light-emitting functions installed on roads, the OSC modular rigid protective fence comprising: multiple protective blocks, at least two of which are arranged along the forward/backward longitudinal direction; light-emitting modules installed at the lower end of at least one of both leftward/rightward transverse side surfaces of the protections block to output/provide light sources during operation; and solar power generation modules installed on the upper part of the protective blocks to generate power by performing self-power generation through sunlight, and supply the generated power to the light-emitting modules as operating power for operation. Each protective block comprises: a protective block body configured in a tapered shape such that the leftward/rightward width thereof decreases toward the upper side; and a reinforcement structure comprising multiple first reinforcement parts embedded inside the protective block body, provided in a "┌┐" structure using rebars, and arranged to be spaced apart from each other along the forward/backward direction, and second reinforcement parts provided in a "-" structure using rebars and orthogonally connected to both left and right sides of the first reinforcement parts along the upward/downward directions, thereby forming a lattice-shaped reinforcement structure inside both left and right sides of the protective block body.

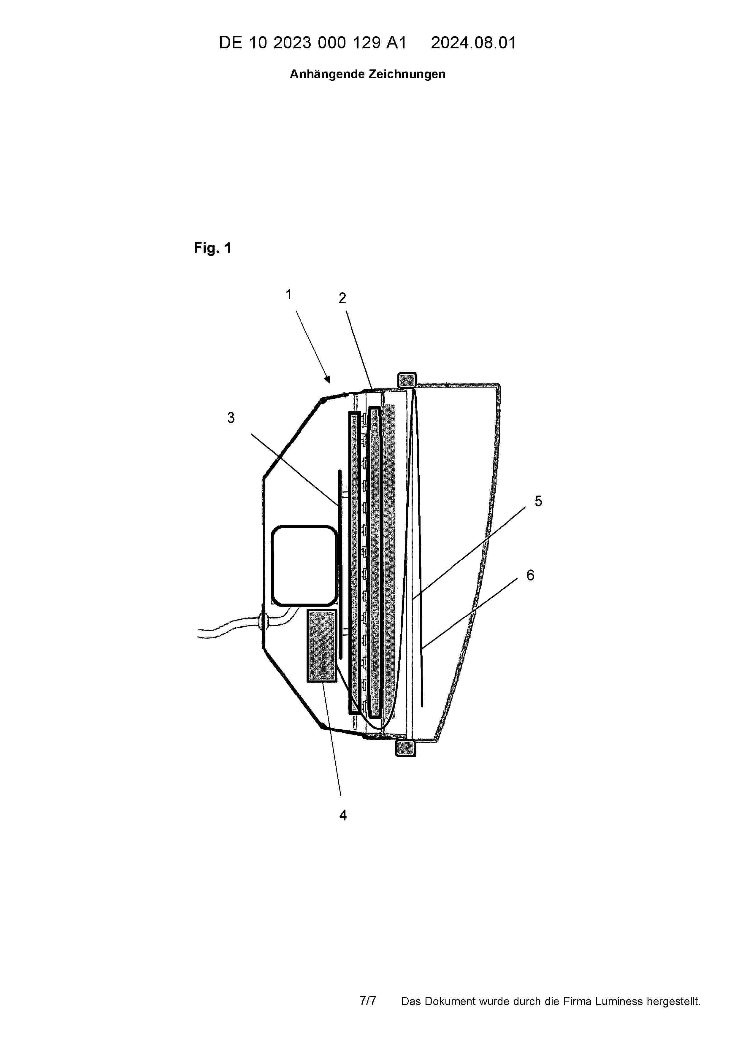
INFORMATION DEVICE

NºPublicación:  EP4652587A1 26/11/2025
Solicitante: 
IGO SOLUTION 4MA GMBH [DE]
iGO Solution 4MA GmbH
DE_102023000129_A1

Resumen de: WO2024153481A1

The invention relates to an information device for a traffic control signal, for interacting with a mobile communication system and/or with a traffic system, said information device being integrated into at least one light source of the traffic control signal and/or being arranged as an adapter on the light source.

PICKUP SERVICE BASED ON RECOGNITION BETWEEN VEHICLE AND PASSENGER

NºPublicación:  EP4654169A1 26/11/2025
Solicitante: 
HUAWEI TECH CO LTD [CN]
Huawei Technologies Co., Ltd
EP_4654169_PA

Resumen de: EP4654169A1

A vehicle is configured to receive, from a passenger, a pickup request including an approximate location of the passenger, to scan for the passenger after arriving at the approximate location of the passenger, and to determine whether the passenger has been identified by comparing passenger attribute information to results of the scan, and to transmit an approximate location of the vehicle and vehicle identification information to the passenger when the passenger has not been identified or is not accessible for pickup. The passenger is picked up by the vehicle when the passenger has been identified and is accessible for pickup. In addition, the passenger may also use a portable electronic device to identify the vehicle based on the received approximate location of the vehicle and vehicle identification information.

WARNING LAMP APPARATUS HAVING AN ENERGY STORE, SYSTEM, ENERGY STORE, TRAFFIC TECHNOLOGY PRODUCT AND USE

NºPublicación:  EP4652659A1 26/11/2025
Solicitante: 
AVS VERKEHRSSICHERUNG GMBH [DE]
AVS Verkehrssicherung GmbH
DE_102023101089_PA

Resumen de: WO2024154018A1

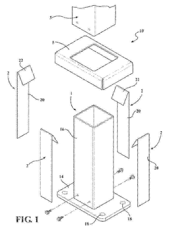
The invention relates to a warning lamp apparatus (1) for traffic safety purposes in road traffic, having - an electrical lighting device (10), - a housing (20), - an energy store (30) for supplying electrical energy to the lighting device (10), and - an energy store holder (22) which is provided in the housing (20) and which is adapted to the energy store (30), - wherein the structural form of the energy store (30) corresponds to and/or is compatible with the structural form of a lantern battery of type 4R25. To further improve traffic safety, it is proposed that - the energy store (30) has or is equipped with an electronic control device (40) and at least one secondary cell (32), and that - the control device (40) is designed to provide a nominal output voltage of the energy store (30) of 6 volts ± 1 volt.

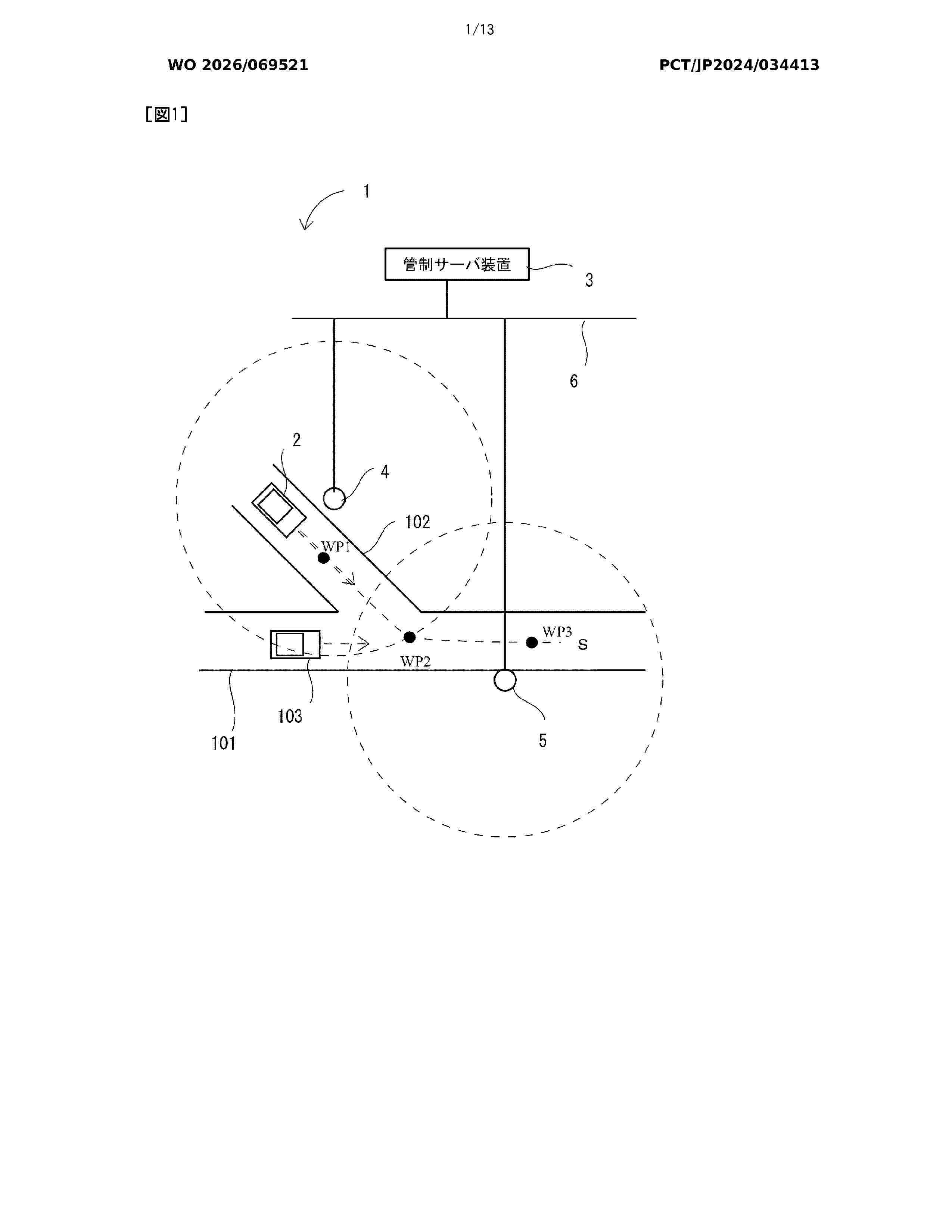
PATROL MONITORING SYSTEM

NºPublicación:  WO2025238821A1 20/11/2025
Solicitante: 
MITSUBISHI ELECTRIC CORP [JP]
\u4E09\u83F1\u96FB\u6A5F\u682A\u5F0F\u4F1A\u793E
WO_2025238821_PA

Resumen de: WO2025238821A1

This patrol monitoring system comprises: a moving body that patrols a plurality of patrol points; and a control server that notifies the moving body of the plurality of patrol points and a patrol route indicating the order of patrolling the patrol points and instructs the moving body to patrol the patrol route. Upon instructing a first moving body among a plurality of moving bodies to take a new action in which the first moving body does not pass through at least one of the patrol points included in the previously notified patrol route, the control server generates a new patrol route for another moving body different from the first moving body to patrol the at least one patrol point that is included in the previously notified patrol route of the first moving body and that the first moving body does not pass through due to the notification of the new action, and instructs the other moving body to patrol the generated new patrol route.

VERTICAL COMPACT PROFILE HIGHWAY BARRIER

NºPublicación:  WO2025240882A1 20/11/2025
Solicitante: 
EASI SET IND INC [US]
EASI-SET INDUSTRIES, INC
WO_2025240882_PA

Resumen de: WO2025240882A1

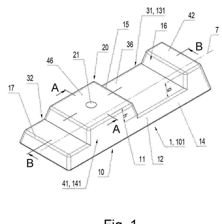
A roadway barrier system includes a plurality of compact profile highway barriers preferably which are of a height which does not obstruct the viewing lines of a vehicle drivers on the road and permits them to see, for example, cross-traffic situations, work sites, and pedestrians. The barriers have tapered side walls which help maintain a crash on the roadway. Hooks are used to connect barriers end to end, and the hooks are positioned within a channel groove at the end of each barrier. When connected, the hooks of adjacent barriers are largely within the channel grooves of the two adjacent barriers which enables superior lateral deflection prevention. In addition, when connected a V shape section between the ends of adjacent rigid concrete sections of the plurality of rigid concrete sections extends upward from a base of the adjacent rigid concrete sections at an angle of five degrees or less.

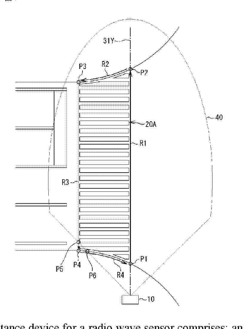
RADIO WAVE SENSOR, DETECTION METHOD, AND COMPUTER PROGRAM

NºPublicación:  WO2025239416A1 20/11/2025
Solicitante: 
SUMITOMO ELECTRIC IND LTD [JP]
\u4F4F\u53CB\u96FB\u6C17\u5DE5\u696D\u682A\u5F0F\u4F1A\u793E
WO_2025239416_PA

Resumen de: WO2025239416A1

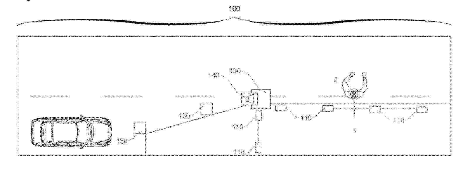
One aspect of the present disclosure is a device that is a radio wave sensor that uses radio waves of a prescribed frequency to perform sensing. The radio wave sensor comprises a transmission/reception unit that transmits and receives the radio waves and a processor that generates detection results that include the positions and speeds of targets on the basis of the transmitted and received radio waves and outputs a communication frame that includes storage fields for the detection results. The storage fields include a field that stores count information for the number of pedestrians that pass through a crosswalk. The number of pedestrians is a converted value that is calculated on the basis of a count area that includes at least one of the targets.

MAP GENERATION SYSTEM, INFORMATION PROCESSING DEVICE, AND MAP GENERATION METHOD

NºPublicación:  WO2025239129A1 20/11/2025
Solicitante: 
HITACHI LTD [JP]
\u682A\u5F0F\u4F1A\u793E\u65E5\u7ACB\u88FD\u4F5C\u6240
WO_2025239129_PA

Resumen de: WO2025239129A1

Provided is technology capable of generating an environmental map including track data relating to the shape of a track along which a mobile body is traveling, even if the track does not exist within a detection range of a peripheral environment sensor or the track is present in the detection range of the peripheral environment sensor but is difficult to detect. This map generation system generates an environmental map including track data relating to the shape of a track along which a mobile body is traveling, the system including, at least: a peripheral environment sensor which is mounted on the mobile body and is capable of acquiring environmental information around the device itself; and a computer which is connected to the peripheral environment sensor so as to be capable of performing data communication, and which includes at least a processor and a storage device. The computer comprises: a SLAM processing unit that, on the basis of sensor data acquired by the peripheral environment sensor, estimates an environmental map representing the environment around the track, and a sensor pose, which is the position and/or orientation of the peripheral environment sensor, to be displayed on the environmental map; a relative coordinate data output unit that outputs relative coordinates between peripheral environment sensor coordinates representing the position of the peripheral environment sensor and reference coordinates defined on the basis of the position of a component of the

VEHICLE CONTROL SYSTEM AND VEHICLE CONTROL METHOD

NºPublicación:  WO2025238752A1 20/11/2025
Solicitante: 
ASTEMO LTD [JP]
\uFF21\uFF53\uFF54\uFF45\uFF4D\uFF4F\u682A\u5F0F\u4F1A\u793E
WO_2025238752_PA

Resumen de: WO2025238752A1

This vehicle control system for controlling travel by a host vehicle is provided with: a traveling lane location estimation unit for estimating, on the basis of recognition results from an external environment recognition sensor installed on the vehicle, the location of a traveling lane of a road on which the host vehicle travels as well as the positional relationship between the traveling lane and a road ancillary structure provided in an ancillary manner with respect to the road; a storage unit for saving the positional relationship between the road ancillary structure and the traveling lane; a traveling lane recognition determination unit for determining whether the location of the traveling lane was estimated on the basis of the recognition results from the external environment recognition sensor; a virtual traveling lane estimation unit that, if the traveling lane recognition determination unit determined that the location of the traveling lane has not been estimated, estimates a virtual traveling lane on the basis of the positional relationship between the road ancillary structure and the traveling lane that is saved in the storage unit; and a travel control unit for controlling the travel by the host vehicle on the basis of the traveling lane or the virtual traveling lane.

INFORMATION PROCESSING DEVICE

NºPublicación:  WO2025238826A1 20/11/2025
Solicitante: 
NTT DOCOMO INC [JP]
\u682A\u5F0F\u4F1A\u793E\uFF2E\uFF34\uFF34\u30C9\u30B3\u30E2
WO_2025238826_PA

Resumen de: WO2025238826A1

An estimation unit 24 estimates a user who performed a parking action on the basis of the user's history of location information. Specifically, on the basis of histories of location information of users, the estimation unit 24 determines whether the users' means of transportation were by vehicle, walking, or other means, and estimates a user who changed the user's means of transportation from vehicle to walking as the user who performed a parking action. An identification unit 25 identifies the location of a destination that the user estimated by the estimation unit 24 visited after the parking action. Specifically, on the basis of a history of location information of the user, the identification unit 25 identifies a location where the user stayed for a time exceeding a threshold as the location of a destination visited by the user. A calculation unit 26 calculates the amount of parking demand for a target section on the basis of the locations of destinations visited by a plurality of users as identified by the identification unit 25. An output unit 27 outputs information about the amount of demand calculated by the calculation unit 26 externally.

RAISABLE RAILING ON THE EDGE OF A PLATFORM

NºPublicación:  WO2025238277A1 20/11/2025
Solicitante: 
MARTIN ALVAREZ ANGEL RICARDO [ES]
MART\u00CDN \u00C1LVAREZ, \u00C1ngel Ricardo
WO_2025238277_PA

Resumen de: WO2025238277A1

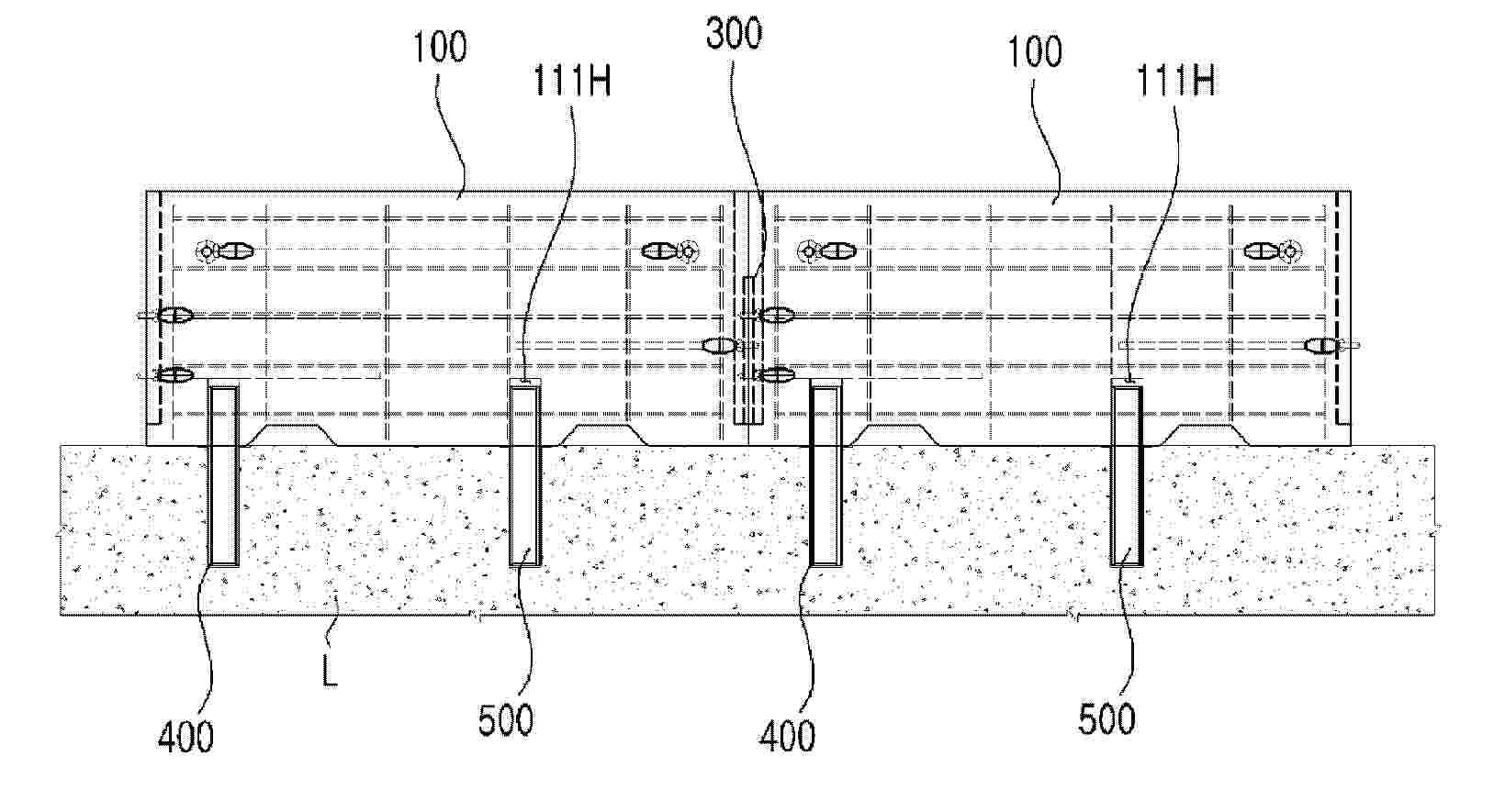
The invention relates to a raisable railing on the edge of a platform for protecting passengers from falling onto the railway, characterised in that it comprises a plurality of vertical balustrades independent from one another, all the balustrades being able to move up and down, each balustrade being associated with a sleeve inserted in the platform, wherein each balustrade is contained inside the corresponding sleeve when in a passive position and wherein each balustrade adopts an elevated position, outside of the sleeve, when in an active position, the railing comprising an actuating system.

KNOWLEDGE GRAPH OPTIMIZATION METHOD AND SYSTEM FOR LARGE TRAFFIC MODEL

Nº publicación: WO2025236321A1 20/11/2025

Solicitante:

SHANGHAI INTELLIGENT TRANSP CO LTD [CN]
\u4E0A\u6D77\u667A\u80FD\u4EA4\u901A\u6709\u9650\u516C\u53F8

WO_2025236321_PA

Resumen de: WO2025236321A1

Provided in the present invention are a knowledge graph optimization method and system for a large traffic model. The method comprises: monitoring a traffic data processing task of a large traffic model, so as to obtain traffic state data of key traffic nodes, and performing clustering processing on the traffic state data, so as to obtain traffic feature data of the key traffic nodes, thereby providing reliable data for knowledge graph construction; on the basis of the traffic feature data, further generating several graph layers subordinate to knowledge graphs corresponding to the key traffic nodes, and on the basis of an association relationship of all the key traffic nodes inside a traffic map, integrating the knowledge graphs of all the key traffic nodes into a global knowledge graph; and on the basis of a traffic prediction result output state of the large traffic model, updating the global knowledge graph to generate a knowledge graph set, performing knowledge graph form arrangement on prediction outputs of the large traffic model in different stages, calling a matching global knowledge graph from the knowledge graph set and transmitting same to a user end for visual display, thereby providing intuitive and accurate traffic prediction knowledge graph information for the user end.

traducir