Ministerio de Industria, Turismo y Comercio LogoMinisterior
 

Alerta

Resultados 455 resultados
LastUpdate Última actualización 11/03/2026 [07:27:00]
pdfxls
Solicitudes publicadas en los últimos 15 días / Applications published in the last 15 days
previousPage Resultados 222 a 333 de 455 nextPage  

一种基于基因编辑的蔬菜种子种苗培育方法

NºPublicación:  CN121628957A 10/03/2026
Solicitante: 
湖北瑞谷香农业科技有限公司
CN_121628957_PA

Resumen de: CN121628957A

本发明属于生物育种技术领域,具体的说是一种基于基因编辑的蔬菜种子种苗培育方法,包括构建负载基因编辑核糖核蛋白(RNP)的靶向性纳米递送载体,该载体由表面修饰聚乙烯亚胺和茎尖分生组织归巢肽(MHP)的碳纳米点组成,通过微液滴原位渗透法将RNP递送至蔬菜幼苗茎尖分生组织,实现对目标基因的瞬时编辑,并经有性生殖获得纯合、无外源基因残留的编辑种子。通过上述方案,本申请实现了无需遗传转化与组织培养的非转基因基因编辑,具有操作简便、周期短、效率高、适用性广的优点,适用于番茄、菠菜、黄瓜等多种蔬菜的性状改良。

一种具有酶样活性的碳点材料及其制备方法和应用

NºPublicación:  CN121626973A 10/03/2026
Solicitante: 
江苏省人民医院(南京医科大学第一附属医院)
CN_121626973_A

Resumen de: CN121626973A

本发明公开一种具有酶样活性的碳点材料及其制备方法和应用,具有酶样活性的碳点材料采用水热法构建,包括以下元素:碳、氮、氧、硫、铁、氯,以下表面官能团:羟基、氨基、羧基、巯基、C‑N键、Fe‑O/Fe‑N键。本发明专利的具有酶样活性的碳点材料应用在有代谢相关性脂肪性肝病(MASLD)的小鼠能显著改善小鼠的表型、生化、血清学指标。对MASLD有显著的保护作用,具有广泛的应用前景。

纯化碳纳米管的方法

NºPublicación:  CN121646564A 10/03/2026
Solicitante: 
株式会社化学
CN_121646564_PA

Resumen de: WO2026010053A1

The present invention relates to a method for purifying carbon nanotubes, capable of obtaining high-purity purified carbon nanotubes in a high yield by heating crude carbon nanotubes containing a high content of metal oxides as impurities under a gas atmosphere and simultaneously supplying a halogen material and an oxygen removing material to the heated crude carbon nanotubes to induce a reaction.

一种用于制备导电增强长碳链尼龙的石墨烯及其制备方法

NºPublicación:  CN121626979A 10/03/2026
Solicitante: 
山东东辰瑞森新材料科技有限公司
CN_121626979_A

Resumen de: CN121626979A

本发明涉及一种用于制备导电增强长碳链尼龙的石墨烯及其制备方法,其特征在于:将石墨作为阳极,铂片作为阴极,低共熔溶剂作为电解质,通过施加动态电压触发剥离过程,成功制备出少层石墨烯,产率高达85%。将剥离后的样品进行抽滤、收集、干燥,得到石墨烯填料。使用动态电位调控技术制备石墨烯,该方法高效环保,得到的石墨烯填料与尼龙和玻璃纤维均具有良好的相容性,开发出一种兼具高导电性、低吸湿性和优异力学性能的石墨烯增强尼龙复合材料。

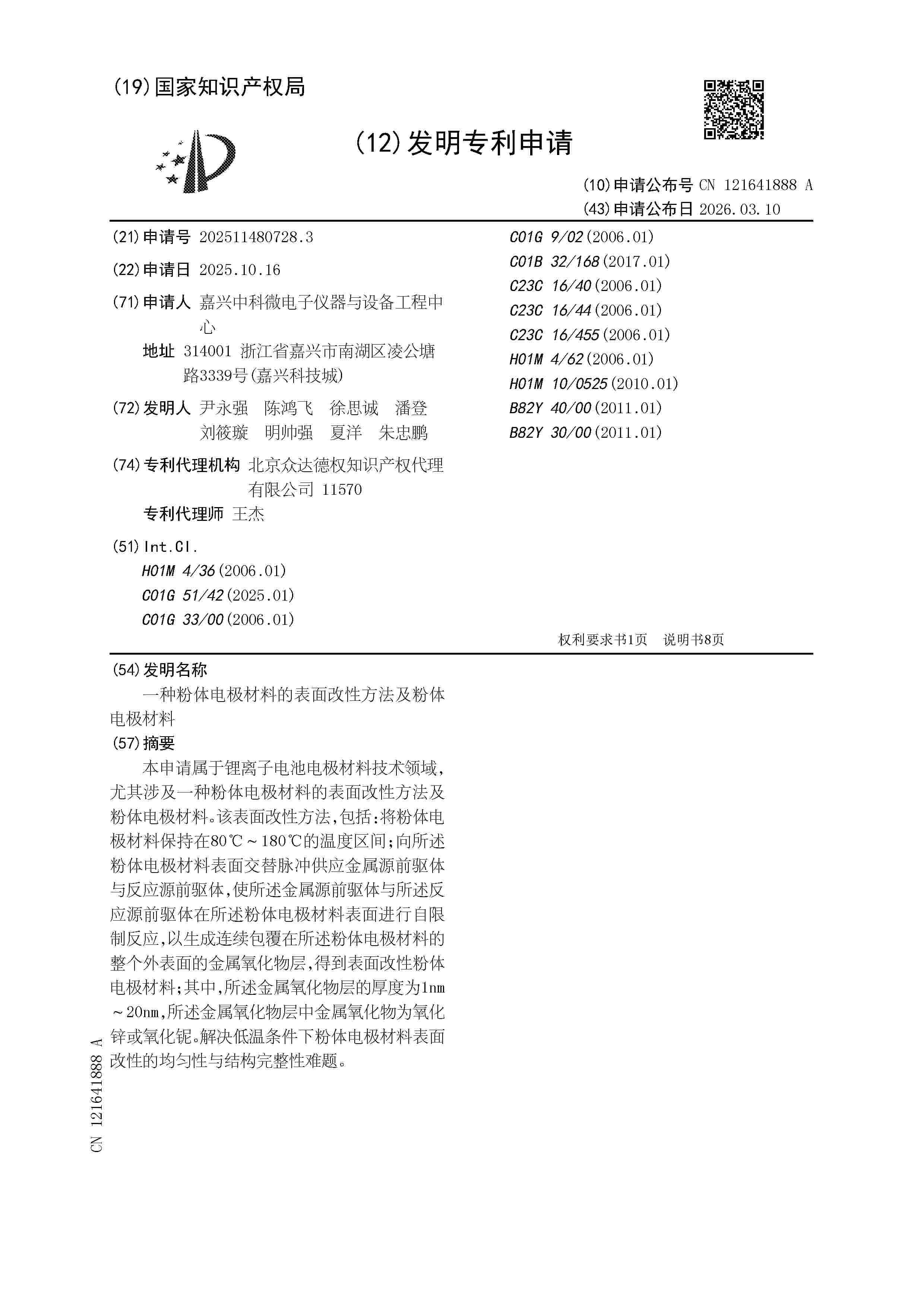
一种粉体电极材料的表面改性方法及粉体电极材料

NºPublicación:  CN121641888A 10/03/2026
Solicitante: 
嘉兴中科微电子仪器与设备工程中心
CN_121641888_A

Resumen de: CN121641888A

本申请属于锂离子电池电极材料技术领域,尤其涉及一种粉体电极材料的表面改性方法及粉体电极材料。该表面改性方法,包括:将粉体电极材料保持在80℃~180℃的温度区间;向所述粉体电极材料表面交替脉冲供应金属源前驱体与反应源前驱体,使所述金属源前驱体与所述反应源前驱体在所述粉体电极材料表面进行自限制反应,以生成连续包覆在所述粉体电极材料的整个外表面的金属氧化物层,得到表面改性粉体电极材料;其中,所述金属氧化物层的厚度为1nm~20nm,所述金属氧化物层中金属氧化物为氧化锌或氧化铌。解决低温条件下粉体电极材料表面改性的均匀性与结构完整性难题。

一种氮掺杂碳纳米管类材料及其制备方法

NºPublicación:  CN121626976A 10/03/2026
Solicitante: 
中研复材(上海)科技开发有限责任公司
CN_121626976_PA

Resumen de: CN121626976A

本发明公开了属于氮掺杂碳纳米管类材料领域的一种氮掺杂碳纳米管类材料及其制备方法,具体为利用含氮有机聚合物聚氨酯为碳源,采用化学气相沉积法,经催化剂高温催化制备氮掺杂碳纳米管类材料;本发明制备的碳纳米管类材料为由同轴管壁组成的多壁碳纳米管、中心被分割成密闭腔室的竹节状碳纳米管、鳞状碳纳米管、枝杈状碳纳米管等;可作为增强材料,储能材料,新型电子探针及电子器件、传感器材料,隐身材料,催化剂及催化剂载体等。

一种Ti3C2TxMXene-GQD纳米复合材料及其制备方法和应用

NºPublicación:  CN121626991A 10/03/2026
Solicitante: 
成都医学院第一附属医院
CN_121626991_PA

Resumen de: CN121626991A

本发明公开了一种Ti3C2Tx MXene‑GQD纳米复合材料及其制备方法和应用,涉及复合材料制备技术领域。该方法包括以下步骤:将LiF溶解于盐酸溶液中,加入Ti3AlC2粉末,制得胶体溶液;将柠檬酸溶于去离子水中,然后水热碳化,制得GQD溶液;将胶体溶液和GQD溶液混合,搅拌,制得纳米复合材料。本发明利用Ti3C2Tx MXene二维片层结构,稳定GQD纳米颗粒,使其分散均匀且不易团聚,保证长期均一性;利用Ti3C2Tx MXene光热效应及GQD光动力效应,实现双重光响应抗菌效能,可高效抑制耐药菌感染,为治疗耐药菌提供非抗生素途径,在实践中有效控制感染问题及相关性术后疼痛问题。

一种超长碳纳米管的连续制备方法

NºPublicación:  CN121626977A 10/03/2026
Solicitante: 
清华大学
CN_121626977_PA

Resumen de: CN121626977A

本发明属于纳米材料制备技术领域,具体涉及一种超长碳纳米管的连续制备方法。本发明提供的一种超长碳纳米管的连续制备方法,包括以下步骤:(1)向反应器内通入惰性气体,升温至反应温度;(2)向反应器内通入碳源气体、氢气、惰性气体和水蒸气的混合气,同时注入多组分催化剂,进行超长碳纳米管的生长;(3)生长结束后,将反应器冷却;其中,反应器是长度为5~110 m,管径为0.05~10 m的直管反应器或长度为2~50m,匝数为5~500,小直径为0.04~0.5 m,大直径为0.5~2 m的螺旋状管式反应器,反应器的进料口设置长度为0.1~0.5 m,管径为0.01~0.1 m进料管,反应器中不设置基底。该方法使超长碳纳米管直接在反应器内的三维空间中生长,产率比以往报道的产率提高了至少一千万倍以上。

基于纳米硅复合多孔碳基基体的材料及其制备方法和应用

NºPublicación:  CN121641875A 10/03/2026
Solicitante: 
溧阳天目先导电池材料科技有限公司
CN_121641875_PA

Resumen de: CN121641875A

本发明实施例涉及一种基于纳米硅复合多孔碳基基体的材料及其制备方法和应用。基于纳米硅复合多孔碳基基体的材料包括内核和外壳;内核包含多孔碳基基体和嵌入该基体中的纳米硅颗粒;多孔碳基基体由耐高温聚合物与由耐高温聚合物热分解生成的碳基导电材料复合组成,纳米硅颗粒填充于多孔碳基基体的孔隙中,形成纳米硅复合多孔碳基基体内核;外壳包覆于内核之外,形成包覆结构;其中,耐高温聚合物包括聚苯并咪唑及其衍生物:外壳为碳包覆层;多孔碳基基体的粒径D50在20nm‑100um之间;多孔碳基基体的孔径在0.4nm‑200nm之间;多孔碳基基体的比表面积为300m2/g‑3000m2/g;多孔碳基基体的孔容为0.1cm3/g‑6.0cm3/g。

一种硅碳复合材料及其制备方法与应用

NºPublicación:  CN121641893A 10/03/2026
Solicitante: 
合肥国轩高科动力能源有限公司
CN_121641893_A

Resumen de: CN121641893A

本发明提供一种硅碳复合材料及其制备方法与应用,涉及锂离子电池负极材料技术领域。一种硅碳复合材料的制备方法,包括以下步骤:S1、将硅源与镁源球磨混合,热处理,得到混合物,将混合物进行酸处理、刻蚀,得到多孔硅;S2、将多孔硅浸渍在含磷源、碳源的混合溶液中水热反应,得到前驱体;S3、将前驱体进行煅烧、活化,得到硅碳复合材料。本发明制得的硅碳复合材料可以提升锂离子电池的循环稳定性,并且有效缓解体积膨胀。

单壁碳纳米管膜及其制造方法和设备

NºPublicación:  CN121626974A 10/03/2026
Solicitante: 
阿汤姆有限责任公司
CN_121626974_PA

Resumen de: US2023227313A1

Disclosed herein is an apparatus and method for fabrication of large diameter single-walled carbon nanotube films. Advantageously, large diameter single-walled carbon nanotube films may be useful as transparent electrodes with high transparency and lower sheet resistance. In one embodiment, the method includes supplying carrier carbon monoxide and catalyst precursor through a first inlet at a temperature below the reaction temperature of the catalyst precursor; supplying heated carbon monoxide through a second inlet such that the heated carbon monoxide mixes with the carrier carbon monoxide and the catalyst an aerosol; reacting the aerosol in a reaction chamber to form a composite aerosol of single walled carbon nanotubes, metal nanoparticles, carbon monoxide, and carbon dioxide. In this embodiment, the heated carbon monoxide heats the catalyst precursor which reacts with the carbon monoxide to form carbon nanotubes.

正极材料及其制备方法、电池单体、电池装置、用电装置

NºPublicación:  CN121642076A 10/03/2026
Solicitante: 
宁德时代新能源科技股份有限公司
CN_121642076_PA

Resumen de: CN121642076A

本申请公开了一种正极材料及其制备方法、电池单体、电池装置、用电装置,电池单体包括包括正极极片,正极极片包括正极集流体和位于正极集流体至少一侧的正极膜层,正极膜层包括正极材料,正极材料包括:内核,包括正极活性材料,正极活性材料包括含锂磷酸盐;碳包覆材料,覆盖内核的至少部分表面,碳包覆材料的拉曼图谱具有G峰和D峰,且ID/IG小于等于0.9。本申请实施例可以减少正极材料对电解液的催化氧化,改善电池单体的高温存储性能。

一种rGO纳米片及其制备方法和应用

NºPublicación:  CN121626978A 10/03/2026
Solicitante: 
中南大学
CN_121626978_PA

Resumen de: CN121626978A

本发明属于电池领域,具体涉及一种rGO纳米片的制备方法,将氧化石墨烯分散液经冷冻干燥处理,得到冷冻GO;再将冷冻GO预先在温度T1下进行第一段保温处理,再升温至温度T2并进行第二段保温处理,制得rGO纳米片;其中,温度T1为500~700℃;所述的温度T2为750~1500℃。本发明还包括所述的制备方法制得的rGO纳米片及其在制备集流体中的应用。本发明创新地将氧化石墨烯分散后进行冷冻干燥处理,随后进行后续的两段梯度热处理,如此能够可控地调控其缺陷程度,此外,还能够规避处理阶段的结构的大范围损伤,如此可以制备兼顾高比表面积、高导电、片层且缺陷可控的rGO材料,且所述的制备方法制得的所述材料用作集流体,可以表现出优异的性能。

一种锂硫电池用镍掺杂氧化铈/碳纳米管功能隔膜及其制备方法

NºPublicación:  CN121642438A 10/03/2026
Solicitante: 
合肥工业大学
CN_121642438_PA

Resumen de: CN121642438A

本发明公开了一种锂硫电池用镍掺杂氧化铈/碳纳米管功能隔膜及其制备方法。以常规商业电池隔膜为基体,在其一侧表面铺设镍掺杂氧化铈/碳纳米管(Ni‑CeO2‑x/CNT)复合材料为功能层。其中,交织网状结构的碳纳米管具备质轻、导电性高和机械性能优异等特性,不仅能够对多硫化物发挥物理阻挡作用,还可为电池系统提供良好的电子传导路径。镍掺杂进入氧化铈晶格后,丰富了极性Ni‑CeO2‑x中氧空位缺陷,从而促使其高效吸附多硫化物,并加速催化多硫化物转化,有效抑制锂硫电池的“穿梭效应”。因此,基于Ni‑CeO2‑x/CNT功能隔膜所组装的锂硫电池呈现出高比容量、优异的倍率性能和循环稳定性。

一种基于奎宁掺杂荧光碳点的复合材料及其制备方法和用途

NºPublicación:  CN121628226A 10/03/2026
Solicitante: 
上海朗亿功能材料有限公司
CN_121628226_PA

Resumen de: CN121628226A

本发明属于荧光功能材料技术领域,具体涉及一种基于奎宁掺杂荧光碳点的复合材料及其制备方法和用途。复合材料包括聚合物基体和碳点,碳点为基于奎宁衍生物掺杂强化荧光碳点,基于奎宁衍生物掺杂强化荧光碳点的制备方法为:将有机碳源、氮源和掺杂剂溶解在溶剂中进行水热反应,掺杂剂为奎宁衍生物;水热反应前还进行微波反应,使得有机碳源和氮源发生预缩聚形成碳点预聚体,同时奎宁衍生物吸附掺杂在碳点预聚体中。复合材料的制备方法是将基于奎宁衍生物掺杂强化荧光碳点与聚合物基体混合均匀后加工成膜。本发明的复合材料具有优异的紫外吸收性能、荧光性能以及抗老化性能,可用于光伏、塑料、涂料等材料领域。

一种基于水热法回收废旧生物质基树脂制备碳微球的方法

NºPublicación:  CN121609323A 06/03/2026
Solicitante: 
常州大学
CN_121609323_PA

Resumen de: CN121609323A

本发明公开了一种基于水热法回收废旧生物质基树脂制备碳微球的方法,属于废旧树脂回收与碳微球制备合成领域。本发明以双环戊二烯苯酚树脂代替部分间苯二酚,利用树脂分子量大的特点从而控制微球大小,最后使用回收树脂改性的从而制备的碳微球具有相对较好的球型度与更小的粒径,且其制备方法简单、反应条件温和。

一种低磁导率碳纳米管催化剂及其制备方法和低磁导率碳纳米管

NºPublicación:  CN121607163A 06/03/2026
Solicitante: 
深圳市飞墨科技有限公司曲靖市飞墨科技有限公司
CN_121607163_PA

Resumen de: CN121607163A

一种低磁导率碳纳米管催化剂及其制备方法和低磁导率碳纳米管,旨在克服现有技术中碳纳米管存在磁性催化剂颗粒残留,且不易去除,应用于电芯影响其性能的缺陷,该低磁导率碳纳米管催化剂包括:质量比为(2‑45):(0.5‑15)的催化活性组分和抗磁性固溶组分;抗磁性固溶组分能够改变催化活性组分的磁畴排列方式并降低其磁性;制备方法:将催化活性组分和抗磁性固溶组分的金属盐进行固溶处理,得到低磁导率碳纳米管催化剂;固溶处理使抗磁性固溶组分进入到催化活性组分中;抗磁性固溶组分的加入,改变了原催化活性组分的磁畴排列方式,得到了低磁导率的碳纳米管催化剂;制备得到低磁导率碳纳米管,相对磁导率远低于常规碳纳米管。

一种碳纳米管负载超小铂-稀土单原子合金纳米颗粒电催化剂的制备方法及应用

NºPublicación:  CN121610817A 06/03/2026
Solicitante: 
闽都创新实验室
CN_121610817_PA

Resumen de: CN121610817A

本发明提供了一种碳纳米管负载超小铂‑稀土单原子合金纳米颗粒电催化剂的制备方法及应用。所述方法包括:步骤(1):稀土氢氧化物/氧化物纳米棒的合成;步骤(2):通过多巴胺包覆再刻蚀制备含有稀土单原子的衍生碳纳米管载体;步骤(3):铂活性中心的负载与精准合金化。本发明合成方法普适性强,所需设备简单,所制备的铂‑稀土单原子合金纳米颗粒平均粒径小于4 nm,且其甲醇电氧化活性相较于20wt.%商业PtC提升十数倍,为制备负载型超小铂‑稀土单原子合金催化剂和高活性的甲醇电氧化催化材料提供了新的合成方案与设计思路。

一种易去除聚合物提纯碳纳米管的方法

NºPublicación:  CN121609328A 06/03/2026
Solicitante: 
苏州烯晶半导体科技有限公司
CN_121609328_A

Resumen de: CN121609328A

本发明公开了一种易去除聚合物提纯碳纳米管的方法,属于半导体材料技术领域。该方法包括:将粗制碳纳米管原料与聚(2‑(甲基丙烯酰氧基)苯甲酸十二烷基酯)加入有机溶剂中混合;采用非接触式超声对混合液进行分散处理,利用聚合物分散剂对碳纳米管进行非共价包覆;对分散后的混合液进行离心沉降分离,去除含有杂质的上清液,收集沉淀物;利用良溶剂对沉淀物进行洗涤,溶解并去除碳纳米管表面的聚合物分散剂,获得提纯后的碳纳米管。本发明利用特定聚合物的易溶特性,无需酸处理即可通过溶剂洗涤彻底去除包覆剂,避免了化学残留和对碳纳米管结构的破坏,获得结构完整且极高纯度的碳纳米管。

一种单壁碳纳米管的纯化方法、高纯单壁碳纳米管及应用

NºPublicación:  CN121609327A 06/03/2026
Solicitante: 
江西紫宸科技有限公司
CN_121609327_PA

Resumen de: CN121609327A

本发明涉及碳纳米管除杂技术领域,尤其是涉及一种单壁碳纳米管的纯化方法、高纯单壁碳纳米管及应用。本发明的高纯单壁碳纳米管中的金属含量≤0.5wt%,结晶度W结晶为95%~98%;W结晶=100%‑W挥发‑W非晶‑MA·W灰分/(MA+x·MO);其中,W挥发、W非晶和W灰分分别为高纯单壁碳纳米管的热重曲线中0~300℃范围内纵轴衰减值,300~500℃范围内纵轴衰减值和纵轴极小值;MA为高纯单壁碳纳米管中含量最高的金属元素的相对原子质量;MO为氧元素的相对原子质量;x为高纯单壁碳纳米管中含量最高的金属元素的氧化物中的氧元素与金属元素的原子比。该高纯单壁碳纳米管纯度高、结晶度高、导电性好。

ALUMINIUM-GRAPHENE NANOCOMPOSITES WITH HIGH ELECTRICAL AND THERMAL CONDUCTIVITY, AND METHODS FOR OBTAINING SAME VIA MICROSTRUCTURAL CONTROL

NºPublicación:  WO2026044373A1 05/03/2026
Solicitante: 
DELPHYS PARTNERS S/A [BR]
DELPHYS PARTNERS S/A
WO_2026044373_PA

Resumen de: WO2026044373A1

The present patent of invention relates to aluminium-graphene nanocomposites with high electrical and thermal conductivity, and methods for obtaining same via microstructural control, and more specifically to the incorporation of multilayer graphene nanoplatelets (mGNP or few-layer graphene), comprising up to 10 layers, into pure commercial aluminium or aluminium alloys, using electric furnaces. The nanocomposites obtained comprise an aluminium matrix with dispersed graphene as the reinforcing phase, in proportions ranging from 0.1 wt% to 3 wt%. In order to obtain the nanocomposites, gravity casting techniques were employed in resistive and induction furnaces, with adaptations to prevent oxidation through the use of an inert gas atmosphere. The methodology employed enables a significant increase in electrical conductivity, ranging from 45% to 95% relative to the as-received commercial material, depending on the amount of graphene added. The thermal diffusivity of the nanocomposites also increased by 15% to 50%, with a possible maximum of around 0.5 wt% to 1 wt% of graphene. Similarly, the general physical properties exhibited marked improvements, although the rate of improvement decreased for nanocomposites containing more than 2 wt% of graphene.

BIFUCTIONAL ELECTROCATALYST, ITS PROCESS OF PREPARATION AND APPLICATION IN METAL AIR BATTERIES

NºPublicación:  WO2026047718A1 05/03/2026
Solicitante: 
COUNCIL OF SCIENT AND INDUSTRIAL RESEARCH [IN]
COUNCIL OF SCIENTIFIC AND INDUSTRIAL RESEARCH
WO_2026047718_A1

Resumen de: WO2026047718A1

The present invention relates to a solid-state rechargeable zinc-air battery featuring a novel bifunctional electrocatalyst, a dual-crosslinked polyacrylic acid hydrogel electrolyte, and a stannate-based additive for in situ zinc anode modification. The cathode comprises a gas diffusion layer coated with ruthenium-ruthenium oxide core-shell nanoparticles supported on nitrogen-doped graphene, providing enhanced bifunctional catalytic activity and stability. The anode consists of zinc metal modified in situ by a stannate-based additive to form a solid electrolyte interphase layer, effectively suppressing dendrite formation. The electrolyte membrane is a polyacrylic acid hydrogel, covalently and ionically cross-linked, and soaked in an aqueous solution containing potassium hydroxide, zinc acetate, and a stannate-based additive, resulting in improved mechanical strength, ionic conductivity, and battery safety. The integrated system delivers high power density, specific capacity, and robust cycling stability, offering a significant advancement in the field of solid-state zinc-air batteries.

Carbon Nanotube Hybrid Materials and Methods of Producing the Hybrid Materials

NºPublicación:  US20260062300A1 05/03/2026
Solicitante: 
CHASM ADVANCED MAT INC [US]
Chasm Advanced Materials, Inc
US_20260062300_PA

Resumen de: US20260062300A1

Carbon nanotube (CNT) hybrid materials and methods of making such materials. A carbon nanotube (CNT) hybrid powder material includes a mesh of CNTs intimately interspersed with particles of a second material. In an example the material includes a blend that itself includes particles of a metal oxide supported catalyst and particles of a second material, and a mesh of CNTs is grown on the supported catalyst in the blend. The mesh of CNTs is effective to disperse the particles of the second material.

BIPOLAR PLATE FOR FUEL CELLS AND METHOD FOR MANUFACTURING SAME

NºPublicación:  EP4704195A1 04/03/2026
Solicitante: 
MCD TECH S A R L [LU]
MCD Technologies S.a.r.l
EP_4704195_PA

Resumen de: EP4704195A1

The invention relates to electrically conductive composite materials based on thermoplastic polymers containing carbon nanotubes, and to methods for manufacturing the same. The invention further relates to electrically conductive thin plates for use as bipolar plates in fuel cells, including, proton exchange membrane fuel cells. The present invention proposes a method for producing thin electrically conductive plates, and further proposes a thin bipolar plate with a thickness of less than 1 mm for a high-temperature fuel cell, said plate having gas transport channels on the surface thereof and containing a composite material comprised of a thermoplastic polymer and single-walled and/or double-walled carbon nanotubes, wherein the composite material contains connected regions having a carbon nanotube concentration of more than 1 wt.%, and domains having a size of less than 200 µm and a local concentration of carbon nanotubes of less than 1 wt.%.

石墨烯基前体结构

NºPublicación:  CN121591207A 03/03/2026
Solicitante: 
罗伯特·博世有限公司
CN_121591207_PA

Resumen de: US20260054991A1

A method of increasing porosity of graphene-based precursors including wetting the graphene-based precursors with water, rapidly freezing the graphene-based precursors after the wetting step to cause expansion of a water volume within the graphene-based precursors to cause defects within the graphene-based precursors, and thawing and removing the water from the graphene-based precursors.

一种原位生长于纳米纤维的碳纳米管及其制备方法和应用

NºPublicación:  CN121591202A 03/03/2026
Solicitante: 
中国建筑材料科学研究总院有限公司
CN_121591202_PA

Resumen de: CN121591202A

本申请是关于一种原位生长于纳米纤维的碳纳米管及其制备方法和应用,其制备方法的步骤为:将基体材料、分散助剂和过渡金属催化剂与连续相混合均匀,制得静电纺丝液;以静电纺丝液的质量为100%计,基体材料的含量为8%~15%,分散助剂的含量为0.05%~1%,过渡金属催化剂的含量为1%~10%;将静电纺丝液装填进静电纺丝设备的注射器中,进行静电纺丝,获得纳米纤维催化前驱体;将纳米纤维催化前驱体在保护气体氛围下升温至380~450℃;接着通入还原气体,将过渡金属催化剂还原;之后升温至650~750℃,然后通入碳源气体,制得原位生长于纳米纤维的碳纳米管。本申请提供的原位生长制备碳纳米管的方法高效快速、基底适应性高、与基底结合力强。

正极活性材料、及其制备方法、二次电池、电池模块、电池包和用电装置

NºPublicación:  CN121601628A 03/03/2026
Solicitante: 
宁德时代新能源科技股份有限公司
CN_121601628_PA

Resumen de: US2025286064A1

A positive electrode active material, a secondary battery, a battery module, a battery pack, and an electric device. The positive electrode active material is used as a positive electrode active material for a secondary battery, and comprises a carbon material compounded iron-based polyanionic compound and an aluminum-containing oxide, and the iron-based polyanionic compound has the following general formula: Na4Fe3−xMxAly(PO4)2P2O7/C, wherein M comprises a transition metal element, 0≤x≤0.5, and y is greater than 0 and less than 0.2. The positive electrode active material has relatively low residual alkali amount, and the battery has excellent cycle performance and rate capability.

一种富本征缺陷碳材料及其制备方法与应用

NºPublicación:  CN121591199A 03/03/2026
Solicitante: 
辽宁瑞麟氢能科技有限公司
CN_121591199_PA

Resumen de: CN121591199A

本发明公开了一种富本征缺陷碳材料及其制备方法与应用,属于催化剂技术领域,本发明采用的富勒烯或富勒烯衍生物碳笼具有π共轭结构,故分子间存在较强的π‑π相互作用力。本发明以富勒烯或富勒烯衍生物为原料,基于分子间作用力自组装,得到宏观的晶态材料,即富勒烯基凝聚态前驱体,将所述富勒烯基凝聚态前驱体先采用氧气等离子体进行预刻蚀处理,对富勒烯基凝聚态前驱体进行表面改性,再于ZnCl2熔融盐中进行低温预刻蚀处理和高温焙烧的两段式程序升温热处理,赋予富勒烯基凝聚态前驱体五元环拓扑缺陷、边界和曲率的碳本征缺陷,得到富本征缺陷碳材料,这些本征缺陷位点赋予该碳材料良好的电催化性能。

用于耐用的空气阴极的封装过渡金属氧化物纳米棒

NºPublicación:  CN121605087A 03/03/2026
Solicitante: 
圣地亚哥大学
CN_121605087_A

Resumen de: WO2025012300A1

It relates to a material comprising a plurality of nanorods encapsulated within open-ended hollow carbon nanostructures, wherein the plurality of nanorods is composed of either a) a transition metal oxide of the formula AzM'2 yMn1 -xO2 (A), or alternatively, b) a transition metal oxide of the formula M''3m/nM2-mO3 (B), as defined herein, wherein the transition metal oxide of the formula (A) or formula (B) is in an amount from 20 to 60% by weight with respect to the total material weight; and the volume of the nanorods encapsulated within hollow carbon nanostructures is equal to or less than 50% with respect of the total cavity volume of the hollow carbon nanostructures, in particular, wherein the hollow carbon nanostructures are tubular and their internal average diameter is at least 2 times the average thickness of the nanorods. It also relates to a process for preparing this material, to a precursor material RtM'''3-tO4 (C) as defined herein from which the material is obtained, and to the use of the material as electrocatalyst in different applications.

石墨烯基前体结构

NºPublicación:  CN121591206A 03/03/2026
Solicitante: 
罗伯特·博世有限公司
CN_121591206_PA

Resumen de: US20260058167A1

A method of improving catalyst accessibility of a carbon precursor includes exposing a graphene-based multi-layer precursor structure to a plurality of electrocatalyst clusters by applying voltage to accelerate the clusters towards the graphene-based multi-layer precursor structure to generate both mechanical defects in the graphene-based multi-layer precursor structure's surface and a near-uniform size population of deposited electrocatalyst at a near-uniform depth in the graphene-based multi-layer precursor structure.

一种单壁碳纳米管的纯化方法、高纯单壁碳纳米管及其应用

NºPublicación:  CN121591201A 03/03/2026
Solicitante: 
江西紫宸科技有限公司
CN_121591201_PA

Resumen de: WO2026040289A1

The present disclosure relates to the technical field of the removal of impurities from carbon nanotubes and in particular to a method for purifying a single-walled carbon nanotube, a high-purity single-walled carbon nanotube, and a use thereof. The present disclosure provides a high-purity single-walled carbon nanotube. In a test in which the high-purity single-walled carbon nanotube is digested at 200°C and a mass ratio of the high-purity single-walled carbon nanotube to the mixed acid of 1:100 for 30 min in a mixed acid which is prepared from perchloric acid, concentrated sulfuric acid and concentrated nitric acid in a volume ratio of 1:3:3, the measured mass content of metals in the high-purity single-walled carbon nanotube is less than or equal to 0.5%. The rapid oxidative weight loss temperature in a thermogravimetric differential curve obtained by testing the high-purity single-walled carbon nanotube in an air atmosphere at a heating rate of 10°C/min is 740-800°C. The high-purity single-walled carbon nanotube of the present disclosure has fewer metal impurities and carbon impurities, high conductivity, and good electrical conductivity, thereby facilitating improving the electrochemical performance of a battery prepared using the high-purity single-walled carbon nanotube.

石墨烯基前体结构

NºPublicación:  CN121591205A 03/03/2026
Solicitante: 
罗伯特·博世有限公司
CN_121591205_PA

Resumen de: US20260054990A1

A method of producing a graphene-based precursor includes providing graphene flakes based on one or more predetermined criteria, at least some of the graphene flakes having lattice defects, modifying the graphene flakes by decorating at least some of the graphene flakes with non-graphene carbon structures to form modified graphene flakes, and crumpling the modified graphene flakes to form graphitic carbon mesostructures.

カーボンナノチューブ分散液及びこの製造方法

NºPublicación:  JP2026507343A 02/03/2026
Solicitante: 
エルジー・ケム・リミテッド
JP_2026507343_A

Resumen de: CN120303212A

The present invention relates to a carbon nanotube dispersion containing carbon nanotubes, a first dispersant containing a nitrogen atom, a second dispersant containing a compound represented by Formula 1, and a solvent, and a method for preparing the same. The content of the compound represented by Formula 1 is as defined in the specification.

一种掺杂铈和铜的碳量子点及其制备方法

NºPublicación:  CN121574726A 27/02/2026
Solicitante: 
张家港市中医医院
CN_121574726_PA

Resumen de: CN121574726A

本发明涉及生物医学材料技术领域,具体为一种掺杂铈和铜的碳量子点及其制备方法,该碳量子点以甘氨酸、铈盐、铜盐为原料,经三步制得:前驱体制备;高温碳化;纯化处理。本发明铈通过Ce3+/Ce4+循环抗氧化,铜以晶格掺杂态缓释Cu2+,具有抗菌功能,DPPH·清除率≥85%、杂质残留<1%、批次重复性RSD<5%;且工艺标准化、能耗及成本低。

一种碳纳米点修饰的多孔微米金属氟化物正极材料的制备方法及其在锂离子电池中的应用

NºPublicación:  CN121573725A 27/02/2026
Solicitante: 
湘潭大学
CN_121573725_PA

Resumen de: CN121573725A

本发明公开了一种碳纳米点修饰的多孔微米金属氟化物复合正极材料的制备方法和在锂离子电池中的应用。以碳纳米点修饰的多孔微米氟化亚铁为例,该材料通过阶梯式原位合成策略制备:通过液相法结合低温煅烧构建三维多孔三氟化铁骨架,利用化学气相沉积技术在乙炔气氛中碳纳米点的沉积与锚定。该复合结构将多孔微米材料的高体积能量密度优势与碳纳米点构建的连续导电网络相结合,解决了传统金属氟化物材料固有的导电性差和离子传输缓慢的难题。本发明工艺简单可控,为高性能锂离子电池的正极材料开发提供了新思路且具备产业化应用潜力,同时在合成方法学上具备广泛的推广价值。

一种葛根素碳点及其合成方法和应用

NºPublicación:  CN121573668A 27/02/2026
Solicitante: 
四川大学华西医院
CN_121573668_PA

Resumen de: CN121573668A

本发明涉及医药技术领域,具体涉及一种葛根素碳点及其合成方法和应用。葛根素碳点,以葛根素为碳源、间苯二胺为氮源合成得到。本发明还提供一种葛根素碳点的合成方法,步骤为:将葛根素分散于无机溶剂中,得溶液A;将间苯二胺溶于无机溶剂中,得溶液B;将溶液B加入到溶液A中,加热反应,降温,过滤,得滤液;用滤膜将滤液过滤,然后对滤液透析,冷冻干燥,得葛根素碳点。本发明还提供一种葛根素碳点在制备疾病诊疗一体化试剂中的应用。本发明解决了现有葛根素存在水溶性差,生物利用度低和自身荧光弱、难以用于生物成像的缺点,以及难以直接用于纳米诊疗系统的问题。

一种延长冷鲜肉类货架期的抗菌包装材料及其制备方法

NºPublicación:  CN121574398A 27/02/2026
Solicitante: 
华南农业大学
CN_121574398_PA

Resumen de: CN121574398A

本发明属于食品保鲜技术领域,具体涉及一种延长冷鲜肉类货架期的抗菌包装材料及其制备方法。本发明以天然抗菌植物鱼腥草为碳源,通过绿色环保的水热法制备抗菌碳点HCO‑CDs,原料天然可再生、制备工艺简单温和,兼具环保性与经济性。HCO‑CDs抗菌性能优异且生物安全,将其与聚乙烯醇、果胶复合成膜制备成活性包装材料,不仅具备优异的生物安全性,还能通过协同抗菌作用有效抑制冷鲜肉类腐败菌滋生,显著延长冷鲜肉类货架期,为冷鲜肉类的保鲜提供了绿色、高效的新型包装解决方案,具有重要的实际应用价值与市场前景。

一种石墨烯双包覆层纳米硅负极材料的制备方法

NºPublicación:  CN121573679A 27/02/2026
Solicitante: 
福建科达新能源科技有限公司
CN_121573679_PA

Resumen de: CN121573679A

本发明涉及负极材料技术领域,公开了一种石墨烯双包覆层纳米硅负极材料的制备方法,所述方法包括以下步骤:步骤1、将块状金属硅在研钵中破碎、研磨,得到硅粉;步骤2、将球磨后的产物真空干燥;步骤3、将步骤2得到的产物按照一定的重量比例与鳞片状石墨、酚醛树脂液混合均匀;步骤4、将步骤3中的球磨产物真空干燥,随后在惰性气氛中热处理,得到石墨烯/双包覆层纳米硅复合负极材料;本发明以制得的改性纳米硅粉作为助磨剂,酚醛树脂液作为石墨剥离助剂,采用机械球磨法可有效地将鳞片石墨剥离成少层或多层石墨烯,更重要的是,最终的产物中改性纳米硅全部附着在石墨烯表面,实现石墨烯与纳米硅的均匀复合,得到石墨烯/硅复合负极材料。

一种TPP介导线粒体靶向的铈掺杂抗氧化碳量子点制备方法

NºPublicación:  CN121574719A 27/02/2026
Solicitante: 
张家港市中医医院
CN_121574719_PA

Resumen de: CN121574719A

本发明涉及生物医学材料技术领域,具体为一种TPP介导线粒体靶向的铈掺杂抗氧化碳量子点制备方法,以柠檬酸、尿素、铈盐为原料,混合后采用水热法反应合成铈掺杂碳量子点;再通过酰胺法将三苯基膦接枝到铈掺杂碳量子点表面,反应完成后经分离纯化,得到目标碳量子点,其中铈盐中的铈元素用于赋予碳量子点抗氧化功能。该方法制得的碳量子点靶向线粒体精准、抗氧化能力强,制备工艺简便环保可规模化,产物粒径均一、荧光稳定且生物相容性好,在生物医学领域应用前景广阔。

QUANTUM DOT DISPERSION LIQUID, METHOD FOR PRODUCING SEMICONDUCTOR FILM, METHOD FOR PRODUCING LIGHT DETECTION ELEMENT, METHOD FOR PRODUCING IMAGE SENSOR, AND METHOD FOR PRODUCING QUANTUM DOT DISPERSION LIQUID

NºPublicación:  WO2026042597A1 26/02/2026
Solicitante: 
FUJIFILM CORP [JP]
\u5BCC\u58EB\u30D5\u30A4\u30EB\u30E0\u682A\u5F0F\u4F1A\u793E
WO_2026042597_A1

Resumen de: WO2026042597A1

Provided are a quantum dot dispersion liquid and a method for producing the same, the quantum dot dispersion liquid including: quantum dots including an In element and a group 15 element, the group 15 element including an Sb element; ligands; and a solvent, the ligands including an organic ligand having 6 or less carbon atoms and an inorganic ligand including a halogen element. Also provided are methods for producing a semiconductor film, a light detection element, and an image sensor in which the quantum dot dispersion liquid is used.

ASYMMETRIC CHEMICAL VAPOR DEPOSITION AND USE THEREOF IN THE GROWTH OF GRAPHITE

NºPublicación:  WO2026042065A1 26/02/2026
Solicitante: 
RAMOT AT TEL AVIV UNIV LTD [IL]
RAMOT AT TEL-AVIV UNIVERSITY LTD
WO_2026042065_A1

Resumen de: WO2026042065A1

The present invention relates to a system and method of producing multilayer graphene using asymmetric CVD. The multilayer graphene obtained is characterized by superior thermal and electrical conductance, particularly suitable for thermal management applications.

LAYERED MATERIAL NANOSHEET PRODUCTION METHOD, LAYERED MoS2 NANOSHEET, AND LAYERED GRAPHITE NANOSHEET

NºPublicación:  US20260054989A1 26/02/2026
Solicitante: 
TOHOKU UNIV [JP]
TOHOKU UNIVERSITY
US_20260054989_PA

Resumen de: US20260054989A1

A layered material nanosheet production method includes an exfoliation step of exfoliating layered material particles in layers by irradiating the layered material particles with a microwave while cooling the layered material particles.

CYLINDRICAL-SHAPED CAPACITIVE SENSORS AND THEIR OPTIMAL LOCATIONS FOR EYE-TRACKING

NºPublicación:  WO2026043950A1 26/02/2026
Solicitante: 
UNIV OF WASHINGTON [US]
UNIVERSITY OF WASHINGTON
WO_2026043950_PA

Resumen de: WO2026043950A1

A capacitive sensor, including a composite substrate formed of a plurality of insulating fibers coated with a plurality of carbon nanotubes (CNTs), a plurality of cross-bar junctions of the plurality of insulating fibers at or near a fracture site in the composite substrate, and a sensor core, wherein the composite substrate is wrapped around the sensor core to form a cylindrical capacitive sensor.

PELLICLE MEMBRANE FOR A LITHOGRAPHIC APPARATUS

NºPublicación:  US20260056459A1 26/02/2026
Solicitante: 
ASML NETHERLANDS B V [NL]
ASML NETHERLANDS B.V
US_20260056459_PA

Resumen de: US20260056459A1

A pellicle membrane for a lithographic apparatus, the membrane including uncapped carbon nanotubes. A method of regenerating a pellicle membrane, the method including decomposing a precursor compound and depositing at least some of the products of decomposition onto the pellicle membrane. A method of reducing the etch rate of a pellicle membrane, the method including providing an electric field in the region of the pellicle membrane to redirect ions from the pellicle, or heating elements to desorb radicals from the pellicle, preferably wherein the pellicle membrane is a carbon nanotube pellicle membrane. An assembly for a lithographic apparatus, the assembly including a biased electrode near or including the pellicle membrane or heating means for the pellicle membrane.

Catalyst, Catalyst Precursor, Production Process, and Resulting High Purity and Controlled Morphology Carbon Nanotubes

NºPublicación:  US20260054256A1 26/02/2026
Solicitante: 
CHASM ADVANCED MAT INC [US]
Chasm Advanced Materials, Inc
US_20260054256_PA

Resumen de: US20260054256A1

A catalyst, catalyst precursor, and carbon nanotubes grown using the catalyst. The catalyst includes a support comprising alumina and a cobalt species on a surface of the support, wherein cobalt is the sole active catalyst species for carbon nanotube growth. The support surface is iron-free.

Catalyst, Catalyst Precursor, Production Process, and Resulting High Purity and Controlled Morphology Carbon Nanotubes

NºPublicación:  US20260054988A1 26/02/2026
Solicitante: 
CHASM ADVANCED MAT INC [US]
Chasm Advanced Materials, Inc
US_20260054988_PA

Resumen de: US20260054988A1

A catalyst, catalyst precursor, and carbon nanotubes grown using the catalyst. The catalyst includes a support comprising alumina and a cobalt species on a surface of the support, wherein cobalt is the sole active catalyst species for carbon nanotube growth. The support surface is iron-free.

ナノチューブアレイの製造方法、ナノチューブアレイおよびデバイス

NºPublicación:  JP2026506427A 25/02/2026
Solicitante: 
浙江大学
JP_2026506427_PA

Resumen de: US2025162874A1

Provided are a method for preparing a nanotube array, a nanotube array and a device. The method includes: preparing a double-layer two-dimensional material with a relative angle of lattice orientations, which is used as a template; determining the chiral parameters of nanotubes to be prepared corresponding to the relative angle of the lattice orientations of the double-layer two-dimensional material, determining a nanoribbon orientation and a nanoribbon width according to the determined chiral parameters, determining the inter-nanoribbon spacing according to the density of the nanotubes to be prepared and the nanoribbon width, and etching the double-layer two-dimensional material according to the determined nanoribbon orientation, nanoribbon width and inter-nanoribbon spacing to obtain a nanoribbon array of the double-layer two-dimensional material; and performing thermal excitation treatment on the obtained nanoribbon array of the double-layer two-dimensional material to obtain a nanotube array. The present disclosure can prepare a nanotube array with controllable density, orientation and chirality.

一种晶圆级半导体单壁碳纳米管阵列薄膜制备方法及装置

NºPublicación:  CN121553931A 24/02/2026
Solicitante: 
北京华碳元芯电子科技有限责任公司
CN_121553931_PA

Resumen de: CN121553931A

本发明涉及晶圆级半导体单壁碳纳米管阵列薄膜的制备方法,包括以下步骤:将首先碳纳米管粉体加入含有偶氮苯结构的共轭聚合物的第一有机溶剂中,经过超声、离心得到上清液,取所述上清液进行过滤重分散至第二有机溶剂,获得半导体型碳纳米管溶液;然后提供一基底并进行基底表面官能团均一化处理,将所述基底置于剪切压力机机台上,通过力反馈驱动泵注入所述半导体型碳纳米管溶液进行剪切沉积,在所述基底上沉积碳纳米管阵列薄膜;对上述得到的基底置于降解液中浸泡降解和清洗,获得半导体单壁碳纳米管阵列薄膜。本发明解决了现有溶液法制备碳纳米管阵列薄膜无法实现晶圆级大面积均匀制备的问题,同时缩短阵列碳纳米管薄膜制备时间。

一种铁基硫化物复合材料的制备方法和应用

NºPublicación:  CN121553993A 24/02/2026
Solicitante: 
济宁学院
CN_121553993_PA

Resumen de: CN121553993A

本发明属于电池技术领域,具体涉及一种铁基硫化物复合材料的制备方法和应用。本发明将MIL‑101(Fe)和硫脲在水热条件下反应后与氧化石墨烯反应,得到铁基硫化物复合材料,所述的铁基硫化物复合材料表现出优异的电化学性能,作为电池负极材料。本发明以MIL‑101(Fe)为前驱体,利用其高铁含量、稳定且规整的结构优势作为理想模版,与低毒性的硫脲低温水热合成形貌均一的双相金属硫化物,能耗低且过程温和、可控,最大限度地继承和保留MIL‑101前驱体的高孔隙率和规整形貌,同时实现异质结与孔隙的协同构建。

一种文丘里管法分温区低温制备碳纳米管的装置及方法

NºPublicación:  CN121553930A 24/02/2026
Solicitante: 
成都珈丰新能源科技有限公司
CN_121553930_PA

Resumen de: CN121553930A

本发明提供了一种文丘里管法分温区低温制备碳纳米管的装置及方法,方法所采用的装置是由卧式管式炉及两端密封箱、碳源气体进气系统、排气系统组成;所述卧式管式炉包括文丘里炉管,文丘里炉管由其中部的喉管段将其前后分隔为高温段炉管与低温段炉管;生产过程中,催化剂位于低温段炉管内,碳源气体通过高温段炉管发生热裂解,生成活性碳物种,活性碳物种由载气携带至低温段炉管内,以在催化剂表面实现碳纳米管的生长;碳源气体进气系统、排气系统在生产过程中分别用于输入碳源气体、排出尾气。本发明的有益效果是:通过将碳源气体裂解与碳纳米管生长过程在空间上采用文丘里管法分离的分温区系统,以实现碳纳米在热敏性基底上低温、高质量生长。

一种新型类三角碾磨体及其制备方法

NºPublicación:  CN121551113A 24/02/2026
Solicitante: 
安徽科兰普粉碎节能技术工程有限公司
CN_121551113_A

Resumen de: CN121551113A

本发明涉及新型类三角碾磨体领域,具体涉及一种新型类三角碾磨体及其制备方法,用于解决石墨烯在金属基体中易团聚、界面结合弱,硬度与韧性协同性差,耐磨性能不足,表面涂层结合力低,易脱落的问题;通过将高铬铸铁进行熔炼,之后加入钼粉、镍粉、钒粉以及硅锰合金,搅拌并保温,之后添加复合改性粉体进行搅拌,浇铸、冷却,进行热处理,再对其进行清洗,喷砂粗化,再喷涂过渡层、顶层,得到新型类三角碾磨体;本发明新型类三角碾磨体具备优异的综合力学性能,耐磨性得到显著提升,使用寿命大幅延长,且涂层结合力强、稳定性好,整体性能优势突出。

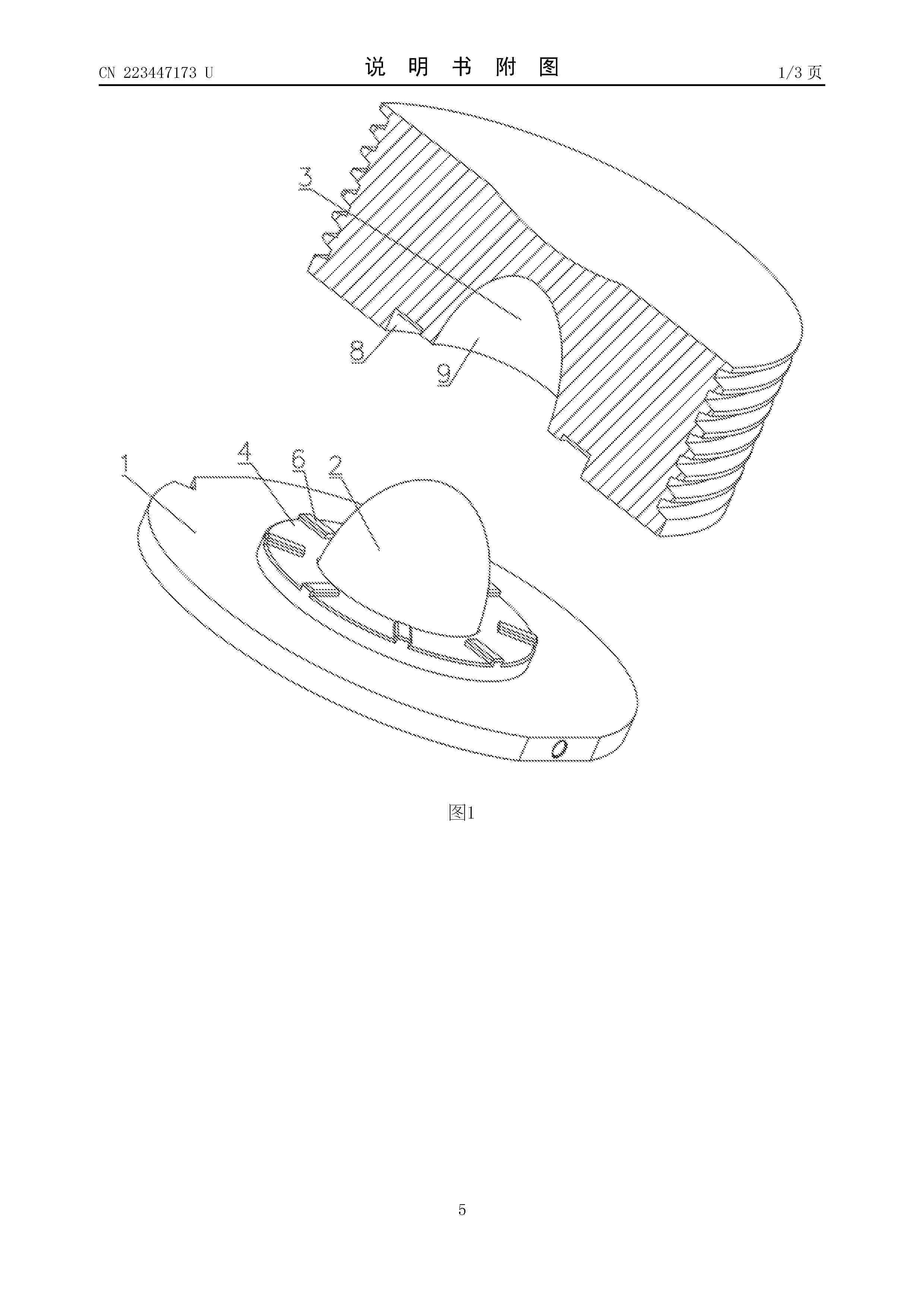
碳纳米管-炭黑杂化结构的制备方法及其应用

NºPublicación:  CN121555989A 24/02/2026
Solicitante: 
东莞瑞泰新材料科技有限公司
CN_121555989_A

Resumen de: CN121555989A

一种碳纳米管‑炭黑杂化结构的制备方法及其应用,碳纳米管‑炭黑杂化结构的制备方法包括如下步骤:(1)炭黑预处理:采用酸溶液对导电炭黑进行预处理;(2)催化剂负载:加入金属催化剂前驱体,使催化剂金属离子均匀吸附沉积在炭黑表面;(3)原位化学气相沉积生长:将负载催化剂的炭黑粉末置于 CVD 反应炉中,在保护气氛下升温,通入碳源气体与稀释气的混合气进行反应,得到碳纳米管‑炭黑杂化结构。以低成本的炭黑为原料,通过在炭黑表面原位催化生长碳纳米管的方式制备,兼顾二者优点:利用了炭黑颗粒作为“隔离支架”防止CNT过度缠绕,从而显著降低最终浆料的粘度;又利用了CNT的高导电性网络,同时继承了炭黑的低成本优势。

一种用于辅酶再生的质子化碳点光催化剂的制备方法及其应用

NºPublicación:  CN121553926A 24/02/2026
Solicitante: 
浙江大学
CN_121553926_PA

Resumen de: CN121553926A

本发明公开了一种用于辅酶再生的质子化碳点光催化剂的制备方法及其应用,通过水热法利用葡萄糖酸锰和L‑天冬氨酸合成碳点后,通过酸浸法得到了质子化的碳点。光催化辅酶再生涉及两电子和一质子的传递及利用,质子化处理会影响该催化剂的带隙结构及其光催化过程中的电子和质子传递问题,实现还原型烟酰胺腺嘌呤二核苷酸(NADH)辅酶的高效再生。该催化剂可与微生物耦合,支持微生物生长,并将CO2转化为高附加值产物。

一种CeO2/NiCo2O4异质结析氧反应电催化剂及其制备方法

NºPublicación:  CN121556082A 24/02/2026
Solicitante: 
青岛滨海学院
CN_121556082_A

Resumen de: CN121556082A

本发明属于电催化材料技术领域,公开了一种CeO2/NiCo2O4异质结析氧反应电催化剂及其制备方法。该电催化剂通过在NiCo2O4纳米片阵列表面构建由氮掺杂碳量子点与CeO2组成的复合保护层,利用吡啶氮捕获溶出钴离子、CeO2氧空位促进其再整合,实现界面动态自修复。所述氮掺杂碳量子点嵌入CeO2层中并与NiCo2O4直接接触,协同抑制钴流失并维持结构完整性。本发明通过构建具有动态离子捕获与自修复能力的CeO2/氮掺杂碳量子点复合界面层,成功解决了NiCo2O4基析氧反应电催化剂在强氧化性工况下因钴离子溶出导致的结构失稳与性能衰减问题,在绿色氢能电解水技术领域具有重要的应用价值与产业化前景。

一种液晶诱导氧化石墨烯取向纳米通道膜及其制备方法、应用

NºPublicación:  CN121550858A 24/02/2026
Solicitante: 
哈工大郑州研究院哈尔滨工业大学
CN_121550858_PA

Resumen de: CN121550858A

本发明涉及纳米流体材料与新型能源转换技术交叉领域,且公开了一种液晶诱导氧化石墨烯取向纳米通道膜及其制备方法、应用,所述液晶诱导氧化石墨烯取向纳米通道膜由GO纳米片与特定液晶分子组成,通过液晶分子的氢键与π‑π堆积作用诱导GO纳米片平行取向,形成有序通道;本发明的制备方法将真空抽滤与液晶自组装结合,工艺简便、成本低;同时,本发明的液晶诱导氧化石墨烯取向纳米通道膜在50倍NaCl浓度梯度下的渗透能输出功率密度达5.92 W·m‑2,在HCl体系中达59.7 W·m‑2,且长期稳定性优异,可用于盐差能采集及工业废酸能量回收,具有重要的实用价值。

一种硬碳负极材料及其制备方法和应用

NºPublicación:  CN121565863A 24/02/2026
Solicitante: 
湖南省正源储能材料与器件研究所
CN_121565863_PA

Resumen de: CN121565863A

本发明公开了一种硬碳负极材料及其制备方法和应用。该硬碳负极材料具有分级多孔结构,其中0.35~0.85nm微孔占总孔容的40~50%,2~25nm介孔占总孔容的30~50%;材料的平均闭孔直径为1.7~2.2nm,闭孔体积为0.091‑0.117cm3·g‑1;该硬碳负极材料具备短程伪石墨微晶结构,其平均横向尺寸为3.81~4.18nm,平均纵向尺寸为0.91~1.11nm。本发明采用高浓度酸刻蚀工艺,精准去除工业木质素一次碳化产物中的纳米级杂质相,再经二次碳化制备得到目标硬碳负极材料。该硬碳负极材料兼具高可逆储钠容量、优异的首次库仑效率与长循环稳定性,且制备工艺操作简便易行、生产成本低廉。

一种含碳量子点的光合促进剂的制备方法及应用

NºPublicación:  CN121549369A 24/02/2026
Solicitante: 
西京学院
CN_121549369_PA

Resumen de: CN121549369A

本发明涉及纳米材料农业应用技术领域,且公开了一种含碳量子点的光合促进剂的制备方法及应用,通过采用尿素与柠檬酸为原料,并优化氮碳摩尔比及水热反应参数,实现氮元素的高效掺杂与粒径精准调控,成功合成出具有优异上转换性能的氮掺杂碳量子点光合促进剂,该促进剂具备良好水溶性与生物相容性,在0‑100mg/L浓度范围内能大幅度提升植物光合效率,且明确安全施用窗口,通过建立叶面喷施与水培双模式施用规范,利用碳量子点介导的紫外光-光合有效辐射转换功能,结合其在叶绿体内的靶向富集渗透特性,针对性解决当前农作物对太阳光谱利用不足、光能转化效率偏低的问题。

一种水溶性富勒烯基碳点及其制备方法与应用

NºPublicación:  CN121553927A 24/02/2026
Solicitante: 
河南农业大学
CN_121553927_A

Resumen de: CN121553927A

本发明公开了一种水溶性富勒烯基碳点及其制备方法与应用。所述富勒烯基碳点的粒径介于2‑10 nm之间,是在富勒烯纳米晶表面的碳笼分子上通过氮桥链接亲水性侧链而形成。其制备方法包括:(1)将富勒烯粉末与亲水性分散剂及亲水性叠氮有机化合物按比例依次投料于反应器,在惰性气体氛围下搅拌形成润湿分散体系;(2)将润湿分散体系升温反应;(3)反应混合物经有机溶剂洗涤后,复溶于水,过滤,透析,干燥得到纯净的水溶性富勒烯基碳点。本发明提供了所述的富勒烯基碳点作为纳米抗逆剂在种子处理中的应用,能促进作物幼苗根生长并提高抗环境逆境胁迫尤其是重金属胁迫的能力。

一种石墨化夹具、一种石墨烯膜及其制备方法

NºPublicación:  CN121557734A 24/02/2026
Solicitante: 
广东墨睿科技有限公司
CN_121557734_PA

Resumen de: CN121557734A

本发明公开了一种石墨化夹具、石墨烯膜的制备方法及所得产品,属于石墨烯材料制备技术领域。制备方法包括:将氧化石墨烯浆料经涂布、预处理碳化得到石墨烯碳化膜,随后在石墨化过程中采用专用石墨化夹具对膜材施加沿涂布方向的拉伸力,使其在张紧状态下完成石墨化。该方法通过夹具的力学引导与石墨烯膜制备的工艺协同,显著提高了石墨烯片层的取向度,从而制得具有优异面内导热性能的石墨烯膜。

限域铝化碳纳米管及其制备方法和应用、正极活性材料的制备方法

NºPublicación:  CN121553932A 24/02/2026
Solicitante: 
四川易纳能新能源科技有限公司宜宾万鹏时代科技有限公司
CN_121553932_PA

Resumen de: CN121553932A

本发明提供了一种限域铝化碳纳米管及其制备方法和应用、正极活性材料的制备方法,具体涉及锂离子电池技术领域。该限域铝化碳纳米管中,碳纳米管在多孔阳极氧化铝模板的纳米孔道内被空间限域,并在碳纳米管的外壁和管腔内表面通过模板转化原位生成含铝化合物薄膜;其中,含铝化合物包括偏铝酸锂和/或氧化铝;所述限域铝化碳纳米管具有长条状、圆柱形结构。本发明通过在多孔阳极氧化铝模板的纳米孔道内实现空间限域,完整保持一维结构;在限域环境中,碳纳米管的外壁及管腔内表面通过模板转化机制原位生成含铝化合物薄膜,不仅实现了铝源与碳纳米管的均匀复合,更通过空间限域效应从根本上抑制了碳纳米管在后续加工及应用过程中的团聚与结构变化。

一种单壁碳纳米管的制备方法

NºPublicación:  CN121553929A 24/02/2026
Solicitante: 
深圳市新开碳能科技有限公司
CN_121553929_PA

Resumen de: CN121553929A

本发明公开了一种单壁碳纳米管的制备方法,该方法包括如下步骤:S1、将复合碳源、纳米催化剂和粘结剂混合,依次进行挤压成型和烧结,形成复合棒材;S2、以所述复合棒材为阳极,纯石墨棒为阴极,进行等离子催化热解,得到单壁碳纳米管;其中,所述复合碳源包括高纯石墨、硬碳和软碳。本发明通过复合碳源的配方设计,通过等离子催化热解制备单壁碳纳米管,显著提高了单壁碳纳米管的选择性和产率。

AN ELECTRODE FOR SUPERCAPACITOR COMPRISING CARBON NANOFIBERS WITH DISPERSED IRON OXIDE NANOPARTICLES AND MANUFACTURING METHOD OF THE SAME

NºPublicación:  KR20260022763A 20/02/2026
Solicitante: 
명지대학교산학협력단

Resumen de: KR20260022763A

본 발명은 탄소 나노섬유 및 상기 탄소 나노섬유 중에 분산된 산화철 나노입자를 포함하며, 상기 탄소 나노섬유와 상기 산화철 나노입자 사이 계면의 적어도 일부에 탄소 나노시트가 배치된 슈퍼캐퍼시터용 전극, 이를 포함하는 슈퍼캐퍼시터 및 그 제조 방법을 제공한다. 상기 전극은 탄소 나노섬유 내에서 철 이온의 확산을 조절하여 산화철 나노입자의 유도된 성장을 통해 입경이 제어된 단분산을 달성하여, 개선된 용량과 속도 성능을 제공한다.

METHODS FOR PREPARING A GRAPHENE DISPERSION AND FOR FUNCTIONALIZING GRAPHENE, GRAPHENE DISPERSIONS, AND USES OF GRAPHENE DISPERSIONS

NºPublicación:  WO2026036190A1 19/02/2026
Solicitante: 
G2 ADICOES MINERAIS E QUIM LTDA [BR]
G2 ADI\u00C7\u00D5ES MINERAIS E QU\u00CDMICAS LTDA
WO_2026036190_PA

Resumen de: WO2026036190A1

The invention relates to a method for preparing a graphene dispersion comprising a step of contact between graphene and a dispersing agent in a container, wherein the container is subjected to translation and rotation movement.

Thermoplastic Resin Composition and Molded Article Formed Therefrom

NºPublicación:  US20260049213A1 19/02/2026
Solicitante: 
LOTTE CHEMICAL CORP [KR]
LOTTE CHEMICAL CORPORATION
US_20260049213_A1

Resumen de: US20260049213A1

A thermoplastic resin composition of the present invention comprises: about 100 parts by weight of a thermoplastic resin comprising about 60 to about 90 weight percent of a polyaryletherketone resin and about 10 to about 40 weight percent of a polyarylethersulfone resin; and about 0.5 to about 10 parts by weight of carbon nanotubes, wherein an average size of domains (polyarylether sulfone resin) in a matrix (polyaryletherketone resin) measured at 10,000 and 50,000 times magnification using a scanning electron microscope (SEM) is about 0.5 μm or less. The thermoplastic resin composition is excellent in rigidity, impact resistance, balance of physical properties thereof, and the like.

Systems and Methods for Microwave-Driven Catalytic Conversion of Plastics into Carbon Black Materials and Gases

NºPublicación:  US20260049246A1 19/02/2026
Solicitante: 
CARBON CONV GROUP INC [US]
Carbon Conversion Group, Inc
US_20260049246_PA

Resumen de: US20260049246A1

A system for microwave-assisted catalytic conversion of plastics into carbonaceous materials and gases includes a materials sorter to sort and remove metals from a batch of plastics; a metal detector to detect metals in the batch of plastics; a mixer configured to receive the batch of plastics and a corresponding batch of micro or nano-scale metal oxides, and further configured to produce a mixture of the plastics and the metal oxides to achieve an essentially uniform distribution of the metal oxides in the plastics; and a rotary microwave oven in communication with a microwave generator and configured to receive microwaves to heat contents of the rotary microwave oven. The rotary microwave oven receives the mixture; and a processor executing a program of instructions controls operation of the rotary microwave oven to convert the plastics to produce one or more carbonaceous materials and one or more gases.

EMULSIFIED ACID SYSTEM FOR DRAG REDUCTION IN SUBTERRANEAN WELLS

NºPublicación:  US20260049242A1 19/02/2026
Solicitante: 
KING FAHD UNIV OF PETROLEUM AND MINERALS [SA]
King Fahd University of Petroleum and Minerals
US_20260049242_PA

Resumen de: US20260049242A1

A method of well injection with reduced drag includes injecting an emulsified acid system (EAS) into a subterranean geological formation including one or more hydrocarbons. The EAS includes an aqueous acid phase, a liquid organic phase, carbon nanodots, and an emulsifier. The carbon nanodots are present in an amount of 0.1 to 2 percent by volume (vol. %) based on a total volume of the EAS. The carbon nanodots are zero dimensional. The carbon nanodots include carbon in an amount of 75 to 85 percent by weight (wt. %) and oxygen in an amount of 15 to 25 wt. % based on a total weight of the carbon nanodots. The EAS has an aqueous mixture to liquid organic phase ratio of 60:40 to 80:20 by volume. The EAS is a water in oil emulsion.

CARBON NANOTUBE DISPERSION AND METHOD FOR PREPARING THE SAME

NºPublicación:  US20260048987A1 19/02/2026
Solicitante: 
LG CHEM LTD [KR]
LG CHEM, LTD
US_20260048987_A1

Resumen de: US20260048987A1

The present invention relates to a carbon nanotube dispersion comprising carbon nanotubes, a dispersant and a dispersion medium, wherein the dispersant comprises a first dispersant and a second dispersant in a weight ratio of 100:10 to 100:90, the first dispersant is a dispersant comprising a cyclic amide group, the second dispersant is a polymer compound comprising both a sulfonyl group and styrene, and a weight ratio of the carbon nanotubes and the dispersant is 100:50 to 100:500, thereby having low viscosity and a small particle size of particles contained therein.

METHOD FOR PURIFYING CARBON NANOTUBES

NºPublicación:  EP4696651A1 18/02/2026
Solicitante: 
LG CHEMICAL LTD [KR]
LG CHEM, LTD
EP_4696651_PA

Resumen de: EP4696651A1

Provided is a method for purifying carbon nanotubes, which enables the high-yield production of high-purity purified carbon nanotubes by heating unpurified carbon nanotubes containing high-content metal oxides as impurities in a gaseous atmosphere while simultaneously supplying a halogen material and an oxygen removing material to the heated unpurified carbon nanotubes to induce a reaction.

COATINGS WITH DISCRETE CARBON NANOTUBES FOR ENERGY STORAGE AND ADDITIVE MANUFACTURING

NºPublicación:  EP4695194A2 18/02/2026
Solicitante: 
MOLECULAR REBAR DESIGN LLC [US]
Molecular Rebar Design LLC
KR_20260012210_PA

Resumen de: WO2025058672A2

Novel coating compositions are disclosed for use in Energy Storage devices and Additive Manufacturing. The coatings are comprised of discrete carbon nanotubes wherein the coatings have a selected range of porosity, and optSionally the discrete carbon nanotubes have selected surface modifications to improve wetting or flow of material through the pores of the carbon nanotube coating. The coatings have less than about 20% mass of bundles or ropes of carbon nanotubes with a dimension larger than about 5 micrometers The coatings are of average thickness from about 5 nanometers to about 2000 nanometers and can be applied onto particles of diameter less than about 1000 micrometers, or films. Improved energy storage, or additive part performances include, but not limited to, higher electron conductivity for electrodes of energy storage devices, and higher electron conductivity for parts made by additive manufacturing. The coatings are particularly suitable for additive manufacturing of energy storage devices, and electrodes made using a dry electrode process.

温度センサー用組成物およびその製造方法

NºPublicación:  JP2026026660A 18/02/2026
Solicitante: 
国立大学法人京都工芸繊維大学
JP_2026026660_PA

Resumen de: JP2026026660A

【課題】環境の影響を受けにくく、温度を正確に測定することができる温度センサー用組成物およびその製造方法を提供する。【解決手段】カーボン量子ドットを含有する温度センサー用組成物であって、カーボン量子ドットの表面がポリマーで被覆されている温度センサー用組成物。温度センサー用組成物の製造方法は、カーボン量子ドットの存在下、重合性単量体の重合反応を行うことで、カーボン量子ドットの表面にポリマーを被覆させる工程を備える。温度センサー用組成物は、環境の影響を受けにくく、温度を正確に測定することができる。【選択図】図1

一种磷酸锰铁锂的制备方法

NºPublicación:  CN121536894A 17/02/2026
Solicitante: 
常州锂源新能源科技有限公司南京锂源纳米科技有限公司
CN_121536894_PA

Resumen de: CN121536894A

本发明公开了一种磷酸锰铁锂的制备方法,包括以下步骤:(1)取锰铁氢氧化物FexMn1‑x(OH)2,0.1≤X≤0.9;配置成浆料,加入锰和亚铁摩尔总量等量的磷酸,50~90 ℃搅拌至形成磷酸氢锰铁FexMn1‑xHPO4·3H2O,分离固体;(2)将步骤(1)所得固体分为两份,第一份于380~500℃烧结,形成焦磷酸锰铁;第二份和锂源混合,进行第一次烧结,形成磷酸锰铁锂前驱体;(3)混合焦磷酸锰铁、磷酸锰铁锂前驱体、碳源,以及补充锂源,进行第二次烧结,得磷酸锰铁锂成品。细颗粒焦磷酸锰铁与磷酸氢锰铁一次烧结后生成的大颗粒前驱体形成颗粒级配,提高压实密度,仅控制磷酸氢锰铁工艺参数,简化了工艺。

一种高压膨化-超声辅助剥离二维材料并原位负载金属的方法和应用

NºPublicación:  CN121536918A 17/02/2026
Solicitante: 
浙江工业大学杭州烯创科技有限公司
CN_121536918_PA

Resumen de: CN121536918A

本发明公开一种高压膨化‑超声辅助剥离二维材料并原位负载金属的方法和应用。该方法将分散均匀的层状原料置于耐压反应装置中,以水为介质,在亚临界条件下经低频中压预处理实现层间插层与松动,稀释后再经超声高频、高压进行主剥离,以该操作为周期循环,促使层状材料剥离为二维纳米片;随后引入金属前驱体,对二维纳米片进行膨化、超声循环同时完成纳米金属前驱体原位还原及均匀负载。本发明仅以水为介质,通过多周期膨化‑超声协同作用,同步完成二维材料的高效剥离与纳米金属的原位负载,实现金属颗粒的高分散性和与二维材料界面结合强度。所得金属负载型二维材料在催化反应、能源存储、导电油墨等领域具有重要应用价值。

一种具有超窄半峰全宽的红到近红外的固态荧光碳点制备方法和应用

NºPublicación:  CN121537960A 17/02/2026
Solicitante: 
广东药科大学
CN_121537960_PA

Resumen de: CN121537960A

本发明属于固态荧光碳点的技术领域,具体涉及一种具有超窄半峰全宽的红到近红外的固态荧光碳点及其制备方法和应用,以邻苯二胺和NTCDA的酰亚胺化为基础反应,采用一步水热法合成具有超高单色性的红色(635nm)和近红外(663nm和670nm)固态荧光的CDs,二者半峰全宽是目前所有红色SSF CDs中最窄的,还观察到了CDs的远红外SSF。不仅能最大程度扩展SSF CDs的发光范围,还成功保证了CDs的窄FWHM固态荧光发射,首次揭示了窄波长和长波长发射的分子和结构组装规律。此外,在结构调控下,还能够获得一系列具有良好单色性的多色SSF CDs,整个工作的PL范围跨越485~782nm。

一种分区电阻的碳纳米空心球水伏发电器件及其制备方法

NºPublicación:  CN121546945A 17/02/2026
Solicitante: 
武汉科技大学
CN_121546945_PA

Resumen de: CN121546945A

本发明涉及一种分区电阻的碳纳米空心球水伏发电器件及其制备方法。其方案是:将葡萄糖与聚(4‑苯乙烯磺酸‑共聚‑马来酸)钠盐溶于水,水热反应。所得产物固液分离,将固体清洗,得到的碳纳米空心球前驱体在氩气氛围中于不同温度下碳化,分别得到高电阻碳纳米空心球和低电阻碳纳米空心球。将两种碳纳米空心球分别与松油醇、乙基纤维素和玻璃纤维滤纸加入到无水乙醇中,搅拌,干燥,得到对应高电阻料浆或低电阻料浆。在刚玉基片上绘制电极,分别将所述高电阻料浆和低电阻料浆刮涂在薄膜区域下半部和上半部,退火后制得分区电阻的碳纳米空心球水伏发电器件。本发明工艺简单、成本低廉,所制制品能有效改善电荷传输过程,实现电压与电流的双优化。

一种rGO-MWCNT-合金纳米花复合材料及其制备方法和应用

NºPublicación:  CN121538672A 17/02/2026
Solicitante: 
华南理工大学
CN_121538672_PA

Resumen de: CN121538672A

本发明公开了一种rGO‑MWCNT‑合金纳米花复合材料及其制备方法和应用。本发明的rGO‑MWCNT‑合金纳米花复合材料的组成包括rGO‑MWCNT复合载体和负载的Pt‑Pd‑Cu‑Bi‑W合金纳米花颗粒,其制备方法如下:1)rGO‑MWCNT复合载体和Pt‑Pd‑Cu‑Bi‑W合金纳米花颗粒的制备;2)rGO‑MWCNT复合载体和Pt‑Pd‑Cu‑Bi‑W合金纳米花颗粒的复合。本发明的rGO‑MWCNT‑合金纳米花复合材料可以用作小分子醇电催化氧化的催化剂,其具有催化活性高、稳定性好、导电性好、生产成本较低等优点,且其制备过程简单易行、流程短、反应条件温和,适合进行大规模工业化生产和应用。

一种富勒烯C60的高效提纯与原料循环再利用方法

NºPublicación:  CN121536912A 17/02/2026
Solicitante: 
中国科学技术大学晶灵(宁波)新能源科技有限公司
CN_121536912_PA

Resumen de: CN121536912A

本发明公开了一种富勒烯C60的高效提纯与原料循环再利用方法,属于物质分离提纯领域。本方法以富勒烯原灰为原料,利用C60与特定主体分子之间的选择性超分子络合作用,结合多级重结晶操作,实现C60的高选择性分离,最终产物纯度可达99.5%以上。本方法构建了完整的物料循环体系:在分离出高纯C60后,通过回收装置对所使用的有机溶剂及主体分子进行高效回收,回收的主体分子可直接用于下一轮提纯过程,循环使用三次后,其对C60的选择性络合能力与分离效率仍与新购主体分子相当。本方法具有流程简洁、产物纯度高(>99.5%)、C60回收率高等优点,为C60的大规模、连续化、经济型提纯提供了切实可行的解决方案。

一种微负压单壁碳纳米管收集装置及方法

NºPublicación:  CN121534622A 17/02/2026
Solicitante: 
宁波烯沃新材料科技有限公司
CN_121534622_PA

Resumen de: CN121534622A

本发明涉及一种微负压单壁碳纳米管收集装置及方法,包括下壳,下壳的内部设置有炉体,下壳的一侧设置有用于往炉体内注入氮气的供气机构,供气机构的下方设置有用于防止单壁碳纳米管沉积的加热机构,下壳的上方设置有用于维持炉体内温度均匀性的保温机构;先开启泵体,再将处于关闭状态的控制阀打开,便于将合成的单壁碳纳米管输送至旋风收集器内,由于进气管的内径为下料管内径尺寸的一半,使得炉体内处于微负压状态,通过定向气流控制,避免局部湍流或死角,使副产物被快速抽离反应区,减少在产物表面的沉积,同时,微负压通过均匀抽吸气流,使碳源和催化剂充分接触,促进单壁碳纳米管的定向、均匀生长。

一种光酸双响应型可逆荧光变色碳点材料及其制备方法

NºPublicación:  CN121537950A 17/02/2026
Solicitante: 
齐齐哈尔大学
CN_121537950_PA

Resumen de: CN121537950A

本发明公开了一种光酸双响应型可逆荧光变色碳点材料及其制备方法,涉及发光碳点材料技术领域,该制备方法包括称取一定量的氢氧化钠、六水合氯化镍和罗丹明B,加入到含有乙二醇的烧杯中,搅拌后超声30 min至完全溶解,随后将溶液转移至高压反应釜中,在160~200℃条件下反应6~10 h;最后将反应产物经微孔过滤器过滤,并通过截流分子量为300 Da的透析袋透析24 h后得到最终产品。本发明通过创新的选择性碳化策略,在单一碳点材料中实现了不依赖外源光致变色分子的本征光致荧光变色特性。同时,制备工艺采用一步水热法,工艺流程简洁,成本低廉,具有出色的重现性。

一种用于管道气体泄漏检测的碳量子点检漏剂及其制备方法与应用

NºPublicación:  CN121537962A 17/02/2026
Solicitante: 
西南石油大学四川新创能石油工程技术有限公司四川中拓优视光控科技有限公司
CN_121537962_PA

Resumen de: CN121537962A

本发明属于油气安全管道完整性管理技术领域,具体涉及一种用于管道气体泄漏检测的碳量子点检漏剂及其制备方法与应用。本发明通过引入C12H25长链烷基和采用针对性的纯化工艺以解决现有量子点检漏剂因传统碳量子点亲水性强在非极性泄漏介质中易因界面张力差异产生团聚、氮掺杂率低、传统纯化工艺易出现碳量子点降解团聚导致检测灵敏度低、稳定性不足的问题,满足管道气体泄漏检测中检漏剂需高荧光、易检测、高稳定的核心需求。

一种光辅助充电锂硫充电电池及其制备方法

NºPublicación:  CN121546119A 17/02/2026
Solicitante: 
西北工业大学
CN_121546119_PA

Resumen de: CN121546119A

本发明涉及新能源电池与光电子技术领域,且公开了一种光辅助充电锂硫充电电池,包括:正极:采用复合电极材料,所述复合电极材料是以碳纳米管为骨架,通过化学气相沉积技术在碳纳米管表面生长厚度为5‑10纳米的TiO₂纳米薄膜。本发明通过正极一侧的光子晶体层(二氧化硅纳米球面心立方结构)对400‑700nm波长光的传播路径增加3‑5倍,银纳米线透明导电层增强光散射与电子传输;Au纳米颗粒通过表面等离子体共振效应,将TiO₂光吸收范围拓宽至500‑800nm,光生载流子寿命延长2‑3倍,使光生电子‑空穴对参与电化学反应的效率大幅提升,5C倍率下充电时间缩短至15分钟内,1C倍率充电时间<1小时,充放电速率较传统锂硫电池提升2‑3倍。

一种氮掺杂碳层限域过渡金属基双功能催化剂及其制备方法和应用

NºPublicación:  CN121536913A 17/02/2026
Solicitante: 
陕西科技大学
CN_121536913_A

Resumen de: CN121536913A

本发明公开一种氮掺杂碳层限域过渡金属基双功能催化剂及其制备方法和应用,该方法先将可溶性锌盐和可溶性镍盐在碱性环境下通过水热法合成镍掺杂氧化锌纳米棒,然后使用其与可溶性铁盐以及二甲基咪唑水热合成FeNi‑ZIF‑8,同时加入1,10‑菲啰啉使其表面包覆上Fe‑Phen络合物,最后将所得前驱体进行高温热解及酸洗二次碳化制得所述生长包覆碳纳米管的核壳结构铁镍氮共掺杂多孔碳纳米笼电催化剂。该方法过程可控,制备简单,有效改善了催化性能。

一种纳米酶的合成及其在检测敌敌畏中的应用

NºPublicación:  CN121536909A 17/02/2026
Solicitante: 
北京师范大学
CN_121536909_A

Resumen de: CN121536909A

本申请提供了一种纳米酶的合成方法,具体步骤如下:将含0代聚酰胺‑胺树枝状大分子、铁氰化钾与尿素的水溶液依次进行加热、干燥、研磨处理后,经两次高温热解,再次研磨即得目标纳米酶。本申请还提供了对应的敌敌畏检测方法,操作步骤为:先将样品溶液、缓冲溶液与纳米酶溶液混合孵育,随后将混合液加入含过氧化氢的硼酸盐缓冲液中反应;反应结束后,依次加入碘化钾溶液与罗丹明6G溶液,待反应完成后进行荧光检测。该方法合成的纳米酶兼具类氧化酶、类过氧化物酶、类过氧化氢酶及类超氧化物歧化酶的多重酶学特性,且对敌敌畏的检测具有选择性优良、灵敏度高的优势,适用于实际样品中敌敌畏的快速检测。

一种石墨烯碳化硅制备方法及其产品

NºPublicación:  CN121538734A 17/02/2026
Solicitante: 
重庆壮思飞智能装备有限公司
CN_121538734_PA

Resumen de: CN121538734A

本发明涉及碳化硅单晶制备技术领域,公开了一种石墨烯碳化硅制备方法及其产品,步骤一、预热铜粉,将高纯铜粉放置到真空管式炉中,然后对真空管式炉抽真空后加热,使高纯铜粉达到第一预定温度;步骤二、生成石墨烯粉体,在步骤一中高纯铜粉升温至低于第一预定温度的第二温度时,向真空管式炉内通入高纯甲烷和氢气,保持恒温,甲烷和氢气裂解而在铜粉表面生成石墨烯粉体;步骤三、获得高纯度石墨烯粉体,将石墨烯粉体和铜粉分离,然后干燥得到高纯度石墨烯粉体;步骤四、制备高纯度碳化硅,将高纯度石墨烯粉体与高纯硅粉混合后放入生长炉,在高温下生长制备高纯度碳化硅单晶。本发明专利解决了现有技术中碳化硅晶体纯度低的问题。

含电子自旋的材料及生产所述材料的方法

NºPublicación:  CN121548551A 17/02/2026
Solicitante: 
阿彻材料有限公司
CN_121548551_A

Resumen de: AU2024286636A1

The invention generally relates to new electron spin containing materials and in particular methods of preparing such materials in order to spatially separate electron spins from atmospheric oxygen and moisture.

一种臭灵丹碳点及其制备方法和应用

NºPublicación:  CN121536911A 17/02/2026
Solicitante: 
云南中医药大学云南师范大学
CN_121536911_PA

Resumen de: CN121536911A

本发明公开了一种臭灵丹碳点及其制备方法和应用,属于医药技术领域。臭灵丹碳点的制备方法包括:将臭灵丹细粉分散于蒸馏水中,在加热台上搅拌热解;热解生成物加蒸馏水稀释,离心取上清液,滤膜过滤、透析、冷冻干燥,得到碳点。所得碳点平均粒径4.51±1.04nm。本发明制备的臭灵丹碳点对多种革兰氏阳性菌(如李斯特菌、耐甲氧西林金黄色葡萄球菌MRSA)和真菌(如白色念珠菌)均表现出强烈的抑制活性,特别对临床棘手的耐药菌株,如对耐万古霉素肠球菌(VRE)和MRSA有效,可应用于制备新型的抗菌药物、抗菌敷料、消毒剂或防腐剂,具有原料来源广泛、制备方法简单、成本低廉、环境友好等优点。

一种宏量制备固态荧光碳点的方法及固态荧光碳点

NºPublicación:  CN121536910A 17/02/2026
Solicitante: 
北京交通大学
CN_121536910_PA

Resumen de: CN121536910A

本发明公开了一种宏量制备固态荧光碳点的方法及固态荧光碳点,该方法包括以下步骤:S1、按照预设比例将酰胺类物质和乙醛混合得到前驱体溶液;S2、称取预设量的强碱固体作为催化剂,迅速将其加入到所述前驱体溶液中,超声混合得到反应溶液;S3、将所述反应溶液升温进行回流反应;S4、反应完成之后将反应溶液自然冷却到室温,分离提纯后,取固态产物;S5、将所述固态产物在烘箱中进行干燥,即得目标产物固态荧光碳点。本发明的合成方法,基于成熟的羟醛缩合反应机理,通过精确调控反应物摩尔比、反应温度与时间等关键参数,有效抑制副产物的生成,显著提升产率(产率可高达70~80%),并实现了克级至公斤级的大规模高效制备。同时,所采用的原材料成本低廉、来源广泛,且反应在常压、较低温度条件下即可进行,操作安全性高,能耗低。后处理过程仅涉及常规离心、洗涤及干燥步骤,无需复杂纯化设备,大幅降低了生产成本与工艺复杂度。因此,本方法极具工业化大批量生产潜力。

包被碳的可扩展合成

NºPublicación:  CN121536914A 17/02/2026
Solicitante: 
迪金森公司
CN_121536914_PA

Resumen de: US2024317587A1

The present disclosure is directed to the scalable synthesis of carbonaceous perimorphic materials, including carbonaceous perimorphic frameworks, on recyclable templates, and using recyclable process liquids. The present disclosure also demonstrates novel perimorphic architectures. In particular, perimorphic frameworks comprising synthetic anthracitic networks are demonstrated. Using these methods, three-dimensional architectures constructed from graphenic carbon can be scalably produced.

一种石墨烯纳米镁的制备方法与应用

NºPublicación:  CN121518194A 13/02/2026
Solicitante: 
中润超油(北京)新材料有限公司
CN_121518194_A

Resumen de: CN121518194A

本申请涉及润滑油添加剂技术领域,具体公开了一种石墨烯纳米镁的制备方法与应用。本申请提供的石墨烯纳米镁的制备方法,包括以下步骤:将粒径≤0.1μm的MgS粉末、Na₂O粉末加入到石墨烯分散液中;接着在搅拌作用下向体系中滴加HCl溶液,获得混合液;然后在氮气环境下,首先将混合液以1.5‑3℃/min的速率升温至100‑130℃,恒温0.5‑2h;然后再以5‑8℃/min的速率升温至260‑350℃,恒温反应5‑6h,反应结束经后处理,获得石墨烯纳米镁。本申请通过水热法合成了颗粒大小均匀的石墨烯纳米镁颗粒,将上述石墨烯纳米镁颗粒添加至润滑油中,其均有很好的分散稳定性,能够使润滑油具备稳定的减磨性能。

一种改性硫酸亚铁钠电池正极材料及其制备合成方法

NºPublicación:  CN121516916A 13/02/2026
Solicitante: 
湖州英钠新能源材料有限公司
CN_121516916_PA

Resumen de: CN121516916A

本发明公开了一种改性硫酸亚铁钠电池正极材料及其制备合成方法,涉及钠离子电池技术领域;包括以下步骤:S1、有机膦酸溶于去离子水;S2、加入钠源、铁源和硫酸根源;S3、升温搅拌;S4、加入导电材料;S5、喷雾干燥;S6、煅烧冷却。本发明创新性地采用中部浓缩结晶液相法,通过前驱体中部结晶技术成功合成了非化学计量比的钠离子电池正极材料,通过巧妙地引入磷酸基团并结合中部结晶技术,有效地稳固了正极材料的晶体结构,显著减少了杂质的生成,大幅提升了材料的合成效率与结构稳定性。

一种硅碳负极材料的制备方法及应用

NºPublicación:  CN121516853A 13/02/2026
Solicitante: 
江苏正力新能电池技术股份有限公司
CN_121516853_A

Resumen de: CN121516853A

本发明涉及一种硅碳负极材料的制备方法及应用,包括以下步骤:(1)将碳化硅纳米粒子、碱性试剂与分散剂分散于水中,得到浆料A;将酚类单体、醛类单体与引发剂分散于水中,得到浆料B;(2)将浆料A与浆料B进行混合搅拌反应,然后加热固化得到掺杂碳化硅纳米粒子的酚醛树脂P‑SiC;(3)将P‑SiC进行第一次碳化处理,所得碳化产物与强碱混合进行碱活化处理,冷却、粉碎得到掺杂碳化硅纳米粒子的多孔碳C‑SiC;(4)将C‑SiC置于反应器中,利用化学气相沉积法依次进行硅沉积、碳沉积处理,得到所述硅碳负极材料。由上述方法制备的负极材料具有高抗压强度及高克容量,可有效抑制其在充电过程中的体积膨胀,从而有效提高高容量电池的循环性能。

改性生物炭、改性生物硅炭负极活性材料及其制备和在锂离子电池中的应用

NºPublicación:  CN121516846A 13/02/2026
Solicitante: 
湖南宸宇富基新能源科技有限公司大理宸宇储能新材料有限公司南宁宸宇新能源科技有限公司中南大学
CN_121516846_PA

Resumen de: CN121516846A

本发明属于负极材料领域,具体涉及一种改性生物炭、改性生物硅炭负极活性材料及其制备和在锂离子电池中的应用,其制备步骤包括:将生物质预先进行第一段改性,随后进行第二段改性,得到改性生物质A;将改性生物质预先和改性剂A进行第一段溶剂热,再将得到的产物和改性剂B进行第二段溶剂热处理,得到改性炭前驱体A;在改性炭前驱体A上包覆M元素氧化物,随后再包覆过渡金属改性材料,得到改性炭B;M元素为Si和/或Al;过渡金属改性材料为过渡金属的氮化物和/或碳化物;将改性炭B和碱进行熔融热处理,随后经洗涤处理,制得改性生物炭。本发明制得的材料能够改善硅材料的快充以及宽温域稳定性。

触媒、触媒前駆体、製造方法、および高純度で形態制御されたカーボンナノチューブ

NºPublicación:  JP2026505489A 13/02/2026
Solicitante: 
キャズムアドバンストマテリアルズ,インク.
JP_2026505489_PA

Resumen de: CN120882489A

A catalyst, a catalyst precursor, and carbon nanotubes grown using the catalyst. The catalyst comprises a support comprising alumina and a cobalt species on the surface of the support, wherein cobalt is the sole active catalyst species for the growth of carbon nanotubes. The carrier surface does not contain iron.

一种基于石墨化诱导增径的碳纳米管气凝胶及其制备方法

NºPublicación:  CN121516858A 13/02/2026
Solicitante: 
哈尔滨工业大学
CN_121516858_PA

Resumen de: CN121516858A

一种基于石墨化诱导增径的碳纳米管气凝胶及其制备方法,属于先进碳材料与多孔气凝胶材料领域,所述方法为:通过在化学气相沉积过程中引入碳源过量沉积策略,使碳纳米管表面形成均匀的无定形碳包覆层;在高温惰性气氛下实施石墨化诱导处理,使无定形碳层晶格重排为石墨结构并逐步并入原有碳纳米管壁,实现碳纳米管直径的大幅增粗。本发明通过石墨化诱导增径手段,实现了碳纳米管直径的突破性提升,进而显著增强碳纳米管气凝胶的宏观承载能力。在保持碳纳米管气凝胶低密度和优异可压缩性的同时,材料压缩强度达到MPa量级。

Anti-icing, de-icing, and heating configuration, integration, and power methods for aircraft, aerodynamic, and complex surfaces

NºPublicación:  US20260042540A1 12/02/2026
Solicitante: 
BATTELLE MEMORIAL INST [US]
Battelle Memorial Institute
US_20260042540_PA

Resumen de: US20260042540A1

Anti-icing methods and aerodynamic structures having laminated resistive heaters for de-icing are described. Several of the inventive aspects utilize laminated resistive heaters comprising a carbon nanotube layer and/or capacitors to store and supply electricity. The invention also includes methods of making aerodynamic structures having de-icing or anti-icing functionality.

SUPERCAPACITOR COMPRISING NANOSTRUCTURE OF A METAL-CHALCOGEN COMPOUND

NºPublicación:  EP4690265A1 11/02/2026
Solicitante: 
ARIEL SCIENT INNOVATIONS LTD [IL]
Ariel Scientific Innovations Ltd
KR_20260003698_PA

Resumen de: WO2024209476A1

Symmetric and asymmetric supercapacitors are disclosed. The symmetric supercapacitor comprises: a first electrode; an electrolyte; and a second electrode. The first and second electrodes comprise carbon-based material and nanostructure of metal-chalcogen compound, wherein the metal is selected from Cu, Va, Ni, Fe, Ag, Co, Mn, Sn, and any combination thereof, and the chalcogen is selected from Te, Se, and S. The asymmetric supercapacitor comprises: a substrate; a first electrode comprising a first carbon-based material and a first nanostructure of a metal-chalcogen compound, wherein the metal is selected from Cu and Sn, and the chalcogen is selected from Te, Se, and S; an electrolyte; and a second electrode comprising a second carbon-based material.

A COMPOSITE COMPRISING CARBON NANOTUBES AND USES THEREOF AS A CATHODE

NºPublicación:  EP4688650A1 11/02/2026
Solicitante: 
YEDA RES & DEV [IL]
Yeda Research and Development Co. Ltd
WO_2024201466_A1

Resumen de: WO2024201466A1

Provided herein a composite comprising a multi-layered structure comprising at least one layer of multi-walled carbon nanotube (MWCNT) and at least one layer of single-walled carbon nanotube (SWCNT); and its use as a cathode for e.g. LSBs (lithium sulfur batteries).

SILICON-CARBON COMPOSITE MATERIAL AND PREPARATION METHOD THEREFOR, SECONDARY BATTERY, AND ELECTRIC DEVICE

NºPublicación:  EP4693475A1 11/02/2026
Solicitante: 
CONTEMPORARY AMPEREX TECHNOLOGY CO LTD [CN]
Contemporary Amperex Technology Co., Limited
EP_4693475_PA

Resumen de: EP4693475A1

Provided are a silicon-carbon composite material and a preparation method therefor, a secondary battery, and an electric device. The silicon-carbon composite material comprises silicon-carbon secondary particles; the silicon-carbon secondary particles comprise silicon-carbon primary particles and one-dimensional conductive agents; the one-dimensional conductive agents are distributed between the silicon-carbon primary particles. The silicon-carbon composite material has excellent electron transport performance, is beneficial to reducing the fast charging time for a battery, increases the number of cycles of the battery, can improve the rate capability and cycle performance of the battery, and comprehensively improves the electrochemical performance of the battery.

一种生物质基硬碳材料及制备方法、应用和电池

NºPublicación:  CN121493939A 10/02/2026
Solicitante: 
浙江钠谛科技有限公司
CN_121493939_PA

Resumen de: CN121493939A

本发明提供了一种生物质基硬碳材料及制备方法、应用和电池。该制备方法包括以下步骤:(1)将酒糟依次进行酸处理和碱处理后,再和三聚氰胺、亲水性碳纳米管进行混合,得到预处理前驱体;(2)将所述预处理前驱体进行碳化,得到初级硬碳;(3)在惰性气体保护下,将所述初级硬碳、沥青和金属类催化剂的混合物进行煅烧、洗涤后得到所述生物质基硬碳材料。本发明制备的硬碳材料通过定向调控与杂质深度去除,结合碳包覆协同增效可以实现更大比容量和首次库伦效率,实现高倍率循环寿命。

一种二维纳米复合材料、三维体相材料及其制备方法和应用

NºPublicación:  CN121493900A 10/02/2026
Solicitante: 
天津大学
CN_121493900_PA

Resumen de: CN121493900A

本申请提供了一种二维纳米复合材料、三维体相材料及其制备方法和应用,所述二维纳米复合材料的制备方法包括如下步骤:在搅拌条件下,将复合纳米片与有机相的水溶液混合,形成浆料,而后进行蒸发诱导自组装,得到二维纳米复合材料。本申请中,将磷酸钙纳米簇引入二维纳米片层间,在蒸发自组装过程中,该纳米簇在聚乙烯醇和海藻酸钠分子链的调控下发生原位无机离子聚合,形成羟基磷灰石纳米线;该羟基磷灰石纳米线一方面通过离子键与海藻酸钠的羧基结合,另一方面通过氢键与聚乙烯醇的羟基相互作用,从而在相邻纳米片之间构建了牢固的“有机‑无机双桥”结构。通过该方法制备的二维纳米复合材料具有较强的拉伸强度、断裂性能以及韧性。

一种近红外二区成像与ROS清除双功能碳点其制备方法

NºPublicación:  CN121490105A 10/02/2026
Solicitante: 
厦门大学
CN_121490105_PA

Resumen de: CN121490105A

本发明提供一种近红外二区成像与ROS清除双功能碳点其制备方法。所述碳点由含p‑对苯二胺氨基基团的苯胺类单体与硒脲作为前驱体反应制得,并具有近红外二区(NIR‑II)荧光发射特性与活性氧(ROS)清除能力。

储能用富褶皱多孔碳纳米片及其制备方法和应用

NºPublicación:  CN121506755A 10/02/2026
Solicitante: 
中国神华煤制油化工有限公司
CN_121506755_PA

Resumen de: CN121506755A

本申请提供了一种储能用富褶皱多孔碳纳米片及其制备方法和应用。本申请提供的制备方法包括:将沥青与改性剂混合进行改性处理,得到改性沥青,其中,改性剂为芳香醛类化合物;将改性沥青、模板剂以及活化剂混合均匀并进行烧结处理,得到碳纳米片,其中,模板剂为纳米级钠盐;将碳纳米片中的模板剂洗脱,得到储能用富褶皱多孔碳纳米片。本申请采用芳香醛类化合物对沥青进行改性,在沥青中引入含氧官能团,降低石墨化程度,扩大石墨层间距,提高储能容量;采用纳米级钠盐作为模板剂,利用模板剂的“占位”效应和活化剂的活化作用,洗脱模板剂后形成了相互连通的介孔和微孔,且纳米级钠盐无需消耗大量酸即可洗脱去除,成本较低且缓解了环境压力。

一种锂离子电池纳米材料及制备方法

NºPublicación:  CN121506899A 10/02/2026
Solicitante: 
贵州民族大学
CN_121506899_PA

Resumen de: CN121506899A

本发明涉及锂离子电池技术领域,且公开了一种锂离子电池纳米材料,包括正极和负极,所述负极包括硅‑锡纳米颗粒、硼掺杂碳纳米管与碳纳米片的复合网络,以及硅‑锡纳米颗粒与硼掺杂碳纳米管‑碳纳米片复合网络之间的界面处形成的厚度为2‑5nm的SiO₂缓冲层。该锂离子电池纳米材料及制备方法,通过构建硅‑锡纳米颗粒、硼掺杂碳纳米管‑碳纳米片复合网络及SiO₂缓冲层的协同结构,复合网络借助C‑B‑C共价键交织形成三维多孔结构,为硅‑锡纳米颗粒提供稳定支撑,SiO₂缓冲层在两者界面处发挥弹性缓冲作用,有效分散充放电过程中的体积膨胀应力,避免负极结构破裂,同时抑制硅‑锡纳米颗粒与碳网络脱附,长期维持低体积膨胀状态,减缓电池容量衰减。

一种硫酸亚铁钠正极材料及其制备方法

NºPublicación:  CN121494070A 10/02/2026
Solicitante: 
江门市科恒实业股份有限公司
CN_121494070_A

Resumen de: CN121494070A

本申请属于钠离子电池正极材料技术领域,公开了一种硫酸亚铁钠正极材料及其制备方法,该硫酸亚铁钠正极材料的制备方法包括如下步骤:步骤1:制备硫酸亚铁前驱体;步骤2:将硫酸亚铁前驱体与钠源、含铁硫酸盐、M源和碳源混合,然后烧结破碎得到硫酸亚铁钠正极材料;其中所述步骤1的具体方法为:将铁源和亲水型改性碳材料加入去离子水中搅拌获得均匀的浆料,然后对浆料进行喷雾干燥,得到硫酸亚铁前驱体,所述铁源和亲水型改性碳材料的质量比为9‑19:1;所述M源为Mn源或Mn源与Mg源、Ti源、Zn源中的至少一种形成的混合物;所述硫酸亚铁钠正极材料的化学通式NaxFeyMz(SO4)x/2+y+z,其中1≤x≤3,0.1≤y≤2,0.1≤z≤1。本申请通过先制备硫酸亚铁前驱体来控制得到的硫酸亚铁钠正极材料的形貌,从而提升电性能表现。

过渡金属掺杂的三维TiN@CNTs吸波材料及制备方法与应用

NºPublicación:  CN121493882A 10/02/2026
Solicitante: 
大连理工大学
CN_121493882_PA

Resumen de: CN121493882A

过渡金属掺杂的三维TiN@CNTs吸波材料及制备方法与应用,其属于吸波材料领域。该制备方法为将过渡金属盐溶液加入MXene分散液中,冷冻干燥后得到活化的MXene粉末;将步其与含碳氮化合物混合均匀,置于惰性气体氛围中进行煅烧,冷却至室温后得到过渡金属掺杂的三维TiN@CNTs材料。本发明制备的吸波材料阻抗匹配程度优异,化学稳定性好,不易被氧化,在低于5 wt%的添加量下即可实现优异的吸波性能。

一种片状钴复合VN/CNT复合材料及其制备方法和应用

NºPublicación:  CN121493951A 10/02/2026
Solicitante: 
陕西致诚锋技功能材料有限公司
CN_121493951_PA

Resumen de: CN121493951A

本发明公开了一种片状钴复合VN/CNT复合材料及其制备方法与应用,方法包括:1、将六水合硝酸钴加入到无水乙醇,溶解,得到溶液A;2、将2‑甲基咪唑加入到去离子水,溶解,得到溶液B;3、将溶液A加入溶液B,搅拌,抽滤,分离出沉淀物,烘干,得到前驱体Ⅰ;4、将前驱体Ⅰ放入去离子水,搅拌,得到浑浊液;5、将偏钒酸铵和十六烷基三甲基氯化铵加入至无水乙醇,得到溶液C;6、将溶液C加入浑浊液,搅拌,抽滤,分离出沉淀物,烘干,得到前驱体Ⅱ;7、将前驱体Ⅱ置入管式炉,氩气气氛下,低温烧结,得到前驱体Ⅲ;8、将前驱体Ⅲ与尿素混合均匀,置入管式炉,氩气气氛下,高温烧结,得到片状钴复合VN/CN复合材料,具有良好的高温稳定性和高能量密度。

一种三维Si@FeSe@C纳米球结构材料及其制备方法和在锂离子电池负极和液态/全固态电池的应用

NºPublicación:  CN121493989A 10/02/2026
Solicitante: 
安徽师范大学
CN_121493989_PA

Resumen de: CN121493989A

本发明提供了一种三维Si@FeSe@C纳米球结构材料及其制备方法和在锂离子电池负极和液态/全固态电池的应用,与现有技术相比,本发明通过多孔Si与铁源反应,硒化后,包覆碳层,得到三维多孔结构的Si@FeSe@C复合材料。多孔结构有效的缓解了体积膨胀问题,使电池具有更好的稳定性。FeSe中间层凭借其类金属高电导率构筑了高效的电子传输网络,同时其强健的力学性能和与硅核更紧密的界面结合,极大抑制了体积膨胀并维持了结构完整性;此外,界面处易于形成的硒空位显著提升了锂离子扩散动力学;该结构在实现高比容量的同时,兼备优越的倍率性能,且铁基材料成本低廉,更具商业化潜力。

一种催化化学气相沉积制备富勒管的方法

NºPublicación:  CN121493949A 10/02/2026
Solicitante: 
中国科学院金属研究所
CN_121493949_PA

Resumen de: CN121493949A

本发明涉及纳米材料制备技术领域,是一种催化化学气相沉积制备富勒管的方法。利用催化化学气相沉积方法,借助催化剂在一定温度下有序组装碳,进一步控制影响催化剂‑碳界面结合的反应条件,实现富勒管自下而上的直接制备。富勒管呈现分子形态,由两端半球形富勒烯帽端与中段碳纳米管管状结构组成,长径比大于1,长度在短碳纳米管范畴及以下,直径在0.4~3nm之间。本发明以催化剂设计和控制纳米碳材料催化生长动力学过程为核心,最终实现准一维富勒管的直接制备,突破了现阶段富勒管可控制备方法少且已有方法副产物多的瓶颈,兼具可控性好、工艺简单、成本低、适于大规模制备等特点,为实现富勒管的高效可控制备提供了新途径。

一种新型耐腐蚀铁基微波吸波材料制备方法

NºPublicación:  CN121495537A 10/02/2026
Solicitante: 
南京星起源新材料科技有限公司
CN_121495537_PA

Resumen de: CN121495537A

本发明涉及吸波材料制备领域,具体涉及一种新型耐腐蚀铁基微波吸波材料制备方法。本发明的制备方法包括S1氟化石墨烯制备、S2片状羰基铁粉制备和S3复合制备三步。在步骤S1中不使用酸性物质,而是添加了胆酸钠,有效解决了氟化石墨烯在水中团聚沉降的问题,使剥离后的氟化石墨烯能够以单层或少层的状态稳定地分散在水溶液中。此制备方法无酸性等危化试剂引入,产物质量高,结构完整,更加环保、安全,对设备要求低,产物缺陷少,易于规模化生产。通过本发明所提供的方法制备得到的复合型吸波材料在高频下仍维持较高的磁导率,突破了snoek极限。

一种基于“电荷重构驱动分子桥接”的不燃芦苇纤维-硅系复合材料及其制备方法

NºPublicación:  CN121494456A 10/02/2026
Solicitante: 
中南林业科技大学
CN_121494456_PA

Resumen de: CN121494456A

本发明公开了一种基于“电荷重构驱动分子桥接”的不燃芦苇纤维‑硅系复合材料及其制备方法,本发明涉及建筑材料与功能复合材料技术领域,该复合材料由硅酸盐水泥、阳离子碳点改性芦苇纤维、规则八面体Cu‑MOF纳米颗粒、水及硅烷偶联剂组成,本发明通过阳离子碳点实现纤维‑水泥界面电荷重构与分子桥接,协同规则八面体Cu‑MOF的限域催化成炭作用,显著提升芦苇纤维与硅系基体之间的界面相容性与应力传递效率,使复合材料同时具有较高的抗压强度和抗弯强度,并兼具高热稳定性、优异阻燃性和抑烟性,可满足不燃级建筑板材的应用要求,工艺简便且环境友好,适合在实际工程中推广应用。

一种磷酸焦磷酸铁钠复合材料及其制备方法和应用

NºPublicación:  CN121493912A 10/02/2026
Solicitante: 
荆门市格林美新材料有限公司格林美股份有限公司
CN_121493912_A

Resumen de: CN121493912A

本发明提供了一种磷酸焦磷酸铁钠复合材料及其制备方法和应用,所述制备方法包括以下步骤:对碳纳米管进行氧等离子体处理后,分散于硅烷偶联剂溶液中反应得到改性碳纳米管载体材料;将改性碳纳米管载体材料与第一溶剂混合得到改性碳纳米管分散液,将铁源、钠源、磷源、导电碳材料与改性碳纳米管分散液混合,经喷雾干燥处理得到前驱体材料;将前驱体材料、复合碳源、三聚氰胺与第二溶剂混合分散,干燥后烧结得到所述磷酸焦磷酸铁钠复合材料。本发明在材料内部构建碳导电网络的同时,外层包覆改性碳层,材料内部与包覆层的结合强度高且界面电阻较小,明显提高了材料的电子传输效率和结构稳定性。

一种石墨烯包覆钛酸锂复合材料及其制备方法

Nº publicación: CN121506896A 10/02/2026

Solicitante:

新乡市远东电子科技有限公司

CN_121506896_PA

Resumen de: CN121506896A

本发明提供了一种石墨烯包覆钛酸锂复合材料及其制备方法,涉及电池材料技术领域,包括以下质量比成分:钛酸锂基体80‑95份,石墨烯层1‑10份,分散剂0.5‑5份;所述石墨烯层包覆于所述钛酸锂基体表面,所述分散剂用于分散石墨烯层中的石墨烯;所述石墨烯层为连续紧密的结构;本发明通过精准控制石墨烯层数、包覆层厚度及分散剂用量,使石墨烯在钛酸锂表面形成连续紧密的纳米盔甲包覆层,既解决了钛酸锂电子电导率低的缺陷,又避免了石墨烯团聚导致的导电通路断裂问题,石墨烯的二维柔性结构与钛酸锂的零应变特性产生协同效应,可有效抑制钛酸锂颗粒在循环过程中的团聚和腐蚀,缓冲锂离子嵌入、脱出时的体积微变化。

traducir