Ministerio de Industria, Turismo y Comercio LogoMinisterior
 

Alerta

Resultados 451 resultados
LastUpdate Última actualización 22/10/2025 [07:20:00]
pdfxls
Solicitudes publicadas en los últimos 15 días / Applications published in the last 15 days
previousPage Resultados 75 a 100 de 451 nextPage  

一种微风发电设备

NºPublicación:  CN120798648A 17/10/2025
Solicitante: 
新乡市米风新能源有限责任公司
CN_120798648_PA

Resumen de: CN120798648A

本发明公开了一种微风发电设备,涉及风力发电领域,其风向识别组件用于识别风力方向,底座上设置回转轴承,回转轴承的活动端连接架体且由第一驱动件驱动转动,转动轴竖直贯穿底座,其位于架体内的第一段设置多组风轮组,每组风轮组由多个风轮组成,转动轴位于底座内的第二段连接发电机,聚风组件固定在架体上,具有入风口和汇风口,汇风口朝向风轮组,同步控制模块分别与风向识别组件和第一驱动件电连接,用于控制聚风组件入风口朝向判断的风向。本申请达到了精准捕捉风向,在微风环境下实现集中聚风,提高风速,进而实现高效发电,充分利用微风资源的技术效果。

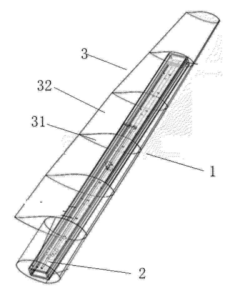
叶身支撑组件以及运输系统

NºPublicación:  CN223447174U 17/10/2025
Solicitante: 
北京金风科创风电设备有限公司
CN_223447174_U

Resumen de: CN223447174U

本申请一个实施例提供一种叶身支撑组件以及运输系统,叶身支撑组件用于叶片,叶片包括叶根、叶尖以及位于叶根与叶尖之间的叶身,叶身支撑组件包括:连接结构,在第一方向具有相对的第一端、第二端,第一端用于与第一运输设备连接;第一叶身保持器,设置于第二端并与连接结构连接,第一叶身保持器用于支撑固定叶身。本申请能够满足对叶片的支撑以及与第一运输设备之间的连接,保证对叶片运输的可靠性。

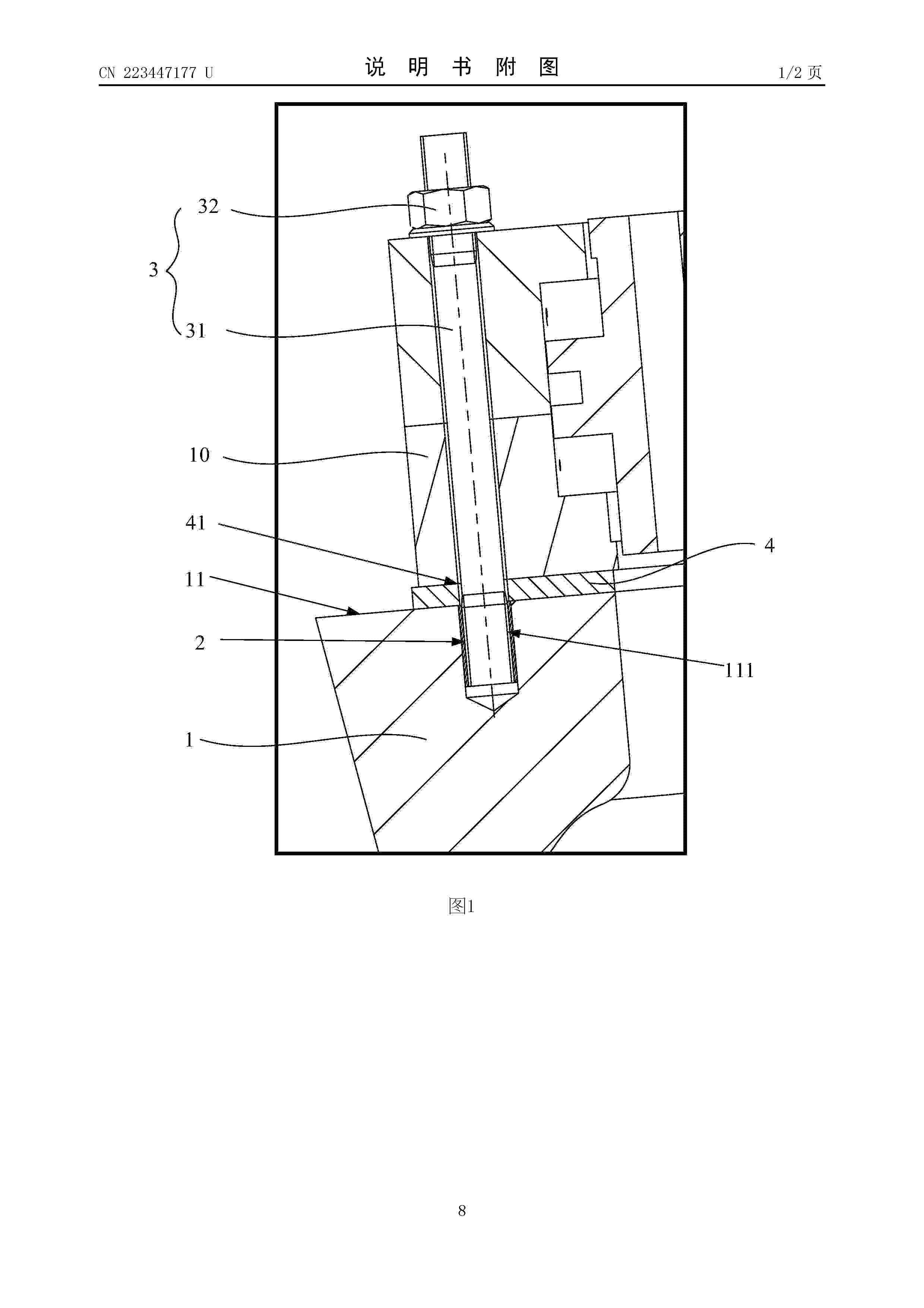
风电轮毂及风力发电机组

NºPublicación:  CN223447177U 17/10/2025
Solicitante: 
上海电气风电集团股份有限公司
CN_223447177_U

Resumen de: CN223447177U

本实用新型公开了一种风电轮毂及风力发电机组,风电轮毂包括轮毂本体和螺套,轮毂本体具有法兰面,法兰面上环设有多个安装孔,安装孔内嵌设有螺套,螺套的材料硬度大于轮毂本体的材料硬度,螺套具有内螺纹,螺套用于与外部组件通过螺纹件连接。该风电轮毂通过在安装孔内嵌设有硬度大于轮毂本体的螺套,螺纹件通过螺套连接于轮毂,螺套可以消除螺纹件与安装孔之间的螺距和牙型偏差,使载荷分布均匀,提高螺纹连接的强度,增加螺纹连接的承载力和抗疲劳强度,同时,螺套能够在螺纹件和轮毂本体之间起到缓冲的作用,减小冲击,防止螺套的内螺纹和安装孔的内螺纹损坏,从而保障机组安全运行,延长轮毂的使用寿命,提高经济效益。

一种绿色装配式移动房屋

NºPublicación:  CN223446369U 17/10/2025
Solicitante: 
新疆宏远建设集团有限公司
CN_223446369_U

Resumen de: CN223446369U

本实用新型公开了一种绿色装配式移动房屋,涉及移动房屋技术领域,包括装配屋体、以及安装于装配屋体外侧的光伏发电系统,所述装配屋体包括地板、可拆装设在地板顶部的外墙、以及可拆装设在外墙顶部的屋顶,所述光伏发电系统包括转动设在屋顶顶部的第一太阳能板、以及固定安装在外墙两侧的第二太阳能板。本实用新型通过第一太阳能板的设置,能从房屋上方接受光照进行发电,角度调节机构能驱动第一太阳能板跟随太阳转动最大限度接受光照,来提高发电量,外墙上的第二太阳能板既可为房屋提供额外的太阳能发电功率,还可改善建筑内部的隔音和绝热性能,配合风力发电机的发电,能尽量满足移动房屋的用电,降低移动房屋的用电焦虑。

风力发电装置

NºPublicación:  CN120813765A 17/10/2025
Solicitante: 
全永峻
CN_120813765_PA

Resumen de: WO2024195964A1

A wind power generation apparatus of the present invention comprises: a frame part including a plurality of upper horizontal frames each being connected by one end and the other end thereof so as to be arranged in a pentagonal structure, a plurality of upper support frames each having one end connected to each vertex of the upper horizontal frames and having the other ends gathered together in the upward direction and connected, side frames each having one end connected to each vertex of the upper horizontal frames and arranged in the downward direction, a plurality of lower horizontal frames each being connected by one end and the other end thereof so as to be arranged in a pentagonal structure, being arranged to be spaced apart below the upper horizontal frames, and having respective vertices to which each of the other ends of the side frames is connected, and a plurality of lower support frames each having one end connected to each vertex of the lower horizontal frames and having the other ends gathered together in the downward direction and connected; a rotary shaft to which the other ends of the upper support frames and the other ends of the upper support frames are connected, and which rotates integrally with the frame part by means of the wind; and a generator for generating electricity by means of the rotation of the rotary shaft.

连接盘部件、风电叶片和风力发电机组

NºPublicación:  CN120798643A 17/10/2025
Solicitante: 
远景能源有限公司
CN_120798643_PA

Resumen de: CN120798643A

本公开涉及一种连接盘部件、风电叶片和风力发电机组,风电叶片包括叶片主体、防雷层和连接组件,叶片主体围设形成空腔,空腔内设有导电器件;防雷层设于叶片主体上且邻近叶片主体的外表面设置;连接组件包括连接盘部件和第一紧固件,其中,连接盘部件包括第一盘件和第二盘件,第二盘件位于第一盘件和导电器件之间,第一盘件和第二盘件连接并将所述防雷层夹持在所述第一盘件和所述第二盘件之间;所述第一紧固件的一端穿过所述第一盘件、所述第二盘件和所述叶片主体与所述导电器件电连接,所述第一紧固件的另一端与所述第一盘件抵靠。本公开提供的技术方案,可以提高防雷层与导电器件的电连接可靠性,保障防雷作用的有效性。

一种活页式风力机及其可变力矩风力发电装置

NºPublicación:  CN120798649A 17/10/2025
Solicitante: 
黄锦林
CN_120798649_PA

Resumen de: CN120798649A

本发明一种活页式风力机及其可变力矩风力发电装置涉及风力发电技术领域,解决了目前风力发电装置生产和使用成本过高、发电效率低、噪音大等诸多缺陷,采用活页设计和可变力矩设计,有效提高了发电机的工作效率,安全性和稳定性也得到增强,同时,风力机在低速大扭力和接近无风阻运动的过程中也减少了空气摩擦、降低了噪音,不仅如此,叶片的设计和制作更加简单,各种硬质或软质材料均可用于设计生产,真正实现了材料选用的多样化和轻量化,降低了风力发电机的生产成本和使用成本,本发明风力机发电装置具有起动快、效率高、安全、平稳、低噪音等特点,同时更易于生产、安装和维护,实用性更强、适用范围更广,具有很高的市场推广价值。

一种风力发电机的控制方法、装置、终端及存储介质

NºPublicación:  CN120798659A 17/10/2025
Solicitante: 
华能(临高)新能源有限公司明阳智慧能源集团股份公司
CN_120798659_PA

Resumen de: CN120798659A

本发明公开了一种风力发电机的控制方法、装置、终端及存储介质,具体涉及风力发电机运行控制技术领域,用于解决现有控制方法在海洋环境中因风与波浪载荷方向动态响应差异导致支撑结构承受剧烈不对称载荷的问题,通过实时同步获取风向与波浪方向数据,计算风向变化率并分析支撑结构振动信号以识别波浪激励主导频率成分,当检测到波浪激励能量突变且风向变化率超限时,分析风浪方向差异,同时通过分析塔顶运动轨迹确定波浪谱能量集中频带,结合方向差异和波浪能量集中频带评估载荷不对称风险等级,最终根据风险等级自适应调整偏航速度和变桨速率,实现对风浪载荷方向错配工况的精准识别与预警,提升极端天气下风力发电机的运行可靠性。

大型漂浮式张力腿式海上风力发电系统及其运输、安装及维护方法

NºPublicación:  CN120793089A 17/10/2025
Solicitante: 
大连理工大学
CN_120793089_PA

Resumen de: CN120793089A

大型漂浮式张力腿式海上风力发电系统及其运输、安装及维护方法,属于海上风电领域,浮式张力腿风机基础各所述横撑上设置至少两组所述辅助浮筒,其中的一组所述辅助浮筒在所述横撑上设置为靠近于连接在所述横撑两端中的一个所述侧浮筒,则另一组所述辅助浮筒在所述横撑上设置为靠近于连接在所述横撑两端中的另一个所述侧浮筒,其中,一组所述辅助浮筒包括至少一个所述辅助浮筒,本发明能够降低浮式风机运输和安装难度,提升安装精度,同时辅助浮筒方便拆卸,在运维过程中可快速更换,具有安装便利性。

一种1MW垂直轴风力发电机组

NºPublicación:  CN120798660A 17/10/2025
Solicitante: 
无锡源诺碳中和科技有限公司
CN_120798660_PA

Resumen de: CN120798660A

本发明涉及垂直轴风力发电机领域,提供了一种1MW垂直轴风力发电机组,包括,风轮系统以及用于将风轮系统捕获的动能转换为电能的发电系统,本发明克服了现有技术的不足,通过动态调节叶尖速比,使其控制在5至7的区间内,以优化气动效率,确保风轮在不同风速条件下都能获得最佳的气动性能,从而提高发电效率;根据风向、叶片位置和风速调节叶片角度,使不同位置的叶片都能获得最大扭矩,从而提高整体发电效率,克服了传统叶片固定角度的缺陷。

针对漂浮式风机海上静对动安装的装备及其工作方法

NºPublicación:  CN120798681A 17/10/2025
Solicitante: 
上海能源科技发展有限公司
CN_120798681_PA

Resumen de: CN120798681A

本发明属于漂浮式风机海上安装技术领域,提出了一种针对漂浮式风机海上静对动安装的装备及其工作方法,在吊机连接件与吊钩连接件之间设置多个伸缩杆,吊机连接件上设置距离传感器,以及在吊钩连接件上的不同位置设置多个距离传感器;其中,根据所述吊钩连接件上不同位置距离传感器检测的距离比较结果,通过所述多自由度补偿机构对横摇角度和纵摇角度进行调整,使得吊装对象和安装对象之间处于相对静止状态,使得两个需要连接的连接面相互平行或静止,便于连接作业,且避免了吊装对象与安装对象发生碰撞的问题。

一种磁悬浮微风发电系统的平衡补偿方法及装置

NºPublicación:  CN120798652A 17/10/2025
Solicitante: 
中国铁塔股份有限公司北京市分公司
CN_120798652_PA

Resumen de: CN120798652A

本申请提供了一种磁悬浮微风发电系统的平衡补偿方法及装置,所述平衡补偿方法包括:在磁悬浮微风发电系统处于静态悬浮状态时,利用激励信号对磁悬浮微风发电系统进行激励,得到第一响应数据,对静态转子运动模型进行参数辨识,得到估算支承参数;控制磁悬浮微风发电系统进行旋转,得到每个转速值下的第二响应数据;对旋转转子运动模型进行参数辨识,得到不平衡质量参数,以确定不平衡力补偿信号,并将不平衡力补偿信号添加至磁悬浮微风发电系统中。通过上述方法,提高了对磁悬浮微风发电系统进行动平衡的准确性和效率,进而延长了磁悬浮微风发电系统的使用寿命。

电热多能柔性磁控发电设备

NºPublicación:  CN120811068A 17/10/2025
Solicitante: 
南方电网科学研究院有限责任公司武汉大学中国南方电网有限责任公司
CN_120811068_PA

Resumen de: CN120811068A

本申请涉及一种电热多能柔性磁控发电设备,包括发热定子、发电定子、转子、永磁体、绕组;发热定子和发电定子分别围绕转子设置,发热定子、发电定子以及转子同轴设置,沿所处的同轴线的方向上,发热定子与发电定子之间具有间隔;转子的与发热定子相对的表面上和转子的与发电定子相对的表面上均表贴有永磁体;绕组绕设于发电定子上;发热定子包括外层定子和内层定子,内层定子位于外层定子和转子之间;外层定子的材料和内层定子的材料不同,外层定子的磁导率大于预设磁导率,内层定子的电导率大于预设电导率;提升了发热定子的制热功率,降低了发热定子的转矩脉动,保证了发热定子的机械强度,还实现了设备在热场和电磁场上的有效隔离。

一种用于风电塔筒的梁杆支撑基础结构

NºPublicación:  CN120798678A 17/10/2025
Solicitante: 
运达能源科技集团股份有限公司
CN_120798678_PA

Resumen de: CN120798678A

本发明公开了一种用于风电塔筒的梁杆支撑基础结构,涉及风电设备技术领域,用于风电塔筒的梁杆支撑基础结构包括:第一承台,设于桩基础上,第一承台的顶面设置筒状支撑构件,筒状支撑构件的顶端部设置用于连接风电塔筒底部的环梁;第二承台,若干个第二承台分别设于桩基础上,且若干个第二承台阵列布设在第一承台的周向外侧;支撑杆,若干个支撑杆阵列布设在筒状支撑构件的周向外侧,支撑杆的一端连接环梁的外周侧面,支撑杆的另一端连接第二承台的顶面。上述用于风电塔筒的梁杆支撑基础结构解决了现有的桩基础使用大底板,大部分底板受力较小,受力不直接,传力路径不合理;而且混凝土的工程量用量较多,施工成本较高的技术问题。

一种嵌入式耦合风机基础和施工方法

NºPublicación:  CN120797728A 17/10/2025
Solicitante: 
华能吉林新能源开发有限公司中国华能集团清洁能源技术研究院有限公司华能吉林发电有限公司
CN_120797728_PA

Resumen de: CN120797728A

本发明属于风利发电施工技术领域,公开了一种嵌入式耦合风机基础和施工方法,包括桩基、垫层和预制装配式承台结构;所述预制装配式承台结构由至少两个预制单元拼装组成;所述预制单元包括底板、垂直设于底板上的肋板以及中心柱;所述底板底部中心位置设有预留孔,所述桩基顶部嵌入预留孔内;所述桩基的桩顶预留钢筋穿过预留孔后弯折固定于底板上表面;相邻预制单元的中心柱侧壁通过结构胶粘接;所述肋板内侧与桩基之间填充灌浆层。本发明的目的在于提高风力发电项目基础设施建设效率,降低项目成本、缩短建设周期,减少冬季施工成本与质量问题,提高基础承载能力。

风力机的气动及尾流特性测量系统、方法、装置及设备

NºPublicación:  CN120798696A 17/10/2025
Solicitante: 
中国长江三峡集团有限公司
CN_120798696_PA

Resumen de: CN120798696A

本发明涉及电子技术领域,公开了风力机的气动及尾流特性测量系统、方法、装置及设备,系统通过气动测量模块采集风力机的气动数据,功率测量模块采集直流发电机的电压数据以及电路中的电流数据,粒子图像测速模块采集风力机在尾流区域的流场图像。数据采集分析模块作为数据中枢,分别与气动测量模块、功率测量模块以及粒子图像测速模块连接,支持多通道同步触发,能够同时接收来自气动测量模块的气动数据、功率测量模块的电压数据和电流数据,以及粒子图像测速模块的流场图像。这保证了不同类型的数据在采集时间上的一致性,为后续的同步分析提供了基础,实现了风力机气动及尾流参数进行同时同步测试。

一种用于风电机组变桨功能验证的测试方法及系统

NºPublicación:  CN120798695A 17/10/2025
Solicitante: 
中国华能集团清洁能源技术研究院有限公司
CN_120798695_PA

Resumen de: CN120798695A

本申请提出了一种用于风电机组变桨功能验证的测试方法及系统,涉及风电机组技术领域。本申请通过基于测试模块模拟风电机组从待机状态到启动以及并网的完整运行过程,并在并网阶段,基于上位机向测试模块下发参数调整指令,测试模块根据参数调整指令将变桨系统对应的目标信号修改为故障值;在主控模块检测到测试模块中的变桨系统发生故障时,触发故障告警信号并发送停机指令至测试模块;基于测试模块在接收到停机指令之后模拟风电机组的停机过程;基于上位机向测试模块和主控模块下发复位指令;基于测试模块在接收到复位指令之后复位测试模块内的故障值,以及,基于主控模块在接收到复位指令之后复位主控模块内的故障告警信号。

基于多源数据融合的风电机组综合性能评估方法及相关装置

NºPublicación:  CN120798691A 17/10/2025
Solicitante: 
西安热工研究院有限公司西安西热电站信息技术有限公司
CN_120798691_PA

Resumen de: CN120798691A

本发明公开了一种基于多源数据融合的风电机组综合性能评估方法及相关装置,包括:获取风电机组的监测数据;根据所述风电机组的监测数据计算风电机组的理论功率;根据风电机组的理论功率计算风电机组的总损失;根据风电机组的总损失计算风电机组中各部件的损失分量;生成风速‑功率对比图、损失占比图、部件故障统计图及维护优先级矩阵图,该方法及相关装置能够准确评估风电机组的综合性能。

一种海上浮式风电基础平台

NºPublicación:  CN120793063A 17/10/2025
Solicitante: 
深圳象澈网络科技有限公司
CN_120793063_PA

Resumen de: CN120793063A

本发明涉及海上风电领域,具体公开了一种海上浮式风电基础平台,包括浮式平台机构、升降机构和风力发电机;所述浮式平台机构包括浮式平台组件,所述浮式平台组件的上侧固定安装有定位组件;所述升降机构包括支撑组件和三组升降组件,所述支撑组件滑动卡嵌于浮式平台组件上,三组所述升降组件呈三角分布固定安装于浮式平台组件上,用于驱动支撑组件沿着浮式平台组件升降;本发明通过设置定位组件,在支撑组件和风力发电机升降到达极限位置时进行定位,使得装置能够根据不同天气状况灵活应对。遇到风浪天气时,定位组件将支撑组件和风力发电机定位在较低位置,降低重心,增强整个装置的稳定性,减少风浪对风力发电机的直接冲击。

一种具有自适应补能降阻装置的小型船舶

NºPublicación:  CN120793027A 17/10/2025
Solicitante: 
黄玮林
CN_120793027_PA

Resumen de: CN120793027A

本发明涉及船舶技术领域,具体涉及一种具有自适应补能降阻装置的小型船舶,包括船舶本体以及安装于船舶本体后侧底部的动力螺旋桨,所述船舶本体前侧设有弧形的减阻船头,所述船舶本体上设有发电吹风装置,所述船舶本体内设有蓄电池,所述蓄电池通过电缆与发电吹风装置电连接,所述减阻船头一侧上还设有沿着减阻船头外表面向下延伸的吹风管,所述船舶本体上还固定安装有稳定装置。

一种用于水平风场的系留降落伞结构

NºPublicación:  CN120798651A 17/10/2025
Solicitante: 
北京空间机电研究所
CN_120798651_PA

Resumen de: CN120798651A

本发明公开了一种用于水平风场的系留降落伞结构,包括迎风面伞衣、背风面伞衣和侧风面伞衣;迎风面伞衣、背风面伞衣和两个侧风面伞衣组合形成降落伞伞衣;迎风面伞衣为无缝结构;背风面伞衣沿纬向开缝;侧风面伞衣沿经向开缝。本发明降落伞采用不对称设计,可以在气动力作用下保持稳定,且能产生足够升力,有利于有效利用高空风,提升发电效率。

海上漂浮式风电场的风机偏航协同控制方法及系统

NºPublicación:  CN120798657A 17/10/2025
Solicitante: 
中国大唐集团科技创新有限公司
CN_120798657_PA

Resumen de: CN120798657A

本发明公开了海上漂浮式风电场的风机偏航协同控制方法及系统,涉及海上风电技术领域,所述方法包括:构建海上漂浮式风电场的数字孪生体,得到孪生风电场;本地调用历史风况数据,基于历史风况数据在孪生风电场内进行偏航协同策略求解,构建基准协同控制库;接入远端气象预报中心,获取落入预测时间窗的预测风况数据;基于预测风况数据遍历基准协同控制库,输出基准协同偏航角度;以基准协同偏航角度为初始点,依据预测风况数据在孪生风电场内进行偏航协同控制寻优,输出预测协同偏航角度;在预测时间窗内,根据预测协同偏航角度对海上漂浮式风电场执行发电干预。进而达成前瞻性发电干预、提高发电效率与稳定性的技术效果。

针对风力发电机系统的异常状态检测方法及系统

NºPublicación:  CN120805010A 17/10/2025
Solicitante: 
华能新能源股份有限公司山西分公司
CN_120805010_PA

Resumen de: CN120805010A

本发明涉及风电运维管理技术领域,具体提供一种针对风力发电机系统的异常状态检测方法及系统,首先获取包含振动、温度、转速三类具有时间戳对齐的连续监测记录的多源监测数据流,接着通过特征编码网络对多源监测数据流进行联合特征提取,生成状态演化特征序列和跨源关联特征集,然后调用预训练的异常诊断模型对上述特征进行融合分析,生成包含异常置信分布信息的异常诊断结果,并从中解析异常类型、时间维度发展轨迹和空间维度影响部件标识后,生成包含时间空间定位信息的设备预警指令并发送至目标管理终端,从而能够全面、准确地检测风力发电机系统的异常状态,及时提供详细的异常信息,有效降低设备故障风险和运维成本。

一种PVT与垂直轴风机结合的屋顶发电系统

NºPublicación:  CN120811220A 17/10/2025
Solicitante: 
中国海洋石油集团有限公司中海油研究总院有限责任公司
CN_120811220_PA

Resumen de: CN120811220A

本发明涉及一种PVT与垂直轴风机结合的屋顶发电系统,包括:PVT棚,所述PVT棚安装在屋顶的立柱上;垂直轴风力机,数量若干,若干所述垂直轴风力机阵列安装在屋顶和所述PVT棚之间;导流组件,包括导流板和栅格导流装置,二者均安装在女儿墙上,所述导流板用于对流体产生向上的导流效果,所述栅格导流装置用于调整气流方向,以减少气流向所述立柱方向的分量。本发明解决了气流经过女儿墙后产生回流降低来流风速,垂直轴风力机可以实现360度无盲区发电,‌无论风向如何,‌都可以利用风能发电,PVT棚对风速流场产生一定的加速效果,能够提高风力机的发电量。风流场的加速流动可以降低PVT组件背面的温度,对PVT发电量有增益效果。

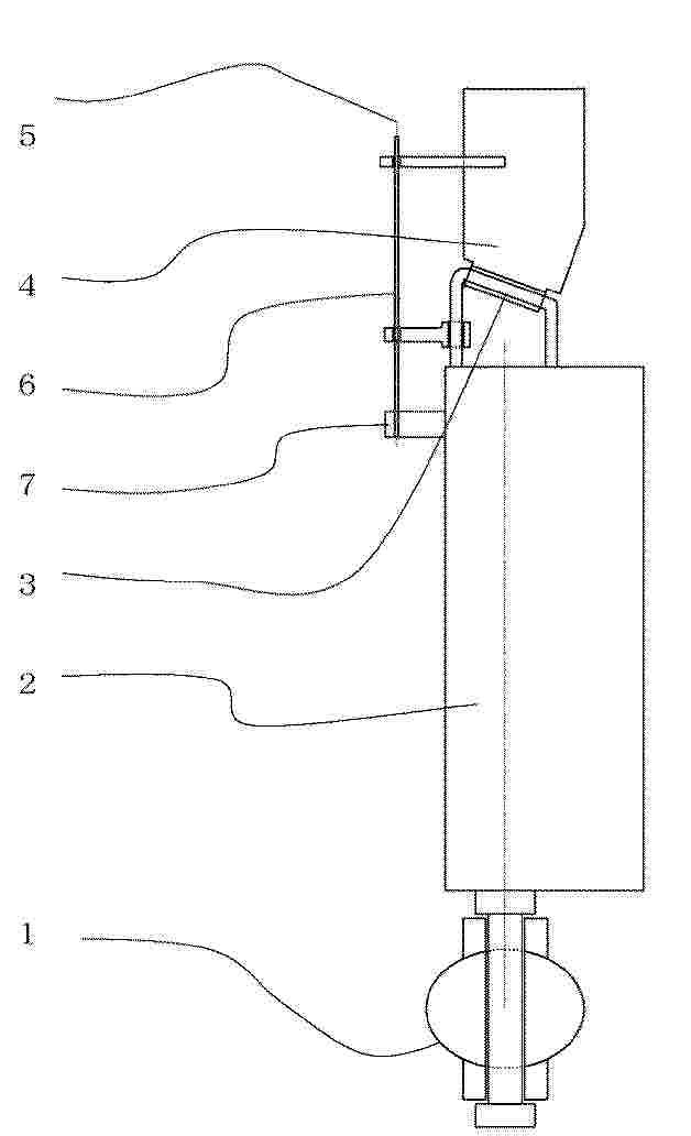
一种海上风电塔筒安装辅助装置

Nº publicación: CN120798675A 17/10/2025

Solicitante:

崔红燕

CN_120798675_PA

Resumen de: CN118601801A

The invention discloses an offshore wind power tower installation auxiliary device which comprises a first butt joint mechanism, a supporting mechanism is arranged at the bottom of the first butt joint mechanism, the first butt joint mechanism comprises two first cover cylinders, a plurality of first through holes are formed in the outer walls of the two first cover cylinders, and connecting rods are slidably connected into the first through holes; locking arms are arranged at the ends, extending out of the outer wall of the first cover cylinder, of the multiple connecting rods, the lower ends of the locking arms are rotationally connected with the connecting rods, a supporting frame is fixedly connected to the outer wall of the first cover cylinder, and the middle positions of the locking arms are rotationally connected with the supporting frame; during use, the connecting rods are made to move towards the outer wall of the first cover cylinder, the locking arms can be jacked to rotate around the connecting positions of the locking arms and the supporting frame, then the multiple locking arms synchronously move towards the direction close to the circle center of the first supporting table, and therefore when a flange is placed on the top of the first supporting table, the locking arms can rotate around the connecting positions of the locking arms and the supporting frame. A plurality of locking arms can be limited and supported on the periphery of a flange, so that the limit

traducir