Ministerio de Industria, Turismo y Comercio LogoMinisterior
 

Battery storage

Resultados 483 resultados
LastUpdate Última actualización 23/10/2025 [07:10:00]
pdfxls
Solicitudes publicadas en los últimos 15 días / Applications published in the last 15 days
previousPage Resultados 100 a 125 de 483 nextPage  

SODIUM-ION BATTERY

NºPublicación:  US2025323310A1 16/10/2025
Solicitante: 
ZHUHAI COSMX BATTERY CO LTD [CN]
ZHUHAI COSMX BATTERY CO., LTD
EP_4629383_A1

Resumen de: US2025323310A1

Disclosed is a sodium-ion battery. By doping the positive electrode active substance with metallic M element and adding vinylene carbonate (VC) to the electrolyte solution, the metallic M element can effectively promote VC to form a film preferentially on the positive electrode. By regulating a mass content of ethylene carbonate in a total mass of the electrolyte solution, a mass content of vinylene carbonate in the total mass of the electrolyte solution, and a molar amount of the M element per mole of the positive electrode active substance, so that they satisfy 0≤w1≤30% and 0≤w1/(w2+d)≤5, the stability of the sodium-ion battery can be greatly improved, and the gas generation phenomenon can be reduced.

ENHANCED FAST CHARGING AND LOW-TEMPERATURE OPERATION FOR LITHIUM-ION BATTERIES USING BULK CURRENT INJECTION

NºPublicación:  US2025323332A1 16/10/2025
Solicitante: 
PARK JONGHYUN [US]
HWANG CHULSOON [US]
OLUGBADE EMMANUEL [US]
NDODJIM OBRINGER [US]
ZHANG HANYU [US]
THE CURATORS OF THE UNIV OF MISSOURI [US]
Park Jonghyun,
Hwang Chulsoon,
Olugbade Emmanuel,
Ndodjim Obringer,
Zhang Hanyu,
The Curators of the University of Missouri

Resumen de: US2025323332A1

Systems and methods for improved fast-charging and low-temperature charging of batteries. For fast-charging applications, bulk-current injection is applied in bursts during charging to promote ion mobility therein. For low-temperature charging applications, bulk-current injection is applied for an extended period of time to warm the battery through internal resistance. Systems configured to provide bulk-current injection to a battery are also described. The system includes an alternating current source, a direct current source, a battery to be charged, and a battery management system (BMS) configured to selectively engage and disengage the power sources to optimally charge the battery using bulk-current injection.

SYSTEMS AND METHODS RELATING TO AN ANALYTE SENSOR SYSTEM HAVING A BATTERY LOCATED WITHIN A DISPOSABLE BASE

NºPublicación:  US2025318753A1 16/10/2025
Solicitante: 
DEXCOM INC [US]
DexCom, Inc
JP_2025138650_PA

Resumen de: US2025318753A1

An analyte sensor system is provided. The system includes a base configured to attach to a skin of a host. The base includes an analyte sensor configured to generate a sensor signal indicative of an analyte concentration level of the host, a battery, and a first plurality of contacts. The system includes a sensor electronics module configured to releasably couple to the base. The sensor electronics module includes a second plurality of contacts, each configured to make electrical contact with a respective one of the first plurality of contacts, and a wireless transceiver configured to transmit a wireless signal based at least in part on the sensor signal. The system includes a first sealing member configured to provide a seal around the first and second plurality of contacts within a first cavity. Related analyte sensor systems, analyte sensor base assemblies and methods are also provided.

BATTERY SELF-HEATING SYSTEM, CONTROL METHOD THEREFOR, AND ELECTRIC VEHICLE

NºPublicación:  US2025323342A1 16/10/2025
Solicitante: 
BYD COMPANY LTD [CN]
BYD COMPANY LIMITED
KR_20250121058_PA

Resumen de: US2025323342A1

A control method for a battery self-heating system including a three-phase motor, a battery pack, a three-phase inverter, and a switch circuit, includes: acquiring battery pack temperature information; when determined that the battery pack requires self-heating according to the battery pack temperature information, obtaining voltage information between a first end and a second end of the switch circuit; according to the voltage information between the first end and the second end of the switch circuit, controlling the switch circuit for self-heating of the battery pack; when it is determined that the battery pack does not require self-heating according to the battery pack temperature information, obtaining electric current information between the first end and the second end of the switch circuit; and according to the electric current information between the first end and the second end of the switch circuit, controlling the switch circuit to stop self-heating of the battery pack.

METHOD FOR REGULATING A PRESSURE OF A DIELECTRIC LIQUID CIRCULATING WITHIN A COOLING SYSTEM

NºPublicación:  US2025323341A1 16/10/2025
Solicitante: 
AMPERE S A S [FR]
AMPERE S.A.S
JP_2024547117_PA

Resumen de: US2025323341A1

A method is for regulating a pressure of a dielectric liquid circulating within a cooling system of at least one battery cell of an at least in part electrically propelled vehicle. The cooling system includes a circuit in which the dielectric liquid circulates. The battery cell is immersed in the dielectric liquid. The cooling system includes structure for pressurizing the dielectric liquid within the circuit.

SELECTIVE LITHIUM EXTRACTION FOR CATHODE MATERIALS

NºPublicación:  US2025323337A1 16/10/2025
Solicitante: 
WORCESTER POLYTECHNIC INST [US]
Worcester Polytechnic Institute

Resumen de: US2025323337A1

Lithium recycling from expended Li-Ion batteries occurs thought selective recovery of lithium charge materials from a recycling stream including transition metals used for the charge material. Li recovery performed using an organic acid-based approach including terephthalic acid (TPA), benzenetetracarboxylic acid (BTCA), and other organic acids results in highly selective lithium extraction, achieving minimal transition metal contamination in the extracted solution. A recycling stream including cathode materials from spent/end-of-life Li-ion batteries provides a source for recycled Li, as well as other cathode material metals. Combining the organic acid in a hydrothermal reactor followed by filtration separates transition metal oxides from a lithium salt solution. The lithium salt may be recrystallized by acetone and dried to a powder consistency. Lithium carbonate is then recovered by sintering, and further filtered for recovering battery grade recycled Li.

ELECTRICITY STORAGE APPARATUS AND VEHICLE

NºPublicación:  US2025323340A1 16/10/2025
Solicitante: 
TOYOTA JIDOSHA KK [JP]
TOYOTA JIDOSHA KABUSHIKI KAISHA
DE_102025112369_PA

Resumen de: US2025323340A1

An electricity storage apparatus (a battery pack) includes a case (a LWR case and an UPR case), and an electricity storage element (battery stacks) and an electrical device (a battery device) that are housed in the case. The case is provided with a protection plate that protects the electrical device. The electricity storage apparatus further includes a cooling pipe that cools the electricity storage apparatus. The protection plate is disposed between at least a part of the cooling pipe (a device cooling portion) and the electrical device.

POSITIVE ELECTRODE SHEET, SECONDARY BATTERY, AND ELECTRONIC DEVICE

NºPublicación:  WO2025213971A1 16/10/2025
Solicitante: 
NINGDE AMPEREX TECH LIMITED [CN]
\u5B81\u5FB7\u65B0\u80FD\u6E90\u79D1\u6280\u6709\u9650\u516C\u53F8
WO_2025213971_A1

Resumen de: WO2025213971A1

The present application discloses a positive electrode sheet, a secondary battery, and an electronic device. The positive electrode sheet comprises a positive electrode current collector and a positive electrode material layer arranged on at least one surface of the positive electrode current collector; the positive electrode material layer contains Co and Al; based on the total number of atoms in the positive electrode material layer, the ratio of the atomic percentage of Al to the atomic percentage of Co is T, and 0.008≤T≤0.032; based on the total number of atoms in a positive electrode active material, the ratio of the atomic percentage of Al to the atomic percentage of Co is T', and 0.012≤T'≤0.02; the positive electrode material layer further contains C and O. The secondary battery of the present application has better high-temperature performance and thermal safety performance.

INTEGRATED TEMPERATURE-CONTROL AND FIRE-PROTECTION ENERGY STORAGE DEVICE AND CONTAINERIZED ENERGY STORAGE SYSTEM

NºPublicación:  WO2025214432A1 16/10/2025
Solicitante: 
HUANENG CLEAN ENERGY RES INSTITUTE [CN]
\u4E2D\u56FD\u534E\u80FD\u96C6\u56E2\u6E05\u6D01\u80FD\u6E90\u6280\u672F\u7814\u7A76\u9662\u6709\u9650\u516C\u53F8
WO_2025214432_PA

Resumen de: WO2025214432A1

Disclosed in the present invention are an integrated temperature-control and fire-protection energy storage device and a containerized energy storage system. The integrated temperature-control and fire-protection energy storage device comprises a battery cluster and a liquid cooling pipe group. The battery cluster comprises a plurality of battery modules, each of which is provided with a liquid inlet, a liquid outlet and a fire-protection port. The liquid cooling pipe group comprises a liquid intake pipe and a liquid return pipe, wherein the liquid intake pipe is provided with liquid-cooling liquid injection branch pipes and fire-protection liquid injection branch pipes, each liquid-cooling liquid injection branch pipe being in communication with a liquid inlet, and each fire-protection liquid injection branch pipe being in communication with a fire-protection port; and the liquid return pipe is provided with liquid-cooling liquid return branch pipes, each liquid-cooling liquid return branch pipe being in communication with a liquid outlet. The present invention uses the liquid cooling pipe group to provide fire-protection functions, so that the need for a module-level fire-protection line in the battery cluster is eliminated, temperature control and fire protection are combined to form an integrated structure, and the overall demand for fire-protection media is reduced, thereby enabling the battery cluster to have a more compact structure. Moreover, a liquid cooling medium w

NEGATIVE ELECTRODE SHEET, SECONDARY BATTERY AND ELECTRONIC DEVICE

NºPublicación:  WO2025214162A1 16/10/2025
Solicitante: 
SUNWODA MOBILITY ENERGY TECH CO LTD [CN]
\u6B23\u65FA\u8FBE\u52A8\u529B\u79D1\u6280\u80A1\u4EFD\u6709\u9650\u516C\u53F8
WO_2025214162_PA

Resumen de: WO2025214162A1

The present application provides a negative electrode sheet, a secondary battery and an electronic device. The negative electrode sheet of the present application comprises a current collector, and a first active layer and a second active layer which are sequentially arranged on at least one surface of the current collector; and the negative electrode sheet meets: 0.70≤(M1*H1)/(M2*H2)≤1.5, wherein M1 represents the molar ratio of an element O to an element C among surface elements of the first active layer; M2 represents the molar ratio of an element O to an element C among the surface elements of the second active layer; H1 represents the thickness of the first active layer; H2 represents the thickness of the second active layer; and M1 is not equal to M2. By regulating and controlling parameters of coatings of a composite negative electrode sheet, the whole active material layer of a composite electrode keeps similar interface stability in a wide temperature interval.

LIQUID COOLING PLATE ASSEMBLY

NºPublicación:  WO2025213558A1 16/10/2025
Solicitante: 
SUZHOU MAYER NEW ENERGY CO LTD [CN]
\u82CF\u5DDE\u7F8E\u9605\u65B0\u80FD\u6E90\u6709\u9650\u516C\u53F8
WO_2025213558_PA

Resumen de: WO2025213558A1

The present application discloses a liquid cooling plate assembly, comprising a harmonica-shaped tube, current collectors and nano injection molded parts, wherein the harmonica-shaped tube comprises first connecting ends, and a plurality of nanopores are formed on at least a part of the surface of each first connecting end; each current collector comprises a second connecting end, and the second connecting end is connected to the corresponding first connecting end; each nano injection molded part is arranged at the joint of the first connecting end and the second connecting end, the nano injection molded part fixedly covers the first connecting end and the second connecting end, and the nano injection molded part fills the nanopores formed at the first connecting end. The liquid cooling plate assembly of the present application is used for improving the fixing and sealing effect of the current collectors and the harmonica-shaped tube, and reducing the sealing and fixing cost of the current collectors and the harmonica-shaped tube.

COATING MISALIGNMENT CONTROL METHOD AND SYSTEM

NºPublicación:  WO2025213677A1 16/10/2025
Solicitante: 
CONTEMPORARY AMPEREX TECH CO LIMITED [CN]
\u5B81\u5FB7\u65F6\u4EE3\u65B0\u80FD\u6E90\u79D1\u6280\u80A1\u4EFD\u6709\u9650\u516C\u53F8
WO_2025213677_A1

Resumen de: WO2025213677A1

A coating misalignment control method and system. The method comprises: a superordinate computer (30) calculates amounts of misalignment between corresponding areas of two opposite coating surfaces of a composite material strip in dry coating, and sends a first instruction or a second instruction to a controller (40) on the basis of the amount of misalignment of each area; and the controller (40) controls, on the basis of the first instruction, a first deviation correction device (130) to adjust the position of a base material strip, or controls, on the basis of the second instruction, a second deviation correction device (170) to adjust the width of each area of a mixed material strip. On one hand, the accuracy of deviation correction is improved; and on the other hand, a deviation correction period is shortened, so that efficient control over amounts of coating misalignment is achieved, thereby improving the quality of coating.

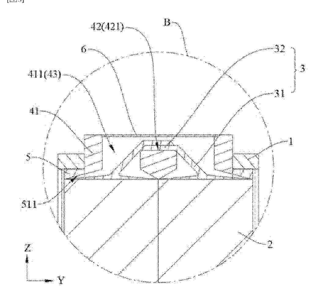
BATTERY CELL, BATTERY, AND ELECTRICAL DEVICE

NºPublicación:  WO2025213674A1 16/10/2025
Solicitante: 
CONTEMPORARY AMPEREX TECH CO LIMITED [CN]
\u5B81\u5FB7\u65F6\u4EE3\u65B0\u80FD\u6E90\u79D1\u6280\u80A1\u4EFD\u6709\u9650\u516C\u53F8
WO_2025213674_PA

Resumen de: WO2025213674A1

A battery cell (1), a battery, and an electrical device. The battery cell (1) comprises: a casing (101) containing a cell, a top plate (102) being an electrical conductor; a first pole (104) electrically connected to a first tab, the first pole (104) being arranged on the outer surface of the top plate (102), the first pole (104) being insulated from the top plate (102) by means of a first insulating member (105) provided on the top plate (102), and the first tab being electrically connected to the cell; a second pole (106) electrically connected to a second tab, the second pole (106) being arranged on the outer surface of the top plate (102), the second pole (106) being insulated from the top plate (102) by means of a second insulating member (107) provided on the top plate (102), and the second tab being electrically connected to the cell; and at least one electrical connection assembly provided outside the top plate (102), configured to electrically connect at least one of the first pole (104) and the second pole (106) to the top plate (102) in response to an outward displacement of the top plate (102) when the internal air pressure of the casing reaches or exceeds a pressure threshold. When a certain cell in a battery experiences thermal runaway, the whole battery can continue to supply power to a load.

BATTERY AND ELECTRIC DEVICE

NºPublicación:  WO2025214155A1 16/10/2025
Solicitante: 
SUNWODA MOBILITY ENERGY TECH CO LTD [CN]
\u6B23\u65FA\u8FBE\u52A8\u529B\u79D1\u6280\u80A1\u4EFD\u6709\u9650\u516C\u53F8
WO_2025214155_PA

Resumen de: WO2025214155A1

The present application relates to the related technical field of batteries, and discloses a battery and an electric device, aiming to improve the space utilization of the battery. The battery provided by the present application has a first direction Z and a second direction X which are perpendicular to each other. The battery comprises a cover plate, the cover plate is provided with a first plate surface, a second plate surface, and accommodating holes running through the first plate surface and the second plate surface, the first plate surface and the second plate surface are respectively located at two ends of the cover plate in the first direction Z, and the second plate surface faces battery cells; tabs are arranged on the side of the battery cells facing the second plate surface; each pole comprises a pole body and a connecting member, the pole body is arranged in a corresponding accommodating hole and is provided with a pole hole running through the pole body in the first direction Z, the connecting member extends in the second direction X and is mounted in the pole hole and defines gaps with part of the hole wall of the pole hole, and the tabs extend into the gaps and are electrically connected to the connecting member.

NEGATIVE ELECTRODE SHEET AND PREPARATION METHOD THEREFOR, AND LITHIUM ION BATTERY

NºPublicación:  WO2025214453A1 16/10/2025
Solicitante: 
SVOLT ENERGY TECH CO LTD [CN]
\u8702\u5DE2\u80FD\u6E90\u79D1\u6280\u80A1\u4EFD\u6709\u9650\u516C\u53F8
WO_2025214453_PA

Resumen de: WO2025214453A1

The present disclosure relates to a negative electrode sheet and a preparation method therefor, and a lithium ion battery. The negative electrode sheet comprises a current collector and an active material layer arranged on at least one side surface of the current collector, wherein the active material layer comprises a bottom layer and a surface layer, the bottom layer is arranged on the side close to the current collector, and the surface layer is arranged on the side away from the current collector; raw materials for preparing the bottom layer comprise first graphite, and raw materials for preparing the surface layer comprise second graphite; and the median particle size of the first graphite is greater than that of the second graphite. According to the negative electrode sheet provided by the present disclosure, by means of the differentiated formulations of the surface layer and the bottom layer, the migration and diffusion rates of lithium ions on the surface layer are improved, concentration polarization is reduced, and the cycle performance and rate performance of the negative electrode sheet are improved without reducing the proportion of main materials, and thus the negative electrode sheet has excellent fast charging capability.

BATTERY CASING, BATTERY HAVING SAME, AND ELECTRICAL DEVICE

NºPublicación:  WO2025214386A1 16/10/2025
Solicitante: 
BYD COMPANY LTD [CN]
\u6BD4\u4E9A\u8FEA\u80A1\u4EFD\u6709\u9650\u516C\u53F8
WO_2025214386_PA

Resumen de: WO2025214386A1

A battery casing, a battery having same, and an electrical device. The battery housing comprises a first end. The first end is provided with a first side wall and a second side wall, which are oppositely arranged. The first side wall is provided with a first concave part sunken towards the second side wall. The first concave part is used for accommodating a battery control unit. The second side wall is provided with a second concave part sunken towards the first side wall, and the second concave part is arranged opposite to at least part of the first concave part in the thickness direction of the second side wall.

WINDING DEVICE AND BATTERY PROCESSING APPARATUS

NºPublicación:  WO2025213554A1 16/10/2025
Solicitante: 
CONTEMPORARY AMPEREX TECH CO LIMITED [CN]
\u5B81\u5FB7\u65F6\u4EE3\u65B0\u80FD\u6E90\u79D1\u6280\u80A1\u4EFD\u6709\u9650\u516C\u53F8
WO_2025213554_PA

Resumen de: WO2025213554A1

Provided in the present application are a winding device (100) and a battery processing apparatus. The winding device (100) comprises: a cutting mechanism (20), which is used for cutting off a composite tape body (90); a plurality of winding needles (11), of which circumferential side surfaces are provided with slots (110) in the axial directions of the winding needles (11), clamping structures (112) used for clamping end parts of the composite tape body (90) being provided in the slots (110); a transfer mechanism (40), which is used for successively moving the plurality of winding needles (11) to the cutting mechanism (20); and a feeding mechanism (30), which is used for conveying the end parts of the composite tape body (90) into the slots (110). The composite tape body (90) is cut off to form two end parts, of which one is kept wound by the previous winding needle (11), and the other one can be clamped and fixed by the clamping structure (112) of the next winding needle (11), so that the composite tape body (90) is wound, saving time and improving efficiency.

COATING DEVICE, COATING METHOD, AND BATTERY PRODUCTION LINE

NºPublicación:  WO2025213692A1 16/10/2025
Solicitante: 
CONTEMPORARY AMPEREX TECH CO LIMITED [CN]
\u5B81\u5FB7\u65F6\u4EE3\u65B0\u80FD\u6E90\u79D1\u6280\u80A1\u4EFD\u6709\u9650\u516C\u53F8
WO_2025213692_PA

Resumen de: WO2025213692A1

A coating device, a coating method, and a battery production line, relating to the technical field of batteries. The coating device is used for coating a base material (20) with functional layers (30, 40), and in the thickness direction of the base material (20), the base material (20) comprises a first surface and a second surface which are opposite to each other. The coating device comprises a first coating roller (11), a second coating roller (12), and a first driving member (13); the first coating roller (11) is used for coating the first surface with a first functional layer (30); along the web travel direction of the base material (20), the second coating roller (12) is arranged at the downstream or upstream of the first coating roller (11) and is used for coating the second surface with a second functional layer (40); and the first driving member (13) is connected to the first coating roller (11) and is used for driving the first coating roller (11) to reciprocate in the axial direction.

LIQUID COOLING PLATE MANUFACTURING DEVICE, LIQUID COOLING PLATE, BATTERY, AND ELECTRICAL DEVICE

NºPublicación:  WO2025213624A1 16/10/2025
Solicitante: 
CONTEMPORARY AMPEREX TECH CO LIMITED [CN]
\u5B81\u5FB7\u65F6\u4EE3\u65B0\u80FD\u6E90\u79D1\u6280\u80A1\u4EFD\u6709\u9650\u516C\u53F8
WO_2025213624_PA

Resumen de: WO2025213624A1

A liquid cooling plate manufacturing device, a liquid cooling plate (200), a battery (300), and an electrical device (400). The liquid cooling plate manufacturing device comprises a welding apparatus (10). The welding apparatus (10) comprises: a heat exchange structure (11), wherein the heat exchange structure (11) comprises a heat exchange plate (111) and a phase change working medium (112), an accommodating space (1111) is formed in the heat exchange plate (111), the phase change working medium (112) is accommodated in the accommodating space (1111), and the heat exchange plate (111) is provided with a contact side (1112) used for being attached to the liquid cooling plate (200), and an open side (1113) facing away from the contact side (1112); and a welding head (12), used for welding the side of the liquid cooling plate (200) facing away from the heat exchange structure (11). The liquid cooling plate manufacturing device can dissipate heat in a timely manner in the process of manufacturing and welding the liquid cooling plate (200), thereby avoiding thermal deformation of the liquid cooling plate (200) caused by excessive heat.

RAW MATERIAL OF COATING MATERIAL FOR SECONDARY BATTERY SEPARATORS, COATING MATERIAL FOR SECONDARY BATTERY SEPARATORS, SECONDARY BATTERY SEPARATOR AND SECONDARY BATTERY

NºPublicación:  US2025320373A1 16/10/2025
Solicitante: 
MITSUI CHEMICALS INC [JP]
MITSUI CHEMICALS, INC
KR_20240148382_A

Resumen de: US2025320373A1

A raw material of a coating material for secondary battery separators contains a water-soluble polymer. The water-soluble polymer contains a first constituent unit derived from a reactive surfactant and a second constituent unit derived from an acidic group-containing vinyl monomer. A content ratio of the first constituent unit relative to the water-soluble polymer is 3% by mass or more and 30% by mass or less. A content ratio of the second constituent unit relative to the water-soluble polymer is 3% by mass or more and 19% by mass or less.

CATHODE ACTIVE MATERIAL FOR LITHIUM SECONDARY BATTERY AND METHOD OF MANUFACTURING THE SAME

NºPublicación:  US2025320131A1 16/10/2025
Solicitante: 
SK ON CO LTD [KR]
SK ON CO., LTD
KR_20220116957_PA

Resumen de: US2025320131A1

The present invention provides a cathode active material for a secondary battery, which includes a lithium metal oxide particle having a form of a secondary particle in which a plurality of primary particles are agglomerated, wherein the primary particles comprise a particle having a triangular shape which has a size of a minimum internal angle of 45° or more and a maximum height of 0.5 μm or more.

METHOD OF MANUFACTURING NEGATIVE ELECTRODE ACTIVE MATERIAL, NEGATIVE ELECTRODE ACTIVE MATERIAL MANUFACTURED USING THE SAME, RECHARGEABLE LITHIUM BATTERY INCLUDING THE SAME

NºPublicación:  US2025320121A1 16/10/2025
Solicitante: 
SAMSUNG SDI CO LTD [KR]
SAMSUNG SDI CO., LTD

Resumen de: US2025320121A1

Disclosed are methods of manufacturing negative electrode active materials, negative electrode active materials manufactured using the same, and rechargeable lithium batteries including the same. The method of manufacturing a negative electrode active material comprises mixing a silicon-iron alloy and a hard carbon raw material together to prepare a first mixture, allowing the first mixture to undergo graphitization at about 1,000° C. to about 1,500° C. to prepare a second mixture, and washing the second mixture with an acid.

CONDUCTING POLYMERS AND USE IN ELECTRODES FOR HIGH CAPACITY, LOW-COST, ENERGY STORAGE

NºPublicación:  US2025320331A1 16/10/2025
Solicitante: 
POLYJOULE INC [US]
POLYJOULE, INC
WO_2023225490_PA

Resumen de: US2025320331A1

Provided are electrically conductive polymer materials that have improved long chain conductivity as well as their use in electrochemical cells and other devices. The electrically conductive polymers may be characterized by a kinking factor of 0.25 or lower representing reduced levels or the absence of contaminants or structures that interrupt conductivity in prior polymer materials. In some aspects, an electrically conductive polymer includes a cap that serves to further promote conductivity of the polymer. Also provided are electrochemical cells that incorporate the electrically conductive polymers as provided herein and methods of manufacturing such polymers.

NEGATIVE ELECTRODE ACTIVE MATERIALS FOR RECHARGEABLE LITHIUM BATTERIES, NEGATIVE ELECTRODES, AND RECHARGEABLE LITHIUM BATTERIES

NºPublicación:  US2025320127A1 16/10/2025
Solicitante: 
SAMSUNG SDI CO LTD [KR]
SAMSUNG SDI CO., LTD

Resumen de: US2025320127A1

A negative electrode active material includes a porous substrate including a zeolite and amorphous silicon filled in pores of the porous substrate. The negative electrode active material effectively suppresses SEI generation, has very high capacity, and has excellent battery cycle-life characteristics.

ENERGY STORAGE CONTROL SYSTEM AND METHOD

Nº publicación: WO2025214335A1 16/10/2025

Solicitante:

CONTEMPORARY AMPEREX FUTURE ENERGY RES INSTITUTE SHANGHAI LIMITED [CN]
CONTEMPORARY AMPEREX TECH CO LIMITED [CN]
\u5B81\u5FB7\u65F6\u4EE3\u672A\u6765\u80FD\u6E90\uFF08\u4E0A\u6D77\uFF09\u7814\u7A76\u9662\u6709\u9650\u516C\u53F8,
\u5B81\u5FB7\u65F6\u4EE3\u65B0\u80FD\u6E90\u79D1\u6280\u80A1\u4EFD\u6709\u9650\u516C\u53F8

WO_2025214335_PA

Resumen de: WO2025214335A1

Disclosed in the present invention are an energy storage control system and method. The energy storage control system comprises an energy storage controller and a fire protection controller. The fire protection controller comprises a first-stage fire protection controller and a second-stage fire protection controller, wherein at least one of the first-stage fire protection controller and the second-stage fire protection controller is communicationally connected to the energy storage controller, and the second-stage fire protection controller is communicationally connected to at least one of the first-stage fire protection controller and the energy storage controller. The energy storage controller is used for controlling the operation mode of an energy storage system; the first-stage fire protection controller is used for preventing a battery in thermal runaway in the energy storage system from being on fire; and the second-stage fire protection controller is used for suppressing the spread of fire of the battery in thermal runaway.

traducir