Ministerio de Industria, Turismo y Comercio LogoMinisterior
 

Alerta

Resultados 483 resultados
LastUpdate Última actualización 23/10/2025 [07:10:00]
pdfxls
Solicitudes publicadas en los últimos 15 días / Applications published in the last 15 days
previousPage Resultados 500 a 483 de 483  

ANTI-CLL1 SINGLE-DOMAIN ANTIBODY AND USE THEREOF

NºPublicación:  EP4635981A1 22/10/2025
Solicitante: 
CARBIOGENE THERAPEUTICS CO LTD [CN]
Carbiogene Therapeutics Co., Ltd
EP_4635981_A1

Resumen de: EP4635981A1

The present invention relates to an anti-CLL1 single-domain antibody and use thereof, specifically, to a single-domain antibody having an amino acid sequence of SEQ ID No. 1. The single-domain antibody has high affinity and can specifically target CLL1-positive cells, and can be applied to the detection of CLL1 expression in bone marrow cells of acute myeloid leukemia (AML) patients. The single-domain antibody can be prepared into a specific antibody drug clinically used for preventing and treating CLL1 target-related diseases (such as acute myeloid leukemia, myelodysplastic syndromes, or chronic myeloid leukemia), and can also be used in the preparation of CLL1-targeting chimeric antigen receptor (CAR) cells or diagnostic kits for CLL1 protein detection and the like. The single-domain antibody drug has a stable structure, small molecular size, ease of recombinant expression, and low production cost. It can be used alone or employed as a drug delivery system to carry related drugs, which has broad prospects and important significance in the fields of pharmaceutical application, clinical diagnosis, and related fields.

SUBSTITUTED INHIBITORS OF MENIN-MLL AND METHODS OF USE

NºPublicación:  US2025320229A1 16/10/2025
Solicitante: 
KURA ONCOLOGY INC [US]
Kura Oncology, Inc
US_2020216471_A1

Resumen de: US2025320229A1

The present disclosure provides methods of inhibiting the interaction of menin with MLL1, MLL2 and MLL-fusion oncoproteins. The methods are useful for the treatment of leukemia, solid cancers, diabetes and other diseases dependent on activity of MLL1, MLL2, MLL fusion proteins, and/or menin. Compositions for use in these methods are also provided.

COMBINATION TREATMENT OF GLOFITAMAB AND CHEMOTHERAPY

NºPublicación:  WO2025215124A2 16/10/2025
Solicitante: 
F HOFFMANN LA ROCHE AG [CH]
HOFFMANN LA ROCHE INC [US]
GENENTECH INC [US]
F. HOFFMANN-LA ROCHE AG,
HOFFMANN-LA ROCHE INC,
GENENTECH, INC
WO_2025215124_A2

Resumen de: WO2025215124A2

The present invention relates to methods of treating B-cell proliferative disorders, e.g., primary refractory or relapsed diffuse large B-cell lymphoma (DLBCL), by administering glofitamab in combination with gemcitabine and oxaliplatin. Further the invention related to an optimized corticosteroid prophylaxis for glofitamab resulting in lower incidence of cytokine release syndrome (CRS).

SUBSTITUTED INHIBITORS OF MENIN-MLL AND METHODS OF USE

NºPublicación:  US2025320225A1 16/10/2025
Solicitante: 
KURA ONCOLOGY INC [US]
THE REGENTS OF THE UNIV OF MICHIGAN [US]
Kura Oncology, Inc,
The Regents of The University of Michigan
JP_2023153820_PA

Resumen de: US2025320225A1

The present disclosure provides methods of inhibiting the interaction of menin with MLL1, MLL2 and MLL-fusion oncoproteins with compositions of Formula (II-A). The methods are useful for the treatment of leukemia, solid cancers, diabetes and other diseases dependent on activity of MLL1, MLL2, MLL fusion proteins, and/or menin. Compositions of Formula (II-A) for use in these methods are also provided.

RECOMBINANT RECEPTORS BINDING B CELL ACTIVATION FACTOR RECEPTOR AND USES THEREOF

NºPublicación:  US2025319130A1 16/10/2025
Solicitante: 
SEATTLE CHILDREN\u2019S HOSPITAL D/B/A SEATTLE CHILDREN\u2019S RES INSTITUTE [US]
Seattle Children\u2019s Hospital d/b/a Seattle Children\u2019s Research Institute
JP_2025521148_PA

Resumen de: US2025319130A1

Recombinant receptors with a binding domain that binds B cell activation factor receptor (BAFF-R) are disclosed. Recombinant receptors include chimeric antigen receptors (CAR) having an anti-BAFF-R binding domain, a transmembrane domain, a CD3ζ/4-1BB intracellular signaling domain, and a spacer. Methods and systems to treat BAFF-R-expressing cancers, such as mantle cell lymphoma (MCL), multiple myeloma (MM), acute lymphoblastic leukemia (ALL), and diffuse large B-cell lymphoma (DLBCL), are also provided. The recombinant receptors disclosed herein can bind and elicit cytotoxic effects even in low antigen density conditions.

BISPHOSPHONATE LIPIDS, LIPID NANOPARTICLE COMPOSITIONS COMPRISING THE SAME, AND METHODS OF USE THEREOF FOR TARGETED DELIVERY

NºPublicación:  US2025319036A1 16/10/2025
Solicitante: 
THE TRUSTEES OF THE UNIV OF PENNSYLVANIA [US]
The Trustees of the University of Pennsylvania
WO_2023220734_PA

Resumen de: US2025319036A1

Described herein, in some aspects, are bisphosphonate lipid compounds, lipid nanoparticles (LNPs) thereof, and methods of use thereof. In various embodiments, the LNP selectively targets a cell of interest (e.g., a bone cell and/or bone marrow cell, such as a stem cell, stroma cell, osteoblast, osteocyte, osteoclast, bone lining cell, local mesenchymal cell, progenitor cell, mononuclear blood-borne precursor cell, B cell, endothelial cell, granulocytes, T cell, monocytic lineage, B cell lineage, monocytes, cancer cell, tumor cell, tumor cell that metastasizes to bone, blood cancer cell, and multiple myeloma cell, inter alia). In other aspects, the present disclosure relates to methods for in vivo delivery of therapeutic agents to prevent or treat diseases, disorders, or conditions using the LNP compositions of the disclosure.

METHODS OF TREATING FLT3-MUTATED HEMATOLOGIC CANCERS

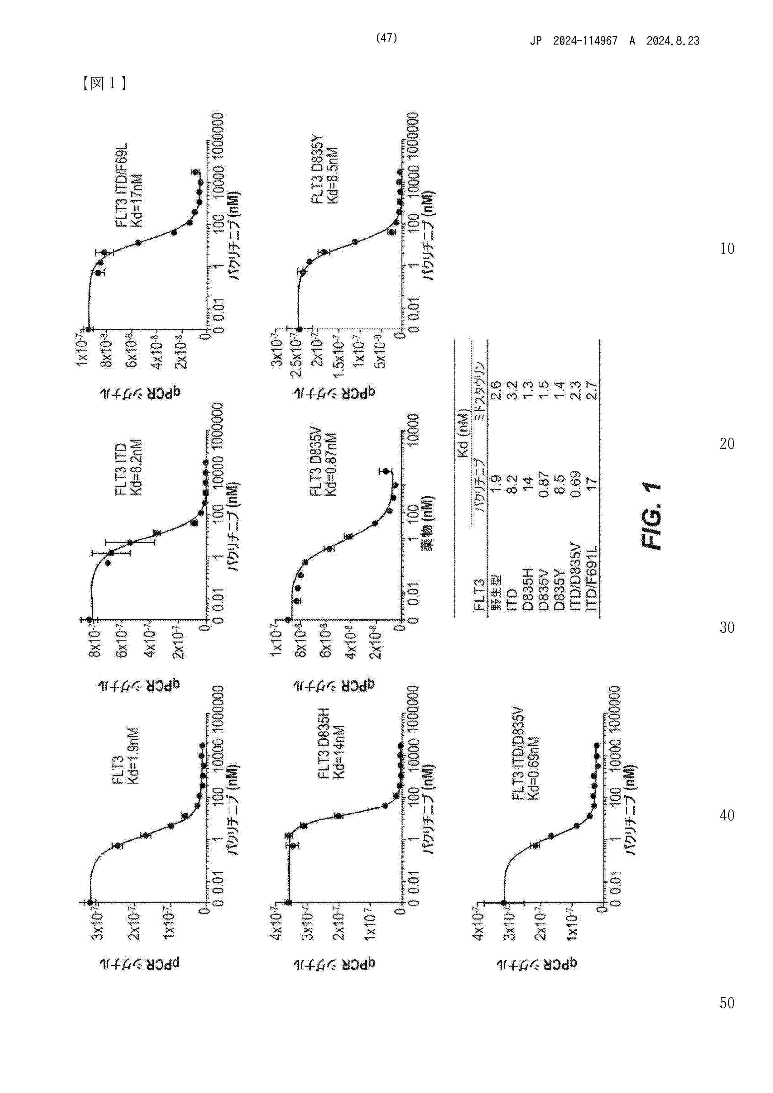
NºPublicación:  US2025319111A1 16/10/2025
Solicitante: 
SOBI INC [US]
OHIO STATE INNOVATION FOUND [US]
Sobi, Inc,
Ohio State Innovation Foundation
JP_2024114967_A

Resumen de: US2025319111A1

Methods to inhibit FLT3 activity in a subject or a cell with an FLT3 mutation are provided. Methods of treating a hematologic cancer, such as acute myeloid leukemia, in a subject identified as having an FLT3 mutation, are also provided.

USE OF ANTI-HA-1 AND ANTI-HA-2 BINDING PROTEINS FOR TREATMENT OF AML, ALL, AND MDS

NºPublicación:  WO2025217035A2 16/10/2025
Solicitante: 
TSCAN THERAPEUTICS INC [US]
TSCAN THERAPEUTICS, INC
WO_2025217035_A2

Resumen de: WO2025217035A2

The present disclosure encompasses, among other things, methods and compositions for use in the treatment of acute myeloid leukemia (AML), acute lymphocytic leukemia (ALL), or myelodysplastic disorder (MDS) in subjects that received HCT. The present disclosure relates, at least in part, to T cells engineered to express particular T Cell Receptors (TCRs) and their use in the treatment of acute myeloid leukemia (AML), acute lymphocytic leukemia (ALL), or myelodysplastic disorder (MDS) in subjects that received HCT,

METHOD FOR EXAMINING DISEASE PROGRESSION OF ENZOOTIC BOVINE LEUKOSIS, PRIMER, CFDNA QUANTITATION KIT, AND KIT FOR EXAMINING DISEASE PROGRESSION OF ENZOOTIC BOVINE LEUKOSIS

NºPublicación:  WO2025216320A1 16/10/2025
Solicitante: 
NATIONAL UNIV CORPORATION KUMAMOTO UNIV [JP]
TOKYO UNIV OF AGRICULTURE EDUCATIONAL CORPORATION [JP]
\u56FD\u7ACB\u5927\u5B66\u6CD5\u4EBA\u718A\u672C\u5927\u5B66,
\u5B66\u6821\u6CD5\u4EBA\u6771\u4EAC\u8FB2\u696D\u5927\u5B66
WO_2025216320_A1

Resumen de: WO2025216320A1

Provided is a method for examining disease progression of enzootic bovine leukosis, the method comprising a step (A) for quantifying cell-free DNA derived from proviral DNA of bovine leukemia virus, in a sample containing cell-free DNA of an animal of interest.

DOSING FOR TREATMENT WITH ANTI-FCRH5/ANTI-CD3 BISPECIFIC ANTIBODIES

NºPublicación:  US2025320298A1 16/10/2025
Solicitante: 
GENENTECH INC [US]
HOFFMANN LA ROCHE INC [US]
Genentech, Inc,
Hoffmann-La Roche Inc
JP_2025523020_A

Resumen de: US2025320298A1

The invention provides methods of dosing for the treatment of cancers, such as multiple myelomas, with anti-fragment crystallizable receptor-like 5 (FcRH5)/anti-cluster of differentiation 3 (CD3) bispecific antibodies.

METHODS OF ADMINISTERING BELUMOSUDIL FOR TREATMENT OF MULTIPLE MYELOMA

NºPublicación:  EP4630000A1 15/10/2025
Solicitante: 
KADMON CORP LLC [US]
Kadmon Corporation, LLC
KR_20250117425_PA

Resumen de: MX2025006477A

The present disclosure provides methods of administering belumosudil to patients with multiple myeloma.

METHODS FOR IDENTIFYING RESISTANCE OR RESPONSE TO VENETOCLAX/HYPOMETHYLATING AGENT/ANTI-CD70 AGENT TREATMENT FOR ACUTE MYELOID LEUKEMIA

NºPublicación:  EP4630586A1 15/10/2025
Solicitante: 
UNIV COLORADO REGENTS [US]
The Regents of the University of Colorado, a body corporate
KR_20250135195_PA

Resumen de: AU2023390486A1

The present disclosure provides methods of treating acute myeloid leukemia (AML) and methods of determining responsiveness to AML treatment regimens, including regimens comprising the administration of a BCL-2 inhibitor, a hypomethylating agent, a CD70-targeting agent, or any combination thereof, the methods comprising identifying the presence or absence of one or more biomarkers described herein.

METHODS OF TREATING AML BY IDENTIFYING AND TARGETING A MYELOID/LYMPHOID LEUKEMIA STEM CELL

NºPublicación:  EP4630818A1 15/10/2025
Solicitante: 
UNIV COLORADO REGENTS [US]
The Regents of the University of Colorado, a body corporate
KR_20250121558_PA

Resumen de: AU2023390484A1

The present disclosure provides methods of treating acute myeloid leukemia (AML) and methods of determining responsiveness to AML treatment regimens, the methods comprising identifying the presence or absence of Myeloid/Lymphoid leukemia stem cells (M/L LSC) in a sample from a subject.

NOVEL 2-((TRANS-4-(4-ARYLOXY)CYCLOHEXYL)AMINO)QUINAZOLINONE DERIVATIVE AND METHOD FOR PREPARING SAME

NºPublicación:  EP4631933A1 15/10/2025
Solicitante: 
NEXTHERA CO LTD [KR]
NexThera Co., Ltd
EP_4631933_PA

Resumen de: EP4631933A1

The objective of the present invention is to provide a novel 2-((trans-4-(4-aryloxy)cyclohexyl)amino)quinazolinone derivative which exhibits anti-cancer activity through eIF2α phosphorylation efficacy. The novel synthesized derivative exhibits an eIF2α phosphorylation effect and cancer cell proliferation inhibitory activity in vitro, and thus can be used as a metabolic anti-cancer drug in pharmaceutical and health functional food compositions for preventing and ameliorating leukemia and other rare cancers such as breast cancer, brain tumor, and sarcoma.

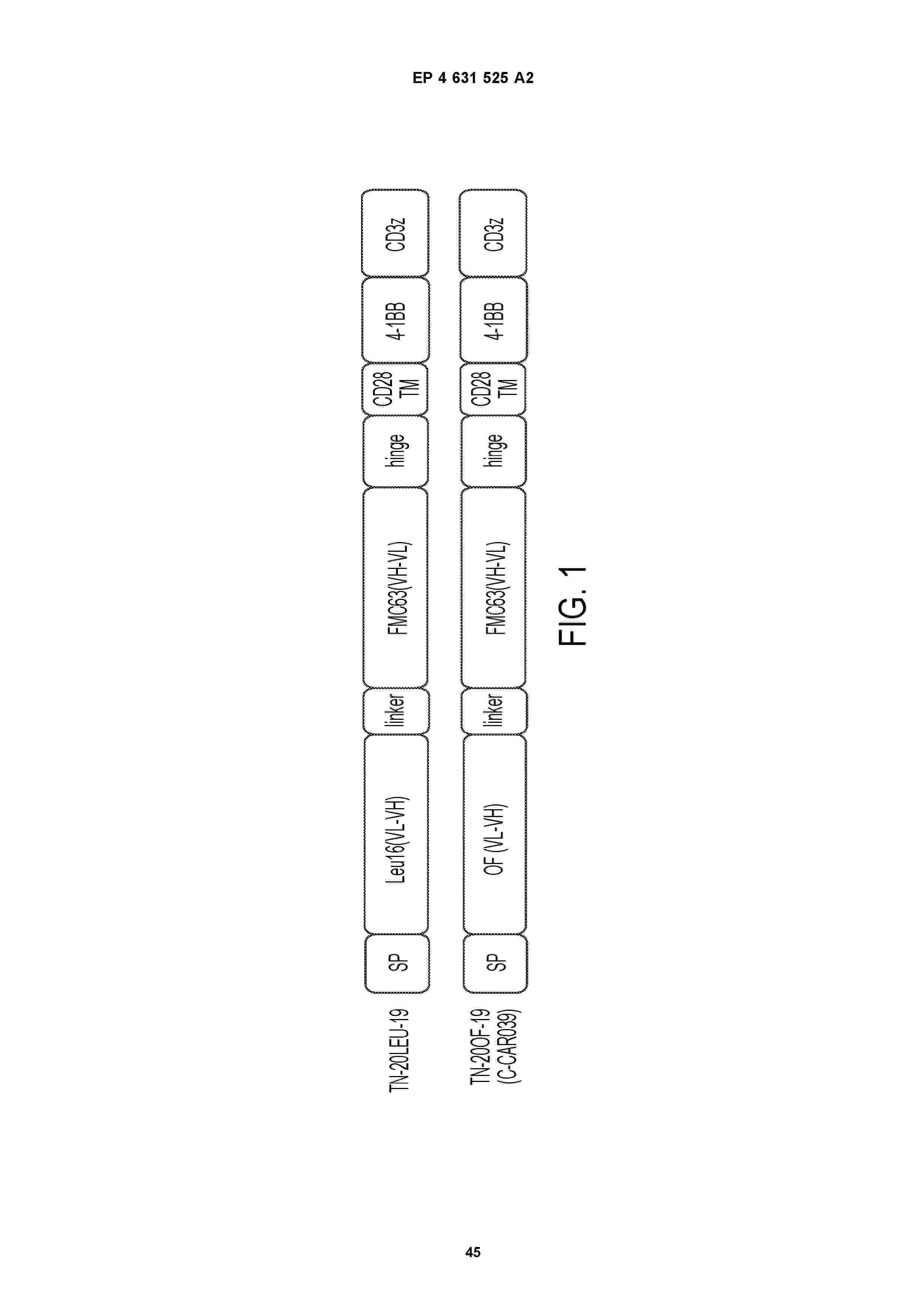
COMBINED CHIMERIC ANTIGEN RECEPTOR TARGETING CD19 AND CD20 AND APPLICATIONS THEREOF

NºPublicación:  EP4631525A2 15/10/2025
Solicitante: 
ABELZETA INC [US]
AbelZeta Inc
EP_4631525_A2

Resumen de: EP4631525A2

The present invention provides a combined chimeric antigen receptor targeting CD19 and CD20 and application thereof. Specifically, the present invention provides a combined chimeric antigen receptor targeting CD19 and CD20, which comprises a scFv targeting CD19 and a scFv targeting CD20, a hinge region, a transmembrane region, and an intracellular signaling domain. The present invention provides a nucleic acid molecule encoding the chimeric antigen receptor and a corresponding expression vector, a CAR-T cell, and applications thereof. The experimental results show that the chimeric antigen receptor provided by the present invention shows extremely high killing ability against tumor cells. The chimeric antigen receptor of the present invention targets CD19 and/or CD20 positive cells and can be used to treat CD19 and/or CD20 positive B-cell lymphoma, leukemia and other diseases.

METHODS OF USE OF MULTI-SPECIFIC BINDING PROTEINS

NºPublicación:  AU2024253099A1 09/10/2025
Solicitante: 
CULLINAN THERAPEUTICS INC
CULLINAN THERAPEUTICS, INC
AU_2024253099_PA

Resumen de: AU2024253099A1

Provided herein are anti-CD19 antibodies and multi-specific binding proteins that bind CD19, CD3, and serum albumin. Also provided are pharmaceutical compositions comprising these antibodies or multi-specific binding proteins, expression vectors and host cells for making these antibodies or multi-specific binding proteins, and methods of use of these antibodies or multi-specific binding proteins in treating cancers including relapsing and/or refractory Non-Hodgkins Lymphoma, and cancers that express low levels of CD19.

METHODS OF TREATING LYMPHOMA WITH BISPECIFIC ANTIBODIES AGAINST CD3 AND CD20

NºPublicación:  AU2024255174A1 09/10/2025
Solicitante: 
GENMAB AS
GENMAB A/S
AU_2024255174_A1

Resumen de: AU2024255174A1

The present invention provides dosing regimens of bispecific antibodies targeting both CD3 and CD20 when used in the treatment of lymphoma, such as B-cell Non-Hodgkin lymphoma (B-NHL).

DOSING FOR TREATMENT WITH ANTI-FCRH5/ANTI-CD3 BISPECIFIC ANTIBODIES

NºPublicación:  AU2024270495A1 09/10/2025
Solicitante: 
GENENTECH INC
GENENTECH, INC
AU_2024270495_A1

Resumen de: AU2024270495A1

The invention provides methods of dosing for the treatment of cancers, such as multiple myelomas, with anti-fragment crystallizable receptor-like 5 (FcRH5)/anti-cluster of differentiation 3 (CD3) bispecific antibodies.

METHOD FOR PROCESSING 3D IMAGING DATA AND ASSISTING WITH PROGNOSIS OF CANCER

NºPublicación:  US2025315946A1 09/10/2025
Solicitante: 
INSTITUT NATIONAL DE LA SANTE ET DE LA RECH MEDICALE [FR]
INST CURIE [FR]
UNIV PARIS SACLAY [FR]
INSTITUT NATIONAL DE LA SANT\u00C9 ET DE LA RECHERCHE M\u00C9DICALE,
INSTITUT CURIE,
UNIVERSITE PARIS-SACLAY
US_2025315946_PA

Resumen de: US2025315946A1

It is disclosed a method processing imaging data of a patient having cancer, for instance lymphoma, comprising:—Providing three-dimensional imaging data of the patient,—computing from said three-dimensional imaging data, at least one two-dimensional Maximum Intensity Projection image. corresponding to the projection of the maximum intensity of the three-dimensional imaging data along one direction onto one plane,—extracting a mask of the MIP image corresponding to cancerous lesions by application of a trained model. Using the extracted mask it is possible to compute one or more cancer prognosis indicators.

METHODS

NºPublicación:  US2025314655A1 09/10/2025
Solicitante: 
AUTOLUS LTD [GB]
AUTOLUS LIMITED
US_2025314655_PA

Resumen de: US2025314655A1

The present invention relates to a chimeric antigen receptor (CAR) which comprises an antigen-binding domain which selectively binds TCR beta constant region 1 (TRBC1) or TRBC2; cells; such a T cells comprising such a CAR; and the use of such cells for the treatment of a T-cell lymphoma or leukaemia in a subject.

COMPOSITION FOR COMBINATION THERAPY, COMPRISING 2,3,5-SUBSTITUTED THIOPHENE COMPOUND

NºPublicación:  US2025312327A1 09/10/2025
Solicitante: 
PHAROS IBIO CO LTD [KR]
PHAROS IBIO CO., LTD
US_2025312327_A1

Resumen de: US2025312327A1

The present invention relates to a composition for co-administration containing a 2,3,5-substituted thiophene compound. The composition has excellent inhibitory activity against cancer cells related to leukemia compared to treatment with the 2,3,5-substituted thiophene compound alone or an anticancer drug alone, and thus may be useful for the prevention, amelioration or treatment of leukemia.

PROGNOSTIC METHOD FOR ACUTE MYELOID LEUKEMIA (AML) AND NON-CANONICAL AML REGENERATION

NºPublicación:  WO2025208227A1 09/10/2025
Solicitante: 
MCMASTER UNIV [CA]
MCMASTER UNIVERSITY

Resumen de: WO2025208227A1

This disclosure relates to methods for identifying Acute Myeloid Leukemia (AML) regeneration enriched cells (RECs) in a patient sample, as well as methods for purifying RECs and for generating RECs, such as for use in an assay for screening therapeutic agents. Also described herein are methods of predicting the prognosis, risk of relapse and/or treatment response in patients with AML, as well as methods for selecting patients with AML for treatment, and methods for treating patients with AML. Further provided are kits for use in the methods described herein.

ALKYL DIAMINE-SUBSTITUTED BIS-AROMATIC HETEROCYCLIC THIOETHER COMPOUND, PREPARATION THEREOF, AND APPLICATION THEREOF IN PREPARATION OF DRUGS FOR TREATING AND/OR PREVENTING TUMORS

NºPublicación:  WO2025209007A1 09/10/2025
Solicitante: 
WANG CHUNGANG [CN]
\u738B\u6625\u521A

Resumen de: WO2025209007A1

The present invention relates to an alkyl diamine-substituted bis-aromatic heterocyclic thioether compound, a preparation thereof, and an application thereof in the preparation of drugs for treating and/or preventing tumors. The structural formula of the compound is as shown in formula (I): the compound has a clear growth-inhibitory effect on various human tumor cells, with good inhibitory activity against breast cancer, liver cancer, pancreatic cancer, kidney cancer, lung cancer, gastric cancer, glioma, ovarian cancer, prostate cancer, esophageal cancer, melanoma, nasopharyngeal carcinoma, colon cancer, cervical cancer, lymphoma, leukemia and other such tumors, wherein the effective IC50 concentration of the compound against tumor cells, such as breast cancer, pancreatic cancer, lung cancer, glioma, ovarian cancer, esophageal cancer, melanoma, colon cancer, cervical cancer, is lower than cisplatin, and experiments show that the compound has broad-spectrum anti-tumor activity. Experiments have further detected that the compound exhibits the effect of degrading PD-L1 proteins, and is a PD-L1 immunomodulator. The present invention provides a new approach for using alkyl diamine-substituted bis-aromatic heterocyclic thioether compounds in the preparation of drugs for treating and/or preventing tumors.

METHODS FOR PROGNOSING AND TREATING ACUTE MYELOID LEUKEMIA

NºPublicación:  WO2025212259A1 09/10/2025
Solicitante: 
BOARD OF REGENTS THE UNIV OF TEXAS SYSTEM [US]
BOARD OF REGENTS, THE UNIVERSITY OF TEXAS SYSTEM

Resumen de: WO2025212259A1

The present disclosure provides methods and compositions for prognosing and treating acute myeloid leukemia. The present disclosure further provides methods and compositions of identifying a prognostic risk comprising detecting the expression level of at least two proteins selected from the group consisting of FGF23, GFAP, IFNL1, IL33, MUC16, OSMR, LCN2, PDGFA, and VSNL1.

PANELS AND METHODS FOR TREATMENT OF DIFFUSE LARGE B-CELL LYMPHOMA

NºPublicación:  WO2025213125A1 09/10/2025
Solicitante: 
DANA FARBER CANCER INST INC [US]
THE BROAD INST INC [US]
THE GENERAL HOSPITAL CORP [US]
DANA-FARBER CANCER INSTITUTE, INC,
THE BROAD INSTITUTE, INC,
THE GENERAL HOSPITAL CORPORATION

Resumen de: WO2025213125A1

The present disclosure provides a molecular classifier and a targeted sequencing assay for use in characterization and treatment of diffuse large B-cell lymphoma.

PANELS AND METHODS FOR TREATMENT OF DIFFUSE LARGE B-CELL LYMPHOMA

NºPublicación:  WO2025213122A1 09/10/2025
Solicitante: 
DANA FARBER CANCER INST INC [US]
THE BROAD INST INC [US]
THE GENERAL HOSPITAL CORP [US]
DANA-FARBER CANCER INSTITUTE, INC,
THE BROAD INSTITUTE, INC,
THE GENERAL HOSPITAL CORPORATION

Resumen de: WO2025213122A1

The present disclosure provides a molecular classifier and a targeted sequencing assay for use in characterization and treatment of diffuse large B-cell lymphoma.

CORONIN-1 MODULATORS

NºPublicación:  WO2025210192A1 09/10/2025
Solicitante: 
NXI THERAPEUTICS AG [CH]
UNIV BASEL [CH]
NXI THERAPEUTICS AG,
UNIVERSIT\u00C4T BASEL

Resumen de: WO2025210192A1

The present invention relates to immunosuppressive compounds that deplete coronin 1 levels, in particular to coronin 1 promoter inhibitors. Accordingly, the present invention relates to a compound of formula (I), or a pharmaceutically acceptable salt, stereoisomer, diastereoisomer, enantiomer, polymorph, racemic mixture, or solvate thereof. The compound of formula (I) can be used as a medicament, in particular for inhibiting coronin 1 expression in the induction of immunosuppression or in the treatment and/or prevention of a disease or disorder selected from the group consisting of transplant rejection, autoimmune diseases, inflammatory diseases, infectious diseases, and lymphoproliferative disorders. The present invention further relates to a pharmaceutical composition comprising the compound of the present invention and a pharmaceutically acceptable carrier.

4-(HETERO)ARYL-7-(HETERO)ARYL-2-METHYL-5-OXO-1,4,5,6,7,8-HEXAHYDROQUINOLINE-3-CA RBOXYLIC ACID DERIVATIVES AS CORONIN-1 MODULATORS

NºPublicación:  WO2025210193A1 09/10/2025
Solicitante: 
NXI THERAPEUTICS AG [CH]
UNIV BASEL [CH]
NXI THERAPEUTICS AG,
UNIVERSIT\u00C4T BASEL

Resumen de: WO2025210193A1

The present invention relates to immunosuppressive compounds that deplete coronin 1 levels, in particular to coronin 1 promoter inhibitors. Accordingly, the present invention relates to a compound of formula (I) or a pharmaceutically acceptable salt, stereoisomer, diastereoisomer, enantiomer, polymorph, racemic mixture, or solvate thereof. The compound of formula (I) can be used as a medicament, in particular for inhibiting coronin 1 expression in the induction of immunosuppression or in the treatment and/or prevention of a disease or disorder selected from the group consisting of transplant rejection, autoimmune diseases, inflammatory diseases, infectious diseases, and lymphoproliferative disorders. The present invention further relates to a pharmaceutical composition comprising the compound of the present invention and a pharmaceutically acceptable carrier.

TARGETING NANOSCALE PARTICLE, TARGETING CELL, PREPARATION METHOD THEREFOR, AND USE THEREOF

NºPublicación:  EP4628071A1 08/10/2025
Solicitante: 
INST OF PROCESS ENGINEERING CHINESE ACADEMY OF SCIENCE [CN]
Institute of Process Engineering, Chinese Academy of Science
EP_4628071_PA

Resumen de: EP4628071A1

The invention discloses a targeted nanoscale particle, a targeted cell, a preparation method therefor, and use thereof. The targeted nanoscale particle is bound to the outer surface of the targeted cell, and is composed of a plurality of proteins interconnected via a first binding site. The targeted nanoscale particle further comprises a second binding site, and is bound to the outer surface of a target cell via the second binding site. In an exemplary embodiment, the targeted nanoscale particle can promote the interaction between the two types of cells by simultaneously binding to a chimeric antigen receptor T cell and a leukemia cell, thereby promoting the recognition and killing of the leukemia cell by the chimeric antigen receptor T cell. In addition, the internal cavities of the proteins in the targeted nanoscale particle provide space for loading of a chemotherapeutic drug, thus realizing the combination therapy of the chimeric antigen receptor T cell and other therapies while loading the drug.

METHODS OF TREATING ACUTE MYELOID LEUKEMIA

NºPublicación:  EP4626439A2 08/10/2025
Solicitante: 
UNIV COLORADO REGENTS [US]
The Regents of the University of Colorado, a body corporate
KR_20250130309_PA

Resumen de: AU2023406508A1

The present disclosure provides methods of treating acute myeloid leukemia (AML) and methods of determining responsive to AML treatment regimes, the methods comprising identifying the presence or absence of monocytic leukemia stem cells (m-LSCs), including CD70+ m-LSCs, in a sample from a subject.

BIOTIN ORTHOGONAL STREPTAVIDIN SYSTEM

NºPublicación:  US2025304705A1 02/10/2025
Solicitante: 
UNIV OF UTAH RESEARCH FOUNDATION [US]
UNIVERSITY OF UTAH RESEARCH FOUNDATION
US_2025304705_A1

Resumen de: US2025304705A1

The present disclosure relates to an orthogonal system comprising a first bi-specific polypeptide that comprises D-streptavidin or a variant thereof covalently linked to an antibody or antibody fragment and a second bi-specific polypeptide that comprises L-biotin covalently linked to a therapeutic or diagnostic agent. The disclosed systems can be useful in, for example, treating a disease or a condition (e.g., cancer, non-Hodgkin lymphoma, multiple sclerosis, Crohn's disease, rheumatoid arthritis, asthma, macular degeneration, psoriasis, Hodgkin lymphoma, paroxysmal nocturnal hemoglobinuria, X-linked hypophosphatemia). Also described are peptides and polypeptides useful in preparing the disclosed bi-specific polypeptides and methods of making same. This abstract is intended as a scanning tool for purposes of searching in the particular art and is not intended to be limiting of the present invention.

METHODS AND COMPOSITIONS FOR INHIBITING THE INTERACTION OF MENIN WITH MLL PROTEINS

NºPublicación:  US2025304589A1 02/10/2025
Solicitante: 
KURA ONCOLOGY INC [US]
THE REGENTS OF THE UNIV OF MICHIGAN [US]
Kura Oncology, Inc,
The Regents of The University of Michigan
US_2025304589_A1

Resumen de: US2025304589A1

The present disclosure provides compositions and methods of use to inhibit the interaction of menin with MLL1, MLL2 and MLL-fusion oncoproteins. The compositions and methods of use are useful for the treatment of leukemia, solid cancers, diabetes and other diseases dependent on activity of MLL1, MLL2, MLL fusion proteins, and/or menin.

METHODS AND SYSTEMS FOR DETECTING SKIN CONDITIONS

NºPublicación:  WO2025208087A1 02/10/2025
Solicitante: 
DERMTECH LLC [US]
DERMTECH, LLC

Resumen de: WO2025208087A1

Disclosed herein, in certain embodiments, are systems and methods of detecting the presence of a skin condition using a machine learning model based on molecular risk factors. In some instances, the skin condition is cancer, such as cutaneous T cell lymphoma (CTCL). In some cases, the skin cancer can be mycosis fungoides (MF) or Sézary syndrome (SS).

POSTBIOTIC-BASED COMPOSITION FOR THE TREATMENT OF TUMORS

NºPublicación:  US2025302895A1 02/10/2025
Solicitante: 
POSTBIOTICA S R L [IT]
HUMANITAS MIRASOLE S P A [IT]
POSTBIOTICA S.R.L,
HUMANITAS MIRASOLE S.P.A
US_2025302895_A1

Resumen de: US2025302895A1

Methods of treatment and/or prevention of tumours, preferably of solid tumours, more preferably of breast cancer, melanoma, bladder cancer, head and neck cancer, Hodgkin's lymphoma, kidney cancer, non-small cell lung cancer using fermented supernatant, or fractions thereof, of the Lactobacillus casei or paracasei species are disclosed. The species is the strain deposited according to the Budapest Treaty with No. CNCM I-5220 and/or includes in its DNA genome a DNA sequence essentially identical to one of: SEQ ID No 1 to 5.

HETEROCYCLIC COMPOUNDS USEFUL FOR TREATMENT OF CANCERS

NºPublicación:  US2025302842A1 02/10/2025
Solicitante: 
JUBILANT EPIPAD LLC [US]
JUBILANT EPIPAD LLC
US_2025302842_A1

Resumen de: US2025302842A1

Heterocyclic compounds, their stereoisomers and their pharmaceutically acceptable salts are useful in the treatment of many types of cancers, such as cancers of the breast, prostate, pancreatic, gastric, lung, colon, rectum, esophagus cancer, duodenum, tongue, pharynx, liver, kidney, bile duct, uterine body, cervix, ovaries, urinary bladder, and skin. Other cancers to be treated include brain tumor, neurinoma, clear cell carcinoma, non-small cell lung cancer, small cell lung cancer, hemangioma, malignant lymphoma, malignant melanoma, thyroid cancer, bone tumor, vascular fibroma, glioblastoma, Neuroblastoma, sarcoma, neuroendocrine tumors, retinoblastoma, penile cancer, pediatric solid cancer, renal cell carcinoma, lymphoma, myeloma, leukemia, acute myelogenous leukemia (AML), chronic myelogenous leukemia (CML), chronic neutrophilic leukemia (CNL), chronic eosinophilic leukemia (CEL), chronic lymphocytic leukemia (CLL), acute lymphoblastic leukemia (ALL), hairy cell leukemia, cutaneous T-cell lymphoma (CTCL), multiple myeloma (MM), myeloproliferative neoplasms (MPN), Myelodysplastic syndrome (MDS), polycythemia vera (PV), essential thrombocythemia, essential thrombocytosis (ET), and myelofibrosis (MF), and also including their metastases.

Uses of Bcl-2 Antagonists for Treating Cancer and Diagnostics Related Thereto

NºPublicación:  US2025302827A1 02/10/2025
Solicitante: 
EMORY UNIV [US]
Emory University
US_2025302827_A1

Resumen de: US2025302827A1

In certain embodiments, this disclosure relates to method of treating and diagnosing cancer by administering a Bcl-2 inhibitor optionally in combination with a mitochondrial complex II inhibitor. In certain embodiments, a subject is diagnosed with, exhibiting symptoms of, or at risk of cancer wherein the cancer is a hematological malignancy such as multiple myeloma, leukemia, or lymphoma.

METHODS OF CANCER DETECTION BY DISCORDANT METHYLATION IN CFDNA

NºPublicación:  WO2025203031A2 02/10/2025
Solicitante: 
YISSUM RESEARCH DEVELOPMENT COMPANY OF THE HEBREW UNIV OF JERUSALEM LTD [IL]
HADASIT MEDICAL RES SERVICES & DEVELOPMENT LTD [IL]
YISSUM RESEARCH DEVELOPMENT COMPANY OF THE HEBREW UNIVERSITY OF JERUSALEM LTD,
HADASIT MEDICAL RESEARCH SERVICES & DEVELOPMENT LTD

Resumen de: WO2025203031A2

Methods of detecting cancer in a subject in need thereof, comprising ascertaining the methylation status of at least four methylation sites in the same double-stranded cell-free DNA (cfDNA) molecule and detecting the presence of at least two sites that are methylated and at least two sites that are unmethylated in the at least four methylation sites indicating that the subject suffers from cancer are provided. Methods of quantifying molecules of cfDNA and also provided, as are methods of detecting and quantifying plasma cell DNA. Methods of diagnosing multiple myeloma or predicting progression of smoldering multiple myeloma (SMM) or monoclonal gammopathy of undetermined significance (MGUS) to multiple myeloma in a subject are also provided.

USE OF ABAMETAPIR IN PREPARING ANTITUMOR DRUG

NºPublicación:  WO2025201464A1 02/10/2025
Solicitante: 
CHONGQING CITY MAN COLLEGE [CN]
\u91CD\u5E86\u57CE\u5E02\u7BA1\u7406\u804C\u4E1A\u5B66\u9662
CN_118141815_PA

Resumen de: WO2025201464A1

Abametapir or a pharmaceutically acceptable salt thereof has antitumor activity and significant antitumor effects on gynecological tumors, digestive tract tumors, lung tumors, lymphomas, and the like. Abametapir has a significant inhibitory effect on the growth and development of various human tumor cells and tumors in tumor-bearing mice, and especially has a good inhibitory effect on triple-negative breast cancer. Abametapir or the pharmaceutically acceptable salt thereof has an effective antitumor effect by means of oral administration.

COVALENT INHIBITION OF SARS-COV-2 RNA METHYLATION FOR TREATMENT OF PAN-CORONAVIRAL INFECTIONS

NºPublicación:  WO2025207791A1 02/10/2025
Solicitante: 
BOARD OF REGENTS THE UNIV OF TEXAS SYSTEM [US]
BOARD OF REGENTS, THE UNIVERSITY OF TEXAS SYSTEM

Resumen de: WO2025207791A1

Aspects are directed to a novel small molecule inhibitor of Nsp16 having a chemical formula of (N-9-(2R,3R,4S,5S)-5-(chloromethyl)-3,4-dihydroxy-tetrahydrofuran-2-ylpurin-6-ylprop-2-enamide) (AT501) or analogs thereof. Other aspects are directed to a therapeutic composition comprising AT501 or analogs thereof, further including antiviral compounds or anticancer compounds. Certain aspects are directed to a method of treating Coronavirus infection by administering AT501 or a composition thereof to a subject having or at risk of obtaining a Coronavirus infection caused by SARS-CoV-1 or SARS-CoV-2 virus. Certain aspects are directed to methods of treating cancer by administering AT501 or a composition thereof to a subject having or at risk of developing cancer, such as leukemia.

BISPECIFIC ANTIBODIES AGAINST CD3 AND CD20

NºPublicación:  US2025304689A1 02/10/2025
Solicitante: 
GENMAB AS [DK]
GENMAB A/S
US_2025304689_A1

Resumen de: US2025304689A1

The present invention relates to bispecific antibodies (bsAbs) and the use of such antibodies in the treatment of disease in subjects. Moreover, advantageous treatment regimens are provided for the treatment of B-cell Non-Hodgkin Lymphoma (B-NHL).

HUMANIZED CD1a TARGETING MOIETY FOR THE TREATMENT OF CD1A-POSITIVE CANCER

NºPublicación:  US2025304697A1 02/10/2025
Solicitante: 
ONECHAIN IMNUNOTHERAPEUTICS S L [ES]
FUNDACIO INST DE RECERCA CONTRA LA LEUCEMIA JOSEP CARRERAS [ES]
INST CATALANA DE RECERCA I ESTUDIS AVANCATS [ES]
FUNDACIO INST DINVESTIGACIO EN CIENCIES DE LA SALUT GERMANS TRIAS I PUJOL [ES]
ONECHAIN IMNUNOTHERAPEUTICS S.L,
FUNDACI\u00D3 INSTITUT DE RECERCA CONTRA LA LEUC\u00C8MIA JOSEP CARRERAS,
INSTITUCI\u00D3 CATALANA DE RECERCA I ESTUDIS AVAN\u00C7ATS,
FUNDACI\u00D3 INSTITUT D'INVESTIGACI\u00D3 EN CI\u00C8NCIES DE LA SALUT GERMANS TRIAS I PUJOL
US_2025304697_A1

Resumen de: US2025304697A1

Relapsed/refractory T-cell acute lymphoblastic leukemia (T-ALL) has a dismal outcome, and no effective targeted immunotherapies for T-ALL exist. CD1a is exclusively expressed in cortical T-ALLs, a major subset of T-ALL. The expression of CD1a is restricted to cortical thymocytes and neither CD34+ progenitors nor T-cells express CD1a during ontogeny, confining the risk of on-target/off-tumor toxicity. The present invention provides CD1a-targeting moieties comprising a CD1a-which may be placed into T cells. The resultant CARTs are suitable for the treatment of cortical T-ALLs.

CDK4 INHIBITORS FOR USE IN THE TREATMENT OF MANTLE CELL LYMPHOMA

NºPublicación:  WO2025202900A1 02/10/2025
Solicitante: 
PFIZER INC [US]
PFIZER INC

Resumen de: WO2025202900A1

This invention relates to therapies for treating mantle cell lymphoma comprising a cyclin dependent kinase 4 (CDK4) inhibitor or a pharmaceutically acceptable salt thereof, and associated methods of treatment, pharmaceutical compositions, and uses thereof.

METHODS FOR PREDICTING ACTIVE DISEASE OR PROGRESSIVE DISEASE UNDER THERAPY IN A SUBJECT SUFFERING FROM CHRONIC LYMPHOCYTIC LEUKEMIA

NºPublicación:  WO2025202279A1 02/10/2025
Solicitante: 
INSTITUT NATIONAL DE LA SANTE ET DE LA RECH MEDICALE [FR]
CENTRE NATIONAL DE LA RECHERCHE SCIENT [FR]
CENTRE HOSPITALIER UNIV DE TOULOUSE [FR]
UNIV PAUL SABATIER TOULOUSE III [FR]
INSTITUT NATIONAL DE LA SANT\u00C9 ET DE LA RECHERCHE M\u00C9DICALE,
CENTRE NATIONAL DE LA RECHERCHE SCIENTIFIQUE,
CENTRE HOSPITALIER UNIVERSITAIRE DE TOULOUSE,
UNIVERSIT\u00C9 PAUL SABATIER - TOULOUSE III

Resumen de: WO2025202279A1

Monitoring active disease or progressive disease under therapy in chronic lymphocytic leukemia (CLL) represents a challenge to earlier and better adapt therapeutic strategy, notably in the era of targeted therapies in which minimal residual detection or mutations are sometimes not associated to poor clinical outcome. By following CLL patients before treatment (Binet stages A and B/C) or during targeted therapy, the Inventors developed a new flow cytometric method, based on CD69, CD49d, CD20 and CD279 expression at the surface of CD19+/CD5+ B leukemic cells. Analyses of these markers alone or in combination show that CD69/CD49d/CD20/CD279 co-expression (quadruple population, QP) > 0.5% is the best criterion predicting CLL active disease or progression under therapy. This new flow cytometry immunophenotyping could help clinicians to monitor CLL evolution and quickly adapt their therapeutic strategy. Accordingly, the present invention relates to an ex vivo method for predicting active Chronic Lymphocytic Leukemia (CLL) or progressive CLL under therapy in a subject suffering from CLL, comprising the step of quantifying a population of CD69+/CD49d+/CD20+/CD279+ cells in a sample obtained from the subject.

LIPID NANOPARTICLE LOADED WITH ANTITUMORAL AGENT AND FUNCTIONNALIZED TO TARGET IMMOSUPPRESSIVE CELLS

NºPublicación:  WO2025202213A1 02/10/2025
Solicitante: 
INSTITUT NATIONAL DE LA SANTE ET DE LA RECH MEDICALE [FR]
UNIV DE BOURGOGNE EUROPE [FR]
INSTITUT NATIONAL DE LA SANT\u00C9 ET DE LA RECHERCHE M\u00C9DICALE,
UNIVERSIT\u00C9 DE BOURGOGNE EUROPE

Resumen de: WO2025202213A1

The present invention relates to lipid nanoparticle loaded with antitumoral agent and functionalized to target immunosuppressive cells. Inventors developpe valrubicin-loaded immunoliposomes (Val-ILs). A small amount of valrubicin incorporated into Val-ILs induces leukemia cell death in vivo, suggesting that Val-ILs could be used to treat acute leukemia cells. Inventors also demonstrated that Val-ILs could reduce the risk of contamination of CD34+ hematopoietic stem cells by acute leukemia cells during autologous peripheral blood stem cell transplantation. They also highlighted the potential of Val-ILs to target immunosuppressive cell populations in the spleen. The most efficient Val-ILs were found to be those loaded with CD11b,CD223, CD64, TIM1, CD200R3, CD204, CD49b, VEGFR2 and SIGLECF antibodies. This study provides the effectiveness and ease of preparation of Val-ILs as a novel nanoparticle technology. In the context of cancers, Val-ILs have the potential to be used as a precise and effective therapy based on targeted vesicle-mediated cell death.

HEAD AND NECK CANCER COMBINATION THERAPY COMPRISING AN IL-2 CONJUGATE AND PEMBROLIZUMAB

NºPublicación:  US2025302950A1 02/10/2025
Solicitante: 
SYNTHORX INC [US]
MSD INT GMBH [CH]
MSD INT BUSINESS GMBH [CH]
Synthorx, Inc,
MSD INTERNATIONAL GMBH,
MSD International Business GmbH
US_2025302950_A1

Resumen de: US2025302950A1

Disclosed herein are methods for treating classic Hodgkin lymphoma (cHL) in a subject in need thereof, comprising administering an IL-2 conjugate in combination with an anti-PD-1 antibody or antigen-binding fragment thereof.

CHOLESTEROL-MODIFIED CATIONIC LIPOSOME TUMOR VACCINE, PREPARATION METHOD THEREFOR, AND USE THEREOF

NºPublicación:  WO2025199993A1 02/10/2025
Solicitante: 
SICHUAN UNIV [CN]
\u56DB\u5DDD\u5927\u5B66

Resumen de: WO2025199993A1

The present invention belongs to the technical field of cancer immunotherapy, and particularly relates to a cholesterol-modified cationic liposome tumor vaccine, a preparation method therefor, and use thereof. In order to solve the problems of poor targeting and strong side effects of TLR agonists in anti-tumor treatment, the present invention provides a cationic liposome prepared from a cholesterol-modified 1V209 molecule, a cationic lipid component, cholesterol, and DSPE-PEG2000, and then the cationic liposome and ovalbumin 5 form the tumor vaccine by electrostatic adsorption. Animal experiments show that the vaccine can induce antigen-specific CD8+ T cells, activate lymphocytes, and generate stronger antigen cross-presentation, more memory T cells, antibodies, and cytokines. Prophylactic inoculation with the vaccine can significantly delay the progression of mouse melanoma and lymphoma and prolong the survival of mice. The combination use of the vaccine and a PD-1 checkpoint inhibitor can further enhance the anti-tumor effect. Therefore, the vaccine is a promising cancer vaccine.

Feline leukemia virus vaccine

NºPublicación:  AU2025230686A1 02/10/2025
Solicitante: 
INTERVET INT B V
Intervet International B.V
JP_2023159327_A

Resumen de: AU2025230686A1

The present invention provides a vaccine for feline leukemia virus and methods of making and using the vaccine alone, or in combinations with other protective agents. 5 The present invention provides a vaccine for feline leukemia virus and methods of making and using the vaccine alone, or in combinations with other 5 protective agents. ep h e p r e s e n t i n v e n t i o n p r o v i d e s a v a c c i n e f o r f e l i n e l e u k e m i a v i r u s a n d e p m e t h o d s o f m a k i n g a n d u s i n g t h e v a c c i n e a l o n e , o r i n c o m b i n a t i o n s w i t h o t h e r p r o t e c t i v e a g e n t s

VACCINE FOR HUMAN T-LYMPHOTROPIC VIRUS-1

NºPublicación:  US2025302939A1 02/10/2025
Solicitante: 
THE US SECRETARY DEPARTMENT OF HEALTH AND HUMAN [US]
The United States of America, as represented by the Secretary, Department of Health and Human
US_2025302939_A1

Resumen de: US2025302939A1

Provided herein is a nucleic acid-based vaccine for human T-cell leukemia virus type 1 (HTLV-1). In some aspects, the vaccine includes a combination of nucleic acid molecules encoding HTLV-1 gag protein and one or both of Type A HTLV-1 Envelope (Env) and Type C HTLV-1 Env. In some aspects, the vaccine includes a combination of nucleic acid molecules encoding HIV-1 gag protein and one or both of Type A HTLV-1 Envelope (Env) and Type C HTLV-1 Env. When administered to a subject, the Env and Gag proteins are expressed in the host and form HTLV-1 virus-like particles (VLPs) that are secreted from cells within the host and elicit an immune response that inhibits HTLV-1 infection.

COMPOSITIONS, ASSAYS, AND METHODS FOR DIRECT MODULATION OF FATTY ACID METABOLISM

NºPublicación:  US2025306026A1 02/10/2025
Solicitante: 
DANA FARBER CANCER INST INC [US]
Dana-Farber Cancer Institute, Inc
US_2023228759_PA

Resumen de: US2025306026A1

This disclosure relates to the surprising and unexpected finding that the well-known cancer protein, Myeloid Cell Leukemia-1 (MCL-1), binds to and modulates the enzymatic activity of Very Long Chain Acyl CoA Dehydrogenase (VLCAD), thereby regulating fatty acid β-oxidation. This finding is employed in compositions and methods of treating cancer, metabolic diseases, or other conditions characterized by excessive fatty acid β-oxidation by blocking or reducing the energy production of cells (e.g., cancer) through inhibiting the MCL-1/VLCAD interaction and/or directly inhibiting VLCAD enzymatic activity. In addition, the disclosure features methods for identifying such agents that inhibit the interaction between MCL-1 and VLCAD or that inhibit VLCAD enzymatic activity.

METHOD OF DETECTING CONJUNCTIVAL DISEASE USING OCULAR SURFACE TISSUE, AND AGING BIOMARKER

NºPublicación:  US2025305071A1 02/10/2025
Solicitante: 
OSAKA UNIV [JP]
OTSUKA PHARMACEUTICAL CO LTD [JP]
OSAKA UNIVERSITY,
OTSUKA PHARMACEUTICAL CO., LTD
EP_4512910_A2

Resumen de: US2025305071A1

A method for detecting conjunctival diseases such as conjunctival MALT lymphoma, and an aging biomarker that serves as an indicator of the aging state of a subject are provided. The method for detecting conjunctival diseases comprises a step of comparing a microbial community structure of a microbiota in an ocular surface tissue specimen sampled from a healthy person with a microbial community structure of a microbiota in an ocular surface tissue specimen sampled from a subject to determine that the ocular surface tissue specimen of the subject has an indication of the conjunctival diseases. The aging biomarker comprises bacterial species which belongs to the Corynebacteriaceae family or the Propionibacteriales family in an ocular surface tissue.

Methods of treating high risk multiple myeloma

NºPublicación:  AU2025230668A1 02/10/2025
Solicitante: 
JANSSEN BIOTECH INC
Janssen Biotech, Inc
JP_2024001015_A

Resumen de: AU2025230668A1

Disclosed are methods of treating a subject having high-risk multiple myeloma, methods of achieving negative minimal residual disease status in a subject having multiple myeloma, and methods of predicting a likelihood of, or decreasing a risk of, relapse and/or disease progression in a subject having multiple myeloma. Disclosed are methods of treating a subject having high-risk multiple myeloma, methods of achieving negative minimal residual disease status in a subject having multiple myeloma, and methods of predicting a likelihood of, or decreasing a risk of, relapse and/or disease progression in a subject having multiple myeloma. ep i s c l o s e d a r e m e t h o d s o f t r e a t i n g a s u b j e c t h a v i n g h i g h - r i s k m u l t i p l e m y e l o m a , e p m e t h o d s o f a c h i e v i n g n e g a t i v e m i n i m a l r e s i d u a l d i s e a s e s t a t u s i n a s u b j e c t h a v i n g m u l t i p l e m y e l o m a , a n d m e t h o d s o f p r e d i c t i n g a l i k e l i h o o d o f , o r d e c r e a s i n g a r i s k o f , r e l a p s e a n d o r d i s e a s e p r o g r e s s i o n i n a s u b j e c t h a v i n g m u l t i p l e m y e l o m a

Compounds inhibiting tyrosine kinase activity for use in treating leukemia

NºPublicación:  IL322515A 01/10/2025
Solicitante: 
TERNS INC [US]
TERNS INC
IL_322515_A

Resumen de: US2025276961A1

Provided herein are compounds, preferably compounds inhibiting tyrosine kinase enzymatic activity of a protein selected from Abelson protein (ABL1), Abelson-related protein (ABL2), or a chimeric protein BCR-ABL1, compositions thereof, and methods of their preparation, and methods of inhibiting tyrosine kinase enzymatic activity of a protein selected from Abelson protein (ABL1), Abelson-related protein (ABL2), or a chimeric protein BCR-ABL1, and methods for treating diseases wherein modulation of BCR-ABL1 activity prevents, inhibits, or ameliorates the pathology and/or symptomology of the disease.

NOVEL TUMOR-SPECIFIC ANTIGENS FOR LYMPHOID LEUKEMIA AND USES THEREOF

NºPublicación:  EP4623085A1 01/10/2025
Solicitante: 
UNIV MONTREAL [CA]
Universit\u00E9 de Montr\u00E9al
WO_2024108303_A1

Resumen de: WO2024108303A1

Lymphoid leukemia such as acute lymphoblastic leukemia (ALL) represents a devastating disease especially when it occurs in adults. While dose-intensification strategies have led to a significant improvement in outcomes for pediatric patients, prognosis for the elderly remains very poor, with only 30-40% of adult patients with ALL achieving long-term remission. Novel tumor-specific antigens (TSAs) shared by a large proportion of lymphoid leukemia cells are described herein. Most of the TSAs described herein derives from aberrantly expressed unmutated genomic sequences, such as intronic and intergenic sequences, which are not expressed in normal tissues. Nucleic acids, compositions, cells and vaccines derived from these TSAs are described. The use of the TSAs, nucleic acids, compositions, cells and vaccines for the treatment of leukemia such as lymphoid leukemia is also described.

USE OF IL-27 ANTAGONISTS FOR THE TREATMENT OF EBV-DRIVEN B LYMPHOPROLIFERATIVE DISEASES

NºPublicación:  EP4623000A1 01/10/2025
Solicitante: 
INST NAT SANTE RECH MED [FR]
UNIV PARIS CITE [FR]
ASSIST PUBLIQUE HOPITAUX PARIS APHP [FR]
FOND IMAGINE [FR]
CENTRE NAT RECH SCIENT [FR]
Institut National de la Sant\u00E9 et de la Recherche M\u00E9dicale,
Universit\u00E9 Paris Cit\u00E9,
Assistance Publique-H\u00F4pitaux de Paris (APHP),
Fondation Imagine,
Centre National de la Recherche Scientifique
WO_2024110405_A1

Resumen de: WO2024110405A1

Upon EBV infection, the inventors found that IL-27 is produced by infected B lymphocytes and IL27RAIL-27 interaction is required for in vitro maintenance and expansion of EBV-transformed B cells, potentially explaining the favorable outcome of the EBV viral disease in IL27RA-deficient patients. In addition, the inventors identified neutralizing anti-IL27 autoantibodies in individuals who developed sporadic infectious mononucleosis, thus possibly phenocopying the IL27RA deficiency. Collectively, these results demonstrate the critical role of IL27-IL27RA axis in immunity to EBV, but also the hijacking of this defense by EBV to promote expansion of infected cells. The IL27-IL27RA could therefore represent a novel therapeutic target to inhibit EBV-driven B lymphoproliferative diseases.

FORMULATIONS AND DOSAGES FOR ADMINISTERING A COMPOUND THAT INHIBITS MCL1 PROTEIN

NºPublicación:  MX2025010313A 01/10/2025
Solicitante: 
AMGEN INC [US]
AMGEN INC
JP_2024112842_A

Resumen de: MX2025010313A

Formulations of compounds of Formula I are provided as are doses and dosing regimens useful in methods of treating cancer including hematological malignances such as acute myelogenous leukemia, multiple myeloma, and non-Hodgkin's lymphoma.

DOSING FOR TREATMENT WITH ANTI-CD20/ANTI-CD3 BISPECIFIC ANTIBODIES IN ELDERLY PATIENTS

NºPublicación:  MX2024014736A 01/10/2025
Solicitante: 
GENENTECH INC [US]
F HOFFMANN LA ROCHE AG [CH]
GENENTECH, INC,
F. HOFFMANN- LA ROCHE AG
JP_2025518780_A

Resumen de: MX2024014736A

The present invention relates to the treatment of elderly subjects (e.g., subjects aged 65 years or older) having relapsed and/or refractory (R/R) non-Hodgkin's lymphoma (NHL). More specifically, the invention pertains to the treatment of subjects having an R/R NHL by intravenous administration of mosunetuzumab.

METHODS OF TREATING MYELODYSPLASTIC SYNDROME AND MONITORING THE TREATMENT

NºPublicación:  MX2025007460A 01/10/2025
Solicitante: 
GERON CORP [US]
GERON CORPORATION
KR_20250131783_PA

Resumen de: MX2025007460A

Methods of monitoring therapeutic efficacy in a subject with myelodysplastic syndrome (MDS) are provided. Also provided is a method of identifying a subject with MDS for treatment with a telomerase inhibitor, and methods of treating MDS. The methods include administering to the subject a telomerase inhibitor and assessing variant allele frequency (VAF) for one or more of the following genes: SF3B1, TET2, DNMT3A, ASXL1, and CUX1 in a biological sample obtained from the subject after administration of the telomerase inhibitor. In some cases, a 25% or more reduction in VAF identifies a subject who has an increased likelihood of benefiting from treatment with a telomerase inhibitor. In some instances, the telomerase inhibitor is imetelstat or imetelstat sodium.

SMALL MOLECULE CEREBLON BINDERS THAT INDUCE THE DEGRADATION OF PROTEINS (KDM4B, VCL) RELEVANT TO CANCER

NºPublicación:  WO2025199151A1 25/09/2025
Solicitante: 
ST JUDE CHILDRENS RES HOSPITAL INC [US]
NEOSPHERE BIOTECHNOLOGIES GMBH [DE]
ST.JUDE CHILDREN'S RESEARCH HOSPITAL, INC,
NEOSPHERE BIOTECHNOLOGIES GMBH

Resumen de: WO2025199151A1

The present disclosure relates to compounds and compositions, and methods of uing the compounds and compositions for inducing the degradation of proteins that are relevant to cancer such as. for example. KDM4B and VCL. Also described are methods of treating cancer (e.g, a sarcoma, a carcinoma, a hematological cancer, a solid tumor, breast cancer, cervical cancer, gastrointestinal cancer, colorectal cancer, brain cancer, skin cancer, prostate cancer, ovarian cancer, non-small cell lung carcinoma, thyroid cancer, testicular cancer, pancreatic cancer, liver cancer, endometrial cancer, melanoma, glioma, leukemia, lymphoma, chronic myeloproliferative disorder, myelodysplastic syndrome, myeloproliferative neoplasm, plasma cell neoplasm (myeloma)) using the disclosed compounds and compositions. This abstract is intended as a scanning tool for purposes of searching in the particular art and is not intended to be limiting of the present disclosure.

DENOSUMAB FORMULATION

NºPublicación:  AU2024232412A1 25/09/2025
Solicitante: 
ALVOTECH HF
ALVOTECH HF
AU_2024232412_A1

Resumen de: AU2024232412A1

An aqueous pharmaceutical formulation having improved stability includes denosumab and a poloxamer, and preferably a histidine buffer and/or sugar or sugar alcohol. The formulation is for use in treating or preventing osteoporosis, loss of bone mass, skeletal-related events associated with multiple myeloma, solid tumor bone metastases, giant cell tumors of the bone or hypercalcemia.

Transmembrane protease, serine 6 (TMPRSS6) iRNA compositions and methods of use thereof

NºPublicación:  AU2025230652A1 25/09/2025
Solicitante: 
ALNYLAM PHARMACEUTICALS INC
ALNYLAM PHARMACEUTICALS, INC
AU_2025230652_A1

Resumen de: AU2025230652A1

22046882_1 (GHMatters) P122730.AU.1 The present invention relates to RNAi agents, e.g., double stranded RNA (dsRNA) agents, targeting the Transmembrane protease, serine 6 (TMPRSS6) gene. The invention also relates to methods of using such RNAi agents to inhibit expression of a TMPRSS6 gene and to methods of preventing and treating a TMPRSS6-associated disorder, e.g., a disorder associated with iron overload and/or a disorder of ineffective erythropoiesis, e.g., hereditary hemochromatosis, β- thalassemia (e.g., β-thalassemia major and β-thalassemia intermedia), polycythemia vera, myelodysplastic syndrome, congenital dyserythropoietic anemias, pyruvate kinase deficiency, erythropoietic porphyria, parkinson’s Disease, Alzheimer’s Disease or Friedreich’s Ataxia. The present invention relates to RNAi agents, e.g., double stranded RNA (dsRNA) agents, targeting the Transmembrane protease, serine 6 (TMPRSS6) gene. The invention also relates to methods of using such RNAi agents to inhibit expression of a TMPRSS6 gene and to methods of preventing and treating a TMPRSS6-associated disorder, e.g., a disorder associated with iron overload and/or a disorder of ineffective erythropoiesis, e.g., hereditary hemochromatosis, ß- thalassemia (e.g., ß-thalassemia major and ß-thalassemia intermedia), polycythemia vera, myelodysplastic syndrome, congenital dyserythropoietic anemias, pyruvate kinase deficiency, erythropoietic porphyria, parkinson's Disease, Alzheimer's Disease or Friedre

METHODS AND USES RELATED TO T CELL THERAPY AND PRODUCTION OF SAME

NºPublicación:  US2025295771A1 25/09/2025
Solicitante: 
CELGENE CORP [US]
Celgene Corporation
JP_2025516629_A

Resumen de: US2025295771A1

Provided herein are uses of T cells, e.g., chimeric antigen receptor (CAR) T cells, for treating a tumor or a cancer (such as B cell related cancer, e.g., multiple myeloma) wherein the subject being treated has previously received a topoisomerase inhibitor, a proteasome inhibitor, an anti-CD38 agent, an immunomodulatory agent, or an anti-SLAMF agent therapy.

COMPOSITIONS AND METHODS FOR TREATING AND/OR CHARACTERIZING HEMATOLOGICAL MALIGNANCIES AND PRECURSOR CONDITIONS

Nº publicación: US2025299796A1 25/09/2025

Solicitante:

DANA FARBER CANCER INST INC [US]
THE GENERAL HOSPITAL CORP [US]
Dana-Farber Cancer Institute, Inc,
The General Hospital Corporation

WO_2023019204_PA

Resumen de: US2025299796A1

Provided herein are methods and immune biomarkers that identify progression and treatment options for hematological malignancies (e.g., smoldering multiple myeloma (SMM), monoclonal gammopathy of undetermined significance (MGUS), or multiple myeloma (MM)). Also provided are materials and methods for the prognosis, staging, and monitoring of SMM, MGUS, or MM based on the presence of the immune biomarkers in a sample (e.g., a blood sample or a bone marrow sample), as well as methods for monitoring the progression of SMM, MGUS, or MM, determining the efficacy of a therapeutic agent, determining a treatment for SMM, MGUS (e.g., before progression to MM), or MM, and/or treating SMM, MGUS, or MM. The methods provided herein provide several advantages over invasive biopsies.

traducir