Ministerio de Industria, Turismo y Comercio LogoMinisterior
 

Alerta

Resultados 644 resultados
LastUpdate Última actualización 22/03/2026 [06:48:00]
pdfxls
Solicitudes publicadas en los últimos 15 días / Applications published in the last 15 days
previousPage Resultados 450 a 475 de 644 nextPage  

ELECTROLYTE MEMBRANE, ELECTROLYTE MEMBRANE WITH CATALYST LAYER, MEMBRANE ELECTRODE ASSEMBLY, SOLID POLYMER FUEL CELL, AND SOLID POLYMER WATER ELECTROLYSIS DEVICE

NºPublicación:  WO2026054042A1 12/03/2026
Solicitante: 
TOSOH CORP [JP]
\u6771\u30BD\u30FC\u682A\u5F0F\u4F1A\u793E
WO_2026054042_PA

Resumen de: WO2026054042A1

An electrolyte membrane 10A includes: a porous membrane 1 formed of a material containing a hydrocarbon-based resin; and a hydrocarbon-based electrolyte polymer filled in pores 2 of the porous membrane 1. The hydrocarbon-based electrolyte polymer has a structure represented by the following formula (1). Formula (1): In formula (1), A1 and A2 represent structural units represented by formula (a1) and formula (a2), L1 and L2 each independently represent a single bond or the like, n represents an integer of 10-100, and * represents a dangling bond. Formula (2): In formula (a1), IExG represents an ion exchange group, L3 represents a single bond or the like, x represents an integer of 2-10, and * represents a dangling bond. Formula (3): In formula (a2), Ar represents an arylene group not having an ion exchange group, L4 represents a single bond or the like, y represents an integer of 3-20, and * represents a dangling bond.

ELECTROCHEMICAL CELL STACK AND ELECTROCHEMICAL DEVICE

NºPublicación:  US20260074258A1 12/03/2026
Solicitante: 
KK TOSHIBA [JP]
TOSHIBA ENERGY SYSTEMS & SOLUTIONS CORP [JP]
KABUSHIKI KAISHA TOSHIBA,
TOSHIBA ENERGY SYSTEMS & SOLUTIONS CORPORATION
US_20260074258_PA

Resumen de: US20260074258A1

An electrochemical cell stack includes: a stack including electrochemical cells; a first clamping plate provided in contact with the stack; and a heat conduction member provided in contact with the first clamping plate. The heat conduction member is lower in heat conductivity than the first clamping plate under an operating temperature range of the electrochemical cell stack.

VANADIUM BASED FLOW BATTERY STACK

NºPublicación:  US20260074256A1 12/03/2026
Solicitante: 
SAUDI ARABIAN OIL COMPANY [SA]
Saudi Arabian Oil Company
US_20260074256_PA

Resumen de: US20260074256A1

A flow cell battery that includes at least one electrochemical cell. The electrochemical cell includes: an ion exchange membrane; a 1 mm to 4 mm thick anode; an anode current collector; a first bipolar plate disposed between the anode and the anode current collector; a first flow frame that defines first flow channels; a first tank including an anolyte that includes V4+ and V5+; a first pump to flow the anolyte from the first tank into the first flow channels; a 1 mm to 4 mm thick cathode; a cathode current collector; a second bipolar plate disposed between the cathode and the cathode current collector; a second flow frame that defines second flow channels; a second tank including a catholyte that includes V2+ and V3+; and a second pump to flow the catholyte from the second tank into the second flow channels.

METHOD FOR MANUFACTURING MULTISCALE-STRUCTURED METAL SUPPORT FOR LOW-TEMPERATURE THIN-FILM SOLID OXIDE FUEL CELL, AND METAL SUPPORT MANUFACTURED THEREBY

NºPublicación:  US20260074255A1 12/03/2026
Solicitante: 
SEOUL NATIONAL UNIV R&DB FOUNDATION [KR]
SEOUL NATIONAL UNIVERSITY R&DB FOUNDATION
US_20260074255_PA

Resumen de: US20260074255A1

Provided is a method for manufacturing a multiscale structured metal support for low-temperature thin-film solid oxide fuel cells and to a metal support manufactured thereby. The method includes (a) filling the pores on the surface of a porous metal support with a first metal powder having a relatively large particle size; (b) filling the pores on the surface of the porous metal support with a second metal powder having a relatively small particle size and pressing the surface; (c) heat-treating the porous metal support, whose surface pores are filled with the first and second metal powders, in a reducing atmosphere; and (d) filling the pores on the surface of the heat-treated porous metal support with a ceramic powder and heat-treating the resulting support in a reducing atmosphere. Through these processes, a multiscale structured metal support suitable for application in low-temperature thin-film solid oxide fuel cells can be fabricated.

FLUOROCARBON MOLECULAR ADDITIVES FOR PERFLUOROSULFONIC ACID BASED MEMBRANES

NºPublicación:  US20260074254A1 12/03/2026
Solicitante: 
GM GLOBAL TECH OPERATIONS LLC [US]
GM Global Technology Operations LLC
US_20260074254_PA

Resumen de: US20260074254A1

A proton exchange membrane for an energy conversion device, a hydrogen fuel cell stack for a vehicle, and a method of forming a proton exchange membrane. The proton exchange membrane includes a first layer of a perfluorosulfonic acid ionomer. In addition, the perfluorosulfonic acid ionomer includes a first methoxy-nonafluorobutane coated additive. The hydrogen fuel cell stack includes one or more membrane electrode assemblies, each including a proton exchange membrane.

NITROGEN GAS GENERATION APPARATUS, SYSTEM, AND METHOD USING CATALYTIC COMBUSTION

NºPublicación:  WO2026053847A1 12/03/2026
Solicitante: 
MICRO CONTROL SYSTEMS LTD [JP]
\u30DE\u30A4\u30AF\u30ED\u30B3\u30F3\u30C8\u30ED\u30FC\u30EB\u30B7\u30B9\u30C6\u30E0\u30BA\u682A\u5F0F\u4F1A\u793E
WO_2026053847_PA

Resumen de: WO2026053847A1

Provided is a nitrogen gas generation apparatus which makes it possible to use a combustion catalyst to stably, continuously, and reliably generate high-purity nitrogen gas. This nitrogen gas generation apparatus comprises: an oxygen delivery amount restriction means that takes in air or gas which contains nitrogen and oxygen, and that delivers the air or the gas while restricting the delivery amount of oxygen contained in the air or the gas; and a catalytic combustion means that reacts the delivered air or gas with fuel gas which contains intake hydrogen on a combustion catalyst to convert the air or the gas into nitrogen-enriched gas, which has an increased nitrogen concentration. The oxygen delivery amount restriction means makes the oxygen concentration of the air or the gas equal to or smaller than the maximum oxygen concentration that is determined on the basis of a set or desired upper temperature limit for the combustion catalyst or the catalytic combustion reaction, and/or makes the flow rate of the air or the gas equal to or smaller than the maximum flow rate that is determined on the basis of a set or desired upper temperature limit for the combustion catalyst or the catalytic combustion reaction.

ELECTRODE INK, METHOD FOR PRODUCING SAME, AND METHOD FOR PRODUCING ELECTRODE

NºPublicación:  WO2026053859A1 12/03/2026
Solicitante: 
RESONAC CORP [JP]
TOKYO UNIV OF SCIENCE FOUNDATION [JP]
\u682A\u5F0F\u4F1A\u793E\u30EC\u30BE\u30CA\u30C3\u30AF,
\u5B66\u6821\u6CD5\u4EBA\u6771\u4EAC\u7406\u79D1\u5927\u5B66
WO_2026053859_A1

Resumen de: WO2026053859A1

The present disclosure relates to a method for producing an electrode ink for an enzyme battery, the electrode ink containing an enzyme, a water-insoluble mediator, and a porous conductive substance, and the method comprising: a step 1 for preparing a first mixture containing a liquid in which the mediator is dissolved in a nonaqueous solvent, and the porous conductive substance; a step 2 for implementing a dispersion treatment on the first mixture at 60°C or lower under reduced pressure to volatilize and remove the nonaqueous solvent from the first mixture and obtain a second mixture; and a step 3 for adding and mixing the enzyme, an aqueous medium, and a binder with the second mixture to obtain the electrode ink.

METHOD FOR SYNTHESIZING A PLATINUM GROUP METAL-BASED CATALYST ON A CARBON SUPPORT

NºPublicación:  WO2026054675A1 12/03/2026
Solicitante: 
PUBLIC JOINT STOCK COMPANY \u201CMINING AND METALLURGICAL COMPANY NORILSK NICKEL [RU]
\u041F\u0423\u0411\u041B\u0418\u0427\u041D\u041E\u0415 \u0410\u041A\u0426\u0418\u041E\u041D\u0415\u0420\u041D\u041E\u0415 \u041E\u0411\u0429\u0415\u0421\u0422\u0412\u041E \"\u0413\u041E\u0420\u041D\u041E-\u041C\u0415\u0422\u0410\u041B\u041B\u0423\u0420\u0413\u0418\u0427\u0415\u0421\u041A\u0410\u042F \u041A\u041E\u041C\u041F\u0410\u041D\u0418\u042F \"\u041D\u041E\u0420\u0418\u041B\u042C\u0421\u041A\u0418\u0419 \u041D\u0418\u041A\u0415\u041B\u042C\"
WO_2026054675_A1

Resumen de: WO2026054675A1

A method for producing a platinum group metal-based catalyst on a carbon support includes the following steps: mixing a weighed quantity of a carbon support, ethylene glycol and a solvent, homogenizing the mixture and subsequently adding a palladium precursor, heating the reaction mixture to 80°С, holding the mixture at a constant temperature, adding a platinum precursor, heating the reaction mixture to 80°С, cooling the resulting suspension, adding a sedimentation agent in the form of 1 M NaCl, sedimenting the resulting mixture for 5 hours, filtering and drying. The technical result is the production of a catalyst that has improved activity indices and a reduced degradation rate.

MEMBRANE-ELECTRODE ASSEMBLY FOR HIGH-TEMPERATURE POLYMER ELECTROLYTE MEMBRANE FUEL CELL IN CATALYST-COATED MEMBRANE FORM AND METHOD FOR MANUFACTURING SAME

NºPublicación:  US20260074253A1 12/03/2026
Solicitante: 
HYUNDAI MOTOR COMPANY [KR]
KIA CORP [KR]
Hyundai Motor Company,
Kia Corporation
US_20260074253_PA

Resumen de: US20260074253A1

A membrane-electrode assembly (MEA) for a polymer electrolyte membrane fuel cell is prepared by applying an electrode slurry onto a release sheet to form an electrode layer, providing an electrolyte membrane comprising a substrate doped with phosphoric acid, and transferring the electrode layer to create a catalyst-coated membrane (CCM). The electrode slurry contains a catalyst, ionomer(s), and a solvent, with a solid content of about 10-15% by weight. The release sheet, comprising polyimide and about 30-80 μm thick, allows uniform coating and transfer. The resulting electrolyte membrane, about 40-50 μm thick, is doped with about 5-9 mg/cm2 of phosphoric acid and includes a hydrocarbon-based polymer substrate. The final MEA exhibits a high-frequency resistance of about 100 mΩ·cm2 or less.

SYSTEMS AND METHODS FOR CAPTURING CARBON DIOXIDE USING A MOLTEN CARBONATE FUEL CELL

NºPublicación:  US20260074252A1 12/03/2026
Solicitante: 
FUELCELL ENERGY INC [US]
FuelCell Energy, Inc
US_20260074252_PA

Resumen de: US20260074252A1

A fuel cell system includes a molten carbonate fuel cell module including an anode section configured to output an anode exhaust stream including carbon dioxide and hydrogen and a cathode section configured to receive a cathode input stream. The fuel cell system further includes a drying system configured to receive and remove water from the anode exhaust stream and to output a dried anode exhaust stream comprising less than 0.1 percent water and a carbon dioxide solvent extraction system configured to receive the dried anode exhaust stream, expose the dried anode exhaust stream to a physical solvent to absorb carbon dioxide, output a carbon dioxide product stream comprising at least 99 percent carbon dioxide, and output a sweet gas stream.

CORROSION-RESISTANT SYSTEM, CARBON-FREE POWER GENERATION SYSTEM, AND FUEL CELL SYSTEM

NºPublicación:  US20260074250A1 12/03/2026
Solicitante: 
SK INNOVATION CO LTD [KR]
SK INNOVATION CO., LTD
US_20260074250_PA

Resumen de: US20260074250A1

A corrosion-resistant system, a carbon-free power generation system, and a fuel cell system are provided. The corrosion-resistant system includes an ammonia supply unit; a first conduit connected to the ammonia supply unit; an ammonia decomposition unit comprising a chamber connected to the first conduit; and a second conduit connected to the chamber, wherein an operating temperature of the chamber is 410° C. or lower, the first conduit and the chamber comprise at least one selected from the group consisting of carbon steel, low alloy steel, stainless steel and a nickel-based alloy, and the second conduit comprises a nickel-based alloy (NT) satisfying Equation 1: T≤15 μm.

FUEL CELL ADAPTIVE PURGE DRAIN VALVE CONTROL

NºPublicación:  US20260074247A1 12/03/2026
Solicitante: 
FORD GLOBAL TECH LLC [US]
FORD GLOBAL TECHNOLOGIES, LLC
US_20260074247_PA

Resumen de: US20260074247A1

A fuel cell system for a vehicle includes an anode manifold, a drain valve, and a controller. The controller adjusts the duration for which the drain valve remains open or closed based on changes in the anode pressure slope associated with the valve's operation. The system, for example, increases the duration that the drain valve remains closed in response to a change in the anode pressure slope following an opening command and adjusts the duration that the valve remains open based on changes in the slope resulting from a closing command.

FUEL CELL MODULE

NºPublicación:  US20260074246A1 12/03/2026
Solicitante: 
TOYOTA JIDOSHA KK [JP]
TOYOTA JIDOSHA KABUSHIKI KAISHA
US_20260074246_PA

Resumen de: US20260074246A1

A fuel cell module includes a fuel cell stack made up of a plurality of stacked fuel-cell cells, a fuel gas outlet manifold that extends inside the fuel cell stack in a stacking direction, and through which a fuel gas that has passed through each of the fuel-cell cells flows, an oxidant gas outlet manifold that extends inside the fuel cell stack in the stacking direction, and through which an oxidant gas that has passed through each of the fuel-cell cells flows, a discharge flow passage that discharges the oxidant gas from the oxidant gas outlet manifold, a pressure regulating valve provided in the discharge flow passage, the pressure regulating valve being configured to lower a pressure in the discharge flow passage downstream from the pressure regulating valve than a pressure in the oxidant gas outlet manifold, and a water drain flow passage.

ELECTRODE INK, METHOD FOR PRODUCING SAME, AND METHOD FOR PRODUCING ELECTRODE

NºPublicación:  WO2026053856A1 12/03/2026
Solicitante: 
RESONAC CORP [JP]
TOKYO UNIV OF SCIENCE FOUNDATION [JP]
\u682A\u5F0F\u4F1A\u793E\u30EC\u30BE\u30CA\u30C3\u30AF,
\u5B66\u6821\u6CD5\u4EBA\u6771\u4EAC\u7406\u79D1\u5927\u5B66
WO_2026053856_A1

Resumen de: WO2026053856A1

The present disclosure relates to a method for producing an electrode ink for an enzyme battery, the electrode ink containing an enzyme, a water-soluble mediator, and a porous conductive substance, and the method including: a step 1 for preparing a first mixture containing a liquid in which the mediator is dissolved in an aqueous medium, and the porous conductive substance; a step 2 for adding the enzyme to the first mixture and performing a dispersion treatment at 60°C or lower under reduced pressure to obtain a second mixture; and a step 3 for adding and mixing a binder with the second mixture to obtain the electrode ink.

MATRIX MATERIAL, NANOFIBERS, ELECTROLYTE MEMBRANE, WATER ELECTROLYZER, AND FUEL CELL

NºPublicación:  WO2026053918A1 12/03/2026
Solicitante: 
TOKYO METROPOLITAN PUBLIC UNIV CORPORATION [JP]
AKITA UNIV [JP]
\u6771\u4EAC\u90FD\u516C\u7ACB\u5927\u5B66\u6CD5\u4EBA,
\u56FD\u7ACB\u5927\u5B66\u6CD5\u4EBA\u3000\u79CB\u7530\u5927\u5B66
WO_2026053918_PA

Resumen de: WO2026053918A1

Provided are: a matrix material to be used in a composite film containing nanofibers and a matrix material, the matrix material comprising a polymer compound containing a sulfonic acid group and/or a phosphonic acid group; a nanofiber to be used in an electrolyte film comprising nanofibers and the matrix material, the nanofibers being formed by using a nanofiber polymer compound containing a sulfonic acid group and/or a phosphonic acid group; an electrolyte film comprising the nanofibers and the matrix material; a fuel cell provided with the electrolyte film; and a water electrolyzer which uses the electrolyte film.

HYDROGEN GENERATION AMOUNT ADJUSTMENT DEVICE, AND VEHICLE HYDROGEN GENERATOR HAVING SAME

NºPublicación:  WO2026054154A1 12/03/2026
Solicitante: 
KAMFTY CO LTD [KR]
\uC8FC\uC2DD\uD68C\uC0AC \uCEA0\uD504\uD2F0
WO_2026054154_PA

Resumen de: WO2026054154A1

According to one embodiment, a vehicle hydrogen generator having a hydrogen generation amount adjustment device may comprise a PEM water electrolysis stack for generating hydrogen by electrolyzing water, wherein the PEM water electrolysis stack includes: a water tank for storing water for generating hydrogen through electrolysis; an electrolysis cell for generating hydrogen by electrolyzing the water provided from the water tank; a water separator which removes moisture contained in the hydrogen provided from the electrolysis cell and which provides the removed moisture to the water tank; and a control unit electrically connected to the electrolysis cell and the water tank.

燃料電池管理システム及び燃料電池管理方法

NºPublicación:  JP2026044397A 12/03/2026
Solicitante: 
パナソニックIPマネジメント株式会社
JP_2026044397_PA

Resumen de: JP2026044397A

【課題】複数台の燃料電池のメンテナンスを一斉に行うのか分割して行うのかをユーザが選択し、選択に応じて複数台の燃料電池を動作させることに適した技術を提供する。【解決手段】複数台の燃料電池130の一斉メンテナンスを実行することを表す第1意向をインターフェース120が受け付けた場合において、第1モードにより、複数台の燃料電池130を制御する。複数台の燃料電池130の分割メンテナンスを実行することを表す第2意向をインターフェース120が受け付けた場合において、第2モードにより、複数台の燃料電池130を制御する。第1モードでは、第2モードに比べ、複数台の燃料電池130の劣化度が平均化されるように、複数台の燃料電池130の運転が制御される。【選択図】図1

燃料電池システムおよびモノジェネレーション装置

NºPublicación:  JP2026044566A 12/03/2026
Solicitante: 
ヤンマーホールディングス株式会社
JP_2026044566_PA

Resumen de: US20260066314A1

Problem Provided is a fuel cell system capable of reducing a risk that drain water is discharged from an exhaust path together with exhaust gas and scattered around.Solution A fuel cell system includes a fuel cell module and a drain portion. The drain portion is disposed to be branched from an exhaust path of the fuel cell module.

MEMBRANE ELECTRODE ASSEMBLY

NºPublicación:  US20260074240A1 12/03/2026
Solicitante: 
TOYOTA JIDOSHA KK [JP]
TOYOTA JIDOSHA KABUSHIKI KAISHA
US_20260074240_PA

Resumen de: US20260074240A1

In this embodiment, an anode catalyst layer disposed on one surface of the solid polymer electrolyte membrane and the other surface of the solid polymer electrolyte membrane are provided. A membrane electrode assembly having a cathode catalyst layer disposed thereon, wherein the membrane electrode assembly comprises a metallic ions selected from cerium ions and manganese ions and a host compound capable of forming a clathrate compound with the metallic ions, wherein the cathode catalyst layer comprises an electrode catalyst, a binder, and an organic nitrogen-containing compound, wherein the electrode catalyst comprises a metal-supported catalyst comprising a catalyst metal and a support supporting the catalyst metal, and wherein the organic nitrogen-containing compound is at least one compound selected from the group consisting of a compound of formula (1), a compound of formula (2), and a compound of formula (3), or a polymer thereof.

LOW-TEMPERATURE RANKINE CYCLE SYSTEM FOR RECOVERING WASTE HEAT FROM A FUEL CELL SYSTEM

NºPublicación:  US20260074243A1 12/03/2026
Solicitante: 
GM GLOBAL TECH OPERATIONS LLC [US]
GM GLOBAL TECHNOLOGY OPERATIONS LLC
US_20260074243_PA

Resumen de: US20260074243A1

A fuel cell system includes F fuel cell stacks, where F is an integer greater than or equal to one. A coolant system includes liquid coolant in fluid communication with the F fuel cell stacks. A waste heat recovery system includes a turbine, a generator rotated by the turbine, a condenser in fluid communication with an outlet of the turbine, a pump fluidly coupled to an outlet of the condenser, and a heat exchanger in fluid communication with the coolant system, an inlet of the turbine and an outlet of the pump and configured to exchange heat between the liquid coolant and a working fluid to expand the working fluid supplied to the inlet of the turbine.

Solid Oxide Fuel Cell System with Carbon Capture and Increased Efficiency

NºPublicación:  US20260074251A1 12/03/2026
Solicitante: 
VERSA POWER SYSTEMS LTD [US]
VERSA POWER SYSTEMS, LTD
US_20260074251_PA

Resumen de: US20260074251A1

A fuel cell system including a fuel cell module having an anode inlet configured to receive an anode inlet stream including fuel and an anode outlet configured to output an anode exhaust stream including carbon dioxide and steam, a solid oxide electrolysis cell module configured to receive waste heat and a first portion of the anode exhaust stream from the solid oxide fuel cell module and output an electrolysis output stream including hydrogen and carbon monoxide, wherein at least a portion of the electrolysis output stream is redirected to become a component of the anode inlet stream of the fuel cell module, and a controller configured to operate the solid oxide electrolysis cell module at an endothermic current density

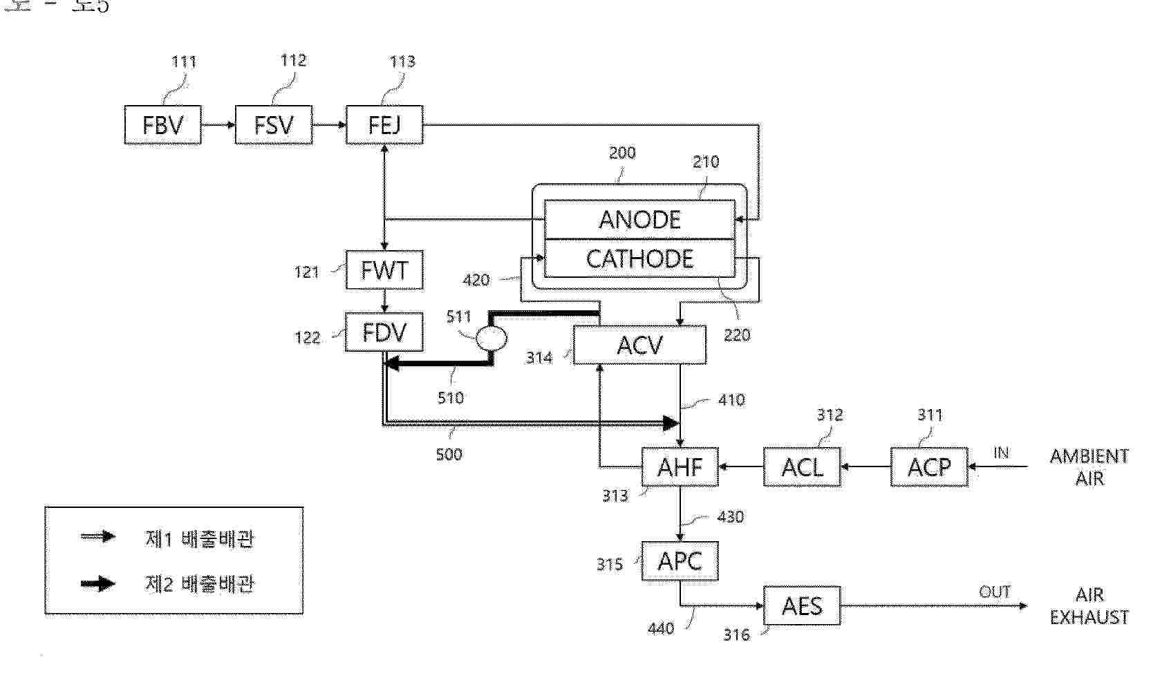
FUEL CELL SYSTEM AND ANTI-FREEZING METHOD THEREOF

NºPublicación:  KR20260034363A 11/03/2026
Solicitante: 
현대자동차주식회사기아주식회사
KR_20260034363_PA

Resumen de: KR20260034363A

본 발명의 일 실시예에 따른 연료 전지 시스템은, 애노드 및 캐소드를 포함한 연료 전지 스택, 애노드 출구에 위치하여 애노드로부터의 물 또는 가스를 축적하는 워터트랩부, 워터트랩부에 연결되어 워터트랩부 내 축적된 물 또는 가스의 배출을 조절하는 배출 밸브, 배출 밸브에 연결되어 축적된 물 또는 가스를 배출하는 제1 배출배관 및 제1 배출배관을 가열하는 가열수단을 포함할 수 있다.

ELECTROCHEMICAL CELL STACK AND METHOD FOR OPERATING AN ELECTROCHEMICAL CELL STACK

NºPublicación:  EP4705542A1 11/03/2026
Solicitante: 
SCHAEFFLER TECHNOLOGIES AG [DE]
Schaeffler Technologies AG & Co. KG
CN_120835942_PA

Resumen de: CN120835942A

An electrochemical cell stack (1) comprising a plurality of electrochemical cells (2) separated from one another by bipolar plates (5) wherein each electrochemical cell (2) consists of two half-cells (3, 4) having a membrane (6) as a common component, which membrane is held by a multi-piece support frame (7), according to the invention, the multi-part support frame (7) consists of two frame elements (16, 17) of different widths, each of which is stacked on one another from belonging to one half-cell (3, 4) and by inserting a plurality of layers of sheet devices (9) overlapping the membrane (6), on the inner side of each frame element (16, 17) facing the interior of the respective half-cell (3, 4), the frame elements (16, 17) are each provided with a seal (14, 15) which contacts the bipolar plate (5), and the two seals (14, 15) which are offset from each other due to different cross-sectional shapes of the frame elements (16, 17) each contact an outer layer (18, 20) of the sheet device (9).

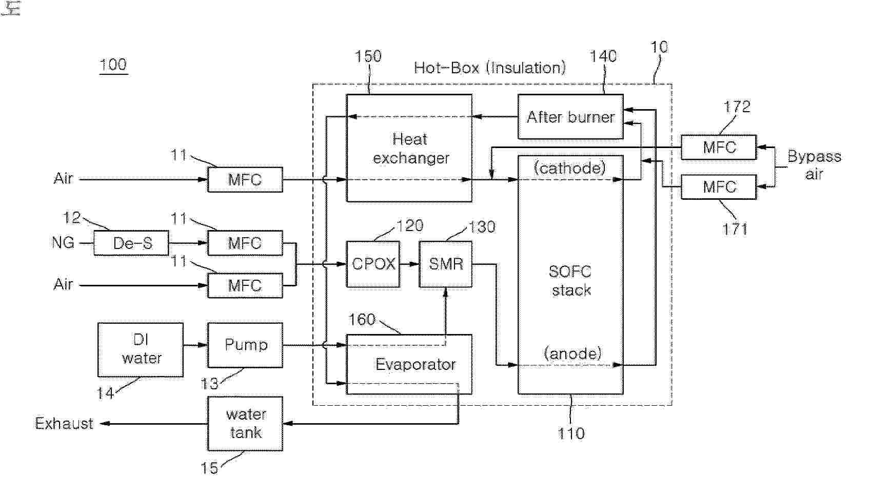
SOFC SOFC SYSTEM WITH EASY THERMAL MANAGEMENT AND ITS OPERATION METHOD

NºPublicación:  KR20260034211A 11/03/2026
Solicitante: 
한국에너지기술연구원
KR_20260034211_PA

Resumen de: KR20260034211A

본 발명은 Hot-Box 내부에 SOFC 스택, 촉매 부분 산화기 및 개질기가 설치된 SOFC 시스템에 관한 것으로서, 상기 촉매 부분 산화기와 상기 개질기는 연료의 흐름 방향으로 순차적으로 직렬로 연결되며, 유입되는 연료는 상기 촉매 부분 산화기 및 상기 개질기 중 적어도 하나에 의해 수소를 포함하는 합성가스로 전환되어 상기 SOFC 스택으로 공급되는 것을 특징으로 한다.

SYSTEM AND METHOD FOR SUPPLYING BOILER FEED WATER OF VESSEL USING CONDENSATE OF FUEL CELL AND VESSEL INCLUDING THE SAME

Nº publicación: KR20260034102A 11/03/2026

Solicitante:

한화오션주식회사

KR_20260034102_PA

Resumen de: KR20260034102A

본 발명의 일 실시예는, 연료전지에서 발생하는 응축수인 초순수가 공급되는 응축수 공급라인과, 그리고 응축수 공급라인에 연결되며 선박의 보일러에 연료전지로부터 발생하는 응축수를 보일러 공급수로 공급하는 보일러수 공급라인을 포함하는 연료전지 응축수 선박 보일러 공급수 공급시스템을 제공하여, 연료전지의 반응 과정에서 응축수로 발생하는 초순수를 선박의 보일러 공급수로 사용하도록 하여 수처리 비용을 줄일 수 있을 뿐만 아니라 연료전지에서 발생되는 화학적인 과정에 의해 상온 이상의 응축수를 보일러 공급수로 공급함으로써 스팀 발생을 위해 온도를 올리기 위한 열에너지까지 절약할 수 있는 장점이 있다.

traducir