Ministerio de Industria, Turismo y Comercio LogoMinisterior
 

Alerta

Resultados 238 resultados
LastUpdate Última actualización 22/04/2026 [07:25:00]
pdfxls
Solicitudes publicadas en los últimos 60 días / Applications published in the last 60 days
previousPage Resultados 75 a 100 de 238 nextPage  

一种特异性识别肝纤维化的诊断和预后生物标志物CHI3L1的核酸适配体及其应用

NºPublicación:  CN121699934A 20/03/2026
Solicitante: 
福州大学附属省立医院
CN_121699934_PA

Resumen de: EP1000000A1

The invention relates to an apparatus (1) for manufacturing green bricks from clay for the brick manufacturing industry, comprising a circulating conveyor (3) carrying mould containers combined to mould container parts (4), a reservoir (5) for clay arranged above the mould containers, means for carrying clay out of the reservoir (5) into the mould containers, means (9) for pressing and trimming clay in the mould containers, means (11) for supplying and placing take-off plates for the green bricks (13) and means for discharging green bricks released from the mould containers, characterized in that the apparatus further comprises means (22) for moving the mould container parts (4) filled with green bricks such that a protruding edge is formed on at least one side of the green bricks.

一种手性MOFs磁性纳米复合酶及其制备方法与应用

NºPublicación:  CN121695949A 20/03/2026
Solicitante: 
甘肃省科学院传感技术研究所
CN_121695949_PA

Resumen de: EP1000000A1

The invention relates to an apparatus (1) for manufacturing green bricks from clay for the brick manufacturing industry, comprising a circulating conveyor (3) carrying mould containers combined to mould container parts (4), a reservoir (5) for clay arranged above the mould containers, means for carrying clay out of the reservoir (5) into the mould containers, means (9) for pressing and trimming clay in the mould containers, means (11) for supplying and placing take-off plates for the green bricks (13) and means for discharging green bricks released from the mould containers, characterized in that the apparatus further comprises means (22) for moving the mould container parts (4) filled with green bricks such that a protruding edge is formed on at least one side of the green bricks.

挥发性有机化合物检测装置

NºPublicación:  CN121713060A 20/03/2026
Solicitante: 
真示标签科技有限公司
CN_121713060_PA

Resumen de: WO2024263939A1

The present disclosure relates method of identifying a compound targeting a first protein and a second protein, wherein the first protein and/or the second protein are associated with a disease or disorder.

一种检测自噬体内部乳酸变化的遗传编码荧光探针及其应用

NºPublicación:  CN121699021A 20/03/2026
Solicitante: 
华东理工大学
CN_121699021_PA

Resumen de: EP1000000A1

The invention relates to an apparatus (1) for manufacturing green bricks from clay for the brick manufacturing industry, comprising a circulating conveyor (3) carrying mould containers combined to mould container parts (4), a reservoir (5) for clay arranged above the mould containers, means for carrying clay out of the reservoir (5) into the mould containers, means (9) for pressing and trimming clay in the mould containers, means (11) for supplying and placing take-off plates for the green bricks (13) and means for discharging green bricks released from the mould containers, characterized in that the apparatus further comprises means (22) for moving the mould container parts (4) filled with green bricks such that a protruding edge is formed on at least one side of the green bricks.

PTN在制备治疗严重感染导致的认知障碍的产品中的应用

NºPublicación:  CN121695284A 20/03/2026
Solicitante: 
中国医学科学院基础医学研究所
CN_121695284_PA

Resumen de: EP1000000A1

The invention relates to an apparatus (1) for manufacturing green bricks from clay for the brick manufacturing industry, comprising a circulating conveyor (3) carrying mould containers combined to mould container parts (4), a reservoir (5) for clay arranged above the mould containers, means for carrying clay out of the reservoir (5) into the mould containers, means (9) for pressing and trimming clay in the mould containers, means (11) for supplying and placing take-off plates for the green bricks (13) and means for discharging green bricks released from the mould containers, characterized in that the apparatus further comprises means (22) for moving the mould container parts (4) filled with green bricks such that a protruding edge is formed on at least one side of the green bricks.

A novel biomarker panel for diagnosing mild cognitive impairment and protein biomarkers to predict progression to Alzheimer's disease and companion diagnostic composition for discriminating adequate patients to early Alzheimer's therapies thereof

NºPublicación:  KR20260038752A 19/03/2026
Solicitante: 
주식회사이롬헬스케어
KR_102781029_B1

Resumen de: KR102781029B1

The present invention provides a gene expression biomarker panel specific for diagnosis of amnestic mild cognitive impairment, which is a symptom of early Alzheimer's disease, as well as protein biomarkers for predicting MCI-to-AD conversion from mild cognitive impairment to Alzheimer's dementia. In addition, the diagnostic composition for analyzing gene expression and protein concentration changes in blood according to the present invention can provide a basis for selecting patients with early dementia who are expected to have a clinical effect in which the maximum therapeutic effect on anti-amyloid antibody drugs is predicted, that is, a decrease in cognitive function is delayed or stopped. In addition, the diagnostic composition according to the present invention can be used as an index for monitoring the therapeutic effect of minimum-invasion and evaluating prognosis by presenting data on changes in gene expression level and protein concentration from blood during the treatment process of Alzheimer's dementia.

ApoE antibodies, fusion proteins and uses thereof

NºPublicación:  AU2026201500A1 19/03/2026
Solicitante: 
BANNER HEALTH
THE GENERAL HOSPITAL CORP
THE SCHEPENS EYE RESEARCH INSTITUTE INC
Banner Health,
The General Hospital Corporation,
The Schepens Eye Research Institute, Inc
AU_2026201500_A1

Resumen de: AU2026201500A1

Abstract Methods and compositions for preventing or treating cognitive decline associated with dementia and/or mild cognitive impairment and/or neurodegeneration using antibodies, peptides, fusion proteins, or genome editing systems that modulate HSPG/heparin binding affinities of ApoE.

METHODS FOR TREATING AND MONITORING PROGRANULIN-ASSOCIATED DISORDERS

NºPublicación:  US20260079170A1 19/03/2026
Solicitante: 
DENALI THERAPEUTICS INC [US]
US_20260079170_A1

Resumen de: US20260079170A1

0000 The present disclosure provides methods and materials for screening a compound or monitoring a subject's response to a compound or dosing regimen for treating a PGRN-associated disorder. Methods and materials for identifying and treating a subject having a PGRN-associated disorder are also provided.

IMMUNOSUPPRESSIVE THERAPY TO MITIGATE ANTI-SOLUBLE ALKALINE PHOSPHATASE IMMUNE RESPONSE

NºPublicación:  AU2024319662A1 19/03/2026
Solicitante: 
ALEXION PHARMA INC [US]
AU_2024319662_PA

Resumen de: AU2024319662A1

The disclosure features methods for treating neutralizing antibodies that reduce the efficacy of soluble alkaline phosphatase treatment (e.g., asfotase alfa), an enzyme replacement therapy, such as for the treatment of bone mineralization disorders, e.g., hypophosphatasia (HPP). The methods include diagnosing a subject as having the presence of neutralizing antibodies that affect the efficacy of treatment, administering a treatment suitable for reducing the deleterious effects of neutralizing antibodies, and continuing alkaline phosphatase treatment.

GENERATION OF MATURE NEURONS DIFFERENTIATED FROM PLURIPOTENT STEM CELLS

NºPublicación:  US20260079153A1 19/03/2026
Solicitante: 
UNIV COLUMBIA [US]
US_20260079153_A1

Resumen de: US20260079153A1

0000 Methods for generating mature neurons differentiated from pluripotent stem cells, such as to facilitate the study of late-onset neurodegenerative disease, are disclosed. The methods include overexpressing the splicing factor muscleblind like splicing regulator 2 (Mbnl2) in cortical neurons. In some aspects, the method further comprises overexpressing RNA binding fox-1 homolog 1 (Rbfox1) and/or reducing expression of polypyrimidine tract binding proteins PTBP1/2. The methods also include accelerated derivation of mature neuron and generation of a tau pathology model. Also disclosed are constructs and compositions for accelerated derivation of mature neuron and/or generation of a tau pathology model.

METHODS AND PRODUCTS FOR EXPRESSING PROTEINS IN CELLS

NºPublicación:  US20260078413A1 19/03/2026
Solicitante: 
FACTOR BIOSCIENCE INC [US]
US_20260078413_A1

Resumen de: US20260078413A1

0000 The present invention relates in part to nucleic acids encoding proteins, therapeutics comprising nucleic acids encoding proteins, methods for inducing cells to express proteins using nucleic acids, methods, kits and devices for transfecting, gene editing, and reprogramming cells, and cells, organisms, and therapeutics produced using these methods, kits, and devices. Methods and products for altering the DNA sequence of a cell are described, as are methods and products for inducing cells to express proteins using synthetic RNA molecules. Therapeutics comprising nucleic acids encoding gene-editing proteins are also described.

神経変性障害を診断および処置する方法

NºPublicación:  JP2026509486A 19/03/2026
Solicitante: 
アルツパス,インコーポレイテッド
JP_2026509486_A

Resumen de: US20260008840A1

Provided herein are compositions and methods relating to improved assays for establishing a condition of a neurodegenerative disease and providing treatment. Further provided herein are compositions and methods comprising improved antibodies for assays including immunoassays used for diagnosing Alzheimer's disease and providing treatment.

THERAPEUTIC AND DIAGNOSTIC METHODS FOR CEREBRAL HYPOPERFUSION AND RELATED CONDITIONS

NºPublicación:  WO2026059502A1 19/03/2026
Solicitante: 
UNIV NANYANG TECH [SG]
WO_2026059502_A1

Resumen de: WO2026059502A1

Various embodiments relate generally to the use of EPAS1 inhibitors for treating or preventing cerebral hypoperfusion, or a disease or condition associated with cerebral hypoperfusion, in a subject. Moreover, various embodiments also relate to methods for diagnosing, or predicting a subject's risk of developing, cerebral hypoperfusion, or a disease or condition associated with cerebral hypoperfusion, preferably a cerebrovascular disease, based upon identified biomarker.

ANTI-STING ANTIBODIES AND METHODS OF USE THEREOF

NºPublicación:  WO2026057545A1 19/03/2026
Solicitante: 
NEURIMMUNE AG [CH]
WO_2026057545_A1

Resumen de: WO2026057545A1

The present disclosure relates to novel antibodies and antigen-binding fragments thereof that specifically bind to human stimulator of interferon genes (STING), and uses of these antibodies and antigen-binding fragments thereof for treating diseases and disorders (e.g., inflammatory diseases or an autoimmune diseases).

TAU PHOSPHO (THR217) BINDING ANTIBODIES AND ANTIGEN BINDING FRAGMENTS THEREOF

NºPublicación:  US20260079168A1 19/03/2026
Solicitante: 
BIOLEGEND INC [US]
US_20260079168_A1

Resumen de: US20260079168A1

0000 The technology relates in part to antibodies or antigen-binding fragments thereof that bind Tau phosphorylated at threonine 217 (Tau phospho (Thr217)) or a portion thereof, as well as methods, systems and kits for detection of Tau phospho (Thr217). In certain aspects, the technology relates to antibodies or antigen binding fragments thereof for use in determining levels of Tau phospho (Thr217) in a sample containing or suspected of containing Tau phospho (Thr217). In some aspects, the technology relates to antibodies or antigen-binding fragments thereof for use in diagnosing or treating an individual with or suspected of having a disease or disorder associated with Tau phospho (Thr217).

CHITINASE ANTISENSE OLIGONUCLEOTIDES

NºPublicación:  WO2026055750A1 19/03/2026
Solicitante: 
GENIEUS GENOMICS PTY LTD [AU]
WO_2026055750_A1

Resumen de: WO2026055750A1

The present disclosure relates to the field of oligonucleotides. More particularly, the present disclosure relates to antisense oligonucleotides for the specific binding and inhibition of translation of Chitinase (CHIT1) encoding mRNA. Additionally, this disclosure relates to methods of using such oligonucleotides in preventing or treating diseases, disorders or conditions associated with CHIT1, such as neurodegenerative or neuroinflammatory diseases, disorders or conditions like ALS.

METHODS FOR DIAGNOSIS AND TREATMENT OF CHRONIC HYDROCEPHALUS

NºPublicación:  WO2026060271A1 19/03/2026
Solicitante: 
MARSHALL UNIV RESEARCH CORPORATION [US]
WO_2026060271_A1

Resumen de: WO2026060271A1

Methods for identifying chronic hydrocephalus include assaying for an amount in a biological sample of one or more biomarkers selected from pyruvate dehydrogenase lipoamide kinase isozyme 4 (PDK4), phosphofructokinase-muscle (PFKM), low density lipoprotein receptor adaptor protein 1 (LDLRAP1), glucagon-like peptide-1 receptor (GLP-1R), hemoglobin subunit alpha 1 (HBA1), hemoglobin subunit alpha 2 (HBA2), heme oxygenase 1 (HMOX1), and combinations thereof. Methods for screening for a compound useful for treating chronic hydrocephalus are also provided and include contacting a cell with an effective amount of a test compound, and then detecting an expression or activity level of one or more of the biomarkers.

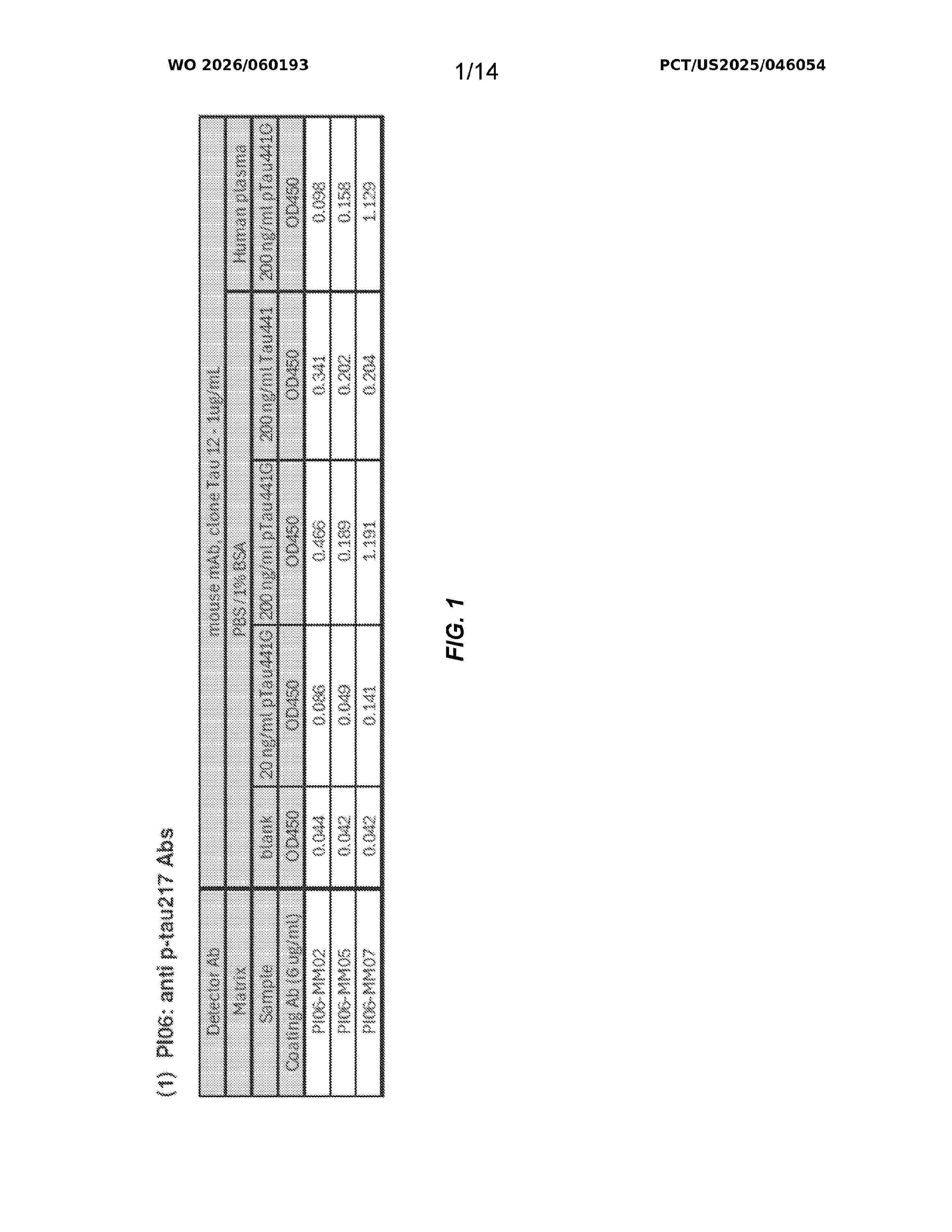
ANTI-TAU PROTEIN BINDING REAGENTS

NºPublicación:  WO2026060193A1 19/03/2026
Solicitante: 
UNIV PITTSBURGH COMMONWEALTH SYS HIGHER EDUCATION [US]
UNIVERSITY OF PITTSBURGH - OF THE COMMONWEALTH SYSTEM OF HIGHER EDUCATION
WO_2026060193_A1

Resumen de: WO2026060193A1

Binding reagents for tau protein variants, including antibodies that bind to tau protein, and uses thereof are disclosed. The uses include determining if a patient has or is at risk of developing a tauopathy, and treating a patient having a tauopathy.

THREE DIMENSIONAL IMMUNOMECHANICAL ORGANOID MODEL

NºPublicación:  US20260079151A1 19/03/2026
Solicitante: 
UNIV NOTRE DAME DU LAC [US]
US_20260079151_A1

Resumen de: US20260079151A1

0000 A 3D immunomechanical model of myeloid cells for use in basic research and drug screening that allows for observation of the myeloid-mechanical interaction in the context of a range of different mechanical and immunological-related diseases. The model is also suitable for applications such as high-throughput drug screening and experiments in a microgravity environment such as low earth orbit.

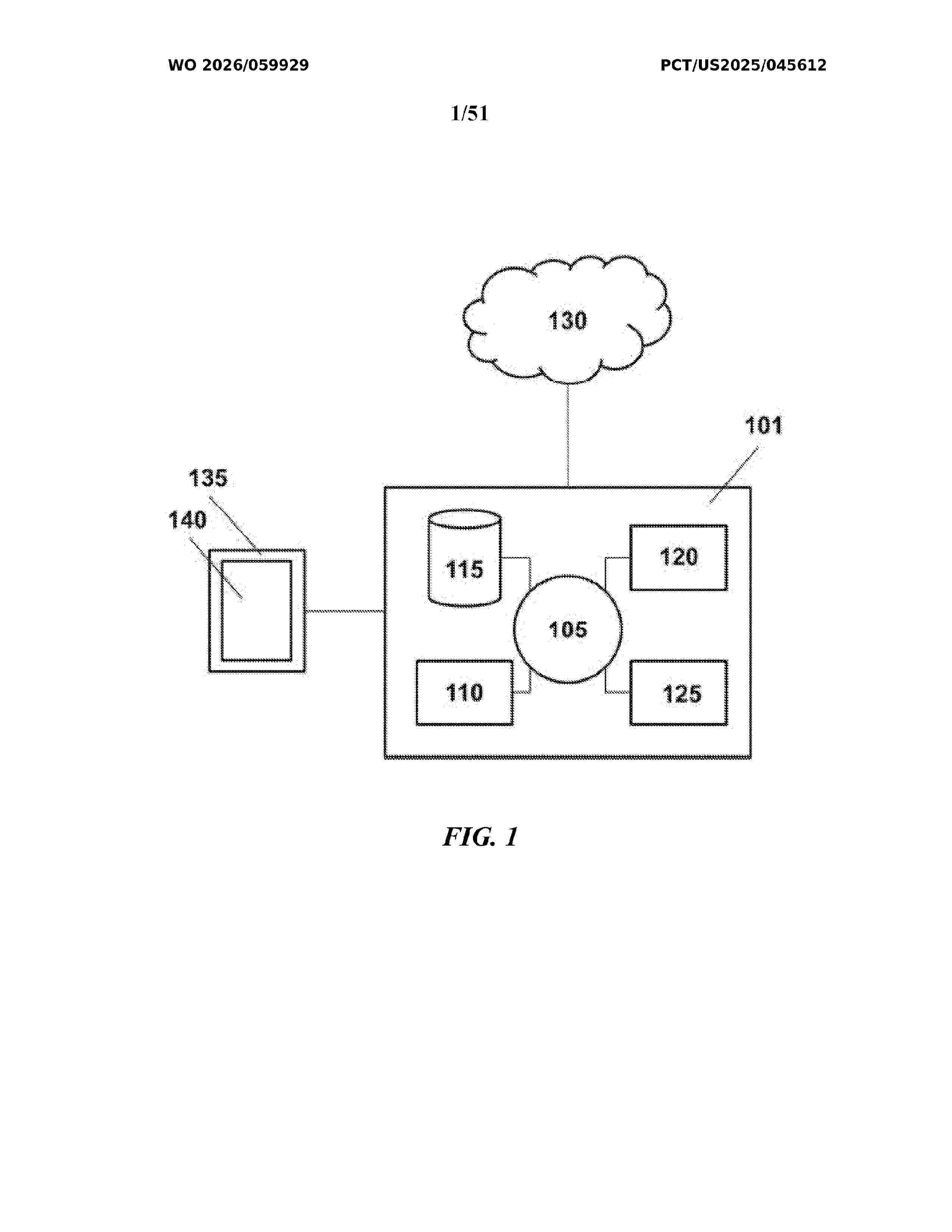
METHODS AND SYSTEMS FOR ASSESSING SAMPLE QUALITY

NºPublicación:  WO2026059929A1 19/03/2026
Solicitante: 
FREENOME HOLDINGS INC [US]
BOURGON RICHARD [US]
LI KANG [US]
SHAPIRA OFER [US]
ZHAO SHUTING [US]
HSU TENG KUEI [US]
WO_2026059929_A1

Resumen de: WO2026059929A1

Methods and systems disclosed herein can improve the quality of blood-derived samples (e.g., whole blood, serum, or plasma sample). In an aspect, the present disclosure provides a method of evaluating a plasma sample quality, comprising collecting a blood sample from a subject; processing the blood sample to separate a plasma sample from other blood components; quantitatively measuring amounts of one or more analytes present in the plasma sample, wherein the one or more analytes comprise hemoglobin, potassium (K), lactate, or formaldehyde (CH2O); and evaluating the quality of the plasma sample based at least in part on the measured amounts, wherein the measured amounts are indicative of the plasma sample quality. In another aspect, the present disclosure provides a method of adjusting for preanalytical bias utilizing a linear regression model to improve a signal to noise ratio, thereby potentially enhancing the performance of a classification model.

PERSONALIZED MICROBIOME-BASED THERAPIES

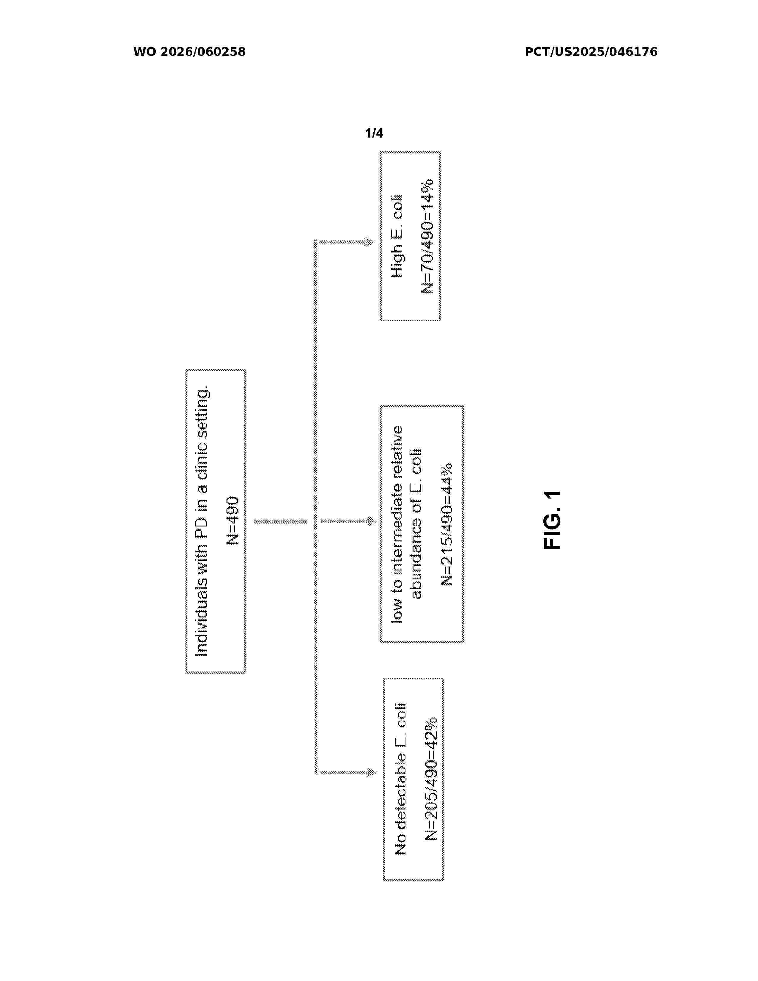
NºPublicación:  WO2026060258A1 19/03/2026
Solicitante: 
UAB RES FOUND [US]
WO_2026060258_A1

Resumen de: WO2026060258A1

Disclosed herein is the use of gut microbiome (GM) as a therapeutic target for Parkinson's Disease (PD). Metagenomic biomarkers are identified that can stratify patients based on their dysbiotic features. Therefore, also disclosed is a companion diagnostic designed to identify patients that can be treated with an inhibitor of microbially induced amyloid.

METHOD AND REAGENTS FOR ULTRASENSITIVE IMMUNOASSAY

NºPublicación:  US20260079158A1 19/03/2026
Solicitante: 
AGRI ANALYSIS LLC [US]
US_20260079158_A1

Resumen de: US20260079158A1

Disclosed are assays, reagents, and methods for ultrasensitive detection of target molecules. The assay comprises fusion proteins including binding moieties, such as antibodies, nanobodies (VHH/VNAR), or aptamers, linked to nonfunctional fragments of a protein. In the presence of a target molecule, the binding moieties recognize distinct target regions and bring the protein fragments into close proximity, reconstituting a functional protein that generates a detectable signal. Linkers connecting the fusion components may be flexible peptides or polypeptides that spontaneously form dimers, trimers, or tetramers, thereby providing multivalent fusion proteins with enhanced sensitivity. The reconstituted protein may produce luminescent, fluorescent, colorimetric, or spectroscopic signals detectable by microplate readers, handheld luminometers, or lateral flow devices. The invention encompasses solid-phase, homogeneous, and lateral flow assay formats for detecting viruses, bacteria, proteins, peptides, or small molecules, including GLRaV-3, SARS-CoV-2, PSA, and E. coli. The disclosed assays exhibit improved specificity, reduced background, and enhanced signal-to-noise ratios.

COMPOSITIONS COMPRISING MANGANESE FOR USE IN THE TREATMENT OF A NEURODEGENERATIVE DISEASE

NºPublicación:  EP4710932A1 18/03/2026
Solicitante: 
ADMINISTRACION GENERAL DE LA COMUNIDAD AUTONOMA DE EUSKADI [ES]
EP_4710932_A1

Resumen de: EP4710932A1

The invention relates to composition comprising manganese, a solvate or a pharmaceutically acceptable salt thereof, for use in the treatment of a disease in a subject, wherein the subject's cells have fewer than half the number of functional endoplasmic reticulum and mitochondria contact sites than the cells from a subject not suffering from the disease, and to an in vitro method for designing a personalised therapy to a subject suffering from a disease, comprising determining the mtDNA synthesis rate in a biological sample isolate from the subject in the presence and absence of Mn.

SYSTEMS AND METHODS FOR BIOMOLECULE QUANTITATION

NºPublicación:  EP4711764A2 18/03/2026
Solicitante: 
NAUTILUS SUBSIDIARY INC [US]
EP_4711764_PA

Resumen de: EP4711764A2

0001 Systems and methods for obtaining qualitative or quantitative measurements of proteoforms of polypeptides are described. The described methods include measurements of affinity reagent binding on single-molecule polypeptide arrays to distinguish between polypeptide isoforms. The described methods may provide high resolution quantitative comparisons of proteoforms with very low copy numbers.

A NASAL FLUID SAMPLE COMPRISING A Beta, PTAU AND/OR TTA

Nº publicación: EP4710114A1 18/03/2026

Solicitante:

NOSELAB GMBH [DE]
Noselab GmbH

KR_20260009358_PA

Resumen de: CN121399472A

The present invention relates to a nasal fluid sample obtained from a subject, the nasal fluid sample comprising one or more marker protein amyloid beta (A beta), phosphorylated Tau (pTau) and/or total Tau (tTau). The invention further relates to a nasal fluid sample comprising one or more marker proteins A beta, pTau and/or tTau for use in a method for aiding in the diagnosis of a degenerative disease of the nervous system, and to the use of a nasal fluid sample comprising one or more marker proteins A beta, pTau and/or tTau for aiding in the diagnosis of a degenerative disease of the nervous system. The invention further relates to a method for aiding the diagnosis of a nervous system degenerative disease in a subject/individual.

traducir