Ministerio de Industria, Turismo y Comercio LogoMinisterior
 

Alerta

Resultados 1374 resultados
LastUpdate Última actualización 05/11/2025 [07:25:00]
pdfxls
Publicaciones de los últimos 15 días/Last 15 days publications (excluidas pubs. CN y JP /CN and JP pubs. excluded)
previousPage Resultados 375 a 400 de 1374 nextPage  

BATTERY CELL, LITHIUM ION BATTERY, AND ELECTRIC DEVICE

NºPublicación:  WO2025222796A1 30/10/2025
Solicitante: 
CONTEMPORARY AMPEREX TECH CO LIMITED [CN]
\u5B81\u5FB7\u65F6\u4EE3\u65B0\u80FD\u6E90\u79D1\u6280\u80A1\u4EFD\u6709\u9650\u516C\u53F8
WO_2025222796_PA

Resumen de: WO2025222796A1

A battery cell, a lithium ion battery, and an electric device. The battery cell comprises a wound electrode assembly, and the wound electrode assembly has bent areas. The wound electrode assembly comprises a negative electrode sheet and a positive electrode sheet, the negative electrode sheet comprises a plurality of first bent portions located in the bent areas, and the positive electrode sheet comprises a plurality of second bent portions located in the bent areas; the distance L1 between the concave surface of a second bent portion and the convex surface of an adjacent first bent portion located on the inner side of the second bent portion is greater than or equal to the distance L2 between the convex surface of the second bent portion and the concave surface of an adjacent first bent portion located on the outer side of the second bent portion, 17 μm≤L1≤34 μm, 14 μm≤L2≤34 μm, and L1≥L2; the equivalent charge rate c of the battery cell from 10% SOC to 80% SOC satisfies: 3C≤c≤8C. The battery cell can enable fast-charging lithium ion batteries to have good cycle performance and safety performance.

CHARGING/DISCHARGING DEVICE FOR SECONDARY BATTERY

NºPublicación:  WO2025225986A1 30/10/2025
Solicitante: 
LG ENERGY SOLUTION LTD [KR]
\uC8FC\uC2DD\uD68C\uC0AC \uC5D8\uC9C0\uC5D0\uB108\uC9C0\uC194\uB8E8\uC158
WO_2025225986_PA

Resumen de: WO2025225986A1

A charging/discharging device for a secondary battery, related to one embodiment of the present invention, comprises: a chamber including one or more charging spaces in which trays that store secondary batteries can be individually accommodated, and having a charging gripper electrically connected to the secondary battery in the charging space; a thermoelectric cooling unit which includes a thermoelectric element and a cooling fin that transfers, into the vicinity thereof, cold air of a cooling side of the thermoelectric element, and which cools the air in the charging space at the upper part of the charging space; a first fan which suctions the cooling air in the vicinity of the thermoelectric cooling unit at the upper part of the charging space and which blows the cooling air toward the secondary battery accommodated in the tray; and a second fan, which suctions the air in parallel to the longitudinal direction of the secondary battery at the lower part of the charging space so that the cooling air flows in the longitudinal direction of the secondary battery.

BATTERY MODULE ASSEMBLY

NºPublicación:  WO2025225977A1 30/10/2025
Solicitante: 
VALEO KAPEC CO LTD [KR]
\uC8FC\uC2DD\uD68C\uC0AC \uCE74\uD399\uBC1C\uB808\uC624
WO_2025225977_PA

Resumen de: WO2025225977A1

The present invention provides a battery module assembly comprising: a plurality of battery cells; a pair of end plates disposed at both sides of the plurality of battery cells; and a clamp extending to surround the plurality of battery cells and welded to the pair of end plates, wherein at least one of the pair of end plates includes a through hole and a first stopper portion formed to protrude beyond the surrounding area in a direction away from the battery cells by means of the through hole to support the clamp.

BONDING GLASS, GLASS BONDED BODY, METHOD FOR MANUFACTURING GLASS BONDED BODY, AND METHOD FOR INSPECTING GLASS BONDED BODY

NºPublicación:  WO2025225582A1 30/10/2025
Solicitante: 
NGK INSULATORS LTD [JP]
\u65E5\u672C\u788D\u5B50\u682A\u5F0F\u4F1A\u793E
WO_2025225582_PA

Resumen de: WO2025225582A1

Provided is a bonding glass for bonding a β-alumina solid electrolyte to an α-alumina insulator. The bonding glass contains: 29.0-38.0 mass% of SiO2, 14.0-22.0 mass% of Al2O3, 29.0-42.5 mass% of B2O3, 5.0-8.5 mass% of MgO, 2.5-6.5 mass% of Na2O, less than 0.20 mass% of Fe2O3, less than 0.25 mass% of CaO, less than 0.20 mass% of K2O, and less than 0.50 mass% of As2O3.

ELECTROLYTE COMPOSITION WITH IMPROVED HIGH-TEMPERATURE SAFETY AND LITHIUM SECONDARY BATTERY COMPRISING SAME

NºPublicación:  WO2025225985A1 30/10/2025
Solicitante: 
LG ENERGY SOLUTION LTD [KR]
\uC8FC\uC2DD\uD68C\uC0AC \uC5D8\uC9C0\uC5D0\uB108\uC9C0\uC194\uB8E8\uC158
WO_2025225985_PA

Resumen de: WO2025225985A1

The present invention relates to an electrolyte composition for a lithium secondary battery. The electrolyte composition for a lithium secondary battery comprises a fluorine-substituted linear ester-based solvent and a fluorine-substituted acrylic additive as a non-aqueous organic solvent and an electrolyte additive, respectively, and thus can uniformly form a solid electrolyte membrane layer (SEI layer), having high lithium-ion conductivity and excellent heat resistance, on the surface of a negative electrode when the lithium secondary battery is activated. Consequently, the reactivity between a negative electrode active material and the electrolyte composition is remarkably lowered, such that the temperature (that is, the exothermic onset temperature) at which heat generation between the negative electrode active material and the electrolyte composition begins increases, and thus heat generation caused by negative electrode deterioration or the like can be suppressed. Furthermore, a lithium secondary battery comprising the electrolyte composition can minimize side reactions of the electrolyte composition, which occur on the surface of the negative electrode when exposed to high temperatures, and thus has the advantage of exhibiting excellent high-temperature safety.

BATTERY CELL, BATTERY AND ELECTRIC DEVICE

NºPublicación:  WO2025222771A1 30/10/2025
Solicitante: 
CONTEMPORARY AMPEREX TECH CO LIMITED [CN]
\u5B81\u5FB7\u65F6\u4EE3\u65B0\u80FD\u6E90\u79D1\u6280\u80A1\u4EFD\u6709\u9650\u516C\u53F8
WO_2025222771_PA

Resumen de: WO2025222771A1

The present application belongs to the technical field of batteries. Provided are a battery cell, a battery and an electric device. The battery cell comprises a battery electrode sheet. The battery electrode sheet comprises a current collector, an active layer, a first insulating layer and a second insulating layer, wherein a connecting surface is formed on the current collector; the active layer covers part of the connecting surface, and a first edge is formed on the connecting surface; the first insulating layer covers part of the connecting surface, and the first insulating layer is arranged to extend along the first edge; and the second insulating layer covers the first insulating layer. The present application aims to reduce the risk of burr exposure during electrode sheet die-cutting, thereby reducing the risk of short circuits in battery cells.

COMPOSITE CURRENT COLLECTOR, AND PREPARATION METHOD THEREFOR AND USE THEREOF

NºPublicación:  WO2025222770A1 30/10/2025
Solicitante: 
JIANGYIN NANOPORE INNOVATIVE MATERIALS TECH LTD [CN]
\u6C5F\u9634\u7EB3\u529B\u65B0\u6750\u6599\u79D1\u6280\u6709\u9650\u516C\u53F8
WO_2025222770_PA

Resumen de: WO2025222770A1

The present application provides a composite current collector, and a preparation method therefor and the use thereof. The composite current collector comprises: a polymer supporting layer; a transition layer, which is provided on the surface of at least one side of the polymer supporting layer, wherein the material of the transition layer comprises a nano metal material modified with a silane coupling agent, the nano metal material comprising a nano metal simple substance and/or a nano metal oxide; and a conductive layer, which is provided on the surface of the transition layer along a direction away from the polymer supporting layer. In the present application, introducing the nano metal material modified with a silane coupling agent as a transition layer can tightly combine the organic and inorganic interfaces, and improve the bonding force between the polymer supporting layer and the transition layer; in addition, the particle aggregation degree can be reduced by means of the modification of the silane coupling agent, such that the particles are evenly distributed in the transition layer, thereby improving the bonding force between the conductive layer and the transition layer. The composite current collector has excellent bonding force and stability; and the safety performance and high-temperature cycle performance of a battery prepared on this basis are significantly improved.

MULTI-CAVITY BATTERY PACK STRUCTURE

NºPublicación:  WO2025222739A1 30/10/2025
Solicitante: 
VISION TECH CO TLD [CN]
\u6DF1\u5733\u5E02\u96C4\u97EC\u9502\u7535\u6709\u9650\u516C\u53F8
WO_2025222739_PA

Resumen de: WO2025222739A1

The present application provides a multi-cavity battery pack structure, comprising a housing, a cover plate, and a plurality of battery cell units. The battery cell units are arranged in the housing, and the cover plate covers the end face of one end of the housing. The housing comprises a housing body and a plurality of cavity units arranged in the housing body, a wall plate is provided between every two adjacent cavity units, and the wall plate respectively abuts against the bottom surface of the housing body and the side surfaces of the housing body; and a first boss is provided at one end of the side of each cavity unit close to the cover plate, and a second boss is arranged at the other end thereof. Each battery cell unit is arranged in the corresponding cavity unit, and the battery cell unit is arranged between the first boss and the second boss; the battery cell units and the cavity units are arranged in a one-to-one correspondence manner; the second bosses are pairwise communicated with each other; and the first bosses located in the middle are pairwise communicated with each other, and the first bosses located at the two ends are independently arranged. The present application achieves low costs and environmental friendliness.

LITHIUM SECONDARY BATTERY, SEPARATOR FOR LITHIUM SECONDARY BATTERY, AND METHOD FOR SUPPRESSING POROSITY OF NEGATIVE ELECTRODE

NºPublicación:  WO2025225539A1 30/10/2025
Solicitante: 
TEIJIN LTD [JP]
\u5E1D\u4EBA\u682A\u5F0F\u4F1A\u793E
WO_2025225539_PA

Resumen de: WO2025225539A1

Provided are a lithium secondary battery, a separator for a lithium secondary battery, and a method for suppressing the porosity of a negative electrode, the lithium secondary battery comprising: a positive electrode; a negative electrode operated by dissolution and precipitation of metallic lithium; an electrolyte containing a non-aqueous solvent and a lithium salt and having a lithium salt concentration of at least 2.0 mol/L; and a separator having a polyolefin microporous membrane and a porous layer provided on one surface or both surfaces of the polyolefin microporous membrane, wherein the porous layer contains a wholly aromatic polyamide, and the film thickness of the porous layer is 5-20 μm for each surface of the separator.

BATTERY ACCOMMODATION BODY, BATTERY MODULE, AND BATTERY PACK

NºPublicación:  WO2025225333A1 30/10/2025
Solicitante: 
ORGANO CORP [JP]
\u30AA\u30EB\u30AC\u30CE\u682A\u5F0F\u4F1A\u793E
WO_2025225333_PA

Resumen de: WO2025225333A1

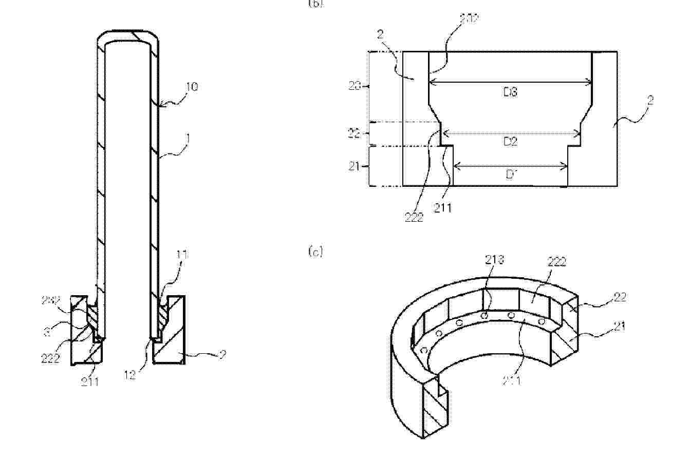
A battery accommodation body 1 includes: a housing 3 which accommodates battery cells 2; an active gas removal part 4 which is provided in the housing 3 and removes active gas generated from the battery cells 2; and a blower part 5 which is provided in the housing 3 and circulates a gaseous body in the housing 3 while distributing the gaseous body to the active gas removal part 4.

BATTERY

NºPublicación:  WO2025225535A1 30/10/2025
Solicitante: 
PANASONIC INTELLECTUAL PROPERTY MAN CO LTD [JP]
\u30D1\u30CA\u30BD\u30CB\u30C3\u30AF\uFF29\uFF30\u30DE\u30CD\u30B8\u30E1\u30F3\u30C8\u682A\u5F0F\u4F1A\u793E
WO_2025225535_PA

Resumen de: WO2025225535A1

A battery according to the present disclosure comprises a wound electrode group including a first electrode, a second electrode, and a separator. The first electrode includes a current collector, an active material layer, and a lead. The lead is joined to an exposed portion of the current collector where the active material layer is not provided. The electrode group further includes an insulating member attached to the exposed portion, and a protective tape covering at least a portion of the insulating member and at least a portion of the lead. The exposed portion is covered by at least one selected from the group consisting of the protective tape and the insulating member.

SECONDARY BATTERY VOLTAGE EQUALIZATION CHARGING DEVICE AND POWER SUPPLY PACKAGE

NºPublicación:  WO2025225473A1 30/10/2025
Solicitante: 
MINERVA LAB CORP [JP]
\u682A\u5F0F\u4F1A\u793E\u30DF\u30CD\u30EB\u30D0\u30FB\u30E9\u30DC
WO_2025225473_PA

Resumen de: WO2025225473A1

In an intermittent charging device of a conventional secondary battery module, two charging periods are required, namely, a charging period for a charging capacitor and a period for charging a secondary battery by the charging capacitor. Therefore, the charging time becomes relatively long as compared with that of a general charging device which continuously charges a secondary battery. By adding a relay capacitor and a relay capacitor switch to an intermittent charging circuit, the relay capacitor is charged during a period in which a charging capacitor charges the secondary battery, and the charge is supplied to the charging capacitor in a short time after the end of charging the secondary battery, immediately starting the period in which the charging capacitor charges the secondary battery. This allows intermittent charging to be performed in a short time that is essentially the same as in continuous charging.

BATTERY

NºPublicación:  WO2025225536A1 30/10/2025
Solicitante: 
PANASONIC INTELLECTUAL PROPERTY MAN CO LTD [JP]
\u30D1\u30CA\u30BD\u30CB\u30C3\u30AF\uFF29\uFF30\u30DE\u30CD\u30B8\u30E1\u30F3\u30C8\u682A\u5F0F\u4F1A\u793E
WO_2025225536_PA

Resumen de: WO2025225536A1

A battery according to the present disclosure comprises: an electrode group that includes a first electrode, a second electrode, and a separator, and that is wound in a cylindrical shape; and a tab that is connected to the first electrode. The tab has: a thin section that is formed at the winding-direction end of the electrode group; and a main section that is thicker than the thin section.

BATTERY AND ELECTRIC APPARATUS

NºPublicación:  WO2025222735A1 30/10/2025
Solicitante: 
CONTEMPORARY AMPEREX TECH CO LIMITED [CN]
\u5B81\u5FB7\u65F6\u4EE3\u65B0\u80FD\u6E90\u79D1\u6280\u80A1\u4EFD\u6709\u9650\u516C\u53F8
WO_2025222735_PA

Resumen de: WO2025222735A1

Provided are a battery (100) and an electric apparatus, which belong to the technical field of batteries. The battery (100) comprises a case (10), battery cell groups (20) and support members (30). The case (10) comprises a bottom plate (11). The battery cell groups (20) are accommodated in the case (10), and each battery cell group comprises at least one battery cell (21), the battery cell (21) comprising a casing (211), electrode terminals (212) and a pressure relief mechanism (213). The casing (211) has a wall portion (2111), wherein the wall portion (2111) is arranged to face the bottom plate (11) in the thickness direction of the bottom plate (11); and both the electrode terminals (212) and the pressure relief mechanism (213) are disposed on the casing (211), and at least one of the electrode terminals (212) and the pressure relief mechanism (213) is disposed on the wall portion (2111). The support members (30) are arranged between the wall portion (2111) and the bottom plate (11) and are connected to the wall portion (2111), and in the thickness direction of the bottom plate (11), each support member (30) has a first surface (31) facing away from the wall portion (2111), wherein the first surface (31) is closer to the bottom plate (11) than the electrode terminals (212) and the pressure relief mechanism (213). The support members (30) can protect the electrode terminals (212) or the pressure relief mechanism (213) of the battery cell (21), so as to reduce the risk of th

BATTERY AND ELECTRIC APPARATUS

NºPublicación:  WO2025222736A1 30/10/2025
Solicitante: 
CONTEMPORARY AMPEREX TECH CO LIMITED [CN]
\u5B81\u5FB7\u65F6\u4EE3\u65B0\u80FD\u6E90\u79D1\u6280\u80A1\u4EFD\u6709\u9650\u516C\u53F8
WO_2025222736_PA

Resumen de: WO2025222736A1

The present application belongs to the technical field of batteries. Provided are a battery and an electric apparatus. The battery comprises at least one battery cell group, first busbar components and fasteners, wherein the battery cell group comprises a plurality of battery cells stacked in a first direction, each battery cell comprising a casing, electrode terminals and an electrode assembly, the electrode terminals being disposed on the casing, and the electrode assembly being accommodated in the casing and being electrically connected to the electrode terminals; the first busbar components are electrically connected to electrode terminals of two adjacent battery cells in the same battery cell group; and the fasteners are connected to casings of the plurality of battery cells in the battery cell group. By means of fasteners, when battery cells expand in a first direction, the change in the spacing between electrode terminals of two adjacent battery cells in the first direction can be reduced, such that the torque or tensile force between the electrode terminals and first busbar components is absorbed and shared by the fasteners, which is conducive to reducing the risk of a connection failure between the electrode terminals and the first busbar components.

BATTERY, ELECTRIC DEVICE, AND ASSEMBLY METHOD FOR BATTERY

NºPublicación:  WO2025222722A1 30/10/2025
Solicitante: 
CONTEMPORARY AMPEREX TECH CO LIMITED [CN]
\u5B81\u5FB7\u65F6\u4EE3\u65B0\u80FD\u6E90\u79D1\u6280\u80A1\u4EFD\u6709\u9650\u516C\u53F8
WO_2025222722_PA

Resumen de: WO2025222722A1

Provided are a battery (1100), an electric device, and an assembly method for the battery (1100), relating to the technical field of batteries. The battery (1100) comprises at least one battery module (1120). Each battery module (1120) comprises battery cells (1121), a heat exchanger (1122) and a bonding layer (1123), wherein the heat exchanger (1122) is provided with a heat exchange surface (11222), and channels (11221) are formed on the heat exchanger (1122); and the bonding layer (1123) is arranged between the outer surface of each battery cell (1121) and the heat exchange surface (11222), thus bonding each battery cell (1121) to the heat exchange surface (11222). The curing time of a binder forming the bonding layer (1123) can be shortened, thereby improving the assembly efficiency of the battery (1100).

NONAQUEOUS ELECTROLYTE SECONDARY BATTERY

NºPublicación:  WO2025225455A1 30/10/2025
Solicitante: 
PANASONIC INTELLECTUAL PROPERTY MAN CO LTD [JP]
\u30D1\u30CA\u30BD\u30CB\u30C3\u30AF\uFF29\uFF30\u30DE\u30CD\u30B8\u30E1\u30F3\u30C8\u682A\u5F0F\u4F1A\u793E
WO_2025225455_PA

Resumen de: WO2025225455A1

This secondary battery comprises: an electrode body in which a positive electrode (11) and a negative electrode (12) are wound, with a separator (13) being interposed therebetween; an outer can casing which houses the electrode body and an electrolyte solution; and a negative electrode current collector plate (17) which is disposed on the bottom of the outer can casing and is electrically connected to the outer can casing. The negative electrode (12) has a core body and a mixture layer that is provided on the core body, and a negative electrode core body exposure part (41) is joined to the negative electrode current collector plate (17). The mixture layer contains a silicon-containing material as an active material, and 5 mass% or more of the silicon-containing material is contained in a lower region (43) and an upper region (44) which each have a length ratio of 20% or less in the vertical direction. The negative electrode charge capacity is 470 mAh/g or more, and the silicon-containing material includes a low expansion silicon-containing material that has a particle expansion coefficient of 210% or less in the lower region.

NON-AQUEOUS ELECTROLYTE SECONDARY BATTERY

NºPublicación:  WO2025225437A1 30/10/2025
Solicitante: 
PANASONIC INTELLECTUAL PROPERTY MAN CO LTD [JP]
\u30D1\u30CA\u30BD\u30CB\u30C3\u30AF\uFF29\uFF30\u30DE\u30CD\u30B8\u30E1\u30F3\u30C8\u682A\u5F0F\u4F1A\u793E
WO_2025225437_PA

Resumen de: WO2025225437A1

Provided is a non-aqueous electrolyte secondary battery comprising: an electrode body in which a belt-like first electrode (12) and a belt-like second electrode are wound in a longitudinal direction via a separator; and a non-aqueous electrolyte. The first electrode (12) has a first electrode core body (40) and a first electrode mixture layer (42) disposed on the first electrode core body (40). At one end of the electrode body of the first electrode (12) in the axial direction, a first electrode core body exposed part (44) is provided, in which the first electrode mixture layer (42) is not disposed and the first electrode core body (40) is exposed. On the surface of the first electrode core body exposed part (44), a plurality of resin layers (50) are disposed at intervals in the longitudinal direction of the first electrode (12).

NEGATIVE ELECTRODE ACTIVE MATERIAL AND FLUORIDE ION SECONDARY BATTERY

NºPublicación:  WO2025225441A1 30/10/2025
Solicitante: 
PANASONIC ENERGY CO LTD [JP]
\u30D1\u30CA\u30BD\u30CB\u30C3\u30AF\u30A8\u30CA\u30B8\u30FC\u682A\u5F0F\u4F1A\u793E
WO_2025225441_PA

Resumen de: WO2025225441A1

A negative electrode active material according to the present disclosure is a negative electrode active material for a fluoride ion secondary battery, and contains scandium fluoride that has a crystallite size of less than 63 nm. A fluoride ion secondary battery according to the present disclosure comprises: a positive electrode 2; a negative electrode 4; and an electrolyte layer 3 that is disposed between the positive electrode 2 and the negative electrode 4. The negative electrode 4 contains the negative electrode active material according to the present disclosure. The negative electrode active material may additionally contain at least one metal that is selected from the group consisting of alkali metals and alkaline earth metals.

NON-AQUEOUS ELECTROLYTE SECONDARY BATTERY

NºPublicación:  WO2025225388A1 30/10/2025
Solicitante: 
PANASONIC INTELLECTUAL PROPERTY MAN CO LTD [JP]
\u30D1\u30CA\u30BD\u30CB\u30C3\u30AF\uFF29\uFF30\u30DE\u30CD\u30B8\u30E1\u30F3\u30C8\u682A\u5F0F\u4F1A\u793E
WO_2025225388_PA

Resumen de: WO2025225388A1

This non-aqueous electrolyte secondary battery is characterized in that: a first electrode (12) comprises a first electrode core body (40) and a first electrode mixture layer (42) disposed on the first electrode core body (40); the first electrode mixture layer (42) is not disposed on one end in the axial direction of an electrode body in the first electrode (12); there is provided a first electrode core body exposure part (44) where the first electrode core body (40) is exposed; and the surface of the first electrode core body exposure part (44) is provided with a functional layer (50) including a coating layer (52) that covers at least a portion of the first electrode core body exposure part (44), and large-diameter particles (54) that have a volume-basis average particle size which is greater than the average thickness of the coating layer (52).

SECONDARY BATTERY AND PREPARATION METHOD THEREFOR, AND ELECTRIC DEVICE

NºPublicación:  WO2025222726A1 30/10/2025
Solicitante: 
CONTEMPORARY AMPEREX TECH CO LIMITED [CN]
\u5B81\u5FB7\u65F6\u4EE3\u65B0\u80FD\u6E90\u79D1\u6280\u80A1\u4EFD\u6709\u9650\u516C\u53F8
WO_2025222726_PA

Resumen de: WO2025222726A1

A secondary battery and a preparation method therefor, and an electric device. The secondary battery includes a positive electrode sheet, the positive electrode sheet includes a positive electrode active material, and the positive electrode active material includes a matrix material and a coating layer at least partially covering the matrix material. The coating layer includes a first coating layer and a second coating layer, wherein the first coating layer is located on the surface of the matrix material, and the second coating layer is located on the surface of the first coating layer, with the first coating layer comprising a lithium-supplementing material, and the second coating layer comprising a reductive material; or, the first coating layer comprising a reductive material, and the second coating layer comprising a lithium-supplementing material. The secondary battery has excellent cycle performance and a long service life.

BATTERY DEVICE AND ELECTRIC DEVICE

NºPublicación:  WO2025222861A1 30/10/2025
Solicitante: 
CONTEMPORARY AMPEREX TECH CO LIMITED [CN]
\u5B81\u5FB7\u65F6\u4EE3\u65B0\u80FD\u6E90\u79D1\u6280\u80A1\u4EFD\u6709\u9650\u516C\u53F8
WO_2025222861_PA

Resumen de: WO2025222861A1

A battery device (100) and an electric device. The battery device comprises: a case (10); a battery cell assembly (20) accommodated in the case; and a heat exchange assembly (30) accommodated in the case. The heat exchange assembly comprises: a heat exchange main body (31) comprising a plurality of heat exchange flow channels (301); and current collecting structures (32) arranged at two ends of the heat exchange main body, each current collecting structure comprising a blocking member (321), a current collecting member (322) and an adapter member (323), wherein the blocking member blocks at least one heat exchange flow channel, the current collecting member is provided with a current collecting cavity (3221), the current collecting member is in sealing fit with and connected to the heat exchange main body by means of the adapter member, the current collecting member is provided with a communication port (322a) communicated with the current collecting cavity, the communication port can be used for allowing the entry/exit of a heat exchange medium, and the adapter member is formed on the heat exchange main body and the current collecting member.

FILM INSPECTION MECHANISM, COATING DEVICE, AND FILM COATING METHOD

NºPublicación:  WO2025222706A1 30/10/2025
Solicitante: 
CONTEMPORARY AMPEREX TECH CO LIMITED [CN]
\u5B81\u5FB7\u65F6\u4EE3\u65B0\u80FD\u6E90\u79D1\u6280\u80A1\u4EFD\u6709\u9650\u516C\u53F8
WO_2025222706_PA

Resumen de: WO2025222706A1

A film inspection mechanism (100), comprising: a housing assembly (10), a weight measurement assembly (30), a moisture measurement member (20), and an isolation member (40). The housing assembly (10) defines a measurement cavity (13) used for placing a film under inspection; the weight measurement assembly (30) is mounted in the housing assembly (10) and is used for acquiring the weight of the film under inspection; the moisture measurement member (20) is mounted in the housing assembly (10) and is used for acquiring the moisture of the film under inspection; the housing assembly (10) comprises two housings; the weight measurement assembly (30) comprises a transmitting member (31) and a receiving member (32), and the transmitting member (31) and the receiving member (32) are respectively provided on the two housings; the isolation member (40) is provided on the housing assembly (10) provided with the moisture measurement member (20) and is located between the moisture measurement member (20) and the transmitting member (31) or the receiving member (32). Also provided are a coating device having the film inspection mechanism (100), and a film coating method.

SOLID ELECTROLYTE MATERIAL, POSITIVE ELECTRODE MATERIAL, BATTERY, AND METHOD FOR PRODUCING SOLID ELECTROLYTE MATERIAL

NºPublicación:  WO2025225308A1 30/10/2025
Solicitante: 
PANASONIC INTELLECTUAL PROPERTY MAN CO LTD [JP]
\u30D1\u30CA\u30BD\u30CB\u30C3\u30AF\uFF29\uFF30\u30DE\u30CD\u30B8\u30E1\u30F3\u30C8\u682A\u5F0F\u4F1A\u793E
WO_2025225308_PA

Resumen de: WO2025225308A1

A solid electrolyte material according to the present disclosure contains Li, Ti, Al, and F, and has a peak in a first range in which the diffraction angle 2θ is 13.7° to 14.7° inclusive in an X-ray diffraction pattern that is obtained by a X-ray diffraction measurement using Cu-Kα rays. In the X-ray diffraction pattern, a peak may be present in at least one range that is selected from the group consisting of a second range in which the diffraction angle 2θ is 20.9° to 21.9° inclusive, a third range in which the diffraction angle 2θ is 41.2° to 42.2° inclusive, and a fourth range in which the diffraction angle 2θ is 53.3° to 54.3° inclusive.

BATTERY

Nº publicación: WO2025224916A1 30/10/2025

Solicitante:

ENPOWER JAPAN CORP [JP]
\uFF25\uFF4E\uFF50\uFF4F\uFF57\uFF45\uFF52\u3000\uFF2A\uFF41\uFF50\uFF41\uFF4E\u682A\u5F0F\u4F1A\u793E

WO_2025224916_PA

Resumen de: WO2025224916A1

This battery comprises: a housing having a cylindrical shape in which an opening is formed at one end part; an electrode structure disposed inside the housing; a sealing part that seals the opening of the housing; and a connection part that electrically connects the electrode structure and the sealing part. The sealing part has a first terminal part that functions as an input/output terminal of the battery, and a limiting part that limits the current between the electrode structure and the terminal part. The electrode structure has a power generation element that includes a first active material layer, a solid electrolyte layer, and a second active material layer in said order. The value obtained by dividing the capacity per unit area of the power generation element by the area of the housing is 0.03 or greater. The area of the power generation element is the area when the power generation element is cut along a plane substantially perpendicular to the lamination direction of a first active material layer, the solid electrolyte layer, and the second active material layer. The area of the housing is the area when the housing is cut along a plane substantially perpendicular to the extension direction of the cylindrical shape.

traducir