Ministerio de Industria, Turismo y Comercio LogoMinisterior
 

Alerta

Resultados 1374 resultados
LastUpdate Última actualización 05/11/2025 [07:25:00]
pdfxls
Publicaciones de los últimos 15 días/Last 15 days publications (excluidas pubs. CN y JP /CN and JP pubs. excluded)
previousPage Resultados 400 a 425 de 1374 nextPage  

LITHIUM SULFIDE AND SULFIDE SOLID ELECTROLYTE PRODUCTION METHOD

NºPublicación:  WO2025225098A1 30/10/2025
Solicitante: 
MITSUBISHI MAT CORPORATION [JP]
\u4E09\u83F1\u30DE\u30C6\u30EA\u30A2\u30EB\u682A\u5F0F\u4F1A\u793E
WO_2025225098_A1

Resumen de: WO2025225098A1

This lithium sulfide is characterized in that the 50% diameter on a volume basis is in the range of 0.1-600 μm, inclusive, and the half-value width of a peak at 2θ= 27°±0.03° as measured using X-ray diffraction is in the range of 0.10-0.50°, inclusive. This sulfide solid electrolyte production method is characterized by using said lithium sulfide as a starting material.

CYLINDRICAL BATTERY

NºPublicación:  WO2025225210A1 30/10/2025
Solicitante: 
PANASONIC INTELLECTUAL PROPERTY MAN CO LTD [JP]
\u30D1\u30CA\u30BD\u30CB\u30C3\u30AF\uFF29\uFF30\u30DE\u30CD\u30B8\u30E1\u30F3\u30C8\u682A\u5F0F\u4F1A\u793E
WO_2025225210_PA

Resumen de: WO2025225210A1

A negative electrode (12) has a non-facing part (43) wound in a state of not facing a positive electrode (11). The non-facing part (43) includes a mixture layer formation part (44) and a mixture layer non-formation part (45) in which negative electrode mixture layers (41) are not formed on both surfaces of a negative electrode core body (40). A reinforcement material (50) is disposed on at least one surface of the mixture layer non-formation part (45), the reinforcement material (50) including a first reinforcement material (51) disposed so as to straddle a winding start end (44X) of the mixture layer formation part (44). The mixture layer non-formation part (45) is characterized in having an exposed part (47) in which both surfaces of the negative electrode core body (40) are exposed, between a position overlapping a winding start end (51X) of the first reinforcement material (51) and a winding termination end 46Y of a lead connection part (46).

SAFETY COATING AND PREPARATION METHOD THEREFOR, AND COMPOSITE CURRENT COLLECTOR

NºPublicación:  WO2025222728A1 30/10/2025
Solicitante: 
EVE ENERGY CO LTD [CN]
\u60E0\u5DDE\u4EBF\u7EAC\u9502\u80FD\u80A1\u4EFD\u6709\u9650\u516C\u53F8
WO_2025222728_A1

Resumen de: WO2025222728A1

A safety coating and a preparation method therefor, and a composite current collector. The safety coating is mainly prepared from a phosphate material, a conductive agent, a binder, and a solvent, wherein the phosphate material is a lithium manganese iron phosphate material doped with at least one of the metals Cr, Mg, Ti, Al, Zn, W, Nb, and Zr. By controlling the addition ratio of each raw material, the adhesion between the safety coating and a current collector substrate can be increased, and the peel strength between an active material layer and the safety coating can be effectively enhanced, such that the prepared safety coating can effectively improve the safety performance of batteries without changing the material system, electrode sheet performance, and product performance; and the safety coating has little impact on energy density, can achieve good long-term cycle and high-rate discharge effects of batteries, and is suitable for promotion and application.

TRAY

NºPublicación:  WO2025222715A1 30/10/2025
Solicitante: 
CONTEMPORARY AMPEREX TECH CO LIMITED [CN]
CONTEMPORARY AMPEREX RUNZHI SOFTWARE TECH LIMITED [CN]
\u5B81\u5FB7\u65F6\u4EE3\u65B0\u80FD\u6E90\u79D1\u6280\u80A1\u4EFD\u6709\u9650\u516C\u53F8,
\u5B81\u5FB7\u65F6\u4EE3\u6DA6\u667A\u8F6F\u4EF6\u79D1\u6280\u6709\u9650\u516C\u53F8
WO_2025222715_PA

Resumen de: WO2025222715A1

Provided in the embodiments of the present application is a tray. The tray is used for carrying battery cells. The tray comprises a tray body and at least one row of bladder assemblies, the at least one row of bladder assemblies being disposed on the tray body, each row of the bladder assemblies comprising a plurality of bladder assemblies arranged at intervals in a first direction, and battery cells being placed between every two adjacent bladder assemblies. The bladder assemblies are arranged on the tray, and the battery cells are placed between every two adjacent bladders, such that the bladder assemblies can deform and swell by being filled with a fluid, so as to abut against the battery cells and fix same. The bladder assemblies can apply uniform pressure on the battery cells, thereby reducing the possibility of the battery cells being damaged, and improving the finished product quality of the battery cells.

BATTERY AND ELECTRIC DEVICE

NºPublicación:  WO2025222710A1 30/10/2025
Solicitante: 
CONTEMPORARY AMPEREX TECH CO LIMITED [CN]
\u5B81\u5FB7\u65F6\u4EE3\u65B0\u80FD\u6E90\u79D1\u6280\u80A1\u4EFD\u6709\u9650\u516C\u53F8
WO_2025222710_PA

Resumen de: WO2025222710A1

A battery (1000) and an electric device. The battery (1000) comprises: at least one battery row (10), which comprises a plurality of battery cells (11) arranged in a first direction (F1); and a signal collection assembly (20), which comprises a collector (21) and a plurality of connectors (22), wherein the collector (21) comprises a plurality of signal lines (211) and a plurality of collection terminals (212), the collection terminals (212) are connected to the battery cells (11) and are used for collecting signals of the battery cells (11), the signal lines (211) are connected to the collection terminals (212) and the connectors (22), and each connector (22) is connected to at least one signal line (211) and is used for receiving the signals collected by the collection terminals (212).

SECONDARY BATTERY

NºPublicación:  WO2025225197A1 30/10/2025
Solicitante: 
MURATA MFG CO LTD [JP]
\u682A\u5F0F\u4F1A\u793E\u6751\u7530\u88FD\u4F5C\u6240
WO_2025225197_PA

Resumen de: WO2025225197A1

The present invention improves cycle characteristics. This secondary battery comprises: a positive electrode; a negative electrode; a separator disposed between the positive and negative electrodes; and an electrolyte. The negative electrode has a negative electrode current collector and a negative electrode active material layer in contact with the negative electrode current collector. The negative electrode active material layer includes a negative electrode active material, a first binder, and a second binder. The negative electrode active material includes a first negative electrode active material that is a material containing silicon. The first binder is an N-vinylacetamide polymer which is a polymer having a monomer represented by formula (1). The second binder is an emulsion-based binder. The negative electrode active material layer has a first surface that is a surface in contact with the negative electrode current collector, and a second surface that is a surface opposite to the first surface. The negative electrode active material layer on the first surface contains more of the second binder than on the second surface. (In formula (1), R1 and R2 each independently represent hydrogen or an alkyl group which may have a substituent.

METHOD FOR PRODUCING SULFIDE-BASED SOLID ELECTROLYTE

NºPublicación:  WO2025225099A1 30/10/2025
Solicitante: 
MITSUBISHI MAT CORPORATION [JP]
\u4E09\u83F1\u30DE\u30C6\u30EA\u30A2\u30EB\u682A\u5F0F\u4F1A\u793E
WO_2025225099_PA

Resumen de: WO2025225099A1

Provided is a method for producing a sulfide-based solid electrolyte, the method having: a raw material preparation step for preparing an electrolyte raw material containing an element other than sulfur among elements constituting the sulfide-based solid electrolyte, and elemental sulfur and forming a raw material aggregate; and a synthesis step for heating the raw material aggregate to synthesize the sulfide-based solid electrolyte, wherein in the raw material preparation step, a molar ratio of the elemental sulfur to a lithium element in the raw material aggregate is set to be 1.5 to 6.5.

ELECTRODE MIXTURE AND BATTERY

NºPublicación:  WO2025225187A1 30/10/2025
Solicitante: 
TOYOTA JIDOSHA KK [JP]
\u30C8\u30E8\u30BF\u81EA\u52D5\u8ECA\u682A\u5F0F\u4F1A\u793E
WO_2025225187_PA

Resumen de: WO2025225187A1

The main purpose of this disclosure is to provide an electrode mixture capable of suppressing an increase in battery resistance. For this purpose, the disclosure provides an electrode mixture containing an electrode active material, a sulfide solid electrolyte containing a lithium element, a sulfur element, and a phosphorus element, and an organic compound, wherein the organic compound has two or more benzene rings, and at least a portion of the organic compound is present between the electrode active material and the sulfide solid electrolyte.

INACTIVATING AGENT FOR NONAQUEOUS SECONDARY BATTERY AND INACTIVATING METHOD FOR NONAQUEOUS SECONDARY BATTERY

NºPublicación:  WO2025225066A1 30/10/2025
Solicitante: 
KK TOYOTA CHUO KENKYUSHO [JP]
\u682A\u5F0F\u4F1A\u793E\u8C4A\u7530\u4E2D\u592E\u7814\u7A76\u6240
WO_2025225066_PA

Resumen de: WO2025225066A1

Disclosed is an inactivating agent for inactivating a nonaqueous secondary battery, the inactivating agent including: a redox shuttle agent which has a redox potential higher than that of the negative electrode active material of the nonaqueous secondary battery and lower than that of the positive electrode active material of the nonaqueous secondary battery at the Li reference potential; and N-methyl-2-pyrrolidone.

BATTERY, METHOD FOR PRODUCING BATTERY, AND DEVICE FOR PRODUCING BATTERY

NºPublicación:  WO2025225070A1 30/10/2025
Solicitante: 
PANASONIC INTELLECTUAL PROPERTY MAN CO LTD [JP]
\u30D1\u30CA\u30BD\u30CB\u30C3\u30AF\uFF29\uFF30\u30DE\u30CD\u30B8\u30E1\u30F3\u30C8\u682A\u5F0F\u4F1A\u793E
WO_2025225070_PA

Resumen de: WO2025225070A1

A battery according to the present disclosure comprises: a current collector that has a first main surface and a second main surface which is on the opposite side from the first main surface; a first unit cell that is provided on the first main surface; and a second unit cell that is provided on the second main surface. The current collector has: a body part which is a portion sandwiched between the first unit cell and the second unit cell; and a protruding part which protrudes past a first side surface of the first unit cell and a second side surface of the second unit cell. When the thickness of a tip end of the protruding part is represented as t and the thickness of the body part is represented as T, the expression t<T is satisfied.

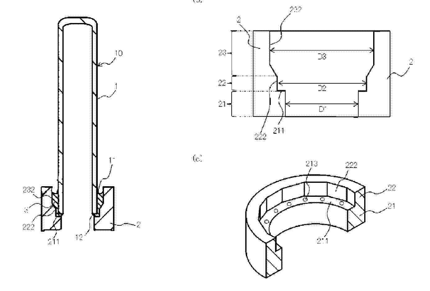
BATTERY CELL, BATTERY AND ELECTRIC APPARATUS

NºPublicación:  WO2025222733A1 30/10/2025
Solicitante: 
CONTEMPORARY AMPEREX TECH CO LIMITED [CN]
\u5B81\u5FB7\u65F6\u4EE3\u65B0\u80FD\u6E90\u79D1\u6280\u80A1\u4EFD\u6709\u9650\u516C\u53F8
WO_2025222733_PA

Resumen de: WO2025222733A1

A battery cell (2), a battery (100) and an electric apparatus. The battery cell (2) comprises a casing (21), electrode terminals (22) and an electrode assembly (23), wherein the electrode terminals (22) are disposed on the casing (21); the electrode assembly (23) is accommodated in the casing (21), a thinned portion (232) of the electrode assembly (23) is connected to an end portion of a main body portion (231) in a first direction (Y), and tabs (233) are led out from the thinned portion (232) and are connected to the electrode terminals (22); and the casing (21) comprises a wall body (213) surrounding the electrode assembly (23), the wall body (213) comprising a first portion (2113) and a second portion (2114) that are connected to each other, the first portion (2113) being located on the outer side of the thinned portion (232) in the radial direction of the electrode assembly (23), and the thickness of the first portion (2113) being greater than that of the second portion (2114). The thickness of the first portion (2113) of the wall body (213) surrounding the electrode assembly (12) is greater than the thickness of the second portion (2114), and the first portion (2113) is located on the outer side of the thinned portion (232) in the radial direction of the electrode assembly (23), such that during the expansion of the electrode assembly (23), the first portion (2113) can provide a relatively large binding force to restrict the expansion of the electrode assembly (23), and

FORMATION APPARATUS

NºPublicación:  WO2025222727A1 30/10/2025
Solicitante: 
CONTEMPORARY AMPEREX TECH CO LIMITED [CN]
CONTEMPORARY AMPEREX RUNZHI SOFTWARE TECH LIMITED [CN]
\u5B81\u5FB7\u65F6\u4EE3\u65B0\u80FD\u6E90\u79D1\u6280\u80A1\u4EFD\u6709\u9650\u516C\u53F8,
\u5B81\u5FB7\u65F6\u4EE3\u6DA6\u667A\u8F6F\u4EF6\u79D1\u6280\u6709\u9650\u516C\u53F8
WO_2025222727_PA

Resumen de: WO2025222727A1

Provided in the embodiment of the present application is a formation apparatus. The formation apparatus comprises a tray and a negative-pressure device, wherein the tray comprises a tray body and at least one row of capsule assemblies, the capsule assemblies being arranged on the tray body, each row of capsule assemblies comprising a plurality of capsule assemblies arranged at intervals in a first direction, and a battery cell being placed between every two adjacent capsule assemblies; and the negative-pressure device comprises a support and negative-pressure cups, the support being connected to the tray body, the negative-pressure cups being arranged on the support, and the negative-pressure cups being configured to connect to battery cells. The capsule assemblies can deform and expand by means of being filled with a fluid, so as to abut against the battery cells and fix the battery cells, and the pressure exerted by the capsule assemblies on the battery cells is uniform, so that the possibility of damage to the battery cells can be reduced, thereby facilitating an improvement in the final product quality of the battery cells. By means of connecting the negative-pressure cups of the negative-pressure device to the battery cells, a negative pressure can be provided for the battery cells, so as to assist in the formation of the battery cells.

BATTERY AND ELECTRIC DEVICE

NºPublicación:  WO2025222699A1 30/10/2025
Solicitante: 
CONTEMPORARY AMPEREX TECH CO LIMITED [CN]
\u5B81\u5FB7\u65F6\u4EE3\u65B0\u80FD\u6E90\u79D1\u6280\u80A1\u4EFD\u6709\u9650\u516C\u53F8
WO_2025222699_PA

Resumen de: WO2025222699A1

Provided are a battery (1001) and an electric device, which relate to the technical field of batteries. The battery (1001) comprises a box body (1), battery cells (2) and elastic pads (3), wherein accommodating cavities (1a) are formed in the box body (1); the battery cells (2) are disposed in the accommodating cavities (1a); each of the battery cells (2) comprises a shell (21) and a terminal post (22), and the terminal post (22) is disposed on the side of the shell (21) that is in a first direction; and an elastic pad (3) is disposed on at least one side of the terminal post (22) of at least one battery cell (2) that is in a second direction, wherein the first direction is perpendicular to the second direction. Further provided is an electric device, which comprises a battery (1001) used for supplying electric energy.

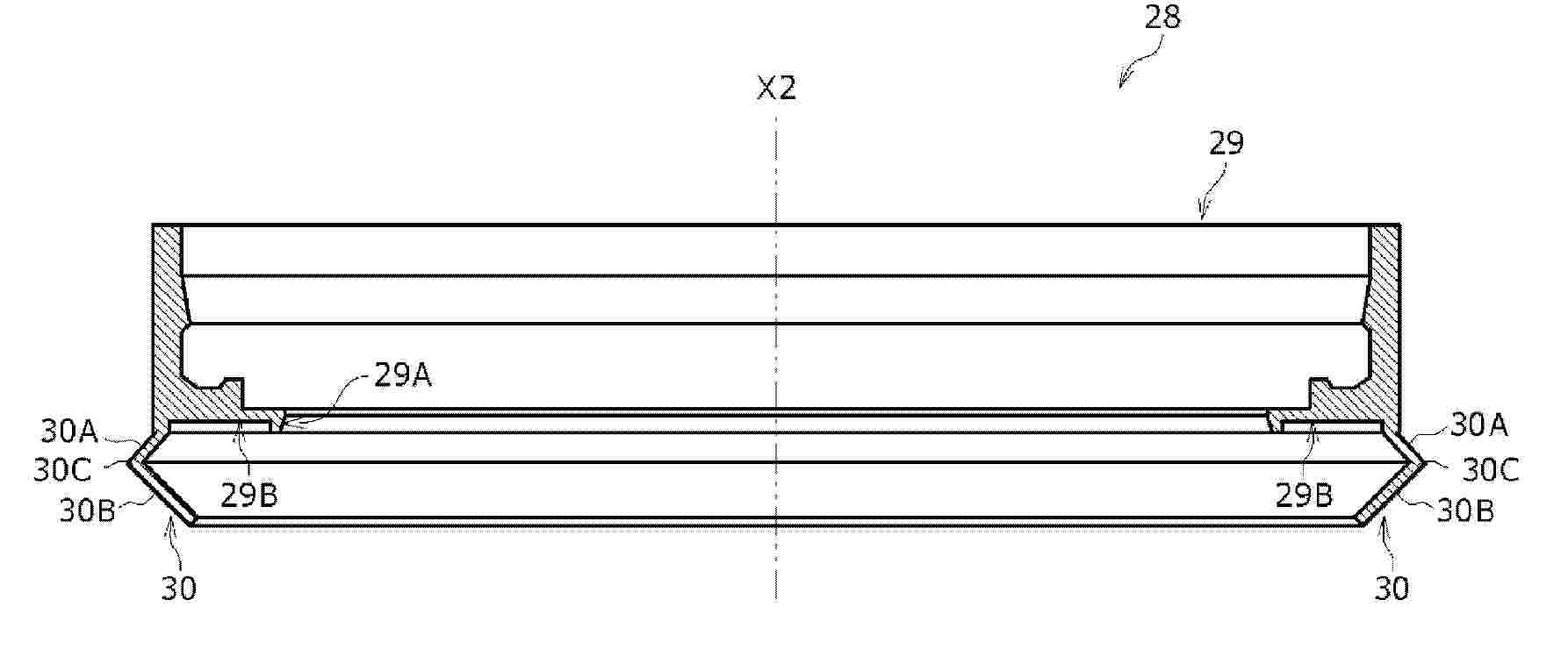
SECONDARY BATTERY

NºPublicación:  WO2025225175A1 30/10/2025
Solicitante: 
PANASONIC INTELLECTUAL PROPERTY MAN CO LTD [JP]
\u30D1\u30CA\u30BD\u30CB\u30C3\u30AF\uFF29\uFF30\u30DE\u30CD\u30B8\u30E1\u30F3\u30C8\u682A\u5F0F\u4F1A\u793E
WO_2025225175_PA

Resumen de: WO2025225175A1

A secondary battery (10) is provided with: an electrode body (14) in which a positive electrode (11) and a negative electrode (12) are wound with a separator (13) therebetween; an electrolyte; a bottomed cylindrical outer can (16) that accommodates the electrode body (14) and the electrolyte; a sealing body (17) that closes an open end (16A) of the outer can (16); and an annular gasket (28) that is interposed between the outer can (16) and the sealing body (17). The bottom surface of the gasket (28) is provided with a protrusion (30) that protrudes further outward than the inner circumference of the outer can (16).

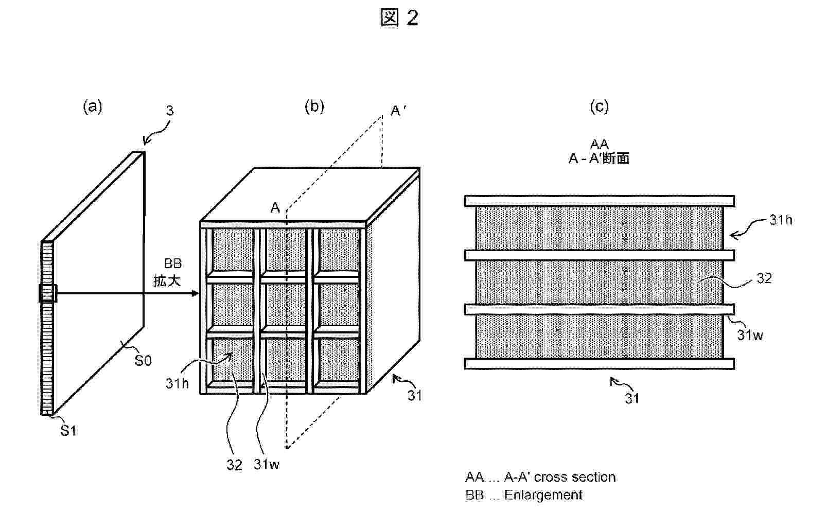
THERMAL INSULATION MATERIAL AND METHOD FOR PRODUCING THERMAL INSULATION MATERIAL

NºPublicación:  WO2025225031A1 30/10/2025
Solicitante: 
NGK INSULATORS LTD [JP]
\u65E5\u672C\u788D\u5B50\u682A\u5F0F\u4F1A\u793E
WO_2025225031_PA

Resumen de: WO2025225031A1

A thermal insulation material 3 is for use in a battery pack including a battery group in which single batteries and the thermal insulation material are stacked in an alternating manner. The thermal insulation material 3 comprises: a plate-like member 31 having through holes 31h formed by partitioning with a partition wall 31w comprising an inorganic non-metal material; and a reinforcement member for reinforcing the plate-like member 31. As a result, it is possible to provide a thermal insulation material and a method for producing the thermal insulation material that can suppress the spread of heat to an adjacent single battery when a single battery generates abnormal heat.

POLYMER ELECTROLYTE COMPOSITION FOR TAILORING CATHODE/ ELECTROLYTE INTERFACE IN QUASI-SOLID STATE METAL BATTERIES

NºPublicación:  WO2025224744A1 30/10/2025
Solicitante: 
COUNCIL OF SCIENT AND INDUSTRIAL RESEARCH [IN]
COUNCIL OF SCIENTIFIC AND INDUSTRIAL RESEARCH
WO_2025224744_A1

Resumen de: WO2025224744A1

The present disclosure relates to a hydrogel polymer electrolyte composition. Further, the present disclosure also relates to a method of preparation of a hydrogel polymer electrolyte composition. Furthermore, the present disclosure also provides hydrogel polymer electrolyte integrated cathode. The present disclosure provides a Quasi-solid state metal battery, where the battery e.g. QSS-Zn | PHPZ-30 | i-Zn-MnO cell delivers a specific capacity of 229 mAhg-1 at the current density of 0.10 A g-1 and a capacity retention of 85 % over 1000 stability cycles at 1.0 A g-1, which is better than its bare Zn-MnO cell, i.e., QSS-Zn|PHPZ-30|Zn-MnO, which delivers a specific capacity of 164.6 mAh g-1 at the current density of 0.10 A g-1 and 75% capacity retention over 100 stability cycles at 1.0 A g-1.

JOINED GLASS, GLASS JOINED BODY, METHOD FOR PRODUCING GLASS JOINED BODY, AND METHOD FOR INSPECTING GLASS JOINED BODY

NºPublicación:  WO2025224949A1 30/10/2025
Solicitante: 
NGK INSULATORS LTD [JP]
\u65E5\u672C\u788D\u5B50\u682A\u5F0F\u4F1A\u793E
WO_2025224949_PA

Resumen de: WO2025224949A1

Provided is a joined glass for joining a beta-alumina solid electrolyte and an alpha-alumina insulator, the joined glass containing 29.0-38.0 mass% of SiO2, 14.0-22.0 mass% of Al2O3, 29.0-42.5 mass% of B2O3, 5.0-8.5 mass% of MgO, 2.5-6.5 mass% of Na2O, less than 0.20 mass% of Fe2O3, less than 0.25 mass% of CaO, less than 0.20 mass% of K2O, and less than 0.50 mass% of As2O3.

BIOMASS-DERIVED CARBON AS ELECTRODE FOR SODIUM ION BATTERY, AND PROCESS OF PREPARATION THEREOF

NºPublicación:  WO2025224745A1 30/10/2025
Solicitante: 
COUNCIL OF SCIENT AND INDUSTRIAL RESEARCH [IN]
COUNCIL OF SCIENTIFIC AND INDUSTRIAL RESEARCH
WO_2025224745_A1

Resumen de: WO2025224745A1

The present disclosure relates to a biowaste-derived carbon and their use in energy storage applications. Specifically, the present disclosure relates to a hard carbon prepared from legumes of trees in the family of royal poinciana (Gulmohar) for use as electrode in energy storage devices. The present disclosure also relates to a method of preparing the hard carbon from Gulmohar by a single-step process.

THERMAL MANAGEMENT COMPONENT AND MANUFACTURING PROCESS THEREFOR, BATTERY, AND ELECTRIC DEVICE

NºPublicación:  WO2025222694A1 30/10/2025
Solicitante: 
CONTEMPORARY AMPEREX TECH CO LIMITED [CN]
\u5B81\u5FB7\u65F6\u4EE3\u65B0\u80FD\u6E90\u79D1\u6280\u80A1\u4EFD\u6709\u9650\u516C\u53F8
WO_2025222694_PA

Resumen de: WO2025222694A1

The present application relates to a thermal management component and a manufacturing process therefor, a battery, and an electric device. The thermal management component (30) comprises: a heat exchange tube (31) having a heat exchange flow channel (311), wherein the ends of the heat exchange tube (31) are ports of the heat exchange flow channel (311); current collectors (32) connected to the ends of the heat exchange tube (31) in a matched mode and communicated with the ports; and adapters (33) connected between the heat exchange tube (31) and the current collectors (32), wherein the adapters (33) are used for being sealedly connected to the current collectors (32) and the heat exchange tube (31). In the present application, the adapters (33) are arranged between the heat exchange tube (31) and the current collectors (32), the heat exchange tube (31) and the current collectors (32) can be connected and fixed by means of the adapters (33), and the adapters (33) are sealedly connected between the current collectors (32) and the heat exchange tube (31), so that the current collectors (32) and the heat exchange tube (31) can fit more closely against each other, and then the heat exchange tube (31) and the adapters (33) can be stably connected, thereby improving the connection stability between the heat exchange tube (31) and the current collectors (32).

BATTERY BAKING DEVICE AND CONTROL METHOD THEREFOR

NºPublicación:  WO2025222704A1 30/10/2025
Solicitante: 
CONTEMPORARY AMPEREX TECH CO LIMITED [CN]
\u5B81\u5FB7\u65F6\u4EE3\u65B0\u80FD\u6E90\u79D1\u6280\u80A1\u4EFD\u6709\u9650\u516C\u53F8
WO_2025222704_PA

Resumen de: WO2025222704A1

The present disclosure relates to a battery baking device and a control method therefor. The battery baking device comprises a controller, probes, and probe bases corresponding to the probes. The probes include auxiliary probes and additional probes. The auxiliary probes are configured to be in contact with the corresponding probe bases to form an auxiliary probe working circuit. The additional probes are configured to be in contact with the corresponding probe bases to form an additional probe working circuit. The controller is configured to, on the basis of a heating instruction, control to supply power to the auxiliary probes in the battery baking device, and when the auxiliary probes are powered on, control to supply power to the additional probes in the battery baking device. The conductor contact length between the auxiliary probes and the corresponding probe bases is shorter than that between the additional probes and the corresponding probe bases. In the device, the relatively short auxiliary probes are powered on such that the auxiliary probes are in effective contact with the corresponding probe bases, and the relatively long additional probes are also in effective contact with the corresponding probe bases under the action of pressure, thereby reducing failures caused by poor contact between probes and bases, and reducing the device failure rate.

BATTERY CELL, BATTERY AND ELECTRIC DEVICE

NºPublicación:  WO2025222696A1 30/10/2025
Solicitante: 
CONTEMPORARY AMPEREX TECH CO LIMITED [CN]
\u5B81\u5FB7\u65F6\u4EE3\u65B0\u80FD\u6E90\u79D1\u6280\u80A1\u4EFD\u6709\u9650\u516C\u53F8
WO_2025222696_PA

Resumen de: WO2025222696A1

A battery cell (10), a battery (100) and an electric device. The battery cell (10) comprises: a housing (2), which has a plurality of housing walls (21) enclosing an accommodating space, wherein among the plurality of housing walls (21), a first weld seam (211) extending in a first direction is formed at least on a first housing wall (212); and a spacer (1), which is disposed on an outer surface of the first housing wall (212), wherein the spacer (1) has outer edges (11) located on inner sides of an outer surface (22) of the first housing wall (212), among the outer edges (11), the outer edge (11) that extends in the first direction and is closest to the first weld seam (211) in a second direction is a first outer edge (111), the distance between the first outer edge (111) and the first weld seam (211) in the second direction is greater than 0 and not more than 5 mm, and the first direction, the second direction and a wall thickness direction of the housing walls (21) are perpendicular to each other in pairs. In this way, the impact of an expansion force generated by the battery cell (10) on the strength of the first weld seam (211) can be reduced on the basis of minimizing the reduction in the area of the spacer (1), thereby lowering the probability of abnormal weld separation of the first weld seam (211) due to strength attenuation, and facilitating directional pressure relief of the battery cell (10) during thermal runaway.

ELECTRONIC POWER UNITS AND RELATED METHODS

NºPublicación:  WO2025224716A1 30/10/2025
Solicitante: 
AVIATION BATTERY SYSTEMS LLC [US]
AVIATION BATTERY SYSTEMS LLC
WO_2025224716_PA

Resumen de: WO2025224716A1

Implementations of an electronic power unit may include a heater disposed in a battery pack, the heater electrically coupled with a heater controller and with a battery controller; and an exterior case, the exterior case enclosing the heater and the battery pack, the exterior case including an end that accommodates the power input of a military vehicle, the end including a coaxial connector.

A DEVICE FOR HEATING A VEHICLE BATTERY

NºPublicación:  WO2025224383A1 30/10/2025
Solicitante: 
POLAR HEATER OY [FI]
POLAR HEATER OY
WO_2025224383_PA

Resumen de: WO2025224383A1

The invention is a device (100) for heating a battery of vehicle. The battery is rectangular. The device comprises an elongated flexible body (107), a temperature sensor (112), and a heating arrangement inside the body. The body further comprises a first end part (117), a second end part (118), a first long side part (119), a second long side part (120) and a short side part (121). The heating arrangement comprises four heating elements (115a, 115b, 115c, 115d), and two heating elements are positioned in the first long side part and two heating elements are positioned in the second long side part, and the temperature sensor is positioned in the short side part. The device is configured to be set around the battery in such a way that the side parts are positioned on corresponding sides of the battery.

LITHIUM COMPOSITE METAL OXIDE AND PREPARATION METHOD THEREFOR, AND LITHIUM-ION BATTERY

NºPublicación:  WO2025223412A1 30/10/2025
Solicitante: 
NINGBO RONBAY NEW ENERGY TECH CO LTD [CN]
\u5B81\u6CE2\u5BB9\u767E\u65B0\u80FD\u6E90\u79D1\u6280\u80A1\u4EFD\u6709\u9650\u516C\u53F8
WO_2025223412_A1

Resumen de: WO2025223412A1

The present application relates to the field of lithium battery positive electrode materials, and provides a lithium composite metal oxide and a preparation method therefor, and a lithium-ion battery. The lithium composite metal oxide comprises an inner core and a strontium-doped lithium cobalt oxide coating layer covering the surface of the inner core; the inner core is secondary particles formed by stacking single-crystal primary particles; strontium-doped lithium cobalt oxide in the strontium-doped lithium cobalt oxide coating layer is uniformly distributed on the surface of the inner core in an island shape. The strontium-doped lithium cobalt oxide coating layer reduces the formation of nickel oxide on the surface of a positive electrode material in the charging and discharging process of a battery, avoids the generation of micro-cracks, improves the structural stability, not only can protect the surface structure during subsequent water washing and avoid the generation of excessive rock salt phases, but also can avoid the dissolution of cobalt at high temperature. In addition, the present application also improves the initial efficiency and the cycle performance, and reduces the initial DCR and circulating DCR increase.

HIGH-CRYSTALLINITY, HIGH-STRUCTURE AND HIGH-SPECIFIC-SURFACE-AREA CONDUCTIVE CARBON BLACK, PREPARATION METHOD THEREFOR, DEVICE, ELECTRODE SLURRY AND SECONDARY BATTERY

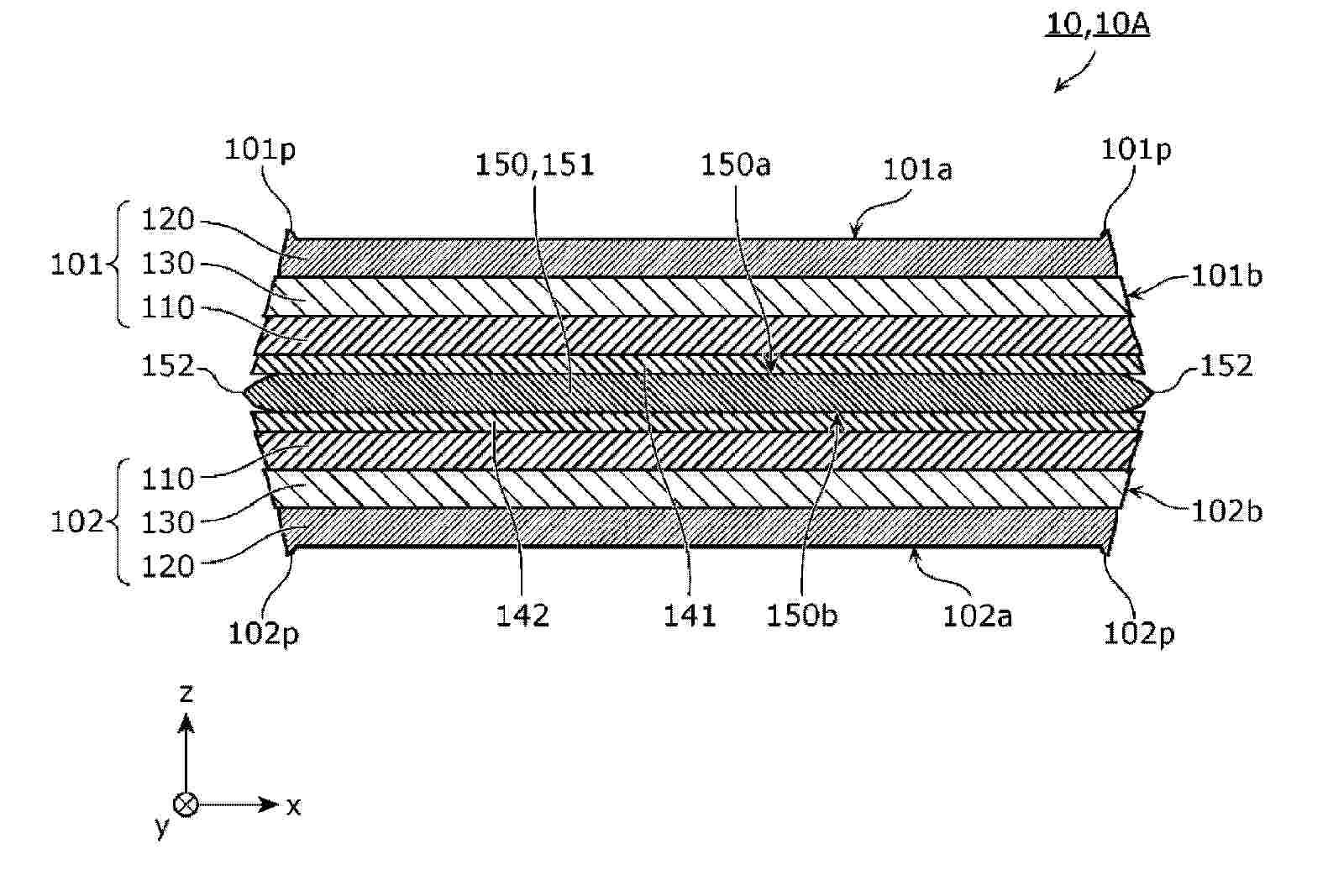
Nº publicación: WO2025223421A1 30/10/2025

Solicitante:

JIAOZUO CITY HEXING CHEMICAL IND CO LTD [CN]
\u7126\u4F5C\u5E02\u548C\u5174\u5316\u5B66\u5DE5\u4E1A\u6709\u9650\u516C\u53F8

WO_2025223421_A1

Resumen de: WO2025223421A1

The present disclosure relates to the technical field of carbon black materials, and in particular to high-crystallinity, high-structure and high-specific-surface-area conductive carbon black, a preparation method therefor, a device, an electrode slurry, and a secondary battery. The high-crystallinity, high-structure and high-specific-surface-area conductive carbon black has a crystallinity of 42-51%, a BET specific surface area of 58-200 m2/g, and a cOAN of 108-180 mL/100 g. The conductive carbon black of the present disclosure simultaneously achieves high crystallinity, high structure, and high specific surface area. When the conductive carbon black is used as a conductive agent, on the one hand, the high crystallinity endows the conductive agent with excellent conductivity and stability and improved compatibility with an electrolyte solution; on the other hand, the structure has sufficient length, perfect network structure, and liquid absorption and retention capacity, so that the conductive carbon black has good conductivity, ion conduction capability, and dispersity and can significantly improve the performance of batteries.

traducir