Ministerio de Industria, Turismo y Comercio LogoMinisterior
 

Alerta

Resultados 1490 resultados
LastUpdate Última actualización 07/11/2025 [07:13:00]
pdfxls
Publicaciones de los últimos 15 días/Last 15 days publications (excluidas pubs. CN y JP /CN and JP pubs. excluded)
previousPage Resultados 425 a 450 de 1490 nextPage  

ALL-SOLID-STATE BATTERY

NºPublicación:  WO2025225783A1 30/10/2025
Solicitante: 
SAMSUNG SDI CO LTD [KR]
\uC0BC\uC131\uC5D0\uC2A4\uB514\uC544\uC774 \uC8FC\uC2DD\uD68C\uC0AC
WO_2025225783_PA

Resumen de: WO2025225783A1

The present invention relates to an all-solid-state battery, more specifically to an all-solid-state battery comprising: a negative electrode layer; a first solid electrolyte layer on the negative electrode layer; a second solid electrolyte layer on the first solid electrolyte layer; and a positive electrode layer on the second solid electrolyte layer. Each of the first and second solid electrolyte layers contains an argyrodite-based compound and a nano-compound, the nano-compound comprising a composite of lithium-sulfur and lithium salt, and the nano-compound content in the first solid electrolyte layer being greater than the nano-compound content in the second solid electrolyte layer.

NEGATIVE ELECTRODE FOR LITHIUM METAL BATTERY AND LITHIUM METAL BATTERY COMPRISING SAME

NºPublicación:  WO2025225782A1 30/10/2025
Solicitante: 
SAMSUNG SDI CO LTD [KR]
\uC0BC\uC131\uC5D0\uC2A4\uB514\uC544\uC774 \uC8FC\uC2DD\uD68C\uC0AC
WO_2025225782_PA

Resumen de: WO2025225782A1

The present invention relates to a negative electrode for a lithium metal battery and a lithium metal battery comprising same, the negative electrode, more specifically, comprising: a negative electrode current collector comprising titanium or an alloy thereof; an oxide layer on the negative electrode current collector, the oxide layer comprising crystalline titanium oxide; and a polymer coating layer on the oxide layer. The polymer coating layer comprises a polymer having a trifluoromethanesulfonylimide (TFSI) functional group.

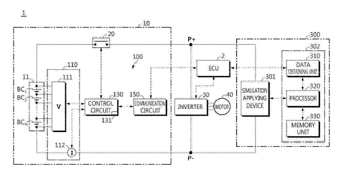
APPARATUS AND METHOD FOR CONTROLLING BATTERY

NºPublicación:  WO2025226125A1 30/10/2025
Solicitante: 
LG ENERGY SOLUTION LTD [KR]
\uC8FC\uC2DD\uD68C\uC0AC \uC5D8\uC9C0\uC5D0\uB108\uC9C0\uC194\uB8E8\uC158
WO_2025226125_PA

Resumen de: WO2025226125A1

A battery control device according to an embodiment of the present invention is located in a battery system including a plurality of batteries, and may include: at least one processor; and a memory that stores at least one command executed through the at least one processor. The at least one command may comprise: a command for monitoring the voltage of each of the batteries in a process in which the batteries are connected in parallel to a DC link and charged; a command for sequentially dropping, from the DC link, batteries that have reached a predefined target voltage; and a command for stopping a charging process in a state in which the N batteries are connected to the DC link when only N preset batteries remain connected to the DC link.

POSITIVE ELECTRODE FOR LITHIUM-SULFUR BATTERIES AND LITHIUM-SULFUR BATTERIES CONTAINING SAME

NºPublicación:  WO2025226065A1 30/10/2025
Solicitante: 
LG ENERGY SOLUTION LTD [KR]
\uC8FC\uC2DD\uD68C\uC0AC \uC5D8\uC9C0\uC5D0\uB108\uC9C0\uC194\uB8E8\uC158
WO_2025226065_A1

Resumen de: WO2025226065A1

A positive electrode for lithium-sulfur batteries according to the present invention includes predetermined contents of polyacrylic acid, polyacrylamide, carboxymethyl cellulose, and styrene-butadiene rubber as binder polymers. The positive electrode for lithium-sulfur batteries has excellent adhesion between a positive electrode active material layer and a positive electrode current collector, and can ensure sufficient output performance when applied to lithium-sulfur batteries.

QUENCHING SOLUTION, METHOD FOR MANUFACTURING SURFACE-STABILIZED LITHIUM-RICH MANGANESE-BASED POSITIVE ELECTRODE MATERIAL, AND SECONDARY BATTERY

NºPublicación:  WO2025226061A1 30/10/2025
Solicitante: 
TIANMU LAKE INSTITUTE OF ADVANCED ENERGY STORAGE TECH CO LTD [CN]
LG ENERGY SOLUTION LTD [KR]
\uD188\uBB34 \uB808\uC774\uD06C \uC778\uC2A4\uD2F0\uD29C\uD2B8 \uC624\uBE0C \uC5B4\uB4DC\uBC34\uC2A4\uB4DC \uC5D0\uB108\uC9C0 \uC2A4\uD1A0\uB9AC\uC9C0 \uD14C\uD06C\uB180\uB85C\uC9C0 \uCEF4\uD37C\uB2C8 \uB9AC\uBBF8\uD2F0\uB4DC,
\uC8FC\uC2DD\uD68C\uC0AC \uC5D8\uC9C0\uC5D0\uB108\uC9C0\uC194\uB8E8\uC158
WO_2025226061_PA

Resumen de: WO2025226061A1

Disclosed are a quenching solution, a method for manufacturing a surface-stabilized Li-rich manganese-based positive electrode material, and a secondary battery. The quenching solution contains a solvent, a lithium hydroxide or lithium salt, a reducing agent, and a phosphate, and the Li-rich manganese-based positive electrode material is treated by a quenching method in the quenching solution, thereby improving the initial coulombic efficiency and cyclic stability of the battery and alleviating voltage decay.

BATTERY DEVICE AND ELECTRIC DEVICE

NºPublicación:  WO2025222862A1 30/10/2025
Solicitante: 
CONTEMPORARY AMPEREX TECH CO LIMITED [CN]
\u5B81\u5FB7\u65F6\u4EE3\u65B0\u80FD\u6E90\u79D1\u6280\u80A1\u4EFD\u6709\u9650\u516C\u53F8
WO_2025222862_PA

Resumen de: WO2025222862A1

A battery device (100) and an electric device (1000). The battery device (100) comprises: a case (10); a battery cell assembly (20), accommodated in the case (10); and a heat exchange assembly (30), accommodated in the case (10), wherein the heat exchange assembly (30) comprises a heat exchange body (31) comprising a plurality of heat exchange flow channels (301), and a flow collecting structure (32), wherein the flow collecting structure (32) comprises a blocking member (321), a flow collecting member (322) and an adapter member (323), the blocking member (321) implements blocking in at least one heat exchange flow channel (301), the adapter member (323) is formed on the heat exchange body (31), notches (323a) are formed in the peripheral wall of the adapter member (323), the flow collecting member (322) is provided with a flow collecting cavity (3221), the flow collecting member (322) is in sealing fit with and connected to the heat exchange body (31) by means of the adapter member (323), and the flow collecting member (322) is provided with a communicating opening (322a) communicated with the flow collecting cavity (3221).

NON-AQUEOUS ELECTROLYTE, LITHIUM-ION BATTERY, AND ELECTRONIC DEVICE

NºPublicación:  WO2025223024A1 30/10/2025
Solicitante: 
NINGDE AMPEREX TECH LIMITED [CN]
\u5B81\u5FB7\u65B0\u80FD\u6E90\u79D1\u6280\u6709\u9650\u516C\u53F8
WO_2025223024_A1

Resumen de: WO2025223024A1

The present application discloses a non-aqueous electrolyte, a lithium-ion battery, and an electronic device. The non-aqueous electrolyte comprises a non-aqueous solvent and a lithium salt. The non-aqueous electrolyte contains a specific amount of lithium difluorophosphate, propyl propionate, 1,2,3-tris(2-cyanoethoxy)propane, and boron-containing lithium salt. The total content of the lithium difluorophosphate and 1,2,3-tris(2-cyanoethoxy)propane in the non-aqueous electrolyte is set to a specific range, and the total content of the propyl propionate and boron-containing lithium salt is set to a specific range. The use of the non-aqueous electrolyte can not only improve the initial efficiency of lithium-ion batteries, but also inhibit the increase in resistance, and significantly improve the low-temperature output performance and high-temperature storage performance of lithium-ion batteries.

BATTERY PACK TEMPERATURE RISE CONTROL METHOD, APPARATUS AND DEVICE, AND READABLE STORAGE MEDIUM

NºPublicación:  WO2025222892A1 30/10/2025
Solicitante: 
DONGFENG MOTOR GROUP CO LTD [CN]
\u4E1C\u98CE\u6C7D\u8F66\u96C6\u56E2\u80A1\u4EFD\u6709\u9650\u516C\u53F8
WO_2025222892_A1

Resumen de: WO2025222892A1

A battery pack temperature rise control method, apparatus and device, and a readable storage medium, relating to the field of batteries. The method comprises: acquiring preset connector acting force limit value ranges corresponding to a target battery pack in different charging modes, each preset connector acting force limit value range being used for representing a correspondence relationship between a contact resistance limit value range of a connector interface and a temperature limit value range of a non-battery cell part in the battery pack in a corresponding charging mode; and, on the basis of the preset connector acting force limit value range in each charging mode, performing parameter control on a target connector interface of the target battery pack, such that a maximum contact resistance value of the target connector interface in each different charging mode is within the contact resistance limit value range corresponding to the preset connector acting force limit value range, thus achieving temperature rise control over the non-battery cell part in the battery pack. The present application can control temperature rise results of non-battery cell parts in battery packs to be within normal temperature limit value ranges in advance, so as to avoid abnormal temperature rise, thereby reducing the aging speed and safety risks of batteries.

DUAL ROLE POWER PACK AND METHOD

NºPublicación:  US2025337251A1 30/10/2025
Solicitante: 
CYPRESS SEMICONDUCTOR CORP [US]
Cypress Semiconductor Corporation
US_2025337251_PA

Resumen de: US2025337251A1

In an embodiment of the techniques presented herein, a system includes a universal serial bus (USB) port, a battery module, and a USB power delivery (USB-PD) controller. The battery module has a configuration memory configured to store battery module configuration data and a voltage sensor configured to generate a battery module voltage measurement. The USB-PD controller is configured to determine a maximum current discharge parameter based on the battery module voltage measurement and the battery module configuration data, determine a power delivery profile based on the maximum current discharge parameter, negotiate a power delivery contract with a device connected to the USB port based on the power delivery profile, and provide power from the battery module to the USB port based on the power delivery contract.

STRUCTURE DESIGNED TO ENABLE MAINTENANCE WITHOUT RISK OF ELECTRIC SHOCK AND BATTERY PACK

NºPublicación:  US2025337140A1 30/10/2025
Solicitante: 
EVE ENERGY CO LTD [CN]
EVE ENERGY CO., LTD
US_2025337140_PA

Resumen de: US2025337140A1

This disclosure provides a structure designed to enable maintenance without risk of electric shock and a battery pack, including: a structure body provided with a low-voltage control circuit, a main circuit, and a relay; a maintenance cover installed on the structure body; and a switch connected in series with the low-voltage control circuit. The switch includes a plug and a socket, the plug and the socket are respectively equipped on the structure body and on the maintenance cover. When the plug and the socket are electrically and mechanically connected, the low-voltage control circuit is powered on, and the relay is closed and energized to activate the main circuit. When the plug and socket are electrically or mechanically disconnected, the low-voltage control circuit is cut off, and the relay is open and de-energized to cut off the main circuit.

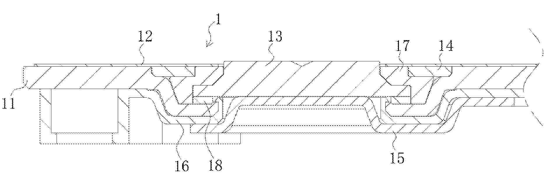
SECONDARY BATTERY

NºPublicación:  US2025337134A1 30/10/2025
Solicitante: 
SAMSUNG SDI CO LTD [KR]
Samsung SDI Co., Ltd
US_2025337134_PA

Resumen de: US2025337134A1

A secondary battery includes: a cylindrical case; an electrode assembly in the case and comprising a first tab protruding in a first direction and a second tab protruding in a second direction opposite to the first direction and connected to the case; a current collector plate in the case and comprising a current collector plate body portion connected to the first tab and a current collector plate liquid injection portion on the current collector plate body portion; a cap plate sealing the case so that the electrode assembly and the current collector plate are isolated from an outside; a rivet terminal including a rivet body portion coupled to the cap plate and a rivet liquid injection portion coupled to the current collector plate liquid injection portion; and a sealing portion sealing the current collector plate liquid injection portion and the rivet liquid injection portion.

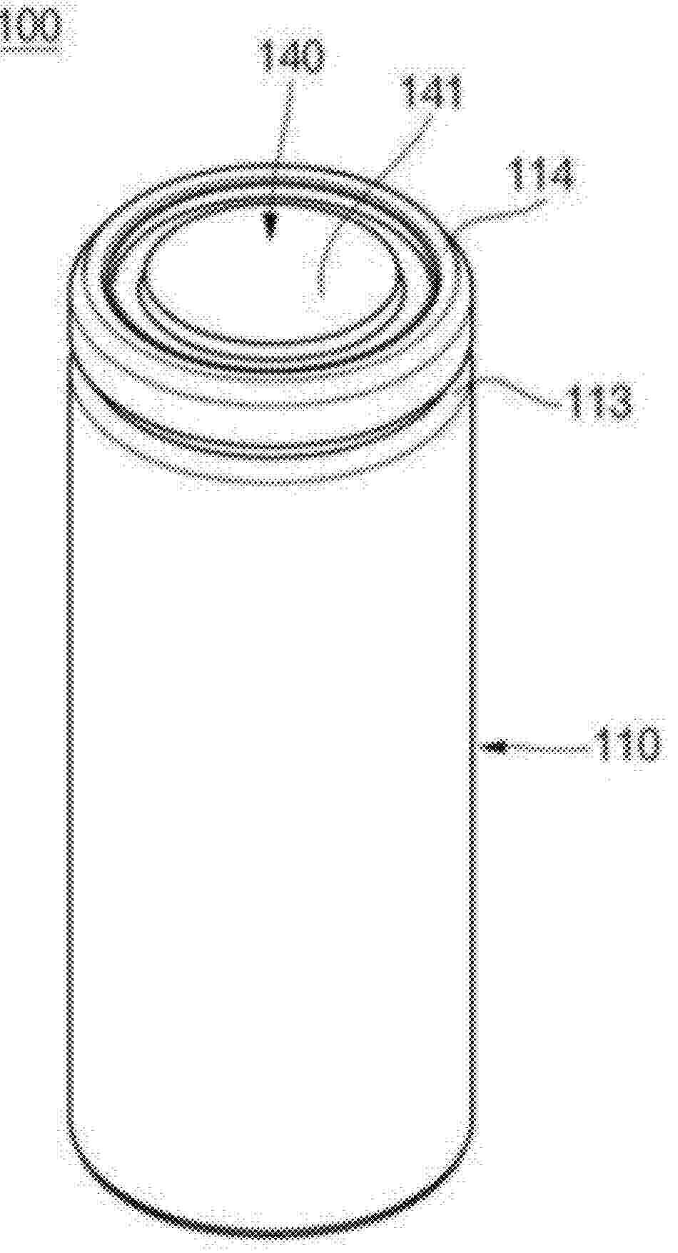
INTERNAL SHORT-CIRCUIT DEVICE FOR BATTERY AND METHOD OF MANUFACTURING AN INTERNAL SHORT-CIRCUIT DEVICE FOR A BATTERY

NºPublicación:  US2025337138A1 30/10/2025
Solicitante: 
SAMSUNG SDI CO LTD [KR]
SAMSUNG SDI CO., LTD
US_2025337138_PA

Resumen de: US2025337138A1

An internal short-circuit device includes an insulating member including a hole, a short-circuit inducing portion of a first electrode plate of a battery extending through the hole in the insulating member, and an insulating layer disposed between the insulating member and a second electrode plate of the battery. A first surface of the insulating layer is in contact with the short-circuit inducing portion of the first electrode plate, and a second surface of the insulating layer, which is opposite to the first surface, is in contact with the second electrode plate.

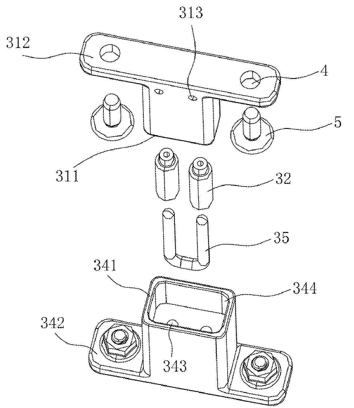
BATTERY ASSEMBLY STRUCTURE

NºPublicación:  US2025337127A1 30/10/2025
Solicitante: 
ISUZU MOTORS LTD [JP]
Isuzu Motors Limited
US_2025337127_PA

Resumen de: US2025337127A1

A battery assembly structure includes: a battery case including an accommodation part configured to accommodate a battery pack; a battery cover including a wall part covering the accommodation part, and an opening part extending through the wall part; a connector disposed on an outer surface side of the wall part; and a bus bar disposed on an inner surface side of the wall part and configured to electrically connect the connector and a terminal disposed in the battery pack. In a case where the battery cover is assembled to the battery case such that the accommodation part is covered by the wall part, the opening part is disposed in a position in which the bus bar and the terminal are visible through the opening part from the outer surface side of the wall part.

SOLID ELECTROLYTE SHEET, METHOD FOR PRODUCING SOLID ELECTROLYTE SHEET, AND SECONDARY BATTERY

NºPublicación:  WO2025225694A1 30/10/2025
Solicitante: 
TORAY IND INC [JP]
IDEMITSU KOSAN CO LTD [JP]
\u6771\u30EC\u682A\u5F0F\u4F1A\u793E,
\u51FA\u5149\u8208\u7523\u682A\u5F0F\u4F1A\u793E
WO_2025225694_PA

Resumen de: WO2025225694A1

Provided is a solid electrolyte sheet comprising a wet-laid nonwoven fabric containing synthetic fibers and a solid electrolyte. The wet-laid nonwoven fabric includes at least a flat first short fiber in which a ratio a/b of the length of a long axis a and the length of a short axis b of a cross section is 5 or more. In a cross section in the thickness direction of the solid electrolyte sheet, a ratio d/c of an area c of a solid part composed of fibers constituting the wet-laid nonwoven fabric and a solid electrolyte and an area d of a void part is 0 to 0.1. A ratio e/f of an area e of fibers constituting the nonwoven fabric in the solid part and an area f of the solid electrolyte f is 0.05 to 0.5.

BATTERY

NºPublicación:  WO2025225640A1 30/10/2025
Solicitante: 
PANASONIC INTELLECTUAL PROPERTY MAN CO LTD [JP]
\u30D1\u30CA\u30BD\u30CB\u30C3\u30AF\uFF29\uFF30\u30DE\u30CD\u30B8\u30E1\u30F3\u30C8\u682A\u5F0F\u4F1A\u793E
WO_2025225640_PA

Resumen de: WO2025225640A1

A battery 1000 according to the present disclosure conforms with at least one configuration that is selected from the group consisting of (I) and (II) described below. (I) At least one layer that is selected from the group consisting of a first electrode layer 100, a second electrode layer 200, and a solid electrolyte layer 300 contains a solid electrolyte that contains a halogenated oxide. (II) The battery 1000 additionally comprises a side surface layer which contains a solid electrolyte that contains a halogenated oxide, and which is disposed on a side surface of at least one layer that is selected from the group consisting of the first electrode layer 100, the second electrode layer 200, and the solid electrolyte layer 300. The halogenated oxide includes at least one substance that is selected from the group consisting of a halogenated oxide A which is composed of Li, M1, X1, and O, and a halogenated oxide B which is composed of Li, M2, X2, and O. M1 represents at least one element that is selected from the group consisting of trivalent metal elements and trivalent metalloid elements, and M2 represents at least one element that is selected from the group consisting of tetravalent metal elements and tetravalent metalloid elements. X1 and X2 each represent at least one element that is selected from the group consisting of F, Cl, Br, and I.

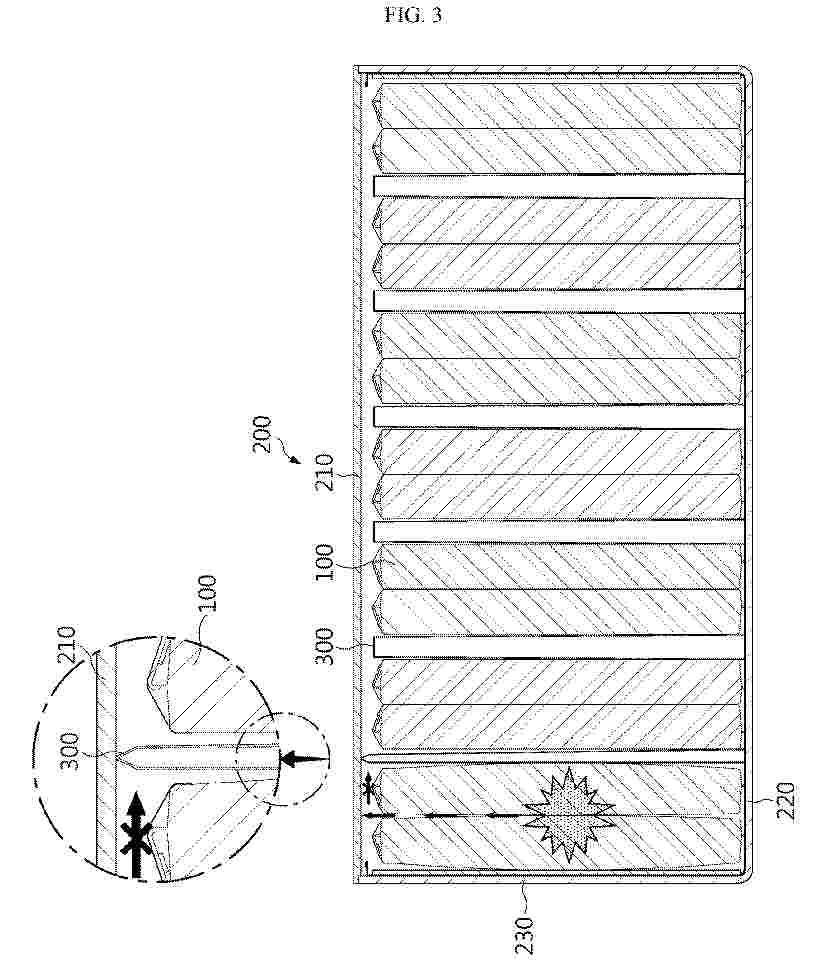
BATTERY ASSEMBLY AND BATTERY PACK INCLUDING SAME

NºPublicación:  WO2025226097A1 30/10/2025
Solicitante: 
LG ENERGY SOLUTION LTD [KR]
\uC8FC\uC2DD\uD68C\uC0AC \uC5D8\uC9C0\uC5D0\uB108\uC9C0\uC194\uB8E8\uC158
WO_2025226097_PA

Resumen de: WO2025226097A1

A battery assembly according to an embodiment of the present invention comprises: a plurality of battery cells; and a cell frame in which the battery cells are accommodated. A cooling flow path through which refrigerant flows in direct contact with at least some of the battery cells is provided inside the cell frame. The cooling flow path includes a plurality of cooling flow paths disposed along the longitudinal direction of the battery cells in which the battery cells extend. The flow direction of the refrigerant in any one of the plurality of cooling flow paths and that of the refrigerant in another one of the plurality of cooling flow paths are opposite to each other.

BATTERY CELL ASSEMBLY, BATTERY PACK, AND TRANSPORTATION MEANS COMPRISING SAME

NºPublicación:  WO2025225989A1 30/10/2025
Solicitante: 
LG ENERGY SOLUTION LTD [KR]
\uC8FC\uC2DD\uD68C\uC0AC \uC5D8\uC9C0\uC5D0\uB108\uC9C0\uC194\uB8E8\uC158
WO_2025225989_PA

Resumen de: WO2025225989A1

A battery cell assembly relating to one embodiment of the present invention may comprise: a plurality of battery cells; a housing including an accommodation part in which the plurality of battery cells is accommodated; and at least one fixing member which is provided to cover at least a partial area of the outer surface of each of the plurality of battery cells so as to fix the battery cell to the inside of the accommodation part, and which has a battery cell exposure hole to allow a part of the battery cell to be exposed to the outside.

BATTERY COVER PLATE ASSEMBLY, COMBINED BATTERY, AND POWER BATTERY PACK

NºPublicación:  WO2025222996A1 30/10/2025
Solicitante: 
BYD COMPANY LTD [CN]
\u6BD4\u4E9A\u8FEA\u80A1\u4EFD\u6709\u9650\u516C\u53F8
WO_2025222996_PA

Resumen de: WO2025222996A1

A battery cover plate assembly, a combined battery, and a power battery pack. The battery cover plate assembly is used for being arranged between end faces of two housings. A battery cell is arranged in each housing, and the housing is provided with a positive tab and a negative tab. The battery cover plate assembly comprises a cover plate main body, a conductive post, and an insulating injection-molded body. The cover plate main body is used for being fixedly and sealingly connected to the two housings and is provided with a through hole allowing for an injection molding material to flow through. The conductive post passes through the through hole. The insulating injection-molded body is mutually embedded with the cover plate main body and the conductive post by means of the through hole so that the cover plate main body and the conductive post are insulated from each other. The insulating injection-molded body is capable of being inserted into the end face of each housing. Two ends of the conductive post protrude from the insulating injection-molded body and are in conductive contact with the positive tab of one of the two housings and the negative tab of the other of the two housings, respectively.

POSITIVE ELECTRODE ACTIVE MATERIAL, POSITIVE ELECTRODE SHEET, CYLINDRICAL BATTERY CELL, BATTERY, AND ELECTRIC DEVICE

NºPublicación:  WO2025222968A1 30/10/2025
Solicitante: 
CONTEMPORARY AMPEREX TECH CO LIMITED [CN]
\u5B81\u5FB7\u65F6\u4EE3\u65B0\u80FD\u6E90\u79D1\u6280\u80A1\u4EFD\u6709\u9650\u516C\u53F8
WO_2025222968_PA

Resumen de: WO2025222968A1

The present application relates to a positive electrode active material, a positive electrode sheet, a cylindrical battery cell, a battery, and an electric device. The positive electrode active material comprises a core portion and a coating layer; the core portion comprises a lithium-containing transition metal oxide; the coating layer covers at least a portion of the surface of the core portion; and the coating layer comprises a polymer, including one or more of a fluoropolymer and an oxygen-containing polymer. In the embodiments of the present application, when applied to a battery, the positive electrode active material can reduce the swelling degree of the battery, and can improve the cycle performance of the battery.

POSITIVE ELECTRODE ACTIVE MATERIAL AND PREPARATION METHOD THEREFOR, POSITIVE ELECTRODE SHEET, BATTERY AND ELECTRIC DEVICE

NºPublicación:  WO2025222827A1 30/10/2025
Solicitante: 
CONTEMPORARY AMPEREX TECH CO LIMITED [CN]
\u5B81\u5FB7\u65F6\u4EE3\u65B0\u80FD\u6E90\u79D1\u6280\u80A1\u4EFD\u6709\u9650\u516C\u53F8
WO_2025222827_PA

Resumen de: WO2025222827A1

A positive electrode active material, comprising NaxRyPmOn, wherein 3.5≤x≤4.5, 2.5≤y≤3.5, 3.7

SECONDARY BATTERY, BATTERY PACK, AND ENERGY STORAGE BOX

NºPublicación:  US2025337136A1 30/10/2025
Solicitante: 
ZHEJIANG JINKO ENERGY STORAGE CO LTD [CN]
ZHEJIANG JINKO SOLAR CO LTD [CN]
ZHEJIANG JINKO ENERGY STORAGE CO., LTD,
ZHEJIANG JINKO SOLAR CO., LTD
US_2025337136_PA

Resumen de: US2025337136A1

The present disclosure provides a secondary battery, a battery pack, and an energy storage box. The secondary battery includes an end cover assembly. The end cover assembly includes a top cover, a top patch, and an electrode terminal. The end cover assembly is designed to have a more compact structure, which reduces a space occupied, thereby improving a capacity and energy density of the secondary battery.

BATTERY AND MOUNTED STRUCTURE THEREOF

NºPublicación:  US2025337131A1 30/10/2025
Solicitante: 
PRIME PLANET ENERGY & SOLUTIONS INC [JP]
Prime Planet Energy & Solutions, Inc
US_2025337131_PA

Resumen de: US2025337131A1

In a battery, a case has an outer surface and a gas-discharge valve, the outer surface including a first surface and a second surface, the first surface extending in a direction of a plane including a first direction, the second surface being connected to one end portion of the first surface in the first direction, the second surface being substantially orthogonal to the first surface, the gas-discharge valve being provided at the second surface. The electrode assembly and a current collector are joined at a first joining portion, the current collector and an electrode terminal are joined at a second joining portion, and at least one of the first joining portion and the second joining portion is eccentrically located on the second surface side in the first direction.

ELECTRODE ASSEMBLY FOR RECHARGEABLE LITHIUM BATTERY AND RECHARGEABLE LITHIUM BATTERY

NºPublicación:  US2025337130A1 30/10/2025
Solicitante: 
SAMSUNG SDI CO LTD [KR]
SAMSUNG SDI CO., LTD
US_2025337130_PA

Resumen de: US2025337130A1

An electrode assembly and a rechargeable lithium battery including the same are disclosed. The electrode assembly can prevent generation of cracks between a current collector region provided with a tab and a current collector region without a tab, thereby improving reliability and lifespan. To this end, the electrode assembly has a structure in which a side surface of the tab is secured to the current collector by a thermoplastic resin.

SECONDARY BATTERY

NºPublicación:  US2025337128A1 30/10/2025
Solicitante: 
SAMSUNG SDI CO LTD [KR]
SAMSUNG SDI CO., LTD
US_2025337128_PA

Resumen de: US2025337128A1

The present disclosure relates to a secondary battery that enables injection of an electrolyte by including an injection port in a positive electrode, provides welding strength for welding the positive electrode terminal, and makes detecting defects easier. In an embodiment the secondary battery comprises a cylindrical can having a through-hole formed therein. An electrode assembly is accommodated in the can, with the electrode assembly including a first tab and a second tab. A current collector plate is accommodated in the can, connected to the first tab, and includes a current collector plate injection hole. A rivet terminal is coupled to the through-hole and electrically connected to the first tab. The rivet terminal includes a rivet injection hole through which an electrolyte may be injected.

BONDING METHOD, AND ELECTRICAL ENERGY STORAGE DEVICE AND MANUFACTURING METHOD FOR THE SAME

Nº publicación: US2025337135A1 30/10/2025

Solicitante:

PRIME PLANET ENERGY & SOLUTIONS INC [JP]
Prime Planet Energy & Solutions, Inc

US_2025337135_PA

Resumen de: US2025337135A1

A bonding method disclosed herein includes: a laser welding step of irradiating a boundary portion between a first member made of a metal and a second member made of a metal with laser, thereby forming a welding bonding part; and an etching step of irradiating a surface of the welding bonding part and its peripheral part with an energy beam with lower output than an output in the laser welding step, thereby forming a plurality of concave parts with a substantially circular shape at the surface of the welding bonding part and its peripheral part.

traducir