Ministerio de Industria, Turismo y Comercio LogoMinisterior
 

Alerta

Resultados 1490 resultados
LastUpdate Última actualización 07/11/2025 [07:13:00]
pdfxls
Publicaciones de los últimos 15 días/Last 15 days publications (excluidas pubs. CN y JP /CN and JP pubs. excluded)
previousPage Resultados 450 a 475 de 1490 nextPage  

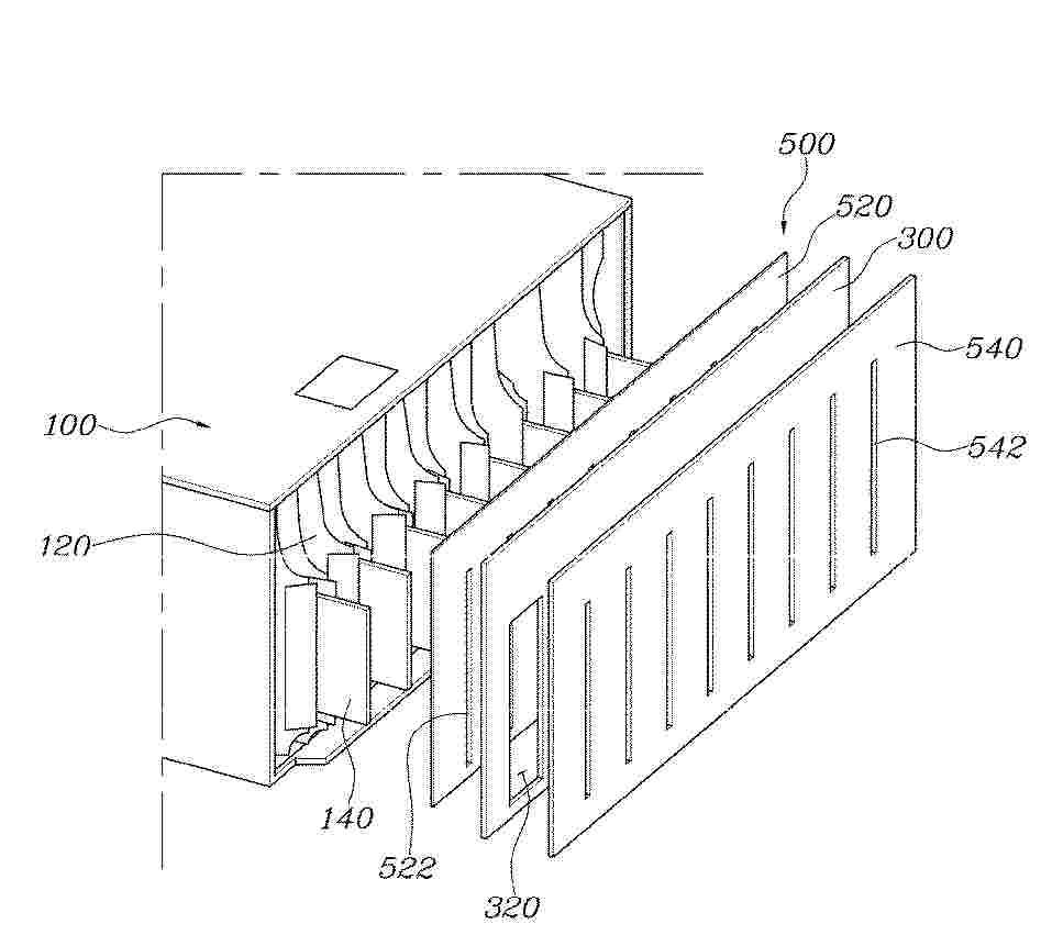
CHARGING/DISCHARGING DEVICE FOR SECONDARY BATTERY

NºPublicación:  WO2025225986A1 30/10/2025
Solicitante: 
LG ENERGY SOLUTION LTD [KR]
\uC8FC\uC2DD\uD68C\uC0AC \uC5D8\uC9C0\uC5D0\uB108\uC9C0\uC194\uB8E8\uC158
WO_2025225986_PA

Resumen de: WO2025225986A1

A charging/discharging device for a secondary battery, related to one embodiment of the present invention, comprises: a chamber including one or more charging spaces in which trays that store secondary batteries can be individually accommodated, and having a charging gripper electrically connected to the secondary battery in the charging space; a thermoelectric cooling unit which includes a thermoelectric element and a cooling fin that transfers, into the vicinity thereof, cold air of a cooling side of the thermoelectric element, and which cools the air in the charging space at the upper part of the charging space; a first fan which suctions the cooling air in the vicinity of the thermoelectric cooling unit at the upper part of the charging space and which blows the cooling air toward the secondary battery accommodated in the tray; and a second fan, which suctions the air in parallel to the longitudinal direction of the secondary battery at the lower part of the charging space so that the cooling air flows in the longitudinal direction of the secondary battery.

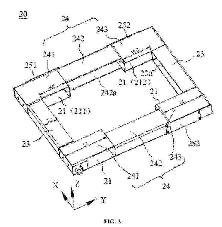
BATTERY MODULE ASSEMBLY

NºPublicación:  WO2025225977A1 30/10/2025
Solicitante: 
VALEO KAPEC CO LTD [KR]
\uC8FC\uC2DD\uD68C\uC0AC \uCE74\uD399\uBC1C\uB808\uC624
WO_2025225977_PA

Resumen de: WO2025225977A1

The present invention provides a battery module assembly comprising: a plurality of battery cells; a pair of end plates disposed at both sides of the plurality of battery cells; and a clamp extending to surround the plurality of battery cells and welded to the pair of end plates, wherein at least one of the pair of end plates includes a through hole and a first stopper portion formed to protrude beyond the surrounding area in a direction away from the battery cells by means of the through hole to support the clamp.

BONDING GLASS, GLASS BONDED BODY, METHOD FOR MANUFACTURING GLASS BONDED BODY, AND METHOD FOR INSPECTING GLASS BONDED BODY

NºPublicación:  WO2025225582A1 30/10/2025
Solicitante: 
NGK INSULATORS LTD [JP]
\u65E5\u672C\u788D\u5B50\u682A\u5F0F\u4F1A\u793E
WO_2025225582_PA

Resumen de: WO2025225582A1

Provided is a bonding glass for bonding a β-alumina solid electrolyte to an α-alumina insulator. The bonding glass contains: 29.0-38.0 mass% of SiO2, 14.0-22.0 mass% of Al2O3, 29.0-42.5 mass% of B2O3, 5.0-8.5 mass% of MgO, 2.5-6.5 mass% of Na2O, less than 0.20 mass% of Fe2O3, less than 0.25 mass% of CaO, less than 0.20 mass% of K2O, and less than 0.50 mass% of As2O3.

ELECTROLYTE COMPOSITION WITH IMPROVED HIGH-TEMPERATURE SAFETY AND LITHIUM SECONDARY BATTERY COMPRISING SAME

NºPublicación:  WO2025225985A1 30/10/2025
Solicitante: 
LG ENERGY SOLUTION LTD [KR]
\uC8FC\uC2DD\uD68C\uC0AC \uC5D8\uC9C0\uC5D0\uB108\uC9C0\uC194\uB8E8\uC158
WO_2025225985_PA

Resumen de: WO2025225985A1

The present invention relates to an electrolyte composition for a lithium secondary battery. The electrolyte composition for a lithium secondary battery comprises a fluorine-substituted linear ester-based solvent and a fluorine-substituted acrylic additive as a non-aqueous organic solvent and an electrolyte additive, respectively, and thus can uniformly form a solid electrolyte membrane layer (SEI layer), having high lithium-ion conductivity and excellent heat resistance, on the surface of a negative electrode when the lithium secondary battery is activated. Consequently, the reactivity between a negative electrode active material and the electrolyte composition is remarkably lowered, such that the temperature (that is, the exothermic onset temperature) at which heat generation between the negative electrode active material and the electrolyte composition begins increases, and thus heat generation caused by negative electrode deterioration or the like can be suppressed. Furthermore, a lithium secondary battery comprising the electrolyte composition can minimize side reactions of the electrolyte composition, which occur on the surface of the negative electrode when exposed to high temperatures, and thus has the advantage of exhibiting excellent high-temperature safety.

POSITIVE ELECTRODE MATERIAL, PREPARATION METHOD THEREFOR, POSITIVE ELECTRODE SHEET, BATTERY AND ELECTRICAL APPARATUS

NºPublicación:  WO2025222812A1 30/10/2025
Solicitante: 
CONTEMPORARY AMPEREX TECH CO LIMITED [CN]
CHENGDU JINTANG TIMES NEW MATERIALS TECH CO LTD [CN]
\u5B81\u5FB7\u65F6\u4EE3\u65B0\u80FD\u6E90\u79D1\u6280\u80A1\u4EFD\u6709\u9650\u516C\u53F8,
\u6210\u90FD\u91D1\u5802\u65F6\u4EE3\u65B0\u6750\u6599\u79D1\u6280\u6709\u9650\u516C\u53F8
WO_2025222812_PA

Resumen de: WO2025222812A1

The present application provides a positive electrode material, a preparation method thereof, a positive electrode sheet, a battery and an electrical apparatus, and relates to the field of batteries. The positive electrode material comprises sodium iron phosphate pyrophosphate and a carbon coating layer covering the surface of same; and the positive electrode material contains an impurity phase sodium ferric phosphate, the mass ratio of the impurity phase sodium ferric phosphate in sodium iron phosphate pyrophosphate being 14% or below. The positive electrode material has a low content of the impurity phase sodium ferric phosphate, such that the initial charging capacity can be effectively improved, and the electrochemical performance of the positive electrode material is effectively improved.

BATTERY CELL, LITHIUM ION BATTERY, AND ELECTRIC DEVICE

NºPublicación:  WO2025222796A1 30/10/2025
Solicitante: 
CONTEMPORARY AMPEREX TECH CO LIMITED [CN]
\u5B81\u5FB7\u65F6\u4EE3\u65B0\u80FD\u6E90\u79D1\u6280\u80A1\u4EFD\u6709\u9650\u516C\u53F8
WO_2025222796_PA

Resumen de: WO2025222796A1

A battery cell, a lithium ion battery, and an electric device. The battery cell comprises a wound electrode assembly, and the wound electrode assembly has bent areas. The wound electrode assembly comprises a negative electrode sheet and a positive electrode sheet, the negative electrode sheet comprises a plurality of first bent portions located in the bent areas, and the positive electrode sheet comprises a plurality of second bent portions located in the bent areas; the distance L1 between the concave surface of a second bent portion and the convex surface of an adjacent first bent portion located on the inner side of the second bent portion is greater than or equal to the distance L2 between the convex surface of the second bent portion and the concave surface of an adjacent first bent portion located on the outer side of the second bent portion, 17 μm≤L1≤34 μm, 14 μm≤L2≤34 μm, and L1≥L2; the equivalent charge rate c of the battery cell from 10% SOC to 80% SOC satisfies: 3C≤c≤8C. The battery cell can enable fast-charging lithium ion batteries to have good cycle performance and safety performance.

BATTERY CELL, BATTERY AND ELECTRIC DEVICE

NºPublicación:  WO2025222771A1 30/10/2025
Solicitante: 
CONTEMPORARY AMPEREX TECH CO LIMITED [CN]
\u5B81\u5FB7\u65F6\u4EE3\u65B0\u80FD\u6E90\u79D1\u6280\u80A1\u4EFD\u6709\u9650\u516C\u53F8
WO_2025222771_PA

Resumen de: WO2025222771A1

The present application belongs to the technical field of batteries. Provided are a battery cell, a battery and an electric device. The battery cell comprises a battery electrode sheet. The battery electrode sheet comprises a current collector, an active layer, a first insulating layer and a second insulating layer, wherein a connecting surface is formed on the current collector; the active layer covers part of the connecting surface, and a first edge is formed on the connecting surface; the first insulating layer covers part of the connecting surface, and the first insulating layer is arranged to extend along the first edge; and the second insulating layer covers the first insulating layer. The present application aims to reduce the risk of burr exposure during electrode sheet die-cutting, thereby reducing the risk of short circuits in battery cells.

SECONDARY BATTERY

NºPublicación:  US2025337129A1 30/10/2025
Solicitante: 
SAMSUNG SDI CO LTD [KR]
SAMSUNG SDI CO., LTD
US_2025337129_PA

Resumen de: US2025337129A1

A secondary battery includes an electrode assembly that is directly coupled to a case without a separate current collector to increase in capacity of the electrode assembly relative to an internal capacity of the secondary battery. The electrode assembly includes a first electrode tab protrudes that in a first direction, and a second electrode tab that protrudes in a second direction opposite to the first direction. A first case accommodates the electrode assembly and an opening is formed in the first case. A second case is formed in a cap shape, with an opening being formed in the second case that is larger than the opening of the first case. The second case is configured to cover the electrode assembly and surround an outer surface of a sidewall of the first case. The first electrode tab is electrically connected to the first case, and the second electrode tab is directly connected to the second case.

STORAGE CELL

NºPublicación:  US2025337124A1 30/10/2025
Solicitante: 
TOYOTA MOTOR CO LTD [JP]
TOYOTA JIDOSHA KABUSHIKI KAISHA
US_2025337124_PA

Resumen de: US2025337124A1

A storage cell includes an electrode body having a strip-shaped electrode tab, a laminate film that accommodates the electrode body such that a part of the electrode tab is exposed, and an insulating coating portion that is provided on an end face of the electrode body on which the electrode tab is formed and covers a portion of the end face on which the electrode tab is not formed.

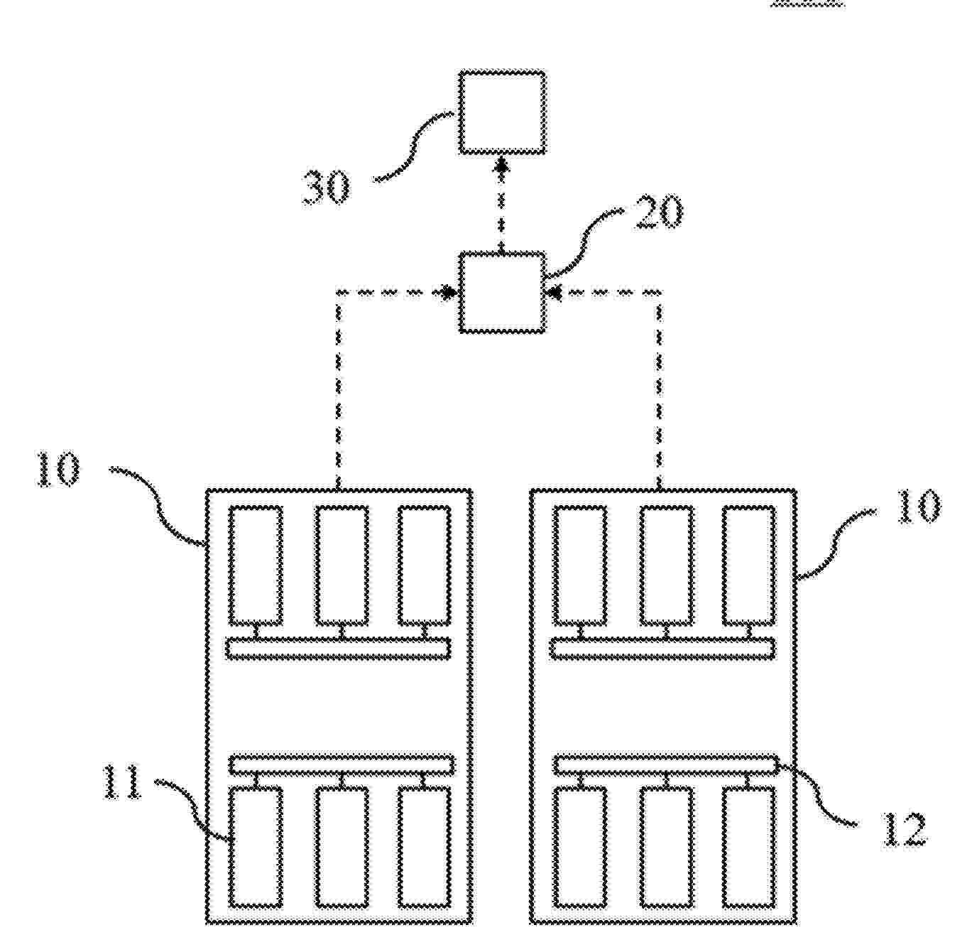
Power Battery System for a Vehicle and Thermal Assessment Method

NºPublicación:  US2025337125A1 30/10/2025
Solicitante: 
MERCEDES BENZ GROUP AG [DE]
Mercedes-Benz Group AG
US_2025337125_PA

Resumen de: US2025337125A1

Please substitute the new Abstract submitted herewith for the original Abstract:A power battery system of a vehicle includes a battery module which at least has a plurality of battery cells and a plurality of busbar assemblies. The busbar assemblies are configured to connect adjacent battery cells. The busbar assembly has a busbar which is connected to the battery cells, a flexible circuit board which is integrated with a temperature sensor and outputs a temperature signal, an inner heat shield insulating layer which is disposed at least between the busbar and the flexible circuit board, an outer insulating layer which is configured to wrap the busbar and the flexible circuit board, and a controller which is configured to receive a temperature signal detected by the temperature sensor of each of the busbar assemblies and to predict a direction of thermal diffusion and/or a breakdown point of the battery module according to the temperature signals.

SOFT PACK BUTTON BATTERY MODULE, SOUND PRODUCTION APPARATUS, AND ELECTRONIC DEVICE

NºPublicación:  US2025337123A1 30/10/2025
Solicitante: 
HUAQIN TECH CO LTD [CN]
HUAQIN TECHNOLOGY CO., LTD
US_2025337123_PA

Resumen de: US2025337123A1

A soft pack button battery module includes a soft pack button battery. A surface of the soft pack button battery is provided with an arc-shaped conductive sheet and a conductive sheet tab. The arc-shaped conductive sheet is connected to a first tab of the soft pack button battery, and extends from the first tab to the conductive sheet tab. The conductive sheet tab is spaced apart from a second tab of the soft pack button battery.

SECONDARY BATTERY

NºPublicación:  US2025337142A1 30/10/2025
Solicitante: 
SAMSUNG SDI CO LTD [KR]
Samsung SDI Co., Ltd
US_2025337142_PA

Resumen de: US2025337142A1

An embodiment of the present invention relates to a secondary battery, and a technical object of the present invention for solving the above problem is to provide a secondary battery capable of improving liquid injectability.For this, the present invention discloses a secondary battery including: an electrode assembly comprising a first electrode plate, a second electrode plate, and a separator interposed between the first electrode plate and the second electrode plate; a can having ends that are opened to left and right sides and provided with a space therein to accommodate the electrode assembly; a first cap plate configured to seal the left end of the can; a second cap plate configured to seal the right end of the can; a first terminal installed on the first cap plate so as to be electrically connected to the first electrode plate; a second terminal installed on the second cap plate so as to be electrically connected to the second electrode plate; a first liquid injection hole defined in the first cap plate; and a second liquid injection hole defined in the second cap plate.

LITHIUM SECONDARY BATTERY, SEPARATOR FOR LITHIUM SECONDARY BATTERY, AND METHOD FOR SUPPRESSING POROSITY OF NEGATIVE ELECTRODE

NºPublicación:  WO2025225539A1 30/10/2025
Solicitante: 
TEIJIN LTD [JP]
\u5E1D\u4EBA\u682A\u5F0F\u4F1A\u793E
WO_2025225539_PA

Resumen de: WO2025225539A1

Provided are a lithium secondary battery, a separator for a lithium secondary battery, and a method for suppressing the porosity of a negative electrode, the lithium secondary battery comprising: a positive electrode; a negative electrode operated by dissolution and precipitation of metallic lithium; an electrolyte containing a non-aqueous solvent and a lithium salt and having a lithium salt concentration of at least 2.0 mol/L; and a separator having a polyolefin microporous membrane and a porous layer provided on one surface or both surfaces of the polyolefin microporous membrane, wherein the porous layer contains a wholly aromatic polyamide, and the film thickness of the porous layer is 5-20 μm for each surface of the separator.

BATTERY ACCOMMODATION BODY, BATTERY MODULE, AND BATTERY PACK

NºPublicación:  WO2025225333A1 30/10/2025
Solicitante: 
ORGANO CORP [JP]
\u30AA\u30EB\u30AC\u30CE\u682A\u5F0F\u4F1A\u793E
WO_2025225333_PA

Resumen de: WO2025225333A1

A battery accommodation body 1 includes: a housing 3 which accommodates battery cells 2; an active gas removal part 4 which is provided in the housing 3 and removes active gas generated from the battery cells 2; and a blower part 5 which is provided in the housing 3 and circulates a gaseous body in the housing 3 while distributing the gaseous body to the active gas removal part 4.

BATTERY

NºPublicación:  WO2025225535A1 30/10/2025
Solicitante: 
PANASONIC INTELLECTUAL PROPERTY MAN CO LTD [JP]
\u30D1\u30CA\u30BD\u30CB\u30C3\u30AF\uFF29\uFF30\u30DE\u30CD\u30B8\u30E1\u30F3\u30C8\u682A\u5F0F\u4F1A\u793E
WO_2025225535_PA

Resumen de: WO2025225535A1

A battery according to the present disclosure comprises a wound electrode group including a first electrode, a second electrode, and a separator. The first electrode includes a current collector, an active material layer, and a lead. The lead is joined to an exposed portion of the current collector where the active material layer is not provided. The electrode group further includes an insulating member attached to the exposed portion, and a protective tape covering at least a portion of the insulating member and at least a portion of the lead. The exposed portion is covered by at least one selected from the group consisting of the protective tape and the insulating member.

SECONDARY BATTERY VOLTAGE EQUALIZATION CHARGING DEVICE AND POWER SUPPLY PACKAGE

NºPublicación:  WO2025225473A1 30/10/2025
Solicitante: 
MINERVA LAB CORP [JP]
\u682A\u5F0F\u4F1A\u793E\u30DF\u30CD\u30EB\u30D0\u30FB\u30E9\u30DC
WO_2025225473_PA

Resumen de: WO2025225473A1

In an intermittent charging device of a conventional secondary battery module, two charging periods are required, namely, a charging period for a charging capacitor and a period for charging a secondary battery by the charging capacitor. Therefore, the charging time becomes relatively long as compared with that of a general charging device which continuously charges a secondary battery. By adding a relay capacitor and a relay capacitor switch to an intermittent charging circuit, the relay capacitor is charged during a period in which a charging capacitor charges the secondary battery, and the charge is supplied to the charging capacitor in a short time after the end of charging the secondary battery, immediately starting the period in which the charging capacitor charges the secondary battery. This allows intermittent charging to be performed in a short time that is essentially the same as in continuous charging.

BATTERY

NºPublicación:  WO2025225536A1 30/10/2025
Solicitante: 
PANASONIC INTELLECTUAL PROPERTY MAN CO LTD [JP]
\u30D1\u30CA\u30BD\u30CB\u30C3\u30AF\uFF29\uFF30\u30DE\u30CD\u30B8\u30E1\u30F3\u30C8\u682A\u5F0F\u4F1A\u793E
WO_2025225536_PA

Resumen de: WO2025225536A1

A battery according to the present disclosure comprises: an electrode group that includes a first electrode, a second electrode, and a separator, and that is wound in a cylindrical shape; and a tab that is connected to the first electrode. The tab has: a thin section that is formed at the winding-direction end of the electrode group; and a main section that is thicker than the thin section.

COMPOSITE CURRENT COLLECTOR, AND PREPARATION METHOD THEREFOR AND USE THEREOF

NºPublicación:  WO2025222770A1 30/10/2025
Solicitante: 
JIANGYIN NANOPORE INNOVATIVE MATERIALS TECH LTD [CN]
\u6C5F\u9634\u7EB3\u529B\u65B0\u6750\u6599\u79D1\u6280\u6709\u9650\u516C\u53F8
WO_2025222770_PA

Resumen de: WO2025222770A1

The present application provides a composite current collector, and a preparation method therefor and the use thereof. The composite current collector comprises: a polymer supporting layer; a transition layer, which is provided on the surface of at least one side of the polymer supporting layer, wherein the material of the transition layer comprises a nano metal material modified with a silane coupling agent, the nano metal material comprising a nano metal simple substance and/or a nano metal oxide; and a conductive layer, which is provided on the surface of the transition layer along a direction away from the polymer supporting layer. In the present application, introducing the nano metal material modified with a silane coupling agent as a transition layer can tightly combine the organic and inorganic interfaces, and improve the bonding force between the polymer supporting layer and the transition layer; in addition, the particle aggregation degree can be reduced by means of the modification of the silane coupling agent, such that the particles are evenly distributed in the transition layer, thereby improving the bonding force between the conductive layer and the transition layer. The composite current collector has excellent bonding force and stability; and the safety performance and high-temperature cycle performance of a battery prepared on this basis are significantly improved.

MULTI-CAVITY BATTERY PACK STRUCTURE

NºPublicación:  WO2025222739A1 30/10/2025
Solicitante: 
VISION TECH CO TLD [CN]
\u6DF1\u5733\u5E02\u96C4\u97EC\u9502\u7535\u6709\u9650\u516C\u53F8
WO_2025222739_PA

Resumen de: WO2025222739A1

The present application provides a multi-cavity battery pack structure, comprising a housing, a cover plate, and a plurality of battery cell units. The battery cell units are arranged in the housing, and the cover plate covers the end face of one end of the housing. The housing comprises a housing body and a plurality of cavity units arranged in the housing body, a wall plate is provided between every two adjacent cavity units, and the wall plate respectively abuts against the bottom surface of the housing body and the side surfaces of the housing body; and a first boss is provided at one end of the side of each cavity unit close to the cover plate, and a second boss is arranged at the other end thereof. Each battery cell unit is arranged in the corresponding cavity unit, and the battery cell unit is arranged between the first boss and the second boss; the battery cell units and the cavity units are arranged in a one-to-one correspondence manner; the second bosses are pairwise communicated with each other; and the first bosses located in the middle are pairwise communicated with each other, and the first bosses located at the two ends are independently arranged. The present application achieves low costs and environmental friendliness.

BATTERY AND ELECTRIC APPARATUS

NºPublicación:  WO2025222735A1 30/10/2025
Solicitante: 
CONTEMPORARY AMPEREX TECH CO LIMITED [CN]
\u5B81\u5FB7\u65F6\u4EE3\u65B0\u80FD\u6E90\u79D1\u6280\u80A1\u4EFD\u6709\u9650\u516C\u53F8
WO_2025222735_PA

Resumen de: WO2025222735A1

Provided are a battery (100) and an electric apparatus, which belong to the technical field of batteries. The battery (100) comprises a case (10), battery cell groups (20) and support members (30). The case (10) comprises a bottom plate (11). The battery cell groups (20) are accommodated in the case (10), and each battery cell group comprises at least one battery cell (21), the battery cell (21) comprising a casing (211), electrode terminals (212) and a pressure relief mechanism (213). The casing (211) has a wall portion (2111), wherein the wall portion (2111) is arranged to face the bottom plate (11) in the thickness direction of the bottom plate (11); and both the electrode terminals (212) and the pressure relief mechanism (213) are disposed on the casing (211), and at least one of the electrode terminals (212) and the pressure relief mechanism (213) is disposed on the wall portion (2111). The support members (30) are arranged between the wall portion (2111) and the bottom plate (11) and are connected to the wall portion (2111), and in the thickness direction of the bottom plate (11), each support member (30) has a first surface (31) facing away from the wall portion (2111), wherein the first surface (31) is closer to the bottom plate (11) than the electrode terminals (212) and the pressure relief mechanism (213). The support members (30) can protect the electrode terminals (212) or the pressure relief mechanism (213) of the battery cell (21), so as to reduce the risk of th

ELECTRODE TERMINAL AND BATTERY

NºPublicación:  US2025337133A1 30/10/2025
Solicitante: 
VEHICLE ENERGY JAPAN INC [JP]
VEHICLE ENERGY JAPAN INC
US_2025337133_PA

Resumen de: US2025337133A1

An electrode terminal (negative electrode terminal) includes a first member that is electrically connected with a charge/discharge body of a battery and that includes a first metal (copper or a copper alloy). The electrode terminal also features a second member that includes a first insertion section into which the first member is inserted. The second member is bonded with the first member and includes the first metal. The electrode terminal also features a third member that includes a second insertion section into which the first member is inserted. The third member is bonded with the second member and includes a second metal (aluminum or an aluminum alloy) which is a material different from the first metal. The third member is bonded with a conductive member (busbar) including the second metal, on a facing surface P facing the conductive member (busbar) that electrically connects a first battery and a second battery.

NONAQUEOUS ELECTROLYTE SECONDARY BATTERY

NºPublicación:  US2025337141A1 30/10/2025
Solicitante: 
PRIME PLANET ENERGY & SOLUTIONS INC [JP]
Prime Planet Energy & Solutions, Inc
US_2025337141_PA

Resumen de: US2025337141A1

A nonaqueous electrolyte secondary battery in which a problem in a conventional art is solved is provided. The nonaqueous electrolyte secondary battery disclosed herein includes an electrode body, a nonaqueous electrolyte solution, an electrode terminal, and a battery case that accommodates the electrode body and the nonaqueous electrolyte solution. The battery case is made of aluminum or an aluminum alloy. The battery case includes an exterior can that includes an opening part, and a sealing plate that seals the opening part. The electrode terminal is insulated from the sealing plate by an insulating resin member. The insulating resin member contains polyphenylene sulfide and a glass filler. The insulating resin member exists at least partially inside the battery case and at a position that can be in contact with the nonaqueous electrolyte solution. The nonaqueous electrolyte solution contains a dehydrating agent as an additive.

BATTERY CELL TAB WITH FRANGIBLE AREA

NºPublicación:  US2025337137A1 30/10/2025
Solicitante: 
FORD GLOBAL TECH LLC [US]
Ford Global Technologies, LLC
US_2025337137_PA

Resumen de: US2025337137A1

A battery assembly includes a pouch containing an electrode structure, and a tab that electrically couples the electrode structure to a device outside the pouch. The tab extends from an interior of the pouch to an outside of the pouch. The tab includes a frangible area. A tab film covers at least the frangible area of the tab.

BATTERY MODULE, AND BATTERY PACK AND VEHICLE INCLUDING SAME

NºPublicación:  US2025337139A1 30/10/2025
Solicitante: 
LG ENERGY SOLUTION LTD [KR]
LG ENERGY SOLUTION, LTD
US_2025337139_PA

Resumen de: US2025337139A1

A battery module includes a module frame having an inner space in which a plurality of battery cells is accommodated and an opening leading to the inner space; an insulating cover including a support on which a terminal electrically connected to the plurality of battery cells is disposed and supported, and configured to primarily cover the opening; an end plate having a window through which the support is exposed to the outside and configured to secondarily cover the opening covered by the insulating cover; and a blocking structure configured to cover the support exposed through the window and block an electrical short circuit between the terminal disposed on the support and the end plate.

METHOD FOR PRODUCING SECONDARY BATTERY, AND SECONDARY BATTERY

Nº publicación: US2025337132A1 30/10/2025

Solicitante:

SANYO ELECTRIC CO LTD [JP]
SANYO Electric Co., Ltd

US_2025337132_PA

Resumen de: US2025337132A1

A method for producing a secondary battery according to the present invention comprises a step wherein a negative electrode collector, which has a projection having a height of from 0.36 mm to 0.45 mm on at least one of a first member and a second member, said members constituting the negative electrode collector, is resistance-welded with a core multilayer part in such a manner that the core multilayer part is sandwiched between the first member and the second member, while having the projection in contact with the core multilayer part.

traducir