Ministerio de Industria, Turismo y Comercio LogoMinisterior
 

Alerta

Resultados 1490 resultados
LastUpdate Última actualización 07/11/2025 [07:13:00]
pdfxls
Publicaciones de los últimos 15 días/Last 15 days publications (excluidas pubs. CN y JP /CN and JP pubs. excluded)
previousPage Resultados 475 a 500 de 1490 nextPage  

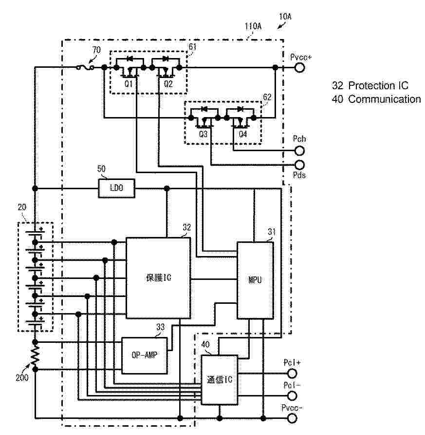
NONAQUEOUS ELECTROLYTE SECONDARY BATTERY

NºPublicación:  WO2025225455A1 30/10/2025
Solicitante: 
PANASONIC INTELLECTUAL PROPERTY MAN CO LTD [JP]
\u30D1\u30CA\u30BD\u30CB\u30C3\u30AF\uFF29\uFF30\u30DE\u30CD\u30B8\u30E1\u30F3\u30C8\u682A\u5F0F\u4F1A\u793E
WO_2025225455_PA

Resumen de: WO2025225455A1

This secondary battery comprises: an electrode body in which a positive electrode (11) and a negative electrode (12) are wound, with a separator (13) being interposed therebetween; an outer can casing which houses the electrode body and an electrolyte solution; and a negative electrode current collector plate (17) which is disposed on the bottom of the outer can casing and is electrically connected to the outer can casing. The negative electrode (12) has a core body and a mixture layer that is provided on the core body, and a negative electrode core body exposure part (41) is joined to the negative electrode current collector plate (17). The mixture layer contains a silicon-containing material as an active material, and 5 mass% or more of the silicon-containing material is contained in a lower region (43) and an upper region (44) which each have a length ratio of 20% or less in the vertical direction. The negative electrode charge capacity is 470 mAh/g or more, and the silicon-containing material includes a low expansion silicon-containing material that has a particle expansion coefficient of 210% or less in the lower region.

NON-AQUEOUS ELECTROLYTE SECONDARY BATTERY

NºPublicación:  WO2025225437A1 30/10/2025
Solicitante: 
PANASONIC INTELLECTUAL PROPERTY MAN CO LTD [JP]
\u30D1\u30CA\u30BD\u30CB\u30C3\u30AF\uFF29\uFF30\u30DE\u30CD\u30B8\u30E1\u30F3\u30C8\u682A\u5F0F\u4F1A\u793E
WO_2025225437_PA

Resumen de: WO2025225437A1

Provided is a non-aqueous electrolyte secondary battery comprising: an electrode body in which a belt-like first electrode (12) and a belt-like second electrode are wound in a longitudinal direction via a separator; and a non-aqueous electrolyte. The first electrode (12) has a first electrode core body (40) and a first electrode mixture layer (42) disposed on the first electrode core body (40). At one end of the electrode body of the first electrode (12) in the axial direction, a first electrode core body exposed part (44) is provided, in which the first electrode mixture layer (42) is not disposed and the first electrode core body (40) is exposed. On the surface of the first electrode core body exposed part (44), a plurality of resin layers (50) are disposed at intervals in the longitudinal direction of the first electrode (12).

NEGATIVE ELECTRODE ACTIVE MATERIAL AND FLUORIDE ION SECONDARY BATTERY

NºPublicación:  WO2025225441A1 30/10/2025
Solicitante: 
PANASONIC ENERGY CO LTD [JP]
\u30D1\u30CA\u30BD\u30CB\u30C3\u30AF\u30A8\u30CA\u30B8\u30FC\u682A\u5F0F\u4F1A\u793E
WO_2025225441_PA

Resumen de: WO2025225441A1

A negative electrode active material according to the present disclosure is a negative electrode active material for a fluoride ion secondary battery, and contains scandium fluoride that has a crystallite size of less than 63 nm. A fluoride ion secondary battery according to the present disclosure comprises: a positive electrode 2; a negative electrode 4; and an electrolyte layer 3 that is disposed between the positive electrode 2 and the negative electrode 4. The negative electrode 4 contains the negative electrode active material according to the present disclosure. The negative electrode active material may additionally contain at least one metal that is selected from the group consisting of alkali metals and alkaline earth metals.

NON-AQUEOUS ELECTROLYTE SECONDARY BATTERY

NºPublicación:  WO2025225388A1 30/10/2025
Solicitante: 
PANASONIC INTELLECTUAL PROPERTY MAN CO LTD [JP]
\u30D1\u30CA\u30BD\u30CB\u30C3\u30AF\uFF29\uFF30\u30DE\u30CD\u30B8\u30E1\u30F3\u30C8\u682A\u5F0F\u4F1A\u793E
WO_2025225388_PA

Resumen de: WO2025225388A1

This non-aqueous electrolyte secondary battery is characterized in that: a first electrode (12) comprises a first electrode core body (40) and a first electrode mixture layer (42) disposed on the first electrode core body (40); the first electrode mixture layer (42) is not disposed on one end in the axial direction of an electrode body in the first electrode (12); there is provided a first electrode core body exposure part (44) where the first electrode core body (40) is exposed; and the surface of the first electrode core body exposure part (44) is provided with a functional layer (50) including a coating layer (52) that covers at least a portion of the first electrode core body exposure part (44), and large-diameter particles (54) that have a volume-basis average particle size which is greater than the average thickness of the coating layer (52).

BATTERY AND ELECTRIC APPARATUS

NºPublicación:  WO2025222736A1 30/10/2025
Solicitante: 
CONTEMPORARY AMPEREX TECH CO LIMITED [CN]
\u5B81\u5FB7\u65F6\u4EE3\u65B0\u80FD\u6E90\u79D1\u6280\u80A1\u4EFD\u6709\u9650\u516C\u53F8
WO_2025222736_PA

Resumen de: WO2025222736A1

The present application belongs to the technical field of batteries. Provided are a battery and an electric apparatus. The battery comprises at least one battery cell group, first busbar components and fasteners, wherein the battery cell group comprises a plurality of battery cells stacked in a first direction, each battery cell comprising a casing, electrode terminals and an electrode assembly, the electrode terminals being disposed on the casing, and the electrode assembly being accommodated in the casing and being electrically connected to the electrode terminals; the first busbar components are electrically connected to electrode terminals of two adjacent battery cells in the same battery cell group; and the fasteners are connected to casings of the plurality of battery cells in the battery cell group. By means of fasteners, when battery cells expand in a first direction, the change in the spacing between electrode terminals of two adjacent battery cells in the first direction can be reduced, such that the torque or tensile force between the electrode terminals and first busbar components is absorbed and shared by the fasteners, which is conducive to reducing the risk of a connection failure between the electrode terminals and the first busbar components.

BATTERY, ELECTRIC DEVICE, AND ASSEMBLY METHOD FOR BATTERY

NºPublicación:  WO2025222722A1 30/10/2025
Solicitante: 
CONTEMPORARY AMPEREX TECH CO LIMITED [CN]
\u5B81\u5FB7\u65F6\u4EE3\u65B0\u80FD\u6E90\u79D1\u6280\u80A1\u4EFD\u6709\u9650\u516C\u53F8
WO_2025222722_PA

Resumen de: WO2025222722A1

Provided are a battery (1100), an electric device, and an assembly method for the battery (1100), relating to the technical field of batteries. The battery (1100) comprises at least one battery module (1120). Each battery module (1120) comprises battery cells (1121), a heat exchanger (1122) and a bonding layer (1123), wherein the heat exchanger (1122) is provided with a heat exchange surface (11222), and channels (11221) are formed on the heat exchanger (1122); and the bonding layer (1123) is arranged between the outer surface of each battery cell (1121) and the heat exchange surface (11222), thus bonding each battery cell (1121) to the heat exchange surface (11222). The curing time of a binder forming the bonding layer (1123) can be shortened, thereby improving the assembly efficiency of the battery (1100).

SECONDARY BATTERY AND PREPARATION METHOD THEREFOR, AND ELECTRIC DEVICE

NºPublicación:  WO2025222726A1 30/10/2025
Solicitante: 
CONTEMPORARY AMPEREX TECH CO LIMITED [CN]
\u5B81\u5FB7\u65F6\u4EE3\u65B0\u80FD\u6E90\u79D1\u6280\u80A1\u4EFD\u6709\u9650\u516C\u53F8
WO_2025222726_PA

Resumen de: WO2025222726A1

A secondary battery and a preparation method therefor, and an electric device. The secondary battery includes a positive electrode sheet, the positive electrode sheet includes a positive electrode active material, and the positive electrode active material includes a matrix material and a coating layer at least partially covering the matrix material. The coating layer includes a first coating layer and a second coating layer, wherein the first coating layer is located on the surface of the matrix material, and the second coating layer is located on the surface of the first coating layer, with the first coating layer comprising a lithium-supplementing material, and the second coating layer comprising a reductive material; or, the first coating layer comprising a reductive material, and the second coating layer comprising a lithium-supplementing material. The secondary battery has excellent cycle performance and a long service life.

SEPARATOR, BATTERY CELL, BATTERY AND ELECTRICAL APPARATUS

NºPublicación:  US2025337119A1 30/10/2025
Solicitante: 
CONTEMPORARY AMPEREX TECH CO LIMITED [CN]
CONTEMPORARY AMPEREX TECHNOLOGY CO., LIMITED
US_2025337119_PA

Resumen de: US2025337119A1

A separator comprises a separator body and a polymer layer disposed on at least one surface of the separator body, wherein the polymer layer comprises a liquid-retaining polymer. The liquid-retaining polymer is added to a first solvent at 70° C. to form a polymer system, the polymer system is left to stand at 70° C. for 8 h, and after standing at 25° C. for more than or equal to 24 h, the polymer system is filtered by means of a 200-mesh filter screen, thereby leaving a first substance, wherein the mass of the liquid-retaining polymer is q, the unit thereof being g; the mass of the first substance is m, the unit thereof being g; and the liquid-retaining polymer and the first substance satisfy: 5≤m/q≤1000. The bonding force of the separator is greater than or equal to 10 N/m.

BATTERY SYSTEM, ELECTRIC VEHICLE, CELL CONTACTING UNIT AND METHOD FOR ASSEMBLING THE BATTERY SYSTEM

NºPublicación:  US2025337088A1 30/10/2025
Solicitante: 
SAMSUNG SDI CO LTD [KR]
SAMSUNG SDI CO., LTD
US_2025337088_PA

Resumen de: US2025337088A1

A battery system includes: a battery pack including a plurality of battery cells, each having a pair of electrode terminals and a venting valve at a terminal side thereof, the terminal side of each of the battery cells facing a first side of the battery pack in a Z-direction; a cell contacting unit (CCU) carrier on the terminal side of the battery cells; and a plurality of busbars on the electrode terminals of the battery cells and being in mechanical contact with the CCU carrier. The busbars including an elastic member configured to exert a clamping force onto the CCU carrier.

CELL, BATTERY, AND ELECTRIC DEVICE

NºPublicación:  US2025337095A1 30/10/2025
Solicitante: 
CONTEMPORARY AMPEREX TECH CO LIMITED [CN]
CONTEMPORARY AMPEREX TECHNOLOGY CO., LIMITED
US_2025337095_PA

Resumen de: US2025337095A1

A cell, a battery, and an electric device. The cell includes a can and an electrode assembly. The can has a first wall portion with N vent mechanisms arranged along a first direction. The electrode assembly, housed in the can, includes a body portion and a tab. The body portion has a plurality of consecutively arranged sub-regions. The tab is located at least at one end of the body portion along the first direction. The body portion has a length L, with each sub-region having a length L1, satisfying L=L1×N, L≥400 mm, and N≥2. Each vent mechanism is aligned with one corresponding sub-region in the thickness direction of the first wall. Each vent mechanism discharges a medium generated by thermal runaway in its corresponding sub-region, enabling fast and localized venting. This improves the timeliness of pressure relief and enhances cell reliability.

BATTERY AND POWER CONSUMING DEVICE

NºPublicación:  US2025337086A1 30/10/2025
Solicitante: 
CONTEMPORARY AMPEREX TECH HONG KONG LIMITED [CN]
CONTEMPORARY AMPEREX TECHNOLOGY (HONG KONG) LIMITED
US_2025337086_PA

Resumen de: US2025337086A1

A battery and a power-consuming device are provided. The battery includes a load-bearing bracket and a plurality of battery modules. The battery modules are mounted to the load-bearing bracket, and at least one of the battery modules is detachably mounted. This configuration allows for flexible installation and replacement of battery modules, improving serviceability and adaptability of the battery system in the power-consuming device.

BATTERY PACK

NºPublicación:  US2025337087A1 30/10/2025
Solicitante: 
EVE ENERGY CO LTD [CN]
EVE ENERGY CO., LTD
US_2025337087_PA

Resumen de: US2025337087A1

A battery pack is provided and includes: an outer housing, defining a receiving cavity; a battery group, received in the receiving cavity; at least one reinforcing layer, disposed at a discharging end of the battery group, wherein the at least one reinforcing layer defines a plurality of channel holes; and a fixation adhesive, filled in the receiving cavity, wherein the fixation adhesive wraps the reinforcing layer and the battery group.

SEPARATOR, SECONDARY BATTERY, AND ELECTRIC APPARATUS

NºPublicación:  US2025337122A1 30/10/2025
Solicitante: 
CONTEMPORARY AMPEREX TECH HONG KONG LIMITED [CN]
CONTEMPORARY AMPEREX TECHNOLOGY (HONG KONG) LIMITED
US_2025337122_PA

Resumen de: US2025337122A1

This application provides a separator, including a first base film and a second base film, where a melting point of the second base film is lower than a melting point of the first base film; puncture strength of the second base film is 220 gf-460 gf, and puncture strength of the separator is 330 gf-620 gf. When the puncture strength of the first base film and the puncture strength of the separator are within the above ranges, the reliability of a secondary battery can be improved.

SOLID ELECTROLYTE MATERIAL, POSITIVE ELECTRODE MATERIAL, BATTERY, AND METHOD FOR PRODUCING SOLID ELECTROLYTE MATERIAL

NºPublicación:  WO2025225308A1 30/10/2025
Solicitante: 
PANASONIC INTELLECTUAL PROPERTY MAN CO LTD [JP]
\u30D1\u30CA\u30BD\u30CB\u30C3\u30AF\uFF29\uFF30\u30DE\u30CD\u30B8\u30E1\u30F3\u30C8\u682A\u5F0F\u4F1A\u793E
WO_2025225308_PA

Resumen de: WO2025225308A1

A solid electrolyte material according to the present disclosure contains Li, Ti, Al, and F, and has a peak in a first range in which the diffraction angle 2θ is 13.7° to 14.7° inclusive in an X-ray diffraction pattern that is obtained by a X-ray diffraction measurement using Cu-Kα rays. In the X-ray diffraction pattern, a peak may be present in at least one range that is selected from the group consisting of a second range in which the diffraction angle 2θ is 20.9° to 21.9° inclusive, a third range in which the diffraction angle 2θ is 41.2° to 42.2° inclusive, and a fourth range in which the diffraction angle 2θ is 53.3° to 54.3° inclusive.

BATTERY

NºPublicación:  WO2025224916A1 30/10/2025
Solicitante: 
ENPOWER JAPAN CORP [JP]
\uFF25\uFF4E\uFF50\uFF4F\uFF57\uFF45\uFF52\u3000\uFF2A\uFF41\uFF50\uFF41\uFF4E\u682A\u5F0F\u4F1A\u793E
WO_2025224916_PA

Resumen de: WO2025224916A1

This battery comprises: a housing having a cylindrical shape in which an opening is formed at one end part; an electrode structure disposed inside the housing; a sealing part that seals the opening of the housing; and a connection part that electrically connects the electrode structure and the sealing part. The sealing part has a first terminal part that functions as an input/output terminal of the battery, and a limiting part that limits the current between the electrode structure and the terminal part. The electrode structure has a power generation element that includes a first active material layer, a solid electrolyte layer, and a second active material layer in said order. The value obtained by dividing the capacity per unit area of the power generation element by the area of the housing is 0.03 or greater. The area of the power generation element is the area when the power generation element is cut along a plane substantially perpendicular to the lamination direction of a first active material layer, the solid electrolyte layer, and the second active material layer. The area of the housing is the area when the housing is cut along a plane substantially perpendicular to the extension direction of the cylindrical shape.

LITHIUM SULFIDE AND SULFIDE SOLID ELECTROLYTE PRODUCTION METHOD

NºPublicación:  WO2025225098A1 30/10/2025
Solicitante: 
MITSUBISHI MAT CORPORATION [JP]
\u4E09\u83F1\u30DE\u30C6\u30EA\u30A2\u30EB\u682A\u5F0F\u4F1A\u793E
WO_2025225098_A1

Resumen de: WO2025225098A1

This lithium sulfide is characterized in that the 50% diameter on a volume basis is in the range of 0.1-600 μm, inclusive, and the half-value width of a peak at 2θ= 27°±0.03° as measured using X-ray diffraction is in the range of 0.10-0.50°, inclusive. This sulfide solid electrolyte production method is characterized by using said lithium sulfide as a starting material.

CYLINDRICAL BATTERY

NºPublicación:  WO2025225210A1 30/10/2025
Solicitante: 
PANASONIC INTELLECTUAL PROPERTY MAN CO LTD [JP]
\u30D1\u30CA\u30BD\u30CB\u30C3\u30AF\uFF29\uFF30\u30DE\u30CD\u30B8\u30E1\u30F3\u30C8\u682A\u5F0F\u4F1A\u793E
WO_2025225210_PA

Resumen de: WO2025225210A1

A negative electrode (12) has a non-facing part (43) wound in a state of not facing a positive electrode (11). The non-facing part (43) includes a mixture layer formation part (44) and a mixture layer non-formation part (45) in which negative electrode mixture layers (41) are not formed on both surfaces of a negative electrode core body (40). A reinforcement material (50) is disposed on at least one surface of the mixture layer non-formation part (45), the reinforcement material (50) including a first reinforcement material (51) disposed so as to straddle a winding start end (44X) of the mixture layer formation part (44). The mixture layer non-formation part (45) is characterized in having an exposed part (47) in which both surfaces of the negative electrode core body (40) are exposed, between a position overlapping a winding start end (51X) of the first reinforcement material (51) and a winding termination end 46Y of a lead connection part (46).

BATTERY DEVICE AND ELECTRIC DEVICE

NºPublicación:  WO2025222861A1 30/10/2025
Solicitante: 
CONTEMPORARY AMPEREX TECH CO LIMITED [CN]
\u5B81\u5FB7\u65F6\u4EE3\u65B0\u80FD\u6E90\u79D1\u6280\u80A1\u4EFD\u6709\u9650\u516C\u53F8
WO_2025222861_PA

Resumen de: WO2025222861A1

A battery device (100) and an electric device. The battery device comprises: a case (10); a battery cell assembly (20) accommodated in the case; and a heat exchange assembly (30) accommodated in the case. The heat exchange assembly comprises: a heat exchange main body (31) comprising a plurality of heat exchange flow channels (301); and current collecting structures (32) arranged at two ends of the heat exchange main body, each current collecting structure comprising a blocking member (321), a current collecting member (322) and an adapter member (323), wherein the blocking member blocks at least one heat exchange flow channel, the current collecting member is provided with a current collecting cavity (3221), the current collecting member is in sealing fit with and connected to the heat exchange main body by means of the adapter member, the current collecting member is provided with a communication port (322a) communicated with the current collecting cavity, the communication port can be used for allowing the entry/exit of a heat exchange medium, and the adapter member is formed on the heat exchange main body and the current collecting member.

FILM INSPECTION MECHANISM, COATING DEVICE, AND FILM COATING METHOD

NºPublicación:  WO2025222706A1 30/10/2025
Solicitante: 
CONTEMPORARY AMPEREX TECH CO LIMITED [CN]
\u5B81\u5FB7\u65F6\u4EE3\u65B0\u80FD\u6E90\u79D1\u6280\u80A1\u4EFD\u6709\u9650\u516C\u53F8
WO_2025222706_PA

Resumen de: WO2025222706A1

A film inspection mechanism (100), comprising: a housing assembly (10), a weight measurement assembly (30), a moisture measurement member (20), and an isolation member (40). The housing assembly (10) defines a measurement cavity (13) used for placing a film under inspection; the weight measurement assembly (30) is mounted in the housing assembly (10) and is used for acquiring the weight of the film under inspection; the moisture measurement member (20) is mounted in the housing assembly (10) and is used for acquiring the moisture of the film under inspection; the housing assembly (10) comprises two housings; the weight measurement assembly (30) comprises a transmitting member (31) and a receiving member (32), and the transmitting member (31) and the receiving member (32) are respectively provided on the two housings; the isolation member (40) is provided on the housing assembly (10) provided with the moisture measurement member (20) and is located between the moisture measurement member (20) and the transmitting member (31) or the receiving member (32). Also provided are a coating device having the film inspection mechanism (100), and a film coating method.

SAFETY COATING AND PREPARATION METHOD THEREFOR, AND COMPOSITE CURRENT COLLECTOR

NºPublicación:  WO2025222728A1 30/10/2025
Solicitante: 
EVE ENERGY CO LTD [CN]
\u60E0\u5DDE\u4EBF\u7EAC\u9502\u80FD\u80A1\u4EFD\u6709\u9650\u516C\u53F8
WO_2025222728_A1

Resumen de: WO2025222728A1

A safety coating and a preparation method therefor, and a composite current collector. The safety coating is mainly prepared from a phosphate material, a conductive agent, a binder, and a solvent, wherein the phosphate material is a lithium manganese iron phosphate material doped with at least one of the metals Cr, Mg, Ti, Al, Zn, W, Nb, and Zr. By controlling the addition ratio of each raw material, the adhesion between the safety coating and a current collector substrate can be increased, and the peel strength between an active material layer and the safety coating can be effectively enhanced, such that the prepared safety coating can effectively improve the safety performance of batteries without changing the material system, electrode sheet performance, and product performance; and the safety coating has little impact on energy density, can achieve good long-term cycle and high-rate discharge effects of batteries, and is suitable for promotion and application.

SEPARATOR FOR RECHARGEABLE LITHIUM BATTERY AND RECHARGEABLE LITHIUM BATTERY INCLUDING THE SAME

NºPublicación:  US2025337121A1 30/10/2025
Solicitante: 
SAMSUNG SDI CO LTD [KR]
SAMSUNG SDI CO., LTD
US_2025337121_PA

Resumen de: US2025337121A1

Examples of the present disclosure include a separator for a rechargeable lithium battery, and a rechargeable lithium battery including the separator. The separator includes a porous substrate and a coating layer on at least one surface of the porous substrate. The coating layer includes a heat-resistant layer including a binder and a filler, and an adhesive layer including an adhesive binder on the heat-resistant layer. The binder includes a (meth)acryl-based binder including a first structural unit derived from (meth)acrylic acid, (meth)acrylate, or a salt thereof, a second structural unit derived from hydroxyalkyl (meth)acrylate, and a third structural unit derived from (meth)acrylamido sulfonic acid or a salt thereof. The filler includes a mixture of a cubic filler a plate-shaped filler. The adhesive binder includes a fluorine-based adhesive binder having a hydroxyl group or a carboxylic acid group.

RECHARGEABLE BATTERY PACK

NºPublicación:  US2025337126A1 30/10/2025
Solicitante: 
SAMSUNG SDI CO LTD [KR]
Samsung SDI Co., Ltd
US_2025337126_PA

Resumen de: US2025337126A1

A rechargeable battery pack may include: a battery housing including an inner space; a series of unit battery cells accommodated in the inner space; a first bus bar configured to electrically connect the unit battery cells above the unit battery cells; a second bus bar configured to electrically connect the unit battery cells under the unit battery cells and contact a bottom plate of the battery housing in the inner space; and a cooling unit in the battery housing under the second bus bar configured to accommodate a cooling medium to flow therein for cooling the unit battery cells.

ELECTRIC VEHICLE BATTERY ENCLOSURE

NºPublicación:  US2025337083A1 30/10/2025
Solicitante: 
FLEX N GATE ADVANCED PRODUCT DEV LLC [US]
FLEX-N-GATE ADVANCED PRODUCT DEVELOPMENT, LLC
US_2025337083_PA

Resumen de: US2025337083A1

A battery enclosure includes a tub defining an internal volume, a lid, a cross member within the internal volume, and a mounting bracket. The tub has a bottom and a wall integrally formed with the bottom. The lid is configured to couple to the wall to enclose the internal volume. The cross member is coupled to the tub. The mounting bracket is attached to the bottom of the tub and is configured to releasably secure a battery.

BATTERY DEHUMIDIFICATION STRUCTURE AND BATTERY PACK

NºPublicación:  US2025337145A1 30/10/2025
Solicitante: 
EVE ENERGY CO LTD [CN]
EVE ENERGY CO., LTD
US_2025337145_PA

Resumen de: US2025337145A1

A battery dehumidification structure and a battery pack are provided. The battery dehumidification structure includes a shell and a drying assembly. The shell is provided with a first mounting region and a water vapor deposition region. The first mounting region is configured to mount a battery set. The water vapor deposition region is provided with a second mounting region. The drying assembly is arranged in the second mounting region, so as to remove water vapor from the battery set.

BATTERY CELL SUPPORT ASSEMBLY WITH INTEGRATED THERMAL EVENT MITIGATION

Nº publicación: US2025337079A1 30/10/2025

Solicitante:

GM GLOBAL TECH OPERATIONS LLC [US]
GM GLOBAL TECHNOLOGY OPERATIONS LLC

US_2025337079_PA

Resumen de: US2025337079A1

A multi-cell rechargeable energy storage system (RESS) includes battery cells with each of the battery cell having a respective cell vent configured to expel gases. A cell holder is configured to support the battery cells and includes a holder body defining apertures arranged in rows. Each aperture is configured to align with and be in fluid communication with the cell vent of one of the battery cells. Thermal event passageways are located adjacent the cell holder with each thermal event passageway extending parallel to a respective row of apertures. A potting material at least partially surrounding the battery cells and a sensor assembly is in each of the thermal event passageways.

traducir