Ministerio de Industria, Turismo y Comercio LogoMinisterior
 

Alerta

Resultados 1318 resultados
LastUpdate Última actualización 15/03/2026 [07:37:00]
pdfxls
Publicaciones de los últimos 15 días/Last 15 days publications (excluidas pubs. CN y JP /CN and JP pubs. excluded)
previousPage Resultados 500 a 525 de 1318 nextPage  

BATTERY MODULE WITH IMPROVED STABILITY

NºPublicación:  EP4708504A1 11/03/2026
Solicitante: 
LG ENERGY SOLUTION LTD [KR]
LG Energy Solution, Ltd
EP_4708504_PA

Resumen de: EP4708504A1

The present invention provides a structure of a battery module including: a cell stack wherein a plurality of battery cells are stacked in widthwise direction, each of the plurality of battery cells having a pair of electrode leads protruding in upward direction; a frame having an open upper portion and accommodating the cell stack; and a resin having an insulating property and filling at least a portion of a space between the cell stack and the frame, and also provides a method of manufacturing the same.

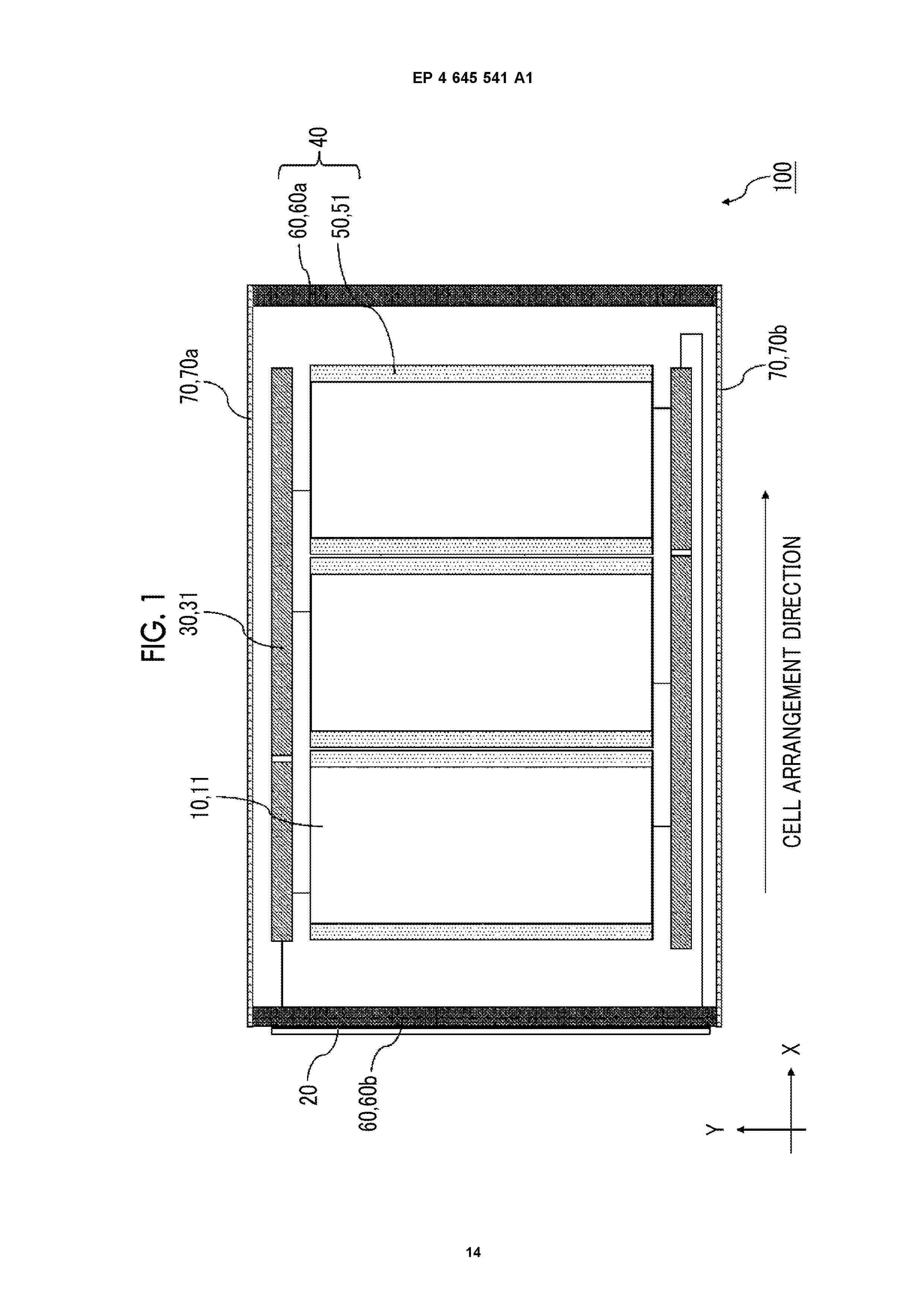
ASSEMBLY MANUFACTURING EQUIPMENT AND METHOD FOR ELECTRODE ASSEMBLY

NºPublicación:  EP4708541A2 11/03/2026
Solicitante: 
LG ENERGY SOLUTION LTD [KR]
LG Energy Solution, Ltd
EP_4708541_A2

Resumen de: EP4708541A2

An electrode assembly manufacturing apparatus includes a stack table, a separator supply unit, first and second electrode supply units, and a side sealing device. A stack of a first electrode, a second electrode, and a separator between the first and the second electrode are stackable on the stack table. The separator supply unit is configured for supplying the separator to the stack table. The first electrode supply unit is configured for stacking the first electrode on a section of the separator on the stack table. The second electrode supply unit stacks the second electrode on a further section of the separator on the first electrode. A side sealing device heats at least one side surface of the stack.

SHREDDER APPARATUS

NºPublicación:  EP4706374A2 11/03/2026
Solicitante: 
TECHTRONIC CORDLESS GP [US]
Techtronic Cordless GP
EP_4706374_A2

Resumen de: EP4706374A2

The present invention discloses a shredding device. The shredding device according to one or more embodiments of the present invention comprises: a shredding body for shredding materials; a frame for supporting the shredding body; and a power supply device that provides electric power to the shredding body. The shredding body comprises a housing, and the housing is provided with a power supply chamber for accommodating at least part of the power supply device. The shredding device according to the present invention features a compact structure, and is easy and safe to operate.

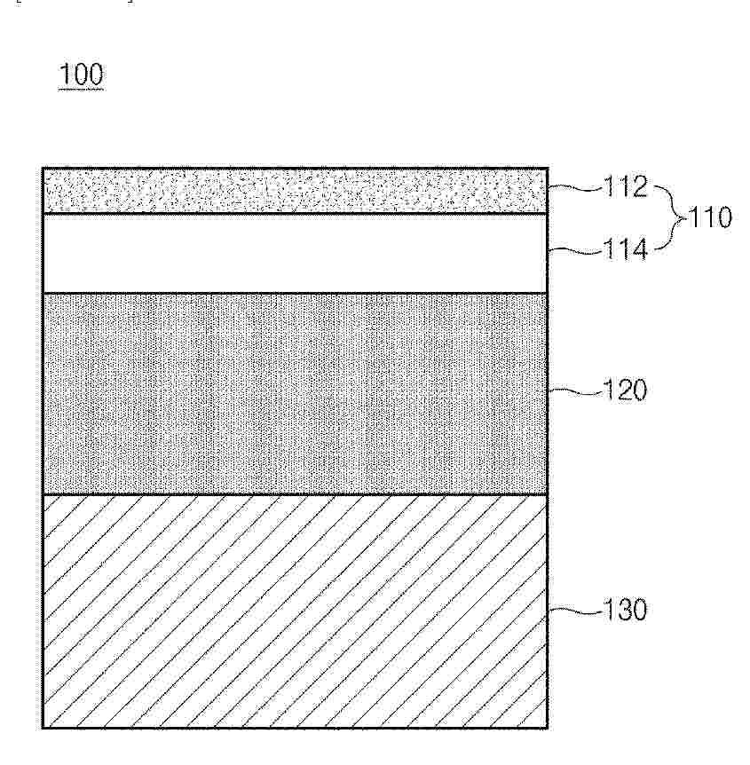
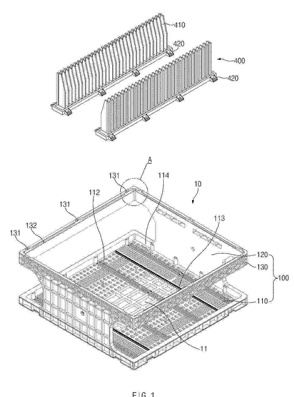
BATTERY RACK AND ENERGY STORAGE SYSTEM COMPRISING THE SAME

NºPublicación:  EP4708516A2 11/03/2026
Solicitante: 
LG ENERGY SOLUTION LTD [KR]
LG Energy Solution, Ltd
EP_4708516_A2

Resumen de: EP4708516A2

A battery rack according to an embodiment of the present disclosure includes a plurality of battery modules, each including at least one battery cell, wherein each battery module has at least one venting hole; a rack case accommodating the plurality of battery modules; and a plurality of support brackets disposed in the rack case such that each support bracket supports each battery module and is in communication with the at least one venting hole.

DEVICES, SYSTEMS, AND METHODS FOR CONTROLLING VENT GASES AND EJECTA FROM THERMAL RUNAWAY EVENTS IN ENERGY STORAGE SYSTEM

NºPublicación:  EP4708462A2 11/03/2026
Solicitante: 
ASPEN AEROGELS INC [US]
Aspen Aerogels Inc
EP_4708462_A2

Resumen de: EP4708462A2

The present disclosure relates to materials and systems to manage thermal runaway issues in battery modules. In exemplary embodiments, a battery module includes battery cells separated by spacer elements. To mitigate thermal runaway issues, spacer elements may be extended to the interior surface of the enclosure. A seal is formed between the spacer elements and the interior wall to form a thermal barrier between adjacent battery cells.

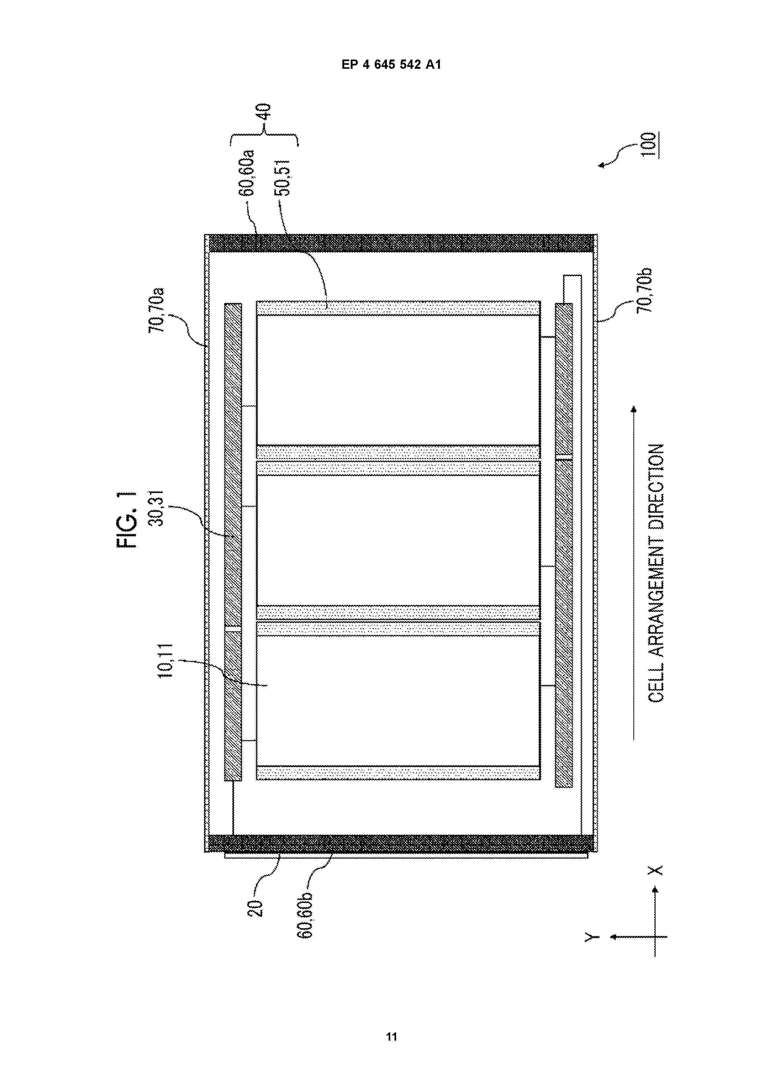
BATTERY MODULE, BATTERY PACK AND VEHICLE INCLUDING THE SAME

NºPublicación:  EP4708522A2 11/03/2026
Solicitante: 
LG ENERGY SOLUTION LTD [KR]
LG Energy Solution, Ltd
EP_4708522_PA

Resumen de: EP4708522A2

A battery module according to one embodiment of the present disclosure includes first and second cell block assemblies that include a battery cell stack and are arranged along a direction perpendicular to the stacking direction of the battery cell stack; a module frame that houses the first and second cell block assemblies and is opened in a front and rear direction; and a cooling plate arranged below the bottom portion of the module frame, wherein a flow path through which refrigerant flows is formed in the cooling plate, and the flow path is formed in a direction parallel to the arrangement direction of the first and second cell block assemblies.

CONTROL METHOD FOR FUEL CELL SYSTEM, CONTROL PROGRAM FOR FUEL CELL SYSTEM, FUEL CELL SYSTEM, AND MONOGENERATION DEVICE

NºPublicación:  EP4708412A1 11/03/2026
Solicitante: 
YANMAR HOLDINGS CO LTD [JP]
Yanmar Holdings Co., Ltd
EP_4708412_PA

Resumen de: EP4708412A1

Problem Provided is a technique capable of expanding an output range of a fuel cell system while suppressing deterioration of a fuel cell.Solution A fuel cell system includes a fuel cell, and a battery that stores power output from the fuel cell, and has a first operation mode in which power output from the fuel cell is extracted to the outside, and a second operation mode including a discharge mode in which power output from the battery is extracted to the outside. A control method for a fuel cell system includes switching between the first operation mode and the second operation mode based on target power of the fuel cell.

FUEL CELL SYSTEM AND MONOGENERATION DEVICE

NºPublicación:  EP4708410A1 11/03/2026
Solicitante: 
YANMAR HOLDINGS CO LTD [JP]
Yanmar Holdings Co., Ltd
EP_4708410_PA

Resumen de: EP4708410A1

Problem To provide a technique capable of preventing an increase in fuel gas concentration at a place where an ignition source is present even if fuel gas leaks in a fuel cell system, a technique capable of easily optimizing a heat balance in the fuel cell system, or a technique capable of appropriately performing ventilation in the fuel cell system.Solution An exemplary fuel cell system includes a housing having a fuel cell room including a fuel cell module, and an electrical equipment room that is partitioned from the fuel cell room and that includes a plurality of electrical devices. The housing includes a fuel cell room ventilation route that ventilates the fuel cell room and a plurality of electrical equipment room ventilation routes that ventilate the electrical equipment room. Furthermore, the housing has a ventilation route that ventilates the inside, an inlet of the ventilation route is provided on a side surface of the housing, and an outlet of the ventilation route is provided on an upper surface of the housing.

PRISMATIC TYPE SECONDARY BATTERY AND MANUFACTURING METHOD THEREOF

NºPublicación:  EP4708466A1 11/03/2026
Solicitante: 
LG ELECTRONICS INC [KR]
LG Electronics Inc
EP_4708466_A1

Resumen de: EP4708466A1

A prismatic type secondary battery includes an electrode assembly including an electrode tab, a pouch that accommodates the electrode assembly and includes a joint portion formed open at a location corresponding to the electrode tab, a prismatic can having one side open to accommodate the pouch, and a cap assembly including a metal current collector and inserted into the open side of the prismatic can, and in this case, the pouch includes the joint portion joined to the cap assembly while the electrode tab is connected to the metal current collector, and the prismatic type secondary battery improves the efficiency of an electrolyte injection process through a sealing structure in which a pouch accommodating an electrode assembly is inserted into a prismatic can and a joint portion of the pouch is joined to a cap assembly.

SECONDARY BATTERY TEMPERATURE EVALUATION APPARATUS AND METHOD AND SECONDARY BATTERY FOR TEMPERATURE EVALUATION

NºPublicación:  EP4708451A1 11/03/2026
Solicitante: 
SAMSUNG SDI CO LTD [KR]
SAMSUNG SDI CO., LTD
EP_4708451_PA

Resumen de: EP4708451A1

A secondary battery temperature evaluation apparatus, including a case having an opening in at least one end of the case, an electrode assembly being accommodated in the case, a temperature detector attached to the electrode assembly accommodated in the case, the temperature detector detecting a temperature and outputting a temperature detection signal, and a wire connected to the temperature detector, the wire being exposed after passing from inside to outside of the case and through which the temperature detection signal is transmitted outside of the case.

BATTERY RECYCLING SYSTEM, CONTROL METHOD, AND CONTROL PROGRAM

NºPublicación:  EP4708453A2 11/03/2026
Solicitante: 
TOYOTA MOTOR CO LTD [JP]
TOYOTA JIDOSHA KABUSHIKI KAISHA
EP_4708453_PA

Resumen de: EP4708453A2

A battery recycling system (1) includes: a discharging device (11) configured to discharge a secondary battery (TG) to be recycled; a primary crushing device (12) configured to crush a case of the secondary battery that has been discharged to cause an electrode material of the secondary battery to be exposed; an electrolytic solution recovery device (13) configured to heat the secondary battery under a reduced-pressure environment to recover an electrolytic solution contained in the electrode material; a secondary crushing device (14) configured to further crush the secondary battery whose electrolytic solution has been recovered; a sorting device (15) configured to sort crushed objects of the secondary battery crushed by the secondary crushing device (14); and an adjustment device (16) configured to adjust an atmosphere in each of the primary crushing device, the electrolytic solution recovery device, the secondary crushing device, and the sorting device to an N2 atmosphere.

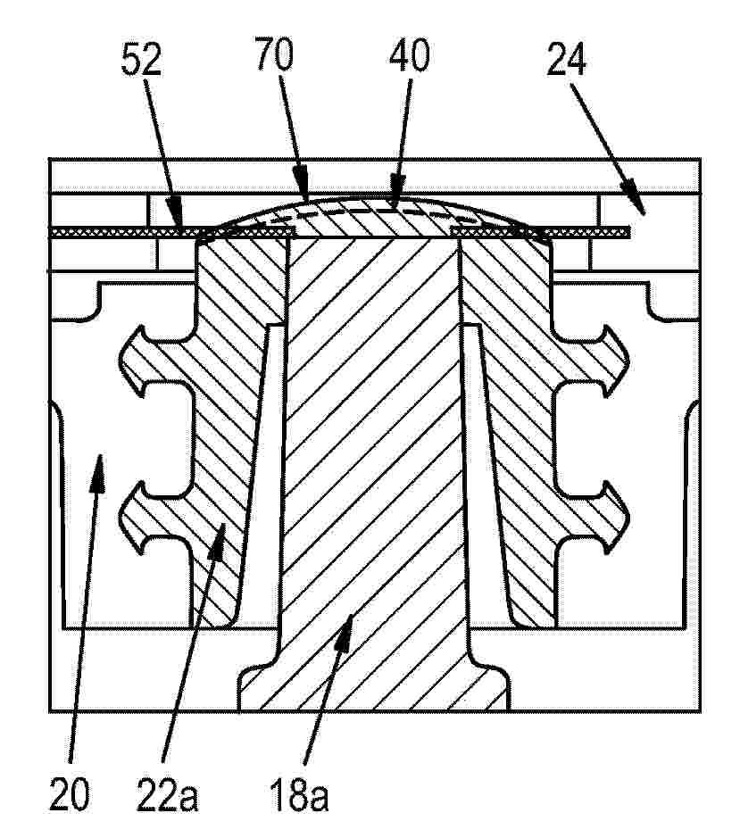
CELL CONTAINER, UPPER PLATE, CHECK VALVE, NOZZLE, BATTERY CELL, AND PRODUCTION METHOD THEREFOR

NºPublicación:  EP4708556A1 11/03/2026
Solicitante: 
TAIHEIYO KOGYO KK [JP]
Pacific Industrial Co., Ltd
EP_4708556_PA

Resumen de: EP4708556A1

Problem A technique is disclosed that enables prevention of a problem in which an electrolytic solution leaks out from an injection hole.Solution A cell container 11A of a battery cell 10A of the present embodiment includes: an injection hole 22 including a check valve mechanism 20A configured to allow injection of an electrolytic solution 91 into the cell container 11A and prevent outflow; and a valve-opening operation portion 27 provided in the check valve mechanism 20A and configured to bring the check valve mechanism 20A into an open state by applying an external force other than a fluid pressure.

BATTERY CELL, BATTERY, AND ELECTRICAL DEVICE

NºPublicación:  EP4708530A1 11/03/2026
Solicitante: 
CONTEMPORARY AMPEREX TECHNOLOGY CO LTD [CN]
Contemporary Amperex Technology Co., Limited
EP_4708530_PA

Resumen de: EP4708530A1

The present application provides a battery cell, a battery and an electrical device. The battery cell includes a shell and a pressure relief component; the shell includes a first wall portion; the pressure relief component is arranged on the first wall portion, and includes a first surface and a second surface which are oppositely arranged in the thickness direction of the first wall portion; the pressure relief component is provided with a first groove which is recessed from the first surface toward the second surface, the first groove defines at least one predetermined pressure relief region, and the pressure relief component is configured to be capable of rupturing along at least part of the first groove when the battery cell is subjected to pressure relief; and the width of the first wall portion is W, the sum of the areas of all predetermined pressure relief regions is S, and W and S meet: 10mm≤W≤100mm, 300mm<2>≤S≤1500mm<2>, which is conducive to prolonging the service life of the battery cell and improving the operational reliability of the battery cell.

A flexible lithium-ion battery

NºPublicación:  GB2643940A 11/03/2026
Solicitante: 
THE SEC DEP FOR FOREIGN AND COMMONWEALTH AND DEVELOPMENT AFFAIRS [GB]
COMMW SCIENT IND RES ORG [AU]
The Secretary of State for Foreign and Commonwealth and Development Affairs,
Commonwealth Scientific and Industrial Research Organisation
GB_2643940_PA

Resumen de: GB2643940A

A flexible lithium-ion battery comprising a cathode 110, an anode 112 and an electrolyte 120 comprising lithium ions contained within a flexible casing 118, wherein each of the cathode and the anode independently comprises a flexible current collector 122, 126 comprising a carbon-based fabric comprising a porous network of porous graphitic fibre of at least 85 wt% carbon, and an electroactive composition 124, 128 supported on the collector, at least partially infiltrated into the pores and comprising a lithium-intercalating electrode material and a polymeric binder. The binder may be a polyurethane elastomer. The electroactive composition may comprise a conductive additive. The cathode material may be graphite, graphite composites with silicon, lithium metal or alloys, lithiated carbonaceous material or lithium titanate. The anode material may be a lithium metal oxide or phosphate. The current collectors may each comprise a terminal portion (Fig. 3, 708) of the fabric passing through the casing to provide an electrical terminal, wherein the casing is sealed by a polymeric sealant. A method of producing the battery wherein the electrodes are formed by applying a precursor slurry the electrode material and binder dissolved in solvent to the collectors, and drying. A flexible article comprising the battery.

Compression pad for batteries

NºPublicación:  GB2643924A 11/03/2026
Solicitante: 
POREXTHERM DAEMMSTOFFE GMBH [DE]
Porextherm D\u00E4mmstoffe GmbH
GB_2643924_PA

Resumen de: GB2643924A

A compression pad for use in a battery assembly comprising a composite comprising: • 35 to 95 wt% silicone resin, which forms at least part of a silicone resin matrix; • 0 to 40 wt% optional additives • 5 to 65 wt% granules comprising fumed silica and an IR opacifier, said granules dispersed within the silicone resin matrix; one or both of said silicone resin matrix and said granules further comprise the optional additives. The granules comprise pores filled with the silicone resin to form impregnated granules. The granules are made by blending fumed silica, IR opacifiers and the optional additives and densifying the mixture by mechanical densification. The granules are then mixed with the silicone resin. Methods of forming te composite for use in the compression pad are also disclosed. In a preferred embodiment, commercially available granules comprising fumed silica and silicon carbide (SiC) as an IR opacifier may be used.

DEVICE, METHOD AND PROGRAM FOR ACQUIRING FEATURE DATA FOR MATERIAL COMPOSITION INFORMATION BASED ON ARTIFICIAL INTELLIGENCE

NºPublicación:  EP4708306A2 11/03/2026
Solicitante: 
LG MAN DEVELOPMENT INSTITUTE [KR]
LG Management Development Institute
EP_4708306_PA

Resumen de: EP4708306A2

A system, device, method, and program for acquiring feature data for material composition information based on artificial intelligence are disclosed. The system may include a memory configured to store a first artificial intelligence (AI) model configured to output first feature data for composition information of a material and a second AI model configured to output second feature data for structure information of the material; and a processor configured to learn the first AI model and the second AI model. The processor may be configured to learn the first AI model based on the second feature data for the structure information of the material output by the second AI model, and/or to learn the second AI model based on the first feature data for the composition information of the material output by the first AI model.

ENERGY STORAGE DEVICE AND METHOD FOR MANUFACTURING ENERGY STORAGE DEVICE

NºPublicación:  EP4708547A2 11/03/2026
Solicitante: 
DAINIPPON PRINTING CO LTD [JP]
Dai Nippon Printing Co., Ltd
EP_4708547_PA

Resumen de: EP4708547A2

The claimed invention relates to an energy storage device comprising: an electrode body; and an outer packaging that seals the electrode body, wherein the outer packaging is constituted by a film-like outer packaging member, the outer packaging includes a first sealing portion that is sealed by joining surfaces that face each other in a state in which the outer packaging member is wrapped around the electrode body, a base portion of the first sealing portion is formed at a boundary between a first surface and a second surface of the outer packaging, the first surface has a larger area than the second surface, and the first sealing portion does not overlap the first surface in a plan view, the outer packaging further comprising a lid body, and wherein the lid body: (A) is a metal molded article; (B) is a resin molded article; (C) has a plate shape; (D) is a member that is divided into a first portion and a second portion, and wherein a hole is configured to pass through the lid body; or (E) is a tray-shaped member having a bottom and a rectangular shape in a plan view.

MATERIALS, SYSTEMS, AND METHODS FOR MITIGATION OF ELECTRICAL ENERGY STORAGE THERMAL EVENTS

NºPublicación:  EP4708460A2 11/03/2026
Solicitante: 
ASPEN AEROGELS INC [US]
Aspen Aerogels Inc
EP_4708460_A2

Resumen de: EP4708460A2

The present disclosure relates to materials and systems to manage thermal runaway issues in energy storage systems. Exemplary embodiments include a thermal barrier material that includes multiple layers. The multilayer thermal barrier material includes at least one insulation layer, at least one compressible pad, and optional one or more layers that have favorable heat-dissipating properties, have favorable fire, flame and/or abrasion-resistance properties, have favorable performance for use as thermal barriers. The present disclosure further relates to a battery module or pack with one or more battery cells and the multilayer thermal barrier material placed in thermal communication with the battery cell

ANODE MATERIAL AND BATTERY

NºPublicación:  EP4708382A2 11/03/2026
Solicitante: 
BTR NEW MAT GROUP CO LTD [CN]
BTR New Material Group Co., Ltd
EP_4708382_A2

Resumen de: EP4708382A2

Provided is an anode material and a battery. The anode material includes a carbon matrix and an active substance, and at least a portion of the active substance is distributed in the carbon matrix; and surface cleanliness of the anode material is γ, and γ≥60%. The anode material and the battery provided in the present disclosure can alleviate cyclic attenuation of the anode material, reduce side reactions between the anode material and an electrolyte solution, and reduce a gas production phenomenon of the anode material, thereby comprehensively improving the capacity, expansion performance, and cycling performance of the anode material.

ANODE MATERIAL FOR SECONDARY BATTERY, ANODE FOR SECONDARY BATTERY AND SECONDARY BATTERY

NºPublicación:  EP4708378A1 11/03/2026
Solicitante: 
ENEXT TECH CO LTD [TW]
Enext Technology Co., Ltd
EP_4708378_PA

Resumen de: EP4708378A1

An anode material for a secondary battery, an anode for a secondary battery and a secondary battery are provided. The anode material for the secondary battery includes a plurality of oxide particles and a protection layer. The protection layer covers the plurality of oxide particles, and the material of the protection layer includes carbon.

BATTERY CELL DETECTION SYSTEM AND DETECTION METHOD THEREOF

NºPublicación:  EP4708446A1 11/03/2026
Solicitante: 
NUCTECH CO LTD [CN]
UNIV TSINGHUA [CN]
NUCTECH COMPANY LIMITED,
Tsinghua University
EP_4708446_PA

Resumen de: EP4708446A1

The present disclosure provides a battery cell detection system and a detection method thereof. The battery cell detection system includes: a conveying device (1) used to convey a battery cell to a gripping station; a first transfer device (2) disposed opposite to the conveying device (1) in a vertical direction, where the first transfer device (2) includes a first gripping mechanism (21) and a first moving mechanism (22) connected to each other, the first gripping mechanism (21) is used to grip the battery cell, and the first moving mechanism (22) is used to transfer the battery cell from the gripping station to a detection station and configured to move a portion to be detected of the battery cell to a predetermined position; and a detection device (3) disposed at the detection station, where the detection device (3) is used to detect the portion to be detected of the battery cell.

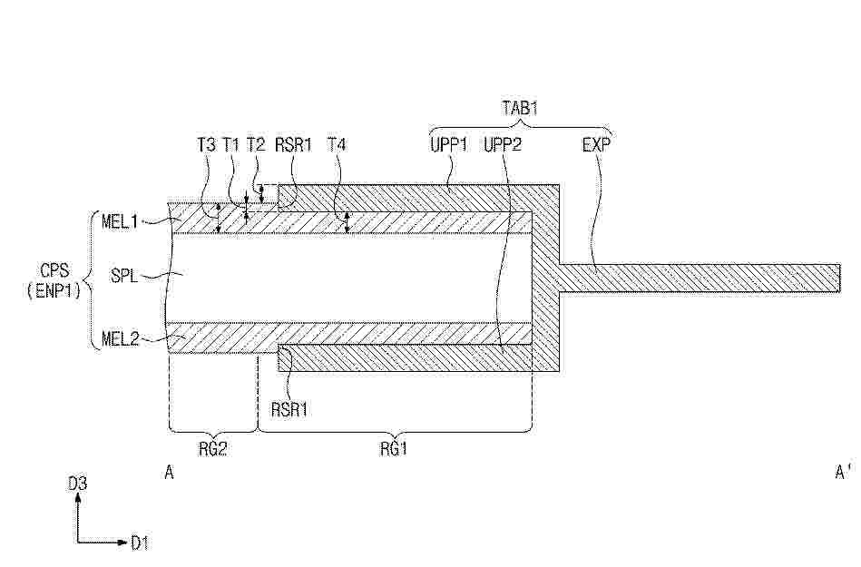
DEVICE FOR MANUFACTURING SECONDARY BATTERY, AND METHOD OF MANUFACTURING SECONDARY BATTERY

NºPublicación:  EP4708419A1 11/03/2026
Solicitante: 
SAMSUNG SDI CO LTD [KR]
SAMSUNG SDI CO., LTD
EP_4708419_PA

Resumen de: EP4708419A1

The invention relates to device (400) and a method for manufacturing a secondary battery (100). The resulting secondary battery (100) includes an electrode assembly (110) including a side that extends in a first direction, a case (150) accommodating the electrode assembly (110), a lead tab (132_1, 134_1) protruding from the side of the electrode assembly (110), and a strip terminal (142, 144) connected to the lead tab (132_1, 134_1). The lead tab (132_1, 134_1) is bent in the first direction. The strip terminal (240) includes a first section (242) connected to the lead tab (230) and extending in the first direction, and a second section (244) connected to the first section (242) and bent in a second direction that intersects the first direction. An angle between the first section (242) and the second section (244) is 90 degrees or less.

POSITIVE ELECTRODE, MANUFACTURING METHOD THEREOF, AND LITHIUM SECONDARY BATTERY

NºPublicación:  EP4708376A1 11/03/2026
Solicitante: 
LG ENERGY SOLUTION LTD [KR]
LG Energy Solution, Ltd
EP_4708376_A1

Resumen de: EP4708376A1

A positive electrode includes a positive electrode active material layer including a first positive electrode active material and a second positive electrode active material having different average particle diameters from each other. An average particle diameter D50 of the first positive electrode active material is larger than an average particle diameter D50 of the second positive electrode active material, the first positive electrode active material and the second positive electrode active material include single-particle type particles, and an interface resistance of the positive electrode having an SOC of 50% measured in a coin half-cell manufactured using the positive electrode is 6.5 Ω to 8.5 Ω, and an interface resistance of the positive electrode having an SOC of 10% measured in a coin half-cell manufactured using the positive electrode is 15 Ω to 19 Ω.

A solid-state battery cell for an electric energy storage device of an at least in part electrically operated motor vehicle

NºPublicación:  GB2643901A 11/03/2026
Solicitante: 
MERCEDES BENZ GROUP AG [DE]
Mercedes-Benz Group AG
GB_2643901_PA

Resumen de: GB2643901A

A solid-state battery cell 10 for an electric energy storage device of an at least in part electrically operated motor vehicle, comprising a housing 14, wherein inside of the housing a jelly roll 12 is arranged and wherein the jelly roll comprises at least one mandrel 16 comprising a central polymer mandrel configured to increase radial pressure on the jelly roll. Part of the mandrel may be configured to receive an expansion agent - optionally a liquid substance, such as air - and may be a phase-change material. The mandrel may expand via an internal expansion mechanism, may comprise at least one composite material and may be at least partially hollow. The jelly roll may comprise a laminated stack of at least one anode layer (Fig. 2, 32), at least one solid-state electrolyte layer (Fig. 2, 30), at least one cathode layer (Fig. 2, 28) and at least one separator layer (Fig. 2, 26) rolled into a cylinder inside the housing. A method for manufacturing the battery cell.

Thermal management sheet, method of manufacture, and articles using the same

Nº publicación: GB2643975A 11/03/2026

Solicitante:

ROGERS CORP [US]
Rogers Corporation

GB_2643975_PA

Resumen de: GB2643975A

A method of forming a thermal management sheet for a battery including cured polyurethane foam, the method including combining an active hydrogen-containing component including a polyol and an isocyanate component including a polyisocyanate to form an uncured polyurethane foam; and curing the uncured polyurethane foam to form the cured polyurethane foam, wherein the uncured polyurethane foam includes, based on a total weight of the uncured polyurethane foam, 3 to 68 weight percent of sodium borate, 0.1 to 7 weight percent of surfactant, and 0.001 to 9 weight percent of catalyst, wherein the cured polyurethane foam has a density of 12 to 35 pounds per cubic foot, and wherein the cured polyurethane foam has a thickness of 1 to 30 millimeters.

traducir