Ministerio de Industria, Turismo y Comercio LogoMinisterior
 

Alerta

Resultados 1509 resultados
LastUpdate Última actualización 17/03/2026 [07:16:00]
pdfxls
Publicaciones de los últimos 15 días/Last 15 days publications (excluidas pubs. CN y JP /CN and JP pubs. excluded)
previousPage Resultados 675 a 700 de 1509 nextPage  

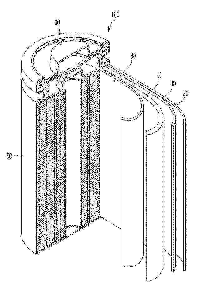
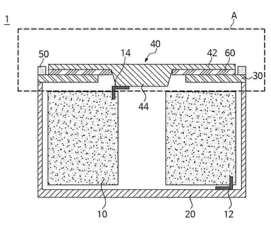
SECONDARY BATTERY

NºPublicación:  EP4707795A2 11/03/2026
Solicitante: 
LG ENERGY SOLUTION LTD [KR]
LG Energy Solution, Ltd
EP_4707795_PA

Resumen de: EP4707795A2

The present invention relates to a secondary battery. The secondary battery according to the present invention comprises an electrode assembly wherein electrodes and separators are alternatingly stacked, and a battery case in which the electrode assembly is accommodated, where the battery case comprises a first gas pocket on which a first collection space for collecting gases in the battery case is formed, and on which is provided a first exhaust port from which gases in the first collection space are exhausted, and a second gas pocket on which a second collection space for collecting gases exhausted from the first exhaust port is formed, and on which is provided a second exhaust port for outward exhaust of gas in the second collection space.

BATTERY PACK AND VEHICLE INCLUDING SAME

NºPublicación:  EP4708508A1 11/03/2026
Solicitante: 
LG ENERGY SOLUTION LTD [KR]
LG Energy Solution, Ltd
EP_4708508_PA

Resumen de: EP4708508A1

Disclosed is a battery pack and a vehicle including the same. The battery pack includes a plurality of battery cells; a pack case configured to accommodate the plurality of battery cells, so that at least a portion of the pack case is separated; a reinforcing member inserted into the separated portion of the pack case; and a connection member configured to connect the pack case and the reinforcing member.

POUCH TYPE BATTERY CELL AND VEHICLE INCLUDING SAME

NºPublicación:  EP4708546A1 11/03/2026
Solicitante: 
LG ENERGY SOLUTION LTD [KR]
LG ENERGY SOLUTION, LTD
EP_4708546_PA

Resumen de: EP4708546A1

Disclosed are a pouch-type battery cell which is thick and thus has improved durability and stability while maintaining the formability and insulation performance of a pouch and a vehicle including the same. The battery cell includes an electrode assembly formed by overlapping a plurality of electrodes, a packaging material folded to wrap around the electrode assembly to form a rectangular pouch, a sealing part formed by overlapping and contacting edges of the folded packaging material in which the electrode assembly is wrapped, and a pair of leads whose ends are connected to the plurality of electrodes inside the packaging material and whose other ends are exposed to the outside of the packaging material. The pair of leads are exposed in the same direction.

ELECTROLYTE ADDITIVE, ELECTROLYTE AND BATTERY

NºPublicación:  EP4708441A1 11/03/2026
Solicitante: 
GUANGZHOU TINCI MATERIALS TECH CO LTD [CN]
Guangzhou Tinci Materials Technology Co., Ltd
EP_4708441_PA

Resumen de: EP4708441A1

Provided are an electrolyte additive, an electrolyte, and a battery. The electrolyte additive includes a first additive, a second additive, and a third additive. The first additive includes a compound represented by formula 1:where: R<sub>1</sub> is selected from C atom or O atom; R<sub>2</sub> is selected fromR<sub>3</sub> is selected from methylene,R<sub>4</sub> is selected fromand at least one of R<sub>2</sub>, R<sub>3</sub>, and R<sub>4</sub> contain sulfur atom. The second additive includes at least one of a compound represented by formula 2 or a compound represented by formula 3:where X includes P atom or B atom. The third additive includes a compound represented by formula 4: R-N=C=O formula 4, where R includes at least one of alkyl, O=C=N-substituted alkyl, cycloalkyl, O=C=N-substituted cycloalkyl, aryl, or O=C=N-substituted aryl. In this way, a stable and low-impedance interface film may be formed on an electrode surface, reducing impedance and gas production of the battery, and improving cycle performance of the battery.

BATTERY MODULE, BATTERY PACK, AND VEHICLE

NºPublicación:  EP4708535A1 11/03/2026
Solicitante: 
LG ENERGY SOLUTION LTD [KR]
LG ENERGY SOLUTION, LTD
EP_4708535_PA

Resumen de: EP4708535A1

Disclosed are a battery module, a battery pack, and a vehicle. A battery module according to an embodiment of the present disclosure may include: a plurality of battery cells; a module case in which the plurality of battery cells are stored; and a flame propagation prevention member disposed between the plurality of battery cells inside the module case, and the flame propagation prevention member may be configured to change its shape when a thermal event occurs so as to block a gap formed between the module case and the battery cells.

CONTROL METHOD FOR FUEL CELL SYSTEM, CONTROL PROGRAM FOR FUEL CELL SYSTEM, FUEL CELL SYSTEM, AND MONOGENERATION DEVICE

NºPublicación:  EP4708412A1 11/03/2026
Solicitante: 
YANMAR HOLDINGS CO LTD [JP]
Yanmar Holdings Co., Ltd
EP_4708412_PA

Resumen de: EP4708412A1

Problem Provided is a technique capable of expanding an output range of a fuel cell system while suppressing deterioration of a fuel cell.Solution A fuel cell system includes a fuel cell, and a battery that stores power output from the fuel cell, and has a first operation mode in which power output from the fuel cell is extracted to the outside, and a second operation mode including a discharge mode in which power output from the battery is extracted to the outside. A control method for a fuel cell system includes switching between the first operation mode and the second operation mode based on target power of the fuel cell.

FUEL CELL SYSTEM AND MONOGENERATION DEVICE

NºPublicación:  EP4708410A1 11/03/2026
Solicitante: 
YANMAR HOLDINGS CO LTD [JP]
Yanmar Holdings Co., Ltd
EP_4708410_PA

Resumen de: EP4708410A1

Problem To provide a technique capable of preventing an increase in fuel gas concentration at a place where an ignition source is present even if fuel gas leaks in a fuel cell system, a technique capable of easily optimizing a heat balance in the fuel cell system, or a technique capable of appropriately performing ventilation in the fuel cell system.Solution An exemplary fuel cell system includes a housing having a fuel cell room including a fuel cell module, and an electrical equipment room that is partitioned from the fuel cell room and that includes a plurality of electrical devices. The housing includes a fuel cell room ventilation route that ventilates the fuel cell room and a plurality of electrical equipment room ventilation routes that ventilate the electrical equipment room. Furthermore, the housing has a ventilation route that ventilates the inside, an inlet of the ventilation route is provided on a side surface of the housing, and an outlet of the ventilation route is provided on an upper surface of the housing.

PRISMATIC TYPE SECONDARY BATTERY AND MANUFACTURING METHOD THEREOF

NºPublicación:  EP4708466A1 11/03/2026
Solicitante: 
LG ELECTRONICS INC [KR]
LG Electronics Inc
EP_4708466_A1

Resumen de: EP4708466A1

A prismatic type secondary battery includes an electrode assembly including an electrode tab, a pouch that accommodates the electrode assembly and includes a joint portion formed open at a location corresponding to the electrode tab, a prismatic can having one side open to accommodate the pouch, and a cap assembly including a metal current collector and inserted into the open side of the prismatic can, and in this case, the pouch includes the joint portion joined to the cap assembly while the electrode tab is connected to the metal current collector, and the prismatic type secondary battery improves the efficiency of an electrolyte injection process through a sealing structure in which a pouch accommodating an electrode assembly is inserted into a prismatic can and a joint portion of the pouch is joined to a cap assembly.

SECONDARY BATTERY TEMPERATURE EVALUATION APPARATUS AND METHOD AND SECONDARY BATTERY FOR TEMPERATURE EVALUATION

NºPublicación:  EP4708451A1 11/03/2026
Solicitante: 
SAMSUNG SDI CO LTD [KR]
SAMSUNG SDI CO., LTD
EP_4708451_PA

Resumen de: EP4708451A1

A secondary battery temperature evaluation apparatus, including a case having an opening in at least one end of the case, an electrode assembly being accommodated in the case, a temperature detector attached to the electrode assembly accommodated in the case, the temperature detector detecting a temperature and outputting a temperature detection signal, and a wire connected to the temperature detector, the wire being exposed after passing from inside to outside of the case and through which the temperature detection signal is transmitted outside of the case.

ADDITIVE COMPOSITION, ELECTROLYTE COMPRISING SAME, AND BATTERY

NºPublicación:  EP4708439A1 11/03/2026
Solicitante: 
GUANGZHOU TINCI MATERIALS TECH CO LTD [CN]
Guangzhou Tinci Materials Technology Co., Ltd
EP_4708439_A1

Resumen de: EP4708439A1

The present application provides an additive composition, as well as an electrolytic solution and a battery thereof, wherein the additive composition comprises a first additive and a second additive; the first additive comprises a compound having a structure represented by formula 1, and the second additive comprises a silane additive. The additive composition provided by the present application is able to improve the cycling performance and high-temperature performance of the battery when used in an electrolytic solution.

BATTERY MODULE, BATTERY PACK AND VEHICLE

NºPublicación:  EP4708465A1 11/03/2026
Solicitante: 
LG ENERGY SOLUTION LTD [KR]
LG ENERGY SOLUTION, LTD
EP_4708465_PA

Resumen de: EP4708465A1

Disclosed are a battery module, a battery pack, and a vehicle. The battery module includes a plurality of battery cells; a module case in which the plurality of battery cells are accommodated; and a flame suppression pad disposed between the plurality of battery cells inside the module case, and the flame suppression pad is coated with an insulating member or contains an insulating member therein.

ELECTRODE PLATE, SECONDARY BATTERY, AND ELECTRONIC DEVICE

NºPublicación:  EP4708406A2 11/03/2026
Solicitante: 
NINGDE AMPEREX TECHNOLOGY LTD [CN]
Ningde Amperex Technology Limited
EP_4708406_PA

Resumen de: EP4708406A2

A first metal layer (11) is provided with a plurality of first pores, a second metal layer (12) is provided with a plurality of second pores, an insulation layer (13) is provided with a plurality of second pores, and the first pores, the second pores, and the third pores being configured to transmit ions. The electrode plate (10) includes a first tab (17) and a first insulation adhesive (17a), where a first portion of the first tab (17) is connected to the first metal layer (11), along the thickness direction of the electrode plate (10), a projection of a third portion is located outside a projection of the first metal layer (11), and the first insulation adhesive (17a) is disposed on the surface of the third portion and that faces the second metal layer (12), and the first insulation adhesive (17a) is connected to the first metal layer (11). A first active material layer (14) is disposed on a surface of the first metal layer (11) and facing away from the insulation layer (13), and a second active material layer (15) is disposed on a surface of the second metal layer (12) and facing away from the insulation layer (13), where the first active material layer (14) and the second active material layer (15) are of opposite polarities.

BATTERY CASE AND MULTI-LAYER BATTERY SYSTEM

NºPublicación:  EP4708512A1 11/03/2026
Solicitante: 
EVE ENERGY CO LTD [CN]
Eve Energy Co., Ltd
EP_4708512_PA

Resumen de: EP4708512A1

Provided are a battery box and a multilayer battery system. The multilayer battery system includes a battery box, a conductive assembly, and multiple cell assemblies (20). The battery box includes a bottom guard plate (11), a box cover (13), and a box body connected to the bottom guard plate (11) and the box cover (13). The box body includes at least two splicing boxes (12) that are stacked. For each splicing box (12), the upper end and the lower end of the splicing box (12) are each provided with an opening. The cell assemblies (20) are stacked. Each splicing box (12) accommodates a cell assembly (20). The conductive assembly is disposed in the battery box and configured to be electrically connected to the cell assemblies (20).

ELECTROLYTE, ELECTROCHEMICAL APPARATUS, AND ELECTRONIC APPARATUS

NºPublicación:  EP4708404A2 11/03/2026
Solicitante: 
NINGDE AMPEREX TECHNOLOGY LTD [CN]
Ningde Amperex Technology Limited
EP_4708404_A2

Resumen de: EP4708404A2

An electrolyte includes lithium bis(fluorosulfonyl)imide, a sulfur-containing compound, and propyl propionate. Based on a mass of the electrolyte, a mass percentage of lithium bis(fluorosulfonyl)imide is A%, a mass percentage of the sulfur-containing compound is B%, and a mass percentage of propyl propionate is D%, where 0.3 ≤ B/A ≤ 4, and 30 ≤ D ≤ 40. With the above configuration, the risk of increased alternating current impedance of the electrochemical apparatus under high voltage can be reduced, and the drop resistance and intermittent cycling performance of the electrochemical apparatus can be improved.

NEGATIVE ELECTRODE ACTIVE MATERIAL FOR RECHARGEABLE LITHIUM BATTERY AND RECHARGEABLE LITHIUM BATTERY INCLUDING THE SAME

NºPublicación:  EP4708380A1 11/03/2026
Solicitante: 
SAMSUNG SDI CO LTD [KR]
SAMSUNG SDI CO., LTD
EP_4708380_A1

Resumen de: EP4708380A1

The present invention relates to a negative electrode active material for a rechargeable lithium battery and a rechargeable lithium battery including the same, and the negative electrode active material for a rechargeable lithium battery includes graphite including secondary particles in which primary particles are assembled; and amorphous carbon present inside the secondary particles, wherein a ratio of the average particle diameter D50 of the amorphous carbon to the average particle diameter D50 of the primary particles is 0.1 to 0.5.

DEVICE AND METHOD FOR TRANSFERRING BLANKS

NºPublicación:  EP4707209A1 11/03/2026
Solicitante: 
OPTIMA LIFE SCIENCE GMBH [DE]
OPTIMA life science GmbH
EP_4707209_PA

Resumen de: EP4707209A1

Die Erfindung betrifft eine Vorrichtung und ein Verfahren für eine Übergabe von Zuschnitten an eine Übergabestrecke, insbesondere für eine Übergabe von Zuschnitten (10) an eine Materialbahn, eine Transportbahn (14), eine rotierende Walze und/oder an entlang einer Transportstrecke transportierte Produkte (12), die Vorrichtung (1) umfassend ein Positioniersystem (2) mit mindestens zwei, insbesondere drei oder mehr, entlang einer umlaufenden Bahn bewegbaren Schlitten (20) und mit einem Antriebssystem (24), wobei die Schlitten (20) jeweils eine Produktaufnahme (22) aufweisen und eingerichtet sind, um jeweils einen Zuschnitt (10) an der Produktaufnahme (22) aufzunehmen, den Zuschnitt (10) ortsfest an der Produktaufnahme gehalten zu transportieren, und den Zuschnitt (10) an die Übergabestrecke zu übergeben, und wobei das Antriebssystem (24) eingerichtet ist, um die Schlitten (20) entlang der umlaufenden Bahn zumindest abschnittsweise unabhängig voneinander zu bewegen.

SECONDARY BATTERY, BATTERY PACK AND ELECTRONIC DEVICE

NºPublicación:  EP4708423A1 11/03/2026
Solicitante: 
AESC JAPAN LTD [JP]
AESC Japan Ltd
EP_4708423_PA

Resumen de: EP4708423A1

A secondary battery (100) is provided, including an electrode assembly (120) which includes a negative pole sheet (11), a first separator (12), a positive pole sheet (13), and a second separator (14). The negative pole sheet (11) includes a negative coated area (211) and a negative tab (311) protruding from the negative coated area (211). The positive pole sheet (13) includes a positive coated area (213) and a positive tab (313) protruding from the positive coated area (213). A direction from the negative tab (311) to the positive tab (313) is a height direction (H). Along the height direction (H), an upper end of the negative coated area (211) overhangs an upper end of the positive coated area (213). Along a direction away from the height direction (H), a lower end of the negative coated area (211) overhangs a lower end of the positive coated area (213).

BATTERY, ELECTRIC DEVICE, AND METHOD FOR MANUFACTURING BATTERY

NºPublicación:  EP4708534A2 11/03/2026
Solicitante: 
CONTEMPORARY AMPEREX TECHNOLOGY HONG KONG LTD [HK]
Contemporary Amperex Technology (Hong Kong) Limited
EP_4708534_A2

Resumen de: EP4708534A2

Embodiments of the present application provide a battery, a power consumption apparatus, and a method and an apparatus for preparing a battery. The battery includes a plurality of battery cells arranged in a first direction, where the battery cell is provided with a pressure relief mechanism, configured to be actuated when internal pressure or temperature of the battery cell reaches a threshold value, to relieve the internal pressure; and a protecting plate, where the protecting plate is attached to a surface of the battery cell provided with the pressure relief mechanism to protect the battery cell, the protecting plate is provided with a plurality of openings, and an opening is provided corresponding to the pressure relief mechanism to expose the pressure relief mechanism via the opening, and two openings corresponding to the pressure relief mechanisms of two adjacent battery cells are provided in a staggered manner in the first direction. The battery, the power consumption apparatus, the method and the apparatus for producing the battery of the present application can enhance safety performance of the battery.

BUS VOLTAGE MODULATION METHOD FOR DYNAMICALLY RECONFIGURABLE SERIES-CONNECTED BATTERY SYSTEM

NºPublicación:  EP4708621A1 11/03/2026
Solicitante: 
IBATTERYCLOUD CO LTD [CN]
IBATTERYCLOUD CO., LTD
EP_4708621_A1

Resumen de: EP4708621A1

The present disclosure discloses a bus voltage modulation method for a series dynamic reconfiguration battery system, and belongs to the technical field of energy storage for new energy power systems, comprising: numbering all battery modules as i, collecting a voltage value of each battery module, and arranging in a descending order according to magnitudes of the voltage values; selecting a battery module corresponding to the highest voltage value; determining whether the serial number i of the selected battery module is less than a total number N of series battery modules, if a determination result is YES, accumulating voltage values corresponding to the selected battery modules, and determining whether a voltage accumulation value of the battery modules is within a preset range; and performing an i++ operation according to the voltage accumulation value of the battery modules, and repeating the above content until an output bus voltage meets requirements for the preset range. A dynamic reconfiguration battery system based on a software-defined technology of the present disclosure can reconstruct and output a desired power bus voltage according to voltages of respective battery modules in real time to meet the requirements for the output power bus voltage.

COMPOSITE SODIUM IRON SULFATE POSITIVE ELECTRODE MATERIAL AND PREPARATION METHOD THEREFOR, POSITIVE ELECTRODE SHEET OF SODIUM-ION BATTERY, AND SODIUM-ION BATTERY

NºPublicación:  EP4708392A1 11/03/2026
Solicitante: 
JIANGSU PYLON BATTERY CO LTD [CN]
Jiangsu Pylon Battery Co., Ltd
EP_4708392_PA

Resumen de: EP4708392A1

The present invention provides a composite sodium iron sulfate positive electrode material and a preparation method thereof, a sodium-ion battery positive electrode plate, and a sodium-ion battery, relating to the technical field of batteries. In the preparation method of the composite sodium iron sulfate positive electrode material provided by the present invention, the conductivity of the conductive agent can be improved by doping boron during the preparation process of the conductive agent, reducing the amount of conductive agent; adding the conductive agent during the preparation process of the positive electrode materials can improve the dispersion uniformity of the conductive agent; and high-temperature sintering can enable the contact between the conductive agent and the active material to be more reliable, and the dry-process electrode plate prepared using the material has a lower resistance value of electrode plate.

BLADE BATTERY AND BATTERY PACK INCLUDING SAME

NºPublicación:  EP4708422A1 11/03/2026
Solicitante: 
CSI ENERGY STORAGE CO LTD [CN]
CSI Energy Storage Co., Ltd
EP_4708422_PA

Resumen de: EP4708422A1

Provided are a blade battery and a battery pack including the same. The blade battery includes: at least one positive plate, with a first tab and a second tab respectively disposed at two adjacent edges; a plurality of negative electrode plates, each having a third tab and a fourth tab respectively disposed at two adjacent edges, each of two opposite sides of each positive electrode plate being covered by one negative electrode plate, the first tab and the third tab being located at two opposite sides of the blade battery, and the second tab and the fourth tab being located at two opposite sides of the blade battery, respectively; a positive cover plate connected to the first tab and the second tab to form a positive electrode; and a negative cover plate connected to the third tab and the fourth tab to form a negative electrode.

CATHODE ACTIVE MATERIAL FOR LITHIUM SECONDARY BATTERY, CATHODE FOR LITHIUM SECONDARY BATTERY INCLUDING THE SAME AND LITHIUM SECONDARY BATTERY

NºPublicación:  EP4708394A1 11/03/2026
Solicitante: 
SK ON CO LTD [KR]
SK On Co., Ltd
EP_4708394_PA

Resumen de: EP4708394A1

A cathode active material for a lithium secondary battery, a cathode for a lithium secondary battery including the same, and a lithium secondary battery are provided. The cathode active material for a lithium secondary battery includes: a first cathode active material including a lithium-nickel metal oxide in the form of a single particle; and a second cathode active material including lithium manganese iron phosphate. Accordingly, a lithium secondary battery with improved cell safety and high energy density per unit cell volume may be achieved.

ELECTRODE CURRENT COLLECTOR, MANUFACTURING METHOD THEREFOR, AND SECONDARY BATTERY ELECTRODE ASSEMBLY COMPRISING SAME

NºPublicación:  EP4708407A1 11/03/2026
Solicitante: 
LG ENERGY SOLUTION LTD [KR]
LG Energy Solution, Ltd
EP_4708407_PA

Resumen de: EP4708407A1

Disclosed are an electrode current collector including a first metal layer, a polymer resin layer provided on one surface of the first metal layer, and a second metal layer provided on one surface of the polymer resin layer, wherein the polymer resin layer is removed from a part of an uncoated portion corresponding to an electrode tab such that the first metal layer and the second metal layer face each other, a method of manufacturing the same, and a secondary battery electrode assembly including the same.

TAPING APPARATUS FOR ELECTRODE SHEET

NºPublicación:  EP4708424A1 11/03/2026
Solicitante: 
LG ENERGY SOLUTION LTD [KR]
LG Energy Solution, Ltd
EP_4708424_PA

Resumen de: EP4708424A1

The present disclosure relates to a taping device for an electrode sheet, and the taping device for an electrode sheet according to one aspect of the present disclosure may include an electrode sheet supply unit that supplies an electrode sheet including a foil-shaped current collector portion and a plurality of pattern portions arranged along the length direction of the current collector portion on one surface of the current collector portion; a taping unit that forms a tape portion attached to one surface of the current collector portion to overlap at least a part of two neighboring pattern portions among the plurality of pattern portions, respectively; and an electrode sheet recovery unit that recovers an electrode sheet on which the tape portion is formed, wherein the taping unit may include a gripper capable of gripping or releasing a tape and being moved in the width direction of the current collector portion; and a pressurizing block capable of pressurizing the tape toward the current collector portion through an area having a width wider than a spacing between the two pattern portions.

WEARABLE DEVICE

Nº publicación: EP4708921A1 11/03/2026

Solicitante:

SHENZHEN SHOKZHEAR CO LTD [CN]
Shenzhen Shokzhear Co., Ltd

EP_4708921_PA

Resumen de: EP4708921A1

A wearable device includes a housing assembly and a movement assembly. The housing assembly includes a first housing and a second housing, the first housing being connected to the second housing to form an accommodating cavity between the first housing and the second housing; the movement assembly being provided in the accommodating cavity and including a first assembly and a second assembly in electrical connection with the first assembly, the first assembly being connected to the first housing, and the second assembly being connected to the second housing. By dispersedly connecting the movement assembly to the first housing and the second housing, the housing assembly may be designated as a structural mounting carrier of the movement assembly, not only reducing the number of related connecting parts but also making full use of the housing structure and space, which is conducive to the miniaturization and lightweight design of the device.

traducir