Ministerio de Industria, Turismo y Comercio LogoMinisterior
 

Alerta

Resultados 1509 resultados
LastUpdate Última actualización 17/03/2026 [07:16:00]
pdfxls
Publicaciones de los últimos 15 días/Last 15 days publications (excluidas pubs. CN y JP /CN and JP pubs. excluded)
previousPage Resultados 700 a 725 de 1509 nextPage  

APPARATUS AND METHOD FOR CONTROLLING BATTERY

NºPublicación:  EP4708620A1 11/03/2026
Solicitante: 
LG ENERGY SOLUTION LTD [KR]
LG Energy Solution, Ltd
EP_4708620_PA

Resumen de: EP4708620A1

A battery control device according to an embodiment of the present invention is located in a battery system including a plurality of batteries, and may include: at least one processor; and a memory that stores at least one command executed through the at least one processor. The at least one command may comprise: a command for monitoring the voltage of each of the batteries in a process in which the batteries are connected in parallel to a DC link and charged; a command for sequentially dropping, from the DC link, batteries that have reached a predefined target voltage; and a command for stopping a charging process in a state in which the N batteries are connected to the DC link when only N preset batteries remain connected to the DC link.

ANODE MATERIAL FOR SECONDARY BATTERY, ANODE FOR SECONDARY BATTERY AND SECONDARY BATTERY

NºPublicación:  EP4708378A1 11/03/2026
Solicitante: 
ENEXT TECH CO LTD [TW]
Enext Technology Co., Ltd
EP_4708378_PA

Resumen de: EP4708378A1

An anode material for a secondary battery, an anode for a secondary battery and a secondary battery are provided. The anode material for the secondary battery includes a plurality of oxide particles and a protection layer. The protection layer covers the plurality of oxide particles, and the material of the protection layer includes carbon.

BATTERY ASSEMBLY COVER, BATTERY ASSEMBLY, AND VEHICLE INCLUDING SAME

NºPublicación:  EP4708553A1 11/03/2026
Solicitante: 
LG ENERGY SOLUTION LTD [KR]
LG Energy Solution, Ltd
EP_4708553_PA

Resumen de: EP4708553A1

Presented are a battery assembly cover, a battery assembly, and a vehicle including same, the battery assembly cover comprising: a base which is coupled to an open surface of a battery assembly case to seal the battery assembly case, has a plurality of first holes formed therein, and allows battery cell leads to pass through each of the first holes to expose the battery cell leads to the outside; and an insulation part which is coupled to the base, is positioned between the edge of the first holes of the base and the battery cell leads to insulate the battery cell leads from the base, and has second holes through which the battery cell leads pass.

BATTERY PACK

NºPublicación:  EP4708456A1 11/03/2026
Solicitante: 
LG ENERGY SOLUTION LTD [KR]
LG Energy Solution, Ltd
EP_4708456_PA

Resumen de: EP4708456A1

Disclosed is a battery pack. The battery pack includes a case providing an inner space and having an opening; a plurality of battery cells positioned inside the case; and a cooling channel configured to partition the opening.

BATTERY PACK

NºPublicación:  EP4708554A1 11/03/2026
Solicitante: 
LG ENERGY SOLUTION LTD [KR]
LG Energy Solution, Ltd
EP_4708554_PA

Resumen de: EP4708554A1

Disclosed herein relates to a battery pack for accommodating a cell assembly comprising a pair of external terminals, including: a pack case in which a cell assembly is seated, wherein the pack case includes: a base plate supporting a lower part of the cell assembly; and a protective cap coupled to a center part of the base plate, wherein the protective cap covers an external terminal of each cell assembly accommodated.

SEPARATOR, SECONDARY BATTERY, AND ELECTRONIC DEVICE

NºPublicación:  EP4708538A1 11/03/2026
Solicitante: 
NINGDE AMPEREX TECHNOLOGY LTD [CN]
NINGDE AMPEREX TECHNOLOGY LIMITED
EP_4708538_A1

Resumen de: EP4708538A1

A separator includes a base film and a first coating disposed on a surface of the base film to face one side of a positive electrode. The first coating includes an organic cyanide with a first functional group. The first functional group includes at least one of a cyano group, an isocyano group, an isocyanate group, or a melamine compound. The first functional group of the first coating has a molar concentration of M fmol/µm<3>, where 0.1 ≤ M ≤ 30. The secondary battery provided by this application has a high energy density and also has good thermal safety, high-temperature cycle performance and high-temperature storage performance.

SOLID ELECTROLYTE MATERIAL AND BATTERY

NºPublicación:  EP4708396A1 11/03/2026
Solicitante: 
TOYOTA MOTOR CO LTD [JP]
TOYOTA JIDOSHA KABUSHIKI KAISHA
EP_4708396_PA

Resumen de: EP4708396A1

A solid electrolyte material (3) configured to suppress a decrease in ion conductivity, the solid electrolyte material comprising a polymer electrolyte, an inorganic filler and succinonitrile, the polymer electrolyte comprises an anionic polymer.

COMPOSITE SOLID ELECTROLYTE MEMBRANE, MANUFACTURING METHOD THEREFOR, AND ALL-SOLID-STATE BATTERY COMPRISING SAME

NºPublicación:  EP4708433A1 11/03/2026
Solicitante: 
LG ENERGY SOLUTION LTD [KR]
LG Energy Solution, Ltd
EP_4708433_PA

Resumen de: EP4708433A1

The present invention relates to a composite solid electrolyte membrane, a method of preparing same, and an all-solid-state battery comprising same. The composite solid electrolyte membrane comprising: a solid electrolyte membrane comprising a solid electrolyte and a binder; and an ionic liquid, wherein the solid electrolyte membrane comprises a plurality of pores, the ionic liquid is impregnated in the plurality of pores, and the anion of the ionic liquid is (CF<sub>3</sub>SO<sub>2</sub>)<sub>2</sub>N<sup>-</sup>.

FLEXIBLE HEAT-RESISTANT TAPE AND BUSBAR COMPRISING SAME

NºPublicación:  EP4707354A1 11/03/2026
Solicitante: 
LG ENERGY SOLUTION LTD [KR]
LG Energy Solution, Ltd
EP_4707354_PA

Resumen de: EP4707354A1

Disclosed is a heat resistant tape including a flexible tape base material, an adhesive layer added to an outer surface of one side of the tape base material, and a heat resistant layer located on a surface of the adhesive layer, wherein the heat resistant tape is reliably attached and secured by the adhesive layer exposed as the tape base material is stretched.

BATTERY CELL HAVING IMPROVED STRUCTURE AND BATTERY MODULE INCLUDING SAME

NºPublicación:  EP4708472A1 11/03/2026
Solicitante: 
LG ENERGY SOLUTION LTD [KR]
LG Energy Solution, Ltd
EP_4708472_A1

Resumen de: EP4708472A1

Disclosed are a battery cell with an improved structure and a battery module including the same, and more particularly a battery cell including an electrode assembly having an electrode tab protruding therefrom, the electrode assembly including a positive electrode, a separator, and a negative electrode, a pair of cover separators located so as to wrap the electrode assembly, the pair of cover separators including a first cover separator and a second cover separator, a pouch case configured to receive the electrode assembly and the pair of cover separators, an electrode lead having one side connected to the electrode tab and an other side protruding outward from the pouch case, and an insulating film located between the pouch case and the electrode lead and a battery module including the same.

ENERGY STORAGE DEVICE COMPRISING BATTERY MODULES

NºPublicación:  EP4708499A1 11/03/2026
Solicitante: 
LG ENERGY SOLUTION LTD [KR]
LG Energy Solution, Ltd
EP_4708499_PA

Resumen de: EP4708499A1

An energy storage device according to the present disclosure comprises a plurality of battery modules including a plurality of battery cells; a case for accommodating the battery modules; and a support frame for supporting a plurality of the battery modules in the case, wherein the support frame comprises a lower support member on which at least one battery module is supported, and an upper support member on which at least one battery module is supported.

ENERGY STORAGE APPARATUS

NºPublicación:  EP4708594A1 11/03/2026
Solicitante: 
CONTEMPORARY AMPEREX TECHNOLOGY CO LTD [CN]
CONTEMPORARY AMPEREX FUTURE ENERGY TECH SHENZHEN LIMITED [CN]
Contemporary Amperex Technology Co., Limited,
Contemporary Amperex Future Energy Technology (Shenzhen) Limited
EP_4708594_PA

Resumen de: EP4708594A1

Embodiments of the present disclosure provide an energy storage apparatus, which comprises a cabinet body, a heat dissipation device and an energy storage member. A mounting space is provided inside the cabinet body, and an air inlet and an air outlet are provided on the outer surface of the cabinet body. The air inlet is located on one side of the cabinet body along a first direction, the air outlet is located on one side of the cabinet body along a second direction, and the first direction intersects with the second direction. The heat dissipation device is provided in the mounting space, and the heat dissipation device enables airflow to flow from the air inlet to the air outlet. The heat dissipation device is provided above the energy storage member, and in the projection plane perpendicular to the vertical direction, at least part of the projection of the heat dissipation device along the vertical direction is located within the projection range of the energy storage member along the vertical direction.

BATTERY CELL REPLACEMENT DETECTION APPARATUS AND METHOD

NºPublicación:  EP4708452A1 11/03/2026
Solicitante: 
SAMSUNG SDI CO LTD [KR]
SAMSUNG SDI CO., LTD
EP_4708452_PA

Resumen de: EP4708452A1

The present disclosure relates to a battery cell replacement detection apparatus and method, and is directed to presenting a mechanism that permanently prevents a battery pack from being used by determining, through cell data retained by a battery management system (BMS) after the battery pack wakes up, that a battery cell has been replaced. To this end, the present disclosure provides a configuration that obtains the cell data related to charging of the battery from the BMS, and determines whether the battery cell has been replaced by comparing the cell data with data stored in a memory.

BATTERY CELL, AND BATTERY MODULE COMPRISING THE SAME

NºPublicación:  EP4708458A1 11/03/2026
Solicitante: 
LG ENERGY SOLUTION LTD [KR]
LG Energy Solution, Ltd
EP_4708458_A1

Resumen de: EP4708458A1

The present invention relates to a battery cell and a battery module comprising the same, and relates, particularly, to a direct water-cooling battery cell and a direct water-cooling battery module comprising the same. According to the present invention, the corrosion resistance of the battery cell can be improved by using a sacrificial metal having a higher metal ionization tendency than that of a battery cell case, and the heat of the battery cell can be cooled by using general cooling water for vehicles.

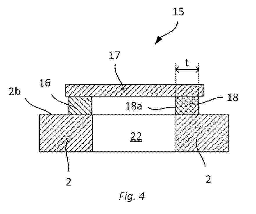
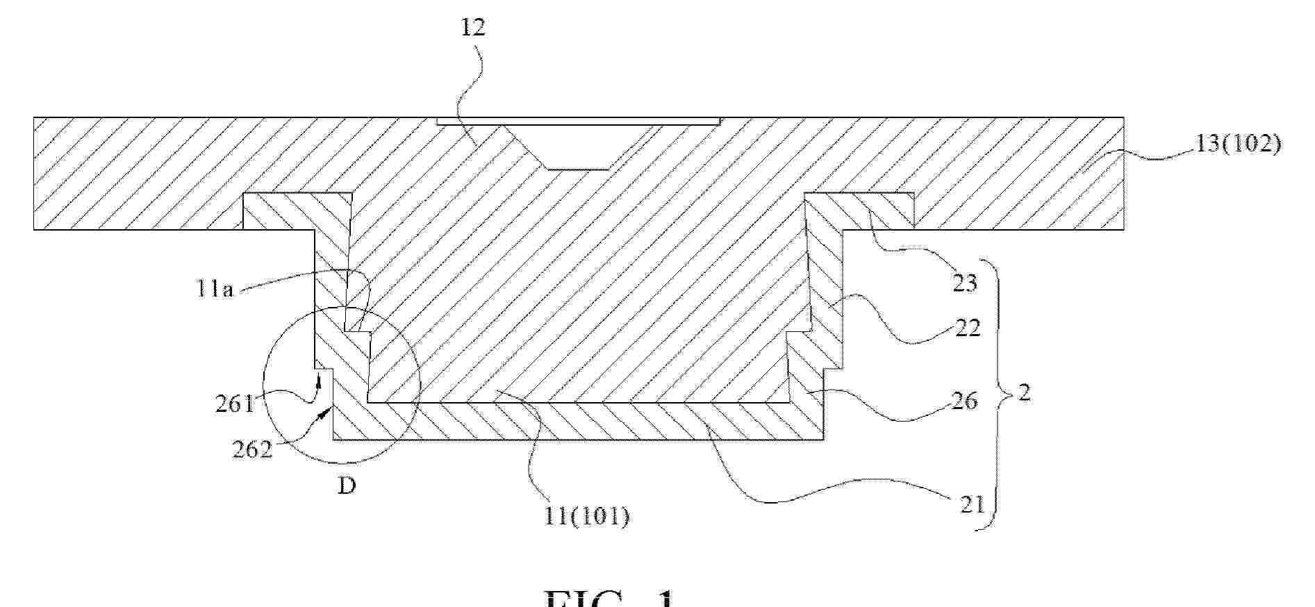
CONDUCTIVE STRUCTURE, COVER PLATE ASSEMBLY, AND BATTERY CELL

NºPublicación:  EP4708481A1 11/03/2026
Solicitante: 
HUIZHOU EVE POWER CO LTD [CN]
EVE POWER CO LTD [CN]
HUIZHOU EVE POWER CO., LTD,
Eve Power Co., Ltd
EP_4708481_PA

Resumen de: EP4708481A1

The present disclosure provides a conductive structure (10), a cover plate assembly (100), and a battery cell (1000). The conductive structure (10) includes a first-metal post (1) and a second-metal layer (2). The first-metal post (1) includes a first end (11) and a second end (12) opposite to each other. The first end (11) is formed with a first step portion (11a). The second-metal layer (2) is bonded to a surface of the first-metal post (1). The second-metal layer (2) wraps the first end (11) and extends toward the second end (12). The second-metal layer (2) is formed with a second step portion (26) matching the first step portion (11a). The second step portion (26) is configured to be welded to a current collector (120).

POLE, COVER PLATE ASSEMBLY AND BATTERY CELL

NºPublicación:  EP4708475A2 11/03/2026
Solicitante: 
HUIZHOU EVE POWER CO LTD [CN]
EVE POWER CO LTD [CN]
HUIZHOU EVE POWER CO., LTD,
Eve Power Co., Ltd
EP_4708475_PA

Resumen de: EP4708475A2

A pole for a battery cell, a corresponding cover plate assembly, and a battery cell, relating to the field of battery technology. The pole includes a first metal part and a second metal part; where the first metal part has a first concave part, and a first convex part is disposed on an inner wall of the first concave part; the second metal part includes a main body and a second convex part connected to each other, where a second concave part is disposed on an outer peripheral surface of the second convex part, the second convex part is embedded into the first concave part, and the first convex part is embedded into the second concave part; a side of the second concave part away from a bottom wall of the first concave part is represented as a first surface, and a gap is only disposed between the first convex part and the first surface.

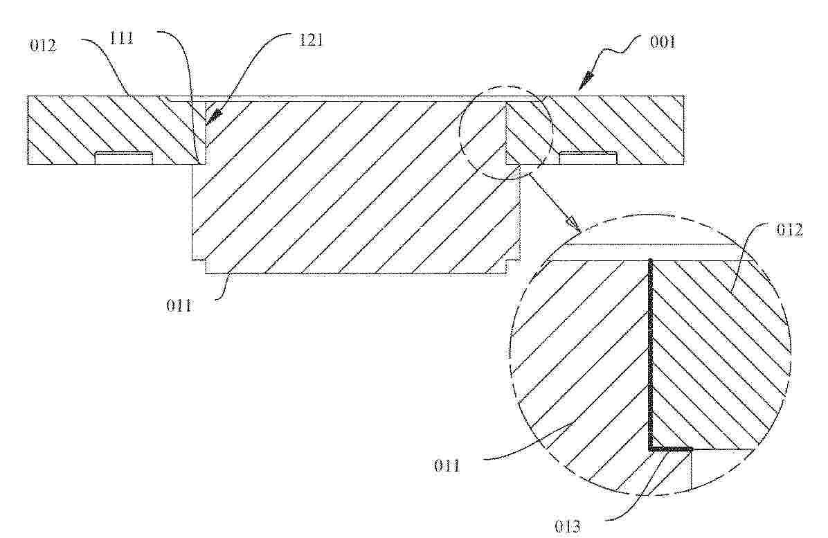
ELECTRODE OUTPUT COMPONENT, COVER PLATE ASSEMBLY, AND BATTERY CELL

NºPublicación:  EP4708476A2 11/03/2026
Solicitante: 
HUIZHOU EVE POWER CO LTD [CN]
EVE POWER CO LTD [CN]
HUIZHOU EVE POWER CO., LTD,
Eve Power Co., Ltd
EP_4708476_PA

Resumen de: EP4708476A2

The present disclosure provides an electrode output component (001) for a battery cell, a cover plate assembly (002), and a battery cell, relating to the field of batteries technologies. The electrode output component (001) includes a pole (011) and a terminal (012). An outer peripheral surface of the pole (011) is provided with an abutting portion (111). The terminal (012) includes a first through hole (121). The first through hole (121) is sleeved on one end of the pole (011) and abuts against the abutting portion (111) along an axial direction of the pole (011). A contact portion (013) between the pole (011) and the terminal (012) forms a structure engaged with each other.

Procédé d’extraction sécurisée de lithium d’une batterie électrique comprenant du lithium métallique.

NºPublicación:  FR3165896A1 06/03/2026
Solicitante: 
BLUE SOLUTIONS [FR]
BLUE SOLUTIONS
FR_3165896_PA

Resumen de: FR3165896A1

L’invention concerne un procédé (300) d’extraction de lithium d’une batterie électrique comprenant du lithium, ledit procédé (300) comprenant une phase (302) d’extraction de lithium, ladite phase d’extraction (302) comprenant les étapes suivantes réalisées, au moins en partie, dans au moins une enceinte : chauffage (304) de ladite batterie à une température, dite température de traitement, supérieure ou égale à la température de fusion du lithium métallique ; compression (306) de ladite batterie pour évacuer le lithium fondu hors de la batterie ; caractérisé en ce qu’il comprend, lors d’au moins une partie de ladite phase d’extraction (302), une évacuation (308,310) de composés organiques volatiles se trouvant dans ladite enceinte, ou au moins une desdites enceintes. Elle concerne également un système mettant en œuvre un tel procédé. Figure : Fig. 3

Procédé d’extraction sécurisée de lithium d’une batterie électrique comprenant du lithium.

NºPublicación:  FR3165894A1 06/03/2026
Solicitante: 
BLUE SOLUTIONS [FR]
BLUE SOLUTIONS
FR_3165894_PA

Resumen de: FR3165894A1

L’invention concerne un procédé (300) d’extraction de lithium d’une batterie électrique comprenant du lithium métallique, ledit procédé (300) comprenant une phase (302) d’extraction de lithium, ladite phase d’extraction (302) comprenant les étapes suivantes réalisées, au moins en partie, dans une enceinte : chauffage (304) de ladite batterie à une température, dite température de traitement, supérieure ou égale à la température de fusion du lithium métallique ; compression (306) de ladite batterie pour évacuer le lithium fondu hors de la batterie ; caractérisé en ce que l’étape de chauffage (304) est réalisée par circulation, dans ladite enceinte, d’un flux chaud, dit flux de chauffage, venant au contact de ladite batterie. Elle concerne également un système mettant en œuvre un tel procédé. Figure : Fig. 3

Procédé d’extraction de lithium d’une batterie électrique comprenant du lithium à bilan énergétique amélioré

NºPublicación:  FR3165895A1 06/03/2026
Solicitante: 
BLUE SOLUTIONS [FR]
BLUE SOLUTIONS
FR_3165895_PA

Resumen de: FR3165895A1

L’invention concerne un procédé (300) d’extraction de lithium d’une batterie électrique comprenant une phase (302) d’extraction, réalisée, au moins en partie, dans une ou plusieurs enceintes et comprenant les étapes de : chauffage (304) de ladite batterie à une température de traitement supérieure ou égale à la température de fusion du lithium métallique ; compression (306) de ladite batterie pour évacuer le lithium fondu hors de la batterie ; ladite phase d’extraction (302) comprenant en outre une circulation d’un flux dans ladite enceinte, ou dans au moins une desdites enceintes ; ledit procédé (300) comprenant en outre une valorisation (320) d’au moins une partie de l’énergie du flux sortant de ladite enceinte. Elle concerne également un système mettant en œuvre un tel procédé. Figure : Fig. 3

Procédé de gestion de la température d’une batterie pour véhicule automobile

NºPublicación:  FR3165827A1 06/03/2026
Solicitante: 
STELLANTIS AUTO SAS [FR]
STELLANTIS AUTO SAS
FR_3165827_PA

Resumen de: FR3165827A1

L’invention concerne un procédé de gestion de la température d’une batterie de traction (1) d’un véhicule automobile (10) comprenant un système de régulation thermique (3) de la batterie de traction, le procédé comportant des étapes de : mesure d’une température maximale à l’instant t de la batterie de traction, puis de comparaison avec au moins une température seuil parmi une température d’arrêt seuil « TempératureDArrêtDuCooling», une température d’activation seuil « TempératureDActivationDuCooling », une première température seuil « TemperatureStartDerating » et une deuxième température seuil « TemperatureNoPower », dans lequel, préalablement à l’étape de mesure, il comporte une réévaluation d’au moins l’une température seuil en fonction d’un état de santé instantanée à l’instant t de la batterie de traction (1) évalué par un système de gestion de la batterie (2) et d’un niveau de de vieillissement cible prédéfini à cet instant t. Figure 1

Module pour ensemble d’échanges thermiques avec des cellules de batteries

NºPublicación:  FR3165952A1 06/03/2026
Solicitante: 
SOGEFI AIR & COOLING [FR]
SOGEFI AIR & COOLING
FR_3165952_PA

Resumen de: FR3165952A1

Module pour ensemble d’échanges thermiques avec des cellules de batteries La présente invention porte sur un module pour ensemble d’échanges thermiques avec au moins une cellule de batteries, comprenant au moins : une structure support d’au moins une cellule de batterie comprenant au moins un orifice formant un logement de forme complémentaire du bord périphérique de la au moins une cellule,un panneau d’échanges thermiques (11) positionné contre la structure support et comprenant un volume intérieur pour la circulation d’un fluide caloporteur entre au moins un orifice d’entrée et un orifice de sortie du fluide, caractérisé en ce que le panneau d’échanges thermiques est réalisé par au moins deux structures de forme sensiblement plane positionnées en vis-à-vis l’une de l’autre et assemblées entre elles par leurs bords périphériques de sorte que l’étanchéité du volume intérieur du panneau d’échanges thermiques est opérée par une soudure périphérique entre les deux structures. Figure à publier avec l’abrégé : Fig. 8

SYSTÈME DE BATTERIES POUR VÉHICULE ÉLECTRIQUE OU HYBRIDE

NºPublicación:  FR3166004A1 06/03/2026
Solicitante: 
AUTOMOTIVE CELLS COMPANY SE [FR]
AUTOMOTIVE CELLS COMPANY SE
FR_3166004_PA

Resumen de: FR3166004A1

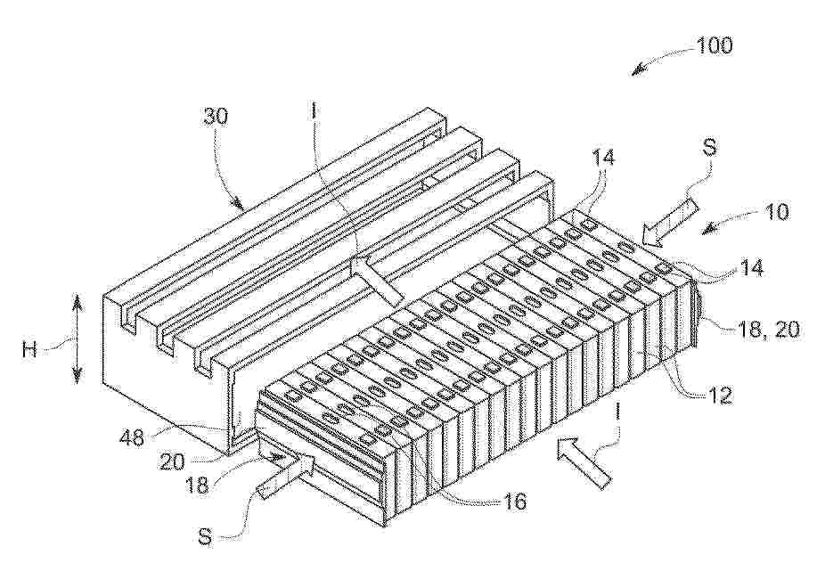
Système de batteries pour véhicule électrique ou hybride La présente invention concerne un système de batteries (18), pour véhicule électrique ou hybride, comprenant des modules de batterie (30), comportant un boîtier (40) s’étendant perpendiculairement à un axe vertical (Z), des cellules électrochimiques (32) et une plaque terminale (50) fermant le boîtier ; et un système de refroidissement (34) ayant un châssis (60) fixé au sol du véhicule, un conduit d’entrée (62) et un conduit de sortie (64). Des raccords fluidiques d’entrée (66) et de sortie (68) sont respectivement associés aux plaques terminales et s’étendent entre le châssis et les plaques terminales, parallèlement ou obliquement à l’axe vertical, pour les relier aux conduits d’entrée et de sortie et permettre la circulation d’un fluide réfrigérant dans les modules de batterie. Des éléments de fixation (80) fixent les plaques terminales au châssis en s’étendant parallèlement ou obliquement à l’axe vertical entre les plaques terminales et le châssis. Figure pour l'abrégé : 2

VEHICULE AUTOMOBILE COMPORTANT UN PHARE APTE A ETRE EJECTE POUR ACCEDER A UN CONDUIT DE REMPLISSAGE

NºPublicación:  FR3165835A1 06/03/2026
Solicitante: 
STELLANTIS AUTO SAS [FR]
STELLANTIS AUTO SAS
FR_3165835_PA

Resumen de: FR3165835A1

L’invention concerne un véhicule (100) automobile électrique ou hybride comportant une batterie, ledit véhicule (100) comportant un conduit de remplissage joint à ladite batterie, ledit conduit de remplissage comportant une ouverture, ledit conduit de remplissage étant destiné à recevoir et à guider un fluide vers ladite batterie, ledit véhicule (100) comportant au moins un logement (1) configuré pour contenir un phare (2), ladite ouverture étant accessible depuis ledit logement (1), caractérisé en ce que ledit véhicule (100) comporte au moins un moyen d’éjection configuré pour éjecter ledit phare (2) en dehors dudit logement (1). En outre, l’invention concerne un procédé d’éjection du phare (2) en dehors du logement du véhicule (100) automobile électrique ou hybride. Figure. 1

MODULE DE BATTERIE POUR UN SYSTÈME DE BATTERIES D’UN VÉHICULE ÉLECTRIQUE OU HYBRIDE ET SYSTÈME DE BATTERIES ASSOCIÉ

Nº publicación: FR3166003A1 06/03/2026

Solicitante:

AUTOMOTIVE CELLS COMPANY SE [FR]
AUTOMOTIVE CELLS COMPANY SE

FR_3166003_PA

Resumen de: FR3166003A1

MODULE DE BATTERIE POUR UN SYSTÈME DE BATTERIES D’UN VÉHICULE ÉLECTRIQUE OU HYBRIDE ET SYSTÈME DE BATTERIES ASSOCIÉ La présente invention concerne un module de batterie (30), pour un système de batteries d’un véhicule électrique ou hybride, comprenant un boîtier (40) tubulaire, une première plaque terminale (50) et une deuxième plaque terminale (54) fermant les extrémités (40A, 40B) du boîtier, et des cellules électrochimiques disposées dans le boîtier. La première plaque terminale comprend un corps (51) ; un canal d’entrée (65A) et un canal de sortie (65B), ménagés dans le corps et permettant une circulation de fluide réfrigérant dans le module de batterie entre le canal d’entrée et le canal de sortie pour refroidir les cellules électrochimiques ; une borne positive (88A) et une borne négative (88B), fixées au corps, électriquement connectées aux cellules électrochimiques et s’étendant hors du boîtier ; et des organes de fixation (85), disposés dans le corps et permettant la fixation du module de batterie au véhicule. Figure pour l'abrégé : 3

traducir