Ministerio de Industria, Turismo y Comercio LogoMinisterior
 

Alerta

Resultados 1509 resultados
LastUpdate Última actualización 17/03/2026 [07:16:00]
pdfxls
Publicaciones de los últimos 15 días/Last 15 days publications (excluidas pubs. CN y JP /CN and JP pubs. excluded)
previousPage Resultados 725 a 750 de 1509 nextPage  

Dispositif de stockage et procédé de fabrication

NºPublicación:  FR3166001A1 06/03/2026
Solicitante: 
COMMISSARIAT A L ENERGIE ATOMIQUE ET AUX ENERGIES ALTERNATIVES [FR]
COMMISSARIAT A L' ENERGIE ATOMIQUE ET AUX ENERGIES ALTERNATIVES
FR_3166001_PA

Resumen de: FR3166001A1

Titre : Dispositif de stockage et procédé de fabrication L’invention concerne un procédé de réalisation d’une électrode d’une batterie solide comprenant au moins les étapes suivantes : une réalisation d’une électrode (30) sur un support, l’électrode (30) présentant une face supérieure (31) opposée au support, l’électrode (30) présentant au moins une cavité (33) s’étendant en creux depuis sa face supérieure (31), une formation d’une couche ioniquement isolante, dite couche barrière (40), sur la face supérieure (31) de l’électrode (30) et dans l’au moins une cavité (33), puis un retrait de la couche barrière (40) de sorte à mettre à découvert la face supérieure (31) de l’électrode (30), tout en laissant en place la portion de la couche barrière (40) s’étendant dans l’au moins une cavité (33). Figure pour l’abrégé : Fig.5C

Cellule électrochimique en sachet

NºPublicación:  FR3166002A1 06/03/2026
Solicitante: 
VERKOR [FR]
VERKOR
FR_3166002_PA

Resumen de: FR3166002A1

Cellule électrochimique comprenant :- une enveloppe comportant un premier et un deuxième logement formant un logement principal lorsque l’enveloppe extérieure est repliée autour d’un axe de pliage,le premier logement étant bordé transversalement par un premier bord et par un deuxième bord et parallèlement à l'axe de pliage par un troisième bord;le deuxième logement étant bordé transversalement par un quatrième bord et par un cinquième bord et parallèlement à l'axe de pliage par un sixième bord;- le premier bord et le quatrième bord étant solidaires selon une première jonction thermoscellée,- le deuxième bord et le cinquième bord étant solidaires selon une deuxième jonction thermoscellée,- le troisième bord et le sixième bord étant solidaires selon une troisième jonction thermoscellée;l’une au moins des jonctions comprenant une première portion d’une première épaisseur et une deuxième portion d’une deuxième épaisseur supérieure à la première épaisseur. Figure pour l’abrégé : Fig.2

Procédé de fabrication d'une cellule électrochimique en sachet

NºPublicación:  FR3165999A1 06/03/2026
Solicitante: 
VERKOR [FR]
VERKOR
FR_3165999_PA

Resumen de: FR3165999A1

Procédé de fabrication d'une cellule en sachet comprenant les étapes suivantes: - formation, dans un film (20) multicouche, d'une première cavité (11) et d'une deuxième cavité (12), la première cavité et la deuxième cavité ayant un bord (13) en commun intégrant une ligne (14) de pliage permettant un rabattement de la première cavité (11) sur la deuxième cavité (12) de sorte à former un sachet apte à recevoir un empilement d'électrodes;- formation d'une première goulotte (15) semi-cylindrique dans le bord de la première cavité (11) et d'une deuxième goulotte (16) semi-cylindrique dans le bord de la deuxième cavité (12) de sorte que, lorsque la première cavité (11) est rabattue sur la deuxième cavité (12), la deuxième goulotte (16) forme avec la première (15) goulotte un conduit (17) apte à recevoir un câble s'étendant dans ledit sachet. Figure pour l’abrégé : Fig.2

Procédé de gestion de la charge électrique d’un véhicule automobile ayant une motorisation électrique alimentée par une batterie

NºPublicación:  FR3165826A1 06/03/2026
Solicitante: 
STELLANTIS AUTO SAS [FR]
FCA US LLC [US]
STELLANTIS AUTO SAS,
FCA US LLC
FR_3165826_PA

Resumen de: FR3165826A1

Un procédé de gestion de la charge électrique d’un véhicule automobile ayant une motorisation électrique alimentée par une batterie est mis en œuvre par un processeur et comprend les étapes de : recueil (201) des consommations électriques de la motorisation, des fonctions de confort et de la mise en température de charge de la batterie ;détermination (203) à partir des consommations électriques recueillies et de la charge restante de la batterie d’une distance maximale atteignable ;recherche (205) d’une station de recharge de la batterie se trouvant à une distance inférieure à la distance maximale atteignable. Un dispositif pour mettre en œuvre ce procédé et un véhicule automobile comprenant le dispositif sont également décrits. Figure à publier avec l’abrégé : Fig 2

VEHICULE AUTOMOBILE LIMITANT LE COURANT DE CHARGE POUR EVITER LES SURCHAUFFES ET LES SURTENSIONS, ET LIMITER LE PLACAGE DE LITHIUM, PROCEDE ET PROGRAMME SUR LA BASE D’UN TEL VEHICULE

NºPublicación:  FR3166000A1 06/03/2026
Solicitante: 
STELLANTIS AUTO SAS [FR]
FCA US LLC [US]
STELLANTIS AUTO SAS,
FCA US LLC
FR_3166000_PA

Resumen de: FR3166000A1

L’invention concerne un véhicule automobile comprenant une batterie équipée de cellules ayant au moins une électrode négative, et un contrôleur de batterie qui comprend :- des moyens de mesure de courant (MC) et de tension (MV) et de température (MTC) des cellules ;- un moyen d’estimation d’un potentiel d’électrode négative (NR) maximal à partir d’un modèle dudit potentiel (NM) en fonction du courant (MC) et de la température des cellules (MTC) ;- un moyen d’estimation de surchauffe (MTR) des cellules en fonction d’un seuil de température ; - un moyen d’estimation de surtension (VR) des cellules en fonction d’un seuil de tension ;- un moyen d’évaluation d’un courant de charge minimal (MIN) correspondant à la fois au seuil du potentiel d’électrode négative, au seuil de température, et au seuil de tension. L’invention concerne également un procédé et un programme sur la base d’un tel véhicule. Figure 2

Mécanisme de jonction entre une extrémité de canalisation de type mâle et une extrémité de canalisation de type femelle

NºPublicación:  FR3165938A1 06/03/2026
Solicitante: 
SOGEFI AIR & COOLING [FR]
SOGEFI AIR & COOLING
FR_3165938_PA

Resumen de: FR3165938A1

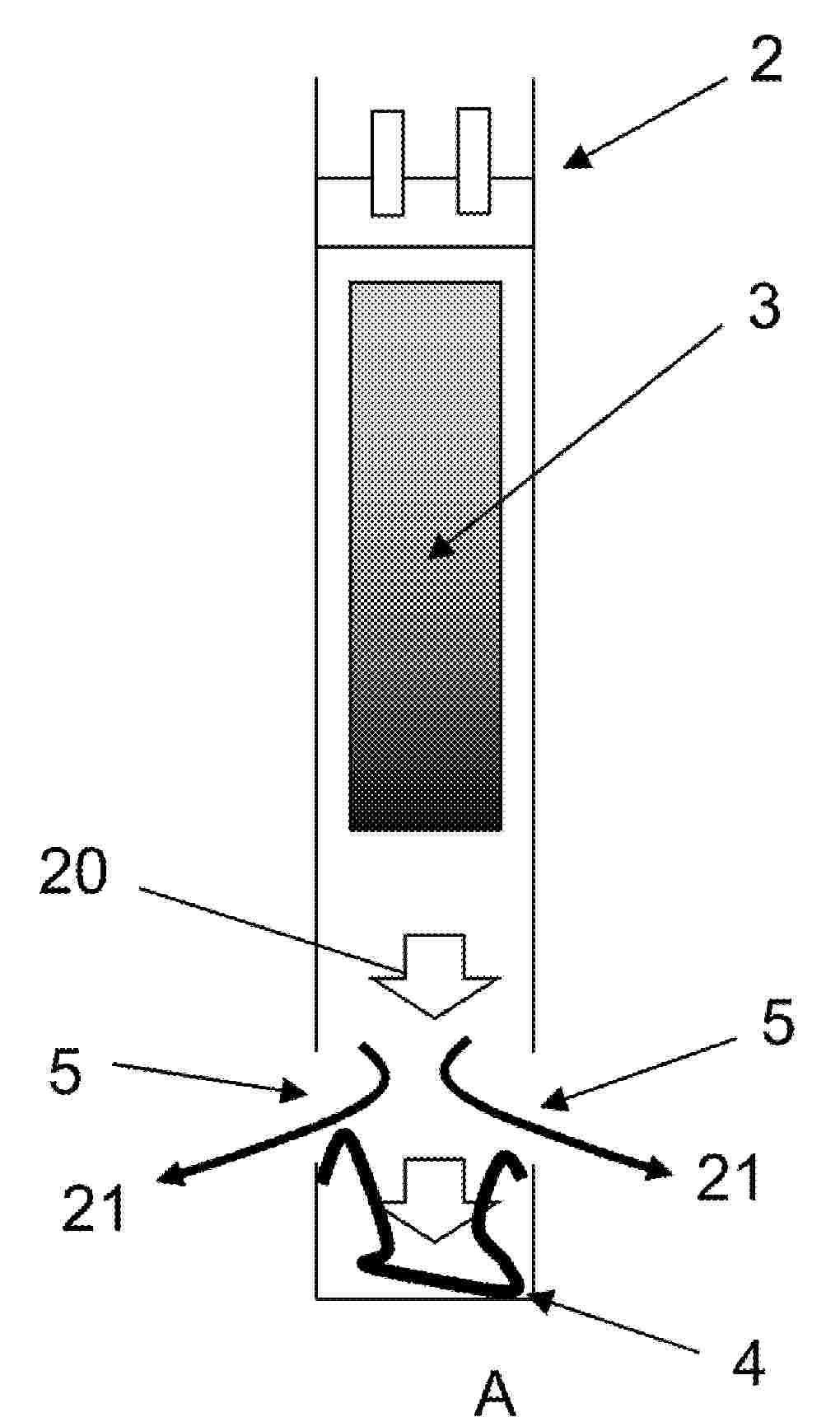
Mécanisme de jonction entre une extrémité de canalisation de type mâle et une extrémité de canalisation de type femelle L’invention concerne un système (1) de jonction pour la circulation d’un fluide entre un conduit mâle (2) et un conduit femelle (3) qui comprend : une première interface de connexion (21) réalisée par la surface extérieure du conduit mâle (2),une seconde interface de connexion (31) complémentaire à la première interface de connexion (21) et réalisée par la surface intérieure du conduit femelle (3),un dispositif intermédiaire élastique axial de jonction (11) comprenant au moins une surface respective (112, 113) en vis-à-vis de la première (21) et de la seconde (31) interface de connexion, pour être comprimé entre ces interfaces (21, 31), caractérisé en ce que : la seconde interface de connexion (31) comprend un orifice de drainage (41) vers un canal de drainage porté par le conduit femelle (3),le dispositif intermédiaire élastique axial de jonction (11) comprend, en vis-à-vis de la seconde interface de connexion (31), au moins deux lèvres ou séries de lèvres (51, 52) orthogonales à l’axe du dispositif (11), le dispositif intermédiaire de jonction (11) étant positionné en insertion dans le conduit femelle (31) de sorte que chaque lèvre ou série de lèvres (51, 52) est disposée de part et d’autre de l’orifice de drainage (41) de la seconde interface de connexion (31). Figure à publier avec l’abrégé : pas d

PROCEDE DE REGULATION D’UNE TENSION DE SORTIE D’UN CONVERTISSEUR DE TENSION CONTINUE-CONTINUE D’UN VEHICULE AUTOMOBILE

NºPublicación:  FR3166011A1 06/03/2026
Solicitante: 
STELLANTIS AUTO SAS [FR]
FCA US LLC [US]
STELLANTIS AUTO SAS,
FCA US LLC
FR_3166011_PA

Resumen de: FR3166011A1

L’invention concerne un procédé de régulation d’une tension de sortie (Ureg) d’un convertisseur de tension continue-continue (DC/DC) d’un véhicule automobile comportant une étape de mesure de la température de la batterie 12V (B12V) par ledit capteur de température (CT), la température (Tbat) mesurée étant transmise vers l’unité de contrôle de la tension de la batterie (BVCU) ; une étape de transmission de la température (Tbat) depuis l’unité de contrôle de la tension de la batterie (BVCU) vers le chargeur embarqué (OBC) via une passerelle de communication ; et une étape de régulation de la tension de sortie (Ureg) émise par ledit chargeur embarqué (OBC) vers ladite batterie 12V (B12V), ladite tension de sortie (Ureg) étant déterminée en fonction de la température (Tbat) par le chargeur embarqué (OBC). Figure 1

PROCEDE DE REGULATION D’UNE TENSION DE SORTIE D’UN CONVERTISSEUR DE TENSION CONTINUE-CONTINUE D’UN VEHICULE AUTOMOBILE

NºPublicación:  FR3166010A1 06/03/2026
Solicitante: 
STELLANTIS AUTO SAS [FR]
FCA US LLC [US]
STELLANTIS AUTO SAS,
FCA US LLC
FR_3166010_PA

Resumen de: FR3166010A1

L’invention concerne un procédé de régulation d’une tension de sortie (Ureg) d’un convertisseur de tension continue-continue (DC/DC) d’un véhicule automobile, caractérisé en ce que ledit procédé comporte une étape de mesure de la température de la batterie de traction 48V (BT) par ledit capteur de température (CT) ; une étape de détermination d’une consigne (Cs) par l’unité de contrôle de la tension de la batterie (BVCU), ladite consigne (Cs) étant la valeur de tension de sortie (Ureg) appropriée pour la batterie 12V (B12V) en fonction de la température (Tbat) mesurée lors de ladite étape de mesure, ladite consigne (Cs) étant transmise au chargeur embarqué (OBC) et une étape de régulation de la tension de sortie (Ureg) émise par ledit chargeur embarqué (OBC) vers ladite batterie 12V (B12V), ladite tension de sortie (Ureg) étant égale à la consigne (Cs). Figure 1

GROUND COMPACTION MACHINE AND METHOD FOR OPERATING A GROUND COMPACTION MACHINE

NºPublicación:  US20260063369A1 05/03/2026
Solicitante: 
BOMAG GMBH [DE]
BOMAG GMBH
US_20260063369_PA

Resumen de: US20260063369A1

A ground compaction machine with a machine frame, a ground contacting device mounted movably on the machine frame, a vibration excitation device and an electrical operating component comprising a housing. A method for operating a ground compaction machine. A heat exchanger fluid tank is provided with which a conductive heat exchange takes place between the electrical operating component and a heat exchanger fluid stored in a storage space of the heat exchanger fluid tank.

Energy Storage Assembly Device for an Aerosol Generation Device

NºPublicación:  US20260066442A1 05/03/2026
Solicitante: 
JT INT S A [CH]
JT International S.A
US_20260066442_PA

Resumen de: US20260066442A1

An energy storage assembly device for an aerosol generation device includes a housing intended for housing a battery; a vent component configured to vent pressurized gases from within the housing upon a predetermined pressure in the housing; whereby the housing has an elongated shape; and the housing includes on a circumference of the housing at a first extremity which is free on the inside from being filled by the battery, a first plurality of holes blinded by a blinding member, the first plurality of holes and the blinding member each being part of the vent component.

Thermomanagementsystem für Hochlastbedingungen

NºPublicación:  DE102024125376A1 05/03/2026
Solicitante: 
DENSO AUTOMOTIVE DEUTSCHLAND GMBH [DE]
DENSO CORP [JP]
DENSO AUTOMOTIVE Deutschland GmbH,
DENSO CORPORATION

Resumen de: DE102024125376A1

Die vorliegende Erfindung betrifft ein Thermomanagementsystem (10) für ein Fahrzeug mit einem R744 Kältemittelkreis (20) sowie ein Verfahren zum Betreiben desselben. Das Thermomanagementsystem (10) umfasst einen Kühlmittelkreis (30) mit einem ersten Kühlmittelzweig (32) in thermischem Austausch mit einer zu kühlenden elektrischen Komponente (34) und einem ersten Wärmetauscher (25), welcher innerhalb des Niederdruckabschnitts des Kältemittelkreises (20) angeordnet ist. Es umfasst des Weiteren ein Fahrzeugklimagerät (40) mit einem Primärluftpfad (43) mit einem darin angeordneten zweiten Wärmetauscher (26), welcher innerhalb des Niederdruckabschnitts des Kältemittelkreises (20) angeordnet ist. Das Thermomanagementsystem ist dadurch gekennzeichnet, dass der Kühlmittelkreis (30) einen zweiten Kühlmittelzweig (33) aufweist, welcher den ersten Wärmetauscher (25) umgeht und dabei eine Kurzschlussschleife um die zu kühlende elektrische Komponente (34) erzeugt, und/oder der wenigstens eine Luftkanal (41) weist einen Sekundärluftpfad (44) auf, welcher den zweiten Wärmetauscher (26) umgeht. Das Betriebsverfahren ist dadurch gekennzeichnet, dass die Durchflussraten durch den ersten Wärmetauscher (25) und/oder den zweiten Wärmetauscher (26 in Abhängigkeit von dem Vergleichsergebnis eines mit wenigstens einem von dem ersten/ zweiten Wärmetauscher (25, 26) assoziierten Temperaturgrenzwerts mit entsprechend gemessenen Temperaturwerten angepasst wird.

Komprimierbarer Plattenkühler für ein Kraftfahrzeug

NºPublicación:  DE102024124959A1 05/03/2026
Solicitante: 
PORSCHE AG [DE]
Dr. Ing. h.c. F. Porsche Aktiengesellschaft

Resumen de: DE102024124959A1

Die Erfindung betrifft einen komprimierbaren Plattenkühler für ein Kraftfahrzeug. Der Plattenkühler umfasst eine erste Kühlplatte mit einer Grundplatte und parallel angeordneten Kühlrippen, die Nuten zwischen sich haben. Eine zweite Kühlplatte besteht ebenfalls aus einer Grundplatte mit parallel angeordneten Kühlrippen und Nuten. Die erste und die zweite Kühlplatte sind einander gegenüberliegend angeordnet, wobei die Kühlrippen der einen Platte den Nuten der anderen Platte gegenüberliegen. Zwischen den Kühlplatten ist zumindest ein Abstandselement angeordnet, das in die Nuten beider Platten eingreift und so die Platten voneinander beabstandet.

Verfahren zum Betreiben eines Hochvoltspeichers eines Kraftfahrzeugs und Hochvoltspeicher für ein Kraftfahrzeug

NºPublicación:  DE102024124367A1 05/03/2026
Solicitante: 
BAYERISCHE MOTOREN WERKE AG [DE]
Bayerische Motoren Werke Aktiengesellschaft

Resumen de: DE102024124367A1

Die Erfindung betrifft ein Verfahren (100) zum Betreiben eines Hochvoltspeichers (11) eines Kraftfahrzeugs (10), aufweisend Schritte des Betreibens des Hochvoltspeichers (11), aufweisend eine Zellpackung (12) an Batteriezellen (13), um eine erste vorbestimmte Ausgangsspannung (V1) bereitzustellen; des Erfassens eines Fehlerfalls wenigstens einer Batteriezelle (13P) des Hochvoltspeichers (11); des Bestimmens einer Position (P) der fehlerhaften Batteriezelle (13P) in der Zellpackung (12); und des Steuerns des Betriebs des Hochvoltspeichers (11).

Gehäuse für eine Batterieeinheit

NºPublicación:  DE102024208359A1 05/03/2026
Solicitante: 
VOLKSWAGEN AG [DE]
VOLKSWAGEN AKTIENGESELLSCHAFT
DE_102024208359_PA

Resumen de: DE102024208359A1

Es wird ein Gehäuse für eine Batterieeinheit vorgeschlagen, bei dem ein Deckelelement und ein Basiselement des Gehäuses nicht mit Schraubverbindungen, sondern mit Schlagnieten verbunden werden. Es wird so ein einfaches, aber dennoch beschädigungsfrei reversibles Verschließen des Gehäuses ermöglicht.

MIKROPORÖSE MEMBRANEN, SEPARATMEMBRANEN, BASISFOLIEN MIT VERBESSERTER FESTIGKEIT UND VERWENDUNGEN DAVON

NºPublicación:  DE102025135620A1 05/03/2026
Solicitante: 
CELGARD LLC [US]
CELGARD, LLC
DE_102025135620_PA

Resumen de: DE102025135620A1

Es wird hier eine mikroporöse Membran mit verbesserter Festigkeit beschrieben. Die mikroporöse Membran kann als Batterieseparator, Separatormembran, Basisfolie oder -membran mit jeweils einer Vielzahl von Verwendungen geeignet sein. Die hier beschriebenen verbesserten mikroporösen Membranen können trocken verarbeitete Polyolefinmembranen sein und können als Batterieseparatoren oder als Komponente eines Verbundstoffs oder eines Batterieseparators verwendet werden. Die Batterieseparatoren oder Verbundstoffe können in Energiespeichervorrichtungen einschließlich Primärbatterien, Akkus, Brennstoffzellen, Kondensatoren oder Superkondensatoren verwendet werden.

HEAT AND COLD STORAGE TANK WITH COUNTERFLOW HEAT EXCHANGER

NºPublicación:  US20260063375A1 05/03/2026
Solicitante: 
SCHERER JOHANNES [DE]
FALKENSTEIN JUERGEN [DE]
SCHERER Johannes,
FALKENSTEIN J\u00FCrgen
US_20260063375_PA

Resumen de: US20260063375A1

A heat storage and exchanger includes a first fluid conduit, a second fluid conduit, a heat exchanger, and a storage tank. The heat exchanger is configured to transfer heat between the first fluid conduit and the second fluid conduit. The storage tank is configured to receive a thermal storage medium. At least a section of the heat exchanger is arranged in the storage tank to enable a transfer of heat between the heat exchanger and the thermal storage medium.

Detection Device for an Electrical Energy Store of a Motor Vehicle With Dynamic Plausibility Checking

NºPublicación:  US20260063729A1 05/03/2026
Solicitante: 
BAYERISCHE MOTOREN WERKE AG [DE]
Bayerische Motoren Werke Aktiengesellschaft
US_20260063729_PA

Resumen de: US20260063729A1

A detection device for an electrical energy store of a motor vehicle for detecting a fault of at least one energy store cell of a circuit of energy storage cells of the energy store includes a current sensor for detecting current values of the circuit, a voltage sensor for detecting cell voltage values of the energy store cells, and a storage and evaluation apparatus to receive and temporarily store the current and cell voltage values over a predefined time span, to compare a dynamic of cell voltage profiles obtained from the temporarily stored cell voltage values of a time span with a dynamic of the current profile obtained from the temporarily stored current values of the time span, and to detect, on the basis of the comparison, a fault of at least one energy store cell.

DEVICE AND METHOD FOR TRANSFERRING BLANKS

NºPublicación:  US20260062230A1 05/03/2026
Solicitante: 
OPTIMA LIFE SCIENCE GMBH [DE]
OPTIMA life science GmbH
US_20260062230_PA

Resumen de: US20260062230A1

The invention relates to a device and a method for transferring blanks to a transfer line, in particular for transferring blanks (10) to a material track, a transport track (14), a rotating roller and/or to products (12) transported along a conveyor belt, the device (1) comprising a positioning system (2) with at least two, in particular three or more, carriages (20) movable along a circumferential track and with a drive system (24), wherein the carriages (20) each have a product holder (22) and are designed to pick up one blank (10) at a time on the product holder (22), transport the blank (10) in a fixed position on the product holder, and transfer the blank (10) to the transfer line, and wherein the drive system (24) is designed to move the carriages (20) along the circumferential track at least in sections independently of one another.

METHOD AND APPARATUS FOR PRODUCING SILICON-CONTAINING MATERIALS

NºPublicación:  US20260062294A1 05/03/2026
Solicitante: 
SCHMID SILICON TECH GMBH [DE]
SCHMID SILICON TECHN OLOGY GMBH [DE]
Schmid Silicon Technology GmbH,
Schmid Silicon Techn ology GmbH
US_20260062294_PA

Resumen de: US20260062294A1

A process of producing silicon-containing materials includes converting a gas to a super-heated state in which it is at least partly in plasma form, and contacting the superheated gas with a silicon-containing first starting material to form a mixture including the gas and silicon, where-in the silicon-containing materials are produced by adding to the gas or the mixture a second starting material that can enter into a chemical reaction directly with the silicon in the mixture, or breaks down thermally on contact with the superheated gas and/or the mixture, and steps a. and b. are effected spatially separately from one another.

BATTERY

NºPublicación:  US20260066507A1 05/03/2026
Solicitante: 
ZHUHAI COSMX BATTERY CO LTD [CN]
ZHUHAI COSMX BATTERY CO., LTD
US_20260066507_PA

Resumen de: US20260066507A1

A battery, including a cell, a protection board and an injection-molded plastic structure. The injection-molded plastic structure encloses at least a tab, a top sealing edge, a main board and a portion of a flexible printed circuit board, an output end of the flexible printed circuit board is located outside the injection-molded plastic structure, and a groove is formed on the injection-molded plastic structure at a position corresponding to where the output end extends, with at least a portion of the output end being located within the groove. The groove has a minimum groove width of not less than 2 mm in a first direction, and has a groove depth of not less than 0.5 mm in a second direction. In this way, the injection-molded plastic structure provides effective protection for elements such as the protection board, and ensures a sufficient space for movement of the flexible printed circuit board.

Batteriemodul und Batterieanordnung

NºPublicación:  DE102024124967A1 05/03/2026
Solicitante: 
PORSCHE AG [DE]
Dr. Ing. h.c. F. Porsche Aktiengesellschaft

Resumen de: DE102024124967A1

Ein Batteriemodul (20) weist ein Batteriemodulgehäuse (22), eine Mehrzahl von Batteriezellen (30) und ein Kühlmittel (50) auf, wobei die Batteriezellen (30) und das Kühlmittel (50) im Batteriemodulgehäuse (22) vorgesehen sind, wobei das Kühlmittel (50) auf der Außenseite der Batteriezellen (30) vorgesehen ist, um eine Wärmeleitung zu ermöglichen, wobei die Batteriezellen (30) ein Zellgehäuse (32) mit einem Sicherheitsventil (34) aufweisen, wobei das Sicherheitsventil (34) dazu ausgebildet ist, bei einem Anstieg eines innerhalb des Zellgehäuses (32) herrschenden Zellinnendrucks über einen vorgegebenen ersten Schwellenwert hinaus zu öffnen und somit ein Ausströmen eines Mediums aus dem Zellgehäuse (32) zu ermöglichen, wobei die Sicherheitsventile (34) auf erste Bereiche (21) des Batteriemodulgehäuses (22) gerichtet sind, wobei das Batteriemodulgehäuse (22) außerhalb der ersten Bereiche (21) mindestens eine Öffnung (24) aufweist, welche durch eine Berstscheibe (26) verschlossen ist.

Verteilungssystem für die Wärmeflüsse in einem Fahrzeug

NºPublicación:  DE102024208376A1 05/03/2026
Solicitante: 
KB INTELLECTUAL PROPERTY GMBH & CO KG [DE]
KB Intellectual Property GmbH & Co. KG

Resumen de: DE102024208376A1

Ein Verteilungssystem (2) für Wärmeflüsse in einem Fahrzeug (1) weist auf: Ein Leitungssystem (7) für ein Wärmespeichermedium, einen ersten Kühlkreis (3), für eine erste Komponente (4), mit einem Komponentenwärmetauscher (8), der Wärme von der ersten Komponente (4) abführt, und einem Umgebungswärmetauscher (10), der die Wärme an die Umgebung abführt, einen zweiten Kühlkreis (5), für eine zweite Komponente (6), mit einem Komponentenwärmetauscher (9), der Wärme von der zweiten Komponente (6) abführt, und einem Umgebungswärmetauscher (11), der die Wärme an die Umgebung abführt. Das Leitungssystem (7) weist eine erste Ventileinrichtung (12A), die das Wärmespeichermedium aus dem ersten Kühlkreis (3) und/oder aus dem zweiten Kühlkreis (5) in den ersten Umgebungswärmetauscher (10) strömen lässt, oder absperrt, und eine zweite Ventileinrichtung (12B), die das Wärmespeichermedium aus dem ersten Umgebungswärmetauscher (10) in den ersten Kühlkreis (3) und/oder in den zweiten Kühlkreis (5) strömen lässt, oder absperrt, auf.

BATTERIEBANKGEHÄUSE-AUSGESTALTUNGEN

NºPublicación:  DE102025133912A1 05/03/2026
Solicitante: 
FORD GLOBAL TECH LLC [US]
Ford Global Technologies, LLC

Resumen de: DE102025133912A1

Es werden Bankgehäuse-Ausgestaltungen für Batteriebänke eines Traktionsbatteriepacks offenbart. Eine beispielhafte Batteriebank kann ein Bankgehäuse mit einer gerippten Struktur beinhalten, die mindestens eine Rippe (z. B. eine Außen- und/oder Innenrippe) beinhaltet, die zum Verbessern der strukturellen Steifigkeit der Batteriebank konfiguriert ist. Eine Nut kann sich mindestens teilweise durch die Rippe erstrecken, und ein Klebstoff/Dichtungsmittel kann innerhalb der Nut angeordnet sein, um eine umgebende Struktur relativ zu dem Bankgehäuse zu sichern und dadurch die Batteriebank strukturell zu integrieren. In einigen Implementierungen kann die Nut einen Steg einer Wärmebarrierebaugruppe eines Batteriezellstapels der Batteriebank aufnehmen.

WÄRMESPERRENBEFESTIGUNGSSYSTEM FÜR BATTERIEPACK

NºPublicación:  DE102025134834A1 05/03/2026
Solicitante: 
FORD GLOBAL TECH LLC [US]
Ford Global Technologies, LLC

Resumen de: DE102025134834A1

Eine Traktionsbatteriepackbaugruppe beinhaltet einen Zellenstapel, der eine Vielzahl von Batteriezellen und eine oder mehrere Wärmesperren aufweist, die entlang einer Zellenstapelachse angeordnet sind. Ein Querträger liegt längsseits des Zellenstapels. Ein oder mehrere Befestigungselemente, welche die eine oder mehreren Wärmesperren an dem Querträger befestigen. Die Befestigungselemente können Krampen sein.

WÄRMESPERRE FÜR TRAKTIONSBATTERIEPACK

Nº publicación: DE102025134380A1 05/03/2026

Solicitante:

FORD GLOBAL TECH LLC [US]
Ford Global Technologies, LLC

Resumen de: DE102025134380A1

Eine Traktionsbatteriepackbaugruppe beinhaltet einen Zellenstapel innerhalb eines Innenraums einer Umhüllung. Der Zellenstapel weist eine Vielzahl von Batteriezellen, die entlang einer Zellenstapelachse angeordnet ist, und mindestens eine Wärmesperre, die entlang der Zellenstapelachse angeordnet ist, auf. Die mindestens eine Wärmesperre weist eine Vielzahl von stärker komprimierbaren Teilen auf, die an einer Vielzahl von weniger komprimierbaren Teilen befestigt ist, um mindestens einen Kanal zu bilden, der dazu konfiguriert ist, ein Flüssigkühlmittel durch den Zellenstapel hindurch zu leiten.

traducir